Крупнейшая бесплатная информационно-справочная система онлайн доступа к полному собранию технических нормативно-правовых актов РФ. Огромная база технических нормативов (более 150 тысяч документов) и полное собрание национальных стандартов, аутентичное официальной базе Госстандарта. GOSTRF.com - это более 1 Терабайта бесплатной технической информации для всех пользователей интернета. Все электронные копии представленных здесь документов могут распространяться без каких-либо ограничений. Поощряется распространение информации с этого сайта на любых других ресурсах. Каждый человек имеет право на неограниченный доступ к этим документам! Каждый человек имеет право на знание требований, изложенных в данных нормативно-правовых актах!

  


 

МИНИСТЕРСТВО ПУТЕЙ СООБЩЕНИЯ СССР

ГЛАВНОЕ УПРАВЛЕНИЕ ПУТИ

 

ТЕХНИЧЕСКИЕ УКАЗАНИЯ ПО ПРИМЕНЕНИЮ НЕТКАНЫХ МАТЕРИАЛОВ ДЛЯ УСИЛЕНИЯ ЗЕМЛЯНОГО ПОЛОТНА

ЦП-4591

 

Утверждено Министерством путей сообщения 3 мая 1988 г.

 

Москва "Транспорт" 1989

 

В Технических указаниях изложены требования по проектированию и расчету противодеформационных конструкций из нетканого материала, укладываемых для устранения просадок пути, интенсивных расстройств рельсовой колеи, оползаний откосов, а также для предупреждения образования балластных корыт и лож на основной площадке земляного полотна и размывов. Даны основные положения по организации и технологии работ при устройстве этих конструкций. Для инженерно-технических работников путевого хозяйства.

 

Ответственные за выпуск П.И. Дыдышко, В.В. Соколов

Заведующий редакцией В.Г. Пешков

Редактор Л.П. Топольницкая

ОГЛАВЛЕНИЕ

ВВЕДЕНИЕ

1. ОБЩИЕ ПОЛОЖЕНИЯ

2. ИСХОДНЫЕ ДАННЫЕ ДЛЯ ПРОЕКТИРОВАНИЯ

3. УСЛОВИЯ ПРИМЕНЕНИЯ НЕТКАННЫХ МАТЕРИАЛОВ ДЛЯ УСИЛЕНИЯ ЗЕМЛЯНОГО ПОЛА

4. УСТРАНЕНИЕ ПРОСАДОК ПУТИ И РАССТРОЙСТВ РЕЛЬСОВОЙ КОЛЕИ НА НЕУСТОЙЧИВЫХ УЧАСТКАХ ЗЕМЛЯНОГО ПОЛОТНА

5. УСТРАНЕНИЕ РАССТРОЙСТВ РЕЛЬСОВОЙ КОЛЕИ ПО УРОВНЮ И В ПРОФИЛЕ С ОБРАЗОВАНИЕМ ВЫПЛЕСКОВ НА ЗАСОРЯЕМЫХ УЧАСТКАХ

6. ПРИМЕНЕНИЕ ПОКРЫТИЯ ИЗ НЕТКАНОГО МАТЕРИАЛА И ГИДРОИЗОЛЯЦИОННОЙ ПЛЕНКИ

7. УСТРАНЕНИЕ ОПОЛЗАНИЙ ОТКОСОВ И ОСАДОК ПУТИ НА НЕУСТОЙЧИВЫХ НАСЫПЯХ НА ПРОЧНОМ ОСНОВАНИИ

8. УСТРАНЕНИЕ И ПРЕДУПРЕЖДЕНИЕ ДЕФОРМАЦИЙ ОТКОСОВ ВЫЕМОК

9. ЗАЩИТА СООРУЖЕНИЙ ЖЕЛЕЗНОДОРОЖНОГО ПУТИ ОТ РАЗМЫВОВ

10. УСИЛЕНИЕ НАСЫПЕЙ НА СЛАБОМ ОСНОВАНИИ ПРИ ЭКСПЛУАТАЦИИ ЖЕЛЕЗНОДОРОЖНЫХ ЛИНИЙ

11. ПРИМЕНЕНИЕ НЕТКАНОГО МАТЕРИАЛА В ДРЕНАЖАХ

12. ЗАЩИТНЫЙ СЛОЙ ИЗ НЕТКАНОГО МАТЕРИАЛА НА ОСНОВНОЙ ПЛОЩАДКЕ ЗЕМЛЯНОГО ПОЛОТНА

13. ОРГАНИЗАЦИЯ И ТЕХНОЛОГИЯ ПРОИЗВОДСТВА

УСТРАНЕНИЕ ДЕФОРМАЦИЙ ПОДРЕЛЬСОВОГО ОСНОВАНИЯ

УКЛАДКА ПОКРЫТИЯ ИЗ НЕТКАНОГО МАТЕРИАЛА И ГИДРОИЗОЛЯЦИОННОЙ ПЛЕНКИ НА НЕУСТОЙЧИВОЙ НАСЫПИ

УКРЕПЛЕНИЕ ПОДТОПЛЯЕМЫХ ОТКОСОВ

ПРИЛОЖЕНИЕ.

Методика испытания нетканого материала

ВВЕДЕНИЕ

В условиях повышения грузонапряженности и нагрузок от подвижного состава на рельсы и увеличения скорости движения поездов интенсивность расстройств пути возрастает, что неблагоприятно сказывается на провозной способности железных дорог.

Стабильность железнодорожного пути в значительной мере зависит от земляного полотна, которое примерно на 70 % протяженности сложено глинистыми грунтами, Под совместным воздействием подвижной нагрузки и климатических факторов земляное полотно в этих местах неравномерно деформируется. Основная площадка (поверхность раздела балластных материалов и глинистых грунтов) часто поражена балластными корытами и ложами. Как правило, интенсивность расстройств пути по уровню и в профиле на этих участках повышена, В отдельных случаях (примерно 1 % общесетевой протяженности) происходят просадки пути, которые сопровождаются неравномерными оседаниями и сдвижками рельсовой колеи, разжижением глинистого грунта с выплесками из-под шпал, выдавливанием масс этого грунта на поверхность балластной призмы, Они усиливаются при оттаивании грунта и выпадении дождей. В благоприятных инженерно-геологических условиях деформации подрельсового основания могут проявляться в местах повышенного динамического воздействия подвижной нагрузки (стрелочные переводы, уравнительные пролеты бесстыкового пути и др.), а также на сильно засоряемых участках,

В современных условиях эксплуатации возможности предоставления "окон" в движении поездов для выполнения работ по усилению земляного полотна и пути в целом при высокой грузонапряженности ограничены. Это вынуждает в максимальной мере сокращать объемы земляньк работ и переходить к использованию в противодеформационных конструкциях искусственных материалов, обладающих необходимыми свойствами.

Для тепловой изоляции применяют пенопласт, предупреждающий сезонное промерзание - оттаивание глинистых грунтов, для гидравлической изоляции - полимерную пленку, которая предотвращает инфильтрацию атмосферных осадков. Тепло- и гидроизоляционные покрытия укладывают в пределах балластной призмы. Требования по их устройству изложены в Технических указаниях по устранению причин и просадок железнодорожного пути, ЦП/4369.

Нетканый синтетический материал, который в настоящее время находит все более широкое применение при строительстве и эксплуатации сооружений различного назначения в нашей стране и за рубежом, способен разделять и армировать грунты, дренировать и отводить воду. Этот материал изготавливают из синтетических волокон (отходы, вторичное сырье или первичное из расплава полимеров), которые соединяют между собой механическим путем на иглопробивных машинах, где специальные иглы спутывают их в слое. Для производства материалов используют волокна из различных полимеров (полиэфира, полиамида, полипропилена и др.), химическая и биологическая стойкость которых обеспечивает срок службы их в грунте на протяжении нескольких десятков лет. Применение натуральных волокон исключается, так как они недолговечны при работе в грунте.

К числу важнейших свойств нетканых материалов относятся следующие:

способность задерживать мелкие частицы грунта (свойство фильтра);

высокая водопроницаемость;

высокая механическая прочность при растяжении в сочетании с эластичностью и способностью к удлинению;

технологичность применения (малый расход на единицу площади, удобство транспортирования, укладки и соединения).

Обладая указанным комплексом свойств, нетканый материал выполняет одну из своих функций - роль разделительной прослойки. Сложившееся под совокупным воздействием нагрузок и климатических факторов напряженно-деформированное состояние грунта после укладки нетканого материала изменяется. Эта прослойка препятствует проявлению остаточных деформаций грунта, так как свобода перемещения отдельных частиц ограничивается, Они не могут пройти сквозь материал. При этом предупреждается взаимопроникновение крупных частиц в глинистый грунт и мелких частиц в дренирующий грунт. Сдвиг отдельных слоев, агрегатов или частиц грунта в зоне прослойки затруднен.

Армирующая функция материала заключается в том, что он способен выдерживать растягивающие усилия и увеличивать несущую способность грунтового основания, укрепленного этим материалом. При этом напряжения в грунтовом массиве перераспределяются. Прослойка, работая как мембрана, передает часть напряжений, выравнивая их в определенной мере, от более нагруженных мест к менее нагруженным.

В роли обратного фильтра материал предотвращает механическую суффозию, т.е. вынос мелких частиц грунта потоком воды. При этом в направлении движения воды перед прослойкой нетканого материала в результате пересортировки частиц образуется дополнительно естественный грунтовый обратный фильтр.

Работа нетканого материала в качестве дренирующего слоя (функция дренажа) возможна благодаря его высокой водопроницаемости вдоль полотна. Например, при расположении материала на грунте с низким коэффициентом фильтрации поток инфильтруюшихся осадков, достигнув слоя этого материала, начнет двигаться по нему. Часть воды уйдет вниз в грунт, но часть ее изменит свое движение в направлении меньшего сопротивления и отведется в сторону от нуждающегося в защите грунта.

Указанные функции проявляются в зависимости от вида устраняемых деформаций порознь или, что встречается чаще всего, совместно.

Нетканый материал применяют для устранения и предупреждения просадок пути, интенсивных расстройств рельсовой колеи, сплывов откосов насыпей и выемок, размывов подтопляемых откосов, неравномерных осадок насыпей на болотах, заиливания дренажей различного назначения и т. п. В отдельных случаях этот материал используют в сочетании с гидроизоляционной пленкой.

Часть деформаций практически или не может быть ликвидирована без использования нетканых материалов, или для их устранения требуются значительные трудовые и материальные затраты, а также длительные перерывы в движении поездов. К таким деформациям относятся просадки пути с выдавливанием разжиженного грунта на поверхность балластной призмы, сплывы откосов при поверхностном переувлажнении, вымывание грунта из-под плит покрытия берегоукрепительных сооружений и подтопляемых насыпей и др. Нетканый материал незаменим в тех конструкциях, где при использовании дренирующего грунта требуется выполнять работы с высокой, часто труднодостижимой точностью (устройство обратного фильтра в дренажных и других сооружениях).

Применение покрытий из нетканого материала взамен традиционных конструкций удешевляет стоимость устранения и предупреждения деформаций. При этом сокращаются трудовые затраты по содержанию земляного полотна и пути в целом, его капитальному ремонту или строительству, повышается пропускная способность линий, достигается значительная экономия денежных средств.

Настоящие Технические указания содержат основные положения по получению исходных данных для проектирования, условиям применения нетканых материалов, необходимые требования и рекомендации по устройству противодеформационных конструкций из этих материалов, а также организации и технологии производства работ.

Указания разработаны на основе полученных результатов опытного и опытно-производственного применения нетканого материала на железных дорогах, анализа зарубежного опыта, лабораторных испытаний и расчетов.

Технические указания разработали ВНИИЖТ, ХабИИЖТ, ХИИТ, ВНИИ транспортного строительства совместно с Главным управлением пути МПС и Северной железной дорогой.

1. ОБЩИЕ ПОЛОЖЕНИЯ

1.1. Настоящие Технические указания предназначены для использования работниками служб и дистанций пути, путевых машинных станций, инженерно-геологических баз и путеобследовательских станций, проектных организаций и строительных подразделений при назначении, проектировании и осуществлении мероприятий по усилению подрельсового основания и других элементов железнодорожного земляного полотна с применением нетканых материалов.

1.2. Требования и рекомендации Технических указаний распространяются на железные дороги общей сети.

1.3. Усиление земляного полотна с применением нетканых материалов на участках с просадками пути, сплывами откосов насыпей и выемок, водоразмывами и другими видами деформаций в сложных инженерно-геологических условиях производят по проектам, разработанным на основе технического задания службы пути, в котором указывается перечень деформирующихся участков по данным эксплуатационных наблюдений и технического паспорта дистанции пути.

Работы по устранению интенсивных расстройств рельсовой колеи по уровню и в профиле с применением нетканого материала предусматривают в проектах капитального и среднего ремонтов пути. В сметную документацию ремонта включают указанные работы. Целесообразность применения и конкретные участки укладки нетканого материала устанавливают на основании эксплуатационных данных о состоянии пути, затратах рабочей силы на его содержание, выходе рельсов, износе элементов верхнего строения и других показателей.

Совместно с укладкой нетканого материала в проектах предусматривают переустройство или сооружение вновь водоотводов для обеспечения стока инфильтрующихся осадков от покрытия из нетканого материала,

1.4. Укладку покрытий из нетканого материала выполняют как самостоятельную работу или совместно с капитальным (средним) ремонтом пути, предусматривая максимальную механизацию с использованием путевых, общестроительных землеройных и специальных машин, предназначенных для ремонта земляного полотна. Работы ведут силами путевых машинных станций, в том числе специализированных, отдельных специализированных колонн этих станций и бригад дистанций пути.

1.5. Назначение покрытий из нетканого материала должно быть обосновано технико-экономическим сравнением с другими способами устранения деформаций земляного полотна и усиления подрельсового основания (планировка основной площадки, устройство гидроизоляционного покрытия и др.).

1.6. Основные характеристики и месторасположение уложенных покрытий из нетканого материала, а также изменение характера и размера деформаций после укладки отражают установленным порядком в соответствующих формах технических паспортов дистанций пути.

2. ИСХОДНЫЕ ДАННЫЕ ДЛЯ ПРОЕКТИРОВАНИЯ

2.1. Исходные данные для проектирования противодеформационных конструкций с применением нетканого материала на эксплуатируемых линиях получают при инженерно-геологическом обследовании, которое проводят на основе технического задания службы пути.

2.2. При инженерно-геологическом обследовании для разработки проекта по устранению деформаций подрельсового основания (просадки пути, интенсивные расстройства рельсовой колеи по уровню и в профиле на неустойчивом земляном полотне, неравномерное пучение однородных грунтов) выполняют осмотр участка, фиксируют характерные признаки деформаций и производят инструментальную съемку. Бурением, закопушками или шурфами с отбором проб определяют сложение, состав и состояние грунтов земляного полотна. При этом не менее чем по пяти точкам подрельсового основания (по оси пути, под обоими рельсами с их наружной стороны и на расстоянии 20-40 см от концов шпал) в шпальном ящике и под шпалой устанавливают конфигурацию поверхности глинистого грунта на основной площадке земляного полотна. Определяют наличие и глубину расположения грунтовых вод, источники локального увлажнения грунтов и другие гидрогеологические условия, Необходимые объемы и порядок проведения инженерно-геологического обследования устанавливают в соответствии с требованиями Технических указаний по устранению пучин и просадок железнодорожного пути, ЦП/4369.

2.3. Исходные данные для проектирования и расчета покрытий с использованием нетканого материала с целью устранения деформаций откосов насыпей получают в необходимых объемах в соответствии с требованиями Временных методических указаний по расчету устойчивости эксплуатируемых насыпей и проектированию контрбанкетов (М.: Транспорт, 1979, 32 с).

При обследовании насыпей с оползаниями откосов целесообразно для оконтуривания границы раздела дренирующих грунтов балластного слоя и шлейфа и глинистых грунтов насыпи по всему ее сечению осуществлять проходку разведочных поперечных прорезей. Прорези закладывают на участке деформаций и за его пределами,

2.4. При инженерно-геологическом обследовании деформирующихся откосов выемок выполняют геодезическую съемку поперечных профилей, определяют характер напластований грунтов в откосных частях, гидрогеологические условия, размеры и характер деформаций, а также глубину зоны разупрочнения грунтов под влиянием процессов природного выветривания, определяют состав, состояние и свойства грунтов каждой разновидности. Показатели прочности грунтов устанавливают в соответствии с требованиями нормативно-технического документа, указанного в п. 2.3.

2,5, Крепление подтопляемых откосов проектируют на основе исходных данных, получаемых в соответствии с требованиями Наставления по изысканиям и проектированию железнодорожных и автодорожных мостовых переходов через водотоки (ЦНИИС, Главтранспроект, М,: Транспорт, 1972, 272 с.).

3. УСЛОВИЯ ПРИМЕНЕНИЯ НЕТКАННЫХ МАТЕРИАЛОВ ДЛЯ УСИЛЕНИЯ ЗЕМЛЯНОГО ПОЛА

3.1. Нетканый материал применяют для устранения деформаций на эксплуатируемых линиях.

Условия применения нетканого материала в зависимости от вида и причин образования деформаций при различных типах земляного полотна приведены в табл. 1.

3.2. Для усиления земляного полотна используют нетканый материал, который должен удовлетворять следующим требованиям:

Ширина полосы, мм

более 1700

Толщина, мм

 " 4

Масса 1 м2, г

 " 500

Разрывная нагрузка, кгс, для полоски шириной 5 см в направлении:

 

продольном

 " 60

поперечном

 " 30

Удлинение при разрыве, %, в направлении:

 

продольном

менее 80

поперечном

 " 140

Водопроницаемость (коэффициент фильтрации), м/сут.

более 10

3.3. В противодеформационных конструкциях железнодорожного земляного полотна можно применять удовлетворяющий изложенным требованиям нетканый материал, изготавливаемый по техническим условиям "Полотно иглопробивное для дорожного строительства - дорнит. Технические условия" ТУ 21-29-81-81, тип 1, который предназначен для дорог повышенной несущей способности. Использование материала типов 2 и 3 для усиления железнодорожного земляного полотна не допускается.

Кроме этого, разрешается применять нетканые материалы, нарабатываемые по другим техническим условиям, в том числе импортные, если они отвечают поставленным выше требованиям, а также отработанные на заводах химического волокна нетканые полотна для фильтрации вискозных растворов, отмытые и сшитые в полосы.

Таблица 1. Условия применения нетканых материалов в противодеформационных конструкциях

Вид деформаций

Вид и элементы земляного полотна

Причины образования деформаций

Противодеформационные мероприятия

А. Устранение деформаций на эксплуатируемых линиях

Посадки пути с выдавливанием разжиженного глинистого грунта через балластный слой при оттаивании и интенсивных дождях; расстройства рельсовой колеи по уровню и в профиле с образованием выплесков за счет проникновения в балластный слой глинистых частиц с основной площадки

Выемки и нулевые места в глинистых грунтах, насыпи из глинистых грунтов

Недостаточная несущая способность глинистых грунтов в результате повышенного увлажнения инфильтрующейся влагой при наличии балластных корыт и лож на основной площадке

Укладка покрытия из нетканого материала на всю ширину земляного полотна поверху; при глубине балластных лож более 0,5 м - укладка покрытия из нетканого материала в сочетании с гидроизоляционной пленкой; устройство закрытых дренажей, заглубление кюветов и лотков ниже дна балластных лож

Расстройства рельсовой колеи по уровню и в профиле с образованием выплесков в результате засорения преимущественно в зоне стыков, уравнительных пролетов, стрелочных переводов, переездов

Выемки, нулевые места и насыпи, сложенные глинистыми, дренирующими и скальными грунтами, тоннели и мосты с ездой на балласте

Недостаточная несущая способность загрязненного балластного слоя при увлажнении осадками

Укладка покрытия из нетканого материала в пределах балластной призмы под рельсошпальную решетку

Неравномерное пучение земляного полотна, сложенного однородными глинистыми грунтами

Выемки и нулевые места в глинистых грунтах, насыпи из глинистых грунтов

Высокое неравномерное увлажнение пучинистых грунтов инфильтрующейся влагой при различных по глубине балластных корытах и ложах на основной площадке

Укладка нетканого материала в сочетании с гидроизоляционной пленкой на всю ширину земляного полотна поверху

Оползания откосов и осадки пути на неустойчивых насыпях

Насыпи из глинистых грунтов на прочном основании

Повышенное увлажнение верхних слоев грунта в пределах основной площадки и откосов инфильтрующейся влагой, застой и аккумуляция влаги в балластных углублениях на основной площадке, в трещинах и западинах на откосах

Укладка в пределах основной площадки и откосов покрытия из нетканого материала на потенциально неустойчивых участках насыпей, в том числе в сочетании с устройством контрбанкетов; укладка комбинированного покрытия из нетканого материала и гидроизоляционной пленки на насыпях с активным проявлением деформаций

Смывы, сплывы и оползания откосов выемок

Выемки в однородных глинистых, а также в неоднородных (глинистых, дренирующих) грунтах

Повышенное увлажнение грунтов при оттаивании и за счет инфильтрующихся осадков, выход на поверхность грунтовых вод

Укладка покрытия из нетканого материала на откосе выемки с заанкериванием его вверху в заоткосной части

Разрушение укрепления подтопляемых откосов, размывы откосов

Насыпи, дамбы, контрбанкеты

Вынос грунта под действием высоких скоростей потока, волн, подъема и спада уровней

Укладка под внешним укреплением нетканого материала в качестве обратного фильтра

Размывы берегов и дна русл водотоков вблизи искусственных сооружений, а также размывы откосов насыпей или конусов

Насыпи на примыканиях к искусственным сооружениям, на прижимах рек

Водоразмыв

Укладка нетканого материала с каменной наброской взамен фашин, тюфяков и т.п.

Неравномерные осадки насыпей на болотах

Насыпи на болотах

Недостаточная несущая способность основания насыпи

Устройство берм с укладкой под ними нетканого материала

Заиливание дренажей различного назначения

Водоотводы в выемках, на нулевых местах и насыпях

Механическая суффозия грунта

Применение нетканого материала в качестве обратного фильтра

Б. Предупреждение деформаций

Возможные просадки пути с образованием балластных корыт и лож на основной площадке, выдавливанием разжиженного глинистого грунта через балластный слой

Выемки и нулевые места в глинистых грунтах, насыпи из глинистых грунтов

Недостаточная несущая способность глинистых грунтов при типовой балластной призме без защитного слоя

Укладка нетканого материала совместно с дренирующей подушкой на основной площадке земляного полотна

Возможные разрушения укрепления подтопляемых откосов

Насыпи, дамбы, контрбанкеты

Вынос и суффозия грунта

Укладка под внешним укреплением нетканого материала в качестве обратного фильтра

Методы испытаний нетканого материала изложены в указанных ТУ 21-29-81-81.

3.4. Параметры, на определение которых отсутствуют нормативные документы, устанавливают на нестандартных моделях, учитывающих ежим работы нетканого материала в конструкциях железнодорожного пути. Эти параметры определяют в соответствии с методикой испытаний, изложенной в приложении.

3.5. При устройстве комбинированного покрытия (см. табл. 1)совместно с нетканым материалом используют водонепроницаемую пленку, например поливинилхлоридную пленку марки В толщиной 0,23 мм (ГОСТ 16272-79).

Применяемая пленка должна иметь следующие характеристики:

Ширина, мм

не менее 700

Толщина, мм

"      " 0,2

Разрушающее напряжение при растяжении, кгс/см2

"      " 100

Относительное удлинение при разрыве, %

"      " 140

Паропроницаемость за 24 ч, г/м2,

не более 1,1

Температура хрупкости, ° С

не выше - 25

4. УСТРАНЕНИЕ ПРОСАДОК ПУТИ И РАССТРОЙСТВ РЕЛЬСОВОЙ КОЛЕИ НА НЕУСТОЙЧИВЫХ УЧАСТКАХ ЗЕМЛЯНОГО ПОЛОТНА

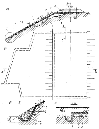
4.1. Для устранения просадок пути и расстройств рельсовой колеи по уровню и в профиле на неустойчивых участках земляного полотна при глубине балластных корыт и лож менее 0,5 м укладывают покрытие из нетканого материала. Конструкция этого покрытия в поперечном сечении на однопутных и двухпутных участках железных дорог показана на рис. 1 и 2.

Нетканый материал размещают на глубине не менее 0,2 м ниже подошвы шпал (δн) на срезанную и спланированную с уклоном не менее 0,04 в полевую сторону поверхность балластных материалов.

Если расстояние от верха балластной призмы до основной площадки земляного полотна из супесей и суглинков с границей текучести wL < 0,3 составляет по оси пути менее 0,7 м, а при более тяжелых суглинках и глинах - менее 1 м, то после укладки покрытия из нетканого материала производят дополнительную подъемку пути для достижения указанных значений.

Покрытие укладывают по всей ширине земляного полотна поверху. На двухпутных участках при отсутствии деформаций на соседнем пути можно устраивать покрытие только на одном пути.

Рис. 1. Схемы укладки покрытия из нетканого материала при устранении просадок пути и расстройств рельсовой колеи по уровню и в профиле на неустойчивых участках земляного полотна в пределах насыпей:

a - на однопутной линии; б, в - на двухпутной линии под один путь и под два пути; 1 - нетканый материал; 2 - балласт; 3 - глинистые грунты

Дно кюветов, лотков, закрытых дренажей в выемках и на нулевых местах должно располагаться ниже покрытия на 0,2 м и ниже дна балластных лож - на 0,15 м. При несоблюдении этих условий водоотводы переустраивают, понижая уровень их дна.

Рис. 2. Схемы укладки покрытия из нетканого материала при устранении просадок пути и расстройств рельсовой колеи по уровню и в профиле на неустойчивых участках земляного полотна в выемках:

а - на однопутной линии; б, в - на двухпутной линии под один путь и под два пути; 1 - нетканый материал; 2 - балласт; 3 - глинистые грунты; 4 - дренаж; 5 - лоток

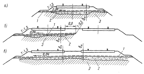
Покрытие для устранения просадок пути и расстройств рельсовой колеи под стрелочными переводами должно быть переменной ширины. Края покрытия располагают за концами переводных брусьев не менее чем на 0,9 м (рис. 3, а). Его укладывают на 0,2 м ниже подошвы брусьев с уклоном не менее 0,02.

При устройстве покрытия под стрелочными переводами и на станционных путях вдоль его по междупутью прокладывают дренаж мелкого заложения с продольным уклоном не менее 0,03, выпуск из которого осуществляется поперечным дренажем (см. рис. 3, а, б). Для этого используют трубофильтры или "глухую" дрену диаметром не менее 15 см, которую выполняют из щебня, обернутого нетканым материалом. Дно дренажа должно быть ниже края покрытия.

Аналогичным образом при необходимости осуществляют отвод воды из междупутья на перегонах в кривых участках пути.

При использовании в балластном слое щебня обычной крупности на нетканый материал укладывают слой песка, асбестового балласта или мелкого щебня фракции 10-25 мм толщиной 5-10 см.

Отдельные полосы нетканого материала в покрытии при устранении просадок пути размещают поперек пути, т. е, длина этих полос должна быть равна ширине покрытия. Полосы должны перекрывать друг друга не менее чем на 0,2 м. При устранении расстройств рельсовой колеи по уровню и в профиле на неустойчивых участках земляного полотна допускается располагать полосы нетканого материала вдоль пути с взаимным перекрытием не менее 0,2 м.

В сложных инженерно-геологических условиях при интенсивном проявлении просадок пути с выдавливанием разжиженного грунта через балласт нетканый материал в покрытии может настилаться в два слоя. В этом случае щебень обычной крупности можно непосредственно укладывать на нетканый материал.

Рис. 3. Схема устройства покрытия из нетканого материала при устранении просадок пути:

а - на стрелочных переводах; б - на станционных путях; 1 - нетканый материал; 2 - дренаж; 3 - балласт; 4 - глинистые грунты

Рис. 4. Схема устройства комбинированного покрытия из нетканого материала и гидроизоляционной пленки при устранении просадок пути:

1 - нетканый материал; 2 - гидроизоляционная пленка; 3 - новый балласт; 4 - невырезанный балласт; 5 - глинистый грунт

Участок с покрытием из нетканого материала должен перекрывать по длине участок пути с проявляющимися деформациями не менее чем на 30 м с каждой стороны. Минимальная длина участка с покрытием может составлять 30 м.

Укладывать покрытие из нетканого материала для устранения просадок пути и расстройств рельсовой колеи по уровню и в профиле на неустойчивых участках земляного полотна только в пределах рельсовых стыков не допускается.

4.2. Для устранения рассматриваемых в данном пункте деформаций пути на участках, где глубина балластных корыт и лож на основной площадке земляного полотна более 0,5 м, следует применять комбинированное покрытие из нетканого материала и гидроизоляционной пленки. Пленку размещают между двумя слоями нетканого материала (рис. 4).

Покрытие располагают на глубине δНГ не менее 0,3 м от подошвы шпал или переводных брусьев (при укладке под стрелочными переводами),

Щебень обычной крупности можно укладывать непосредственно на комбинированное покрытие.

Полосы нетканого материала и гидроизоляционной пленки расстилают вдоль пути, начиная с низовой стороны, что обеспечивает сток воды с покрытия в поперечном направлении.

Остальные требования по устройству покрытия соблюдают в соответствии с п. 4.1.

5. УСТРАНЕНИЕ РАССТРОЙСТВ РЕЛЬСОВОЙ КОЛЕИ ПО УРОВНЮ И В ПРОФИЛЕ С ОБРАЗОВАНИЕМ ВЫПЛЕСКОВ НА ЗАСОРЯЕМЫХ УЧАСТКАХ

5.1. Нетканый материал размещают в пределах балластной призмы на глубине не менее 20 см от подошвы шпал (рис. 5, а).

Под прослойкой нетканого материала щебень должен быть очищен от засорителей на глубину не менее 10 см с тем, чтобы обеспечить наиболее полный и быстрый отвод инфицирующейся влаги в этот слой. Укладка нетканого материала на не спланированные валики очищенного щебня в подрельсовых сечениях, остающиеся после работы балластоочистительной машины, не допускается. Эта поверхность должна быть выровненной.

Рис. 5. Схемы конструкции покрытия из нетканого материала при устранении расстройств рельсовой колеи по уровню и в профиле на участках с выплесками от засорения:

а - на перегонах; б - в пределах стрелочных переводов; 1 - балластный слой очищенный; 2 - нетканый материал; 3 - балластный слой загрязненный; 4 - дренаж

При использовании в балластном слое щебня обычной крупности на нетканый материал отсыпают слой мелкого щебня или песка толщиной 5-10 см. Этот слой можно не предусматривать, если нетканый материал в покрытии будет уложен в два слоя: размещение второго слоя допускается в пределах подрельсовых сечений на ширину не менее 0,8 м под каждым из них (например, путем соответствующего перекрытия двух полос в этих местах).

5.2. Работа выправочно-подбивочных машин в процессе укладки покрытия до создания под подошвой шпал слоя балласта толщиной 20 см не допускается, так как в этом случае покрытие будет разорвано (ВПР) или собрано под рельсошпальную решетку (ВПО)

5.3. Накопление засорителей выше прослойки из нетканого материала будет происходить обычным образом, однако условия дренирования в этом случае более благоприятны, так как путь и время фильтрации влаги сократятся по сравнению с обычной конструкцией балластной призмы без нетканого материала. Быстрый отвод воды вниз и в сторону

предохранит засорители от переувлажнения, что повышает несущую способность балластного слоя.

Нетканый материал укладывают под рельсошпальной решеткой на ширину не менее 4,5 м, В пределах стрелочных переводов ширина этого покрытая должка быть переменной и превышать длину переводных брусьев на величину bП0,7 м с каждой стороны (рис. 5, б).

На участках со стабильным земляным полотном, на которых расстройства рельсовой колеи по уровню и в профиле с образованием выплесков возникают за счет засорителей, устраивают сплошное покрытие; при этом в отдельных обоснованных случаях допускается устройство покрытия только под стыками, а на участках бесстыкового пути - под уравнительными пролетами. На стрелочных переводах допускается укладка материала в зонах крестовины и рамного рельса, наиболее подверженных динамическому воздействию от подвижной нагрузки. Края покрытия должны отстоять от стыков не менее чем на 2 м.

Для отвода воды в поперечном направлении прослойку нетканого материала доводят на перегонах до откоса балластной призмы, а на станционных путях и стрелочных переводах - до дренажа мелкого заложения. Этот дренаж устраивают в соответствии с требованиями п. 4.1.

5.4. Покрытие в пределах устоев мостов, а также пролетных строений железобетонных мостов с ездой на балласте укладывают на указанной выше глубине, доводя до бортиков балластных корыт (обратных стен устоев). Продольный отвод воды осуществляют с помощью дрен, которые размещают вдоль этих бортиков, Дрены в данном случае могут выполняться из нетканого материала, который свертывают в рулон из полосы шириной примерно 1 м.

6. ПРИМЕНЕНИЕ ПОКРЫТИЯ ИЗ НЕТКАНОГО МАТЕРИАЛА И ГИДРОИЗОЛЯЦИОННОЙ ПЛЕНКИ

Условия применения этого покрытия изложены в табл. 1. Неравномерное пучение при однородных грунтах проявляется в этом случае как результат происходивших (или происходящих) просадок пути. Возникшие при этих просадках балластные корыта и ложа различной глубины приводят к повышенному неравномерному увлажнению связных грунтов, инфильтрующихся влагой. Нетканый материал по своим свойствам не может самостоятельно применяться для устранения причин. Он используется для этой цели совместно с гидроизоляционной пленкой, которая задерживает инфильтрующиеся осадки.

Конструкцию покрытия из нетканого материала и гидроизоляционной пленки для устранения пучин в рассматриваемых условиях выполняют в соответствии с требованиями, изложенными в п. 4.2.

7. УСТРАНЕНИЕ ОПОЛЗАНИЙ ОТКОСОВ И ОСАДОК ПУТИ НА НЕУСТОЙЧИВЫХ НАСЫПЯХ НА ПРОЧНОМ ОСНОВАНИИ

7.1. На неустойчивых участках насыпей укладывают покрытие из нетканого материала или комбинированное покрытие из нетканого материала и гидроизоляционной пленки в зависимости от характера проявления деформаций.

7.2. Покрытие из нетканого материала может применяться, если оползания откосов насыпи не происходят, но проявляются следующие признаки деформаций:

осадки, в том числе односторонние, и сдвижки рельсовой колеи, приуроченные, как правило, к периоду оттаивания грунта и интенсивным дождям;

трещины у торцов шпал, на обочинах и откосах;

просадки обочин, выпоры грунта на откосах;

изменение крутизны и очертания откосов.

Использование такого покрытия наиболее целесообразно для повышения устойчивости насыпи в ее верхней части, имеющей высоту (считая от верха) 6-8 м, при толщине потенциально неустойчивого массива грунта на откосе до 1,5-2 м. В этой части насыпи располагаются, как правило, неустойчивые балластные шлейфы и обеспечить ее стабильность за счет отсыпки контрбанкетов обычно не удается.

7.3. Покрытие состоит из нетканого материала, укладываемого по поверхности откоса, и отсыпанного сверху слоя дренирующего грунта. Нетканый материал заанкеривают в верхней части за пределами потенциально неустойчивого массива, располагая в балластной призме подрельсо-шпальной решеткой. В этих условиях обеспечивается совместная работа нетканого материала и грунта за счет сил трения и сцепления между ними. Сдвигающим силам, которые являются составной частью силы тяжести, при наличии покрытия необходимо преодолевать не только те удерживающие силы, которые развиваются на поверхности возможного смещения (силы трения и сцепления), но и сопротивление прослойки разрыву. Параметры покрытия, обеспечивающие устойчивость насыпи с заданным коэффициентом, определяются расчетом. При этом должно выполняться одновременно три условия: достаточность сцепления нетканого материала с нижележащим грунтом; прочность материала на разрыв; надежность заанкеривания в верхней части.

Таким образом, расчетом устанавливают необходимое количество слоев нетканого материала определенной прочности в покрытии, толщину слоя дренирующего грунта, отсыпаемого сверху, и характеристики защемления нетканого материала за пределами потенциально неустойчивого массива.

7.4. Помимо удерживающего воздействия, нетканый материал выполняет функции дренирующего элемента, повышая несущую способность грунта, и препятствует образованию трещин на поверхности насыпи, предотвращая прогрессирующее нарастание деформаций, что идет в запас прочности.

Рис. 6. Схема к расчету устойчивости откоса с покрытием из нетканого материала:

Rin, R'i - реакции основания соответственно на линии возможного смещения и под покрытием

7.5. Расчетная схема по определению устойчивости откоса с покрытием из нетканого материала и слоя дренирующего грунта, отсыпанного сверху, приведена на рис. 6. Конфигурация потенциально неустойчивого массива грунта на откосе устанавливается на основе полученных в соответствии с требованиями п. 3 настоящих Указаний исходных данных. Массив разбит вертикальными сечениями на блоки.

Коэффициент устойчивости для откоса с покрытием из нетканого материала и отсыпанного сверху слоя дренирующего грунта

 

,

(1)

 

В формуле (1) введены следующие обозначения:

ci, φi - соответственно удельное сцепление и угол внутреннего трения грунта на линии возможного смещения;

Ni' , Тi' - соответственно нормальная и тангенциальная к линии возможного смещения составляющие суммарной силы тяжести i -го блока:

;       ;

cin, φin - соответственно удельное сцепление и угол внутреннего трения между нетканым материалом и нижележащим грунтом;

Nin - нормальная к поверхности откоса составляющая силы тяжести отсыпанного сверху слоя дренирующего грунта:

;

βi, Θi - углы наклона соответственно линии возможного смещения и поверхности откоса к горизонту в i -м блоке;

βср - угол, равный углу наклона к горизонту линии возможного смешения для среднего блока при нечетном их количестве или средний угол наклона для двух блоков, расположенных в середине, при четном. Расчет по формуле (1) выполняют в следующем порядке, Задают параметры ci и φi определенные для потенциально неустойчивого откоса без покрытия (не учитывая силу тяжести Qin) из условия предельного равновесия (К=1) по известным методам1.

Принимают толщину слоя дренирующего грунта над нетканым материалом исходя из конструктивных соображений, но не менее 0,1 м. Определяют значения Ni' , Тi'Nin. Находят путем решения обратной задачи по формуле (1) удельное сцепление cin и угол внутреннего трения φin между нетканым материалом и нижележащим грунтом, минимально необходимые для обеспечения коэффициента устойчивости К', который принимают равным, но не более 1,2.

При этом учитывают, что если на поверхности откоса лежит дренирующий грунт (песок, балластные материалы), то вне зависимости от толщины слоя этого грунта параметры сin и φin должны быть не больше, чем для данного вида грунта. При расположении нетканого материала непосредственно на глинистом грунте φin принимают равным углу внутреннего трения этого грунта, удельное сцепление между нетканым материалом и глинистым грунтом принимают не более сin = 0,3 сi.

Суммарная растягивающая сила J, которая будет воздействовать на нетканый материал в верхней части откоса, должна быть равна сумме сил сцепления и внутреннего трения между нетканым материалом и нижележащим грунтом, минимальные значения которых определены при решении формулы (1). Она не должна превышать предела прочности нетканого материала при растяжении

 

,

(2)

1 См., например, Временные методические указания по расчету устойчивости эксплуатируемых насыпей и проектированию контрбанкетов (М.: Транспорт, 1979); Шахунянц Г. М. Железнодорожный путь (М.: Транспорт, 1969) и др.

Минимальные параметры по длине и глубине расположения нетканого материала в пределах основной площадки и при необходимости на противоположном откосе определяют исходя из условия, при котором прослойка не будет выдернута под воздействием силы J. Удерживающие от выдергивания силы сцепления и трения учитываются сверху и снизу этой прослойки

 

,

(3)

 

где lnj - длина участка защемления j; cnj, φnj - соответственно удельное сцепление ҹ угол внутреннего трения между нетканым материалом и грунтом; Nnj - нормальная составляющая сила тяжести на участке защемления lnj.

Если поставленные условия не выдерживаются для одного слоя нетканого материала по его сопротивлению на разрыв, то количество слоев увеличивают, добиваясь выполнения этих условий. При этом в каждом слое учитывают степень перекрытия отдельных полос нетканого материала, вводя соответствующий поправочный коэффициент. Если не соблюдается условие по защемлению покрытия, то увеличивают длину участка защемления, толщину слоя грунта над ним или принимают другие специальные меры.

Пример расчета. Выполним расчет для потенциально неустойчивого откоса насыпи (см. рис. 6).

Находим значения Qi. Определяем известными методами путем решения обратной задачи параметры ci и φi, которые соответствуют условию предельного равновесия этого откоса без покрытия. Для данного случая в результате решения получены параметры ci=0,7тс/м2 и φi=8°.

Произведем расчет устойчивости откоса с покрытием. Принимаем сin=0,14тс/м2, φin=36°. Толщина слоя дренирующего грунта поверх нетканого материала равна 0,1 м. Угол βср=27°. Значения Qin находим для плотности дренирующего грунта равной 2 т/м3.

Расчет выполняем по формуле (1).

Первоначально рассчитаем входящий в формулу (1) параметр

 

.

 

тс;

 

тс;

 

тс;

 

тс;

 

тс.

 

Учитывая, что сi=0,7тс/м2, φi=8°, находим

 

 

Таким образом, при данных параметрах сin=0,14тс/м2 и φin=36° достигается требуемое значение коэффициента устойчивости К' = 1,2.

Определим по формуле (2) суммарную растягивающую силу

 

тс/м2.

 

Для покрытия используется нетканый материал с пределом прочности при растяжении σp=1,2 тс/м.

Для обеспечения требуемого значения нетканый материал в покрытии до середины неустойчивого массива необходимо укладывать в два слоя, ниже допускается укладка в один слой.

Определим по формуле (3) достаточность защемления в верхней части.

Принимаем, что нетканый материал размешается в песчаном слое балластной призмы на глубине 0,25 м от подошвы шпал на длине 3,5 м. В этом случае

 

.

 

Следовательно, поставленное условие по защемлению выдерживается.

7.6. Покрытие из нетканого материала размешают по всей высоте насыпи в пределах неустойчивого участка и по 10 м дополнительно с каждой стороны. Если один из откосов не имеет признаков деформации, то покрытие на нем можно не укладывать.

Конструкция покрытия в поперечном разрезе приведена на рис. 7,a. Глубина расположения нетканого материала под рельсошпальной решеткой определяется расчетом и принимается не менее 0,2 м ниже подошвы шпал. Требования к конструкции покрытия в пределах основной площадки изложены в п. 4.1.

Разрывы и трещины на поверхности откоса заделывают однородным по составу грунтом, утрамбовывая его. Западины, в которых может застаиваться вода, ликвидируют путем планировки и подсыпки местным грунтом с трамбованием. При необходимости выполняют частичную срезку и уборку грунта в местах выпоров, а также в нижней части сплывших ранее массивов. Для увеличения сцепления нетканого материала с нижележащим грунтом траву на откосе скашивают, производят вручную поверхностное рыхление или отсыпают тонкий слой щебня, втрамбовывая его.

Рис. 7. Схемы укладки покрытия из нетканого материала на насыпи:

а - при достаточной крутизне откоса; б - при недостаточных крутизне откоса и ширине поверху; в - в сочетании с контрбанкетом; 1 - нетканый материал; 2 - слой дренирующего грунта над нетканым материалом; 3 - отсыпка грунта между двумя слоями нетканого материала; 4 - контрбанкет; 5 - "глухая" дрена

С целью предупреждения сползания грунта на откосе поверх нетканого материала укладывают в виде треугольной решетки брусья или деревянные колья, которые затем засыпают этим грунтом.

В нижней части откоса за пределами неустойчивой верхней части толщина слоя засыпки поверх нетканого материала может быть увеличена по конструктивным соображениям. У подошвы насыпи нетканый материал выводится за пределы засыпки. В этом месте, а также в средней части насыпи ниже потенциально неустойчивого массива нетканый материал "пришивают" к грунту железобетонными кольями на глубину 1-1,5 м. Их ряды ориентируют вдоль насыпи. При необходимости колья в ряду соединяют между собой брусьями для обеспечения совместной работы на выдергивание. Прорезы в нетканом материале делают меньше половины периметра кола в верхней части.

На насыпях с увеличенной по сравнению с нормируемой крутизной откоса в верхней части (>1:m) и недостаточной шириной поверху (<В) нетканый материал укладывают на поверхность откоса, затем отсыпают необходимый для уширения и уполаживания слой дренирующего грунта и укладывают на него еще один слой нетканого материала, который заанкеривается вместе c нижним слоем в балластной призме. Сверху размещают покрывающий слой дренирующего грунта (рис. 7, б).

Для предупреждения оползания дренирующего грунта между двумя слоями нетканого материала в этом случае возможны укладка описанной выше треугольной решетки или устройство клеток из кольев и жердей. Верхний слой нетканого материала надевают на колья через сделанные в нем прорезы.

При устройстве покрытия из нетканого материала в сочетании с контрбанкетом для повышения устойчивости откоса, в верхней части насыпи конструкцию выполняют в соответствии со схемой, показанной на рис. 7, в. Отвод воды в нижней части покрытия осуществляют продольным закрытым дренажем, сооружаемым в верхней части контрбанкета. Дренаж может выполняться из щебня, обернутого нетканым материалом, под низ которого укладывают в виде желоба гидроизоляционную пленку. Продольный уклон обеспечивают не менее 0,01.

Размеры контрбанкета в данном случае могут быть уменьшены по результатам расчета с использованием приведенной выше методики.

Полосы нетканого материала в покрытии размещают перпендикулярно оси пути с перекрытием, размер которого устанавливают в соответствии с приведенной выше методикой расчета, но не менее чем 0,2 м.

В покрытии от верха до низа должна располагаться единая полоса без наращивания. Полосы сваривают между собой на откосе паяльной лампой сплошным швом или сшивают капроновыми нитками с помощью машинки. Под балластной призмой соединение полос может не производиться.

Перед соединением полосы предварительно вытягивают, прикладывая в продольном направлении равномерно распределенную по ширине полосы нагрузку, равную 20 % разрывной. Способы приложения нагрузки и изменение размеров полос устанавливают для данных условий опробованием.

7.7. В сложных местных условиях, в том числе при проявлении осадок пути и сплывов откосов насыпей в зоне водопропускных труб, в опытно-производственном порядке заанкеривание покрытия из нетканых материалов в верхней части производят в соответствии со схемой рис. 8 без заведения покрытия под рельсошпальную решетку. Материал оборачивают через укладываемые на обочине железобетонные брусья, которые упираются в брусья, размещаемые на откосе поперек оси пути. Он защемляется за счет последующей пригрузки сверху. Длину защемленной части устанавливают расчетом.

Поперечные брусья с целью обеспечения их устойчивости при работе на сжатие под действием сдвигающих сил изготавливают из армированного бетона сечением 0,2 х 0,2 м на месте или собирают из старогодных железобетонных шпал, соединяя их жестко между собой. В последнем случае шпалы укладывают на бок, обращая их постелями друг к другу, и стягивают двумя болтами диаметром 22 мм через сквозные отверстия. Для обеспечения нужной общей длины поперечных брусьев на одном их конце шпалы соединяют между собой хомутами. Поперек рядов этих брусьев, опирая на них, укладывают сборные брусья (старогодные железобетонные шпалы).

Решетка из брусьев за пределами водопропускной трубы удерживается упорами. Конструкцию и размеры упоров определяют расчетом. Над оголовком трубы решетка опирается на брус, размещаемый параллельно оси пути и омоноличенный для совместной работы с поперечными брусьями.

Полосы нетканого материала соединяют между собой описанным выше способом (см. п. 7.6), предварительно вытягивая их. Для повышения удерживающих сил нетканый материал можно "пришивать" к грунту на стыках полос кольями длиной 1-1,5 м через 1,2 м. В этом случае сварка или сшивка полос не требуется.

Покрытие на откосе засыпают сверху слоем дренирующего грунта, толщину которого устанавливают в соответствии с изложенным выше расчетом (см. п. 7.5).

7.8. Заанкеривание покрытия в верхней части насыпи за пределами водопропускной трубы на потенциально неустойчивом участке откоса может производиться также в соответствии со схемой рис. 9.

Рис. 8. Схемы конструкции покрытия из нетканого материала в зоне водопропускной трубы в поперечном сечении (а) и в плане (б):

1, 6 - соответственно поперечные и продольные к оси пути железобетонные брусья; 2 - нетканый материал; 3 - дренирующий грунт; 4 - железобетонные колья; 5 - упоры

Брус, укладываемый на обочине со стороны неустойчивого откоса, соединяют стяжками через 3-5 м с аналогичным брусом на противоположной стороне пути. Нетканый материал оборачивают вокруг этих брусьев.

Заанкеривание обеспечивается за счет покрытия из нетканого материала, размещаемого в качестве противовеса. Ширина покрытия с противоположной стороны и толщина слоя грунта над ним должны назначаться в соответствии с расчетом из условия достаточности защемления. Требования по укладке нетканого материала аналогичны вышеприведенным. Стяжки не должны препятствовать работе путевых машин; их следует располагать не ближе 0,3 м от подошвы шпал.

Рис. 9. Схемы конструкции покрытия из нетканого материала с использованием стяжек для заанкеривания:

1 - нетканый материал; 2 - дренирующий грунт; 3 - продольные брусья; 4- стяжка

7.9. Комбинированное покрытие из нетканого материала и гидроизоляционной пленки устраивают при активном проявлении деформаций, в том числе после оползаний откосов и восстановления их геометрического очертания для открытия движения поездов. Это покрытие применяют в качестве самостоятельного мероприятия на насыпях с прочным основанием в том случае, если инженерно-геологическим обследованием выявлено, что основным источником переувлажнения глинистых грунтов являются инфильтрующиеся атмосферные осадки. Инженерно-геологическое обследование выполняют в соответствии с требованиями п.2.3 в весенний период после оттаивания грунта, когда различия влажности и прочности глинистого грунта в теле насыпи проявляются наиболее ярко.

Переувлажнение глинистых грунтов тела насыпи происходит под воздействием инфильтрующихся атмосферных осадков, которые задерживаются в балластных углублениях на основной площадке, в трещинах сплывших массивов и в обратных западинах, погребенных при восстановлении откоса балластными материалами. При этом в периферийной части насыпи (в пределах откосов и основной площадки) наблюдаются ослабленные зоны глинистого грунта, находящегося в текуче- и мягкопластичном состояниях. Переувлажнению грунта способствует дополнительное поступление воды по дну балластного углубления с прилегающих повышенных участков (при расположении деформирующегося участка в "яме" продольного профиля). При неоднократных оползаниях откосов борта балластного углубления могут быть сорваны и погребены внизу под шлейфами.

Покрытие укладывают по всей ширине насыпи поверху и в пределах откосов. Протяженность покрытия на откосах в поперечном направлении определяется очертанием установленной при инженерно-геологическом обследовании границы раздела между дренирующими грунтами шлейфов и глинистыми грунтами. При этом край покрытия в поперечном направлении должен перекрывать не менее чем на 3 м (в горизонтальной проекции) ближнюю к подошве откоса насыпи горизонтальную площадку или западину на поверхности глинистого грунта, т.е. не защищаемая покрытием часть откоса должна иметь уклон по глинистому грунту только в полевую сторону.

Покрытие состоит из нижнего слоя нетканого материала, гидроизоляционной пленки и верхнего слоя нетканого материала.

В пределах основной площадки покрытие размещают на глубине не менее 0,3 м ниже подошвы шпал с односторонним или двусторонним уклоном не менее 0,04 (рис. 10, а, б), На откосах уклон покрытия должен быть не круче 1:1,5.

Укладку покрытия производят на обоих откосах. Если второй откос находится в стабильном состоянии и нет угрозы его смещения, укладка покрытия допускается на одном откосе. В последнем случае уклон покрытия в пределах основной площадки должен быть односторонним (в сторону защищаемого откоса).

Отвод воды от покрытия осуществляется продольными канавами, сооружаемыми на откосах. Канава должна иметь глубину не менее 0,3 м и уклон по дну не менее 0,01. Канаву выстилают гидроизоляционной пленкой и в ней размещают глухую дрену из щебня крупной фракции, обернутого нетканым материалом (рис. 10, в). Собранную в продольные водоотводы воду выпускают за пределы откоса поперечными водоотводами аналогичной описанной выше конструкции. При устройстве водоотводов особое внимание необходимо уделять стыковке гидроизоляционной пленки при примыкании продольного водоотвода к поперечному.

По краям покрытия в продольном направлении устраивают поперечные ограждающие дренажи (прорези), которые выстилают гидроизоляционной пленкой и нетканым материалом сверху (рис. 10, г). Дно прорези должно быть ниже дна балластного углубления на величину не менее 0,1 м. Уклон по дну прорези должен составлять 0,04. Ширина прорези определяется условиями производства работ. Выпуск воды из ограждающих дренажей производят поперечными водоотводами в продольные водоотводы покрытия.

Покрытие на откосе в зависимости от местных условий может располагаться в плане уступами (см. рис. 10, б).

Порядок выполнения работ при устройстве покрытия изложен в п. 13 настоящих Указаний.

Рис. 10, Схема укладки комбинированного покрытия на деформирующейся насыпи:

а - в поперечном сечении; б - в плаке; в - поперечное сечение продольного водоотвода; г - то же ограждающего дренажа; 1 - дренирующий грунт; 2 - нетканый материал; 3 - гидроизоляционная пленка; 4 - балласт; 5 - положение борта балластного углубления до оползания; 6 - глинистый грунт

За пределами покрытия для первичной стабилизации переувлажненных массивов грунта вертикально в откос забивают деревянные колья длиной 1,5 м в шахматном порядке через 0,5 м. На откосах восстанавливают дернину, производят подсев травы, высаживают черенки или саженцы местных пород деревьев (ива, тополь, акация) по рекомендациям дистанции защитных лесонасаждений.

Для предупреждения оползания дренирующего грунта на откосе применяют меры, изложенные в п. 7.2.

8. УСТРАНЕНИЕ И ПРЕДУПРЕЖДЕНИЕ ДЕФОРМАЦИЙ ОТКОСОВ ВЫЕМОК

8.1. Нетканый материал применяют как для предупреждения возможных смешений грунта на откосах, так и для прекращения дальнейшего развития уже проявившихся деформаций. Укладка нетканого материала на откосе допускается при глубине развития деформаций, не превышающей максимальную в 10-летнем периоде глубину промерзания грунта.

Нетканый материал применяют при всех разновидностях глинистого грунта, характеризующегося влажностью по границе текучести wL≤0,45.

Покрытие, пропуская сквозь себя воду и задерживая грунтовые частицы, выполняет роль обратного фильтра на откосах, в том числе при выходе здесь грунтовых вод. Смывы и сплывы грунта в результате этого прекращаются, Кроме этого, устойчивость откосов повышается за счет дополнительно возникающих удерживающих сил.

8.2. Расчет устойчивости откоса выемки выполняют по методике, изложенной в п. 7.5 настоящих Указаний. Расчетом определяют необходимое количество слоев нетканого материала заданной прочности, толщину слоя дренирующего грунта поверх нетканого материала и параметры защемления покрытия в заоткосной части выемки.

8.3. Перед укладкой материала заделывают трещины между сплывшими массивами местным грунтом и ликвидируют западины на откосе. При необходимости частично убирают грунт в нижней части сплывших массивов. При этом нужно учитывать, что эта часть является поддерживающей и излишнее ее удаление приведет к нарушению сложившегося равновесия откоса, поэтому при уборке достаточно обеспечить нормальную работу водоотводов в выемке.

8.4. На подготовленный таким образом откос на участке деформаций и за его пределами не менее 10 м в каждую сторону по всей высоте укладывают нетканый материал. Покрытие в верхней части заводят от бровки в полевую сторону на величину не менее 2 м (рис. 11, а). В нижней части при необходимости материалом покрывают закюветную полку и выстилают кювет. Материал должен быть "пришит" к откосу кольями. Длина кольев, забиваемых в грунт через прорезы в материале, должна составлять 1,2-1,5 м. Они не добиваются до конца на 0,1-0,2 м. Их размещают друг от друга на расстоянии не менее 1 м.

Рис. 11. Схема укладки покрытия из нетканого материала на деформирующемся откосе выемки:

а - с заанкериванием на бровке; б - с заанкериванием в траншее; 1 - дренирующий грунт; 2 - нетканый материал; 3 - глинистый грунт

На горизонтальном уступе в верхней части, устраиваемом для заанкеривания покрытия, пришивку материала к грунту выполняют через каждые 0,5 м. Для более надежного заанкеривания (при глубоком развитии сплывов и сползаний) на расстоянии не менее 2 м от бровки откоса отрывают канаву глубиной 0,5 м, шириной 0,8-1,0 м, в которую заводят материал и затем засыпают и затрамбовывают эту канаву вынутым грунтом (рис. 11, б).

Сверху покрытие из нетканого материала по всей площади пригружают слоем дренирующего грунта (песок, песчано-гравийная смесь, щебень, шлак, камень и др.), доводящим откос до проектных очертаний.

9. ЗАЩИТА СООРУЖЕНИЙ ЖЕЛЕЗНОДОРОЖНОГО ПУТИ ОТ РАЗМЫВОВ

9.1. При периодическом затоплении откосов насыпей, дамб контрбанкетов и других сооружений под действием высоких скоростей потока и волн происходит вынос грунта из-под покрытия. Обратный фильтр из природных материалов, применяемый для предупреждения выноса грунта, технологически трудно устраивать с достаточно высоким качеством. Нетканый материал, выполняя роль противосуффозионного элемента, повышает качество обратного фильтра.

9.2. Рекомендуются следующие конструкции покрытий подтопляемых откосов с применением нетканого материала:

каменная наброска на нетканом материале, уложенном на откосе (рис. 12);

неомоноличенные сборные бетонные плиты размерами 1x1 м или железобетонные плиты размерами 3x2,5 м с гибкими связями на слое щебня 10 см, размешенном по нетканому материалу (рис. 13, б);

сборные железобетонные плиты размерами 3x2,5 м с дренажными отверстиями, омоноличенные по контуру шпонкой ЦНИИСа, на нетканом материале (рис. 13, в).

9.3. Если откосы сложены глинистыми песками, супесями, суглинками или глинами, то при всех указанных типах покрытий между грунтом откоса и нетканым материалом необходим слой песка толщиной 10 см. Фракционный состав слоя подбирают в соответствии с требованиями СНиП II-53-73 "Плотины из местных материалов".

Рис. 12. Схема укрепления подтопляемого откоса каменной наброской с обратным фильтром из нетканого материала:

1 - упорная каменная призма; 2 - каменная наброска; 3 - нетканый материал

Рис. 13. Схема укрепления подтопляемых откосов бетонными или железобетонными плитами с обратным фильтром из нетканого материала:

а - общий вид; б - неомоноличенные плиты с гибкими связями на щебеночной подготовке; в - железобетонные плиты, омоноличенные по контуру шпонкой ЦНИИСа; 1 - плиты; 2 - нетканый материал; 3 - то же в два слоя; 4 - упор: 5 - защитная каменная призма; 6 - щебень; 7 - бетон омоноличивания; 8 - дренажное отверстие; 9 - деревянный вкладыш размером 50×100 мм

9.4. При укреплении откоса неомоноличенными сборными плитами (см. рис. 13, б) слой щебня между плитами и нетканым материалом может не предусматриваться, если швы между плитами будут заполнены щебнем, частицы которого соединяются между собой связующим, В качестве связующего используют, например, латекс, битум.

9.5. Проектирование и расчет внешнего укрепления из каменной наброски и неомоноличенных сборных плит со щебеночной подготовкой на нетканом материале выполняют в соответствии с действующими типовыми проектами, как для обычной конструкции с обратным фильтром из природных материалов.

Толщину сборных железобетонных плит (в см), омоноличенных по контуру шпонкой ЦНИИСа, рассчитывают на волновое воздействие

 

,

(4)

 

где ; ;

 

,

(5)

 

h - высота волны соответствующей обеспеченности, м; λ - длина волны, м; С1, С2, С3, С4, C5 - коэффициенты, определяемые в зависимости от грунтов и заложения откоса m по табл. 2.

Таблица 2. Значения расчетных коэффициентов С

m

С1

С2

С3

С4

C5

2,0

0,62 (039)

0,39 (0,22)

0,06 (0,03)

10,82 (10,75)

9,01 (11,19)

2,5

0,42 (0,37)

0,20 (0,13)

0,03 (0,02)

11,24 (11,48)

12,87 (16,12)

3,0

0,37 (0,34)

0,12 (0,12)

0,02 (0,02)

11,65 (11,53)

16,84 (18,95)

3,5

0,37 (0,35)

0,11 (0,09)

0,02 (0,01)

12,04 (11,87)

20,04 (21,69)

4,0

0,37 (0,36)

0,08 (0,08)

0,01 (0,01)

12,80 (12,59)

27,74 (25,16)

 

 

 

 

 

 

Примечание. В скобках даны значения коэффициентов для средне- и крупнозернистых песков, без скобок - для пылеватых и мелкозернистых.

Пример расчета. Дано: высота волны 1%-ной обеспеченности в системе волн, действующих на покрытие в шторме 0,33%-ной обеспеченности, 1,0 м; длина волны 10 м; грунт насыпи мелкий песок; заложение откоса 1:2. Определить толщину покрытия для защиты откоса насыпи.

Коэффициенты а и б при значениях С1 = 0,62; С2 = 0,39; С3 = 0,06; С4 = 10,82; С5 = 9,01 (см. табл. 2) равны соответственно 2,2 и 0,95. Значение Kщ по формуле (5) составляет 1,025. Толщина покрытия из сборных железобетонных плит, омоноличенных по контуру шпонкой ЦНИИСа, по формуле (4) равна 12 см.

Толщину плит покрытия по схеме рис. 13, б при выполнении условий п. 9.4 определяют на основе экспериментальных исследований.

9.6. Каменную призму в основании укрепляемого откоса рассчитывают по методике, приведенной в альбоме № 750 (Конструкции креплений откосов земляного полотна железных и автомобильных дорог обшей сети Союза ССР, 1970) и в альбоме Гипротранстэи (Схемы типовых конструкций противодеформационных сооружений земляного полотна железных дорог, 1968).

9.7. Для защиты сооружений от размыва используют гибкие покрытия, которые устраивают в соответствии со схемой рис. 14.

9.8. Последствия размыва на эксплуатируемых линиях ликвидируют с применением нетканого материала (рис. 15). Воронку размыва засылают местным грунтом или камнем. Нетканый материал перекрывает всю площадь размыва с запасом на глубину общего размыва и прижимается каменной наброской, бетонными блоками и другими материалами.

Рис. 14. Схема защиты откоса от размыва с использованием гибкого покрытия;

1 - плиты; 2 - нетканый материал;

3 - гибкий железобетонный ковер;

4 - нетканый материал в два слоя;

5 - поверхность берега после размыва;

6 - каменная отсыпка;

7 - упор; 8 - анкерная тяга

Рис. 15. Схема покрытия из нетканого материала с каменной наброской при размыве дна:

а - у опоры; б - у траверса; 1 - нетканый материал; 2 - каменная наброска; 3 - воронка размыва, заполненная грунтом

9.9. Гибкие конструкции с применением нетканого материала могут укладываться на предварительно намытый или отсыпанный "пляж", зимой со льда либо со специальных подмостей, расположенных на плавсредствах.

Для того чтобы покрытие не унесло потоком, до его погружения под воду необходимо обеспечить надежное заанкеривание на береговой полосе, откосе или дне с обеспечением его постоянной пригрузки.

10. УСИЛЕНИЕ НАСЫПЕЙ НА СЛАБОМ ОСНОВАНИИ ПРИ ЭКСПЛУАТАЦИИ ЖЕЛЕЗНОДОРОЖНЫХ ЛИНИЙ

10.1. При усилении эксплуатируемых насыпей на болотах наряду с периодической подъемкой пути выполняют отсыпку берм. При этом выторфовывание, как правило, производить нельзя, что осложняет производство работ, увеличивает срок стабилизации берм с опасностью вовлечения в подвижку существующей насыпи.

С целью повышения безопасности движения поездов и технологичности работ в основание берм укладывают нетканый материал, размещая его на всю ширину бермы понизу и на откосе существующей насыпи.

Отсыпку берм с использованием нетканого материала в качестве армирующей прослойки в основании следует начинать с полевой стороны, постепенно приближаясь к существующей насыпи. Полевую часть бермы сооружают первоначально в виде отдельной насыпи. Ее высоту, считая от поверхности болота, принимают выше проектной высоты существующей насыпи из расчета создания максимальной нагрузки и ускоренного погружения на минеральное дно, но не менее 2/3 глубины болота. Это способствует быстрому отжатию воды и уплотнению торфа.

Для отсыпки берм используют пески всех разновидностей, вплоть до пылеватых. Грунт выгружают из думпкаров на подходах к участку сооружения берм на прочном основании. Выгруженный грунт бульдозерами или комплексом экскаваторы - автомобили-самосвалы - бульдозеры укладывают в бермы методом "с головы".

Расстояние между подошвами откоса существующей насыпи и присыпаемой бермы П назначают в зависимости от глубины болота Нбол в соответствии со схемой рис. 16:

 

П, м

4

10

15

25

Нбол

2

4

6

10

 

При уклоне минерального дна болота до 1:5 работы по укладке грунта с обеих сторон насыпи выполняют одновременно как при сооружении полевых частей берм, так и при заполнении пространства между полевыми частями и насыпью пазух. При большей крутизне уклона во избежание сдвига насыпи вначале сооружают берму с низовой стороны. Пазухи заполняют после того, как резко замедлится или прекратится погружение берм в болото.

Нетканый материал укладывают в два слоя: в поперечном и продольном направлениях. При этом предусматривают запас ширины с полевой стороны бермы и на откосе существующей насыпи для компенсации происходящего изменения размеров и формы покрытия при погружении его в болото под весом отсыпаемого грунта. Размер запаса с каждой стороны следует принимать равным 1,5 Нбол. Полосы нетканого материала в обоих слоях перекрывают между собой не менее чем на 0,2 м. Их сваривают или сшивают сплошным швом.

10.2. Для насыпей, возводимых на слабом основании, характерны значительные деформации. Насыпи не только оседают в грунт, но и расползаются в стороны, причем деформации в процессе эксплуатации продолжаются, не затухая, в течение длительного времени.

Нетканый материал не предотвращает консолидации грунта. Однако применение его при возведении насыпей на слабых основаниях в сложных инженерно-геологических условиях позволяет получить: равномерную осадку грунтового основания; сохранение проектных очертаний насыпи и предупреждение расползания и выпора основания; сокращение объемов отсыпки грунта за счет уменьшения осадок насыпи и основания в процессе эксплуатации и сохранение границы раздела между грунтами без их взаимопроникновения.

Рис. 16. Схема послойной отсыпки пригрузочных берм при стабилизации насыпей на болотах:

1 - существующая насыпь: 2 – полевая часть бермы; 3 - нетканый материал;

I - VII - очередность укладки грунта в бермах

10.3. Нетканый материал используют на болотах I типа при толщине торфяной залежи до 1,5 м и на основании, представленном илистыми и заторфованными грунтами, в том числе на марях. Кроме этого, его применяют на основании из переувлажненных глинистых грунтов (IL>0,5) под насыпями высотой до 1 м в зоне высокотемпературной вечной мерзлоты.

10.4. При подготовке основания под укладку нетканого материала вырубают кустарник, спиливают деревья, Покрытие размещают на всю ширину насыпи понизу. Количество слоев нетканого материала под насыпью должно подбираться из условия, чтобы их суммарная прочность при растяжении была не менее 1,5 тс/м при высоте насыпи до 2 м и не менее 2 тс/м при высоте насыпи от 2 до 4 м.

Полосы нетканого материала укладывают на основание в направлении поперек оси пути, соединяя их в соответствии с требованиями п. 10.1. Отсыпку грунта до создания слоя 0,5 м над нетканым материалом производят способом "с головы".

10.5. При использовании нетканого материала в основании насыпи на мари бермы не устраивают. Работы выполняют без повреждения мохоторфяного покрова, в том числе в теплое время года, не дожидаясь промерзания деятельного слоя.

11. ПРИМЕНЕНИЕ НЕТКАНОГО МАТЕРИАЛА В ДРЕНАЖАХ

11.1. Нетканый материал в роли обратного фильтра в дренажах используют в соответствии со схемами рис. 17. Дренажи устраивают в сочетании с противодеформационными конструкциями различного назначения: противопучинные подушки, тепло- и гидроизоляционные слои, покрытия из нетканого материала или комбинированные покрытия на основной площадке, откосах насыпей и т. п. Кроме этого, закрытые дренажи с обратным фильтром из нетканого материала сооружают для улучшения условий водоотвода в выемках, в том числе обводненных, под "погребенными" кюветами, на стрелочных горловинах для отвода воды от приводов стрелок, при устройстве поперечного выпуска воды на станциях, двухпутных и многопутных линиях.

11.2. "Глухие" дрены (рис. 17, а) выполняют, оборачивая нетканым материалом щебень из слабовыветриваюшихся пород с размером частиц более 40 мм. Диаметр этой дрены принимают не менее 20 см. При использовании перфорированных труб или трубофильтров по схемам рис.17, б, в для засыпки предусматривают средне- и крупнозернистый песок. Материал заполнения траншеи над закрытым дренажем подбирается исходя из условий его работы. Для предотвращения механической суффозии грунта за стенками и под дном лотков, сооружаемых в сложных гидрогеологических условиях, целесообразно дополнительно укладывать прослойку из нетканого материала (рис. 17, г), которая будет выполнять роль обратного фильтра.

Рис. 17. Схемы дренажных устройств с обратным фильтром из нетканого материала:

а - "глухая" дрена; б - труба с дренирующей засыпкой; в - "труба в оболочке"; г - лоток с наружным фильтром; 1 - засыпка траншеи; 2 - нетканый материал; 3 - щебень; 4 - дренирующий материал; 5 - перфорированная труба; 6 - лоток

12. ЗАЩИТНЫЙ СЛОЙ ИЗ НЕТКАНОГО МАТЕРИАЛА НА ОСНОВНОЙ ПЛОЩАДКЕ ЗЕМЛЯНОГО ПОЛОТНА

12.1. Защитный слой из нетканого материала на основной площадке земляного полотна укладывают для усиления пути при устройстве врезных подушек и планировке этой площадки в соответствии с Техническими указаниями ЦП/4369. Он увеличивает несущую способность грунта, предотвращает образование балластных корыт и лож, просадок пути и неравномерное пучение.

12.2. Нетканый материал следует применять в выемках, на нулевых местах и насыпях при глинистых грунтах всех видов за исключением супесей, содержащих песчаные частицы размерами от 2 до 0,05 мм в количестве более 50 % по массе. При глинистых грунтах с влажностью на границе текучести wL>0,23, а также при повышенной естественной влажности глинистых грунтов, характеризуемых wL0,23 и показателем текучести IL>0,25, поверх нетканого материала необходимо укладывать дренирующую подушку.

12.3. Толщину дренирующей подушки hз следует назначать в соответствии с табл. 3 и 4 в зависимости: от вида грунта (влажность на границе текучести wL) и глубины промерзания hпр к по табл. 3; от состояния грунта (показателя текучести IL) по табл. 4. При этом для грунтов с wL≥0,23 принимается большее из значений, приведенных в табл.3 и 4.

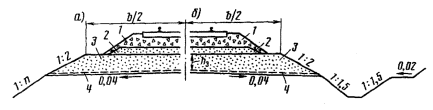
12.4. Схема конструкции земляного полотна с дренирующей подушкой поверх нетканого материала приведена на рис. 18. Поверхность глинистого грунта на одно- и двухпутных линиях планируют в обе стороны от оси земляного полотна с уклоном 0,04.

Таблица 3. Толщина дренирующей подушки

Влажность грунта на границе текучести wL

Значение hз по оси пути, см, при глубине промерзания hпр, м 

ДО 1,5

1,5-2

2-2,5

0,23-0,35

30

30

30

0,36-0,40

30

30

40

0,41-0,45

40

50

50

0,46-0, 50

60

70

80

0,51-0,55

80

90

100

Таблица 4. Толщина дренирующей подушки

Грунты земляного полотна

Значение hз по оси пути, см, при показателе текучести 

IL<0,25

0,25≤IL0,5

IL>0,5

Супеси и суглинки с wL<0,23

Суглинки и глины с wL≥0,23

 

Примечание. В числителе приведены значения hз для выемок и нулевых мест, в знаменателе - для насыпей.

 

Рис. 18. Схема конструкции земляного полотна с нетканым материалом и дренирующей подушкой:

а - в насыпи; б - в выемке; 1 - щебень; 2 - балластная подушка; 3 - дренирующая подушка; 4 - нетканый материал

12.5. Для устройства подушки необходимо использовать пески, за исключением пылеватых, крупнообломочные грунты (с максимальным размером фракций 300 мм) или крупнообломочные грунты с песчаным заполнителем.

12.6. Полосы нетканого материала укладывают в направлении поперек оси пути с взаимным перекрытием не менее 0,2 м. Их сваривают или сшивают сплошным швом.

13. ОРГАНИЗАЦИЯ И ТЕХНОЛОГИЯ ПРОИЗВОДСТВА

УСТРАНЕНИЕ ДЕФОРМАЦИЙ ПОДРЕЛЬСОВОГО ОСНОВАНИЯ

13.1. Укладку нетканого материала на участках с деформациями подрельсового основания (см. табл. 1) выполняют как самостоятельную работу или в комплексе с капитальным (средним) ремонтом пути. При проведении капитального ремонта пути на этих участках указанная работа предусматривается проектом и сметами и включается в общий план путевых машинных станций (ПМС). Работы производятся ПМC, в том числе специализированными, колоннами и бригадами ПМС и дистанций пути.

13.2. На основании типовых технологических процессов ремонтными подразделениями (в отдельных случаях проектными организациями) составляется рабочий технологический процесс производства работ. Для определения затрат труда, перечня машин и механизмов, уточнения состава работ следует использовать технологические процессы № 5-9 устройства врезных противопучинных подушек и капитального ремонта пути с планировкой основной площадки земляного полотна, входящие в технологические процессы капитального ремонта земляного полотна железнодорожного пути, а также технологические процессы капитального ремонта пути с понижением или сохранением отметок продольного профиля.

13.3. Работы по укладке нетканого материала делятся на подготовительные основные и заключительные.

13.4. Во время подготовительных работ намечают границы вырезки грунтов подрельсового основания и закрепляют сечения начала и конца укладки покрытия и границы отводов. Для этого делают отметки на соседнем пути или забивают в стороне колышки.

Для обеспечения нормальной работы машин при подготовке участка предусматривают: удаление препятствий, которые могут вызвать остановку или повреждение машин, удаление мощения, грунта и настила на переездах, подготовку мест для заезда на путь и выезда с него землеройной техники.

В соответствии с проектом отмеряют и нарезают отдельные полосы материала с учетом их перекрытия в продольном и поперечном направлениях. Подготовленные полосы сматывают в отдельные рулоны, которые раскладывают в пределах фронта работ.

Для уменьшения объема щебня, подлежащего срезке землеройными машинами в основное "окно", производится бортовая вырезка плеча балластной призмы с отвалом балласта за пределы обочины. Перед вырезкой балласта подготавливают место для его размещения вне габарита: очищают от растительности кювет, ликвидируют застойные места. Для отвода воды на дно кювета укладывают дренажные трубофильтры или "глухие" дрены из щебня, завернутого в нетканый материал. Для уменьшения объема вырезанного щебня, размещаемого в выемке, часть щебня вырезают машиной ЩОМ-4 с последующей вывозкой его машиной СМ-2.

При использовании старой решетки в период подготовительных работ завозят новые шпалы и заменяют негодные, опробуют болты в стыках, закрепляют шпалы добивкой костылей.

Перед началом основных работ с помощью нивелиров, установленных на весь период "окна", снимают существующие отметки верха шпал по оси пути в закрепленных через 10 м сечениях с тем, чтобы во время вырезки грунта и планировки основания контролировать проектные отметки.

13.5. В состав основных работ входят: разборка рельсошпальной решетки, вырезка грунта, планировка основания покрытия и отводов, расстилка полос нетканого материала, укладка рельсошпальной решетки, балластировка, подъемка и выправка пути.

Если укладка нетканого материала на основной площадке земляного полотна выполняется как самостоятельная работа, то рельсошпальную решетку разбирают и укладывают одним путеукладочным краном. В этом случае в зависимости от условий размещения рабочих поездов, возможности пропуска максимального поездопотока во время производства работ и других факторов принимается либо обратный порядок формирования рабочих поездов, т. е, первой на перегон отправляются выправочно-подбивочная машина, затем балластер, состав хопперов-дозаторов, путеукладочный поезд, либо рельсошпальная решетка разбирается путеукладчиком в обратном направлении, начиная с конца участка.

При укладке нетканого материала в комплексе с капитальным ремонтом верхнего строения пути порядок формирования рабочих поездов и производства работ определяется типовыми технологическими процессами.

Для облегчения работы укладочного крана рельсошпальную решетку перед разборкой отрывают от балластной призмы электробалластером, щебнеочистительной машиной или машиной ВПО-3000. По окончании работы машина ЩОМ, а также путевой струг, выполнивший предварительную бортовую вырезку, обгоняются по соседнему пути для выполнения операций в соответствии с технологическим процессом.

Для вырезки балласта и планировки основания используют комплекты землеройных машин. При применении комплектов землеройных машин, рекомендуемых для понижения отметок продольного профиля железнодорожного пути, затраты труда и время для выполнения работ определяются в соответствии с техническими нормами, приведенными в типовых технологических процессах.

При отсутствии типовых комплектов количество машин и время их работы выбирают в соответствии с объемами работ по вырезке и планировке балласта и производительностью машин (табл. 5 и 6). Отводы планируются с уклоном 0,02.

Таблица 5. Объемы земляных работ, выполняемых при укладке покрытия протяженностью 100 м

Показатели

Глубина укладки покрытия, см

15

20

25

30

35

40

45

Длина отвода, м

2,5

25

25

25

25

50

50

Объемы вырезки, м3 :

 

 

 

 

 

 

 

на основном участке

104

125

147

168

191

214

237

" отводе

13

16

18

21

24

53

59

Всего

130

157

183

210

239

320

355

Площадь планировки, м2

675

675

675

675

675

900

900

 

На двухпутных участках, где суммарная загрузка по обоим путям не превышает 55 пар поездов в сутки, для вырезки балласта может быть использован путевой струг. Толщина слоя балласта, срезаемого за один проход струга, составляет примерно 5-8 см. При использовании струга необходимо применить также бульдозер, который будет планировать обочину.

На участках с выплесками от засорителей слой щебня под нетканым материалом очищают машиной БМС. При этом планировщик машины должен быть установлен таким образом, чтобы основание под нетканым материалом было спланировано ровно без валиков из очищенного щебня под рельсовыми нитями и без желоба посередине колеи.

При размещении полос материала вдоль оси пути расстилку ведут, начиная от обочины к междупутью с соответствующим перекрытием полос.

Таблица 6. Время занятости машин при выполнении земляных работ на участке 100м

Виды работ

Затраты времени, машино-ч, при глубине укладки покрытия, см

15

20

25

30

35

40

45

Вырезка балласта:

 

 

 

 

 

 

 

бульдозером с прямым отвалом мощностью до 59 кВт

2,5

3,0

3,5

4,1

4,6

6,1

6,8

бульдозером с прямым отвалом мощностью до 96 кВт

1,2

1,4

1,6

1,9

2,1

2,8

3,2

бульдозером с поворотным отвалом мощностью до 96 кВт (послойно)

0,68

0,91

1,14

1,37

1,6

1,88

2,1

Планировка основания:

 

 

 

 

 

 

 

бульдозером мощностью 79 кВт

0,6

0,6

0,6

0,6

0,6

0,81

0,81

автогрейдером мощностью 79 кВт

0,3

0,3

0,3

0,3

0,3

0,4

0,4

 

Звенья рельсошпальной решетки укладывают непосредственно на нетканый материал. Не допускается переворачивание первых звеньев рельсовых пакетов путеукладочного поезда на покрытии.

Путь поднимают на балласт без использования струнок за несколько проходов электробалластера, щебнеочистительной машины или машины ВПО-3000, Высота подъемки за один проход должна быть не более 10 см при использовании машин ЩОМ и ЭЛБ и не более 8 см при использовании машины ВПО-3000. Первую подъемку выполняют на балласт мелкой фракции (см. п.4). После каждой подъемки пути выполняют повторную выгрузку балласта из хопперов-дозаторов. При такой технологии балластер целесообразно ставить между двумя группами вагонов с балластом.

Применение машин ВПО-3000 и ВПР допускается после того, как между подошвой шпал и покрытием из нетканого материала будет располагаться слой балласта толщиной не менее 20 см. При меньшей толщине этого слоя применение указанных машин запрещается, так как их рабочие органы будут повреждать покрытие.

Первые два поезда пропускают со скоростью 25 км/ч, а последующие - 60 км/ч.

13.6. Заключительные работы выполняются в соответствии с типовыми технологическими процессами на капитальный и средний ремонты пути. Во время заключительных работ планируют обочины, убирают вырезанный грунт, устраивают водоотводы в соответствии с проектом.

УКЛАДКА ПОКРЫТИЯ ИЗ НЕТКАНОГО МАТЕРИАЛА И ГИДРОИЗОЛЯЦИОННОЙ ПЛЕНКИ НА НЕУСТОЙЧИВОЙ НАСЫПИ

13.7. В подготовительный период в соответствии с проектом отмеряют, нарезают и нумеруют в нужной последовательности полосы нетканого материала и пленки.

Длина непрерывной полосы пленки должна быть равна развернутой ширине покрытия на откосах и в пределах основной площадки. Полосы нетканого материала нарезают для двух слоев. При этом полную длину полосы можно компоновать из трех" (или двух) отдельных частей: для откосов и основной площадки. На стороне производится сварка полос нетканого материала в полотнища такого размера, при котором они могут быть перемещены к месту укладки. Полотнища для откосов и основной площадки можно сваривать отдельно.

13.8. Основные работы выполняют в "окно" со снятием рельсошпальной решетки. Старый балласт до проектных отметок срезают бульдозерами, автоскреперами или стругом-снегоочистителем с соседнего пути (на двухпутном участке). Укладывают полотнища нетканого материала, смонтированные для основной площадки, на спланированное основание. Настилают поперек пути полосы пленки, перекрывая их не менее чем на 0,25 м. При этом на основной площадке размещают нужную часть полос пленки, а остальные части, предназначенные для откосов, оставляют свернутыми в рулон на обочинах.

Укладывают поверх пленки второй слой нетканого материала. Параллельно с этими работами устраивают ограждающие дренажи по краям покрытия. На выполненное в пределах основной площадки покрытие укладывают рельсошпальную решетку и производят балластировку пути.

13.9. Работы по устройству покрытия в пределах откосов могут выполняться без перерыва в движении поездов. При этом вручную производят необходимую планировку и срезку грунта на откосах. Сваривают на обочине откосные полотнища с нижним полотнищем на основной площадке. Из подмотанных рулонов раскатывают по откосу полосы пленки с перекрытием и поверх их монтируют сваркой между собой верхние полотнища нетканого материала. Укладка материалов покрытия на откосах целесообразна с верха насыпи.

Пленку и нетканый материал запускают в вырытые канавы водоотводов. Под перпендикулярные канавам полосы пленки подводят отдельно продольную полосу пленки, укрывают ее нетканым материалом, сверху насыпают щебень и оборачивают его этим материалом.

Покрытие на откосах и обочинах засыпают слоем дренирующего грунта, доводящим откос до проектных очертаний.

УКРЕПЛЕНИЕ ПОДТОПЛЯЕМЫХ ОТКОСОВ

13.10. При выполнении строительно-монтажных работ по защите откосов сооружений каменной наброской и сборными бетонными и железобетонными плитами необходимо руководствоваться действующими стандартами, строительными нормами и настоящими Техническими указаниями.

13.11. Перед укладкой плит уплотняют грунт в основании покрытия (на откосе) и проводят контрольные испытания его плотности, сооружают упорные конструкции (зуб) в основании насыпи. На выполненные работы оформляют соответствующую исполнительную документацию, в том числе акты скрытых работ.

13.12. Планировку откосов под укладку нетканого материала выполняют механизмами с доводкой поверхности откоса до проектных отметок вручную. Отклонение от проектной поверхности откоса допускается не более ±5 см на длине 3,0 м.

Подготовку основания под укладку нетканого материала и его укладку на откос ведут небольшими участками, на объем работ, выполняемых в течение суток. В зимних условиях полосы нетканого материала раскатывают непосредственно перед укладкой очередной партии плит на очищенный от снега откос.

Если до укладки плит спланированный откос размыт поверхностной, дождевой или речной водой, то поверхность откоса доводят до проектных отметок подсыпкой мелким щебнем, песчано-гравийной смесью или крупным песком с увлажнением, убирая при этом и укладывая вновь нетканый материал на участках происшедшей эрозии.

13.13. Полосы нетканого материала укладывают по откосу сверху вниз с взаимным перекрытием на 10 см и соединяют сплошным швом с помощью сварки паяльной лампой. Полотнища закрепляют от смещения пригрузкой, пришпиливанием, штырями, скобами или деревянными кольями.

13.14. При устройстве каменной наброски камень отсыпают вибролотками, бадьей, транспортируемой краном, или ковшом экскаватора.

При разравнивании камня на покрытии из нетканого материала необходимо следить за целостностью полотен и стыковых соединений. Разравнивание щебеночной подготовки под укладку неомоноличенных плит с гибкими связями (см. рис. 13, б) выполняют вручную. При повреждении нетканого материала места разрывов закрывают кусками этого материала, обеспечивая нахлест не менее 0,2 м. Куски материала приваривают к основному полотну.

Железобетонные плиты укладывают по картам снизу вверх, руководствуясь требованиями ВСН 82-69 и следующими указаниями.

Строповка плит должна производиться таким образом, чтобы плоскости плит при их опускании были параллельны поверхности откоса.

С этой целью используют траверсы или стропы разной (подобранной по месту) длины.

При монтаже смежных плит, омоноличиваемых по контуру шпонкой ЦНИИСа, используют шаблоны-упоры, размеры которых обеспечивают требуемый зазор между плитами.

Смещение кромок (торцов) плит по линии, параллельной бровке откоса, должно быть менее 5 мм, но нормали к ней - менее 10 мм.

13.15. После укладки на откос плиты сваривают в карты. Перед сваркой в местах ее производства нетканый материал в шве присыпают песком слоем 3-4 см.

Непосредственно перед омоноличиванием швы и сварные соединения тщательно очищают от песка, мусора. Качество сварных соединений и очистки швов подтверждается актом.

13.16. Швы омоноличивают высокопрочным мелкозернистым бетоном марок 400-500 с наибольшей крупностью заполнителя 10-15 мм. Уплотнение бетонной смеси должно осуществляться с применением стандартных механических виброуплотнителей. Работы по омоноличиванию следует выполнять при устойчивых положительных температурах.

ПРИЛОЖЕНИЕ.

Методика испытания нетканого материала

Общие условия проведения испытаний нетканого материала должны соответствовать ГОСТ 13587-77 "Полотна текстильные нетканые. Правила приемки и отбора образцов".

Линейные размеры и массу нетканого материала определяют по ГОСТ 15902.1-80 "Полотна нетканые. Методы определения линейных размеров и массы".

Прочность нетканого материала при одноосном растяжении устанавливают в соответствии с ГОСТ 15902.3-79 "Полотна нетканые. Методы определения прочности".

Одноосное растяжение отражает работу нетканого материала, уложенного на откосе с целью повышения устойчивости. Коэффициент запаса прочности нетканого материала при одноосном растяжении, учитывая совместную работу этого материала с грунтом за счет сил трения и сцепления, принимают равным n = 1,2.

Нетканый материал испытывают на двухосное растяжение и водопроницаемость на нестандартных моделях.

Двухосное напряженное состояние характеризует работу нетканого материала в подрельсовом основании: в балластной призме, на основной площадке земляного полотна, под насыпью. Испытания выполняют на модели квадратной мембраны с размером сторон 105 мм. Образец закрепляют в рамке со всех сторон. К поверхности мембраны прикладывают равномерно распределенную нагрузку, размер которой возрастает вплоть до разрушения материала. Напряжения в мембране в двух взаимно перпендикулярных направлениях (без учета анизотропии)

 

,

 

 

где Е - модуль упругости материала, кгс/см2; р - нагрузка на поверхность мембраны, кгс/см2, b, t - геометрические размеры мембраны, см.

Значение σxc = σyc, полученное опытным путем для конкретного вида материала, принимают в качестве предельного при расчетах.

Вертикальную водопроницаемость КВ нетканого материала можно определять в серийных приборах для песчаных и глинистых грунтов (например, трубка СПЕЦГЕО, трубка Каменского, прибор Ф-1М), размещая в них материал в несколько слоев (в стопе). Способ применим как для двухслойной (нетканый материал и грунт), так и для однослойной (нетканый материал) среды.

Горизонтальную водопроницаемость (вдоль слоя материала) КГ определяют в специальном устройстве, состоящем из металлического стакана с перфорированными стенками. Высота перфорированной части соответствует высоте слоя (стопы) материала. Сверху на материал укладывают поршень с отверстием определенного радиуса в центре.

Через это отверстие вода под напором поступает в материал, фильтрация ее осуществляется только в горизонтальном направлении. Коэффициент фильтрации вдоль слоя материала

 

,

 

где lп - длина поршня, м; R - внешний радиус поршня (образца), см; r - внутренний радиус поршня, см; Q - расход воды, м3/с; H - высота образца, м; ∆h - напор в образце, м.

На поршень может передаваться нагрузка, соответствующая реальным условиям эксплуатации прослойки нетканого материала в конструкции.

 

 




ГОСТЫ, СТРОИТЕЛЬНЫЕ и ТЕХНИЧЕСКИЕ НОРМАТИВЫ.
Некоммерческая онлайн система, содержащая все Российские Госты, национальные Стандарты и нормативы.
В Системе содержится более 150000 файлов нормативно-технической документации, действующей на территории РФ.
Система предназначена для широкого круга инженерно-технических специалистов.

Рейтинг@Mail.ru Яндекс цитирования

Copyright © www.gostrf.com, 2008 - 2026