Крупнейшая бесплатная информационно-справочная система онлайн доступа к полному собранию технических нормативно-правовых актов РФ. Огромная база технических нормативов (более 150 тысяч документов) и полное собрание национальных стандартов, аутентичное официальной базе Госстандарта. GOSTRF.com - это более 1 Терабайта бесплатной технической информации для всех пользователей интернета. Все электронные копии представленных здесь документов могут распространяться без каких-либо ограничений. Поощряется распространение информации с этого сайта на любых других ресурсах. Каждый человек имеет право на неограниченный доступ к этим документам! Каждый человек имеет право на знание требований, изложенных в данных нормативно-правовых актах!

  


 

ОАО "ЦНИИПРОМЗДАНИЙ"

Проектная документация сертифицирована.

Сертификат соответствия ГОСТ Р № РОСС RU.CP48.C00002

СТЕНЫ, ЧЕРДАЧНЫЕ ПЕРЕКРЫТИЯ И ОГРАЖДАЮЩИЕ КОНСТРУКЦИИ МАНСАРД С ПРИМЕНЕНИЕМ ОТРАЖАЮЩЕЙ ТЕПЛОИЗОЛЯЦИИ ПЕНОФОЛ И АРМОФОЛ

Материалы для проектирования и рабочие чертежи узлов

Москва 2006

Шифр М24.40/05

Содержание

М24.40/05 - ПЗ

ПОЯСНИТЕЛЬНАЯ ЗАПИСКА

1. ОБЩИЕ ПОЛОЖЕНИЯ

2. ТЕПЛОИЗОЛЯЦИЯ

3. НОРМЫ ТЕПЛОЗАЩИТЫ И ДАННЫЕ ПО ТОЛЩИНЕ ТЕПЛОИЗОЛЯЦИИ

4. СТЕНЫ МНОГОСЛОЙНЫЕ С МИНЕРАЛОВАТНОЙ ТЕПЛОИЗОЛЯЦИЕЙ С НАКЛЕЕННЫМ СЛОЕМ ПЕНОФОЛА ИЛИ АРМОФОЛА

5. СТЕНЫ КОЛОДЦЕВОЙ КЛАДКИ И ОДНОСЛОЙНЫЕ КИРПИЧНЫЕ

6. СТЕНЫ ДЕРЕВЯННЫЕ ИЗ БРУСА

7. ОГРАЖДАЮЩИЕ КОНСТРУКЦИИ МАНСАРД

8. КОНСТРУКТИВНОЕ РЕШЕНИЕ ЧЕРДАЧНОГО ПЕРЕКРЫТИЯ

М24.40/05 - 1.0 РАЗДЕЛ 1 СТЕНЫ С ОТДЕЛОЧНЫМ СЛОЕМ ИЗ КИРПИЧА НОВОЕ СТРОИТЕЛЬСТВО

М24.40/05 - 2.0 РАЗДЕЛ 2 СТЕНЫ С ОТДЕЛОЧНЫМ СЛОЕМ ИЗ КИРПИЧА РЕКОНСТРУКЦИЯ

М24.40/05 - 3.0 РАЗДЕЛ 3 СТЕНЫ КОЛОДЦЕВОЙ И КИРПИЧНОЙ КЛАДКИ. РЕКОНСТРУКЦИЯ

М24.40/05 - 4.0 РАЗДЕЛ 4 СТЕНЫ ДЕРЕВЯННЫЕ ИЗ БРУСА НОВОЕ СТРОИТЕЛЬСТВО И РЕКОНСТРУКЦИЯ

М24.40/05 - 5.0 РАЗДЕЛ 5 СТЕНЫ ДЕРЕВЯННЫЕ КАРКАСНЫЕ НОВОЕ СТРОИТЕЛЬСТВО

Приложение 1 ПРИМЕР РАСЧЕТА ПОВЫШЕНИЯ ТЕПЛОЗАЩИТЫ СТЕНЫ

Приложение 2 ПРИМЕР РАСЧЕТА ПАРОЗАЩИТЫ СТЕНЫ

ЗАО "Завод информационных технологий "ЛИТ"

М24.40/05 - ПЗ

ПОЯСНИТЕЛЬНАЯ ЗАПИСКА

1. ОБЩИЕ ПОЛОЖЕНИЯ

1.1. Альбом содержит материалы для проектирования и рабочие чертежи трехслойных стен, стен колодцевой кладки, однослойных кирпичных стен, деревянных брусчатых и каркасных стен, чердачных перекрытий и ограждающих конструкций мансард с применением отражающих экранов из Пенофола и Армофола.

1.2. Материалы разработаны для следующих условий:

- здания одно- и многоэтажные, I - V степени огнестойкости с сухим и нормальным температурно-влажностным режимом для строительства на всей территории страны;

- стены несущие или самонесущие из штучных материалов - кирпича, камней и бетонных блоков, деревянные из бруса и каркасные, чердачные перекрытия деревянные, ограждающие конструкции мансард с деревянным и стальным каркасами;

- температура холодной пятидневки обеспеченностью 0,92 - до минус 55 °С.

1.3. Проектирование следует вести с учетом указаний следующих действующих

нормативных документов:

СНиП 31-01-2003 «Здания жилые многоквартирные»;

СНиП 31-02-2001 «Дома жилые одноквартирные»;

СНиП 31-05-2003 «Общественные здания административного назначения»;

СНиП 31-03-2001 «Производственные здания»;

СНиП 2.09.04-87* «Административные и бытовые здания» (изд. 2001);

СНиП 23-02-2003 «Тепловая защита зданий»;

СНиП II-22-81 «Каменные и армокаменные конструкции»;

СНиП 21-01-97* «Пожарная безопасность зданий и сооружений»;

СНиП 23-01-99 «Строительная климатология».

2. ТЕПЛОИЗОЛЯЦИЯ

2.1. В многослойных ограждающих конструкциях в качестве теплоизоляции используются изделия из минераловатных плит марок П-75 и П-125 (ГОСТ 9573-96).

В зависимости от плотности плиты минераловатные предназначаются для применения в качестве тепло- и звукоизоляции:

- марки 75 - в чердачных перекрытиях;

- марки 125 - в стенах и ограждающих конструкциях мансард.

2.2. Показатели физико-технических свойств плит по ГОСТ 9573-96 приведены в таблице 1

Таблица 1

Физико-технические свойства минераловатных плит

Наименование показателя, ед. измерения

Норма показателя для плит марок

75

125

1. Плотность, кг/м3, не более

75

125

2. Прочность на сжатие при 10 % линейной деформации, МПа, не менее

-

-

3. То же после сорбционного увлажнения, МПа не менее

-

-

4. Теплопроводность λ, Вт/(м2 × °С), не более

0,047

0,049

5. Водопоглощение за 24 ч, % по массе, не более

-

-

6. Сжимаемость, %, не более

20

12

7. То же после сорбционного увлажнения, %, не более

26

16

Расчетная теплопроводность составляет для плит марки П-75: λА = 0,05 Вт/(м × °С), λБ = 0,058 Вт/(м × °С), для плит марки П-125: λА = 0,052 Вт/(м × °С), λБ = 0,06 Вт/(м × °С).

2.3. Согласно сертификатам пожарной безопасности плиты марки 75 и 125 относятся к группе горючести НГ.

2.4. Для повышения теплоизолирующей способности ограждающих конструкций в них предусмотрены замкнутые воздушные прослойки, одна из поверхностей которых облицована Пенофолом или Армофолом, что позволяет повысить не менее чем вдвое термическое сопротивление воздушной прослойки и, таким образом уменьшить требуемую толщину теплоизоляции из минераловатных плит, а в стенах из бруса повысить их теплоизолирующую способность.

3. НОРМЫ ТЕПЛОЗАЩИТЫ И ДАННЫЕ ПО ТОЛЩИНЕ ТЕПЛОИЗОЛЯЦИИ

3.1. Минимальное допустимое сопротивление теплопередаче стен зданий различного назначения и разных климатических условий регламентировано СНиП 23-02-2003 «Тепловая защита здании».

3.2. По назначению рассматриваемые в работе здания образуют три группы:

1. Жилые, лечебно-профилактические и детские учреждения, школы, интернаты;

2. Общественные, кроме указанных выше, административные и бытовые, за исключением помещений с влажным и мокрым режимами;

3. Производственные с сухим и нормальным режимами.

3.3. При новом строительстве необходимая толщина слоя теплоизоляции из минераловатных плит определялась с учетом следующих условий.

В многослойных конструкциях стен при новом строительстве и реконструкции несущая часть выполнена из полнотелого керамического кирпича или камней толщиной 380 мм и наружной защитно-декоративной стенки из кирпича толщиной 120 мм. В зданиях 1 и 2 группы стена с внутренней стороны имеет отделочный штукатурный слой толщиной 20 мм. Коэффициент теплотехнической однородности 0,95, без учета откосов проемов и других теплопроводных включений.

Возможен вариант наружного защитно-декоративного слоя из лицевого кирпича толщиной 120 мм. Для повышения термического сопротивления образующейся при кладке стены замкнутой воздушной прослойки толщиной 10 - 15 мм между защитной стенкой и минераловатной теплоизоляцией наружная поверхность теплоизоляции оклеивается Пенофолом (ТУ 2244-056-04696843-2001) или Армофолом (ТУ 1811-064-04696843-99).

3.4. При реконструкции стен колодцевой кладки и однослойных стен из кирпича, камней и бетонных блоков повышение термического сопротивления их за счет использования в качестве экрана в замкнутой воздушной прослойке толщиной 10 мм Пенофола или Армофола при внутреннем отделочном слое из гипсокартонных листов составит:

- при одной воздушной прослойке и Пенофоле толщиной 10 мм - 0,53 м2 × °С/Вт;

- то же при Пенофоле толщиной 3 мм или Армофоле - 0,41 м2 × °С/Вт;

- при двух воздушных прослойках и Пенофоле толщиной 10 мм - 0,41 м2 × °С/Вт;

- то же при Пенофоле толщиной 3 мм или Армофоле - 0,75 м2 × °С/Вт.

3.5. При реконструкции стен из бруса и деревянных каркасных стен повышение термического сопротивления за счет образования замкнутых воздушных прослоек с использованием экранов из Пенофола или Армофола составит:

- при одной и двух воздушных прослойках в соответствии с п. 3.4.

- при трех воздушных прослойках и Пенофоле толщиной 10 мм - 1,45 м2 × °С/Вт;

- то же при Пенофоле толщиной 3 мм или Армофоле - 1,09 м2 × °С/Вт;

- при четырех воздушных прослойках и Пенофоле толщиной 10 мм - 1,91 м2 × °С/Вт;

- то же при Пенофоле толщиной 3 мм или Армофоле - 1,43 м2 × °С/Вт.

3.6. Необходимая толщина слоя минераловатной теплоизоляции в многослойных стенах из кирпича, камней и бетонных блоков и защитной стенкой из кирпичной кладки с замкнутой воздушной прослойкой, экранированной Пенофолом или Армофолом, для всех перечисленных выше групп зданий приведена в таблице 2

Таблица 2

№ п/п

Город РФ

Условия эксплуатации

Градусо-сутки

Тип помещения

Новое строительство и реконструкция

, м2 × °С/Вт

При Пенофоле δ = 10 мм

При Пенофоле δ = 3 мм или Армофоле

1

2

3

4

5

6

7

8

1

Архангельск

Б

6170

1

3,56

160

170

 

 

 

5670

2

2,90

110

120

 

 

 

3

2,13

60

70

2

Астрахань

А

3540

1

2,64

80

90

 

 

 

3200

2

2,08

50

60

 

 

 

3

1,64

20

30

3

Анадырь

Б

9500

1

4,72

220

230

 

 

 

8900

2

3,87

170

180

 

 

 

3

2,76

110

120

4

Барнаул

А

6120

1

3,54

130

140

 

 

 

5680

2

2,90

90

100

 

 

 

3

2,13

50

60

5

Белгород

А

4180

1

2,86

90

100

 

 

 

3800

2

2,32

60

70

 

 

 

3

1,76

40

50

6

Благовещенск

Б

6670

1

3,74

170

180

 

 

 

6240

2

3,07

120

130

 

 

 

3

2,25

70

80

7

Брянск

Б

4570

1

3,00

120

130

 

 

 

4160

2

2,45

80

90

 

 

 

3

1,83

50

60

8

Волгоград

А

3950

1

2,78

90

100

 

 

 

3600

2

2,24

50

60

 

 

 

3

1,72

20

30

9

Вологда

Б

5570

1

3,35

150

160

 

 

 

5100

2

2,73

100

110

 

 

 

3

2,02

60

70

10

Воронеж

А

4530

1

3,0

100

110

 

 

 

4140

2

2,44

60

70

 

 

 

3

1,83

40

50

11

Владимир

Б

5000

1

3,3

130

140

 

 

 

4580

2

2,57

100

110

 

 

 

3

1,91

50

60

12

Владивосток

Б

4680

1

3,04

120

130

 

 

 

4300

2

2,49

80

90

 

 

 

 

3

1,86

50

60

13

Владикавказ

А

3410

1

2,59

80

90

 

 

 

3060

2

2,02

40

50

 

 

 

3

1,61

20

30

14

Грозный

А

3060

1

2,47

60

70

 

 

 

2740

2

1,9

40

50

 

 

 

3

1,55

20

30

15

Екатеринбург

А

5980

1

3,49

130

140

 

 

 

5520

2

2,85

90

100

 

 

 

3

2,10

50

60

16

Иваново

Б

5230

1

3,23

130

140

 

 

 

4800

2

2,64

100

110

 

 

 

3

1,96

50

60

15

Екатеринбург

А

5980

1

3,49

130

140

 

 

 

5520

2

2,85

90

100

 

 

 

3

2,10

50

60

16

Иваново

Б

5230

1

3,23

130

140

 

 

 

4800

2

2,64

100

110

 

 

 

3

1,96

50

60

17

Игарка

Б

9660

1

4,78

230

240

 

 

 

9090

2

3,93

170

180

 

 

 

3

2,82

110

120

15

Екатеринбург

А

5980

1

3,49

130

140

 

 

 

5520

2

2,85

90

100

 

 

 

3

2,10

50

60

16

Иваново

Б

5230

1

3,23

130

140

 

 

 

4800

2

2,64

100

110

 

 

 

3

1,96

50

60

17

Игарка

Б

9660

1

4,78

230

240

 

 

 

9090

2

3,93

170

180

 

 

 

3

2,82

110

120

18

Иркутск

А

6480

1

3,79

140

150

 

 

 

6360

2

3,12

100

110

 

 

 

3

2,27

60

70

19

Ижевск

Б

5680

1

3,39

150

160

 

 

 

5240

2

2,77

110

120

 

 

 

3

20,5

60

70

20

Йошкар-Ола

Б

5520

1

3,33

130

120

 

 

 

5080

2

2,72

100

110

 

 

 

3

2,02

60

70

21

Казань

Б

5420

1

3,30

130

140

 

 

 

4990

2

2,70

100

110

 

 

 

3

2,0

60

70

22

Калининград

Б

3650

1

2,68

100

110

 

 

 

3260

2

2,10

60

70

 

 

 

3

1,65

30

40

23

Калуга

Б

4810

1

3,08

120

130

 

 

 

4400

2

2,52

100

110

 

 

 

3

1,88

50

60

24

Кемерово

А

6540

1

3,69

130

140

 

 

 

6080

2

3,02

90

100

 

 

 

3

2,21

50

60

25

Вятка

Б

5870

1

3,45

150

160

 

 

 

5400

2

2,82

110

120

 

 

 

3

2,08

60

70

26

Кострома

Б

5300

1

3,25

130

140

 

 

 

4860

2

2,66

100

110

 

 

 

3

1,97

50

60

27

Краснодар

А

2680

1

2,34

60

70

 

 

 

2380

2

1,75

20

30

 

 

 

3

1,48

10

20

28

Красноярск

А

6340

1

3,62

130

140

 

 

 

5870

2

2,96

90

100

 

 

 

3

2,17

50

60

29

Курган

А

5980

1

3,49

120

130

 

 

 

5550

2

2,86

90

100

 

 

 

3

2,11

50

60

30

Курск

Б

4400

1

2,95

120

130

 

 

 

4040

2

2,41

80

90

 

 

 

3

1,80

50

60

31

Кызыл

А

7880

1

4,16

150

160

 

 

 

7430

2

3,43

120

130

 

 

 

3

2,49

60

70

32

Липецк

А

4730

1

3,06

100

110

 

 

 

4320

2

2,50

60

70

 

 

 

3

1,86

40

50

33

Магадан

Б

7800

1

4,13

180

190

 

 

 

7230

2

3,37

150

160

 

 

 

3

2,45

80

90

34

Махачкала

А

2560

1

2,30

50

60

 

 

 

2260

2

1,7

20

30

 

 

 

3

1,45

10

20

35

Москва

Б

4940

1

3,13

120

130

 

 

 

4520

2

2,55

100

110

 

 

 

3

1,9

50

60

36

Мурманск

Б

6380

1

3,63

160

170

 

 

 

5830

2

2,95

120

130

 

 

 

3

2,17

70

80

37

Нальчик

А

3260

1

2,54

60

70

 

 

 

2920

2

1,97

40

50

 

 

 

3

1,58

20

30

38

Нижний Новгород

Б

5180

1

3,21

130

140

 

 

 

4750

2

2,63

100

110

 

 

 

3

1,95

50

60

39

Новгород

Б

4930

1

3,13

120

130

 

 

 

4490

2

2,55

100

110

 

 

 

3

1,9

50

60

40

Новосибирск

А

6600

1

3,71

130

140

 

 

 

6140

2

3,04

90

100

 

 

 

3

2,23

50

60

41

Омск

А

6280

1

3,60

130

140

 

 

 

5840

2

2,85

90

100

 

 

 

3

2,17

50

60

42

Оренбург

А

5310

1

3,26

100

110

 

 

 

4900

2

2,67

80

90

 

 

 

3

1,98

40

50

43

Орел

Б

4650

1

3,03

120

130

 

 

 

4250

2

2,48

80

90

 

 

 

3

1,85

50

60

44

Пенза

А

5070

1

3,17

100

110

 

 

 

4660

2

2,60

80

90

 

 

 

3

1,93

40

50

45

Пермь

Б

5930

1

3,48

150

160

 

 

 

5470

2

2,84

110

120

 

 

 

3

2,09

60

70

46

Петрозаводск

Б

5540

1

3,34

130

140

 

 

 

5060

2

2,85

110

120

 

 

 

3

2,10

60

70

47

Петропавловск-Камчатский

Б

4760

1

3,07

120

130

 

 

 

4250

2

2,48

80

90

 

 

 

3

1,85

50

60

48

Псков

Б

4580

1

3,0

120

130

 

 

 

4160

2

2,45

80

90

 

 

 

3

1,83

50

60

49

Ростов-на-Дону

А

3520

1

2,63

80

90

 

 

 

3180

2

2,07

40

50

 

 

 

3

1,64

20

30

50

Рязань

Б

4890

1

3,11

130

140

 

 

 

4470

2

2,54

100

110

 

 

 

3

1,90

50

60

51

Самара

Б

5110

1

3,19

130

140

 

 

 

4710

2

2,61

100

110

 

 

 

3

1,94

50

60

52

Санкт-Петербург

Б

4800

1

3,08

120

130

 

 

 

4360

2

2,51

80

90

 

 

 

3

1,87

50

60

53

Саранск

А

5120

1

3,19

100

110

 

 

 

4700

2

2,61

80

90

 

 

 

3

1,94

40

50

54

Саратов

А

4760

1

3,07

100

110

 

 

 

4370

2

2,51

60

70

 

 

 

3

1,87

40

50

55

Салехард

Б

9170

1

4,61

220

230

 

 

 

8590

2

3,78

170

180

 

 

 

3

2,72

100

110

56

Смоленск

Б

4820

1

3,09

120

130

 

 

 

4400

2

2,52

100

110

 

 

 

3

1,88

50

60

57

Ставрополь

А

3210

1

2,52

60

70

 

 

 

2880

2

1,95

40

50

 

 

 

3

1,58

20

30

58

Сыктывкар

Б

6320

1

3,61

160

170

 

 

 

5830

2

2,95

120

130

 

 

 

3

2,17

60

70

59

Тамбов

А

4760

1

3,07

100

110

 

 

 

4360

2

2,51

60

70

 

 

 

3

1,87

40

50

60

Тверь

Б

5010

1

3,15

130

140

 

 

 

4580

2

2,57

100

110

 

 

 

3

1,92

50

60

61

Томск

Б

6700

1

3,75

170

180

 

 

 

6230

2

3,07

120

130

 

 

 

3

2,25

70

80

62

Тула

Б

4760

1

3,07

120

130

 

 

 

4350

2

2,50

100

110

 

 

 

3

1,87

50

60

63

Тюмень

А

6120

1

3,54

130

140

 

 

 

5670

2

2,90

90

100

 

 

 

3

2,13

50

60

64

Ульяновск

А

5380

1

3,29

100

110

 

 

 

4960

2

2,69

80

90

 

 

 

3

1,99

40

50

65

Улан-Удэ

А

7200

1

3,92

140

150

 

 

 

6730

2

3,22

100

110

 

 

 

3

2,35

60

70

66

Уфа

А

5520

1

3,33

120

130

 

 

 

5090

2

2,73

80

90

 

 

 

3

2,02

40

50

67

Хабаровск

Б

6180

1

3,56

160

170

 

 

 

5760

2

2,93

110

120

 

 

 

3

2,15

60

70

68

Чебоксары

Б

5400

1

3,29

130

140

 

 

 

4970

2

2,70

100

110

 

 

 

3

2,00

60

70

69

Челябинск

А

5780

1

3,43

140

150

 

 

 

5340

2

2,80

90

100

 

 

 

3

2,07

50

60

70

Чита

А

7600

1

4,06

150

160

 

 

 

7120

2

3,34

120

130

 

 

 

3

2,42

60

70

71

Элиста

А

3670

1

2,68

80

90

 

 

 

3320

2

2,13

50

60

 

 

 

3

1,66

20

30

72

Южно-Сахалинск

Б

5590

1

3,36

150

160

 

 

 

5130

2

2,74

100

110

 

 

 

3

2,03

60

70

73

Якутск

А

10400

1

5,04

210

220

 

 

 

9900

2

4,17

150

160

 

 

 

3

2,98

90

100

74

Ярославль

Б

5300

1

3,26

130

140

 

 

 

4860

2

2,66

100

110

 

 

 

3

1,97

50

60

КОНСТРУКТИВНЫЕ РЕШЕНИЯ СТЕН

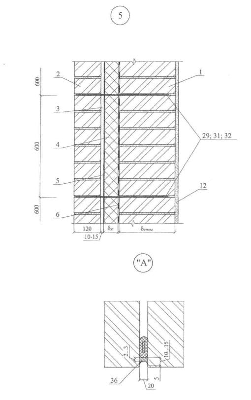
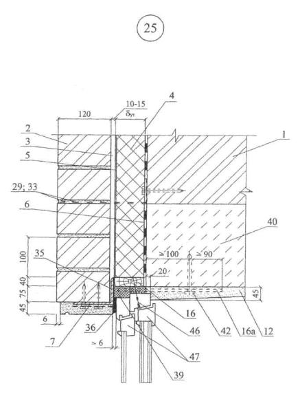
4. СТЕНЫ МНОГОСЛОЙНЫЕ С МИНЕРАЛОВАТНОЙ ТЕПЛОИЗОЛЯЦИЕЙ С НАКЛЕЕННЫМ СЛОЕМ ПЕНОФОЛА ИЛИ АРМОФОЛА

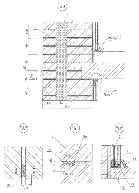
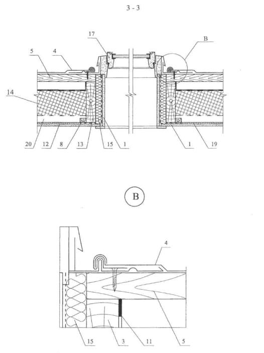
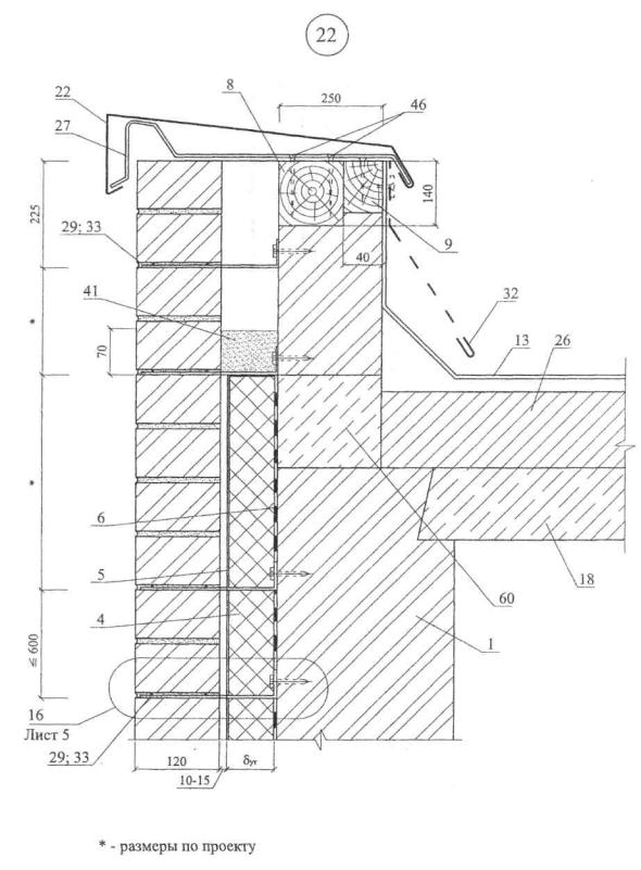
4.1. Стена при новом строительстве может быть несущей или самонесущей и представляет собой трехслойную конструкцию с несущим слоем из полнотелого керамического кирпича толщиной 380 мм (со слоем внутренней штукатурки 20 мм для помещений 1 и 2 группы и без штукатурки - для третьей группы), слоем теплоизоляции из минераловатных плит, на поверхность которых, обращенную в сторону замкнутой воздушной прослойки, наклеен слой Пенофола (ТУ 2244-056-04696843-2001) или Армофола (ТУ 1811-064-04696843-99) и защитно-декоративным наружным слоем из кирпича толщиной 120 мм.

Для защитной стенки может применяться кирпич или камни керамические лицевые (ГОСТ 7484-78) или отборные стандартные (ГОСТ 530-95) предпочтительно полусухого прессования, а также силикатный кирпич (ГОСТ 379-95). При облицовке силикатным кирпичом цоколь, пояса, парапеты и карниз выполняют из керамического кирпича.

При новом строительстве защитная стенка из кирпича может выполняться на всю высоту здания. При этом она может быть самонесущей до высоты 6...7 м, а далее навесной с опиранием на пояса выступающие из несущей стены через каждые 2 этажа (6...7 м) по высоте здания.

При реконструкции кирпичная защитная стенка обязательна в виде цоколя высотой не менее 2,5 м от планировочной отметки. По архитектурным соображениям она может быть выполнена самонесущей и большей высоты.

4.2. При защитной стенке из кирпича кладка ведется с обязательным заполнением раствором горизонтальных и вертикальных швов и расшивкой с фасадной стороны.

Зазор между теплоизоляцией и защитной стенкой может составлять 10 - 15 мм. Шаг температурных швов в кирпичной облицовке принимается по СНиП II-22-81* как для неотапливаемых зданий.

4.3. В качестве отражающего экрана, наклеенного на слой минераловатной теплоизоляции, следует использовать перфорированные Пенофол или Пенофол 2000 тип "С" толщиной 10 или 3 мм, а также Армофол тип "С", номенклатура которых приведена в таблице 3, а физико-технические характеристики в таблице 4.

Номенклатура отражающей изоляции

Таблица 3

Марка

Тип

Размеры

Толщина, мм

Длина, м

Ширина, мм

ПЕНОФОЛ

С-03 самоклеящийся

3

30

600

С-04

4

30

С-05

5

30

С-08

8

15

С-10

10

15

ПЕНОФОЛ 2000

А-03 одностороннее фольгирование

3

30

1200

А-04

4

30

А-05

5

30

А-08

8

15

А-10

10

15

В-03 двухстороннее фольгирование

3

30

В-04

4

30

В-05

5

30

В-08

8

15

В-10

10

15

С-03

3

30

600

С-04

4

30

С-05

5

30

С-08

8

15

С-10

10

15

АРМОФОЛ

А - одностороннее фольгирование

0,1 - 0,4

50;100

600;1200

В - двухстороннее фольгирование

С - самоклеящийся

АРМОФОЛ-СТ

А - одностороннее фольгирование

С - самоклеящийся

АРМОФОЛ ЭКСТРА

А - на основе нетканого полипропиленового полотна (25 мк)

А - на основе нетканого полипропиленового (50 мк), армированного стеклосеткой

С - самоклеящийся

Физико-технические характеристики ограждающей изоляции

Таблица 4

Показатели

Тип отражающей изоляции

Пенофол

Пенофол 2000

Армофол

Коэффициент теплового отражения поверхности, %

90

90

90

Температура применения, °С

- 60 + 100

- 60 + 100

- 60 + 100

Коэффициент теплопроводности (λ) при t = 20 °С, Вт/м × °С не более

0,037

0,048

-

- в условиях эксплуатации А

0,038

0,049

-

- в условиях эксплуатации Б

0,039

0,050

-

Коэффициент теплоусвоения, (при периоде 24 ч), Вт/м2 × °С

0,45 - 0,51

0,44 - 0,48

 

Коэффициент паропроницаемости, (мг/м × ч × Па), не более

0,001

0,001

0,001

4.4 При облицовке кирпичной кладкой в новом строительстве последняя армируется с несущей частью стены сварными арматурными сетками, располагаемыми с шагом по высоте 600 мм; площадь поперечных стержней (связей) должна быть не менее 0,4 см22 (глава СНиП II-22-81, п. 6.32).

При реконструкции кирпичная облицовка связывается с существующей кладкой с помощью кронштейнов закрепленных на дюбелях. При этом рекомендуются дюбели типа HPS-I фирмы «Хилти» (табл. 5) или дюбели ДГ.

Таблица 5

Тип дюбелей

Фирма-изготовитель

Ø нар., мм

Глубина заделки

Расчетное выдавливающее усилие

Комплект Д1 В3-1 Ш
Ст. 5,5-L-l

Бийский завод стеклопласатиков ТУ 2291-006-994511-99

8

45

30*

HPS-I

«Хилти»

6

40

25*

т. 792-52-52

8

50

40*

ДГ 3,7 × 40

ТУ 14-4-1231-83

3,7

35

40**

ДГ 4,5 × 40

4,5

25***

* В бетоне В ≥ 15, кладке из полнотелого керамического кирпича. В кладке из дырчатого кирпича или легкого бетона расчетное усилие уменьшается на половину.

** В бетоне В ≥ 12,5.

*** В кладке из полнотелого кирпича.

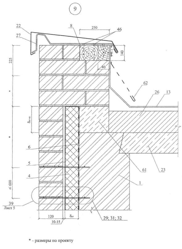
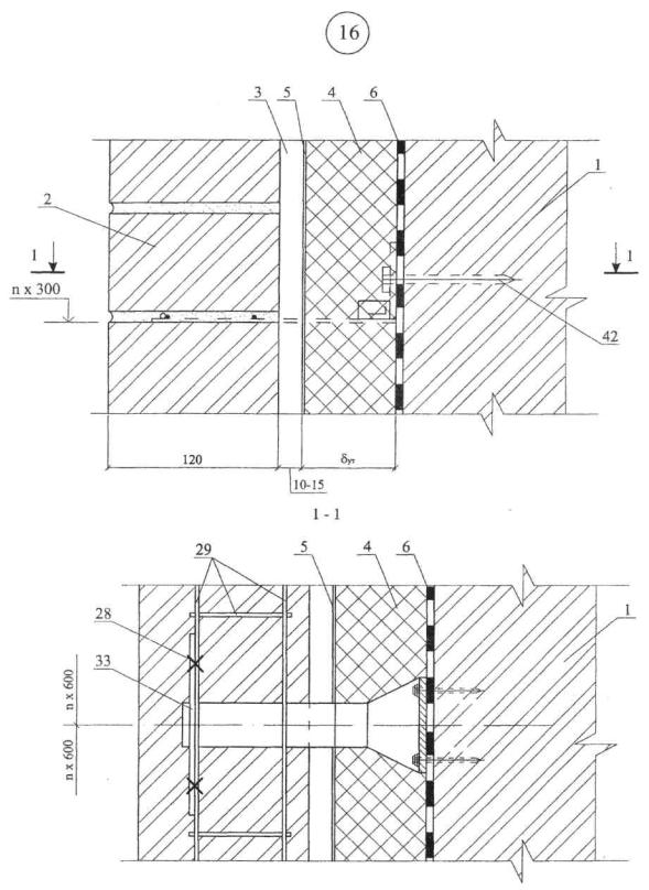
5. СТЕНЫ КОЛОДЦЕВОЙ КЛАДКИ И ОДНОСЛОЙНЫЕ КИРПИЧНЫЕ

5.1. При реконструкции стен колодцевой кладки и однослойных кирпичных стен повышение теплоизолирующей способности, отвечающей требованиям энергосбережения согласно СНиП 23-02-2003 «Тепловая защита зданий» следует осуществлять по аналогии с многослойными стенами (раздел 4) с использованием дополнительного слоя теплоизоляции из минераловатных плит и устройством замкнутой воздушной прослойки толщиной 10 - 15 мм между слоем теплоизоляции и защитно-декоративной стенкой из кирпича. При этом поверхность минераловатных плит, обращенная в воздушную прослойку должна быть в целях снижения расхода минераловатной теплоизоляции оклеена перфорированным Пенофолом или Армофолом.

5.2. Повышение теплоизолирующей способности стен колодцевой кладки или однослойных кирпичных стен до определенного уровня при их реконструкции может быть обеспечено устройством со стороны помещения одинарной или двойной замкнутых воздушных прослоек толщиной 10 мм с экраном из Пенофола или Армофола.

5.3. При одной воздушной прослойке отражающий экран из Пенофола типа С-03 или С-10, Армофола типа "С", а при типе "А" с применением монтажных лент ЛАС или ЛАМС наклеивается на внутреннюю поверхность гипсокартонных листов, которые закрепляются к деревянному каркасу из антисептированных досок 50 × 10 мм, располагаемых с шагом 600 мм.

5.4. При двойной воздушной прослойке предусматривается устройство двух отражающих экранов из Пенофола или Армофола.

Первый экран, который может быть выполнен из самоклеящихся Пенофола типа С-10 или С-03, или Армофола типа "С", а также Армофола типа "А" с использованием монтажных лент ЛАС или ЛАМС, наклеивается на внутренний деревянный каркас. После устройства по внутреннему каркасу наружного каркаса к последнему закрепляется обшивка из гипсокартонных листов, на внутреннюю поверхность которых предварительно наклеен отражающий экран из указанных выше типов Пенофола или Армофола.

5.5. Величина повышения термического сопротивления стены при одной и двойной замкнутой воздушной прослойки с отражающими экранами из Пенофола и Армофола приведены в п. 3.4.

6. СТЕНЫ ДЕРЕВЯННЫЕ ИЗ БРУСА

6.1. Для повышения термического сопротивления стен из бруса сечением 100 × 100 и 150 × 150 мм при новом строительстве и их реконструкции рекомендуется предусматривать устройство замкнутых воздушных прослоек с отражающими экранами из Пенофола или Армофола.

Воздушные прослойки целесообразно располагать преимущественно с наружной стороны стены, а при необходимости с внутренней или с обеих сторон.

6.2. Конструктивное решение таких воздушных прослоек аналогично представленному в разделе 5.

6.3. Облицовка воздушной прослойки, располагаемой с наружной стороны стены, может быть выполнена обшивкой доской, вагонкой и т.п. При этом отражающий экран из перфорированного Пенофола или Армофола наклеивается на деревянный каркас из досок 50 × 10 мм, пришитых гвоздями к несущей части стены.

6.4. Во избежание увлажнения бруса конденсационной влагой для устройства отражающих экранов в прослойках, располагаемых с внутренней стороны стены, должен использоваться Пенофол или Армофол без перфорации, а в прослойках с наружной стороны стены перфорированный.

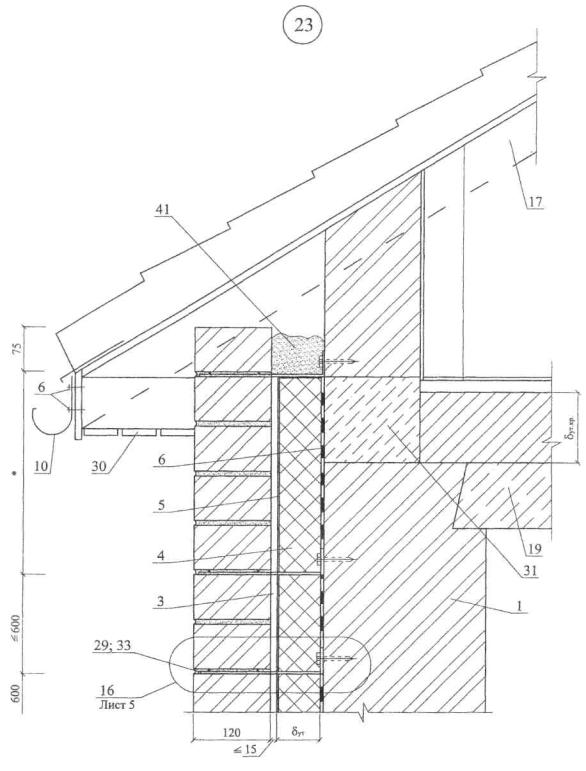
7. ОГРАЖДАЮЩИЕ КОНСТРУКЦИИ МАНСАРД

7.1. Несущие конструкции мансард могут быть выполнены из дерева или стали марок С235, С245, С255, С345 по ГОСТ 27772-88*.

7.2. В поперечнике несущие конструкции мансард представляют собой раму. Шаг рам и сечения элементов определяются расчетом.

7.3. Соединения металлоконструкций предусматривается на сварке и монтажных болтах или на постоянных болтах.

7.4. Сечения узловых элементов и величина сварных швов определяются расчетом.

7.5. Деревянные несущие конструкции следует выполнять из пиломатериалов хвойных пород двух сортов по ГОСТ 8486-86*.

7.6. Для изготовления настилов и обрешетки применяется древесина 3 сорта, а для несущих элементов стропильной системы (стропильные ноги, ендов, мауэрлатов, прогонов, стоек, подкосов, связей) - древесина 2 сорта.

7.7. Соединения деревянных элементов несущих конструкций предусмотрены гвоздевыми с прямой расстановкой гвоздей или расположением их в шахматном порядке.

7.8. Для устройства деревянных несущих конструкций должны применяться элементы с глубокой антипиреновой пропиткой.

7.9. Огнезащитная облицовка стальных и деревянных несущих конструкций предусмотрена гипсокартонными листами марок ГКЛО или ГКЛВО (ГОСТ 6266-97), а также гипсоволокнистыми листами марок ГВЛ и ГВЛВ (ГОСТ Р 51829).

7.10. Устройство огнезащитной облицовки несущих стальных и деревянных конструкций следует выполнять в соответствии с указаниями СП 55-101-2000 и СП 55-102-2001.

7.11. Для повышения термического сопротивления ограждающих конструкций мансард рекомендуется предусматривать со стороны помещения замкнутую воздушную прослойку толщиной 10 - 15 мм с облицовкой из гипсокартонных листов, на поверхность которых, обращенную в воздушную прослойку, наклеен слой Пенофола типа С толщиной 10 или 3 мм или Армофола тип "С".

7.12. Кровлю мансард рекомендуется выполнять из кровельной стали, мягкой черепицы, керамической или цементно-песчаной черепицы. При этом во избежании образования конденсата в конструкции покрытия должен быть предусмотрен продув.

7.13. Для естественного освещения мансардных помещений в ограждающие конструкции встраиваются окна «Велюкс».

8. КОНСТРУКТИВНОЕ РЕШЕНИЕ ЧЕРДАЧНОГО ПЕРЕКРЫТИЯ

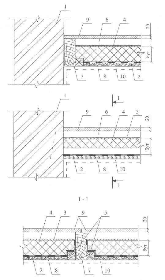
8.1. Особенностью конструктивного решения чердачного перекрытия по деревянным балкам является наличие замкнутой воздушной прослойки между минераловатной теплоизоляцией и цементно-стружечной плитой, уложенной по деревянным балкам.

8.2. Для сокращения расхода минераловатной теплоизоляции на поверхность минераловатных плит, обращенную в сторону воздушной прослойки наклеивается отражающий экран из перфорированного Пенофола типа С-03, С-10 или Армофола типа "С".

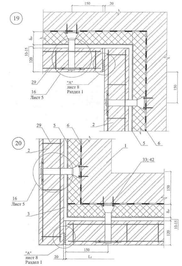
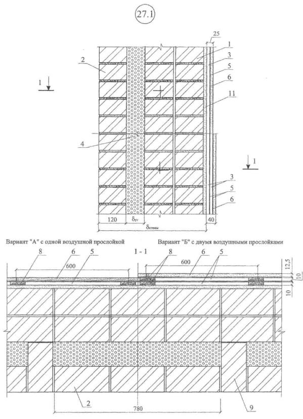
М24.40/05 - 1.0

РАЗДЕЛ 1 СТЕНЫ С ОТДЕЛОЧНЫМ СЛОЕМ ИЗ КИРПИЧА НОВОЕ СТРОИТЕЛЬСТВО

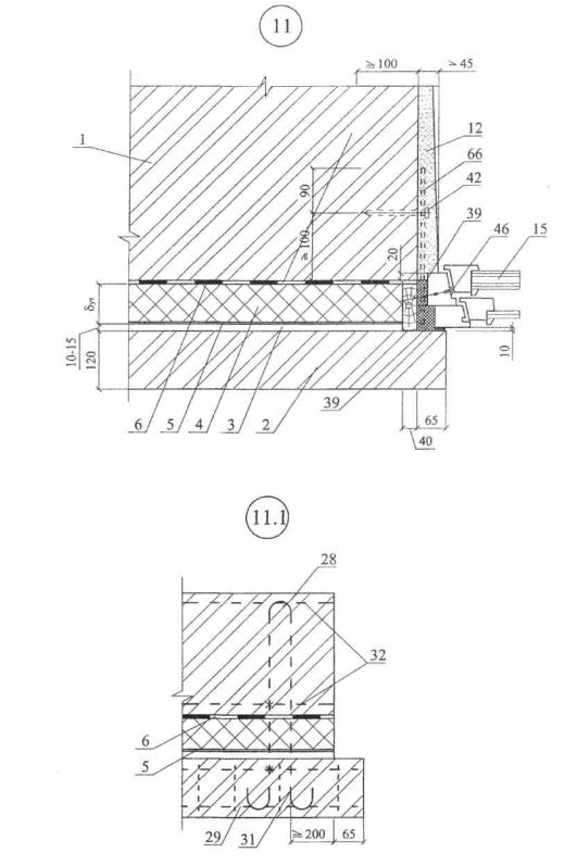
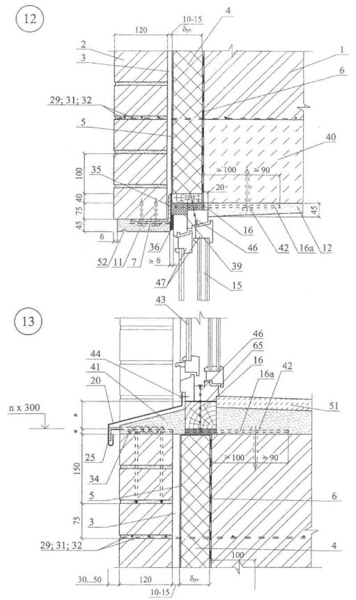
Экспликация материалов и деталей к узлам

№ поз.

Наименование

№ поз.

Наименование

1

Стена (несущая часть)

36

Мастика

2

Защитно-декоративная кладка

37

Прокладка уплотняющая из пенорезины сечением 8 × 8 по ТУ 38-406316-87

3

Замкнутая воздушная прослойка

38

Прокладка пенополиэтиленовая уплотняющая марки Вилатерм-СМ Ø 30; 40 (трубчатая), ТУ 6-05-221-872-86

4

Теплоизоляция из минераловатных плит

39

Пена строительная

5

Армофол тип С (ТУ 1811-064-04696843-99); Пенофол С-03, С-10 (ТУ 2244-056-04696843-2001) с перфорацией

40

Надоконная перемычка

6

Клеевой слой

41

Цементный раствор

7

Сварная оцинкованная металлическая сетка 20×20 Ø 1,0...1,6 по ТУ 14-4-647-95 Солнечногорского завода металлических сеток «Лепсе»; или по ГОСТ 2715-75

42

Дюбель HPS-I, «Хилти», Ø 6 или 8

8

Антисептированный деревянный брусок 210×40 мм

43

Оконное стекло

9

Антисептированный деревянный брусок 140×40 мм

44

Шуруп ГОСТ 1144-80

10

Желоб

45

Шуруп ГОСТ 1144-80

11

Наружная штукатурка

46

Гвоздь Ø 6 через деревянную прокладку с шагом 600 мм, но не менее 2 шт. на проем

12

Внутренняя штукатурка

47

Окно деревянное

13

Кровля

48

Рама и полотно распашных складчатых ворот серии 1.435-28

14

Дюбель EJOT (ТС-07-1051-05)

49

Костыль МС-1 с шагом 700 мм, см. в серии ворот

15

Стеклопакет

50

Стальная планка для крепления рамы ворот, см. в серии ворот

16

Доска, пропитанная антипиреном

51

Подоконник по проекту

16а

Пластина 6×40 с болтом Ø 10 и шагом 600 мм, но не менее 2 штук на проем

52

Капельник

17

Стропила

53

Отмостка по проекту

18

Междуэтажное перекрытие

54

Гидроизоляция - цементно-песчаный раствор

19

Чердачное перекрытие

55

Отделка цоколя

20

Слив С1

56

Фундаментная балка

21

Слив С2

57

Бортовой камень

22

Слив С3

58

Стена подвала

23

Покрытие

59

Пол подвала или 1-го этажа:

- линолеум;

- стяжка из цементно-песчаного раствора М 50 - 30 мм;

- минераловатная плита теплоизоляции 20 - 30 мм;

- гидроизоляция;

- бетонная подготовка марки В 7,5 - 80 мм или плита перекрытия.

24

Надворотная перемычка

60

Крупный песок

25

Костыль К1

61

Термовставка из ячеистобетонных блоков по ГОСТ 21520-89

26

Теплоизоляция покрытия

62

Кровля и примыкание кровли к парапету

27

Костыль К2

63

Несущая балка - пояс

28

Вязальная проволока ГОСТ 3282-74

64

Декоративная плитка

29

Закладная сетка Ml

65

Прокладка уплотняющая

30

Полоса 40×4 крепить к стене дюбелями

66

Пластина 6 × 40, заранее скрепленная с окном шурупами

31

Закладная петля ЗП1

67

Наличник деревянный

32

2 Ø 6

68

Теплоизоляция пола

33

Подшивка карниза

69

Гидроизоляция пола

34

Анкер

70

Обрамляющий уголок 50 × 4

35

Уголок-перемычка с опиранием на боковую кладку проема не менее 120 мм

 

 

СХЕМА № 1. Расположение плит утеплителя, защитно-декоративной кладки, несущей балки-пояса

М24.40/05 - 1.1

Стены с отделочным слоем из кирпича

Новое строительство

Схема 1 - 4

Узел 1 - 15

СХЕМА № 2. Расположение анкеров в углах, температурных швах и у проемов

Таблица 1

Вид кладки

Средняя температура наружного воздуха наиболее холодной пятидневки

минус 40 °С и ниже

минус 30 °С

минус 20 °С и выше

Из кирпича, в т.ч. лицевого на растворе марки 50 и более

30

42

70

Из силикатного кирпича на растворе марки 50

21

30

42

СХЕМА № 3

СХЕМА № 4

 

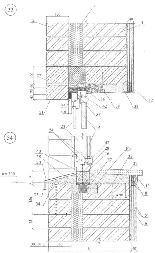
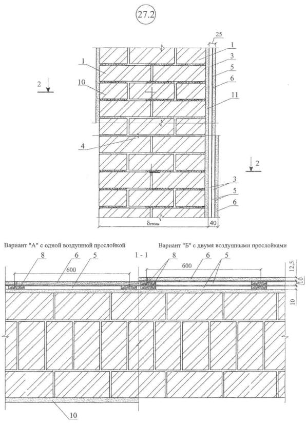
М24.40/05 - 2.0

РАЗДЕЛ 2 СТЕНЫ С ОТДЕЛОЧНЫМ СЛОЕМ ИЗ КИРПИЧА РЕКОНСТРУКЦИЯ

Экспликация материалов и деталей к узлам стен с вентилируемой воздушной прослойкой

№ поз.

Наименование

№ поз.

Наименование

1

Стена (несущая часть)

31

Термовставка из ячеистобетонных блоков (ГОСТ 21520-89)

2

Защитно-декоративная кладка

32

Фартук

3

Рихтовочный зазор

33

Анкер А1

4

Теплоизоляция из минераловатных плит

34

Анкер А2

5

Армофол тип С (ТУ 1811-064-04696843-99); Пенофол С-03, С-10 (ТУ 2244-056-04696843-2001) с перфорацией

35

Уголок-перемычка с опиранием на боковую кладку проема не менее 120 мм

6

Клеевой слой

36

Мастика

7

Сварная оцинкованная металлическая сетка 20×20 Ø 1,0...1,6 по ТУ 14-4-647-95 Солнечногорского завода металлических сеток «Лепсе»; или по ГОСТ 2715-75

37

Прокладка уплотняющая из пенорезины сечением 8 × 8 по ТУ 38-406316-87

8

Антисептированнный деревянный брусок 210×40 мм

38

Прокладка пенополиэтиленовая уплотняющая марки Вилатерм-СМ Ø 30; 40 (трубчатая), ТУ 6-05-221-872-86

9

Антисептированный деревянный брусок 140×40 мм

39

Пена строительная

10

Желоб

40

Надоконная перемычка

11

Наружная штукатурка

41

Цементный раствор

12

Внутренняя штукатурка

42

Дюбель HPS-I, «Хилти», Ø 6 или 8

13

Кровля

43

Дюбель из полиамида ТУ 36-941-79

14

Дюбель EJOT (ТС-07-1051-05)

44

Шуруп ГОСТ 1144-80

15

Стеклопакет

45

Шуруп ГОСТ 1144-80

16

Доска, пропитанная антипиреном

46

Гвоздь Ø 6 через деревянную прокладку с шагом 600 мм, но не менее 2 шт. на проем

16а

Пластина 6×40 с болтом Ø 10 и шагом 600 мм, но не менее 2 штук на проем

47

Окно деревянное

17

Стропила

48

Рама и полотно распашных складчатых ворот серии 1.435-28

18

Покрытие

49

Костыль МС-1 с шагом 700 мм, см. в серии ворот

19

Чердачное перекрытие

50

Стальная планка для крепления рамы ворот, см. в серии ворот

20

Слив С1

51

Подоконник по проекту

21

Слив С2

52

Капельник

22

Слив С3

53

Отмостка по проекту

23

Оконное стекло

54

Гидроизоляция - цементно-песчаный раствор

24

Надворотная перемычка

55

Перекрытие над подвалом

25

Костыль К1

56

Фундаментная балка

26

Теплоизоляция покрытия

57

Костыль под фундаментную балку

27

Костыль К3

58

Стена подвала

28

Вязальная проволока ГОСТ 3282-74

59

Крупный песок

29

Закладная сетка Ml

 

 

30

Подшивка карниза

 

 

М24.40/05 - 2.1
Стены с отделочным слоем из кирпича

Реконструкция

Схема 5 - 8

Узел 16 - 26

СХЕМА № 5. Расположение плит утеплителя и защитно-декоративной кладки


СХЕМА № 6. Расположение анкеров в углах, температурных швах и у проемов

Максимальный шаг температурных швов в защитно-декоративной стене L1 см в таблице № 1 на листе докум. М24.40/05

СХЕМА № 7

СХЕМА № 8

 

М24.40/05 - 3.0

РАЗДЕЛ 3 СТЕНЫ КОЛОДЦЕВОЙ И КИРПИЧНОЙ КЛАДКИ. РЕКОНСТРУКЦИЯ

Экспликация материалов и деталей к узлам стен колодцевой и кирпичной кладки. Реконструкция

№ поз.

Наименование

№ поз.

Наименование

1

Стена (несущая часть)

23

Оконное стекло

2

Защитно-декоративная кладка

24

Окно деревянное

3

Воздушная прослойка

25

Костыль К1

4

Теплоизоляция

26

Теплоизоляция перекрытия

5

Армофол тип С (ТУ 1811-064-04696843-99); Пенофол С-03, С-10 (ТУ 2244-056-04696843-2001)

27

Подоконник по проекту

6

Гипсокартонные листы ГКЛ

28

Прокладка уплотняющая

7

Сварная оцинкованная металлическая сетка 20×20 Ø 1,0...1,6 по ТУ 14-4-647-95 Солнечногорского завода металлических сеток «Лепсе»; или по ГОСТ 2715-75

29

Пластина 6 × 40, заранее скрепленная с окном шурупами

8

Антисептированнный деревянный брусок каркаса 50×10 мм

30

Подшивка карниза

9

Тычковый ряд кирпичной кладки

31

Термовставка из ячеистобетонных блоков (ГОСТ 21520-89)

10

Наружная штукатурка

32

Фартук

11

Внутренняя штукатурка

33

Кровля

12

Угловой защитный профиль ПУА с последующим шпаклеванием

34

Анкер

13

Армирующая лента с последующим шпаклеванием

35

Мастика

14

Желоб

36

Прокладка пенополиэтиленовая уплотняющая марки Вилатерм-СМ Ø 30; 40 (трубчатая), ТУ 6-05-221-872-86

15

Стеклопакет

37

Пена строительная

16

Доска, пропитанная антипиреном

38

Цементный раствор

16а

Пластина 6×40 с болтом Ø 10 и шагом 600 мм, но не менее 2 штук на проем

39

Дюбель HPS-I, «Хилти», Ø 6 или 8

17

Стропила

40

Шуруп ГОСТ 1144-80

18

Железобетонная плита δ = 50 мм

41

Уплотнительная лента

19

Чердачное перекрытие

42

Гвоздь Ø 6 через деревянную прокладку с шагом 600 мм, но не менее 2 шт. на проем

20

Слив С1

43

Плинтус

21

Балочная железобетонная перемычка

44

Шпатлевка

22

Плитная железобетонная перемычка с термовкладышем

 

 

М24.40/05 - 3.1
Стены колодцевой и кирпичной кладки

Реконструкция

Схема 9 - 10

Узел 16 - 26

СХЕМА № 9. Расположение теплоизоляции защитно-декоративной кладки

СХЕМА № 10 Углы стены и расположение температурных швов

Таблица 1

Вид кладки

Средняя температура наружного воздуха наиболее холодной пятидневки

минус 40 °С и ниже

минус 30 °С

минус 20 °С и выше

Из кирпича, в т.ч. лицевого на растворе марки 50 и более

30

42

70

Из силикатного кирпича на растворе марки 50

21

30

42

М24.40/05 - 4.0

РАЗДЕЛ 4 СТЕНЫ ДЕРЕВЯННЫЕ ИЗ БРУСА НОВОЕ СТРОИТЕЛЬСТВО И РЕКОНСТРУКЦИЯ

Экспликация материалов и деталей к узлам стен деревянных из бруса

№ поз.

Наименование

№ поз.

Наименование

1

Стена из бруса 100×100

12

Гипсокартонный лист ГКЛ

2

Стропила

13

Нащельник 100×20

3

Кровля

14

Воздушная прослойка δ = 10 мм

4

Слив деревянный

15

Наружная обшивка

5

Окно деревянное

16

Армофол тип С (ТУ 1811-064-04696843-99); Пенофол С-03 (ТУ 2244-056-04696843-2001) с перфорацией

6

Чердачные перекрытия

17

Плинтус

7

Доска каркаса 50×10

18

Покрытие пола

8

Армофол тип С (ТУ 1811-064-04696843-99); Пенофол С-03 (ТУ 2244-056-04696843-2001)

19

Армирующая лента с последующим шпаклеванием

9

Уплотнительная лента

20

Слив из оцинкованной стали

10

Деревянный уголок 40×40

21

Гидроизоляция

11

Деревянный уголок 10×10

22

 

СХЕМА №11. Общий вид и разрезы стены из бруса

М24.40/05 - 4.1

Стены деревянные из бруса

Новое строительство и Реконструкция

Схема 11

Узел 35 - 37

 

 

 

 

 

 

 

 

 

 

 

М24.40/05 - 5.0

РАЗДЕЛ 5 СТЕНЫ ДЕРЕВЯННЫЕ КАРКАСНЫЕ НОВОЕ СТРОИТЕЛЬСТВО

Экспликация материалов и деталей к узлам стен деревянных каркасных

№ поз.

Наименование

№ поз.

Наименование

1

Стена из бруса 100×100

11

Деревянный уголок 10×10

2

Стропила

12

Нащельник

3

Кровля

13

Уплотнительная лента

4

Окно деревянное

14

Деревянный уголок 40×40

5

Чердачные перекрытия

15

Армирующая лента с последующим шпаклеванием

6

Наружная обшивка

16

Покрытие пола

7

Армофол тип С (ТУ 1811-064-04696843-99); Пенофол 2000 С-03 (ТУ 2244-056-04696843-2001) с перфорацией

17

Плинтус

8

Армофол тип С (ТУ 1811-064-04696843-99); Пенофол 2000 С-03 (ТУ 2244-056-04696843-2001)

18

Подоконник

9

Теплоизоляция

19

Воздушная прослойка

10

Гипсокартонный лист ГКЛ

 

 

М24.40/05 - 5.1
Стены деревянные каркасные

Новое строительство и

Схема 12

Узел 38 - 40

СХЕМА № 12. Общий вид и разрезы стены деревянные каркасные

М24.40/05 - 6.0
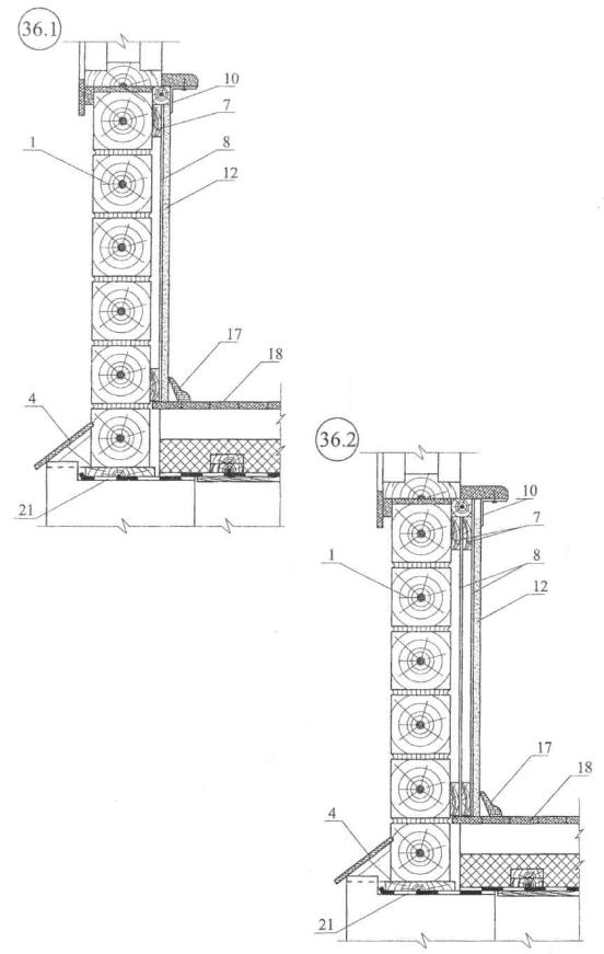
РАЗДЕЛ 6 ОГРАЖДАЮЩИЕ КОНСТРУКЦИИ МАНСАРД

Экспликация материалов и деталей к узлам к ограждающим конструкциям мансард

№ поз.

Наименование

№ поз.

Наименование

1

Гипсокартонный лист

11

Ветрозащитная пленка «Тайвек»

2

Стропила стальные

12

Пароизоляция

3

Стропила деревянные

13

Обвязочный брусок

4

Металлическая кровля

14

Минераловатная плита П-125

5

Обрешетка

15

Минераловатная плита П-75

6

Брус 150×50 мм

16

Защитная перфорированныя металлизированная лента

7

Стальной профлист

17

Оконный блок

8

Деревянный брусок 40×30 мм

18

Шуруп ГОСТ 1144-80

9

Деревянный брусок 60×40 мм

19

Армофол тип С (ТУ 1811-064-04696843-99); Пенофол 2000 С-03, С-10 (ТУ 2244-056-04696843-2001)

10

Вкладыш из гипсокартонного листа

20

Замкнутая воздушная прослойка

СХЕМА № 13. Общий вид мансарды

М24.40/05 - 6.1

Ограждающие конструкции мансард

М24.40/05 - 7.0
РАЗДЕЛ 7 ЧЕРДАЧНЫЕ ПЕРЕКРЫТИЯ

Экспликация материалов и деталей к узлам к чердачных перекрытий

№ поз.

Наименование

№ поз.

Наименование

1

Наружная стена

6

Замкнутая воздушная прослойка

2

Пароизоляция

7

Деревянная балка перекрытия

3

Армофол тип С (ТУ 1811-064-04696843-99); Пенофол 2000 С-03 (ТУ 2244-056-04696843-2001) с перфорацией

8

Деревянный щит

4

Минераловатные плиты

9

Цементно-стружечная плита δ = 20 мм

5

Деревянные бруски

10

Штукатурка

М24.40/05 - 7.1
Чердачные перекрытия

ПРИЛОЖЕНИЯ

Приложение 1

ПРИМЕР РАСЧЕТА ПОВЫШЕНИЯ ТЕПЛОЗАЩИТЫ СТЕНЫ

Административное здание в г. Москве.

Усиление теплозащиты выполнено с применением минераловатных плит марки П-125. принятая конструкция стены дана на расчетной схеме Расчетная схема стены.

1 - цементно-известковая штукатурка, λ1 = 0,87 Вт/(м × °С);

2; 4 - кирпичная кладка, λ2 = 0,81 Вт/(м × °С);

3 - плита минераловатная марки П-125, λ3 = 0,06 Вт/(м × °С);

5 - Пенофол С-10

6 - Воздушная прослойка δ = 10 мм.

Требуемое сопротивление теплопередаче стены является функцией числа градусо-суток отопительного периода (ГСОП):

ГСОП = (tв - tот.пер.) × Zот.пер.;

где: tв - расчетная температура внутреннего воздуха, °С;

tот.пер., Zот.пер. - средняя температура, °С и продолжительность, сут. периода со средней суточной температурой воздуха ниже или равной 8 °С по СНиП 23-01-99 «Строительная климатология».

Для г. Москвы ГСОП = 4600 и Rтр = 2,58 м2 × °С/Вт.

Требуется усиление теплозащитной способности стены на:

а за вычетом R облицовочного слоя из кирпича, равного 0,15 м2 × °С/Вт и замкнутой воздушной прослойки толщиной 10 мм с отражающим слоем из Пенофола типа С-10 получаем:

Толщина слоя дополнительной теплоизоляции при λ3 = 0,06 Вт/(м × °С) и коэффициенте теплотехнической однородности r = 0,92 составит:

Принимаем слой изоляции равным 80 мм, тогда фактическое сопротивление теплопередаче составит:

Приложение 2

ПРИМЕР РАСЧЕТА ПАРОЗАЩИТЫ СТЕНЫ

(Наружная стена)

1. Цель расчета - определение необходимости устройства специальной парозащиты в многослойной стене.

Расчет выполнен по СНиП 23-02-2003 «Тепловая защита зданий».

2. Исходные данные - административное здание в г. Москва

tвн = 18 °С; φвн = 50 %; Rфак = 2,58 м2 × °С/Вт (см. расчет теплозащиты стены).

3. Конструкция стены:

а - а - плоскость возможной конденсации

1 - цементно-известковая штукатурка,

λ = 0,87 Вт/м × °С;

μ = 0,098 мг/м × ч × Па

2; 4 - кирпичная кладка,

λ = 0,81 Вт/м × °С;

μ = 0,11 мг/м × ч × Па

3 - плита минераловатная марки П-125

λ = 0,06 Вт/м × °С;

μ = 0,825 мг/м × ч × Па

Сопротивление теплопередаче внутренних слоев составит:

4. Требуемое сопротивление паропроницанию слоев стены до плоскости возможной конденсации должно быть не менее его значения:

по формуле: , или

по формуле:

5. Проверка возможности влагонакопления за годовой период.

Значения среднемесячных температур наружного воздуха для Москвы по СНиП 23-01-99 «Строительная климатология» приведены в таблице, Zо по тому же СНиПу (стр. 8) и средней упругости водяных паров наружного воздуха по СНиП 2.01.01-82 «Строительная климатология геофизика», т.к. в новом СНиПе эти данные отсутствуют.

Месяц

1

2

3

4

5

6

7

8

9

10

11

12

Тн, °С

-10,2

-9,2

-4,3

4,4

11,9

16,0

18,1

16,3

10,7

4,3

-1,9

-7,3

ен, гПа

2,8

2,9

3,7

6

8,9

12,4

14,7

14,2

10,4

6,9

4,8

3,6

Zо = 145 сут

Сезонные и среднемесячные температуры:

Z1 = 3 мес; tн1 = - 8,9 °С;

Z2 = 4 мес; tн2 = + 0,625 °С;

Z3 = 5 мес; tн3 = + 14,6 °С.

Температура в плоскости возможной конденсации, соответствующая среднезонным температурам, определяется по формуле: ,

;

;

;

соответственно Е1 = 341 Па; Е2 = 701 Па; Е3 = 1683 Па, тогда Е = (3413+7014 + 16835)/12 = 1020 Па

ев = 1032 Па;

ен = 761 Па (см. таблицу выше).

RП.НАР.СЛОЯ = 0,08/0,11 = 0,75 м2 × ч × Па/мг;

RП.ВНУТР.СЛОЯ = 0,08/0,825 + 0,51/0,11 + 0,02/0,098 = 4,94 м2 × ч × Па/мг.

По формуле RП1 = (1032 - 1020) × 1,09 / (1020 - 761) = 0,05 < 4,94 м2 × ч × Па/мг.

то есть по этому условию устройство парозащиты не требуется.

6. проверка возможности влагонакопления за период с отрицательными среднемесячными температурами.

Средняя упругость водяного пара наружного воздуха за период Zо (см. таблицу выше).

ено = 356 Па.

Средняя температура наружного воздуха за тот же период tно = - 6,58 °С.

По формуле:

этой температуре соответствует Ео = 408 Па.

По формуле:

η = 0,0024 × (408 - 356) × 145/1,09 = 16,6.

При γ = 35 кг/м3; δ = 0,08 м; ΔWcp = 3 %, находим:

RП2 = 0,0024 × 145 × (1032 - 408)/(125 × 0,08 × 3 + 16,6) = 4,65 < 4,94 м2 × ч × Па/мг, то есть по этому условию устройство дополнительной пароизоляции также не требуется.

 




ГОСТЫ, СТРОИТЕЛЬНЫЕ и ТЕХНИЧЕСКИЕ НОРМАТИВЫ.
Некоммерческая онлайн система, содержащая все Российские Госты, национальные Стандарты и нормативы.
В Системе содержится более 150000 файлов нормативно-технической документации, действующей на территории РФ.
Система предназначена для широкого круга инженерно-технических специалистов.

Рейтинг@Mail.ru Яндекс цитирования

Copyright © www.gostrf.com, 2008 - 2026