Крупнейшая бесплатная информационно-справочная система онлайн доступа к полному собранию технических нормативно-правовых актов РФ. Огромная база технических нормативов (более 150 тысяч документов) и полное собрание национальных стандартов, аутентичное официальной базе Госстандарта. GOSTRF.com - это более 1 Терабайта бесплатной технической информации для всех пользователей интернета. Все электронные копии представленных здесь документов могут распространяться без каких-либо ограничений. Поощряется распространение информации с этого сайта на любых других ресурсах. Каждый человек имеет право на неограниченный доступ к этим документам! Каждый человек имеет право на знание требований, изложенных в данных нормативно-правовых актах!

  


 

ЦНИИпромзданий

РЕКОМЕНДАЦИИ ПО ПРОЕКТИРОВАНИЮ УЧАСТКОВ ПЕРЕКРЫТИЙ ПОД ПОВЫШЕННЫЕ НАГРУЗКИ В ПРОМЫШЛЕННЫХ ЗДАНИЯХ

Москва 1990

 

СОДЕРЖАНИЕ

Рекомендовано к изданию секцией несущих конструкций НТС ЦНИИпромзданий Госстроя СССР.

Содержат материалы по проектированию участков перекрытий под повышенные нагрузки с использованием сборных железобетонных конструкций многоэтажных промышленных зданий и предназначены для инженерно-технических работников научных, проектных и строительных организаций.

Рекомендации разработаны ЦНИИпромзданий Госстроя СССР (кандидаты техн. наук Л.И. Мрачковский, Э.Н. Кодыш), МИСИ им. В.В. Куйбышева Госкомитета СССР по народному образованию (кандидаты техн. наук В.И. Фомичев, M.K. Шеховцов), СибАДИ Минвуза РСФСР (кандидаты техн. наук Ю.В. Краснощеков, И.М. Ивасюк).

ПРЕДИСЛОВИЕ

При проектировании многоэтажных производственных зданий временные нагрузки на перекрытия часто принимаются по максимальным значениям на отдельных участках данного производства. Экстремальные нагрузки для многих отраслей промышленности занимают по площади не более 10 % и в то же время в 1,2 - 3 раза превышают по величине нагрузки на остальной площади перекрытий.

Для правильного выбора типовых железобетонных конструкций по несущей способности и экономии материальных ресурсов в многоэтажных промышленных зданиях следует вести проектирование под нагрузки, наиболее характерные для данного производства, и выделять отдельные участки под повышенные нагрузки.

Одним из наиболее целесообразных конструктивных решений для осуществления возможности локального повышения нагрузок на перекрытия многоэтажных производственных зданий из сборного железобетона является создание участков из сборно-монолитного железобетона. Укладка слоя армированного бетона на поверхности сборных элементов с одновременной заделкой швов между ними изменяет конструктивную схему плит и ригелей перекрытий, увеличивает их жесткость.

Наиболее эффективно применение участков под повышенные нагрузки для конструкции перекрытий, в которых по плитам предусмотрены звукоизоляционный слой или утолщенная стяжка для организации уклонов полов. В этом случае указанные выше слои заменяются монолитным железобетоном.

Настоящие рекомендации содержат основные положения по расчету и конструированию участков перекрытий, воспринимающих дополнительные нагрузки в размере до 25 % по сравнению с нагрузками на остальной части здания. Для большего увеличения нагрузок необходимы дополнительные экспериментальные исследования, проверочные расчеты и конструктивные решения, обеспечивающие прочность и пригодность к нормальной эксплуатации.

Экспериментальные работы для настоящих рекомендаций были выполнены в ОНИЛ СибАДИ им. Куйбышева, проверочные расчеты многоэтажных рам при различных жесткостях ригелей и дополнительных нагрузках - в ЭВЦ КП Ленинградского Промстройпроекта.

В разработанных рекомендациях были рассмотрены ребристые плиты перекрытий высотой 300 мм по серии 1.042.1-4; ригели высотой 500 мм и колонны сечением 400×400 мм по сериям 1.020-1/83 и 1.020.1-4 - конструкции каркаса межвидового применения. При использовании настоящих рекомендаций необходимо учитывать общие указания по расчету прочности, устойчивости и деформативности седельных железобетонных элементов и здания в целом, принятые в указанных типовых сериях.

Основные положения проектирования и расчета рекомендаций могут быть распространены на другие действующие серии многоэтажных производственных зданий из сборных железобетонных элементов.

ОБЩИЕ ПОЛОЖЕНИЯ

1.1. В рекомендациях содержатся основные указания по проектированию участков перекрытий под повышенные нагрузки в пределах до 25 % по сравнению с нагрузками, принятыми в проекте применительно к сериям 1.020-1/83 и 1.020.1-4.

1.2. Участки под повышенные нагрузки могут предусматриваться при проектировании новых и реконструируемых перекрытий из сборных железобетонных элементов.

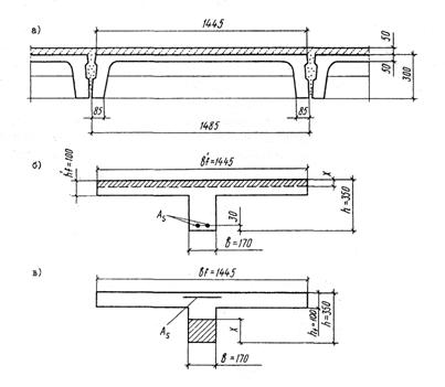
1.3. Основным приемом, позволяющим локально повысить нагрузки, является укладка по поверхностям плит перекрытий слоя армированного бетона, объединяющего работу отдельных сборных элементов, что изменяет их конструктивную и расчетную схемы, увеличивает жесткость и несущую способность плит и ригелей (рис.1).

1.4. Для подбора несущих сборных железобетонных элементов многоэтажных промышленных зданий с учетом локальных повышенных нагрузок рекомендуется следующий порядок проектирования;

по данным технической части проекта определяются временные нагрузки на перекрытия;

рассматривается вопрос возможности снижения сосредоточенных технологических нагрузок путем их распределения на большую площадь смежных плит;

определяется наибольшая возможная технологическая нагрузка на квадратный метр перекрытий и максимальная площадь, на которой она может быть расположена, а также положение и размещение участков с повышенными нагрузками;

Рис. 1. Усиление ячейки перекрытия

а - фрагмент плана перекрытия; б - деталь сопряжения элементов;
1 - ригель; 2 - плиты; 3 - слой монолитного бетона; 4 - арматурная сетка; 5 - арматурный каркас

подбор сборных несущих железобетонных элементов - плит, ригелей, колонн - производится в соответствии с указаниями типовых серий по нагрузкам, действующим на площади 90 % и более общей производственной и величиной не менее 75 % повышенной нагрузки.

1.5. Участки под повышенные нагрузки не рекомендуется располагать друг над другом.

2. МЕТОДИКА РАСЧЕТА

2.1. Расчет участков перекрытий под повышенные нагрузки предлагаемого конструктивного решения производится по предельным состояниям первой группы. Проверка конструкций по предельным состояниям второй группы производится по раскрытию трещин над опорами. Расчет по деформациям для рассматриваемых конструкций не производится, так как увеличение нагрузки предусмотрено до 2,5 %, а жесткость плит перекрытий при создании неразрезности возрастает в 1,6 раза, ригелей - в 3,1 раза /8/.

2.2. Расчет всей конструктивной системы здания производится без учета участков перекрытий с повышенными нагрузками под характерную для данного производства нагрузку в соответствии с действующими нормативными документами и методами расчета зданий с каркасной конструктивной схемой.

2.3. Участки под повышенные нагрузки следует рассматривать как самостоятельные включения, не оказывающие значительных воздействий на работу всей конструктивной системы здания. Расчет участков производится с учетом обеспечения совместной работы армированной монолитной бетонной плиты, уложенной по предварительно обработанной поверхности, со сборными железобетонными элементами перекрытий.

2.4. Ребристые плиты перекрытия усиленной ячейки (усиленных ячеек), объединенные армированной набетонкой над опорами со смежными плитами, рассматривают в расчетной модели как неразрезную трехпролетную (многопролетную) балку таврового сечения (рис.2). Количество усиленных ячеек определяется технологической частью проекта.

Рис.2. Поперечные расчетные сечения неразрезной ребристой плиты с усилением

а - основные размеры; б - расчетное сечение в пролете; в - расчетное сечение на опоре

2.5. Определение изгибающих моментов и поперечных сил производится в соответствии со схемами загружения (рис.3) из расчета упругой системы.

Рис.3. Схемы загружения неразрезных плит усиленного участка

а - первая схема; б - вторая схема

2.6. Окончательное значение изгибающих моментов находится с учетом перераспределения усилий путем снижения максимального опорного момента на 30 % и соответствующего увеличения пролетных моментов. При создании неразрезности плит перекрытий в продольном направлении площадь сечения надопорной арматуры назначается в соответствии с действующими нормативными документами по расчету статически неопределимых железобетонных конструкций с учетом перераспределения усилий /14/.

2.7. Расчетный изгибающий пролетный момент в трехпролетной (многопролетной) неразрезной балке с дополнительной нагрузкой до 25 % с учетом п.3.6. ниже пролетного момента однопролетной разрезной балки, поэтому дополнительной проверки прочности сечения в пролете не производим.

2.8. По значению опорного момента определяется требуемое количество рабочей арматуры в монолитном участке над опорой для таврового сечения с полкой в растянутой зоне (рис.2,в).

2.9. Работа сборно-монолитных участков перекрытий в поперечном направлении настоящими рекомендациями не учитывается.

2.10. В соответствии с пособием /10/ по полученному значению поперечной силы для усиленного участка выполняем расчет прочности сечений, наклонных к продольной оси элемента.

2.11. Величину продольного скалывающего напряжения в плоскости сопряжения между бетоном сборных элементов и дополнительно уложенным бетоном при расположении шва в растянутой зоне сечения определяют в соответствии с п. 2.4 руководства /13/.

2.12. В соответствии с п.7.2.8 выпуска 0-1 части 1 серии 1.020.1-4 (справедливо и для серии 1.020-1 83) несущая способность попок ригелей, кроме ригелей под нагрузку 176,5 кН/м, на которые опираются плиты перекрытий, позволяет прикладывать к плитам нагрузку выше на одну ступень, чем эквивалентная нагрузка, на которую рассчитана продольная арматура ригелей. Кроме того, армированная набетонка над опорами плит перекрытий перераспределяет нагрузку, действующую на перекрытие, с плит перекрытия на ригель, распределяет давление более равномерно по длине полок ригелей, смещая равнодействующую от нагрузки на перекрытия к оси ригеля, поэтому прочность полок ригелей при увеличении нагрузки до 25 % можно считать обеспеченной.

2.13. При расчете ригелей на дополнительные нагрузки следует учитывать вид сопряжения ригелей с колоннами по принятой в проекте конструктивной системе, считая по серии 1.020-1/83 опирание ригелей на колонны шарнирным, по серии 1,020.1-4 - жестким.

2.14. При усилении перекрытия из сборных плит и ригелей монолитным слоем железобетона расчетное сечение ригеля можно принять тавровым с параметрами свесов полок в соответствии с п.3.16 СНиП 2.03.01-84 (рис. 4). При превышении нагрузки на 25 % по сравнению с нагрузкой, на которую подобран ригель в соответствии с указаниями действующих серий, и замене сечения ригеля тавровым в соответствии с рис. 4 количество ранее установленной арматуры, как правило, достаточно.

Рис. 4. Поперечное расчетное сечение ригеля с усилением

2.15. При жестком сопряжении ригелей с колоннами моменты в местах сопряжения ригелей с крайними колоннами при дополнительном догружении ригелей повышенной жесткости уменьшаются, в пролете ригеля - увеличиваются. Незначительное увеличение моментов отмечается в местах сопряжения ригелей со средними колоннами.

Происходит перераспределение моментов за счет возросшей жесткости ригелей. Дополнительное уменьшение опорных моментов произойдет из-за податливости узловых сопряжений.

Значения опорных изгибающих моментов для ригелей, приведенные в серии 1.020.1-4 (выпуск 0-2), при повышении нагрузки на 25% остаются без изменения, дополнительную нагрузку полностью воспринимает сечение ригеля в пролете, для которого и следует произвести проверку прочности, принимая сечение согласно рис.4.

2.16. Максимальную поперечную силу при увеличении нагрузки на ригель до 25 % следует сопоставить с данными серии 1.020.1-4 по несущей способности ригелей по поперечным силам.

2.17. При связевом каркасе (серия 1.020-1/83) и рамном каркасе поперечных рам (серия 1.020.1-4) от дополнительной нагрузки происходит увеличение продольных сил в колоннах. Анализ примеров проектирования промышленных зданий и фактических величин временных технологических нагрузок на перекрытия показывает, что для многоэтажных зданий колонны нижних этажей можно рассчитывать с понижающим коэффициентом, как это принято в СНиП 2.01.07-85 для гражданских зданий /7, 18/.

2.18. Вся нагрузка от ригеля по серии 1.020-1/83 передается на консоли колонны. Консоли этой серии для колонны сечением 400×400 мм запроектированы трех типов под нагрузку 330, 430 и 600 кН. Следует проверить достаточность несущей способности консолей колонн и при необходимости выполнить усиление железобетонной или металлической обоймой.

3. КОНСТРУКТИВНЫЕ ТРЕБОВАНИЯ

3.1. При проектировании участков под повышенные нагрузки для обеспечения условий их выполнения, долговечности и совместной работы монолитного и сборного бетонов надлежит выполнять конструктивные требования СНиП 2.03.01-84 и излагаемые ниже положения.

3.2. В сборно-монолитных железобетонных конструкциях усиливаемых участков перекрытий должно быть обеспечено надежное сцепление предварительно напряженных элементов с бетоном, уложенным на месте использования конструкции. Поверхностям сборных элементов, контактирующим с дополнительно уложенным бетоном, следует придать шероховатость, которая может быть достигнута естественным (незаглаженный бетон) и искусственным путем (насечка, обдирка поверхностного слоя, химический способ и др.). Перед укладкой монолитного бетона поверхность сборных элементов промывается водой под давлением.

3.3. В швы между продольными ребрами плит в местах опирания на ригель для улучшения связи монолитного бетона со сборными элементами следует устанавливать каркасы, которые при необходимости могут воспринимать поперечные усилия.

3.4. Монтажные петли смежных плит рекомендуется приваривать через коротыши к монтажной арматуре надопорных сеток или соединять отдельными стержнями.

3.5. Замоноличивание швов между сборными элементами перекрытий рекомендуется производить в процессе укладки монолитного слоя бетона.

3.6. Укладку монолитного бетона необходимо производить с уплотнением поверхностными вибраторами.

3.7. Монолитный слой бетона укладывается по всей площади ячейки (нескольких ячеек), в пределах которой возможно действие повышенных нагрузок, и на примыкающих участках смежных ячеек шириной, равной четверти их пролета. Класс бетона принимается не ниже класса бетона плит перекрытий. При бетонах разных классов лучше воспользоваться рекомендациями Руководства. /13/. Толщина слоя бетона во всех случаях не менее 50 мм.

3.8. Рабочую арматуру над опорами плит перекрытий рекомендуется выполнять из сварных металлических типовых сеток по ГОСТ 23279-85, Для экономии стали рабочая арматура сеток устанавливается со смешением стержней.

3.9. При усилении участков перекрытий реконструируемых зданий необходимо кроме тщательной обработки поверхности сборных железобетонных элементов в зоне укладки монолитного бетона произвести скалывание верхних частей бетона, замоноличивающего швы между сборными элементами, для образования шпонок, обеспечивающих сцепление монолитного и сборного бетонов.

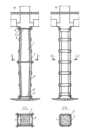
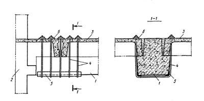
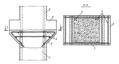
3.10. В реконструируемых зданиях при необходимости усиления ригелей на восприятие поперечных сил, консолей колонн и колонн рекомендуется воспользоваться схемами усиления, приведенными на рис. 5, 6, 7 и соответствующими положениями /5, 9/.

Рис.5. Усиление ригеля на восприятие поперечных сил

1 - ригель; 2 - колонна; 3 - плита перекрытия; 4 - поперечные стержни; 5 - прокладка из уголка; 6 - опорная пластинка

Рис.6. Усиление консоли железобетонным хомутом

1 - колонна; 2 - консоль колонны; 3 - арматура колонны; 4 – дополнительная арматура; 5 - бетон хомута

Рис. 7. Усиление колонны предварительно напряженными распорками

а - в период монтажа; б - в напряженном состоянии;
1 - усиливаемая колонна; 2 - уголки распорок; 3 - соединительные планки; 4 - упорные утолки; 5 - планки-упоры; 6 - крепежный монтажный болт; 7 - натяжной монтажный болт; 8 - планки для натяжения болтов в месте перегиба

4. ПРИМЕРЫ РАСЧЕТА

Дано: перекрытие многоэтажного каркасного производственного здания из сборных железобетонных элементов по серии 1.020-1/83 (1.020.1-4); класс бетона конструкций В22,5 (RB = 11,75 МПа; RBt = 0,875 МПа; ЕВ = 25,5.103 МПа); рабочая высота плит перекрытия с усилением h0 = 320 мм; класс рабочей арматуры набетонки А-III (RS = 355 МПа; ЕS = 2,0.105 МПа).

Требуется запроектировать участок размерами с ячейку под повышенную на 25 % нагрузку по сравнению с проектной и проверить эту усиленную конструкцию по предельным состояниям (см. рис. 1).

Расчет плит перекрытия

Таблица 1.

Нормативные и расчетные нагрузки на 1 м2 перекрытия

Нагрузка

Нормативная нагрузка, Па

Коэффициент надежности по нагрузке γf

Расчетная нагрузка, Па

1

2

3

4

Постоянная: ребристая плита серии 1.042.1-4 (с учетом заливки швов)

2500

1,1

2750

слой цементного раствора δ = =20 мм (ρ = = 2200 кг / м3)

440

1,3

572

керамические плитки δ = 13 мм (ρ = 1800 кг/м3)

240

1,1

264

ИТОГО

3180

 

3586

Временная

6000

1,2

7200

В том числе: длительная

4500

1,2

5400

кратковременная

1500

1,2

1800

Полная нагрузка

9180

 

10786

В том числе:

 

 

 

постоянная и длительная

7680

 

 

кратковременная

1500

 

 

Ближайшая по нагрузке плита серии 1.042.1-4 марки П2-2АШВ (10790 Па).

Расчетная нагрузка на 1 м длины плиты с учетом коэффициента надежности по назначению здания γn. = 0,95;

постоянная g =3,59 × 1,5 × 0,95 = 5,12 кН/м;

полная g + v = 10,786 × 1,5 × 0,95 = 15,37 кН/м.

Расчетный пролет плиты, опертой на полки ригелей, при однопролетной разрезной схеме l0 =5,65 - 0,11 = 5,54 м.

Усилия от расчетных нагрузок

Для восприятия повышенной в пределах ячейки перекрытия нагрузки предусматриваем армированную набетонку.

Таблица 2.

Дополнительные нормативные и расчетные нагрузки на 1 м2 усиленного перекрытия

Нагрузка

Нормативная нагрузка, Па

Коэффициент надежности по нагрузке gf

Расчетная нагрузка, Па

Постоянная

слой армированного бетона δ =50 мм (ρ = 2500 кг/м3)

1250

1,1

1375

Временная

1500

1,2

1800

Полная нагрузка

2750

 

3175

Расчетная нагрузка на 1 м длины плиты на участке перекрытия с усилением:

постоянная g = 4,961.1,5.0,95 = 7,07 кН/м;

полная g + v = 13,961.1,5.0,95 = 19,89 кН/м.

Разница полных нагрузок 19,89 - 15,37 = 4,52 кН/м.

Вычисляем изгибающие моменты для упругой системы с помощью табличных коэффициентов.

1-я схема загружения (см. рис.3,а)

М1 = 0,08.15,37.62 = 44,27 кН.м;

М2 = 0,025.15,37.62 = 13,83 кН.м;

МВ = 0,1.15,37.62 = -55,33 кН.м.

2-я схема загружения (см. рис.3,б)

М1 = -0,025 × 4,52 × 62 = -4,07 кН.м;

М2 = 0,075 × 4,52 × 62 = 12,20 кН.м;

МВ = -0,05 × 4,52 × 6 = -8,14 кН.м.

Суммарные моменты

М1 =  44,27 - 4,07 =40,20 кН.м;

М2 = 13,83 + 12,20 = 26,03 кН.м;

МВ = -55,33 - 8,14 = -63,47 кН.м.

С учетом перераспределения усилий снижаем максимальный опорный момент МВ на 30 % и уточняем пролетные моменты:

МВ = -0,7 × 63,47 = -44,43 кН.м;

М1 = 0,125 × 15,37 × 62 - 44,43 / 2 = 46,95 кН.м < 59 кН.м;

М2 = 0,125 × 19,89 × 62 - 44,43 = 45,08 кН.м < 59 кН.м.

Изгибающие моменты в пролетах М1 и М2 меньше момента, воспринимаемого отдельно работающей плитой перекрытия, поэтому прочность по нормальному сечению в пролете обеспечена.

По моменту МВ определяем требуемое количество арматуры на опоре в монолитном слое бетона (сечение тавровое с полкой в растянутой зоне, рис.2,в).

Вычислим значение αm:

Из табл. 18 /10/ для элемента из бетона класса В22,5 с арматурой класса А-III при  = 0,9 находим αR = 0,426.

Так как αm = 0,217 < αR = 0,426, сжатая арматура по расчету не требуется.

Из табл.20 /10/ при αm = 0,217 находим ξ = 0,876.

Требуемую площадь сечения растянутой арматуры определяем по формуле:

Принимаем 908А-III (АS = 453 мм2).

Расчет наклонных сечений усиленной плиты перекрытия на действие поперечной силы

Прочность наклонной полосы проверим из условия

Q ≤ 0,3φw1φв1Rввh0.

Определяем коэффициенты φw1 и φв1:

отсюда φw1 =1+5αμw = 1+5.6,67. 0,0049 = 1.16 < 1,3;

для тяжелого бетона β = 0,01;

φв1 = 1 – βRв = 1 - 0,01.11,75 = 0,883,

тогда

0,3 φw1 φв1 Rв в h0 = 0,3.1,16×0,883×11,75×170×320=196384 H=196,4 кH>Qmax = 55,1 кH,

т.е. прочность наклонной полосы обеспечена.

Прочность наклонного сечения по поперечной силе проверим из условия

QQв + Qsw

Определяем величины Mв и qsw.

φв2 = 2,0 (см. табл. 21 /10/);

так как в'f = 1445 – 170 = 1275 мм > 3h'f = 3.100 = 300 мм, принимаем в'f – в = 300 мм, тогда

2(1+0,414)×0,875×170×3202 = 43,1×106 Н.мм = 43,1 кН.м

 =221,9 Н/мм (кН/м).

Определяем значение Qв.min, принимая φв3 = 0,6;

Qв,min = φв3(1+φf) Rвt в h0 = 0,6(1+0,414)×0,875×170×320 = 40384 Н = 40,38 кН.

Поскольку  = 63,1 кН/м < qsw = 221,9 кН/м,

условие 57 /10/ выполняется и, следовательно, значение Мв не корректируем.

Согласно п.3.32 /10/ определяем длину проекции невыгоднейшего наклонного сечения С:

q1 = g + v/2 = 7,07+12,82/2 = 13,48 кН/м, поскольку 0,56 qw = 0,56×221,9 = 124,26 кН/м > q1=13,48 кН/м, значение С определяем только по формуле

 = 1,79 м > (φв1 / φв3)h0 = (2,0 / 0,6).0,32 = 1,06, принимаем С = 1,06 м.

Тогда  =40,38 кН;

Q = Qmaxq1С = 55,1 - 13,48×1,06 = 40,8 кН.

Длина проекции наклонной трещины равна

 = 0,44 м < 2h0 и > h0,

тогда Qsw > = qsw C0 = 221,9.0,44 = 97,64 кН.

Проверим условие50 /10/:

Qв + Qsw = 40,7 + 97,64 = 138,34 кН > Q = 40,8 кН,

т.е. прочность наклонного сечения по поперечной силе обеспечена. Кроме того, должно выполняться требование п. 3,29 /10/;

= 416,7 мм > S = 75 мм.

Условие п. 5.69 /10/ S < h / 2 = 350/2 = 175 мм и S < 150 мм также выполняется.

В соответствии с Руководством по проектированию железобетонных сборно-монолитных конструкций /13/ определяем величину продольного скалывающего напряжения в горизонтальном шве сопряжения между бетоном сборного элемента и дополнительно уложенным бетоном по формуле

Найдем z - расстояние от равнодействующей усилий в растянутой арматуре по равнодействующей усилий в сжатой зоне сечения (эпюру напряжений в сжатой зоне бетона допускается принимать прямоугольной).

Высоту сжатой зоны х определяем из выражения

вхRв = RsAs,

отсюда

тогда z = 350 - 40 - 30 = 280 мм.

Согласно формуле (6) /13/ рекомендуется, чтобы

т.е. сдвига монолитного слоя бетона относительно поверхности сборных элементов не произойдет.

Кроме того, сдвигу и отрыву монолитного слоя бетона будут препятствовать шпонки, образованные при заполнении швов между сборными элементами бетоном, и установленные в швах арматурные каркасы.

Расчет по раскрытию трещин, нормальных к продольной оси элемента в местах опирания плит на ригели (см. рис. 2,в)

Коэффициент армирования сечения

согласно п.4.1. /10/ элемент работает с трещинами в растянутой зоне.

Нормативная нагрузка постоянная и длительная на 1 м длины плиты g + V =7,681,5.0,95 = 10,944 кН/м,

Момент от нормативных постоянных и длительных нагрузок по 1 схеме загружения (рис.3, а).

Мв = -0,1.10,944.62 = -39,4 кН.м.

Дополнительная нормативная нагрузка постоянная и длительная на 1 м длины плиты g + V  =2,75.1,5.0,95 = 3,92 кН/м.

Момент по 2 схеме загружения (рис.3,б).

MВ = -0,053.92.62 = -7,053 кН.м.

Суммарный момент М = -39,4 - 7,056 = -47 кН.м.

Величина σs на уровне центра тяжести арматуры

Согласно п. 4.7 /10/ s = 1,0; φl = 1,6 – 15  = 1,6 - 15.0,00833 = 1,475;

η = 1,0;                   d = 8 мм

Ширину раскрытия трещин находим по формуле

что меньше предельно допустимой ширины раскрытия трещин 0,3 мм.

Расчет ригеля по серии 1.020-1/83

Расчетная нагрузка на 1 м длины ригеля (см. табл.1) с учетом коэффициента надежности по назначению здания

γn = 0,95:                постоянная g = 3,59.6.0,95 = 20,46 кН/м; временная V = 7,2.6.0,95 = 41,04 кН/м;

полная g + V = 20,46 + 41,04 = 61,5 кН/м.

По серии 1.020-1/83 ригель РДР6.56-70 А1У (68,6 кН/м).

Расчетная нагрузка с учетом собственного веса ригеля

0,95.(68,6 + 7,0) = 71,82 кН/м.

Расчетная нагрузка на 1 м длины ригеля с усилением при повышении нагрузки на 25% составит

1,25(g + V) = 71,82.1,25 = 39,78 кН/м.

Расчетный пролет ригеля по серии составляет 5430 мм.

Усилия от расчетных нагрузок

Рабочая высота сечения (см. рис. 4)

h0 = 545 + 50 = 595 мм.

Расчет производим согласно п. 3.22 /10/ в предположении, что сжатая арматура по расчету не требуется. Проверим условие32, принимая  =0;

Rв в'f h'f (h0 - 0,5h'f) =11,75.2300.100.(595 - 0,5.100) = 1473.106 Н.мм = 1473 кН.м >M = 330,89 кН.м, следовательно, граница сжатой зоны проходит в полке и расчет производим как для прямоугольного сечения шириной в - в'f  = 2300 мм согласно п. 3.16 /17/.

Вычислим значение αт

Для определения αR находим

тогда αR = ξR(1-0,5ξR) = 0,573(1 - 0,5.0,573) = 0,409.

Так как αR < ξR сжатая арматура действительно не требуется.

Площадь сечения растянутой арматуры вычислим по формуле 23 /10/. Для этого по табл. 20 /10/ при αт = 0,0346 находим =0,982, тогда

 (по серии 4Ø20А1У); т.е. требуемое сечение арматуры меньше, чем принято для ригеля РДР 6.56-70А1У.

Расчет наклонных сечений ригеля с усилением на действие поперечной силы

Прочность наклонной полосы проверим из условия 47 /10/:

Определим коэффициенты φw1 и φв1

отсюда φw1 = 1+5αμw = 1 + 5.7,45.0,0087 = 1,324 > 1,3,

принимаем φw1 = 1,3;

для тяжелого бетона, β = 0,01;

φв1 = 1 - βRв = 1 - 0,01.11,75 = 0,8825,

тогда 0,3 φw1φв1Rввh0 = 0,3.1,3.0,8825 × 11,75.300.480 = 582000 Н = 582 кН Qmax = 243,75 кН, т.е. прочность наклонной полосы обеспечена.

Проверим прочность наклонного сечения по поперечной силе.

Определим величину МB:

φв2 = 2,0 ( см. табл. 21 /10/);

Так как в'f - в = 2300 - 500 = 1800 мм > 3h'f = 3.100 = 300 мм, принимаем в'f - в = 300 мм,

тогда:

 = 0,156 < 0,5;

 = 2(1+0,156).0,875.300.4802 = 139,8.106 Н.мм = 139,8 кН.м.

Согласно п.3.32 /10/

g1 = g + v/2 = 35,3 + 59,2/2 = 64,9 кН/м.

Так как  = 317,5 кН > Qmax = 243,75 кН, хомутов по расчету не требуется.

Нагрузка на консоль колонны

Q = 89,78.3 = 269,3 кН < 330 кН, т.е.меньше минимальной нагрузки, на которую рассчитана консоль колонны. Усиление консоли колонны не требуется.

Расчет ригеля по серии 1.020.1-4

По ранее приведенной расчетной нагрузке на 1 м длины принимаем ригель 1РДР6.56-7ОА1У.

Максимальная несущая способность ригеля по Q - 638 кН, изгибающий момент на опоре - 434 кН.М, в пролете - 143кН.м,

При увеличении нагрузки на 25 % и жесткости ригеля в 3,1 раза моменты на опоре можно принять без изменения, а изгибающий момент от дополнительной нагрузки воспримет сечение ригеля в пролете.

Дополнительная нагрузка (см. предыдущий расчет)

g = 89,78 - 71,82 = 17,96 кН/м.

Вычисляем изгибающие моменты для упругой системы с помощью табличных коэффициентов

1-я схема загружения

(см. рис.3,а)

М1 = 0,08.71,82.62 = 206,84 кН.м;

М2 = 0,025.71,82.62 = 64,64 кН.м;

МВ = -0,1 - 71,82.62 = -258,55 кН.м.

2-я схема загружения

(см. рис.3,б)

М1 = -0,025.17,96.62 = -16,16 кН.м;

М2 = 0,075.17,96.62 = 48,49 кН.м;

MВ = -0,05.17,96.62= -32,33 кН.м.

Суммарные моменты

М1 = 206,84 - 16,16 = 190,68 кН.м;

М2 = 64,64 + 48,49 = 113,13 кН.м;

МВ = -258,55 - 32,33 = -226,22 кН.м.

Таким образом, изгибающие моменты при увеличении нагрузки меньше максимальных изгибающих моментов для данного ригеля.

Максимальная поперечная сила при увеличении нагрузки

 < Qmax = 638 кН.

Следовательно, прочность наклонного сечения ригеля с усилением по поперечной силе обеспечена.

Список литературы

1. Байков В.Н. Исследование совместной работы сборных железобетонных элементов в системах плоских и пространственных конструкций: Дис. докт. техн. наук. - М., 1967.

2. Байков В.Н., Сигалов Э.Е. Железобетонные конструкции. - М.: Стройиздат, 1985.

3. Байков В.Н., Складнев Н.Н., Фролов А.К. Совместное деформированное состояние сборных железобетонных элементов в покрытиях промышленных зданий. - М.: Стройиздат, 1977.

4. Краснощеков О.В., Ивасюк И.М., Мрачковский Л.И., Кондратюк Н.М. Экспериментальное исследование фрагмента ребристого перекрытия // Конструкции многоэтажных производственных зданий. - М.: ЦНИИпромзданий,1988. - с.69-75.

5. Методические рекомендации по усилению железобетонных конструкций зданий и сооружений. - Харьков: Харьковский ПромстройНИИпроект, 1984.

6. Мрачковский Л.И. Жесткость узловых соединений сборных железобетонных элементов каркасов многоэтажных зданий // Совершенствование конструктивных систем производственных зданий. – М.; ЦНИИпромзданий, 1985. - с.110-122.

7. Мрачковский Л.И. О необходимости снижения нагрузки при расчете колонн многоэтажных промзданий // Бетон и железобетон. - 1987. - №12. - с.24.

8. Мрачковский Л.И. Локальные повышенные нагрузки на перекрытия многоэтажных производственных зданий // Конструкции многоэтажных производственных зданий. - М.: ЦНИИпромзданий, 1988. - с. 20-28.

9. Онуфриев Н.М. Усиление железобетонных конструкций промышленных зданий и сооружений. - М.: Стройиздат, 1965.

10. Пособие по проектированию бетонных и железобетонных конструкций из тяжелых и легких бетонов без предварительного напряжения арматуры (к СНиП 2.03.01-84) – М.; ЦИТП Госстроя СССР, 1986.

11. Провести исследования и разработать конструктивные решения, обеспечивающие передачу повышенных местных нагрузок на плиты перекрытий за счет их совместной работы: Научно-технический отчет по теме 524-4-6. - М.: ЦНИИпромзданий, 1986,

12. Провести исследования и разработать рекомендации по проектированию сборно-монолитных конструкций многоэтажных зданий: Научно-технический отчет № 126. - М.; МИСИ им. В.В. Куйбышева, 1987.

13. Руководство по проектированию железобетонных сборно-монолитных конструкций. - М.: Стройиздат, 1977.

14. Руководство по расчету статически неопределимых железобетонных конструкций. - М.: Сгройиздат, 1975.

15. Серия 1.020-1/83. Конструкции каркаса межвидового применения для многоэтажных общественных зданий, производственных и вспомогательных зданий промышленных предприятий. - М.; ЦИТП Госстроя СССР, 1984.

16. Серия 1.020.1-4. Конструкция рамного каркаса межвидового применения для многоэтажных общественных зданий, производственных и вспомогательных зданий промышленных предприятий. - М.: ЦИТП Госстроя СССР, 1987.

17. СНиП 2.03.01-84. Бетонные и железобетонные конструкции. М.: Стройиздат, 1985.

18. СНиП 2.01.07-85. Нагрузки и воздействия. - М.: Стройиздат, 1987.

 




ГОСТЫ, СТРОИТЕЛЬНЫЕ и ТЕХНИЧЕСКИЕ НОРМАТИВЫ.
Некоммерческая онлайн система, содержащая все Российские Госты, национальные Стандарты и нормативы.
В Системе содержится более 150000 файлов нормативно-технической документации, действующей на территории РФ.
Система предназначена для широкого круга инженерно-технических специалистов.

Рейтинг@Mail.ru Яндекс цитирования

Copyright © www.gostrf.com, 2008 - 2026