Крупнейшая бесплатная информационно-справочная система онлайн доступа к полному собранию технических нормативно-правовых актов РФ. Огромная база технических нормативов (более 150 тысяч документов) и полное собрание национальных стандартов, аутентичное официальной базе Госстандарта. GOSTRF.com - это более 1 Терабайта бесплатной технической информации для всех пользователей интернета. Все электронные копии представленных здесь документов могут распространяться без каких-либо ограничений. Поощряется распространение информации с этого сайта на любых других ресурсах. Каждый человек имеет право на неограниченный доступ к этим документам! Каждый человек имеет право на знание требований, изложенных в данных нормативно-правовых актах!

  


 

ФЕДЕРАЛЬНОЕ АГЕНТСТВО
ПО ТЕХНИЧЕСКОМУ РЕГУЛИРОВАНИЮ И МЕТРОЛОГИИ

НАЦИОНАЛЬНЫЙ
СТАНДАРТ
РОССИЙСКОЙ
ФЕДЕРАЦИИ

ГОСТ Р
52505-
2005
(ЕН 12016:2004)

Совместимость технических средств
электромагнитная

ЛИФТЫ, ЭСКАЛАТОРЫ
И ПАССАЖИРСКИЕ КОНВЕЙЕРЫ

Устойчивость к электромагнитным помехам

EN 12016:2004 Electromagnetic compatibility - Product family standard
for lifts, escalators and moving walks - Immunity (MOD)

Москва

Стандартинформ

2006

Предисловие

Цели и принципы стандартизации в Российской Федерации установлены Федеральным законом от 27 декабря 2002 г. № 184-ФЗ «О техническом регулировании», а правила применения национальных стандартов Российской Федерации - ГОСТ Р 1.0-2004 «Стандартизация в Российской Федерации. Основные положения»

Сведения о стандарте

1 РАЗРАБОТАН Закрытым акционерным обществом «Научно-испытательный центр «САМТЭС», Закрытым акционерным обществом «Акционерная компания «Лифт», Техническим комитетом по стандартизации «Электромагнитная совместимость технических средств» (ТК 30) и Техническим комитетом по стандартизации «Лифты, строительные подъемники, эскалаторы и подъемные платформы для инвалидов» (ТК 209)

2 ВНЕСЕН Техническим комитетом по стандартизации «Электромагнитная совместимость технических средств» (ТК 30) и Техническим комитетом по стандартизации «Лифты, строительные подъемники, эскалаторы и подъемные платформы для инвалидов» (ТК 209)

3 УТВЕРЖДЕН И ВВЕДЕН В ДЕЙСТВИЕ Приказом Федерального агентства по техническому регулированию и метрологии от 30 декабря 2005 г. № 549-ст

4 Настоящий стандарт является модифицированным по отношению к европейскому стандарту ЕН 12016:2004 «Электромагнитная совместимость - Стандарт для группы однородной продукции, распространяющийся на лифты, эскалаторы и пассажирские конвейеры - Устойчивость к электромагнитным помехам» («Electromagnetic compatibility - Product family standard for lifts, escalators and moving walks - Immunity»). При этом дополнительные положения и требования, включенные в текст стандарта для учета потребностей национальной экономики Российской Федерации, выделены курсивом

5 В настоящем стандарте реализованы требования общего технического регламента об электромагнитной совместимости и специального технического регламента о безопасности лифтов

6 ВВЕДЕН ВПЕРВЫЕ

Информация об изменениях к настоящему стандарту публикуется в ежегодно издаваемом информационном указателе «Национальные стандарты», а текст изменений и поправок - в ежемесячно издаваемых информационных указателях «Национальные стандарты». В случае пересмотра (замены) или отмены настоящего стандарта соответствующее уведомление будет опубликовано в ежемесячно издаваемом информационном указателе «Национальные стандарты». Соответствующая информация, уведомления и тексты размещаются также в информационной системе общего пользования - на официальном сайте национального органа Российской Федерации по стандартизации в сети Интернет

Содержание

Предисловие к европейскому стандарту

Европейский стандарт ЕН 12016:2004 разработан взамен ЕН 12016:1998 Техническим комитетом ТК 10 «Лифты, эскалаторы и пассажирские конвейеры» Европейского комитета по стандартизации (СЕН) и подлежит принятию государствами - членами Европейского Союза в качестве национального стандарта.

Европейский стандарт ЕН 12016:2004 разработан для обеспечения соответствия лифтов, эскалаторов и пассажирских конвейеров основным требованиям директив Европейского Союза об электромагнитной совместимости 89/336/ЕЭС [1], о лифтах 95/16/ЕС [2] и о машинах 98/37/ЕС [3].

Требования помехоустойчивости и критерии качества функционирования в настоящем стандарте установлены с учетом того, что лифты, эскалаторы и пассажирские конвейеры, как правило, состоят из самостоятельно функционирующих аппаратов (например, оборудования машинных помещений, лифтовых кабин и т.д.).

Соответствующие нормы помехоэмиссии от лифтов, эскалаторов и пассажирских конвейеров установлены в европейском стандарте ЭМС для группы однородной продукции ЕН 12015:2004 [4].

Введение

Настоящий стандарт разработан с целью ознакомления заинтересованных лиц со средствами и способами подтверждения соответствия лифтов, эскалаторов и пассажирских конвейеров требованиям общего технического регламента об электромагнитной совместимости и специального технического регламента о безопасности лифтов.

Требования настоящего стандарта установлены таким образом, чтобы в большинстве случаев был обеспечен адекватный уровень устойчивости лифтов, эскалаторов и пассажирских конвейеров к электромагнитным помехам.

В тех случаях, когда требования настоящего стандарта, распространяющегося на группу однородной продукции, отличаются от требований, установленных в основополагающих или общих стандартах ЭМС, настоящий стандарт применительно к аппаратам, разработанным и установленным в соответствии с изложенными в нем требованиями, имеет приоритет в отношении основополагающих или общих стандартов ЭМС.

Уровни помехоустойчивости и критерии качества функционирования в настоящем стандарте установлены применительно к аппаратам:

- критичным в отношении безопасности или применяемым совместно с элементами, критичными в отношении безопасности (далее - цепи безопасности);

- применяемым в цепях общего назначения.

Требования помехоустойчивости и испытательные уровни регламентированы исходя из того, что аппараты, как правило, подключаются к низковольтным системам электроснабжения.

Требования настоящего стандарта в отношении цепей безопасности предоставляют заинтересованным лицам средства и способы для подтверждения соответствия основным требованиям безопасности и защиты здоровья директив Европейского Союза о лифтах [2] и о машинах [3] в отношении устойчивости к электромагнитным помехам.

При разработке стандарта учитывалось, что из-за размеров лифта, установленного в здании, становится нецелесообразным осуществлять его испытания в целом как в испытательной лаборатории, так и на месте эксплуатации (где, кроме того, на процедуры и результаты испытаний может оказывать влияние неконтролируемая электромагнитная обстановка). Кроме того, из-за ограничений, налагаемых внутренними размерами кабины лифта, затрудняется проведение испытаний внутри кабины лифта. В равной степени нецелесообразно осуществление испытаний в целом эскалаторов и пассажирских конвейеров, установленных в зданиях, учитывая размеры оборудования.

Основанием для пересмотра стандарта ЕН 12016:1998 явились следующие важнейшие изменения:

а) из области применения стандарта исключены аппараты, соответствие которых директивам Европейского Союза было подтверждено. Исключены повышенные уровни устойчивости к электромагнитным помехам, связанные с возможной большей жесткостью электромагнитной обстановки;

б) термин «установка» заменен на термин «система». Это обусловлено тем, что в соответствии с официальной интерпретацией для стационарных установок не введено подтверждение соответствия основным требованиям Директивы об ЭМС 89/336/ЕЭС, как это имеет место для аппаратов и системе 1). Поэтому стандарт ЕН 12015:2004 применяется для аппаратов и комплектов аппаратов, из которых состоят лифты, эскалаторы и пассажирские конвейеры, и их совокупностей, образующих системы;

___________

1) В соответствии с Директивой Европейского Союза об ЭМС 2004/108/ЕС [5] подтверждение соответствия стационарных установок основным требованиям ЭМС проводится по указанию компетентных органов власти государств - членов Европейского Союза при наличии очевидных признаков несоответствия (например, создания установкой чрезмерных электромагнитных помех).

в) введены новые требования устойчивости к радиочастотным электромагнитным полям на частотах выше 500 МГц. Полоса частот испытаний расширена до 1960 МГц с тем, чтобы включить частоты мобильных цифровых служб радиотелефонии;

г) введены новые требования устойчивости цепей безопасности к микросекундным импульсным помехам большой энергии;

д) введены новые требования устойчивости цепей безопасности к радиочастотным электромагнитным полям, создаваемым мобильными радиотелефонами и стационарными радиопередатчиками, на основе оценки рисков. При этом предполагается, что мобильные радиотелефоны и стационарные радиопередатчики, работающие на частотах ниже 166 МГц, не будут применяться в непосредственной близости к цепям безопасности изделий, на которые распространяется настоящий стандарт;

е) с учетом прогресса технологий обеспечения ЭМС и результатов оценки рисков повышены испытательные уровни для электромагнитных помех нескольких видов;

ж) введены новые требования устойчивости к провалам и прерываниям напряжения сети электропитания;

з) для обеспечения соответствия основным требованиям Директивы об ЭМС 89/336/ЕЭС установлен единый комплект норм помехоустойчивости, не зависящий от различий параметров электромагнитной обстановки, обусловленных предполагаемым размещением здания (в жилой или производственной зоне). При этом учитывалось, что лифты, эскалаторы и пассажирские конвейеры относятся к системам, для которых входящие в их состав аппараты и комплекты аппаратов распределены по всему объему здания (причем некоторые из них являются движущимися). Таким образом, параметры электромагнитной обстановки, связанные с предполагаемым размещением здания, не могут быть установлены заранее или считаться фиксированными.

Электромагнитная обстановка повышенной жесткости, связанная, например, с радиопередающими станциями, объектами железнодорожного транспорта и метрополитена, предприятиями тяжелой промышленности, электростанциями, в настоящем стандарте не учтена. Для применения аппаратов в указанной электромагнитной обстановке может быть необходимо осуществление дополнительных испытаний и мер обеспечения устойчивости к электромагнитным помехам.

Предполагается, что цепи безопасности не имеют портов, для которых потребляемый ток превышает 100 А.

Нормы помехоэмиссии от лифтов, эскалаторов и пассажирских конвейеров установлены в ГОСТ Р 52506-2005 (ЕН 12015:2004).

Содержание европейского стандарта ЕН 12016:2004 набрано прямым шрифтом, дополнительные положения и требования - курсивом.

ГОСТ Р 52505-2005 (EH 12016:2004)

НАЦИОНАЛЬНЫЙ СТАНДАРТ РОССИЙСКОЙ ФЕДЕРАЦИИ

Совместимость технических средств электромагнитная

ЛИФТЫ, ЭСКАЛАТОРЫ И ПАССАЖИРСКИЕ КОНВЕЙЕРЫ

Устойчивость к электромагнитным помехам

Electromagnetic compatibility of technical equipment.
Lifts, escalators and moving walks.
Immunity

Дата введения - 2007-01-01

1 Область применения

Настоящий стандарт устанавливает уровни устойчивости к электромагнитным помехам и критерии качества функционирования при испытаниях на помехоустойчивость аппаратов, применяемых в лифтах, эскалаторах и пассажирских конвейерах, предназначенных для стационарной установки в зданиях, включая основные требования безопасности в отношении электромагнитной обстановки при их применении.

Указанные уровни устойчивости к электромагнитным помехам представляют собой основные требования ЭМС.

Стандарт соответствует нормальным условиям обеспечения ЭМС в жилых, административных и производственных зданиях, но не охватывает условий электромагнитной обстановки повышенной жесткости, существующих, например, на:

- радиопередающих станциях;

- объектах железнодорожного транспорта и метрополитена;

- предприятиях тяжелой промышленности;

- электростанциях,

применительно к которым необходимы дополнительные исследования.

Настоящий стандарт учитывает известные случаи нарушения требований безопасности и опасные ситуации, связанные с ЭМС применительно к лифтам, эскалаторам и пассажирским конвейерам при их использовании по назначению и в условиях, предусмотренных установщиком лифта или изготовителем эскалатора и (или) пассажирского конвейера.

Применение настоящего стандарта соответствует условиям обстановки, регламентированным в [6], [7] и [8] (в части влажности воздуха, температуры и т.д.), с учетом их влияния на обеспечение ЭМС.

Вместе с тем:

- критерии качества функционирования и уровни устойчивости к электромагнитным помехам аппаратов/комплектов аппаратов, применяемых в цепях общего назначения, не относятся к условиям, когда вероятность возникновения помех чрезвычайно мала;

- стандарт не распространяется на другие аппараты, соответствие которых Директиве об ЭМС 89/336/ЕЭС уже было подтверждено, не связанные с безопасностью лифтов, эскалаторов и пассажирских конвейеров, например, такие как световые приборы, аппаратура связи и т.д.

Настоящий стандарт не применяется для лифтов, эскалаторов и пассажирских конвейеров, а также связанных с ними элементов безопасности, изготовленных ранее даты его введения.

2 Нормативные ссылки

В настоящем стандарте использованы нормативные ссылки на следующие стандарты:

ГОСТ 30372-95/ГОСТ Р 50397-92 Совместимость технических средств электромагнитная. Термины и определения

ГОСТ Р 51317.4.2-99 (МЭК 61000-4-2-95) Совместимость технических средств электромагнитная. Устойчивость к электростатическим разрядам. Требования и методы испытаний

ГОСТ Р 51317.4.3-99 (МЭК 61000-4-3-95) Совместимость технических средств электромагнитная. Устойчивость к радиочастотному электромагнитному полю. Требования и методы испытаний

ГОСТ Р 51317.4.4-99 (МЭК 61000-4-4-95) Совместимость технических средств электромагнитная. Устойчивость к наносекундным импульсным помехам. Требования и методы испытаний

ГОСТ Р 51317.4.5-99 (МЭК 61000-4-5-95) Совместимость технических средств электромагнитная. Устойчивость к микросекундным импульсным помехам большой энергии. Требования и методы испытаний

ГОСТ Р 51317.4.6-99 (МЭК 61000-4-6-96) Совместимость технических средств электромагнитная. Устойчивость к кондуктивным помехам, наведенным радиочастотными электромагнитными полями. Требования и методы испытаний

ГОСТ Р 51317.4.11-99 (МЭК 61000-4-11-94) Совместимость технических средств электромагнитная. Устойчивость к динамическим изменениям напряжения электропитания. Требования и методы испытаний

ГОСТ Р 51317.6.1-99 (МЭК 61000-6-1-97) Совместимость технических средств электромагнитная. Устойчивость к электромагнитным помехам технических средств, применяемых в жилых, коммерческих зонах и производственных зонах с малым энергопотреблением. Требования и методы испытаний

ГОСТ Р 51317.6.2-99 (МЭК 61000-6-2-99) Совместимость технических средств электромагнитная. Устойчивость к электромагнитным помехам технических средств, применяемых в промышленных зонах. Требования и методы испытаний

ГОСТ Р 51524-99 Совместимость технических средств электромагнитная. Системы электрического привода с регулируемой скоростью вращения. Требования и методы испытаний

ГОСТ Р 52506-2005 (ЕН 12015:2004) Совместимость технических средств электромагнитная. Лифты, эскалаторы и пассажирские конвейеры. Помехоэмиссия

Примечание - При пользовании настоящим стандартом целесообразно проверить действие ссылочных стандартов в информационной системе общего пользования - на официальном сайте национального органа Российской Федерации по стандартизации в сети Интернет или по ежегодно издаваемому информационному указателю «Национальные стандарты», который опубликован по состоянию на 1 января текущего года, и по соответствующим ежемесячно издаваемым информационным указателям, опубликованным в текущем году. Если ссылочный документ заменен (изменен), то при пользовании настоящим стандартом следует руководствоваться замененным (измененным) стандартом. Если ссылочный документ отменен без замены, то положение, в котором дана ссылка на него, применяется в части, не затрагивающей эту ссылку.

3 Термины и определения

В настоящем стандарте применены термины, установленные в ГОСТ 30372-95, ГОСТ Р 51317.6.1, ГОСТ Р 51317.6.2, а также следующие:

3.1 система: Лифт, эскалатор или пассажирский конвейер, состоящий из совокупности аппаратов с электрическим и электронным оборудованием и линий межсоединений.

Примечание - В качестве примеров см. рисунки 1 и 2.

3.2 комплект аппаратов: Объединение взаимосвязанных аппаратов, которые могут испытываться совместно.

Примечание - В качестве примеров см. рисунки 1 и 2.

3.3 аппарат: Совокупность компонентов, обеспечивающая выполнение функции, установленной изготовителем.

Примечания

1 В качестве примеров см. рисунки 1 и 2.

2 Элементы безопасности, указанные в Приложении IV Директивы Европейского Союза о лифтах [2], считают аппаратами.

3.4 порт: Граница между определенным аппаратом/комплектом аппаратов и внешней электромагнитной средой.

Примечание - В качестве примера см. рисунок 3.

3.5 порт корпуса: Физическая граница аппарата/комплекта аппаратов, через которую могут излучаться создаваемые или проникать внешние электромагнитные поля.

Примечание - В качестве примера см. рисунок 3.

3.6 цепь безопасности: Цепь, содержащая электронные элементы, формирующие электрически безопасное устройство, как установлено в стандартах [6], [7].

3.7 общая функциональная схема: Набор схем, примененных в конструкции аппарата. Общая функциональная схема не включает цепи безопасности.

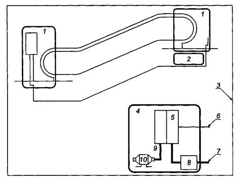
1 - машинное помещение; 2 - основной блок управления/шкаф управления; 3 - выходной порт электропитания; 4 - механизм/двигатель; 5 - устройство управления дверью; 6 - кабина лифта; 7 - аппаратура, установленная на этажах (например, устройства кнопочного управления, индикации); 8 - граница системы; 9 - порты электропитания (переменного и/или постоянного тока); 10 - главный выключатель; 11 - сигнальные порты, порты управления

Примечание - Комплекты аппаратов обведены утолщенными линиями.

Рисунок 1 - Вариант представления лифта в виде системы (помехоустойчивость)

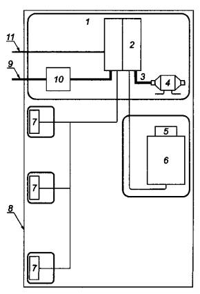
1 - панель управления; 2, 4 - машинное помещение; 3 - граница системы; 5 - основной блок управления/шкаф управления; 6 - сигнальные порты, порты управления; 7 - порты электропитания (переменного и/или постоянного тока); 8 - главный выключатель; 9 - выходной порт электропитания; 10 - механизм/двигатель

Примечание - Машинное помещение может быть внешним по отношению к системе

Рисунок 2 - Вариант представления эскалатора и пассажирского конвейера в виде системы (помехоустойчивость)

Рисунок 3 - Примеры портов аппарата/комплекта аппаратов

4 Процедуры испытаний

4.1 Испытания на помехоустойчивость проводят в соответствии с методами испытаний, установленными ГОСТ Р 51317.4.2, ГОСТ Р 51317.4.3, ГОСТ Р 51317.4.4, ГОСТ Р 51317.4.5, ГОСТ Р 51317.4.6, ГОСТ Р 51317.4.11. Требования помехоустойчивости для конкретных портов приведены в таблицах 1-7.

Необходимо обеспечить наименьшую помехоустойчивость испытуемого изделия путем изменения его расположения на рабочем месте при проведении испытаний (при соответствии типовому применению и типовым условиям установки).

4.2 При проведении испытаний кабинные и другие кабели, длина которых может превышать 5 м, заменяют образцами кабеля, длина которых должна составлять не менее 5 м, подключаемыми к соответствующим портам испытуемого изделия.

4.3 Если невозможно оценить уровни устойчивости к электромагнитным помехам при выполнении аппаратом/комплектом аппаратов каждой функции, следует выбирать наиболее критичный период работы, при котором обеспечивается наименьшая устойчивость к помехе конкретного вида.

4.4 Испытания проводят при одних и тех же условиях окружающей среды в рамках рабочих диапазонов температуры окружающего воздуха, относительной влажности воздуха и атмосферного давления, а также напряжения электропитания, установленных изготовителем, если в основополагающих национальных стандартах ЭМС, указанных в 4.1, не установлены иные требования.

4.5 Испытания должны быть проведены в определенных и воспроизводимых условиях для помехи каждого вида.

4.6 Для облегчения условий проведения испытаний допускается осуществлять совместные испытания аппаратов, входящих в состав комплекта. Однако, если аппарат включает цепи безопасности, испытания должны гарантировать, что цепи безопасности отвечают требованиям устойчивости к электромагнитным помехам для всех схем и конкретным требованиям к цепям безопасности. Это не означает, что те части комплекта, которые включают только общие функциональные схемы, должны отвечать требованиям к цепям безопасности.

4.7 Испытания проводят применительно к следующим портам аппарата или комплекта аппаратов (при их наличии):

- порту корпуса (таблица 1);

- портам линий сигнализации и управления (таблица 2);

- портам систем мониторинга и дистанционной сигнализации, к которым подключаются кабели, пересекающие границы системы (таблица 3);

- входным и выходным портам электропитания постоянного тока с номинальным током 100 А1) (таблица 4);

- входным и выходным портам электропитания постоянного тока с номинальным током > 100 А1) (таблица 5);

- входным и выходным портам электропитания переменного тока с номинальным током 100 А (в одной фазе)1) (таблица 6);

- входным и выходным портам электропитания переменного тока с номинальным током > 100 А (в одной фазе)1) (таблица 7).

____________

1) За исключением входных портов, предназначенных для подключения специальных источников электропитания, в конструкции которых не предусмотрена возможность подзарядки от электрической сети.

4.8 Конфигурация испытуемых аппаратов/комплектов аппаратов и режимы их функционирования должны быть отражены в протоколе испытаний.

4.9 При проведении испытаний применяют испытательные уровни, установленные в таблицах 1-7, и контролируют выполнение критериев качества функционирования, установленных в 6.2.

Испытания должны быть проведены как последовательность одиночных испытаний.

5 Применимость испытаний

Применение испытаний для оценки устойчивости к электромагнитным помехам зависит от типа аппарата / комплекта аппаратов, его конфигурации, наличия портов, технических характеристик и режимов функционирования.

5.1 По результатам анализа электрических характеристик и способов применения аппарата/комплекта аппаратов конкретного типа может быть принято решение не проводить некоторые испытания на помехоустойчивость.

Это решение и обоснование исключения некоторых испытаний на помехоустойчивость должны быть отражены в протоколе испытаний.

5.2 Если применяются методы испытаний, имеющие отклонения от методов испытаний, установленных в основополагающих национальных стандартах на ЭМС, приведенных в 4.1, указанные отклонения и обоснования их введения должны быть отражены в протоколе испытаний.

6 Оценка результатов испытаний

6.1 Общие положения

Специальные требования, установленные в настоящем стандарте для группы однородной продукции, требуют четкого определения критериев оценки результатов испытаний на устойчивость к электромагнитным помехам.

Как указано в разделе 1, основные требования безопасности системы, представляющей собой лифт, эскалатор или пассажирский конвейер, относятся к содержанию европейских стандартов [6], [7], [8]. По этой причине для большинства выполняемых функций считаются достаточными критерии качества функционирования и испытательные уровни, соответствующие требованиям устойчивости к электромагнитным помехам, установленным в ГОСТ Р 51317.6.1. Однако для целей обеспечения безопасности, т.е. в условиях, когда недопустимы любая ошибка или сбой, способные привести к небезопасному режиму работы, применяются более высокие уровни помехоустойчивости, соответствующие требованиям ГОСТ Р 51317.6.2.

6.2 Критерии качества функционирования

Функциональное описание аппарата или комплекта аппаратов и применяемые критерии качества функционирования при испытаниях на помехоустойчивость в период воздействия и после прекращения помехи должны быть отражены в протоколе испытаний.

Критерии качества функционирования аппарата или комплекта аппаратов при испытаниях на помехоустойчивость должны быть приведены изготовителем в технической документации на аппарат (комплект аппаратов).

Определение критериев качества функционирования при испытаниях на помехоустойчивость должно быть основано на положениях, приведенных ниже.

Критерий качества функционирования А

В период воздействия и после прекращения помехи аппарат/комплект аппаратов должен продолжать функционировать в соответствии с назначением. Не допускается ухудшения рабочих характеристик аппарата/комплекта аппаратов ниже минимального уровня, установленного изготовителем применительно к использованию аппарата/комплекта аппаратов в соответствии с назначением, или прекращения выполнения аппаратом/комплектом аппаратов установленной функции. Минимальный уровень рабочих характеристик аппарата/комплекта аппаратов может быть заменен допустимыми потерями качества функционирования. Если минимальный уровень рабочих характеристик аппарата/комплекта аппаратов или допустимые потери качества функционирования не установлены изготовителем, значения указанных параметров могут быть определены на основе анализа эксплуатационной и технической документации на аппарат/комплект аппаратов или исходя из результатов применения аппарата/комплекта аппаратов, которых пользователь вправе ожидать при его использовании в соответствии с назначением.

Критерий качества функционирования В

После прекращения помехи аппарат/комплект аппаратов должны продолжать функционировать в соответствии с назначением. Не допускается ухудшения рабочих характеристик аппарата/комплекта аппаратов ниже минимального уровня, установленного изготовителем применительно к использованию аппарата/комплекта аппаратов в соответствии с назначением, или прекращения выполнения аппаратом/комплектом аппаратов установленной функции. Минимальный уровень рабочих характеристик аппарата/комплекта аппаратов может быть заменен допустимыми потерями качества функционирования. В период воздействия помехи допускается ухудшение рабочих характеристик аппарата/комплекта аппаратов. Вместе с тем прекращение выполнения аппаратом/комплектом аппаратов установленной функции или изменение данных, хранимых в памяти аппарата/комплекта аппаратов, не допускаются. Если минимальный уровень рабочих характеристик аппарата/комплекта аппаратов или допустимые потери качества функционирования не установлены изготовителем, значения указанных параметров могут быть определены на основе анализа эксплуатационной и технической документации на аппарат/комплект аппаратов или исходя из результатов применения аппарата/комплекта аппаратов, которых пользователь вправе ожидать при его использовании в соответствии с назначением.

Критерий качества функционирования С

Не применяют.

Критерий качества функционирования D

В период воздействия и после прекращения помехи аппарат/комплект аппаратов и соответствующие элементы безопасности должны продолжать функционировать в соответствии с назначением.

Не допускается ухудшения качества их функционирования или прекращения выполнения установленной функции, за исключением отказа, переводящего аппарат/комплект аппаратов в безопасный режим.

6.3 Порты корпуса, связанные с цепями безопасности

Если проводимая оценка риска показывает, что при существующем местоположении цепи безопасности возможна работа мобильных радиотелефонов или переносных радиостанций персонала службы чрезвычайных ситуаций непосредственно за устройством или в непосредственной близости от него, то порт корпуса устройства должен быть сконструирован и изготовлен таким образом, чтобы при этих условиях был обеспечен критерий D качества функционирования при испытаниях на помехоустойчивость.

7 Комплект документов для установщика аппарата/комплекта аппаратов

Установщик должен быть обеспечен справочной документацией и инструкциями, необходимыми для проведения установочных и монтажных работ с использованием аппарата/комплекта аппаратов в соответствии с требованиями настоящего стандарта.

Комплект документов должен включать:

- инструкции по сборке и физическому сопряжению с другой аппаратурой;

- инструкции и предупреждения, устанавливающие меры предосторожности при подключении к другой аппаратуре;

- технические требования к соединительным кабелям и устройствам;

- инструкции по вводу в эксплуатацию и испытаниям;

- руководство по предотвращению ошибочных действий и неправильной сборки аппарата / комплекта аппаратов, которые вызовут несоответствие требованиям настоящего стандарта.

Таблица 1 - Помехоустойчивость - Порт корпуса

Вид помехи

Основополагающий стандарт

Единица измерения

Значение параметра

Критерий качества функционирования

Все схемы 1)

Цепи безопас­ности 2)

Все схемы 1)

Цепи безопас­ности 2)

Электростатические разряды 3)

ГОСТ Р 51317.4.2

кВ (напряжение заряда)

4 (контактный разряд)

6 (контактный разряд)

В

D

8 (воздушный разряд)

15 (воздушный разряд)

Радиочастотное электромагнитное поле 4)

ГОСТ Р 51317.4.3

МГц

80 - 166

80 - 166

А

D

В/м (среднеквадра­тическое значение напряженности поля, отсутствие модуляции)

10

105)

% (амплитудная модуляция, 1 кГц)

80

80

Радиочастотное электромагнитное поле 4)

ГОСТ Р 51317.4.3

МГц

166 - 1000

166 - 1000

А

D

В/м (среднеквадра­тическое значение напряженности поля, отсутствие модуляции)

10

305)

% (амплитудная модуляция, 1 кГц)

80

80

Радиочастотное электромагнитное поле 4)

ГОСТ Р 51317.4.3

МГц

1710 - 1784

1710 - 1784

А

D

В/м (среднеквадра­тическое значение напряженности поля, отсутствие модуляции)

10

305)

% (амплитудная модуляция, 1 кГц)

80

80

Радиочастотное электромагнитное поле 4)

ГОСТ Р 51317.4.3

МГц

1880 - 1960

1880 - 1960

А

D

В/м (среднеквадра­тическое значение напряженности поля, отсутствие модуляции)

3

105)

% (амплитудная модуляция, 1 кГц)

80

80

1) Подача помех на порты, имеющие общие функциональные схемы и/или цепи безопасности.

2) Подача помех на порты, имеющие цепи безопасности.

3) Если цепи безопасности не находятся в металлическом контейнере, то необходимо обеспечить расстояние не менее 8 мм между контейнером и схемами, чтобы не допустить повреждения изоляции, либо использовать другие устройства развязки или изоляции.

4) С учетом уровней испытаний, защитных расстояний и значений излучаемой мощности мобильных телефонов (ГОСТ Р 51317.4.3).

5) Напряженность поля может быть ограничена за счет установления минимального расстояния до источника помех, например 200 мм для мобильных телефонов. Поэтому если не применяется высокочастотное экранирование, то для обеспечения расстояния 200 мм между цепью безопасности и потенциальными источниками помех необходим физический барьер.

Таблица 2 - Помехоустойчивость - Порты линий сигнализации и управления

Вид помехи

Основополагающий стандарт

Единица измерения

Значение параметра

Критерий качества функционирования

Все схемы 1)

Цепи безопас­ности 2)

Все схемы 1)

Цепи безопас­ности 2)

Наносекундные импульсные помехи (общее несимметричное напряжение)

ГОСТ Р 51317.4.4

кВ (пиковое значение)

0,5

2,0

В

D

нс (Tr/Th)

5/50

5/50

кГц (частота повторения)

5

5

Микросекундные импульсные помехи большой энергии, подаваемые по схемам:

ГОСТ Р 51317.4.5

мкс (Tr/Th)

Не применяют

1,0/50

Не применяют

D

«провод-земля»

кВ (пиковое значение)

+/-2,0

«провод-провод»

кВ (пиковое значение)

+/-1,0

Кондуктивные помехи, наведенные радиочастотными электромагнитными полями (общее несимметричное напряжение)

ГОСТ Р 51317.4.6

МГц

0,15 - 80

0,15 - 80

А

D

В/м (среднеквадра­тическое значение напряжения, отсутствие модуляции)

3

10

% (амплитудная модуляция, 1 кГц)

803),4)

804)

1) Подача помех на порты, имеющие общие функциональные схемы и/или цепи безопасности.

2) Подача помех на порты, имеющие цепи безопасности.

3) Применяется только для портов, у которых длина подключаемых кабелей в соответствии с техническими требованиями изготовителя может превышать 3 м.

4) Уровень помехи может быть установлен как эквивалентный ток при нагрузке 150 Ом

Примечание - Тr - длительность фронта импульса, Тh - длительность импульса. Форма импульса установлена в соответствующем основополагающем национальном стандарте в области ЭМС.

Таблица 3 - Помехоустойчивость - Порты систем мониторинга и дистанционной сигнализации

Вид помехи

Основополагающий стандарт

Единица измерения

Значение параметра

Критерий качества функционирования

Все схемы 1)

Цепи безопасности 2)

Все схемы 1)

Цепи безопасности 2)

Наносекундные импульсные помехи (общее несимметричное напряжение)

ГОСТ Р 51317.4.4

кВ (пиковое значение)

+/-1,0

Cм. таблицу 2

В

Cм. таблицу 2

нс (Tr/Th)

5/50

кГц (частота повторения)

53)

Микросекундные импульсные помехи большой энергии, подаваемые по схемам:

ГОСТ Р 51317.4.5

мкс (Tr/Th)

1,0/50

Cм. таблицу 2

В

Cм. таблицу 2

«провод-земля»

кВ (пиковое значение)

+/-1,0

«провод-провод»

кВ (пиковое значение)

+/-0,5

Кондуктивные помехи, наведенные радиочастотными электромагнитными полями (общее несимметричное напряжение)

ГОСТ Р 51317.4.6

МГц

0,15 - 80

Не применяют

А

Не применяют

В/м (среднеквадра­тическое значение напряжения, отсутствие модуляции)

3

% (амплитудная модуляция, 1 кГц)

803),4)

1) Подача помех на порты, имеющие общие функциональные схемы и/или цепи безопасности.

2) Подача помех на порты, имеющие цепи безопасности.

3) Применяется только для портов, у которых длина подключаемых кабелей в соответствии с техническими требованиями изготовителя может превышать 3 м.

4) Уровень помехи может быть установлен как эквивалентный ток при нагрузке 150 Ом

Примечание - Тr - длительность фронта импульса, Тh - длительность импульса. Форма импульса установлена в соответствующем основополагающем национальном стандарте в области ЭМС.

Таблица 4 - Помехоустойчивость - Входные и выходные порты электропитания постоянного тока с номинальным током 100 А

Вид помехи

Основополагающий стандарт

Единица измерения

Значение параметра

Критерий качества функционирования

Все схемы 1)

Цепи безопас­ности 2)

Все схемы 1)

Цепи безопас­ности 2)

Наносекундные импульсные помехи (общее несимметричное напряжение)

ГОСТ Р 51317.4.4

кВ (пиковое значение)

0,5

4,0

В

D

нс (Tr/Th)

5/50

5/50

кГц (частота повторения)

5

2,5

Микросекундные импульсные помехи большой энергии, подаваемые по схемам:

ГОСТ Р 51317.4.5

мкс (Tr/Th)

1,0/50

1,0/50

В

D

«провод-земля»

кВ (пиковое значение)

+/-0,5

+/-2,5

«провод-провод»

кВ (пиковое значение)

+/-0,53)

+/-1,0

Кондуктивные помехи, наведенные радиочастотными электромагнитными полями (общее несимметричное напряжение)

ГОСТ Р 51317.4.6

МГц

0,15 - 80

0,15 - 80

А

D

В/м (среднеквадра­тическое значение напряжения, отсутствие модуляции)

3

10

% (амплитудная модуляция, 1 кГц)

804)

804)

1) Подача помех на порты, имеющие общие функциональные схемы и/или цепи безопасности.

2) Подача помех на порты, имеющие цепи безопасности.

3) Применяется только к входным портом, подключаемые кабели которых пересекают границу системы.

4) Уровень помехи может быть установлен как эквивалентный ток при нагрузке 150 Ом

Примечание - Тr - длительность фронта импульса, Тh - длительность импульса. Форма импульса установлена в соответствующем основополагающем национальном стандарте в области ЭМС.

Таблица 5 - Помехоустойчивость - Входные и выходные порты электропитания постоянного тока с номинальным током > 100 А

Вид помехи

Основополагающий стандарт

Единица измерения

Значение параметра

Критерий качества функционирования

Все схемы 1)

Цепи безопас­ности 2)

Все схемы 1)

Цепи безопас­ности 2)

Наносекундные импульсные помехи (общее несимметричное напряжение)

ГОСТ Р 51317.4.4

кВ (пиковое значение)

0,5

Не применяют

В

Не применяют

нс (Tr/Th)

5/50

кГц (частота повторения)

53)

Микросекундные импульсные помехи большой энергии, подаваемые по схемам:

ГОСТ Р 51317.4.5

мкс (Tr/Th)

1,0/50

Не применяют

В

Не применяют

«провод-земля»

кВ (пиковое значение)

+/-1,0

«провод-провод»

кВ (пиковое значение)

+/-0,53)

Кондуктивные помехи, наведенные радиочастотными электромагнитными полями (общее несимметричное напряжение)

ГОСТ Р 51317.4.6

МГц

0,15 - 80

Не применяют

А

Не применяют

В/м (среднеквадра­тическое значение напряжения, отсутствие модуляции)

3

% (амплитудная модуляция, 1 кГц)

804)

1) Подача помех на порты, имеющие общие функциональные схемы и/или цепи безопасности.

2) Подача помех на порты, имеющие цепи безопасности.

3) Применяется только к входным портом, подключаемые кабели которых пересекают границу системы.

4) Уровень помехи может быть установлен как эквивалентный ток при нагрузке 150 Ом

Примечание - Тr - длительность фронта импульса, Тh - длительность импульса. Форма импульса установлена в соответствующем основополагающем национальном стандарте в области ЭМС.

Таблица 6 - Помехоустойчивость - Входные и выходные порты электропитания переменного тока с номинальным током 100 А (в одной фазе)

Вид помехи

Основополагающий стандарт

Единица измерения

Значение параметра

Критерий качества функционирования

Все схемы 1)

Цепи безопас­ности 2)

Все схемы 1)

Цепи безопас­ности 2)

Наносекундные импульсные помехи (общее несимметричное напряжение)

ГОСТ Р 51317.4.4

кВ (пиковое значение)

1,0

4,0

В

D

нс (Tr/Th)

5/50

5/50

кГц (частота повторения)

5

2,5

Провалы напряжения электропитания

ГОСТ Р 51317.4.11

% (уменьшение напряжения)

30

30 и 603)

А

D

мс (длительность)

20

От 10 до 100 при шаге 10 мс,

 

 

от 100 до 1000 при шаге 100 мс

Выбросы напряжения электропитания

ГОСТ Р 51317.4.11

% (увеличение напряжения)

20

120

А

A

мс (длительность)

120

20

Прерывания напряжения электропитания

ГОСТ Р 51317.4.11 4)

% (уменьшение напряжения

>95

>953)

В

D

мс

1

5000

Микросекундные импульсные помехи большой энергии, подаваемые по схемам:

ГОСТ Р 51317.4.5

мкс (Tr/Th)

1,0/50

1,0/50

В

D

«провод-земля»

кВ (пиковое значение)

+/-2,0

+/-2,0

«провод-провод»

кВ (пиковое значение)

+/-1,05)

+/-1,0

Кондуктивные помехи, наведенные радиочастотными электромагнитными полями (общее несимметричное напряжение)

ГОСТ Р 51317.4.6

МГц

0,15 - 80

0,15 - 80

А

D

В/м (среднеквадра­тическое значение напряжения, отсутствие модуляции)

3

10

% (амплитудная модуляция, 1 кГц)

806)

806)

1) Подача помех на порты, имеющие общие функциональные схемы и/или цепи безопасности.

2) Подача помех на порты, имеющие цепи безопасности.

3) Цепи безопасности должны переходить в режим безопасного состояния, если напряжение электропитания падает ниже установленного функционального предела.

4) См. также ГОСТ Р 51524.

5) Применяют только для входных портов.

6) Уровень помехи может быть установлен как эквивалентный ток при нагрузке 150 Ом

Примечание - Тr - длительность фронта импульса, Тh - длительность импульса. Форма импульса установлена в соответствующем основополагающем национальном стандарте в области ЭМС.

Таблица 7 - Помехоустойчивость - Входные и выходные порты электропитания переменного тока с номинальным током > 100 А (в одной фазе)

Вид помехи

Основополагающий стандарт

Единица измерения

Значение параметра

Критерий качества функционирования

Все схемы 1)

Цепи безопас­ности 2)

Все схемы 1)

Цепи безопас­ности 2)

Наносекундные импульсные помехи (общее несимметричное напряжение)

ГОСТ Р 51317.4.4

кВ (пиковое значение)

+/-2,0

Не применяют

В

Не применяют

нс (Tr/Th)

5/50

кГц (частота повторения)

5

Микросекундные импульсные помехи большой энергии, подаваемые по схемам:

ГОСТ Р 51317.4.5

мкс (Tr/Th)

1,0/50

Не применяют

В

Не применяют

«провод-земля»

кВ (пиковое значение)

+/-2,0

«провод-провод»

кВ (пиковое значение)

+/-1,03)

Кондуктивные помехи, наведенные радиочастотными электромагнитными полями (общее несимметричное напряжение)

ГОСТ Р 51317.4.6

МГц

0,15 - 80

Не применяют

А

Не применяют

В/м (среднеквадра­тическое значение напряжения, отсутствие модуляции)

3

% (амплитудная модуляция, 1 кГц)

804)

1) Подача помех на порты, имеющие общие функциональные схемы и/или цепи безопасности.

2) Подача помех на порты, имеющие цепи безопасности.

3) Применяют только для входных портов.

4) Уровень помехи может быть установлен как эквивалентный ток при нагрузке 150 Ом

Примечание - Тr - длительность фронта импульса, Тh - длительность импульса. Форма импульса установлена в соответствующем основополагающем национальном стандарте в области ЭМС.

Библиография

[1] Директива Совета Европейских сообществ 89/336/ЕЭС от 3 мая 1989 г. о сближении законодательных актов государств-членов об электромагнитной совместимости

[2] Директива Европейского Парламента и Совета Европейского Союза 95/16/ЕС от 28 июня 1995 г. о сближении законодательных актов государств-членов о лифтах

[3] Директива Европейского Парламента и Совета Европейского Союза 89/37/ЕС от 22 июня 1998 г. о сближении законодательных актов государств-членов о машинах

[4] ЕН 12015:2004 Электромагнитная совместимость - Стандарт для группы однородной продукции, распространяющийся на лифты, эскалаторы и пассажирские конвейеры - Помехоэмиссия

[5] Директива Европейского Парламента и Совета Европейского Союза 2004/108/ЕС от 15 декабря 2004 г. о сближении законодательных актов государств-членов об электромагнитной совместимости и отмене Директивы 89/336/ЕЭС

[6] ЕН 81-1 Правила обеспечения безопасности при изготовлении и установке лифтов - Часть 1: Электрические лифты

[7] ЕН 81-2 Правила обеспечения безопасности при изготовлении и установке лифтов - Часть 2: Гидравлические лифты

[8] ЕН 115 Правила обеспечения безопасности при изготовлении и установке эскалаторов и пассажирских конвейеров

 

Ключевые слова: электромагнитная совместимость; лифты, эскалаторы, пассажирские конвейеры; устойчивость к электромагнитным помехам; требования; виды испытаний; степени жесткости испытаний; критерии качества функционирования; методы испытаний

 




ГОСТЫ, СТРОИТЕЛЬНЫЕ и ТЕХНИЧЕСКИЕ НОРМАТИВЫ.
Некоммерческая онлайн система, содержащая все Российские Госты, национальные Стандарты и нормативы.
В Системе содержится более 150000 файлов нормативно-технической документации, действующей на территории РФ.
Система предназначена для широкого круга инженерно-технических специалистов.

Рейтинг@Mail.ru Яндекс цитирования

Copyright © www.gostrf.com, 2008 - 2026