|
|
|
МИНИСТЕРСТВО РОССИЙСКОЙ ФЕДЕРАЦИИ ПО ДЕЛАМ ГРАЖДАНСКОЙ ОБОРОНЫ, ЧРЕЗВЫЧАЙНЫМ СИТУАЦИЯМ И ЛИКВИДАЦИИ ПОСЛЕДСТВИЙ СТИХИЙНЫХ БЕДСТВИЙ ФЕДЕРАЛЬНОЕ ГОСУДАРСТВЕННОЕ УЧРЕЖДЕНИЕ «ВСЕРОССИЙСКИЙ ОРДЕНА "ЗНАК ПОЧЕТА" НАУЧНО-ИССЛЕДОВАТЕЛЬСКИЙ ИНСТИТУТ ПРОТИВОПОЖАРНОЙ ОБОРОНЫ» ОЦЕНКА ОПАСНОСТИ ТОКСИЧЕСКОГО ВОЗДЕЙСТВИЯ ОГНЕТУШАЩИХ ГАЗОВ И АЭРОЗОЛЕЙ, ПРИМЕНЯЕМЫХ ДЛЯ ОБЪЕМНОГО ПОЖАРОТУШЕНИЯ Методическое пособие Москва 2005 Дано общее представление о токсической опасности огнетушащих газов и аэрозолей, применяемых для объемного пожаротушения. Подробно описаны методы испытаний газовых огнетушащих веществ и генераторов огнетушащего аэрозоля для определения показателей токсической опасности. Предложены подходы к ее оценке. Приведены некоторые результаты испытаний штатных средств объемного пожаротушения. Методическое пособие представляет интерес для токсикологов, гигиенистов, разработчиков огнетушащих средств и специалистов организаций, осуществляющих проектирование и эксплуатацию систем газового и аэрозольного пожаротушения. Разработано в Санкт-Петербургском филиале ФГУ ВНИИПО МЧС России при участии Северо-Западного научного центра гигиены и общественного здоровья МЗ России. Содержание:
ВВЕДЕНИЕДля тушения пожаров объемным способом применяются индивидуальные вещества или смеси, которые могут распределяться в атмосфере защищаемого объема (помещения, трюма, отсека и т. д.) и создавать в каждом его элементе огнетушащую концентрацию. Из известных средств тушения этой способностью обладают главным образом газовые огнетушащие вещества (газовые ОТВ, огнетушащие газы) и твердофазные аэрозоли, получаемые при срабатывании генераторов огнетушащего аэрозоля (ГОА). Наряду с огнетушащей способностью важнейшей характеристикой огнетушащих газов и аэрозолей считается токсичность (степень химической вредности), или в более широком представлении - токсическая опасность, зависящая в условиях пожаротушения от физико-химических свойств и биологической активности применяемых веществ, их количества, времени контакта с пламенем или нагретыми поверхностями, продолжительности воздействия на биообъект и других факторов. Само воздействие огнетушащих веществ на человека в этих условиях следует рассматривать, прежде всего как экстремальное, как характерный для аварийной ситуации внезапный, интенсивный и кратковременный химический удар. Получить информацию о биологических последствиях такого удара, оценить его опасность для жизни и здоровья человека - важная задача профилактической токсикологии. Газовые огнетушащие вещества и генераторы огнетушащего аэрозоля подлежат в Российской Федерации обязательной сертификации. Контроль качества газовых ОТВ и ГОА осуществляется в соответствии с Нормами пожарной безопасности (НПБ 51-96 и НПБ 60-97), в которых изложены общие технические требования к этим видам пожарно-технической продукции, показатели, определяемые при испытаниях, методы испытаний, некоторые требования безопасности и охраны окружающей среды. Однако ни указанными Нормами пожарной безопасности, ни другими нормативными документами не регламентируются показатели токсической опасности огнетушащих газов и аэрозолей в условиях применения, методы их определения и критерии оценки. Другими словами, вне сферы действия нормативных документов остается токсикологический контроль качества огнетушащих веществ, хотя он и признается одним из наиболее важных. В 1996 - 2002 гг. в Санкт-Петербургском филиале ФГУ ВНИИПО МЧС России были проведены целенаправленные исследования по разработке методов оценки токсической опасности газовых огнетушащих веществ в условиях применения и огнетушащих аэрозолей, получаемых при срабатывании генераторов огнетушащего аэрозоля. Программа исследований включала этапы научного обоснования, технического решения и проверки методических положений при испытаниях моделей и реально существующих средств объемного пожаротушения. Работы выполнялись при участии Северо-Западного научного центра гигиены и общественного здоровья Министерства здравоохранения России. В проведенных исследованиях были опробованы и рекомендованы к применению две методические разработки. Одна из них предназначена для установления степени опасности газовых огнетушащих веществ в условиях объемного пожаротушения, другая - для оценки токсикологической безопасности генераторов огнетушащего аэрозоля. Соответствие разработок санитарному законодательству подтверждено их согласованием Департаментом Госсанэпиднадзора МЗ России. Предлагаемое методическое пособие включает все основные положения указанных разработок с необходимой для их освоения детализацией. 1. ОЦЕНКА ОПАСНОСТИ ТОКСИЧЕСКОГО ВОЗДЕЙСТВИЯ ГАЗОВЫХ ОГНЕТУШАЩИХ ВЕЩЕСТВ В УСЛОВИЯХ ПРИМЕНЕНИЯ1.1 Обоснование необходимости проведения испытаний газовых ОТВДля противопожарной защиты вычислительных центров и телефонных узлов, библиотек и музеев, судов воздушного и морского транспорта, военной техники и других объектов нередко используются установки газового пожаротушения. К достоинствам газового пожаротушения относят минимальный ущерб при воздействии на защищаемые материалы и оборудование, оперативность использования, возможность длительной эксплуатации установок в автоматическом режиме и другие. По объему применения установки газового пожаротушения стоят на третьем месте (после водяных и пенных) и составляют примерно пятую часть от общего количества используемых в России установок пожаротушения. Установки газового пожаротушения предназначены для хранения газовых ОТВ и, при необходимости, выпуска их в защищаемый объем с целью создания в нем среды, не поддерживающей горение. При этом реализуется объемный или локально-объемный способ тушения. По механизму тушения газовые ОТВ подразделяют на инертные разбавители, существенно снижающие содержание кислорода в защищаемом объеме, и ингибиторы горения, оказывающие тормозящее влияние на химические реакции в пламени. К первым относят диоксид углерода, азот, аргон, смеси из них, ко вторым - галогенсодержащие углеводороды, обладающие, как известно, наибольшей огнетушащей способностью (товарное наименование в России - хладоны, международное - галоны). До середины 80-х годов XX века при объемном пожаротушении применялись в основном диоксид углерода (углекислота СО2), хладон 13В1 (СF3Вr), хладон 114В2 (С2F4Вr2), хладон 12В1 (СF2СlВr). Вместе с тем в СССР был достигнут существенный прогресс в разработке комбинированных составов, включающих хладоны и другие газовые огнетушащие вещества. Осознание необходимости охраны озонового слоя в атмосфере Земли и принятые в связи с этим мировым сообществом решения о прекращении производства озоноразрушающих веществ, в том числе хладонов 13В1, 114В2, 12В1, послужили толчком к изысканию новых, экологически чистых огнетушащих средств. По результатам изысканий санкционировано применение в стационарных системах газового пожаротушения диоксида углерода, ряда хладонов нового поколения, элегаза, инертных газов и составов из них. Производство многих из огнетушащих газов уже налажено на предприятиях России. Из отмеченных выше пожаротушащих агентов наименьшая степень химической опасности свойственна инертным газам: азоту (N2), аргону (Аr), комбинациям под названиями аргонит (N2+Аr в равных объемных частях) и инерген (N2+Аr+СО2 в соотношении объемных частей 52:40:8). Их относят к экологически чистым веществам, практически нетоксичным и не подверженным в условиях пожара термическому разложению. Эти преимущества инертных газов не являются, однако, гарантией безопасности их применения. Как пожаротушащие средства, инертные газы эффективны в концентрациях, обеспечивающих снижение содержание кислорода в замкнутом пространстве до 14 - 10 % об. При прогнозировании такого уровня недостатка кислорода в газовой среде должна предусматриваться быстрая эвакуация людей, не имеющих дыхательных аппаратов. Чрезмерная задержка эвакуации может обусловливать острое гипоксическое воздействие на организм человека с потерей способности покинуть опасную зону. Кроме того, полагают, что довольно продолжительное существование газовой среды с пониженным содержанием кислорода может привести в некоторых случаях к образованию повышенных количеств оксида углерода (СО) - высокотоксичного продукта неполного сгорания веществ и материалов. Аналогичная ситуация возможна при применении для объемного пожаротушения диоксида углерода (СО2), огнетушащее действие которого также во многом связано с разбавлением газовоздушной среды в защищаемом объеме и снижением в ней концентрации кислорода. Но в отличие от инертных газов СО2 обладает выраженным биологическим действием. В концентрациях 2 - 5 % об. он оказывает сильное возбуждающее действие на дыхательную систему, а в более высоких концентрациях вызывает у людей отравления различной степени тяжести. Огнетушащие концентрации диоксида углерода (25 - 40 % об.) в 2 - 3 раза превышают смертельную при кратковременном воздействии. Кроме инертных газов к нетоксичным газовым ОТВ относят гексафторид серы, или элегаз (SF6). Четырехчасовая затравка этим веществом в максимально возможной в токсикологических исследованиях концентрации (82 % об. SF6 в смеси с 18 % об. O2) не приводит к гибели подопытных животных и клинически выраженному отравлению как во время экспозиции, так и в течение последующих 14 суток наблюдения. Однако при использовании элегаза как средства объемного пожаротушения необходимо учитывать возможность образования в условиях пожара токсичных продуктов его термического разложения. В экспериментах выявлено, например, что белые мыши погибают при 20 - мин затравке элегазом, от 3 до 7 % которого разложилось при пропускании через пиролизатор, нагретый до 850°С. При этом среди летучих продуктов терморазложения обнаружены диоксид серы (CO2 и фтороводород (HF) - высокотоксичные соединения, имеющие резкий запах и оказывающие сильное раздражающее действие на слизистые оболочки дыхательных путей и глаз. Отдельная группа фторсодержащих огнетушащих газов действует при тушении как ингибиторы горения. К ним относят снятые с производства, но еще применяемые в России озоноразрушающие хладоны 13В1, 12В1 и 114В2, некоторые компоненты комбинированных составов. Хладоны - фторпроизводные предельных углеводородов, молекулы которых наряду с фтором могут включать хлор, бром, йод. При обычных условиях хладоны представляют собой газообразные соединения со слабой реакционной способностью и высокой химической стойкостью. В подавляющем большинстве они являются малотоксичными веществами с преимущественно наркотическим типом действия на живой организм. Выраженность наркотического действия зависит от концентрации хладона во вдыхаемом воздухе, продолжительности экспозиции и состояния живого организма. Другие опасные для жизни эффекты хладонов проявляются в виде нарушений сердечной деятельности, в меньшей степени они оказывают влияние на органы дыхания, печень, кровь, на процессы энергообразования в клетках. После окончания ингаляционного воздействия хладоны сравнительно быстро выделяются из организма с выдыхаемым воздухом. При анализе токсических свойств хладонов, особенно нового поколения (озонобезопасных фторуглеводородов), за критерий сравнения принимают, как правило, степень выраженности этих свойств у хладона 13В1 (трифторбромметана). Этому соединению свойственно сильное озоноразрушающее действие, но оно выгодно отличается от близких по химической природе соединений огнетушащей эффективностью и уровнем токсикологической безопасности. Его до сих пор некоторые специалисты считают оптимальным из изученных средств объемного пожаротушения для обитаемых объектов. По данным, приведенным в стандарте Национальной ассоциации противопожарной защиты США (НФПА 12А), смертельные исходы и выраженные признаки отравления у мелких лабораторных животных отсутствовали даже в том случае, когда концентрация хладона 13В1 при 15 - мин экспозиции составляла 80 % об. У людей признаков отравления не отмечено при содержании хладона 13В1 в воздухе в количестве 5 - 7 % об. (Огнетушащая концентрация хладона 13В1 составляет около 5 % об.). При более высоких концентрациях (до 10 % об.) этот газ оказывал умеренное воздействие на центральную нервную систему. При вдыхании хладона 13В1 в концентрациях, превышающих 10 % об., у испытуемых добровольцев возникало ощущение возможной скорой потери сознания. После прекращения воздействия огнетушащим газом все нарушения быстро исчезали. В указанном стандарте дана рекомендация ограничивать время пребывания человека в среде, содержащей хладон 13В1: до 7 % об. - 15 мин, 7 - 10 % об. - 1 мин, 10 - 15 % об. - 30 с. Воздействие хладона в концентрациях более 15 % об. признано недопустимым. По данным отечественных исследователей, допустимая в аварийных ситуациях концентрация хладона 13В1 не должна превышать следующих значений: при времени воздействия 5 мин - 9,7 % об. (600 г · м-3), 10 мин - 6,4 % об. (400 г · м-3), 30 мин - 4,8 % об. (300 г · м-3). Принятая в России предельно допустимая концентрация (ПДК) хладона 13В1 для воздуха рабочей зоны производственных помещений составляет 3000 мг · м-3 (в США - 6100 мг · м-3). Важно также учитывать, что при температурах выше 400°С хладон 13В1 может разлагаться с образованием ряда летучих токсичных соединений. Наряду со свободными галогенами (Вr2) в составе продуктов термического разложения этого вещества обнаруживают галогеноводороды (НF, НВr), карбонилгалогениды (СОF2, СОВr2), оксиды углерода (СО, СО2). Токсичность продуктов термического разложения хладона 13В1 во много раз превышает токсичность исходного вещества. Однако проблему упрощает то обстоятельство, что благодаря термической устойчивости и высокой огнетушащей эффективности этого вещества при пожаротушении может разложиться лишь небольшая его часть от поданного на тушение количества. Как отмечено в стандарте США (НФПА 2001), за многолетнюю практику использования хладона 13В1 не было случаев, когда при успешном тушении им пожаров продукты разложения оказывали бы вредное действие. По заключению отечественных авторов, суммарная концентрация продуктов разложения хладона 13В1, равная 80 мг · м-3, может быть принята в качестве максимально допустимой для одноразового воздействия в течение 5 мин, поскольку она не вызывает специфических реакций организма. Следует, однако, отметить, что в России (СССР) более широкое применение получил другой эффективный ингибитор горения - хладон 114В2. В отличие от иных галогенсодержащих пожаротушащих веществ хладон 114В2 при нормальных условиях представляет собой тяжелую бесцветную жидкость со специфическим запахом. Как указано в ГОСТ 15899-93, он является стабильным малотоксичным веществом. Предельно допустимая концентрация его паров в воздухе рабочей зоны производственных помещений составляет 1000 мг · м-3. В сравнении с хладоном 13В1 хладон 114В2 обладает более выраженным токсическим действием. При кратковременной (15 мин) экспозиции его смертельные концентрации для животных находятся в диапазоне 7,5 - 11,5 % об. В концентрации, превышающей огнетушащую (2 % об.) в 1,3 раза, он обусловливает потерю двигательной способности у 50 % подопытных животных. У обезьян зарегистрированы нарушения координации движений в опытах, когда концентрации хладона были ниже огнетушащей. Из документа, представленного Италией в Международную организацию по стандартизации, известно, что хладон 114В2 вызывал нарушения функционального состояния центральной нервной системы человека уже в концентрации 0,22 %. После 3 мин пребывания в среде, содержащей 1 % огнетушащего вещества, отмечено побледнение лица и замедление реакций. При концентрации 3 % испытуемый потерял сознание через 1 мин 40 с, а один из принимавших участие в выносе пострадавшего, неожиданно скончался, находясь уже за пределами опасной зоны. Судебно-медицинская экспертиза установила, что смерть наступила от остановки сердца и объяснялась повышенной индивидуальной чувствительностью к хладону 114В2. В отношении продуктов термического разложения хладона 114В2 известно, что они также обладают значительно большей токсичностью, чем исходное вещество. Летальная концентрация этих продуктов соответствует 0,16 % об. Их основными компонентами являются галогеноводороды - фтороводород и бромоводород, концентрации которых в испытательной камере изменяются в широких пределах в зависимости от условий проведения эксперимента. В стандарте США (НФПА 2001) и справочнике по галогеносодержащим пожаротушащим веществам, составленным отечественными авторами, приведены параметры токсической опасности ряда новых огнетушащих веществ в сравнении с соответствующими параметрами озоноразрушающих хладонов 13В1 и 114В2 (табл. 1 и 2). Согласно этим данным, все озононоразрушающие хладоны являются малотоксичными соединениями, а некоторые из них по критерию токсикологической безопасности не уступают хладону 13В1. Таблица 1 Данные о токсичности галоидоуглеводородов из стандарта США (НФПА 2001)
Примечание LC50 - концентрация, вызывающая гибель белых крыс при 4 - час экспозиции; АLС - приближенная летальная концентрация; NOAEL - наибольшая концентрация, при которой не наблюдается кардиосенсибилизирующее или кардиотоксическое действие; LOAEL - наименьшая концентрация, при которой наблюдается кардиосенсибилизирующее или кардиотоксическое действие; значения NOAEL и LOAEL установлены на основании результатов определения аритмии сердца у животных при 5-мин воздействии огнетушащего агента и последующем введении адреналина. Таблица 2 Справочные данные о токсической опасности огнетушащих веществ из отечественных источников
Относительно продуктов термического разложения в стандарте США (НФПА 2001) дается следующее заключение: если техническая система на основе хладона 13В1 рассчитана правильно и время его подачи в защищаемый объем не превышает 10 с, то концентрации образующихся галогеноводородов малы и не представляют опасности для людей. Все огнетушащие фторуглеводороды, не содержащие брома, характеризуются значительно большим выходом продуктов разложения, чем хладон 13В1. Причем, образование продуктов термического разложения в сильной степени зависит от размеров пожара и времени подачи огнетушащего вещества. Например, удвоение времени подачи с 5 до 10 с способствует возрастанию выхода продуктов разложения перфторбутана (С4F10) на 30 - 50 %, а увеличение размеров пожара в 13 раз обусловливает 11 - кратное повышение содержания этих продуктов в газовой среде. В целом можно считать, что по принятым в России токсиколого-гигиеническим критериям вредного действия промышленных веществ огнетушащие газы соответствуют классу малоопасных химических соединений. Однако при условиях объемного пожаротушения степень их опасности может значительно возрастать. Во-первых, это обусловлено величиной огнетушащей концентрации, которая хотя и ниже величины летальной концентрации, установленной в опытах на животных, но может оказаться достаточной, чтобы лишить человека в аварийной ситуации способности самостоятельно покинуть опасную зону. Во-вторых, химическая опасность многих газовых ОТВ при пожаротушении может резко увеличиваться вследствие образования высокотоксичных продуктов термического разложения. В связи с этим практически важной является задача установления параметров токсической опасности газовых ОТВ при условиях, характерных для объемного пожаротушения. 1.2. Метод токсикологических испытаний газовых ОТВ1.2.1. Назначение и сущность методаМетод испытаний газовых ОТВ, описание которого приводится ниже, предназначен для оценки их токсической опасности в условиях применения. Сущность метода заключается в проведении специальных испытаний газовых ОТВ в огнетушащих концентрациях и определении при этом комплекса показателей, характеризующих опасность кратковременного воздействия на биообъекты испытываемых веществ и продуктов их термического разложения. Перечень определяемых показателей включает в себя: - выживаемость подопытных животных, наблюдаемые изменения их поведения и общего состояния как во время экспозиции, так и в последующие 10 суток; - физическую работоспособность; - частоту и ритм сокращений сердца; - частоту дыхания; - концентрацию фтороводорода. Примечание. Данный перечень является базовым. Допускается его расширение за счет включения других информативных показателей опасности экстремального воздействия химических агентов в условиях применения газовых ОТВ. 1.2.2
Материально-техническое обеспечение метода
|
|||||||||||||||||||||||||||||||||||||||||||||||||||||||||||||||||||||||||||||||||||||||||||||||||||||||||||||||||||||||||||||||||||||||||||||||||||||||||||||||||||||||||||||||||||||||||||||||||||||||||||||||||||||||||||||||||||||||||||||||||||||||||||||||||||||||||||||||||||||||||||||||||||||||||||||||||||||||||||||||||||||||||||||||||||||||||||||||||||||||||||||||||||||||||||||||||||||||||||||||||||||||||||||||||||||||||||||||||||||||||||||||||||||||||||||||||||||||||||||||||||||||||||||||||||||||||||||||||||||||||||||||||||||||||||||||||||||||||||||||||||||||||||||||||||||||||||||||||||||||||||||||||||||||||||||||||||||||||||||||||||||||||||||||||||||||||||||||||||||||||||||||||||||||||||||||||||||||||||||||||||||||||||||||||||||||||||||||||||||||||||||||||||||||||||||||||||||||||||||||||||||||||||||||||||||||||||||||||||||||||||||||||||||||||||||||||||||||||||||||||||||||||||||||||||||||||||||||||||||||||||||||||||||||||||||||||||||||||||||||||||||||||||||||||||||||||||||||||||||||
|
Вид животных |
Взято в опыт особей |
Выжило по окончании экспозиции |
Выжило через сутки |
Выжило через 10 суток |
|
Белые крысы |
8 |
8 |
8 |
8 |
|
Белые мыши |
10 |
10 |
10 |
10 |
Таблица 4
|
Номер животного |
Среднее время проплыва дистанции 1,5 м, с |
|||||
|
до экспозиции |
после экспозиции |
|||||
|
1 |
5,64 |
8,40 |
||||
|
2 |
5,47 |
6,16 |
||||
|
3 |
4,09 |
5,14 |
||||
|
4 |
4,70 |
4,41 |
||||
|
5 |
4,84 |
5,25 |
||||
|
6 |
5,05 |
5,76 |
||||
|
7 |
4,65 |
4,91 |
||||
|
8 |
5,60 |
4,79 |
||||
|
9 |
4,68 |
4,52 |
||||
|
10 |
|
4,50 |
|
|
5,27 |
|
|
X ± m = 4,92 ± 0,36 |
X ± m = 5,46 ± 0,86 |
|||||
Вместе с тем проведенные исследования показали, что кратковременное воздействие хладона 114В2 в огнетушащей концентрации не является безвредным или, по меньшей мере, бессимптомным. В частности, при наблюдении за поведением животных во время экспозиции отмечалось их двигательное возбуждение, особенно выраженное в группах подопытных белых мышей. Инструментальными методами исследований выявлены также функциональные сдвиги со стороны сердечно-сосудистой и дыхательной систем подопытных белых крыс. О направленности сдвигов свидетельствуют данные, приведенные в табл. 5. Судя по этим данным, воздействие хладона 114В2 на животных приводило к учащению сердечной деятельности и некоторому урежению дыхания, которые регистрировались с первой минуты и до окончания экспозиции.
Таблица 5
|
Показатель |
До экспозиции |
На минуте экспозиции |
После экспозиции |
|||
|
1-й |
5-й |
10-й |
15-й |
|||
|
ЧСС, ударов в минуту |
460 |
520 |
540 |
530 |
510 |
500 |
|
380 |
395 |
470 |
550 |
550 |
520 |
|
|
ЧД, дыханий в минуту |
108 |
88 |
98 |
96 |
100 |
112 |
|
116 |
80 |
92 |
80 |
96 |
100 |
|
При испытаниях хладона 114В2 в режиме, обусловливающем образование продуктов термического разложения, установлено присутствие в газовоздушной среде испытательной камеры фтороводорода в концентрациях, указанных в табл. 6. По имеющимся сведениям, эти концентрации фтороводорода можно считать допустимыми в аварийных условиях.
Таблица 6
Концентрация фтороводорода в испытательной камере после тушения н-гептана хладоном 114В2
|
Номер опыта |
Концентрация НF, мг·м-3 |
|
|
усредненная за первые 3 мин экспозиции |
Усредненная за 15 мин экспозиции |
|
|
1 |
17,0 |
4,5 |
|
2 |
22,0 |
4,9 |
|
3 |
18,0 |
4,5 |
Данные биоиспытаний хладона 114В2 в этом режиме приведены в табл. 7 - 9. Сравнение этих данных с данными, полученными при условиях испытаний хладона 114В2 без модельного очага пожара (см. табл. 3 - 5), позволяет констатировать отсутствие между ними существенных различий. При визуальной оценке состояния животных, подвергнутых воздействию хладона 114В2 и продуктов его термического разложения, также отмечено повышение двигательной активности белых мышей в первые минуты экспозиции. Однако этот биологический эффект был не столь выраженным, как при воздействии чистого огнетушащего вещества.
Таблица 7
Выживаемость животных при воздействии комбинации хладона 114В2 и продуктов его разложения
|
Вид животных |
Взято в опыт особей |
Выжило по окончании экспозиции |
Выжило через сутки |
Выжило через 10 суток |
|
Белые крысы |
7 |
7 |
7 |
7 |
|
Белые мыши |
10 |
10 |
10 |
10 |
Таблица 8
Показатель работоспособности белых мышей до и после воздействия комбинации хладона 114В2 и продуктов его разложения
|
Номер животного |
Среднее время проплыва дистанции 1,5 м, с |
|||||
|
до экспозиции |
после экспозиции |
|||||
|
1 |
4,63 |
6,26 |
||||
|
2 |
4,70 |
5,07 |
||||
|
3 |
3,92 |
4,29 |
||||
|
4 |
4,93 |
4,38 |
||||
|
5 |
4,29 |
4,88 |
||||
|
6 |
4,65 |
4,81 |
||||
|
7 |
4,76 |
5,23 |
||||
|
8 |
5,11 |
5,16 |
||||
|
9 |
3,90 |
4,96 |
||||
|
10 |
|
5,08 |
|
|
4,50 |
|
|
X ± m = 4,60 ± 0,36 |
X ± m = 4,95 ± 0,41 |
|||||
Таблица 9
|
Показатель |
До экспозиции |
На минуте экспозиции |
После экспозиции |
|||
|
1-й |
5-й |
10-й |
15-й |
|||
|
ЧСС, ударов в минуту |
490 |
500 |
590 |
590 |
570 |
570 |
|
530 |
560 |
550 |
540 |
540 |
510 |
|
|
ЧД, дыханий в минуту |
104 |
96 |
84 |
92 |
84 |
110 |
|
100 |
84 |
76 |
96 |
80 |
102 |
|
Данные, полученные при испытаниях хладона 318Ц
В опытах с хладоном 318Ц одноразовый расход огнетушащего вещества равнялся 660 г, что соответствовало нормативной объемной огнетушащей концентрации 7,8 % об. Время выпуска хладона 318Ц в объём камеры составляло 12 - 13 с, а время тушения пламени н-гептана - 16 - 25 с.
При испытаниях чистого хладона 318Ц в нормативной огнетушащей концентрации отмечена стопроцентная выживаемость животных (табл. 10). Во время экспозиции обнаруживались лишь признаки слабого раздражающего действия огнетушащего вещества (почесывание мордочки, урежение дыхания), тогда как показатели функционального состояния сердечно-сосудистой системы и физической работоспособности животных находились в пределах нормы (табл. 11 и 12).
Таблица 10
Выживаемость животных при воздействии хладона 318Ц в нормативной огнетушащей концентрации
|
Вид животных |
Взято в опыт особей |
Выжило по окончании экспозиции |
Выжило через сутки |
Выжило через 10 суток |
|
Белые крысы |
7 |
7 |
7 |
7 |
|
Белые мыши |
10 |
10 |
10 |
10 |
Таблица 11
|
Показатель |
До экспозиции |
На минуте экспозиции |
После экспозиции |
|||
|
1-й |
5-й |
10-й |
15-й |
|||
|
ЧСС, ударов в минуту |
470 |
460 |
480 |
470 |
480 |
470 |
|
460 |
470 |
480 |
460 |
450 |
450 |
|
|
ЧД, дыханий в минуту |
120 |
76 |
68 |
76 |
80 |
112 |
|
112 |
64 |
72 |
96 |
88 |
108 |
|
Таблица 12
|
Номер животного |
Среднее время проплыва дистанции 1,5 м, с |
|||||
|
до экспозиции |
после экспозиции |
|||||
|
1 |
4,12 |
3,77 |
||||
|
2 |
3,94 |
4,40 |
||||
|
3 |
4,35 |
4,45 |
||||
|
4 |
4,39 |
4,03 |
||||
|
5 |
4,51 |
4,13 |
||||
|
6 |
4,22 |
4,41 |
||||
|
7 |
4,30 |
4,00 |
||||
|
8 |
4,23 |
3,97 |
||||
|
9 |
4,06 |
4,35 |
||||
|
10 |
|
3,96 |
|
|
4,27 |
|
|
X ± m = 4,21 ± 0,13 |
X ± m = 4,18 ± 0,17 |
|||||
При испытаниях хладона 318Ц в режиме, обусловливающем образование продуктов термического разложения, также установлено присутствие фтороводорода в газовоздушной среде испытательной камеры (табл. 13). Причем, концентрации этого токсичного продукта термического разложения огнетушащего вещества достигали значений, близких к 2000 мг · м-3.
Таблица 13
Концентрация фтороводорода в испытательной камере после тушения н-гептана хладоном 318Ц
|
Номер опыта |
Концентрация НF, мг · м-3 |
|
|
усредненная за первые 3 мин экспозиции |
усредненная за 15 мин экспозиции |
|
|
1 |
1944 |
1432 |
|
2 |
1915 |
1187 |
|
3 |
2200 |
1400 |
В опытах на лабораторных животных комбинация хладона 318Ц и продуктов его термического разложения вызывала развитие тяжелой интоксикации с характерными симптомами острой сердечно-сосудистой недостаточности (брадикардия, аритмия, посинение мордочки у белых крыс) и одышки по типу бронхоспазма. Функциональные расстройства жизненно важных систем организма наблюдались у подопытных животных и после прекращения токсического воздействия. Летальность в группе белых мышей составила 80 %, в группе белых крыс - 16 % (табл. 14 и 15).
Таблица 14
Частота сокращений сердца (ЧСС) и частота дыхания (ЧД) у белых крыс при воздействии комбинации хладона 318Ц и продуктов его разложения
|
Показатель |
До экспозиции |
На минуте экспозиции |
После экспозиции |
|||
|
1-й |
5-й |
10-й |
15-й |
|||
|
ЧСС, ударов в минуту |
490 |
130 |
100 |
150 |
120 |
140 |
|
500 |
150 |
150 |
140 |
150 |
160 |
|
|
ЧД, дыханий в минуту |
120 |
60 |
72 |
68 |
76 |
80 |
|
112 |
60 |
68 |
76 |
92 |
88 |
|
Таблица 15
Выживаемость животных при воздействии комбинации хладона 318Ц и продуктов его разложения
|
Вид животных |
Взято в опыт особей |
Выжило по окончании экспозиции |
Выжило через сутки |
Выжило через 10 суток |
|
Белые крысы |
6 |
6 |
5 |
5 |
|
Белые мыши |
10 |
6 |
3 |
2 |
Данные, полученные при испытаниях элегаза
При испытаниях элегаза расход огнетушащего вещества, необходимый для получения в объеме испытательной камеры нормативной огнетушащей концентрации, равной 10 % об., составлял 650 г. Время выпуска элегаза обеспечивалось в пределах 12 - 14 с. При этих условиях тушение н-гептана наблюдалось через 35 - 44 с от начала выпуска элегаза.
Проведенные исследования показали, что кратковременное воздействие химически чистого элегаза на лабораторных животных в нормативной огнетушащей концентрации не оказывает заметного влияния на их поведение и общее состояние, а также на определяемые показатели деятельности сердца и органов дыхания. Работоспособность подопытных белых мышей при этом не снижается. Симптомы интоксикации не обнаруживаются и в постэкспозиционный период наблюдения за животными (табл. 16 - 18).
Таблица 16
Выживаемость животных при воздействии элегаза в нормативной огнетушащей концентрации
|
Вид животных |
Взято в опыт особей |
Выжило по окончании экспозиции |
Выжило через сутки |
Выжило через 10 суток |
|
Белые крысы |
7 |
7 |
7 |
7 |
|
Белые мыши |
10 |
10 |
10 |
10 |
При испытаниях элегаза с тушением н-гептана отмечено, что фтороводород является не единственным токсикологически значимым соединением в составе продуктов термического разложения огнетушащего вещества. Контакт элегаза с пламенем н-гептана обусловливает образование в больших количествах и такого токсиканта с сильным раздражающим действием, как диоксид серы (табл. 19).
Таблица 17
Частота сокращений сердца (ЧСС) и частота дыхания (ЧД) у белых крыс при воздействии элегаза в нормативной огнетушащей концентрации
|
Показатель |
До экспозиции |
На минуте экспозиции |
После экспозиции |
|||
|
1-й |
5-й |
10-й |
15-й |
|||
|
ЧСС, ударов в минуту |
470 |
470 |
490 |
490 |
480 |
470 |
|
500 |
460 |
490 |
490 |
480 |
470 |
|
|
ЧД, дыханий в минуту |
100 |
68 |
80 |
100 |
96 |
96 |
|
112 |
100 |
92 |
108 |
112 |
108 |
|
Таблица 18
|
Номер животного |
Среднее время проплыва дистанции 1,5 м, с |
|||||
|
до экспозиции |
после экспозиции |
|||||
|
1 |
4,78 |
3,83 |
||||
|
2 |
4,42 |
4,71 |
||||
|
3 |
4,97 |
4,59 |
||||
|
4 |
4,36 |
3,80 |
||||
|
5 |
5,03 |
4,02 |
||||
|
6 |
3,93 |
4,23 |
||||
|
7 |
4,64 |
5,08 |
||||
|
8 |
5,05 |
3,92 |
||||
|
9 |
3,50 |
5,10 |
||||
|
10 |
|
4,26 |
|
|
4,15 |
|
|
X ± m = 4,49 ± 0,36 |
X ± m = 4,34 ± 0,35 |
|||||
Таблица 19
|
Номер опыта |
Концентрация, мг · м-3 |
||
|
SО2, на 2-й мин экспозиции животных |
НF, усредненная за первые 3 мин экспозиции |
НF, усредненная за 15 мин экспозиции |
|
|
1 |
Больше 2500 |
997 |
645 |
|
2 |
2250 |
476 |
351 |
|
3 |
Больше 2500 |
1088 |
645 |
Установлено, что воздействие комбинации элегаза и продуктов его термического разложения приводит к развитию интоксикации крайне тяжелой степени. В начале экспозиции отмечается некоторое беспокойство животных и урежение у них дыхания. Затем одышка по типу бронхо-спазма начинает быстро прогрессировать. Состояние животных становится все более угнетенным. У некоторых особей белых мышей наблюдаются судорожные сокращения скелетных мышц. На электрокардиограмме у подопытных белых крыс регистрируются изменения сердечной деятельности в виде резкого уменьшения числа сердечных сокращений и выраженных нарушений ее ритма (табл. 20).
Таблица 20
Частота сокращений сердца (ЧСС) и частота дыхания (ЧД) у белых крыс при воздействии комбинации элегаза и продуктов его разложения
|
Показатель |
До экспозиции |
На минуте экспозиции |
После экспозиции |
|||
|
1-й |
5-й |
10-й |
15-й |
|||
|
ЧСС, ударов в минуту |
350 |
200 |
230 |
250 |
160 |
160 |
|
460 |
200 |
220 |
170 |
190 |
150 |
|
|
ЧД, дыханий в минуту |
124 |
52 |
84 |
100 |
96 |
92 |
|
96 |
60 |
60 |
64 |
64 |
60 |
|
По окончании экспозиции обнаруживаются и другие признаки интоксикации: у белых крыс - посинение носовой части головы, дыхание с характерным звуком, у некоторых особей глазное яблоко почти полностью закрыто веками, у белых мышей - практически полная потеря работоспособности. Гибель животных наступает преимущественно в первые часы после прекращения химического воздействия. Летальность в группе подопытных белых крыс составила 70 %, в группе белых мышей - 40 % (табл. 21).
Таблица 21
Выживаемость животных при воздействии комбинации элегаза и продуктов его разложения
|
Вид животных |
Взято в опыт особей |
Выжило по окончании экспозиции |
Выжило через сутки |
Выжило через 10 суток |
|
Белые крысы |
7 |
7 |
2 |
2 |
|
Белые мыши |
10 |
9 |
6 |
6 |
В дополнение к данным газового анализа, приведенным в табл.6, 13, 19, следует отметить, что концентрации оксида углерода и диоксида углерода при испытаниях хладонов варьировали соответственно в диапазонах 0 - 0,04 % об. и 0,09 - 0,29 % об., при этом концентрация кислорода в объеме испытательной камеры не снижалась более чем на 1 % об. Данные определений этих газов в экспериментах с гексафторидом серы отличались тем, что концентрация диоксида углерода повышалась до 1,25 % об., а концентрация кислорода уменьшалась до 16,5 % об.
Обобщение полученных данных
В проведенных исследованиях показано, что воздействие химически чистых хладонов и элегаза в нормативных огнетушащих концентрациях не приводит к развитию у подопытных животных явно выраженной интоксикации. Влияние испытываемых веществ на живой организм обнаруживалось лишь по урежению дыхания у белых крыс, устойчиво воспроизводимому во время экспозиции, но быстро обратимому после ее окончания. Такое отклонение функции дыхания от физиологической нормы свидетельствует, по всей вероятности, о слабом раздражающем действии огнетушащих агентов на, слизистую оболочку дыхательных путей.
Другие проявления биологического действия газовых ОТВ в нормативных концентрациях отмечались только в опытах с хладоном 114В2. В них, в частности, визуально регистрировалось двигательное возбуждение животных, особенно сильное у белых мышей, а методом электрокардиографии - увеличение числа сердечных сокращений у белых крыс. Судя по этим симптомам, хладон 114В2 в нормативной огнетушащей концентрации (1,9 % об., 220 г·м-3) вызывает у подопытных животных изменения состояния организма, характерные для первой стадии наркоза (стадии возбуждения) и, следовательно, обладает в сравнении с другими испытанными веществами значимо большей биологической активностью. Такое заключение не противоречит имеющимся сведениям о токсичности хладона 114В2, его наркотическом действии и других биоэффектах.
При испытаниях в режиме «пожаротушения» время выпуска огнетушащих веществ в объем испытательной камеры, где находилась емкость с горящим н-гептаном, ограничивалось диапазоном 6 - 15 с, тогда как время тушения изменялось в более широких пределах: от 4 - 5 с в опытах с хладоном 114В2 до 35 - 44 с в опытах с элегазом. Хладон 318Ц вызывал эффект тушения за 16 - 25 с от начала его выпуска из стандартного баллона.
Установлено, что при тушении н-гептана указанными веществами образуются летучие продукты термического разложения. Об их количестве можно судить по концентрации фтороводорода в газовоздушной среде испытательной камеры, а в опытах с элегазом, кроме того, и по концентрации диоксида серы. Как наиболее безопасный проявил себя хладон 114В2, при испытаниях которого количество образующегося фтороводорода оказалось в 50 - 100 раз меньше, чем при испытаниях хладона 318Ц и элегаза.
Данные о состоянии подопытных животных показали, что продукты термического разложения хладона 114В2 не вызывали токсических эффектов и не оказывали заметного влияния на биологическое действие исходного вещества. В опытах же с хладоном 318Ц и элегазом у подопытных животных отмечались признаки интоксикации тяжелой степени, прежде всего характерные нарушения деятельности сердца и органов дыхания. При этом летальность в выборках животных составляла от 20 до 80 %.
Следовательно, хладон 318Ц и элегаз разлагаются при контакте с пламенем с образованием продуктов разложения в количествах, при которых газовоздушная среда в экологически замкнутом пространстве становится несовместимой с жизнью.
При оценке опасности экстремального воздействия газовых ОТВ в условиях применения следует учитывать их параметры острой токсичности (СL50, Limas), величины LOAEL и NOAEL, допустимые концентрации при нормальных условиях (ПДК, ОБУВ) и чрезвычайных ситуациях (МДК). Важно также иметь подборку токсикологических данных по продуктам термического разложения, пример которой приведен в табл. 22.
Таблица 22
Токсические и допустимые концентрации фтороводорода при кратковременных воздействиях
|
Номер п/п |
Определения концентраций |
Значения концентраций, мг·м-3 |
|
1 |
Приблизительно летальная концентрация при 15-мин воздействии |
2050 |
|
2 |
Концентрации, опасные для жизни и здоровья при кратковременных (30 - 60 мин) воздействиях |
40 - 210 |
|
3 |
IDLH - непосредственно опасная концентрация, но позволяющая человеку, не имеющему средств индивидуальной защиты, выйти из зоны аварии без необратимых нарушений здоровья |
25 |
|
4 |
Максимальные концентрации, допустимые в аварийных условиях при времени воздействия: |
|
|
10 мин |
17 |
|
|
30 мин |
8,5 |
В табл. 23 изложены критерии оценки, устанавливающей три степени опасности газовых ОТВ в условиях объемного пожаротушения. Для каждой степени дана базовая характеристика и указаны ожидаемые результаты испытаний огнетушащих газов. Соответствие испытываемого вещества той или иной степени опасности выявляют при сопоставлении огнетушащих концентраций и вызывающих такие нарушения в организме человека, которые являются критическими для выживания. При этом учитывают также вероятность образования при пожаротушении токсических концентраций продуктов термического разложения (по фтороводороду больше 40 мг · м-3).
Таблица 23
Критерии оценки опасности токсического воздействия газовых огнетушащих веществ в условиях объемного пожаротушения
|
Степень опасности огнетушащего вещества |
Базовая характеристика |
Обобщенные данные испытаний |
|
1 |
Нормативная величина огнетушащей концентрации больше величины концентрации, опасной для жизни и здоровья человека при кратковременном воздействии |
При кратковременном (до 15 мин) воздействии на лабораторных животных огнетушащего вещества в нормативной концентрации могут отмечаться клинически выраженные нарушения состояния организма и/или регистрируется существенное снижение физической работоспособности |
|
2 |
Нормативная величина огнетушащей концентрации меньше величины концентрации, опасной для жизни и здоровья человека, но в условиях пожаротушения возможно образование токсических концентраций продуктов термического разложения огнетушащего вещества |
Симптомокомплекс тяжелого отравления (с возможным летальным исходом в группах подопытных животных) проявляется только при испытаниях с модельным очагом пожара. Концентрация продуктов термического разложения огнетушащего вещества по фтороводороду превышает 40 мг · м-3 |
|
3 |
Огнетушащее вещество в нормативной огнетушащей концентрации не представляет опасности для жизни и здоровья человека. Токсическое воздействие продуктов его термического разложения исключено или маловероятно |
При испытаниях не регистрируются признаки отравления и изменения показателей состояния организма, свидетельствующие о существенном снижении его функциональных возможностей. Продукты термического разложения огнетушащего вещества отсутствуют или их концентрация по фтороводороду не превышает 40 мг · м-3 |
Так, по этим критериям хладон 114В2 и диоксид углерода соответствуют первой степени опасности, элегаз - второй, а инертные газы - третьей степени опасности в условиях объемного пожаротушения.
По завершении испытания газового огнетушащего вещества составляют отчет. В нем приводят паспортные данные объекта испытания, указывают дату и место проведения испытаний, условия и методику испытаний, установленные значения показателей опасности, дают оценку полученных данных в соответствии с принятыми критериями. Отчет составляет независимая организация (лаборатория), проводившая испытания.
Заключение по результатам испытаний выдает организация, аккредитованная государственной санитарно-эпидемиологической службой МЗ России в области токсиколого-гигиенической оценки средств пожаротушения.
Для противопожарной защиты промышленных и административных зданий, транспортных и других объектов всё более широкое применение находят установки объёмного аэрозольного пожаротушения. Исполнительными устройствами таких установок служат генераторы огнетушащего аэрозоля, в которых в качестве зарядов аэрозолеобразующих составов (АОС) используются специально сформованные гетерогенные смеси окислителя (нитрат калия, перхлорат калия), горючего-связующего (фенолформальдегидная смола, эпоксидные смолы, каучуки и др.) и целевых добавок (стабилизаторы, катализаторы и/или др.).
В нормальных условиях заряды АОС обладают химической стабильностью, но при нагреве (от электроспирали, пиропатрона, очага пожара) начинают интенсивно гореть с выделением в окружающее пространство твердофазного огнетушащего аэрозоля. Соотношение в нём по массе твёрдой и газовой фаз может быть различным, но для обеспечения высокой огнетушащей эффективности аэрозоля оно должно находиться в пределах 50/50 - 40/60.
Твёрдая фаза аэрозоля состоит преимущественно из тонкодисперсных частиц солей и гидроксидов щелочных металлов (К2СО3·2Н2О, КНСО3, КОН, КСl, КNO2 и др.). Массовая доля частиц размерами от 0,1 до 5 мкм может составлять 90 %. Вследствие малых размеров частиц огнетушащий аэрозоль способен длительное время находиться во взвешенном состоянии, занимая весь объём защищаемого помещения.
В газовой фазе продуктов горения АОС преобладают азот и диоксид углерода. Кроме того, в ней обнаруживаются оксид углерода, оксиды азота (NОx); пары воды. Дополнительно могут присутствовать аммиак (NН3), хлороводород (НСl), циановодород (НСN), углеводороды и некоторые другие соединения.
Многокомпонентный состав огнетушащего аэрозоля с широким спектром вредных для здоровья человека веществ предопределяет токсическую опасность среды, формирующейся в замкнутом пространстве при срабатывании ГОА. В качестве примера такого состава могут служить результаты физико-химического анализа среды испытательной камеры после сгорания в ней образцов тушащих композиций опытных рецептур (табл. 24).
К наиболее опасным компонентам продуктов горения АОС относят чаще всего оксид углерода, оксиды азота твёрдые частицы аэрозоля. Выраженное токсическое действие газоаэрозольных смесей проявляется в тех случаях, когда концентрации СО и NОx превышают допустимые в аварийных условиях. При низком содержании этих газов превалируют эффекты раздражающего действия смесей на кожу, слизистые оболочки глаз, но главным образом на дыхательные пути вследствие проникновения в них в больших количествах твёрдых частиц солей калия и других соединений. Чем выше дисперсность аэрозоля, тем глубже проникают твёрдые частицы в дыхательные пути, вызывая химическое раздражение слизистой оболочки бронхов и лёгочных альвеол.
Таблица 24
Данные о составе продуктов горения ОАС
|
АОС удельный расход |
Компоненты |
Относительное содержание фракций твердых частиц, % |
||||
|
газовой фазы,
|
конденсированной фазы, % масс |
меньше 2 мкм |
2 - 5 мкм |
5 - 10 мкм |
больше 10 мкм |
|
|
АОС-1, 40 г · м-3 |
CO - 425 |
K2CO3·2H2O - 34,5 |
51 |
35 |
11 |
3 |
|
CO2 - 14732 |
KHCO3 - 29,0 |
|||||
|
NOx - 300 |
KNO2 - 8,2 |
|||||
|
NH3 - 25 |
KOCN - 28,3 |
|||||
|
HCN - не обн. |
NH4HCO3 - нe обн. |
|||||
|
АОС-2, 60 г · м-3 |
CO - 500 |
K2CO3·2H2O - 52,7 |
42 |
43 |
13 |
2 |
|
CO2 - 24380 |
KHCO3 - 8,2 |
|||||
|
NOx - 112 |
KNO2 - 7,9 |
|||||
|
NH3 - 20 |
KOCN - 3,5 |
|||||
|
HCN - 3,5 |
NH4HCO3 - 25,7 |
|||||
Токсическая опасность огнетушащего аэрозоля зависит от химического состава заряда АОС, соотношения его реагентов (окислителя и горючего), включения в рецептуру тушащей композиции катализаторов низкотемпературного окисления оксида углерода и восстановления оксидов азота и других целевых добавок. К факторам, оказывающим влияние на эту характеристику огнетушащего аэрозоля, относят, кроме того, дисперсность исходных компонентов и технологию изготовления заряда, оборудование генератора охлаждающими конструктивными элементами или блоками химических поглотителей тепла. Считают, что более выраженную токсичность огнетушащих аэрозолей следует ожидать в тех случаях, когда для их получения используют:
- составы из крупнодисперсных исходных компонентов (более 100 мкм);
- составы с нестехиометрическим соотношением горючего и окислителя, «обогащенные» по горючему компоненту;
- генераторы, снаряжённые охлаждающими веществами.
Специалисты полагают, что при использовании ГОА с различного рода охлаждающими насадками получаемый огнетушащий аэрозоль (особенно при горении нестехиометрических составов и составов из крупнодисперсных компонентов) может содержать в 1,5 - 5 раз больше токсичных веществ (СО, NН3, Сl-, NОx и т. д.) - Это следует учитывать при обосновании целесообразности противопожарной защиты на основе АОС и разработке мероприятий по обеспечению безопасности людей.
Имеются и экспериментальные подтверждения существенной зависимости уровней выделения токсичных газов от вышеназванных факторов. Примером могут служить результаты сравнительных испытаний зарядов и моделей ГОА. Выборочно они приведены в табл. 25. Особенно контрастными являются данные о концентрациях оксида углерода в испытательной камере, показывающие, в какой степени снаряжение ГОА охлаждающим веществом и содержание окислителя в заряде АОС могут изменять выделение токсиканта в составе огнетушащего аэрозоля.
По всей вероятности, ещё не изучены все факторы, которые могут оказывать влияние на показатели токсической опасности огнетушащих аэрозолей, получаемых при работе ГОА. Тем не менее имеются достаточные основания считать, что оценка качества генераторов, осуществляемая для обеспечения токсикологической безопасности при их применении, должна основываться на результатах испытаний не изолированных зарядов АОС, а изделий в целом.
К началу XXI века в России 12 основных предприятий-разработчиков ГОА создали около 20 рецептур АОС, пригодных для использования в качестве зарядов генераторов, и почти 100 типов и модификаций ГОА с широким диапазоном тактико-технических данных. Наиболее перспективные модификации ГОА прошли межведомственные и/или сертификационные испытания и рекомендованы для серийного производства и применения в установках аэрозольного пожаротушения. Разрешённая область применения таких установок включает также помещения, в которых может одновременно находиться до 50 человек.
Таблица 25
|
Объект испытания |
Масса заряда, г |
Объем испытательной камеры, м3 |
Концентрация газа, мг · м-3 |
||||
|
СО |
СО2 |
HCN |
NOx |
NH3 |
|||
|
Изолированный фрагмент заряда состава № 1 |
13 |
0,147 |
343 |
19800 |
Не обнаружен |
10 |
Не обнаружен |
|
Модель генератора без охладителя, заряд состава № 1 |
92 |
1,00 |
572 |
23400 |
10 |
Не обнаружен |
50 |
|
Модель генератора с охладителем (мраморной крошкой в количестве 91 г) и зарядом состава № 1 |
91 |
1,00 |
4800 |
18000 |
10 |
Не обнаружен |
350 |
|
Модель генератора с охладителем (мраморной крошкой в количестве 1300 г) и зарядами: |
|
|
|
|
|
|
|
|
состава № 1 (α = 0,68) |
1070 |
11,85 |
4000 |
18360 |
13 |
30 |
Не обнаружен |
|
состава № 4 (α = 0,82) |
1070 |
11,85 |
3435 |
14400 |
15 |
40 |
50 |
|
состава № 5 (α = 0,89) |
1050 |
11,85 |
920 |
14400 |
Не обнаружен |
50 |
Не обнаружен |
|
состава № 6 (α = 0,99) |
1110 |
11,85 |
460 |
15840 |
Не обнаружен |
106 |
Не обнаружен |
|
состава № 3 (α = 1,02) |
1110 |
11,85 |
1360 |
15840 |
15 |
100 |
Не обнаружен |
Примечание. α - коэффициент обеспеченности АОС окислителем.
Актуально решение такой практической задачи, как оценка токсической опасности огнетушащих аэрозолей, являющейся важной эксплуатационной характеристикой генераторов, прежде всего предназначенных для противопожарной защиты помещений с постоянным или периодическим (в течение рабочей смены) присутствием людей.
Рассматриваемый метод испытаний ГОА предназначен для оценки токсической опасности огнетушащих аэрозолей в условиях применения. Его сущность заключается в экспериментальном пуске генератора огнетушащего аэрозоля и определении после его срабатывания показателей, качественно и количественно характеризующих токсическую опасность среды в объеме испытательного помещения.
Определяют следующие показатели:
- концентрации оксида углерода, диоксида углерода, оксидов азота, аммиака, циановодорода в анализируемой среде;
- суммарный индекс опасности газов;
- выживаемость подопытных животных, наблюдаемые изменения их поведения и общего состояния как во время экспозиции, так и в последующие 10 суток;
- физическую работоспособность;
- частоту и ритм сокращений сердца;
- частоту дыхания;
- содержание в крови карбоксигемоглобина и метгемоглобина.
Примечание. Данный перечень является базовым. Допускается включать в него другие информативные показатели опасности воздействия огнетушащих аэрозолей. В частности, концентрации галогеноводородов и других газов, если имеются основания предполагать их выделение при работе ГОА в токсикологически значимых количествах, и гистологическую картину (описание микроскопических изменений) бронхов и легких - при наличии клинически обнаруживаемых нарушений дыхания, не исчезающих в течение срока наблюдения за подопытными животными.
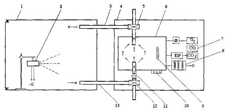
Для проведения испытаний ГОА может использоваться технический комплекс (рис. 3), основными частями которого являются:
- испытательное помещение;
- блок циркуляции газоаэрозольных продуктов;
- кабина оператора.
Испытательное помещение переменного объема должно удовлетворять по геометрическим размерам и параметру негерметичности требованиям Норм пожарной безопасности (НПБ 60-97). Его оборудуют дверью, клапаном вытяжной вентиляции и стапель-устройством для крепления испытываемых образцов ГОА.
Блок циркуляции газоаэрозольных продуктов состоит из двух патрубков большого диаметра (210 мм), соединяющих по замкнутому циклу объем испытательного помещения с объемом экспозиционной камеры, клапанов переключения потока газов и взвешенных частиц (на прокачку через экспозиционную камеру или на выброс в атмосферу) и низконапорного вентилятора, расположенного внутри одного из патрубков вблизи с его выходом в экспозиционную камеру.
Кабина оператора представляет собой изолированное помещение, в котором размещают:
- камеру для экспозиции животных вместимостью 0,2 м3. Она имеет форму параллелепипеда, выполнена из стали и сверху закрыта съемной крышкой из прозрачного материала. На ее стенках расположены штуцеры присоединения линий пробоотбора газов и кабельный разъем для подключения электрокардиографа;
- блок пробоотбора и анализа газов, содержащий гибкие соединительные трубки, фильтры очистки и побудитель расхода газа, автоматические газоанализаторы СО (с диапазоном измерений 0 - 1 % об.), СО2 (0 - 10 % об.), О2 (0 - 21 % об.), автоматическое устройство, предназначенное для отбора проб при анализе огнетушащего аэрозоля на содержание NН3, NOx, HCN и других токсичных газов;
- многоканальный электрокардиограф для записи ЭКГ у подопытных животных и регистрации у них актов дыхания;
- термометр лабораторный любого типа (с диапазоном измерений 0- 100°С и погрешностью не более 1°С), служащий для контроля температуры газов в объеме экспозиционной камеры;
- блок электропитания с элементами электрических цепей включения измерительных приборов (220 В), запуска испытываемого генератора (до 30 В), подачи напряжения на низконапорный вентилятор (12 В).

Рис. 3. Комплекс для проведения токсикологических испытаний генераторов огнетушащего аэрозоля:
1 - испытательное помещение; 2 - ГОА на стапель-устройстве (~U - подключение к цепи запуска); 3, 13 - патрубки; 4 - кабина оператора; 5, 12 - клапаны переключения потока газоаэрозольных продуктов; 6 - камера для экспозиции животных; 7 - автоматические газоанализаторы СО, СO2, O2 (ПР - побудитель расхода газа, Ф - фильтр очистки газа); 8 -устройство пробоотбора для газового анализа; 9 - термометр; 10 - кабельный разъём для подключения электрокардиографа; 11 - вентилятор
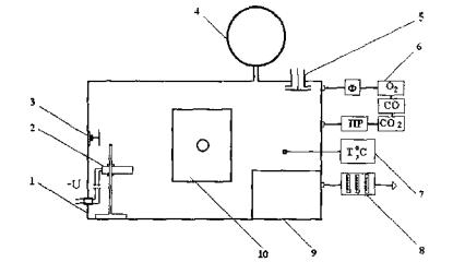
Для испытаний генераторов с массой заряда АОС не более 0,1 кг применяют установку (рис. 4) с испытательной камерой вместимостью 1 м3. Конструктивно и по составу она аналогична установке, используемой при проведении токсикологических испытаний газовых ОТВ (см. рис. 1). Отличие заключается в том, что из испытательного оборудования изымается система подачи огнетушащего газа и емкость для горючей жидкости с электровоспламенителем, но вводятся электрические проводники цепи запуска ГОА и штатив для крепления испытываемого образца в объеме камеры.
Для проведения испытаний необходимы и другие средства измерений, не входящие в состав испытательного оборудования: спектрофотометр, резервуар для плавания белых мышей, элементы устройства для регистрации частоты дыхания, химические реактивы и лабораторные животные - беспородные белые мыши и белые крысы с массой тела 18 - 25 и 180 - 250 г соответственно.
Для испытаний берут образцы ГОА одной партии, к которым должны быть приложены паспорт и руководство по эксплуатации.
Перед испытанием ГОА устанавливают объем испытательного помещения, который должен соответствовать указанному в паспорте изделия защищаемому объему. Проверяют герметичность и заземление испытательного помещения, исправность приборов и оборудования, эффективность вентиляции. Закрепляют на стапеле один или несколько образцов ГОА с последующим присоединением их к цепи запуска. Плотно закрывают дверной проем испытательного помещения и канал вытяжной вентиляции. Клетки и/или индивидуальные «домики» с животными размещают в экспозиционной камере, которую также закрывают.
При испытании осуществляют дистанционный пуск ГОА подачей электрического сигнала (если в технической документации на испытываемый образец не указан другой способ). После срабатывания ГОА отмечают начало экспозиции животных и обеспечивают с помощью низконапорного вентилятора прокачку газоаэрозольной среды через экспозиционную камеру.

Рис. 4. Схема установки для проведений токсикологических испытаний ГОА
1 - испытательная камера; 2 - штатив с генератором огнетушащего аэрозоля; 3 - вентилятор перемешивания газовой среды; 4 - устройство компенсации избыточного давления; 5 - клапан продувки; 6 - линия подключения автоматических газоанализаторов (Ф - фильтр очистки газа, ПР - побудитель расхода газа); 7 - термометр термоэлектрический; 8 - устройство пробоотборное; 9 - бокс для животных; 10 - дверца камеры со смотровым окном
В течение времени экспозиции животных (15 или 5 мин) выполняют все необходимые операции, контролируют температуру в объеме экспозиционной камеры, которая не должна превышать 30°С, выполняют все необходимые операции для измерения концентраций токсичных газов и СО2 в анализируемой среде, наблюдают за поведением подопытных животных, регистрируют их дыхание и сердечную деятельность.
По истечении времени экспозиции открывают дверной проем испытательного помещения, включают вытяжную вентиляцию с тем, чтобы обеспечить в нем многократный воздухообмен. Проводят постэкспозиционное обследование животных.
При испытаниях генераторов огнетушащего аэрозоля соблюдают инструкцию по охране труда, в которой должны быть изложены требования безопасности при работе на задействованном испытательном оборудовании, сборке и пуске ГОА (согласно руководству по эксплуатации), обращении с вредными химическими веществами и лабораторными животными.
Значения показателей, качественно и количественно характеризующих опасность токсического воздействия огнетушащих аэрозолей, определяют при испытаниях ГОА, применяя следующие методики.
Концентрации оксидов углерода в газоаэрозольной среде испытательного помещения находят по показаниям автоматических газоанализаторов, имеющих свидетельство о поверке.
Концентрации NOx, NН3, НСN, НСl определяют по методикам, разрешенным Госстандартом РФ для выполнения измерений содержания указанных веществ в промышленных выбросах с допустимой погрешностью ± 25 %.
За результат определения принимают средние концентрации газов в повторных испытаниях ГОА. При их анализе в качестве реперов могут быть использованы значения токсических и допустимых концентраций газов, известные из литературных источников (табл. 26).
Величину суммарного индекса опасности газов рассчитывают по формуле аддитивности:
, (2)
где Iad - суммарный (аддитивный) индекс опасности
токсического воздействия компонентов огнетушащего аэрозоля; i
- вредное вещество;
- концентрация вредного вещества, установленная при
испытаниях ГОА;
- концентрация
вредного вещества, опасная для жизни человека при 15-мин воздействии, в
частности, СО - 3500 мг · м -3, СО2 - 130000 мг · м-3,
NOx - 300 мг · м-3, НСN
- 100 мг ·
м-3, NH3 - 700 мг · м-3.
Таблица 26
Токсические и допустимые концентрации газообразных компонентов продуктов горения АОС
|
Газы |
Концентрации, мг · м-3 (при времени воздействия 5 - 15 мин) |
||
|
смертельные для животных |
опасные для жизни человека и смертельные |
допустимые в аварийных условиях |
|
|
Оксид углерода |
6000 - 9000* |
3500 - 5700 |
400 - 700 |
|
Диоксид углерода |
1000000* (54,9 % об.) |
130000 - 200000 (7 - 11 %об.) |
27000 (1,5 % об.) |
|
Оксиды азота (в пересчете на NO2) |
400 - 1500** |
300 - 700 |
35 - 60 |
|
Циановодород |
200 - 380* |
100 - 300 |
10 - 20 |
|
Аммиак |
10000 - 18000** |
700 - 3000 |
30 - 40 |
Примечание.* Для белых мышей; ** для белых крыс.
Регистрацию общего состояния и выживаемости подопытных животных, определение их физической работоспособности, частоты и ритма сокращений сердца, частоты дыхания проводят по тем же методикам, что и в токсикологических испытаниях газовых ОТВ (см. раздел 1.2.4).
Содержание в крови подопытных животных карбоксигемоглобина (НbСО, %) и метгемоглобина (МetHb, %), являющихся специфическими показателями токсического действия оксида углерода и оксидов азота, устанавливают путем проведения серийных спектрофотометрических анализов. Для этого берут пробы крови у 8 - 10 белых мышей, умерщвленных декапитацией в первые минуты после экспозиции.
Пробы крови для определения карбоксигемоглобина объемом 0,02 мл вносят пипеткой в пробирки, содержащие по 4 мл фосфатного буфера (К, Na - фосфатный буфер, рН = 7,36). Пробирки слегка взбалтывают. Через 2 - 3 мин выдержки 3 мл полученного гемолизата переносят в спектрофотометрическую кювету и добавляют дозатором реактив-восстановитель (гидросульфид натрия Na2S2O4).
Кювету закрывают крышкой, перемешивают содержимое и проводят измерение его оптической плотности при длине волны 538 и 550 нм. Содержание карбоксигемоглобина (%) рассчитывают по формуле:
, (3)
где D538 - оптическая плотность гемолизата при длине волны 538 нм; D550 - оптическая плотность гемолизата при длине волны 550 нм.
Для определения метгемоглобина 0,1 мл крови от каждого животного помещают в пробирки с 4,9 мл дистиллированной воды. После полного гемолиза добавляют в пробирки по 5 мл буферного раствора (К, Na - фосфатный буфер, рН = 6,8). Содержимое пробирок перемешивают и центрифугируют при 4500 об мин-1 в течение 10 мин. Прозрачный раствор гемолизата отделяют от осадка и фотометрируют относительно буферного раствора в кювете с толщиной слоя жидкости 10 мм при длине волны 630 нм. Затем в кювету опускают одну каплю 5 %-го раствора ацетонциангидрина и через 3 мин измеряют оптическую плотность гемолизата при той же длине волны. С последующим внесением в гемолизат двух - трех кристалликов красной кровяной соли и 3-мин выдержкой измеряют его оптическую плотность при длине волны 540 нм.
Содержание метгемоглобина (%) в крови рассчитывают по формуле:
, (4)
где D1 - оптическая плотность гемолизата при длине волны 630 нм; D2 - оптическая плотность гемолизата при длине волны 630 нм после добавления ацетонциангидрина; D3 - оптическая плотность гемолизата при длине волны 540 нм.
Для гистологического исследования берут легкие погибших или умерщвленных декапитацией подопытных белых крыс. После регистрации макроскопических изменений помещают легкие в 10 %-й водный раствор формалина. Гистологическую обработку и исследование препаратов проводят в лабораториях, оснащенных специальным оборудованием. Контролем служат органы интактных животных.
В качестве примеров, иллюстрирующих фактические значения показателей опасности токсического воздействия огнетушащих аэрозолей, ниже приведены данные испытаний трех разновидностей ГОА. Элементы и некоторые характеристики этих генераторов указаны в табл. 27.
Таблица 27
Краткие сведения об образцах ГОА, взятых для токсикологических испытаний
|
ГОА |
Элементы снаряжения ГОА |
|||||
|
Заряд (марка АОС) |
Масса заряда, кг |
Охладитель |
Масса охладителя, кг |
Объем защища-емый ГОА, м3 |
Способ |
|
|
«ПУРГА-МХ» |
ПАС-47М |
1,2 |
0Х-11М |
1,4 |
10 |
Электрическим сигналом |
|
«ПУРГА-К02» |
СБК-3 |
0,2 |
0Х-11М |
0,3 |
2 |
То же |
|
«ПУРГА-КА-1,2» |
ПАС-47М |
1,0 |
Без охладителя |
- |
16 |
Зажиганием термошнура |
Результаты испытаний ГОА представлены в табл. 28-42.
Данные из протоколов испытаний генератора «ПУРГА-МХ»
Таблица 28
Концентрации газов при испытаниях генератора «ПУРГА-МХ» (15 мин)
|
Определяемый газ |
Концентрация газа, мг · м-3 |
||
|
в опыте 1 |
в опыте 2 |
средняя для двух опытов |
|
|
СО |
5389 |
6193 |
5791 |
|
СО2 |
8650 |
12254 |
10452 |
|
NOx |
170 |
50 |
110 |
|
NH3 |
Не обнаружен |
Не обнаружен |
|
|
HCN |
Не обнаружен |
Не обнаружен |
|
Примечание. Здесь и далее в скобках указана продолжительность испытания
Таблица 29
Выживаемость животных при испытаниях генератора «ПУРГА-МХ» (15 мин)
|
Вид животных |
Взято в опыт особей |
Выжило по окончании экспозиции |
Взято под наблюдение |
Выжило через сутки |
Выжило через 10 суток |
|
Белые крысы |
8 |
8 |
6 |
6 |
6 |
|
Белые мыши |
10 |
5 |
5 |
5 |
5 |
Таблица 30
Частота сокращений сердца (ЧСС) и частота дыхания (ЧД) у белых крыс при испытаниях генератора «ПУРГА-МХ» (15 мин)
|
Показатель |
До экспозиции |
На минуте экспозиции |
После экспозиции |
|||
|
1-й |
5-й |
10-й |
15-й |
|||
|
ЧСС, ударов |
480 |
450 |
430 |
70* |
370 |
430 |
|
в минуту |
490 |
320* |
360 |
390 |
420* |
420 |
|
ЧД, дыханий |
112 |
100 |
80 |
76 |
108 |
104 |
|
в минуту |
110 |
72 |
80 |
92 |
100 |
100 |
Примечание. *Зарегистрирована экстрасистолия
Таблица 31
Содержание дериватов гемоглобина в крови белых мышей при испытаниях генератора «ПУРГА-МХ» (15 мин)
|
Номер животного |
HbCO, % |
МеtHb, % |
|
1 |
48,3 |
4,7 |
|
2 |
- |
- |
|
3 |
56,0 |
5,8 |
|
4 |
- |
- |
|
5 |
59,8 |
4,7 |
|
6 |
- |
- |
|
7 |
46,8 |
5,1 |
|
8 |
- |
- |
|
9 |
59,8 |
5,3 |
|
10 |
- |
- |
Примечание.В среднем по группе животных HbCO = 54,1 %, МеtHb = 5,1 %. Суммарно содержание HbCO и МеtHb составляет 59,2 %. Прочерк означает, что определение не проводилось по причине гибели животного.
Данные из протоколов испытаний генератора «ПУРГА-К02»
Таблица 32
Концентрации газов при испытаниях генератора «ПУРГА-К02» (15 мин)
|
Определяемый газ |
Концентрация газа, мг · м-3 |
||
|
в опыте 1 |
в опыте 2 |
средняя для двух опытов |
|
|
CO |
1660 |
2290 |
1975 |
|
CO2 |
10800 |
13500 |
12150 |
|
NOx |
300 |
280 |
290 |
|
NH3 |
250 |
150 |
200 |
Таблица 33
Выживаемость
животных при испытаниях генератора
«ПУРГА-К02» (15 мин)
|
Вид животных |
Взято в опыт особей |
Выжило по окончании экспозиции |
Взято под наблюдение |
Выжило через сутки |
Выжило через 10 суток |
|
Белые крысы |
8 |
8 |
5 |
5 |
5 |
|
Белые мыши |
10 |
10 |
10 |
10 |
10 |
Таблица 34
Показатель работоспособности белых мышей до и после воздействия огнетушащего аэрозоля при испытаниях генератора «ПУРГА-К02» (15 мин)
|
Номер животного |
Среднее время проплыва дистанции 1,5 м, с |
|||||
|
до экспозиции |
после экспозиции |
|||||
|
1 |
5,71 |
7,05 |
||||
|
2 |
5,63 |
6,41 |
||||
|
3 |
5,70 |
7,27 |
||||
|
4 |
5,80 |
6,68 |
||||
|
5 |
6,49 |
7,01 |
||||
|
6 |
7,91 |
6,43 |
||||
|
7 |
6,67 |
6,45 |
||||
|
8 |
6,65 |
7,12 |
||||
|
9 |
6,67 |
6,77 |
||||
|
10 |
|
7,31 |
|
|
7,04 |
|
|
X ± m = 6,45 ± 0,87 |
X ± m = 6,82 ± 0,02 |
|||||
Таблица 35
Частота сокращений сердца (ЧСС) и частота дыхания (ЧД) у белых крыс при испытаниях генератора «ПУРГА-К02» (15 мин)
|
Показатель |
До экспозиции |
На минуте экспозиции |
После экспозиции |
|||
|
1-й |
5-й |
10-й |
15-й |
|||
|
ЧСС, ударов |
480 |
350 |
420 |
450 |
460 |
470 |
|
в минуту |
460 |
390 |
360 |
470 |
480 |
480 |
|
ЧД, дыханий |
88 |
72 |
76 |
76 |
84 |
88 |
|
в минуту |
112 |
68 |
76 |
76 |
80 |
104 |
Таблица 36
Содержание дериватов гемоглобина в крови белых мышей при испытаниях генератора «ПУРГА-К02» (15 мин)
|
Номер животного |
HbCO, % |
МеtHb, % |
|
1 |
17,6 |
25,0 |
|
2 |
22,9 |
14,2 |
|
3 |
24,2 |
16,6 |
|
4 |
22,7 |
11,1 |
|
5 |
24,2 |
25,0 |
|
6 |
22,9 |
28,8 |
|
7 |
15,1 |
20,2 |
|
8 |
19,6 |
18,2 |
|
9 |
18,2 |
19,6 |
|
10 |
16,2 |
13,2 |
Примечание. В среднем по группе животных HbCO = 20,4 %, МеtHb =17,7 %. Суммарно содержание HbCO и МеtHb составляет 38,1 %.
Таблица 37
Данные, полученные в дополнительных испытаниях генератора «ПУРГА-К02» (5 мин)
|
Показатель опасности огнетушащего аэрозоля |
Фактическое значение показателя |
|
Концентрация газа, мг · м-3: |
|
|
СО |
2415 |
|
СО2 |
9540 |
|
NOx |
200 |
|
NH3 |
80 |
|
Суммарный индекс опасности (I ad) |
1,57 |
|
Выживаемость, %: |
|
|
белых крыс |
100 |
|
белых мышей |
100 |
|
Содержание в крови дериватов гемоглобина (в среднем у 10 мышей), %: |
|
|
карбоксигемоглобина |
12,1 |
|
метгемоглобина |
9,6 |
|
суммарно |
21,7 |
Данные из протоколов испытании генератора «ПУРГА-КА-1,2»
Таблица 38
Концентрации газов при испытаниях генератора «ПУРГА-КА-1,2» (15 мин)
|
Определяемый газ |
Концентрация газа, мг · м-3 |
||
|
в опыте 1 |
в опыте 2 |
Средняя для двух опытов |
|
|
СО |
92 |
103 |
98 |
|
СО2 |
14400 |
21600 |
18800 |
|
NOx |
150 |
190 |
170 |
|
NH3 |
Не обнаружен |
Не обнаружен |
|
|
НСl |
Не обнаружен |
Не обнаружен |
|
Таблица 39
Выживаемость животных при испытаниях генератора «ПУРГА-КА-1,2» (15 мин)
|
Вид животных |
Взято в опыт особей |
Выжило по окончании экспозиции |
Взято под наблюдение |
Выжило через сутки |
Выжило через 10 суток |
|
Белые крысы |
8 |
8 |
5 |
5 |
5 |
|
Белые мыши |
10 |
10 |
10 |
10 |
10 |
Таблица 40
Показатель работоспособности белых мышей до и после воздействия огнетушащего аэрозоля при испытаниях генератора «ПУРГА-КА-1,2» (15 мин)
|
Номер животного |
Среднее время проплыва дистанции 1,5 м, с |
|||||
|
до экспозиции |
после экспозиции |
|||||
|
1 |
7,95 |
5,62 |
||||
|
2 |
7,42 |
6,43 |
||||
|
3 |
7,05 |
6,54 |
||||
|
4 |
7,46 |
6,96 |
||||
|
5 |
6,23 |
6,91 |
||||
|
6 |
7,60 |
6,08 |
||||
|
7 |
6,10 |
6,48 |
||||
|
8 |
6,58 |
6,40 |
||||
|
9 |
6,75 |
7,74 |
||||
|
10 |
|
8,14 |
|
|
7,70 |
|
|
X ± m = 7,13±0,11 |
X ± m = 6,59 ± 0,07 |
|||||
Таблица 41
Частота сокращений сердца (ЧСС) и частота дыхания (ЧД) у белых крыс при испытаниях генератора «ПУРГА-КА-1,2» (15 мин)
|
Показатель |
До экспозиции |
На минуте экспозиции |
После экспозиции |
|||
|
1-й |
5-й |
10-й |
15-й |
|||
|
ЧСС, ударов |
480 |
310 |
320 |
340 |
330 |
450 |
|
в минуту |
490 |
390 |
460 |
470 |
450 |
490 |
|
ЧД, дыханий |
92 |
76 |
84 |
108 |
108 |
100 |
|
в минуту |
110 |
64 |
92 |
96 |
100 |
105 |
Таблица 42
|
Номер животного |
HbCO, % |
МеtHb, % |
|
1 |
1,4 |
18,2 |
|
2 |
3,0 |
4,2 |
|
3 |
3,0 |
3,0 |
|
4 |
5,9 |
10,0 |
|
5 |
8,6 |
16,0 |
|
6 |
6,7 |
20,0 |
|
7 |
4,8 |
3,5 |
|
8 |
6,6 |
3,7 |
|
9 |
7,4 |
3,9 |
|
10 |
5,2 |
6,5 |
Примечание. В среднем по группе животных HbCO = 5,2 %, МеtHb = 8,9 %. Суммарно содержание HbCO и МеtHb равно 14,1 %.
В обобщенном виде данные испытаний генераторов огнетушащего аэрозоля «ПУРГА-МХ», «ПУРГА-К02» «ПУРГА-КА-1,2» представлены в таблице 43.
Таблица 43
Обобщенные данные токсикологических испытаний ГОА
|
ГОА |
Показатели опасности огнетушащего аэрозоля |
||
|
Средние концентрации газов, мг · м-3 |
Значение I ad |
Влияние на животных |
|
|
«ПУРГА-МХ» |
СО - 5791 |
2,09 |
Угнетенное состояние животных, адинамия, затрудненное дыхание. Уменьшение числа сердечных сокращений и нарушение ритма сердечной деятельности с 1-й мин и до окончания экспозиции. Повышение содержания карбоксигемоглобина и метгемоглобина в крови суммарно до 59 %. Выживаемость при 15-мин экспозиции белых крыс - 100 %, белых мышей - 50 % |
|
СО2 - 10452 |
|||
|
NOx - 110 |
|||
|
NH3 - не обнаружен |
|||
|
«ПУРГА-К02» |
СО - 1975 |
1,89 |
Угнетенное состояние животных во время экспозиции и первые 15 мин после нее. У некоторых особей регистрируется адинамия и снижение работоспособности. Уменьшение частоты дыхания и числа сердечных сокращений на 1 - 5-й мин воздействия огнетушащей среды. Повышение содержания карбоксигемоглобина и метгемоглобина в крови суммарно до 38 % при экспозиции, равной 15 мин, и до 21 % при экспозиции 5 мин. Выживаемость животных - 100 % |
|
СО2 - 12150 |
|||
|
NOx - 290 |
|||
|
NH3 - 200 |
|||
|
«ПУРГА-КА-1,2» |
СО - 98 |
0,73 |
Общее состояние животных без видимых изменений. Работоспособность не снижается. Уменьшение частоты дыхания и сокращений сердца регистрируется только во время экспозиции. Суммарное содержание карбоксигемоглобина и метгемоглобина в крови составляет в среднем 14 %. Выживаемость животных - 100 % |
|
СО2 - 18800 |
|||
|
NOx - 170 |
|||
|
NH3 - не обнаружен |
|||
Примечание. Гистологические исследования легких у подопытных крыс выявили изменения, которые в целом можно охарактеризовать как синдром раздражения слизистой оболочки бронхов. Ни в одном случае не найдено грубых структурных нарушений бронхолегочной ткани в виде некрозов. Не отмечено развития у подопытных крыс бронхитов и бронхопневмоний. Сравнительная оценка состояния бронхов и тканей легких, умерщвленных через сутки и через 10 суток после воздействия на животных огнетушащих аэрозолей, позволяет считать выявленные патологические сдвиги обратимыми.
Сравнительный анализ данных, приведенных в табл. 43, позволил выявить:
- широкий диапазон изменений показателей токсической опасности при испытаниях ГОА штатных разновидностей;
- возможность образования в защищаемом объеме летальных концентраций продуктов горения АОС.
По данным испытаний ГОА устанавливают степень токсической опасности огнетушащего аэрозоля. Оценочную значимость имеют три степени, различающиеся по величине суммарного индекса опасности газов Iad наличию или отсутствию признаков летального или сублетального уровня токсического воздействия. Признаком летального уровня считают любой случай гибели среди подопытных животных, происшедший во время экспозиции или в последующие 10 суток. За проявление эффектов сублетального химического удара при испытаниях ГОА принимают адинамию (потерю двигательной способности подопытных животных), снижение их физической работоспособности в среднем по группе более чем на 30 %, увеличение содержания в крови карбоксигемоглобина и метгемоглобина суммарно до уровня, превышающего 40 % от общего гемоглобина, устойчивые нарушения сердечной деятельности и функции внешнего дыхания.
Принцип и критерии разграничения ГОА по показателям токсической опасности изложены в табл. 44. Там же приведены и рекомендуемые токсикологические регламенты, представляющие собой фиксированные величины допустимого в экстремальных ситуациях времени воздействия огнетушащего аэрозоля на незащищенного человека.
Таблица 44
Критерии оценки опасности токсического воздействия огнетушащего аэрозоля в условиях объемного пожаротушения
|
Степень опасности огнетушащего аэрозоля |
Базовая характеристика |
Обобщенные данные испытаний |
Рекомендуемый токсикологический регламент |
|
1 |
При пуске ГОА и нормативном расходе АОС в объеме помещения формируется газоаэрозольная среда, которая может оказывать непереносимое токсическое воздействие уже в первые минуты пребывания в ней человека |
Величина Iad равна или больше 2,00. То же, если величина Iad меньше 2,00, но при 5-мин экспозиции животных регистрируются эффекты летального или сублетального действия огнетушащего аэрозоля |
Воздействие такой среды на человека, не имеющего средств защиты, должно быть исключено |
|
2 |
При пуске ГОА и нормативном расходе АОС в объеме помещения формируется газоаэрозольная среда, которая может вызывать критические для выживания нарушения состояния организма при продолжительности пребывания в ней человека 5 мин и более |
Величина Iad меньше 2,00, эффекты летального или сублетального действия огнетушащего аэрозоля проявляются при экспозиции, равной 15 мин, но не проявляются при экспозиции продолжительностью 5 мин |
Допустимое в экстремальной ситуации время воздействия такой среды на человека не должно превышать 2 мин |
|
3 |
При пуске ГОА и нормативном расходе АОС в объеме помещения формируется газоаэрозольная среда, которая позволяет обеспечивать в течение определенного времени сохранение жизни и возможностей человека покинуть опасную зону |
Величина Iad меньше или равна 1,50. Эффекты летального или сублетального действия огнетушащего аэрозоля не регистрируются при экспозиции продолжительностью 15 мин |
Допустимое в экстремальной ситуации время воздействия такой среды на человека не должно превышать 5 мин (если Iad находится в пределах 1,00 - 1,50) или 10 мин (если Iad меньше 1,00) |
Реальность получения дифференцированных оценок токсической опасности огнетушащих аэрозолей можно показать на конкретном примере. Для этого достаточно сопоставить с принятыми критериальными характеристиками токсической опасности огнетушащих аэрозолей те значения химико-аналитических и биологических показателей, которые получены при испытаниях трех разновидностей генератора марки «ПУРГА» (см. табл. 43). Такое сопоставление установочных и фактических данных позволяет констатировать:
- генератор «ПУРГА-МХ» соответствует степени опасности 1, так как при его испытаниях зарегистрирована гибель подопытных животных, а полученное значение Iad оказалось выше порогового, то есть больше 2,00;
- по совокупности показателей, определяемых при испытаниях (адинамии у части животных, увеличению при 15-мин экспозиции содержания в крови дериватов гемоглобина до уровня, близкого к критическому, величине суммарного индекса опасности газов меньше 2,00, но больше 1,50), генератор «ПУРГА-К02» соответствует степени опасности 2;
- значение показателей, установленные при испытаниях генератора «ПУРГА-КА-1,2» адекватны характеристикам самой низкой степени токсической опасности огнетушащих аэрозолей.
Порядок оформления результатов испытаний генераторов огнетушащего аэрозоля аналогичен изложенному в п. 1.4 настоящего пособия.
Предлагаемое методическое пособие может служить руководством по проведению токсикологических испытаний газовых ОТВ и генераторов огнетушащего аэрозоля. Цель испытаний - получить исходные данные для оценки опасности экстремального воздействия на человека огнетушащих газов и аэрозолей в условиях применения.
Результаты токсикологических испытаний газовых ОТВ и генераторов огнетушащего аэрозоля представляют интерес в следующих научно-практических аспектах объемного пожаротушения:
- научные изыскания по разработке эффективных и безопасных газовых и аэрозольных средств;
- сравнительная оценка пожаротушащих средств с целью выбора из них наименее опасных;
- гигиеническая оценка образцов пожарно-технической продукции;
- включение результатов испытаний в нормативно-техническую документацию на штатные средства пожаротушения.
Основанный на результатах токсикологических испытаний избирательный подход к применению газовых ОТВ и генераторов огнетушащего аэрозоля в помещениях с присутствием людей повышает надежность мер безопасности, предусмотренных нормами и правилами проектирования установок объемного пожаротушения. Значимость такого подхода, как меры профилактики отравлений, важно оценивать с учетом ситуаций, которые могут возникать по причине несанкционированного приведения установок в действие.
1. Агафонов В.В., Копылов Н.П. Установки аэрозольного пожаротушения: Элементы и характеристики, проектирование, монтаж и эксплуатация. - М.: ВНИИПО, 1999. - 232 с.
2. Вредные химические вещества. Углеводороды. Галогенпроизводные углеводородов: Справ, изд-е / Бандман А.Л., Войтенко Г.А., Волкова Н.В. и др. Под ред. Филова В.А. - Л.: Химия, 1990. - 732 с.
3. Галогенсодержащие пожаротушащие агенты: Свойства и применение // Справ, изд-е под ред. Копылова Н.П. - Санкт-Петербург: ТЕЗА, 1999. - 127 с.
4. Гусев И.В., Иличкин В.С, Кисельников С.Ю. Токсичность средств газового пожаротушения // Обзорная информ. - М.: ГИЦ МВД СССР, 1988. - 37 с.
5. Гусев И.В., Эварестов П.А. Показатели токсичности аэрозолеобразующих средств объёмного тушения пожаров // Актуальные вопросы пожарной безопасности на транспорте: Сб. науч. тр. - М.: ВНИИПО, 1994. - С 23.
6. Иличкин ВС, Копылов Н.П., Потанин Б.В. Экспериментальное определение и оценка показателей токсической опасности огнетушащих аэрозолей // Пожарная безопасность. - 2002. - № 4. - С. 75.
7. Иличкин В.С., Потанин Б.В., Сидорин Г.И. Актуальность, методические основы и критерии оценки токсической опасности огнетушащего аэрозоля // Пожаровзрывобезопасность. - 2000. - № 5. - С. 44.
8. НПБ 51-96. Составы газовые огнетушащие. Общие технические требования пожарной безопасности и методы испытаний.
9. НПБ 60-97. Пожарная техника. Генераторы огнетушащего аэрозоля. Общие технические требования. Методы испытаний.
10. НПБ 88-2001*. Установки пожаротушения и сигнализации. Нормы и правила проектирования.
11. Скорняков В.В., Леонтьев Н.И., Кузнецов СМ. Средства объёмного пожаротушения в обитаемых помещениях // Военно-мед. журн.. - 2001. - Т. СССХХХII № 8. - С. 13.
12. Смирнов Н.В. Установки пожаротушения. - М.: НОУ «Такир», 1998. - 112 с.
13. Состояние вопроса о замене озоноразрушающих пожаротушащих талонов в России / Копылов Н.П., Николаев В.М., Жевлаков А.Ф., Пивоваров В.В. // Материалы XVII Международной науч.-практ. конф. «Пожары и окружающая среда». - М.: ВНИИПО, 2002. - С. 61.
14. Токсические свойства и ПДК в воздухе рабочей зоны некоторых озонобезопасных хладонов / Кондрашов В.А., Радилов А.С., Штаева И.Е. и др. // Токсикологический вестник. - 1996. - № 3. - С. 25.
15. Standart on Clean Agent Fire Extinguishing Systems 1994 Edition. NFPA № 2001. - 1994.
16. Иличкин В.С., Копылов Н.П., Потанин Б.В. Токсическая опасность огнетушащих аэрозолей: исследования и оценки // Пожарная безопасность. - 2003. - № 5. - С. 43.
|
ГОСТЫ, СТРОИТЕЛЬНЫЕ и ТЕХНИЧЕСКИЕ НОРМАТИВЫ. Некоммерческая онлайн система, содержащая все Российские Госты, национальные Стандарты и нормативы. В Системе содержится более 150000 файлов нормативно-технической документации, действующей на территории РФ. Система предназначена для широкого круга инженерно-технических специалистов. Copyright © www.gostrf.com, 2008 - 2026 |