| |
ОТРАСЛЕВОЙ СТАНДАРТ
|
Звенья
железобетонные прямоугольных водопропускных труб под железные и
автомобильные дороги.
Конструкция и размеры
|
ОСТ
35-27.2-85
Взамен
серии
3.5001-104
и 3.501.1-126 в части звеньев и труб
|
Приказом
Министерства транспортного строительства от 18 июля 1985 г. № 193
срок введения
установлен с 1 июля 1986 г.
Несоблюдение стандарта преследуется по закону
1. Настоящий стандарт распространяется на звенья
железобетонные прямоугольных водопропускных труб под железные и автомобильные
дороги и устанавливает конструкцию звеньев и арматурных изделий к ним.
2. Звенья должны удовлетворять требованиям ГОСТ
24547-81, ОСТ 35-27.0-85 и требованиям настоящего стандарта.
3. Форма, марки, арматурные каркасы звеньев должны
соответствовать настоящему стандарту.
4. Скрепление арматурных изделий в
пространственный каркас должно осуществляться с помощью вязальной проволоки или
контактно-точечной сваркой.
Применение дуговой сварки не допускается.
5.
Расположение арматуры в звеньях отверстиями 1,00-4,00 м должно соответствовать
указанному на черт. 1-38.
6. Спецификация арматуры и выборка стали на
звено приведены в табл. 1-8,
спецификация и расход стали на каркас приведены в табл. 12, 13.
7. Изменение
класса и диаметра арматуры, предусмотренных настоящим стандартом, при
технико-экономическом обосновании допускается по согласованию с автором ОСТ
35-27.2-85
8.
Условия расчета и применения звеньев даны в ОСТ 35.27.0-85.
Таблица 1
Спецификация
арматурных изделий на звено
|
марка звена
|
Каркасы
|
Отдельные
стержни
|
|
Марка
|
Кол. шт.
|
Марка
|
Кол. шт.
|
Марка
|
Кол. шт.
|
Марка
|
Кол. шт.
|
Марка
|
Кол. шт.
|
Марка
|
Кол. шт.
|
Марка
|
Кол. шт.
|
Марка
|
Кол. шт.
|
|
ЗП 1.100
|
KP1
|
10 20
|
КР2
|
10 20
|
КР54
|
20
|
CT1
|
56
|
-
|
-
|
-
|
-
|
-
|
-
|
ПС1
|
4
|
|
ЗП 1.200
|
KP1
|
20
|
КР2
|
20
|
КР54
|
40
|
СТ39
|
56
|
-
|
-
|
-
|
-
|
-
|
-
|
ПС2
|
4
|
|
ЗП 2.100
|
КР3
|
10
|
КР4
|
12
|
КР55
|
20
|
CT1
|
56
|
СТ2
|
8
|
-
|
-
|
-
|
-
|
ПС1
|
4
|
|
ЗП 2.200
|
КР3
|
20
|
КР4
|
24
|
КР55
|
40
|
СТ2
|
16
|
СТ39
|
56
|
-
|
-
|
-
|
-
|
ПС2
|
4
|
|
ЗП 3.100
|
КР5
|
12
|
КР6
|
12
|
КР56
|
20
|
CT1
|
56
|
СТ2
|
14
|
СТ3
|
12
|
-
|
-
|
ПС1
|
4
|
|
ЗП 3 200
|
КР5
|
24
|
КР6
|
24
|
КР56
|
40
|
СТ2
|
28
|
СТ3
|
24
|
СТ39
|
56
|
-
|
-
|
ПС2
|
4
|
|
ЗП 4.100
|
КР7
|
10
|
КР8
|
12
|
КР57
|
20
|
CT1
|
60
|
-
|
-
|
-
|
-
|
-
|
-
|
ПС1
|
4
|
|
ЗП 4.200
|
КР7
|
20
|
КР8
|
24
|
КР57
|
40
|
СТ39
|
60
|
-
|
-
|
-
|
-
|
-
|
-
|
ПС2
|
4
|
|
ЗП 5.100
|
КР9
|
10
|
КРЮ
|
12
|
КР58
|
20
|
CT1
|
60
|
СТ4
|
12
|
-
|
-
|
-
|
-
|
ПС1
|
4
|
|
ЗП 5.200
|
КР9
|
20
|
KPIO
|
24
|
КР58
|
40
|
СТ4
|
24
|
СТ39
|
60
|
-
|
-
|
-
|
-
|
ПС3
|
4
|
|
ЗП 6.100
|
KP11
|
12
|
KPI2
|
14
|
КР59
|
20
|
CT1
|
64
|
СТ4
|
20
|
-
|
-
|
-
|
-
|
ПС1
|
4
|
|
ЗП 6.200
|
КР11
|
24
|
KPI2
|
28
|
КР59
|
40
|
СT4
|
40
|
СТ39
|
64
|
-
|
-
|
-
|
-
|
ПС3
|
4
|
|
ЗП 7.100
|
KP13
|
10
|
KPI4
|
10
|
КР60
|
20
|
СT1
|
76
|
СТ5
|
4
|
СТ6
|
4
|
СТ7
|
8
|
ПС1
|
4
|
|
ЗП 7.200
|
KP13
|
20
|
KPI4
|
20
|
КР60
|
40
|
СТ5
|
8
|
СТ6
|
8
|
СТ7
|
16
|
СТ39
|
76
|
ПС3
|
4
|
|
ЗП 8.100
|
KP15
|
10
|
KPI6
|
. ю
|
KP6I
|
20
|
CT1
|
76
|
СТ5
|
20
|
СТ6
|
4
|
СТ8
|
4
|
ПС1
|
4
|
|
ЗП 8.200
|
KP15
|
20
|
KPI6
|
20
|
KP6I
|
40
|
СТ5
|
40
|
СТ6
|
8
|
СТ8
|
8
|
СТ39
|
76
|
ПС4
|
4
|
|
ЗП 9.100
|
KP17
|
12Г
|
KPI8
|
16
|
КР62
|
20
|
СTI
|
76
|
СТ6
|
4
|
СТ9
|
4
|
-
|
-
|
ПС2
|
4
|
|
ЗП 9.200
|
KP17
|
24
|
KPI8
|
32
|
КР62
|
40
|
СТ6
|
8
|
СТ9
|
8
|
СТ39
|
76
|
-
|
-
|
ПС5
|
4
|
|
ЗП 10.100
|
KP19
|
10
|
КР20
|
12
|
КР63
|
20
|
CT1
|
88
|
СТ6
|
4
|
CT10
|
10
|
CT11
|
4
|
ПС2
|
4
|
|
ЗП 10.200
|
KP19
|
20
|
КР20
|
24
|
КР63
|
40
|
СТ6
|
8
|
CT10
|
20
|
CT11
|
8
|
СТ39
|
88
|
ПС4
|
4
|
|
ЗП 11.100
|
KP21
|
10
|
КР22
|
16
|
КР64
|
20
|
CT1
|
88
|
CT12
|
6
|
CTI3
|
4
|
-
|
-
|
ПС2
|
4
|
|
ЗП 11.200
|
KP21
|
20
|
КР22
|
32
|
КР64
|
40
|
CTI2
|
12
|
CT13
|
8
|
СТ39
|
88
|
-
|
-
|
ПС5
|
4
|
|
ЗП 12.100
|
КР23
|
10
|
КР24
|
20
|
КР65
|
20
|
CT1
|
88
|
CT12
|
8
|
-
|
-
|
-
|
-
|
ПС3
|
4
|
|
ЗП 12.200
|
КР23
|
20
|
КР24
|
40
|
КР65
|
40
|
CT12
|
16
|
СТ39
|
88
|
-
|
-
|
-
|
-
|
ПС6
|
4
|
|
ЗП 13.100
|
КР25
|
10
|
КР26
|
12
|
КР66
|
20
|
CT1
|
96
|
CT6
|
4
|
CT14
|
16
|
CT15
|
4
|
ПС2
|
4
|
|
ЗП 13.200
|
КР25
|
20
|
КР26
|
24
|
КР66
|
40
|
CT6
|
8
|
CT14
|
32
|
CT15
|
8
|
CT39
|
96
|
ПС5
|
4
|
|
ЗП 14.100
|
КР27
|
12
|
КР28
|
16
|
КР67
|
20
|
CT1
|
96
|
CT16
|
12
|
-
|
-
|
-
|
-
|
ПС3
|
4
|
|
ЗП 14.200
|
КР27
|
24
|
КР28
|
32
|
КР67
|
40
|
CT16
|
24
|
CT39
|
96
|
-
|
-
|
-
|
-
|
ПС7
|
4
|
|
ЗП 15.100
|
КР29
|
10
|
КР30
|
24
|
КР68
|
20
|
CT1
|
104
|
-
|
-
|
-
|
-
|
-
|
-
|
ПС5
|
4
|
|
ЗП 15.200
|
КР29
|
20
|
КР30
|
48
|
КР68
|
40
|
CT39
|
104
|
-
|
-
|
-
|
-
|
-
|
-
|
ПС8
|
4
|
|
ЗП 16.100
|
КР31
|
10
|
КР32
|
10
|
КР69
|
20
|
CT1
|
116
|
CT17
|
20
|
-
|
-
|
-
|
-
|
ПС4
|
4
|
|
ЗП 17.100
|
КР33
|
10
|
КР34
|
18
|
КР70
|
20
|
CT1
|
116
|
CT18
|
12
|
-
|
-
|
-
|
-
|
ПС5
|
4
|
|
ЗП 18.100
|
КР35
|
12
|
КР36
|
20
|
КР71
|
20
|
CT1
|
92
|
CT19
|
28
|
CT20
|
12
|
CT21
|
8
|
ПС6
|
4
|
|
ЗП 19.100
|
КР37
|
12
|
КР38
|
12
|
КР72
|
20
|
CT1
|
136
|
CT22
|
8
|
CT23
|
8
|
-
|
-
|
ПС5
|
4
|
|
ЗП 20.100
|
КР39
|
12
|
КР40
|
16
|
КР70
|
20
|
CT1
|
98
|
CT19
|
38
|
CT24
|
14
|
CT25
|
12
|
ПС6
|
4
|
|
ЗП 21.75
|
КР41
|
12
|
КР42
|
12
|
КР74
|
16
|
СТ26
|
102
|
CT27
|
38
|
CT28
|
12
|
-
|
-
|
ПС6
|
4
|
|
-
|
-
|
КР53
|
4
|
-
|
-
|
-
|
-
|
-
|
-
|
-
|
-
|
-
|
-
|
-
|
-
|
|
ЗП 21.100
|
КР41
|
16
|
КР42
|
12
|
КР74
|
20
|
CT1
|
102
|
CT19
|
38
|
CT28
|
16
|
-
|
-
|
-
|
4
|
|
-
|
-
|
КР53
|
8
|
-
|
-
|
-
|
-
|
-
|
-
|
-
|
-
|
-
|
-
|
ПС1
|
-
|
|
ЗП 22
|
КР43
|
12
|
КР44
|
10
|
КР54
|
20
|
CT1
|
68
|
-
|
-
|
-
|
-
|
-
|
-
|
ПС1
|
4
|
|
ЗП 23
|
КР45
|
10
|
КР46
|
10
|
КР57
|
20
|
CT1
|
72
|
-
|
-
|
-
|
-
|
-
|
-
|
ПС1
|
4
|
|
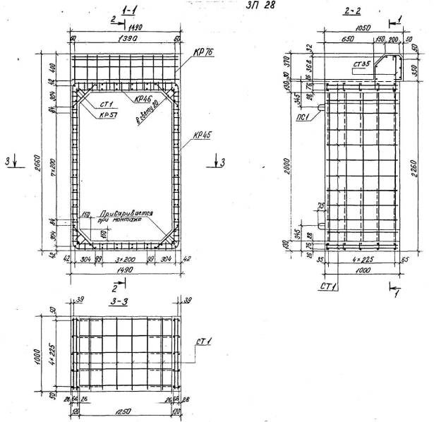
ЗП 24
|
КР47
|
12
|
КР48
|
10
|
КР60
|
20
|
CT1
|
84
|
CT29
|
4
|
CT30
|
4
|
-
|
-
|
ПС1
|
4
|
|
ЗП 25
|
КР49
|
12
|
КР50
|
10
|
КР63
|
20
|
CT1
|
100
|
CT10
|
8
|
CT14
|
2
|
CT31
|
4
|
ПС1
|
4
|
|
ЗП 26
|
КР51
|
12
|
КР52
|
10
|
КР66
|
20
|
CT1
|
108
|
CT14
|
4
|
CT32
|
14
|
CT33
|
4
|
ПС3
|
4
|
Таблица
2
Выборка стали на
звено, кг
|
Марка звена
|
Арматурная сталь по ГОСТ
5781-82
|
|
Класс A-I
|
Класс А-II
|
Всего
|
|
Диаметр, мм
|
Итого
|
Диаметр, мм
|
Итого
|
|
6
|
8
|
10
|
12
|
14
|
16
|
18
|
20
|
22
|
25
|
28
|
10
|
12
|
14
|
20
|
25
|
32
|
|
ЗП
1.100
|
6,4
|
21,2
|
-
|
3,7
|
-
|
-
|
-
|
-
|
-
|
-
|
-
|
31,3
|
46,0
|
-
|
13,7
|
-
|
|
-
|
59,7
|
91,0
|
|
ЗП
1.200
|
12,8
|
43,4
|
-
|
-
|
6,2
|
-
|
-
|
-
|
-
|
-
|
-
|
62,4
|
92,0
|
-
|
27,4
|
-
|
-
|
-
|
119,4
|
181,8
|
|
ЗП
2.100
|
8,9
|
21,2
|
-
|
3,7
|
-
|
-
|
-
|
-
|
-
|
-
|
-
|
33,8
|
49,8
|
-
|
27,3
|
-
|
-
|
-
|
77,1
|
110,9
|
|
ЗП
2.200
|
17,8
|
43,4
|
-
|
-
|
6,2
|
-
|
-
|
-
|
-
|
-
|
-
|
67,4
|
99,6
|
-
|
54,6
|
-
|
-
|
-
|
154,2
|
221,6
|
|
ЗП
3.100
|
3,8
|
21,2
|
19,2
|
3,7
|
-
|
-
|
-
|
-
|
-
|
-
|
-
|
47,9
|
68,7
|
-
|
35,6
|
-
|
-
|
-
|
104,3
|
152,2
|
|
ЗП
3.200
|
7,6
|
43,4
|
38,4
|
-
|
6,2
|
-
|
-
|
-
|
-
|
-
|
-
|
95,6
|
137,4
|
-
|
71,2
|
-
|
-
|
-
|
208,6
|
304,2
|
|
ЗП
4.100
|
8,6
|
22,8
|
-
|
3,7
|
-
|
-
|
-
|
-
|
-
|
-
|
-
|
35,1
|
50,8
|
-
|
20,1
|
-
|
-
|
-
|
70,9
|
108,0
|
|
ЗП
4.200
|
17,2
|
46,5
|
-
|
-
|
6,2
|
-
|
-
|
-
|
-
|
-
|
-
|
69,9
|
101,6
|
-
|
40,2
|
-
|
-
|
-
|
141,8
|
211,7
|
|
ЗП
5.100
|
10,2
|
22,8
|
-
|
3,7
|
-
|
-
|
-
|
-
|
-
|
-
|
-
|
36,7
|
52,4
|
-
|
40,1
|
-
|
-
|
-
|
92,5
|
129,2
|
|
ЗП
5.200
|
20,4
|
46,5
|
-
|
-
|
-
|
8,8
|
-
|
-
|
-
|
-
|
-
|
75,7
|
104,8
|
-
|
80,2
|
-
|
-
|
-
|
185,0
|
260,7
|
|
ЗП
6.100
|
5,3
|
24,2
|
30,8
|
3,7
|
-
|
-
|
-
|
-
|
-
|
-
|
-
|
64,0
|
63,0
|
-
|
56,7
|
-
|
-
|
-
|
119,7
|
183,7
|
|
ЗП
6.200
|
10,6
|
49,5
|
61,6
|
-
|
-
|
8,8
|
-
|
-
|
-
|
-
|
-
|
130,5
|
126,0
|
-
|
113,4
|
-
|
-
|
-
|
239,4
|
369,9
|
|
ЗП
7.100
|
10,1
|
28,8
|
-
|
3,7
|
-
|
-
|
-
|
-
|
-
|
-
|
-
|
42,6
|
78,0
|
-
|
27,1
|
|
-
|
-
|
105,1
|
147,7
|
|
ЗП
7.200
|
20,2
|
58,8
|
-
|
-
|
-
|
8,8
|
-
|
-
|
-
|
-
|
-
|
87,8
|
156,0
|
-
|
54,2
|
-
|
-
|
-
|
210,2
|
298,0
|
|
ЗП
8.100
|
11,9
|
28,8
|
-
|
3,7
|
-
|
-
|
-
|
-
|
-
|
-
|
-
|
44,4
|
73,0
|
-
|
58,1
|
-
|
-
|
-
|
131,1
|
175,5
|
|
ЗП
8.200
|
23,8
|
58,8
|
-
|
-
|
-
|
-
|
12,2
|
-
|
-
|
-
|
-
|
94,8
|
146,0
|
-
|
116,2
|
-
|
-
|
-
|
262,2
|
357,0
|
|
ЗП
9.100
|
7,3
|
28,8
|
44,3
|
-
|
6,2
|
-
|
-
|
-
|
-
|
-
|
-
|
86,6
|
88,4
|
-
|
-
|
79,0
|
-
|
-
|
167,4
|
254,0
|
|
ЗП
9.200
|
14,6
|
58,8
|
88,6
|
-
|
-
|
-
|
-
|
17,6
|
-
|
-
|
-
|
179,6
|
176,8
|
-
|
-
|
158,0
|
-
|
-
|
334,8
|
514,4
|
|
ЗП
10.100
|
11,3
|
33,4
|
-
|
-
|
6,2
|
-
|
-
|
-
|
-
|
-
|
-
|
50,9
|
81,0
|
-
|
55,9
|
-
|
-
|
-
|
136,9
|
187,8
|
|
ЗП
10.200
|
22,6
|
68,1
|
-
|
-
|
-
|
-
|
12,2
|
-
|
-
|
-
|
-
|
102,9
|
162,0
|
-
|
111,8
|
-
|
-
|
-
|
273,8
|
376,7
|
|
ЗП
11.100
|
4,4
|
33,4
|
42,5
|
-
|
6,2
|
-
|
-
|
-
|
-
|
-
|
-
|
86,5
|
93,7
|
-
|
-
|
114,0
|
-
|
-
|
207,7
|
294,2
|
|
ЗП
11.200
|
8,8
|
68,1
|
85,0
|
-
|
-
|
-
|
-
|
17,6
|
-
|
-
|
-
|
179,5
|
187,4
|
-
|
-
|
228,0
|
-
|
-
|
415,4
|
594,9
|
|
ЗП
12.100
|
6,2
|
33,4
|
70,3
|
-
|
-
|
8,8
|
-
|
-
|
-
|
-
|
-
|
118,7
|
100,1
|
-
|
-
|
145,0
|
-
|
-
|
245,1
|
363,8
|
|
ЗП
12.200
|
12,4
|
68,1
|
140.6
|
-
|
-
|
-
|
-
|
-
|
22,8
|
-
|
-
|
243,9
|
200,2
|
-
|
-
|
290,0
|
-
|
-
|
490,2
|
734,1
|
|
ЗП
13.100
|
14,6
|
36,5
|
-
|
-
|
6,2
|
-
|
-
|
-
|
-
|
-
|
-
|
57,3
|
89,5
|
-
|
88,1
|
-
|
-
|
-
|
177,6
|
234,9
|
|
ЗП
13.200
|
29,2
|
74,3
|
-
|
-
|
-
|
-
|
-
|
17,6
|
-
|
-
|
-
|
121,1
|
179,0
|
-
|
176,2
|
-
|
-
|
-
|
355,2
|
476,3
|
|
ЗП
14.100
|
8,0
|
36,5
|
60.0
|
-
|
-
|
8,8
|
-
|
-
|
-
|
-
|
-
|
113,5
|
101,9
|
-
|
-
|
180,0
|
-
|
-
|
281,9
|
395,4
|
|
ЗП
14.200
|
16,0
|
74,3
|
120,4
|
-
|
-
|
-
|
-
|
-
|
-
|
37,0
|
-
|
247,7
|
203,8
|
-
|
-
|
360,0
|
-
|
-
|
563,8
|
811,5
|
|
ЗП
15.100
|
8,0
|
39,4
|
117,2
|
-
|
-
|
-
|
-
|
17,6
|
-
|
-
|
-
|
182,2
|
127,6
|
-
|
-
|
-
|
240,0
|
-
|
367,6
|
549,8
|
|
ЗП
15.200
|
10,0
|
80,5
|
234,4
|
-
|
-
|
-
|
-
|
-
|
-
|
-
|
50,0
|
380,9
|
255,2
|
-
|
-
|
-
|
480,0
|
-
|
735,2
|
1116,1
|
|
ЗП
16.100
|
14,6
|
44,0
|
-
|
-
|
-
|
-
|
12,2
|
-
|
-
|
-
|
-
|
70,8
|
83,6
|
-
|
113,5
|
-
|
-
|
-
|
197,1
|
267,9
|
|
ЗП
17.100
|
6,4
|
44,0
|
87,5
|
-
|
-
|
-
|
-
|
17,6
|
-
|
-
|
-
|
155,5
|
121,2
|
-
|
-
|
231,9
|
-
|
-
|
353,1
|
508,6
|
|
ЗП
18.100
|
-
|
50,8
|
-
|
-
|
-
|
-
|
-
|
-
|
22,8
|
-
|
-
|
73,6
|
30,6
|
134,6
|
303,0
|
-
|
386,0
|
-
|
854,2
|
927,8
|
|
ЗП
19.100
|
7,7
|
80,3
|
-
|
-
|
-
|
-
|
-
|
17,6
|
-
|
-
|
-
|
105,6
|
148,9
|
-
|
-
|
204,0
|
-
|
-
|
352,9
|
458,5
|
|
ЗП
20.100
|
-
|
53,5
|
-
|
-
|
-
|
-
|
-
|
-
|
22,8
|
-
|
-
|
76,3
|
34,7
|
109,6
|
302,2
|
-
|
477,0
|
-
|
923,5
|
999,8
|
|
ЗП
21.75
|
-
|
50,2
|
-
|
-
|
-
|
-
|
-
|
-
|
22,8
|
-
|
-
|
73,0
|
29,4
|
151,2
|
-
|
511,5
|
-
|
740,0
|
1432,1
|
1505,1
|
|
ЗП
21.100
|
-
|
59,9
|
-
|
-
|
-
|
-
|
-
|
-
|
-
|
37,0
|
-
|
96,9
|
38,2
|
153,9
|
-
|
657,1
|
-
|
954,6
|
1803,8
|
1900,7
|
|
ЗП
22
|
10,0
|
25,8
|
-
|
3,7
|
-
|
-
|
-
|
-
|
-
|
-
|
-
|
39,5
|
44,9
|
-
|
43,6
|
-
|
-
|
-
|
88,5
|
128,0
|
|
ЗП
23
|
10,2
|
27,3
|
-
|
3,7
|
-
|
-
|
-
|
-
|
-
|
-
|
-
|
41,2
|
38,8
|
-
|
51,2
|
-
|
-
|
-
|
90,0
|
131,2
|
|
ЗП
24
|
12,7
|
31,8
|
-
|
3,7
|
-
|
-
|
-
|
-
|
-
|
-
|
-
|
48,2
|
55,8
|
-
|
86,2
|
-
|
-
|
-
|
142,0
|
190,2
|
|
ЗП
25
|
13,8
|
37,9
|
-
|
3,7
|
-
|
-
|
-
|
-
|
-
|
-
|
-
|
55,4
|
35,0
|
-
|
158,3
|
-
|
-
|
-
|
193,3
|
248,7
|
|
ЗП
26
|
6,7
|
60,2
|
-
|
-
|
-
|
8,8
|
-
|
-
|
-
|
-
|
-
|
75,7
|
40,6
|
-
|
195,1
|
-
|
-
|
-
|
235,7
|
311,4
|
Таблица
3
Спецификация арматурных
изделий на звено
|
Марка звена
|
Каркасы
|
Отдельные cтержни
|
|
Марка
|
Кол. шт.
|
Марка
|
Кол. шт.
|
Марка
|
Кол. шт.
|
Марка
|
Кол. шт.
|
Марка
|
Кол. шт.
|
Марка
|
Кол. шт.
|
Марка
|
Кол. шт.
|
Марка
|
Кол. шт.
|
|
ЗП
7.100-М
|
KP13-M
|
10
|
KPI4-M
|
10
|
КР60-М
|
20
|
CTI
|
76
|
СТ5-М
|
4
|
СТ6-М
|
4
|
СТ7-М
|
8
|
ПСI-М
|
4
|
|
ЗП
7.200-М
|
KP13-M
|
20
|
KPI4-M
|
20
|
КР60-М
|
40
|
СТ5-М
|
8
|
СТ6-М
|
8
|
СТ7-М
|
16
|
СТ39
|
76
|
ПС2-М
|
4
|
|
ЗП
8.100-М
|
KP15-M
|
10
|
KPI6-M
|
10
|
KP6I-M
|
20
|
CTI
|
76
|
СТ5-М
|
20
|
СТ6-М
|
4
|
СТ8-М
|
4
|
ПСI-М
|
4
|
|
ЗП
8.200-М
|
KP15-M
|
20
|
KPI6-M
|
20
|
KP6I-M
|
40
|
СТ5-М
|
40
|
СТ6-М
|
8
|
СТ8-М
|
8
|
СТ39
|
76
|
ПС3-М
|
4
|
|
ЗП
9.100-М
|
KP17-M
|
12
|
KPI8-M
|
16
|
КР62-М
|
20
|
CTI
|
76
|
СТ6-М
|
4
|
СТ9-М
|
4
|
-
|
-
|
ПСI-М
|
4
|
|
ЗП
9.200-М
|
KP17-M
|
24
|
KPI8-M
|
32
|
КР62-М
|
40
|
СТ6-М
|
8
|
СТ9-М
|
8
|
СТ39
|
76
|
-
|
-
|
ПС4-М
|
4
|
|
ЗП
10.100-М
|
KP19-M
|
10
|
КР20-М
|
12
|
КР63-М
|
20
|
CTI
|
88
|
СТ6-М
|
4
|
СТ10-М
|
10
|
CTII-M
|
4
|
ПСI-М
|
4
|
|
ЗП
10.200-М
|
KP19-M
|
20
|
КР20-М
|
24
|
КР63-М
|
40
|
СТ6-М
|
8
|
СТ10-М
|
20
|
CTII-M
|
8
|
СТ39
|
88
|
ПСЗ-М
|
4
|
|
ЗП
11.100-М
|
KP21-M
|
10
|
КР22-М
|
16
|
КР64-М
|
20
|
CTI
|
88
|
CTI2-M
|
6
|
CTI3-M
|
4
|
-
|
-
|
ПСI-М
|
4
|
|
ЗП
11.200-М
|
KP21-M
|
20
|
КР22-М
|
32
|
КР64-М
|
40
|
CTI2-M
|
12
|
CTI3-M
|
8
|
СТ39
|
88
|
-
|
-
|
ПС4-М
|
4
|
|
ЗП
12.100-М
|
КР23-М
|
10
|
КР24-М
|
20
|
КР65-М
|
20
|
CTI
|
88
|
CTI2-M
|
8
|
-
|
-
|
-
|
-
|
ПС2-М
|
4
|
|
ЗП
12.200-М
|
КР23-М
|
20
|
КР24-М
|
40
|
КР65-М
|
40
|
CTI2-M
|
16
|
СТ39
|
88
|
-
|
-
|
-
|
-
|
ПС5-М
|
4
|
|
ЗП
13.100-М
|
КР25-М
|
10
|
КР26-М
|
12
|
КР66-М
|
20
|
CTI
|
96
|
СТ6-М
|
4
|
CTI4-M
|
16
|
CTI5-M
|
4
|
ПС1-М
|
4
|
|
ЗП
13.200-М
|
КР25-М
|
20
|
КР26-М
|
24
|
КР66-М
|
40
|
СТ6-М
|
8
|
CTI4-M
|
32
|
CTI5-M
|
8
|
СТ39
|
96
|
ПС4-М
|
4
|
|
ЗП
14.100-М
|
КР27-М
|
12
|
КР28-М
|
16
|
КР67-М
|
20
|
CTI
|
96
|
CTI6-M
|
12
|
-
|
-
|
-
|
-
|
ПС2-М
|
4
|
|
ЗП
14.200-М
|
КР27-М
|
24
|
КР28-М
|
32
|
КР67-М
|
40
|
CTI6-M
|
24
|
СТ39
|
96
|
-
|
-
|
-
|
-
|
ПС6-М
|
4
|
|
ЗП
15.100-М
|
КР29-М
|
10
|
КР30-М
|
24
|
КР68-М
|
20
|
CTI
|
104
|
-
|
-
|
-
|
-
|
-
|
-
|
ПС4-М
|
4
|
|
ЗП
15.200-М
|
КР29-М
|
20
|
КР30-М
|
48
|
КР68-М
|
40
|
СТ39
|
104
|
-
|
-
|
-
|
-
|
-
|
-
|
ПС7-М
|
4
|
|
ЗП
16.100-М
|
KP3I-M
|
10
|
КР32-М
|
10
|
КР69-М
|
20
|
CTI
|
116
|
CTI7-M
|
20
|
-
|
-
|
-
|
-
|
ПСЗ-М
|
4
|
|
ЗП
17.100-М
|
КР33-М
|
10
|
КР34-М
|
18
|
КР70-М
|
20
|
CTI
|
116
|
CTI8-M
|
12
|
-
|
-
|
-
|
-
|
ПС4-М
|
4
|
|
ЗП
18.100-М
|
КР35-М
|
12
|
КР36-М
|
20
|
KP7I-M
|
20
|
CTI
|
92
|
CTI9-M
|
28
|
СТ20-М
|
12
|
CТ2I-M
|
8
|
ПС5-М
|
4
|
|
ЗП
19.100-М
|
КР37-М
|
12
|
КР38-М
|
12
|
КР72-М
|
20
|
CTI
|
136
|
СТ22-М
|
8
|
СТ23-М
|
8
|
-
|
-
|
ПС4-М
|
4
|
|
ЗП
20.100-М
|
КР39-М
|
12
|
КР40-М
|
16
|
КР73-М
|
20
|
CTI
|
98
|
CTI9-M
|
38
|
СТ24-М
|
14
|
СТ25-М
|
12
|
ПС5-М
|
4
|
|
ЗП 21.75-М
|
KP4I-M
|
12
|
КР42-М
|
12
|
КР74-М
|
16
|
СТ26
|
102
|
СТ27-М
|
38
|
СТ28-М
|
12
|
-
|
-
|
ПС5-М
|
4
|
|
ЗП 21.75-М
|
-
|
-
|
КР53-М
|
4
|
-
|
-
|
-
|
-
|
-
|
-
|
-
|
-
|
-
|
-
|
-
|
-
|
|
ЗП 21.100-М
|
KP4I-M
|
16
|
КР42-М
|
12
|
КР74-М
|
20
|
CTI
|
102
|
CTI9-M
|
38
|
СТ28-М
|
16
|
-
|
-
|
ПС6-М
|
4
|
|
ЗП
21.100-М
|
-
|
-
|
КР53-М
|
8
|
-
|
-
|
-
|
-
|
-
|
-
|
-
|
-
|
-
|
-
|
-
|
-
|
|
ЗП 24-М
|
КР47-М
|
12
|
КР48-М
|
10
|
КР60-М
|
20
|
СTI
|
84
|
СТ29-М
|
4
|
СТ30-М
|
4
|
-
|
-
|
ПСI-М
|
4
|
|
ЗП 25-М
|
КР49-М
|
12
|
КР50-М
|
10
|
КР63-М
|
20
|
CTI
|
100
|
CTIO-M
|
8
|
CTI4-M
|
2
|
CT3I-M
|
4
|
ПСI-М
|
4
|
|
ЗП 26-М
|
KP5I-M
|
12
|
КР52-М
|
10
|
КР66-М
|
20
|
CTI
|
108
|
CTI4-M
|
4
|
СТ32-М
|
14
|
СТ-33-М
|
4
|
ПС2-М
|
4
|
Таблица
4
Выборка стали на
звено, кг
|
Марка звена
|
Арматурная сталь по ГОСТ
5781-82
|
Всего
|
|
Класс A-I
|
|
Класс АC-II
|
|
Диаметр, мм
|
Итого
|
Диаметр, мм
|
Итого
|
|
6
|
8
|
10
|
10
|
12
|
14
|
16
|
18
|
20
|
22
|
25
|
32
|
|
ЗП 7.100-М
|
10,1
|
28,8
|
-
|
38,9
|
78,0
|
4,5
|
27,1
|
-
|
-
|
-
|
-
|
-
|
-
|
109,6
|
148,5
|
|
ЗП 7.200-М
|
20,2
|
58,8
|
-
|
79,0
|
156,0
|
-
|
61,0
|
|
-
|
-
|
-
|
-
|
-
|
217,0
|
296,0
|
|
ЗП 8.100-М
|
11,9
|
28,8
|
-
|
40,7
|
73,0
|
4,5
|
58,1
|
-
|
-
|
-
|
-
|
-
|
-
|
135,6
|
176,3
|
|
ЗП 8.200-М
|
23,8
|
58,8
|
-
|
82,6
|
146,0
|
-
|
116,2
|
9,6
|
-
|
-
|
-
|
-
|
-
|
271,8
|
354,4
|
|
ЗП 9.100-М
|
7,3
|
28,8
|
44,3
|
80,4
|
88,4
|
4,5
|
-
|
-
|
-
|
79,0
|
-
|
-
|
-
|
171,9
|
252,3
|
|
ЗП 9.200-М
|
14,6
|
58,8
|
88,6
|
162,0
|
176,8
|
-
|
-
|
-
|
14,2
|
158,0
|
-
|
-
|
-
|
349,0
|
511,0
|
|
ЗП
10.100-М
|
11,3
|
33,4
|
-
|
44,7
|
81,0
|
4,5
|
55,9
|
-
|
-
|
-
|
-
|
|
-
|
141,4
|
186,1
|
|
ЗП
10.200-М
|
22,6
|
68,1
|
-
|
90,7
|
162,0
|
-
|
111,8
|
9,6
|
-
|
-
|
-
|
-
|
-
|
283,4
|
374,1
|
|
ЗП
11. 100-М
|
4,4
|
33,4
|
42,5
|
80,3
|
93,7
|
4,5
|
-
|
-
|
-
|
114,0
|
-
|
-
|
-
|
212,2
|
292,5
|
|
ЗП
11.200-М
|
8,8
|
68,1
|
85,0
|
161,9
|
187,4
|
-
|
-
|
-
|
14,2
|
228,0
|
-
|
-
|
-
|
429,6
|
591,5
|
|
ЗП
12.100-М
|
6,2
|
33,4
|
70,3
|
109,9
|
100,1
|
-
|
6,8
|
-
|
-
|
145,0
|
-
|
|
-
|
251,9
|
361,8
|
|
ЗП
12.200-М
|
12,4
|
68,1
|
140,6
|
221,1
|
200,2
|
-
|
-
|
-
|
-
|
308,9
|
-
|
-
|
-
|
509,1
|
730,2
|
|
ЗП
13.100-М
|
14,6
|
36,5
|
-
|
51,1
|
89,5
|
4,5
|
88,1
|
-
|
-
|
-
|
-
|
-
|
-
|
182,1
|
233,2
|
|
ЗП
13.200-М
|
29,2
|
74,3
|
-
|
103,5
|
179,0
|
-
|
176,2
|
-
|
14,2
|
-
|
-
|
-
|
-
|
369,4
|
472,9
|
|
ЗП
14.100-М
|
8,0
|
36,5
|
60,2
|
104,7
|
101,9
|
-
|
6,8
|
-
|
-
|
180,0
|
-
|
-
|
-
|
288,7
|
393,4
|
|
ЗП
14.200-М
|
16,0
|
74,3
|
120,4
|
210,7
|
203,8
|
-
|
-
|
-
|
-
|
360,0
|
28,6
|
-
|
-
|
592,4
|
803,1
|
|
ЗП
15.100-М
|
8,0
|
39,4
|
117,2
|
164,6
|
127,6
|
-
|
-
|
-
|
14,2
|
-
|
-
|
240,0
|
-
|
381,8
|
546,4
|
|
ЗП
15.200-М
|
16,0
|
80,5
|
234,4
|
330,9
|
255,2
|
-
|
-
|
-
|
-
|
-
|
-
|
519,9
|
-
|
775,1
|
1106,0
|
|
ЗП
16.100-М
|
14,6
|
44,0
|
-
|
58,6
|
83,6
|
-
|
113,5
|
9,6
|
-
|
-
|
-
|
-
|
-
|
206,7
|
265,3
|
|
ЗП
17.100-М
|
6,4
|
44,0
|
87,5
|
137,9
|
121,2
|
-
|
-
|
-
|
14,2
|
231,9
|
-
|
-
|
-
|
367,3
|
505,2
|
|
ЗП
18.100-М
|
-
|
50,8
|
-
|
50,8
|
30,6
|
134,6
|
303,0
|
-
|
-
|
18,9
|
-
|
386,0
|
-
|
873,1
|
923,9
|
|
ЗП
19.100-М
|
7,7
|
80,3
|
-
|
88,0
|
148,9
|
-
|
-
|
-
|
14,2
|
204,0
|
-
|
-
|
-
|
367,1
|
455,1
|
|
ЗП
20.100-М
|
-
|
53,5
|
-
|
53,5
|
34,7
|
109,6
|
302,2
|
-
|
-
|
18,9
|
-
|
477,0
|
-
|
942,4
|
995,9
|
|
ЗП
21.75-М
|
-
|
50,2
|
-
|
50,2
|
29,4
|
151,2
|
-
|
-
|
-
|
530,4
|
-
|
-
|
740,0
|
1451,0
|
1501,2
|
|
ЗП
21.100-М
|
-
|
59,9
|
-
|
59,9
|
38,2
|
153,9
|
-
|
-
|
-
|
657,1
|
28,6
|
-
|
954,6
|
1832,4
|
1892,3
|
|
ЗП
24-М
|
12,7
|
31,8
|
-
|
44,5
|
55,8
|
4,5
|
86,2
|
-
|
-
|
-
|
-
|
-
|
-
|
146,5
|
191,0
|
|
ЗП
25-М
|
13,8
|
37,9
|
-
|
51,7
|
35,0
|
4,5
|
158,3
|
|
-
|
-
|
-
|
-
|
-
|
197,8
|
249,5
|
|
ЗП
26-М
|
6,7
|
60,2
|
-
|
66,9
|
40,6
|
-
|
201,9
|
-
|
-
|
-
|
-
|
-
|
-
|
242,5
|
309,4
|

Черт. 1

Черт. 2

Черт. 3

Черт. 4

Черт. 5

Черт. 6

Черт. 7

Черт. 8

Черт. 9

Черт. 10

Черт. 11

Черт. 12

Черт. 13

Черт. 14

Черт. 15

Черт. 15а

Черт. 16

Черт. 17

Черт. 18

Черт. 19

Черт. 20

Черт. 21

Черт. 21а

Черт. 22

Черт.
23

Черт. 24

Черт. 25.

Черт. 26
Таблица 5
Спецификация арматурных изделий на звено
|
марка звена
|
Каркасы
|
Отдельные стержни
|
|
Марка
|
Кол. шт.
|
Марка
|
Кол. шт.
|
Марка
|
Кол. шт.
|
Марка
|
Кол. шт.
|
Марка
|
Кол. шт.
|
Марка
|
Кол. шт.
|
Марка
|
Кол. шт.
|
Марка
|
Кол. шт.
|
Марка
|
Кол. шт.
|
Марка
|
Кол. шт.
|
|
ЗП 27
|
КР43
|
12
|
KР44
|
10
|
КР54
|
20
|
КР75
|
1
|
CT1
|
68
|
СТ34
|
8
|
-
|
-
|
-
|
-
|
-
|
-
|
ПС1
|
4
|
|
ЗП 28
|
КР45
|
10
|
KР46
|
10
|
KР57
|
20
|
KР76
|
1
|
CT1
|
72
|
СТ35
|
10
|
-
|
-
|
-
|
-
|
-
|
-
|
ПС1
|
4
|
|
ЗП 29
|
КР47
|
12
|
KР48
|
10
|
KР60
|
20
|
KР77
|
1
|
CT1
|
84
|
СТ29
|
4
|
СТ30
|
4
|
СТ36
|
10
|
-
|
-
|
ПС2
|
4
|
|
ЗП 30
|
КР49
|
12
|
КР50
|
10
|
КР63
|
20
|
КР78
|
1
|
CT1
|
100
|
СТ10
|
8
|
СТ14
|
2
|
СТ31
|
4
|
СТ37
|
10
|
ПС3
|
4
|
|
ЗП 31
|
KP51
|
12
|
КР52
|
10
|
КР66
|
20
|
КР79
|
1
|
CT1
|
108
|
CT14
|
4
|
СТ32
|
14
|
СТ33
|
4
|
СТ38
|
12
|
ПС3
|
4
|
|
ЗП 32
|
KP1
|
10
|
KP2
|
10
|
КР54
|
20
|
КР75
|
1
|
CT1
|
56
|
СТ34
|
8
|
-
|
-
|
-
|
-
|
-
|
-
|
ПС1
|
4
|
|
ЗП 33
|
KP51
|
10
|
KP8
|
12
|
КР57
|
20
|
KР76
|
1
|
CT1
|
60
|
СТ35
|
10
|
-
|
-
|
-
|
-
|
-
|
-
|
ПС1
|
4
|
|
ЗП 34
|
KP51
|
10
|
KP14
|
10
|
КР60
|
20
|
KР77
|
1
|
CT1
|
76
|
СТ5
|
4
|
СТ6
|
4
|
СТ7
|
8
|
СТ36
|
10
|
ПС2
|
4
|
|
ЗП 35
|
KPI9
|
10
|
КР20
|
12
|
КР63
|
20
|
КР78
|
1
|
CT1
|
88
|
СТ6
|
4
|
СТ10
|
10
|
CT11
|
4
|
СТ37
|
10
|
ПС2
|
4
|
|
ЗП 36
|
КР25
|
10
|
КР26
|
12
|
КР66
|
20
|
КР79
|
1
|
CT1
|
96
|
СТ6
|
4
|
CT14
|
16
|
СТ15
|
4
|
СТ38
|
12
|
ПС3
|
4
|
|
ЗП 37
|
KP31
|
10
|
КР32
|
10
|
КР69
|
20
|
КР80
|
1
|
CT1
|
116
|
CT17
|
20
|
CT41
|
17
|
-
|
-
|
-
|
-
|
ПС4
|
4
|
|
ЗП 38
|
KP37
|
12
|
КР38
|
12
|
КР72
|
20
|
KP81
|
1
|
CT1
|
136
|
СТ22
|
8
|
СТ23
|
8
|
СТ40
|
18
|
-
|
-
|
ПС6
|
4
|
Таблица 6
Выборка стали на звено, кг
|
Марка звена
|
Арматурная сталь по ГОСТ
5781-82
|
Всего
|
|
Класс A-I
|
Класс Ас-II
|
|
Диаметр, мы
|
Итого
|
Диаметр, ми
|
Итого
|
|
6
|
8
|
12
|
14
|
16
|
18
|
22
|
10
|
14
|
20
|
|
ЗП 27
|
10,0
|
34,4
|
3,7
|
-
|
-
|
-
|
-
|
48,1
|
44,9
|
43,6
|
-
|
88,5
|
136,6
|
|
ЗП 28
|
10,2
|
38,3
|
3,7
|
-
|
-
|
-
|
-
|
52,2
|
38,8
|
51,2
|
-
|
90,0
|
142,2
|
|
ЗП 29
|
12,7
|
43,7
|
-
|
6,2
|
-
|
-
|
-
|
62,6
|
55,8
|
86,2
|
-
|
142,0
|
204,6
|
|
ЗП 30
|
13,8
|
51,3
|
-
|
-
|
8,8
|
-
|
-
|
73,9
|
35,0
|
158,3
|
-
|
193,3
|
267,2
|
|
ЗП 31
|
6,7
|
76,6
|
-
|
-
|
8,8
|
-
|
-
|
92,1
|
40,6
|
195,1
|
-
|
235,7
|
327,8
|
|
ЗП 32
|
6,4
|
29,9
|
3,7
|
-
|
-
|
-
|
-
|
40,0
|
46,0
|
13,7
|
-
|
59,7
|
99,7
|
|
ЗП 33
|
8,6
|
33,8
|
3,7
|
-
|
-
|
-
|
-
|
46,1
|
50,8
|
20,1
|
-
|
70,9
|
117,0
|
|
ЗП 34
|
10,1
|
40,6
|
-
|
6,2
|
-
|
-
|
-
|
56,9
|
78,0
|
27,1
|
-
|
105,1
|
162,0
|
|
ЗП 35
|
11,3
|
46,8
|
-
|
6,2
|
-
|
-
|
-
|
64,3
|
81,0
|
55,9
|
-
|
136,9
|
201,2
|
|
ЗП 36
|
14,6
|
53,0
|
-
|
-
|
8,8
|
-
|
-
|
76,4
|
89,5
|
88,1
|
-
|
177,6
|
254,0
|
|
ЗП37
|
14,6
|
66,1
|
-
|
-
|
-
|
12,2
|
-
|
92,9
|
83,6
|
113,5
|
-
|
197,1
|
290,0
|
|
ЗП 38
|
7,7
|
106,3
|
-
|
-
|
-
|
-
|
22,8
|
136,8
|
148,9
|
-
|
204,0
|
352,9
|
489,7
|
Таблица 7
Спецификация арматурных изделий на звено
|
Марка эвена
|
Каркасы
|
Отдельные стержни
|
|
Марка
|
Кол. шт.
|
Марка
|
Кол. шт.
|
Марка
|
Кол. шт.
|
Марка
|
Кол. шт.
|
Марка
|
Кол. шт.
|
Марка
|
Кол, шт.
|
Марка
|
Кол. шт.
|
Марка
|
Кол. шт.
|
Марка
|
Кол. шт.
|
Марка
|
Кол. шт.
|
|
ЗП 29-М
|
КР47-М
|
12
|
КР48-М
|
10
|
КР60-М
|
20
|
KР77
|
1
|
СТ1
|
84
|
СТ29-М
|
4
|
СТ30-М
|
4
|
СТ36
|
10
|
-
|
-
|
ПС1-М
|
4
|
|
ЗП 30-М
|
КР49-М
|
12
|
КР50-М
|
10
|
КР63-М
|
20
|
КР78
|
1
|
СТ1
|
100
|
CT10-M
|
8
|
CT14-M
|
2
|
CT3I-М
|
4
|
СТ37
|
10
|
ПС2-М
|
4
|
|
ЗП 31-М
|
KP5I-M
|
12
|
КР52-М
|
10
|
КР66-М
|
20
|
КР79
|
1
|
СТ1
|
108
|
CT14-M
|
4
|
СТ32-М
|
14
|
СТ33-М
|
4
|
СТ38
|
12
|
ПС2-М
|
4
|
|
ЗП 34- М
|
KP13-M
|
10
|
KP14-M
|
10
|
КР60-М
|
20
|
КР77
|
1
|
СТ1
|
76
|
СТ5-М
|
4
|
СТ6-М
|
4
|
СТ7-М
|
8
|
СТ36
|
10
|
ПС1-М
|
4
|
|
ЗП 35-М
|
KP19-M
|
10
|
КР20-М
|
12
|
КР63-М
|
20
|
КР78
|
1
|
СТ1
|
88
|
СТ6-М
|
4
|
CT10-M
|
10
|
СТ11-М
|
4
|
CT37
|
10
|
ПС1-М
|
4
|
|
ЗП 36-М
|
КР25-М
|
10
|
КР26-М
|
12
|
КР66-М
|
20
|
КР79
|
1
|
СТ1
|
96
|
СТ6-М
|
4
|
CT14-M
|
16
|
CT15-M
|
4
|
СТ38
|
12
|
ПС2-М
|
4
|
|
ЗП 37-М
|
KP31-M
|
10
|
КР32-М
|
10
|
КР69-М
|
20
|
КР80
|
1
|
СТ1
|
116
|
СТ17-М
|
20
|
CT41
|
17
|
-
|
-
|
-
|
-
|
ПС3-М
|
4
|
|
ЗП 38-М
|
КР37-М
|
12
|
КР38-М
|
12
|
КР72-М
|
20
|
KP81
|
1
|
СТ1
|
136
|
СТ22-М
|
8
|
СТ23-М
|
8
|
СТ40
|
18
|
-
|
-
|
ПС5-М
|
4
|
Таблица 8
Выборка стали на звено, кг
|
Марка эвена
|
Арматурная сталь по ГОСТ
5781-82
|
Всего
|
|
Класс A-I
|
Класс Ас-II
|
|
Диаметр, ми
|
Итого
|
Диаметр, мм
|
Итого
|
|
6
|
8
|
10
|
12
|
14
|
16
|
20
|
|
ЗП 29-М
|
12,7
|
43,7
|
56,4
|
55,8
|
4,5
|
86,2
|
-
|
-
|
146,5
|
202,9
|
|
ЗП 30-М
|
13,8
|
51,3
|
65,1
|
35,0
|
-
|
165,1
|
-
|
-
|
200,1
|
265,2
|
|
ЗП 31-М
|
6,7
|
76,6
|
83,3
|
40,6
|
-
|
201,9
|
-
|
-
|
242,5
|
325,8
|
|
ЗП 34-М
|
10,1
|
40,6
|
50,7
|
78,0
|
4,5
|
27,1
|
-
|
-
|
109,6
|
160,3
|
|
ЗП 35-М
|
11,3
|
46,8
|
58,1
|
81,0
|
4,5
|
55,9
|
-
|
-
|
141,4
|
199,5
|
|
ЗП 36-М
|
14,6
|
53,0
|
67,6
|
89,5
|
-
|
94,9
|
9,6
|
-
|
184,4
|
252,0
|
|
ЗП 37-М
|
14,6
|
66,1
|
80,7
|
83,6
|
-
|
113,5
|
-
|
-
|
206,7
|
287,4
|
|
ЗП 38-М
|
7,7
|
106,3
|
114,0
|
148,9
|
-
|
-
|
-
|
222,9
|
371,8
|
485,8
|

Черт. 27

Черт. 28

Черт. 29

Черт. 30

Черт. 31

Черт. 32

Черт. 33

Черт. 34

Черт. 35

Черт. 36

Черт. 37

Черт. 38

Черт. 39

Черт.
40
Таблица 9
Номинальные размеры, мм
|
Марка каркаса
|
а
|
b
|
с
|
n1 шт.
|
m1
|
n2 шт.
|
m2
|
d
|
е
|
Стержень поз.1
|
|
f
|
К
|
Р
|
r
|
l*
|
|
КР1
|
34
|
50
|
-
|
-
|
-
|
15
|
100
|
16
|
58
|
399
|
1608
|
47
|
30
|
2500
|
|
КР2
|
19
|
55
|
-
|
2
|
80
|
7
|
100
|
16
|
58
|
634
|
1108
|
47
|
30
|
2470
|
|
КР3
|
54
|
50
|
-
|
6
|
50
|
9
|
100
|
16
|
58
|
399
|
1648
|
47
|
30
|
2540
|
|
КР4
|
19
|
60
|
-
|
3
|
60
|
5
|
130
|
17
|
76
|
654
|
1108
|
47
|
30
|
2510
|
|
КР5
|
94
|
50
|
-
|
-
|
-
|
15
|
100
|
16
|
58
|
399
|
1728
|
47
|
30
|
2620
|
|
КР6
|
19
|
45
|
-
|
-
|
-
|
13
|
80
|
17
|
116
|
694
|
1108
|
47
|
30
|
2590
|
|
КР7
|
54
|
50
|
-
|
-
|
-
|
15
|
100
|
16
|
68
|
304
|
1648
|
47
|
30
|
2350
|
|
КР8
|
29
|
50
|
90
|
-
|
-
|
11
|
100
|
17
|
76
|
664
|
1378
|
47
|
30
|
2800
|
|
КР9
|
84
|
50
|
-
|
5
|
60
|
9
|
100
|
16
|
68
|
304
|
1708
|
47
|
30
|
2410
|
|
КР10
|
29
|
50
|
-
|
3
|
80
|
5
|
160
|
17
|
106
|
694
|
1378
|
47
|
30
|
2860
|
|
КР11
|
124
|
50
|
-
|
4
|
50
|
11
|
100
|
16
|
68
|
304
|
1788
|
47
|
30
|
2490
|
|
КР12
|
29
|
50
|
-
|
-
|
-
|
16
|
80
|
17
|
146
|
734
|
1378
|
47
|
30
|
2940
|
|
KP13; KP13-M
|
74
|
50
|
-
|
-
|
-
|
20
|
100
|
16
|
68
|
см. табл.13 СТ7(СТ7-М)
|
|
KP14; KP14-M
|
44
|
100
|
-
|
-
|
-
|
14
|
100
|
17
|
96
|
744
|
1628
|
47
|
30
|
3210
|
|
KP15; KP15-M
|
124
|
50
|
-
|
-
|
-
|
20
|
100
|
16
|
68
|
см. табл.13 СТ8(СТ8-М)
|
|
KP16; KP16-M
|
44
|
40
|
-
|
5
|
95
|
3
|
190
|
17
|
146
|
794
|
1628
|
47
|
30
|
3310
|
|
KP17; KP17-M
|
174
|
50
|
-
|
-
|
-
|
20
|
100
|
16
|
98
|
374
|
2388
|
47
|
30
|
3230
|
|
KP18; KP18-M
|
74
|
60
|
-
|
6
|
80
|
4
|
130
|
23,5
|
183
|
844
|
1683
|
47
|
30
|
3470
|
|
KP19; KP19-M
|
94
|
70
|
80
|
-
|
-
|
15
|
120
|
16
|
78
|
см. табл.13 СТ11(СТ11-М)
|
|
KP20; KP20-M
|
54
|
75
|
-
|
-
|
-
|
13
|
150
|
17
|
116
|
839
|
2148
|
47
|
30
|
3920
|
|
KP21; KP21-M
|
154
|
70
|
80
|
-
|
-
|
15
|
120
|
16
|
78
|
364
|
2348
|
47
|
30
|
3170
|
|
KP22; KP22-M
|
54
|
75
|
-
|
6
|
100
|
5
|
150
|
23,5
|
163
|
см. табл.13 СТ13(СТ13-М)
|
|
KP23; KP23-M
|
244
|
70
|
-
|
4
|
80
|
11
|
120
|
16
|
108
|
394
|
2528
|
47
|
30
|
3410
|
|
KP24; KP24-M
|
84
|
50
|
-
|
6
|
100
|
4
|
200
|
23,5
|
253
|
1099
|
2208
|
47
|
30
|
4500
|
|
KP25; KP25-M
|
124
|
70
|
80
|
-
|
-
|
15
|
120
|
16
|
78
|
см. табл.13 СТ15(СТ15-М)
|
|
KP26; KP26-M
|
54
|
35
|
140
|
-
|
-
|
15
|
150
|
17
|
146
|
999
|
2648
|
47
|
30
|
4740
|
|
KP27; KP27-M
|
184
|
75
|
-
|
6
|
75
|
7
|
150
|
16
|
118
|
479
|
2408
|
47
|
30
|
3460
|
|
KP28; KP28-M
|
94
|
50
|
-
|
9
|
100
|
4
|
175
|
23,5
|
193
|
1164
|
2728
|
47
|
30
|
5150
|
|
KP29; KP29-M
|
289
|
75
|
-
|
6
|
75
|
7
|
150
|
16
|
148
|
429
|
2618
|
47
|
30
|
3570
|
|
KP30; KP30-M
|
124
|
60
|
-
|
7
|
100
|
6
|
180
|
27,5
|
295
|
1274
|
2788
|
47
|
30
|
5430
|
|
KP31; KP31-M
|
144
|
100
|
-
|
-
|
-
|
16
|
150
|
16
|
108
|
424
|
2828
|
47
|
30
|
3770
|
|
KP32; KP32-M
|
69
|
56
|
109
|
-
|
-
|
14
|
200
|
17
|
166
|
1149
|
3208
|
47
|
30
|
5600
|
|
KP33; KP33-M
|
214
|
100
|
-
|
3
|
100
|
9
|
200
|
16
|
148
|
464
|
2968
|
47
|
30
|
3990
|
|
KP34; KP34-M
|
109
|
65
|
-
|
11
|
100
|
4
|
200
|
23,5
|
223
|
1409
|
3288
|
47
|
30
|
6200
|
|
КР35; КР35-М
|
277
|
55
|
-
|
3
|
120
|
9
|
200
|
18
|
174
|
см. табл.13
CT21(CT2I-M)
|
|
КР36; КР36-М
|
137
|
65
|
-
|
6
|
150
|
6
|
200
|
31
|
298
|
1539
|
3320
|
66
|
42
|
6530
|
|
КР37; КР37-М
|
201
|
40
|
135
|
-
|
-
|
15
|
150
|
16
|
128
|
464
|
2948
|
47
|
30
|
3970
|
|
КР38; КР38-М
|
89
|
60
|
120
|
2
|
130
|
13
|
250
|
235
|
213
|
см. табл. 13 СТ23(СТ23-М)
|
|
КР39; КР39-М
|
202
|
55
|
-
|
4
|
90
|
9
|
200
|
18
|
154
|
см. табл. 13 СТ25(СТ25-М)
|
|
КР40; КР40-М
|
117
|
65
|
-
|
8
|
150
|
8
|
200
|
285
|
223
|
1439
|
4280
|
66
|
42
|
7290
|
|
KP4I; KP4I-M
|
286
|
65
|
-
|
3
|
120
|
9
|
200
|
31
|
218
|
650
|
3102
|
94
|
60
|
4590
|
|
КР42; КР42-М
|
179
|
80
|
-
|
10
|
150
|
5
|
200
|
34
|
312
|
1542
|
4398
|
94
|
60
|
7510
|
|
КР43
|
99
|
35
|
-
|
8
|
50
|
13
|
100
|
16
|
58
|
399
|
2108
|
47
|
30
|
3000
|
|
КР44
|
49
|
35
|
-
|
4
|
50
|
6
|
100
|
16
|
58
|
884
|
1108
|
47
|
30
|
2970
|
|
КР45
|
69
|
35
|
-
|
5
|
60
|
14
|
100
|
17
|
66
|
304
|
2148
|
47
|
30
|
2850
|
|
КР46
|
29
|
50
|
-
|
3
|
80
|
8
|
100
|
17
|
76
|
914
|
1378
|
47
|
30
|
3300
|
|
КР47; КР47-М
|
74
|
50
|
-
|
-
|
-
|
25
|
100
|
17
|
66
|
см. табл. 13 СТ30(СТ30-М)
|
|
КР48; КР48-М
|
59
|
50
|
-
|
3
|
95
|
9
|
100
|
17
|
96
|
994
|
1628
|
47
|
30
|
3710
|
|
КР49; КР49-М
|
104
|
70
|
80
|
-
|
-
|
19
|
120
|
17
|
76
|
см. табл. 13 CT31(CT31-M)
|
|
КР50; КР50-М
|
54
|
75
|
-
|
6
|
100
|
5
|
150
|
17
|
116
|
1089
|
2148
|
47
|
30
|
4420
|
|
KP5I; KP5I-M
|
149
|
75
|
-
|
6
|
75
|
10
|
150
|
17
|
76
|
см. табл. 13 СТ33(СТ33-М)
|
|
КР52; КР52-М
|
104
|
50
|
-
|
9
|
100
|
4
|
150
|
17
|
116
|
1249
|
2648
|
47
|
30
|
5240
|
|
КР53: КР53-41
|
см. Черт.40
|
* полная длина
стержня

Черт. 41

Черт. 42
Таблица
10
Номинальные размеры, мм
|
Марка каркаса
|
а
|
b
|
с
|
d
|
|
КР54
|
170
|
100
|
170
|
75
|
|
КР55
|
180
|
100
|
190
|
95
|
|
КР56
|
150
|
100
|
280
|
95
|
|
КР57
|
180
|
100
|
180
|
95
|
|
КР58
|
190
|
100
|
240
|
125
|
|
КР59
|
210
|
100
|
280
|
165
|
|
КР60; КР60-М
|
210
|
150
|
220
|
115
|
|
KP61; KP61-M
|
210
|
150
|
290
|
165
|
|
КР62; КР62-М
|
240
|
150
|
380
|
215
|
|
КР63; КР63-М
|
220
|
150
|
250
|
135
|
|
КР64; КР64-М
|
210
|
150
|
350
|
195
|
|
КР65; KР65-M
|
280
|
150
|
450
|
285
|
|
КР66; КР66-М
|
210
|
150
|
310
|
165
|
|
КР67; КР67-М
|
260
|
150
|
400
|
225
|
|
КР68; КР68-М
|
360
|
150
|
500
|
335
|
|
КР69; КР69-М
|
350
|
150
|
310
|
185
|
|
КР70; КР70-М
|
315
|
200
|
455
|
255
|
|
KP71; KР7I-M
|
360
|
200
|
580
|
345
|
|
КР72; КР72-М
|
280
|
210
|
430
|
245
|
|
КР73; КР73-М
|
320
|
200
|
470
|
265
|
|
КР74; КР74-М
|
460
|
200
|
610
|
365
|
Таблица 11
Номинальные размеры, мм
|
Марка каркаса
|
b
|
с
|
d
|
п, шт.
|
m
|
Стержень поз.1
|
|
a
|
l*
|
|
КР75
|
132
|
30
|
-
|
7
|
160
|
337
|
1140
|
|
KР76
|
152
|
30
|
170
|
7
|
150
|
357
|
1160
|
|
КР77
|
172
|
40
|
-
|
9
|
180
|
377
|
1180
|
|
KР78
|
192
|
20
|
-
|
9
|
240
|
397
|
1200
|
|
KР79
|
222
|
40
|
-
|
11
|
240
|
427
|
1230
|
|
КР80
|
242
|
40
|
-
|
16
|
200
|
447
|
1250
|
|
KP81
|
262
|
35
|
-
|
17
|
250
|
467
|
1270
|
* полная длина стержня
Таблица 12
Спецификация на одно арматурное изделие
|
Марка каркаса
|
Поз.
|
Диаметр, мм, класс
|
Кол. шт.
|
Длина, мм
|
Масса каркаса, кг
|
|
KP1
|
1*
|
10А-II
|
1
|
2500
|
2,85
|
|
2
|
10А-II
|
1
|
см.
СТ3
|
|
3
|
6A-I
|
16
|
90
|
|
КР2
|
1*
|
10А-II
|
1
|
2470
|
3,13
|
|
2
|
14А- II
|
1
|
см. СТ2
|
|
3
|
6A-I
|
12
|
см. KP1
|
|
КР3
|
1*
|
10А-II
|
1
|
2540
|
3,00
|
|
2
|
10А-II
|
1
|
см. СТ3
|
|
3
|
6A-I
|
22
|
см. KP1
|
|
КР4
|
1*
|
10А-II
|
1
|
2510
|
3,20
|
|
2
|
14А-II
|
1
|
см. СТ2
|
|
3
|
6A-I
|
12
|
110
|
|
КР5
|
1*
|
10А-II
|
1
|
2620
|
2,91
|
|
2
|
10А-II
|
1
|
см.
СТ3
|
|
3
|
6A-I
|
16
|
см. KP1
|
|
КР6
|
1*
|
10А-II
|
1
|
2590
|
4,25
|
|
2
|
14А-II
|
1
|
см.
СТ2
|
|
3
|
I0A-I
|
14
|
150
|
|
КР7
|
1*
|
10А-II
|
1
|
2350
|
2,78
|
|
2
|
10А-II
|
1
|
см. СТ3
|
|
3
|
6A-I
|
16
|
100
|
|
КР8
|
1*
|
10А-II
|
1
|
2800
|
3,73
|
|
2
|
14А-II
|
1
|
см.
СТ4
|
|
3
|
6A-I
|
14
|
см. КР4
|
|
КР9
|
1*
|
10А-II
|
1
|
2410
|
2,91
|
|
2
|
10А-II
|
1
|
см.
СТ3
|
|
3
|
6A-I
|
20
|
см. КР7
|
|
KP10
|
1*
|
10А-II
|
1
|
2860
|
3,80
|
|
2
|
14А-II
|
1
|
см.
СТ4
|
|
3
|
6A-I
|
12
|
140
|
|
КР11
|
1*
|
10А-II
|
1
|
2490
|
2,96
|
|
2
|
10А-II
|
1
|
см. СТ3
|
|
3
|
6A-I
|
20
|
см.
КР7
|
|
КР12
|
1*
|
10А-II
|
1
|
2940
|
5,36
|
|
2
|
14А-II
|
1
|
см.
СТ4
|
|
3
|
10А-I
|
17
|
180
|
|
КР13, KP13М
|
1
|
10А-II(АС-II)
|
1
|
см.
СТ7(СТ7-М)
|
3,59
|
|
2
|
10А-II(АС-II)
|
1
|
см.
СТ6(СТ6-М)
|
|
3
|
6A-I
|
21
|
см. КР7
|
|
КР14, KP14М
|
1*
|
10А-II(АС-II)
|
1
|
3210
|
4,33
|
|
2
|
14А-II(АС-II)
|
1
|
см.
СТ5(СТ5-М)
|
|
3
|
6A-I
|
15
|
130
|
|
КР15, KP15М
|
1
|
10А-II(АС-II)
|
1
|
см.
СТ8(СТ8-М)
|
3,64
|
|
2
|
10А-II(АС-II)
|
1
|
см.
СТ6(СТ6-М)
|
|
3
|
6A-I
|
21
|
см. КР7
|
|
КР16, KP16М
|
1*
|
10А-II(АС-II)
|
1
|
3310
|
4,54
|
|
2
|
10А-II(АС-II)
|
1
|
см.
СТ5(СТ5-М)
|
|
3
|
6A-I
|
14
|
180
|
|
КР17, KP17М
|
1*
|
10А-II(АС-II)
|
1
|
3230
|
3,89
|
|
2
|
10А-II(АС-II)
|
1
|
см.
СТ6(СТ6-М)
|
|
3
|
6A-I
|
21
|
см. КР14(КР14-М)
|
|
KP18, KP18-М
|
1*
|
10А-II(АС-II)
|
1
|
3470
|
8,49
|
|
2
|
20А-II(АС-II)
|
1
|
см.
СТ9(СТ9-М)
|
|
3
|
10A-I
|
17
|
230
|
|
KP19, KP19-M
|
1
|
10А-II(АС-II)
|
1
|
см.
СТ11(СТ11-М)
|
3,61
|
|
2
|
10А-II(АС-II)
|
1
|
см.
СТ6(СТ6-М)
|
|
3
|
6A-I
|
18
|
см. КР4
|
|
КР20, КР20-М
|
1*
|
10А-II(АС-II)
|
1
|
3920
|
5,42
|
|
2
|
14А-II(АС-II)
|
1
|
см.
СТ10(СТ10-М)
|
|
3
|
6A-I
|
14
|
150
|
|
KP21, KP21-M
|
1*
|
10А-II(АС-II)
|
1
|
3170
|
3,69
|
|
2
|
10А-II(АС-II)
|
1
|
см.
СТ6(СТ6-М)
|
|
3
|
6A-I
|
18
|
см. КР4
|
|
КР22, КР22-М
|
1
|
10А-II(АС-II)
|
1
|
см.
СТ13(СТ13-М)
|
10,20
|
|
2
|
20А-II(АС-II)
|
1
|
см.
СТ12(СТ12-М)
|
|
3
|
10A-I
|
18
|
210
|
|
КР23, КР23-М
|
1*
|
10А-II(АС-II)
|
1
|
3410
|
4,01
|
|
2
|
10А-II(АС-II)
|
1
|
см.
СТ6(СТ6-М)
|
|
3
|
6A-I
|
20
|
см. КР10
|
|
КР24, КР24-М
|
1*
|
10А-II(АС-II)
|
1
|
4500
|
11,10
|
|
2
|
20А-II(АС-II)
|
1
|
см.
СТ12(СТ12-М)
|
|
3
|
10A-I
|
17
|
300
|
|
КР25, КР25-М
|
1
|
10А-II(АС-II)
|
1
|
см.
СТ15(СТ15-М)
|
3,74
|
|
2
|
10А-II(АС-II)
|
1
|
см.
СТ6(СТ6-М)
|
|
3
|
6A-I
|
18
|
см. КР4
|
|
КР26, КР26-М
|
1*
|
10А-II(АС-II)
|
1
|
4740
|
6,78
|
|
2
|
14А-II(АС-II)
|
1
|
см.
СТ14(СТ14-М)
|
|
3
|
6A-I
|
18
|
см. КР16(КР16-М)
|
|
КР27, КР27-М
|
1*
|
10А-II(АС-II)
|
1
|
3460
|
4,09
|
|
2
|
10А-II(АС-II)
|
1
|
см.
СТ6(СТ6-М)
|
|
3
|
6A-I
|
20
|
см. КР20(КР20-М)
|
|
КР28, КР28-М
|
1*
|
10А-II(АС-II)
|
1
|
5150
|
13,00
|
|
2
|
20А-II(АС-II)
|
1
|
см.
СТ16(СТ16-М)
|
|
3
|
10A-I
|
23
|
240
|
|
КР29, КР29-М
|
1*
|
10А-II(АС-II)
|
1
|
3570
|
4,29
|
|
2
|
10А-II(АС-II)
|
1
|
см.
СТ6(СТ6-М)
|
|
3
|
6A-I
|
20
|
см. КР16(КР16-М)
|
|
КР30,
КР30-М
|
1*
|
10А-II(АС-II)
|
1
|
5430
|
17,85
|
|
2
|
25А-II(АС-II)
|
1
|
2600
|
|
3
|
10A-I
|
21
|
350
|
|
KP31, KP31-M
|
1*
|
10А-II(АС-II)
|
1
|
3770
|
4,45
|
|
2
|
10А-II(АС-II)
|
1
|
см.
СТ29(СТ29-М)
|
|
3
|
6A-I
|
17
|
см. КР10
|
|
КР32,
КР32-М
|
1*
|
10А-II(АС-II)
|
1
|
5600
|
7,99
|
|
2
|
14А-II(АС-II)
|
1
|
см.
СТ17(СТ17-М)
|
|
3
|
6A-I
|
17
|
200
|
|
КР33, КР33-М
|
1*
|
10А-II(АС-II)
|
1
|
3990
|
4,71
|
|
2
|
10А-II(АС-II)
|
1
|
см.
СТ29(СТ29-М)
|
|
3
|
6A-I
|
16
|
см. КР16(КР16-М)
|
|
КР34,
КР34-М
|
1*
|
10А-II(АС-II)
|
1
|
6200
|
16,03
|
|
2
|
20А-II(АС-II)
|
1
|
см.
СТ18(СТ18-М)
|
|
3
|
10A-I
|
27
|
270
|
|
КР35, КР35-М
|
1
|
14А-II(АС-II)
|
1
|
см.
СТ21(СТ21-М)
|
9,83
|
|
2
|
14А-II(АС-II)
|
1
|
2630
|
|
3
|
8A-I
|
16
|
210
|
|
КР36, КР36-М
|
1*
|
14А-II(АС-II)
|
1
|
6530
|
26,02
|
|
2
|
25А-II(АС-II)
|
1
|
см.
СТ20(СТ20-М)
|
|
3
|
12А-II(АС-II)
|
19
|
360
|
|
КР37, КР37-М
|
1*
|
10А-II(АС-II)
|
1
|
3970
|
4,69
|
|
2
|
10А-II(АС-II)
|
1
|
см.
СТ29(СТ29-М)
|
|
3
|
6A-I
|
18
|
160
|
|
КР38, КР38-М
|
1
|
10А-II(АС-II)
|
1
|
см.
СТ23(СТ23-М)
|
16,71
|
|
2
|
20А-II(АС-II)
|
1
|
см.
СТ22(СТ22-М)
|
|
3
|
8A-I
|
20
|
260
|
|
КР39, КР39-М
|
1
|
14А-II(АС-II)
|
1
|
см.
СТ25(СТ25-М)
|
9,65
|
|
2
|
14А-II(АС-II)
|
1
|
см.
КР35(КР35-М)
|
|
3
|
8A-I
|
18
|
190
|
|
КР40, КР40-М
|
1*
|
14А-II(АС-II)
|
1
|
7290
|
30,96
|
|
2
|
25А-II(АС-II)
|
1
|
см.
СТ24(СТ24-М)
|
|
3
|
12А-II(АС-II)
|
25
|
280
|
|
KP41, KP41-M
|
1*
|
20А-II(АС-II)
|
1
|
4590
|
19,65
|
|
2
|
20А-II(АС-II)
|
1
|
2650
|
|
3
|
8A-I
|
16
|
280
|
|
КР42, КР42-М
|
1*
|
20А-II(АС-II)
|
1
|
7510
|
53,55
|
|
2
|
32А-II(АС-II)
|
1
|
см.
СТ28(СТ28-М)
|
|
3
|
12А-II(АС-II)
|
26
|
380
|
|
КР43
|
1*
|
14А-II
|
1
|
3000
|
5,36
|
|
2
|
10А-II
|
1
|
1970
|
|
3
|
6A-I
|
26
|
см.
КР1
|
|
КР44
|
1*
|
10А-II
|
1
|
2970
|
2,80
|
|
2
|
10А-II
|
1
|
1070
|
|
3
|
6A-I
|
15
|
см. КР1
|
|
КР45
|
1*
|
14А-II
|
1
|
2850
|
5,28
|
|
2
|
10А-II
|
1
|
2070
|
|
3
|
6A-I
|
25
|
см.
КР7
|
|
КР46
|
1*
|
10А-II
|
1
|
3300
|
4, 08
|
|
2
|
14А-II
|
1
|
см. СТ4
|
|
3
|
6A-I
|
15
|
см.
КР4
|
|
КР47,
КР47-М
|
1
|
14А-II(АС-II)
|
1
|
см.
СТ30(СТ30-М)
|
6,39
|
|
2
|
10А-II(АС-II)
|
1
|
см.
СТ29(СТ29-М)
|
|
3
|
6A-I
|
26
|
см. КР7
|
|
КР48,
КР48-М
|
1*
|
10А-II(АС-II)
|
1
|
3710
|
4,65
|
|
2
|
14А-II(АС-II)
|
1
|
1570
|
|
3
|
6A-I
|
16
|
см. КР14(КР14-М)
|
|
КР49,
КР49-М
|
1
|
14А-II(АС-II)
|
1
|
см.
СТ31(СТ31-М)
|
7,96
|
|
2
|
14А-II(АС-II)
|
1
|
2580
|
|
3
|
6A-I
|
22
|
см. КР4
|
|
КР50,
КР50-М
|
1*
|
10А-II(АС-II)
|
1
|
4420
|
5,86
|
|
2
|
14А-II(АС-II)
|
1
|
см.
СТ10(СТ10-М)
|
|
3
|
6A-I
|
18
|
см. КР20(КР20-М)
|
|
КР51,
КР51-М
|
1
|
14А-II(АС-II)
|
1
|
см.
СТ33(СТ33-М)
|
8,20
|
|
2
|
14А-II(АС-II)
|
1
|
2250
|
|
3
|
6A-I
|
23
|
см. КР4
|
|
КР52,
КР52-М
|
1*
|
10А-II(АС-II)
|
1
|
5240
|
7,89
|
|
2
|
14А-II(АС-II)
|
1
|
см.
СТ32(СТ32-М)
|
|
3
|
8A-I
|
23
|
180
|
|
КР53, КР53-М
|
1*
|
20А-II(АС-II)
|
1
|
см.
КР42(КР42-М)
|
54,69
|
|
2
|
32А-II(АС-II)
|
1
|
4350
|
|
3
|
12А-II(АС-II)
|
26
|
см.
КР42(КР42-М)
|
|
КР54
|
1
|
10А-II
|
1
|
440
|
0,31
|
|
2
|
6A-I
|
2
|
см. КР1
|
|
КР55
|
1
|
10А-II
|
1
|
470
|
0,34
|
|
2
|
6A-I
|
2
|
см. КР4
|
|
КР56
|
1
|
10А-II
|
1
|
530
|
0,51
|
|
2
|
10А-I
|
2
|
см.
КР6
|
|
КР57
|
1
|
10А-II
|
1
|
460
|
0,33
|
|
2
|
6A-I
|
2
|
см. КР4
|
|
КР58
|
1
|
10А-II
|
1
|
см. КР56
|
0,39
|
|
2
|
6A-I
|
2
|
см.
КР10
|
|
КР59
|
1
|
10А-II
|
1
|
590
|
0,59
|
|
2
|
10А-I
|
2
|
см.
КР12
|
|
КР60, КР60-М
|
1
|
10А-II(АС-II)
|
1
|
580
|
0,41
|
|
2
|
6A-I
|
2
|
см. КР14(КР14-М)
|
|
KP61, KP61-M
|
1
|
10А-II(АС-II)
|
1
|
650
|
0,48
|
|
2
|
6A-I
|
2
|
см. КР16(КР16-М)
|
|
КР62, КР62-М
|
1
|
10А-II(АС-II)
|
1
|
770
|
0,76
|
|
2
|
10А-I
|
2
|
см.
КР18(КР18-М)
|
|
КР63, КР63-М
|
1
|
10А-II(АС-II)
|
1
|
620
|
0,45
|
|
2
|
6A-I
|
2
|
см. КР20(КР20-М)
|
|
КР64, КР64-М
|
1
|
10А-II(АС-II)
|
1
|
710
|
0,70
|
|
2
|
10А-I
|
2
|
см.
КР22(КР22-М)
|
|
КР65, КР65-М
|
1
|
10А-II(АС-II)
|
1
|
880
|
0,91
|
|
2
|
10А-I
|
2
|
см.
КР24(КР24-М)
|
|
КР66, КР66-М
|
1
|
10А-II(АС-II)
|
1
|
670
|
0,49
|
|
2
|
6A-I
|
2
|
см. КР16(КР16-М)
|
|
КР67, КР67-М
|
1
|
10А-II(АС-II)
|
1
|
810
|
0,80
|
|
2
|
10А-I
|
2
|
см.
КР28(КР28-М)
|
|
КР68, КР68-М
|
1
|
10А-II(АС-II)
|
1
|
1010
|
1,05
|
|
2
|
10А-I
|
2
|
см.
КР30(КР30-М)
|
|
КР69, КР69-М
|
1
|
10А-II(АС-II)
|
1
|
см.
КР67(КР67-М)
|
0,58
|
|
2
|
6A-I
|
2
|
см. КР32(КР32-М)
|
|
КР70, КР70-М
|
1
|
10А-II(АС-II)
|
1
|
970
|
0,93
|
|
2
|
10A-I
|
2
|
см. КР34(КР34-М)
|
|
KP7I, KP7I-M
|
1
|
10А-II(АС-II)
|
1
|
1140
|
1,35
|
|
2
|
12А-II(АС-II)
|
2
|
см.
КР36(КР36-М)
|
|
КР72, КР72-М
|
1
|
10А-II(АС-II)
|
1
|
см.
КР19(КР19-М)
|
0,77
|
|
2
|
8А-I
|
2
|
см.
КР38(КР38-М)
|
|
КР73, КР73-М
|
1
|
10А-II(АС-II)
|
1
|
990
|
1,11
|
|
2
|
12А-II(АС-II)
|
2
|
см.
КР40(КР40-М)
|
|
КР74, КР74-М
|
1
|
10А-II(АС-II)
|
1
|
1270
|
1,46
|
|
2
|
12А-II(АС-II)
|
2
|
см.
КР42(КР42-М)
|
|
КР75
|
1**
|
8А-I
|
8
|
1140
|
6,86
|
|
2
|
8А-I
|
7
|
1180
|
|
КР76
|
1**
|
8А-I
|
10
|
1160
|
8,59
|
|
2
|
8А-I
|
7
|
1450
|
|
КР77
|
1**
|
8А-I
|
10
|
1180
|
9,36
|
|
2
|
8А-I
|
7
|
1700
|
|
КР78
|
1**
|
8А-I
|
10
|
1200
|
10,87
|
|
2
|
8А-I
|
7
|
2220
|
|
КР79
|
1**
|
8А-I
|
12
|
1230
|
13,35
|
|
2
|
8А-I
|
7
|
2720
|
|
КР80
|
1**
|
8А-I
|
17
|
1250
|
17,46
|
|
2
|
8А-I
|
7
|
3280
|
|
KP81
|
1**
|
8А-I
|
18
|
1270
|
20,97
|
|
2
|
8А-I
|
7
|
4320
|
* стержни см. табл. 9
** стержни см. табл. 11
Таблица 13
Ведомость отдельных стержней
|
Марка стержня
|
Эскиз
|
Диаметр, мм, класс
|
Длина, мм
|
Масса, ед., кг
|
|
CT1
|

|
8A-I
|
960
|
0,38
|
|
СТ2
|

|
14А-II
|
ИЗО
|
1,37
|
|
СТ3
|

|
10А-II
|
1600
|
0,99
|
|
СТ4
|

|
14А-II
|
1380
|
1.67
|
|
СТ5(СТ5-М)
|

|
14А-II(АС-II)
|
1600
|
1,94
|
|
СТ6(СТ6-М)
|

|
10А-II(АС-II)
|
2100
|
1,30
|
|
СТ7(СТ7-М)
|

|
10А-II(АС-II)
|
2970
|
1,83
|
|
СТ8(СТ8-М)
|

|
10А-II(АС-II)
|
3070
|
1,89
|
|
СТ9(СТ9-М)
|

|
20А-II(АС-II)
|
1600
|
3,95
|
|
СТ10(СТ10-М)
|

|
14А-II(АС-II)
|
2100
|
2,54
|
|
CT11(CT11-M)
|

|
10А-II(АС-II)
|
3050
|
1,88
|
|
СТ12(СТ12-М)
|

|
20А-II(АС-II)
|
2100
|
5,19
|
|
СТ13(СТ13-М)
|

|
10А-II(АС-II)
|
4260
|
2,63
|
|
СТ14(СТ14-М)
|

|
14А-II(АС-II)
|
2600
|
3,15
|
|
СТ15(СТ15-М)
|

|
10А-II(АС-II)
|
3260
|
2,01
|
|
СТ16(СТ16-М)
|

|
20А-II(АС-II)
|
2600
|
6,42
|
|
СТ17(СТ17-М)
|

|
14А-II(АС-II)
|
3130
|
3,79
|
|
CT18(CT18-М)
|

|
20А-II(АС-II)
|
3130
|
7,73
|
|
СТ19(СТ19-М)
|

|
10А-II(АС-II)
|
960
|
0,59
|
|
СТ20(СТ20-М)
|

|
25А-II(АС-II)
|
3130
|
12,05
|
|
СТ21(СТ21-М)
|

|
14А-II(АС-II)
|
4410
|
5,34
|
|
СТ22(СТ22-М)
|

|
20А-II(АС-II)
|
4130
|
10.20
|
|
СТ23(СТ23-М)
|

|
10А-II(АС-II)
|
7230
|
4,46
|
|
СТ24(СТ24-М)
|

|
25А-II(АС-II)
|
4130
|
15,90
|
|
СТ25(СТ25-М)
|

|
14А-II(АС-II)
|
4230
|
5,12
|
|
СТ26
|

|
8A-I
|
720
|
0,28
|
|
СТ27(СТ27-М)
|

|
10А-II(АС-II)
|
720
|
0,44
|
|
СТ28(СТ28-М)
|

|
32А-II(АС-II)
|
4160
|
26,25
|
|
CT29(CT29-M)
|

|
10А-II(АС-II)
|
2600
|
1,60
|
|
СТ30(СТ30-М)
|

|
14А-II(АС-II)
|
3470
|
4,20
|
|
СТ31(СТ31-М)
|

|
14А-II(АС-II)
|
3550
|
4,30
|
|
СТ32(СТ32-М)
|

|
14А-II(АС-II)
|
2500
|
3,3
|
|
ст33(ст33-М)
|

|
14А-II(АС-II)
|
3760
|
4,55
|
|
СТ34
|

|
8A-I
|
570
|
0,23
|
|
СТ35
|

|
8A-I
|
600
|
0,24
|
|
СТ36
|

|
8A-I
|
620
|
0,24
|
|
СТ37
|

|
8A-I
|
640
|
0,25
|
|
СТ38
|

|
8A-I
|
670
|
0,26
|
|
СТ39
|

|
8A-I
|
I960
|
0,77
|
|
СТ40
|

|
8A-I
|
710
|
0,28
|
|
СТ41
|

|
8A-I
|
690
|
0,27
|
|
ПС1
|

|
12A-I
|
1050
|
0,93
|
|
ПС2
|

|
14A-I
|
1270
|
1,54
|
|
ПС1-М
|
12AС-II
|
1,13
|
|
ПС3
|

|
16A-I
|
1400
|
2,21
|
|
ПС2-М
|
14AС-II
|
1,69
|
|
ПС4
|

|
18A-I
|
1520
|
3,04
|
|
ПС3-М
|
16AС-II
|
2,40
|
|
ПС5
|

|
20A-I
|
1780
|
4,40
|
|
ПС4-М
|
18AС-II
|
3,56
|
|
ПС6
|

|
22A-I
|
1910
|
5,69
|
|
ПС5-М
|
20AС-II
|
4,72
|
|
ПС7
|

|
25А-I
|
2400
|
9,24
|
|
ПС6-М
|
22AС-II
|
7,15
|
|
ПС8
|

|
28А-I
|
2590
|
12,51
|
|
ПС7-М
|
25AС-II
|
9,97
|
|
Ленгипротрансмост
|
|
|
Главный
инженер института
|
А.К. Васин
|
|
Руководитель службы
стандартизации
|
В.Н. Семенов
|
|
Руководитель
разработки
|
С.С. Ткаченко
|
|
Начальник отдела типового проектирования
|
|
Ответственный
исполнитель
|
Р.С. Клейнер
|
|
Главный инженер проекта
|
|
Исполнители:
|
|
|
руководитель
группы
|
Н.И. Беляева
|
|
ведущие
инженеры:
|
Б.Г. Коен
И.Ф. Миронова
|
|
старшие
инженеры
|
А.Ю. Кучанова
Т.Ф. Чупарнова
|
|
инженеры
|
О.В.
Еременко
Е.Н. Пургина
Д.А. Трубин
|
|
ст. техник
|
В.М. Коен
|
|
черт.-констр.
|
Т.Л. Гусинова
|
|
Соискатели:
|
|
|
СибЦНИИС
|
|
|
Директор
института
|
П.Ф. Стафеев
|
|
Руководитель
разработки
|
А.С. Потапов
|
|
|