Крупнейшая бесплатная информационно-справочная система онлайн доступа к полному собранию технических нормативно-правовых актов РФ. Огромная база технических нормативов (более 150 тысяч документов) и полное собрание национальных стандартов, аутентичное официальной базе Госстандарта. GOSTRF.com - это более 1 Терабайта бесплатной технической информации для всех пользователей интернета. Все электронные копии представленных здесь документов могут распространяться без каких-либо ограничений. Поощряется распространение информации с этого сайта на любых других ресурсах. Каждый человек имеет право на неограниченный доступ к этим документам! Каждый человек имеет право на знание требований, изложенных в данных нормативно-правовых актах!

  


 

Минжилкомхоз РСФСР

Указания
по технической эксплуатации крыш жилых зданий с рулонными, мастичными и стальными кровлями

Москва 1987

МИНИСТЕРСТВО ЖИЛИЩНО-КОММУНАЛЬНОГО ХОЗЯЙСТВА РСФСР (МИНЖИЛКОМХОЗ РСФСР)

Утверждены
приказом Минжилкомхоза РСФСР
от 29 декабря 1984 г. № 614

МОСКВА СТРОЙИЗДАТ 1987

Содержат основные рекомендации по эксплуатации крыш жилых зданий с рулонными, мастичными и стальными кровлями, технологию их ремонта и нанесения защитно-отделочных составов.

Для инженерно-технических работников жилищных и ремонтно-строительных организаций.

Разработаны отделом жилых и коммунальных зданий АКХ им. К.Д. Памфилова (кандидаты техн. наук А.С. Владычин, Э.М. Ариевич, Н.М. Вавуло и инж. Лазарев А.Б.), МосжилНИИпроектом (кандидаты техн. наук И.Н. Климов, О.А. Лукинский), Главмосремонтом (инж. В.З. Бучацкий), Мособотделспецстроем (канд. техн. наук В.В. Мишенков).

СОДЕРЖАНИЕ

1. ОБЩИЕ ПОЛОЖЕНИЯ

2. СОДЕРЖАНИЕ КРЫШ

Осмотры крыш

Очистка крыш от мусора, снега и льда

Непредвиденный текущий ремонт

3. РЕМОНТ КРЫШ

Виды ремонта

РЕМОНТ КРЫШ С РУЛОННЫМИ И МАСТИЧНЫМИ КРОВЛЯМИ

Ремонт рулонного гидроизоляционного покрытия

Ремонт кровель с мастичным покрытием

Ремонт крыш с кровлей из листовой стали

Ремонт водоотводящих устройств

Организация производства работ при ремонте крыш

Приемка крыш в эксплуатацию после ремонта

4. УЛУЧШЕНИЕ ТЕМПЕРАТУРНО-ВЛАЖНОСТНОГО РЕЖИМА И УСТРАНЕНИЕ ОБЛЕДЕНЕНИЯ ЧЕРДАЧНЫХ КРЫШ

Общие положения

Теплоизоляция чердачного помещения

Теплоизоляция трубопроводов и вентиляционных шахт

Вентиляция

Эксплуатация крыш с теплым чердаком

5. РЕКОНСТРУКЦИЯ КРЫШ

6. ТРЕБОВАНИЯ ОХРАНЫ ТРУДА И ТЕХНИКИ БЕЗОПАСНОСТИ ПРИ РЕМОНТЕ И ТЕХНИЧЕСКОЙ ЭКСПЛУАТАЦИИ КРЫШ

ПРИЛОЖЕНИЕ 1 ПЕРЕЧЕНЬ СТРОИТЕЛЬНЫХ РАБОТ ПО ТЕКУЩЕМУ РЕМОНТУ КРЫШ ЖИЛЫХ зданий

ПРИЛОЖЕНИЕ 2 ОТКЛОНЕНИЯ, ДОПУСКАЕМЫЕ ПРИ УСТРОЙСТВЕ КРЫШ ЖИЛЫХ ЗДАНИЙ

ПРИЛОЖЕНИЕ 3 АКТЫ СДАЧИ-ПРИЕМКИ

ПРИЛОЖЕНИЕ 4 ПЕРЕЧЕНЬ МАШИН, МЕХАНИЗМОВ, ИНСТРУМЕНТОВ, ИНВЕНТАРЯ И ПРИСПОСОБЛЕНИЙ, РЕКОМЕНДУЕМЫХ ПРИ РЕМОНТЕ РУЛОННЫХ КРОВЕЛЬНЫХ ПОКРЫТИЙ

ПРИЛОЖЕНИЕ 5 ХАРАКТЕРИСТИКА ОСНОВНЫХ ТЕПЛОИЗОЛЯЦИОННЫХ МАТЕРИАЛОВ И КОНСТРУКЦИЙ

ПРИЛОЖЕНИЕ 6 ДОПУСКАЕМАЯ ВЛАЖНОСТЬ МАТЕРИАЛОВ В ЧЕРДАЧНЫХ И БЕСЧЕРДАЧНЫХ КРЫШАХ

ПРИЛОЖЕНИЕ 7 МИНИМАЛЬНЫЕ УКЛОНЫ КРЫШ С КРОВЕЛЬНЫМИ ПОКРЫТИЯМИ ИЗ РАЗЛИЧНЫХ МАТЕРИАЛОВ

ПРИЛОЖЕНИЕ 8 УСРЕДНЕННЫЕ СРОКИ СЛУЖБЫ КОНСТРУКТИВНЫХ ЭЛЕМЕНТОВ КРЫШ ЖИЛЫХ ЗДАНИЙ

ПРИЛОЖЕНИЕ 9 ТЕМПЕРАТУРА ВОЗДУХА В ТЕПЛОМ ЧЕРДАКЕ tЧ, °С

ПРИЛОЖЕНИЕ 10 МЕТОДИЧЕСКИЕ УКАЗАНИЯ ПО ТЕХНИЧЕСКОМУ ОБСЛЕДОВАНИЮ КРЫШ ЖИЛЫХ ЗДАНИЙ ДЛЯ ОПРЕДЕЛЕНИЯ ЦЕЛЕСООБРАЗНОСТИ ИХ РЕМОНТА ИЛИ РЕКОНСТРУКЦИИ

 

1. ОБЩИЕ ПОЛОЖЕНИЯ

1.1. При сдаче в эксплуатацию крыш заказчик должен потребовать от строительной организации гарантийный паспорт с указанием срока службы кровли и защитного слоя. Дефекты, допущенные при выполнении работ, устраняются безвозмездно организацией, выполняющей ремонт, в течение установленного гарантийного срока.

1.2. Для обеспечения технически исправного состояния кровли и предупреждения ее преждевременного износа необходимо строгое выполнение рекомендаций по проведению технических осмотров, содержанию и ремонту крыш, изложенных в настоящих Указаниях.

1.3. При обнаружении дефекта на кровле следует немедленно установить причину его появления. Для определения прочностных свойств конструкций крыш и причин их разрушения следует привлекать соответствующих специалистов научных и проектных организаций.

1.4. Капитальный ремонт и реконструкцию крыш следует выполнять в соответствии с рабочими чертежами, проектом производства работ и требованиями настоящих Указаний.

1.5. При смене кровли следует предварительно отремонтировать несущие конструкции, основание под нее и другие элементы крыши. Все деревянные элементы должны быть антисептированы и антипирированы.

1.6. В процессе эксплуатации крыш с неорганизованным водоотводом необходимо защитить козырьками, навесами или желобами балконы верхних этажей, входные двери в здание и приямки от атмосферных осадков, стекающих с крыш.

1.7. Дефекты, замеченные в крыше, необходимо устранять в кратчайшие сроки. Повреждения в кровле подлежат немедленному исправлению.

1.8. Установка на крышах реклам, стоек теле- и радиоантенн допускается только по проекту, согласованном с жилищно-эксплуатационной организацией.

1.9. Мачты, стойки, инженерное оборудование, расположенное над кровлей, должно быть заземлено.

1.10. Чердачное помещение должно иметь нормальный температурно-влажностный режим и быть оборудовано постоянным в любое время суток электроосвещением, которое необходимо содержать в исправном состоянии.

1.11. Входы в чердачное помещение и выходы на бесчердачную крышу должны быть закрыты, а ключи от них храниться в жилищно-эксплуатационной организации и в одной из квартир верхнего этажа дома или у дежурного лифтера.

1.12. Люки входа в чердачное помещение или выхода на бесчердачную крышу рекомендуется оборудовать скобами и противовесами, обеспечивающими их самозакрывание.

1.13. Техническая документация на крышу и установленное на ней в пределах чердачного помещения оборудование должны храниться в жилищно-эксплуатационной организации.

1.14. Вентиляционные отверстия в крыше должны быть оборудованы решетками, которые запрещается закрывать. В случае попадания снега в чердачное помещение через вентиляционные отверстия следует устанавливать отражательные козырьки.

1.15. Для обеспечения технически исправного состояния и предупреждения преждевременного износа крыш следует производить своевременные технические осмотры. По результатам осмотров должна быть составлена ведомость дефектов с перечнем необходимых работ по их содержанию и ремонту.

1.16. Осмотр, очистку и ремонт крыш следует производить в сухую теплую погоду, с соблюдением правил техники безопасности. К работам на кровле допускаются только лица, знакомые с технологией производства работ и правилами техники безопасности, а также прошедшие медицинский осмотр и допущенные для работы на высоте.

1.17. При выполнении ремонта кровель кроме настоящих Указаний следует руководствоваться требованиями СНиП III-20-74 «Кровля, гидроизоляция и пароизоляция», «Правилами и нормами технической эксплуатации жилищного фонда». (М.:Стройиздат, 1974).

1.18. При выполнении ремонта крыш необходимо соблюдать правила СНиП III-4-80 «Техника безопасности в строительстве» и СНиП II-2-80 «Противопожарные нормы проектирования зданий и сооружений».

1.19. Ремонт кровель требует четкой организации производственного процесса с максимальным использованием комплексной механизации и обязательным соблюдением технологии производства работ.

1.20. Последовательность ремонта кровель определяется очередностью производства отдельных видов работ и условиями, при которых они выполняются.

1.21. До ремонта покрытия кровли необходимо привести в технически исправное состояние конструкции, инженерное оборудование, расположенные в пределах чердачного помещения и выступающие над кровлей.

1.22. Ремонт кровель рекомендуется выполнять при температуре наружного воздуха не ниже плюс 5°С и относительной влажности не выше 70 %. Запрещается производить кровельные работы при ветре свыше 5 баллов.

Разрыв во времени между последовательными операциями должен быть минимальным.

1.23. Ремонт кровли следует выполнять после подготовки необходимых материалов, инструментов и приспособлений. Все участки кровли, подлежащие ремонту, тщательно очищаются от грязи, мусора, пыли, существующего кровельного покрытия и высушиваются.

2. СОДЕРЖАНИЕ КРЫШ

Осмотры крыш

2.1. Содержание крыш и чердачных помещений заключается в проведении очередных и внеочередных технических осмотров (обследований), очистки кровель от снега и мусора и выполнении непредвиденного текущего ремонта. Крыши жилых зданий в процессе эксплуатации должны находиться под постоянным наблюдением инженерно-технических работников жилищно-эксплуатационных организаций.

2.2. При осмотрах устанавливается состояние кровельного покрытия, водоотводящих устройств, конструкций крыш, чердачных помещений и расположенных в них и над крышами инженерного оборудования.

2.3. Очередные технические осмотры крыш проводятся при общих весенних и осенних осмотрах здания комиссией из инженерно-технических работников и рабочих жилищно-эксплуатационных организаций. Весной (после таяния снега) осмотром выявляется состояние крыши и объем текущего ремонта, а осенью (до образования снежного покрова) - проверяются выполнение работ, намеченных при весеннем осмотре, и готовность крыш к эксплуатации в зимних условиях.

2.4. Внеочередные осмотры крыш и расположенного в них оборудования (вентиляционных шахт и труб, теле- и радиоантенн), мест сопряжения оборудования с кровлей, водоотводящих устройств следует производить после сильных ветров, ливней и обильных снегопадов. Рулонные и мастичные кровли необходимо осматривать дополнительно в летний период года.

2.5. Потолки бесчердачных крыш следует дополнительно осматривать в период продолжительных и устойчивых морозов с температурой наружного воздуха ниже расчетной в данном климатическом районе для выявления промерзающих и отсыревающих участков. Особое внимание уделяется сопряжениям крыши со стенами (в торцах и наружных углах зданий), а также расположению опорных блоков под несущими кровельными конструкциями.

Перед осмотром кровли очищаются от мусора, листьев, пыли. По результатам осмотров крыш составляется ведомость дефектов с указанием объема ремонтных работ. При обнаружении в кровле и водоотводящих устройствах (свесах, желобах, разжелобках, водосточных трубах, воронках, карнизных сливах) неисправностей принимаются меры к немедленному, их устранению.

Места повреждений при осмотрах следует отметить краской или другим способом для последующего их исправления. Результаты осмотра записывают в журнал.

2.6. Результаты осмотра крыши следует фиксировать в журнале для планирования ремонта кровель, чердачных помещений и располагаемого в них оборудования. Особое внимание обращают на места примыкания кровли к водоотводящим устройствам; выступающие части здания (стены, парапеты, блоки выхода на крышу, ограждения и т.д.); инженерное оборудование (трубы, антенны и др.); защитные слои, фальцы и крепления картин к обрешетке в кровлях из листовой стали; водоотводящие устройства, водоприемные воронки и открытые выпуски - при внутреннем водоотводе; состояние чердачных помещений и размещенного в них сантехнического оборудования (разводки систем центрального отопления, дымовентиляционных коробов и др.); состояние утеплителя чердачного перекрытия и входных дверей (люков) на чердак; температурно-влажностный режим чердачных помещений и бесчердачных крыш; состояние приточных и вытяжных устройств для вентиляции чердачных помещений и вентилируемых бесчердачных крыш.

Результаты осмотра дополняются сообщениями жильцов о наличии увлажнений потолка и мест сопряжений перекрытия с наружными стенами, о протечках кровли, перегреве помещений и других недостатках, ухудшающих условия проживания. Для проведения инструментальных обследований следует привлекать специализированные проектные организации.

При технических осмотрах рекомендуется использовать инструменты и приборы, приведенные в прил. 4.

2.7. Осмотр бесчердачных крыш дополнительно следует производить со стороны помещений верхних этажей здания. Отсутствие чердачных помещений требует особенно внимательной эксплуатации мастичных кровель и своевременного обнаружения их повреждений. При появлении пятен сырости на потолках помещений следует установить влажность и толщину утеплителя.

2.8. Недопустимо снижение эффективности работы вентиляционных каналов из-за забивки решетки приточных отверстий грязью, закрытия приточных или вытяжных отверстий досками, утеплителем или кирпичом.

2.9. Осмотр бесчердачных крыш (дополнительно к осмотрам весной и осенью) зимой следует проводить выборочно при устойчивых температурах наружного воздуха минус 20-25 °С. Осмотру подлежат места сопряжений потолка и стен (особенно торцевой). При этом отмечаются места переохлажденных участков и производится дополнительное их утепление согласно «Рекомендациям по предупреждению и устранению промерзаний многослойных наружных ограждающих конструкций эксплуатируемых полносборных жилых зданий (М.: ОНТИ АКХ, 1974).

2.10. Результаты осмотра крыш должны отражать состояние ее конструктивных элементов и кровельного покрытия, эффективность вентиляции чердачных помещений и вентиляционных продухов (каналов) бесчердачных крыш (при необходимости следует определить причины неудовлетворительного температурно-влажностного режима чердачного помещения и вентиляционных продухов бесчердачных крыш и наметить пути его улучшения).

2.11. Дефекты крыш, обнаруженные при осмотрах, следует своевременно устранять силами рабочих жилищно-эксплуатационных организаций и ремонтно-строительных управлений.

При наличии значительных дефектов или аварийного состояния крыш необходимо тщательно их обследовать комиссией с привлечением представителей специализированной проектной организации для составления акта обследования и разработки рекомендаций по устранению дефектов.

Очистка крыш от мусора, снега и льда

2.12. В процессе эксплуатации крыш жилых зданий следует регулярно производить очистку кровель и водоотводящих устройств от мусора (песка, грязи, листьев и др.), препятствующего стоку воды. При уборке мусора следует прочищать защитные колпаки, водоприемные воронки и водосточные трубы, круглыми проволочными щетками (ершами) диаметром равным диаметру трубы. В системах внутреннего водоотвода с наружным выпуском следует периодически прочищать гидравлический затвор водоотводящей трубы и лотки.

2.13. Очистку крыш следует производить весной после таяния, и осенью перед выпадением снега. Во время листопада крыши подметают по мере скопления листьев на кровле.

2.14. Снег с крыш с рулонными, мастичными и стальными кровлями с наружным водоотводом сбрасывают при большом его скоплении и в период оттепели.

2.15. Запрещается сбрасывать снег с железобетонных крыш с рулонными и мастичными кровлями и внутренним водоотводом.

2.16. Очистку снега с крыш следует производить только деревянными лопатами, оставляя нетронутым прилегающий к кровле защитный слой толщиной 5 см. Применение стальных лопат и ломов категорически запрещается. После очистки крыши от снега необходимо проверить ее техническое состояние.

Наледи на свесах крыш с наружным водоотводом следует периодически удалять, не допуская образования сосулек, представляющих угрозу для пешеходов. Для устранения обледенения крыш следует выполнить указания разд. 4.

2.17. При сбрасывании снега с крыши необходимо принять меры, исключающие повреждения электрических и телефонных проводов, козырьков, вывесок и зеленых насаждений.

2.18. Запрещается сбрасывать мусор, снег и лед в воронки и водосточные трубы.

2.19. Воронки наружных водосточных труб рекомендуется закрывать на зиму специальными крышками-лотками из листовой стали для предотвращения скопления снега в воронках, обеспечения стока талых вод при оттепелях, минуя водосточные трубы, и снижения их обледенения. При наступлении устойчивой положительной температуры наружного воздуха крышки-лотки необходимо снять с воронок.

2.20. Для нормальной работы температурных компенсаторов стояков внутренних водостоков следует по мере необходимости, но не реже одного раза в три года заменять в них сальниковую набивку.

Непредвиденный текущий ремонт

2.21. Непредвиденный текущий ремонт выполняют при обнаружении: пробоин и свищей в кровле; отслоений кромок гидроизоляционного ковра; расслоения полотнищ в стыках; разуплотнений фальцев кровель, карнизных свесов и желобов из листовой стали; ослабление креплений элементов несущих конструкций крыши стальной кровли, водоотводящих устройств и оборудования; разъединения звеньев водосточных труб; разрушения защитного окрасочного слоя металлических элементов; неплотностей в ограждениях вентиляционных коробов и шахт; разрушения теплоизоляции трубопроводов отопления и горячего водоснабжения, размещенных в чердачном помещении; разбитых стекол в слуховых окнах.

2.22. Неисправности крыш должны быть устранены в следующие максимальные сроки:

повреждения, вызывающие протекания кровли и водостоков - немедленно после обнаружения;

повреждения, приведшие к ослаблению гидроизоляционных свойств кровли и крепления элементов крыши - в течение суток;

повреждения, мешающие нормальному стоку воды - в течение 5 сут.;

остальные виды повреждений - в течение летних месяцев.

3. РЕМОНТ КРЫШ

Виды ремонта

3.1. Крыши должны подвергаться планово-предупредительному, текущему и капитальному ремонтам. Затраты на содержание и ремонт крыш планируются в пределах установленных нормативов с учетом их технического состояния. Усредненные сроки службы конструктивных элементов крыш жилых зданий приведены в прил. 8.

Текущий ремонт заключается в систематическом и своевременном выполнении работ по предупреждению преждевременного износа крыш и отдельных их элементов. Текущий ремонт разделяется на профилактический, заранее планируемый, и непредвиденный, выполняемый в процессе эксплуатации в срочном порядке.

3.2. При профилактическом текущем ремонте следует устранять причины возникновения неисправностей в крышах и защищать их конструктивные элементы от разрушающих воздействий внешней среды. Одновременно ликвидируются различные мелкие повреждения, появившиеся во время эксплуатации. Профилактический текущий ремонт крыши выполняется по плану не реже одного раза в три года. Перечень работ текущего ремонта крыш жилых зданий приведен в прил. 1.

3.3. Планы профилактического текущего ремонта (годовые) жилого здания следует разрабатывать на основе описей работ, составленных при технических осмотрах, с учетом периодичности профилактического текущего ремонта.

3.4. Непредвиденный текущий ремонт необходимо выполнять в кратчайшие сроки после обнаружения неисправности (повреждения), возникшей вследствие каких-либо причин, не выявленных и не устраненных при производстве планово-предупредительного ремонта.

3.5. Текущий ремонт жилых зданий осуществляется постоянными штатными рабочими жилищно-эксплуатационных организаций или подрядным способом по договорам.

3.6. Капитальный ремонт крыш заключается в восстановлении, усилении или замене отдельных частей или всей конструкции крыши и элементов инженерного оборудования при их износе, недостаточной несущей способности или разрушении. При капитальном ремонте выполняются работы, способствующие улучшению температурно-влажностного режима крыш, в частности, устройство эффективной вентиляции чердачных помещений, а также работы, относящиеся к текущему ремонту, за счет средств, ассигнованных на капитальный ремонт.

3.7. Капитальный ремонт крыш, как правило, выполняется специализированными ремонтно-строительными организациями по договорам.

РЕМОНТ КРЫШ С РУЛОННЫМИ И МАСТИЧНЫМИ КРОВЛЯМИ

3.8. К основным дефектам, возникающим в процессе эксплуатации крыш и требующим устранения, относятся:

наличие впадин, выступов и других неровностей в основании под кровлю;

трещины в кровельном покрытии и в местах его примыкания к конструкциям и оборудованию;

отсутствие верхнего защитного слоя и защитно-отделочного покрытия кровли;

сползание с кровли нетеплостойкой мастики и закупорка ею воронок внутреннего водоотвода;

вздутия рулонного или мастичного покрытия (рис. 1);

отслаивание покрытия от основания и в местах сопряжений его с вертикальными конструкциями и инженерным оборудованием;

механические повреждения кровли вследствие небрежной ее очистки от мусора, а также в процессе производства ремонтных работ на кровле;

повреждение покрытия кровли, протечки в зоне водоприемных воронок внутреннего водоотвода при отсутствии или неисправности температурного компенсатора стояка, неправильного сопряжения водоприемной воронки и покрытия, засорения и замерзания открытых выпусков внутреннего водоотвода;

переувлажнение теплоизоляционного слоя крыш;

промерзание отдельных участков крыш, особенно в местах их сопряжений с наружной стеной;

неудовлетворительный температурно-влажностный режим чердачных помещений (при их наличии);

разрушение, бетона на карнизных свесах;

коррозия арматуры и армоцементных крыш с безрулонным покрытием в результате разрушения защитного слоя кровельной панели;

наличие трещин на наружной поверхности кровельной панели;

неплотности стыков соединений между кровельными панелями, способствующие прониканию, атмосферной влаги и снега;

обледенение свесов и наружных водоотводящих устройств крыш.

На крышах с мастичными кровлями наблюдаются разрушения, свесов железобетонных панелей (при отсутствии металлических карнизных свесов), появление сквозных трещин в стыках, выкрошивание цементного раствора из-под нащельников в крышах из панелей лоткового типа.

3.9. Дефекты крыш, вызывающие необходимость усиления конструкций и теплоизоляции (сверхнормативные прогибы панелей, коррозия арматуры и закладных деталей, промерзание крыш и др.), устраняют в соответствии с указаниями пп. 3.11, 3.12.

Рис. 1. Устройство заплат на мягких кровлях в местах

а - разрывов; б - разрушений ковра; в - вздутий; г - повреждений краев полотнищ; 1 - рулонный ковер; 2 - мастика; 3 - заплата; 4 - граница повреждения; 5 - край полотнища; 6 - стяжка; 7 - утеплитель; 8 - разрезы поврежденного полотнища

3.10. При отсыревании или промерзании отдельных участков бесчердачных крыш, а также мест их сопряжения с наружными стенами следует утеплить эти места, предварительно установив толщину и влажность утеплителя (см. прил. 5).

3.11. До начала производства работ по утеплению переохлажденных домов необходимо загерметизировать стыки сопряжений крыш с наружными стенами и просушить отсыревшие места. Толщину дополнительного слоя утеплителя бесчердачной крыши (или чердачного перекрытия) следует определять расчетом или по таблицам.

3.12. Утепление переохлажденных зон крыш должно быть выполнено по проекту путем напыления утеплителя снаружи, инъецирования в пустоты вспучивающихся теплоизоляционных составов, устройства со стороны помещений утепляющих скосов, дополнительной установки труб отопления в местах сопряжения наружных стен с бесчердачной крышей или другими способами.

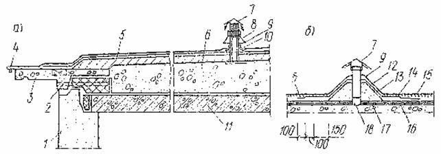
Рис. 2. Устройство продухов дли вентиляции бесчердачных невентилируемых крыш с крупнозернистым утеплителем

а - поперечный разрез крыши; б - вариант кропления вытяжного патрубка. 1 - наружная стена; 2 - вновь устраиваемые вентиляционные отверстия диаметром 30 10 мм; 3 - железобетонный карнизный блок; 4 - карнизный слив на листовой стали; 5 - основной гидроизоляционный ковер; 6 - утеплитель; 7 - колпак из оцинкованной стали; 8 - фартук из оцинкованной стали; 9 - вентиляционные патрубки высотой h =50 см из кровельной стали; 10 - металлическая гильза; 11 - железобетонная панели перекрытия; 12 - антисептированная деревянная рамка; 13 - верхний слой из бронированного рубероида; 14 - слой дополнительного гидроизоляционного ковра; 15 - мелкий гравий, втопленный в мастику; 16 - основание под кровлю; 17 - бортик из раствора; 18 - гравий.

3.13. Для создания осушающего режима отсыревшей теплоизоляции бесчердачных невентилируемых крыш (с крупнопористым утеплителем) следует устраивать вентиляцию слоя утеплителя по проекту. Осушение утеплителя может быть выполнено устройством продухов в карнизной части и в кровле при использовании для его вентиляции ветрового и теплового напоров (рис. 2).

3.14. Не рекомендуется утеплять переохлажденные зоны сопряжения наружных стен со смежными конструкциями (бесчердачными крышами, перекрытиями, внутренними стенами) устройством с внутренней стороны карнизов, скосов или утепляющих падуг из высокоэффективных утеплителей, а также органическими материалами (например, древесно-стружечными плитами на откосе или вплотную), загнивающими при переувлажнении.

3.15. До ремонта кровли необходимо привести в технически исправное состояние конструкции и инженерное оборудование, выступающие над кровлей или расположенные в пределах чердачного помещения, а также металлические свесы и водосточные устройства.

3.16. Участки рулонного ковра, подлежащие ремонту, предварительно следует очистить от мусора, грязи, пыли, старого защитного слоя и при необходимости просушить. После ремонта защитный слой должен быть восстановлен.

3.17. При ремонте рулонных кровель рекомендуется применять следующие материалы:

для рулонного гидроизоляционного ковра:

стеклорубероид с крупнозернистой посыпкой марки С-РК;

стеклорубероид с чешуйчатой посыпкой марки С-РЧ;

стеклорубероид с мелкой посыпкой марки С-РМ;

рубероид с крупнозернистой посыпкой марок РКК-500 А, РКК-400 (А, Б, В);

рубероид с чешуйчатой (слюдяной) посыпкой марки РКЧ-400;

рубероид с мелкой минеральной посыпкой марок РКМ-350 (Б и В);

рубероид подкладочный с мелкой минеральной посыпкой марки РПМ-300;

рубероид с эластичным покровным слоем марки РЭМ-350; наплавляемый рубероид

марок РМ-350-1,0; РМ-420-0,6;

РМ-420-1,0; РМ-500-2,0 (для нижнего слоя), РК-420-0,6;

РК-420-1,0; РК-500-2,0; РК-350-1,0 (для верхнего слоя);

дегтебитумные материалы марок ДБМ, ДББ, ДБЧ;

гудрокамовые материалы марок РГМ-420; РГМ-350;

толь с крупнозернистой посыпкой марок ТВК-420; ТВК-350;

толь с песчаной посыпкой марки ТП-350;

пергамин марки П-30;

толь-кожа марки ТК-250;

гидроизол марок ГИ-1 и ГИ-2;

изол, полиэтиленовая пленка, металлоизол, фольгоизол для ремонта небольших

участков кровли:

стеклянный холст марки ВВ-Г; для устройства гравийного и защитно-отделочных

слоев:

гравий чистый сухой с размером зерен 5-10 мм или каменная крошка из пород с

морозостойкостью не ниже Мрз-100;

битумно-алюминиевая краска марки БТ-177;

битумно-полимерный состав на основе водорастворимой полиамидной смоле;

для устройства защитных фартуков, отделки карнизов и герметизации швов и стыков:

мастики герметизирующие - изол Г-В, УМ-40;

мастики холодные «Вента» и «Кровлелит»;

оцинкованная кровельная сталь, кровельные гвозди для устройства водоотводящих

элементов;

стальные полосы размером 4×40 мм для крепления кромки и гидроизоляционного

ковра и защитных фартуков к вертикальным поверхностям.

3.18. Рулонные материалы при ремонте кровель используются в верхнем или подкладочном слое ковра и приклеиваются на холодных или горячих битумных или битумно-полимерных мастиках (табл. 1).

Таблица 1

Рулонные материалы, рекомендуемые для устройства кровельного ковра

Марка

Слой

Мастика горячая

верхний

подкладочный

битумная МБК-Г

битумно-полимерная БПМ

Стеклорубероид с крупнозернистой посыпкой

С-РК

ОП

НД

оп

оп

Стеклорубероид с чешуйчатой посыпкой

С-РЧ

оп

д

оп

оп

Стеклорубероид с мелкой минеральной посыпкой

С-РМ

д

оп

Оп

оп

Рубероид с крупнозернистой посыпкой

СКК-500А,

РКК-400

(А, В, В)

оп

нд

оп

оп

Рубероид с чешуйчатой (слюдяной) посыпкой

РКЧ-400

оп

нд

оп

оп

Рубероид с мелкой минеральной посыпкой

РКМ-350

(В, В)

д

оп

оп

оп

Рубероид подкладочный с мелкой минеральной посыпкой

РПМ-300

нд

оп

оп

д

Рубероид с эластичным покровным слоем

РЭМ-350

д

оп

оп

д

Наплавляемый рубероид (ТУ 21-27-35-78)

 

 

 

 

 

Для нижнего слоя

 

 

 

 

 

То же

РМ-350-1,0

Целесообразно применять на отдельных объектах и объектах с небольшой площадью покрытия

В местах примыканий необходимо применять битумные и битумно-полимерные мастики повышенной теплостойкости

»

РМ-420-0,6

РМ-420-1,0

РМ-500-2,0

Для верхнего слоя

РК-420-0,6

-

-

-

-

То же

РК-420-1,0

 

 

 

 

»

РК-500-2,0

 

 

 

 

»

РК-350-1,0

 

 

 

 

Дегтебитумные материалы

ДБМ

ДББ

ДБЧ

НД

ОП

оп

оп

нд

нд

ОП

ОП

оп

д

д

д

Гудрокамовые материалы

РГМ-420

РГМ-350

д

оп

оп

оп

Толь с крупнозернистой посыпкой

ТВК-420

ТВ К-350

оп

нд

оп

нд

Толь с песчаной посыпкой

ТП-350

оп

д

оп

нд

Пергамин

П-350

нд

д*

оп

нд

Толь-кожа

ТК-250

нд

д*

оп

нд

Битумно-полимерный материал

ГМП

нд

оп

нд

оп

Гидроизол

ГИ-1, ГИ-2

д

оп

ОП

д

Изол

-

д

оп

нд

оп

Полиэтиленовая пленка

-

нд

оп

нд

оп

Металлоизол

-

нд

оп

нд

оп

Фольгоизол

-

нд

оп

нд

оп

Стеклосетка

ССС

нд

ОП

оп

д

Стеклянный холст

ВВ-Г

нд

ОП

оп

д

Примечание:

Д - допускается; НД - не допускается; ОП - основное применение.

Ремонт рулонного гидроизоляционного покрытия

3.19. Небольшие повреждения рулонного ковра (пробоины, разрывы) следует проконопатить паклей, пропитанной мастикой, до поверхности кровли и наклеить заплату, перекрывающую границы повреждения на 100-150 мм. Заплату изготавливают из рулонных материалов, аналогичных уложенным в гидроизоляционном ковре (см. рис. 1) Для ее наклейки используют горячую битумную или холодную битумно-полимерные мастики. Заплата может быть выполнена из фольгоизола или стеклоизола. При этом мастику на приклеиваемой стороне заплаты разогревают паяльной лампой. После укладки на поврежденное место заплату плотно прижимают к кровле.

3.20. Значительный по размерам поврежденный участок ковра следует расчистить от испорченных слоев и восстановить его. Количество вновь наклеиваемых слоев из рулонного материала должно быть на один больше снятых. Каждый последующий слой должен перекрывать стык нижних слоев не менее чем на 150 мм (см. рис. 1). Новые слои необходимо плотно прижимать к основанию, а стыки шпаклевать мастикой. Шпаклевку накладывают по периметру верхнего дополнительного слоя. Сопряжение полотнищ между собой (при больших повреждениях) производится с учетом указаний для устройства нового ковра.

3.21. Вздутия гидроизоляционного ковра устраняют крестообразным надрезом дефектного участка с последующей просушкой основания и повторного наклеивания на него отвернутых частей ковра. При расслоении ковра в местах вздутия его наклеивают послойно. На поврежденный участок сверху укладывают заплату на мастике с напуском за пределы надреза не менее 100-150 мм (см. рис. 1), стык ковра в местах надреза должен быть предварительно прошпаклеван мастикой.

3.22. Небольшие по глубине (до 15 мм) просадки кровли могут быть заделаны наклейкой нескольких слоев рулонного материала с последовательным увеличением размеров заплат. Значительные по размерам просадки кровли следует выравнивать асфальтом и наклейкой сверху, двух слоев рулонного материала, обеспечивая при этом один уровень и уклон поверхности со смежными участками и согласовывая направление полотнищ с принятым на ремонтируемом покрытии.

3.23. Отслоившиеся участки гидроизоляционного ковра приклеивают к основанию. Особое внимание уделяется сопряжениям кромок ковра с металлическим карнизным сливом, надстенным желобом и вертикальными поверхностями выступающих над крышей конструкций и оборудования здания.

Расслоившиеся между собой полотнища необходимо склеивать и надежно соединять их в швах. Ремонтируемые участки тщательно укатывают катком после предварительной шпаклевки швов мастикой. На поврежденные кромки верхних полотнищ наклеивают заплаты (см. рис. 1).

3.24. При разрывах ковра в местах его сопряжения с водоприемной воронкой и вентиляционными трубами необходимо заменить поврежденную часть ковра и надежно соединить восстановленный участок ковра со старым (внахлестку или вилкой), а также воронкой или трубой. Для усиления ковра вокруг воронки (трубы) наклеивают дополнительные два слоя: снизу - на основание из стеклоткани, пропитанной мастикой, а сверху на ковер из кровельного рулонного материала, перекрывая им верхнюю заплату не менее чем на 150 мм.

3.25. При размягчении и стекании мастики-с поверхности крыши летом необходимо покрыть кровлю теплостойкой мастикой и окрасить алюминиевой краской (см. п.3.31). Отверстия колпаков водоприемных воронок и устья стояков внутренних водостоков, а также желоба и разжелобки должны быть очищены от мастики.

3.26. Следует своевременно восстанавливать пришедшие в негодность участки металлических карнизных сливов и желобов, фартуков и открытий, а также защитного слоя ковра. При этом обеспечивается надежное соединение ковра со стальными элементами и крепление их к конструкциям и оборудованию.

3.27. Для устранения на потолках помещений верхних этажей пятен, образующихся из-за протечек или высокой влажности утепляющего слоя, применяется гидрофобная шпаклевка. Состав шпаклевки в частях по массе: известковое тесто - 1, портландцемент - 1, гидрофобная кремнийорганическая жидкость (ГКЖ-10 или ГКЖ-11) - 0,2 % от массы цемента. Продолжительность высыхания каждого слоя составляет 24 ч. Прошпаклеванную поверхность грунтуют известковым молоком и окрашивают меловым составом.

3.28. Разрушившиеся свесы железобетонных панелей крыш восстанавливают полимерраствором. После ремонта свесов необходимо восстановить защитный слой кровли.

3.29. Стыки кровельных панелей лоткового типа уплотняют герметизирующими материалами - прокладками или мастиками.

3.30. При появлении трещин в сборных железобетонных и армоцементных крышах с окрасочными защитными слоями необходимо по дефектным панелям уложить водоизоляционный ковер из двух-трех слоев стеклоткани на битумно-полимерной мастике.

Трещины в кровельных панелях и водосборных лотках следует заделывать цементно-песчаным раствором марки не ниже 100 с добавкой ПВАЭ (не более 0,2 % от массы цемента) для лучшей адгезии с существующим бетоном. Волосные трещины необходимо затереть раствором, а трещины шириной 0,2 мм расшить, прочистить и заделать заподлицо. Для заделки, трещин в кровельных панелях целесообразно применение эпоксидных клеев.

3.31. При восстановлении защитных слоев панелей лотковых железобетонных крыш могут быть использованы следующие окрасочные составы:

грунтовка - лак «Этиноль» в один слой, основное покрытие - эмаль ПХВ-23;

грунтовка - лак БТ-577 в один слой, основное покрытие - краска БТ-177.

При отсутствии краски БТ-177 рекомендуется приготавливать состав, % по массе: битумный лак - 92, алюминиевая пудра - 8 (для первого слоя), битумный лак-;-85, алюминиевая пудра- 15. Расход материалов на окраску 1 м2 поверхности кровли за 2 раза ориентировочно составляет 350 г (алюминиевая пудра 35-40 г, лак 270-300 г, растворитель 30 г).

Основное покрытие выполняют в два слоя для рядовых кровельных панелей и в три слоя в водосборных лотках.

3.32. Для ремонта защитных слоев кровли на основе битумных мастик, имеющих прочную связь с основанием, следует применять холодную битумнокукерсольную с добавкой алюминиевой пудры.

3.33. Участки кровли с отслаивающимися защитными слоями необходимо соскоблить и выровнять поверхность полимерраствором состава 1:3:0,6 (цемент, песок, 50 %-ная пластифицированная поливинилацетатная эмульсия с добавкой 1,5 % ГКЖ-10). После высыхания поверхности кровли следует восстановить защитный слой.

3.34. Кровли из рулонных и мастичных материалов, находящиеся в неудовлетворительном состоянии, и частичный ремонт которых нецелесообразен, подлежат замене. При этом существующий гидроизоляционный ковер следует снять и устроить новый. При замене кровли с применением других гидроизоляционных материалов, чем уложенные ранее, ремонтные работы должны выполняться по проекту.

3.35. Кровельные гидроизоляционные материалы должны удовлетворять требованиям соответствующих ГОСТ или ТУ. Готовые кровельные мастики следует проверять строительной лабораторией на теплостойкость, клеящую способность, гибкость, удобонаносимость и подбирать в зависимости от применяемых рулонных материалов.

3.36. При устройстве кровель с уклоном менее 2,5 % следует применять биостойкие материалы: гидроизол и битумированную стеклоткань. При наклейке небиостойких рулонных материалов в состав битумных мастик необходимо вводить антисептики (4-5 %,-ный. кремнефтористый натрий или 10 %-ный пентахлорфенол). Для устройства защитного слоя по битумным рулонным материалам в мастику добавляются гербициды.

В состав холодных битумнокукерсольных и битумно-, латекснокукерсольных мастик не рекомендуется вводить антисептирующие добавки.

3.37. До замены гидроизоляционного ковра необходимо ремонтировать выступающие над крышей конструкции, санитарно-техническое и инженерное оборудование здания. Неправильно выполненные сопряжения их с крышей следует переделать.

При исправлении или замене металлических водоотводящих устройств необходимо соблюдать требования, пп. 3.165, 3.166. Воронки внутреннего водостока должны быть жестко закреплены к панелям крыши, а водоотводящие устройства очищены от ржавчины и покрыты антикоррозионными составами.

3.38. К ремонтным работам, следует приступать после проверки состояния и правильности выполнения основания под кровлю. Выравнивающую стяжку основания необходимо выполнять из цементно-песчаного раствора М 50-100 или из мелкозернистого песчаного асфальтобетона прочностью на сжатие не ниже 0,8 МПа (при температуре 50 °С). Стяжка по бетону должна иметь толпищу 10-15 мм, по жестким монолитным и плитным утешителям 15-25 мм, по сыпучим и нежестким утеплителям 25-30 мм. Стяжку по сыпучим и нежестким утеплителям следует армировать сетки из проволоки диаметрам 3-4 мм с ячейками 200×200 мм. Устройство стяжки из асфальтобетона по сыпучим или нежестким плитным утеплителям не допускается.

В качестве основания под рулонные и мастичные кровли при их замене используются ровные поверхности теплоизоляции из жестких плит (например, из полистирольного пенопласта) или несущих конструкций сборных железобетонных панелей с частичной затиркой цементно-песчаным раствором неровностей. Стычки должны быть заполнены раствором, бетоном на мелком гравии (щебне) или легким бетоном соответствующих марок.

3.39. Стяжки следует разрезать температурно-усадочными швами шириной 10 мм на квадратные участки со сторонами 6×6 м для цементно-песчаного раствора, 4×4 м - для песчаного асфальтобетона. Швы покрываются полосками из рулонного материала шириной 100 мм, наклеиваемыми с одной стороны шва.

Поверхность основания необходимо тщательно очистить от существующего гидроизоляционного покрытия, выровнять и привести в исправное состояние (см. прил. 2).

3.40. Вертикальные поверхности каменных конструкций над крышей (стены, шахты, трубы и др.), к которым примыкает гидроизоляционный ковер, следует оштукатурить или затереть цементно-песчаным раствором. Основание кровель в местах перехода от горизонтальной поверхности к вертикальной должно иметь выкружку радиусом 100 мм или переходные наклонные (под углом 45°) бортики высотой не менее 100 мм из цементно-песчаного раствора, легкого бетона или песчаного асфальтобетона.

3.41. При повреждении основания под покрытие или отсутствии необходимых уклонов его следует отремонтировать или полностью заменить стяжку из раствора жесткой консистенции. В выравнивающих стяжках следует устраивать температурно-усадочные швы с обязательным их совпадением со стыками панелей.

3.42. При выполнении ремонтных работ при температуре воздуха ниже нуля следует устраивать асфальтобетонные или керамзитобетонные стяжки (размер керамзита в составе до 3 мм, отношение по массе цемента к песку 1:2, поташ составляет 10-15 % массы цемента).

3.43. Устройство гидроизоляционного покрытия кровли при полной его замене следует начинать с грунтовки основания из бетона или цементно-песчаного раствора и укладки дополнительных гидроизоляционных слоев на карнизных свесах и в ендовых.

Дополнительные гидроизоляционные слои из рулонных материалов или мастичные с прокладками из стеклохолста следует устраивать согласно указаниям п. 3.30. В местах примыкания кровель к вертикальным поверхностям выступающих конструктивных элементов и оборудования дополнительные слои необходимо выполнять мастиками или эмульсиями повышенной теплостойкости.

Поверхность основания перед укладкой кровельных материалов должна быть сухой и обеспыленной. На все скрытые подготовительные работы следует составлять акты (см. прил. 3).

Перед применением рулонные кровельные материалы с покровными слоями должны быть выдержаны в развернутом состоянии не менее 20 ч, а беспокровные - очищены от минеральной посыпки и перекатаны на другую сторону. При наклейке рулонных материалов на холодной мастике очистка от посыпки необязательна.

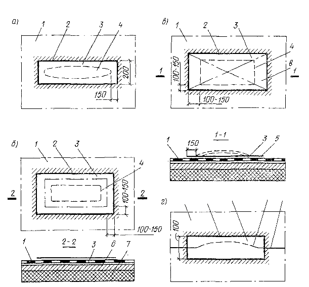
Рис. 3- Примыкание кровли

а и б - к парапету; в - к стене; г - к борту люка для выхода ну крышу; д - к вентиляционной шахте

1 - переходный блок из асфальта, цементного раствора или легкого бетона; 2 - парапетный блок; 3 - деревянный антисептированный брусок 120×140 мм на гвоздях; 4 - кровельная сталь или слой гидроизоляционной мастики; 5 - фартук из оцинкованной кровельной стали (крепить толевыми гвоздями); 6 - два дополнительных слоя рубероида; 7 - панель крыши; 8 - гидроизоляционный ковер; 9 - железобетонная плита; 10 - дюбеля; 11 - стальная полоса; 12 - слой мастики (изол марок Г-В, УМ-40); 13 - нижняя крышка люка; 14 - борт люка; 15 - верхняя крышка люка; 16 - заделка края ковра шнуром из герметика; 17 - металлический штампованный профиль, пристрелянный дюбелями; 18 - крепление края гидроизоляционного ковра металлической полосой, пристрелянной через 350 мм; 19 - защитный слой; 20 - подстилающий слой.

3.44. Полотнища рулонных материалов следует раскатывать и наклеивать на крышу перпендикулярно направлению стока воды. Перекрестная наклейка слоев ковра не допускается. Количество слоев ковра принимается в зависимости от уклона крыши (см. прил. 2). Покровные рулонные материалы наклеивают как на горячих, так и на холодных мастиках, а беспокровные - только на горячих мастиках.

3.45. Отдельные полотнища рулонных материалов необходимо соединять между собой в продольном и поперечном направлении нахлесткой и сдвигать стыки в смежных слоях относительно друг друга. При уклоне крыши более 2,5 % величина нахлестки полотнищ по их ширине должна составлять в нижних слоях 70 мм, а в верхних - 100 мм.

Рис. 4. Установка на крыше элементов инженерного оборудования

а - вытяжной стояк канализации; б - вариант примыкания гидроизоляционного ковра к вытяжной трубе; в - трубостойка радиоантенны

1 - конструкция крыши; 2 - вытяжной стояк канализации; 3 - заделка паклей, смоченной в цементном молоке или цементным раствором; 4 - минеральный войлок; 5 - заделка горячим битумом или мастикой «Изол»; 6 - фартук из оцинкованной стали с обжимным кольцом на болтах; 7 - резиновая прокладка; 8 - зонт, из оцинкованной стали; 9 - металлическая гильза; 10 - слой стеклоткани, пропитанной мастикой;. 11 - два дополнительных слоя рубероида; 12 - основной гидроизоляционный ковер; 13 - фланец; 14 - бортики из легкого бетона; 15 - деревянная рамка, закрепленная на пробке; 16 - опорная, плита для стойки радиоантенны; 17 - закладная деталь в стене машинного помещения; 18 - наружная стена машинного помещения лифта или блока выхода на крышу; 19 - трубостойка типа ТТС-1 для крепления мачты телеантенны; 20 – хомут.

На плоских кровлях (уклон менее 2,5 %) ширину нахлестки следует принимать не менее 100 мм по длине и ширине полотнищ. Смещение продольных и поперечных стыков смежных слоев должно составлять не менее 250 мм.

3.46. Кромку ковра, уложенную на металлический карнизный слив или настенный желоб, следует защемлять парапетной плитой; противовётровым гребнем, выполненным в виде складки водоотводящих элементов полоской кровельной оцинкованной стали (в виде уголка), приклепанной к карнизному сливу или желобу в процессе заготовки.

3.47. В местах примыкания к стенам, парапету, вентиляционным шахтам, отдельно стоящим металлическим трубам и антеннам, оборудованию край кровельного ковра должен, быть приподнят не менее чем на 200 мм (рис. 3, 4). Кромку ковра следует завести в выдру или штрабу и надежно закрепить.

Рулонный ковер в местах примыканий к выступающим конструкциям должен состоять из полотнищ длиной по 2-2,5 м, приклеиваемых с нахлесткой одного слоя на другой не менее чем на 100 мм. При сопряжении с гладкими поверхностями инженерного оборудования кромку приподнятого края ковра после закрепления необходимо покрывать мастикой. На участках ковра, примыкающих к вертикальным поверхностям, следует наклеить два-три дополнительных слоя рулонных материалов. Для уменьшения пересечений гидроизоляционного ковра оборудованием целесообразно теле- и радиоантенны крепить к блокам выхода на крышу или к комплектным вентиляционным блокам. Вертикальный участок ковра сверху должен быть защищен фартуком из оцинкованной стали от затекания воды, повреждений и воздействия солнечных лучей.

Нижний слой ковра не рекомендуется приклеивать к наклонному бортику и смежным участкам основания сопрягаемых поверхностей на 300-400 мм.

3.48. При расположении полотнищ рулонного материала вдоль ската конек крыши следует перекрыть поочередным заведением полотнищ на соседний скат не менее чем на 200 мм, а верхнего слоя - на 250 мм (первый слой рулонного материала заводится на соседний скат насухо для погашения, температурных деформаций панелей).

При расположении рулонных материалов параллельно коньку полотнища смежных скатов необходимо поочередно стыковать непосредственно у конька и на расстоянии 300-400 мм от него то на одном, то на другом скатах, пропуская их через конек и соединяя нахлесткой 100-150 мм. Сверху конек должен быть покрыт дополнительным полотнищем шириной не менее 500 мм (рис. 5).

3.49. Вокруг водоприемных воронок внутреннего водостока основной, гидроизоляционный ковер следует усиливать тремя слоями мастики, армированными двумя слоями стеклохолста или стеклосетки (при применении битумно-латексной эмульсии или холодных битумно-полимерных мастик). При отсутствии стекломатериалов усиление ковра необходимо осуществлять наклейкой двух дополнительных слоев рулонных материалов и слоя мешковины, пропитанной в мастике. Прижимное кольцо закрепляют к чате воронки (рис. 6).

3.50. Оклейку ендовы следует начинать от водосточных воронок с напуском полотнищ на 100 мм: сначала наклеить два дополнительных

Рис. 5. Покрытие конька, крыши

а - при уклоне менее 15 %; б - при уклоне более 15 %

1 - несущая конструкция; 2 - полоса из стеклоткани, пропитанной мастикой шириной. 350 мм; 3 - набивка теплоизоляционным материалом; 4 - первым дополнительный слой; 5 - второй дополнительный слой; 6 - наружный дополнительным слой; 7 - полотнища трехслойного рулонного ковра, примыкающие к коньку; 8 - внутреннее полотнище двухслойного покрытия; 9 - наружное полотнище того же покрытия

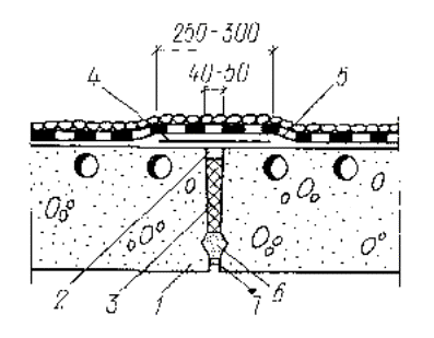
Рис. 6. Примыкание гидроизоляционного ковра к типовой сливной воронке внутреннего водостока

1 - прижимной винт; 2 - утеплитель; 3 - асбестоцементная труба; 4 - чаша воронки; 5 - прижимное кольцо; 6 - дополнительный слон из стеклоткани, пропитанной мастикой; 7 - крепежный винт; 8 - крышка; 9 - гидроизоляционный ковер; 10 - эластичная прокладка; 11 - фланец

Рис. 7. Примыкание рулонного ковра к деформационным шрам

а - температурно-осадочный шов, расположенный у стены; б - температурно-осадочный шов, расположенный между панелями

1 - слой мастики «Изол»; 2 - металлический компенсатор; 3 - железобетонная плита; 4 - гидроизоляционный ковер; 5 - бортики из легкого бетона; 6 - панель крыши; 7 - теплоизоляционный слой; 8 - паронепроницаемый полимерный слой

слоя шириной 1,5-2 м, потом основной ковер, а сверху уложить вторично два дополнительных слоя рулонного материала с нахлесткой с основным гидроизоляционным ковром на 100-150 мм.

3.51. В местах расположения температурно-осадочного шва край гидроизоляционного ковра необходимо приподнять на наклонный бортик и защемить бетонной плитой. Предварительно шов должен быть перекрыт компенсатором из листовой стали (рис. 7).

3.52. Горячие битумные мастики следует нагревать до 180°С, а дегтевые до 160 °С. Температура битумных мастик при нанесении не должна быть ниже 160°С, а дегтевых 130°С. Температура нагрева битумно-резиновых мастик должна быть 180-210°С, при нанесении 160-180°С, а при нагреве и во время нанесения гудрокамовых мастик не ниже 130°С.

3.53. При наклейке рулонных материалов горячую мастику следует наносить на основание ровным слоем без пропусков, узкими полосами перпендикулярно направлению раскатки рулона и разравнивать гребком или кровельной щеткой на всю ширину полотнища. В процессе наклейки рулонный материал должен быть плотно прижат к основанию для выдавливания лишней мастики (перед раскатываемым рулоном должен образоваться валик мастики высотой 8-10 мм), и прикатан цилиндрическим катком массой до 80 кг. Полотнища в стыках необходимо тщательно прогладить.

3.54. При применении холодных мастик для наклейки рулонных материалов на основание из цементно-песчаного раствора, ее наносят равномерным слоем не более 1 мм. Полотнища следует прикатать катком и наклеивать каждый последующий слой рулонного ковра не ранее чем через 12 ч. При температуре наружного воздуха ниже 5°С мастику необходимо подогревать до 70°С.

3.55. Ремонт кровель с применением наплавляемых рубероидов огневым способом может выполняться при температуре наружного воздуха не ниже минус 20°С. Температура разогрева мастичного слоя рубероида должна быть в пределах 140-160°С, но не выше 180°С.

3.56. Для наклейки рулонных материалов методом оплавления мастичного слоя (огневой способ) следует, использовать только специальный рубероид (ТУ 21-27-35-76). Наклеивать на кровлю обычный рубероид методом оплавления не допускается.

3.57. Перед началом ремонтных работ должны быть закончены подготовка механизмов, оборудования, приспособлений, инструментов (см. прил. 4), проверены правильность выполнения основания под кровлю, установка водосточных воронок, вентиляционных шахт, устройство стенок деформационных швов и др.

3.58. Наплавляемые рубероиды, применяемые для нижних слоев кровельного ковра, следует очищать от минеральной посыпки, а рубероиды для верхнего слоя ковра - также от крупнозернистой посыпки на ширину нахлестки полотнищ.

3.59. Ремонт кровельного ковра начинают с пониженных участков кровли (с карнизных свесов и ендов), при этом подачу материалов производят навстречу потоку кровельных работ.

3.60. При температуре ниже 0°С наплавляемый рубероид перед наклейкой необходимо выдержать в тепляках в течение 24 ч. при температуре выше 20°С. К месту укладки рулоны рубероида доставляют в утепленной таре.

3.61. Наплавляемые рубероиды должны наклеиваться путем расплавления их мастичного слоя инфракрасными горелками либо (в исключительных случаях) горелками, работающими на газовом или жидком топливе, с последующей прикаткой.

3.62. Наклейка наплавляемого рубероида огневым способом разрешается на зданиях с покрытием, выполненным из несгораемых материалов.

3.63. Наклейка кровельного ковра на горячих битумных мастиках может выполняться послойно или всех слоев одновременно по поточному методу в соответствий с ППР и технологической картой.

3.64. Наклейку наплавляемого рубероида с помощью комплекта ручных приспособлений следует производить в следующей технологической последовательности: на поверхность основания под кровлю одновременно раскатывают 7-10 рулонов, примеряют один рулон по отношению к другому, обеспечивают нахлестку не менее 70 мм по ширине полотнищ; затем приклеивают концы всех рулонов с одной стороны, и полотнища рубероида вновь скатывают в рулоны (при значительном охлаждении полотнищ рубероида в зимний период эти операции производят при легком подогреве ручной горелкой наружной поверхности рулона во избежание его поломки); разогревая мастичный слой наплавляемого рубероида с одновременным подогревом основания под кровлю или поверхности ранее наклеенного слоя ковра, рулон рубероида раскатывают, плотно прижимают к основанию под кровлю и прикатывают катком.

3.65. Слои ковра из наплавляемого рубероида наклеивают параллельно направлению стока воды (перпендикулярно коньку или ендовам кровли). Перекрестная наклейка слоев кровельного ковра не допускается. Особое внимание следует обращать на тщательную приклейку начала и конца полотнищ, а также его кромок.

3.66. Дополнительный гидроизоляционный ковер в местах примыканий к выступающим конструкциям (стенам, фонарям и т.п.), а также в ендовах следует выполнять из заранее подготовленных полотнищ наплавляемого рубероида, мастику которого разогревают ручной, горелкой. При этом на примыканиях к вертикальным поверхностям наклейку производят снизу вверх.

3.67. Работу по наклейке рулонного ковра выполняет звено кровельщиков из 4 чел.:

кровельщик 5-го разряда работает с установкой для оплавления мастичного: слоя на рубероиде, регулирует скорость движения, контролирует качество выполнения работ;

кровельщик 3-го разряда подносит рулоны рубероида, раскатывает их для уточнения направления и ширины нахлестки и снова скатывает полотно рубероида в рулон, заправляет шпиндель во внутренние отверстия рулона и приклеивает, конец полотнища к основанию с помощью ручной горелки;

кровельщик 4-го разряда устанавливает рулон со шпинделем на каток-раскатчик и раскатывает рубероид, во время наклейки он следит за правильностью направления раскатки и нахлестки рубероида;

кровельщик 2-го разряда подвозит рулоны рубероида: на тележке к рабочей зоне, помогает кровельщику 3-го разряда, прикатывает или притирает наклеенные полотна, приклеивает с помощью ручной газовой горелки отдельные места рулона, которые по той или иной причине остались неприклеенными.

Оплавлять покровный мастичный слой следует осторожно. Излишний разогрев недопустим, так как можно расплавить покровный слой с обратной стороны полотнища и сжечь картонную основу рубероида. Признаком нормальной приклейки является отсутствие почернений и пузырей на верхней стороне наклеиваемого полотнища.

3.68. При необходимости после укладки последнего слоя кровли все звено кровельщиков (после приемки кровли): приступает к устройству защитного слоя из мелкого гравия.

3.69. Ремонт кровли из наплавляемого рубероида без применения разогревающих, устройств следует выполнять при температуре воздуха, регламентируемой технологическими условиями на наплавляемый рубероид, но не ниже плюс 6°С.

3.70. Перед началом наклеивания: гидроизоляционного ковра кровли, должны быть закончены подготовка механизмов, оборудования приспособлений, инструментов, проверка правильности выполнения основания под кровлю; работая по установке водосточных воронок, вентиляционных шахт, устройству деформационных швов и др.

3.71. Количество слоев кровельного ковра при его ремонте назначается проектом в зависимости от конструкции ковра, рулонных материалов и уклона крыши.

3.72. Наплавляемые рубероиды, применяемые для нижних слоев кровельного ковра, следует очистить от минеральной посыпки, а наплавляемые рубероиды для верхнего слоя ковра должны быть очищены также от крупнозернистой посыпки на ширину нахлестки полотнищ.

3.73. Наклейку наплавляемых рубероидов на кровле с внутренними водостоками следует начинать с оклеивания патрубков и чаш воронок мешковиной или стеклосеткой, пропитанной битумной мастикой, и дополнительным слоем рубероида полоткам, разжелобкам и местам, примыканий к конструкциям, выступающим над крышей.

3.74. При наклеивании ковра кровли необходимо соблюдать величину нахлестки полотнищ, не менее 100 мм по длине и ширине. В толще ковра кровли стыки 3-слойного покрытия следует смещать на ⅓, а 4-слойного - на ¼ ширины полотнища.

3.75. Слои кровельного ковра из наплавляемого рубероида с предварительным растворением покровной массы следует наклеивать перпендикулярно коньку и ендовам кровли или параллельно направлению стока воды.

Места примыкания ковра кровли к стенам и парапетам должны выполняться по проекту. Крепление концов полотнищ рубероида на примыканиях осуществляется по проекту, а при отсутствий указаний проекта или проекта производства работ концы крепятся к антисептированным деревянным рейкам, пробкам гвоздями через полосу или шайбы из кровельной стали. Примыкания ковра к выступающим конструкциям над крышей необходимо закрывать «фартуками» из кровельной стали, а места примыканий ковра к отдельно стоящим металлическим стойкам и трубкам следует выполнять по проекту или устраивать по фаскам из цементно-песчаного раствора М 100 высотой не менее 100 мм. На примыканиях кровельный ковер необходимо защемить обжимным хомутом из кровельной стали и промазать герметизирующей мастикой.

3.76. Наплавляемые рубероиды могут наклеиваться путем растворения и пластификации покровной массы (приклеивающего слоя мастики) растворителями с последующей прикаткой.

3.77. Для устройства кровель из наплавляемых рубероидов методом: растворения и пластификации покровной массы (приклеивающего слоя мастики) следует применять следующие приспособления и механизмы: установку с удочкой для транспортирования и нанесения огрунтовочных составов, механизм для нанесения растворителя, тележку с ёмкостью для растворителя, каток-раскатчик для прикатки рулонных материалов массой 50-80 кг.

3.78. Наклейку наплавляемого рубероида следует производить в следующей последовательности:

на поверхность основания под кровлю раскатывают рулон рубероида, примеряют по отношению к другому с обеспечением нахлестки по ширине полотнищ; затем раскатанный рулон складывается пополам, на верхнюю половину сложенного рулона и основание наносится удочкой растворитель с расходом 50-65 г/м2; растворитель наносится равномерно по всей площади, что обеспечивается соблюдением указанных норм - визуальной оценкой нормального расхода растворителя служит отсутствие подтеков после нанесения удочкой;

после нанесения растворителя сложенная половина рулона (полотнище) укладывается на основание (место) приклейки, в центре устанавливается каток или становится кровельщик, полотнище натягивается двумя рабочими в продольном направлении и прикатывается катком; вторая половина рулона приклеивается аналогичным способом; прикатку производят тремя-четырьмя проходами катка, причем первый проход необходимо начинать с середины рулона сразу после его наклейки, последующие проходы следует производить через 12-14 мин после нанесения растворителя.

3.79. Приклеивание слоев кровли при ее ремонте может быть осуществлено послойно или всех слоев сразу по поточному методу в соответствии с проектом производства работ или технологической картой.

3.80. Работу по наклейке кровельного ковра выполняет звено из 3-4 человек:

кровельщик 5-го разряда работает с установкой для нанесения растворителя, наносит растворитель для разжижения мастичного слоя рубероида (уложенного и раскатываемого), задает скорость наклейки рубероида и контролирует качество выполняемых работ;

кровельщик 3-го разряда при помощи катка-раскатчика раскатывает рубероид по поверхности нижележащего, уже наклеенного рубероида;

кровельщик 2-го разряда подвозит рулоны рубероида к рабочему месту, прикатывает дифференциальным катком массой 50-80 кг уложенные слои рубероида (через 7-15 мин).

3.81. Ремонт рулонного кровельного покрытия мастикой «Кровлелит» рекомендуется производить наклейкой на битумной мастике одного слоя рулонного материала после ремонта отдельных мест, и потом выполняется герметизация примыканий и водоприемных воронок мастикой «Кровлелит» по слою стеклоткани или нанесением мастики «Кровлелит», снятие рулонного ковра, наклейка одного слоя рулонного материала на битумной мастике с последующим нанесением двух слоев. «Кровлелита» с герметизацией узлов кровли с оклейкой стеклотканью.

3.82. Отвердитель вводится в «Кровлелит» перед нанесением из расчета 2 г на 1 кг мастики. «Кровлелит» поставляется в металлических бочках вместимостью 200 л и массой до 250 кг в комплекте с отвердителем в металлических банках 0,4 до 10 кг. Без паспорта, без четкой маркировки тары, и без отвердителя принимать «Кровлелит» запрещается. Гарантийный срок хранения «Кровлелита» 12 мес. Для заделки трещин на кровле и в местах примыканий для повышения вязкости мастики в «Кровлелит» рекомендуется добавлять резиновую крошку в количестве 112 г на 1 кг мастики.

3.83. Для ремонта кровли рекомендуется применять состав на основе мастики «Кровлелит» с резиновой крошкой и полимерраствор для заделки отверстий (шириной до 3 мм) в бетонных конструкциях крыши, выравнивания выбоин и отдельных мест после ликвидации складок ковра, а также для ремонта водоприемных воронок. Полимерраствор приготавливают на основе мастики «Кровлелит» 25 % (по массе) с цементом и песком при соотношении 2:1 с вязкостью строительного раствора.

3.84. Уплотнение сопряжений с выступающими над кровлей вентшахтами и стенами лифтового помещения осуществляется заделкой отверстий на стыках панелей шахт и стен полимерраствором; нанесением на очищенную поверхность шахт слоя полимерраствора и выполнением им выкружки. Затем производится гидроизоляция основания слоем «Кровлелита» с прослойкой стеклоткани с последующим покрытием ее поверхности слоем «Кровлелита» с перекрытием края стеклоткани на 5-7 см. После выполнения перечисленных работ ставится металлический «фартук».

3.85. Опоры телеантенн, радиостоек, вытяжных труб заделываются в следующей последовательности на очищенную вокруг трубы поверхность нанести слой полимерраствора в виде выкружки; затем слой «Кровлелита»; наклеивается стеклоткань с последующим нанесением слоя «Кровлелита».

3.86. До нанесения составов на основе мастики «Кровлелит» необходимо устранить выбоины на поверхности кровли и контруклоны с застойными зонами полимерраствором. Время схватывания полимерраствора зависит от его толщины и колеблется от одного до- двух часов в зависимости от температуры наружного воздуха. Наносить основное покрытие на основе мастики разрешается после схватывания полимерраствора. Толщина мастики должна быть не более 1 мм, с расходом около 1 кг на 1 м2 кровли в один слой.

Ремонт кровель с мастичным покрытием

3.87. При ремонте мастичных кровель следует применять следующие материалы:

для устройства гидроизоляционного покрытия:

холодная битумно-бутилкаучуковая мастика «Вента» и «Вента-У» (ТУ 21-27-101-83);

холодная мастика «Кровлелит» на основе хлорсульфированного полиэтилена (ТУ 21-27-66-80), состав на основе мастики «Кровлелит» с резиновой крошкой и мастика «Кровлелит - Б» (ТУ 21-27-104-83); битумно-полимерные мастики;

стеклосетка марки ССС, стеклянный холст марки ВВ-Г для армирования слоев покрытия;

Рис. 8. Наклеивание рулонного ковра в местах стыка панелей

1 - панель покрытия; 2 - заделка раствором или герметиком; 3 - теплоизоляция; 4 - полоса рулонного материала, приклеенная к одной из панелей; 5 - гидроизоляционный ковер; 6 - цементный раствор; 7 - паронепроницаемый полимерный слой

для устройства гравийного и защитных слоев:

гравий чистый сухой с размером зерен 5-10 мм или каменная крошка из пород с

морозостойкостью не ниже Мрз-100;

битумно-алюминиевая краска марки БТ-177;

битумно-полимерный состав на основе водорастворимой полиамидной смолы.

3.88. Перед нанесением мастичного слоя из битумных и битумно-полимерных эмульсий основание должно быть огрунтованно этой эмульсией (расход до 1 кг/м2). Швы между сборными железобетонными панелями следует покрывать полосками из рулонных материалов (стеклоткань, рубероид) шириной 250 мм, наклеиваемыми с одной стороны шва (рис. 8). Устройство основного гидроизоляционного ковра на битумных или битумно-резиновых мастиках выполняется с соблюдением следующих требований стеклохолст расстилают на основание кровли с нахлесткой полотнищ по ширине и длине 100 мм; горячую мастику наносят сплошным слоем до полной пропитки стеклохолста и склеивания его с основанием; последующие слои кровли выполняют аналогичным способом.

На кровлях с уклоном менее 10 % основание под кровлю покрывают сначала горячей мастикой и после ее остывания устраивают гидроизоляционные слои,

3.89. Битумно-латексные эмульсии следует наносить с коагулятором (5 %-ный раствор хлористого кальция) в четыре слоя. Сначала на основание необходимо нанести эмульсию, затем после ее высыхания расстелить стеклосетку и покрыть ее эмульсией. Кромки полотнищ стеклосетки должны быть тщательно приклеены.

3.90. Места примыкания мастичных кровель к вертикальным поверхностям, выступающим над крышей конструкций и оборудования, сопряжения с воронками внутренних водостоков, ендовы и конек устраивает также как для рулонных кровель с нанесением дополнительных мастичных слоев, армированных стекломатериалами.

3.91. Защитные покрытия на поверхностях крыш из железобетонных и асбестоцементных панелей лоткового сечения восстанавливают после укрепления нательников и герметизации стыков.

3.92. Для устройства защитного покрытия следует применять: краску БТ-177 и битумно-полимерный состав. Окрасочный материал наносят равномерно, без пропусков, по всей изолируемой поверхности не менее чем в два слоя толщиной 0,5-2 мм. Последующий слой наносят лишь после отвердения и просушки предыдущего. Защитные составы на основе синтетических смол необходимо устраивать в соответствии с требованиями СНиП III-23-76 «Защита строительных конструкций от коррозии».

3.93. Восстановление и устройство защитных слоев следует выполнять после ремонта и окончания работ по замене гидроизоляционного ковра, а также составления акта о его приемке.

До нанесения защитного слоя поверхность кровельного покрытия очищают от пыли, слабодержащейся слюдяной или песчаной посыпки и существующего защитного слоя, который увлажняют, осторожно, очищают скребками и удаляют без повреждения верхнего покрытия кровли. Поверхность кровли перед устройством защитного слоя должна быть сухой и ровной.

Защитные слои кровель, из рулонных и мастичных материалов восстанавливают по мере необходимости, но не реже чем через 3 года, совмещая эти работы с планово-предупредительным текущим ремонтом.

3.94. Защитный слой на кровлях следует устраивать нанесением на их поверхность мастичных составов, а также втапливания в мастику мелкого гравия, морозостойкой минеральной крошки или крупного песка. Вместо специального защитного слоя по кровле (с уклоном более 10 %) может быть уложен дополнительный слой рулонного материала с крупнозернистой посыпкой, (см. п. 3.97). При замене кровель из рулонных материалов такой слой целесообразно предусматривать в конструкции гидроизоляционного ковра.

3.95. Краску БТ-177 наносят на поверхность кровли ручным или механизированным способом в соответствии с «Временными указаниями по защитной окраске рубероидных кровель алюминиевой краской механизированным способом» (М.: Стройиздат, 1978).

3.96. Битумно-полимерный состав на основе водорастворимой полиамидной смолы следует наносить, руководствуясь «Временными техническими указаниями по приготовлению и нанесению защитных покрытий на рулонные кровли жилых зданий» (М.: Стройиздат, 1977).

3.97. Насыпной защитный слой устраивают из гравия (песка) размером 3-5 мм, втапливая его катком в горячую мастику, предварительно нанесенную на поверхность кровли слоем 2-3 мм. В 2-слойном защитном покрытии второй слой выполняется аналогично первому после удаления неприклеенной посыпки.

Рис. 9. Устройство ограждений на крыше

а - на опорных блоках, устанавливаемых через 1,5-2 мм; б - на парапетных плитах с заложенными в них гильзами

1 - слив из оцинкованной стали; 2 - заливка мастикой; 3 - два дополнительных слоя рубероида; 4 - металлическая стойка ограждения; 5 - опорный блок из двух частей; 6 - раствор; 7 - основной гидроизоляционный ковер; 8 - конструкция крыши; 9 - наружная стена; 10 - бортовая плита; 11 - защитный слой.

Рис. 10. Приспособление для привязывания рабочих при ремонтных работах

а - общий вид установки хомута; б - детали хомута; в - вид установки стойки; г - детали стоек

1 - вентиляционный блок; 2 - металлический зонт; 3 - петли хомута 12 мм; 4 - уголок 75×6 мм (l = 60 мм); 5 - сварной шов 6 мм; 6 - болт; 7 - гидроизоляционный ковер; 8 - болт для хомута 6 мм; 9 - петля; 10 - хомуты 30×4 мм; 11 - фартук; 12 - металлическая стойка для крепления рабочих (трубка d = 50 мм); 13 - ткань, пропитанная битумом; 14 - полоска 150×170 мм; 15 - анкер; 16 - сварочный шов

Мастику наносят на кровлю полосами шириной 1-1,3 м (на, 100-120 мм больше длины барабана катка, укатывающего гравий или песок), начиная от пониженных частей кровли. Высушенный, обеспыленный и подогретый до температуры 90°С гравий (песок) следует рассыпать на покрытую мастикой поверхность ровным слоем по всей ширине полосы и, прикатывать катком весом 80 кг, не втапливая полностью в мастику. Каждый участок необходимо укатывать не менее трех раз. После окончания работ с поверхности крыши должна быть сметена незакрепленная посыпка и очищены от нее водосточные желоба и решетки воронок внутреннего водостока (до начала работ воронки внутреннего водостока необходимо закрыть).

3.98. Постоянные ограждения следует устраивать на крышах с наружным водоотводом при высоте зданий более двух этажей. В домах повышенной этажности с внутренним водоотводом такие ограждения обязательны только в зоне выхода на кровлю. Целесообразно применение решетчатых ограждений с редкорасположенными стальными планками и нижним поясом, приподнятым на 20-30 см над поверхностью кровли.

3.99. На крышах из сборного железобетона ограждения рекомендуется крепить приваркой стоек к закладным деталям кровельных панелей или установкой стоек в металлические гильзы, заделанные в карнизной плите, возможно крепление ограждения к отдельно стоящим блокам массой 50-60 кг каждый (рис. 9).

3.100. При отсутствии ограждений рабочие во время осмотра и ремонта крыш должны привязываться к стойкам из стальных труб или стержней, закрепленным к конструкциям блоков выхода на крышу, вентиляционным блокам и другим выступающим над кровлей частям здания (рис. 10).

3.101. Для улучшения температурно-влажностного режима, чердачных помещений и устранения обледенения свесов и водоотводящих устройств чердачных крыш следует выполнять указания подраздела.

Ремонт крыш с кровлей из листовой стали

3.102. К основным дефектам, возникающим в процессе эксплуатации крыш с кровлями из листовой стали, устраняемым в процессе планово-предупредительного и капитального ремонта относятся: ослабление сопряжений элементов стропил в узлах; повышенные прогибы стропильных ног; загнивание древесины; разрушение огнезащитной покраски деревянных элементов; протечки в фальцах, ослабление крепления элементов кровли, водоотводящих устройств и оборудования на крыше; коррозия кровли, разрушение защитного (цинкового или окрасочного) слоя; неудовлетворительный температурно-влажностный режим в чердачном помещении зимой.

3.103. В зависимости от технического состояния крыши выполняются следующие работы: усиление, замена и крепление несущих элементов стропил; замена отдельных листов или участков кровли и водоотводящих устройств; постановка заплат на поврежденные места кровли; заделка свищей, уплотнение фальцев и крепление элементов кровли, водостоков и оборудования, размещенного на крыше; частичная или смешная окраска кровли; восстановление огнезащитного слоя на деревянных элементах; устройство специальной вентиляционной системы для проветривания чердачного помещения; исправление выступающих над крышей конструкций и оборудования зданий.

3.104. Кровля из листовой стали, пришедшая в негодность вследствие коррозии (вся крыша или большая ее часть), подлежит замене на другой вид кровли.

3.105. Листовую кровельную сталь разрешается применять для устройства карнизных свесов, разжелобков, примыканий к водосточным воронкам, покрытий вокруг труб (воротников), защитных фартуков, а также для ремонта и смены отдельных листов или участков при хорошем состоянии остальной части кровли.

3.106. Для ремонта металлического Покрытия и водоотводящих устройств применяют:

кровельную оцинкованную сталь (ГОСТ 19904-74 с изм.);

гвозди кровельные оцинкованные 3,5´40 мм для прибивки листовой стали к опалубке на карнизных свесах и крепления кляммер: к обрешетке;

гвозди строительные диаметром от 2,5. до 4 и длиной 50-100 мм для прибивки обрешетки, крючьев желобов и обрамлений (в выдрах у труб);

кляммеры из обрезков кровельной стали для крепления кровельных листов к обрешетке;

накладки (костыли) из оцинкованной полосовой стали толщиной 5-6, шириной 25-35 и длиной 450 мм для поддержания карнизных свесов;

крючья из оцинкованной полосовой стали толщиной 5-6, шириной 16-25 и длиной 420 мм для крепления настенных желобов;

штыри с хомутами, оцинкованные для крепления водосточных труб, воронок и отмета к стене;

проволоку стальную (ГОСТ 3282-74 с изм.) и оцинкованную диаметром 1,6 мм для крепления элементов водоотводящих устройств, архитектурного оформления и т. п.; проволоку диаметром 4-6 мм для закатки в головки настенных желобов.

3.107. В качестве герметизирующих материалов при ремонте металлических кровель могут быть использованы: герметик «Эластосил 11-06»; тиоколовая мастика КБ-0,5; самоклеющаяся лента «Герлен-Д» и армогерметики (слоистые материалы) согласно ВСН-11-83.

3.108. Герметик силиконовый одноконпонентный «Эластосил 11-06» вулканизируется в естественных условиях (под действием кислорода и влаги, находящихся в воздухе). На фальцах металлической кровли «Эластосил 11-06» начинает вулканизоваться через 20-30 минут после нанесения.

Завод-изготовитель поставляет «Эластосил 11-06» в герметичных металлических банках либо в полиэтиленовых Тубах готовым к употреблению; разжижать его растворителями запрещается.

3.109. Мастика тиоколовая марки КБ-0,5 (ТУ 84-246-71) черного цвета, двухкомпонентная состоит из основной пасты К-0,5 и отвердителя - пасты № 30, которую вводят в основную пасту перед употреблением из расчета 17-18 частей на 100 частей основной пасты К-0,5.

Герметик КБ-0,5 поставляется заводом-изготовителем комплектно в дозировке, указанной в паспорте на каждую партию.

3.110. Перемешивание компонентов герметика КБ-0,5 следует выполнять порциями по 8-10 кг в полиэтиленовых или поливинилхлоридных емкостях электросверлилкой; типа ЭТ-1017 с лопастной насадкой в течение 4-5 мин до получения однородной массы. Перемешивать герметик КБ-0,5 вручную допускается только при незначительных объемах работ.

3.111. Самоклеящаяся лента «Герлен-Д» (ТУ 400-1913 21-76) для ремонтной герметизации металлической кровли поставляется заводом-изготовителем в картонных ящиках массой около 17 кг.

3.112. Герметизирующий слоистый материал, в частности «Армокровлелит», состоит из армирующей основы, пропитанной мастикой, например «Кровлелит» марки МКВГ. В качестве армирующей основы рекомендуются стеклоткани типа Т-12-41, АСТТ типа ТСС, ТЖС-0,7, а также нетканые лансановискозные материалы.

3.113. Мастика «Кровлелит» (МКВГ) поставляется в комплекте из 2-х компонентов - основного и вулканизующего. Вулканизующую добавку в основной компонент следует вводить при перемешивании непосредственно перед использованием в мастику «Кровлелит» из расчета 1:125 частей триэтаноламина или 3 % полиизоцианата «К» (ТУ 113-03-29-11-83).

3.114. Перед ремонтом крыши металлическую кровлю осматривают снаружи и с чердака на свет, а также во время и после сильного дождя.

В стропильных системах проверяют узлы сопряжения стропил, в которых возможно появление деформаций из-за усушки древесины и ослабления крепления, а также деревянные элементы в плохо освещенных и проветриваемых местах чердачного помещения (мауэрлаты, концы стропильных ног), где образуются благоприятные условия для гниения древесины.

3.115. При наличии гнилой древесины ее стесывают, а в случае значительного уменьшения сечения стропильные ноги, стойки, подкосы и другие части стропил усиливают или заменяют новыми. Деревянные элементы несущих конструкций, подвергшиеся ремонту и выполненные из новой древесины, тщательно антисептируют. Прогоны и стропильные ноги, имеющие повышенный прогиб, усиливают накладками на гвоздях и болтах, уменьшением пролета или иным способом. При этом предварительно им придают проектное положение, обеспечивающее ровную поверхность кровли.

3.116. Ремонт кровли ведут в направлении от низа ската вверх. Сначала ремонтируют свес и желоба, затем рядовое покрытие и места примыканий кровли к выступающим над крышей частям здания и сантехническими устройствами, далее исправляют обшивку слуховых окон, производят ремонт вентиляционных шахт, парапетов, зонтов и дефлекторов, а также водосточных труб.

3.117. Дефектные участки карнизных свесов, желобов, рядового покрытия, отдельных листов и других элементов стальной кровли заменяют в границах лежачих и стоячих фальцев. При устранении местных повреждений рядового покрытия допускается устраивать заплаты в пределах листа, соединяя его с кровлей поперек ската лежачими фальцами, вдоль - стоячими. Лежачие фальцы следует располагать непосредственно на брусках или досках обрешетки.

3.118. При устройстве новых настенных желобов и разжелобков взамен поврежденных, следует обрезать кромки рядового покрытия, образовавшие лежачий фальц. Новый стык располагается выше наибольшего уровня, который может образоваться в водоотводящих устройствах при стоке дождевых или талых вод.

3.119. При частичной замене кровли работы по заготовке и укладке кровельных картин следует выполнять так же, как и при устройстве новых стальных кровель. Обрешетка должна быть из брусков 50×50 мм, уложенных с шагом 250 мм. При этом прибивают доски толщиной 50 мм по коньку и ребрам - в один ряд с каждой стороны, по карнизу - на ширину до 700 мм, под разжелобками - на ширину до 500 мм в каждую сторону и под лежачими фальцами - в один ряд.

Снятые с крыши, хорошо сохранившиеся стальные листы рекомендуется использовать вторично для рядового покрытия на южном скате. Листы в таком случае обрезают по периметру, олифят и окрашивают. Оцинкованные листы с неповрежденным защитным слоем окрашивать не следует. Для покрытия ендов, настенных желобов и карнизных свесов применяют новую кровельную сталь.

3.120. Под металлические листы, укладываемые на цементно-песчаную или асфальтобетонную стяжку и по деревянной обрешетке на карнизах, необходимо наклеить подкладочный слой из рулонного материала.

3.121. Металлические листы в стыках, расположенных поперек стока воды, соединяют при уклоне кровли более 30 % - одинарными лежачими фальцами, при уклоне кровли менее 30 %, а также на карнизах и разжелобках - двойными лежачими фальцами. Лежачие фальцы загибают в сторону стока. Листы фартуков соединяют между собой одинарными лежачими фальцами.

3.122. Металлические листы в стыках, располагаемые вдоль стока воды, а также на коньках и ребрах, соединяют одинарным стоячим фальцем.

3.123. Картины из металлических листов изготавливают на фальцегибочных станках. Величина отгиба одинарного (двойного) стоячего фальца должна быть 20 (38) мм у одного листа и 35 (45) мм у другого, а для лежачего фальца соответственно 13 (30) мм и 30 (50) мм. Все фальцы (стоячие и лежачие) водоотводящих устройств и рядового покрытия до их обжатия тщательно промазывают замазкой на железном сурике или свинцовых белилах. Состав суриковой замазки (% по массе): молотого мела - 57, натуральной олифы - 29,-тертого сурика - 14.

3.124. В местах примыкания к выступающим над крышей стенам необходимо край кровли с отогнутым вверх гребнем завести в паз глубиной не менее 70 мм и высотой 130 мм, прибить или пристрелить дюбелем. После этого паз уплотнить раствором, с оголовками дымовентиляционных труб кровлю следует соединять в виде плотно охватывающего их воротника под распушкой (выдрой). Если оголовок длинной стороной ориентирован поперек ската, то со стороны, обращенной к коньку, необходимо устраивать разжелобки для улучшения стока воды.

3.125. Боковые стенки слуховых окон и вентиляционных шахт должны быть покрыты листами и соединены фальцами между собой и с рядовым покрытием.

Для прохода через стальную кровлю вентиляционных стояков и других труб делают патрубки высотой не менее 250 мм. Патрубки небольшого диаметра соединяют с рядовым покрытием буртиком, сваленным на плоскость кровли, а большого диаметра - буртиком, сваленным внутрь патрубка. После окончания ремонта на стояки надевают колпаки или флюгарки.

3.126. Одновременно с заменой отдельных участков кровли необходимо устранять неисправности на сохраняемой части крыши (уплотнение фальцев, укрепление ослабленных элементов, герметизация свищей в кровле и др.).

3.127. Перед началом работ мастер (бригадир) должен иметь дефектную ведомость и схематический план крыши с указанием ширины прикарнизной зоны герметизации фальцев кровли, размером ендов и обозначением мест возможных скоплений на кровле снега, указаний мест примыканий к стене надстроек, шахт и опор парапетных решеток, реклам, антенн и т.п.

3.128. Герметизацию фальцев и пробоин металлических кровель мастиками КБ-0,5 и «Эластосил 11-06» следует выполнять в следующей технологической последовательности: на сухую, очищенную от ржавчины и отслоившейся краски, обеспыленную поверхность фальца металлическим шпателем нанести полосу герметика длиной не более 2 м, после чего поверхность герметика выровнять шпателем ШД-45 до получения гладкой поверхности слоя герметика толщиной 2±0,5 мм.

3.129. Мелкие отверстия, свищи и пробоины в кровле размером до 5 мм следует промазать слоем герметика толщиной. 2,8±0,2 мм с захватом краев вокруг отверстия на - 10±2 мм.

3.130. крупные отверстия, пробоины размером от 10 мм и более необходимо перекрывать заплатой из кровельной стали или двух слоев стеклоткани на герметике.

3.131. Герметизацию мест примыканий кровли к стенам надстроек, вентиляционных шахт, труб следует выполнять с использованием стеклоткани по слою герметика толщиной 0,3±0,1 мм с последующим нанесением шпателем на поверхность стеклоткани слоя герметика. В 0,8±0,2 мм. Напуск стеклоткани на поверхность стены и кровли должен составлять не менее 60 мм.

3.132. Герметизацию опорных частей стоек ограждения, антенн и растяжек следует выполнять обмазкой герметикой толщиной 2±0,5 мм по их периметру с захватом поверхности кровли на 20 мм.

3.133. Герметизацию лентой «Герлен-Д» фальцев и пробоин металлической кровли следует выполнять только по сухой, очищенной, обеспыленной поверхности кровли и относительной влажности воздуха не выше 75 %.

3.134. Для выполнения герметизационных работ самоклеющуюся ленту «Герлен-Д» следует нарезать полосами шириной 25-30 мм и длиной, равной длине герметизируемых фальцев, но не более 2,5-3 м. Нарезку лент, следует выполнять треугольным остро заточенным ножом вместе с раздельной бумагой на доске из твердой породы древесины либо на древесно-стружечной плите.

3.135. Заготовленные полоски самоклеящейся ленты следует наложить на фальцы, плотно прижать к поверхности кровли и прикатать резиновым валиком (рис. 11) для обеспечения плотного контакта ленты с поверхностью фальца.

3.136. Для герметизации фальцев целесообразно использовать устройство АКХ им. К.Д. Памфилова для прикатывания самоклеящейся ленты - фальцевый герметизатор (рис. 12, 13). Устройство состоит из ручки с закрепленным на ней барабаном и прижимным валиком. В барабан заправляется рулон самоклеящейся ленты требуемой ширины. При движении устройства вдоль фальца лента из барабана подается под прижимной валик, который обеспечивает плотный контакт ленты с поверхностью, кровли.

3.137. Герметизацию лентой «Герлен-Д» отверстий в кровле диаметром до 10 мм следует выполнять заплатой из отрезка ленты размером 30×30 мм. Более крупные отверстия следует перекрывать

Рис: 11. Конструктивная схема валика цилиндрического для прикатывания самоклеящейся ленты на лежачих фальцах, заплатах и примыканиях.

Рис. 12. Конструктивная схема валика профильного для прикатывания самоклеящейся ленты на стоячих фальцах

Рис. 13. Схема фальцевого герметизатора

1 - ручка; 2 - прижимной валик; 3 - самоклеящаяся лента; 4 - барабан

заплатой из кровельной стали с наклейкой поверху отрезка ленты «Герлен-Д» и напуском со всех сторон по 20 мм с тщательной прикаткой цилиндрическим валиком. Края отверстий, подготовленные под герметизацию, не должны выступать над плоскостью кровли.

3.138. Герметизацию лентой «Герлен-Д» мест сопряжений стоек ограждения, антенн, растяжек, мест пропуска через, кровлю флюгарок и металлических шахт следует выполнять по предварительно зачищенным и окрашенным герметикой поверхностям с напуском на поверхности сопрягаемых элементов не менее чем на 30 мм с последующей прикаткой ленты валиком для ее плотного прилегания.

3.139. Герметизацию лентой «Герлен-Д» мест сопряжений кровли с кирпичными, оштукатуренными и бетонными поверхностями стен надстроек следует выполнять после выравнивания примыкающего к кровле участка стены полимерраствором, его твердения и последующей огрунтовки герметикой, например мастикой «Кровлелит», на полосе шириной не менее 100 мм.

3.140. Ремонтную герметизацию слоистым материалом, например армокровлелитом, фальцев и пробоин металлической кровли необходимо выполнять в следующей технологической последовательности:

приготовить мастику «Кровлелит» в полимерной емкости в количестве 3-4 кг (время перемешивания компонентов мастики составляет 2-3 мин);

нарезать полосы стеклоткани шириной 30 мм для герметизации стоячих фальцев и шириной 40 мм, полосы длиной 10-12 м свернуть в рулоны;

на подготовленную поверхность фальцев и пробоин флейцевой кистью № 22, 24 нанести слой «Кровлелита» и сразу же наложить стеклоткань;

после отвердевания поверхностного слоя «Кровлелита» (20- 30 мин) поверх стеклоткани нанести второй (защитный) слой мастики «Кровлелит».

3.141. Ремонт кровли армокровлелитом следует выполнять по, аналогии с лентой «Герлен».

3.142. По окончании, ремонта необходимо после выпадения осадков проверить кровлю и в случае обнаружения следов протечек промазать просушенные свищи и пробоины «Кровлелитом».

Основные работы по приведению крыш с металлической кровлей в технически исправное состояние следует предусматривать в проекте капитального ремонта.

3.143. Перед уплотнением лежачих фальцев кровли необходимо убедиться в том, что они располагаются на обрешетке. Под фальцы, находящиеся в промежутке между брусками обрешетки, подводят доски шириной не менее 100 мм. До уплотнения фальцы необходимо промазать замазкой на железном сурике или «Кровлелитом», а после уплотнения окрасить под цвет кровли. В кровлях из оцинкованной листовой стали, фальцы рекомендуется красить свинцовыми (цинковыми) белилами с добавлением небольшого количества сажи для получения нужного цвета.

3.144. Устойчивость и неподвижность ослабленных элементов крыши и размещенного на ней оборудования необходимо обеспечивать подтяжкой и установкой дополнительных деталей крепления (скоб, заклепок, болтов, кляммер и пр.). Прибивка кровли к обрешетке гвоздями запрещается, особое внимание уделяется креплению элементов водосточных труб (в первую очередь воронкам) после таяния снега.

3.145. Мелкие свищи в кровле (до 30 мм) следует заделывать снаружи и со стороны чердачного помещения мастикой, предварительно выпрямив края кровли и очистив вокруг них поверхность стальной щеткой от грязи, ржавчины и краски. Состав мастики (% по массе): битум марки V - 47, соляровое масло - 28, известь-пушенка - 12, шлаковата - 13. Мастику наносят, шпателем толщиной не более 2-3 мм с обязательным перекрытием поврежденного места на 30-40 мм вокруг него.

Большие по размерам свищи в кровле (до 100 мм) устраняют наклейкой заплат из рулонного материала или мешковины, пропитанной мастикой, которые должны перекрывать отверстие не менее чем на 100-150 мм.

3.146. Отремонтированные места после высыхания следует окрасить под цвет кровли. Края заплат не должны выступать над поверхностью ската крыши.

Участки кровли, подвергшиеся коррозии, необходимо очистить и окрасить в кратчайший срок после обнаружения с наружной и внутренней (между брусками обрешетки) поверхностей. Особое значение имеет подкраска фальцев (лежачих и стоячих) в кровлях из оцинкованной стали, с которых начинается разрушение цинкового покрытия.

3.147. Кровли из черной листовой стали окрашивают через каждые 2-3 года при проведении профилактического текущего ремонта. Для окраски применяются: кузбасскраска с предварительной грунтовкой поверхности кровли эмалевой краской ДП, масляная краска, полимерные составы - краска ВН-30 для водоотводящих устройств.

3.148. Перед окраской стальной кровли устраняют все дефекты кровли, производят ее очистку от мусора и грязи, а также от ржавчины и старой краски металлическими щетками или пескоструйным аппаратом, промазывают фальцы в желобах и разжелобках суриковой замазкой на натуральной олифе. Кровли из оцинкованной листовой стали после очистки протравливают раствором цинкового купороса.

3.149. Окраску кровли масляной, краской выполняют, за 2 раза по предварительно проолифленной поверхности; расход краски составляет до 250 г/м2.

3.150. При окраске стальной кровли кузбасскраской ее поверхность необходимо огрунтовать эмалевой краской марки ДП за один раз краскораспылителем или вручную при наружной температуре воздуха не ниже минус 10°С. Кровлю следует красить кузбасскраской за 2 раза при расходе материала 200 г/м2, желоба и разжелобки необходимо окрашивать за 3 раза.

3.151. Перед окраской оцинкованной металлической кровли полимерными составами производят разовое грунтование поверхности фосфатирующим бутиральным грунтом ВЛ-02 (ГОСТ 12707-77 с изм.).

3.152. Для окраски кровли из оцинкованной стали рекомендуются: перхлорвиниловый состав с железным суриком (разведенный сольвентом или ксилолом до вязкости 70-80 с по вискозиметру ВЗ-4); нерхлорвиниловый состав с алюминиевой пудрой; перхлорвиниловая эмаль ПХВ-26 или пентафталиевая эмаль.

3.153. Полимерные окрасочные составы наносят на кровлю не менее чем в два слоя после высыхания грунта (ВЛ-02 через 2-4 ч).

Срок высыхания окрасочных церхлорвиниловых слоев 4-6 ч. Расход материалов при покрытии кровли полимерными составами составляет, в г/м2: грунтовка- 150-200, краска в два слоя - 500-600; в три слоя- 800.

3.154. Одновременно с окраской кровли окрашивают, все водоотводящие устройства, парапетные решетки и металлические детали антенн и конструкций реклам, предварительно огрунтовывая их соответствующими составами. Грунтовку и окраску кровель ведут механизированным способом (пистолетами-распылителями).

3.155. На жилых домах, подлежащих сносу в ближайшие 5 лет, ветхие стальные кровли допускается покрывать рулонными материалами без разборки старой кровли. Перед покрытием стальную кровлю очищают от мусора, стоячие фальцы листов загибают. На скатах крыши перпендикулярно коньку прибивают рейки треугольного сечения со скошенными концами (шаг 98 см), а на коньке и ребрах - парные доски со скошенными кромками. Полотнища рулонного материала (ширина 100 см) укладывают насухо между рейками перпендикулярно коньку и прибивают к рейкам гвоздями через 400-500 мм. Ленты рулонного материала, покрывающие конек и ребра, прибивают к доскам гвоздями через 50-60 мм.

3.156. Восстанавливаемые или вновь устраиваемые ограждения и антенны крепят к крыше со стальной кровлей с обязательным уплотнением мест сопряжения.

Ремонт водоотводящих устройств

3.157. К дефектам, требующим ремонта систем внутреннего водоотвода, относятся: протечки в стыках трубопровода; потеря упругости сальниковой набивки в температурном компенсаторе стояка; отсутствие водоприемного колпака; обледенение верхней части стояка и наружного выпуска; намокание или повреждение теплоизоляции трубопровода; щели в перекрытии вокруг стояка; разрушение лотка, отводящего воду от наружного выпуска.

3.158. Стыки стояка внутреннего водоотвода герметизируют конопаткой паклей, пропитанной суриковой краской, с последующей зачеканкой раструба слегка увлажненным цементом.

3.159. Сальниковая набивка в температурном компенсаторе стояка, потерявшая упругость, должна быть заменена новой. Сальниковую набивку необходимо заменить по мере ее переуплотнения, но не реже одного раза в 6 лет.

Рис. 14. Схема внутреннего водоотвода с наружным выпуском

а - общая схема водоотвода жилого дома; б - утепление стояка в чердачном помещении (по расчету); в, г и д - компенсационные устройства; е - деталь пересечения перекрытия водосточными стояками; ж - деталь присоединения гидравлического затвора бытовой канализации; з - гидравлический затвор на открытом выпуске; и - деталь пересечения открытого выпуска с наружной стеной; к - открытый лоток

1 - перекрытие над техническим подпольем; 2 - стояк внутреннего водостока; 3 - воронка внутреннего водостока; 4 - гидравлический водяной затвор; 5 - наружный выпуск; 6 - открытый лоток; 7 - водослив в канализацию; 8 - чердачное перекрытие; 9 - температурный компенсатор стояка; 10 - утепление стояка в пределах чердака; 11 - кровельная плита; 12 - гильза из асбестового картона; 13 - муфта; 14 - сальниковая набивка; 15 - заделка цементным раствором; 16 - плинтус; 17 - упругая прокладка; 18 - утепление наружной стены; 19 - гравийная или щебеночная подготовка по песчаной подушке и уплотненному грунту (размеры на рис. «и», «к» приведены в сантиметрах)

3.160. Для устранения обледенения системы внутреннего водоотвода с наружным выпуском необходимо утеплять стояк в пределах чердачного помещения и своевременно обеспечивать сброс талой воды в бытовую канализацию. При отсутствии слива талых вод в канализацию необходимо установить водослив из труб диаметром 25 мм, присоединенных к системе внутреннего водоотвода (рис. 14).

3.161. Отводные трубы от стояков с открытым выпуском необходимо оборудовать гидравлическим затвором высотой 100 мм в помещениях с температурой в зимнее время не менее 5°С. Утепление стояка следует выполнять из слоя толщиной 5-10 см эффективного теплоизоляционного материала (минераловатных плит, асбестозурита и др.) с верхним пароизоляционным слоем из гидроизоляционного рулонного материала. Теплоизоляция не должна затруднять смену набивки в температурном компенсаторе стояка внутреннего водоотвода.

3.162. При намокании теплоизоляции стояка внутреннего водостока необходимо по верху ее уложить слой пароизоляции, предварительно просушив утеплитель. Если конденсат выпадает на поверхности теплоизоляционного слоя, то следует уложить дополнительные слои теплоизоляции и пароизоляции.

3.163. Щель в перекрытии вокруг стояка следует заделать упругим материалом и сверху зашпаклевать. Целесообразно в месте пересечения трубопровода с конструкцией установить гильзу из упругого листового материала.

3.164. Лоток для отвода воды от наружного выпуска, пришедший в негодность, должен быть заменен новым бетонным длиной не менее 2,5 м, шириной 300-500 мм с уклоном более.4%. Во всех водоприемных воронках необходимо установить колпаки с глухим верхом.

3.165. Необходимость в ремонте наружных водостоков, выполненных из кровельной листовой стали, возникает при ослаблении крепления их элементов (карнизных свесов, желобов, водоприемных воронок и др.), проникании влаги через фальцы, разъединении звеньев и разрушении водосточных труб, механических повреждениях свесов и желобов, коррозии металла, старении окрасочного слоя.

3.166. При ремонте водостоков следует устранить податливость элементов водосточных труб исправлением существующих и постановкой дополнительных креплений, а также уплотнением фальцев, которые предварительно промазывают суриком.

Для устройства новых наружных водостоков взамен изношенных применяют оцинкованную кровельную сталь или алюминиевые листы. При частичной замене отдельных поврежденных элементов водостоков их необходимо изготовлять из материала, аналогичного существующему. Не следует допускать соединения между собой листов из черной и оцинкованной стали. В месте контакта таких листов должен быть слой масляной краски, синтетического лака или полимерного пленочного материала.

Организация производства работ при ремонте крыш

3.167. При большом объеме ремонтных работ, сложной кровле, стесненности и невозможности установки подъемных механизмов и т.д. составляют проект производства работ (предусматривающий порядок и методы выполнения работ) сроки, потребность в материалах, механизмах и рабочей силе. Проект производства работ включает:

календарный график производства работ;

технологические карты на производство основных видов работ;

указания о применяемых материалах;

перечень работ и их последовательность;

перечень механизмов, машин, инструмента, приспособлений и инвентаря;

требования по качеству выполняемых работ;

требования по технике безопасности и пожарной безопасности.

Проекты производства работ и технологические карты разрабатывают с учетом прогрессивной технологии производства кровельных работ и современных Средств механизации.

3.168. Кровельные работы выполняют комплексные специализированные бригады, руководимые мастером или производителем работ. Рабочих объединяют в звенья, состоящие из двух-трех кровельщиков различной квалификации (3-го и 4-го разрядов), плотника и штукатура. В зависимости от объема работ бригаду комплектуют из нескольких звеньев кровельщиков и двух вспомогательных - заготовительного и транспортного.

3.169. Ремонт крыши разделяют на три этапа - подготовительный, основной и завершающий.

Подготовительный этап включает размещение заказов на изготовление сборных элементов, конструкций и деталей крыш для капитального ремонта; ограждение дома временным забором, монтируемым из инвентарных щитов; подводку к местам потребления воды и электроэнергии; оборудование небольшой построечной мастерской и склада; завоз верстаков, инструмента и инвентаря; доставку готовых кровельных изделий, деталей и материалов; монтаж на крыше сборно-разборной площадки; установку подъемных механизмов для доставки на крышу изделий, деталей и материалов, а также для удаления старых частей кровли; очистку крыши от мусора; подготовку рулонных материалов; изготовление заготовок из кровельной стали.

В основной этап входят следующие работы: снятие кровли, ремонт подстилающих слоев основания; устройство продухов для вентиляции чердачного помещения, подготовка основания карнизных свесов, ендов и кровли; устройство и ремонт водостоков; обделка всех выступающих частей, устранение повреждений кровли и ее устройство, а также другие работы, подлежащие выполнению при ремонте кровли, согласно проектно-сметной документации.

Завершающий этап включает работы по ремонту санитарно-технических устройств, теплоизоляции чердачного перекрытия, трубопроводов и оборудования центрального отопления и горячего водоснабжения, расположенных в чердачном помещении; остекление переплетов слуховых окон; устройство защитной стяжки по засыпке чердачного перекрытия; укладку ходовых досок; демонтаж механизмов; разборку временных помещений и забора; вывозку механизмов, приспособлений, инвентаря, остатков материалов и мусора.

3.170. Кровельные работы следует выполнять поточным способом с соблюдением следующих условий:

каждое звено рабочих должно иметь необходимый фронт работ (не менее сменной выработки);

разрывы во времени между выполнением последовательных процессов должны быть сведены к минимуму;

каждый конструктивный элемент укладывают после приемки (с участием представителя эксплуатирующей организации) предшествующей работы с занесением соответствующей записи в журнал производства ремонтных работ и составлением акта на скрытые работы;

элементы кровли при производстве смежных и последующих работ должны предохраняться от повреждений, а' утеплитель также от намокания;

3.171. Кровли ремонтируют в сухую погоду при температур наружного воздуха не менее плюс 5°С, производя работы отдельными захватками в пределах водоразделов. Работа должна быть спланирована так, чтобы по окончании смены раскрытый участок крыши был полностью отремонтирован. В процессе ремонтных работ на крыше должно быть исключено увлажнение и промокание основания и теплоизоляции покрытия и чердачного перекрытия атмосферными осадками. К концу рабочей смены обеспечивают отвод воды с крыши на случай дождя.

3.172. К кровельным работам приступают после обеспечения необходимыми материалами и подготовки механизмов, оборудования, приспособлений и инструментов. Промежуточные склады материалов и приемные бункера размещают вблизи места работы.

3.173. Подготовку кровельных материалов перед их укладкой в конструкции и приготовление горячих и холодных мастик, эмульсий, а также грунтовок, как правило, производят централизованно под контролем лаборатории с применением механизмов и специального оборудования. Приготовление горячих мастик и грунтовок на ремонтируемом объекте допускается при малых объемах кровельных работ в специальном оборудовании, имеющем плотно закрывающиеся крышки. Горячие мастики к рабочим местам подают в утепленной таре. Эмульсии и коагулятор (хлористый кальций) на ремонтируемый объект доставляют в закрытых емкостях.

3.174. При ремонте кровель рекомендуется применять механизмы (см. прил. 4). Типы машин и механизмов следует выбирать в соответствии с объемом и сроком выполнения работ.

3.175. Для выполнения ремонта рулонных и безрулонных кровель составами на основе мастики «Кровлелит» рекомендуется следующее оборудование:

для подачи и нанесения составов рекомендуются пнёвмораспылители типа СО-21; станция СО-145, разработанная Минским филиалом, ВНИИСМИ; модернизированный автогудронатор ДС-39А; безвоздушные распылители типа «Вагнер» (АВД-700ОН);

для подачи материалов на кровлю и снятия строительного мусора - контейнер с открывающимся днищем конструкции Главмосремонта;

массопровод для подачи мастики на кровлю; металлические трубы или фторопластовые шланги высокого давления от автогудронатора;

для перемешивания «Кровлелита» с резиновой крошкой и битумом растворомешалку типа СО-23(СО-26, СО-46, СО-80);

металлические ящики под резиновую крошку вместимостью 1,5-2 м3,. под цемент - 0,2 м3, под песок - 0,2 м3;

сито с ячейками 1 мм для просеивания цемента, песка, резиновой крошки.

3.176. В зимних условиях устройство кровель из рулонных материалов допускается при температуре наружного воздуха не ниже минус 20°С. Рулонный ковер рекомендуется наклеивать холодными мастиками. При использовании горячих мастик основание высушивают и подогревают до температуры 10-15°С (электронагревательными щитками, калориферами, асфальторазогревателями, инфракрасными лампами и др.). Укладывать полотнища на поверхности, не очищенные от инея, снега и льда, запрещается. Устройство мастичных кровель из битумно-латексных эмульсий и защитного слоя при отрицательных температурах не допускается.

Рулонные кровельные материалы до укладки выдерживают в теплом помещении и отогревают до положительной температуры. К месту укладки их доставляют в утепленной таре. Шланги и трубы для механизированной подачи горячих мастик и окрасочных материалов должны быть теплоизолированы или обогреваемы, а шланги для подачи холодных составов - бензостойкими.

3.177. Рабочие места, при устройстве кровель без тепляков, защищают от атмосферных осадков и ветра, а также снабжают приспособлениями для таяния снега и льда, высушивания и подогрева поверхностей основания. При снегопаде, гололедице, тумане и дожде кровельные работы прекращают.

3.178. При капитальном ремонте кровли на объекте ведут журнал производства работ, в котором ежедневно отмечают: дату выполнения работы, условия производства работ на отдельных участках и результаты контроля за качеством работ и количеством используемых материалов.

Приемка крыш в эксплуатацию после ремонта

3.179. При приемке отремонтированных крыш необходимо устанавливать соответствие выполненных работ рабочим чертежам и требованиям настоящих Указаний.

Приемка крыш сопровождается тщательным осмотром их несущих элементов, стальных связей, вентиляционных устройств чердачных помещений и бесчердачных крыш, выходов на крышу, санитарно-технического оборудования (размещенного в чердачном пространстве поверхности кровли, особенно у воронок, в разжелобках, местах примыкания к желобам, металлическим сливам и другим водоотводящим устройствам, а также у выступающих частей), оборудования зданий и ограждений.

Водонепроницаемость кровли из рулонных и мастичных материалов проверяют после ливневого дождя или заливкой ее водой (на плоских кровлях с внутренним водоотводом). Продолжительность испытания составляет 1 ч: При этом утечка воды не допускается. Испытания проводятся при температуре наружного воздуха не ниже 5°С.

3.180. Отремонтированные кровли должны, отвечать следующим требованиям:

с поверхности кровель должен быть организован полный отвод воды по внутренним или наружным водостокам;

рулонные материалы должны быть прочно приклеены; при осмотре кровли снизу не должно быть видимых просветов;

рулонные кровли должны иметь сверху защитный слой со светлой наружной поверхностью.

3.181. Дефекты и отклонения от рабочих чертежей, обнаруженные при осмотре крыши, должны быть устранены до подписания акта о приемке.

3.182. Приемка готовой кровли оформляется актом (см. прил. 3) с обязательной оценкой качества выполненных работ.

4. УЛУЧШЕНИЕ ТЕМПЕРАТУРНО-ВЛАЖНОСТНОГО РЕЖИМА И УСТРАНЕНИЕ ОБЛЕДЕНЕНИЯ ЧЕРДАЧНЫХ КРЫШ

Общие положения

4.1. Температурно-влажностный режим чердачного помещения оказывает решающее значение на льдообразование. При создании в чердачном помещении температурного режима, при котором разница температуры наружного воздуха и воздуха чердачного помещения составляет 2-4°С подтаивания снега не происходит, а значит не образуется наледей и сосулек.

4.2. Обследование чердачных помещений, особенно домов, подверженных интенсивному обледенению, следует начинать с измерения температуры воздуха чердачного помещения термометром для наружного воздуха или психрометром.

4.3. При разнице температуры наружного воздуха и температуры воздуха на чердаке выше 4°С следует установить источники поступления тепла в чердачное помещение, которыми могут быть: недостаточная или некачественная теплоизоляция чердачного помещения; неудовлетворительная изоляция трубопроводов, воздухосборников, расширительных баков, вентиляционных и канализационных стояков и т.п., расположенных в чердачном помещении. Кроме того, возможна недостаточная вентиляция чердачного помещения.

Для улучшения температурно-влажностного режима чердачных помещений и крыш следует, прежде всего, привести в технически исправное состояние их ограждающие конструкции и при необходимости устраивать специальную естественную систему вентиляции, располагая вентиляционные отверстия под свесом кровли и в коньке здания. В этом случае в наибольшей степени используются побудительные силы воздухообмена - тепловой и ветровой напор.

Теплоизоляция чердачного помещения

4.4. Прежде всего, необходимо установить фактическую толщину насыпного утеплителя. Измерение производится щупом, который легко изготовить в условиях эксплуатирующей организации. Он представляет собой стальной штырь с градацией по сантиметрам.

Толщина насыпного утеплителя должна быть не менее 16-22 см при засыпке керамзитовым гравием у = 500 кг/м3 или шлаком.

Замеры необходимо производить не менее чем в пяти точках в разных местах перекрытия. У наружных стен толщина утеплителя на ширину 30-50 см должна быть больше в 2 раза, чем по поверхности чердачного перекрытия.

Засыпка должна быть в сухом рыхлом состоянии с устройством поверху защитной известково-цементной стяжки. Если чердачное перекрытие утеплено плитным утеплителем, например минераловатным, цементно-фибролитовым и др., то необходимо проверить плотность их укладки (отсутствие зазоров) и наличие предохранительной стяжки. Проверку эффективности утеплителя можно производить также измерением его температуры с помощью термометра, погруженного в утеплитель на глубину 2 см.

Температура утеплителя (в градусах) должна быть в зависимости от температуры наружного воздуха, но не менее: например, при температуре наружного воздуха минус 30°С - минус 21°С; и соответственно минус 20°С - минус 12°С; минус 10°С - минус 1°С; 0° - плюс 2°С.

Если температура наружного воздуха находится между указанными значениями, например минус 15°С, то температура воздуха внутри утеплителя находится интерполяцией и равна минус 7,5°С.

4.5. Для улучшения теплоизоляции чердачного перекрытия рекомендуется один из следующих способов:

увеличить толщину утеплителя до нормы;

добавлять утеплитель рекомендуется легкий: керамзит, минеральная вата, минеральный войлок, полимерные утеплители и т.д.; добавлять тяжелый утеплитель, например шлак без предварительного расчета несущей способности чердачного перекрытия, утвержденного проектной организацией, не рекомендуется; при смене утеплителя глиняную смазку заменять рулонной гидроизоляцией нельзя, так как вентиляция перекрытия будет нарушена;

при слежавшемся сыпучем утеплителе произвести рыхление, которое по правилам эксплуатации необходимо производить 1 раз в 5 лет.

4.6. Двери и люки чердачных помещений должны быть обшиты кровельной сталью по асбесту или войлоку, смоченному в глине. Для плотного притвора обязательно нужны: уплотняющие прокладки из резины, пенополиуретана или других упругих материалов. Двери и люки для входа на чердак должны содержаться закрытыми на замках. Ключи хранятся в ближайшей квартире и у техника-смотрителя.

Теплоизоляция трубопроводов и вентиляционных шахт

4.7. Проверка теплоизоляции трубопроводов центрального отепления и горячего водоснабжения, проходящих в чердачном помещении, производится осмотром. Не допускается наличие оголенных участков и трещин теплоизоляции. Проверяется достаточная толщина изоляции, которая должна быть в зависимости от диаметра труб, ориентировочно при d труб: до 40 мм - 4 см; до 150 мм - 5 см; более 150 мм - 6,5 см.

4.8. Можно замерять температуру наружного слоя изоляции, прислонив к поверхности термометр через пластилиновую накладку.

Температура может быть выше температуры наружного воздуха не более чем на 4 °С.

4.9. При нарушении теплоизоляции необходимо ее отремонтировать, оголенные участки утеплить. При недостаточной изоляции добавить еще слой белой глины с очесами или обернуть трубопровод минеральным войлоком, который крепится металлической сеткой или проволокой. Необходимо изолировать также расширительные баки, воздухосборники, тепловые задвижки и т.п. Изоляция выполняется в виде деревянных коробов с засыпкой шлаком или обшивкой минеральной ватой, лучше делать съемные короба. Деревянные части обрабатываются огнезащитными составами.

Не допускается увлажнение чердачного перекрытия водой при спуске воздуха из системы центрального отопления через воздухосборники.

Вентиляционные каналы и шахты, проходящие через чердачные помещения, должны быть утеплены деревянными коробами, которые изнутри обшиваются кровельной сталью, а снаружи штукатурятся. Наиболее удобными являются вентиляционные короба из гипсошлаковых плит с заделкой швов гипсовым раствором. Щели и зазоры в вентиляционных каналах не допускаются.

Канализационные стояки, при прохождении через чердак соединяются раструбами вверх, чтобы конденсат, образующийся в трубах, не попадал через стыки на перекрытие. В случае наличия такого дефекта необходимо очистить стык и «произвести зачеканку вновь, заполнив ⅔ раструба смоляным канатом и замонолитить расширяющимся цементом. Канализационный стояк обязательно утепляется кожухом из шлаковаты толщиной 5-7 см или деревянным коробом с засыпкой шлаком толщиной 10-15 см.

Вентиляция

4.10. Если все вышеперечисленные мероприятия не обеспечивают требуемого температурно-влажностного режима, необходимо детально рассмотреть вентиляционные устройства крыши.

Вентиляционные отверстия вдоль конька крыши можно устраивать в виде щели (или точечные), а в карнизной части - в виде щели под обрешеткой и в виде отдельных отверстий (точечные продухи показаны пунктиром), равномерно распределенных по осям окон и простенков (рис. 15).

4.11. Площадь вентиляционных отверстий в крыше устанавливается из условий полного удаления избытков тепла из подкровельного пространства (чердачного помещения, воздушной прослойки).

Рис. 15. Устройство специальной системы естественной вентиляции чердачного помещения крыши с деревянными несущими конструкциями

а - схема системы вентиляции; вариант I - через щелевые продухи под свесом и в коньке; вариант II - через точечные подкарнизные и щелевые коньковые продухи; б - конструкция подкарнизной щели под свесом; в - то же, коньковой щели (оголовок) ; г - то же, точечный подкарнизный продух; д - то же, с продухом в верхней части односкатной крыши; е - фрагмент фасада с подкарнизными вентиляционными отверстиями и коньковой щелью

1 - щель под свесом кровли; 2 - стойка; 3 - кобылка из досок; 4 - обрешетка; 5 - щиток из досок; 6 - уголок жесткости из полосовой стали; 7 - отражатель из досок толщиной 19 мм; 8 - стропильная нога; 9 - подкарнизные точечные вентиляционные продухи (пунктиром показано наклонное расположение отверстий при недостаточной высоте карнизной части стены); 10 - решетка с отверстиями 20×20 мм; 11 - оголовок конькового продуха; 12 - мауэрлат; 13 - бруски 50×50 мм (устанавливаются по месту у стропильных ног); 14 - щелевой продух; 15 - костыль; 16 - деревянные пробки

Рис. 16. Устройство специальной системы естественной вентиляции чердачного помещения крыши с железобетонными несущими конструкциями

а - схема системы вентиляции чердачного помещения; б - щелевой продух под карнизом и подкарнизные точечные отверстия (вариант показан пунктиром); в - коньковая щель из элементов коробчатого типа

1 - подкарнизный щелевой продух; 2 - подкарнизный точечный продух; 3 - железобетонная панель; 4 - отражательные доски толщиной 19 мм (крепятся к кронштейнам из полосовой cтали на болтах); 5 - коробчатые железобетонные элементы; 6 - бортик из лёгкого бетона; 7 - железобетонная стропильная нога; 8 - утеплитель чердачного перекрытия

Рис. 17. Установка защитных решеток в подкарнизных точечных отверстиях

а - съемная швеллерообразного типа; б - открывающаяся плоская; в - решетка

1 - решетка; 2 - рамка из полосовой стали

вызывающих таяние снега на кровле в морозные дни, что приводит к обледенению наружных водоотводящих устройств здания.

4.12. Площадь вентиляционных отверстий необходимо определять расчетом, выполняемый проектной организацией. Щелевые продухи в коньковой части крыши с деревянными несущими и железобетонными элементами могут быть выполнены, как это показано на рис. 16. Для этого в коньке крыш сдвигают вниз по скату крайние края обрешетки. Над щелью устраивают дощатый оголовок, препятствующий попаданию в чердачное помещение атмосферных осадков. Поверхность оголовка покрывают кровельной сталью.

В карнизной части стеньг вентиляционную щель устраивают следующим образом: нижние доски решетки, служащие основанием под свесы и желоба кровли, отрывают; на кобылки прибивают рейки клиновидной формы длиной 1-1,5 м и толщиной, равной высоте продуха. Затем восстанавливают обрешетку.

Точечные карнизные продухи пробивают в кладке стены на 50-100 мм выше утепляющего слоя чердачного перекрытия. С наружной стороны, вентиляционных отверстий устанавливают решетки с ячейками: не более 20×20 мм или жалюзи. Решетки (жалюзи) следует делать створными или съемными, что позволяет без нарушения их крепления устанавливать консоли для подвесных лесов и люлек при ремонте фасадов (рис. 17). Нижние щелевые продухи могут быть сделаны также путем разборки кирпичной кладки под обрешеткой, если позволяет конструкция стены.

4.13. Одновременно с устройством специальной системы вентиляции в крышах необходимо провести теплоизоляцию чердачных перекрытий (с устройством известково-песчаной корки по засыпке) и горячих трубопроводов, заделать неплотности в вентиляционных коробах и шахтах (включая дверки), герметизировать входные двери (люки) в чердачное помещение, а также устранить все Другие неисправности, способствующие избыточным тепло-, влагопоступлениям на чердак. Необходимо также изолировать вентили горячих трубопроводов, расширительных, бачков и воздухосборников, установив на них съемные утепленные короба.

4.1.4. Дополнительными мерами по устранению обледенения поверхности крыш и ее водоотводящих устройств является уменьшение воздействия солнечной радиации, на кровлю, а также придание ее поверхности гидрофобных свойств, позволяющих снизить сцепление воды, льда и пыли с материалом кровли. Для этого рекомендуется применять покрасочные материалы светлых тонов, обладающие повышенными водоотталкивающими свойствами (табл. 2).

4.15. Для зданий с большим поступлением в чердачные помещения тепла, удаление которого вентиляционными средствами не представляется возможным, рекомендуется устройство внутренних водостоков

Таблица 2

Окрасочный состав и его марка

Свойства окрасочного состава

Периодичность возобновления покраски, лет

Область применения, в зависимости от материала кровли

Органосиликатные составы светлых тонов ВН-30; ВН-30-ДТОХ; ВН-30ДТ

Хорошая адгезия, высокие гидрофобные и антикоррозионные свойства

10-15-

Все виды кровли

Эмаль КО-174

Высокие гидрофобные и антикоррозионные свойства, значительное растрескивание на деформирующихся крышах

3-6

Все виды, кровель, кроме мягких, не деформирующихся от кратковременных нагрузок

Лак МЕТ-1

Высокие гидрофобные и антикоррозионные свойства; зависит от цвета окрашиваемого материала: кровли

4-5

То же

Кремнийорганические гидрофобные жидкости: ГЖК-10, ГЖК-11, ГЖК-94

То же, значительно теряются гидрофобные свойства в: течение 0,5-1 года

Ежегодно

Все виды кровель

Краска БТ-177

Хорошая адгезия

5-7

Рубероидные и мастичные кровли

в скатных крышах в соответствии с разработанным проектом. При отсутствии ливневой канализации внутренний водоотвод, следует выполнять с наружный выпуском.

Эксплуатация крыш с теплым чердаком

4.16. Крыши с теплым чердаком на домах более 5 этажей во всех климатических, районах страны рекомендованы для повышения эксплуатационной надежности и тепловой эффективности жилых зданий.

4.17. Основные преимущества крыши с теплым чердаком состоят в следующем: обеспечение нормальной вентиляции верхних этажей, повышение долговечности и надежности кровли, упрощение конструкции покрытия, снижение общих теплопотерь здания, возможность осмотра и ремонта крыши, повышение комфортности проживания на верхних этажах. К недостаткам этого решения можно отнести: устройство большой и высокой вытяжной шахты, замена тонкой кровельной панели утепленной панелью покрытия.

4.18. Крыша с теплым чердаком в районах с сильными ветрами и значительными осадками позволяет избежать влияния атмосферных осадков на конструкции чердачного перекрытия при применении одновременно защитного зонта и водосборного поддона. Такое решение целесообразно для всех случаев применения.

В III и IV климатических районах крыша с теплым чердаком обеспечивает защиту помещений верхнего этажа от солнечного перегрева, что позволяет не проверять теплоустойчивости конструкций.

4.19. При осмотрах теплого чердачного помещения должны проверяться общие вытяжные шахты, поддоны под них для отвода атмосферной влаги, интенсивность расхода воздуха в общей вытяжной шахте и каналах, а также санитарное состояние помещений.

4.20. Чердачное пространство крыши с теплым чердаком, камерой статического давления, обогреваемой вентилируемым воздухом. К ее ограждающим конструкциям предъявляются требования теплозащиты и герметизации в соответствии с требованиями к ограждающим конструкциям дома.

Конструктивные элементы должны быть герметичны, основным, вентиляционным отверстием является шахта.

4.21. Температура воздуха чердачного помещения определяется из условия теплового баланса и недопустимости появления конденсационной влаги на внутренней стороне кровельного покрытия, см. прил. 9.

4.22. Не допускается снижение температуры воздуха ниже, чем указано в прил. 9. В случае ее снижения следует установить источники поступления холодного воздуха, которыми может быть нарушение герметичности вентканала, входной двери, стеклоблоков или перекрытий. Если температура воздуха чердачного помещения выше температуры воздуха, удаляемого вентиляционными каналами из жилых помещений, необходимо проверить исправность работы системы вентиляции дома и места возможного подсоса воздуха или нарушения герметичности в чердачном перекрытии.

4.23. Двери входа на чердак и люки на крышу - несгораемые, имеют плотные притворы и специальные запирающие устройства, имеющие связь с диспетчерской службой.

Межсекционные двери должны быть герметичными с запорами или фалевыми защелками. Оголовки вентканалов оборудуются предохранительными решетками с ячейками не менее 5×5 см. Швы панелей перекрытия следует проклеивать гидроизоляционными материалами. Металлический поддон устанавливается на столбиках, регулярно проверяется его плотность (о чем свидетельствует отсутствие мокрых пятен под поддоном). Поддон периодически при плановом текущем ремонте покрывается антикоррозийными составами. Во время сильных и продолжительных ливней и снегопадов проверяется наполнение поддона водой и исправность гидроизоляции под ним. В районах с большим количеством осадков предусматривается отвод влаги из поддона в канализацию.

4.24. Трубы внутреннего водостока в пределах чердака не утепляются, а окрашиваются антикоррозийной краской 1 раз в 3 года при плановом текущем ремонте.

На фановых трубах на нижнем повороте (колене) должен быть капелеотбойник (водоотбойник), если его нет, то надо сделать и при эксплуатации следить за уклоном и прочностью.

4.25. Запрещается размещать внутри теплого чердака консоли и механизмы для подвески ремонтных люлек. Их следует устанавливать на покрытии чердака, которое рассчитано на дополнительную нагрузку.

Уклон крыши - 2 % обеспечивается за счет укладки панелей на разные отметки опорных конструкций. Допустимый прогиб панелей покрытий 1/200.

4.26. Дополнительными мерами, по устранению обледенения поверхности крыш и ее водоотводящих устройств являются уменьшение воздействия солнечной радиации на кровлю, а также придание ее поверхности гидрофобных свойств, позволяющих снизить сцепление воды, льда и пыли с материалами кровли. Для этого рекомендуется применять окрасочные составы светлых тонов; обладающие повышенными водоотталкивающими свойствами и имеющими коэффициент поглощения солнечной энергии не выше 0,6 (табл. 2).

4.27. Для крыш с большим поступлением в чердачное помещение тепла, удаление которого вентиляционными средствами не представляется возможным, рекомендуется устройство внутренних водостоков в скатных крышах в соответствии с разработанным проектом. При отсутствии ливневой канализации внутренний йодоотвод следует выполнять с наружным выпуском.

5. РЕКОНСТРУКЦИЯ КРЫШ

5.1. Реконструкции подвергаются крыши с. пониженными эксплуатационными качествами (систематическое накопление влаги в теплоизоляционном слое, недостаточная теплозащита, снижение прочности несущих элементов и т.д.), когда капитальным ремонтом невозможно устранить недостатки, а также в случае необходимости повышения их капитальности или изменения вида кровли. Новые конструктивные решения должны отвечать современным требованиям эксплуатации и долговечности крыш.

5.2. Целесообразность реконструкции крыш жилых зданий устанавливается на основании их технического обследования в соответствии с методическими указаниями (см. прил. 10). Выбор конструктивного решения реконструируемой крыши должен подтверждаться технико-экономическим обоснованием.

Реконструкцию крыши разрешается осуществлять только по проекту, разработанному проектной организацией и утверждённому в установленном порядке. Внесение изменений в проект без согласования с проектной организацией не допускается.

5.3. Проектирование реконструкции крыш заключается в техническом обследовании с составлением технического заключения:

разработке вариантов конструктивных решений с технико-экономическими расчетами;

выборе оптимального варианта;

разработке рабочих чертежей и составлении сметы.

5.4. Архитектурные детали, усложняющие водоотвод с кровли (парапеты, столбики, башни и т.д.) и не обусловливаемые архитектурными или конструктивными требованиями; запрещается разбирать в процессе реконструкции крыши без согласования с районным архитектором. Бесчердачные крыши при реконструкции следует устраивать вентилируемыми. При этом нельзя допускать применение небиостойких утеплителей и гидроизоляционных материалов на органической основе, а также устройство в крышах с наружным водоотводом глухих парапетов и ограждений.

5.5. Для снижения затрат на эксплуатацию следует принимать сопротивление теплопередаче конструкций бесчердачных крыш жилых зданий не менее оптимальных, определяемых технико-экономическим расчетом в соответствии с указаниями «Пособия по проектированию ограждающих конструкций» (М.: Стройиздат, 1977).

5.6. Для многоэтажных жилых домов при реконструкции рекомендуется устраивать сборные железобетонные крыши с проходными или полупроходными хорошо проветриваемыми чердачными помещениями и внутренним водостоком со сбросом воды в ливневую канализацию или с наружным ее выпуском. Необходимо обеспечить удобный выход обслуживающего персонала на крышу, безопасность производства работ при ремонте кровель и возможность осмотра и ремонта фасадов здания с подвесных приспособлений.

5.7. Рекомендуется устраивать крыши из унифицированных сборных железобетонных изделий. Рациональными являются конструкции крыш: из тонкостенных кровельных панелей, изготовляемых методом вибропроката; из железобетонных кровельных панелей двутаврового и швеллерного сечений, покрытых в заводских условиях гидроизоляционными мастиками; из сборных железобетонных элементов двойного таврового сечения; из железобетонных мелкоразмерных плит по железобетонным или стальным балкам; из железобетонных прокатных плит по металлическим или железобетонным балкам; из сборных железобетонных ферм и стропильных ног с покрытием черепицей или волнистыми асбестоцементными листами.

В случае невозможности установки на строительной площадке подъемных механизмов достаточной грузоподъемности для подачи сборных железобетонных элементов к месту монтажа разрешается, как исключение, устройств крыш из монолитного железобетона;

5.8. Наружный неорганизованный отвод воды с крыш допускается для малоэтажных зданий при внутриквартальной застройке. В III и IV строительно-климатических зонах допускается устройство наружного организованного отвода воды в жилых домах до 5 этажей с уклонами крыши не менее 5 %.

5.9. При соответствующем технико-экономическом обосновании допускается устройство над бесчердачными невентилируемыми крышами с низкими эксплуатационными качествами чердачных крыш из сборных несущих конструкций со специальной системой вентиляции чердачных помещений. Рулонная кровля с реконструируемой крыши должна быть полностью снята. Вентиляция подкровельного пространства невентилируемых бесчердачных крыш может быть осуществлена при помощи волнистых асбестоцементных листов и коньковых вытяжных труб.

5.10. Если несущие деревянные конструкции крыш сохраняются, а металлическая кровля подлежит замене другими материалами, то необходимо привести в технически исправное состояние несущие конструкции крыши. Угол наклона несущих конструкций может быть изменен наращиванием их сборными элементами. Уклоны крыш для кровель из различных материалов приведены в прил. 7.

5.11. При реконструкции крыш жилых зданий в 5 этажей и выше при соответствующем технико-экономическом обосновании следует применять крыши с теплым чердаком.

6. ТРЕБОВАНИЯ ОХРАНЫ ТРУДА И ТЕХНИКИ БЕЗОПАСНОСТИ ПРИ РЕМОНТЕ И ТЕХНИЧЕСКОЙ ЭКСПЛУАТАЦИИ КРЫШ

6.1. Работы по ремонту и содержанию крыш должны производиться с соблюдением правил техники безопасности (СНиП III-4-80 «Техника безопасности в строительстве», «Правила: техники безопасности при текущем и капитальном ремонте жилых зданий и общественных») и правил пожарной безопасности (СНиП II-2-80 «Противопожарные нормы проектирования зданий и сооружений»).

ПРИЛОЖЕНИЕ 1
ПЕРЕЧЕНЬ СТРОИТЕЛЬНЫХ РАБОТ ПО ТЕКУЩЕМУ РЕМОНТУ КРЫШ ЖИЛЫХ
зданий

1. Усиление стропильных ног;

2. Постановка дополнительных металлических скоб и болтов в местах ослабевших сопряжений, стропильных элементов;

3. Постановка подкосов и подпорок в отдельных местах провисания крыши с передачей нагрузки на капитальные стены;

4. Смена концов стропильных ног в отдельных местах с постановкой протезов (пруткового и других типов);

5. Смена отдельных участков подстропильных брусьев (мауэрлатов);

6. Усиление обрешетки крыши в отдельных местах.

7. Смена местами отдельных брусков обрешетки, (до. 10 % площади крыши);

8. Ремонт и замена отдельных досок опалубки и обрешетки в местах разжелобков, карнизных свесов и пр.;

9. Ремонт слуховых окон, установка защитных решеток вентиляционных отверстий в подкарнизной части стены или карниза;

10. Антисептическая и противопожарная защита конструкций и деталей;

11. Смена или ремонт стальных патрубков с колпаками для вентиляции чердака;

12. Замена или ремонт выходов на крышу с изготовлением приставных лестниц, стремянок и т.п.;

13. Уплотнение фальцев и обжимка гребней в стальной кровле;

14. Ремонт отдельных мест стальной кровли (до 20 % площади) со сменой покрытия и последующей окраской;

15. Смена отдельных листов и плиток в асбестоцементной, шиферной, этернитовой, черепичной и других кровлях из штучной, тесовой кровель и кровель из щепы;

16. Ремонт кровли из рулонных материалов с полной заменой верхнего слоя рулонного ковра или с заменой до 30 % общей площади рулонного ковра, устройство или ремонт защитных слоев, рулонных кровель;

17. Ремонт настенных желобов и карнизных свесов с частичной и полной заменой и окраской; крепление или восстановление поврежденных или сорванных стальных листов;

18. Ремонт покрытий над торцовыми стенами и парапетами;

19. Ремонт водосточных подвесных желобов;

20. Укрепление парапетов, стальных решеток ограждения, ремонт оголовков вентиляционных шахт, газоходов, канализационных стояков и других выступающих над крышей металлических частей и их покраска. Замена колпаков на дымовых и вентиляционных трубах;

21. Восстановление или устройство стремянок для безопасной работы на крышах;

22. Ремонт и покраска наружных пожарных лестниц;

23. Регулярная очистка кровли от мусора, грязи, листьев и других посторонних предметов, покраска стальной кровли, водосточных стальных, труб;

24. Ремонт и замена чердачных дверей и люков, утепление их, установка и ремонт запоров и пр.;

25. Замена разбитых стекол световых фонарей и слуховых окон на крышах с промазкой фальцев, мелкий ремонт створок фонарей;

26. Ремонт, изготовление и установка жалюзийных решеток на слуховых окнах;

27. Ремонт мест примыкания гидроизоляционного ковра к различным конструктивным элементам и санитарно-техническому оборудованию, выступающим над кровлей, а также к водоприемным воронкам внутреннего водостока;

28. Ремонт узлов системы внутреннего водостока, обеспечивающих бесперебойный отвод с крыши дома дождевых и талых вод. Ремонт и замена труб, отдельных звеньев водосточных воронок, лотков, колен, отметов.

ПРИЛОЖЕНИЕ 2
ОТКЛОНЕНИЯ, ДОПУСКАЕМЫЕ ПРИ УСТРОЙСТВЕ КРЫШ ЖИЛЫХ ЗДАНИЙ

Наименование показателей

Величина допускаемого отклонения

Кровли из рулонных и мастичных материалов

 

Величина просветов между поверхностью основания кровли и контрольной рейкой длиной 3 м, мм:

 

вдоль ската

5

поперек ската

10

Отклонения уклонов основания кровли, %:

 

для плоских крыш

2

для других крыш

5

в ендовых и разжелобках на расстоянии 0,5 м от воронок внутренних водостоков

5

на карнизных свесах

25

Толщина теплоизоляции, мм

10

Кровли из листовой стали

 

Отклонения высоты стоячих фальцев (гребней), мм

±3

Отклонения по ширине картин, мм

±3

Примечание.

Допускаются просветы только плавного очертания не более одного на 1 м.

ПРИЛОЖЕНИЕ 3
АКТЫ СДАЧИ-ПРИЕМКИ

I. Акт сдачи-приемки основания под гидроизоляционный ковер (мастичное покрытие)

________число _______ месяц _______ год

1. Наименование объекта________________________________________________________

2. Строительная организация, выполняющая гидроизоляцию кровли

3. Краткое описание конструкции крыши (если допущены отклонения от проекта, то они должны быть отмечены в акте):

несущие конструкции________________________________________________________

пароизоляция_______________________________________________________________

теплоизоляция______________________________________________________________

гидроизоляция______________________________________________________________

защитный слой______________________________________________________________

4. Время выполнения работ но подготовке крыши для наклейки рулонных материалов (гидроизоляционных устройства мастичных покрытий);

начало ____________________конец______________________________________________

5. Данные лабораторного контроля применявшихся материалов_________________________

6. Характеристика качества выполненной работы по гидроизоляции

кровли и отмеченные недостатки __________________________________________________ ________________________________________________________________________________

7. Выводы (перечень недоделок, если они имеются, и сроки их выполнения)____________________________________________________________________

8. Особые замечания

_____________________________________________________________________________

Специализированное управление№_______________________________________________

Главный инженер                                                                                         (подпись)

Старший производитель работ                                                                                (подпись)

Строительное управление №_____________________________________________________

Главный инженер                                                                                         (подпись)

Старший производитель работ                                                                                (подпись)

 

II. Акт сдачи-приемки работ по гидроизоляции кровли

__________число __________ месяц ____________ год

1. Наименование объекта________________________________________________________

2. Организация, выполняющая гидроизоляцию кровли_________________________________

3. Краткое описание конструкций крыши:

несущие конструкции___________________________________________________

пароизоляция__________________________________________________________________

теплоизоляция_________________________________________________________________

основание (стяжка) под гидроизоляционный ковер ___________________________

гидроизоляция_________________________________________________________________

защитный слой________________________________________________________________

4. Время выполнения гидроизоляции кровли

Начало ________________________________конец____________________________________

5. Данные лабораторного контроля гидроизоляции рулонных материалов и мастик_________

6. Характеристика качества выполненной гидроизоляции кровли________________________

7. Выводы (перечень недоделок, если они имеются, и сроки их выполнения)______________

8. Особые замечания____________________________________________________________

Специализированное управление №____________________________________________

Главный инженер                                                                                         (подпись)

Старший производитель работ                                                                                (подпись)

Строительное управление №_____________________________________________________

Главный инженер                                                                                                     (подпись)

Старший производитель работ                                                                                (подпись)

III. Акт на скрытые работы

Представители

(указать организацию,
авторского надзора,
должность, фамилию, инициалы
)___________________________________________________

технического надзора заказчика_____________________________________________________

Произведен осмотр выполненных работ по устройству_________________________________

________________________________________________________________________________

(наименование вида работ)

________________________________________________________________________________

(наименование объекта и адрес)

1.________________________________________________________________________________

(описание выполненной конструкции)

________________________________________________________________________________

2. Выполненные работы соответствуют рабочим чертежам проекта________________________

_________________________________________________________________________________

3. При выполнении работ применены материалы_______________________________________

_________________________________________________________________________________

(наименование, характеристики)

4. Оценка качества выполненных работ_______________________________________________

_________________________________________________________________________________

Разрешается производство последующих работ________________________________________

_________________________________________________________________________________

_________________________________________________________________________________

Представители:

авторского надзора________________________________________________________________

технического надзора заказчика______________________________________________________

подрядной организации_____________________________________________________________

ПРИЛОЖЕНИЕ 4
ПЕРЕЧЕНЬ МАШИН, МЕХАНИЗМОВ, ИНСТРУМЕНТОВ, ИНВЕНТАРЯ И ПРИСПОСОБЛЕНИЙ, РЕКОМЕНДУЕМЫХ ПРИ РЕМОНТЕ РУЛОННЫХ КРОВЕЛЬНЫХ ПОКРЫТИЙ

Наименование

Краткая техническая характеристика

Передвижной компрессор типа СО-2, СО-7

Q = 0,5 м3/мин, N = 4-4,5 кВт

Термос

Е = 2 м3/мин, С = 2 м3/ч, Р= 1,2 т

Подъемник

Г = 0,5 т; Н = 50 м; N = 8 кВт; Р = 0,23 т

Зарядный бак для нагнетания холодных мастик С-696

Е = 0,011 м3; Р = 0,0157 т

Аппарат для окраски СО-66, (СО-1023)

Е = 1 м3, Q = 1000 м3/ч, Р = 0,23 т

Установка для нанесения грунтовки СО-21

Q = 200 м3/ч, Р = 0,035 т

Автогудронатор Д-640, Д-640А

E = 3,42 м3, Q = 95 м3/ч, H= 18 м

Малогабаритный гудронатор

Е = 0,06 м3, N = 2 кВт, Р = 0,06 т

Установка для подачи горячего битума на кровлю

Q = 1,1 м3/ч, N =1,7 кВт, Р = 1,14 т, Н = 50 м

Установка для подачи холодных битумных мастик на кровли

Бункер Е = 2 м3, Q = 6 м3

Машина для очистки и перемотки рулонных материалов от посыпки СО = 77

Растворонасос (С = 684) Q = 4 м3Q = 27 рул/ч, P = 0,28 т, N = 2,2 кВт

Электрошарошка

Q = 300 м2/ч, Р = 0,045 т

Машина для раскатки и приклейки рулонных материалов

Р = 0,070-0,1 т

Машина для наклейки рулонных материалов

Q = 190 м2/ч (1 слой), С = 1 кг/м2, Р = 0,045 т

Дифференциальный каток ДК-1

P = 0,08-0,1 т

Растворомешалка Р-40

E = 40 л, Q = 0,5 м3/ч, N = 1 кВт, P = 0,08 т

Растворонасос СО-69 для подачи раствора

Q = 1 м3/ч, N=1,1 кВт, Р= 0,265 т

Машина для сушки цементной стяжки СО-83

Q = 5-50 м2

Электрический бетонолом ИЭ-42-09

Р = 0,01 т, N = 0,27 кВт, V = 220 в

Электромолоток ИЭ-4203 для устройства, штраб

Р = 0,0085 т, N = 0,27 кВт, V = 220 в

Дисковая электропилка ИЭ-5102 для резки реек

Р = 0,0105 т, N = 0,6 кВт, V = 220 в

Пистолет СМП для прострелки стальных элементов

Р = 0,004 т, dОТВ = 8 мм

Вибросито для процеживания составов СО-3 (0-26-А)

Q = 660-720 м3/ч, V = 0,42 кВт, Р = 0,0135 т

Электроножницы С-515 для заготовки кровельного материала

Р = 0,0023 т, N = 0,12 кВт, V = 220 в

Подъемник Т-41

Г = 0,5 т, Н = 38 м, N = 7 кВт; Р = 1,9 т

Подъемник С-447 М

Г = 0,5 т, Н = 27,65 м, N = 2,8 кВт, Р = 1,9 т

Кран «Пионер Т108А»

Г = 0,5-0,25 т, Н = 40 м, N = 2,8 кВт, Р = 1,24 т

Примечание

Q - производительность; N - мощность; Е - емкость; Т - время; Р - вес; Н - высота; V - напряжение; Г - грузоподъемность; С - расход топлива.

Перечень инструмента и инвентаря, рекомендуемого для ремонта рулонных кровель

(на комплексную бригаду в составе 2-3 кровельщиков, плотников и штукатуров)

Кровельный нож                                                                                                              2 шт.

Щетка для нанесения горячей мастики                                                                          2 шт.

Ковш-шпатель для нанесения мастики                                                                          2 шт.

Гребок для нанесения холодной мастики                                                                      2 шт.

Стальной нож-шпатель                                                                                                   2 шт.

Деревянная лопатка-шпатель                                                                                          2 шт.

Черпак дозировочный                                                                                                     2 шт.

Термос для мастики на 25-30 л                                                                                        6 шт.

Транспортное ведро с крышками                                                                                   6 шт.

Тележка транспортная для перевозки термосов с мастикой и рулонных материалов 4 шт.

Каток массой 80-100 кг с мягкой обкладкой для прикатки наклеиваемого материала 2 шт.

Кельмы, лопатки, терки                                                                                                   2 шт.

Маячные рейки, шаблоны                                                                                               4 шт.

Рейка для проверки и измерения уклонов                                                                     2 шт.

Станок для очистки посыпки на рубероиде                                                                  1 шт.

Термометр на 250-300°С в металлической оправе                                                       3 шт.

Переносная установка для просушки основания                                                          1 шт.

Переносная установка для нанесения грунтовки (типа 0-562 с пневмобачком и распылительной удочкой)                                                                                                            1 шт.

Ножовка                                                                                                                            1 шт.

Перечень машин и механизмов для монтажа конструктивных элементов крыш

1. При массе элементов крыш до 0,5 т (мелкие и среднеразмерные сборные железобетонные элементы, а также элементы несущих конструкций из дерева и стали):

для зданий до 5 этажей - строительный подъемник СП-06, кран «Пионер М-2», подъемник С-447М;

для зданий до 8 этажей - строительные подъемники Т-41 и С-447М;

для зданий до 12 этажей включительно - консоль монтажная;

для зданий до 18 этажей - строительный подъемник С-953.

2. При весе элементов крыш более 0,5 т (крупноразмерные сборные железобетонные элементы):

для зданий до 2 этажей включительно - автомобильные краны К-52- и АК-5Г;

для зданий до - 4 этажей включительно - гусеничные и пневмоколесные краны, для зданий от 4 этажей и выше - башенные краны.

Рекомендуется при реконструкции крыш применять краны с поворотной башней и противовесом, расположенным внизу (типа С-390, МБТК-80, МСК-3/20 и др.).

ПРИЛОЖЕНИЕ 5
ХАРАКТЕРИСТИКА ОСНОВНЫХ ТЕПЛОИЗОЛЯЦИОННЫХ МАТЕРИАЛОВ И КОНСТРУКЦИЙ

Вид теплоизоляционной конструкции и основной изоляционный слой

Объемная масса теплоизоляционного споя (без крепежных деталей), кг/м3

Коэффициент теплопроводности теплоизоляционного слоя, ккал/(мч град)

Сборно-блочные:

 

 

минераловатные скорлупы

200

0,046

то же, офактуренные

300

0.059

пенобетонные блоки

400

0,094

то же, неавтоклавные

500

0,1

Сборные из штучных формованных изделий:

 

 

асбестоцементные

400

0,073

совелитовые

400

0,068

диатомитовые (трепельные)

500

0,1

обжиговые

600

0,12

Сборные из штучных прошивных изделий:

 

 

минераловатные прошивные

250

0,048

стекловатные прошивные

200

0,044

Набивные и засыпные:

 

 

набивка из минеральной ваты.

200

0,043

с диатомитовыми изделиями γ=600 кг/м3

350

0,07

набивка из стеклянной ваты с кольцами из теплоизоляционных материалов γ = 400-500 кг/м3

200

0,05

Мастичные:

 

 

асбозурит

600

0,14

асботермит

570

0,11

ПРИЛОЖЕНИЕ 6
ДОПУСКАЕМАЯ ВЛАЖНОСТЬ МАТЕРИАЛОВ В ЧЕРДАЧНЫХ И БЕСЧЕРДАЧНЫХ КРЫШАХ

Материал

Допускаемая весовая влажность материала (на сухую массу), %

к началу периода влагонакопления

средняя

максимальная в зоне конденсации к концу периода влагонакопления

Пеногазостекло

1

2,5

4

Фибролит цементный

10

15

25

Минеральная вата и минераловатные изделия

1

4

6

Древесина сосновая

15

20

25

Стиропор и мипора

15

30

40

Шлаковая засыпка

4

6

8

Керамзитовая засыпка

3

5

6

Бетон объемной массой более 1800 кг/м3

1

2

4

Примечание.

Период влагонакопления, условно принят равным продолжительности периода со средними суточными температурами наружного воздуха ниже 0°С.

ПРИЛОЖЕНИЕ 7
МИНИМАЛЬНЫЕ УКЛОНЫ КРЫШ С КРОВЕЛЬНЫМИ ПОКРЫТИЯМИ ИЗ РАЗЛИЧНЫХ МАТЕРИАЛОВ

Кровельные покрытия и материалы

Минимальные уклоны крыш. %

Кровли из рулонных материалов на горячих или холодных битумных мастиках двухслойные

15

То же, 3-слойные без защитного слоя песка или гравия, втопленного в мастику

10

То же, 3-4-слойные с защитным слоем из песка или гравия, втопленного в мастику.

5

Кровли из листовой стали

14

Кровли из волнистых асбестоцементных листов обыкновенного или усиленного профиля

33

То же, усиленного профиля

25

Кровли из асбестоцементных плиток и черепицы

50

Примечания:

1. Уклоны крыш приведены для II строительно-климатической зоны; в других зонах допускаются уклоны крыш, отличные от приведенных.

2. В местах примыканий кровельного ковра к вертикальным поверхностям следует предусматривать переходные участки с уклоном 10 %.

3. Кровельные покрытия из рубероида на холодных мастиках не следует применять на крышах с уклоном более 10 %.

ПРИЛОЖЕНИЕ 8
УСРЕДНЕННЫЕ СРОКИ СЛУЖБЫ КОНСТРУКТИВНЫХ ЭЛЕМЕНТОВ КРЫШ ЖИЛЫХ ЗДАНИЙ

Наименование крыш, конструктивных элементов кровельных покрытий

Усредненные сроки службы в городах по группам здании1

I

II

III

IV

V

VI

Несущие конструкции крыш2

 

 

 

 

 

 

Сборные железобетонные настилы, стропила и обрешетка

 

 

 

-

-

-

Деревянные (дощатые) стропила и обрешетка при удовлетворительной вентиляции чердачного помещения

50

50

50

40

40

15

Сроки службы зданий снижаются до 30 % при неудовлетворительной вентиляции чердачного помещения

Кровельные покрытия

 

 

 

 

 

 

Из рулонных гидроизоляционных материалов (2-3 слоя рубероида и 1 слой пергамина) с периодическим восстановлением через 3-4 года защитных слоев на чердачных крышах с уклоном не менее 5 % 2

12

12

12

12

10

8

Из оцинкованной листовой стали3

25

25

15

25

-

__

Из черной листовой стали с периодической масляной окраской на натуральной олифе

15

15

1.5

15

-

-

Из асбестоцементных плиток или листов волнистого асбошифера

30

30

30

30

30

-

Из керамической первосортной черепицы

80

80

80

50

-

-

Водосточные трубы

 

 

 

 

 

 

Из оцинкованной кровельной стали

8

8

8

8

-

-

Из черной кровельной стали с периодической окраской на натуральной олифе

6

6

6

6

6

 

Окраска кровли

 

 

 

 

 

 

Окраска кровли из черной стали кузбасскраской за 2 раза по грунтовке

 

 

 

 

 

 

натуральной олифой

5

5

5

5

-

-

химически стойкой эмалевой краской ДП

4

4

4

4

-

-

олифой типа «Оксоль»

3

3

3

3

-

 

Окраска мягких кровель из рубероида горячими битумными мастиками с посыпкой крупным песком

3

3

3

3

3

3

То же, из толя дегтевыми смолами с посыпкой крупным песком

3

3

3

-

-

-

1 Сроки службы зданий и конструктивных элементов приведены применительно ко II строительно-климатической зоне.

2 Критерием сроков службы ненесущих частей здания принимается физический износ 60 %.

3 При устройстве кровель на невентилируемых бесчердачных крышах с неорганизованным водостоком и производстве работ в осенне-зимний период, срок службы кровельных покрытий может снижаться на 10 %.

ПРИЛОЖЕНИЕ 9
ТЕМПЕРАТУРА ВОЗДУХА В ТЕПЛОМ ЧЕРДАКЕ
tЧ, °С

tH°C

Количество этажей, N

Количество квартир, n

Количество воздуха, поступающего из квартиры

G = 168 кг/ч

G = 90 кг/ч

tЧ

RК

ΔR=RTPОЧН-RK

qnt=(tB-tH)/0,32

tЧ

RK

ΔR= RTPОЧН-RK

qnt=(tB-tH)/0,32

-20

9

12

16

25

36

48

64

100

11,6

12,3

12,9

14,1

0,75

0,69

0,64

0,56

0,27

0,33

0,38

0,46

20

18

16

12

10,3

10,9

11,6

12,6

0,94

0,84

0.75

0,66

0,08

0,18

0,27

0,38

24

22

20

17

-25

9

12

16

25

36

48

64

100

11,5

12,2

12,8

14

0,89

0,8

0,74

0,65

0,26

0,35

0,42

0,5

20

18

16

12

10,3

10,8

11,4

12,5

1,9

1

0,9

0,77

0,06.

0,15

0,25

0,38

24

22

21

17

-30

9

12

16

25

36

48

64

100

11,5

12,2

12,8

14

1,01

0,91

0,84

0,74

0,27

0,37

0,44

0,54

20

18

16

12

10,2

10,8

11,4

12,5

1,28

1,13

1,02

0,87

0

0,15

0,26

0,41

24

22

21

17

-35

9

12

16

25

36

48

64

100

13,3

14

14,7

15,9

1,11

1,01

0,92

0,81

0,36

0,46

0,55

0,66

21

19

17

13

11,9

12,5

13,2

14,3

1,42

1,27

1,13

0,97

0,05

0,2

0,34

0,5

25

23

21

18

-40

9

12

16

25

36

48

64

100

13,3

14

14,7

15,9

1,23

1,11

1,01

0,89

0,37

0,49

0,59

0,71

21

19

17

13

11,9

12,5

13,2

14,3

1,57

1,4

1,25

1,07

0,03

0,2

0,35

0,53

25

23

21

18

ПРИЛОЖЕНИЕ 10
МЕТОДИЧЕСКИЕ УКАЗАНИЯ ПО ТЕХНИЧЕСКОМУ ОБСЛЕДОВАНИЮ КРЫШ ЖИЛЫХ ЗДАНИЙ ДЛЯ ОПРЕДЕЛЕНИЯ ЦЕЛЕСООБРАЗНОСТИ ИХ РЕМОНТА ИЛИ РЕКОНСТРУКЦИИ

1. Исходные данные

Исходными данными для выполнения работ по техническому обследованию крыш жилых зданий являются:

заказ-задание от заказчика;

инвентаризационные поэтажные планы;

разрешение отдела районного архитектора или ГлавАПУ на изменение фасада здания в связи с реконструкцией крыши (например, в связи со снятием или заменой парапетов, балясин, тумб, лепных деталей и т.п.).

2. Техническое обследование крыш

Характер технического обследования крыши зависит от степени износа и сроков службы конструкций. Для выявления технического состояния, степени износа основных конструктивных элементов и определения вида необходимого ремонта производится общее и детальное обследование крыши.

Общее обследование крыши выполняется жилищно-эксплуатационной конторой, отделом изысканий проектной организации или проектно-сметным бюро. При этом обследовании выявляют конструктивную схему крыши, материалы покрытия, дефекты крыши (протечки, промерзания, наледи, нарушенный температурно-влажностный режим чердачного помещения, повреждения конструктивных элементов и т.д.), нарушения условий нормальной эксплуатации крыш и чердачных помещений. На основании общего обследования крыши составляется акт технического обследования крыши по форме № 1, который прилагается к заданию на проектирование.

Детальное обследование крыши производится для разработки технической документации на ее реконструкцию или ремонт. Обследование выполняется с применением соответствующих инструментов и приборов отделом изысканий проектной организации или проектно-сметным бюро.

При обследовании выявляют состояние несущих конструкций (прочность и устойчивость), состояние материалов (кровли, утеплителя, закладных металлических деталей и связей). При необходимости производят не менее двух вскрытий на каждые 500 м площади крыши с исследованием отобранных из конструкции проб на поражение древесины дереворазрушающими грибами; степени коррозии металлических связей и т.п.; измеряют величину деформации несущих конструкций; выявляют вид и характер повреждений и состояние элементов крыши; составляют схематический план и разрезы крыши (М 1:200) с указанием, мест деформаций и повреждений конструктивных элементов; фотографируют крышу и фасад двух верхних этажей.

В чердачных крышах следует установить причины неудовлетворительного температурно-влажностного режима чердачного помещения. Для этого проверяют достаточность и состояние теплоизоляции чердачного перекрытия и трубопроводов центрального отопления, герметичность вентиляционных устройств, размещенных в чердачном помещении. В бесчердачных крышах проверяют состояние теплоизоляции и металлических связей железобетонных элементов (плотность заделки стыков конструктивных элементов, крепление воронки внутреннего водостока), а также степень физического износа крыш по Методике определения физического износа конструктивных элементов жилого дома (М: ОНТИ АКХ, 1974).

На основании материалов детального обследования составляют техническое заключение о целесообразности ремонта или реконструкции крыши. Выполнение проектных работ по реконструкции крыши без технического заключения не допускается.

3. Разработка проекта реконструкции или ремонта

При подтверждении, актом обследования целесообразности реконструкции или ремонта составляется техническое задание на проектирование соответствующего вида работ.

Проектное решение по реконструкции крыши должно содержать технико-экономические обоснования выбранного варианта с учетом единовременных строительных и эксплуатационных затрат на содержание крыши.

Форма № 1

Акт технического обследования крыши жилого дома

в г. ________________________________________________________________________

по ул. _____________________________________№__________ строение № ___________

В результате технического обследования крыши и стен жилого здания установлено:

I. Общие сведения о здании:

1. Год постройки._________

2. Год и вид последнего ремонта крыши __________

3. Количество этажей здания _______________

II. Описание состояния конструкций

1. Стены (материал, толщина стен, перечень дефектов) ________________________________________________________________________________

2. Чердачное перекрытие (материал, утеплитель, перечень дефектов)______________________________________________________________________

3. Крыша (материал стропил, состояние стропил, обрешетки, железобетонных конструкций, карниза и прочих конструкций)_____________________________________________________

________________________________________________________________________________

4. Состояние кровельного покрытия (материал кровли; повреждения кровли; № квартир, в которых имеются следы протечек или промерзаний)___________________________________

________________________________________________________________________________

________________________________________________________________________________

5. Система вентиляции крыши (наличие прикарнизных и коньковых продухов и других вентиляционных отверстий), площадь слуховых окон__________________________________

________________________________________________________________________________

6. Состояние теплоизоляции труб верхнего розлива и чердачного перекрытия (материал, толщина слоя утеплителя, наличие корки)____________________________________________

________________________________________________________________________________

7. Температурно-влажностный режим чердачного помещения___________________________

________________________________________________________________________________

8. Состояние водоотводящих устройств______________________________________________

________________________________________________________________________________

III. Заключение.

На основании вышеизложенного комиссия считает необходимым произвести___________

________________________________________________________________________________

Главный инженер РЖУ (ПЖРО)                                                                        (подпись)

Начальник ЖЭК                                                                                                   (подпись)

Главный инженер ЖЭК                                                                                      (подпись)

Председатель домового комитета                                                                       (подпись)

 

 

 




ГОСТЫ, СТРОИТЕЛЬНЫЕ и ТЕХНИЧЕСКИЕ НОРМАТИВЫ.
Некоммерческая онлайн система, содержащая все Российские Госты, национальные Стандарты и нормативы.
В Системе содержится более 150000 файлов нормативно-технической документации, действующей на территории РФ.
Система предназначена для широкого круга инженерно-технических специалистов.

Рейтинг@Mail.ru Яндекс цитирования

Copyright © www.gostrf.com, 2008 - 2026