|
|
|
Министерство жилищно-коммунального хозяйства РСФСР Руководство Часть 1 Разборка строительных конструкций и демонтаж инженерного оборудования Москва 1982 Руководство по организации Труда при производстве ремонтно-строительных работ. Ч 1. Разборка строительных конструкций и демонтаж инженерного оборудования/МЖКХ РСФСР.- М.: Строй-издат,1982. - 88 с. Приведены рекомендации по рациональному составу звеньев; оснащению их инструментами, механизмами и приспособлениями; организации и обслуживанию рабочих мест; методам и приемам труда. Для инженерно-технических работников и бригадиров. Ремонтно-строительных организаций. СОДЕРЖАНИЕ ВВЕДЕНИЕПри производстве ремонтно-строительных работ выполняется около 6 тыс. рабочих процессов. Внедрение научно обоснованных методов организации труда с применением рациональных инструментов и приспособлений при выполнении этих процессов обеспечивает значительное повышение эффективности производства. "Руководство по организации труда при производстве ремонтно-строительных работ" содержит рекомендации по оптимальным формам организации трудового процесса при выполнении различных ремонтно-строительных работ при текущем и капитальном ремонте жилых домов. Руководство включает 19 выпусков, составленных по отдельным ремонтно-строительным процессам. В каждом выпуске приводятся рациональные составы звеньев, инструменты, приспособления и инвентарь, устанавливается рациональная организация рабочих мест, описывается технология ведения работы, излагаются мероприятия по необходимой подготовке выполнения производственных процессов, приводятся основные требования по технике безопасности и контролю качества. Рекомендации, приведенные в Руководстве, ориентированы на существующие условия и производственные возможности ремонтно-строительных организаций. Применение указанных рекомендаций предусматривается с учетом требований соответствующих глав СНиП. При выборе средств механизации, инструмента, приспособлений и инвентаря следует также руководствоваться выпущенными ВНИПИ труда в строительстве Госстроя СССР: каталогом технологических комплектов (нормокомплектов) средств механизации, инструмента, приспособлений и инвентаря для производства каменных, штукатурных, малярных и кровельных работ; альбомом ручного немеханизированного инструмента и малогабаритных ручных приспособлений для основных строительно-монтажных работ (выпуск первый и второй). Руководство состоит из трех частей: I - Разборка строительных конструкций и демонтаж инженерного оборудования; II - Общестроительные работы; III - Ремонт внутренней отделки санитарно-технических систем, электрооборудования и внешнего благоустройства. Руководство составлено Ленинградским научно-исследовательским институтом Ордена трудового Красного Знамени Академии коммунального хозяйства им. К.Д. Памфилова (инж. М.И. Шварцман; кандидаты технических наук С.Д. Химунин; Р.Г. Комиссарчик; Л.М. Случаева; инженеры М.Б. Соминский, Д.Г. Богданов, М.В. Левко, В.Я. Ротань). При составлении Руководства использованы отдельные рекомендации Руководства по организации труда при производстве строительно-монтажных работ", разработанные ЦНИИОМТП Госстроя СССР и Технологические карты на выполнение отдельных процессов по капитальному ремонту домов, разработанные трестом Оргтехстрой Управления капитального ремонта Ленгорисполкома. Выпуск
I
|
||||||||||||||||||||||||||||||||||||||||||||||||||||||||||||||||||||||||||||||||||||||||||||||||||||||||||||||||||||||||||||||||||||||||||||||||||||||||||||||||||||||||||||||||||||||||||||||||||||||||||||||||||||||||||||||||||||||||||||||||||||||||||||||||||||||||||||||||||||||||||||||||||||||||||||||||||||||||||||||||||||||||||||||||||||||||||||||||||||||||||||||||||||||||||||||||||||||||||||||||||||||||||||||||||||||||||||||||||||||||||||||||||||||||||||||||||||||||||||||||||||||||||||||||||||||||||||
|
Наименование (тип, основные габариты) |
Количество, шт. |
Назначение |
Дополнительные данные |
|
Кровельный молоток МКР-2 |
1 |
Используется для отгибания кляммер и разгибания фальцев- |
В отличие от ГОСТа острие клиновой части доводится до толщины 0,2 мм, вес 0,8 кг |
|
Кровельный молоток косой ("косяк") МКР-3 |
1 |
Применяется для упора при разгибании стоячего фальца и для разборки картин на листы |
Толщина острия 0,2 мм, вес 1,6 кг |
|
Лом-гвоздодер ЛГ-25 |
1 |
Используется для отрыва и переворачивания картин; для выдергивания гвоздей, для снятия, желоба |
Длина 1000 мм, вес 4 кг. |
|
Веревка |
|
Для страховки при выполнении работ |
Длина - из условия п.2.14 |
Примечание. Количество инструментов указано для одиночного рабочего либо для одного звена.
Организация труда в звеньях
2.14. Захватка для ведения работ по разборке стальной кровли определяется из расчета охвата наибольшей площади разбираемой кровли с учетом надежного крепления у конька страховочной веревки. Длина страховочной веревки назначается из условия ее натяжения при положении кровельщика на карнизном свесе.
2.15. Схема организации рабочего места показана на рис. 1.
2.16. Элементы разобранной кровли (кровельные картины, желоба) складируются в пакеты на настиле, уложенном по балкам чердачного перекрытия, в 1 м от наружной стены.
2.17. По окончании смены и на время перерыва в работе все остатки материалов, приспособления и инструменты должны быть убраны с кровли или надежно закреплены.

Рис. 1. Схема организации рабочего места 1, 2, 3
Х - порядок переноса и место крепления страховочной веревки; Кр- 1; П - положение и последовательность перемещения кровельщика; 4-страховочная веревка; 5-конек; 6-ряды картин; 7-стоячие фальцы; 8-карниз
Методы и приемы труда
2.18. Работы по разборке металлической кровли начинают с крепления страховой веревки. Крепление производится за стропильную ногу или другой надежный элемент стропил (см. рис. 1). Для крепления вскрываются и отворачиваются один-два листа кровли в месте, выбираемом из расчета доступа к устойчивому элементу стропил и возможности охватить при выбранной позиций всю площадь захватки.

Рис. 2. Разгибание стоячего фальца

Рис. 3. Отгибание крюков и желоба

Рис. 4. Отгибание лежачего фальца у желоба

Рис. 5. Схема крепления кровельных листов кляммерами к обрешётке
1 - верхний лист; 2 - кляммера; 3 - нижний лист; 4 - обрешётка; 5 - гвоздь
2.19. Разборка кровли непосредственно начинается с разгибания стоячего фальца по коньку кровли. Рабочий, держа правой рукой молоток МКР-2, острием его клиновой части зацепляет за край фальца и движением на себя разгибает его вверх. Левой рукой рабочий держит молоток МКР-3 ("косяк") и прижимает его плашмя к фальцу для упора (рис. 2).
2.20. Для доступа к продольному лежачему фальцу производят отгибание крюков и желоба. Крюки и укрепленный ими желоб отгибаются ударами молотка (рис. 3).

Рис. 6. Переворачивание картин

Рис. 7. Разборка картин на листы


Рис. 9 Снятие карнизного свеса
2.22. Затем рабочий приступает к отгибанию стоячего фальца. Для его разгиба в соединении соседних рядов картин предварительно разгибаются кляммеры в стоячих фальцах, скрепляющие листы покрытия с обрешеткой (рис. 5). Рабочий зацепляет свободный конец кляммеры острием клиновой части молотка МКР-2 и отгибает его движением рукоятки от фальца. Затем рабочий пальцами полностью разгибает кляммеры до упора в кровлю.
2.23. Разгибание стоячего фальца крайнего ряда картин производится при помощи двух кровельных молотков МКР-2 и МКР-3 (см. рис. 2). Первый молоток, держа в правой руке, рабочий заводит острием клиновой части под фалец и отгибает его. Левой рукой рабочий приставляет второй молоток ("косяк") боковой стороной обуха к фальцу с противоположной стороны, используя его в качестве упора для удержания фальца, подвергающегося давлению первого молотка, в вертикальном положении. Отгиб фальца производится последовательно по всей его длине от карниза до конька.
2.24. Для удобства снятия одним рабочим разобранного материала следует разделить ряд картин на отдельные участки в 3-4 листа. С этой целью через каждые 3-4 листа производится отгиб промежуточных лежачих фальцев. Действия рабочих при этом описаны в п. 2.21.
2.25. После разгиба стоячего и лежачих фальцев картины крайнего ряда снимаются. Последующие ряды отделяются от обрешетки и соседних рядов путем их переворачивания без предварительного разгиба стоячих фалвиев. Для переворачивания второго ряда лежащие на нем ранее разогнутые кляммеры отгибаются пальцами на обрешетку. Затем под картину рабочий заводит лом-гвоздодер и, действуя им как рычагом, переворачивает участок ряда картин на соседний ряд (рис. 6) Действуя в том же порядке, рабочий последовательно переворачивает картины каждого ряда на последующий.
2.26. Далее производится разборка участка ряда картин на листы. Разборка выполняется с помощью кровельного молотка МКР-3 ("косяка") в порядке от нижнего листа к верхнему. Для этого "косяк" острием клина вгоняется с верхней стороны в окладку фальца. Затем рабочий поворотом рукоятки молотка вверх от листа образует зазор в креплении фальца и ослабляет его. После этого рабочий ударами обуха молотка по нижней кромке листа выводит лист из зацепления в фальце (рис. 7). Затем рабочий руками спускает отделенный лист между обрешетниками на чердачное перекрытие.
2.27. Кляммеры удаляются путем срубания гвоздя, крепящего их к обрешетке, острием клиновой части "косяка" (рис. 8).
2.28. Для снятия ранее разогнутых листов желоба предварительно разгибаются его боковые лежачие фальцы приемами, описанными в п.2.21. Снятие желоба рабочий производит, подсовывая под лист лом-гвоздодер. Поднимая гвоздодер, рабочий срывает лист с крючка и разогнутых фальцев соседнего листа. Снятые листы рабочий опускает на чердак. Крюки вместе с гвоздями отрываются от опалубки нажимом на свободный конец подсунутого под них гвоздодера.
2.29. Снятие листов карнизного свеса рабочий начинает с разбора его лежачих фальцев. При этом рабочий действует гвоздодером. Заведя заостренный конец гвоздодера под верхний конец листа, рабочий нажимом на свободный конец гвоздодера отрывает лист от опалубки и движением от себя освобождает его с костылей (рис. 9). Снятые листы рабочий сбрасывает на чердак. Костыли снимаются гвоздодером так же, как и крюки (2.28).
2.30. Листы, сброшенные на чердачное перекрытие, собираются и подносятся в одно место, доступное для обслуживания имеющимся на объекте краном. Рабочий производит осмотр листов, определяя годные для дальнейшего использования и укладывает их в отдельные пачки.
Разборка черепичной кровли
Организация труда в звеньях
2.31. Выполнение разборки черепичной кровли предусматривается звеном в следующем составе:
кровельщик 2-го разряда (старший) - К1
кровельщик 2-го разряда - К2.
2.32. Работы по разборке черепичной кровли включают следующие последовательно выполняемые процессы и операции (табл. 2).
Таблица 2
|
Процесс, операция |
Исполнители и их взаимодействие |
|
Крепление веревки предохранительного пояса |
Выполняет рабочий К1 |
|
Устройство проема в обрешетке |
Выполняют рабочие К1 (на кровле) и К2 (на чердаке) |
|
Установка настила и желоба |
Выполняет рабочий К2 (по указанию старшего рабочего К1 |
|
Разработка коньковой черепицы |
Выполняют рабочие К1 (на кровле) и К2 (на чердаке) |
|
Разборка рядовой черепицы |
Выполняют К1 и К2 |
|
Разборка примыканий к дымовым трубам |
Выполняет рабочий К1 |
|
Разборка карнизного свеса |
Выполняет рабочий К2 |
2.33. Разборку черепичной кровли рекомендуется выполнять с применением инструмента, указанного в табл. 3.
Таблица 3
|
Наименование (тип, основные габариты) |
Количество, шт. |
Назначение |
Дополнительные данные |
|
Ломик-гвоздодер ЛГ-20 |
1 |
Используется для вскрытия черепицы |
Длина 320 мм, вес 1 кг |
|
Лом-гвоздодер ЛГ-25 |
1 |
Применяется для снятия кровельного окрытия в примыкании к трубам и на карнизном свесе |
Длина 1000 мм, вес 4 кг |
|
Ручные ножницы, длина НК-17 |
1 |
Применяются для перерезывания крепительной проволоки черепицы |
- |
|
Пила-ножовка по дереву |
1 |
Используется для перепиливания обрешетки |
- |
|
Молоток-кирочка мки |
1 |
Применяется для очистки черепицы от раствора |
Вес 0,6 кг |
|
Переносная ходовая стремянка |
1 |
Служит для расположения рабочего на кровле с уклоном более 15° |
- |
|
Веревка (страховочный трос) |
1 |
Используется для страховки рабочего, работающего на крыше |
Длина назначается в соответствии с п.2.35 |
|
Желоб деревянный (лоток) |
1 |
Для спуска разобранной черепицы на чердачное перекрытие |
Делается по месту |
|
Настил деревянный |
1 |
Для складирования разобранной черепицы |
То же |
|
Подмости инвентарные |
1 |
Применяются при снятии черепицы с карнизного свеса и в соседних горизонтальных рядах |
- |
|
Очки защитные 0295 |
1 |
Используются при разборке примыканий к трубам |
- |
2.34. Разборка кровельного покрытия из черепицы начинается со снятия коньковых черепиц. Затем снимаются черепицы горизонтальных рядов от конька к свесу. Разборку начинают, уложив переносную ходовую стремянку, а кончают с чердачного покрытия, используя инвентарные подмости.
Организация рабочего места
2.35. Захватка для ведения работ по разборке черепичной кровли определяется из расчета охвата наибольшей площади разбираемой кровли с учетом надежного крепления у конька страховой веревки. Длина страховой веревки назначается из условия ее натяжения при положении кровельщика на карнизном свесе.
2.36. Схема организации рабочего места показана на рис. 10.
2.37. При организации рабочего места следует предусмотреть устройство временного желоба и настила, укладываемого по балкам чердачного перекрытия, для спуска и складирования разобранной черепицы на чердаке.
2.38. По окончании смены и на время перерыва в работе все остатки материалов, приспособления и инструменты должны быть убраны с кровли или надежно закреплены.

Рис. 10. схема организации рабочего места
К1 - положение первого кровельщика на кровле; К2 - позиция второго кровельщика на кровле; 1 - крепление страховочной верёвки; 2 - проём для спуска черепицы на чердак; 3 - желоб (лоток) для спуска черепицы; 4 - страховочная верёвка
Методы и приемы труда
2.39. Выполнению операций по разборке черепичной кровли на захватке предшествует крепление страховочной веревки к надежному элементу стропил и закрепление ее к предохранительному поясу первого рабочего К1. Кровельщик К1 вылезает на кровлю с чердака через слуховое окно, надежно укладывает на кровле ходовую стремянку и поднимается по ней к коньку. Сняв 4-5 черепиц у конька, поддев их ломиком-гвоздодером ЛГ-20 и перерезав крепительную проволочку ножницами, рабочий прикрепляет один конец веревки к стропильной ноге, а другой к предохранительному поясу (см. рис. 10). Длина веревки назначается из условия ее натяжения при положении кровельщика на карнизном свесе. При отсутствии на кровле стремянки рабочий разбирает несколько черепицу конька снизу, находясь на чердаке. Затем, прикрепив один конец веревки к стропильной ноге, другой просовывает в отверстие и спускает при помощи груза так, чтобы его можно было достать из слухового окна. После прикрепления другого конца веревки к предохранительному поясу рабочий К1 выходит на кровлю.
2.40. Первый рабочий К1 находясь на кровле в выбранном для проема месте (примерно в центре разбираемого участка кровли), снимает 12 черепиц (по четыре в трех рядах). Для этого он, подрубив раствор между черепицами ломиком-гвоздодером ЛГ-20, приподнимает две вышележащие черепицы и, перерезав ножницами крепительную проволоку, вынимает из-под них первую черепицу (а затем и последующие) и подает ее второму рабочему К2 находящемуся на чердаке. Рабочий К2 скалывает молотком-кирочкой с черепицы приставший к ней раствор и укладывает ее на настил.
Сняв черепицы, рабочий К1 ножовкой выпиливает обрешетины, образуя проем в кровле площадью примерно 1 м. Выпиленные куски обрешетки сбрасываются на чердак (рис. 11).
2.41. В месте, указанном рабочим К1, К2 укладывает ранее заготовленный настил для складирования на нем разобранной черепицы, годной для дальнейшего употребления. Настил укладывается на засыпку чердачного перекрытия вблизи проема в обрешетке. В это время первый рабочий К1 производит крепление страховочной веревки к предохранительному поясу.

Рис. 11. Устройство проема в обрешетке

Рис. 12. Разборка коньковой черепицы
При наличии на объекте подъемного механизма складирование черепицы следует производить в контейнеры, корзинки или тачки, в зависимости от типа и грузоподъемности механизма. Установку заранее изготовленного желоба для спуска черепицы выполняет рабочий К2 после готовности проема.
2.42. Рабочий К1 острием ломика ЛГ-20 разбивает раствор, которым замазаны щели коньковой черепицы, и, действуя ломиком как рычагом, приподнимает отдельные черепицы (рис. 12), а затем перерезает крепительную проволочку. Вскрытую черепицу рабочий сдвигает по коньку в сторону, освобождая место для вскрытия следующей. Вскрыв несколько штук черепиц, рабочий собирает их, относит к проему и опускает на чердак по желобу. Рабочий К2 принимает их, очищает молотком-кирочкой от раствора и укладывает на настил в штабель.
2.43. Разборка и складирование рядовой черепицы выполняется двумя рабочими К1 и К2 аналогично операциям, выполняемым с коньковой черепицей. Вскрытие и разборка черепицы производится последовательно от верхнего ряда к нижнему (рис. 13).

Рис. 13. Разборка рядовой черепицы

Рис. 14. Вырубка стяжки в примыкании

Рис. 15. Удаление открытия из кровельного железа в примыкании кровли к дымовой

Рис. 16. разборка карнизного свеса
2.44. Далее рабочие производят разборку примыканий к дымовым трубам. Рабочий К ударами острия и обушка молотка-кирочки вырубает и выбивает раствор в месте примыкания кровельного листа отделки к трубе (рис. 14). Затем, действуя гвоздодером ЛГ-25 как рычагом, вгоняет его заостренным концом в складки лежащих фальцев и, нажимая на свободный конец гвоздодера, разгибает фальцы и ослабляет их сцепление. Затем рабочий заводит гвоздодер под вскрытые листы кровельного железа и отрывает их от опалубки вместе с гвоздями, одновременно выдергивая их из зацепления в наружных фальцах (рис. 15).
2.45. Разборка кровли на захватке завершается разборкой карнизного свеса. Рабочий К находясь на инвентарных подмостях, расположенных на чердачном перекрытии, гвоздодером ЛГ-25 разгибает лежачие фальцы между листами окрытия карнизного свеса, как описано выше. Затем, заведя заостренный конец гвоздодера под листы окрытия, отрывает их от опалубки. Движением гвоздодера от себя рабочий сдвигает листы карнизного свеса с костылей; придерживая лист рукой. Снятые листы рабочий К сбрасывает на чердак, где рабочий К2 сортирует их и складывает на настиле в пачки тем же гвоздодером рабочий К отрывает от опалубки костыли вместе с гвоздями (рис. 16).
3.1. Настоящий раздел разработан для производства работ по разборке междуэтажных деревянных перекрытий из брусьев или бревен со щитовым накатом и шлаковой засыпкой, при оштукатуренных подшивных потолках, в каменных жилых и гражданских зданиях любой этажности без применения средств механизации.
3.2. Перед тем как приступить к работам по разборке перекрытий, следует осуществить следующие мероприятия:
тщательный осмотр перекрытий нижележащих этажей для определения их надежности на случай обрушения на них разбираемых конструкций;
укрепление в случае необходимости перекрытий нижележащего этажа (либо нескольких нижележащих этажей) временными прогонами и стойками и преграждение доступа в помещение под местом разборки глухими или сетчатыми ограждениями с предупредительными плакатами о запрещении прохода людей;
ограждение участка и установка предупредительных знаков в случае, если часть материалов от разборки должна выбрасываться через окно.
3.3. До начала разборки перекрытий следует выполнить следующие работы:
- устройство лотка для спуска с этажа шлака и материалов от разборки наката;
- заготовку временного настила и элементов подмостей;
- поливку засыпки водой.
3.4. Работам по разборке перекрытий предшествует выполнение следующих процессов:
- демонтаж санитарно-технических и электротехнических сетей;
- разборка чистого пола и перегородок (на разбираемом этаже).
3.5. Междуэтажные перекрытия следует демонтировать по мере разборки конструкций вышележащего этажа, удаления разобранных элементов, материала и строительного мусора.
3.6. Удаление засыпки, смазки, накатов и подборов разбираемых перекрытий необходимо вести с временного щитового настила, уложенного по балкам. Запрещается укладывать временный настил непосредственно на накаты (подборы) и подшивные потолки.
3.7. Запрещается укладывать демонтируемые балки на перекрытие нижележащего этажа, а также сбрасывать их через оконные приемы.
3.8. Лесоматериалы, годные для последующего использования, должны предохраняться в процессе разборки от переломов, расщепов и перерубов. Годные для дальнейшего использования элементы перекрытий (балки, накат, элементы подшивки) применяются повторно, в основном при выборочном ремонте. В случае если объем такого не велик, материалы от разборки перекрытий обращают в дрова.
Организация труда в звеньях
3.9. Варианты разборки деревянных перекрытий без применения средств механизации предусматривают выполнение работ звеном в составе двух рабочих - плотников 2-го разряда (П1 и П2).
3.10. При разборке перекрытий на отдельных участках или захватках без применения башенного крана до разборки балок снимают чистый пол, удаляют подшивку, разбирают смазку (засыпку) в подборы. Удаление смазки (засыпки) производят со спуском материалов по деревянному лотку. Разборку балок выполняют с подмостей, установленных на нижележащем перекрытии.
3.11. Комплекс работ по разборке перекрытий включает последовательное выполнение следующих рабочих процессов:
- устройство временного настила;
- удаление засыпки;
- разборка наката;
- разборка подшивки;
- удаление балок.
Процесс удаления балок состоит из следующих операций, выполняемых одновременно двумя рабочими:
- устройство подмостей;
- разделка гнезд;
- вывешивание и распиливание балок;
- опускание балок на подмости;
- спуск балок на пол;
- уборка балок, подмостей и мусора.
3.12. Работы по разборке деревянных перекрытий рекомендуется выполнять с применением инструментов, инвентаря и приспособлений, перечень которых приведен в табл. 4.
Таблица 4
|
Наименование (тип, основные габариты) |
Количество, шт. |
Назначение |
Дополнительные данные |
|
Лом-гвоздодер ЛГ-25 |
2 |
Используется для рыхления засыпки, отрыва щитов наката, отбивания подшивки, отрывания анкеров |
Длина 1000 мм, вес 4, кг |
|
Электромолоток И-33 |
2 |
Используется для разделки гнезд |
Вес 4,1 кг. |
|
Поперечная двуручная пила 1-1000 |
1 |
Применяется для распиливания балок |
Длина 1000 мм. |
|
Пила-ножовка по дереву |
1 |
Применяется для перепиливания крайних балок |
Длина 615 мм |
|
Топор плотничий Б-4 |
2 |
Применяется для перерубания дранки, при разборе обрушенной подшивки на отдельные доски |
Вес 1,2 кг |
|
Лопата штыковая стальная ЛКО-1 |
2 |
Применяется для рыхления и удаления засыпки |
- |
|
Шиты временного настила |
2 |
Применяются при разборке наката засыпки и подшивки |
Изготовляются по проекту производства работ, см. рис. 17, а |
|
Подмости |
2 |
Используются при разборке балок |
На каждом нижерасположенном этаже. Собираются на гвоздях из отдельных деревянных элементов, см. рис. 17, б. |
|
Плоская рама |
1 |
Используется для вывешивания балок при их распиловке |
См. рис. 17, в |
|
Лоток |
1 |
Используется для спуска мусора |
См. рис. 17,г |
|
Носилки |
1 |
Используются для выноса шлака |
- |
|
Метла прутковая |
2 |
- |
- |
|
Ведра емкостью 10 л |
2 |
Для сбора гвоздей, скруток, болтов, хомутов, оставшихся после разборки деревянных элементов |
- |
|
Доски ходовые толщиной 40 мм |
3-5 |
Используются для передвижения рабочих при разборке перекрытий |
Заготовляются по месту |
3.13. В смежных секциях здания вести демонтаж всех перекрытий одновременно запрещается. Внутренние капитальные стены здания в процессе демонтажа должны сохранить конструктивную связь с перекрытиями, расположенными в смежных секциях.
3.14. Для обеспечения устойчивости стен при полной разборке междуэтажных перекрытий необходимо сохранять каждую четвертую балку, заделанную в стену.

Рис. 17. Инвентарь и приспособления, применяемые при разборке деревянных перекрытий
Примечания: 1. Бруски служат направляющими и ограничителями при движении щитов по балкам.
2. Высота рамы на 3-4 см больше расстояния от пола до низа балки.
3. Ширина рамы не менее ширины балки.
а - щит временного настила; б - лоток; в - плоская рама; г - носилки.
Оставляемые на этажах балки должны располагаться по одной вертикали и демонтироваться по мере монтажа и анкерения новых элементов перекрытий.
3.15. В целях обеспечения безопасности производства работ запрещается выполнять работы в отсутствии технического персонала.
Организация рабочего места
3.16. Схема организации рабочего места при выполнении комплекса работ по разборке деревянных перекрытий показана на рис. 18.
3.17. Демонтаж деревянных перекрытий по элементам должен сопровождаться затариванием мусора, укладкой пиломатериалов в пакеты и последующим удалением их при помощи автокрана либо лебедки (выполняют в основном подсобные рабочие на площадке, совмещающие эти работы с другими). Контейнеры с мусором устанавливаются на насыпке по балкам перекрытий балкам перекрытий достаточной прочности.

Рис. 18. Схема организации рабочего места
а - удаление засыпки; б - разборка наката; в - разборка подшивки; вЛ - прорубание подшивки; г - удаление балок; 1 - ходовые диски; 2 - щитовой настил (4х0,6 м); 3 - лоток; 4 - щитовой настил (2,5х0,6 м); 5 - носилки; 6 - подмости; 7 - распиловка балок; 8 - подпор; 9 - разделка гнёзд и отрыв анкеров.
Методы и приемы труда
3.18. Работы по разборке перекрытий на захватке начинаются с устройства временного настила. Рабочие-плотники заносят в помещение, где должно быть разобрано перекрытие, заранее заготовленные щиты временного настила и укладывают их поперек балок. Щиты укладывают вблизи дальней стены и у оконного проема, на котором установлен лоток (рис. 18, а). Между ними рабочие устанавливают ходовые доски.
3.19. Находясь на временном настиле, рабочие ломиками ЛГ-25 рыхлят засыпку, лопатами ЛКО-1 укладывают разрыхленную засыпку на носилки, относят носилки по ходовым доскам к окну и опрокидывают ее в лоток (рис. 19)


Работу начинают от стены противоположной окну, оборудованному лотком. Разборку засыпки ведут перед собой, перемещая щитки к окну, по мере уборки засыпки. Уборку засыпки непосредственно у дальней стены производят после того, как щитки временного настила будут сдвинуты на достаточное для этого расстояние.
3.20. Для разборки наката рабочие перемещают щиты временного настила вновь к дальней стене и в той же последовательности, как и ранее, действуя ломами-гвоздодерами ЛГ-25, отрывают отдельные доски или целиком щитки наката от черепных брусков. Для этого гвоздодер острием вгоняют в стык между накатом и черепным бруском и, нажимая на свободный его конец, отрывают доску наката вместе с гвоздями (рис. 20). Оторванные доски или щитки складывают на временный настил, затем пачками весом 15-25 кг относят по ходовым доскам к окну и спускают в лоток.
По мере разборки наката временный настил перемещают по направлению к окну. После разборки наката лоток переносят на нижележащий этаж.
3.21. Работу по разборке подшивки рабочие производят с того же временного настила и перемещаются по мере разборки по направлению по наружной стене к внутренней.


Рис. 22. Разделка гнёзд в местах опирания балок
Разборку производят ломом-гвоздодером ЛГ-25. Держа лом за заостренный конец, рабочий поднимает его вверх и ударами сверху по доскам подшивки отрывает их от балок перекрытия (рис. 21). По мере отрыва скрепленная дранкой и штукатуркой подшивка провисает и затем обрушивается на нижележащее перекрытие.
Обрушив подшивку, рабочие входят в помещение, в которое она обрушена, и с помощью топоров Б-4 загибают и затем забивают торчащие гвозди. Затем остриями топоров перерубают дранку в стыках досок подшивки, тем самым отделяя доски подшивки. Отдельные доски рабочие обстукивают, оббивая с них штукатурку, и выбрасывают в оконный проем. Разрушенную штукатурку сгребают лопатами ЛКО-1 в кучи и сбрасывают по лотку ниже. Оставшийся мусор сметают и также опускают по лотку.
3.22. Перед удалением балок рабочие собирают подмости козлового типа, сколачивая их из заранее заготовленных элементов. Верх подмостей располагают на 1,2 м ниже верха разбираемых балок. Подмости устанавливают по обеим сторонам помещения у кондов разбираемых балок. По мере разборки балок подмости перемешают вдоль стен.

Рис. 23. Освобождение балки от анкера

Рис. 24. Вывешивание и распиливание
3.23. Рабочие операции по удалению балок начинаются с разделки гнезд. Каждый рабочий, находясь на своих подмостях с каждой стороны балки, отбойным молотком И-33 разбивает кладку в месте опирания балки на стену вокруг ее конца на всю его глубину, полностью освобождая его от заделки (рис. 22). Затем, подсовывая конец лома ЛГ-25 под балку и действуя ломом как рычагом, отрывает балку от опорной поверхности. Если усилий одного рабочего недостаточно, то эту операцию рабочие выполняют вдвоем - с каждого конца балки.
Выполняя разделку гнезда, рабочий ломом-гвоздодером ЛГ-25 поддевает анкеры, скрепившие балки складкой стены, и, нажимая на свободный конец лома, отрывает анкер от балки (рис. 23).
3.24. Для извлечения балок из гнезд рабочие их распиливают. Во избежание защемления полотна пилы во время распиловки балку предварительно вывешивают. Для этого рабочие подводят под балку заранее заготовленную плоскую раму, выполненную из подручных досок.
Вывешенный конец балки рабочие отпиливают поперечной двуручной пилой, находясь вдвоем на подмостях (рис. 24). Крайнюю балку перепиливает ножовкой один рабочий. Отпиленный коротыш вынимают из гнезда и опускают на пол.
Место реза балки назначают из такого расчета, чтобы длинный конец балки был короче ширины комнаты не менее чем на 15-20 см.
Место установки рамы рассчитывается так, чтобы при выемке второго конца балки из гнезда рама, наклоняясь, не уперлась в подмости прежде, чем конец балки выйдет из гнезда.
3.25. Распилив балку и вынув коротыш из гнезда, рабочие переходят на подмости с другой стороны балки и, поддерживая конец балки вдвоем с обеих сторон, приподнимают ее, вынимают из гнезда и осторожно опускают на подмости (рис. 25). Затем рабочие вновь переходят на первые подмости, приподнимают отпиленный конец балки, отводят его в сторону от рамы и опускают на подмости.
В случае если балка тяжела, то опускание ее производят при помощи веревки. Один конец веревки обвязывают вокруг балки, а второй перекидывают из-за спины через плечо. Потравливая свободный конец веревки, балку осторожно опускают.
3.26. Опускание балок с подмостей на пол рабочие производят с помощью веревок, как было описано выше. При этом если вес балки допускает, рабочие, находясь на равных подмостях, опускают балку одновременно за оба конца (рис. 26). Если же вес балки велик, то оба рабочих опускают сначала один конец балки с одних подмостей, затем второй конец с других.

Рис. 25. Опускание перепиленной балки на подмости

Рис. 26. Опускание балок на пол
3.27. Опущенные на пол балки перекрытия рабочие подтаскивают к оконному проему. Поднимая конец каждой балки на подоконник, рабочие выталкивают балку в окно.
Убрав из помещения все балки, рабочие разбирают подмости. Для этого они сначала отбивают щиток настила, валят козлы набок, отбивают схватки одной стороны, затем другой. Затем выбивают и вытаскивают гвозди и складывают их в ведра.
Разобранные подмости и ведра с гвоздями переносят в следующее помещение, где будет разбираться перекрытие. После этого рабочие метлами и лопатами производят уборку помещения, выбрасывая мусор по лотку.
4.1. Настоящие рекомендации предусматривают разборку чистых полов из шпунтованных досок по лагам в деревянных и каменных зданиях.
4.2. Состав звеньев рабочих, выполняющих разборку полов, устанавливается в каждом конкретном случае применительно к характеру и объемам работ. Необходимое количество рабочих определяется в зависимости от объемов и фронта работ, которые могут быть обеспечены применяемыми средствами механизации, с учетом достигнутого уровня выработки.
4.3. До разборки полов следует произвести демонтаж провода, протянутого по плинтусам.
4.4. При снятии дощатого пола необходимо принимать меры безопасности против обрушения деревянных балок, имеющих поврежденную древесину.
4.5. Покрытие пола из шпунтованных досок, как правило, может быть использовано повторно (при этом доски могут быть перевернуты кверху неизношенной стороной).
4.6. В случае ветхого состояния деревянных балок междуэтажных перекрытий до начала демонтажных работ должно быть выполнено временное усиление их поддерживающими стойками и прогонами снизу.
4.7. Запрещается работать стоя на накате и передвигаться по нему.
Организация труда в звеньях
4.8. Организация труда при разборке полов может осуществляться в двух вариантах:
звено из двух рабочих - плотников 2-го разряда, ведущих на различных захватках работы параллельно;
одиночный рабочий - плотник 2-го разряда - выполняет весь комплекс работ по разборке чистых дощатых полов.
В настоящем разделе принят второй вариант организации труда.
4.9. При разборке чистых дощатых полов рабочий плотник 2-го разряда осуществляет следующий комплекс последовательно выполняемых рабочих процессов и операций:
- отрыв плинтусов (либо галтелей) от стены с выдергиванием гвоздей (рис. 27);
- относка плинтуса из помещения на место складирования;
- разборка крайней доски с выдергиванием гвоздей;
- разборка второй и нескольких последующих досок с выдергиванием гвоздей;
- относка досок из помещения на место складирования;

Рис. 27. Примыкание галтелей и плинтусов к стене 1 - галтель; 2 - плинтус

Рис. 28. Временный щитовой настил
- устройство временного настила;
- разборка остальных досок с выдергиванием гвоздей;
- относка досок из помещения на место складирования;
- разборка лаг с выдергиванием гвоздей;
- относка лаг.
4.10. Разборка чистого пола из шпунтованных досок выполняется в следующем порядке: снимают с помощью ломиков плинтусы или галтели, удаляют одну из фризовых досок, после чего разбирают доски пола; сняв дощатое покрытие, разбирают лаги.
4.11. Перечень инструментов, приспособлений и инвентаря, применяемых при разборке чистых полов из шпунтовых досок, - в табл. 5. Временный щитовой настил, который используется при разборке досок и лаг, изображен на рис. 28.
4.12. Плинтусы, галтели, доски и лаги, годные для последующего использования, должны в процессе разборки предохраняться от раскалывания. У досок должен быть сохранен шпунт и гребень.
4.13. Гвозди, выдернутые из разобранных элементов пола, должны быть рассортированы и выпрямлены.
Таблица 5
|
Наименование |
Количество, шт. |
Назначение |
Дополнительные данные |
|
Лом-гвоздодер ЛГ-25 |
1 |
Используется для отрыва плинтусов, досок, лаг и выдергивания гвоздей |
Длина 1000 мм, вес 4 кг |
|
Молоток плотничий МПЛ |
1 |
Используется для выбивания и выдергивания гвоздей из разобранных элементов пола |
Вес 0,8 |
|
Долото плотничье |
1 |
Используется для выдалбливания гнезд при выдергивании втопленных гвоздей |
Минимальная толщина 20 мм, длина 235 мм |
|
Временный щитовой настил |
1 |
Используется при разборке досок и лаг |
См. рис. 28 |
|
Ящик для гвоздей плотничий |
1 |
Используется для сбора гвоздей, выдергиваемых из разбираемых элементов пола |
- |
Организация рабочего места
4.14. Схема организации рабочего места представлена на рис. 29. При этом рабочий выполняет разборку досок (за исключением нескольких первых) и лаг, находясь на временном щитовом настиле, уложенном на лагах

Рис. 29. Схема организации рабочего места
Методы и приемы труда
4.15. Разборка чистого пола из шпунтованных досок начинается с отрыва плинтусов (либо галтелей) от стены. Для отрыва плинтусов (галтелей) рабочий вводит гвоздодер острым концом в щель между плинтусом и стеной и движением руки от себя отрывает плинтус от стены (рис. 30). Для выдергивания гвоздей используется плотничий молоток-гвоздодер МПЛ. В топленные гвозди сначала выбивают из плинтусов ударами молотка по острой части гвоздя, затем выдергивают из плинтуса.
4.16. Затем рабочий, сложив снятые плинтусы в пакет, относит их к месту складирования.
4.17. Разборку чистого пола рабочий начинает со стороны, наиболее удаленной от входной двери. Для снятия крайней доски рабочий освобождает конец этой доски от гвоздей, которыми она прибита к лагам. Для удаления вытопленных гвоздей рабочий ударами молотка-гвоздодера по долоту делает углубление около гвоздей, освобождая шляпку гвоздя, после чего с помощью молотка-гвоздодера вытаскивает гвозди. Таким образом удаляется 3-4 гвоздя.

Рис. 30. Отрыв плинтуса от стены

Рис. 31. Отрыв крайней доски

Рис. 32. Отрыв соседних с крайней досок

Рис. 33. Снятие отдельных досок
Затем, заводя гвоздодер под свободный край доски и нажимая на него, рабочий поднимает этот конец и последовательным перемещением гвоздодера отрывает доску по всей длине (рис. 31). Выдергивание гвоздей из доски рабочий производит с помощью молотка-гвоздодера или лома-гвоздодера. Выдернутые гвозди рабочий складывает в ящик.
4.18. Со стороны снятой доски рабочий заводит гвоздодер между лагой и доской и, нажимая на него, отрывает доску от лаги, к которой она прибита (рис. 32). Повторяя ту же операцию, рабочий отрывает доску по всей длине. Затем с помощью гвоздодера из разобранных досок выдергивает гвозди и складывает их в ящик. Таким же образом рабочий удаляет еще несколько соседних досок.
4.19. Собрав в пакет доски, из которых удалены гвозди, рабочий относит их к месту складирования.
4.20. Для окончательной разборки остальных досок рабочий укладывает временный настил из дощатых щитов, опирая щиты на лаги.
4.21. Стоя на временном настиле, рабочий заводит острый конец гвоздодера между лагой и доской и, нажимая на гвоздодер, отрывает доску от лаги (рис. 33). Повторяя ту же операцию, рабочий отрывает доску по всей длине. Затем рабочий с помощью лома-гвоздодера или молотка-гвоздодера выдергивает гвозди и складывает их в ящик,
4.22. Стоя на временном настиле, рабочий заводит острый конец гвоздодера между лагой и балкой и, нажимая на него, отрывает лагу от балки.
4.23. По мере разборки лаг и удаления из них гвоздей рабочий выносит лаги из помещения на место складирования.
5.1. Настоящие Рекомендации разработаны для разборки деревянных межкомнатных перегородок из досок, забранных стоймя в обвязки, оштукатуренных с двух сторон, в деревянных рубленых, каркасно-засыпных и кирпичных зданиях.
5.2. Разборка деревянных перегородок предусмотрена без применения средств механизации.
5.3. Разборке перегородок должно предшествовать выполнение комплекса следующих рабочих процессов и операций:
- подноска на рабочее место инструментов, приспособлений и инвентаря;
- разборка заполнений оконных и дверных проемов; разборка плинтусов и, при необходимости, полов; устройство временного настила (при разобранных полах), обеспечивающего устойчивое положение подмостей во время работы;
- установка желобов для спуска мусора.
5.4. В целях безопасности производства работ запрещается:
- производить разборку перегородок одновременно в помещениях, расположенных одно под другим;
- сбрасывать элементы разобранных перегородок через оконные проемы в лестничную клетку и на нижележащие перекрытия;
- при разобранных полах ходить по накату, уложенному на черепные бруски;
- работать без рукавиц и каски.
5.5. Перед разборкой перегородок необходимо убедиться в надежности вышележащего перекрытия.
5.6. Элементы деревянных перегородок следует убирать с перекрытия по ходу разборки.
5.7. Пригодные для последующего употребления доски и бруски в процессе разборки должны сохраняться от раскола, отщепов и переломов. Пригодные гвозди должны быть выдернуты и выпрямлены.
5.8. Разборку деревянных межкомнатных перегородок в деревянных домах осуществляет одиночный рабочий-плотник 2-го разряда.
5.9. Комплекс работ по разборке деревянных оштукатуренных перегородок из досок, выбранных стоймя в обвязке, включает следующие последовательно выполняемые простые рабочие процессы и операции:
- установка легких инвентарных подмостей (с последующими перестановками);
- отбивка штукатурки;
- перерубание штукатурной драни;
- сгребание мусора в кучу;
- отрывание брусков обвязки;
- разборка перегородок на отдельные доски;
- складирование материала;
- спуск мусора по желобу.
5.10. Отбивку штукатурки и перерубание штукатурной драни сначала для верхней части стен рабочий выполняет последовательно вдоль перегородки с каждой позиции подмостей, затем в таком же направлении в нижней части стен. Такой порядок выполнения работы экономит движения рабочего.
5.11. Перечень инструментов, приспособлений и инвентаря, применяемых при разборке деревянных перегородок, указан в табл. 6.
Таблица 6
|
Наименование |
Количество, шт. |
Назначение |
Дополни тельные данные |
|
Ломик-гвоздодер ЛГ-25 |
1 |
Используется для отрывания брусков |
Вес 4 кг |
|
Молоток-кувалда МС-4 |
1 |
Применяется для отбивки штукатурки |
Вес 3 кг, длина ручки 1,8 м |
|
Топор A3 |
1 |
Используется при перерубке драни и отбивке досок |
Вес 1,7 кг |
|
Совковая (или полусовковая) лопата |
1 |
Используется для сбора и сброса мусора |
- |
|
Подмости инвентарные |
1 |
Применяются для работ по разборке перегородки на высоте |
Высота по месту, длина по месту |
|
Желоб (лоток) |
1 |
Применяется для спуска мусора |
- |
|
Очки защитные 0295 |
1 |
Применяются при отбивке штукатурки |
- |
|
Ящик для инструментов деревянный |
1 |
Применяется для переноски и хранения инструментов |
Длина 2 м |
Организация рабочего места
5.12. Схема организации рабочего места представлена на рис. 34.
5.13. Фронт работ выбирается исходя из удобства работы с учетом рабочей зоны по высоте и горизонтали, зависящей от высоты и ширины подмостей.

Рис. 34. Схема организации рабочего места
1 - разбираемая перегородка; 2 - плотник 2-го разряда; 3 - направления движения плотника; 4 - строительный мусор; 5 - штабель с досками и брусками от разборки перегородок; 6 - инвентарные подмости;

Рис. 35. Отбивка штукатурки (разбивка и отдирание штукатурки)
Методы и приемы труда
5.14. Разборка перегородки начинается с отбивки штукатурки в ее верхней части. Для этого рабочий вначале устанавливает у перегородки инвентарные подмости, а затем в процессе труда перемешает их по фронту работы.
5.15. Отбивку штукатурки рабочий производит, пользуясь молотком МС-4, направленными ударами, нарушая общую целостность штукатурки (рис. 35 а). Отдирание штукатурки вместе с дранкой или без нее производит, загоняя острие ломика-гвоздодера между штукатуркой и досками на плоскости перегородки (рис. 35 б). Вырубание штукатурки в верхних углах производит острием лапы ломика. Указанные операции рабочий выполняет последовательно по периметру комнаты с каждой позиции подмостей, затем в таком же направлении в нижней части стен. Такой порядок выполнения работы экономит движения рабочего.

Рис. 36. Перерубание штукатурной дранки

Рис. 37. Отрыв брусков обвязки

Рис. 38. Разборка перегородки на отдельные доски
5.16. В тех местах, где сохранившаяся после отбивки штукатурки дранка перекрывает стыки досок перегородки, рабочий перерубает ее топором вдоль стыка (рис. 36).
5.17. После отбивки штукатурки рабочий лопатой сгребает мусор в кучу, перебрасывая его на настил к оконному проему, в котором установлен желоб.
5.18. Закончив в одной комнате отбивку штукатурки, рабочий переходит и переносит подмости в смежную по другую сторону перегородки комнату и повторяет предыдущие рабочие операции для другой стороны перегородки.
5.19. Отрывание бруска верхней обвязки от перегородки рабочий, стоя на подмостях, производит следующим образом: заводя снизу острие лома-гвоздодера между досками перегородки и бруском обвязки, нажимает по направлению от себя на другой конец гвоздодера, действуя им как рычагом. Отрывание бруска верхней обвязки от потолка рабочий производит также ломиком-гвоздодером, заводя острие его лапы между потолком и бруском и отжимая гвоздодер от себя (рис. 37). Оторвав брусок верхней обвязки, рабочий отдирает от пола и перегородки брусок нижней обвязки с той же стороны перегородки, действуя гвоздодером таким же образом, как и при отрыве бруска верхней обвязки.
5.20. Рабочий процесс кончается разборкой перегородки на отдельные доски. Для разборки вертикальных досок перегородки рабочий переходит в смежную комнату по другую сторону перегородки и ударами обуха топора (или молотка) отбивает каждую доску в сторону снятых брусков обвязки (рис. 38). Отбив все вертикальные доски перегородки, рабочий ломом-гвоздодером отрывает оставшиеся бруски обвязки от потолка и пола.
5.21. Материал от разборки рабочий складирует в штабель в месте, удобном для последующей транспортировки. В случае годности материала для последующего использования рабочий с помощью гвоздодера выдергивает все оставшиеся гвозди.
В случае непригодности материала он обухом топора загибает и забивает в древесину все торчащие гвозди.
5.22. По окончании разборки рабочий лопатой выбрасывает мусор из помещения по желобу.
6.1. Настоящие. Рекомендации разработаны для разборки оконных заполнений с двойными переплетами, с прислонной коробкой в каменном здании до трех этажей, с удалением элементов оконных заполнений без применения средств механизации.
6.2. Работа по разборке оконных заполнений не предусматривает выемку стекол и снятие оконных приборов.
6.3. До начала работ предварительно производится удаление битых стекол и выемка целых стекол, подносятся все необходимые инструменты и доставляются приспособления.
6.4. До демонтажа оконных коробок или блоков отбивается штукатурка откосов и снимаются подоконные доски. Приставные коробки освобождаются от металлических ершей, забитых в кладку. Для выемки закладных коробок отбивают кирпичные четверти, образующие в кладке пазы, в которые заделана коробка.
6.5. В целях безопасности работ следует предусмотреть:
- при отбивке штукатурки работать в защитных очках;
- лестница-стремянка должна стоять в устойчивом положении наклонно для предотвращения ее сползания.
6.6. Разборку оконных заполнений следует производить при условии максимального сохранения разбираемых элементов для их дальнейшего использования.
6.7. Если столярные заполнения используются вновь, то стекла, вынимаемые из переплетов, должны храниться в кладовой и в дальнейшем ставиться в установленные на место переплеты. Если переплеты заменяются новыми с новой расстекловкой, стекло используется для временного остекления.
6.8. Отремонтированные столярные изделия, не используемые на объекте ремонта, могут быть применены при ремонте других зданий. Изделия нестандартных, размеров, переплеты с особой неповторяющейся расстекловкой используют для устройства временных сооружений или обращают в дрова.
Организация труда в звеньях
6.9. Для производства работ по разборке оконных заполнений предусматривается звено в составе двух человек: плотника 2-го разряда и плотника 3-го разряда.
6.10. Комплекс работ по разборке оконных заполнений состоит из следующих простых рабочих процессов и операций, последовательно выполняемых двумя рабочими (табл. 7).
Таблица 7
|
Наименование операций и технологическая последовательность выполнения |
Исполнители, элементы операций и взаимодействие рабочих |
|
|
П1 |
П2 |
|
|
Снятие оконных переплетов |
С помощью гвоздодера отрывает вначале верхнюю петлю створки, а затем нижнюю |
Раскачивая, поддерживает створку |
|
Относка от проема на расстояние до 10 м |
||
|
Отбивка штукатурки с откосов |
С лестницы-стремянки топором отбивает штукатурку, начиная с верха откоса |
Отбивает молотком штукатурку второго откоса нижней части |
|
Снятие подоконной доски |
С помощью гвоздодера и молотка (топора) производит подрыв доски |
Раскачивает доску вверх - вниз и на себя |
|
Вместе снимают доску и относят в сторону на расстояние до 10 м |
||
|
Удаление оконной коробки |
Отрывает коробку с одной стороны гвоздодером |
Подбивает молотком (топором) коробку с другой стороны |
|
Вынимают коробку и ставят в сторону на расстояние до 10 м |
||
|
Относка разобранных материалов на площадку вне здания |
Пакетируют разобранные материалы, относят на расстояние до 50 м |
|
Примечание. П1 - плотник 3-го разряда; П2 -плотник 2-го разряда.
6.11. Перечень инструментов, приспособлений и инвентаря, применяемых при разборке оконных заполнений, представлен в табл. 8.
Таблица 8
|
Наименование |
Количество, шт. |
Назначение |
Дополнительные данные |
|
Ломик-гвоздодер ЛГ- 2В |
2 |
Используется для разборки створок подоконной доски оконной коробки |
Вес 4 кг |
|
Moлоток М-17 |
1 |
Применяется для отбивки штукатурки и снятия оконной коробки |
Вес 0,4 кг |
|
Топор A3 |
1 |
Используется для срубки штукатурки |
Вес 1,6 кг |
|
Лестница-стремянка (деревянная) |
1 |
Используется при срубке штукатурки с верхней части откосов |
Длина до 2 м |
|
Очки защитные 0295 |
2 |
Применяются при отбивке штукатурки с откосов |
‑ |
|
Веревка |
- |
Используется для пакетирования и относки оконных коробок |
Длина 20 м |
Организация рабочего места
6.12. Схема организации рабочего места представлена на рис. 39.
Методы и приемы труда
6.13. Разборка оконных заполнений начинается со снятия оконных переплетов. Рабочий П1 вводит раздвоенный конец гвоздодера между створкой и колодкой и резким нажимом гвоздодера на себя ослабляет крепление петли, затем, вводя гвоздодер между петлей и коробкой, отрывает петлю (рис. 40). Рабочий П1 взявшись за створку двумя руками, поддерживает ее и помогает отрывать петлю, поворачивая в соответствующую сторону створку при нажиме гвоздодера.
6.14. В процессе снятия оконных переплетов рабочие относят снятые створки по одной к месту складирования на расстояние до 10 м от проемов.
6.15. Рабочий П1 стоя на стремянке, лезвием топора резкими движениями срубает штукатурку отвесов, начиная от верха откоса. Рабочий П2 клиновой частью молотка М-17 отбивает штукатурку другого откоса снизу. Затем рабочие выполняют эту операцию каждый с другой стороны. Рабочие работают в защитных очках. При этом рабочие П1 и П2 действуют с максимальной осторожностью во избежание- несчастного случая.
6.16. Рабочий П1 вводит гвоздодер между подоконной доской - у ее конца - и кладкой, нажимая на гвоздодер, отрывает доску. Рабочий П2 взявшись двумя руками за второй конец доски, раскачивает ее, отсоединяя от кладки и коробки. Затем оба рабочих снимают доску и относят ее в сторону на расстояние до 10 м (рис. 41).
6.17. Затем рабочие производят снятие оконной коробки. Рабочий П1 гвоздодером отрывает закрепы от коробки. Затем, заведя гвоздодер между кладкой и коробкой, нажимом на гвоздодер отрывает коробку (рис. 42). Одновременно рабочий П2 ударяя с другой стороны по коробке молотком, отрывает от кладки другую сторону коробки. Затем рабочие вдвоем снимают коробку и относят ее в сторону на расстояние до 10 м.
6.18. Рабочие П1 и П2 пакетируют разобранные материалы и относят их на расстояние до 50 м.

Рис. 39. Схема организации рабочего места
1 - ящик для инструментов; 2 - лестница - стремянка; 3 - место временного складирования; 4 - направление относки.

Рис. 40. Снятие оконных переплётов

Рис. 41. Удаление подоконной доски

Рис. 42. Снятие оконной коробки
7.1. Настоящие Рекомендации предусматривают разборку комнатных отопительных печей, сложенных из кирпича без облицовки и в футляре из кровельной стали.
7.2. Разборка комнатных отопительных печей должна вестись с инвентарных подмостей.
7.3. Комната, в которой производится разборка печи, должна быть освобождена от всех посторонних предметов, и в нее должен быть прегражден доступ посторонним лицам.
7.4. Разборку печей в этажах производят до разборки отдельно стоящих дымовых труб или стен с дымовыми каналами, к которым подсоединены печи.
7.5. В зданиях, имеющих два и более этажа, запрещается до полной разборки печей верхнего этажа разбирать печи нижележащих этажей.
7.6. Для разборки печи разбирают перекидные чердачные и комнатные борова.
Разборку печей начинают со снятия печных приборов (топочных и поддувальных дверей, задвижек, вьюшек, колосников, духовых шкафов, плит и пр.). Перед снятием печных дверей проверяют, не опирается ли на них вследствие осадочных деформаций свод топливника или внешняя рубашка печи. В этом случае приборы снимают одновременно с разборкой кладки печи.
7.7. Разборка печей осуществляется поштучным снятием кирпича.
7.8. Запрещается производить разборку кирпичной кладки путем ее обрушения на перекрытие.
7.9. Образующиеся в результате разборки печей отверстия в междуэтажных перекрытиях должны ограждаться или перекрываться прочным, несдвигающимся настилом на все время работы.
7.10. Кирпич и строительный мусор от разборки печей и труб необходимо своевременно увлажнять и убирать с междуэтажного перекрытия.
7.11. Запрещается производить выбрасывание мусора в окно со второго этажа и выше.
7.12. Рабочий по разборке печей должен быть снабжен брезентовыми рукавицами и респиратором, предохраняющим дыхательные пути от пыли.
7.13. Листы футляра, годные для последующего использования на поделки, должны в процессе разборки предохраняться от прорывов, проколов и вмятин.
7.14. Кирпич, годный для последующего употребления в дело, в процессе разборки должен предохраняться от поломки.
7.15. В случае возможности применения башенного крана, печи в железных футлярах после снятия галтелей, печных приборов и отсоединения печи от дымоходов и устранения сцепления кладки с основанием (путем расшатывания печи) могут быть застропилены, подняты целиком и опушены на территорию строительной площадки при помощи башенного крана. При этом исходят из веса печи 1м - 1700-1800 кг.
Организация труда
7.16. Разборку печей в зависимости от их вида одиночные рабочие-печники 2-го и 3-го разряда (табл. 9).
Таблица 9
|
Вид печи |
Профессия |
Разряд |
Количество |
|
Разборка печей в футляре из кровельной стали |
Печник |
3 |
1 |
|
Разборка печей без облицовки |
Печник |
2 |
1 |
7.17. Разборку печей производят сверху вниз путем порядкового снятия кирпича. Изразцы и железные футляры снимают одновременно с разборкой кладки печи. При разборке печей, расположенных одна над другой и основанных на общем фундаменте, до полной разборки печей верхнего этажа печи нижних этажей оставляют нетронутыми, не снимая с них приборы и облицовку.
7.18. Процесс разборки печи в футляре из кровельного железа состоит из следующих последовательно выполняемых рабочих операций:
- подноска и установка подмостей;
- снятие футляра (поярусно):
- разгиб вертикального фальца;
- разгиб горизонтального фальца;
- снятие листа кровельной стали;
- разборка кирпичной кладки печи (поярусно) с сортировкой и очисткой кирпича;
- складирование годного кирпича в штабель;
- окучивание, увлажнение и уборка мусора;
- снятие предтопочного листа.
В случае разборки печи без облицовки комплекс работ повторяется, за исключением рабочих операций по снятию футляра.
7.19. Перечень инструмента, приспособлений и инвентаря приведен в табл. 10.
Таблица 10
|
Наименование |
Количество, шт. |
Назначение |
Дополнительные данные |
|
Зубило кровельное |
1 |
Применяется для разгибания фальцев футляра |
Вес 0,5 кг |
|
Молоток-кулачок МКУ |
1 |
Используется для разгибания фальцев футляра и разборки кладки |
Вес 2,2 кг |
|
Молоток-кирочка МКЛ |
1 |
Используется для очистки кирпича от раствора |
Вес 0,6 кг |
|
Лом-гвоздодер ЛГ |
1 |
Используется для разборки кирпичной кладки, отдирания листов футляра и предтопочного листа |
Длина 600-700 мм, вес 2 кг |
|
Лопата ЛР (совковая) |
1 |
Применяется для окучивания и уборки мусора |
Вес 2,1 кг |
|
Метла прутковая |
1 |
Применяется для уборки помещения после разборки печи |
- |
|
Респиратор |
1 |
Используется при разборке кладки для предохранения дыхательных путей от пыли |
- |
|
Подмости инвентарные |
1 |
Применяются для разборки верхнего яруса печи |
Высота подмостей определяется по месту |
|
Ведро емкостью 10 л |
1 |
Используется для увлажнения мусора |
Ширина грунтового наката 1 м |
|
Желоб (лоток) |
1 |
Служит для удаления наружу мусора |
Выполняется по месту |
Организация рабочего места
7.20. Схема организации рабочего места при разборке печей представлена на рис. 43.
Методы и приемы труда
7.21. Приступая к работам по разборке печи, рабочий подносит к разбираемой печи доставленные инвентарные подмости и устанавливает их в устойчивом положении.
Инструмент, необходимый для разборки, рабочий кладет на щиток подмостей с правой стороны.
7.22. Разгиб вертикальных, фальцев футляра, сделанного из кровельной стали, производится при помощи зубила и молотка. Рабочий левой рукой направляет острие зубила в складку лежащего фальца, а правой рукой ударяет молотком по обуху зубила, вгоняя его в фалец и разжимая его. Дальнейшее расширение складки фальца рабочий производит зубилом, действуя им как рычагом (рис. 44).
7.23. Разгиб горизонтального фальца производится так же, как вертикального, с той разницей, что зубило вгоняется в складку фальца не сбоку, а снизу.
7.24. Снятие листа, освобожденного от зажима фальца, производится при помощи ломика ЛГ. Рабочий загоняет острие лома между освобожденным листом футляра и кирпичной кладкой и движением лома на себя отдирает лист от кладки, одновременно окончательно вырывая его из пазов развернутых фальцев (рис. 45). Одной рукой рабочий придерживает освобождаемый лист и затем, отложив инструмент, обеими руками снимает лист и кладет его на определенном для этого месте.
7.25. Разборка кирпичной кладки производится поярусно. Рабочий вгоняет острие ломика ЛГ в вертикальные или горизонтальные (как удобнее, в зависимости от его положения к разбираемому месту кладки) швы верхнего ряда кладки и, нажимая (или поднимая) свободный конец лома, отделяет кирпич от кладки (рис. 46).
При крепком растворе лом можно вгонять в швы кладки ударами молотка по нему. Освободив от закрепления раствором несколько кирпичей (лучше всего - весь верхний ряд), рабочий откладывает лом, берет молоток-кирочку и, выбирая целые и годные кирпичи, срубает с их поверхности приставший раствор ударами острия кирочки (рис. 47). Кирпичи, очищенные от раствора и годные для дальнейшего употребления, рабочий откладывает в сторону от общей кучи мусора.
7.26. Складирование годного кирпича в штабель следует производить по мере его накопления.
Рекомендуется производить складирование перед началом разборки очередного яруса футляра. Складывать кирпич следует в клетку, и в случаях, если помещение доступно для обслуживания башенным краном, - на поддоны.

Рис. 43. Схема организации рабочего места
1 - разбираемая печь; 2 - переносные инвентарные подмости; 3 - место складирования листов футляра; 4 - строительный мусор; 5 - место окучивания мусора; 6 - штабель годного кирпича; 7 - желоб (лоток) для спуска мусора; 8 - лопатка совковая или прутяная метла.

Рис. 44. Разгиб горизонтального фальца

Рис. 45. Снятие листа

Рис. 46. Разборка кирпичной кладки

Рис. 47. Очистка кирпичей от раствора
7.27. Окучивание и сметание мусора производится после разборки последующих 2-3 верхних ярусов и после разборки каждого среднего и нижнего яруса при помощи совковой лопаты и прутяной метлы. При этом мусор следует периодически увлажнять. Удаление мусора из помещения следует производить совковой лопатой в окно. Для второго и выше этажей окно должно быть оборудовано закрытым желобком.
7.28. Предтопочный лист снимается при помощи ломика-гвоздодера ЛГ, употребляемого при разборке кирпичной кладки. Рабочий вгоняет ломик острием в зазор между листом и полом и, поднимая лом за свободный конец, отдирает от пола лист вместе с гвоздями.
8.1. Рекомендации, настоящего выпуска "Руководства по организации труда при производстве ремонтно-строительных работ" распространяются на работы по демонтажу инженерного домового оборудования при комплексном и выборочном капитальном ремонте жилых и общественных зданий.
8.2. Применение рекомендаций выпуска II предусматривается с соблюдением требований, регламентированных "Техническими указаниями на производство и приемку общестроительных и специализированных работ при капитальном ремонте жилых и общественных зданий", книга 1 утвержденных МЖКХ РСФСР в 1969 г. и "Указаниями по технологии ремонтно-строительного производства и Технологическими картами на работы при капитальном ремонте жилых домов", книга l утвержденными МЖКХ РСФСР в 1969 г., а также местными и ведомственными нормативными материалами по вопросам производства работ по демонтажу инженерного оборудования при капитальном ремонте жилых и общественных зданий.
Применение указанных рекомендаций предусматривается с учетом требований главы СНиП III-4-80 "Техника безопасности в строительстве", а также Тарифно-квалификационного справочника работ и профессий рабочих, занятых в строительстве и на ремонтно-строительных работах.
8.3. В комплекс работ по демонтажу инженерного оборудования, предусмотренных настоящим выпуском, включены следующие ремонтно-строительные процессы:
а) демонтаж разводящих магистралей системы центрального отопления;
б) демонтаж стояков и разводок системы центрального отопления.
Предусматривается в дальнейшем дополнить указанный выше перечень рекомендациями по выполнению демонтажа электросети, системы водоснабжения и газоснабжения.
8.4. Перед производством работ по демонтажу инженерного оборудования следует осуществить организационно-подготовительные мероприятия:
- оповещение жильцов о начале работ при работах в заселенном доме;
- подготовка обеспечения свободного доступа к приборам и трубопроводам в заселенных квартирах, загроможденных лестничных клетках, чердаках и т.д.;
- выбор мест для складирования демонтируемых элементов;
- определение путей выноса демонтируемых элементов из здания.
8.5. Работы могут выполняться при условии их предварительного согласования с противопожарной инспекцией и обеспечения надлежащих мер противопожарной безопасности.
8.6. До начала работ по демонтажу инженерного оборудования производится отключение инженерных сетей от городских питающих коммуникаций. Вода из системы центрального отопления спускается; водомеры, газовые и электрические счетчики демонтируются; отключаются и демонтируются слаботочные устройства - телефонная, радио и телевизионные сети. Отключение инженерных сетей и коммуникаций производится представителями организаций, в ведении которых находятся сети.
8.7. Разборка санитарно-технических систем начинается со снятия смывных бачков, раковин, умывальников, унитазов и ванн. Одновременно демонтируются водоразборные и запорные краны.
Радиаторы центрального отопления перед снятием отсоединяются от трубопроводов, а после демонтажа - для удобства переноски - разбираются на секции, не превышающие по весу 80 кг.
8.8. При разборке трубопроводов из стальных труб снятие креплений и разъединение труб производится в местах резьбовых соединений. Для облегчения развинчивания муфт, гаек, сгонов трубопроводы простукиваются в местах соединений, а уплотняющий материал выжигается с помощью паяльной лампы.
Трубопроводы из чугунных труб разбираются после расчеканки раструбов и фасонных частей.
8.9. Трубопроводы из стальных сильно коррозированных труб, негодных для дальнейшего употребления, а также трубопроводы из свинцовых труб снимаются укрупненными звеньями, без разъединения в местах соединений. Негодные для дальнейшего использования чугунные трубопроводы разбираются без расчеканки раструбов; места их соединений разбиваются ударами молотка.
8.10. Демонтаж электросети начинается со снятия плафонов, патронов, выключателей и штепсельных розеток, электрических щитков, рубильников и пр. После снятия арматуры приступают к демонтажу; проводки электропровода каждой комнаты отрезаются от всей системы и снимаются отдельно. Слаботочные кабели снимают, не разрезая, протаскивая их через отверстия в стенах. Для снятия роликов отворачиваются шурупы, глухари и болтики. Снятые провода разглаживаются и сматываются в бухты.
8.11. Все снятые элементы инженерного оборудования ремонтируемых жилых домов (в том числе водоразборные краны, раковины, умывальники, ванны, унитазы, трапы, смывные бачки, нагревательные приборы систем центрального отопления, запорная и регулировочная арматура, газовые плиты, ванные колонки, кухонные водонагреватели, распределительные щитки с предохранителями и рубильниками, счетчики, кабельные коробки, коммутаторы, телефонные аппараты, антенны, провода, изоляторы и т.д.) сортируются и отправляются на проверку, ремонт и доукомплектование для вторичного повторного их использования.
8.12. Трубопроводы систем центрального отопления и газоснабжения используют по возможности для временных сооружений. Радиаторы подвергают промывке, перегруппировке, гидравлическому испытанию и применяют повторно. Оцинкованные водопроводные трубы после промывки и очистки можно использовать вновь. Снятые электропровода можно использовать повторно для временных проводов только, после надлежащей проверки состояния их изоляции.
8.13. В качестве основной формы организации труда при производстве работ по демонтажу инженерного оборудования предусматриваются специализированные звенья, в состав которых могут входить слесари-сантехники, газорезчики и газосварщики - в зависимости от объема и характера работ, наличия фронта работ, вида ремонта, наличия и вида оборудования в здании и принятого способа ведения ремонтно-строительных работ на объекте.
8.14. При производстве работ по демонтажу инженерного оборудования должны быть созданы условия для безопасности высокопроизводительного труда рабочих с соблюдением нормальных санитарно-гигиенических и эстетических требований. Освещенность рабочих мест должна соответствовать "Указаниям по проектированию электрического освещения строительных площадок" (СН 81-70).
Особо ответственными в соблюдении правил техники безопасности являются процессы, в которых применяются газо- и электрорезка элементов инженерного оборудования. Инструмент ручной, электрифицированный, пневматический и другой, выдаваемый рабочим, должен быть в полной исправности, отвечать требованиям, указанным в инструкции или паспорте завода-изготовителя, и применяться в строгом соответствии с выполняемой работой. Запрещается выдавать из кладовой неисправный инструмент.
Спецодежда рабочим выдается согласно типовым отраслевым нормам выдачи спецодежды, спецобуви и предохранительных приспособлений. Рабочие, занятые на демонтаже инженерного оборудования, независимо от их специальностей обеспечиваются защитными наголовными касками и защитными очками.
8.15. При производстве работ по газовой резке трубопроводов следует особо обратить внимание наследующие правила техники безопасности и противопожарной безопасности:
- запрещается курить, зажигать спички и т.п. в радиусе 10 м от баллонов;
- запрещается пользоваться редукторами без манометров или неисправными манометрами (к ним относятся также те, срок проверки которых истек);
- не допускается попадание масла на вентиль газовых баллонов, шланги или инструмент, которыми пользуется газорезчик, во избежание вспышки масла и взрыва;
- перемещение баллонов с газом в пределах ремонтно-строительной площадки следует производить на тележках (либо носилках), причем баллоны должны быть хорошо закреплены;
- после окончания демонтажа на каждом этапе необходимо смочить пол водой в зоне выполнения газорезных работ во избежание оставления зароненной искры.
9.1. Рекомендации настоящего раздела предусматривают демонтаж системы водяного отопления с верхней разводкой в жилых заселенных зданиях, при реконструкции в них систем центрального отопления, а также при комплексном капитальном ремонте зданий без сохранения материалов.
9.2. Перед началом работ рабочие должны быть проинструктированы по технике безопасности и противопожарной безопасности.
9.3. Рабочие, выполняющие работы по газовой резке, должны быть обеспечены защитной одеждой, обувью и защитными очками. Брезентовые куртки и брюки должны быть надеты навыпуск, карманы куртки прикрываются клапанами, ботинки плотно зашнурованы, комбинезоны застегиваются на все пуговицы, пряжки застегиваются достаточно плотно.
9.4. При газовой резке над местами прохода людей необходимо устраивать защитные сплошные настилы с несгораемым покрытием.
Во время грозы, дождя и снегопада наружные работы по газовой резке должны быть запрещены.
Газовая резка с приставных и раздвижных лестниц запрещается.
9.5. Баллоны с газом должны быть установлены в вертикальном положении в стороне от электрических проводов и закреплены для предохранения от падения.
9.6. Перед началом работ по газовой резке необходимо проверить исправность изоляции сварных проводов и электродержателей, а также плотность соединения всех контактов. Шланги, соединяющие баллоны с горелкой или резаком 8 должны быть газонепроницаемыми и иметь длину не менее 10 м.
При прокладке проводов и каждом их перемещении принимаются меры против повреждения изоляции и соприкосновения со стальными канатами, шлангами ацетиленового газогенератора, газопламенной аппаратурой и горячими трубопроводами.
9.7. Не допускается захламленность помещения, мусор с чердака до начала работы должен быть удален.
9.8. Перед демонтажем разводящих магистралей системы центрального отопления следует выполнить следующие работы:
- удаление воды из системы центрального отопления;
- освещение затемненных рабочих мест (в чердаках и т.д.);
- обеспечение свободного доступа к месту производства работ;
- организация сварочного поста и доставка баллонов с газом.
Организация труда в звеньях
9.9. Для выполнения работ по демонтажу разводящих магистралей системы центрального отопления предусматривается звено из двух исполнителей по табл. 11.
Таблица 11
|
Профессия |
Разряд |
Условное обозначение |
Количество |
|
Слесарь-сантехник-газорезчик |
4 |
Г |
1 |
|
Слесарь-сантехник |
2 |
С |
1 |
9.10. В комплекс работ входят следующие последовательно выполняемые рабочие процессы и операции:
- снятие старой изоляции в местах перерезания магистральных труб;
- отсоединение стояков от разводящей магистрали;
- перерезание магистральных трубопроводов;
- освобождение перерезанных участков труб от растяжки;
- освобождение отрезкой труб*;
- относка труб к месту складирования.
9.11. При демонтаже разводящих магистралей применяется перечень инструментов, оборудования, приспособлений и инвентаря, указанный в табл. 12.
Таблица 12
|
Наименование |
Количество, шт. |
Назначение |
Дополнительные данные |
|
Скарпель |
1 |
Применяется для пробивки гнезд при освобождении |
- |
|
Плоскогубцы-кусачки |
2 |
Используются для резки проволоки 3-4 мм, крепящей теплоизоляцию на трубах |
- |
|
Кровельные ножницы |
2 |
Используются для разрезания мешковины тепловой изоляции |
- |
|
Молоток стальной строительный ПМЛ |
2 |
Применяется для работы со скарпелью |
- |
|
Монтировка |
2 |
Применяется для снятия теплоизоляции с труб |
- |
|
Резак РР-53 |
1 |
Применяется для резки труб |
- |
|
Редуктор кислородный РК-БО |
1 |
Применяется для регулирования давления в баллоне |
- |
|
Редуктор ацетиленовый РА-50 |
1 |
То же |
- |
|
Баллон стальной ацетиленовый |
1 |
Используется для газовой резки |
В комплекте со спецключами |
|
Баллон стальной для кислорода |
1 |
То же |
То же |
|
Шланг кислородный длиной 50 м |
1 |
Используется для подвода кислорода для резки |
- |
|
Шланг ацетиленовый длиной 50 м |
1 |
То же, ацетилена |
- |
|
Комплект ключей для баллонов |
1 |
Используется для эксплуатации баллонов |
- |
|
Асбестовые листы |
4 |
Используются для защиты сгораемых конструкций чердачного перекрытия от возгорания |
4×4 м |
|
Кисть-макловица КМЛ-2 |
1 |
Используется для смачивания раскаленных мест резки труб и участков пола в зоне резки |
- |
|
Ведро емкостью 10 л |
1 |
Используется для воды при смачивании мест срезов |
- |
|
Тележка металлическая двухосная |
1 |
Применяется для - перевозки в пределах строительного объекта баллонов с газом |
- |
|
Очки защитные |
2 |
Служат для предохранения глаз при резке |
- |
* Операция производится при условии прохождения магистралей в брандмауэрных стенах.
9.12. Потребность в материалах при газовой резке труб на 1 м разреза представлена в табл. 13.
Таблица 13
|
Наименование |
Единица измерения |
Количество |
|
Кислород Ацетилен |
л л |
50 15 |
Организация рабочего места
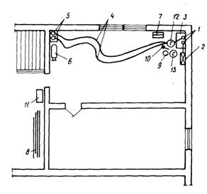
9.13. Схема организации рабочего места представлена на рис. 48.

Рис. 48. схема организации рабочего места
1 - баллоны ацетиленовый и кислородный; 2 - шланги ацетиленовый и кислородный; 3 - демонтированные участки труб; 4 - место складирования отрезков труб; 5 - тележка для баллонов с газом; 6 - слесарь-сантехник-газорезчик IV разряда; 7 - слесарь сантехник II разряда; 8 - ведро с водой; 9 - асбестовые листы; 10 - направление движения; 11 - демонтированная магистраль; 12 - существующая разводящая магистраль; 13 - стояк
Методы и приемы труда
9.14. Демонтаж разводящих магистралей начинается со снятия старой изоляции в местах перерезания магистральных труб. Рабочие С и Г каждый на своем участке кровельными ножницами разрезают слой мешковины по периметру вдоль снимаемого участка изоляции (рис. 49), затем кусачками перерезают проволоку крепления драночного коврика. После этого рабочие, подцепив монтировками изоляционный слой, освобождают отрезок трубы от изоляции (рис. 50).

Рис. 49. Снятие мешковины

Рис. 50. Снятие изоляции
9.15. Отсоединение стояков от разводящей магистрали выполняет газорезчик Г с помощью слесаря С. Слесарь С устилает участок пола чердака асбестовыми листами. Газорезчик Г, опустившись на колено, резаком перерезает стояки в непосредственной близости от магистральной трубы. В это время слесарь С поддерживает магистральную трубу, при необходимости подтягивает шланги, смачивает концы перерезанных труб водой, обрызгивая их с помощью кисти (рис. 51).
9.16. После отсоединения стояков от разводящей магистрали выполняется перерезывание магистральных трубопроводов. Слесарь С укладывает на пол в местах резки асбестовые листы. Газорезчик Г в наклонном положении резаком перерезает трубу. В это время слесарь С поддерживает конец перерезаемой трубы, при необходимости подтягивает шланги, обрызгивает концы перерезанных труб водой, опрыскивает участки пола водой для защиты его от упавшей искры. Смачивание водой осуществляется с помощью кисти-макловицы.

Рис. 51. Отсоединение стояков от разводящей магистрали

Рис. 52. Освобождение перерезанных труб от растяжек
9.17. Перерезанные участки магистральных труб освобождаются от растяжек. Слесарь С укладывает под местами резки асбестовые листы. Газорезчик Г резаком перерезает проволочные растяжки. Слесарь во время резки поддерживает участок освобождаемой трубы (рис. 52), затем опускает его на пол, а растяжки относит в сторону.

Рис. 53. Освобождение трубы из стены
9.18. Отрезки труб освобождаются из стен двумя рабочими. Рабочий Г, действуя скарпелью и молотком (которым он ударяет по скарпели), выбивает гнездо в стене вокруг трубы. В это время рабочий С двумя руками расшатывает конец трубы. Освобожденный отрезок трубы рабочие кладут на пол чердака (рис. 53).
9.19. Освобожденные отрезки труб подлежат относке к месту складирования. Рабочие кладут на плечи отрезок трубы (длиной примерно 3 м) и, придерживая его правой рукой, чтобы он не скатился, несут к месту складирования и кладут в пакет на пол.
10.1. Рекомендации настоящего раздела предусматривают демонтаж стояков и разводок из черных стальных водогазопроводных труб диаметра до 25 мм при двухтрубной системе отопления с верхней разводкой при реконструкции и комплексном капитальном ремонте системы водяного отопления в зданиях без сохранения материалов.
10.2. Перед демонтажем стояков и разводок системы центрального отопления должны быть выполнены следующие работы:
- спуск воды из системы центрального отопления;
- обеспечение свободного доступа к месту производства работ;
- организация сварочного поста и доставка баллонов с газом;
- подготовка места складирования демонтируемых
- труб с учетом удобства их доставки и дальнейшей относки.
10.3. Рабочие, выполняющие работы по газовой резке, должны быть обеспечены защитной одеждой и обувью, защитными очками. Брезентовые куртки и брюки должны быть надеты навыпуск, карманы куртки прикрываются клапанами, ботинки плотно зашнуровываются.
10.4. При газовой резке над местами прохода людей необходимо устраивать защитные сплошные настилы с несгораемым покрытием.
Во время грозы, дождя и снегопада наружные работы должны быть запрещены. Газовая резка с приставных и раздвижных лестниц запрещается.
10.5. Перед началом работ по газовой резке необходимо проверить исправность изоляции сварочных проводов, электродержателей, а также плотность соединений всех контактов; шланги, соединяющие баллоны с горелкой или резаком, должны быть газонепроницаемыми и иметь длину не менее 10 м. При прокладке проводов и каждом их перемещении принимаются меры против повреждения изоляции и соприкосновения их со стальными канатами, шлангами ацетиленового газогенератора, газопламенной аппаратурой и горячими трубопроводами.
10.6. Не допускается захламленность помещений, мусор с рабочих зон должен быть удален.
10.7. Перед началом работ рабочие должны быть проинструктированы по технике безопасности и пожарной безопасности.
Организация труда в звеньях
10.8. Для выполнения работ по демонтажу стояков и разводок системы нейтрального отопления предусматривается звено по табл. 14.
Таблица 14
|
Профессия |
Разряд |
Условное обозначение |
Количество |
|
Слесарь-сантехник-газорезчик |
4 |
Г |
1 |
|
Слесарь-сантехник |
2 |
С |
1 |
10.9. Работы по демонтажу стояков и разводок включают комплекс следующих последовательно выполняемых простых рабочих процессов и операций (с учетом переходов на этажи):
- перерезание стояков и разводок;
- освобождение стояка от креплений;
- удаление старых креплений;
- извлечение вырезанного участка стояка из перекрытия;
- относка вырезанного стояка к месту складирования;
- переходы с этажа на этаж с инструментом и оборудованием.
10.10. При демонтаже стояков и разводок применяется перечень инструмента, оборудования, приспособлений и инвентаря, указанный в табл. 15.
Таблица 15
|
Наименование |
Количество, шт. |
Назначение |
Дополнительные данные |
|
Резак РР-53 |
1 |
Применяется для резки труб |
- |
|
Редуктор кислородный РК-53 |
1 |
Применяется для регулирования давления в баллоне |
- |
|
Редуктор ацетиленовый РА-50 |
1 |
То же |
- |
|
Шланг кислородный длиной 50 м |
1 |
Используется для подвода кислорода для резки- |
- |
|
Шланг ацетиленовый длиной 50 м. |
1 |
То же, ацетилена |
- |
|
Комплект спецключей для баллонов |
1 |
Используется для эксплуатации баллонов с газом |
- |
|
Экран и листы асбестовые |
3 |
Используются для предотвращения попадания искр при резке труб на конструкции |
0,6 м2 (h=1,2 м) и 2×0,3 м2 |
|
Баллон ацетиленовый |
1 |
Используется для газовой резки |
- |
|
Баллон кислородный |
1 |
То же |
- |
|
Молоток слесарный МГ |
1 |
Применяется для выбивания стояка из перекрытия и работы со скарпелью |
Вес 1,1 кг |
|
Клещи |
1 |
Используются для удаления крепежного стержня |
- |
|
Скарпель |
1 |
Применяется для расширения отверстия в случае заклинивания трубы в перекрытии и ослабления заделки стержня крепления стояков в стене |
- |
|
Очки защитные |
2 |
Служат для предохранения глаз при резке |
- |
|
Ключ гаечный 18×22 |
1 |
Служит для упора клещей при вытаскивании стержня крепления из стены и для вывинчивания гайки крепления стояков |
- |
|
Ведро емкостью 10 л |
1 |
используется для воды при смачивании мест резов конструкций |
- |
|
Кисть-макловица КС |
1 |
Используется для смачивания асбестовых листов и мест резов |
- |
|
Тележка металлическая двухосная |
1 |
Применяется для перевозки баллонов с газом на территории рем- стройплощадки |
- |
|
Ящик для инструментов |
1 |
Служит для хранения и переноски инструмента |
- |
|
Ящик для элементов креплений |
1 |
Служит для складирования снятых элементов креп- пений стояков к стене |
0,8×1×0,5 м |
10.11. Потребность в материалах при газовой резке труб на 100 и. трубопровода представлена в табл. 16.
Таблица 16
|
Наименование |
Единица измерения |
Количество |
|
Кислород Ацетилен |
3 м3 м3 |
0,22 0,25 |
Организация рабочего места
10.12. Схема организации рабочего места представлена на рис. 54.
10.13. Не разрешается устанавливать газогенераторы и баллоны в подъездах, на лестничных площадках, в подвалах, а также около транспортных дорожек или в местах сосредоточения людей.
10.14. Баллоны с кислородом и ацетиленом необходимо защищать от лучей солнца, устанавливать в вертикальном положении с закреплением хомутами к стене (или в специальных стойках), в стороне от электрических проводов, нагретых предметов и проходов.
10.15. Место складирования вырезанных участков трубопроводов рекомендуется устраивать на лестничной площадке.

Рис. 54. Организация рабочего места
1 - демонтируемые стояки; 2 - радиатор; 3 - асбестовый лист; 4 - шланги ацетиленовый и кислородный; 5 - баллоны с газом; 6 - тележка для перевозки баллонов; 7 - ящик для инструментов; 8 - пакет складируемых демонтированных участков
Методы и приемы труда
10.16. Работы по демонтажу стояков и разводок начинаются с перерезания их кислородной резкой. Газосварщик Г, смочив с помощью кисти асбестовые плиты, расстилает их на полу у стояков под местом реза. В это время слесарь С устанавливает защитный асбестовый экран между стояками, разводками и стеной у мест реза; придерживает его, находясь от места реза на расстоянии 60-70 см. Газосварщик зажигает горелку и производит резы в намеченных местах: по одному резу на каждом стояке на высоте 5-8 см от уровня пола и на каждой разводке (рис. 55-57).
При резке стояков нижней разводки газосварщик Г низко приседает, при резке верхней разводки несколько наклоняется. Слесарь С в процессе резания разводок поддерживает экран в установленном положении.
Рабочий С с помощью кисти обрызгивает водой раскаленную трубу в местах реза.

Рис. 55. Перерезание верхней подводки

Рис. 56. Перерезание обратной подводки

Рис. 57. Перерезание стояков
10.17. После резания слесарь С освобождает стояк от креплений. Рабочий берет гаечный ключ в правую руку, становится в полуоборот и начинает отворачивать гайку со стержня крепления, периодически постукивая ключом по гайке для того, чтобы отбить засохшую краску на конце крепежного стержня (рис. 58). Отворачивание гайки продолжается до того момента, когда конец стержня сравняется с торцом гайки.

Рис. 58. Освобождение стояка от креплений

Рис. 59. Удаление старых креплений

Рис. 60. Извлечение вырезанного участка стояка из перекрытия
а - выбивание участка стояка из перекрытия; б - расшатывание участка стояка в перекрытии
10.18. Удаление старых креплений производят двое рабочих. Рабочий С скарпелью и молотком пробивает гнездо в стене в месте заделки стержня, ослабляя сцепление стержня со стеной. Рабочий Г накладывает ключ на трубы стояков ниже крепежного болта и придерживает его в таком положении до полного вытаскивания крепежного стержня Рабочий С, развернув ослабленные планки крепления параллельно трубам стояков, берет в правую руку клещи, захватывает ими крепежный стержень ниже планки и упирает клещи в наложенный на трубы ключ, действуя ими как рычагом, вытаскивает стержень из стены (рис. 59) *
* В домах, где производится комплексный капитальный ремонт не обязательно удалять старые крепления вытаскиванием, их можно обрезать.
Элементы снятых креплений рабочие кладут в ящик, находящийся на лестничной площадке.
10.19. Извлечение вырезанного участка стояка из перекрытия производят рабочие С и Г. Рабочий Г, поднявшись на этаж выше того места, где производится демонтаж трубопровода, низко присев, ударами молотка по торцу перерезанного участка стояка выбивает стояк из перекрытия (рис. 60, а). В случае заклинивания стояка в перекрытии рабочий расширяет отверстие в нем с помощью скарпели.
Рабочий С, взявшись левой рукой за стояк, правой - за разводку, разворачивает демонтируемый отрезок стояка концом разводки перпендикулярно стене и одновременными поступательно-вращательными движениями вниз расшатывает его до полного извлечения из перекрытия и опускает на поп (рис. 60, б),
10.20. Рабочий С берет отрезок демонтированного стояка и, удерживая его двумя руками на весу, относит к месту складирования (на расстояние до 15 м), на лестничную площадку. Принесенные участки труб складываются в пакет.
10.21. По окончании работ на этаже газосварщик Г сматывает шланги и переносит их на следующий этаж, затем переносит ведро с водой и горелки. Рабочий С переносит на следующий этаж асбестовые листы и другой инструмент.
В домах, где производится комплексный капитальный ремонт, не обязательно удалять старые крепления вытаскиванием, их можно обрезать.
|
ГОСТЫ, СТРОИТЕЛЬНЫЕ и ТЕХНИЧЕСКИЕ НОРМАТИВЫ. Некоммерческая онлайн система, содержащая все Российские Госты, национальные Стандарты и нормативы. В Системе содержится более 150000 файлов нормативно-технической документации, действующей на территории РФ. Система предназначена для широкого круга инженерно-технических специалистов. Copyright © www.gostrf.com, 2008 - 2026 |