|
|
|
МИНИСТЕРСТВО ГРАЖДАНСКОЙ АВИАЦИИ Государственный проектно-изыскательский и научно-исследовательский институт Аэропроект РУКОВОДСТВО Москва 1985 СОДЕРЖАНИЕВ настоящем Руководстве рассмотрены вопросы категорирования и проектирования аэропортов МВЛ, технология их работы, методы определения основных исходных показателей для эксплуатационно-технических расчетов, необходимых для проектирования аэропортов, отдельных зданий и сооружений, учтены особенности проектирования аэропортов МВЛ в районах Крайнего Севера. Руководство предназначено для специалистов, осуществляющих проектирование аэропортов МВЛ. Руководство разработано под общей редакцией канд. техн. наук В.И. Смоляка, инженеров П.И. Зенина, А.В. Ярцева. Руководство утверждено Министерством гражданской авиации 28 ноября 1983 г. 1. ОБЩИЕ ПОЛОЖЕНИЯ1.1. Настоящее Руководство распространяется на проектирование новых, расширение, реконструкцию и техническое перевооружение действующих аэропортов местных воздушных линий (МВЛ). Примечание. Проектирование аэропортов МВЛ должно осуществляться применительно к "Нормам технологического проектирования аэропортов" ВНТП 1 для аэропортов V класса. 1.2. При проектировании зданий, сооружений и оборудования аэропортов МВЛ, наряду с настоящим Руководством, следует руководствоваться нормами годности к эксплуатации в СССР гражданских аэродромов, требованиями соответствующих нормативных и инструктивных документов, утвержденных или согласованных с Госстроем СССР и МГА. 1.3. При проектировании отдельных объектов, зданий и сооружений необходимо использовать ведомственные нормы технологического проектирования отдельных сооружений аэродромов, аэровокзалов, цехов бортового питания, грузовых комплексов, объектов авиатопливообеспечения, объектов управления воздушным движением, радионавигации и посадки, светосигнального и электрического оборудования систем посадки, аэропортовой электросвязи, командно-диспетчерских пунктов, авиационно-технических баз. 1.4. При эксплуатации в аэропортах МВД вертолетов, как правило, для работ по применению авиации в народном хозяйстве, следует предусматривать здания и сооружения, обеспечивающие их безопасные и регулярные полеты. Проектирование этих аэродромов следует производить применительно к "Инструкции по проектированию вертолетных станций, вертодромов и посадочных площадок для вертолетов гражданской авиации" и СНиП "Аэродромы. Нормы проектирования". 1.5. Определение основных исходных данные для эксплуатационно-технических расчетов при проектировании зданий и сооружений аэропортов следует выполнять применительно к методическим положениям "Пособием по проектированию аэропортов". 1.6. Проект аэропорта должен разрабатываться с учетом перспективы его развития не менее чем на 20 лет после ввода его в эксплуатацию. В составе проекта разрабатывается схема генерального плана на 20-летнюю перспективу после ввода аэропорта в эксплуатацию, проектно-сметная документация разрабатывается на первую очередь строительства. 1.7. Первая очередь строительства (расширения, реконструкция) включает комплекс зданий, сооружений и оборудования для обслуживания всех видов перевозок в объемах, планируемых на 10-й год после ввода аэропорта в эксплуатацию (окончания расширения, реконструкции) и обеспечивающих безопасность и регулярность движения воздушных судов, уровень обслуживания перевозок, предусмотренных нормативными документами. 2. КАТЕГОРИРОВАНИЕ АЭРОПОРТОВ МВЛ И ИСХОДНЫЕ ПОКАЗАТЕЛИ ДЛЯ ЭКСПЛУАТАЦИОННО-ТЕХНИЧЕСКИХ РАСЧЕТОВ ПРИ ПРОЕКТИРОВАНИИ2.1. К аэропортам МВЛ относятся аэропорты, в которых регулярно (по расписанию) эксплуатируются воздушные суда III и IV групп с годовым объемом пассажирских перевозок не более 500 тыс. чел., не входящие в перечень союзных аэропортов, утвержденный МГА. Примечание. К самолетам III группы относятся воздушные суда типа Ан-24, Ан-26, Ан-30, Як-40 и другие магистральные ближние самолеты II и III классов в соответствии с их классификацией, данной в "Наставлении по производству полетов в гражданской авиации СССР" НПП ГА-78; к самолетам IV группы относятся воздушные суда типа Л-410, Aн-28, Ан-2, Л-610 и другие самолеты МВЛ IV класса. 2.2. Категория аэропорта определяется годовым объемом пассажирских перевозок (пассажирообменом), т.е. суммарным количеством всех прилетающих и вылетающих пассажиров, включая транзитных пассажиров:
Доля транзитных пассажиров в общем объеме пассажирских перевозок (в %) для различных категорий аэропортов МВЛ составит: для аэропортов I категории - 3-6 %, для аэропортов II категории - 0-3 %, в аэропортах III категории транзитных пассажиров нет. 2.3. Проектирование, зданий и сооружений для обслуживания грузовых и почтовых перевозок производятся исходя из прогнозируемых объемов переработки грузов и почты в аэропорту. При отсутствии необходимых данных годовой объем переработки грузов и почты по категориям аэропортов МВЛ допускается принимать по табл. 1. Таблица 1
Примечания: 1. Объем почтово-грузовых перевозок аэропорта определяется как суммарное количество всего объема прибытия и отправок почты и грузов, включая следующие транзитом через аэропорт. 2. Для аэропортов Крайнего Севера объемы грузовых перевозок следует определять по прогнозу с учетом фактического и планируемого соотношения между прибытием и отправкой грузов. 2.4. Основными исходными данными для эксплуатационно-технических расчетов при проектировании зданий и сооружений аэропорта являются: годовой объем перевозок; интенсивность движения самолетов по группам; приписной парк самолетов по группам. 2.5. Годовой объем перевозок, включая транзитные перевозки, устанавливается заданием на проектирование. Максимальный суточный и часовой объем пассажирских и грузовых перевозок определяется с учетом их неравномерности в течение годового и суточного периодов с использованием соответствующих коэффициентов суточной Кс и часовой Кч неравномерности по ВНТП I. 2.6. Коэффициенты неравномерности перевозок Кс и Кч следует принимать на основании анализа фактических данных за 5-10 лет для проектируемого аэропорта или по данным аэропортов, находящихся в аналогичных условиях эксплуатации. При отсутствии необходимых данных ориентировочные значения коэффициентов суточной и часовой неравномерности перевозок можно принимать по табл. 2. Таблица 2
Примечание. Меньшее значение соответствует максимальному объему перевозок, большее - минимальному. 2.7. Продолжительность работы аэропортов МВЛ устанавливается заданием на проектирование и зависит от годового объема пассажирских перевозок и интенсивности движения воздушных судов. При отсутствии необходимых данных продолжительность работы аэропорта можно принимать следующую:
Примечание. Большее значение соответствует максимальному объему перевозок, меньшее - минимальному. 2.8. Годовая интенсивность движения пассажирских и грузовых самолетов устанавливается исходя из годового объема перевозок, его распределения по группам самолетов при их загрузке, равной 80 % от количества пассажирских кресел, или предельной коммерческой загрузки. Значение максимальной суточной Исмакс и максимальной часовой Ичмакс интенсивности движения самолетов в зависимости от годовой интенсивности их движения в аэропорту следует устанавливать с учетом величин Кс и Кч. При отсутствии данных ориентировочную годовую интенсивность движения самолётов в аэропортах МВЛ следует принимать по табл. 3. Таблица 3
Примечание. Большее значение соответствует максимальному объему перевозок аэропорта, меньшее - минимальному объему перевозок. 2.9. Приписной парк, т.е. количество базирующихся в аэропорту воздушных судов, определяется путем расчета в соответствии с "Пособием по проектированию аэропортов" (в развитие ВНТП I-80) или устанавливается заданием на проектирование. При отсутствии исходных данных состав приписного парка в аэропортах МВЛ I категории следует принимать для самолетов III группы - 5; IV группы - 30 (в том числе самолеты для ПАНХ - 25). 3. ТЕХНОЛОГИЧЕСКИЕ ПРОЦЕССЫ И ОРГАНИЗАЦИЯ ОБСЛУЖИВАНИЯ ПАССАЖИРОВ3.1. Технологическая схема организация основных потоков в аэровокзале, на привокзальной площади и пассажирском перроне должна обеспечивать: быстрое и качественное обслуживание пассажиров в соответствии с порядком работ и в установленные контрольные сроки; эффективнее использование сооружений и технических средств обслуживания на уровне современных требований; следование пассажиров в аэровокзале по наиболее прямым маршрутам, не допуская, по возможности, их пересечения при подходе к очередным пунктам обслуживания; безопасность движения пассажиров и персонала, исключение пересечения путей движения основных потоков пассажиров, ручной клади со средствами транспорта и механизации (при этом по мере необходимости следует использовать соответствующие надписи и знаки); быстрый вывод пассажиров с ручной кладью из зоны контроля при отмене вылета рейса. 3.2. Для обслуживания пассажиров в аэровокзале должны быть предусмотрены определенные зоны. Состав зон обслуживания основного технологического назначения приведен в табл. 4. Таблица 4
3.3. При проектировании пассажирских сооружений, как правило, следует предусматривать применение порейсового метода регистрации билетов и оформления ручной клади к перевозке, который выполняется на рабочих местах, закрепленных за определенными номерами рейсов. 3.4. Основной метод регистрации билетов, при котором ведется ведомость регистрации отправок пассажиров и багажа, взвешивается багаж каждого пассажира, принимается плата за перевозку сверхнормативного багажа и выдается багажная квитанция, рекомендуется применять при оформлении пассажиров на рейсы с двумя и более промежуточными посадками, выполняемыми самолетами III группы. Упрощенный метод регистрации применяется при обслуживании пассажиров прямых (без промежуточных посадок) рейсов и рейсов с одной промежуточной посадкой для самолетов III и IV групп. 3.5. Следует выделять один пункт регистрация для обслуживания пассажиров одного рейса самолета III группы или 2-3 рейсов самолетов IV группы. 3.6. Ручная кладь после оформления находится при пассажире, досматривается в пункте досмотра вместе с пассажиром, доставляется им в воздушное судно. Погрузка и снятие ручной клади с воздушного судна осуществляется методом самообслуживания под руководством дежурного службы организации перевозок и контролем бортпроводника в соответствии с установленным порядком. 3.7. Досмотр ручной клади, и личный досмотр пассажиров организуется в зоне контроля, состоящей из одного или нескольких пунктов досмотра. В аэропорту зона контроля должна быть оснащена необходимыми техническими средствами досмотра согласно положениям, действующим в гражданской авиации. 3.8. Досмотр должен начинаться, как правило, одновременно с регистрацией билетов и заканчиваться не позднее чем за 15 мин до отправления воздушного судна. 3.9. Рекомендуется организовать обслуживание вылетающих пассажиров таким образом, чтобы после регистрации билета пассажир попал непосредственно в зону контроля и исключался контакт с посторонними лицами. 3.10. Состав персонала назначается в зависимости от технологии обслуживания пассажиров, установленной для каждого конкретного аэропорта. Примерный состав персонала, назначаемый для организации обслуживания пассажиров, приведен в табл. 5. В аэропортах II и III категории возможно совмещение обязанностей персонала. Таблица 5
3.11. В аэропортах, в которых велик удельный вес транзитных пассажиров, при задержке рейсов целесообразно организовать передачу информации о наличии высвободившихся мест по прямой связи диспетчеру группы транзита, который обязан провести быстрое распределение мест при наличии спроса: дежурному по транзиту для отправки пассажиров с открытой датой вылета; в кассу, выделенную для пассажиров, имеющих право внеочередного обслуживания; в кассу допродажи для пассажиров, желающих приобрести билет на данный рейс за наличный расчет. 3.12. Для организации обслуживания пассажиров, оформленных на допосадку, целесообразно выделить в аэровокзале отдельную стойку регистрации обслуживающий персонал, которой должен иметь связь с соответствующим дежурным по регистрации, проводившим оформление основного потока пассажиров на рейс, с кассой допродажи, принимать дополнительных пассажиров с билетами на допосадку, осуществлять безопасную и своевременную их доставку к воздушному судну. 3.13. Доставка пассажиров к воздушному судну осуществляется сразу после окончания досмотра или группами по мере накопления пассажиров в зоне ожидания пункта досмотра (в накопителе). При нахождении воздушного судна на расстоянии свыше 70 м от авиаперрона для доставки пассажиров должен использоваться автотранспорт. При меньшем расстоянии пассажиры могут следовать пешком, но только в сопровождении дежурного по посадке. Потоки пассажиров и автотранспорта не должны пересекаться. 3.14. Технологической схемой обслуживания пассажиров должно быть предусмотрено обслуживание транзитных пассажиров по прилету (встреча, сопровождение к аэровокзалу), обслуживание в аэровокзале у диспетчера по транзиту или в кассе. Транзитные пассажиры в аэропорту промежуточной посадки не проходят регистрации билетов, направляются в зону ожидания посадки, в которой размещен необходимый комплекс услуг. При отсутствии такой зоны или комплекса услуг в ней транзитные пассажиры направляются в операционную зону вылета. 3.15. Длительность обслуживания вылетающих пассажиров зависит от установленной, технологии обслуживания и технолого-планировочного решения аэровокзала. Рекомендуется производить операции досмотра в те же контрольные сроки, что и регистрацию билетов. В этом случае длительность обслуживания составляет не более 30 мин до момента отправления воздушного судна. Продолжительность обслуживания пассажиров в аэропортах I категории представлена в табл. 6 и 7. Таблица 6
Таблица 7
Длительность обслуживания пассажиров составляет 8-9 мин. Состав средств механизации, оборудования для выполнения технологических процессов обслуживания пассажиров и ручной клади в аэропортах МВЛ I и II категорий следует принимать по данным табл. 8, в аэропортах МВЛ III категории в составе средств механизации не предусматриваются средства для обслуживания транзитных пассажиров и для доставки их к воздушному судну. Таблица 8
Примечание. Перронные автобусы применяются только в аэропортах I и II категорий при удалении места стоянки самолета на перроне от аэровокзала более 70 м. 3.16. Обслуживание самолетов на перроне производится в соответствии с графиком оперативного технического обслуживания (рис. 1) в зависимости от типа самолета. 3.17. Принципиальные схемы обслуживания пассажиров с багажом, обработки грузов и почты в зависимости от метода обслуживания с указанием средств механизации по каждой операции приведены на рис. 2-6. В случае отсутствия в аэропорту указанных средств механизации необходимо использовать средства, аналогичной производительности или грузоподъемности в соответствии с табелем средств механизации. 3.18. Принципиальные схемы технологических процессов обслуживания вахтовых перевозок пассажиров и грузов ПАНХ в вертолетных подразделениях аэропортов МВЛ и технологических процессов вертолетного подразделения ПАНХ приведены на рис. 7. 4. СОСТАВ ЗДАНИЙ И СООРУЖЕНИЙ В АЭРОПОРТАХ МВЛ И ИХ РАСПОЛОЖЕНИЕ НА ГЕНЕРАЛЬНОМ ПЛАНЕ4.1. Требования к проектированию генеральных планов аэропортов МВЛ аналогичны требованиям к проектированию классифицированных аэропортов и приведены в ВНТП I. При планировке служебно-технической территории (СТТ) необходимо соблюдать требования главы СНиП "Генеральные планы промышленных предприятий". 4.2. Мощность зданий и сооружений определяется расчетом на основе исходных данных по настоящему Руководству и действующим ведомственным нормам проектирования. Ориентировочный состав зданий и сооружений приведен в приложении 1. Объемы и площади зданий и сооружений рассчитаны для минимального и максимального объемов перевозок аэропортов МВЛ каждой категории. Рис. 1. Исходный технологический график подготовка Ан-24 к начальному рейсу
Рис. 2. Принципиальная схема обслуживания трансферных (транзитных) пассажиров
Рис. 3. Принципиальная схема обслуживания вылетающих пассажиров в аэропортах местных воздушных линий. Основной метод Служба, ответственная за проведение технологической операции: А - агентство воздушных перевозок; СП - служба организации перевозок; ПДСП - производственно-диспетчерская служба предприятия; ОМ - отделение милиции.
Pиc. 4. Принципиальная схема обслуживания прилетевших пассажиров
Рис. 5. Принципиальная схема обработки грузов прилетевшего самолета
Рис. 6. Принципиальная схема обработки грузов, прибывших из города Рис. 7. Схема технологических процессов обслуживания вахтовых пассажиров и грузов ПАНХ в вертолетном подразделении аэропорта МВЛ Ориентировочная стоимость строительства зданий и сооружений аэропортов МВЛ по категориям приведена в приложении 2. 4.3. Грузовые самолеты в аэропортах МВЛ, как правило, следует размещать на пассажирском перроне. При значительном объеме грузовых авиаперевозок может предусматриваться специальный грузовой перрон для кратковременной стоянки грузовых самолетов при выполнении погрузочно-разгрузочных работ с одновременным техническим обслуживанием самолетов. Грузовой перрон должен, как правило, непосредственно примыкать к пассажирскому перрону или местам стоянки самолетов. Для обеспечения грузовых перевозок на аэродромах, где эксплуатируются вертолеты, могут предусматриваться площадки для хранения и подвески крупногабаритных грузов. 4.4. Привокзальная площадь предназначена для маневрирования и размещения средств общественного и индивидуального транспорта, прибывающего в аэропорт из города. 4.5. В аэропортах МВЛ I и II категорий грузовой склад и отдаление перевозки почты (ОПП), как правило, следует блокировать в одно здание, а в аэропортах МВЛ III категории со служебно-пассажирским зданием (СПЗ) или аэровокзалом. 4.6. К зданию грузового склада и ОПП должен примыкать со стороны города грузовой двор, предназначенный для стоянки и маневрирования автомашин, производящих погрузочно-разгрузочные операции. 4.7. Автодороги к грузовому складу и ОПП не должны пересекать привокзальную площадь. 4.8. Территория аэродромов, включая зоны рабочих секторов курсовых и глиссадных радиомаяков, должна иметь ограждения по всему периметру. Участки ограждения должны быть прямолинейными в плане с минимально необходимым количеством углов поворота. Тип ограждения следует принимать - колючую проволоку на железобетонных столбах или металлическую сетку высотой 2 м, с Т-образной насадкой высотой 0,1 м и с козырьком шириной по 0,5 м в каждую сторону из колючей проволоки, натянутой через 10 см. Участки территории зданий и сооружений с открытым хранением материалов, грузов, оборудования и механизмов, базу аэродромной службы, службу спецтранспорта, материальные склады следует ограждать, как правило, забором из металлической сетки высотой 2 м. Водопроводные и очистные сооружения, мазутное хозяйство котельных должны ограждаться согласно требованиям соответствующих СНиП. Примечание. Допускается предусматривать ограждение из местных материалов (ракушечник, туф, шлакобетон и др.). 4.9. Для обеспечения транспортной связи функциональных зон и отдельных объектов служебно-технической территории (CТT) между собой, аэродромом и подъездной автомобильной дорогой аэропорта следует предусматривать внутрипортовые основные и вспомогательные дороги. 4.10. Внутрипортовые дороги аэропортов следует проектировать как производственные дороги промышленных предприятий в соответствии с требованиями СНиП "Автомобильные дороги. Нормы проектирования". 4.11. При проектировании внутрипортовых автомобильных дорог необходимо предусматривать петлевые объезды или разворотные площадки, размер которых определяется расчетом, но не менее 12×12 м. 4.12. Габариты приближения края проезжей части внутрипортовых дорог к зданиям и сооружениям СТТ, а также условия проезда пожарных автомобилей следует принимать в соответствии с требованиями СНиП "Генеральные планы промышленных предприятий" и табл. 9. Таблица 9
4.13. Примерные схемы генеральных планов аэропортов МВЛ по категориям для их максимальных объемов перевозок приведены в приложении 3. 5. АЭРОВОКЗАЛЫ И СЛУЖЕБНО-ПАССАЖИРСКИЕ ЗДАНИЯ АЭРОПОРТОВ МВЛ5.1. Номенклатура аэровокзалов и служебно-пассажирских зданий аэропортов MBЛ5.1.1. Аэровокзалы аэропортов МВЛ предназначены для технологического и дополнительного обслуживания вылетающих и транзитных пассажиров, а также для дополнительного обслуживания прилетевших пассажиров, провожающих и встречающих. В аэровокзалах аэропортов МВД багаж не принимается у пассажиров для перевозки под ответственность Аэрофлота и не выдается, в отличие от аэровокзалов аэропортов воздушных трасс СССР. Регистрация пассажиров осуществляется, как правило, упрощенным порейсовым методом. Служебно-пассажирские здания (СПЗ) аэропортов МВЛ объединяет, кроме аэровокзала, службы и предприятия, тяготеющие к нему на генплане (КДП, гостиницу, профилакторий, цех бортпитания, столовую, помещения техбригад, автостанцию, склад грузовых перевозок, ОПП) и представляют собой сблокированные здания. Примечание. Конкретные рекомендации по проектированию СПЗ даны в разделе 14 настоящего Руководства. 5.1.2. Основным производственно-технологическим показателем аэровокзала является его пропускная способность. Потребная пропускная способность аэровокзала соответствует максимальному часовому объему перевозок аэропорта и определяется по ВНТП I. При выборе проектной пропускной способности аэровокзала следует округлять величину потребной пропускной способности до ближайшего значения, установленной настоящим Руководством. Допускается превышение потребной пропускной способности по сравнению с проектной на 10 %. В случае более значительного отклонения потребной пропускной способности следует выбирать ближайший больший показатель номенклатуры. Ориентировочное соответствие номенклатурной пропускной способности аэровокзалов категориям аэропортов МВЛ приведено в табл. 10. Таблица 10
5.2. Состав, размещение и площади помещений5.2.1. Состав и площади помещений основного технологического назначения следует принимать в соответствии с приложением 4. Состав и площади административных и бытовых помещений определены с учетом численности персонала (приложение 5). 5.2.2. В пределах общей площади пассажирского зала следует учитывать размещение следующих зон: вестибюля; ожидания начала регистрации; образования очереди пассажиров на регистрацию; регистрации; магистральных проходов. 5.2.3. К зоне вестибюля должны примыкать справочное бюро, стойки диспетчера по транзиту и кассы продажи билетов. 5.2.4. Магистральные проходы соединяют входы и выхода из здания, лестницы на второй этаж и в подвал с основными зонами в пассажирском зале. Магистральные проходы должны быть свободны от очередей пассажиров, мебели и иметь ширину не менее значений, приведенных в табл. 11. Таблица 11
Зона образования очереди пассажиров на регистрацию примыкает к фронту строек регистрации и пунктов досмотра, она должна быть свободна от магистральных проходов и иметь ширину не менее значений, приведенных в табл. 11. Количество кресел в зоне ожидания регистрации следует принимать в соответствия с табл. 11. 5.2.5. Помещения автостанции должны располагаться со стороны привокзальной площади в непосредственной близости к зонам вылета и прилета. Примерный состав и площади помещений автостанции приведены в табл. 12. В аэровокзале на 35 пасс./ч предусматривать помещения для автостанции не требуется. Таблица 12
5.2.6. Технологическую взаимосвязь помещений, их расположение по отношению к перрону и привокзальной площади, состав помещений депутатов, комнаты матери и ребенка, медпункта, отделения связи, бытовых помещений, парикмахерской, мастерской бытового обслуживания, отделения милиции, перронных бригад, предприятий торговли следует принимать по ВНТП аэровокзалов (ВНТП-3) 5.3. Состав и количество технологического оборудования5.3.1. Типы и количество технологического оборудования определены для одного варианта порейсового метода обслуживания пассажиров МВЛ и приведены в табл. 13. Таблица 13
х)Оборудование на котором выполняется несколько функций. хх)В случае отсутствия рентгенотелевизионного интроскопа досмотр пассажиров следует производить вручную. 5.4. Номенклатура, состав и площади помещений предприятий общественного питания и торговли5.4.1. Предприятия общественного питания, размещаемые в аэровокзалах, проектируются с учетом обслуживания пассажиров всех категорий, посетителей и персонала служб аэровокзала. 5.4.2. Типы и вместимость предприятий общественного питания, размещаемых в аэровокзалах, представлены в табл. 14, площади помещений - в приложениях 4 и 6. Таблица 14
Примечание. Вместимость служебной столовой рассчитана на обслуживание персонала всех служб аэропорта. 5.4.3. Номенклатуру и количество мест предприятий торговли следует принимать по табл. 15. Все киоски следует разместить в пассажирском зале в зоне ожидания регистрации. Площадь необходимая под киоски, включается в площадь пассажирского зала. Таблица 15
6. ЗДАНИЯ И СООРУЖЕНИЯ ГРУЗОВОГО КОМПЛЕКСА6.1. Здания и сооружения грузовых комплексов аэропортов МВЛ I и II категорий следует предусматривать отдельно стоящими, сблокированными с отделениями перевозки почты (ОПП). 6.2. В аэропортах МВЛ III категории складские помещения следует предусматривать в помещении аэровокзала или СПЗ. 6.3. Грузовые комплексы подразделяется по категориям аэропортов МВЛ в соответствии с объемом грузовых и почтовых перевозок (табл. 16). Таблица 16
6.4. Ориентировочное соответствие проектных и расчетных значений емкостей грузовых складов суточному грузообороту по категориям аэропортов МВЛ приведено в табл. 17. Таблица 17
6.5. В составе грузовых комплексов аэропортов МВЛ I и II категорий должны предусматриваться: грузовой склад; склад для хранения опасных грузов; грузовой двор; крытые рампы и площадки; контрольно-пропускной пункт; ограждения. 6.6. Размещение грузовых комплексов на служебно-технической территории аэропорта следует предусматривать с соблюдением следующих требований: удаление грузового комплекса от пассажирского перрона должно быть наименьшим, но не препятствующим их взаимному развитию; пути следования грузов (склад - самолет - склад) должны быть максимально сокращены. 6.7. Для хранения опасных грузов, указанных в перечне № 1 "Правил перевозки опасных грузов воздушным транспортом", ч 1, следует проектировать отдельные склады из огнестойких материалов, разделенные на отдельные секции (по видам грузов). При проектировании складов опасных грузов и решении вопросов их освещения, отопления, вентиляции, охранной и пожарной сигнализации, связи и охранного обеспечения следует руководствоваться "Правилами перевозки опасных грузов воздушным транспортом", ч.1. 6.8. Склад опасных грузов должен быть расположен не ближе 100 м от других несгораемых зданий и сооружений и не ближе 300 м от сгораемых и трудносгораемых зданий и сооружений, складов ГСМ и стоянок самолетов. 6.9. Тяжеловесные и длинномерные грузы подлежат хранению на рампах, примыкающих к зданию склада, или крытых площадках, расположенных на территории грузового двора. 6.10. Проектирование складских помещений, предназначенных для временного хранения биопрепаратов, скоропортящихся продуктов, следует производить с учетом требований, изложенных в "Правилах перевозки пассажиров, багажа и грузов по воздушным линиям Союза ССР". 6.11. Основными расчетными характеристиками для определения объемно-планировочных показателей зданий и сооружений являются: суточные и часовые объемы грузовых потоков со стороны города и перрона; соотношение основных категорий грузов в общем грузообороте грузового комплекса; нормативные сроки хранения различных категорий грузов; режим работы грузового комплекса. 6.12. Расчетный суточный объем грузового потока со стороны города и перрона следует определять в соответствии с ВНТП грузовых комплексов (ВНТП-5). 6.13. Значение коэффициента суточной неравномерности следует определять на основании анализа фактических данных за 5-10 лет по проектному грузовому комплексу аэропорта или грузовым комплексам аэропортов, находящихся в аналогичных условиях эксплуатации. При отсутствии необходимых данных о неравномерности грузовых потоков значения Kс можно принимать по табл. 2 настоящего Руководства. 6.14. Сроки хранения основных категорий грузов в грузовых комплексах следует принимать по ВНТП 5. 6.15. Соотношение основных категорий грузов в общем грузообороте грузовых комплексов по группам при отсутствии данных по проектируемому объекту следует принимать по табл. 18. Таблица 18
6.16. Режим работы грузовых комплексов аэропортов MВЛ следует принимать, исходя из условий децентрализованного завоза и вывоза грузов из города в аэропорт и обратно (транспортом клиентуры). 6.17. Режим работы грузовых комплексов следует принимать на основе режима работы аэропорта. 6.18. Нормы усредненных нагрузок на 1 м2 площади складирования различных категорий грузов следует принимать по табл. 19. Таблица 19
6.19. Расчетная емкость (вместимость) грузовых складов аэропортов MBЛ определяется в соответствии с принятыми сроками хранения основных категорий грузов, приведенными в ВНТП-5, и величиной суточного грузооборота, приведенного в табл. 20. Таблица 20
6.20. При проектировании грузовых комплексов в аэропортах МВЛ I и II категорий состав помещений следует принимать в соответствии с табл. 21. Таблица 21
6.21. При проектировании грузовых складов в аэропорту МВЛ III категории, предусматриваемых в СПЗ, состав помещений следует принимать в соответствии с табл. 22. Таблица 22
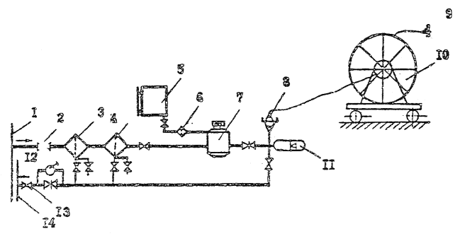
6.22. В аэропортах МВЛ I и II категорий площади складских помещений в грузовых складах рассчитываются в соответствии с принятыми сроками хранения грузов, соотношением категорий грузов, нормативной удельной складской площадью, принятой по ВНТП-5. 6.23. Площади грузовых складов аэропортов МВЛ I и II категорий следует принимать по табл. 23 и 24, III категории, предусмотренных в составе СПЗ, по табл. 25. 6.24. Помещения для хранения грузов, предусмотренные в составе СПЗ, следует располагать с учетом свободного подъезда к складу автотранспорта, как со стороны города, так и со стороны перрона. 6.25. Схема грузовых потоков, размещения оборудования, средств механизации и складских помещений в грузовых комплексах аэропортов МВЛ I и II категорий представлена на рис. 8.
Рис. 8. Схема грузовых потоков, размещения оборудования, средств механизации и складских помещений в грузовых комплексах с суточным грузооборотом до 70 т: 1 - роликовые дорожки; 2 - автомашина с подъемным кузовом и роликовыми дорожками; 3 - аккумуляторный погрузчик; 4 - кран-балка; 5 - весы рычажные; 6 - стеллаж; I - административно-служебные помещения; II - холодильные камеры; III - навес для открытого хранения грузов; IV - зона хранения отправляемых грузов; V - рабочее место приемосдатчиков; VI - зона хранения прибывших грузов. Таблица 23
худельная площадь, м2/чел. Таблица 24
х удельная площадь, м2/чел. Таблица 25
6.26. При проектировании отдельно стоящих складов аэропортов МВЛ необходимо предусматривать территорию грузового двора. 6.27. Площадь грузового двора определяется на основе расчета потребного количества погрузочно-разгрузочных мест (постов), режима работы грузового комплекса; площадей, необходимых для размещения автомашин со стороны города и перрона по всей длине склада; площадей, учитывающих озеленение и благоустройство, режимно-охранное обеспечение (зону) по периметру ограждения; минимальные нормативные расстояния от автомашины до склада, от движущегося автомобиля до стоящего у рампы склада автомобиля и до границы проезда. Методика расчета площади грузового двора представлена в "Пособии по проектированию грузовых комплексов аэропортов" (ГПИ и НИИ ГА Аэропроект, 1983). 6.28. Площади грузовых дворов для аэропортов МВЛ I и II категорий приведены в табл. 26. Площадь для стоянки автомашин у склада находящегося в составе СПЗ, принимается 67 м2. 6.29. Выбор типов и расчет количества механизмов для погрузочно-разгрузочных работ должен производиться с учетом способов складирования грузов, их транспортировки, суточными и часовыми объемами грузовых потоков со стороны города и перрона. 6.30. В грузовых складах на 6, 10, 30 и 70 т/сут., проектируемых как отдельно стоящие здания, следует предусматривать трехъярусное стеллажное складирование грузов. В грузовых складах с суточным грузооборотом 1,3 и 6 т/сут., проектируемых в здании СПЗ, предусматривается навалочный способ складирования грузов. 6.31. Потребное количество механизмов и оборудования следует определять по формуле
где Q - расчетный суточный грузооборот склада, т; K1 - коэффициент, учитывающий долю грузов, обрабатываемых данным средством; K2 - коэффициент часовой неравномерности грузопотока; q4 - часовая производительность средства механизации, т/ч; Т - расчетный период работы средства механизации в сутки, ч; Kвр - коэффициент использования механизмов. Таблица 26
Ориентировочное количество механизмов и оборудования в грузовых складах можно принимать по табл. 27. 6.32. Ориентировочная численность работников службы организации почтово-грузовых перевозок (СОПГП) приведена в табл. 28. 7. ЗДАНИЯ И СООРУЖЕНИЯ ТЕХНИЧЕСКОГО ОБСЛУЖИВАНИЯ ВОЗДУШНЫХ СУДОВ7.1. Требования к зданиям и сооружениям технического обслуживания воздушных судов7.1.1. Инженерно-авиационная служба (ИАС) аэропортов МВЛ предназначена для выполнения комплекса работ по техническому обслуживанию воздушных судов. 7.1.2. Группа ИАС аэропортов МВЛ зависит от выполняемого годового объема работ в приведенных единицах технического обслуживания и при проектировании устанавливается согласно табл. 29. Таблица 27
Таблица 28
Таблица 29
7.1.3. Трудозатраты на одну приведенную единицу технического обслуживания для всех групп ИАС следует принимать 10 чел./ч. 7.1.4. Расчет годового объема работ ИАС группы следует выполнять по методике, изложенной в приложении 1 ВНТП АТБ. 7.1.5. Годовой объем работы ИАС Ообщ II и III групп следует рассчитывать по формуле
где Пг - годовой объем перевозок аэропорта, тыс.чел. 7.1.6. Требования к размещению зданий и сооружений технического обслуживания воздушных судов следует принимать в соответствии с ВНТП АТБ. 7.1.7. Примерный состав зданий и сооружений по группам ИАС аэропортов МВЛ представлен в табл. 30. Таблица 30
7.1.8. Ангары (ангары-укрытия) рекомендуется возводить из легких металлических конструкций, изготавливаемых промышленностью, либо использовать доки для технического обслуживания самолетов, изготавливаемые заводом № 409 ГА. 7.1.9. В аэропортах, не имеющих приписного парка, помещения ИАС целесообразно размещать в служебно-пассажирском здании. 7.1.10. Площадку для мойки самолетов IV группы и вертолетов III класса следует предусматривать только при отсутствии площадки для легазации и мойки воздушных судов. 7.2. Методы определения мощностей зданий и сооружений технического обслуживания воздушных судов в аэропортах МВЛ7.2.1. Площади помещении ИАС аэропортов МВЛ определяются при проектировании по комплекту устанавливаемого оборудования, на основании данных табл. 17, 18, 19, 20 и 21 ВНТП АТБ и пп. 5.27-5.30 "Руководства по проектированию зданий и сооружений авиационно-технических баз гражданской авиации". 7.2.2. Общая площадь производственного здания ИАС II группы (при наличии приписного парка воздушных судов) определяется по формуле
Общие площади производственных зданий ИАС могут уточняться после подбора и составления технологических планировок оборудования, однако они не должны превышать площадей, указанных в табл. 30 более чем на 10 %. 7.2.3. Укрупненную номенклатуру и площади помещений ИАС I группы аэропортов MBЛ, имеющих приписные самолёты, следует принимать по табл. 31. Таблица 31
х)Размещать на первом этаже. хх)Размещать на верхних этажах. 7.2.4. Режим работы ИАС должен соответствовать режиму работы аэропорта МВЛ. 7.2.5. В ИАС I группы следует принимать двухсменный режим работы с 357 рабочими днями, когда в течение суток работает одна смена. Длительность смены 11,5 ч. Фонд времени участков оперативного и периодического технического обслуживания воздушных судов Фд2 = 4078 ч. 7.2.6. В ИАО II и III групп следует принимать односменный режим работы с 253 рабочими днями. Длительность смены 8,2 ч. Фонд времени группы оперативного и периодического технического обслуживания воздушных судов Фд1 = 2080 ч. 7.2.7. Фонды времени и режимы работы рабочих следует принимать по ВНТП 11-80. 7.2.8. Численность персонала ИАС следует рассчитывать по ВНТП 11-80, а для предпроектных проработок ее следует принимать по табл. 32. Таблица 32
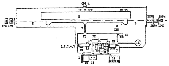
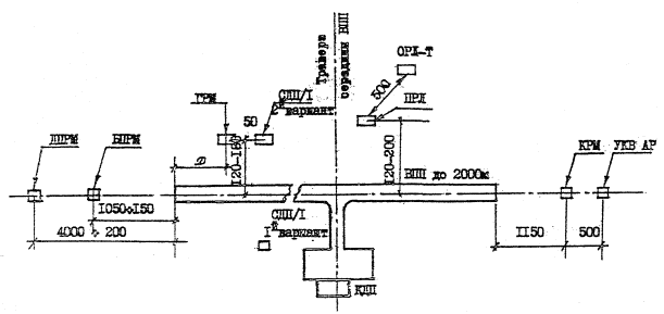
Примечание. В аэропортах, где технический состав штатом не предусмотрен, оперативное обслуживание по формам А, Б, Д, Е и работы по устранению мелких неисправностей выполняет экипаж. 8. ОБЪЕКТЫ УПРАВЛЕНИЯ ВОЗДУШНЫМ ДВИЖЕНИЕМ, РАДИОНАВИГАЦИИ И ПОСАДКИ8.1. Проектирование объектов УВД, радионавигации и посадки должно осуществляться согласно "Нормам технологического проектирования объектов управления воздушным движением, радионавигации и посадки" (ВНТП-7), "Табелю оснащения средствами радиотехнического обеспечения (РТС) и связи аэропортов МВЛ" и "Нормам технологического проектирования светосигнального и электрического оборудования систем посадки воздушных судов в аэропортах" (ВНТП-8). 8.2. Состав объектов УВД, радионавигации и посадки по категориям аэропортов приведен в табл. 33. Таблица 33
х)Разряд КДП определяется согласно ВНТП 10 хх)Состав и тип оборудования уточняются заданием на проектирование в зависимости от класса аэродрома, структуры УВД и интенсивности движения воздушных судов. ххх)Трассовые обзорные радиолокаторы (ОРЛ-Т) устанавливаются в аэропортах МВЛ, где предусматривается или функционирует ВРЦ. Данные, указанные в табл. 33, могут уточняться в соответствии с заданием заказчика на проектирование с учетом местных условий конкретных аэропортов. Схема размещения объектов УВД, радионавигации и посадки в аэропортах МВЛ приведена в приложении 7. 8.3. Проектирование КДП должно осуществляться согласно "Нормам технологического проектирования командно-диспетчерских пунктов в аэропортах" (ВНТП 10), "Руководству по проектированию командно-диспетчерских пунктов в аэропортах" и данному Руководству. 8.4. Численность работников служб, связанных с обеспечением УВД и предполетной подготовки экипажей должна определяться в соответствии со следующими нормативными документами: "Типовые нормативы численности работников служб движения эксплуатационных предприятий гражданской авиации", "Типовой проект организации труда и нормы численности работников штурманской службы аэропорта", "Типовые нормативы численности работников базы эксплуатации радиотехнического оборудования и связи эксплуатационных предприятий гражданской авиации". В штат работников метеослужбы для аэропортов I категории входят начальник станции - 1 и наблюдатели -7. 8.5. Выбор оборудования рабочих мест диспетчеров КДП по зонам аэродромного и внеаэродромного воздушного пространства должен производиться согласно "Табелю оснащения аэродромов гражданской авиации средствами радиотехнического обеспечения и связи". Примерный состав и количество диспетчерских пультов по категориям аэропортов МВЛ приведен в табл. 34. Таблица 34
Примечание. Количество и назначение пультов уточняются в зависимости от класса аэродрома, структуры и количества диспетчерских пунктов службы движения, определяемых заданием на проектирование. 8.6. Для диспетчеров ДПСП, КДП MBЛ (СДП) должна предусматриваться световая и звуковая сигнализация состояния радиотехнических средств. 9. ОБЪЕКТЫ И СРЕДСТВА АВИАТОПЛИВООБЕСПЕЧЕНИЯ9.1. Склады ГСМ в зонах теплого и умеренного климата проектируются в соответствии с требованиями СНиП "Склады нефти и нефтепродуктов. Нормы проектирования" и "Ведомственных норм технологического проектирования объектов авиатопливообеспечения аэропортов" (ВНТП 6). 9.2. Склады ГСМ, расположенные в районах Крайнего Севера, проектируются в соответствии с нормативными документами, а также "Руководством по проектированию и эксплуатации складов топлива аэропортов Крайнего Севера". 9.3. Заправка топливом воздушных судов в зависимости от конкретных условий осуществляется топливозаправщиками, упрощенными системами централизованной заправки (ЦЗС) или переносными и передвижными средствами заправки. Технологические схемы заправки воздушных судов через систему ЦЗС, заправочного агрегата и пункта налива представлены в приложениях 8, 9 и 10. 9.4. Количество и типы средств заправки, фильтров, насосов, счетчиков и другого технологического оборудования выбираются при проектировании комплекса объектов ГСМ в зависимости от расходов топлива аэропортом, интенсивности движения и типов воздушных судов, а также способа доставки авиатоплива. Перечень рекомендуемого оборудования для объектов ГСМ представлен в приложении 11. 9.5. Объем потребной вместимости резервуарного парка определяется в следующем порядке: по каждому типу воздушных судов по номограммам (рис. 9, 10, 11), определяются расчетные расходы топлива (среднесуточный и в сутки "пик") в зависимости от интенсивности движения воздушных судов в час "пик" λ, среднего объема заправки q, коэффициента часовой неравномерности движения воздушных судов Кч и коэффициента суточной неравномерности движения воздушных судов Кс; определяются расчетные значения расходов топлива в аэропорту (среднесуточный и в сутки "пик") как сумма расходов топлива по каждому типу воздушных судов; по графикам (рис. 12, 13) определяется потребный объем резервуарного парка для различных способов доставки в зависимости от расчетных значений топлива в аэропорту. Рис. 9. Номограмма определения среднесуточного расхода топлива Qсс и расхода топлива в сутки "пик" Qсп в зависимости от интенсивности движения воздушных судов в час "пик" λ и среднего объема заправки q (для q = 0,1-1,0 м3) Рис. 10. Номограмма определения среднесуточного расхода топлива Qcc и расхода топлива в сутки "пик" Qсп в зависимости от интенсивности движения воздушных судов в час "пик" λ и среднего объема заправки q (для q = 1-3 м3) Рис. 11. Номограмма определения среднесуточного расхода топлива Qcc и расхода топлива в сутки "пик" Qсп в зависимости от интенсивности движения воздушных судов в час "пик" λ и среднего объема заправки q (для q = 1-10 м3) Рис. 12. График определения объема резервуарного парка при доставке топлива в аэропорт водным транспортом Рис. 13. График определения объема резервуарного парка при доставке автомобильным (I), железнодорожным (II) и трубопроводным (III) транспортом. 10. ЭЛЕКТРОСВЯЗЬ10.1. Электросвязь гражданской авиации подразделяется на авиационную воздушную электросвязь (АВЭ) и авиационную наземную электросвязь (AHЭ). АВЭ должна обеспечивать управление воздушным движением (УВД) при полетах в районе аэродрома, на трассах МВЛ и в районах применения авиации в народном хозяйстве (ПАНХ). АНЭ должна обеспечивать взаимодействие диспетчерских органов службы движения. 10.2. Назначение и количество каналов АВЭ должны определяться согласно "Нормам технологического проектирования командно-диспетчерских пунктов в аэропортах'' (ВНТП-10) по разряду КДП с учетом состава диспетчерских пунктов службы движения, предусматриваемых в проектируемом аэропорту. 10.3. При проектировании аэропортов МВЛ состав и размеры площадей помещений базы ЭРТОС (узла связи) следует предусматривать согласно ВНТП-10 для КДП V или VI разряда. 10.4. Для обеспечения радиосвязи КДП-V следует предусматривать выделенный передающий радиоцентр, проектирование которого должно выполняться согласно "Нормам технологического проектирования объектов управления воздушным движением радионавигаций и посадки" (ВНТП-7) и ВНТП-212 Минсвязи СССР. 10.5. Обеспечение УВД на МВЛ и в районах ПАНХ следует предусматривать с использованием средств радиосвязи диапазонов MB, ДКМВ, ГКMB, а в районах Крайнего Севера - дополнительно КВМ. 10.6. На каналах, связи МДП следует предусматривать антенно-фидерные устройства тропосферной радиосвязи. 10.7. Радиовещание метеорологической информации и сообщения по УВД экипажам воздушных судов, применяемых в народном хозяйстве, могут осуществляться с помощью приводных радиостанций. 10.8. При проектировании оснащения аэропортов МВЛ средствами авиационной воздушной радиосвязи помимо требований настоящего раздела следует руководствоваться "Табелем оснащения средствами радиотехнического обеспечения и связи аэропортов МВЛ". 10.9. Авиационная наземная радиосвязь подразделяется на междуаэропортовую связь и междугородную связь агентств воздушных сообщений; внутриаэропортовую связь и городскую связь агентств. 10.10. По видам связи авиационная наземная электросвязь аэропортов МВЛ подразделяется на телефонную и телеграфную связь. 10.11. Междуаэропортовая телефонная связь должна предусматриваться в проектах для обеспечения: непосредственного взаимодействия диспетчерских органов службы движения с целью оперативного обмена информацией по управлению воздушным движением; непосредственных переговоров по административно-диспетчерскому управлению предприятиями и организациями, оперативного взаимодействия органов службы организации перевозок (СОП) и других служб. 10.12. Организацию междуаэропортовой телефонной связи следует предусматривать по принципу прямых, коммутируемых и заказных соединений с использованием арендуемых телефонных каналов общегосударственной сети связи. При невозможности аренды каналов общегосударственной сети связи должны предусматриваться каналы радиотелефонной связи ГА. 10.13. Количество телефонных каналов следует определять при проектировании конкретного аэропорта согласно данным приложения 12 с учетом задания на проектирование. 10.14. Междуаэропортовая телеграфная связь должна предусматриваться для обеспечения: взаимодействия диспетчерских пунктов УВД, передачи (приема) сообщений по планированию, обеспечению и выполнению полетов, а также других служебных сведений; передачи (приема) авиационной метеорологической информации по прогнозам погоды, сведений о фактической погоде, штормовых оповещений и предупреждений об опасных для авиации метеоявлениях; взаимодействия между органами службы организации перевозок с целью обмена информацией, связанной с производственной деятельностью органов СОП; взаимодействия между административными органами ГА. 10.15. В аэропортах МВЛ следует предусматривать установку оконечных центров коммутации сообщений (ЦКС-0), а также абонентских пунктов (АП) или оконечных телеграфных станций (ОТС), входящих в единую сеть связи ГА, которая организуется по радиально-узловой схеме. 10.16. В КДП-У следует предусматривать установку ЦКС-0, АП или ОТС, в КДП-VI - низовой канал связи (телеграфный аппарат включенный в ближайший ЦКС-0, АП или ОТС). 10.17. Для взаимодействия ЦКС-0, АД или ОТС с узлом коммерческой связи агентства данного аэропорта следует предусматривать один прямой телеграфный канал связи. 10.18. Для обмена информацией с корреспондентами не входящими в единую сеть связи ГА, а также для ее резервирования в ЦКС-0, АП или ОТС следует предусматривать одну абонентскую точку сети абонентского телеграфа Министерства связи СССР. 10.19. При отсутствии возможности организации проводных каналов телеграфной связи между аэропортами следует предусматривать слуховые радиотелеграфные или буквопечатающие радиоканалы. 10.20. При проектировании оснащения аэропортов МВЛ средствами междуаэропортовой телеграфной связи следует руководствоваться требованиями, изложенными в ВНТП-10 для КДП-V и КДП-VI. 10.21. Внутриаэропортовая электросвязь организуется для обеспечения производственной деятельности служб аэропорта и их взаимодействия. 10.22. По видам связи внутриаэропортовая электросвязь аэропортов МВЛ подразделяется на телефонную, громкоговорящую, телеграфную, радиосвязь, радиооповещение, радиофикацию, визуальную информацию, сигнализацию (охранную, пожарную и электрочасофикацию). 10.23. Сеть телефонной связи должна предусматриваться для ведения служебных переговоров внутри и между службами аэропорта, и также с абонентами городской АТС. 10.24. Организацию сети телефонной связи следует предусматривать по принципу прямых и коммутируемых соединений с использованием УПТС аэропорта, аппаратуры оперативной телефонной связи и оконечных абонентских устройств соединенных между собой абонентскими линиями. 10.25. Телефонизации в аэропорту подлежат: производственные, административно-хозяйственные, культурно-бытовые, складские и санитарно-технические сооружения, все посты военизированной охраны, объекта радиосветообеспечения полетов и объекты электроснабжения, обеспечивающие работу аэропорта. 10.26. Емкость УПТС аэропорта определяется числом абонентов во всех зданиях и сооружениях аэропорта, предусматриваемых по генеральному плану. 10.27. В аэропортах МВЛ I, II и III категорий следует предусматривать УПТС соответственно на 200-250, 100-150 и 80-100 абонентов. Распределение телефонных аппаратов абонентов УПТС по зданиям и сооружениям аэропорта приведено в приложении 13. 10.28. Количество телефонов УПТС с правом выхода на ГАТС определяется расчетом. К абонентам, не имеющим права выхода на ГАТС, следует относить абонентов, технология работы которых не требует связи с абонентами ГАТС. 10.29. Размещение УПТС следует предусматривать, как правило, в КДП или СПЗ аэропорта. 10.30. Сеть оперативной громкоговорящей связи (ГГС) аэропорта, организуется для обеспечения оперативного обмена информацией внутри служи и между службами аэропорта, совместно участвующих в определенных производственных процессах. 10.31. Сеть оперативной громкоговорящей связи в аэропортах МВЛ I, II и III категорий должна проектироваться по радиально-узловой схеме. 10.32. Средства оперативной ГГС, должны обеспечивать возможность как селекторного вызова, так и циркулярной передачи информации абонентам, включённым в состав сети. 10.33. Средствами оперативной ГГС следует оснащать здания КДП, объекты УВД, аэровокзалы, СПЗ, грузовые склады, АТБ, склады ГСМ и аварийно-спасательной станции, службы спецтранспорта (ССТ) и базы аэродромной службы. 10.34. Для передачи телеграмм от телеграфной станции в службы аэропорта и в обратном направлении следует предусматривать сеть местной доставки телеграмм. 10.35. Местная достатка телеграмм, может осуществляться с помощью средств телеграфной, связи, пневмопочты; транспортера или курьеров. 10.36. Доставку телеграмм в службы средствами телеграфной связи следует предусматривать при установке в аэропорту ЦКС-0, АП или ОТС. Для доставки телеграмм от служб, расположенных в одном здании с телеграфной станцией, может быть использована пневмопочта или транспортер. 10.37. Сети внутриаэропортовой радиосвязи должны предусматриваться в аэропортах МВЛ I и II категорий для связи диспетчеров соответствующих служб с водителями спецавтотранспорта и других подвижных объектов, включая работников аэропорта с носимыми радиостанциями. 10.38. Сети внутриаэропортовой радиосвязи должны включать стационарные, мобильные и носимые радиостанции малой мощности диапазона метровых волн (MB). 10.39. В аэропортах MBЛ I и II категорий следует предусматривать организацию следующих сетей внутриаэропортовой радиосвязи: диспетчера СДП (КДП МВЛ) с водителями аэродромных машин и бригадой рабочих, выполняющих работы на ВПЦ и РД; диспетчера СОП с дежурными по встрече и посадке водителями грузовых машин; диспетчера ПДО АТБ с техниками-бригадирами на местах стоянок; дежурного ВОХР с постовыми и оперативной автомашиной; дежурного пожарного депо с пожарными автомобилями. 10.40. Количество рабочих комплектов в каждой радиосети следует определять исходя из оснащения конкретного аэропорта средствами механизации и автотранспорта, интенсивности радиообмена, наличия диспетчерских пунктов и количества работников дневной смены, выполняющих работы на аэродроме. 10.41. Для обеспечения бесперебойной работы радиосетей следует предусматривать резервные радиостанции. Количество
резервных стационарных радиостанций n определяется
из выражения Для мобильных и носимых радиостанций принимается резерв 10 % от количества комплектов рабочих радиостанций. 10.42. Используемые радиостанции должны обеспечивать беспоисковую и бесподстроечную связь в радиусе не менее 2-3 км. 10.43. Сети радиооповещения должны предусматриваться в аэропортах МВЛ I, II и III категорий для оповещения пассажиров и работников, связанных с перевозками, о движении воздушных судов, времени начала и окончания регистрации билетов, выдаче багажа, времени посадки в самолеты и другой информации, относящейся к перевозкам. Сети радиооповещения используются также для передачи распоряжений в других службах. 10.44. В аэропортах МВЛ I и II категорий для радиооповещения пассажиров проектом следует предусматривать радиоузел, размещаемый в двух помещениях - дикторской и аппаратной. Аппаратная радиоузла, как правило, должна совмещаться с аппаратной средств визуальной информации. В аэропортах МВЛ III категории аппаратура радиоузла размещается в помещении диспетчера СОП, который осуществляет оповещение. 10.45. Мощность трансляционных узлов должна обосновываться расчетом при проектировании. Ориентировочное значение потребной мощности радиооповещения составляет для аэропортов I, II и III категорий соответственно 200, 100 и 50 Вт. 10.46. Производственное радиооповещение следует предусматривать в грузовом складе, АТБ, спецавтобазе и аварийно-спасательной станции аэропортов МВЛ I и II категорий. 10.47. Сеть радиофикации должна предусматривать для прослушивания персоналом аэропортов МВЛ всех категорий радиотрансляционных программ и извещений гражданской обороны, а в отдельных случаях - для оповещения пассажиров. 10.48. Радиофикации в аэропорту подлежат все производственные и культурно-бытовые здания, а также жилые дома авиагородка, если отсутствует возможность подключения к радиотрансляционной сети Министерства связи СССР. 10.49. Самостоятельная сеть радиофикации аэропорта, как правило, должна подключаться к радиотрансляционной сети города. При значительном удалении от городской радиотрансляционной сети по согласованию с органами Министерства связи СССР в аэропорту может быть оборудован свой радиотрансляционный узел. 10.50. Все узлы радиооповещения должны иметь ввод сети радиофикации аэропорта. 10.51. В аэровокзалах с служебно-пассажирских зданиях аэропортов MBЛ должны предусматриваться средства визуальной информации как для информации пассажиров так и для производственных целей. 10.52. Средства визуальной информации пассажиров и посетителей в аэровокзале должны обеспечивать вылетающих, прилетевших и транзитных пассажиров информацией по основным вопросам технологического обслуживания пассажиров; время и место регистрации билетов и оформления багажа, время и место посадки пассажиров в самолет, данные о задержках вылетов и прилетов самолетов, о наличии свободных мест на самолеты, о месте выдачи багажа и т.д. 10.53. Потребное количество средств визуальной информации в аэровокзалах, СПЗ аэропортов МВЛ следует принимать согласно приложению 14. 10.54. Проектирование оснащения аэропортов МВЛ средствами визуальной информации следует осуществлять применительно к требованиям BHTП-3 и "Рекомендаций по размещению информации в аэровокзалах". 10.55. Сеть электрочасофикации должна предусматриваться для индикации единого точного времени в зданиях, сооружениях и на территории аэропортов МВЛ. 10.56. Электрочасофикации подлежат все пассажирские и служебные здания аэропортов. 10.57. Электрочасофикация зданий и сооружений аэропорта должна осуществляться от центральной электрочасовой станции, которая, как правило, размещается в помещении УПТС аэропорта или кроссовой узла связи. Передача импульсов на вторичные электрочасы должна предусматриваться по самостоятельным линиям связи. 10.58. Ориентировочное количество вторичных электрочасов по зданиям и сооружениям аэропорта приведено в приложении 13. 10.59. Сети тревожно-вызывной, охранной и пожарной сигнализации должны предусматриваться для передачи сигналов тревога и вызова от постов охраны, датчиков и извещателей на пульты централизованного наблюдения, станций, устанавливаемые в помещениях отрядов ВОХР. 10.60. Пульт централизованного наблюдения (ПЦН), как правило, должен устанавливаться у диспетчера пожарной связи ВОХР в аварийно-спасательной станции и иметь самостоятельные концентраторы для охранной и пожарной сигнализации. 10.61. Устройства тревожно-вызывной, охранной и пожарной сигнализации на объектах аэропортов МВЛ всех категорий должна предусматриваться согласно "Перечню помещений, зданий, сооружений и объектов гражданской авиации, подлежащих обязательному оборудованию системами автоматического пожаротушения и пожарной сигнализации", "Перечню объектов предприятий ГА, подлежащих обязательному оборудованию инженерно-техническими средствами охраны", "Перечню технических средств охраны, разрешенных к применению на предприятиях гражданской авиации", утвержденных МГА. 10.62. Для соединения между собой средств, внутриаэропортовой связи, а также объектов УВД, радионавигации и посадки с аппаратурой дистанционного управления следует предусматривать комплексную кабельную сеть аэропорта, которая, как правило, должна проектироваться на служебно-технической территории, МС, перроне, через рулежные дорожки и ВПП с прокладкой кабелей в кабельной канализации, a за пределами этой территории - непосредственно в грунте. 10.63. Линии связи аэропорт - город должны предусматриваться между узлами связи аэропорта и телефонно-телёграфными узлами общегосударственной сети связи. 10.64. Организация каналов связи на участке аэропорт - город должна предусматриваться по низкочастотным уплотненным или неуплотненным кабелям, уплотненным высокочастотным кабелем и с использованием радиорелейных станций. 10.65. Назначение каналов и их ориентировочное количество в линии связи аэропорт - город по категориям аэропортов МВЛ приведены в приложении 12. Емкость линии связи аэропорт - город определяется проектом по данным приложения 12 с учетом задания на проектирование. 10.66. Проектирование сетей внутриаэропортовой электросвязи следует осуществлять согласно требованиям норм технологического проектирования внутриаэропортовой электросвязи ведомственных норм МГА на соответствующие объекты аэропорта. 10.67. В аэропортах МВЛ всех категорий следует предусматривать установку аппаратуры контрольной звукозаписи, предназначенной для фиксации на магнитную ленту с регистрацией фактического времени всех переговоров диспетчеров службы движения по телефонным каналам авиационной воздушной и наземной связи, передачи по радиоканалам метеовещания, а также передачи по громкоговорящей связи информации работниками метеостанции, диспетчерам службы движения. 10.68. Проектирование оснащения аэропортов МВЛ средствами контрольной звукозаписи следует осуществлять согласно требованиям ВНТП КДП в аэропортах и "Руководства по проектированию КДП", а также "Табеля оснащения средствами радиотехнического обеспечения и связи аэропортов МВЛ". 11. ЭЛЕКТРОСНАБЖЕНИЕ АЭРОПОРТА И ЕГО ОБЪЕКТОВ11.1. Проектирование электроснабжения, электрооборудования и электроосвещения аэропортов МВЛ должно осуществляться в соответствии с требованиями "Правил устройства электроустановок" (ПУЭ), "Инструкции по проектированию электроснабжения промышленных предприятий", "Инструкции по проектированию инженерно-технических мероприятий (ИТМ), гражданской обороны объектов гражданской авиации", главы СНиП "Правила производства и приемки работ. Электротехнические устройства", главы СНиП "Естественное и искусственное освещение. Нормы проектирования", ОСТа "Освещение искусственное в эксплуатационных предприятиях гражданской авиации. Нормы и требования безопасности" и других соответствующих документов, утвержденных Госстроем СССР и МГА. 11.2. Система электроснабжения аэропорта должна обеспечивать надежное питание потребителей электроэнергии всех объектов, расположенных на его территории с учетом категории их электроприемников по степени надежности. К основным элементам системы электроснабжения аэропорта относятся: линии электропередачи, соединяющие внешние источники электроснабжения с вводными трансформаторными подстанциями (ТП); высоковольтная сеть, распределяющая электроэнергию между трансформаторными подстанциями аэропорта; низковольтная электрическая сеть, передающая электроэнергию от низковольтных щитов ТП в низковольтных распределительных щитов, потребителям; дизель-генераторные установки автономного электропитания. 11.3 Электроснабжение аэропорта может осуществляться от районных подстанций, высоковольтных линий электропередачи централизованного электроснабжения, подстанций близлежащих предприятий и других подобных источников, которые могут обеспечивать аэропорт электроэнергией необходимой мощности. 11.4. Электроснабжение аэропортов МВД I и II категории должно, как правило, осуществляться не менее чем от двух внешних независимых источников по двум независимым линиям электропередачи. При отсутствии в районе аэропорта второго внешнего независимого источника его электроснабжение допускается осуществлять от одного внешнего источника. В этом случае для резервирования электропитания его объектов должны использоваться автономные дизель-электрические агрегаты. Мощность автономных агрегатов должна обеспечивать питание всех электроприемников аэропорта, отнесенных по степени надежности к I и II категориям. Электроснабжение аэропортов MBЛ III категории, как правило, должно осуществляться от одного внешнего источника и автономного агрегата, а аэропортов МВЛ III категории, которые не предназначаются для ночных полетов, допускается осуществлять только от одного источника. При отсутствии в районе аэропорта источников централизованного электроснабжения электропитание его объектов может осуществляться от электростанций аэропорта или от дизель-генераторных установок, которые должны содержать не менее двух взаимозаменяемых агрегатов, мощность каждого из которых должна обеспечивать питание всех электроприемников аэропорта. 11.5. Линии электропередачи от внешних независимых источников до вводных ТП аэропорта, как правило, должны быть воздушными. Проектирование линии электропередачи должно выполняться в соответствии с главой СНиП "Линии электропередачи напряжением выше 1 кВ. Нормы проектирования". Кабельные линии электропередачи должны предусматриваться на участках, где воздушные ЛЭП являются высотными препятствиями, согласно требованиям, главы СНиП "Аэродромы. Нормы проектирования". 11.6. Пропускная способность линий электропередачи при выходе из строя одного из внешних источников с учетом допустимой перегрузки должна обеспечивать максимальную электрическую нагрузку всех потребителей электроэнергии, подключенных к этим линиям, и всех электроприемников аэропорта, относящихся по обеспечению надежности электроснабжения к I и II категориям, получавших электроэнергию от вышедшего из строя внешнего источника. 11.7. Категории надежности электроснабжения электроприемников объектов аэропорта должны соответствовать приведенным в табл. 35. Степень надежности электроснабжения светосигнальных систем посадки, радиомаячных систем инструментального захода воздушных судов на посадку, объектов УВД, радионавигации и связи, а также максимально допустимое время перерыва в электропитании их электроприемников и варианты электроснабжения этих объектов в зависимости от категории надежности следует принимать в соответствии с "Нормами технологического проектирования светосигнального и электрического оборудования систем посадки воздушных судов в аэропортах". Таблица 35
Примечания: 1. В аэропортах, электроснабжение которых осуществляется от одного централизованного источника, категорию надежности электроснабжения сооружений обслуживания пассажирских, почтовых и грузовых перевозок, а также сооружений вспомогательного назначения допускается понижать на одну ступень за исключением объектов, отнесенных к III категории. 2. В аэропортах, аэродромы которых оборудованы инструментальной системой захода на посадку и посадки, для электроснабжения технологического оборудования объектов ГСМ в качестве второго независимого источника следует использовать автономные дизель-электрические агрегаты. 11.8. Линии электропередачи на территории аэродрома и в полосе воздушных подходов, как правило, должны быть кабельными. Применение воздушных или кабельных линий электропередачи на остальной территории аэропорта определяется из конкретных условия и соблюдения требований норм технологического проектирования аэродромов. 11.9. Электроснабжение аэропорта и электроснабжение жилого поселка и других объектов, непосредственно не связанных с производственной деятельностью аэропорта, должны бать разделенными а нагрузка подключаться к разным вводным впайкам внешних источников или вводных ТП аэропорта и иметь отдельные устройства учета электроэнергии. 11.10. Электрические сети аэропортов должны иметь защиту от токов короткого замыкания в соответствии с ПУЭ. 11.11. Подключенные к высоковольтным электрическим сетям, питающим объекты посадки, радионавигации и УВД, электропотребителей сторонних организаций не допускается. 11.12. Кабельные линии, прокладываемые параллельно ВПП, РД, перрону и местам стоянки (МС) воздушных судов должны размещаться на расстоянии не менее 1 м от кромок покрытия. Пересечение кабельными линиями ВПП и РД должно выполняться в соответствии с указаниями ПУЭ по пересечению кабельными линиями автомобильных дорог. 11.13. Вводные ТП аэропорта и ТП отдельных объектов необходимо размещать с учетом их максимального приближения к центрам электрических нагрузок. Трансформаторные подстанции энергоемких потребителей, как правило, должны быть встроены в здания или пристроены к ним. Для защиты кабальных каналов и приямков в помещениях ТП должны быть предусмотрены мероприятия по гидроизоляции в соответствии с конкретными гидрогеологическими условиями строительной площадки. Как правило, ТП встроенные в здания или пристроенные к ним должны располагаться на первых этажах, при этом в отдельно стоящих ТП уровень пола должен быть выше планировочной отметки земли не менее, чем на 200 мм. На участках с высоким уровнем грунтовых вод или пониженным рельефом местности для исключения попадания грунтовых и талых вод в кабельные каналы здания ТП, как правило, следует располагать на подсыпках. 11.14. Выбор мощности трансформаторов должен производиться на основании расчета электрических нагрузок, определяемых в соответствия с "Инструкцией по проектированию электрооборудованию общественных зданий массового строительства'' с учетом перегрузочной способности трансформаторов. 11.15. ТП, как правило, должны проектироваться с учетом эксплуатации их без постоянного присутствия обслуживающего персонала и применения, в случае необходимости, простейших устройств автоматики и аварийной сигнализации. 11.16. Размеры трансформаторных камер ТП должны приниматься с учетом возможности установки в них трансформаторов следующей, большей мощности. 11.17. Ввод питающей линии в здание, на объект должен производиться через вводные устройства (одно или несколько), число которых определяется проектом. Нa вводе питающей линии в здании должны быть установлены аппараты защиты и управления. 11.18. Вводные и вводно-распределительные устройства, а также главные распределительные щиты следует устанавливать в запирающихся электрощитовых помещениях, расположенных, как правило, не ниже первого этажа здания. В электрощитовых должна предусматриваться естественная вентиляция и электрическое освещение (рабочее и аварийное), а также отопление, обеспечивающее температуру в помещении не ниже +5°С. 11.19. Прокладка через электрощитовые помещения трубопроводов систем водоснабжения, отопления и канализации, а также вентиляционных и других коробов разрешается, как исключение, с соответствующим оформлением. 11.20. Распределительные щиты (щитки), питающие силовые нагрузки, следует располагать в центре нагрузок или с некоторым смещением от центра нагрузок в сторону пункта их питания, как правило, на тех же этажах, где размещены присоединенные к ним электроприемники, объединенные в группы с учетом их технологического назначения. 11.21. На каждой линии, отходящей от распределительного щита (щитка), должны устанавливаться аппараты защиты. Аппараты управления следует, как правило, устанавливать общие на несколько линий, сходных по назначению и режиму работы. При дистанционном управлении должны предусматриваться устройства, исключающие возможность пуска агрегата или включения линий питания во время их ремонта или осмотра, а также устройства сигнализация для предупреждения персонала о включении агрегата. 11.22. Электропитание силовых установок и осветительных устройств рабочего освещения должно осуществляться по самостоятельным питающим линиям и, как правило, от разных вводов. Для распределения электроэнергии к силовым распределительным пунктам и групповым щиткам сети электрического освещения следует применять магистральную схему питающих сетей. 11.23. Устройство освещения, уровень освещенности, виды и системы освещения помещений, объектов аэропорта МВЛ (здания управления, котельной, электропомещений, вентиляционных камер, помещений для электрокар и электропогрузчиков, вспомогательных помещений, кабинетов и рабочих комнат, кладовых), а также территории аэропорта, не указанные в данном Руководстве, следует выполнять в соответствии с требованиями главы СНиП "Естественное и искусственное освещение. Нормы проектирования". 11.24. Проектирование освещения помещений КДП следует выполнять в соответствии с "Руководством по проектированию КДП в аэропортах". 11.25. В аэропортах МВЛ должны предусматриваться следующие виды искусственного освещения: рабочее, аварийное (для продолжения работы), эвакуационное и охранное. Освещение помещений и наружное освещение территории аэропорта проектируется двух систем: общее (равномерное или локализованное) и комбинированное (к общему освещению добавляется местное). 11.26. Общее освещение помещений, зданий и сооружений аэропорта следует выполнять, как правило, люминесцентными лампами. Нормы освещенности в нормируемой плоскости, группы помещений, разряд и подразряд зрительной работы должны приниматься в соответствии с табл.36. 11.27. Нормы освещенности аварийного, эвакуационного и охранного освещения следует принимать в соответствии с главой СНиП "Естественное и искусственное освещение. Нормы проектирования". 11.28. Для производства ремонтных работ в электропомещениях, помещениях насосных, венткамерах, бойлерных, мастерских и в складских помещениях должны быть предусмотрены штепсельные розетки напряжением 36В для подключения переносных светильников местного освещения. Шаг между штепсельными розетками в складских помещениях должен быть не более 18 м. Таблица 36
х) Предусматривается аварийное освещение (для продолжения работы). хх) Предусматривается эвакуационное освещение. ххх) Предусматривается местное освещение. Примечания: 1. Управление наружным освещением открытых складов нефтепродуктов, резервуарных парков, проездов и дорог в охранным освещением объектов аэропорта должно быть централизованным. 2. Электропитание осветительной аппаратуры пожарных гидрантов, расположенных на складе нефтепродуктов, рекомендуется осуществлять от щитов близлежащих прожекторных мачт. 3. Для освещения грузового двора, грузовой рампы, площадок спецмашин и средств механизации, подъездных дорог и пожарных проездов рекомендуется применять прожекторы. 11.29. Светильники аварийного освещения для продолжения работы и эвакуации людей должны быть присоединены к сети, независимой от сети рабочего освещения, начиная с распределительного щита ТП, а при наличии только одного ввода в здание - начиная от этого ввода. 11.30. Рабочее и аварийное освещение лестничных клеток и поэтажных коридоров следует питать по отдельным линиям, непосредственно от вводно-распределительного устройства. 11.31. Централизованное управление внутренним освещением следует предусматривать в случаях, когда оно требуется по условиям эксплуатации (например, для залов регистрации, залов ожидания, вестибюлей, холлов, светоограждений, реклам), 11.32. Наружное освещение перрона, мест стоянки воздушных судов и спецплощадок АТБ должно осуществляться осветительными устройствами, установленными на зданиях аэровокзала, КДП, ангара и прожекторных мачтах с соблюдением требований к высотным препятствиям в соответствии с "Нормами технологического проектирования аэродромов". 11.33. Высота установки осветительных устройств наружного освещения, как правило, должна превышать максимальный уровень глаз экипажа, находящегося на воздушном судне, регулярно эксплуатируемом в аэропорту, не менее чем в 2 раза. Прожекторные установки не должны оказывать слепящего действия на экипажи воздушных судов, совершающих взлет и посадку, а также на диспетчерский персонал КДП. При этом показатель ослепленности должен соответствовать СНиП "Естественное и искусственное освещение. Нормы проектирования", установленный для транспортной зоны категории Б. 11.34. Средняя горизонтальная освещенность рабочих зон перрона, МС и площадок специального назначения должна быть не менее установленной в табл. 37, при коэффициенте равномерности освещения, равном 4:1 для аэропортов I категории и 5:1 для аэропортов II и III категорий. 11.35. Средний уровень горизонтальной освещенности тех частей перрона, мест стоянки и площадок специального назначения, где не проводится обслуживание воздушных судов и пассажиров (участки между стоянками самолетов, стоянки спецавтотранспорта и средств механизации, служебные подъездные пути и т.д.) должен быть не менее 50 % от среднего уровня освещенности, указанного в табл. 37. 11.36. Управление наружным освещением перронов и мест стоянки воздушных судов должно быть централизованным. Кроме этого, должно быть предусмотрено местное включение и отключение осветительных устройств по группам, которое должно осуществляться с прожекторных мачт или из зданий и сооружений, на которых они установлены. 11.37. Для проведения техобслуживания самолетов на перроне и местах стоянки, где по характеру выполняемых работ освещенность от общего освещения недостаточна, необходимо предусматривать местное освещение от передвижных осветительных устройств. Таблица 37
11.38. Для безопасного передвижения людей и спецавтотранспорта во время прекращения технологических процессов на перроне, мостах стоянки и площадках специального назначения, а также для продолжения работы на них при возникновении аварии в сети рабочего освещения следует предусматривать аварийное освещение с наименьшей освещенностью 1 лк. 11.39. Охранное освещение в аэропорту должно предусматриваться в соответствии с "Перечнем объектов, предприятий гражданской авиации, подлежащих обязательному оборудованию инженерно-техническими средствами охраны". Электропитание устройств охранного освещения должно обеспечиваться от низковольтного щита ближайшей ТП. Наименьшая горизонтальная освещенность охранного освещения 1 лк. 11.40. Электропитание средств светового ограждения высотных предприятий должно проектироваться в соответствии с требованиями "Наставления по аэродромной службе в гражданской авиации СССР". 11.41. Проектирование световой маскировки аэропорта и его объектов должно выполняться в соответствии с "Инструкцией по световой маскировке населенных пунктов и объектов народного хозяйства". 11.42. Освещение подъездных автодорог должно предусматриваться на участках въезда в аэропорт, начиная за 100 м от границ служебно-технической территории до привокзальной площади. Уровень освещения привокзальных площадей и подъездных дорог следует принимать по главе СНиП "Естественное и искусственное освещение. Нормы проектирования" для интенсивности движения менее 500 автомашин в час. 11.43. В зданиях и сооружениях аэропортов необходимо предусматривать заземление металлических конструкций, технологического оборудования и металлических корпусов потребителей электроэнергии. Проектирование сетей заземления и зануления в электроустановках следует выполнять в соответствии с "Инструкцией по устройству сетей заземления и зануления в электроустановках". 11.44. Проектирование стационарных заземляющих устройств на перроне, в местах стоянки воздушных судов в местах заправки топливозаправщиков следует выполнять в соответствии с "Инструкцией по технике безопасности при наполнении топливозаправщиков, автоцистерн и воздушных судов топливом". 11.45. Проектирование молниезащиты зданий и сооружений следует выполнять в соответствий с "Инструкцией по устройству молниезащиты зданий и сооружений". 11.46. Учет расхода электроэнергии должен производиться в соответствии с требованиями главы ПУЭ "Учет электроэнергии" и отражать расход электроэнергии по аэропорту в целом к расчетный учет по его объектам и службам (контрольный учет). Для обеспечения контроля расхода электроэнергии на вводных устройствах, вводных ТП со стороны внешнего источника должны быть установлены контрольные счетчики независимо от наличия счетчиков у энергоснабжающей организации. На отходящих линиях, по которым осуществляется электропитание потребителей единого технологического назначения, а также в сооружениях (на участках) с потребляемой мощностью более 30 кВт должны устанавливаться счетчики расхода активной электроэнергии. Потребители аэропорта, не связанные с его производственной деятельностью, а также потребители сторонних организаций (субабоненты), независимо от величины присоединенной мощности, должны иметь на отходящих к ним электроснабжения расчетные счетчики. 11.47. Общая электрическая мощность аэропорта определяется суммой электрических нагрузок потребителей его отдельных объектов, зданий и сооружений с учетом коэффициента опроса и коэффициента загрузки потребителей. Ориентировочные потребляемые мощности аэропортов МВЛ по категориям указаны в табл. 38. Таблица 38
Примечание: 1. Дня аэропортов, расположенных в северной строительно-климатической зоне, вводится коэффициент 1,3. 2. Меньшее значение соответствует минимальному объему перевозок аэропорта, большее - максимальному. 11.48. Численность персонала службы ЭСТОП следует принимать в соответствии с "Нормативами численности работников ЭСТОП, эксплуатационных предприятий и производственных объединений ГА". 11.49. Служба ЭСТОП в аэропортах МВЛ I категории, как правило, должна размещаться в здании, сблокированном с распределительными пунктами (РП) или вводной ТП аэропорта. В аэропортах МВЛ II и III категорий службу ЭСТОП рекомендуется размещать в помещении, пристроенном к зданию ТП. Ориентировочные площади помещений службы ЭСТОП составляет для аэропортов: I категории.................................................................... 69-92 м2; II категории................................................................... 54-77 м2; III категории.................................................................. 32-50 м2. Размеры площадей даны без учета подсобных и инженерно-технических помещений (коридоры, лестницы, венткамеры и т.д.). 12. ПОМЕЩЕНИЯ ВСПОМОГАТЕЛЬНОГО НАЗНАЧЕНИЯ12.1. Помещения для административно-управленческого персонала аэропортов12.1.1. В аэропортах МВЛ в связи с малой численностью административно-управленческого аппарата и командного состава летных отрядов, обусловленной объемом пассажирских перевозок, следует предусматривать не отдельно стоящие здания управления аэропортов, а помещения, предназначенные для размещения работников аппарата управления, расположенные в сблокированных зданиях пассажирского или вспомогательного комплекса. 12.1.2. Численность работников административно-управленческого аппарата и командного состава летных отрядов определяется на основании штатных нормативов для каждого аэропорта. 12.1.3. Ориентировочное соответствие вместимости помещений для административно-управленческого аппарата для аэропортов МВЛ: I категории.................................................................... 30 чел; II категории................................................................... 20 чел; III категории.................................................................. 5 чел. 12.1.4. Состав и площади помещений для административно-управленческого аппарата представлены в табл. 39. Таблица 39
х) В кабинета начальника аэропорта 12.2. Помещения для профилактического отдыха летного состава (ЛС)12.2.1. В аэропортах МВЛ в связи с малым количеством мест, требуемых для отдыха экипажей, следует, в основном, предусматривать не отдельно стоящее здание профилактория ЛС, а помещения, предназначенные для профилактического отдыха летного состава, расположенные в СПЗ. 12.2.2. Пользоваться помещениями дал профилактического отдыха ЛС имеют право: все экипажи воздушных судов, выполняющих рейсовые к нерейсовые полеты по перевозке пассажиров и народно-хозяйственных грузов; экипажи воздушных судов, выполняющих полеты по применению авиации в народном хозяйстве; экипажи, отдых которых не предусмотрен расписанием, при задержке вылета более 3 ч; личный состав базовых и резервных экипажей перед вылетом в ночные и ранние утренние часы (с 1 до 8 ч включительно). 12.2.3. Ориентировочное соответствие вместимости помещений для профилактического отдыха летного состава в зависимости от категории аэропортов МВЛ следующее: I категория..................................................................... 50-11 мест; II категория................................................................... 11-6 мест; III категория.................................................................. 6-2 места. 12.2.4. Состав и площади помещений для профилактического отдыха ЛС представлены в табл. 40. Таблица 40
х) Общие комнаты для помещений профилактического отдыха летного состава и сблокированного (скооперированного) с ним помещения для длительного ожидания пассажиров. хх) В гостиницах IV разрядам и приравненных к ним помещениях площадь комнат на 1 чел. может быть снижена с 9 до 7 м2, а площадь комнат на 2 чел. - с 12 до 9 м2 (прейскурант № К05 на услуги гостиниц и "Положение об отнесении гостиниц к разрядам и номеров в гостиницах к категориям", М., Прейскурантиздат, 1979). ххх) Помещения медицинского обслуживания летного состава предусматриваются в медпункте аэровокзала. хххх) Уборные не делать в том случае, когда жилые комнаты оборудованы санузлами с унитазами и умывальниками. Вместимость помещений для профилактического отдыха ЛС, предусмотренных в составе СПЗ, составляет от 3 до 40 мест, в случае строительства отдельно стоящего здания профилактория ЛС его вместимость должна составлять не менее 50 мест. 12.2.5. Помещения, для профилактического отдыха летного состава в аэровокзалах или СПЗ по категориям аэропортов, МВЛ, а также ориентировочное распределение жилых комнат представлены в табл. 41. 12.3. Помещения длительного ожидания12.3.1. Для обслуживания транзитных пассажиров, находящихся в аэропорту от 3 до 24 ч и пересаживающихся с рейса на рейс в аэропортах МВЛ предусматриваются помещения длительного ожидания пассажиров. 12.3.2. Пользоваться помещениями длительного ожидания пассажиров имеют право: транзитные пассажиры, пересаживающиеся с рейса на рейс и находящиеся в аэропорту более 3 ч; пассажиры, вылетающие из аэропорта ранним утром, а прибывающие в него накануне вечером; пассажиры, прилетевшие в аэропорт поздним вечером, а уезжающие из него в город на следующий день утром; командированные в аэропорт. 12.3.3. Помещения длительного ожидания вместимостью менее 50 мест следует проектировать сблокированными с другими зданиями пассажирского или вспомогательного комплекса, например, со зданиями профилакториев ЛС. 12.3.4. При проектировании помещений длительного ожидания вместимостью свыше 15 чел., сблокированных с помещением для профилактического отдыха ЛС, площадь этих помещений следует принимать с коэффициентом 0,8, так как заселение комнат может производиться разным контингентом, в зависимости от текущих потребностей. 12.3.5. Потребную вместимость помещений длительного ожидания пассажиров следует определять по ВНТП 1-80. Таблица 41
12.3.6. Ориентировочное соответствие вместимости помещений дательного ожидания пассажиров категориям аэропортов МВЛ следующее: I категория..................................................................... 5-15 мест; II категория................................................................... 3-5 мест; III категория.................................................................. 2-3 места. 12.3.7. Состав и площади помещений длительного ожидания пассажиров представлены в табл. 42. Таблица 42
х) Комнаты, общие для помещений длительного ожидания пассажиров и сблокированного (скооперированного) с ними профилактория. 12.4. Помещения медицинского обслуживания12.4.1. Для медицинского обслуживания работников аэропорта, лётного состава и авиапассажиров в аэропортах МВЛ должны быть предусмотрены помещения медицинского обслуживания. 12.4.2. Медицинское обслуживание авиапассажиров осуществляется в здравпункте аэровокзала или СПЗ. 12.4.3. Профилактическое медицинское обслуживание и предполетный медицинский контроль летного состава в аэропортах МВЛ I и II категорий производится в здравпункте, расположенном в помещении для профилактического отдыха летного состава, а в аэропортах III категорий - в здравпункте сблокированного служебно-пассажирского здания. 12.4.4. Медицинское обслуживание сотрудников аэропортов I и II категорий производится в здравпункте аэропорта, который может быть расположен в здании КДП или здании аэровокзала или СПЗ. 12.4.5. Размещение здравпунктов в зданиях аэропортов МВЛ I и II категорий во многом определяется архитектурно-планировочным решением аэровокзального комплекса и аэропорта в целом, поэтому в зависимости от конкретных условий допускается блокировка всех помещений медицинского обслуживания в единый комплекс. 12.4.6. В сблокированном здравпункте аэровокзала в аэропортах I категории необходимо предусматривать разделение помещений для медицинского обслуживания пассажиров и контроля летного и диспетчерского составов. 12.4.7. Состав помещений медицинских учреждений по классам и площади помещений приведены в табл. 43. Таблица 43
х) В варианте размещения помещения профилактического отдыха СПЗ данные кабинеты исключаются при совмещении здравпунктов. хх) Для обслуживания сотрудников аэропорта. 13. ОСОБЕННОСТИ ПРОЕКТИРОВАНИЯ АЭРОПОРТОВ МВЛ КРАЙНЕГО СЕВЕРА13.1. Выбор участка для аэропортов13.1.1. Положения настоящего раздала распространяются на аэропорты МВЛ, расположенные в районах Крайнего Севера и в приравненных к ним районах в соответствии с перечтем, утвержденным постановлением Совета Министров СССР от 10 ноября 1967 г, № 1029 (рис. 14). 13.1.2. Выбранный участок для аэропорта должен удовлетворять следующим инженерно-геологическим и топографическим условиям: участок должен иметь наиболее благоприятные в инженерном отношении геологические и мерзлотные характеристики, не иметь ископаемых льдов большой мощности, высокой льдистости грунтов у поверхности и активных проявлений мерзлотных процессов (образования бугров пучения, морозобойных трещин, просадок и т.д.); аэропорт должен размещаться на возвышенной местности, хорошо продуваемой зимними ветрами (во избежание отложения снега при метелях); рельеф прилегающей к аэропорту территории должен удовлетворять требованиям к приаэродромной территории и полосам воздушных подходов; рельеф участка должен исключать необходимость выемок, так как на вечномерзлых грунтах они недопустимы; желательно, чтобы естественный рельеф участка и прилегающей к нему территории обеспечивал благоприятные условия для организации поверхностного стока воды с аэродрома, так как применение подземных водоводов и коллекторов в системе водоотвода в зонах вечной мерзлоты не допускается; за пределами аэродрома желательно иметь водоприемник для сточных вод с перепадом высот, позволяющим организовать поверхностный сток с аэродрома и СТТ самотеком, без перекачки. 13.2. Особенности проектирования аэродромов13.2.1. Исправление естественного рельефа на аэродромах, размещаемых в зоне вечной мерзлоты, в целях сохранения мерзлотного режима грунта осуществляется насыпью, не нарушая при этом естественного мохоторфяного покрова. Рис. 14. Схематическая карта районов Крайнего Севера и приравненных к ним районов. 13.2.2. Для пропуска воды под покрытиями могут быть приняты безнапорные водоводы в виде труб диаметром не менее 1,0 м или каналов прямоугольного сечения. Размеры каналов подбираются так, чтобы было удобно их прочищать от возможного скопления льда. Расчетное заполнение сечения следует принимать равным (0,5-0,7) высоты. 13.2.3. Искусственные покрытия ВПП, РД, МС, перронов, приангарных и преддоковых площадок, а также дорог проектируются в насыпи с целью сохранения мерзлотного режима естественных грунтов. Величина насыпи определяется теплотехническим расчетом согласно указаниям соответствующего раздела СНиП "Аэродромы"/ 13.2.4. На аэродромах, проектируемых с устройством теплоизолирующих насыпей, сопряжение полос безопасности, обочин РД, МС и площадок специального назначения с окружающей местностью следует выполнять откосами с заложением 1:2-1:5 с их обязательной изоляцией. 13.2.5. От подножья откосов по всему периметру аэродрома предусматривается охранная зона шириной 25-50 м с целью сохранения в естественном состоянии мохорастительного покрова. Граница и ограждение аэродрома принимаются по внешнему контуру охранной зоны. 13.2.6. На аэродромах Крайнего Севера водоотвод решается, как правило, путем организации поверхностного стока талых и ливневых вод. Глубинный дренаж в зонах вечной мерзлоты не применяется. 13.2.7. При выборе места и организации сброса поверхностных (талых и дождевых) вод следует учитывать опасные влияния сосредоточенного потока на сохранность вечномерзлых грунтов и возможность образования наледей в месте сброса воды. Сосредоточенный сброс поверхностных вод в пониженные места рельефа без противоэрозионных мероприятий не допускается (отмостка, лотки, бетонные и железобетонные плиты и т.п.). 13.2.8. Минимальные расстояния от подошвы насыпей покрытий до водоотводных, нагорных канав и валов следует принимать в зависимости от категории грунтов вечномерзлой толщи: при крупнообломочных, слабольдистых вечномерзлых грунтах - 2-3 м; при песчаных, слабольдистых и льдистых грунтах - 10-15 м; при песчаных, суглинистых и глинистых сильнольдистых грунтах - 50 м. 13.2.9. Для перехвата и отвода поверхностных вод, поступающих на территорию со стороны, в условиях вечномерзлых грунтов следует устраивать нагорные канавы или водоотводные мерзлотные валы, расположенные не ближе 5,0 м от границ защищаемой территории. 13.2.10. В местах с большими уклонами (более 0,01) при значительных скоростях сточных вод (более 10 м/с) для предотвращения протаивания грунтов, размыва склонов и оврагообразования в пониженных местах следует устраивать бетонные или железобетонные лотки для отвода воды. 13.3. Особенности проектирования служебно-технической территории (СТТ)13.3.1. Служебно-технические территории аэропортов при прочих равных условиях желательно располагать с подветренной стороны аэродрома (ВПП), во избежание образования над летным полем парового или дымного облака. 13.3.2. Планировка СТТ аэропорта должна обеспечивать размещение зданий и сооружений с учетом технологических требований и, в частности, требований зонирования территории, с учетом обеспечения мероприятий по сохранению устойчивости зданий и сооружений, возводимых на вечномерзлых грунтах (рис. 15, 16). 13.3.3. При разработке генеральшах планов СТТ необходимо располагать здания и сооружения с учетом скорости и направления господствующих ветров так, чтобы уменьшить их снегозаносимость. Необходимо учитывать возможные изменения существующего температурного режима вечномерзлых грунтов в процессе строительства и эксплуатации зданий и сооружений, уровень грунтовых вод, наличие термокарста, солифлюкции. Здания и сооружения следует располагать так, чтобы их тепловое воздействие не могло нарушить устойчивость искусственных покрытий аэродрома и автодорог. Рис. 15. Примерная схема генерального плана СТТ аэропорта I категории северной климатической зоны: Аэродром: 1 - соединительная РД; 2- пассажирский перрон; 3 - грузовой перрон. Вертолетная станция: 4 - соединительная РД для вертолетов; 5 - места стоянок для вертолетов Ми-6; 6 - места стоянок для вертолетов Ми-8; 7 - швартовочные площадки; 8 - площадка для работы на подвеске СТТ; 9 - служебно-пассажирское здание; 10 - привокзальная площадь; 11 - антенное поле; 12 - АСС; 13 - гараж; 14 - ЦРП; 15 - котельная; 16 - контейнерная площадка; 17 - грузовой склад; 18 - склад МТИ; 19 - водопроводная насосная станция II подъема; 20 - склад ГСМ; 21 - здание техслужб; 22 - ангар; 23 - здание для вахтовых бригад; 24 - КПП; 25 - очистные сооружения; 26 - подъездная автодорога Рис. 16. Примерная схема генерального плана СТТ аэропортов II и III категорий северной климатической зоны: Аэродром: 1 - соединительная РД; 2 - пассажирский перрон; 3 - грузовой перрон. Вертолетная станция: 4 - соединительная РД; 5 - места стоянок для вертолетов Ми-6; 6 - места стоянок для вертолетов Ми-8; 7 - швартовочные площадки; 8 - площадка для работы на подвеске СТТ; 9 - служебно-пассажирское здание; 10 - привокзальная площадь; 11 - антенное поле; 12 - АСС; 13 - гараж; 14 - ЦРП; 15 - грузовой склад; 16 - КПП; 17 - здание техбригад; 18 - ангар; 19 - здание для вахтовых бригад; 20 - водопроводная насосная станция II подъема; 21 - склад ГСМ; 22 - очистные сооружения; 23 - подъездная автодорога. 13.3.4. В районах со снеговым покровом более 50 см или с количеством переносимого снега более 200 м3 на 1 м фронта снегопереноса в год должно быть предусмотрено сквозное проветривание территории. Основные проезды и продольные оси зданий рекомендуется располагать под углом не более 20° к преобладающему направлению снегопереноса по зимней розе ветров. 13.3.5. Здания рекомендуется проектировать прямоугольниками в плане, без выступов и перепадов на высоте. При необходимости строительства зданий сложной конфигурации в плане открытая часть двора должна быть обращена в подветренную сторону. В пурговых районах с повышенной снегозаносимостью не допускается ограждение территории заборами, конструкция которых способствует задержанию снега. 13.3.6. В районах со снегопереносом более 200 м3 на 1 м фронта в год здания обслуживания должны быть по возможности приближены к местам стоянок самолетов, а планировка мест стоянок должна обеспечивать возможность расстановки воздушных судов осью против направления господствующих ветров для зимнего периода. 13.3.7. В районах, где число дней с неблагоприятными условиями погоды составляет более 30 % периода года, со среднесуточными температурами воздуха ниже 0°С, а также в районах с годовым снегопереносом более 400 м3 на 1 м фронта для перехода пассажиров и работников аэропорта на здания в здание и к самолетам между ними могут предусматриваться неотапливаемые или отапливаемые галереи и переходы. При их устройстве должен быть обеспечен свободный перенос снега. 13.3.8. Расстояния между зданиями и сооружениями СТТ должны назначаться исходя из противопожарных норм, условий инсоляции помещений, обеспечения продуваемости проездов и порог с целью исключения снегозаносимости, а также из условий расчетного температурного режима мерзлых грунтов оснований этих зданий и сооружений. Противопожарные разрывы следует принимать по нормам СНиП "Планировка и застройка городов, поселков и сельских населенных пунктов" применительно к районам Крайнего Севера. 13.3.9. В аэропортах, где планируются большие объемы работ авиации спецприменения, вахтовых и экспедиционных перевозок, осуществляемых главным образом вертолетным парком, рекомендуется предусматривать комплекс для обслуживания этих перевозок, включающий следующие сооружения: вертолетные площадки; здания служб ПАНХ для размещения диспетчерских служб заказчиков и службы ПАНХ аэропорта, кратковременного пребывания пассажиров (вахт) хранения имущества и пр.; грузовые площадки открытого хранения; площадки для работы на подвеске; грузовые склады закрытого хранения. 13.4. Особенности водоснабжения и канализации аэропортов МВЛ13.4.1. Схема систем водоснабжения и канализация должны решаться в соответствии с их назначением и отвечать требованиям СНиП "Водоснабжение. Наружные сети" и "Канализация. Наружные сети". Проектирование сетей водоснабжения и канализации с соответствующими теплотехническими расчетами следует выполнять в соответствии с "Инструкцией по проектированию сетей водоснабжения и канализации для районов распространения вечномерзлых грунтов". 13.4.2. При проектировании систем водоснабжения и канализации должно быть обеспечено: предохранение транспортируемой жидкости от замерзания; статическая устойчивость сооружений и сетей от механического воздействия оттаивающих и промерзающих грунтов; исключение влияния сетей водоснабжения и канализации на устойчивость зданий я сооружений. 13.4.3. Незамерзание жидкости в наружных сетях может быть обеспечено поддержанием непрерывности потока, совмещением их с наружными сетями теплоснабжения или другими мероприятиями. 13.4.4. Схемы канализации следует проектировать с совместным отведением хозяйственно-бытовых и производственных стоков. Отвод ливневых вод с территории СТТ, как правило, следует проектировать поверхностным, с отведением стоков по кюветам и лоткам, а из углубления - по трубам увеличенного сечения. 13.4.5. При выборе метода и степени очистки сточных вод следует учитывать влияние низких температур в водоемах на снижение эффективности и степени их самоочищения. Размещение очистных сооружений следует предусматривать, как правило, в закрытых отапливаемых сооружениях. 13.4.6. В зависимости от объемно-планировочных решений застройки, мерзлотно-грунтовых условий трассы и принципа использования мерзлых грунтов в качестве оснований в аэропортах МВЛ могут быть использованы наземный или надземный способы прокладки внешних сетей водопровода и канализации. Наземная прокладка трубопроводов, ограничивающая тепловое воздействие трубопроводов на грунт основания, должна осуществляться в земляных валиках, в каналах на подсыпке, в коробах с изоляцией и в каналах полузаглубленного типа. Надземная прокладка, исключающая тепловое воздействие трубопроводов на грунт, должна осуществляться на низких опорах, мачтах или эстакадах, при условии обеспечения теплоизоляции трубопроводов и защиты их от влаги и механических повреждений. 13.5. Особенности теплоснабжения аэропортов МВЛ13.5.1. При проектировании систем теплоснабжения аэропортов МВЛ Крайнего Севера следует руководствоваться СНиП "Тепловые сети" и "Котельные установки". 13.5.2. В аэропортах III категорий возможно сочетание встроенных котельных малой мощности с электрообогревом отдельно стоящих сооружений в соответствии с "Инструкцией о порядке согласования применения электрокотлов и других электронагревательных приборов". Для аэропортов III категории в зависимости от местных условий рекомендуется устройство печного отопления. 13.5.3. При теплоснабжении зданий и сооружений аэропорта МВЛ от городских тепловых сетей необходимо сооружение центрального теплового пункта (ЦТП), устройство которого должно удовлетворять требованиям главы 16 СНиП "Тепловые сети". 13.5.4. В каждом здании и сооружении обязательно устройство индивидуального теплового пункта (ИТП). Количество вводов тепловых сетей в здание должно быть минимальным. Отключающая арматура на вводах в ИТП должна быть стальной, остальная арматура на трубопроводах должна отвечать требованиям п. 9.3 СНиП "Тепловые сети". 13.6. Особенности электроснабжения аэропортов МВЛ13.6.1. В аэропортах МВЛ Крайнего Севера использование внешних источников электроэнергии не всегда возможно, поэтому основным источником ее являются собственные дизельные электростанции (ДЭС). 13.6.2. Собственная ДЭС должна иметь не менее трех агрегатов. Каждый из них должен иметь мощность, достаточную для потребителей I и II категорий, но не менее 80 % всей потребляемой мощности. При нормальных режимах для обеспечения потребителей I, II и III категорий должен использоваться два агрегата. 13.6.3. Линии электропередач в аэропорту как высоковольтные, так и низковольтные для повышения надежности, должны проектироваться воздушными. При невозможности устройства на СТТ воздушных линий прокладку кабельных линий рекомендуется осуществлять в каналах или коробах совместно с сантехническими коммуникациями. На территории аэродрома и в других особых случаях применяются кабельные линии электропередачи, прокладываемые в грунте. Выбор типа кабеля, способа его прокладки и защиты производятся в зависимости от мерзлотно-грунтовых и гидрогеологических условий согласно "Инструкции по прокладке кабелей". Если при строительстве аэродромов применяются теплоизоляционные насыпи, трассу кабелей рекомендуется проектировать в них, как в наиболее деформативно-стабильной среде. 13.6.4. В качестве основного мероприятия по защите кабельных линий от повреждений мерзлотными явлениями следует считать применение кабелей с броней из плоских проволок, также допускается прокладка кабелей с ленточной броней с проведением дополнительных защитных мероприятий. 14. БЛОКИРОВКА ЗДАНИЙ И СООРУЖЕНИЙ АЭРОПОРТОВ МВЛ14.1. Аэровокзалы пропускной способностью 35, 50, 100 и 150 пасс./ч следует проектировать в составе СПЗ. Аэровокзалы пропускной способностью 200, 300 и 400 пасс./ч можно проектировать как в составе СПЗ, так к отдельно стоящими зданиями. Для аэропортов всех категорий при проектировании аэровокзалов в составе СПЗ следует пользоваться технологическими и объемно-планировочными характеристиками, изложенными в разделе 5, а состав и площади помещений пищеблока следует принимать по табл. 4, 5, 6, 7 приложения 6. 14.2. Для обеспечения кооперирования помещений различных служб и предприятий в составе блокированного служебно-пассажирского здания все помещения целесообразно подразделить на три группы: основные пассажирские помещения с минимально необходимым набором дополнительных услуг первой необходимости: туалетами, буфетами, отделениями связи и другими помещениями; помещения администрации аэровокзала, аэропорта, длительного ожидания пассажиров, профилактория летного состава, КДП (помещения предполетной подготовки), ИАС; помещения пищеблока аэровокзала, столовой, цеха бортпитания. 14.3. Общее решение блокированного здания, включающего пассажирский зал, мелкие административные помещения разных, служб, помещений гостиниц и пищеблока, должно обеспечивать: комплектность объема и минимальную поверхность ограждающих конструкций; простоту конфигурации плана, четкость конструктивной схемы и возможность применения типовых сборных строительных изделий; возможность выделения объекта пускового минимума; поэтапное увеличение мощности всех служб и предприятий СПЗ. 14.4. СПЗ на 35 и 50 пасс./ч рекомендуется проектировать в одном компактном объеме. В СПЗ на 100-400 пасс./ч возможно выделение объемов мелких помещений и пищеблока. 14.5. Специализация групп помещений сблокированных зданий создает предпосылки к увеличению мощности отдельной служб и предприятий за счет: поэтапного вытеснения служб сходной технологии или объемно-планировочной схемы в другие здания (прием увеличения мощности без изменения габаритов СПЗ, с минимальной внутренней реконструкцией помещений оставшихся служб); поэтапной пристройки объемов однородной планировки. 14.6. Пристройка объектов каждой очереди строительства не должна препятствовать эксплуатации действующих зданий, нарушать их устойчивость, целостность общего решения; пристройка должна осуществляться на смежных, отгороженных участках застройки, в нормативные сроки. 14.7. В целях ускорения ввода объектов в эксплуатацию и повышения эффективности капиталовложений допускается выделение пускового минимума СПЗ. Состав и площади пускового минимума СПЗ приведена в табл. 44. 14.8. В аэропортах с приписным парком самолетов в СПЗ следует располагать помещения ИАС в том случае, если расстояние на генплане от здания техбригад до перрона превышает 300 м. Возможна блокировка помещений ИАС и АСС грузовым складом, складом МТИ. С учетом кооперирования бытовых помещений ИАС и аэровокзала общая площадь ИАС может быть уменьшена на 15-25 %. Таблица 44
х) Пусковой минимум не выделяется. xх) Помещения совмещены с помещениями администрации аэропорта. ххх) Приняты средние значения рабочих площадей. хххх) Диспетчерская. 14.9. Требования к размещению служб, и предприятий, в составе СПЗ14.9.1. На примыкающих к СПЗ территориях должны выделяться тротуары и площадки в зависимости от количества и типа объединяемых служб и предприятий в соответствии с табл. 45. 14.9.2. При разработке планировки СПЗ необходимо обеспечивать технологические взаимосвязи, уровень освещенности, ориентацию, акустическое благоустройство помещений различных служб и предприятий, предусмотренных соответствующими НТП и СНиП. 14.9.3. При размещении помещений дополнительного обслуживания следует стремиться к тому, чтобы помещения буфета, парикмахерской, санузлов, камеры хранения, бытового обслуживания кооперировались и располагались по возможности на одинаковых расстояниях от пассажирских залов и гостиниц, профилактория. 14.9.4. Помещения КДП должны иметь непосредственный выход на перрон, минуя КПП, устанавливаемый на границе между СТТ и перроном. 14.9.5. Бытовые помещения администрации, перронных бригад, ИАС и пищеблока целесообразно размещать совместно в одной зоне СПЗ. 14.9.6. Помещения депутатского сектора и гостевые "Интуриста" должны быть отделены от остальных пассажирских помещений, иметь изолированный подъезд со стороны города, выезд на перрон, а также удобную связь с помещениями пищеблока. Таблица 45
х) Тротуар и площадка совмещены с тротуарами и площадками аэровокзала. 14.9.7. Помещения столовой могут иметь общий вход через пассажирские помещения в аэровокзалах с пропускной способностью до 50-100 пасс./ч и изолированный вход в аэровокзалах с большей пропускной способностью. 14.9.8. Следует обратить внимание на акустическое благоустройство помещений, требующих повышенного антишумового комфорта (комната матери и ребенка, медпункт, профилакторий, помещения длительного пробивания, администрация аэропорта). 14.9.9. Для снижения в помещениях гостиниц и профилакториев уровня шума, следует использовать комплекс мероприятий: ориентацию помещений в сторону, противоположную источнику шума; эффективную звукоизоляцию ограждающих конструкций, проектирование шумозащитных экранов, предохраняющих плоскость остекления от прямого воздействия шума. 14.9.10. Помещения автостанций рекомендуется размещать рядом с входам в пассажирский зал со стороны привокзальной площади. 14.9.11. Помещения ИАС следует размещать со стороны перрона таким образом, чтобы они имели естественное освещение. 14.10. Состав, размещение и площади помещений кооперированных предприятий общественного питания14.10.1. Общими для всех кооперированных предприятий общественного питания являются складские, заготовочные и административно-бытовые помещения. Перечень предприятий, входящих в комплекс, и их мощность по категориям аэропортов представлены в табл. 46. Отдельными для каждого предприятия являются специфические группы помещений (торговые и доготовочные помещения). 14.10.2. Состав и площади помещений служебных столовых следует принимать применительно к главе СНиП "Предприятия общественного питания" с учетом увеличения складских помещений в 1,2 раза в связи с удаленностью от баз, увеличенными нормами потребления. Состав и площади помещений служебных столовых при варианте кооперирования представлены в приложении 6. Таблица 46
14.11. Блокировка зданий и сооружений аэропорта основного и вспомогательного назначения14.11.1. При наличии в аэропортах МВЛ зданий ПРЦ и ДПРМ их, как правило, блокируют в одном здании. 14.11.2. В аэропортах МВЛ I и II категорий целесообразна блокировка в одном здании следующих служб аэропорта: АСС, ССT, БАСА; здание технических бригад; грузовой склад, ОПП, склад МТИ. Пример блокировки приведен на примерных схемах генпланов аэропортов МВЛ в приложении 3. 15. ОХРАНА ОКРУЖАЮЩЕЙ СРЕДЫ15.1. В аэропортах МВЛ должны предусматриваться все виды природоохранных мероприятий, изложенных в "Нормах технологического проектирования аэропортов", с учетом местных метеорологических и климатических условий, а также в зависимости от технической оснащенности аэропортов. 15.2. Проектирование сооружений и устройств по очистке сточных под в аэропортах необходимо вести в соответствии с главами СНиП "Канализация, наружные сети и сооружения", "Аэродромы", "Рекомендациями по обезвреживанию поверхностных стоков с территории аэропортов", а также с учетом требований руководящих документов МГА и Минводхоза СССР. 15.3. Технологическая схема и набор сооружений для очистки и обезвреживания хозяйственно-фекальных, производственных и с поверхностных вод с территории аэропортов и его отдельных участков должны определяться в зависимости от вида загрязнения и необходимой степени очистки. Очистные сооружения должны быть оснащены устройствами для замера расходов поступающих на очистку сточных вод. 15.4. Примерный состав производственных и хозяйственно-фекальных сточных вод (при их совместном отведении) в аэропортах МВЛ I и II категорий приведен в табл. 47. Таблица 47
15.5. При проектировании систем отведения поверхностных, производственных и хозяйственно-фекальных сточных вод необходимо учитывать требования местных органов по регулированию использования и охране вод и учреждений санитарно-эпидемиологической службы к условиям отведения сточных вод в водоемы или городскую (поселковую) канализационную сеть. Порядок согласования этих условий изложен в "Правилах охраны поверхностных вод от загрязнения сточными водами". 15.6. На территории аэропортов I и II категорий следует предусматривать раздельную систему канализации: для поверхностного стока дождевых и талых вод; для производственных и хозяйственно-фекальных стоков. В аэропортах III категории, не осуществляющих обслуживание сельхозавиации, может быть предусмотрена общесплавная система канализации. 15.7. Дождевые и талые воды при соответствующем обосновании и согласовании с местными органами по регулированию использования и охране вод и городскими (поселковыми) СЭС допускается отводить по открытой системе водостоков (каналы, лотки, открытые канавы и т.п.). 15.8. Метод и степень очистки сточных вод определяются техническим заданием на проектирование аэропорта или его объектов в зависимости от местных условий и с учетом возможного использования очищенных сточных вод для технических нужд. Очищенные сточные воды, сбрасываемые в открытые водоемы, должны отвечать требованиям "Правил охраны поверхностных вод от загрязнений сточными водами". 15.9. Ориентировочные среднесуточные объемы водопотребления и водоотведения в аэропортах МВЛ, приведены в табл. 48. Таблица 48
Примечания: 1. Минимальное водопотребление рассчитано для пускового (1 очередь) комплекса аэропорта с минимальным объемом перевозок. Максимальное водопотребление - для полного комплекса зданий и сооружений аэропорта. 2. Средний коэффициент водоотведения принимается равным 0.9. 3. Удельное водопотребление рассчитано для максимального суточного объема перевозок. 15.10. Рекомендуемые типы сооружений для совместной очистки производственных и хозяйственно-бытовых сточных вод приведены в табл. 49. Таблица 49
15.11. При проектировании новых и расширении действующих аэропортов I и II категорий или их отдельных объектов о водоотведением 20 м3/сут. и более по возможности и при соответствующем технико-экономическом обосновании следует предусматривать использование очищенных сточных вод в качестве технической воды для производственных и других нужд. 15.12. В аэропортах МВЛ необходимо предусматривать места сбора и кратковременного хранения твердых производственно-бытовых отходов и мероприятия по их обезвреживанию и вывозу в места, установленные санитарными органами или районными (городскими) Советам. Ориентировочная масса накапливаемых в течение суток твердых отходов, приходящихся на одного пассажира, составляет, кг/пасс. аэропорт I категории.................................................... 0,11 аэропорт II категории.................................................. 0,14 аэропорт III категории................................................. 0,16 Объемная масса отходов составляет около 250 мг/м3 при относительной влажности 45-65 %. 15.13. Для сбора и хранения твердых отходов в аэропортах I и II категорий следует предусматривать индивидуальные или групповые мусоросборники открытого или закрытого типа, расположенные вблизи объектов их наполнения. В аэропортах III категории может быть предусмотрен единый для всего аэропорта мусоросборный пункт. Мусоросборники должны оборудоваться в соответствии с требованиями санитарно-эпидемиологического надзора и охраны окружающей среды. 15.14. Хранение бытовых отходов в мусоросборниках допускается не более 3 суток, особенно в летний период. После опорожнения сборники следует регулярно очищать и промывать водой. Площадка для отходов должна иметь асфальтовое или бетонное покрытие. 15.15. Контейнеры следует мыть на открытой асфальтированной площадке на 2-3 моечных места с отводом воды в резервуар-грязеотстойник. Мойка контейнеров выполняется вручную из шлангов с расходом воды на один шланг 2,5 л/с. Для мойки контейнеров, особенно в южной зоне страны, желательно применять горячую воду (60-70°С). Рекомендуемый расход воды, на мытье одного контейнера при напоре 30 м - 60 л. ПРИЛОЖЕНИЯПРИЛОЖЕНИЕ
1
|
|||||||||||||||||||||||||||||||||||||||||||||||||||||||||||||||||||||||||||||||||||||||||||||||||||||||||||||||||||||||||||||||||||||||||||||||||||||||||||||||||||||||||||||||||||||||||||||||||||||||||||||||||||||||||||||||||||||||||||||||||||||||||||||||||||||||||||||||||||||||||||||||||||||||||||||||||||||||||||||||||||||||||||||||||||||||||||||||||||||||||||||||||||||||||||||||||||||||||||||||||||||||||||||||||||||||||||||||||||||||||||||||||||||||||||||||||||||||||||||||||||||||||||||||||||||||||||||||||||||||||||||||||||||||||||||||||||||||||||||||||||||||||||||||||||||||||||||||||||||||||||||||||||||||||||||||||||||||||||||||||||||||||||||||||||||||||||||||||||||||||||||||||||||||||||||||||||||||||||||||||||||||||||||||||||||||||||||||||||||||||||||||||||||||||||||||||||||||||||||||||||||||||||||||||||||||||||||||||||||||||||||||||||||||||||||||||||||||||||||||||||||||||||||||||||||||||||||||||||||||||||||||||||||||||||||||||||||||||||||||||||||||||||||||||||||||||||||||||||||||
|
Здания, сооружения и объекты |
Единица измерения, характеристика |
Категория аэропорта |
||
|
I |
II |
III |
||
|
1 |
2 |
3 |
4 |
5 |
|
ЗДАНИЯ И СООРУЖЕНИЯ ОСНОВНОГО ПРОИЗВОДСТВЕННОГО НАЗНАЧЕНИЯ Аэродром2) |
|
|
|
|
|
Взлетно-посадочная полоса |
тыс. м2 |
47,0 |
17,0-47,0 |
15,0-17,0 |
|
Рулежная дорожка |
тыс. м2 |
2,0 |
1,0-2,0 |
1,0 |
|
Перрон |
стоянки ВС тыс. м2 |
6-13 11-36 |
3-6 4-11 |
3 4 |
|
Места стоянки самолетов (МС) |
стоянки ВС тыс. м2 |
6-38 6-53 |
- |
- |
|
Грунтовая взлетно-посадочная полоса (ГВПП) |
тыс. м2 |
110,0 |
54,0-110,0 |
33,0-54,0 |
|
Объекты УВД, радионавигации и посадки |
|
|
|
|
|
Командно-диспетчерский пункт (КДП)3) |
Разряд |
VI-V |
VI |
0-VI |
|
Стартовый диспетчерский и метеонаблюдательный пункт (СДП) |
Объект |
0-1 |
- |
- |
|
Обзорный радиолокатор трассовый (ОРЛ-Т)4) |
Объект |
1 |
- |
- |
|
Обзорный радиолокатор аэродромный (ОРЛ-А)4) |
Объект |
1 |
0-1 |
- |
|
Посадочный радиолокатор (ПРЛ) |
Объект |
1 |
0-1 |
- |
|
Отдельная приводная радиостанция (ОПРС) |
Объект |
- |
- |
15) |
|
Автоматический УКВ радиопеленгатор (АРП) |
Объект количество |
1 2 |
1 2 |
15) 2 |
|
Передающий радиоцентр (ПРЦ)6) |
Разряд |
0-V |
- |
- |
|
Радиомаячная система (РМС) инструментального захода воздушных судов на посадку |
Первое направление посадки |
РМС-1 |
- |
- |
|
Светосигнальное оборудование |
Первое направление посадки |
ОМИ |
ОМИ7) |
ОМИ7) |
|
Второе направление посадки |
ОМИ7) |
ОМИ7) |
- |
|
|
Внешний маркерный радиомаяк (ВМРМ) |
Направление посадки |
1 |
0-1 |
- |
|
Дальняя приводная радиостанция и маркерный радиомаяк (ДПРМ) |
Направление посадки |
1 |
0-1 |
- |
|
Ближняя приводная радиостанция и маркерный радиомаяк (БПРМ) |
Направление посадки |
1 |
0-1 |
- |
|
Здания и сооружения обслуживания пассажирских перевозок |
|
|
|
|
|
Аэровокзал или СПЗ 3) 8) |
тыс. м2 пасс./ч |
3,7-7,1 200-400 |
3,1-3,7 100-200 |
0,4-2,1 25-100 |
|
Привокзальная площадь |
тыс. м2 |
3,0-7,5 |
1,0-3,0 |
1,0 |
|
Здания и сооружения обслуживания грузовых и почтовых перевозок |
|
100-200 |
203)-100 |
33)-203) |
|
Грузовой склад (емкость) 9) |
т |
100-200 |
203)-100 |
33)-203) |
|
Здания и сооружения технического обслуживания воздушных судов |
|
|
|
|
|
Ангар (ангар-укрытие) для технического обслуживания воздушных судов |
стоянки ВС тыс. м2 |
0-2 0-2,7 |
- |
- |
|
Производственное здание |
тыс. м2 |
0-2,7 |
- |
- |
|
Здание для технического обслуживания и текущего ремонта авиааппаратуры с подсобными помещениями |
тыс. м2 |
0-0,510) |
- |
- |
|
Здание технических бригад |
объект тыс. м2 |
1 0,50 |
111) 0,35 |
111) 0,20 |
|
Площадка для дегазации и мойки воздушных судов и авиахимаппаратуры с сооружениями для нейтрализации смывных вод |
стоянки ВС тыс. м2 |
0-110) 0-3,010) |
- |
- |
|
Площадка предангарная |
тыс. м2 |
0-5,0 |
- |
- |
|
Площадка для доводочных работ |
стоянки ВС тыс. м2 |
0-2 0-5,0 |
- |
- |
|
Площадка для мойки воздушных судов |
стоянки ВС тыс. м2 |
0-1 0-4,0 |
- |
- |
|
Площадка для размещения емкостей слива ГСМ |
м2 |
25 |
15 |
10 |
|
Площадка для ремонта и хранения средств механизации, применяемых при техническом обслуживании воздушных судов |
м2 |
400-600 |
- |
- |
|
Площадка для спецавтотранспорта технического обслуживания воздушных судов |
м2 |
250 |
150 |
100 |
|
Объекты авиатопливообеспечения |
|
|
|
|
|
Склад ГСМ (емкость с учетом ЦЗС) с учетом климатических условий: |
м3 |
|
|
|
|
холодный климат, способ доставки: |
|
|
|
|
|
по трубопроводу |
|
450-1300 |
100-450 |
100 |
|
по железной дороге |
|
1000-2400 |
350-1000 |
350 |
|
автотранспортом |
|
1800-5500 |
500-1800 |
500 |
|
водным транспортом |
|
3400-19500 |
700-5000 |
1100 |
|
умеренный и теплый климат, способ доставки |
|
|
|
|
|
по трубопроводу |
|
350-900 |
70-350 |
70 |
|
по железной дороге |
|
850-1800 |
260-850 |
260 |
|
автотранспортом |
|
1500-3900 |
300-1500 |
300 |
|
водным транспортом |
|
2600-10100 |
550-2600 |
550 |
|
Система централизованной заправки самолетов (ЦЗС) |
м3/ч |
15-60 |
15 |
- |
|
ПРОИЗВОДСТВЕННЫЕ ЗДАНИЯ И СООРУЖЕНИЯ ВСПОМОГАТЕЛЬНОГО НАЗНАЧЕНИЯ |
|
|
|
|
|
Аварийно-спасательная станция |
Объект |
1 |
1 |
1 |
|
Сооружения службы спецтранспорта |
Кол-во обслуживаемых машин |
25-50 |
5-25 |
5 |
|
База аэродромной службы |
тыс. м2 |
1,0-3,0 |
0,5-1,0 |
0,5 |
|
Склад материально-технического имущества 12) |
м2 |
300-650 |
100-300 |
100 |
|
Котельная |
Объект |
1 |
1 |
1 |
|
Трансформаторная подстанция (ТЦ) |
Количество |
2-4 |
1-2 |
1-2 |
|
Автоматическая телефонная станция (АТС)4) |
Количество номеров |
150-250 |
100-150 |
100 |
|
Контрольно-пропускные пункты (КПП) |
Количество |
2 |
2 |
1 |
|
Транспортные пути |
|
|
|
|
|
Подъездная автодорога |
Категория км |
IV-III 2-2 |
IV 1-2 |
IV 1 |
|
Внутрипортовые дороги |
Категория км |
IV 0,6-1,3 |
IV 0,6-1,3 |
IV 1,3 |
|
Подъездные автодороги к обособленным объектам и охранной сигнализации аэродрома |
Категория км |
V-V 1,0-1,5 |
V 1,0 |
- |
|
Ограждения |
км |
7,5-8,5 |
2,0-7,5 |
2,0 |
Примечания:
1. Большее значение соответствует максимальному объему перевозок аэропорта, меньшее - минимальному объему перевозок аэропорта.
2. Класс аэродрома соответствует категории аэропорта:
I категория - аэродрому класса Г;
II категория - аэродрому классов Г, Д, Е;
III категория - аэродрому класса Е.
В отдельных случаях, с учетом местных условий, допускается отступление от данных требований при условии соответствия планируемого объема перевозок аэропорта пропускной способности аэродрома с учетом типов эксплуатируемых самолетов.
3. Сблокирован со служебно-пассажирским зданием (СПЗ).
4. Предусматривается только согласно специальному заданию.
5. Предусматривается согласно техническому заданию на проектирование.
6. Сблокирован с ДПРМ.
7. Огни приближения допускается не устанавливать. На аэродромах, не предназначенных для ночных полетов, светосигнальное оборудование не предусматривается.
8. Помещения длительного ожидания пассажиров, помещения для профилактического отдыха и осмотра летного состава, медицинские учреждения (здравпункт), помещения, предназначенные для отпуска прохладительных напитков, помещения для административно-управленческого персонала размещаются в служебно-пассажирском здании (СПЗ).
9. Сблокирован с отделением перевозки почти (ОПП).
10. Предусматривается в ИАС, обслуживающих приписные воздушные суда, занятые на авиахимработах.
11. Следует предусматривать только при невозможности размещения в аэровокзале.
12. Сблокирован с грузовым складом.
(в ценах 1984 г., тыс. руб.)
|
Здания, сооружения и строительные работы |
Стоимость, по категориям аэропортов MBЛх) |
||
|
I |
II |
III |
|
|
1 |
2 |
3 |
4 |
|
ЗДАНИЯ И СООРУЖЕНИЯ ОСНОВНОГО ПРОИЗВОДСТВЕННОГО НАЗНАЧЕНИЯ Аэродром |
|
|
|
|
Подготовка территории строительства аэропорта |
|
|
200 185 |
|
Земляные и планировочные работы |
|
|
155 155 |
|
Взлетно-посадочная полоса с искусственным покрытием (ИВПП): |
|
|
|
|
асфальтобетонное |
|
|
|
|
цементобетонное |
|
|
|
|
Рулежная дорожка (РД) |
|
|
10 10 |
|
Перрон |
|
|
40 40 |
|
Места стоянке самолетов (МС) |
|
- |
- |
|
Грунтовая взлетно-посадочная волоса (ГВПП) |
|
|
|
|
Площадки специального назначения: |
|
|
|
|
для дегазации и мойки ВС и авиахимаппаратуры с сооружениями для нейтрализации смывных вод |
|
- |
- |
|
предангарная |
|
- |
- |
|
для доводочных работ |
|
- |
- |
|
для мойки воздушных судов |
|
- |
- |
|
для размещения емкостей слива ГСМ; для ремонта и хранения средств механизации, применяемых при техническом обслуживании ВС |
|
|
|
|
для спецавтотранспорта технического обслуживания ВС |
- |
- |
- |
|
Ограждение |
|
|
10 10 |
|
Итого |
|
|
|
|
Объекты УВД, радионавигации и посадки |
|
|
|
|
Командно-диспетчерский пункт (КДП) |
|
205 140 |
|
|
Стартовый диспетчерский и метеонаблюдательный пункт (СДП) |
|
- |
- |
|
Обзорный радиолокатор трассовый (OPЛ-T)хх) |
- |
- |
- |
|
Обзорный радиолокатор аэродромный (ОРЛ-А)хх) |
- |
- |
- |
|
Посадочный радиолокатор (ПРЛ)хх) |
- |
- |
- |
|
Отдельная приводная радиостанция (ОПРС) |
- |
- |
160 120 |
|
Автоматический УКВ радиопеленгатор (АРП) |
75 25 |
75 25 |
75 25 |
|
Передающий радиоцентр (ПРЦ)6) |
|
- |
- |
|
Радиомаячная система (РМС) инструментального захода воздушных судов на посадку |
465 145 |
- |
- |
|
Светосигнальное оборудование |
|
|
|
|
первое направление посадки |
130 100 |
130 100 |
130 100 |
|
второе направление посадка |
90 60 |
90 60 |
- |
|
Внешний маркерный радиомаяк (ВМРМ) |
90 80 |
|
- |
|
Дальняя приводная радиостанция и маркерный радиомаяк (ДПРМ) |
200 75 |
|
- |
|
Ближняя приводная радиостанция и маркерный радиомаяк (БПРМ) |
135 95 |
|
- |
|
Итого |
|
|
|
|
Здания и сооружения обслуживания пассажирских перевозок |
|
|
|
|
Аэровокзал или СПЗххх) |
|
|
|
|
Привокзальная площадь |
|
|
20 20 |
|
Итого |
|
|
|
|
Здания и сооружения обслуживания грузовых и почтовых перевозок |
|
|
|
|
Грузовой склад |
|
|
|
|
Итого |
|
|
|
|
Знания и сооружения технического обслуживания воздушных судов |
|
|
|
|
Ангар-укрытие для технического обслуживания воздушных судов |
|
- |
- |
|
Производственное здание |
|
- |
- |
|
Здание для технического обслуживания и текущего ремонта авиахимаппаратуры с подсобными помещениями |
|
- |
- |
|
Здание технических бригад |
105 95 |
75 65 |
45 40 |
|
Итого |
|
75 65 |
45 40 |
|
Объекты авиатопливообеспечения |
|
|
|
|
Склад ГСМ (емкость е учетом ЦЭС) |
|
|
445 380 |
|
Система централизованной заправки самолетов |
|
40 35 |
- |
|
Итого |
|
|
445 380 |
|
ПРОИЗВОДСТВЕННЫЕ ЗДАНИЯ И СООРУЖЕНИЯ ВСПОМОГАТЕЛЬНОГО НАЗНАЧЕНИЯ |
|
|
|
|
Аварийно-спасательная станция |
45 40 |
45 40 |
45 40 |
|
Сооружения службы спецавтотранспорта |
|
|
55 45 |
|
База аэродромной службы |
|
|
10 5 |
|
Склад материально-технического имущества |
|
|
30 25 |
|
Котельная |
|
|
255 220 |
|
Трансформаторная подстанция (ТП) |
|
|
|
|
Автоматическая телефонная станция (АТС) |
|
|
45 25 |
|
Контрольно-пропускные пункты (КПП) |
45 40 |
45 40 |
30 25 |
|
Итого |
|
|
|
|
Транспортные пути |
|
|
|
|
Подъездная автодорога |
|
|
140 140 |
|
Внутрипортовые дороги |
|
|
25 25 |
|
Подъездные автодороги к обособленным объектам и охранной сигнализации аэродрома |
|
35 35 |
- |
|
Итого |
|
|
165 165 |
|
Инженерные сети, сооружения и благоустройство |
|
|
|
|
Всего по аэропорту с прочими затратами и непредвиденными работами |
|
|
|
х) В числителе - полная стоимость, в знаменателе - стоимость строительно-монтажных работ.
хх) Стоимость объектов (ОРЛ-Т, ОРЛ-A и ПРЛ) в итоге по группам и по аэропорту не учтена, так как их установка производится по специальному заданию.
ххх) Стоимость здания приведена без учета блокировки с ним других зданий.

Рис. 1. Примерная схема генерального плана аэропорта МВЛ I категории:
Аэродром: I - ИВПП; II - ГВПП; III - КПБ; IV - БПБ; V - РД; VI - перрон; VII - МС; VIII - предангарная площадь; IX - площадка устранения девиации; Х - подъездная автодорога; XI - площадка для дегазации и мойки ВС и авиахимаппаратуры с сооружениями для нейтрализации смывных вод; XII - привокзальная площадь.
СТТ: 1 - аэровокзал или СПЗ; 2 - КДП; 3 - помещения длительного ожидания пассажиров; 4 - профилакторий; 5 - помещения для административно-управленческого персонала; 6 - база аэродромной службы; 7 - здание АТБ с ангаром; 8 - грузовой склад с отделением почты; 9 - здание для технических бригад; 10 - котельная; 11 - здание аварийно-спасательной службы; 12 - сооружения службы спецтранспорта; 13 - склад материально-технического имущества; 14 - склад ГСМ; 15 - антенное поле; 16 - участок водопроводных сооружений; 17 - контрольно-пропускной пункт основной; 18 - контрольно-пропускной пункт вспомогательный.

Рис. 2. Примерная схема генерального плана аэропорта МВЛ II категории:
Аэродром: I - ИВПП; II - ГВПП; III - КПБ; IV - БПБ; V - РД; VI - перрон; VII - МС; VIII - предангарная площадь; IX - привокзальная площадь; Х - площадка для дегазации и мойки ВС и авиахимаппаратуры с сооружениями для нейтрализации смывных вод; XI - подъездная автодорога;
СТТ: 1 - Служебно-пассажирское здание или аэровокзал; 2 - КДП; 3 - помещения длительного ожидания пассажиров; 4 - профилакторий; 5 - помещения для административно-управленческого персонала; 6 - база аэродромной службы; 7 - здание АТБ с ангаром; 8 - грузовой склад с отделением перевозки почты; 9 - здание для технических бригад; 10 - котельная; 11-здание аварийно-спасательной службы; 12 - сооружения службы спецтранспорта; 13 - склад материально-технического имущества; 14 - склад ГСМ; 15 - антенное поле; 16 - участок водопроводных сооружений; 17 - контрольно-пропускной пункт основной; 18 - контрольно-пропускной пункт вспомогательный.

Рис. 3. Примерная схема генерального плана аэропорта МВЛ II категории:
Аэродром: I - ИВПП; II - ГВПП; III - КПБ; IV - БПБ; V - РД; VI - перрон; VII - привокзальная автодорога.
СТТ: 1 - аэровокзал; 2 - КДП; 3 - помещение для технических бригад; 4 - помещение длительного ожидания пассажиров; 5 - профилакторий; 6 - грузовой склад с отделением перевозки почты; 7 - помещение административного и управленческого персонала; 8 - база аэродромной службы; 9 - сооружения службы спецтранспорта; 10 - сооружения аварийно-спасательной службы; 11 - склад материально-технического имущества; 12 - склад ГСМ; 13 - котельная: 14 - антенное поле; 15 - участок водопроводных сооружений; 16 - КДП
|
Помещения |
Площадь (в м2) в аэровокзалах пропускной способностью, пасс./ч |
||||||
|
35 |
50 |
100 |
150 |
200 |
300 |
400 |
|
|
1 |
2 |
3 |
4 |
5 |
6 |
7 |
8 |
|
I. ПОМЕЩЕНИЯ ОСНОВНОГО ТЕХНОЛОГИЧЕСКОГО НАЗНАЧЕНИЯ |
198 |
342 |
714 |
978 |
1374 |
2118 |
2670 |
|
Пассажирский зал |
108 |
216 |
408 |
624 |
852 |
1308 |
1764 |
|
Зона обработки багажа х) |
- |
- |
108 |
108 |
168 |
276 |
276 |
|
Зал встречи хх) |
- |
- |
84 |
84 |
84 |
108 |
108 |
|
Камера хранения багажа и ручной клади |
-ххх) |
18 |
18 |
24 |
36 |
72 |
72 |
|
Пункты досмотра пассажиров: |
90 |
108 |
180 |
222 |
318 |
462 |
558 |
|
помещения контроля пассажиров |
54 |
54 |
108 |
108 |
162 |
216 |
216 |
|
зоны ожидания для пассажиров, прошедших досмотр |
36 |
54 |
72 |
114 |
156 |
246 |
342 |
|
II. ПОМЕЩЕНИЯ ДОПОЛНИТЕЛЬНОГО ОБСЛУЖИВАНИЯ ПАССАЖИРОВ |
12 |
138 |
270 |
318 |
408 |
468 |
588 |
|
Помещения предприятий общественного питания (торговые помещения, вестибюли): |
- |
84 |
132 |
144 |
198 |
204 |
216 |
|
столовая |
- |
60 |
60 |
60 |
60 |
60 |
60 |
|
кафе |
- |
- |
50 |
50 |
100 |
100 |
100 |
|
буфет |
20хх) |
25 |
25 |
28 |
30 |
38 |
55 |
|
Помещения для депутатов (гостевые интуриста) |
- |
18 |
36 |
48 |
60 |
72 |
72 |
|
Комната матери и ребенка |
12 |
24 |
35 |
48 |
60 |
84 |
108 |
|
Парикмахерская |
- |
- |
12 |
12 |
12 |
24 |
24 |
|
Мастерская бытового обслуживания |
- |
- |
- |
12 |
12 |
18 |
36 |
|
Медпункт |
- |
- |
18 |
18 |
24 |
24 |
36 |
|
Отделение связи |
-хххх) |
12 |
18 |
18 |
24 |
24 |
54 |
|
Переговорный пункт |
- |
- |
12 |
12 |
12 |
12 |
36 |
|
Сберкасса |
- |
- |
6 |
6 |
6 |
6 |
6 |
|
III. СЛУЖЕБНЫЕ ПОМЕЩЕНИЯ |
12 |
60 |
96 |
120 |
204 |
246 |
276 |
|
Отделение милиции |
- |
- |
12 |
18 |
24 |
36 |
36 |
|
Оперативная служба и фельдсвязь |
- |
- |
- |
- |
12 |
12 |
12 |
|
Военный комендант |
- |
- |
- |
- |
12 |
12 |
12 |
|
Начальник службы организации перевозок |
12 |
12 |
12 |
12 |
18 |
18 |
24 |
|
Начальник аэровокзала |
12 |
12 |
12 |
12 |
|||
|
Инспектор по работе с пассажирами |
- |
- |
- |
- |
12 |
12 |
12 |
|
Диспетчерская группа: |
- |
12 |
12 |
12 |
24 |
24 |
24 |
|
диспетчер службы организации перевозок |
- |
12 |
12 |
12 |
12 |
12 |
12 |
|
оператор перевозочной документации |
- |
- |
- |
- |
- |
12 |
12 |
|
Группа регистрации, встречи и посадки: |
- |
9 |
9 |
9 |
18 |
18 |
18 |
|
дежурный по регистрации |
- |
9 |
9 |
9 |
9 |
9 |
9 |
|
дежурный по встрече и посадке |
- |
9 |
9 |
9 |
|||
|
Кассиры |
- |
6 |
6 |
6 |
6 |
12 |
12 |
|
Группа досмотра |
- |
12 |
12 |
12 |
18 |
18 |
18 |
|
Перронные бригады |
- |
- |
9 |
9 |
12 |
12 |
12 |
|
Информационный центр: |
- |
9 |
12 |
18 |
18 |
24 |
36 |
|
дикторская |
- |
9 |
12 |
18 |
18 |
24 |
18 |
|
аппаратная радиоузла |
- |
||||||
|
оперативное управление средствами визуальной информации |
- |
18 |
|||||
|
Группа эксплуатации здания |
- |
- |
12 |
12 |
18 |
24 |
36 |
|
IV. ВСПОМОГАТЕЛЬНЫЕ ПОМЕЩЕНИЯ |
90 |
186 |
324 |
432 |
510 |
582 |
654 |
|
Класс для технической учебы персонала |
- |
- |
12 |
12 |
18 |
18 |
24 |
|
Производственные, складские и административно-бытовые помещения пищеблока (при работе на сырье) |
18 |
156 |
234 |
318 |
366 |
402 |
444 |
|
Складские помещения предприятий торговли |
- |
- |
- |
- |
18 |
24 |
36 |
|
Помещения для хранения и технического обслуживания портативных радиостанций |
- |
- |
- |
- |
- |
12 |
12 |
|
Кладовые хранения уборочного инвентаря и техники |
- |
- |
12 |
12 |
12 |
18 |
18 |
|
Помещение для сбора мусора и мойки урн |
- |
- |
12 |
12 |
12 |
12 |
12 |
|
Бытовые помещения для пассажиров вылетающих, прилетевших и посетителей |
12 |
24 |
48 |
72 |
72 |
84 |
84 |
|
Бытовые помещения для обслуживающего персонала |
6 |
6 |
6 |
6 |
12 |
12 |
24 |
|
Квартира (жилая площадь) |
36 |
- |
- |
- |
- |
- |
- |
|
Котельная |
18 |
- |
- |
- |
- |
- |
- |
|
Рабочая площадь всех помещений (округленно) |
310 |
730 |
1400 |
1850 |
2500 |
3410 |
4190 |
|
Удельная площадь, м2/1 пасс./ч |
8,9 |
14,6 |
14,0 |
12,3 |
12,5 |
11,4 |
10,5 |
х) Предусмотрена для случая приема в аэропорту самолета типа Ту-134.
хх) Включена в площадь пассажирского зала.
ххх) В пассажирском зале предусмотрено пристенное оборудование автоматической камеры хранения (6 шт.).
хххх) Настенное оборудование в пассажирском зале:
почтовый ящик;
автомат по продаже конвертов и открыток;
таксофоны.
Примечание. Скобка указывает на возможность объединения нескольких служб в одном помещении
|
Структурное подразделение |
Численность работников в дневную смену (чел.) в аэровокзалах пропускной способностью, пасс./ч |
||||||
|
35 |
50 |
100 |
150 |
200 |
300 |
400 |
|
|
1 |
2 |
3 |
4 |
5 |
6 |
7 |
8 |
|
Начальник аэропорта |
1х) |
- |
- |
- |
- |
- |
- |
|
СЛУЖБА ОРГАНИЗАЦИИ ПЕРЕВОЗОК |
|
|
|
|
|
|
|
|
Административно-управленческий персонал |
|
|
|
|
|
|
|
|
Начальник службы СОП |
х) |
1 |
1 |
1 |
1 |
1 |
1 |
|
Начальник аэровокзала |
х) |
1 |
1 |
1 |
1 |
||
|
Инспектор по работе с пассажирами |
- |
- |
- |
- |
1 |
1 |
1 |
|
Итого |
1 |
1 |
1 |
2 |
3 |
3 |
3 |
|
Диспетчерская |
|
|
|
|
|
|
|
|
Диспетчер СОП |
- |
1 |
1 |
1 |
1 |
2 |
2 |
|
Техник по обработке первичной документации |
- |
- |
- |
- |
- |
1 |
1 |
|
Дежурный по оформлению сопроводительной документации |
- |
- |
- |
- |
- |
- |
1 |
|
Итого |
- |
1 |
1 |
1 |
1 |
3 |
4 |
|
Группа регистрации, встречи и посадки |
|
|
|
|
|
|
|
|
Дежурный по регистрации |
1х) |
1 |
1 |
1 |
2 |
1 |
2 |
|
Дежурный по встрече и посадке |
3 |
3 |
|||||
|
Приемосдатчик багажа |
- |
- |
1х) |
1х) |
1 |
1 |
1 |
|
Водитель самоходных механизмов (загрузчик багажа) |
- |
- |
1 |
1 |
1 |
||
|
Перронный контролер |
- |
- |
- |
- |
- |
2 |
2 |
|
Итого |
1 |
1 |
2 |
2 |
4 |
8 |
9 |
|
Группа досмотра |
|
|
|
|
|
|
|
|
Дежурный по досмотру |
х) |
2 |
2 |
2 |
4 |
4 |
6 |
|
Оператор интроскопа |
х) |
1 |
1 |
1 |
2 |
2 |
3 |
|
Итого |
- |
3 |
3 |
3 |
6 |
6 |
9 |
|
Группа камеры хранения |
|
|
|
|
|
|
|
|
Кладовщик камеры хранения |
х) |
х) |
х) |
х) |
1 |
1 |
1 |
|
Итого |
- |
- |
- |
- |
1 |
1 |
1 |
|
Хозяйственная группа |
|
|
|
|
|
|
|
|
Дежурный по аэровокзалу |
- |
- |
- |
- |
1 |
1 |
1 |
|
Дежурный по комнате матери ребенка |
х) |
1 |
1 |
1 |
1 |
1 |
1 |
|
Уборщицы помещений |
х) |
1 |
2 |
2 |
3 |
4 |
5 |
|
Итого |
- |
2 |
3 |
3 |
5 |
6 |
7 |
|
Итого по СОП |
2 |
8 |
10 |
11 |
20 |
27 |
33 |
|
Группа транзита |
|
|
|
|
|
|
|
|
Кассиры |
х) |
1 |
1 |
1 |
1 |
2 |
2 |
|
Группа информации (справочное бюро) |
- |
- |
1 |
1 |
2 |
2 |
3 |
|
Персонал дополнительного обслуживания |
|
|
|
|
|
|
|
|
Медпункт |
- |
- |
1 |
2 |
2 |
2 |
2 |
|
Парикмахерская |
- |
- |
1 |
1 |
1 |
2 |
2 |
|
Отделение связи |
- |
1 |
2 |
2 |
2 |
2 |
2 |
|
Сберкасса |
- |
- |
1 |
1 |
1 |
1 |
1 |
|
Всего персонала дополнительного обслуживания |
- |
1 |
5 |
6 |
6 |
7 |
7 |
|
Предприятия торговли |
|
|
|
|
|
|
|
|
Союзпечать |
- |
- |
1 |
1 |
1 |
1 |
1 |
|
Аптечные товары |
- |
- |
1 |
1 |
1 |
1 |
1 |
|
Сувениры |
- |
- |
- |
1 |
1 |
1 |
1 |
|
Кондитерские изделия |
- |
- |
- |
- |
- |
1 |
1 |
|
Цветы |
- |
- |
- |
- |
- |
- |
1 |
|
Всего персонала предприятий торговли |
- |
- |
2 |
3 |
3 |
4 |
5 |
|
Милиция |
- |
- |
2 |
3 |
4 |
4 |
5 |
|
Военный комендант |
- |
- |
- |
- |
1 |
1 |
1 |
|
Оперативная служба, фельдсвязь (определяются заданием на проектирование) |
|
|
|
|
|
|
|
|
Предприятия общественного питания |
1 |
11 |
17 |
17 |
28 |
30 |
35 |
|
Всего |
3 |
22 |
35 |
42 |
65 |
77 |
91 |
Примечание. "Звездочка" обозначает возможность совмещения должностей, а скобка указывает, какие должности могут быть совмещены.
|
Группа помещений |
Площадь (в м2) в аэровокзалах пропускной способностью, пасс./ч |
|||||||
|
35 |
50 |
100 |
||||||
|
Буфет на 8 мест |
Служебная столовая на 25 мест |
Буфет на 10 мест |
Общая |
Кафе на 25 мест |
Буфет на 12 мест |
Служебная столовая на 25 мест |
Общая |
|
|
Торговая |
20 |
60 |
25 |
- |
50 |
25 |
60 |
- |
|
Производственная |
14 |
45 |
14 |
22 |
41 |
14 |
45 |
37 |
|
Складская |
- |
- |
- |
37 |
- |
- |
- |
62 |
|
Административно-бытовая |
- |
- |
- |
24 |
- |
- |
- |
36 |
|
Итого по предприятию |
34 |
105 |
39 |
83 |
91 |
39 |
105 |
135 |
|
Всего по комплексу |
34 |
227 |
370 |
|||||
СОСТАВ И ПЛОЩАДИ ГРУПП ПОМЕЩЕНИЙ ПРЕДПРИЯТИЙ ОБЩЕСТВЕННОГО ПИТАНИЯ В АЭРОВОКЗАЛАХ МВЛ (ПРИ РАБОТЕ НА СЫРЬЕ)
|
Группа помещений |
Площадь (в м2) в аэровокзалах пропускной способностью, пасс./ч |
|||||||
|
150 |
200 |
|||||||
|
Кафе на 25 мест |
Буфет на 12 мест |
Служебная столовая на 25 мест |
Общая |
Кафе на 50 мест |
Буфет на 16 мест |
Служебная столовая на 25 мест |
Общая |
|
|
Торговая |
50 |
28 |
60 |
- |
100 |
30 |
60 |
- |
|
Производственная |
41 |
12 |
45 |
37 |
65 |
14 |
45 |
44 |
|
Складская |
- |
- |
- |
97 |
- |
- |
- |
103 |
|
Административно-бытовая |
- |
- |
- |
83 |
- |
- |
- |
92 |
|
Итого по предприятию |
91 |
40 |
105 |
217 |
165 |
44 |
105 |
239 |
|
Всего по комплексу |
453 |
553 |
||||||
СОСТАВ И ПЛОЩАДИ ГРУПП ПОМЕЩЕНИЙ ПРЕДПРИЯТИЙ ОБЩЕСТВЕННОГО ПИТАНИЯ В АЭРОВОКЗАЛАХ МВЛ (ПРИ РАБОТЕ НА СЫРЬЕ)
|
Группа помещений |
Площадь (в м2) в аэровокзалах пропускной способностью, пасс./ч |
|||||||
|
300 |
400 |
|||||||
|
Кафе на 50 мест |
Буфет на 20 мест |
Служебная столовая на 25 мест |
Общая |
Кафе на 50 мест |
Буфет на 30 мест |
Служебная столовая на 25 мест |
Общая |
|
|
Торговая |
100 |
38 |
60 |
- |
100 |
55 |
60 |
- |
|
Производственная |
65 |
16 |
45 |
47 |
65 |
24 |
45 |
63 |
|
Складская |
- |
- |
- |
124 |
- |
- |
- |
137 |
|
Административно-бытовая |
- |
- |
- |
105 |
- |
- |
- |
117 |
|
Итого по предприятию |
165 |
54 |
105 |
276 |
165 |
79 |
105 |
317 |
|
Всего по комплексу |
600 |
666 |
||||||
СОСТАВ И ПЛОЩАДИ ГРУПП ПОМЕЩЕНИЙ ПРЕДПРИЯТИЙ ОБЩЕСТВЕННОГО ПИТАНИЯ В СЛУЖЕБНО-ПАССАЖИРСКИХ ЗДАНИЯХ (САЗ) В УСЛОВИЯХ БЛОКИРОВКИ (ПРИ РАБОТЕ НА СЫРЬЕ)
|
Группа помещений |
Площадь (в м2) в аэровокзалах (СПЗ) пропускной способностью, пасс./ч |
||||||||
|
35 |
50 |
100 |
|||||||
|
Буфет на 8 мест |
Служебная столовая на 25 мест |
Буфет на 10 мест |
Общая |
Кафе на 25 мест |
Буфет на 12 мест |
Служебная столовая на 25 мест |
Конд. цех на 400 изд. смену |
Общая |
|
|
Торговая |
20 |
60 |
22 |
- |
50 |
25 |
60 |
- |
- |
|
Производственная |
14 |
47 |
16 |
22 |
41 |
16 |
47 |
42 |
41 |
|
Складская |
- |
- |
- |
46 |
- |
- |
- |
- |
81 |
|
Административно-бытовая |
- |
- |
- |
24 |
- |
- |
- |
- |
40 |
|
Итого по предприятию |
34 |
107 |
38 |
92 |
91 |
44 |
107 |
42 |
162 |
|
Всего по комплексу |
|
237 |
446 |
||||||
СОСТАВ И ПЛОЩАДИ ГРУПП ПОМЕЩЕНИЙ ПРЕДПРИЯТИЙ ОБЩЕСТВЕННОГО ПИТАНИЯ В СЛУЖЕБНО-ПАССАЖИРСКИХ ЗДАНИЯХ (САЗ) В УСЛОВИЯХ БЛОКИРОВКИ (ПРИ РАБОТЕ НА СЫРЬЕ)
|
Группа помещений |
Площадь (в м2) в аэровокзалах (СПЗ) пропускной способностью, пасс./ч |
|||||||||||
|
150 |
200 |
|||||||||||
|
Кафе на 25 мест |
Буфет на 12 мест |
Служебная столовая |
Цех бортпитания |
Кондитер. цех |
Общая |
Кафе на 50 мест |
Буфет на 16 мест |
Служебная столовая |
Цех бортпитания |
Кондитер. цех |
Общая |
|
|
Торговая |
50 |
28 |
115 |
- |
- |
- |
100 |
30 |
115 |
- |
- |
- |
|
Производственная |
41 |
16 |
75 |
48 |
29 |
64 |
65 |
22 |
75 |
58 |
41 |
76 |
|
Складская |
- |
- |
- |
- |
- |
134 |
- |
- |
- |
- |
- |
151 |
|
Административно-бытовая |
- |
- |
- |
- |
- |
88 |
- |
- |
- |
- |
- |
97 |
|
Итого по предприятию |
91 |
41 |
190 |
48 |
29 |
286 |
165 |
52 |
190 |
58 |
41 |
347 |
|
Всего по комплексу |
688 |
853 |
||||||||||
СОСТАВ И ПЛОЩАДИ ГРУПП ПОМЕЩЕНИЙ ПРЕДПРИЯТИЙ ОБЩЕСТВЕННОГО ПИТАНИЯ В СЛУЖЕБНО-ПАССАЖИРСКИХ ЗДАНИЯХ (САЗ) В УСЛОВИЯХ БЛОКИРОВКИ (ПРИ РАБОТЕ НА СЫРЬЕ)
|
Группа помещений |
Площадь (в м2) в аэровокзалах (СПЗ) пропускной способностью 300 пасс./ч |
|||||
|
Кафе на 50 мест |
Буфет на 20 мест |
Служебная столовая на 100 мест |
Цех бортового питания на 180 рац./ч |
Кондитерский цех на 1000 разд. в смену |
Общая |
|
|
Торговая |
100 |
40 |
215 |
- |
- |
- |
|
Производственная |
63 |
16 |
110 |
86 |
41 |
81 |
|
Складская |
- |
- |
- |
- |
- |
169 |
|
Административно-бытовая |
- |
- |
- |
- |
- |
115 |
|
Итого по предприятию |
163 |
56 |
325 |
86 |
41 |
365 |
|
Всего по комплексу |
1036 |
|||||
СОСТАВ И ПЛОЩАДИ ГРУПП ПОМЕЩЕНИЙ ПРЕДПРИЯТИЙ ОБЩЕСТВЕННОГО ПИТАНИЯ В СЛУЖЕБНО-ПАССАЖИРСКИХ ЗДАНИЯХ (САЗ) В УСЛОВИЯХ БЛОКИРОВКИ (ПРИ РАБОТЕ НА СЫРЬЕ)
|
Группа помещений |
Площадь (в м2) в аэровокзалах (СПЗ) пропускной способностью 400 пасс./ч |
|||||
|
Кафе на 50 мест |
Буфет на 30 мест |
Служебная столовая на 100 мест |
Цех бортпитания |
Кондитерский цех |
Общая |
|
|
Торговая |
100 |
55 |
215 |
- |
- |
- |
|
Производственная |
63 |
22 |
110 |
109 |
59 |
96 |
|
Складская |
- |
- |
- |
- |
- |
197 |
|
Административно-бытовая |
- |
- |
- |
- |
- |
137 |
|
Итого по предприятию |
163 |
77 |
325 |
109 |
59 |
430 |
|
Всего по комплексу |
1163 |
|||||

Схема размещения объектов УВД, радионавигации и посадки в аэропортах с аэродромами классов Г и Д; К - расстояние до ГРМ

Технологическая схема упрощенной системы ЦЗС производительностью до 60 м3/ч:
I - расходный склад; II - насосно-фильтрационная станция; III - заправочный пункт; 1 - резервуар; 2 - приемный трубопровод; 3 - плавающее устройство; 4 - фильтр грубой очистки; 5 - вентиль; 6 - задвижка; 7 - зачистной трубопровод; 8 - унифицированное быстроразъемное соединение; 9 - резервуар для слива топлива, 10 - сетчатый фильтр; 11 - предохранительный клапан; 12 - насос; 13 - фильтр ТФ-10 с ТВЧ-10к; 14 - фильтр-сепаратор СТ-500-2м; 15 - фильтр TФ-10 с ТФБ; 16 - гидроамортизатор; 17 - магистральный трубопровод; 18 - фильтр TФ-10 с ТФБ; 19 - бачок для ПВК жидкости; 20 - фильтр для ПВК жидкости; 21 - счетно-дозирующая установка (УИАТ, УСМТ); 22 - раздаточный рукав; 23 - сливной трубопровод; 24 - насос обратного слива.

Принципиальная схема заправочного агрегата производительностью до 30 м3/ч (500 л/мин):
1 - напорный трубопровод; 2 - кран; 3 - сепаратор; 4 - фильтр тонкой очистки; 5 - расходный бачок с ПВЦ жидкостью; 6 - фильтр для противообледенительной жидкости; 7 - счетно-дозирующая установка (УИАТ); 8 - присоединительный наконечник НПГ; 9 - наконечник нижней заправки; 10 - шланговая тележка; 11 - гидроамортизатор; 12 - насос; 13 - обратный клапан; 14 - трубопровод обратного слива

Принципиальная схема пункта налива:
1 - фильтр-сепаратор; 2 - фильтр с ТФБ; 3 - рама; 4 - счетчик топлива; 5 - бак с ПВК жидкостью; 6 - дозатор; 7 - гидроамортизатор; 8 - площадка для ТЗ; 9 - ТЗ; 10 - сборник пролитого топлива.
|
№ п/п |
Оборудование |
Марка |
|
1 |
Насосы |
4НКЭ-5×1 (4НК-5×1) 5НКЭ-5×1 (5НК-5×1) СВН-80 |
|
2 |
Счетчики |
СЦЛ-20-24 ЛЖ-100-10 |
|
3 |
Счетно-дозирующая установка |
УИАТ-1 |
|
4 |
Фильтры |
ФГН-120 ФГН-60 ТФ-10 |
|
б |
Фильтр-сепаратор |
СТ-500 |
|
6 |
Гидроамортизатор |
ГА-2 |
|
7 |
Присоединительная колонка |
ПК-90 |
|
8 |
Наконечник нижней заправки |
ННЗ-4 НН3-5 |
|
9 |
Унифицированное быстроразъемное соединение |
УБС-65 |
|
10 |
Раздаточный пистолет |
РП-40 |
|
11 |
Фильтровочный агрегат |
ФЗА-3М |
|
12 |
Заправочный агрегат |
АЦЗ-75 |
|
Назначение каналов электросвязи |
Количество каналов по категориям аэропортов |
||
|
I |
II |
III |
|
|
1 |
2 |
3 |
4 |
|
Магистральные телеграфные каналы службы движения |
1 |
- |
- |
|
Телеграфные каналы для связи с организациями города, агентствами и аэропортами МВЛ |
1 |
1 |
0-1 |
|
Телеграфные каналы сети абонентского телеграфа |
1 |
1 |
- |
|
Телеграфные каналы других ведомств |
1 |
1 |
- |
|
Прямые междугородные телефонные каналы диспетчеров службы движения |
1-2 |
- |
- |
|
Междугородные связи через коммутатор аэропорта |
2 |
1 |
- |
|
Междугородные переговорные кабины (таксофоны) |
1 |
0-1 |
0-1 |
|
Междугородные телефонные каналы других ведомств |
1 |
- |
- |
|
Соединительные линии УПТС-ГАТС (входящие и исходящие) |
13-17 |
10-13 |
4-6 |
|
Соединительные линии УПТС-МТС (через ГАТС) |
3-4 |
1 |
1 |
|
Телефонная связь диспетчеров УВД о городами базирования |
1 |
- |
- |
|
Телефонная связь АМСГ |
1 |
1 |
- |
|
Телефонная связь ООП |
9-10 |
8-9 |
4-8 |
|
Телефонная связь других ведомств |
1-2 |
1 |
- |
|
Телефоны-автоматы |
2 |
1 |
0-1 |
|
Итого |
39-47 |
26-31 |
8-18 |
|
Резерв на развитие (30 %) |
12-14 |
8-9 |
2-5 |
|
Всего с округлением |
50-60 |
35-40 |
10-25 |
|
Здания и сооружения |
Количество телефонных аппаратов по категориям аэропортов |
Количество вторичных электрочасов по категориям аэропортов |
||||
|
I |
II |
III |
I |
II |
III |
|
|
1 |
2 |
3 |
4 |
5 |
6 |
7 |
|
СООРУЖЕНИЯ УВД, РАДИОНАВИГАЦИИ И ПОСАДКИ |
|
|
|
' |
|
|
|
Командно-диспетчерский пункт |
23 |
9 |
9 |
21 |
9 |
9 |
|
Объекты УВД, радионавигации и посадки |
10 |
6 |
1-2 |
2 |
1 |
- |
|
ЗДАНИЯ ОБСЛУЖИВАНИЯ ПАССАЖИРСКИХ ПЕРЕВОЗОК |
|
|
|
|
|
|
|
Аэровокзал, служебно-пассажирское здание |
45 |
37 |
4-28 |
18 |
17 |
6-12 |
|
Помещение длительного ожидания пассажиров |
1 |
1 |
- |
1 |
1 |
1 |
|
Помещение для отпуска прохладительных напитков |
1 |
1 |
- |
1 |
1 |
- |
|
ГРУЗОВОЙ КОМПЛЕКС АЭРОПОРТА |
9 |
7 |
1-2 |
15 |
10 |
1-5 |
|
Отделение перевозки почты |
1 |
1 |
- |
1 |
1 |
1 |
|
ЗДАНИЯ И СООРУЖЕНИЯ ТЕХНИЧЕСКОГО ОБСЛУЖИВАНИЯ ВОЗДУШНЫХ СУДОВ |
|
|
|
|
|
|
|
Ангар (ангар-укрытие) |
0-1 |
- |
- |
0-1 |
- |
- |
|
Производственное помещение АТБ |
0-10 |
- |
- |
0-10 |
- |
- |
|
Помещение для технических бригад |
4 |
2 |
0-1 |
2 |
1 |
0-1 |
|
Здание для техобслуживания и текущего ремонта авиахимаппаратуры |
0-1 |
- |
- |
0-1 |
- |
- |
|
СООРУЖЕНИЯ АВИАТОПЛИВООБЕСПЕЧЕНИЯ |
4 |
2 |
0-1 |
2 |
1 |
0-1 |
|
ПРОИЗВОДСТВЕННЫЕ ПОМЕЩЕНИЯ И СООРУЖЕНИЯ ВСПОМОГАТЕЛЬНОГО НАЗНАЧЕНИЯ |
|
|
|
|
|
|
|
Управление аэропорта |
10 |
4 |
1-2 |
6 |
4 |
2 |
|
Комната отдыха летного состава |
2-3 |
1-2 |
0-1 |
1 |
1 |
- |
|
Столовая |
1 |
1 |
- |
1 |
1 |
- |
|
Аварийно-спасательная станция |
3 |
1-2 |
1 |
2 |
1 |
1 |
|
Сооружения службы спецтранспорта |
3 |
0-1 |
- |
4 |
1 |
0-1 |
|
База аэродромной службы |
1 |
0-1 |
- |
1 |
1 |
0-1 |
|
Склад материально-технического имущества |
1 |
1 |
- |
- |
- |
- |
|
Котельная |
1 |
1 |
- |
1 |
1 |
- |
|
Трансформаторные подстанции |
6 |
1-2 |
1 |
- |
- |
- |
|
УПТС аэропорта |
1 |
1 |
1 |
- |
- |
- |
|
Итого |
127-140 |
77-82 |
7-48 |
79-91 |
52 |
20-34 |
|
Прочие сооружения и текущий резерв (30 %) |
38-42 |
23-25 |
2-14 |
- |
- |
- |
|
Всего |
165-182 |
100-107 |
9-62 |
79-91 |
52 |
20-35 |
|
Емкость станция УПТС (число номеров с округлением) |
200 |
100 |
10-60 |
- |
- |
- |
|
Емкость станции УПТС с учетом перспективы развития |
250 |
150 |
30-100 |
- |
- |
- |
|
Оборудование |
Количество оборудования (в шт.) в аэровокзалах пропускной способностью, пасс./ч |
||
|
35-100 |
150-200 |
300-400 |
|
|
Указатель наличия мест на самолеты на текущий день |
- |
- |
1 |
|
Комплект аппаратуры информации о номере рейса с централизованным управлением |
- |
1 |
1 |
|
Табло информации о номере рейса с индивидуальным управлением |
2-4 |
2 |
2 |
|
ГОСТЫ, СТРОИТЕЛЬНЫЕ и ТЕХНИЧЕСКИЕ НОРМАТИВЫ. Некоммерческая онлайн система, содержащая все Российские Госты, национальные Стандарты и нормативы. В Системе содержится более 150000 файлов нормативно-технической документации, действующей на территории РФ. Система предназначена для широкого круга инженерно-технических специалистов. Copyright © www.gostrf.com, 2008 - 2026 |