|
|
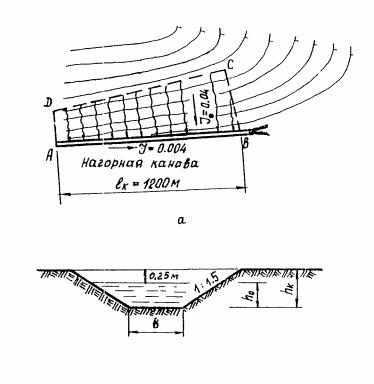
|
МИНИСТЕРСТВО ГРАЖДАНСКОЙ АВИАЦИИ Государственный проектно-изыскательский и научно-исследовательский институт Аэропроект РУКОВОДСТВО Москва 1982
СОДЕРЖАНИЕ Настоящее Руководство разработано в развитие СНиП II 47-80. "Аэродромы. Нормы проектирования" кафедрой "Аэропорты" МАДИ. Оно может быть использовано при проектировании водоотвода и дренажа на искусственных покрытиях и грунтовых участках летных полей аэродромов гражданской авиации, а также в качестве учебного пособия при подготовке инженерно-технического состава по специальности "Строительство аэродромов". Руководство разработали д-р техн. наук Г.И. Глушков, канд. техн. наук Н.И. Кузовщиков, инженеры А.А. Чутков, Б.А. Виноградов. Утверждено начальником ГПИ и НИИ ГА Аэропроект В.Н. Ивановым 18.12.80. 1. ОБЩИЕ ПОЛОЖЕНИЯ1.1. Использование водоотвода и дренажа позволяет исключить переувлажнение грунтов в основании покрытий и поверхностных слоев летного поля поверхностными и грунтовыми водами повысить прочность, устойчивость и долговечность аэродромных покрытий, а также сократить нелетные периоды времени и улучшить условия эксплуатации грунтовых летных полос. Водоотвод и дренаж территории аэродрома должны проектироваться с учетом климатических и гидрогеологических условий района строительства, типа водного питания, конструкций аэродромных покрытий, вертикальной планировки территории аэродрома, рельефа местности и других факторов. 1.2. Грунтовые основания следует проектировать с учетом деления территории СССР на климатические зоны (рис. 1); типов местности по гидрогеологическим условиям (табл. 1); видов и свойств грунтов в районе строительства аэродрома.
Примечания: 1. Для I климатической зоны тип местности в каждом конкретном случае должен определяться при проведении изысканий с учетом места расположения элементов аэродрома (террасы рек и озер, тундра, лесотундра и т.д.; наличия мохоторфяного покрова, сплошности его распространения и толщины, наличия подземного льда, надмерзлотных вод и др. 2. Грунтовые воды не оказывают существенного влияния на увлажнение верхней толщи грунтов, если уровень грунтовых вод в предморозный период залегает ниже расчетной глубины промерзания на 2 м и более - в глинах, суглинках пылеватых; на 1,5 м и более - в суглинках, супесях пылеватых; на 1 м - и более - в супесях, песках пылеватых. 1.3. Отнесение грунтового участка к тому или иному типу гидрогеологических условий выполняется по данным почвенно-грунтовых обследований в соответствии с п. 4.2 главы СНиП "Аэродромы. Нормы проектирования". 1.4. При проектировании водоотвода и дренажа на аэродромах учитываются следующие типы водного питания грунтов: намывное, атмосферное, грунтовое, грунтово-напорное и пучинное. Намывное питание (затопление) вызывается притоком поверхностных вод с участков, расположенных за пределами летного поля, а также подъемом воды в ближайшем водоеме во время паводков или длительных интенсивных ливней. Атмосферное питание вызывается дождевыми осадками и талыми водами от весеннего снеготаяния. Характерно для площадей с малыми уклонами. Грунтовое питание характеризуется переувлажнением поверхности летного поля в результате капиллярного поднятия влаги от уровня грунтовых вод, стекающих и частично застаивающихся на водоупорном слое.
Рис. 1. Деление территории СССР на климатические зоны Грунтово-напорное питание обусловлено притоком грунтовой напорной воды по водоносному слою, перекрытого слоем слабопроницаемого грунта (глины, суглинка). Напор воды создается за счет подпора воды в близлежащих водоемах или при стоке грунтовой воды с более возвышенных участков. Пучинное питание вызывается оттаиванием весной ледяных кристаллов и линз, накопленных в грунте за зимний период. Все типы водного питания могут встречаться как в обособленном виде, так и в сочетании нескольких из них. 2. ПРОЕКТИРОВАНИЕ ВОДООТВОДА И ДРЕНАЖА НА АЭРОДРОМАХ2.1. Задачами проектируемых мероприятий по водоотводу и дренажу являются: защита территории аэродрома и участков искусственных покрытий от затопления притоком ливневых и талых вод, стекающих со смежных водосборов, а также притоком воды из ближайших водоемов при подъеме уровня; улучшение стока, сбор поверхностных вод из замкнутых понижений и других переувлажняемых мест, а также вод, стекающих с покрытий и прилегающих к ним грунтовых водосборов; понижение уровня грунтовых вод под искусственными покрытиями и на отдельных грунтовых участках при наличии их высокого уровня; перехват грунтово-напорных вод, поступающих к летному полю с территории, примыкающей к аэродрому; сбор и отвод избыточной воды из дренирующих и грунтовых оснований искусственных покрытий. 2.2. Водоотводные и дренажные системы аэродромов должны проектироваться с учетом следующих основных принципов: влаги от уровня грунтовых вод, стекающих и частично застаивающихся на водоупорном слое. обеспечение безопасности выполнения взлетно-посадочных операций самолетов, что достигается правильным расположением водоотводных и дренажных систем в плане и необходимой прочностью их конструкции; обеспечение экономичности проектируемых мероприятий, которое достигается введением наиболее дешевых и эффективных мероприятий по водоотводу и дренажу территории аэродрома; использованием сборных конструкций из элементов заводского изготовления; проектированием водоотводной и дренажной системы наименьшей протяженности, с минимальным пересечением аэродромных покрытий; обеспечение возможности перспективного развития аэродрома без существенного переустройства водоотводной и дренажной сети. 2.3. Перехват и отвод поверхностных вод, поступающих к аэродрому с внешних водосборов, осуществляется с помощью нагорных канав, расположенных за пределами летного поля. Для защиты территории аэродрома от подтопления грунтовыми водами с внешних водосборов могут устраиваться ловчие канавы или дрены. Защита территории аэродрома от затопления водой из близлежащих водоемов при поднятии в них уровня воды может обеспечиваться устройством ограждающей дамбы или планировочными решениями, защита от подтопления - устройством водонепроницаемого экрана в толще водоносного слоя, устройством береговой дрены и другими сооружениями. Расчетный уровень высокой воды (РУВВ) при необходимости защиты аэродрома от затопления паводковыми водами следует принимать с вероятностью превышения 1:100 для аэродромов классов А, Б и 1:50 для аэродромов других классов. 2.4. Для предупреждения переувлажнения грунтов поверхностной и грунтовой водой должна проектироваться соответствующая водосточно-дренажная система. Водоотводные и дренажные системы грунтовых площадей проектируются только на участках летного поля с необеспеченным естественным стоком поверхностных вод в случае, если исправление рельефа участка путем производства земляных работ для обеспечения стока оказывается нецелесообразным. 2.5. Для удаления поверхностных вод из замкнутых понижений должны устраиваться тальвежные колодцы с выпуском воды из них в коллекторы, отводящие воду за пределы аэродрома. На отдельных участках с уклоном поверхности, не обеспечивающем сток (менее 0,005), в зонах избыточного, а также переменного увлажнения при наличии слабопроницаемых (глинистых, пылеватых) грунтов, на которых сбор поверхностной воды другими устройствами, например, тальвежными колодцами, невозможен, может быть устроен поверхностный дренаж, состоящий из осушителей, собирателей и коллекторов (рис. 2).
Рис. 2. Схема поверхностного дренажа грунтового участка аэродрома: 1 - осушитель; 2 - собиратель; 3 - коллектор; 4 - горизонталь; 5 - смотровой колодец 2.6. Для понижения уровня грунтовых вод должно предусматриваться устройство глубинного дренажа (рис. 3). Дрены при этом необходимо располагать параллельно гидроизогипсам. Заглубление дрен и расстояния между ними определяются расчетом. 2.7. Водоотводные и дренажные системы аэродромных покрытий должны проектироваться в соответствии с пп. 6.1 - 6.30 главы СНиП "Аэродромы". Нормы проектирования".
Рис. 3. Схема устройства глубинного дренажа летного поля: 1 - коллектор; 2 - собиратель; 3 - дрена; 4 - горизонталь; 5 - гидроизогипсы; 6 - норма осушения; 7 - депрессионная кривая При этом минимальное возвышение дна корыта над уровнем грунтовых вод и верховодки (норма осушения) должна быть не ниже значений, указанных в табл. 2. Таблица 2
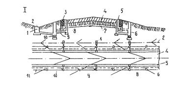
Примечание. За расчетный уровень грунтовых вод следует принимать осенний уровень, а при отсутствии необходимых данных - наивысший возможный уровень, определяемый по верхней линии оглеения грунтов. 2.8. Водосточнодренажные системы проектируются по одной из трех принципиальных схем водоотвода и дренажа ИВПП, РД, МС, перронов и спецплощадок с искусственными покрытиями (рис. 4). Водоотвод и дренаж по I схеме проектируются для аэродромов в зонах избыточного и переменного увлажнения (во II и III климатических зонах) при ширине склона покрытия 30 м и более и наличии глинистых и пылеватых грунтов, склонных к пучению. Допускается I схему применять при ширине склона менее 30 м при соответствующем обосновании. По II схеме поверхностная вода, стекающая с покрытий, сбрасывается на грунтовые обочины и по ним в грунтовые лотки. Водоотвод и дренаж по II схеме проектируются для аэродромов в зонах избыточного, переменного, а в случае глинистых и суглинистых грунтов и в зоне недостаточного увлажнения (IV климатическая зона). Кроме того, II схема применяется также при устройстве сборных покрытий, в том числе в условиях, для которых обычно рекомендуется применять I схему. По III схеме водоотводные мероприятия в виде грунтовых лотков и коллекторов предусматриваются лишь выборочно. Закромочные дрены не устраиваются. Водоотвод по III схеме проектируется для аэродромов в засушливой V климатической зоне и зоне недостаточного увлажнения (IV климатическая зона) при I типе местности (см. табл. 1), а также в других климатических зонах при наличии хорошо дренирующих грунтов (песок, песчано-гравийная смесь) и отсутствии условий их размыва. 2.9. Для снижения диаметра труб главных коллекторов, особенно коллекторов большой протяженности, может предусматриваться устройство регулирующих бассейнов, предназначенных для сбора избытка ливневого стока и последующего его сброса после окончания стока через трубы коллектора уменьшенных диаметров (рис. 5).
Рис. 4. Схемы водоотводных и дренажных систем (профиль и план) аэродромных покрытий: 1 - тальвежный колодец; 2 - грунтовый лоток; 3 - отмостка; 4 - покрытие; 5 - лоток в кромке покрытия; 6 - смотровой колодец; 7 - основание с дренирующим слоем; 8 - дождеприемный колодец; 9 - перепуск; 10 - коллектор; 11 - закромочная дрена; 12 - основание без дренирующего слоя
Рис. 5. Схема устройства регулирующего бассейна на аэродроме; а - план; б - разрез по I - I; 1 - тальвежный колодец; 2 - перепуск; 3 - главный коллектор; 4 - коллектор; 5 - смотровой колодец; 6 - регулирующий бассейн; 7 - горизонталь Наполнение и опорожнение бассейна осуществляется через перепускную трубу 2 (см. рис, 5), имеющую уклон в сторону коллекторов. Наполнение бассейна происходит при напорном режиме работы коллектора 3. Целесообразность устройства регулирующих бассейнов должно быть обосновано технико-экономическими расчетами. 2.10. Водостоки с участков искусственных покрытий, сточные воды с которых могут иметь недопустимую концентрацию загрязнений (площадки мойки и т.п.), могут проектироваться в виде самостоятельной водоотводной линии с подачей сточной воды в соответствующие очистные сооружения (см. раздел 7). 2.11. При ширине склона В равной 25 м, и уклоне склона J1, равном 0,015 - 0,025 рекомендуется принимать ширину лотка В' равной 10 м и уклон сторон лотка J2 равным 0,05 - 0,08. При ширине склона, равной 10 - 15 м, и уклоне склона 0,015 - 0,030 рекомендуется принимать ширину лотка равной 5 м и уклон сторон лотка, равный 0,10 - 0,15. 3. КОНСТРУКЦИЯ ЭЛЕМЕНТОВ ВОДООТВОДНЫХ И ДРЕНАЖНЫХ СИСТЕМ3.1. Открытые лотки в кромках покрытий (схема 1 на рис. 4) проектируются треугольного сечения вдоль низовых кромок покрытия. На покрытиях двускатного профиля лотки предусматриваются с двух сторон. Лотковый ряд плит входит в рабочую ширину покрытий. Для ВПП с односкатным профилем, групповых МС, перронов и спецплощадок с искусственным покрытием, ширина склона которых составляет более 30 м, лотки должны проектироваться шириной 5 м и глубиной 10 см. Для ВПП двускатного профиля и участков искусственных покрытий РД, имеющих ширину склона 30 м и менее, лотки в кромках покрытия устраиваются только в исключительных случаях, при надлежащем обосновании. Ширина лотка должна быть 4 м, глубина 8 см. В остальных случаях поверхностная вода должна сбрасываться на грунтовую обочину. При необходимости, размеры лотков уточняются путем гидравлического расчёта. Продольные уклоны лотков с искусственным покрытием должны быть не менее 0,0030. В случае меньших уклонов покрытия лоткам придается пилообразный профиль с минимально допустимыми продольными уклонами 0,0030 (рис. 6).
Рис. 6. Лоток пилообразного профиля (продольный разрез): 1 - поверхность аэродромного покрытия; 2 - дно лотка; 3 - дождеприемное устройство; 4 - металлическая решетка; 5 - перепускная труба 3.2. Закрытые лотки, в том числе и пилообразного профиля, проектируются вместо открытых лотков в случаях, когда расстояния между дождеприемными колодцами открытых лотков оказываются по гидравлическому расчету менее 40 м. Закрытый лоток имеет коробчатое поперечное сечение и продольный уклон дна не менее 0,005. При пилообразном продольном профиле начальное заглубление лотка принимается 15 см. По длине лотка устраиваются температурно-усадочные швы через 30 - 50 м. По всей длине лотка в месте соприкосновения его с искусственным покрытием устраивается шов шириной 2 см, который заполняется мастикой. 3.3. Открытые лотки в отмостке покрытий должны быть тех же размеров, что и открытые лотки в кромках покрытий. 3.4. Грунтовые лотки, с помощью которых осуществляется перехват и отвод в дождеприемные устройства поверхностной воды с аэродромных покрытий и грунтовых обочин (схема II на рис. 4), а также с прилегающих грунтовых площадей аэродрома, проектируются треугольного сечения. Минимальное удаление оси лотка от кромки покрытия НП должно быть не менее 25 м, от кромки покрытия РД - 10 м. Продольные уклоны лотков проектируются не менее 0,005 для супесчаных, песчаных, гравелисто-щебеночных грунтов и не менее 0,007 для глинистых и суглинистых грунтов. При меньших уклонах в зонах избыточного и переменного увлажнения, а при глинистых и суглинистых грунтах также и в зоне недостаточного увлажнения с целью улучшения условий для сбора и отвода воды по оси грунтовых лотков устраивается "лоток в лотке" (рис. 7) или укладываются трубчатые осушители с уклонами не менее 0,005.
Рис. 7. Схема устройства "лотка в лотке": 1 - аэродромное покрытие; 2 - отмостка; 3 - лоток в лотке При значительных продольных уклонах грунтовые лотки проверяются путем расчета на устойчивость против размыва грунта лотка. При необходимости дно лотков должно быть укреплено. 3.5. Дождеприемные и тальвежные колодцы сооружаются из сборного или монолитного железобетона. Дождеприемные колодцы располагаются по оси открытых лотков в кромках покрытий (рис. 8), а тальвежные колодцы - по оси грунтовых лотков (рис. 9) и в замкнутых понижениях рельефа. При наличии в основаниях покрытий пучинистых и просадочных грунтов устраиваются дождеприемные колодцы или дождеприемники мелкого заложения - дождеприемные воронки (рис 10). Дождеприемные и тальвежные колодцы устанавливаются большей стороной перпендикулярно оси лотка за расстоянии друг от друга, указанном в табл. 3 (для дождеприемников), а также во всех замкнутых, понижениях и в конце лотков. Расстояние между тальвежными колодцами принимается в пределах 100 - 300 м (табл. 4). Указанные расстояния могут уточняться путем гидравлических расчетов (см. гл. 4 приложения 1),
Рис. 8. Дождеприемный колодец с решеткой из одного звена: 1 - просмоленная пенька; 2 - перепуск; 3 - битумная мастика; 4 - песочно-битумный коврик; 5 - водоустойчивый грунт; 6 - цементный раствор; 7 - шлаковая подушка; 8 - опорная рама
Рис. 9. Конструкция тальвежного колодца; 1 - щебеночная отмостка с пропиткой битумом на 6 - 8 см; 2 - решетка; 3 - стенка колодца; 4 - перепуск; 5 - шлаковая подушка; 6 - слой цементного раствора; 7 - водоустойчивый грунт; 8 - прокладка из просмоленной пеньки толщиной 1 - 1,5 см Рис. 10. Конструкция дождеприемного колодца мелкого заложения (вариант с одной решеткой); 1 - аэродромное покрытие; 2 - железобетонная лотковая плита; 3 - заделка щелей цементным раствором состава 1:3; 4 - решетка; 5 - отмостка из щебня с пропиткой битумом на 6 - 8 см; 6 - песчаное основание; 7 - закромочная дрена; 8 - перепуск; 9 - стыковая муфта; 10 - сварное колено из стальных труб с антикоррозийной обмазкой: 11 - прокладка из просмоленной пеньки; 12 - изоляционный слой из битумной мастики; 13 - поверхность дна корыта под лотковыми плитами без дождеприемников; 14 - поверхность дна корыта, под плитами с дождеприемными воронками
Примечание: Δ - метеорологический параметр, характеризующий интенсивность расчетных дождей принятой повторяемости, определяется по формуле (4). Таблица 4
Примечания: 1. В числителе указаны расстояния между тальвежными колодцами по оси грунтовых лотков при супесчаных и песчаных грунтах; в знаменателе - то же при суглинках и глинах. 2. В случае устройства "лотка в лотке" или осушителей по оси лотков расстояние между тальвежными колодцами следует принимать 75 - 100 м. В лотках пилообразного профиля (см. рис. 6) расстояние между дождеприемными колодцами определяется по формуле
где lдж - расстояние между дождеприемными колодцами; h - глубина лотка за вычетом 1 - 2 см; J - продольный уклон поверхности покрытия (в месте устройства лотков); J1 и J2 - уклоны участков дна лотка между колодцами (не менее 0,0030). Дождеприемные колодцы с металлическими решетками из одного звена (нормального типа) устанавливаются в лотках с продольными уклонами до 0,005; с решетками из двух звеньев (усиленного типа) при уклонах 0,006 - 0,007; с решетками из трех звеньев - при уклонах 0,008 и более, а также, если колодцы расположены в бессточных пониженных местах и в конце лотков. Поверхность днища дождеприемных колодцев с двумя и тремя решетками имеет уклон в сторону перепуска. Дождеприемные воронки с решеткой из одного звена устраиваются в лотках с продольными уклонами до 0,005, с решетками из двух звеньев при уклонах более 0,005. Места сопряжений дождеприемников с покрытиями должны быть водонепроницаемыми. Тальвежные колодцы устраиваются с решетками из двух-трех звеньев (при ширине колодцев 0,3 м). Решетки располагаются на 8 - 10 см ниже прилегающей грунтовой поверхности и сопрягаются с ней воронкообразной отмосткой из щебня с пропиткой битумом при ширине отмостки 1,0 - 1,5 м. 3.6. Дрены устраивается для перехвата и отвода грунтовой воды, а также воды из дренирующих слоев искусственных покрытий (рис. 11 и 12). Вода в дренажную трубу поступает через отверстия и щели, устраиваемые по ее длине. Дрены устраиваются из труб диаметром 100 мм и более; за пределами летного поля возможно применение керамических труб. Выпуски из дрен должны устраиваться не реже чем через 125 м, уклоны дрен должны быть не менее 0,005.
Рис. 11. Вариант конструкции закромочных дрен: 1 - аэродромное покрытие; 2 - лоток в кромке покрытия глубиной 8 - 10 см; 3 - отмостка; 4 - дренирующая труба с внутренним диаметром Dвн = 75 - 100 мм; 5 - фильтрующая засыпка из крупнозернистого песка; 6 - слой мха или очесов 2 - 3 см в плотном теле; 7 - песчаное основание
Рис. 12. Варианты конструкций глубинных дрен: а и б - дрены совершенного типа; в - дрена несовершенного типа; 1 - местный грунт; 2 - дернина; 3 - фильтрующая засыпка; 4 - слой мха, очесы или минеральная вата; 5 - труба асбестоцементная D = 100 мм; 6 - щель (пропил) в трубе; 7 - песок с коэффициентом фильтрации не менее 7 м/сут.; 8 - песок; 9 - щебень; 10 - щебень, втрамбованный в грунт Водоприемные щели или отверстия в дренажных трубах устраиваются сбоку или снизу трубы, щели устраиваются в виде пропилов на 1/3 ее диаметра на расстоянии 30 см друг от друга или в виде отверстий той же площади. Стыки и прорези труб во избежание их заиления обкладываются очесами или минеральной ватой. Стыки труб соединяются между собой без уплотнения. 3.7. В закромочных дренах фильтрующая обсыпка укладывается на всю высоту от трубы до верха дренирующего слоя основания, в глубинных дренах - на высоту, обеспечивающую устройство фильтрующей обсыпки (см. рис. 12). При использовании этих дрен как закромочных дренирующий слой основания доводится до дрен. Рекомендуется засыпку нижней части закромочных дрен на глубину до верха труб выполнять из крупнозернистого материала с коэффициентом фильтрации большим, чем материала дренирующего основания. 3.8. Фильтрующие обсыпки труб глубинного дренажа в соответствии с составом дренирующих грунтов могут быть однослойными или многослойными. Высота засыпки совершенного дренажа Нфс принимается равной 0,6 глубины Н, но не менее D +50 см, высота засыпки несовершенного дренажа Нфн принимается равной 0,7 глубины Н, но не менее D + 75 см, где D - наружный диаметр трубы. При расположении дренажа в песках гравелистых, крупных и средней крупности должны проектироваться однослойные обсыпки из гравия или щебня, а в мелких и пылеватых песках, супесях и при слоистом строении водоносного пласта - многослойные обсыпки. Для внутреннего слоя фильтрующих обсыпок применяется гравий, а при отсутствии его - щебень изверженных горных пород или особо прочные разновидности осадочных пород (кремнистые известняки и хорошо сцементированные невыветрившиеся песчаники). Для внешнего слоя обсыпок применяются крупнозернистые пески. 3.9. Вокруг дренажных труб устраивается фильтрующая обсыпка подобранного состава из гравия или щебня. Обсыпка должна обладать достаточной водозахватывающей способностью для приема поступающей воды. Подбор фракций фильтрующих обсыпок должен производиться в зависимости от типа фильтра и состава дренирующих грунтов из условия, чтобы частицы дренирующего грунта не вымывались и не заиливали обсыпки, а трубы и фильтры не засорялись. Для предотвращения заиливания засыпки необходимо, чтобы
где Dn (D60, D50 и т.д.) - диаметр частиц филътрующей обсыпки, мельче которого в обсыпке находится по весу n процентов ее состава; dn (d25, d50) - то же дренирующего грунта;
Для предотвращения проникания материала засыпки в трубы дрен необходимо; при однородных засыпках t ≤ (1,25 - 1,5) D50; при разнородных засыпках t ≤ (1,5 - 2,0) D50. где t - ширина щели в трубах, которая не должна превышать 3 - 5 мм. Значения Dn. и dn определяются с помощью суммарных кривых гранулометрического состава засыпки и грунта. 3.10. Для устройства глубинного и поверхностного дренажа, а также закромочных дрен допускается применение трубофильтров, изготовленных из пористых водопроницаемых материалов (бетона, керамзитобетона, керамзитостекла и др.), звенья которых соединяются между собой с помощью эластичных элементов (рис. 13).
Рис. 13. Конструкция дренажа из трубофильтров: а - поперечный разрез; б - эластичное соединение трубофильтров; 1 - трубофильтр диаметром 50 мм; 2 - песок; 3 - дерн; 4 - хорошо уплотненный глинистый грунт; 5 - эластичное пластмассовое соединение 3.11. Перепуски от дождеприемных и тальвежных колодцев к коллектору следует проектировать из асбестоцементных труб с условным диаметром 150 - 400 мм, уклоном 0,02 - 0,03 от дождеприемных колодцев и 0,005 - 0,030 - от тальвежных. Длина перепуска должна быть для дождеприемного колодца не более 40 м, а для тальвежного не более 20 м. 3.12. Коллекторы устраиваются из асбоцементных, бетонных и железобетонных труб, располагаемых вдоль кромок искусственных покрытий на расстоянии не менее 5 м от них. Применяемые трубы должны отвечать требованиям ГОСТ 1839-72*, 539-73*, 6482-71*, 16953-71, 12586-74, ТУ-33-6-75, 18599-73. Параметры труб приведены в приложении 2. Допускается применение труб из других материалов, если обеспечивается их прочность и устойчивость путем расчета. Минимальный диаметр коллекторов по условному проходу - 200 мм, минимальный уклон - 0,003. При диаметрах труб 500 мм и более в соответствии с гидравлическим расчетом возможны меньшие уклоны. Сопряжение труб по трассе коллекторов (в вертикальной плоскости) должно выполняться "шелыга в шелыгу". Минимальная глубина заложения труб коллекторов определяется их прочностью и должна быть не менее глубины промерзания. Допускается укладка труб в зоне промерзания на минимальной, по условию прочности, глубине. В этом случае коллекторы проектируются с максимально возможными уклонами, а в необходимых случаях предусматривается утепление труб. 3.13. При устройстве коллекторов в агрессивных средах должны проводиться противокоррозионные мероприятия: стальные трубы должны быть покрыты снаружи антикоррозийной изоляцией, на участках возможной электрокоррозии следует предусматривать катодную защиту трубопроводов. 3.14. Керамические трубы (ГОСТ 8411-74 и 286-74) на аэродромах классов А - Г могут применяться для устройства дренажно-водосточной сети только за пределами летного поля. 3.15. Стыковые соединения безраструбных бетонных труб выполняются в виде поясков из рулонного материала (пергамина, толи, рубероида), наклеиваемого битумной мастикой на предварительно очищенную поверхность труб с последующей обмазкой наклеенного пояска битумом. Стыки керамических и железобетонных труб промышленного изготовления заделываются просмоленной паклей и битумной мастикой. Стыки железобетонных предварительно напряженных труб уплотняются резиновыми кольцами. 3.16. Основания под трубами, независимо от их конструкции, должны обеспечивать опирание труб по всей их длине с охватом трубы не менее 90° по окружности (рис. 14). Асбестоцементные трубы диаметром 150 - 500 мм укладываются на спланированное уплотненное грунтовое и песчаное основание (коэффициент уплотнения для песчаных и суглинистых грунтов - 0,95 - 0,98, для глинистых - 1,0).
Рис. 14. Схемы укладки труб коллекторов: а - на спланированный и уплотненный грунт; б - на сборное основание из железобетонных блоков; в - на гравийное или щебеночное основание; г - на монолитное бетонное или железобетонное основание: 1 - труба коллектора; 2 - цементный раствор 1:3 - 1:4; 3 - сборное основание из железобетонных блоков; 4 - цементный раствор 1:6 - 1:8; 5 - цементный раствор; 6 - монолитное бетонное или железобетонное основание; 7 - щебеночное, гравийное или песчаное основание На слабых грунтах основание под асбоцементные трубы проектируется из слоя утрамбованного щебня толщиной 10 см. Бетонные и железобетонные трубы диаметром 300 - 600 мм должны укладываться, как правило, на сборные железобетонные элементы, а трубы диаметром более 600 мм, как правило, на основание из монолитного бетона или железобетона. Необходимая толщина основания устанавливается расчетом на прочность. Минимально допустимая толщина основания 15 см. 3.17. На участках прохождения коллекторов под искусственными покрытиями траншеи должны устраиваться с вертикальными стенками и креплением. Обратная засыпка производится песчаным грунтом. Пересечение искусственных покрытий коллектором целесообразно проектировать под углом 90° к продольной оси покрытия. 3.18. Взаимное расположение водосточных коллекторов с другими инженерными сетями следует выполнять в соответствии с требованиями главы СНиП по проектированию генеральных планов промышленных предприятий. 3.19. Ширину траншеи и откосы следует принимать в соответствии с главой СНиП "Земляные сооружения. Правила производства и приемки работ". 3.20. При наличии особых условий (скальные, торфянистые и просадочные грунты) разрабатывается индивидуальная конструкция основания. Бетонные и железобетонные безнапорные трубы во всех грунтах, за исключением скальных, плывунных, болотистых и просадочных II типа, допускается укладывать непосредственно на выровненное и утрамбованное дно траншеи или основание из уплотненных сыпучих материалов. 3.21. Колодцы, смонтированные на коллекторах (рис. 15), устанавливаются в начале коллекторов, на углах поворота, в местах изменения уклонов, в местах подключения к коллекторам перепусков или других водоотводных линий и на прямых участках на расстояниях: 50 м при диаметре труб до 250 мм; 75 м -"- 250 - 400 мм; 100 м -"- 400 - 600 мм; 125 м -"- более 600 мм. Форма смотровых колодцев может быть круглой или прямоугольной, ее выбор зависит от количества, диаметров и углов поворота подключенных труб. Минимальные диаметры круглых колодцев должны быть на трубопроводах диаметром: до 600 мм 1000 мм 700 мм 1250 мм 800 - 1000 мм 1500 мм 1200 мм 2000 мм
Рис. 15, Конструкция круглого смотрового колодца с заглубленной крышкой (сборный из железобетонных звеньев).: 1 - крышка: 2 - заделка мятой глиной слоем 10 см; 3 - отверстия 18×6×2 см; 4 - среднее бетонное кольцо с гнездом для перепуска; 5 - скобы Ø 16 мм; 6 - перепуск; 7 - битум; 8 - просмоленная пенька δ =1, 0 - 1,5 см; 9 - бетонный лоток (набивается на месте); 10 - железобетонное днище; 11 - щебеночная подготовка; 12 - цементный раствор; 13 - нижнее бетонное кольцо (бетонируется на месте); 14 - труба коллектора; 15 - горловина; 16 - сборное основание под трубы; 17 - температурный шов δ = 2 см Минимальные размеры прямоугольных колодцев в зависимости от трубы наибольшего диаметра D должны быть на трубопроводах диаметром до 700 мм - длина 1000 мм, ширина D + 400 мм, но не менее 1000 мм; на трубопроводах диаметром 700 мм и более - длина D +400 мм, ширина - D+500 мм. 3.22. Смотровые колодцы устраиваются, как правило, из железобетонных звеньев (крышек, горловин для круглых труб, средних звеньев и днищ). Нижнюю часть колодцев из-за ее нестандартности по высоте следует сооружать на месте из бетона монолитно с днищем. На коллекторах с загрязненными водами предусматриваются колодцы с отстойниками глубиной 0,3 - 0,5 м. 3.23. При пересечении коллектором грунтовых ВПП смотровые колодцы следует предусматривать с крышками, заглубленными в грунт не менее чем на 40 см. В остальных случаях, в том числе колодцы коллекторов, идущих вдоль кромок ИВПП, устраиваются с крышками, выходящими на дневную поверхность и отмосткой вокруг них шириной 1 м из щебня с пропиткой. При заглубленном варианте крышка смотрового колодца изолируется. Прямоугольные смотровые колодцы с решетчатой крышкой и отстойником глубиной 0,3 - 0,5 м устраиваются в пониженных местах рельефа для отвода поверхностных вод. В этом случае они выполняют роль тальвежных колодцев. 3.24. Быстротоки и перепады устраиваются на канавах с уклоном более 0,05 - 0,10. По своей конструкции быстротоки представляют собой лотки с большими уклонами из материала, обеспечивающего пропуск воды с большими скоростями (обычно бетон и железобетон), а перепады - лотки с вертикальными или близкими к вертикальным уступами. В конце быстротока, а также на каждой ступени перепада следует предусматривать гасители энергии потока. 3.25. Оголовки (обычно бетонные или железобетонные) устанавливаются в местах примыкания коллекторов к открытым водоотводным канавам (выходные оголовки) и в местах поступления воды из открытых канав в коллекторы (входные оголовки). Соединения труб с оголовками выполняются эластичными. В местах устройства оголовков водоотводные канавы укрепляются мощением на длину 3 - 10 м. Превышение лотка трубы над дном водоотводной канавы в выходных оголовках должно быть достаточным (не менее 30 см), чтобы исключить возможность подпора вода в коллекторе. При необходимости на выходах коллекторов в канавы следует устраивать гасители энергии потока. При неблагоприятных гидрогеологических условиях и больших размерах выходные оголовки рассчитываются на прочность и устойчивость как подпорные стенки. 3.26. Водоотводные канавы проектируются за пределами аэродромов, как правило, по кратчайшим расстояниям от оголовков до водоприемников. Уклоны дна канав, как правило, следует принимать не менее 0,002. Уклоны менее 0,002 допускаются на основании гидравлических расчетов только при соблюдении минимальных скоростей течения воды в канавах, если нет заиливания. Ширина канав по дну должна быть не менее 0,6 м. Крутизна откосов канав принимается в зависимости от вида грунта по табл. 1 приложения 3. 3.27. Глубина канавы определяется гидравлическим расчетом. Бровка канавы должна располагаться выше расчетного уровня воды не менее чем на 0,25 м. В местах примыкания к водоприемникам дно канавы должно быть выше уровня паводковых вод в водоприемнике не менее чем на 30 см при вероятности паводка один раз в пять лет. Радиус закругления канавы в плане принимается равным 20в для поворотов по трассе и 10в на примыканиях к другой канаве, где в - ширина канавы по дну. На участках с большими уклонами и изломами рельефа (при скоростях, превышающих допустимые на размыв) канавы укрепляются или при соответствующем обосновании сооружаются быстротоки и перепады. 3.28. Ограждающие дамбы, с помощью которых производится защита территории аэродрома от затопления при подъеме уровня воды в соседних водоемах, как правило, следует устраивать на участках, на которых высота дамбы и объем земляных работ по ее строительству оказываются наименьшими. При выборе местоположения дамбы необходимо учитывать возможность размещения на территории между летным полем и ограждающей дамбой аккумулирующего бассейна, необходимого для сбора вода, стекающей к дамбе в период подъема воды в водоеме. Для сброса воды из аккумулирующего бассейна и регулирования уровня воды в нем под дамбой прокладывается водоперепускная труба с затвором для регулирования. Дамба сооружается из местного грунта, например, из грунта, полученного при строительстве аккумулирующего бассейна (рис. 16), и рассчитывается в соответствии с требованиями главы СНиП по проектированию плотин из грунтовых материалов.
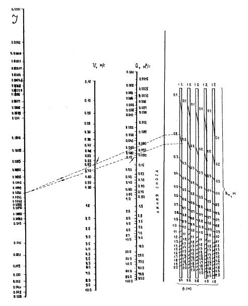
Рис. 16. Схема поперечного разреза ограждающей дамбы: 1 - водопроницаемый грунт; 2 - водонепроницаемый грунт; 3 - зуб из водонепроницаемого грунта; 4 - укрепленный откос; 5 - дамба; 6 - аккумулирующий бассейн, hз - запас высоты дамбы Высота ограждающих дамб принимается не менее чем на 0,5 и выше расчетного уровня высокой вода (РУВВ) с учетом высоты волны и высоты набега ее на откос дамбы. Заложение откосов и вид их укрепления принимается в соответствия с данными, приведенными в табл. 2 и 3 приложения 3. 4. ГИДРАВЛИЧЕСКИЙ РАСЧЕТ ВОДООТВОДНЫХ СИСТЕМ НА АЭРОДРОМАХ4.1. Путем гидравлического расчета водоотводных систем размеры сечений труб, лотков, канав определяются в зависимости от расчетных расходов. Водоотводные системы рассчитаны на сток дождевых и талых вод. Водоотводные системы ИВПП, РД, МС, перронов, принимающие воду только с покрытий, с покрытий и грунтовых обочин, а также с покрытий, грунтовых обочин и грунтовых водосборов шириной 200 - 300 м, рассчитывают на дождевой сток. Системы, принимающие воду с покрытий, грунтовых обочин, грунтовых водостоков шириной более 200 - 300 м, рассчитывают на сток талых вод. В отдельных случаях при больших грунтовых водосборах расчетный случай устанавливается проверкой работы систем на оба стока. 4.2. Проектные уклоны определяются с учетом допустимых скоростей движения воды и уклонов местности. Допускается минимальная скорость воды в трубах коллекторов 0,6 м/с, максимальная - 5 м/с. Минимальная скорость движения воды в канавах должна быть не менее половины гидравлического радиуса потока R в м. Максимальные скорости воды в канавах и грунтовых лотках не должны превышать значений, указанных в табл. 1 приложения 4. 4.3. Расчет водоотводных систем на дождевой сток следует производить по методу предельных интенсивностей. По этому методу расчетный расход Q равен Q = S∙F, (2) где F - площадь водосбора для рассчитываемого сечения; S - величина стока. Величина стока S равна
где Ψ - коэффициент стока; Δ - параметр, равный интенсивности одноминутного дождя принятой повторяемости, мм/мин; t - продолжительность дождя, равная времени добегания воды до рассчитываемого сечения, мин; п - показатель степени, характеризует изменение расчетных интенсивностей дождей по времени. Величина S может быть определена по номограмме на рис. 1 приложения 6. 4.4. Коэффициент стока Ψ при расчете сетей на дождевой сток принимается равным 0,95 - для асфальтобетонных, 0,85 - для цементобетонных покрытий; 0,60 - для щебеночных материалов, обработанных органическими вяжущими; 0,40 - для щебеночных и гравийных материалов, не обработанных вяжущими. Коэффициент стока для грунтовых поверхностей следует принимать при отсутствии дернины для супеси - 0,25; суглинка - 0,30; глины - 0,35; с дерниной для супеси - 0,15; суглинка - 0,20; глины - 0,25. Для грунтовых обочин аэродромных покрытий коэффициент стока принимается равным для супеси - 0,60; суглинка - 0,65; глины - 0,70. При разнородных поверхностях коэффициент стока принимается как средневзвешенная величина пропорционально площади участка с разнородными поверхностями. 4.5. Значение параметра Δ равно
где q20 - параметр, равный интенсивности дождя продолжительностью 20 мин при Р = 1 год.л/с.га; С - коэффициент, учитывающий климатические особенности районов СССР; Р - период повторяемости расчетных интенсивностей дождей в годах. Параметр Δ может быть определен/по номограмме на рис. 2 приложения 6. Величины q20. n, C определяются по картограммам, приведенным на рис. 1 - 5 приложения 5, а период повторяемости расчетных интенсивностей дождей принимается по табл. 5. Таблица 5
Примечания; 1. В числителе даны значения Р для водоотводных сетей с лотками в кромках покрытий, в знаменателе для сетей без лотков в покрытиях. 2. Для коллекторов при уклонах лотков более 0,005 указанные в таблице значения Р снижаются на одну ступень ниже, например, вместо 0,50 принимается 0,33 и т.д. Сети, принимающие воду со служебно-технических территорий, рассчитываются с учетом Р по СНиП II-Г, 6-72, как для территорий промышленных предприятий. 4.6. Время добегания до рассчитываемых сечений коллекторов определяется как сумма времени добегания дождевых вод по склону, лотку и коллектору. Время добегания дождевых вод по склону определяется по формуле (или по номограмме на рис. 3 приложения 6)
где Врасч - расчетная ширина склона стока, м; Jрасч - расчетный уклон склона; п* - коэффициент шероховатости (принимается по табл. 2 приложения 4); п - параметр, определяемый по картограмме на рис. 3 и 4 приложения 5; Ψ - коэффициент стока. 4.7. При соотношении продольных и поперечных уклонов склона
расчетные величины уклона и длины склона принимаются по линии наибольшего ската:
где В - фактическая ширина водосбора. При соотношении
Jрасч = Jпоп и Врасч = В Если поверхности разнородны, время добегания определяется по формуле (5) при средневзвешенных значениях коэффициентов стока, шероховатости и уклона, 4.8. Время добегания воды по лотку τлот определяется по формуле (или номограмме на рис. 4 приложения 6)
где lлот - длина участка лотка, м; Vлот - скорость движения дождевых вод в конце лотка, м/с. Значение Vлот определяется по формуле (или по номограмме на рис. 4 приложения 6)
где hЛ - глубина потока в лотке в низовом сечении расчетных участков (у дождеприемных и тальвежных колодцев); J - уклон дна лотка. Глубину потока hA для лотков в кромках покрытий ориентировочно можно принимать на 1 - 2 см менее глубины лотка. При точных расчетах указанную глубину следует находить подбором, исходя из условия равенства расчетного расхода пропускной способности лотка при принятой глубине потока. Пропускная способность лотка Qo определяется по формуле (или номограмме на рис. 5 приложения 6) Qo = ω∙Vлот, (9) где ω - площадь живого сечения потока в лотке, м2. Значение ω в лотке треугольного сечения определяется по формуле
где h0 - глубина потока в расчетном сечении, м; J0 - уклон боковых сторон лотка. 4.9. Время добегания воды по расчетному участку коллектора определяется по формуле
где lкол - длина расчетного пути движения вод на соответствующем участке. Коэффициент т, учитывающий заполнение свободной емкости сети на вышележащих участках, определяется по формуле
где
Главные коллекторы рассчитываются на время добегания по одному из примыкавших коллекторов, имеющему наибольшее протяжение. 4.10. Расчетные расходы воды, поступающие в водоотводные сети с покрытий или с покрытий и грунтовых обочин, определяются без учета минимальной стокообразующей интенсивности дождя. Расчетные расходы воды для водоотводных линий с грунтовыми водосборами (нагорные канавы, лотки) при дождевом стоке определяются с учетом минимальной стокообразующей интенсивности дождей. При этом продолжительность стокообразования tcт определяется по формуле
где 4.11. Для расчетных сечений, удаленных по времени добегания на τ ≤ tст, расходы следует определять по методу "предельных интенсивностей". Для сечений, удаленных по времени добегания τ > tст расчетный расход равен Q = Qtст + Qсп, (14) где Qtст - расход, соответствующий τ = tст. Qсп - дополнительный расход, поступающий в сеть после дождя tст в соответствии с кривой спада стока за счет воды, находящейся на водосборе. Расход, соответствующий τ = tст (Qtст), определяется в соответствии с пп. 4.3 - 4.10. Величина дополнительного расхода определяется по формуле
где В - длина склона водостока (ширина водосбора), м; V - скорость движения воды в лотке или канаве на расчетном участке; η - коэффициент, зависящий от отношения τ/tст Значения η определяются по табл. 6.
4.12. При расчете сети на талые воды расчетные расходы определяются при средних значениях максимального стока талых вод в данной местности по формулам: для водоотводных линии и сетей с водосборами до 100 га (водоотводные сети летных полос)
для водоотводных линий с большими водосборами(нагорные канавы) QТВ = 2,78AF, (17) где Нс - высота снежного покрова к началу весеннего снеготаяния, см, (принимается по снегосъемкам в последний день декады по средней дате разрушения устойчивого снежного покрова); Т - средняя продолжительность снеготаяния в сутках (разница между средними датами разрушения и схода устойчивого снежного покрова); А - параметр, характеризующий сток талых вод, мм/ч (принимается при средних значениях максимального стока по картограмме на рис. 6 приложения 5 или устанавливается по климатологическим данным); F - площадь водосбора, га. Значения Нс и Т определяются по данным климатических справочников. 4.13. При значительных водосборах и наличии на них лесов, болот, озер (например, при расчете нагорных канав) необходима корректировка полученных по формуле (17) расходов умножением их на коэффициенты φ, δ', δ". В этом случае QTB = 2,78AFφδ'δ"; Ψ = (1+F)-0,25. (18) δ' = 1+0,6lg(F0 + 0,2FB + 1,0) δ'' = 1,0-γlg(1+Fл), где φ - коэффициент редукции максимального стока талых вод в зависимости от площади водосбора; δ' - коэффициент снижения расходов за счет аккумуляции воды в болотах и озерах на водосборе при (F0 + 0,2 FB) ≤ 0,45; δ" - коэффициент снижения расходов при наличии леса на водосборах; F0. FБ, FЛ - площадь озер, болот и лесов в процентах к общей площади водосбора; γ - коэффициент, равный для лесов на песчаных и супесчаных почвах 0,35 - 0,40 и для лесов на суглинистых почвах - 0,25 - 0,30. Расчет водоотводных систем взлетно-посадочных полос с искусственными покрытиями (ИВПП) 4.14. Расчет водоотводных систем аэродромных покрытий производится в соответствии с принципиальными схемами устройства водоотвода и дренажа покрытий (см. п. 2.8). 4.15. При проектировании по схеме I (см. рис. 4) с устройством лотков в кромках покрытий расчет водосточно-дренажных систем производится, как правило, на дождевой сток с покрытий. В отдельных случаях при поступлении в системы значительных расходов из тальвежных колодцев с грунтовой части летного поля возможна проверка расчетных расходов на сток талых вод. За окончательный расчетный расход принимается наибольший из расходов, возникающий от стока дождевых или талых вод. 4.16. Расчет коллекторов взлетно-посадочных полос, рулежных дорожек, мест стоянок и перронов, водосточно-дренажная система которых запроектирована по схеме I (см. рис. 4), производится в следующем порядке. Расчетные расходы воды определяются в характерных сечениях водостоков непосредственно ниже дождеприемников, т.е. в местах резкого увеличения расходов и переломов продольного профиля. Расчет коллектора производится по участкам, длина которых равна расстоянию между дождеприемниками. Для первого расчетного участка (рис. 17) определяются водосборная площадь F1, примыкающая к участку коллектора, длина водосбора В и поперечный уклон J покрытия. Далее по формуле (5) или номограмме (см. рис. 3 приложения 6) для данной длины водосбора и уклону поверхности J определяется время добегания дождевых вод по склону τскл от оси ИВПП до оси лотка, а затем по формуле (7) или по номограмме (см. рис. 4 приложения 6) определяется время добегания дождевых вод по открытому лотку от самой удаленной точки до расчетного сечения первого дождеприемного колодца. Расчетное время добегания дождевых вод от самой удаленной точки площади водосбора до первого расчетного сечении определяется суммированием времени добегания по склону и открытому лотку: τ1 = τскл + τлот. (19) По расчетному времени добегания τ1 и параметру Δ по формуле (3) или по номограмме (см. рис. 1 приложения 6) определяется величина стока S, а затем для первого участка водосточной сети - расчетный расход дождевых вод Q1 = S1F1. По расходу Q1 и уклону коллектора J находится диаметр труб и скорость движения воды в коллекторе, которая должна быть не менее минимального (0,60 м/с) и не более максимального (5,0 м/с) значения.
Рис. 17. Расчет водоотводных систем аэродромных покрытий на дождевой сток: а - при устройстве лотков в кромках покрытий; б - при сбросе воды с покрытий в грунтовые лотки Диаметр труб и скорость движения воды определяются с помощью номограммы на рис. 6 приложения 6 по величине расхода и уклона при полном заполнении сечения труб, т.е. при
Окончательное значение диаметра принимается с учетом действующих сортаментов на трубы (см. приложение 2). Второй участок коллектора рассчитывают так же, как и первый. При этом расчетное время добегания дождевых вод для второго участка - сумма времени добегания τ1 и времени добегания по первому предыдущему участку коллектора:
где l1 - длина первого участка коллектора, м; V1 - скорость течения воды в трубах для первого участка, м/с. По расчетному времени добегания τ2 определяется величина стока S2. Расчетный расход дождевых вод для второго участка сети определяется по формуле Q2 = S2(F1 + F2), (21) где F1, F2 - площади водосбора первого и второго участков коллектора. По расходу Q2 и уклону коллектора J определяется диаметр труб D2 второго участка. Третий и последующие участки коллектора рассчитываются аналогично первым двум, определяется время добегания τi и соответствующая ему величина стока Si. Расчетный расход равен:
По вычисленному расчетному расходу Qi и проектному уклону Ji определяются Di и Vi. Так как значения Qi по длине коллектора возрастает, происходит возрастание и диаметров труб. 4.17. При устройстве водосточно-дренажной системы по схеме II (лотки в кромках покрытий отсутствуют) сброс воды с покрытий осуществляется в грунтовые лотки. Расчет систем возможен как на сток дождевых, так и талых вод. За расчетный случай стока принимается сток, при котором в системах образуются наибольшие расходы. Расчет на сток талых вод наиболее вероятен в северных и центральных районах при значительном слое снеговых осадков, слабоводопроницаемых грунтах и значительных площадях грунтовых водосбросов, с которых ожидается приток талых вод в системы. Наиболее часто расчет систем в рассматриваемом случае производится на сток дождевых вод. 4.18. Расчет коллекторов взлетно-посадочных полос, рулежных дорожек, мест стоянок и перронов, водосточно-дренажная система которых выполнена по схеме II (см. рис. 4), производится в следующем порядке. Расчетные расходы в системах подсчитываются суммированием расходов с водосбросов, имеющих разнородные поверхности (бетон плюс грунтовая обочина), грунтовые (со стороны грунтовой части летного поля), расходы рассчитываются, как и для схемы I, по методу "предельных интенсивностей", но с той разницей, что для грунтовых водосбросов, примыкающих к лоткам со стороны грунтовой части летного поля, расходы определяются с учетом стокообразующей продолжительности дождей tст. В этом случае учитывается поступление дополнительных расходов в системы за счет стока воды, лежащей на водосборе (выпавшей в процессе tст). Последовательность расчета коллекторов остается прежней, но с учетом дополнительных расходов, поступающих с грунтовой полосы. Если к коллектору в каком-либо месте подключаются перепуски от тальвежных колодцев, собирающих воду на грунтовых полосах, то в местах подключений в коллекторе увеличиваются расхода на величину Qдоп(i) = Sгр(i)Fгр(i), (23) где Qдоп(i) - дополнительный расход, поступающий на i-ом участке коллектора с грунтовой полосы; Sгр(i) - величина стока с грунтового водосбора при времени добегания τi, отсчитываемого по коллектору (коэффициент стока принимается для грунтовой поверхности). Площадь грунтового водосбора Fгр(i), c которой вода поступает в тальвежный колодец, определяется решением обратной задачи: по времени добегания τi, рассчитанной по формуле (5), или номограмме на рис. 3 приложения 6 находится ширина склона В, а по ней - Fгр(i). Полный расчетный расход для i-го участка коллектора равен Qрасч. = Qi + Qдоп(i). (24) 4.19. При расчете главного коллектора определяется суммарный расход, поступающий в него из других коллекторов. При этом главные коллекторы рассчитываются на время добегания по одному из примыкающих коллекторов, имеющему наибольшее протяжение. 4.20. Водосточную сеть искусственных покрытий можно проектировать не только с самотечным, но и с напорным режимом, который целесообразен для коротких коллекторов с минимальными уклонами, при начальном заглублении их более 1,0 м, а также при нескольких выпусках в открытые канавы или естественные водоемы. При гидравлическом расчете коллекторов с учетом напорного режима сети в расчет вводят коэффициент напорности Кн, определяемый по формуле
где h - разность отметок лотка трубы в начале и конце коллектора; n - показатель степени, характеризующий изменение расчетных интенсивностей дождей по времени. Расчетный расход при напорном режиме сети определяется по формуле QP = КHQ, (26) где Q - расчетный расход, определяемый по методике безнапорного расчета. Сечение коллектора
подбирается по расходу Qр при полном наполнении,
т.е. при 4.21. Расчет сечений труб коллектора рекомендуется выполнять после предварительного построения его продольного профиля, на котором определены уклоны труб, расставлены смотровые колодцы в местах подсоединения к коллектору перепусков от дождеприемных колодцев, заглубление верха труб от поверхности. При этом следует соблюдать следующие условия: Уклон труб по возможности должен быть близким или равным уклону поверхности (в направлении продольной оси трубопровода); глубина заложения верха труб коллектора должна быть на 0,2 м ниже расчетной глубины промерзания грунта на данном аэродроме (поэтому в местах изменения диаметра коллектора в смотровом колодце совмещаются отметки верха труб); в смотровом колодце отметка лотка труби перепуска от дождеприемного или тальвежного колодца должна быть не менее чем на 0,2 м выше отметки верха труб коллектора; глубина заложения верха труб коллектора должна быть не менее требуемой по условию их прочности под действием нагрузки от колес расчетного самолета и не менее 0,75 м. 4.22. Расчет водозахватывающей способности дождеприемных и тальвежных колодцев производится по формулам
где Qk - водозахватывающая способности дождеприемника; Lф - длина водосливного фронта по периметру решетки; h0 - глубина потока перед решеткой; ωр - площадь всей решетки; ωотв - площадь отверстий решетки; С - ширина дождеприемника или тальвежного колодца; g - ускорение силы тяжести. Полный напор потока перед решеткой Н0 равен
где V - скорость подхода к решетке, равная скорости в лотке. Диаметры перепускных труб от дождеприемных и тальвежных колодцев к коллекторам определяются по формуле (или номограмме на рис.7 приложения 6)
где Q - расчетный расход. Коэффициент расхода
где Н - располагаемый напор, равный Н' + LnJ при истечении воды в смотровом колодце из перепуска "в атмосферу"; Н' - глубина дождеприемника; J - уклон перепуска. 4.23. Диаметры труб коллекторов определяются при полном их заполнении. При выборе диаметра труб и их уклонов следует придерживаться принципа сохранения или нарастания скоростей движения воды. Расчет пропускной способности асбестоцементных, бетонных и железобетонных труб дренажно-водосточной сети рекомендуется выполнять при коэффициенте шероховатости п* = 0,014. 4.24. Размеры сечений канав определяются из условия обеспечения пропускной способности Q0 для транспортировки расчетного расхода воды Q, определяемой по формуле (или номограмме на рис. 8 приложения 6) Q0 = ω∙V, (30) где
ω - площадь живого сечения; P - смоченный периметр; J - продольный уклон по дну канавы;
Размеры сечений канав определяются при коэффициенте шероховатости земляных русел п* = 0,025. Расчет водоотводных систем грунтовых взлетно-посадочных полос (ГВПП)4.25. Расчет водоотводных систем грунтовых взлетно-посадочных полос в зависимости от местных климатических условий может выполняться как на сток дождевых вод, так и на сток талых вод. Рассчитываются собиратели и коллекторы, диаметр труб осушителей принимается без расчета - 100 м. 4.26. Расчет систем на дождевой сток производится по методу "предельных интенсивностей", но с ограничением продолжительности дождей минимальной интенсивностью стокообразования. Величины стока с 1 га являются в этом случае переменными, убывающими с увеличением продолжительности дождя. Расчет систем на сток талых вод производится при средней интенсивности снеготаяния. Величины стока с 1 га (S л/с га) считаются в данном случае постоянными. .4.27. Диаметры труб собирателей и коллекторов определяются в соответствии с вычисленными расчетными расходами и принятыми проектными уклонами водоотводных линий. 4.28. Порядок расчета диаметров труб собирателей и коллекторов одинаков и выполняется следующим образом. Собиратели и коллекторы делятся на расчетные участки и по плану расположения систем для расчетных сечений определяются водосборные площади Р. Стокообразующая продолжительность дождя рассчитывается по формуле (13), расчетные расходы определяются по формуле (14) и вычисляется время добегания до расчетных сечений. По найденным расходам Q и принятым проектным уклонам J определяются диаметры труб D и скорость V движения воды на участках. На схеме, приведенной на рис. 18, собиратель разделен на два расчетных участка с сечением I - I и II - II. Для первого участка водосборная площадь F1 ограничена нагорной канавой и осушителями О-VI и О-V; для второго - водосборная площадь F2 ограничена канавой и осушителями О-III и О-IV. Расчетный расход для сечения II - II второго участка QII = SII∙FII, где FII = 2L(В1 + B2). Величина стока SII определяется по формуле (3) или номограмме на рис. 1 приложения 6. Предварительно определяется время добегания воды τ1, до сечения I - I собирателя, которое равно сумме времени добегания дождевых вод по склону τ'скл до осушителя О-IV или О-V, времени добегания воды по осушителю τ'ос и времени добегания воды по собирателю τ'c: τ1 = τ'скл + τ'ос + τ'с (31)
Рис. 18. Гидравлический расчет осушительной сети: 1 - коллектор; 2 - осушитель; 3 - собиратель; 4 - нагорная канава Время τ'скл определяется по формуле (5) или по номограмме, приведенной на рис. 3 приложения 6. Время τ'ос и τ'с вычисляется делением длины осушителя и собирателя на скорость течения воды в трубах. Для определения времени добегания воды по осушителю скорость можно принимать 0,5 м/с. Минимальная расчетная скорость для собирателей принимается такой же, как и для коллекторов, - 0,6 м/с. По вычисленного τ и параметру Δ определяется величина стока SI, расчетный расход QI и по проектному уклону определяется диаметр собирателя на первом уклоне. Расчетный расход для сечения II - II второго участка равен QII = SIIFII Время добегания τ2 до сечения II - II равно сумме времени добегания дождевых вод τ1, до сечения I - I и времени добегания по собирателю до сечения II - II: τ2 = τ1 + τ"с. По расчетному времени добегания и параметру Δ определяются величина стока SII и расчетный расход QI, а затем диаметр собирателя для второго участка. Расчетные расходы в сечениях коллекторов, отводящих воду с грунтовых водосборов, определяются так же, как и для собирателей. Сечения собирателей и коллекторов рассчитываются в таком же порядке до тех пор, пока расчетное время добегания дождевых вод не станет равным продолжительности стокообразования, т.е. τ = τст. Для сечений, удаленных по времени добегания на τ > τст, расчетный расход определяется с учетом дополнительного расхода по формулам (14) и (15). При расчете систем на сток талых вод величина стока с 1 га (S) определяется при средней толщине снегового покрова и средней продолжительности снеготаяния при коэффициенте стона 0,80 - 0,90 или находится по картограмме распределения максимального элементарного стока талых вод А мм/ч. приведенной на рис. 6 приложения 5. Расчет глубинного дренажа4.29. При проектировании мероприятий по понижению уровня грунтовых вод под искусственными покрытиями и на отдельных грунтовых участках летного поля наиболее часто встречаются следующие случаи расчета горизонтального глубинного дренажа (рис. 19): систематического дренажа, рассчитываемого на случай, когда подземные воды пополняются за счет инфильтрации атмосферных осадков и не имеют ясно выраженного направления потока; однолинейного и кольцевого (контурного) дренажей, рассчитываемых на понижение уровня потока грунтовых вод. 4.30. При неглубоком залегании водоупора предусматривается дренаж совершенного типа, укладываемый на поверхность водоупора для полного перехвата подземных вод. При глубоком залегании водоупора предусматривается дренаж несовершенного типа, закладываемый выше водоупора.
Рис. 19. Расчетные схемы глубинного дренажа: а - систематический; б – кольцевой (контурный); в - однолинейный; 1 - совершенный; 2 – несовершенный 4.31. Расчет систематического дренажа заключается в определении: расстояний между дренами, обеспечивающих понижение уровня грунтовых вод до принятой нормы осушения Р; расчетного расхода вода, поступающей в дрены. 4.32. Расчетный расход Q в дренаже совершенного и несовершенного типа вычисляется по формуле Q = 2aWLg (32) где 2а - расстояние между дренами; Lg - длина дрены; W - интенсивность инфильтрации атмосферных осадков или других вод в грунте (при отсутствии опытных данных значение W принимается по табл. 4 приложения 4). Расстояния между дренами определяются по формулам: при совершенном дренаже
где Нmax - максимальная высота пониженного уровня грунтовых вод над водоупором в междудренажном пространстве; Кф - коэффициент фильтрации, принимаемый по данным инженерно-геологического заключения, а при отсутствии данных - по табл. 5 приложения 4; при несовершенном дренаже
где hmax - максимальное превышение пониженного уровня грунтовых вод над уровнем воды в несовершенном дренаже в междудренажном пространстве;
(можно определять по графику на рис. 1 приложения 7); rg - радиус дрены, значение которого принимается равным половине ширины дренирующей обсыпки или траншеи дренажа; Т - превышение несовершенной дрены над водоупором. Значение Т определяется методом попыток, задаваясь рядом значений hmax по формуле Т = НВ - (hmaх + Р), где НB - глубина расположения водоупора. 4.33. Расчет кольцевого (контурного) дренажа заключается в определении: положения пониженного уровня грунтовых вод внутри и вне контура; расчетного расхода воды, поступающей в дрены. 4.34. Расчетный расход воды в кольцевой дрене совершенного типа при безнапорных условиях определяется по формуле
где Н - высота непониженного уровня грунтовых вод над водоупором; RI - радиус депрессии кольцевого дренажа, определяемый опытным путем. При отсутствии опытных данных RI определяется подбором по уравнению
где h - глубина погружения дрены под непониженный уровень грунтовых вод. Приведенный радиус прямоугольного кольцевого (контурного) дренажа r0 равен
где L и В - длина и ширина прямоугольного контура дренажа; η* - коэффициент, принимаемый в зависимости от отношения B/L:
Для других конфигураций можно применять формулу
где F - площадь, ограниченная контуром. Значение RI может быть определено по графику на рис. 2 приложения 7. Расчетный расход воды в кольцевой дрене несовершенного типа определяется по формуле
4.35. Уровень грунтовой воды внутри контура совершенного кольцевого дренажа приблизительно находится на уровне воды в дренах. Вне контура высота пониженного уровня Нх над водоупором на расстоянии X от оси дренажа Y. (см. рис. 5 приложения 7) определяется по формуле
При совершенном дренаже можно принять h = H. Превышение пониженного уровня грунтовых вод над уровнем воды в несовершенной дрене hy в центре контура кольцевого дренажа определяется по формуле
В формулах (39) и (40) φ = φ1 - φ2.
Значений функций φ1, φ2 и F определяются по графику на рис. 3
приложения 7 в зависимости от соотношений Превышение пониженного уровня грунтовых вод над уровнем воды в несовершенной дрене hx на расстоянии X от оси дренажа Y (cм. рис. 5 приложения 7) определяется по формуле
Высота высачивания hmax, т.е. разрыв между уровнем воды в дрене и на контакте дренажной обсыпки с грунтом (рис. 20), определяется по формуле
где Q0 - расход (дебит) воды на 1 пог. м дренажа.
Рис. 20. Расчет высоты высачивания вода 4.36. Расчет однолинейного дренажа заключается в определении: положения пониженного уровня грунтовых вод в области дренажа; расчетного расхода воды, поступающей в дрену. Расчетный расход дрены Q. определяется по формуле Q = Q0Lg, (43) где Lg - длина дрены, м. Расход (дебит) воды на 1 пог. м дренажа Q0 определяется по формулам при безнапорных условиях: при совершенном дренаже
при несовершенном дренаже
Радиус депрессии линейного дренажа R2 определяется опытным путем, при отсутствии опытных данных
Значение R2 может быть определено по рис. 4 приложения 7. Высота пониженного уровня грунтовых вод Нх над водоупором на расстоянии X от дрены определяется по формулам: при совершенном дренаже
при несовершенном дренаже
Значение 4.37. Расчеты дренажей других систем и типов, а также дренажей, устраиваемых в сложных гидрогеологических условиях (в напорных грунтовых водах, водоносных пластах большой мощности, вблизи, водоемов и т.п.), следует производить методами, изложенными в специальной технической литературе. 4.38. Гидравлические расчеты труб глубинного дренажа заключаются в проверке наполнения труб и скоростей течения воды. Скорость течения воды в дренаже должна быть в пределах 0,15 + 1,0 м/с, а глубина наполнения - от 0,05 до 0,95. Расчет регулирующих бассейнов4.39. Регулирующие бассейны устраиваются для снижения диаметров труб коллекторов (особенно главных коллекторов) и рассчитываются на сток дождевых вод. В результате определяется: величина коэффициента уменьшения расхода, пропускаемого коллектором; необходимая емкость бассейна; размеры запруды, образующейся на местности; время опорожнения регулирующего бассейна от воды. 4.40. Коэффициент К уменьшения расхода, пропускаемого коллектором, устанавливается, исходя из отношения диаметра труб Dк/D. где D - потребный диаметр труб коллектора при отсутствии бассейна; Dк - диаметр труб коллектора при устройстве бассейна (см. рис. 21). Значение коэффициента К рекомендуется принимать в пределах 0,04 - 0,40. 4.41. Необходимая емкость регулирующего бассейна определяется по формуле W = Q0T0f(K), (49) где Q0 - расчетный расход в сечении коллектора в месте создания бассейна при времени добегания воды к этому сечению τ0 мин.
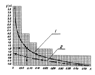
Рис. 21. График для определения коэффициента уменьшения расходов К Функция f(К) определяется в соответствии с кривой I на рис. 22. 4.42. Площадь запруды, образующейся на местности, зависит от существующего рельефа в месте создания бассейна и принятой допустимой глубины воды над водоприемным колодцем, т.е. максимальной глубины запруды. Площадь запруды F в пологой замкнутой пониженности рельефа при глубине воды h над водоприемным колодцем может быть определена по формуле
Для круглой замкнутой поверхности диаметр запруды по поверхности воды будет
Рис. 22. График определения f(К): 1 при t = τ – τ0; 2 - при t =τ > τ0 В других случаях размеры запруды устанавливаются в соответствии с принятой глубиной воды по плану в горизонталях. 4.43. Время опорожнения регулирующего бассейна от воды определяется по формуле
где Fcp - средняя площадь бассейна, принимаемая равной h - максимальная глубина бассейна (глубина воды над водоприемным колодцем); D - диаметр труб, обеспечивающий опорожнение бассейна; H - высота уровня воды в бассейне над щелыгой трубы отводящего коллектора (или перепуска у коллектора); μ - коэффициент расхода, устанавливаемой в зависимости от расположения бассейна. Если бассейн расположен в стороне от коллектора и соединен с ним перепуском (например, в начале главного коллектора), значение коэффициента μ определяется по формуле
где L - длина перепуска; D - диаметр перепуска. Если бассейн расположен непосредственно над коллектором и водоприемный колодец совмещен со смотровым колодцем, среднее значение μ принимается равным 0,65, Расчет испарительно-поглощающих бассейнов4.44. Испарительно-поглощающие бассейны устраиваются, если невозможно сбросить дождевые воды в водоприемники - реки, озера и т.д. в районах с высокой испаряемостью и если бассейны расположены на участках с хорошо фильтрующим грунтом (коэффициент фильтрации ≥ 2 м/сут.). Испарительно-поглощающие бассейны могут устраиваться в естественных пониженных формах рельефа, а также в искусственно создаваемых выемках грунта (котлованах). 4.45. В результате расчета испарительно-поглощающих бассейнов определяются площадь бассейна при принятом периоде его опорожнения, а также средняя и максимальная глубины бассейна. 4.46. При опорожнении бассейна за несколько месяцев значение площади бассейна РБ и средней глубин» бассейна hcp определяются по формулам
где H1, H2...Hп; φ1, φ2…φп - соответственно сток осадков и коэффициенты стока за-отдельные месяцы; Hn(1), Hn(2)…Hn(n); Hφ(1), Hφ(2)…Hφ(n) - слой потерь воды на испарение и фильтрацию бассейна; F - площадь водосбора. 4.47. Максимальная глубина бассейна hmax определяется по формуле hmax ≈ 2hcp. (56) Значения величин, входящих в формулы для определения FБ и hcp, принимаются по климатическим и грунтовым условиям расположения аэропорта. Потери воды на инфильтрацию и фильтрацию из бассейна могут быть подсчитаны через коэффициент стока Hφ = (l - φ)H, при принятии φ одинаковым для площадей водосбора и бассейна. Глубина бассейнов целесообразна не менее 0,5 м. 5. ПРОЧНОСТНЫЙ РАСЧЕТ ВОДООТВОДНЫХ СИСТЕМ НА АЭРОДРОМАХ5.1. К элементам водоотводных систем, рассчитываемых на прочность, относятся трубы, основания под трубы и колодцы (смотровые, тальвежные и дождеприемные). В отдельных случаях (при значительных размерах и сложных гидрогеологических условиях) необходимо производить также прочностный расчет оголовков. 5.2. Конструкции элементов водоотводных систем рассчитываются на воздействие вертикальных самолетных нагрузок и веса грунта, как сооружений, заглубленных в грунт. Расчет производится по методу предельных состояние, являющимися для бетонных сечений предельным состоянием по прочности, для железобетонных сечений - предельным состоянием по прочности и раскрытию трещин. 5.3. Конструкции элементов водоотводных систем, как правило, следует рассчитывать на нормативную самолетную нагрузку, параметры которой приведены в главе СНиП "Аэродромы. Нормы проектирования". При существенном отличии параметров нагрузки расчетного самолета от параметров нормативной нагрузки расчет следует производить на нагрузку от расчетного самолета. 5.4. Для проведения расчетов должны быть определены: категория нормативной, нагрузки, число колес на условной опоре, давление в пневматиках или параметры нагрузки расчетного самолета; характеристика района строительства, географическое положение, данные о грунтах, уровень грунтовых: вод, глубина промерзания и т.д. 5.5. В процессе расчета устанавливаются параметры расчетных сечений - толщина элементов конструкций, расположение и площадь сечения арматуры. Расчет труб, уложенных в земле5.6, Цель расчета состоит в том, чтобы установить такое заглубление труб или подобрать такое сечение стенок труб, которые гарантировали бы трубы от разрушения. Расчет труб на прочность по методу предельных состояний сводится к удовлетворению условия Мрасч. ≤ Мпр (57) где Мрасч. - расчетный изгибающий момент в сечении стенки трубы; Мпр - предельный изгибающий момент в сечении стенки трубы (предельная несущая способность сечения стенки трубы на изгиб). Значение расчетного момента Мрасч определяется при действии общей нагрузки на трубу. Общая нагрузка, действующая на трубу, слагается из постоянной и временной нагрузок. Постоянная нагрузка включает вес засыпки грунта над трубой и собственный вес трубы. Временная нагрузка возникает при действии колеса самолета на трубу (при передаче нагрузки через грунт). 5.7. Постоянная нагрузка от засыпки на трубу, уложенную в траншею, определяется в зависимости от свойств засыпки, высоты ее над верхом трубы и ширины траншеи на уровне верха трубы по формуле Q = KТγНВT, (58) где Н - высота засыпки над верхом трубы; γ - объемный вес грунта засыпки. Коэффициент вертикальной нагрузки от грунта в траншее Кт определяется по формуле
где f' - коэффициент трения материала засыпки о стенки траншеи. Коэффициент f' принимается по данным полевых и лабораторных исследований или по табл. 1 приложения 8. Отношение бокового давления грунта к вызывающему его вертикальному давлению ε определяется по формуле
где φ - угол внутреннего трения грунта засыпки; ВТ - расчетная ширина траншеи на уровне верха трубы. Величина ВТ принимается по табл. 2 приложения 8 при ВТ менее некоторой переходной ширины Впер; при ВТ > Впер в расчет вводится переходная ширина траншеи Впер, т.е. ширина траншеи, при которой нагрузка на трубу достигает максимума и при дальнейшем уширении траншеи не возрастает. Значение 5.8. Влияние собственного веса трубы является второстепенным фактором. В расчете тонкостенных асбестоцементных труб им можно пренебречь. При расчете бетонных и железобетонных труб, обладающих значительным весом, нагрузку от собственного веса удобнее заменить эквивалентной равномерно распределенной нагрузкой. Величина эквивалентной равномерно распределенной нагрузки составляет 80 % от собственного веса трубы. Ее значение определяется по формуле G = 0,80G0 = 0,80∙2πrcpδγ, (61) где G - эквивалентная равномерно распределенная нагрузка от веса трубы, т./пог. м; G0 - собственный вес трубы, т/пог. м;
Dвн - внутренний диаметр трубы, м; δ - толщина стенок трубы, м; γ - объемный вес материала трубы, т/м. 5.9. За временную нагрузку трубы принимается нормативная статическая нагрузка в соответствии с расчетным типом самолета. Для вычисления давления на трубу, передающегося от нагрузки, приложенной на поверхности земли, применяется решение пространственной задачи теории упругости. Для этого следует использовать формулу для определения вертикальных напряжений в любой точке массива от сосредоточенной силы, приложенной на поверхности однородного упругого полупространства. Горизонтальными составляющими давления из-за их малой величины можно пренебречь. 5.10. Формула для определения вертикальных напряжений имеет вид:
где z - расстояние от поверхности трубы до точки, в которой определяется вертикальное напряжение; P - величина сосредоточенной силы, приложенной на поверхности грунта; r - горизонтальная проекция расстояния от точки, в которой определяется вертикальное напряжение, до точки приложения силы. Значения коэффициента К приведены в табл. 4 приложения 8. 5.11. При определении напряжений от колес самолета пользуются методом суммирования напряжений. Эллипсовидный отпечаток колеса заменяется прямоугольным и разбивается на ряд отдельных площадок, в центре которого прикладываются сосредоточенные силы, эквивалентные по величине равномерно распределенной нагрузке, приходящейся на данные площадки, В интересующей точке грунта напряжение от колес определяется суммированием напряжений от каждой отдельной сосредоточенной силы. Площадь отпечатка пневматика F следует определять по формуле
где Р0 - статическая нагрузка на одно колесо главной опоры самолета; qв - внутреннее давление воздуха в пневматике. Отношение сторон равновеликого прямоугольника площади отпечатка принимается В/Q = 2. Коэффициент динамичности Кдн принимается в зависимости от высоты засыпки: Высота засыпки, м Кдн 0,75 1,20 1,00 1,15 1,50 1,00 2,00 1,00 3,00 1,00 Величина элементарной сосредоточенной силы Pi, приходящейся на каждую из элементарных площадок, равна
где п - число площадок, на которое разбивается прямоугольник, равновеликий площади отпечатка. Временная нагрузка на звено трубы определяется путем вычисления объемной эпюры напряжений по плоскости горизонтальной проекции трубы. 5.12. Расчетная нагрузка на звено трубы длиной 1 м определяется суммированием постоянной и временной нагрузок: Pрасч = P + Q + G, (65) где Р - временная нагрузка на трубу от действия колес опоры самолета; Q - постоянная нагрузка на трубу от засылки грунта; G - постоянная нагрузка от собственного веса трубы. 5.13. Расчетный изгибающий момент в стенках трубы Мрасч следует определять в соответствии с полученной полной расчетной нагрузкой по формулам: для хрупких труб (бетонные, асбестоцементные, керамические)
для железобетонных труб, при безнапорном режиме работы
где Коэффициент опирания трубы N при различных условиях укладки труб имеет следующие значения: Укладка на плоское дно траншеи 1,12 Нормальная укладка (дну траншеи придается вогнутая форма с углом охвата трубы 90°) 1,50 Особенно тщательная укладка трубы, в траншее 1,87 Укладка труби на бетонное или железобетонное основание 2,25 - 3,37 5.14. Предельный изгибающий момент Мпр в стенках трубы при их работе на изгиб следует определять по формулам: для бетонных труб
для железобетонных труб
При этом положение нейтральной оси определяется из условия mаRаFа = Rн Вх, (70) где Rр - расчетное сопротивление бетона осевому растяжению; B = L - длина рассчитываемого звена трубы; h = δ - толщина стенки трубы; m - коэффициент условий работы стенки трубы, принимаемый равным 1; mа - коэффициент условий работы арматуры, принимаемый по СНиП в зависимости от вида арматуры; Fа- площадь сечения продольной растянутой арматуры; F - площадь сечения сжатой зоны бетона; Rн - расчетное сопротивление бекона сжатию при изгибе; х - высота сжатой зоны; h0 - полезная высота сечения стенки трубы. 5.15. Асбестоцементные и керамические трубы, а также бетонные и железобетонные трубы промышленного изготовления по прочности подбираются путем сравнения величины разрушающей нагрузки, с усилием, возникающим от действия постоянной и временной нагрузок по формуле
где К - коэффициент запаса; Рр - разрушающая нагрузка, определяемая по сортаменту труб; Ррасч - усилие от постоянной и временной нагрузок. Коэффициент К принимается для керамических и асбестоцементных труб 2,0, для бетонных - 3,3 и для железобетонных - 1,8; коэффициент опирания труб N принимается по данным п.5.13. Расчет оснований под трубы5.16. Цель расчета состоит в том, чтобы подобрать такое сечение основания, которое гарантировало бы его от разрушения. 5.17. Значение расчетного момента Мрасч следует определять как для бесконечной или полубесконечной балки, лежащей на упругом основании. 5.18. За расчетную нагрузку на основание следует принимать временную нагрузку от колес самолета. Постоянную нагрузку от веса засыпки грунта над трубой, веса трубы и собственного веса основания в расчете можно не учитывать, так как она незначительно отличается от бытового давления грунта и не может вызвать деформацию грунта основания. 5.19. Расчетная нагрузка от колес самолета передается на основание через грунт и некоторую часть трубопроводов. Так как напряжение в грунте от временной нагрузки с увеличением высоты засыпки над трубой уменьшается, при расчете оснований под трубы следует полагать, что временная нагрузка на основание передается через три звена трубы (при длине звена 1 м) при высоте засыпки над трубой до 2 м и через пять звеньев при высоте засыпки над трубой 2 м и более. 5.20. Нагрузка от колес самолета передается на основания через трубы и выступы оснований (рис. 23). Величину нагрузки на среднее звено следует определять по формуле (62), На два крайних звена при высоте засыпки над верхом трубы до 2 м расчетная нагрузка определяется по этой же формуле. За расчетное напряжение принимается напряжение на уровне верхней образующей трубы в середине звена. Нагрузка на звено трубы P1 равна РI = σlDн, (72) где σ - напряжение в средней части верхней образующей трубы; l - длина звена трубы; Dн - наружный диаметр трубы.
Рис. 23. Схема нагрузки основания (при передаче нагрузки через три звена труб и выступы оснований) При высоте засыпки над верхом трубы 2 м и более, когда расчет производится для 5 звеньев труб, чтобы определить нагрузку на крайние звенья, не следует разбивать след колеса на ряд площадок, так как такая разбивка не оказывает ощутимого влияния на точность определения расчетного напряжения на крайние звенья трубы. В данном случае нагрузку, приходящуюся на одно колесо, следует принимать за сосредоточенную и приложенную в центре следа колеса. 5.21. Нагрузку на отрезки основания следует определять путем умножения расчетного напряжения на площадь выступов по формуле Р2 = 2вlσ, (73) где Р2 - нагрузка на выступы основания одного звена трубы; в - ширина выступа; l - длина выступа, равная длине звена трубы; σ - расчетное напряжение на поверхности выступа, 5.22. Общая расчетная нагрузка на основание равна сумме временных нагрузок, передающихся на соответствующе трубы и выступы: Р = P1экв + P2экв, (74) Р1экв = Р1ср + Р2ср; Р2экв = Р1кр + Р2кр Общий вид нагрузок показан на рис. 24. 5.23. Расчет оснований под трубой следует производить в продольном и поперечном направлениях. 5.24. При расчете в продольном направлении нагрузку, передаваемую через трубы и выступы основания, следует заменять рядом сосредоточенных сил (см. рис. 24). Основание рассчитывается как бесконечная балка прямоугольного сечения, лежащая на упругом основании, характеризующимся моделью Виндлера. Основание разбивается температурно-усадочными швами на отдельные участки длиной 30 - 50 м. Участки между собой соединяются штырями, препятствующими смещению концов основания. Таким образом, основание в продольном направлении представляет собой ряд шарнирно соединенных балок, лежащих на упругом основании. Расчетный изгибающий момент в основании под трубами определяется по формуле
где К - коэффициент, учитывающий увеличение изгибающих моментов при приложении нагрузки в краевых зонах основания, принимаемый равным 1,2. 5.25. Максимальный изгибающий момент при центральном загружении основания следует вычислять по формулам расчета балок, имеющих неограниченные размеры в плане, как наибольший суммарный момент, создаваемый колесами самолетной опоры в расчетном сечении. Общая формула для определения максимального момента от действия всех колес опоры имеет вид:
где M1 - изгибающий момент от действия колеса, центр отпечатка которого совпадает с расчетным сечением;
Рис. 24. Расчет оснований под трубы 5.26. Изгибающий момент от действия колеса, центр отпечатка которого совпадает с расчетным сечением, следует определять по формуле
где Р - расчетная нагрузка на колесо. Коэффициент α определяется по формуле
где в - ширина расчетного сечения; С - расчетный коэффициент постели; Е - модуль упругости бетона; J - момент сопротивления основания. Расчетная нагрузка на колесо определяется по формуле
uде Р0 - величина нагрузки на главную опору самолета; Nк - число колес на главной опоре самолета; Кдн - коэффициент динамичности, определяется по п.5.11; nр - коэффициент перегрузки, принимается равным 1,0. 5.27. Изгибающий момент в расчетном сечении от действия колеса, расположенного за пределами этого сечения, определяется по формуле
где Р - расчетная нагрузка на колесо. Коэффициент ξ2 определяется в зависимости от расстояния между центрами отпечатков колеса и расчетным сечением Х:
Значение ξ2 можно определять по табл. 5 приложения 8 в зависимости от значения коэффициента αх. В этой же таблице приведены значения коэффициента ξ1, по которому можно определять прогиб основания по формуле
5.28. За расчетную нагрузку в поперечном направлении следует принимать величину реактивного давления, полученную при расчете основания в продольном направлении в случае, если колесо расположено над средней частью участка. 5.29. Предельный изгибающий момент в основаниях следует определять как для прямоугольного сечения по формуле (68). Расчет дождеприемных, смотровых и тальвежных колодцев5.30. Цель расчета состоит в том, чтобы подобрать такие величины сечений крышки, днища, стенок колодца, стыков в месте примыкания трубы к стенке колодца, которые предотвращали бы конструкцию от разрушения. Расчет колодцев производится по методу предельных состояний по прочности: Мр ≤ Мпр, (83) а также по деформации: Wр ≤ Wпр, (84) где Мр - расчетный изгибающий момент в сечении конструкции; Мпр - предельный изгибающий момент в том же сечении; Wp расчетное вертикальное смещение колодца под воздействием самолетной нагрузки; Wпр-- предельно допустимое смещение стыка в месте примыкания трубы к стенке колодца. Колодцы представляют собой конструкцию коробчатого типа, расчет которой как пространственной системы сложен и трудоемок. Поэтому для упрощения расчета колодца его крышку, днище и стенки рекомендуется рассматривать как отдельные конструктивные элементы. 5.31. Расчет крышки колодца, в зависимости от ее конструкции, следует производить или как балки на двух опорах, или как плиты, опертой по контуру, при этом за расчетную нагрузку принимается давление от колеса, приходящееся на расчетный элемент. При расчете крышки заглубленного смотрового колодца нагрузку от веса засыпки грунта над крышкой из-за ее малости по сравнению с нагрузкой от опоры самолета можно не учитывать. 5.32. Расчет отдельных ребер решетки производится как для балок на двух опорах, нагруженных равномерно распределенной нагрузкой, равной величине внутреннего давления пневматика шасси, умноженной на расстояние между ребрами. Кроме ребер решетки и их соединения с обвязкой решетки, подлежит обязательной проверке на сжатие бетон под опорной рамой. 5.33. Днище колодца можно рассматривать как плиту, свободно опертую на стенки, к которым примыкают трубы, и жестко связанную со стенками, к которым трубы не примыкают. Расчет днища необходимо выполнять на нагрузку от веса грунтовой засыпки, перекрытия, стен и временной нагрузки от колеса самолета, расположенного непосредственно на крышке колодца. Расчетные пролеты прямоугольной плиты принимаются равными: l'Д = 1,05 lД; l'К = 1,05lК. (85) где lД и lК - соответственно внутренние размеры длинной и короткой сторон днища. 5.34. Стенки колодца следует рассчитывать на нагрузку от колеса, расположенного рядом с колодцем. Для этого расчетная площадь прямоугольного отпечатка колеса разбивается на ряд площадок, к центрам которых прикладываются сосредоточенные эквивалентные силы, приходящиеся на каждую площадку. Затем при помощи формулы суммирования горизонтальных напряжений в линейно деформируемом полупространстве от каждой сосредоточенной силы определяется искомое напряжение в соответствующих точках поверхности стенки колодца по формуле
где Р - расчетная нагрузка от колеса; Z - расстояние до рассматриваемой точки стенки колодца от поверхности грунта; n - количество элементарных сил, суммарно эквивалентных нагрузке от колеса; К - коэффициент концентрации напряжении, принимаемый равным 2. Коэффициент K1 зависит от отношения
где x, у, Z. - координаты рассматриваемой точки стенки колодца по отношению к данной элементарной силе. Сила X берется в направлении перпендикуляра, проведенного от силы к стенке колодца, y - параллельно стенке колодца, Z - по вертикали, по оси, проходящей через точку приложения элементарной силы. Значение коэффициента K1 принимается по графикам (рис. 1 приложения 8). Графики составления для μ = 0, μ = 0,30, μ = 0,50. Для грунтов, имеющих другое значение μ, величина К1 берется по интерполяции. При необходимости коэффициент К1 может быть определен по формуле
где Общее давление от колесной нагрузки определяется путем вычисления объемной эпюры напряжений на расчетную часть стенки колодца и принимается равномерно распределенным по стенке колодца. Реактивное давление на противолежащую стенку колодца от грунта можно принимать равным активному давлению от колеса, расположенного рядом с колодцем. 5.35. Для расчета на прочность и определения расчетного изгибающего момента выделяется часть колодца высокой 0,5 м и рассматривается как замкнутая рама при расчете прямоугольных колодцев и как кольцо при расчете круглых колодцев (рис. 25). Расчетные формулы для прямоугольных колодцев: при расположении колеса рядом с длинной стороной колодца
при расположении колеса рядом с короткой стороной колодца
где МА, МВ, МС, МД, МЕ, МF - изгибающие моменты в указанных точках; N1, N2 - продольные силы в стенках; J1, J2 - моменты инерции стенок колодцев; q1, q2 - распределенная боковая нагрузка, действующая соответственно на длинную и короткую стороны стенок колодца; q - распределенная боковая нагрузка, действующая на стенки круглого колодца; r - средний радиус стенки круглого колодца.
Рис. 25. Расчет стенок прямоугольных и круглых колодцев: а - колесо расположено рядом с длинной стороной прямоугольного колодца;, б - колесо расположено рядом с короткой стороной прямоугольного колодца; в - круглый колодец Расчетные формулы для круглых колодцев:
NC = NД = 0 5.36. Предельный изгибающий момент Мпр в элементах конструкций сечений колодцев определяется как для прямоугольных сечений по формулам (68) и (69). 5.37. Для расчета стыков в месте примыкания трубы к стенке колодца по методу предельных состояний, см. формулу (93), необходимо определить расчетное и предельное вертикальное смещение при воздействии самолетной нагрузки. 5.38. Определение расчетного вертикального перемещения колодца производится от воздействия вертикальных и горизонтальных нагрузок. Вертикальная нагрузка от воздействия самолетных нагрузок рассматривается как сосредоточенная вертикальная сила. Горизонтальная нагрузка может передаваться в виде бокового распора грунта под колесом самолета, стоящего рядом с колодцем. Горизонтальная нагрузка также принимается в виде сосредоточенной силы, определенной в результате суммирования объемной эпюры горизонтальных напряжений, развивающихся по боковой стенке колодца. 5.39. Под воздействием вертикальных и горизонтальных сил колодец стремится сдвинуться по плоскости основания и повернуться вокруг центра вращения. Сдвигу колодца препятствует сопротивление грунта, развивающееся по основанию и вертикальной стенке колодца. Повороту колодца противодействует сопротивление грунта, развивающееся по передней и задней стенкам колодца. Угол поворота колодца определяется по формуле
где V и P - вертикальная и горизонтальная нагрузки; а, в - размеры колодца в плане; h - глубина заложения колодца; Сz, Сx - коэффициенты постели грунта в горизонтальном и в вертикальном направлениях на уровне подошвы колодца; а1 - плечо вертикальной силы. 5.40, Максимальное краевое напряжение в основании колодца следует определять по формуле
где V u P - вертикальная и горизонтальная силы; a1 и h1 - плечи вертикальной и горизонтальной сил; G - вес колодца; а, в - размеры основания колодца в плане; h - глубина заложения колодца; Сx, Сz - коэффициенты постели в горизонтальном и вертикальном направлениях на уровне подошвы колодца. Величины а1 и h1 представлены на рис. 26. При действии горизонтальной силы по поверхности сооружения величина h1 = 0. 5.41. Расчетное предельное вертикальное смещение колодца определяется по формуле
где σmax - максимальное краевое напряжение в основании колодца, вычисляется по формуле (92); Сz - расчетное значение коэффициента постели в вертикальном направлении на уровне подошвы колодца.
Рис 26. Расчет перемещений колодца в вертикальном и горизонтальном направлениях и для определения угла поворота сооружения 5.42. Предельное вертикальное смещение колодца зависит от конструкции стыкового соединения труб с колодцем и равны для цементного стыка Wпр = 0,02 - 0,03 см; для стыка с чеканкой канатом, смоченным в битуме, Wпр = 0,5 - 0,8 см; для армобетонного стыка Wпр = 5 - 6 см. 5.43. Если условие предельного состояния по деформациям не соблюдается, необходимо увеличивать площадь подошвы колодца, добиваясь, чтобы разница Wp и Wпр не превосходила 5 %. 6. ПРОЕКТИРОВАНИЕ ВОДООТВОДНЫХ И ДРЕНАЖНЫХ СЕТЕЙ В ОСОБЫХ ИНЖЕНЕРНО-ГЕОЛОГИЧЕСКИХ УСЛОВИЯХПроектирование на участках с вечномерзлыми грунтами6.1. Все инженерные мероприятия по водоотводу с территории аэродромов должны проектироваться на основе результатов инженерно-геокриологических (инженерно-геологических, мерзлотных и гидрогеологических) изысканий и исследований, выполненных в соответствии с требованиями глав СНиП, государственных стандартов и других нормативных документов по инженерным изысканиям и исследованиям грунтов с учетом конструктивных и эксплуатационных особенностей проектируемых сооружений. 6.2. При сооружении аэродрома на вечномерзлых грунтах, не теряющих несущей способности при оттаивании, проектирование и строительство водоотводных систем осуществляется так же, как в обычных условиях. При наличии в естественном основании вечномерзлых грунтов, теряющих при оттаивании несущую способность и подземных льдов устройство заглубленных водоотливных и дренажных сетей без принятия специальных мер не допускается. 6.3. При проектировании водоотводных сооружений на вечномерзлых грунтах их конструкция должна разрабатываться с учетом одного из следующих принципов: принцип 1а - вечномерзлые грунты основания используются в мерзлом состоянии, сохраненном в процессе строительства и в течение всего заданного периода эксплуатации сооружения; принцип 1б - допускается только частичное оттаивание грунтов основания сезонно оттаивающего слоя, сложенного из грунтов, обладающих достаточной несущей способностью в оттаявшем состоянии; принцип 2 - вечномерзлые грунты основания используются в оттаявшем состоянии на полную глубину сезоннооттаивающего слоя. При необходимости допускается улучшение строительных свойств сезоннооттаивающего слоя путем тепловой мелиорации или замены грунта. 6.4. Выбор принципа использования вечномерзлых грунтов основания, а также средств, которыми достигается сохранение предусмотренного в проекте состояния основания (мерзлого или оттаявшего), производится в зависимости от конкретных условий с учетом стоимости, материалоемкости, трудоемкости и продолжительности строительства. 6.5. Принцип 1а, б должен применяться, если грунты в основании можно сохранить в мерзлом состоянии при экономически целесообразных затратах на мероприятия, обеспечивающие сохранение такого состояния. Принцип 2 должен применяться при наличии, в основании скальных грунтов или вечномерзлых грунтов, деформация которых при оттаивании не превышает предельно допускаемых значений для проектируемых сооружений, а также при несплошном распространении вечномерзлых грунтов и при различной толщине деятельного слоя. 6.6. При устройстве водопропускных труб в теле теплоизолирующей насыпи должно обеспечиваться сохранение вечномерзлого состояния грунтового основания под трубой. 6.7. Вечномерзлые грунты в основании водопропускной трубы должны использоваться по одному принципу по всей длине трубы. Основания труб не допускается проектировать с опиранием частично на мерзлые и частично на немерзлые грунты. 6.8. Перепуск воды под аэродромными покрытиями, запроектированными в высоких насыпях (более 1 м), следует осуществлять с помощью незаглубленных перепускных железобетонных труб с открытыми оголовками воротникового типа. Звенья трубы и оголовки укладываются на монолитное железобетонное основание с гидроизоляцией стыков. 6.9. Во избежание образования наледей в верхнем бьефе ось перепускной трубы следует выносить в сторону от русла существующего водотока на расстояние не менее 10 м. Причем отметка лотка при входе в трубу принимается равной отметке дна старого русла у подошвы насыпи. Старое русло и участок поймы между старым и новым руслом засыпается камнем или щебнем на высоту, обеспечивающую сток поверхностных вод по новому руслу. Для того, чтобы трубы не забивались льдом, снегом и мусором, в верхнем бьефе необходимо устраивать защитные металлические щиты, располагаемые по сегменту, высотой больше горизонта паводковых вод. 6.10. Льдистые грунты в основаниях перепускных труб следует заменять. При этом в основание насыпного слоя необходимо укладывать слой мохоторфа толщиной не менее 20 см или слой высокоэффективных теплоизолирующих материалов. Глубина замены hу льдистого грунта в основании труб должна быть равна глубине протаивания грунта hn. Глубина протаивания грунтов под трубой, за исключением оголовков и крайних звеньев трубы, принимается равной глубине сезонного протаивания грунта вне водотока. Под оголовками и крайними звеньями труб (на входе и выходе) протаивание грунта оказывается примерно в 1,5 - 4 раза больше, чем под остальной частью трубы. Глубина протаивания грунтов под оголовками и крайними звеньями трубы определяется по формулам: для временных водотоков с широким распластанным руслом hn = hТ(1,55hв+1); (94) для водотоков постоянного и периодического действия с выраженным руслом
где hT - глубина сезонного протаивания грунта вне водотока; hB - расчетная высота вода в водотоке (средняя за теплый сезон); tB - расчетная температура воды. Под остальной частью труб (под средними звеньями) hn = hT, (96) 6.11. При выборе необходимого диаметра водоперепускной трубы, кроме гидравлического расчета, учитывается также и длина водоперепуска. Диаметр трубы принимается не менее 0,75 м при длине трубы до 25 м, не менее 1,00 м при длине до 50 м, не менее 1,25 м при длине до 75 м и не менее 1,50 м при длине до 100 м. 6.12. В зависимости от принятого принципа проектирования грунтового основания (с частичным оттаиванием грунтов основания в пределах сезоннооттаивающего слоя или при полном его оттаивании) монолитные железобетонные основания под трубами укладываются на теплоизолирующий слой, а также на естественное или искусственно подготовленное грунтовое основание. 6.13. Расчет жестких искусственных оснований водопропускных труб должен производиться при использовании вечномерзлых грунтов по принципу 1, а также при скальных грунтах по несущей способности; при использовании вечномерзлых грунтов по принципу 2 - по несущей способности и по деформации. 6.14. При расположении аэродрома на территории с вечномерзлыми грунтами для перехвата и отвода поверхностных вод должны предусматриваться те же мероприятия, что и при расположении аэродрома во II и III климатических зонах. При этом конструкции водоотводных элементов должны разрабатываться с учетом типа грунта (скальные, крупнообломочные, песчаные и глинистые). 6.15. На грунтах I типа (скальные грунты) водоотводные сети следует проектировать как для обычных условий. На грунтах II типа (крупнообломочные грунты) водоотводные канавы следует располагать на удалении 2 - 3 м от подошвы насыпи искусственных покрытий, а на грунтах III типа (песчаные) - на удалении 10 - 15 м (рис. 27,а). На грунтах IV типа (глинистые) для отвода поверхностной воды проектируются полулотки, устраиваемые вдоль земляных берм, примыкающих к насыпям (рис. 27,б). Нагорные канавы и водоотводные валы на грунтах III типа, а также водоотводные валы на грунтах IV типа располагаются на расстоянии не менее 50 м от насыпки искусственных покрытий (рис. 27, в). На крутых склонах (круче, чем 1:5) при больших площадях водосборов следует устраивать два ряда нагорных канав или водоотводных валов. 6.16. Поперечное сечение водоотводных и нагорных канав определяется гидравлическим расчетом. Однако сечение канавы следует выбирать таким, чтобы дно канавы располагалось не ниже половины сезонного оттаивания грунта в естественном залегании. При достижении канавой указанной предельно допустимой глубины необходимое увеличение поперечного сечения канавы производится за счет ее уширения или увеличения высоты кавальера. Дно, откосы водоотводных и нагорных канав, откосы берм и водоотводных валов следует укреплять.
Рис. 27. Варианты конструкций элементов водостоков на вечномерзлых грунтах: а - водоотводные и нагорные канавы; б - открытые лотки; в - нагорные валики; г - нагорная канава с валиком; 1 - мощение камнем; 2 - слой торфа или мха 7 - 10 см; 3 - слой гальки или наброска из камня с заполнением грунтом (Н = 16 - 32 см) или мощение камнем; 4 - слой мха или торфа 10 - 20 см; 5 - подсыпка из гравия; 6 - двойное мощение камнем по мху или торфу; 7 - каменная наброска с заполнением пор грунтом; 8 - экран из глины; 9 - одерновка; 10 - двойное мощение камнем по мху или торфу слоем 10 - 15 см; 11 - местный грунт 6.17. Для перехвата надмерзлотных вод по кромкам покрытий необходимо устраивать водонепроницаемые экраны. Экраны следует создавать поднятием уровня вечномерзлых грунтов до дневной поверхности путем укладки по трассе экрана слоя эффективных термоизоляционных материалов (пенопласт типа пенополистирол, полиуретан и т.п.) толщиной до 20 см ("мерзлотный валик") с заглублением его ниже дневной поверхности на 20 - 30 см. Этот слой следует укладывать перед началом оттаивания и надежно гидроизолировать до водоупора или на глубину не менее 0,25 м ниже глубины сезонного оттаивания слоя. Допускается создавать экраны из глинистых и песчаных грунтов, обработанных битумом или из полимерных пленок. Проектирование на участках с пучинистыми грунтами6.18. Водоотводные и дренажные сети, расположенные на участках с пучинистыми грунтами, следует проектировать так, чтобы предотвратить деформации и разрушение элементов водоотводной сети от возможного пучения грунтов. Для этого трубы коллекторов и днища смотровых колодцев обязательно, а днища тальвежных колодцев желательно располагать ниже горизонта промерзания грунтов. 6.19. Минимальная глубина заложения закромочных дрен принимается из расчета превышения дна корыта не менее капиллярного поднятия воды во влажной фильтрующей засыпки и не менее 0,75 м от поверхности грунта. Заглубление закромочных и экранирующих дрен, принимающих верховодку и грунтовые воды, устанавливается расчетом в соответствии с глубиной залегания этих вод. 6.20. При устройстве лотков в кромках искусственных покрытий дождеприемники устраиваются в виде дождеприемных воронок или дождеприемных колодцев. Дождеприемная воронка (см. рис. 10) представляет единое целое с плитой лоткового ряда, в которую она замоноличена. Поэтому конструкция стыков перепуска воронки должна быть эластичной, в ней должно предусматриваться вертикальное смещение плиты воронки относительно перепускной трубы при пучении грунта. Для этого зазор между наружным диаметром вертикальной перепускной трубы, замоноличенной в плите, и внутренним диаметром фасонного колена заделывается просмоленной прядью и изолируется битумной мастикой. Колено с асбоцементной трубой перепуска соединяется при помощи муфты или армобитумного стыка шириной 25 см (путем нанесения на стык нескольких слоев рулонного материала и металлической сетки, а также гидроизоляционного слоя). Вокруг плиты с воронкой устраивается температурный шов из битумной мастики толщиной 2 см на всю толщину покрытия. 6.21. Дождеприемные колодцы в лотке покрытий допускается применять в виде исключения при устройстве: подушки под днищем колодца толщиной 30 см из непучинистого материала, желательно из просеянного шлака при тщательном его уплотнении; обсыпок стенок колодца непучинистыми и несмерзающимися материалами с обработкой битумом; песчано-битумного коврика толщиной 2 см вокруг колодца по дну корыта; температурного шва из битумной мастики толщиной 2 см вокруг дождеприемного колодца на всю толщину покрытия. 6.22. Для защиты от разрушения вокруг смотровых и тальвежных колодцев на всю высоту необходимо устраивать несмерзающиеся обсыпки толщиной не менее 20 см, а сверху по контуру указанных сооружений устраивать водонепроницаемые отмостки, чтобы поверхностная вода не проникала в материал обсыпки. Допускается также устройство двухслойных обсыпок - 15 - 20 см гравия и 20 - 30 см песка. Смотровые и тальвежные колодцы устраиваются с гладкими наклонными наружными стенками с обсыпкой гидрофобными материалами. Днища тальвежных колодцев необходимо проектировать на подушке из непучинистого материала, заглубленной ниже горизонта промерзания грунта. Проектирование на участках с просадочными грунтами6.23. Основания под элементы водосточно-дренажной системы аэродромов, возводимые на просадочных грунтах, должны проектироваться с учетом специфической особенности таких грунтов, заключающейся в том, что при напряженном состоянии от внешних нагрузок или собственного веса грунта и при замачивании водой они дают дополнительные деформации - просадки, которые учитываются лишь при величине относительной просадочности грунтов δпр ≥ 0,01. 6.24. При замачивании просадочных грунтов в основаниях элементов водосточно-дренажных систем должны предусматриваться мероприятия, исключающие вредное влияние возможных просадок на эксплуатационную пригодность системы, преимущественно предварительным замачиванием и уплотнением грунта с коэффициентом уплотнения не менее 0,98. 6.25. При проектировании водосточной и дренажной сети на участках с просадочными грунтами оси коллекторов должны располагаться на расстоянии не менее 10 м от кромок покрытия. Дождеприемники, как и расположенные на участках с пучинистыми грунтами, проектируются в виде дождеприемных воронок или дождеприемных колодцев. Дно и стенки траншей водостоков обрабатываются жидким битумом или дегтем. В условиях просадочных грунтов второго типа в местах, перехода под покрытиями следует, как правило, устраивать обратную засыпку из недренирующих грунтов с их стабилизацией в нижней части траншеи на 0,5 м над верхом трубы. 6.26. При незначительной толще просадочных грунтов (не более 2 м) трубы коллекторов целесообразно закладывать на глубину ниже просадочных грунтов. При большей толщине просадочных грунтов допускается закладка труб непосредственно при выполнении требований пп. 6.23 - 6.25. Проектирование на участках с засоленными грунтами6.27. Отличительным свойством всех засоленных грунтов является их сильная гидрофильность, т.е. способность к быстрому размоканию, сильному набуханию и проявлению большой липкости и пластичности, а также легкая размываемость и агрессивное воздействие на материал подземных сооружений при замачивании грунта. Поэтому территория летного поля на засоленных грунтах должна быть надежно защищена от размыва поверхностными водами. 6.28. На сильно засоленных грунтах для создания дернового покрова, наряду с другими мероприятиями, должны производиться понижение уровня грунтовых вод (глубинный дренаж), промывка (орошение) территории с отводом промывных вод с летного поля. 6.29. Дно и откосы канав и грунтовых лотков укрепляются для предохранения их от размыва гравием, щебнем, а также вяжущими материалами в зависимости от вида и степени засоленности. Для грунтов, содержащих более 5 % соды или гипса, укрепление битумом или синтетическими полимерными соединениями не применяется. 6.30. Проектирование водосточно-дренажных систем аэродромов на засоленных просадочных грунтах необходимо выполнять с учетом пп. 6.25 - 6.26. Проектирование на участках с агрессивными водами6.31. При наличии агрессивных грунтовых или поверхностных, вод, в том числе и производственных, бетонные элементы водостоков и асбестоцементные трубы должны быть защищены от их воздействия. Степень агрессивного воздействия воды на бетон конструкций устанавливается сопоставлением результатов химического анализа воды с нормами, приведенными в главе СНиП "Защита строительных конструкций от коррозии. Нормы проектирования". 6.32. Основной мерой защиты бетонных элементов водостоков от действия агрессивных вод является использование для изготовления этих элементов максимально плотных бетонов марки не ниже 200 на пуццолановом цементе и шлакопортландцементе. В качестве мелкого заполнителя бетона применяется чистый песок (отмучиваемых частиц не более 1 % по массе), а в качестве крупного заполнителя - фракционный щебень изверженных невыветрившихся пород (количество отмучиваемых частиц не более 0,5 % по массе). Известковые материалы с временным сопротивлением сжатию ниже 500 кг/см2 для приготовления бетона не допускаются. Для устройства труб рекомендуется применять асбестоцементные трубы, а за пределами летного поля - керамические канализационные трубы. 6.33. В качестве защитной изоляции труб, а также внутренних и внешних поверхностей конструкций водостоков применяются гидроизоляция из битумных материалов (рис. 28). Подошвы оснований бетонных элементов водостоков защищаются от действия агрессивных вод устройством пластичной гидроизоляции (по подготовке) из песчаного асфальтобетона толщиной 2 - 3 см. Гидроизоляция должна быть непрерывной и достаточно плотной.
Pиc. 28. Схема гидроизоляции элементов водостоков от действия агрессивных вод: а - гидроизоляция смотрового колодца; б - гидроизоляция коллектора; 1 - обмазочная гидроизоляция; 2 - штукатурка на цементном растворе состава 1:2 с железнением; 3 - уровень грунтовых вод: 4 - пластичная гидроизоляция Проектирование на участках с заторфованными грунтами 6.34. Мероприятиями, уменьшающими возможные деформации грунтовых оснований конструкций водостоков, являются частичная или полная замена заторфованного грунта. Проектирование оснований, сложенных сильно заторфованными грунтами и торфами с непосредственным опиранием на их поверхность фундаментов, не допускается, независимо от толщины слоя таких грунтов и от расчетной величины деформации основания. Трубы коллекторов, а также смотровые и тальвежные колодцы в этих условиях должны опираться на "минеральное дно" заторфованных участков или на подушку из песка, гравия или щебня. Трубы следует укладывать на жесткое основание из железобетона или бетона на глубину ниже горизонта промерзания грунта. Вокруг колодцев устраивается обсыпка из несмерзающихся грунтов. При значительной толщине торфа необходимость выторфовывания и тип основания определяются технико-экономическим расчетом. 7. ОЧИСТКА ПОВЕРХНОСТНОГО СТОКА7.1. Расчет очистных сооружений поверхностного стока следует производить из условия приема на очистку 70 - 80 % годового объема дождевого стока и всего объема моечных вод. 7.2. Дренажные воды при отведении их по самостоятельной дренажной системе могут сбрасываться в водные объекты без очистки. 7.3. Очистку талых вод следует предусматривать только при выпуске их в замкнутые или малопроточные водоемы. Условия спуска определяются при этом с учетом возможного смешения и разбавления. 7.4. Если ливневыпуски расположены на значительном расстоянии друг от друга, очистные сооружения следует устраивать для каждого водосборного бассейна. В отдельных случаях в зависимости от местных условий могут устраиваться общие очистные сооружения для нескольких водосборов. 7.5. Выбор площадки для строительства очистных сооружений должен обеспечивать по возможности минимальную протяженность коммуникаций и самотечное движение сточных вод по подводящим коллекторам и сооружениям. Площадка должна располагаться на территории, не затопляемой паводковыми водами, с низким уровнем грунтовых вод. 7.6. На площадках очистных сооружений должны предусматриваться подъездные дороги, освещение, озеленение и в случае необходимости ограждение. 7.7. При осуществлении локальной очистки дождевые воды, подлежащие обезвреживанию, должны быть собраны в бассейны. Рабочий объем емкостей бассейнов рассчитывается на прием дождевых вод, количество которых обеспечивает смыв основной массы примесей, накапливающихся на искусственных покрытиях, и определяется по формуле Wp = 10hа(F1Ψ1 + F2Ψ2), (97) где Ψ1 и Ψ2 - средние объемные коэффициенты стока дождевых вод с твердых н грунтовых покрытий, соответственно равные 0,6 и 0,1; F1 и F2 - площадь водосбора с твердыми и грунтовыми покрытиями; hа - расчетный слой осадков, сток которого аккумулируется. Расчетный слой осадков h0 следует принимать равным 15 мм для водосборной площади, включающей авиационно-техническую базу и 10 мм для остальной территории (кроме взлетно-посадочных полос). Сток с территории взлетно-посадочных полос может сбрасываться без очистки или подвергаться только аккумулированию и отстаиванию (при этом величина hа принимается равной 5 мм). Сток с территории привокзальной площади следует по возможности отводить в коллектор авиационно-технической базы. 8. ПРОЕКТИРОВАНИЕ И РАСЧЕТ ОГРАЖДАЮЩИХ ДАМБ И УКРЕПЛЕНИЯ ОТКОСОВ8.1. Участки, требующие сооружения ограждающих дамб, должны выбираться под строительство аэродромов только в исключительных случаях при соответствующем технико-экономическом обосновании. Если невозможно избежать пересечения аэродромом пойменного участка, необходимо выбирать вариант размещения аэродрома с дамбой минимальной протяженности, расположенной в узких местах понижения рельефа поймы. При сооружении дамб в некоторых случаях оказывается необходимым устройство аккумулирующих бассейнов перед дамбой (со стороны летного поля) для сбора поверхностной воды с территории аэродрома от стока дождевых и талых вод в период паводка, поскольку естественный сброс воды в водоем (реку) в этот период невозможен. Сброс воды из аккумулирующего бассейна может быть осуществлен: с помощью водопропускной трубы с затвором в период, когда отметка лотка трубы оказывается выше уровня воды в водоеме; механической перекачкой или с помощью сифонного устройства с отводом воды через верх дамбы. Аккумулирующие бассейны в непаводковый период могут использоваться как биологические очистные сооружения. 8.2. При проектирования ограждающей дамбы должны предусматриваться: обеспечение надежности сооружения, удобство постоянной и временной эксплуатации; наиболее полное использование местных грунтовых материалов; выполнение требований по охране природы; устройство по верху дамб подъездного пути (автомобильного или железнодорожного). 8.3. В зависимости от последствий аварий класс ограждающей дамбы следует назначать: I и II классы при возможном затоплении зданий аэровокзала, ангара и значительной части взлетно-посадочной полосы (I класс дамбы для внеклассного аэропорта и аэропорта I класса, II - для аэропорта II класса); III класс - при затоплении значительной части взлетно-посадочной полосы (независимо от класса аэропорта); IV класс - при затоплении значительной части концевой или боковой полосы безопасности и других территорий. 8.4. Основными задачами при проектировании дамбы являются: определение высоты дамбы; разработка конструкции дамбы с обеспечением ее устойчивости, а также устойчивости откосов; проектирование аккумулирующих бассейнов и водоспускных устройств. Определение отметки верха дамбы8.5. Отметка верха дамбы зависит от положения расчетного уровня высоких вод заданной повторяемости (вероятности), высоты волны, высоты набега волны на откос дамбы и запаса высоты до бровки насыпи дамбы и определяется по формуле Нв = Нрувв + hвол + hнаб + Δh, (98) где Нрувв - отметка расчетного уровня высокой воды в сечении у дамбы, определяется по данным гидрометслужбы при инженерных изысканиях; Δh. - запас высоты, принимается равным 0,5 м; hвол - высота волны; hнаб - высота набега волны на откос дамбы. Вероятность превышения расчетного уровня Р следует принимать 1 % для ограждающих дамб I и II классов и 2 % для дамб III и IV классов; при устройстве по верху дамбы автомобильной дороги I - II категорий или железнодорожного пути следует принимать Р = 1 %. Высота волны hвол рассчитывается по формуле
или при ограничении длины волны из-за малых глубин на пойме hвол = 0,2hn, (100) где ω - скорость ветра при паводках; lв - длина разбега волны; hn - средняя глубина воды на пойме. За расчетное принимается наименьшее из значений hвол, вычисленных по формулам (99) и (100). Высота набега волны hнаб рассчитывается по формуле
где т - крутизна откоса пойменной насыпи. (т ≥ 2). Коэффициент гладкости покрытий откосов насыпи Кш в зависимости от типов их укрепления имеет следующие значения: Бетонные покрытия 1 Мощение 0,9 Заросшие откосы 0,75 8.6. При сооружении на дамбе автомобильного подъездного пути высота дамбы должна обеспечивать неподтопляемость низа дорожной одежды и незатопляемость обочин. За отметку бровки насыпи в этом случае принимается наибольшее из значений, вычисленных по формуле (98) и формуле Нбр = Hрувв + hвол + hдо, (102) где hдо - суммарная толщина конструктивных слоев дорожной одежды. Конструкция дамбы и расчет устойчивости8.7. Ширина дамбы по верху назначается в зависимости от способов ее возведения, применяемых материалов и эксплуатации. При использовании дамбы для устройства автомобильных дорог ширина ее по верху принимается по действующим нормативным документам. Крутизна откоса дамбы со стороны водоема принимается не менее 2 с уменьшением крутизны нижней части дамбы на 1/4 на каждые 6 - 8 м высоты. Со стороны аккумулирующего бассейна откос, омываемый водой, устраивается с крутизной также не менее 2. Надводная часть дамбы, располагающаяся выше уровня набега волны со стороны аккумулирующего бассейна, может устраиваться с крутизной откоса не менее 1,5. Со стороны бассейна при высоте надводной части дамбы более 2 м должны устраиваться бермы (горизонтальные площадки). 8.8. Откосы дамб рассчитываются по методу круглоцилиндрических поверхностей скольжения. По этому методу предполагается, что обрушение грунтовой насыпи происходит по образующейся в грунте криволинейной поверхности скольжения. Центр кривой скольжения рекомендуется определять по способу Феллениуса построением, показанным на рис. 29. Углы α и β в зависимости от заложения откоса принимают согласно табл. 7. При ломаных откосах с бермами расчеты выполняются для спрямленного откоса, имевшего среднее значение крутизны. Если насыпь возведена на плотном основании, кривые проводятся через подошву откоса. При насыпях на слабых грунтовых основаниях кривые скольжения должны захватывать и грунт основания. Таблица 7
Рис. 29. Определение зоны расположения центров наиболее опасных: кривых скольжения и разбивка оползающей части откоса на отсеки Чтобы найти наиболее опасную кривую скольжения теле насыпи может быть намечено несколько кривых, проходящих через подошву откоса и выходящих на поверхность насыпи в 1/4, 1/2 и 3/4 ее ширины. Центры этих кривых скольжения принимают в точках пересечения прямой Феллениуса с перпендикуляром, восстановленным из середины хорды, стягивающей концы намеченной на чертеже кривой скольжения. За расчетную принимается кривая скольжения, для которой коэффициент устойчивости откоса оказывается наименьшим. 8.9. При расчете коэффициента устойчивости откоса массив грунта, обрушаемый по рассматриваемой кривой скольжения, разбивается вертикальными линиями на 8 - 10 отсеков. Для каждого отсека вычисляется удерживающая сила Fудi = Qi tgφ cosηi + cli = tgφNi + cli (103) и сдвигающая Ti = Qisinηi, (104) где Qi - масса призмы; ηi - угол наклона поверхности скольжения в пределах выделенной призмы; φ - угол внутреннего трения грунта; tgφ Ni - сила трения; С - удельное сцепление грунта; li - длина участка дуги скольжения в пределах выделенного отсека, Значения φ и С принимаются по данным лабораторных испытаний грунта с нарушенной структурой, имеющего расчетную плотность и влажность. Для предварительных расчетов разрешается использовать нормативные значения φ и С грунтов, приведенные в главе СНиП "Основания зданий и сооружений. Нормы проектирования". 8.10. Коэффициент устойчивости откосов К, рассчитываемый как отношение суммы удерживающих сил отсеков к сумме всех сдвигающих сил, должен быть не менее 1,5. При К < 1,5 должно быть произведено уменьшение крутизны откоса. Откосы дамбы рассчитываются на устойчивость с учетом взвешивающего действия и гидродинамического давления воды, высачивающейся из тела насыпи при спаде, уровня воды (рис. 30), и имеющихся напластований грунта, слагающих насыпь. Для песчаных насыпей учитывается только взвешивающее действие воды. Глинистые насыпи, обладая малой водопроницаемостью, за период паводка не успевают насытиться влагой, поэтому они рассчитываются как обычные сухие насыпи. При расчете насыпей, отсыпанных из суглинистых и супесчаных грунтов, учитывается влияние всех указанных факторов.
Рис. 30. Расчет гидродинамического давления воды на обрушаемую часть дамбы: 1 - сухой грунт; 2 - ось насыпи; 3 - водонасыщенный грунт; 4 - кривая скольжения; D - гидродинамическое давление; J - гидравлический градиент 8.11. Коэффициент устойчивости откоса К дамбы, отсыпанной из однородного грунта, рассчитывается по формуле
где C1 и L1 - сцепление сухого грунта и длина сухой части кривой обрушения; C2 и L2 - сцепление водонасыщенного грунта и длина части кривой обрушения, расположенной в пределах водонасыщенного грунта, граница между сухим и водонасыщенным грунтом принимается по уровню полной влагоемкости грунта, капиллярно-увлажненная часть насыпи считается сухой; ΣТ - сумма сдвигающих сил, определяется по формуле (104); tgφΣN - сумма удерживающих сил трения, определяемых по формуле (103), в которой масса призмы при необходимости вычисляется с учетом взвешивающего действия вода по п.8.12; D - гидродинамическое давление воды, определяемое по п. 8.12. При проверке устойчивости откосов в слоистых грунтах при сравнительно малой разности в свойствах грунтов и небольшой толщине слоев расчет можно выполнять по тем же формулам, что и для однородного грунта, но используют и средневзвешенные значения величин сцепления и угла внутреннего трения:
где h1, h2…hm - толщины слоев грунта; C1. C2…Сm - величины сцепления слоев грунта. 8.12. Объемная масса δВ водонасыщенного грунта с учетом взвешивающего действия воды определяется по формуле
где δс - объемная масса сухого грунта; п - пористость грунта, а гидродинамическое давление D воды - по формуле D = ωJ, (108) где ω - площадь поперечного сечения обрушаемой части насыпи, переувлажненной водой; J - гидравлический градиент. Значение гидравлического градиента принимается по данным лабораторного испытания грунта как отношение потери напора к длине фильтрации и может быть установлено, например, по падению напора при фильтрации воды через заполненную грунтом, уплотненным до той же степени, что и в насыпи, горизонтальную трубку, оборудованную пьезометрами (рис. 31). Примерное значение гидравлического градиента может быть определено по табл. 8 по величине коэффициента фильтрации.
Рис. 31. Определение величины гидравлического уклона Таблица 8
8.13. Высокие земляные дамбы на слабых водонасыщенных основаниях должны быть проверены на устойчивость против расползания грунта дамбы и выпирания грунта основания. При одностороннем боковом давлении воды (со стороны реки или бассейна) дамба проверяется на устойчивость против сдвига по подошве насыпи. Растительный слой грунта из-под подошвы насыпи должен быть полностью удален. Повышению устойчивости дамбы содействует устройство ядра (зуба) из водонепроницаемого грунта (глины, тяжелого суглинка), чтобы не просачивалась вода через водопроницаемые слои основания насыпи (рис. 32). Подошва зуба в этом случае заглубляется в водонепроницаемый слой основания на глубину не менее чем на 0,5 м,
Рис. 32, Варианты поперечных профилей дамбы: а - дамба с ядром (водонепроницаемым зубом) при напоре Н до 6 м; б - дамба без ядра при напоре Н до 4 м; 1 - тело дамбы из песка или супеси; 2 - ядро из глины; 3 - берма; 4 - водоотводная канава; 5 - водопроницаемое основание; 6 - водоупор; 7 - дренажная отсыпка (при отсутствии противофилътрационных устройств) 8.14. Для устойчивости насыпи дамбы против расползания необходимо, чтобы давление одной половины насыпи на другую было меньше, чем сопротивление смещению половины насыпи по слабому грунту (рис. 33). Коэффициенту устойчивости насыпи дамбы против расползания вычисляются по формуле
где Н - высота насыпи; δ - плотность грунта насыпи; В - ширина насыпи понизу; С - сцепление грунта; ξ - коэффициент бокового давления грунта насыпи.
Рис. 33. Расчет насыпи на устойчивость против расползания Для повышения устойчивости могут быть применены устройство более пологих откосов, присыпка берм, устройство водонепроницаемого зуба, закладка в основание насыпей бревенчатых настилов. 8.15. Для устойчивости дамбы против выпирания грунта основания необходимо, чтобы максимальное касательное напряжение в грунте основания было меньше, чем сопротивление сдвигу грунта, т.е. τmax < C + σztgφ, (110) где φ и С - параметры, соответствующие влажности грунта в условиях естественного залегания; вертикальное напряжение в точке грунтового основания, расположенной по оси симметрии дамбы на глубине Z, в которой касательное напряжение принимает максимальное значение. Значение τmax определяется для случая симметричной дамбы по формуле
где Р = 10Нδ, (112) H - высота дамбы; δ - плотность грунта дамбы; а - заложение откоса; R1, R2 - расстояния, см. на рис. 34,
Рис. 34. Расчет напряжений в подстилающем грунте от веса насыпи Значение σz может быть вычислено по формуле σz = КР, (113) Коэффициент К определяется для каждой половины дамбы по графику на рис. 35. Для всей дамбы коэффициент К определяется как алгебраическая сумма коэффициентов правой и левой частей насыпи. Для водонасыщенных глинистых и илистых грунтов основания можно считать грунт устойчивым при τmax < С т.е. в формуле (110) φ принимают равной нулю и значение σz в этом случае вычислять не требуется.
Рис. 35. Номограмма для определения напряжений в грунте при нагрузке от насыпи Глубина Z. определяется подбором или по табл. 9. Таблица 9
8.16. Коэффициент устойчивости насыпи дамбы против сдвига ее по основанию от одностороннего давления воды (рис. 36) вычисляется по формуле
где НВ - расчетная глубина воды у дамбы; Q - расчетная (без учета или с учетом взвешивающего действия воды) масса грунта
Рис. 36. Расчет дамбы на устойчивость против сдвига Для водонасыщенных глинистых и илистых грунтов основания значение tgφQ может быть принято равным нулю. 8.17. В сейсмических районах устойчивость земляных дамб обеспечивается применением конструктивных решений предусмотренных в главе СНиП "Строительство в сейсмических районах. Нормы проектирования" При проверке устойчивости
откосов дамбы грунтовые отсеки должны быть наклонены под сейсмическим углом θ к вертикали (рис. 37), а в их
массу Q должен быть введен коэффициент,
равный
Рис. 37. Расчет устойчивости откосов в сейсмических районах Таблица 10
В остальном расчет выполняется по методике, в которой не учитывается сейсмическое воздействие. Для каждого отсека определяются составляющие Ni и Тi\ по формуле
При расчете на сейсмическое воздействие временная нагрузка вводится с коэффициентом перегрузки 0,8. В районах с сейсмичностью 6 баллов и более при использовании для устройства насыпи разных грунтов отсыпку следует предусматривать с постепенным переходом от тяжелых грунтов в основании к грунтам более легким вверху. Укрепление откосов дамб8.18. Откосы ограждающих дамб должны быть укреплены или защищены специальными сооружениями. Защита дамб от действия продольных течений может быть пассивной, не устраняющей причин подмыва дамбы (различные виды откосных укреплений), и активной в виде устройств, отклоняющих течение воды от откоса дамбы (поперечные незатопляемые траверсы). 8.19. Откосы могут укрепляться одерновкой "плашмя", каменной наброской и бетонными плитами. Выбор типа укрепления производится по табл. 11 в зависимости от скорости продольного течения воды и высоты волны. Таблица 11
Укрепление дерном следует применять при небольших объемах работ при отсутствии их механизации. При значительных объемах работ целесообразно применять укрепление из бетонных плит и каменной наброски. 8.20. По низу откоса устраивается упор (рисберма) для защиты дамбы от размыва. Глубина заложения и объем упора назначаются, исходя из ожидаемого местного размыва у дамбы. Активную защиту дамб от продольного течения устройством траверсов можно применять только при отсутствии набега волны на дамбу, так как траверсы не предохраняют насыпь от воздействия волн. 8.21. Толщина бетонных плит hпл, назначаемых для защиты откосов от волнобоя, определяется по формуле
где впл - размер стороны плиты; m - крутизна откоса; γб и γв - объемные массы бетона и воды соответственно; пвол - высота набега волны. Плиты укладываются на основание, подобранное по принципу обратного (фильтра и снимающего гидростатическое давление в теле насыпи при откате волн. ПРИЛОЖЕНИЯПриложение
1
|
|||||||||||||||||||||||||||||||||||||||||||||||||||||||||||||||||||||||||||||||||||||||||||||||||||||||||||||||||||||||||||||||||||||||||||||||||||||||||||||||||||||||||||||||||||||||||||||||||||||||||||||||||||||||||||||||||||||||||||||||||||||||||||||||||||||||||||||||||||||||||||||||||||||||||||||||||||||||||||||||||||||||||||||||||||||||||||||||||||||||||||||||||||||||||||||||||||||||||||||||||||||||||||||||||||||||||||||||||||||||||||||||||||||||||||||||||||||||||||||||||||||||||||||||||||||||||||||||||||||||||||||||||||||||||||||||||||||||||||||||||||||||||||||||||||||||||||||||||||||||||||||||||||||||||||||||||||||||||||||||||||||||||||||||||||||||||||||||||||||||||||||||||||||||||||||||||||||||||||||||||||||||||||||||||||||||||||||||||||||||||||||||||||||||||||||||||||||||||||||||||||||||||||||||||||||||||||||||||||||||||||||||||||||||||||||||||||||||||||||||||||||||||||||||||||||||||||||||||||||||||||||||||||||||||||||||||||||||||||||||||||||||||||||||||||||||||||||||||||||||
|
Вид поверхности водосбора |
п* |
Ψгр |
|
Покрытие - бетон |
0,014 |
0,85 |
|
Обочины ИВПП - грунт, уплотненный с дерновым покровом |
0,025 |
0,40 |
|
Поверхности боковой полосы безопасности - грунт |
0,07 |
0,15 |
Для определения объема стока с покрытий и обочин ИВПП вычислим средние показатели: поперечный уклон (рис. 3)
![]()
коэффициент шероховатости
![]()
коэффициент стока
![]()
2.2. Расчет коллектора выполняется по следующей схеме.
Общая формула для расчета объема притока к коллектору имеет вид
Qi = S'iF'i + Q''i,
где S'i и F'i - величина стока и водосборная площадь поверхности искусственных покрытий и грунтовой обочины ИВПП, тяготеющие к i-му участку коллектора;
Q"i - объем притока к i-му участку коллектора с грунтовой поверхности боковой полосы безопасности.
Объем притока Q"i определяется с учетом минимальной стокообразующей продолжительности дождей tст. При этом для сечений коллектора, удаленных от наиболее удаленной точки водосбора (на искусственном покрытия) по времени добегания на ti ≤ tст объем Q"i определяется по формуле
Q"I = S''iF''i
где S''i - величина стона, вычисленная в функции ti. и гидрологических параметров поверхности грунта боковых полос безопасности п*гр и Ψгр.
F''i - водосборная площадь с поверхности грунта боковой полосы безопасности, определенная как площадь одновременного стока к i-му сечению за время ti.
Если t1 > tст, то объем Q"i равен
Q"i = StcтF"itcт + Qcn,
где Stcт - величина стока, вычисленная с учетом tст, п*гр и Ψгр.
F"itcст - водосборная площадь с поверхности боковой полосы безопасности, определенная как площадь одновременного стока к i-му сечению за время tст;
Qcn - дополнительный приток, поступающий к расчетному i-му сечению коллектора после дождя продолжительностью tст в соответствии с кривой спада стока за счет воды, лежащей на водосборе, л/с, вычисляется по формуле (15).
2.3. Скорость течения воды по лотку при полном его заполнении по номограмме на рис. 5 приложения 6 при J = 0,004, Jo = 0,05, hл = 10 см и п*гр = 0,025 равна
![]()
а пропускная способность лотка
![]()
где [Vн] и [Qн] - соответственно скорость и пропускная способность лотка, определенные с помощью номограммы на рис 5 приложения 6;
- поправка на
номограммные значения [Vн] и [Qн] за счет различных коэффициентов
шероховатости поверхностей грунта и бетона, для которой составлены номограммы;
Vтах - 0,34 м/с - максимально допустимая скорость течения вода в лотке для супесчаного грунта (см. табл. 1 приложения 6),
Vтах = 0,4∙0,85 = 0,34 м/с
2.4. Продолжительность добегания воды от наиболее удаленной точки О водосбора с поверхности ИВПП и грунтовой обочины до первого участка коллектора (точка В на рис 3) составляет
![]()
τскл определяется по номограмме на рис. 3 приложения 6 при длине склона 85 м, icp = 0,012, Δ = 4,2 и п = 0,75:
τскл = [τскл]нλ = 8∙1,2 = 9,6
где [τскл]н - значение по номограмме, а λ = 1,2 при п*гр = 0,014.
Вычислим по формуле (13) минимальную продолжительность дождей, при которых отсутствует сток с поверхности грунта боковых полос безопасности:

где
= U* = 0,20, определяется по табл. 3 приложения
4.
Поскольку τл = 17 мин. оказалось более tст = 9,33 мин, то
определяется по
формуле
.
Вычислим величину стока S1 по формуле
![]()
где [Sн], λ - значения, определяемые по номограмме на рис.1 приложения 6 при t1 =17 мин, Δ в 4,2 мм/мин и п = 0,75;
Ψср = 0,7, вычислено ранее.
Значение S'1 можно также вычислить по формуле (3).
Приток к первому участку коллектора с покрытия и обочины равен
![]()
Определим приток к первому участку коллектора с поверхности боковой полосы безопасности.
Вычислим величину стока S"1 при t = tст =9,33 мин:
![]()
Для подсчета водосборной площади одновременного стока F" определим как минимум две точки - Б и Г, продолжительность стока воды от которых до первого сечения коллектора составит время, равное tст (см. рис. 3).
Для определения расстояний АБ и ВГ, решая обратную задачу по известной продолжительности добегания, находим длину склона В с помощью номограммы на рис. 3 приложения 6 или по следующей формуле, полученной из формулы (5):

При τ1 менее tст продолжительность стока от точки Б до точки А следует принимать равным τскл, а от точки Г до точки В равным τ1.
Поскольку τ1 = 17 мин оказалось более tст = 9,33 мин, то продолжительность стока от точки Б до точки А равна (см. рис. 3):
![]()
С помощью номограммы на рис. 3 приложения 6 при τБА = в 2 мин, п*гр = 0,07, Ψгр = 0,15, Jrp = 0,01 и Δ = 4,2 находим значение lБА = 10 м.
От точки Г до точки В продолжительность стока τГВ = tст = 9,33 мин. По номограмме при
![]()
значение lГВ ≈ 22 м. Следовательно, площадь водосбора составляет
![]()
Дополнительный приток, определяемый по формуле (15), равен
![]()
где
![]()
Vл = 0,335∙60 = 20 м/мин
При
по данным табл. 6
значение η = 0,7.
Приток к первому участку коллектора с поверхности боковой полосы безопасности составит
Q"1 = S"1F"1 + Qсп = 19,4∙0,24+2,2=0,68 л/с
2.5. Общий приток к первому участку коллектора составляет:
Q1 = Q'1 + Q"1 = 75,7 + 6,8 = 82,3 л/с, что больше пропускной способности лотка Q0 = 73,5 л/с. Поэтому следует сократить расстояние между тальвежными колодцами до lтк = 130 м.
После пересчета оказалось, что Q1 = 71,5 л/с и τ1 = 16 мин.
2.6. Расчет сечений труб коллектора выполняется по участкам.
Участок 1. Расчет для участка 1 в предыдущем примере (см. п. 1.5.), исходные расчетные данные которого (Q1 = 71,5 л/с и J1 = 0,004) совпадают с данными рассматриваемого участка.
По результатам расчета в п. 1.5. принимаем трубу асбестоцементную диаметром Dвн = 322 мм. Скорость течения воды в трубе составляет 0,97 м/с.
Для расчета сечения труб коллектора второго участка необходимо определить приток воды ко второму участку коллектора с покрытия и обочины.
2.7. Продолжительность добегания воды до расчетного сечения 2 (до второго тальвежного колодца) составляет τ2 = τ1 + τкол.расч. = 17 + 9,4 + 26,4 мин.
где
τкол.расч. = т τкол = 3,62∙2,6 = 9,4 мин
![]()
![]()
![]()
Величина стока
![]()
где [S]н - значение, определяемое по номограмме на рис. 1, а приложения 6 при t2 = τ2 = 26,4 мин и Δ = 4,2 мм/мин;
λ - поправочный коэффициент, определенный по номограмме на рис. 1, б приложения 6 при t = 26,4 мин и g = 0,75.
Приток
Q'2 = S'2F'2 = S'2 2lткBрасч10-4 = 43,2∙2∙130∙85∙10-4 = 96 л/с.
2.8. Приток воды ко второму участку коллектора с поверхности боковой полосы безопасности рассчитывается по формуле
Q"2 = S"2F"2 + Qcn,
в которой значение S"2 = S"1 = 19,4 л/с га, поскольку оба значения вычисляются для одинакового значения t = tст = 9,33 мин.
Площадь водосбора F"2. составляет
![]()
а lДЕ
= lГВ = 22 м, так как оба значения l определяются
при одинаковом t = tcт
(при tст < τ1 < τ2). Поправочный коэффициент
учитывает то
обстоятельство, что площадь F1 была
вычислена при lтк = 150 м, значение
которого после корректировки было снижено до: lтк
= 130 м.
Дополнительный приток Qсп равен
Qсп = 0,0092ΔВVлΨпр(tст)1-пη = 0,0092∙4,2∙22∙20∙0,15∙9,330,25∙0,84 = 3,6 л/с.
При
по данным табл. 6
значение η = 0,84.
Приток с поверхности боковой полосы безопасности составит:
Q"2 = S"2F"2 + Qcn = 19,4∙0,49 + 3,6 = 17 л/с
2.9. Общий приток воды в коллектор на втором участке составляет
Q2 = Q'2 + Q"2 = 96 + 17 = 109 л/с
По номограмме на рис, 6 приложения 6 при J = 0,004 и Q - 109 диаметр D2 = 375 мм, а скорость течения V2 = 1,05 м/с. По сортаменту (принимаем трубу бетонную с внутренним диаметром 400 мм.
Скорость течения воды по принятому сечению трубы составит:
![]()
Скорость V2 находится в допустимых пределах, т.е. Vmin = 0,6 < 1,0 < Vmax = 5 м/с и, кроме того, выполняется условие, чтобы V2 = l,0 > V1 = 0,97 м/с.
Все последующие участки коллектора рассчитываются по методике, аналогичной методике расчета второго участка.
3.1. В расчете приняты следующие исходные данные:
Объект, расположен в III климатической зоне. Ширина ИВПП - 60 м. Поперечный профиль двухскатный. Грунты легкие суглинки. Покрытие ИВПП армобетонное. Уклоны ИВПП: поперечный - 0,01, продольный - 0,007. Ширина грунтовых обочин (до оси лотка - 20 м; поперечный уклон обочин - 0,015, продольный уклон грунтового лотка 0,003). Расстояние между тальвежными колодцами в лотке - 150 м. Средний уклон местности, прилегающий к лотку - 0,008 (в сторону лотка). Ширина грунтового участка летной полосы между осью грунтового лотка и нагорной канавой - 125 м.
Для водоотводных систем летных полей (водосборы до 100 га) расчетные расхода определяются при средних значениях максимумов стока талых вод в данной местности по формуле (16), в которой Нс и Т определяются по климатологическим справочникам СССР: Нс = 18 см, а Т = 9 сут.
3.2. Расчет коллектора № 1 на рис. 4 выполняется в следующей последовательности.
Определяется диаметр труб и проектный уклон на участке 1 - 2, расчетное сечение 1.

Рис. 4. Расчетная схема коллектора № 1
Расчетный расход в сечении 1
![]()
где S - величина стока с 1 га водосбора, S1 = 1,9 л/c с 1 га;
F1 - площадь водосбора для расчетного сечения 1 (в границах летного поля, определяется по данным рис. 4).
![]()
F'1 - площадь водосбора участка ВПП и грунтовой обочины, прилегающей к грунтовому лотку, га;
F"1 - площадь летного поля, га.
На участке 1 - 2 для расчетного
расхода Q1 = 3,32 л/с (
= 1) и проектного уклона трубы J1-2
= 0,007 по номограмме на рис. 6 приложения 6 определяем D1-2 = 125 мм и скорость движения, воды в
коллекторе Vкол(1-2) = 0,65 м/с, что соответствует
минимально допустимой при отсутствии заиливания. Конструктивно принимаем
минимальный диаметр труб для коллектора D1-2 = 189 мм.
Определяется диаметр труб и проектный уклон на участке 2 - 3; расчетное сечение 2.
Расчетный расход в сечении 2:
Q2 = SF2,
F2 = 2F1 = 2∙175 = 3,5 га; Q2 = 1,9∙3,5 = 6,65 л/с.
На участке 2 - 3 для Q2 = 6,65 л/с и уклона J2 = 0,007 по указанной выше номограмме определяем расчетный диаметр труб и скорость: D2-3 = 125 мм и Vкол(2-3) = 0,65 м/с.
Конструктивно принимаем D2-3 = 189 мм. Аналогично рассчитываются последующие участки.
4.1. В расчете приняты следующие исходные данные. Дождеприемный сборный колодец с одной решеткой установлен в бетонном лотке треугольного сечения (в кромке покрытия перрона). Размеры решетки: а = 0,94 м, боковая сторона С = 0,43 м, площадь решетки ωp = 0,40 м2, площадь отверстий решетки ωотв = 0,19 м2. Размеры лотка: ширина 3 м, глубина 10 см, уклоны боковых откосов J = 0,040, продольный уклон лотка J0 = 0,004. Глубина потока вода в лотке у решетки h0 = 8 см (минус 2 см от глубины лотка).
4.2. Расчет выполняется в следующей последовательности. Определяется длина водосливного фронта по периметру решетки Lф:
Lф = 2а + 2с = 2∙0,94 + 2∙0,43 = 2,74 м.
Затем определяется полный напор потока перед решеткой Но при скорости подхода воды к решетке Vлот.
Значение Vлот определяется при глубине потока h0 = 8 см, уклоне лотка J = 0,004 и коэффициенте шероховатости бетонного лотка n* = 0,014. В соответствии с номограммой рис. 5 приложения 6 Vлот =0,52 м/с или по формуле (8)

Напор потока ![]()
где g = 9,81 м/с - ускорение силы тяжести;
![]()
Так как Но = 0,074 м < 0,20 м, то значение водозахватывающей способности определяется по формуле (27):
![]()
Величина расхода воды в лотке у колодца при глубине потока h0 = 8 см и J0 = 0,040 в соответствии с номограммой рис. 4 приложения 6 или по формулам (9) и (10) составляет:
![]()
При сравнении водозахватывающей способности Qк дождеприемного колодца нормального типа с поступающим к нему расходом вода Q0 видно, что Qк = 80 л/с, a Q0 = 83 л/с. Колодец будет работать с незначительной перегрузкой. Пересчет производить не следует.
5.1. В расчете приняты следующие исходные данные. Водосборная площадь - задернованный суглинок; лесс, болота отсутствуют. Величина водосборной площади 100 га. Продольный уклон канавы J = 0,003. Объект расположен в III климатической зоне,
5.2. Для установления равенства расчетного расхода Q и пропускной способности канавы Q0 при расчете канав рассматриваются несколько сечений, параметры которых меняются.
В расчетном сечении (рис. 5,б) задаемся в = 0,5 м, п0 = 0,65 м, пк = 0,90 м и коэффициент заложения откосов т = 1,6.
Расчет выполняется в следующей последовательности. По формуле (17) определяется расчетный расход талых вод, поступающих к сечению канавы:
Q = 2,78Aφδ'δ"F = 2,78∙3,5∙1,0∙1,0∙1,0∙100 = 970 л/с.
где 2,78 - коэффициент размерности;
А - 3,5 мм/ч - величина стока талых вод в мм/ч, определяется по картограмме 6 приложения 5;
φ = 1,0 - коэффициент редукции стока талых вод в зависимости от площади водосбора F в км2 (учитывается при F более 5 - 10 км2);
δ' = 1,0 - коэффициент снижения расходов за счет аккумуляции воды в болотах и озерах, имеющихся на водосборе;
δ" = 1,0 - коэффициент снижения расходов при наличии залесенности водосборов;
F = 100 га - площадь водосбора.
Затем определяется величина пропускной способности канавы по формуле (30), Пропускная способность канавы в расчетном сечении равна:
Q0 = ωV = 0,96∙0,975 = 0,94 м3/с = 940 л/с.
Для принятых размеров сечения канавы имеем:
площадь живого сечения
ω = вh0 +
= 0,5∙0,65 +
1,5∙0,652 = 0,96 м2.
смоченный периметр
![]()
гидравлический радиус
![]()
При R = 0,343 м, J = 0,003, n* = 0,025 (по табл… приложения 4) получим
![]()
![]()
![]()

Рис. 5. Гидравлический расчет нагорной канавы: а - план участка водосбора; б - сечение канавы
Из сопоставления расчетного расхода с пропускной способностью канавы видно, что Q - Q0 (расхождение составляет 3,1 %), поэтому пересчета не требуется.
Полная глубина канавы hк = h0 + 0,25 = 0,65 + 0,25 = 0,90 м.
Поскольку максимально допустимая (неразмывающая) скорость движения воды для суглинка 0,7 м/с менее расчетной скорости V - 0,975 м/с, то необходимо откосы и дно канавы укреплять одерновкой плашмя (табл. 1 приложения 4).
6.1. В расчете приняты следующие исходные данные.
Поверхность и вид грунта водосборной площади - задернованная глина. Коэффициент шероховатости п* = 0,07 (см. табл.2 приложения 4). Коэффициент стока Ψ = 0,20. Средний уклон водосбора в направлении стока дождевых вод J0 = 0,04. Длина канавы lк = 1200 м, уклон но дну J = 0,004. Коэффициент заложения откосов канавы m = 1,6. Параметры расчетной интенсивности дождя Δ = 4,2 м/мин и п = 0,75.
Гидравлический расчет канавы заключается в определении ее поперечных размеров в заданном сечении, а также скорости течения воды и вида укрепления откосов и дна канавы.
Требуется выполнить гидравлический расчет канавы в сечении, проходящем через точку В на рис. 5, а.
6.2. Предельная продолжительность стокообразующего дождя составляет:

где
- минимальная
мгновенная стокообразующая интенсивность дождя, равная интенсивности впитывания
U* воды в грунт (
и U* = 0,04 по табл. 3 приложения 4).
6.3. Площадь одновременного стока Fст соответствующая tст = 93,3 мин (см. рис. 5), равна
![]()
где lк - длина канавы;
lВС - длина склона, участвующего в стоке в сечении ВС. равная пути движения воды за время tст;
lАД
- то же за время
;
Vк - скорость течения воды по канаве.
Длина склона в сечении ВС определяется при τскл = tст по формуле
![]()
Поскольку длина стока lАД в
сечении АД определяется как путь движения воды за время
, то lАД оказывается зависимой
от скорости течения воды по канаве Vк, которая в свою очередь зависит от
геометрических размеров канавы и глубины потока h0.
Кроме того, от глубины потека h0 существенно
зависит пропускная способность канавы Q0 которая в
идеальном случае должна быть равна расчетному расходу Q,
зависящему от площади одновременного стока Fст, т.е. и от
величины lАД. Поэтому задачу
определения величины lАД и связанную с ней
глубину потока h0 целесообразно
определять графической интерполяцией по предварительно построенным кривым
зависимостей
Q0 = f(h0); Q = f(h0); lАД = f(h0); Vк = f(h0)
как это показано на рис. 6. Будем считать ширину канавы по дну величиной постоянной, равной в = 0,4 м, а глубину потока величиной переменной (h0 = 20, 40 и 60 см).
Скорость течения воды определяется по формуле
![]()
где

![]()

Рис. 6. График расчетных зависимостей
R - гидравлический радиус, м;
ω и Р - соответственно площадь живого сечения потока и смоченный периметр сечения канавы;
п* - коэффициент шероховатости русла канавы (п* = 0,025).
Результаты расчета Vк показаны в табл. 2 и на рис. 6.
Длина склона lАД в сечении АД определяется по формуле

где τАД - продолжительность одновременного стока в сечении АД.
Значение ![]()
По вычисленным значениям lАД и lВС а также lк вычислялась площадь стока Fст.
6.4. Расчетный расход в канаве в сечении В определяется по формуле
![]()
и сравнивается с пропускной способностью канавы Q0 при принятых значениях h0:
Q0 = ωVк
Результаты расчета показаны в табл. 2 и на рис. 6, из анализа которых следует, что расчетная глубина потока hр = 0,22 м (определена как абсцисса точки пересечения К - кривых Q = f(h0) и Q0 = f(h0), представленных на рис. 6). Кроме того, расчетная скорость потока в канаве Vp = 0,65 м/с. Скорость Vр определена как ордината точки пересечения вертикали, проходящей через точку К, с кривой VK = f(h0). Величина lАД = 137 м, определена по кривой зависимости lАД = f(h0).
6.5. Полная глубина канавы с учетом превышения бровки канавы над расчетным уровнем воды составляет:
hк = hp + 0,25 = 0,22 + 0,25 = 0,47 ≈ 0,5 м.
Так как допустимая скорость для глины, согласно данным табл. 1 приложения 4, составляет 1,2·1,25 = 1,3 м/с, что более Vp = 0,65 м/с, то укрепления откосов и дна канавы не требуется.
Таблица 2
Результаты расчета нагорной канавы
|
Гидравлические параметры расчета канавы |
Величины, параметров при глубине потока h0, м |
||
|
0,20 |
0,40 |
0,60 |
|
|
1. ω, м2 |
0,14 |
0,40 |
0,78 |
|
2. Р, м |
1,12 |
1,84 |
2,56 |
|
3. R, м |
0,125 |
0,217 |
0,303 |
|
4. |
0,35 |
0,47 |
0,55 |
|
5. у |
0,223 |
0,208 |
0,199 |
|
6. С |
28,8 |
28,8 |
28,8 |
|
7. Vк, м/с |
0,635 |
0,855 |
1,01 |
|
8. |
31,4 |
23,4 |
20,0 |
|
9. |
62,0 |
70,0 |
73,3 |
|
10. lАД, м |
13,5 |
156 |
165 |
|
11. Fст, га |
21,2 |
22,6 |
23,1 |
|
12. Q, л/с |
500 |
523 |
111 |
|
13. Q0 = ωVк, л/с |
89 |
342 |
785 |
7.1. В расчете дренажа приняты следующие исходные данные.
Грунты пески мелкозернистые. Водоносный горизонт располагается на глубине от 0,6 до 4,0 м. Питание его осуществляется за счет атмосферных осадков, а дренирование - мелкими реками и ручьями. Водоупором служат суглинки, залегающие на глубине от 2,5 до 12,2 м.
Среднегодовое количество осадков составляет 700 мм. Коэффициент фильтрации песков по данным инженерно-геологических заключений составляет Кф =1,00 м/сут.
Ширина ИВПП составляет ВВВП = 42 м. Длина дрен lд = 100 м, диаметр асбоцементных труб dд = 100 мм с пропилами в шахматном порядке. Дрены располагаются за пределами кромок покрытия ИВПП. Уклон дрен Jд = 0,010.
Необходимо выполнить гидравлический расчет дренажа двух видов: совершенного (при заложении дрен на водоупоре) и несовершенного (при заложении дрен в водоносном слое) выше водоупора (рис. 7).
Расчет систематического дренажа заключается в определении расстояний между дренами, обеспечивающих понижение уровня грунтовых вод до принятой нормы осушения Р, и расчетного расхода воды, поступающего в дрены.
7.2. В расчете дренажа совершенного вида расчетная глубина водоупора принята равной Нр = 2,5 м. Уровень грунтовых вод от дна корыта располагается на глубине 0,6 м. Норма осушения Р = 1,3 м (по табл. 2 для мелкозернистых песков во II климатической зоне).
Расстояние между дренами определяется по формуле (33):
,
где Hmax - максимальная высота пониженного уровня грунтовых вод над водоупором в междудренном пространстве:
Hmax = Hp - Р = 2,5 - 1,3 = 1,2 м
Удаление дренажных труб от кромок покрытия примем равным 3 м.
Следовательно, расстояние между дренами 2а будет, равно:
2а = ВВВП +2∙3 = 42 + 6 = 48 м
Фактическая максимальная высота пониженного уровня грунтовых вод над водоупором с учетом формулы (33) равна:

что меньше максимально допустимой высоты Hmax = 1,2 м.
Следовательно, принятое расстояние 2а = 48 м вполне допустимо.
Расчетный расход воды, поступающей в каждую дрену, определяется по формуле (32):
Qд = 2аWlд = 48∙0,0054∙100 = 26 м3/сут
или ![]()
Допускается глубина наполнения дрен (0,05 - 0,95) dд при скорости течения воды Vд = 0,15 - 1,0 м/с.
При dд = 100 мм, уклоне дрены Jд = 0,010 и наполнении К = 0,5 dд скорость Vд = 0,62 м/с, что находится в допустимых пределах, а пропускная способность Q0 = 2,42 л/с > Qд = 0,3 л/с (по таблицам для гидравлического расчета канализационных сетей и дюкеров).
7.3. В расчете дренажа несовершенного вида глубина водоупора Нв = 12,2 м. Уровень грунтовых вод от дна корыта располагается на глубине 0,7 м. Норма осушения Р = 1,3 м.

Рис. 7. Расчет глубинного дренажа: а - совершенного типа; б - несовершенного типа; в - план расположения дрен
Расстояние между дренами определяется по формуле (34):

Значение Т определяется методом подбора: Т = 10,5 м. Тогда при норме осушения Р = 1,3 м и глубине залегания водоупора Нв = 12,2 м
hmax = Hв - (Т + Р) = 12,2 - (10,5+1,3) = 0,4 м.
Значение Б1 определяется по формуле (19):

где rд - радиус дрены, значение которого принимается равным 0,5в;
в - ширина дренирующей обсыпки или траншеи дренажа в = 1,0 м.
Значение Б1, кроме того, может быть определено по кривой на рис. 1 приложения 7, При Т = 10,5 значение Б1 = 2,5.
При вычисленных значениях hmax и Б1 расстояние между дренами равно:

Следовательно, при ширине ВВВП = 42 м глубинные дрены можно устраивать от кромок покрытия на расстоянии 0,5∙(58 - 42) = 8 м и менее.
Расчетный расход воды Qд:
Qд = 2аWlд = 58∙0,0054∙100 = 31,4 м3/сут;
или
![]()
Учитывая, что в начале работы дрен при неустановившемся уровне грунтовых вод фактические расходы будут больше полученных расчетом, то наполнение труб не следует принимать больше 0,5 dд.
При dд = 100 мм, уклоне 0,010 и наполнении К = 0,5dд скорость Vд = 0,62 м/с, а Q = 2,42 л/c > Qд = 0,36 л/с (по таблицам для гидравлического расчета канализационных сетей и дюкеров.).
8.1. В расчете приняты следующие исходные данные.
Аэродром расположен в III дорожно-климатической
зоне. Длина дрены 75 м. Грунты, в которых заключён водоносный горизонт на
глубине от 1,0 до 3,0 м - легкие супеси и мелкозернистые пески. Питание
происходит за счет атмосферных осадков. Водоупором служат тяжелые суглинки,
залегающие на глубине от 2,6 до 8,5 м от дна корыта. Уровень грунтовых вод
расположен на глубине 0,6 - 1,2 м. Среднегодовое количество осадков 750 мм.
Средняя глубина промерзания грунта 0,3 м. Коэффициенты фильтрации
мелкозернистого песка
-= 4,0 м/сут.,
легкой супеси
= 0,7 м/сут.
Продольный уклон дренажных труб J = 0,01.
8.2. При расчете однолинейного дренажа совершенного вида необходимо определить уровень пониженных грунтовых вод в результате устройства дренажа и расход воды, поступающей в дрену (см. рис. 19).
При совершенном типе дренажа высота непониженного уровня грунтовых вод h над водоупором составит:
h = 2,6 - 0,6 = 2,0 м.
Глубина погружения дрены h' под непониженный уровень грунтовых вод при совершенном типе дренажа равна h' = h = 2,0 м.
Расчетный расход
определяется при Lд = 75 м по формуле (43),
в которой Q0 - расход воды на 1
пог. м дренажа определяется по формуле (44) при
= 2,35 м/сут. из
условия равенства слоев.
Радиус депрессии
линейного дренажа R2 определяется по формуле (46),
в которой
при среднегодовом
количестве осадков 750 мм (см. табл. 4 приложения 4).
Радиус
т.е. радиус действия
дренажа равен 30 м.
Высота пониженного уровня грунтовых вод H над водоупором на расстоянии X от дрены определяется по формуле (47), откуда
![]()
Расход воды на 1 пог. м дрены при Н = 2,0 м, Кф = 2,35 м/сут. и R2 = 30,0 м равен
![]()
Расчетный расход, поступающий в дрену, равен:
Qд = 0,314∙75 = 0,235 л/с.
При диаметре труб d = 100 мм, уклоне J = 0,01 и наполнении К = 0,5 d скорость Vд = 0,65 м/с, а пропускная способность Q = 2,85 л/с, что существенно превышает расчетный расход (по таблицам гидравлического расчета канализационных сетей).
8.3. При расчете однолинейного дренажа несовершенного типа водоупор залегает на глубине 8,5 м от дна корыта. Уровень грунтовых вод - 0,6 м.
Радиус влияния дрены определяется по формуле (46):
![]()
где Кф = 2,35 м/сут;
W = 0,0051 м/сут;
h = 2,0 м.
Расход воды на 1 пог. м дренажа определяется по формуле (45):

где Т = 8,5 - 2,0 =6,5 м;
Н = 8,5 - 0,6 = 7,9 м;
rд = 0,5·В = 0,5·1,0 = 0,5 м.
Расчетный расход воды, поступающей в дрену, определяемые по формуле (43) будет равен:
Qд = 2,00∙75 = 150 м3/сут = 1,74 л/с
При диаметре труб d = 125 мм, уклоне J = 0,01, наполнении К = 0,5 скорость V = 0,78 м/с, а пропускная способность Q0 = 4,8 л/с, что превышает величину расчетного расхода, равного Qд = 1,74 л/с.
9.1, При подборе приняты следующие исходные данные.
Дрены совершенного вида, диаметр труб дрен - 100 мм. Трубы асбестоцементные с пропилами. Расход дрен - 0,54 м3/сут на 1 пог. м. Местный водоносный грунт - среднезернистый песок. Материал для засыпки - гравий. Коэффициент фильтрации песка Кф = 12 м/сут.
В результате расчета необходимо:
подобрать состав засыпки для дрен, т.е. установить пригодность имеющегося карьерного материала в качестве фильтрующей засыпки дрен;
определить возможную ширину пропилов в трубах при подобранной засыпке;
установить размеры фильтрующей засыпки;
проверить дрену на водозахватывающую способность.
Гранулометрические составы местного грунта и карьерного материала представлены в табл. 3.
Для предотвращения заиливания засыпки и труб дрен необходимо соблюдать следующие соотношения крупности фракций засыпки и грунта стенок траншей (см. п.3.9.):
![]()
Приведенные соотношения крупностей фракций должны соблюдаться для каждых двух смежных слоев.
Таблица 3
|
Диаметр фракций, мм |
Местный грунт, % |
Суммарное содержание, % |
Материал засыпки, % |
Суммарное содержание, % |
|
0,005 |
- |
0 |
- |
- |
|
0,005 -0,05 |
2,5 |
2,5 |
- |
- |
|
0,05 - 0,10 |
4,25 |
6,75 |
- |
- |
|
0,10 - 0,25 |
21,0 |
27,75 |
- |
- |
|
0,25 - 0,50 |
47 |
74,75 |
- |
- |
|
0,50 - 1,00 |
21 |
95,75 |
- |
- |
|
1,00 - 2,00 |
4,25 |
100 |
10 |
10 |
|
2,00 - 4,00 |
- |
- |
20 |
30 |
|
4 - 10,0 |
- |
- |
23 |
53 |
|
10,0 - 20,0 |
- |
- |
22 |
75 |
|
20,0 - 40,0 |
- |
- |
25 |
100 |
По данным практики в песчаных грунтах с d50 > 0,20 мм следует ограничиться однослойными фильтрующими засыпками и лишь в очень мелкозернистых песках, где d50 = 0,20 - 0,05 мм, необходима двухслойная засыпка. Для глинистых грунтов (при глубинном дренаже), как правило, необходима двухслойная засыпка.
9.2. Установим пригодность карьерного материала в качестве фильтрующей засыпки дрен. На основании исходных данных о местном грунте и карьерном материале построим суммарные кривые гранулометрического состава грунта и предполагаемой засыпки (рис. 8).
В соответствии с кривыми на рис. 8 имеем:
D60 = 14,5 мм; D50 = 8 мм; D85 = 2,3 мм,
D10 = 2 мм; d85 = 0,575 мм; d50 = 0,40 мм.
Подсчитаем необходимое соотношение крупностей фракций засыпки и местного грунта:
![]()
![]()
![]()
Следовательно, имеющийся гравий для использования в качестве фильтрующей засыпки дрен при данных грунтовых условий пригоден, минимальный размер фракций гравия 1 мм.
9.3. Определим предельно возможную ширину пропилов при подобранной фильтрующей засыпке.
Для предотвращения проникания материала засыпки в трубы дрен требуется соблюдение условий:
при однородных засыпках
t = (1,25 ÷ 1,50)D50;
при разнородных засыпках
t = (1,50 ÷ 2,0)D50,
где t - ширина пропила в трубах. Предельно возможная ширина пропилов в данном случае, определяется по формуле
t = (1,50 ÷ 2,0)D50 = (1,50 ÷ 2,0)8 = 12 ÷ 16 мм.
9.4. Определим размеры фильтрующей засыпки дрен. При наружном диаметре труб дрен Dн = 12,2 см ширина засыпки принимается по формуле
в = Dн + 2(10 ÷ 15) = 12,2 + 2∙15 = 42,2,
Высота засыпки над трубой h для глубинных дрен обычно принимается 20 - 25 см или определяется по формуле
![]()
где Q0 - дебет дрены, м/сут. на 1 пог. м;
К0 - коэффициент филътрации местного водоносного слоя, м/сут.;
Н - высота засыпки от дна траншеи до поверхности;
H = Dн + h + 5 = 12,2 + 11 + 5 = 28 см,
где 5 - толщина слоя засыпки под трубой, см.
![]()
9.5. Возможная водозахватывающая способность дрен Q' определяется по формуле
Q' = (2h' + в)l\/ф м3/сут. на 1 пог. м.
где h' - превышение уровня воды на контакте грунта с засыпкой над дном траншеи;
в - ширина фильтрующей засыпки в основании дрены, м (в дренах, лежащих на водоупоре в = 0);
l - длина засыпки, принимается равной 1 пог. м;
- допускаемая
скорость фильтрации на выходе из грунта, м/сут.
При ![]()
в = 0; l = 1,0

Рис. 8. Гранулометрический состав местного грунта и карьерного материала: 1 - песок; 2 - гравий
Q' = (2∙0,18 + 0) 1,0∙150 = 54 м3/сут. на 1 пог. м.
Водозахватывающая способность дрены не превышает ее расхода
Q' ≈ Q0 (54 ≈ 54 м3/сут. на 1 пог. м).
10.1, В расчете приняты следующие исходные данные.
Труба бетонная. Внутренний диаметр трубы на участие коллектора по результатам гидравлического расчета принимается Dвн = 400 мм.
Наружный диаметр трубы Dн = Dвн + 2δ
Dн = 400 + 2·80 = 560 мм,
где δ - толщина стенки,
δ = 80 мм (по сортаменту).
Труба укладывается в траншее на основание из сборных блоков (см. рис. 9). Грунты супеси мелкие пылеватые.
Нагрузка от главной
четырехколесной опоры расчетного самолета Роп = 38,0 т. Ширина колеи опорной тележки
шасси Вк = 0,67 м, база
тележки Ак = 1,15 м.
Нагрузка на колесо
Давление воздуха в
шинах колес q = 9 кг/см2.
10.2. Расчетная нагрузка на 1 пог. м трубы Qp равна сумме постоянной и временной нагрузок. Постоянная нагрузка на трубу создается весом засыпки траншеи и собственным весом трубы.
Постоянная погонная нагрузка Qгp на трубу от веса засыпки траншеи определяется по формуле (58):
Qгр = КтγВтН = 0,72∙1,8∙1,12∙1,9 = 2,77 т/пог.м.
где γ = 1,8 т/м3 - объемный вес грунта засыпки, определенный по табл. 1 приложения 8;
Н = 1,9 м - высота засыпки над верхом трубы;
Вт - расчетная ширина траншеи на уровне верха трубы, которая не должна быть больше некоторой переходной ширины Впер;
Кт - коэффициент вертикальной нагрузки от грунта в траншее.
При
Ø = 1 (трубы
укладываются на основание из сборных бетонных блоков) и εf' = 1,65 по табл. 3 приложения 8
находим, что
, откуда
Впер = 2,17∙56 = 122 см = 1,22 м

Рис. 9. Расчет постоянной нагрузки на трубу от веса засыпки грунта в траншее
Необходимая ширина траншеи для удобства укладки трубы с внутренним диаметром Dвн = 400 мм при Н = 1,9 м по табл. 2 приложения 8 составляет 1,12 м. За расчетную ширину траншеи принимается меньшее значение, т.е. Вт =1,12 м.
Значение коэффициента Кт принимается по графику на
рис. 10 при
по кривой для
супесчаного грунта: Кт =
0,72.

Рис. 10. График для определения коэффициента вертикального давления грунта в траншее Кт и насыпи Кн: 1 - песчаная или супесчаная засыпка; 2 - суглинистая засыпка; 3 - мелкий песок, мягкопластичный суглинок; 4 - средние и крупные пески, пластичные суглинки; 5 - гравелистый песок, твердопластичные суглинки
Погонная нагрузка от собственного веса трубы Qт вычисляется по формуле (61):
QT = 0,80Go = 1,6πrсрδγБ = 1,6∙3,14∙0,24∙0,08∙2,3 = 0,22 т/м,
где ![]()
γб - объемный вес бетона, γб = 2,3 т/м3.
Временная нагрузка на трубу Qв от колес самолета, проходящих по поверхности грунта над трубой, составляет
Qв = КднΩ = 0,92∙1,74 = 1,60 т/пог. м,
где Кдн - коэффициент динамичности; при Н = 1,9 м значение. Кдн = 0,92;
Ω - объем эпюры вертикальных удельных давлений от колес самолета на 1 пог. м трубы.
Определение объема эпюры удельных давлений от колес опоры самолета выполняется в следующей последовательности.
Вычислим наибольший размер в отпечатка авиашины на опорной поверхности;
![]()
Поскольку
, то при вычислении объема эпюры давлений нагрузку от колес
самолета можно принимать за сосредоточенную силу.
Разобьем площадь abcd на три части и по диаметру трубы и давлению σi будем определять только для девяти точек от четырех колес опоры, как показано на рис. 11, по следующей формуле:
![]()
Так, например, давление в точке 1
![]()
где К11 = 0,478, определяется, по табл. 4 приложения 8
при
= 0;.
К12 = 0,355 при
;
К13 = 0,176 при
;
К14 = 0,221 при ![]()

Рис. 11. Расчет нагрузки на трубу от колес самолета: а - схема расположения колес главной опоры самолета относительно трубы; б - схема эпюры давления по сечениям IV - IV и I - I
Давление в точке 2
![]()
где K21
= 0,465, находится в функции
;
К22
= 0,407 при ![]()
К23
= 0,196 при ![]()
К24
= 0,216 при ![]()
Результаты расчета давлений в остальных точках представлены в табл. 4.
Общее статическое
давление на 1 пог. м проекции трубы Ω
представляется объемом эпюры давлений, имеющим сложное криволинейное очертание.
Приближенно давление на каждую третью часть проекции трубы (Q1, Q2 и Q3) определяются как объем параллелепипеда с
основанием в виде суммы трапеции и параболического треугольника и высотой
(см. рис. 11).
В результате такого представления эпюры давлений на площадь abcd объем Ω рассчитаем, пользуясь данными табл. 4.
![]()
![]()
Расчетная нагрузка на трубу составит
Qp = Qrp + Qт + Qв = 2,77 + 0,22 + 1,60 = 4,60 т/пог.м.
10,3, Выполним проверку прочности трубы путем расчета (I. случай), а также сопоставлением расчетной нагрузки Qp с разрушающей нагрузкой (II случай).
I случай.
Коэффициент запаса прочности при принятом сечении трубы Dвн
= 400 мм и δ = 80 мм,
изготовленной из бетона с нормативной прочностью по растяжению при изгибе
= 45 кг/см2,
составляет:

где N - коэффициент, учитывающий укладку труб на основание из бетонных (армированных) блоков;
N = 2,5;
![]()
Кн - нормативный коэффициент запаса для бетонных труб Кн = 3,3.
Поскольку Кзап > Кн, то прочность трубы достаточна.
Таблица 4
|
Номер точки |
Расстояние r (в см) от рассматриваемой точки до центра отпечатка колеса |
Коэффициент Ki от нагрузки колеса γ0 |
|
Вертикальное давление, σi, т/м2 |
||||||
|
1 |
2 |
3 |
4 |
1 |
2 |
3 |
4 |
|||
|
1 |
0,00 |
67,0 |
133 |
115 |
0.478 |
0,355 |
0,176 |
0,221 |
1,230 |
3,25 |
|
2 |
18,7 |
48,0 |
126 |
116 |
0,465 |
0,407 |
0,196 |
0,216 |
1,284 |
3,38 |
|
3 |
18,5 |
85,7 |
136 |
120 |
0,468 |
0,301 |
0,168 |
0,207 |
1,144 |
3,02 |
|
4 |
50,0 |
83,6 |
178 |
165 |
0,405 |
0,307 |
0,098 |
0,117 |
0,922 |
2,42 |
|
5 |
53,5 |
70,0 |
172 |
166 |
0,395 |
0,346 |
0,106 |
0,117 |
0,964 |
2,54 |
|
5 |
53,5 |
98,6 |
186 |
166 |
0,395 |
0,262 |
0,089 |
0,117 |
0,863 |
2,26 |
|
7 |
50,0 |
83,5 |
93,5 |
65 |
0,405 |
0,307 |
0,278 |
0,360 |
1,350 |
3,54 |
|
8 |
53,5 |
70,0 |
82 |
68 |
0,395 |
0,346 |
0,310 |
0,352 |
1,403 |
3,70 |
|
9 |
53,5 |
98,6 |
108 |
68 |
0,395 |
0,262 |
0,262 |
0,352 |
1,245 |
3,30 |
II случай. Коэффициент запаса для типовой трубы Dвн = 400 мм и δ = 80 мм составляет
![]()
где Рр - разрушающая нагрузка, определяемая по сортаменту труб.
Прочность типовой трубы достаточна.
11. Расчет прочности крышки дождеприемного колодца
11.1. Рассмотрим два примера.
В первом примере требуется определить усилие, возникающее в крышке дождеприемного колодца, при воздействии нагрузки от колес самолета (рис. 12). Внутреннее давление в пневматиках самолета q = 8,5 кг/см2. Размеры отпечатка пневматика 44×27 см. Усилие подсчитывается для одного ребра металлической решетки крышки дождеприемного колодца.
Расчет выполняется по схеме балки на двух опорах, нагруженной равномерно распределенной нагрузкой, равной величине внутреннего давления воздуха в пневматиках самолета. При давлении в пневматиках q = 8,5 кг/см2, расчетном пролете l = 36 см, расстоянии между ребрами 4,0 см и толщине ребра 1,5 см расчетный изгибающий момент в ребре равен:
![]()
11.2. Во втором примере требуется определить усилие для одного звена крышки смотрового колодца. Крышка смотрового колодца железобетонная, из отдельных балочек сечением 86×20×18 см. Ширина колодца 70 см. Расчетный пролет 78 см (см. рис. 13). Давление воздуха в пневматиках и отпечаток шины те же, что и в первом примере.
![]()

Рис. 12. Расчет металлической решетки дождеприемного колодца
Расчет выполняется по схеме балки на двух опорах, нагруженной в средней части равномерно распределенной нагрузкой от пневматика самолета.
Опорные реакции равны:
![]()
Расчетный изгибающий момент в середине пролета равен:
![]()

Рис. 13. Расчет балочек крышки смотрового колодца
12.l. Требуется определить усилия в стенках прямоугольного и круглого смотровых колодцев при воздействии на стенки самолетной нагрузки. Колодцы бетонные размерами: прямоугольный (квадратный) колодец 1,0×1,0 м, внутренний диаметр круглого колодца тоже 1,0 м. Толщина стенок колодцев 16 см. Расчетная нагрузка от самолета на одну одноколесную опору, Р0 в 25,0 т. Коэффициент динамичности Кдн = 1,10. Размеры отпечатка пневматика. 64×39 см. Коэффициент Пуассона грунта μ = 0,45.
12.2. Расчет стенок колодцев производится на нагрузку от колеса, расположенного рядом с колодцами. Наиболее напряженной частью колодцев является верхняя часть. Определим усилия в верхней части колодца. Высоту верхней части принимаем 0,50 м. Расчет выполняется в следующей последовательности.
Для определения давления на стенки колодцев от временной нагрузки (колеса самолета) разобьем площадь прямоугольного отпечатка пневматика на 8 площадок. К центру площадок прикладываются сосредоточенные эквивалентные силы, приходящиеся на каждую площадку (рис. 14):
![]()
где п - количество эквивалентных сил, составляющих в сумме нагрузку от колеса самолета.

Рис. 14. Расчет стенок колодца
Пользуясь формулой суммирования горизонтальных напряжений в линейно-деформированном полупространстве, от каждой сосредоточенной силы подсчитаем горизонтальные напряжения в нескольких точках на поверхности стенок колодцев.
Горизонтальные напряжения подсчитаем по высоте (вертикали А на рис. 14) для выделенной части колодцев по формуле
![]()
где Z - расстояние по вертикали от поверхности земли до рассматриваемой точки стенки колодца.
Коэффициент Кх зависит от величин
![]()
где х, y, z - координаты рассматриваемой точки стенки колодца по отношению к данной элементарной силе.
Значение коэффициента K1 определяется с помощью графика на рисунке приложения 8.
Количество расчетных точек по вертикали принимаем 6: z = 0; z = 10 см; z = 20 см; z = 30 см; z = 40 см; z = 50 см.
Результаты определения
приведены в табл. 5.
Общее давление от колесной нагрузки определяется путем подсчета объемной эпюры
давлений, приходящихся на расчетную часть стенок колодцев.
Общее давление принимается равномерно распределенным по выделенной части стенок колодцев. Ординаты эпюры напряжений составят:
при z = 0, σ1 = 1;
z = 10 см, ![]()
при z = 20 см, ![]()
Таблица 5
|
№ силы |
X |
Y |
|
Точка 1 z = 0 |
Точка 2 z = 10 см |
Точка 3 z = 20 см |
Точка 4 z = 30 см |
Точка 5 z = 40 см |
Точка 6 z = 50 см |
||||||
|
|
Kx |
|
Kx |
|
Kx |
|
Kx |
|
Kx |
|
Kx |
||||
|
а, б |
8 |
24 |
3 |
00 |
0 |
0,8 |
0,002 |
0,4 |
0,007 |
0,267 |
0,009 |
0,20 |
0,008 |
0,16 |
0,005 |
|
б, в |
8 |
8 |
1 |
00 |
0 |
0,8 |
0,039 |
0,4 |
0,039 |
0,267 |
0,025 |
0,20 |
0,016 |
0,16 |
0,010 |
|
д. з |
24 |
24 |
1 |
00 |
0 |
2,4 |
0,005 |
1,2 |
0,024 |
0,8 |
0,039 |
0,60 |
0,045 |
0,48 |
0,043 |
|
е, ж |
24 |
8 |
0,33 |
00 |
0 |
2,4 |
0,019 |
1,2 |
0,064 |
0,8 |
0,079 |
0,60 |
0,074 |
0,48 |
0,063 |
|
|
|
|
|
|
|
||||||||||
Z = 30 см,
![]()
Z = 40 см,
![]()
Z'' = 50 см,
.
Величина равномерно распределенного давления на выделенную часть стенок колодцев равна:
![]()
=0,05∙(2,97 + 2,50 + 2,25 + 2,15 + 7,3) = 19 т/м
12.3. Определим усилия в верхней части прямоугольного (квадратного) колодца.
Расчетный пролет колодца
l = 105 в'0 = 1,05∙1,0 = 1,05 м.
Момент в углах колодца
при ![]()
где J1, J2 - моменты инерции стенок прямоугольного колодца со сторонами l1 и l2.
В данном случае для квадратного колодца с одинаковой толщиной стенок:
![]()
Изгибающий момент в пролете
![]()
12.4. Определяем усилие в верхней части круглого колодца:
![]()
при ![]()
![]()
Таблица 1
Трубы асбестоцементные для безнапорных трубопроводов (ГОСТ 1839-72)
|
Диаметр, мм |
Толщина стенда, мм |
Длина, мм |
Масса трубы, кг |
|
|
внутренний |
наружный |
|||
|
100 |
118 |
9 |
2950 |
18 |
|
141 |
161 |
10 |
2950 |
28 |
|
189 |
211 |
11 |
3950 |
52 |
|
279 |
307 |
14 |
3950 |
99 |
|
368 |
402 |
17 |
3950 |
160 |
Трубы асбестоцементные напорные (ГОСТ 539-73)
|
Диаметр, им |
Толщина стенки обточенных концов, мм |
Длина трубы, мм |
Масса 1 пог. м трубы, т |
|
|
внутренний |
наружный |
|||
|
1 |
2 |
3 |
4 |
5 |
|
Класс ВТ-6 |
||||
|
104 |
122 |
9,0 |
2950 |
7,8 |
|
146 |
168 |
11,0 |
2950 |
12,9 |
|
196 |
224 |
14,0 |
3950 |
22,1 |
|
244 |
274 |
15,0 |
3950 |
28,4 |
|
289 |
324 |
17,5 |
3950 |
40,2 |
|
334 |
373 |
19,5 |
3950 |
50,9 |
|
381 |
427 |
23,0 |
3950 |
68,8 |
|
473 |
528 |
27,5 |
3950 |
101,6 |
|
Класс ВТ-9 |
||||
|
100 |
122 |
11,0 |
2950 |
9,2 |
|
141 |
168 |
13,5 |
2950 |
15,2 |
|
189 |
224 |
17,5 |
3950 |
26,4 |
|
235 |
279 |
19,5 |
3950 |
35,9 |
|
279 |
324 |
22,5 |
3950 |
49,4 |
|
322 |
373 |
25,5 |
3950 |
63,7 |
|
368 |
427 |
29,5 |
3950 |
84,7 |
|
456 |
528 |
36,0 |
3950 |
127,3 |
|
Класс ВТ-12 |
||||
|
96 |
122 |
13,0 |
2950 |
10,4 |
|
135 |
168 |
16,5 |
2950 |
17,9 |
|
181 |
224 |
21,5 |
2950 |
31,2 |
|
228 |
274 |
23,0 |
3950 |
41,1 |
|
270 |
324 |
27,0 |
3950 |
57,4 |
|
312 |
373 |
30,5 |
3950 |
74,0 |
|
356 |
427 |
35,5 |
3950 |
98,7 |
|
441 |
528 |
43,5 |
3950 |
149,2 |
Примечание. Длина обточенных концов для всех труб 200 м.
Таблица 3
Трубы железобетонные напорные виброгидропрессованные (ГОСТ 12586-74)
|
Марка трубы |
Диаметр условного прохода трубы, мм |
Толщина стенки цилиндрической части трубы, мм |
|
ТН 50 |
500 |
55 |
|
ТН 60 |
600 |
65 |
|
ТН 80 |
800 |
65 |
|
ТН 100 |
1000 |
75 |
|
ТН 120 |
1200 |
85 |
|
ТН 140 |
1400 |
95 |
|
ТН 160 |
1600 |
105 |
Примечания: 1. Длина трубы полезная 5000 мм.
2. Трубы изготавливаются из бетона марки не менее 500.
3. Внутренний диаметр трубы может отличаться от диаметра условного прохода трубы не более чем на 6 %.
Таблица 4
Трубы железобетонные напорные центрифугированные (ГОСТ 16953-71)
|
Марка трубы |
Диаметр условного прохода трубы, мм |
Толщина стенки цилиндрической части трубы, мм |
Справочная масса трубы, т |
|
1 |
2 |
3 |
4 |
|
ЦТН 50 |
500 |
40 |
1,43 |
|
ЦТН 60 |
600 |
45 |
1,95 |
|
ЦТН 80 |
800 |
55 |
3,00 |
|
ЦТН 100 |
1000 |
65 |
4,14 |
|
ЦТН 120 |
1200 |
80 |
6,12 |
|
ЦТН 140 |
1400 |
90 |
7,69 |
|
ЦТН 160 |
1600 |
100 |
9,63 |
Примечание. Длина трубы полезная на менее 5000 мм.
Таблица 5
Трубы железобетонные безнапорные (ГОСТ 6482-71)
|
Диаметр условного прохода, мм |
Толщина стенки трубы, мм |
Ширина подошвы, мм |
Контрольные нагрузки заводских испытаний для труб, кгс/пог. м |
|
|
нормальной прочности |
усиленной прочности |
|||
|
400 |
50 |
- |
3300 |
3900 |
|
500 |
60 |
- |
3450 |
4200 |
|
600 |
60 |
480 |
3600 |
4500 |
|
800 |
80 |
640 |
4800 |
6400 |
|
1000 |
100 |
800 |
6000 |
8300 |
|
1200 |
110 |
960 |
7200 |
10200 |
|
1400 |
110 |
1200 |
8000 |
11500 |
|
1600 |
120 |
1200 |
10000 |
14500 |
Примечания: 1. Длина трубы полезная не менее 5000 мм.
2. Внутренний диаметр трубы может отличаться от диаметра условного прохода не более чем на 6 %.
3. Марка бетона труб не менее 300.
4. Трубы изготавливаются раструбные и фальцованные, круглые и с плоской подошвой, нормальной и усиленной прочности.
5. Трубы по требованию потребителя могут изготавливаться более высокой прочности по чертежам заказчика с указанием величин контрольных нагрузок при испытании их на прочность.
Крутизна откосов канав
|
Грунты, слагающие русло канавы |
Заложение откосов канав, т |
|
|
подводных |
надводных (выше бермы) |
|
|
Галечник и гравий с песком |
1,25 - 1,50 |
1,70 |
|
Глина, суглинок тяжелый и средний, торф мощностью до 0,7 м, подстилаемый этими грунтами |
1,00 - 1,50 |
0,50 - 1,00 |
|
Суглинок легкий, супесь и торф мощностью до 0,7 м, подстилаемый этими грунтами |
1,25 - 2,00 |
1,00 - 1,50 |
|
Песок крупно- и среднезернистый и торф мощностью до 0,7 м, подстилаемый этими грунтами |
1,25 - 2,25 |
1,50 |
|
Песок мелкозернистый и торф мощностью до 0,7 м, подстилаемый этими грунтами |
1,50 - 2,50 |
2,00 |
|
Пески пылеватые |
3,00 - 3,50 |
2,50 |
|
Торф со степенью разложения до 50 % |
1,25 - 1,75 |
|
|
Торф со степенью разложения более 50 % |
1,50 - 2,00 |
|
Примечания: 1. Крутизна откосов может быть уменьшена по сравнению с указанными в таблице в том случае, когда это требуется условиями применения прогрессивных методов производства строительных работ. То же относится и к крутизне откосов дамб.
2. Первое значение крутизны - для канав с расходом менее 0,5 м3/с; второе - для канав с расходом более 10 м3/с. Крутизну откосов для расходов от 0,5 до 10 м3/с следует определять по интерполяции с округлением значения в сторону уменьшения.
Крутизна откосов дамб с "сухой стороны" (стороны, противоположной водоему)
|
Грунты |
Крутизна откосов, т |
|
Глина, суглинок твердый и полутвердый |
1 |
|
Суглинок мягкопластичный |
1,25 |
|
Супесь |
1,5 |
|
Песок |
2 |
Примечание. Крутизна откосов может быть уменьшена в случаях, когда это требуется для увеличения устойчивости откоса.
Крутизна откосов дамб со стороны водоема \ и условия применения видов их укрепления
|
Грунты |
Минимальное заложение откосов m |
Вид укрепления откоса |
Длительность стояния высоких вод |
Скорость течения, м/с |
Высота волны с набегом, м |
Сила допустимого ледохода |
|
1 |
2 |
3 |
4 |
5 |
6 |
7 |
|
Супеси, пылеватые |
1,5 |
Засев дернообразующих трав |
Кратковременная |
0,8 |
0,15 |
Не допускается |
|
Любые, кроме засоленных и хорошо дренирующих |
1,5 |
Сплошная одерновка |
То же |
1,0 |
0,20 |
То же |
|
Любые, кроме засоленных |
1,5 |
Грунт, обработанный вяжущими материалами |
Любая |
до 3,0 |
0,50 |
Слабая |
|
Любые |
1.5 |
Каменная наброска |
То же |
2,0 |
0,30 - 0,60 |
От слабой до средней |
|
Любые |
Сухие 1,0 Мокрые 2,0 |
Бетонные на щебеночном или гравийном основании |
То же |
6,0 |
0,50 |
Слабая |
Максимально допустимые скорости движения вода в канавах и грунтовых лотках
|
Грунт лотка |
Максимальная скорость, м/с |
Вид укрепления откосов канав |
Максимальная скорость, м/с |
|
Мелкозернистый и среднезернистый песок» супеси |
0,4 |
Одерновка плашмя |
1,0 |
|
Одерновка в стенку |
1,6 |
||
|
Крупнозернистый песок |
0,8 |
Мощение одиночное |
2,0 |
|
Суглинок |
0,7 |
Мощение двойное |
3,5 |
|
Суглинок тяжелый |
1,0 |
Грунт, обработанный вяжущими |
5,0 |
|
Глина |
1,2 |
Бетонные плиты |
8,0 |
Примечания: 1. Значения скоростей даны для глубины потока от 0,4 до 1,0 м. При глубине потока менее 0,4 м табличные значения скоростей принимаются с поправочным коэффициентом 0,85, а при глубине более 1 м - с коэффициентом 1,25.
2. Уменьшение скоростей по длине рассчитываемых водоотводных линий не должно допускаться.
Коэффициенты шероховатости поверхности п*
|
Вид поверхности |
п* |
|
|
1 |
2 |
|
|
Асфальтовое покрытие |
0,011 |
|
|
Бетонное покрытие |
0,014 |
|
|
Грунтовая поверхность без дернового покрова |
0,025 |
|
|
Задерненная грунтовая поверхность |
0,04 - 0,06 |
|
|
Неукрепленные земляные русла (канаве) |
0,02 - 0,025 |
|
Значения интенсивности впитывания U*
|
Грунты и почвы |
Интенсивность впитывания мм/мин, U* |
|
Глины, солонцы суглинистые |
0,06 |
|
Суглинки, суглинистые черноземы, сероземы глинистые |
0,08 |
|
Каштановые почвы, чернозем обычный, солонцы супесчаные |
0,15 |
|
Супеси с примесью гумуса в верхних слоях, задернованные, супеси, серолесные почвы |
0,20 |
|
Чистые открытые супеси |
0,33 |
|
Чистые открытые пески |
0,50 |
Интенсивность инфильтрации W грунтов
|
Среднегодовое количество осадков, мм |
Интенсивность инфильтрации W грунтов, м/сут. |
||
|
глинистых |
суглинистых и супесчаных |
песчаных |
|
|
1 |
2 |
3 |
4 |
|
до 600 |
0,0027 |
0,0037 |
0,0049 |
|
600 - 700 |
0,0029 |
0,0041 |
0,0054 |
|
700 - 800 |
0,0032 |
0,0044 |
0,0059 |
|
800 - 900 |
0,0035 |
0,0047 |
0,0063 |
Коэффициент фильтрации Кф грунтов
|
Грунты |
Кф, м/сут. |
|
Гравий, галька |
400 и более |
|
Пески: |
|
|
крупнозернистые |
80 - 100 |
|
среднезернистые |
5 - 30 |
|
мелкозернистые |
1 - 8 |
|
мелкозернистые пылеватые |
0,2 - 1 |
|
Супеси: |
|
|
легкие пылеватые |
0,05 - 0,7 |
|
тяжелые пылеватые |
0,03 - 0,3 |
|
Суглинки: |
|
|
легкие и средние пылеватые |
0,1 - 0,2 |
|
тяжелые пылеватые |
0,01 - 0,1 |
|
Лесс: |
|
|
естественный |
0,3 - 0,4 |
|
глинистый |
0,004 - 0,02 |

Рис. 1. Схема распределения интенсивности q20 при Р = 1 году для Европейской территории СССР

Рис. 2. Схема распределения интенсивности q20 при Р = 1 году для Азиатской территории СССР

Рис. 3. Схема распределения показателя степей п для Европейской территории СССР

Рис. 4. Схема распределения показателя степени п для Азиатской территории СССР

Рис. 5. Схема распределения параметра С длн территории СССР

Рис. 6. Картограмма для определения максимального элементарного стока талых вод (цифры на картограмме указывают величину А)

Рис. 1. Номограмма для определения величины поверхностного стока S: а - для цементобетонных покрытий (φ = 0,85 и n = 0,67); б - для определения поправки λ) к величине S в случае значений п ≠ 0,67

Рис. 2. Номограммы для определения параметра А

Рис. 3. Номограмма для определения времени добегания дождевых вод по склону τскл: В - длина стока; I - уклон стока; п* - коэффициент шероховатости поверхности; Ψ - коэффициент стока; Δ - интенсивность одноминутного дождя: п - показатель степени

Рис. 4. Номограмма для определения времени добегания воды по открытому лотку треугольного сечения

Рис. 5. Номограмма для расчета открытых лотков треугольного сечения
Составлена при
коэффициенте шероховатости п*
= 0,014 (бетонная поверхность). При других значениях п* расчетные величины скорости V м/с и пропускной способности лотка Q0
л/с находятся умножением значений V и
Q0, полученных по номограмме, на отношение ![]()

Рис. 6. Номограмма для определения диаметра труб

Ряс. 7. Номограмма для определения диаметров перепускных труб

Рис. 8. Номограмма для расчета канав

Рис. 1. График для определения значения Б

Рис. 2. График для определения радиуса депрессии пластовых и кольцевых дренажей R1

Рис. 3. Графики функций φ1, φ2 и F; а - график функции φ1
в зависимости от аргумента
; б - график функции φ2 в зависимости от аргумента
; в - график функции F в зависимости от аргумента ![]()

Pиc. 4. График для определения радиуса депрессии линейного дренажа или установившемся движении грунтовых вод R2

Рис. 5. График для определения
значения
при вычислении
ординат депрессионной кривой Нх
в однолинейных дренажах несовершенного
типа
Значения расчетных параметров грунтов
|
Грунты |
γ, т/м3 |
Ψ, градусы |
f' |
ε |
εf' |
|
Песчаные: |
|
|
|
|
|
|
сухие |
1,6 |
30 |
0,50 |
0,333 |
0,166 |
|
влажные |
1,8 |
30 |
0,50 |
0,333 |
0,166 |
|
водонасыщенные |
2,0 |
25 |
0,40 |
0,406 |
0,162 |
|
Глинистые: |
|
|
|
|
|
|
сухие |
1,7 |
30 |
0,50 |
0,333 |
0,166 |
|
влажные |
1,9 |
27 |
0,40 |
0,376 |
0,150 |
|
водонасыщенные |
2,1 |
25 |
0,30 |
0,406 |
0,122 |
|
рыхлые |
1,6 |
- |
- |
- |
0,192 |

Рис. 1. График для определения коэффициента К1
Расчетная ширина траншеи на уровне верха трубы ВТ
|
Типы и диаметры труб, мм |
Расчетная ширина траншеи ВТ (в м) при высоте засыпки над трубой Н, м |
|||||
|
0,75 |
1,0 |
1,5 |
2,0 |
2,5 |
3,0 |
|
|
Асбестоцементные: |
|
|
|
|
|
|
|
200 |
0,47 |
0,52 |
0,59 |
0,65 |
0,70 |
0,75 |
|
300 |
0,61 |
0,69 |
0,78 |
0,86 |
0,92 |
0,90 |
|
400 |
0,70 |
0,82 |
0,93 |
1,03 |
1,10 |
1,10 |
|
Бетонные и железобетонные: |
|
|
|
|
|
|
|
400 |
0,78 |
0,87 |
1,05 |
1,14 |
1,23 |
1,30 |
|
500 |
0,90 |
0,98 |
1,20 |
1,32 |
1,41 |
1,49 |
|
600 |
1,00 |
1,08 |
1,26 |
1,45 |
1,55 |
1,64 |
|
700 |
1,12 |
1,20 |
1,37 |
1,60 |
1,72 |
1,80 |
|
800 |
1,22 |
1,29 |
1,46 |
1,67 |
1,85 |
1,90 |
|
900 |
1,33 |
1,42 |
1,57 |
1,77 |
2,00 |
2,00 |
|
1000 |
1,43 |
1,51 |
1,68 |
1,85 |
2,05 |
2,10 |
|
1100 |
1,54 |
1,62 |
1,80 |
1,93 |
2,16 |
2,20 |
|
1200 |
1,67 |
1,76 |
1,92 |
2,03 |
2,26 |
2,30 |
Значения ![]()
|
|
Ф = 0,3 |
Ф = 0,7 |
Ф = 1,0 |
||||||
|
εf' = 0,13 |
εf' = 0,165 |
εf' = 0,192 |
εf' = 0,13 |
εf' = 0,165 |
εf' = 0,192 |
εf' = 0,13 |
εf' = 0,165 |
εf' = 0,192 |
|
|
0,5 |
1,08 |
1,20 |
1,30 |
1,08 |
1,20 |
1,30 |
1,08 |
1,20 |
1,30 |
|
1,0 |
1,21 |
1,35 |
1,46 |
1,21 |
1,35 |
1,46 |
1,21 |
1,35 |
1,46 |
|
1,5 |
1,39 |
1,54 |
1,66 |
1,39 |
1,54 |
1,66 |
1,39 |
1,54 |
1,66 |
|
2,0 |
1,48 |
1,65 |
1,78 |
1,53 |
1,70 |
1,84 |
1,53 |
1,70 |
1,84 |
|
3,0 |
0,64 |
1,82 |
1,97 |
1,80 |
2,00 |
2,16 |
1,87 |
2,06 |
2,24 |
|
4,0 |
1,76 |
1,95 |
2,10 |
1,98 |
2,20 |
2,38 |
2,07 |
2,30 |
2,48 |
|
5,0 |
1,87 |
2,08 |
2,24 |
2,12 |
2,35 |
2,54 |
2,23 |
2,48 |
2,68 |
|
6,0 |
1,98 |
2,20 |
2,38 |
2,23 |
2,48 |
2,68 |
2,36 |
2,62 |
2,84 |
|
7,0 |
2,09 |
2,32 |
2,50 |
2,34 |
2,60 |
2,81 |
2,49 |
2,77 |
2,90 |
|
8,0 |
2,18 |
2,42 |
2,62 |
2,44 |
2,72 |
2,94 |
2,59 |
2,77 |
2,13 |
|
9,0 |
2,27 |
2,52 |
2,72 |
2,55 |
2,83 |
3,06 |
2,70 |
3,00 |
3,24 |
|
10,0 |
2,36 |
2,62 |
2,83 |
2,63 |
2,92 |
3,15 |
2,83 |
3,14 |
3,39 |
Примечания: 1. При скалистом или ином неподатливом грунте (изверженные породы, кристаллические сланпы, известняки, мергели, глинистые сланцы, песок, гравий, щебень) Ф = 1,0.
2. При жестком грунте (глубинные твердые глины, плотная ледниковая морена) Ф = 0,70.
3. При податливом грунте (аллювиальные, делювиальные и элювиальные глины и суглинки, лесс, растительные грунты, глина осыпей, свежевыветренная глина, искусственно отсыпанные, грунты) Ф = 0,30.
4. Если под трубы сооружается бетонное основание, то независимо от грунта можно принимать максимальное значение Ф = 1,0.
Значение коэффициентов К в зависимости от отношения r/z.
|
r/z |
К |
r/z |
К |
r/z |
К |
r/z |
К |
|
0 |
0,4785 |
0,54 |
0,2518 |
1,08 |
0,0691 |
1,62 |
0,0191 |
|
0,02 |
0,477 |
0,56 |
0,2414 |
1,1 |
0,0658 |
1,64 |
0,0183 |
|
0,04 |
0,4756 |
0,58 |
0,2313 |
1,12 |
0,0626 |
1,66 |
0,0175 |
|
0,06 |
0,4732 |
0,6 |
0,2214 |
1,14 |
0,0595 |
1,68 |
0,0167 |
|
0,08 |
0,4699 |
0,62 |
0,2117 |
1,16 |
0,0567 |
1,7 |
0,016 |
|
0,1 |
0,4657 |
0,64 |
0,2024 |
1,18 |
0,0539 |
1,74 |
0,0147 |
|
0,12 |
0,4607 |
0,66 |
0,1934 |
1,2 |
0,0513 |
1,78 |
0,0135 |
|
0,14 |
0,4548 |
0,68 |
0,1846 |
1,22 |
0,0489 |
1,82 |
0,0124 |
|
0,16 |
0,4482 |
0,7 |
0,1762 |
1,24 |
6,0466 |
1,86 |
0,0114 |
|
0,18 |
0,4409 |
0,72 |
0,1681 |
1,26 |
0,0443 |
1,9 |
0,0105 |
|
0,2 |
0,4329 |
0,74 |
0,1603 |
1,28 |
0,0422 |
1,94 |
0,0097 |
|
0,22 |
0,4242 |
0,76 |
0,1527 |
1,3 |
0,0402 |
1,98 |
0,0089 |
|
0,24 |
0,4151 |
0,78 |
0,1455 |
1,32 |
0,0384 |
2,1 |
0,007 |
|
0,26 |
0,4054 |
0,8 |
0,1386 |
1,34 |
0,0365 |
2,2 |
0,0058 |
|
0,28 |
0,3954 |
0,82 |
0,132 |
1,36 |
0,0348 |
2,3 |
0,0048 |
|
0,3 |
0,3849 |
0,81 |
0,1257 |
1,38 |
0,0332 |
2,4 |
0,004 |
|
0,32 |
0,3742 |
0,86 |
0,1196 |
1,4 |
0,0317 |
2,5 |
0,0034 |
|
0,34 |
0,3632 |
0,88 |
0,1138 |
1,42 |
0,0302 |
2,6 |
0,0029 |
|
0,36 |
0,3524 |
0,9 |
0,1083 |
1,44 |
0,0288 |
2,7 |
0,0024 |
|
0,38 |
0,3408 |
0,92 |
0,1031 |
1,46 |
0,0275 |
2,8 |
0,0021 |
|
0,4 |
0,3294 |
0,94 |
0,0981 |
1,48 |
0,0263 |
2,9 |
0,0017 |
|
0,42 |
0,3181 |
0,96 |
0,0933 |
1,5 |
0,0251 |
3 |
0,0015 |
|
0,44 |
0,3068 |
0,98 |
0,0887 |
1,52 |
0,024 |
3,5 |
0,0007 |
|
0,46 |
0,2955 |
1 |
0,0844 |
1,54 |
0,0229 |
4 |
0,0004 |
|
0,48 |
0,2843 |
1,02 |
0,0803 |
1,56 |
0,0219 |
4,5 |
0,0002 |
|
0,5 |
0,2733 |
1,04 |
0,0764 |
1,58 |
0,0209 |
5 |
0,0001 |
|
0,52 |
0,2625 |
1,06 |
0,0727 |
1,6 |
0,02 |
6 |
0,0001 |
Значение ξ для расчета бесконечно длинных фундаментных балок
|
αХ |
ξ1 |
ξ2 |
αх |
ξ1 |
ξ2 |
|
1 |
2 |
3 |
4 |
5 |
6 |
|
0,0 |
1,0000 |
1,0000 |
3,6 |
-0,03659 |
-0,01214 |
|
0,1 |
0,9907 |
0,8100 |
3,7 |
-0,03407 |
-0,00787 |
|
0,2 |
0,9651 |
0,6398 |
3,8 |
-0,03138 |
-0,00401 |
|
0,3 |
0,9267 |
0,4888 |
3,9 |
-0,02862 |
-0,00077 |
|
0,4 |
0,8784 |
0,3564 |
4,0 |
-0,02583 |
-0,00189 |
|
0,5 |
0,8231 |
0,2415 |
4,1 |
-0,02309 |
-0,00403 |
|
0,6 |
0,7628 |
0,1431 |
4,2 |
-0,02042 |
-0,00572 |
|
0,7 |
0,6997 |
-0,0599 |
4,3 |
-0,01787 |
-0,00699 |
|
0,8 |
0,6354 |
-0,0093 |
4,4 |
-0,01546 |
-0,00791 |
|
0,9 |
0,5712 |
-0,0657 |
4,5 |
-0,01320 |
0,00852 |
|
1,0 |
0,5033 |
-0,1108 |
4,6 |
-0,01112 |
0,00886 |
|
1,1 |
0,4476 |
-0,1457 |
4,7 |
-0,00921 |
0,00898 |
|
1,2 |
0,3899 |
-0,1716 |
4,8 |
-0,00748 |
0,00892 |
|
1.3 |
0,3355 |
-0,1897 |
4,9 |
-0,00593 |
0,00870 |
|
1.4 |
0,2899 |
-0,2011 |
5,0 |
-0,00455 |
0,00837 |
|
1,5 |
0,2384 |
-0,2068 |
5,1 |
-0,00334 |
-0,00795 |
|
1,6 |
0,1959 |
-0,2077 |
5,2 |
-0,00229 |
-0,00746 |
|
1,7 |
0,1576 |
-0,2047 |
5,3 |
-0,00139 |
-0,00692 |
|
1,8 |
0,1234 |
-0,1985 |
5,4 |
-0,00063 |
-0,00636 |
|
1,9 |
0,0932 |
-0,1899 |
5,5 |
0,00001 |
0,00578 |
|
2,0 |
0,0667 |
-0,1794 |
5,6 |
0,00063 |
0,00520 |
|
2,1 |
0,0439 |
-0,1675 |
5,7 |
0,00095 |
0,00454 |
|
2,2 |
0,0244 |
-0,1548 |
5,8 |
0,00127 |
0,00409 |
|
2,3 |
0,0080 |
-0,1416 |
5,9 |
0,00152 |
0,00356 |
|
2,4 |
-0,0056 |
-0,1282 |
6,0 |
0,00169 |
0,00307 |
|
2,5 |
-0,0166 |
-0,1149 |
6,1 |
0,00180 |
0,00261 |
|
2,6 |
-0,0254 |
-0,1019 |
6,2 |
0,00185 |
0,00219 |
|
2,7 |
-0,0320 |
-0,0895 |
6,3 |
0,00187 |
0,00181 |
|
2,8 |
-0,0369 |
-0,0777 |
6,4 |
0,00184 |
0,00146 |
|
2,9 |
-0,0403 |
-0,06656 |
6,5 |
0,00179 |
0,00115 |
|
3,0 |
-0,04226 |
-0,0563 |
6,6 |
0,00172 |
0,00087 |
|
3,1 |
-0,04314 |
-0,0468 |
6,7 |
0,00162 |
0,00063 |
|
3,2 |
-0,04307 |
-0,03831 |
6,8 |
0,00152 |
0,00042 |
|
3,3 |
-0,04224 |
-0,0306 |
6,9 |
0,00141 |
0,00024 |
|
3,4 |
-0,04079 |
-0,02374 |
7,0 |
0,00129 |
0,0009 |
|
3,5 |
-0,03887 |
-0,01769 |
|
|
|
|
ГОСТЫ, СТРОИТЕЛЬНЫЕ и ТЕХНИЧЕСКИЕ НОРМАТИВЫ. Некоммерческая онлайн система, содержащая все Российские Госты, национальные Стандарты и нормативы. В Системе содержится более 150000 файлов нормативно-технической документации, действующей на территории РФ. Система предназначена для широкого круга инженерно-технических специалистов. Copyright © www.gostrf.com, 2008 - 2026 |