Крупнейшая бесплатная информационно-справочная система онлайн доступа к полному собранию технических нормативно-правовых актов РФ. Огромная база технических нормативов (более 150 тысяч документов) и полное собрание национальных стандартов, аутентичное официальной базе Госстандарта. GOSTRF.com - это более 1 Терабайта бесплатной технической информации для всех пользователей интернета. Все электронные копии представленных здесь документов могут распространяться без каких-либо ограничений. Поощряется распространение информации с этого сайта на любых других ресурсах. Каждый человек имеет право на неограниченный доступ к этим документам! Каждый человек имеет право на знание требований, изложенных в данных нормативно-правовых актах!

  


 

МИНИСТЕРСТВО ГРАЖДАНСКОЙ АВИАЦИИ

Государственный проектно-изыскательский и научно-исследовательский институт

Аэропроект

Руководство по проектированию аэродромных покрытий

Москва 1983

Содержание

ОСНОВНЫЕ ОБОЗНАЧЕНИЯ

1. ГРУНТОВЫЕ ОСНОВАНИЯ

2. ПОКРЫТИЯ И ИСКУССТВЕННЫЕ ОСНОВАНИЯ

3. КОНСТРУИРОВАНИЕ И РАСЧЕТ АЭРОДРОМНЫХ ПОКРЫТИЙ И ИСКУССТВЕННЫХ ОСНОВАНИЙ

Конструирование покрытий и оснований

Жесткие аэродромные покрытия

Деформационные швы в жестких аэродромных покрытиях

Нежесткие аэродромные покрытия

Усиление существующих покрытий при реконструкции аэродромов

Расчет аэродромных покрытий

Расчет жестких аэродромных покрытий

Расчет нежестких аэродромных покрытий

Расчет усиления существующих покрытий при реконструкции аэродромов

Расчет длин плит армобетонных покрытий на температурные воздействия

ПРИЛОЖЕНИЯ

Приложение 1 РАСЧЕТНЫЕ СХЕМЫ АЭРОДРОМНЫХ ПОКРЫТИЙ

Приложение 2 МЕТОДИКА ОПРЕДЕЛЕНИЯ ОДНОКОЛЕСНОЙ ЭКВИВАЛЕНТНОЙ НАГРУЗКИ ДЛЯ НЕЖЕСТКИХ ПОКРЫТИЙ

Приложение 3 МЕТОДИКА ОПРЕДЕЛЕНИЯ ЭКВИВАЛЕНТНОГО КОЭФФИЦИЕНТА ПОСТЕЛИ И МОДУЛЯ УПРУГОСТИ ЕСТЕСТВЕННЫХ И ИСКУССТВЕННЫХ ОСНОВАНИЙ ИЗ МАТЕРИАЛОВ, ОБРАБОТАННЫХ ОРГАНИЧЕСКИМИ ВЯЖУЩИМИ, И ИЗ НЕОБРАБОТАННЫХ МАТЕРИАЛОВ

Приложение 4 РАСЧЕТ ТОЛЩИНЫ ИСКУССТВЕННЫХ ОСНОВАНИЙ ПОД ЖЕСТКИЕ ПОКРЫТИЯ

Приложение 5 КОНСТРУКЦИЯ И РАСЧЕТ АНКЕРА

Приложение 6 РАСЧЕТНЫЕ ТАБЛИЦЫ И НОМОГРАММЫ

Приложение 7 АРМИРОВАНИЕ МОНОЛИТНЫХ ЖПЕЗОБЕТОННЫХ ПЛИТ

Приложение 8 РЕКОМЕНДУЕМЫЕ ЗНАЧЕНИЯ ТОЛЩИН АСФАЛЬТОБЕТОННЫХ СЛОЕВ НА РАЗЛИЧНЫХ ОСНОВАНИЯХ ПО УСЛОВИЮ ТЕМПЕРАТУРНОЙ ТРЕЩИНОСТОЙКОСТИ

Приложение 9 ПРОВЕРКА ПРОЧНОСТИ НЕЖЕСТКОЙ КОНСТРУКЦИЙ ПО ПРЕДЕЛЬНОМУ СОСТОЯНИЮ СДВИГА В ГРУНТОВОМ ОСНОВАНИИ

Приложение 10 ПРИМЕРЫ РАСЧЕТА АЭРОДРОМНЫХ ПОКРЫТИЙ

Приложение 11 СООТНОШЕНИЯ МЕЖДУ НЕКОТОРЫМИ ЕДИНИЦАМИ ФИЗИЧЕСКИХ ВЕЛИЧИН, ПОДЛЕЖАЩИХ ИЗЪЯТИЮ, И ЕДИНИЦАМИ СИСТЕМЫ СИ

Настоящее Руководство разработано ГПИ и НИИ ГА Аэропроект при участии Ленаэропроекта и кафедры "Аэропорты" Московского автомобильно-дорожного института.

Руководство содержит вспомогательные данные для проектирования аэродромных покрытий в соответствии с главой СНиП II-47-80 "Аэродромы. Нормы проектирования". Текст, цитируемый из главы СНиП II-47-80 "Аэродромы. Нормы проектирования" в Руководстве выделен вертикальной чертой. В скобках указаны номера, пунктов и таблиц главы СНиП.

С введением в действие настоящего Руководства, утрачивают силу:

"Руководство по проектированию сборных покрытий из типовых преднапряженных железобетонных плит для аэродромов гражданской авиации", М., ГПИ и НИИ ГА Аэропроект, 1977;

"Рекомендации по проектированию нежестких аэродромных покрытий", ГПИ и НИИ ГА Аэропроект, 1977;

"Методическое пособие по расчету капитальных аэродромных покрытий", М., ГПИ и НИИ ГА Аэропроект, 1972;

"Рекомендации по проектированию и строительству монолитных аэродромных покрытий из высокоточного бетона", М., ГПИ и НИИ ГА Аэропроект, 1972;

"Рекомендации по строительству аэродромных покрытии из грунтов, укрепленных шлакощелочными вяжущими", М., ГПИ и НИИ ГА Аэропроект, 1975.

Руководство разработали доктора техн. наук A.M. Богуславский, Г.И. Глушков, кандидаты техн. наук В.Н. Антипов, А.П. Виноградов, Л.И. Горецкий, Б.И. Демин, А.И. Дон, Г.Я. Ключников, Л.Н. Комчихина, В.Д. Садовой, А.П. Степушин. В.Е. Тригони, инженеры О.Н. Акуленко, В.П. Апестина, Ю.С. Барит, В.Б. Безелянский, Ю.Н. Волков, Г.Д. Власенко, В.А. Евтифьев, В.Л. Квочкин, В.А. Лавровский, В.В. Макарова, М.И. Пугачев, Л.Е. Семко.

При разработке приложений к Руководству использованы материалы кандидатов техн. наук В.Д. Садового и В.Е. Тригони, инженеров В.П. Дворниковой, В.Н. Князевой, В.В. Минаева, Е.Т. Сидоренко, О.Г. Тарунтаевой.

Руководство утверждено Министерством гражданской авиации.

ОСНОВНЫЕ ОБОЗНАЧЕНИЯ

Характеристики нагрузок и усилия от их воздействия в расчетных сечениях покрытий

-

нормативная нагрузка или нагрузка на опору расчетного воздушного судна;

nк

-

число колес на главной опоре;

Рк

-

нагрузка на колесо;

-

расчетная нагрузка на колесо;

Pэ

-

условная одноколесная нагрузка, эквивалентная воздействию опоры воздушного судна;

q

-

давление в пневматиках;

R

-

радиус круга, равновеликого площади, отпечатка пневматика колеса;

Rэ

-

радиус круга, равновеликого площади отпечатка пневматика колеса для одноколесной эквивалентной нагрузки;

-

эквивалентное число приложений нагрузки i-го воздушного судна, приведенное к расчетному;

m

-

число приложений расчетной нагрузки за весь срок службы;

MI

-

изгибающий момент от действия колеса, центр отпечатка которого совпадает с расчетным сечением;

-

изгибающий момент, создаваемый действием io колеса, расположенного за пределами расчетного сечения;

-

максимальный изгибающий момент от нагрузки при центральном загружении плиты;

Mp

-

расчетный изгибающий момент;

Wц

-

прогиб в центре плиты;

λр

-

расчетный относительный прогиб от нагрузки;

λпр

-

предельный относительный прогиб от нагрузки;

δбн

-

сжимающие напряжения в бетоне в стадии предварительного обжатия;

δч

-

наибольшее растягивающее напряжение при изгибе в слое нежесткого покрытия;

Ду

-

условный диаметр круга передачи нагрузки от покрытия на основание.

Расчетные коэффициенты

np

-

коэффициент перегрузки;

Кд

-

коэффициент динамичности;

Кн

-

коэффициент, учитывающий увеличение изгибающего момента в плите вследствие неравномерного накопления остаточных деформаций в грунтовом и искусственном неупрочненных основаниях;

Ки

-

коэффициент, учитывающий число приложений колесных нагрузок воздушных судов на жесткие покрытия;

К

-

коэффициент, учитывающий увеличение изгибающих моментов в краевых зонах плит;

К'

-

коэффициент, учитывающий увеличение изгибающих моментов в краевых зонах плит для двухслойных покрытий и конструкций усиления;

Кх(у)

-

коэффициент, учитывающий перераспределение внутренних усилий в ортотропных плитах в зависимости от соотношения жесткостей в продольном и поперечном сечениях;

Кm

-

поправочный множитель к коэффициенту условий работы, определяемый в зависимости от толщины верхнего слоя;

m

-

коэффициент условий работы;

ψa

-

коэффициент, учитывающий работу растянутого бетона между трещинами;

ψб

-

коэффициент, учитывающий неравномерности распределения деформаций крайнего волокна сжатой зоны сечения на участке между трещинами.

Характеристики материалов, конструкции покрытий и оснований

Rри, Rти

-

расчетные сопротивления бетона растяжению при изгибе при расчете соответственно на прочность и по образованию трещин;

Ra

-

расчетное сопротивление арматуры растяжению;

-

расчетное сопротивление арматуры растяжению для предельных состояний второй группы;

σo

-

величина предварительного напряжения в напрягаемой арматуре;

σт

-

величина потерь предварительного напряжения в бетоне от трения;

σп

-

суммарная величина потерь предварительного напряжения в напрягаемой арматуре;

Ro

-

передаточная прочность бетона;

σн, σ'н

-

величины установившихся предварительных напряжений в напрягаемой арматуре, расположенной соответственно в растянутой и сжатой зонах сечения;

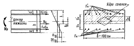
No

-

равнодействующая усилий в верхней и нижней напрягаемой арматуре относительно оси, проходящей через ядровую точку;

Мя

-

момент равнодействующей No усилий в нижней и верхней напрягаемой арматуре относительно оси, проходящей через ядровую точку, наиболее удаленную от зоны сечения, трещинообразование которой проверяется;

Mпр

-

предельный изгибающий момент расчетного сечения;

aт

-

ширина раскрытия трещин;

[aт]

-

предельно допустимая ширина раскрытия трещин;

-

упругая характеристика плиты;

с

-

расчетный коэффициент постели грунтового основания;

сэ

-

эквивалентный коэффициент постели многослойного основания;

Еσ

-

модуль упругости бетона;

Еа

-

модуль упругости арматурной стали;

Ei

-

модуль упругости материала i-го слоя;

Ео

-

модуль упругости грунтового основания;

Еэ

-

эквивалентный модуль упругости нежесткой конструкции;

μ

-

коэффициент Пуассона;

В

-

жесткость сечения плиты покрытия.

Геометрические характеристики конструкции

в

-

расчетная ширина сечения плиты;

h

-

толщина плиты;

hi

-

толщина i-го слоя;

ho

-

рабочая высота сечения;

Wo

-

момент сопротивления бетонного сечения плиты;

Fa, F'a

-

площади сечений ненапрягаемой арматуры, расположенной соответственно в растянутой и сжатой зонах сечения;

Fн, F'н

-

площади сечений напрягаемой арматуры, расположенной соответственно в растянутой и сжатой зонах сечения;

х

-

высота сжатой зоны бетонного сечения;

d

-

диаметр арматурных стержней;

a

-

расстояние от равнодействующей усилий в арматуре до ближайшей грани сечения;

он

-

эксцентриситет продольной силы N относительно центра тяжести бетонного сечения.

1. ГРУНТОВЫЕ ОСНОВАНИЯ

1.1 (4.1). Основным условием при проектировании грунтовых оснований аэродромных покрытий является обеспечение устойчивости конструкций искусственных покрытий независимо от погодных условий и времени года, а также грунтовых и гидрогеологических условий участка строительства, в первую очередь путем определения соответствующего высотного положения проектной поверхности покрытий.

Примечание. Требования настоящего раздела, изложенные для аэродромов, распространяются также на проектирование вертодромов.

1.2 (4.2). Грунтовые основания следует проектировать с учетом:

деления территории Союза ССР на дорожно-климатические зоны в соответствии с данными рис. 1 и табл. 1;

типа местности в зависимости от гидрогеологических условий, приведенных в табл. 2 (15);

видов и свойств грунтов в районе строительства аэродрома.

Таблица 1

Номера зон

Примерные географические границы и краткая характеристика дорожно-климатических зон

I

2

I

Севернее линии, соединяющей Мончегорск, Поной, Несь Ошкурья, Сухую Тунгуску, Канск, госграницу СССР и Биробиджан. Зона включает тундру, лесотундру и северо-восточную часть лесной зоны с распространением вечномерзлых грунтов

II

К югу от границы I зоны до линии, соединяющей Львов, Житомир, Тулу, Горький, Ижевск, Кыштым, Томск, Канск, Биробиджан, Де-Кастри, границу с Китайской Народной Республикой. Зона включает географическую зону лесов с избыточным увлажнением грунтов, о.Сахалин и южную часть Камчатки

III

К югу от границы II зоны до линии, соединяющей Кишинев, Кировоград, Белгород, Куйбышев, Магнитогорск, Омск, Бийск, Туран. Зона включает лесостепную географическую зону со значительным увлажнением грунтов в отдельные годы

IV

К югу от границы III зоны до линии, соединяющей Джульфу, Степанакерт, Буйнакск, Кизляр, Волгоград, далее проходит южнее на 200 км линии, соединяющей Уральск, Актюбинск, Караганду и до северного побережья озера Балхаш. Зона включает географическую степную зону с недостаточным увлажнением грунтов.

V

Зона расположена к юго-западу и к югу от границы IV зоны и включает пустынную и пустынно-степную географические зоны с засушливым климатом и распространением засоленных грунтов

Примечание. Кубань и западную часть Северного Кавказа следует относить к III дорожно-климатической зоне. Черноморское побережье, предкавказские степи, за исключением Кубани и западной части Северного Кавказа, следует относить к IV зоне. Горные области, расположенные выше 1000 м над уровнем Моря, а также малоизученные, районы следует относить к той или иной зоне в зависимости от местных природных условий.

Рис. 1. Схема, деления территории СССР на климатические зоны

Таблица 2 (15)

Тип местности

Показатели увлажнения

1 - сухие места

Поверхностный сток обеспечен, грунтовые воды не оказывают существенного влияния на увлажнение верхней толщи грунтов естественного основания

2 - сырые места

Поверхностный сток не обеспечен, грунтовые воды залегают ниже глубины промерзания грунтов, почвы с признаками поверхностного заболачивания; весной и осенью появляется застой воды на поверхности

3 - мокрые места

Грунтовые воды или длительно стоящие (более 20 суток) поверхностные воды залегают выше глубины промерзания грунтов; почвы торфяные, оглеенные с признаками заболачивания

Примечания:

1. Для I дорожно-климатической зоны тип местности в каждом конкретном случае должен определяться при проведении изысканий с учетом места расположения элементов аэродрома (террасы рек и озер, тундра, лесотундра и т.д.), наличия торфомохового покрова, сплошности его распространения и толщины, наличия подземного льда, намерзлотных вод и др.

2. Грунтовые воды не оказывают существенного влияния на увлажнение верхней толщи грунтов, если уровень грунтовых вод в предморозный период залегает ниже расчетной глубины промерзания:

на 2 м и более - в глинах, суглинках пылеватых;

на 1,5 м и более - в суглинках, супесях пылеватых;

на 1 м и более - в супесях, песках пылеватых.

1.3 (4.3). Минимальное возвышение дна корыта (поверхности грунтового основания) над уровнем грунтовых вод или верховодки для участков аэродрома, за исключением сложенных грунтами с особыми свойствами (вечномерзлыми, пучинистыми, просадочными, набухающими, засоленными, торфяными и слабыми глинистыми), следует принимать в соответствии с табл. 3 (16).

Таблица 3 (16)

Вида грунтов основания (насыпи)

Минимальное возвышение дна корыта (поверхности грунтового основания или насыпи) над уровнем грунтовых вод или верховодки (в м) для аэродромов, располагаемых в пределах дорожно-климатических зон

II

III

IV

V

Песок средней крупности

0,8

0,7

0,6

0,5

Песок мелкий, супесь

1,3

0,9

0,9

0,8

Песок, супесь, суглинок пылеватые

2

1,6

1,5

1,4

Глина, суглинок

2

1,5

1,2

1,1

Примечание. За расчетный уровень грунтовых вод следует принимать осенний уровень, а при отсутствии необходимых данных - наивысший возможный уровень, определяемый по верхней линии оглеения грунтов.

1.4 (4.6). Номенклатура грунтов, используемых для естественного основания, должна устанавливаться в соответствии с главой СНиП по проектированию оснований зданий и сооружений, а также главой СНиП по проектированию оснований и фундаментов на вечномерзлых грунтах. При этом глинистые грунты следует дополнительно подразделять на пылеватые разновидности (супесь пылеватая, суглинок пылеватый, глина пылеватая), в которых содержание пылеватых частиц размером 0,05-0,005 мм больше, чем песчаных в процентах от массы грунта.

Крупнообломочные и песчаные грунты в зависимости от зернового состава подразделяются на виды согласно данным табл. 4, а глинистые грунты - в зависимости от числа пластичности согласно данным табл. 5.

Таблица 4

Виды грунтов

Размер частиц, мм

Содержание частиц в процентах от общего веса сухого грунта

1

2

3

Крупнообломочные

 

 

глыбовый (при преобладании окатанных кашей - валунный)

Крупнее

Более 50

щебенистый (при преобладании окатанных частиц - галечниковый)

Крупнее

Более 50

дресвяной (при преобладании окатанных частиц - гравийный)

Крупнее 2

Более 50

Песчаные:

 

 

песок гравелистый

Крупнее 2

Более 25

песок крупный

Крупнее 0,5

Более 50

песок средней крупности

Крупнее 0,25

Более 50

песок мелкий

Крупнее 0,1

Более 75

песок пылеватый

Крупнее 0,1

Более 75

Таблица 5

Виды грунтов

Содержание песчаных частиц размером от 2 до 0,05 мм в процентах по массе

Число пластичности Wn

Супесь

Более 50

1<Wn≤7

Супесь пылеватая

20-50

1<Wn≤7

Суглинок

Более 40

7<Wn≤17

Суглинок пылеватый

Менее 40

7<Wn≤17

Глина

-

17<Wn≤27

1.5 (4.7). Расчетные характеристики грунтов - коэффициент постели (для жестких покрытий) и модуль упругости (для нежестких покрытий) следует устанавливать для однородных грунтов по табл. 6 (17) и уточнять по данным полевых испытаний, для многослойных грунтовых оснований по приложению 3 (1).

Таблица 6 (17)

Грунты естественного основания

Расчетные коэффициенты постели С (в кгс/см3) для дорожно-климатических зон

Модули упругости Е (в кгс/см2) для дорожно-климатических зон

I

II

III

IV

V

I

II

III

IV

V

Песок:

 

 

 

 

 

 

 

 

 

 

гравелистый крупный

16

16

16

17

18

1300

1300

1300

1300

1300

средней крупности

12

11

13

12

14

13

15

14

16

15

1000

1200

1200

1200

1200

мелкий

7

6/5/

8

7/6/

8

7/6/

9

8/7/

10

9/8/

600

1000

1000

1000

1000

пылеватый

4

3/2/

6

5/4/

8

6/5/

10

7/6/

11

8/7/

300

500

500

500

500

Супесь

4

3/2/

6

5/4/

8

6/5/

10

7/6/

11

8/7/

300

390

370(350)

420

390(390)

450

420(420)

450

450(420)

Глина, суглинок

4

3/2/

5

4/3/

7

5/4/

8

6/5/

9

8/7/

200

280

240х)(210)х)

340

280х)(280)

420

340(340)

600

420(340)

Супесь и суглинок пылеватые

3

2/1/

4

3/3/

5

4/3/

7

5/4/

8

6/5/

180

240х)

210х)(200)х)

280

240х)(240)х)

340

280(280)

420

340(340)

Примечания:

I. Над чертой указаны значения коэффициентов постели и модулей упругости грунтов для местности 1 типа, под чертой - 2, типа, в скобках - 3 типа, приведенного ко 2 типу путем осушения, понижения уровня грунтовых вод и других инженерных мероприятий.

2. Приведенные значения коэффициентов постели связных грунтов соответствуют естественной плотности их сложения при коэффициенте пористости ε, равном 0,5-0,8; при ε > 0,8 значения коэффициентов постели следует понижать на 35 %.

3. Если прогибы центра плиты превышают 2 мм, значения коэффициентов постели следует понижать на 30 %.

4. Значения коэффициентов постели и модулей упругости грунтов для районов, расположенных; восточнее линии, проходящей по рекам Волга и Северная Двина, за исключением районов V дорожно-климатической зоны, следует повышать на 20 %.

5. При неоднородном залегании грунтов, наличии линз рыхлых и оглеенных грунтов, а также торфяно-болотных отложений значения коэффициентов постели следует понижать на 50 %.

6. Табличные значения модулей упругости грунтов приведены для конструкций покрытий толщиной 50 см. Если стабильный слой имеет большую толщину, модули упругости грунтов, отмеченные звездочкой, могут быть повышены на 5  % при толщине конструкции 75см, на 10 % - при толщине 100 см, на 15 % - при толщине 125 см и на 20 % - при толщине 150 см и выше.

7. На участках насыпей, высота которых более чем в два раза превышает значения минимального возвышения дна корыта над уровнем грунтовых вод [табл. 3 (16)], расчетные значения коэффициентов постели и модулей упругости грунтов принимаются как для I типа местности.

2. ПОКРЫТИЯ И ИСКУССТВЕННЫЕ ОСНОВАНИЯ

2.1 (5.1). Аэродромная конструкция, воспринимающая нагрузки и воздействия от воздушных судов, эксплуатационных и природных факторов, должна включать в себя:

покрытие - верхний несущий слой, непосредственно воспринимающий нагрузки от колес воздушных судов, воздействия природных факторов (переменного температурно-влажностного режима, пучения или набухания подстилающих грунтов, многократного замораживания и оттаивания, влияния солнечной радиации, ветровой эрозии и др.), тепловые и механические воздействия газовых струй реактивных двигателей;

искусственное основание - несущая часть аэродромной конструкции, обеспечивающая совместно с покрытием передачу нагрузок и воздействий на грунтовое основание и состоящая из отдельных конструктивных слоев, которые выполняют также дренирующие, противозаиливающие, морозо-теплозащитные, гидроизолирующие, капилляропрерывающие и другие функции;

грунтовое основание - спланированные и уплотненные местные или привозные грунты, воспринимающие распределенные нагрузки через вышележащую многослойную конструкцию покрытия и искусственного основания.

2.2 (5.2). Аэродромные покрытия следует подразделять:

по характеру сопротивления действию нагрузок - на жесткие (бетонные, армобетонные, монолитные и сборные железобетонные) и нежесткие (асфальтобетонные; из прочных каменных материалов подобранного состава, обработанных органическими вяжущими; грунтощебеночные и грунтогравийные; грунтовые, обработанные минеральными или органическими вяжущими материалами);

по сроку службы и степени совершенства - на капитальные (жесткие и асфальтобетонные покрытия), облегченные (из прочных щебеночных материалов подобранного состава, обработанных органическими вяжущими материалами) и переходные (из щебеночных и гравийных материалов, грунтов и местных материалов, обработанное органическими и минеральными вяжущими материалами).

Примечания:

1. Армобетонными покрытиями называются монолитные покрытия, армированные в продольном и поперечном направлениях ненапрягаемой арматурой в одном уровне в целях ограничения ширины раскрытия температурных трещин.

2. Железобетонными покрытиями называются монолитные покрытия, армированные в продольном и поперечном направлениях рабочей ненапрягаемой арматурой в двух уровнях.

2.3. К аэродромным покрытиям предъявляются следующие основные требования:

прочность и долговечность;

ровность, износостойкость и шероховатость поверхности, создающие хорошее сцепление колес с покрытием;

беспыльность;

устойчивость при воздействии эксплуатационных и климатических факторов;

возможность использования местных строительных материалов при небольшой дальности их перевозки;

возможность механизированного выполнения всех процессов строительства, ремонта и круглогодичного содержания;

малые расходы на ремонт и содержание.

К сборным покрытиям следует также предъявлять ряд дополнительных требований:

простота изготовления плит покрытий в заводских условиях или на полигонах;

удобство транспортировки плит железнодорожным и автомобильным транспортом (габариты и масса плит);

технологичность сборки покрытия;

обеспечение прочности при монтаже и транспортировке плит;

надежное соединение плит друг с другом;

простота ремонта покрытия и ухода за ним в процессе эксплуатации.

Материалы для покрытий и искусственных оснований

2.4 (5.3). Для жестких аэродромных покрытий следует предусматривать тяжелый бетон, отвечающий требованиям ГОСТ 8424-72 "Бетон дорожный" и настоящего Руководства.

Проектное марки бетона должны соответствовать:

по прочности на растяжение при изгибе - Ри 35, Ри 40, Ри 45, Ри 50, Ри 55, Ри 60, Ри 65, Ри 70, Ри 75, Ри 80;

по прочности на сжатие - М600, М500, М400, М350, М300, М250;

по морозостойкости - Мрз 50, Мрз 75, Мрз 100, Мрз 150, Мрз 200.

При соответствующем технико-экономическом обосновании допускается применять мелкозернистый (песчаный) бетон.

Примечание. Марке бетона, по прочности на сжатие М 500 соответствует марке, по прочности на растяжение при изгибе не менее Ри 55, марке М 600 соответствует марка не менее Ри 65, марке М 700 не менее Ри 75.

2.5 (5.4). Проектные марки бетона по прочности необходимо принимать не ниже указанных в табл. 7 (20).

Морозостойкость бетона должна быть при расчетной среднемесячной температуре наружного воздуха наиболее холодного месяца:

для однослойного покрытия и верхнего слоя двухслойного покрытия

от 0 °С до -5 °С не менее Мрз 100,

от -5 °С до -15 °С не менее Мрз 150,

от - 15 °С не менее Мрз 200;

для нижнего слоя двухслойного покрытия

от 0 °С до -5 °С не менее Мрз 50,

от -5 °С до -15 °С не менее Мрз 75,

ниже -15 °С не менее Мрз 100.

Примечание. Расчетная среднемесячная температура наружного воздуха принимается в соответствии с главой СНиП по строительной климатологии и геофизике.

Таблица 7 (20)

Элементы аэродромных покрытий

Минимальные проектные марки бетона по прочности

на растяжение при изгибе

на сжатие

1

2

3

Однослойное покрытие:

 

 

монолитное и сборное железобетонное предварительно напряженное, армированное проволочной арматурой или арматурными канатами; монолитное железобетонное предварительно напряженное, армированное стержневой арматурой; бетонное, армобетонное и железобетонное с ненапрягаемой арматурой

Ри 50

М 400

сборное железобетонное предварительно напряженное, армированное стержневой арматурой

Ри 45

М 300

Верхний слой двухслойного покрытия

Ри 60

М 400

Нижний слой двухслойного покрытия и подшовные плиты

Ри 35

М 250

Примечания:

1. Для железобетонных покрытий с ненапрягаемой арматурой проектную марку бетона следует предусматривать только по прочности на сжатие и принимать не ниже М400.

2. Для покрытий, рассчитанных под V и VI категории нормативных нагрузок, допускается принимать проектные марки бетона не ниже Ри40 и М300.

3. Для анкеров монолитных предварительно напряженных железобетонных покрытий следует предусматривать бетон марки не ниже М300.

2.6 (5.5). Нормативные и расчетные характеристики тяжелого и мелкозернистого (песчаного) бетонов следует принимать по табл. 8 (21).

2.7. В проектах конструкций аэродромных покрытий должны быть указаны марка бетона по прочности на сжатие, растяжение при изгибе и морозостойкости.

2.8. При обосновании технико-экономической целесообразности использования конструкций из песчаного бетона расход материалов, для приготовления бетона следует принимать согласно "Инструкции по приготовлению мелкозернистых (песчаных) бетонов" (СН 488-76, М., Стройиздат, 1977).

Таблица 8 (21)

Характеристики бетона

Значения характеристик бетона (в кгс/см2) при проектной марке по прочности на растяжение при изгибе

Ри35

Ри40

Ри45

Ри50

Ри55

Ри60

Ри65

Ри70

Ри75

Ри80

Нормативное сопротивление растяжению при изгибе

35

40

45

50

55

60

65

70

75

80

Расчетное сопротивление растяжению при изгибе при расчете:

 

 

 

 

 

 

 

 

 

 

по прочности Rри

23

28

31

35

38

42

45

49

52

56

по образованию трещин Rти

-

-

38

42

45

50

54

58

52

66

Начальный модуль упругости Eσ:

 

 

 

 

 

 

 

 

 

 

тяжелого бетона

265000

290000

310000

330000

360000

360000

380000

380000

390000

390000

мелкозернистого (песчаного) бетона

220000

235000

250000

265000

-

-

-

-

-

-

2.9 (5.6). Вид и класс арматуры следует устанавливать в зависимости от типа покрытия и назначения арматуры.

В качестве напрягаемой арматуры следует преимущественно применять:

термически упрочненную арматурную сталь классов Ат-IV, Ат-V и Ат-VI, горячекатаную арматурную сталь классов А-V и А-IV - для плит сборных покрытий;

высокопрочную арматурную проволоку классов В-II и Вр-II, арматурные канаты класса К-7 - для монолитных покрытий.

В качестве ненапрягаемой арматуры следует применять обыкновенную арматурную проволоку классов Вр-I и B-I (в сварных сетках и каркасах), горячекатаную арматурную сталь периодического профиля класса А-II и А-III.

В качестве монтажной, распределительной и конструктивной арматуры, а также для элементов стыковых соединений следует применять горячекатаную арматурную гладкую сталь класса A-I и обыкновенную арматурную гладкую проволоку класса Вр-I.

Характеристики арматурных сталей следует принимать в соответствии с главой СНиП II-21-75 по проектированию бетонных и железобетонных конструкций.

2.10. Нормативные и расчетные сопротивления растяжению, а также модули упругости стержневой и проволочной арматуры, применяемой в аэродромных покрытиях, приведены в табл. 9.

Таблица 9

Вид и класс арматуры

Нормативные  и расчетные  сопротивления растяжению для предельных состояний второй группы, кгс/см2

Расчетные сопротивления арматуры для предельных состояний первой группы Rа, кгс/см2

Модуль упругости арматуры Еа, кгс/см2

1

2

3

4

Стержневая

 

 

 

A-I

2400

2300

2100000

A-II

3000

2850

2100000

А-III диаметром, мл

 

 

 

6-8

4000

3600

2000000

10-40

4000

3750

2000000

А-IV

6000

5200

2000000

Ат-IVс

6000

5200

1900000

А-V и Ат-V

8000

6950

1900000

В-II диаметром, мм

 

 

 

3

15200

12650

2000000

4

14400

12000

2000000

5

13600

11300

2000000

6

12800

10600

2000000

7

12000

10000

2000000

8

11200

9300

2000000

Вр-I диаметром, мм

 

 

 

3

4200

3850

1700000

4

4150

3750

1700000

5

4050

3700

1700000

Вр-II диаметром, мм

 

 

 

3

14400

12400

2000000

4

13600

11700

2000000

Вр-II диаметром, мм

 

 

 

5

12800

10700

2000000

6

12000

10000

2000000

7

11200

9300

2000000

8

10400

8700

2000000

Примечания:

1. Предельные состояния второй группы учитываются в расчетах армированных сечений по образованию трещин (преднапряженные железобетонные покрытия).

2. Предельные состояния первой группы учитываются в расчетах армированных сечений по прочности (обычные железобетонные покрытия).

2.11 (5.7). Якорные фундаменты следует предусматривать из бетона марок М200 и М250.

Для изготовления металлического анкера, заделываемого в бетон, и якорного кольца следует применять горячекатаную арматурную сталь класса A-I марки ВСтЗсп2, а также класса А-II марки 10ГТ, класса А-III марки 25Г2С и класса А-IV марки 20ХГ2Ц.

При расчетной температуре наружного воздуха наиболее холодной пятидневки ниже –40 °С применять арматуру класса A-I не допускается.

2.12 (5.8). В качестве материалов для заполнения деформационных швов жестких покрытий должны применяться полимерные герметики, укладываемые в холодном состоянии, резинобитумные вяжущие, битумно-полимерные мастики, укладываемые в горячем состоянии, или готовые эластичные прокладки, удовлетворяющие требованиям, предъявляемым к материалам для герметизации швов жестких покрытий.

2.13 (5.9). Асфальтобетонные покрытия необходимо предусматривать из асфальтобетонных смесей, отвечающих требованиям ГОСТ "Смеси асфальтобетонные дорожные, аэродромные и асфальтобетон. Технические требования" и удовлетворяющих прочностным характеристикам, приведенным в табл. 10 (22).

Таблица 10 (22)

Асфальтобетонные смеси для нежестких покрытий

Модуль упругости Еа (в кгс/см2) при температуре асфальтобетона, °С

Сопротивление растяжению при изгибе R (в кгс/см2) при расчетной температуре асфальтобетона, °С

+10

+20

+30

+10

+20

+30

Плотные:

 

 

 

 

 

 

горячие и теплые марок:

 

 

 

 

 

 

I

15000

10000

7000

28/24

25/21

21/18

II

12000

8000

5000

22/19

20/17

17/14,5

III

9000

6000

4000

21/18

19/16

16/13,5

IV

6000

4000

3000

13/11

12/10

10/8,5

холодные марок:

 

 

 

 

 

 

I

7000

4500

3000

15/13

13,5/0,5

11/9,5

II

5500

3500

2500

12/10

11/9,5

9/7,5

Пористые:

 

 

 

 

 

 

горячие и теплые

9000

6000

4000

17/14,5

15/13

13/11

холодные

4500

3000

2891

10,5/9

9,5/8

8/7

Примечания:

1. В числителе указаны значения сопротивления асфальтобетона растяжению при изгибе при среднесуточном числе приложений колесных нагрузок главных опор по одному следу до 50, в знаменателе - свыше 50.

2. Под расчетной температурой асфальтобетона следует понимать максимальную температуру покрытия в период года, когда несущая способность грунтового основания наименьшая. При отсутствии данных непосредственных наблюдений за температурой покрытия в указанный период расчетную температуру асфальтобетона допускается принимать во II дорожно-климатической зоне +10 °С, в III зоне +15 °С, в IV зоне +20 °С, в V зоне +30 °С.

3. Под проходами понимают число приложений колесных нагрузок главных опор по одному следу, определяемое в соответствии с п. 3.60.

2.14 (5.38). Верхние слои асфальтобетонного покрытия следует предусматривать из плотных асфальтобетонных смесей, нижние слои - из плотных или пористых асфальтобетонных смесей.

Вид, марку и тип асфальтобетонных смесей для верхних слоев покрытия, а также соответствующую марку битума следует принимать по ГОСТ 9128-76 в зависимости от категории нормативной нагрузки, элементов аэродрома (вертодрома) и дорожно-климатической зоны по табл. 11.

Таблица 11

Категории нормативной нагрузки

Дорожно-климатические зоны

Вид смесей

Марки и типы асфальтобетонных смесей для верхнего слоя покрытия

ВПП, магистральные РД

Остальные участки

1

2

3

4

5

I-II

I

горячие

I А,Б

I,II А,Б,Г

теплые

I А,Б

I,II А,Б,Г

II-V

горячие

I А,Б

I,II А,Б,Г

III

I

горячие

I А,Б,Г

1,II А,Б,В,Г

теплые

I А,Б,Г

I,II А,Б,В,Г

II-V

горячие

I А,Б,Г

I,II А,Б,В,Г

IV

I

горячие

I,II, А,Б,В,Г

II A,Б,В,Г

теплые

I,II, А,Б,В,Г

III Б,В

II-III

горячие

I,II, А,Б,В,Г

II А,Б,В,Г,III Б,В

теплые

не применяют

II А,Б,В,Г

IV-V

горячие

I А,Б,В,Г,II А,Б,Г

II А,Б,В,Г,III Б,В

теплые

не применяют

II А,Б,В,Г

V

I

горячие

II А,Б,В,Г,III,Б,В

III Б,В,Д

теплые

III А,Б,В,Г

III Б,В

II-III

горячие

II А,Б,В,Г,III Б,В

III Б,В,Д

теплые

II А,Б,В,Г

II Б,В

холодные

не применяют

I Бх,Вх,Дх

IV-V

горячие

II А,Б,В,Г,III Б,В

III Б,В

теплые

II А,Б,В,Г

II В,III Б,В

холодные

не применяют

I Бх,Вх,Дх

VI

I

горячие

III Б,В

IV Б,В,Д

теплые

III Б,В

IV Б,В,Д

II-III

горячие

III Б,В

IV Б,В,Д

теплые

III Б,В

IV Б,В,Д

холодные

не применяют

I,II Бх,Вx,Дх

IV-V

горячие

III Б,В

IV Б,В,Д

теплые

II Б,Ш Б,В

IV Б,В,Д

холодные

не применяют

I,II Бх,Вх,Дх

Примечание. Выбор соответствующей марки битума следует производить в соответствии с указаниями ГОСТ "Смеси асфальтобетонные дорожные, аэродромные и асфальтобетон. Технические условия".

2.15. Рекомендуемые марки смесей из плотного крупно и среднезернистого, а также пористого асфальтобетона для нижнего слоя покрытия приведены в табл. 12.

Таблица 12

Категории нормативной нагрузки

Дорожно-климатические зоны

Марки асфальтобетона для нижнего слоя покрытия

ВПП, магистральные РД

Остальные участки покрытия

I-II

I

I, II

I, II, III, IV

II-III

II, III

II, III, IV

IV-V

II, III

III, IV

III-IV

I

II, III

III, IV

II-III

II, III

III, IV

IV-V

III, IV

III, IV

V-VI

I

III, IV

III, IV

II-III

III, IV

III, IV

IV-V

IV

IV

Примечания:

1. При строительстве покрытий без прекращения полетов, а также при усилении действующих покрытий применяются только плотные асфальтобетонные смеси.

2. В нижнем слое покрытия предел прочности щебня на раздавливание в цилиндре должен быть не менее 600.

2.16 (5.10). Для искусственных оснований жестких монолитных и сборных покрытий и термоизоляционных слоев следует применять мелкозернистый (песчаный) бетон, керамзитобетон и шлакобетон (с заполнителем из металлургического шлака), а также щебень, гравий, песчано-гравийные, грунтогравийные и грунтощебеночные смеси и другие местные материалы, и грунты, обработанные и не обработанные вяжущими материалами.

При благоприятных гидрогеологических и климатических условиях (I тип местности) допускается применять в основании пески хорошего качества (гравелистые, крупные и средней крупности).

2.17 (5.10). Для верхних слоев искусственных оснований под асфальтобетонные покрытия должны применяться щебеночные и гравийные материалы, обработанные и не обработанные вяжущими материалами, а для нижних слоев - грунты и малопрочные каменные материалы, обработанные вяжущими.

2.18. К нижним слоям искусственных оснований покрытий в зависимости от климатических и гидрогеологических условий местности предъявляются дополнительные требования.

В районах, относящихся ко 2 и 3 типам местности, нижние слои оснований рекомендуется устраивать из фильтрующих материалов (песок, гравий, гравийно-песчаная смесь, шлак и др.), способствующих быстрому осушению конструкции.

В районах, относящихся к I типу местности, где основной источник увлажнения - конденсация парообразной влаги; целесообразно в нижние слои основания укладывать полиэтиленовые пленки, пергамин, песчано-битумный коврик, или капилляропрерывающие прослойки из крупнопористых материалов.

2.19 (5.10). Нормативные и расчетные значения прочностных характеристик материалов, применяемых для устройства искусственных оснований жестких и нежестких покрытий, следует принимать по табл. 13-16 (23-26).

Морозостойкость искусственных оснований из бетона должна быть при расчетной среднемесячной температуре наружного воздуха наиболее холодного месяца: от -5 °С не менее Мрз25, ниже -5 °С не менее Мрз50.

2.20. В проектах конструкций аэродромных покрытий должны быть приведены прочностные характеристики песко- и грунтоцементов и даны указания о контроле этих показателей в процессе производства работ.

Таблица 13 (23)

Бетон конструктивных слоев искусственных оснований для жестких покрытий

Проектная марка бетона по прочности на растяжение при изгибе

Расчетное сопротивление растяжению при изгибе Rри, кгс/см2

Начальный модуль упругости Еσ кгс/см2

Керамзитобетон

Ри20

12

120000

Ри25

15

130000

Ри30

18

140000

Ри35

21

150000

Мелкозернистый (песчаный) бетон

Ри20

12

140000

Ри25

15

170000

Ри30

18

200000

Шлакобетон

Ри20

12

95000

Таблица 14 (24)

Материал конструктивных слоев искусственных оснований для жестких покрытий

Прочностные характеристики пескоцемента и грунтоцементов (кгс/см2) при содержании цемента марки 400, % от массы песка (грунта) оптимальной влажности

10

12

16

 

Модуль упругости Е

Пескоцемент

29000

40000

60000

Грунтоцемент, приготовленный с использованием:

 

 

 

оптимальных грунтовых смесей

39000

40000

60000

супесчаных и суглинистых грунтов

15000

22000

37000

пылеватых супесей, и суглинков

9000

14000

19000

 

Расчетное сопротивление растяжению при изгибе Rри

Пескоцемент

6

8

10

Грунтоцемент

5

6

8

Примечания:

1. Значения модулей упругости и расчетных сопротивлений растяжению при изгибе приведены для материалов, получаемых способом перемешивания на месте.

Для материалов, получаемых путем смешения в установке, приведенные значения Е и Rри следует повышать на 30 %; при укреплении грунта цементом марки 300 расчетные значения Е и Rри следует понижать на 25 %.

2. Для искусственных оснований нежестких покрытий значения модуля упругости следует умножать для грунтоцемента, изготовленного из оптимальных грунтовых смесей и пескоцемента, на коэффициент 0,16, для остальных грунтоцементов - на 0,24.

3. При расчете нежестких покрытий модули упругости грунтов, обработанных известью, золами уноса, битумными эмульсиями и другими вяжущими материалами, должны приниматься в соответствии с "Инструкцией по применению грунтов, укрепленных вяжущими материалами, для устройства оснований и покрытий автомобильных дорог и аэродромов".

Таблица 15 (25)

Материал конструктивных слоев искусственных оснований для жестких и нежестких покрытий

Модуль упругости Е, кгс/см2

1

2

Щебень из природного камня, уложенный по принципу расклинцовки, с пределом прочности при сжатии исходного скального грунта (кгс/см2) не менее:

 

1000

 

4500

800

 

3500

600

 

3000

Нефракционированный щебень и гравий с пределом прочности при сжатии не ниже 600 кгс/см2, содержащие частницы, %:

 

крупнее 2 мм

мельче 0,05мм

 

более 85

до 3

2600-2900

-"- 70

-"- 7

2000-2300

-"- 60

-"- 10

1700-2000

-"- 50

-"- 12

1500-1700

Щебень, обработанный вязким битумом или дегтем смешением в установке, с пределом прочности при сжатии, кгс/см2:

 

800-1000

 

6000-9000

600-800

 

5000-6000

300-600

 

3000-5000

Щебень, обработанный вязким битумом способом прописки на толщину 6,5-8 см

5000-6000

Песок:

 

гравелистый

1400-1500

крупный

1300

средней крупности

1200

Кислые металлургические шлаки, уложенные по принципу расклинцовки

4000-4500

Основные металлургические шлаки гранулометрического состава:

 

подобранного

3500-4000

неподобранного

2500-3000

Дресва:

 

из изверженных горных пород

1300-1500

из осадочных известняков и мелкий ракушечник

800-1000

Малопрочные песчаники

1100-1200

Примечание. Меньшие значения модуля упругости материалов указаны для II дорожно-климатической зоны, большие - для IV и V зон. Для III дорожно-климатической зоны следует принимать промежуточные значения модуля упругости.

Таблица 16 (26)

Гранулометрический состав материалов конструктивных слоев искусственных оснований для жестких и нежестких покрытий

Модуль упругости Е, кгс/см3

Грунтогравийные смеси для дорожно-климатических зон

Грунтощебеночные смеси для дорожно-климатических зон

II

III

IV,V

II

III

IV, V

1

2

3

4

5

6

7

Крупнозернистые (масса частиц крупнее 10 мм составляет более 50%)

2800

7500

2800

7500

3000

7500

3000

8000

3000

8000

3500

8000

Среднезернистые (масса частиц крупнее 2 мм составляет более 50 %)

2100

6500

2500

6500

2800

6500

2500

7500

2800

7500

3000

7500

Мелкозернистые (масса частиц крупнее 2 мм составляет 25-50 %)

1500

4500

1800

5000

2100

5500

1800

5000

2100

5500

2500

6000

Примечание. Над чертой приведены значения модулей упругости необработанных материалов, под чертой материалов, обработанных битумом.

2.21. Расчетные характеристики материалов для нежестких покрытий при отсутствии данных испытаний рекомендуется принимать по табл. 17 и 18.

Таблица 17

№ п/п

Материал конструктивного слоя нежесткого покрытия, обработанного органическими вяжущими

Модуль упругости Е, кгс/см2

Недельное сопротивление растяжению при изгибе Rpи, кгс/см2

Примечание

1

2

3

4

5

1

Подобранные смеси из щебеночных материалов, обработанных вязким битумом или дегтем по способу пропитки для щебня с пределом прочности не менее, кгс/см2

 

 

Большие значения модулей соответствуют битуму марки БНД 90/130 или каменноугольному дегтю Д-7, ДС-7

800

5000-6000

10,5-12

600

4000-5000

9-10,5

2

Щебеночные или гравийные смеси, обработанные жидким битумом, дегтем или битумной эмульсией: смешением на месте

2500-3000

 

Меньшие значения принимаются при обработке гравийных смесей

3

То же в установке

3000-5000

 

4

Малопрочные местные каменные материалы, в том числе отходы камнедробления в смеси с песком или супесью, обработанные битумом или дегтем

2000-3500

3-5

Большие значения при смешении в установке

5

Малопрочные местные каменные материалы, в том числе отходы камнедробления, в смеси с песком или супесью, укрепленные портландцементом

3000-4500

4-5

 

6

Грунты оптимального зернового состава, обработанные жидкими органическими вяжущими, в количестве, %

 

 

При смешении в установке модули упругости могут быть повышены на 20 %

6

1800

-

То же

8

2500

-

-"-

7

Супесчаные непылеватые грунты, обработанные органическими вяжущими в количестве, %

 

 

 

8

1800

-

-"-

10

2200

-

-"-

8

Суглинистые грунты, обработанные органическими вяжущими в количестве, %:

 

 

При смешении в установке модули упругости могут быть повышены на 20 %

10

1500

-

12

1800

-

Примечание. Расчетные характеристики материалов в п.п. 2-7 таблицы даны при введении в смесь добавок активных и поверхностно-активных веществ; значения расчетных характеристик материалов без этих добавок снижаются на 20 %.

Таблица 18

Материал конструктивного слоя нежесткого покрытия, обработанного неорганическими вяжущими

Модуль упругости Е, кгс/см2

Предельное сопротивление растяжению при изгибе Rри, кгс/см2

1

2

3

Подобранные щебеночные и гравийные материалы оптимального состава с пределом прочности не менее 600 кгс/см2, укрепленные портландцементом, в количестве, %:

 

 

4

4000

3

6

6000

4,5,

8

8000

5,5

Гравийно-песчаные смеси либо дресва изверженных горных пород, укрепленные портландцементом, в количестве, %:

 

 

4

1800

1,6

6

3000

3,0

8

4000

3,5

10

5000

4,5

Грунты, укрепленные портландцементом» количестве, %:

 

 

суглинки, супеси пылеватые:

 

 

8

2000

2,0

легкие супеси, пески мелкие (кроме одномерных) и пылеватые:

 

 

6

1800

1,6

8

2800

3,0

пески гравелистые, крупные и среднезернистые:

 

 

6

3000

3,0

8

4000

3,5

Грунты оптимального зернового состава, укрепленные портландцементом в количестве, %:

 

 

6

2000

1,6

8

3000

3,0

Примечания:

1. При интенсивности 20 и менее проходов в сутки значения Rри умножаются на коэффициент 1,1.

2. Значения модулей упругости и Rри для грунтов, обработанных портландцементом, при содержании цемента 10 % и более от массы грунта, приведены в табл. 14.

3. КОНСТРУИРОВАНИЕ И РАСЧЕТ АЭРОДРОМНЫХ ПОКРЫТИЙ И ИСКУССТВЕННЫХ ОСНОВАНИЙ

3.1. Конструкцию покрытий и оснований следует выбирать на основе технико-экономического сопоставления вариантов с учетом:

классов аэродромов или вертодромов, их назначения и категорий нормативной нагрузки [табл. 19 (37) и 20 (38)];

климатических, гидрогеологических и грунтовых условий районов строительства;

предполагаемой интенсивности эксплуатации (количества взлетно-посадочных операций по типам воздушных судов за весь срок службы);

концентрации и направленности движения и особенностей воздействия на покрытие воздушных судов;

местных строительных материалов и заводов-изготовителей типовых аэродромных плит;

особенностей воздействия на покрытие газовых струй от двигателей воздушных судов.

Таблица 19 (37)

Категории нормативной нагрузки для аэродромов

Величина нормативной нагрузки  на условную опору, тс

Внутреннее давление воздуха в пневматиках колес q, кгс/см2

Тип основной опоры

В/к

85

10

Четырехколесная

I

70

10

II

55

10

III

40

10

IV

30

10

V

8

6

Одноколесная

VI

5

4

Примечания:

1. Расстояния между пневматиками условной четырехколесной опоры принят равными между сметными колесами 70 см и рядами колес 130 см.

2. Нормативны нагрузки III и VI категорий допускается устанавливать одноколесными, равными соответственно 17 и 12 тс, а давление в пневматиках для V и VI категорий нагрузки - равным 8 кгс/см2.

Таблица 20 (38)

Весовые категории вертолетов

Величина нормативной нагрузки  на основную опору, тс

Внутреннее давление воздуха в пневматиках колес q, кгс/см2

Тяжелые

17

7

Средние

6

6

Легкие

2

4

Примечание. Основная опора относится к одноколесному типу

3.2 (5.11). Типы аэродромных покрытий в зависимости от категории нормативной нагрузки (для аэродромов) или весовой категории вертолетов (для вертодромов) следует выбирать в соответствия с табл. 21 (27).

При этом необходимо учитывать следующие особенности применения различных типов конструкций покрытий.

Двухслойные покрытия с верхним слоем из бетона или армобетона и нижним слоем из цементобетона следует применять для В/к-II категории нормативных нагрузок (КНН), а с нижним слоем из песчаного бетона, керамзитобетона и шлакобетона - для II и III КНН.

Сборные покрытия из предварительно-напряженных железобетонных типовых плит ПАГ-18 рекомендуется применять для аэродромов под II и III КНН и для вертодромов, на которых эксплуатируются тяжелые вертолеты, а сборные покрытия из плит ПАГ-ХIV - для аэродромов под III-V КНН и для вертодромов, предназначенных для эксплуатации тяжелых и средних вертолетов.

При соответствующем технико-экономическом обосновании допускается применение сборных покрытий из предварительно напряженных дорожных плит ПДГ-2-6с и ПДГ-1,5-6с для аэродромов под V и VI КНН и для вертодромов, на которых эксплуатируются средние и легкие вертолеты.

Асфальтобетонные покрытия на основаниях из песко- и грунтоцемента и щебня, обработанного органическими вяжущими целесообразно применять для аэродромов под II и III КНН и вертодромов, на которых эксплуатируются тяжелые вертолеты, а на щебеночном основание для аэродромов под IV-VI КНН и вертодромов, на которых эксплуатируются, средние и легкие вертолеты.

При усилении существующих жестких покрытий асфальтобетон допускается применять под В/к и I КНН.

Облегченные покрытия из прочных щебеночных материалов подобранного состава, обработанных органическими вяжущими материалами, допускается применять: для аэродромов под IV-V КНН и для вертодромов, на которых эксплуатируются средние вертолеты.

Покрытия переходного типа из щебеночных и гравийных материалов c обработкой вяжущими материалами, а также покрытия из грунтов и местных (малопрочных) минеральных материалов, обработанных органическими и неорганическими вяжущими допускается применять для аэродромов под VI КНН и для вертодромов, на которых эксплуатируются легкие вертолеты.

Таблица 21 (27)

Типы аэродромных покрытий

Область применения покрытий различных типов

для аэродромов е зависимости от категорий нормативных нагрузок

для вертодромов в зависимости от весовой категории вертолетов

В/к

I

II

III

IV

V

VI

тяжелые

средние

легкие

Монолитные железобетонные предварительно-напряженные и с ненапрягаемой арматурой; двухслойные с верхним слоем из бетона или армобетона

+

+

+

-

-

-

-

-

-

-

Армобетонные однослойные

+

+

+

+

-

-

-

+

-

-

Бетонные однослойные

+

+

+

+

+

-

-

+

+

-

Сборные из предварительно-напряженных железобетонных плит

-

-

+

+

+

-

-

+

+

-

Асфальтобетонные

-

-

+

+

+

+

+

+

+

+

Облегченные и переходные

-

-

-

-

+

+

+

-

+

+

Примечания:

1. Знак "плюс" означает целесообразность, а знак "минус" - нецелесообразность применения конструкции покрытия данного типа.

2. Сборные покрытия из железобетонных предварительно-напряженных плит следует преимущественно применять: на участках, подверженных неравномерному пучению или просадкам; при реконструкции аэродромов; при необходимости строительства покрытий в сжатые сроки; на участках, где не могут быть эффективно использованы бетоноукладочные машины; при строительстве покрытий при отрицательных температурах наружного воздуха.

Сборные покрытия из предварительно-напряженных железобетонных дорожных плит типа ПДГ-2-6с и ПДГ-1,5-6с толщиной 14 см допускается применять при соответствующем технико-экономическом обосновании на участках группы Г взлетно-посадочных полос аэродромов под IV категорию нормативной нагрузки.

3. При соответствующем технико-экономическом обосновании допускается применять монолитные железобетонные покрытия - для III категории нормативной нагрузки на участках с пучинистыми и просадочными грунтами; монолитные бетонные однослойные покрытия - для V и VI категорий нормативных нагрузок; асфальтобетонные покрытия - для I категории нормативной нагрузки.

3.3 (6.12). Аэродромные покрытия следует проектировать для аэродромов (вертодромов), располагаемых на участках местности 1 и 2 типов всех дорожно-климатических зон.

При необходимости строительства аэродромных покрытий на участках местности 3 типа следует предусматривать соответствующие инженерные мероприятия (осушение, понижение уровня грунтовых вод, возведение насыпей и др.) для приведения имеющихся гидрогеологических условий к условиям местности 2 типа.

Рис. 2. Схема деления покрытий аэродрома на группы участков:

А - магистральные РД концевые участки ИВПП;

Б - участки, примыкающие к концевым участкам ИВПП, вспомогательные и соединительные РД, МС, перроны и другие аналогичные площадки для стоянки самолетов;

В - средняя часть ИВПП;

Г - краевые участки в средней части ИВПП.

3.4 (5.13). Покрытия аэродромов по степени воздействия нагрузок воздушных судов и несущей способности следует подразделять на группы участков в соответствии с рис.2. Приведенную схему, допускается уточнять в зависимости от назначения и ведомственной принадлежности аэродрома.

Конструирование покрытий и оснований

Жесткие аэродромные покрытия

3.5 (5.14). Требуемые толщины конструктивных слоев жестких покрытий следует определять путем расчета в соответствии с установленной категорией нормативной нагрузки и принимать не менее для конструктивных слоев из предварительно-напряженного железобетона - 14 см; из предварительно-напряженного железобетона с двухосным обжатием при укладке поперечной арматуры в каналах 18 см; из железобетона с ненапрягаемой арматурой, армобетона и бетона - 16 см.

Примечание. Для двухслойных покрытий и при усилении покрытий бетоном или армобетоном минимальную толщину слоя следует принимать не менее 20 см.

3.6 (5.15). Максимальную толщину однослойных жестких покрытий следует назначать, исходя из технической возможности бетоноукладочных комплектов и принятой технологии строительства.

В случаях, когда по расчету требуется толщина покрытия больше допустимой, следует проектировать двухслойные покрытия. Двухслойные покрытия, кроме того, следует предусматривать при наличии местных строительных материалов, непригодных для верхнего, но допускаемых для нижнего слоя покрытия.

3.7 (5.16). Для двухслойных жестких покрытий необходимо предусматривать разделительную прослойку между слоями, в качестве которой следует использовать пергамин и другие рулонные материалы, а также пленки из полимерных материалов, уложенные в два слоя.

3.8 (5.17). Для монолитных предварительно-напряженных железобетонных покрытий следует предусматривать обжатие бетона в продольном направлении (одноосное обжатие) или в продольном и поперечном направлениях (двухосное обжатие).

3.9 (5.18). Площадь напрягаемой арматуры в сечении плиты необходимо определять путем расчета; при этом величина предварительного напряжения в бетоне должна быть не менее 20 кгс/см2 в продольном направлении и не менее 110 кгс/см2 - в поперечном.

3.10 (5.19). Продольную напрягаемую арматуру следует размещать в один или два ряда; при этом расстояние в плане между группами проволок или арматурными канатами должно быть не менее 8 см.

3.11 (5.20). Поперечную напрягаемую арматуру следует размещать в один ряд. Поперечную ненапрягаемую арматуру в покрытиях с одноосным обжатием следует располагать в два ряда при шаге не более 30 см.

3.12 (5.21). Для временного восприятия усилий от продольной арматуры, напрягаемой до бетонирования покрытия и набора бетоном необходимой прочности, в конце и начале каждой захватки (через 500-700 м) следует устанавливать анкеры.

Размеры технологических разрывов в местах расположения анкеров необходимо назначать с учетом размеров анкерных упоров и габаритов оборудования, применяемого для натяжения арматуры. В пределах технологических разрывов следует предусматривать устройство армобетонного или железобетонного покрытия расчетной толщины.

3.13 (5.22). Толщина защитного слоя в монолитных железобетонных покрытиях должна быть не менее 40 мм для верхней арматуры и 30 мм - для нижней.

3.14 (5.23). Армобетонные покрытия при толщине плит до 30 см следует армировать сетками из стержневой арматуры диаметром 10-14 мм, а при толщине плиты более 30 см - из арматуры диаметром 14-18 мм. Сетки следует располагать на расстоянии от поверхности, равном 1/3-1/2 толщины плиты.

Продольное армирование плит (степень насыщения бетона арматурой) следует принимать в пределах 0,10-0,15 %, а шаг стержней - в пределах 15-40 см.

Поперечное армирование конструктивное. Расстояние между поперечными стержнями следует принимать: 40 см при толщине плиты до 22 см, 50 см при большей толщине плит.

Квадратные армобетонные плиты армируются одинаково в продольном и поперечном направлениях с минимальным процентом армирования.

Поперечные и продольные стержни арматурной сетки следует принимать одного диаметра.

3.15 (5.24). Для армирования железобетонных покрытий с ненапрягаемой арматурой надлежит применять арматуру диаметром 12-18 мм в виде сварных каркасов. Необходимую площадь сечения арматуры следует определять расчетом; при этом процент армирования должен быть не менее 0,25. Арматуру необходимо размещать в продольном и поперечном направлениях в верхней и нижней зонах сечения плиты в соответствии с эпюрой изгибающих моментов.

Расстояние между стержнями в зависимости от требуемой площади арматуры и принятого диаметра стержней следует принимать в пределах 10-30 см.

При конструировании железобетонных покрытий рекомендуется пользоваться данными, представленными на рисунке и в табл. 1 приложения 7, где приведены значения μа для нижней и верхней зон плиты в зависимости от наличия стыкового соединения, а также табл. 2 приложения 7, где указан шаг армирования в железобетонных сечениях плит различной толщины в зависимости от значений μа.

3.16 (5.25). Участки обочин, примыкающие к покрытиям ИВПП, РД, МС и перронов и подвергающиеся воздействию газовых и воздушных струй от двигателей воздушных судов, а также возможным нагрузкам от аэродромных, транспортных и эксплуатационных средств, следует укреплять покрытиями, виды и область применения которых приведены в табл. 22 (28).

3.17 (5.26). Толщину покрытий для укрепления обочин следует принимать равной минимально допускаемой для материала данного конструктивного слоя.

При необходимости обеспечения систематического проезда по укрепленным участкам обочин аэродромных, транспортных и эксплуатационных средств толщину покрытия обочин следует определять путем расчета.

Толщину асфальтобетонных слоев покрытии укрепленных обочин при эксплуатации воздушных судов типа Ил-86 слезет принимать равной 10 см, если обеспечивается сцепление покрытия с основанием не менее 0,015 кгс/см2, которое достигается обработкой поверхности основания разжиженным или жидким битумом марок СГ130/200, МГ70/130, битумной эмульсией или дегтем.

Толщину покрытий укрепляемых участков, примыкающих к торцам ИВПП, необходимо рассчитывать как для участков группы Г (см. рис. 2).

Таблица 22 (28)

Покрытие

Область применения покрытий для участков, примыкающих к торцам ИВПП при категориях нормативной нагрузки

Область применения покрытий для укрепляемых обочин РД, МС и перронов, а также отмосток ИВПП при категориях нормативной нагрузки

В/к

I

II

III

IV

V

В/к

I

II

III

IV

V

Монолитное бетонное, сборное из железобетонных плит

+

+

+

-

-

-

-

-

-

-

-

-

Асфальтобетонное из среднезернистых смесей

+

+

+

+

+

-

+

+

+

+

-

-

Из каменных материалов, обработанных вяжущими

-

-

-

+

+

+

-

-

-

+

+

+

Из местных грунтов, обработанных вяжущими

-

-

-

+

+

+

-

-

-

-

+

+

Примечания:

1. Знак "плюс" означает целесообразность, а знак "минус" - нецелесообразность применения конструкции покрытия данного типа.

2. При соответствующем технико-экономическом обосновании для укрепления обочин РД при В/к, I и II категориях нормативных нагрузок, допускается применение монолитных бетонных покрытий.

3.18 (5.27). Между плитами и искусственным основанием жестких монолитных покрытий следует предусматривать разделительные прослойки из битуминизированной бумаги, пергамина, пленочных полимерных материалов.

При устройстве, сборных покрытий из предварительно-напряженных железобетонных плит, укладываемых на основания всех типов, кроме песчаных, следует предусматривать выравнивающую прослойку из сухой пескоцементной смеси толщиной 2-4 см. Разделительная прослойка в этом случае не предусматривается.

При устройстве выравнивающей прослойки из сухой пескоцементной смеси в основаниях под сборные покрытия расход цемента должен приниматься равным 250 кг на 1 кг песка при оптимальной влажности смеси.

3.19. Для создания более благоприятных условий для движения самолета по покрытию плиты должны укладываться длинной стороной вдоль основного направления движения самолетов.

3.20. Швы между плитами в сборных покрытиях заполняются мастиками стандартного состава. Для экономии мастик допускается нижнюю часть всех швов, кроме деформационных, на высоту около 2/3 толщины плиты заполнять пескоцементной смесью, а верхнюю - мастикой.

Нижняя часть окон в местах расположения совмещенных (стыковых и монтажных) скоб на 1/2 толщины плиты заполняется мелким щебнем с пропиткой его битумом или мелкозернистым асфальтобетоном, а верхняя - битумной мастикой.

3.21 (5.28). При проектировании искусственных оснований из крупнозернистых материалов, укладываемых непосредственно на глинистый, суглинистый и пылеватый грунт, должна быть предусмотрена противозаиливающая изолирующая прослойка из песка, шлака, обработанного вяжущими естественного грунта и других материалов, не переходящих в пластическое состояние при увлажнении, которая исключала бы возможность проникания грунта основания при его увлажнении в слой крупнопористого материала.

Толщина изолирующей прослойки должна быть не менее размера наиболее крупных частиц используемого материала, но не менее 5 см.

3.22 (5.29). Для местности 2 типа, когда грунтами естественного основания являются глины, суглинки, суглинки и супеси пылеватые, в конструкциях искусственных оснований следует предусматривать дренирующие слои из песков крупной и средней крупности с коэффициентом фильтрации не менее 7 м/сут. и толщиной в соответствии с табл. 23 (29).

Таблица 23 (29)

Грунты естественного основания

Минимальная толщина (в см) дренирующего слоя для дорожно-климатических зон

II

III

IV

Глина, суглинок

25

35

25

30

15

15

Суглинок и супесь пылеватые

35

50

30

40

15

20

Примечание. В числителе указана толщина слоя, которую следует принимать для районов, расположенных в южной части дорожно-климатической зоны, в знаменателе - толщина слоя для северной части зоны.

Деформационные швы в жестких аэродромных покрытиях

3.23 (5.30). Жесткие аэродромные покрытия следует расчленять, на отдельные плиты деформационными швами. Размеры плит должны устанавливаться в зависимости от местных климатических условий и в соответствии с намечаемой технологией производства, строительных работ.

3.24. (5.31). Расстояния между поперечными деформационными швами не должны превышать для покрытий:

бетонных толщиной менее 30 см

5 м;

то же, толщиной 30 см и более

7,5 м;

железобетонных монолитных

20 м;

армобетонных при годовой амплитуде среднесуточных температур:

45-65 °С

10 м;

менее 45 °С

15 м;

сборных из железобетонных предварительно-напряженных плит при годовой амплитуде среднемесячных температур:

более 45 до 65 °С

12 м;

30-45 °С

18 м;

менее 30 °С

24 м.

Длины плит армобетонных покрытий в конкретных климатических условиях рекомендуется определять в соответствии с п.п. 3.67-3.68.

Для аэродромов, расположенных в районах со сложными инженерно-геологическими условиями (наличие вечномерзлых, пучинистых, просадочных, набухающих, засоленных и торфяных грунтов) длины армобетонных и железобетонных плит следует принимать не более 10 м.

Совмещение поперечных швов в смежных полосах покрытия следует предусматривать вне зависимости от, длины плит.

При проектировании двухслойных покрытий без совмещения швов верхнего и нижнего слоев их взаимное; смещение должно быть не менее 1,5 м. В неблагоприятных гидрогеологических условиях, как правило, следует совмещать деформационные швы верхнего слоя со швами нижнего слоя.

Примечание. Годовую амплитуду среднесуточных температур следует вычислять как разницу средних температур воздуха наиболее жаркого и наиболее холодного месяцев года, определяемых в соответствии с главой СНиП по строительной климатологии и геофизике.

3.25 (5.32) Длина плит нижнего бетонного елся двухслойных жестких покрытий должна быть не более 10 м.

При разрыве во времени между укладкой верхнего и нижнего слоев покрытий, превышающем строительный сезон, размеры плит нижнего слоя следует принимать как для однослойных покрытий.

3.26 (5.33). Продольные деформационные швы монолитных покрытий всех, типов кроме бетонных, следует, совмещать с технологическими швами.

В бетонных покрытиях толщиной менее 30 см расстояние между продольными деформационными швами должно быть 3,5-5 м.

Продольные деформационные швы в сборных покрытиях предусматривать не следует.

Примечание. К технологическим швам относятся швы, устройство которых обусловливается шириной захвата бетоноукладочных машин и возможными перерывами в строительном процессе.

3.27 (5.34). Во всех деформационных швах необходимо предусматривать соединения в виде штырей или шпунта. Параметры штыревых соединений приведены в табл. 24 (30).

Таблица 24 (30)

Толщина плит жесткого покрытия, см

Диаметр штырей, мм

Длина штырей, см

Расстояние в сквозных швах между штырями (шаг), см

Расстояние в ложных швах между штырями (шаг), см

прямых

изогнутых

прямых

изогнутых

прямыми

изогнутыми

прямыми

изогнутыми

20 и менее

22

12

40

42

30

50

45

50

22-30

22

14

50

46

25

50

35

50

32-40

22

16

60

50

20

50

30

50

Вместо устройства стыковых соединений допускается предусматривать усиление краевых участков плит армированием или утолщением.

Армирование краевых участков бетонных и армобетонных плит покрытий следует производить согласно табл. 25 (31). Необходимую площадь арматуры для краевых участков железобетонных плит с ненапрягаемой арматурой следует определять путем расчета в соответствии с величинами изгибающих моментов.

Ширину зоны усиления краевых участков плит следует принимать равной 0,8, где - упругая характеристика плиты, определяемая согласно п. 3.51 (5.53).

Примечания:

1. Продольные швы в монолитных железобетонных предварительно-напряженных покрытиях с двухосным обжатием устраиваются без стыковых соединений и усиления краевых участков.

2. Для двухслойных жестких покрытий ширину зоны усиления краевых участков верхней плиты следует определять в зависимости от ее упругой характеристики, условно принимая, что плита лежит на грунтовом основании.

3. Допускается уменьшать диаметр арматурных стержней до 12 мм при одновременном увеличении их количества сохраняя общую площадь сечения арматуры и минимальное расстояние между стержнями 10 см.

Рис. 3. Схема конструкций деформационных швов:

1 - плита покрытия; 2 - деревянная прокладка; 3 - герметизирующий материал; 4 - штырь (обмазка битумом на 2/3 длины); 5 - подшовная плита; 6 - деревянная пробка диаметром 10-15 см; 7 - деревянная прокладка, устанавливаемая при невозможности нарезки паза до проектной глубины (1/4) при толщине плиты более 30 см; 8 - рабочая арматура; 9 - распределительная арматура; 10 - грань плиты, обмазанная битумной мастикой; 11 - изогнутые штыри; 12 - стойка; 13 - анкер диаметром 12-14 мм с обмазкой разжиженным битумом; 14 - монтажные стержни; 15 - армобетонная плита

Таблица 25 (31)

Толщина плит жесткого покрытия, см

Количество стержней арматуры класса А-II в верхней и нижней зонах сечения плит в швах

сквозных

ложных

16-22

4Ø12

3Ø12

24-26

5Ø12

4Ø12

28-30

5Ø14

4Ø14

32-40

5Ø16

4Ø16

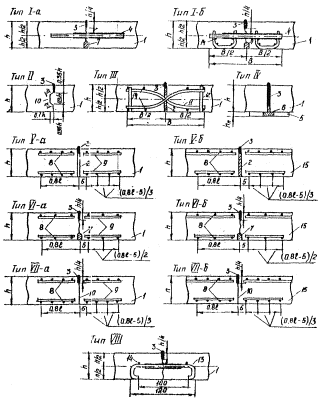
3.28 (5.35). Конструктивные решения и условия применения деформационных швов монолитных жестких покрытий следует принимать в соответствии с данными, представленными в табл. 26.(32) и на рис. 3.

Таблица 26 (32)

Типы швов

Конструкции деформационных швов

Условия применения деформационных швов

продольных

поперечных

1

2

3

4

Ia, Iб

Ложные со штыревыми соединениями

Для бетонных покрытий

Для всех жестких покрытий, кроме железобетонных предварительно-напряженных

II

Шпунтовые

Для всех покрытий при толщине плиты более 24 см

-

III

С изогнутыми штырями

-

Для всех жестких покрытий, кроме железобетонных предварительно-напряженных

IV

Сквозные с подшовными плитами

-

Для железобетонных предварительно-напряженных покрытий

Va, Vб

Сквозные с прокладками и армированием краев плит (по типу швов расширения)

Для бетонных (тип Vа) и армобетонных (тип Vб) покрытий в местах примыканий к различным сооружениям или другим покрытиям

Для всех жестких покрытий, кроме железобетонных предварительно-напряженных, в местах пересечений и примыканий к различным сооружениям

VIa, VIб

Ложные с армированием краев плит

Для бетонных покрытий

Для армобетонных покрытий (тип VIб)

VIIa, VIIб

Сквозные (технологические) с армированием краев плит

Для бетонных и армобетонных покрытий

Для бетонных и армобетонных покрытий

VIII

Заанкеренные

-

Для армобетонных покрытий с длиной плит не более 7 м

Нежесткие аэродромные покрытия

3.29 (5.36). Нежесткие аэродромные покрытия совместно с искусственными основаниями следует проектировать многослойными, обеспечивая, как правило, плавный переход от менее деформативных верхних слоев к более деформативным нижним.

3.30 (5.37). Общие минимально допустимые толщины конструктивных слоев нежестких покрытий и искусственных оснований следует принимать согласно табл. 27 (33),

Таблица 27 (33)

Материал конструктивного слоя нежесткого покрытия и искусственного основания

Общая толщина слоя (слоев) не менее, см

1

2

Асфальтобетон при внутреннем давлении воздуха в пневматиках колес, кгс/см2:

 

менее 6

5

6-7

7

более 7 до 10

9

более 10

12

Щебень, гравий или грунты, обработанные органическими вяжущими материалами в установке

8

Щебень, обработанный органическими вяжущими материалами по способам:

 

пропитки

8

полупропитки

4

Щебень или гравий, обработанные органическими вяжущими материалами смешением на месте

8

Щебень или гравий, укрепленные цементом

8

Грунты и малопрочные каменные материалы, обработанные вяжущими:

 

органическими

10

минеральными

15

Щебень или гравий, не обработанные вяжущими материалами и укладываемые на песчаном основании

15

Щебень, не обработанный вяжущими материалами и укладываемый на прочном (каменном или укрепленном вяжущими материалами грунтовом) основании

8

3.31 (5.39). Армирование асфальтобетонного покрытия сетками (металлическими или из полимерных материалов), располагаемыми, под верхним слоем асфальтобетона, необходимо предусматривать для аэродромов классов А, Б и В:

в местах систематического запуска и опробования двигателей воздушных судов;

на участках примыкания РД к ИВПП;

в местах предварительного запуска двигателей по всей ширине магистральной РД с длиной армированного участка, равной двукратной длине расчетного самолета;

по всей ширине концевых участков ИВПП длиной 150 м по всей длине групповых МС вдоль линии размещения основных опор и двигателей воздушных судов шириной 10 м по 5 м в каждую сторону от линии установки основных стоек шасси.

3.32. При проектировании нежестких покрытий дли сильно размокаемых грунтов (глинистых, суглинистых) в районах, относящихся ко 2 типу местности, рекомендуется предусматривать обработку цементом с расходом 8-12 % или; известью о расходом 5-8 % от массы смеси на глубину 10-15 см; в IV-V дорожно-климатических зонах, относящихся к I типу местности, применять повышенное уплотнение связных грунтов верхней части грунтового основания на глубину до 30-50 см.

Усиление существующих покрытий при реконструкции аэродромов

3.33 (5.40). Необходимость и методы усиления существующих покрытий при реконструкции аэродромов следует определять с учетом устанавливаемого класса аэродрома и категории нормативной нагрузки, а также в зависимости от состояния существующего покрытия, естественного и искусственного оснований и дренажно-водосточной сети, местных гидрогеологических условий, характеристики материалов существующего покрытия и основания, высотного положения поверхности покрытия.

3.34 (5.41). Категорию разрушения существующих жестких покрытий следует устанавливать в соответствии с табл. 28 (34).

Таблица 28 (34)

Категория разрушения плит существующих жестких покрытий

Количество плит (в %), имеющих разрушения

шелушение глубокое (более 1 см)

отколи кромок в местах швов

сквозные (продольные или поперечные) трещины

силовые разрушения (отколы углов, паутинообразные сквозные трещины)

I

Менее 10

-

-

-

II

10-30

Менее 30

Менее 20

-

III

Более 30

30 и более

20-30

Менее 20

IV

Не нормируется

Не нормируется

Более 30

20 и более

Примечания:

1. Сквозные трещины учитываются, если среднее расстояние между ними менее 5 м и они не допускаются расчетным предельным состоянием.

2. При определении процентного содержания разрушенных плит следует принимать:

для ИВПП - среднюю полосу шириной, равной половине ширины ИВПП по всей ее длине;

для РД - ряд плит, подвергающихся воздействию нагрузок от основных опор воздушного судна.

3. Для нежестких покрытий учет состояния покрытий производится в соответствии с табл. 34.

3.35. Кроме установления категории разрушения существующего покрытия, в процессе инженерно-геологических изысканий на, реконструируемом объекте требуется установить:

состояние естественного и искусственного оснований и дренажно-водосточной сети;

гидрогеологические условия объекта;

характеристики материалов существующего покрытия и основания;

высотное положение поверхности существующего покрытия в увязке с дефектовочным планом покрытия.

3.36 (5.42). Проектом усиления покрытия следует предусматривать предварительное исправление основания и восстановление разрушенного покрытия, а также восстановление и развитие водосточно-дренажной сети, а при отсутствии сети решить вопрос о целесообразности ее устройства.

3.37 (5.43). Жесткие аэродромные покрытия (кроме железобетонных) следует усиливать монолитным бетоном, армобетоном, железобетонными предварительно напряженными плитами, а также асфальтобетоном.

Железобетонные, покрытия следует усиливать, как правило, слоем железобетона или асфальтобетона.

При усилении (реконструкции) жестких покрытий аэродромов, построенных в неблагоприятных гидрогеологических условиях, для жестких слоев усиления необходимо использовать плиты минимальных размеров в соответствии с п. 3.24 (5.31).

3.38 (5.44). Усиливать жесткие покрытия слоем бетона, армобетона и железобетона следует методом наращивания по разделительной прослойке, устраиваемой в соответствии с п. 3.7 (5.16).

Если существующие покрытия имеют неровности высотой более 2 см, помимо разделительной прослойки следует предусматривать выравнивающий слой из песчаного асфальтобетона, пескоцементной смеси, мелкозернистого или песчаного бетона.

3.39 (5.45). Общую минимальную толщину слоев асфальтобетона, при усилении жестких аэродромных покрытий следует принимать в соответствии с табл. 29 (35).

Таблица 29 (35)

Климатические условия

Общая минимальная толщина слоев асфальтобетона (в см) при усилении жестких покрытий

ИВПП и магистральная РД

Остальные участки

Категории нормативных нагрузок

В/к, I, II

III, IV

V, IV

В/к, I, II

III, IV

V, IV

Среднемесячная температура наружного (Воздуха наиболее (холодного месяца года, °С:

 

 

 

 

 

 

выше -5

9

7

7

9

7

6

от -5 до -15

12

9

7

9

7

6

ниже -15, или число переходов температуры через 0 - более 50 раз в году

16

13

7

12

9

7

Для усиления жестких покрытий должны применяться плотные смеси асфальтобетона.

3.40 (5.46). Проектом реконструкции (усиления) существующих аэродромных покрытий необходимо предусматривать мероприятия (армирование, нарезка швов и др.) по снижению вероятности образования отраженных трещин в асфальтобетонных слоях усиления в местах расположения деформационных швов.

На участках существующих жестких покрытий, имеющих сквозные трещины или швы со средним расстоянием между ними менее 4 м, рекомендуется применять сплошное армирование асфальтобетона сетками, в остальных случаях - ленточное армирование над трещинами или швами бетонных плит.

При ленточном армировании ширина сеток принимается равной 1,2-2,0 м над поперечными и продольными швами.

Примечание. Большие размеры принимают для I-III, меньшие для IV-V дорожно-климатических зон.

Арматурная сетка укладывается между верхними и нижними слоями асфальтобетонных покрытий в многослойных конструкциях усиления или между существующими жестким покрытием и асфальтобетонным слоем усиления.

Если в конструкции покрытия предусматривается выравнивающий слой, то сетка укладывается на него.

3.41. Для обеспечения сцепления асфальтобетона с существующим покрытием следует предусматривать обработку очищенной поверхности покрытия разогретым или разжиженным битумом или битумной эмульсией с расходом 0,6-0,8 кг/м2.

Применение битумной эмульсии допускается, если прекращено движение воздушных судов по покрытию.

3.42 (5.47). Усиление нежестких покрытий можно производить нежесткими и жесткими покрытиями всех типов. При этом усиление нежестких покрытий жесткими следует производить по разделительной прослойке, предусматриваемой в соответствии с п. 3.7 (5.16) и по выравнивающему слою в соответствии с п. 3.38 (5.44).

3.43. Типовые предварительно-напряженные железобетонные плиты могут применяться в качестве конструкции усиления существующих жестких и нежестких покрытий под II-IV категории нормативных нагрузок. В этом случае на существующем покрытии следует устраивать сплошной выравнивающий слой из пескоцементной смеси. Толщина слоя должна быть на 1-2 см больше высоты неровностей существующего покрытия, но не более 6 см. В тех случаях, когда высота неровностей превышает 5 см, перед укладкой пескоцементной смеси поверхность существующего покрытия необходимо, предварительно выровнять мелкозернистым или песчаным бетоном, либо песчаным асфальтобетоном.

В цементобетонных покрытиях местные неровности и отдельные впадины выравниваются мелкозернистым бетоном или песчаноцементным раствором или асфальтобетоном, а в асфальтобетонных покрытиях только асфальтобетоном.

3.44. Исправление рельефа (местных неровностей и уклонов) существующих покрытий следует производить как за счет устройства отдельных выравнивающих слоев, так за счет устройства слоя усиления переменной толщины.

Расчет аэродромных покрытий

3.45 (5.48). Аэродромные покрытия следует рассчитывать по методу предельных состояний на воздействие вертикальных нагрузок от воздушных судов как конструкции, лежащие на упругом основании.

Расчетными предельными состояниями аэродромных покрытий являются:

для сечений с напрягаемой арматурой - предельное состояние по образованию трещин;

для сечений с ненапрягаемой арматурой - предельные состояния по прочности и раскрытию трещин;

для бетонных и армобетонных сечений - предельное состояние по прочности;

для нежестких покрытий - предельное состояние по допускаемым деформациям конструкции и прочности отдельных конструктивных слоев.

Расчетные схемы различных типов аэродромных покрытий и оснований даны в приложении 1.

3.46 (5.49). Аэродромные покрытия следует рассчитывать на категории нормативных нагрузок, характеристики которых приведены в табл. 19 (37).

В соответствии с заданием на проектирование допускается производить расчет аэродромных покрытий на воздействие вертикальных нагрузок от воздушного судна конкретного типа. Расчетные нагрузки для некоторых типов воздушных судов представлены в табл. 1 приложения 6.

Для исключения частых реконструкций аэродромных покрытий, связанных с вводом в эксплуатацию новых воздушных судов, целесообразно проектировать покрытие на категорию нормативной нагрузки для соответствующего класса аэродрома.

3.47 (5.50). Расчет на прочность покрытий вертодромов следует выполнять в соответствии с требованиями, приведенными в настоящем разделе как для участков группы А (см. рис. 2).

3.48 (5.51). Конструкции основания надводных взлетно-посадочных платформ для вертолетов (фермы, балки, прогоны, сваи и т.д.) следует рассчитывать на сосредоточенную нагрузку от максимального взлетного веса вертолета с коэффициентом перегрузки 1,5.

3.49 Для расчетов прочности аэродромных покрытий должны быть заданы следующие исходные данные:

категория нормативной нагрузки;

нагрузка на главную опору расчетного воздушного судна при максимальной взлетной массе, число колес на опоре nk, расстояние, между осями колес и давление в пневматиках q;

группа участков покрытия (см. рис. 2);

географическое положение, данные о грунтах и типы гидрогеологических условий расположения аэродрома;

состав нагрузок и количество взлетно-посадочных операций (под операцией понимается один взлет и одна посадка самолета).

В процессе проектирования назначаются:

материалы покрытий и оснований (устанавливаются их расчетные характеристики - марки бетона и асфальтобетона, класс арматуры и т.д.);

параметры расчетных сечений (толщины конструктивных слоев, расположение и площадь сечения арматуры);

типы стыковых соединений (для жестких покрытий).

Расчет жестких аэродромных покрытий

3.50 (5.52). При расчете жестких аэродромных покрытий по прочности плит и образованию трещин должно удовлетворяться условие

МрМпр                                                                                                                                                             (1)

где

Мр - расчетный изгибающий момент в сечении шиты покрытия от расчетной нагрузки;

Мпр - предельный изгибающий момент в расчетном сечении плиты покрытия.

При расчете железобетонных покрытий с ненапрягаемой арматурой по раскрытию трещин требуется выполнить условие

ат ≤ [ат],                                                                                                                       (2)

где

ат - ширина раскрытия трещин в расчетном сечении плиты;

[ат] - предельно допускаемая ширина раскрытия трещины, равная 0,3 мм.

3.51 (5.53). Расчетные значения изгибающих моментов Мр в плитах однослойных жестких покрытий всех типов следует определять по формулам

                                                                                                                                  (3)

                                                                                (4)

                                                                                        (5)

                                                                                                         (6)

(для опоры с равнонагруженными колесами);                            (7)

                                                                                                                   (8)

                                                                                                                   (9)

                                                                                                   (10)

где

 - максимальный изгибающий момент при центральном загружении плиты, который вычисляется как наибольший суммарный момент, создаваемый всеми колесами опоры воздушного судна в расчетном сечении плиты, перпендикулярном осям X и У (рис. 4); при этом должны исключаться ряды колес, дающие в сумме отрицательное значение изгибающего момента в расчетном сечении;

Рис. 4. Расчетная схема параметров загружения опор воздушного судна

K - переходный коэффициент, принимается равным 1,2 для бетонных и армобетонных покрытий, а также монолитных железобетонных предварительно-напряженных покрытий с двухосным обжатием при определении расчетного момента в продольном направлении для расчета поперечных сечений плиты; для монолитных и сборных железобетонных предварительно напряженных покрытий с одноосным обжатием бетона, а также с двухосным обжатием бетона, при определении расчетного момента в поперечном направлении для продольного сечения плиты K = 1; для железобетонных покрытий с ненапрягаемой арматурой K принимается по рис. 5 и 6;

Рис. 5. Значения переходных коэффициентов K для изгибающих моментов:

а - положительных; б - отрицательных

Рис. 6. Зависимость поправочного коэффициента K, от упругой характеристики плиты

KN - коэффициент, учитывающий увеличение изгибающего момента в плите вследствие неравномерного накопления остаточных прогибов в основании и принимаемый по графику на рис. 7 в зависимости от приведенной интенсивности движения воздушных судов uo и вида грунта. Для оснований из материалов, обработанных вяжущими, коэффициент KN следует принимать равным 1. При отсутствии данных об интенсивности движения коэффициент KN рекомендуется принимать по табл. 2 приложения 6;

Рис. 7. Зависимость коэффициента KN от интенсивности движения расчетного воздушного судна:

1 - глины, суглинки и супеси пылеватые; 2 - пески и супеси непылеватые

Kx(y) - коэффициент, учитывающий перераспределение внутренних усилий в ортотропных плитах (принимается для покрытий с различной жесткостью Bx и Вy в продольном и поперечном направлениях по графику рис. 8. Для типовых аэродромных плит заводского изготовления Kx(y) следует принимать по табл. 1 приложения 4. Для бетонных, армобетонных, железобетонных с ненапрягаемой арматурой и предварительно напряженных покрытий с одинаковом двухосным обжатием бетона Kx(y) = 1;

Рис. 8. График для определения коэффициентов Kx и Ky

М1 - изгибающий момент от действия колеса, центр отпечатка которого совпадает с расчетным сечением (см. рис. 4);

nk - число колес на опоре;

 - изгибающий момент, создаваемый действием i-го колеса, расположенного за пределами расчетного сечения плиты;

Рk - нагрузка на колесо;

 - расчетная нагрузка на колесо;

f (α) = f (R/) - функция значения которой приведены в табл. 7 приложения 6;

R - радиус круга, равновеликого площади отпечатка пневматика колеса;

ℓ - упругая характеристика плиты;

Kg и np - соответственно коэффициенты динамичности и перегрузки, определяемые по табл. 30 (36).

 - нормативная нагрузка или нагрузка на основную опору расчетного воздушного судна, принимаемая по табл. 19 (37) и 20 (38);

q - внутреннее давление воздуха в пневматиках колес, принимаемое по табл. 19 (37) и 20 (38) для категорий нормативных нагрузок и табл. 1 приложения 6 для конкретных типов воздушных судов;

b - расчетная ширина поперечного сечения плиты, принимается равной 100 см;

c - расчетный коэффициент постели однородного грунтового основания, определяется по табл. 6 (17); для многослойного грунтового основания в расчет вводится значение эквивалентного коэффициента постели Сэ, определяемое по приложению 3;

 - единичные изгибающие моменты, действующие в расчетном сечении плиты, от воздействия i-го колеса опоры воздушного судна, определяемые по табл. 8 в зависимости от координат ξ = xi/ℓ и η = yi/ℓ, где xi, и yi - координаты приложения силы Рk, считая за начало координат рассматриваемое сечение;

В - жесткость сечения плит покрытия, определяется в соответствии с п. 3.52 (5.54).

Примечания:

1. При определении эквивалентного коэффициента постели учитываются слои искусственных оснований толщиной не менее 10 см.

2. Значение В для цементобетонных и армобетонных покрытий, выполненных из бетона марки М350-М600, а также величины Rk для нормативных категорий нагрузок приведены в табл. 10 и 3 приложения 6.

3. Для категорий нормативных нагрузок и некоторых типов воздушных судов значения  определяются по табл. 11 и 12 или по номограммам рис. 17-20 приложения 6.

4. В исключительных случаях, когда цементобетонное покрытие устраивается без стыковых соединений и краевого армирования плит, величина K принимается равной 1,6.

Таблица 30 (36)

Труппа участков аэродромных покрытий

Коэффициент перегрузки nр

Коэффициент динамичности Kg при внутреннем давлении воздуха в пневматиках колес, кгс/см2

10 и менее

от 10 до 15

более 15

А

1

1,2

1,25

1,3

Б

1

1,1

1,15

1,2

В

0,85

1,1

1,1

1,1

Г

0,85

1,1

1,1

1,1

Примечания:

1. При использовании отдельных участков ИВПП, МС или перронов для систематического руления воздушных судов значения коэффициентов перегрузки и динамичности дня этих участков следует принимать как для участков группы А.

2. Для аэродромов классов Г, Д и Е, где руление самолетов предусматривается осуществлять по ИВПП без устройства магистральной РД, прочность покрытия всей ИВПП должна рассчитываться как для участков группы А.

3.52 (5.54). Жесткость сечений плит покрытий В следует определять по формулам:

для сечений бетонных, армобетонных и предварительно-напряженных железобетонных плит

В = 0,085Еσbh3;                                                                                                           (11)

для сечений железобетонных плит с ненапрягаемой арматурой

                                                                         (12)

                                          (13)

                                                                                           (14)

                                                                                                          (15)

                                                                                                                                                            (16)

где

Еа - модуль упругости арматуры;

Eσ - начальный модуль упругости бетона, принимаемый по табл. 8 (21)

Fa - площадь сечения растянутой арматуры;

ho - рабочая высота сечения (расстояние от сжатой грани сечения до центра тяжести растянутой продольной или поперечной арматуры). В расчете учитывается наименьшее значение ho

h - толщина плиты;

x - высота сжатой зоны бетона в сечении;

d - номинальные диаметр арматурных стержней;

ψa - коэффициент, учитывающий работу бетона между трещинами в растянутой зоне и принимаемый равным при расчете по прочности 0,2, при расчете по раскрытию трещин 1;

ψδ - коэффициент, учитывающий неравномерность распределения деформаций крайнего волокна сжатой зоны сечения на участке между трещинами и принимаемый в зависимости от отношения шага арматуры а, параллельной рассматриваемому сечению, к толщине плиты h:

a/h

0,5

0,75

1

1,25

1,5 и более

ψδ

0,79

0,67

0,59

0,53

0,48

Для сечений с ненапрягаемой арматурой в предварительно-напряженных плитах коэффициент ψδ следует принимать равным 0,6;

μ - коэффициент армирования;

b - расчетная ширина поперечного сечения плиты, принимаемая равной 100 см.

3.53 (5.55). Предельный изгибающий момент Мпр следует определять по формулам для покрытий:

бетонных и армобетонных

                                                                                             (17)

железобетонных с ненапрягаемой арматурой

                                                                                        (18)

железобетонных предварительно-напряженных

                                                                          (19)

сборных из типовых предварительно-напряженных плит

Мпр = m·Мт,                                                                                                                (20)

где

m - коэффициент условий работы покрытий, принимаемый табл. 31 (39);

Rри, Rти - расчетные сопротивления бетона растяжению при; изгибе [(см. табл. 8 (21)];

Rа - расчетное сопротивление арматуры растяжению (см. табл. 9);

σт - величина потерь предварительного напряжения в бетоне от трения, принимаемая для монолитных железобетонных покрытий равной 1 кгс/см2 на каждые 10 м длины напрягаемого участка, а для сборных покрытий - равной нулю;

Kи - коэффициент, учитывающий интенсивность приложения колесных нагрузок воздушных судов, определяемый по графику на табл. 9 в зависимости от приведенного числа приложений расчетной нагрузки U за срок эксплуатации покрытия не менее 20 лет или по табл. 2 приложения 6;

Мт - предельный изгибающий момент типовой плиты сборных покрытий без учета коэффициента условий работы, принимаемый по табл. 1 приложения 4;

Мя - момент равнодействующей No усилий в нижней и верхней напрягаемой арматуре относительно оси проходящей через ядровую точку, наиболее удаленную от зоны сечения, трещинообразование которой должно быть проверено. Значение Мя определяется по формуле

                                                                               (21)

где

mт - коэффициент точности натяжения арматуры, принимаемый согласно п. 1.28 главы СНиП II-21-75;

Fн, F'н - площадь сечения напрягаемой арматуры, расположенной соответственно в растянутой и сжатой зонах сечения;

σн, σ'н - величина предварительного напряжения в напрягаемой арматуре, расположенной соответственно в растянутой и сжатой зонах сечения;

чЯ - расстояние от центра тяжести сечения до ядровой точки, наиболее удаленной от растянутой зоны, трещиностойкость которой проверяется (для прямоугольных сечений чЯ = h/6);

он - эксцентриситет равнодействующей No относительно центра тяжести сечения, определяется по формуле

                                                                                        (22)

Рис. 9. График для определения коэффициента Kи

Дня центрально растянутых (сжатых) сечений он = 0. Значения σн и σ'н следует определять по формулам

σн = σо - σп,                                                                                                                 (23)

σ'н = σ'о - σ'п,                                                                                                               (23)

где

σо и σ'о - величины предварительного напряжения (без учета потерь) в напрягаемой арматуре, расположенной соответственно в растянутой и сжатой зонах сечения, принимаемые равными:

для стержневой арматуры

                                                                                                      (24)

для арматурной проволоки и канатов

                                                                                                 (25)

где

 - расчетное сопротивление арматуры растяжению, принимается по табл. 9;

ρ - допускаемое отклонение величины предварительного напряжения арматуры, принимаемое согласно требованиям, приведенным в п. 1.24 главы СНиП II-21-75;

σп и σ'п - величины потерь предварительного напряжения в арматуре, расположенной соответственно в растиснутой и сжатой зонах сечения, определяемые по табл. 4 главы СНиП II-21-75.

При этом потери от усадки и ползучести бетона марок Ри50 и ниже принимаются как для бетона М400 и ниже, марок Ри55 и Ри60 - как для бетона М500, марок Ри65 и выше - как для бетона М600 и выше.

Таблица 31 (39)

Аэродромные покрытия

Коэффициент m условий работы жестких покрытий для групп участков

А

Б

В

Г

Бетонные

0,8

0,9

0,9

1,1

Армобетонные

0,9

1

1

1,2

Железобетонные с ненапрягаемой арматурой

1

1,1

1,1

1,3

Железобетонные предварительно напряженные армированные:

 

 

 

 

проволочной арматурой и арматурными канатами

0,9

1

1

1,2

стержневой арматурой

1,1

1,5

1,2

1,3

Примечания:

1. При использовании отдельных участков ИВПП, МС или перронов для систематического руления воздушных судов значения коэффициентов m для этих участков следует принимать как для участков группы А.

2. При расчете сборных покрытий из железобетонных предварительно напряженных плит коэффициент m следует увеличивать на 10 %.

3. Приведенные в таблице коэффициенты m даны для аэродромов, расположенных северней 50° северной широты; при расположении аэродрома южнее этой границы коэффициенты m следует устанавливать с учетом поправочных коэффициентов, принимаемых равными:

для монолитных покрытий аэродромов, расположенных между 43 и 50° северной широты - 0,95;

для расположенных южнее 43° северной широты - 0,9;

для сборных покрытий во всех случаях - 1.

Расчетные схемы усилий и эпюры напряжений в сечениях плит различных типов покрытий приведены на рис. 10.

При вариантном проектировании жестких покрытий под категории нормативных нагрузок рекомендуется пользоваться номограммами, приведенными на рис. 4-16 и 21-26 приложения 6.

3.54 (5.56). Расчетное число приложений нагрузки на покрытие и грунтовое основание Uo следует определять по формулам

                                                                                                                  (26)

                                                                                                               (27)

                                                                                                                (28)

где

 - эквивалентное число приложений нагрузки от опоры i-го воздушного судна на покрытие, приведенное к приложению нагрузки от опоры расчетного воздушного судна и определяемое по графику на рис. 11 в зависимости от величины отношения моментов i-го и расчетного воздушного судна Мi/Mp и Ui = nос·Ni;

 - эквивалентное число приложений нагрузки от опоры i-го воздушного судна на грунтовое основание, приведенное к приложению нагрузки от опоры расчетного воздушного судна;

Ui - число приложений нагрузки от опоры i-го воздушного судна на покрытие;

nос - число осей на основной опоре i-го воздушного судна;

Ni - расчетная интенсивность движения i-го воздушного судна;

a

б

в

Рис. 10. Расчетные схемы усилий и эпюры напряжений в сечениях плит:

а - цементобетонных и армобетонных; б - армированных ненапрягаемой арматурой; в - армированных напрягаемой арматурой

Рис. 11. График для определения эквивалентного числа приложений расчетной, нагрузки (на, прямых указано соотношение величия Mi/Мp)

Рис. 12. График для определения коэффициента βN

Рис. 13. График для определения коэффициента KW

ρN - коэффициент учитывающий условия работы грунтовых, оснований жестких аэродромных покрытий при воздействии многократно повторяющихся нагрузок, принимаемый по графику на рис. 12 в зависимости от отношения прогибов в центре плиты Wi/Wp, вызываемых действием i-го и расчетного воздушных судов; при этом значения Wi и Wp следует определять по формуле

                                                                          (29)

g (α), f(ξ) - Фикции, определяемые по табл. 9 приложения 6 в зависимости соответственно от приведенного радиуса нагрузки α = R/, и приведенного расстояния ξ = ri/;

KW - коэффициент, учитывающий перераспределение внутренних усилий в ортотропных плитах, определяется по графику на рис. 13 или по табл. 1 приложения 4 для типовых плит заводского изготовления.

Примечания:

1. За расчетное следует принимать воздушное судно, которое вызывает в покрытии наибольший изгибающий момент.

2. Суммировать числа приложений нагрузки следует только для воздушных судов, колеи шасси которых отличаются от колеи шасси расчетного судна не более чем на 3.

3. Если среди воздушных судов имеются суда, не вошедшие в суммирование (см. п. 2 настоящих примечаний), то одно из них принимается за расчетное и для него также производится расчет покрытия.

4. При определении величин Мi/M рекомендуется пользоваться значениями  для различных категорий нагрузок и типов воздушных судов, приведенными в табл. 11 и 12 приложения 6.

5. При определении числа осей на основной опоре некоторых типов воздушных судов следует руководствоваться данными табл. 1 приложения 6.

6. Определение прогибов жестких покрытий от внеклассной, I-VI категорий нормативных нагрузок рекомендуется производить по номограммам на рис. 1-3 приложения 6, а для конкретных типов воздушных судов по табл. 15 приложения 6.

3.55 (5.57). Ширина раскрытия трещин ат в расчетном сечении плиты, армированной ненапрягаемой арматурой, определяется по формулам

                                                                                                                  (30)

                                                                                                     (31)

                                                                                                    (32)

                                                                                      (33)

где

σа - величина напряжения в растянутой арматуре;

т - расстояние между трещинами;

Sa - периметр сечения арматуры;

η1 - коэффициент, принимаемый равным для стержневой арматуры периодического профиля 0,7; для сварных сеток из холоднотянутой проволоки - 1,25.

Величину ат для железобетонных сечений, армированных стержневой арматурой из стали класса А-II, можно определять, пользуясь номограммой на рис. 13 приложения 6 с учетом расчетных моментов Мр, вычисленных при ψa=1.

3.56 (5.58). Расчет толщины искусственных оснований следует производить в соответствии с приложением 4.

3.57 (5.59). Условие прочности при расчете жестких двухслойных покрытий и конструкций усиления существующих жестких покрытий определяется неравенством

                                                                                                                  (34)

где

 - предельный изгибающий момент в верхнем слое усиления, определяемый по формулам (17)-(19) для монолитных жестких покрытий и по формуле (20) - для сборных из типовых плит ПАГ-14, ПАГ-18, ПДГ-2-6с, ПДГ-1,5-6с.

Расчетный изгибающий момент  в верхнем слое двухслойного жесткого покрытия следует определять по формуле

                                                                                                   (35)

Момент  в двухслойном покрытии при расположении нагрузки в центральной области верхнего слоя плиты дожжен определяться как для однослойного покрытия, имеющего суммарную жесткость

B = B1 + B2,                                                                                                                  (36)

где

B1 - жесткость плиты толщиной верхнего слоя hв;

B2 - жесткость плиты толщиной нижнего слоя hн;

K' - переходный коэффициент, принимаемый по табл. 32 (40) в зависимости от наличия и вида стыковых соединений; при устройстве в плитах со сквозными швами краевого армирования коэффициент K' следует принимать как для варианта со стыковым соединением;

Ми - предельный изгибающий момент для нижнего слоя плиты, определяемый по формулам (19), (20) как для однослойных покрытий с введением к коэффициенту условий работы m поправочного коэффициента Km, принимаемого по графику на рис. 14 а зависимости от толщины верхнего слоя hв.

Рис. 14. График для определения поправочного множителя Km при расчете двухслойных покрытий

Таблица 32 (40)

Наличие стыкового соединения в верхнем и нижнем слоях двухслойного аэродромного покрытия

Переходной, коэффициент K при расчете верхнего слоя покрытия для деформационных швов

совмещенных

несовмещенных

Без стыковых соединений в верхнем и нижнем слоях

1,5

1,3

Стыковые соединения:

 

 

в нижнем слое

1,4

1,2

в верхнем слое

1,3

1,1

в верхнем и нижнем слоях

1,2

1,05

Расчет нежестких аэродромных покрытий

3.58 (5.60). Механизм работы покрытия описывается моделью слоистого линейно-деформируемого (упругого) полупространства. Силовое воздействие многоколесной опорной нагрузки самолета приводится к эквивалентному воздействию нагрузки от одиночного колеса Рэ.

Величину Рэ для категорий нормативных нагрузок следует определять по рис. 15, а для конкретных типов воздушных судов - по методике приложения 2.

Нежесткие аэродромные покрытия капитального типа под категории нормативных нагрузок следует рассчитывать по двум критериям - растяжению при изгибе слоев из материалов, обработанных вяжущими, и предельному относительному прогибу осей конструкции. При расчете на конкретный тип воздушного судна производят дополнительную проверку прочности конструкции по предельному состоянию сдвига в грунтовом основании.

Нежесткие конструкции аэродромных покрытий облегченного и переходного типов следует рассчитывать только по одному критерию - предельному относительному прогибу покрытия.

Рис. 15. Одноколесные эквивалентные нагрузки для расчета нежестких покрытий

В качестве исходных данных для расчета нежестких покрытий, кроме перечисленных в п. 3.49, должны быть также заданы модули упругости материалов слоев Ei и прочность на растяжение при изгибе материалов, обработанных вяжущими Rри.

3.59 (5.61). При расчете прочности нежесткого покрытия воздействие нагрузок от различных воздушных судов следует приводить к эквивалентному воздействию расчетной или нормативной нагрузки через приведенную интенсивность движения воздушных судов Nпр. При этом следует учитывать только те воздушные суда, у которых нагрузки на главную опору i-го воздушного судна более или равны половине нагрузки на главную опору расчетного воздушного судна.

3.60 (6.62) Приведенная интенсивность движения Nпр воздушных судов определяется по формуле

                                                                                                (37)

где

Kпр - коэффициент приведения нагрузок, определяемый по номограммам на рис. 16 в зависимости от отношений Ri/R и qi/q;

Рис. 16. Коэффициенты приведения нагрузок к расчетным для нежестких покрытий:

а - для грунто- и пескоцемента; б - для асфальтобетона

Ni - среднесуточная интенсивность движения i-го воздушного судна;

nос - число осей в главной опоре; в расчете прочности по предельному относительному прогибу принимают nос=1, если общая толщина, конструкции превышает половину минимального расстояния между ближайшими колесами в опоре;

Ri, R - радиус круга, разновеликого площади отпечатка колеса соответственно i-го и расчетного воздушных судов (для расчета прочности материалов, обработанных вяжущими) или эквивалентной одноколесной нагрузки (для расчета прочности конструкции по предельному относительному прогибу). Величины радиусов для категорий нормативных нагрузок и некоторых типов воздушных судов принимается по табл. 45 и 46 приложения 6.

qi, q - внутреннее давление воздуха в пневматиках соответственно i-го и расчетного воздушных судов.

Расчетную интенсивность движения воздушных судов следует определять на десятый год эксплуатации для асфальтобетонных покрытий, на пятый год - для облегченных и на третий - для покрытий переходного типа.

Если данные по суточной интенсивности движения отсутствуют, рекомендуется пользоваться сведениями, приведенными в табл. 4 приложения 6 для различных: категорий нормативных нагрузок.

3.61 (5.63). Прочность нежесткой конструкции аэродромного покрытия по предельному относительному прогибу должна удовлетворять условию

λрпр,                                                                                                                     (38)

где λр - расчетный относительный прогиб покрытия от нагрузки

λр = 0,9q/Eэ,                                                                                                                 (39)

λпр - предельный относительный прогиб покрытия, принимаемый по табл. 33(41) или рис. 17;

Рис. 17. Графики для определения предельных относительных упругих прогибов нежестких покрытий, устраиваемых на грунтах:

а - песчаных непылеватых грунтах; б - песчаных пылеватых; в - гравелистых и связных (глинах, суглинках, супесях)

m - коэффициент условий работы, принимаемый для групп участков аэродромных покрытий: А - 1, Б и В - 1,1 Г - 1,2;

Еэ - эквивалентный модуль упругости двухслойной конструкции покрытия с учетом грунтового основания.

Таблица 33 (41)

Параметр q·Rэ расчетного воздушного судна, кгс/см

Предельный относительный прогиб λпр нежестких покрытий, устраиваемых на грунтах

глинистых, суглинистых, супесчаных и гравелистых

песчаных непылеватых

для регулярной эксплуатации

не более пяти взлетно-посадочных операции в сутки

для регулярной эксплуатации

не более пяти взлетно-посадочных операций в сутки

100

0,0035

0,0052

0,0020

0,0035

150

0,0040

0,0058

0,0025

0,0038

200

0,0045

0,0063

0,0030

0,0042

250

0,0050

0,0067

0,0033

0,0044

300

0,0055

0,0071

0,0035

0,0045

350

0,0058

0,0073

0,0038

0,0047

400

0,0060

0,0076

0,0040

0,0048

Величина Rэ - радиус отпечатка пневматика колеса, одноколесной эквивалентной нагрузки.

Примечания:

1. Для пылеватых песчаных грунтов величину λпр следует принимать равной промежуточному среднему значению.

2. Для покрытий облегченного типа величину предельного относительного прогиба следует увеличивать на 20 %, а для покрытий переходного типа - на 60 %.

3. Величины λпр, приведенные в табл. 33(41) и на рис. 17, установлены для категорий нормативных нагрузок при следующих показателях: Н/Дэ=0,78-2,10 и Еср/Ео=8,7-20 на глинистых, суглинистых, супесчаных и гравелистых грунтах; Н/Дэ=0,68-1,53 и Еср/Ео=8-12,4 на пылеватых песчаных грунтах; Н/Дэ=0,67-1,13 и Еср/Ео=4-8,45 на песчаных непылеватых грунтах. Для других условий, а также при расчете покрытий для конкретного типа воздушного, судна необходимо выполнять проверку прочности нежестких конструкций по предельному состоянию сдвига в грунтовом оснований в соответствии с методикой, приведенной в приложении 9.

Для определения относительного прогиба покрытия следует предварительно назначить общую толщину конструкции Н и задаться толщинами конструктивных слоев hi с учетом положений, указанных в п. 3.30 (5.37), а также рекомендаций табл. 1, 2 приложения 8.

Многослойная конструкция приводится к двухслойной системе, у которой толщина верхнего слоя равна суммарной толщине конструктивных слоев, а средний модуль упругости этого слоя вычисляется по формуле

                                                                                    (40)

где

Е1, Е2,… - расчетные модули упругости отдельных конструктивных слоев, толщина которых равна h1,h2,…

Определяются отношения H/Дэ и Eо/Eср,

где

Н - общая толщина покрытия.

                                                                                                (41)

где

Рэ - одноколесная эквивалентная нагрузка, определяемая по рис. 15 или по методике приложения 2.

np - коэффициент перегрузки, принимаемый по табл. 30(36).

Ео - модуль упругости грунта естественного основания, принимаемый по табл. 6 (17).

По номограмме на рис. 18 определяется отношение Еэ/Eср и эквивалентный модуль упругости двухслойного покрытия

Расчетный относительный упругий прогиб покрытия от нагрузки определяется по формуле (39).

Для сокращения трудоемких расчетов в табл. 5 и 6 приложения 6 приведены величины Rэ для нормативных категорий нагрузок и некоторых типов воздушных судов гражданкой авиации.

3.62 (5.64). Прочность слоев нежесткой конструкции аэродромного покрытия из материалов, обработанных органическими и минеральными вяжущими, обладающих сопротивлением изгибу, должна удовлетворять условию

σrmRри,                                                                                                                     (42)

где

σr = 0,95Kgσrq - наибольшее растягивающее напряжение при изгибе в рассматриваемом слое от расчетной нагрузки;

Rри - расчетное сопротивление растяжению при изгибе материала слоя с учетом повторности приложения нагрузки;

Рис. 18. Номограмма для определения общего модуля упругости Еэ двухслойной системы (цифры на кривых означают отношение модуля упругости двухслойной системы к модулю верхнего слоя Еэ/(Ет)

Kg - коэффициент динамичности, принимается по табл. 30 (36);

 - удельное растягивающее напряжение при изгибе, определяемое для расчета прочности верхних асфальтобетонных слоев по номограмме на рис. 19, а для промежуточных слоев из подобранных смесей, обработанных органическими и минеральными вяжущими материалами, - по номограмме на рис. 20.

Рис. 19. Номограмма для определения растягивающих напряжений при изгибе  от единичной нагрузки в асфальтобетоне

Рис. 20. Номограмма для определения растяпывающих напряжений при изгибе  от единичной нагрузки в промежуточном слое из материала, обработанного органическими и неорганическими вяжущими

При расчете двухслойного асфальтобетонного покрытия допускается рассчитывать на растяжение при изгибе только нижний слой. В этом случае двухслойный асфальтобетон приводят к однослойному со средним модулем упругости, определяемым по формуле (40).

Расчет  для верхнего асфальтобетонного слоя производят по номограмме на рис. 19 в следующем порядке:

многослойная нежесткая конструкция приводится к двухслойной, где верхним слоем является рассчитываемый слой асфальтобетона;

по графикам на рис. 15 или методике приложения 2 определяется одноколесная эквивалентная нагрузка  для асфальтобетонного слоя толщиной h1. При выполнении условия  величина Рэ равна Рk (d - минимальное расстояние между пневматиками соседних колес);

по формуле (41) определяется  для асфальтобетонного слоя:

по номограмма на рис. 18 определяется эквивалентный модуль упругости многослойного основания под асфальтобетоном с учетом грунтового основания Еэ.осн. Предварительно вычисляются отношения Н/Дэ и Ео/Еср.осн, где Еср.осн - средний модуль упругости слоев оснований между асфальтобетонным слоем и грунтовым основанием, определяется по формуле (40); Н и Дэ - см. п. 3.61;

вычисляются значения  и E1/Eэ.осн и по номограмме на рис. 19 определяется

Расчет  для промежуточного слоя, сопротивляющегося изгибу, производится по номограмме на рис. 20 следующим образом:

многослойная нежесткая конструкция приводится к трехслойной, где средним слоем является рассчитываемый слой толщиной h2 с модулем упругости Е2 (см. расчетную схему на рис. 20);

по графикам на рис. 15 или методике приложения 2 определяется одноколесная эквивалентная нагрузка  для промежуточного слоя по суммарной толщине верхнего и рассматриваемого слоев h = h1 + h2. При условии hd/2 величина  равна РK;

по формуле (41) вычисляется  для промежуточного слоя;

вычисляются отношения H/Дэ и Ео/Еср.осн, где Еср.осн - средний модуль упругости слоев оснований между рассматриваемым монолитным слоем и грунтовым основанием, определяется по формуле (40);

по номограмме на рис. 18 определяется эквивалентный модуль упругости многослойного основания под рассчитываемым слоем Eэ.осн;

затем вычисляются отношения , E1/E2, Е2/Еэ.осн и по номограмме на рис. 20 находится

Условие прочности проверяется по формуле (42).

Если выполняется условие σrmRри, то обеспечивается нормальная работа рассчитываемого слоя. Если σr > mRри, конструкцию следует усилить или устроить монолитный слой из более прочного материала. Усилить конструкцию можно путем утолщения или повышения жесткости конструктивных слоев, в том числе и самого рассчитываемого слоя.

При корректировке толщин и жесткости конструктивных слоев необходимо окончательно проверить условие прочности по относительному упругому прогибу покрытия.

3.63. Расчет покрытий облегченного и переходного типов производится в порядке, указанном в п. 3.61. При этом следует пользоваться номограммами на рис. 17 и 18 и вводить поправку к величине предельного относительного, упругого прогиба (см. примечание 2 к табл. 33).

При проектировании покрытий облегченного и переходного типов целесообразно использовать принцип стадийного усиления и совершенствования конструкции по мере роста величины и числа приложений нагрузок. В ряде случаев при соответствующем экономическом обосновании, может оказаться рациональным для сокращения затрат на ремонты и содержание таких покрытий ограничивать движение по весу самолетов в неблагоприятные периоды года (периоды переувлажнения грунтов и оснований).

Расчет усиления существующих покрытий при реконструкции аэродромов

3.64 (5.65). Определение расчетного изгибающего I момента при расчете необходимой толщины жесткого слоя усиления жестких аэродромных покрытий следует производить согласно п. 3.57. При этом расчетную толщину существующего покрытия  следует принимать при I категории разрушения , при II - , при III - .

Существующие жесткие покрытия IV категории разрушение допускается использовать в качестве искусственного основания с модулем упругости Е=6000 кгс/см2.

Если нижний слой двухслойного покрытия выполнен из обычного или предварительно напряженного железобетона, то в качестве слоя усиления должен приниматься, как правило, тип покрытия, указанный в п. 3.37. В том случае, (когда в верхнем слое усиления принимается цементобетонный или армобетонный вариант покрытия, нижний слой, выполненный из обычного или предварительно напряженного железобетона, следует учитывать в расчете по формуле (35) как армобетонное покрытие той же толщины. Размеры плиты верхнего слоя должны быть кратными размерам плит нижнего слоя.

Расчет жесткого слоя усиления существующего многослойного жесткого покрытия производят по формуле (35) с предварительной заменой последнего эквивалентным по несущей способности однослойным покрытием, используя графики на рис. 29 приложения 6. Графики построены по принципу равной несущей способности двухслойного и однослойного покрытия, выраженной одноколесной нагрузкой.

При наличии, разрушений в усиливаемом покрытии расчетная толщина эквивалентного по несущей способности цементобетонного слоя определяется с учетом категории разрушения (см. табл. 28 (34)).

При оголении напрягаемой арматуры существующее предварительно-напряженное покрытие следует рассматривай как железобетонное без предварительного напряжения.

3.65 (5.66). Толщина слоя асфальтобетона hаб, необходимого для усиления существующего жесткого покрытия; определяется по формуле

                                                                                       (43)

где

hтр - требуемая для заданной расчетной нагрузки толщина однослойного бетонного покрытия, определяемая по формуле (1).

 - расчетная толщина, однослойного бетонного покрытия, эквивалентного по несущей способности существующему покрытию, принимается равной для бетонных покрытий ; для армобетонных покрытий ; для железобетонных покрытий с ненапрягаемой арматурой:

 с процентом армирования 0,25,

 с процентом армирования 0,3,

 с процентом армирования 0,35,

 с процентом армирования 0,4;

для монолитных и сборных предварительно-напряженных покрытий ;

hаб.мин - минимальная толщина слоя усиления из асфальтобетона, принимаемая не менее указанной в табл. 29 (35) с учетом рекомендаций табл. 1 приложения 8.

Расчет асфальтобетонного слоя усиления существующего многослойного жесткого покрытия следует производить по формуле (43) с предварительной заменой последнего однослойным покрытием, эквивалентным по несущей способности с учетом положений п. 3.64 (5.65).

При определении толщины однослойного бетонного покрытия, эквивалентного по несущей способности существующему, следует:

характеристики материалов, типы итог и стыковых соединений принимать как для существующего покрытия;

значение коэффициента динамичности Kg уменьшать на 15 % по сравнению с данными, приведенными в табл. 30 (36), но принимать не менее 1;

коэффициент условий работ m устанавливать с учетом поправочного коэффициента Km, определяемого по графику (см. рис. 14);

радиус площади передачи нагрузки на жесткое покрытию через слой асфальтобетона Rаб определять по формуле

Rаб = R + 0,78hаб.                                                                                                         (44)

3.66 (5.68). Расчет усиления нежестких покрытий следует производить как для вновь проектируемых покрытий, учитывая конструктивные слои существующих покрытий и оснований и их состояние.

Средний модуль упругости существующего нежесткого покрытия без учета грунтового основания определяется по формуле

                                                                                                        (44)

где

hi - толщина конструктивных слоев нежесткого покрытия;

Ei - модуль упругости конструктивных споен;

Ki - понижающий коэффициент к модулю упругости, принимается по табл. 34.

Таблица 34

Материалы слоя

Виды и объект разрушений в зоне колеи главных шор расчетного воздушного судна

Значения понижающих коэффициентов Ki

1

2

3

Обработанные вяжущими

Материал слоя однородный, прочный, разрушений и износа не имеется

1,00

На покрытии редкие трещины (поперечные, продольные, косые), в том числе температурные, отраженные со средним расстоянием между соседними трещинами 4-10 м

0,90

На покрытии деформации в виде частых трещин, иногда связанных между собой (продольных, поперечных, косых) со средним расстоянием между соседними трещинами 1-4 м

0,80

На покрытии значительные деформации в виде сетки трещин размером 0,5-0,6м в поперечнике

0,60

То же, в виде густой сетки трещин со сторонами менее 0,15-0,2 м в поперечнике и просадками в месте трещин

0,50

Каменные, не обработанные вяжущими

Качество щебеночного (гравийного) материала не отличается от первоначального или срок службы менее двух лет

1,00

В щебеночном (гравийном) слое имеются отдельные раздавленные щебенки (5-10 %), наблюдается внутренний износ либо в слое щебня содержится до 10 % Мелочи размером менее 2 мм

0,90

Содержание раздавленных щебенок в слое 15-20 % либо наличие в слое мелочи менее 2 мм в количестве 15-20 %

0,70

То же в количестве 25-30 %

0,50

Песчаные

Песок чистый, коэффициент фильтрации соответствует первоначальному

1,00

Песок слегка загрязнен, коэффициент фильтрации ниже первоначального на 20-25 %

0,80

Песок сильно заилен, частично перемешан с грунтом

0,50

Примечание. Для нежестких покрытий в зону колеи входят участки покрытий шириной до 2,5 м в стороны от оси движения главной опоры расчетного воздушного судна.

При усилении существующих нежестких покрытий жестоким слоем существующее покрытие следует рассматривать как искусственное основании с эквивалентным коэффициентом постели Сэ, который определяется в соответствии с приложением 3.

Расчет длин плит армобетонных покрытий на температурные воздействия

3.67. При расчете армобетонных покрытий необходимо учитывать напряжении, возникающие в плитах вследствие температурных воздействии, изменяющиеся в течение суток и года:

коробления вследствие разности температур верха и низа плит ;

сдвига плиты, вследствие трения при перемещении ее по основанию , обусловленного изменением линейных размеров плит;

сжатия на контуре  обусловленного задержкой перемещения плит.

3.68. Размеры плит (рис. 21) определяются из условия равенства максимальных растягивающих напряжений на подошве плиты в летний и зимний периода:

                                                                                                               (46)

где

 - максимальные суммарные напряжения на подошве плиты соответственно, в зимний и летний периоды, величина которых определяется по графику на рис. 22.

Рис. 21. Графики определения длин плит армобетонных покрытий.

Рис. 22. График зависимости σt=f(L)

Длина плиты определяется в зависимости от ее толщины и модулей упругости бетона для различных географических широт расположения объектов.

ПРИЛОЖЕНИЯ

Приложение 1

РАСЧЕТНЫЕ СХЕМЫ АЭРОДРОМНЫХ ПОКРЫТИЙ

Расчет и конструирование жестких покрытий состоит в назначении геометрических параметров сечений плит, удовлетворяющих условиям прочности, указанным в таблице.

Расчет и конструирование нежестких покрытий заключается в назначении толщин слоев конструкции, при которых обеспечиваются трещиностойкость слоев из асфальтобетона и других связных материалов, а также сопротивление грунтового основания и оснований из несвязных зернистых материалов колееобразованию под действием повторных нагрузок (см. таблицу).

Таблица

№ п/п

Расчетные схемы

Конструкции покрытий

Предельные состояния

1

2

3

4

1

Однослойные цементобетонные и армобетонные покрытия

По прочности

МрМпр

2

Железобетонные покрытия

По прочности

МрМпр

По ширине раскрытия трещин

ат [ат]

3

Предварительно-напряженные железобетонные монолитные и сборные покрытия:

 

для сечений, армированных напрягаемой арматурой

По образованию трещин

МрМт

для сечений, армированных ненапрягаемой арматурой

см. п. 2

4

Двухслойные жесткие покрытия

По прочности

5

Конструкции усиления жестких покрытий:

 

жестким слоем

см. п. 4

асфальтобетонным слоем

По прочности

МрМпр, при

hабhаб.мин

6

Нежесткие покрытия:

 

капитального типа и конструкции усиления асфальтобетоном

По деформации (относительному прогибу конструкции)

λрmλпр

По прочности на растяжение при изгибе материалов, обработанных вяжущими,

σrmRри

облегченного и переходного типов

По деформации (относительному прогибу конструкции)

λрmλпр

7

Жесткие покрытия на упрочненных основаниях:

 

бетонные и армобетонные на основаниях из материалов, обработанных цементом

По прочности верхнего слоя покрытия

МрМпр

железобетонные, предварительно-напряженные и сборные на основаниях из материалов обработанных вяжущими

По прочности верхнего слоя покрытия

МрМпр

жесткие на многослойных основаниях из материалов, обработанных органическими вяжущими и из необработанных материалов

По прочности покрытия на основании с эквивалентным коэффициентом постели

МрМпр

Приложение 2

МЕТОДИКА

ОПРЕДЕЛЕНИЯ ОДНОКОЛЕСНОЙ ЭКВИВАЛЕНТНОЙ НАГРУЗКИ ДЛЯ НЕЖЕСТКИХ ПОКРЫТИЙ

Одноколесной эквивалентной нагрузкой является нагрузка, вызывающая в покрытии, несущем слое и грунтовом основании те же критические напряжения, что и многоколесная опора при одном и том же давлении в пневматиках. Для каждого конструктивного слоя определяется соответствующая эквивалентная одноколесная нагрузка с учетом толщины вышележащих слоев Н.

При расчете конструкции по относительному упругому прогибу и сдвигу в грунте расчетная толщина Н принимается равной сумме слоев, лежащих над грунтовым основанием. Для слоев, сопротивляющихся изгибу, расчетная толщина H равна сумме, толщин вышележащих слоев и рассматриваемого слоя.

В качестве исходных данных используются геометрические параметры главных опор в соответствии со схемами (см. рисунок).

По известным значениям этих параметров и расчетной нагрузке на одно колесо Рк и опору Роп строится линейный график в двойных логарифмических координатах lgРэ и lgH. На графике откладываются две точки: А с координатами Н = d/2 и Рэ = Рк и В с координатами Н = 2Sd и Рэ = Pоп. Точки соединяются прямой линией. Величина расчетной эквивалентной нагрузки для рассматриваемого слоя определяется на графике по известной толщине Н.

График определения эквивалентной одноколенной нагрузки для нежестких покрытий (1-5 расчетные схемы различных вариантов главных опор)

Приложение 3

МЕТОДИКА

ОПРЕДЕЛЕНИЯ ЭКВИВАЛЕНТНОГО КОЭФФИЦИЕНТА ПОСТЕЛИ И МОДУЛЯ УПРУГОСТИ ЕСТЕСТВЕННЫХ И ИСКУССТВЕННЫХ ОСНОВАНИЙ ИЗ МАТЕРИАЛОВ, ОБРАБОТАННЫХ ОРГАНИЧЕСКИМИ ВЯЖУЩИМИ, И ИЗ НЕОБРАБОТАННЫХ МАТЕРИАЛОВ

Эквивалентный коэффициент постели слоистого основания (см. рисунок) определяется по формулам

                                                                                            (1)

                                                                                   (2)

                                                                                     (3)

где

h1, h2 - толщины соответственно первого и второго слоев основания;

Сэ - эквивалентный коэффициент постели всех слоев основания;

С1, С2, С3 - значения коэффициентов постели материалов первого, второго и третьего слоев основания;

Ду - условный диаметр круга передачи нагрузки от покрытия на основание, принимаемый по таблице.

В основаниях из двух слоев принимают h2 = 0 и K2 = 0.

Для необработанных материалов и грунтов

C = 0,01Е.                                                                                                                   (4)

Для материалов, обработанных органическими вяжущими

C = 0,005Е,                                                                                                                 (5)

где

Е - расчетные значения модулей упругости материалов слоев, принимаемые по табл. 6, 15-18.

Основания жестких покрытий

Расчетная схема слоистого основания для определения эквивалентного коэффициента постели:

1 - искусственное основание из материалов, обработанных органическими вяжущими, или из необработанных материалов; 2 - дренирующий или тепло- морозо-защитный слой, различные насыпи, слои замены грунта; 3 - естественное грунтовое основание

Таблица

Класс аэродрома

Значение Ду, смх)

А

360

Б

320

В

290

Г

240

Д, Е

220

х) При расчете сборных покрытий величина Ду определяется по формуле (2) приложения 4.

При наличии в основании более трех слоев конструкция приводится к расчетной трехслойной путем объединения смежных слоев. При этом в расчете эквивалентного коэффициента постели используются показатели объединенного (приведенного) слоя, определяемые по формулам

                                                                                                               (6)

                                                                                                            (7)

где

hi и Сi - соответственно толщина и расчетный коэффициент постели каждого из объединяемых слоев оснований.

Приложение 4

РАСЧЕТ ТОЛЩИНЫ ИСКУССТВЕННЫХ ОСНОВАНИЙ ПОД ЖЕСТКИЕ ПОКРЫТИЯ

Бетонные и армобетонные покрытия на основаниях из материалов, обработанных цементом

Расчетная схема покрытия в комплексе с основанием используемые показатели слоев приведены в таблице приложения 1.

Определение необходимой толщины укрепленных оснований под бетонные и армобетонные покрытия выполняется в следующем порядке:

назначается материал искусственного основания и по табл. 14 выбирается значение его расчетного сопротивления растяжению при изгибе ;

вычисляется отношение

где

 - расчетное сопротивление растяжению при изгибе материала покрытия, определяемое по табл. 8;

вычисляется отношение Мр/Мпр;

по графику на рис. 1 определяется величина отношения hосн/hп. Требуемая толщина укрепленного основания hосн определяется по формуле

                                                                                                         (1)

где

hп - толщина покрытия.

Отношение расчетного и предельного изгибающих моментов Мр/Мпр в покрытии определяется на основании результатов расчета покрытия заданной толщины hп без учета укрепленного основания. При этом в случае соотношения моментов Mp/Мпр > 1,5 необходимо увеличить толщину покрытия или заменить его двухслойным.

Рис. 1. График для определения соотношения толщин укрепленного основания и покрытия (цифрами на кривых указано отношение расчетных сопротивлений растяжению при изгибе материалов покрытия и укрепленного основания)

Расчет толщины укрепленных основания под двухслойные жесткие покрытия следует производить по указанной методике, предварительно заменив двухслойное покрытие эквивалентным по несущей способности однослойным.

При определении расчетного изгибающего момента Мр в покрытии искусственные основания из неукрепленных материалов (дренирующие или теплоизолирующие и морозозащитные слои) совместно с грунтовым основанием следует принимать как приведенное однослойное с эквивалентным коэффициентом постели Сэ согласно приложению 3.

Данный метод расчета может быть также использован для оперативного решения вопроса об изменении параметров искусственного основания (толщины и расхода вяжущего) в процессе строительства в связи с изменением вида грунта основания, марки цемента или способа смешения.

Железобетонные, предварительно-напряженные и сборные покрытия на основаниях, обработанных вяжущими

Определение необходимой толщины упрочненных оснований под сборные покрытия, железобетонные и предварительно напряженные монолитные покрытия выполняются в следующей последовательности:

определяется значение условного диаметра площади передачи нагрузки на основание:

                                                                                                        (2)

где

тр - значение требуемой упругой характеристики плиты, при котором соблюдается условие прочности (1);

Kw - принимается по графику на рис. 13 в зависимости от отношения величин жесткостей плит покрытия в направлении осей У и X (Ву/Вх) или по табл. 1 настоящего приложения для типовых плит, сборных покрытий заводского изготовления;

Kα - принимается по табл. 2 в зависимости от отношения радиуса круга, равновеликого площади отпечатка пневматика одного колеса опоры самолета, R к требуемой упругой характеристике плит покрытия тр;

Таблица 1

п/п

Расчетные характеристики плит

Типы плит

ПАГ-14

ПАГ-14т-1

ПАГ-14т-2

ПАГ-18

ПАГ-18Т

ПДГ-2-6с

ПДГ-1,5-6с

1

2

3

4

5

6

7

8

9

1

Размер в плане, м

2×6

2×6

2×6

2×6

2×6

2×6

1,5×6

2

Толщина, см

14

14

14

18

18

14

14

3

Масса, т

4,2

4,2

4,2

5,4

5,4

4,2

3,15

4

Объем бетона, м3

1,68

1,68

1,68

2,16

2,16

1,68

1,26

5

Марка бетона:

 

 

 

 

 

 

 

 

на растяжение при изгибе и на сжатие

45/300

45/300

45/300

45/300

45/300

45/300

45/300

6

Напрягаемая арматура:

 

 

 

 

 

 

 

марка стали

А-IV

Ат-V

Ат-V

А-IV

Ат-V

А-IV

А-IV

диаметр стержней, мм

14

14

12

14

14

12

12

количество стержней, шт.

10

10

12

12

12

9

7

7

Расход арматуры, кг

на 1 плиту

2

 

 

 

 

 

 

 

напрягаемой

72,6

6,05

72,6

6,05

64,0

5,33

87,1

7,25

87,1

7,25

50,4

4,2

39,2

4,35

ненапрягаемой

72,1

6,0

72,1

6,0

72,4

6,0

91,8

7,65

91,8

7,65

66,9

5,6

53,7

5,95

общий

144,7

12,0

144,7

12,0

136,4

11,3

178,9

14,9

178,9

14,9

117,3

9,8

92,3

10,3

8

Жесткость сечения,

тс·м2

пог·м

 

 

 

 

 

 

 

поперечного Вх

724

724

724

1540

1540

724

724

продольного Ву

167

167

167

326

326

97

97

9

Коэффициенты перераспределения усилий:

 

 

 

 

 

 

 

Kx

1,38

1,38

1,38

1,38

1,38

1,5

1,8

Ky

0,50

0,50

0,50

0,50

0,50

0,40

0,40

Kw

1,47

1,47

1,47

1,47

1,47

1,6

1,6

10

Предельный изгибающий момент Мт,

т·с

пог·м

без учета коэффициента условий работы при Kи, равном:

 

 

 

 

 

 

 

1,0

1,82

1,95

1,90

3,06

3,20

1,70

1,73

1,05

1,88

2,01

1,96

3,16

3,31

1,76

1,79

1,10

1,94

2,07

2,02

3,26

3,41

1,82

1,85

1,15

2,01

2,13

2,08

3,37

3,51

1,88

1,91

1,20

2,07

2,20

2,15

3,47

3,61

1,95

1,98

1,25

2,13

2,26

2,21

3,57

3,70

2,01

2,04

1,30

2,19

2,32

2,27

3,68

3,81

2,08

2,11

Примечание. Характеристики плит приняты в соответствии с рабочими чертежами "Типовых конструкций и деталей зданий и сооружений серии 3.506-3" и "Альбома рабочих чертежей предварительно-напряженных железобетонных плит для сборных дорожных покрытий", М., 1965.

определяется требуемая толщина основания по формуле

                                                                                                       (3)

где

Ду/hосн - отношение, определяемое по номограмме на рис. 2 в зависимости от величин

Еосн - модуль упругости укрепленного основания принимаемый по табл. 14-16;

С и - значения соответственно расчетного коэффициента постели грунтового основания и упругой характеристики плиты, лежащей на грунте;

Стр - значение требуемого коэффициента постели основания, при котором соблюдается условие прочности (l)

Таблица 2

0,1

0,2

0,3

0,4

0,5

0,6

0,7

0,8

0,9

1,0

Kα

1,04

1,10

1,14

1,19

1,24

1,30

1,36

1,43

1,50

1,58

При проектировании оснований, состоящих из двух и более слоев, слои из материалов, укрепленных вяжущими, приводятся к материалу верхнего слоя по формуле

                                                                                                             (4)

где Eн и Ев  - модули упругости соответственно нижнего и верхнего слоев укрепленного основания.

Для слоев из материалов, не обработанных вяжущими, определяется эквивалентный коэффициент постели системы, состоящей из необработанного основания и грунта по формуле (1) приложения 3. При этом условный диаметр передачи нагрузки определяется по формуле (2) настоящего приложения.

Рис. 2. Номограмма для определения отношения условного диаметра площади передачи нагрузки на основании Ду и толщин искусственных оснований hосн из материалов, обработанных вяжущими, под железобетонные монолитные и сборные покрытия

Приложение 5

КОНСТРУКЦИЯ И РАСЧЕТ АНКЕРА

Анкер представляет собой монолитную железобетонную конструкцию, состоящую из анкерной плиты и шпор, заглубленных в грунт. Схема анкера представлена на рис. 1.

Рис. 1. Схема анкера:

1 -плита; 2 - анкерная шпора; 3 - рабочая арматура; 4 - конструктивная арматура

Толщину анкерной плиты hп и ширину шпор bш рекомендуется принимать постоянными и равными соответственно 30 и 100 см.

Число шпор и глубина их заложения Н определяется путем расчета из условия равновесия анкера под действием сил натяжения арматуры N(тс/пог.м) и сил сопротивления анкера сдвигу Fсдп

NFсдп.                                                                                                                      (1)

Сопротивление анкера сдвигу определяется по формуле

Fсдп = n·Fсд,                                                                                                                 (2)

где

n - число шпор;

Fсд - сопротивление сдвигу одной шпоры и прилегающих к ней частей анкерной плиты, определяется по графику на рис. 2 настоящего приложения.

Глубина заложения шпор должна быть в пределах 1,5-2,5 м. Расстояние между шпорами в свету принимается равным 2Н.

Армирование анкера выполняется сталью класса А-II. Потребное количество рабочей арматуры принимается по таблице.

Таблица

Глубина заложения шпоры, м

Количество рабочей арматуры в зависимости от вида грунта

песчаного

суглинистого

глинистого

шпора

плита

шпора

плита

шпора

плита

1,5

5Ø12

5Ø12

5Ø12

5Ø12

5Ø12

5Ø12

2,0

6Ø12

8Ø12

6Ø12

9Ø12

6Ø12

11Ø16

2,5

8Ø12

12Ø16

9Ø12

-

10Ø12

-

Рис. 2. График для определения сопротивления сдвигу одной шпоры в грунтах:

1 - глинистых; 2 - суглинистых и супесчаных; 3 - песчаных

Конструктивное армирование плиты и шпор анкера производится стержнями диаметром 12 мм, располагаемыми соответственно через 25-30 и 40-50 см.

Защитный слой принимают равным 4 см для арматуры плит, 5 см для арматуры шпор.

Приложение 6

РАСЧЕТНЫЕ ТАБЛИЦЫ И НОМОГРАММЫ

Таблица 1

Расчетные характеристики самолетов и вертолетов гражданской авиации

Типы самолетов и вертолетов

Максимальная взлетная масса, т

Давление в пневматиках, кгс/см2

Взлетная масса, приходящаяся на главную опору/колесо, т

Колея главных опор, м

Схема главной опоры (размеры даны по осям колес, см)

1

2

3

4

5

6

Самолеты:

Ил-62М

165

11

78,4

19,6

6,8

Ил-86

206

8,5

63,2

15,8

11,15

245

9,5

75,13

18,18

 

Ил-76

170

6,5

38,24

9,6

8,16

190

6,5

44,65

11,16

8,16

210

7,0

49,35

12,33

8,16

ТУ-154Б

100

9,0

47,52

7,92

11,5

Ил-18Д

64

8

30,4

7,60

9,0

Ту-134А

47

8,5

22,32

5,6

9,50

Ан-24

22

4,5

9,9

4,95

7,90

Як-42

53,5

9,5

24,1

6

5,63

Як-40

16,1

5,5

7,24

7,24

4,52

Ан-2

5,5

3,0

2,75

2,75

3,36

Вертолеты:

Ми-6

42,5

7

16,3

7,50

Ми-10К

38,0

6

15,40

7,7

5,00

Ми-8

12,0

5,5

4,38

4,50

Ми-4

7,5

4

3,12

3,82

Ми-2

3,55

4

1,32

3,05

Ми-1

2,55

4

1,065

3,32

Ка-26

3,25

2,5

1,3

2,42

Примечание. К внеклассной категории нормативной нагрузки относится самолет Ил-62М, к I категории - Ил-76 с массой 190 и 210 т, ко II категории - Ил-76 с массой 170 т, Ил-86, Ту-154Б, к III категории - Ил-18Д, к IV категории - Як-42, Ту-134А, к V категории - Ан-24, Як-40. К тяжелым типам вертолетов относятся Ми-6 и Ми-10К, к средним - Ми-8 и Ми-4, к легким -Ми-1, Ми-2, Ка-26.

Таблица 2

Рекомендуемые значения расчетных коэффициентов KИ и KN при расчете жестких аэродромных покрытий

Классы аэродромов

Категории нормативной нагрузки

Расчетные коэффициенты KИ и KN

Перспектива 19855-I990 гг.

Перспектива 1991-2000 гг.

KИ

KN для грунтов

KИ

KN для грунтов

глины, суглинки, супеси пылеватые

пески и супеси непылеватые

глины, суглинки, супеси пылеватые

пески и супеси непылеватые

А

В/к

1,14

1,13

1,06

1,12

1,15

1,08

А

I

1,04

1,13

1,08

1,0

1,16

1,09

Б

II

1,25

1,13

1,06

1,0

1,2

1,1

В

III

1,07

1,11

1,05

1,0

1,16

1,08

Г

IV

1,0

1,06

1,03

1,0

1,19

1,09

Д

V

1,28

1,04

1,02

1,20

1,04

1,03

Е

VI

1,0

1,0

1,0

1,0

1,0

1,0

Таблица 3

Расчетные радиусы отпечатков колес стандартной опоры R для жестких покрытий, см

Группа участков

Категории нагрузок

В/к

I

II

III

IV

V

VI

А

28,5

25,8

23

20

17

22,6

21,8

Б

27,2

24,8

22

18,7

16,2

21,6

20,9

В, Г

25,2

22,8

20,5

17,3

15

19,9

19,3

Расчетная формула

Таблица 4

Число приложений расчетной нагрузки в сутки, рекомендуемое для проектирования нежестких покрытий в аэропортах различных классов

Классы аэродромов

Категории нормативной нагрузки

Число приложений расчетной нагрузки на 10-й год эксплуатации, проходы

Перспектива 1985-1990 гг.

Перспектива 1991-2000 гг.

Расчет по упругому прогибу покрытия

Расчет асфальтобетона на растяжение при изгибе

Расчет по упругому прогибу покрытия

Расчет асфальтобетона на растяжение при изгибе

А

I

40

80

60

120

Б

II

60

70

70

80

В

III

20

30

30

50

Г

IV

15

20

20

25

Д

V

10

10

15

15

Таблица 5

Значения R и Rэ для категорий нормативных нагрузок на нежестких аэродромных покрытиях

Показатель для групп участков покрытий

Значения R и Rэ для категорий нормативных нагрузок, см

В/к

I

II

III

IV

V

VI

1

2

3

4

5

6

7

8

Участки А и Б R, см

26,0

23,6

21,0

17,8

15,5

20,6

20,0

Rэ при толщине конструкции, см:

 

 

 

 

 

 

 

25

30,1

26,5

22,7

18,9

16,0

20,6

20,0

30

31,3

27,6

23,5

19,9

16,7

20,6

20,0

35

32,4

28,4

24,8

20,6

17,5

20,6

20,0

40

33,3

29,3

25,5

21,2

18,0

20,6

20,0

50

35,0

30,9

27,0

22,4

19,1

20,6

20,0

60

36,6

32,0

28,0

23,6

20,0

20,6

20,0

70

37,8

33,2

29,2

24,6

20,9

20,6

20,0

80

39,1

34,7

30,2

25,2

21,6

20,6

20,0

90

39,8

35,6

30,9

26,2

22,4

20,6

20,0

100

41,0

36,3

32,0

26,9

23,0

20,6

20,0

120

42,6

38,0

-

-

-

-

-

140

44,0

39,5

-

-

-

-

-

160

45,5

-

-

-

-

-

-

Участки В и Г R, см

24,0

21,7

19,3

16,5

14,25

19,0

18,4

Rэ при толщине конструкции, см:

 

 

 

 

 

 

 

25

27,0

24,1

20,5

17,2

14,5

19,0

18,4

30

28,2

25,1

21,5

18,1

15,2

19,0

18,4

35

29,4

26,0

22,2

18,7

15,9

19,0

18,4

40

30,2

26,9

22,9

19,4

16,5

19,0

18,4

50

32,0

28,3

24,3

20,7

17,5

19,0

18,4

60

33,1

29,6

25,4

21,6

18,4

19,0

18,4

70

34,3

30,6

26,4

22,4

19,2

19,0

18,4

80

35,5

31,6

27,2

23,3

19,9

19,0

18,4

90

36,5

32,7

28,0

24,1

20,5

19,0

18,4

100

37,4

33,3

28,8

24,0

21,1

19,0

18,4

120

39,1

34,8

-

-

-

-

-

140

40,3

36,0

-

-

-

-

-

160

41,6

-

-

-

-

-

-

Примечание. Промежуточные значения Rэ принимаются по интерполяции.

Таблица 6

Значения радиусов отпечатков колес главной опоры R и эквивалентной одноколесной нагрузки Rэ некоторых воздушных судов гражданской авиации для расчета нежестких покрытий

Расчетные показатели воздушных судов

Значения R и Rэ для типов воздушных судов, см

Ил-62М

Ил-86

Ил-76Т

Ту-154Б

Ил-18Д

Ty-134A

Як-42

Ан-24

Як-40

Ми-IСК

1

2

3

4

5

6

7

8

9

10

11

12

13

14

Максимальная взлетная масса, т

165

206

245

170

190

210

100

64

47

53,5

22

16,1

38

Давление в пневматиках, кгс/см2

11,0

8,5

9,5

6,5

6,5

7,0

9,0

8,0

8,5

9,5

5,0

5,5

6,0

Участки групп А и Б

 

 

 

 

 

 

 

 

 

 

 

 

 

Радиус отпечатка колеса главной опоры R, см

23,8

24,1

24,8

21,6

22,9

23,1

16,7

17,35

14,4

14,2

17,70

20,4

20,2

Величина Rэ при толщине конструкции, см:

 

 

 

 

 

 

 

 

 

 

 

 

 

25

25,26

24,1

24,8

24,71

26,7

26,9

19,0

18,9

16,45

15,3

20,16

20,4

22,8

30

26,4

24,1

24,8

25,73

27,56

28,2

20,2

19,9

17,24

16,2

20,80

20,4

23,30

35

27,15

24,1

24,8

26,66

28,5

29,0

21,2

21,0

18,00

16,8

21,40

20,4

23,90

40

27,9

24,1

24,8

27,56

29,5

30,12

22,4

21,6

18,61

17,4

21,68

20,4

24,4

50

29,4

25,3

26,52

28,9

30,9

31,6

24,0

22,9

19,79

18,5

22,54

20,4

25,2

60

30,9

26,9

28,05

30,11

32,1

32,9

25,6

24,0

20,80

19,2

23,10

20,4

25,8

70

32,25

28,1

29,3

31,3

33,6

34,02

27,0

25,2

21,70

20,2

23,64

20,4

26,6

80

33,13

29,43

30,6

32,1

34,3

35,00

28,3

26,0

22,54

21,3

24,17

20,4

27,21

90

34,0

30,57

31,7

33,14

35,4

35,8

29,4

27,0

23,12

21,7

24,70

20,4

27,6

100

35,05

31,58

32,74

33,94

36,4

36,9

30,6

27,7

23,76

22,4

25,07

20,4

28,2

120

36,5

33,6

34,72

35,36

37,7

38,10

-

-

-

-

-

-

28,5

140

38,01

35,25

36,14

36,64

39,00

39,60

-

-

-

-

-

-

-

Участки групп В и Г

 

 

 

 

 

 

 

 

 

 

 

 

 

Радиус отпечатка колеса главной опоры R, см

21,9

22,2

22,8

19,90

21,1

21,3

15,4

16,0

13,3

13,1

16,30

18,80

18,65

Величина Rэ при толщине конструкции см:

 

 

 

 

 

 

 

 

 

 

 

 

 

25

23,3

22,2

22,8

22,8

24,6

24,8

17,2

17,2

15,15

14,1

18,55

18,80

21,0

30

24,3

22,2

22,8

23,7

25,4

26,0

18,45

18,1

15,90

14,9

19,2

18,8

21,5

35

25,0

22,2

22,8

24,6

26,3

26,7

19,45

18,94

16,6

15,4

19,70

18,8

22,0

40

25,7

22,2

22,8

25,4

27,2

27,8

20,3

19,6

17,15

16,0

20,0

18,8

22,5

50

27,1

23,3

24,4

26,6

28,5

29,1

22,0

20,8

18,25

17,1

20,8

18,8

23,2

60

28,4

24,8

25,8

27,7

29,6

30,3

23,5

21,9

19,20

17,7

21,3

18,8

23,8

70

28,8

25,9

27,0

28,8

31,0

31,4

24,8

23,0

20,0

18,6

21,8

18,8

24,5

80

30,5

27,1

28,2

29,6

31,6

32,2

25,9

23,8

20,8

19,6

22,3

18,8

25,1

90

31,3

28,3

29,2

30,5

32,6

33,0

27,0

24,6

21,3

19,97

22,8

18,8

25,4

100

40,0

29,1

30,2

31,3

33,5

34,0

27,8

25,3

21,9

20,6

23,1

18,8

26,0

120

33,6

31,0

32,0

32,6

34,7

35,1

-

-

-

-

-

-

26,3

140

35,0

32,5

33,3

33,8

36

36,5

-

-

-

-

-

-

-

Таблица 7

Значения функций f(α)

α

f(α)

α

f(α)

1

2

3

4

0,0

0,0

0,72

0,0922

0,02

0,4209

0,74

0,0099

0,04

0,3565

0,76

0,0877

0,06

0,3188

0,78

0,0855

0,08

0,2921

0,80

0,0834

0,10

0,2714

0,82

0,0814

0,12

0,2545

0,84

0,0794

0,14

0,2402

0,86

0,0775

0,16

0,2278

0,88

0,0756

0,18

0,2169

0,90

0,0738

0,20

0,2072

0,92

0,0721

0,22

0,1984

0,94

0,0704

0,24

0,1904

0,96

0,0687

0,26

0,1881

0,98

0,0671

0,28

0,1763

1,00

0,0655

0,30

0,1700

1,10

0,0582

0,32

0,1641

1,20

0,0518

0,34

0,1586

1,30

0,0462

0,36

0,1534

1,40

0,0411

0,38

0,1485

1,50

0,0366

0,40

0,1438

1,60

0,0326

0,42

0,1395

1,70

0,0291

0,44

0,1353

1,80

0,0259

0,46

0,1313

1,90

0,0230

0,48

0,1275

2,00

0,0204

0,50

0,1239

2,20

0,0161

0,52

0,1204

2,40

0,0126

0,54

0,1171

2,60

0,0097

0,56

0,1139

2,80

0,0075

0,58

0,1108

3,00

0,0057

0,60

0,1079

3,20

0,0043

0,62

0,1050

3,40

0,0032

0,64

0,1023

3,60

0,0023

0,66

0,0997

3,80

0,0016

0,68

0,0971

4,00

0,0011

0,70

0,0946

-

-

Таблица 9

Значения функций g(α) и f(ξ)

α, ξ

g(α)

f(ξ)

0,0

 

0,5000

0,02

0,0007

0,4997

0,04

0,0011

0,4989

0,06

0,0019

0,4977

0,08

0,0031

0,4963

0,10

0,0044

0,4946

0,12

0,0061

0,4926

0,14

0,0081

0,4904

0,16

0,0104

0,4880

0,18

0,0130

0,4854

0,20

0,0159

0,4926

0,22

0,0191

0,4797

0,24

0,0225

0,4767

0,26

0,0263

0,4735

0,28

0,0303

0,4701

0,30

0,0345

0,4667

0,32

0,0391

0,4632

0,34

0,0438

0,4595

0,36

0,0489

0,4558

0,38

0,0541

0,4520

0,40

0,0596

0,4480

0,42

0,0654

0,4441

0,44

0,0714

0,4400

0,46

0,0775

0,4359

0,48

0,0839

0,4318

0,50

0,0906

0,4275

0,52

0,0974

0,4233

0,54

0,1044

0,4190

0,56

0,1116

0,4146

0,58

0,1190

0,4102

0,60

0,1265

0,4058

0,62

0,1342

0,4014

0,64

0,1421

0,3969

0,66

0,1402

0,3924

0,68

0,1584

0,3879

0,70

0,1668

0,3834

0,72

0,1752

0,3788

0,74

0,1839

0,3743

0,76

0,1926

0,3697

0,78

0,2015

0,3651

0,80

0,2105

0,3606

0,82

0,2196

0,3560

0,84

0,2289

0,3514

0,86

0,2382

0,3468

0,88

0,2476

0,3423

0,90

0,2571

0,3377

0,92

0,2667

0,3332

0,94

0,2763

0,3286

0,96

0,2861

0,3241

0,98

0,2959

0,3196

1,00

0,3057

0,3151

1,10

0,3558

0,2929

1,20

0,4067

0,2713

1,30

0,4579

0,2504

1,40

0,5087

0,2302

1,50

0,5589

0,2110

1,60

0,6081

0,1926

1,70

0,6557

0,1752

1,80

0,7016

0,1588

1,90

0,7453

0,1433

2,00

0,7868

0,1289

2,20

0,8629

0,1026

2,40

0,9288

0,0804

2,60

0,9841

0,0614

2,80

1,0290

0,0415

3,00

1,0645

0,0326

3,20

1,0904

0,0220

3,40

1,1089

0,0137

3,60

1,1204

0,0071

3,80

1,1253

0,0021

4,00

1,1258

-0,0014

Таблица 10

Жесткость бетонных, армобетонных и предварительно-напряженных железобетонных сечений

Марка бетона на сжатие

Модуль упругости бетона, кгс/см2

Жесткость сечений (в тыс. тс м2) при толщине плиты, см

14

16

16

20

22

24

26

28

30

32

36

40

44

48

50

250

2,65×105

0,62

0,92

1,32

1,8

2,39

3,12

3,97

4,94

6,1

7,4

10,5

14,4

19,2

25,0

28,2

350

3,1×105

0,72

1,08

1,53

2,1

2,8

3,63

4,62

5,77

7,1

8,65

12,3

16,9

22,5

29,3

33,0

400

3,3×105

0,77

1,15

1,64

2,24

2,95

3,88

4,93

6,16

7,56

9,2

13,1

18,0

23,9

31,2

35,0

500

3,6×105

0,84

1,25

1,79

2,45

3,26

4,24

5,38

6,73

8,25

10,1

14,3

19,6

26,1

34,0

38,3

600

3,8×105

0,89

1,32

1,98

2,58

3,44

4,46

5,67

7,10

8,72

10,4

15,2

20,8

27,6

36,0

40,5

Расчетная формула В = 0,085·b·Еσ·h3 (принято b = 100 см).

Таблица 11

Максимальные центральные изгибающие моменты в жестком покрытии от нормативных категорий нагрузок

Категория нормативной нагрузки

Группы участков

Значения моментов тс м) при упругой характеристике плиты, см

50

70

90

110

130

150

170

1

2

3

4

5

6

7

8

9

Внеклассная

А

3,666

5,013

6,092

7,099

8,402

9,531

10,28

Б

3,450

4,687

5,678

6,602

7,798

8,828

9,32

В, Г

3,075

4,131

4,973

5,760

6,777

7,655

8,07

I

А

3,198

4,314

5,204

6,034

7,108

8,037

9,059

Б

3,006

4,030

4,847

5,608

6,594

7,444

8,324

В, Г

2,674

3,546

4,242

4,890

5,728

6,452

7,233

II

А

2,690

3,570

4,271

4,925

5,769

6,500

7,300

Б

2,525

3,332

3,975

4,574

5,350

6,019

6,710

В, Г

2,240

2,928

3,475

3,985

4,644

5,214

5,816

III

А

2,128

2,770

3,281

3,758

4,374

4,906

5,477

Б

1,994

2,584

3,053

3,489

4,053

4,540

5,086

В, Г

1,754

2,265

2,665

3,036

3,517

3,930

4,389

IV

А

1,714

2,196

2,581

2,939

3,401

3,799

4,225

Б

1,604

2,047

2,398

2,728

3,151

3,517

3,914

В, Г

1,415

1,792

2,092

2,371

2,731

3,039

3,363

V

А

1,277

1,569

1,788

1,966

2,115

2,244

2,355

Б

1,206

1,474

1,675

1,839

1,975

2,092

2,195

В, Г

1,079

1,309

1,481

1,619

1,735

1,836

1,922

VI

А

0,817

1,000

1,138

1,249

1,342

1,422

1,492

Б

0,770

0,938

1,065

1,166

1,251

1,324

1,389

В, Г

0,688

0,831

0,939

1,026

1,099

1,161

1,216

Расчетная формула

Таблица 12

Значения максимальных центральных моментов  для некоторых типов воздушных судов

Группа участков

Упругая характеристика , см

Значения моментов (в тс м) для типов воздушных судов

Ил-62М

Ил-86

Ил-76Т

Ту-154Б

Ил-18Д

Ту-134А

Як-42

Ан-24

Як-40

G=206т

G=245т

G=170т

G=190т

G=210т

1

2

3

4

5

6

7

8

9

10

11

12

13

14

А

30

-

-

-

1,169

1,253

1,369

1,127

1,047

0,907

0,96

0,698

0,773

50

3,534

2,324

2,802

2,284

2,491

2,731

1,813

1,701

1,416

1,484

1,164

1,161

70

4,780

3,110

3,583

3,298

3,621

3,981

2,545

2,199

1,792

1,841

1,503

1,425

90

5,788

3,785

4,553

4,171

4,50

5,060

3,476

2,689

2,240

2,247

1,763

1,625

110

6,637

4,370

5,247

4,941

5,454

6,011

4,322

3,242

2,661

2,669

1,979

1,785

130

7,346

4,879

5,876

5,592

6,183

6,813

5,059

3,737

3,032

3,09

 

1,92

150

8,379

5,559

6,681

6,173

6,835

7,533

5,750

4,169

3,364

3,434

2,316

2,036

Б

30

-

-

-

1,115

1,193

1,304

1,066

0,991

0,8547

0,905

0,658

0,738

50

3,335

2,196

2,641

2,136

2,328

2,555

1,697

1,593

1,323

1,386

1,088

1,095

70

4,482

2,918

3,461

3,067

3,367

3,707

2,368

2,049

1,666

1,749

1,399

1,337

90

5,411

3,536

4,225

3,866

4,26

4,682

3,222

2,498

2,078

2,092

1,638

1,521

110

5,194

4,075

4,893

4,575

5,054

5,554

3,996

3,006

2,463

2,460

1,835

1,668

130

6,848

4,541

5,467

5,169

5,719

6,307

4,674

3,458

2,805

2,851

2,002

1,792

150

7,796

5,165

6,199

5,704

6,314

6,956

5,306

3,854

3,106

3,168

2,145

1,897

В, Г

30

-

-

-

1,013

1,085

1,186

0,9597

0,893

0,765

0,81

0,593

0,675

50

2,880

1,971

2,369

1,884

2,056

2,256

1,497

1,406

1,163

1,211

0,959

0,974

70

3,817

2,587

3,072

2,675

2,939

3,231

2,068

1,794

1,455

1,526

1,224

1,187

90

4,573

3,114

3,720

3,355

3,699

4,071

2,793

2,177

1,806

1,817

1,427

1,343

110

5,210

3,572

4,289

3,958

4,372

4,819

3,454

2,608

2,134

2,16

1,595

1,468

130

5,743

3,976

4,780

4,464

4,938

5,444

4,028

2,994

2,425

2,468

1,736

1,574

150

6,515

4,499

5,406

4,918

5,440

6,001

4,567

3,331

2,682

2,73

1,957

1,665

Таблица 13

Расчетные изгибающие моменты в бетонных покрытиях, усиленных асфальтобетоном

Категории нормативной нагрузки

Группа участков

Толщина асфальтобетона, см

Значения моментов (в тс м) при упругой характеристике плиты, см

70

90

110

130

150

170

1

2

3

4

5

6

7

8

9

В/к

А, Б

10

4,62

5,64

6,70

7,96

9,30

10,35

20

4,16

5,16

6,22

7,48

8,82

9,86

30

3,78

4,77

5,83

7,08

8,44

9,47

В, Г

10

4,05

4,92

5,82

6,88

8,04

8,93

20

3,63

4,48

5,38

6,45

7,59

8,49

30

3,29

4,13

5,03

6,09

7,24

8,13

I

А, Б

10

3,94

4,80

5,65

6,70

7,78

8,62

20

3,52

4,36

5,25

6,28

7,35

8,22

30

3,20

4,00

4,90

5,89

7,05

7,90

В, Г

10

2,96

3,67

4,44

5,30

6,23

6,98

20

2,71

3,39

4,13

5,02

5,96

6,70

30

2,46

3,14

3,90

4,75

5,72

6,46

II

А, Б

10

3,22

3,90

4,58

5,40

6,25

6,96

20

2,88

3,52

4,25

5,03

5,90

6,60

30

2,60

3,24

3,93

4,75

5,64

6,30

В, Г

10

2,80

3,39

3,97

4,66

5,39

5,97

20

2,50

3,06

3,64

4,33

5,07

5,65

30

2,24

2,81

3,38

4,08

4,80

5,39

III

А, Б

10

2,48

2,96

3,46

4,05

4,68

5,17

20

2,20

2,66

3,16

3,77

4,38

4,87

30

1,96

2,44

2,94

3,54

4,17

4,68

В, Г

10

2,17

2,57

3,00

3,49

4,02

4,47

20

1,90

2,31

2,74

3,25

3,78

4,20

30

1,70

2,11

2,54

3,04

3,57

4,00

IV

А, Б

6

2,06

2,42

2,79

3,25

3,71

4,13

10

1,95

2,30

2,67

3,11

3,60

3,98

20

1,69

2,07

2,44

2,88

3,35

3,72

В, Г

6

1,79

2,11

2,43

2,81

3,22

3,55

10

1,70

2,01

2,31

2,70

3,11

3,42

20

1,48

1,79

2,10

2,48

2,89

3,21

V

А, Б

6

1,99

2,37

2,77

3,24

3,76

4,16

10

1,88

2,28

2,68

3,16

3,66

4,06

В, Г

6

1,75

2,06

2,41

2,81

3,24

3,60

10

1,64

1,99

2,33

2,73

3,16

3,50

Расчетная формула

Таблица 14

Предельные изгибающие моменты для бетонных и армобетонных покрытий

Марка бетона

KИ m

Мпр (в тс м) при толщине плиты, см

14

16

18

20

22

24

26

28

30

1

2

3

4

5

6

7

8

9

10

11

М250

0,8

0,6

0,785

0,994

1,227

1,484

1,766

2,073

2,404

2,760

0,9

0,676

0,883

1,118

1,380

1,669

1,987

2,332

2,705

3,105

1,0

0,751

0,981

1,242

1,533

1,855

2,208

2,591

3,005

3,450

1,1

6,826

1,08

1,366

1,366

2,041

2,429

2,850

3,306

3,795

1,2

0,902

1,178

1,490

1,840

2,226

2,649

3,109

3,606

4,140

М300

0,8

0,732

0,956

1,209

1,493

1,807

2,150

2,524

2,927

3,360

0,9

0,823

1,075

1,361

1,680

2,033

2,419

2,839

3,293

3,780

1,0

0,915

1,195

1,512

1,867

2,259

2,688

3,155

3,659

4,200

1,1

1,006

1,314

1,663

2,053

2,484

2,956

3,470

4,024

4,620

1,2

1,098

1,434

1,814

2,240

2,71

3,226

3,786

4,390

5,040

M350

0,8

0,810

1,058

1,339

1,653

2,00

2,380

2,794

3,240

3,72

0,9

0,911

1,19

1,507

1,86

2,25

2,678

3,143

3,646

4,185

1,0

1,013

1,323

1,674

2,067

2,500

2,976

3,493

4,051

4,65

1,1

1,114

1,455

1,841

2,273

2,751

3,274

3,842

4,456

5,115

1,2

1,21

1,557

2,009

2,48

3,0

3,571

4,191

4,861

5,580

M400

0,8

0,915

1,195

1,512

1,867

2,259

2,688

3,155

3,659

4,20

0,9

1,029

1,344

1,701

2,100

2,541

3,024

3,549

4,116

4,725

1,0

1,143

1,493

1,890

2,333

2,823

3,360

3,943

4,573

5,25

1,1

1,258

1,643

2,079

2,567

3,106

3,696

4,338

5,031

5,775

1,2

1,372

1,792

2,268

2,800

3,388

4,032

4,732

5,488

6,300

Расчетная формула

 (принято b = 100 см).

Таблица 15

Прогибы жестких покрытий на участках группы А от некоторых типов воздушных судов

Типы воздушных судов

Коэффициенты постели основания С, кгс/см2

Прогибы в центре плиты (в мм) при следующих упругих характеристиках плиты, см

50

70

90

110

130

1

2

3

4

5

6

7

Самолеты:

 

 

 

 

 

 

Ил-62

3

5,46

3,77

2,78

2,13

1,67

5

3,26

2,26

1,67

1,28

1,00

8

2,06

1,40

1,04

0,80

0,63

10

1,63

1,13

0,84

0,64

0,50

Ил-86

206 т

3

3,550

2,559

1,975

1,548

1,239

5

2,130

1,535

1,185

0,928

0,743

8

1,332

0,960

0,740

0,580

0,464

10

1,065

0,768

0,592

0,465

0,372

Ил-86

245 т

3

4,208

3,041

2,344

1,841

1,471

5

2,525

1,824

1,406

1,105

0,882

8

1,579

1,14

0,879

0,691

0,551

10

1,262

0,912

0,703

0,553

0,441

Ил-76

170 т

3

3,770

2,489

1,736

1,269

0,964

5

2,262

1,493

1,042

0,7609

0,579

8

1,414

0,933

0,6906

0,475

0,3617

10

1,131

0,746

0,520

0,380

0,2887

Ил-76

190 т

3

4,199

2,780

1,934

1,417

1,078

5

2,519

1,668

1,159

0,851

0,646

8

1,574

1,042

0,725

0,531

0,406

10

1,260

0,834

0,580

0,426

0,323

Ил-76

210 т

3

4,637

3,070

2,138

1,565

1,188

5

2,782

1,843

1,282

0,939

0,713

8

1,740

1,151

0,802

0,586

0,446

10

1,392

0,921

0,641

0,470

0,357

Ан-24

3

1,62

0,91

0,58

0,40

0,29

5

0,97

0,55

0,35

0,24

0,18

8

0,61

0,34

0,22

0,15

0,12

10

0,49

0,28

0,17

0,11

0,09

Ту-154Б

3

3,689

2,648

1,923

1,440

1,107

5

2,214

1,589

1,154

0,863

0,664

8

1,383

0,992

0,722

0,559

0,415

10

1,106

0,794

0,577

0,431

0,332

Як-42

3

2,33

1,53

1,09

0,78

0,59

5

1,40

0,92

0,65

0,47

0,36

8

0,87

0,57

0,41

0,29

0,22

10

0,69

0,46

0,33

0,23

0,18

Ил-18

3

2,90

1,91

1,33

0,98

0,74

5

1,74

1,15

0,80

0,59

0,44

8

1,09

0,72

0,50

0,37

0,28

10

0,87

0,57

0,40

0,29

0,22

Ту-134

3

2,17

1,54

0,96

0,66

0,53

5

1,30

0,92

0,58

0,41

0,32

8

0,81

0,58

0,36

0,26

0,20

10

0,65

0,46

0,29

0,20

0,16

Ан-2

3

0,53

0,28

0,17

-

-

5

0,32

0,17

0,10

-

-

8

0,20

0,10

0,06

-

-

10

0,16

0,08

0,05

-

-

Вертолеты:

 

 

 

 

 

 

I класса, тяжелые

3

3,02

1,62

1,01

0,69

0,50

5

1,81

0,97

0,61

0,41

0,30

8

1,13

0,61

0,38

0,26

0,19

10

0,91

0,49

0,30

0,21

0,15

II класса, средние

3

1,14

0,60

0,37

0,25

0,19

5

0,68

0,36

0,22

0,15

0,11

8

0,43

0,23

0,14

0,09

0,07

10

0,34

0,20

0,11

0,08

0,06

III класса, легкие

3

0,39

0,21

0,13

0,09

0,07

5

0,24

0,12

0,08

0,05

0,04

8

0,15

0,08

0,05

0,03

0,02

10

0,12

0,06

0,04

0,03

0,02

Ми-6

3

2,92

1,54

0,97

0,67

0,48

5

1,75

0,92

0,58

0,40

0,29

8

1,09

0,58

0,36

0,25

0,18

10

0,88

0,46

0,29

0,20

0,14

Ми-10К

3

2,31

1,33

0,85

0,59

0,54

5

1,39

0,80

0,51

0,35

0,32

8

0,87

0,50

0,32

0,22

0,20

10

0,69

0,40

0,26

0,18

0,16

Ми-8

3

0,84

0,44

0,27

0,19

0,14

5

0,50

0,27

0,16

0,11

0,08

8

0,31

0,17

0,10

0,07

0,05

10

0,25

0,13

0,08

0,06

0,04

Ми-4

3

0,60

0,31

0,19

0,13

-

5

0,36

0,19

0,12

0,08

-

8

0,22

0,12

0,07

0,05

-

10

0,18

0,09

0,06

0,04

-

Ми-2

3

0,26

0,14

0,09

-

-

5

0,16

0,08

0,05

-

-

8

0,10

0,05

0,03

-

-

10

0,08

0,04

0,03

-

-

Ми-1

3

0,22

0,11

0,07

-

-

5

0,13

0,07

0,04

-

-

8

0,08

0,04

0,03

-

-

10

0,06

0,03

0,02

-

-

Ka-26

3

0,26

0,13

0,08

-

-

5

0,15

0,8

0,05

-

-

8

0,10

0,05

0,03

-

-

10

0,08

0,04

0,03

-

-

Примечания:

1. Для определения прогибов покрытий участков группы Б необходимо табличное значение прогиба Wц умножить на коэффициент 0,9, а для определения прогиба покрытий участков групп В и Г - на коэффициент 0,8.

2. Прогибы в ортотропных плитах получаются умножением табличных значений Wц на коэффициент KW.

3. Прогибы кротких покрытий определены по формуле

Номограммы для расчета аэродромных покрытий

Настоящие номограммы разработаны на основе номограмм "Методического пособия по расчету капитальных аэродромных покрытий" (М., ГПИ и НИИ ГА Аэропроект, 1972), а также "Руководства по эксплуатационной оценке прочности аэродромных покрытий" (М., ГПИ и НИИ ГА Аэропроект, 1973).

Номограммы на рис. 1-3 служат для графического расчета прогибов в центре плиты жестких покрытий Wц участков группы А от внеклассной до шестой категорий нормативной нагрузки, указанных по углам квадрантов римскими цифрами. Для перехода к прогибам покрытий других групп необходимо ввести поправочные коэффициенты (см. примечания к рис. 1-3).

Рис. 1. Номограмма для расчета прогибов жестких покрытий участков группы А от внеклассной категории нагрузок (KW=1)

Примечание. Для определения прогибов покрытий участков, группы Б необходимо ввести коэффициент 0,9, для определения прогиба покрытии участков групп В и Г - 0,8.

Рис. 2. Номограмма для расчета прогибов жестких покрытий участков группы А от нормативных нагрузок I-IV категорий (KW = 1)

Примечание. Для определения прогибов покрытий участков групп В необходимо ввести коэффициент 0,9, для определения прогиба покрытий участков В и Г - 0,8

Рис. 3. Номограмма для расчета прогибов жестких покрытий участков группы А от нормативной нагрузки V-VI категорий (KW = 1)

Примечание. Для определения прогибов покрытий участков группы Б необходимо к прогибу ввести коэффициент 0,9, для определения прогиба покрытий участков групп В и Г - 0,8,

Расчетный прогиб покрытий от нормативной нагрузки определяется по формуле

W = KW·Wц

где

Kw - коэффициент, учитывающий перераспределение усилий в ортотропных плитах (см. рис. 13);

Wц - прогиб центра изотропной плиты, определяемый по номограммам рис. 1-3 в зависимости от расчетных значений коэффициента постели основания и упругой характеристики плиты.

Для бетонных, армобетонных, железобетонных покрытий без предварительного напряжения и предварительно-напряженных с двухосным обжатием бетона W = Wц

ПРИМЕР. Определить прогиб армобетонного покрытия участков группы А, имеющего упругую характеристику, ℓ = 90 см, от воздействия нагрузки III категории. Коэффициент постели грунта С = 8 кгс/см3.

РЕШЕНИЕ. По графику III квадранта номограммы на рис. 2 определяется прогиб покрытия Wц = 0,6 мм, соответствующий = 90 см и С = 8 кгс/см3. Так как Wц < 2 мм, расчетный коэффициент постели С = 8 кгс/см3 остается без изменения.

Номограммы на рис. 4-12 и 14-16 служат для расчета аэродромных покрытий жесткого типа под категории нормативных нагрузок.

Расчет жестких покрытий под конкретные типы воздушных судов можно производить по этим же номограммам, используя данные табл. 12 настоящего приложения вместо графиков в III квадранте. Для определения центральных изгибающих моментов от нагрузок различных типов воздушных судов с двух-, четырех- и шестиколесными опорами, не вошедшими в табл. 12 настоящего приложения, рекомендуется пользоваться номограммами на рис. 17-20.

Номограммы для расчета однослойных и двухслойных покрытий (бетонных, армобетонных и железобетонных) имеют четыре оси:

толщины плиты h;

жесткости сечения В;

упругой характеристики ;

расчетного и предельного изгибающих моментов Mр и Мпр.

Каждая номограмма для расчета жестких покрытий разбита на четыре квадранта.

В I квадранте помещены графики жесткости сечения, плиты В, во II квадранте - графики зависимости упругой характеристики плиты от жесткости сечения и коэффициента; постели грунтового основания С, кгс/см3.

В III квадранте на рис. 4-9 помещены графики расчетных изгибающих, моментов от нормативной нагрузки  При K=1,2 (для однослойных цементобетонных и армобетонных покрытий). На рис. 10-12 представлены графики расчетных изгибающих моментов в центре плиты  при K = 1,15 (для железобетонных покрытий). На рис. 14-16 представлены графики центральных изгибающих моментов для двухслойных жестких покрытий .

В IV квадранте на рис. 4-9 приведены графики отношений

На рис. 10-12 - графики предельных изгибающих моментов Мпр. На рис. 14-16 - графики предельных изгибающих моментов

где

Исходными данными при расчете покрытий по номограммам являются:

категория нормативной нагрузки;

группа участков покрытий;

расчетный (эквивалентный) коэффициент постели оснований C (Сэ);

коэффициент условий работы сечения покрытия m;

коэффициенты KN, Kи;

коэффициент K' для двухслойных жестких покрытий.

Методика расчета однослойных бетонных и армобетонных покрытий по номограммам на рис. 4-9

Условие прочности покрытий:

Вычисляется комплексный коэффициент my по формуле

Определяется эквивалентный коэффициент постели основания Сэ с учетом необработанных и обработанных органическими вяжущими слоев искусственных оснований в соответствии с приложением 3.

Производится расчет толщины покрытия h по соответствующей номограмме в следующем порядке:

задается ориентировочная толщина плиты h1 м по графику квадранта I определяется соответствующая жесткость сечения плиты В;

по установленной величине жесткости и расчетной величине коэффициента постели основания С по графикам II и III квадрантов определяются последовательно упругая характеристика плиты и расчетный изгибающий момент для заданной категории нагрузки

По графикам IV квадранта для заданной толщины h1 и комплексного коэффициента my определяется предельный изгибающий момент

Если условие прочности не выполняется, то расчет следует повторить, задавшись новым значением толщины покрытия. Количество циклов графического расчета повторяется до тех пор, пока не будет достигнуто условие прочности покрытия.

Рис. 4. Номограмма для расчета бетонного и армобетонного покрытий участков группы А.

Примечания:

1.

2. При применении бетонов марок 250 и 400 величины моментов в квадранте IV следует умножать на коэффициенты 0,84 и 1,12 соответственно.

Рис. 5. Номограмма для расчета бетонного и армобетонного покрытий участков группы Б

Примечания:

1.

2. При применении бетонов марок 250 и 400 величины моментов в квадранте IV следует умножать на коэффициенты 0,84 и 1,12. соответственно.

Рис. 6. Номограмма для расчета бетонного и армобетонного покрытий участков групп В и Г

Примечания:

1.

2. При применении бетонов марок 250 и 400 величины моментов в квадранте IV следует умножать на коэффициенты 0,84 и 1,12. соответственно.

Рис. 7. Номограмма для расчета бетонного и армобетонного покрытий участков группы А

Примечания:

1.

2. При применении бетонов марок 250 и 400 величины моментов в квадранте IV следует умножать на коэффициенты 0,84 и 1,12. соответственно.

Рис. 8. Номограмма для расчета бетонного и армобетонного покрытий участков группы Б

Примечания:

1.

2. При применении бетонов марок 250 и 400 величины моментов в квадранте IV следует умножать на коэффициенты 0,84 и 1,12. соответственно.

Рис. 9. Номограмма для расчета бетонного и армобетонного покрытии участков групп В и Г

Примечания:

1.

2. При применении бетонов марок 250 и 400 величины моментов в квадранте IV следует умножать на коэффициенты 0,84 и 1,12. соответственно.

Для покрытий, построенных на основаниях из материалов, не обработанных вяжущими, производится проверка соответствие расчетного (табличного) значения коэффициента постели грунта допустимому значению из условия сопоставления расчетного и нормативного прогибов покрытия по номограммам на рис 1-3.

Пример расчета армобетонного покрытия из бетона М350/45 на естественном основании показан на номограмме рис. 4 при следующих исходных данных:

категория нормативной нагрузки - III;

группа участков покрытий - А;

расчетный эквивалентный коэффициент постели основания Сэ = 10 кгс/см2;

комплексный коэффициент условий работы сечения покрытия my = 0,9.

Результаты расчета

Заданная толщина плиты 29 см, - упругая характеристика плиты = 92 см, величина расчетного изгибающего момента, полученного по графикам III квадранта, равна 3,95 тем, величина предельного изгибающего момента, полученного по графикам IV квадранта, равна 3,95 тc м. Окончательно толщина покрытия принимается 29 см.

Методика расчета однослойных железобетонных покрытий, армированных ненапрягаемой арматурой по номограммам рис. 10-13

Определяется расчетный коэффициент КN в соответствии с п. 3.51 или по табл. 2 приложения 6, затем определяется расчетный коэффициент постели основания С по табл. 6(17) или Сэ по приложению 3.

Производится расчет покрытая по прочности:

задаются толщиной плиты h процентом армирования μa и по графикам квадранта I, пользуясь верхними кривыми при ψа = 0,2 определяется жесткость сечения плиты В;

по найденной величине жесткости В и расчетного (эквивалентного) коэффициента постели основания С во II квадранте определяется упругая характеристика плиты ;

для найденной упругой характеристики расчетной категории нормативной нагрузки и соответствующей группы участков аэродрома в III квадранте определяется расчетный изгибающий момент в центре плиты , который следует умножить на расчетный коэффициент KN;

по графикам IV квадранта в зависимости от принятой толщины плиты h, процента армирования μа и коэффициента условий работы m определяется предельный изгибающий момент для покрытия Мпр;

сопоставляются найденные величины моментов  и Мпр. Если окончательное расхождение между ними менее 5 %, расчет толщины заканчивается и принимаются те значения h и μа, которыми задавались. Если расхождение превышает 5 %, то расчет повторяют, задаваясь новыми вариантами h и μа до тех пор пока не будет достигнуто равенство моментов в пределах ±5 %.

Оценивается ширина раскрытия трещин: предварительно по соответствующей номограмме определяется расчетный изгибающий момент при ψa = 1, который затем умножается на коэффициент KN. Ширина раскрытия трещин вычисляется по формуле

где

da - диаметр арматуры, см.

Параметр Т определяется по графикам на рис. 13.

Полученная ширина раскрытия трещин ат сравнивается с предельно допустимым значением 0,03 см. Если нормативное значение превышено, расчет повторяется с корректировкой значения толщины плиты h или процента армирования μa.

Рис. 10. Номограмма для расчета железобетонного покрытия
участков группы А (для центральной части плиты)

Примечание. При применении арматуры класса А-III величины моментов в квадранте IV следует умножать на коэффициент 1,316.

Рис. 11. Номограмма для расчета железобетонного покрытия участков
группы Б (для центральной части плиты)

Примечание. При применении арматуры класса А-III величины моментов в квадранте IV следует умножать на коэффициент 1,316.

Рис. 12. Номограмма для расчета железобетонного покрытия
участков группы В (для центральной части плиты)

Примечание. При применении арматуры класса А-III величины моментов в квадранте IV следует умножать на коэффициент 1,316.

Рис. 13. Графики для определения ширины раскрытия трещин в сечениях, армированных ненапрягаемой арматурой из стали класса А-II

Конструирование железобетонной плиты (назначение процентов армирования в верхней и нижней зонах плиты, шага арматуры) осуществляется в соответствии с приложением 7.

Пример расчета железобетонного покрытия показан на рис. 10 и 13 при следующих исходных данных:

категория нормативной нагрузки - I;

группа участков покрытий - А;

бетон марки 400/50, арматура кл. А-II, da = 1,4 см;

процент армирования μa = 0,38 %;

эквивалентный коэффициент постели основания с учетом устройства подстилающего слоя на пасчано-гравийной смеси Сэ = 10 кгс/см3;

расчетный коэффициент KN = 1,13.

Результаты расчета

Заданная толщина плиты h = 30 см;

процент армирования μa = 0,38 %, da = 1,4 см;

предельный изгибающий момент Мпр = 6,15 тс м (по IV квадранту);

расчетный изгибающий момент  при ψа = 0,2 определяется по III квадранту:

вычисляется

то же при ψа=0,1

Ширина раскрытия трещин определяется по формуле

где Т определяется по номограмме рис. 13.

Методика расчета двухсложных жестких покрытий по номограммам рис 14-16

Вычисляется комплексный коэффициент  по формуле

где

Kи - коэффициент, определяемый в соответствии с п. 3.53 или по табл. 2 приложения 6;

K' - по табл. 32 (40).

Определяется эквивалентный коэффициент постели основания Cэ.

Рис. 14. Номограмма для расчета двухслойных покрытий участков группы А:

нижний слой - цементобетон марки 350/50, верхний слой - армобетон марки 400/50

Примечание.

Условие прочности конструкции определяется равенством m'y·M* = Mц

где m'y = Kи/K'.

Номограмма построена для my = 1,0.

Рис. 15. Номограмма для расчета двухслойных покрытий участков группы Б:

нижний слой - цементобетон марки 350/45, верхний слой - армобетон марки 400/50

Примечание.

Условие прочности конструкции определяется равенством m'y·M* = Mц

где m'y = Kи/K'.

Номограмма построена для my = 1,0.

Рис. 16. Номограмма для расчета двухслойных покрытий участков группы В:

нижний слой - цементобетон марки 350/45, верхний слой - армобетон марки 400/50

Примечание.

Условие прочности конструкции определяется равенством m'y·M* = Mц

где m'y = Kи/K'.

Номограмма построена для my = 1,0.

Расчет толщины покрытия производится в следующем порядке:

задаются толщиной нижнего hн и верхнего hв слоев двухслойного покрытия и по графикам квадранта I определяют суммарную жесткость плиты В;

по найденной величине жесткости В и величине эквивалентного коэффициента постели Сэ во II и III квадрантах определяют последовательно упругую характеристику плиты и центральный максимальный изгибающий момент для заданной категорий нагрузки ;

по графику IV квадранта в зависимости от толщины верхнего и нижнего слоев находится изгибающий момент М* который умножают на коэффициент m'y и сравнивают с центральный изгибающим моментом от нагрузки . Если относительное расхождение между полученными изгибающими моментами составляет величину менее 5 %, то расчет заканчивается и принимаются те толщины, которыми задавались. Если указанной расхождение больше 5 %, то расчет надо повторить, задаваясь другими толщинами, до тех пор пока не будет достигнуто равенство моментов

Пример расчета двухслойного покрытия с верхним армобетонным слоем из бетона марки 400/50 и нижним цементобетонным слоем из бетона марки 350/45 показан на рис. 16 при следующих исходных данных:

категория нормативной нагрузки - внеклассная;

группа участков - В;

расчетный эквивалентный коэффициент постели Сэ = 12 кгс/см3;

расчетные коэффициенты Kи = 1,25, K' = 1,4.

Результаты расчета

Заданная толщина нижнего слоя из цементобетона М350/45 hн = 20 см, верхнего слоя из армобетона М400/50 hн = 26 см.

По квадранту IV определяется величина М* = 6,15 тс м, Вычисляется m'у·М* = 0,89×6,15 = 5,5 тс м.

По квадранту III определяется

Окончательно принимаются заданные толщины верхнего и нижнего слоев.

Определение центральных изгибающих моментов в плитах жестких покрытий от самолетной нагрузки с двух-, четырех- и шестиколесными опорами по номограммам рис. 17-20

Исходными данными для расчета по этим номограммам являются:

схема главной опоры с расстояниями между рядами колес X и У;

расчетная нагрузка на колесо главной опоры  и давление воздуха в пневматике q;

упругая характеристика покрытия ;

толщина слоя асфальтобетона hаб (только в случае усиления покрытия асфальтобетоном).

Методика расчета

Определяются приведенные расстояния между рядами колес главной опоры

Затем вычисляется параметр α:

hаб = 0 при отсутствии слоя усиления из асфальтобетона.

Используя параметры ξ и η по графикам квадранта I определяют  далее последовательно в квадрантах II и III по значениям параметра α и  определяют значение

Рис. 17. Номограмма для определения центральных изгибающих моментов в плитах жестких покрытий от самолетных нагрузок с двухколесной опорой:

Рк - расчетная колесная нагрузка; hаб - толщина слоя асфальтобетона; - упругая характеристика плиты; q - удельное давление в шинах колес

Рис. 18. Номограмма для определения центральных изгибающих моментов в плитах жестких покрытий от самолетных нагрузок с четырехколесной опорой (двойной тандем)

Рис. 19. Номограмма для определения центральных изгибающих моментов в плитах жестких покрытий от самолетных нагрузок с четырехколесной опорой

Рис. 20. Номограмма для определения центральных изгибающих моментов в плитах жестких покрытий от самолетных нагрузок с шестиколесной опорой

Пример определения  показан на рис. 18 при следующих исходных данных:

X = 84 см; У = 150 см; hаб = 0.

Упругая характеристика плиты = 100 см.

Расчетная Нагрузка, на колесо , q = 6,9 кгс/см2.

Результаты расчета

Методика расчета требуемой толщины искусственных оснований под сборные покрытия из типовых плит ПАГ-14, ПАГ-18, ПДГ-2-6с и ПДГ-1,5-6с по номограмме на рис. 21-28

В квадранте III на шкале моментов М откладывается величина предельного изгибающего момента плиты Mпр:

Mпр = m·Mт,

где

m - коэффициент условий работы, принимаемый по табл. 31(39);

Мт - предельный изгибающий момент типовой плиты, без; учета коэффициента условий работы, принимается по табл. 1 приложения 4.

По известной величине предельного изгибающего момента плиты для соответствующей расчетной нагрузки в квадрантах III и II последовательно определяются требуемая упругая характеристика плиты тр и требуемый коэффициент постели основания Стр.

Рис. 21. Номограмма для расчета толщины искусственного основания под плиты ПАГ-14, ПДГ-2-6с и ПДГ-1,5-6с на участках группы А для III-V категорий нормативных нагрузок

Рис. 22. Номограмма для расчета толщины искусственного основания под плиты ПАГ-14, ПДГ-2-6с и ПДГ-1,5-6с на участках группы Б для III-V категорий нормативных нагрузок

Рис. 23. Номограмма для расчета толщины искусственного основания под плиты ПАГ-14, ПДГ-2-6с и ПДГ-1,5-6с на участках групп В и Г для III-V категорий нормативных нагрузок

Рис. 24. Номограмма для расчета толщины искусственного основания под плиты ПАГ-18 на участках группы А для II-IV категорий нормативных нагрузок

Рис. 25. Номограмма для расчета толщины искусственного основания под плиты ПАГ-18 на участках группы Б для II-IV категории нормативных нагрузок

Рис. 26. Номограмма для расчета толщины искусственного основания под плиты ПАГ-18 на участках групп В и Г для II-IV категорий нормативных нагрузок

Рис. 27. Графики расчетных изгибающих моментов от некоторых типов воздушных судов в сборных покрытиях из плит ПАГ-14, ПАГ-18 (Kх=1,38)

В зависимости от величины Стр и расчетного или эквивалентного значения коэффициента постели грунтового основания С в квадранте IV определяется толщина искусственного основания  из материала с модулем упругости Ei = Еосн.

Расчетная величина hосн вычисляется путем умножения  на коэффициент Kα, приведенный в таблице в нижней части каждой номограммы (см. рис. 21-26)

При расчете толщины искусственных оснований под сборные покрытия для конкретных типов воздушных судов рекомендуется пользоваться графиками расчетных изгибающих моментов, приведенными на рис. 27, 28, используя их вместо квадранта III в номограммах на рис. 21-26.

Рис. 28. Графики расчетных изгибающих моментов от вертолетов в сборных покрытиях из плит ПАГ-14, ПАГ-18 на участках группы А (Kх = 1,38)

Пример расчета толщины искусственного основания из пескоцемента с модулем упругости Еосн = 50000 кгс/см2 под сборное покрытие из плит ПАГ-14

Исходные данные:

категория нормативной нагрузки - III;

группа участков - А;

расчетный коэффициент постели грунтового основания С = 3 кгс/см3, m = 1,21 (см. табл. 31 (39); Мт = 1,88 тс м при Kи = 1,05 (см. табл. 1 приложения 4).

Расчет производится по номограмме на рис. 21.

Вычисляется Мпр = 1,21×1,88 = 2,28 тс м.

По номограмме определяются следующие параметры

тр = 38 см;

Kα = 1,26 (при Rк/тр = 20/38 = 0,53);

hосн = 17,5×1,26 = 22 см.

Пример расчета толщины искусственного основания из грунтоцемента с модулем упругости Еосн = 19000 кгс/см2 под плиты ПАГ-18

Исходные данные:

нагрузка - самолет Ил-86;

группа участков - А;

расчетный коэффициент постели грунтового основания С = 4 кгс/см3;

Kи = 1;

m = 1,21, табл. 31 (39); Мт = 3,06 тс м (см. табл. 1 приложения 4).

Расчет производится по номограмме на рис. 24 и графикам на рис. 27.

Предварительно вычисляется Мпр = 1,21×3,06 = 3,7 тс м. На графике (рис. 27, участок группы А) для Ил-86 определяется тр по известному значению Мпр = 3,7 тс м:

тр = 59 см

Далее по номограмме на рис. 24 при известных значениях тр, С и Еосн определяются

Вычисляется требуемая толщина основания

hосн = 1,216×22 = 27 см.

Определение толщины однослойного цементобетонного покрытия, эквивалентного по несущей способности двухслойному

При расчете толщины слоя усиления существующих двухслойных жестких покрытий, а также при определении толщины грунто- или пескоцементного основания под двухслойные жесткие покрытия их следует заменять однослойными, эквивалентными по несущей способности.

Для приведения двухслойных покрытий к однослойным рекомендуется пользоваться номограммой на рис. 29.

Графики в квадрантах I-IV построены для значений коэффициентов K', равных соответственно 1,1-1,4. Коэффициенты K' принимаются в соответствии с табл. 32(40).

Для приведения нижних слоев существующих двухслойных покрытий различных марок к бетону марки 350 толщину покрытия следует умножать на следующие коэффициенты: для бетона М250/35 на 0,84; М300/40 на 0,95.

Для приведения верхних цементобетонных и армобетонных слоев к армобетонному марки 400/50 толщину слоя следует умножать на следующие коэффициенты: для бетона М350/45 на 0,89; М300/40 на 0,85; для армобетона М350/45 на 0,94.

Рис. 29. Номограмма для определения толщины однослойного, цементобетонного покрытия марки 350, эквивалентного по несущей способности двухслойному жесткому покрытию с нижним слоем из цементобетона марки 350 и верхним слоем из армобетона марки 400 (цифры на кривых означают толщину верхнего слоя)

При наличии дефектов в существующем покрытии следует руководствоваться положениями п. 3.64 (5.65).

Пример приведения двухслойного покрытия с верхним слоем из цементобетона марки 350/45 толщиной 28 см и нижним слоем из цементобетона М300/40 толщиной 24 см к однослойному марки 350/45, эквивалентному по несущей способности

Верхний слой со стыковыми соединениями, нижний слой без стыковых соединений, швы совмещены.

Расчет

Определяется коэффициент К' по табл. 32(40):

K' = 1,3.

Толщина нижнего слоя приводится к толщине цементобетона М350/45:

Толщина верхнего слоя приводится к толщине армобетона М400/50:

По графикам квадранта III номограммы на рис. 29 определяется толщина однослойного цементобетонного покрытия М350/45:

hэ = 37см.

Приложение 7

АРМИРОВАНИЕ МОНОЛИТНЫХ ЖПЕЗОБЕТОННЫХ ПЛИТ

Армирование монолитных железобетонных плит следует выполнять в соответствии с рекомендациями табл. 1 и 2, а также схемами, приведенными на рисунке.

Таблица 1

Процент армирования монолитных железобетонных плит

Номера участков армирования

Участки армирования плит

Рекомендуемое армирование участков плит

при наличии стыков в плитах

при отсутствии стыков в плитах

 

Нижняя зона плиты

 

 

1

в продольном и поперечном направлениях

μа

μа

2

в продольном направлении

1,65μаK

2,35μаK

в поперечном направлении

μа

μа

3

в продольном направлении

1,65μаK

2,35μаK

в поперечном направлении

1,65μаK

2,35μаK

4

в продольном направлении

μа

μа

в поперечном направлении

1,65μаK

2,35μаK

 

Верхняя зона плиты

 

 

5

в продольном направлении

0,39μа

0,39μа

в поперечном направлении

0,78μа

1,13μа

6

в продольном направлении

0,65μа

0,825μа

в поперечном направлении

0,78 μа

1,13μа

7

в продольном направлении

1,17μа

2,35μа

в поперечном направлении

0,78μа

1,13μа

8

в продольном направлении

1,17μа

2,35μа

в поперечном направлении

1,17μа

2,35μа

9

в продольном направлении

0,78μа

1,13μа

в поперечном направлении

1,17μа

2,35μа

10

в продольном и поперечном направлениях

0,78μа

1,13μа

Таблица 2

Шаг армирования сечений плит при различных диаметрах арматуры

Процент армирования μа

Шаг армирования (в см) при толщине плиты, см

16

18

20

22

24

26

28

30

32

34

36

38

40

1

2

3

4

5

6

7

8

9

10

11

12

13

14

d=10 мм:

 

 

 

 

 

 

 

 

 

 

 

 

 

0,15

-

-

26

31

27,5

25

23

21

-

-

-

-

-

0,20

-

30

26

23

21

19

17

15,5

-

-

-

-

-

0,25

29

24

21

13,5

16,5

15

13,5

12,5

-

-

-

-

-

d=12 мм:

 

 

 

 

 

 

 

 

 

 

 

 

 

0,15

-

-

-

-

-

-

-

30

27

26

24,4

23

21,5

0,20

-

-

-

-

30

27

25

23

21

19,5

18,2

17

16,2

0,25

-

-

30

27

24

21,5

19,5

18

17

15,6

14,6

13,7

12,9

0,30

-

29

25

22

20

18

16,5

15

14

13

12,2

11,5

10,8

0,35

29

25

21,5

19

17

15,5

14

13

11

11,1

10,4

10

9,3

0,40

25

21,5

19

16,5

15

13,5

12,5

11,5

10,5

9,7

-

-

-

0,45

23

19

17

15

13

12

11

10

-

-

-

-

-

0,50

20,5

17,5

15

13

12

11,5

10

-

-

-

-

-

-

0,55

18,5

16

13,5

12

11

10

-

-

-

-

-

-

-

0,60

17

14,5

12,5

11

10

-

-

-

-

-

-

-

-

0,65

16

13,5

11,5

10

-

-

-

-

-

-

-

-

-

0,70

15

12,5

11

-

-

-

-

-

-

-

-

-

-

0,75

13,5

11,0

10

-

-

-

-

-

-

-

-

-

-

0,80

13

10,5

-

-

-

-

-

-

-

-

-

-

-

0,85

12

10

-

-

-

-

-

-

-

-

-

-

-

0,90

11,5

-

-

-

-

-

-

-

-

-

-

-

-

d=14 мм:

 

 

 

 

 

 

 

 

 

 

 

 

 

0,25

-

-

-

-

-

29,5

27

24,5

22,8

21,3

20

18,7

17,6

0,30

-

-

-

30

27

24,5

22,5

20,5

19,0

17,7

16,6

15,5

14,7

0,35

-

-

29,5

26

23

21

19

17,5

16,3

15,2

14,2

13,3

12,6

0,40

-

29,5

25,5

23

20

18,5

16,5

15,5

14,3

13,3

12,4

11,7

11,0

0,45

-

26

23

20

18

16

15

13,5

12,3

11,8

11,0

10,4

9,7

0,50

28

24

20,5

18

16

14,5

13,5

12,5

11,4

10,6

9,9

9,4

-

0,55

25,5

21,5

18,5

16,5

14,5

13,5

12

11

10,4

-

-

-

-

0,60

23,5

20

17

15

13,5

12

11

10

9,5

-

-

-

-

0,65

21,5

18

16

14

12,5

10

10

-

-

-

-

-

-

0,70

20

17

14,5

13

11,5

10

-

-

-

-

-

-

-

0,75

18,5

16

13,5

12

11

10

-

-

-

-

-

-

-

0,80

17,5

15

13

11,5

10

-

-

-

-

-

-

-

-

0,85

16,5

14

12

10,5

-

-

-

-

-

-

-

-

-

0,90

15,5

13

11,5

10

-

-

-

-

-

-

-

-

-

0,95

14,5

12,5

11

-

-

-

-

-

-

-

-

-

-

1,00

14

12

10

-

-

-

-

-

-

-

-

-

-

d=16 мм:

 

 

 

 

 

 

 

 

 

 

 

 

 

0,30

-

-

-

-

-

-

29

27

25

23

21,7

20,4

19,2

0,35

-

-

-

-

30

27,5

25

23

21,3

19,8

18,5

17,4

16,4

0,40

-

-

-

30

26,5

24

22

20

18,6

17,4

15,2

15,3

14,4

0,45

-

-

30

26

23,5

21

19,5

18

16,5

15,4

14,4

13,5

12,8

0,50

-

-

27

24

21

19

17,5

16

14,9

13,9

13,0

12,2

11,5

0,55

-

28

24,5

21,5

19

17,5

16

14,5

13,5

12,6

11,8

11,1

10,4

0,60

30

26

22,5

19,5

17,5

16

14,5

13,5

12,4

11,6

10,8

10,2

9,6

0,65

28

24

20,5

18

16,5

14,5

13,5

12,5

11,4

10,7

9,9

-

-

0,70

26

22

19

17

15

13,5

12,5

11,5

10,6

9,9

-

-

-

0,75

24,5

20,5

18

16

14

12,5

11,5

10,5

10

-

-

-

-

0,80

23

19

17

15

13

12

11

10

-

-

-

-

-

0,85

21,5

18

16

14

12,5

11

10,5

-

-

-

-

-

-

0,90

20

17

15

13

12

10,5

10

-

-

-

-

-

-

0,95

19

16

14

12,5

11

10

-

-

-

-

-

-

-

1,00

18,5

15,5

13,5

12

10,5

-

-

-

-

-

-

-

-

Схемы армирования железобетонной плиты:

а - нижняя зона плиты; б - верхняя зона плиты; в - график для определения значений S и K;

1 - при наличии стыковых соединений; 2 - при отсутствии стыковых соединений

Приложение 8

РЕКОМЕНДУЕМЫЕ ЗНАЧЕНИЯ ТОЛЩИН АСФАЛЬТОБЕТОННЫХ СЛОЕВ НА РАЗЛИЧНЫХ ОСНОВАНИЯХ ПО УСЛОВИЮ ТЕМПЕРАТУРНОЙ ТРЕЩИНОСТОЙКОСТИ

При реконструкции, усилении или строительстве новых асфальтобетонных покрытий для повышения температурной трещиностойкости зимой и сдвигоустойчивости летом рекомендуется назначать конструкцию покрытия, выбирать вид и тип асфальтобетона и принимать толщину слоев в зависимости от местных климатических условий в соответствии с табл. 1 и 2.

Данные, приведенные в табл. 1 и 2, увеличиваются на 20 %, если расчетное удельное давление в пневматиках колес самолета более чем на 10 % превышает 10 кгс/см2.

Принятый вариант конструкции покрытия сравнивается с рассчитанным на прочность и принимается большая толщина асфальтобетонного слоя.

Средняя температура воздуха наиболее холодных суток и максимальная средняя скорость охлаждения воздуха за последние 10-15 лет определяются по данным местных гидрометеорологических станций.

Среднюю температуру воздуха наиболее холодных суток для отдельных географических районов можно определить по СНиП II-А.6-72.

Ориентировочные значения максимальной средней скорости охлаждения воздуха можно определить по карте на рисунке. Для местности, где на карте не указана скорость движения, она определяется по интерполяции, или принимается по ближайшей изолинии.

За максимальную среднюю скорость охлаждения воздуха принимается та, которая, наблюдается при средней минимальной температуре воздуха ниже -15 °С. Если максимальная скорость охлаждения наблюдается при температуре воздуха выше -15 °С, то верхний и нижний слои асфальтобетонного покрытия на жестком основании принимаются конструктивной толщины (5 см для средне- и крупнозернистого и 4 см - для мелкозернистого и песчаного асфальтобетонов). На нежестком основании покрытие можно укладывать в один слой конструктивной толщины (если по расчету на прочность не требуется большая толщина).

Средние скорости охлаждения воздуха

Таблица 1

Асфальтобетонное двухслойное покрытие на цементобетонном или грунтоцементном основании

Средняя температура воздуха, наиболее холодных суток, °С

Средняя максимальная скорость охлаждения воздуха, ч

Рекомендуемая марка битума БНД

Рекомендуемый тип асфальтобетона и толщина покрытия в см с верхним слоем из смеси

среднезернистой

мелкозернистой

песчаной

1

2

3

4

5

6

Ниже -35

До 4

130/200

А,Б-5/5

А,Б-4/5

Г-4/6

4

130/200

А,Б-5/5

А-4/5,
Б-4/6

Г-4/6

5

130/200

А-5/6,
Б-5/7

А-4/6,
Б-4/7

Г-4/7

От -31

до -35

До 2

60/90

А,Б-5/5

А,Б-4/5

Г-4/5

2

60/90

А,Б-5/6

А,Б-4/6

Г-6/6

3

60/90

А-5/7,
Б-6/7

А-4/7,
Б-7/7

Г-8/8

4

90/130

А-5/5,
Б-5/6

А-4/5,
Б-4/6

Г-6/7

5

90/130

А-5/6,
Б-5/7

А-4/6,
Б-4/7

Г-7/7

От -21

до -30

До 3

60/90

А,Б-5/5

А,Б-4/5

Г-4/5

3

60/90

А,Б-5/5

А,Б-4/5

Г-6/5

4

60/90

А-5/7,
Б-6/6

А-4/7,
Б-6/7

Г-9/6

5

60/90

А-5/8,
Б-7/8

А-4/8,
Б-8/8

Г-12/8

6

60/90

A-6/10,
Б-10/9

А-7/10,
Б-11/9

Г-13/9

7

60/90

А-6/14,
Б-12/11

A-10/12,
Б-13/10

Г-14/10

Выше -20

До 3

40/60

А,Б-6/5

А,Б-4/6

Г-4/6

3

40/60

А,Б-5/6

А,Б-4/6

Г-5/6

4

40/60

А-5/10,
Б-6/10

А-6/10,
Б-7/
I0

Г-7/10

Таблица 2

Асфальтобетонное двухслойное покрытие на основании из черного щебня, асфальтобетона или на основании типа пропитки

Средняя температура воздуха, наиболее холодных суток, °С

Средняя максимальная скорость охлаждения воздуха, град/ч

Рекомендуемая марка битума БНД

Рекомендуемый тип асфальтобетона и толщина покрытия в см с верхним слоем из смеси

среднезернистой

среднезернистой

среднезернистой

1

2

3

4

4

4

Ниже -35

До 5

130/200

А,Б-5/0

А,Б-4/0

Г-4/0

От -31

до -35

До 3

60/90

А,Б-5/5

А,Б-4/5

Г-7/5

3

60/90

А-5/5,
Б-7/5

А-4/5,
Б-8/5

Г-9/5

4;5

90/130

А,Б-5/5

А,Б-4/5

Г-4/5

От -21

до -30

До 3

60/90

А,Б-5/5

А,Б-4/5

Г-5/5

4

60/90

А-5/5
Б-6/5

А-4/5,
Б-6/5

Г-9/5

5

60/90

А-5/5
В-7/5

А-4/5,
Б-8/5

Г-12/5

6

60/90

А-6/5,
Б-10/5

А-7/5,
Б-11/5

Г-13/5

7

60/90

A-7/5,
Б-12/5

A-10/5,
Б-13/5

Г-14/5

От -20 и выше

До 3

40/60

А,Б-5/5

А-5/5,
Б-4/5

Г-5/5

4

40/60

А-5/5,
Б-6/0

А-5/5,
Б-7/5

Г-8/5

Примечание к табл.1 и 2.

В числителе указана толщина верхнего слоя, в знаменателе - нижнего слоя покрытия. Нижний слой устраивается из крупнозернистого асфальтобетона. Между слоями должно быть прочное сцепление. Каждый слой рекомендуется, укладывать за один проход асфальтоукладчика. При применении битума более вязкого, чем рекомендуемый толщина покрытия должна быть увеличена. При применении менее вязкого битума возможно нарушение сдвигоустойчивости покрытия.

Приложение 9

ПРОВЕРКА ПРОЧНОСТИ НЕЖЕСТКОЙ КОНСТРУКЦИЙ ПО ПРЕДЕЛЬНОМУ СОСТОЯНИЮ СДВИГА В ГРУНТОВОМ ОСНОВАНИИ

Условие, при котором в подстилающем грунте не образуются пластические деформации, выражается неравенством

где

 - максимальное активное напряжение сдвига в нижнем слое двухслойной системы от удельной расчетной нагрузки, равной 1 кгс/см2, определяется по номограммам рис. 1-4;

q - внутреннее давление в пневматиках колес главной опоры, кгс/см2;

τаб - активное напряжение сдвига от собственного веса конструкции, кгс/см2, определяется по номограмме рис. 5;

С - сцепление в подстилающем грунте в расчетный период при медленном сдвиге (нормативное сцепление), кгс/см2, определяется по табл. 1;

K - расчетный комплексный коэффициент, учитывающий условия взаимодействия слоев на контакте, тиксотропные изменения в материале под действием повторных нагрузок и условия работы на различных группах участков аэродрома, принимаемый по табл. 2.

Предварительно многослойная нежесткая конструкция приводится к двухслойной системе, у которой толщина верхнего слоя равна суммарной толщине конструктивных слоев, включая покрытие, основание и подстилающий слой, а средний модуль упругости Еср вычисляется по формуле (40). В качестве нижнего полубесконечного слоя рассматривается грунтовое основание с модулем упругости Ео.

Воздействие многоколесной нагрузки от главной опоры расчетного воздушного судна заменяется воздействием эквивалентной одноколесной нагрузки, которая определяется по методике приложения 2.

Исходными данными для расчета по номограммам рис. 1-5 являются:

Н - общая толщина нежесткой конструкции, см;

Дэ - диаметр отпечатка одноколесной эквивалентной нагрузки, см, определяемый по формуле (41) или для некоторых типов воздушных судов по табл. 6 приложения 6;

 - отношение среднего модуля упругости конструкции к о модулю упругости грунтового основания;

φ - угол внутреннего трения грунта основания, град, принимается по табл. 1.

Если конструкцию подстилают связные грунты (глины, суглинки, супеси, а также связные грунты с примесью гравия), фактические напряжения близки к вычисленным при совместном смещении слоев и в этом случае следует использовать номограммы рис. 1, 2. При слабосвязных (песчаных и подобных им грунтах) напряжения ближе к вычисленным при условии свободного смещения слоев на контакте. В этом случае следует использовать номограммы рис. 3, 4;

Расчет конструкции по предельному состоянию сдвига в грунтовом основании выполняют методом подбора, предварительно назначая толщины и модули упругости конструктивных слоев и добиваясь выполнения условия прочности.

Рис. 1. Номограмма для определения активных напряжений сдвига от временной нагрузки  в нижнем слое двухслойной системы при совместной работе слоев

Рис. 2. Номограмма для определения активных напряжений сдвига от временной нагрузки  в нижнем слое двухслойной системы при совместной работе слоев (деталь, номограммы, помещенной на рис. 1)

Рис. 3. Номограмма для определения активных напряжений сдвига от временной нагрузки  в нижнем слое двухсловной системы при свободном смещении слоев на контакте

Рис. 4. Номограмма для определения активных напряжений сдвига от временной нагрузки  в нижнем слое двухслойной системы при свободном смещении слоев на контакте (деталь номограммы на рис. 3)

Рис. 5. Номограмма для определения активных напряжений сдвига τаб собственного веса конструкции

Таблица 1

Грунты

Характеристики грунтов

Расчетные характеристики грунтов при относительной влажности Wт (доли границы текучести)

0,6

0,65

0,7

0,75

0,8

0,85

0,9

Песок крупный и гравелистый

φ, град.

43

43

43

43

43

43

43

Песок средней крупности

φ, град.

40

40

40

40

40

40

40

Песок мелкий

φ, град.

38

38

38

38

38

38

38

Песок пылеватый

φ, град.

36

36

36

36

36

36

36

С, кгс/см2

0,09

0,09

0,09

0,09

0,09

0,09

0,09

Супесь

φ, град.

35

35

34

34

33

-

-

С, кгс/см2

0,12

0,11

0,10

0,09

0,08

-

-

Супесь пылеватая, суглинки, глины

φ, град.

24

21

18

15

13

11

10

С, кгс/см2

0,32

0,26

0,19

0,15

0,10

0,07

0,05

Примечания:

1. Приведенные характеристики грунтов, определяющие сопротивление грунта, сдвигу φ, и С, представляют собой часто встречающийся минимальные значения этих показателей в соответствующих дорожно-климатических зонах.

2. Величина сцепления в песчаном грунте принимается равной 0,05 кгс/см2.

3. Значения, расчетных влажностей грунта в различных дорожно-климатических зонах и типах местности по условиям увлажнения приведены в табл. 3.

Таблица 2

Группы участков покрытий

Среднесуточная приведенная повторность приложения расчетной нагрузки Nсут., прох./сут.

Комплексный коэффициент K при расчете грунтового основания на сдвиг

при совместном смещении слоев на контакте

при свободном смещении слоев на контакте

1

2

3

4

А

10

1,63

0,96

15

1,45

0,84

20

1,33

0,76

25

1,22

0,70

30

1,15

0,65

35

1,08

0,62

40

1,02

0,58

45

0,97

0,55

50

0,92

0,52

Б, В

10

1,80

1,05

15

1,60

0,93

20

1,46

0,83

25

1,34

0,77

30

1,25

0,71

35

1,18

0,67

40

1,11

0,63

45

1,06

0,60

50

1,00

0,57

Г

10

1,98

1,12

15

1,76

1,00

20

1,60

0,91

25

1,48

0,84

30

1,38

0,77

35

1,30

0,72

40

1,22

0,68

45

1,15

0,65

50

1,10

0,62

Примечания:

1. Величины коэффициентов K для промежуточных значений Nсут получают линейной интерполяцией табличных величин.

2. Для повторности Nсут менее 10 прох./сут расчет грунтового основания на сдвиг не производят.

Таблица 3

Дорожно-климатические зоны

Тип местности по условиям увлажнения

Расчетные влажности (в долях от границы текучести Wт) при толщине конструкции 50 см

супеси

суглинки непылеватые, глины

супеси пылеватые, суглинки пылеватые

1

2

3

4

5

II

1

0,70

0,75

0,80х

2

0,75х

0,80х

0,85х

3

0,80х

0,85х

0,90х

III

1

0,65

0,70

0,75

2

0,70

0,75

0,80х

3

0,70

0,75

0,80х

IV

1

0,60

0,65

0,70

2

0,65

0,70

0,75

3

0,65

0,70

0,75

V

1

0,60

0,60

0,65

2

0,60

0,65

0,70

3

0,65

0,70

0,70

Примечание. Звездочкой отмечены условия, при которых обычно имеет место избыточное увлажнение, связанное с разуплотнением грунта при промерзании.

Расчетные влажности при толщине конструкции более 50 см корректируют в соответствии с табл. 4.

Таблица 4

Толщина конструкции, см

Относительная влажность (в долях границы текучести Wт)

50

0,80

0,85

0,90

100

0,78

0,80

0,84

150

0,76

0,78

0,80

200

0,755

0,765

0,775

250

0,75

0,755

0,76

Приложение 10

ПРИМЕРЫ РАСЧЕТА АЭРОДРОМНЫХ ПОКРЫТИЙ

Пример 1. Цементобетонное покрытие на искусственном основании

Исходные данные:

аэропорт IV класса проектируется на перспективу 1990 г.;

расчетная нагрузка - IV категория нормативной нагрузки;

группа участков покрытий - А;

дорожно-климатическая зона - II;

тип местности - I;

грунт - суглинки пылеватые, расчетный коэффициент постели грунта Ср = 4 кгс/см3, см. табл. 6(17).

Характеристика бетона:

марка бетона по прочности на сжатие - 400;

марка бетона по прочности на растяжение при изгибе - 50;

расчетное сопротивление растяжению при изгибе при расчете на прочность Rри = 35 кгс/см2, см. табл. 8(21);

модуль упругости бетона Еσ = 330000 кгс/см2, см. табл. 8(21).

Характеристика искусственного основания:

грунтоцемент, приготовленный в установке, с модулем упругости Fосн = 19000×1,3 = 24700 кгс/см2, см. табл. 14(24) с примечанием;

расход цемента М400 - 16 % от веса грунта;

расчетное сопротивление растяжению при изгибе

Значения расчетных коэффициентов:

перегрузки np = 1,0, см. табл. 30 (36);

динамичности Кд = 1,2;

условий работы m = 0,8, см. табл. 31 (39);

KN = 1,0 (для упрочненных оснований, см. п. 3.51);

К = 1,2 (для бетонных покрытий, см. п. 3.51);

KИ = 1,0;

Kx(y) = 1,0 (для бетонных покрытий, см. п. 3.51).

Расчет

Расчетная нагрузка на колесо

Радиус круга, равновеликого площади отпечатка колеса,

Жесткость плиты

В = 0,085×Eσ×b×h3.

Задаемся толщиной плиты h = 20 см; b = 100 см

В = 0,085×330000×100×223 = 29,5×109 кгс·см2.

Упругая характеристика плиты

Определяется значение функции f(α) по табл. 7 приложения 6:

f(α) = 0,2155.

Изгибающий момент от действия колеса, центр отпечатка которого совпадает с расчетным сечением

Приведенные расстояния от центров отпечатков колес до расчетного сечения равны

 

η2 = 0 (колесо № 2);

Единичные изгибающие моменты определяются по табл. 8 приложения 6:

Максимальный изгибающий момент в центре плиты от действия всех колес опоры

Расчетный изгибающий момент

Предельный изгибающий момент

Если Мр > Мпр, то необходимо устройство упрочненного искусственного основания.

Определяется требуемая толщина грунтоцементного основания по приложению 4. Для этого определяются отношения:

По графику на рис. 1 приложения 4 определяется отношение hосн/hп = 1,08

Таким образом, при данной нагрузке принимается следующая конструкция: бетонное покрытие толщиной 22 см, основание - грунтоцемент толщиной 24 см.

Пример 2. Армобетонное покрытие на искусственном основании

Исходные данные:

аэропорт III класса, срок службы покрытия - 20 лет;

расчетная нагрузка - III категория нормативной нагрузки;

группа участков покрытий - В;

дорожно-климатическая зона - II;

тип местности - I;

грунт - супесь, расчетный коэффициент постели грунта Cр = 6 кгс/см3;

планируемая интенсивность движения в аэропорту по типам воздушных судов: Ту-154 - 7000, Ту-134 - 4000, Як-40 - 5000 операций в год.

Характеристика бетона:

марка бетона по прочности на сжатие - 400;

марка бетона по прочности на растяжение при изгибе - 50;

расчетное сопротивление растяжению при изгибе при расчете на прочность Rри = 35 кгс/см2, см. табл. 8(21);

модуль упругости бетона Еσ = 330000 кгс/см2, см. табл. 8(21);

основание - песчано-гравийная смесь толщиной h1=30 см;

модуль упругости E1 = 2000 кгс/см2;

C1 = 0,01×2000 = 20 кгс/см3, формула (1) приложения 3.

Значения расчетных коэффициентов:

перегрузки np = 0,85, см. табл. 30 (36);

динамичности Кд = 1,1;

условий работы m = 1,0, см. табл. 31 (39);

K = 1,2 (п. 3.51);

Kх(у) = 1 (п. 3.51).

Определение эквивалентного коэффициента постели основания Сэ (см. расчетную схему в таблице приложения 1);

Так как расчетная схема является двухслойной, то K2 = 0; h2 = 0; С3 = Ср = 6 кгс/см3; Ду=290 см, см. таблицу приложения 3

Расчет покрытий

Расчетная нагрузка на колесо

Радиус круга, равновеликого площади отпечатка колеса

Определяются эквивалентное число приложений расчетной нагрузки и коэффициенты Kи и KN. Предварительно задаются средней величиной упругой характеристики плиты = 100 см. Расчет приведен в табл. 5.

Таблица 5

п/п

Расчетные параметры

Показатель для типов воздушных судов

Показатели для III категории нормативной нагрузки

Ту-154

Ту-134

Як-40

1

2

3

4

5

6

1

Годовая интенсивность движения Ni, операций/год

7000

4000

5000

-

2

Число осей в главной опоре n

3

2

1

-

3

Ni·n

21000

8000

5000

-

4

Число приложений нагрузки за 20 лет Ni·n·20

420000

160000

100000

-

5

Максимальный момент в центральной части плиты от нагрузки при =100 см

2,889

1,873

1,294

2,83

6

Отношение

1,02

0,665

0,456

1

7

Эквивалентное число приложений расчетной нагрузки, , проходы

500000

40

-

-

8

Расчетное число приложений III категории нормативной нагрузки

-

-

-

500040

9

Коэффициент Kи

-

-

-

1,05

10

Максимальный прогиб в центре плиты от нагрузки Wi, см

(С=8 кгс/см3, =100 см)

0,0407

0,0229

0,0091

0,0427

11

Отношение Wi/Wp

0,955

0,54

0,213

1

12

Коэффициент βN

0,75

0,017

0

1

13

Эквивалентное число приложений расчетной нагрузки на основание в сутки

14,4

0,186

0

-

14

Расчетное число приложений III категории нормативной нагрузки на основание Uo, проходы/сутки

-

-

-

14,6

15

Расчетный коэффициент KN

-

-

-

1,07

Определяется жесткость плиты. Задаются толщиной покрытия h=23 см; расчетная ширина сечения плиты b = 100 см.

В = 0,085×330000×100×233 = 34,2×109 кгс·см2.

Упругая характеристика

Величина f(α) определяется по приложению 6:

f(α) = 0,201.

Изгибающий момент от действия колеса, центр отпечатка которого совпадает с расчетным сечением

Приведенные расстояния от центров отпечатков колес до расчетного сечения равны:

η2 = 0 (колесо № 2);

Единичные изгибающие моменты определяются по приложению 6:

Максимальный изгибающий момент в центре плиты от действия всех колес опоры

Расчетный изгибающий момент

Предельный изгибающий момент

Прочность конструкции обеспечена.

Окончательно принимается конструкция, состоящая из армобетонного покрытия М 400/50 толщиной 23 см и песчано-гравийного основания толщиной 30 см.

Пример 3. Железобетонное покрытие на искусственном основании

Исходные данные:

аэропорт I класса;

расчетная нагрузка - I категория нормативной нагрузки;

группа участков покрытий - Б;

дорожно-климатическая зона - II;

тип местности - второй;

грунт - суглинок, расчетный коэффициент постели Ср = 4 кгс/см3, см. табл. 6 (17).

Характеристика бетона:

марка бетона по прочности на сжатие - 400;

марка бетона по прочности на растяжение при изгибе - 50;

расчетное сопротивление растяжению при изгибе при расчете на прочность Rри=35 кгс/см2, см. табл. 8 (21);

модуль упругости бетона Еσ = 330000 кгс/см2, см. табл. 8 (21).

Характеристика искусственного основания:

грунтоцемент, приготовленный в установке, с модулем упругости 28600 кгс/см2, см. табл. 14 (24), расход цемента М400 - 12 % от веса грунта.

Значения расчетных коэффициентов:

коэффициент динамичности Кд = 1,1;

коэффициент перегрузки nр = 1,0, см. табл. 30 (36);

коэффициент условий работы m = 1,1, см. табл. 31(39);

коэффициент K = 1,15 (рис. 5);

коэффициент, учитывающий увеличение изгибающего момента в плите вследствие неравномерного накопления остаточных осадок в основании, КN = 1 (п. 3.51);

коэффициент Kx = Ку = 1 (п. 3.51).

Арматура:

горячекатаная арматурная сталь периодического профиля класса А-II;

модуль упругости стали Еа = 2100000 кгс/см2, см. табл. 9;

расчетное сопротивление арматуры растяжению Rа = 2850 кгс/см2, см. табл. 9;

диаметр арматуры d = 12 мм.

Расчет покрытия на прочность

Расчетная нагрузка на колесо

Радиус круга, равновеликого площади отпечатка колеса

Задаются толщиной плиты h = 28 см, затем определяется жесткость сечения плиты В.

Рабочая высота сечения

При определении площади сечения арматуры Fа задаемся процентом армирования μa = 0,3 %.

Тогда

Fа = μаbho = 0,003×100×24 = 7,2 см2

при

ψσ = 0,59, см таблицу в п. 3.52.

Принимается ψа=0,2

Упругая характеристика плиты

Величина f(α) определяется по табл.7 приложению 6:

f(α) = 0,1731.

Изгибающий момент от действия колеса, центр отпечатка которого совпадает с расчетным сечением

Приведенные расстояния от центров отпечатков колес до расчетного сечения равны:

η2 = 0;

*

Единичные изгибающие моменты определяются по табл. 8 приложению 6:

Максимальный изгибающий момент в центре плиты от действия всех колес опоры

Расчетный изгибающий момент

Предельный изгибающий момент

Мр > Мпр.

Следовательно, необходимо устройство искусственного основания.

Расчет толщины искусственного основания (по методике приложения 4)

Определяется величина тр, при которой Мр = Мпр.

Пусть тр = 76 см

f(α) = 0,162;

η2 = 0;

Mр = Мпр = 4,9 тс м при ℓтр = 76 см.

Определяется

Вычисляются отношения:

По рис. 2 приложения 4 определяется отношение

при

По табл. 2 приложения 4 определяется

Kα = 1,155;

KW = 1 (см. рис. 13);

Определяется требуемая толщина основания из грунтоцемента

Расчет по раскрытию трещин

Определяется Мр при ψa = 1

η2 = 0 (колесо № 2);

f (α) = 0,130;

Ширина раскрытия трещин определяется по формуле

Определяется напряжение в растянутой арматуре σа

Расстояние между трещинами

Sa = 3,77 см; fа = 1,13 см2; η1 = 0,7;

Ширина раскрытия трещин

Ширина раскрытия трещин не превышает предельно допустимой величины [ат]=0,03 см.

Окончательно принимается следующая конструкция:

железобетонное покрытие из бетона М 400/50 толщиной 28 см, арматура из стали класса А-II, размеры плиты 7×15 м;

грунтоцементное основание с модулем упругости 36000 кгс/см2 толщиной 25 см.

Величины процента армирования и шаг армирования на различных участках плиты, имеющей стыковые соединения по контуру, приведены в табл. 6.

Таблица 6

Номера участков

Направление армирования

μа, %

Шаг армирования арматурой диаметром 12 мм, см

1

2

3

4

Нижняя зона плиты

1

продольное

0,30

16,5

поперечное

0,30

16,5

2

продольное

0,46

11

поперечное

0,30

16,5

3

продольное

0,46

11

поперечное

0,46

11

4

продольное

0,30

16,5

поперечное

0,46

11

Верхняя зона плиты

5

продольное

0,12

30

поперечное

0,23

22

6

продольное

0,20

25

поперечное

0,23

22

7

продольное

0,35

14

поперечное

0,23

22

8

продольное

0,35

14

поперечное

0,35

14

9

продольное

0,23

22

поперечное

0,35

14

10

продольное

0,23

22

поперечное

0,23

22

Размеры зоны S = 100 см.

Пример 4. Расчет толщины искусственного снования под сборное покрытие из преднапряженных плит ПАГ-14

Исходные данные:

аэропорт III класса проектируется на перспективу 1990 г.;

расчетная нагрузка - III категория нормативной нагрузки;

группа участков покрытия - А;

дорожно-климатическая зона - IV;

грунт - суглинки, расчетный коэффициент постели грунта Ср = 6 кгс/см3 тип местности - второй.

Характеристика основания:

Грунтоцемент приготовлен в установке из оптимальных грунтовых смесей; расход цемента М300 - 10 % от веса грунта, модуль упругости грунтоцемента Eосн = 28000 кгс/см2, см. табл. 14 (24).

Значения расчетных коэффициентов:

перегрузки np = 1,0, см. табл. 30 (36);

динамичности Kд = 1,2;

условий работы m = 1,21, см. табл. 31 (39);

Kx = 1,38, см. табл. 2 приложения 4;

Kу = 0,43;

КN = 1,0 (п. 3.51);

Ки = 1,07, см. табл. 2 приложения 6.

Расчет

Расчетная нагрузка на колесо

Радиус круга, равновеликого площади отпечатка колеса

Используются данные, см. табл. 1 приложения 4.

Жесткость поперечного сечения Вx = 724 тс м2.

Упругая характеристика

Значение функции f(α)

f(α) = 0,1608.

Изгибающий момент от действия колеса, центр отпечатка которого совпадает с расчетным сечением

Приведенные расстояния от центров отпечатков колес равны

η2 = 0;

η4 = 2,20.

Единичные изгибающие моменты

Максимальный момент от действия всех колес опоры

Расчетный изгибающий момент

Предельный изгибающий момент

Mт = 1,9 тс м, см. табл. 1 приложения 4.

Тогда Мпр = 1,21×1,9 = 2,30 тс м < 3,36 тс м, Мр > Мпр, следовательно, необходимо устройство искусственного основания.

Расчет толщины искусственного основания

Определяется тр, при которой Мпр = Мр; например, тр = 38 см;

f(α) = 0,121

η2 = 0;

η4 = 3,42;

Таким образом, при тр = 38 см МпрМр.

Вычисляется

затем вычисляются отношения:

По графику на рис. 2 приложения 4 определяется отношение

Находится значение условного диаметра площади передачи нагрузки на основание Ду:

тогда Kα = 1,25, см. табл.2 приложения 4;

отсюда K = 1,60 (по графику рис. 13);

Требуемая толщина основания

Следовательно, на участке А при данной нагрузке под плиты ПАГ-14 необходимо устройство грунтоцементного основания (Еосн = 28000 кгс/см2) толщиной h = 21 см.

Пример 5. Предварительно-напряженное покрытие с одноосным обжатием на искусственном основании

Исходные данные:

аэродром класса А проектируется на перспективу 1990 г.;

расчетная нагрузка - I категория нормативной нагрузки;

группа участков - А;

дорожно-климатическая зона - III;

грунт - супесь, коэффициент постели грунта Ср = 8 кгс/см3;

первый тип местности.

Характеристика бетона:

марка по прочности на сжатие - 400;

марка по прочности на растяжение при изгибе - 50;

нормативное сопротивление растяжению при изгибе Kи = 50 кгс/см2, см. табл. 8 (21);

расчетное сопротивление растяжению при изгибе при расчете сечений по образованию трещин Rти = 42 кгс/см2, см, табл. 8 (21);

модуль упругости бетона Еσ = 330000 кгс/см2, см. табл. 8 (21).

Характеристика основания:

щебень толщиной h1 = 26 см;

модуль упругости E1 = 3000 кгс/см2;

С1 = 30 кгс/см3, см. формулу (4) приложения 3.

Характеристика арматуры в продольном сечении:

арматурная сталь стержневая периодического профиля класса А-II диаметром d = 12 мм;

модуль упругости стали Еа = 2100000 кгс/см2, см. табл. 9;

расчетное сопротивление арматуры растяжению Rа = 2850 кгс/см2, см. табл. 9.

В поперечном сечении:

проволочная напрягаемая арматура периодического профиля класса Вр-II диаметром d = 4 мм;

модуль упругости проволочной арматуры

Еа = 2000000 кгс/см2, см. табл. 9;

расчетное сопротивление растяжению Ra = 11700 кгс/см2, см. табл. 9.

Значения расчетных коэффициентов:

перегрузки nр = 1,0;

динамичности Kд = 1,2, см. табл. 30 (36);

условий работ m, см. табл. 31 (39): 0,9 - для поперечного предварительно-напряженного сечения, армированного проволочной арматурой; 1,0 - для продольного железобетонного сечения, армированного стержневой арматурой;

.см. табл. 2 приложения 6.

K = 1,0 - для расчета продольного и поперечного сечений (п. 3.51).

Определение эквивалентного коэффициента постели основания (см. расчетную схему на рисунке приложения 3)

Эквивалентный коэффициент постели Сэ слоистого основания определяется по формуле

Так как расчетная схема основания является двухслойной, то

h2 = 0 и K2 = 0.

Условный диаметр круга передачи нагрузки от покрытия на основание

Ду = 360 см (таблица приложения 3);

Сэ = 10 кгс/см3.

Определение потерь предварительного напряжения при натяжении арматуры на упоры *)

Величина предварительного напряжения

P = 0,05σо;

 (табл. 9);

*) по табл. 4 СНиП II-21-75 "Бетонные и железобетонные конструкции"

Потери первые:

релаксация напряжений арматуры

деформация анкеров, расположенных у натяжных устройств:

= 500 м;

λ = 1,25+0,15d = 1,25+0,15×4 = 1,85 мм = 0,185 см;

быстронатекающая ползучесть

где

Ro - передаточная прочность бетона, принимается 0,5М = 0,5×400 = 200 кгс/см2;

σбн = 22 кгс/см2;

a = 0,6;

Потери вторые:

усадка бетона

σ4 = 400 кгс/см2;

Ползучесть бетона

K = 1,0;

находим σп = σ1 + σ2 + σ3 + σ4 + σ5

σп = 1090 + 7,4 + 55 + 400 + 220 = 1772 кгс/см2;

σн = σо - σп = 10360 - 1772 = 8578 кгс/см2.

Расчет покрытия

Расчетная нагрузка на колесо

Радиус круга, равновеликого площади отпечатка колеса

Заданная толщина покрытия h = 26 см.

Жесткость поперечного сечения

Bx = 0,085Eσbh3 = 0,085×330000×100×263 = 49,5×109 кгс·см2.

Жесткость продольного сечения

Принято

μa = 0,37 %,

тогда

Fа = bhoμa = 100×22,4×0,0037 = 8,3 см2,

ψσ = 0,6; ψа = 0,2;

Определяется отношение жесткостей сечений

По рис. 8 Kx = 1,12; Kу = 0,8.

Расчет прочности поперечного сечения

Упругая характеристика

Приведенные расстояния от центров отпечатков колес равны

η2 = 0;

η4 = 1,54.

Единичные изгибающие моменты от соседних колес:

f(α) = 0,1665.

Изгибающий момент от действия колеса, центр отпечатка которого совпадает с расчетным сечением

M1 =Ppк f (α) = 21×0,1665 = 3,5 тс м.

Максимальный момент от действия всех колес опоры

Расчетный изгибающий момент

Предельный изгибающий момент

где

σт = 1 кгс/см2 - на 10 м длины напрягаемого участкам длина участка принята равной 50 м, σт = 5 кгс/см2;

Мя = 0,9 (Fнσн + F'нσ'н)(rя ± он),

где

σн = σн' = 8578 кгс/см2 - величина установившихся предварительных напряжений соответственно в нижней и верхней арматуре;

 - расстояние от ядровой точки до центра тяжести сечения;

эксцентриситет он = 0.

Общая площадь напрягаемой арматуры (верхней и нижней)

Мя = 0,9×6,66×8578×4,33 = 2,23 тс м;

Таким образом, , значит, прочность в поперечном сечении обеспечена.

Расчет продольного железобетонного сечения на прочность

Прочность сечения обеспечена.

Расчет продольного железобетонного сечения по ширине раскрытия трещин

Жесткость в продольном сечении при ψа = 1

Отношение жесткостей

Kу = 0,44;

Напряжение в арматуре

Ширина раскрытия трещины aт определяется по формуле

Sa = πd = 3,14×1,2 = 3,77 см;

η1 = 0,7.

Предельно допустимая ширина раскрытия трещин = 0,3 мм. Следовательно, ширина раскрытия трещины = 0,127 мм не превышает допустимой величины.

Окончательно принимается следующая конструкция:

однооснообжатое железобетонное покрытие из бетона марки 400/50 толщиной 26 см, армированное в продольном направлении высокопрочной арматурой класса Вр-II, диаметром 4 мм с расходом 5,25 см2/пог. м; в поперечном направлении - стержневой арматурой класса А-II диаметром 12 мм, μа = 0,37 %; основание из щебня с модулем упругости Е1 = 3000 кгс/см2 толщиной 26 см.

Пример 6. Двухслойное покрытие на искусственном основании

Исходные данные:

аэропорт II класса с перспективой развития - 2000 г.;

расчетная нагрузка - II категория нормативной нагрузки;

группа участков - А;

дорожно-климатическая зона - III;

грунт - тяжелый суглинок, коэффициент постели грунта Ср = 5 кгс/см3, II тип местности.

Характеристика бетона:

Верхний армобетонный слой:

марка по прочности на сжатие - 400;

марка по прочности на растяжение при изгибе - 50;

расчетное сопротивление растяжению при изгибе при расчете на прочность Rри = 35 кгс/см2;

модуль упругости бетона Еσ = 330000 кгс/см2.

Нижний цементобетонный слой:

марка по прочности на сжатие - 250;

марка по прочности на растяжение при изгибе - 35;

расчетное сопротивление растяжению при изгибе: при расчете на прочность Rри = 23 кгс/см2;

модуль упругости бетона Еσ = 265000 кгс/см2.

Характеристика искусственного основания

Основание двухслойное: нижний дренирующий слой из крупнозернистого песка с модулем упругости 1300 кгс/см2, толщиной 30 см; верхний слой из щебня, уложенного по принципу расклинцовки с модулем упругости 3500 кгс/см2, толщиной 20 см.

Значения расчетных коэффициентов:

перегрузки nр = 1,0;

динамичности Kд = 1,2;

условий работ m:0,9 - для верхнего армобетонного слоя; 0,8 - для нижнего (бетонного) слоя;

Kи = 1,00; см. табл. 2 приложения 6;

Kx = Ky = 1;

K' = 1,1

Определение эквивалентного коэффициента постели основания по методике приложения 3

Расчетная формула

C1 = 0,01×E1 = 0,01×3,500 = 35 кгс/см3;

C2 = 0,01×E2 = 0,01×1,300 = 13 кгс/см3;

h1 = 20 см; h2 = 30 см; Ду = 320 см, см. таблицу приложения 3;

С3 = Ср = 5 кгс/см3;

Расчет покрытия на прочность

Расчетная нагрузка на колесо

Радиус круга, равновеликого площади отпечатка колеса

Принятые толщины слоев:

верхнего армобетонного - 24 см - hв;

нижнего бетонного - 22 см - hн.

Жесткость верхнего слоя

Bв = 0,085×Eσ×bhв3 = 0,085×330000×100×243 = 38,8×109 кгс·см2.

Жесткость нижнего слоя

Bн = 0,085×Eσ×bhн3 = 0,085×330000×100×223 = 24,0×109 кгс·см2.

Суммарная жесткость слоев

B = Bв + Bн = 38,8×109+24,0×109 = 62,8×109 кгс·см2.

Упругая характеристика плиты

Приведенные расстояния от центров отпечатков колес равны

η2 = 0;

η4 = 1,38.

Единичные изгибающие моменты:

Значение функции f(α) принимается по приложению 6 (табл. 7)

f(α) = 0,1886.

Изгибающий момент от действия колеса, центр отпечатка которого совпадает с расчетным сечением

Максимальный момент от нагрузки в центре плиты

Предельный изгибающий момент для нижнего слоя

где

Km - поправочный множитель к коэффициенту m (принимается по графику рис. 14 при hв = 24 см).

Расчетный изгибающий момент от нагрузки в верхнем слое покрытия

Предельный нагибающий момент для верхнего слоя

Следовательно, конструкция принята правильно:

верхний слой покрытия - армобетон М400/50 толщиной 24 см, нижний слой - цементобетон М250/35 толщиной 22 см; основание - щебень толщиной 20 см; дренирующий песчаный слой - 30 см.

Пример 7. Жесткий слой усиления существующего двухслойного покрытия

Исходные данные:

аэропорт I класса;

расчетная нагрузка - внеклассная категория нормативной нагрузки;

расчетная группа участков - В;

расчетный коэффициент постели основания Cр = 4 кгс/см3.

Характеристика покрытия:

слой усиления - армобетон (бетон М350/45)

Eσ = 310000 кгс/см2;

Rри = 31 кгс/см2;

существующее двухслойное покрытие:

верхний слой - армобетон толщиной 22 см (бетон М350/45) имеет I категорию разрушения, hв = 22 см, Еσ = 310000 кгс/см2; Rри = 31 кгс/см2;

нижний слой - цементобетон толщиной 20 см (бетон М250/45) имеет III категорию разрушения, расчетная толщина hн = 0,8×20 = 16 см; Eσ = 265000 кгс/см2; Rри = 23 кгс/см2.

Значение расчетных коэффициентов:

перегрузки nр = 0,85;

динамичности Kд = 1,1;

условий работы: mв = 1,0 для армобетонного сечения; mн = 0,9 для цементобетонного сечения;

Kи = 1,1; Kх = Ку = 1.

Расчет толщины однослойного покрытия, эквивалентного по несущей способности существующему двухслойному покрытию

Жесткость нижнего слоя

Bн = 0,085×Eσ×bhн3 = 0,085×265000×100×163 = 9,2×109 кгс·см2.

Жесткость верхнего слоя

Bв = 0,085×310000×100×223 = 28×109 кгс·см2.

Суммарная жесткость слоев

Bн + Bв = 9,2×109 + 28×109 = 37,2×109 кгс·см2.

Упругая характеристика плиты

Предельный изгибающий момент двухслойного покрытия:

Определяется несущая способность двухслойного покрытия, выраженная одноколесной нагрузкой:

задаются Рк = 19 тс, q = 12 кгс/см2;

радиус отпечатка колеса

f(α) = 0,1948;

расчетный изгибающий момент от нагрузки в двухслойном покрытии равен:

Принимается Рэкв = 19 тс.

Подбирается однослойная цементобетонная конструкция покрытия под нагрузку Рк=19 тс с давлением в пневматиках q = 12 кгс/см2;

заданная толщина бетонной плиты hэ = 31 см (бетон М350/45);

жесткость плиты

Вэ = 0,085×310000×100×313 = 78,5×109 кгс·см2;

Упругая характеристика плиты

Расчетный изгибающий момент в однослойном бетонном покрытии толщиной 31 см

f(α) = 0,2127.

Предельный изгибающий момент бетонного покрытия

Следовательно, можно считать, что существующее двухслойное покрытие эквивалентно по несущей способности однослойному цементобетонному покрытию толщиной 31 см.

Расчет толщины армобетонного слоя усиления существующей конструкции покрытия

Минимальная толщина слоя усиления hус = 20 см;

жесткость слоя усиления

Bус = 0,083×Eσ×bh3ус = 0,085×310000×100×203 = 21,1×109 кгс·см2.

Жесткость нижнего эквивалентного однослойного покрытия толщиной 31 см

Bэ = 78,5×109 кгс·см2.

Суммарная жесткость слоев

Bус + Bэ = 21,1×109 + 78,5×109 = 99,6×109 кгс·см2.

Упругая характеристика плиты

Расчетная нагрузка на колесо

Максимальный центральный изгибающий момент от нагрузки при = 126 см

Предельный изгибающий момент для нижнего эквивалентного слоя

Расчетный изгибающий момент от нагрузки в верхнем слое покрытия

Предельный изгибающий момент для верхнего слоя усиления

Следовательно, прочность слоя усиления достаточна. Окончательно принимается толщина слоя усиления из армобетона толщиной 20 см.

Пример 8. Расчет конструкции усиления жесткого покрытия асфальтобетоном

Исходные данные:

аэропорт II класса проектируется на перспективу 1990 г.

расчетная нагрузка - II категория нормативной нагрузки,

группа участков покрытий - В;

толщина существующего бетонного покрытия hс – 18 см;

категория разрушения покрытия - II;

дорожно-климатическая зона - II;

эквивалентный коэффициент постели основания под покрытием Сэ = 5,4 кгс/см3.

Характеристика бетона:

марка бетона по прочности на сжатие - 350;

марка бетона по прочности на растяжение при изгибе -45;

расчетное сопротивление растяжению при изгибе при расчете на прочность Rри = 31 кгс/см2;

модуль упругости бетона Еσ = 310000 кгс/см2.

Значения расчетных коэффициентов:

перегрузки np = 0,85;

динамичности Kд = 1,1×0,85 = 0,935, принимается равным 1, см. п. 3.65;

условий работы m = 0,9;

 см. табл. 2 приложения 6;

K = 1,2; Kх = Kу = 1,0.

Расчет

Расчетная нагрузка на колесо

Радиус круга, равновеликого площади отпечатка колеса

Задаются минимально допустимой толщиной асфальтобетона hаб = 16 см.

Радиус площади передачи нагрузки через слой асфальтобетона на жесткое покрытие

Rаб = 0,78hаб + R = 0,78×16 + 19,2 = 32 см.

Подбирается требуемая толщина однослойного цементобетонного покрытия hм, при которой соблюдается условие прочности

Мр = Мпр.

Предварительно заданная толщина hм = 23 см

B = 0,085×Eσ×bh3м = 0,085×310000×100×233 = 32,2×109 кгс·см2;

f(α) = 0,1524;

Условие прочности выполнено Mпр > Мр.

Окончательно принимается hм = 22,5 см (Мпр = 3,57 тс м)

Условие прочности асфальтобетонного слоя усиления проверяется по формуле

hаб = 2,5(22,5 - 16,2) = 16 см,

что соответствует предварительно заданной толщине hаб мин = 16 см.

Окончательно принимается асфальтобетонный слой усиления толщиной 16 см.

Пример 9. Нежесткое аэродромное покрытие капитального типа

Исходные данные:

аэропорт III класса, покрытие проектируется на перспективу 1990 г.;

расчетная нагрузка - III категория нормативной нагрузки;

приведенная повторность приложения расчетной нагрузки: 20 проходов в сутки при расчете конструкции на прочность, 30 проходов в сутки при расчете прочности асфальтобетонного слоя (таблица 4 приложения 6);

расчетная группа участков - Б;

дорожно-климатическая зона - III, тип местности - I;

грунт - глина, расчетный модуль упругости Eо = 340 кгс/см2, см. табл. 6 (17).

Характеристики асфальтобетона и материалов основания, см. табл. 10 (22):

расчетная температура асфальтобетона +15 °C;

верхний слой из плотной асфальтобетонной смеси марки I с модулем упругости Ев = 12000 кгс/см2, на битуме БНД90/130;

нижний слой из плотной асфальтобетонной смеси марки II с модулем упругости Ен = 10000 кгс/см2, на битуме БНД90/130;

предельное сопротивление асфальтобетона растяжению при изгибе в верхнем слое Rври = 26,5 кгс/см2;

предельное сопротивление асфальтобетона растяжению при изгибе в нижнем слое Rнри = 21,0 кгс/см2;

щебень, обработанный битумом, с модулем упругости E2 = 5000 кгс/см2, см. табл. 15 (25);

щебень известняковый с модулем упругости Е3 = 4000 кгс/см2, см. табл. 15 (25);

песок средней крупности с модулем упругости Е4 = 1000 кгс/см2, см. табл. 15 (25).

Значения расчетных коэффициентов:

перегрузки nр = 1,0,

динамичности Kд = 1,1, см. табл. 30 (36);

условий работы m = 1,1, см. п. 3.61.

Требования к минимальной толщине асфальтобетона в зависимости от средней скорости охлаждения воздуха (при средней температуре воздуха наиболее холодных суток –25 °С)

Ν = 2 град/ч; hмин = 9 см, см. табл. 2 приложения 8, в том числе h1 мин = 4 см, h2 мин = 5 см.

Расчет

Намечается примерная конструкция нежесткого покрытия:

двухслойный асфальтобетон (верхний слой марки 1, h1 = 4 см; нижний слой марки II, h2 = 5 см);

щебень, обработанный битумом, h3 = 8 см;

щебень, h4 = 22 см;

песок средней крупности, h5 = 30 см;

общая толщина конструкций 69 см.

Расчет прочности конструкции по предельному относительному прогибу

Общая толщина покрытия

Н = h1 + h2 + h3 + h4 + h5 = 4 + 5 + 8 + 22 + 30 = 69 см.

Одноколесная эквивалентная нагрузка при Н = 69 см (см. рис. 15)

Рэ = 19 тс.

Расчетная одноколесная нагрузка

Рр = Рэ×nр = 19×1,0 = 19 тс.

Многослойная конструкция приводится к двухслойной с верхним слоем толщиной 69 см и модулем упругости Eср.

Определяется Дэ

Находятся отношения

По номограмме на рис. 18 определяется общий модуль упругости на поверхности двухслойного покрытия

Еобщ = 0,41×3720 = 1520 кгс/см2.

Расчетный относительный упругий прогиб

Предельный относительный прогиб принимается по номограмме на рис. 17 при qRэ = 248 и Nсут = 20 проходов

λпр = 0,0056.

Проверяется условие прочности по упругому прогибу

m·λпр = 1,1×0,0056 = 0,0062;

λр < m·λпр

Следовательно, прочность конструкции по прогибу обеспечена.

Проверка прочности асфальтобетона на растяжение при изгибе

Двухслойный асфальтобетон приводится к однослойному со средним модулем упругости

Определяется средний модуль упругости системы слоев, лежащих под асфальтобетоном,

Вычисляются отношения

Определяется эквивалентный модуль упругости на поверхности основания под асфальтобетоном (по номограмме на рис. 18)

Определяется расчетная одноколесная эквивалентная нагрузка для асфальтобетона при h1 = 9 см (см. рис. 15)

Рэ1 = 10 тс; Fp = Fэ·np = 10×1 = 10 тс.

Определяется Дэ1

Вычисляются отношения

Но номограмме на рис. 19 определяется удельное растягивающее напряжение при изгибе δr в асфальтобетоне от нагрузки

Определяется наибольшее растягивающее напряжение при изгибе в асфальтобетоне от нагрузки

Проверяется условие прочности для асфальтобетона нижнего слоя

σrmRри;

mRри = 1,1×21 = 23;

21 < 23.

Прочность асфальтобетона на растяжение при изгибе обеспечена. Окончательно принимается предварительно назначенная конструкций покрытия.

Пример 10. Расчет нежесткого аэродромного, покрытия под конкретное воздушное судно

Исходные данные:

Аэродром расположен во II дорожно-климатической зоне, грунты-суглинки, тип местности по увлажнению - 2, расчетная группа участков Б. Предполагаемая среднесуточная интенсивность движения на 10-й год эксплуатации по типам воздушных судов: Ил-86 - 12 взлето-посадок, Ту-154Б - 20. Ту-134А - 30, Ан-24 - 50.

Характеристики предварительно заданной конструкции

Общая толщина конструкции 99 см, в том числе: асфальтобетон марки I h1 = 9 см, E1 = 15000 кгс/см2, Rри = 28 кгс/см2; щебень марки 600, обработанный битумом в установке, h2 = 15 см, Е2 = 5000 кгс/см2; щебень марки 800, уложенный по принципу расклинцовки, h3 = 40 см, E3 = 3500 кгс/см2; дренажный слой из гравелистого песка h4 = 35 см, Е4 = 1500 кгс/см2.

Расчетный модуль упругости грунта с учетом толщины конструкции 99 см Eо = 240×1,1 = 264 кгс/см2, расчетная влажность W = 0,78Wт (табл. 3 приложения 9), сцепление в грунте С=0,12 кгс/см2, угол внутреннего трения φ = 14° (табл. 1 приложения 9).

Расчетные коэффициенты:

перегрузки np = 1,0,

динамичности Kд = 1,1,

условий работы m = 1,1.

Определение приведенной повторности приложения расчетной нагрузки

Характеристики нагрузок от воздушных судов и расчет коэффициентов приведения их к расчетному типу воздушного судна Ил-86, приведены в табл. 7 (для расчета прочности конструкции по предельному прогибу) и табл. 8 (для расчета прочности асфальтобетона на растяжение при изгибе)

Таблица 7

Тип воздушного судна

Нагрузка на главную опору, тс

Rэ, см

Rэi

Rэ

qi,

кгс

см2

qi

qr

nос

Коэффициент приведения Kпр (по рис. 16)

Приведенная повторность, проходы

Ил-86

63,2

31,5

1

8,5

1

1

1

12

Ту-154Б

47,5

30,5

0,97

9,0

1,06

1

1,1

22

Ту-134А

22,3х)

 

 

 

 

 

 

 

Ан-24

9,9х)

 

 

 

 

 

 

 

 

 

 

 

 

 

 

 

Σ=34

х) В расчете не учитываются.

Таблица 8

Тип воздушного судна

Rкi, см

Rкi

Rк

qi,

кгс

см2

qi

qр

nос

Коэффициент приведения Kпр (по рис. 16)

Приведенная повторность, проходы Nпр

Ил-86

24,1

1

8,5

1

2

1

24

Ту-154Б

16,7

0,69

9,0

1,06

3

0,07

4

Ту-134Ах)

 

 

 

 

 

 

 

Ан-24х)

 

 

 

 

 

 

 

 

 

 

 

 

 

 

Σ=28

х) В расчете не учитываются.

Расчет прочности по предельному прогибу

Средний модуль упругости нежесткой конструкции

Вычисляются отношения:

Эквивалентный модуль упругости на поверхности покрытия определяется по номограмме рис. 18;

Еэ = 0,37×4066 = 1504,4 кгс/см2.

Расчетный относительный прогиб покрытия от нагрузки

Предельный относительный прогиб при

qRe = 8,5×31,5 = 268 кгс/см2 и N = 45 проходах (см. рис. 17).

λпр= 0,0053×1,1 = 0,0058 больше, чем 0,0051, следовательно, прочность по прогибу обеспечена.

Проверка прочности грунтового основания по сдвигу

Вычисляют отношения:

По номограмме рис. 2 приложения 9 определяют активные напряжения сдвига в грунтовом основании от нагрузки:

τам = 8,5×0,0163 = 0,138 кгс/см2.

По номограмме рис. 5 приложения 9 определяют активные напряжения сдвига от собственного веса конструкции:

τав = 0,006 кгс/см2.

Максимальные суммарные активные напряжения сдвига в грунте

τам + τав = 0,138 + 0,006 = 0,144 кгс/см2.

Предельное сопротивление сдвигу в грунте при N = 34 прохода

K·С = 1,19×0,12 = 0,143 кгс/см2,

где K = 1,19 - комплексный коэффициент, определяемый по табл. 2 приложения 9.

Перенапряжение  что допустимо. Прочность грунтового основания по сдвигу обеспечена.

Проверка прочности асфальтобетонного слоя на растяжение при изгибе

Средний модуль упругости основания под асфальтобетоном

Вычисляют отношения:

По номограмме рис. 18 определяют эквивалентный модуль упругости на поверхности основания под асфальтобетоном:

Еэ.осн= 9,44×2972 = 1308 кгс/см2.

Вычисляют отношения:

По номограмме рис. 19 определяют удельные растягивающие напряжения при изгибе в асфальтобетоне

Расчетные растягивающие напряжения при изгибе в асфальтобетоне от нагрузки

Предельное сопротивление асфальтобетона растяжению при изгибе при N = 28 проходов mRри = 1,1×28 = 30,8 кгс/см2, что превышает σr, следовательно, прочность асфальтобетона обеспечена. Окончательно принимается заданная конструкция.

Пример 11. Расчет длины плиты армобетонного покрытия

Требуется рассчитать оптимальную длину плиты и процент армирования μa армобетонного покрытия толщиной 28 см с географической широтой 54° с.ш., уложенного на пескоцементное основание по прослойке из двух слоев пергамина. Цементобетон марки М400, Eσ = 3,3×105 кгс/см2.

Решение

По графику на рис. 21 при Еσ = 3,3×105 кгс/см2, h = 28 см, оптимальная длина плиты равна L = 12,2 м, соответствующие ей максимальные температурные напряжения равны σt = 5,2 кгс/см2 (см. рис. 22).

Согласно п. 3.14 процент армирования μa равен 0,15.

Приложение 11

СООТНОШЕНИЯ МЕЖДУ НЕКОТОРЫМИ ЕДИНИЦАМИ ФИЗИЧЕСКИХ ВЕЛИЧИН, ПОДЛЕЖАЩИХ ИЗЪЯТИЮ, И ЕДИНИЦАМИ СИСТЕМЫ СИ

Величина

Единица измерения

Соотношение единиц

подлежащая изъятию

по системе СИ

 

наименование

обозначение

наименование

обозначение

 

1

2

3

4

5

6

Сила, нагрузка, вес

Килограмм-сила

кгс

Ньютон

Н

1 кгс≈9,8Н≈10Н

тонна-сила

тс

1 тс≈9,8·103Н≈10кН

грамм-сила

гс

1 гс≈9,8·10-3Н≈10мН

Линейная нагрузка

Килограмм-сила на метр

кгс/м

Ньютон на метр

Н/м

1 кгс/м≈10 Н/м

Поверхностная нагрузка

Килограмм-сила на квадратный метр

кгс/м2

Ньютон на квадратный метр

Н/м2

1 кгс/м2≈10 Н/м2

Давление

Килограмм-сила на квадратный сантиметр

кгс/см2

Паскаль

Па

1 кгс/см2≈9,8·104Па≈105Па≈0,1 МПа

Механическое напряжение

Килограмм-сила на квадратный сантиметр

кгс/см2

Паскаль

Па

1 кгс/см2≈9,8·104Па≈105Па≈0,1 МПа

Модуль упругости

Килограмм-сила на квадратный сантиметр

кгс/см2

Паскаль

Па

1 кгс/см2≈9,8·104Па≈105Па≈0,1 МПа

Коэффициент постели

Килограмм-сила на кубический сантиметр

кгс/см3

Ньютон на кубический метр

Н/м3

1 кгс/см3≈9,8·106 Н/м3≈9,8МН/м3

Момент силы

Килограмм-сила-метр

кгс·м

Ньютон-метр

Н·м

1 кгс·м≈9,8Н·м≈10 Н·м

Теплопроводность

Калория в секунду на сантиметр-градус Цельсия

кал/(с×см×°С)

Ватт на метр-Кельвин

Вт/(м·К)

1 кал (с·см·°С)≈420 Вт(м·К)

Килокалория в час на метр-градус Цельсия

ккал(ч×м×°С)

Вт/(м·К)

1 ккал/(ч·м·°С)≈1,16 Вт/(м·К)

Коэффициент теплообмена (теплоотдачи), коэффициент теплопередачи

Калория в секунду на квадратный сантиметр-градус Цельсия

кал/(с×см2×°C)

Ватт на квадратный метр-Кельвин

Вт/(м2·К)

1 кал/(с·см2·°С)≈42 квт/(м2·К)

Килокалория в час на квадратный метр-градус Цельсия

ккал/(ч×м2×°С)

Вт/(м2·К)

1 ккал/(ч·м2·°С)≈1,16 Вт/(м2·К)

Термодинамическая температура

Градус Цельсия

°С

Градус Кельвина

°К

0 °С≈273,15·К

Жесткость при изгибе

Килограмм-сила-квадратный сантиметр

кгс·см2

Паскаль-метр в четвертой степени

Па·м4

≈9,8·104 Па·м4

 

 




ГОСТЫ, СТРОИТЕЛЬНЫЕ и ТЕХНИЧЕСКИЕ НОРМАТИВЫ.
Некоммерческая онлайн система, содержащая все Российские Госты, национальные Стандарты и нормативы.
В Системе содержится более 150000 файлов нормативно-технической документации, действующей на территории РФ.
Система предназначена для широкого круга инженерно-технических специалистов.

Рейтинг@Mail.ru Яндекс цитирования

Copyright © www.gostrf.com, 2008 - 2026