|
|
МИНИСТЕРСТВО ТРАНСПОРТА РОССИЙСКОЙ ФЕДЕРАЦИИ
|
|
|
Федеральное государственное унитарное предприятие «Информационный центр по автомобильным дорогам» |
Настоящий стандарт распространяется на органоминеральные смеси и укрепленные грунты, получаемые смешением щебня, гравия, песка, их смесей и грунтов с органическими вяжущими или органическими вяжущими совместно с минеральными и применяемые для устройства оснований и покрытий автомобильных дорог и аэродромов в соответствии с действующими строительными нормами.
Требования настоящего стандарта не распространяются на обработанные материалы, получаемые по способу пропитки и поверхностной обработки, а также на черный щебень.
Настоящий стандарт распространяется на вязкие дорожные нефтяные битумы, предназначенные в качестве вяжущего материала при строительстве и ремонте дорожных и аэродромных покрытий.
1.1. Вязкие нефтяные дорожные битумы изготовляют окислением продуктов прямой перегонки нефти и селективного разделения нефтепродуктов (асфальтов деасфальтизации, экстрактов селективной очистки), а также компаундированием указанных окисленных и неокисленных продуктов или в виде остатка прямой перегонки нефти в соответствии с требованиями настоящего стандарта по технологическому регламенту, утвержденному в установленном порядке. Допускается использовать крекинг-остаток в качестве компонента сырья окисления.
Настоящий стандарт распространяется на порошки минеральные, применяемые в качестве компонента асфальтобетонных и других видов органоминеральных смесей, и устанавливает требования к ним и методы их испытаний.
9.40. Основания и покрытия из щебеночных, гравийных и песчаных смесей, обработанных органическими вяжущими материалами смешением на дороге, следует устраивать при температуре воздуха не ниже 15°С и заканчивать за 15-20 сут до начала периода дождей или устойчивой температуры воздуха ниже 10°С.
9.41. Битумом или дегтем следует обрабатывать каменные материалы влажностью не более 4%. При большей влажности смесь должна быть просушена путем перемешивания автогрейдером.
Влажность щебеночных и гравийных смесей, обрабатываемых эмульсией, в сухую и ветреную погоду и при температуре воздуха выше 15°С, должна быть не менее 5%, а песчано-щебеночных и песчано-гравийных смесей - на 1-2% выше оптимальной.
Перед обработкой смесей анионной эмульсией в них следует предварительно вводить 1-2% извести-пушонки или 2-4% цемента.
9.42. Для обработки минеральных материалов смешением на дороге следует, как правило, применять битумы марок СГ 40/70, МГ 40/70, СГ 70/130, МГ 70/130, дегти марок Д-3, Д-4, а также битумные эмульсии ЭБА-3, ЭБК-3. Более вязкие битумы и дегти следует применять в районах с жарким климатом.
9.43. Число проходов автогрейдера при перемешивании следует назначать в зависимости от объема смешиваемых материалов и температуры воздуха.
9.44. Готовую смесь следует распределять по всей ширине проезжей части. Смесь следует уплотнять катками массой 6-8 т ориентировочно 3-5 проходами по одному следу.
Движение построечного транспорта разрешается открывать сразу после окончания уплотнения, При этом его следует регулировать по всей ширине проезжей части и ограничивать скорость до 40 км/ч. Коэффициент уплотнения должен быть не менее 0,96 через 30 сут после устройства покрытия или основания.
9.45. Устраивать покрытие или защитный слой на основаниях из смесей, приготовленных способом смешения на дороге, следует только после окончания формирования основания.
6.12. При приготовлении смеси связного грунта с минеральными вяжущими и добавками органических вяжущих или органических отходов промышленных производств в грунт при естественной влажности вносят органические добавки, нагретые до 50-80°С, перемешивают до однородного состояния, после чего добавляют минеральное вяжущее (кроме извести), снова перемешивают, затем доувлажняют до оптимальной влажности, уменьшая оптимальное количество воды на количество введенной органической добавки, вновь перемешивают, а затем уплотняют до требуемой плотности.
6.13. При укреплении связных грунтов органическими вяжущими или органическими отходами производства в сочетании с сыпучими вяжущими или добавками ПАВ последовательность технологических операций устанавливают в зависимости от вида добавок.
6.14. Связные грунты с влажностью меньше оптимальной перемешивают с добавками сыпучих вяжущих без дополнительного увлажнения до однородного состояния, после чего вводят органическое вяжущее, предварительно нагретое до 50-80 °С, и смесь вновь перемешивают до получения однородной и равномерной по цвету массы. Далее смесь увлажняют до оптимальной влажности с учетом количества введенного органического вяжущего, снова перемешивают до однородного состояния, а затем уплотняют до требуемой плотности.
6.15. При укреплении связных грунтов органическими вяжущими в сочетании с несколькими видами сыпучих добавок, требующих раздельного введения, предусматривают последовательное перемешивание связного грунта с каждой сыпучей добавкой до однородного состояния; при этом наиболее активную добавку вводят в последнюю очередь.
Если предусматривается введение небольших количеств цемента, то его дозируют после введения в грунт органического вяжущего и перемешивания смеси до однородного состояния. После введения цемента смесь доувлажняют до оптимальной влажности, перемешивают и уплотняют до требуемой плотности.
6.16. При использовании в качестве добавок негашеной извести или негашеных известковых отходов связный грунт увлажняют перед перемешиванием его с известью до влажности, равной 0,7-0,8 от влажности на границе текучести грунта Wт. Если предусматривается применение сыпучих добавок, то их вносят до увлажнения грунта.
Одновременно с увлажнением грунт разрыхляют и перемешивают простейшими механизмами.
Известь вводят в грунт распределителем цемента или другими механизмами, обеспечивающими точное дозирование вяжущего, и перемешивают за два прохода фрезы по одному следу. После перемешивания смесь прикатывают и оставляют на 12-24 ч, при использовании порошкообразной извести - на 4-8 ч (меньший срок выдерживания рекомендован для переувлажненных грунтов и извести-пушонки).
Затем вводят органическое вяжущее. После перемешивания грунта с вяжущим определяют влажность смеси. При влажности меньше оптимальной смесь доувлажняют, затем снова перемешивают до однородного состояния, после чего уплотняют до требуемой плотности.
Если в смеси остается непогасившаяся известь или если смесь переувлажнена, то перед уплотнением необходимо дополнительное перемешивание (один-два прохода фрезы по одному следу).
6.1. Дорожные одежды с конструктивными слоями из укрепленных материалов (особенно в районах с неблагоприятными природными и гидрогеологическими условиями) имеют существенные преимущества по сравнению с дорожными одеждами из зернистых материалов:
• более длительное сохранение ровности покрытия, особенно при интенсивном морозном пучении грунта земляного полотна;
• значительное улучшение водно-теплового режима земляного полотна за счет малой водопроницаемости, что резко сокращает количество воды, поступающей в грунт земляного полотна сверху и являющейся одним из основных источников переувлажнения грунта. Так, расчетная влажность грунта земляного полотна на участках с дорожной одеждой из укрепленных грунтов на (0,05-0,30)WT (влажность на границе текучести) меньше, чем на участках с дорожной одеждой из зернистых материалов;
• уменьшение на 20-50% общей толщины дорожной одежды;
• снижение на 15-45% потребности в дефицитных минеральных материалах и в 1,5-3 раза в транспорте;
• сокращение трудозатрат в 1,5-2 раза и удешевление строительства 1 км дорожной одежды.
6.2. Конструктивные слои дорожных одежд из укрепленных грунтов назначают и рассчитывают согласно ОДН 218.046-01.
Расчетные характеристики укрепленных грунтов и материалов приведены в Приложении 1 настоящего Руководства.
6.3. Конструирование слоев из укрепленных грунтов, заключающееся в выборе составов смесей и размещении таких слоев в дорожной конструкции, должно обеспечить:
• надежную работу в межремонтные сроки при расчетной интенсивности движения и сохранение требуемой прочности конструкции и ровности покрытия;
• технологичность устройства конструктивных слоев и индустриализацию дорожно-строительных процессов;
• минимальную трудоемкость устройства конструктивного слоя;
• минимальные материалоемкость и стоимость конструктивного слоя.
6.4. Для устройства оснований, являющихся основным несущим конструктивным слоем дорожной одежды, и особенно их верхних слоев, целесообразно применять укрепленные грунты с достаточной деформационной способностью и обеспечивающие требуемую прочность основания.
6.5. В покрытиях и несущих слоях основания из связных и мелкозернистых грунтов, укрепленных только органическими вяжущими, под действием автомобильных нагрузок возникают, как правило, сдвиговые деформации. Такие материалы следует применять в покрытиях низшего типа, для которых исправление профиля в процессе эксплуатации дороги возможно после поверхностной вскирковки материала. Недопустимо использовать эти материалы в верхних слоях оснований, а также в покрытиях переходного типа при перспективном переводе его в основание после укладки усовершенствованного покрытия на второй стадии строительства.
6.6. Грунты, укрепленные органическими вяжущими совместно с неорганическими, допускается применять в основаниях дорог всех категорий и покрытиях дорог IV-V категорий. Они имеют наиболее высокие расчетные прочностные и деформационные характеристики, высокую работоспособность в процессе длительной эксплуатации дорог и трещиностойкость.
6.7. Морозозащитные слои следует укладывать из укрепленных грунтов с коэффициентом теплопроводности более 0,6 Вт/(м·К). Материалы с более низким коэффициентом относятся к группе теплоизоляционных и предназначены для устройства теплоизолирующих слоев, существенным образом снижающих глубину промерзания грунта.
6.8. При расчете морозозащитного слоя принимают условие, что он выполнен из песка. Если же его устраивают из монолитного материала (грунта, укрепленного комплексным вяжущим), то толщину слоя принимают на 30-50% меньше.
6.9. Для устройства морозозащитного слоя применяют любые грунты (из группы грунтов, пригодных для укрепления) и комплексные вяжущие.
Схемы дорожных и аэродромных одежд с конструктивными слоями из укрепленных органическими вяжущими грунтов
6.10. Принципы конструирования дорожных одежд с использованием грунтов и материалов, укрепленных органическими вяжущими, многолетний производственный опыт эксплуатации таких дорожных одежд позволяют рекомендовать основные схемы конструкций дорожных одежд.
6.11. Наиболее полно изложенным принципам конструирования дорожных одежд соответствуют конструкции, все слои которых выполнены из укрепленных материалов, включая при необходимости и верхний слой земляного полотна.
6.12. Во II-III дорожно-климатических зонах не рекомендуется над слоями основания из укрепленных грунтов располагать слои значительной толщины из неукрепленных зернистых материалов, аккумулирующих воду, поступающую сверху.
Укрепление достигается путем внесения в грунт оптимального количества добавок органических вяжущих материалов и других веществ и последовательного выполнения установленных технологических операций с использованием грунтосмесительных и других машин. Влажность верхней части земляного полотна под основанием и морозозащитным слоем, устроенными из укрепленного грунта, меньше, чем под щебеночным основанием на дренирующем песчаном слое. В результате этого и также благодаря хорошей распределяющей способности конструктивных слоев из укрепленных грунтов ровность покрытий на таких слоях обычно выше, чем на щебеночных или гравийных основаниях.
Укрепление грунтов представляет собой наиболее радикальный и эффективный путь обеспечения экономии материальных ресурсов, повышения производительности труда, резкого уменьшения объема перевозок дорожно-строительных материалов.
Только учет всех особенностей укрепляемых местных грунтов, материалов, применяемых для укрепления вяжущих, и других веществ, обязательное использование высокопроизводительных машин, обеспечивающих высокое качество выполнения всего комплекса технологических операций при производстве работ, а также строгое соблюдение производственной и трудовой дисциплины позволяют реализовать все технико-экономические преимущества применения различных методов укрепления грунтов.
При применении любых методов укрепления грунтов всегда целесообразно укреплять те же грунты, из которых сооружено земляное полотно, или использовать для укрепления отходы производства, либо малопрочные каменные материалы при небольшой дальности их возки автомобильным транспортом, отдавая предпочтение наиболее дешевым местным материалам.
Проведенные Союздорнии исследования установили возможность получить комплексные органические вяжущие, в том числе и ПБВ, на основе сырья для производства нефтяных вязких дорожных битумов, нефтяного битума и блоксополимеров бутадиена и стирола типа СБС, например дивинилстирольного термоэластопласта (ДСТ), которые не только не уступают нефтяным битумам, но и по ряду показателей превосходят их: доля обратимых высокоэластических деформаций (эластичность) ПБВ составляет более 80% при 25°С и более 70% при 0°С, в то время как у битумов эластичность либо практически отсутствует, либо не превышает 20%. Температура хрупкости КОВ, в том числе ПБВ, разного состава находится в пределах от -20 до -55°С, что существенно отличает их от битумов, температура хрупкости которых изменяется от -4 до -20°С. При этом температура размягчения КОВ и ПБВ выше, чем у битумов. Такие качества КОВ и ПБВ позволяют существенно (в 2-3 раза) снизить модуль упругости полимерасфальтобетона и полимерорганобетона по сравнению с асфальтобетоном при отрицательных температурах (-20 - -30°С) и одновременно в 1,5-2 раза повысить предел текучести и модуль упругости при положительных температурах (40-50°С). Такие покрытия более трещиностойки и сдвигоустойчивы, что подтверждено многолетними лабораторными исследованиями и наблюдениями за построенными во всех дорожно-климатических зонах участками дорожных, мостовых и аэродромных покрытий.
Данное Руководство распространяется на комплексные органические вяжущие, в том числе полимерно-битумные, предназначенные для применения в качестве вяжущего материала при строительстве, реконструкции и ремонте покрытий дорог, мостов и аэродромов России.
1.1. Разнообразие климатических и эксплуатационных условий требует разработки научно обоснованных путей регулирования структуры вяжущих для дорожного строительства в широких пределах с целью получить оптимальные для данных условий свойства.
1.2. Изменение консистенции битумов или варьирование известными технологическими способами производства не позволяет существенно повысить их трещиностойкость при требуемой теплостойкости и устойчивости к старению. Так, для битумов с температурой размягчения от 33 до 51°С температура хрупкости, соответственно, изменяется от -20 до -6°С. Следовательно, при требуемой сдвигоустойчивости покрытий при 50-70°С, необходимой коррозионной стойкости и устойчивости к старению не удается обеспечить трещиностойкость покрытий при температурах ниже -20°С и тем более при -50 - -60°С в районах Севера и Сибири.
Эту проблему можно решить путем использования комплексных органических вяжущих, получаемых введением в вязкие, жидкие или маловязкие продукты переработки нефти полимеров, пластификаторов, ПАВ.
В частных случаях, когда в состав КОВ входит вязкий битум, вяжущее следует называть полимерно-битумным.
1.3. КОВ может быть приготовлено на НПЗ (АБЗ) в стандартных битумных котлах, бескомпрессорных установках типа Т-309, а также на специально изготовленном оборудовании путем механического перемешивания компонентов при рабочих температурах 140-180°С, для ПБВ - не выше 160°С.
Приготовление КОВ на бескомпрессорных установках пожаро- и взрывобезопасно.
ПБВ можно приготовить двумя способами:
1. Предварительно готовят раствор полимера (РП) в пластификаторе или битумосодержащий раствор полимера (БРП), в смеси пластификатора и битума, а затем вводят в битум.
2. В битум вводят полимер в виде крошки, порошка или гранул и при необходимости пластификатор.
1.4. Основной предпосылкой для получения КОВ является представление о них как о дисперсных системах с оптимальным объемом дисперсной фазы, которая образует пространственный коагуляционный каркас, обеспечивающий прочность и теплостойкость, и с дисперсионной средой, обуславливающей необходимую деформативность и эластичность. При этом, в случае использования в составе КОВ полимера, наряду с коагуляционным каркасом, в системе образуется эластичная структурная сетка, которая обеспечивает или повышает прочность, теплостойкость, эластичность и трещиностойкость системы.
1.5. Основными научными принципами получения КОВ являются хорошая совместимость компонентов, достаточная кинетическая устойчивость получаемых вяжущих, обеспечение требуемого комплекса технологических и эксплуатационных свойств.
КОВ должны обеспечивать устойчивость органоминеральных смесей к старению при приготовлении, хранении и транспортировании, а также требуемые сдвигоустойчивость, водо-, морозо- и трещиностойкость дорожных, мостовых и аэродромных покрытий.
В связи с этим качество вязких КОВ должно быть не ниже качества битумов марок БНД (ГОСТ 22245-90), жидких - не ниже качества жидких битумов (ГОСТ 11955-82), для районов Севера и Сибири, а также конструкций, работающих в условиях повышенных динамических воздействий, - значительно превосходить его. При этом температура перехода вяжущего в хрупкое состояние (например, температура хрупкости по Фраасу или перегиб на температурной зависимости модуля деформации) должна быть практически равна расчетной зимней температуре покрытия (или другого конструктивного слоя) либо быть ниже ее для той дорожно-климатической зоны, в которой оно будет эксплуатироваться.
1.6. Материалами для дисперсионной среды КОВ могут служить жидкообразные основные и побочные продукты переработки нефти и угля, например сырье для производства нефтяных вязких дорожных битумов (гудроны), битумы, экстракты селективной очистки масел, каменноугольные масла, смолы, дегти, а также нефти.
1.10. Применение КОВ позволит:
• расширить ассортимент органических вяжущих;
• повысить качество и увеличить срок службы дорожных покрытий, в первую очередь, за счет улучшения их трещиностойкости, сдвигоустойчивости, водо- и морозостойкости, устойчивости к динамическим воздействиям:
• регулировать свойства органических вяжущих, в зависимости от исходных компонентов, для их приготовления на месте строительства и условий эксплуатации конструкций с их применением;
• значительно повысить производительность работ по приготовлению вяжущих;
• снизить энергозатраты;
• получить материалы с требуемыми в данных условиях свойствами;
• увеличить темпы строительства дорог с твердым покрытием, особенно в сельскохозяйственных и вновь осваиваемых районах Севера и Сибири.
1.11. В качестве полимера, создающего пространственную эластичную структурную сетку в КОВ или ПБВ, выбрали полимеры класса термоэластопластов - блоксополимеры бутадиена и стирола типа СБС, так как они:
• позволяют получить (при минимальном содержании) пространственную эластичную сетку в битуме благодаря способности их макромолекул к специфическим взаимодействиям;
• отличаются хорошей совместимостью с битумами и другими нефтепродуктами (за счет невысокой молекулярной массы), а также тяжелыми нефтяными остатками;
• обладают высокими прочностью и эластичностью в диапазоне температур от -80 до 90°С.
1.12. ПБВ получают введением в битумы 2-6% (по массе) блоксополимеров типа СБС: в вязкие битумы в виде РП или БРП; в маловязкие и жидкие - в виде крошки, порошка или гранул (под маловязкими понимают битумы с глубиной проникания иглы при 25°С более 130-0,1 мм).
1.13. ПБВ характеризуется способностью к высокоэластическим деформациям в широком диапазоне температур (от -55 до 70°С), что обусловливает его высокие теплостойкость и сопротивление сдвигу при повышенных температурах (50-70°С), эластичность, пластичность и устойчивость к динамическим воздействиям при низких отрицательных температурах.
Полимерасфальтобетон на ПБВ отличается повышенными деформативностью при отрицательных температурах и упругостью при положительных (модуль упругости при -20°С в 3-6 раз меньше, а при 40°С - в 1,5-2 раза больше, чем асфальтобетона на вязком битуме марок БНД); повышенной устойчивостью к многократным динамическим воздействиям (количество циклов до разрушения образца-балочки на ПБВ в условиях многократного изгиба выше, чем асфальтобетонного образца на битуме более чем в 8 раз при одинаковом содержании вяжущего).
1.14. ПБВ без пластификатора, или содержащие нефтепродукты типа индустриальных масел либо гудрона (сырья для производства вязких дорожных битумов), либо их смеси относятся к классу вязких вяжущих и должны соответствовать требованиям ОСТ 218.010-98 «Вяжущие полимерно-битумные дорожные на основе блоксополимеров типа СБС. Технические условия».
ПБВ, содержащие в качестве пластификатора нефтепродукты типа дизельного топлива или жидкие битумы марок МГО, относятся к классу жидких вяжущих и должны соответствовать ТУ 35 1669-88 «Вяжущие полимерно-битумные на основе ДСТ и полимер-асфальтобетон».
1.15. Строительство покрытий из полимерасфальтобетонных смесей на жидких ПБВ допускается при пониженных температурах (до минус 15°С).
1.16. Применение жидких ПБВ позволяет повысить производительность АБЗ за счет снижения температуры нагрева материалов, производительность отряда по укладке, удлинить строительный сезон благодаря возможности укладывать и уплотнять смеси при пониженных температурах.
1.17. Покрытия из полимерасфальтобетонных смесей на ПБВ обладают повышенным сцеплением с колесом автомобиля.
1.18. ПБВ рекомендуются при устройстве полимерасфальтобетонных покрытий на автомобильных дорогах, мостах и аэродромах. Особенно эффективно их использовать в районах с резко континентальным климатом, в районах Севера и Сибири, а также на объектах с повышенными динамическими воздействиями на покрытие (например, на полосах примыкания к трамвайным путям и т.п.), для поверхностных обработок, в составе мастик для заполнения швов и трещин в покрытиях.
Температура хрупкости ПБВ по Фраасу должна быть равна температуре наиболее холодных суток района эксплуатации, а температура размягчения - не ниже расчетной летней температуры.
1.19. ПБВ следует готовить на основе битумов марок БНД по ГОСТ 22245-90 и только по согласованию с заказчиком - на битумах марок БН. Битумы марок БНД характеризуются более низкой температурой хрупкости, чем битумы марок БН, благодаря более высокому содержанию в них парафинонафтеновых и ароматических углеводородов, что потребует меньшего содержания пластификатора для получения ПБВ, а также обеспечит лучшее распределение полимера при меньшем его количестве.
1.20. Введение пластификатора позволяет:
• обеспечить требуемый температурный режим (не выше 160°С) приготовления ПБВ и смесей на его основе;
• увеличить однородность ПБВ и существенно эффективность вводимого полимера, то есть получить ПБВ с требуемым комплексом свойств при минимально возможном содержании полимера;
• значительно ускорить процесс приготовления ПБВ и смесей на его основе и уменьшить энергозатраты при их производстве;
• повысить удобоукладываемость и уплотняемость смесей.
1.21. В качестве пластификаторов для вязких ПБВ наиболее целесообразно применять индустриальные масла марок И-20А, И-30А, И-40А, И-50А по ГОСТ 20799-88, сырье для производства нефтяных вязких дорожных битумов по ТУ 38 101582-88 или смеси масла и сырья, так как при этом обеспечивается пожаробезопасность процесса.
1.22. При применении ПБВ, как правило, не требуются использование ПАВ, так как полимерасфальтобетоны обладают большим объемом замкнутых пор и обеспечивают требуемый показатель длительной водостойкости. При невозможности достичь этот показатель или при устройстве поверхностной обработки с применением кислых и ультракислых минеральных материалов целесообразно использовать добавки ПАВ в ПБВ.
1.23. Опыт устройства полимерасфальтобетонных покрытий на МКАД из полимерасфальтобетонных смесей типа А с применением ПБВ 90/130 (ТУ 35 1669-88) показал, что водонасыщение кернов из покрытия в 1,5-2 раза ниже, чем у переформованных образцов, что свидетельствует о высокой уплотняемости таких смесей и о наличии большого объема замкнутых пор в полимерасфальто-бетоне.
1.24. Наличие трех компонентов в составе полимернобитумных вяжущих позволяет в широких пределах изменять их эксплуатационные свойства - прочность (теплостойкость), трещиностойкость, эластичность и пластичность, а также технологические характеристики - вязкость, текучесть, тиксотропию, смачиваемость. Можно подбирать оптимальные составы ПБВ с требуемым комплексом свойств для следующих материалов и конструкций: литого полимерасфальтобетона, складируемых полимерасфальто-бетонных смесей, дренирующего полимерасфальтобетона, регенераторов для старого асфальтобетона, для поверхностных обработок на асфальтобетонном и цементобетонном покрытиях, для трещинопрерывающих и компенсирующих прослоек, заливки швов и трещин, для подгрунтовок, гидроизоляций и кровель.
В общей транспортной системе страны особое место занимают автомобильные дороги с асфальтобетонным покрытием. Срок их службы в значительной степени определяется качеством органических вяжущих материалов, среди которых преобладают нефтяные битумы. Одной из особенностей битумов является способность к старению, вызванная атмосферными факторами и окислительными реакциями, возникающими в результате длительного воздействия высоких температур в процессе предварительного нагрева, обезвоживания и разогрева битумов до рабочих температур.
Поэтому совершенствование методов разогрева органических вяжущих материалов имеет первостепенное значение для повышения качества материалов, экономии сырьевых и топливно-энергетических ресурсов и увеличения срока службы слоев дорожной одежды. «Научно-технический прогресс, - указывается в Программе КПСС, - должен быть нацелен на радикальное улучшение использования природных ресурсов, сырья, материалов, топлива и энергии на всех стадиях - от добычи и комплексной переработки сырья до выпуска и использования конечной продукции».
Приготовление различных материалов на основе органических вяжущих и их применение - это завершающие этапы в цепи «добыча сырья - получение исходного материала - подготовка материала к применению - применение в составе многокомпонентного материала, изделия или конструкции». Температурные режимы и длительность технологических процессов обезвоживания и разогрева до требуемых температур органических вяжущих существенно влияют на качество и долговечность материалов, изделий и конструкций. «Низкое качество, брак - это растрата материальных ресурсов и труда народа».
В настоящее время в связи с централизованным производством органических вяжущих материалов разогревать их требуется во время разгрузки (слива), при хранении и получении на складах с целью обезвоживания и достижения заданных температур. Кроме того, для нормальной эксплуатации оборудования осуществляется обогрев насосов, кранов и трубопроводов.
В условиях строительства битумы, как правило, разогревают в больших объемах, а расходуют порциями. В результате этого вяжущее подвергается частому воздействию высоких (от 60 до 180°С) температур в течение более 6 ч, что отрицательно влияет на его качество.
На всех этапах подготовки органических вяжущих материалов основными требованиями являются сохранение их качества и экономия энергоресурсов. Снижение энергоемкости возможно за счет сокращения энергозатрат на разогрев материалов, используемых для приготовления асфальтобетонных смесей при строительстве и ремонте автомобильных дорог, снижения температуры их приготовления, более широкого использования холодных смесей.
В работе обоснована возможность снижения температуры приготовления горячих асфальтобетонных смесей до 110-120°С, что позволит замедлить процесс старения вяжущего и, следовательно, улучшить качество асфальтобетонов, а также сократить расход топлива на 20-30%. На основе изучения таких показателей, как изменение массы образцов, адгезии, когезии, вязкости битумов в результате длительного воздействия рабочей температуры tр и температуры формирования в битумах структурных комплексов tск, а также при различных условиях их контакта с воздухом, установлено, что существенное значение для практики имеет изменение вязкости битума в процессе его старения при разных температурах. Если смеси готовятся при температурах tр, то эффект старения наиболее сильно проявляется не при технологических, а при эксплуатационных температурах. При приготовлении смесей с температурой tск он значительно меньше и приблизительно одинаков при технологических и эксплуатационных температурах.
Зарубежные исследователи отмечают, что процессы старения битумов во многом зависят от технологических температур при получении и подготовке вяжущих, от химического состава исходного сырья, а также от условий эксплуатации покрытий автомобильных дорог на их основе. В работе рассмотрены способы определения показателя термической чувствительности битумов; реологические свойства битумов; результаты испытаний свойств трех типов битумов различного химического состава; методика определения вязкости битумов.
В начале 80-х гг. на многих дорогах ФРГ наблюдалось интенсивное трещинообразование, предположительной причиной которого считали увеличение хрупкости битумов в процессе эксплуатации. В связи с этим было проведено исследование процессов старения и окисления битумов марки В65, наиболее часто используемых при устройстве верхних слоев покрытий. Пробы битумов были отобраны на 14 нефтеперерабатывающих предприятиях ФРГ и исследованы в 16 лабораториях. Вязкость исходных битумов оценивали путем измерения глубины проникания иглы и температуры размягчения; влияние термообработки по DIN 52016 путем выдерживания пробы битумов в течение 2,5 ч во вращающейся колбе при температуре 200°С. Анализ результатов показал, что имеются значительные различия в скорости окисления битумов, полученных на различных предприятиях. Результаты данных испытаний рекомендовано использовать при переработке требований к битумам для дорожного строительства.
В работе отмечено, что при разогреве органических вяжущих важное значение имеет температура теплоотдающей поверхности. Если она ниже оптимальной, то удлиняется время разогрева вяжущего. Слишком высокая температура приводит к закоксовыванию вяжущих на теплоотдающих поверхностях. Асфальтены битумов начинают разлагаться при температурах выше 175-240°С. Поэтому не следует допускать местный перегрев вязких битумов выше 240°С. Для качественного разогрева применяемых в строительстве органических вяжущих материалов, для которых установлена различная рабочая температура, максимально допустимая температура теплоотдающих поверхностей должна составлять 200-280°С.
Принципы сохранения постоянных свойств органических вяжущих материалов разработаны на основе опыта применения нефтяных битумов. Положения об их транспортировании, хранении и подготовке к применению справедливы и для других органических вяжущих. Имеющиеся специфические особенности разогрева обусловливаются различием в свойствах и составе.
В обзоре рассмотрены существующие методы разогрева органических вяжущих материалов на всех этапах их подготовки и дан анализ предложений, в основном на уровне изобретений, опубликованных за последние пять лет, внедрение которых может способствовать ускорению процесса тепловой обработки при сохранении качества органических вяжущих материалов и снижению энергетических затрат.
Эффективность работы нагревательного оборудования, соблюдение установленных режимов разогрева, возможность его автоматизации определяются способами разогрева органических вяжущих материалов в зависимости от вида теплоносителя: газовым, жидкостным, паровым и электрическим. В работе [8] отмечены особенности применения каждого из них. Наиболее широко применяется газовый способ разогрева битума до рабочей температуры дымовыми газами, полученными от сгорания топлива. К достоинствам этого способа относят возможность использования любых видов топлива, а к недостаткам - высокую температуру газов, необходимость устройства сложного оборудования для ее снижения, сложность автоматизации и контроля процессов разогрева, а также пожароопасность.
Жидкостные способы применяются для разогрева органических вяжущих материалов в хранилищах, обогрева трубопроводов и нагрева вяжущих до требуемой температуры различными маслами с высокой температурой вспышки или глицерином, которые являются промежуточными теплоносителями, т.е. они передают тепло материалу, нагреваясь за счет продуктов сгорания различных видов топлива или электронагревателями. Наиболее целесообразно использовать высокотемпературные органические (ВОТ) и масляные (ВМТ) теплоносители. Достоинства жидкостных способов - сохранение в процессе нагрева органическими вяжущими первоначальных свойств и возможность нагрева теплоносителей до 250-280°С при атмосферном давлении; недостатки - необходимость устройства специального оборудования для нагрева теплоносителей, а также полной его герметизации из-за токсичности паров большинства теплоносителей.
Паровой способ применяется для разогрева органических вяжущих в хранилищах, обогрева трубопроводов и насосов. Его достоинствами являются исключение возможности коксования, пожарная безопасность, большое теплосодержание пара; недостатками - значительный рост давления пара при увеличении температуры, необходимость строительства дорогостоящих котельных, возможность попадания воды в битум.
Электрические способы разогрева могут эффективно применяться на всех этапах подготовки органических вяжущих материалов. Наиболее простым из них является омический, при котором нагревательный элемент включается в электрическую цель как сопротивление. Нагревательные элементы чаще всего изготавливаются из материалов с высоким удельным сопротивлением - никелина, нихрома, константана, фехраля и специальных легированных сталей. Возможно также использовать электронагреватели с низким удельным сопротивлением, изготавливаемые из обычной стали (ферромагнитные круглого или прямоугольного сечения). Достоинства электрических способов - простота эксплуатации и автоматизации, исключение загрязнения окружающей среды, возможность снижения тепловых потерь; недостатки - увеличение температуры нагревательных элементов одновременно с ростом температуры нагреваемого вяжущего материала, большие потребляемые мощности нагревательного оборудования.
Еще одно направление поиска решений получения высококачественных асфальтобетонов - это технология производства асфальтобетонов, способы их приготовления. Суть большинства способов приготовления асфальтов сводится к раздельной (двойной) технологии перемешивания составляющих, когда часть минеральных материалов предварительно обрабатывают битумом. Такая технология позволяет снизить пористость до минимума, способствует повышению водостойкости асфальтобетона.
Считаю, что это направление наиболее близко к решению главной проблемы качества асфальтобетонов, его водонепроницаемости, плотности и прочности, но не это является определяющим.
Чисто практическим путем найдено решение по улучшению эксплуатационных характеристик асфальтовых покрытий: повышению прочности и плотности асфальтобетонов, их влагонепроницаемости, морозостойкости и как следствие - увеличению долговечности. Нами запатентовано новое минерало-органическое вяжущее вещество (МОВВ «Вагинит») на основе известнякового порошка определенного химического и физического состава и битума любых модификаций для изготовления асфальтобетонов, изоляционных клеящих составов для производства кровельных и гидроизоляционных работ. Подана и международная заявка на это изобретение.
Образуемое минерало-органическое вяжущее вещество имеет преимущества перед всеми известными аналогами битумных мастик: структурирует любые битумы; дает экономию битума до 30%; возрастает адгезия к каменным материалам от 60 до 80 КПа; увеличивается показатель теплостойкости; возрастает температура размягчения; повышается трещиностойкость; не требует применения поверхностно-активных веществ; экологическая чистота.
Исследованиями свойств предлагаемого минерало-органического вяжущего вещества, проведенными профессорами Хабаровского государственного технического университета А.И. Ярмолинским и Н.И. Ярмолинской, выявлена химическая природа вяжущих свойств. Она основана на химической адсорбции (хемосорбции) битума на поверхности минерального материала. При этом анионы высокомолекулярных кислот или другие кислородосодержащие группы, имеющиеся в битуме, вступают в химическое взаимодействие с катионами щелочно-земельных металлов (кальция, магния) на поверхности минерального материала, в результате чего образуются нерастворимые соединения типа мыл. Эта связь не может быть нарушена даже длительным воздействием воды. Именно поэтому приготовленные на основе этого минерало-органического вяжущего вещества асфальтобетоны и гидроизоляционные смеси обеспечивают покрытиям прочность, плотность и долговечность.
В результате применения минерало-органического вяжущего вещества существенно улучшились физико-механические характеристики асфальтобетона, что позволяет выпускать высокоплотные многощебенистые смеси I марки с повышенной сдвигоустойчивостью, трещиностойкостью и долговечностью без поверхностно-активных добавок.
Примером служат результаты лабораторных испытаний проб асфальтобетона, уложенного в 1999 году в покрытие моста через реку Амур у Хабаровска. Предел прочности при сжатии при температуре +20°С составляет 3,7 МПа (по требованиям ГОСТа -2,5); при температуре +50°С - 2,1 МПа (по ГОСТу - 1,1 МПа); водостойкость - 0,98 против 0,9 по ГОСТу; водостойкость при длительном водонасыщении - 0,96 против 0,9 по ГОСТу.
Уверен, что можно добиться более высоких показателей прочности и долговечности. Предлагаемое минерало-органическое вяжущее вещество (МОВВ «Вагинит») является экологически чистым и, что самое главное, легко может изготавливаться на нефтеперегонных заводах. Минеральный порошок в предлагаемом МОВВ находится во взвешенном состоянии (не выпадает в осадок); вяжущее просто в изготовлении и транспортировке. Это вещество весьма перспективно как новый материал для нефтеперегонных заводов. Оно решает проблему качества битумов, исключая необходимость их модифицирования, дает возможность поставлять битумы не в чистом виде, а в виде МОВВ, что гораздо удобнее при хранении, транспортировке и при последующем его использовании.
ЗАО «Известковый завод» выпускает минеральный порошок как одну из составляющих минерало-органического вяжущего вещества для асфальтобетонных, гидроизоляционных смесей. Минеральный порошок Лондоковского месторождения известняков является экологически чистым и радиоактивно безопасным материалом, обладает непревзойденными свойствами. Гидроизоляции с применением нашего минерального порошка более тепло- и морозостойки. В 1999-2001 годах минеральный порошок испытан и хорошо зарекомендовал себя в асфальтовых покрытиях автомобильных дорог Амурской области, Хабаровского и Приморского краев, в высокоплотных покрытиях мостового перехода через Амур у Хабаровска.
Предлагаемое минерало-органическое вяжущее вещество (МОВВ «Вагинит») является экологически чистым и, что самое главное, легко может изготавливаться на нефтеперегонных заводах.
Наш минеральный порошок прошел испытания в лаборатории ОАО «Иркутскгипродорнии» и сертифицирован Новосибирским центром сертификации. Ныне, по имеющейся у нас информации, аналога нашему минеральному порошку нет ни в России, ни за рубежом.
Предлагаем руководителям нефтеперегонных, картонно-рубероидных заводов, строительных фирм освоить выпуск нового вида материала - минерало-органического вяжущего вещества (МОВВ) для производства кровельных, гидроизоляционных работ и изготовления асфальтобетонов на основе нашего минерального порошка. Поставка минерального порошка - в неограниченном количестве.
Асфальтобетонные покрытия являются преобладающим типом для капитальных дорожных покрытий. В большинстве развитых стран протяженность дорог с таким типом покрытия составляет 90-95% от общей протяженности дорог.
Наряду со стандартными асфальтобетонными смесями применяются различные другие составы - дренирующий асфальтобетон, асфальтобетон без минерального порошка, щебень, обработанный органическим вяжущим, называемый черным щебнем. В последнее время все шире используются битумные композиции: такие, как битумные эмульсии, комплексные вяжущие (битумополимерные, битумокаучуковые с серой или резиной, с добавкой природных битумов и т.д.).
Для некоторых видов смесей могут применяться альтернативные виды органических вяжущих - смолы, гудроны, тяжелые нефти и т.д. В этих случаях правильнее называть весь этот класс смесей па органических вяжущих - органоминеральными. Тогда смеси на основе битумов, но с применением нестандартных материалов, представляют собой класс битумоминеральных материалов, а асфальтобетон - это один из видов этого класса и относится к типу органоминеральных смесей.
Дорожные одежды из органоминеральных материалов имеют ряд технологических и эксплуатационных преимуществ. Это - ровность, возможность обеспечения требуемой шероховатости поверхности, короткие сроки проведения ремонтных и восстановительных работ, высокая эксплуатационная надежность, возможность использования местных материалов и технологичность.
Органоминеральные смеси (ОМС) достаточно широко распространены в дорожном строительстве не только в России, по и за рубежом. Однако до сих пор этот тип смесей не классифицирован, некоторые смеси не имеют точных определений или переводов на русский язык. Обилие видов материалов, применяемых в дорожном строительстве, требует анализа, проведения терминологических определений идентичности названий материалов в русском и зарубежном дорожном производстве.
Сведения о свойствах и требованиях к различным видам органоминеральных смесей до сих пор не систематизированы и приводятся в многочисленных разрозненных источниках и нормативных документах.
Органоминеральной смесью называется смесь минеральных материалов подобранного состава с органическими вяжущими (битумом, гудроном, тяжелыми нефтями, смолами и т.п.)- Этот большой класс смесей подразделяется на:
• асфальтобетонные;
• органоминеральные.
Каждый из этих видов смесей в свою очередь делится на горячие, приготавливаемые и применяемые в горячем состоянии при температуре 100°С и более, и холодные - приготавливаемые и применяемые при температуре менее 100°С.
Горячие смеси готовят, как правило, па основе вязких органических вяжущих, формирование которых происходит при высоких температурах, а холодные - применяют обычно при температуре воздуха.
Асфальтобетонные смеси должны приготавливаться на высококачественных материалах на основе битумных вяжущих или их композициях и не должны содержать в своем составе воду.
Органоминеральные смеси можно разделить на два вида:
• содержащие в своем составе воду;
• не содержащие воду.
Смеси, не содержащие воду, обычно готовятся на жидких или разжиженных органических вяжущих.
Органоминеральные смеси чаше всего получают названия по типу применяемого вяжущего или преобладающего минерального материала - битумоминеральные (БММ), эмульсионно-минеральные (ЭМС), влажные органоминеральные (ВОМС), щебеночно-мастичные (ЩМС), черный щебень и т.д. Другая, значительно меньшая часть ОМС, имеет названия, связанные с областью их применения - micro-surfacing (ms) - защитные слои или слои износа, материал, полученный методом пропитки и т.п.
В связи со значительным разнообразием ОМС возникает необходимость в их классификации по основным признакам, которыми являются:
• наличие или отсутствие в их составе воды;
• преобладающий тип минерального материала и (или) тип применяемого вяжущего;
• область применения и структура материала.
2.1.3. Цветные органоминеральные смеси
Цветные органоминеральные смеси приобретают за рубежом все большее распространение. На IV Международном конгрессе ISSA было уделено достаточно много внимания проблемам, связанным с этими материалами. Важное значение этим проблемам придается во Франции и Испании, где количество покрытий, уложенных при помощи цветных смесей типа сларри сил, составляет около 1% от всей площади покрытий, устраиваемых методами тонких слоев. Цветные органоминеральные смеси применяют:
• для улучшения обеспечения безопасности движения и обозначения направлений движения (опасные зоны, места пешеходных переходов и велосипедные дорожки);
• для улучшения эстетического восприятия объектов в местах отдыха, в экологических зонах (национальных парках) и т.п.;
• на дорогах с высокой интенсивностью и скоростью движения и на взлетно-посадочных полосах аэродромов для предотвращения выездов за пределы полосы движения.
Цветные ОМС используют также для разграничения отдельных поверхностей дорожного покрытия - обочин, площадок аварийной остановки, полос направления движения и т.п. Такое визуальное разделение поверхностей по цвету позволяет повысить безопасность движения, разграничить поверхности дороги на главные и второстепенные. Возможность визуально и на значительном расстоянии от объекта оценить положение на дороге помогает водителю вовремя скорректировать свое движение - скорость, направление или осуществить необходимую остановку.
В настоящее время цветом (чаще всего одним из оттенков красного) выделяют опасные зоны дороги - нерегулируемые перекрестки, места возможного неконтролируемого выезда автомобилей или появления пешеходов, особенно около школ, островки безопасности). Цветом более спокойным отмечают обочины, места аварийных остановок автомобилей, разделительную линию и т.п.
В местах с ограниченной видимостью или с недостаточным освещением применяют более светлые цвета для обозначения направления движения или всей проезжей части. В небольших поселках, которые пересекает автомобильная дорога, также следует изменить цвет покрытия для привлечения внимания водителя на возможное появление на дороге пешеходов, животных и т.д.
На взлетно-посадочных полосах аэродромов во Франции и Испании рекомендуется края выполнять из цветных ОМС предупреждающих цветов.
Традиционными материалами, применяемыми для устройства дорожных покрытий, обычно трудно обеспечить необходимую насыщенность и чистоту цвета из-за интенсивно темного (черного или коричневого) цвета вяжущего. Во Франции и Испании для этих целей рекомендуется использовать битумы прямой перегонки, полученные без применения мероприятий, обеспечивающих увеличение в их составе количества асфальтенов. Наиболее приемлемым считается битум с пониженным их количеством.
Однако в местах, где цветные ОМС укладываются в эстетических целях или просто для визуального отделения отдельных поверхностей покрытия - обочин, мест стоянок и т.п., - обычно требования к яркости и насыщенности цвета снижены по сравнению с местами, где цвет должен предупреждать о наличии опасных участков. На этих участках возможно устройство цветных ОМС на традиционных вяжущих с добавлением пигментов и цветного щебня.
В России цветные ОМС еще не нашли своего места в ряду дорожных материалов. Опытные участки на основе пастовых ЛЭМС с цветным покрытием были построены в нескольких областях России - для обозначения разметки - на белом минеральном материале и традиционном вяжущем - и в местах отдыха - для эстетических целей с красным и белым пигментом в качестве эмульгатора. Участки хорошо выделялись на фоне поверхности дорожного покрытия, были различимы при свете фар (разметка) и прослужили около двух лет.
За рубежом - во Франции и Испании - возрастающая потребность повышения безопасности движения привела к разработке специальных составов вяжущего на основе светлых смол и синтетического вяжущего с добавлением пигментов и поверхностно-активных веществ (ПАВ). Однако высокая стоимость таких вяжущих очень ограничивала развитие рынка цветных ОМС. Производство качественных эмульсий на основе этих вяжущих позволило использовать методы и технологию сларри сил для получения цветных поверхностей, что способствовало значительному снижению стоимости цветных смесей, повышению производительности работ по устройству слоев. Расширению области применения цветных смесей способствовало также и решение многих технологических вопросов, например, создание и совершенствование мобильных установок для приготовления и укладки литых смесей типа сларри сил и ms (рис. 5).
Тенденция развития рынка цветных ОМС - это использование эмульсионных вяжущих на основе светлых смол и синтетических вяжущих с применением традиционного оборудования для укладки сларри сил и обеспечение высоких характеристик поверхности покрытия - износостойкости, шероховатости и долговечности.
Эмульсии для цветных ОМС могут быть как катионными, так и анионными. Во Франции исследовательским центром Centre dc Recherche de Gonfreville L'Orcher разработана палитра цветных ОМС из восьми цветов на основе анионных эмульсий. В Испании основу ОМС чаше всего составляют эмульсии на светлом синтетическом вяжущем, эмульгаторами для которого являются сами применяемые пигменты. В этом случае приходится идти на некоторый перерасход пигментов. Однако такой тип эмульсии позволяет использовать более крупнозернистые минеральные материалы - размером зерен до 14 мм, в то время как смеси на анионных эмульсиях допускают их применение размером зерен не более 5 мм.
Для получения более шероховатых поверхностей для дорог с высокими интенсивностью и скоростью движения в случае использования анионных эмульсий рекомендуется применять метод пропитки цветной эмульсией слоя покрытия из цветного щебня.
Исследуется вариант использования катионной эмульсии, но при этом пока возникают проблемы с невысокой погодоустойчивостью смеси. Французский исследовательский центр разработал также на основе пастового варианта литых смесей «гранулят» с консистенцией «сухой мастики», который может транспортироваться в мешках и укладываться без применения средств механизации. Однако этот вид смеси имеет значительный срок высыхания - до 6 ч и невысокие шероховатость и износостойкость, но в местах пешеходных зон он может использоваться.
В Испании применяют цветные ОМС литой консистенции с гранулометрическим составом минеральной части, соответствующим любому типу сларри сил и ms.
Метод получения эмульсин с помощью тонкодисперсных порошкообразных эмульгаторов - пигментов - позволяет получать всю гамму оттенков выбранного цвета путем введения в смесь в качестве минеральною порошка дополнительного количества пигмента. Причем в этом случае можно плавно изменять его яркость и насыщенность на одном участке в зависимости от удаленности от опасного места (например, перекресток или школа).
Подбор составов цветных смесей осуществляется лабораторным путем, а составов цветных смесей на основе ЛЭМС ведется расчетным путем и проверяется в лаборатории.
Для улучшения физико-механических характеристик смесей, предназначенных для использования на дорогах с интенсивным движением, рекомендуется введение минеральных волокон и ПАВ.
2.1.4. Область применения органоминеральных смесей
Способ обработки материала и тип органоминеральной смеси для того или иного слоя следует выбирать с учетом категории дороги и конструкции дорожной одежды в целом, климатических характеристик, наличия минеральных материалов и средств механизации, сроков проведения строительства и назначения слоя.
Известно, что при выборе толщины и типа дорожной одежды или защитных слоев учитываются кроме климатических факторов и местные погодные условия на момент строительства или ремонта дорожного покрытия.
Например, в условиях теплой, но с большим количеством осадков, погоды, когда минеральные материалы содержат значительный процент влаги, необходимо применять материалы быстро формирующиеся, т. с. быстрораспадающиеся эмульсии, смеси на вязких битумах (горячие) или влажные смеси типа ВОМС. Однако во всех случаях следует выбирать погодные условия, когда смесь успеет сформироваться.
При устройстве поверхностной обработки необходимо, чтобы поверхность обрабатываемой дороги и применяемый материал были сухими и чистыми, а температура воздуха была бы достаточно высокой для того, чтобы органическое вяжущее не остывало слишком быстро, если используются вязкие битумы или битумные эмульсии.
Практика показывает, что поверхностные обработки, выполненные при температуре воздуха ниже 10-15°С, плохо приживаются и щебень быстро вылетает. Особенно низкое качество обработки получается, если ее делать в осенний период, когда температура воздуха имеет тенденцию к понижению. Это мешает формированию поверхностной обработки.
Процесс производства работ по устройству поверхностной обработки требует сравнительно немного времени, поэтому в районах с неустойчивой погодой необходимо предусматривать применение поверхностно-активных веществ, улучшающих адгезию битума к влажной поверхности минеральных материалов, и соблюдение четкого графика организации работ.
Устройство конструктивных слоев дорожной одежды способом пропитки также следует проводить при достаточно устойчивой теплой погоде. Необходимо учитывать, что не все холодные смеси можно укладывать при низкой температуре воздуха и высокой влажности основания. Но материалы типа ВОМС в этих условиях неплохо себя зарекомендовали. Материалы, приготовленные на вспененном битуме, еще мало применяются в дорожных хозяйствах России, но имеющийся опыт устройства таких слоев позволяет рекомендовать их наряду с ВОМС.
При малых объемах работ устанавливать стационарные смесители нецелесообразно, лучше применять мобильное оборудование для приготовления и укладки смеси. Кроме того, этот способ работ позволяет избежать снижения качества некоторых материалов при транспортировании (например, эмульсионно-минеральные материалы могут расслаиваться) и составить план организации работ таким образом, чтобы использовать промежутки времени с оптимальными для устройства дорожной одежды погодными условиями, когда в целом погода в районе работ неустойчива.
Наличие местных материалов часто является решающим при выборе типа ОМС и способа ее получения. Необходимо учитывать сезон строительства, температуру воздуха при укладке и уплотнении, влажность воздуха и, даже скорость ветра, особенно для смесей, требующих для своего формирования благоприятных условий для испарения воды (например, для ЛЭМС).
Многие холодные смеси можно заготавливать впрок и хранить в штабеле, что позволяет продлить строительный сезон. Причем срок хранения холодных смесей допускается от трех месяцев до года с момента их приготовления и зависит от вида смеси.
Часто выбор типа покрытия или защитного слоя зависит от сроков проведения работ. Если требуется уложиться в короткие сроки, особенно во второй половине строительного сезона, следует выбирать материалы, не требующие длительного времени для своего формирования. При этом выбор материала будет зависеть и от наличия необходимого для приготовления и укладки материала оборудования.
Известно, что конечные свойства любого дорожно-строительного материала зависят, в основном, от взаимодействия минеральных составляющих и органического вяжущего. Теоретические и экспериментальные исследования, проведенные как советскими, так и зарубежными учеными, показали многообразие и специфичность явлений, которые происходят при взаимодействии органических вяжущих и минеральных материалов. Процессы взаимодействия связаны, главным образом, с поверхностными явлениями, изучению которых посвящено большое количество работ советских и зарубежных исследователей.
Под взаимодействием минеральных и органических вяжущих материалов следует понимать весь комплекс процессов, происходящих при длительном их контакте. К ним относятся: физическая адсорбция минеральной поверхностью слоя битума; хемосорбционные процессы, протекающие на границе раздела битум - минеральный материал; избирательная диффузия компонентов битума в минеральный материал, вследствие которой могут существенно изменяться свойства адсорбированного битума; изменение свойств минеральных материалов в результате их взаимодействия с битумом.
Установлено, что органическое вяжущее является одним из основных структурообразующих компонентов, благодаря которому отдельные минеральные зерна образуют прочный монолит, способный противостоять механическим усилиям и действию атмосферных факторов.
Полное и равномерное обволакивание минеральных зерен битумной пленкой, в основном, влияет на прочность и долговечность материала. Исследованиями процессов формирования битумной пленки на минеральных материалах начали заниматься в 60-х годах ряд советских ученых. В результате исследований установлено, что формирование битумной пленки начинается при объединении битума с минеральными материалами и заканчивается, в основном, при укладке и уплотнении материала. Известно также, что толщина битумной пленки обусловлена различными факторами: минералогией, дисперсностью, формой и характером минерального материала; вязкостью и структурой битума; введением поверхностно-активных веществ; технологией приготовления смесей и их уплотнения и т.д. Результаты проведенных многочисленных исследований показывают, что битум распределяется по поверхности минеральных зерен пленкой определенной толщины в соответствии с силами, действующими на поверхности материала. Формирование пленки обеспечивается, прежде всего, хорошим смачиванием поверхности минерального материала, величина которого определяется молекулярно-поверхностными свойствами битума и минерального материала.
ВОМС - представитель смесей, полученных на основе органических вяжущих веществ, поэтому все теоретические положения о получении оптимальных структур также присущи этому материалу. Приняв за основу три обязательных и четвертый (желательный) признаки получения оптимальных (рациональных оптимальных) структур и дополнив их положениями о создании неравновесных пленок, теоретические основы получения ВОМС и материала с вышеуказанной структурой можно представить в виде схемы.
В.Д. Сумм, исследуя физико-химические основы смачивания и растекания, указывает на то, что в начальный момент обволакивания водная пленка имеет определенную толщину, величина которой в дальнейшем будет уменьшаться за счет увеличения площади растекания (проникания в поры и капилляры минеральных зерен). Так как данный процесс продолжается некоторое время, то толщина водной пленки в течение этого периода будет находиться в состоянии флуктуации. Таким образом, уменьшение толщины пленки способствует увеличению натяжения или увеличению упругости, а дополнительное повышение упругости, известное как эффект Марангони, происходит вследствие того, что между поверхностью и объемом водной пленки не успевает установиться равновесие. Вследствие этого на поверхности минеральных зерен образуется неравновесная упругая водная пленка, толщина которой колеблется в определенных пределах, но достигая критической величины (т.е. величины, при которой происходит самопроизвольный разрыв пленки).
При введении органического вяжущего в смесь водная пленка испытывает механическое (перемешивание) и термическое (температура органического вяжущего выше температуры минерального материала) воздействия, в результате которых будут происходить локальные деформации водной пленки с уменьшением ее толщины до критической. Именно в этих местах будет разрыв водной пленки.
В процессе проведения исследовательских работ впервые для строительства конструктивных слоев дорожных одежд была предложена влажная органоминеральная смесь, представляющая собой разновидность дорожных смесей, приготавливаемых и укладываемых в холодном состоянии.
Введение в смесь оптимального количества воды способствует распределению жидкого органического вяжущего по поверхности увлажненного минерального зерна в виде пленки оптимальной толщины.
В ходе экспериментальных и производственных работ установлено, что принципы проектирования составов ВОМС, позволяющие получать искусственный дорожно-строительный конгломерат с оптимальной структурой, основаны на следующих положениях:
подбор оптимального количества жидкой фазы, в пределах которой варьируется одновременно количество органического вяжущего и воды, проводится экспериментальным путем в зависимости от минералогии исходных материалов и содержания мелких зерен (мельче 0,071 мм);
соотношение между содержанием органического вяжущего и мелких зерен должно находиться в пределах 0,5-1,0;
вязкость органического вяжущего может изменяться в пределах требуемой С560 = 40-120 с;
содержание зерен максимальной крупности не должно превышать 40% по массе минеральных материалов;
предельное содержание извести и цемента в качестве активатора поверхности минерального материала не должно превышать соответственно 3 и 4%.
Установлена экспериментально и подтверждена практикой производственных работ возможность снижения расхода жидкого органического вяжущего на 25-30% в составах влажных органо-минеральных смесей без ухудшения таких свойств покрытия, как водо- и морозостойкость. Усовершенствована технология приготовления ВОМС, предусматривающая ограничение температуры исходных минеральных материалов до 80°С. На основе опытных работ установлена закономерность изменения уплотняемости смесей в зависимости от их влажности и температуры: максимальной уплотняемостью ВОМС обладают при влажности от 1,5 до 4% и в диапазоне температуры от 25°С до -10°С. Снижение температуры уплотнения ВОМС позволяет значительно продлить сезон дорожных работ без ухудшения качества покрытия.
Практика показала, что наиболее эффективны для уплотнения ВОМС пневмокатки, использование гладковальцовых катков возможно при температуре ниже 10-15°С.
Применение ВОМС позволяет значительно упростить технологию проведения ремонтных работ: отпадает необходимость в таких операциях, как обрубка (вскирковка) и обмазывание битумом краев выбоин.
Разработанная холодная технология строительства конструктивных слоев дорожных одежд является ресурсо-, энерго- и трудосберегающей, а также экологически эффективной.
На первое место была выдвинута задача изучить органические вяжущие, выбрать наиболее пригодные из них для строительства, разработать требования к ним и организовать промышленный выпуск, в первую очередь битумов.
Определились следующие основные объекты исследований:
• вяжущие, используемые в горячем состоянии (вязкие битумы и дегти);
• вяжущие, применяемые в холодном или слегка подогретом состоянии (эмульсии и жидкие битумы).
Цель исследований - разработка требований к указанным вяжущим, методов их испытания и изыскание путей повышения качества, а в перспективе - совершенствование технологии приготовления вяжущих и введения поверхностно-активных веществ (ПАВ) и полимеров (на специальном оборудовании).
ГП Росдорнии в результате многолетней работы было разработано множество способов обработки гравийных и щебеночных смесей, способствующих получению укрепленных материалов с широким диапазоном прочностных и деформативных характеристик. В настоящей статье рассматриваются способы укрепления, обеспечивающие повышение прочности, сдвигоустойчивости покрытий за счет использования вяжущих, придающих обработанному слою способность к регенерации и способствующих образованию коагуляционной структуры. Работы в этом направлении связаны с использованием вяжущих, придающих укрепленному материалу тиксотропные свойства, т.е. речь идет о восстановлении утраченных материалом технико-эксплуатационных качеств в процессе многократного киркования покрытия, а при необходимости, внесения каких-либо реагентов с последующим перемешиванием и уплотнением.
Использование указанного способа обработки предусматривается при реконструкции и ремонте дорог с интенсивностью движения до 1500 авт./сут, а также с движением большегрузных автомобилей, характеризующихся очень большими удельными нагрузками на покрытие. Ремонтные работы с применением вяжущих рентабельны в том случае, когда требуется строительство очень мощной дорожной одежды, способной обеспечить нормированные упругие прогибы. Это характерно для сельскохозяйственных, карьерных, лесовозных дорог. Используя специальные вяжущие, можно значительно повысить прочность покрытия, его водостойкость, увеличить межремонтный срок. В то же время деформации, возникающие в виде колей, волн, выкрашиваний, легко ликвидируются в процессе ремонта.
Предлагаемые технологии позволяют многократно восстанавливать ровность и прочность покрытия при минимальных затратах материалов, денежных средств, что немаловажно в существующих условиях скудного финансирования дорожной отрасли.
При обработке гравийных и щебеночных смесей рекомендуется использовать вяжущие, характерной особенностью которых является наличие в них воды, выполняющей здесь важную роль структурирующей добавки и показателя степени регенерируемости смеси. Таковыми являются битумные эмульсии, битумные пасты прямого и обратного типа, комплексные вяжущие, состоящие из лигносульфоната технического (ЛСТ) в сочетании с жидкими органическими вяжущими. Они обеспечивают коагуляционный характер связей в укрепленном материале. Варьируя состав вяжущих, можно регулировать адгезию пленок вяжущего к поверхности минеральных зерен и получать укрепленный материал с различной степенью тикеотропности (регенерируемоcти).
За последние 20 лет в ГП Росдорнии выполнен значительный объем лабораторных и полевых исследований с целью:
- разработать требования к обработанным гравийным и щебеночным смесям и определить их расчетные характеристики;
- изучить кинетику формирования смесей и установить ориентировочный срок их службы;
- разработать конструкции дорожных одежд и технологию восстановления слоя.
При проведении лабораторных исследований и на опытном строительстве применяли ПГС, а также щебеночные смеси из прочных и осадочных пород. В качестве вяжущих для обработки минеральных материалов использовали гудроны и жидкие битумы с вязкостью С560 = 40-100 с, ЛСТ в виде раствора 50-процентной концентрации, прямые и обратные битумные пасты.
Наиболее часто использовались битумные пасты следующих составов:
прямые - вязкий битум с пенетрацией 60-130 - 25%; вода -50%; минеральный порошок известняковый - 25%;
обратные - вязкий битум с пенетрацией 60-130 - 60% (в битум вводилась катионактивная добавка в количестве 2% от его массы); известь, поваренная соль - 1-5%; вода - 25%.
Для определения физико-механических свойств гравийных и щебеночных смесей, обработанных различными вяжущими, изготавливали и испытывали цилиндрические образцы диаметром 5 и 10 см. При разработке требований к подобным смесям также учитывали результаты испытаний кернов, отобранных из покрытий на опытных участках в разные сроки.
Прочность всех минеральных смесей, обработанных предлагаемыми вяжущими, увеличивается во времени за счет испарения жидкой фазы и старения органических вяжущих. Установлено, что прочность 2,5-3,0 МПа является критической для возможности киркования слоя и обеспечения требуемого агрегатного состава вскиркованной смеси. По этой причине наиболее сложны для регенерации слои, устроенные с применением карбонатных минеральных материалов и вязких битумов с пенетранией менее 90. Поэтому при строительстве или ремонте такие покрытия желательно закрывать поверхностной обработкой или защитным слоем.
Для моделирования в лаборатории процессов формирования минеральных смесей, обработанных различными органическими вяжущими, были разработаны три методики регенерирования материалов с учетом их физико-механических свойств и структурных изменений в процессе эксплуатации автомобильной дороги.
Для материалов, содержащих органическое вяжущее в виде гудрона или жидкого битума, характерны пластические деформации и старение вяжущего во времени процесса эксплуатации. Препятствовать регенерации (кирковке покрытия) в перспективе может возросшая когезия вяжущего, способствующая увеличению прочности материала. Поэтому была выбрана следующая последовательность испытания образцов. Изготовленные образцы помещали в термостат и выдерживали в течение 7 сут при температуре +40°С. Затем образцы испытывали на прочность при сжатии, переформовывали, добавляя 2,0% воды, снова прогревали и испытывали. Циклы испытаний повторяли до тех пор, пока прочность образцов не достигла 2,0 МПа, т.е. прочности, при которой уже трудно кирковать покрытие и обеспечить однородность материала.
Для материалов, содержащих в составе органического вяжущего водорастворимый ЛСТ, характерно снижение прочности во времени за счет постепенного его вымывания из покрытия. Поэтому для этого случая была разработана специальная методика. Образцы, прогретые в термостате при температуре +40°С в течение 7 сут, помещали в воду на 48 ч, после чего их испытывали на прочность при сжатии, а воду выпаривали, определяя тем самым количество растворившегося ЛСТ. Затем образцы переформовывали, добавляя вымытое из них ЛСТ. В дальнейшем циклы повторяли до момента увеличения прочности материала до критической.
Для материалов, обработанных вяжущими, в виде битумных эмульсий и паст, характерно увеличение прочностных характеристик во времени по мере испарения воды из материала. При невозможности испарения воды из материала его физико-механические характеристики практически не меняются. Поэтому с позиций облегчения регенерации в первые недели эксплуатации желательно быстрое удаление большей части воды из слоя, но и сохранение 1-2% воды в пленочном виде - для уменьшения адгезии пленок битума. Учитывая это соображение, была разработана следующая методика. После изготовления образцы хранили на воздухе при температуре -20°С до тех пор, пока их влажность не составляла 1,0%. Затем образцы испытывали на прочность при сжатии, добавляли необходимое количество воды для достижения оптимальной влажности и снова формовали. В случае применения пасты обратного типа вместо воды использовали раствор поваренной соли. Циклы испытаний повторяли до тех пор, пока прочность образцов не достигала 2,0 МПа.
По вышепредставленным методикам испытывали шесть составов на гранитных и известняковых высевках с использованием четырех типов органических вяжущих. Причем для объективной оценки изменений свойств образцов, после очередного цикла их переформовывали как с добавлением, так и без добавления характерной жидкой фазы. Каждый цикл испытаний моделировал работу материала в покрытии в течение 1,5-2 мес.
В результате испытаний было установлено, что достижение критической прочности без добавления жидкой фазы происходит уже после 2-4 кирковок, что соответствует одному - полутора-годовому сроку службы покрытия. Многократно увеличить количество кирковок можно за счет внесения в смесь 1,5-4,0% жидкой фазы, состав которой зависит от типа вяжущего, применяемого при устройстве покрытия.
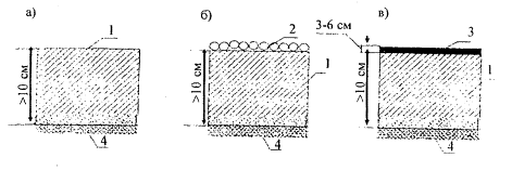
На основании проведенных работ разработаны три типа дорожных конструкций, которые можно использовать при реконструкции дорог с гравийными (щебеночными) покрытиями (рис. 2).

1 - покрытие или основание из гравийной (щебеночной) смеси, обработанной вяжущим; 2 - поверхностная обработка или защитный слой из битумного шлама; 3 - покрытие из холодной органоминеральной смеси; 4 - грунт земляного полотна или основание из песчано-гравийной (щебеночной) смеси
Конструкцию (см. рис. 2) применяют при интенсивности движения до 1000 авт./сут, а также при пропуске специального транспорта с осевыми нагрузками более 10 т. Однако конструкцию не следует использовать на участках дорог с продольными уклонами более 60%о, на перекрестках, у автобусных остановок, при устройстве покрытия из смесей, приготовленных по способу смешения на дороге. Конструкцию (см. рис. 2, в) применяют на дорогах общего пользования при интенсивности движения до 1500 авт./сут, конструкцию (см. рис. 2, б) - при той же интенсивности движения, а также при пропуске специального транспорта с осевыми нагрузками более 10 т.
Минимальная толщина слоя из обработанных вяжущим гравийных или щебеночных смесей должна составлять 10 см. Толщину слоя покрытия из холодных органоминеральных смесей в конструкции (см. рис. 2, в) назначают в пределах 3-6 см. При технико-экономическом обосновании для устройства покрытия допускается применение холодного, теплого или горячего асфальтобетона.
Одним из основных факторов, влияющих на качество асфальтобетонных покрытий и их долговечность, является уровень качества применяемых органических вяжущих материалов. Действующий ГОСТ 22245-90 регламентирует требования к битумам марок БНД и БН. Причем битумы марок БН имеют более низкий уровень качества по сравнению с битумами марок БНД и являются более хрупкими, обладают меньшим интервалом пластичности (работоспособности), характеризуются, как правило, низкими показателями сцепления с поверхностью минеральных материалов.
Высокая грузонапряженность и интенсивность движения, возрастающая с каждым годом, диктуют более высокие требования к уровню качества битумов, достигаемому путем применения полимерных добавок, поверхностно-активных веществ (ПАВ), модернизации существующих технологических процессов производства битумов, и необходимость строгого контроля качества материалов на всех этапах производства как со стороны производителей работ, так и со стороны контролирующих организаций.
ФГУ «Росдорконтроль» ежегодно проводится:
- контроль качества различных марок дорожных битумов и полимерно-битумных вяжущих (ГТБВ), применяемых в дорожном хозяйстве;
- согласование результатов подбора составов ГТБВ, используемых при устройстве верхних слоев асфальтобетонных покрытий федеральных автомобильных дорог I и II категорий;
- экспертиза эффективности и согласование применения новых полимерных добавок;
- экспертиза и согласование новых ПАВ.
На основе вышеизложенного можно сделать следующие выводы.
1. Как показывает опыт, необходимо запретить применять новые модификаторы битумов без экспертизы в ФГУ «Росдорконтроль», составы ПБВ - без предварительного согласования их с этой организацией.
2. Основными задачами, позволяющими повысить уровень качества выпускаемых битумов и ПБВ, являются создание системы контроля качества на всех этапах его производства, повышение квалификации персонала в области лабораторного контроля, уровня культуры производства и строгое соблюдение технологии приготовления и применения ПБВ.
3. С целью обеспечения качества дорожных работ необходимо увеличить объем и качество инструментального контроля, осуществляемого как службами заказчика, так и подрядными организациями (в качестве методической помощи в табл. 3 прилагается перечень лабораторного оборудования и средств измерений, предназначенных для испытаний органических вяжущих).
4. Разработка новых технических требований (технических условий) и выпуск на их основе новых марок дорожных битумов не должны противоречить действующей нормативно-технической документации (ГОСТ 22245-90).
5. Особое внимание необходимо уделить разработке технологических регламентов (технологических процессов) на производство дорожно-строительных материалов (ПБВ, битумных эмульсий, дорожных мастик и др.). Как показывает практика, большая часть производств не имеет собственного документа, регламентирующего процесс производства дорожно-строительных материалов.
6. Следует усилить входной контроль за качеством применяемых вяжущих со стороны органов управления дорожным хозяйством в ходе дорожных работ с сообщением в адрес ФГУ «Росдорконтроль» сведений о низком уровне качества используемых материалов.
Органические вяжущие материалы широко используются в качестве дорожно-строительных материалов, например при строительстве дорожных покрытий усовершенствованного типа.
Наиболее распространенным из органических вяжущих материалов является нефтяной битум. Наряду с битумом для устройства конструктивных слоев дорожных одежд применяют каменноугольные дегти и смолы, различные комплексные органические вяжущие.
Особенности свойств органических вяжущих оказывают существенное влияние на характеристики дорожных покрытий и оснований, их эксплуатационную надежность и сроки службы. Преимущественное распространение покрытий, устраиваемых с применением органических вяжущих, обусловлено комплексом высоких технико-экономических свойств, отвечающих современным требованиям к дорожным покрытиям, рассчитанным на интенсивное скоростное движение.
При строительстве дорог расходуется большое количество органических вяжущих материалов. Так, на I км дороги с асфальтобетонным покрытием необходимо затратить от 50 до 200 т битума. Учитывая тенденции к росту капитальности конструкций дорожных одежд и расширению применения местных материалов, обработанных вяжущими, при устройстве дорожных оснований, расход органических вяжущих может увеличиться до 150-500 т/км.
При проведении ремонтно-эксплуатационных работ на действующей сети дорог также требуется значительный расход органических вяжущих. Для капитального ремонта 1 км асфальтобетонного покрытия необходимо около 70 т битума, для среднего ремонта - 15-20 т. Большое количество органических вяжущих требуется для перевода в более высокую категорию дорог местной сети. При устройстве усовершенствованных покрытий облегченного типа на этих дорогах расход вяжущих составит не менее 50-70 т/км.
Применение органических вяжущих для строительства дорог дает значительный народнохозяйственный эффект. Себестоимость перевозок по дорогам с облегченным типом покрытий на 20-25% ниже по сравнению с себестоимостью перевозок до дорогам с покрытиями переходного типа.
Расход топлива при движении транспортных средств по гравийным дорогам на 15-20% выше, чем при движении по дорогам с асфальтобетонным покрытием. Таким образом, затраты на устройство асфальтобетонных покрытий с использованием нефтяного битума окупаются экономией топлива при движении автомобилей. Расчеты показывают, что расход 50 т битума при переводе 1 км дороги с гравийным покрытием в более высокую категорию путем устройства облегченного черного покрытия обеспечивает за срок службы этого покрытия экономию 150-200 т нефтепродуктов благодаря улучшению условий работы транспортных средств.
Большое значение имеет повышение сроков службы покрытий, что в значительной степени зависит от качества применяемых органических вяжущих.
Оценка качества органических вяжущих осуществляется на основании определения показателей их технологических и эксплуатационных свойств и сопоставления указанных показателей с требованиями, предъявляемыми для конкретных условий применения.
Оценка качества может быть сравнительной, когда комплекс показателей свойств конкретного органического вяжущего сопоставляется с эталоном, например нефтяным битумом.
Основными характеристиками качества органических вяжущих являются: адгезионные свойства, определяющие сцепление вяжущих с минеральными материалами; реологические свойства, обусловливающие технологические и эксплуатационные параметры деформативности и прочности; физико-химические свойства, определяющие устойчивость к воздействию погодно-климатических и эксплуатационных факторов в течение срока службы (устойчивость к тепловому и радиационному старению, водостойкость, биостойкость и др.).
Органические вяжущие должны отвечать всему комплексу технологических и эксплуатационных требований, предъявляемых в дорожном строительстве. При использовании органических вяжущих различного происхождения требуются некоторые дополнительные испытания, специфические для данного вида вяжущего. Они могут иметь разные значения показателей основных свойств вследствие различий в составе и структуре, механизме взаимодействия с минеральными материалами, термоокисленной стабильности и т.д.
Для каждого конкретного вида органического вяжущего при совершенствовании методов оценки качества и требований к ним необходимо принимать во внимание опыт их практического применения. При этом должны учитываться требования, предъявляемые к асфальтобетонам, дегтебетонам и другим конгломератным материалам, а также к конструктивным слоям дорожных одежд в целом.
Методы испытаний вяжущих различного происхождения должны быть по возможности унифицированы, однако система оценки и требования к качеству должны учитывать специфику их свойств.
Наибольшее распространение получила система оценки качества и требований, предъявляемых к нефтяным битумам. Она может быть принята за основу при разработке методов оценки качества и требований к другим видам органических вяжущих.
Основными путями повышения качества битумов являются совершенствование технологии получения их из нефтяного сырья и введения улучшающих добавок (в частности, поверхностно-активных веществ, полимеров и др.), а также приготовление битумных композиций и комплексных органических вяжущих.
Введение различных добавок осуществляется с целью улучшения свойств битумов в зависимости от конкретных требований и условий применения. Так, добавки поверхностно-активных веществ обычно используются для улучшения адгезионных свойств битумов, добавки полимеров - для улучшения деформативности, теплоустойчивости и т.д.
|
ГОСТЫ, СТРОИТЕЛЬНЫЕ и ТЕХНИЧЕСКИЕ НОРМАТИВЫ. Некоммерческая онлайн система, содержащая все Российские Госты, национальные Стандарты и нормативы. В Системе содержится более 150000 файлов нормативно-технической документации, действующей на территории РФ. Система предназначена для широкого круга инженерно-технических специалистов. Copyright © www.gostrf.com, 2008 - 2026 |