|
|
|
всесоюзный научно-исследовательский институт транспортного строительства МЕТОДИЧЕСКИЕ РЕКОМЕНДАЦИИ ПО ПРИМЕНЕНИЮ СЕЙСМОАКУСТИЧЕСКИХ МЕТОДОВ ДЛЯ ИЗУЧЕНИЯ ФИЗИКО-МЕХАНИЧЕСКИХ СВОЙСТВ СВЯЗНЫХ ГРУНТОВ МОСКВА 1976
СОДЕРЖАНИЕ ПРЕДИСЛОВИЕВ Методических рекомендациях рассмотрены физические основы сейсмоакустики, особенности распространения упругих волн в массиве связных грунтов, применяемые аппаратура и оборудование, методика сейсмоакустических измерений, обработка и интерпретация получаемые данных и их использование для определения физико-механических свойств грунтов. Методические рекомендации разработаны инж. О.П. Аникиным на основании результатов исследований, проведанных в лаборатории инженерной геологии и геофизики ЦНИИСа. Полевые работы проведены совместно с ЦНИИСом, ГорьковТИСИЗом и ВоронежТИСИЗом на их объектах. Эти организации представили данные о физико-механических свойствах грунтов. Работа рассчитана на геофизиков-сейсморазведчиков, a также на инженеров-геологов, знакомых с основами сейсмоакустики. Зам. Директора института И. СОКОЛОВ Руководитель отделения изысканий и проектирования железных дорог А. КОЗЛОВ 1. ОБЩИЕ ПОЛОЖЕНИЯФизические основы сейсмоакустики1.1. Сейсмоакустика - комплекс разночастотных методов, основанных на использовании упругих волн: сейсмических - на частотах от 30 до 300 - 500 Гц, акустических - на частотах от 0,3 - 0,5 до 10 кГц, ультразвуковых - на частотах более 10 кГц. В некоторых работах указанные границы несколько отличаются, но это не отражается на понимании и изложении материала. Физические основы всех указанных модификаций едины, поэтому приводимые ниже данные в равной степени справедливы для каждой из них. Различия имеются лишь в аппаратуре, методике и интерпретации материалов, что отражено в настоящей работе. 1.2. В настоящих Методических рекомендациях рассматриваются связные грунты, представленные покровными, лессовидными и моренными суглинками, а также глинами. Грунтовые массивы, помимо перечисленных типов связных грунтов, нередко содержат также несвязные, представленные преимущественно песками. Такие массивы будем называть массивами рыхлых грунтов. 1.3. Теория распространения сейсмических волн в реальных средах базируется, в основном, на линейной теории упругости. Для упругой среды или любой среды при нагрузках, меньших предела упругости, справедлив закон Гука, устанавливающий прямо пропорциональную зависимость между нагрузкой и деформацией. Модель однородной и изотропной сред определяется следующими характеристиками /1, 28/: модулем Юнга Е; коэффициентом Пуассона σ или вместо них, первой константой Лямэ Δ, второй константой Лямэ μ. 1.4. В соответствии с линейной теорией упругости в однородной изотропной среде при динамическом воздействии на нее в какой-либо точке возникают два вида объемных волн: продольные сжатии Р и поперечные сдвига S. Последние не могут распространяться в жидких и газообразных средах, так как эти среды не обладают упругостью формы. В них могут распространяться лишь продольные волны. Сводка скоростей распространения продольных Vр и поперечных Vs волн для реальных грунтов приведена в табл.1. Отношение скоростей объемных волн будет иметь вид
Так как значение σ для реальных грунтов заключено в пределах от 0 до 0,5, то отношение Vs/Vp соответственно изменяется от 0,71 до 0 и, следовательно, Vp всегда больше Vs. 1.5. Затухание волн при удалении от источника колебаний в идеально упругой среде определяется только фактором расхождения. В реальных грунтах к этому фактору добавляется еще явление поглощения упругих волн материалом среды, что характеризует неупругость последней. Поглощение вызывается затратой части энергии волны на пластические деформации, что обусловлено, как известно, процессами теплопроводности и внутреннего трения /3, 4 и др./. В качестве характеристик поглощения обычно используют коэффициент α и декремент υ поглощения волн. Коэффициент поглощения зависит от частоты колебаний. В однородной среде он обычно определяется уравнением А(х) = А0е-αх; (2) где А(х) - амплитуда волны на расстоянии х от некоторой начальной точки; А0 - амплитуда волны в начальной точке.
УГВ- уровень грунтовых вод;
Декремент поглощения для значительных интервалов частот или слабо зависит от частоты колебания, или совсем не зависит от нее /5, 6/. Он определяется формулой υ = αλ, (3) где λ – длина волны.К настоящему времени показатели поглощения волн для связных грунтов изучены слабо. Особенно это относится к поперечным волнам. Сводка данных о значениях декремента поглощения для связных грунтов приведена в табл.2. Суммарное действие факторов расхождения и поглощения, определяющих амплитуду волны на различных удалениях от источника колебаний в реальных однородных средах выражается формулой
В реальных средах, в том числе рыхлых грунтах, на амплитуду волн влияет также неоднородность среды. Вследствие этого определяемые на практике показатели поглощения являются, строго говоря, эффективными величинами. 1.6. Если среда содержит одну (случай полупространства) или несколько границ раздела, то помимо объемных волн в такой среде могут образовываться и распространяться различные поверхностные волны. Наибольший интерес для практики представляют поверхностные волны Релея R и Лява L. 1.7. Волна Релея связана со свободной поверхностью (дневная поверхность) и представляет результат наложения продольных и поперечных волн SH /1, 2/. Частицы среды в волне движутся по эллиптическим орбитам в вертикальной плоскости, параллельной распространению волны. Вертикальная ось эллипса примерно в 1,5 раза превышает горизонтальную. Скорость распространения волны Релея \/R изменяется от 0,874 до 0,956 значения Vs. При слоистом характере среды в верхней части разреза образуется так называемая псевдорелеевская волна подобная волне Релея в однородной среде /1/. Скорость псевдорелеевской волны зависит от ее длины λR, т.е. имеет место дисперсия скорости. Последнее наблюдается при условии, что λR > Δh (Δh - мощность отдельного слоя).
1.8. Волна Лява образуется только в слое (или пачке слоев) с пониженной скоростью поперечных волн VS1, подcтилаемом толщей более высокоскоростных пород VS2. Волна Лява является интерференционной волной типа SH и поляризована горизонтально. Скорость распространения волн Лява VL зависит от частоты колебаний и изменяется в пределах VS1 < VL < VS2. (5) 1.9. В ряде случаев на границе сред образуются обменные волны (отраженные и преломленные), связанные с изменением типе волны /7/. 1.10. На свободной поверхности слоистой среды могут регистрироваться следующие типы волн: продольные - прямые, отраженные и преломленные (от различных границ), а также различные виды многократно отраженных и преломленных волн; поперечные - тех же классов, что продольные; обменные - отраженные, преломленные и разные комбинации отраженно-преломленных волн; поверхностные волны Релея и Лява. 1.11. При плавном изменении скорости с глубиной среда называется градиентной, а волны, распространяющиеся в ней - рефрагированными. Изменение скорости может наблюдаться только в вертикальном направлении - градиент скорости вертикален, или в вертикальном и горизонтальном направлениях одновременно - градиент скорости занимает промежуточное положение между вертикальной и горизонтальной ориентациями. На свободной поверхности градиентной среды регистрируются продольные и поперечные рефрагированные волны (однократные и многократные), а также волна Релея. 1.12.
Массивы связных грунтов чаще представляют собой слоистую среду. Мощности
отдельных слоев колеблются в пределах 2 - 1.13. Анизотропия в связных грунтах выражена слабо. По данным ультразвуковых измерений в массивах грунтов и на образцах, выполненных в лаборатории, различия скоростей в вертикальном и горизонтальном направлениях составляют в среднем 7%. Большей является вертикальная скорость. Для связных грунтов типичной является квазианизотропия, связанная с тонкослоистостью самих слоев. В такой среде не существует чистых продольных и поперечных волн, а лишь подобные им квазипродольные и квазипоперечные. Последние, как правило, могут быть двух типов: типа SH - колебания частиц параллельно слоистости и типа SV колебания частиц перпендикулярно слоистости. Согласно теории в таких средах должна наблюдаться разница в значениях скоростей указанных волн /8/. При этом VSV > VSH в направлении распространения волн, перпендикулярном слоистости, и VSV < VSH в направлении, параллельном слоистости. Имеющиеся экспериментальные данные подтверждают эти выводы /9, 10, 11/, В песчано-глинистых грунтах разница между VSH и VSM может достигать нескольких десятков процентов. 1.14. Влияние давления (глубины залегания h) на сейсмические показатели в связных грунтах исследовано мало. Исходя из
физико-геологических представлений, среди известных моделей грунта, которые
были использованы для оценки изменения скоростей от давления, наибольшего
внимания заслуживает модель, предложенная Назаровым /12,
13/.
В однородных толщах для продольных волн до глубин В зоне аэрации (выше УГВ)
где Vp(1) и Vp(h) - скорости на глубине соответственно 1 и h м. в зоне водонасыщения (ниже УГВ)
где Vp(h)c и Vp(h)0 - скорости на глубине h м при условиях соответственно выше (см. уравнение (6) и ниже УГВ. Для поперечных волн независимо от положения УГВ аналогично получено Vs(h) = Vs(l)h0,77-0,185lgVs(1) м/с, (8) где Vs(1) и Vs(h) - скорости на глубине соответственно 1 и h м. Хотя приведенные формулы рекомендуются в некоторых методических работах /13, 14/ как достаточно точные для практического использования, они не получили пока должной экспериментальной проверки и требуют осторожности при их применении, особенно при слоистости среды, так как влияние давления (т.е. глубины) на скорость волны будет меньшим, чем для однородных массивов. Задачи сейсмоакустических исследований1.15. Задачами сейсмоакустических исследований при изучении массивов связных грунтов для определения их физико-механических свойств являются: расчленение геологического разреза (определение числа и мощности слоев, конфигурации границ, выделения в разрезе слоев связных грунтов); определение сейсмоакустических характеристик для выделенных толщ связных грунтов; расчет физико-механических свойств связных грунтов. 1.16. При изучении разрезов связных грунтов находят применение следующие виды сейсмоакустических измерений: сейсмические наземные измерения; сейсмический каротаж; вертикальное сейсмическое профилирование; сейсмическое просвечивание; ультразвуковые измерения в естественных условиях (in situ); ультразвуковые измерения на образцах пород. 2. АППАРАТУРА И ОБОРУДОВАНИЕ ДЛЯ СЕЙСМОАКУСТИЧЕСКИХ ИЗМЕРЕНИЙАппаратура и оборудование для сейсмических измерений2.1. Сейсмическая аппаратура выбирается в зависимости от вида измерений, строения сейсмогеологического разреза, характера решаемых задач и категории местности. Основные типы регистрирующей аппаратуры и их характеристики приведены в табл.3. При изучении сложных разрезов с поверхности земли для регистрации волн в первых и последующих вступлениях предпочтение должно быть отдано многоканальным сейсмическим станциям типов СС-24II, "Поиск-1-6/12АСМ-ОВ", "Поиск-1-24М0В-ОВ", а среди них - двум последним, имеющим, кроме осциллографической, магнитную регистрацию. Подобный вид регистрации позволяет воспроизводить запись при разных фильтрациях и усилениях приемных каналов, что создает условия для успешного выделения разных типов волн при минимальном количестве записей, выполняемых непосредственно на участке работ. 2.2. Одноканальные и двухканальные сейсмические установки типов ОСУ-I и СПС-2 обладают значительно меньшими возможностями и применяются, в основном, при наблюдениях по методу первых вступлений для решения простейших задач (например, изучения границ, связанных с УГВ или поверхностью коренных глин.
Таблица 3
Примечания: 1. Для ОСУ-1 и ОСУ-2 фильтрация отсутствует для остальной аппаратуры - ФВЧ, ФНЧ. 2. Коэффициент усиления для ОСУ-1 составляет 120, а для "Поиск 1-24-МОВ-СВ" 0,5×106. Установки типа ДОСУ-1 по своим возможностям приближаются к многоканальным станциям, уступая им в производительности. Малоканальные установки, особенно ДОСУ-1, удобны при проведении сейсмического каротажа скважин и просвечивании между горными выработками. 2.3. Сейсмическая измерительная аппаратура, предназначенная для изучения разрезов рыхлых грунтов, должна иметь следующие технические данные: Полоса пропускания каналов, Гц 30 - 200 Погрешность в отсчетах времени, мс, не более 0,5 Чувствительность каналов, мм/мкВ( не менее: для многоканальных станций 3 - 5 для малоканальных (1-2 канала) станций 10 Частотные фильтры в диапазоне, Гц 30 - 150 Кроме того, такая аппаратура должна быть экономичной по электропитанию, портативной при транспортировке и надежной в работе. 2.4. Для приема колебаний используют серийные сейсмоприемники, основные парки и характеристики которых приведены в табл. 4 /l3/. Прием колебаний в скважинах осуществляют скважинными измерительными зондами. Из однокомпонентных зондов, регистрирующих вертикальную составляющую волн, рекомендуется зонд, предложенный ЦНИИСом, который характеризуется простотой конструкции и легкостью изготовления /15/. Двух- или трехкомпонентные зонды целесообразно делать с пневматическим прижимом, позволяющим производить измерения не только при подъеме, но и при спуске зонда. 2.5. Возбуждение
колебаний осуществляют преимущественно кувалдой массой 3 -
Примечание: 1
- до 2. Предел относительной влажности воздуха при работе составляет 95%.
В скважинах колебания возбуждаются с помощью специальных скважинных снарядов /15, 18/. Аппаратура и оборудование для ультразвуковых намерений2.6. Для измерений на акустических и ультразвуковых частотах используют главным образом, импульсную электронную аппаратуру, основные типы которой и ее характеристики приведены в табл.5. В связи с сильным поглощением ультразвуковых воли в связных грунтах аппаратура должна обладать мощным генератором и чувствительным регистратором сигналов для того, чтобы обеспечить необходимую длину базы измерений. 2.7. Для изучения связных грунтов необходима импульсная ультразвуковая аппаратура, имеющая следующие технические данные: Амплитуда зондирующего импульса, В, не менее 500 Погрешность отсчетов времени, мкс, не более 5 Полоса пропускания усилителя, кГц 5 - 200 Интервал длительности развертки плюс задержки, мкс 0 - 3000 2.8. Для возбуждения и приема колебаний обычно используют пьезопреобразователи из кристаллов или пакетов сегнетовой соли 45°Х среза в форме куба размерами 10×10×10 (излучаемая резонансная частота 140 кГц), 16×16×16 (100 кГц), 20×20×20 (70 кГц) и 40×40×40 мм (25 кГц). Дополнительно для этой
цели рекомендуется также пьезокерамика цирконата свинца (ЦТС-19) толщиной 10 и Подробнее с датчиками для ультразвуковых измерений можно ознакомиться в работах /19, 20/. Нужное положение датчиков, прижатие их к грунту и постоянство контакта с ними при измерениях в горных выработках и на образцах обеспечивается специальными держателями.
Таблица 5
2.9. При отсутствии на участке работ стационарной электрической сети используются различные бензоэлектрические агрегаты малой мощности типов АБ-0,5/230 и АБ-1,0-0/230. Однако непосредственное питание приборов от них нежелательно из-за нестабильности работы этих агрегатов, следствием чего является неустойчивость изображения на экране ЭЛТ. Указанный недостаток устраняется при использовании преобразователя напряжения (приложение, п.IV). Применение обычных стабилизаторов напряжения не дает должного эффекта. 3. МЕТОДИКА СЕЙСМОАКУСТИЧЕСКИХ ИЗМЕРЕНИЙСейсмические наземные измерения3.1. Наземные измерения исполняют, главным образом, методом преломленных волн. Используют преломленные, рефрагированные, а иногда поверхностные волны. Первые два класса волн по типу могут быть продольными и поперечными. Основным видом наземных измерений является продольное профилирование на единичных профилях или их система (при площадной съемке). Непродольное профилирование используют редко, так как оно не гарантирует точных количественных построений по сравнению с продольным и может быть рекомендовано лишь для качественного выявления конфигурации сложных границ (например, конфигурации погребенных долин) /1, 2/. Поэтому в настоящей работе непродолъное профилирование не рассматривается. 3.2. Длину и количество профилей определяют по размерам исследуемого участка и строению сейсмологического разрезе. При изучении глубины до
10 -
При lmin / Δx > 10
где ΔХ - расстояние между точками измерений (сейсмоприемниками); V - скорость волны; ΔV и Δt - абсолютные предельные ошибки определений соответственно скорости , V и времени пробега t волн. 3.3. Система наблюдений на профиле выбирается с таким расчетом, чтобы обеспечить выделение нужных сейсмических границ и определение сейсмических характеристик пород. Существуют различные системы наблюдений /1, 22/. Достаточные надежность, полнота и точность определений обеспечиваются, как правило, при наблюдениях по системе встречных и нагоняющих годографов с числом пунктов возбуждения от 2 до 7. 3.4. Расстояние между сейсмоприемниками Δх (шаг измерения) зависит от детальности исследований и строения сейсмогеологического разреза. Обычно оно составляет 1 - 2м, достигая иногда 3 - 5м. Минимальные значения Δх целесообразно определять из условия Δxmin > VΔt. (11) 3.5. Возбуждение продольных волн осуществляют вертикальными (по Z) ударами по грунту или подставке (металлической или деревянной), Поперечные волны SH возбуждают горизонтальными ударами по вертикальной стенке специальной ямки в направлении, перпендикулярном линии профиля (по Y). При разведке разреза на
глубину около 3.6. Отметка момента возбуждения (или запуск развертки y осциллоскопических установок) осуществляется с помощью механических инерционных контакторов, закрепленных на ударнике и работающих на размыкание цели при ударе. Хорошо зарекомендовал себя также способ на замыкание цепи в момент удара при использовании металлических кувалд и подставок, которые включены в цепь отметки момента. Менее точные результаты для отметки момента возбуждения дает использование сейсмоприемника, установленного вблизи места возбуждения. При взрывном возбуждении широкое применение находит метод петли. 3.7. Регистрация продольных волн производится вертикально ориентированными (по Z) сейсмоприемниками, поперечных SH ориентированными горизонтально (по Y). Основные марки сейсмоприемников и их характеристики приведены в табл.4. Как показывает опыт; в качестве горизонтальных могут быть использованы также вертикальные сейсмоприемники (предварительно отобранные), установленные горизонтально. Иногда сейсмоприемники
устанавливают в лунки глубиной 15 - 3.8. Использование механических источников колебаний, обладающих сравнительно малой мощностью воздействий при проведении измерений вблизи работающей техники, вызывает необходимость подавления помех. Условно помехи можно разделить на естественные, индустриальные и волны-помехи. Естественные помехи (от ветра, волн и т.д.) обладают сравнительно низкими частотами колебаний и хорошо подавляются ФВЧ выше 45 - 65 Гц. Значительный эффект дает заглубление сейсмоприемников в грунт. Индустриальные помехи, характеризуясь более высокочастотным спектром колебаний в интервале 40 - 90 Гц могут иметь механическую и электрическую природу. Подавление их может быть осуществлено ФНЧ и ФВЧ со значениями, находящимися за пределами указанного интервала частот. При наличии электрических помех от линий электропередач и систем сигнализации необходимо, по возможности, уменьшить длину подводящих проводов и ориентировать их в направлении, перпендикулярном линии наводок. При использовании малоканальной аппаратуры хорошие результаты дает применение экранированного провода в подводящих целях. К волнам-помехам относятся звуковые волны, распространяющиеся в воздухе, и различные неиспользуемые (чаще поверхностные) грунтовые волны. Первые из них обладают скоростью распространения Vзв равной 340 м/с и являются помехой при изучении грунтов с близкими к Vзв значениями скоростей волн. Звуковые волны обладают высокими (более 200 Гц) частотами колебаний и значительно ослабляются при использовании ФНЧ. Такой же эффект дает заглубление сейсмоприемников в грунт. Против влияния грунтовых волн применяют различные фильтрации (например, более высокочастотные - против поверхностных волн) и подбирают соответствующие системы наблюдений (дополнительные ПВ, наблюдения на разных расстояниях от них и т.д.). 3.9. Наблюдения в слоистых средах связных грунтов целесообразно проводить на двух или более частотах: относительно высоких (более 100 Гц) и низких (вблизи видимых частот) волн (меньше 100 Гц). Первые обеспечивают высокую детальность и хорошую разрешенность записи, вторые - более выразительны по динамическим признакам. 3.10. При одновременных наблюдениях объемных и поверхностных волн, вследствие резко различной их амплитуды, иногда целесообразно с каждого ПВ делать по две записи (перезаписи) разной интенсивности. Необходимость в нескольких записях может возникнуть при регистрации даже одного типа волн. Это наблюдается, когда высокий уровень помех при высоком уровне минимальной чувствительности многоканальной аппаратуры сильно уменьшает рабочий диапазон чувствительности каналов и число положений переключателя чувствительности (до 1-3 при наблюдениях поперечных волн). Удобным приемом в этом случае является также проведение дополнительных наблюдений с малоканальной аппаратурой вблизи ПВ на малых базах. Указанные наблюдения с более частым шагом позволяют, кроме того, детально изучить верхнюю часть разреза, которая нередко плохо отражена на сейсмограммах. 3.11. Разрезы связных грунтов, как указывалось выше, часто представляют собой слоистую толщу со слабой скоростной дифференциацией слоев. При малой мощности последних возникают серьезные трудности по раздельной регистрации преломленных волн от их границ. По этой причине в ряде случаев приходится проводить наблюдения на длинных профилях при значительных удалениях точек приема волн от ПВ - больших, чем это диктуется глубинностью исследований и точностью определений. 3.12. В тех случаях, когда имеет место инверсионный характер разреза (см. п.1.12), расчленив его при проведении измерений на дневной поверхности сопряжено со значительными трудностями (или невозможно) при использовании одного типа волн. Поэтому расчленение разрезов рыхлых грунтов лучше проводить по продольным и поперечным волнам одновременно с использованием аппаратуры (лучше многоканальной), обеспечивающей регистрацию волновой картины. Указанное обстоятельство объясняется тем фактом, что подобный характер разреза может наблюдаться для одного типа волн и не наблюдаться для другого. Получение же всех характеристик продольных и поперечных волн исследуемых грунтов в таких разрезах возможно лишь при дополнении наблюдений измерениями в скважинах и горных выработках. 3.13. Уровень грунтовых вод (УГВ) является сильной и гладкой преломляющей границей для продольных волн и не является таковой для поперечных. На этом факте основано выделение и опознавание этой границы методами сейсморазведки. Чаще уровень грунтовых вод связан с толщей рыхлых пород /23, 24/. Однако нередко он наблюдается и в толщах связных грунтов. Методика выделения их остается прежней - продольное профилирование по системе ZZ (возбуждение-прием) из одного или двух ПВ. Нагоняющие системы в этом случае излишни. Применима практически любая аппаратура. 3.14. Сильной литологической границей в разрезах связных грунтов является поверхность коренных глин. При залегании ее выше УГВ указанный характер границы наблюдается как для продольных, так и для поперечных волн, если ниже - только для поперечных волн. Выделение указанной границы проводится по обычной схеме: ZZ - для продольных и YY - для поперечных волн. Пригодна любая аппаратура с фиксацией волновой картины при выделении поперечных волн Сейсмические измерения в скважинах и горных выработках3.15. Сейсмокаротаж
скважин, пробуренных в массивах рыхлых грунтов, имеет свои особенности по
сравнению с нефтяным каротажем и проведением его в реальных породах. Малые
глубины исследований (до 10 - 3.16. Сейсмокаротаж обеспечивает уверенную регистрацию в основном продольных волн (по ZZ). Выделение поперечных волн менее надежно из-за трудности ориентации зонда в скважине. По этой причине при регистрации поперечных волн лучше применять двухкомпонентные зонды с одновременной регистрацией двух горизонтальных (взаимно-перпендикулярных) компонентов волны. В качества регистрирующей аппаратуры в данном случае удобна установка ДОСУ-1. В условиях слабой скоростной дифференциации и малой мощности слоев сейсмокаротаж обычно не обеспечивает достаточно четкого и детального расчленения разреза. Вычисляемые при этом значения скоростей используются, славным образом, для определения средней скорости волн при интерпретации результатов наземного профилирования. 3.17. Более полную информации о разрезе дает наблюдение на наклонных лучах, выполняемое двумя способами. При прямом каротаже измерения производят в скважине, а возбуждение колебаний - на поверхности. При этой пункты возбуждения расположены вдоль одной прямой на разных удалениях от устья скважины. При обращенном каротаже точки регистрации и возбуждения меняются местами. В последней случае регистрация колебаний лучше осуществлять с помощью многоканальных станций, а возбуждение в скважинах - взрывами. В обоих случаях предъявляются повышенные требования к точности отметки момента возбуждении. Дополнительно эти виды каротажа рассмотрены в работах /15, 25, 26/. 3.18.
Вертикальное сейсмическое профилирование выполняют в модификации предельного
профилирования на стенке горной выработки (шурфа, лунки). Измерения ведут из встречных ПВ, расположенных на поверхности и дне выработки, с
использованием прямых и рефрагированных волн. При этом уверенно выделяют как
продольные, так и поперечные волны (рис.1). Последние наблюдают при удаленных
от ПВ более 2 -
Рис.1. Сейсмограмма вертикального профилирования по стенке шурфа (рыхлые грунты, г. Владимир) Более сложные системы наблюдений используют редко, в основном для расшифровки волновой картины наземного профилировании /27/. 3.19. Минимальные шаг и базу наблюдений определяют также, как при наземном профилировании (см. пп. 3.2;
3.4).
Обычно они равны соответственно 0,3 - 0,5 и 3 - 3.20. Наиболее благоприятные условия возбуждения и приема колебаний по отношению к линии профиля те же, что и при наземном профилировании. Обычно, ввиду простоты волновой картины, продольные и поперечные волны удается регистрировать на одной записи (см. рис.1), например при возбуждении и приеме колебаний в направлении, перпендикулярном стенке горной выработки. 3.21. Сейсмическое просвечивание выполняют при наличии не менее двух выработок. Колебания обычно регистрируют в скважинах с помощью зондов. Возбуждение осуществляют с помощью взрывов (в скважинах - лучше с забойкой) и ударами кувалды (в шурфах или дудках). Применение механических источников не обеспечивает необходимой интенсивности возбуждения. В обводненных скважинах возможно применение электроискровых источников возбуждения колебаний /23/. Оптимальный размер базы
наблюдений в разрезах связных грунтов (расстояние между выработками) заключен в
пределах от 5 до Возможна регистрация вступлений практически лишь продольных волн, для чего пригодна любая малоканальная аппаратура (лучше типа ДОСУ-1). Точность определений скоростей при наличии двух скважин невысока главным образом из-за трудности точной регистрации момента вступления волны. 3.22. Более высокая точность измерений достигается при регистрации колебаний одновременно в двух удаленных друг от друга скважинах, расположенных на одной прямой со взрывной скважиной. 3.23. Необходимость горных выработок, трудоемкость работ, сравнительно низкая точность определений скоростей ограничивают применение сейсмического просвечивания. Использование его целесообразно, главным образом для изучения толщ грунтов, заэкранированных с поверхности слоем более высокоскоростных пород, делающим невозможным применение наземного профилирования. Дополнительную информацию по методу просвечивания можно получить в работах /15, 26, 29/. Ультразвуковые измерения3.24. Ультразвуковые измерения грунтов в их естественном залегании позволяют изучать практически любые разрезы с высокой степенью детальности. Для проведения измерений необходима горная выработка или обнажение. Съемка осуществляется по способам продольного профилирования и просвечивания (рис.2)
Рис.2. Волнограммы ультразвукового профилирования (а) и просвечивания (б) (суглинок, Чувашская АССР) 3.25. Ультразвуковое профилирование
обеспечивает регистрацию продольных (прямых) и релеевских волн. Измерения этим
способом начинают при максимальных расстояниях между датчиками (20 - Шаг наблюдения выбирают,
исходя из величины базы наблюдений и необходимой
точности определений по формуле (1),
Обычно он изменяется в пределах 1 - 3, реже - Регистрацию продольных и релеевских волн лучше осуществлять на разных развертках. Желательна регистрация волновой картины на фотопленку. Сила прижатия датчиков к грунту не должна превышать 0,5 кг/см. Необходимое качество контакта обеспечивают с помощью тонкого слоя глинистой пасты или технического масла, помещаемых между грунтом и излучающей поверхностью датчика. На выбранной глубине измерения проводят в вертикальном и горизонтальном направлениях. 3.26, Значительные неудобства при съемке доставляет звуковая волна, распространяющаяся по воздуху. Подавление или ослабление ее осуществляется обычно экранами из поглощающих материалов (пористой резины, поролона). При использовании соответствующей аппаратуры (например, ДУК-20) ослабление звуковых волн может осуществляться фильтрами (при достаточном запасе интенсивности колебаний). 3.27. Ультразвуковое просвечивание, являющееся более трудоемким и технически сложным способом измерений, главным образом используется для точных определений скорости продольных волн. Датчики устанавливают на противоположных гранях целика грунта излучающими поверхностями навстречу друг другу. Для этого в стенке горной выработки делают специальные полости или канавки. Более высокая интенсивность колебаний при просвечивании обеспечивает возможность измерений на больших базах по сравнению с профилированием. Однако нередко это не удается реализовать из-за технических сложностей измерений и недостаточных размеров горных выработок. Измерения проводят на нескольких базах, для чего последовательно срезают стенки целика грунта. 3.28. Скорости по моменту вступления волны можно определить измерением на одной базе просвечивания. Размер базы просвечивания l при заданной точности определения скорости ΔV / V рассчитывается по формуле (12)
где Δt - абсолютная предельная ошибка в измерении времен. Однако сильное поглощение, относительно низкие частоты колебаний и малые базы измерений, наблюдаемые в свайных грунтах, снижают точность определений. Поэтому более предпочтительными являются измерения на нескольких базах как по первым, так и последующим вступлениям волн, Выбор базы и шага измерений производится так же, как при обычном профилировании. Сила прижатия датчиков к грунту не должна превышать 0,3 - 0,5 кг/см2. Подавление звуковой волны, которая при просвечивании значительно слабее, так же, как при профилировании, осуществляют экранами. 3.29. Ультразвуковые измерения на образцах по своей методике и технике аналогичны измерениям in situ и также выполняются способами профилирования и просвечивания. Первый обеспечивает определение скоростей продольных и релеевских волн, второй - скорость продольной волны. Ограничение базы наблюдений размерами образца, а следовательно, в ряде случаев худшая разрешенность волновой картины (по сравнению с in situ) делают целесообразным проведение измерений по возможности на более высоких частотах, при выборе частот колебаний (и соответственно размеров датчиков) необходимо учитывать размер поперечного сечения образцов по отношению к длине волны /30/. Это удобно делать, используя график (рис. 3).
Рис.3. Области прослеживания продольных волн по профилю наблюдений в зависимости от параметров X/λpм (ось ординат) и α/λрм (ось абсцисс): I - область прослеживания волны, распространяющейся со скоростью Vpcт, (стержня); II - область нерегулярного возмущения; III - область прослеживания волн, распространяющихся со скоростью Vpм (массива); а - радиус стержня 4. ОБРАБОТКА И ИНТЕРПРЕТАЦИЯ РЕЗУЛЬТАТОВ СЕЙСМОАКУСТИЧЕСКИХ ИЗМЕРЕНИЙОбработка и интерпретация первичных материалов, построение годографов4.1. Результаты полевых измерений представляют в виде сейсмограмм и магнитограмм (для многоканальных станций) или фотограмм и годографов волн (для малоканальных установок). Магнитограммы и фотограммы воспроизводят на фотобумагу, в результате чего получают сейсмоленты, пригодные для последующей визуальной обработки. 4.2. На сейсмограммах, предназначенных для последующей обработки, проверяют наличие отметки момента возбуждения, выделяют каналы с неправильной полярностью и неработающие, производят оценку качества лент о точки зрения уровня помех, взаимного влияния каналов, нелинейных, искажений при перезаписи и др. После этого переходят к корреляции волн на сейсмолентах. 4.3. Корреляция волн на сейсмолентах, заключается в прослеживании записей волн от одной точки регистрации к другой. От правильности корреляции во многом зависит успех дальнейшей интерпретации и качество получаемых результатов. 4.4. Для разрезов рыхлых грунтов задача корреляции волн на сейсмолентах не вызывает затруднений (исключая воны интерференции, п.4.5). Оси синфазности волн достаточно протяженные, повторяемость формы записи на соседних трассах хорошая, амплитуда волн с расстоянием изменяется плавно. Сложнее определить смену волн и разделить их на сейсмолентах. Основными признаками смены волны являются: наличие на одних и тех же участках профиля двух волн с пересекающимися осями синфазности; изменение формы записи; резкое изменение амплитуды волны; изменение степени затухания волны с расстоянием; изменение кажущейся скорости. Уверенное выделение волн может осложняться присутствием разного рода помех на записи и изменениями в наклоне границ, мощности и фапиальном составе слоев, характере поверхностных условий. 4.5. При малой мощности и слабой их скоростной дифференциации на сейсмолентах наблюдается большое число зон интерференции значительной протяженности. В пределах таких зон уверенная корреляция волн сопряжена со значительными трудностями, а нередко просто невозможна. Прослеживание волн в этих случаях осуществляется по нескольким записям, полученным при разных удалениях ПВ от участке наблюдений (см.п.3.11). В результате этого удается ликвидировать или сдвинуть зону интерференции за пределы участка корреляции. Уменьшение протяженности зон интерференции или их ликвидация достигаются за счет повышения частот регистрируемых колебаний. Однако в этом случае теряются динамические особенности записи, которые используются для расшифровки волновой картины. Указанные обстоятельства делают необходимым одновременное использование двух записей, полученных как на высокочастотной фильтрации, так и при широкой полосе пропускания каналов. Некоторые особенности корреляции и разделения волн, их амплитуды на записи в средах со слабой скоростной дифференциацией рассмотрены в работах /31, 32/. 4.6. Определение природы зарегистрированных волн. Особенно большое значение этот этап интерпретации приобретает при изучения слоистых сред с большим числом границ и, следовательно, числом осей синфазности разных типов и классов волн, что характерно для разрезов рыхлых грунтов. Все типы и классы волн, которые регистрируются на сейсмолентах наземных измерений, перечислены в пп.1.9 и 1.10. Из них полезными обычно являются прямые, преломленные и рефрагированные объемные волны, реже - поверхностные. Обменные волны за редкими
исключениями никогда не регистрируются. То же самое наблюдается для отраженных
волн из-за малых глубин исследований. Эти волны уверенно регистрируются,
начиная с глубины 100 - 4.7. Наличие на сейсмолентах тех или иных типов волн зависит от системы возбуждения и приема колебаний. При измерениях по системе ZZ на сейсмолентах обычно регистрируются продольные и поверхностные волны Релея, по системе YY - поперечные волны типа SH и поверхностные волны Лява. Иногда на сейсмолентах отчетливо прослеживается звуковая волна, распространяющаяся по воздуху и являющаяся помехой (см.п.3.8). Основные особенности указанных типов волн, на основании которых они могут быть опознаны на записях, приведены в табл.6. 4.8. При использовании малоканальных установок с визуальной регистрацией корреляцию и опознавание волн осуществляют непосредственно в поле при последовательной регистрации колебаний в разных точках, поэтому возможности, а также надежность и точность определений невысоки. 4.9. Построение годографов.
Примечание: Не рассматривается дисперсия, обусловленная поглощением волн. Псевдорелеевская волна (см. п.1.5) обладает дисперсией: нормальной при Vs2 > Vs1,. и аномальной при Vs2 < Vs1/ Нормальная дисперсия – когда Vф возрастает с увеличением λ; аномальная - когда Vф- убывает с -увеличением λ. {Vф - фазовая скорость волны, λ - длина волны;.
Построение начинают с предварительного определения наблюденных времен пробеге волн по всем трассам сейсмоленты для выделенных осей синфазности. Годографы строят для всех полезных и неопознанных волн изо всех ПВ. Годографы фаз приводят к годографам вступлений волн, вводя поправку за фазу. Коли необходимо, вводят поправку за рельеф /1, 2/. 4.10. Рассмотрение системы построенных годографов позволяет обнаружить ошибки корреляции, уточнить или определить класс и тип выделенных волн, для чего, как правило, приходится неоднократно возвращаться к рассмотрение первичных сейсмолент и исправлению годографов. На этом же этапе нужно обращать внимание на возможность пропуска в разрезе слоев, не отобразившихся на годографах (всех или части из них) волн. Это может наблюдаться при наличии в разрезе слоев с пониженной скоростью (инверсионного типа разрез) или, когда преломленная волна не выходит в первые вступления из-за неблагоприятного соотношения скоростей волн и мощности слоев изучаемого разреза. После построения годографов переходят к их интерпретации. 4.11. Выбор способов интерпретации зависит от выбора типа модели, с которой отождествляется исследуемый разрез. В случае параллельности нагоняемого и нагоняющего годографов разрез отождествляют со слоисто-однородной средой, а зарегистрированные от границ объемные волны являются преломленными. В случае непараллельности таких годографов (при отсутствии проницания) разрез отождествляют с градиентной средой, а волны относят к рефрагированным. Первые типы разрезов характерны для среды ниже УГВ, а также в слоистых толщах с малыми мощностями слоев, вторые - для мощных лессовых толщ и песков выше УГВ. Интерпретация годографов преломленных волн4.12. Определение граничных скоростей волн осуществляют способами полей времен, разностного годографа и по встречным годографам. Первый способ наиболее точный, но трудоемкий, поэтому используется лишь при изучении разрезов со сложным строением. В инженерной сейсморазведке пользуются, в основном, двумя последними способами. Способ разностного годографа более точный и применим как для плоских, так и криволинейных границ (с известными ограничениями). Разностный годограф отроят на участке совместного прослеживания волны из встречных ПВ. При отсутствии таких участков используют встречные годографы в случае плоских выдержанных границ. Описание, условия применения и порядок использования указанных способов подробно изложены в работах /1, 14, 22, 25/. 4.13. Когда по каким-либо причинам получение записей поперечных волн связано со значительными трудностями и неудобствами или эти записи просто отсутствуют. Vs можно определить, используя релеевские и продольные волны по значениям VР и VR с помощью палетки Кнопова (рис. 4). Для этого вычисляют величину отношения VR/VP и, пользуясь графиком VR/VP палетки (нижняя ветвь семейства кривых), согласно ключу номограммы определяют значение VR/VS. Отсюда, зная VR, можно рассчитать VS. При такой методике определения VS отпадает необходимость в дополнительных записях по системе YY, так как релеевские и продольные волны регистрируются вместе на одной сейсмоленте, полученной по системе ZZ. При этом необходимо отличать релеевские волны от псевдорелеевских (см.п.1.7), которые охватывают сразу несколько слоев. Скорости последних волн не могут быть отнесены к какому-либо конкретному слою и поэтому не имеют практической ценности. Основным отличием псевдорелеевских волн от релеевских является несовпадение (для первых из них) фазовых и групповых скоростей. Интерпретация псевдорелеевских волн в принципе возможна, однако она более сложная и трудоемкая (п.5.17). 4.14. Построение границ осуществляется тремя способами: полей времен, средних и пластовых скоростей /1, 14, 22, 25, 33/.
Рис.4. Расширенная монограмма Кнопова, выражавшая зависимость VS/VS2 VR/Vl и VR/VS от коэффициента Пуассона σм .0,1; 0,2; 0,3; 0,4 параметр λ / 2Па (λ длина волны, а – радиус выработки) Первый способ, как указывалось выше, более точный, но трудоемкий, поэтому используется сравнительно редко. Основное распространение получили два последних, использующих параметр t0. Более простым является способ средних скоростей. Хорошие результаты он дает при определения глубины залегания сильных преломляющих: границ. В разрезах рыхлых грунтов такими границами являются лишь УГВ и поверхность коренных глин. Остальные границы являются слабыми. Для них способ средних скоростей не применим из-за трудности определения положения точки перегиба на годографе волн, что отражается на точности расчета средней скорости и в итоге - глубины залегания преломляющей границы. Для слабых границ больше подходит способ пластовых скоростей, который является трудоемким, но дает более точные результаты. В результате интерпретации преломленных волн (продольных и поперечных) получают значения глубин до преломляющих границ и соответствующие им граничные скорости, значения которых распространяют на весь нижележащий слой. 4.15. Определение мощности слоев и скоростей волн в них возможно также на основе использования поверхностных волн типа релеевских и Лява. В этом случае измерения выполняют в широком диапазоне частот. При интерпретации используют зависимость изменения скоростей поверхностных волн от периодов их колебаний /34, 35/. Получаемые результаты характеризуются меньшей точностью по сравнению с аналогичными определениями по объемным волнам. Учитывая это, а также большую сложность и трудоемкость определений, способ поверхностных волн в практике инженерно-геологических исследование используется редко. Интерпретация годографов рефрагированных волн4.16. Большинство известных способов интерпретации годографов рефрагированных волн разработано для случая залегания градиентного слоя на полупространстве. Градиентный слой начинается от дневной поверхности. Задачей интерпретации является определение закона изменения скорости распространения волны в градиентном слое и мощности градиентной толщи. 4.17. Определение закона изменения скорости в слое (или определение значения скорости в заданной точке градиентной толщи) зависит от строения градиентной среды, которая может быть двух типов (см. п.1.11): градиент скорости вертикален, градиент скорости наклонен (градиент скорости занимает промежуточное положение между горизонтальный и вертикальным направлениями). Более сложным для интерпретации является второй случай. 4.18. Большинство способов интерпретации рефрагированных волн предполагает определение кажущихся скоростей V* по наблюденному годографу. Это делается либо графически - по наклону касательной к кривой в точке определения /15/ либо аналитически /36/. Чаще всего используются так называемые пятиточечные схемы расчета:
где к - номер расчетной точки; ti - время прихода волны в i-ю точку. 4.19. Для сред с вертикальным градиентом скорости существует значительное число (более 10) способов интерпретации рефрагированных волн. Большинство из них достаточно полно освещены в соответствующей литературе. Поэтому в настоящей работе отмечены особенности лишь тех из них, которые наиболее приемлемы для интерпретации рефрагированных волн от градиентных сред рыхлых грунтов. 4.20. Наиболее надежные результаты получают при интерпретации годографов рефрагированных волн способом Вихерта-Чибисова /15, 37, 38/. Результаты, полученные на его основе, нередко принимаются за эталон. Способ Вихерта-Чибисова применим при любом законе изменения скорости с глубиной. Недостатком способа является громоздкость вычислений и необходимость наличие всего годографа. 4.21. При отсутствии всего годографа рефрагированных волн пользуются эмпирическим способом O.K. Кондратьева, который является менее трудоемким, чем способ Вихерта-Чибисова, и справедлив для сред с любым законом изменения скорости с глубиной /15, 33, 39, 40/. Наиболее хорошие результаты способ дает для слабо-среднеградиентных сред. 4.22. Для сильноградиентных сред вместо способа О.К. Кондратьева применяют способ Н.И. Павленковой и Т.В. Смелянской /33, 41/. 4.23. Для ускоренных расчетов пользуются способами эффективного t0 и расчетной средней скорости, предложенные Ф.М. Ляховицким /33, 40, 42/. Эти способы справедливы для сред с линейным изменением скорости с глубиной. 4.24. В ряде случаев (особенно для слабоградиентных сред) годограф рефрагированной волны можно заменить отрезками прямых и интерпретировать их на основе способов преломленных волн. 4.25. Для сред с наклонным градиентом скорости существующие способы интерпретации более сложны и громоздки, поэтому они сравнительно редко применяются на практике. Основными из них, которые могут быть рекомендованы для использования, являются способы О.А. Наварного /43, 44/, А.О. Кефали /15, 45/ и А.П. Волина /46/. 4.26. Способ определения всей мощности градиентного слоя зависит от характера контакта градиентного слоя с подстилающей толщей. Этот контакт может быть двух видов (рис.5): на указанной границе не отмечается скачка скоростей - граница второго рода; скачок скоростей отмечается - граница первого рода.
Рис.5. Характер границы между градиентным слоем и полупространством: а - граница второго рода; б - граница первого рода 4.27. В случае границы второго рода интерпретатор располагает всем годографом рефрагированных волн, поэтому мощность градиентного слоя определяют обычными способами (см. пп.4.20 - 4.25), выполняя все действия для точки С(n) (рис.5,а) интерпретируемого годографа. 4.28. В случае границы первого рода интерпретатор располагает лишь частью всего годографа рефрагированных волн, находящихся в первых вступлениях. В этом случае точка С на годографе (см.рис.5) соответствует какой-то внутренней области градиентной среды, находящейся на глубине HС, меньшей всей мощности Н градиентного слоя. При линейном законе изменения скорости с глубиной значения Н находят из совместного решения двух уравнений /40, 42/.
Vн = V0(1 + βH), (19) где V0 - скорость волны у кровли градиентного слоя; VН - то же у подошвы градиентного слоя V2 - граничная скорость в подстилающей толще; t0 - время (нулевое) ветви годографа преломленной волны; β - некоторый постоянный коэффициент. Решение системы (т.е. определение Δh и Vh) ищут методом подбора. Для этого по годографу волны определяют значения параметров β, V0, V2, t0. Далее, задавшись значением VH и вычислив Р, получают Н из формулы (18), Найденное Н подставляют в формулу (19), рассчитывают VH и сравнивают его с тем значением VH, которым мы задавались в начале расчета. Решение считается найденным, когда в результате подбора VН заданные и рассчитанные по указанной схеме величины VН окажутся равными. Некоторую сложность среди перечисленных параметров представляет определение β /43/. Чтобы определить β для нескольких значений Х, по годографу рефрагированной волны рассчитывают новые переменные U и W:
В системе координат (U, W) строят график уравнения U = 1 + β2W. (22) Отрезок W0, отсекаемый этой прямой на оси W, равен
из значений которого и определяют β. Интерпретация результатов других видов сейсмоакустических измерений4.29. Интерпретация материалов сейсмокаротажа /1, 26/, продольного вертикального профилирования /27/ и сейсмического просвечивания /26, 29/ проста и общеизвестна, поэтому отметим только одну особенность в интерпретации первых двух видов измерений. При проведении сейсмокаротажа и вертикального профилирования исследования проводят в скважинах и горных выработках, представляющих собой полость в массиве грунта. Наличие такой полости приводит к образованию вдоль нее волны сложной природы поперечно-релеевского типа /47/. Скорость этой волны VR1 может принимать все промежуточные значения между VR и VS в зависимости от соотношения длины волны λ и размера полости. Поэтому коэффициент Пуассона удобно определять, пользуясь отношением VR1/VP c помощью расширенной номограммы Кнопова (см. рис.4) /48/. Учет влияния горной выработки (скважины) цилиндрического сечения с радиусом а осуществляют по величине λ/2πа, являющейся параметром кривых. 4.30. Интерпретация данных ультразвуковых измерений (для прямых волн) также не вызывает трудностей. Скорость поперечных волн определяется по скоростям релеевских и продольных волн с помощью палетки Кнопова. Существует лишь одна особенность, которую нужно учитывать при интерпретации данных, заключающаяся в следующем. Часто в связи с более сильным поглощением колебаний высокочастотной части спектра сложного импульса наблюдается заметное увеличение его видимого периода с расстоянием. Следствием этого является несовпадение фазовых скоростей волн, полученных по годографам различных фаз колебаний (рис. 6). Истинной является скорость, полученная по годографу первых вступлений волн. Эта скорость является наибольшей среди всех фазовых скоростей. По мере удаления используемых фаз от вступления волны скорость ее уменьшается. Поэтому в тех случаях, когда нет возможности точно определить время вступления волн, корреляция проводится по ближайшим к моменту вступления экстремумам волны. Для приблизительного приведения значений фазовой скорости к истинной VP0 (первых вступлений) может быть попользована эмпирическая формула VP0 = VP1(1+0,5ΔVP1-2), (24) где ΔVP1-2 = VP1 - VP2. Здесь VP1, VP2 - - фазовые скорости, вычисленные по годографам соответственно первых и вторых экстремумов волн.
Рис.6. Волнограмма ультразвуковых измерений (а) и годографы фаз волны (б): t0 - время первых вступлений волны; t1 и t2 - соответственно время вступления первых и вторых экстремумов волны Геологическая интерпретация сейсмоакустических данных4.31. Применение комплекса сейсмоакустических методов для изучения грунтов ставит на этапе интерпретации экспериментальных материалов важную задачу установления соответствия между значениями скоростей волн, вычисленными по результатам разных методов. Решение этого вопроса необходимо для пересчета значений скоростей волн к одним условиям, контроля конечных результатов и выбора окончательного значения скорости. Как показывают результаты исследований, между значениями скоростей волн ультразвуковых измерений in situ и на образцах значительной разницы не обнаружено. В то же время между значениями скоростей волн сейсмических Vс и ультразвуковых Vуз частот наблюдается различия. Причинами такого расхождения являются: разномасштабность измерений, неоднородность исследуемого массива и неидеальная упругость грунта. Количественный учет суммарного действия всех этих факторов очень сложен. Известно только, что. Vс < Vуз Для приближенных количественных оценок при изучении суглинков можно пользоваться следующей эмпирической формулой
4.32. Учет влияния глубины залегания грунта (давления на грунт) на скорость волн выполняют при сопоставлении толщ грунтов, залегающих на разных глубинах, и отождествлении сейсмического разреза с геолого-литологическим. Для продольных волн это делают в зоне аэрации - по формуле (6) и в зоне водонасыщения - по формуле (7). Для поперечных волн в обеих зонах пользуются формулой (8). 4.33. Для сейсмических данных необходимо иметь хотя бы общее представление о геологическом строении разреза. Лучше всего, если на участке или вблизи него имеются опорные скважины или горные выработки. Однако и на основании одних только сейсмоакустических данных можно судить о геологических особенностях среды. Отождествление сейсмических границ с реологическими и гидрогеологическими по сейсмическим данный производится: по форме записи волны на сейсмограмме; по форме годографов; по упругим характеристикам слоя; по поглощающим характеристикам слоя. Наиболее характерными границами разрезов наскальных грунтов являются: уровень грунтовых вод, поверхность коренных глин, литологические границы в зоне аэрации и литологические границы ниже уровня грунтовых вод. 4.34. Динамические и кинематические особенности продольной преломленной волны, связанном с уровнем грунтовых вод, подробно рассмотрены в работах /24, 33/. Следует отметить, что у связных грунтов отмечается значительная (до нескольких метров) капиллярная кайма выше уровня грунтовых вод. Поэтому сейсмическая граница может находиться внутри этой зоны на глубине полного насыщения грунта и не совпадать с ее уровнем в горных выработках, есть основания полагать, что поперечные волны нередко уменьшают скорость в водонасыщенной толще. 4.35. Поверхность коренных глин характеризуется высокими значениям скоростей продольных волн и сравнительно низкими - поперечных (см. табл.1). Годографам волн свойственна гладкость и небольшая криволинейность. Видимые частоты колебаний волн более высокие, чем для других литологических границ (рис.7). 4.36. Продольные и поперечные волны, соответствующие диалогическим границам в зоне аэрации, не имеют характерных особенностей. Выделение их связано с определенными трудностями. Отождествление выявленных границ с антологическими производится по отношению скоростей поперечных и продольных волн /27, 33/. Ввиду того, что отношение Vs / Vр сильно зависит от влажности грунта, увязанное отождествление носит ориентировочный (качественный) характер из-за наличия интервалов перекрытия величия Vs / Vр у различных литологических разностей Vs / Vр Галечники 0,60 - 0,68 Пески 0,55 - 0,68 Супеси 50 - 0,62 Суглинки 0,30 - 0,55 Глины 0,14 - 0,35 4.37. Литологические границы ниже УГВ наиболее успешно отражаются на записях поперечных преломленных волн (рис.8). Продольные преломленные волны гораздо хуже отражают строение среды ниже УГВ из-за слабой их скоростной дифференциации (см. табл.1). 4.38. Одним из основных видов отчетных сейсмоакустических материалов является сейсмогеологический разрез, на котором должны быть отражены следующие данные: положение и конфигурация границ; значения граничных и пластовых скоростей; геологическая основа разреза; дополнительные данные (анизотропия, сейсмические и ультразвуковые характеристики и т.д.). Результаты площадной съемки оформляют в виде карт найденных параметров. 5. ОПРЕДЕЛЕНИЕ ФИЗИКО-МЕХАНИЧЕСКИХ СВОЙСТВ СВЯЗНЫХ ГРУНТОВ5.1. Связные грунты характеризуются рядом физико-механических свойств. Из физических свойств грунтов наиболее важными в строительстве с точки зрения массовости их определения, являются: плотность γ и плотность скелета γсн влажность W, пределы Wm1, Wp и число Wn пластичности. Из механических свойств основными считают деформационные и прочностные. Среди первых наиболее распространенным является модуль общей деформаций Едеф, среди вторых - постоянная сцепления С и угол внутреннего трения φ. Упругие деформации и сдвиг при динамических нагрузках характеризуются соответственно динамическими модулями деформации В (модуль Юнга) и сдвига μ. 5.2. Все формулы для определения указанных физико-механических свойств, приводимые ниже (исключая динамические модули), выведены для связных грунтов средней полосы Европейской части СССР на основе исследований, выполненных в ЦНИИСе. Формулы носят корреляционный характер, поэтому при их использовании необходимо выполнять следующие требования: соблюдение тех единиц измерений, которые даны в работе для конкретной зависимости; применение каждой формулы для расчета того свойства, которое указано в работе. Примечание. При выводе всех корреляционных зависимостей, полученных в ЦНИИСе и предлагаемых в настоящей работе, физико-механические свойства определяли по результатам лабораторных испытаний на образцах грунтов, а сейсмоакустические - по результатам ультразвуковых измерений на образцах грунтов и in situ. Корреляционный анализ, сделанный с помощью ЭВМ ("Минск-32") явился как бы градуировкой сейсмоакустического метода, что, естественно, проще сделать по данным измерений на образцах. Однако полученные зависимости справедливы для любых объемов грунта при использовании данных как ультразвуковых, так и сейсмических измерений. 5.3. Для определения каждого свойства в большинстве случаев дано по нескольку уравнений. Среди них, помимо зависимостей, содержащих в качестве исходных параметров лишь скорости волн, даны такие, у которых в числе исходных данных дополнительно использованы некоторые физические свойства. Последние уравнения обеспечивают наибольшую точность определений. При подстановке в формулы исходных данных значения скоростей берут с сейсмогеологических разрезов и карт (см. п.4.38), а значения физических свойств предварительно определяют по формулам, приведенным в работе для данного свойства. Если значения нужных физических свойств грунта известны из результатов прямых инженерно-геологических испытаний, то используют эти данные. 5.4. Формулы, приводимые в настоящем разделе, справедливы при следующих размерностях входящих в них параметров: Vр и Vs м/с γ и γск г/см3 W и Г (грансостав) % весовые Wm, Wp и Wn. % влажности Е, Едеф, С и μ кг/см2 Определение физических свойств5.5. Плотность скелета грунта γск можно определить по одной us следующих множественных корреляционных зависимостей. Наиболее точно - по формуле γск = 2,30 + 0,00053Vs - 0,656Vs/Vp - 0,0125W - 0,0121Wm. (26). Уравнение характеризуется коэффициентом множественной корреляции R = 0,94, стандартной ошибкой определений S = 0,04 г/см3. Область применения уравнения лежит в пределах: 1,40 ≤ γск ≤ 2,10; 230 ≤ Vp ≤ 1400. Менее точно - по формуле γск = 2,34 - 0,736Vs/Vр - 0,0245W (27) Уравнение характеризуется R = 0,91; s = 0,05 г/см3. Область применения распределений та же, что и для (26). Примечание. Область применения многомерного корреляционного уравнения в данном и последующих случаях ограничивается по интервалам значений функции (определяемой характеристики) и одной из сейсмоакустических характеристик, для которой получен наиболее высокий коэффициент парной корреляции с функцией. При неизвестных значениях характеристик W и Wm пользуются формулой (27). В этом случае W определяет по значениям V0 и Vs согласно методики, изложенной в п.5.8. Для непосредственных определений γск на основании только сейсмоакустических характеристик может быть предложена следующая формула γск = 1,38 + 0,00033Vp. (28) Уравнение характеризуется коэффициентом парной корреляции ч = 0,67; s = 0,10 г/см8. Область применения зависимости (28) та же, что и для (26). 5.6. Плотность грунта γ может быть определена наиболее точно по формуле γ = 2,36 + 0,000103Vp - 0,563Vs/VP - 0,0112Wm. (29) Уравнение характеризуется R = 0,88; s = 0,05 г/см3. Область применения уравнения лежит в пределах: 1,60 ≤ γ ≤ 2,30; 230 ≤ Vp ≤ 1400. Менее точно - по формуле γ - 2,054 + 0,000247Vр - 0,0112Wm. (30) Уравнение характеризуется R = 0,80; s = 0,07 г/см3. Область применения уравнения та же, что и для (29). При неизвестном Wm для определения у на основании лишь сейсмоакустических характеристик можно пользоваться следующими формулами Наиболее точно γ = 1,835 + 0,000359 Vp - 0,00083 Vs. (31) Уравнение характеризуется R = 0,73; s = 0,08 г/см3. Менее точно γ = 1,719 + 0,00029 Vp. (32) Уравнение характеризуется ч - 0,67; s = 0,09 г/см3. Область применения зависимостей (31) и (32) та же, что и для (29). 5.7. Влажность грунта W наиболее точно определяется по формуле W -79,06 - 0,00382 Vp - 30,1 Vs/Vp - 28,91 γск. (33) Уравнение характеризуется R = 0,90; s = 2%. Область применения уравнении лежит в пределах: 9,0 ≤ W ≤ 30,0; 110 ≤ Vs ≤ 320. При неизвестном значении γск его находят по значениям Vp и Vs согласно п.5.8. Для непосредственных определений W на основании только сейсмоакустических характеристик можно использовать формулу W =39,88 - 0,01372Vp - 31,42 Vs/Vp. (34) Уравнение характеризуется R = 0,61; s = 3%; Область применения уравнения та же, что и для (33). 5.8. Более точные значения γск и W, а следовательно γ, по одним только сейсмоакустическим характеристикам могут быть получены на основе итерационного процесса, заключающегося в следующем. По формуле (28) определяют значение γск, которое подставляют в формулу (33) и вычисляют W. После этого полученное значение W подставляют в выражение (27), дающее уже более точное, чем в первом случае значение γск. Далее, по (33), используя последнее значение γск, вновь вычисляют W, по (27) получают еще более точное γск, по (33) W и т.д. Процесс итераций (повторений) продолжают до тех пор, пока не прекратятся (с заданной точностью) изменения значений W и γск. 5.9: Число пластичности грунта Wn можно определять по формуле Wn = 0,0519Vs0,702 W - 14,6. (35) Уравнение характеризуется коэффициентом корреляции R = 0,76; стандартной ошибкой определений s = 2%. Область применения уравнения лежит в пределах 5 ≤ Wn ≤ 18. При неизвестном значении W его рассчитывают согласно п.5.7. 5.10. Верхний предел пластичности (предел текучести) грунта Wm можно определять по следующим формулам Wm = 26,93 + 0,8W - 13,143 γ + 0,0429 Vs. (36) Уравнение характеризуется R = 0,86; s = 2% влажности. или Wm = 59,42 + 0,660W - 26,79 γ + 0,0078 V0, (37) Уравнение характеризуется R = 0,84; s = 2%. Область применения уравнений лежит в пределах: 17 ≤ Wm ≤ 37 110 ≤ Vs ≤ 320; 230 ≤ Vр ≤ 1400. При неизвестных W и γ их определяют согласно пп.5.6 - 5.8. Знак значения Wn и Wm, легко определитьWp. 5.11. Анализ связей для грансостава на основе парных корреляций его со скоростями волн позволил установить слабые зависимости для песчаной и пылеватой фракций. Поэтому приводимые ниже уравнения пригодны лишь для приближенных расчетов. Для определения
количества песчаных частиц Г1, размером более Г1 = 0,026 Vp + 7, (38) Уравнение характеризуется ч - 0,50; s = 10% (весовые). Облаcть применения зависимости лежит в пределах: 10,0 ≤ Г1 ≤ 62,0; 230 ≤ Vp ≤ 1400. Количество пылеватых
частиц Г2 размером 0,05 - Г2 = 75,6 - 0,027Vр . (39) Приведенное уравнение характеризуется ч = 0,56; s = 9% (весовые). Область, применения зависимости лежит в пределах: 25,0 ≤ Г1 ≤ 76,0; 250 ≤ Vp ≤ 1400 Зная количество песчаных и
пылеватых частиц, легко определить и количество глинистых частиц Г3 размером менее 5.12. Литологическая классификация связных грунтов по их гранулометрическому составу и числу пластичности, принятая в транспортном строительстве (СН 449-72), приведена в табл.7. Грансостав и число пластичности определяют согласно пп. 5.9; 5.11.
Определение механических свойств5.13. Динамические модули деформации Е и сдвига μ используют для решения специальных задач (расчета фундаментов при динамических нагрузках и др.) и вычисления статических характеристик грунтов. Динамические модули вычисляют по известным функциональным зависимостям линейной теории упругости. Модуль Юнга Е определяют по формулам;
где Коэффициент Пуассона удобно определять с помощью палетки Кнопова (см. рис.4). Модуль сдвига μ определяют из выражения
5.14. Модуль общей деформации Едеф (для нагрузки до 2 кг/см2) наиболее точно можно определить по формуле Едеф = 0,0549Vp + 0,666Vs + 145,4γск + 20,66(Wm - 27,8)×(γск - 1,56) - 266,1. (43) Уравнение характеризуется R - 0,83; s =25 кг/см2. Область применения зависимости лежит в пределах: 70 ≤ Едеф ≤ 300; 110 ≤ Vs ≤ 350 При неизвестных значениях γск и Wm их определяют согласно пп.5.5; 5.10. При определениях Едеф - на основании одних лишь сейсмоакустических характеристик могут быть использованы следующие зависимости. Наиболее точно Едеф = 0,0709 Vp + 0,6064Vs -47,4. (44) Уравнение характеризуется R = 0,78; s - 30 кг/cм2. Менее точно Едеф = 0,773Vs – 36,9 (45) Уравнение характеризуется ч = 0,73; s = 33 кг/см2. Область применения зависимостей (44) и (45) та же, что и для (43). 5.15. Постоянная сцепления С может быть определена по одной из двух формул. Наиболее точно
Уравнение характеризуется ч - 0,72; s = 0,09 кг/см2. Область применения зависимости лежит в пределах: 0,25 ≤ С ≤ 0,75 200 ≤ μ ≤ 1600 Значения μ определяют согласно п.5.13. Менее точно С = 0,00236Vs - 0,067. (47) Уравнение характеризуется ч - 0,70; s = 0,10 кг/см2. Область применения зависимости лежит в пределах: 0,25 ≤ С ≤ 0,75; 110 ≤ Vs ≤ 320 5.16. В настоящее время нет уравнения, по которому с достаточной точностью можно было бы определить φ. Примечание. Для определения φ предложено использовать /49/ отношение двух последующих амплитуд свободных колебаний поперечных волн. Однако рекомендовать предложенный способ к использованию нельзя ввиду недостаточной обоснованности сделанных выводов. Об этом говорят также данные экспериментальной проверки, выполненной в ЦНИИСе. 5.17. Определение всего комплекса физико-механических свойств (для которых выведены формулы) на основе одних лишь скоростей распространения упругих волн проводят в следующей порядке. Согласно п.5.8 находят значения γск; γ и W, которые используют затем для расчета других свойств. В частности, находят: Wn - по формуле (35); Wm - по (36) или (37) Wp - используя Wn и Wm; Едеф - по (43), пользуясь найденными ранее значениями γск и Wm; С - по (46) или (47). Согласно п.5.11 оценивают грансостав и по табл.7 (с учетом Wn) устанавливают литологический вид и разновидность грунта. 5.18. В тех случаях, когда помимо сейсмоакустических известны какие-либо физические характеристики грунтов, найденные по результатам прямых инженерно-геологических испытаний, процесс определения комплекса свойств грунта упрощается и погрешности вычислений уменьшаются: а) при известной влажности грунта W значение γск находят по формуле (27), а γ - по известной формуле на основании W и γск. Далее, порядок расчетов выполняют аналогично п.5.17; б) при известном значении плотности скелета грунта значение W находят по формуле (33), a γ - по известной формуле основании γск и W. Дальнейший расчет проводят согласно п.5.17. Наличие других характеристик (γ, Wn и др.) не дает таких преимуществ, как в случаях "а" и "б" по сравнению с расчетом по п.5.17, так как в этом случае не удается избежать трудоемкого итерационного расчета γск и W. Кроме того, все характеристики грунта (исключая γск, W и Wm) мало используются для последующих вычислений остальных свойств. Приложение
|
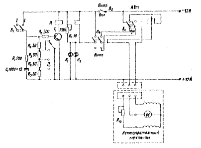
|||||||||||||||||||||||||||||||||||||||||||||||||||||||||||||||||||||||||||||||||||||||||||||||||||||||||||||||||||||||||||||||||||||||||||||||||||||||||||||||||||||||||||||||||||||||||||||||||||||||||||||||||||||||||||||||||||||||||||||||||||||||||||||||||||||||||||||||||||||||||||||||||||||||||||||||||||||||||||||||||||||||||||||||||||||||||||||||||||||||||||||||||||||||||||||||||||||||||||||||||||||||||||||||||||||||||||||||||||||||||||||||||||||||||||||||||||||||||||||||||||||||||||||||||||||||||||||||||||||||||||||||||||||||||||||||||||||||||||||||||||||||||||||||||||||||||||||||||||||||||||||||||||||||||||||||||||||||||||||||||||||||||||||||||||||||||||||||||||||||||||||||||||||||||||||||||||||||||||||||||||||||||||||||||||||||||||||||||||||||||||||||||||||||||||||||||||||||||||||||||||||||||||||||||||||||||||||||||||||||||||||||||||||||||||||||||||||||||||||||||||||||||||||||||||||||||||||||||||||||||||||||||||||||||||||||||||||||||||||||||||||||||||||||||||||||||||||||||||||||
|
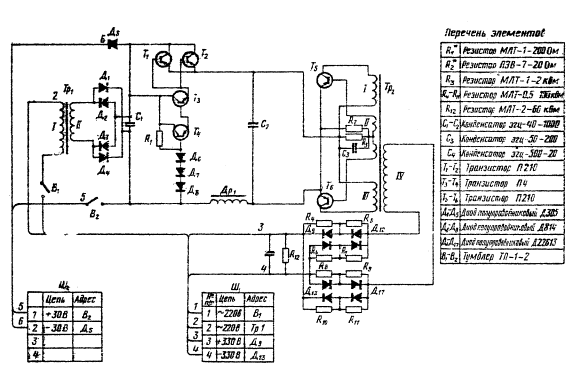
Элемент схемы |
Номер вывода |
Марка провода |
Количество витков |
Тип намотки |
|
Трансформатор Tр1 |
1 - 2 |
ПВЛ Ø 1,0 |
580 |
рядовая |
|
3 - 4 |
ПЭЛ Ø 1,5 |
60 |
-"- |
|
|
1 - 2 |
ПЭЛ Ø 1,5 |
35 |
-"- |
|
|
3 - 4 |
ПЭЛ Ø 0,5 |
18 |
Рядовая с отводом от 9 витков |
|
|
Трансформатор Тр2 |
5 - 6 |
ПЭЛ Ø 1,5 |
35 |
Рядовая |
|
7 - 8 |
НЭЛ Ø 0,31 |
520 |
-"- |
|
|
Дроссель |
- |
ПВЛ Ø 2,5 |
200 |
-"- |
1. ГУРВИЧ И.И. Сейсмическая разведка. М., "Недра", 1970.
2. Справочник геофизика, т. IV "Сейсморазведка", Под ред. Гурвича И.И. и Номоконова B.П., М., "Недра", 1966.
3. КОЛЬСКИЙ Г. Волна напряжения в твердых телах. М., 1955.
4. ЛАНДАУ Л.Д., ЛИФШИЦ E.М. Механика сплошных сред. М., Гостехиздат, 1954.
5. МИНДЕЛЬ И.Г. Изучение физико-механических свойств лессовых пород способов акустического просвечивания в лабораторных условиях. Материалы республиканского совещания по лабораторным исследованиям грунтов при инженерно-строительных изысканиях. М., изд. ЦТИСИЗа, 1969.
6. МИНДЕЛЬ И.Г. Определение физико-механических свойств лессовых пород сейсмоакусгнческими методами. Автореферат диссертации на соискание ученой степени канд. техн. наук. М., ПНМНИС, 1970.
7. ВАСИЛЬЕВ
Ю.И. Изучение обменных преломленных волн при сейсмической разведке. Известия АН
СССР, сер. Геофиз., №
8. Postma G.W. Geophys., V. 20, № 4, 1955.
9. БЕРДЕННИКОВА Н.И. О некоторых проявлениях анизотропии в слоистой среде при работах на поперечных волнах. В сб.: "Вопросы динамической теории распространения сейсмических волн", вып.2, Л., изд-во ЛГУ, 1959.
10. МОЛОТОВА Л.В. Изучение скоростей распространения продольных и поперечных сейсмических волн в реальных средах. М., И48 АН СССР, 1967.
11. White I.F., Sengbush R.L. Velocity measurement in near surface formation, Geophys, V.18, № 1, 1953.
12. НАЗАРОВ Г.Н. Новые данные о скоростях распространения упругих волн в грунтовых массивах, В сб.: "Инженерно-строительные изыскания", № 2 (27), М, Изд-во литературы по строительству, 1972.
13. Руководство по применению инженерной сейсморазведки при изысканиях для строительства. М., Росглавинжстройпроект, 1973.
14. НАЗАРОВ Т.Н. Методические указания по комплексным сейсмогеологическим и инженерно-геологическим исследованиям с применением портативных сейсморазведочных установок. М., ВИА, 1969.
15. Методические указания по исследованиям участков скальных выемок сейсмическими методами. М., изд. ЦНИИСа, 1971.
16.
ЛУХОВИЦКИЙ Ф.М., ПАРФИЯНОВИЧ Б.А. Использование ударной установки в
производственных сейсмических работах. В сб.: "Разведочная
геофизика", вып.
17. РУДАКОВ А.Г., ЦИМБАЛ Т.Н. О некоторых экспериментальных исследованиях динамических характеристик ударного импульсного воздействия. В сб.: "Вопросы динамической теории распространения сейсмических волн". Л., изд-во ЛГУ, 1959.
18.
КОВАЛЕВ О.И., МОЛОТОВА Л.В. Ударное скважинное устройство для возбуждения
упругих волн разных типов. Известия АН СССР, сер. геофиз., №
19. КИКУЧИ Е. Ультразвуковые преобразователи. М., "Мир", 1972.
20. РЖЕВСКИЙ В.В., ЯЩИКОВ В.О. Ультразвуковой контроль и исследования в горном деле. М., "Недра", 1968
21. БЕРЗОН И.С. Высокочастотная сейсмика. М., изд-во АН СССР, 1957.
22. ГАМБУРЦЕВ Г.А. и др. Корреляционный метод преломленных волн. М., изд-во АН СССР, 1952.
23. ГОРДОНОВ Н.И. Сейсморазведка при инженерно-геологических исследованиях рыхлых и связных пород. Автореферат диссертации на соискание ученой степени канд. техн.-инж. наук. М., ВСЕГИНГЕО, 1969.
24. ЛЕВШИН А.Л. Определение уровня грунтовых вод сейсмическими методами. Известия АН СССР, сер. геофиз., № 9., М., 1961.
25. Методические указания по применению микросейсмических методов при инженерно-геологических исследованиях. М., изд. ЦНИИСа, 1965.
26. ПУЗЫРЕВ Н.Н. Измерение сейсмических скоростей в скважинах. М., Гостоптехиздат, 1957.
27. ГАЛЬПЕРИН Е.И. Вертикальное сейсмическое профилирование. М., "Недра", 1972.
28. АНАНЕВИЧ A.M., КОПТЕВ В.И., КУЧАНИН А. А., и др. Установка акустического просвечивания с искровым излучателем (УАП-2) и некоторые результаты ее применения. Труды Гидропроекта, т.21, М., 1971.
29. САВИЧ А.И., КОПТЕВ В.И., НИКИТИН В.Н., ЯЩЕНКО З.Г. Сейсмоакустические методы изучения массивов скальных пород. М., "Недра", 1969.
30.
СИЛАЕВА О.И., ШАМИНА О.Г. Распространение упругих импульсов в образцах
цилиндрической формы. Известия АН СССР, сер. геофиз., №
31.
ЕПИНАТЬЕВА A.M. О преломленных волнах в
средах со слабой скоростной дифференциацией. Известия АН СССР, сер. геофиз., №
32.
ЕПИНАТЬЕВА A.M. Экспериментальные данные о
преломленных волнах в средах со слабой скоростной дифференциацией. Известия АН
СССР, сер. геофиз., (№
33. Сейсморазведка при инженерно-геологических исследованиях рыхлых пород (методические рекомендации). М., изд. ВСЕГИНГЕО, 1971.
34.
ЛЕВШИН А.Л. Интерпретация данных о дисперсии поверхностных волн с помощью
билогарифмических палеток теоретических дисперсионных кривых. Известия АН СССР,
сер. геофиз., №
35.
ЛЕВШИН А.Л. Распространение поверхностных волн в рыхлых породах. Известия АН
СССР, сер. геофиз., №
36. ЛАНЦОЛ К. Практические методы прикладного анализа. М., Государственное изд-во физико-математической литературы, 1961.
37. ЧИБИСОВ С.В. Обработка криволинейного годографа упругих волн. "Геофизика", т.4, вып. 2, 1934.
38. УРУПОВ А.К. Изучение скоростей в сейсморазведке. М., "Недра", 1966.
39. КОНДРАТЬЕВ O.K., ГАМБУРЦЕВ А.Г. Сейсмические исследования в прибрежной части Восточной Антарктиды. М., изд-во АН СССР, 1963.
40. ЛЯХОВИЦКИЙ Ф.М. Методика и интерпретация данных сейсморазведки при инженерно-геологическом картировании. М., ШЭМЗ, 1970.
41. ПАВЛЕНКОВА Н.И., СМЕЛЯНСКАЯ Т.В. Методы определения скоростей по годографам преломленных волн. В кн.: "Геофизический сборник", вып. 29. Киев, изд-во "Наукова думка", 1969.
42.
ЛЯХОВИЦКИЙ Ф.М. Об определении мощности градиентного слоя, лежащего на
однородном полупространстве. Известия АН СССР, сер. физика Земли, №
43. НАЗАРНЫЙ С.А. Графоаналитический способ установления закона скорости по годографам проходящих волн. "Разведочная и промысловая геофизика". 1963, № 49.
44. НАЗАРНЫЙ С.А. Определение зависимости скорости распространения волн от глубины по годографам рефрагированных волн. "Прикладная геофизика", 1965, № 45.
45. КЕФЕЛИ А.С. Об одном способе решения обратной задачи сейсморазведки в случае наклонно-слоистой среды. "Геология и геофизика", 1965, № 5.
46. ВОЛИН А.П., ЛАНИУС В.Я., УРАЛЬЦЕВА И.Б. Некоторые результаты сейсморазведки для глубинного геологического картирования горнорудных районов и пути ее дальнейшего применения, методика, техника и результаты геофизической разведки (материалы V Всесоюзной научно-технической геофизической конференции в г. Новосибирске), М., "Недра", 1967.
47. Stilke G. On elastic surface waves at a cylindrical hole in on infinite solid. Geoph Prospecting, V 7, № 3, 1959.
48. КОПТЕВ В.И. Ультразвуковой многоканальный каротаж с прижимным зондом при инженерно-геологических изысканиях. В сб. "Геоакустика". М., Наука", 1966.
49. БОГАЧЕНКО С.Е., КУЛИК Б.Ю. Оценки прочностных свойств грунтов сейсмическими методами. "Транспортное строительство", 1972, № 11.
50. Kpaткoe описание и инструкция по эксплуатации сейсмической станции "Поиск-1-24 МОВ-ОВ", М., 1968.
51. ДРОЗДОВ А.А., ИГНАТОВ В.В. Серийная сейсмическая станция СС-24П. М., Гостоптехиздат, 1961.
52. Импульсная переносная аппаратура ИПА-59. Техническое описание, выпускной аттестат и инструкция no эксплуатации. Киев, 1962.

Рис. 7. Характер записи продольных (а) и поперечных (б) волн, связанных с кровлей коренных глин (район г. Чебоксары)

Рис. 8. Характер записи продольных (в) и поперечных (б) волн, связанных со слоями ниже УГВ рыхлые грунты, г. Чебоксары)
|
ГОСТЫ, СТРОИТЕЛЬНЫЕ и ТЕХНИЧЕСКИЕ НОРМАТИВЫ. Некоммерческая онлайн система, содержащая все Российские Госты, национальные Стандарты и нормативы. В Системе содержится более 150000 файлов нормативно-технической документации, действующей на территории РФ. Система предназначена для широкого круга инженерно-технических специалистов. Copyright © www.gostrf.com, 2008 - 2026 |