Крупнейшая бесплатная информационно-справочная система онлайн доступа к полному собранию технических нормативно-правовых актов РФ. Огромная база технических нормативов (более 150 тысяч документов) и полное собрание национальных стандартов, аутентичное официальной базе Госстандарта. GOSTRF.com - это более 1 Терабайта бесплатной технической информации для всех пользователей интернета. Все электронные копии представленных здесь документов могут распространяться без каких-либо ограничений. Поощряется распространение информации с этого сайта на любых других ресурсах. Каждый человек имеет право на неограниченный доступ к этим документам! Каждый человек имеет право на знание требований, изложенных в данных нормативно-правовых актах!

  


 

Министерство транспортного строительства СССР

ГОСУДАРСТВЕННЫЙ ВСЕСОЮЗНЫЙ ДОРОЖНЫЙ НАУЧНО-ИССЛЕДОВАТЕЛЬСКИЙ ИНСТИТУТ
(СОЮЗДОРНИИ)

МЕТОДИЧЕСКИЕ РЕКОМЕНДАЦИИ
ПО ТЕХНОЛОГИИ СООРУЖЕНИЯ ЗЕМЛЯНОГО ПОЛОТНА АВТОМОБИЛЬНЫХ ДОРОГ ИЗ ПЕРЕУВЛАЖНЕННЫХ ГРУНТОВ В ЗОНЕ ВЕЧНОЙ МЕРЗЛОТЫ

Москва-1971

СОДЕРЖАНИЕ

Предисловие.

УСЛОВИЯ ПРИМЕНЕНИЯ ГЛИНИСТЫХ ПЕРЕУВЛАЖНЕННЫХ ГРУНТОВ ПРИ ДОРОЖНОМ СТРОИТЕЛЬСТВЕ В ЗОНЕ ВЕЧНОЙ МЕРЗЛОТЫ

Требования к грунтам и допустимые нормы влажности

РАДИАЦИОННОЕ ОСУШЕНИЕ ПЕРЕУВЛАЖНЕННЫХ ГРУНТОВ И ПРОГНОЗ ВЕЛИЧИНЫ ИХ ПРОСЫХАНИЯ

Мероприятия по радиационному осушению переувлажненных грунтов

Влияние атмосферных осадков на влажность грунта в резервах

КОНСТРУКЦИИ ЗЕМЛЯНОГО ПОЛОТНА ИЗ ГЛИНИСТЫХ ПЕРЕУВЛАЖНЕННЫХ ГРУНТОВ

ОРГАНИЗАЦИЯ И ТЕХНОЛОГИЯ РАБОТ ПО СООРУЖЕНИЮ ЗЕМЛЯНОГО ПОЛОТНА С ЕСТЕСТВЕННЫМ ОСУШЕНИЕМ ПЕРЕУВЛАЖНЕННЫХ ГРУНТОВ

Подготовительные работы

Основные работы по сооружению земляного полотна

Приложение МЕТОДИКА ОПРЕДЕЛЕНИЯ КАЛЕНДАРНОЙ ПРОДОЛЖИТЕЛЬНОСТИ СЕЗОНА ВОЗВЕДЕНИЯ ЗЕМЛЯНОГО ПОЛОТНА ИЗ ПЕРЕУВЛАЖНЕННЫХ ГРУНТОВ В ЗОНЕ ВЕЧНОЙ МЕРЗЛОТЫ 

Рекомендованы мероприятия по радиационному (естественному) осушению переувлажненных глинистых грунтов в целях использования их при сооружении земляного полотна автомобильных дорог в зоне вечной мерзлоты. Даны основные требования к грунтам для возведения земляного полотна и допустимые влажности при уплотнении. Указаны границы районов эффективного радиационного осушения переувлажненных грунтов. Изложены рациональные методы и схемы сооружения земляного полотна с технико-экономическим обоснованием.

Табл.-7, рис. 12.

Предисловие

"Методические рекомендации по технологии сооружения земляного полотна автомобильных дорог из переувлажненных грунтов в зоне вечной мерзлоты" составлены на основе научно-исследовательских и опытно-экспериментальных работ, проведенных в 1964 - 1970 гг. Омским филиалом Союздорнии, а также обобщения опыта возведения земляного полотна из переувлажненных грунтов Бурятским и Якутским управлениями строительства и ремонта автомобильных дорог и Управлением строительства № 19 Главдорстроя СССР.

При составлении рекомендаций использованы материалы исследований Ленинградского филиала Союздорнии, Союздорнии, Иркутского филиала Гипродорнии, СибЦНИИСа, Красноярского Промстройниипроекта, МАДИ и других организаций.

Настоящие "Методические рекомендации" составлены в дополнение и развитие ВСН 166-70 в части технологии сооружения земляного полотна в зоне вечной мерзлоты из местных глинистых переувлажненных грунтов с применением способа предварительного радиационного их осушения.

В "Методических рекомендациях" дана оценка рассматриваемой территории по условиям применения в дорожном строительстве местных глинистых переувлажненных грунтов, рекомендованы различные мероприятия по осушению грунтов; определены границы районов эффективного радиационного осушения переувлажненных грунтов. "Методические рекомендации" могут быть использованы при проектировании и строительстве автомобильных дорог в центральных и южных районах зоны вечной мерзлоты.

Методические рекомендации составили канд. техн. наук А.А. Малышев, инженеры А.С. Плоцкий, Н.А. Голенко при участии канд. техн. наук Г.Г. Тришина.

ЗАМ. ДИРЕКТОРА СОЮЗДОРНИИ
Кандидат технических наук

Ю.Л. Мотылев

УСЛОВИЯ ПРИМЕНЕНИЯ ГЛИНИСТЫХ ПЕРЕУВЛАЖНЕННЫХ ГРУНТОВ ПРИ ДОРОЖНОМ СТРОИТЕЛЬСТВЕ В ЗОНЕ ВЕЧНОЙ МЕРЗЛОТЫ

1. Технологию и организацию работ по сооружению земляного полотна автомобильных дорог в зонах вечной мерзлоты назначают с учетом вида грунта сезоннооттаивающего слоя и его влажности, интенсивности увлажнения грунтов атмосферными осадками и их просыхания, принятой конструкции земляного полотна, обеспеченности ресурсами и календарных сроков производства работ. Ha территории зоны вечной мерзлоты преимущественно распространены переувлажненные глинистые грунты, естественная влажность которых We превышает допустимую Wдоп из условия их уплотнения. Влажноcть оценивается величиной Wотн представляющей отношение естественной влажности We к оптимальной при стандартном уплотнении Wопт.

3. Местные глинистые грунты рекомендуется применять на участках 1-го и 2-го типов местности (табл. 1).

Таблица 1

Тип местности

Условия увлажнения

Характерные признаки

1-й - сухие места

Без избыточного увлажнения. Поверхностный сток обеспечен

Каменистые возвышенности, крутые склоны сопок, песчаные и гравийно-галечниковые косы с мощностью сезоннооттаивающего слоя более 2,5 м.: Грунты гравийно-галечниковые, песчаные а также супесчаные и глинистые непросадочные с влажностью Wотн менее 1,4

2-й - сырые места

Избыточное увлажнение в отдельные периоды года. Поверхностный сток не обеспечен

Плоские водоразделы, пологие склоны гор и их шлейфы с мощностью сезоннооттаивающего слоя от 1 до 2,5 м. Грунты глинистые и песчаные просадочные с влажностью Wотн от 1,4 до 1,8

Требования к грунтам и допустимые нормы влажности

4. Для сооружения земляного полотна в зоне вечной мерзлоты допускается применять следующие разновидности глинистых грунтов:

- непылеватые супеси, суглинки, глины (кроме жирных);

- суглинки легкие пылеватые и супеси пылеватые, если суммарное содержанием в них пылеватых и глинистых частиц не превышает 50 %; при содержании пылеватых и глинистых частиц в количестве 50 - 60 % такие грунты могут быть использованы только в 3-м и 4-м дорожно-климатических районах на дорогах с усовершенствованными облегченными типами покрытий и во всех районах зоны вечной мерзлоты на дорогах с переходными покрытиями; при большем содержании пылеватых и глинистых частиц из этих грунтов допускается отсыпать лишь нижнюю часть насыпи, а верхняя на толщину не менее 1 м (считая от поверхности покрытия) должна быть отсыпана из непылеватых грунтов;

- суглинки тяжелые пылеватые при суммарном содержании в них пылеватых и глинистых частиц не более 60 %; при содержании пылеватых и глинистых частиц в количестве 60 - 70 % - на дорогах с усовершенствованными облегченными и переходными типами покрытий.

5. Не допускаются для сооружения земляного полотна глинистые грунты с содержанием пылеватых и глинистых частиц более 70 %, а также илы, жирные глины и т.п. (§ 37, ВСН 97-63).

6. При возведении земляного полотна используют грунты с влажностью, наиболее оптимальной для уплотнения их до заданной: плотности.

Наименьший коэффициент уплотнения грунта (отношение наименьшего требуемого объемного веса скелета грунта к максимальному при стандартном уплотнении) следует назначать в зависимости от дорожно-климатического района, расположения слоя грунта в насыпи по высоте и типа покрытия, согласно табл. 4 проекта ВСН (взамен ВСН 84-62).

7. Допустимую влажность (табл. 2) определяют в зависимости от вида грунта и требуемой плотности (коэффициента уплотнения).

Таблица 2

Грунт

Допустимая относительная влажность Wдоп (в долях от оптимальной) при коэффициентё уплотнения

1-0,98

0,95

0,90

Супесь легкая

1,25

1,35

1,40

Суглинок легкий пылеватый и супесь пылеватая

1,15

1,30

1,35

Глина, суглинок тяжелый и суглинок тяжелый пылеватый

1,10

1,20

1,30

8. Значения оптимальной влажности для характерных грунтов зоны вечной мерзлоты (табл. 3) можно определить через влажность предела текучести по следующим зависимостям:

- супесь легкая Wопт = 0,70 Wтек;

- суглинок легкий пылеватый Wопт = 0,60 Wтек;

- суглинок тяжелый, глина пылеватая Wопт = 0,55.

Таблица 3

Грунт

Оптимальная влажность, %

Максимальный объемный вес скелета грунта при стандартном уплотнении, г/см3

Супесь легкая

15

1,85

Супесь пылеватая, суглинок легкий пылеватый

16

1,75

Суглинок тяжелый пылеватый

20

1,70

Суглинок тяжелый, глина

24

1,60

РАДИАЦИОННОЕ ОСУШЕНИЕ ПЕРЕУВЛАЖНЕННЫХ ГРУНТОВ И ПРОГНОЗ ВЕЛИЧИНЫ ИХ ПРОСЫХАНИЯ

Мероприятия по радиационному осушению переувлажненных грунтов

9. Грунты, имеющие в естественном залегании влажность более допустимой (см. табл. 2), должны быть просушены до начала работ и в процессе возведения земляного полотна. Наименее трудоемок и экономически целесообразен способ рационального (естественного) осушения грунтов.

10. Для ускорения процесса радиационного осушения грунтов рекомендуется:

- заблаговременно (не менее чем за год до начала основных земляных работ) удалять лес и мохорастительный покров с полосы резервов, устраивать осушительные канавы и обеспечивать водоотвод устройством канав с нагорной и с низовой стороны резервов;

- послойно разрабатывать грунт в резервах по мере его просыхания с поверхности;

- рыхлить грунт перед разработкой.

11. Рациональность проведения мероприятий по радиационному осушению переувлажненных грунтов устанавливается исходя из величины Р, равной разности между годовыми осадками и испарением. По величине этой разности на территории зоны вечной мерзлоты выделены три района (рис. 1):

Первый район - неэффективного применения радиационного осушения грунта (Р > 100). Вследствие преобладания осадков над испарением более чем на 100 мм в год осушение грунтов в этом районе до допустимой влажности возможно только искусственным путем.

Второй район - эффективного радиационного осушения переувлажненного грунта с проведением комплекса подготовительных мероприятий (0 < 1 < 100). Осадки преобладают над испарением менее чем на 100 мм. В пределах района на участках 1-го и 2-го типов местности грунт может быть осушен путем проведения всех мероприятий, перечисленных в п. 10.

Третий район - эффективного радиационного осушения грунта без проведения всего комплекса мероприятий (Р < 0). На участках 1-го типа местности возможно использование глинистых грунтов без предварительного осушения. На участках 2-го типа: местности грунты можно осушить в процессе возведения земляного полотна.

12. Величину снижения влажности грунтов, после заблаговременного проведения специальных мероприятий, следует определять с учетом местных природно-климатических условий для конкретных объектов строительства.

Ориентировочную влажность грунтов в резервах Wотн через год после их расчистки при обеспеченном водоотводе можно определить для любого месяца без морозного периода по следующим зависимостям:

Рис. 1. Схематическая карта районов по эффективности радиационного осушения переувлажненного грунта

1 - неэффективное применение радиационного осушения грунта (Р > 100); 2 - эффективное радиационное осушение переувлажненного грунта с проведением комплекса мероприятий (0 < Р < 100); 3 - эффективное радиационное осушение переувлажненного грунта без проведением комплекса мероприятий (Р < 0)

- для суглинков лёгких

Wотн = 1,52 - 0,0013t2 - 0,019t;

(1)

- для суглинков тяжелых:

Wотн = 1,413 - 0,0014t2 - 0,0042t;

(2)

- для глин

Wотн = 1,48 - 0,0027t2 + 0,0163t;

(3)

где Wотн - средняя по метровому слою относительная влажность грунта в долях от оптимальной;

t - средняя месячная температура воздуха, °С (определяется по данным метеостанций).

Влажность тяжелых суглинков, рассчитанная по зависимости (2), представлена на рис. 2.

13. Влажность легкого суглинка к началу земляных работ во 2-м и 3-м районах зоны вечной мерзлоты (см. рис. 1) незначительно превышает допустимую (на 0,15 Wотн) Необходимое подсушивание грунта может быть обеспечено при его послойной разработке в процессе возведения земляного полотна.

14. Влажность тяжелого суглинка и глины к началу работ (см. рис. 2) во 2-м и 3-м районах зоны вечной мерзлоты превышает допустимые значения на (0,20 - 0,30) Wотн. Для дополнительного снижения влажности грунта в этих районах необходимо в процессе возведения земляного полотна проводить комплекс мероприятий, указанных, в п. 10.

Влияние атмосферных осадков на влажность грунта в резервах

15. При ведении земляных работ в летний период необходимо учитывать влияние атмосферных осадков на изменение влажности грунта резервов в верхнем (технологическом) слое толщиной 0,2 м (от влажности в этом слое зависит проходимость механизмов, их производительность, а также возможность уплотнения грунта в насыпи до требуемой плотности).

Рис. 2. Схематическая карта средней относительной влажности Wотн тяжелого суглинка в резервах (в метровом слое) к началу производства земляных работ (май) при заблаговременном (за год) снятии мохорастительного покрова

16. С этой целью следует определять два основных показателя увлажнения и просыхания грунта:

- количество атмосферных осадков, увлажняющих грунт в слое 0,2 м до влажности, превышающей допустимую;

- время, необходимое для просушивания грунта в технологическом слое после дождя.

17. Количество атмосферных осадков, увлажняющих грунт выше допустимой влажности, следует принимать: для супесей и суглинков легких - не менее 5 мм/сутки, а для суглинков тяжёлых и глин - не менее 8 мм/сутки.

Методика расчета календарной продолжительности летнего строительного сезона приведена в приложении.

18. Для ориентировочных подсчетов скорости и времени просыхания слоя грунта (0,2 м) в резервах летом можно пользоваться данными табл. 4.

Таблица 4

Грунт

Влажность грунта до осушения, в долях от оптимальной

Средняя величина просыхания за сутки, в долях от оптимальной влажности

Время, необходимое на просушивание до допустимой влажности, сутки

Суглинок легкий

1,3-1,5

0,10

1

1,5-2,0

0,12

2-6

Суглинок тяжелый, глина

1,4-1,8

0,03

7-9

1,8-2,0

0,09

9-10

При производстве земляных работ в летний период необходимо обеспечивать своевременную послойную разработку грунта в резервах сразу после его просыхания до допустимой влажности. Своевременное удаление подсохшего слоя способствует быстрому просыханию нижележащего грунта.

19. Для ускорения процесса просыхания грунта рекомендуется его послойное рыхление за 1 - 2 дня до разработки. Этим может быть достигнуто дополнительное осушение грунта на 0,15 - 0,20 от оптимальной влажности.

Рыхление грунта рекомендуется в районах с вероятностью расчетных осадков в безморозный период (п. 17) не более 25 %. Во избежание переувлажнения грунтов дождями длину сменной захватки на участке рыхления назначают с расчетом, чтобы объем разрыхленного грунта не превышал сменной производительности ведущих землеройно-транспортных машин.

КОНСТРУКЦИИ ЗЕМЛЯНОГО ПОЛОТНА ИЗ ГЛИНИСТЫХ ПЕРЕУВЛАЖНЕННЫХ ГРУНТОВ

20. На участках 1-го типа местности при легкоосушаемых грунтах земляное полотно сооружают на заранее расчищенной от мохорастительного покрова и осушенной дорожной полосе (рис. 3).

21. На участках 2-го типа местности земляное полотно сооружают с сохранением мохорастительного покрова в основании насыпи (рис. 4).

22. Откосы насыпей устраивают уположенными, с заложением откосов 1:4 - 1:3 (при высоте насыпей до 2 м). Поперечный водоотвод обеспечивают путем устройства канав на расстоянии не менее 5 м от внешней бровки резерва, а продольный - планировкой его поверхности.

23. Выемки в переувлажненных грунтах устраивают с уположенными (1:4 - 1:3) откосами с выполнением мероприятий по их осушению (при легкоосушаемых грунтах) или с заменой переувлажненного грунта несцементированным обломочным (рис. 5).

Тип I

.

Рис. 3. Поперечный профиль насыпи с расчисткой всей дорожной полосы от мохорастительного покрова:

1 - местный глинистый грунт; 2 - резерв; 3 - водоотводная канава, устраиваемая при наличии поперечного уклона местности

Тип II

Рис. 4. Поперечный профиль насыпи с сохранением мохорастительного покрова в основании:

1 - местный глинистый грунт; 2 - мохорастительный покров; 3 - резерв; 4 - водоотводная канава, устраиваемая при наличии поперечного уклона местности

Тип III

Рис. 5. Поперечный профиль выемки в переувлажненных грунтах:

1 - глинистый переувлажненный грунт; 2 - насыпь из качественного дренирующего материала; 3 - водоотводная канава

ОРГАНИЗАЦИЯ И ТЕХНОЛОГИЯ РАБОТ ПО СООРУЖЕНИЮ ЗЕМЛЯНОГО ПОЛОТНА С ЕСТЕСТВЕННЫМ ОСУШЕНИЕМ ПЕРЕУВЛАЖНЕННЫХ ГРУНТОВ

24. При сооружении земляного полотна на участках переувлажненных глинистых грунтов следует исходить из учета климатических грунтово-гидрогеологических условий района строительства и возможности естественного осушения грунта.

С целью максимально использовать благоприятный для осушения грунтов весенне-летний период необходимо:

- комплексно механизировать все работы по сооружению земляного полотна;

- земляные работы вести в 2 - 3 смены;

- капитальный и средний ремонт дорожных машин производить в зимний период;

- работы, на проведение которых не оказывают существенного влияния отрицательные температуры воздуха, выполнять зимой.

25. Земляное полотно из местных глинистых переувлажненных грунтов возводят поточным методом. При этом выделяют два специализированных потока:

- подготовительные работы;

- основные линейные земляные работы.

Для каждого специализированного потока комплектуют отдельный дорожно-строительный отряд, который должен обеспечить выполнение работ в заданные сроки.

26. Подготовительные работы должны выполняться за год до начала основных линейных земляных работ с таким расчётом, чтобы иметь время для просушивания грунта в резервах.

27. Календарную продолжительность работ по сооружению земляного полотна из переувлажненных грунтов определяют с учетом длительности безморозного периода, времени оттаивания грунта на 15 - 20 см, количества дней с атмосферными осадками более 5 и 8 мм/сутки и потребного времени на просушивание грунта после дождя (см. приложение).

Подготовительные работы

28. Подготовительные работы при возведении земляного полотна c проведением радиационного осушения переувлажнённых грунтов включают: валку и трелевку леса, удаление кустарника, устройство осушительных и водоотводных канав, удаление мохорастительного покрова и снега на дорожной полосе и в карьерах.

29. Сроки выполнения подготовительных работ назначают в зависимости от влажности грунта сезоннооттаивающего слоя. На сухих участках (1-й тип местности) при влажности грунтов менее 1,4 Wопт подготовительных работ могут выполняться в год производства основных работ.

На сырых участках (2-й тип местности) при влажности грунта (1,4 - 1,8) Wопт подготовительные работы выполняют за год до начала основных работ.

30. При возведении насыпей без сохранения мохорастительного покрова в основании (см. рис. 3) расчистку дорожной полосы выполняют на всю ширину. Валку леса, трелёвку и удаление порубочных остатков ведут круглогодично. Мохорастительный покров удаляют со всей дорожной полосы весной по мере его оттаивания.

31. Валы перемещенного за пределы резервов мохорастительного покрова необходимо разравнивать одновременно с планировкой резервов.

Снежные отложения с дорожной полосы на участках сооружения земляного полотна из переувлажненных глинистых грунтов необходимо удалять до начала их таяния.

32. При возведении насыпей из местных грунтов с сохранением мохорастительного покрова в основании (см. рис. 4) валку леса, трелевку, а также расчистку просеки от порубочных остатков выполняют в зимний период. Просеку устраивают на ширину всей дорожной полосы. Мохорастительный покров удаляют только с полосы резервов; разработку его ведут весной, по мере оттаивания.

33. Разработку и перемещение мохорастительного покрова из резервов шириной до 20 м рекомендуется выполнять бульдозерами продольно-поперечными ходами. Если используются бульдозеры с неповоротным отвалом, то удаление мохорастительного покрова ведут по схеме рис. 6,а. Для сохранения мохорастительного покрова в основании насыпи, первые проходы бульдозера выполняют вдоль нижней бровки откоса с созданием промежуточных валиков. В дальнейшем мохорастительный покров срезают полосами при движении бульдозера под углом к оси дороги (без заезда на основание насыпи) и перемещают за пределы резервов.

34. При применении универсального бульдозера работу рекомендуется выполнять по схеме рис. 6, б; первый продольный проход производится у кромки основания насыпи универсальным бульдозером с отвалом, установленным под углом к оси дороги. Мохорастительный покров срезают по всей длине захватки, в результате чего образуется сплошной промежуточный валик. На остальной части резерва расчистку ведут поперечными проходами бульдозера.

Рис. 6 Схема удаления мохорастительного покрова с поверхности резервов при сохранении его в основании насыпи:

а - с укладкой промежуточных валиков бульдозером с неповоротным отвалом; б - с устройством сплошного промежуточного вала универсальным: бульдозером; I - насыпь; II - промежуточныё валы мохорастительного покрова после продольного прохода бульдозера; III - мохорастительный покров, уложенный в валы по обе стороны резервов; IV - грунт резервов 1-п -последовательность работы бульдозеров

При устройстве выемок в переувлажненных грунтах все подготовительные работы рекомендуется выполнять заблаговременно, согласно требованиям пп. 29, 30.

35. Нагорные и водоотводные канавы устраивают в весенний период, по мере оттаивания грунта, одновременно с расчисткой резервов или зимой взрывным способом (до расчистки резервов). Возможно устройство канав осенью после промерзания грунта на глубину 13 - 15 см, допускающую проход тягачей с канавокопателем. В этом случае канавы устраивают до расчистки просеки, т.е. за 1,5 года до начала основных земляных работ, а после расчистки резервов канавы обязательно восстанавливают.

36. Перед началом основных земляных работ, необходимо обследовать район проложения трассы для выявления дополнительных карьеров грунтов, а также уточнения условий и технологических особенностей производства работ. При обследовании должны быть выполнены следующие работы:

- определены места укладки снега, убираемого с полосы резервов и карьеров;

- выявлено состояние водоотводных канав;

- определена влажность грунтов в резервах.

37. По материалам обследования уточняют проект производства работ, в котором корректируются:

- сроки очистки резервов от снега;

- объемы работ по восстановлению водоотводных канав;

- способы и сроки разработки резервов на различных участках, устанавливаемые в зависимости от влажности грунтов;

- сроки доставки машин к месту работ.

Основные работы по сооружению земляного полотна

38. При сооружении земляного полотна из местных глинистых грунтов расстановку дорожных машин по фронту работ, а также назначение способов и сроков разработки грунтов осуществляют с учетом природно-климатических условий района строительства, влажности грунтов и наличного парка машин.

Переувлажненные грунты в резервах рекомендуется разрабатывать бульдозером после оттаивания слоя на глубину 15 - 20 см; машины должны иметь хорошую проходимость, обеспечивающую послойную разработку грунта. В процессе работ необходимо проводить контрольные измерения влажности грунта в резервах перед его разработкой, а затем в насыпи после разравнивания. Влажность и плотность грунта определяют в соответствии с требованиями ВСН 55-69.

39. При влажности грунтов в резервах в пределах (1,15 - 1,20) Wопт допускают глубокое оттаивание грунта. Разработку его ведут слоями 15 - 20 см (по мере просыхания с поверхности) поперечными проходами бульдозера. Устройство глубоких траншей не допускается.

40. Порядок укладки грунта в насыпь устанавливают в зависимости от дальности его перемещения и поперечного уклона местности.

При дальности перемещения грунта до 20 м и отсутствии мохорастительного покрова в основании применяют схему укладки грунта слоями на всю ширину насыпи из каждого резерва.

При дальности перемещения более 20 м рекомендуется использовать схему укладки грунта от оси дороги к бровке.

На косогорных участках (не круче 1:10) рекомендуется применять схему комбинированной укладки грунта в насыпь (рис. 7).

41. При влажности грунта в пределах от 1,2 Wопт до Wдon ведется послойная разработка по мере оттаивания на 15 - 20 см. Разработку резервов выполняют по схеме рис. 8. Для сохранения мохорастительного покрова в основании насыпи первый слой отсыпают от бровки к оси с передвижением бульдозера только по ранее отсыпанному грунту.

Рис. 7. Схема возведения земляного полотна бульдозером на косогорных участках с разработкой грунта по мере просыхания:

I - мохорастительный покров за полосой резервов; II - мохорастительный покров, уложенный в валы; 1, 2, 3, 4 - последовательность разработки грунта в резерве; 1, 2, 3, 4 - последовательность укладки грунта в насыпь; ГМ - горизонт мерзлоты

42. Длину фронта работ бульдозера при двусторонних резервах определяют по формуле:

,

(4)

где Z - длина фронта работ бульдозера, м;

П - производительность бульдозера, м3/сутки (по рис. 9);

Вр - ширина резерва, м;

hг - толщина слоя талого грунта, м (для бульдозера - hг = 0,15 ÷ 0,20);

Vг - скорость оттаивания грунта в резерве в слое 15 - 20 см, м/сутки (устанавливают по данным непосредственных полевых наблюдений или принимают ориентировочно по табл. 5).

Рис. 8. Схема возведения земляного полотна с послойной разработкой грунта по мере оттаивания:

I - мохорастительный покров в основании насыпи и за полосой резервов; II - мохорастительный покров, уложенный в валы; 1, 2, 3, 4 - последовательность разработки грунта в резерве; 1, 2, 3, 4 - последовательность укладки грунта в насыпь.

43. При возведении насыпи из переувлажненного грунта необходимо соблюдать следующие требования:

- начинать разработку резервов с низовой стороны для обеспечения стока дождевых вод;

- разравнивать грунт ежедневно после перемещения его в насыпь с приданием грунтовой поверхности уклона 3 - 5 % от оси к бровкам;

- планировать дно и откосы резервов, а также разравнивать валы мохорастительного покрова сразу же после окончания земляных работ.

44. Выемки в переувлажненных грунтах рекомендуется разрабатывать после проведения комплекса мероприятий по осушению грунтов согласно п. 10.

Разработку выемок бульдозерами осуществляют послойно по мере оттаивания слоя на глубину 15 - 20 см с перемещением грунта в кавальеры или для погрузки в транспортные средства. Потребное количество бульдозеров для послойной разработки грунта N определяют исходя из производительности машин П, скорости оттаивания грунта Vг и площади выемки Sг по формуле:

.

(5)

Выемки рекомендуется разрабатывать с низовой стороны для обеспечения стока дождевых и талых вод.

С целью ускорить оттаивание грунта слои в выемке следует снимать с уклоном преимущественно на южную экспозицию.

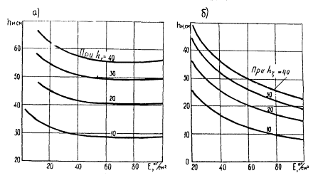
Рис. 9. Производительность бульдозеров типа Д-494, Д-271 при разработке грунтов III группы различной влажности. Цифры на кривых - дальность перемещения грунта, км

45. При глубине выемок до 2 м разработку их бульдозерами рекомендуется вести по поперечной схеме.

При глубине выемок более 2 м рекомендуется применять продольно-участковую схему послойной разработки грунта (рис. 10). Целесообразно применять комбинированную разработку выемок с использованием обеих схем. На глубину до 2 м разрабатывать выемку по поперечной схеме, а на большую глубину - по схеме рис. 10.

46. При глубоких выемках и дальности перемещения грунта до 60 м разработку его и при дальности перемещения грунта более 60 м разработку и транспортирование осуществляют двумя звеньями. При этом первое звено разрабатывает грунт в выемке в промежуточный валик, а второе - перемещает грунт в кавальер по схеме рис. 10.

47. В процессе возведения земляного полотна грунт рекомендуется уплотнять катками на пневматических шинах. Перед уплотнением грунт должен быть распределен слоем равномерной толщины. При уплотнении необходимо применять два типа катков:

- легкие (до 10 т) - для подкатки;

- тяжелые (25 - 50 т) - для окончательного уплотнения.

Рис. 10. Схема послойной продольной разработки выемки при глубине более 2 м и дальности перемещения до 60 м: 1 - 9 - последовательность разработки грунта; 1 - 6 - последовательность укладки грунта в кавальер.

Количество проходов для уплотнения грунта зависит от влажности грунта и определяется пробным уплотнением.

Таблица 5

Район дорожно-климатической зоны

Грунт

Скорость оттаивания, см/сутки

май

июнь

2

Супесь

4,0 - 5,0

7,0 - 8,0

Суглинок, легкий

3,0 - 4,0

8,0 - 6,0

Суглинок тяжелый, глина

2,5 - 3,5

4,0 - 5,0

3, 4

Супесь

4,5 - 5,5

8,0 - 9,0

Суглинок легкий

3,5 - 4,5

5,5 - 7,0

Суглинок тяжелый, глина

3,0 - 4,0

5,0 - 6,0

48. Уплотнение откосов насыпей с крутизной 1:4 и положе рекомендуется выполнять легкими катками (весом до 10 т) с перемещением их по круговой схеме перпендикулярности насыпи. Откосы с крутизной 1:4 - 1:3 уплотняют бульдозерами в процессе возведения насыпей.

49. При уплотнении грунта в насыпи с сохранением в основании мохорастительного покрова толщину первого слоя необходимо назначать с учетом мощности и несущей способности талой прослойки в основании (рис. 11).

Прочность грунта основания определяют штамповыми испытаниями. Ориентировочные значения модуля деформации грунта основания (естественной плотности) в зависимости от его влажности можно принимать по табл. 6.

Рис. 11. Определение толщины первого слоя насыпи в зависимости от прочности основания и мощности талой прослойки: а - при уплотнении катком: Д-283 (25 т); б - при уплотнении катком Д-219 (10 т)

Таблица 6

Грунт

Модули деформации грунта, кГ/см2, при его относительной влажности

1

1,1

1,2

1,3

1,4

Супесь легкая

120

100

75

70

60

Песок пылеватый, супесь тяжелая, суглинок легкий

100

80

60

50

40

Тяжёлый суглинок, глина

90

70

50

40

30

Приложение
МЕТОДИКА ОПРЕДЕЛЕНИЯ КАЛЕНДАРНОЙ ПРОДОЛЖИТЕЛЬНОСТИ СЕЗОНА ВОЗВЕДЕНИЯ ЗЕМЛЯНОГО ПОЛОТНА ИЗ ПЕРЕУВЛАЖНЕННЫХ ГРУНТОВ В ЗОНЕ ВЕЧНОЙ МЕРЗЛОТЫ

Календарную продолжительность сезона возведения земляного полотна из переувлажненных грунтов определяют с учетом длительности безморозного периода, скорости оттаивания грунта, времени его просыхания и количества дождливых дней за безморозный период.

Расчет выполняют по формуле:

,

где Тр - расчетное количество рабочих смен в летнем строительном сезоне;

Тδ - длительность безморозного периода, сутки (определяют по карте приложения);

Тгр - время, необходимое для оттаивания грунта на 15 - 20 см, определяемое по табл. 5 п.43 настоящих "Методических рекомендаций";

Тп - количество праздничных и выходных дней за безморозный период;

α - вероятность осадков, определяемая по таблице приложения;

Тпр - количество времени, необходимого для просушивания грунта после дождя, определяют по табл. 4 п.18 настоящих "Методических рекомендаций";

Кс - коэффициент сменности работы дорожных машин.

Схематическая карта длительности безморозного периода, сутки

Пример определения календарной продолжительности сезона по возведению земляного полотна из переувлажненных грунтов.

Исходные данные: Район строительства (дорога) - Романовка - Богдарин;

Грунт для земляного полотна - суглинок лёгкий;

Коэффициент сменности работы машин Кс - 2.

1. По карте приложения устанавливаем Tδ (170 суток).

2. По табл. 5 Настоящих "Методических рекомендаций" для третьего района, в котором находится объект строительства, определяем скорость оттаивания суглинка лёгкого (4 см/сутки), а затем время оттаивания грунта на глубину 20 см:

3. Пользуясь данными таблицы приложения, определяем вероятность осадков (5 мм/сутки) для метеостанции Богдарин (α = 0,12).

4. По табл. 4 настоящих "Методических рекомендаций" устанавливаем количество дней, необходимых для просушивания грунта после одного дождя более 5 мм/сутки при влажности, равной 1,5,:Wопт (Тпр = 2 суток).

5. Определяем количество выходных и праздничных дней за безморозный период (май - сентябрь): Тп = 25 дней.

6. По формуле приложения определяем календарную продолжительность сезона:

Тр = [170 - (5 + 25) - 170·0,12(1 + 2)]·2 = 160 смен.

Вероятность атмосферных осадков α за безморозный период

Метеорологические станции

Вероятность выпадения осадков, мм/сутки, в долях длительности; безморозного периода

5

8

Якутск

0,06

0,021

Вилюйск

0,064

0,023

Алдан

0,16

0,078

Чурапча

0,067

0,023

Ленск

0,086

0,03

Витим

0,10

0,041

Иркутск

0,12

0,06

Братск

0,096

0,038

Киренск

0,10

0,036

Слюдянка

0,16

0,078

Богдарин

0,12

0,06

Романовка

0,11

0,055

Улан-Удэ

0,08

0,04

Мухор-Шибирь

0,10

0,052

Кяхта

0,06

0,03

Букукун

0,137

0,08

Красный Чукой

0,11

0,056

Чита

0,127

0,062

Сретенск

0,11

0,065

Игарка

0,10

0,037

Северо-Енисейск

0,14

0,05

Богучан

0,10

0,038

Кызыл

0,07

0,023

Ачинское

0,12

0,05

 

 




ГОСТЫ, СТРОИТЕЛЬНЫЕ и ТЕХНИЧЕСКИЕ НОРМАТИВЫ.
Некоммерческая онлайн система, содержащая все Российские Госты, национальные Стандарты и нормативы.
В Системе содержится более 150000 файлов нормативно-технической документации, действующей на территории РФ.
Система предназначена для широкого круга инженерно-технических специалистов.

Рейтинг@Mail.ru Яндекс цитирования

Copyright © www.gostrf.com, 2008 - 2026