Крупнейшая бесплатная информационно-справочная система онлайн доступа к полному собранию технических нормативно-правовых актов РФ. Огромная база технических нормативов (более 150 тысяч документов) и полное собрание национальных стандартов, аутентичное официальной базе Госстандарта. GOSTRF.com - это более 1 Терабайта бесплатной технической информации для всех пользователей интернета. Все электронные копии представленных здесь документов могут распространяться без каких-либо ограничений. Поощряется распространение информации с этого сайта на любых других ресурсах. Каждый человек имеет право на неограниченный доступ к этим документам! Каждый человек имеет право на знание требований, изложенных в данных нормативно-правовых актах!

  


 

МИНИСТЕРСТВО ПУТЕЙ СООБЩЕНИЯ СССР

ГЛАВНОЕ УПРАВЛЕНИЕ ПУТИ

ВСЕСОЮЗНЫЙ НАУЧНО-ИССЛЕДОВАТЕЛЬСКИЙ ОРДЕНА ТРУДОВОГО КРАСНОГО ЗНАМЕНИ ИНСТИТУТ ЖЕЛЕЗНОДОРОЖНОГО ТРАНСПОРТА

УТВЕРЖДАЮ:

зам. начальника

Главного управления пути

Б. ИГНАТОВ

9 февраля 1979 г.

ВРЕМЕННЫЕ
МЕТОДИЧЕСКИЕ УКАЗАНИЯ
по расчету устойчивости эксплуатируемых насыпей и проектированию контрбанкетов

МОСКВА «ТРАНСПОРТ» 1979

Содержание

ВВЕДЕНИЕ

1. ОБЩИЕ ПОЛОЖЕНИЯ

2. ИСХОДНЫЕ ДАННЫЕ ДЛЯ РАСЧЕТА УСТОЙЧИВОСТИ НАСЫПЕЙ И ПРОЕКТИРОВАНИЯ КОНТРБАНКЕТОВ

3. ОПРЕДЕЛЕНИЕ ЗОНЫ РАЗУПРОЧНЕНИЯ ГЛИНИСТЫХ ГРУНТОВ НАСЫПИ

4. ОПРЕДЕЛЕНИЕ ПОКАЗАТЕЛЕЙ ПРОЧНОСТИ ГРУНТОВ

5. РАСЧЕТНЫЕ СХЕМЫ И СПОСОБЫ РАСЧЕТА УСТОЙЧИВОСТИ НАСЫПЕЙ

6. ПРОЕКТИРОВАНИЕ КОНТРБАНКЕТОВ

7. ПРИМЕР РАСЧЕТА УСТОЙЧИВОСТИ НАСЫПИ И ПРОЕКТИРОВАНИЕ КОНТРБАНКЕТА

ПРИЛОЖЕНИЕ 1 ОПРЕДЕЛЕНИЕ ВОДОПРОНИЦАЕМОСТИ ГРУНТОВ С ПОМОЩЬЮ ГИДРАВЛИЧЕСКОГО ЗОНДА

ПРИЛОЖЕНИЕ 2 ОПРЕДЕЛЕНИЕ ВОДОПРОНИЦАЕМОСТИ ГРУНТОВОЙ ПАСТЫ

ПРИЛОЖЕНИЕ 3 ОПРЕДЕЛЕНИЕ ПРОЧНОСТИ ГРУНТОВ ЛОПАСТНЫМИ УСТАНОВКАМИ

ВВЕДЕНИЕ

Обеспечение эксплуатационной надежности железнодорожных насыпей в условиях растущих грузонапряженности, скоростей движения, осевых и погонных нагрузок на путь должно включать в себя периодически проводимые профилактические обследования, оценку и прогнозирование устойчивости, а при необходимости - заблаговременное проведение противодеформационных мероприятий.

Накопленный опыт ряда железных дорог (Донецкой, Южной и др.) показывает возможность предотвращения внезапных деформаций земляного полотна. Эффективность противодеформационных мероприятий зависит от полноты раскрытия причин возможных деформаций, правильного учета всех действующих факторов, качества выполнения работ на каждом этапе.

Проведенными исследованиями установлено, что при длительном совместном воздействии поездной нагрузки и природных процессов выветривании и глинистых грунтах насыпей накапливаются необратимые нарушения структуры, приводящие к снижению их прочности и устойчивости откосов. При действии поездной нагрузки в грунтах насыпи возникают пульсирующие упругие деформации, величина которых зависит от величины этой нагрузки, глубины расположения слоя и свойств грунта. Ослабление или разрушение структурных связей между глинистыми частицами или агрегатами частиц в зонах с интенсивными пульсирующими деформациями сдвига может привести к снижению прочности грунтов на 30-40 %.

Разрушение связей и развитие дефектов в структуре грунтов интенсифицируют природные процессы выветривания главным образом за счет увеличения водопроницаемости грунта, его сезонного насыщения водой при выпадении осадков и снеготаянии.

В зоне, где воздействие поездной нагрузки мало сказывается на прочности грунтов, природные процессы имеют самостоятельное значение. Среди них основными являются промерзание - оттаивание, набухание - усадка, сопровождаемые изменениями влажности. Интенсивность их влияния на свойства грунта зависит главным образом от его вида, климатических условий района и конструктивных особенностей земляного полотна.

Существующие способы расчета устойчивости насыпей разработаны применительно к условиям проектирования новых железнодорожных линий.

Настоящими Указаниями в дополнение к существующим методам обследования и расчета устойчивости насыпей применительно к эксплуатируемым объектам предусматриваются:

полевое определение зон разупрочнения грунтов насыпи и основания;

учет вертикальных трещин в глинистых грунтах верхней части насыпи;

определение расчетных характеристик грунтов, исходя из условий длительной устойчивости сооружений;

прогнозирование состояния грунтов на неблагоприятный период в зависимости от их свойств и природных условий;

графоаналитическое определение коэффициентов устойчивости с использованием вспомогательных графиков;

расчет размеров контрбанкетов с последующей проверкой устойчивости насыпи.

При разработке Указаний учитывались требования действующих нормативных документов на проектирование, сооружение и эксплуатацию земляного полотна железных дорог.

Настоящие Указания разработаны лабораторией земляного полотна ЦНИИ МПС (авторы кандидаты техн. наук П.Г. Пешков, В.П. Титов, инж. В.И. Хромов) на основе исследований устойчивости эксплуатируемых насыпей из глинистых грунтов в различных природных и эксплуатационных условиях, обобщения опыта проектирования, сооружения и эксплуатации контрбанкетов с широким использованием фондовых материалов института «Гипротранспуть» и его Ленинградского и Киевского филиалов, а также литературных источников по устойчивости земляного полотна.

1. ОБЩИЕ ПОЛОЖЕНИЯ

1.1. Настоящие Указания предназначаются для использования проектными организациями и путеобследовательскими станциями при определении состояния и степени надежности эксплуатируемых железнодорожных насыпей высотой более 4 м из глинистых грунтов, а также при проектировании контрбанкетов для повышения устойчивости насыпей. В Указаниях не рассматриваются особые условия работы насыпей (на оползневых участках, при подтоплении, на слабых основаниях, протаивающих вечномерзлых грунтах и т.п.).

1.2. Показатели оценки состояния и степени надежности насыпей могут быть:

качественными - по данным эксплуатационных наблюдений за состоянием железнодорожного пути и земляного полотна;

качественными - по показателям состояния и свойств грунтов насыпи и основания;

количественными - по коэффициенту устойчивости, определяемому с использованием данных о механической прочности грунтов насыпи и основания.

Настоящие Указания рассматривают способ количественной оценки надежности насыпей.

1.3. Оценка состояния и степени надежности насыпей производится:

в порядке планового профилактического обследования земляного полотна;

при появлении признаков деформаций;

при изменении эксплуатационных условий (повышение осевых и погонных нагрузок на путь от подвижного состава, скоростей движения и веса поездов и т.д.);

в случае деформаций насыпей на прилегающих участках, расположенных в аналогичных грунтовых и климатических условиях.

1.4. Порядок проведения профилактического обследования устанавливается службами пути управления железных дорог с учетом грузонапряженности участков, местных климатических и инженерно-геологических условий. Рекомендуется для осредненных условий обследование и при необходимости поверочные расчеты устойчивости проводить после пропуска по участку 200 млн. т брутто или каждые 10 лет независимо от пропущенного тоннажа.

1.5. При качественной оценке состояния насыпей на момент их натурного осмотра устанавливается наличие признаков деформации земляного полотна:

неустойчивость рельсовой колеи в плане и профиле (двусторонние и односторонние просадки, перекосы, сдвижки), приуроченная, как правило, к неблагоприятным погодным условиям (весеннему оттаиванию, периоду ливневых или затяжных дождей);

трещины по торцам шпал, на обочинах и откосах земляного полотна;

просадка или выпор грунта на обочинах и откосах;

изменения крутизны и очертания откосов, деформация основания, склонов и дна балок и т.п.;

локальное увлажнение поверхностных слоев в откосах и основании.

При наличии признаков деформаций и неявных причинах их возникновения следует назначать инженерно-геологическое обследование насыпи и основания.

1.6. Инженерно-геологическое обследование назначается также в случаях: отсутствия данных о грунтовом строении насыпи и основания на участках, где по эксплуатационным наблюдениям возникают деформации земляного полотна;

наличия в насыпи и основании грунтов особых разновидностей, гумусированных. средне- и сильнонабухающих, засоленных, неуплотненных (согласно данным предшествующих обследований), состояние и свойства которых могут измениться под воздействием природных факторов;

деформирования отдельных объектов на смежных перегонах.

1.7. На основании материалов инженерно-геологического обследования на первом этапе производится качественная оценка надежности насыпей. Признаками достаточной надежности, не требующей количественной ее оценки, являются:

правильность напластования грунтов насыпи;

полутвердая и твердая консистенции грунтов насыпи и основания;

отсутствие в насыпи и основании грунтов средне- и сильнонабухающих, гумусированных, засоленных, особых разновидностей;

отсутствие бессточных понижений на поверхности раздела балластных материалов и глинистых грунтов и локального увлажнения грунтов.

Признаками недостаточной надежности насыпей являются:

наличие в насыпи и основании грунтов пластичной и текучей консистенции;

недоуплотнение грунтов;

нарушенность структуры грунтов трещинами усадки и предшествующих подвижек;

наличие в насыпи неустойчивых грунтов, изменяющих состояние и свойства при периодическом увлажнении (набухающие, гумусированные, мерзлые, засоленные и др.)

При наличии одного или нескольких признаков недостаточной надежности производится количественная оценка устойчивости с предварительным определением расчетных показателей прочности грунтов.

1.8. Выбор способа расчета устойчивости насыпей и проектирования контрбанкетов определяется конкретными условиями каждого объекта:

необходимостью проведения безотлагательных мероприятий для деформирующихся насыпей при ограниченном объеме исходных данных с увеличением допустимого коэффициента их устойчивости;

возможностью проведения наблюдений и детального обследования насыпей с первичными признаками ненадежности.

При недостаточности коэффициента устойчивости назначаются противодеформационные мероприятия. Настоящими Указаниями предусматривается применение контрбанкетов с расчетом их основных размеров.

1.9. Контрбанкеты могут быть использованы для усиления устойчивости насыпей:

деформирующихся;

снижающих свою устойчивость вследствие уменьшения прочности грунтов при действии природного выветривания и поездной нагрузки;

с необеспеченной устойчивостью для новых типов подвижного состава и скоростей движения поездов.

1.10. Контрбанкеты могут применяться как самостоятельно, так и в сочетании с другими противодеформационными мероприятиями (устройство дренажных скважин и прорезей, техническая мелиорация грунтов насыпи и основания и т.п.).

1.11. Возможность и целесообразность применения контрбанкетов должна быть обоснована технико-экономическим сравнением с другими вариантами обеспечения устойчивости земляного полотна.

1.12. При проектировании контрбанкетов следует предусматривать механизированные способы выполнения всех подготовительных, земляных и укрепительных работ преимущественно с использованием типовых технологических схем, применяемых при сооружении земляного полотна новых линий и вторых путей.

2. ИСХОДНЫЕ ДАННЫЕ ДЛЯ РАСЧЕТА УСТОЙЧИВОСТИ НАСЫПЕЙ И ПРОЕКТИРОВАНИЯ КОНТРБАНКЕТОВ

2.1. Исходными данными для расчета устойчивости насыпей и проектирования контрбанкетов являются:

поперечные профили, характеризующие геометрические размеры, грунтовое сложение насыпи и основания;

характеристики состава, состояния и водно-физических свойств грунтов каждой разновидности;

величина зон разупрочнения грунтов под влиянием поездной нагрузки и процессов природного выветривания;

физико-механические характеристики грунтов в насыпи и основании вне зоны разупрочнения;

прогнозируемые физико-механические характеристики грунтов зоны разупрочнения;

гидрогеологическая характеристика объекта;

показатели состава, состояния и свойств грунтов в карьере или резерве, предназначаемых для использования при сооружении контрбанкета.

2.2. Расчет устойчивости насыпи производится по поперечным профилям, имеющим наиболее неблагоприятное сочетание признаков деформирования, согласно качественной оценке по пп. 1.5 и 1.7 настоящих Указаний. При этом следует учитывать также высоту откоса и косогорность основания.

2.3. Грунтовое сложение насыпи и основания устанавливается по результатам разведочного бурения и предшествующих обследований.

2.4. При наличии соответствующего оборудования перед разведочным бурением производится геофизическое обследование с использованием методов сейсмического, электроконтактного или вертикального электрического зондирования. Материалы геофизического обследования используются для установления зон с аномальными показателями скоростей сейсмических волн, электрических сопротивлений грунта и других показателей. Как правило, к таким зонам приурочено залегание грунтов с отличающимися друг от друга показателями состава и состояния, в том числе переувлажненных, с нарушениями структуры, трещинами усадки или подвижек и т.п. С учетом результатов геофизического обследования назначается расположение разведочных поперечников и скважин на поперечниках.

Геофизическое обследование производится в соответствии с имеющимися методическими указаниями.

2.5. Инженерно-геологические выработки (скважины, шурфы, закопушки, расчистки) располагаются на поперечнике таким образом, чтобы получить:

мощность слоя балластных материалов в верхней части насыпи и на откосах;

очертание поверхности контакта балластных материалов с глинистым грунтом и наличие бессточных углублений;

характер напластования глинистых грунтов и контакта грунтов насыпи и основания;

пробы характерных разновидностей грунта для лабораторного определения их состава, показателей свойств и состояния;

уровень грунтовых вод и верховодки в насыпи и основании.

2.6. При инженерно-геологическом обследовании для характерных разновидностей и состояния грунта определяются:

естественная влажность;

влажность пределов раскатывания и текучести;

плотность грунта.

На основании полученных данных выделяются:

глинистые грунты с показателем консистенции В < 0,25;

глинистые грунты твердой и полутвердой консистенции с влажностью на пределе текучести Wт ³ 36, способные к набуханию и разупрочнению при увлажнении;

грунты особых разновидностей, неустойчивые к процессам природного выветривания.

Для указанных разновидностей определяется прочность естественного или прогнозируемого состояния.

2.7. При необходимости для образцов грунта дополнительно определяются:

гранулометрический состав, содержание органических веществ и растворимых солей для уточнения классификационного наименования грунта, расчета водопроницаемости и возможности его использования в земляных сооружениях;

кривая стандартного уплотнения для сравнения с плотностью грунта в насыпи и выявления недоуплотненных зон, а также для назначения норм плотности грунта в контрбанкетах;

показатели набухания и усадки тяжелых суглинков и глин для определения ожидаемого состояния грунта после его увлажнения в неблагоприятное по погодным условиям время года;

водопроницаемость образцов грунта нарушенной структуры (пасты) для сравнения с водопроницаемостью в натурных условиях и установления степени нарушенности структуры естественного грунта дефектами.

3. ОПРЕДЕЛЕНИЕ ЗОНЫ РАЗУПРОЧНЕНИЯ ГЛИНИСТЫХ ГРУНТОВ НАСЫПИ

3.1. Зона разупрочнения глинистых грунтов характеризуется нарушенностью структурных связей между частицами и агрегатами грунта, наличием микроскопических и визуально различимых трещин, повышенной водопроницаемостью.

Мощность зоны разупрочнения грунта верхней части и откосов насыпи может быть определена:

визуально при осмотре кернов грунта или стенок скважины с помощью буроскопа;

по изменению состояния грунта при двукратном инженерно-геологическом обследовании земляного полотна в характерные по погодным условиям периоды (например, летом и осенью после выпадения дождей);

по различию водопроницаемости грунтов естественного сложения и грунтовой пасты с одинаковой плотностью и влажностью;

приближенно по эмпирическим зависимостям для ориентировочных расчетов.

Рекомендуется определить мощность зоны разупрочнения по различию водопроницаемости грунтов.

3.2. Водопроницаемость грунтов в условиях естественного залегания определяется:

наливами воды в шурфы и скважины в однородном грунте с наблюдением за понижением уровня согласно имеющимся методикам;

с использованием гидравлического зонда при неоднородных грунтах и наличии песчаных прослоев. Описание конструкции зонда и методика работы с ним приведены в приложении 1.

3.3. Величина водопроницаемости глинистого грунта без структурной нарушенности определяется:

испытанием приготовленных образцов грунта в фильтрационных или компрессионных приборах;

графоаналитическим способом в зависимости от расчетной удельной поверхности минеральных частиц и пористости грунта согласно приложению 2.

3.4. Структура грунтов считается нарушенной, если их водопроницаемость в условиях естественного залегания в 3-5 раз больше водопроницаемости образцов, определенной согласно п. 3.3. Пример построения графиков изменения водопроницаемости грунта и выделения на графике зоны разупрочнения грунта приведен на рис. 1.

Рис. 1. Пример определения зоны структурного нарушения по данным водопроницаемости грунта

Рис. 2. Карта испаряемости с поверхности суши

3.5. При ориентировочных расчетах глубина зоны трещинообразования у подошвы откоса определяется приближенно по выражению

                                                                                              (3.1)

где а - обобщенный показатель набухания-усадки грунта насыпи;

hu - испаряемость, принимаемая по карте 164 Климатического атласа СССР (рис. 2).

Обобщенный показатель набухания-усадки определяется лабораторными испытаниями параллельных (с одинаковыми показателями плотности и влажности) образцов грунта:

                                                                                             (3.2)

где ан, ау - соответственно показатели относительного изменения объема образцов грунта при набухании и усадке.

При отсутствии данных лабораторных испытаний значение показателя набухания-усадки принимается по зависимости

                                                                              (3.3)

Глубина трещинообразования в верхней части насыпи определяется с учетом ее высоты Н (м) и срока службы сооружения Т (годы):

                                                                   (3.4)

Пример. Для насыпи высотой 6,7 м, расположенной на Юго-Западной дороге и сооруженной в 1897 г., определить глубину зон усадочного трещинообразования. Грунт насыпи имеет на пределе текучести Wт = 45 %:

hн = 0,45 м (по рис. 2);

hT = 10·0,254·0,45 = 1,14 м;

Полученные значения глубины усадочного трещинообразования сравниваются с глубиной промерзания и принимаются для дальнейших расчетов при условии

Hтhnp + 0,5 м.                                                                                       (3.5)

где hпp - полученная из наблюдений или расчетная глубина сезонного промерзания. При несоблюдении условия (3.5) принимается

hт = hпp + 0,5 м.

При использовании приближенного способа следует учитывать, что для насыпей, ранее деформировавшихся, сложенных разнородными грунтами и с недостаточной их плотностью, глубина трещинообразования, как правило, больше полученной расчетом.

3.6. Глубину зоны разупрочнения грунтов верхней части насыпи под воздействием поездной нагрузки следует принимать равной 3 и 4,5 м соответственно для четырехосного и восьмиосного подвижного состава, но не менее величины, определенной по условиям природного выветривания.

4. ОПРЕДЕЛЕНИЕ ПОКАЗАТЕЛЕЙ ПРОЧНОСТИ ГРУНТОВ

4.1. При инженерно-геологическом обследовании насыпей прочность грунтов определяется:

для натурного их состояния на момент обследования при нахождении их в зоне сезонного разупрочнения, мощность которой определяется согласно рекомендациям раздела 3 настоящих Указаний и если их относительная влажность W/Wт ³ 0,7;

для натурного состояния независимо от влажности и плотности при нахождении грунтов ниже зоны сезонного разупрочнения;

для прогнозируемого состояния грунтов с относительной влажностью W/Wт < 0,7 при нахождении их в зоне сезонного разупрочнения.

4.2. Прочность грунтов может определяться следующими способами:

испытаниями грунта в условиях естественного залегания с использованием, например, лопастных сдвиговых приборов;

лабораторными испытаниями образцов грунта ненарушенной структуры естественной влажности или после дополнительного увлажнения под нагрузкой, равной бытовому давлению;

по справочным данным с использованием результатов определения или прогнозирования плотности, влажности грунта и его водно-физических свойств.

Для деформированных откосов в случаях, когда возможно определить расположение поверхности смещения, показатели прочности определяются расчетом, выполняемом в обратном порядке при коэффициенте устойчивости, равном 1.

4.3. Определение прочности грунта в скважинах лопастными приборами производится согласно ГОСТ 21719-76 «Грунты. Метод полевого испытания вращательным срезом», имеющимся методическим материалом и приложению 3 настоящих Указаний.

4.4. При лабораторных испытаниях образцов грунта, отобранных из шурфов и скважин, с использованием сдвиговых приборов определяют:

угол внутреннего трения φн;

сцепление грунта ненарушенной структуры Снс;

сцепление грунта нарушенной структуры или при подготовленной поверхности сдвига Сw.

Значения φн и Снс определяются в соответствии с ГОСТ 12248-66 «Грунты. Метод лабораторного определения сопротивления срезу песчаных и глинистых грунтов на срезных приборах» в условиях завершенной консолидации.

Для определения значения Cw рекомендуется:

а) для грунтов с числом пластичности Wп < 10 испытать образец с нарушенной структурой, приготовленный из пасты с влажностью и плотностью, равными этим же показателям для образца ненарушенной структуры; расхождение значений объемного веса скелета и влажности для образцов ненарушенной и нарушенной структуры должно быть не более соответственно ±0,02 гс/см3 и ±1,5 %;

б) для грунтов с числом пластичности Wп > 10 образец ненарушенной структуры предварительно разрезать по плоскости сдвига и после выдерживания под нагрузкой в течение 2-5 мин осуществлять сдвиг «плашка по плашке».

В качестве расчетных значений показателей прочности грунта после соответствующей статистической обработки результатов испытаний и получения нормативных значений принимают:

Ср = Снс - Сw;                                                                                           (4.1)

φр = φн - 2°,                                                                                              (4.2)

где Ср, φр - расчетные значения сцепления и угла внутреннего трения грунта;

Снc, Cw - сцепление по испытаниям образцов грунта соответственно ненарушенной и нарушенной структуры (или с подготовленной поверхностью сдвига);

φн - угол внутреннего трения по испытаниям образцов ненарушенной структуры.

4.5. Для глинистых грунтов с относительной влажностью W/Wт < 0,7, находящихся в зоне трещинообразования, расчетную величину сцепления Срт определяют с учетом влияния трещин из выражения

                                                      (4.3)

где ано, анр - относительные величины набухания свободного и под бытовой нагрузкой;

С'р, С"р - значения расчетного сцепления образцов грунта соответственно после свободного набухания и набухания под бытовой нагрузкой.

Показатели набухания определяют в соответствии с «Рекомендациями по лабораторным методам определения характеристик набухающих грунтов» (М., Стройиздат, 1974) с использованием компрессионных приборов. Расчетное сцепление для набухающих образцов определяют согласно п. 4.4 настоящих Указаний.

Значение угла внутреннего трения φр принимают средним из значений для свободно набухающего образца и образца, набухающего под бытовой нагрузкой. Нормативные и расчетные значения характеристик грунтов по результатам непосредственных измерений вычисляют в соответствии со СНиП II-15-74 «Основания зданий и сооружений» (см. приложение 1) и ГОСТ 20522-75 «Грунты. Метод статистической обработки результатов определения характеристик».

4.6. Приближенные способы определения показателей прочности грунтов используются преимущественно для предварительных и ориентировочных расчетов устойчивости насыпей с целью уточнения разновидностей грунта, лимитирующих устойчивость, установления необходимости и объема дополнительных данных для дальнейших расчетов и т.п. Применение приближенных способов на стадии проектирования противодеформационных мероприятий допускается только в случаях невозможности получения уточненных данных при условии повышения нормируемого коэффициента устойчивости.

4.7. В случаях, когда не проводятся испытания грунта с нарушенной структурой или по подготовленной поверхности сдвига, расчетное значение сцепления определяется с использованием результатов испытания грунта ненарушенной структуры:

                                                                                     (4.4)

где В - показатель консистенции грунта.

Значение угла внутреннего трения принимается согласно п. 4.4.

4.8. Для глинистых грунтов со степенью водонасыщения G ≥ 0,85 и В ≥ 0,1 нормативное значение сцепления в зависимости от плотности (коэффициента пористости ε) и влажности грунта на пределе раскатывания Wр (Wp принимается в долях единицы) определяется по формуле

                                                                   (4.5)

или по рис. 3 в зависимости от  или от ε, Wр.

Рис. 3. Номограмма для определения нормативных значений сцепления грунтов

Угол внутреннего трения грунта равен

φн = 32 - 10ε - 0,25Wр.                                                                             (4.6)

Приведенные зависимости не рекомендуется использовать для определения прочности грунтов гумусированных, избыточно засоленных и с другими особыми свойствами.

Критерием применимости этих зависимостей является соблюдение условия

3 ≤ (Wр - 0,4Wт) ≤ 9.

При наличии материалов, характеризующих региональные зависимости механических свойств отдельных разновидностей грунтов от показателей их состояния и состава, допускается их использование вместо выражений (4.5) и (4.6).

Расчетные значения сцепления грунта и угла внутреннего трения определяются по выражениям (4.1) и (4.2).

4.9. Прогнозирование прочности грунтов в зоне нарушения структуры трещинами производится с учетом набухания грунта при увлажнении. Показатель набухания приближенно определяется по выражениям:

ано = АпВw;                                                                                                (4.7)

                                                                           (4.8)

где Ап, Bw - коэффициенты, принимаемые по рис. 4 в зависимости от пористости грунта п, влажности на пределе текучести Wт, относительной влажности W/WтT;

рн - давление набухания грунта при невозможности его расширения:

Рн = 0,6аноWт;                                                                                           (4.9)

Рб - бытовое давление грунта на глубине взятия образца:

Рб = Σγihi;                                                                                                 (4.10)

γi, hi - объемный вес грунта и толщина слоев, слагающих толщу до глубины взятия образца.

Рис. 4. График для определения коэффициентов Ап и Bw

Коэффициент пористости после набухания εн равен

                                                                                (4.11)

где Δ, γск - соответственно удельный и объемный вес скелета грунта.

Влажность грунта после набухания принимается равной

                                                                                                  (4.12)

Показатель консистенции равен

                                                                                          (4.13)

Пример 1. Грунт на глубине Н = 2,5 м имеет естественную влажность W = 26; Wр = 24; Wт = 46; γск = 1,56 гс/см3; п = 0,428; Δ = 2,73 гс/см3. Определить показатели прочности грунта после набухания при увлажнении:

Ап = 0,34; Bw = 0,24 (по рис. 4);

ано = 0,34·0,24 = 0,082;

Рн = 0,6·0,082·46 = 2,25 кгс/см2;

Рб = 0,1·1,56 (1 + 0,26) 2,5 = 0,49 кгс/см2;

Сно = 0,383 кгс/см2; Снр = 0,681 кгс/см2;

 кгс/см2;

 кгс/см2;

 кгс/см2;

φно = 32 - 8,9 - 6 = 17,1°; φ'р = 17,1 - 2 = 15,1°;

φнр = 32 - 7,9 - 6 = 18,1°; φ"р = 16,1°;

Пример 2. На глубине 1,5 м в откосной части насыпи грунт имеет следующие физико-механические и водно-физические характеристики: Δ = 2,75 гс/см3; Wт = 52; Wр = 22; W = 20; п = 0,375; γск = 1,72 гс/см3. Определить прочность грунта после увлажнения и набухания:

W/Wт = 20/52 = 0,385;

Ап = 0,52; Bw = 0,55 (по рис. 4);

ано = 0,52·0,55 = 0,286;

Рн = 0,6·0,286·52 = 8,92 кгс/см3;

Р6 = 2,75(1 - 0,375)(1 + 0,20) 0,1·1,5 = 0,309 кгс/см2;

;

;

 кгс/см2;  кгс/см2;

 кгс/см2;  кгс/см2;

 кгс/см2;

φнр = 32 - 8,4 - 5,5 = 18,1°; φ"р = 18,1 - 2 = 16,1°;

φно = 32 - 10,6 - 5,5 = 15,9°; φ"р = 15,9 - 2 = 13,9°;

4.10. Значения прочности глинистого грунта Ср, φр в насыпи с деформированными откосами определяются обратным расчетом из условия предельного равновесия, если возможно установить расположение поверхности скольжения и длину ее участка l2, проходящего в глинистом грунте.

Рис. 5. Схема к определению прочностных характеристик грунта обратным расчетом устойчивости обрушенных откосов

Для этой цели используют выражение

                                                    (4.14)

где ,  - суммы нормальных сил соответственно на участках поверхности скольжения в глинистом грунте и сыпучем материале;

 - сумма сдвигающих сил по всей поверхности скольжения;

j, п - порядковые номера последних отсеков, расположенных на участках поверхности скольжения соответственно в пределах сыпучих и глинистых грунтов;

φ1 - угол внутреннего трения сыпучего материала.

Обычно полагают tgφp = 0 и определяют Сφ0 из уравнения (4.14), а затем приняв Ср = 0, находят tgφ0. Прямая Сφ0 - tgφс0 (рис. 5, а) в координатных осях С - tgφ содержит сочетания возможных значений Ср, tgφp, обеспечивающих устойчивость откосов в предельном состоянии.

Зная величины коэффициента пористости грунта ε и влажности предела раскатывания Wp, по графику рис. 3 и по выражениям (4.5) и (4.6) определяют значения Сн и φн. Для определения конкретных значений Ср и φр на графике проводят прямую из начала координат через точку (Сн, tgφн) до пересечения с прямой Сφ0 - tgφc0. Координаты точки пересечения этих прямых Ср и tgφр, являются искомыми значениями показателей прочности глинистого грунта.

Указанные значения прочности грунта могут быть распространены на аналогичные по грунтовому сложению насыпи в сходных условиях для оценки их устойчивости.

При круглоцилиндрической поверхности скольжения оползающего массива и прямолинейном очертании откоса, а также при отсутствии сыпучих грунтов в зоне скольжения значения φс0 и Сφ0 определяются по известным значениям длины сплыва а, глубины h и объемного веса грунта γоб (рис. 5, б):

где

5. РАСЧЕТНЫЕ СХЕМЫ И СПОСОБЫ РАСЧЕТА УСТОЙЧИВОСТИ НАСЫПЕЙ

5.1. В зависимости от грунтового сложения, геометрических очертаний и величины зон разупрочнения грунтов в верхней и откосной частях насыпей принимаются следующие расчетные схемы для определения их устойчивости:

по круглоцилиндрической поверхности скольжения (рис. 6, а) в случае сравнительно однородной толщи грунта насыпи и основания, постепенного изменения свойств грунта по глубине, значительной мощности выделенного слоя грунта с ослабленными прочностными показателями;

в предположении плоской поверхности сдвига (рис. 6, б) при косослойном напластовании грунтов и повышенной влажности на контактах слоев, а также при малой мощности слоев грунта с ослабленными прочностными характеристиками.

5.2. В верхней части насыпи предполагается наличие трещины, расположенной под ближней к откосу рельсовой нитью, с глубиной распространения, равной глубине зоны разупрочнения грунта.

Влияние внешнего массива, прилегающего к трещине, заменяется распором Е0. Вес верхнего строения и действие поездной нагрузки учитывается только на участке bp, ограниченном трещиной (рис. 7).

5.3. Для всех расчетных схем коэффициент устойчивости насыпи определяется по формуле

                                                                        (5.1)

где gi - вес i-го отсека, тс;

Cpi -расчетное значение сцепления грунта в i-м отсеке, тс/м2;

bi - ширина отсека, м;

 - слой грунта со снижением прочности под влиянием погодного выветривания

 - зона снижения прочности грунта под пульсацией поездных нагрузок

 - ослабленный слой грунта в основании откоса

Рис. 6. Расчетные случаи проверки устойчивости при круглоцилиндрической (а) и плоской (б) поверхностях скольжения

Рис. 7. Расчетная схема для определения устойчивости

νi, λi, τi - безразмерные коэффициенты, зависящие от угла наклона плоскости скольжения отсека к горизонту (βi) и угла внутреннего трения грунта (φi).

 при βi > 0;                                                                   (5.2)

 при βi < 0;                                                                   (5.3)

                                                                                   (5.4)

                                                            (5.5)

5.4. Вес грунта во всех отсеках, кроме первого, равен

gi = γi bi hi,                                                                                                (5.6)

где γi - объемный вес грунта в отсеке, тс/м3;

hi - высота отсека, м.

В первом отсеке учитывается вес верхнего строения и воздействие поездной нагрузки:

gi = γibp (h1 + hэ),                                                                                      (5.7)

где hэ - высота фиктивного слоя грунта:

                                                                                                    (5.8)

р - суммарная нагрузка от веса верхнего строения и расчетного поезда:

                                                                                    (5.9)

qвс - погонная нагрузка от веса верхнего строения, принимаемая по табл. 65 Справочника инженера-путейца (Т. 1. M., «Транспорт», 1977), тс/м;

bб - средняя ширина балластной призмы (4,3-4,9 м);

bш - длина шпалы, м;

qп - погонная нагрузка на путь от расчетного поезда:

                                                                                 (5.10)

Р0 - статическая нагрузка от одной оси, тс;

п - количество осей в группе, в которой расстояния между любыми соседними осями не превышают М;

l - расстояние между крайними осями в группе, м;

Δl - зона влияния крайних осей в группе; Δl равно 2,2 м при высоте насыпи менее 3 м; 4,5 м - при высоте 3 - 9 м; 6 м - при высоте более 9 м;

Кд - коэффициент вертикальной динамики расчетного экипажа (Кд ≈ 5);

                                                                       (5.11)

5.5. Величина распора Е0 принимается равной

                                                                                               (5.12)

где γв - объемный вес воды, равный 1 тс/м3.

5.6. Определение коэффициента устойчивости насыпи по формуле (5.1) может производиться графоаналитическим способом и аналитическим способом с использованием ЭВМ или малых вычислительных машин.

При графоаналитическом способе определения коэффициента устойчивости значения βi, hi, bi измеряются непосредственно на чертеже, а коэффициенты νi, λi, τi определяются по рис. 8 и 9. По формулам вычисляются вес отсека, высота эквивалентного слоя грунта, распор и коэффициент устойчивости. В необходимых случаях (преимущественно по расчетной схеме рис. 6,а) значения К минимизируются по радиусу кривой скольжения и глубине трещины. В таких случаях целесообразно использовать ЭВМ. Значения tgbi, hi применительно к схеме на рис. 7 определяются из выражений:

                                                                     (5.13)

                                                         (5.14)

                                                            (5.15)

                                                  (5.16)

                                                              (5.17)

                                                      (5.18)

                                                     (5.19)

где z0, y0 - координаты центра кривой скольжения;

R0 - минимальный радиус;

η - заданное увеличение минимального радиуса для минимизации коэффициента устойчивости.

Ордината средней линии (высоты) каждого отсека принимается в зависимости от его ширины. При машинном счете целесообразно принимать (см. рис. 7):

где п - число отсеков, равное 5-10.

5.7. Насыпь может считаться устойчивой, если коэффициент устойчивости К, минимизированный по расположению поверхности скольжения, больше или равен допустимому коэффициенту устойчивости Кдоп. Значение Кдоп принимается по табл. 1 в зависимости от вида грунтов насыпи и контрбанкета, степени изученности и способа определения их расчетных показателей.

Рис. 8. Изолинии коэффициента λ

Рис. 9. Изолинии коэффициентов ν и τ

Таблица 1

Значения допустимых коэффициентов устойчивости насыпей при устройстве контрбанкетов

Разновидности грунтов насыпи и контрбанкетов

Степень изученности грунтов

Полная согласно СНиП П-15-74 и ГОСТ 20522-75 при наличии сооружении аналогов

На ограниченном числе образцов каждой разновидности

По справочным данным с использованием показателей состояния, состава и водно-физических свойств

Пески, супеси, суглинки легкие (Wп < 10)

1,10

1,15

1,20

1,20

1,30

Суглинки средние и тяжелые (10 < Wп £ 17)

1,15

1,20

1,20

1,30

1,25

1,40

Глины (Wп > 17) и все глинистые грунты особых разновидностей и свойств (тиксотропные, сильнонабухающие, засоленные, гумусированные и др.)

1,20

1,30

1,25

1,40

1,30

1,50

Примечание. В числителе приведены коэффициенты устойчивости, применяемые в случае определения прочностных свойств для натурного состояния грунтов, в знаменателе - для прогнозируемого состояния.

6. ПРОЕКТИРОВАНИЕ КОНТРБАНКЕТОВ

6.1. Проектирование контрбанкетов для обеспечения устойчивости насыпей включает в себя:

выбор грунтов для сооружения контрбанкета и способа производства работ;

выбор способа подготовки основания;

определение основных размеров контрбанкета (высоты, ширины поверху, крутизны откосов).

6.2. Грунты для сооружения контрбанкетов должны отвечать требованиям действующих нормативных документов на проектирование земляного полотна новых железнодорожных линий с учетом конструктивных особенностей эксплуатируемой насыпи. Нормы плотности грунтов принимаются как для нижней части сооружаемых насыпей.

6.3. При наличии балластных шлейфов на откосах эксплуатируемой насыпи, а также песчаных линз с периодическим выходом воды на откос, контрбанкеты сооружаются из дренирующих грунтов.

6.4. Проектом предусматривается укрепление верхней площадки и откосов контрбанкетов в соответствии с нормами на сооружение земляного полотна новых линий.

6.5. Подготовка основания для контрбанкета включает в себя удаление торфомохового покрова и неустойчивых грунтов, планировку для обеспечения водоотвода в случае устройства контрбанкета из дренирующих грунтов.

6.6. Размеры контрбанкетов устанавливаются из условия обеспечения нормативного коэффициента устойчивости насыпи по кривой скольжения, для которой некомпенсированное активное давление, определяемое по формуле

                                                               (6.1)

имеет максимальное значение.

Рис. 10. Определение размеров контрбанкета:

а - расчетная схема; б - графическое определение величин; 1 - поверхность скольжения; 2 - контур контрбанкета

Для определения необходимой высоты контрбанкета hк производится ступенчатое ее наращивание применительно к схеме рис. 10, а. Для каждого значения h вычисляются коэффициент устойчивости насыпи Кh по формуле (5.1) с учетом дополнительной пригрузки откоса на участке b2 и пассивный отпор грунта Enh на участке b1:

                                    (6.2)

где γк, Ск, φк - соответственно объемный вес, сцепление и угол внутреннего трения грунта контрбанкета.

Определяется изменение активного давления при изменении высоты контрбанкета:

                                                             (6.3)

Для принятых значений h строятся графики Eпh/Kдоп = f(h) и Eah = f(h) (рис. 10,б). Точка пересечения кривых при Еah = Enh/Кдоп соответствует необходимой высоте контрбанкета hк.

При задании высоты h, равной высоте выделенных отсеков, используются значения νi, τi и Σbi, Сi, λi, как независящие от веса отсека и определенные при расчете устойчивости насыпи без контрбанкета. Ширина контрбанкета от подошвы насыпи определяется из выражения

                                                                                (6.4)

6.7. Размеры контрбанкетов могут быть увеличены по технологическим причинам:

а) ширина - по условиям применения механизированного способа уплотнения грунта с соблюдением необходимого расстояния от крайнего колеса грунтоуплотняющей машины до бровки откоса в соответствии с Правилами техники безопасности и производственной санитарии при сооружении железнодорожного земляного полотна;

б) высота - до расчетного уровня контрбанкета на соседнем поперечнике.

6.8. После определения высоты контрбанкета указанным способом производится проверка устойчивости по принятой кривой скольжения, и если минимальный коэффициент устойчивости для этого участка оказывается ниже требуемого, следует изменить размеры контрбанкета и повторить расчет.

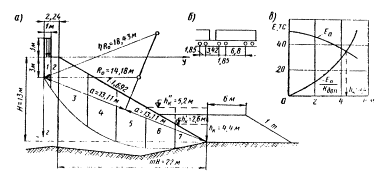
7. ПРИМЕР РАСЧЕТА УСТОЙЧИВОСТИ НАСЫПИ И ПРОЕКТИРОВАНИЕ КОНТРБАНКЕТА

Насыпь (рис. 11, a) высотой Н = 13 м сложена легкими пылеватыми суглинками с относительной влажностью на момент обследования W/Wт ≈ 0,72 при консистенции В = 0,36. Заложение откоса тН = 22 м. Нормативные значения прочности определены лабораторными испытаниями образцов грунта ненарушенной структуры в сдвиговых приборах: Сн = 0,32 кгс/см2, φн =20°.

Рис. 11. Расчетные схемы:

а - поперечник насыпи; б - схема расстоянии между осями состава в метрах; в - определение высоты контрбанкета

Расчетные показатели прочности определены согласно п. 4.7 настоящих Указаний:

 кгс/см2;

φр = 20-2 = 18°; tgφр = 0,326.

Расчетный вид подвижного состава - полувагоны четырехосные с осевой нагрузкой 21,5 тс. При нормальном типе верхнего строения (рельсы Р50, шпалы деревянные) погонная нагрузка qвc = 6,2 тс/м.

Погонная поездная нагрузка при Кд = 0,5 согласно разделу 5 Указаний будет равна

 тс/м.

При длине шпал bш = 2,7 м и ширине балластной призмы bб = 4,3 м удельная расчетная нагрузка на основную площадку составит

 тс/м2.

При имитации зоны нарушенной структуры грунта трещиной глубиной hT = 3 м в подрельсовом сечении поперечного профиля ширина загруженной части расчетного профиля bp будет равна

 м.

При объемном весе грунта γ1 = 1,8 тс/м3 высота эквивалентного слоя

hэ = 5,1:1,8 = 2,85 м.

В расчетах для перспективных условий принимается:

hp = 1 м; hэ = 3 м.

В соответствии с расчетной схемой (см. рис. 11, а) и разделом 5 Указаний определяется устойчивость насыпи:

 м;

 м.

Для минимизации коэффициента устойчивости по радиусу принимаем значения: R1 = 1,1R0; R2 = 1,3R0; R3 = 1,5 R0.

Дальнейший расчет проводим в табличной форме (табл. 2, 3 и 4).

Проектирование контрбанкета производится для кривой скольжения при R=18,43 м с использованием данных табл. 2 согласно положениям данного раздела Указаний. Наращивание контрбанкета выполняем ступенями по

При т = 22:13 = 1,692 и bт = 4,4 м ступень Δh =2,6 м; h'к = 2,6 м; h"к = 5,2 м.

Изменение коэффициента устойчивости насыпи за счет дополнительной пригрузки откоса определяется с помощью данных табл. 2.

Приняв h'к = 2,6 м, получим:

Δh'7 = 1,3 м;

h'7 = 2,05 + 1.3 = 3,35 м; g'7 = 1,8·4,4·3,35 = 26,53 тс;

ν7 = 0,560;

g7ν7 = 14,85 тс;

E'a = (1,25 - 0,936) 138,98 = 43,67 тс;

 тс.

При второй попытке имеем:

 = 5,2 м; h"7 = 5,95 м; g"7 = 1,8·4,4·5,95 = 47,12 тс;

g"7ν7 = 47,12·0,560 = 26,39 тс;

g"6ν6 = 5,34 + 1,30 = 6,64 м; g"6 = 1,8·6,34·4,4 = 50,21 тс;

g6ν6 = 50,21·0,351 = 17,78 тс;

Е"а = (1,250-1,038)138,98 = 29,40 тс;

 тс;

По графикам Еа = f(hк) и Епдоп = f(h) (рис. 11, в) из условия Еа = Еп/Kдоп определяем необходимую высоту контрбанкета hк = 4,4 м.

Ширина площадки контрбанкета за пределами подошвы откоса будет равна

b1 = 4,4·1,37 ≈ 6 м.

Аналогично проверяется устойчивость верхней части насыпи и проектируется развитие контрбанкета.

Таблица 2

R2 = 1,3·14,18 = 18,43 м; y0 = 17,06 м; z0 = -3,97 м

Показатели

Значения показателей по отсекам

Вычисления

1

2

3

4

5

6

7

bi, м

1,0

1,24

4,4

4,4

4,4

4,4

4,4

yi, м

0,5

1,62

4,44

8,84

13,24

17,64

22,04

y0 - yi, м

16,56

15,44

12,62

8,22

3,82

-0,58

-4,98

Кдоп = 1,25 (см. табл. 1);

8,09

10,06

13,43

16,50

18,03

18,42

17,74

Еа = (1,25 - 0,894)138,98 = 49,48 тс

tgβ

2,047

1,545

0,940

0,498

0,212

-0,032

-0,286

 

hi, м

7,12

6,09

8,16

8,63

7,55

5,34

2,05

 

gi, тс

12,82

30,33

64,62

68,35

59,80

42,24

16,24

 

νi

0,196

0,217

0,250

0,280

0,305

0,354

0,560

 

λi

3,113

1,608

1,440

1,074

0,977

1,00

0,990

 

τi

1,228

1,028

0,719

0,428

0,198

0

0

 

gi νi, тс

2,51

6,58

16,15

19,14

18,24

15,05

9,09

Σ = 86,76;

1,28bili, тс

3,11

1,99

6,34

4,73

4,30

4,40

4,00

Σ = 37,53;

giτi, тс

15,74

31,18

46,46

29,30

11,8

0

0

Σ = 134,48.

Таблица 3

R1 = 1,1·14,18 = 15,6 м;   = 0,2 м

Показатели

Значения показателей по отсекам

Вычисления

1

2

3

4

5

6

7

Ширина отсека bi, м

1,0

1,24

4,4

4,4

4,4

4,4

4,4

 

Координата средней линии отсека уi, м

0,5

1,62

4,44

8,84

13,24

17,64

22,04

;

y0 - yi, м

14,84

13,72

10,90

6,50

2,10

-2,30

-6,70

 

4,79

7,41

11,15

14,18

15,45

15,42

14,08

 

tgβ

3,098

1,852

0,978

0,458

0,136

-0,149

-0,476

hi, м

7,99

7,61

10,5

10,48

9,14

6,51

2,56

Кдоп = 1,25;

gi = 1,8bihi, тс

14,38

16,98

83,16

83,00

72,39

51,55

20,28

 

giνi, тс

2,33

3,45

20,55

23,55

22,60

23,36

14,08

Σ = 109,92;

1,28biλi, тс

6,75

4,38

8,35

5,93

5,49

5,49

5,98

Σ = 42,37;.

giτi, тс

22,16

19,60

61,66

33,08

9,43

0

0

Σ = 145,93;

Еа = 145,93(1,25-1,012) = 34,73

Таблица 4

R3 = 1,5·14,18 = 21,27 м; у0 = 18,51 м; z0 = 7,48 м

Показатели

Значения показателей по отсекам

Вычисления

1

2

3

4

5

6

7

bi, м

1,0

1,24

4,4

4,4

4,4

4,4

4,4

 

yi, м

0,5

1,62

4,44

8,84

13,24

17,64

22,04

y0 - yi, м

18,01

16,89

14,07

9,67

5,27

0,87

-3,53

 

11,32

12,93

15,95

18,94

20,61

21,25

20,97

Еа = (1,25 - 0,996)107,86 = 27,40 тс;

tgβ

1,591

1,306

0,882

0,510

0,256

0,041

-0,168

 

hi, м

6,84

5,45

7,17

7,56

6,62

4,66

1,77

 

gi, тс

12,3

12,6

56,8

59,9

52,4

36,9

14,0

 

νi

0,215

0,229

0,253

0,280

0,301

0,323

0,468

 

λi

2,325

1,948

1,380

1,081

0,984

0,992

0,975

 

τi

1,047

0,916

0,685

0,437

0,236

0,040

0

 

gi νi, тс

2,64

2,88

14,37

16,77

15,77

11,92

6,55

Σ = 70,90;

1,28biλi, тс

2,32

2,42

6,07

4,76

4,33

4,36

4,29

Σ = 36,54;

giτi, тс

12,88

11,54

38,91

26,18

12,37

1,48

0

Σ= 103,36;

ПРИЛОЖЕНИЕ 1

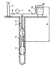
ОПРЕДЕЛЕНИЕ ВОДОПРОНИЦАЕМОСТИ ГРУНТОВ С ПОМОЩЬЮ ГИДРАВЛИЧЕСКОГО ЗОНДА

Гидравлический зонд состоит из герметичной трубы-корпуса 2 (рис. 12), двух резиновых оболочек 1, воздуховодной трубки 4 и водоводной трубки 3. Воздуховодная трубка имеет выходы в резиновые оболочки, водоводная - на наружную поверхность корпуса в его средней части. Воздуховодная и водоводная трубки резиновыми шлангами соединены: первая - с источником сжатого воздуха, например автомобильным насосом 5, вторая - с емкостью для воды 10. У выхода трубки имеют краны 6 и 8. Кроме того, воздуховодная трубка имеет контрольный манометр 7, а емкость с водой - водомерную трубку 9.

Для определения водопроницаемости грунтов в условиях естественного залегания используются разведочные скважины, проходимые при инженерно-геологическом обследовании. При проходке скважин в грунтах твердой и полутвердой консистенции они используются для определения водопроницаемости без дополнительной подготовки при любом способе проходки. Стенки скважин в грунтах тугопластичной и мягкопластичной консистенции перед испытанием на водопроницаемость должны быть зачищены конусным расширителем; шлам может остаться на дне скважины. Для определения водопроницаемости корпус зонда опускают на расчетную глубину Н от устья скважины и в оболочки 1 нагнетают воздух до давления 0,7-1,5 кгс/см2. После того как обжатые воздухом в грунт оболочки перекроют часть скважины диаметром D на длине hф, в нее из емкости 10 через трубку 3 при открытом кране 8 поступает вода. Водопроницаемость грунта на глубине Н определяется по выражению

где q - измеренный объем воды, прошедший в скважину за время t;

F - площадь фильтрации, см2;

F = πDhф;

Н - градиент напора, численно равный глубине расположения зонда.

Обычно задаются равными промежутками времени (0,5-5 мин) и определяют расход q до установления его постоянного значения. В зависимости от водопроницаемости грунта продолжительность опыта на одном горизонте составляет 10-40 мин.

Измерение начинают с нижнего горизонта, расстояние между соседними горизонтами принимается не менее длины корпуса зонда.

Данные о водопроницаемости грунта, полученные с помощью гидравлического зонда, являются приближенными и не рекомендуются для использования при гидрогеологических расчетах, например, дренажных устройств.

Рис. 12. Схема гидравлического зонда

ПРИЛОЖЕНИЕ 2

ОПРЕДЕЛЕНИЕ ВОДОПРОНИЦАЕМОСТИ ГРУНТОВОЙ ПАСТЫ

Водопроницаемость образцов грунта без нарушения его структуры трещинами определяется в зависимости от удельной поверхности Sв и пористости грунта п по рис. 13. Удельная поверхность определяется гранулометрическим составом грунта с использованием табл. 5.

Таблица 5

Таблица и пример определения удельной поверхности минеральных частиц грунта

Интервалы размеров фракции, мм

Удельная поверхность, см/гс

Содержание фракции, %

Удельная поверхность, см2/гс

1-0,316

79

-

-

0,316-0,1

249

-

-

0,1-0,0316

789

32

253

0,0316-0,01

2492

23

572

0,01-0,00316

7890

10

789

0,00316-0,001

24920

5

1246

0,001

78900

30

23680

 

 

 

ΣSB = 26540 см2/гс

Примечания. 1. Графы 1 и 2 постоянны для любого грунта.

2. Данные гр. 3 находятся по кривой гранулометрического состава грунта, определенного ареометрическим или пипеточным способом.

3. Данные гр. 4 определяются как произведение гр. 2 на гр. 3 (числа последней принимать в долях единицы).

Полученная удельная поверхность относится к единице веса грунта. Для определения удельной поверхности грунта в единице объема по известному значению пористости п и удельному весу грунта Δ определяется объемный вес скелета грунта:

γск = Δ(1 - п).

Рис. 13. График для определения водопроницаемости грунта

Расчетное значение удельной поверхности минеральных фракций грунта получается умножением:

S = γскΣ Sв.

Для приведенного в табл. 5 примера при п = 0,42 и Δ = 2,71гс/см3:

γск = 2,71(1-0,42) = 1,57 гс/см3;

S = 1,57·2,654·104 = 4,17·104 см2/см3.

По рис. 13

Кф = 10-5 см/с.

ПРИЛОЖЕНИЕ 3

ОПРЕДЕЛЕНИЕ ПРОЧНОСТИ ГРУНТОВ ЛОПАСТНЫМИ УСТАНОВКАМИ

Основной областью применения лопастных испытаний является определение прочности минеральных и органоминеральных грунтов пластичной консистенции, для которых затруднен или невозможен отбор образцов ненарушенной структуры для лабораторных испытаний.

Испытаниями грунта в скважинах могут быть получены:

обобщенное сопротивление грунта сдвигу;

показатель структурной прочности грунта;

величины сцепления и угла внутреннего трения грунта.

Основными узлами установок для измерения сопротивления грунтов сдвигу являются рабочий наконечник 1 с лопастями (рис. 14), соединительная штанга 2, оперативный столик 3 и анкерное устройство 4. Рабочий наконечник имеет резьбовое соединение со штангой и несет на себе лопасти, размеры которых в сантиметрах (общая ширина b, высота h и толщина δ) подбираются в зависимости от консистенции грунтов (табл. 6).

Таблица 6

Условия применения и характеристики наконечников

Консистенция испытываемых грунтов

Размеры лопастей, см

Постоянная лопастей Вр, см3

b

h

δ

Тугопластичная и мягкопластичная

5,5

11

0,30

610

Мягкопластичная

7,5

15

0,35

1545

Мягкопластичная и текучая

10

20

0,40

3663

Рабочие наконечники являются сменными.

После погружения наконечника в забой скважины, соединения его со штангой и монтажа оперативного столика вращением приводной ручки прибора с заданной скоростью (обычно 0,1-0,2 град/с) на штангу передается крутящий момент. В процессе поворота штанги ведут наблюдения за индикатором угла поворота и фиксируют максимальное значение крутящего момента Мmах.

При необходимости определить не только общее сопротивление грунта сдвигу, но и величины сцепления и угла внутреннего трения после среза грунта производится 2-4 оборота рабочего наконечника в скважине с угловой скоростью 5-7 град/с до стабилизации крутящего момента Mmin. При этом предполагается, что величина сцепления грунта при быстром вращении лопастей близка к нулю.

Общее сопротивление сдвигу τs находят делением значения крутящего момента Мmах на постоянную рабочего наконечника Вр (см. табл. 6).

Значение общего сопротивления может использоваться для качественной и количественной оценки устойчивости грунтового массива в случаях:

испытаний грунтов на малых глубинах или обладающих согласно принятым классификациям малым углом внутреннего трения;

сравнительных испытаний грунта при одинаковых глубинах их залегания.

Рис. 14. Схема лопастной установки

Рис. 15. График значений lgφ и ξ

При необходимости определения сцепления и угла внутреннего трения порядок расчета принимается следующим.

По рис. 15 находят значение тангенса угла внутреннего трения в зависимости от соотношения величин бытового давления Рб сопротивления τφ грунта сдвигу при быстром повороте крыльчатки.

Бытовое давление определяется по формуле

где γi - объемный вес грунта, постоянный в пределах слоя толщиной hi;

n - количество слоев с разными значениями γї г в пределах глубины, для которой определяется бытовое давление.

Если отдельные слои расположены ниже уровня грунтовых вод, то для этих слоев γї должен определяться с учетом взвешивающего давления по формуле

или при отсутствии данных относительно Δ и ε приближенно по формуле

γвз = γi – 1.

Сопротивление грунта сдвигу τφ в предположении пренебрежимо малой величины сцепления определяется по величине Мmin и постоянной рабочего наконечника Вр (см. табл. 6):

По рис. 15 определяется коэффициент бокового давления грунта. Сцепление подсчитывается по формуле

Сс = τs(1 - tgφ) - ξPδtgφ.

Определение сцепления и угла внутреннего трения необходимо при испытании сравнительно однородных грунтов по различной глубине залегания, когда на результаты испытаний существенно влияет величина бытового давления.

С использованием отношения τφs называемого коэффициентом структурной прочности грунта, производится оценка структурной прочности грунта, или прочности структурных связей (табл. 7).

Таблица 7

Оценка структурной прочности грунта

Значение τφs

Прочность структурных связей

0-0,20

Высокая

0,21-0,50

Средняя

0,51-0,99

Низкая

1

Отсутствует

Пример. Испытанием грунта на глубине Н = 4,5 м в отсутствии грунтовых вод наконечником с Вр =1545 см3 (см. табл. 6) получено Мmах = 530 кгс·см; Mmin = 280 кгс·см.

Определение показателей:

 кгс/см2;

 кгс/см2;

Рб = 0,2Н = 0,2·4,5 = 0,9 кгс/см2;

tgφ = 0,265; φ = 14°40'; ξ = 0,57 (по рис. 15);

Сс = 0,343(1-0,265) - 0,9·0,57·0,265 = 0,118 кгс/см2.

Коэффициент структурной прочности грунта равен

Согласно табл. 7 прочность структурных связей грунта низкая.

 

 




ГОСТЫ, СТРОИТЕЛЬНЫЕ и ТЕХНИЧЕСКИЕ НОРМАТИВЫ.
Некоммерческая онлайн система, содержащая все Российские Госты, национальные Стандарты и нормативы.
В Системе содержится более 150000 файлов нормативно-технической документации, действующей на территории РФ.
Система предназначена для широкого круга инженерно-технических специалистов.

Рейтинг@Mail.ru Яндекс цитирования

Copyright © www.gostrf.com, 2008 - 2026