Крупнейшая бесплатная информационно-справочная система онлайн доступа к полному собранию технических нормативно-правовых актов РФ. Огромная база технических нормативов (более 150 тысяч документов) и полное собрание национальных стандартов, аутентичное официальной базе Госстандарта. GOSTRF.com - это более 1 Терабайта бесплатной технической информации для всех пользователей интернета. Все электронные копии представленных здесь документов могут распространяться без каких-либо ограничений. Поощряется распространение информации с этого сайта на любых других ресурсах. Каждый человек имеет право на неограниченный доступ к этим документам! Каждый человек имеет право на знание требований, изложенных в данных нормативно-правовых актах!

  


 

БАМ

В ПОМОЩЬ СТРОИТЕЛЯМ

Р.Е. Подвальный

А.С. Потапов

О.А. Янковский

ТЕХНОЛОГИЯ СТРОИТЕЛЬСТВА МЕТАЛЛИЧЕСКИХ ГОФРИРОВАННЫХ ВОДОПРОПУСКНЫХ ТРУБ

МОСКВА «ТРАНСПОРТ» 1978

Подвальный Р.Е. и др.

Технология строительства металлических гофрированных водопропускных труб /Подвальный Р.Е., Потапов А.С, Янковский О.А. М.: Транспорт, 1978 - 78 с. с или табл. Список лит. 14 назв. (БАМ - в помощь строителям).

В книге рассмотрена технология строительства металлических гофрированных труб: геодезические и разбивочные работы, устройство основания, монтаж металлических конструкций труб, изготовление и нанесение дополнительного защитного покрытия, засыпка труб, устройство лотка, транспортные и подготовительные работы, а также контроль качества и техника безопасности работ. Приведены сведения о конструкциях труб, организации строительства и технико-экономических показателях этих сооружений. Отражены особенности технологии работ в условиях сурового климата и вечной мерзлоты, характерные для района трассы БАМ.

ОГЛАВЛЕНИЕ

ПРЕДИСЛОВИЕ

1. КОНСТРУКЦИЯ ТРУБ

2. ОРГАНИЗАЦИЯ СТРОИТЕЛЬСТВА ТРУБ

3. ПОДГОТОВИТЕЛЬНЫЕ РАБОТЫ И ТРАНСПОРТИРОВАНИЕ КОНСТРУКЦИЙ

4. ГЕОДЕЗИЧЕСКИЕ И РАЗБИВОЧНЫЕ РАБОТЫ

5. УСТРОЙСТВО ОСНОВАНИЙ И ПРОТИВОФИЛЬТРАЦИОННЫХ ЭКРАНОВ

6. МОНТАЖ МЕТАЛЛИЧЕСКИХ КОНСТРУКЦИЙ ТРУБЫ

7. устройство дополнительного защитного покрытия

8. ЗАСЫПКА ТРУБ

9. УСТРОЙСТВО ЛОТКА

10. КОНТРОЛЬ КАЧЕСТВА ОСНОВНЫХ РАБОТ

11. ТЕХНИКА БЕЗОПАСНОСТИ ВОЗВЕДЕНИЯ ВОДОПРОПУСКНЫХ ТРУБ

12. ТЕХНИКО-ЭКОНОМИЧЕСКИЕ ПОКАЗАТЕЛИ ПОСТРОЙКИ ВОДОПРОПУСКНЫХ ТРУБ

ПРИЛОЖЕНИЕ

СПИСОК ЛИТЕРАТУРЫ

 

ПРЕДИСЛОВИЕ

В настоящее время в соответствии с решениями XXV съезда КПСС во многих районах страны ведется широкое строительство железных и автомобильных дорог. Особое место среди новостроек занимает Байкало-Амурская магистраль, имеющая большое значение для развития народного хозяйства восточных районов СССР. Эта магистраль, а также значительное число других железных и автомобильных дорог строятся в малообжитых районах со сложным рельефом и суровым климатом, в том числе в зоне вечной мерзлоты. Здесь, как нигде, важнейшими вопросами совершенствования строительства являются снижение трудовых затрат, транспортных расходов и стоимости, а также повышение эксплуатационной надежности сооружений.

Один из наиболее массовых видов искусственных сооружений на дорогах - водопропускные трубы, число которых зависит главным образом от рельефа местности, составляет от 0,4 до 1 на 1 км дороги. Только на трассе БАМа будет построено около 2 тыс. труб. Постройка наиболее распространенных в настоящее время их конструкций из бетона и железобетона требует изготовления большого числа элементов разных типоразмеров массой от 9,2 до 12 т с доставкой на значительные расстояния. Между тем существуют трубы, масса и трудоемкость постройки которых в несколько раз меньше. Это металлические гофрированные трубы, конструкции которых в 40-60 раз легче, чем бетонных и железобетонных, а трудозатраты на постройку в 2-4 раза меньше. В то же время расход металла на них практически не превосходит расхода арматуры на железобетонные трубы.

Трубы используют для пропуска водотоков, прокладки коммуникаций, в качестве пешеходных и дорожных тоннелей и др.

Впервые трубы из гофрированного металла применены в России. В 1875 г. на Петербургском металлическом заводе были изготовлены конструкции и построена первая опытная труба. За рубежом такие сооружения стали строить сначала в США с 1896 г., а затем в Африке, Японии, Канаде и др.

В настоящее время известны металлические гофрированные трубы различного поперечного сечения - кругового, овоидального, арочного и др.

В настоящее время у нас в стране изготавливают круглые трубы с кольцевым гофрированием. Диаметр их 1,5-3,0 м, толщина металла 1,5-2,5 мм. Эти трубы прошли проверку в ходе опытного строительства в 1971 - 1974 гг. Разработан в ЦНИИСе проект новых «Технических указаний по проектированию и постройке металлических гофрированных водопропускных труб» (взамен ВСН 176-71).

Для обычных условий Ленгипротрансмост разработал типовой проект металлических гофрированных труб отверстием 2,5-3 м, а для условий БАМа - рабочие чертежи таких труб отверстием 1,5 и 2 м. Оба проекта утверждены МПС и Минтрансстроем СССР.

Основной задачей в области строительства этих труб является повышение качества работ - важнейшего фактора, обеспечивающего долговечность и нормальную эксплуатацию металлических гофрированных труб.

1. КОНСТРУКЦИЯ ТРУБ

Металлические гофрированные водопропускные трубы, применяемые при строительстве железных и автомобильных дорог, подразделяют на трубы обычные и северного исполнения. Трубы северного исполнения сооружают в районах с расчетной температурой воздуха (средней температурой воздуха наиболее холодных суток) минус 40°С и ниже. Такие условия характерны для большей части БАМа. Исключение составляет лишь крайний восточный участок, где расчетная температура воздуха выше минус 40°С.

Основные различия (труб обычных и северного исполнения) касаются марок стали, материалов защитного покрытия и лотка, а также конструкции основания труб.

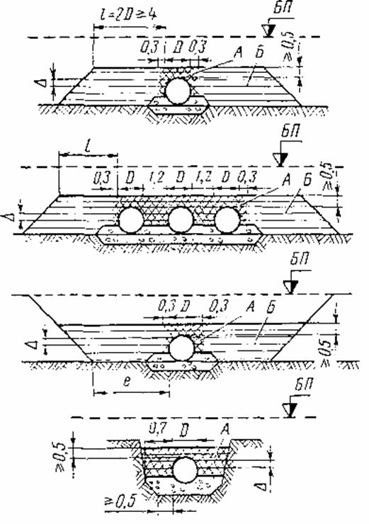
Металлические гофрированные круглые трубы представляют собой гибкие бесфундаментные конструкции диаметром от 1,5 до 3 м. Основная особенность их - совместная работа с окружающим грунтом. Вертикальная нагрузка воспринимается трубой и через ее боковые поверхности передается грунту, расположенному рядом с ней (рис. 1). Если рядом с трубой грунт не будет сопротивляться этому силовому воздействию, то конструкция получит недопустимые деформации с потерей устойчивости и разрушением. Поэтому наряду с выполнением определенных требований по изготовлению и монтажу собственно металлической конструкции должно быть обеспечено высокое качество работ устройства основания и особенно засыпки трубы.

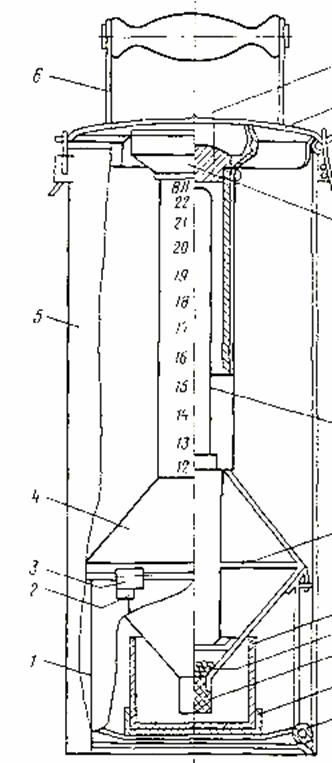
Рис. 1. Схема конструкции труб (разрезы):

1 - металлическая гофрированная труба с двусторонним цинковым покрытием; 2 - дополнительное защитное покрытие; 3 - асфальтобетонный лоток; 4 - грунтовая призма; 5 - гравийно-песчаная подушка; 6 - противофильтрационный экран; 7 - укрепление, откосов; 8 - блок-упор; 9 - укрепление русла. Стрелками показано действие нагрузок на трубу в сечении А-А.

Металлическая гофрированная труба состоит из элементов заводского изготовления - гофрированных листов, изогнутых по радиусу ее поперечного сечения. Элементы имеют гофры высотой 32,5 мм с гребнями, расположенными на расстоянии 130 мм друг от друга. Полезные размеры листов по окружности 1600 мм, а вдоль трубы 910 мм. Элементы объединяют в звенья замкнутого кругового сечения. Количество элементов на звено, их толщина и масса приведены в табл. 1.

Стыки элементов - продольные в звеньях и поперечные между звеньями - выполняют внахлестку на болтах диаметром 16 мм со специальными шайбами. В продольных стыках принято двухрядное расположение болтов в шахматном порядке. В каждом стыке в пределах одного звена располагается по 13 болтов. Важная особенность этих стыков - размещение болтов второго ряда от кромки листа, накладываемого изнутри трубы на выпуклостях гофров (при взгляде изнутри трубы). В поперечных стыках расположение болтов однорядное с шагом по окружности 200 мм. Отверстия под болты продольных стыков приняты диаметром 19 мм, а поперечных - 21 мм. Для труб северного исполнения, в том числе для БАМа, гофрированные элементы изготавливают из низколегированной стали марки 09Г2Д, а болты, гайки и шайбы из сталей марок 35Х и 38ХА. Допускается также применение болтов, гаек и шайб из сталей марок 20, 30 или 35, а шайб, кроме того, из стали марки Ст.3. Для гофрированных элементов обычных труб применяют также сталь марки 15 сп.

Большей частью металлические трубы сооружают без специальных оголовков.

Таблица 1

Диаметр трубы, м

Полезная длина элемента, мм

1600

2400 (проект)

Толщина, мм

Масса, кг

Количество элементов на звено

Толщина, мм

Масса, кг

Количество элементов на звено

1

1,5

23,5

2

-

-

-

1

2

31,2

2

-

-

-

1,5

1,5

23,5

3

1,5

34,1

2

1,5

2

31,2

3

2

45,5

2

1,5

2,5

39

3

2,5

56,8

2

2 (2,3)

2

31,2

4

2

45,5

3

2 (2,3)

2,5

39

4

2,5

56,8

3

3

2,5

39

6

2,5

56,8

4

Примечания.

1. В условиях вечной мерзлоты трубы в северном исполнении должны иметь толщину стенки не меньше 2,5 мм.

2. Трубы, монтируемые из четырех листов полезной длины 1600 мм, имеют диаметр 2 м, а из трех листов по 2400 мм 2,3 м (показано в скобках). Производство труб из элементов длиной 2,4 м не освоено заводом Минтрансстроя.

Торцы труб срезают или вертикально, или параллельно откосу насыпи. На вертикальные торцы труб устанавливают окаймляющие уголки. Иногда предусматривают устройство раструбных оголовков из унифицированных сборных железобетонных элементов.

Для защиты от коррозии на металлические гофрированные элементы, болты, гайки и шайбы наносят в заводских условиях слой цинка толщиной 80 мкм. Кроме того, их дополнительно покрывают специальными битумными мастиками или полимерными эмалями. В зависимости от степени агрессивности водно-грунтовой среды дополнительное покрытие наносят с двух сторон или только по наружной поверхности труб и соответственно назначают количество и толщину слоев этого защитного покрытия. Более надежно и менее трудоемко нанесение (обычно на заводах) дополнительного защитного покрытия (марок Э-1 и Э-2) из полимерной эмали. Для труб северного исполнения применяют только эмали.

Для предотвращения истирания защитного покрытия и основного металла внутри труб по нижней части поверхности устраивают бетонные или асфальтобетонные лотки толщиной 5-6 см над впадинами гофров или не менее 2 см над гребнями. В трубах северного исполнения разрешается устраивать лотки только из асфальтобетона. С учетом грунтовых условий металлическую трубу обычно укладывают на подушку из дренирующих грунтов-песков средней крупности, а также крупных и гравелистых, щебенисто-галечниковых и дресвяно-гравийных грунтов, не содержащих частиц размером больше 50 мм. Наименьшая толщина подушки - 0,4 м (размеры подушки указаны на рабочем чертеже трубы). Трубу можно укладывать непосредственно на естественное основание, если оно сложено из мелкого песка или из грунтов, рекомендуемых в качестве материала подушки. При укладке трубы в тело насыпи тип основания принимают исходя из тех же условий. Подушку устраивают, если насыпь под трубой отсыпана из скальных и крупнообломочных грунтов с обломками крупнее 50 мм, а также из глинистых грунтов или пылеватых песков.

Чтобы ни водоток, ни подрусловые воды не могли вынести мелкие частицы грунта из-под трубы, у ее концевых участков устраивают так называемые противофильтрационные экраны, т.е. водонепроницаемые перемычки из глинистого грунта, цементогрунта, железобетона или другого материала (размеры и конструкции экранов указывают в проекте). Обычно экраны из железобетона или другого жесткого материала делают сборными из элементов, устанавливаемых непосредственно перед концевыми участками трубы. Экраны из глинистого грунта, цементогрунта и т.п. укладывают под тремя концевыми звеньями.

Важный элемент трубы - ее обсыпка. Для правильной работы конструкции в грунте нужно соблюдать ряд требований:

обсыпать трубу грунтами, пригодными для устройства подушки, т.е. песками средней крупности, крупными и гравелистыми, щебенисто-галечниковыми и дресвяно-гравийными грунтами, не содержащими частиц размером больше 50 мм, а также мелкими песками, которые содержат частиц размером меньше 0,1 мм не больше 10 %, в том числе глинистых (меньше 0,005 мм) не больше 2 %;

не применять пылеватые пески и глинистые грунты;

обеспечивать коэффициент уплотнения грунта обсыпки не меньше 0,95.

Эти требования относятся к грунту в пределах призм, размеры которых зависят от особенностей постройки труб. Ширину призмы 4 поверху (см. рис. 1,а) для труб, сооружаемых до возведения насыпи, и понизу для труб, постройка которых осуществляется в прогалах насыпи, принимают не меньше 4 м в каждую сторону от стенок трубы (см. рис. 1,б). Откосы грунтовой призмы должны быть не круче 1:1. Если труба строится в старой устоявшейся насыпи или с заглублением в грунт основания, ее укладывают в траншею шириной понизу не меньше диаметра труб плюс 1,4 м (см. рис. 1, в). Крутизну откосов траншеи принимают с учетом требований техники безопасности. Высота обсыпки во всех случаях должна быть не меньше 0,5 м над верхом трубы. За пределами этих призм к отсыпке насыпи предъявляют требования, предусмотренные для земляного полотна.

Предельная высота насыпи ограничивается. Для типовых труб ее величина установлена в зависимости от диаметра трубы, толщины гофрированных элементов и деформативности грунта засыпки отдельно для труб под железными и автомобильными дорогами (табл. 2). Принятая для типовых конструкций деформативность грунта характеризуется величиной модуля деформации, определяемого по данным компрессионных испытаний.

Для труб индивидуальной конструкции предельная высота насыпи может быть увеличена. Значение модуля деформации грунта засыпки при этом должно быть не меньше 500 кгс/см2, а коэффициента уплотнения грунта - не меньше 0,98. Засыпка труб в этом случае должна выполняться при особо тщательном контроле.

Таблица 2

Диаметр трубы, м

Толщина листа, мм

Предельная высота насыпи для дороги, м

железной

автомобильной

1,5

1,5

 

6,3

1,5

2

5,2

6,9

1,5

2,5

6

7,5

2 (2,3)

2

3,3

5,9

2 (2,3)

2,5

3,8

6,1

3

2,5

-

6,2

Примечание.

Предельная высота насыпи дана при модуле деформации грунта засыпки не менее 200 кгс/см².

Для труб северного исполнения при наличии в основании сильно сжимаемых талых или оттаивающих мерзлых грунтов величину предельных высот насыпей корректируют в сторону уменьшения. Можно также принимать конструктивные меры, направленные на снижение давления на трубу. Одной из таких мер, может быть, устройство уширенной подушки, конструкцию и размеры которой определяют расчетом. Русло водотока и откосы насыпи для всех типов труб укрепляют сборными бетонными плитами, монолитным бетоном, мощением из камня (рис. 2).

Рис. 2. Двухочковая труба на железной дороге (низовая сторона)

Характерные особенности трассы БАМа - значительная протяженность косогорных участков и широкое распространение вечной мерзлоты.

Металлические гофрированные трубы на косогорах укладывают по одной из схем:

Рис. 3. Схемы расположения труб на косогорах

1) на естественное основание с уклоном, близким уклону лога (рис. 3, а);

2) со срезкой грунта и уположением основания под трубу (рис. 3,б);

3) в теле насыпи выше подошвы ее (рис. 3, в).

Рис. 4. Укрепление русла и откосов насыпи монолитным бетоном у входа в двухочковую трубу

Трубы по первой схеме применяют при небольших уклонах лога, по второй - при любой крутизне косогора, главным образом при малых высотах насыпи (на железных дорогах в опытном порядке). Входную часть труб по второй схеме оформляют в виде чашеобразного углубления. В качестве основной рекомендуется третья схема (на железных дорогах в опытном порядке). В этом случае крутизна косогора должна быть не больше 1:3. Выходную часть трубы удлиняют и выводят на берму, размеры которой определяют расчетом (указывают в рабочих чертежах). Для всех схем косогорных труб больше, чем обычно, уделяют внимание укреплению русла (рис. 4). На участках вечной мерзлоты металлические гофрированные трубы устраивают с учетом категории грунтов основания земляного полотна по степени относительного сжатия вечномерзлого грунта при оттаивании и характеристик грунтов деятельного слоя.

Конструкцию труб на вечномерзлых грунтах I категории просадочности принимают по обычным нормам.

На вечномерзлых грунтах II категории просадочности принимают конструкцию трубы по обычным нормам лишь при наличии низкотемпературных грунтов. С учетом мощности деятельного слоя определяют расчетную величину осадки и строительный подъем при условии, что суммарная величина осадки оттаявших грунтов основания может быть компенсирована строительным подъемом.

На грунтах высокотемпературных II категории просадочности и на высоко- и низкотемпературных III и IV категорий просадочности принимают специальные индивидуальные конструкции труб, обосновывая технико-экономическими расчетами. При этом строительство железнодорожных труб допускается только в опытном порядке.

Металлические гофрированные трубы пригодны для строительства в сейсмических районах, наблюдающихся по ряду участков БАМа. Это обусловлено как материалом конструкции (гофрированная сталь), так и отсутствием специальных оголовков - элементов, наиболее подверженных повреждениям при землетрясениях. В случае устройства быстротоков, колодцев и других подобных конструкций их выполняют из железобетона. Важное условие устойчивости труб в период землетрясения - обеспечение сейсмостойкости насыпи.

2. ОРГАНИЗАЦИЯ СТРОИТЕЛЬСТВА ТРУБ

Металлические гофрированные трубы строят в соответствии с общим проектом организации работ по постройке участка дороги и сооружают их, как правило, с опережением или одновременно с отсыпкой земляного полотна. В некоторых случаях трубы можно возводить после устройства насыпи, для чего в ней должны быть оставлены прогалы.

Нормативные документы рекомендуют строить трубы комплексным или поточно-расчлененным способом. Работы по сооружению металлических гофрированных труб целесообразно выполнять специализированными бригадами, в состав которых входят монтажники, машинисты кранов, бульдозера и других машин, землекопы и дорожные рабочие. Такие бригады подчиняются мастеру, который тоже специализируется на постройке труб.

Все рабочие бригады, мастер, инженерно-технические работники до начала постройки гофрированных труб должны пройти курс обучения, включающий изучение конструкций трубы и технологии производства работ. Ими должны быть изучены основные нормативные документы по проектированию и постройке труб, технологические карты, правила техники безопасности и охраны труда. При выполнении работ всем исполнителям необходимо руководствоваться рабочими чертежами, нормативными документами, технологическими рекомендациями, разработанными ЦНИИСом, и технологическими картами.

Специализированная бригада должна быть оснащена необходимыми машинами, механизмами и инструментом.

Примерный перечень и количество основных машин, механизмов и инструмента для оснащения организации, строящей металлические гофрированные трубы:

Экскаватор с ковшом емкостью 0,25 м3                                     1

Бульдозер                                                                                                  1

Автокран грузоподъемностью 5т                                                            1

Автомобили-самосвалы                                                                          по объему работ

Автомобили бортовые                                                                             то же

Прицепы для транспортировки секций труб                                        »

Грунтоуплотняющая машина для стесненных условий или

каток на пневмошинах                                                                             1

Передвижная электростанция мощностью 9-12 кВт                            1

Компрессор производительностью 6-9 м3/мин                                                1

Насос для водоотлива                                                                              1

Бетономешалка                                                                                         1

Электротрамбовка                                                                                    6

Плотномер-влагомер Н.П. Ковалева                                                      2

Гайковерты электрические или пневматические                                 3

Комплект ручных инструментов для монтажа труб                             2

Передвижная битумная установка                                                          1

Окрасочный агрегат для нанесения грунтовки                                     1

Площадочный вибратор                                                                          2

Рис. 5. Пример графика работ по постройке трубы длиной 26,5 м

Над линией графика дано количество рабочих, занятых на операции, а под линией - продолжительность операции в часах. Пунктиром показана работа механизмов

Специализированная бригада выполняет весь цикл работ по устройству трубы, включая ее обсыпку. Одну трубу длиной 25-30 м она строит в среднем за 5-8 смен. Строительство ведется по графику (рис. 5), который содержит объемы, трудоемкость и последовательность выполнения основных видов работ, квалификацию и количество рабочих в бригаде.

3. ПОДГОТОВИТЕЛЬНЫЕ РАБОТЫ И ТРАНСПОРТИРОВАНИЕ КОНСТРУКЦИЙ

Подготовительные работы по строительству металлических гофрированных труб включают: ознакомление с рабочими чертежами, осмотр мест расположения труб и подъездов к ним; геодезические и разбивочные работы, планировку площадок и устройство подъездов, а также предварительную сборку секций труб на базах строительства.

Вся техническая документация, включая рабочие чертежи, сметно-финансовые расчеты, ведомости карьеров и другая, должна быть получена заблаговременно. На основе изучения проектных материалов, а также осмотра в натуре участка трассы и мест расположения труб разрабатывают проект организации строительства (обычно для группы сооружений). В нем отражают: устройство подъездов к трубам, объемы и технологию производства работ, потребные машины и механизмы, пути доставки материалов и транспортные средства, а также трудозатраты на все виды работ, составы бригад и способы производства работ.

До начала основных работ производят так называемые геодезические и разбивочные, которые заключаются в закреплении на месте ясно видимых ориентиров, позволяющих точно установить местоположение и размеры трубы и ее элементов (см. п. 4)

Рис. 6. Перевозка секций труб автомобилем-лесовозом

Работы по планировке строительной площадки и устройству подъездов выполняют с учетом местных условий. При этом учитывают необходимость беспрепятственного выполнения всех видов работ по постройке трубы - рытья котлована, монтажа и засыпки трубы в пределах грунтовой призмы и др. Подъезды должны иметь ширину с учетом проезда механизмов с наибольшими габаритами (обычно тяжелых катков).

Транспортирование конструкции труб в зависимости от способа их монтажа сводится к перевозке или элементов, получаемых с завода, или секций, собранных из тех же элементов. Строительные организации получают с заводов-изготовителей гофрированные элементы труб в пакетах массой около 500 кг, болты с гайками и отдельно шайбы в ящиках массой около 50 кг.

Одновременно с гофрированными элементами и метизами должен быть получен заводской паспорт.

Все погрузочно-разгрузочные операции с пакетами выполняют с помощью кранов. Строповку производят пеньковыми канатами или обычными стальными тросами, но с прокладками из брезента с тем, чтобы не повредить цинковое покрытие. Пакеты на складах устанавливают вертикально на подкладки из брусьев или досок. Перевозят элементы труб на строительную площадку или на базу любым видом транспорта (рис. 6).

Нельзя допускать строповку крюками за отверстия в элементах нельзя, сбрасывать пакеты, так как при этом, кроме повреждения оцинковки, может погнуться и сам элемент. Правка погнутостей также зачастую приводит к повреждению защитного покрытия.

Бережное отношение к элементам конструкции трубы на всех этапах строительства - важнейшее условие обеспечения требуемой долговечности сооружений.

Один из распространенных способов постройки труб - предварительная сборка секций длиной от 4-5 до 10-12 м на базах, расположенных обычно вблизи железной дороги, и перевозка их к месту укладки.

Для транспортирования длинномерных секций применяют автомобили, в том числе лесовозы, тракторные сани и др. Во избежание повреждения цинкового покрытия секции стропуют пеньковым канатом или стальным тросом, но с прокладками из брезента или войлока. Секции на автомобиле нужно прочно закреплять, укладывая между ними прокладки (рис. 7). Погружают секции кранами, сбрасывать их с автомобилей запрещается.

Складировать секции лучше всего в один ряд. Это облегчает осмотр и выбор секции для очередной транспортировки. Когда места недостаточно, допускается укладывать секции в два-три ряда.

Рис 7. Расположение секций длиной 4 и 12 м на автомобилях

Между рядами нужно проложить брусья или доски, располагаемые поперек секций.

Другие элементы труб, например сборные железобетонные конструкции противофильтрационных экранов и оголовков, перевозят обычно на автомобилях, выполняя погрузочно-разгрузочные работы с помощью кранов.

4. ГЕОДЕЗИЧЕСКИЕ И РАЗБИВОЧНЫЕ РАБОТЫ

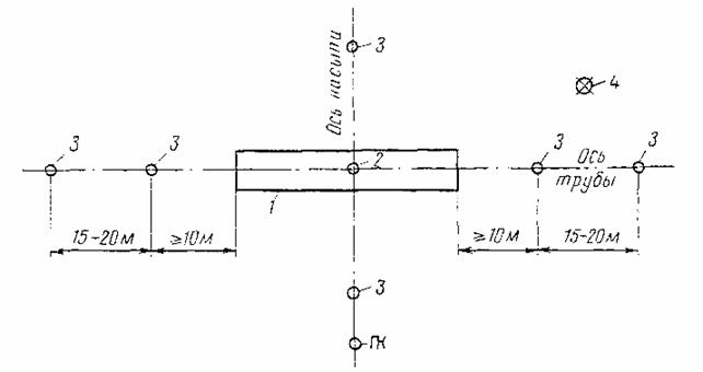
Геодезические и разбивочные работы должны обеспечивать положение трубы в плане и профиле в соответствии с проектной документацией. Проектная организация до начала строительства закрепляет в натуре и передает строителям ось трассы и точку ее пересечения с осью трубы, а также грунтовые реперы. Пересечение осей трубы и насыпи закрепляют точкой в виде колышка диаметром 5-6 см и сторожком диаметром 8-10 см с соответствующей надписью (рис. 8). Геодезические работы, выполняемые в процессе строительства, включают:

разбивку сооружения в плане, в том числе главные оси (ось трассы и ось трубы), контуры котлована и русло;

высотную разбивку с определением отметок дна котлована и верха подушки с учетом строительного подъема и контроля за их соблюдением;

нивелировку продольного профиля лотка трубы;

измерение поперечных сечений трубы.

При разбивке закрепление на месте ясно видимых ориентиров, по которым можно точно установить местоположение трубы и ее элементов, производят с помощью выносных кольев диаметром 8-10 см. Эти колья забивают по двум главным осям - по оси насыпи и по оси трубы, а также по концам трубы, по углам приемного колодца или других конструктивных элементов, непосредственно связанных с трубой. При разбивке трубы в плане по главным осям (створам) забивают по два-четыре кола (см. рис. 8). В зависимости от глубины котлована, рельефа и т.д. выбирают расстояние между кольями по обеим сторонам от трубы так, чтобы они не были нарушены во время земляных и других работ. Производя разбивку сооружения в плане, надо строго выдерживать положение створа по оси насыпи и творчески подходить к разбивке продольной оси трубы. При обнаружении каких-либо неблагоприятных грунтовых или других факторов на месте расположения трубы ее нужно сместить в ту или иную сторону. Лучшим будет смещение, при котором высота засыпки уменьшается, а труба выносится на борт лога с более благоприятными грунтовыми условиями. Все отступления от проекта согласовывают с заказчиком и проектной организацией с внесением соответствующих изменений в рабочие чертежи.

Рис. 8. Схема к разбивке трубы:

1 - контур котлована; 2 - точка и сторожок; 3 - выносные колья; 4 - репер

Так как во многих случаях, особенно для косогорных труб, середина трубы не совпадает с осью насыпи или осью пути, то на собранной трубе надо отметить сечение, которое должно быть расположено под осью насыпи. Укладывая трубу на место, нужно следить за совмещением этого сечения со створом, закрепленным по оси насыпи или пути.

Определение отметок дна котлована, верха подушки и других элементов (высотная разбивка), а также нивелировку лотка трубы производят с привязкой к реперу, расположенному вблизи трубы. Если же здесь расположен репер, заложенный при разбивке трассы, его надо использовать. В соответствии с нормативными документами геодезические наблюдения нужно вести не только в период строительства трубы, но и после его завершения вплоть до сдачи сооружения в эксплуатацию, а иногда, например, в условиях вечной мерзлоты, и более длительное время. При таких долговременных наблюдениях необходимо устраивать реперы, устойчивые против морозного пучения.

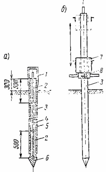
Наиболее распространены закапываемые в грунт реперы, состоящие из металлической трубы или деревянного столба с уширением (анкером) в нижней части. Уширение оформляется в виде бетонного блока, металлической плиты или деревянной крестовины. Устройство таких реперов требует большого объема ручных земляных работ. Менее трудоемко устройство забивных или завинчиваемых в грунт реперов. Достаточно просты в изготовлении и установке реперы конструкции СибЦНИИСа.

Забивной репер (рис. 9, а) рекомендуется для применения в относительно плотных глинистых и песчаных грунтах. Он состоит из металлического стержня диаметром 16-22 мм с приваренным к нижнему его концу конусным наконечником и защитной трубы с крышкой. Во внутреннее пространство трубы засыпают сухой песок, а для предотвращения попадания влаги сверху и снизу заливают солидол. Стабильное положение стержня обеспечивается заанкериванием его в грунте за счет более широкого наконечника, чем защитная труба. Возможное выпучивание грунта рядом с репером приводит лишь к перемещению защитной трубы, не связанной со стержнем. Репер забивают в грунт (на глубину промерзания + 1 м) с помощью падающего груза массой 30-35 кг (рис. 9, б). Удары наносят по жимку, закрепляемому на защитной трубе и переставляемому по мере ее погружения.

Винтовой репер (рис. 10) рекомендуется для применения в слабых грунтах. Он состоит из стержня диаметром 16-22 мм, прикрепленного к анкерующей трубе со съемным винтовым наконечником, и защитной трубы с крышкой. Внутреннее пространство защитной трубы заполнено смесью солидола с графитом. Особенность конструкции - более глубокое (на 2,5 м ниже глубины промерзания) заанкеривание и значительный диаметр винтового наконечника, обычно равный трем диаметрам анкерующей трубы. Этот же репер можно применять и для вечномерзлых грунтов, устанавливая его в предварительно пробуренные скважины. Пространство между стенками анкерующей трубы и скважины заполняют местным грунтом. Конструкция репера позволяет менять винтовой наконечник на конусный и использовать репер как забивной.

Высотная разбивка - это определение отметок поверхности в месте расположения трубы и глубины срезки грунта или его подсыпки под трубу.

Земляные работы по рытью котлованов и устройству подушки выполняют под инструментальным контролем. Мастер, ответственный за работу, должен с помощью нивелира проверить фактические отметки дна котлована и верха подушки. Аналогично контролируют высотное положение лотка. Нивелирование выполняют по точкам, расположенным на внутренней поверхности трубы в нижнем или верхнем концах вертикальных диаметров.

Рис. 9. Конструкция забивного грунтового репера и схема его погружения:

1 - крышка; 2 - солидол; 3 - защитная труба; 4 - металлический стержень; 5 - сухой песок; 6 - конусный наконечник; 7 - падающий груз; 8 - жимок

Рис. 10. Винтовой грунтовый репер:

1 - металлический стержень; 2 - анкерующая труба; 3 - съемный винтовой наконечник; 4 - смесь солидола с графитом; 5 - защитная труба; 6 - крышка

Наименьшее число точек - семь (по концам, в четвертях, под бровками и осью насыпи). При нивелировании по верхним концам вертикальных диаметров отметки вычисляют с учетом:

1) возможного изменения поперечного сечения трубы во времени;

2) придания продольному профилю трубы, а следовательно, профилю песчано-гравийной подушки или основания очертаний кривой строительного подъема (по рабочему чертежу трубы).

Поперечные сечения измеряют замером двух-четырех диаметров, в том числе обязательно вертикального и горизонтального. Места для измерения назначают те же, что и при нивелировании продольного профиля. Одновременно измеряют расстояния между сечениями, а также полную длину трубы.

Места нивелирования и замеров поперечных сечений закрепляют краской.

Нивелирование продольного профиля и измерение поперечных сечений труб выполняют перед их засыпкой, после засыпки до верха и после отсыпки насыпи до проектных отметок. Периодичность и продолжительность

дальнейших наблюдений устанавливают в зависимости от состояния трубы, но не реже 2 раз в год (летом и зимой) до сдачи трубы в эксплуатацию.

Разбивочные работы производят при помощи мерной ленты, теодолита и нивелира. Мерную ленту используют для промеров расстояний и разбивки прямого угла между осью насыпи и трубы. Теодолит применяют для разбивки осей в плане при косом расположении трубы, а нивелир - для высотной разбивки. Кроме того, на месте работ нужны нивелировочная рейка, три-четыре вешки, колья, топор, лопата и т.д.

Рис. 11. Схема установки телескопической рейки:

а - при нивелировании продольного профиля трубы; б - при замере ее диаметров;

1 - телескопическая рейка: 2 - нивелир; 3 - грунтовой репер; 4 - движок-указатель; ГВ - горизонт визирования

При нивелировании трубы удобно пользоваться телескопической рейкой с движком-указателем (рис. 11), отсчеты по которой берет реечник. Эта же рейка может быть использована для измерения диаметров трубы.

Перед выходом на место работ необходимо уточнить расположение и отметку ближайшего репера, взять с собой рабочий чертеж трубы.

В зимнее время разбивку сооружений необходимо выполнять до начала заморозков. Оси труб лучше вынести с помощью вешек или закрепить на деревьях, столбах и других предметах, возвышающихся над снегом.

5. УСТРОЙСТВО ОСНОВАНИЙ И ПРОТИВОФИЛЬТРАЦИОННЫХ ЭКРАНОВ

Устройство оснований и противофильтрационных экранов относится к работам нулевого цикла, в общем случае включающим рытье котлована, отсыпку и уплотнение песчано-гравийной подушки, устройство противофильтрационных экранов, нижней части приемного колодца или других конструктивных элементов.

При укладке трубы в насыпь к работам нулевого цикла может быть отнесена также отсыпка нижней части до отметок лотка.

Объемы земляных работ по разработке котлованов при строительстве металлических гофрированных труб в обычных условиях, как правило, незначительны, особенно если основание сложено песчаными или другими грунтами, при которых устройство специальной подушки не предусматривается. Однако в ряде случаев, достаточно распространенных на многих участках БАМа, объемы этих работ весьма существенны. Это относится, например, к трубам на косогорах, сооружаемым с заглублением в основание (см. рис. 3,б), трубам на слабых грунтах, если предусмотрена их вырезка.

Котлованы независимо от их объемов рекомендуется разрабатывать механизировано. Наиболее широко для этой цели применяют бульдозеры. На ряде участков БАМа успешно используют тяжелые бульдозеры мощностью 300-500 л. с, которыми разрабатывают частично оттаявшие грунты с включением островков мерзлоты. Находит также применение, особенно при больших объемах работ, разработка котлованов с помощью экскаваторов. Скальные, а также мерзлые грунты разрабатывают взрывным способом с зачисткой дна котлована.

Размеры котлованов и крутизну откосов их стенок принимают в соответствии с рабочими чертежами. Разрабатываемый грунт перемещают за пределы грунтовой призмы. Отвалы грунта разравнивают, не допуская загромождения русла и образования пазух, могущих привести к застоям воды. Разработку котлована начинают, как правило, со стороны выходного оголовка, постоянно обеспечивая уклон дна котлована и выпуск из него воды в низовую сторону. При необходимости для отвода поверхностных вод за пределами котлована устраивают отводящие канавы или обвалование.

Сразу же после окончания рытья котлована, включая зачистку дна, производят его освидетельствование и переходят к устройству подушки, экранов и других элементов.

Подушку устраивают в сухом котловане. Запрещается материал подушки укладывать в котлован, заполненный водой.

Подушку обычно устраивают в два этапа. Вначале отсыпают нижнюю часть до уровня лотка трубы (рис. 12, а), придавая ее поверхности очертание по кривой строительного подъема. Песчано-гравийную смесь для подушки завозят на автомобилях непосредственно в котлован или на его бровку с последующим перемещением в котлован бульдозером. В котловане смесь разравнивают, укладывая ее послойно с уплотнением.

Рис. 12. Конструкция основания гофрированной трубы:

а - с устройством подушки за два этапа; б - с предварительным устройством ложа; в - с отсыпкой нулевого слоя и устройством ложа; 1 - часть подушки, отсыпанная до укладки трубы; 2 - то же, после укладки трубы; 3 - нулевой слой

Для уплотнения могут служить катки, другие грунтоуплотняющие машины, а также груженые автомобили-самосвалы. Толщину слоев и число проходов по одному следу принимают в соответствии с характеристиками машины.

После укладки трубы устраивают верхнюю часть подушки, расположенную под нижними четвертями трубы (см. рис. 12, а). Здесь требуется тщательное уплотнение грунта. Для этого рекомендуется использовать электротрамбовки ИЭ-4502 и Р1Э-4505. Можно также применять шпалоподбойки со специальным рабочим органом и ручной инструмент. При выполнении работ надо тщательно заполнять грунтом впадины гофров трубы и уплотнять грунт непосредственно у ее стенок. Грунт уплотняют или электротрамбовками, располагая инструмент на расстоянии 5 см от гребней гофров, или штыковкой - во впадинах гофров.

Может быть применена и другая технология, при которой вначале подушку отсыпают на полный профиль, а затем удаляют грунт из верхней части подушки, создавая по шаблону цилиндрическое ложе под трубу (рис. 12, б). И в этом случае надо обеспечивать подушке строительный подъем. После установки трубы в проектное положение доуплотняют грунт в верхней части подушки, особенно во впадинах гофров и в непосредственной близости от трубы. Можно также отсыпать подушку только до уровня лотка трубы, а затем устраивать нижнюю часть грунтовой призмы высотой 40-60 см, т.е. так называемый нулевой слой (рис. 12, в). Грунтовое ложе под трубу вырезают после отсыпки и уплотнения нулевого слоя.

При производстве работ в зимнее время для устройства подушки разрешается применять только талый (сухой, несмерзшийся) грунт. Отсыпать и уплотнять надо с такой интенсивностью, чтобы не допустить смерзания грунта в рыхлом состоянии.

Противофильтрационные экраны из глинощебня и цементогрунта устраивают одновременно с подушкой.

Устройство экранов из глинощебня включает: очистку и выравнивание дна котлована и перемешивание глинистого грунта со щебнем при необходимости с увлажнением; отсыпку готовой смеси слоями толщиной до 20 см; послойное уплотнение смеси трамбованием или укаткой; вырезку ложа под трубу по шаблону. Для типовых гофрированных труб предусмотрено также устройство экранов путем послойного втрамбовывания щебня в глинистый грунт. Состав глинощебня от 65 до 85 % щебня и соответственно от 35 до 15 % глинистого грунта. Количество добавляемой воды определяется в зависимости от начальной влажности, вида применяемого грунта и технологии производства работ. При устройстве экранов в зимнее время пользуются только талыми грунтами, не допуская их замерзания в процессе производства работ.

Технология устройства экранов из цементогрунта такая же, как и из глинощебня. Работы рекомендуется выполнять при положительных температурах. Цементогрунт приготавливают, перемешивая грунт с цементом. Для этой цели могут быть использованы грунты, применяемые для подушки, а также мелкие пески и глинистые грунты - супеси, суглинки и глины с влажностью на границе текучести не больше 55 %. Глинистые грунты до введения в них цемента должны быть размельчены так, чтобы количество комков крупнее 5 мм не превышало четвертой части всего объема грунта, в том числе комков крупнее 10 мм не больше 10 %. Влажность грунта должна быть близка к оптимальной. Количество цемента составляет 8-14 % от массы смеси (большие значения относятся к глинистым грунтам).

При использовании для приготовления цементогрунта кислых грунтов, имеющих показатель концентрации водородных ионов (общекислотной агрессии) меньше 7, засоленных или переувлажненных грунтов надо предварительно вводить добавки гашеной или молотой негашеной извести в определенном количестве (табл. 3).

Добавки извести применяют также для улучшения морозо- и водоустойчивости цементогрунта. Количество добавок в этом случае составляет для песков и супесей 0,5-2 %, для суглинков и глин - 1,5-4 % от массы грунта.

Приготовление смеси по возможности надо механизировать. Для этой цели можно использовать бетономешалки.

Таблица 3

Грунт

Количество добавок извести в грунт, % от массы грунта

Песок

Супесь

Суглинок

Глина

Кислый негумусированный

0,3-1

0,3-1

1-4

1-4

Гумусированный кислый и нейтральный

0,5-1,5

0,5-1,5

1,5-4

1,5-4

Засоленный

0,3-1

0,3-1

1-4

1-4

Переувлажненный

0,5-2,5

0,5-2,5

2-4

-

В определенных условиях могут оказаться целесообразными автобетономешалки с механизированной загрузкой составляющих на базах строительства и последующей развозкой готовой смеси к местам постройки труб. Укладку и уплотнение цементогрунта нужно заканчивать не позднее чем через 3 ч, а при пониженных положительных температурах не позднее чем через 5 ч после увлажнения смеси.

Сборные железобетонные экраны надо монтировать тоже до укладки трубы. Лучше если котлованы под элементы экрана отрывают одновременно с общим котлованом под трубу. После установки элементов экранов засыпают пазухи и завершают устройство подушки вдоль всей трубы. При этом надо обратить внимание на тщательность замера расстояния между экранами, добиваясь точного соблюдения проектных размеров (допустимы отклонения лишь в большую сторону).

В районах вечной мерзлоты должно быть уделено особое внимание технологии работ по устройству оснований. В необходимых случаях нужно принимать меры к тому, чтобы не нарушать естественное состояние мерзлых грунтов. В минимальной степени должны изменяться природные условия строительной площадки на расстоянии не меньше 20 м от трубы. Здесь надо максимально сохранить моховой и растительный покров, исключить всякие срезки грунта, кроме предусмотренных проектом. Нужно обеспечивать беспрепятственный пропуск поверхностных вод, не допуская их скопления в естественных впадинах и углублениях. Разработку котлованов можно начинать только после выполнения подготовительных работ, обеспечивающих непрерывность всего комплекса.

По окончании устройства основания, т.е. подушки и противофильтрационных экранов, составляют акт на скрытые работы и переходят к укладке трубы в проектное положение.

6. МОНТАЖ МЕТАЛЛИЧЕСКИХ КОНСТРУКЦИЙ ТРУБЫ

Монтируя металлическую гофрированную трубу из отдельных элементов (рис. 13), изготовленных на заводе, их объединяют с помощью болтов и шайб. Шайбы специальные - одна плосковыпуклая, другая плосковогнутая. Устанавливают шайбы так, чтобы их криволинейные поверхности были обращены к элементам труб, а плоские к головкам болтов или к гайкам. Соответственно плосковыпуклые шайбы размещают во впадинах гофров, а плосковогнутые на гребнях. Правильное положение шайб имеет важное значение для обеспечения должного качества сооружения. При установке нельзя допускать перекосов, а тем более перевернутого положения шайб. Они должны плотно прилегать к стыкуемым элементам. Шайбы плоские, круглые или квадратные не следует применять для стыковки гофрированных элементов.

До начала монтажа рекомендуется проверить маркировку гофрированных элементов. Каждый стандартный элемент должен иметь марку с указанием толщины листа, марки стали, диаметра гофрированной трубы. Представитель ОТК завода-изготовителя маркирует элементы несмываемой краской.

Рис. 13. Заводские элементы металлических труб:

1 - гофрированный элемент трубы; 2 - болт M16 с гайкой; 3 - плосковогнутая шайба; 4 - плосковыпуклая шайба

С целью облегчения правильной сборки звеньев марку наносят на внутренней стороне элемента возле отверстия во втором ряду на первой выпуклости гофра. В правильно собранных: звене, секции и трубе все марки элементов должны быть видны.

Одновременно с проверкой маркировки определяют состояние всех заводских элементов и отбраковывают негодные. Основные показатели для отбраковки - пробоины в элементах, отслоение цинкового покрытия и трещины в нем, наплывы цинка, не покрытые цинком места, а также отклонения фактических размеров элементов от проектных.

Допускаемые отклонения размеров гофрированного элемента:

Длина листа                                                                                                                      ±2 мм

Расстояние между центрами отверстий (образованных по шаблону с втулками):

смежных                                                                                                                       ±0,7 »

крайних в ряду                                                                                                             ±1 »

Диаметры отверстий:

до 17 мм                                                                                                                        +1; 0 »

больше 17 мм                                                                                                               +1,5; 0 »

Отклонение радиуса гибки элементов, т.е. просвет между шаблоном длиной по дуге 1,5 м и поверхностью свальцованного листа:

в средней части                                                                                                           2 »

по концевым участкам                                                                                                6 »

Небольшие погнутости отдельных элементов, чаще всего загибы углов, разрешается выправлять молотками. Во избежание повреждения цинкового покрытия удары надо наносить через деревянные прокладки. Такие же прокладки нужно укладывать под выпрямляемую часть элемента.

В элементах, изготовленных на заводе, с дополнительным защитным покрытием из эмали надо проверить его качество, а также сплошности покрытия и отсутствие механических повреждений.

Рис. 14. Инструмент для монтажа труб:

а - ключи; б - ломики; е - крючок; г - оправка

Перед монтажом конструкции необходимо очистить соприкасающиеся поверхности элементов от грязи и посторонних частиц. До начала монтажа надо подготовить полный комплект инструментов, включающий ключи, оправки, ломики, крючья, молотки (рис. 14).

Для механизации сборочных работ применяют также электро- и пневмогайковерты типов ИЭ-3101 и ИП-3103, обеспечивающие момент затяжки не меньше 20 кгс·м (табл. 4). Применение такого инструмента облегчает труд монтажников. Кроме того, для монтажа могут понадобиться 10-12 монтажных болтов М16 длиной 75 мм для временной стяжки гофрированных элементов. Однако эти болты не должны оставаться в конструкции.

В настоящее время наиболее распространен монтаж труб с укрупненной сборкой секций на базах. Длину секций принимают в зависимости от местных условий, учитывая наличие автомобилей, состояние дорог и др. Готовые секции от 2 до 5 на трубу отвозят на место, стыкуют и собранную конструкцию укладывают в проектное положение.

Таблица 4

Показатель

Гайковерты

Электрический ИЭ-3101

Пневматический ИП-3103

Наибольший диаметр резьбы, мм

20

20

     »        момент затяжки, кгс·м

25

20

Мощность электродвигателя, кВт

0,27

-

Напряжение, В

36

-

Частота тока, Гц

200

-

Давление сжатого воздуха, кгс/м2

-

5

Расход воздуха, м3/мин

-

0,9

Габаритные размеры, мм

427 × 138 ×75

214 × 185 × 80

Масса, кг

4,4

2,5

Рис. 15. Последовательность (I-VI) монтажа труб по первому приему

Однако во многих случаях, особенно когда подъезды к трубе затруднены, весь монтаж выполняют на стройплощадке вблизи оси трубы. Сборку производят на ровной чистой площадке или на подмостях. Под собираемую конструкцию укладывают деревянные подкладки.

Известны два основных приема сборки трубы. По первому из них (рис. 15) при сборке трубы диаметром 1,5 м из трех элементов в звене вначале раскладывают нижние элементы на длину секции или трубы и объединяют их тремя-четырьмя болтами, устанавливаемыми в средней части элементов. Раскладку производят со сдвижкой соседних элементов на величину, кратную шагу болтов поперечных стыков. Строго соблюдают однотипность сборки вдоль всей трубы, соблюдая, чтобы продольные стыки всех четных элементов были расположены на одной прямой, а нечетных - на другой. Затем устанавливают два других элемента звена. Завершающая операция сборки - постановка и затяжка всех болтов. Если болты затягивают до окончания сборки всей трубы или секции, то наблюдают, чтобы между звеном, в котором затягивают болты, и собираемым было не меньше трёх звеньев с наживленными болтами.

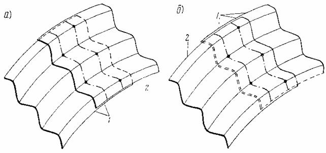
Важнейшее обстоятельство, определяющее качество сборки, - правильное взаимоположение элементов в звене (в продольных стыках звеньев). Взаимное расположение элементов в продольных стыках всех звеньев должно быть однотипным. Это достигается тем, что один конец элемента накладывают изнутри трубы, а другой снаружи (рис. 16). В местах стыковки трех элементов не должно быть соприкосновения двух из них, входящих в одно звено. При этом надо, чтобы болтовые отверстия второго от кромки листа ряда (с внутренней поверхности трубы) находились на гребнях гофров, направленных внутрь трубы (рис. 17).

Расположением болтов и отличается правильный стык от неправильного.

Рис. 16. Схема размещения стыков элементов труб:

1-6 - номера элементов; с - величина сдвижки продольных стыков

Рис. 17. Продольный стык элементов (вид изнутри трубы):

а - правильный; б - неправильный;

1 - внутренний аист; 2 - наружный лист

Для монтажа секции нужно назначать их длину так, чтобы они имели нечетное число звеньев. Тогда не возникнет трудностей при стыковке секций и не нарушится общая схема расположения элементов в трубе. Это правило не обязательно для крайних секций. В целях облегчения стыковки секций на концевых звеньях три крайних болта в продольных стыках не ставят, а остальные не затягивают.

Для сборки труб диаметром 2 м и больше применяют специальные стяжки и подмости, причем внутренние и наружные для труб диаметром 3 м и только наружные для труб диаметром 2 м. Стяжки предназначены для временного крепления элементов в поперечном сечении трубы.

По второму приему сборки трубы (рис. 18) первоначально монтируют отдельные звенья, из которых затем собирают секции труб пли сами трубы. Для сборки отдельных звеньев элементы ставят вертикально на сборочной площадке, обеспечивая правильное положение стыковки (см. рис. 17), для чего один рабочий находится внутри звена, второй - снаружи. Болты в количестве трех-четырех ставят только в средней части звена. Собранное звено опрокидывают и откатывают. Затем два звена расставляют на определенном расстоянии (см. рис. 18, II) и заводят нижний элемент соединительного звена с соблюдением правил, т.е. смещают линию продольных стыков на величину, кратную шагу болтов поперечных стыков, и тоже следят, чтобы взаимное положение элементов в продольных стыках было однотипным, а в месте стыковки трех элементов элементы одного звена не соприкасались.

Затем ставят все болты в поперечных стыках и добавляют их в продольных.

Исключение составляют отверстия по краям концевых звеньев. Таким же образом собирают еще одну секцию из трех звеньев, и, стыкуя ее с первой, получают секцию из семи звеньев.

Рис. 18 Последовательность (I-IV) монтажа труб по второму приему

При необходимости можно к секции из трех звеньев присоединить еще одно звено и получить секцию из четырех звеньев. Секцию или трубу с четным числом звеньев получают путем удлинения ранее собранной (см. рис. 18, V).

По концам трубы на крайних звеньях монтируют окаймляющие уголки. Это можно сделать и на базе, устанавливая их на концах крайних секций. Окаймляющие уголки устанавливают, когда в продольных стыках крайних звеньев поставлено неполное число болтов.

Таким образом, перед укладкой трубы на проектную ось имеют или привезенные с базы секции, или полностью смонтированную трубу.

В первом случае стыкуют секции в трубу полной длины, а затем укладывают ее в проектное положение с помощью кранов (рис. 19). Так же укладывают и полностью смонтированную трубу.

Масса 1 пог. м трубы диаметром 1,5 м равна примерно 150 кг, а масса всей трубы длиной 25 м составит 3,8 т.

При хороших дорогах и четкой организации работ можно секции труб монтировать «с колес» (рис. 20).

Рис. 19. Монтаж трубы с помощью автомобильного крана

Рис. 20. Монтаж трубы краном с «колес»

7. устройство дополнительного защитного покрытия

Основное средство защиты металлических гофрированных труб от коррозии - цинковое покрытие.

Дополнительное защитное покрытие делают из полимерных эмалей и битумных мастик. Такое покрытие можно устраивать или по всей поверхности трубы, т.е. снаружи и изнутри, или же только снаружи (указания об этом, а также о составе покрытия содержатся в проекте). Вид защитного покрытия зависит от степени агрессивности воды и грунта в зоне трубы. По составу, толщине и количеству слоев различают восемь типов дополнительных покрытий - два эмалевых и шесть битумных.

Эмалевые покрытия, как правило, наносят на заводе-изготовителе на все элементы, предназначенные для монтажа труб. Нанесение такого покрытия на базах строительства требует специальных помещений и соответствующего оснащения.

Работы по устройству1 покрытия из эпоксидно-каучукового грунта ЭКГ и краски ЭКК-100 (марка Э-1) из эмали ЭП-5116 или ЭП-1155 (марка Э-2) выполняют в закрытом помещении или в специальном цехе при температуре не ниже +15°С и относительной влажности воздуха не выше 80 %.

Полимерное покрытие марки Э-1 наносят в три слоя (грунт толщиной 50 мкм и два слоя эмали толщиной по 120-150 мкм), а покрытие марки Э-2 - в два слоя по 120-150 мкм-каждый.

Перед нанесением эмали поверхности оцинкованных элементов трубы должны быть высушены, очищены от загрязнений и обезжирены раствором каустической соды, уайтспиритом, ацетоном или другим растворителем с последующей промывкой элементов водой. После сушки и нагрева элементов до температуры 40-50°С наносят эмаль на защищаемые поверхности преимущественно распылением. Для этой цели применяют пистолет-распылитель Р-68 или пистолеты-распылители других марок, предназначенные для высоковязких составов. Иногда эмаль наносят кистью.

1Приведенная технология принята по «Рекомендациям по защите металлических гофрированных труб в условиях БАМа». М. Изд. ЦНИИС, 1976. 15 с.

Окрашенные элементы труб до перевозки и монтажа выдерживают в закрытом помещении пли под навесом не меньше 5 сут до окончания структурообразования покрытия.

Битумное защитное покрытие с применением наполненных мастик наносят на металлические гофрированные трубы после окончания их сборки, т.е. при монтаже труб из заводских элементов на стройплощадке на полностью готовую трубу, а при укрупненной сборке на базах - на секции трубы. В последнем случае на месте изолируют только соединительные элементы и места покрытия, поврежденные при транспортировке. Битумное покрытие марок Б-1; Б-2 и Б-3 состоит из двух-трех слоев. Для первого слоя (грунтовки) толщиной 0,2-0,3 мм применяют битумный лак. Для получения покрытия марки Б-1 второй слой дают толщиной 2 мм мастикой МБР-65, для марки Б-2 нужен дополнительный третий слой 1,5-2 мм из битуминоли Н-1 или мастики МБР-90. Для получения трехслойного покрытия марки Б-3 по грунтовке наносят второй слой толщиной 2 мм из битуминоли Н-2, а третий 1,5-2 мм из битуминоли Н-1 или мастики МБР-90.

Битуморезиновая мастика содержит компоненты (% по массе):

МБР-65           МБР-90

Битум марки БН-IV (или БНИ-IV)                      88                    93

Резиновая крошка                                                 5                      7

Зеленое масло                                                       7                      0

Битумоминеральные мастики (битуминоли) содержат компоненты (% по массе):

Н-1      Н-2

Битум марки БН-V                                                           49        54

Порошок из каменных кислотостойких пород             49        43

Асбест                                                                                2          3

Наиболее целесообразно применять компоненты заводского изготовления. Мастику МБР-65 можно получить на основе мастики МБР-90 путем смешивания ее с 15 % индустриального масла 50. Мастики марок МБР-65 и МБР-90 можно приготовить и на стройплощадке1.

Битумный лак приготавливают путем разжижения битума тугоплавких марок (битум нефтяной марки БН-IV или битум нефтяной марки БНИ-IV для изоляции нефтегазопроводов) в растворителе с добавкой индустриального масла марки ИС-50. В качестве растворителя летом используют бензин для промышленно-технических целей или автомобильный бензин неэтилированный, зимой - авиационный бензин. Состав лака: битум - 25-35, бензин - 60-70, индустриальное масло - 5 % по массе. Для приготовления битумного лака в емкость объемом 30-50 л наливают расплавленный битум, обезвоженный и охлажденный до температуры 110-120°С. Затем добавляют индустриальное масло и тонкой струей вливают эту смесь при температуре до 70° С в емкость с бензином.

Вливать бензин в расплавленный битум категорически запрещается.

Приготовление лака сопровождается непрерывным перемешиванием составляющих вручную или лопастной мешалкой. Битумный лак хранят в герметически закупоренных сосудах (бидонах, флягах и т.д.) в огнестойком помещении вдали от источников огня. Загустевший при хранении битумный лак разжижают до получения смеси требуемой вязкости, т.е. удобно наносимой на покрываемую поверхность.

1Данные о свойствах и методах испытаний мастик содержатся в соответствующих ГОСТах и нормативных документах по проектированию и строительству труб.

Битуморезиновые мастики МБР-65 или МБР-90 в полевых условиях рекомендуется приготавливать в открытых битумоплавильных котлах, например в установке типа УБК-81.

Для приготовления мастики сначала битум марки БН-IV дробят на куски массой до 5 кг, загружают их в варочный котел, расплавляют и обезвоживают. В расплавленный битум добавляют подогретый до ПО-120°С наполнитель - резиновую крошку. Затем при непрерывном перемешивании в течение 2-3 ч температуру доводят до 180°С. Перед окончанием варки в мастику вводят пластификатор - зеленое масло, по-прежнему перемешивая смесь.

Во избежание воспламенения интенсивный нагрев мастики в котле свыше 200°С не допускается.

При отсутствии битума марки БН-IV мастику можно приготовить путем сплавления 60-70 % марки БН-V и 40-30 % марки БН-Ш. В этом случае в котел сначала загружают битум марки БН-Ш, а после прекращения вспенивания массы - марки БН-V.

Битуминоли марок Н-1 и Н-2 также приготавливают в котлах типа УБК-81. Битум марки БН-IV дробят, загружают в котел и плавят с постепенным нагревом до 180° С. Одновременно порошок измельченных каменных кислотостойких пород дозируют и смешивают с порошком хризотилового асбеста № 7. Полученный комбинированный наполнитель подогревают до 110°С. Последняя операция по приготовлению битуммолей - постепенное добавление дозированного подогретого комбинированного наполнителя в расплавленную битумную массу с обязательным перемешиванием всей массы.

Нанесение дополнительного покрытия состоит из ряда последовательно выполняемых операций. Первая и немаловажная операция - тщательная очистка изолируемой поверхности. Одним из важнейших факторов обеспечения качества покрытия является прочность его сцепления с металлом, зависящая, в свою очередь, от чистоты изолируемой поверхности. Твердые наслоения снимают металлическими щетками. Ветошью, смоченной в бензине, удаляют масляные пятна. Очищенную поверхность высушивают и протирают сухой ветошью. Для этой цели может быть также использован сжатый воздух.

Грунтовку - битумный лак - наносят сразу же после очистки трубы на сухую поверхность, избегая образования сгустков, подтеков и пузырей. Установка для нанесения грунтовки распылением состоит из емкости и распыляющей пневмофорсунки (рис. 21). Рекомендуются установки С-562 или С-562А, или комплект красконагнетательных баков С-764, С-411А или С-865 и краскораспылителей С-45 или С-592 с передвижным компрессором КСЭ-6М и О-38Н.

Мастику наносят на загрунтованную поверхность после полного высыхания грунтовки, но не позднее чем через: сутки после ее нанесения. При температуре наружного воздуха до +30°С рабочая температура разогретой битумной мастики, в том числе и заводского изготовления, должна быть в пределах 160-180°С, а при температуре воздуха выше +30°С температура мастики не должна превышать 150°С. Нанесение мастики тоже надо выполнять механизировано, преимущественно пневмораспылением. Для этой цели может служить небольшая и компактная установка

Рис. 21. Нанесение битумной грунтовки пистолетом-краскораспылителем

ПКБ Главстроймеханизации, смонтированная на автоприцепе марки 1-АГ-1,5. Полезная емкость установки - 0,9 м3, производительность за одну заправку при двухмиллиметровой толщине покрытия - 400 м2. Для получения требуемого равномерного слоя мастику нужно наносить форсункой, удаленной от поверхности не меньше чем на 0,5 м и не дальше чем на 1,5 м.

Битуминоли марки Н-1 и Н-2, а также битумно-резиновую мастику МБР-90 можно наносить на поверхности труб способом подливки с разравниванием профилированными шпателями.

Битумное защитное покрытие соединительных элементов, незащищенных концов секций и дефектных мест разрешается наносить и в зимнее время, но при температуре воздуха не ниже минус 20°С (с подогревом поверхности газовоздушными горелками до температуры 40-50°С) и под прикрытием легких навесов или брезентовых палаток.

Количество материала, потребное на 1 м2 поверхности (для одного слоя):

Битумный лак                                                                               0,3-0,4 кг

Мистика МБР-65                                                                          2,5-3   »

»          МБР-90                                                                      2-2,5   »

Битуминоль           Н-1                                                                  2-2,5   »

Н-2                                                                  2,5-3   »

В процессе и по окончании работ качество защитного покрытия надо контролировать, т.е. проверять сплошность и сцепление его с металлом, замерять толщину, оценивать внешний вид - трещины, бугры, вздутия, расслоения. Выявленные дефектные места нужно исправлять, после чего оформить акт освидетельствования и приемки дополнительного покрытия. Изолированная труба должна быть засыпана не позднее чем через трое суток.

Битумные защитные покрытия с применением ненаполненных мастик (пластбитулена, битудиена и пластбитудиена) наносят путем погружения элементов трубы в расплавленную массу. Защитное покрытие марки ПБТ-4 получают из пластбитулена слоем 2 мм, а марки БТД-5 - из битудиена слоем 1,5 мм. Покрытие марки ПБД-6 представляет собой слой пластбитудиена толщиной 2 мм. Работы производят в условиях завода или полигона строительных баз согласно требованиям «Инструкции по проектированию и строительству металлических гофрированных водопропускных труб» (взамен ВСН 176-71). Контроль качества покрытия осуществляется согласно этой же Инструкции.

8. ЗАСЫПКА ТРУБ

Засыпка труб - одна из наиболее ответственных операций. Грунт насыпи рядом с трубой является частью искусственного сооружения, воспринимающей наряду с металлической конструкцией все внешние нагрузки, т.е. вес насыпи и дорожного транспорта. Причем эти нагрузки передаются на грунт не только непосредственно в виде вертикальных сил, но и через конструкцию трубы в виде горизонтального давления (см. рис. 1). Недостаточная плотность и большая деформативность грунта рядом с трубой могут оказаться причиной ее повышенных деформаций и даже разрушения.

Засыпка труб производится песчаным или крупнообломочным (гравийным, дресвяным, галечниковым, щебенистым) грунтом, в котором не должно быть частиц крупностью 50 мм и больше. Мелкие пески разрешается применять с некоторым ограничением. В частности, они не должны содержать частиц размером меньше 0,1 мм больше 10 %, в том числе глинистых (меньше 0,005 мм) больше 2 %. Не допускается применять в качестве засыпки пылеватый песок, т.е. песок, у которого масса частиц крупнее ОД мм составляет меньше 75 %. Такие требования к материалу засыпки относятся к насыпи в пределах грунтовой призмы.

Рис. 22. Схемы засыпки труб:

А - зона уплотнения ручным механизированным инструментом; Б - то же, катками и машинами ударного действия; Д - толщина уплотняемого слоя

Остальную часть насыпи в районе трубы отсыпают из грунта, предусмотренного проектом производства земельных работ.

Засыпку труб ведут послойно (рис. 22). При уплотнении засыпки грунтоуплотняющими машинами виброударного действия для стесненных условий с одними или двумя рабочими органами и дизельтрамбовочной машиной УМТС-2 высоту слоя принимают равной 0,4 м, пневмокатками Д-551 - 0,2 м, ручными вибротрамбовками ИЭ-4505 или ИЭ-4502 - 0,15 м. Грунт доставляют автомобилями - самосвалами и разравнивают бульдозером или автогрейдером. Для засыпки пазух многоочковых труб рекомендуется использовать универсальные экскаваторы.

Особое внимание уделяют уплотнению грунта. Грунт надо уплотнять до такой степени, чтобы коэффициент уплотнения был не меньше 0,95. Коэффициентом уплотнения называют отношение фактической плотности грунта в насыпи к максимальной стандартной. Наилучшее уплотнение грунта достигается при определенной его влажности, называемой оптимальной.

Таблица 5

Показатель

Электротрамбовки

ИЭ-4505

ИЭ-4502

Производительность по среднезернистому песку при коэффициенте уплотнения 0,87, м3

13

45

Глубина уплотнения, см:

 

 

за два прохода

20

-

» три »

-

40

Диаметр трамбующей части башмака, мм

200

 

Размер трамбующей части башмака, мм

 

420 × 350

Напряжение, В

220

220

Род тока

Переменный трехфазный

Частота тока, Гц

50

50

Номинальная потребляемая мощность, кВт

0,6

1,6

Номинальный ток, А

2,8

6,0

Режим работы

Продолжительный

Тип электродвигателя

Асинхронный, трехфазный с короткозамкнутым ротором

Габаритные размеры трамбовки, мм:

 

 

длина

255

970

ширина

440

475

высота

785

950

Масса без кабеля, кг

27

77,5

Максимальную стандартную плотность и оптимальную влажность определяют в лаборатории до начала работ. Они должны быть указаны или на рабочем чертеже трубы, или в ведомости карьеров. Фактическую плотность и влажность грунта в насыпи около трубы контролируют в процессе выполнения земельных работ. Для этой цели применяют плотномер-влагомер Н.П. Ковалева и другие приборы1.

1Марков Л.А., Полуновский А.Г. Контроль качества сооружения земляного полотна автомобильных дорог. М., «Транспорт», 1977. 63 с. (Серия «БАМ - в помощь строителям»).

При засыпке труб гравелистым грунтом пли при производстве работ в зимнее время используют метод лунок.

Грунт в непосредственной близости от трубы (не ближе 5 см от стенки) и в пазухах многоочковых труб (см. рис. 22) рекомендуется уплотнять электротрамбовками ЭИ-4502 и ЭИ-4505 (табл. 5), обеспечивая заполнение всех впадин гофрированной поверхности трубы с помощью ручных штыковок диаметром 5-6 см (по концу). Хорошие результаты дают шпалоподбойки (рис. 23).

Рис. 23. Уплотнение грунта при засыпке труб:

а - электротрамбовками; б - с применением электрошпалоподбойки; в - виброкатком; г - пневмокатком

Таблица 6

Показатель

Грунтоуплотняющие машины

с одним рабочим органом

с двумя рабочими органами

с четырьмя рабочими органами (УМТС-2)

Базовая машина:

 

 

 

трактор

ДТ-75 (иди Т-74)

Т-100 МГП (или Т-130 Г)

Т-100 МГП (или Т-130 ГП)

бульдозер

Д-606 (или Д-535)

Д-687 (или Д-532)

Д-259А

Мощность двигателя трактора, л. с.

75

108 (140)

108 (140)

Транспортная скорость, км/ч

до 12

10

до 10

Рабочие скорости передвижения, км/ч

0,3 - 1,6 (0,8)

0,4 - 1,1

0,2 - 0,3

Тип рабочего органа

Вибромолот

Вибромолот

Дизель-трамбовка

Частота ударов рабочего органа в 1 мин

360

360

68 - 72

Ширина полосы трамбования, сч

80

190

230

Глубина уплотнения за один проход (до плотности 0,95), см:

 

 

 

суглинистого грунта

40

60

50

песчаного     »

50

90

75

Производительность, м3

100

400

260

Масса заправленной машины, т

9,5

22 (23,5)

19

Габаритные размеры, м:

 

 

 

длина

6,2

8,5 (7,8)

7

ширина

2,6

3,9 (3,2)

4,2

высота

2,3

3,1

3,7

Величина выноса рабочего органа за след гусениц трактора (по ходу трактора), см:

 

 

 

вправо

50

50

100

влево

20

50

100

За пределами зоны Л в зоне Б (см. рис. 22) грунт уплотняют грунтоуплотняющими машинами виброударного действия с одним или двумя рабочими органами, дизельтрамбовочной машиной УМТС-2 (табл. 6), виброкатками, пневмокатками Д-551 или другими катками массой 25 - 30 т (см. рис. 23).

ЦНИИСом разработана технология засыпки труб, при которой грунт отсыпают и уплотняют наклонными (не круче 1:5) слоями толщиной 0,4 м (рис. 24). Это обеспечивает высокое качество уплотнения грунта вблизи трубы и сокращает объемы ручных работ. Машинами виброударного действия и дизельтрамбовочными слои, расположенные ниже уровня горизонтального диаметра, уплотняют при движении машин вдоль трубы, а выше этого уровня - при челночном движении машин поперек трубы с постепенным перемещением от одного конца трубы к другому. Пневмокатки перемещаются (при уплотнении грунта) вдоль трубы по кольцевой схеме. Причем уплотнение каждого слоя начинают с удаленных от нее участков и с каждым последующим проходом приближаются к трубе. Допускается по согласованию с проектной организацией уплотнять грунт автомобилями-самосвалами, для чего автомобиль со скоростью около 10 км/ч должен перемещаться вдоль трубы, при каждом проходе приближаясь к трубе наполовину ширины колеса.

Рис. 24. Схема засыпки трубы наклонными слоями:

1 - металлическая гофрированная труба; 2 - контур (пунктир) максимального приближения рабочего органа машины к трубе; 3 - виброударная грунтоуплотняющая машина; 4 - нулевой слой виброударная

После укатки грунта по всей площади ее повторяют до тех пор, пока в общей сложности проход колеса по каждому следу не станет трех- или четырехкратным. Количество проходов колеса по одному следу предварительно уточняют по результатам пробного уплотнения. Так как обеспечение требуемой плотности грунта зависит от его влажности, то в некоторых случаях, особенно в жаркие летние дни, может потребоваться дополнительное увлажнение его. Воду можно подавать автомобилем-водовозом или же с помощью насоса, если вблизи есть водоем.

В некоторых случаях ошибочно пытаются уплотнять грунт с помощью бульдозеров.

Если принятая технология не обеспечивает получение требуемого уплотнения с коэффициентом 0,95, то надо уменьшить толщину слоя или увеличить количество проходов уплотняющей машины.

Трубы засыпают одновременно с обеих сторон, а для многоочковых труб - и в пазухах. Разница в уровнях засыпки не должна превышать 20 см. Таким образом, труба засыпается на высоту не меньше 0,5 м над ее верхом. При этом над трубой могут проходить строительные машины с нагрузкой на ось до 10 тс. Более тяжелые машины (нагрузка на ось 11-20 тс) разрешается пропускать над трубой при толщине слоя грунта над ней не меньше 0,8 м (в плотном теле). Пропуск машин с нагрузкой на ось 21-50 тс разрешается при толщине слоя не меньше 1 м. Если проектом предусмотрена меньшая толщина засыпки, то для пропуска таких машин через сооружение в месте их проезда требуется временно присыпать грунт до указанной толщины (с последующей срезкой его). Дальнейшая засыпка ведется с применением любых строительных машин, и проход их над трубой не ограничивается.

Во избежание недопустимых деформаций поперечного сечения гибкой гофрированной трубы в процессе отсыпки и уплотнения грунтовых призм по бокам конструкции измерением контролируют ее диаметр. Предельное относительное изменение горизонтального диаметра трубы не должно превышать 3 %.

Засыпать трубы в зимнее время разрешается только талыми (несмерзшимися) грунтами, выполняя работы без перерывов с тем, чтобы не допустить смерзания грунта. Работа должна идти с условием отсыпки призмы полного профиля (см. рис. 22). Не допускается попадание мерзлых комьев, снега и льда в тело засыпки.

Для успешного проведения зимних работ целесообразно проводить соответствующую подготовку - предохранять карьеры от промерзания, заготавливать и хранить грунт в отвалах большого объема и др. Зимой, как правило, его надо уплотнять машинами ударного и виброударного действия, а перевозить автомобилями-самосвалами большой грузоподъемности.

Окончание засыпки трубы фиксируется специальным актом, после чего может быть продолжено производство земляных работ по сооружению насыпи до проектных отметок. При этом нужно принимать меры для предохранения концевых звеньев труб, особенно в случае, если насыпь отсыпается из скальных грунтов и отдельные камни большого размера скатываются по откосу.

9. УСТРОЙСТВО ЛОТКА

Внутренняя поверхность трубы под действием водотока изнашивается в разной степени. Наибольшему истиранию подвергается нижняя часть сечения, в более благоприятных условиях находится верхняя. Поэтому для повышения долговечности труб в лотковой их части по дуге, соответствующей углу 90-120°, устраивают дополнительное покрытие из бетона или асфальтобетона (рис. 25).Для северных условий, в том числе на большем участке БАМа, разрешается устраивать только асфальтобетонные лотки.

Рис. 25. Конструкция лотка:

1 - асфальтобетонный или бетонный лоток; 2 - металлическая гофрированная труба

Лоток рекомендуется устраивать, как правило, сразу же после возведения насыпи над трубой до проектной отметки. До устройства лотка трубу нужно осушить и очистить от грязи.

Сборные конструкции лотков устраивают из асфальтобетона или бетона. Для труб в северном исполнении рекомендуется лоток из асфальтобетонных блоков (состав асфальтобетонной смеси см. в табл. 7) в соответствии с требованиями «Инструкции по проектированию и постройке металлических гофрированных водопропускных труб» (взамен ВСН 176-71).

Размер блоков 129×250 мм назначают исходя из удобства укладки их вручную. Очертание поверхности блока, соприкасающейся с трубой, должно повторять контур впадины гофра и кривизну гофрированной поверхности, определяемую диаметром трубы. Для перекрытия мест болтовых соединений изготавливают блоки уменьшенной толщины. Асфальтобетон должен иметь марку не ниже 300 по морозостойкости.

Для изготовления блоков применяют разборные формы. Перед загрузкой асфальтобетонной смеси стенки форм обрабатывают смесью воды с керосином, а при применении бетона стенки форм обрабатывают соответствующими эмульсиями или смазывают отработавшим машинным маслом. Укладывают блоки вручную на обработанную битумной эмульсией (или горячим битумом) поверхность трубы в направлении, противоположном подаче блоков, т.е. «на себя».

Примерный объем кладки по устройству лотка приведен в табл. 8.

Устройство лотков из монолитного асфальтобетона или бетона труб в северном исполнении нужно допускать лишь в случаях ремонта ранее уложенных лотков или замены отдельных участков старого лотка.

Для бетонного лотка применяют бетон марки по прочности не ниже 400, по водонепроницаемости не менее В-2, по морозостойкости не ниже Мрз-300. Крупность заполнителя не должна превышать 10 мм. Бетонную смесь готовят жесткой с осадкой конуса 2-3 см. Предварительно до устройства лотка труба должна быть осушена и очищена от грязи. Бетонную смесь укладывают одновременно по всей ширине лотка. Для уплотнения смеси рекомендуется металлическая виброрейка с двумя вибраторами типа ИВ-19, изогнутая по дуге круга с радиусом, соответствующим радиусу трубы.

Таблица 7

Асфальтобетонная смесь

Минеральная часть мельче, мм

Битум, % к минеральной части

5

2,5

1,25

0,63

0,315

0,14

0,071

Содержание зерен, % по массе

I

95-100

75-90

50-67

32-50

25-35

20-27

15-20

9-12

II

-

95-100

52-70

33-52

30-35

22-30

15-20

9-12

Примечания.

1. При изготовлении асфальтобетона на месте допускается асфальтобетон следующего состава: песок фракций 5 - 0 или 2 - 0 мм - 80-85 %, минеральный порошок 15-20 %, битум - 9-12 % по массе. При использовании мелкого песка количество минерального порошка и битума нужно брать по верхним пределам.

2. Содержание битума в рекомендуемой асфальтобетонной смеси подбирают таким образом, чтобы готовый асфальтобетон имел остаточную пористость не более 2 % по объему.

Ширину виброрейки принимают равной 0,4- 0,6 м. Для предотвращения оплывания бетонной смеси в верхних участках лотка непосредственно за виброрейкой нужно передвигать секцию подвижной опалубки шириной около 50 см. Поверхность опалубки должна быть гладкой, с тем, чтобы сцепление ее с бетоном было минимальным. Вместо виброрейки можно применять виброплощадку с цилиндрической рабочей поверхностью.

Учитывая небольшой объем лотка на одной трубе, работы нужно производить с применением подручных средств и малой механизации.

Бетонную смесь доставляют к трубам автомобилями-самосвалами. Внутрь трубы ее удобно подавать в тачке по дощатому настилу. Бетонирование рекомендуется вести «на себя», т.е. начинать от конца трубы, противоположного месту выгрузки смеси из самосвала. При возможности доставки бетонной смеси к обоим концам трубы бетонируют лоток от середины в обе стороны. Для перемещения виброрейки можно пользоваться лебедкой, устанавливаемой у входа в трубу. В некоторых случаях используют лебедку, закрепленную в кузове бортового автомобиля. Бетонировать лоток надо при положительной температуре наружного воздуха. Поверхность свежеуложенного бетона необходимо укрывать мешковиной, обеспечивая его увлажнение в течение 2-3 сут.

Асфальтобетонный лоток монолитный устраивают как исключение для ремонта ранее уложенных асфальтовых лотков. Применяют два состава смеси (см. табл. 7). Битум для них берут нефтяной дорожный вязкий улучшенный марок БНД 90/130, БНД 60/90, БНД 40/60. Песок должен иметь фракции размером до 5 мм. В качестве минерального порошка используют измельченные известняки с размером зерен меньше 0,071 мм.

Технологический процесс приготовления асфальтобетонной смеси включает:

1) приготовление битума - нагрев для удаления влаги и достижения заданной температуры;

2) подачу и при необходимости сортировку песка;

3) высушивание песка и минерального порошка;

4) дозировку минеральной части смеси;

5) перемешивание минеральных материалов с битумом;

6) выгрузку готовой смеси и подачу ее к месту укладки.

Асфальтобетон на строительной площадке приготавливают только при отсутствии вблизи строящейся дороги асфальтобетонных заводов. В этом случае битум нагревают до температуры 150-170°С в битумоварочных котлах УБК-81, а асфальтобетон готовят в котлах глубиной 0,3 - 0,5 м и диаметром 1,5 м.

На асфальтобетонных заводах смесь приготавливают в смесителях, оборудованных лопастными мешалками типа Д-152. Время перемешивания не меньше 3 мин, температура готовой смеси при выпуске из мешалки для вязких битумов должна быть 140-170°С. Перевозят асфальтобетонную смесь автомобилями-самосвалами. При дальности возки больше 20 км в холодную и ветреную погоду кузов автомобилей закрывают брезентом, матами или деревянными щитами.

Асфальтобетонный лоток устраивают в сухую погоду при температуре воздуха не ниже +5°С весной и летом и не ниже +10°С осенью. Асфальтобетонную смесь укладывают на поверхность трубы, покрытую эпоксидно-каменноугольной эмалью или битумно-резиновой мастикой по слою битумного лака. Укладку асфальтобетона ведут по всей ширине лотка, уплотняя его деревянными молотками и заглаживая металлическими утюгами. Работы рекомендуется вести от середины трубы к ее концам. Горячую смесь доставляют по дощатому настилу в тачках, обитых кровельным металлом (объем кладки см. в табл. 8).

Учитывая сложность условий укладки горячей асфальтобетонной смеси внутри труб, особенно длинных, необходимо принимать меры для принудительного проветривания труб вентиляторами.

Таблица 8

Диаметр одноочковой трубы, м

Объем кладки лотка, м2

на 1 пог. м трубы

на трубу длиной 20 м

1,5

0,072

1,44

2

0,096

1,92

3

0,144

2,88

Рекомендуется применять осевые вентиляторы марки МЦ 7 с частотой вращения 1450 об/мин (масса вентилятора 64 кг). Вентиляторы других марок подбирают из расчета обеспечения скорости движения воздуха не меньше 1 м/с. Вентилятор устанавливают в деревянном щите, которым наглухо закрывается один торец трубы.

В этом случае асфальтобетонную смесь укладывают от щита к другому торцу трубы с тем, чтобы выделяющиеся от асфальта газы сдувались в сторону вентилятора.

10. КОНТРОЛЬ КАЧЕСТВА ОСНОВНЫХ РАБОТ

Использование для гофрированных труб элементов из тонколистового металла толщиной 1,5 - 2,5 мм, долговечность которого в значительной мере зависит от защитных мероприятий по предотвращению коррозии, а прочность и деформативность трубы от плотности засыпки, заставляет предъявлять к качеству работ по постройке таких сооружений повышенные требования.

При устройстве оснований в виде песчано-гравелистых и других подушек в процессе работ контролируют геометрические размеры, а также плотность подушки и противофильтрационных экранов. В большинстве случаев плотность контролируют визуально по следу от груженого автомобиля или от другой значительной нагрузки. При большой толщине подушки (больше 1 м) и специальных указаниях проекта плотность определяют методом лунок или прибором Н.П. Ковалева (см. приложение). Во время производства этих работ следят за постоянным осушением котлована, не допуская его обводнения. В условиях вечной мерзлоты не допускают также скопления воды в естественных впадинах в зоне трубы.

Инструментальный контроль включает съемку продольного профиля подушки перед укладкой трубы.

При монтаже труб контролируют, во-первых, качество заводских элементов, доставленных на стройплощадку или на базу строительства, во-вторых, правильность сборки - чередование стыков, раскладку элементов, положение шайб, затяжку болтов. Для контроля качества заводских элементов применяют: шаблон, представляющий собой сегмент с дугой, очерченный по радиусу трубы; магнитный толщиномер ИТП-1; рулетку пли другой инструмент для линейных замеров.

Основные браковочные признаки по виду цинкового покрытия - это видимые трещины, забоины, крупная рябизна, большие наплывы цинка в местах стыков, темные пятна и места, не покрытые цинком. Не подлежат браковке элементы с наплывами цинка шириной до 100 мм вне зоны отверстий, мелкие крупинки цинка до 0,5 мм, мелкая рябизна и небольшая шероховатость поверхности светло-серые пятна.

Качество эмалевого защитного покрытия проверяют по следующим показателям: толщина покрытия должна соответствовать заданной в проекте, покрытие должно быть сплошным, ровным (без натеков) и не иметь отлипа, сорности и механических повреждений. Толщину покрытия измеряют магнитным толщиномером ИТП-1, сплошность проверяется дефектоскопом ЛКД-1.

Качество битумного защитного покрытия - сплошность, целостность, отсутствие пузырей и отслоений - оценивают визуально, а толщину покрытия определяют непосредственными измерениями в местах надрезов. Для оценки сцепления битумного защитного покрытия с металлом трубы производят пробный надрыв изоляции у края или у надреза по двум сходящимся под углом 45- 60° линиям. Адгезия (сцепление) считается достаточной, если при отрыве произойдет разрушение мастики. Отслоение изоляции с обнажением чистой металлической поверхности - свидетельство плохого качества дополнительного покрытия.

Трубы нужно засыпать грунтом под контролем одного из инженерно-технических работников. Качество засыпки труб контролируют, проверяя толщину слоев грунта, разницу уровней засыпки по обеим сторонам трубы и в пазухах многоочковых труб, соответствие материала засыпки требованиям проекта. В процессе отсыпки проверяется плотность грунта на горизонтах 0,25; 0,5 и 0,75 D по высоте с обеих сторон трубы на расстоянии 0,1 и 1 м от боковых стенок в средней по ее длине части (D - диаметр трубы). Количество проб должно быть не менее двух в каждой точке. Достаточно просто и оперативно это можно осуществить с помощью прибора Н.П. Ковалева, основанного на принципе гидростатического взвешивания. Непосредственно с помощью прибора определяют объемную массу влажного грунта и его скелета (плотность). По известным объемной массе, влажности грунта и плотности вычисляют влажность.

Полученные значения плотности сравнивают с величиной максимальной стандартной плотности, вычисляют коэффициент уплотнения грунта. Коэффициент от 0,95 и больше свидетельствует о достаточном уплотнении. Естественная влажность грунта засыпки не должна отличаться от оптимальной больше чем на 10 %.

Если теми работ позволяет, контролировать плотность и влажность грунта можно методом режущих колец или комбинированным способом. В последнем случае объемную массу влажного грунта определяют прибором Н.П. Ковалева, а влажность известным способом - путем высушивания. Плотность грунта определяется расчетом.

При использовании для засыпки труб крупнообломочных грунтов, а также в зимнее время, применяют метод лунок. Он заключается в том, что в грунте выкапывают лунку глубиной 10 - 15 см с объемом 3-5 л. Вынутый из лунки грунт взвешивают, а объем лунки замеряют, заполняя ее сухим песком из мерного сосуда. Разделив массу грунта, извлеченного из лунки, на его объем, находят объемную массу влажного грунта. Влажность грунта определяют высушиванием, а плотность расчетом. В летнее время для определения объема лунки вместо песка ее можно заполнять водой, предварительно уложив полиэтиленовую прокладку (см. приложение).

В случае существенных отступлений от проекта или при не обеспечении необходимой степени плотности, характеризуемой коэффициентом уплотнения, засыпка должна быть приостановлена и приняты соответствующие меры по достижению заданных требований.

До начала засыпки нужно в пяти - семи сечениях по длине трубы замерить вертикальный диаметр. Для этой цели рекомендуется телескопическая рейка с ценой деления 1 мм (см. рис. 11). С помощью этой же рейки и нивелира по тем же сечениям производят съемку продольного профиля трубы. Измерения диаметров и съемку профиля повторяют в процессе строительства и после завершения отсыпки насыпи.

Качество работ по устройству лотка оценивают визуально и по данным лаборатории о прочности бетона, его морозо- и влагостойкости. При осмотре лотка обращают внимание на трещины, раковины, отслоение материала лотка от поверхности трубы и т.п.

Обеспечение качества работ возлагается на основных исполнителей и инженерно-технических работников, осуществляющих руководство этими работами. Бригады и звенья должны иметь инструмент для измерений размеров труб и их элементов - складной метр, рулетку, телескопическую рейку и др. Геодезические работы как по разбивке трубы, так и в процессе строительства обычно осуществляет мастер или геодезист. Контроль плотности и влажности грунта выполняют специально обученные лаборанты.

Заводские элементы должны быть освидетельствованы сразу после их поступления. Эту работу осуществляют лица, назначаемые руководством строительной организации.

Необходимо обратить внимание на систематическое и своевременное заполнение журнала работ с полным отражением в нем всех особенностей производства работ и возможных отклонений от проекта. Сразу же после окончания отдельных видов работ их надо предъявлять заказчику для освидетельствования и приемки с оформлением результатов соответствующими актами. Формы таких актов приведены в «Инструкции по проектированию и постройке металлических гофрированных водопропускных труб».

Вся исполнительная документация, включая журналы производства работ, акты на скрытые работы, исполнительные чертежи, различного рода согласования, материалы авторского надзора и т.д. хранятся строительной организацией и при сдаче дороги в эксплуатацию передаются заказчику.

Высокое качество сооружений наиболее успешно может быть достигнуто, если к нему будет привлечено внимание каждого работника и всего коллектива строительной организации в целом. Этому в значительной степени могут способствовать общественные инспектора по качеству. Такие инспектора, прошедшие специальный курс обучения, должны быть в каждой бригаде, в каждом звене.

11. ТЕХНИКА БЕЗОПАСНОСТИ ВОЗВЕДЕНИЯ ВОДОПРОПУСКНЫХ ТРУБ

Постройка металлических гофрированных водопропускных труб должна производиться с соблюдением требований главы Строительных норм и правил «Техника безопасности в строительстве».

Обучение безопасным методам и приемам работ должно быть организовано по программе, утвержденной главным инженером строительной организации, а затем проведена проверка знаний каждого рабочего с документальным оформлением результатов и выдачей специальных удостоверений. До начала работ каждый рабочий должен быть проинструктирован по технике безопасности.

Проведение инструктажа регистрируется в специальном журнале.

Работы по постройке труб производят с помощью исправного инструмента, предназначенного для их выполнения.

Все рабочие должны быть обеспечены спецодеждой и предохранительными приспособлениями, соответствующими условиям и характеру выполняемой работы.

При рытье котлованов и траншей крутизну их стенок нужно устанавливать в соответствии с проектом. Для вечномерзлых грунтов, разрабатываемых в теплое время года, необходимо учитывать возможность оттаивания грунта в стенках.

Переносить элементы, собирать звенья и секции надо с помощью специальных крючьев (см. рис. 14). Монтируемый элемент разрешается освобождать от крючьев только после постановки не меньше чем трех болтов, фиксирующих его положение. Запрещается находиться внутри трубы непосредственно под монтируемым элементом. Болты следует устанавливать после того, как положение элемента зафиксировано с помощью оправок. Запрещается проверять совпадение отверстий, засовывая в них пальцы. При перекатке смонтированной трубы или ее секций нужно находиться только позади их. Подъем секций и полностью смонтированных труб допускается после затяжки всех болтов.

Особое внимание надо уделять технике безопасности при устройстве дополнительного защитного покрытия. Приготавливать и наносить его необходимо с соблюдением технических требований и инструкций на производство этих работ. Нужно принимать также необходимые меры противопожарной безопасности, в том числе обеспечение строительной площадки средствами огнетушения.

При устройстве эмалевого покрытия необходимо выполнять требования по технике безопасности, приведенные в «Рекомендациях по защите металлических гофрированных труб в условиях БАМа» (М., Изд. ЦНИИС, 1976. 15 с).

Приготовляя битумный лак, необходимо помнить, что никоим образом нельзя вливать бензин в разогретый битум.

Температура битума в момент приготовления битумного лака не должна превышать 70°С. Смесь надо перемешивать деревянными мешалками.

Не разрешается использовать для приготовления лака этилированный бензин или бензол. Варить битум нужно в исправных котлах, Заполнение котлов допускается не более чем на 3U их емкости.

Горячую мастику необходимо переносить в закрытой таре. Бачки с мастикой должны быть установлены достаточно надежно. Во время работы нужно предотвращать их падение и опрокидывание. Во избежание расплескивания битума не рекомендуется заполнять бачки больше чем на 3Д их объема. Нельзя допускать попадания горячего битума на кожу рабочего. Запрещается пользоваться открытым огнем в радиусе до 50 м от места смешивания битума с бензином, скипидаром и другими органическими растворителями. При нанесении битумного покрытия внутри трубы должно быть обеспечено постоянное проветривание и нагнетание свежего воздуха. В случае возгорания битума для его тушения необходимо применять сухой песок или огнетушители.

Устройство асфальтобетонных лотков надо выполнять с соблюдением требований, относящихся к приготовлению и нанесению битумных мастик.

Во время засыпки труб и уплотнения грунта строительными механизмами не допускается нахождение людей внутри трубы.

При использовании электрифицированного инструмента и электрооборудования должны быть приняты меры по обеспечению электробезопасности. Работать можно только с проверенными и исправными инструментами и оборудованием. Металлические части строительных машин и механизмов с электроприводом должны быть заземлены. Силовой кабель, подводящий напряжение к двигателям передвижных механизмов, должен свободно перемещаться и быть защищен от механических повреждений и др.

Рабочие и инженерно-технические работники должны быть обучены приемам оказания помощи (высвобождения от действия тока) пострадавшим лицам.

12. ТЕХНИКО-ЭКОНОМИЧЕСКИЕ ПОКАЗАТЕЛИ ПОСТРОЙКИ ВОДОПРОПУСКНЫХ ТРУБ

Опыт строительства последних лет позволил установить технико-экономические показатели металлических гофрированных труб на основе обобщения натурных материалов.

Таблица 9

Показатель

Насыпь высотой 2,1 м; труба № 1

Насыпь высотой 2,4 м; труба № 2

Насыпь высотой 3,4 м; труба № 3

железобетонная круглая

гофрированная металлическая

КЖБТ

гофрированная металлическая

железобетонная угольная

гофрированная металлическая

Отверстие трубы, м

1.5

2×1,5

1,5

1,5

2

1,5

1,5

Длина трубы, м

17,9

17,9

18,7

18,7

18,7

25,3

24,6

Толщина стенки гофрированной трубы, мм

 

2,5

 

2,5

2,5

 

2,5

Сметная себестоимость строительно-монтажных работ, руб.:

 

 

 

 

 

 

 

всего

22 774

16 781

26 377

13 600

14 052

23 622

18 061

в том числе заработная плата

1660

877

1805

1038

1060

1460

1018

Трудоемкость, чел.-дни

162

100

196

117

120

159

115

Потребность в основных материалах:

 

 

 

 

 

 

 

железобетон, м3

67,4

-

59,9

-

-

64,2

-

бетон, м3

-

10,7

40

-

-

36

-

металл, т

6,7

6,3

5,1

2,5

3,5

6,35

4,3

цемент, т

22

3,4

32

-

-

32

-

нерудные материалы, м3

87

174

248

160

165

195

261

Срок службы, лет

70

40

70

40

40

70

40

Примечание.

Металлические гофрированные трубы приняты по рабочим чертежам, разработанным Ленгипротрансмостом в 1972 г., железобетонные круглые (КЖБТ) и прямоугольные - по типовым проектам.

Таблица 10

Труба

Полные приведенные затраты, руб

Совокупный экономический эффект

Затраты труда, чел.-дни

Объект

Сравниваемые варианты

Всего, руб.

%

№ 1

Железобетонная круглая 1,5 м

32908

__

-

162

Металлическая гофрированная 2×1,5 м

23735

9173

27,8

100

№ 2

Железобетонная круглая 1,5 м

29573

-

-

196

Металлическая гофрированная 1,5 м

То же, 2 м

18891

19548

10 682

10 025

36,2

34

117

120

№ 3

Железобетонная прямоугольная 1,5 м

34109

-

-

159

Металлическая гофрированная 1,5 м

25085

9 024

26,4

115

Так как в этот период гофрированные трубы сооружались преимущественно взамен железобетонных, главным образом круглых, оказалось возможным получить сравнительные данные, облегчающие выбор типов труб и позволяющие применять для конкретных условий конструкции, наиболее дешевые и наименее трудоемкие.

Полученные технико-экономические показатели для трех объектов (трубы № 1 - 3), где железобетонные трубы заменены металлическими гофрированными, приведены в табл. 9. На первом объекте железобетонная круглая труба отверстием 1,5 м заменена двухочковой металлической гофрированной 2×1,5 м, на втором - вместо такой же железобетонной предусмотрено устройство металлической трубы отверстием 1,5 или 2 м, но фактически построена труба отверстием 1,5, а на третьем - прямоугольная железобетонная труба отверстием 1,5 м заменена металлической такого же отверстия. Данные свидетельствуют о снижении стоимости строительства и трудоемкости работ при применении металлических труб.

Весьма существенна также экономия основных строительных материалов, в том числе уменьшение расхода металла.

Таблица 11

Труба отверстием 1,5 м

Масса конструкции, т

Дальность транспортирования по дороге, км

Транспортные расходы, руб.

Объект

Сравниваемые варианты

железной

автомобильной

Суммарный тариф за 1 т

Всего на одну трубу

№ 1

Железобетонная круглая

168

3000

80

21,8

3660

Металлическая гофрированная (2×1,5 м)

6,2

8000

80

89,8

560

№ 2

Железобетонная круглая

150

3000

80

21,8

3280

Металлическая гофрированная

2,5

8000

80

89,8

225

№ 3

Железобетонная прямоугольная

160

3000

170

24,5

3900

Металлическая гофрированная

4,3

8000

170

92,5

398

Действующие нормативные документы и инструктивные материалы дают возможность оценить так называемый совокупный экономический эффект, т.е. учесть не только затраты на строительство труб, но и на их текущее содержание в течение директивного срока службы (табл. 10).

Из этих данных видно, что совокупный экономический эффект от применения металлических гофрированных труб на тех же объектах составляет 26,4-36,2 % полных приведенных затрат по сооружению железобетонных труб.

Для районов со слаборазвитой сетью дорог немаловажно существенное снижение транспортных расходов при устройстве металлических труб. Так, для тех же объектов транспортные расходы на одну трубу снижаются примерно в 10 раз.

Там же показано, что масса перевозимых конструкций уменьшается в 27-43 раза (табл. 11).

Таким образом, применение металлических гофрированных труб взамен железобетонных обеспечивает значительный технико-экономический эффект:

трудоемкость постройки труб уменьшается примерно в 1,5 раза;

достигается значительная экономия материалов и конструкций, в том числе уменьшается суммарный расход металла;

существенно (в 10 раз) снижаются транспортные расходы, а уменьшение массы перевозимых конструкций достигает 40 раз;

уменьшаются сроки строительства труб (труба средней длины 26,5 м может быть построена за шесть-семь смен), что обеспечивает бесперебойное выполнение земляных работ по возведению насыпей;

совокупный экономический эффект примерно равен одной трети от полных приведенных затрат, что дает возможность на одном сооружении экономить 9-10 тыс. руб.

Все эти преимущества могут быть достигнуты в полной мере только при высоком качестве строительства - выполнении всех требований технологии работ, приобретении соответствующих знаний и навыков постройки металлических гофрированных труб всеми рабочими и инженерно-техническими работниками, занятыми на их строительстве.

ПРИЛОЖЕНИЕ

Методы контроля плотности грунта

Определение плотности и влажности грунта засыпки плотномером-влагомером Н.П. Ковалева. Прибор, основанный на принципе гидростатического взвешивания, состоит из двух основных частей - сосуда и поплавка с трубкой (рис. 26). На трубке по периметру нанесены четыре шкалы Ч, П, Г и Вл для определения объемной массы (плотности) соответственно сухих черноземных, песчаных, глинистых грунтов, а также влажных грунтов.

Поплавок-трубка соединяется с сосудом посредством трех замков. Между ними остается зазор в 1-2 мм для свободного поступления воды в сосуд и выхода из него воздуха. В комплект прибора входят также режущий стальной цилиндр емкостью 200 мл для отбора проб грунта с ненарушенной структурой, воронка, нож и ведро-футляр, являющееся сосудом для воды при испытаниях и футляром для хранения прибора.

При определении объемной массы грунта с естественной влажностью берут пробу с ненарушенным сложением путем вдавливания стального цилиндра в грунт. Режущий цилиндр, полностью вдавленный в грунт, осторожно откапывают и лишний грунт срезают ножом по плоскостям цилиндра. Пробу грунта из режущего цилиндра пересыпают через воронку внутрь поплавка прибора, который затем плавно погружают в ведро-футляр, наполненное водой.

По шкале Вл, нанесенной на трубке поплавка, определяют объемную массу влажного грунта γoб. Затем для определения объемной массы (плотности) скелета грунта γск пробу из поплавка прибора переносят без потерь в сосуд, доливая воду до ½ его объема. При этом грунт тщательно растирают до полного размокания комков деревянной ручкой ножа. Сосуд соединяют с поплавком и погружают в ведро-футляр, наполненное водой. Через зазор между поплавком и сосудом вода из ведра заполняет свободное пространство в сосуде, а прибор погружается до уровня, по которому на соответствующей шкале находят плотность грунта. Влажность грунта (в %) вычисляют по формуле:

ּ

Метод лунок. При возведении насыпи из каменных материалов, а также при наличии в грунте гравелистых частиц, щебенки и мерзлых комьев, уплотнение грунта можно контролировать методом засыпки лунок сухим песком.

Для этого заготавливают сухой песок, просеянный через сито с отверстиями 2 мм (или отдельные фракции песка 0,5-1 мм; 1-2 мм) и не содержащий пылеватых и глинистых частиц. Если такие частицы содержатся, ах надо отмыть и песок высушить.

На уплотненном слое грунта выравнивают небольшую площадку и выкапывают лунку диаметром около 20 см, глубиной 10-15 см. Грунт из лунки тщательно собирают и взвешивают с точностью до 5 г. При выкапывании нельзя задевать края и боковые стенки лунки рабочим инструментом, так как это может привести к завышению объема лунки и искажению получаемых результатов.

Объем лунки определяют следующим образом.

Над лункой устанавливают двойную жестяную воронку с диаметром основания 25 см (рис. 27). В лунку и нижнюю воронку через верхнюю воронку насыпают сухой песок.

Рис. 26. Плотномер-влагомер:

1 - сосуд для грунта; 2 - замок сосуда; 3 - замок поплавка: 4 - поплавок; 5 - футляр; 6 - ручка; 7 - направляющее кольцо; 8 - крышка футляра; 9 - замок футляра; 10 - воронка; 11 - трубка поплавка; 12 - перегородка; 13 - режущее кольцо; 14 - дробь; 15 - пробка; 16 - крышка; 17 - кольцо из резиновой трубки

Рис. 27. Схема размещения воронки над лункой:

1 - лунка; 2 - заполняющий песок; 3 - воронка; 4 - поверхность слоя грунта

Объем засыпаемого песка измеряют мерными стеклянными цилиндрами емкостью 0,1 - 1 л с точностью до 5 см3. Основной объем песка может быть засыпан в лунку любым мерным сосудом, остальную часть песка до полного заполнения лунки желательно засыпать небольшими мерными цилиндрами емкостью не больше 0,1-0.25 л. Песок в цилиндр насыпают через обычную воронку без встряхивания. Вычитая из общего объема песка объем, находящийся в воронке, получают объем песка в лунке, т.е. объем лунки. Разделив массу грунта, извлеченного из лунки, на его объем, определяют объемную массу γoб влажного грунта.

Для определения влажности грунта необходимо высушить весь образец грунта, взятого из лунки. Если грунт содержит частицы крупнее 5 мм и из-за этого невозможно определить влажность всего образца грунта, то сначала определяют влажность W грунта с частицами меньше 5 мм (отсеянного). Затем учитывают влияние включений частиц крупнее 5 мм на влажность образца грунта путем умножения полученной W отсеянного грунта на поправочный коэффициент. Тогда значение влажности W грунта (в %) с включениями частиц крупнее 5 мм определится по формуле

W=W′ּ,

где - поправочный коэффициент;

р - содержание частиц крупнее 5 мм, %.

Объемную массу скелета грунта (в г/см3) можно определить по формуле:

.

Другие методы контроля плотности грунта изложены в книге Л.А. Маркова и А.Г. Полуновского «Контроль качества сооружения земляного полотна автомобильных дорог». М, «Транспорт», 1977, 63 с. (Серия «БАМ» - в помощь строителям»).

СПИСОК ЛИТЕРАТУРЫ

Земляные сооружения. Правила производства и приемки работ. СНиП III-Б. 1-71. М., Стройиздат, 1972. 53 с.

Иванов А.П., Липнягов Б.А. Металлические гофрированные водопропускные трубы на линии Тюмень-Сургут. - «Транспортное строительство», 1973, № 5, с. 8-9.

Инструкция по определению требуемой плотности и контролю за уплотнением земляного полотна автомобильных дорог. ВСН 55-69. М., Оргтрансстрой, 1969. 46 с.

Инструкция по применению грунтов, укрепленных вяжущими материалами, для устройства оснований и покрытий автомобильных дорог и аэродромов. ВСН 25-74. М, Стройиздат, 1975, 127 с

Карцивадзе Г.Н. Сейсмостойкость дорожных искусственных сооружений. М., «Транспорт». 1974. 263 с.

Колоколов Н.М., Левин Б.И., Янковский О.А. Гофрированные стальные конструкции в искусственных сооружениях. - «Транспортное строительство», 1967, № 10, с. 56-58.

Круглые водопропускные трубы из гофрированного металла для железных и автомобильных дорог. Типовые конструкции. Ленгипротрансмост, М., изд. ЦПМ Главтранспроекта Минтрансстроя, 1975. 77 с.

Марков Л.А., Полуновский А.Г. Контроль качества сооружения земляного полотна автомобильных дорог. М., «Транспорт», 1977. 63 с. (Серия «БАМ - в помощь строителям»).

Металлические гофрированные трубы под насыпями. М., «Транспорт». 1973, 120 с. Авт.: Колоколов Н.М., Янковский О.А., Щербина К.Б., Черняховская С.Э.

Методические рекомендации по определению экономической эффективности проектных решений железнодорожных мостов и труб в особых территориально-климатических условиях. ЦНИИС. М. Изд. ЦНИИС, 1973. 106 с.

Методические указания по определению экономической эффективности капитальных вложений и технических решений в транспортном строительстве. М., Оргтрансстрой, 1974. 124 с.

Мосты и трубы. Правила производства и приемки работ. СНиП III-43-75. М, Стройиздат, 1976. 110 с.

Мохортов К.В. Металлические гофрированные водопропускные трубы. - «Автомобильные дороги», 1973, № 7, с. 21-22.

Потапов А.С, Раткевич М.Г., Щербина К.Б. Инструментальные наблюдения за металлическими гофрированными трубами на линии Тюмень-Сургут. - «Транспортное строительство», 1973, № 8, с. 15-16.

Рекомендации по защите металлических гофрированных труб в условиях БАМа. М., Изд. ЦНИИС, 1976, 15 с.

Рекомендации по технологии постройки металлических гофрированных водопропускных труб на железных и автомобильных дорогах. ЦНИИС. М., Изд. ЦНИИС, 1974. 53 с.

Сооружение водопропускной трубы из гофрированной стали. Технологическая карта. М, Оргтрансстрой, 1974. 22 с.

Сооружение водопропускной трубы из гофрированного металла отверстием 1,5 м в условиях БАМа. Технологическая карта. М., Оргтрансстрой, 1976. 38 с.

Строительство в сейсмических районах. Нормы проектирования. СНиП II-А. 12-69. М., Стройиздат, 1970. 47 с.

Техника безопасности в строительстве. СНиП III-А. II-70. М., Стройиздат, 1970. 192 с.

Технические указания по изготовлению и постройке сборных железобетонных водопропускных труб. ВСН 81-62. М., Оргтрансстрой, 1963. 128 с.

Технические указания по строительству автомобильных дорог в зимних условиях. "ВСН 120-65. М., Оргтрансстрой, 1966. 107 с.

Технические указания по технологии сооружения железнодорожного земляного полотна. ВСН 186-75. М., Оргтрансстрой, 1975. 366 с.

Экономичные конструкции противопучинных реперов. Информационный листок. ЦНТИ. Новосибирск, изд. Новосибирского ЦНТИ, 1974. 4 с.

 




ГОСТЫ, СТРОИТЕЛЬНЫЕ и ТЕХНИЧЕСКИЕ НОРМАТИВЫ.
Некоммерческая онлайн система, содержащая все Российские Госты, национальные Стандарты и нормативы.
В Системе содержится более 150000 файлов нормативно-технической документации, действующей на территории РФ.
Система предназначена для широкого круга инженерно-технических специалистов.

Рейтинг@Mail.ru Яндекс цитирования

Copyright © www.gostrf.com, 2008 - 2026