Крупнейшая бесплатная информационно-справочная система онлайн доступа к полному собранию технических нормативно-правовых актов РФ. Огромная база технических нормативов (более 150 тысяч документов) и полное собрание национальных стандартов, аутентичное официальной базе Госстандарта. GOSTRF.com - это более 1 Терабайта бесплатной технической информации для всех пользователей интернета. Все электронные копии представленных здесь документов могут распространяться без каких-либо ограничений. Поощряется распространение информации с этого сайта на любых других ресурсах. Каждый человек имеет право на неограниченный доступ к этим документам! Каждый человек имеет право на знание требований, изложенных в данных нормативно-правовых актах!

  


 

Министерство транспортного строительства СССР

ГОСУДАРСТВЕННЫЙ ВСЕСОЮЗНЫЙ ДОРОЖНЫЙ НАУЧНО-ИССЛЕДОВАТЕЛЬСКИЙ ИНСТИТУТ

(СОЮЗДОРНИИ)

МЕТОДИЧЕСКИЕ РЕКОМЕНДАЦИИ
ПО МЕХАНИЗИРОВАННОМУ ЗАКРЕПЛЕНИЮ ПЕСКОВ С ПРИМЕНЕНИЕМ ВЯЖУЩИХ МАТЕРИАЛОВ

Одобрены Техническим Управлением Минтрансстроя СССР

Москва - 1972

СОДЕРЖАНИЕ

Предисловие

Общие положения

Способы предотвращения песчаных заносов автомобильных и железных дорог

Механизация основных операций пескозакрепительных работ

Организация и технология пескозакрепительных работ

Организация пескозакрепительных работ у строящихся железнодорожных линий

Организация пескозакрепительных работ с верхнего строения пути железнодорожных линий

Организация работы пескозакрепительного поезда ТашИИТа

Техника безопасности

ПРИЛОЖЕНИЯ

Приложение 1 Подбор рабочего состава эмульсии

Приложение 2 Определение нормы розлива разбавленной эмульсии

Приложение 3 Нормы расхода фиксаторов для закрепления песков

Приложение 4 Нормы высева и глубина заделки семян древесно-кустарниковых пород и многолетних трав при закреплении песков на защитной полосе у автомобильных и железных дорог

Разработаны новые способы и технология механизированного закрепления подвижных песков в пустынях и полупустынях около автомобильных и железных дорог. Приведены рекомендации по заращиванию придорожных полос кустарником, деревьями и травой; для временного закрепления поверхности песков рекомендуется использовать медленнораспадающиеся битумные эмульсии, приготовленные на битуме марок БНД-200/300 и БНД-130/200; разработано оборудование для пескозакрепительных работ.

Рис-6.

Предисловие

На территории песчаных пустынь и полупустынь Средней Азии и Казахстана, Северного Кавказа и Астраханской области в последние годы введен в эксплуатацию целый ряд автомобильных и железных дорог, строятся и намечены к строительству крупные железнодорожные линии и автомобильные магистрали.

В этих пустынях перемещение песка под действием ветра вызывает заносы дорог и нарушает бесперебойность их эксплуатации. Расширение сети дорог в районах распространения песков и растущая скорость движения железнодорожного и автомобильного транспорта вызывают необходимость принять неотложные меры по предотвращению песчаных заносов.

В последние десятилетия накоплен некоторый опыт защиты автомобильных и железных дорог от песчаных заносов. К сожалению, этот опыт, базирующийся на использовании ручного труда, не соответствует темпам развития дорожной сети. В направлении разработки новых способов и технологии механизированного закрепления подвижных песков успешно работают Ташкентский институт инженеров транспорта (ТашИИТ) и Новосибирский институт инженеров железнодорожного транспорта (НИИЖТ), Институт пустынь АН Туркменской ССР, Союздорнии и др.

Результаты их исследований, опыт производственных организаций, а также опытно-экспериментальные работы ТашИИТа и Казахского филиала Союздорнии легли в основу настоящей работы.

"Методические рекомендации по механизированному закреплению песков с применением вяжущих" составил канд. техн. наук Н.П. Ивлев (Казахский филиал Союздорнии) с участием инженеров В.И. Рябова (ЦНИИС) и А.В. Рылькова (Казахский филиал Союздорнии),

ЗАМ. ДИРЕКТОРА СОЮЗДОРНИИ Кандидат технических наук Н.В. Горелышев

Общие положения

1. Настоящие "Методические рекомендации" распространяются на районы песчаных пустынь IV-V дорожно-климатических зон.

2. Чтобы предотвратить песчаные заносы автомобильных и железных дорог, подвижные формы рельефа в пределах защитной полосы необходимо надежно закреплять, а приносимый песок задерживать на дальних подступах к дороге - у начала защитной полосы и частично в ее пределах.

Пески, лишенные растительности, в сухое время года способны к перемещению под действием ветра в виде ветропесчаного потока.

Как во всем комплексе рельефа песчаной пустыни, так и в каждом из его элементов различают зоны выдувания, или выноса (дефляции), переноса (транзита) и накопления (аккумуляции) песка.

Нижняя часть наветренного склона отдельного бархана представляет собой зону выноса, верхняя - зону переноса, а подветренный склон - зону накопления. Движение бархана происходит в результате перемещения песка из зоны выноса в зону накопления с постепенным смещением зон в направлении ветра.

Такие же зоны отмечаются и на обширных участках пустынь и полупустынь. Одни участки этих территорий подвергаются ветровой эрозии, на других образуются подвижные формы рельефа.

3. В пределах защитной полосы закреплению подлежат, кроме подвижных форм рельефа, очаги дефляции (грунтовые резервы, "язвы", котловины).

4. На защитной полосе запрещается движение автомобильного и гужевого транспорта, сенокошение, выпас и перегон скота, земляные работы.

5. Для задержания песка на дальних подступах к дороге используют механические зашиты из различных материалов или живую защиту, создаваемую линейным или сплошным размещением посадок.

6. Закрепление песков осуществляют:

а) по обе стороны от дороги, если ось ее совпадает с направлением движения песков или составляет с ним угол меньше 30°, а также при переменных направлениях ветров;

б) только со стороны преобладающего направления ветров, когда пески имеют явно выраженное поступательное движение, направленное под углом больше 30° к оси дороги, и заносы с противоположной стороны невозможны.

7. В ветропесчаном потоке основной объем песка (90 %) расположен в нижнем 5-10-сантиметровом слое. При встрече ветропесчаного потока с механической защитой песок оседает. Вдоль линии защиты образуется вал. По мере накопления песка механические защиты устанавливают на новом месте на расстоянии 5-10-кратной высоты вала от прежнего места расположения. При живых защитах происходит естественное зарастание образующегося вала.

8. Наиболее надежным способом закрепления песков является их заращивание.

9. Для того чтобы обеспечить развитие растений-пескозакрепителей в условиях перемещающихся песков, необходимо удержать семена на закрепляемой площади до их прорастания, а затем в течение года предотвращать выдувание песка из корнеобитаемого слоя. С этой целью временно закрепляют пески (фиксация поверхности) жидкообразным вяжущим материалом (фиксатором).

Способы предотвращения песчаных заносов автомобильных и железных дорог

10. По степени пескозаносимости участки автомобильных и железных дорог делятся на сильно-, средне-, слабозаносимые и незаносимые.

Участки

Объем приносимого песка к дороге, м3/пог. м в год

Сильнозаносимые

> 20

Среднезаносимые

10-20

Слабозаносимые

до 10

Незаносимые

0

11. Степень пескозаносимости отдельных участков определяют непосредственно на дороге путем замера пескоприноса, сбора сведений от линейных работников службы эксплуатации и анализа данных метеостанций.

12. Ширину защитной полосы в назначают из условия, что годовой объем пескоприноса V наносит 10-сантиметровый слой песка на площадь, равную ширине и длине полосы в 1 м;

13. В зависимости от степени заносимости участка дороги на защитной полосе создают ту или иную конструкцию защиты (табл. 1).

14. Пескозакрепительные работы предполагают: посев семян пустынных трав;

Боронование засеянной площади с заделкой семян в песок на глубину 2-6 см;

посадку черенков или саженцев древесно-кустарниковых пород;

приготовление на стационарных базах жидкообразных вяжущих материалов;

транспортировку вяжущих материалов к месту пескозакрепительных работ;

приготовление рабочего состава фиксатора (разбавление водой до требуемой концентрации);

розлив рабочего состава фиксатора на закрепляемую поверхность.

15. В качестве вяжущего материала для временной фиксации поверхности песков рекомендуется использовать медленно распадающиеся битумные эмульсии, приготовленные на битуме марок БНД-200/300 и БНД-130/200 (ВСН 115-85).

Таблица 1

Участки дороги по степени пескозаносимости

Конструкция защиты

Сильнозаносимые

Придорожная полоса шириной не менее 250 м заращивается древесной (саксаул) или кустарниковой растительностью, а также травой

Среднезаносимые

На расстоянии до 250 м от дороги и параллельно ей создается 3-5- рядные кулисы из саксаула и кустарника. Придорожная защитная полоса указанной ширины заращивается травой

Слабозаносимые

Придорожная защитная полоса шириной не менее 125 м заращивается травой

Незаносимые

Травой заращиваются грунтовые резервы и места возможной дефляции песка (откосы земляного полотна, участки местности, где в процессе строительства нарушен или уничтожен естественный растительный покров)

18. Битумные эмульсии, в отличие от природных нефтей, практически нетоксичны, относительно дешевы, недефицитны, позволяют производить фиксацию при положительных температурах, близких к нулю.

Использование природных нефтей целесообразно только в случае близкого расположения источника их получения.

17. Выпускаемые эмульсионными базами битумные эмульсии 50 %-ной концентрации для фиксации поверхности песков непригодны. Непосредственно перед началом фиксации они должны быть разбавлены 2-6 частями воды. При розливе разбавленной эмульсии битум увлекается водой в поры песка, создавая защитный слой толщиной 5-20 мм. Защитный слой в течение 2-3 лет предохраняет поверхность песков от эрозионного действия ветропесчаного потока и не препятствует прорастанию семян.

18. Для уменьшения концентрации щелочи, оказывающей вредное действие на всхожесть семян и жизнедеятельность растений, концентрированные эмульсии разбавляют водой. При этом, во избежание распада эмульсии, сначала в цистерну подают заданный объем концентрированной эмульсии, а затем заданный объем воды. Механического перемешивания не требуется. Разность температур смешиваемых жидкостей не должна превышать 60-65°С.

19. При выборе растений-пескозакрепителей безусловное предпочтение отдается местным породам, растущим в аналогичных с закрепляемой площадью условиях.

20. При составлении проекта организации пескозакрепительных работ учитывают грунтовые и гидрологические условия территории, подлежащей заращиванню. Применительно к этим условиям назначают для посадки соответствующие виды растительности.

21. Для закрепления песков пустынь рекомендуются:

а) деревья и кустарники:

белый и черный саксаул - пустынное дерево. Растет на подвижных и уплотнившихся песках. Разводится посевом семян и посадкой саженцев, а также порослью. Посев зимой или ранней весной. Черный саксаул рекомендуется высаживать на уплотнившихся песках, в частности, на шлейфах барханов, в межбарханных понижениях, а также на почвах со средним сульфатным засолением;

черкезы Рихтера и Палецкого - крупный древовидный кустарник, достигающий 5-6 м в высоту и 30 см в диаметре. Черкезы относятся к быстрорастущим многолетним породам. Успешно разводятся посевом семян, посадкой сеянцами и черенками. Семена можно высевать в конце зимы и ранней весной. При запоздалом весеннем посеве рекомендуется замачивать семена в воде (1-2 дня). При посадке черенками приживаются 40 – 50 %. Лучшие результаты дает посадка саженцев из питомников.

Черкезы Рихтера и Палецкого рекомендуются для посадок на барханах. При засыпании песком сильно кустятся, давая дополнительные побеги. Черкезы растут и на песках с хлоридным засолением;

кандым - кустарник высотой до 4 м, многолетнее растение. Хорошо переносит частичное обнажение корней и занос песком. Растет в бугристых песках и на крутых склонах барханов. Разводится семенами, черенками, саженцами и отводками;

песчаная акация - крупный кустарник. Разводится посевом и корневыми отпрысками. Выращенные в питомниках сеянцы плохо переносят пересадку. Черенки имеют низкую приживаемость;

чингил - кустарник высотой до 2,5 м. Хорошо растет и размножается в песках при близком расположении грунтовых вод, выдерживает засоление. Размножается семенами. Производить посадку рекомендуется ранней весной;

тамариксы (гребенщики) - многолетние кустарники. Посадка производится дичками или черенками. Посев семян не применяется. Приживаемость дичков 90-95 %, черенков - 40 %. Первые два - три года рост замедленный. Легко переносит засыпание песком. Рекомендуется применять для задержания движущихся песков. В этом случае создаются живые защиты из 3-5 рядов. Хорошо развиваются с другой растительностью;

б) травянистые растения:

селин - многолетний злак, высота стеблей до 1,5 м. Корневая система горизонтальная, расположена в верхнем 10-40-сантиметровом слое песка. Сильно развиваясь, корневая система простирается до 15 м, хорошо цементирует песок. При засыпании песком из пазух листьев Селина образуются придаточные корни. Селин хорошо растет на голых барханных песках. По мере зарастания песков и поселения другой растительности начинает отмирать. Разводится посевом семян и посадкой корневищ;

песчаный овес (казахский айгыр-кияк, или ки-як) - многолетнее растение. Широко распространен в песках северных пустынь и полупустынь. У дорожно-климатической зоны, преимущественно на разбитых песках. Высота - до 1-1,5 м. Корневая система мощная и располагается иногда несколькими ярусами. Хорошо переносит засыпание песком. В естественных условиях размножается вегетативным путем; хорошие результаты дает искусственный посев семян;

житняк сибирский или песчаный - многолетний злак. В диком виде растет на бугристых закрепленных или полуподвижных песках. Имеет прямые стебли длиной 30-80 см. Не растет на засоленных песках. Вегетация житняка начинается ранней весной, сразу же после таяния снега. Колошение происходит в конце мая, цветение - в июне и созревание - в июле. Житняк сравнительно медленно развивает корневую систему. Размножается самопосевом;

аристида Карелина (казахский ак-селеу) - многолетний злак высотой до 1 м. Растет в подвижных и полуподвижных песках. Вегетационный период начинается в апреле и кончается в ноябре. Корневая система горизонтальная располагается в 10-40-сантиметровом слое песка. При засыпании песком из почек в пазухах листьев развиваются дополнительные корни. Размножается семенами. Число всходов на 1 га - до 10000. Аристида Карелина в числе первых поселяется на песках, на пологих склонах барханов и в межбарханных понижениях.

22. Для искусственного засева песков обязательно применение многолетних растений (см. п. 21), При этом желательно высевать семена 2-3 разновидностей растений, вводя до 25-30 % семян однолетних трав типа яныр, саган, кумарчик, камак, солянка, верблюжья колючка.

23. Семена кустарниковых растений также желательно высевать с семенами многолетних и однолетних трав. Такой способ посева растений в первые 2-3 года создает взаимную защиту и способствует лучшему развитию.

24. Наилучшим временем пескозакрепительных работ является весна с момента схода снегового покрова до середины апреля. Посев в это время года дает максимальную всхожесть семян кустарниковой и травянистой растительности.

Хорошую, но несколько худшую всхожесть семян дают осенние посевы.

25. При больших объемах пескозакрепительных работ можно сеять семена в летнее время "под консервацию". Высеянные в это время семена находятся под слоем песка, закрепленного вяжущим материалом, до весны, когда начинается их прорастание. Летние работы следует начинать с середины июля. При этом используются только семена урожая данного года.

Летний и осенний посевы семян имеют тот недостаток, что молодые побеги с неокрепшей корневой системой при малоснежной и суровой зиме могут вымерзать.

При бесснежной или малоснежной зиме с частыми и длительными потеплениями, вызывающими размораживание поверхностного слоя песка, выполнять работы по высеву семян и боронованию можно до наступления весны, причем розлив эмульсии в этот период не обязателен.

26. Древесно-кустарниковые породы сажают черенками, отводками и саженцами ранней весной. Заготавливать посадочный материал можно осенью. Посадка отводками и саженцами возможна также и поздней осенью, когда закончится вегетация.

Механизация основных операций пескозакрепительных работ

27. Для посева семян в песчаных пустынях с относительно спокойным рельефом рекомендуется использовать навесные сеялки типа СЗТН-19, СЗТН-31, СЗМ-10 и СЗН-16 с шириной захвата 1,5, 2,4 м. С большей шириной захвата сеялки непригодны в условиях рельефа песчаных пустынь.

28. В качестве тягача сеялок служат гусеничные тракторы ДТ-75 и колесные "Беларусь".

29. Сеялки имеют семенные ящики и высевающие аппараты, семяпроводы и дисковые двухрядные сошники. Привод высевающих аппаратов от опорных колес. Глубина хода сошников 4-8 см. Семена подаются под сошники и оказываются прикрытыми слоем песка. Поэтому на участках с механическим посевом боронование как самостоятельная операция пескозакрепительных работ исключается.

30. На бугристых песках использование средств механизированного посева семян невозможно из-за непроходимости механизмов. На таких участках защитной полосы посев семян производится вручную путем разбрасывания.

31. Для механического боронования участков ручного посева рекомендуется использовать:

а) навесную дисковую борону, БНД-2 с шириной захвата 2 м;

б) прицепные трехзвеньевые зубовые бороны ЗБ3Ту-1; ЗБ3С-1 и ЗБП-0,6 с шириной захвата 2,8; 2,9 и 1,77 м соответственно.

32. В качестве тягача навесных и прицепных борон служат гусеничные тракторы ДТ-75 и колесные "Беларусь".

33. Для ручного боронования используются обычные металлические грабли, применяемые в сельском хозяйстве.

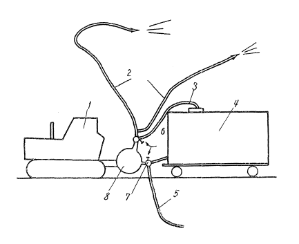
34. Агрегат для розлива эмульсий у автомобильных дорог состоит из тягача, разбрызгивателя и приемной цистерны.

В качестве тягача используют гусеничный трактор ДТ-75, а разбрызгивателя жидкообразных вяжущих материалов (фиксаторов) - дождевальные аппараты, мотопомпы или пожарные автомобили. Разбрызгиватели снабжаются сменными шлангами длиной до 250 м и брандспойтом.

Приемную цистерну емкостью 10-15 м3 устанавливают на самостоятельной пневмоколесной тележке, находящейся в сцепе с трактором-тягачом.

35. Пескозакрепительный агрегат обслуживает звено водополивочных машин, доставляющих воду, и звено битумовозов, подвозящих концентрированную эмульсию или другой какой-либо фиксатор от базы хранения или места приготовления.

36. Насосы разбрызгивателей должны быть только центробежного действия.

37. Дождевальный аппарат (ДНД) навешивают на трактор-тягач. Он приводится в действие через карданный вал от вала отбора мощности трактора, Струенаправняющий ствол удаляют и на его место устанавливают трехходовой пробковый кран. К одному фланцу присоединяют пожарный шланг переменной длины с брандспойтом для розлива фиксатора на закрепляемую поверхность песка (рабочий шланг). На второй фланец присоединяют 6-10-метровой длины шланг для подачи фиксатора в приемную цистерну (загрузочный шланг). На всасывающей трубе насоса дождевального аппарата также устанавливают трехходовой пробковый кран. К одному фланцу присоединяют 5-6-дюймовый гофрированный шланг. Второй конец этого шланга соединяют с приемной цистерной (питающий шланг). Ко второму фланцу присоединяют также гофрированный шланг длиной 6-10 м и диаметром 5-6 дюймов. Этот шланг предназначен для откачки фиксатора из транспортных цистерн (разгрузочный шланг).

Насос дождевального аппарата, кроме разбрызгивания фиксатора, может перекачивать его в приемную цистерну из транспортных цистерн (рис. 1).

38. Техническая характеристика пескозакрепительного агрегата на основе дождевального аппарата:

Рис.1. Схема пескозакрепительного агрегата:

1 - трактор-тягач; 2 - пожарные шланги; 3 - загрузочный шланг; 4 - приемная цистерна; 5 - разгрузочный шланг; 6 - трехходовой пробковый кран; 7 - всасывающий (питающий) шланг; 8 - насос

Площадь розлива с одной стоянки

3 га

Расход эмульсии рабочего состава

до 30 л/сек

Дальность подачи эмульсии по шлангам

200-250 м

Производительность в смену

3-6 га

39. При использовании мотопомпы в качестве разбрызгивателя также требуется трактор-тягач и приемная цистерна. Чтобы производить разгрузку транспортных цистерн без дополнительного насоса, мотопомпа, как и дождевальный аппарат, дополнительно снабжается двумя шлангами с установкой трехходовых пробковых кранов.

40. Элементы пескозакренителъиого агрегата на основе мотопомпы находятся в сцепе в такой последовательности: трактор-тягач - приемная цистерна - мотопомпа (рис. 2).

41. При использовании в качестве разбрызгивателя, пожарного автомобиля пескозакрепительный агрегат может состоять из пожарного автомобиля и накопительной емкости, находящихся в сцепе. Пожарный автомобиль снабжают дополнительными двумя трехходовыми пробковыми кранами, разгрузочными и загрузочными шлангами. Цистерна пожарного автомобиля используется также для приема составляющих рабочий состав эмульсии (рис. 3).

42. Пескозакрепительные агрегаты на основе дождевальных аппаратов, мотопомпы и пожарных автомобилей применимы при выполнении больших объемов песков закрепительных работ в придорожной полосе.

43. Для закрепления поверхности песка на небольших барханах и в отдельных местах дефляция целесообразно использовать в качестве разбрызгивателя садовый опрыскиватель типа ОВС-А.

Садовый опрыскиватель снабжается накопительной цистерной объемом 10-15 м3. Ее устанавливают на тележке, находящейся в сцепе с трактором-тягачом, который перемещается по фронту работ.

Для перекачки эмульсии из транспортных средств в накопительную цистерну пескозакрепительному агрегату на основе садового опрыскивателя придается насос. Насос находится на самостоятельной тележке, приводится в действие от вала отбора мощности трактора-тягача и имеет разгрузочный и загрузочный шланги длиной по 8-10 м.

Рис. 2. Схема пескозакрепительного агрегата на основе мотопомпы

1 - трактор-тягач; 2 - приемная (накопительная) цистерна; 3 - загрузочный шланг; 4 - трехходовой пробковый кран; 5-пожарные шланги с брандспойтами; 6 - всасывающий шланг; 7-мотопомпа; 8 - разгрузочный шланг

Рис. 3. Схема пескозакрепительного агрегата на основе пожарного автомобиля:

1 - пожарный автомобиль; 2 - разгрузочный шланг; 3 - загрузочный шланг; 4 - приемная (накопительная) цистерна; 5 - трехходовой пробковый шланг; 6 - пожарные шланги с брандспойтами

44. Для закрепления барханных песков у эксплуатируемых железнодорожных линий комплектуется пескозакрепительный поезд (рис. 4), состоящий из следующих основных узлов:

Рис. 4. Пескозакрепительный поезд:

1 - тепловоз; 2 - вагон для отдыха обслуживающего персонала; 3 - платформа; 4 - намоточный барабан; 5 - двигатель внутреннего сгорания; 6 - насос (мотопомпа); 7 - загрузочная магистраль; 8 - смесительная цистерна; 9 - цистерны с запасом концентрированной эмульсии; 10 - цистерны с запасом воды; 11 - разгрузочная магистраль; 12 - всасывающая магистраль

а) платформы, на которой установлены мотопомпа или дождевальный аппарат с двигателем внутреннего сгорания и барабан для намотки шлангов;

б) смесительной цистерны емкостью 50 т, наполняемой в заданных объемах концентрированной эмульсией и водой, в которой приготовляют рабочий состав эмульсии;

в) двух-трех цистерн емкостью по 50 т с технологическим запасом концентрированной эмульсии;

г) трех-четырех цистерн с технологическим запасом воды для разбавления концентрированной эмульсии.

45. Поезд перемещается по железнодорожной линии тепловозом.

46. Вдоль пескозакрепительного поезда в подвешенном состоянии на уровне рам платформы и цистерн проходит разгрузочная магистраль из металлических труб, соединенных между собой отрезками гибкого шланга. Диаметр труб 4-6 дюймов. Каждая цистерна соединена с магистралью. Магистраль подключена к дождевальному аппарату, В месте соединения расположен трехходовой пробковый кран, к которому подведена всасывающая труба от смесительной цистерны.

47. От дождевального аппарата к смесительной цистерне проведена загрузочная труба, по которой подается из цистерн хранения технологического запаса концентрированная эмульсия и вода для приготовления рабочего состава фиксатора. На выходе из дождевального аппарата загрузочной трубы установлен трехходовой пробковый кран. От него отходит пожарный шланг переменной длины, заканчивающийся брандспойтом. В нерабочем состоянии поезда пожарный шланг намотан на барабане.

48. Пескозакрепительный поезд обслуживают четыре человека: моторист, оператор, производящий розлив эмульсии на закрепляемую поверхность, и два подсобных рабочих.

49. Производительность поезда 15-20 га в смену при условии заблаговременного засева площади закрепления.

50. Пескозакрепительный агрегат системы ТашИИТа (рис. 5) предназначен для закрепления барханных песков на откосах земляного полотна и защитной полосе железнодорожного пути. Он выполняет следующие операции: приготовляет концентрированную битумную эмульсию, разбавляет ее водой до заданного рабочего состава и разливает фиксатор на закрепляемую поверхность. Состоит из эмульсификатора, системы розлива, котельного и энергетического хозяйств.

Рис. 5. Схема пескозакрепительного агрегата системы ТашИИта:

1 - стоечный подъемный кран; 2 - емкости жидкостных горелок; 3 - водяной котел; 4 - водяной дозатор; 5 - эмульсификатор; 6 - электроразрядная камера; 7 - промежуточный накопитель эмульсии; 8 - накопитель концентрированной эмульсии; 8 - пульт управления электроразрядной камерой; 10 - электродвигатель; 11 - водяной насос; 12 - цистерна для воды; 13 - цистерна с барбатажными трубами; 14 - намоточный барабан; 15 - насос дальнеструйного аппарата; 16 - редуктор дальнеструйного аппарата; 17 - двигатель внутреннего сгорания; 18 - ременная передача; 19 - электростанция ДС-50; 20 - водяной насос эмульсификатора; 21 - битумный дозатор; 22 - компрессор; 23 - битумный котел; 24 - рессивер

Для производства работ формируется специальный пескозакрепительный поезд, состоящий из тепловоза, вагона для обслуживающего персонала, платформы для запаса битума и эмульгаторов, пескозакрепительного агрегата, барботажной цистерны и цистерн для временного хранения воды и концентрированной эмульсии.

Сырье для эмульсии подготовляют в битумных и водяных котлах. Котлы снабжены жидкостными горелками. Битум и воду дозируют двумя дозаторами. Эмульсию готовят в эмульсификаторе и насосом перекачивают в промежуточный накопитель. Для увеличения диспергирования битума в водной среде эмульсию пропускают через электроразрядную камеру. Мощные разряды разбивают битум в более тонкодисперсные мицеллы. Далее эмульсию подают в накопитель. Разбавляют концентрированную эмульсию в барботажной цистерне, куда подают насосом эмульсию и воду из накопителя и водяных цистерн.

Система розлива включает дальнеструйный аппарат, двигатель внутреннего сгорания, трехсекционный намоточный барабан с пожарным шлангом.

В энергетическое хозяйство агрегата входят электростанция ДС-50 и электромоторы.

Агрегат имеет систему трубопроводов, позволяющую закачивать эмульсии в различные емкости. Предусмотрена промывка системы трубопроводов, емкостей и шлангов.

51. В районах песчаных пустынь для беспрепятственного проезда построечного автомобильного транспорта, занятого доставкой строительного материала, оборудования, инвентаря и людей, вдоль строящейся железнодорожной линии устраивают временную автомобильную дорогу с щебеночным или гравийным покрытием. Она располагается в 20-50 м от трассы железнодорожной линии, с подветренной стороны преобладающего направления ветров. Наличие таких временных автомобильных дорог дает возможность использовать пескозакрепительные агрегаты (пп. 34-43).

Организация и технология пескозакрепительных работ

Механический посев семян многолетних трав

52. Работу сеялок организуют с учетом производительности агрегата и автомобилей, занятых подвозкой фиксатора.

53. Посев семян начинают на 1-2 часа раньше начала работы пескозакрепительного агрегата в целях подготовки площади для розлива фиксатора;

Засевать площади заранее нельзя, так как сухой песок склонен к перемещению. Поэтому может оказаться, что фиксация поверхности песка произведена на площади, с которой ветрами унесены семена. Во избежание уноса ветрами семян ежедневная площадь засева не должна превышать площадь, которую способен обработать пескозакрепительный агрегат.

54. Перед посевом высеивающий аппарат настраивают на заданную норму высева. С этой целью опорно-приводные колеса сеялки поднимают. На обод поднятого колеса наносят метку, которая служит для подсчета числа оборотов. Под сеялку подстилают брезент и, ориентировочно установив регулятор высева, засыпают в ящик семена. Колесо, установленное в рабочее положение, поворачивают на 2-3 оборота, чтобы высевающие аппараты заполнились семенами. Количество семян, необходимое на 30 оборотов ходового колеса р , подсчитывают по формуле:

 кг,

где H - заданная норма высева на 1 га, кг;

l - длина обода колеса, см;

Ш - ширина захвата сеялки, м;

10000 - площадь 1 га, м2.

Колесо вращают равномерно со скоростью примерно 20 об/мин.

Высеянные на брезент за 30 оборотов семена взвешивают. Если вес их не соответствует расчетному, рычаг регулятора переставляют, а норму высева проверяют снова. Отклонение от нормы не должно превышать 2-3 %. Определив норму высева, закрепляют рычаг регулятора веса и устанавливают шаблон из жести (по величине открытия катушки высевающего аппарата), которым в дальнейшем ежедневно контролируют норму высева семян.

55. В начале рабочего дня мешки с суточным запасом семян разгружают на обочине дороги.

56. С наполненным семенным ящиком сеялку перемещают от дороги к границе защитной полосы и снова возвращают к дороге, перекрывая одним сошником ранее пройденный участок. Такими движениями сеялки (челночная схема) засевают площадь.

57. Весенний или осенний посев семян растений можно производить обычными сельскохозяйственными орудиями, если рельеф песков позволяет проезд трактора с сеялкой. На участках крутых склонов барханов и в условиях бугристых песков, а также в летний период года, когда проезд по барханным пескам невозможен, следует переходить на ручной способ посева, что экономически оправдывается на небольших площадях.

Ручной посев семян

58. Для ручного засева подлежащих закреплению площадей защитной полосы создается звено сеяльщиков, количество членов которого определяется объемом и темпом пескозакрепительных работ.

59. Работа сеяльщиков начинается от бровки земляного полотна. Достигнув границы защитной полосы, сеяльщики занимают новый участок и движутся в обратном направлении - к дороге.

60. Мешки с однодневным запасом семян в начале рабочей смены выставляют вразброс на защитной полосе.

61. Работы по ручному высеву семян ведут в безветренную погоду или при легком ветре (3-4 м/сек), желательно в пасмурную, дождливую погоду.

62. Семена кустарниковых или древесных пород высевают только во второй половине осени. Семена саксаула лучше высевать немедленно после сбора.

63. Посев производят вразброс с последующим боронованием или под кетмень и лопату в лунки, что обеспечивает требуемую глубину заделки на 3-5 см. На 1 га делают около 5000 лунок. Расстояние между лунками в рядах 1,5 м, между рядами 1,3-1,4 м. Ряды располагают параллельно оси дороги. Лунки в рядах устраивают в шахматном порядке.

Боронование площадей ручного засева

64. Площади, засеянные вручную, обязательно подлежат боронованию для заделки семян в песок, что предохранит их от уноса и предотвратит обволакивание пленкой фиксатора.

65. Боронование может быть ручным - с использованием граблей или механическим - зубовыми боронами на тракторах. Механическое боронование осуществимо на вершинах и пологих склонах гряд и отдельных барханов. На крутых склонах (более 10-12°), в бугристых песках, а также при летних посевах семян под "консервацию" механическое боронование заменяют боронованием граблями.

66. Движение борон по защитной полосе желательно по челночной схеме. Однако это условие не всегда выполнимо из-за сложности рельефа барханных песков.

67. Разрыв во времени между началом посева и боронованием должен быть сведен до минимума и исчисляется 20-30 мин.

68. Для боронования засеянной площади создают звено, состоящее из тракториста и трех-четырех бороновальщиков. Это звено обслуживает звено сеяльщиков также из трех-четырех человек.

Посадка черенков и саженцев древесно-кустарниковых пород

69. Черенки, отводки и саженцы высаживают сразу после окончания боронования на участке.

70. К месту работ подвозят 2-3-дневный запас посадочного материала, разгружают его в неглубокую траншею и засыпают влажным песком на 1/4 высоты саженцев, чтобы предохранить корни от высыхания.

71. Корневища саженцев и комли черенков перед посадкой обмакивают в ведро с жижей из растительной земли, которую готовят на 1-2 %-ном растворе полиакриламида.

72. Посадку саженцев осуществляют под меч Колесова или штыковую лопату, заглубляя их на 15-20 см. При посадке черенков лучше пользоваться ломом.

73. После розлива фиксатора можно сажать черенки под лом. Использовать меч Колесова и лопату нельзя, так как ими нарушается целостность защитной корочки ранее закрепленного песка.

Транспортирование концентрированной эмульсии

74. Концентрированные битумные эмульсии приготовляют на стационарных эмульсионных базах, создаваемых при асфальтобетонных заводах.

75. Приготовленную концентрированную эмульсию перекачивают в хранилище, где она может находиться в течение длительного времени (нескольких месяцев) без потери заданных свойств. Для хранения эмульсии используют различные емкости, не допускающие испарения воды из эмульсии. Не разрешается хранение эмульсии при температуре ниже 0°С.

76. В транспортные средства эмульсия подается насосами или поступает самотеком. Чтобы предотвратить вспенивание эмульсии при наполнении транспортных средств, конец сливного шланга опускают на дно наполняемой тары.

77. Доставляют битумную эмульсию к месту закрепления песка в железнодорожных или автомобильных цистернах.

78. Для исключения возможности распада эмульсии во время транспортировки на дальние расстояния на каждые 10 т эмульсии следует добавлять в цистерну 0,5 кг щелочи.

Технология пескозакрепительных работ у автомобильных дорог

79. Перед производством работ пескозакрепительный агрегат на основе дождевального аппарата доставляют к участку закрепления и устанавливают на обочине автомобильной дороги.

80. Автогудронатором или другой автоцистерной подвозят концентрированную эмульсию. В насосе агрегата перекрывают пробковыми кранами отверстия пожарного и всасывающего шлангов и открывают отверстия загрузочного и разгрузочного шлангов.

Свободный конец разгрузочного шланга помещают через горловину в тару автогудронатора. Включают насос и перекачивают необходимое количество концентрированной эмульсии в приемную цистерну. После этого с помощью водополивочной машины перекачивают требуемый объем воды в приемную цистерну агрегата.

81. Оператор с подсобными рабочими разматывает пожарный шланг и протаскивает его конец с брандспойтом на выходном отверстии к дальнему участку защитной полосы. С помощью трехходового крана перекрывают отверстия разгрузочного и загрузочного шлангов и открывают отверстия пожарного и всасывающего шлангов. При включении в работу насоса эмульсия рабочего состава поступает из приемной цистерны в пожарный шланг к брандспойту.

82. Количество эмульсии, необходимое для закрепления песка на обрабатываемой площади, определяют визуально, следя за изменением цвета песка.

83. Когда в приемной цистерне израсходуется приготовленный запас рабочей эмульсии, насос агрегата выключают. Подсобный рабочий перекрывает отверстия пожарного и всасывающего шлангов. Разгрузочный шланг вводят через горловину в емкость автогудронатора и подают очередную порцию концентрированной эмульсии, а затем воду в приемную цистерну. Приготовленную порцию эмульсии рабочего состава разливают на закрепляемую площадь. На каждый цикл наполнения приемной цистерны требуется 15-20 мин, а на розлив этого же объема - 8-10 мин. Таким образом, за 25-30 мин закрепляют 2000-3000 м2 площади песков. Для фиксации поверхности песков на площади в 1 га затрата времени составляет 1,5-2 час.

84. С одной стоянки пескозакрепительного агрегата закрепляют до 2,5-3 га поверхности песков. После окончания работ на стоянке агрегат перемещается вдоль фронта работ на 150-250 м и занимает новую позицию.

85. После каждой рабочей смены промывают приемную цистерну, насос и шланги, пропуская через них 4-5 м3 воды.

86. Работу организуют таким образом, чтобы использовать полностью дневное время.

87. Закрепление песков на охранной защитной полосе ведет звено в следующем составе:

а) рабочие: трактористы - 3 чел.; шоферы - 6-8 чел.; операторы - 1-2 чел.; рабочие 2-3 чел.;

б) механизмы и оборудование: пескозакрепительный агрегат; навесная сеялка с трактором; борона с трактором; водополивочные машины - 3-4 шт.; автогудронаторы или битумовозы - 3-4 шт.; бензозаправщик; ручные грабли, кетмени, лопаты; вагончик для отдыха рабочих, а также хранения питьевой воды; автобус.

88. При использовании пескозакрепительного агрегата на основе мотопомпы или пожарного автомобиля организация работ такая же, как и при использовании агрегата на основе дождевального аппарата.

89. Передвижение пескозакрепительного агрегата на основе садового опрыскивателя по защитной полосе и за ее пределами возможно в осенне-весенний период, когда пески влажные. При этом, однако, нужно избирать маршруты движения агрегата по межбарханным понижениям.

90. Перед началом работ к месту закрепления доставляют садовый опрыскиватель, накопительную цистерну и насос. Накопительную цистерну и насос устанавливают на обочине или у подошвы дорожной насыпи, если насыпь невысокая. Автогудронаторы и водополивочные машины при разгрузке располагают на проезжей части дороги.

Садовый опрыскиватель снабжают шлангом длиной до 100 м. Шланг заканчивается металлическим наконечником с круглым отверстием диаметром 8-10 мм.

91. Эмульсия рабочего состава поступает в емкость садового опрыскивателя самотеком. С наполненной емкостью опрыскиватель перемещают к уже засеянному участку.

Садовый опрыскиватель располагают с наветренной стороны с тем, чтобы струя эмульсии выбрасывалась по направлению ветра или под небольшим углом. Израсходовав запас эмульсии, опрыскиватель передвигают к приемной цистерне для очередного наполнения.

92. На один цикл розлива эмульсии из емкости садового опрыскивателя требуется 35-50 мин, из них: 5-7 мин - заполнение емкости садового опрыскивателя из приемной цистерны; 5-12 мин - проезд садового опрыскивателя к месту розлива; 20 мин - розлив эмульсии; 5-12 мин - проезд садового опрыскивателя от места розлива к приемной цистерне за новой порцией эмульсии.

За один цикл работ садовым опрыскивателем закрепляют песок на площади 500 м при разбавлении концентрированной эмульсии 6 вес. ч. воды и 1800 м2 - при разбавлении эмульсии 1 вес. ч. воды.

93. Состав звена:

а) рабочие: трактористы - 2-3 чел., оператор - 1-2чел.; рабочие - 2-8 чел.;

б) механизмы и оборудование: садовый опрыскиватель с трактором "Беларусь" - 1-2 шт.; навесная сеялка, приемная цистерна на тележке; насос на тележке в сцепе с трактором "Беларусь"; автогудронатор или битумовозы - 2 шт.; водополивочная машина - 2-3 шт.; ручные грабли - 2-5 шт.; вагончик для отдыха рабочих и хранения инвентаря; автобус.

Организация пескозакрепительных работ у строящихся железнодорожных линий

94. Организация пескозакрепительных работ на защитной полосе у строящейся железнодорожной линии при отсутствии верхнего строения пути не отличается от пескозакрепительных работ у автомобильных дорог (см. пп. 52-78).

Различие в организации технологического процесса в целом может быть только тогда, когда строящаяся железнодорожная линия окажется удаленной более чем на 100-150 км от базы приготовления битумной эмульсии. В этом случае приготовленную на стационарной установке концентрированную битумную эмульсию сливают в железнодорожные цистерны, доставляют на станцию, ближайшую к строящейся железнодорожной линии. Запаса эмульсии в двух-трех цистернах достаточно для закрепления песков на 10-20 га. При необходимости закрепления песков на больших площадях пескозакрепительному поезду придают дополнительное количество цистерн или периодически доставляют эмульсию в двух-трех цистернах через обусловленное заранее время к месту работ пескозакрепительного поезда. Цистерны ставят в тупик. Затем эмульсию доставляют по временной автомобильной дороге к пескозакрепительному агрегату.

95. Работы по закреплению песков на защитной полосе у строящихся железнодорожных линий начинают сразу же после окончания возведения и отделки земляного полотна.

96. Розлив эмульсии на защитной полосе и откосах земляного полотна производят после посева семян. Верхнюю площадку земляного полотна не засевают, а фиксация же эмульсией верхней площадки земляного полотна желательна во всех случаях и тем более необходима, если в ближайшие недели не предполагается укладка верхнего строения пути.

97. Эмульсию на верхней площадке земляного полотна разливают в 2-3 приема через 1-2 дня. Первый раз эмульсию разливают (содержание битума 8-10 %) из расчета 4-5 л на 1 м2, второй розлив (содержание битума в эмульсии 15-25 %) - 2-3 л на 1 м2 и в третий раз концентрированную эмульсию разливают из расчета не более 2 л на 1 м. Трехкратным розливом эмульсии на поверхности верхней площадки земляного полотна создается защитная корочка связного песка 20-25-миллиметровой толщины. Она не разрушается при проходе людей, предотвращает дефляцию и способствует беспрепятственному переносу через земляное полотно песка и пыли во время бурь.

98. При устройстве щебеночной призмы под верхнее строение пути защитную корочку не удаляют. Она впоследствии предотвращает возникновение песчаных пучин; способствует конденсации водяных паров, сохранению некоторой влажности песка земляного полотна, что повышает его устойчивость.

Организация пескозакрепительных работ с верхнего строения пути железнодорожных линий

99. Для работ на линии пескозакрепительному поезду выделяют "окна" не менее 3-4-часовой продолжительности. Время "окон" увязывают с данными краткосрочного прогноза о ветровом режиме.

100. Ввиду относительной краткости периодов, благоприятных для выполнения основных операций комплекса пескозакрепительных работ, выделение "окон" должно быть ежедневным, а "окна" по возможности продолжительнее.

101. При получении "окна" пескозакрепительный поезд выезжает на участок закрепления. Во время размотки пожарного шланга в смесительной цистерне готовят рабочий состав эмульсии. Шланг протаскивают к границе защитной полосы, к отдаленному участку уже засеянной захватки с тем, чтобы по мере закрепления поверхности песка оператор двигался к пескозакрепительному поезду.

Закончив фиксацию первой захватки, шланг переносят на вторую захватку к границе защитной полосы. Фиксация ее поверхности производится также в направлении к пескозакрепительному поезду.

102. Для ускорения розлива эмульсии на выходной нагнетательной трубе насоса дождевального аппарата или мотопомпы устанавливают тройник, позволяющий присоединить два шланга и вести розлив эмульсии через два брандспойта.

103. По истечении времени "окна" насос и шланги промывают водой. Шланги наматываются на барабан, и поезд уходит в тупик указанного разъезда.

104. Рабочих вместе с семенами и посадочным материалом к месту работ доставляют согласно "Правилам перевозки людей и пожарной безопасности в путевых машинах, станциях и других формированиях железнодорожного транспорта" (приказ Министерства транспортного строительства № 74 от 29 февраля 1960 г.).

105. Заправку трактора-сеяльщика производят заправочным автомобилем. Для заправки трактор подъезжает к временной автомобильной дороге, на которой находится заправщик.

106. При ветре, скорость которого превышает 4-5 м/сек, работы по высеву семян и розливу фиксатора прекращаются.

Организация работы пескозакрепительного поезда ТашИИТа

107. Заблаговременно, до начала закрепления песков на платформу пескозакрепительного поезда грузят необходимое количество битума и эмульгатора, а цистерны наполняют водой. Поезд устанавливают на ближайшей от места пескозакрепительных работ железнодорожной станции. Обслуживающий персонал приступает к приготовлению концентрированной эмульсии. В это же время заготавливают посадочный материал и готовят сельскохозяйственные орудия.

108. Для розлива эмульсии на закрепляемую поверхность пескозакрепительному поезду выделяют "окна" продолжительностью не менее 3-4 час. График выделения "окон" увязывают с данными метеослужбы.

109. За несколько часов до выезда пескозакрепительного поезда на линию к месту пескозакрепительных работ доставляют сеялки и бороны и сеют семена. На поезде подготавливают рабочий состав эмульсии.

110. По прибытии пескозакрепительного поезда к месту работ операторы запускают двигатель внутреннего сгорания и разматывают шланг. Далее работы ведут в соответствии с рекомендациям и пп.101-106.

Техника безопасности

111. Соблюдение инструкций по безопасному ведению работ обязательно для всех рабочих, служащих и инженерно-технических работников.

112. Все вновь поступающие на работу должны строго соблюдать "Временные инструктивные указания о порядке инструктажа и обучения по охране труда работников транспортного строительства". (М., "Оргтрансстрой", 1971).

113. К работе на пескозакрепительных агрегатах, к техническому обслуживанию и текущему ремонту их допускаются лица, прошедшие инструктаж, сдавшие экзамены и имеющие удостоверения на право обслуживания данного агрегата.

114. К пескозакрепительным работам у железнодорожных линий допускаются лица не моложе 18 лет, прошедшие медицинское освидетельствование, инструктаж, обучение и проверку знаний по охране труда.

115. В качестве индивидуальных средств защиты при работе с битумной эмульсией и нефтью используют брезентовые шляпы, рукавицы, куртки и брюки, кирзовые сапоги, защитные очки в плотно прилегающей кожаной оправе и респираторы типа Ф-45, Ф-46, ПРБ-1.

116. Температура разливаемых вяжущих материалов (нефти, эмульсии) не должна превышать +40°С.

117. Для экстренного тушения пожара пескозакрепительные агрегаты и поезд снабжают огнетушителями.

118. При работе с сырой нефтью категорически запрещается курить, пользоваться спичками или другими источниками открытого огня.

119. Рабочих, занятых ручным боронованием и посадкой черенков и саженцев, снабжают брезентовыми рукавицами и кирзовыми сапогами.

120. Работа пескозакрепительного агрегата осуществляется под руководством ответственного лица.

121. Участок, занятый пескозакрепительным агрегатом, ограждают переносными барьерами и устанавливают на расстоянии 150-250 м от агрегата предупредительные знаки "Ремонтные работы". Если оставшаяся полоса проезжей части вместе с обочиной узка для разъезда встречных автомобилей, то движение должны регулировать специально выделенные лица.

122. Сцепка тягача с прицепной тележкой должна быть жесткой, шкворень или болт надежно закреплены. Приемную цистерну крепят к тележке и снабжают металлической лестницей, приваренной к горловине цистерны и борту тележки.

Агрегат также снабжают приставной переносной лестницей длиной 3 м. Эта лестница служит для подачи разгрузочного шланга в горловину транспортных средств при перекачке воды и фиксатора в приемную цистерну.

123. В процессе работы следят за исправным состоянием шлангов и их соединений. Запрещается посторонним лицам находиться в зоне действия машин.

124. Категорически запрещается розлив фиксаторов в непосредственной близости от линий электропередач, находящихся под напряжением.

125. В вагончике при пескозакрепительном агрегате должна находиться походная аптечка.

126. Розлив эмульсии пескозакрепительным агрегатом, работающим у железнодорожной линии, производят только во время представления "окон". Все сопутствующие операции пескозакрепительных работ (посев семян, боронование, посадка черенков и саженцев) ведутся в любое время светового дня.

127. Все рабочие, занятые на пескозакрепительных работах у железнодорожных линий, должны знать "Правила по технике безопасности и производственной санитарии при производстве работ в путевом хозяйстве", требования техники безопасности при работе с сельскохозяйственными машинами и требования, предъявляемые к техническому состоянию и оборудованию автомобилей для перевозки людей

ПРИЛОЖЕНИЯ

Приложение 1
Подбор рабочего состава эмульсии

Для ускоренного подбора рабочего состава эмульсии предлагается номограмма (рис. 6). Номограмма построена для пяти исходных (концентрированных) эмульсий.

Пример.

Требуется определить необходимое количество воды для разбавления концентрированной эмульсии, чтобы получить эмульсию рабочего состава с содержанием битума 10 %. Исходная эмульсия 50 %-ной концентрации.

Рис. 6. Номограмма для ускоренного подбора рабочего состава эмульсии

На оси абсцисс находим точку, соответствующую 10 % битума в рабочем составе эмульсии. Восстанавливаем от нее перпендикуляр до пересечения с кривой, соответствующей эмульсии 50 %-ной концентрации. От точки пересечения проводим прямую до оси ординат и получаем искомое значение - 4 вес. ч. воды, которые при смешении с 1 вес. ч. концентрированной эмульсии дадут эмульсию рабочего состава.

Приложение 2
Определение нормы розлива разбавленной эмульсии

Для определения нормы расхода битумной эмульсии рабочего состава на 1 м2 закрепляемой площади Х, при известной норме расхода битума на 1 м2 П содержания битума в рабочем составе эмульсии К пользуются выражением:

Пример.

К месту работ доставлена 60 %-ная концентрированная эмульсия. Соотношение составляющих эмульсии рабочего состава принимаем 1:7. По номограмме (см. рис.6) определяем процентное содержание битума в эмульсии рабочего состава. Оно равно 8 %.

Норму расхода битума на 1 м2 принимаем равной 300 г. Тогда расход разбавленной эмульсии на 1 м2.

В таблице приведены нормы расхода эмульсии рабочего состава для различных концентрированных эмульсий и расхода битума на 1 м2 площади закрепления.

Соотношение битума и воды в рабочем составе эмульсии

Принимаемая норма расхода битума на 1м2 площади, г

Норма расхода эмульсии на 1 м2 закрепляемой площади, л, концентрации

40 %-ной

50 %-ной

60 %-ной

1:1

500

2,55

2,10

1,8

400

2,20

1,70

1,4

300

1,70

1,25

1,1

200

1,10

0,85

0,8

1:2

500

4,0

3,30

2,80

400

3,2

2,70

2,20

300

2,4

2,00

1,70

200

1,6

1,30

1,10

1:3

500

5,5

4,15

2,80

400

4,4

3,30

2,80

300

3,3

2,50

2,10

200

2,2

1,70

1,40

1:4

500

7,1

5,00

4,50

400

5,7

4,00

3,60

300

4,3

3,00

2,70

200

2,9

2,00

1,80

1:5

500

8,3

6,25

5,0

400

6,6

5,00

4,0

300

5,0

3,75

3,0

200

3,3

2,50

2,0

1:6

500

10,0

6,7

5,5

400

8,0

5,35

4,4

300

6,0

4,00

3,3

200

4,0

2,75

2,2

1:7

500

11,0

7,15

6,25

400

8,0

5,70

5,0

300

6,6

4,30

3,75

200

4,4

3,00

2,50

Приложение 3
Нормы расхода фиксаторов для закрепления песков

Условия закрепления песков

Расход на 1 м2, г

а) Битум марок БНД-200/300 и БНД-130/200

граммы

Верхняя площадка и откосы земляного полотна при консервации строительства на срок 0,5-2 года

800-1000

Закрепление песков на защитной полосе при благоприятных почвенно-гидрологических условиях местности и ветровом режиме летнего периода

200-500

То же при плохих почвенно-гидрологических условиях, тяжелом ветровом режиме

500-750

Закрепление песков в местных очагах дефляции, расположенных на территории защитной полосы

350-500

б) Жидкие нефти

литры

Верхняя площадка и откосы земляного полотна, очаги дефляции песка на территории защитной полосы

3-4

Закрепление песков при плохих почвенно-гидрологических условиях и тяжелом ветровом режиме

5-6

Закрепление песков на защитной полосе при благоприятных условиях местности и ветровом режиме

1-2

в) 0,5-0,7 %-ный водный раствор полиакриламида или препарата К-4

литры

Закрепление песков на откосах земляного полотна и защитной полосы при благоприятных условиях и ветровом режиме

6-8

Приложение 4
Нормы высева и глубина заделки семян древесно-кустарниковых пород и многолетних трав при закреплении песков на защитной полосе у автомобильных и железных дорог

Растения-пескозакрепители

Норма высева, кг/га

Глубина заделки семян, см

Саксаул

10-15

1-2

Черкез

10-15

3-4

Джузгун

15-20

3-5

Кандым

10-15

3-4

Песчаный овес

20

2-5

Аристида

10

5-8

Житняк

30-40

2-6

Кумарчик

10

1-2

 

 




ГОСТЫ, СТРОИТЕЛЬНЫЕ и ТЕХНИЧЕСКИЕ НОРМАТИВЫ.
Некоммерческая онлайн система, содержащая все Российские Госты, национальные Стандарты и нормативы.
В Системе содержится более 150000 файлов нормативно-технической документации, действующей на территории РФ.
Система предназначена для широкого круга инженерно-технических специалистов.

Рейтинг@Mail.ru Яндекс цитирования

Copyright © www.gostrf.com, 2008 - 2026