|
|
|
министерство транспортного строительства государственный всесоюзный дорожный научно-исследовательский институт (союздорнии) РУКОВОДСТВО ПО ПРОЕКТИРОВАНИЮ ЗЕМЛЯНОГО ПОЛОТНА АВТОМОБИЛЬНЫХ ДОРОГ НА СЛАБЫХ ГРУНТАХ Одобрено Главным техническим управлением Минтрансстроя СССР (Исх. № 37-7-12 от 3 марта 1977 г.)
МОСКВА «ТРАНСПОРТ» 1978 Содержание Руководство по проектированию земляного полотна автомобильных дорог на слабых грунтах. Минтрансстрой СССР. М., «Транспорт», 1978. Руководство по проектированию земляного полотна автомобильных дорог на слабых грунтах, составленное в развитие действующих нормативных документов, включает основные вопросы изысканий, проектирования и строительства земляного полотна на участках распространения слабых грунтов. Особенности изыскании автомобильных дорог изложены с учетом последних достижений науки и практики. Уточнены стадии изысканий автомобильных дорог. Дана классификационная таблица физико-механических характеристик наиболее часто встречающихся видов слабых грунтов и таблица строительных типов слабых грунтов. Изложены методики лабораторных испытаний слабых грунтов. Приводятся методика учета при проектировании динамической нагрузки в системе дорожная одежда - земляное полотно - слабый грунт и методы статистической обработки результатов испытаний. Рассматриваются наиболее рациональные конструкции насыпей на слабых грунтах и методы их расчета. Руководство рассчитано на инженерно-технических работников. Ил. 85, табл. 28, список лит. 10 назв. ПРЕДИСЛОВИЕРуководство составлено в развитие действующих нормативных документов: СНиП II-Д.5-72 «Автомобильные дороги. Нормы проектирования», «Указаний по проектированию земляного полотна железных и автомобильных дорог» (СН 449-72), «Инструкции по сооружению земляного полотна автомобильных дорог» (ВСН 97-63) и предназначено для использования при проектировании земляного полотна автомобильных дорог на участках торфяных болот, мокрых солончаков, плов и других слабых грунтов. Руководство разработано взамен «Методических указаний по проектированию земляного полотна на слабых грунтах» (Оргтрансстрой, 1968) в части, касающейся земляного полотна автомобильных дорог, на основе обобщения результатов выполненных в последние годы исследований, проектирования и сооружения земляного полотна, автомобильных дорог на слабых грунтах. При этом также учтен аналогичный опыт в смежных областях строительства. Наряду с решениями, получившими достаточно широкое применение, в Руководство также включен ряд других решений, проверенных в опытном порядке, по проектированию которых в настоящее время могут быть даны только основные положения без детализации. Это сделано для того, чтобы обратить внимание проектировщиков на возможность применения в соответствующих условиях таких решений и необходимость их дальнейшей практической разработки и внедрения. Руководство составили доктора техн. наук В.Д. Казарновский и П.Е. Евгеньев, канд. техн. наук А.Г. Полуновский (основной текст), канд. техн. наук Э.К. Кузахметова (приложения) при участии инж. Е.С. Кузнецовой. При составлении отдельных разделов использованы материалы, представленные кандидатами техн. наук В.Н. Яромко (Белдорнии), Е.В. Кагановичем (Казахский филиал Союздорнии), Л.И. Чернявской (Среднеазиатский филиал Союздорнии), II.Ф. Савко, Н.М. Тупицыным и инж. М. И. Шалыгиным (Омский филиал Союздорнии). Учитывались разработки в данной области Калининского политехнического института, Тюменского инженерно-строительного института, Московского автомобильно-дорожного института и других учебных и научно-исследовательских организаций, а также опыт ведущих организаций: проектных (Союздорпроект, Гипротюменнефтегаз, Ленгипротранс) и строительных (Тюмендорстрой, Пермдорстрой, УС Москва - Рига, Севзапдорстрой и др.). При разработке программы и состава Руководства учтены пожелания Главтранспроекта и Союздорпроекта. 1. ОБЩИЕ ПОЛОЖЕНИЯ1.1. Руководство разработано в развитие СНиП II-Д.5-72, СН 449-72 и ВСН 97-63 Минтрансстроя и предназначается для использования при проектировании земляного полотна автомобильных дорог на участках распространения слабых грунтов. 1.2. Слабые грунты отличаются тем, что при использовании их в качестве основания насыпей, высота которых даже не выходит за пределы условий типового проектирования (12 м), в том числе и насыпей с минимально допустимой по условиям водно-теплового режима или снегонезаносимости высотой, необходимо считаться с возможностью значительных деформаций основания насини или нарушения его устойчивости и учитывать эту возможность в проекте. К слабым следует относить связные грунты, сопротивляемость сдвигу которых, определяемая в природном состоянии с помощью приборов лопастного типа (крыльчаток), не превышает 0,75 кгс/см2 или модуль осадки при нагрузке 2,5 кгс/см2 оказывается более 50 мм/м (компрессионный модуль деформации Е0 < 50 кгс/см2). При статическом зондировании конусным наконечником к слабым следует относить грунты с удельным сопротивлением менее 0.85 кгс/см2 при стандартном конусе с углом раскрытия 30°. 1.3. В основу проектного решения на участке залегания слабых грунтов может быть положен один из двух принципов: полное удаление слабого грунта и замена его или применение эстакад; использование слабого грунта в качестве основания насыпи с применением мероприятий, обеспечивающих устойчивость основания и ускорение его осадки, а также (в необходимых случаях) прочность дорожной одежды, сооружаемой на таком земляном полотне. 1.4. Принцип и конкретное проектное решение выбираются на основе технико-экономического сравнения вариантов с учетом: категории автомобильной дороги и типа дорожной одежды; требуемой высоты насыпи и качества имеющегося для ее отсыпки грунта; протяженности участка со слабыми грунтами; вида и особенностей свойств слабых грунтов, залегающих на участке, и особенностей строения слабой толщи (мощность, наличие переслаивания, уклона кровли подстилающих пород и т.д.); условий производства работ, в том числе сроков завершения строительства, климата района, времени года, в которое будут выполняться земляные работы, дальности возки грунта, возможности строительной организации (обеспеченность транспортом, наличие специального оборудования и т.п.). 1.5. Использование слабого грунта во многих случаях существенно снижает стоимость и трудоемкость работ, повышает темпы строительства, поэтому отказ от его использования должен быть обоснован технико-экономическим анализом с учетом конкретных условий. Такой анализ осуществляется на основе прогнозов устойчивости, конечной величины и длительности осадки слабой толщи при возведении на ней насыпи. 1.6. Земляное полотно на участках слабых грунтов проектируют в виде насыпей. Требования к грунтам верхней части насыпи, а также необходимое возвышение низа дорожной одежды над расчетным уровнем поверхностных и грунтовых вод определены СНиП II-Д.5-72 «Автомобильные дороги. Нормы проектирования», СН 449-72 «Указания по проектированию земляного полотна железных и автомобильных дорог» и ВСН 97-63 Минтрансстроя «Инструкция по сооружению земляного полотна автомобильных дорог» применительно к соответствующему типу местности (слабые грунты обычно залегают в пределах III типа местности) по характеру и условиям увлажнения. Примечание. При назначении высоты насыпи, сооружаемой на торфяном основании, кроме обычных требований, связанных с водно-тепловым режимом и снегонезаносимостью, необходимо учитывать требования п. 1.9 настоящего Руководства. Нижнюю часть насыпи следует устраивать из дренирующих грунтов с толщиной слоя на 0,5 и больше суммарной величины расчетной осадки основания и мощности удаляемого слоя (если применяется частичное или полное удаление). Глинистые грунты допускается использовать в нижней части насыпей только при специальном технико-экономическом обосновании. 1.7. К земляному полотну, сооружаемому с использованием слабых грунтов в основании насыпи, кроме общих требований, изложенных в действующих нормативных документах, предъявляются дополнительные требования: должна быть исключена возможность выдавливания оставляемого слабого грунта из-под насыпи в процессе се возведения и эксплуатации (обеспечена устойчивость основания); интенсивная часть осадки должна завершиться до сооружения покрытия (обеспечена стабильность, см. п. 1.8); упругие колебания земляного полотна, возникающие при наличии болотных грунтов в основании насыпи, не должны превышать величину, допускаемую для принятого типа покрытия (см. п. 1.9). 1.8. На насыпях, в основании которых оставлены слабые грунты, капитальные покрытия можно устраивать после завершения не менее 90 % расчетной осадки или при условии, что средняя интенсивность осадки за месяц, предшествующий устройству покрытия, не превышает 1,5-2 см/год. Для устройства усовершенствованных облегченных покрытий требуется достижение не менее 80 % конечной осадки или интенсивности осадки не более 3-5 см/год. 1.9. Для исключения недопустимых упругих колебаний толщина насыпей, сооружаемых на торфяных основаниях, должна быть не менее указанной в табл. 1.1. Для насыпей на торфяном основании, толщина которых по статическому расчету менее значений, приведенных в табл. 1.1, необходимо провести динамический расчет с целью проверки допустимости ускорений колебаний земляного полотна по условиям вибрационной прочности покрытия. Методика динамического расчета насыпей на торфяных грунтах изложена в специальных рекомендациях [8].
Примечания. 1. Для промежуточных значений начальной мощности сжимаемого слоя требуемая толщина устанавливается линейной интерполяцией. 2. Толщина насыпи в данном случае определяется разностью отметок поверхности проезжей части и просевшей подошвы насыпи по оси земляного полотна. При наличии «погребенного» слоя торфа, перекрытого сверху слоем песчаного или глинистого грунта, толщина перекрывающего слоя включается в общую толщину насыпи. Допускается для конструктивных слоев, обладающих прочностью на растяжение, учитывать эквивалентную толщину. Когда невозможно или нецелесообразно обеспечить требуемую толщину насыпи, можно устроить насыпь меньшей толщины. При этом необходимо выполнить проверочный расчет дорожной одежды на динамическую устойчивость и при необходимости изменить (усилить) в соответствии с его результатом конструкцию дорожной одежды. Расчет выполняется по специальным указаниям [8]. 1.10. При расчете дорожной одежды по ВСН 46-72 величину расчетного эквивалентного модуля упругости на поверхности земляного полотна, сооруженного на слабом грунте, следует определять по формуле
где Есл - модуль упругости слабого грунта в его расчетном состоянии под насыпью; hн - толщина насыпи; Нсл - мощность слабой толщи; D - расчетный диаметр отпечатка колеса; Ен - модуль упругости грунта насыпи. 1.11. Земляное полотно на участках залегания слабых грунтов следует проектировать не менее чем в две стадии. На первой стадии выделяют участки, для которых дальнейшая проработка варианта с использованием слабого грунта в основании нецелесообразна, и участки, где этот вариант может быть целесообразным. Применительно к первым участкам принимается окончательное решение (за исключением особо сложных случаев, где удаление слабых грунтов сопряжено с применением специальных методов). Для участков, где использование слабых грунтов представляется целесообразным, принимают предварительное решение, которое затем подлежит уточнению на следующей стадии проектирования. Все уточнения на последующей стадии не должны увеличивать смету строительства. В особо сложных случаях, когда требуются специальные обследования и опытные работы, следует проектировать в три стадии. 1.12. Конструкция земляного полотна на участках слабых грунтов назначается на основе технико-экономических расчетов и сравнения вариантов. Для обоснования выбора конструкции земляного полотна проект должен содержать: материалы подробного инженерно-геологического обследования грунтовой толщи на участках залегания слабых грунтов, включая данные по мощности и расположению в плане, по глубине отдельных слоев и расчетным значениям физико-механических характеристик грунтов этих слоев, положению уровня грунтовых вод и т.п.; исходные данные по проектируемой насыпи (высота и другие геометрические параметры, а также свойства грунтов, укладываемых в насыпь) и расчетные условия движения; результаты инженерных расчетов, обосновывающие принятую конструкцию; указания по порядку сооружения запроектированной конструкции. 1.13. Объем, состав и методы получения данных, необходимых для обоснования конструкции земляного полотна, так же, как и методы расчетов, зависят от стадии проектировании. Рекомендации по методике инженерно-геологического обследования участков, на которых залегают слабые грунты, а также по расчету и конструированию земляного полотна на этих участках изложены в разделах 2-4 настоящего Руководства. Земляное полотно на участке залегания слабых грунтов в общем случае проектируют в следующем порядке: на основе результатов инженерно-геологических обследований намечают расчетные участки и устанавливают расчетные параметры слабой толщи и характеристик слагающих ее грунтов; устанавливают минимально допустимую высоту насыпи на данном участке, руководствуясь условиями водно-теплового режима, снегонезаносимости и исключения упругих колебаний (см. п. 1.9); с учетом минимально допустимой высоты наносят красную линию, устанавливают расчетную высоту насыпи и намечают расчетные поперечники; определяют расчетом величину осадки; проверяют устойчивость основания; прогнозируют длительность завершения осадки; намечают варианты конструктивно-технологических решений, обеспечивающих в случае необходимости повышение устойчивости, ускорение осадки или снижение ее величины; выполняют расчеты по этим вариантам и выбирают оптимальный; дают рекомендации по наиболее рациональной технологии, механизации и организации работ; выполняют наблюдения в процессе строительства и вносят коррективы в расчеты по фактическим данным (в случае необходимости) с целью уточнения объемов земляных работ, режима возведения насыпи, сроков устройства дорожной одежды и т.д. 1.14. В целях оптимизации проектных решений и процесса изысканий инженерно-геологические изыскания необходимо вести в тесной увязке с проектированием как единый комплексный процесс. 2. ОСОБЕННОСТИ ИЗЫСКАНИЙ ДОРОГ НА УЧАСТКАХ ЗАЛЕГАНИЯ СЛАБЫХ ГРУНТОВОБЩИЙ ПОРЯДОК ПРОВЕДЕНИЯ ИНЖЕНЕРНО-ГЕОЛОГИЧЕСКИХ ОБСЛЕДОВАНИЙ НА УЧАСТКАХ СЛАБЫХ ГРУНТОВ2.1. Целью инженерно-геологического обследования является получение данных, необходимых для обоснования положения трассы и назначения конструкции и технологии сооружения земляного полотна. 2.2. При инженерно-геологическом обследовании необходимо: установить границы участка со слабыми грунтами в пределах зоны возможного расположения трассы; выявить строение слабой толщи (ее стратиграфические особенности), в том числе наличие включений (валуны, пни и т.п.), а также характер подстилающих пород и рельеф их кровли; установить физико-механические характеристики грунтов, слагающих слабую толщу, необходимые для определения их строительного типа, типа основания по устойчивости и расчета конструкции насыпи; выявить особенности гидрологического режима толщи. 2.3. Для получения требуемых данных (см. п. 2.2) выполняются: топографическая съемка участка; проходка зондировочных и опорных скважин с отбором проб грунтов нарушенного и ненарушенного сложения и испытание грунтов в условиях их природного залегания (без отбора монолитов); лабораторные испытания проб грунтов нарушенного сложения с определением основных показателей состава и состояния грунтов и испытания монолитов для определения характеристик механических свойств грунтов (параметров, характеризующих сопротивляемость сдвигу, сжимаемость и скорость уплотнения грунта и показателей плотности); камеральная обработка материалов обследования, включающая составление отчетной документации. 2.4. Отчетная документация оформляется в виде паспорта, включающего: план участка с изолиниями мощности слабой толщи (рис. 2.1);
Рис. 2.1. План болота. Масштаб 1:2000. Изолинии мощности торфа проведены через 0,5 м. Условные обозначения: ○ скв - 2, 83. 95. (4, 15) - опорная скважина, ее номер, отметка устья, мощность - (в скобках, м); ● 88, 80 (3, 4) - зондированная скважина, отметка устья и мощность, торфа (в скобках, м) геологические разрезы по оси вариантов трассы и по характерным поперечникам с нанесенными на них результатами определения основных показателей состава и состояния грунтов и механических испытаний грунтов в условиях природного залегания полевыми приборами (рис. 2.2); результаты лабораторных испытаний грунтов слабой толщи; пояснительную записку. Пояснительная записка должна содержать: подробное описание участка, включая его происхождение; источники питания; состав и состояние грунтов слабой толщи; данные о растительно-корневом покрове, пнистости, наличии поверхностного водоотвода; данные о постоянных водотоках и о проходе весенних вод; данные о характере пород, слагающих «дно» толщи, и о рельефе последнего. В пояснительной записке дают оценку строительных свойств слабых грунтов; выделяют расчетные (однотипные) участки, расчетные слои (т.е. слои единообразные по инженерно-геологическим свойствам) и даны расчетные значения механических характеристик грунтов для этих слоев. На основе количественной оценки механических свойств грунтов слабой толщи должна быть проведена предварительная оценка слабой толщи как основания насыпи.
Рис. 2.2. Геологические разрезы по трассе: а - продольный разрез по оси дороги; б - поперечный разрез на пк 44+00; в - поперечный разрез на пк 45+00. Расстояние между скважинами 25 м Пояснительная записка должна содержать также сведения о поведении и состоянии существующих дорог, расположенных в пределах данного участка, состоянии земляного полотна, конфигурации основания насыпи по данным бурения, качественной оценке грунтов тела насыпи, сведения о резервах грунта, намечаемых для использования при возведении насыпи на участке залегания слабых грунтов с указанием характеристик этих грунтов. 2.5. В результате обобщения всех данных обследования должно быть сделано заключение о принципиальной возможности или невозможности (нецелесообразности) использования слабой толщи в качестве основания и указаны конструкции, которые могут рассматриваться в качестве конкурирующих вариантов при дальнейшей разработке проекта. 2.6. Состав и объем работ, выполняемых при обследовании, методика их выполнения, применяемые способы определения свойств грунтов и аппаратура зависят от стадии проектирования и этапа изысканий. 2.7. Инженерно-геологическое обследование следует выполнять поэтапно. Этапы обследования различаются методикой определений и составом работ. При этом каждый последующей этап как по методике определений, так и по применяемому оборудованию и составу определений более сложен и трудоемок, чем предыдущий. В общем случае целесообразно выделять три этапа обследования: на первом (рекогносцировочном) лабораторных определений не выполняют; на втором лабораторные исследования ограничиваются определением показателей состава и состояния грунтов в полевой (нестационарной) лаборатории; на третьем выполняют испытания в стационарной лаборатории для определения показателей механических свойств грунтов. 2.8. В зависимости от конкретных условий проектирования указанные этапы могут быть распределены по стадиям проектирования. При двухстадийном проектировании (технический проект и рабочие чертежи) целесообразно первые два этапа обследований проводить на первой стадии, а третий этап - на второй стадии проектирования. 2.9. Необходимость последующего этапа обследования и состав работ выявляют и уточняют по мере обобщения результатов предшествующего этапа. Первый этап обследования 2.10. На первом этапе обследования до проведения полевых инженерно-геологических работ изучают карты и предварительно полученные аэрофотоматериалы. Использование аэрофотоматериалов особенно важно при пересечении значительных по площади заболоченных территорий. В этом случае целесообразно дополнять камеральное дешифрирование фотосхем и аэрофотоснимков визуальными наблюдениями с вертолета или тихоходного самолета. 2.11. Оптимальными масштабами материалов аэрофотосъемки являются: 1:10000-1:17000. Можно также использовать масштабы 1:6000 и 1:25000. Наибольший эффект достигается при использовании аэрофотоснимков масштаба 1:12000-1:17000 в сочетании с 1:6000-1:8000. Для детального дешифрирования пригодны материалы плановой панхроматической (черно-белой) аэрофотосъемки, но наибольший эффект достигается в сочетании со спектрозональной. По указанным аэрофотоматериалам можно установить границы болота, относительную, а в ряде случаев и абсолютную мощность торфяной толщи, приблизительный рельеф дна болота, генезис болота, источник его водного питания, направление и интенсивность внутреннего и поверхностного стока в болоте, относительное увлажнение его отдельных частей, геоморфологический тип болота, его микрорельеф и растительность. При изучении строения толщи болотных отложении, мощности и расположения отдельных слоев, физико-механических свойств торфа материалы аэрофотосъемки дают возможность предварительно делить участки болот на характерные типы. Это позволяет более рационально организовать полевое обследование болот и сократить объемы полевых работ за счет меньшей детальности исследования повторных участков каждого типа. 2.12. Полевые работы по инженерно-геологическому обследованию участков со слабыми грунтами, выполняемые на первом (рекогносцировочном) этапе, включают зондировочное бурение скважин в зоне, примыкающей к трассе, положение которой намечено по данным аэрофотосъемки или по карте. Скважины бурят по сетке от 50×50 м до 150×150 м в зависимости от размеров территории, занятой слабыми грунтами, и с учетом данных аэрофотосъемки. При этом захватывается зона шириной примерно 300 м (по 150 м в каждую сторону от оси трассы). Зондировочные скважины проходят с помощью бура геолога, торфяного бура или двухдюймового бурового комплекта без обсадки. Кроме того, может быть применена переносная буровая установка с бензиновым двигателем. При проходке зондировочных скважин отбирают пробы через 0,5-1 м для установления наименования грунтов и оценки в первом приближении их физико-механических свойств с помощью визуальных методов и классификационных таблиц. На этом же этапе изучают особенности гидрологического режима толщи. Лабораторных испытаний на данном этапе не проводят и образцы для этих целей не отбирают. Параллельно с зондировочным бурением или непосредственно вслед за ним по той же сетке выполняют статическое зондирование толщи с помощью вдавливания конусных наконечников (см. приложение 1). Результаты статического зондирования позволяют уточнить границы отдельных слоев слабой толщи, общую ее мощность и получить предварительную информацию о механических свойствах слагающих ее грунтов. 2.13. В выводах по результатам первого этапа обследования дают: рекомендации по расположению трассы исходя из наиболее благоприятных условий пересечения участка с точки зрения строения слабой толщи, рельефа дна и особенностей гидрологического режима слабой толщи; предварительное определение типа основания. предварительное заключение о целесообразности или нецелесообразности проработки варианта, предусматривающего использование слабой толщи в качестве основания. Второй этап обследования 2.14. Второй этап обследования назначают лишь в том случае, если в результате первого этапа предварительно установлена целесообразность проработки варианта, предусматривающего использование слабой толщи в качестве основания. На этом этапе бурят зондировочные скважины на возможных конкурирующих вариантах трассы, положение которых уточнено по результатам первого этапа обследования. Скважины располагают по оси и на поперечниках. При этом захватывается полоса, равная полутора - двум ширинам насыпи понизу. Расстояние между скважинами по оси трассы принимают примерно 25-50 м в зависимости от протяженности заболоченного участка и особенностей строения слабой толщи, выявленных на первом этапе обследования. Поперечники подразделяют на основные и промежуточные. На основных проходят пять - семь скважин, на промежуточных - одну - три (рис. 2.3). 2.15. При проходке скважин отбирают пробы грунтов в основном с нарушенным сложением и определяют основные показатели состава и состояния в полевой (нестационарной) лаборатории. Пробы отбирают через 0,5-1 м по глубине (но не менее трех проб из каждого характерного слоя). Параллельно с проходкой зондировочных скважин или непосредственно вслед за ней выполняют зондирование слабой толщи конусным наконечником, а также примерно через каждые 0,5 м по глубине толщи испытывают грунты на сдвиг с помощью крыльчатки. Методики зондирования конусным наконечником и испытания крыльчаткой изложены в приложении 1.
Рис. 2.3. Схема расположения скважин при инженерно-геологическом обследовании болот: 1 - основные скважины; 2 - зондировочные скважины; 3 - основные (опорные) поперечники; 4 - промежуточные; I - первоначальный вариант положения осп трассы; II - уточненный вариант 2.16. В лаборатории определяют следующие основные показатели состава и состояния грунтов: влажность; содержание органических веществ (для некарбонатных пород - потери при прокаливании или зольность); степень волокнистости или степень разложении (только для торфяных грунтов); пределы пластичности (только для илов); удельный вес (выборочно для характерных слоев); объемный вес влажного грунта (выборочно); ботанический состав (дополнительно для торфяных грунтов); содержание СаСО3 (для карбонатных пород). Методики определения указанных характеристик изложены в приложении 2. 2.17. По результатам испытаний выделяют расчетные слои и определяют расчетные значения основных показателей состава и состояния грунтов в пределах каждого слоя. Методику определения см. в приложениях 2 и 3. В качестве основы для выделения расчетных слоев, т.е. слоев, однородных с точки зрения основных показателей инженерно-геологических свойств, используют результаты описания грунтов при зондировочном бурении и материалы статического зондирования конусным наконечником. Границы слоев устанавливают предварительно по визуальным признакам. Далее детально расчленяют толщу по результатам статического зондирования, которое позволяет уточнить границы отдельных слоев, выделенных по визуальным признакам, и расчленить визуально однородные слои на отдельные расчетные слои, в пределах которых физико-механические свойства грунта могут считаться постоянными. 2.18. Для выделенных расчетных слоев путем статистической обработки результатов испытаний определяют расчетные значения основных показателей состава и состояния грунтов и сопротивляемость зондированию и вращательному срезу (см. приложение 4) 2.19. По расчетным значениям основных показателей состава и состояния грунтов, используя табл. 2.2-2.9, ориентировочно определяют расчетные значения показателей механических свойств грунтов в пределах каждого расчетного слоя. По этим данным, а также по результатам испытаний крыльчаткой уточняют границы расчетных участков и определяют тип основания по устойчивости или строительный тип болота, а также уточняют место расположения расчетных поперечников и границы, наиболее неблагоприятных по своим механическим свойствам слоев. 2.20. По результатам второго этапа обследования уточняют предварительный вывод о целесообразности дальнейшей проработки варианта с использованием слабой толщи в качестве основания. При положительном выводе осуществляют третий этап обследования. Третий этап обследования 2.21. На третьем этапе обследования проводятся следующие работы: дополнительная проходка зондировочных скважин и испытание крыльчаткой (при необходимости); проходка опорных скважин на расчетных поперечниках с отбором монолитов грунтов; лабораторные испытания монолитов; определение динамических характеристик торфяной толщи (при необходимости). 2.22. Места расположения опорных скважин и места отбора монолитов определяют на основании обобщения результатов второго этана обследования с таким расчетом, чтобы основные показатели состава и состояния отбираемых монолитов в возможно большей степени отвечали расчетным значениях этих показателей для выделенных слоев в пределах расчетных участков. Количество отбираемых монолитов зависит от состава испытания, определяемого типом основания по устойчивости или строительным типом болота (см. пп. 2.47-2.48). 2.23. При основании I типа на монолитах определяют объемный вес грунта и проводят компрессионные и консолидационные испытания. Количество монолитов и их размеры определяют исходя из того, чтобы для каждого вида испытаний можно было получить не менее шести образцов из каждого расчетного слоя на каждом расчетном участке. При основаниях II и III типов, кроме компрессионных и консолидационных испытаний, проводят испытания на сдвиг грунта из наиболее слабых слоев (за исключением грунтов, которые неизбежно будут выдавлены). Количество монолитов, отбираемых для сдвиговых испытаний, должно обеспечить возможность получения не менее 9-12 образцов для каждого расчетного слоя на каждом расчетном участке. К требуемому количеству монолитов необходимо добавлять 25 % запасных на случай порчи монолитов при транспортировке, подготовке и проведении испытаний. 2.24. Монолиты отбирают из скважин с помощью оборудования (см. приложение 1), а в некоторых случаях - из шурфов при маломощной слабой толще. Правила отбора образцов, транспортировки, и хранения их изложены в приложении 5. 2.25. Испытания на компрессию, консолидацию и сдвиг проводят в стационарных лабораториях по специальным методикам (см. приложение 3). 2.26. Оценку динамических свойств торфяной толщи выполняют для обеспечения выбора оптимальной толщины насыпи при заданном типе покрытия. Методика испытаний и аппаратура изложены в специальных указаниях [3]. КЛАССИФИКАЦИЯ СЛАБЫХ ГРУНТОВ И ИХ СВОЙСТВА2.27. В зависимости от состава, генетико-фациальных и петрографических особенностей, а также состояния слабые грунты следует подразделять на: группы по содержанию органических веществ; виды по генетико-фациальным и петрографическим особенностям; подвиды по особенностям состава; разновидности по особенностям состояния (плотности и влажности). Количественные критерии для выделения указанных классификационных единиц и их наименование приведены в табл. 2.1 для основных видов слабых грунтов. В пределах разновидности физико-механические свойства каждого слабого грунта изменяются в относительно узких пределах, что позволяет использовать табличные данные для ориентировочной оценки расчетных показателей.
Примечания: 1. Для отделения болотного мергеля от органоминерального сапропеля необходимо определить содержание СаСО3. 2. Наряду с указанным в гр. 3 определяющим признаком для установления вида слабого грунта используется комплекс данных по генетико-фациальным и петрографическим особенностям, устанавливаемым в процессе изысканий. 3. П
- потери при прокаливании, %; Ф
- степень волокнистости, %; wпл -число пластичности; wnP -природная влажность, %, В
- коэффициент консистенции; wотн = 4. Степень волокнистости Ф вычисляется через степень разложения RМ, определяемую с помощью микроскопа по формуле: Ф = 100 - RМ, %. При определении степени разложения весовым методом RМ степень волокнистости следует устанавливать по формулам: Ф = 88 - 0,42RВ при RВ < 50 %; Ф = 118 - 0,32 RВ при RВ > 50 %. При определении RВ используется сито 0,25 мм.
Примечание. 1. В скобках даны средние значения модулем осадки, без скобок - максимальные, 2. мз - малозольный торф (потеря при прокаливании 95), сз - торф средней зольности (95 > П < 80). 3. Величины показателей механических свойств при промежуточных значениях влажности определяются интерполяцией.
2.28. Торф - органогенная осадочная горная порода, формирующаяся в результате отмирания болотной растительности при избыточном количестве влаги и недостаточном доступе воздуха. Для торфа характерна высокая влагоемкость и влажность в естественном состоянии (обычно в пределах 150-3000 %). Твердое вещество высушенного торфа состоит из не вполне разложившихся растительных остатков - растительного волокна, продуктов разложения растительных остатков - темного бесструктурного вещества (гумуса) и неорганических примесей. Волокнистая часть торфа при достаточном ее содержании может образовывать своеобразный структурный каркас, ячейки которого заполнены аморфной массой из продуктов разложения и неорганических примесей. Механические свойства торфов зависят от их структурных особенностей, определяемых степенью волокнистости, плотностью (влажностью) и составом торфообразователей, косвенно отражаемым величиной конституционной зольности торфа. При зольности менее 5 % состав торфообразователей соответствует условиям формирования верхового болота. Торф в этом случае следует называть малозольным (верховым). При зольности от 5 до 20 % торф следует относить к торфам средней зольности (низинный), а при зольности 20-40 % - к высокозольным (минерализованным). Значения показателей механических свойств торфяных грунтов ориентировочно можно установить по основным показателям состава и состояния, используя табл. 2.2. Способы определения влажности, зольности и волокнистости изложены в приложении 2. 2.29. Сапропели представляют собой озерные отложения, образующиеся в водоемах в результате отмирания животных и растительных организмов и оседания минеральных частиц, заносимых водой и ветром. Механические свойства сапропелей зависят от их структурных особенностей, состава и плотности (влажности) в природном состоянии. Значения показателей механических свойств сапропелевых грунтов ориентировочно можно установить по табл. 2.3. 2.30. Болотный мергель представляет собой рыхлую осадочную породу, образовавшуюся в озерно-болотных условиях при поступлении в водоемы воды, содержащей в растворенном виде кислый углекислый кальций Са(НСО3)2. По мере испарения воды и удаления из нее СО2 из раствора выпадает углекислый кальцин СаСО3. Болотный мергель может подстилать торфяную толщу или переслаиваться с торфяными пластами. Мергель содержит от 25 до 50 % карбоната кальция. Остальная часть состоит из песчаных, глинистых, илистых частиц и растительных остатков различной степени разложения. Механические свойства болотного мергеля в зависимости от величины природной влажности ориентировочно можно определить по табл. 2.4. 2.31. Илы представляют собой глинистые горные породы в начальной стадии формирования, которые образовались в виде структурного осадка в воде при наличии микробиологических процессов и обладают в природном залегании влажностью, превышающей влажность на границе текучести, и коэффициентом пористости > 1 для супесей и суглинков и > 1,5 для глин. Развитие в этих грунтах микробиологических процессов, связанных с органическими составляющими грунтов, является одним из важнейших факторов, отличающих илы от других грунтов. Однако в данном случае речь идет о грунтах, содержащих не более 10 % органических веществ. Для илов часто характерно наличие ясно выраженного предела структурной прочности при компрессионном сжатии (аналогично иольдиевым глинам). Частные классификации следует разрабатывать для илов примерно одного генезиса и фации и примерно одного возраста (т.е. стадии диагенеза). По генетико-фациальным признакам целесообразно выделять три основных вида илов: морские, озерные и аллювиальные. Однако такое разделение илов целесообразно главным образом с точки зрения различия в условиях залегания. Если морские илы залегают пластами большой мощности и в значительной степени однородны, то аллювиальные илы отличаются значительной неоднородностью в силу условий осадконакопления.
Примечание. Величины показателем механических свойств при промежуточных значениях влажности определяются интерполяцией.
Что касается механических свойств илов, то они определяются не столько генетико-фациальными условиями, сколько составом и состоянием илов (в котором могут непосредственно отражаться генетико-фациальные особенности). В связи с этим ориентировочные значения физико-механических характеристик для илов можно устанавливать независимо от их вида, учитывая только состав и состояние в соответствии с табл. 2.5. 2.32. Иольдиевые глины - особая разновидность морских илов
ледникового возраста. Верхние слои иольдиевых глин мощностью 0,3-2,0 м имеют
сравнительно высокую плотность и прикрывают нижележащую толщу отложений,
характеризующихся высокой влажностью (> 60 %), резкой потерей прочности при
перемятии, малой упрочняемостью при уплотнении, низкой водопроницаемостью.
Иольдиевые глины обладают пределом структурной прочности при компрессионном
сжатии. Они делятся на разновидности по относительной влажности:wотн = 2.33. Грунты мокрых солончаков представляют собой специфическую разновидность минеральных слабых грунтов. Мокрые солончаки распространены, в частности, в Казахстане. Они отличаются от солончаков других типов избыточным увлажнением в течение всего года. Постоянному их переувлажнению способствуют близкий уровень минерализованных грунтовых вод, увеличенный приток поверхностных вод, обусловленный расположением мокрых солончаков в понижениях рельефа, слабая испаряемость воды из солевых растворов [10]. Основные характеристики механических свойств мокрых солончаков при одном и том же составе, отражаемом числом пластичности, хорошо коррелируются с коэффициентом консистенции независимо от содержания солей. По величине коэффициента консистенции грунты мокрых солончаков делятся на пять разновидностей (А, Б, В, Г, Д). Значения механических характеристик мокрых солончаков представлены в табл. 2.7. 2.34. Переувлажненные глинистые грунты. Наряду с перечисленными выше специфичными категориями к числу слабых могут относиться и обычные глинистые грунты различного возраста, имеющие в природном состоянии повышенную влажность. Анализ зависимости механических характеристик глинистых грунтов от показателей их состава (число пластичности) и состояния (коэффициент консистенции) показывает, что при влажности, соответствующей мягкопластичной консистенции и выше (В > 0,5), глинистые грунты в соответствии с принятыми выше условиями (см. п. 1.2) должны быть отнесены к слабым грунтам. Ориентировочные значения механических характеристик переувлажненных грунтов представлены в табл. 2.8. 2.35. Органо-минеральные слабые грунты. Наряду с органоминеральными сапропелями имеется целая гамма грунтов, представляющих собой переходную категорию от органических к минеральным. Свойства этих грунтов прежде всего зависят от содержания органических веществ (или от величины зольности) и, по мере увеличения содержания органики, свойства их меняются от свойств, характерных для минеральных слабых грунтов (илов, глин и т.п.), до свойств высокозольных торфов. Механические свойства органо-минеральных грунтов в значительной степени зависят от условий формирования породы. Чаще всего органо-минеральные грунты встречаются на переходах через поймы рек, староречья и т.п. В этих случаях минеральная часть грунта обычно имеет аллювиальное происхождение. Органо-минеральные грунты могут перекрываться слоями минеральных или органических грунтов или переслаиваться с ними в соответствии со сменой условий осадконакопления. В связи с указанными особенностями эти грунты могут иметь широкий диапазон изменения состава, плотности, а, следовательно, прочности и сжимаемости. Чрезвычайное разнообразие условий формирования органо-минеральных грунтов не позволяет в настоящее время дать их детальную строительную классификацию, включающую данные о физико-механических свойствах. Свойства подобных грунтов исследуют обычно применительно к некоторым региональным условиям. Классификацию органо-минеральных грунтов следует строить по схеме: вид (по содержанию органики) - подвид (по числу пластичности) - разновидность (по коэффициенту консистенции).
Примечание. К супесчаному грунту относить при 1 < wпл < 7, к суглинистому при 7 < w < 17, где wпл - число пластичности.
Примечание. К супеси относить при 1 £ wпл < 7, к суглинку при 7 £ пл < 17, к глине при wпл ³ 17, где wпл - число пластичности. При этом целесообразно выделять три вида органо-минеральных грунтов: торфянистый с содержанием органики от 60 до 30 %; сильно заторфованный с содержанием органики от 30 до 20 %; заторфованный с содержанием органики от 20 до 10 %. Внутри каждого вида выделяют четыре подвида по числу пластичности (супесь, суглинок, тощая глина, жирная глина), которые делятся на пять разновидностей по состоянию с коэффициентом консистенции: 0,5-0,75; 0,75-1,0; 1,0-1,5; 1,5-2,0 и 2,0-2,5. Ориентировочные значения основных показателей механических свойств для некоторых органо-минеральных грунтов представлены в табл. 2.9. ОПРЕДЕЛЕНИЕ РАСЧЕТНЫХ ХАРАКТЕРИСТИК СЛАБЫХ ГРУНТОВ 2.36. Для назначения конструкции земляного полотна на участках слабых грунтов необходимо в результате инженерно-геологического обследования получить расчетные значения показателей механических свойств грунтов, характеризующих прочность (сопротивляемость сдвигу), деформативность (сжимаемость) и скорость уплотнения грунта во времени под статической нагрузкой. В зависимости от цели и степени детальности расчета, определяемых стадией проекта, могут использоваться различные показатели: прочностные характеристики: полная сопротивляемость грунта сдвигу при испытании крыльчатки сусл, кгс/см2; параметры сопротивляемости грунта сдвигу в заданном состоянии его плотности и влажности (угол внутреннего трения φw, град; сцепление сw, кгс/см2); характеристики деформативности: модуль деформации, отвечающий проектной нагрузке, Ер, кгс/см2; модуль осадки ер, мм/м; коэффициент Пуассона μ (при расчете по двухмерной схеме); характеристики уплотняемости грунтов
во времени: коэффициент консолидации Ск, см2/год; консолидационные
параметры аλр, мин.; bλр, мин/см2; (или аλ, мин·кгс;
Примечание. Разновидности грунта соответствуют следующим значениям коэффициента консистенции: А - 0,5-0 75; Б - 0,75-1,0; В - 1,0-1,5; Г - 1,5-2,0. прочие характеристики: объемный вес грунта слабой толщи. 2.37. Механические характеристики грунтов, непосредственно входящие в расчет, следует, как правило, определять путем прямых испытаний грунтов в условиях природного залегания. При предварительных расчетах на стадии технического проекта допускается при отсутствии или недостаточном количестве данных непосредственных испытаний использовать в расчете значения механических характеристик, приведенные в табл. 2.2-2.10. 2.38. Перед непосредственным определением в лаборатории или по таблицам показателей механических свойств слабых грунтов необходимо установить их основные классификационные характеристики (показатели состава и состояния): содержание органических веществ П, %; содержание СаСО3 (при наличии реакции грунта с НСl), %; степень волокнистости Ф (или разложения К) для торфяных грунтов, %; пределы пластичности wр и wT для минеральных и органо-минеральных слабых грунтов (за исключением сапропелей и болотного мергеля) или только граница текучести (для иольдиевых глин), %; природную влажность wпр, %. Дополнительно следует
определять удельный вес γуд,
г/см3, содержание песчаных частиц (последнее - для минеральных
грунтов), а также объемный вес влажного грунта γw, г/см3. На основе
этих данных дополнительно вычисляют: коэффициент консистенции грунта В (для
минеральных или органоминеральных грунтов) или относительную влажность wотн
Рис. 2.4. График для определения гарантированном частости Σгар, в зависимости от числа определений п показателей физико-механических свойств
Рис. 2.5. График для определения коэффициента Стьюдента tα при различной надежности α и количестве определений п 2.39. Расчетные значения основных классификационных характеристик (показателей состава и состояния) для каждого предварительно выделенного литологически однородного слоя устанавливают путем статистической обработки полученных значений этих показателей. При обработке данных по составу и состоянию грунта в пределах каждого слоя оценивается однородность данного слоя, и уточняются границы однородных слоев в плане и по глубине. При этом за однородный принимается такой слой, в пределах которого значения основных классификационных показателей практически не выходят за рамки одной разновидности, определяемой по таблицам. 2.40. Однородность слоя оценивают путем построения графика рассеяния значений того или иного показателя (см. приложение 4), на который наносят границы классификационной группы. Слой считается однородным, если не менее 90 % экспериментальных точек укладываются в пределах, допускаемых по данной разновидности. 2.41. Для каждого однородного слоя устанавливают нормативное и расчетное значения каждого основного классификационного показателя, а затем и каждого показателя механических свойств. Одновременно определяют нормативные и расчетные значения этих же показателей для отдельных расчетных поперечников, на которых отмечают более неблагоприятные значения показателей, чем средние значения для всего слоя. 2.42. Нормативные и расчетные значения показателей грунтов можно устанавливать упрощенным графоаналитическим способом или уточненным способом статистической обработки. При упрощенном способе за нормативное значение характеристики принимается ее среднемедианное значение, устанавливаемое непосредственно по графику рассеяния. Расчетной характеристикой служит гарантированное значение, зависящее от числа опытных определений этой характеристики по предварительно построенной с помощью графика рассеяния интегральной кривой частостей ее отдельных значений в общем, числе определений. При определении гарантированных значений следует руководствоваться графиком (рис. 2.4). При применении уточненного способа обработки результатов расчетная характеристика Ар грунта определяется по формуле Ар = Ан ±εα (2.1) где Ан - нормативное значение показателя; εα - отклонение от нормативного значения (полуширина доверительного интервала). Величина εα определяется по формуле
где tα - коэффициент Стьюдента, принимаемый то графику (рис. 2.5) в зависимости от заданной доверительной вероятности (коэффициента надежности) α и числа измерений; σ - среднее квадратическое отклонение; N - число измерений. При определении расчетных значений показателей состава и состояния величины tα рекомендуется устанавливать при следующих коэффициентах надежности: Категория дороги I II III IV, V Коэффициент надежности α 0,95 0,90 0,80 0,70 Методика определения расчетных значений характеристик изложена в приложении 4. 2.43. Объемный вес влажного грунта определяют опытным путем. Для слоев, расположенных ниже горизонта грунтовых вод, объемный вес грунта γw допускается вычислять через значения удельного веса γуд и влажности w по формуле
Объемный вес грунта с учетом взвешивания определяют по формулам: для связных грунтов (включая торф)
для несвязного грунта (например, грунт песчаной насыпи)
где п - пористость
грунта: 2.44. При непосредственных испытаниях показатели сопротивляемости грунтов сдвигу определяют на лабораторных приборах прямого сдвига и трехосного сжатия (φw и cw), а также путем испытаний грунта в условиях природного залегания с помощью крыльчатки сусл. Сопротивляемость слабых грунтов сдвигу следует во всех случаях оценивать с учетом возможности их работы под нагрузкой от насыпи в течение того или иного времени в условиях незавершившейся консолидации. Незавершившуюся консолидацию проще всего учесть, проводя испытания образцов по методу «плотность - влажность» (см. приложение 3). Окончательный выбор расчетных значений показателей сопротивляемости грунтов сдвигу с и φ надо производить на основе общего анализа результатов лабораторных и полевых опытов по изучению сопротивляемости сдвигу грунтов слабой толщи с обязательным учетом инженерно-геологической обстановки и наиболее вероятных условий сооружения земляного полотна. 2.45. Характеристики деформируемости грунтов для расчета осадок определяют из опытов на лабораторных компрессионных приборах и стабилометрах в соответствии с указаниями приложение 3. Для получения расчетной компрессионной кривой выделенного литологически однородного слоя следует испытать образцы, показатели состава и состояния которых наиболее близки к расчетным значениям для данного слоя. 2.46. Показатели длительности уплотнения определяют испытаниями на консолидацию в соответствии с рекомендациями приложения 3. 2.47. При проектировании насыпей с расчетной высотой до 3 м на торфяных болотах глубиной не более 6-8 м„ когда расчетная нагрузка на основание насыпи не превышает 0,55 кгс/см2 при учете эффекта взвешивания и 0,75 кгс/см2 без учета взвешивания, оценку прочности слабых грунтов допускается вести укрупненно на основе их типизации по прочности. Следует различать три строительных типа болотных грунтов по прочности: I - грунты, которые обладают достаточной прочностью в природном состоянии и при передаче на них нагрузки от насыпи указанных выше параметров, могут только сжиматься независимо от скорости передачи нагрузки; II - грунты, не обладающие в природном состоянии достаточной прочностью, вследствие чего при быстрой передаче на них нагрузки от насыпи они выдавливаются, при медленной же передаче нагрузки они успевают уплотниться и упрочниться настолько, что не выдавливаются, а лишь сжимаются; III - грунты, которые при передаче на них указанной нагрузки в любом случае выдавливаются из-за недостаточной прочности в природном состоянии и недостаточной упрочняемости при уплотнении. 2.48. Строительный тип болотного грунта можно установить: по основным показателям состава и состояния торфяных грунтов, используя табл. 2.10, сапропелевых грунтов - табл. 2.11, болотного мергеля - табл. 2.12.
* К I типу следует относить торф при влажности менее 500 %. ** К I типу следует относить торф средней зольности (5–20 %) с влажностью менее 400 %.
* Для уточнения типа необходимы лабораторные испытания на сдвиг и компрессию. К I типу относить органический сапропель при wпр < 200 % и органо-минеральный при wпр < 50 %. ** К III типу относить органический сапропель при wпр > 1000 % и органо-минеральный при wпр > 550 %.
* К I типу относится болотный мергель при w < 60 %. Таблица 2.13
* К I типу относить болотный грунт при R < 25 %. ** Для уточнения липа грунта необходимы лабораторные испытания на сдвиг и компрессию. по величине сопротивляемости сдвигу, устанавливаемой путем испытаний с помощью «крыльчатки» в условиях природного залегания. Для определения строительного типа болотного грунта в этом случае можно использовать табл. 2.13. 2.49. Наряду с типизацией по прочности допускается использовать типизацию по деформативности. Учитывая, что оценка деформативности должна обеспечить достаточную точность прогноза осадки, типизацию по деформативности следует разрабатывать применительно к региональным условиям. Типизация по деформативности может оказаться полезной при проектировании с помощью ЭВМ. УСЛОВИЯ ЗАЛЕГАНИЯ СЛАБЫХ ГРУНТОВ.
|
|||||||||||||||||||||||||||||||||||||||||||||||||||||||||||||||||||||||||||||||||||||||||||||||||||||||||||||||||||||||||||||||||||||||||||||||||||||||||||||||||||||||||||||||||||||||||||||||||||||||||||||||||||||||||||||||||||||||||||||||||||||||||||||||||||||||||||||||||||||||||||||||||||||||||||||||||||||||||||||||||||||||||||||||||||||||||||||||||||||||||||||||||||||||||||||||||||||||||||||||||||||||||||||||||||||||||||||||||||||||||||||||||||||||||||||||||||||||||||||||||||||||||||||||||||||||||||||||||||||||||||||||||||||||||||||||||||||||||||||||||||||||||||||||||||||||||||||||||||||||||||||||||||||||||||||||||||||||||||||||||||||||||||||||||||||||||||||||||||||||||||||||||||||||||||||||||||||||||||||||||||||||||||||||||||||||||||||||||||||||||||||||||||||||||||||||||||||||||||||||||||||||||||||||||||||||||||||||||||||||||||||||||||||||||||||||||||||||||||||||||||||||||||||||||||||||||||||||||||||||||||||||||||||||||||||||||||||||||||||||||||||||||||||||||||||||||||||||||||||||
|
Тип толщи (по наличию и характеру слоистости) |
Подтип толщи, (по условиям отжатия из нее воды под нагрузкой) |
Вид толщи (по общй местности) |
Разновидность (по наличию перекрывающего слоя) |
||
|
Тип |
Характеристика толщи |
||||
|
I |
Выдержанная по мощности однослойная |
А. С односторонним дренированием |
а. Маломощная |
1. Свободная |
|
|
б. Большой мощности |
2. Погребенная |
||||
|
II |
Выдержанная по мощности слоев многослойная |
Б. С двусторонним дренированием |
|||
|
III |
Не выдержанная по мощности однослойная |
В. Со сложным дренированием |
|||
|
IV |
Не выдержанная по мощности многослойная |
||||
Примечания. 1. Выдержанной по мощности следует называть слабую толщу, мощность которой в пределах поперечника земляного полотна меняется не более чем на 10 %. В противном случае толща называется невыдержанной по мощности.
2. Однослойной называется толща, сложенная слабым грунтом одного подвида (одного наименования).
3. При наличии недренирующих подстилающих толщу пород дренирование толщи считается односторонним, при наличии дренирующих подстилающих толщу грунтов - двусторонним, а при наличии в пределах толщи дренирующих прослоек - сложным.
4. Маломощной называется слабая толща, мощность которой не превышает полуширины насыпи на подошве.
очертание кровли пород, подстилающих слабую толщу, от которого может зависеть устойчивость основания и равномерность осадки;
расположение слабой толщи по геологическому разрезу (наличие перекрывающих прочных грунтов), от которого зависит степень устойчивости основания, величина осадки и ее длительность;
положение уровня грунтовых вод, учитываемое в расчетах.
По особенностям строения (статиграфии) слабые толщи следует классифицировать в соответствии с табл. 2.14.
2.51. Торфяные болота по статиграфическим особенностям допускается классифицировать укрупненно в соответствии с табл. 2.15.
3.1. В задачу расчета устойчивости основания насыпи входит выявление возможности и степени опасности бокового выдавливания слабого грунта из-под подошвы. На основе результатов расчета устойчивости должен быть сделан вывод о возможности использования слабых грунтов в основании.
3.2. Для предварительного суждения о характере специальных мероприятий, необходимых для использования слабого грунта в качестве основания проектируемой насыпи, по результатам расчета определяют тип основания по устойчивости.
|
Стратиграфический |
Характеристика |
|
|
тип |
подтип |
|
|
I |
а |
Болота, заполненные торфом, перекрытым сверху слоем минерального грунта (аллювием) |
|
б |
Болота, сплошь заполненные торфом |
|
|
II |
а |
Болота, включающие слой торфа, подстилаемый слоем сапропеля, мергеля или ила и перекрытый сверху слоем минерального грунта |
|
б |
Болота, включающие слой торфа, подстилаемый слоем сапропеля, мергеля или ила |
|
|
III |
- |
Болота с торфяным слоем, плавающим на поверхности воды (сплавинное болото) |
3.3. В зависимости от характера и степени устойчивости различают три типа основания:
I - основания, не требующие специальных мероприятий по обеспечению устойчивости;
II - основания, для обеспечения устойчивости которых достаточно только технологических мер (ограничение режима отсыпки насыпи);
III - основания, которые требуют специальных конструктивных мер по обеспечению устойчивости (изменение конструкции насыпи или удаление слабого слоя).
3.4. В определенных случаях тип основания допускается устанавливать на основе типизации слабых грунтов, не проводя расчета устойчивости (см. п. 2.47 и 2.48).
3.5. В качестве критерия обеспеченной устойчивости основания при слабых грунтах следует принимать отсутствие областей разрушения, т.е. областей, где сопротивляемость сдвигу ниже величины опасных касательных напряжений.
Примечание. Дли грунтов типа иольдиевых глин, мало упрочняющихся и мало увеличивающих вязкость при уплотнении в обычном диапазоне нагрузок, в качестве критерия обеспеченной устойчивости следует принимать отсутствие области ползучести, т.е. областей, в которых касательные напряжения τ превышают порог ползучести: τlim - htgφw + cc, где cc - необратимая часть сцепления.
3.6. Степень обеспеченности устойчивости устанавливается по величине коэффициента безопасности
(3.1)
где Рбез - безопасная нагрузка, т.е. предельная нагрузка, отвечающая условию устойчивости и определяемая по пп. 3.11 и 3.17; Ррасч - расчетная (проектная) нагрузка.

Рис. 3.1. Эпюра расчетной нагрузки
Устойчивость основания считается обеспеченной при условии
Кбез ≥ 1
3.7. Величины Рбез и Ррасч зависят не только от параметров возводимой насыпи и свойств слабых грунтов в их природном залегании, но и от режима возведения насыпи. В связи с этим величина Кбез может устанавливаться применительно к условиям:
быстрой (условно
мгновенной) отсыпки насыпи ![]()
медленной (в соответствии
со скоростью уплотнения и упрочнения слабой толщи) отсыпки насыпи ![]()
Кроме того, степень устойчивости может оцениваться применительно к любому заданному моменту t процесса уплотнения Кбезt.
3.8. При простом (трапецеидальном) очертании насыпи эпюру расчетной нагрузки на основание следует принимать в виде равнобочной трапеции (рис. 3.1). При этом величина максимальных напряжений на поверхности основания определяется по формулам:
при расчете на быструю отсыпку
Ррасч = γн(hрасч + Sкон); (3.2)
при расчете на медленную отсыпку
Ррасч = γн(hрасч + zг.в) +
(Sкон - zг.в) (3.3)
где γн - объемный вес грунта насыпи; hрасч - расчетная высота насыпи;
- объемный вес грунта
ниже уровня грунтовых вод; zг.в -
расстояние от поверхности земли до расчетного уровня грунтовых вод; Sкон - конечная осадка основания насыпи.
При наличии на поверхности толщи постоянного уровня воды hн.в для определения Ррасч следует соответственно использовать зависимости:
Ррасч = γн(hрасч + Sкон) + (γн
-
)hн.в; (3.4)
Ррасч = γн(hрасч + zг.в) +
(Sкон - zг.в) - (γн
-
)hн.в; (3.5)
Примечание. 1. При расчете устойчивости на промежуточный момент процесса осадки следует использовать вторую формулу с подстановкой в нее вместо Sкon величины St - осадки на рассматриваемый момент t и с увеличением hрасч на разность Sкон - - St.
2. Если осадка S меньше zг.в, то расчетная нагрузка определяется по первой формуле.
3. В качестве расчетных уровней воды zг.в и hн.в необходимо принимать их наинизшие значения за весь период службы дороги до капитального ремонта (с обеспеченностью 9 %).
3.9. Расчетная высота насыпи hрасч определяется по формуле
(3.6)
где h0
- фактическая высота насыпи (проектная), включая дорожную одежду, по оси над
первоначальным уровнем земли; σ0
- удельная нагрузка на поверхности проезжий части от колеса расчетного
автомобиля (или гусеницы при расчете на гусеничные машины);
-коэффициент
приведении подвижной нагрузки к эквивалентной статической -при расчете
устойчивости; γн -
средневзвешенный объемный вес грунта в насыпи. Величина коэффициента приведения
устанавливается по формулам:
при
(3.7)
при
(3.8)
где h - толщина насыпи (по оси, считая от поверхности покрытия): D - диаметр отпечатка расчетного колеса или ширина гусеницы; Н - мощность слабой толщи (или активная зона); В - ширина насыпи по верху; п - показатель, принимаемый равным 1 при расчете на гусеничную нагрузку и 2 при расчете на колесную нагрузку.
Примечание. В практических расчетах устойчивости подвижную нагрузку можно не учитывать в расчете при толщине насыпного слоя h ≥ 2,5 м.
3.10. Для определения
типа основания расчетом необходимо установить величины коэффициентов
безопасности для условий быстрой
и медленной
отсыпки насыпи.
В зависимости от значений
и
, основание может быть отнесено к I, II и III
типам по устойчивости в соответствии с табл.
3.1
Определение безопасной нагрузки для условий быстрой отсыпки насыпи (безопасная нагрузка в природном состоянии плотности - влажности грунта основания)
3.11. Безопасная нагрузка для условий быстрой отсыпки насыпи определяется по формуле
где снач и φнач
- сцепление и угол внутреннего трения грунта при природной плотности -
влажности; γw
- средневзвешенный объемный вес толщи, расположенной выше горизонта z; z - глубина расположения рассматриваемого
горизонта от поверхности земли; β
- функция φнач, формы
эпюры нагрузки
и относительной
глубины
, устанавливаемая по графикам рис. 3.2.
|
Тип основания |
Определяющий признак |
Характеристика устойчивости |
Преобладающие деформации грунта наиболее опасного слоя |
Возможность использования слабой толщи в качестве основания |
|
I |
|
Устойчивость обеспечена при любой скорости отсыпки насыпи |
Сжатие |
Можно использовать в качестве основания |
|
II |
|
Устойчивость при быстрой отсыпке не обеспечена, но обеспечена при медленной отсыпке |
При быстрой отсыпке – сдвиг (выдавливание), при медленной - сжатие |
Можно использовать в качестве основания при медленной отсыпке насыпи |
|
III |
|
Устойчивость не обеспечена ни при каких режимах отсыпки |
Сдвиг (выдавливание) |
Без конструктивных мероприятий в качестве основания использовать нельзя. Нужно удалить слабый слой или изменить конструкцию насыпи |
Примечания. 1. Требуемый (допустимый) режим отсыпки при II типе основания устанавливается расчетом (см. п. 5.37).
2. При приближенном
определении типа основании на первой стадии проектирования или при расчете
повышение в
результате уплотнения не учитывается, а учитывается только проявление эффекта
взвешивания. В этом случае тип II делится на два подтипа II-А и II-Б. К
подтипу II-Б основание следует относить при
, а при
основание следует
относить к III типу. Основание подтипа II-Б после уточнения расчета с
использованием лабораторных данных по сдвигу и компрессии окончательно относят
либо к типу II, либо к типу III.
3.12. В
общем случае, в том числе и при слоистой слабой толщине, а также при
геологически однородной толще, но при наличии изменения сwнач и φwнач по глубине, определение
ведется
графо-аналитическим способом. Для этого строят графики функций
и снач + γz tg φнач. Затем с выбранным
шагом по z определяют отношение значений этих
функций, т.е. определяют
как функцию от z и строят график этой функции. Минимум этого графика
определит искомое значение
(рис. 3.3).
3.13. Упрощенные расчеты
можно вести по формулам, представленным в табл. 3.2 и основанным на тех или иных упрощающих допущениях.
При этом следует учитывать, что получаемые решения содержат тот или иной запас
и тем больший, чем проще формула и чем ниже она расположена в таблице. В связи
с этим в ряде случаев может применяться метод последовательного уточнения
расчета, при котором расчет начинают с наиболее простой формулы, переходя к
более сложным только в том случае, если
, вычисленный по простой формуле, окажется меньше единицы.
3.14. Значения
приведенного сцепления
при применении формул
табл. 3.2 следует установить по
выражению
с(пр)нач = снач(1 + sin φнач) = cнач(1 + 0,0172φнач); (3.10)
В расчет можно также
вводить значение
, вычисленное по формуле
(3.11)
где ррасч - расчетная нагрузка.

Приведенное сцепление, вычисляемое по формуле (3.11), можно использовать в расчете при условии
(3.12)
где Ктφ - функция, определяемая по графику (рис. 3.4); т - максимально допустимый процент отклонения расчетной сопротивляемости сдвигу от фактической в сторону завышения, принимаемый равным 5-10 %.
3.15. При использовании в
расчете полной условной сопротивляемости грунта сдвигу, устанавливаемой с
помощью «крыльчатки», для расчета
, в зависимости от условий, может использоваться любая
формула табл. 3.2, относящаяся к
случаю φ = 0.

Рис. 3.2. График функций β при: а - φ = 0°; б - φ = 5°; в - φ = 10°; г - φ = 15°; д - φ = 20°; е - φ = 30°; 1 - 2а/В = 10,0; 2 - 2а/В = 3,0; 3 - 2а/В = 1,0; 4 - 2а/В = 0,6; 5 - 2а/В = 0,2
|
|
Расчетная формула |
Принятые при ее выводе допущения |
|
1 |
|
1. Эпюра нагрузки в виде прямоугольника 2. φ = 0 3. Слабая толща в виде однородного полупространства 4. с - постоянно по глубине |
|
2 |
|
1. Эпюра нагрузки в виде прямоугольника 2. Слабая толща в виде полупространства 3. с - постоянно по глубине |
|
3 |
|
1. Слабая толща в виде полупространства 2. φ = 0 3. с - постоянно по глубине |
|
4 |
|
1. Слабая толща в виде полупространства 2. φ и с - постоянны по глубине 3. γ = 0 |
|
5 |
|
1. φ = 0 2. с - постоянно в пределах слоя |
|
6 |
|
1. Толща выше слабого слоя и в его пределах имеет γcp = 0 |
|
7 |
|
1. с и φ - постоянны в пределах слоя |
3.16. При сложном поперечном
сечении насыпи (насыпь с бермами, откосами разной крутизны и т.п.) определение
следует вести путем
анализа соблюдения условия прочности в различных точках основания по формуле
(3.13)

Рис. 3.3. Графический способ определения рбез:
а - при однородной толще; б - при слоистой толще
где σ1 и σ2 - значения главных напряжений в рассматриваемой точке от внешней нагрузки; КСТ - коэффициент стабильности.
Для определения σ1 и σ2 сложную эпюру разбивают на ряд простых (проще всего - треугольных). В каждой рассматриваемой точке определяют нормальные и касательные напряжения по вертикальным и горизонтальным площадкам (σzi, σyi, τyzi) от каждой эпюры: нагрузки, пользуясь формулами приложения 6. Затем определяют суммарные напряжения в точке от всех выделенных эпюр нагрузки (σz, σy, τyz). Далее вычисляют главные напряжения по формулам:
(3.14)
(3.15)
Если КСТ в какой-либо точке окажется меньше 1, устойчивость считается необеспеченной. Расчеты следует выполнять с помощью ЭВМ по специальной программе [9].

Рис. 3.4. График зависимости Ктφ = f(φ) при различных значениях т
Определение безопасной нагрузки для случая медленной отсыпки насыпи
3.17. Для случая медленной отсыпки насыпи расчет безопасной нагрузки при простой эпюре осуществляется аналогичным образом по формуле
где с' и φ' - «кажущиеся» сцепление и угол внутреннего трения, получаемые в опыте с полной консолидацией образцов (консолидированные испытания с дренажем); β - та же функция, что и при расчете на быструю отсыпку (см. рис. 3.2), но принимаемая в зависимости от значения φ'.
3.18. Для приближенных
расчетов допускается при определении
использовать те же
формулы, что и для
подстановкой в них
вместо значения φнач,
снач и
величин φкон, скон и
соответствующих
конечной плотности - влажности грунта, wкон на данном
горизонте, которую он будет иметь после завершения процесса уплотнения под
расчетной нагрузкой (влияние подвижной нагрузки в данном случае не
учитывается).
3.19. При необходимости установить безопасную нагрузку на любой заданный момент процесса уплотнения толщи следует вести расчет по точкам, используя формулу
(3.17)
где cwt и φwt - сцепление и угол внутреннего трения, отвечающие влажности w грунта в заданный момент t; D и Θ – разность и сумма главных напряжений в данной точке, определяемые по графикам приложения 6.
Значения cwt и φwt можно устанавливать по графикам cw = f (w) и φw = f (w), получаемым в результате испытаний грунта на сдвиг по методу плотности - влажности. При этом расчетная влажность грунта в момент t определяется по формуле
wt = wнач - (wнач - wкон)U, (3.18)
где wнач и wкон начальная и конечная влажности; U - степень консолидации в момент t, устанавливаемая по решениям плоской задачи теории консолидации.
Для определения U и
расчета КСТ следует
использовать специальную программу для ЭВМ [10].
В этом случае применяют следующие аналитические выражения для функций cwt = f(w) и
= f (w):
(3.19)
(3.20)
где снач и φнач - сцепление и угол внутреннего трения при начальной влажности грунта wнач; А0 и δ - параметры упрочняемости, устанавливаемые при испытаниях на сдвиг по методу плотности - влажности; ае и θ0 - параметры уплотняемости (параметры компрессионной кривой с учетом двухмерности задачи); Θ - сумма главных напряжений; U - степень консолидации, соответствующая заданному t.
3.20. Во многих случаях вследствие достаточно небольшого диапазона интересующих нас нагрузок вместо приведенных выше зависимостей можно использовать линейные выражения:
сwt = снач + a0(wнач - wt) (3.21)
tg φwt = tg φнач + δ0(wнач - wt) (3.22)
где a0 и δ0 – параметры упрочняемости, устанавливаемые экспериментально путем спрямления зависимостей cw = f (w) и tg φw = f (w) в интересующем диапазоне влажностей. Пример расчета устойчивости при быстрой и медленной отсыпке насыпи приведен в приложении 7.
3.21. При проектировании насыпей на торфяных болотах, если расчетная нагрузка на основании насыпи не превышает 0,55 кгс/см2 при учете эффекта взвешивания нижней части насыпи и 0,75 кгс/см2 без учета взвешивания, при мощности слабой толщи не более 6-8 м и простом (трапецеидальном) поперечном профиле насыпи допускается тип основания (строительный тип болота) определять по строительным типам слабых грунтов, слагающих слабую толщу (см. п. 2.47-2.49).
3.22. В зависимости от строительных типов грунтов, слагающих слабую толщу, различают три строительных типа болот:
I - болота, слабая толща которых представлена только грунтами I строительного типа;
II - болота, слабая толща которых представлена грунтами I и II типов;
III - болота, слабая толща которых включает хотя бы один слой III строительного типа.
Примечание. Если толщина наиболее слабого пласта не превышает 5 % от общей мощности слабой толщи, его наличие при определении типа болота не учитывается.
Тип болота соответствует типу основания по устойчивости.
4.1. При обеспеченной устойчивости основания осадка его обусловливается сжатием (уплотнением) слабого грунта под воздействием внешних нагрузок, а также некоторым боковым расширением.
4.2. Осадка слабой толщи всегда растянута во времени, поэтому при прогнозе осадки решаются две самостоятельные, но взаимосвязанные задачи: определение конечной величины осадки и определение-хода осадки во времени.
4.3. При прогнозе осадки форма эпюры расчетной нагрузки от веса насыпи принимается аналогичной при расчете устойчивости (см. п. 3.8).
Величина расчетной нагрузки вычисляется по формулам, приведенным в п. 3.8 для случая медленной отсыпки. При этом входящая в эти формулы величина расчетной высоты насыпи устанавливается по выражению
(4.1)
где σ0 - величина расчетных напряжений от подвижной нагрузки на уровне подошвы насыпи; Кос - коэффициент приведения подвижной нагрузки к эквивалентной статической при расчете осадки
(4.2)
где В - ширина земляного полотна по верху; Н - расчетная мощность сжимаемой толщи; D - диаметр отпечатка колеса или ширина расчетной гусеницы; п - показатель степени, принимаемый равным 1 при расчете на гусеничную нагрузку и равным 2 при расчете на колесную нагрузку.
Примечание. При толщине насыпи (высоте + осадка) более 2 м подвижная нагрузка в расчете может не учитываться.
4.4. Осадка основания насыпи определяется как суммарная вертикальная деформация по оси насыпи всей слабой толщи в пределах активной зоны.
4.5. Величина активной зоны устанавливается в каждом конкретном случае с учетом фактической мощности слабых слоев и условий их расположения. В качестве нижней границы активной зоны принимают:
кровлю прочного и малосжимаемого грунта, подстилающего слабую толщу при относительно небольшой ее мощности;
горизонт, на котором вертикальные нормальные напряжения от внешней нагрузки σz и собственного веса σс.в не превышают величины структурной прочности при компрессионном сжатии σстр:
σz = σс.в ≤ σстр. 4.3)
При этом величина σс.в определяется в необходимых случаях с учетом взвешивания.
При однородной слабой толще и постоянной по глубине разности σстр-σс.в глубина активной зоны по второму критерию может быть ориентировочно вычислена по формуле
(4.4)
где bср - полуширина насыпи по средней линии; Ррасч - расчетная нагрузка на поверхности основания насыпи.
Примечание. При приближенных расчетах и отсутствии данных о величине σстр, за глубину активной зоны допускается принимать ординату горизонта, на котором сжимающие напряжения от расчетной нагрузки не превышают 20 % напряжений от собственного веса (σz < σс.в)'
4.6. При наличии неоднородной слабой толщи, переменности по глубине σстр - σс.в и т.п. глубину активной зоны следует устанавливать графическим способом.
4.7. В зависимости от стадии проектирования и наличия исходных данных расчет осадки может выполняться по более строгим или упрощенным решениям. При этом упрощенные решения дают запас в отношении конечной осадки (завышают ее величину) по сравнению с уточненными решениями.
4.8. В общем случае конечная величина осадки определяется методом послойного суммирования с использованием зависимости:
для условия одномерной задачи
для условий двухмерной задачи п
(4.6)
где Hi - мощность отдельного слоя; epzi - модуль осадки этого слоя в вертикальном направлении, устанавливаемый по компрессионной кривой при нагрузке, отвечающей нормальному напряжению на уровне середины слоя и с учетом срока службы дорожной конструкции (см. приложение 7); epxi - то же, в горизонтальном направлении; μi - коэффициент бокового расширения грунта i-го слоя.
4.9. Для определения расчетного значения модуля осадки необходимо:
установить расчетные напряжения от внешней нагрузки на данном горизонте по формуле
pz = αРрасч, 4.7)
где Ррасч - расчетная нагрузка на поверхности основания; α - безразмерный коэффициент, зависящий от относительной глубины расположения рассматриваемого горизонта и определяемый в соответствии с приложением 7; определить расчетные напряжения от собственного веса толщи на данном горизонте
σс.в = γсрz, 4.8)
где γср - средневзвешенный объемный вес толщи, расположенный выше данного горизонта z; определить по компрессионной кривой вида epz = f(p) величину модуля осадки е'pz при нагрузке pz + σс.в; определить по той же компрессионной кривой модуль осадки е'pz, при величине р, отвечающей структурной прочности σстр;
вычислить расчетный модуль осадки как разность
epz = е'pz - е"pz, 4.9)
4.10. Если осадка насыпи превышает 10 % высоты насыпи, необходимо учитывать в расчете нагрузку от просевшей части насыпи. В этом случае расчет приходится вести методом последовательного приближения. Наиболее удобно этот расчет выполнять графическим способом в следующем порядке:
задавшись величиной нагрузки р0 на поверхности толщи, определяют, пользуясь таблицами и графиками приложения 6, напряжения (рz - при одномерной задаче, рz и рх - при двухмерной) в расчетных слоях по оси насыпи;
по соответствующим компрессионным кривым находят модули осадки, отвечающие установленным напряжениям в соответствии с п. 4.9.
по формулам п. 4.8 определяют осадки слоев и суммарную осадку;
повторяют расчеты еще для двух-трех значений нагрузки р0;
по результатам строят графики осадки отдельных слоев и общей осадки в зависимости от нагрузки на поверхности;
на этом же графике строят прямую, выражающую зависимость нагрузки на поверхности от осадки (по формулам п. 3.8).
Точка пересечения построенных кривых полной осадки и прямой определит расчетную величину осадки и нагрузки на поверхности, точки пересечения с кривыми, построенными для отдельных слоев, определят их частные осадки.
4.11. Если общая мощность слабой толщи не более 1,5 bcp (где bcp - полуширина насыпи по средней линии), при расчете осадки изменение по глубине сжимающих напряжений можно не учитывать.
4.12. Для приближенных расчетов при невысоких насыпях (до 5 м) и мощности слабой толщи не более 2b, когда отсутствуют данные непосредственных компрессионных испытаний, можно использовать зависимость
(4.10)
|
Толщина обжимаемого слоя, м |
Высота насыпи |
|
|
до 3 м |
от 3 до 4 м |
|
|
Величина осадки, % |
||
|
До 2 |
50 |
60 |
|
От 2 до 4 |
40 |
50 |
где hрасч - расчетная высота насыпи; γн и
- объемный вес грунта
насыпи над и под уровнем грунтовых вод; zг.в -
расстояние от поверхности - основания до расчетного уровня грунтовых вод; Ешт - штамповый модуль
деформации слабой толщи, принимаемый приближенно по табл. 2.2 основного текста; Нрасч - расчетная мощность
слабой толщи.
Величина расчетной мощности слабой толщи принимается в зависимости от отношения фактической мощности Н к полуширине насыпи bср по средней линии:
Н/bср ≤ 1,5 1,5 - 2,0 2,0 - 4,5 > 4,5
Нрасч Н 0,9Н + 0,5 bср 0,4Н + bср 0,18Н + 2 bср
При слоистой толще или при значительной зависимости модуля деформации от напряжений средний штамповый модуль следует определять по формуле
(4.11)
где Hi и Ei - мощность и модуль деформации i-го слоя.
4.13. При расчете осадок насыпей на торфяных болотах, слабая толща которых включает слои жидких образований, не упрочняющиеся при сжатии, величину осадки устанавливают с учетом ликвидации этих слоев в результате отжатия жидких образований. При этом используют зависимость
S = Sсж + ΣНоT, 4.12)
где Sсж - осадка сжимающихся слоев, устанавливаемая указанными выше методами; ΣНоT - сумма мощностей отдавливаемых слоев.
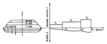
4.14. При проектировании дорог на торфяных болотах I типа глубиной до 4 м в порядке первого приближения величину осадки можно устанавливать по табл. 4.1.
4.15. При мощности активной зоны На ≤ bср (где bср – ширина насыпи по средней линии) прогноз длительности осадки можно осуществлять по схеме одномерного сжатия. Прогноз хода осадки во времени целесообразно вести раздельно для двух участков кривой консолидации, условно называемых участками первичной и вторичной осадки (рис. 4.1).
4.16. На участке первичной осадки время достижения реальным слоем относительной деформации λ при нагрузке р определяют по формуле
(4.13)

Рис. 4.1. Общий вид кривой консолидации
где
- консолидационный
параметр, величина которого зависит от расчетной нагрузки р и
относительной деформации λ; Нф - расчетный путь фильтрации
воды, отжимаемой из слоя, принимаемый равным мощности слоя при одностороннем
дренировании и половине мощности при двустороннем дренировании.
Параметр
определяется по
результатам консолидационных испытаний образцов с различными условиями
дренирования
(4.14)
где t1
- время достижения заданной относительной деформации при уплотнении под
нагрузкой р образца высотой h1 при двустороннем дренировании
; t2 - то же, образца высотой h2ф = hoбp.
При небольшом диапазоне изменения нагрузок (±0,5 кгс/см2) прогноз длительности осадки на этом участке может быть осуществлен по формуле
(4.15)
где bλ - консолидационный параметр, аналогичный bλр, но не зависящий от нагрузки р, устанавливаемый экспериментально; рλ - консолидационный параметр, устанавливаемый экспериментально.
4.17. На участке вторичной консолидации прогноз осадки во времени осуществляют по формуле
где λI и тр – параметры консолидационной кривой, определяемые экспериментально; ТI - время окончания участка первичной осадки при реальном слое, устанавливаемое по формулам п. 4.16 при λ - λI.
4.18.
При приближенных прогнозах для стадии первичной осадки величину
можно определять по
формуле
(4.17)
где Ск - коэффициент консолидации, определяемый
непосредственно путем консолидационных испытаний; Ки - коэффициент, величина которого
зависит от степени консолидации
(табл. 4.2); λI - относительная
деформация образца грунта при расчетной нагрузке, отвечающая завершению фазы
первичной осадки (устанавливается по консолидационным кривым).
Таблица 4.2
|
U, % |
К |
U, % |
К |
|
0,20 |
0,03 |
0,70 |
0,40 |
|
0,30 |
0,07 |
0,80 |
0,57 |
|
0,40 |
0,12 |
0,85 |
0,69 |
|
0,50 |
0,20 |
0,90 |
0,85 |
|
0,60 |
0,29 |
0,95 |
1,13 |
4.19. По результатам расчетов строят график осадки основания во времени, анализируя который, выявляют условия соблюдения требований п. 1.8 и решают вопрос о необходимости ускорения осадки.
4.20. В случае сложного очертания поперечного сечения насыпи, а также при мощности активной зоны более 1,5 bср расчет ведут по условиям двухмерной задачи, используя специальные программы для ЭВМ.
5.1. При проектировании дороги на участках залегания слабых грунтов по результатам предварительно выполненных прогнозов устойчивости основания, величины и длительности осадки, с учетом особенностей проектируемой дороги, местных условий и технических возможностей строительной организации прорабатывают несколько конкурентоспособных вариантов, каждый некоторых удовлетворяет требованиям обеспечения устойчивости, стабильности и динамической прочности (см. п. 1.7-1.9). Наиболее предпочтительный вариант выбирают путем технико-экономического сравнения.
5.2. Принципиальной основой выбора технических решений является выявление факторов, представляющих наибольшую опасность для работы дорожной конструкции в данном конкретном случае, и установление мероприятий, нейтрализующих эти факторы или снижающих их влияние (табл. 5.1).
5.3. Целью различных конструктивных решений и технологических мероприятий может быть: повышение устойчивости основания насыпи (группа А); ускорение достижения допустимой интенсивности осадки (группа Б); исключение недопустимых упругих колебаний (группа В). Некоторые мероприятия имеют комплексный характер и могут выполнять одновременно несколько назначений.
5.4. При предварительном отборе вариантов решений в первую очередь рассматривают соблюдение требования устойчивости основания.
Для I типа оснований (по устойчивости) могут применяться решения групп Б и В. Для оснований II типа применяют решения групп А (возможно только технологические), Б и В. Для оснований III типа применяют решения групп А, Б и В.
Примечание. При использовании метода временной пригрузки тип основания по устойчивости следует уточнять с учетом увеличения высоты насыпи на толщину притрузочного слоя.
5.5. По результатам прогноза протекания осадки по времени определяют целесообразность применения мероприятий группы Б, которые становятся необходимыми при невыполнении условия п. 1.8.
5.6. По данным проверки прочности дорожной конструкции на динамическое воздействие транспортных средств в случаях, если толщина насыпи меньше величин, установленных табл. 1.1, назначают конструктивные мероприятия: группы В.
5.7. Независимо от наличия и вида мероприятий, направленных на повышение устойчивости, стабильности и прочности при определении толщины насыпи, возведенной на слабом грунте, следует учитывать некоторое погружение ее подошвы, т.е. осадку. Схема конструкции земляного полотна, возведенного на поверхности слабой толщи, показана на рис. 5.1.
5.8. При определении требуемого объема грунта для возведения насыпи сечение погруженной части Fпогр принимают в виде трапеции с высотой, равной расчетной величине осадки, и меньшим основанием, равным ширине земляного полотна поверху (см. рис. 5.1), т.е.
Fпoгp = SB + S (h - S) m.
5.9. Если дополнительными мероприятиями не предусмотрено каких-либо изменений, крутизну откосов насыпи и боковые водоотводные канавы приникают по общим правилам проектирования земляного полотна в обычных условиях.
5.10. Для насыпей, сооружаемых на слабых грунтах, следует, как правило, применять дренирующие грунты. Недренирующие грунты допускается использовать для дорог с усовершенствованными облегченными, переходными и низшими типами покрытий при условии обеспечения устойчивости и прочности конструкции.
Для дорог с переходными и низшими типами покрытий, а также сборными покрытиями при стадийном строительстве на переходах через торфяные болота допускается использовать в нижней части торф с показателем волокнистости не менее 50 % и влажностью не более 800 %. Верхнюю часть насыпи при этом устраивают из минерального грунта (рис. 5.2). Толщина верхнего слоя от границы торфяной части до низа одежды для различных грунтов насыпи должна составлять:
Песок, супесь легкая пылеватая 0,7 м
» пылеватый, супесь легкая 1,2 »
Супесь пылеватая и тяжелая пылеватая, суглинки, глины 1,6 »
При проектировании насыпи необходимо учитывать сжатие торфяного слоя от давления вышележащей конструкции.
5.11. При строительстве дороги на мокрых солончаках допускается применение для насыпей солончаковых грунтов при глубине уровня грунтовых вод не менее 0,5-0,6 м от поверхности. При этом коэффициент переувлажнения грунтов, используемых для насыпи, должен быть не выше допустимого по СН 449-72.
|
|
|
|
Рис. 5.1. Типовая схема земляного полотна, возведенного на поверхности слабой толщи |
Рис. 5.2. Схема использования торфа в нижней части насыпи: а - устройство нижнего слоя; б - устройство верхнего слоя |
|
Группа решений |
А |
Б |
В |
||||||||
|
Основное назначение мероприятия |
Повышение устойчивости |
Сокращение времени достижения безопасной интенсивности осадки |
Уменьшение влияния динамического воздействия транспортной нагрузки |
||||||||
|
снижение величины конечной осадки |
ускорение процесса осадки |
||||||||||
|
Определяющий результат мероприятия |
уменьшение нагрузки |
улучшение характера напряженного состояния толщи |
увеличение сопротивляемости сдвигу |
уменьшение нагрузки |
улучшение характера напряженно-деформативного состояния толщи |
уменьшение мощности сжимаемой толщи (активной зоны) |
снижение сжимаемости грунта |
увеличение уплотняющей нагрузки |
улучшение условий удаления поровой воды из сжимаемого слоя |
снижение напряжений от транспортной нагрузки |
повышение динамической устойчивости основания насыпи |
|
Технологические |
- |
- |
Предварительная консолидация |
- |
- |
- |
Предварительное осушение дорожной полосы |
Временная пригрузка |
Отсос воды из толщи в процессе консолидации |
- |
- |
|
Промораживание оснований (для I зоны) |
Временное водопонижение |
||||||||||
|
Конструктивные |
Снижение высоты насыпи |
Уположеиие откосов |
Грунтовые сваи |
Снижение высоты насыпи |
Грунтовые сваи |
Частичная замена слабых грунтов |
Грунтовые сваи - дрены |
|
Вертикальные дрены |
Увеличение высоты насыпи |
Грунтовые сваи в основании насыпи |
|
Насыпи из легких материалов |
Боковые пригрузочные бермы |
Вертикальные дрены |
Насыпи из легких материалов |
Распределяющая плита (настил) в основании насыпи |
|
Замена слабых грунтов |
Дренажные прорези |
Увеличение толщины дорожной одежды |
Вертикальные сваи-дрены |
||
|
Замена грунтовой насыпи специальными пустотными конструкциями |
Грунтовые сваи |
Дренажные прорези |
Насыпи на сваях |
Частичное удаление слабого грунта |
Армирование насыпи |
Полная или частичная замена слабого грунта |
|||||
|
Уменьшение мощности слабой толщи |
Замена слабых грунтов |
- |
|
|
|
|
Устройство фильтрующих прослоек |
Распределяющая плита (настил) в основании насыпи |
|
||
|
Насыпи на сваях |
Распределяющая плита (настил) в основании насыпи |
|
|
|
|
|
|
|
|
|
|

Рис. 5.3. Варианты временной пригрузки:
а - удаляемый пригрузочный слой; б - суженная насыпь; в - эквивалентная нагрузка;
этапы производства работ: 1 - возведение насыпи; 2 - технологический перерыв на период консолидации; 3 - удаление пригрузки; 4 - устройство одежды; 5 - эксплуатационный период
Переувлажненные грунты, предназначенные для применения в земляном полотне, могут подсушиваться или обезвоживаться химическими добавками в соответствии со специальными указаниями (СН 449-72). Крутизна откосов насыпей из солончаковых грунтов должна быть не выше 1:3.
5.12. В случаях, когда требование стабильности не обеспечивается в установленные сроки строительства, при соответствующем технико-экономическом обосновании допускается стадийный метод строительства с открытием временной эксплуатации до окончательного устройства покрытия.
Для стадийного строительства наиболее пригодно покрытие из сборных железобетонных плит на песчаном подстилающем слое. Омоноличивание с устранением возникших неровностей путем перекладки части плит с подсыпкой под них дополнительного слоя песка производят после фактического окончания консолидации основания. При использовании черных или щебеночных покрытий движение открывают по нижнему щебеночному или гравийному слою. Верхний слой покрытия устраивают после фактического окончания консолидации слабого основания, планировки и очистки поверхности подстилающего слоя.
Временная пригрузка
5.13. Наиболее простым и достаточно эффективным методом ускорения осадки насыпей на основании I типа является метод обжатия слабого слоя с помощью временной пригрузки. При увеличении давления на основание осадка заданной величины может быть достигнута за более короткий срок. Возможные варианты временной пригрузки показаны на рис. 5.3.
5.14. Пригрузку в виде дополнительного слоя насыпи на всю ширину земляного полотна (рис. 5.3, а) устраивают на дорогах с усовершенствованными покрытиями. Толщину пригрузочного слоя принимают 0,2-1,0 от проектной толщины насыпи в зависимости от несущей способности основания и требуемого срока ускорения осадки (обычно 1-2 м). Уплотнение грунта в пригрузочном слое предусматривают только при необходимости обеспечения временного проезда. После окончания расчетного срока консолидации пригрузочный слой снимают и грунт перемещают на следующие участки дороги или используют в других элементах конструкции в соответствии с проектом организации строительства.
5.15. Для дорог с переходными и низшими типами покрытий допускается устройство пригрузки за счет временного симметричного увеличения крутизны откосов (рис. 5.3, б). При этом ширина пригрузочного слоя поверху должна быть не меньше проектной ширины проезжей части. После достижения проектной величины осадки грунт из пригрузочного слоя распределяют на откосах в соответствии с проектным поперечным сечением.
5.16. Для дорог всех категорий, когда одежда устраивается после окончания консолидации основания и других видов пригрузки не предусмотрено, в целях предупреждения дополнительной осадки от приращения давления за счет одежды рекомендуется применять эквивалентный пригрузочный слой (рис. 5.3, а). Толщина эквивалентного слоя может быть принята равной толщине одежды с коэффициентом 1,5. Грунт из пригрузочного слоя снимают непосредственно перед устройством одежды.
5.17. При предварительной оценке целесообразности применения временной пригрузки вместо замены грунта в основании следует учитывать необходимость соблюдения условия
(5.1)
где hnp - требуемая по расчету толщина пригрузочного слоя; Св - средняя стоимость 1 м3 удаления слабого грунта; Сн - средняя стоимость 1 м3 насыпного грунта (в деле); Суд - средняя стоимость удаления 1 м3 грунта пригрузки; Н - мощность слабого слоя; 2b - ширина земляного полотна; В - ширина земляного полотна поверху.
5.18. Расчет временной пригрузки сводится к определению требуемой толщины пригрузочного слоя, обеспечивающего достижение полной расчетной осадки насыпи принятых размеров в заданный срок.
Для расчета необходимо иметь следующие исходные данные:
консолидационные и компрессионные характеристики грунтов слабой толщины;
данные о геологическом строении и мощности слабой толщи;
схему отжатия воды из толщи при ее уплотнении нагрузкой (одностороннее или двустороннее);
показатели сопротивляемости сдвигу грунтов слабой толщи.
5.19. Требуемая величина временной пригрузки, обеспечивающая возможность достижения реальным слоем Нф заданной осадки за требуемое время Ттр, устанавливается по формуле
(5.2)
где аλ, bλ, и Рλ - консолидационные параметры, устанавливаемые в соответствии с указаниями приложения 7; Ррасч - расчетная (проектная) нагрузка насыпи на основание.
5.20. Толщина слоя временной пригрузки устанавливается по формуле
(5.3)
где γ - средневзвешенный объемный вес грунта пригрузки.
5.21. Ориентировочно величину требуемой временной пригрузки Рприг можно определить на основе решения теории фильтрационной консолидации по формуле
(5.4)
где Ск - коэффициент консолидации, определяемый опытным путем.
5.22. Для обеспечения устойчивости основания необходимо соблюдать условие: суммарная величина проектной нагрузки и требуемой временной пригрузки не должна превышать величину безопасной нагрузки
(5.5)
Если это условие нарушено, то временную пригрузку следует прикладывать по частям (как в методе предварительной консолидации) или принимать дополнительно специальные конструктивные меры по повышению устойчивости основания.
Возможность сохранения устойчивости основания только путем ограничения режима отсыпки временной пригрузки имеется при условии
(5.6)
где
- безопасная нагрузка,
вычисленная по условию быстрой отсыпки слоя временной пригрузки применительно к
степени консолидации основания, достигнутой к моменту приложения временной
пригрузки;
- безопасная нагрузка
при медленной отсыпке слоя временной пригрузки.
При этом если
режим отсыпки самой
насыпи не ограничивается, устанавливается только время начала и режим отсыпки
временной пригрузки. Если
, временная пригрузка может быть осуществлена лишь с
принятием специальных конструктивных мер по обеспечению устойчивости основания
(уположение откосов, устройство боковых, берм, свай и т.д.). Пример расчета
приведен в приложении 8.
Вертикальное дренирование
5.23. Вертикальные дрены устраивают в слабых водонасыщенных грунтах с целью ускорения консолидации основания за счет сокращения пути фильтрации воды, отжимаемой из слабой толщи при консолидации. Вертикальные дрены способствуют ускорению уплотнения слабого грунта с соответствующим повышением его сопротивляемости сдвигу, поэтому их можно устраивать также в целях повышения устойчивости основания (рис. 5.4).
5.24. Вертикальные дрены эффективны в водонасыщенных органических и минеральных сильносжимаемых грунтах с коэффициентом фильтрации не менее 1·10-4 м/сут. Устраивать вертикальные дрены в плотных глинистых грунтах, а также в малоразложившемся неуплотненном слое торфа нецелесообразно. Эффективность дрен повышается в случаях, когда дренируемая толща имеет более высокую горизонтальную проницаемость, например вследствие наличия прослоек дренирующего грунта.
5.25. Вертикальные дрены, как правило, следует совмещать с временной пригрузкой, обеспечивающей необходимый гидравлический градиент для полного сжатия заданной нагрузкой.
Толщина пригрузочного слоя в этом случае определяется требованием создания напора в поровой воде, величина которого по всей дренируемой толще в любой момент расчетного времени консолидации должна быть выше начального градиента фильтрации грунта
(5.7)
где D - эффективный диаметр дренирования (принимается равным расстоянию между дренами); γв - объемный вес воды в порах; I0 -начальный градиент фильтрации грунта с учетом уплотнения весом насыпи (при отсутствии лабораторных данных принимают для торфа I0 = 2, для ила и глины I0 = 5); Ррасч - нагрузка на основание от насыпи проектного сечения; γпр - объемный вес грунта, используемого для пригрузки.

Рис. 5.4. Схема земляного полотна с вертикальными дренами:
а - подготовка основания; б - вид после устройства насыпи
5.26. Вертикальные дрены выполняют в виде скважин, заполняемых песком. Диаметр скважин назначают от 40 до 60 см с учетом технических параметров применяемого оборудования. Для заполнения вертикальных дрен применяют песок с коэффициентом фильтрации не менее 6 м/сут.
Эффективность вертикальных дрен значительно повышается при добавке к материалу заполнения 5-15 % (по весу) извести. При применении вертикальных дрен насыпь или ее нижнюю часть толщиной не менее 50 см следует устраивать из дренирующих грунтов с коэффициентом фильтрации не менее 3 м/сут.
5.27. В зависимости от водопроницаемости грунта и требуемого срока стабилизации осадки расстояние между дренами изменяется от 2 до 4,5 м.
Предварительную оценку влияния дрен на срок стабилизации осадки можно провести по формуле
(5.8)
где t1 и t2 - сроки стабилизации осадки для слабого слоя соответственно без дрен и с дренами; Нф - расчетный путь фильтрации воды, отжимаемой из уплотняемого слоя при отсутствии дрен, принимаемый равным фактической мощности слабой толщи (при ее одностороннем дренировании) или половине этой мощности (при двустороннем дренировании); t - расстояние между дренами.
5.28. При индивидуальном проектировании земляного полотна с вертикальными дренами расстояние между ними определяют расчетом, исходя из заданного срока достижения полной осадки.

Рис. 5.5. График для определения степени консолидации:
а
- при вертикальной фильтрации; б - при горизонтальной фильтрации;
, где l
- расстояние между дренами (в свету); d
- диаметр дрен
Для расчета оснований с вертикальными дренами необходимы следующие исходные данные:
результаты компрессионных и консолидационных испытаний грунтов слабой толщи;
расчетная мощность слабого слоя с учетом условий односторонней или двусторонней фильтрации;
расчетные величины нагрузки и полной осадки слабой толщи.
Требуемая степень консолидации и срок ее достижения задается с учетом капитальности дорожной одежды (см. п. 1.8) и установленного проектом организации строительства срока окончания отсыпки земляного полотна.
5.29. Расчет основания с вертикальными дренами выполняется в виде проверки правильности назначенного предварительно расстояния между дренами. Степень консолидации (отношение осадки, достигнутой за время Т, к полной осадке от проектной нагрузки) основания с вертикальными дренами определяют по формуле
Uобщ = 100-0,01(100-Uг)(100-Uв), 5.9)
где Uв - степень консолидации основания без дрен при вертикальной фильтрации воды из основания; Uг - то же, при горизонтальной фильтрации к дренам; Т - требуемый срок консолидации.
Величины Uв и Uг устанавливают по графикам (рис. 5.5). Величину фактора времени, необходимо для определения Uв (рис. 5.5, а), рассчитывают по формуле
(5.10)
где Св - коэффициент консолидации для вертикальной фильтрации; Нф - расчетный путь вертикальной фильтрации, равный полной толщине сжимаемого слоя Н, если нижележащий слой состоит из недренирующих грунтов и Н/2 - при подстилающем слое из дренирующего грунта.
Фактор времени, необходимый для определения Uг (рис. 5.5, б), определяют по формуле
(5.11)
где Сг - коэффициент консолидации грунта при горизонтальной фильтрации; l - расстояние между дренами. При расчете дрен можно также использовать номограмму (рис. 5.6).

Рис. 5.6. Номограмма для расчета консолидации оснований с вертикальными дренами
Если при назначенном расстоянии между дренами не может быть достигнуто требуемое сокращение срока консолидации, шаг дрен уменьшают и расчет повторяют. Пример расчета оснований с вертикальными дренами приведен в приложении 9.
5.30. В случаях значительной мощности слабой толщи, когда невозможно устроить вертикальные дрены доходящими до подстилающих их плотных грунтов, допускается устройство висячих дрен. Расчет висячих дрен выполняют по специальным пособиям [5].

Рис. 5.7. График для расчета консолидации слоя водонасыщенного грунта с дренажными прорезями
5.31. Для устройства вертикальных дрен используют самоходный агрегат типа ВВПС 20/11 или ВВПС 32/19. Может также применяться комплект оборудования с краном или экскаватором в качестве ведущей машины. Рабочим органом служит труба с самораскрывающимся наконечником и отверстием для загрузки («лидер»). Если при вдавливании лидера происходит значительное уплотнение грунта по периферии дрены и уплотнение резко уменьшает проницаемость грунта, то дрены следует устраивать выбуриванием скважин. Более высокую производительность имеет оборудование для погружения обсадной трубы гидроподмывом с удалением из нее грунта по принципу эрлифта.
Для вертикальных дрен можно попользовать специальные ленты из многослойного картона или пластмассы с продольными капиллярами. Картон пропитывается антисептирующим составом. Специальная технология предусматривает транспортирование картонных полос в рулонах, погружение с помощью лидера кинжального типа и обрезание ленты на уровне поверхности.
5.32. Упрощенной разновидностью вертикального дренирования являются продольные дренажные прорези. Их устройство целесообразно при мощности слабого слоя до 4 м и возможности сохранения в слабом грунте вертикальных откосов в течение времени, необходимом для заполнения прорези дренирующим грунтом.
Расстояние между дренажными прорезями ориентировочно назначают в пределах 1,5-3,0 м и проверяют расчетом. Ширина прорезей назначается в зависимости от параметров рабочего органа применяемого оборудования и составляет обычно 0,6-1,0 м.
Для заполнения прорезей используют песок с коэффициентом фильтрации не менее 3 м/сут.
Расчет дренажных прорезей выполняют по аналогии с расчетом вертикальных дрен (см. п. 5.28-5.30), но для определения степени консолидации при горизонтальной фильтрации используют графики, приведенные на рис. 5.7, где величина Uг дана в зависимости от величины Тг для различных значений l/Н (где l - расстояние между боковыми поверхностями прорезей).
Частичное удаление слабого грунта
5.33. Удаление верхней части слабой толщи с заполнением траншеи дренирующим грунтом дает комплексный эффект повышения прочности и ускорения достижения стабильности основания.
Частичное удаление слабого грунта из основания насыпи целесообразно в случаях:
а) необходимости жесткого ограничения отметки проезжей части, когда соблюдение условия прочности требует устройства массивной насыпи определенной толщины;
б) если верхние слои слабой толщи имеют значительно меньшую прочность, чем нижние;
в) для ускорения стабилизации осадки, если по каким-либо причинам нецелесообразно применение временной пригрузки или вертикального дренирования.
Типовая схема конструкции с частичной заменой слабого слоя показана на рис. 5.8.

Рис. 5.8. Схема частичного удаления грунта:
а - подготовка траншеи; б - вид после устройства насыпи
Расчет конструкции с частичным удалением слабого грунта проводят общими методами, описанными в ч. I, III, IV, исходя из требований устойчивости, стабилизации осадки и прочности.
При расчете устойчивости необходимо учитывать заглубление подошвы насыпи относительно поверхности грунта.
Расчет глубины замены слабого грунта из условия ускорения осадки выполняют по формуле
(5.12)
где Н - полная толщина сжимаемого слоя; tтр - требуемый срок достижения: осадки допускаемой интенсивности (см. приложения 3 и 7); tрасч - расчетный срок достижения полной осадки без замены слабого грунта (см. приложение 7).
Предварительное осушение слабой толщи
5.34. Существенное улучшение свойств водонасыщенных органических грунтов, в том числе сокращение величины и длительности осадки, повышение несущей способности и проходимости в период строительства достигается предпостроечным осушением открытыми канавами. Обязательным условием эффективности осушения является достаточное время действия и обеспечение непрерывною стока воды из канав.
Как правило, сооружения для предпостроечного осушения дорожной полосы в период эксплуатации дороги должны служить водоотводными сооружениями.
Осушение дорожной полосы следует выполнять не позднее, чем за год до строительства дорожной одежды (при стадийном строительстве земляное полотно можно устраивать одновременно с осушением). При необходимости повышения проходимости в зоне производства работ осушение болотных залежей выполняют за 1-2 года до начала строительства.
5.35. Осушительные канавы устраивают симметрично по обеим сторонам земляного полотна на расстоянии 2-3 м от подошвы насыпи с максимально возможной по условиям стока и производства работ глубиной.
Продольный уклон по дну осушительных канав должен быть не менее 5 ‰ (в начальных участках длиной до 200 м-3 ‰). Крутизна откосов осушительных канав составляет от 1:0,25 для малоразложившихся торфов, до 1:1 - для слабых органо-минеральных и минеральных грунтов.
Метод предварительной консолидации
5.36. Наиболее простым и достаточно эффективным методом повышения устойчивости насыпи на слабом основании является метод постепенного загружения (предварительной консолидации).
Постепенное загружение применяется на основаниях II типа, а также на основаниях I типа при использовании временной пригрузки в случаях, когда устойчивость слабой толщи в природном состоянии недостаточна для восприятия прикладываемой нагрузки.

Рис. 5.9. Схема возведения насыпи методом постепенного загружения (предварительной консолидации)
Принцип метода постепенного загружения заключается в назначении определенного режима возведения насыпи, соответствующего повышению прочности грунта слабого слоя при уплотнении его давлением насыпи. Требуемый режим возведения насыпи определяется исходя из условия Рфакт < Рбез которое должно соблюдаться в любой момент сооружения насыпи.
Схема метода предварительной консолидации показана на рис 5.9. Существенное значение в данном случае имеет упрочняемость слабого грунта при уплотнении: применение метода постепенного загружения будет тем эффективнее, чем интенсивнее упрочняется слабый грунт. В этом отношении наиболее благоприятными являются торфяные грунты. Грунты же типа иольдиевых глин упрочняются мало, в связи, с чем применение рассматриваемого метода при таких грунтах оказывается малооправданным.
5.37. Расчет режима постепенного загружения производят на основе учета взаимосвязи показателей влажности, прочности и осадки слабой толщи. При этом расчетную влажность, толщи, соответствующую той или иной величине осадки St, устанавливают по формуле
(5.13)
где wнач и wкон - соответственно начальная и конечная (т.е. эквивалентная заданной нагрузке) влажность грунта; St - осадка за любой отрезок времени; Sкон - расчетная (полная) осадка при. данной нагрузке.
Расчет следует выполнять графо-аналитическим методом в следующем порядке:
задавшись тремя - четырьмя значениями осадки St, и зная расчетную (конечную) осадку Sкон, вычисляют значения расчетной влажности, отвечающие этим осадкам, по приведенной формуле;
по экспериментальным расчетным кривым φw = f (w) и cw = f (w) определяют значения φw и cw для полученных значений влажности;
при найденных φw и cw вычисляют значения Рбез по выражению (3.9) строят зависимость Рбез = f(S);
полученную кривую заменяют некоторой ступенчатой линией, отображающей реальный характер процесса отсыпки насыпи; ступенчатую линию проводят таким образом, чтобы ее абсциссы не отличались более чем на 10 % от абсцисс заменяемых криволинейных участков, что обеспечит примерное постоянство фактической нагрузки). Построенная линия представляет собой допустимый режим отсыпки, представленный, однако, в функции от осадки;
определяют расчетные значения вертикальных сжимающих напряжений в слое при принятых ступенях нагрузки на поверхности и строят консолидационные кривые для этих ступеней в виде зависимости осадки основания от времени при различных нагрузках на поверхности;
используя график реального режима отсыпки и построенные графики консолидации, строят график осадки во времени с учетом режима нагружения.

Рис. 5.10. Повышение устойчивости основания насыпи с помощью постоянной боковой пригрузки:
а - пригрузочные бермы; б - банкеты
Полученный график дает возможность получить искомую зависимость режима нагружения в функции от времени. Эту зависимость можно перестроить непосредственно уже в технологический график зависимости толщины насыпного слоя от времени.
При расчете метода предварительной консолидации ее величина определяется без детального учета вторичной консолидации. Пример расчета приведен в приложении 10.
При слоистой толще расчет осложняется, однако принцип сохраняется такой же. Здесь необходимо только учитывать, что на разных этапах консолидации опасным может быть не один и тот же слой.
5.38. Для упрощения практических расчетов целесообразно выполнять их в обратном порядке; задавшись режимом нагружения, наиболее реальным для конкретных условии производства работ, проверяют возможность его осуществления, определив величины безопасной нагрузки на несколько моментов времени и сравнив ее с фактической нагрузкой в эти моменты. Если безопасная нагрузка окажется в какой-либо момент меньше действующей, необходимо изменить режим и вновь выполнить проверку.
Величины ступеней нагружения следует принимать кратными толщинам слоев, принимаемым по условиям технологии послойного уплотнения насыпи.
Устройство боковых пригрузочных призм (берм)
5.39. При наличии достаточной полосы отвода и небольшом расстоянии перевозки грунта эффективным способом обеспечения устойчивости основания являются боковые пригрузочные призмы (бермы).
Для устройства пригрузочных призм пригодны любые грунты за исключением переувлажненных. Ширина призм для удобства планировочных работ должна быть не меньше 4 м. Поверхность призм должна иметь поперечный уклон 20-30 ‰ (рис. 5.10, а). При ширине призмы более 6-8 м может быть применен двускатный профиль с уклонами к середине и устройством водоотводных лотков (рис. 5.10, б).
При проектировании боковых пригрузочных призм расчетом определяют их высоту и ширину.
5.40. Эффективность боковых пригрузочных призм определяется возможностью повышения безопасной нагрузки. При достаточно большой ширине призм их можно рассматривать как бесконечную боковую пригрузку, при наличии которой безопасная нагрузка определяется выражением
(5.14)
где βоп - величина функции β, отвечающая самой опасной точке в основании, расположенной на горизонте zoп; Рб.п - величина боковой пригрузки. Эффект применения боковой пригрузки можно рассматривать как снижение расчетной величины действующей нагрузки Р0
Ррасч = Р0 - Рб.п, 5.15)
Требуемая толщина пригрузочных призм определяется выражением
(5.16)
где Р0 - проектная нагрузка на основании насыпи; Рбез - безопасная нагрузка для проектируемой насыпи без боковых пригрузочных призм; γпр - средневзвешенный объемный вес грунта пригрузочных призм.
Толщина пригрузочных призм ограничивается условием обеспечения устойчивости основания под нагрузкой от самих призм. Допускаемая нагрузка от боковых призм на основании ориентировочно может быть определена по формуле
Рдоп = Мφс, 5.17)
где Мφ - функция угла внутреннего трения; с – сцепление
(5.18)
Отсюда максимальная толщина призм
Необходимая ширина пригрузочных призм устанавливается из условия активного воздействия в точках и зонах, в которых напряженное состояние от веса самой насыпи оказывается наиболее опасным по условию нарушения прочности.
При мощности слабой толщи Н > Нтах ширина призмы должна быть не менее
(5.20)
При Н < Нтах соответственно имеем
(5.21)
где bср - полуширина проектной насыпи (без пригрузочных призм) по средней линии.
Величина Нтах устанавливается по выражению
(5.22)
Значения угла видимости α определяются из выражения
Для графического
определения угла видимости строится зависимость
левая часть выражения
(5.23). Затем на ту же сетку координат наносят прямую у2 = m + nα
(где
и
) представляющую собой правую часть выражения (5.23).

Рис. 5.11. Схема земляного полотна на деревянных сланях:
1 - гранитное или грунтовое покрытие: 2 - песчаный грунт; 3 - хлысты d = 12-14 см; 4 - поперечины d = 16-18 см через 0,6-1,0 м; 5 - продольные связи d - 16-20 см
Абсцисса первой от начала координат точки пересечения построенных функций определит искомое значение угла α. Пример расчета пригрузочных призм дан в приложении 11.
Настилы и армирование насыпей
5.41. Настилы в основании насыпи на слабых грунтах применяют для повышения прочности дорожной конструкции на воздействие транспортной нагрузки, на основаниях I типа - в случае невозможности или экономической нецелесообразности увеличения толщины насыпного слоя и на основаниях II типа - в целях более благоприятного распределения напряжений, обеспечивающего повышения допускаемой нагрузки на основание.
Осадка насыпи с настилом в основании в осевом сечении на 25-30 % меньше, чем такой же насыпи без настила. Настилы устраивают из лесоматериалов (рис. 5.11). Срок службы деревянных настилов, если после осадки насыпи они оказываются выше уровня грунтовых вод, составляет 4-6 лет, ниже постоянного уровня грунтовых под - до 20 лет и более. В качестве настилов можно применять решетчатые железобетонные плиты с шарнирным сочленением (рис. 5.12). При агрессивности грунтовых вод следует использовать соответствующую защиту стальных элементов.
5.42. Повышение устойчивости земляного полотна на слабом основании при заданной крутизне откосов может быть достигнуто путем укладки в нижней части насыпи арматуры из отдельных элементов или армирующей прослойки, не обладающей жесткостью и вертикальном направлении, но воспринимающей растягивающие горизонтальные напряжения.
В качестве арматуры можно использовать сетку из пластмасс или металла с антикоррозионным покрытием, а также полотнища из синтетических текстильных материалов.
Прослойки из текстиля одновременно способствуют снижению зимнего влагонакопления и пучения в глинистых слоях насыпи.
5.43. Армированный слой в нижней части насыпи на слабом основании рассчитывают на восприятие растягивающих напряжений.
Максимальные растягивающие усилия, возникающие в нижней части насыпи из несвязного грунта, определяют из выражения
σх = ζγнh, (5.24)
где ζ - коэффициент бокового давления грунта насыпи (для песчаных грунтов ζ = 0,35); γн - объемная масса грунта насыпи; h - высота насыпи.

Рис. 5.12. Укладка железобетонных плит в нижней части насыпи:
1 - выравнивающий слой; 2 - железобетонные решетчатые плиты h = 12 - 15 см; 3 - сварочный стык с заделкой битумной мастикой; 4 - насыпь
На основании требования недопущения деформаций, связанных с растяжением, принимаем, что все усилие Nx должно восприниматься арматурой. Прочность сплошного армирующего слоя в этом случае должна быть на единицу длины слоя не менее Nx, прочность отдельных стержней Nx/n (где п - число стержней в поперечном направлении).
Снижение веса насыпи
5.44. В целях уменьшения нагрузки на недостаточно устойчивое основание при соответствующем технико-экономическом обосновании можно устраивать насыпь из материалов с объемным весом меньше, чем у обычного грунта.
Наиболее пригодными для этой цели являются шлаки, искусственные гранулированные материалы (аглопорит, керамзит), золошлаковые смеси - отходы тепловых электростанций и т.п.
Для временных и промышленных дорог с переходными и низшими покрытиями можно использовать опилки.
Конструирование и расчет насыпей из негрунтовых материалов выполняются по общим правилам, изложенным выше. Насыпи из опилок и других органических материалов независимо от конструкции дорожной одежды должны быть полностью (включая откосы) закрыты слоем минерального грунта толщиной 20-30 см.
5.45. На отдельных участках переходов через места со слабыми грунтами при соответствующем технико-экономическом обосновании возможно устройство вместо земляного полотна жестких конструкций плавающего типа. Для таких конструкций применяют сборные блоки из легкого пустотного бетона, гофрированные железные трубы, пластмассовые пустотные блоки. Прочность таких конструкции должна быть достаточной для устройства одежд с усовершенствованными типами покрытий.
Стабильность дорожной конструкции на плаву обеспечивается при соблюдении условия
(γсрhсл.в + γодhод) < γср.взвhсл.н, 5.25)
где γсp - средний объемный вес легкого массива на воздухе; γсp.взв - то же, в воде; hсл.в - толщина слоя выше уровня грунтовых вод; hcл.н - то же, ниже уровня грунтовых вод; γод и hод - объемный вес и толщина одежды с учетом транспортной нагрузки, определяемой в соответствии с п. 3.9.
Временное понижение грунтовых вод
5.46. В индивидуальных случаях на ответственных объектах существенного ускорения осадки можно добиться путем временного понижения уровня грунтовых вод. Наибольший эффект этот метод дает в комплексе с временной пригрузкой. Снижение уровня грунтовых вод в слабой толще обеспечивает временное увеличение нагрузки на нижние слои толщи за счет исключения взвешивания верхних слоев (см. п. 38), а также способствует ускорению консолидации за счет обеспечения дополнительного градиента фильтрации.
Временное понижение уровня грунтовых вод производят иглофильтрами и другим специализированным оборудованием, предназначенным для глубокого строительного осушения.
Грунтовые сваи
5.47. Для повышения устойчивости и снижения осадки слабого основания устраивают песчаные сваи. Эффект от работы песчаных свай проявляется за счет восприятия ими части нормальных напряжений от веса насыпи с разгрузкой и боковым обжатием слабого грунта в межсвайном пространстве. При заполнении дренирующим грунтом песчаные сваи одновременно выполняют функцию вертикальных дрен.
В грунтах, обладающих структурной прочностью (иольдиевые глины и т.п.), применение песчаных свай особенно эффективно, поскольку они позволяют ограничить напряжения величиной структурной прочности, резко уменьшить осадку и повысить устойчивость основания насыпи.
Песчаные сваи могут быть опертыми, доходящими до подстилающих слабую толщу прочных пород, и висячими, не достигающими подстилающих слоев. Висячие песчаные сваи устраивают при большой мощности слабого слоя, когда устройство опертых свай оказывается технически сложным.
Песчаные сваи устраивают специальным оборудованием с обсадными трубами (лидер) диаметром 0,4-0,8 м, аналогичным оборудованию для устройства вертикальных дрен. В плане сваи располагают по квадратной или ромбической сетке.
Для заполнения свай используют песчаный грунт.
5.48. Если грунтовые сваи предназначаются для обеспечения устойчивости (прочности) основания насыпи, расчетом определяется минимальная величина сближения свай т (отношения диаметра свай d к расстоянию между сваями «в свету» l), при которой соблюдается условие Кс ≥ 1, где Кс - коэффициент запаса.
При мощности слабой толщи не более ширины насыпи по подошве расчет может осуществляться по упрощенной расчетной схеме (рис. 5.13). При этом Кс вычисляют по формуле

Рис. 5.13. Схема для расчета оснований с песчаными сваями:
Н - мощность слабой толщи; l -
расстояние между песчаными сваями в свету; d - диаметр
песчаном сван; S0 - осадка основания без
свай; St
- осадка основания со сваями;
- боковая деформация
свай; Р0 - нагрузка отвеса
насыпи; Рс - нагрузка на сваю; Рz -
нагрузка на межсвайное пространство
(5.26)
где Сw - сцепление слабого грунта при расчетной плотности - влажности; φw - угол внутреннего трения слабого грунта при расчетной плотности - влажности; Рz - вертикальные напряжения в грунте межсвайного пространства; Рх - горизонтальные напряжения от бокового обжатия слабого грунта сваями в ходе осадки основания; Р' - предварительное обжатие слабого грунта, возникающее при внедрении свай. Величину Р' определяют по компрессионной кривой как напряжение, необходимое для уменьшения коэффициента пористости грунта в природном залегании ε0 до величины ε1, отвечающей пористости грунта, уплотненного в результате внедрения свай, и определяемой из выражения
(5.27)
Вертикальные Рz и горизонтальные Рх напряжения в основании со сваями определяют по таблицам (приложение 13). Значения переменных Рz и Рх даны в таблицах в долях от давления на основании без свай Р0 = Ррасч и в зависимости от величины коэффициента бокового давления материала сваи ζ и коэффициента поперечной деформации слабого грунта μг.
Коэффициент бокового давления материала свай принимают для песка крупного 0,33, средней крупности 0,34; мелкого и пылеватого 0,36. При известном угле внутреннего трения φс
(5.28)
Коэффициент поперечной деформации можно определить, принимая величину коэффициента бокового давления для торфа ζ = 0,761 ε0
(5.29)
для глинистого грунта пластичной консистенции ζ = (0,30-0,40), текучей консистенции ζ = (0,40-0,45).
В случае возможного нарушения устойчивости основания с песчаными сваями в форме сдвига по фиксированной поверхности скольжения сопротивляемость сдвигу S определяют по формуле
(5.30)
где Рс и Рг - давление от насыпи на сваю и слабый грунт; φс и сс - угол внутреннего трения и сцепление грунта, образующего сваю; т - сближение свай.
5.49. Грунтовые сваи могут предназначаться для уменьшения осадки основания. В этом случае подбирается сближение свай, обеспечивающее снижение осадки до заданной величины.
Уменьшение осадки основания учитывается также при применении грунтовых свай для обеспечения устойчивости:
При мощности слабой толщи не более ширины насыпи по подошве осадку вычисляют по схеме компрессионного сжатия, принимая за расчетное значение вертикальных нормальных напряжений давление, передаваемое на слабый грунт Рх, уменьшенное на величину давления предварительного обжатия слабого грунта внедрением свай Р'.
Насыпи на промороженном основании
5.50. В районах со среднегодовой температурой воздуха ниже 0 °С для дорог III-V категорий и промышленных дорог на участках, занятых торфяными болотами и другими отложениями слабых грунтов, можно использовать промороженные основания.
Применение промороженных оснований не рекомендуется на участках топей выклинивания и проточных топей с циркулирующими потоками грунтовых вод. Конструкция дорог на промороженных основаниях состоит из следующих элементов (рис. 5.14): слабое основание, состоящее из талого и промороженного слоев и полностью промороженного слоя (вечномерзлый грунт); намороженная плита из торфа в нижней части земляного полотна; земляное полотно из минерального грунта; дорожная одежда; боковые теплоизолирующие призмы из торфа; боковые водоотводные канавы или резервы (для дорог на болотах I типа).
На основаниях I типа конструкция земляного полотна принимается по типовому поперечнику А, на основаниях II и III типа - по поперечникам Б и В. Если в верхней части слабой толщи имеются слои III типа, конструкция принимается по поперечнику Г, при прохождении мелководных озер - Д и Е, на участках распространения вечномерзлых грунтов - Ж.
Верхняя часть насыпи во всех случаях возводится из крупнообломочных, а также непылеватых песчаных или глинистых грунтов. Нижнюю часть насыпи (намороженную плиту) устраивают из торфа волокнистостью не менее 60 % при влажности не более 800 %. Торф для нижней части насыпи может быть получен из боковых резервов или специальных карьеров.
5.51. Расчет земляного полотна на промороженном основании ведется по общим правилам (п. 5.2) с учетом следующих особенностей и дополнений:
а) толщина верхней минеральной части насыпи должна быть достаточной для защиты от недопустимого оттаивания намороженной торфяной плиты
hгр ≥ hпр - тhд, (5.31)
где hпр - расчетная величина протаивания; m - коэффициент приведения hд к грунту земляного полотна (для песка - 3,9, супеси - 4,0, суглинка легкого - 4,1, суглинка тяжелого, глины - 4,2); hд - допустимая глубина оттаивания торфяной плиты в зависимости от категории дороги (III-0,25-0,30; IV-0,35-0,40; V-0,45-0,50 м). Большие значения hд принимают для песчаных грунтов, меньшие - для глинистых. Расчетную величину протаивания в зависимости от климатических условий строительства и теплопроводности применяемых материалов определяют теплотехническим расчетом согласно специальным указаниям [7];
б) толщина промороженной части слабого слоя и намороженной торфяной плиты для конструкций А и Б определяется по формулам:
hT.п = ST.с + Sм.с + hTр + hв.п, (5.32)
где hT.п - толщина намораживаемой торфяной плиты; ST.с - осадка нижнего талого слоя от давления насыпи; Sм.с - осадка намороженного слоя торфа при максимальном оттаивании в период строительства; hTр - требуемое возвышение верха торфяной плиты над расчетным уровнем воды на болоте; hв.п - высота длительного (более 20 сут) стояния поверхностных вод над окружающей поверхностью;
hм.о = hпл + hт.с - hд - hо.с, (5.33)
где hм.о - минимальная толщина мерзлого основания; hпл - толщина намораживаемой плиты из торфа; hт.с - толщина промороженного слоя; hд - допустимая глубина оттаивания; hо.с - величина оттаивания мерзлого основания снизу.

Рис. 5.14. Поперечные профили дорог на промороженном основании:
а - состояние конструкции в период строительства; б - то же, в процессе эксплуатации на конец теплого периода; 1 - промороженный слой торфяной залежи; 2 - намороженная торфяная плита; 3 - боковые призмы из торфа; 4 - минеральная часть земляного полотна; 5 - боковой резерв; 6 - талый слой торфяной залежи; 7 - талые слои торфяной плиты; 8 - граница мерзлого торфяного основания; 9 - минеральное дно болота; 10 - промороженный слой донных отложений; 11 - лед; 12 - вода; 13 - талые слои донных отложений; 14 - поверхность вечномерзлых торфяников
5.62. Для дорог высоких категорий при специальном технико-экономическом обосновании применяют способы устройства земляного полотна, при которых слабый грунт не используемся в качестве основания, а заменяется искусственным основанием в виде насыпи из привозного грунта или иной конструкции. Как правило, конструкции с удалением слабого грунта предусматривают в случаях, когда предварительные расчеты показывают невозможность или высокую технологическую сложность выполнения хотя бы одного из основных требований к земляному полотну, возводимому на слабом грунте (п. 1.7). Экономически удаление слабого грунта оправдывается при незначительной мощности слоя, возможности полезного использования удаленного грунта, высокой стоимости мероприятий по обеспечению устойчивости, прочности и стабильности.
5.53. Искусственные основания могут быть выполнены путем удаления слабого грунта и замены его привозным, удовлетворяющим общим требованиям к материалу для земляного полотна, или путем устройства свайных оснований. Применительно к переходам через болото замену слабого грунта обычно называют выторфовыванием.
При проектировании конструкции земляного полотна с заменой в основании слабого грунта следует проводить технико-экономическое обоснование принятого способа производства строительных работ.
При замене слабых грунтов конструкция нижней части земляного полотна в значительной мере зависит от технологии удаления слабого грунта, поэтому в проекте следует рассматривать и сравнивать варианты конструктивно-технологических решений. В практике дорожного строительства применяют механические, взрывные и гидромеханические способы удаления слабого грунта, а также способ погружения с выдавливанием слабого слоя весом насыпи с предварительным рыхлением или без него. Выбор варианта удаления грунта производится путем технико-экономического сравнения.
5.54. Проектное сечение траншеи при удалении слабого грунта определяется необходимостью обеспечения устойчивости и стабильности краевых частей насыпи при минимальном объеме работ. Ширину траншеи по дну для дорог с усовершенствованными капитальными покрытиями принимают равной ширине земляного полотна с учетом заложения откосов, для дорог с переходными и низшими типами - равной ширине земляного полотна поверху (рис. 5.15). Крутизну откосов в траншее следует назначать по расчету устойчивости при требуемом коэффициенте запаса, равном единице. Для предварительного подсчета объемов работ заложение откосов в траншее следует принимать: для торфа малой и средней степени разложения (0,25 ч ÷ 0,5)Н; для других слабых грунтов нетекущей консистенции (0,5ч ÷ 1,25)Н.
При взрывном или гидромеханическом удалении слабого грунта крутизна откосов траншей определяется технологией производства работ, но не должна быть больше приведенной.

Рис. 5.15. Схема земляного полотна с удалением слабых грунтов в основании:
а - для усовершенствованных покрытий; б - для переходных и низших покрытий
5.55. При определении потребного объема привозного грунта следует учитывать изменение сечения траншеи от активного давления насыпи.
Коэффициент увеличения объема заполнения для грунтов различных типов составляет:
Торф влажностью до 600 % 1,15
» » более 600 % 1,25
Органо-минеральный грунт 1,20
Минеральный слабый грунт 1,15
При посадке насыпи на кровлю более прочного подстилающего пласта методом выдавливания крутизну откосов погруженной части можно принимать равной углу естественного откоса грунта насыпи.
5.56. При поперечном уклоне кровли пластов, подстилающих слабую толщу, более 1:10 во избежание возникновения деформаций сдвига выполняют следующие конструктивные мероприятия:
если подстилающий слой представлен песком или супесью, устраивают упорную траншею или призму из глыбового грунта с низовой стороны (рис. 5.16. а, б);
если подстилающий слой сложен глинистыми грунтами, осуществляют сплошное выравнивание дна траншеи (рис. 5.16. в).
Для насыпи из песчаного грунта сплошное выравнивание допускается заменять ступенчатым.
5.57. Грунт, извлеченный из траншеи, укладывают в банкеты непосредственно за водоотводными канавами (рис. 5.17. а). Торф высокой волокнистости допускается использовать для уполаживания откосов земляного полотна на высоту насыпи до отметки низа дорожной одежды (рис. 5.17. б). Вывозка торфа и органо-минеральных грунтов допускается в случае использования в других сооружениях или для целей сельского хозяйства.
На осушенных болотах банкеты из торфа во избежание возгорания закрывают слоем минерального грунта толщиной 20-30 см.

Рис. 5.16. Схемы устройств для предотвращения сползания насыпи по наклонному дну:
а - упорная траншея; б - каменная призма; в - выравнивание дна

Рис. 5.17. Варианты размещения удаленного грунта: а - в банкетах (защитный слой минерального грунта устраивают при складировании в банкеты торфа); б - в присыпные призмы

Рис. 5.18. Схема посадки насыпи на дно болота методом перегрузки:
1 - временное сечение отсыпаемой насыпи; 2 - проектное сечение земляного полотна; 3 - реальное сечение земляного полотна после завершения работы

Рис. 5.19. Схема посадки насыпи в залежи II типа с использованием торфоприемников

Рис. 5.20. Насыпь на сваях ростверкового типа:
1 - насыпь; 2 - бетонные наголовники; 3 - деревянные сваи; 4 - торф; 5 - иольдиевая глина
5.58. При использовании метода выдавливания слабого слоя из-под насыпи толщины насыпного слоя, обеспечивающая выдавливание слабого грунта, ориентировочно может быть определена по формуле
(5.34)
однако во всех случаях должна быть менее
(5.35)
где сусл - величина сопротивляемости грунта сдвигу, определяемая крыльчаткой; hср - полуширина насыпи по средней липни; γн - объемный вес грунта насыпи; Н - мощность слабого слоя.
В случае технической сложности или нецелесообразности единовременного возведения насыпи требуемой толщины применяют механическое или взрывное рыхление либо гидроразмыв слоя. В этом случае в расчет по формулам (5.34 и 5.35) вводят сусл для разрыхленного грунта.
5.59. Поэтапное погружение насыпи, отсыпаемой сначала на меньшую ширину, но большей высоты (метод перегрузки) допускается при условии, если после посадки средней части, образовавшиеся по сторонам продольные валы выпирания будут перед расширением насыпи удалены или разрыхлены (рис. 5.18).
5.60. При наличии в составе слабой толщи более прочных слоев у поверхности (например, при мощном дерновом покрове, а также при частичном осушении торфяных болот) для облегчения выдавливания применяют торфоприемники. Глубина торфоприемников должна быть равна толщине верхнего прочного слоя, а ширина - не менее половины мощности слоя, подлежащего выдавливанию (рис. 5.19).
При использовании торфоприемников верхний дерново-растительный слой не выдавливается и следует учитывать его сохранение в основании насыпи.
5.61. Использование свайных оснований исключает восприятие слабым грунтом нагрузки от дорожной конструкции и транспорта.
Эстакады устраивают из сборных железобетонных элементов по правилам проектирования мостовых сооружений. Влияние слабого слоя на устойчивость опор и их несущую способность учитывать не следует. Рациональную величину пролетов свайных эстакад определяют в зависимости от мощности слабого слоя.
Ориентировочно можно считать, что при толще слабого слоя до 5 м наиболее экономичны простые свайные опоры и плитные пролетные строения длиной 6 м, при глубине до 8 м - свайные опоры и пролетные строения длиной до 18 м, при большей глубине - опоры из свай-оболочек и унифицированных пролетных строений длиной 24 м и более.
5.62. При проектировании железобетонных опор в торфяных болотах следует учитывать агрессивность болотной воды. Агрессивность слабой или средней степени, как правило, общекислотного и углекислотного характера, вызывает коррозию типа И.
Общая кислотность болотной воды может изменяться от рН = 7 для низинных болот до рН = 3 для болот атмосферного питания. Защитные меры принимают в соответствии с действующими указаниями по антикоррозионной защите строительных конструкций.
5.63. Для оснований I и II типов при затруднении удаления грунта или других осложняющих факторах (например, значительном уклоне) можно применять конструкции земляного полотна в виде насыпи на свайном ростверке (рис. 5.20).
По оголовкам железобетонных свай на уровне поверхности грунта укладывают квадратные наголовники в виде плит, перекрывающих не менее половины расстояния между сваями. Свободное расстояние между плитами-наголовниками в плане должно быть не более 1 м, а толщина вышележащего насыпного слоя - не менее 2 м. Надежность конструкции повышается при укладке в нижней части насыпи армирующей прослойки из синтетических волокнистых материалов.
Сваи ростверковой конструкции рассчитывают на нагрузку от насыпи, дорожной одежды и эквивалентную транспортную нагрузку.
6.1. При сооружении земляного полотна на слабых грунтах, кроме обусловленного общими нормативными документами контроля качества строительства, необходимы специальные наблюдения за деформациями основания. Большинство конструктивных решений предусматривают определенный технологический режим возведения земляного полотна, который невозможно правильно осуществить без систематических наблюдений, поэтому мероприятия по наблюдению за деформациями земляного полотна в период строительства до момента сдачи объекта в эксплуатацию должны быть включены в строительную смету.
6.2. Основными задачами наблюдений является контроль за величиной осадки и затухание ее во времени, фиксирование возможных горизонтальных смещений, выявление образования бугров выпирания. Основные наблюдения выполняются силами производственной лаборатории.
Дополнительно проектом организации строительства по специальным методикам могут быть установлены наблюдения за изменением порового давления, послойными осадками толщи, изменением гидрологического режима, упругими прогибами покрытия, а также длительными осадками в период эксплуатации дороги.
6.3. Наблюдения за вертикальными перемещениями выполняют по осадочным маркам. Простейшая конструкция марки состоит из квадратной стальной плиты толщиной 4-6 мм размером не мене 0,5×0,5 м с приваренными с нижней стороны по центру заостренным штырем длиной 30 см для фиксирования и с верхней стороны мерной штанги из трубы диаметром 50 мм (рис. 6.1). Длина мерной штанги принимается равной проектной толщине насыпного слоя в целях предохранения от повреждения при возведении насыпи. Ее можно составлять из отдельных соединяемых резьбой или сваркой элементов длиной по 30-40 см.

Рис. 6.1. Марка для наблюдения за осадкой

Рис. 6.2. Построение графика осадки во времени в координатах t, t/S. Точками показаны данные натурных наблюдений, пунктиром экстраполяция зависимости S от t
Плиту закладывают на поверхности слабой толщи непосредственно перед отсыпкой первого слоя насыпи. Вертикальная отметка плиты фиксируется нивелированием с установкой рейки на обрез мерной штанги.
Поперечники для наблюдения за осадкой назначают в самом глубоком месте и далее через каждые 50 м.
Осадочные марки устанавливают по три на каждом поперечнике - осевую и две боковые - в 1 м от бровки насыпи.
6.4. Наблюдения за горизонтальными перемещениями и возможным выпором ведут по боковым маркам, установленным в одном створе, а также по дополнительным, установленным на каждом наблюдательном поперечнике на расстоянии 3-5 м от подошвы насыпи. Замеры горизонтальных смещений ведутся с помощью теодолитной съемки или измерений отклонения от створа мерной лентой.
6.5. Наблюдения за осадкой и горизонтальными смещениями ведутся в период возведения насыпи ежедневно, первые три месяца после полного возведения насыпи - еженедельно, в дальнейшем - до сдачи дороги в эксплуатацию - 2 раза в месяц.
При обнаружении резкого увеличения осадки или смещений в плане отсыпку насыпи немедленно прекращают для выявления причин деформаций. В случае фиксировании симптомов потери устойчивости основания назначают мероприятия по ликвидации опасного состояния и предупреждения дальнейшего развития деформации.
6.6. При наличии четырех - пяти измерений осадки в первый месяц после возведения насыпи дальнейшую осадку можно прогнозировать по формуле
(6.1)
где Sn - полная расчетная осадка, определенная компрессионными испытаниями; t - время с начала загружения; Тн - параметр, характеризующий интенсивность затухания осадки.
Для пользования формулой (6.1) график консолидации строят в координатах t и t/S (рис. 6.2), что дает возможность спрямить кривую осадки в виде уравнения t/S = at + b, по которой нетрудно найти величину параметра Тн = bSn, где b - отрезок, отсекаемый графиком на оси t/S. Тангенс угла наклона графика есть величина обратная стабилизированной осадке а = 1/Sn.
6.7. В случаях, если данные наблюдений существенно отличаются от расчетного прогноза протекания осадки, в рабочем проекте следует уточнить расчетные характеристики (коэффициенты консолидации и сжимаемости) путем обратного пересчета по фактическим данным.
6.8. В процессе возведения насыпи на слабом грунте необходимо систематически контролировать толщину насыпного слоя, определяющую величину нагрузки на основание в заданный момент времени. Для этой цели можно использовать те же осадочные марки с наращиваемыми штангами, на которых должна быть нанесена разметка. Контроль может быть осуществлен также с помощью легкого динамического зонда или путем бурения зондировочных скважин.
Исследование слабой толщи методом статического зондирования
Метод статического зондирования основан на том, что грунты в зависимости от их структурных особенностей, состава и состояния оказывают различное сопротивление прониканию зонда с рабочим наконечником, имеющим обычно форму конуса. При зондировании глубина погружения наконечника всегда превышает его высоту.
Применительно к болотным грунтам наиболее удобен метод статического зондирования, так как для вдавливания зонда в толщу болотных грунтов достаточно усилия 20-50 кг, т.е. вдавливание зондового пенетрометра могут производить 1-2 чел.
Зондирование позволяет получать непрерывную информацию о строении залежи по глубине, наличии слабых слоев, что не всегда удается при обычном бурении.
Для болотных грунтов рекомендуется применять пенетрометр П-4 конструкции Калининского политехнического института (рис. 1.1). Пенетрометр П-4 включает конусный наконечник, состоящий из двух частей, стержень для оценки трения штанг о грунт, соединительные штанги, упор и рукоятку, витую пружину и индикатор часового типа. Штанги прибора П-4 унифицированы со штангами сдвигомера крыльчатки СК-8 и взаимозаменяемы.
Задавливание конуса в грунт производят вручную. Оператор на определенных глубинах фиксирует показание индикатора Δl. Скорость вдавливания должна быть умеренной и по возможности стабильной (≈ 1,5-2,5 см/с).
Для учета возможного трения штанг о грунт (которое иногда имеет место при большой глубине зондирования, например из-за кривизны штанг и т.п.) следует перед каждым последующим погружением зонда слегка приподнимать прибор (на 20-30 мм). Тогда стержень 2 выдвигается из конуса 1. При последующем погружении в пределах этих 20-30 мм индикатор будет фиксировать только величину трения штанг по грунту.

Рис. 1.1 Конструкция пенетрометра П-4:
1 - конусный наконечник; 2 - стержень; 3 - штанга; 4 - упор; 5 - направляющая втулка; 6 - рукоятка; 7 - индикатор; 8 - упругая пружина; 9 - винт
Усилие зондирования вычисляют по формуле
(1.1)
где Δl - показание индикатора (общее); Δlтр - показание индикатора при отключении конуса (для учета трения); п - постоянная характеристика упругой пружены силоизмерителя
Тарировка прибора и правила эксплуатации изложены в инструкции, прилагаемой к прибору.
В качестве показателя
статического зондирования принято удельное сопротивление зондированию q, равное отношению усилия зондирования Р к квадрату
высоты конического наконечника
:
(1.2)
По результатам испытаний строят график изменения по глубине усилия зондирования, удельного сопротивления зондированию (рис. 1.2).

Рис. 1.2. Пример обработки результатов статического зондирования болотных грунтов:
а - график; б - эпюра (цифры - слои и прослойки); в - геологический разрез; 1 - древесно-осоковый торф; 2 - тростниковый торф; 3 - сапропель; 4 - мергель; 5 - мелкий песок
Испытание грунтов на сдвиг в условиях природного залегания приборами лопастного типа
Испытание заключается в измерении максимального крутящего момента, возникающего при срезе грунта во время вращения в нем крестообразной лопасти.
Для массовых испытаний при зондировании торфяных залежей, пластов сапропелей и илов рекомендуется использовать прибор сдвигомер-крыльчатку конструкции Калининского политехнического института СК-8 или сдвигомер-крыльчатку Белдорнии.
Методика испытаний грунтов сдвигомером-крыльчаткой СК-8 (рис. 1.3) заключается в следующем. Измерительная головка надевается на переходник, в отверстие переходника и упора завинчивается стопорный винт. Затем при помощи рукояток крыльчатка задавливается в грунт до полной ее высоты. Перед поворотом проверяется положение стрелки индикатора и циферблат устанавливается на нуль. После указанных операций и проверки вертикального положения штанги обеими руками осуществляется поворот измерительной головки по часовой стрелке. По мере роста угла поворота отклонение стрелки индикатора возрастает. В процессе поворота следят за стрелкой индикатора до тех пор, пока не прекратится ее отклонение и не начнется спад. Положение стрелки, соответствующее началу ее обратного движения, представляет собой искомое значение. Эта величина записывается в журнал. Обычно разрушение грунта происходит при углах поворота от 20 до 60°.
Влияние трения по штангам учитывается следующим образом. После задавливания крыльчатки до заданной глубины прибор слегка поднимают (на 10-15 мм) при помощи ручек. При этом лопасти отключаются от штанг. Далее осуществляется поворот штанг с фиксацией по индикатору усилия, идущего на преодоление трения штанг о грунт. После этого штанги опускаются и приводятся в зацепление с крыльчаткой. Далее осуществляется поворот с включенной крыльчаткой.
По окончании испытания прибор извлекается из грунта. Для отвинчивания штанг можно пользоваться стопорным винтом. При задавливании и извлечении прибора необходимо следить за тем, чтобы движение штанг осуществлялось по вертикали. Если при задавливании и повороте крыльчатки встречаются пни или камни, необходимо извлечь прибор из грунта и попытаться задавить прибор в другом месте.
Применяющиеся крыльчатки имеют следующие размеры; Н = 100 мм, D = 54 мм и D2 = 75 мм.
Сдвигомер-крыльчатка Белдорнии (рис 1.4) состоит из трех основных узлов: рабочего наконечника (крыльчатки), комплекта штанг и динамометрического устройства.
Прибор комплектуется двумя крыльчатками одинаковой высоты (100 мм), но с различными диаметрами - 54 и 75 мм. Четырехлопастная крыльчатка является сварной деталью, состоящей из металлических лопастей толщиной 2,5 мм, приваренных к штанге. Для облегчения процесса задавливания и извлечения крыльчатки из грунта верхние и нижние торцы лопастей затачивают. Длина наконечника в сборе (с крыльчаткой и полумуфтой) составляет 400 мм.
В качестве гарнитуры, несущей крыльчатку, используют стандартные штанги ручного бура с конусными резьбовыми соединениями. Диаметр штанг 34 мм. Рабочая длина штанги в комплекте к прибору составляет 2 м.
|
|
|
|
Рис. 1.3. Конструкция сдвигомера СК-8: 1 - крыльчатка; 2 - устройство для учета трения штанг; 3, 4- штанги, соединенные резьбовыми переходниками; 5 - измерительная головка с рукояткой; 6 - индикатор часового типа |
Рис. 1.4. Лопастный прибор Белдорнии для определения сопротивления сдвигу торфяных грунтов: 1 - рукоятка; 2 - верхняя штанга; 3 - полумуфта; 4 - нижняя штанга; 5 - лопасть |

Рис. 1.5. Динамометрическое устройство:
1 - рычаг в сборе; 2 - трубка; 3 - вилка; 4 - вороток; 5 - рукоятка; 6 - серьга; 7 - шкала; 8 - указатель; 9 - пружина; 10 - стержень
Динамометрическое устройство предназначено для создания и измерения крутящих моментов. Оно состоит из следующих основных узлов (рис 1.5): пружинного динамометра, ведущего рычага, ведомого рычага.
Пружинный динамометр состоит из одной пружины 9, шкалы 7 и указателя 8. Пружина шарнирно крепится между ведомым и ведущими рычагами. В комплект к прибору входят три пружины, усилие на растяжение которых составляет соответственно 30, 40 и 50 кгс.
Ведущий рычаг 1 свободно вращается на оси. Ведомый рычаг жестко укреплен на штанге независимо от ведущего рычага. Рычаги связаны только пружинным динамометром.
В качестве ведомого рычага могут использоваться жимки бурового комплекта. Ведомый рычаг служит также для задавливания гарнитуры с крыльчаткой в торф и их извлечения после окончания испытаний. Благодаря наличию зажимного устройства он легко перемещается по штанге вместе со всем динамометрическим устройством и может устанавливаться на любой высоте в процессе работы. Для определения величины деформации пружины имеется указатель и шкала.
Крыльчаткой ЦНИИС (рис. 1.6) могут быть обследованы небольшие участки, когда верхние слои слабой толщи осушены и уплотнены или перекрыты пластами более плотных и прочных грунтов и уплотнены их весом, что требует больших усилий при задавливании крыльчатки и без бурения невозможно. Испытания этим прибором ведут в скважинах.
Бурение скважины заканчивают выше отметки очередного испытания с таким расчетом, чтобы крыльчатка при испытании находилась ниже забои скважины не менее чем на 5D (D -ширина лопастей крыльчатки).
Крыльчатку, опущенную на забой скважины на штангах, вдавливают в грунт до заданной отметки, вращают с помощью головки, установленной над устьем скважины и соединенной с крыльчаткой штангами. Вращая крыльчатку со скоростью 0,1-0,2 град/с, срезают грунт и фиксируют значения максимального крутящего момента. Затем производят два-три полных оборота крыльчатки и фиксируют крутящий момент, соответствующий прочности грунта нарушенной структуры на сдвиг.

Рис. 1.6. Лопастный прибор конструкции ЦНИИС:
1 - лопасть крыльчатки; 2 - штанга; 3 - соединительная муфта; 4 - центрирующая муфта; 5 - стойка прибора; 6 - головка прибора
По окончании испытания на заданной глубине прибор снимают, крыльчатку и штанги извлекают, а скважину углубляют для испытания.
Для вычисления сопротивления грунта сдвигу в измеренный крутящий момент вносят поправку из тарировочной таблицы прибора. Лопастный прибор конструкции ЦНИИС комплектуют крыльчатками четырех размеров.
D, мм 55 75 75 100
Н, 110 150 200 200
По результатам испытаний вычисляют сопротивляемость грунта сдвигу, именуемую условным сцеплением
(1.3)
где Мкр - значение крутящего момента, устанавливаемого по
тарировочной кривой (по оси ординат откладывают показания индикатора Δl, а по оси
абсцисс Мкр в зависимости от значения Δl = Δlполн - Δlтр;
Δlполн
- показания индикатора (максимальное число делений в процессе поворота
крыльчатки в грунте ненарушенной структуры); Δlтр - максимальное число
делений при отклонении стрелки индикатора в процессе поворота штанг без
крыльчатки (при необходимости учета трения грунта о штанги); k - постоянная прибора, определяемая по выражениям:
при повороте
крыльчатки у поверхности толщи или на дне скважины (при срезе одной торцовой
поверхностью крыльчатки);
при срезе в толще
грунта обеими торцовыми поверхностями крыльчатки; H, D -
высота и диаметр крыльчатки.
Результаты испытаний представляют в виде эпюр изменения сопротивляемости сдвигу по глубине (рис. 1.7). Количество точек испытаний по глубине назначают с учетом слабой толщи и особенностей ее геологического строения.

Рис. 1.7. Эпюра изменения сопротивляемости сдвигу по глубине

Рис. 2.1. Торфяной бур ТБ-5:
1 - винт; 2 - полуконус; 3 - нож; 4 - сердечник; 5 - ложка
Обычно испытания проводят через 0,5-1,0 м по глубине; при этом в каждом слое мощностью не менее 1 м следует назначать не менее трех точек по глубине в пределах одной скважины.
Целью лабораторных испытаний грунтов является определение классификационных показателей, используемых для установления по таблицам расчетных характеристик грунтов и идентификации слоев слабой толщи, а также непосредственное получение расчетных показателей сжимаемости и сопротивления сдвигу. Однако надо иметь в виду, что результаты лабораторных исследований будут достоверны лишь в случае принятия строжайших мер предосторожности при отборе, транспортировке и хранении монолитов слабых грунтов (ГОСТ 12071-72 «Отбор. Упаковка, транспортировка и хранение образцов»).
Конструкции пробоотборников для слабых грунтов приведены на рис. 2.1-2.5.

Рис. 2.2. Грунтонос конструкции Игумнова для взятия монолитов илов и других глинистых грунтов мягкопластичной и скрытотекучей консистенции:
1 - башмак;. 2 - направляющая; 3 - резцы; 4 - нижний стакан; 5 - гильза; 6 - верхний стакан; 7 - диафрагма; 8 - головка с конусным переходом
|
|
|
|
Рис. 2.3. Грунтонос конструкции Фурса для взятия монолитов, илов и других глинистых грунтов мягкопластичной и скрытотекучей консистенции: 1 - тормозная лопасть; 2 - башмак; 3 - лепесток; 4 - нижний стакан; 5 - гильза; 6 - верхний стакан; 7 - головка |
Рис. 2.4. Универсальный грунтонос конструкции ЦНИИСа со сменными коронками для отбора монолитов торфов и других болотных отложений: I - для слаборазложившихся торфов; II - для хорошо разложившихся торфов; III и IV - для минерализованных торфов и пластичных грунтов; V - для сапропелей |
В лаборатории определяют следующие характеристики грунтов: влажность, объемный и удельный вес, гранулометрический (механический) состав, зольность торфа, степень разложения торфа, ботанический состав торфа, пластичность, сжимаемость, сопротивляемость сдвигу.
Влажность болотных грунтов определяют в соответствии с ГОСТ 5179-64 «Грунты. Методы лабораторного определения влажности» с учетом специфических особенностей некоторых видов болотных грунтов.
Торфяные грунты высушивают при температуре не более 100-105 °С. После высушивания вес сухой навески должен быть не менее 2-3 г. Для обеспечения этого условия навеска сырого грунта должна составлять 20-30 г.
Для неоднородных торфов и илов высокой естественной влажности рекомендуется проводить не менее трех параллельных определений влажности.
За окончательный результат принимают среднее арифметическое полученных значений.
При работе с монолитами для контроля влажности следует отбирать одну пробу порядка 100 г для получения среднего контрольного значения.
Влажность определяют по отношению веса воды в данной навеске торфа к весу сухой навески
(2.1)
где q - вес пустого бюкса; q0 - вес бюкса с сухим грунтом; q1 - вес бюкса с влажным грунтом.
Допускается определять влажность ускоренным методом на приборе типа S10/V для скоростного определения влажности сухого вещества.
При определении удельного веса и зольности воздушно-сухого грунта необходимо вводить поправки на гигроскопическую влажность, представляющую собой содержание воды в воздушно-сухом образце, удаляемой при 100-105 °С, выраженные в процентах от веса воздушно-сухого грунта.
Гигроскопическая влажность определяется также методом высушивания (ГОСТ 5180-64).
Зольность торфа - это весовое количество золы, оставшееся от сжигания торфа, отнесенное к весу сухой пробы и выраженное в процентах.
Зольность определяют в соответствии с ГОСТ 11306-65 «Торф. Метод определения зольности». Сущность метода заключается в следующем: навеску (1-2 г сухого торфа) сжигают в муфельной печи, а остаток прокаливают при температуре 800 ±25 °С до постоянного веса (с допустимой разницей в последующем весе до 0,005 г).
Зольность торфа определяют по формуле
(2.2)
где z - процент золы к абсолютно сухому веществу; P1 - вес тигля с золой, г; Р0 - вес пустого прокаленного тигля, г; Р - вес сухого торфа, г.
При определении зольности разница двух параллельных определений должна составлять не более 2 %.
При использовании навески влажного грунта параллельно с сжиганием торфа определяют влажность и затем пересчитывают вес влажной навески на сухую.

Рис. 2.5. Поршневой грунтонос конструкции Белдорнии для отбора проб слабых грунтов: 1 - рукоятка поршневой штанги; 2 - рукоятка наружной штанги; 3 - поршневая штанга; 4 - наружная штанга; 5 - корпус; 6 - кольца; 7 - запирающее кольцо; 8 - поршень; 9 - сальник; 10, 11 - отверстия

Рис. 2.6. График для приближенного пересчета степени разложения, определенной весовым методом, на степень разложения по микроскопическому методу
Потерю при прокаливании (или содержании органических веществ для некарбонатных грунтов) вычисляют по формуле
П = 100 – z? (2.3)
Содержание органических веществ в мергелистых грунтах следует определять в соответствии с методикой, изложенной в «Методическом пособии по определению физико-механических свойств грунта».
Степень разложения торфа - это процентное содержание бесструктурной массы и мельчайших негумифицированных остатков, имеющихся в данной навеске, к величине всей навески.
Степень разложения торфа определяют химическими и физическими методами.
В полевых и лабораторных условиях применяют следующие физические методы: микроскопический, весовой, глазомерно-макроскопический, центрифугирование.
В отчетной документации по обследованию болота необходимо указывать способ определения степени разложения, так как от него зависят результаты.
Микроскопический метод. Пробу торфа 30-40 г помещают на листке картона, тщательно перемешивают и разравнивают тонким слоем. Из 10 мест пробы на три предметных стекла помещают по 0,5 см3 торфа, разравнивают тонким слоем, добавляют несколько капель воды и покрывают покровным стеклом. Затем рассматривают на каждом стекле (в равных его частях) до 10 зон под микроскопом при увеличении в 100 раз и в процентах оценивают площадь, занятую частицами размером 0,25 мм относительно всей площади зоны, занятой торфом.
Степень разложения определяют как среднее арифметическое из всех 30 определений с округлением до 5 %.
Весовой метод. Навеску 50 г делят на две равные части, одну из которых высушивают в термостате при температуре 105 °С и взвешивают с точностью до второго знака, а вторую отмучивают струей воды на сите с диаметром отверстий 0,25 мм. Отмучивание продолжают до тех пор, пока из сита не будет вытекать прозрачная вода. Оставшиеся на сите промытые растительные частицы высушивают в термостате до сухого состояния при t = 105 °С и взвешивают.
Степень разложения определяют по формуле
(2.4)
где а - вес сухого волокна из отмученной навески; b - то же, неотмученной навески.
При необходимости пересчет степени разложения, определенной весовым методом, на степень разложения по микроскопическому методу приближенно может быть осуществлен с помощью графика (рис. 2.6).
Степень разложения торфа центрифугированием определяют по ГОСТ 10650-65 «Торф. Метод определения степени разложения».
Глазомерно-макроскопический метод. Пользуясь табл. 2.1, глазомерно оценивают структурно-механические свойства торфа при сжатии его в руке и по цвету отжимаемой из него воды. Комплекс признаков визуального определения дополняют еще одним показателем - мазком торфа. Для этого из нескольких мест торфяного образца, вынутого из залежи, отбирают среднюю пробу объемом 0,5-1 см3 и помещают на листе плотной бумаги или на странице полевого дневника. Нажимая указательным пальцем на пробу, делают горизонтальный мазок на 5-10 см.
Для оценки степени разложения мазки сравнивают со стандартной шкалой (табл. 2.1).
Степень волокнистости. Под степенью волокнистости следует понимать содержание в твердой фазе торфа волокнистых остатков размером более 0,26 мм, выраженное в процентах от объема твердой фазы. Степень волокнистости можно определять через степень разложения. Если степень разложения устанавливают микроскопическим способом, то степень волокнистости можно вычислить по формуле
Ф = 100 - RM, (2.5)
Если степень разложения определяют весовым методом Rв, то для вычисления Ф необходимо степень разложения в весовых процентах пересчитать на степень разложения в процентах объема, для чего нужно знать удельные веса волокнистой и гумусовой фракций.
Для упрощенных расчетов можно использовать график (см. рис. 2.6), с помощью которого Rв можно пересчитать на RM после чего степень волокнистости определяют по формуле (2.5).
Пределы пластичности определяют для минеральных и органо-минеральных болотных грунтов. Границу текучести грунта определяют с помощью «балансирного конуса» по ГОСТ 5184-64 «Грунты. Метод лабораторного определения границы текучести».
Определение нижней границы пластичности производят раскатыванием в шнур по ГОСТ 5183-64 «Грунты. Метод лабораторного определения границы раскатывания».
Результаты определения пределов пластичности заторфованных грунтов следует сопровождать указанием процентного содержания (по весу) растительных остатков, если весовое количество их составляет более 5 % от веса сухой минеральной части грунта.
Подготовку илов и органо-минеральных болотных грунтов следует производить с соблюдением п.«б» указанных ГОСТов.
Удельный вес грунта может быть определен различными методами.
Пикнометрический метод. Удельный вес грунта определяют как отношение веса частиц грунта, высушенного при t = 100-105 °С до постоянного веса, к объему этих частиц.
Грунт, высушенный до воздушно-сухого состояния, растирают пестиком в фарфоровой ступке и просеивают через сито с диаметром отверстий 1 мм. Частицы крупнее 1 мм механически дробят и добавляют к пробе.
Из просеянного грунта (100-200 г) отбирают среднюю пробу 15 г для минеральных грунтов и 5 г для торфов на каждые 100 см3 емкости пикнометра. При этом дополнительно отбирают две пробы для определения гигроскопической влажности.
В пикнометр наливают дистиллированную воду (1/3 емкости) и взвешивают. При помощи воронки вводят пробу грунта в пикнометр и снова взвешивают. Разница первого и второго взвешивания равна весу введенного грунта. Содержимое пикнометра кипятят в течение 1 ч с момента закипания суспензии. Кипячение должно быть спокойным, без разбрызгивания по стенкам прибора. Пикнометр с суспензией охлаждают до 20 °С, а затем доливают кипяченую воду до отмеченного уровня таким образом, чтобы вогнутая часть мениски касалась уровня.
Пикнометр с грунтом и водой взвешивают, освобождают его от грунта и воды, тщательно моют, наполняют дистиллированной водой (той же температуры, что и вода в пикнометре) и взвешивают.
|
Степень разложения |
Растительные остатки |
Пластично-упругие свойства |
Отжимаемая вода |
Мазок |
|
До 10 |
Хорошо сохранились и составляют почти всю массу торфа, различные мхи, остатки осоковой растительности |
Торф не мажет руку, отжатая масса пружинит и быстро принимает первоначальный объем |
Отжимается легко, бесцветная или слабо окрашенная |
Бесцветный или слабожелтый с большим количеством налипшего волокна |
|
10-20 |
Хорошо сохранились, но измельчены в большей степени |
При сжатии в кулаке не продавливается между пальцами; в сжатом торфе заметна упругость |
Отжимается легко, мутная, желтая, коричневая или светло-серая |
Желтый или слегка коричневый, светло-серый, имеются налипшие волокна |
|
20-35 |
Сохранились, но определить затруднительно, часть из них гумифицирована |
Несколько пластичен, при сжатии в кулаке часть торфа продавливается между пальцами, при растирании мажет руку |
Отжимается с некоторым усилием, мутная, коричневая или бурая |
Коричневый или серовато-коричневый, налипшего волокна нет |
|
35-50 |
Заметны, но распознаются трудно, много гумифицированных частиц |
Пачкает руку, продавливается значительная часть, торфа |
Отжимается со значительным, усилием, мутная, бурая или коричневая |
От коричневого до темно-коричневого с серым и черным оттенком и с гладкой поверхностью |
|
Более 50 |
Мало заметны или почти незаметны, преобладает гумифицированная масса |
Большая часть полностью продавливается между пальцами, пачкает руку |
Почти или совсем не отжимается |
Темно- или черно-коричневый, хорошо сохраняет отпечатки пальцев |
Удельный вес грунта вычисляют по формуле
(2.6)
где q0 - вес сухого грунта, введенного в пикнометр, г;
(2.7)
q1 - вес пикнометра с грунтом и водой, г; q2 - вес пикнометра с водой, г; w - влажность воздушно-сухого грунта, %; q - вес воздушно-сухого грунта, г.
За расчетный удельный вес принимают среднее арифметическое из результатов двух параллельных определений; расхождение допускается не более 0,02 г/см3
Метод высоких давлений. Удельный вес твердой фазы органических грунтов можно определить с помощью уплотнителя УВД-3 конструкции Калининского политехнического института (рис. 2.7).

Рис. 2.7. Конструкция УВД-3:
1 - подставка; 2 - индикатор; 3 - нижний шток; 4 - втулка; 5 - верхний шток; 6 - испытываемый грунт; 7 - зажимный болт
Торф в воздушно-сухом состоянии (влажность 10-25 %) подвергают сжатию в закрытой камере под давлением 3500-4000 кгс/см2. В сжатом состоянии определяют его объем с последующим пересчетом и вычислением удельного веса.
Порядок определения. Втулку (см. рис. 2.7) с верхним штоком снимают с нижнего штока и переворачивают при вставленном штоке. В свободное пространство втулки засыпают навеску исследуемого грунта, затем во втулку вставляют нижний шток с индикатором.
Собранный прибор устанавливают на подставку и затем на нижнюю плиту пресса. Далее образец нагружают до 10 т и выдерживают под этой нагрузкой в течение 2-3 мин. При этом деформация образца, регистрируемая индикатором, должна прекратиться. Затем записывают максимальное показание индикатора, по которому вычисляют толщину образца при заданной нагрузке.
Далее нагрузку снимают, вынимают втулку вместе с верхним штоком и извлекают шток. Контролируют вес остающегося на штоке уплотненного образца кольцевой формы.
Удельный вес образца при данной влажности вычисляют по формуле
(2.8)
где G - навеска грунта (вес образца), г; D - диаметр матриц, см; d - диаметр тонкого стержня, см; h - толщина образца после уплотнения под давлением, см.
Удельный вес твердой фазы грунта за вычетом объема влаги определяют по формуле
(2.9)
где w - влажность, % по весу; Δ - плотность адсорбционной воды (1 г/см3).
Объемным весом грунта называется его вес в единице объема. Объемный вес определяют методом режущего кольца или методом гидростатического взвешивания образца, покрытого пленкой (ГОСТ 5182-64 «Грунты. Методы лабораторного определения объемного веса»).
Метод режущего кольца применяют в тех случаях, когда объем и форма отбираемого образца могут быть сохранены только с помощью жесткой обоймы. Методы гидростатического взвешивания можно применять при образцах неправильной формы. Для определения объемного веса можно рекомендовать также волюменометрический метод.
Метод режущих колец. Режущим кольцом отбирают образец в лаборатории из монолита или в шурфе. Остаток грунта, выступающий из гильзы, срезают ножом. Кольцо с грунтом взвешивают. Объемный вес вычисляют по формуле
(2.10)
где q - вес образца грунта при данной влажности, г; V - объем грунта, заключенного внутри кольца, см3.
При малоразложившихся торфах метод режущих колец не обеспечивает достаточной точности, так как трудно правильно обработать отобранный образец ножом и, кроме того, он деформируется при перерезании неразложившихся растительных остатков.
Метод парафинирования. Образец грунта многократно опускают на несколько секунд в парафин, чтобы нарастить слой не менее 0,5 мм. Пузырьки воздуха, обнаруженные в застывшей парафиновой оболочке, удаляют, прокалывая иглой и заглаживая образовавшиеся отверстия.
Запарафинированный образец взвешивают сначала в воздухе q2, затем подвешивают к серьге коромысла весов и погружают в стакан с водой для взвешивания в воде q3. Контролируют вес в воздухе, чтобы убедиться, что в грунт не попала вода (предварительно обтерев запарафинированный образец). Тщательно удалив парафин с образца, берут пробы для определения влажности. Проводят не менее двух параллельных определений.
Объемный вес определяют по следующим формулам:
(2.11)
(2.12)
(2.13)
(2.14)
где V1 - объем парафина, см3; q - вес образца при данной влажности, г; q2 - вес запарафинированного образца в воздухе, г; V2 - объем запарафинированного образца, см3; q3 - вес запарафинированного образца в воде, г; γп - удельный вес парафина (0,9 г/см3); γв - удельный вес воды (1 г/см3); V - объем образца без парафина, см3; γw - объемный вес, г/см3.
Волюменометрический метод. Образец торфа взвешивают, а затем помещают в сетчатый каркас и погружают в волюменометр. По трубке устанавливают изменение уровня воды и вычисляют объем исследуемого образца. Делению шкалы трубки соответствует определенный объем вытесненной воды.
Ботанический состав торфа определяют с помощью микроскопа по характеру неразложившихся растительных остатков в соответствии с описанием различных видов торфа 1.
1 При определении ботанического состава торфа, кроме того, надлежит пользоваться классификацией видов торфа и торфяных залежей, а также соответствующими атласами и руководствами.
Предварительно гумус отделяют методом отмучивания, пропуская взвесь через сито с диаметром отверстий 0,1 мм при торфе сильно разложившемся и через сито с диаметром отверстий 0,25 мм при торфе с меньшей степенью разложения. Из отмученной массы навеску торфа переносят пинцетом на стекло стандартного размера и под микроскопом с увеличением не менее чем в 90 раз, устанавливают процентное содержание растений - торфообразователей.
Название ботанического вида торфу дается по остаткам, которых в данном образце более 15 %. Если, например, в составе образца осоки 30 %, древесных остатков 40, гипнума 20 и сфагнума 10 %. то торф называют гипново-осоково-древесным.
Сжимаемость. Изменение объема под влиянием сжатия (компрессии) от действующей внешней нагрузки в условиях невозможности бокового расширения характеризует компрессионные свойства слабых грунтов.
Слабые грунты относятся к сильносжимаемым материалам ввиду высокой пористости. Объем грунта под нагрузкой изменяется за счет удаления из пор воды и воздуха. Влияние воздуха на компрессионные свойства слабого грунта невелико.
Сжимаемость слабого грунта должна определяться вслед за отбором образцов, пока не претерпели изменения их естественные свойства (структура, пористость и влажность в естественном состоянии).
Общий объем компрессионных, а также и консолидационных испытаний зависит от числа выделенных литологически однородных слоев и стадии проектирования. При этом исходят из того, что при выполнении испытаний в полном объеме количество образцов должно быть таким, чтобы для каждого расчетного слоя можно было получить: стандартную компрессионную кривую; консолидационные кривые для трех-четырех различных нагрузок при двух разных путях фильтрации.
Под стандартной компрессионной кривой понимается кривая, получаемая при следующих условиях: начальная высота образца 2 см; отношение диаметра к высоте образца близко к 3; дренирование - двустороннее; нагружение осуществляется с последовательным увеличением, ступенями; за конечную деформацию образца под данной ступенью нагрузок принимается деформация, достигнутая к моменту, когда интенсивность осадки стандартного образца vстаб станет равной 0,02 мм/сут (или интенсивность относительной деформации составит 0,001 1/сут). Стандартную компрессионную кривую строят по результатам испытаний двух-трех параллельных образцов.
Слабые грунты испытывают на компрессию в приборах, используемых для испытаний обычных грунтов, с рабочим кольцом диаметром 7,14 см и высотой 2 см. Для испытаний (особенно торфов) могут быть использованы также компрессионные приборы с максимальной площадью образца 60 см2, высотой 2,5 см, с двумя мессурами на штампе, не требующими перестановки нуля.
Сжимаемость образцов слабых грунтов определяют при ненарушенной структуре с принятием мер, исключающих подсушивание образца грунта в процессе опыта (например, под водой).
Ход определения. Перед опытом замеряют штангенциркулем диаметр и высоту кольца с точностью до 0,1 мм и взвешивают его на технических весах с точностью до 0,01 г. Монолит грунта, предназначенный для испытаний, очищают от парафина и подсохшего верхнего слоя. При наличии большого монолита удобнее всего разрезать его ножом или упругой стальной проволокой на блоки, превышающие размерами диаметр кольца.
Кольцо устанавливают режущим краем на выровненную поверхность монолита или стенку выработки, медленно вдавливают в грунт (для торфов с небольшим поворотом кольца) и срезают грунт по наружному периметру кольца. Необходимо при этом следить, чтобы кольцо погружалось вертикально, без перекосов, которые могут вызвать нарушение структуры грунта и исказить величину объемного веса.
Ввиду небольшой прочности структурных связей слабых грунтов следует обратить особое внимание на качество вырезки образца, так как от ее тщательности зависят точность определения физических свойств грунта и точность замера осадки.
В процессе подготовки образца грунта к испытаниям необходимо следить, чтобы грунт не выкрашивался, а также, чтобы стенки кольца и боковой поверхности образца вплотную прилегали друг к другу. При нарушении естественной структуры образец бракуют.
После заполнения грунтом кольца на него устанавливают насадку, что позволяет вдавливать его с превышением высоты на 3-4 мм. Затем насадку снимают и осторожно срезают грунт прямым лезвием ножа в уровень с краями кольца. Эту операцию выполняют очень тщательно, чтобы получить определенный объем образца.
При зачистке поверхностей образца происходит нарушение структурных связей, приводящее к увеличению деформаций образца при испытании. Величина зоны нарушения структуры зависит от вида и состояния грунта и других показателей. Структура образца может нарушаться на глубину до 2 мм от его открытой поверхности.
Под кольцом грунт подрезают на конус и отделяют от монолита или грунтового массива. В случае мягкопластичных грунтов кольцо с грунтом отделяют от монолита стальной упругой туго натянутой проволокой. Образец кладут на стеклянную пластинку и грунт с другой стороны образца срезают вровень с краями кольца. Кольцо с грунтом взвешивают с точностью до 0,01 г и ставят на днище предварительно протарированного прибора.
Одновременно из грунта, непосредственно прилегающего к образцу, берут две-три пробы для определения влажности и удельного веса. Прибор в собранном виде ставят под пресс, показание индикатора устанавливают на отсчет, близкий к нулю (удобнее на нуль), и записывают в журнал как начальный.
Испытывая грунты при естественной влажности и плотности, тщательно предохраняют их от высыхания. Для этого в местах контакта деталей прибора, где может испаряться влага, прокладывают влажную вату или марлю. При испытании образцов грунта, в водном окружении спустя 2 мин после приложения первой ступени нагрузки через бюретку заполняют прибор водой до появления ее в отверстиях, штампа. Чтобы удалить воздух из прибора в процессе подачи воды к образцу, второй штуцер должен быть открыт, пока в нем не появятся капли воды. Уровень воды в бюретке устанавливают по верхней грани рабочего кольца и поддерживают на протяжении всего времени испытаний образца.
При предварительном насыщении грунта водой прибор с образцом ставят под пресс и опускают винт арретира так, чтобы грунт не мог набухать. Если рычаг пресса был недостаточно закреплен, и индикатор показал набухание образца, то арретиром возвращают показание индикатора на начальный отсчет. Насыщать образец лучше грунтовой водой, взятой из места отбора образцов, или специальным раствором - грунтовой вытяжкой. При небольшой минерализации можно пользоваться обычной водопроводной водой. В бюретку наливают воду выше уровня поверхности грунта в приборе и оставляют в таком состоянии минимум на 24 ч для полного насыщения образца водой.
Величину груза, который необходимо приложить к подвеске рычага компрессионной установки, определяют по формуле
![]()
где σ - задаваемая нагрузка (нормальное напряжение) на образец грунта, кгс/см2; F - площадь поперечного сечения образца, см2; а - вес рамы и поршня одометра с шариком, кгс; N - передаточное число системы рычагов.
При обычной методике нагрузку к образцу прикладывают возрастающими ступенями.
Для образцов глинистых грунтов текучей консистенции (В > 1) и сапропелей рекомендуются следующие ступени нагрузок: 0,02; 0,03; 0,05; 0,1; 0,2; 0,3; 0,5; 0,75; 1,0; 1,5; 2,0 кгс/см2 и далее до заданной максимальной нагрузки. В зависимости от состояния грунта количество ступеней может быть сокращено.
Для глинистых грунтов в пластичной консистенции и торфов рекомендуются ступени нагрузки: 0,1; 0,2; 0,3; 0,5; 0,75; 1,0; 2,0 кг/см2 и т.д.
Максимальная нагрузка на образец должна превышать проектную на 10-20 %.
Каждую ступень выдерживают до условной стабилизации деформации образца.
При высоте образца h и двусторонней фильтрации воды интенсивность осадки, принимаемую за условную стабилизацию, вычисляют по формуле vстаб = 0,001 h мм/сут. Если дренирование одностороннее, следует пользоваться формулой vстаб = 0,002 h мм/сут.
В зависимости от вида грунта и условий опыта указанный критерий может быть несколько изменен. Однако во всех случаях принимаемая за завершение процесса консолидации интенсивность относительной осадки не должна превышать 0,003 1/сут для супесей, 0,002 для песков и 0,001 1/сут для суглинков и глин.
При больших осадках образца, приводящих к сильному опусканию рычага пресса, следует выравнивать рычажную систему после завершения осадки от каждой ступени нагрузки, брать нулевой отчет по индикаторам, после чего прикладывать следующую ступень нагрузки.
Отклонения нормальной нагрузки от расчетного значения не должны превышать 5 %.
Одометр с образцом необходимо защищать от сотрясений и температурных колебаний.
По окончании деформации образца грунта от наибольшей нагрузки удаляют воду (если образец находится под водой) и снимают нагрузку с рычажной системы компрессионной установки. Далее разбирают одометр, извлекают из него рабочее кольцо с образцом и снимают с него фильтровальную бумагу. Удалив сухой фильтровальной бумагой с открытых поверхностей образца видимые следы воды, кольцо с образцом взвешивают с точностью до 0,01 г и вес заносят в журнал.
После опыта определяют объем образца, для чего площадь поперечного сечения образца умножают на его конечную высоту, равную разности между начальной высотой образца (высота, равная высоте рабочего кольца) и его суммарной деформацией; полученные данные заносят в журнал. Определяют объемный вес и коэффициент пористости образца до и после опыта. Форма записи наблюдений при компрессионных испытаниях приведена ниже.
Обработка результатов. Деформацию образца грунта определяют под каждой ступенью нагрузки, выдержанной до условной стабилизации деформации, вычитая начальное показание индикатора из показаний при нагрузке. Из общей деформации образца вычитают значения собственной деформации одометра и кружков фильтровальной бумаги, которые определяют по тарировочной кривой, и получают действительные деформации Δh образца. Затем вычисляют относительные деформации λ образца по формуле
![]()
где h0 - начальная высота образца, мм. По вычисленным значениям относительной деформации строят стандартную компрессионную кривую в форме λ = f(p). Первый этап обработки при этом заканчивается.
Журнал компрессионных испытаний
Объект___________________________________
Место отбора образца_______________________
Проба №__________________________________
Наименование выработки____________________
Глубина отбора_____________________________
Исходные данные для расчетов
|
Высота кольца ha |
Влажность грунта до опыта wнач |
|
Площадь кольца F |
Влажность грунта после опыта wкон |
|
Объем кольца V |
Коэффициент пористости до опыта, рассчитанный по влажности εнач.вл |
|
Вес кольца q0 |
|
|
Вес грунта до опыта q1 |
То же, после опыта εкон.вл |
|
Вес грунта после опыта q2 |
|
|
Объемный вес влажного грунта γw |
Показатели состава и состояния испытываемого грунта записывают в форме табл. 3.1.
На втором этапе обработки результатов испытаний уточняют (при необходимости) компрессионную кривую и определяют параметры компрессионных свойств грунта.
Таблица 3.1
|
Потеря при прокаливании |
Удельный вес |
Волокнистость |
Зольность |
Объемный вес |
Содержание СаСО3 |
Природная влажность |
Степень водонасыщения |
Граница текучести |
Граница раскатывания |
Число пластичности |
Наименование грунта по классификации |
|
Степень разложения |
|||||||||||
|
|
|
|
|
|
|
|
|
|
|
|
|
Пример записи данных компрессионных испытаний приведен в табл. 3.2.
Таблица 3.2
|
Дата |
Время |
Нагрузка на образец |
Отчеты по мессурам |
Деформация образца |
Средняя деформация |
Относительная деформация |
Модуль осадки |
Приращение коэффициента пористости |
Коэффициент пористости |
|
|
кгс |
кгс/см2 |
|||||||||
|
|
|
|
|
|
|
|
|
|
|
|
Уточнение компрессионной кривой следует выполнять при испытании слабых, практически водонасыщенных грунтов (G = 1), у которых упругие деформации малы по сравнению с остаточными и при испытании которых деформации по показаниям мессур могут оказаться искаженными из-за некоторого выдавливания грунта в зазоры, имеющиеся в приборах. В этом случае рекомендуется уточнять величину деформации сжатия по изменению влажности грунта в процессе испытания.
С этой целью после завершения всего опыта и определения конечных влажности wкон и объемного веса образца γwкон вносят поправки в компрессионную кривую. При этом предварительно вычисляют:
а) коэффициент пористости образца в конечном состоянии уплотнения
![]()
где γуд - удельный вес грунта;
б) коэффициент пористости грунта в начальном состоянии (до опыта) е0, используя ту же зависимость с подстановкой вместо конечных влажности и объемного веса соответственно начальных влажности wнач и объемного веса γwнач.
в) изменение коэффициента пористости грунта для каждой ступени нагрузки по показанию мессур
![]()
где
- конечная деформация
образца под данной нагрузкой, фиксируемая по мессурам, мм;
г) коэффициент пористости для каждой ступени нагрузки
εрiM = ε0 - ΔεpiM,
Величины ΔεpiM и εрiM вычисляют, начиная с конечных значений, соответствующих последней нагрузке.
Уточнение компрессионной кривой заключается во введении в вычисленные по показаниям мессур величины ΔεpiM и εрiM поправки, получаемой по результатам контрольного определения конечной влажности грунта. Поправочный коэффициент α рассчитывают по формуле
![]()
где
- конечный коэффициент пористости,
рассчитанный по влажности;
- конечный
коэффициент пористости, рассчитанный по деформации.
Если 1,05 < α < 0,95, необходимо значения деформации образца на различные моменты времени и при различных ступенях нагрузок, установленные по показаниям мессур, уточнить по формуле Δhиспр = ΔhMα.
По исправленным значениям Δhиспр строят кривую λ = f(p), затем определяют значения λ, соответствующие условной стабилизации деформации, и строят исправленную стандартную компрессионную кривую.
Для построения зависимости w = f(p) следует использовать формулу wкон = wнач - λ(0,01γуд + wнач).
На рис. 3.1, а приведена стандартная компрессионная кривая торфа, начальная влажность которого равна 628 %, степень разложения 40 %, зольность 7 %.
По стандартной
компрессионной кривой устанавливают следующие параметры: структурную прочность
при компрессионном сжатии σстр; стандартный коэффициент уплотнения ас,
стандартный модуль осадки
.
Для определения σстр используют компрессионную кривую в виде ε = f(lg p). На глаз определяют точку А перегиба указанной зависимости (рис. 3.1, б). Через эту точку проводят касательную АВ и горизонтальную AD линии, а также биссектрису AM угла BAD. Прямолинейный участок компрессионной кривой экстраполируют до пересечения с найденной биссектрисой и получают точку N. Значение σ, отвечающее точке N, принимают за σстр. Для торфяных грунтов структурная прочность практически близка к нулю. Модуль осадки численно равен величине сжатия в миллиметрах столба грунта высотой 1 м в условиях компрессионного опыта:
![]()
Коэффициент уплотнения равен тангенсу угла наклона спрямленного участка в заданном диапазоне нагрузок стандартной компрессионной кривой
![]()
где
- изменение
коэффициента пористости в диапазоне изменения нагрузок
.
Испытания на консолидацию проводят на тех же приборах, что и при компрессионных испытаниях; подготовка приборов и образцов аналогична подготовке к компрессионным испытаниям.
При испытаниях с односторонним отжатием воды принимают меры по обеспечению водонепроницаемости одного из торцов образца (обычно нижнего). С этой целью вместо нижнего штампа одометра используют сплошную (неперфорированную) пластину или кладут на нижний торец вместо фильтровальной бумаги тонкую резиновую прокладку.
Испытания на консолидацию могут быть выполнены также на образцах разной высоты. В этом случае опыт проводят в специальных одометрах с различными размерами рабочих колец. При этом отношение диаметра кольца к его высоте сохраняют постоянным.
Консолидационные испытания могут быть выполнены в полном или сокращенном объеме. При испытаниях в полном объеме должны быть получены шесть - восемь консолидационных кривых: для трех-четырех нагрузок и двух путей фильтрации. При сокращенных испытаниях ограничиваются получением консолидационных кривых для одной нагрузки (заданной) и двух путей фильтрации.

Рис. 3.1. Графики для обработки результатов испытаний на компрессию:
а - построение компрессионных кривых; б - определение структурной прочности; 1 - стандартная компрессионная кривая; 2 - компрессионная кривая первичной осадки, 3 - зависимость расчетного модуля от нагрузки
Таблица 3.3
|
Дата |
Время взятия отсчета |
Время начала отсчета |
Нагрузка |
Отсчеты по мессуре |
Деформация, мм |
Средняя деформация |
Относительная деформация |
|||
|
кгс |
кгс/см2 |
№ 1 |
№ 2 |
δ1 |
δ2 |
δср = |
||||
|
|
15'' |
|
|
|
|
|
|
|
|
|
|
|
30" |
|
|
|
|
|
|
|
|
|
|
|
45" |
|
|
|
|
|
|
|
|
|
|
|
1' |
|
|
|
|
|
|
|
|
|
|
|
2' |
|
|
|
|
|
|
|
|
|
|
|
4' |
|
|
|
|
|
|
|
|
|
|
|
5' |
|
|
|
|
|
|
|
|
|
|
|
7' |
|
|
|
|
|
|
|
|
|
|
|
10' |
|
|
|
|
|
|
|
|
|
|
|
15' |
|
|
|
|
|
|
|
|
|
|
|
20' |
|
|
|
|
|
|
|
|
|
|
|
30' |
|
|
|
|
|
|
|
|
|
|
|
45' |
|
|
|
|
|
|
|
|
|
|
|
60' |
|
|
|
|
|
|
|
|
|
|
|
90' |
|
|
|
|
|
|
|
|
|
|
|
120' |
|
|
|
|
|
|
|
|
|
|
|
180' |
|
|
|
|
|
|
|
|
|
|
|
300' |
|
|
|
|
|
|
|
|
|
|
|
и т.д. |
|
|
|
|
|
|
|
|
|
При описании
процесса консолидации зависимостями tλp = аλp + bλp h2ф
и
для определения
консолидационных параметров при полном объеме испытаний необходимы три - четыре
пары образцов, в каждой из которых образцы с различными условиями дренирования
уплотняются одной из трех - четырех заданных нагрузок. При этом минимальная
нагрузка должна быть не менее σстр,
а максимальная не должна вызывать выдавливания грунта в зазоры прибора.
При сокращенных испытаниях и описании процесса консолидации указанными зависимостями необходимо уплотнять под одной заданной нагрузкой не менее двух параллельных образцов при одном пути фильтрации и столько же при другом.
При полном объеме испытаний в случае использования выражения tλр = kλp·h2ф необходимо шесть - восемь образцов: два параллельных образца испытывают под каждой из трех - четырех нагрузок (путь фильтрации один и тот же). При сокращенном объеме испытывают не менее двух параллельных образцов при одной нагрузке.
Ход определения. Каждый из подготовленных образцов нагружают в компрессионном приборе заданной нагрузкой и ведут замеры деформации по индикаторам.
Рекомендуемые интервалы между замерами: 5, 15, 30 с, 1, 2, 3, 5, 10, 15, 30 мин, 1, 2, 4 ч и далее 3 раза в сутки.
Данные наблюдений заносят в журнал. Форма записи консолидационных испытаний приведена в табл. 3.3. Одновременно результаты наносят на график в виде λ = f (lgt). Испытание считается законченным при достижении интенсивности деформации образца, принятой за условную стабилизацию деформации.
Для сокращения времени испытания опыт может быть закончен, когда экспериментальные точки устойчиво укладываются на прямую в полулогарифмическом масштабе. Далее указанную прямую экстраполируют до тех пор, пока интенсивность деформации не будет менее 0,02 мм/сут. Осадку, соответствующую моменту достижения этой интенсивности, принимают за конечную. Время достижения интенсивности 0,02 мм/сут. может быть определено по формуле
![]()
где 0,43 - коэффициент перехода от десятичного логарифма к натуральному; mp - консолидационный параметр; h0 - начальная высота образца; 0,02 - заданная интенсивность осадки.
По окончании испытания разгрузку образцов и дальнейшие операции с ними выполняют так же, как и при компрессионных испытаниях. В качестве примера на рис. 3.2 нанесены консолидационные кривые торфяного грунта, свойства которого указаны выше.
Обработка результатов. Обработка опытных кривых консолидации заключается в следующем. На кривой устанавливают точку, отвечающую интенсивности деформации 0,001h мм/сут при двусторонней и 0,002h мм/сут при односторонней фильтрации воды. Для этой точки определяют величину относительной деформации λкон.
Определяют точку,
отвечающую выходу зависимости λ = f(t) на прямолинейный участок в
полулогарифмическом масштабе, и устанавливают величины λI и tI, отвечающие
этой точке. Для каждой кривой находят отношение
. Значения, полученные для образцов с двусторонней
фильтрацией, наносят на сетку координат
и проводят
осредняющие кривые (рис. 3.3, а)
Значения tI, полученные для всех образцов, наносят на сетку координат tI - р и через точки, отвечающие одинаковому пути фильтрации, проводят осредняющие кривые (см. рис. 3.3, а). При этом следует учитывать, что кривые для различных путей фильтрации должны быть параллельны.

Рис. 3.2. Кривые консолидации:
х - точка выхода кривой консолидации на прямую 1 - hф = hобр/2 - hф = hобр

Рис. 3.3. График для обработки результатов испытаний на консолидацию:
1 - зависимость
при hф - hобр
2 - зависимость t1 = f (p) при hф - hобр
3 - зависимость t1 = f(p) при ![]()
4 - зависимость λ1 = f (p)
5 - зависимость mp = f (p)
6
- зависимость ![]()
Значения λI, полученные для всех образцов, наносят на сетку координат λI - p и проводят осредняющую кривую (рис. 3.3, б). При этом исходят из того, что кривая λ1 = f (p) должна быть одной для образцов с различными путями фильтрации.
Определяют параметр тр, как тангенс угла наклона прямолинейного участка к оси абсцисс
![]()
где λi - относительная осадка, соответствующая произвольно выбранному моменту ti > tI.
Наносят значения тр для всех образцов на сетку координат тp - p) и проводят осредняющую кривую, позволяющую установить тр для любого значения р (см. рис. 3.3, б).
Принимая λI
за единицу, берут пять - шесть точек на кривой консолидации при λ < λI (т.е. на участке первичной
осадки) и определяют для этих точек величины
и lg tI - lg ti.
Для образцов,
консолидированных одной нагрузкой, но имеющих различный путь фильтрации, строят
осредненный график (рис. 3.3, в)
зависимости
для участка первичной
осадки (t < tI). Полученные графики позволяют
установить для любой заданной нагрузки (в пределах заданного диапазона)
значения консолидационных параметров λI, tI, mp, а также
осредненные значения ординат точек кривой консолидации для участка первичной
осадки. По этим данным строят осредненные расчетные консолидационные кривые для
рассматриваемой нагрузки и двух путей фильтрации (рис. 3.4).
По исправленной кривой
консолидации для заданной нагрузки получают коэффициенты
определяющие долю
первичной осадки в условной общей (стандартной) осадке.
Далее, взяв стандартную компрессионную кривую и значения δ, относящиеся к образцам стандартного размера при одних и тех же условиях дренирования, умножают ординаты стандартной компрессорной кривой, отвечающие нагрузкам при консолидационных испытаниях, на соответствующие значения δ.
Полученные значения наносят на график и проводят кривую первичной осадки (см. рис. 3.1).
По исправленным кривым консолидации определяют консолидационные параметры в зависимости от принятой для прогноза времени уплотнения слабого основания формулы пп. 4.16 и 4.18 основного текста.
Параметры консолидационной зависимости вида tλр = aλp + bλp h2ф определяют:
а) графическим методом: по кривым консолидации двух образцов с различными условиями дренирования, уплотненными под расчетной нагрузкой, находят t1 и t2 для нескольких значений λ (см. рис. 3.4). Далее строят график зависимости tλ = f (h2ф) (рис. 3.5) Параметр aλp для заданной относительной деформации λ определяют по оси абсцисс. Параметр bλp определяют как угловой коэффициент прямой tλ = f h2ф;
б) по аналитической зависимости: по кривым консолидации двух образцов с различными условиями дренирования, уплотненными под расчетной нагрузкой, находят время t1 и t2 достижения заданной относительной деформации. Далее определяют aλp и bλp системы уравнений:
t1λ = aλp + bλp h21ф ,
t2λ = aλp + 5λp h22ф.
Если испытывают образцы одной высоты с различными условиями дренирования, то h2ф = 2h1ф. В этом случае параметры aλp и bλp можно вычислить по формулам:
![]()
![]()
Коэффициент консолидации Ск определяют с использованием кривой консолидации образца грунта, уплотненного под расчетной нагрузкой по формуле
![]()
где КU - коэффициент, величина которого зависит от степени консолидации, устанавливаемый по таблице; tU - время завершения заданной степени уплотнения.

Рис. 3.4. Построение исправленных кривых консолидации:
1 - опытные кривые; 2 - исправленные кривые
По кривой консолидации образца торфяного грунта, уплотненного под нагрузкой р = 1 кгс/см2 (см. рис. 3.4), время достижения степени консолидации U = 50 % составляет t = 3,3 мин. Параметр KU по таблице при U = 50 % равен 0,2
![]()

Рис. 3.5. График зависимости tλ = f (h2ф)
Определение коэффициента фильтрации при консолидации слабых грунтов. Коэффициент фильтрации слабых грунтов Кф следует определять по результатам консолидационных испытаний с использованием зависимости
![]()
где а - коэффициент уплотнения, определяемый по компрессионной кривой; γн - объемный вес воды; εср - средний
коэффициент пористости, равный
; ε1
- коэффициент пористости грунта, соответствующий нагрузке р1; ε2
- коэффициент пористости грунта, соответствующий нагрузке рг.
По компрессионной кривой (см. рис. 3.1) находим а и εср в интервале нагрузок р1 = 1 кгс/см2 и р2 = 2 кгс/см2:
ε1 = 4,52; ε2 = 3,75; εср = 4,135
Ск = 0,06 см2/мин
(см. ниже);
![]()
Характеристики, определяемые расчетом. Объемный вес скелета грунта (вес частиц в единице объема грунта) определяют по формуле
![]()
где γw - объемный вес грунта, г/см3, w - весовая влажность, %.
Пористость грунта (отношение объема пор к объему всего грунта) определяют по формуле
.
где γуд - удельный вес грунта, г/см3.
Коэффициент пористости (отношение объема пор к объему минеральных частиц в грунте, выраженное в долях единицы) находят по формуле
![]()
или
![]()
Коэффициент водонасыщения определяют по формуле
![]()
где Δ - удельный вес воды, 1 г/см3.
Сопротивляемость сдвигу слабых грунтов в лаборатории оценивается путем испытаний в стандартных приборах прямого сдвига или трехосного сжатия.
При оценке сопротивляемости слабых грунтов сдвигу в лаборатории следует исходить из теории «плотности - влажности», в соответствии с которой сопротивляемость сдвигу практически полностью водо-насыщенного грунта в общем виде выражается как
Spw = р tg φw + cw
где р - полное нормальное давление на площадке сдвига, кгс/см2; φw - угол внутреннего трения, зависящий от плотности - влажности грунта в момент сдвига; сw - сцепление, также зависящее от плотности - влажности грунта в момент сдвига, кгс/см2.
При этом сw = Σw + Cc,
где Σw - часть полного сцепления, имеющая водно-коллоидную природу; сс - часть полного сцепления, обусловленная наличием невосстанавливающихся связей.
Задача испытаний сводится к установлению зависимости угла внутреннего трения φw и сцепления сw от влажности в зоне сдвига, что достигается в результате сдвига под несколькими (не менее трех) нормальными нагрузками нескольких образцов, имеющих различные плотности - влажности.
Ход определения. Выбирают величины нормальных нагрузок, под которыми должен производиться сдвиг, исходя из следующих основных условий: минимальная нагрузка должна быть такой, чтобы сопротивляемость грунта сдвигу не оказалась больше этой нагрузки; максимальная нагрузка не должна вызывать выдавливания образца в зазоре сдвигового кольца. При выборе нормальных нагрузок следует учитывать также возможную величину напряжений в грунте в реальных условиях. Интервал между минимальной и максимальной нормальными нагрузками делят пополам. Таким образом, получают три величины нормальной нагрузки, при которых производят сдвиг.
Под каждой из нормальных нагрузок производят сдвиг, как правило, не менее четырех образцов, имеющих различную влажность. В ряде случаев можно выполнять и по два сдвига на одном образце под двумя разными нагрузками, что позволяет сократить количество образцов. Для этого начальная высота образца должна быть не менее 2 см.
Различия во влажности образцов в момент сдвига можно достигать следующими путями:
1) выдерживанием каждого из образцов, предназначенных для сдвига при одной и той же нормальной нагрузке, различное время под той нагрузкой, при которой производится сдвиг.
В этом случае первый образец сдвигается немедленно после приложения заданной нормальной нагрузки, второй образец сдвигается только после выдерживания его под данной нагрузкой до практически полного завершения консолидации, а два других образца перед сдвигом выдерживаются под нагрузкой с таким расчетом, чтобы их влажность в момент сдвига имела два различных промежуточных значения в интервале между влажностями первого и второго образца.
При испытании в сдвиговых приборах предварительное выдерживание образцов под нагрузкой может проводиться как в самих сдвиговых приборах (до установки зазора), так и в приборах предварительного уплотнения;
2) выдерживанием образцов различное время под одной достаточно большой по величине нагрузкой, величина которой должна быть не менее максимальной нормальной нагрузки при сдвиге. Предельное значение уплотняющей нагрузки определяется возможностью передать ее на образец без выдавливания грунта в щели. Чем больше нагрузка (в пределах возможного), тем меньше времени будет затрачено на испытание. В этом случае по одному образцу под каждой нормальной нагрузкой испытывается без предварительного выдерживания под уплотняющей нагрузкой;
3) выдерживанием образцов до практически полной консолидации под различными нагрузками, наибольшая из которых должна быть примерно вдвое больше максимальной нормальной нагрузки при сдвиге. Четыре образца из серии в этом случае также не подвергаются предварительному уплотнению.
Контроль за изменением влажности грунта в процессе его уплотнения под нагрузкой в любом из указанных случаев может осуществляться по осадке образца, фиксируемой мессурами.
Каждый из четырех образцов с различной влажностью испытывают на сдвиг под одной и той же нормальной нагрузкой. Аналогично проводят испытания под остальными двумя нагрузками.
Если предварительное уплотнение образца проводилось в приборе предварительного уплотнения, то после загрузки образца в сдвиговой прибор и приложения к нему заданной нормальной нагрузки сдвиг следует производить немедленно, не дожидаясь завершения вертикальной деформации. При этом, если предварительное уплотнение осуществлялось под водой, необходимо перед разгрузкой образца в приборе предварительного уплотнения откачать воду из стакана, чтобы исключить набухание грунта. Сдвиг связных грунтов следует проводить без воды. Интенсивность сдвигающей нагрузки должна быть такой, чтобы сдвиг произошел не более чем за 1-3 мин.
При ступенчатом приложении нагрузки (гирями) очередную ступень следует прикладывать, не дожидаясь прекращения деформации от предыдущей ступени. Достаточно убедиться, что деформация сдвига, регистрируемая мессурой, носит затухающий характер. Это устанавливается путем сопоставления 4-5 отсчетов по мессуре, взятых с интервалом 3-5 с.
При использовании ступенчатой нагрузки целесообразно принимать небольшие ступени - 100-200 г на рычаг в зависимости от консистенции грунта.
Сдвиг считается завершенным в случае получения незатухающей деформации, заканчивающейся срывом образца. При применении автоматического записывающего устройства момент сдвига определяется непосредственно по диаграмме.
Немедленно после завершения сдвига и извлечения образца из зоны сдвига отбирают пробы грунта на влажность. Если произошел срыв, пробы следует отбирать из обеих половинок образца.
Для замедления отжатия воды из образцов, испытываемых в приборах прямого сдвига без предварительного уплотнения или под нагрузками, превышающими нагрузки предварительного уплотнения, торцы образца следует закрывать резиновыми кружками.
В случае применения для испытаний грунта приборов трехосного сжатия принципы подготовки образцов и проведения испытаний остаются теми же. Различие заключается в том, что по результатам стабилометрических испытаний строят зависимости вертикального напряжения p1в момент разрушения образца от величины влажности для двух-трех значений бокового давления р2. Далее с полученного графика P1 = f(w) для нескольких значений влажности снимают значения р1, соответствующие тому или иному значению р2 по полученным значениям строят круги Мора и, проводя к ним касательные, определяют величины сцепления и угла трения обычным порядком, после чего строят искомые зависимости
сw = f (w) и φw = f (w).
Для получении ориентировочных данных о сопротивляемости слабых грунтов сдвигу в состоянии, соответствующем их природной плотности и влажности, при недостаточном количестве образцов на первой стадии проектирования может применяться методика быстрых сдвигов.

Рис. 3.6. Пример обработки сдвиговых испытаний
Обработка результатов испытаний на сдвиг. Результаты испытании наносят в виде точек на сетку координат, где по осп абсцисс откладывают влажность грунта w в зоне сдвига, а по оси ординат - сопротивляемость сдвигу Sрw. Точки, отвечающие одной и той же нормальной нагрузке при сдвиге, обозначают одинаково. Далее через точки с одинаковыми обозначениями проводят осредняющие кривые, каждая из которых представляет собой зависимость сопротивляемости грунта сдвигу при данной нормальной нагрузке S = f (w) (рис. 3.6, а). Построенные по точкам графики необходимо проэкстраполировать до значения исходной влажности. Для построения указанного графика рекомендуется использовать полулогарифмическую сетку координат: влажность откладывается в линейном масштабе, а сопротивляемость сдвигу в логарифмическом. В этом случае зависимости представляют собой прямые линии.
Полученный график перестраивают в зависимость сопротивляемости от нормальной нагрузки для различных влажностей Spw = f (w). Через точки проводят осредняющие прямые, соответствующие двучленной линейной зависимости Spw = f (w) (рис. 3.6, б). Параметры их соответствуют искомым сдвиговым характеристикам грунта φw, cw и определяются графически. Затем строят искомые зависимости cw = f(w) и φw = f(w), также прибегая к осредняющим кривым (рис. 3.6, в). Последние зависимости являются конечным результатом обработки экспериментальных данных. Значение φw следует устанавливать с точностью до 30', а cw - до второго знака после запятой (в кгс/см2). Зависимости cw = f (w) и φw = f (w) для торфяного грунта даны на рис. 3.7.

Рис. 3.7. Графики зависимости cw = f (w) и φw = f (w) для торфяного грунта
Определение параметров Σw и сс при G ≥ 0,9.
Существуют два метода разделения полного сцепления cw на соответствующие Σw и сс: повторного сдвига и сдвига «плашки по плашке». В соответствии с первым методом испытывают две серии образов: первую - обычным порядком, а во второй каждый образец предварительно сдвигается в срезывателе прибора любым способом по возможности быстро. После сдвига подвижную каретку прибора возвращают в исходное положение и осуществляют повторный сдвиг образца. Предварительный срез образцов следует выполнять при минимальной нагрузке, принятой для испытания. Обработку результатов повторного сдвига ведут так же, как и при первом сдвиге. Величину сс находят как разность между cw, получаемой при однократном сдвиге, и сw, получаемой при повторном сдвиге.
В методе сдвига «плашки по плашке» вместо серии с повторным сдвигом проводят серию испытаний образцов, разрезанных по плоскости сдвига (в срезывателе прибора или в специальной обойме с помощью проволоки). При этом необходимо обеспечить горизонтальность поверхности среза (строгую ориентацию ее по направлению сдвигающего усилия).
Каждый из разрезанных образцов помещают в сдвиговой прибор (предварительно соединив половинки), прикладывают выбранную нормальную нагрузку и немедленно осуществляют сдвиг.
Обработку результатов ведут обычным методом. Величину сс устанавливают по разности сцепления, определенного для неразрезанных сw и для разрезанных Σw образцов.
Определение условных показателей сопротивляемости сдвигу φ' и с' (консолидированный сдвиг). Обобщенные условные показатели сдвигу φ' и с' имеют сложный физический смысл и отвечают не плотности грунта в момент его сдвига, а условно 100%-ной консолидации грунта под действием заданного напряженного состояния.
Определение показателей с' и φ' регламентируется ГОСТ 12248-66. Основные особенности методики этого испытания по сравнению с методикой установления истинных параметров сдвига сw и φw, заключаются в следующем. с' и φ' определяют по результатам испытания на сдвиг образцов после предварительного уплотнения под нагрузками, обычно превышающими 1 кгс/см2.
Для испытания выбирают не менее трех нагрузок предварительного уплотнения, являющихся одновременно и нормальными нагрузками при сдвиге. Каждую нагрузку предварительного уплотнения передают на грунт ступенями, величина и количество которых зависят от исходной консистенции грунта и величины нагрузки.
Для глинистых грунтов, имеющих консистенцию 0,75 ≤ 5 ≤ 1, следует принимать ступени 0,1; 0,3 и далее по 0,5 кгс/см2, а имеющих В < 0,75 и для песчаных грунтов - ступени по 0,5 кгс/см2 до нагрузки 3 кгс/см2 и далее по 1 кгс/см2. Каждую ступень нагрузки выдерживают не менее 5 мин для песчаных грунтов и 30 мин для глинистых грунтов. Конечную ступень нагрузки выдерживают до момента, когда интенсивность сжатия образца не будет превышать 0,01 мм за 30 мин для песчаных грунтов, 3 ч для супесей и 12 ч для суглинков и глин.

Рис 3.8. График для определения с' и φ' торфяного грунта
Сдвигающую нагрузку можно прикладывать ступенями или непрерывно; в первом случае каждая ступень не должна превышать 5 % от величины нормального напряжения. Следующую ступень прикладывают, если скорость деформации сдвига не превышает 0,01 мм/мин. При непрерывном нагружении скорость деформации сдвига должна быть равна 0,01 мм/мин. При каждой нормальной нагрузке должно быть не менее двух параллельных определений.
При ступенчатом нагружении деформацию сдвига фиксируют с помощью мессуры. За величину сопротивления сдвигу принимают нагрузку, вызывающую срыв образца по поверхности скольжения. Если этот срыв происходит при деформации сдвига более 5 мм, то за сопротивление сдвигу принимают нагрузку, при которой в опыте была достигнута деформация сдвига, разная 5 мм.
Результаты испытаний (в данном случае торфяного образца) наносят на график с осями: «нормальная нагрузка» - абсцисса; «сопротивляемость сдвигу» - ордината (рис. 3.8). Через экспериментальные точки проводят осредняющую прямую. Угол наклона ее к оси абсцисс определит φ', а отрезок, отсекаемый на оси ординат, - с'. После сдвига из зоны сдвига следует брать контрольные пробы на влажность.
Предварительно слабую толщу разделяют на отдельные расчетные слои на основе геологического разреза, получаемого по результатам бурения с визуальной оценкой грунтов по качественным признакам.
Дли уточнения границ выделенных слоев и дальнейшей детализации расчленения толщи необходимо использовать данные статического зондирования, а также всю совокупность полученных данных о свойствах грунтов в пределах слабой толщи.
С этой целью на геологический разрез наносят кривые удельного сопротивления зондированию, сопротивляемости сдвигу по крыльчатке и основные показатели состава и состояния грунтов (рис. 4.1). В качестве последних для болотных грунтов целесообразно использовать природную влажность.
После выделения расчетных слоев по полученным графикам определяют расчетные значения физико-механических свойств грунтов в пределах того или иного слоя, оценивают однородность выделенных расчетных слоев с точки зрения инженерно-геологических свойств грунтов этих слоев и при необходимости уточняют их границы.
Обработку материалов начинают с построения для выделенного расчетного слоя графиков рассеяния показателей физико-механических свойств грунта.

Рис. 4.1. Графики изменения по глубине удельного сопротивления зондированию и сопротивляемости сдвигу по крыльчатке:
а - геологический разрез; б - удельное сопротивление зондированию; в - сопротивляемость сдвигу: 1 - древесно-осоковый торф; 2 - тростниковый торф; 3 - сапропель; 4 -мергель; 5 - мелкий песок
График рассеяния имеет одну ось, на которой в произвольно выбранном, но удобном для нанесения точек масштабе, нанесена шкала обрабатываемого показателя свойств (рис. 4.2).
Графическая обработка показателей и методы математических расчетов разбираются на примере обработки сопротивления сдвигу торфов по результатам испытаний крыльчаткой на одном из болот (табл. 4.1). Частные значения сопротивления сдвигу торфа показаны на графике точками (рис. 4.2, а).
График рассеяния служит основой для построения полигона распределения (рис. 4.2, б) показателей в частотах или частостях. Ось графика рассеяния делят на 8-10 равных по величине интервалов (классов) с таким расчетом, чтобы в каждый интервал (за исключением крайних) попали точки, т.е. чтобы не было пустых классов. Число точек, попавших в отдельные классы, носит название «частоты». Частоты выписывают в специальную графу (см. рис. 4.2, а) над графиком рассеяния. Точки, попавшие на границы классов, делятся поровну и при подсчетах частот разносятся по соседним классам, а в случае нечетного их количества «лишнюю» точку следует отнести в класс, тяготеющий к центру графика рассеяния.
Сумма частот должна быть равна количеству определений обрабатываемого показателя; она записывается над графиком рассеяния.
Точкам, попавшим в один класс, присваивают одинаковые значения, равные среднему значению данного класса.
При построении полигона распределения частоты наблюдений данного показателя откладывают напротив середины интервалов и полученные точки соединяют прямыми (см. рис. 4.2, б). Для удобства полигон распределения строят ниже графика рассеяния.
Четко выраженный максимум в центре полигона распределения и закономерное симметрическое изменение показателя в обе стороны от максимума свидетельствует о нормальном законе распределения (законе Гаусса) показателей свойств грунтов. При резком нарушении симметрии графика распределения необходимо проводить проверку нормальности распределения. Однако многочисленные проверки показывают, что распределение показателей: свойств грунта за редким исключением подчиняется закону нормального распределения и отклонения от него свидетельствуют об ошибках, допущенных при выделении единообразных инженерно-геологических слоев.
Дальнейшая обработка результатов заключается в оценке однородности слоя с точки зрения данной характеристики (оценка разброса значений рассматриваемой характеристики), в установлении значения, характеризующего всю совокупность экспериментально полученных результатов определения этой характеристики (нормативное значение) и в установлении расчетного значения рассматриваемого показателя.
Таблица 4.1
|
Местоположение, км + |
№ поперечника |
Глубина, м |
Сопротивление сдвигу болотного грунта в скважинах по испытаниям крыльчаткой, кгс/см2 |
||
|
С-1 |
С-2 |
С-3 |
|||
|
1037+275 |
2 |
0,2 |
0,150 |
0,154 |
0,161 |
|
0,3 |
0,180 |
0,178 |
0,171 |
||
|
0,4 |
0,231 |
0,236 |
0,215 |
||
|
0,5 |
0,265 |
0,260 |
0,268 |
||
|
0,6 |
0,242 |
0,248 |
0,272 |
||
|
0,7 |
0,23о |
0,240 |
0,293 |
||
|
0,8 |
0,252 |
0,260 |
0,281 |
||
|
0,9 |
0,240 |
0,241 |
0,254 |
||
|
1,0 |
0,220 |
0,210 |
0,285 |
||
|
1,1 |
0,217 |
0,195 |
0,277 (2) |
||
|
1,2 |
0,186 |
0,184 |
0,217 |
||
|
1,3 |
0,178 |
0,175 |
0,206 |
||
|
1,4 |
0,180 |
0,184 |
0,189 |
||
|
1,5 |
0,188 |
0,182 |
0,175 |
||
|
1,6 |
0,190 |
0,194 |
0,187 |
||
|
1,7 |
0,184 |
0,191 |
0,238 |
||
|
1,8 |
0,196 |
0,196 |
0,171 |
||
|
1,9 |
0,191 |
0,190 |
0,169 |
||
|
2,0 |
0,196 |
0,194 |
0,164 |
||
|
2,1 |
0,185 |
0,187 |
0,196 |
||
|
2,2 |
0,175 |
0,195 |
0,292 (3) |
||
|
2,3 |
0,189 |
0,179 |
0,157 |
||
|
2,4 |
0,211 |
0,201 |
0,160 |
||
|
2,5 |
0,205 |
0,191 |
0,147 |
||
|
2,6 |
0,210 |
0,203 |
0,256 (1) |
||
|
2,7 |
0,230 |
0,235 |
0,268 |
||
|
2,8 |
0,234 |
0,241 |
0,240 |
||
|
2,9 |
0,237 |
0,242 |
0,248 |
||
|
3,0 |
0,250 |
0,26.9 |
0,237 |
||
Примечания. 1. Жирной чертой выделены границы слоев. 2. Цифры в скобках - номера точек на графике рассеяния (см. рис. 4.2, а).

Рис. 4.2. Пример статистической обработки показателей физико-механических свойств болотных грунтов:
а - графики рассеяния; б - полигон распределения
Обработку можно вести подробным или упрощенным способом в зависимости от конкретных условий.
Подробный способ обработки результатов и определение расчетных значений характеристик
Определение числовых
характеристик статистического распределения. Любое значение искомого
показателя, вычисленное на основе ограниченного числа опытов, всегда содержит
элемент случайности. В качестве оценки истинного значения измеряемой величины
при нормальном законе распределения принимают среднее арифметическое значение
результатов измерений (
):
(4.1)
где х1, хг… хп - частные значения измеряемой величины; п - число измерений.
Для ускорения вычислений
используют график
рассеяния. В этом случае среднее арифметическое значение показателя вычисляют
упрощенным методом по формулам:
= hdn + α; (4.2)
(4.3)
(4.4)
где h - ширина
интервалов; α - условная средняя
величина, близкая к
.
Обычно за α принимают середину какого-либо интервала вблизи от центра распределения; di - количество интервалов между xi и αi, т - количество интервалов (классов) на графике рассеяния; xi - среднее значение показателя в i-м интервале; Ni - частота в i-м интервале; N - сумма частот, которая равна общему числу измерений данного показателя.
Среднее арифметическое значение рассчитывают под полигоном распределения в следующей последовательности:
выбирают в качестве условного начала α среднюю точку одного из интервалов вблизи от центра распределения;
вычисляют отклонение di от условного начала;
умножают отклонение каждого интервала di на частоту Ni с учетом знаков (Ni, di);
находят алгебраическую сумму ΣNidi;
делят эту сумму на общую сумму частот и получают поправку dп, выраженную в терминах интервалов;
определяют величину
среднего арифметического
по формуле (4.2).
Для контроля повторно вычисляют среднее арифметическое при другом значении условного среднего α, взятого в соседнем интервале.
Вторая важная статистическая характеристика - мера рассеяния показателей относительно среднего арифметического значения. При одном и том же значении последнего может быть совершенно различный разброс данных. О степени неоднородности грунта по какому-либо показателю дают представление характеристики рассеяния: среднее квадратичное отклонение и коэффициент вариации. Чем больше значения этих характеристик, тем разнороднее грунт по данному показателю.
Среднее квадратичное отклонение σ для ограниченного числа опытных данных вычисляют по формуле
(4.5)
где т - число
интервалов; хi - среднее значение показателя в i-м интервале; Ni - частота в i-м интервале. Квадрат
среднего квадратичного отклонения σ2
называется дисперсией. Для облегчения вычисления σ можно воспользоваться условной средней α и расчетами, выполняемыми при вычислении среднего
арифметического
. В этом случае дисперсию вычисляют по формуле
(4.6)
где μ1 и μ2 - условные начальные моменты, равные
(4.7)
(4.8)
h - ширина интервала; N - число измерений.
Пример вычисления среднего арифметического и среднего квадратичного отклонения (см. рис. 4.2) приведен ниже.
Чтобы оценить относительную степень изменчивости показателя, среднее квадратичное отклонение сопоставляют со средним арифметическим значением. Такой показатель относительной изменчивости называется коэффициентом вариации и представляет собой отношение среднего квадратичного отклонения к среднему арифметическому значению, выраженное в процентах:
(4.9)
В практике исследования болотных грунтов обычно считают, что при Кв ≤ 20 % грунт по прочностным показателям является однородным, а при Кв > 20 % - неоднородным.
Среднее квадратичное
отклонение σ является мерой
рассеяния отдельного измерения. Очевидно, важнее знать, насколько может
уклоняться от истинного значения х среднее арифметическое
данных измерений.
Ошибку, допущенную при измерении среднего арифметического
, можно
определить по формуле
(4.10)
где
- средняя
квадратичная ошибка серии измерений (ошибка среднего арифметического).
Вычисление характеристик статистического распределения:
Скважина 1
№ класса 1 2 3 4 5 6 7 8 9 10
Частоты Ni 1 2 3 4 2 1 1 2 1
Отклонение di -2 -1 0 1 2 3 4 5 6 7
Nidi -2 -2 0 4 4 3 4 10 6 7
Nidi2 4 2 0 4 8 9 16 100 36 49
_____________________________________________________________________________
ΣNidi = 34; α = 0,185; h
= 0,005; ![]()
d =
1,89·0,005 = 0,009;
ΣNidi2
= 228;
![]()
σ1
= 0,015;
![]()
Скважина 2
№ класса 1 2 3 4 5 6 7 8
Частоты Ni 1 2 3 3 5 1 1 1
Отклонение di -3 -2 -1 0 1 2 3 4
Nidi -3 -4 -3 0 5 2 3 4
Nidi2 9 8 3 0 5 4 9 10
___________________________________________________________________________
ΣNidi = 4; α = 0,190; h = 0,005; ![]()
d = 0,235·0,005 = 0,0001;
ΣNidi2
= 54;
![]()
σ2 = 0,0009; Kв =
![]()
_________________________________________________________________
Скважина 3
№ класса 1 2 3 4 5 6
Частоты Ni 1 4 4 2 1
Отклонение dI -2 -1 0 1 2 3
Nidi -2 -4 0 2 2 3
Nidi2 4 4 0 2 4 9
_________________________________________________________________
ΣNidi = 1; α = 0,18; h = 0,02; ![]()
d = 0,077·0,02 = 0,002; ![]()
ΣNidi2 = 23; μ1 = 0,077; ![]()
σ2 =(1,77 - 0,07722) 13/12·0,022 = 0,00077; σ = 0,028;
N2 = 16; КВ =23,5
_________________________________________________________________
Определение расчетных показателей. Средневзвешенное значение сопротивления сдвигу и дисперсии слоя на поперечнике

![]()
![]()
σср = 0,018 кгс/см2
Средневзвешенное значение коэффициента вариации сопротивления сдвигу слоя
![]()
Зная среднее
арифметическое и размер его ошибки, можно судить о достоверности вычисленного
среднего значения
по величине
показателя точности
(4.11)
Учитывая выражение (4.11), получим зависимость для определения показателя точности
(4.12)
Точность
вычисления среднего арифметического зависит от числа измерений (количества
частных показателей). Точность вычисления можно считать достаточной, если ![]()
Выявление и исключение грубых ошибок. Если серия из небольшого числа измерений содержит грубую погрешность - промах, то наличие этого промаха может сильно исказить среднее значение измеряемой величины и границы доверительного интервала. Поэтому из окончательного результата необходимо исключить этот промах. Обычно промах имеет резко отличающееся от других измерений значение. Но пока не проверено, не является ли это отклонение следствием статистического разброса, определить это измерение как промах нельзя. Для определения грубых ошибок, полученных вследствие нарушенности структуры образцов, каких-либо включений, а в ряде случаев описок в журналах испытаний, можно использовать коэффициент вариации показателя.
При Кв > 20 % выскакивающее значение следует подвергнуть анализу с целью выяснения, относятся ли они к грубым ошибкам измерений (промахам) или характеризуют другой слой.
В условиях данного
примера коэффициент вариации сопротивления сдвигу не выходит за пределы 20 %,
поэтому все измерения должны быть приняты при вычислении статистических
характеристик. Результаты испытаний крыльчаткой (скв. 3) в трех случаях выходят
за доверительные пределы, в связи с чем их исключают и при расчете средних
значений данного слоя не учитывают. Анализ показал, что точка 3 является
промахом, а точки 1 и 2 относятся к другим слоям. Иначе
результаты среднего значения сопротивления сдвигу и погрешности измерения будут
искажены. В частности, при учете выскакивающих значений получены следующие
статистические характеристики прочности торфа:
σ3 = 0,047 кгс/см2, Кв = 23,5 %, а после
исключения выскакивающих значений
= 0,182 кгс/см2;
σ3 =0,028 кгс/см2,
Кв = = 15,4 %, т.е. Кв ≤ 20 %, и слой торфа
можно считать однородным по прочности.
Только при более или менее симметричном характере распределения значении изучаемого показателя отскоки можно не принимать в расчет. В противном случае следует выяснить причины отскоков: не относятся ли они к какому-либо пропущенному (не подвергнутому детальному исследованию) слою, имеющему важное значение для оценки устойчивости сооружения.
Числовые характеристики статистического распределения показателей слабых грунтов. Для однородного слоя в целом. Выше был рассмотрен вопрос определения статистических характеристик физико-механических показателей грунта, значения которых определены с одинаковой точностью (равноточные измерения). Применительно к грунтам это значит, что приведенные формулы можно использовать для вычисления характеристик статистического распределения, того или иного показателя грунта, который получен по результатам испытаний образцов в пределах однородного слоя из одной выработки (скважины, шурфа).
Результаты испытаний грунтов, отобранных из нескольких выработок, нельзя считать равноточными в силу возможной неоднородности грунта по простиранию. В этом случае в качестве оценки истинного значения показателя грунта всего слоя принимают средневзвешенное значение
(4.13)
где
веса измерений;
- средневзвешенное
значение показателя для однородного слоя;
-
среднеарифметические значения показателя отдельных выработок. Средневзвешенное
значение дисперсии однородного слоя определяют по формуле
(4.14)
где п1, п2, п3
- количество измерении показателя для отдельных скважин в пределах
рассматриваемого слоя;
,
,
- дисперсии
соответствующих показателей. В рассматриваемом примере средневзвешенное
значение сопротивление сдвигу слоя в пределах поперечника равно:
![]()
где
![]()
σср = 0,018 кгс/см2;
![]()
Средневзвешенное значение показателей болотных грунтов по формуле (4.14) можно использовать как оценку истинного значения показателя механических свойств грунтов, характеризующих прочность (сопротивление сдвигу), деформативность (сжимаемость) и скорость уплотнения грунта во времени.
Для слоистой толщи в целом. Толща болотных грунтов, как правило, не бывает однородной, а состоит из нескольких слоев. Каждый слой характеризуется своими физико-механическими показателями. В некоторых случаях возникает необходимость осреднять значения того или иного параметра для толщи в целом.
Опыт показывает, что с
достаточной для практических целей точностью слоистую толщу можно
характеризовать общим средневзвешенным значением показателя, приписывая каждому
значению
в качестве веса его
толщину Hi:
(4.15)
В качестве примера
рассмотрим поперечный профиль болота, представленного тремя слоями: каждый слой
характеризуется средневзвешенной плотностью (объемным весом скелета) торфа
и мощностью слоев Н1 = 1,8 м, Н2 = 1,2 м, Н3 =1,6
м.
Средневзвешенное значение плотности торфяной толщи в целом определим по формуле (4.15)
![]()
Вероятностно-статистический метод назначения расчетных характеристик болотных грунтов
Для определения расчетных значений характеристик грунтов целесообразно применять непосредственно вероятностно-статистические методы определения расчетных характеристик, назначая надежность расчетных показателей (доверительную вероятность) в зависимости от категории автомобильной дороги.
Расчетные характеристики болотных грунтов определяют по формуле
Ар = Ан ±εα, 4.16)
где Ар - расчетное значение показателя; Ан - нормативное значение показателя; εα - отклонение нормативного значения показателя от его истинного значения (половина ширины доверительного интервала);
(4.17)
где tα - коэффициент Стьюдента, определяемый по графику (см. рис. 2.5 основного текста) в зависимости от заданной доверительной вероятности (коэффициента надежности) α и числа измерений; σ - среднее квадратичное отклонение; N - число измерений.
При определении расчетных характеристик состава и состояния грунтов коэффициент надежности α назначают по табл. 2.10 (основного текста) в зависимости от категории проектируемой дороги.
При определении расчетных значений прочностных характеристик грунтов (сцепления и угла внутреннего трения, сопротивляемости сдвигу по крыльчатке и т.п.) коэффициент надежности принимают равным 0,99 независимо от категории проектируемой дороги.
Из формулы (4.16) видно, что расчетное значение показателя зависит от заданного коэффициента надежности и будет принимать значения в интервале с доверительными границами (Ап - εα, Ап + εα). В качестве расчетного значения следует принимать наименее выгодное значение показателя.

Рис. 4.3. График для определения расчетной влажности болотных грунтов вероятностно-статистическим методом: а - график рассеяния; б - полигон распределения
Так, например, для сопротивления сдвигу следует принимать значение Ан - εα, а для влажности Ан + εα.
Пример 1. Определим расчетное сопротивление сдвигу сн = 0,19 кгс/см2; σ = 0,018 кгс/см2; N = 48. Принимаем коэффициент надежности α = 0,99; tα = 2,68 (рис. 2.5 основного текста). По формуле (4.17) находим
кгс/см2.
Доверительный интервал значений сопротивления сдвигу равен 0,194÷0,007 кгс/см2 или 0,1834÷0,197 кгс/см2. В качестве расчетного значения следует принять наименьшее значение, т.е. срасч = 0,183 кгс/см2.
Пример 2. Требуется определить расчетную влажность слабого грунта, используемого в качестве основания дорог III категории. Все расчеты характеристик статистического распределения приведены на рис. 4.3.
Вычисление характеристики статистического распределения:
№ класса 1 2 3 4 5 6 7
Частоты Ni 1 1 4 9 3 1
Отклонение di -2- 1 0 1 2 3 4
Nidi -2 -1 0 9 6 3 4
Nidi2 4 1 0 9 12 9 16
ΣNidi
= 19; α = 550 %; h = 10
%; ![]()
d = 0,95×10 = 9,5;
= 550 + 9,5 = 559,5 ≈
560;
ΣNidi2 = 48;
![]()
σ = 12,3 ≈ 12;
![]()
Расчетная влажность:
α = 0,80; tα = 1,328; εα = 4 %; wрасч = 564 %; α = 0,90; tα = 1,729; εα = 5 %; wрасч = 565 %; α = 0,95; tα = 2,09; εα =6 %; wрасч = 566 %.
В результате этих расчетов получено: wпр = 560 %; s = 12 %; N = 20. Для дороги III категории α = 0,80, следовательно, tα = 1,328.
По формуле (4.17) определяем
![]()
Доверительный интервал значений влажности равен 556-564 %. В качестве расчетного значения следует принять менее выгодное, т.е. wрасч tα = 564%.
Принимая соответственно коэффициент надежности α = 0,90 и α = 0,95, получим следующие значения расчетной влажности
![]()
![]()
Определим расчетное значение влажности, предполагая, что испытано не 20, а 6 образцов. В этом случае получим:
![]()
![]()
![]()
Расчеты свидетельствуют о влиянии числа испытаний на размеры доверительного интервала. Чем меньше число измерений, тем больше доверительный интервал при данном коэффициенте надежности, одно из граничных значений, которого принимают в качестве расчетного значения показателя.
Упрощенный способ обработки и определения расчетных значений показателей физико-механических свойств грунтов
При упрощенном способе слой считают однородным, если не менее 90 % значений рассматриваемой характеристики лежит в пределах условно устанавливаемых границ. Последние можно назначать, например, с учетом составленных таблиц физико-механических свойств для данного вида болотного грунта. Например, применительно к торфяным грунтам допустимый диапазон измерения природной влажности в однородном слое можно принять равным диапазону изменения влажности в пределах одной разновидности грунта (см. табл. 2.1 основного текста).
В качестве природной влажности определяют среднемедианное значение ее непосредственно по графику рассеяния (рис. 4.4), соответствующее экспериментальной точке, расположенной в середине ряда, считая снизу или сверху. Например, при 15 экспериментальных точках среднемедианное значение будет соответствовать восьмой точке, отсчитываемой снизу (или сверху). При четном количестве точек за среднемедианное принимают среднее значение между двумя точками в середине ряда. Например, при 16 точках среднее значение будет между 8-й и 9-й точками.

Рис. 4.4. График рассеяния значений природной влажности торфяного слоя
|
|
|
|
Рис. 4.5. График для определения гарантированной частости Σгар в зависимости от числа определений п показателей физико-механических свойств грунтов |
Рис. 4.6. График накопленной частости значений природной влажности торфяного слоя |
При определении среднемедианного значения графики рассеяния предварительно подвергают анализу и при наличии явно отскакивающих точек их в расчет не принимают (если таких точек не более 10 % от общего количества). Среднемедианное значение принимают за нормативную величину данной характеристики.
За расчетное значение данной характеристики принимают величину, зависящую от так называемой гарантированной частости Σгар, определяемой по графику (рис. 4.5). По величине Σгар, используя интегральный график накопленной частости (рис. 4.6), определяют расчетное значение характеристики. При этом необходимо учитывать характер определяемого параметра, чтобы расчетное значение в одних случаях оказалось больше (влажность), а в других меньше (прочность) среднемедианного значения.
Образцы грунтов (нарушенной или ненарушенной структуры) отбирают из скважины или шурфов.
Образцы с ненарушенным сложением (монолиты) отбирают из буровых скважин в специальные жесткие гильзы, располагаемые внутри грунтоноса. Гильзы изготовляют из металла (жести) или из плотного картона, пропитанного парафином.
Открытые поверхности образца грунта закрывают крышками или марлей, пропитанной парафином. Перед изоляцией открытых поверхностей образца на верхнюю поверхность кладут этикетку, кроме того, этикетку кладут на боковую поверхность в процессе парафинирования монолита.
Если гильза изготовлена из картона, то после отбора образца следует обернуть гильзу с образцом несколькими слоями марли и запарафинировать. Нарушенные образцы грунтов, в которых требуется сохранить естественную влажность, укладывают в металлические или пластмассовые банки (бюксы) с герметически закрывающимися крышками. Для сохранения влажности образца грунта горловинную часть банки, закрытую крышкой, следует запарафинировать. Для герметизации по стыку крышки бюкса с корпусом приклеивают также хлорвиниловую изоляционную ленту.

Рис. 5.1. Тара для образцов слабых грунтов:
а - ящик для отбора монолитов; б - цилиндр для отбора монолитов
При заложении шурфов на поверхности земли намечают лопатой прямоугольник следующих размеров: 80×170 см - при отборе образцов с глубины 1-2 м и 40×60 см с глубины 50-70 см.
Затем по абрису прямоугольника копают яму так, чтобы не испортить «лицевой» стенки (одна из коротких стенок); на противоположной стороне шурфа делают ступени. Воду, поступающую в шурф, удаляют. Каждый заложенный шурф регистрируют в полевом журнале.
На лицевой стенке вырезают образцы грунта в форме прямоугольного параллелепипеда (15×15×20 см).
Образцы ненарушенной структуры отбирают непосредственно с лицевой стенки в форме параллелепипеда размером 20×20×30 см и сразу же отмечают «Верх».
В целях сохранения естественной влажности грунта монолиты на месте отбора немедленно изолируют от наружного воздуха (метод парафинирования).
Образец обматывают двумя слоями марли (пористый образец заворачивают в целлофан или полиэтиленовую пленку) и парафинируют. Первый слой парафина рекомендуется наносить щеткой, а затем образец несколько раз погружают в расплавленный парафин до тех пор, пока толщина оболочки парафина будет не менее 2-3 мм; до завертывания образца в марлю на верхнюю его поверхность кладут этикетку, пропитанную парафином, второй экземпляр этикетки, смоченный парафином, наклеивают сверху запарафинированного образца.
В целях увеличения пластичности в парафин желательно добавлять воск (20-25 % по весу), канифоль (5-10 %) и минеральное масло (3-5 %).
Для отбора монолитов в шурфах также применяют специальные металлические ящики (рис. 5.1), которые состоят из металлического корпуса толщиной 1,5-2,0 мм, съемных крышек с уплотнительными прокладками и стяжных болтов.
К стенкам ящика приварены две ручки для удобства переноса и извлечения ящика с монолитом из шурфа.
Процесс отбора монолита. На устроенный выступ (на заданной глубине отбора) к узкой стенке шурфа ставят ящик, который задавливают в торфяной грунт таким образом, чтобы верх ящика оказался ниже поверхности грунта.
Затем осторожно острым ножом или лопатой монолит с ящиком подрезают и извлекают из шурфа.
Излишки торфа сверху и снизу срезают заподлицо со стенками ящика, кладут этикетку монолита и закрывают ящик крышками с уплотнительными прокладками.
Образцы грунтов для отправки в лаборатории, расположенные на значительном расстоянии от места отбора образцов, упаковывают в деревянные ящики, вмещающие не более 30 кг.
Образцы укладывают плотно, заполняя свободное пространство древесными опилками, стружками и т.п. Образцы хранят в помещении при температуре воздуха не ниже 2 и не выше 20 °С. При этом срок хранения, как правило, не должен превышать 30 сут., считая со дня отбора образца до производства лабораторных испытаний.
Графики (рис. 6.1-6.15) позволяют определить величину большего и меньшего главных напряжений, возникающих в заданной точке грунтового массива от нагрузки, приложенной к поверхности и распределенной по закону равнобочной трапеции.
Для точки с заданными относительными
координатами
и
(где z и
х - соответственно вертикальная и горизонтальная координаты точки в
абсолютных единицах) при заданной характеристике очертания эпюры нагрузки
по графикам
устанавливают значения главных напряжений σ1 и σ2
в долях от нагрузки на поверхности р0
Значения α1 и α2 определяют непосредственно по изолиниям или по интерполяции.
Исходные данные. Насыпь (рис. 7.1): расчетная высота 4 м; ширина поверху 12 м; откосы 1:1,5; объемный вес грунта насыпи 2 т/м3; то же, во взвешенном состоянии - 1 т/м3.
Основание насыпи; слабая толща сложена торфом; торф средней зольности, слабоволокнистый, средней влажности.
Мощность слабой толщи 4 м. Горизонт грунтовых вод совпадает с поверхностью толщи.
Объемный вес торфа γw - 0,94 т/м3. Слабая толща подстилается глиной твердой консистенции (т.е. дренирование - одностороннее).

Рис. 6.1. Схема нагрузки, изменяющейся по закону равнобочной трапеции
|
|
|
|
Рис. 6.2. Графики значений |
Рис. 6.4. Графики значений |
|
|
|
|
Рис. 6.3. Графики значений |
Рис. 6.5. График» значений |
|
|
|
|
Рис. 6.6. Графики значений |
Рис. 6.8. Графики значений |
|
|
|
|
Рис. 6.7. Графики значений |
Рис. 6.9. График» значений |
|
|
|
|
Рис. 6.10. Графики значений |
Рис. 6.12. Графики значений |
|
|
|
|
Рис. 6.11. Графики значений |
Рис. 6.13. График» значений |
Стандартная компрессионная кривая первичной осадки, зависимости:
![]()
и консолидационные кривые λ = f(p) представлены на рис. № 3.1-3.3 приложения 3.
Зависимость сцепления и угла внутреннего трения от влажности дана на рис. 3.7 приложения 3. Условное сцепление и условный угол внутреннего трения, полученные в опыте с полной консолидацией образцов, даны на рис. 3.8 приложения 3.
Расчетный срок службы дороги Тсл = 20 лет. Покрытие капитального типа.
Расчет величины осадок. Зная компрессионные и консолидационные параметры eI, tI и тР (см. приложение 3) определяют расчетное значение еp с учетом срока службы дорожной конструкции для нескольких различных нагрузок по формуле
,
где e1 -модуль первичной осадки; тР - консолидационный параметр; tI - время завершения первичной осадки; tрасч - время, определяемое по формуле
Рис. 7.1. Расчетный поперечник
При
p = 0,5 кгс/см2
= 290 + 1000·0,04 lg
= 318 мм/м;
р = 1,0
кгс/см2
= 390 + 1000·0,056 lg
= 430 мм/м;
p = 1,5 кгс/см2
= 440 + 1000·0,05 lg
= 476 мм/м.
Полученные значения наносят на сетку координат е-р и получают зависимость расчетного модуля осадки от нагрузки, т.е. расчетную компрессионную кривую (см. рис 3.1 приложения 3).
Для расчета осадки используем формулу (4.5) основного текста
S = 0,001ΣepzHi.
При имеющемся соотношении ширины подошвы насыпи понизу к мощности слабого слоя можно принять, что слой однороден по глубине с точки зрения напряженного состояния, т.е. следует вести расчет в соответствии с п. 4.5. В связи с этим формула будет иметь вид
S = 0,001epH.
Поскольку в основании насыпи имеется торфяной грунт и следует ожидать значительную осадку, применяем графо-аналитический метод расчета, согласно которому необходимо определить расчетную нагрузку в зависимости от осадки насыпи pt = f(S) и зависимость осадки от нагрузки S = f(pрасч).
Определяем расчетную нагрузку по формуле (п. 3.8)
![]()
γн- объемный вес
грунта насыпи;
- то же, с учетом взвешивания; S - осадка; h - высота насыпи.
При S = 0,5 р0 = 2·4 = 8 т/м2 = 0,8 кгс/см2; S = l м р0 = 2·4 + (2- ) 1 = 9 т/м2 = 0,9 кгс/см2.
Далее определяем осадку слабого слоя:
При р = 0,5 кгс/см2 S = 0,001·318,4·4 = 1,27 м;
р = 1,0 кгс/см2 S = 0,001·429,7·4 = 1,72 м;
р = 1,5 кгс/см2 S = 0,001·475,5·4 = 1,90 м.
Результаты наносят на общую сетку координат S-р (рис. 7.2). Точка пересечения указанных зависимостей определит Spaсч = l,68 м и Ррасч = 0,97 кгс/см2.
Проверка устойчивости основания. Устойчивость основания оценивается по величине коэффициента безопасности в соответствии с п. 3.6 основного текста
![]()
Проводим расчет на быструю отсыпку. Расчетная нагрузка
Ррасч = γн(hрасч
+ Sкон) = 2(4 + 1,68) = 11,36 тс/m2
1,14 кгс/см2.
Безопасная нагрузка для условий быстрой отсыпки
![]()

Рис. 7.2. Расчет осадки графо-аналитическим методом
В общем случае решение следовало бы искать графическим методом (см. п. 3.12 основного текста), однако в данном случае объемный вес торфа во взвешенном состоянии близок к нулю, вследствие чего вышеприведенная формула упрощается
![]()
Для
определения β необходимо знать
величину
и величину
, где b - полуширина насыпи по подошве, а В
- ширина насыпи поверху.
Величина ![]()
Максимальная величина относительной координаты соответствует низу слабого слоя
![]()
Для слоя торфа
wприр = 600 % и по графикам рис. 3.7.
расчетные значения сцепления и угла внутреннего трения, соответствующие
указанной влажности, составляют: снач
= 0,17 кгс/см2, φнач
= 7°. Далее определяем β. По
графикам (см. рис.
3.1 и 3.2
основного текста) для данных условий β
достигает максимальных значении при V большем чем 0,33. Поэтому за
расчетный горизонт принимают нижнюю грань слоя. При V = 0,33 и
находим β = 0,275.
Безопасная нагрузка для слоя торфа составит
![]()
и коэффициент безопасности
![]()
Следовательно, устойчивость насыпи при быстрой отсыпке не обеспечена. Необходимо проверить устойчивость основания при медленной отсыпке насыпи. Определяем величину расчетной нагрузки (см. п. 3.8)
,
где γн - объемный вес грунта
насыпи;
- то же, с учетом
взвешивания; hрасч - расчетная высота
насыпи; Sкон
- конечная осадка слабого слоя.
Ррасч = 2·4 + (2-1)1,68 = 9,68 тс/м2 = 0,97 кгс/см2.
Для случая медленной отсыпки насыпи расчет безопасной нагрузки осуществляется по формуле (3.16) основного текста
![]()
Согласно результатам испытаний «кажущееся» сцепление, полученное в опыте с полной консолидацией, соответствующее состоянию грунта при полном уплотнении под расчетной нагрузкой, составляет1с’ = 0,11 кгс/см2, а «кажущийся» угол внутреннего трения, φ’ =30°.
По графикам рис. 3.1-3.2 основного текста находим при V-0,33β = 0,108;
отсюда ![]()
Определяем ![]()
Таким образом, расчет устойчивости показал, что в данном случае торфяной слой может быть использован в качестве основания принятой конструкции насыпи, но необходимо рассчитать режим отсыпки насыпи.
Расчет осадки во времени. Консолидационные параметры для прогноза времени уплотнения находим по исправленным кривым образцов с разными условиями дренирования и уплотненных под расчетной нагрузкой р = 0,97 кгс/см2 (см. рис. 3.4 приложения 3).
Время завершения
первичной осадки рассчитываем по формуле (4.13) основного текста TI
= bλp
.
По консолидационной
кривой видим, что завершение первичной осадки соответствует λ = 0,40. По графику (tλ = f(
) (см. рис. 3.5 приложения
3) находим консолидационный параметр bλp = 3,2 мин/см2, откуда
ТI = 3,2(400)2 = 512000 мин = 1 год.
Таким образом, время завершения первичной осадки составляет 1 год.
Определяем время
достижения заданной степени консолидации
, например U = 80 %.
При конечной осадке Sкон = 1,68 м U = 80 % будет соответствовать
.
По графику рис. 3.5 приложения 3 находим консолидационный параметр bλp = 2,2 мин/см2. Отсюда
Т80 = bλp
= 2,2·4002 = 352000 мин =
244 сут.
В тех случаях, когда сроки строительства больше, необходим прогноз хода осадки основания во времени.
Прогноз последующей осадки осуществляют по формуле (4.16) основного текста
![]()
При ТI =
1 год формула принимает вид
,
![]()
где тр = 0,056 (см. рис. 3.3 приложения 3).
Определим время достижения относительной деформации λ > λI при λ = 0,45:
![]()
откуда T = 1,8 года = 657 сут.
По полученным значениям времени достижения указанных выше значений относительной деформации строим график зависимости
λ = f (lg t)

Рис. 7.3. Ход осадки во времени реального слоя
Для уточнения начального участка кривой определим время достижения степени уплотнения U = 50 %.
S = Sкон50 % = 0,84 м; λ = 0,84/4 = 0,21.
По графику находим консолидационный параметр bλp = 0,8 мин/см2, Тλр = 0,8·4002 = 128000 мин = 88 сут.
Получаем реальную кривую консолидации слоя торфа под нагрузкой от веса насыпи (рис. 7.3).
Исходные данные. Насыпь: расчетная высота 2 м, ширина поверху 12 м; откосы 1:1,5; объемный вес грунта насыпи 2 т/м3; расчетная нагрузка на основании от насыпи после завершения осадки 0,5 кгс/см2.
Основание насыпи: слабая толща сложена торфом средней зольности, слабоволокнистым, средней влажности.
Мощность слабой толщи 3 м. Слабая толща подстилается мелкозернистым песком (т.е. отжатие воды при уплотнении - двустороннее).
Консолидационные кривые торфяного грунта представлены на рис. 3.2 и 3.4 приложения 3.
Требуется рассчитать величину временной пригрузки, которая обеспечит достижение относительной осадки слабого слоя. λ = 0,30 (что соответствует степени уплотнения основания U = 90 %) за время Тстаб = 7 мес.
По кривым консолидации образца высотой h = 2 см устанавливаем время tрасч достижения расчетной относительной осадки λрасч = 0,30 при различных нагрузках и двух путях фильтрации; строим графики зависимости tрасч = f (p) (рис. 8.1).
По графикам устанавливаем величины tрасч = 650 мин и tрасч1 = 1350 мин, отвечающие расчетной нагрузке Pрасч = 0,5 кгс/см2 соответственно при дву- и одностороннем отжатии воды.
Затем строим график
зависимости времени достижения расчетной относительной деформации λ = 0,3 от квадрата высоты образца tрасч = f (
) (рис. 8.2). По
этому графику находим значения параметров аλр
= 417 мин и bλp = 233 мин/см2, отвечающие
расчетной осадке λрасч
= 0,3 и расчетной нагрузке Ррасч
= 0,5 кгс/см2.
Время достижения
относительной осадки λрасч
= 0,3 лабораторного образца (путь фильтрации
), соответствующее требуемому времени Ттреб = 7 мес. Достижения расчетной осадки (λрасч = 0,3) реальным слоем, определим по
формуле
По графику tрасч
= f(p) для
(см. рис. 8.1) устанавливаем величину
уплотняющей нагрузки Ртреб
= 0,7 кгс/см2, отвечающую найденному времени tтреб
=37,6 мин.
Величина временной нагрузки
Рприг = Ртреб - Ррасч = 0,7 - 0,5 = 0,2 кгс/см2.
Графо-аналитический способ. Для определения величины временной пригрузки используем приближенную зависимость T = f(Р)
![]()
Определим параметры. аλ, bλ, рλ.
По кривой консолидации образца высотой h - 2 см под расчетной нагрузкой Рраcч = 0,5 кгс/см2 при двустороннем отжатии воды устанавливаем время, соответствующее λраcч = 0,3, tраcч = 650 мин.
|
|
|
|
Рис. 8.1. Зависимость времени достижения λрасч = 0,3 от нагрузки |
Рис. 8.2. Зависимость времени достижения расчетной относительной деформации от квадрата высоты образца |
По кривой консолидации образца под нагрузкой p1 = 1 кгс/см2 при двустороннем отжатии воды устанавливаем время, соответствующее λраcч = 0,3, t1 = 14 мин.
Из уравнения находим
![]()
По кривой консолидации образца (см. рис. 8.1) под нагрузкой Рраcч = 0,5 кгс/см2 при одностороннем отжатии воды устанавливаем время t1 = 1350 мин достижения λраcч = 0,3.
Параметры аλ и bλ находим из выражений:
Устанавливаем величину временной пригрузки

Таким образом, согласно расчету нагрузка от временной пригрузки на основании должна быть равна 0,2 кгс/см2. При объемном весе грунта насыпи 2 т/м3 для обеспечения этой нагрузки должен быть отсыпан слой грунта толщиной 1 м.
Исходные данные. Автомобильная дорога III категории с асфальтобетонным покрытием.
Насыпь: высота 2 м; ширина поверху 12 м; заложение откосов т = 2:3; объемный вес грунта насыпи γн = 2 т/м3.
Основание насыпи: слабая толща сложена торфом средней зольности, слабоволокнистым, средней влажности. Мощность 6 м. Слабая толща подстилается моренной супесью с коэффициентом фильтраций Кф =0,01 м/сут.
Условия отжатия воды - односторонняя фильтрация. Горизонт грунтовых вод совпадает с поверхностью. Компрессионные и консолидационные кривые торфа даны на рис. 9.1. Фильтрационная способность торфа при вертикальной и горизонтальной фильтрации одинакова.
Требуется рассчитать диаметр и шаг дрен, обеспечивающих достижение расчетной осадки или требуемой степени консолидации основания 90 % за 9 мес.
Расчет. Расчетную нагрузку на основание определяем по формуле
Ррасч = γнhрасч + (γн - γвзв)Sрасч.

Рис. 9.1. График для определения:
а - расчетной нагрузки и осадки; б - хода осадки во времени
Величина нагрузки на основание при S = 0 и S = 2 м составит соответственно 0,4 и 0,6 кгс/см2.
Точка пересечения графиков зависимостей S = f (p) и p = f (S) (см. рис. 9.1, а) отвечает расчетной нагрузке Ррасч = 0,54 кгс/см2 и расчетной осадке Sрасч = 1,4 м.
Расчет проводим, задавшись диаметром обсадной трубы d = 0,4 м и расположением дрен по квадратной сетке с шагом l = 3 м.
Эффективный диаметр дрены D = 1,13·l = 3,4 м.
Величина сближения ![]()
Согласно результатам испытаний на консолидацию, время завершения, 90 %-ной фильтрационной осадки образца высотой 20 мм при одностороннем оттоке воды под нагрузкой 0,6 кгс/см2 составит 30 мин.
Определяем коэффициент консолидации торфа (см. рис. 9.1, б)
![]()
Фактор времени при горизонтальной фильтрации
![]()
Фактор времени при вертикальной фильтрации
![]()
По графику (см. рис. 5.6. основного текста) при п = 8,5, Uг =88 % Uв = 37 %.
Общую степень консолидации основания определяем по формуле Uобщ = 100-0,01(100-Uв) (100-Uв) = 100-0,01·(100-88)×(100-37) = 92 %, что достаточно близко к заданному значению Uтр = 90 %.
Следовательно, устройство вертикальных дрен диаметром 400 мм с шагом 3 м позволяет за 9 мес. достигнуть 92 %-ной консолидации слоя торфа.
Выражение, связывающее расчетную влажность слабой толщи (влажность на горизонте z = Hф, где Нф - максимальный путь фильтрации отжимаемой воды) с осадкой ее поверхности, имеет вид

где St - осадка поверхности основания на момент t; Sкон - конечная осадка при расчетной нагрузке; wнач и wкон - начальная и конечная влажность грунта под расчетной нагрузкой.
Расчет режима возведения насыпи с использованием указанной зависимости осуществляют графо-аналитическим способом в следующей последовательности.
Задаются четырьмя значениями осадки St:
St1 = 0,67 м; St2 = 0,84 м;
St3 = l,17 м; St4 = 1,51 м.
По вышеприведенному выражению вычисляют влажность, соответствующую моменту достижения осадок St1, St2, St3, St4.
wt1 = [6,28 - (1,57
- 0.57)(6,28
- 3,62)]100 = 612 %;
wt2= [6,28 - (1,57
- 0,57)(6,28 - 3,62)]100 = 571 %;
wt3 = [6,28 - (1,57
- 0,57)(6,28
- 3,62)] 100 = 487 %;
wt4= [6,28 -
(1,57
- 0,57)(6,28 - 3,62)]100 = 405 %.
Для данного примера формула для расчета безопасной нагрузки имеет вид
![]()
По кривой cw = f(w) (см. рис. 3.7 основного текста) определяют сw для полученных влажностей
При
V = 0,33 и β = 0,275.
![]()
![]()
![]()
![]()
![]()
Наносят зависимость S = f (Рбез) на график (рис. 10.1, а) и получают кривую ABCDE.
Величина фактически действующей нагрузки не должна быть ниже безопасной более чем на 10 % и нагрузка в процессе осадки слоя должна снижаться не более чем на 10 %. Для того чтобы удобнее было контролировать эти условия, строят кривую, абсциссы точек которой не отличаются более чем на 10 % от кривой S = f (Рбез). Получают кривую Al Bl Cl D1 El.
Безопасная нагрузка на основание в его природном состоянии с учетом расположения расчетного горизонта на нижней грани слоя равна 0,62 кгс/см2. При объемном весе грунта насыпи γн = 2 т/м3 на основание можно отсыпать сразу слой толщиной
![]()
Нагрузка от насыпного слоя по мере уплотнения (роста осадки) будет снижаться вследствие проявления эффекта взвешивания в соответствии с линейной зависимостью
![]()
При
S1 = 0 р1 = 3,1·2 т/м2 = 0,62 кгс/см2;
S2 = 0,5 м р2 = 3,1·2 - 0,5·1 = 5,7 т/м2 = 0,57 кгс/см2;
S3 = 1 м р3 = 3,1·2 - 1·1 = 5,2 т/м2 = 0,52 кгс/см2.
Полученные значения наносят на график, получают прямую AM.
В соответствии с расчетом
осадки конечная осадка слоя торфа мощностью 4 м составляет 1,68 м и нагрузка
0,96 кгс/см2. Эту точку наносят на график. Получают точку F, которая
является конечной точкой графика зависимости нагрузки, действующей на основание
в процессе осадки после отсыпки полного объема грунта. Эта зависимость
выражается в данном случае формулой Р
= Рнач - S
.
Наносим эту зависимость на график, для чего через точку F проводим прямую,
параллельную прямой AM. Отрезок FРN представляет собой конечный
участок искомой фактической зависимости нагрузки от осадки при наиболее
рациональном режиме загружения.
Нагрузка от
первоначального отсыпанного слоя составит 90 % от безопасной нагрузки при
осадке 0,48 м (точка
). В этот
момент необходимо повысить нагрузку до величины безопасной нагрузки Р2.
После этого нагрузка будет снова постепенно снижаться в процессе осадки
(линия Р2М1) и
достигнет величины 90 % от безопасной при осадке 0,76 м. Рассуждая аналогично,
получают ломаную линию Р1
, Р2
, Р3
,… Р8
, представляющую собой искомую реальную зависимость
нагрузки от осадки.
Полученный график показывает, какими ступенями можно прикладывать нагрузку на основании из условия обеспечения устойчивости на наиболее опасном горизонте. Далее определяют толщину слоев (табл. 10.1).
Насыпь из условия обеспечения устойчивости может отсыпаться рассчитанными слоями.
Далее определяют время выдерживания каждого слоя, используя кривые консолидации (рис. 10.1, б). Первая ступень должна быть выдержана, до достижения осадки 0,48 м. Откладывают на оси ординат S = 0,48 м и проводят горизонтальную пунктирную линию до пересечения с кривой, отвечающей нагрузке Р = 0,6 кгс/см2.

Рис. 10.1. График для определения:
а - ступеней нагрузки при наиболее рациональном режиме отсыпки насыпи; б - времени выдерживания различных ступеней нагрузки по кривым осадки во времени в зависимости от нагрузки Р кгс/см2
Таблица 10.1
|
№ слоя |
Нагрузка, кгс/см2 |
Толщина слоев, м |
Общая толщина, м |
|
1 |
0,62 |
3,10 |
|
|
2 |
0,64 |
0,40 |
3,50 |
|
3 |
0,69 |
0,50 |
3,90 |
|
и т.д. |
|
|
|
Получают точку, которой соответствует время примерно 3 мес. Это и будет необходимое время выдерживания первой ступени нагрузки. Далее можно отсыпать второй слой, повысив нагрузку до 0,64 кгс/см2. При этом грунт основания будет уже консолидироваться в соответствии с кривой, отвечающей нагрузке Р = 0,70 кгс/см2, до достижения осадки 0,76 м. Время воздействия этой ступени составит 5-3 = 2 мес. После достижения осадки 0,76 м нагрузка может быть увеличена до 0,75 кгс/см2. Грунт основания будет уплотняться в соответствии с кривой, отвечающей нагрузке Р = 0,8 кгс/см2. Время достижения этой осадки составит 6 мес. Аналогично строят график далее до достижения величины первичной осадки.
Исходные данные. Насыпь: высота 6 м; ширина поверху 12 м; крутизна откосов 1:1,5; объемный вес грунта насыпи 2 т/м3. Основание насыпи представлено 2-метровым слоем торфа средней зольности, слабоволокнистым, средней влажности и 8-метровым слоем иольдиевых глин III разновидности подстилаемых плотной супесью (рис. 11.1). Сопротивляемость сдвигу торфяного грунта в природном состоянии сусл = 0,2 кгс/см2, а в состоянии полного уплотнения под нагрузкой от веса насыпи сцепление составляет сw = 0,3 кгс/см2 и угол внутреннего трения φw = 15°. Сопротивляемость сдвигу иольдиевых глин в природном состоянии сусл = 0,1 кгс/см2, а в состоянии полного уплотнения под воздействием нагрузки от насыпи сw = 0,18 кгс/см2 и φw =10°. Супесь, подстилающая иольдиевую глину, имеет сопротивляемость сдвигу в природном состоянии более 1 кгс/см2. Расчеты показали, что безопасная нагрузка для основания при быстрой отсыпке Рбез = 0,35 кгс/м2 и регламентируется слоем иольдиевой глины; расчетная осадка насыпи составляет 1 м, а безопасная нагрузка при медленной отсыпке - 0,8 кгс/см2.

Рис. 11.1. Расчетный поперечник:
1 - торф; 2 - иольдиевая глина; 3 - супесь
При осадке в 1 м фактическая нагрузка на основании при быстрой отсыпке составит и при медленной отсыпке (считая горизонт грунтовых вод совпадающим с поверхностью земли)
Р = (6 + 1) 2,0 = 14 кгс/см2
Р = 6·2,0 + 1·1 = 1,3 кгс/см2.
Отсюда коэффициент безопасности при быстрой отсыпке
![]()
а при медленной отсыпке
![]()
т.е. устойчивость основания при заданной конструкции насыпи не обеспечена.
Требуется обеспечить устойчивость основания путем устройства боковых пригрузочных берм и определить ориентировочно размеры берм, полагая, что объемный вес грунта берм выше уровня воды (1,8 т/м3), при расчете на медленную отсыпку.
Расчет. Устанавливаем ориентировочно требуемую высоту пригрузочных берм, используя формулу
![]()
Полагая приближенно, что увеличение сцепления и угла внутреннего трения при уплотнении грунта основания нагрузкой от веса насыпи пропорционально величине этой нагрузки (т.е. толщине насыпного слоя), получаем, что сцепление грунта основания под бермами при полном уплотнении от их веса составит (учитывая, что при высоте насыпи 6 м скон = 0,18 кгс/см2)
![]()
При высоте насыпи 6 м конечная величина угла внутреннего трения равна 10°. Полагая аналогично, что увеличение угла внутреннего трения пропорционально толщине насыпного слоя, получаем при толщине призм 2,8 м (считая φнач = 0)
![]()
При полученных значениях φкон и скон определяем по формуле (5.19) основного текста) максимальную высоту пригрузочных берм, допустимую с точки зрения устойчивости основания под самими бермами
![]()
что больше требуемой высоты (2,8 м). Таким образом, конструкция с пригрузочными бермами высотой 2,8 м может быть осуществлена.
Определяем теперь требуемую длину пригрузочных берм. Для этого предварительно вычислим величину bср и определим α:
![]()
![]()

Рис. 11.2. График зависимостей y1 = f1(a), y2 = f2(a)
Величину α устанавливаем по формуле 5.23 основного текста. При этом в расчет вводим значения φ и с, соответствующие грунту, расположенному под бермами в состоянии полного уплотнения под нагрузкой от их веса, т.е. принимаем с = 0,14 кгс/см2 и φ = 5°.
Вычисляем:
и ![]()
Наносим зависимость
на график рис. 11.2 и
по первой слева точке пересечения построенных прямой и кривой
определяем величину α = 22°.
Вычисляем величину
![]()
Так как Н = 10 м < 48,5 м, то для определения длины берм используем формулу

Таким образом, устройство пригрузочных берм высотой 2,8 м и длиной 26 м должно обеспечить устойчивость насыпи проектной высоты при условии медленной отсыпки.
Полученные результаты следует проверить и при необходимости уточнить, применяя метод расчета устойчивости по круглоцилиндрическим поверхностям скольжения.
Исходные данные. Автомобильная дорога IV категории с асфальтобетонным покрытием. Насыпь: рабочая отметка 3 м; ширина поверху 12 м; заложение откосов 2:3; объемный вес грунта γн = 2 т/м3.
Основание насыпи: иольдиевые глины III разновидности, скрытотекучей консистенции; мощность Н = 7 м.
Прочностные характеристики глин в условиях природного залегания: полное сцепление сw = 0,15 кгс/см2; структурное сцепление cc = 0,10 кгс/см2; угол внутреннего трения φw = 0°.
Предел структурной прочности при компрессионном сжатии Рcтр = 0,4 кгс/см2. Относительная осадка под нагрузкой 0,6 кгс/см2, λ0 = 0,10. Коэффициент поперечной деформации μг = 0,45.
Устойчивость необходимо проверять исходя из двух условий:
Ррасч < Рбез - исключение деформации сдвига;
Ррасч < Рстр - исключение осадки.
Расчетная нагрузка на основание
Ррасч = γнh = 0,2·3 = 0,6 кгс/см2.
Безопасная нагрузка при φ = 0
![]()
т.е. Ррасч > Рбез и устойчивость по первому условию не обеспечена. Поскольку Ррасч > Рстр, то устойчивость основания по второму условию также не обеспечена.
Для обеспечения устойчивости основания предлагается устроить песчаные сван диаметром d = 0,30 м. Коэффициент бокового давления песка ζ = 0,3.
Условие обеспечения устойчивости при φ = 0 имеет вид
Рz - Рх = 2сс = 2·0,10 = 0,20 кгс/см2.
В долях от расчетной нагрузки допустимая разность главных напряжений составит
![]()
![]()
По специальным таблицам приложения
13 при λ0 = 0,10
этой величине отвечает сближение ![]()
Для обеспечения второго
условия давление на слабый слой должно быть ограничено 0,4 кгс/см2.
В долях от Р0 это составит
![]()
По таблице (см. приложение 13) этой величине соответствует сближение 0,2.
Из расчета по обоим условиям принимаем т = 0,2 и шаг свай l + d = 1,8 м.
μ = 0,2
|
т |
λ0 = 0,025 |
λ0 = 0,05 |
λ0 = 0,10 |
||||||||||
|
ε=0,25 |
ε =0,30 |
ε =0,35 |
ε =0,40 |
ε =0,25 |
ε =0,30 |
ε =0,35 |
ε =0,40 |
ε =0,25 |
ε =0,30 |
ε =0,35 |
ε =0,40 |
||
|
0,20 |
λг/λ0 |
0,0043 |
0,0045 |
0,0047 |
0,0048 |
0,0088 |
0,0092 |
0,0095 |
0,0098 |
0,0181 |
0,0190 |
0,0198 |
0,0204 |
|
λв/λ0 |
0,0211 |
0,0221 |
0,0228 |
0,0230 |
0,0420 |
0,0440 |
0,0455 |
0,0467 |
0,0831 |
0,0871 |
0,0902 |
0,0928 |
|
|
рх/р0 |
0,3420 |
0,3570 |
0,3700 |
0,3790 |
0,3400 |
0,3600 |
0,3730 |
0,3830 |
0,3470 |
0,3650 |
0,3790 |
0,3900 |
|
|
pz/р0 |
0,8800 |
0,9200 |
0,9510 |
0,9760 |
0,8760 |
0,9170 |
0,9490 |
0,9750 |
0,8670 |
0,909 |
0,9420 |
0,9690 |
|
|
0,30 |
λг/λ0 |
0,0057 |
0,0061 |
0,0064 |
0,0067 |
0,0114 |
0,0125 |
0,0129 |
0,0135 |
0,0233 |
0,0252 |
0,0266 |
0,0279 |
|
λв/λ0 |
0,0185 |
0,0195 |
0,0208 |
0,0217 |
0,0368 |
0,0393 |
0,0414 |
0,0431 |
0,0723 |
0,0740 |
0,0817 |
0,0852 |
|
|
рх/р0 |
0,3750 |
0,4010 |
0,4220 |
0,4400 |
0,3760 |
0,4030 |
0,4250 |
0,4430 |
0,3780 |
0,4060 |
0,4300 |
0,4400 |
|
|
pz/р0 |
0,7880 |
0,8420 |
0,8860 |
0,9220 |
0,7820 |
0,8370 |
0,8810 |
0,9170 |
0,7700 |
0,8850 |
0;8700 |
0,9070 |
|
|
0,40 |
λг/λ0 |
0,0066 |
0,0072 |
0,0077 |
0,0081 |
0,0132 |
0,0144 |
0,0154 |
0,0165 |
0,0267 |
0,0295 |
0,0315 |
0,0334 |
|
λв/λ0 |
0,0161 |
0,0176 |
0,0188 |
0,0198 |
0,0320 |
0,0349 |
0,0378 |
0,0393 |
0,0627 |
0,0683 |
0,0731 |
0,0772 |
|
|
рх/р0 |
0,3920 |
0,4280 |
0,4570 |
0,4820 |
0,3920 |
0,4280 |
0,4590 |
0,4840 |
0,3950 |
0,4300 |
0,4620 |
0,4890 |
|
|
pz/р0 |
0,7000 |
0,7620 |
0,8140 |
0,8500 |
0,6930 |
0,7550 |
0,8070 |
0,8520 |
0,6800 |
0,7420 |
0,7940 |
0,8390 |
|
|
0,50 |
λг/λ0 |
0,0072 |
0,0079 |
0,0086 |
0,0092 |
0,0143 |
0,0159 |
0,0172 |
0,0194 |
0,0288 |
0,0321 |
0,0349 |
0,0374 |
|
λв/λ0 |
0,0147 |
0,0156 |
0,0163 |
0,0179 |
0,0279 |
0,0388 |
0,0394 |
0,0356 |
0,0546 |
0,0603 |
0,0653 |
0,0697 |
|
|
рх/р0 |
0,3990 |
0,4420 |
0,4780 |
0,5100 |
0,3990 |
0,4420 |
0,4790 |
0,5120 |
0,3970 |
0,4420 |
0,4860 |
0,5140 |
|
|
pz/р0 |
0,6220 |
0,6880 |
0,7440 |
0,7950 |
0,6160 |
0,6810 |
0,7370 |
0,7860 |
0,6030 |
0,6640 |
0,7230 |
0,7720 |
|
|
0,75 |
λг/λ0 |
0,0078 |
0,0089 |
0,0099 |
0,0107 |
0,0156 |
0,0177 |
0,0197 |
0,0215 |
0,0312 |
0,0355 |
0,0395 |
0,0431 |
|
λв/λ0 |
0,0103 |
0,0117 |
0,0129 |
0,0141 |
0,0204 |
0,0231 |
0,0256 |
0,0278 |
0,0399 |
0,0452 |
0,0500 |
0,0544. |
|
|
рх/р0 |
0,3250 |
0,4490 |
0,4980 |
0,5420 |
0,3940 |
0,4480 |
0,4970 |
0,5472 |
0,3920 |
0,4460 |
0,4950 |
0,5400 |
|
|
pz/р0 |
0,4750 |
0,5400 |
0,5980 |
0,6500 |
0,4710 |
0,5340 |
0,5910 |
0,6430 |
0,4610 |
0,5230 |
0,5790 |
0,6300 |
|
|
1,00 |
λг/λ0 |
0,0080 |
0,0092 |
0,0103 |
0,0114 |
0,0159 |
0,0183 |
0,0205 |
0,0228 |
0,0317 |
0,0366 |
0,0412 |
0,0455 |
|
λв/λ0 |
0,0079 |
0,0091 |
0,0102 |
0,0112 |
0,0156 |
0,0180 |
0,0202 |
0,0223 |
0,0307 |
0,0355 |
0,0396 |
0,0435 |
|
|
рх/р0 |
0,3820 |
0,4410 |
0,4960 |
0,5470 |
0,3810 |
0,4400 |
0,4940 |
0,5450 |
0,3780 |
0,4370 |
0,4910 |
0,5420 |
|
|
pz/р0 |
0,3800 |
0,4350 |
0,4920 |
0,5430 |
0,3770 |
0,4340 |
0,4880 |
0,5970 |
0,3700 |
0,4260 |
0,4780 |
0,5260 |
|
μ = 0,2
|
т |
λ0 = 0,20 |
λ0 = 0,30 |
λ0 = 0,40 |
λ0 = 0,50 |
|||||||||||||
|
ε =0,25 |
ε =0,30 |
ε =0,35 |
ε =0,40 |
ε =0,25 |
ε =0,30 |
ε =0,35 |
ε =0,40 |
ε =0,25 |
ε =0,30 |
ε =0,35 |
ε =0,40 |
ε =0,25 |
ε =0,30 |
ε =0,35 |
ε =0,40 |
||
|
0,20 |
λг/λ0 |
0,0385 |
0,0409 |
0,0429 |
0,0445 |
0,0613 |
0,0658 |
0,0696 |
0,0729 |
0,0862 |
0,0936 |
0,1000 |
0,1050 |
0,1130 |
0,1240 |
0,1330 |
0,1430 |
|
λв/λ0 |
0,1610 |
0,1700 |
0,1760 |
0,1820 |
0,2340 |
0,2470 |
0,2580 |
0,2570 |
0,3010 |
0,3180 |
0,3330 |
0,3450 |
0,3610 |
0,3820 |
0,4010 |
0,4160 |
|
|
рх/р0 |
0,3540 |
0,3740 |
0,3910 |
0,4050 |
0,3500 |
0,3840 |
0,4040 |
0,4210 |
0,3660 |
0,3930 |
0,4170 |
0,4370 |
0,3700 |
0,4010 |
0,4280 |
0,4520 |
|
|
pz/р0 |
0,8460 |
0,8910 |
0,9270 |
0,9560 |
0,8220 |
0,8690 |
0,9070 |
0,9390 |
0,7960 |
0,8440 |
0,8830 |
0,9170 |
0,7670 |
0,8150 |
0,8560 |
0,8918 |
|
|
0,30 |
λг/λ0 |
0,0484 |
0,0527 |
0,0588 |
0,0594 |
0,0750 |
0,0823 |
0,0886 |
0,0943 |
0,1020 |
0,1130 |
0,1230 |
0,1320 |
0,1310 |
0,1460 |
0,1590 |
0,1720 |
|
λв/λ0 |
0,1390 |
0,1490 |
0,1580 |
0,1650 |
0,2000 |
0,2150 |
0,2280 |
0,2300 |
0,9550 |
0,2740 |
0,2910 |
0,3060 |
0,3040 |
0,3270 |
0,3470 |
0,3550 |
|
|
рх/р0 |
0,3810 |
0,4130 |
0,4390 |
0,4520 |
0,3890 |
0,4170 |
0,4470 |
0,4730 |
0,3840 |
0,4210 |
0,4540 |
0,4890 |
0,3830 |
0,4230 |
0,4580 |
0,4910 |
|
|
pz/р0 |
0,7440 |
0,8000 |
0,8460 |
0,8800 |
0,7160 |
0,7720 |
0,8190 |
0,8600 |
0,6880 |
0,7430 |
0,7900 |
0,8310 |
0,6600 |
0,7130 |
0,7590 |
0,7994 |
|
|
0,40 |
λг/λ0 |
0,0545 |
0,0602 |
0,0653 |
0,0697 |
0,0830 |
0,0924 |
0,1000 |
0,1080 |
0,1110 |
0,1250 |
0,1370 |
0,1480 |
0,1400 |
0,1580 |
0,1750 |
0,1980 |
|
λв/λ0 |
0,1190 |
0,1300 |
0,1400 |
0,1480 |
0,1710 |
0,1870 |
0,2010 |
0,2130 |
0,2180 |
0,2380 |
0,2550 |
0,2710 |
0,2600 |
0,2840 |
0,3040 |
0,3220 |
|
|
рх/р0 |
0,3920 |
0,4320 |
0,4670 |
0,4970 |
0,3910 |
0,4330 |
0,4700 |
0,5030 |
0,3890 |
0,4320 |
0,4710 |
0,5070 |
0,3860 |
0,4300 |
0,4710 |
0,5100 |
|
|
pz/р0 |
0,6540 |
0,7150 |
0,7670 |
0,8120 |
0,6280 |
0,6870 |
0,7380 |
0,7830 |
0,6020 |
0,6590 |
0,7080 |
0,7520 |
0,6270 |
0,6310 |
0,6780 |
0,7210 |
|
|
0,50 |
λг/λ0 |
0,0581 |
0,0651 |
0,0713 |
0,0769 |
0,0876 |
0,0986 |
0,1080 |
0,1170 |
0,1170 |
0,1320 |
0,1460 |
0,1590 |
0,1460 |
0,1560 |
0,1840 |
0,2010 |
|
λв/λ0 |
0,1040 |
0,1150 |
0,1240 |
0,1330 |
0,1490 |
0,1640 |
0;1780 |
0,1900 |
0,1890 |
0,2090 |
0,2260 |
0,2400 |
0,2260 |
0,2430 |
0,2690 |
0,2870 |
|
|
рх/р0 |
0,3950 |
0,4400 |
0,4810 |
0,5180 |
0,3910 |
0,4380 |
0,4810 |
0,5200 |
0,3870 |
0,4350 |
0,4790 |
0,5200 |
0,3830 |
0,4320 |
0,4760 |
0,5180 |
|
|
pz/р0 |
0,5790 |
0,6410 |
0,6950 |
0,7430 |
0,5530 |
0,6150 |
0,6670 |
0,7140 |
0,5390 |
0,5890 |
0,6390 |
0,6840 |
0,5110 |
0,5650 |
0,6120 |
0,6950 |
|
|
0,75 |
λг/λ0 |
0,0620 |
0,0791 |
0,0791 |
0,0867 |
0,0925 |
0,1050 |
0,1180 |
0,1300 |
0,1220 |
0,1400 |
0,1570 |
0,1730 |
0,1510 |
0,1740 |
0,1950 |
0,2160 |
|
λв/λ0 |
0,0764 |
0,0864 |
0,0954 |
0,1030 |
0,1090 |
0,1230 |
0,1360 |
0,1470 |
0,1400 |
0,1570 |
0,1730 |
0,1870 |
0,1680 |
0,1880 |
0,2070 |
0,2230 |
|
|
рх/р0 |
0,3860 |
0,4410 |
0,4900 |
0,5370 |
0,3810 |
0,4350 |
0,4850 |
0,5320 |
0,3760 |
0,4300 |
0,0,480 |
0,5270 |
0,3710 |
0,4240 |
0,4740 |
0,5210 |
|
|
pz/р0 |
0,4440 |
0,5030 |
0,5560 |
0,6040 |
0,4270 |
0,4830 |
0,5330 |
0,5800 |
0,4120 |
0,4640 |
0,5120 |
0,5380 |
0,3970 |
0,4470 |
0,4920 |
0,5330 |
|
|
1,00 |
λг/λ0 |
0,0628 |
0,0726 |
0,0819 |
0,0906 |
0,0933 |
0,1080 |
0,1210 |
0,1350 |
0,1230 |
0,1420 |
0,1610 |
0,1730 |
0,1520 |
0,1760 |
0,1990 |
0,2240 |
|
λв/λ0 |
0,0501 |
0,0577 |
0,0757 |
0,0831 |
0,0853 |
0,0974 |
0,1080 |
0,1190 |
0,1090 |
0,1240 |
0,1380 |
0,1510 |
0,1320 |
0,1510 |
0,1660 |
0,1810 |
|
|
рх/р0 |
0,3730 |
0,4510 |
0,4850 |
0,5350 |
0,3670 |
0,4250 |
0,4780 |
0,5290 |
0,3620 |
0,4190 |
0,4720 |
0,5220 |
0,3570 |
0,4130 |
0,4650 |
0,5150 |
|
|
pz/р0 |
0,3580 |
0,4110 |
0,4500 |
0,5060 |
0,3460 |
0,3960 |
0,4420 |
0,4860 |
0,3350 |
0,3820 |
0,4270 |
0,4680 |
0,3250 |
0,3700 |
0,4120 |
0,4510 |
|
μ = 0,3
|
т |
λ0 = 0,025 |
λ0 = 0,05 |
λ0 = 0,10 |
||||||||||
|
ε =0,25 |
ε =0,30 |
ε =0,35 |
ε =0,40 |
ε =0,25 |
ε =0,30 |
ε =0,35 |
ε =0,40 |
ε =0,25 |
ε =0,30 |
ε =0,35 |
ε =0,40 |
||
|
0,20 |
λг/λ0 |
0,0038 |
0,0040 |
0,0042 |
0,0044 |
0,0077 |
0,0082 |
0,0086 |
0,0089 |
0,0158 |
0,0168 |
0,0177 |
0,0183 |
|
λв/λ0 |
0,0187 |
0,0198 |
0,0206 |
0,0213 |
0,0372 |
0.0394 |
0,0411 |
0,0424 |
0,0735 |
0,0778 |
0,0813 |
0,0841 |
|
|
рх/р0 |
0,3780 |
0,3990 |
0,4160 |
0,4300 |
0,3780 |
0,4000 |
0,4180 |
0,4320 |
0,3790 |
0,4020 |
0,4200 |
0,4360 |
|
|
pz/р0 |
0,7960 |
0,8410 |
0,8760 |
0,9060 |
0,7920 |
0,8370 |
0,8750 |
0,9020 |
0,7830 |
0,8290 |
0,8660 |
0,8960 |
|
|
0,30 |
λг/λ0 |
0,0049 |
0,0055 |
0,0056 |
0,0059 |
0,0099 |
0,0107 |
0,0113 |
0,0119 |
0,0200 |
0,0218 |
0,0232 |
0,0244 |
|
λв/λ0 |
0,0160 |
0,0173 |
0,0184 |
0,0192 |
0,0319 |
0,0344 |
0,0365 |
0,0382 |
0,0627 |
0,0677 |
0,0719 |
0,0754 |
|
|
рх/р0 |
0,3890 |
0,4200 |
0,4450 |
0,4670 |
0,3890 |
0,4200 |
0,4460 |
0,4580 |
0,3880 |
0,4210 |
0,4480 |
0,4710 |
|
|
pz/р0 |
0,7020 |
0,7580 |
0,8030 |
0,8410 |
0,6970 |
0,7530 |
0,7990 |
0,8370 |
0,6870 |
0,7430 |
0,7890 |
0,8280 |
|
|
0,40 |
λг/λ0 |
0,0056 |
0,0062 |
0,0067 |
0;0070 |
0,0113 |
0,0124 |
0,0134 |
0,0142 |
0,0228 |
0,0251 |
0,0272 |
0,0290. |
|
λв/λ0 |
0,0138 |
0,0152 |
0,0163 |
0,0173 |
0,0275 |
0,0301 |
0,0324 |
0,0344 |
0,0539 |
0,0592 |
0,0637 |
0,0676 |
|
|
рх/р0 |
0,3910 |
0,4300 |
0,4620 |
0,4910 |
0,3910 |
0,4300 |
0,4630 |
0,4910 |
0,3900 |
0,4290 |
0,4630 |
0,4930 |
|
|
pz/р0 |
0,6220 |
0,6830 |
0,7350 |
0,7790 |
0,6180 |
0,6780 |
0,7290 |
0,7730 |
0,6080 |
0,6680 |
0,7190 |
0,7630 |
|
|
0,50 |
λг/λ0 |
0,0061 |
0,0068 |
0,0074 |
0,0079 |
0,0122 |
0,0136 |
0,0149 |
0,0159 |
0,0246 |
0,0275 |
0,0300 |
0,0323 |
|
λв/λ0 |
0,0120 |
0,0134 |
0,0146 |
0,0156 |
0,0232 |
0,0266 |
0,0289 |
0,0309 |
0,0469 |
0;0521 |
0,0567 |
0,0607 |
|
|
рх/р0 |
0,3890 |
0,4330 |
0,4720 |
0,5050 |
0,3880 |
0,4330 |
0,4710 |
0,5050 |
0.3870 |
0,4310 |
0,4710 |
0,5060 |
|
|
pz/р0 |
0,5570 |
0,6190 |
0,6730 |
0,7210 |
0,5520 |
0,6140 |
0,6680 |
0,7150 |
0,5430 |
0,6040 |
0,6570 |
0,7050 |
|
|
0,75 |
λг/λ0 |
0,0067 |
0,0077 |
0,0085 |
0,0093 |
0,0134 |
0,0153 |
.0,0170 |
0,0186 |
0,0269 |
0,0307 |
0,0342 |
0,0374 |
|
λв/λ0 |
0,0089 |
0,0101 |
0,0112 |
0,0122 |
0,0176 |
0,0200 |
0,0222 |
0,0242 |
0,0346 |
0,0394 |
0,0436 |
0,0475 |
|
|
рх/р0 |
0,3770 |
0,4290 |
0,4760 |
0,5190 |
0,3750 |
0,4280 |
0,4750 |
0,5180 |
0,3730 |
0,4250 |
0,4730 |
0,5160 |
|
|
pz/р0 |
0,4370 |
0,4980 |
0,5520 |
0,6020 |
0,4340 |
0,4940 |
0,5480 |
0,5970 |
0,4270 |
0,4860 |
0,5390 |
0,5870 |
|
|
1,00 |
λг/λ0 |
0,0070 |
0,0081 |
0,0091 |
0,0099 |
0,0139 |
0,0161 |
0,0181 |
0,0199 |
0,0278 |
0,0321 |
0,0361 |
0,0399 |
|
λв/λ0 |
0,0069 |
0,0080 |
0,0090 |
0,0099 |
0,0137 |
0,0158 |
0,0177 |
0,0195 |
0,0270 |
0,0311 |
0,0349 |
0,0384 |
|
|
рх/р0 |
0,3620 |
0,4180 |
0,4700 |
0,5190 |
0,3610 |
0,4170 |
0,4690 |
0,5170 |
0,3590 |
0,4140 |
0,4660 |
0,5140 |
|
|
pz/р0 |
0,3610 |
0,4160 |
0,4680 |
0,5150 |
0,3590 |
0,4130 |
0,4640 |
0,5110 |
0,3540 |
0,4070 |
0,4570 |
0,5040 |
|
μ = 0,3
|
т |
λ0 = 0,20 |
λ0 = 0,30 |
λ0 = 0,40 |
λ0 = 0,50 |
|||||||||||||
|
ε =0,25 |
ε =0,30 |
ε =0,35 |
ε =0,40 |
ε =0,25 |
ε =0,30 |
ε =0,35 |
ε =0,40 |
ε =0,25 |
ε =0,30 |
ε =0,35 |
ε =0,40 |
ε =0,25 |
ε =0,30 |
ε =0,35 |
ε =0,40 |
||
|
0,20 |
λг/λ0 |
0,0330 |
0,0357 |
0,0377 |
0,0395 |
0,0522 |
0,0565 |
0,0601 |
0,0632 |
0,0726 |
0,0793 |
0,0851 |
0,0901 |
0,0943 |
0,1030 |
0,1120 |
0,1200 |
|
λв/λ0 |
0,1420 |
0,1510 |
0,1580 |
0,1640 |
0,2070 |
0,2200 |
0,2310 |
0,2400 |
0,2650 |
0,2840 |
0,2980 |
0,3100 |
0,3200 |
0,3410 |
0,3590 |
0,3750 |
|
|
рх/р0 |
0,3800 |
0,4050 |
0,4260 |
0,4430 |
0,3810 |
0,4080 |
0,4310 |
0,4510 |
0,3810 |
0,4110 |
0,4360 |
0,4580 |
0,3810 |
0,4120 |
0,4400 |
0,4650 |
|
|
pz/р0 |
0,7630 |
0,8110 |
0,8490 |
0,8810 |
0,7430 |
0,7910 |
0,8310 |
0,8640 |
0,7200 |
0,7690 |
0,8100 |
0,8440 |
0,6970 |
0,7460 |
0,7860 |
0,8220 |
|
|
0,30 |
λг/λ0 |
0,0412 |
0,0451 |
0,0485 |
0,0514 |
0,0634 |
0,0699 |
0,0756 |
0,0807 |
0,0864 |
0,0953 |
0,1040 |
0,1120 |
0,1100 |
0,1220 |
0,1340 |
0,1450 |
|
λв/λ0 |
0,1200 |
0,1300 |
0,1360 |
0,1460 |
0,1740 |
0,1890 |
0,2010 |
0,2120 |
0,2230 |
0,2420 |
0,2580 |
0,2720 |
0,2680 |
0,2900 |
0,3090 |
0,3260 |
|
|
рх/р0 |
0,3870 |
0,4220 |
0,4510 |
0,4760 |
0,3860 |
0,4220 |
0,4538 |
0,4810 |
0,3850 |
0,4210 |
0,4550 |
0,4840 |
0,3210 |
0,4200 |
0,4590 |
0,4850 |
|
|
pz/р0 |
0,6660 |
0,7220 |
0,7680 |
0,8080 |
0,6788 |
0,7000 |
0,7470 |
0,7870 |
0,6240 |
0,6470 |
0,7240 |
0,7640 |
0,6020 |
0,6550 |
0,7000 |
0,7400 |
|
|
0,40 |
λг/λ0 |
0,0463 |
0,0514 |
0,0559 |
0,0599 |
0,0703 |
0,0785 |
0,0859 |
0,0926 |
0,0947 |
0,1060 |
0,1160 |
0,1260 |
0,1190 |
0,1340 |
0.1480 |
0,1610 |
|
λв/λ0 |
0,1030 |
0,1130 |
0,1220 |
0,1300 |
0,1490 |
0,1640 |
0,1760 |
0.1880 |
0,1910 |
0,2100 |
0,2260 |
0,2400 |
0,2290 |
0,2510 |
0,2700 |
0,2870 |
|
|
рх/р0 |
0,3870 |
0,4280 |
0,4540 |
0,4950 |
0,3840 |
0,4260 |
0,4630 |
0,4960 |
0,3800 |
0,4230 |
0,4620 |
0,4970 |
0,3760 |
0,4200 |
0,4590 |
0,4960 |
|
|
pz/р0 |
0,5880 |
0,6470 |
0,6970 |
0,7420 |
0,5680 |
0,6250 |
0,6750 |
0,7100 |
0,5490 |
0,6040 |
0,6530 |
0,6960 |
0,5310 |
0,5840 |
0,6310 |
0,6720 |
|
|
0,50 |
λг/λ0 |
0,0495 |
0,0557 |
0,0611 |
0,0661 |
0,0747 |
0,0843 |
0,0930 |
0,1010 |
0,1000 |
0,1130 |
0,1250 |
0,1360 |
0,1250 |
0,1420 |
0,1580 |
0,1720 |
|
λв/λ0 |
0,0902 |
0,1000 |
0,1090 |
0,1160 |
0,1300 |
0,1440 |
0,1560 |
0,1630 |
0,1660 |
0,1840 |
0,2000 |
0,2140 |
0,2000 |
0,2210 |
0,2400 |
0,2560 |
|
|
рх/р0 |
0,3830 |
0,4280 |
0,4690 |
0,5050 |
0,3790 |
0,4250 |
0,4660 |
0,5040 |
0,3750 |
0,4210 |
0,4630 |
0,5020 |
0,3700 |
0,4170 |
0,4600 |
0,5000 |
|
|
pz/р0 |
0,5250 |
0,6840 |
0,6360 |
0,6830 |
0,5080 |
0,5650 |
0,6150 |
0,6610 |
0,4910 |
0,5460 |
0,5950 |
0,6390 |
0,4750 |
0,5280 |
0,5750 |
0,6170 |
|
|
0,75 |
λг/λ0 |
0,0557 |
0,0614 |
0,0686 |
0,0752 |
0,0803 |
0,0920 |
0,1020 |
0,1130 |
0,1060 |
0,1220 |
0,1370 |
0,1510 |
0,1320 |
0,1520 |
0,1710 |
0,1880 |
|
λв/λ0 |
0,0668 |
0,0757 |
0,0838 |
0,0911 |
0,0967 |
0,1090 |
0,1200 |
0,1310 |
0,1240 |
0,1400 |
0,1540 |
0,1670 |
0,1500 |
0,1680 |
0,1850 |
0,2010 |
|
|
рх/р0 |
0,3690 |
0,4210 |
0,4680 |
0,5120 |
0,3640 |
0,4160 |
0,4640 |
0,5080 |
0,3590 |
0,4110 |
0,4590 |
0,5030 |
0,3550 |
0,4080 |
0,4530 |
0,4980 |
|
|
pz/р0 |
0,4140 |
0,4710 |
0,5220 |
0,5680 |
0,4020 |
0,4560 |
0,5050 |
0,5500 |
0,3910 |
0,4400 |
0,4890 |
0,5320 |
0,3800 |
0,4290 |
0,4740 |
0,5150 |
|
|
1,00 |
λг/λ0 |
0,0552 |
0,0639 |
0,0720 |
0,0791 |
0,0823 |
0,0953 |
0,1070 |
0,1190 |
0,1090 |
0,1260 |
0,1420 |
0,1580 |
0,1350 |
0,1560 |
0,1770 |
0,1960 |
|
λв/λ0 |
0,0523 |
0,0600 |
0,0672 |
0,0738 |
0,0760 |
0,0870 |
0,0971 |
0,1060 |
0,0983 |
0,1120 |
0,1240 |
0,1360 |
0,1190 |
0,1350 |
0,1500 |
0,1640 |
|
|
рх/р0 |
0,3540 |
0,4090 |
0,4610 |
0,5090 |
0,3500 |
0,4040 |
0,4550 |
0,5030 |
0,3460 |
0,3990 |
0,4560 |
0,4980 |
0,3420 |
0,3950 |
0,4450 |
0,4480 |
|
|
pz/р0 |
0,3440 |
0,3690 |
0,4440 |
0,4880 |
0,3360 |
0,3850 |
0,4310 |
0,4740 |
0,3270 |
0,3750 |
0,4190 |
0,4600 |
0,3190 |
0,3650 |
0,4070 |
0,4470 |
|
μ = 0,45
|
т |
λ0 = 0,025 |
λ0 = 0,05 |
λ0 = 0,10 |
||||||||||
|
ε =0,25 |
ε =0,30 |
ε =0,35 |
ε =0,40 |
ε =0,25 |
ε =0,30 |
ε =0,35 |
ε =0,40 |
ε =0,25 |
ε =0,30 |
ε =0,35 |
ε =0,40 |
||
|
0,20 |
λг/λ0 |
0,0030 |
0,0033 |
0,0035 |
0,0036 |
0,0062 |
0,0066 |
0,0070 |
0,0073 |
0,0125 |
0,0135 |
0,0143 |
0,0150 |
|
λв/λ0 |
0,0150 |
0,0161 |
0,0170 |
0,0178 |
0,0299 |
0,0321 |
0,0339 |
0,0354 |
0,0589 |
0,0633 |
0,0670 |
0,0700 |
|
|
рх/р0 |
0,3930 |
0,4220 |
0,4460 |
0,4660 |
0,3920 |
0,4220 |
0,4460 |
0,4650 |
0,3900 |
0,4200 |
0,4450 |
0,4650 |
|
|
pz/р0 |
0,6570 |
0,7060 |
0,7450 |
0,7780 |
0,6530 |
0,7020 |
0,7420 |
0,7750 |
0,6450 |
0,6940 |
0;7340 |
0,7670 |
|
|
0,30 |
λг/λ0 |
0,0038 |
0,0042 |
0,0044 |
0,0047 |
0;0076 |
0,0084 |
0,0090 |
0,0095 |
0,0153 |
0,0169 |
0,0182 |
0,0193 |
|
λв/λ0 |
0,0124 |
0,0136 |
0,0146 |
0,0154 |
0,0240 |
0,0270 |
0,0290 |
0,0307 |
0,0487 |
0,0593 |
0,0572 |
0,0600 |
|
|
рх/р0 |
0,3750 |
0,4110 |
0,4410 |
0,4670 |
0,3740 |
0,4100 |
0,4410 |
0,4670 |
0,3720 |
0,4090 |
0,4390 |
0,4660 |
|
|
pz/р0 |
0,5660 |
0,6200 |
0,6650 |
0,7040 |
0,5630 |
0,6160 |
0,6020 |
0,7000 |
0,5560 |
0,6090 |
0,6540 |
0,6930 |
|
|
0,40 |
λг/λ0 |
0,0043 |
0,0048 |
0,0052 |
0,0055 |
0,0086 |
0,0096 |
0,0103 |
0,0111 |
0,0172 |
0,0192 |
0,0209 |
0,0225 |
|
λв/λ0 |
0,0105 |
0,0117 |
0,0127 |
0,0136 |
0,0210 |
0,0233 |
0,0253 |
0,0270 |
0,0414 |
0,0459 |
0,0498 |
0,0533 |
|
|
рх/р0 |
0,3620 |
0,4020 |
0,4360 |
0,4660 |
0,3610 |
0,4010 |
0,4360 |
0,4650 |
0,3590 |
0,3990 |
0,4340 |
0,4650 |
|
|
pz/р0 |
0,5010 |
0,5560 |
0,6030 |
0,6450 |
0,4950 |
0,5520 |
0,6000 |
0,6410 |
0,4910 |
0,5460 |
0,5930 |
0,6340 |
|
|
0,50 |
λг/λ0 |
0,0046 |
0,0052 |
0,0057 |
0,0062 |
0,0093 |
0,0104 |
0,0114 |
0,0123 |
0,0186 |
0,0209 |
0,0230 |
0,0249 |
|
λв/λ0 |
0,0092 |
0,0103 |
0,0112 |
0,0121 |
0,0182 |
0,0204 |
0,0224 |
0,0241 |
0,0359 |
0,0403 |
0,0441 |
00475 |
|
|
рх/р0 |
0,3510 |
0,3940 |
0,4310 |
0,4650 |
0,3500 |
0,3930 |
0,4310 |
0,4640 |
0,3480 |
0,3910 |
0,4290 |
0,4630 |
|
|
pz/р0 |
0,4510 |
0,5060 |
0,5540 |
0,5970 |
0,4450 |
0,5030 |
0,5510 |
0,5940 |
0,4430 |
0,4970 |
0,5450 |
0,5870 |
|
|
0,75 |
λг/λ0 |
0,0052 |
0,0059 |
0,0066 |
0,0072 |
0,0103 |
0,0118 |
0,0132 |
0,0144 |
0,0207 |
0,0237 |
0,0264 |
0,0290 |
|
λв/λ0 |
0,0069 |
0,0078 |
0,0087 |
0,0095 |
0,0130 |
0,0155 |
0,0173 |
0,0189 |
0,0259 |
0,0307 |
0,0341 |
0,0372 |
|
|
рх/р0 |
0,3310 |
0,3780 |
0,4210 |
0,4600 |
0,3300 |
0;3770 |
0,4200 |
0,4530 |
0,3280 |
0,3750 |
0,4180 |
0,4570 |
|
|
pz/р0 |
0,3680 |
0,4200 |
0,4670 |
0,5110 |
0,3660 |
0,4180 |
0,4650 |
0,5080 |
0,3620 |
0,4150 |
0,4600 |
0,5020 |
|
|
1,00 |
λг/λ0 |
0,0055 |
0,0063 |
0,0071 |
0,0079 |
0,0109 |
0,0126 |
0,0142 |
0,0157 |
0,0219 |
0,0253 |
0,0285 |
0,0314 |
|
λв/λ0 |
0,0055 |
0,0063 |
0,0071 |
0,0079 |
0,0108 |
0,0125 |
0,0140 |
0,0154 |
0,0214 |
0,0247 |
0,0277 |
0,0305 |
|
|
рх/р0 |
0,3180 |
0,3670 |
.0,4120 |
0,4540 |
0,3170 |
0,3660 |
0,4110 |
0,4530 |
0,0150 |
0,3640 |
0,4090 |
0,4510 |
|
|
pz/р0 |
0,3170 |
0,3660 |
0,4110 |
0,4530 |
0,3160 |
0,3640 |
0,4050 |
0,4570 |
0,3130 |
0,3610 |
0,4050 |
0,4460 |
|
μ = 0,45
|
т |
λ0 = 0,20 |
λ0 = 0,30 |
λ0 = 0,40 |
λ0 = 0,50 |
|||||||||||||
|
ε =0,25 |
ε =0,30 |
ε =0,35 |
ε =0,40 |
ε =0,25 |
ε =0,30 |
ε =0,35 |
ε =0,40 |
ε =0,25 |
ε =0,30 |
ε =0,35 |
ε =0,40 |
ε =0,25 |
ε =0,30 |
ε =0,35 |
ε =0,40 |
||
|
0,20 |
λг/λ0 |
0,0258 |
0,0280 |
0,0299 |
0,0315 |
0,0399 |
0,0436 |
0,0468 |
0,0496 |
0,0546 |
0,0601 |
0,0640 |
0,0691 |
0,0701 |
0,0776 |
0,0842 |
0,0902 |
|
λв/λ0 |
0,1140 |
0,1230 |
0,1300 |
0,1360 |
0,1660 |
0,1790 |
0,1890 |
0,1980 |
0,2140 |
0,2310 |
0,0245 |
0,2570 |
0,2590 |
0,2790 |
0,2900 |
0,3100 |
|
|
рх/р0 |
0,3860 |
0,4170 |
0,4430 |
0,4640 |
0,3820 |
0,4140 |
0,4400 |
0,4650 |
0,3780 |
0,4100 |
0,4380 |
0,4620 |
0,3730 |
0,4060 |
0,4350 |
0,4600 |
|
|
pz/р0 |
0,6300 |
0,6780 |
0,7190 |
0,7520 |
0,6140 |
0,6620 |
0,7020 |
0,7370 |
0,5980 |
0,6450 |
0,6860 |
0,7200 |
0,5820 |
0,6290 |
0,6680 |
0,7020 |
|
|
0,30 |
λг/λ0 |
0,0312 |
0,0345 |
0,0374 |
0,3990 |
0,0476 |
0,0529 |
0,057б |
0,0617 |
0,0644 |
0,0720 |
0,0787 |
0,0847 |
0,0816 |
0,0916 |
0,1000 |
0,1080 |
|
λв/λ0 |
0,0943 |
0,1030 |
0,1100 |
0,1170 |
0,1370 |
0,1500 |
0,1610 |
0,1700 |
0,1760 |
0,1930 |
0,2070 |
0,2200 |
0,2140 |
0,2330 |
0,2510 |
0,2660 |
|
|
рх/р0 |
0,3680 |
0,4050 |
0,4370 |
0,4640 |
0,3640 |
0,4010 |
0,4330 |
0,4620 |
0,3600 |
0,3970 |
0,4300 |
0,4590 |
0,3560 |
0,3930 |
0,4270 |
0,4560 |
|
|
pz/р0 |
0,5420 |
0,5940 |
0,6590 |
0,6770 |
0,5280 |
0,5790 |
0,6250 |
0,6620 |
0,5140 |
0,5640 |
0,6080 |
0,6460 |
0,5010 |
0,5500 |
0,5920 |
0,6290 |
|
|
0,40 |
λг/λ0 |
0,0349 |
0,0390 |
0,0427 |
0,0460 |
0,0528 |
0,0593 |
0,0652 |
0,0704 |
0,0709 |
0,0800 |
0,0882 |
0,0957 |
0,0885 |
0,1010 |
0,1110 |
0,1210 |
|
λв/λ0 |
0,0802 |
0,0889 |
0,0965 |
0,1030 |
0,1160 |
0,1290 |
0,1400 |
0,1490 |
0,1500 |
0,1660 |
0,1800 |
0,1930 |
0,1820 |
0,2010 |
0,2180 |
0,2330 |
|
|
рх/р0 |
0,3500 |
0,3950 |
0.4310 |
0,4620 |
0,3570 |
0,3910 |
0,4270 |
0,4590 |
0,3460 |
0,3870 |
0,4230 |
0,4560 |
0,3420 |
0,3830 |
0,4200 |
0,4530 |
|
|
pz/р0 |
0,4790 |
0,5520 |
0,5790 |
0,6190 |
0,4680 |
0,5190 |
0,5650 |
0,6050 |
0,4500 |
0,5060 |
0,5570 |
0,5900 |
0,4450 |
0,4940 |
0,5370 |
0,5760 |
|
|
0,50 |
λг/λ0 |
0,0374 |
0,0423 |
0,0467 |
0,0506 |
0,0564 |
0,0639 |
0,0707 |
0,0770 |
0,0755 |
0,0858 |
0,0952 |
0,1030 |
0,0947 |
0,1070 |
0,1200 |
0,1310 |
|
λв/λ0 |
0,0697 |
0,0780 |
0,0854 |
0,0919 |
0,1010 |
0,1130 |
0,1240 |
0,1330 |
0,1310 |
0,1460 |
0,1600 |
0,1720 |
0,1590 |
0,1770 |
0,1930 |
0,2080 |
|
|
рх/р0 |
0,3440 |
0,3870 |
0,4250 |
0,4600 |
0,3400 |
0,3830 |
0,4210 |
0,4560 |
0,3360 |
0,3790 |
0,4180 |
0,4530 |
0,3320 |
0,3750 |
0,4140 |
0,4490 |
|
|
pz/р0 |
0,4330 |
0,4850 |
0,5320 |
0,5730 |
0,4230 |
0,4740 |
0,5190 |
0,5600 |
0,4130 |
0,4620 |
0,5070 |
0,5470 |
0,4030 |
0,4520 |
0,4950 |
0,5340 |
|
|
0,75 |
λг/λ0 |
0,0414 |
0,0475 |
0,0530 |
0,0583 |
0,0621 |
0,0713 |
0,0799 |
0,0878 |
0,0887 |
0,095l0 |
0,1060 |
0,1170 |
0,1030 |
0,1180 |
0,1330 |
0,1470 |
|
λв/λ0 |
0,0524 |
0,0596 |
0,0661 |
0,0721 |
0;0765 |
0,0868 |
0,0962 |
0,1040 |
0,0994 |
0,1120 |
0,1240 |
0,1350 |
0,1210 |
0,1360 |
0,1510 |
0,1640 |
|
|
рх/р0 |
0,3250 |
0,3710 |
0,4140 |
0,4530 |
0,3220 |
0,3680 |
0,4100 |
0,4500 |
0,3180 |
0,3540 |
0,4060 |
0,4460 |
0,3150 |
0,3600 |
0,4030 |
0,4420 |
|
|
pz/р0 |
0,3550 |
0,4050 |
0,4500 |
0,4910 |
0,3480 |
0,3960 |
0,4400 |
0,4810 |
0,3410 |
0,3880 |
0,4310 |
0,4710 |
0,3350 |
0,3840 |
0,4220 |
0,4610 |
|
|
1,00 |
λг/λ0 |
0,0437 |
0,0500 |
0,0569 |
0,0629 |
0,0653 |
0,0756 |
0,0853 |
0,0944 |
0,0858 |
0,1000 |
0,1130 |
0,1250 |
0,1080 |
0,1250 |
0,1410 |
0,1570 |
|
λв/λ0 |
0,0419 |
0,0481 |
0,0538 |
0,0592 |
0,0613 |
0,0703 |
0,0780 |
0,0863 |
0,0799 |
0,0914 |
0,1020 |
0,1110 |
0,0976 |
0,1110 |
0,1240 |
0,1350 |
|
|
рх/р0 |
0,3120 |
0,3610 |
0,4060 |
0,4480 |
0,3100 |
0,3570 |
0,4020 |
0,4440 |
0,3070 |
0,3540 |
0,3980 |
0,4400 |
0,3040 |
0,3510 |
0,3950 |
0,4360 |
|
|
pz/р0 |
0,3070 |
0,3540 |
0,3970 |
0,4370 |
0,3020 |
0,3480 |
0,3900 |
0,4290 |
0,2970 |
0,3410 |
0,3820 |
0,4210 |
0,2920 |
0,3350 |
0,3750 |
0,4150 |
|
1. Методические указания по инженерно-геологическому обследованию болот при изысканиях автомобильных и железных дорог. М., изд. Союздорнии, 1973. 110 с.
2. Методические рекомендации по конструкциям и технологии сооружения земляного полотна автомобильных дорог на участках распространения иольдиевых глин. М., изд. Союздорнии, 1973. 30 с.
4. Методические рекомендации по применению временной пригрузки взамен выторфовывания при сооружении земляного полотна на торфяных болотах. М., изд. Союздорнии, 1974. 38 с.
5. Методические рекомендации по проектированию и технологии сооружения вертикальных песчаных дрен и песчаных свай при возведении земляного полотна на слабых грунтах. М., изд. Союздорнии, 1974. 57 с.
6. Методические рекомендации по использованию торфа в нижней части насыпи при строительстве автомобильных дорог на болотах. М., изд. Союздорнии, 1973. 30 с.
7. Методические рекомендации по проектированию и строительству автомобильных дорог на промороженных основаниях в заболоченных районах Западной Сибири. М., изд. Союздорнии, 1975. 67 с.
10. Рекомендации по конструкциям и способам возведения земляного полотна на мокрых солончаках. М., изд. Союздорнии, 1966. 21 с.
|
ГОСТЫ, СТРОИТЕЛЬНЫЕ и ТЕХНИЧЕСКИЕ НОРМАТИВЫ. Некоммерческая онлайн система, содержащая все Российские Госты, национальные Стандарты и нормативы. В Системе содержится более 150000 файлов нормативно-технической документации, действующей на территории РФ. Система предназначена для широкого круга инженерно-технических специалистов. Copyright © www.gostrf.com, 2008 - 2026 |