Крупнейшая бесплатная информационно-справочная система онлайн доступа к полному собранию технических нормативно-правовых актов РФ. Огромная база технических нормативов (более 150 тысяч документов) и полное собрание национальных стандартов, аутентичное официальной базе Госстандарта. GOSTRF.com - это более 1 Терабайта бесплатной технической информации для всех пользователей интернета. Все электронные копии представленных здесь документов могут распространяться без каких-либо ограничений. Поощряется распространение информации с этого сайта на любых других ресурсах. Каждый человек имеет право на неограниченный доступ к этим документам! Каждый человек имеет право на знание требований, изложенных в данных нормативно-правовых актах!

  


 

ЦЕНТРАЛЬНЫЙ ИНСТИТУТ НОРМАТИВНЫХ ИССЛЕДОВАНИЙ И НАУЧНО-ТЕХНИЧЕСКОЙ ИНФОРМАЦИИ "ОРГТРАНССТРОЙ"
МИНИСТЕРСТВА ТРАНСПОРТНОГО СТРОИТЕЛЬСТВА

СООРУЖЕНИЕ ВОДОПРОПУСКНОЙ ТРУБЫ ИЗ ГОФРИРОВАННОЙ СТАЛИ

Содержание

1. ОБЛАСТЬ ПРИМЕНЕНИЯ

2. УКАЗАНИЯ ПО ТЕХНОЛОГИИ ПРОИЗВОДСТВЕННОГО ПРОЦЕССА

3. УКАЗАНИЯ ПО ОРГАНИЗАЦИИ ТРУДА

4. ГРАФИК ВЫПОЛНЕНИЯ ПРОИЗВОДСТВЕННОГО ПРОЦЕССА

5. КАЛЬКУЛЯЦИЯ ЗАТРАТ ТРУДА НА СООРУЖЕНИЕ ВОДОПРОПУСКНОЙ ГОФРИРОВАННОЙ ТРУБЫ ДИАМЕТРОМ 1,5 м, ДЛИНОЙ 26,5 м

6. ОСНОВНЫЕ ТЕХНИКО-ЭКОНОМИЧЕСКИЕ ПОКАЗАТЕЛИ

7. МАТЕРИАЛЬНО-ТЕХНИЧЕСКИЕ РЕСУРСЫ

Приложение 1 Устройство лотка в трубе

Приложение 2 Технические характеристики инструмента, машин, механизмов и оборудования

1. ОБЛАСТЬ ПРИМЕНЕНИЯ

Технологическая карта разработана с учетом прогрессивных методов организации строительства и производства работ, а также методов научной организации труда и предназначена для использования при разработке проекта производства и организации работ и труда на объектах железных и автомобильных дорог.

В технологической карте предусмотрено сооружение трубы диаметром 1,5, длиной 26,5 м под железные и автомобильные дороги.

Конструкция трубы принята в соответствии с альбомом Ленгипротрансмоста «Рабочие чертежи опытных водопропускных труб из гофрированного металла отверстием 1-3 м для железных и автомобильных дорог», издание 2-е, 1973 г.

Трубу монтируют из секций длиной до 10 м, которые собирают из элементов заводского изготовления размером 975×1760×1,5 мм, с противокоррозионным покрытием из слоя грунтовки и одного слоя мастики МБР-65. Основание под трубу устраивают из песка, песчано-гравийной или песчано-щебеночной смеси с крупностью частиц до 50 мм. Под крайними секциями трубы устраивают противофильтрационные экраны из грунтоцементной смеси.

Водопропускные трубы возводят до отсыпки земляного полотна и укладки пути. Укрепление русла у входного и выходного отверстий трубы в технологической карте не предусмотрено.

Во всех случаях применения технологической карты необходима привязка ее к местным условиям производства работ.

2. УКАЗАНИЯ ПО ТЕХНОЛОГИИ ПРОИЗВОДСТВЕННОГО ПРОЦЕССА

Подготовка строительной площадки

Площадку в зоне строительства трубы очищают от растительного грунта и планируют бульдозером с приданием уклонов, обеспечивающих сток воды от трубы. Естественное русло со стороны выходного оголовка расчищают, а у входного оголовка на расстоянии не менее 1,5 м от контура котлована перекрывают грунтом и устраивают обводную канаву или обвалование строительной площадки. Эти меры должны обеспечивать полный отвод поверхностных вод от котлована.

Для завоза оборудования, материалов и конструкций бульдозером расчищают и планируют подъездные дороги.

Разбивочные работы

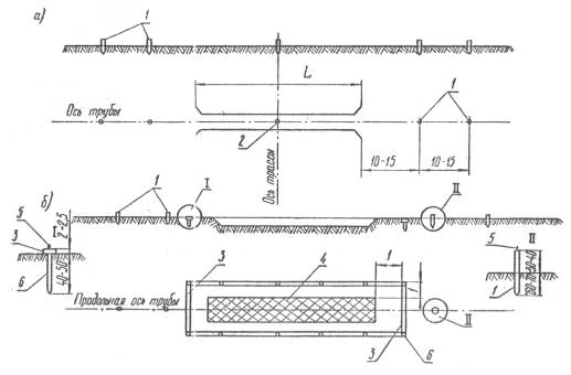
Проектная организация должна закрепить в натуре и сдать по акту производителям работ точку пересечения оси дороги с продольной осью трубы, продольную ось трубы, закрепленную высотными кольями (рис. 1, а), а также репер.

При разбивке расстояние между закрепляющими столбами не менее двух раз промеряют стальной лентой или рулеткой, а теодолитом - угол между осями. Контур котлована под основанием и противофильтрационные экраны обозначают колышками. На расстоянии 1 м от границ котлована устраивают обноску из досок и брусьев (рис. 1, б) и обозначают на ней ось трубы. Обноску желательно заглублять в землю для предохранения от повреждения бульдозером.

Рис. 1. Схема разбивки котлована трубы:

1 - выносные столбы: 2 - точка и сторожок с надписью «ось», «пикет», «плюс»; 3 - обноска из брусьев или досок; 4 - котлован; 5 - гвоздь; 6 - свая обноски диаметром 8-10 см

Размещение оборудования, конструкций и материалов на строительной площадке

Конструкции трубы в полном комплекте (пакеты гофрированных элементов, окаймляющие уголки, болты, гайки и шайбы, а также монтажные болты) сгружают и размещают на одной половине строительной площадки, а другую половину используют для размещения вспомогательного оборудования и стоянки строительных машин.

Порядок размещения элементов должен быть увязан с технологической последовательностью монтажа трубы. При разгрузке пакетов гофрированных элементов должна быть обеспечена их сохранность. Пакеты стропят обычным тросом с прокладкой из брезента или другого материала, исключающего возможность повреждения цинкового покрытия элементов. Секции трубы укладывают на деревянные подкладки размером 25×8 см, длиной 2 м. Пакеты гофрированных элементов укладывают на ребро на деревянные подкладки.

Устройство котлована и основания

Котлован отрывают продольными проходами бульдозера от выходного оголовка с отсыпкой грунта за пределами входного оголовка. До проектной отметки котлован дорабатывают вручную под рейку с учетом продольного уклона и строительного подъема трубы.

По спланированному и зачищенному дну котлована устраивают основание из песка или песчано-гравийной смеси толщиной 0,4 м, шириной 2,5 м (рис. 2).

Рис. 2. Устройство песчаного основания под трубу:

1 - песчаное основание; 2 - грунт (песок) подбивки; 3 - тело трубы

Песок, доставляемый автомобилями-самосвалами, разгружают в котлован, разравнивают бульдозером и уплотняют слоями по 20 см прицепным виброкатком или гружеными автомобилями-самосвалами. В процессе отсыпки и уплотнения основания устраивают строительный подъем лотка трубы.

После устройства основания приступают к устройству противофильтрационных экранов шириной 2,5, длиной 2,8, толщиной 0,4 м. Основание под крайними звеньями разрыхляют вручную, добавляют в грунт цемент, тщательно перемешивают и уплотняют вручную трамбовками. Затем окончательно планируют основание и, пользуясь обноской, натягивают по оси трубы шнур.

Сборка секций

Предварительную сборку секций делают либо на централизованной сборочной базе, либо на месте строительства трубы.

Исходя из проектной длины трубы и возможностей перевозки их имеющимися транспортными средствами, длину секций трубы назначают от 3,8 до 10 м. В технологической карте принимаем для удобства монтажа длины секций: 6,4 м - две секции и 5,5 м - две секции.

Перед началом работ по сборке секций проверяют маркировку, снимают упаковку с пакетов гофрированных элементов, окаймляющих уголков, вскрывают ящики с крепежными элементами, отбраковывают и выправляют погнутые места деревянным молотком. Болты, гайки, шайбы отбраковывают, сортируют и поднося г к месту сборки секций.

На спланированной площадке из элементов собирают звенья, а затем из звеньев-секции.

При сборке звена два элемента соединяют внахлестку на 3-4 болта в середине продольных стыков, при этом гайки навертывают вручную. Центровку отверстий в элементах для постановки болтов осуществляют ломиками, вставляя их в отверстия, расположенные рядом. Затем берут третий элемент и также внахлестку соединяют с двумя предыдущими элементами с постановкой в стыках по 3-4 болта. Каждый элемент укладывают так, чтобы один его короткий торец находился на наружной поверхности звена, а другой - на внутренней.

Собранные звенья последовательно поднимают и устанавливают в горизонтальное положение так, чтобы продольные стыки в них были на одном уровне, а расположение нахлеста было строго одинаково и на одном уровне.

Звенья объединяют в секции соединительными элементами (рис. 3).

Соединительный элемент коротким торцом вводят на величину одного - четырех шагов а отверстий поперечных стыков в зазор между элементами звеньев и фиксируют болтами поперечного стыка. Таким образом, продольные стыки в звеньях располагаются с взаимной сдвижкой на величину а. Величину сдвижки принимают постоянной для каждой трубы. При установке соединительных элементов 3-4 болта наживляют вначале в средних частях продольных и поперечных стыков, затем устанавливают остальные болты, причем в крайних звеньях секций ставят примерно 40 % общего количества болтов и не затягивают их, что облегчает последующую центровку болтовых отверстий при объединении секций. Последними ставят болты в местах соединения трех гофрированных элементов.

Рис. 3. Последовательность сборки секций трубы из отдельных звеньев:

1 - собранные звенья; 2 - соединительные элементы; а - величина сдвижки продольных стыков (римскими цифрами показан порядок установки элементов при сборке звеньев)

Болты затягивают электрическими (ИЭ-3101) или пневматическими (ИП-3103) гайковертами (приложение 2).

После соединения двух звеньев получается секция длиной 2,7 м. Готовые секции складируют на площадке, укладывая их на деревянные подкладки длиной 2 м, располагаемые поперек трубы.

Монтаж трубы из секций

Перед монтажными работами все сборные элементы трубы осматривают, раскладывают вдоль оси трубы ящики с болтами и соединительные элементы.

Секции монтируют автомобильным краном, устанавливаемым на расстоянии 2,5 м от края котлована на аутригеры.

Монтаж трубы начинают с выходного оголовка. Секции трубы стропят обычным тросом с прокладкой из брезента в местах обхвата трубы. Стропы размещают на расстоянии четверти длины секций от их торцов.

Секции трубы устанавливают на спрофилированное основание на деревянные подкладки так, чтобы продольные швы соединяемых торцов секций имели одинаковый нахлест и были расположены на одном уровне. Расстояние между торцами секций (центрами отверстий поперечных стыков) должно быть равно полезной ширине элемента-910 мм. Затем приступают к стыковке секций труб стандартными соединительными элементами. Стыки выполняют внахлестку так же, как при объединении звеньев.

Каждый соединительный элемент укладывают так, чтобы один его торец находился на наружной поверхности секций, а другой - на внутренней. Для этого первый соединительный элемент коротким торцом вводят в зазоры продольных стыков соединяемых секций на величину а (рис. 4). Элемент закрепляют постановкой двух болтов в середине каждой его длинной стороны. Точно так же устанавливают и закрепляют последующие два элемента. Затем ставят по 3-4 болта в средних частях продольных стыков соединительных элементов.

Рис. 4. Схема соединения двух секции стандартными элементами:

а - величина сдвижки продольных стыков; 1 - продольный стык; 2 - поперечный стык. Римскими цифрами показан порядок установки звеньев при сборке звеньев

После этого устанавливают все болты в продольном и поперечном швах от середины шва к его концам и затягивают электрическими или пневматическими гайковертами.

В такой же последовательности стыкуют следующие секции труб.

Для придания жесткости с обоих концов трубы окаймляющие уголки размером 40×40×4 мм, длиной 4,7 м прикрепляют болтами. Болты затягивают гайковертами.

Устройство дополнительного защитного покрытия

Дополнительное защитное покрытие состоит из грунтовки и битумно-резиновой мастики. Толщина слоя мастики должна быть не менее 2 мм.

Дополнительное защитное покрытие, как правило, наносят на строительной площадке после окончания сборки трубы, но его можно наносить также на сборочной базе.

В этом случае на торцах секций оставляют участки (примерно 0,3-0,5 м), не покрытые мастикой. Тогда на строительной площадке покрывают грунтовкой и мастикой только соединительные элементы и незащищенные участки секций, а также дефектные места, появляющиеся в покрытии при транспортировке секций.

При транспортировке секций труб с защитным покрытием на опорные брусья следует укладывать войлочные прокладки, покрытые разделительными прослойками парафинированной или битуминированной бумаги. В жаркое время (при температуре воздуха свыше + 30 °С) во избежание оползания битумного защитного покрытия секции при транспортировании следует укрывать инвентарными покрывалами из смоченного водой брезента.

На собранную трубу сначала наносят грунтовку следующего состава:

Битум БН-4 (по ГОСТ 6617-56)

25-36 %

Масло индустриальное селективной очистки марки ИС-45 (по ГОСТ 8675-62)

5 %

Автомобильный бензин (неэтилированный) (по ГОСТ 2084-67)

60-70 %

Грунтовку приготовляют в емкости объемом 30-50 л. В расплавленный, обезвоженный и охлажденный до температуры 110-120 °С битум добавляют индустриальное масло, затем тонкой струей смесь вливают в емкость с бензином при непрерывном перемешивании. Приготовленная битумная грунтовка должна иметь вязкость 10-15 сек при температуре + 20 °C. Перед нанесением грунтовки трубу очищают стальными щетками и ветошью, смоченной в бензине.

Грунтовку наносят краскораспылителями С-562 или С-562А (приложение 2) сразу после очистки трубы на сухую поверхность, избегая образования сгустков, подтеков, пузырей.

Затем наносят слой битумной мастики МРБ-65 следующего состава:

Битум БН-4 (по ГОСТ 6617-56)

88 %

Наполнитель (резиновая крошка) (по ТУ 51-408-83-68)

5 %

Пластификатор - зеленое масло (по ГОСТ 2985-64)

7 %

Для приготовления мастики используют открытые битумно-плавильные котлы с механическим перемешиванием компонентов.

Битум дробят и загружают в варочный котел. В расплавленный обезвоженный битум добавляют подогретый до 110-120 °С наполнитель - резиновую крошку. Составляющие компоненты непрерывно перемешивают при температуре 180-200 °С в течение 2-3 ч. Перед окончанием варки мастики вводят пластификатор (зеленое масло), тщательно перемешивая всю массу до однородного состояния.

Мастику изоляционного покрытия наносят на загрунтованную поверхность трубы не позднее чем через сутки.

В процессе нанесения на трубу защитных покрытий при температуре воздуха ниже + 30 °C рабочая температура разогретой битумной мастики должна быть в пределах 160-180 °С, а при температуре воздуха выше 30-150 °С. На гофрированную поверхность трубы битумно-резиновую мастику МРБ-65 наносят послойно при помощи передвижной битумной установки ПКБ Главстроймеханизации (приложение 2). Для получения равномерного слоя толщиной 2 мм расстояние форсунки от поверхности должно быть в пределах 0,5-1,5 м.

Засыпка трубы

Трубу засыпают после окончания монтажа и устройства защитного покрытия. Для защиты от возможного повреждения во время осадков трубу обсыпают грунтом на высоту, превышающую диаметр трубы на 0,5 м.

Расстояние от бровки отсыпки до стенки трубы должно быть порядка двух диаметров, но не менее 4 м (рис. 5).

Для засыпки труб применяют щебенистые и гравелистые грунты с крупностью частиц до 50 мм, пески (за исключением пылеватых), а также непылеватые глинистые грунты оптимальной влажности.

Рис. 5. Схема засыпки трубы:

1 - песчаное основание; 2 - зона уплотнения грунта ручным механизированным инструментом; 3 - грунт засыпки, уплотненный автомобилями-самосвалами; l=2D, но не менее 4 м; в - не менее 0,3 м

Запрещается применять для засыпки труб торф, ил, мелкий песок с примесью ила, илистые суглинки, меловые, тальковые и трепельные грунты, а также жирные глины.

Засыпку водопропускной трубы ведут с тщательным уплотнением горизонтальными слоями толщиной 15-20 см по всей ширине насыпи. Отсыпают грунт автомобилями-самосвалами или экскаватором, разравнивают - бульдозером. Грунт отсыпают одновременно с обеих сторон трубы, не допуская разницы в уровнях засыпки более 20 см.

Послойное уплотнение призм грунта, исключая область в непосредственной близости от конструкции, производят гружеными автомобилями-самосвалами МАЗ-205 или МАЗ-503.

Для уплотнения грунта засыпки труб можно использовать машину для уплотнения грунта в стесненных условиях на базе бульдозера Д-535 (приложение 2).

После отсыпки и планировки каждого слоя грунта толщиной не более 20 см груженый автомобиль-самосвал медленно (до 10 км/ч) перемещается вдоль трубы вперед-назад (рис. 6),

Рис. 6. Схема уплотнения грунта засыпки груженым автосамосвалом:

1 - тело трубы; 2 - грунт засыпки после уплотнения; 3 - грунт засыпки до уплотнения; 4 - схема перемещения колес автомобиля-самосвала; в - не менее 0,3 м

удаляясь от трубы на половину ширины колеса. После укатки грунта по всей площади уплотняемого слоя операцию повторяют с тем, чтобы колесо по одному следу прошло 3-4 раза. В непосредственной близости от трубы грунт уплотняют электротрамбовками ИЭ-4501 и ИЭ-4503 (приложение 2).

Плотность грунта засыпки должна быть не менее 95 % максимальной.

Указания по технике безопасности

Погрузочно-разгрузочными монтажными работами должен руководить мастер или прораб.

Во избежание перегрузки крана запрещается поднимать элементы, засыпанные землей или сметам, а также примерзшие к земле. Во всех случаях подъема элементов грузовой полиспаст должен занимать вертикальное положение.

Во время подъема элемента запрещается нахождение под стрелой крана и не ближе 5 м к зоне его действия.

При разработке котлованов и монтаже труб запрещается движение строительных машин и транспортных средств, а также размещение грузов в пределах призмы обрушения.

При варке битумной мастики в котле заполнение котлов не должно превышать 3/4 их геометрической емкости. Запрещается загружать в котел влажные материалы.

При возгорании битума в котле следует плотно закрыть горловину крышкой и заглушить топку. Запрещается заливать горящий битум водой, его следует тушить только сухим песком.

При ожоге битумом нужно смыть его с кожи соляровым маслом, а затем сделать примочку из 95 %-ного этилового спирта.

При монтаже секций труб элементы следует устанавливать специальными крюками. Монтируемый элемент можно освобождать от крюков только после фиксации его положения в конструкции монтажными ломиками.

Запрещается находиться внутри трубы непосредственно под монтируемым элементом, а также устанавливать соединительные болты до тех пор, пока положение этого элемента не зафиксировано монтажными ломиками не менее чем в двух точках.

При перекатке смонтированной трубы или ее секций следует находиться позади конструкции (по направлению перекатки).

Подъем секций пли полностью смонтированной конструкции краном допускается только после затяжки всех болтов, кроме болтов в крайних звеньях секций.

Рабочие, занятые приготовлением и применением битумных мастик, должны быть обеспечены спецодеждой, а также защитными очками, респираторами.

При устройстве асфальтобетонного лотка в трубе устраивают приточно-вытяжную вентиляцию и обеспечивают электроосвещение места работ с использованием взрывобезопасной арматуры на напряжение 12 в.

При сооружении трубы следует руководствоваться следующей технической литературой:

1. Строительные нормы и правила, часть III, раздел Д, глава 2 «Мосты и трубы. Правила организации производства работ, приемка в эксплуатацию» (СНиП III-Д.2-62). Госстрой, М., 1964 г.

2. «Технические указания по проектированию, изготовлению и постройке металлических гофрированных водопропускных труб» (для опытного применения) , М., Оргтрансстрой, 1972 г.

3. «Рекомендации по технологии постройки металлических гофрированных водопропускных труб на железных и автомобильных дорогах», ЦНИИС, М., 1974 г.

4. «Правила техники безопасности и производственной санитарии при сооружении мостов и труб», Оргтрансстрой, М., 1968 г.

5. СНиП III-А.11-70 «Техника безопасности в строительстве», Госстрой, М., 1970 г.

6. Правила техники безопасности при строительстве, ремонте и содержании автомобильных дорог», Транспорт, М., 1969 г.

3. УКАЗАНИЯ ПО ОРГАНИЗАЦИИ ТРУДА

Работы по строительству трубы ведут как правило, поточным методом.

Для выполнения работ организуют бригаду следующего состава:

Звено подготовительного цикла (№ 1)

Монтажники конструкций

4 разр.-1

 

2 » -1

Землекоп

2 » -1

Звено монтажников (№ 2)

Монтажники конструкций

4 разр.-2

 

3 » - 2

 

2 » -1

Звено изолировщиков (№ 3)

Машинист распылительного агрегата

4 рззр.-1

Дорожные рабочие

3 » -2

Звено подготовительного цикла выполняет разбивочные работы и устройство обноски, прием и размещение оборудования, прием и складирование пакетов элементов, ящиков с болтами, гайками, шайбами, окончательную планировку и зачистку дна котлована после его отрывки бульдозером, устройство песчаного основания в котловане.

Монтажники выполняют разбивочные работы, принимают и складируют элементы трубы. Они же помогают землекопу выравнивать дно котлована. После освидетельствования и приемки котлована мастером все трое устраивают песчаное основание. Для временной работы звену придают бульдозер и автокран.

Звено монтажников занимается сборкой секций. Монтажники 4 и 3 разр. разбиваются на две группы и независимо друг от друга собирают одновременно две секции. Монтажник конструкций 2 разр. подносит на площадку сборки гайки, болты, шайбы. Собрав нужное количество секций, монтажники приступают к монтажу трубы, укладывают на основание деревянные лаги, стропуют секции трубы, при помощи крана устанавливают их в проектное положение на основание и стыкуют соединительными элементами. Звену придают для работы автокран.

Звено гидроизолировщиков очищает поверхность трубы и при помощи битумной установки ПКБ Главстроймеханизации наносит на поверхность трубы грунтовку и битумную мастику.

Закончив гидроизоляционные работы, дорожные рабочие убирают лаги, подбивают песок под тело трубы, уплотняют грунт непосредственно у трубы электрической трамбовкой. Звену придают бульдозер Д-271, который надвигает грунт для засыпки трубы, и экскаватор Э-302, оборудованный грейферным ковшом.

Машинисты машин обязаны в начале смены (или в начале работы при малом объеме работ) проверить готовность машин к работе, устранить мелкие неисправности, заправить машину горючим и водой, в процессе работы управлять машиной, а в конце смены (или работы) очистить машину и сообщить механику о замеченных неисправностях. Машинист крана до начала работ обязан проверить и опробовать такелаж и монтажное оборудование.



5. КАЛЬКУЛЯЦИЯ ЗАТРАТ ТРУДА НА СООРУЖЕНИЕ ВОДОПРОПУСКНОЙ ГОФРИРОВАННОЙ ТРУБЫ ДИАМЕТРОМ 1,5 м, ДЛИНОЙ 26,5 м

№ пп

Шифр норм и расценок

Описание работ

Состав звена

Единица измерения

Объем работ

Норма времени, чел-ч

Расценка, руб.-коп.

Нормативное время на полный объем работ, чел-ч

Стоимость затрат труда на полный объем работ, руб.-коп.

1

ЕНиР, § 2-1-24, № 6а

Планировка строительной площадки бульдозером за три прохода по одному следу

Машинист бульдозера

5 разр.- 1

1000 м2

1,2

1,05

0-73,8

1,26

0,89

2

Повременно

Разбивка сооружения с выноской осей и устройством обноски

Монтажники конструкций:

4 разр.-1

3 » -1

чел-ч

6

1

0-59

6

3-54

3

То же

Прием инструмента, приспособлений и оборудования и их установка, устройство освещения строительной площадки

То же

»

14

1

0-59

14

8-26

4

»

Прием и складирование пакетов гофрированных элементов, ящиков с крепежными деталями

Машинист крана

6 разр.-1

Монтажники конструкций:

4 разр.-1

3 » -1

»

6

1

0-65,7

6

3-94

5

ЕНиР, § 2-1-15, табл. 2, № 5б+д

Рытье котлована бульдозером в грунте II группы с перемещением грунта до 20 м

Машинист бульдозера

5 разр.-1

100 м3

0,55

1,52

1-06,7

0,84

0-59

6

ЕНиР, § 2-1-31, табл. 2, № 1e, К=1,2, прим. 3а

Доработка грунта II группы в котловане после разработки его бульдозером

Землекоп 2 разр.-1

1 м3

5

1,5

0-73,9

7,5

3-70

7

ЕНиР, § 2-1-46, № 2б по § 2-1-31, прим. 3б, К =1,2

Зачистка дна котлована в грунте II группы вручную со срезкой неровностей, засыпкой углублений

То же

100 м2

0,67

15

7-39

10,05

4-95

8

ЕНиР, § 4-4-88, № 6б, применит.

Устройство песчаного основания толщиной 40 см

Дорожные рабочие:

4 разр.-1

3 » -1

2 » -1

100 м2

1,34

22

12-27

29,48

16-44

9

ТНиР-90, выпуск 2, § 12, № 1

Устройство противофильтрационного экрана

Землекоп

3 разр.-1

1 м3

6

0,99

0-54,9

5,94

3-29

10

ТНиР-90, выпуск 2, § 12, № 2

Планировка поверхности песчаного основания

То же

100 м2

0,67

2,2

1-22

1,47

0-82

 

 

Итого

 

 

 

 

 

82,54

46-42

11

ТНиР-90, выпуск 2, § 10

Укрупнительная сборка секций трубы из отдельных элементов

Монтажники конструкций:

4 разр.-1

3 » -1

1 м трубы

23,7

4,8

2-83

113,76

67-07

12

ТНиР-90, выпуск 2, № 15

Укладка секций на деревянные подкладки размером 25×8×200 см

То же

1 секция

4

1,25

0-73,8

5

2-95

13

ТНиР-90, выпуск 2, № 13

Сборка трубы из секций

»

1 стык

3

6,5

3-84

19,5

11-52

14

ТНиР-90, выпуск 2, № 11

Установка окаймляющего уголка

Монтажник конструкций

3 разр.-1

1 уголок

2

1,4

0-77,7

2,8

1-55

 

 

Итого

 

 

 

 

 

141,06

83-09

15

ЕНиР, § 4-4-101, № 2

Устройство дополнительного защитного слоя битумной мастикой

Гидроизолировщики 3 разр.-2

1 м2

250

0,3

0-16,7

75,0

41-75

16

ЕНиР, § 2-1-15, табл. 2, № 56+д, К=0,85, прим. 3

Перемещение грунта II группы бульдозером Д-271 на расстояние до 20 м

Машинист

5 разр.-1

100 м3

4

1,29

0-90,7

5,16

3-63

17

ЕНиР, § 2-1-22, № 1а, табл. 2

Уплотнение грунта прицепным катком на пневматических шинах Д-263 в сцепе с С-80

Тракторист

5 разр.-1

»

4

0,73

0-51,2

2,92

2-05

18

ЕНиР, § 2-1-45, табл. 3, № 2а

Трамбование грунта II группы электротрамбовками после обратной засыпки слоями 20 см

Землекоп

3 разр.-1

100 м2

1,4

1,95

1-08

2,73

1-61

19

ЕНиР, § 2-1-12, табл. 3, № 12

Засыпка трубы грунтом на высоту 0,5 м экскаватором Э-302, оборудованным грейферным ковшом

Машинист экскаватора

5 разр.-1

100 м3

1

4,6

3-23

4,6

3-23

 

 

Итого

 

 

 

 

 

90,41

52-17

 

 

Всего на трубу

 

 

 

 

 

314,01

181-68

6. ОСНОВНЫЕ ТЕХНИКО-ЭКОНОМИЧЕСКИЕ ПОКАЗАТЕЛИ

Наименование показателей

Единица измерения

По калькуляции А

По графику Б

На сколько процентов показатель по графику больше (+) или меньше (-), чем по калькуляции

Трудоемкость работ на трубу

чел-ч

314,01

289,4

- 7,8

Средний разряд рабочих

-

3,36

3,36

-

Среднедневная заработная плата на одного рабочего

руб.-коп

4-63

5-02

+ 8,4

7. МАТЕРИАЛЬНО-ТЕХНИЧЕСКИЕ РЕСУРСЫ

А. Основные материалы

Наименование материала

Марка, ГОСТ

Единица измерения

Количество на всю трубу

Гофрированный элемент

151-1,5-19

шт./кг

87/2784

Болты M16×35 011

ГОСТ 7798-70

»

2960/255

Гайка 11 M16 011

ГОСТ 5915-70

»

2960/99

Шайба плосковогнутая

-

»

2960/97

Шайба плосковыпуклая

-

»

2960/70

Песок для основания

ГОСТ 8336-67

м3

42

Цемент

ГОСТ 965-66

т

1,15

Деревянные подкладки 25×8 см длиной 2м

ГОСТ 8486-66

м3/шт.

0,16/16

Битумная мастика

МБР-65

т

0,62

Грунтовка

-

кг

75

Окаймляющий уголок

ГОСТ 380-71

»

24

Б. Машины, оборудование, инструмент, приспособления

Наименование

Марка, ГОСТ

Количество

Автокран

АК-75

1

Экскаватор

Э-302

1

Бульдозер

Д-271

1

Передвижная электростанция

ЖЭС-9А

1

Компрессор

КСЭ-6М

1

Электротрамбовки

ИЭ-4503

2

Гайковерты электрические

ИЭ-3101

2

Передвижная битумная установка

ПКБ Главстроймеханизации

1

Окрасочный агрегат для нанесения грунтовки

С-562

1

Комплект ручных инструментов

-

2

Автомобили-самосвалы

МАЗ-205 или МАЗ-503

по расчету

Емкость для битума

-

1

Емкость для бензина

-

1

Лопаты ЛКО-1

ГОСТ 3620-63

3

Лопаты ЛП-1

ГОСТ 3620-63

3

Уровень длиной 1 м

ГОСТ 9416-67

1

Рулетка РС-20

ГОСТ 7502-61

1

Нивелир

-

1

Рейка для нивелира

-

1

Молотки

ГОСТ 11042-64

3

Ключи торцевые 22 мм

-

2

Ножовка

-

1

Топор плотничный

-

1


Приложение 1

Устройство лотка в трубе

В трубе устраивают бетонный или асфальтобетонный лоток после возведения и стабилизации насыпи над трубой, но не ранее чем через 6 месяцев после засыпки трубы и возведения насыпи. Угол охвата внутренней поверхности трубы бетонным или асфальтобетонным покрытием должен быть не менее 120 °. Возвышение лотка над гребнями волн устраивают не менее 2 см.

При строительстве труб на постоянных водотоках, когда невозможно отвести поток в рядом расположенные сооружения или другим путем предотвратить доступ воды в трубу после полного возведения насыпи, бетонный или асфальтобетонный лоток с подслоем битумно-резиновой мастики устраивают после предварительной обсыпки трубы.

Для лотковой части труб на периодических и постоянных водотоках, (при малом количестве твердых частиц в потоке) допускается применение нанесенного на оцинкованные элементы в заводских условиях эмалевого покрытия.

Для устройства бетонного лотка применяют бетон марки не ниже 200. Крупность заполнителя должна быть не более 10 мм. Бетон лотка в трубах, пропускающих агрессивные воды, должен соответствовать требованиям «Указаний по проектированию антикоррозионной защиты строительных конструкций» СН 262-67.

Бетонную смесь доставляют на строительную площадку автомобилями-самосвалами в выгружают на стальной лоток с загнутыми краями.

Смесь подают в трубу при помощи лебедки, установленной на автомобиль. Для того чтобы не повредить цинковое покрытие, в трубе устраивают легкий деревянный настил.

Перед устройством лотка поверхность трубы тщательно очищают. Бетонную смесь распределяют в трубе лопатами и уплотняют виброрейкой, снабженной вибратором типа ИВ-35. Поверхность виброрейки цилиндрическая с длиной дуги 1,7 м, шириной 0,5 м. Радиус рабочей поверхности виброрейки должен быть равен внутреннему радиусу трубы.

Для того чтобы избежать оплывания уложенной смеси при виброуплотнении, на рядом расположенном к виброрейке участке по всей длине виброрейки закрепляют козырек шириной 0,5 м. Рабочая поверхность козырька должна быть выполнена из материала, имеющего плохое сцепление с бетоном. Виброрейку перемещают по бетону лотка вдоль трубы лебедкой небольшой грузоподъемности, установленной на автомобиле.

Работы по устройству бетонного лотка должны вестись, как правило, при положительной температуре воздуха.

Расход бетонной смеси на устройство 1 м2 составляет 0,03-0,04 м3.

Для устройства асфальтобетонного лотка применяют горячую асфальтобетонную смесь, удовлетворяющую требованиям ГОСТ 9128-67.

Для приготовления асфальтобетонной смеси применяют битумы дорожные вязкие улучшенные по ГОСТ 11954-66. Природный песок должен, иметь фракции размером до 5 мм, минеральный порошок - менее 0,071 мм.

Асфальтобетонную смесь доставляют автомобилями-самосвалами, выгружают на лоток и подают в трубу при помощи лебедки, установленной на автомобиле. Для того чтобы не повредить цинковое покрытие, устраивают лаги, по которым протягивают в трубу стальные лотки с асфальтобетонной смесью.

Лоток устраивают на очищенной, сухой, покрытой битумной мастикой поверхности трубы.

Укладку смеси ведут на всю ширину лотка. Смесь распределяют вручную, уплотняют деревянными молотками и заглаживают утюгами. Работы ведут от середины трубы к ее торцам.

Работы по устройству лотка ведут в сухую погоду: весной и летом при температуре воздуха не ниже + 5 °С, осенью и зимой + 10 °С.

Расход асфальтобетонной смеси на 1 м2 поверхности лотка составляет 0,03-0,04 м3.

Приложение 2

Технические характеристики инструмента, машин, механизмов и оборудования

1. Электрический гайковерт ЭИ-3101

Наибольший, диаметр завинчиваемой резьбы, мм

20

Наибольший момент затяжки, кГ/см

25

Мощность электродвигателя, квт

0,27

Напряжение, в

36

Частота, гц

200

Габаритные размеры, мм

427×138×75

Вес, кг

4,4

2. Пневматический гайковерт ИП-3103

Наибольший диаметр завинчиваемой резьбы, мм

20

Наибольший момент затяжки, кГ\см

20

Давление сжатого воздуха, кГ/см2

5

Расход воздуха, м3/мин

0,9

Габаритные размеры, мм

214×185×80

Вес, кг

2,5

3. Специальная грунтоуплотняющая машина на базе бульдозера Д-535

Рижского ремонтно-механического завода

Ширина уплотняемой полосы за один проход, м

0,8

Глубина уплотнения, м

до 0,4

Эффективность уплотнения

0,95-0,98

Производительность, м3

до 100

Вес, кг

9600

Габаритные размеры (в рабочем положении), мм:

 

длина

7015

ширина

2910

высота

2325

4. Установка для нанесения грунтовки С-562 и C-562A

 

С-562

С-562А

Число бачков, шт

1

2

Емкость бачков, л

20

40

Производительность, м2

100

200

Рабочее давление воздуха, кГ/см2

7

7

Расход воздуха, м3

0,5

0,7

Вес установки без шлангов, кг

17

36

Длина удочки, мм

1500

1500

Вес удочки, кг

1,5

1,5

Размеры воздушного шланга:

 

 

диаметр, мм

9

9

длина, м

9

9

Размеры материального шланга:

 

 

диаметр, мм

12

12

длина, м

9

9

5. Пистолеты О-45 и С-592

 

О-45

С-592

Вязкость лакокрасочного материала по ВЗ-4, сек

50

200

Производительность наибольшая, м2

400

75

Расход сжатого воздуха, м3

26

16

Давление воздуха, ати

3-4

3,5

Давление в баке с краской, ати

2-3

2

Вес, кг

0,63

0,63

Габаритные размеры, мм:

 

 

длина

180

165

ширина

45

45

высота

220

210

6. Передвижная битумная установка ПКБ Главстроймеханизации

Тип

передвижная

База

автоприцеп 1-АГ-1,5

Полезная емкость, м3

0,9

Производительность за одну заправку при 2-мм толщине покрытия, м2

400

Температура битумной мастики, °С

160-180

Вид топлива для разогрева

мазут

Способ нанесения битумной мастики

насосом через форсунку

Давление для распыления топлива, ати

до 4

Вес установки, кг

1486

Габаритные размеры, мм:

 

длина

3000

высота

3200

ширина

2100

7. Электротрамбовки

 

Для марок

 

ИЭ-4501

ИЭ-4508

Производительность, м3

10

6

Частота ударов, мин

540-550

550

Мощность электродвигателя, кет

0,6

0,27

Напряжение, в

220

220

Частота тока, гц

50

50

Вес, кг

20,5

14,5

Габаритные размеры, мм

855×390×227

без башмака

745×520×200

Технологическая карта разработана отделом внедрения передовых методов труда и технического нормирования в строительстве автодорог и аэродромов института «Оргтрансстрой» (исполнитель инж. Т.П. Багирова) по материалам Челябинской и Харьковской НИС.

 

 




ГОСТЫ, СТРОИТЕЛЬНЫЕ и ТЕХНИЧЕСКИЕ НОРМАТИВЫ.
Некоммерческая онлайн система, содержащая все Российские Госты, национальные Стандарты и нормативы.
В Системе содержится более 150000 файлов нормативно-технической документации, действующей на территории РФ.
Система предназначена для широкого круга инженерно-технических специалистов.

Рейтинг@Mail.ru Яндекс цитирования

Copyright © www.gostrf.com, 2008 - 2026