Крупнейшая бесплатная информационно-справочная система онлайн доступа к полному собранию технических нормативно-правовых актов РФ. Огромная база технических нормативов (более 150 тысяч документов) и полное собрание национальных стандартов, аутентичное официальной базе Госстандарта. GOSTRF.com - это более 1 Терабайта бесплатной технической информации для всех пользователей интернета. Все электронные копии представленных здесь документов могут распространяться без каких-либо ограничений. Поощряется распространение информации с этого сайта на любых других ресурсах. Каждый человек имеет право на неограниченный доступ к этим документам! Каждый человек имеет право на знание требований, изложенных в данных нормативно-правовых актах!

  


 

МИНИСТЕРСТВО ТРАНСПОРТНОГО СТРОИТЕЛЬСТВА

ГОСУДАРСТВЕННЫЙ ВСЕСОЮЗНЫЙ ДОРОЖНЫЙ НАУЧНО-ИССЛЕДОВАТЕЛЬСКИЙ ИНСТИТУТ
(СОЮЗДОРНИИ)

 

МЕТОДИЧЕСКИЕ РЕКОМЕНДАЦИИ
ПО МЕХАНИЗАЦИИ АРМАТУРНЫХ РАБОТ В АЭРОДРОМНОМ СТРОИТЕЛЬСТВЕ

 

Одобрены Минтрансстроем

 

МОСКВА 1979

 

Содержат общие положения по организации и технологии изготовления арматурных сеток, рекомендуемые технологические схемы и оборудование, расчет потребности в указанном оборудовании, а также особенности транспортирования арматурных сеток на место производства работ и положения по технике безопасности.

СОДЕРЖАНИЕ

Предисловие

В аэродромных конструкциях широко применяются армированные бетонные покрытия. Одной из трудоемких операций при строительстве покрытий указанного типа является изготовление арматурных сеток.

В условиях аэродромного строительства требуется относительно небольшое количество арматурных сеток, что исключает применение высокопроизводительных сварочных агрегатов и вспомогательного технологического оборудования, используемого в стационарных условиях.

В связи с этим возникла необходимость решить задачу комплексной механизации процессе изготовления арматурных сеток и выбора оборудования, входящего в общий технологический поток устройства армированного бетонного покрытия комплектом машин со скользящей опалубкой.

Настоящие «Методические рекомендации по механизации арматурных работ в аэродромном строительстве» предназначены для строительных организаций и содержат общие положения по организации и технологии изготовления арматурных, сеток, рекомендуемые технологические схемы и оборудование, расчет потребности в указанном оборудовании, а также вопросы транспортирования сеток на место производства работ и правила по технике безопасности.

"Методические рекомендации" разработали инженеры Р.А. Коган и О.Б. Гопин на основе обобщения и анализа опыта механизации арматурных работ в отечественной и зарубежной практике дорожного и аэродромного строительства.

Все предложения и замечания по данной работе просьба направлять по адресу: 143900 Московская обл., Балашиха-6, Союздорнии.

Общие положения

1. Настоящие "Методические рекомендации" содержат вопросы организации и технологии изготовления сварных арматурных сеток из стальных прутков периодического профиля класса А-П диаметром 10-14 м методами точечной контактной сварки, используемых в условиях аэродромного строительства, при устройстве армированных бетонных покрытий высокопроизводительным комплектом машин со скользящей опалубкой. Основные положения "Методических рекомендаций" разработаны в соответствии с требованиями "Указаний по производству и приемке аэродромно-строительных работ" СН 121-73.

2. Мощности по изготовлению арматурных сеток экономически целесообразно назначать из условия максимального годового использования исходя из заданной сменной производительности комплекта машин при устройстве армированного бетонного аэродромного покрытия, планового объема этих работ на строительный сезон.

3. Изготовление арматурной сетки рекомендуется производить с учетом организационного периода, т.е. с начала февраля и до конца строительного сезона (в среднем около 160 смен). За указанный период необходимо переработать при суммарной площади ВПП, магистральных рулежных дорожек и рулежных дорожек около 390 тыс.м2 и расходе арматуры 8 кг на 1м2 примерно 3100 т металла.

Производительность комплекта по изготовлению арматурной сетки должна составить при этом 19,5 т/смену.

Технологические схемы и оборудование

4. Арматурные сетки следует изготавливать поточным методом на специально оборудованном полигоне, располагаемом вблизи объекта строительства.

5. Организацию работ поточным методом необходимо осуществлять по технологическим схемам, включающим продольное расположение заготовительного отделения, цеха изготовления арматурных сеток и склада готовой продукции.

6. Арматурные сетки изготавливают из мерного прутка с помощью серийно выпускаемых подвесных точечных машин контактной сварки (см. таблицу) преимущественно типов МТПП-75-1 с выносным трансформатором с клещами КТП-1 или с помощью переносных клещей К-260 со встроенным трансформатором.

7. Для повышения производительности и экономичности процесса сварку рекомендуется производить на "жестких" режимах, т.е. максимально допустимых для данной машины диаметров свариваемых арматурных стержней.

8. Полигон должен быть обеспечен электроэнергией для питания сварочных агрегатов общей мощностью 200 кВт, подводом сжатого воздуха давлением 5 кгс/см2 и водоснабжением.

9. Для гибки арматурных стержней диаметром до 12 мм применяют ручные гибочные стайки А-56016, более 12 мм - серийно выпускаемые гибочные станки с электромеханическим приводом, например С-1465.

10. В заготовительном отделении следует установить гибочный станок или легкий пресс для изготовления подставок под арматурные сетки. Подставки приваривают к арматурному стержню на отдельном кондукторе.

Тип сварочного аппарата

Мощность сварочного трансформатора, кВА

Диаметр большего из свариваемых стержней, мм

Габариты, см

Масса, кг

Машина К-243 с пневматическим приводом для точечной сварки пересекающихся стержней арматуры

90

22

870×265×310

60

Переносные клеши со встроенным трансформатором К-201, К-260, К-260А

25

20

540×200×150

20

Подвесная машина для точечной сварки МТПП-76-1 с выносным трансформатором с клещами КТП-1

75

16

-

350

Машина для контактной точечной сварки со встроенным трансформатором K-24SB

90

18

850×240×290

50

Подвесная машина МТПГ-65-6 с выносным трансформатором

75

14

-

389

Подвесная машина со встроенным трансформатором К-265-1

25

10

603×145×312

20

Рис. 1. Схема арматурного цеха с подвижными кондукторами:
1 - штабели готовой арматурной сетки; 2 - подвесные кондукторы; 3 - арматурный цех; 4 - подвесные клещи для контактной сварки К-260; 5 - рельсы; 6 - склад готовой продукции

 

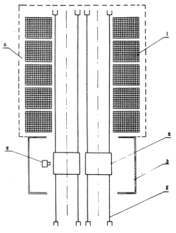
Рис. 2. Схема арматурного цеха с подвижными кондукторами:
1 - штабели готовой арматурной сетки; 2 - кондукторы; 3 - арматурный цех; 4 - подвесная машина для контактной сварки МТПП-75-1с клещами КТП-1; 5 - подкрановые пути; 6 - козловой кран К-4М; 7 - склад готовой продукции

11. Арматурный цех должен быть укомплектован специальными металлическими кондукторами для укладки арматурных стержней с подставками и изготовление сеток по проектной эпюре.

12. Транспортировку арматурных стержней из заготовительного отделения в цех изготовления необходимо осуществлять либо кондукторами на рельсовом ходу (рис.1), либо краном к неподвижным кондукторам, обслуживаемым передвижными сварочными аппаратами (рис.2). Готовая арматура далее поступает на склад.

13. Кондукторы на рельсовом ходу следует оборудовать механическими кантователями для разгрузки сеток на складе готовой продукции.

14. Склад готовой продукции следует оборудовать временным навесом. Штабеля с арматурными сетками необходимо располагать на расстоянии не менее 0,5 м друг от друга, а их высота не должна превышать 2 м.

15. Во избежание возникновения деформаций арматурных сеток в процессе погрузочно-разгрузочных работ складирование и транспортировку сеток необходимо производить на специальных поддонах.

16. Объем арматурных работ для аэродромного строительства составляет обычно около 3000 т (390 тыс. м2),К началу строительного сезона должно быть заготовлено 30% общего объема арматурной сетки при сооружении новой ВПП и 40% при реконструкции ВПП.

17. Планирование фондов на поставку арматуры должно осуществляться с учетом п.16 настоящих "Методических рекомендаций".

Расчет потребности в оборудовании

18. Производительность контактно-сварочного аппарата Т (кг/час) определяется в каждом отдельном случае по формуле

где M - число точек, свариваемых в 1 час;

γ - удельная масса стали, кг/см3;

d1, и d2 - диаметр соответственно продольных и поперечных стержней, см;

n1, и n2 - число соответственно продольных и поперечных стержней на 1 м ширины сетки

К - число свариваемых точек в 1 м2 сетки.

19. По средней сменной производительности контактно-сварочного оборудования и по действительному годовому фонду времени его работы определяется годовая производительность оборудования:

где Qгод,Qсм - соответственно годовая и сменная производительность оборудования;

А - действительный годовой фонд времени работы оборудования.

20. Потребность в оборудовании n устанавливают исходя из общего объема работ, подлежащих выполнению на данном оборудовании, и годовой производительности:

где Pгод - годовой объем работ,  приходящийся на данную машину.

Транспортировка арматурных сеток

21. Транспортировку арматурных сеток следует осуществлять при максимальной загрузке транспорта, которая определяется нормативной удельной нагрузкой не1 м площади кузова автомобиля или прицепа. Для наиболее распространенных автомобилей типа ЗИЛ-130 удельная нагрузка составляет 0,63 тс/м2.

22. Подъем, транспортировку и укладку сеток следует производить с помощью специальных траверс, исключающих остаточные деформации в сетках.

Техника безопасности

23. При гибке арматурных стержней во избежание несчастных случаев механические станки необходимо устанавливать на надежное основание.

24. До пуска станка следует проверить исправность заземления, пусковых и тормозных устройств, а также наличие защитных ограждений.

Запрещается производить работы по настройке станка при включенном электродвигателе.

25. При гибке арматурных стержней на станках с механическим приводом необходимо перед закладкой стержней останавливать диск.

26. При работе на гибочных ручных станках запрещается удлинять рычаги станков, а также ложиться на эти рычаги.

27. Расстояние между машинами для контактной сварки, между машиной и стеной, а также другим оборудованием должно быть не менее 1 м.

28. Для подвода электроэнергии к передвижным или подвесным машинам контактной сварки необходимы изолированные гибкие провода в защитном шланге.

29. При подъеме и перемещении кранами арматурных сеток необходимо выполнять следующие требования:

грузозахватные приспособления (канаты, стропы, траверсы и др.) должны быть предварительно проверены на контрольную нагрузку;

во избежание выпадания стропы во время подъема или опускания арматуры каждый крюк должен быть снабжен предохранительной скобой;

пучки арматурных стержней следует поднимать в горизонтальном положении не менее чем двумя самозатягивающимися петлевыми стропами, плотно облегающими поднимаемый груз;

перед подъемом грузовой канат крана должен находиться в вертикальном положении в центре тяжести груза;

при подъеме, монтаже арматурных сеток необходимо пользоваться оттяжками из прочного пенькового каната или тонкого стального троса.

 




ГОСТЫ, СТРОИТЕЛЬНЫЕ и ТЕХНИЧЕСКИЕ НОРМАТИВЫ.
Некоммерческая онлайн система, содержащая все Российские Госты, национальные Стандарты и нормативы.
В Системе содержится более 150000 файлов нормативно-технической документации, действующей на территории РФ.
Система предназначена для широкого круга инженерно-технических специалистов.

Рейтинг@Mail.ru Яндекс цитирования

Copyright © www.gostrf.com, 2008 - 2026