|
|
|
И.С. Простапенко Инструкционно-технологические карты по технологии облицовочных работ МОСКВА «ВЫСШАЯ ШКОЛА» 1990
СОДЕРЖАНИЕ Рецензент - канд. техн. наук Г.С. Агаджанов Допущено к изданию Государственным комитетом СССР по народному образованию П 82 Инструкционно-технологические карты по технологии облицовочных работ: Практ. пособие для ПТУ. - М.: Высш. шк., 1990.-191с: ил. Приведены инструкционно-технологические карты для обучения учащихся процессам и операциям облицовочных работ. В картах даны рекомендации по организации труда и рабочих мест учащихся; описаны машины, инструменты и приспособления для облицовочных работ; рассказано о технологии выполнения и приемах работ, а также о пооперационном контроле качества работ и технике безопасности. Пособие для учащихся, мастеров производственного обучения профтехучилищ, а также отделочников-строителей. ПРЕДИСЛОВИЕКнига представляет собой сборник из 41 инструкционно-технологической карты для производственного обучения облицовщиков-плиточников, облицовщиков-мозаичников в профессионально-технических училищах с учетом требований учебной программы к видам выполняемых работ для установленного уровня квалификации выпускников профтехучилищ. В инструкционно-технологических картах, отражающих требования ЕТКС, рассматриваются работы, выполняемые в пределах урока производственного обучения. Пособие состоит из семи глав. К собственно технологии облицовочных работ относятся шесть глав: I - подготовка керамических плиток к укладке; II - устройство плиточных полов; III - устройство мозаичных полов; IV - устройство бесшовных покрытий полов; V - облицовка вертикальных поверхностей; VI - ремонт облицовочных покрытий. В главе VII даны краткие методические рекомендации мастеру производственного обучения. В каждой главе инструкционно-технологические карты сгруппированы по конструктивно-технологическому признаку выполнения облицовочных работ (подготовка оснований, приготовление раствора или мастики, их нанесение, облицовка и т. п.). Исходя из требований дидактики, структура инструкционно-технологических карт унифицирована. Каждая карта имеет несколько частей: состав технологических операций, на которые расчленяется производственный процесс; перечень машин, инструментов, приспособлений и материалов для выполнения работ; рекомендации по организации рабочего места; технология выполнения каждой технологической операции, входящей в состав работ; требования СНиП к качеству выполненной работы; трудовые затраты с учетом конкретных условий работы; правила техники безопасности; контрольные вопросы для закрепления учебного материала. Чтобы облегчить усвоение материала, в картах приведены иллюстрации, раскрывающие приемы работ и рациональную организацию рабочих мест. Это позволит мастеру производственного обучения сочетать инструктаж учащихся с показом иллюстраций, что особенно важно на стадии начального обучения. Необходимо сразу привить учащимся рациональные приемы выполнения работ. Неловкие, нецелесообразные движения, неудобная рабочая поза требуют излишних физических усилий, что затрудняет формирование профессиональных умений и навыков. В инструкционно-технологических картах значительное место отводится производственному обучению по операциям. Пользуясь картами, учащиеся приучаются оценивать свои действия не только по конечным результатам выполненной работы, но и по элементам (операциям) производственного процесса. Они начинают понимать назначение и роль каждой операции в обеспечении высокого качества работы, привыкают самостоятельно принимать решения для предупреждения брака. Этим формируются навыки технологической дисциплины. Данные о трудовых затратах (нормы времени и выработки на единицу работ) с учетом конкретных условий производства учат ценить фактор времени, заставляя учащегося планировать время на выполнение каждой операции. Приведенные в картах
нормы времени и выработки рассчитаны на взрослого рабочего. Чтобы определить
время, требуемое учащемуся для выполнения того же задания, пользуются
переводными понижающими коэффициентами (см. приложение
7). Например, если учащемуся 1 курса в апреле второго полугодия
поручена заготовка (перерубание, резка) неполномерных керамических плиток, в
карте № 3 норма времени на 1000 плиток - 11 чел-ч, а норма выработки на 1
чел-дн 723 плитки. В таблице понижающих коэффициентов указано: норма времени
учащегося на данном периоде обучения умножается на 4 (составляет 25 % от
рабочей нормы), следовательно, учащемуся на перерубание 1000 плиток отводится:
11∙4 = 44 ч, а норма выработки: На уроках производственного обучения инструкционно-технологические карты используют как плакаты. Делают их для того, чтобы материал был виден всей группе учащихся. При обучении на строительных объектах учащиеся пользуются технологическими картами для самостоятельной работы. Карты помогают учащимся выбрать рациональные формы и методы организации труда на рабочем месте, определить необходимые материал, инструменты и. приспособления, а также последовательность выполнения технологических операций и рациональные приемы труда. Во время выполнения работы необходимо соблюдать предусмотренную картами последовательность технологических операций, составляющих данный производственный процесс (работу), следить за применением рациональных трудовых приемов, качеством работ, сверяя его с нормативными требованиями, за временем, отведенным на данный процесс, выполнять правила техники безопасности. В случае возникновения трудностей в процессе выполнения работ при отсутствии в рабочей зоне мастера производственного обучения следует дополнительно прочитать в инструкционно-технологической карте материал о последовательности выполнения технологических операций, внимательно рассмотреть иллюстрации и сверить свои действия с нормативными. В конце урока (смены) рабочее место убирают, определяют объем и качество выполненной работы, трудовые затраты (нормы времени), заносят эти сведения в дневник учета учебных работ. Увеличение объемов капитального строительства, реконструкции и ремонта зданий с целью решения жилищной проблемы в нашей стране требует совершенствования форм и методов организации труда в строительстве, повышения качества выполняемых работ. От рабочих отделочных профессий, в том числе плиточников-облицовщиков, плиточников-мозаичников, зависят качество наиболее трудоемких облицовочных работ, декоративность и долговечность интерьера зданий. Рабочие в совершенстве должны владеть своей профессией, активно стремиться к овладению прогрессивной технологией. Для этого требуется изучать опыт новаторов и передовиков, широко освещаемый в строительной литературе, и внедрять его в производство, постоянно повышать свою квалификацию. ГЛАВА I
|
|||||||||||||||||||||||||||||||||||||||||||||||||||||||||||||||||||||||||||||||||||||||||||||||||||||||||||||||||||||||||||||||||||||||||||||||||||||||||||||||||||||||||||||||||||||||||||||||||||||||||||||||||||||||||||||||||||||||||||||||||||||||||||||||||||||||||||||||||||||||||||||||||||||||||||||||||||||||||||||||||||||||||||||||||||||||||||||||||||||||||||||||||||||||||||||||||||||||||||||||||||||||||||||||||||||||||||||||||||||||||||||||||||||||||||||||||||||||||||||||||||||||||||||||||||||||||||||||||||||||||||||||||||||||||||||||||||||||||||||||||||||||||||||||||||||||||||||||||||||||||||||||||||||||||||||||||||||||||||||||||||||||||||||||||||||||||||||||||||||||||||||||||||||||||||||||||||||||||||||||||||||||||||||||||||||||||||||||||||||||||||||||||||||||||||||||||||||||||||||||||||||||||||||||||||||||||||||||||||||||||||||||||||||||||||||||||||||||||||||||||||||||||||||||||||||||||||||||||||||||||||||||||||||||||||||||||||||||||||||||||||||||||||||||||||||||||||||||||||||||
|
Рис. 1. Организация рабочего места при сортировке плиток: 1 - неотсортированные плитки, 2 - шаблон для сортировки плиток, 3 - контейнер с отсортированными плитками |
Рис. 2. Приемы сортировки плиток с помощью шаблона: 1 - основание, 2 - ограничительный брусок-линейка, 3 - калибровочная планка |

Рис. 3. Сортировка плиток с помощью приспособления
1, 2 - подвижный и неподвижный ограничительные упоры
3 - шкала
Последовательность выполнения технологических операций. До начала облицовочных работ керамические плитки, доставленные на объект, сортируют.
Сортировка (калибровка) плиток с помощью шаблонов (рис. 2). Плитку вставляют в шаблон ребром вплотную к ограничительному бруску-линейке 2 так, чтобы противоположное ребро заняло в калибровочной планке 3 выступ, соответствующий ширине плитки. Затем калибруют другую сторону плитки. При равных размерах стороны плитки (квадратной) занимают одно и то же положение в шаблоне. По мере накопления отсортированные плитки укладывают в контейнер.
Сортировка плиток с помощью приспособления (рис. 3). Плитку вкладывают между неподвижным 2 и подвижным 1 упорами. Стрелка, связанная с подвижным упором, фиксирует на шкале 3 отклонение размера плитки в мм.
По цвету, тону и рисунку плитки сортируют одновременно с калибровкой. Для этого их сравнивают с образцом, принятым за эталон.
Отсортированные плитки укладывают в переносные контейнеры или ящики-кассеты в соответствии с размерами, цветом и рисунком.
Оценка качества. Выбраковывают плитки, имеющие следующие дефекты: отбитые углы; зазубрины на кромках лицевой поверхности глубиной 1...2 мм; нечеткий рисунок; наплывы глазури, волнистость, посечки и другие дефекты лицевой поверхности, видимые с расстояния 1,7 м.
Трудовые затраты. Норма времени на сортировку 1000 шт. плиток - 4 чел-ч; норма выработки на 1 чел-дн - 2000 шт. плиток.
Техника безопасности. Плитки сортируют в резиновых перчатках или напальчниках. Помещение должно быть хорошо освещенным и проветриваться.
Контрольные вопросы. В какой последовательности сортируют плитки? Сколько сторон керамической плитки контролируют при сортировке (калибровке)? Как сортируют плитки с помощью приспособления? По каким признакам выполняют сортировку керамических глазурованных плиток? Перечислите дефекты лицевой поверхности плиток, по которым плитки выбраковывают. Где можно использовать бракованные плитки?
Состав технологических операций. Удаление местных выступов и выравнивание (подтачивание) всей поверхности кромки неполномерных и целых плиток.
Механизмы, инструменты, приспособления, инвентарь. Электрическое точило или электрическая сверлильная машина с насадками. Шлифовальные бруски; рашпиль; молоточек плиточника или кирочка; кусачки; складной метр; металлический угольник; контейнеры для складирования обработанных плиток; защитные очки; резиновые перчатки или рукавицы.
Материалы. Керамические плитки с кромками, требующими обработки.
Организация рабочего места. На столе-верстаке стационарно закрепляют переносное электрическое точило или электрическую сверлильную машину для механизированной обработки кромок керамических плиток при большом объеме работ.
При небольшом объеме работ кромки плиток обрабатывают вручную, располагая на столе-верстаке с одной стороны необходимые инструменты, а с другой - плитки, требующие обработки.
Последовательность выполнения технологический операций. Местные неровности - выступы, бугры - отламывают кусачками или плитколомом (рис. 4).
После этого выравнивают, подтачивают кромки, контролируя прямоугольность плиток угольником. При большом объеме работ используют стационарные или переносные механизмы (рис. 5, а, б). Плитку держат лицевой поверхностью вверх, а обрабатываемую кромку перпендикулярно поверхности шлифовального круга. При этом плитку удерживают неподвижно или слегка перемещают по ширине вращающегося круга до получения ровной поверхности кромки.

Рис. 4. Устранение местных искривлений на кромках плиток с помощью кусачек (а) или захватного приспособления - плитколома (б)

Рис. 5. Выравнивание (подтачивание) кромок плиток: а - на стационарном точиле, б - на переносном инструменте с шлифовальным кругом, в - вручную шлифовальным кругом или рашпилем
При небольших объемах работ кромки выравнивают шлифовальным бруском, кругом или рашпилем (рис. 5, в).
Техника безопасности. Работу выполняют в защитных очках и резиновых перчатках в помещении хорошо освещаемом, с приточно-вытяжной или естественной вентиляцией.
К работе с электроинструментами допускаются учащиеся, прошедшие обучение и инструктаж на рабочем месте.
Контрольные вопросы. Покажите приемы, используемые при выравнивании кромок керамических плиток на стационарном и переносном точилах с насадками. В какой последовательности обрабатывают кромки неполномерных керамических плиток? Как организуют рабочее место плиточника при обработке кромок керамических плиток? Как контролируют качество обработанных керамических плиток? Зачем обрабатывают кромки неполномерных керамических плиток в облицовочных работах? Как обеспечить безопасность труда при обработке кромок керамических плиток?
Состав технологических операций. Нанесение разметочной риски (черты); резка плиток; откалывание надрезанной части.
Механизмы, инструменты, приспособления, инвентарь. Роликовый и рычажный плиткорезы; приспособления для резки плиток по прямой и под углом; резец; захватное приспособление (плитколом); рейсмус; молоточек плиточника или кирочка; складной метр или линейка с миллиметровыми делениями; карандаш; контейнеры или кассеты; защитные очки, рукавицы.
Материалы. Отсортированные керамические плитки, предназначенные для резки.
Организация рабочего места. Резку керамических плиток выполняют на столе-верстаке в хорошо освещенном помещении. В центре верстака размещают плиткорез (рис. 6). С одной стороны от плиткореза размещают контейнер или кассеты для заготовленных плиток, с другой - плитки, подлежащие обработке.

Рис. 6. Схема организации рабочего места при резке керамических плиток с помощью рычажного плиткореза: 1 - деревянное основание плиткореза, 2 - металлические стойки, 3 - направляющая планка-траверса, 4 - каретка, 5 - прижимный рычаг с роликовым ножом, 6 - мерная линейка с упорной планкой
Последовательность выполнения технологических операций. Разметка плиток. Заданный размер определяют складным метром или линейкой с миллиметровыми делениями. Риску наносят карандашом или рейсмусом (рис. 7, а).
После разметки плитки режут различными способами.
Резка плиток резцом. Сильно нажимая на плитку резцом с роликом из твердого сплава (рис. 7, б), прорезают глазурь и часть черепка (при необходимости рез делают дважды). Затем нижней стороной плитки ударяют о ребро доски или крышки верстака так, чтобы линия надреза попала на ребро доски (рис. 7, в). При этом плитка раскалывается точно по надрезу. Для отламывания узких надрезанных полос керамической плитки используют плитколом (рис. 7, г).
Разрезка неглазурованных плиток отличается лишь способом их разламывания. По надрезанной плитке постукивают молоточком с торцов, перпендикулярных линии надреза, после чего плитка при нажатии легко разламывается по линии надреза.

Рис. 7. Приемы резки плиток:
а - разметка рейсмусом, б - надрезание глазури резцом, в, г - разламывание плитки по надрезу о брусок и плитколомом
Резка плиток с использованием приспособлений (рис. 8). При прямой и диагональной резке плитку 1 вставляют в зазор приспособления. Левой рукой поддерживают плитки, а резцом 3, который держат в правой руке, выполняют надрез вдоль направляющей планки. Затем плитку простукивают молоточком вдоль линии надреза с нелицевой стороны и разламывают с помощью захвата.
Резка плиток роликовым плиткорезом (рис. 9). Для разрезки плитки движок на стержнях резца 5 закрепляют так, чтобы расстояние от резца до направляющего уголка 3 соответствовало ширине отрезаемой полосы. Зажимным винтом 2 сближают стержни резца, чтобы зазор между резцом и резиновым роликом 6 был на 1 мм меньше толщины плитки. Плитку, поддерживая левой рукой, вставляют в промежуток между резцом и валиком и упирают в направляющий уголок. Правой рукой плиткорез двигают на себя, делая надрез на плитке. Затем легким нажимом плитку разламывают по линии надреза.

Рис. 8. Резка керамических плиток с помощью приспособлений для прямой резки по размеру (а) и для резки под углом (б):
1 - разрезаемые плитки, 2 - линейка, 3 - резец, 4 - угольник
Резка плиток рычажным плиткорезом (см. рис. 6). Плитку после нанесения разметочной линии вставляют в пазы основания 1 лицевой стороной вверх, чтобы роликовый нож находился точно над линией разреза. Каретку 4 устанавливают в исходное положение. Нажимая на прижимный рычаг 5 с роликовым ножом, передвигают каретку вдоль плитки. Затем плитку надрезом смещают на ребро основания и нажимом руки или с помощью плитколома разламывают.
Рубка плиток. Рубку выполняют по ходу облицовочных работ в тех случаях, когда нужно заделать отдельные места у наличников, в углах, у водоразборных кранов и стандартные плитки непригодны. На тыльной стороне плитки делают карандашом риску. По этой риске легкими ударами острым концом молоточка плиточника делают насечки так, чтобы каждый удар несколько находил на предыдущий, после чего сильным ударом тупого конца молоточка сначала по середине, а затем по всей линии переруба раскалывают плитку.
Контроль качества. Кромки разрезанных (перерубленных) плиток должны быть прямыми, без значительных выщербин и сколов. Лицевая поверхность плиток не должна иметь повреждений.
Трудовые затраты. Норма времени на разрезку 100 шт. плиток механизированным способом - 0,31 чел-ч, вручную - 1,1 чел-ч.

Рис. 9. Приемы резки керамических плиток с помощью роликового плиткореза: 1 - стальная пластинчатая пружина, 2 - винт-фиксатор, 3 - направляющий уголок, 4 - регулировочный винт, 5 - резец, 6 - резиновый ролик
Норма выработки на 1 чел-дн при резке плиток механизированным способом - 2580 шт.; вручную - 723 шт.
Техника безопасности. Работу необходимо выполнять в защитных очках и рукавицах.
Контрольные вопросы. Как выполняют резку керамических глазурованных плиток с помощью рычажного плиткореза? Перечислите приспособления для резки керамических плиток. Как обеспечивается качество перерубки (резки) керамических плиток? Покажите приемы резки керамических плиток механизированным способом. Какие правила техники безопасности необходимо выполнять при резке плиток механизированным способом и вручную?
Состав технологических операций. Разметка центра отверстия; высверливание отверстий требуемого диаметра.
Механизмы, инструменты, приспособления, инвентарь. Переносный сверлильный станок; ручная сверлильная электрическая машина с комплектом насадок для сверления отверстий диаметром 20…78 мм. Приспособление для сверления отверстий диаметром до 50 мм; коловорот с приставкой для сверления отверстий диаметром до 60 мм; развертка для сверления отверстий диаметром до 14 мм; кусачки; кирочка; линейка и карандаш; защитные очки и резиновые перчатки; контейнеры.
Материалы. Керамические плитки глазурованные и неглазурованные.
Организация рабочего места (рис. 10). Рабочее место плиточника должно быть хорошо освещено и иметь необходимые механизмы, инструменты и приспособления для высверливания отверстий.
На рабочий стол слева укладывают плитки для высверливания отверстий, справа устанавливают контейнер для плиток с просверленными отверстиями. По середине верстака располагают рабочий инструмент.

Рис. 10. Организация рабочего места при высверливании отверстий с помощью приспособления с вращающимся резцом:
1 - плитка, 2 - резец, 3 - пружина, 4 - ограничитель, 5 - фиксатор, 6 - рукоятка
Последовательность выполнения технологических операций. Отверстия высверливают после сортировки плиток по цвету, оттенку, внешнему виду и размерам, подшлифовки кромок и доводки плиток до требуемых размеров по месту укладки.
Разметка. Складным метром или линейкой определяют местоположение центра отверстия на лицевой поверхности плитки. В целях предупреждения ошибок разметку выполняют дважды - с взаимно перпендикулярных сторон плитки. Центр отверстия фиксируют карандашом. Острием развертки (рис. 11, а) или молоточка (рис. 11, б) в центре, обозначенном карандашной риской, процарапывают слой глазури.

Рис. 11. Ручные инструменты для высверливания отверстий в керамических плитках: а - развертка, б - молоточек плиточника, в - коловорот с насадкой
Сверление отверстий. При небольшом объеме работ в центр отверстия помещают острый конец резца развертки или коловорота (рис. 11, в) и высверливают отверстие требуемого диаметра.
Для высверливания отверстий с помощью приспособления (см. рис. 10) плитку 1 помещают между ограничителями 4 и передвигают каретку так, чтобы центр резца совпал с центром отверстия. Закрепив плитку фиксатором 5, рукояткой 6 вращают резец, высверливающий отверстие.
При большом объеме работ используют переносный станок (рис. 12, а). Резцедержатель 6 устанавливают в центре будущего отверстия и стопорным рычагом 4 закрепляют плитку 5. Рамку 3 перемещают в зависимости от места расположения отверстия на плитке. Нажатием кнопки 9 на щитке запускают электродвигатель 8, который через клиноременную передачу 1 вращает рабочий вал резца. Отверстие высверливают в течение 1…6 мин. Для этих же целей используют ручную сверлильную машину (рис. 12, б) с насадкой.

Рис. 12. Переносный станок (а) для высверливания отверстий и ручная сверлильная машина (б) с насадкой:
1 - клиноременная передача, 2 - корпус подшипника рабочего вала, 3 - рамка, 4 - стопорный рычаг, 5 - плитка, 6 - резцедержатель, 7 - механизм горизонтальной подачи плитки, 8 - электродвигатель, 9 - кнопки управления
Для получения отверстия овальной формы или увеличения диаметра отверстия применяют плиточные кусачки (рис. 13). Осторожно откусывая кромки плитки, расширяют отверстие до требуемых размеров.
Контроль качества. Диаметр отверстий должен соответствовать заданному размеру. Диаметр контролируют измерительными инструментами. Кромки отверстий не должны иметь выщербин, сколов и повреждений лицевой поверхности плиток.
Трудовые затраты. Норма времени в чел-ч на высверливание 100 отверстий в плитках:
глазурованных механизированным способом - 0,6, вручную - 1,95;
неглазурованных механизированным способом - 0,75, вручную - 2,5.
Норма выработки на 1 чел-дн на высверливание отверстий в плитках, шт.:
глазурованных механизированным способом - 1333, вручную - 410;
неглазурованных механизированным способом - 1065, вручную - 320.

Рис. 13. Расширение отверстия кусачками
Техника безопасности. К работе на электрическом станке допускаются учащиеся, прошедшие обучение и инструктаж на рабочем месте. Перед работой исправность электрического станка и других электроинструментов предварительно проверяет механик или мастер производственного обучения. Электродвигатель включают после надежного закрепления плитки и установки сверла в центре намеченного отверстия. После высверливания отверстия электродвигатель выключают.
Через каждые 30 мин непрерывной работы электродвигатель выключают на 5...7 мин для охлаждения.
Сверление отверстий выполняют в защитных очках и резиновых перчатках.
Контрольные вопросы. В какой последовательности высверливают отверстия в керамических плитках? Назовите и покажите инструменты для высверливания отверстий диаметром до 14, до 50 и до 60 мм. Как выполняют отверстие овальной формы? По каким признакам бракуют плитки с высверленными отверстиями? Где укладывают плитки с высверленными отверстиями? Перечислите правила техники безопасности при высверливании отверстий в керамических плитках.
Состав технологических операций. Дозировка составляющих (вяжущего, заполнителей, воды); загрузка барабана смесителя; перемешивание смеси в растворосмесителе; выгрузка приготовленного раствора из растворосмесителя.
Механизмы, инструменты, приспособления, инвентарь. Растворосмесители вместимостью 65…80 л. Мерные ящики для песка и цемента; ведро; растворная лопата; эталонный конус; отделочный ковш, тележка на пневмоколесном ходу, строительная каска; респиратор ШБ-1 «Лепесток»; защитные очки.

Рис. 14. Растворосмесители:
а - СО-46Б, б - СО-238 с откидными лопастями в рабочем положении, в - то же, в нерабочем положении; 1 - тележка, 2 - смесительный барабан; 3 - лопастной вал; 5 - ручка, 6 - редуктор, 7 - электродвигатель, 8 - рама, 9 - опущенные лопасти, 10 - тачка с бункером; 11 лопасти
Материалы. Цемент; мелкозернистый песок; вода. Количество материала зависит от марки приготовляемого раствора.
В зависимости от марки цементных растворов их составы (вода : цемент M400 : песок) могут быть следующими.
|
Марка раствора |
Состав, масс. ч. |
|
150 |
0,55: 1: 3 |
|
200 |
0,45: 1: 2,8 |
|
300 |
0,48: 1: 2,8 |
|
400 |
0,3: 1: 2 |
Примеры расхода материалов для приготовления 1 м3 цементного раствора М 150:
1. Цемент М400 - 390 кг; песок - 1520 кг; вода - 203 л.
2, Цемент М500 - 390 кг; песок - 1 575 кг; вода - 207 л.
Схема организации рабочего места. В зависимости от местных условий рабочее место организуют так, чтобы необходимые материалы для приготовления раствора были рядом с растворосмесителем.
Последовательность выполнения технологических операций. Работу начинают, проверив исправность растворосмесителя и наличие необходимых материалов. Цемент и песок дозируют в мерные ящики, кратные вместимости барабана растворосмесителя (рис. 14).
Сначала в барабан 2 растворосмесителя заливают дозированное количество воды, а затем засыпают заполнитель - мелкозернистый песок - и вяжущее - цемент.
Загрузив барабан, растворосмеситель включают и перемешивают компоненты в течение 6 мин до получения однородной смеси.
После перемешивания внешним осмотром проверяют однородность смеси. Пластичность приготовленного раствора контролируют эталонным конусом (рис. 15). После этого приступают к разгрузке и транспортированию раствора к рабочему месту. При сменных бункерах растворосмесителя лопасти 11 поднимают вверх и раствор не выгружают, а подают к рабочему месту прямо в тачке с бункером 10.
Контроль качества. Приготовленный раствор не должен иметь посторонних и неперемешанных включений. Подвижность раствора, определяемая осадкой эталонного конуса (ОК), должна быть 4...6 см.
Трудовые затраты. Норма времени на приготовление 1 м3 раствора - 1,6 чел-ч; норма выработки на чел-дн - 5 м3 раствора.

Рис. 15. Проверка пластичности раствора эталонным конусом
Техника безопасности. К работе с растворосмесителем допускаются учащиеся, прошедшие обучение и необходимый инструктаж.
Растворосмесители с электроприводом подключают к сети только через защитно-отключающее устройство с помощью штепсельного соединения.
Работу с цементом и сухими растворными смесями выполняют в рукавицах, защитных очках и респираторе.
Контрольные вопросы. В какой последовательности приготовляют замес раствора в растворосмесителе? Как дозируют исходные материалы для приготовления требуемого состава раствора? Как по внешнему виду определить качество приготовленного раствора? В какой последовательности загружают исходные материалы в барабан растворосмесителя? Какие требования техники безопасности необходимо соблюдать при работе с растворосмесителем? Как защищают органы дыхания при работе с цементом и сухими растворными смесями?
Состав технологических, операций. Контроль ровности основания; устранение дефектов поверхности; удаление загрязнений, жировых пятен.
Механизмы, инструменты, приспособления, инвентарь. Электрический молоток; электрическая щетка; подметальная вакуумная машина или пылесос. Скарпель; зубило; молоток; стальная щетка; лейка; растворная лопатка; лопатка для плиточных работ; отделочный ковш для подачи раствора; ведра для воды и раствора. Контрольная двухметровая рейка; строительный уровень; складной метр или рулетка. Защитные очки.

Рис. 16. Проверка ровности основания контрольной рейкой (а) и устранение дефектов основания (б) (1 - дефектное место)
Материалы. Цементнопесчаный раствор марки не ниже 150, приготовляемый на месте работ. Раствор соляной кислоты 3 %-ной концентрации. Ветошь для удаления загрязненных пятен.
Последовательность выполнения технологических операций. К работе приступают после сдачи помещения под отделочные работы.
Контроль ровности основания. После удаления строительного мусора поверхность основания проверяют двухметровой рейкой (рис. 16, а), перемещаемой в продольном и поперечном направлениях. Просветы между рейкой и основанием не должны превышать 10 мм. Дефектные места 1 на поверхности - выступы, впадины и др. - отмечают мелом.
Устранение дефектов. Впадины, трещины, зазоры между уложенными плитами перекрытий, а также места их примыкания к стенам очищают от пыли, смачивают водой и заделывают цементным раствором (рис. 16, б) с помощью лопатки для плиточных работ.
Выпуклости, наплывы схватившегося раствора срубают скарпелем (рис. 17, а) или зубилом. При большом объеме работ неровности устраняют электрическим молотком (рис. 17, б), предварительно проверив его исправность на холостом ходу.
Удаление жировых пятен. Ветошью, смоченной 3 %-ным раствором соляной кислоты, протирают загрязнения до полного удаления пятен. Работу выполняют в резиновых перчатках и защитных очках.
Контроль качества. Просветы между двухметровой рейкой и поверхностью основания в местах устранения дефектов допускаются не более 10 мм, Зазоры в местах примыкания перекрытий к стенам должны быть заделаны цементным раствором марки не ниже М150. Поверхность должна быть чистой, обеспыленной и без пятен.

Рис. 17. Срубание выступов, насечка бетонных поверхностей: а - скарпелем или зубилом, б - электрическим молотком
Трудовые затраты. Нормы времени в чел-ч на единицу работ и нормы выработки на 1 чел-дн при подготовке оснований следующие:
|
|
Нормы времени чел-ч |
Нормы выработки на 1 чел-дн |
|
Очистка основания от строительного мусора |
0,054 |
148 м 2 |
|
Заделка выбоин площадью до 0,25 м2 |
0,34 |
24 шт. |
|
Заделка отверстий площадью до 0,2 м 2, глубиной до 10 см |
0,78 |
10 шт. |
|
Обезжиривание отдельных мест с промывкой органическими растворителями |
0,043 |
186 м2 |
Техника безопасности. При приготовлении раствора соляной кислоты на месте работ кислоту тонкой струей через воронку вливают в воду при постоянном перемешивании. При этом необходимо иметь 10 %-ный раствор соды для нейтрализации кислоты в случае ее разбрызгивания. Для работы с кислотой надевают резиновые перчатки, защитные очки и респиратор.
К работе с электрическим молотком допускаются учащиеся, прошедшие обучение и инструктаж на рабочем месте.
Работают с электрическим молотком в диэлектрических перчатках, резиновых сапогах и защитных очках. Удаляют неровности ломом, скарпелем или зубилом в рукавицах и защитных очках.
Контрольные вопросы. Как проверяют ровность основания под плиточные полы на цементно-песчаной прослойке? Какие дефекты устраняют при подготовке бетонного основания? Расскажите о правилах техники безопасности, которые необходимо соблюдать при работе с электрическим молотком, скарпелем, зубилом? Как проверяют качество подготовленного основания?
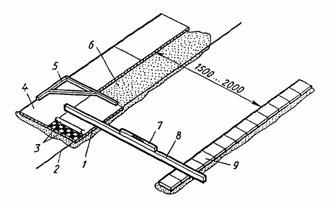
Состав технологических операций. Установка и выверка маячных реек; увлажнение основания; укладка и разравнивание растворной смеси; уплотнение и заглаживание поверхности стяжки; снятие маячных реек и заделка борозд.
Механизмы, инструменты, приспособления, инвентарь. Машина СО-126 для приготовления и подачи растворов, виброрейка; шлифовальная машина для затирки цементных стяжек. Строительный уровень; рулетка или складной метр; деревянный угольник с удлиненной линейкой; разметочный шнур в корпусе; эталонный конус; стальные штыри; строительный молоток массой 600 г; маячные рейки деревянные или металлические длиной 3…6 м; лопатки для плиточных работ и растворная; окованное одностороннее правило; скребок, стальная гладилка; царапка; двухметровая контрольная рейка; деревянные рейки с отфугованной верхней кромкой; тележка на пневмоколесном ходу.
Материалы. Цементно-песчаный раствор. Расход раствора, м3 на 1 м2 стяжки, зависит от толщины стяжки:
|
Толщина стяжки, мм |
25 |
30 |
35 |
40 |
45 |
50 |
|
Расход раствора, м3 |
0,028 |
0,033 |
0,039 |
0,044 |
0,050 |
0,55 |
Схема организации рабочего места. В помещении, где нужно уложить выравнивающую стяжку, заранее раскладывают маячные рейки и заготавливают необходимое количество раствора для их закрепления.
Последовательность выполнения технологических операций. К устройству выравнивающей стяжки приступают после очистки основания от мусора, заделки дефектных мест, срубания выступов, насечки бетонных оснований, удаления загрязненных участков и вынесения на стены отметки верхнего покрытия пола.
Работу начинают со стороны, противоположной входу в помещение.
Установка и выверка маячных реек. Расстояние (шаг) укладываемых реек 2...2,5 м. Маячные рейки устанавливают по уровню так, чтобы их верх соответствовал толщине стяжки. Их положение в плане и по высоте закрепляют крепежными марками из раствора (рис. 18, а). При необходимости установленные маячные рейки втапливают в растворную марку или, наоборот, приподнимают, добавляя раствор, контролируя их положение уровнем (рис. 18, б).

Рис. 18. Устройство выравнивающей стяжки:
а - раскладка маячных реек, б - контроль маячных реек по уровню, в - увлажнение основания

Рис. 19. Укладка, разравнивание и уплотнение раствора:
1 - правило, 2 - грабли, 3 - виброрейка; I-V - последовательность заполнения растворной смесью полос-захваток
Увлажнение основания. Основание поливают водой из шланга с распыляющей насадкой или обычной лейкой (рис. 18, в), не допуская пропусков и луж.
Укладка и разравнивание смеси. Цементно-песчаный раствор начинают укладывать от стен, противоположных входу в помещение. Раствор разгружают в полосу-захватку, ограниченную маячными рейками, и разравнивают вдоль полосы гребком или граблями 2 (рис. 19) на толщину маячных реек. После этого выравнивают раствор правилом 1, которое опирают на маячные рейки. В больших помещениях стяжку укладывают последовательно (I - V) полосами через одну, в небольших помещениях - сразу по всей площади.
Уплотнение и заглаживание поверхности стяжки. Стяжку из пластичных и литых цементно-песчаных смесей с осадкой конуса до 13 см заглаживают металлической гладилкой. Стяжку из жесткого раствора с осадкой конуса менее 13 см уплотняют виброрейкой 3 до появления цементного молока.
Свежеуложенные и уплотненные участки накрывают рогожей или мешковиной и поддерживают 7...10 сут. во влажном режиме. Незатвердевшие поверхности стяжки обрабатывают царапкой или электрощеткой.
Снятие маячных реек и заделка борозд. Удаляют рейки после схватывания раствора, нанося легкие удары молотком по длине рейки и приподнимая ее за один конец. Кромки уложенных полос промывают водой и грунтуют цементным молоком. После этого укладывают раствор в борозды, оставшиеся от реек, а уложенные участки стяжки используют как маяки.
При укладке стяжки в небольшом помещении (без полос-захваток) установленные маяки вырубают. Борозды в местах вырубленных маяков заделывают тем же раствором.
Контроль качества. Уложенная стяжка должна иметь проектную толщину. Горизонтальность уложенной стяжки контролируют двухметровой рейкой, передвигаемой в разных направлениях, и уровнем. Просветы между стяжкой и рейкой не должны превышать 10 мм. Отклонение от горизонтальной плоскости и заданного уклона (по длине или ширине помещения) допускается до 0,2 %, но не более 50 мм.
Трудовые затраты. Нормы времени на устройство 1 м2 стяжки из цементно-песчаного раствора при механизированном нанесении раствора - 0,096, при укладке раствора вручную - 0,23 чел-ч.
Нормы выработки на 1 чел-дн при механизированном нанесении раствора - 83,3, при укладке раствора вручную - 34,8 м 2.
Техника безопасности. Выравнивающую стяжку укладывают, применяя исправные инструменты, приспособления и инвентарь.
Механизированную укладку раствора в полосы-захватки выполняют в резиновых сапогах и перчатках, в защитных очках, при этом используют гаситель струи раствора на выходе из растворопровода.
Контрольные вопросы. Когда приступают к укладке выравнивающих стяжек под плиточные полы? В какой последовательности заполняют раствором полосы-захватки в помещениях большой площади? Как обрабатывают поверхность цементно-песчаной стяжки, уложенной под полы из керамической плитки? Как устанавливают и закрепляют маячные рейки при устройстве выравнивающих стяжек? Как обрабатывают кромки полос затвердевшей растворной стяжки при укладке растворной смеси? Перечислите инструменты, необходимые для контроля поверхности уложенной растворной стяжки? Какие правила техники безопасности нужно выполнять при устройстве выравнивающей стяжки?
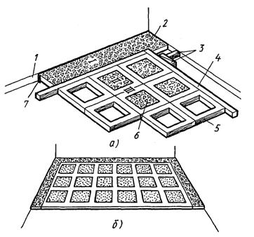
Состав технологических операций. Проверка геометрической формы покрытия; разбивка элементов покрытия.

Рис. 20. Разбивка прямоугольного покрытия пола: а - выверка геометрической формы помещения, б - разметка заделки и фриза; 1 - рейка-шаблон Болотина, 2 - заделка, 3 - угольник, 4 - фриз
Инструменты и приспособления. Разметочный шнур в корпусе; рулетка; складной метр; рейка-шаблон Болотина; рейка-правило; уровень; угольник; стальные штыри для закрепления шнура; цветные мелки или грифель; карандаш.
Схема организации рабочего места. Рабочее место - помещение, где производится разбивка покрытия пола, должно быть свободно от посторонних предметов.

Рис. 21. Разбивка непрямоугольного покрытия пола: 1 - участок с прирубленными плитками, 2 - фон пола, 3 - фриз, 4 - заделка
Последовательность выполнения технологических операций. К работе приступают после исправления дефектов, проверки ровности и горизонтальности основания.
Проверка геометрической формы помещения. Натянутым шнуром измеряют диагонали помещения (рис. 20, а). Равенство диагоналей свидетельствует о взаимной перпендикулярности примыкающих сторон. В таком помещении фриз отделяет ряды заделки одинаковой ширины по всему периметру стен.
Разбивка прямоугольного покрытия (заделки, фриза, фона). Разметочную рейку-шаблон Болотина 1 (рис. 20, б) прикладывают торцом к стене. Цветным мелком наносят риски, намечая границы расположения рядов заделки 2 и фриза 4. Направление внутренней стороны фризового ряда определяют по угольнику 3. Внутренние вершины фризовых рядов (кратных целому ряду плиток) закрепляют стальными штырями.
Разбивка непрямоугольного покрытия (рис. 21). В непрямоугольном помещении диагонали не равны. Рулеткой измеряют длину коротких противоположных сторон основания. Их середину закрепляют стальными штырями и натягивают шнур, фиксирующий ось будущего покрытия. Вдоль натянутого шнура прикладывают рейку Болотина и цветным мелком намечают границы рядов плиток, равных ширине заделки и фриза.
Направление внутренней короткой стороны фризового ряда определяют угольником относительно оси покрытия пола. Размеры коротких сторон фризового ряда кратны целому числу плиток. Внутренние углы фриза закрепляют стальными штырями. Все отклонения от прямоугольности основания при такой разбивке окажутся вне поля фона 2 и за фризом 3 - в полосе заделки 4. Их выравнивают прирубленными (неполномерными) плитками 1, примыкающими к стене. Неполномерные плитки располагают со стороны входа в помещение.
При разбивке основания нужно учитывать, что покрытие может быть выполнено по заданному рисунку.
Контроль качества. Точность разбивки покрытия пола в помещениях правильной и неправильной формы контролируют, проверяя равенство диагоналей по внутренним углам фриза.
Техника безопасности. Работа должна выполняться в хорошо освещенных помещениях, свободных от посторонних предметов и материалов.
Контрольные вопросы. Как проверить прямоугольность основания при устройстве покрытия пола? Каковы особенности разметки прямоугольных покрытий? Сколько рядов плитки должно быть в фризовом ряду, заделке? В какой последовательности выполняют разметку покрытий неправильной формы? Где располагают прирубленные ряды заделки?
Состав технологических операций. Перенос геодезической отметки в помещение; вынесение отметок уровня чистого пола; установка реперного маяка; установка промежуточных маяков.
Инструменты, приспособления, инвентарь. Гибкий (водяной) уровень; контрольная двухметровая рейка; строительный уровень; складной метр или рулетка; разметочный шнур в корпусе; деревянный угольник с линейкой; рейка-шаблон Болотина с делениями; лопатки для плиточных работ и растворная; стальные штыри; молоток; цветные мелки или грифель; тележка со сменной тарой для раствора и плиток; напальчники.
Материалы. Керамические плитки; цементный или гипсовый раствор.

Рис. 22. Геодезические отметки уровня чистого пола 1, 2 и 3-го этажей
Схема организации рабочего места. Помещение, в котором устанавливаются маяки, должно быть сдано под отделку и подготовлено к укладке полов из плиток, т.е. освобождено от посторонних предметов.
Последовательность выполнения технологических операций. К работе приступают после выверки основания и разбивки покрытия.
Перенос геодезической отметки в помещение. Геодезический знак (репер в виде карандашной черты) определяет высотное положение стены лестничной клетки (рис. 22) относительно уровня пола первого этажа. При переносе отметки нулевое деление визирной трубки водяного (гибкого) уровня совмещают с репером (рис. 23, а). На другом конце уровня (в помещении, где настилают полы) уровень жидкости в трубке на нулевом делении соответствует положению переносимой отметки, которую закрепляют карандашной чертой.
Закрепление уровня чистого пола. От геодезической отметки (репера), перенесенной в помещение второго этажа, вычислением определяют положение линии, расположенной на 1 м выше уровня чистого пола.

Рис. 23. Перенос в помещение отметки гибким (водяным) уровнем (а) и закрепление уровня чистого пола (б): 1 - резиновый шланг, 2 - визирная трубка, 3 - геодезическая отметка (знак), 4 - линия, отбитая намеленным шнуром, 5 - риска уровня пола
Для нашего примера 3,850 - 2,800 = 1,050, где 3,850 - геодезическая отметка в помещении лестничной клетки; 2,800 - уровень чистого пола. Затем от геодезической отметки (рис. 23, б) вниз отмеряют 50 мм и закрепляют карандашной риской. Эта риска означает положение, равное 1 м выше уровня чистого пола. Затем с риской совмещают нулевое деление трубки 2 гибкого уровня. Другой конец уровня на расстоянии длины резинового шланга перемещают плавно вверх и вниз до совпадения уровня жидкости с нулевым делением и закрепляют отметки риской.
Уровень перемещают по периметру помещения и наносят таким же образом отметки на все стены. Натянутым разметочным шнуром, натертым пигментом, отбивают линию на каждой стене, расположенную на 1000 мм выше отметки уровня пола.
Установка реперного и промежуточного маяков. Отмеряя вниз от закрепленной на стене линии расстояние, равное 1000 мм, определяют верхний уровень реперного маяка 1 (рис. 24) на уровне чистого пола. Маячную плитку, фиксирующую уровень чистого пола, устанавливают на жестком растворе чуть выше требуемого уровня, а затем ее осаживают торцом ручки лопатки плиточника. Пользуясь обычным уровнем и рейкой 3, устанавливают реперные маяки 1 последовательно во всех углах фриза и промежуточные маяки 2.

Рис. 24. Установка реперного (опорного) и промежуточных маяков: 1 - реперный маяк, 2 - промежуточные маяки, 3 - рейка с уровнем, 4 - маячные ряды
При закреплении промежуточных маяков по уровню предварительно контролируют правильность показаний уровня. Для этого устанавливают уровень на рейку, убеждаются, что его пузырек находится в нуль-пункте, и отмечают карандашом местоположение уровня на рейке. Затем уровень поворачивают на 180° и опять ставят на отмеченный на рейке контур. Если при этом пузырек находится в нуль-пункте, значит, уровень дает правильные показания.
Промежуточные маяки устанавливают вправо и влево от реперного маяка.
В местах фриза промежуточные маяки устанавливают по уровню, для чего один конец рейки опирают на реперный маяк, а под другой конец рейки подкладывают плитку на растворе так, чтобы пузырек уровня находился в нуль-пункте. Промежуточные плитки по фону покрытия устанавливают только в помещениях большой площади.
Контроль качества. Правильность установки маяков контролируют, двухметровой рейкой и уровнем, у которого пузырек должен находиться в нуль-пункте.
Трудовые затраты. Норма времени на установку 100 шт. маяков - 3,9 чел-ч.
Норма выработки на 1 чел-дн - 205 шт. маяков.
Техника безопасности. Работу по укладке маячных плиток на раствор выполняют в резиновых напальчниках.
Контрольные вопросы. Как вычислить отметку уровня чистого пола в помещении? Когда приступают к установке маяков? Какие виды маяков устанавливают до укладки полов в помещении? В какой последовательности и как устанавливают промежуточные маяки? Чему должен соответствовать верх реперного маяка?
Состав технологический операций. Очистка и увлажнение основания; разбивка покрытия на захватки и установка промежуточных маяков; укладка растворной прослойки и плиток.
Инструменты, приспособления, инвентарь. Тележка со сменными контейнерами; растворосмеситель; пылесос. Лопатка для плиточных работ; растворная лопата; кисть-макловица; деревянный полутерок; стальные штыри с причальным шнуром; молоток-кулачок для забивки штырей; рейка-правило длиной до 1,5 м для разравнивания растворной прослойки по маякам; деревянная киянка или хлопуша для осаживания уложенных плиток; металлические грабли; стальной скребок или проволочная щетка для очистки отдельных мест основания; рейка Болотина; двухметровая рейка с уровнем; металлическая рулетка и метр; рычажный плиткорез; угольник; контрольно-ступенчатая линейка для измерения выступов или впадин. Контейнер для переноски и хранения плитки; ведра с водой для увлажнения плиток. Подножка для работы плиточника на свежеуложенной растворной прослойке; скамеечка для работы плиточника; влагонепроницаемые наколенники.

Рис. 25. Схема организации рабочего места при поштучной укладке плиток:
1 - маячные плитки, 2 - рабочее место плиточника, 3 - маячная рейка, 4, 5 - контейнеры с растворами с плитками, 6 - пылесос, 7 - границы захваток, 8 - растворосмеситель
Материалы. Керамические плитки для полов (ГОСТ 6787-80). Цементно-песчаный раствор марки 150, подвижностью 3,5...6 см. Расход раствора для устройства 1 м2 прослойки толщиной 7…15 мм - 0,02 м3.
Схема организации рабочего места (рис. 25). Плитку укладывают способом «на себя», двигаясь по направлению к выходу из помещения. Поэтому направление захваток, как правило, должно совпадать с направлением света из оконных проемов.
Технологическая последовательность работ. Очистка и увлажнение основания. Строительный мусор, грязь, пыль удаляют вакуумно-щеточной машиной, пылесосом. После этого основание смачивают водой, не допуская луж или сухих мест.
Разбивка поверхности на захватки. Рейкой Болотина размечают ширину полос-захваток. От стены или ряда ранее уложенных плиток 1 (рис. 26) откладывают расстояние, равное пяти рядам плиток 1, и устанавливают маячные рейки 2 с помощью правила 3 и уровня на растворные марки 4. Верх рейки должен соответствовать уровню растворной прослойки.
Укладка растворной прослойки. Доставленный в контейнерах раствор растворной лопатой укладывают на длину 1…1,5 м по всей ширине захватки (рис. 27, а). Затем раствор разравнивают правилом (рис. 27, б), снимая излишки, и припорашивают выровненную поверхность сухим цементом, после чего слой заглаживают плиточной лопаткой до появления на поверхности цементного молока. Излишки цементного молока удаляют кистью-макловицей. Подготовленная прослойка должна быть на 1...2 мм выше уложенного ранее ряда плиток.

Рис. 26. Захватка:
1 - уложенные плитки, 2 - маячная рейка, 3 - правило с уровнем, 4 - растворные марки

Рис. 27. Укладка (а) и выравнивание (б) растворной прослойки

Рис. 28. Поштучная укладка плиток:
а - раскладка плиток стопками, б - укладка и осаживание плиток, в - настилка пола с применением скамеечки плиточника

Рис. 29. Выравнивание горизонтальности (а) и прямолинейности шва (б) свежеуложенного покрытия
Укладка плиток. Плитки предварительно раскладывают стопками по 10 шт. по длине захватки (рис. 28, а). Стопки должны находиться одна от другой на расстоянии двух плиток. На раствор плитку укладывают по ширине захватки (по 5 шт. в ряду) справа налево, а затем слева направо. Предварительно тыльную сторону плиток протирают мокрой ветошью и левой рукой кладут на подстилающий слой. Легкими ударами молотка или ручкой лопатки осаживают на раствор до нужного уровня (рис. 28, б). При этом следят, чтобы ширина шва между плитками не превышала 3 мм. Исправляют ширину или общее направление шва краем лопатки не позднее 15...30 мин после укладки раствора. При работе на растворной прослойке пользуются скамеечкой плиточника (рис. 28, в).
Уложив 5 или 6 поперечных рядов, на плитки кладут брусок и ударами хлопуши, молотка или киянки (рис. 29, а) выравнивают горизонтальность покрытия. Направление шва выравнивают рейкой, прикладываемой к кромке уложенного ряда плиток (рис. 29, б).
Контроль качества. Контроль осуществляют по ходу работы.
Ширина швов между плитками покрытия должна быть одинаковой и не более 3 мм. Не допускаются просветы более 4 мм между поверхностью пола и наложенной двухметровой контрольной рейкой, уступы между смежными плитками более 1 мм. Цвет и рисунок покрытия должны соответствовать проектным.
Трудовые затраты (табл. 1).
Таблица 1.
Нормы времени, чел-ч, на 1 м2 покрытия пола (в числителе) и нормы выработки, м , на 1 чел-дн (в знаменателе) при поштучной укладке плиток
|
Площадь покрытия, м2 |
Размеры плиток, |
мм |
|
|
100×100 |
150×150 |
200×200 |
|
|
До 2 |
1,2 6,6 |
0,78 10,25 |
0,67 11,94 |
|
До 10 |
_1_ 8,0 |
0,68 11,7 |
0,59 13,5 |
|
Свыше 10 |
0,95 8,4 |
0,64 12,5 |
0,56 14,3 |
Техника безопасности. Обеспыливание основания выполняют в защитных очках. При укладке плиток пользуются водонепроницаемыми наколенниками и резиновыми напальчниками.
Контрольные вопросы. Почему растворная прослойка должна быть выше уровня ранее уложенных плиток? Как укладывают плитки между маяками? Какие инструменты и приспособления необходимы при укладке растворной прослойки; плиток? Чем размечают захватки при настилке плиточных полов? В чем заключается пооперационный контроль качества укладки керамических плиток? Как контролируют качество покрытия?
Состав технологических операций. Очистка и увлажнение основания; разбивка покрытия на захватки и установка промежуточных маяков; укладка растворной прослойки; заполнение шаблона плиткой; укладка шаблона, заполненного плиткой.
Инструменты, приспособления, инвентарь. Пылесос или вакуумно-щеточная машина. Лопатка для плиточных работ и растворная лопата; грабли; стальные штыри; молоток-кулачок; киянка; хлопуша; кисть-макловица; рейка Болотина; деревянный угольник; рулетка; складной метр; строительный уровень; контрольная двухметровая рейка; рейка-правило длиной до 1,5 м; шаблон конструкции Корнешова. Скамеечка плиточника; подножка; влагонепроницаемые наколенники; тележки с контейнерами для плиток и баком для воды; тележка со сменной тарой для раствора.

Рис. 30. Организация рабочего места при укладке плиток пакетным способом:
1 - маячные плитки, 2 - рабочие места плиточников, 3 - маячная рейка, 4 - контейнер (тележка) с раствором, 5 - решетчатые шаблоны, 6 - пылесос, 7 - границы захваток, 8 - растворосмеситель
Материалы. Керамические плитки для полов (ГОСТ 6787-80). Цементно-песчаный раствор марки 150 подвижностью 3…6 см.
Расход раствора для устройства 1 м2 соединительной прослойки толщиной 7…15 мм - 0,02 м3; расход керамических плиток на 1 м2 покрытия - 1,03 м2.
Схема организации рабочего места (рис. 30). Плитки покрытия укладывают «на себя» захватками, двигаясь по направлению к выходу.
Последовательность выполнения технологических операций. К. работе приступают после подготовки основания и вынесения отметки уровня чистого пола.
Очистка и увлажнение основания. Основание очищают вакуумно-щеточной машиной или пылесосом. Затем основание смачивают водой, не допуская скопления воды в отдельных местах или пропусков в поливке.

Рис. 31. Шаблон для пакетной укладки плиток: 1 - рама шаблона, 2 - плитки, уложенные тыльной стороной вверх, 3 - скобы для запорных стержней, 4 - запорные стержни, 5 - ограничители, 6 - упорные шпильки, 7 - отсортированные и смоченные плитки
Разбивка покрытия на захватки и установка промежуточных маяков. С помощью рейки Болотина размечают поперечные захватки. Опирая рейку с уровнем на реперный маяк, устанавливают промежуточные маяки 1 и маячные рейки 3 вдоль захватки.
Укладка растворной прослойки на основании. Раствор расстилают полосой, равной ширине шаблона; длина полосы должна в пять-шесть раз превышать размер большей стороны шаблона. Уложенный раствор на захватке с одной стороны ограничивают уложенные плитки, с другой - маячные рейки.
Раствор, уложенный на полосе-захватке, разравнивают граблями и заглаживают правилом. Выровненную поверхность припорашивают сухим цементом, заглаживают лопаткой плиточника до появления цементного молока.

Рис. 32. Контроль качества плиточного покрытия: 1 - толщина швов между плитками, 2 - просветы между поверхностью покрытия и двухметровой рейкой, 3 - отклонение поверхности пола от горизонтальной плоскости или заданного уклона, 4 - отклонение швов от прямой, 5 - уступ между смежными плитками
Заполнение шаблона плиткой. Сначала на рабочем столе заготавливают стопки отсортированных и смоченных плиток 7 (рис. 31). Затем начинают последовательно заполнять шаблон плитками 2 тыльной стороной вверх, раскладывая их в соответствии с заданным рисунком пола. Разложенную в шаблоне плитку закрепляют запорными стержнями 4, вдвигая их в скобы 3. Заполненный шаблон переносят к месту укладки.
Устройство покрытия. Шаблон осторожно укладывают на растворную прослойку плиткой вниз, совмещая продольные и поперечные швы в покрытии пола со швами пакета плиток в шаблоне. Положение уложенного шаблона контролируют по причальному шнуру и уровню. Затем, придерживая шаблон, вынимают запорные стержни и ударами киянки по шаблону плитки припрессовывают к раствору. После этого шаблон снимают. Следующий цикл пакетной укладки плиток повторяют в такой же последовательности.
Контроль качества. Толщина швов 1 (рис. 32) между плитками размером до 200 мм допускается не более 2 мм, размером более 200 мм - 3 мм. Просветы 2 между поверхностью покрытия и двухметровой контрольной рейкой, прикладываемой в различных направлениях, должны быть не более 4 мм. Отклонение 3 поверхности пола от горизонтальной плоскости или заданного уклона не должно превышать 0,2 %, но не более 50 мм. Отклонение швов от прямой линии на 10 м длины покрытия допускается не более 10 мм. Между двумя смежными элементами покрытия могут быть уступы до 1 мм.
Трудовые затраты. Нормы времени при настилке 1 м2 покрытия из керамических плиток размером 100×100 мм пакетным способом - 0,52 чел-ч, при настилке плиток размером 150×150 мм - 0,44 чел-ч; нормы выработки на 1 чел-дн соответственно- 15,3 и 18,1 м2.
Техника безопасности. Плитку укладывают в резиновых перчатках или напальчниках, водонепроницаемых наколенниках. Обеспыливать основание нужно в защитных очках и респираторе.
Контрольные вопросы. Почему настилку полов выполняют одновременно несколькими шаблонами? Как ведут пакетную укладку керамических плиток с помощью шаблона? Расскажите о заполнении шаблона плитками. Каковы особенности укладки шаблона, заполненного плиткой, на растворную прослойку? Назовите требования техники безопасности, которые выполняют при пакетной укладке керамических плиток.
Состав технологических операций. Очистка и смачивание основания; предварительное замачивание плиток в водном растворе поверхностно-активных веществ (ПАВ); укладка прослойки из жесткого цементно-песчаного раствора; раскладка и втапливание плиток виброплитой.
Механизмы, инструменты, приспособления, инвентарь. Пылесос; виброплита или виброкаток. Лопатки для плиточных работ и растворная; молоток-кулачок (массой 600 г); правило длиной 1,2 м; киянка деревянная или резиновая; хлопуша; двухметровая контрольная рейка; грабли; щетка; стальной скребок; стальная щетка; кисть-макловица; строительный уровень; угольник; измерительная рулетка; складной метр; рейка Болотина; стальные штыри; клетчатый шаблон; ванночка для замачивания плиток. Тележка с контейнером для плиток и баком для воды; тележка с контейнерами для раствора. Скамейка плиточника; подножка; влагонепроницаемые наколенники; резиновые перчатки или напальчники.

Рис. 33. Ванночка для замачивания плиток
Материалы. Цементно-песчаный раствор марки 150 (ОК = 2,3 см). Керамические плитки для полов (ГОСТ 6787-80). Водный раствор ПАВ (1 %-ный раствор хлористого калия или 0,5 %-ный раствор хлористого алюминия).
Схема организации рабочего места. В помещении, в котором настилают плиточные полы способом вибровтапливания плиток, имеющем большую длину или ширину и незначительное количество выступов и колонн, все необходимые инструменты и материалы располагают рядом с захваткой. Длина кабелей вибромашин должна обеспечивать свободную обработку плиток в наиболее удаленном от входа месте.
Последовательность выполнения технологических операций. К работе приступают после подготовки основания под покрытие. Плитки укладывают «на себя», начиная от стены, противоположной входу в помещение.
Очистка и смачивание основания. Остатки строительного мусора убирают, основание обеспыливают вакуумно-щеточной машиной или пылесосом и затем увлажняют, не допуская пропусков и луж.
Замачивание плиток. Плитки перед укладкой помещают в ванночку (рис. 33) и в течение 15…20 мин замачивают в воде или водном растворе ПАВ.
Укладка прослойки из жесткого цементно-песчаного раствора. По уровню и рейке устанавливают маяки (реперный, фризовые, промежуточные). Высота маяков должна соответствовать толщине растворной прослойки. По шнуру, который натягивают на стальных штырях, устанавливают направляющие рейки и между ними расстилают раствор прослойки. Раствор начинают укладывать от стены, противоположной входу в помещение. Затем раствор выравнивают правилом и разглаживают полутерком заподлицо с уложенными рейками. Рейки убирают, и бороздки, образовавшиеся от них, заделывают тем же раствором. Уровень уложенной растворной прослойки должен быть на 1...2 мм выше проектной отметки с учетом последующего втапливания плиток.

Рис. 34. Настилка пола с помощью клеточного шаблона
Раскладка и втапливание плиток виброплитой. На выровненную в первой захватке прослойку в углу помещения устанавливают клетчатый шаблон (рис. 34). Затем по шнуру шаблоны укладывают по всей длине захватки, следя, чтобы решетки шаблона совпадали с соответствующими швами уложенного участка пола. Шаблоны заполняют плитками по заданному рисунку пола, пользуясь для перемещения по уложенной прослойке подножками, снижающими давление на прослойку. После заполнения шаблонов и выравнивания отдельных плиток шаблоны снимают.
Не позднее чем через 2 ч после укладки плитки втапливают виброкатком (рис. 35, а) или виброплитой (рис. 35, б). При этом ручные машины перемещают по покрытию до полного заполнения швов раствором.

Рис. 35. Втапливание (припрессовывание) свежеуложенных плиток виброкатком (а) и виброплита (б)
Контроль качества. Рисунок покрытия должен соответствовать проектному. Швы шириной не более 3 мм должны быть полностью заполнены раствором. Отклонение от горизонтальной плоскости или от заданного уклона не должно превышать 0,2 %; при ширине или длине помещения более 25 м это отклонение не должно превышать 50 мм на все помещение.
Отклонение швов от прямой линии на 10 м длины помещения допускается не более 10 мм. Уступы между смежными плитками не должны превышать 1 мм.
Трудовые затраты. Норма времени на настилку 1 м плиточных полов методом вибровтапливания (в помещениях площадью более 20 м) - 0,33 чел-ч; норма выработки на 1 чел-дн - 24,2 м2.
Техника безопасности. К работе с виброплитой допускаются лица, прошедшие практическое обучение и инструктаж на рабочем месте.
Исправность механизма до начала работ проверяет механик или мастер производственного обучения. В электросеть виброплиту включают через защитно-отключающие устройства с помощью штепсельного соединения, имеющего защитно-заземляющий контакт. При механизированной подаче раствора выход его из растворопровода осуществляют через гаситель струи.
Работать с виброплитой нужно в резиновых сапогах и перчатках. При работе с водными растворами поверхностно-активных веществ надевают резиновые перчатки и защитные очки.
Контрольные вопросы. Какую пластичность имеет растворная смесь для укладки плиток способом вибровтапливания? Назовите особенности устройства растворной прослойки для укладки плиток способом вибровтапливания. Как проверить пригодность раствора для устройства прослойки? По каким признакам следует перемещать виброплиту на следующий участок покрытия? Назовите последовательность укладки плиток на подготовленную прослойку. Назовите правила техники безопасности, которые нужно выполнять при укладке полов способом вибровтапливания.
Состав технологических операций. Разметка захваток; укладка растворной прослойки; укладка керамических плиток; отделка кислотоупорного покрытия.
Инструменты, приспособления, инвентарь. Лопатки для плиточных работ и растворная; стальные штыри; молоток-кулачок; рейка-правило длиной 1,5 м; деревянный полутерок длиной 300...800 мм; грабли; стальной скребок; проволочная щетка; рейка Болотина; деревянная киянка или хлопуша. Металлическая рулетка; складной метр; деревянный угольник; контрольная двухметровая рейка; строительный уровень; ареометр. Влагонепроницаемые наколенники; скамейка плиточника; подножка.
Материалы. Кислотоупорные керамические плитки толщиной 20 мм. Кислотоупорный раствор (на жидком натриевом стекле плотностью 1,38…1,40 г/см3) с уплотняющими добавками.
Расход материалов из расчета устройства 1 м2 кислотоупорных полов: керамические плитки - 1,03 м2; цементный раствор М150 - 0,021 м3; битумная мастика - 5,2 кг; кислотоупорный раствор - 0,011 м3; жидкое натриевое стекло - 0,48 кг; цемент М400 - 2 кг; мелкий песок - 0,001 м3.
Схема организации рабочего места (рис. 36). Плитки, подлежащие укладке, раскладывают позади плиточника; раствор доставляют к месту работы в сменных контейнерах или передвижных ящиках-тележках.

Рис. 36. Схема организации рабочего места при настилке кислотоупорных полов:
1 - покрытие, 2 - правило, 3 - прослойка, 4 - стопки плиток, 5 - причальный шнур, 6 - маячные плитки (направление укладки покрытия показано стрелкой)
Последовательность выполнения технологических операций. Работу начинают после устройства гидроизоляции, очистки и просушки основания, огрунтовки жидким стеклом плотностью 1,15 г/см3, а также разбивки покрытия и установки маяков.
Разметка захваток. Рейкой Болотина размечают ширину полос-захваток, рассчитанных на 2...3 ряда плиток. С одной стороны захватку ограничивает стена помещения или уложенный ранее ряд плитки, с другой - причальный шнур, натянутый на уровне покрытия по стальным штырям.

Рис. 37. Укладка растворной прослойки: 1 - правило, 2 - полутерок

Рис. 38. Выравнивание свежеуложенных рядов плиток рейкой (а) и удаление выступающего раствора скребком (б)
Укладка растворной прослойки. Кислотоупорный раствор расстилают лопатой в полосы по огрунтованному основанию, разравнивают граблями, затем рейкой-правилом 1 (рис. 37) и заглаживают деревянным полутерком 2. Толщина прослойки 10…15 мм.
Укладка покрытия. Укладываемые плитки должны быть сухими, очищенными от пыли. Тыльную сторону плиток покрывают тонким слоем кислотоупорного раствора и укладывают на прослойку точно в заданное положение. Ширину и ровность швов контролируют по причальному шнуру. Сместившиеся плитки необходимо сразу выравнивать из-за большой вязкости кислотоупорного раствора. После укладки нескольких рядов плиток, но не позднее чем через 20 мин, покрытие выравнивают деревянной рейкой (рис. 38, а) и киянкой. Закончив укладку ряда на захватке, излишки раствора подрезают и удаляют металлическим скребком (рис. 38, б).
Отделка кислотоупорного покрытия. По истечении четырех суток покрытие протирают 5 %-ным раствором серной, азотной или соляной кислоты (в зависимости от состава агрессивной среды). Обработку раствором кислоты выполняют дважды с перерывом не менее чем 4 ч. На следующий день пол протирают сухими опилками.
Контроль качества. Швы между плитками шириной не более 2 мм должны быть прямолинейными и тщательно заполненными; просветы между поверхностью пола и двухметровой контрольной рейкой - не более 4 мм. Уступы между смежными плитками не должны превышать 1 мм. Цвет и рисунок покрытия должны соответствовать проектным.
Трудовые затраты (табл. 2).
Таблица 2.
Нормы времени, чел-ч, на 1 м2: покрытия из керамических плиток (в числителе) и нормы выработки, м2, на 1 чел-дн (в знаменателе) при устройстве кислотоупорных полов
|
Площадь покрытия, м 2 |
Размер плиток, мм |
||
|
100×100 |
150×150 |
200×200 |
|
|
До 2 |
1,2 6,6 |
0,78 10,25 |
0,67 11,94 |
|
До 10 |
_1_ 8,0 |
0,68 11,7 |
0,59 13,5 |
|
Свыше 10 |
0,95 8,4 |
0,64 12,5 |
0,56 14,3 |
Техника безопасности. Работы по устройству кислотоупорных покрытий выполняют в спецодежде, используя индивидуальные средства защиты.
Очистку свежеуложенных покрытий выполняют 5 %-ным раствором кислоты. При приготовлении раствора кислоту тонкой струей осторожно вливают в воду, постоянно перемешивая. Концентрированный раствор кислоты в бутылях хранят и переносят в плетеных корзинах; разливают кислоту через воронку. Работают с кислотой в резиновых перчатках.
При дозировании кремнефтористого натрия для приготовления кислотоупорного раствора работают в плотном комбинезоне, рукавицах и противогазе или респираторе ШБ-1 «Лепесток». Хранят кремнефтористый натрий в герметичной упаковке.
После работы с кислотой необходимо тщательно вымыть руки с мылом.
Настилают плитки в резиновых перчатках, предварительно протерев руки тальком или меловым порошком.
Контрольные вопросы. Из каких операций складывается устройство кислотоупорных покрытий? Укажите примерную ширину захватки при настилке кислотоупорных полов. Почему кислотоупорные растворы приготовляют непосредственно на месте работ? Почему устройство кислотоупорных покрытий на захватке должно быть закончено в течение 30…40 мин? Перечислите правила техники безопасности при устройстве кислотоупорных покрытий.
Состав технологических операций. Сортировка карт ковровой мозаики; разбивка покрытия; укладка маяков и растворной прослойки; укладка карт фризового ряда; укладка карт фона.
Инструменты, приспособления, инвентарь. Плиточная лопатка; растворная лопата; молоток-кулачок; стальные штыри; кисть-макловица; рейка-правило длиной 1,5 м; деревянный полутерок длиной 300...800 мм; киянка или хлопуша; нож для разрезки бумажной основы карт; грабли; стальной скребок или проволочная щетка. Рейка Болотина. Двухметровая контрольная рейка; строительный уровень; рулетка или складной метр; угольник. Ведро; ковш для отделочных работ; разметочный шнур в корпусе. Подножки; водонепроницаемые наколенники.
Материалы. Карты ковровой мозаики, наклеенные лицевой стороной на плотную бумагу (ГОСТ 17057-80). Цементно-песчаный раствор марки 150 подвижностью 3…3,5 см. Сухой цемент марки 400 для припудривания растворной прослойки перед укладкой карт.

Рис. 39. Организация рабочего места при настилке полов из карт ковровой мозаики:
1 - угловая карта фризового ряда, 2 - прямые карты фризового ряда, 3 - заделка, 4 - карты основного фона, 5 - растворная прослойка, 6 - причальный шнур, 7 - штабеля карт ковровой мозаики, 8 - передвижной ящик-тележка с раствором, 9 - бак с водой, 10 - рабочие места плиточника
При устройстве 1 м2 растворной прослойки расходуется 0,02 м3 раствора, сухого цемента - 150...200 г.
Схема организации рабочего места. Рабочее место организуют так, как показано на рис. 39.
Последовательность выполнения технологических операций. Укладку карт ковровой мозаики ведут продольными рядами слева направо и справа налево и в обратном направлении (рис. 40). К работе приступают после очистки и увлажнения основания.
Сортировка карт ковровой мозаики. В соответствии с заданным рисунком отбирают карты для укладки во фризовый ряд, заделку и основной фон. Бумажную основу карт в отдельных местах прокалывают или прорезают, чтобы предупредить появление воздушных мешков. С учетом разметки заготовляют целые и неполномерные карты.
Разбивка покрытия и укладка временных маяков. Рейкой Болотина размечают местоположение захваток, устанавливают временные маячные ряды 9 (рис. 41) из керамических плиток по уровню 7. На границе захватки вбивают стальные штыри и натягивают причальный шнур для обозначения наружной стороны фриза.
Укладка растворной прослойки. Основание смачивают водой, и на захватке (по ширине карты) под заданный уровень расстилают раствор. Разровненную граблями прослойку выравнивают рейкой-правилом.
Перед укладкой карт поверхность растворной прослойки припорашивают сухим цементом и заглаживают полутерком до появления цементного молока.
Укладка угловой карты фризового ряде. По причальному шнуру и угольнику угловую карту фризового ряда укладывают на растворную прослойку бумажной основой вверх; уложенную карту осаживают хлопушей под уровень маячного ряда, чтобы швы между плитками ковра были заполнены раствором. Намокание бумажной основы над швами свидетельствует о заполнении швов. В местах, где бумага не намокла, делают проколы, выпуская воздух.

Рис. 40. Последовательность (показана стрелкой) укладки карт ковровой мозаики
Углы фризового ряда с рисунком получают из двух карт, последовательно раскраивая их поперечным (рис. 42, а) и ступенчатым разрезом (рис. 42, б). Части раскроенного ковра соединяют под прямым углом (рис. 42, в).
Укладка прямых фризовых карт. Уложив угол фриза, по причальному шнуру укладывают карты фризового ряда.
По мере укладки карт фризового ряда снимают временный маячный ряд (вдоль стены). В зазор между стеной и фризом на слой раствора укладывают продольные полосы рядовых карт.
Завершение фризового ряда и укладка карт основного фона. Фризовой ряд завершают угловой картой, уложенной перпендикулярно фризовому ряду по натянутому причальному шнуру.
После разметки ширины захватки и натягивания причального шнура по подготовленной растворной прослойке укладывают карты следующего ряда, являющегося фоном покрытия. Завершают ряд поперечно уложенной картой фриза.

Рис. 41. Разбивка покрытия и установка временных маяков: 1 - растворная прослойка, 2 - причальный шнур, 3 - карта, укладываемая бумажной основой вверх, 4 - свежеуложенный ряд карт, 5 - угольник, 6 - выровненный слой растворной прослойки, 7 - уровень, 8 - контрольная рейка, 9 - временный маячный ряд
Ширину швов между уложенными картами регулируют вставками - деревянными клиньями. При одинаковой ширине швов стыки между уложенными картами не будут выделяться на поверхности покрытия.
Для предупреждения искривления швов и соблюдения правильности рисунка каждый ряд укладываемых карт выверяют по угольнику и причальному шнуру.
Причальным шнуром фиксируют очередную полосу-захватку, равную ширине карты, увлажняют основание водой и укладывают растворную прослойку. Карты ковровой мозаики укладывают вдоль захватки продольными рядами слева направо и обратно с переходом на следующий ряд. В ходе работ контролируют горизонтальность укладки карт, для чего один конец контрольной рейки ставят на фриз, а другой - на временный маячный ряд из плиток.
Варианты рисунков покрытий из карт ковровой мозаики приведены на рис. 43.
Контроль качества. Перед укладкой карты ковровой мозаики для фриза, фона и заделки сортируют по размеру, цвету и рисунку; на них не должно быть отслоившихся и дефектных плиток (с трещинами, отколотыми углами). Измерительными инструментами контролируют качество покрытия. Оно не должно иметь искривления линий швов в местах соединения карт; рисунок должен соответствовать проектному. Отклонения поверхности покрытия от плоскости при проверке двухметровой контрольной рейкой, прикладываемой в различных направлениях, не должны превышать 4 мм. Уступы между уложенными картами допускаются не более 1 мм. Поверхность покрытия не должна иметь выбоин, цвет и рисунок должны соответствовать проектному.

Рис. 42. Раскрой рядовой фризовой карты: а - разрезка карты поперек, 6 - ступенчатый разрез, в - угол фриза из двух половинок (1, 2) карты

Рис. 43. Рисунки покрытий из карт ковровой мозаики
Трудовые затраты. Норма времени на 1 м2 пола или фриза и норма выработки на 1 чел-дн при устройстве покрытий из карт ковровой мозаики следующие:
|
|
Нормы времени, чел-ч |
Нормы выработки, м2 |
|
Площадь покрытия, м2: |
|
|
|
полов: |
||
|
до 5 |
0,78 |
10,25 |
|
свыше 5 |
0,59 |
13,5 |
|
фризов: |
|
|
|
до 5 |
0,99 |
8,08 |
|
свыше 5 |
0,77 |
10,4 |
Техника безопасности. Нож для разрезки карт ковровой мозаики во время перерывов в работе нужно хранить в специальном чехле. При работе с раствором и плитками следует пользоваться резиновыми перчатками или напальчниками для предохранения рук, при устройстве покрытия - влагонепроницаемыми наколенниками и подножками.
Контрольные вопросы. Из каких технологических операций складывается устройство покрытий из карт ковровой мозаики? Как обеспечить надежное сцепление карт ковровой мозаики с основанием? Как контролируют горизонтальность покрытия из карт ковровой мозаики? Зачем перед укладкой карт ковровой мозаики припорашивают растворную прослойку сухим цементом? Как организуют рабочее место при укладке карт ковровой мозаики? Какие требования предъявляют к качеству покрытия из карт ковровой мозаики? Какие требования техники безопасности необходимо выполнять при настилке полов из карт ковровой мозаики?
Состав технологический операций. Приготовление пластичного цементного раствора; заливка швов между плитками; очистка и промывка покрытия пола.

Рис. 44. Отделка плиточных покрытий:
а - заливка швов раствором, б - распределение раствора щеткой; в - то же, шпателем
Инструменты, приспособления, инвентарь. Отделочный ковш; лопатка плиточная; растворная лопата; ведро; лейка; щетка; кисть-макловица; емкость для древесных опилок.
Материалы. Цемент; древесные опилки; ветошь; 3 %-ный раствор соляной кислоты.
На отделку 100 м2 покрытия расход цементного молока - 0,03 м3, опилок- 0,1 м3.
Схема организации рабочего места. У места работ располагают все необходимые инструменты, приспособления, инвентарь и материалы.
Последовательность выполнения технологических операций. Работы начинают через 1…2 сут. после укладки покрытия.
Приготовление пластичного цементного раствора. Для заполнения швов шириной 2 мм приготовляют пластичный цементный раствор состава 1:1 на мелкозернистом песке. Для заполнения швов шириной 1 мм приготовляют цементное молоко.
Заливка швов между плитками. Жидкий раствор или цементное молоко разливают ковшом (рис. 44) и равномерно распределяют по покрытию щеткой (рис. 44, б) или шпателем с резиновой вставкой (рис. 44, в), заполняя швы. Излишки раствора удаляют до начала его схватывания.

Рис. 45. Очистка покрытия:
а - протирка поверхности влажными опилками, б - удаление остатков схватившегося раствора
Очистка и промывка покрытия пола. После схватывания раствора в швах покрытие протирают влажными опилками, ветошью (рис. 45, а) и промывают водой. Следы схватившегося раствора или потеки краски счищают металлическим скребком (рис. 45, б) ими удаляют 3%-ным раствором соляной кислоты.
Для защиты от загрязнения при производстве последующих отделочных работ покрытие засыпают влажными опилками слоем толщиной 1,5...2 см, что способствует также твердению раствора.
Контроль качества. Швы должны быть заподлицо с поверхностью покрытия заполнены раствором (ширина швов - не более 2 мм). Не допускаются пропуски в заполнении швов. Покрытие не должно иметь загрязнений и заметных пятен.
Трудовые затраты. Норма времени на 100 м2 покрытия - 5,2 чел-ч. Норма выработки на 1 чел-дн - 153 м2.
Техника безопасности. Очищают покрытия раствором соляной кислоты в резиновых перчатках и защитных очках. При работе с кислотой не допускается употреблять дубовые опилки для очистки плиток.
Контрольные вопросы. Когда приступают к заполнению швов в свежеуложенном покрытии? Какой срок необходим для выдерживания плиточного покрытия? Из каких операций состоит отделка плиточных покрытий? Как очищают покрытия, загрязненные остатками раствора или краской? Зачем после укладки керамических плиток покрытие засыпают слоем влажных опилок? Какие правила техники безопасности соблюдают при очистке покрытия раствором соляной кислоты?
Состав технологических операций. Очистка и обеспыливание основания; огрунтовка основания; разметка положения маячных рядов; нанесение мастики; наклейка плиток.
Механизмы, инструменты, приспособления, инвентарь. Вакуумно-щеточная машина. Каток СО-162; электроподогреватель (для работ при температуре в помещении ниже 10°С). Волосяная щетка; стальные штыри; молоток; шпатель со сменными полотнами; зубчатый шпатель; гильотинные ножницы; резиновая киянка; разметочный шнур в корпусе; рулетка или складной метр; контрольная двухметровая рейка; уровень.
Конусные ведра; ванночка с сеткой для отжатия кисти. Тележка со сменными контейнерами. Защитные очки; респиратор; рукавицы или резиновые перчатки; резиновая обувь.
Материалы. Поливинилхлоридные плитки ПВХ (ГОСТ 16475-81). Битумно-скипидарная мастика «Биски» и битумно-синтетический клей «БСК». Битумная грунтовка (раствор битума в бензине 1 : 2 или 1 : 3). Расход грунтовки - 300 г на 1 м2.
Составы мастик, мас. ч.
|
|
«Биски» 65 |
«БСК» 60 |
|
Битум БН 70/30 |
65 |
60 |
|
Скипидар |
5 |
- |
|
Уайт-спирит |
22 |
17 |
|
Резиновый клей |
3 |
3 |
|
Канифоль (сосновая) |
- |
10 |
|
Портландцемент марки 400 |
5 |
5 |
Схема организации рабочего места. Рабочее место организуют так, как показано на рис. 46. Укладывают плитки захватками в один - два ряда, двигаясь по направлению к выходу из помещения. Электроподогреватель располагают или в помещении, где настилают покрытие, или в смежном помещении, при этом подогретые плитки подносят к месту укладки в пачках, чтобы они не успевали остыть.
В помещении должна быть вентиляция для удаления паров растворителей, содержащихся в мастике или клее.

Рис. 46. Схемы организации рабочего места при покрытии полов синтетическими плитками:
а - при огрунтовке основания битумной мастикой, б - при укладке поливинилхлоридных плиток способом «на себя»; 1 - направление огрунтовки, 2 - полосы-захватки, 3 - рабочее место плиточника, 4 - ванночка с мастикой, 5 - маячный ряд, 6 - слой мастики, 7 - стопки плиток
Последовательность выполнения технологических операций. Работу начинают после выравнивания основания (по уровню) и устранения отдельных дефектов поверхности.
Очистка и обеспыливание основания. С помощью скребка (рис. 47, а) основание очищают от грязи и брызг раствора. Пыль с поверхности удаляют подметально-пылесосной машиной (рис. 47, б), пылесосом (рис. 47, в). С помощью шланга со сменными насадками удаляют пыль из углов, пристенных участков и других труднодоступных мест.
Огруитовка основания. Обеспыленную поверхность грунтуют раствором битума в бензине с помощью волосяной кисти (рис. 48).
Щетку (кисть) погружают в грунтовку, отжимают излишки грунтовки о сетку ванночки и наносят параллельными полосами, перекрывающими друг друга. Щетку прижимают под углом 60…65° к основанию, нанося тонкий слой грунтовки. После огрунтовки основание сохнет в течение 5…10 ч.

Рис. 47. Очистка и обеспыливание основания:
а - очистка от остатков схватившегося раствора скребком, б - обеспыливание подметально-пылесосной машиной, в - то же, промышленным пылесосом; 1 - фильтр, 2 - захват, 3 - моторно-вентиляторный блок, 4 - мусоросборник
Разметка положения маячных рядов (рис. 49, а). Через середину коротких сторон помещения закрепляют продольную ось. Затем рулеткой определяют ее середину. Чтобы закрепить шнуром поперечную ось, проходящую под прямым углом, используют угольник.
Точность разбивки проверяют, укладывая маячные ряды насухо. Начинают раскладывать плитки с пересечения осей - по плитке в продольном и поперечном направлениях (рис. 49, б). Последующие плитки укладывают вплотную одна к другой.
Если у стен остаются зазоры менее половины плитки, то предварительно разложенные ряды (рис. 50) сдвигают, чтобы уложить целое число плиток.

Рис. 48. Огрунтовка основания
Нанесение мастики. Мастику из ведра разливают по основанию полосой 35...40 см (на ширину 1...2 плиток), длиной 5...6 м, слоем толщиной 0,6...1 мм. Разравнивают мастику зубчатым шпателем (рис. 51, а), удерживая полотно шпателя под углом около 60° к основанию. На поверхности основания образуется ровный слой мастики толщиной 0,3...0,5 мм.
Наклейка плиток. После выдерживания слоя мастики в течение 15...20 мин, чтобы испарился летучий растворитель, проверяют высыхание мастики «на отлип» (палец не должен испачкаться после легкого нажатия на слой мастики).
Укладку плиток начинают с наклеивания маячных рядов 5 (рис. 51, б). Затем по обе стороны оси наклеивают по ряду плиток, контролируя величину зазоров и правильность рисунка. Настилают плитки способом «на себя» захватками шириной в 1...2 плитки, чтобы не наступать на свежеуложенное покрытие.

Рис. 49. Разметка и укладка маячных рядов:
а - закрепление продольных и поперечных рядов, б - укладка насухо маячных рядов (I-V - последовательность укладки плиток)

Рис. 50. Раскладка плиток маячных рядов: 1, 2 - первоначальное положение продольной и поперечной осей, 3, 4 - окончательное положение осей, 5 - ряды плиток при окончательной раскладке, 6 - доборные плитки
Плитку берут за боковые ребра и приставляют одной кромкой впритык к ранее уложенной (рис. 52, а). После этого плитку осторожно опускают на основание, чтобы не загрязнить ее края мастикой. Уложенную плитку прижимают сначала с одной стороны, затем от середины к краям по всей поверхности (рис. 52, б). Легкими ударами резиновой киянки плитку припрессовывают к основанию. Мастику, выдавленную при обжатии плиток, удаляют ветошью сухой или слегка смоченной в растворителе. Покрытие закрывают бумагой для защиты от загрязнений. Если у стен умещаются только неполномерные плитки, их подрезают с помощью гильотинных ножниц (рис. 53).
Контроль качества. Покрытие пола из синтетических плиток (ПВХ) должно иметь равномерную окраску одного тона, а при многоцветном рисунке - правильное очертание узора. На лицевой поверхности не допускаются пятна, царапины, бугры, следы мастики, выступившей из швов, и другие дефекты. Недопустимы зазоры и уступы между кромками уложенных плиток. Зазоры между стеной и плитками не должны превышать 10 мм. Швы в покрытии должны быть ровными и параллельными. Просветы в покрытии при проверке двухметровой контрольной рейкой, прикладываемой в различных направлениях, не должны превышать 2 мм.

Рис. 51. Укладка поливинилхлоридных плиток: а - разравнивание мастики, б - направление укладки плиток (показано стрелками); 1 - уложенный участок покрытия, 2 - бороздки в мастике, 3 - зубчатый шпатель, 4 - разравниваемый слой мастики, 5 - маячные ряды

Рис. 52. Укладка плиток на мастику (а) и припрессовывание их к основанию (б)
Трудовые затраты. Нормы времени, чел-ч, на 1 м2 пола (в числителе) и нормы выработки, м2, на 1 чел-дн (в знаменателе) при настилке синтетических плиток следующие:
|
|
Покрытие в 1...2 цвета |
Покрытие в 3 цвета |
|
Размер плиток, мм: |
|
|
|
125×125 |
62/12,9 |
0,7/11,4 |
|
150×150 |
0,51/156 |
0,59/13,5 |
|
200×200 |
041/195 |
0,49/16,3 |
|
300×300 и 350×350 |
0,37/21,6 |
0,41/19,5 |

Рис. 53. Заготовка неполномерных плиток гильотинными ножницами
Техника безопасности Клеящие мастики содержат легко воспламеняющиеся растворители, по этому необходимо соблюдать меры пожарной без опасности.
Запас мастики на рабочем месте не должен превышать сменной потребности. Тару с остатком мастики после работы плотно закрывают крышкой и переносят в специальное место хранения. В помещении, где устраивают полы из синтетических плиток, должна бесперебойно работать вентиляция. В помещениях запрещается работать с открытым огнем, курить.
При работе с мастиками необходимо быть в защитных очках, респираторе и резиновых перчатках.
Контрольные вопросы. Как подготавливают основание под полы из синтетических плиток? Расскажите об организации рабочего места при огрунтовке основания; при укладке плиток. Из каких операций состоит устройство покрытия из синтетических плиток? В какой последовательности наклеивают маячные ряды? Почему при наклейке поливинилхлоридных плиток на поверхности основания недопустимы неровности? Какие правила техники безопасности соблюдают при устройстве полов из синтетических плиток?
Состав технологических операций. Выверка ровности основания; устранение дефектов; удаление загрязнений; закрепление на стенах помещения отметки верхнего уровня нижней прослойки; огрунтовка основания цементным молоком (до укладки нижней прослойки мозаичного покрытия).
Механизмы, инструменты, приспособления, инвентарь. Вакуумно-щеточная машина или пылесос; электрическая щетка; пневматический или электрический молоток. Скарпель; зубило; молоток; лопатка для плиточных работ; растворная лопата; ковш отделочный; лейка; ведра; строительный уровень; двухметровая контрольная рейка; правило; рулетка; складной метр; кисть-макловица; метла. Защитные очки; респиратор ШБ-1 «Лепесток»; влагонепроницаемые наколенники; резиновые перчатки.
Материалы. Цементно-песчаный раствор марки 200 подвижностью 3...4 см; 3…5 %-ный раствор соляной кислоты и ветошь для удаления жировых пятен; цветные мелки или грифель для обозначения дефектных мест основания.
Схема организации рабочего места. Рабочее место организуют так, как показано на рис. 54.
Длина электрокабелей должна обеспечивать возможность обработки по всей площади основания.
Последовательность выполнения технологических операций. Подготовку основания начинают со стороны, противоположной входу в помещение.
Выверка ровности основания. Вначале основание увлажняют и удаляют строительный мусор. Выверяют поверхность двухметровой контрольной рейкой, прикладываемой в различных направлениях. Просветы между рейкой и основанием допускаются не более 10 мм. Выявленные дефекты поверхности - выступы, впадины и др. - отмечают грифелем или цветными мелками.
Устранение дефектов основания. Впадины, трещины и зазоры в местах примыкания к стенам очищают от пыли электрической щеткой или вакуумно-щеточной машиной, грунтуют цементным молоком и заделывают цементным раствором. Выступающие неровности площадью до 1 м2 (выпуклости, наплывы затвердевшего раствора) срубают скарпелем или зубилом, а выступающие неровности площадью более 1 м2 устраняют пневматическим или электрическим молотком. Таким же образом производят и насечку бетонных поверхностей.
После устранения дефектов основание вновь очищают электрической щеткой полосами, начиная от стены, удаленной от входа в помещение.
После обработки электрощеткой основание обеспыливают вакуумно-щеточной машиной, а затем пылесосом, удаляя пыль из углов, примыканий пола к стенам и других труднодоступных мест.

Рис. 54, Организация рабочего места при подготовке основания под мозаичные полы:
1 - электрощетка, 2 - контрольная рейка, 3 - ящик с рабочим инструментом, 4 - пылесос, 5 - лейка
Жировые пятна на основании удаляют ветошью, смоченной 3 %-ным раствором соляной кислоты.
Закрепление на стенах помещения отметки верхнего уровня нижней прослойки. По периметру стен помещения отбивают меловую черту, расположенную на 1 м выше отметки чистого пола (приемы переноса отметки в помещение описаны в карте 9). Вниз от черты откладывают 102,5 см. Это расстояние соответствует верхнему уровню нижней прослойки мозаичного пола. Уровень прослойки также закрепляют на стене меловой чертой.
Огрунтовка основания. Перед укладкой нижней прослойки мозаичного покрытия основание равномерно грунтуют цементным молоком с помощью кисти-макловицы.
Контроль качества. Подготовленное основание под мозаичные покрытия не должно иметь жировых пятен, потеков раствора, битума. Просветы между контрольной рейкой и поверхностью основания в местах устранения дефектов - не более 10 мм. Швы между плитами перекрытий, места их примыкания к стенам и монтажные отверстия должны быть заделаны цементным раствором.
Трудовые затраты. Нормы времени на единицу измерения работ (м2 или одно место) и нормы выработки на 1 чел-дн при подготовке основания под мозаичные полы следующие:
|
|
Нормы времени, чел-ч |
Нормы выработки, м2 |
|
Очистка основания от мусора |
0,054 |
148 |
|
Заделка впадин (одно место) |
1,34 |
23,5 |
|
Обезжиривание мест с промывкой органическими растворителями |
0,043 |
186 |
|
Насечка пневматическим или электрическим молотком |
0,2 |
40 |
|
Очистка основания электрощеткой или пылесосом |
0,057 |
141 |
Техника безопасности. Насечку бетонных оснований, срубание выступов и наплывов механизированным способом выполняют в резиновых перчатках, резиновой обуви и защитных очках, а при ручном способе - в рукавицах и очках.
Промывать основание растворителями следует в респираторе, защитных очках и резиновых перчатках.
Контрольные вопросы. Из каких технологических операций состоит подготовка основания под мозаичные покрытия? Зачем обрабатывают бетонное основание электрощеткой? Чем и для чего бетонное основание насекают? Как проверяют ровность основания под мозаичные полы? В чем заключается устранение дефектов основания? Какими индивидуальными средствами защиты пользуются при удалении с основания жировых пятен? Какие правила техники безопасности необходимо соблюдать при работе электрощеткой, пылесосом?
Состав технологических операций. Дозировка компонентов мозаичного раствора; загрузка дозированных компонентов в барабан растворосмесителя; перемешивание смеси в растворосмесителе; выгрузка приготовленного раствора из барабана растворосмесителя.
Механизмы, инструменты, приспособления, инвентарь. Растворосмесители СО-23Б, СО-46А вместимостью до 100 л или бетономеситель СБ-101; мерные ящики; мерные металлические кружки; настольные весы; растворная лопата; отделочный ковш; эталонный конус. Ручная тележка со сменной тарой. Респиратор ШБ-1 «Лепесток»; защитные очки; резиновые перчатки.
Материалы. Портландцемент марки 400 (для обычных мозаичных полов); белый или цветной портландцемент (для полов с повышенными декоративными качествами); каменная мука из белых или светлых пород мрамора крупностью зерен до 0,15 мм; каменная крошка (мраморная или гранитная) крупностью зерен 2,5...15 мм; пигменты (охра, железный сурик, пероксид марганца).
Расход материалов на устройство 100 м2 мозаичных полов (при марке раствора прослойки и верхнего слоя мозаичного покрытия М200) следующий: цементный раствор марки 200 - 2,18 м3; мозаичный раствор с каменной крошкой марки 200 - 1,53 м; цемент марки 400 - 0,05 т; кварцевый песок- 1,13 м3.
Схема организации рабочего места. Мозаичный раствор приготовляют в растворо- или бетоносмесителе (рис. 55), расположенном на месте работы. Все необходимые материалы, инструменты и инвентарь располагают рядом с растворо- или бетоносмесителем.
Последовательность выполнения технологических операций. Работу начинают после проверки исправности растворо-, бетоносмесителя, подводки к нему воды и заготовки необходимых материалов для приготовления мозаичной смеси по заданному составу.
Пигмент требуемого цвета отвешивают на один замес и высыпают в мерную кружку; каменную крошку различных фракций и цвета, песок, цемент загружают в мерные ящики, кратные вместимости барабана растворосмесителя.
Отмеренные порции цемента, пигмента (красителя), разбелителя (каменной муки) засыпают в барабан смесителя.
В процессе перемешивания в смеситель добавляют каменную крошку и перемешивают в течение 2…3 мин. Затем добавляют дозированное количество воды и вновь перемешивают в течение 6...7 мин до получения массы однородной консистенции.
Визуально определив однородность приготовленной массы, выключают электродвигатель и приводят барабан в наклонное положение. Приготовленную смесь выгружают в сменный контейнер ручной тележки и доставляют к месту укладки.
После разгрузки барабан очищают от остатков смеси и подготавливают к очередному замесу.

Рис. 55. Бетоносмеситель СБ-101;
1 - смесительной барабан, 2 - вращающиеся лопасти, 3 - электродвигатель с редуктором, 4 - рама на пневматических колесах
В зависимости от назначения мозаичные составы применяют марок 200, 300 и 400. Дозировка компонентов в зависимости от марки состава следующая, мас. ч.:
|
Марка мозаичного состава |
200 |
300 |
400 |
|
Вода |
0,65 |
0,5 |
0,4 |
|
Портландцемент марки 400 |
1 |
1 |
1 |
|
Песок |
2 |
1,4 |
1 |
|
Каменная крошка |
3,4 |
2,4 |
1,7 |
Составы цветных мозаичных смесей (Вяжущие и заполнители в частях по объему, пигменты в % от массы цемента.)
МК - мозаичная крошка крупная размером зерен 10...15 мм; МС - средняя, размером зерен 5...10 мм; ММ - мелкая, размером зерен 2,5...5 мм.
Светлый разбеленный. Портландцемент марки не ниже 400 - 1; каменная мука белого цвета - 0,3; каменная крошка - 2.
Черный. Портландцемент марки не ниже 400 - 1; пероксид марганца - 5; каменная крошка черного цвета МК, МС, ММ - 1 + 1 + 1.
Белый с черным. Портландцемент марки не ниже 400 - 1; пероксид марганца - 12,5; каменная крошка белого цвета МК, МС, ММ - 1 + 1 + 1.
Белый с красным. Портландцемент марки не ниже 400 - 1; железный сурик - 10; каменная крошка белого цвета МК, МС, ММ - 1 + 1 + 1.
Черный с белым. Белый портландцемент марки 400 - 1,5; каменная крошка черного цвета МК, МС, ММ - 1,5 + 1 + 1.
Розовый с красным. Белый портландцемент марки не ниже 400 - 1; железный сурик - 8; каменная крошка розового цвета МК, МС, ММ - 1 + 1 + 1.
Красный с коричневым. Портландцемент марки не ниже 400 - 1; железный сурик - 5; пероксид марганца - 5; каменная крошка красного цвета МК, МС, ММ - 1 + 1 + 1.
Желтый. Белый портландцемент марки не ниже 400 - 1; охра (сухая) - 10; каменная крошка желтого цвета МК, МС - 1 + 2.
Пятнистый. Белый или обычный портландцемент марки 400 - 1; каменная крошка белого цвета МК, МС, ММ - 0,5 + 0,5 + 0,5; каменная крошка черного цвета МК, МС, ММ - 0,5 + 0,5 + 0,5.
Под гранит. Портландцемент марки не ниже 400 - 1; каменная крошка из гранита МК, МС - 1 + 1; каменная крошка из белого мрамора ММ - 1.
Соотношение заполнителей мозаичных составов должно быть таким, чтобы 75...80 % покрытия после его обработки составляла каменная крошка, а 15…25 % - цементный камень.
Контроль качества. Приготовленная мозаичная смесь не должна иметь посторонних включений и неперемешанных частиц. Каменная крошка должна быть равномерно распределена по густоте и крупности фракций в каждом замесе; максимальные размеры частиц крошки - не более 0,6 толщины покрытия. Подвижность приготовленной смеси (2…4) см контролируют эталонным конусом. При введении пластификатора подвижность смеси может быть до 15 см.
Для помещений небольшой площади мозаичный раствор приготовляют сразу для всего покрытия.
Трудовые затраты. Норма времени на приготовление 1 м3 мозаичного раствора в бетоносмесителе - 2,6 чел-ч. Норма выработки на 1 чел-дн - 3,07 м3.
Техника безопасности. К работе на растворо-бетоносмесителе допускаются лица, прошедшие практическое обучение и специальный инструктаж на рабочем месте. Растворо-бетоносмеситель, работающий от электропривода, подключают к сети через защитно-отключающее устройство при помощи штепсельного соединения. Работу с цементом, сухими пигментами выполняют в резиновых перчатках (рукавицах), защитных очках и респираторе.
Контрольные вопросы. Как выполняют дозировку составляющих для приготовления мозаичного состава? Назовите заполнители для приготовления мозаичных растворов. Как проверяют удобоукладываемость мозаичного (террацевого) раствора? Какие виды каменной крошки необходимы для приготовления мозаичного раствора? Расскажите о правилах техники безопасности, которые нужно соблюдать при приготовлении мозаичных растворов.
Состав технологически» операций. Установка и выверка маячных реек; приготовление цементного молока и огрунтовка основания; укладка и разравнивание раствора подстилающей прослойки; снятие маячных реек и заделка борозд раствором.
Механизмы, инструменты, приспособления, инвентарь. Установка СО-126 для подачи раствора. Ручная тележка со сменными контейнерами для транспортировки раствора. Маячные рейки длиной 3...5 м; строительный уровень с правилом; деревянный угольник с длинной линейкой; металлическая рулетка или складной метр; эталонный конус; стальные штыри; молоток; разметочный шнур в корпусе; растворная лопата; грабли; лопатка для плиточных работ; правило; виброрейка; металлическая или деревянная трамбовка; деревянный полутерок длиной 800 мм; стальная гладилка; контрольная двухметровая рейка. Деревянные рейки или металлические трубы для маяков.
Материалы. Цементно-песчаный раствор марки 150.
|
Расход paствора в зависимости о толщины прослойки для устройства 1 м2 мозаичных покрытий полов |
|||||||
|
Толщина прослойки, мм |
20 |
25 |
30 |
35 |
40 |
45 |
50 |
|
Расход раствора, м |
0,022 |
0,023 |
0,033 |
0,039 |
0,044 |
0,05 |
0,055 |
При значительных нагрузках подстилающую прослойку армируют стальной сеткой.
Схема организации рабочего места. Помещение должно быть освобождено от посторонних предметов. Необходимые механизмы, инструменты, приспособления, инвентарь располагают в непосредственной близости от места работы, а при значительной площади - в этом же помещении.
Последовательность выполнения технологических операций. Работы начинают со стороны, противоположной входу в помещение, после очистки и подготовки основания, проверки ровности основания, устранения дефектов, вынесения отметок верхнего уровня подстилающей прослойки на стенах помещения.
Установка маячных реек. Маячные рейки с отфугованными верхними кромками или трубы устанавливают строго по уровню через 2,5...4 м (в зависимости от длины применяемого правила). Рейки закрепляют растворными марками. Верхние кромки маячных реек или труб располагают на уровне подстилающего слоя, закрепленного на продольных стенах помещения, т.е. ниже уровня чистого пола на 25 мм.
При необходимости маячные рейки втапливают (осаживают) в растворную марку или, наоборот, приподнимают, добавляя раствор.

Рис. 56. Подача (а), укладка (б) и разравнивание (в) раствора:
1 - гаситель, 2 - шланг, 3 - стояк, 4 - пневморастворонагнетатель, 5 - компрессор, 6 - рама гасителя, 7 - камера, 8 - патрубок, 9 - правило
Укладка и разравнивание растворной смеси. После выверки реек основание обильно смачивают водой без пропусков в поливке и образования луж. Затем основание грунтуют цементным молоком состава 1:1 (цемент : вода). При больших объемах работ растворную смесь подают к месту укладки с помощью установки (рис. 56). Раму гасителя 6 устанавливают между маячными рейками. Растворная смесь по шлангу 2 подается через патрубок 8 в камеру 7. Передвигая гаситель, раствор укладывают в полосы-захватки между маячными рейками и разравнивают вдоль захватки на толщину уложенных маяков (реек). Затем слой уложенной растворной стяжки выравнивают гребком на длинной ручке или правилом 9, передвигаемым по маячным рейкам без заглаживания и затирки поверхности.
Растворную прослойку начинают укладывать от стены, противоположной входу в помещение. Раствором заполняют полосы-захватки через одну.
Снятие маячных реек и заделка борозд. Завершив укладку раствора прослойки в нечетных полосах-захватках, через сутки снимают маячные рейки. Кромки уложенных полос промывают водой и огрунтовывают цементным молоком. Затем укладывают раствор в четные полосы-захватки. В качестве маяков служат уложенные ранее полосы-захватки.
В небольших помещениях подстилающую прослойку укладывают по всей площади. При этом маячные рейки извлекают, а образовавшиеся борозды заделывают раствором той же марки.
Контроль качества. Точность установки маячных реек или труб контролируют рейкой и уровнем. Уложенная прослойка под мозаичные полы должна отвечать следующим требованиям: быть горизонтальной; находиться на заданной отметке; иметь шероховатую поверхность и проектную толщину; быть без заметных неровностей, бугров и впадин.
Просветы между уложенной поверхностью прослойки и двухметровой контрольной рейкой, прикладываемой во всех направлениях, не должны превышать 10 мм; отклонение по толщине прослойки допускается не более ± 10 % от проектной; отклонение от заданного уклона на участках длиной 1 м не должно превышать ± 25 % от заданного направления.
Трудовые затраты. Норма времени на устройство 1 м2 подстилающей прослойки под мозаичные покрытия - 0,23 чел-ч. Норма выработки на 1 чел-дн - 34,8 м2.
Техника безопасности. Учащиеся, укладывающие растворную стяжку, должны работать в спецодежде, защитных очках и респираторе.
Контрольные вопросы. Когда начинают укладку подстилающей прослойки под мозаичные покрытия? В какой последовательности укладывают растворную прослойку в полосы-захватки? Какую толщину имеет подстилающая прослойка под мозаичные покрытия? Какие технологические операции предшествуют укладке подстилающей прослойки? Зачем увлажняют основание перед укладкой подстилающей прослойки? Какие правила техники безопасности должны соблюдаться при устройстве подстилающей прослойки?
Состав технологических операций. Проверка конфигурации помещения в плане; разбивка и закрепление рисунка покрытия; выверка и закрепление рамок для набивки рисунка.
Инструменты, приспособления, инвентарь. Ручная тележка со сменными контейнерами для раствора; стальные штыри; молоток; рамки; шаблоны; клинья; распорки для закрепления рисунка покрытия; плиточная лопатка; растворная лопата; разметочный шнур; рулетка; складной метр; правило и уровень; деревянная или резиновая киянка; кисть мочальная - окамелок; ведра; маячные рейки с отфугованной верхней кромкой.
Материалы. Цементный раствор марки 150 подвижностью 2…3 см.
Схема организации рабочего места. Поверхность подстилающей прослойки должна быть очищена от строительного мусора и грязи. У входа в помещение раскладывают маячные рейки с отфугованной верхней кромкой, шаблоны, распорки, клинья и сменную тару для раствора.
Последовательность выполнения технологических операций. К работе приступают после твердения раствора прослойки.
Проверка конфигурации покрытия. Форму покрытия контролируют причальным шнуром, натянутым из противоположных углов помещения. При равных диагоналях конфигурация основания прямоугольная; если диагонали не равны - непрямоугольная. Этот дефект покрытия исправляют за счет фриза.
Рулеткой измеряют противоположные короткие стороны основания; их середину закрепляют штырями. Между штырями натягивают шнур, фиксирующий ось покрытия. Приложив рейку Болотина 1 (рис. 57) вдоль натянутого шнура, мелом намечают ширину фриза. Направление внутренней стороны фриза определяют деревянным угольником 3 относительно продольной оси. Внутренние углы фриза закрепляют стальными штырями 5. В результате непрямоугольность будет скрыта прямоугольной формой поля фона.

Рис. 57. Разметка фриза в помещениях с непрямоугольной конфигурацией основания:
1 - рейка Болотина, 2 - линия фриза, 3 - угольник, 4 - шнур, 5 - штырь
Разбивка и закрепление рисунка покрытия. После разметки фриза 2 (рис. 58) на поверхность основания наносят цветными мелками рисунок покрытия, предусмотренный проектом. В соответствии с разметкой раскладывают рамки 8 для набивки раствора. По границе фриза укладывают рейки, закрепляя их распорками 7.
Выверка рамок. По черте, фиксирующей верхний уровень мозаичного покрытия, рейкой и уровнем контролируют положение рамок для набивки раствора. Верхняя кромка рамок должна быть в уровне лицевого покрытия. В ходе выверки рамки и фризовые рейки приподнимают или осаживают. От горизонтального смещения их удерживают распорки с клиньями.
Контроль качества. Разбивка покрытия должна соответствовать заданному рисунку. Горизонтальность фризовых реек и рамок контролируют двухметровой рейкой с уровнем, прикладываемой в различных направлениях; положение пузырька в нуль-пункте уровня соответствует горизонтальности уложенных реек и рамок для набивки рисунка.
Трудовые затраты. Норма времени на 1 м2 разбивки и закрепления несложного прямолинейного рисунка покрытия - 0,24 чел-ч, сложного - 0,3 чел-ч; норма выработки на 1 чел-дн соответственно 33,3 и 26,6 м2.

Рис. 58. Разбивка и закрепление рисунка мозаичного покрытия: а - разметка рисунка на поверхности прослойки, б - установка фризовых реек и набивных рамок; 1 - квадраты (белого или другого цвета), 2 - фриз, 3 - фон, 4 - фризовая рейка, 5 - отметка уровня покрытия пола, 6 - строительный уровень с рейкой, 7 - распорка с клиньями, 8 - рамки для набивки квадратов, 9 - угольник; I - III - последовательность укладки мозаичного раствора
Техника безопасности. Маячные рейки, рамки устанавливают в рукавицах. При забивке штырей надевают защитные очки.
Контрольные вопросы. Какие технологические операции необходимы для разметки и закрепления рисунка под мозаичные полы? Как проверить конфигурацию основания под полы? Как выполняют разбивку рисунка покрытия, если основание имеет непрямоугольную конфигурацию? После какой технологической операции выполняют разбивку рисунка мозаичного покрытия? Как устанавливают рейки и шаблоны для набивки мозаичного рисунка? Какие правила техники безопасности соблюдают при разбивке и закреплении рисунка мозаичного покрытия?
Состав технологических операций. Установка и выверка маяков; укладка и разравнивание мозаичного лицевого слоя покрытия; уплотнение мозаичного состава; снятие маячных реек и укладка мозаичного раствора в смежные полосы-захватки.
Механизмы, инструменты, приспособления, инвентарь. Виброрейка или вибратор; электрощетка. Стальная и волосяная щетки; ведра; стальные штыри; молоток; маячные рейки; плиточная лопатка; растворная лопата; разметочный шнур; рулетка; складной метр; деревянный угольник; правило и уровень; киянка деревянная или резиновая; трамбовка; тележка со сменными контейнерами для раствора.
Материалы. Мозаичный раствор заданного состава, прочности и цвета подвижностью 2 см. Полоски из толя или рубероида.
Схема организации рабочего места. Помещение, где укладывают лицевой слой мозаичного покрытия, должно быть освобождено от посторонних предметов. Длина электрокабелей и места подключения механизмов должны обеспечить возможность уплотнения мозаичной смеси по всей площади помещения.
Последовательность выполнения технологических операций. Работы начинают после набора прочности уложенной прослойки.
Установка и выверка маяков. Вдоль длинных сторон помещения рулеткой размечают полосы-захватки шириной 1,5 м для установки маяков. В качестве маяков используют деревянные рейки 1 (рис. 59) или стальные трубы. Маяки начинают устанавливать от стены, где вынесена отметка верхнего покрытия пола. Положение маяков в плане и по высоте закрепляют растворными марками 2. Точность установки маяков контролируют рейкой 3 с уровнем. При необходимости маяки втапливают в растворные марки или, наоборот, приподнимают, добавляя раствор.
Укладка и разравнивание мозаичной смеси лицевого слоя покрытия. До укладки мозаичной смеси поверхность прослойки смачивают водой и огрунтовывают цементным молоком (рис. 60, а).

Рис. 59. Установка маячных реек:
1 - маячные рейки, 2 - растворные марки, 3 - рейка с уровнем

Рис. 60. Укладка мозаичной смеси:
а - огрунтовка основания, б - последовательность (I - VIII) укладки мозаичной смеси
Начинают укладывать мозаичную смесь от стены, противоположной входу в помещение, полосами-захватками шириной 1,5 м, ограниченными маячными рейками. Полосы заполняют раствором через одну (рис. 60, б). В полосах-захватках, примыкающих к стенам, укладывают полоски толя, прижимая их растворными лепками, Мозаичную смесь укладывают несколько выше верха маячных реек, разравнивают лопатой и проверяют правилом. Чтобы не смещать крошку крупной фракции, смесь не разравнивают правилом. В пониженные места добавляют мозаичную смесь, разравнивая ее растворной лопаткой (рис. 61).

Рис. 61. Выравнивание мозаичной смеси в полосах-захватках растворной лопаткой
Уплотнение мозаичного состава. Виброрейку устанавливают на маячные рейки поперек полосы (рис, 62, а), чтобы ее концы опирались на маячные рейки, и медленно передвигают до появления на поверхности цементного молока.
В помещениях небольшой площади или в стесненных местах мозаичную смесь уплотняют катком (рис. 62, б) или металлической трамбовкой. Излишки цементного молока с поверхности удаляют кистью-макловицей (рис. 62, в).
Прочность покрытия зависит от качества уплотнения мозаичной смеси.
Снятие маячных реек и укладка мозаичного раствора в смежные полосы-захватки. После твердения уложенной смеси (через 1 сут.) маячные рейки или трубы осторожно удаляют. Кромки уложенных полос и основание (между соседними полосами) смачивают водой и огрунтовывают цементным молоком, после чего укладывают мозаичный раствор. Уложенную смесь разравнивают плиточной лопаткой. Горизонтальность выровненного раствора контролируют правилом, опираемым на уложенные ранее полосы. Мозаичный раствор, уложенный между смежными полосами, уплотняют виброрейкой или поверхностным вибратором. Уплотнение продолжают до появления на поверхности цементного молока, излишки которого удаляют с поверхности с помощью совка и кистн-макловицы.

Рис. 62. Уплотнение мозаичной смеси:
а - виброрейкой, б - катком, в - удаление излишков цементного молока
Контроль качества. Внешним осмотром уложенного покрытия проверяют равномерность заполнения лицевого слоя мраморной крошкой, отсутствие потеков цементного молока, закрывающего крошку. В местах примыкания к стенам, колоннам должны быть прокладки из толя или рубероида, предупреждающие появление трещин в покрытии.
Трудовые затраты. Норма времени на устройство 1 м одноцветного (монолитного) мозаичного покрытия - 0,7 чел-ч; норма выработки на 1 чел-дн - 11,4 м2.
Техника безопасности. К работе с поверхностным вибратором, виброрейкой, электрощеткой допускаются лица, прошедшие практическое обучение и инструктаж по технике безопасности. Работу выполняют в резиновых противовибрационных перчатках и резиновой обуви. Через каждые 30 мин работы вибратор выключают на 5...7 мин для охлаждения. Запрещено перемещать вибратор за шланговый провод или кабель.
Контрольные вопросы. Как укладывают маячные рейки трапециевидного сечения при устройстве лицевого слоя мозаичных полов? В каких случаях используют электрощетку до укладки лицевого слоя мозаичного покрытия? Где укладывают прокладки из рубероида, предупреждающие появление трещин? Из каких технологических операций состоит укладка мозаичной смеси? Какие правила техники безопасности необходимо выполнять при работе с вибратором?
Состав технологических операций. Укладка мозаичной смеси (цветной) в фризовые полосы; набивка квадратов между рамками мозаичной смесью (другого цвета); удаление маячных реек и рамок; укладка мозаичной смеси в борозды между квадратами.
Механизмы, инструменты, приспособления, инвентарь. Виброрейка или поверхностный вибратор; пылесос. Металлическая трамбовка; стальная гладилка; растворная лопата; молоток; скарпель; скребок; стальная щетка; правило и уровень; кисть-макловица; совок; щетка; лейка; ведра; тележка со сменными контейнерами для раствора.
Материалы. Мозаичная смесь марки не ниже 150 подвижностью 2…3 см (трехцветная). Цемент марки 400 для приготовления цементного молока.
Схема организации рабочего места. Помещение должно быть освобождено от посторонних предметов. Необходимые инструменты, механизмы, приспособления и материалы располагают в непосредственной близости от рабочего места. Длина электрокабелей должна обеспечивать возможность уплотнения смеси по всей площади помещения.
Последовательность выполнения технологических операций. Укладка цветной мозаичной смеси в фризовые полосы. Перед укладкой раствора поверхность прослойки обеспыливают, смачивают водой и огрунтовывают цементным молоком. Набивку многоцветного мозаичного покрытия начинают с полос фриза (рис. 63, а). Мозаичную смесь последовательно укладывают в полосы фриза по периметру стен помещения. Места примыкания к стенам ограждают прокладками из рубероида.
Уложенную смесь разравнивают растворной лопатой и выверяют правилом. При этом следят за равномерным распределением мраморной крошки. Затем мозаичный раствор уплотняют вибратором, устанавливаемым поперек полосы, до появления на поверхности цементного молока.
При вибрировании следующего участка уплотненный участок фриза перекрывают вибратором на 10…15 см. Уплотнение в углах и других труднодоступных местах выполняют трамбовками или ручными катками. С поверхности уплотненного мозаичного слоя цементное молоко удаляют с помощью совка или кисти-макловицы.

Рис. 63, Многоцветное мозаичное покрытие:
а - последовательность набивки (I - III), б - готовое покрытие; 1 - уровень чистого пола, 2 - лицевой слой фриза, 3 - распорка с клиньями, 4 - маячная рейка, 5 - маячная рамка, 6 - лицевой слой набитого квадрата, 7 - прокладка из рубероида по периметру стен
Набивка квадратов между рамками мозаичной смесью другого цвета (см. карту 20). Уложенные рамки образуют прямоугольные квадраты, в которые набивают мозаичную смесь, отличающуюся цветом от смеси, уложенной во фризовых полосах.
Перед укладкой смеси поверхность прослойки в ячейках квадратов смачивают водой и огрунтовывают цементным молоком.
Мозаичную смесь начинают укладывать со стороны, противоположной входу в помещение. Смесь в ячейке квадрата сначала разравнивают лопаткой плиточника 1 (рис. 64). При этом раствор должен быть несколько выше уровня рамок. Затем смесь уплотняют металлическими 2 или деревянными трамбовками до появления на поверхности цементного молока. Удалив цементное молоко, поверхность уплотненного раствора заглаживают круговыми движениями с помощью стальных гладилок 3.

Рис. 64. Технология набивки мозаичного покрытия:
1 - разравнивание смеси лопаткой, 2 - уплотнение металлической трамбовкой, 3 - заглаживание стальной гладилкой
Удаление маячных реек и рамок. Через 18…24 ч, когда уложенная мозаичная смесь в полосах фриза и в квадратах фона приобретет достаточную прочность, приступают к разборке маячных реек и рамок. Их осторожно удаляют с помощью молотка и скарпеля.
Укладка мозаичной смеси в борозды между квадратами. После удаления реек и рамок борозды, незаполненные монолитным раствором, очищают от мусора и пыли. После этого поверхность прослойки и кромки квадратов увлажняют водой, огрунтовывают цементным молоком и заполняют раствором.
Мозаичную смесь, уложенную в борозды между затвердевшими квадратами, разравнивают, уплотняют вибратором до образования на поверхности цементного молока. Затем цементное молоко удаляют, а борозды заглаживают стальными гладилками.
Контроль качества. Декоративность многоцветных мозаичных покрытий зависит от рационального подбора исходных материалов, их количественного соотношения и качественных показателей (прочность, зерновой состав, контрастность). Готовое покрытие должно иметь гладкую, горизонтальную поверхность с равномерным распределением по всей площади каменной крошки. Рисунок и цвет покрытия должны соответствовать проектному.
Многоцветное мозаичное покрытие трудно поддается ремонту и устранению допущенных дефектов, поэтому необходимо постоянно контролировать все операции технологического процесса и качественно выполнять их.
Трудовые затраты. Нормы времени на устройство 1 м2 многоцветного мозаичного покрытия (без жилок) по готовой подстилающей прослойке и нормы выработки на 1 чел-дн следующие:
|
|
Нормы времени, чел-ч |
Нормы выработки, м2 |
|
Очистка основания от мусора |
0,054 |
148 |
|
Придание шероховатости основанию электрощеткой |
0,057 |
140,3 |
|
Грунтование оснований |
0,23 |
34,8 |
|
Устройство мозаичного покрытия с прямолинейным рисунком или рисунком в шашку |
0,67 |
12 |
Техника безопасности. Обеспыливание подстилающего слоя пылесосом или волосяной щеткой, уплотнение мозаичной смеси поверхностным вибратором выполняют в резиновых перчатках, резиновой обуви, защитных очках и респираторе.
К работе с механизмами допускаются лица, прошедшие практическое обучение и инструктаж на рабочем месте.
Контрольные вопросы. В какой последовательности уплотняют многоцветные мозаичные покрытия? Из каких операций состоит укладка мозаичного раствора в фризовые полосы? Как укладывают мозаичный раствор в квадраты фона лицевого покрытия? Когда приступают к разборке маячных реек и рамок при устройстве многоцветного мозаичного покрытия? Зачем удаляют с поверхности уплотненного мозаичного покрытия цементное молоко? Какие правила техники безопасности соблюдают при устройстве покрытия?
Состав технологических операций. Разметка рисунка мозаичного покрытия; устройство маяков; прокладка разделительных жилок с рихтованием; набивка, выравнивание и уплотнение мозаичного раствора.
Механизмы, инструменты, приспособления, инвентарь. Пылесос; нарезчик швов МБ-26 или отрезовка. Ножницы для резки металла; деревянная или резиновая киянка; роликовый стеклорез; волосяная щетка; лейка; ведра; рейка Болотина; разметочный шнур или рулетка; складной метр; деревянный угольник; плиточная лопатка; правило и уровень; трамбовка или каток.
Материалы. Мозаичный раствор подвижностью 2…3 см заданного состава и прочности (марка); жилки металлические или стеклянные толщиной 0,8...2 мм; гвозди диаметром 4…5 мм для анкеровки металлических жилок; цветные мелки.
Схема организации рабочего места (рис. 65). Помещения, где устраивают мозаичные покрытия, должны быть очищены от мусора, основания обработаны электрощеткой для придания им шероховатости и обеспылены, уровень пола закреплен на стенах помещения.

Рис. 65. Организация рабочего места при устройстве многоцветного мозаичного покрытия с разделительными жилками: 1 - штабеля разделительных жилок, 2 - разметочные оси, 3 - ящик с рабочим инструментом, 4 - контрольная рейка, 5 - тележка с раствором, 6 - ведра

Рис. 66. Разметка рисунка мозаичного покрытия:
1 - причальный шнур, 2 - линия на высоте 1 м над уровнем чистого пола, 3 - риски
Последовательность выполнения технологических операций. Разметка рисунка мозаичного покрытия. После проверки конфигурации покрытия переносят контуры рисунка на основание и закрепляют его мелом или причальным шнуром 1 (рис. 66). При этом рулетку или измерительный шнур нужно удерживать в натянутом положении.
Если конфигурация основания имеет неправильную форму, то определяют место положения двух взаимно перпендикулярных осей основания и от них вправо и влево ведут разметку покрытия.
По периметру помещения рисками 3 фиксируют шаг между рядами устанавливаемых жилок.
Устройство маяков. В соответствии с уровнем пола в данном помещении по периметру стен наносят линию 2, находящуюся на 1 м выше покрытия. Затем ставят реперный маяк (рис. 67, а) на 1…1.5 мм выше уровня покрытия. С помощью уровня и рейки устанавливают фризовые и промежуточные маяки. В качестве временных маяков могут быть керамические плитки, уложенные на слой раствора.

Рис. 67. Последовательность установки разделительных линий: а - установка реперного маяка, б - выверка установленных жилок, в - прорезка бороздок, г - организация работ; 1 - реперный маяк, 2 - разделительные жилки, 3 - контрольная рейка; 4 - уровень, 5 - растворные марки, 6 - П-образный хомутик, 7 - отверстие для анкерного гвоздя, 8 - бороздка, 9 - отрезовка
Установка разделительных жилок. По контуру рисунка, определяющего местоположение жилок на поверхности прослойки и закрепленного мелом или причальными шнурами, вставляют жилки. Если раствор прослойки не набрал окончательной прочности, отрезовкой 9 прорезают бороздки 8, в которые вставляют жилки. При затвердевшей прослойке жилки устанавливают в бороздки, сделанные нарезчиком швов, или на растворные марки 5 и временно закрепляют П-образным хомутиком 6. В нижней части жилок (длиной 1,5 м) имеются отверстия 7 для гвоздей, выполняющих роль анкеров. Перед установкой металлические жилки при необходимости выправляют молотком-киянкой.

Рис. 68. Последовательность набивки мозаичного раствора: а - заполнение квадратов раствором, б - разравнивание раствора, в - организация робот, г - готовое покрытие; 1 - заглаживание раствора лопаткой, 2 - уплотнение раствора трамбовкой, 3 - заглаживание поверхности гладилкой
Устанавливают разделительные жилки по уровню 4 с рейкой 3, которую опирают на реперный маяк. Высота жилок должна на 1…1,5 мм превышать толщину лицевого слоя. Уровень верхней кромки выверяют по уровню. Выверенные по высоте жилки закрепляют растворными марками, осаживая или добавляя раствор. Жилки образуют жесткий каркас для мозаичного раствора. В местах примыкания пола к стенам, колоннам укладывают жилки, предотвращающие деформацию покрытия при осадке стен, перегородок.
Последовательность набивки и уплотнения мозаичного раствора. До укладки мозаичного раствора поверхность прослойки в каждой ячейке-квадрате, ограниченной жилками, грунтуют цементным молоком.
Мозаичный раствор укладывают в ячейку, образованную жилками (рис. 68, а). Затем раствор разравнивают лопаткой (рис. 68, б) и уплотняют металлической трамбовкой 2 (рис. 68, в) до появления на поверхности цементного молока. Перед схватыванием раствора цементное молоко удаляют кистыо-макловицей. После этого поверхность заглаживают круговыми движениями с помощью стальных гладилок 3. Таким образом, ячейки, ограниченные жилками, будут заполнены мозаичным раствором (рис. 68, г).
Контроль качества. Мозаичные покрытия с разделительными жилками должны иметь горизонтальную ровную поверхность с равномерным распределением каменной крошки и соответствовать рисунку и цвету, установленным проектом. Отклонение от уровня чистого пола разделительных жилок не должно превышать 1 мм на 1 м длины. При отклонении свыше 3 мм дефекты исправляют до укладки мозаичной массы.
Крупность зерен каменной крошки не должна превышать 15 мм и 0,6 толщины мозаичного покрытия.
Трудовые затраты (табл. 3).
Таблица 3.
Нормы времени, чел-ч, на устройство 1 м2 многоцветного мозаичного покрытия (без учета устройства прослойки) и на установку 1 м разделительных жилок (в числителе) и нормы выработки соответственно, м2 и м, на 1 чел-дн (в знаменателе)
|
Вид покрытия |
Нормы на |
||
|
Устройство покрытия пола |
Установка жилок |
||
|
стеклянных |
латунных |
||
|
С прямолинейным рисунком жилками длиной до 3 м на 1м2 пола или с рисунком в шашку |
0,8 10 |
0,12 66 |
0,16 50 |
|
С прямолинейным рисунком жилками длиной более 3 м на 1м2 пола или с криволинейным рисунком |
1,0 8 |
0,22 36,3 |
0,23 35 |
Техника безопасности. При заготовке жилок отходы стекла или металла нужно собирать в специальный ящик для отходов. Набивают мозаичный раствор в ячейки многоцветного мозаичного покрытия во влагонепроницаемых наколенниках и резиновых перчатках.
Контрольные вопросы. В какой последовательности выполняют набивку многоцветного мозаичного покрытия? Какие материалы используют для разделительных жилок? Почему уплотнение мозаичного раствора в ячейке с разделительными жилками выполняют трамбовкой, а не вибратором? Как размечают местоположение разделительных жилок? Какие правила техники безопасности необходимо соблюдать при изготовлении стеклянных жилок?
Состав технологических операций. Обдирка мозаичного покрытия; обдирка труднодоступных мест; устранение мелких дефектов покрытия.
Механизмы, инструменты, приспособления, инвентарь. Мозаично-шлифовальная машина СО-111А, СО-91 или ИЭ-8201Б с гибким валом; обдирочный круг зернистостью 16…24; пылесос. Лещадь с бруском; плоский скребок или фанерная лопата; лейка; волосяная щетка; резиновый шланг; шпатель со сменными полотнами; лопатка плиточная; лопата растворная; передвижной ящик-тележка. Диэлектрические перчатки и резиновая обувь; защитные очки.
Материалы. Кварцевый песок; вода; цемент.
Схема организации рабочего места. Помещение должно быть освобождено от посторонних предметов. Необходимые инструменты, механизмы, приспособления и материалы располагают в непосредственной близости от рабочего места. Длина электрокабелей должна обеспечивать возможность обрабатывать покрытие по всей площади помещения.

Рис. 69. Обдирка мозаичного покрытия мозаично-шлифовальной машиной
Последовательность выполнения технологических операций. К работе приступают через 3...6 сут после укладки мозаичного покрытия, чтобы исключить выкрашивание каменной крошки.
Обдирка мозаичного покрытия. Поверхность, подлежащую обдирке, смачивают водой и посыпают кварцевым песком. Затем проверяют исправность мозаично-шлифовальной машины на холостом ходу. Присоединив водопроводный шланг к трубке машины, регулируют поступление воды, чтобы она тонким слоем равномерно покрывала поверхность, охватываемую рабочим органом машины.
Покрытие обрабатывают полосами-захватками (рис. 69), двигая мозаично-шлифовальную машину перед собой медленными зигзагообразными движениями (вправо и влево). Следующую полосу обрабатывают в обратном направлении.
При покрытиях с мраморной крошкой в воду добавляют кальцинированную соду (1…1,2 кг на 1 м3 воды). Такая поверхностно-активная добавка сокращает время на отделку покрытия.
Обдирку продолжают до обнажения каменной крошки.
Мелкие отходы (шлам), образующиеся при обдирке мозаичного покрытия, убирают фанерной лопатой или скребком; остатки шлама смывают водой. Промытое покрытие посыпают опилками, затем их собирают лопатами и сметают веником.

Рис. 70. Дошлифовка покрытия в труднодоступных местах универсальной шлифовальной машиной с гибким валом (а) или лещадью, закрепленной в обойме (б).
Труднодоступные места - углы, пристенные зоны - обрабатывают мозаично-шлифовальной машиной с гибким валом (рис. 70, а).
При небольших объемах работ эту операцию выполняют лещадью, закрепленной в обойме (рис. 70, б).
Устранение мелких дефектов покрытия. Приготовляют небольшую порцию жесткого цементного раствора, не отличающегося от цвета покрытия. Затем плиточной лопаткой или стальным шпателем шпатлюют дефекты мозаичного покрытия (царапины, раковины), втирая жесткий раствор в поры шлифовальным бруском.
Контроль качества. Мозаичное покрытие должно иметь проектную толщину, горизонтальную ровную поверхность с равномерным распределением каменной крошки по лицевой поверхности. Рисунок, цвет, тон и декоративные элементы покрытия должны соответствовать проекту. Просветы между контрольной двухметровой рейкой, прикладываемой во всех направлениях, и поверхностью покрытия не должны превышать 4 мм.
Трудовые затраты. Нормы времени, чел-ч, на шлифование 1 м2 пола и на отделку 1 м примыканий полов к стенам и колоннам; нормы выработки, м2 пола и 1 м примыканий, на 1 чел-дн следующие:
|
|
Нормы времени |
Нормы выработки |
|
Шлифование 1 м2 полов: |
|
|
|
механизированным способом |
0,32 |
25 |
|
вручную |
1,7 |
4,7 |
|
Отделка 1 м примыканий: |
|
|
|
механизированным способом |
0,14 |
57 |
|
вручную |
0,27 |
29,6 |
Техника безопасности. Мозаично-шлифовальные машины можно включать в электросеть только с помощью штепсельных розеток. Запрещается удлинять электрокабель путем скручивания концов проводов.
Обрабатывают мозаичные покрытия в диэлектрических перчатках и сапогах.
Контрольные вопросы. В какой последовательности выполняют обдирку мозаичного покрытия? Для чего удаляют (обдирают) верхний слой мозаичного покрытия? В какой последовательности выполняют механическую обдирку мозаичного покрытия? После окончания какой операции приступают к обдирке мозаичного покрытия? Где используют лещадь? Какие требования техники безопасности нужно выполнять при работе с мозаично-шлифовальной машиной?
Состав технологических операций. Чистовая обработка покрытия; обработка стесненных и труднодоступных мест; устранение мелких дефектов покрытия.
Механизмы, приспособления, инструмент, инвентарь. Мозаично-шлифовальные машины СО-91, СО-111 А, ИЭ-8201Б; шлифовальный круг зернистостью 60...80; машина СО-181 или скребок с шарниром, или фанерная лопата для уборки шлама; пылесос. Лещадь с бруском; лейка; шпатель; лопатка плиточная; правило длиной 2 м; контрольная ступенчатая линейка; передвижной ящик-тележка. Диэлектрические перчатки; резиновая обувь.
Материалы. Цемент; мраморная мука; пигмент (при устройстве цветных полов).
Схема организации рабочего места. Помещение должно быть освобождено от посторонних предметов.
Необходимые инструменты, механизмы, приспособления и материалы располагают в непосредственной близости от рабочего места. Длина электрокабелей должна обеспечивать возможность шлифования по всей площади помещения.
Последовательность выполнения технологических операций. К работе приступают после обнажения декоративного заполнителя.
Чистовая обработка мозаичного покрытия. Включив шлифовальную машину, медленно передвигают ее зигзагообразными движениями впереди себя. Покрытие шлифуют полосами-захватками до получения гладкой поверхности с полным раскрытием фактуры каменной крошки (рис. 71). Следует помнить об оптимальных сроках шлифовки; через 7…14 сут после укладки покрытия время шлифования увеличивается в 2,5...5 раз. Кроме того, нужно периодически контролировать толщину сошлифованного слоя. Для этого сверлят лунки и измеряют толщину покрытия.
Шлам, образующийся при шлифовке мозаичного покрытия, удаляют с обрабатываемой поверхности машиной СО-181, фанерной лопатой или скребком.
Обработка труднодоступных мест. Электрической шлифовальной машиной с гибким валом дошлифовывают углы, полосы вдоль стен, колонн и другие труднодоступные места.

Рис. 71. Шлифовка мозаичного покрытия
При дошлифовке вручную лещадью с бруском требуемой крупности зерен поверхность смачивают водой и возвратно-поступательными движениями лещади доводят незашлифованный участок до той же степени обработки, что и остальное покрытие.
Устранение мелких дефектов покрытия. Закончив шлифовку, смывают остатки шлама, выявленные дефекты поверхности (раковины и другие поврежденные места, а также рассверленные лунки для выявления толщины сошлифованного слоя) устраняют шпатлеванием цементным тестом с добавлением каменной муки и повторно шлифуют.
Контроль качества. Отшлифованная поверхность должна быть ровной, гладкой, без царапин и других видимых дефектов. При наложении двухметровой контрольной рейки в различных направлениях не допускаются зазоры между рейкой и покрытием более 4 мм.
Трудовые затраты. Нормы времени, чел-ч, на шлифование 1 м2 мозаичного покрытия и отделки 1 м мест примыканий к стенам, колоннам и нормы выработки, м2 и м, на 1 чел-дн следующие:
|
|
Нормы времени |
Нормы выработки |
|
Шлифование полов: |
|
|
|
механизированным способом. |
0,38 |
21,5 |
|
вручную |
2,04 |
3,92 |
|
Шлифование мест примыканий: |
|
|
|
механизированным способом. |
0,14 |
57,0 |
|
вручную |
0,27 |
29,6 |
Техника безопасности. Электрические шлифовальные машины включают в сеть с помощью штепсельного соединения. Исправность машин проверяют на холостом ходу; токопроводящие провода нельзя перекручивать, допускать трения об острые углы. В ходе работы нельзя поверхностью машины касаться трубопроводов, отопительных приборов и других металлических частей. Работать нужно в диэлектрических перчатках, резиновой обуви, респираторе и защитных очках.
Контрольные вопросы. Зачем после обдирки необходимо шлифование лицевого слоя мозаичного покрытия? Из каких технологических операций состоит процесс шлифовки мозаичного покрытия? Как выполняют отделку мест примыкания покрытия к стенам и колоннам? Как устраняют мелкие дефекты в процессе шлифования мозаичного покрытия? Какие требования техники безопасности соблюдают при работе с электрической мозаично-шлифовальной машиной?
Состав технологических операций. Шпатлевание мозаичной поверхности; чистое шлифование; лощение; полировка.
Механизмы, инструменты, приспособления, инвентарь. Мозаично-шлифовальная машина СО-111А или ИЭ-8201Б; полировальный круг зернистостью 230…325; войлочные или суконные диски. Машина СО-181 или скребок для уборки шлама. Вакуумно-щеточная машина; пылесос. Лещадь с мраморным бруском; войлочные круги к шлифовальной машине; шпатели со сменными полотнами или с резиновым наконечником; лопатка плиточная; лейка; волосяная щетка; контрольное правило длиной 2 м; складной метр. Влагонепроницаемые наколенники; защитные очки; респиратор; диэлектрические перчатки; резиновая обувь.
Материалы. Белый или цветной цемент; мраморная мука для приготовления шпатлевки; полировальный порошок.
Схема организации рабочего места. Помещение должно быть освобождено от посторонних предметов. Работу начинают после подготовки необходимых механизмов, инструментов, приспособлений, инвентаря и материалов в непосредственной близости у места работы. К месту работы должны быть подведены электроэнергия и водопровод.
Последовательность выполнения технологических операций. Работу начинают после шлифовки покрытия.
Шпатлевание поверхности. Отшлифованную поверхность увлажняют и присыпают сухим белым или цветным цементом под цвет покрытия. Шлифовальной машиной втирают увлажненный цемент в поверхность покрытия. При этом мозаично-шлифовальную машину на захватке перемещают на себя, чтобы колесами машины и ногами не повредить слоя шпатлевки.
Чистое (дополнительное) шлифование. После затвердения зашпатлеванных мест поверхность опять обрабатывают шлифовальной машиной. При этом с лицевой поверхности снимается избыток шпатлевки. Пристенные зоны и углы дошлифовывают оселком до получения ровной, гладкой поверхности покрытия.
Лощение. Мозаично-шлифовальную машину по продольным захваткам перемещают дугообразными движениями вправо и влево. При этом поверхность покрытия приобретает матовый оттенок. Труднодоступные места (углы, пристенные зоны и др.) обрабатывают вручную лещадью с мраморным бруском до матовости фона покрытия.
Полировка. Лощеную поверхность промывают водой, посыпают тонким слоем полировального порошка и обрабатывают войлочными или суконными дисками, закрепленными в обойме шлифовальной машины. Дополировку пристенных полос, углов и других труднодоступных мест выполняют вручную до тона, не отличающегося от фона покрытия.
Контроль качества. Отполированная поверхность мозаичного покрытия должна быть совершенно гладкой и иметь зеркальный блеск без полос, оставшихся от обработки, и царапин. При наложении двухметровой контрольной рейки в различных направлениях не должно быть просветов более 4 мм.
Техника безопасности. Полировку покрытия мозаично-шлифовальной машиной выполняют в резиновой обуви и диэлектрических перчатках. При нагревании двигателя машину выключают на 5…7 мин для охлаждения. Работу выполняют во влагонепроницаемых наколенниках и резиновых перчатках.
Трудовые затраты. Нормы времени на полирование 1 м2 покрытия и 1 м мест примыканий полов к стенам, колоннам и нормы выработки на 1 чел-дн следующие:
|
|
Нормы времени, чел-ч |
Нормы выработки |
|
Полирование полов: |
|
|
|
механизированным способом |
0,56 |
14,2 м2 |
|
вручную |
26 |
3,1 м2 |
|
Полирование мест примыкания |
0,46 |
17,4 м2 |
Контрольные вопросы. Из каких технологических операций состоит полировка мозаичных покрытий? Зачем производят чистое шлифование? Как выполняют лощение мозаичного покрытия? Какие материалы необходимы для полировки мозаичного покрытия? Назовите правила техники безопасности, которые нужно соблюдать при полировке мозаичных покрытий.
Состав технологических операций. Приготовление мастики; нанесение на покрытие мастики; натирка покрытия.
Механизмы, инструменты, приспособления, инвентарь. Мозаично-шлифовальная машина СО-111А или ИЭ-3201Б; полотерная машина СО-37; пылесос или вакуумно-щеточная машина. Войлочные или суконные круги; волосяная щетка; емкость для мастики; шпатель со сменными полотнами; деревянная рейка длиной 2 м; складной метр; емкости для водяной бани; диэлектрические перчатки, резиновая обувь.
Материалы. Скипидар; бензин; стеарин; парафин; воск; канифоль.
Схема организации рабочего места. В помещении не должно быть посторонних предметов. Емкость с мастикой располагают рядом с полосой-захваткой.
Последовательность выполнения технологических операций. Работу начинают после шлифовки или полировки покрытия.
Приготовление восковой мастики. Выполняют на месте работ. Стеарин, парафин, воск нарезают мелкой стружкой, смешивают с порошком канифоли и расплавляют в водяной бане до получения однородной массы. Смесь вынимают из бани, слегка охлаждают и вливают в нее тонкой струей скипидар или бензин при непрерывном перемешивании до получения однородной массы.
Состав восковой мастики, мас. ч.: скипидар или бензин - 10; стеарин - 2; парафин - 1; воск - 1; канифоль - 0,25.
Покрытие поверхности мастикой. На обеспыленное основание мастику наносят волосяной щеткой (кистью) тонким ровным слоем в виде параллельных полос (рис. 72), перекрывающих друг друга на 20…30 мм.
Натирка мастикой. Поверхность, покрытую мастикой, полируют электрополотерной или мозаично-шлифовальной машиной с войлочными или суконными кругами. Работу начинают со стороны, противоположной входу в помещение, продольными полосами. Машину, натирающую пол мастикой, перемещают на себя, чтобы не испортить поверхность, отполированную до зеркального блеска.

Рис. 72. Нанесение восковой мастики щеткой
В труднодоступных местах - углах и пристенных зонах - натирку пола выполняют вручную полотерными щетками или деревянными брусками, обтянутыми войлоком.
Требования к качеству. Натертое мастикой покрытие должно быть гладким с зеркальным блеском без пропусков, пятен, следов обработки и царапин. При наложении двухметровой контрольной рейки в различных направлениях допускаются просветы не более 4 мм.
Трудовые затраты. Норма времени на 10 м2 механической полировки мозаичного покрытия восковой мастикой - 7,3 чел-ч; норма выработки на 1 чел-дн - 12 м2.
Техника безопасности. Работать нужно в водонепроницаемых наколенниках, резиновых перчатках и резиновой обуви. При нагревании электродвигателя электрошлифовальную машину выключают на 7…10 мин для охлаждения.
Контрольные вопросы. Из каких операций состоит натирка мозаичного покрытия восковой мастикой? Как приготовляют восковую мастику? Чем наносят восковую мастику на поверхность мозаичного покрытия? Как натирают мозаичное покрытие восковой мастикой? Какие требования техники безопасности необходимо соблюдать при покрытии и натирке мозаичного покрытия восковой мастикой?
Состав технологических операций. Установка и выверка трубчатых или реечных маяков; заполнение нечетных полос раствором; укладка боя каменных плит в лицевое покрытие; укладка покрытия в четных полосах; уход за свежеуложенным покрытием.
Механизмы, инструменты, приспособления, инвентарь. Лейка; ведра; лопатка плиточная; лопата растворная; ручная тележка со сменными контейнерами или передвижной ящик-тележка; деревянный полутерок длиной 300...800 мм; рулетка; складной метр; разметочный шнур; деревянный угольник с длинной линейкой; деревянная киянка; молоток; контрольная двухметровая рейка и уровень; цветные мелки или грифель.
Материалы. Полоски из рубероида или толя. Куски мраморных плит произвольных размеров. Цементный раствор марки не ниже 150 подвижностью 3...3,5 см.
Схема организации рабочего места. Помещение должно быть освобождено от посторонних предметов. У рабочего места подготавливают необходимые материалы, инструменты, инвентарь и индивидуальные средства защиты.
Последовательность выполнения технологический операций. После вынесения отметок уровня чистого пола на стены и твердения цементно-песчаной прослойки работы ведут на продольных полосах-захватках, ограниченных трубчатыми или реечными маяками (рис. 73).
Установка продольных маяков. В соответствии с отметками уровня чистого пола, закрепленными на стенах помещения, устанавливают трубчатые или реечные маяки 5 с шагом 1200…1000 мм. Точность установки маяков контролируют двухметровой контрольной рейкой и уровнем 1. При необходимости маяки втапливают в растворную марку или, наоборот, поднимают, добавляя раствор.
По периметру стен укладывают прокладки 2 из полос рубероида или толя и прижимают их к стене растворными лепками.
Заполнение нечетных полос раствором. Перед укладкой раствора в полосу-захватку поверхность нижней прослойки смачивают водой и огрунтовывают цементным молоком.
Укладку раствора в полосы-захватки начинают от стен, противоположных входу в помещение. Вначале заполняют раствором нечетные полосы через одну. При этом следят за тем, чтобы раствор не доходил до верхней грани маяков на 5...7 мм (при толщине укладываемых кусков плит 10…15 мм) и на 10...15 мм (при толщине укладываемых плит 20…30 мм).

Рис. 73. Организация работ при укладке сплошных брекчиевидных покрытий:
1 - рейка с уровнем, 2 - прокладка из рубероида, 3 - линия выше уровня чистого пола на 1 м, 4 - растворные марки, 5 - трубчатые маяки; I - IV - полосы-захватки
Укладка боя каменных плит в лицевое покрытие. По выровненной растворной прослойке 5 (рис. 74) в шахматном порядке через 800…1000 мм укладывают маячные куски плит 6, контролируя их положение рейкой-правилом 7 по установленным продольным маякам на границах полос-захваток. Затем промежутки между маяками заполняют кусками каменных плит 3, втапливая их в раствор киянкой или рейкой-правилом до уровня маячной плиты и продольных маяков. Если разложенные куски плит не осели до требуемого уровня, их осаживают легкими ударами молотка по деревянному бруску. При этом ширина растворных швов 4 между уложенными кусками должна быть не более 5…7 мм. Уложив куски плит в полосе-захватке, швы прочищают стальной щеткой на глубину втопленной в раствор плитки (рис. 75, а). Расчищенные бороздки швов увлажняют, после чего их заполняют пластичным раствором на цветном цементе (рис. 75, б). Раствор разравнивают шпателем с резиновым наконечником. Через 1,5...2 ч, когда схватится раствор, работая шпателем «на сдир» (рис. 75, в), покрытие очищают от излишков раствора. Затем швы (цементный камень) заглаживают стальными гладилками (рис. 75, г).

Рис. 74. Последовательность устройства брекчиевидного покрытия: 1 - маячные рейки или трубы, 2 - цементно-песчаный раствор, 3, 8 - куски плит из декоративного камня, 4 - швы, 5 - выровненный подстилающий слой, 6 - маячные плитки, 7 - рейка-правило; I - III - полосы-захватки.
Укладка покрытия в четных полосах. По истечении 18…24 ч маяки осторожно удаляют. Кромки законченных полос брекчиевидного покрытия промывают водой и огрунтовывают цементным молоком.
При устройстве покрытия в четных полосах маяками служат ранее уложенные полосы-захватки. Работы выполняют в таком же порядке, как и при заполнении нечетных полос. При этом следят за тем, чтобы в лицевом покрытии не выделялся продольный (рабочий) шов на границах полос-захваток, что достигается несимметричной укладкой кусков плит, предварительно отсортированных по толщине.
Уход за свежеуложенным покрытием. Через 2 сут. брекчиевидные покрытия засыпают опилками слоем 3…5 см и в течение 4…7 сут. поддерживают во влажном состоянии, поливая из лейки.
Контроль качества. Брекчиевидные покрытия из обломков плит произвольной формы и размеров должны иметь заданную толщину, горизонтальную ровную и гладкую поверхность, с густым наполнением камня по всей поверхности. Площадь, занимаемая кусками плит, должна быть не менее 75…85 % площади покрытия. Отклонение поверхности покрытия от горизонтали при проверке двухметровой контрольной рейкой, прикладываемой во всех направлениях, не должно превышать 4 мм.

Рис. 75. Заполнение швов брекчиевидного покрытия: а - прочистка швов стальной щеткой, б - заливка цветного раствора, в - очистка покрытия от излишков раствора, г - притирка (заглаживание) раствора стальной гладилкой
Трудовые затраты. Норма времени на устройство 1 м2 полов с применением боя мраморных плит (брекчий) - 1,12 чел-ч; норма выработки на 1 чел-дн - 7,14 м2.
Техника безопасности. Сортировку и укладку в покрытие обломков плит декоративного камня производят в рукавицах и защитных очках.
Контрольные вопросы. Из каких операций состоит процесс устройства полов из брекчиевидных покрытий? Как определяют ширину и высотное положение полос-захваток? Как повысить декоративность брекчиевидных покрытий? Как определить качество брекчиевидного покрытия? Какие требования техники безопасности необходимо выполнять при устройстве покрытия из обломков мраморных плит?
Состав технологических операций. Установка и выверка деревянных реек-шаблонов; набивка мозаичного раствора; снятие шаблона и укрытие плинтуса влажной мешковиной.
Инструменты, приспособления, инвентарь. Кельма; совковая лопата; складной метр или рулетка; измерительный шнур; кисть; профилированные рейки-шаблоны с металлическими скобами; ведра; мешковина; ветошь.
Материалы. Мозаичный раствор каменной крошки с крупностью зерен 3...10 мм.
Схема организации рабочего места. Рабочее место при устройстве мозаичных плинтусов организуют так, как показано на рис. 76.
Последовательность выполнения технологических операций. К устройству мозаичных плинтусов приступают через 2...3 сут после укладки полов.
Установка и выверка реек-шаблонов. До начала установки реек-шаблонов местоположение будущего плинтуса смачивают водой с помощью кисти. Рейки раскладывают по периметру стены. Начинают устанавливать рейки от угла помещения. Ширину плинтуса, т.е. зазор между стеной и рейкой-шаблоном, отмеряют с помощью метра на одном и другом конце стены.

Рис. 76. Схема организации рабочего места при устройстве мозаичных плинтусов:
1 - установленные рейки-шаблоны, 2 - зазор между стеной и рейкой, 3 - причальный шнур между крайними шаблонами, 4 - неустановленные рейки-шаблоны, 5 - пригрузы, 6 - плинтус, укрытый мешковиной

Рис. 77. Закрепление рейки-шаблона
Установив и выверив рейку, на скобу кладут груз (кирпич) (рис. 77). Так же устанавливают рейку на другом конце стены, после чего между рейками натягивают причальный шнур, фиксирующий положение будущего плинтуса. Промежуточные рейки-шаблоны устанавливают по причальному шнуру.
Набивка мозаичного раствора. Мозаичный раствор укладывают в зазор между стеной и рейкой (рис. 78, а). Заполнив примерно половину высоты плинтуса, раствор уплотняют ребром полотна кельмы, после чего продолжают заполнять зазор до верха шаблона и снова уплотняют раствор и заглаживают кельмой по верху шаблона (рис. 78, б).
Снятие шаблонов. После схватывания уложенного раствора груз снимают с металлических скоб. Полотно кельмы вставляют между рейкой-шаблоном и полом и осторожно приподнимают конец рейки, затем берутся за скобу и движением на себя и вверх, отделяют рейку от плинтуса. Профилированную поверхность шаблона очищают ветошью от остатков раствора для повторного использования. Обнаруженные дефекты (мелкие раковины, сколы) на поверхности плинтуса заделывают тем же раствором и накрывают готовый плинтус увлажненной мешковиной.

Рис. 78. Набивка мозаичных плинтусов: а - заполнение и уплотнение раствора, б - выравнивание раствора заподлицо с шаблоном
Контроль качества. Необходимо следить, чтобы по всей поверхности плинтуса была равномерно распределена мраморная крошка. Готовый плинтус должен быть сплошным по всему периметру, без выступов и других дефектов, видимых с расстояния 3 м.
Трудовые затраты. Норма времени на устройство 1 м мозаичных плинтусов - 0,43 чел-ч; нормы выработки на 1 чел-дн - 17,2 м.
Техника безопасности. Устройство мозаичных плинтусов производят во влагонепроницаемых наколенниках и резиновых перчатках.
Контрольные вопросы. Где располагаются плинтусы и каково их назначение? Когда можно приступать к устройству мозаичных плинтусов? Чем отличается технология устройства мозаичных плинтусов от технологии устройства цементных плинтусов? Почему мозаичные плинтусы нельзя вытягивать при помощи шаблона или малки? Каково устройство и принцип действия шаблона для набивки мозаичных плинтусов?
Состав технологических операций. Оттирка поверхности плинтуса; шпатлевка отдельных мест; шлифовка поверхности плинтусов.
Механизмы, инструменты, инвентарь. Электрическая шлифовальная машина ИЭ-8201Б с набором сменных кругов зернистостью 60...80 и 230...325. Лещадь; кисть; резиновый шпатель; кельма; ведро; ветошь; резиновые перчатки и обувь.
Материалы. Цементная шпатлевка, соответствующая цвету мозаичного плинтуса.
Схема организации рабочего места. Помещение должно быть освобождено от посторонних предметов. Необходимые механизмы, инструменты, инвентарь и материалы должны быть расположены в непосредственной близости от рабочего места.
Последовательность выполнения технологических операций. К отделке мозаичных плинтусов приступают через 3...5 сут после их устройства и приобретения раствором прочности, исключающей выкрашивание мраморной крошки.
Оттирка поверхности плинтуса. Отделываемую поверхность плинтуса смачивают кистью. После проверки электрошлифовальной машины на холостом ходу начинают оттирку, передвигаясь вдоль плинтуса (рис. 79, а). Оттирку в углах и других стесненных местах ведут лещадью. Затем поверхность плинтуса смачивают водой с помощью кисти и протирают ветошью.

Рис. 79. Отделка мозаичных плинтусов:
а - оттирка и шлифовка мозаично-шлифовальной машиной, б - шпатлевание дефектных мест
Шпатлевка отдельных мест. Сколы, царапины и другие дефекты на поверхности плинтуса заделывают цементной шпатлевкой, нанося ее резиновым шпателем (рис. 79, б).
Шлифовка поверхности. Поверхность плинтуса смачивают водой и обрабатывают электрошлифовальной машиной с помощью мелкозернистых кругов движениями от себя и на себя. По окончании шлифовки поверхность смачивают водой и металлическим шпателем удаляют шлам (мелкие отходы).
Контроль качества. Форма и рисунок плинтуса должны соответствовать заданным. На лицевой поверхности должны быть видны равномерные вкрапления мраморной крошки. Поверхность должна быть ровной и гладкой, без дефектов, видимых с расстояния 3 м.
Трудовые затраты. Норма времени на отделку 1 м плинтуса - 0,56 чел-ч; норма выработки на 1 чел-дн - 14,3 м.
Техника безопасности. Работать с электрошлифовальной машиной нужно в резиновых перчатках и резиновой обуви.
Контрольные вопросы. Назовите дефекты, встречающиеся при устройстве мозаичных плинтусов, причины их возникновения и способы предупреждения. В какой технологической последовательности отделывают мозаичные плинтусы? Чем отличается обдирка от шлифования поверхностей мозаичных плинтусов? Какие правила техники безопасности необходимо выполнять при работе с электрошлифовальной машиной?
Состав технологических операций. Приготовление грунтовочных и выравнивающих составов; подготовка основания и установка маячных реек; грунтовка основания; нанесение выравнивающего слоя; снятие маячных реек и заделка борозд; отделка лицевой поверхности.
Механизмы, инструменты, приспособления, инвентарь. Растворосмеситель СО-23Б с откидными лопастями, двумя бункерами-тачками для готового и приготовляемого растворов; электрическая шлифовальная машина ИЭ-8201Б с гибким валом; установка СО-21А с соплом-форсункой для нанесения мастики; виброрейка; шлифовальная машина СО-91. Лещадь; растворная лопата; лопатка плиточная; флейцевая кисть (шириной 120 мм) или валик с ванночкой; шпатель со сменными полотнами; полутерок длиной 800 мм; гладилка; сито; фанерные щиты; маячные рейки с отфугованной верхней кромкой; резиновые перчатки, резиновая обувь, защитные очки, респиратор.
Материалы. Цемент. Грунтовка - дисперсия ПВА, разбавленная в соотношении 1 : 8 мас. ч. (дисперсия : вода) по массе.
Состав для выравнивающего слоя, кг: сухая растворная смесь марки 150 - 100; дисперсия ПВА, разбавленная водой в соотношении 1:4 мас. ч. (дисперсия: вода) - 14.
Состав восковой мастики для отделки лицевого покрытия, мас. ч.: скипидар или бензин - 10; стеарин - 2; парафин - 1; воск - 1; канифоль - 0,25.
Схема организации рабочего места. Необходимые материалы, механизмы, инструменты, инвентарь размещают у места работ (рис. 80) или в смежном помещении.

Рис. 80. Схема организации рабочего места при устройстве полимер-цементных наливных полов:
1 - установка
СО-21А, 2 - инвентарные щитки, 3 - полосы-захватки,
4 - маячные рейки, 5 - виброрейка, 6 - лари сматериалами, 7 -
растворо-смеситель
Последовательность выполнения технологических операций. Работу начинают после сдачи помещения под отделочные работы и закрепления на стенах помещения уровня чистого пола.
Приготовление грунтовочных и выравнивающих составов. Полимерцементную грунтовку приготовляют на месте работы в растворосмесителе СО-23В со сменными бункерами-тачками. В бункер-тачку вводят дозированное количество поливинилацетатной дисперсии и воды, опускают лопастный вал, включают растворосмеситель и перемешивают в течение 2...3 мин; затем засыпают цемент, перемешивая смесь до однородности. Приготовленную грунтовку процеживают через сито.
Состав для выравнивающего слоя приготовляют, вливая в бункер-тачку растворосмесителя дозированный объем поливинилацетатной дисперсии, включают лопастный вал. При перемешивании добавляют дозированное количество воды; смесь перемешивают в течение 1…2 мин. Затем, не останавливая смеситель, засыпают просеянную сухую растворную смесь, пигменты и продолжают перемешивание в течение 5...7 мин до получения однородного, без комков состава. Подвижность состава, контролируемого эталонным конусом, должна быть 5…7 см.
Приготовленные грунтовочные и выравнивающие полимерцементные составы доставляют в бункере-тачке к установке СО-21А.
Подготовка основания и установка маячных реек. Выявленные дефекты основания при наложении двухметровой контрольной рейки отмечают цветными мелками. Выпуклости поверхности удаляют мозаично-шлифовальной машиной сначала с крупнозернистыми кругами, а затем среднезернистыми.
Основание очищают от мусора, грязи, обеспыливают пылесосом. После этого вдоль стен устанавливают фанерные или оргалитовые защитные щитки 2 (см. рис. 80). По отметке уровня чистого пола, вынесенной на стены помещения, укладывают, выверяют по уровню и закрепляют маячные рейки с шагом 1,5…2 м. Высота маячных реек соответствует толщине покрытия.
Огрунтовка основания. На обеспыленное основание наносят грунтовочный состав, закрепляющий верхний слой основания и обеспечивающий более прочное сцепление выравнивающего слоя с основанием.
Грунтовку наносят волосяными щетками, а при большом объеме работ - форсункой с помощью установки 1. По просохшей грунтовке с помощью шпателя составом, предназначенным для выравнивающего слоя, исправляют мелкие дефекты основания.
Нанесение выравнивающего слоя. После схватывания шпатлевки в дефектных местах наносят форсункой лицевой слой полимерцементного покрытия с помощью установки 1 до уровня уложенных маяков. Слой разравнивают правилом или гладилкой, уплотняют виброрейкой 5, опирая концы ее на маячные рейки 4.
Отделка лицевой поверхности. После твердения выравнивающего слоя через 18…24 ч лицевую поверхность слегка увлажняют и обрабатывают шлифовальной машиной с мелкозернистым шлифовальным кругом.
Дошлифовку труднодоступных и стесненных мест, узких полос вдоль стен выполняют вручную бруском, закрепленным в обойме лещади.
Мелкие дефекты поверхности (выкрошенные песчинки и т.д.) шпатлюют составом, предназначенным для выравнивающего слоя, а после высыхания шлифуют мелкозернистыми кругами без увлажнения поверхности.
После твердения всей площади покрытия, а также после шлифования его наносят восковую мастику или покрывают лаком.
Контроль качества. Полимерцементное мастичное покрытие должно иметь заданную толщину, горизонтальную ровную поверхность без раковин, трещин, выбоин и других дефектов. Цвет, тон покрытия должны соответствовать проекту. Просветы между двухметровой контрольной рейкой, прикладываемой к поверхности покрытия во всех направлениях, не должны превышать 4 мм.
Трудовые затраты. Норма времени на устройство 1 м2 однослойных полимерцементных полов - 0,31 чел-ч; норма выработки на 1 чел-дн - 25,8 м2.
Техника безопасности. Помещения, в которых устраивают полимерцементные наливные полы, должны иметь вентиляцию. Работать с электрифицированными механизмами нужно в резиновой обуви и перчатках. При работах, связанных с выделением пыли, пользуются защитными очками, а при покрытии полов лаком - и респиратором.
Контрольные вопросы. Как готовят основание под полимерцементные наливные полы? Из каких технологических операций состоит устройство полимерцементных наливных покрытий? Назовите связующее при приготовлении полимерцементных составов? Как отделывают полимерцементные наливные покрытия?
Состав технологических операций. Приготовление грунтовочного состава; приготовление выравнивающего и лицевых составов; затаривание мастичных составов.
Механизмы, инструменты, приспособления, инвентарь. Растворосмеситель СО-23В со сменными бункерами-тачками; жерновая краскотерка СО-110А; вибросито типа СО-130 с комплектом сеток размером ячеек 0,2×0,2…0,5×0,5. Лопатка для плиточных работ; лопата растворная; весы; мерные стеклянные емкости на 0,5...1 л; стеклянные банки вместимостью 5...10 л; мерные металлические кружки; вискозиметр ВЗ-4; деревянная мешалка длиной 1,2 м.
Материалы. Грунтовочный состав - раствор поливинилацетатной дисперсии состава 1: 5 (дисперсия : вода), мас. ч. Выравнивающий и лицевые составы (табл. 4).
Таблица 4.
Составы мастик для устройства двух-, трехслойных поливинилацетатных попов
|
Компоненты |
Составы, мас. ч. |
||
|
выравнивающий |
лицевой |
||
|
жесткий |
пластичный |
||
|
Поливинилацетатная дисперсия |
1 |
1 |
1 |
|
Песок кварцевый мелкий (размер зерен до 0,25 мм) |
4 |
- |
- |
|
Песок молотый (маршаллит) |
- |
1,8 |
0,8…0,9 |
|
Пигменты щелочестойкие (железный сурик, охра, оксид хрома, ультрамарин) |
0,3…0,5 |
0,1…0,2 |
0,2…0,1 |
|
Вода |
0,25...0,3 |
0,4 |
0,4 |
Схема организации рабочего места (рис. 81). Поливинилацетатные мастики для устройства бесшовных полов приготовляют в помещениях, имеющих вентиляцию, рассчитанную на четырехкратный обмен воздуха в час, оборудованных водопроводом, канализацией и обеспеченных электроэнергией. К началу работы должны быть проверены и подключены необходимые механизмы, доставлены материалы для приготовления мастик.
Последовательность выполнения технологических операций. Приготовление грунтовочного состава. Поливинилацетатную дисперсию и воду, входящие в состав грунтовки, дозируют мерной тарой. Сначала в растворосмеситель (рис. 82, г) заливают отмеренное количество (1 мас. ч.) поливинилацетатной дисперсии, затем добавляют воду (5 мас. ч.) и смесь перемешивают в течение 1…2 мин до получения массы однородной консистенции.
Приготовление выравнивающих и лицевых составов. Требуемое количество пылевидных наполнителей отвешивают, смешивают с сухими пигментами и просеивают на вибросите (рис. 82, в). Поливинилацетатную дисперсию, воду, мелкий песок дозируют мерной тарой. Пигменты для каждого замеса взвешивают на чашечных весах (см. рис. 82, а) и перетирают в жерновой краскотерке СО-110 (рис. 82, б), после чего добавляют воду до получения густой пасты. Пасту разбавляют водой до жидкой консистенции однородной расцветки.

Рис. 81. Схема организации рабочего места для приготовления мастичных составов:
а - оборудование помещения, б - растворный узел для приготовления и подачи мастичных составов; 1 - лари для наполнителей; 2 - шкаф для рабочего инструмента, 3 - рабочий стол, 4 - весы, 5 - вискозиметр, 6 - виброгрохот, 7 - растворосмеситель, 8 - бункер с виброситом, 9 - растворонасос, 10 - эмульсатор, 11 - тара с пигментами, 12 - краскотерка, 13 - вибросито, 14 - передвижной компрессор, 15 - форсунка-распылитель
Загружают растворосмеситель (рис. 82, г) в определенной последовательности. Поливинилацетатную дисперсию заливают в смеситель и, перемешивая, добавляют воду. Через 1…2 мин, не останавливая смеситель, засыпают предварительно просеянный наполнитель (мелкий молотый песок), добавляют воду и продолжают перемешивание в течение 5 мин. Затем заливают пигментную пасту, продолжая перемешивание в течение 5 мин до получения однородного состава.
Затаривание приготовленных составов. Перед затариванием у составов проверяют вязкость, измеряемую временем вытекания мастики объемом 100 см3 из воронки вискозиметра (рис. 83). Вязкость составов должна быть 120…180 с. Регулируют вязкость или добавлением наполнителя при приготовлении очередного замеса, или разжижая состав растворителем (ацетоном).

Рис. 82. Приготовление шпатлевочных, выравнивающих и лицевых составов:
а - дозирование пигментов, б - перетирание пигментов на жерновой краскотерке, в - вибросито, г - загрузка растворосмесителя
Мастику сливают в расходный бункер, процеживая через сито с размером ячеек 0,5 мм, дают отстояться в течение 15…20 мин до полного всплывания пены, которую затем удаляют. Составы в течение 2…3 сут. хранят в герметически закрытой таре. При длительном сроке хранения мастики перед применением с ее поверхности удаляют пленку, после чего состав заливают в смеситель и перемешивают в течение 10 мин.
Контроль качества. Цвет приготовленной мастики должен быть однородным, а ее состав соответствовать заданному строительной лабораторией. Мастичные составы не должны содержать неперетертых частиц, комков, сгустков.

Рис. 83. Проверка вязкости составов на вискозиметре ВЗ-4
Трудовые затраты. Норма времени на приготовление 100 кг мастики - 2,1 чел-ч; норма выработки на 1 чел-дн - 380 кг.
Техника безопасности. До начала работ необходимо пройти инструктаж и обучение работе с механизмами, правилам техники безопасности, производственной санитарии. Механизмы для приготовления мастики можно подключать в электросеть только через штепсельное соединение.
Все материалы, необходимые для приготовления мастики, хранят в помещении, оборудованном принудительной вентиляцией. Жидкие компоненты должны храниться в герметической таре.
Контрольные вопросы. В какой последовательности вводят в растворосмеситель составляющие для приготовления грунтовочных, выравнивающих и лицевых составов? Как определяют вязкость мастики? Что делают с приготовленным мастичным составом после выгрузки его из бункера растворосмесителя? Какие компоненты входят в состав выравнивающей мастики? Какие правила техники безопасности необходимо соблюдать в процессе приготовления мастик?
Состав технологических операций. Проверка прочности и горизонтальности основания; шлифование основания с устранением мелких дефектов и обеспыливанием поверхности; нанесение грунтовки.
Механизмы, инструменты, приспособления, инвентарь. Шлифовальная машина; вакуумно-щеточная подметальная машина; установка СО-21А с передвижным компрессором СО-75 для механизированного распыления грунтовки. Лопатка плиточная; шпатель со сменными полотнами; лещадь; валик поролоновый с ванночкой или флейцевая кисть шириной рабочей части 120 мм; волосяная щетка; фанерные щиты; ведра; двухметровая контрольная рейка; защитные очки; резиновые перчатки.
Материалы. Раствор поливинилацетатной дисперсии состава 1:5 (дисперсия : вода), мас. ч., для огрунтовки основания. Цементный раствор, затворенный водным раствором поливинилацетатной дисперсии 1 : 4 (дисперсия : вода), для подмазки дефектных мест.
Схема организации рабочего места. Помещение должно быть освобождено от посторонних предметов. Непосредственно у места работ должны быть расположены все необходимые материалы, механизмы, инструменты и инвентарь.
Последовательность выполнения технологических операций. Работу начинают после твердения стяжки и устройства плинтусов из цементно-песчаного раствора состава 1:3.
Контроль прочности выравнивающей стяжки, устранение дефектов. Прочность выравнивающей стяжки под мастичные полы проверяют простукиванием всей поверхности. Глухой звук свидетельствует об отслоении стяжки. Такие места разрушают, очищают основание от мусора и пыли, промывают водой и грунтуют цементным молоком, после чего укладывают цементнопесчаную стяжку вровень с ранее уложенной. Раствор в местах сопряжения уплотняют и заглаживают, чтобы шов был незаметным.
Проверка горизонтальности основания и заделка западающих мест. Основание проверяют двухметровой контрольной рейкой. Просветы более 10 мм не допускаются. Выявленные западающие места и раковины глубиной более 10 мм очищают от пыли, грунтуют водным раствором поливинилацетатной дисперсии и заделывают полимерцементным раствором.
Местные выпуклости и бугорки зачищают шлифовальным бруском, закрепленным в обойме. Масляные, жировые и другие пятна устраняют, обрабатывая их 5 %-ным раствором кальцинированной соды, а при сильном загрязнении вырубают и заделывают цементнопесчаным раствором состава 1:3. После просушки исправленные места шлифуют.

Рис. 84. Регулирование факела распыления (а) и огрунтовка основания с помощью установки СО-21А (б)
Нанесение грунтовки. До нанесения грунтовки поверхность очищают от мусора и обеспыливают (без увлажнения водой).
При небольших объемах работ грунтовку поверхности водным раствором поливинилацетатной дисперсии выполняют волосяными щетками или поролоновыми валиками.
При значительных объемах работ используют установку СО-21А с передвижным компрессором. Приготовленный раствор грунтовки вливают в красконагнетательный бачок, закрывают его крышкой. Воздушный шланг присоединяют к компрессору, а материальный шланг - к соплу-форсунке. Затем, включив компрессор и создав давление в красконагнетательном бачке в 4 кПа, регулируют распыляющий факел грунтовки над ведром (рис. 84, а).
Соотношение сжатого воздуха и раствора грунтовки должно быть таким, чтобы производительность была наибольшей, а потери грунтовки на туманообразование - наименьшими. Избыток воздуха увеличивает туманообразование, а недостаток его не позволит иметь мощного факела.
Отрегулировав факел распыления, приступают к нанесению грунтовки (рис. 84, б). Расстояние удочки-форсунки до основания - 600...800 мм. Удочку держат перпендикулярно поверхности пола.
Наносят грунтовочный слой полосами-захватками, отпуская курок на время перемещения удочки (распылителя) с одной полосы на другую.
В стесненных местах подстилающий слой грунтуют волосяными кистями или поролоновыми валиками с ванночками для отжатия излишков грунтовки.
Контроль качества. Огрунтованная поверхность должна быть ровной, прочной, иметь хорошее сцепление с основанием. Просветы между наложенной двухметровой контрольной рейкой и поверхностью основания - не более 2 мм. Ровный слой грунтовки не должен иметь пропусков.
Трудовые затраты. Нормы времени, чел-ч (в числителе), на подготовку 10 м основания и нормы выработки на 1 чел-дн, м2 (в знаменателе), следующие.
|
|
Нанесение грунтовки |
|
|
1 раз |
2 раза |
|
|
Заделка неровностей, трещин, выбоин поливинилацетатной шпатлевкой |
0,03/266 |
|
|
Шлифование основания: |
|
|
|
шлифовальной машиной |
0,32/250 |
0,52/154 |
|
вручную |
0,84/95 |
1,35/60 |
|
Грунтование стяжки водным раствором дисперсии: |
|
|
|
шлифовальной машиной |
0,95/533 |
0,25/320 |
|
вручную |
0,23/348 |
0,39/205 |
Техника безопасности. Помещение, где выполняют огрунтовку основания под мастичные полы раствором поливинилацетатной дисперсии, должно быть обеспечено надежной вентиляцией. Механизмы для нанесения поливинилацетатной грунтовки должны быть испытаны на давление, превышающее рабочее не менее чем на 50 %. Работу выполняют в защитных очках и резиновых перчатках.
Контрольные вопросы. Из каких технологических операций состоит подготовка оснований под мастичные полы? Расскажите об организации рабочего места при огрунтовке стяжки под мастичные полы? Как отрегулировать распыляющий факел грунтовки? Какими способами выявляют и устраняют дефекты основания под мастичные полы? Перечислите требования, которым должно удовлетворять основание под мастичные полы. Какие требования техники безопасности необходимо соблюдать при механической огрунтовке стяжки под мастичные полы?
Состав технологических операций. Нанесение шпатлевочного слоя; шлифовка поверхностности; нанесение выравнивающего слоя; нанесение лицевого слоя; отделка покрытия.
Механизмы, инструменты, приспособления, инвентарь. Шлифовальная электрическая машина ИЭ-8201Б с гибким валом. Установка СО-21А. Вакуумно-щеточная машина. Лещадь; шлифовальные круги средней зернистости; войлочные круги; гребок; флейцевая кисть; волосяная щетка; поролоновый валик с ванночкой; шпатель; металлическая гладилка; фанерные щиты. Защитные очки; респиратор ШБ-1 «Лепесток»; резиновые перчатки.
Материалы. Поливинилацетатная шпатлевка из сухой растворной смеси марки 150, затворенная водным раствором поливинилацетатной дисперсии в соотношении 1:4 в мас. ч. (дисперсия: вода) с добавлением пигментов; поливинилацетатные мастики для выравнивающего и лицевого слоев (табл. 5). Пентафталевый лак ПФ-211 или смесь лаков пентафталевого ПФ-170 и масляно-смоляного С в соотношении 3:2.
Таблица 5.
Составы для устройства мастичных полов
|
Компоненты |
Состав, мас. ч. |
||
|
шпатлевочный |
лицевой |
||
|
|
жесткий |
пластичный |
|
|
Поливинилацетатная дисперсия |
1 |
1 |
1 |
|
Песок кварцевый мелкий |
4 |
- |
- |
|
Песок молотый (маршаллит) |
- |
1,8 |
0,8.0,9 |
|
Щелочестойкие пигменты (железный сурик, охра, оксид хрома, ультрамарин) |
0,3…0,5 |
0,1...0,2 |
0,1…0,2 |
|
Вода |
0,25…0,3 |
0,4 |
0,4 |
Схема организации рабочего места. Рабочее место организуют так, как показано на рис. 85. Площадь покрытия разделяют на захватки.

Рис. 85. Схема организации рабочего места при устройстве мастичных полов:
1 - шланг подачи мастики, 2 - компрессоры, 3 - воздушные шланги, 4 - форсунки, распыляющие мастику, 5 - границы захваток; (I - VI - последовательность работ на захватках
Последовательность выполнения технологических операций. К работе приступают при температуре воздуха в помещении не ниже 10°С и влажности подстилающего слоя не более 5 %. Основание должно быть огрунтовано 10 %-ным водным раствором дисперсии ПВА.
Работу начинают со стороны, противоположной входу в помещение.
Нанесение шпатлевочного слоя. Через сутки после огрунтовки основание шпатлюют раствором, приготовленным из сухой растворной смеси марки 150, затворенной 25 %-ным водным раствором поливинилацетатной дисперсии.
Шпателем способом «на сдир» заделывают дефектные места приготовленным составом (см. табл. 5). После подсыхания заделанных мест на основание наносят шпатлевку распылением с помощью установки СО-21А. К форсунке установки присоединяют материальный шланг от нагнетательного бачка, а воздушный - от компрессора. После включения компрессора, когда давление в системе поднимается до 4 кПа, настраивают (регулируют) факел распыления. Регулируя соотношение подачи воздуха и мастики, добиваются равномерного факела распыления мастики. Оптимальный диаметр факела 30...40 см. При настройке факела мастику сливают в ведро.
Шпатлевочный слой наносят от стены, противоположной входу в помещение, и ведут «на себя» параллельно границе захватки. Обрабатываемая полоса должна быть шириной 1,5…2 м (рис. 86, а). Форсунку держат на 0,6…0,7 м выше основания и под углом примерно 60° (рис. 86, б). Мастику наносят ровным слоем толщиной 1…1,5 мм, придавая распыляемому факелу вращательное движение.
Шлифовка поверхности. Через сутки затвердевший слой шпатлевки обрабатывают шлифовальной машиной с шлифовальными кругами средней зернистости. Шлам и пыль удаляют подметальной вакуумно-щеточной машиной или пылесосом.

Рис. 86. Нанесение мастики (а) и положение распылителя во время работы (б)
В углах, пристенных зонах и других труднодоступных местах шлифовку выполняют вручную шлифовальным бруском.
Нанесение выравнивающего слоя. Перед нанесением мастики (не ранее чем за 2 ч) основание обеспыливают волосяной щеткой или пылесосом. Мастику наносят установкой СО-21А в той же последовательности, что и шпатлевочный слой, слоем толщиной 2...2,5 мм.
Стены от брызг мастики защищают инвентарными щитами из фанеры или оргалита.
Выравнивающий слой мастики твердеет в течение 6…8 ч. Обнаруженные на поверхности трещины и впадины заделывают этой же мастикой, а бугорки, наплывы срезают металлическим шпателем.
Нанесение лицевого слоя. Поверхность выравнивающего слоя обеспыливают, после чего приступают к нанесению лицевого покрытия.
Отрегулировав факел распыления сопла форсунки, мастику наносят от стены, противоположной входу в помещение.
Двигаясь вдоль полосы захватки, мастику наносят равномерным слоем толщиной 1,2...1,3 мм, производя кругообразные движения соплом форсунки.

Рис. 87. Отделка лицевого слоя лаком
При перерывах в работе вновь наносимый слой стыкуют с нахлестом 15...20 см на ранее уложенный.
Отделка лицевого слоя покрытия. По истечении 2…3 сут лицевое покрытие полируют войлочными или суконными кругами. Затем на лицевую поверхность за 2…3 раза наносят пентафталевый лак ПФ-211 или смесь пентафталевого лака ПФ-170 с масляно-смоляным лаком 40 (в соотношении 3:2). Флейцевую кисть шириной 120 мм на длинной ручке (рис. 87) опускают в емкость с лаком на 1…1,5 см и слегка отжимают о деревянную веселку, поставленную в ванночку (но не о край емкости). Первый тонкий слой лака наносят в одном направлении, следующий - перпендикулярно первому.
Контроль качества. Поливинилацетатные бесшовные (мастичные) покрытия должны быть прочными, однородными, ровными; их лицевая поверхность не должна иметь трещин, вздутий, шероховатости и других дефектов. Не допускается отслоение покрытий от нижележащего слоя (определяют простукиванием). Цвет лицевого покрытия должен быть однотонным, без полос и вкраплений. Границы между участками, нанесенными в разное время, не должны быть заметны. Толщину наносимых слоев постоянно контролируют проволочным калибром или щупом. Отклонения толщины элементов пола от проектной допускаются лишь в отдельных местах и не более 10 % заданной толщины. При контроле ровности поверхности наложением двухметровой контрольной рейки во всех направлениях допускаемые отклонения не более 2 мм.
Трудовые затраты. Нормы времени, чел-ч (в числителе), на устройство 10 м2 мастичных полов и норма выработки на 1 чел-дн, м2 (в знаменателе), следующие:
|
Шпатлевание (за 1 раз): |
|
|
механизированным способом |
0,28/250 |
|
вручную |
0,59/103,5 |
|
Шлифование (за 1 раз): |
|
|
механизированным способом |
0,32/250 |
|
вручную |
0,84/95 |
|
Нанесение покрытий: |
|
|
механизированным способом |
0,78/102,5 |
|
вручную |
1,8/44 |
Техника безопасности. В помещениях, где устраивают мастичные покрытия, должна работать побудительная вентиляция, рассчитанная на четырехкратный обмен в час. Механизмы и аппараты для нанесения поливинилацетатных мастик перед пуском в работу должны быть проверены механиком, испытаны на давление, превышающее рабочее не менее чем на 50 %. В ходе работ следят за манометром и предохранительными клапанами, не допуская превышения давления. Неисправными механизмами и аппаратами пользоваться запрещается. Присоединяют и разъединяют шланги после прекращения подачи воздуха.
Перед работой со шлифовальной машиной ИЭ-8201Б с гибким валом необходимо убедиться в прочности крепления шлифовальных кругов. При нанесении мастик, шлифовании покрытия нужно пользоваться респиратором и защитными очками.
Контрольные вопросы. Как регулируют факел распыления мастики? Из каких технологических операций состоит устройство поливинилацетатных покрытий? Как сводят выравнивающий или лицевой слой «на нет» и как стыкуют слои мастики? Какими способами устраняют дефекты в промежуточных прослойках поливинилацетатных покрытий? Назовите требования, предъявляемые к качеству лицевого покрытия мастичных полов. Как отделывают лицевое покрытие мастичных полов? Перечислите правила техники безопасности при устройстве мастичных полов.
Состав технологических операций. Выявление дефектов поверхности; удаление выступающих мест; заделка впадин раствором; насечка неглубоких бороздок; подготовка деревянных поверхностей; установка марок и маяков; обмазка раствором металлической сетки; нанесение выравнивающего растворного намета.
Механизмы, инструменты, приспособления, инвентарь. Электрический или пневматический молоток; электрическая сверлильная машина; штукатурный агрегат СО-152. Бучарда; скарпель или зубило; молоток; проволочная щетка; кисть; штукатурная лопатка; сокол для штукатурных работ; растворная лопата; отделочный ковш; гибкий водяной уровень; строительный уровень; отвес; правило; совок; деревянный полутерок длиной 350…800 мм; стальная гладилка; правила усеночное и лузговое; царапка; ножницы для резки металла; инвентарные металлические марки для установки маяков; измерительный шнур; рулетка или складной метр; двухметровая контрольная рейка; тележка со сменной тарой или передвижные ящики для раствора.
Материалы. Цементнопесчаный раствор для заделки впадин и сплошного выравнивания бетонных и кирпичных поверхностей; 10 %-ный раствор поливинилацетатной дисперсии.
Расход материалов для подготовки 1 м2 деревянных поверхностей (подбивка сетки, оштукатуривание) следующий: цементный раствор - 0,33 м3; металлическая сетка - 1,08 м2; гвозди длиной 40 мм - 0,065 кг; вязальная проволока - 0,067 кг; коротковолокнистый асбест - 0,2 кг.
Схема организации рабочего места. Рабочее место организуют так, чтобы необходимые материалы и инструмент были удобно размещены по фронту работ; была подведена электроэнергия для подключения электроинструментов.
Тележку или передвижной ящик с раствором располагают на расстоянии 1 м от стены и справа или слева от плиточника в зависимости от того, какой рукой наносят раствор.
Последовательность выполнения технологических операций. Работу начинают после сдачи помещения под облицовочные работы.
Выявление дефектов поверхности. Прикладывая двухметровую контрольную рейку к поверхности в различных направлениях, выявляют неровности, впадины и другие дефекты, отмечая их цветным мелком. Местные неровности не должны превышать 10 мм.

Рис. 83. Механизированная насечка бетонной поверхности (а) и инструменты (б, в) для выполнения работ вручную: а - электромолоток, б - насечной молоток, в - бучарда
Исправление дефектов поверхности. Выступающие места удаляют электрической сверлильной машиной с закрепленной в патроне стальной щеткой или шлифовальным кругом. При незначительных объемах работ выступающие места срубают скарпелем или зубилом.
Впадины глубиной 15 мм и более заделывают цементнопесчаным раствором. Предварительно такие места грунтуют 10 %-ным водным раствором поливинилацетатной дисперсии. Цементнопесчаный раствор наносят отделочным ковшом, совком или штукатурной лопаткой с сокола. Раствор разравнивают полутерком, не затирая поверхность для сохранения шероховатости.
Насечка бетонных или кирпичных поверхностей. Эта операция необходима для лучшего сцепления облицовки с основанием. Ее выполняют ручным пневматическим или электрическим молотком (рис. 88, а); при небольших объемах работ - насечным молотком или бучардой (рис. 88, б, в). Рабочий орган молотка подносят к гладкой бетонной поверхности или кирпичной кладке с полным заполнением швов и, нажав на курок, наносят 1000…1200 ударов на 1 м2 поверхности.

Рис. 89. Подготовка деревянных поверхностей:
1 - деревянная перегородка, 2 - бруски 20×30 мм, 3 - слой толя, 4 - тонкая проволочная сетка, 5 - грунт из цементного раствора, 6 - растворная прослойка, 7 - облицованная поверхность
Пыль с насеченной поверхности удаляют кистью, смоченной в воде.
Подготовка деревянных поверхностей. К стенам или перегородкам 1 (рис. 89) прибивают бруски 2 или деревянные шашки толщиной 2…2,5 см на расстоянии 400 мм друг от друга. Затем по брускам или шашкам натягивают толь или рубероид 3. Гвоздями закрепляют мелкоячеистую стальную сетку 4, выверяя ровность ее установки по вертикали и горизонтали.
По натянутой сетке наносят цементно-песчаный раствор 5 с добавками очесов и волокон асбеста, способствующих удержанию раствора на сетке.
Воздушная прослойка, образованная брусками или шашками, предохраняет будущую облицовку от повреждения в случае коробления досок деревянной стены (перегородки). Поверхность стальной сетки оштукатуривают цементным раствором 6 состава 1 : 3 (цемент : песок) слоем толщиной не более 20 мм (без нанесения накрывочного слоя).
Раствор наносят с сокола (рис. 90), удерживая его левой рукой над ящиком. Низ сокола прижимают штукатурной лопаткой к стене. Сокол под углом 15...20° к стене протягивают вверх, распределяя раствор тонким слоем по поверхности.
Закрепление маяков и марок. В верхней части стены на расстоянии 25…30 см от примыкающей стены и потолка примораживают инвентарный маяк или забивают гвоздь (рис. 91) так, чтобы шляпка его выступала над поверхностью на толщину растворного слоя. Затем опускают отвес, прижимая шнур к шляпке гвоздя. Внизу, ориентируясь по отвесу, примораживают маяк или забивают второй гвоздь на 30 см выше уровня пола. Так же провешивают стену у противоположного угла помещения.

Рис. 90. Нанесение штукатурного раствора на стальную сетку
По установленным маякам или забитым гвоздям натягивают шнур (горизонтально и по диагонали) и проверяют возможную толщину растворной прослойки (7...15 мм). При необходимости регулируют высоту шляпок гвоздей, добиваясь наименьшей равномерной толщины прослойки.
Нанесение выравнивающего растворного намета. При значительном количестве дефектов поверхности размером более 15 мм их устраняют выравнивающим наметом. Вначале наносят обрызг - пластичный раствор подвижностью 12...13 см для заполнения пор и пустот. Раствор наносят с сокола, совком или отделочным ковшом справа налево или наоборот (рис. 92). Ковш удерживают правой или левой рукой, чтобы большой палец находился сверху ручки. Взмахом руки порцию раствора сбрасывают на обрабатываемую поверхность, придавая краю ковша такое положение, при котором бы раствор рассеивался веерообразной струей.
При небольшом объеме работ или в стесненных местах раствор наносят штукатурной лопаткой с сокола. Держат сокол в левой руке, а штукатурную лопатку - в правой. Порции раствора с сокола набрасывают горизонтальными рядами сверху вниз.
В зависимости от расположения оштукатуриваемой поверхности раствор наносят приемами слева направо (рис. 93, а) или справа налево (рис. 93, б).

Рис. 91. Закрепление маяков и марок
Второй слой намета - грунт - наносят теми же приемами после схватывания слоя обрызга. Намет разравнивают заподлицо с маяками снизу вверх, передвигая полутерок вправо и влево (рис. 94).
Контроль качества. Поверхности, подготовленные под облицовку, не должны иметь открытых швов, сквозных трещин, отклонений от вертикали более 3 мм на 1 м высоты. Не допускаются неровности в виде выступов и углублений более 15 мм, высолы и жировые пятна.

Рис. 92. Приемы нанесения раствора отделочным ковшом

Рис. 93. Набрасывание раствора штукатурной лопаткой с сокола слева направо (а), справа налево (б)
Трудовые затраты. Нормы времени на 1 м подготавливаемой поверхности и нормы выработки на 1 чел-дн при подготовке-поверхности под облицовку следующие:
|
|
Нормы времени, чел-ч |
Нормы выработки, м2 |
|
Насечка поверхностей: механизированным способом: |
|
|
|
Насечка поверхностей |
|
|
|
кирпичных |
0,16 |
50 |
|
бетонных |
0,30 |
26,7 |
|
ручным способом: |
|
|
|
кирпичных |
0,32 |
25 |
|
бетонных |
0,59 |
13,5 |
|
Срубание наплывов способом |
|
|
|
механизированным: |
0,62 |
13 |
|
ручным: |
1,24 |
6,5 |
|
Выравнивание дефектных мест: |
|
|
|
стен |
0,3 |
26,6 |
|
столбов, пилястр |
0,4 |
20 |
|
Крепление сетки к каркасу с обмазкой раствором поверхностей: |
|
|
|
стен и перегородок. |
0,49 |
16,5 |
|
столбов, пилястр, колонн |
0,74 |
10,8 |

Рис. 94. Разравнивание раствора полутерком
Техника безопасности. Насекают и шлифуют поверхности с помощью электроинструментов в диэлектрической обуви, резиновых перчатках и защитных очках.
Контрольные вопросы. Как выявляют дефекты на вертикальной поверхности, предназначенной под облицовку? Как выполняют насечку неглубоких борозд на бетонных поверхностях? Объясните, как удаляют выступы и заделывают впадины на вертикальных поверхностях, предназначенных под облицовку. Расскажите, как готовят деревянную поверхность под облицовку. Как наносят выравнивающий растворный намет на основание под облицовку? Какие правила техники безопасности нужно выполнять при работе с электроинструментами?
Состав технологических операций. Разметка поверхностей под облицовку; разметка первого ряда плиток; укладка первого ряда плиток; укладка последующих рядов.
Инструменты, приспособления, инвентарь. Плиточная лопатка, растворная лопата; контейнер-тележка; гибкий (водяной) и строительный уровни; рулетка или складной метр; отвес; разметочный шнур; стальные штыри; молоток; проволочные скобы, клинышки, стеклянные полоски для фиксации толщины швов; рейкодержатели; винтовые маяки; универсальный столик облицовщика; двухвысотный столик с ограждением и полкой для работы на высоте до 2,7 м; кисть-макловица; шпатель со сменными полотнами; правило; деревянные (опорные) бруски.

Рис. 95. Схема организации рабочего места при облицовке вертикальных поверхностей:
1 - скамеечка плиточника, 2 - ведро, 3 - универсальный столик с плитками, 4, 5 - рабочие места плиточников, 6 - контейнеры с плитками, 7 - сменная тара для раствора
Материалы. Керамические глазурованные плитки (ГОСТ 6141-82) полномерные, неполномерные (доборные) и фасонные. Цементный раствор марки 150 подвижностью 3…4 см из расчета 0,015 м раствора на 1 м2 облицовки (при толщине прослойки 7…15 мм).
Схема организации рабочего места. Рабочее место при облицовке вертикальных поверхностей без шаблонов организуют так, чтобы необходимые материалы, инвентарь были удобно размещены (рис. 95). Запасы раствора должны быть рассчитаны на 1...1,5 ч непрерывной работы (сроки схватывания раствора).
Последовательность выполнения технологических операций. Работу начинают после завершения строительно-монтажных, санитарно-технических и электротехнических работ, при выполнении которых возможно повреждение облицовки. К началу работ поверхности должны быть подготовлены под облицовку, вынесены на стены отметки уровня чистого пола.

Рис. 96. Крепление причального шнура (а) с помощью зажимных муфт (б):
1 - нижний штырь, 2 - крючок с зажимной муфтой, 3 - проволочная струна, 4 - причальный шнур, 5 - опорный брусок
Разметка поверхности под облицовку. Низ облицовки располагают на уровне чистого пола. Для этого первый ряд плиток раскладывают насухо, начиная от середины стены, и подсчитывают необходимое число плиток.
Для определения вертикальных контуров облицовываемой поверхности устанавливают маяки. У противоположных сторон стены на 3…4 см выше опорного бруска и верха облицовки забивают стальные штыри 1 (рис. 96, а). Между ними по отвесу натягивают проволочные струны 3.
Между примыкающей стеной и натянутой струной оставляют зазор меньше половины толщины угловой фасонной плитки.
Разметка первого ряда плиток. Нижний ряд облицовки раскладывают, опирая на установленную по уровню рейку 5 (высота которой равна толщине пола). При раскладке плиток насухо стремятся уложить в углах неполномерные плитки одинаковой ширины, если не умещается ряд из целых плиток. Затем натягивают причальный шнур 4 между струнами 3, сдвигая зажимную муфту в сторону причального шнура (рис. 96, б). Чтобы ослабить натяжение шнура, муфту сдвигают в сторону крюка.
Укладка первого ряда плиток. Установив причальный шнур на уровне верха первого ряда плиток, их установку начинают от середины стены.
Из стопки плиток, уложенных лицевой стороной вверх, левой рукой берут одну плитку и тыльной стороной подносят ее снизу к отверстию рамки-шаблона 2 универсального столика (рис. 97, а). На прижатую к бортам шаблона плитку накладывают раствор, выравнивая его поверхность ребром плиточной лопатки. При этом по краям тыльной стороны плитки остаются не заполненные раствором полоски шириной 5 мм. Плитку с раствором в горизонтальном положении подносят к месту укладки, затем быстро, но осторожно прислоняют одной стороной к опорному бруску (рис. 97, б). Поднимая вверх, плитку устанавливают на место, осаживая ручкой плиточной лопатки до уровня причального шнура. Излишки раствора, выступающие по краям, срезают лопаткой и продолжают укладку плиток вправо и влево от первой плитки.

Рис. 97. Установка первого ряда плиток:
а - универсальный столик плиточника, б - установка плитки на опорный брусок, в - установка плиток с применением скоб; 1 - шаблон для резки и калибровки плиток, 2 - открылок с отверстиями для дозировки раствора, 3, 4 - емкости для раствора и воды, 5 - открылок для складирования плиток, 6 - бункер для боя плиток, 7 - опорный брусок, 8 - скобы
Укладка последующих рядов. Причальный шнур натягивают по верху устанавливаемого ряда. В начале и в конце ряда закрепляют маячные плитки. Установку последующих плиток выполняют так же, как и в первом ряду.
Для соблюдения одинаковой ширины швов между плитками вставляют проволочные скобы 8 (рис. 97, в) диаметром 3 мм со сплющенными концами, клинышки из твердых пород древесины или полоски стекла толщиной 3 мм. После затвердения раствора их переставляют из нижележащих рядов на участок укладки очередных плиток. Последующие ряды облицовки выполняют так же, как облицовку предыдущих рядов. Вертикальные швы между плитками контролируют отвесом.

Рис. 98. Критерии оценки качества выполненной облицовки:
1 - толщина швов между плитками (в зависимости от назначения помещения) - 2.5 мм, 2 - отклонение поверхности облицовки от плоскости - 2 мм, 3 - отклонение от вертикали лузг и усенков на 1 м - 2 мм, 4 - выщербины и зазубрины в кромках плиток - 0,5 мм
По окончании облицовки стен устанавливают угловые фасонные плитки, пользуясь готовой облицовкой как направляющей плоскостью.
Контроль качества. Горизонтальность облицовки проверяют контрольной рейкой, прикладывая ее к облицованной части стены и к одной из верхних маячных плиток. Толщина растворной прослойки должна быть не более 15 и не менее 7 мм. На облицованной поверхности не должно быть следов раствора. Швы между плитками должны быть полностью заполнены раствором. Толщина швов не более 5 мм.
Поверхности облицовки не должны превышать допускаемых отклонений (рис. 98).
Трудовые затраты. Нормы времени на 1 м2 облицовки и нормы выработки на 1 чел-дн при облицовке плитками на цементнопесчаном растворе следующие:
|
|
Нормы времени, чел-ч |
Нормы выработки, м |
|
Облицовка при толщине швов 1...2 мм плитками размером |
|
|
|
100×100; 15075 |
1,9 |
4,2 |
|
150×150. |
1,6 |
5 |
|
Облицовка при толщине швов 3.5 мм плитками размером |
|
|
|
100×100; 150×75 |
1,6 |
5 |
|
150×150 мм; |
1,4 |
5,7 |
|
Установка специальных плиток: |
|
|
|
карнизных или угловых, м |
0,2 |
40 м |
|
цокольных или плинтусных, м |
0,33 |
25 м |
Техника безопасности. При облицовке стен и перегородок керамическими плитками необходимо защищать пальцы рук от соприкосновения с плиткой и раствором.
Контрольные вопросы. Перечислите инструменты и приспособления, необходимые для облицовки стен керамическими плитками. Как и зачем устанавливают опорный брусок до начала облицовки стен? Расскажите об укладке первого ряда плиток. Перечислите величины допускаемых отклонений при облицовке стен. Какие требования предъявляют к качеству облицованной поверхности?
Состав технологических операций. Облицовка с применением одностороннего шаблона; облицовка с применением двустороннего шаблона; облицовка с применением спаренного шаблона.
Инструменты, приспособления, инвентарь. Плиточная лопатка; универсальный передвижной столик облицовщика; тележка-контейнер; шаблоны односторонний и двусторонний для облицовки вертикальными рядами; шаблон Грекова для облицовки горизонтальными рядами; уровни гибкий (водяной) и строительный; рулетка или складной метр; отвес; разметочный шнур; стальные штыри; молоток; проволочные скобы, деревянные клинышки, полоски из стекла для фиксации толщины швов; рейкодержатели; кисть-макловица; шпатель со сменными полотнами; правило; деревянные (опорные) бруски; двухвысотный столик с ограждением.
Материалы. Керамические глазурованные плитки (ГОСТ 6141-82) полномерные, неполномерные и фасонные; цементный раствор марки 150 подвижностью 3…4 см из расчета 0,015 м3 раствора на 1 м2 облицовки при толщине прослойки 7...15 мм.
Схема организации рабочего места. Рабочее место при облицовке вертикальных поверхностей с применением шаблонов организуют так, чтобы необходимые материалы и инвентарь были удобно размещены в непосредственной близости от облицовщика, а запасы материалов были рассчитаны для работы в течение смены.
Последовательность выполнения технологических операций. К облицовке приступают после завершения строительно-монтажных, санитарно-технических и электротехнических работ, выполнение которых может привести к повреждению облицовки. Облицовку бетонных и кирпичных поверхностей с заполненными швами выполняют после насечки и промывки поверхности. Отклонения и неровности облицовываемых поверхностей глубиной 15 мм предварительно выравнивают цементным раствором, а при отклонении более 15 мм раствор наносят по надежно укрепленной металлической сетке.
Облицовка с применением одностороннего шаблона. По отметке уровня чистого пола укладывают опорный брусок 2 (рис. 99). От угла стены на ширину одной плитки по отвесу устанавливают шаблон 5 на опорный брусок, чтобы его наружная грань совпала с плоскостью будущей облицовки. Закрепляют шаблон лепками раствора 6 прослойки или наклонным подкосом.
Начинают облицовку снизу, устанавливая плитку между стальными пластинками 1 и прижимая ее боковой стороной к шаблону. Первую плитку устанавливают на опорный брусок, последующие - на пластинки шаблона. После завершения установки ряда на заданную высоту осторожно снимают шаблон. Пластинки шаблона смазывают отработанным машинным маслом или меловой пастой и переставляют, пользуясь мерной рейкой 3, в новое положение, соответствующее ширине вертикального ряда облицовки.

|
Рис. 99. Облицовка стен с применением одностороннего шаблона: 1 - выступы с пластинкой-фиксатором швов, 2 - опорный брусок, 3 - мерная рейка, 4 - уровень чистого пола, 5 - шаблон, 6 - лепки раствора |
Рис. 100. Облицовка стен с применением двустороннего шаблона |
Облицовка с использованием двустороннего шаблона. Плитку укладывают одновременно по обе стороны шаблона (рис. 100). Завершив укладку двух рядов, шаблон снимают, и вертикальный промежуток между выложенными рядами заполняют плитками, соблюдая горизонтальность швов с установленными плитками,
Облицовка с применением спаренного шаблона. На расстоянии одного вертикального ряда плиток от угла помещения по отвесу устанавливают спаренный шаблон 2 (рис. 101, а) на опорный брусок 1, чтобы его наружная грань совпала с плоскостью будущей облицовки. Закрепляют шаблон рейкодержателями 4. Ширину плитки вертикального ряда определяют мерной рейкой 3. Укладку первого, второго и третьего рядов (I…III) (рис. 101, б) начинают снизу, прижимая плитки первого ряда вправо к шаблону, а плитки второго и третьего рядов - влево. Завершив укладку трех рядов, осторожно снимают шаблон и устанавливают его в очередную позицию. Промежутки (в местах расположения шаблона) закладывают плиткой, ориентируясь на уложенные горизонтальные ряды.

Рис. 101. Облицовка стен с применением спаренного шаблона:
а - установка шаблона, б - укладка плиток по шаблону; 1 - опорный брусок, 2 - шаблон, 3 - мерная рейка, 4 - рейкодержатель, 5 - ряды, уложенные после снятия шаблона; I - III -последовательность работ
Облицовка горизонтальными рядами с помощью шаблона Грекова. Устанавливают щит шаблона 1 (рис. 102) на опорный брусок 2 на уровне чистого пола. После этого шаблон выверяют по вертикали отвесом, а по горизонтали уровнем в плоскости будущей облицовки и закрепляют рейкодержателями 3. Установку шаблона в плоскости облицовки регулируют опорными винтами 5. Облицовку начинают снизу вверх или сверху вниз. Плитки укладывают на промежуточные рейки 4 шаблона между стальными пластинками 6, прижимая каждую плитку к левой пластинке. Заполнив все ряды, шаблон осторожно снимают и заполняют плитками полосы, находившиеся под шаблоном.
Контроль качества. Толщина растворной прослойки между облицовываемыми поверхностями и плитками должна быть 7...15 мм. Неровности поверхности облицовки при наложении двухметровой рейки допускаются не более 2 мм; толщина швов между плитками принимается в зависимости от назначения помещения и не должна превышать 5 мм.

Рис. 102. Облицовка горизонтальными рядами с помощью шаблона: 1 - щит шаблона, 2 - опорный брусок, 3 - рейкодержатель, 4 - промежуточные рейки, 5 - опорным винт, 6 - стальные пластинки
Трудовые затраты. Нормы времени, чел-ч, на 1 м облицовки и нормы выработки, м2, на 1 чел-дн при облицовке поверхностей с помощью шаблонов аналогичны приведенным в карте 36.
Техника безопасности. При облицовке стен керамической плиткой необходимо защищать пальцы рук от соприкосновения с плитками и раствором.
Контрольные вопросы. Дайте краткую характеристику шаблонов, применяемых для облицовки стен керамической плиткой. Как выполняют облицовку стен с помощью сдвоенного шаблона? В какой последовательности выполняют облицовку стен горизонтальными рядами с применением шаблона? Зачем и как устанавливают опорный брусок до начала облицовки стен? Какие требования предъявляются к качеству облицовки вертикальных поверхностей?
Состав технологических операций. Провешивание, разметка, установка маяков; провешивание ряда колонн, установка причалок; облицовка колонн, пилястр, откосов.
Инструменты, приспособления, инвентарь. Плиточная лопатка; отвес; строительный уровень; тележка с контейнером для плиток и баком для воды; универсальный столик облицовщика; двухвысотный столик; металлические скобы, деревянные клинышки, полоски из стекла для фиксации толщины швов; кисть-макловица; разметочный шнур; маяки винтовые; шпатель со сменными полотнами; двухметровая контрольная рейка; деревянные рейки; резиновые перчатки или напальчники.
Материалы. Керамические плитки для внутренней облицовки стен и перегородок (ГОСТ 6141-82) полномерные, неполномерные и фасонные.
Цементный раствор марки 150 из расчета 0,015 м3 раствора на 1 м2 облицовки при толщине прослойки 7…15 мм. Ветошь, 5 %-ный раствор соляной кислоты.
Схема организации рабочего места. Необходимые оборудование, инвентарь и материалы должны быть удобно размещены непосредственно у места работ. Передвижную тележку с контейнером для плиток и баком для воды устанавливают на расстоянии 1 м от облицовываемой колонны, пилястры. Облицовку колонн, пилястр на высоте более 1,2 м выполняют с двухвысотного столика.
Последовательность выполнения технологических операций. Провешивание, разметка, установка маяков. Вертикальность граней колонн, пилястр проверяют отвесом. Несколько выше будущей облицовки на гранях колонн, пилястр устанавливают временные маяки 2, 5 (рис. 103) из плиток на гипсовом растворе. Маяки устанавливают так, чтобы плоскость облицовки отстояла от центра колонны, пилястры на половину ее ширины - b/2 с учетом толщины облицовки s. Затем по отвесу вниз от маяков 2 натягивают причальные шнуры 4 и закрепляют их в нижней части граней колонны. Вертикальные шнуры фиксируют грани облицовываемых колонн, пилястр.
Провешивание ряда колонн, установка причалок. Вначале в верхней части на крайних колоннах ряда устанавливают маяки 3 (рис. 104). По ним натягивают причальный шнур 4, определяющий положение маяков на гранях промежуточных колонн (пилястрах). Затем на их гранях закрепляют маяки. С помощью отвеса устанавливают маяки в нижней части граней. Затем по верхнему и нижнему маякам натягивают шнуры, определяющие положение ребер облицовки.
В ряду колонн (пилястр) вертикальные струны 1 закрепляют у крайних ребер и по ним натягивают горизонтальный шнур 4.
Облицовка колонн, пилястр, откосов. Первый ряд плиток опирают на горизонтальную рейку, у которой верхняя плоскость находится на уровне отметки чистого пола. Для определения количества целых и неполномерных плиток первый нижний ряд плиток сначала устанавливают насухо. Неполномерные плитки распределяют симметрично от оси колонн так, чтобы в ряду укладывалось одинаковое количество целых и неполномерных плиток.

Рис. 103. Облицовка прямоугольных колонн и пилястр:
а - провешивание и установка маяков, б - облицовка по деревянным рейкам; 1 - колонна, 2, 5 - верхние и нижние маяки, 3 - инвентарный маяк для крепления отвеса или причального шнура, 4 - причальный шнур, 6 - отвес, 7 - опорный брусок, 8 - нижний ряд облицовки, 9 - облицованная поверхность, 10 - дуговой рейкодержатель, 11 - маячные рейки, установленные по отвесу, 12 - растворная прослойка; b - ширина грани колонны, s - толщина слоя облицовки
При облицовке «шов в шов» неполномерные плитки смещают к ребрам колонны; при облицовке вперевязку их располагают попеременно с одной и другой сторон. Плитки на гранях пилястр, прилегающих к стене, устанавливают по угольнику или лузговому полутерку с проверкой внутреннего угла. Для образования ребер, граней колонн используют фасонные угловые плитки.
Облицовка откосов. Натянув шнур по выступающим углам оконных или дверных откосов, забивают стальные штыри. Затем у внутреннего угла делают черту на коробке проема, вдоль которой устанавливают плитки.
Контроль качества. Установку крайних плиток, образующих угол колонны, контролируют угольником, а при облицовке последующих граней - рейкой с уровнем. Грани пилястр, параллельные стене, выверяют по шнуру, натянутому по маякам пилястр крайних в ряду. Облицованные поверхности колонн, пилястр, откосов должны быть однотонными по цвету, с геометрически четким рисунком швов.

Рис. 104. Провешивание ряда колонн:
1 - струна, 2 - стальной штырь, 3 - гипсовый маяк, 4 - причальный шнур, 5 - отметка верха (высоты) облицовки
Допускаемые отклонения облицовки от геометрических форм, мм, не более: от вертикали на расстоянии 1 м - 1,5; от вертикали на всю высоту облицовки - 4; от прямолинейности швов на расстоянии 1 м - 1,5; неровности поверхности при накладывании двухметровой контрольной рейки - 2; отклонение ширины швов от заданной - 2.
Трудовые затраты. Нормы времени на облицовку 1 м2 столбов, откосов и нормы выработки на 1 чел-дн следующие:
|
|
Нормы времени, чел-ч |
Нормы выработки, м2 |
|
Облицовка при толщине швов 1…2 мм плитками размером, мм: |
|
|
|
100×100; 150×75 |
3,5 |
2,28 |
|
150×150 |
2,9 |
2,75 |
|
Облицовка при толщине швов 3…5 мм плитками размером, мм: |
|
|
|
100×100; 150×75 |
3,4 |
2,35 |
|
150×150 |
2,9 |
2,75 |
|
Установка карнизных и угловых |
0,2 |
40 м |
Техника безопасности. Облицовочные работы ведут в резиновых перчатках или напальчниках. Работу на высоте выполняют с исправных столиков-подмостей.
Контрольные вопросы. Как установить маяки на гранях колонн? Как провешивают ряд колонн? Зачем устанавливают опорный брусок? Как перевязывают швы при облицовке граней колонн и пилястр? Перечислите оборудование и инвентарь, используемые при облицовке колонн, пилястр, относов. Как оценить качество облицовки колонн, пилястр? Какие требования техники безопасности необходимо соблюдать при облицовке колонн, пилястр, откосов?
Состав технологических операций. Приготовление раствора заданного цвета; заполнение швов облицовки; очистка облицованных поверхностей от загрязнений и жировых пятен.
Инструменты, приспособления, инвентарь. Плиточная лопатка; шпатель со сменными полотнами; кисть-макловица; двухвысотный столик с ограждением; бак для воды; ведро для раствора; резиновые перчатки.
Материалы. Мраморная мука (пудра) или молотый мел; белый цемент; гипсовое вяжущее; пигменты требуемого цвета; 5 %-ный раствор соляной кислоты; ветошь.
Схема организации рабочего места. В 1,5 м от обрабатываемой поверхности устанавливают передвижной ящик-тележку с раствором, двухвысотный столик для работы на высоте, а также необходимые материалы для приготовления раствора и очистки поверхностей.
Последовательность выполнения технологических операций. Работу начинают после окончания облицовки поверхностей.
Приготовление раствора для заполнения швов. Чтобы швы облицовки были менее заметны, состав цементного раствора для поверхностей, облицованных белыми глазурованными плитками, 1:1 - белый цемент : песок. Вместо белого цемента можно использовать портландцемент с разбелителями - мраморной мукой (пудрой), молотым мелом. В некоторых случаях применяют гипсовое вяжущее.
Окрашивают раствор, добавляя в сухую смесь цемента с мраморной мукой или мелом пигменты нужного цвета. Для приготовления раствора необходимого цвета сухую смесь, перемешанную с пигментом, затворяют водой.
Заполнение швов облицовки. Небольшие порции раствора движениями шпателя с резиновым наконечником вдоль и поперек шва втирают в незаполненные швы облицовки. После схватывания излишки раствора счищают ветошью, чтобы не повредить глазурь.
Швы заполняют раствором под цвет глазурованной плитки или же выделяют контрастно, например, с белым цветом хорошо гармонируют швы зеленого цвета, с голубым - белого цвета.
Очистка облицованных поверхностей от загрязнений и жировых пятен. Облицовку от загрязнения защищают тонким слоем гипсового или мелового теста, которое легко удаляется ветошью при окончательной очистке облицованной поверхности.
Следы раствора с поверхности удаляют сначала влажной ветошью, затем сухой. При наличии масляных или других пятен поверхность облицовки очищают ветошью, смоченной в керосине или другом растворителе, после чего ее промывают водой и протирают.
Контроль качества. Швы облицовки должны быть полностью заполнены раствором. Цвет раствора, заполняющего швы, должен быть контрастным или совпадать с фоном облицовки.
Поверхность облицовки должна быть чистой, без брызг раствора, жировых пятен и других загрязнений.
Трудовые затраты. Норма времени на обработку 100 м2 облицованной поверхности - 7,5 чел-ч, норма выработки на 1 чел-дн - 107 м2.
Техника безопасности. При работе на высоте необходимо пользоваться исправными столиками-подмостями. При очистке пятен с поверхности раствором кислоты нужно быть в защитных очках, респираторе и в резиновых перчатках.
Контрольные вопросы. Как приготовить цементный раствор для заполнения швов между плитками? Зачем используют в растворе разбелители, пигменты? Как очищают облицовку от следов раствора и жировых пятен? Каким инструментом пользуются при заполнении швов? Для чего поверхность облицовки покрывают гипсовой или меловой пастой? Какие требования техники безопасности соблюдают при заполнении швов и очистке облицовки?
Состав технологических операций. Проверка состояния пола, определение участков, подлежащих ремонту; заделка несквозных трещин и щелей в плитках; удаление дефектных и отслоившихся плиток; очистка и выравнивание основания ремонтируемого участка пола; замена отдельных поврежденных плиток; ремонт большой площади покрытия.
Механизмы, инструменты, приспособления, инвентарь. Молоток электрический с двойной изоляцией; подметальная вакуумная машина; пылесос. Скарпель или слесарное зубило; молоток; стальная щетка; лейка; ведро; кирочка; молоточек плиточника; плиточная лопатка; растворная лопата; металлический угольник; строительный уровень; измерительная рулетка; складной метр; стальные штыри; деревянный полутерок длиной 300…800 мм; ковш для отделочных работ; кисть-макловица; шпатель со сменными полотнами; тележка со сменной тарой для раствора; тележка с контейнером для плиток и баком для воды. Водонепроницаемые наколенники; резиновые перчатки или напальчники; защитные очки.
Материалы. Керамические плитки для полов (ГОСТ 6787-80). Цементнопесчаиый раствор марки не ниже 150 подвижностью 4…6 см. Портландцемент М400 и мелкий песок для приготовления пластичного раствора или цементного молока для заполнения швов между плитками. Мастики КН-2, КН-3 и др. Цветные мелки, 3...5 %-ный раствор соляной кислоты.
Схема организации рабочего места. Ремонт плиточных покрытий зависит от особенностей и объема ремонтных работ. Участки, подлежащие ремонту, должны быть освобождены от посторонних предметов, мешающих выполнению работ, очищены от мусора и грязи. К месту работ доставляют необходимые материалы, механизмы, инструменты и приспособления.
Последовательность выполнения технологических операций. Проверка состояния пола, определение участков, подлежащих ремонту. Тщательным осмотром выявляют наличие трещин, выбоин в плитках. Ручкой плиточной лопатки простукивают каждую плитку. По глухому звуку определяют прочность сцепления плиток с основанием, выявленные дефекты отмечают цветными мелками.
Заделка несквозных трещин в плитках. В образовавшейся несквозной трещине аккуратно прочищают хорошо заточенным скарпелем края углубления для лучшего удержания раствора при заделке. Углубление очищают от пыли, смачивают водой. Цементный раствор с добавкой соответствующего красителя вмазывают в щель отрезовкой и уплотняют заподлицо с поверхностью плиток. Отремонтированные участки покрытия засыпают влажными опилками и ограждают.
Удаление дефектных и отслоившихся плиток. Дефектные плитки осторожно вырубают легкими ударами молотка по зубилу, удерживаемому в левой руке (рис. 105, а), а отслоившиеся плитки, поддевая отрезовкой, снимают так, чтобы, сохранить для повторного использования. Тыльную сторону снятых целых плиток очищают от остатков раствора кирочкой или молоточком плиточника так, чтобы не повредить кромок (рис. 105, б).
Очистка и выравнивание основания ремонтируемого участка пола. С основания удаляют остатки растворной прослойки, срубая ее зубилом (рис. 105, в). При необходимости делают насечку основания глубиной 3…5 мм через 30...50 мм. После этого основание тщательно очищают стальным шпателем и стальной щеткой (рис. 105, г) и промывают водой. На подготовленное основание на слой раствора укладывают плитку.
Замена отдельных поврежденных плиток. Для сохранения граней целых плиток, соприкасающихся с поврежденными, последние удаляют отдельными частями. Острие зубила (скарпеля) ставят под тыльную сторону удаляемой плитки и ударяют по зубилу молотком. По мере очистки гнезда зубило передвигают от середины удаляемой плитки к краям. После удаления плитки основание очищают от остатков раствора и при необходимости делают насечку. Обеспыленное, увлажненное основание заполняют цементно-песчаным раствором и разравнивают его плиточной лопаткой. Поверхность раствора должна находиться на уровне нижней плоскости целых плиток. Затем укладывают пластичный раствор состава 1:1 (цемент: песок) слоем толщиной до 3 мм или припорашивают сухим цементом, после чего увлажненную плитку утапливают в раствор до уровня смежных плиток покрытия. Если плитка окажется не заподлицо с неремонтируемой поверхностью пола, ее вынимают и по мере необходимости убавляют или добавляют раствор. Свежеуложенные плитки покрывают щитком. При замене плиток новые подбирают по цвету, оттенкам и размеру в соответствии со старым покрытием.

Рис. 105. Ремонт покрытия пола:
а - вырубка дефектной плитки, б - очистка плитки от раствора, в - вырубка остатков растворной прослойки, г - очистка основания стальной щеткой

Рис. 106. Осаживание и выравнивание плиток на отремонтированном участке: 1 - отремонтированный участок покрытия, 2 - правило
Ремонт большой площади покрытия. Основание подготавливают так, как было описано выше. В углах и в середине ремонтируемого участка пола укладывают на раствор маячные плитки на уровне сохранившегося покрытия, располагая их в углах с отступом от стены на ширину фриза, а в середине на расстоянии не более 2 м (длина правила) от старого покрытия. Правильность укладки маячных плиток проверяют двухметровой контрольной рейкой с уровнем. Между маячными плитками по шнуру и уровню укладывают плитки маячных рядов по периметру ремонтируемого участка и плитки промежуточных рядов - в середине ремонтируемого участка.
На подготовленное основание укладывают слой пластичного раствора состава 1 : 1 (цемент : песок) толщиной 3...5 мм, заглаживают его лопаткой плиточника или стальной гладилкой и между маячными рядами укладывают рядовые плитки несколько выше маячных плиток, затем осаживают их правилом 2 (рис. 106) и тщательно выравнивают по уровню не ремонтируемого покрытия пола. При укладке плиток на пластичную растворную прослойку отпадает необходимость заливки швов между плитками.
Контроль качества. Поверхность отремонтированных участков плиточных покрытий по форме, рисунку, цвету и оттенку не должна отличаться от старого покрытия. Вновь уложенные плитки должны плотно прилегать к раствору прослойки. Допускаются уступы между кромками смежных плиток не более 1 мм, ширина швов - до 2 мм. Все швы между плитками должны быть тщательно заполнены раствором, примыкания к стенам, фризам - выполнены из целых плиток или вставок, прирубленных по месту.
Трудовые затраты. Нормы времени на ремонт 1 м2 покрытия и нормы выработки на 1 чел-дн при ремонте плиточных покрытий полов следующие:
|
Разборка покрытия с сохранением плиток, годных для работ, %: |
Нормы времени, чел-ч |
Норма выработки, м2 |
|
0 |
0,15 |
53,3 |
|
25 |
0,22 |
36,3 |
|
50 |
0,34 |
23,5 |
|
75 |
0,52 |
15,3 |
|
100 |
0,74 |
10,8 |
При замене до 10 шт. четырехгранных плиток в одном месте норма времени - 0,13 чел-ч, норма выработки на 1 чел-дн - 62 шт. плиток; при замене до 45 плиток соответственно - 0,09 чел-ч и 89 шт.
Техника безопасности. Удаление бракованных плиток, подготовку основания со срубанием старого раствора прослойки, подгонку плиток к месту укладки выполняют в защитных очках.
Рабочие органы ручных инструментов ударного типа (зубило, скарпель, молоток) не должны иметь повреждений (выбоин, сколов). На поверхности рукояток инструментов не допускаются сучки, выбоины, сколы.
Укладывать плитки в покрытие нужно в резиновых перчатках или напальчниках. Промывать плитки кислотой нужно в резиновых перчатках и защитных очках. Концентрация раствора соляной кислоты не должна превышать 3…5 %. Для приготовления раствора на месте работ кислоту вливают через воронку тонкой струей в емкость с водой при постоянном перемешивании.
Контрольные вопросы. Какие дефекты плиточных покрытий наиболее часто приходится устранять в процессе эксплуатации зданий? С чего начинают ремонт плиточного покрытия пола? Как удаляют отслоившиеся плитки? В какой последовательности выполняют ремонт плиточных покрытий в местах интенсивного движения? Мак выполняют ремонт плиточных покрытий на незначительных участках повреждений? В какой последовательности заменяют отдельные поврежденные плитки? Какие требования предъявляют к качеству отремонтированных покрытий? Какие меры предосторожности соблюдают в процессе ремонта плиточных покрытий?
Состав технологических операций. Определение участков поврежденной облицовки; замена отдельных плиток при сохранявшейся растворной прослойке и с удалением прослойки; ремонт облицовки при сохранившейся прослойке и с удаленной прослойкой; ремонт облицовки примыканий, сопряжений.
Инструменты, приспособления, инвентарь. Плиточная лопатка; зубило; скарпель; молоток; стальной шпатель; стальная щетка; кирочка; молоточек для плиточных работ; зубчатый шпатель; кисть-ручник; стальные штыри; ящик-тележка с раствором; двухвысотный столик; рейка-правило длиной 1 - 1,5 м; складной метр или рулетка; защитные очки; резиновые перчатки.
Материалы. Керамические плитки для внутренней облицовки стен и перегородок (ГОСТ 6141-82). Цементнопесчаный раствор состава 1 : 6 марки не ниже 150 подвижностью 4...6 см. Клеящие мастики КН-2, КН-3. Густотертые белила или другая краска, 3…5 %-ный раствор соляной кислоты и ветошь.
Схема организации рабочего места. Ремонт стен, перегородок, колонн и других вертикальных поверхностей, облицованных керамическими плитками, зависит от особенностей и объема ремонтных работ. К месту работ доставляют необходимые материалы, механизмы, инструменты и приспособления. Ящик-тележку с раствором устанавливают в 1,5 м от отрабатываемой поверхности.
Последовательность технологических операций. Определение участков поврежденной облицовки. Ручкой лопатки плиточника простукивают каждую плитку (рис. 107) и по звуку определяют прочность сцепления плиток с раствором прослойки. По глухому звуку судят о местном отслоении облицовки. Внешним осмотром выявляют наличие трещин, отбитых углов, выпавших плиток и других дефектов на лицевой поверхности облицовки; цветным мелком отмечают границы дефектных зон.

Рис. 107. Выявление отслоившихся плиток
Наиболее частыми дефектами облицовки вертикальных поверхностей являются: частичное или местное отслоение плиток (рис. 108, а); протяженные трещины на лицевой поверхности облицовки (рис. 108, б); искаженный рисунок облицовки или дефектная плитка (рис. 108, в); полностью отслоившиеся плитки в отдельных местах или на значительном участке стен (рис. 108, г).
Удаление плиток и растворной прослойки. Отслоившиеся плитки концом плиточной лопатки (рис. 109, а) или стальным шпателем осторожно приподнимают и извлекают, стараясь не повредить кромок и не уронить, очищают от раствора для повторного использования.
Дефектные плитки, имеющие механическое повреждение, в целях сохранения граней рядом расположенных качественных плиток облицовки удаляют отдельными частями (рис. 109, б). Для этого, удерживая зубило (скарпель) в левой руке, устанавливают его лезвие под тыльную сторону плитки. Ударяя молотком по зубилу, передвигают его по мере очистки гнезда от середины к краям.
После удаления дефектной плитки проверяют прочность основания. Отслоившуюся прослойку удаляют в такой же последовательности от середины гнезда к краям. Прочную растворную прослойку в местах отслоившихся плиток обеспыливают, после чего сохранившиеся плитки или новые устанавливают на клеящие мастики, густотертые белила или эмали светлых тонов.

Рис. 108. Наиболее часто встречающиеся дефекты облицовки: а - частичное (местное) отслоение плитки, б - трещины на лицевой поверхности облицовки, в - искаженный рисунок, г - полное отслоение плиток
Установка плиток при сохранившейся прослойке. Для установки плиток на мастику сухие плитки и основание очищают от пыли кистью, щеткой (рис. 109, в) или сухой ветошью. Если растворная прослойка сохранена, слой мастики толщиной 0,2 мм наносят зубчатым шпателем на основание, где будет уложена плитка, и на тыльную сторону плитки. После высыхания огрунтованных поверхностей наносят второй слой толщиной 0,5 мм. Через 10…15 мин плитки укладывают, плотно прижимая к основанию. При этом необходимо соблюдать рисунок облицовки и ширину шва примыкающих участков облицовки. Излишки мастики, выступившие на поверхности уложенной плитки, сразу очищают ветошью, которую при необходимости смачивают в керосине. Швы между уложенными плитками в течение 1...2 сут оставляют незаполненными. Швы расшивают цементным раствором или мастикой под цвет швов примыкающей облицовки.
Ремонт облицовки на участках с удаленной прослойкой. Место, куда укладывают плитку вместо удаленной, если необходимо, насекают, очищают от пыли стальной щеткой, ветошью и смачивают. Влажной ветошью протирают тыльную сторону плитки. Лопаткой плиточника на плитку накладывают раствор в таком количестве, чтобы при установке под плиткой не оставалось пустот.
Плитку с раствором в горизонтальном положении подносят к месту укладки, быстро, но осторожно поворачивают ее в вертикальное положение, прикладывая к стене сначала той стороной, где нанесен раствор, затем - всей плоскостью. Плитку ориентируют (рихтуют) по примыкающим рядам, не допуская западания относительно лицевой плоскости или одностороннего перекоса.

Рис. 109. Ремонт вертикальных поверхностей: а- удаление отслоившейся плитки, б - удаление дефектной плитки, в - очистка основания стальной щеткой
При замене более пяти плиток в одном месте контроль ровности поверхности выполняют правилом.
Ремонт облицовки примыканий и сопряжений. При замене плиток у розеток, выключателей, водопроводных труб и кранов в устанавливаемой плитке сначала высверливают отверстие, которое при помощи плиточных клещей расширяют до требуемого размера и формы. Подготовленную плитку аккуратно разрезают по центру отверстия, подгоняют по месту обе половинки и устанавливают их на раствор или мастику (рис. 110).
Замену отдельных поврежденных плиток сопряжений внутренних и внешних углов облицовки выполняют в той же последовательности, что и при замене отдельных плиток.
Контроль качества. Отремонтированные участки облицовки не должны отличаться от первоначальной облицовки по цвету, форме и размеру плиток, по ширине и направлению горизонтальных и вертикальных швов. Поверхность отремонтированного участка должна находиться в одной плоскости с поверхностью ранее выполненной облицовки. Вновь уложенные плитки с расстояния 3 м не должны быть заметными и выделяться на фоне ранее выполненной облицовки.

Рис. 110. Замененные плитки у водоразборного крана
Трудовые затраты. Нормы времени и нормы выработки на 1 чел-дн при ремонте облицовки вертикальных поверхностей следующие:
|
|
Нормы времени, чел-ч |
Нормы выработки |
|
Ремонт облицовки стен при замене в одном месте плиток, шт.: |
|
|
|
до 10 |
0,24 |
33,3 шт. |
|
до 45 |
0,18 |
44,4 шт. |
|
Разборка облицовки с очисткой Годных плиток от раствора, м2, с сохранением плиток, %: |
|
|
|
до 75. |
1 |
8 м2 |
|
до 100 |
1,4 |
5,7 м2 |
Техника безопасности. Ремонтные работы, связанные с удалением дефектных плиток и растворной прослойки, насечкой оснований, очисткой и обеспыливанием, необходимо выполнять в защитных очках, резиновых перчатках или рукавицах.
Клеящие мастики, содержащие летучие, огнеопасные и токсичные вещества, должны находиться на рабочем месте в количеств, необходимом для работ в течение одной смены. Емкости с мастикой открывают только перед ее употреблением. По окончании работ емкости с мастикой плотно закрывают крышками и сдают на склад.
Контрольные вопросы. Какие дефекты наиболее часто встречаются при ремонте облицовки стен? В какой последовательности производят замену отслоившихся плиток при сохранившейся растворной прослойке? Как производят замену поврежденных плиток? Как производят замену отслоившихся плиток с удалением растворной прослойки? Какие требования предъявляют к качеству отремонтированной поверхности стен? Какие правила техники безопасности соблюдают при ремонте облицовки?
Сущность процесса производственного обучения
Этапы производственного обучения. Профессиональные умения и навыки будущих облицовщиков-плиточников и мозаичников формируются в ходе производственного обучения, предусматривающего следующие три этапа, каждый из которых имеет свои дидактические задачи:
обучение в учебных мастерских. На первом этапе формируются общие представления об основных элементах труда облицовщика-плиточника и мозаичника, первоначальных умениях и навыках выполнения приемов плиточных и облицовочных работ;
обучение на строительных объектах. Здесь полученные первоначальные умения и навыки закрепляются, формируются более сложные умения по выполнению комплексов операций и технологических процессов, вырабатывается скорость и ритмичность в работе;
предвыпускная производственная практика. Завершается совершенствование приобретенных умений и навыков, вырабатывается способность переносить умения и знания в другие условия работы, с использованием традиционных материалов, рациональных инструментов, механизмов.
Эффективность урока производственного обучения определяется правильной постановкой цели, подготовкой фронта работы, наличием необходимых инструментов и материалов.
В производственном обучении различают три цели: образовательную, воспитательную и развивающую.
Образовательная цель - формирование общетрудовых, общепрофессиональных и специальных умений и навыков для работы по выбранной профессии и практических знаний, требуемых учебной программой.
Образовательные цели мастер формулирует в такой форме: ознакомить учащихся с последовательностью выполнения конкретных работ; обеспечить в ходе урока повторение, закрепление основных профессиональных понятий и продолжить формирование и закрепление ранее изученных профессиональных умений и навыков.
Умения и навыки различают организационные и подготовительные, например рационально спланировать работу, организовать рабочее место, выбрать необходимые материалы, оснастку, инструменты, подготовить механизмы к работе и т.д.
Умения и навыки, необходимые для выполнения производственного процесса, включают: выполнение отдельных технологических операций и процесса в целом; управление и регулировку ручных машин; соблюдение техники безопасности. При этом формируются умения контроля и самоконтроля, т.е. умение пользоваться контрольно-измерительными инструментами, поэтапного контроля производственного процесса (отдельных технологических операций) и качества работы.
Образовательные цели урока мастер подчиняет требованиям квалификационной характеристики и содержанию дидактического анализа программы производственного обучения и на этой основе формулирует конкретные задачи урока. Для реализации образовательных целей мастеру необходимо иметь четкое представление о структуре умений и навыков, учебном времени, необходимом для их выработки, а также о критериях их сформированности.
Умение - это способность выполнять практические действия на основе усвоенных знаний в различных производственных условиях.
Навыки - автоматизированные компоненты деятельности, в которых сознание принимает опосредованное участие.
В каждой теме производственного обучения необходимо запланировать время на тренировочные упражнения и производственную деятельность.
Основу производственной деятельности плиточника-облицовщика, мозаичника составляют трудовые процессы, состоящие из операций, характерных тем, что применяют однотипные инструменты, приспособления и сходные трудовые приемы. Трудовая операция - это совокупность трудовых приемов, состоящих из рабочих движений.
В ходе упражнений происходит формирование умений и навыков выполнения отдельных рабочих движений, приемов и операций, которые закрепляются и совершенствуются в процессе производственной деятельности.
Продуманная работа мастера в начальной стадии обеспечит выработку умений и прочность их формирования у учащихся в более короткие сроки. В дальнейшем необходим контроль за ходом формирования умений и корректирующая помощь отдельным учащимся. Следует помнить, что исправить ошибки, допущенные при формировании навыков (например, выполнение лишних движений), труднее, чем ошибки, допущенные при формировании умений.
На уроках производственного обучения мастер постоянно демонстрирует рабочие движения, приемы и трудовые операции, показывая трудовой процесс в целом или по частям, в рабочем и замедленном темпе.
Воспитательная цепь. Производительный труд - основа воспитания, гармонического развития физических, умственных и нравственных качеств личности. Целостный подход к определению воспитательных целей предполагает формирование у учащихся диалектико-материалистического мировоззрения, идейно-политического, трудового, нравственного, эстетического и физического воспитания. Разумеется, не каждый урок позволяет решать эти задачи. Специфика урока, место проведения занятий, использование опыта новаторов производства допускают вычленение тех воспитательных задач, которые могли бы решаться при изучении конкретного материала.
Формирование экономического мышления - важный фактор воспитания. Это бережное отношение к общественной собственности, нетерпимость к неорганизованности, высокая сознательная дисциплина и стремление постоянно повышать качество и производительность труда. В этих целях рекомендуется проводить сравнительный анализ технологических операций и процессов по затратам труда и расходу материалов.
Большинство воспитательных задач носит универсальный характер для всех уроков. Например, воспитание сознательной дисциплины, культуры труда и общения и пр. Поэтому нет необходимости их отражать в планах уроков, не забывая о реализации этих задач в повседневной производственной деятельности учащихся. При работе учащихся на строительных объектах мастер учитывает благоприятные условия, чтобы повысить уровень технологической и трудовой дисциплины учащихся, развить их трудовую инициативу, стремление к товарищескому сотрудничеству, взаимопомощи.
Воспитательные цели в производственном обучении можно сформулировать следующим образом:
формировать добросовестное отношение к труду (раскрывая сущность понятий «общественный долг», «коллективизм», «товарищеская взаимопомощь»);
побуждать чувство уважения к результату труда, людям труда;
воспитывать чувство хозяина, сохраняя и умножая общественное достояние;
формировать творческое и ответственное отношение к качеству труда;
способствовать положительной мотивации учебно-производственной и трудовой деятельности.
Воспитательные цели, реализуемые на уроках производственного обучения, увязывают с основными направлениями воспитательной работы в училище.
Развивающая цель. Производственное обучение предусматривает развитие у учащихся профессиональных качеств личности, способствующих успешному овладению профессией.
Это обеспечивается решением задач по развитию на каждом уроке внимания, памяти, мышления и других качеств личности.
Развивающие цели урока предполагают развитие таких профессиональных функций, как мышление, глазомер, скорость, аккуратность, соразмерность и координация движений.
Развивающие цели в производственном обучении можно сформулировать следующим образом:
уметь устанавливать связи и отношения между явлениями действительности;
уметь выделять существенные признаки и свойства явлений;
классифицировать факты и делать обобщенные выводы;
творчески решать производственные задачи;
ориентироваться в нестандартных производственных ситуациях;
проявлять настойчивость в преодолении трудностей при достижении намеченной цели;
уметь владеть собой, сохранять выдержку и самообладание.
В содержании каждого урока выбираются наиболее важные цели, определяемые содержанием учебного материала. При этом цели по функциональному назначению делятся на образовательные, воспитательные, развивающие.
Планирование и подготовка к занятиям
Планирование и подготовка к занятиям - элементы подготовительной деятельности мастера - тесно взаимосвязаны. Подготовка к занятиям включает два этапа: перспективную - подготовку к учебному году и текущую - подготовку к очередному уроку. Каждый этап предусматривает личную подготовку мастера, подготовку учебно-материального оснащения и планирование учебного процесса.
К личной подготовке мастера относятся: изучение квалификационной характеристики, учебного плана и программы, новинок педагогической и технической литературы, участие в педагогических конференциях, работе школ передового опыта, изготовление образцов (эталонов) учебно-производственных работ и т.д.
Подготовка учебно-материального оснащения включает подготовку учебной мастерской, учебных участков и рабочих мест на строительном объекте в соответствии с требованиями учебных программ, норм и правил охраны труда и техники безопасности; подготовку необходимых материалов для учебно-производственных работ; подготовку учебно-технической документации, наглядных пособий, технических средств обучения; подготовку и проверку исправности оборудования, инструментов, приспособлений.
Планирование учебного процесса - это подготовка перечня учебно-производственных работ, разработка перспективных планов учебной и воспитательной работы, разработка учебно-технической документации, критериев оценки, детальной программы производственной практики; распределение учебного материала темы на подтемы и уроки, выявление межпредметных связей, освещение передовых приемов труда по изучаемой теме.
Планирование конкретного урока начинается с анализа итогов предыдущих занятий, уточнения содержания темы, образовательной, воспитательной и развивающей целей предстоящего урока. Заранее определяются структура урока и время каждого элемента, методы проведения вводного инструктажа, система упражнений и самостоятельной работы учащихся, методы текущего инструктажа и меры по предупреждению типичных ошибок учащихся.
Обеспечение безопасных условий труда
Особое внимание следует уделить обучению безопасным методам работ и систематическому инструктированию учащихся на рабочих местах (в учебных мастерских, на строительных объектах).
Каждый учащийся должен осознать последствия нарушений правил техники безопасности. Это поможет им в каждом отдельном случае принять необходимые меры предосторожности.
Каждый учащийся проходит специальную подготовку по технике безопасности и не реже одного раза в год сдает экзамен.
Обучение безопасным условиям труда проводится в соответствии с требованиями СНиП III-4-80 «Техника безопасности в строительстве».
Первый инструктаж по технике безопасности начинается с общих требований по безопасности труда в учебной мастерской, на строительном объекте. Необходимо ознакомить учащихся с распорядком дня, условиями труда в мастерской, на объекте, информировать о наличии санитарно-бытовых устройств и ознакомить с правилами их пользования, правилами движения по строительной площадке. Сделать акценты на плакаты и предупредительные надписи по технике безопасности.
Структура урока производственного обучения
Общие положения. При обучении в мастерских и на производстве мастер использует основную форму учебного процесса - урок. Урок производственного обучения отличается от урока теоретического обучения продолжительностью и составляет 6 ч. За это время проходят отдельную тему или часть ее. На уроках производственного обучения применяют разнообразные формы организации учебной деятельности учащихся. Ввиду большой продолжительности урока производственного обучения важное значение имеют положительные взаимоотношения между мастером и учащимся, а также между учащимися в процессе производительного труда.
Структура урока производственного обучения включает: вводный инструктаж; самостоятельную работу (упражнения) учащихся; текущий и заключительный инструктажи.
Вводный инструктаж. При проведении вводного инструктажа можно руководствоваться следующей типовой структурой:
сообщение темы и цели урока;
проверка знаний учащихся по материалу теоретического обучения и предыдущих уроков производственного обучения, связанному с содержанием данного урока;
ознакомление учащихся с материалами, инструментами, приспособлениями, используемыми на уроке;
объяснение и показ рациональных приемов, способов и последовательности выполнения заданий;
демонстрация эталонов для предстоящих учебно-производственных работ;
рассмотрение типичных ошибок, их предупреждение и устранение, а также пооперационный контроль качества работы;
показ и объяснение рациональных форм и методов организации труда, организации рабочего места;
показ безопасных приемов труда;
закрепление и проверка усвоения учащимися материала вводного инструктажа; при необходимости дополнительный показ приемов и способов работы;
выдача заданий и распределение учащихся по рабочим местам.
Структура вводного инструктажа может видоизменяться в зависимости от цели и особенностей урока, но должна сохранять все перечисленные элементы.
Тему урока мастер записывает на доске. Очень важно раскрыть цель урока, не просто дать информацию о том, что должны сделать учащиеся, но разъяснить, для чего они будут это делать, чему научатся и как это поможет в успешном овладении профессией. От мастера требуется четкое представление, какие воспитательные и развивающие цели возможно осуществить на данном уроке.
Нет необходимости информировать учащихся о воспитательной и развивающей целях урока, которые мастер ставит перед собой и реализует в процессе обучения,
Для взаимосвязи производственного и теоретического обучения мастеру необходимо знать содержание учебных программ по специальным, общетехническим и другим дисциплинам, чтобы определить их межпредметные связи и увязать с содержанием производственного обучения. Для этой цели мастер использует наглядные пособия, техническую и учебно-технологическую документацию.
Основу вводного инструктажа составляют объяснение и показ приемов и способов выполнения учебно-производственных заданий. Здесь задача мастера - заложить в сознание учащихся прочную основу для рационального выполнения предстоящих упражнений.
Готовясь к показу приемов, важно правильно наметить, что и как демонстрировать учащимся, показывать только те приемы и способы работы, которые для учащихся являются новыми. Ранее изученные приемы и способы, которые будут применяться в процессе упражнений, показывать нет необходимости, однако следует убедиться, что учащиеся овладели ими.
Приемы работы мастер демонстрирует сначала в нормальном рабочем темпе, затем в замедленном, с расчленением на элементы и показом отдельных трудовых движений, и затем вновь в нормальном рабочем темпе.
Результативность демонстрации приемов состоит в том, что учащиеся убеждаются в их практической значимости, поэтому нужно обеспечить хорошую видимость показываемых приемов. Не последнюю роль при этом играет сочетание демонстрации и слов мастера. Слова помогают объяснить задачу, значение изучаемых приемов, сделать попутные пояснения, акцентируют внимание на наиболее важном. Показу и усвоению приемов учащимися в значительной мере помогают инструкционно-технологические карты (ИТК).
ИТК разрабатывают на рабочие операции, используя данные научных исследований, передовой опыт новаторов строительного производства.
Рабочая операция - это простейший технологически однородный производственный процесс с неизменным составом звена, рабочего места, материалов и средств труда. Рабочие операции выполняются индивидуально - одним рабочим или совместно - звеном из нескольких рабочих.
Рабочий производственный процесс - это несколько рабочих операций, объединенных в определенной организационно-технологической последовательности, с неизменным составом звена и рабочего места.
Закрепление и проверка усвоения - важный элемент вводного инструктажа. Это - опрос, носящий прикладной и практический характер и завершающий инструкционно-технологические карты.
При этом мастер предлагает учащимся воспроизвести изученные приемы, повторить их выполнение, продемонстрировать способы контроля работы, рассказать о правилах организации труда, рабочего места, требованиях техники безопасности и т.п.
Вопросы для закрепления и проверки усвоения материала вводного инструктажа должны быть отражены мастером в плане урока.
Самостоятельные упражнения и текущее инструктирование учащихся мастером - центральная часть урока производственного обучения.
Основная цель производственного обучения - формирование у учащихся умений и навыков - реализуется после вводного инструктажа, когда учащиеся на своих рабочих местах выполняют учебно-производственные задания.
Самостоятельность, а это главное в выполнении производственных заданий, проявляется в умении преодолевать трудности, работать в определенном темпе, используя прогрессивную технологию и рациональные приемы труда. При проведении текущего инструктажа мастер должен обращать внимание на темп и качество работ, на выполнение технических требований, умение производить операции в различных сочетаниях и разнообразными приемами.
Текущий инструктаж проводят индивидуально с каждым учащимся. При подведении итогов целесообразен коллективный инструктаж. Здесь необходимо рассмотреть типичные ошибки, дать практические советы, проанализировать причины допущенного брака и т.д.
Во время текущего инструктажа должно оставаться под контролем мастера выполнение каждым учащимся правил безопасности труда.
Основная форма текущего инструктажа - целевые обходы. Их намечают заранее, чтобы не отвлекаться на второстепенное и не упустить главного.
В ходе текущего инструктажа учащихся рациональны следующие приемы:
вмешательство в работу учащегося, когда его действия могут привести к браку или нарушению правил безопасности труда;
разъяснения, замечания, советы для корректировки действий;
указания, воспитывающие у учащихся аккуратность, внимание, самостоятельность, настойчивость, ответственность, бережливость и т.д.
Контроль за учебно-производственной деятельностью учащихся - составная часть текущего инструктирования. Мастер осуществляет его проверкой хода и результатов учебно-производственных работ и текущим наблюдением за процессом работы учащихся.
Результат проверки выполненной работы - заключение о ее качестве, т.е. соответствии техническим требованиям, а также о производительности труда учащегося.
Оценивая работу, мастер должен стремиться к тому, чтобы сами учащиеся учились определять соответствие работы техническим требованиям и находили ошибки и способы их устранения и предупреждения.
Такая методика итогового контроля приучает учащихся осуществлять самоанализ, самоконтроль за ходом работы, воспитывая у них сознательность и самостоятельность.
Заключительный инструктаж. Выполненное задание мастер должен принять, оценить работу учащегося в целом и по отдельным операциям. Это происходит при проведении заключительного инструктажа. Оценка выполненных заданий и результатов наблюдений за их выполнением включает трудовые качества личности учащегося, его знания и умения, сознательность и поведение.
В облицовочных и мозаичных работах большую роль играют качество работы, технологическая последовательность, рациональное и самостоятельное выполнение работы, отношение к ней. Здесь важно обучение самоконтролю; следует постоянно привлекать учащихся к самостоятельному анализу выполненных работ.
Заключительный инструктаж включает следующие этапы: анализ выполнения задания - сравнение цели и результата; оценка результатов; обобщение полученных учащимися знаний; анализ допущенных учащимися ошибок и причин их возникновения; изложение методов устранения и предупреждения ошибок; оценка поведения и отношения к обучению; рассмотрение перспектив применения изученного в будущем.
Заключительный инструктаж проходит обычно в форме беседы, часто с показом лучших работ.
Роль заключительного инструктажа возрастает, если в ходе обучения усваиваются не только основные практические умения и навыки, но и обобщающие опыт новаторов строительного производства. Мастер должен поддерживать желание учащихся рационализировать выполняемую работу, по-новому организовывать рабочее место и т.д.
Проведение урока производственного обучения
Подготовка облицовщиков-мозаичников начинается в учебной мастерской с изучения технологических операций от простых к сложным. Очень важно, чтобы мастерская имела площадь, достаточную для одновременного выполнения упражнений всеми учащимися группы.
Оборудование учебной мастерской должно соответствовать типовым нормативам (см. приложения 8 - 10), отвечать уровню технической оснащенности базового предприятия и обеспечивать возможность овладения передовыми методами и приемами труда.
Особое внимание уделяют организации рабочих мест для учащихся. Рабочие места должны иметь все необходимое, чтобы обеспечить изучение всех операций и проведение всего комплекса работ, предусмотренного учебной программой (см. приложение 9).
С первого дня обучения мастер прививает учащимся навыки рациональной организации рабочих мест, обращая внимание на такие важные условия работы, как соблюдение правил техники безопасности, требований производственной санитарии и гигиены, удобное расположение материалов, инструментов и механизмов, наличие на рабочем месте только тех инструментов, которые требуются для выполнения данной операции, и т.д.
На уроках производственного обучения используют разнообразные формы организации учебной деятельности учащихся: фронтальную, бригадную, индивидуальную.
Основные пути повышения эффективности урока производственного обучения следующие: четкая формулировка цели урока; совершенствование методики вводного, текущего и заключительного инструктажей; рациональный выбор дидактических и технических средств обучения; увязка теории с практикой; формирование положительной мотивации и познавательного интереса; создание условий, исключающих напряженность.
Балкон - площадка, выступающая из плоскости стены и огражденная перилами.
Вентиляция - регулируемый воздухообмен в помещениях для создания условий воздушной среды, благоприятных для здоровья человека, отвечающих требованиям технологического процесса, сохранения оборудования, хранения материалов и т.п.
Галтель - конструктивный элемент пола, закрывающий зазор в местах примыкания пола к вертикальным конструкциям.
Гидроизоляция - прослойка из рулонных или окрасочных материалов, защищающая строительные конструкции, например полы, от вредного воздействия грунтовых или сточных вод, а также химически агрессивных жидкостей:
в виде стяжки из цементного или асфальтового раствора, уложенного слоем толщиной 15…30 мм;
оклеечная - в виде двух-, четырехслойного рулонного ковра из рубероида, толя или других рулонных материалов;
окрасочная - двух- и трехслойное покрытие поверхности строительных конструкций битумными, синтетическими мастиками, эпоксидными смолами.
Глазурь - тонкий стеклообразный слой, создаваемый на поверхности облицовочных плиток и других керамических изделий путем покрытия их тонко измельченной минеральной шихтой с последующим обжигом.
Дверь - подвижное ограждение, обеспечивающее связь между помещениями, или вход и выход из здания.
Делянка - рабочая зона, где работает звено отделочников в течение смены.
Деформационный шов - сквозной зазор в покрытии пола, препятствующий образованию усадочных трещин.
Заделка - полосы плиточного покрытия пола, примыкающие к стенам.
Захватка - рабочая зона, где работает звено, бригада отделочников.
Интерьер - внутреннее пространство здания или отдельного помещения.
Карниз - 1) горизонтальный выступ на стене, защищающий наружную поверхность стен от увлажнения; 2) ряд фигурных или плоских плиток с закругленной верхней гранью, завершающий верх облицовки.
Карта ковровой мозаики - мелкие керамические плитки, наклеенные лицевой стороной на плотную бумагу.
Квартира - жилище, состоящее из жилых и подсобных помещений, имеющее отдельный вход с лестничной клетки или коридора, с улицы и т. п.
Керамика - изделия из глин или смесей их с минеральными добавками, обожженные до камневидного состояния.
Колонна - опора (квадратного, граненого или круглого сечения), предназначенная для восприятия вертикальных нагрузок; элемент архитектурной композиции здания.
Ксилолит (магнолит) - искусственный материал из смеси магнезиального вяжущего, опилок и древесной муки (опилок). Применяют для устройства бесшовных полов, а также оснований под чистые полы из рулонных и плиточных полимерных материалов.
Лестница - конструктивный элемент здания для сообщения между этажами.
Линолеум - рулонный материал для покрытия полов, изготовляемый из пластичных масс, в состав которых входят синтетические смолы, растительные масла или их заменители, пластификаторы, наполнители, пигменты и добавки.
Лоджия - открытое помещение на фасаде здания, огражденное с трех сторон стенами.
Лоток - углубление на поверхности пола, предназначенное для стока жидкости.
Майолика - керамические изделия с цветным черепком, покрытые непрозрачными белыми (цветными) глазурями или эмалями.
Мансарда - помещение, устраиваемое внутри свободного чердачного пространства.
Марка - отметка в виде гвоздя или другого предмета, фиксирующая отдельные точки лицевой поверхности облицовки.
Мастика - пластичная смесь вяжущего, тонкомолотого наполнителя и различных добавок, которую применяют для приклеивания отделочных материалов.
Маяк - 1) колышек, фиксирующий высоту подстилающего слоя; 2) М. опорный - знак, фиксирующий точку облицовочной поверхности; 3) М. реперный - плитка, уложенная на раствор и определяющая уровень настилаемого слоя.
Мозаика - изображение (орнамент, сюжетная композиция), выполненное из разноцветных мелких камней, кусочков мрамора, окрашенного стекла, смальты (стеклянный сплав), цветной глазурованной керамики и т.д., укрепленных на слое цементного раствора или мастики.
Наряд - первичный документ, содержащий производственное задание, устанавливаемое бригаде, звену или отдельному рабочему с целью доведения плана работ (задания), а также условий оплаты труда до непосредственных исполнителей.
Несущие конструкции - основные конструктивные элементы, обеспечивающие прочность и устойчивость зданий и сооружений.
Нивелир - геодезический прибор для определения высотного положения монтируемых или уже смонтированных элементов здания.
Ниша - углубление в толще стены.
Норма времени - количество времени, установленное на выполнение единицы продукции рабочими соответствующей профессии и квалификации в условиях правильной организации труда и производства.
Нормокомплект (технологический) - набор инструментов, приспособлений, инвентаря, рассчитанный на бригаду облицовщиков или на отдельного исполнителя и предназначенный для выполнения основных и вспомогательных работ.
Окно - светопрозрачное ограждение, используемое для освещения и проветривания помещения.
Облицовка - покрытие из плиток или других изделий, материалов, придающее конструкции декоративные, защитные и другие свойства.
Основание (пола) - междуэтажное перекрытие или естественный грунт.
Основание грунтовое - толща грунта, воспринимающая нагрузки от пола.
Отметка - число, определяющее высотное положение конструктивного элемента здания: О. абсолютная относительно уровня Балтийского моря; О. условная относительно уровня пола первого этажа.
Оценка качества работ (критерии);
«отлично» - работы выполнены с особой тщательностью, мастерством и техническими показателями, превосходящими показатели, требуемые нормативными документами, или улучшающие эксплуатационные показатели;
«хорошо» - работы выполнены в полном соответствии с проектом и нормативными документами;
«удовлетворительно» - работы выполнены с малозначительными отклонениями от технической документации, но не снижающими показателей надежности, прочности, долговечности, внешнего вида и эксплуатационных качеств.
Охрана труда - комплекс связанных между собой технических, санитарно-гигиенических, законодательных и организационных мероприятий, направленных на обеспечение здоровых и безопасных условий труда на производстве. Включает три части: технику безопасности, производственную санитарию и трудовое законодательство.
Пандус - наклонная плоскость, заменяющая лестницу внутри или снаружи здания.
Парапет - прямоугольное завершение наружных стен здания, возвышающееся над крышей.
Перегородка - внутренняя ограждающая конструкция, разделяющая смежные помещения в здании и не воспринимающая нагрузки от вышележащих конструктивных элементов.
Перекрытие - горизонтальная внутренняя ограждающая конструкция, разделяющая по высоте смежные помещения в здании.
Перемычка - конструктивный элемент, перекрывающий оконные или дверные проемы в стене и воспринимающий нагрузку от вышерасположенных конструкций.
Пилястра - плоский прямоугольный в плане выступ стены (столба), обычно устраиваемый для усиления стены в местах опирания на нее перекрытия или карниза здания.
Плинтус - 1) конструктивный элемент пола, закрывающий зазор в местах примыкания полов; 2) ряд фасонных или утолщенных плиток, подчеркивающий переход от пола к стене.
Подстилающий слой (подготовка) - элемент в конструкции пола, обеспечивающий незыблемость покрытия и равномерное распределение нагрузки на перекрытие или грунт.
Подготовка - выравнивающий слой цементного раствора, образующий жесткое покрытие под облицовку.
Покрытие - верхний элемент пола, подвергающийся эксплуатационным воздействиям. П. мозаичное - отделочный слой бетонного пола из цемента, каменной крошки, минеральных красителей.
Пол - конструктивный элемент здания, воспринимающий нагрузки от перемещения людей, движущегося транспорта и других эксплуатационных воздействий.
Потолок - нижняя часть ограждающей конструкции, ограничивающей помещение сверху. П. может быть непосредственно нижней частью перекрытия (покрытия) или образован особыми конструктивными элементами (подвесные).
Примыкание - место соединения горизонтального элемента конструкции с вертикальной, например, пола со стеной.
Приямок - прямоугольный канал - углубление в конструкции пола, закрытое сверху железобетонной или стальной плитой.
Провешивание - определение и временное закрепление точек лицевой поверхности будущей облицовки.
Прослойка - 1) слой раствора или мастики, сцепляющий облицовочное изделие с подготовкой; 2) П. в полах - промежуточный слой, связывающий покрытие с нижележащим элементом пола.
Работы:
бетонные и железобетонные - установка арматурных каркасов, приготовление, транспортирование, укладка и уплотнение бетонной смеси в подготовленную опалубку;
гидроизоляционные - защита конструкции от грунтовых вод и агрессивных воздействий среды, укладка водонепроницаемых прослоек;
каменные - возведение стен, столбов и других конструктивных элементов;
кровельные - устройство кровель из стальных или асбестоцементных листов, рулонных материалов, мастик;
малярные - окрашивание поверхностей лакокрасочными материалами, оклеивание внутренних поверхностей обоями;
монтажные - подъем, установка, выверка и закрепление сборных конструкций и деталей, из которых в определенной технологической последовательности собирают основные элементы зданий и сооружений; монтаж пассажирских и грузовых лифтов;
облицовочные - покрытие (отделка) поверхности стен, колонн, перегородок изделиями из природного камня, керамической плитки, синтетических материалов и др.;
плотничные - изготовление и монтаж деревянных конструкций и деталей - рубка стен, устройство скатных крыш, опалубки, дощатых полов, установка оконных и дверных блоков в проемы стен; устройство лесов и подмостей, ограждений и т.п.;
санитарно-технические - устройство систем отопления, вентиляции, газоснабжения, водопровода, канализации и др.;
стекольные - заполнение светопрозрачных ограждений обычным или специальным стеклом;
столярные - изготовление и установка оконных и дверных блоков, панелей внутреннего оборудования помещений, мебели и т.п.;
теплоизоляционные - устройство тепловой изоляции ограждающих конструкций зданий и сооружений, промышленного оборудования и других для обеспечения требуемых теплотехнических характеристик и поддержания определенного температурно-влажностного режима;
штукатурные - покрытие конструктивных элементов зданий (сооружений) выравнивающим слоем цементных, известковых или других растворов или отделка внутренних поверхностей стен гипсокартонными листами;
электромонтажные - монтаж осветительных силовых систем и слаботочных устройств.
Рабочее место - зона, где работает отдельный рабочий.
Разбивка покрытия пола - измерения, определяющие форму площади пола, местоположение и размеры его основных элементов (фона, фриза).
Репер - геодезический знак, вделанный в стену каменного сооружения или в грунт; обозначает и закрепляет на местности точку, высота которой над уровнем моря определена нивелированием.
Ригель - горизонтальная конструкция, являющаяся оперой для панелей междуэтажного перекрытия.
Ряд маячный - ряд плиток, фиксирующий протяженность облицовки.
Свод - несущая пространственная конструкция покрытия в виде криволинейной плиты с распором и работающая преимущественно на сжатие.
Сооружение - строение, состоящее из несущих, а иногда и из ограждающих конструкций и предназначенное для выполнения различных производственных процессов, хранения материалов, изделий, оборудования, для временного пребывания людей и т.п.
Сопряжение - место соединения разнотипных покрытий полов.
Стена - вертикальная конструкция, ограждение, защищающее помещение от воздействия внешней среды или отделяющее одно помещение от другого.
Стяжка - слой бетона или раствора, выравнивающий поверхность подстилающего слоя или придающий покрытию заданный уклон.
Сухая растворная смесь - дозированный и тщательно перемешанный состав из вяжущих и заполнителей.
Тепло- и звукоизоляция - прослойки в конструкции пола, препятствующие утечке из помещения теплоты и ослабляющие его проникновение через ограждения здания.
Терракота - неглазурованные керамические изделия с пористым черепком, применяются для устройства поясов, тяг, карнизов, капителей, колонн, барельефов, панно и других элементов фасада.
Трап - углубление в пониженной части пола для сбора стекающей жидкости, закрытое решеткой.
Фасад - наружные лицевые поверхности здания, образованные ограждающими конструкциями, оконными и дверными проемами, балконами, лоджиями, эркерами, карнизами и другими архитектурными элементами, имеющими функциональное, конструктивное и художественное назначение.
Фонарь - светопрозрачное ограждение на покрытиях промышленных зданий, предназначенное для освещения и вентиляции. Ф. в архитектуре - то же, что эркер.
Фриз - полоса плиточного, мозаичного, паркетного покрытия пола, расположенная по его периметру и отличающаяся по цвету или рисунку от основного фона облицовки, покрытия пола.
Фронтон - верхняя часть фасадной стены здания, образуемая скатами крыши.
Фундамент - подземная часть здания, воспринимающая нагрузки от вышележащих элементов и передающая их на грунт. Ф. бывают ленточные, столбчатые и свайные.
Цоколь - 1) нижняя часть наружных стен, облицованная или оштукатуренная; 2) ряд из цветных или утолщенных плиток, уложенных выше плинтуса.
Эркер - остекленный выступ на фасаде наружной стены.
|
Тип |
длина |
Размеры, мм |
Количество плиток на 1 м2 |
Примечания |
|
|
ширина |
толщина |
||||
|
Квадратные плитки |
|||||
|
1 |
300 |
300 |
13; 15 |
11 |
Типы 5, 11, 13, 15 применяют доборными; типы 6…10 доборными к восьмигранным |
|
2 |
200 |
200 |
11; 13; 15 |
25 |
|
|
3 |
170 |
170 |
11;13;15 |
35 |
|
|
4 |
150 |
150 |
11;13;15 |
45 |
|
|
5 |
100 |
100 |
10; 13; 15; 11 |
100 |
|
|
6 |
85 |
85 |
11; 13;15 |
140 |
|
|
7 |
80 |
80 |
11; 13;15 |
157 |
|
|
8 |
70 |
70 |
11;13;15 |
205 |
|
|
9 |
60 |
60 |
11;13;15 |
278 |
|
|
10 |
50 |
50 |
11;13;15 |
400 |
|
|
11 |
48 |
48 |
4; 6 |
435 |
|
|
Прямоугольные плитки |
|||||
|
12 |
300 |
150 |
11; 13; 15 |
23 |
- |
|
13 |
200 |
100 |
11; 13; 15 |
50 |
|
|
14 |
170 |
100 |
11; 13; 15 |
60 |
|
|
15 |
150 |
74 |
11; 13; 15 |
90 |
|
|
16 |
48 |
22 |
4; 6 |
905 |
|
|
Треугольные плитки |
|||||
|
17 |
98 |
139 |
11; 13; 15 |
209 |
Типы 17, 22, применяют доборными к восьмигранным |
|
18 |
83 |
118 |
11; 13; 15 |
291 |
|
|
19 |
78 |
111 |
11; 13; 15 |
325 |
|
|
20 |
68 |
97 |
11; 13; 15 |
433 |
|
|
21 |
58 |
83 |
11; 13; 15 |
595 |
|
|
22 |
48 |
69 |
11; 13; 15 |
869 |
|
|
Шестигранные плитки |
|||||
|
23 |
200 |
230 |
11; 13; 15 |
30 |
- |
|
24 |
170 |
196 |
11; 13; 15 |
41 |
|
|
25 |
150 |
173 |
11; 13; 15 |
52 |
|
|
26 |
100 |
115 |
10 |
117 |
|
|
Четырехгранные плитки |
|||||
|
27 |
100 |
230 |
11; 13; 15 |
60 |
Типы 27, 30, применяют доборными к шестигранным |
|
28 |
85 |
196 |
11; 13; 15 |
82 |
|
|
29 |
75 |
173 |
11; 13; 15 |
103 |
|
|
30 |
50 |
115 |
10 |
234 |
|
|
Пятигранные плитки |
|||||
|
31 |
200 |
115 |
11; 13; 15 |
58 |
Типы 31, 34 применяют доборными к шестигранным |
|
32 |
170 |
98 |
11; 13; 15 |
81 |
|
|
33 |
150 |
86,5 |
11; 13; 15 |
107 |
|
|
34 |
100 |
57,5 |
10 |
232 |
|
|
Восьмигранные плитки |
|||||
|
35 |
200 |
70 (100) |
11; 13; 15 |
29 |
- |
|
36 |
170 |
60 (85) |
11; 13; 15 |
40 |
|
|
37 |
150 |
50 (80) |
11; 13; 15 |
50 |
|
|
Длина плиток, мм |
Отклонения, мм |
||||
|
по длине и ширине |
по толщине |
по косоугольности |
по искривлению поверхности |
по искривлению углов |
|
|
До 48 включительно |
±1(±0,8) |
±0,5 |
0,5 |
0,5 |
- |
|
43…100 |
±2 (±1,5) |
±1(±0,8) |
0,5 |
0,75 (0,5) |
1,5 (0,9) |
|
Свыше 100 |
±2 (±1,5) |
±1(±0,8) |
0,5 |
1,5 (0,75) |
2(1) |
|
до 150 включительно |
|
|
|
|
|
|
Свыше 150 |
±2,5 (±2) |
±1(±0,8) |
1 |
1,8 (1) |
2,5 (1,5) |
Примечание. В скобках отклонения для плиток высшей категории качества.
|
Трещины общей длиной, мм, |
|
|
для плиток длиной, мм: |
|
|
до 48 |
5 |
|
свыше 48 до 50 |
10 |
|
свыше 150 |
15 |
|
Отбитые углы |
не допускаются длиной более |
|
Цветовые оттенки и пятна, видимые с расстояния 1,7 м |
до 10 % в партии |
|
Мушки (отдельные редко разбросанные темные и белые
точки) диаметром более |
не допускаются |
|
Отбитости, щербины и зазубрины на ребрах лицевой
поверхности длимой до |
2 мм до 20 % в партии |
Примечание. В партии допускаются до 10
%плиток с отбитыми углами длиной до
|
Наименование и форма плиток |
Тип |
Размеры, мм |
|
|
длина |
ширина |
||
|
Квадратные: без завала |
|
|
|
|
1 |
200 |
200 |
|
|
2 |
150 |
150 |
|
|
3 |
100 |
100 |
|
|
4 |
200 |
200 |
|
|
с завалом одной стороны |
5 |
150 |
150 |
|
6 |
100 |
100 |
|
|
с завалом двух смежных сторон (левая и правая) |
7 |
200 |
200 |
|
8 |
150 |
150 |
|
|
9 |
100 |
100 |
|
|
с завалом четырех сторон |
13 |
200 |
200 |
|
14 |
150 |
150 |
|
|
15 |
100 |
100 |
|
|
Прямоугольные: |
|
|
|
|
без завала |
16 |
200 |
150 |
|
17 |
200 |
100 |
|
|
18 |
150 |
100 |
|
|
19 |
150 |
75 |
|
|
20 |
150 |
25 |
|
|
с завалом одной стороны |
21 |
200 |
150 |
|
22 |
200 |
100 |
|
|
23 |
150 |
100 |
|
|
24 |
150 |
75 |
|
|
с завалом двух смежных сторон (левая и правая) |
25 |
200 |
150 |
|
26 |
200 |
100 |
|
|
27 |
150 |
100 |
|
|
28 |
150 |
75 |
|
|
Фасонные угловые плитки: |
|
|
|
|
усеночные для закругления внешних углов |
37 |
- |
150 |
|
лузговые для закругления внутренних углов |
38 |
- |
150 |
|
Карнизные прямые |
39 |
150 |
50 |
|
Плинтусные прямые |
43 |
150 |
80 |
|
44 |
150 |
50 |
|
|
Дефекты |
Сорта плиток |
||
|
1-й |
2-й |
3-й |
|
|
Отбитые углы |
Не допускаются |
Не
более одного при длине большей стороны отбитого угла до |
Не
более двух при длине большей стороны отбитого угла до |
|
Наплывы и волнистость глазури |
То же |
Допускается волнистость глазури, а также наплывы вдоль краев плитки шириной не более, мм: |
|
|
1,2 |
1,5 |
||
|
Щербины на кромках глазурованной поверхности |
» |
Не допускаются шириной более |
|
|
10 |
12 |
||
|
Цек глазури (поверхностные волосные трещины) |
- |
Не допускается |
|
|
Плешины и зашлифованный слипыш (не покрытые глазурью места) |
Не допускаются |
Не допускаются общей площадью более, мм2 |
|
|
5 |
10 |
||
|
Засорение глазурованным и нецарапающими частицами шамота или песка, приплавленными к изделию |
То же |
Не
регламентируются диаметром до |
|
|
не
более трех диаметром от 0,2 до |
не
более пяти диаметром от 0,2 до |
||
|
Наколы (углубления в глазури) |
Диаметром от 0,4 до |
||
|
двух |
трех |
пяти |
|
|
Мушка (темные точки) |
Диаметром
более |
Диаметром
от 0,2 до |
Допускаются
не более трех диаметром от 0,2 до |
|
Зачищенные следы от гребенок вдоль краев плитки |
Допускаются длиной, мм, не более: |
||
|
1,5 |
2 |
2,5 |
|
|
В количестве (шт.) не более: |
|||
|
двух |
трех |
четырех |
|
|
Окрашенные пятна, на глазурованной поверхности |
Не допускаются |
Не
допускаются диаметром более |
|
|
Сухость глазури |
То же |
Допускается вдоль края плитки шириной, мм, не более: |
|
|
1 |
2 |
||
Примечание. Количество отклонений по внешнему виду, перечисленных в таблице, допускается на одной плитке 1-го сорта не более двух, 2-го сорта - не более трех, 3-го сорта - не более четырех.
Сначала определяют расход
плиток на
Длина фриза равна периметру пола. Площадь плиток, м2, требуемых для фриза, вычитают из общей площади пола, а на оставшуюся основную площадь пола делают расчет отдельно, после чего суммируют площадь плиток для фриза и для основного фона.
В помещении площадью
1. На
Всего для устройства
2. Общая площадь
основного фона без фриза:
Потребность в плитках:
квадратных плиток
розового цвета -
квадратных плиток желтого
цвета -
треугольных плиток
желтого цвета -
Следовательно, общий
расход плиток составляет: 46,625∙2 + 5 + 1,75 =
|
Месяц обучения |
Переводной коэффициент |
Рабочая норма, % |
|
Первый курс обучения |
||
|
(для работ 2-го и 3-го разрядов) |
||
|
Второе полугодие (начало нормирования работ) |
||
|
Апрель |
4 |
25 |
|
Май |
4 |
25 |
|
Июнь |
3,5 |
28,5 |
|
Июль |
3,5 |
28,5 |
|
Второй курс обучения |
||
|
(для работ 2-го и 3-го разрядов) |
||
|
Первое полугодие |
||
|
Сентябрь |
3 |
33 |
|
Октябрь |
3 |
33 |
|
Ноябрь |
2,5 |
40 |
|
Декабрь |
2,0 |
50 |
|
Второе полугодие |
||
|
Январь - март |
2,0 |
50 |
|
Апрель |
1,5 |
66,6 |
|
Май |
1 |
100 |
|
Июнь, июль |
1 |
100 |
|
Третий курс обучения |
||
|
(для работ 3-го и 4-го разрядов) |
||
|
Первое полугодие |
||
|
Сентябрь |
2 |
50 |
|
Октябрь |
1.9 |
52,6 |
|
Ноябрь |
1,8 |
55,5 |
|
Декабрь |
1,7 |
58,8 |
|
Второе полугодие |
||
|
Январь |
1,6 |
62,5 |
|
Февраль |
1,5 |
66,6 |
|
Март |
1,4 |
71,4 |
|
Апрель |
1.2 |
83,3 |
|
Май |
1,0 |
100 |
|
Июнь |
1,0 |
100 |
|
Июль |
1,0 |
100 |
I. Средства малой механизации Потребность на группу
РастворосмесительСО-23В с откидными лопастями 1
Растворосмеситель СО-26В 1
Электрический молоток ИЭ-4213А 1
Пневматический молоток ИП-4126 1
Электроточило «Алмаз-2» 1
Электрощетка Д-378 1
Установка СО-50Б для транспортировки раствора 1
Подметальная вакуумно-щеточная машина КУ-405 1
Виброрейка СО-131А 1
Механизм для вибровтапливания плиток 1
Штукатурный агрегат СО-152А 1
Сверлильная электрическая машина ИЭ-1038 (ИЭ-1032,
ИЭ-1033А) 1
Мозаично-шлифовальная машина СО-111А 1
Шлифовальная машина ИЭ-2201Б (ИЭ-2009) 1
Распылитель для нанесения шпатлевки СО-123А 1
Жерновая краскотерка СО-116А 1
Электрическое вибросито СО-130А 1
Защитно-отключающее устройство ИЭ-9814 1
Ручные строительно-монтажные инструменты
Лопатки:
для плиточных работ типа ЛП 15
штукатурная 3
Молотки:
плиточный МПЛИ 15
штукатурный типа МШТ 5
строительный 3
Роликовый плиткорез 5
Резец для резки керамических плиток 5
Скарпель для плиточных работ 3
Скребок 3
Ковш для отделочных работ типа К1 5
Слесарное зубило 3
Рейкодержатель 12
Расшивка для плиточных работ 3
Резиновая пластина для заполнения швов 12
Рейка Болотина 3
Правило:
окованное одностороннее
длиной
дюралюминиевое 5
Сокол для штукатурных работ 5
Деревянный полутерок 350...800 мм 5
Стальная гладилка 3
Ножницы металлорежущие 3
Шпатели:
зубчатый 3
малярный 5
Киянки:
деревянная 5
резиновая 3
Хлопуша 3
Царапка 3
Щетки:
волосяная 5
стальная прямоугольная 3
Кисть-макловица типа КМА-1 3
Контрольно-измерительные инструменты
Метр складной металлический 5
Стальная рулетка 5
Разметочный шнур в корпусе 5
Угольники:
металлический 5
деревянный с длинной линейкой 5
Уровни:
строительный 5
гибкий (водяной) 3
Отвес строительный 5
Контрольно-ступенчатая линейка с ценой деления 0,5 мм 6
Эталонный конус 3
Контрольная двухметровая рейка 3
Гладилка для плинтусов 3
Желобчатая рулетка 5
Инвентарь и приспособления
Шаблон для сортировки плиток 5
Плиткорезы:
роликовый 1
рычажный 1
Приспособление для резки глазурованных плиток 1
Захват (плитколом) 1
Плиточные кусачки 1
Коловорот 1
Развертка для плиточных работ 1
Шаблоны:
для облицовки поверхностей глазурованной плиткой 2
реечный 2
Грекова для облицовки стен горизонтальными рядами 2
Для настилки полов:
клеточный 2
решетчатый (Корнешова) 2
барабанного типа 1
Винтовые маяки для укрепления причалок 2 (компл.)
Контейнер для керамических плиток 3
Столики:
двухвысотный с ограждением и полкой 3
универсальный передвижной 1
Стальной штырь для плиточных работ 6
Скобы (проволочные) для фиксации швов глазурованных плиток 40
Мерные металлические кружки 6
Ванночка для замачивания и переноски плиток 3
Подножки 2 пары
Скамеечка плиточника 3
Стульчик плиточника 1
Мерные ящики:
для песка 3
для цемента 3
Ведра вместимостью
Лейка 3
Маячные деревянные рейки 5
Опорные бруски 6
Бак для воды 1
Тележки:
с контейнером для плиток и баком для воды 1
на пневмоколесном ходу 1
для сменной тары, контейнеров 1
Средства индивидуальной защиты
Строительная каска 15
Резиновые перчатки 5 пар
Резиновые напальчники 15
Влагонепроницаемые наколенники 2 пары
Рукавицы с наладонниками из брезента 5 пар
Защитные очки типа ЗП 5
Респиратор ШБ-1 «Лепесток» 3
Аптечка 1
Оборудование
Мозаично-шлифовальная машина
с набором абразивных инструментов 1
Гильотинные ножницы для резки поливинилхлоридных плиток 1
Преобразователь частоты тока М-572 или И-75Б 1
Станок Е. П. Попова для разрезки глазурованных плиток
и фасонных деталей 1
Электроточильный станок для подточки целых
или перерубленных керамических плиток 1
Понижающий трансформатор И-100 1
Установка для разогрева битума 1
Электронагреватель конструкции Л. Губина для подогрева
асбестосмоляных плиток 1
Инструменты и приспособления
|
|
Для индивидуального пользования |
для группового пользования |
|
Брусок для осаживания плиток на стене |
- |
6 |
|
Точильный брусок для подточки и сглаживания краев глазурованных плиток |
15 |
|
|
Валик для прикатки пластмассовых плиток |
- |
3 |
|
Гладилка |
- |
8 |
|
Зубило |
- |
3 |
|
Кирочка двусторонняя |
- |
3 |
|
Кисть для промывки стен |
15 |
- |
|
киянка |
15 |
3 |
|
Клещи для разламывания плитки по надрезу |
- |
3 |
|
Захват (плитколом) для ломки надрезанных |
- |
8 |
|
Молотки: |
- |
- |
|
Массой
|
- |
3 |
|
Для пробивания отверстий в плитках |
- |
8 |
|
Плиточный
массой |
- |
5 |
|
То
же, |
15 |
- |
|
Отвес |
15 |
- |
|
Отрезовка |
- |
6 |
|
Плиткорез |
- |
1 |
|
Прибор для резки керамических плиток |
- |
1 |
|
Прибор Кривцова для разборки плиток по размерам |
- |
3 |
|
Прибор Н.И. Чудаковой для разрубки плиток |
- |
1 |
|
То же, для сверления отверстий в плитках |
- |
1 |
|
Присос резиновый для захвата и удержания плитки |
- |
2 |
|
Резец стальной с победитовым наконечником |
- |
3 |
|
Резиновая пластина |
- |
2 |
|
Рулетка
стальная длиной |
- |
3 |
|
Стеклорез для разрезки глазури керамических плиток |
15 |
- |
|
Скарпель |
- |
3 |
|
Угольник |
- |
3 |
|
Уплотнитель (пазовый) |
- |
2 |
|
Хлопуши |
- |
3 |
|
Универсальный уровень |
- |
5 |
|
Царапка |
- |
8 |
|
Шаблон А.С. Афонина для облицовки стен |
- |
1 |
|
Шаблон И.И. Грекова для облицовки стен керамическими плитками горизонтальными рядами |
- |
1 |
|
Шаблон И.Н. Корнешова для облицовки стен керамическими плитками |
- |
1 |
|
Шаблон ручной для сортировки плиток |
- |
3 |
|
Шаблон спаренный А.А. Карагинова и И.Д. Козлова для установки пяти вертикальных рядов плиток |
- |
1 |
|
Шлямбур |
- |
3 |
|
Шнур (разметочный) |
- |
5 |
|
Шпатели: |
|
3 |
|
Со сменными полотнами |
- |
3 |
|
Зубчатый |
- |
- |
|
резиновый для заполнения швов раствором или мастикой |
15 |
|
|
Стальной |
- |
6 |
|
Штырь
стальной Ø |
25 |
- |
|
Инвентарь |
||
|
Ведро металлическое |
1 |
5 |
|
Весло деревянное для перемешивания |
- |
2 |
|
Комплект приспособлений для подогревания и разноски готовой битумной мастики |
- |
1 |
|
Инвентарные тумбочки для плиточных работ |
- |
- |
|
Очки защитные |
15 |
- |
|
Сито
с размером ячеек |
- |
3 |
|
Стеллаж для приспособлений |
- |
1 |
|
Двухвысотный столик |
- |
2 |
|
Столик металлический складной |
- |
6 |
|
Тележка для перевозки плиток в инвентарных ящиках |
- |
1 |
|
Шкаф инструментальный групповой |
- |
1 |
|
Ящик металлический емкостью 150л для хранения мастики |
- |
1 |
Оборудование, мебель и инвентарь
Комбинированный шкаф с классной доской, киноэкраном и отделениями (секциями) для размещения и хранения учебно-наглядных пособий, технических средств обучения, личного инструмента, технической литературы и т. п. 2
Технологическое оборудование для демонстрации рабочих приемов в период инструктирования учащихся (компл.) 1
Рабочий стол 1
Стул 1
Стойка демонстрационная 1
Тумбочка, кронштейн или другое устройство для установки на время показа диапроектора, кинопроектора, графопроектора и т.п. 1
Пульт сигнализации и связи с рабочими местами учащихся 1
Плакатница автоматическая 1
Стенд для справочных таблиц и технической документации 1
Стенд по правилам безопасности труда в учебной мастерской 1
Аптечка 1
Инструменты и приспособления
Личный технологический инструмент мастера (компл.) 1
Приспособления и принадлежности (компл.) 1
Технические средства обучения
Диапроектор типа «Лектор-600» 1
Графопроектор типа «Лектор-2000» 1
Кинопроектор типа«Радуга» 1
СН 528-80. Перечень единиц физических величин, подлежащих применению в строительстве.
СНиП 2.03.13-88. Полы.
СНиП 3.01.01-85. Организация строительного производства.
СНиП 3.01.03-84. Геодезические работы в строительстве.
СНиП 3.03.01-87. Несущие и ограждающие конструкции.
СНиП 3.04.01-87. Изоляционные и отделочные покрытия.
СНиП III-4-80. Техника безопасности в строительстве.
Андрианов Р.А. Лабораторные работы для отделочников строительных. М., 1988.
Бурмистров Г.Н. Материалы для облицовки зданий. М., 1988.
Горячев В.И., Неелов В.А. Облицовка керамическими и синтетическими материалами. М., 1989.
Лебедев М.М., Лебедева Л.М. Справочник молодого штукатура. М., 1989.
Малин В.И. Справочник молодого облицовщика-плиточника и мозаичника. М., 1988.
Попов К.Н. Полимерные и полимерцементные бетоны, растворы и мастики. М., 1987.
Чмырь В.Д. Материаловедение для отделочников-строителей. Материалы для малярных и штукатурных работ. М., 1990.
Шепелев А.М. Технология штукатурных работ. М., 1989. Учебное издание
|
ГОСТЫ, СТРОИТЕЛЬНЫЕ и ТЕХНИЧЕСКИЕ НОРМАТИВЫ. Некоммерческая онлайн система, содержащая все Российские Госты, национальные Стандарты и нормативы. В Системе содержится более 150000 файлов нормативно-технической документации, действующей на территории РФ. Система предназначена для широкого круга инженерно-технических специалистов. Copyright © www.gostrf.com, 2008 - 2026 |