Крупнейшая бесплатная информационно-справочная система онлайн доступа к полному собранию технических нормативно-правовых актов РФ. Огромная база технических нормативов (более 150 тысяч документов) и полное собрание национальных стандартов, аутентичное официальной базе Госстандарта. GOSTRF.com - это более 1 Терабайта бесплатной технической информации для всех пользователей интернета. Все электронные копии представленных здесь документов могут распространяться без каких-либо ограничений. Поощряется распространение информации с этого сайта на любых других ресурсах. Каждый человек имеет право на неограниченный доступ к этим документам! Каждый человек имеет право на знание требований, изложенных в данных нормативно-правовых актах!

  


 

НАУЧНО-ИССЛЕДОВАТЕЛЬСКИЙ ИНСТИТУТ СТРОИТЕЛЬНОГО ПРОИЗВОДСТВА ГОССТРОЯ УССР

ТИПОВАЯ ТЕХНОЛОГИЧЕСКАЯ КАРТА НА ПРИГОТОВЛЕНИЕ БИТУМНЫХ ЭМУЛЬСИОННЫХ ПАСТ И МАСТИК

Одобрена Ученым советом НИИСП Госстроя УССР Протокол № 2 от 04.02.86

КИЕВ 1986

Содержание

 1. ОБЛАСТЬ ПРИМЕНЕНИЯ

1.1. Технологическая карта разработана на приготовление битумных эмульсионных паст и мастик на твердых эмульгаторах (РСТ УССР 5027-84) с использованием установки типа УПЭМ-20 (для приготовления эмульсионных мастик) конструкции ПКБ НИИСП Госстроя УССР.

1.2. Приготовление битумных эмульсионных паст и мастик осуществляют при температуре окружающего воздуха плюс 5°С и выше.

1.3. При привязке технологической карты к другому типу оборудования уточняются производительность и калькуляции трудовых затрат при сохранении общей последовательности выполнения операции.

2. ОРГАНИЗАЦИЯ И ТЕХНОЛОГИЯ СТРОИТЕЛЬНОГО ПРОЦЕССА

2.1. Паста и мастика являются водной дисперсией битума. Битумная эмульсионная паста представляет собой систему двух взаимно нерастворимых жидкостей (битума-воды), из которых одна (дисперсная фаза - битум) распределена в другой (дисперсионной среде - воде) в виде мельчайших частиц (размером 5...10 мкм), покрытых слоем твердого эмульгатора (глины), который обеспечивает устойчивость такой системы.

Битумная эмульсионная мастика является смесью битумной эмульсионной пасты с минеральный порошком-наполнителем (молотым известняком, золой-уносом ТЭС и т.п.).

2.2. Пасту и мастику приготавливают по рецептуре, приведенной в табл. 1.

Таблица1.

Составы битумных эмульсионных паст и мастик в зависимости от активности глинистого эмульгатора

Компонент

Глинистый эмульгатор, %

Суглинок

Умереннопластичная глина

Пластичная глина

Высокопластичная глина

Паста

Битум

50

50

50

50

Шихта эмульгатора

 

 

 

 

глина

8...10

5...8

3...5

2...3

асбест 7-го сорта

5

5...8

5...7

5...6

Вода

35...37

37

40

42

Мастика

Паста

82...84

82

80

78

Пылевидный наполнитель

16...18

18

20

22

Вода

До рабочей консистенции (12...14 см осадки эталонного конуса).

2.3. В состав пасты входят: битумы БНК 45/180 (ГОСТ 9548-74), БН 50/50 (ГОСТ 6617-76) или БНД 90/13, БНД 60/90, БНД 40/60 (ГОСТ 22245-76), имеющие температуру плавления в пределах 30...50°С; твердые эмульгаторы (суглинки и глины высокопластичные, среднепластичные и умереннопластичные по ГОСТ 9169-75) с эмульгирующей активностью по теплоте смачивания водой в пределах 12,5...120 Дж/г (3...28 кал/г); асбест 7-го сорта (ГОСТ 16557-78) вода (ГОСТ 23732-79).

В пасте при одном и том же содержании битума (50% по массе при консистенции 13 см осадки эталонного конуса по ГОСТ 5802-78) расход твердого эмульгатора зависит от его активности и составляет от 2% (для высокопластичных глин) до 20% (для суглинков) от массы битума в составе. Твердый эмульгатор применяют в виде шихты с асбестом 7-го сорта; состав шихты подбирают согласно требованиям, приведенным в табл.2.

Таблица 2.

Составы шихты глинистого эмульгатора с асбестом 7-го сорта

Глинистый эмульгатор

Активность эмульгатора по теплоте смачивания водой, Дж/г (кал/г)

Соотношение компонентов в шихте, массовые части

Асбест 7-го сорта

Глина

Суглинок

12,5...16,5 (3...4)

1...1,5

2

Глина:

 

 

 

умереннопластичная

12,5...20,5 (3...5)

1...1,5

1

пластичная

20,5...41,8 (5...10)

1,5...2,5

1

высокопластичная

41,8 (10) и более

2,5...3,0

1

2.4. В мастике суммарное количество минеральных компонентов (эмульгатор+асбест+пылевидный наполнитель) не зависимо от используемого вида и расхода эмульгатора должно составлять 65...70% от массы битума. В качестве пылевидного наполнителя применяют известняковые или доломитовые порошки (ГОСТ 16557-78), молотый песок, кирпич, шлак, трепел или золу-унос ТЭС (ГОСТ 20955-75), которые не обладают вяжущими свойствами при затворении их водой и имеют остаток при просеивании через сито с ячейками 0,63 мм не более 5%.

2.5. В процессе приготовления паст и мастик воду вводят в следующих количествах: в состав шихты эмульгатора - 70...90% от массы компонентов (глина+асбест); в пасту - 40...60% от массы битума в составе; в мастику - до рабочей консистенции (12...14 см осадки эталонного конуса).

2.6. До начала процесса приготовления паст и мастик должны быть выполнены следующие работы: проверено качество исходных материалов - температура плавления битума, активность эмульгатора (глины), влажность минеральных компонентов (глины, асбеста 7-го сорта и пылевидного наполнителя) и тонкость помола (остаток на сите) пылевидного наполнителя; уточнена весовая (или объемная) дозировка составляющих на один замес, исходя из фактической влажности минеральных компонентов; проверена температура разогрева битума (должна быть в пределах 90...110°С); подготовлены оборудование, приспособления, инструменты (в том числе по контролю качества), рабочее место оператора и его помощника.

2.7. Технологический процесс приготовления битумных эмульсионных паст предусматривает метод механического эмульгирования битума и сущность его заключается в следующем:

готовят шихту эмульгатора в виде смеси глины с асбестом 7-го сорта и водой; смешивание компонентов шихты производят непосредственно в смесителе пасты (мастики), куда в нужном соотношении поступает глинистая суспензия (приготавливают отдельно на диспергаторе), асбест и вода; перемешивание продолжают до получения однородной массы однотонного цвета без признаков комков глины и асбеста; дозировку глины и асбеста на замес осуществляют по массе и воды по счетчику;

битум, нагретый до температуры 90...110°С, непосредственно из битумохранилища (или промежуточной емкости, имеющей подогревающее устройство) битумным насосом подают в дозатор (объемный), оборудованный паро- или электрообогревом;

в смеситель пасты (уже содержащий рассчитанное на замес количество шихты эмульгатора) при непрерывном перемешивании за 4...6 раз поочередно (порциями) вводят отдозированные на замес битум и воду (битум из дозатора, вода по водомеру согласно расчету на замес) в такой последовательности: подается битум до тех пор, пока смесь в смесителе не загустеет до консистенции полужесткого раствора (5...6 см осадки эталонного конуса), затем смесь разводят водой до консистенции пластичного раствора (8... 10 см осадки эталонного конуса); эти операции повторяют до тех пор, пока в смеситель не будут введены весь битум и вода, рассчитанные по составу на замес; готовую пасту разбавляют водой до рабочей консистенции (13...14 см осадки эталонного конуса) и сливают в накопительную или транспортную емкость;

при приготовлении мастики в смеситель после разведения пасты водой до рабочей консистенции вводят отдозированное по составу количество пылевидного наполнителя; перемешивание пасты с наполнителем продолжаются 3...4 мин; готовая мастика разбавляется водой до рабочей консистенции (13...14 см осадки эталонного конуса) и сливается в накопительную или транспортную емкость.

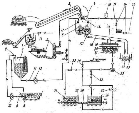
2.8. Приготовление битумных эмульсионных паст и мастик на установке УПЭМ-20 осуществляет звено в составе двух человек - оператора - машиниста V разряда и помощника оператора IV разряда. Технологическая схема такой установки приведена на рис.1 и принцип ее работы заключается в следующем.

Рис.1. Технологическая схема стационарного узла приготовления битумных эмульсионных паст и мастик:
Б1 - битумопровод подачи битума в дозатор; Б2 - битумопровод подачи битума в смеситель; Б3 - битумопровод слива битума в битумохранилище; В - трубопровод подачи воды; М - трубопровод подачи мастики; П - трубопровод подачи пасты; Г.П - трубопровод подачи готовой продукции

Приготавливают шихту эмульгатора:

помощник оператора в отдельный растворосмеситель (1) подает с помощью мерного ковша скипового подъемника необходимую на замес порцию глины и воды (по составу на шихту); включает привод растворосмесителя и после тщательного перемешивания готовую суспензию глины через вибросито сливает в приемную емкость растворонасоса (2);

оператор включением растворонасоса (2) на пульте управления установки перекачивает суспензию глины в барабан пастосмесителя (5);

затем помощник оператора подает на ленту транспортера (3) асбест; оператор включает привод транспортера и заполняет асбестом мерный бункер (4), установленный на пастосмесителе; после набора требуемой порции асбеста оператор выключает привод транспортера, открывает клапанный затвор в днище бункера и высыпает асбест в барабан пастосмесителя; затем оператор включает привод пастосмесителя (5) и происходит перемешивание асбеста с суспензией глины.

Заполняют дозатор битума (7), для чего помощник оператора открывает задвижку крана (8) на выходе из битумохранилища (6) и задвижку крана (9) на выходе в дозатор; оператор включает битумный насос (10) и по движению стрелки поплавкового дозирующего устройства следит за наполнением емкости дозатора битумом; после заполнения дозатора требуемой порцией битума оператор выключает битумный насос и помощник оператора перекрывает задвижки кранов (8 и 9).

Осуществляют процесс эмульгирования битума (приготовления пасты), для чего оператор включает привод пастосмесителя (5) и при непрерывном перемешивании порциями за 4...6 раз поочередно вводит в него отдозированное на замес количество битума и воду (40...60% от массы каждой порции введенного битума), при этом:

помощник оператора открывает задвижку крана (11) у выхода из дозатора битума;

оператор включает битумный насос (12) и при непрерывном перемешивании через распределительную трубу (13) подает в пастосмеситель первую порцию битума, контролируя его расход

по стрелке поплавкового дозирующего устройства на дозаторе битума; после введения первой порции битума (15-25% от общей дозы на замес) оператор выключает битумный насос (12), открывает водопроводный вентиль (14) и через распределительную трубу (15) подает в пастосмеситель первую порцию воды (40...60% от массы первой порции битума), контролируя ее расход по водомеру (16);

аналогично подаются в пастосмеситель последующие порции битума и воды, пока не будет введен весь битум, отдозированный на замес; после введения последней порции битума помощник оператора перекрывает задвижку крана подачи битума (11), оператор выключает битумный насос (12) и привод пастосмесителя;

оператор с помощью эталонного конуса проверяет подвижность полученной пасты и постепенным добавлением воды в пастосмеситель через водомер (16) с перемешиванием доводит ее до консистенции 13...14 см осадки эталонного конуса.

Производят слив готовой пасты в накопительную емкость, для чего:

оператор открывает клапанный затвор (17) в днище пастосмесителя, по лотку (18) через вибросито (19) сливает пасту в промежуточную емкость (20);

помощник оператора открывает задвижку крана (22) на пастопроводе; оператор включает шестеренчатый насос (23) и через фильтр (21) перекачивает пасту из промежуточной емкости (20) в накопительную емкость (24).

Для приготовления мастики помощник оператора на ленту транспортера (3) подает пылевидный наполнитель. Оператор включает привод транспортера и, аналогично асбесту, через мерный бункер (4) дозирует и подает пылевидный наполнитель в пастосмеситель, содержащий приготовленную пасту; затем включает привод пастосмесителя (5), перемешивает пасту с наполнителем и разбавляет смесь водой до консистенции 13...14 см осадки эталонного конуса. Слив готовой мастики осуществляют аналогично сливу пасты при перекачке из промежуточной емкости (20) в накопительную емкость (26) при закрытых кранах на пастопроводе (22) и трубопроводе готовой продукции (29) и открытом кране на мастикопроводе (25).

Примечания: 1. Операция 7 не выполняется при приготовлении мостики.

2. Операции 12 и 13 производят в конце смены.

3. Промывку сливного лотка производят после каждого цикла.

Рис. 2. Циклограмма ведения технологического процесса приготовления битумной эмульсионной пасты и мастики:

- приготовление пасты;

- приготовление мастики;

- обслуживание установки

 

Примечания: 1. Операция 5 не выполняется при приготовлении мостики.

2. Операции 10 и 11 производят в конце смены.

3. Промывку сливного лотка и вибросита производят после каждого цикла

Рис. 3. Циклограмма ведения технологического процесса приготовления битумной эмульсионной пасты и мастики при параллельном выполнении операций по приготовлению глиняной пульпы в смесителе-диспергаторе:

- приготовление пасты;

- приготовление мастики;

- обслуживание установки

Выдачу пасты и мастики из накопительных емкостей (24 и 26) производят шестеренчатым насосом (30) при открытых кранах (27, 28 и 29) на трубопроводе готовой продукции.

В конце смены производят промывку оборудования следующим образом:

оператор открывает водопроводный вентиль (14) и через распределительную трубу (15) заполняет пастосмеситель (5) водой; затем включает привод пастосмесителя и через 10-15 мин, закрыв клапанный затвор (17) в днище пастосмесителя сливает воду через лоток в бадью для сбора отбросов (32), установленную в приямок отстойника (33);

помощник оператора открывает водопроводные вентили (34) и с помощью шланга и удочки (35) промывает рабочие места.

Циклограммы ведения технологического процесса приготовления битумной эмульсионной пасты и мастики на установке типа УПЭМ-20 приведена на рис.2, 3.

2.9. Контроль качества готовой продукции, установку, маркировку, транспортирование и хранение выполняют в соответствии с требованиями РСТ УССР 5027-84 "Паста и мастика битумная эмульсионная на твердых эмульгаторах. Технические условия".

2.10. При производстве работ необходимо соблюдать правила по технике безопасности, предусмотренные СНиП III-4-80, РСТ УССР 5027-84, РСН 295-83, а также Правилами пожарной безопасности при производстве строительно-монтажных работ.

3. ТЕХНИКО-ЭКОНОМИЧЕСКИЕ ПОКАЗАТЕЛИ

3.1. Установка по приготовлению битумных эмульсионных мастик типа УПЭМ-20 имеет следующие технико-экономические показатели:

Производительность, т:

годовая ..... 5000

сменная ..... 20

на одного человека ..... 10

Трудоемкость на 1 т готовой продукции (мастики), чел.-смены .…. 0,1

Себестоимость 1 т готовой продукции (мастики), руб. ..... 26,44

Потребность в электроэнергии на 1 т готовой продукции, кВт ..... 24,4

3.2. Калькуляцию себестоимости продукции для расчета оптовой цены битумной эмульсионной мастики составляют в соответствии с Основными положениями по планированию, учету и калькулированию себестоимости продукции на промышленных предприятиях (табл.3, расчеты 1, 2, 3).

Стоимость сырья и материалов принимают по оптовым ценам соответствующих прейскурантов с надбавкой к ним транспортно-заготовительных расходов (приняты в размере 7%). Битумы, асбест 7-го сорта и известняковый порошок (пылевидный наполнитель) поступают на предприятия железнодорожным транспортом, а глина завозится автомобильным транспортом.

Основную зарплату производственных рабочих определяют исходя из норм времени, необходимых по составу работ на приготовление единицы продукции, и часовой квалификационной тарифной ставки персонала, обслуживающего установку по приготовлению паст и мастик.

Цеховые и общезаводские расходы, а также расходы на содержание оборудования в данном расчете приняты равными средним значениям расходов, установленных на предприятиях-представителях основных строительных министерств и ведомств республики, освоивших выпуск битумных эмульсионных паст и мастик.

Нормативы чистой продукции (НЧП) разрабатывают на основе Методических указаний о порядке разработки и применения в планировании показателя чистой продукции (нормативного), утвержденных Госпланом СССР, Госкомцен СССР, Минфином СССР и Госкомтрудом СССР 12 сентября 1979 г. и согласованных с ЦСУ СССР.

Прибыль при расчете НЧП учитывают в абсолютном размере, принятом в расчете цены на пасту и мастику.

Таблица 3.

Калькуляция себестоимости приготовления битумной эмульсионной мастики на твердых эмульгаторах

Статья затрат

Себестоимость 1 т продукции, р.-к.

Обоснование

Сырье и материалы

16-43

Расчет 1

Топливо и энергия на технологические цели

0-88

Расчет 1

Итого прямых материальных затрат

17-31

 

Основная заработная плата производственных рабочих

1-10

Расчет 2

Дополнительная заработная плата производственных рабочих

0-17

Расчет 3

Отчисления на социальное страхование

0-14

Расчет 3

Расходы на содержание и эксплуатацию оборудования

2-22

Расчет 3

Цеховые расходы

1-34

Расчет 3

Общезаводские расходы

2-06

Расчет 3

Производственная себестоимость

24-34

-

Полная себестоимость

24-34

-

В том числе себестоимость за вычетом прямых материальных затрат

7-03

(24,34-17,31)

Норматив рентабельности и себестоимости за вычетом прямых материальных затрат, %

30

-

Прибыль

2-10

(7,03´30): :100

Проект оптовой цены

26-44

(24,34+2,10)

Заработная плата основная и дополнительная производственных рабочих с отчислениями на социальное страхование в себестоимости калькуляционной единицы

1-41

(1,10+0,17+0,14)

Коэффициент Кз - отношение зарплаты персонала, занятого обслуживанием и управлением производства, к заработной плате производственных рабочих

2,10

 

Заработная плата промышленно-производственного персонала по обслуживанию и управлению производством с отчислением на социальное страхование в себестоимости калькуляционной единицы

2-96

(1,41´2,10)

Норматив чистой продукции

6-47

(1,41+2,96+2,10)

Расчет 1.

Материальные затраты на приготовление 1 т битумной эмульсионной мастики

Материальные затраты

Цена, р.-к.

Норма расхода

Общая стоимость, р.-к.

Обоснование

1. Битум нефтяной дорожный, т

34-00

0,4

13-60

Прейскурант №04-02 (1980 г.), поз.7-001

Транспортно-заготовительные расходы

1-16

 

0-46

То же

Итого

35-16

 

14-06

 

2. Глина, т

0-96

0,04

0-04

Прейскурант №12-02/1КГ, поз.1

Транспортные -расходы (автомобильные перевозки на расстояние 12 км)

0-85

 

0-03

То же

Итого

1-83

 

0-07

 

3. Асбест хризотиловый 7-го сорта, марка 7-370, т

12-00

0,06

0-72

Прейскурант №06-04, поз.1-043

Железнодорожный тариф

9-81

 

0-59

-

Подача и уборка вагонов

0-05

 

-

Прейскурант №10-01-1082/1

Разгрузка вагонов

0-46

 

0-03

Прейскурант №0-01,стр. 12, пп 15

Внутризаводские перевозки (транспортирование на расстояние 1 км) класс груза 2

0-34

 

0-02

Прейскурант №13-01-02, стр.24

Итого

22-66

 

1-36

 

4. Известняк (расчет приведен для известнякового щебня фракции 10-40 мм), т

1-80

0,18

0-32

Прейскурант №06-12-02, поз.1-01.072

Погрузка в железнодорожные вагоны на погрузочной рампе

0-17

 

0-03

-

Транспортирование с карьера на рампу

0-32

 

0-06

-

Железнодорожный тариф

1-20

 

0-22

-

Подача и уборка вагонов

0-05

 

0-01

-

Разгрузка вагонов

0-40

 

0-07

-

Переработка на заводе

0-54

 

0-10

Расценка завода

Внутризаводские перевозки (транспортирование на расстояние 1 км), класс груза 1

0-27

 

0-05

-

Итого

4-59

 

0-86

 

5. Вода, т

0-20

0,32

0-07

-

Всего сырья (пп. 1-5)

 

 

16-42

 

6. Электроэнергия, кВт

0-03

24,4

0-73

-

7. Теплоэнергия (газ), м3

0-028

5,3

0-15

-

Итого топлива и энергии (пп. 6, 7)

 

 

0-88

 

Справка к расчету 1. Состав битумной эмульсионной пасты, % по массе

Битум нефтяной дорожный марки

БНД 60/90 ..............................…….... 50

Глина киевская спондиловая ...….... 5

Асбест хризотиловый 7-го сорта ..... 7,5

Вода ............................……………..... 37,5

Состав битумной эмульсионной мастики, % по массе

Битумная эмульсионная паста ................... 72

Известняковый минеральный порошок в пересчете на компонентный состав ............ 18

Битум нефтяной дорожный марки БВД 60/90 …...... 40

Глина киевская спондиловая .............. ...................... 4

Асбест хризотиловый 7-го сорта ............................... 6

Известняковый минеральный порошок ... ............... 18

Вода ............................................................................. 32

Расход электроэнергии для выпуска битумной эмульсионной мастики, исходя из продолжительности работы установленных мощностей на установке типа УПЭМ-20, кВт-ч

Электродвигатель пастосмесителя .... .. ....................... 40´8´0,7 = 288,0

Электродвигатель растворосмесителя .......................... 5,5´4´0,9 = 19,8

Два электродвигателя вибросита .. ....... ........................ 2´2´0,9 = 3,6

Электродвигатель растворонасоса ... ............................ 2,2´2´0,9 = 4,0

Электродвигатель ленточного транспортера ............... 3´2´0,9 = 5,4

Четыре электродвигателя битумного насоса ............... 30´4´0,9 = 108,0

Два электродвигателя накопительной емкости ........... 11´6´0,9 = 59,4

Итого .............................. 488,2

Расчет 2.

Норма времени и расценка на получение 1 т битумной эмульсионной мастики из расчета средней часовой тарифной ставки звена

Профессия

Разряд

Количество

Часовая тарифная ставка руб.

Сумма часовых тарифных ставок, руб.

Средняя часовая тарифная ставка, руб.

Оператор-машинист

V

1

0,717

0,717

(0,717+0,637):2 = 0,677

Помощник оператора

IV

1

0,637

0,637

Производительность установки УПЭМ-20 - 20 т битумной эмульсионной мастики в смену, коэффициент использования оборудования и коэффициент неравномерности выдачи мастики на объекты - 0,7.

Эффективная мощность установки составляет 9,8 т за смену (20´0,7´0,7).

Норма времени на получение 1 т мастики при обслуживании установки двумя рабочими равна 1,633 чел.-ч (8´2:9,8).

Расценка на 1 т мастики равна 1,105 руб. (0,677´1,633).

Расчет 3.

Свод средних цеховых, общезаводских и внепроизводственных расходов (на основе асфальтобетонных заводов, в системе которых рационально налаживать выпуск битумных эмульсионных мастик)

Расходы на содержание и эксплуатацию оборудования, % к основной заработной плате производственных рабочих .................. 202

Цеховые расходы, % к основной заработной плате производственных рабочих ............ 122

Общезаводские расходы, % к основной заработной плате производственных рабочих ..187

Дополнительная заработная плата производственных рабочих, % к основной заработной плате производственных рабочих ....... 15

Отчисление на социальное страхование, % к основной и дополнительной заработной плате производственных рабочих ............. 12

4. МАТЕРИАЛЬНО-ТЕХНИЧЕСКИЕ РЕСУРСЫ

4.1. Годовая потребность в исходных материалах и энергоресурсах для приготовления битумных эмульсионных паст и мастик, исходя из мощности установки УПЭМ-20, приведена в табл.4.

Таблица 4.

Годовая потребность в исходных материалах и электроэнергии

Материалы и энергоресурсы

Количество

Примечание

Материалы, т:

 

 

битум

2500

Марок согласно РСТ УССР 5027-84

глина

250

асбест 7-го сорта

365

пылевидный наполнитель

900

вода техническая

2400

С учетом количества, идущего на промывку оборудования

Энергоресурсы:

 

 

электроэнергия, кВт

122000

Согласно установленным мощностям

газ, м3

26500

Для обеспечения парообогрева оборудования

4.2. Количестве исходных материалов на один замес для установки типа УПЭМ-20 (емкость смесителя марки CMK-126 равна 2,6 м3) рассчитывают следующим образом.

Эмульгированию на замес подлежит 1000 кг битума. Местная глина умеренной пластичности имеет показатель активности по теплоте смачивания водой Q1 = 18,3 Дж/г (4,4 кал/г)*. Необходимое количество глины Gэм для эмульгирования требуемого количества битума Gбит определяют по формуле

* Методика определения активности приведена в РСТ УССР 5027-84.

По данным табл.2 соотношение по массе асбеста и глины, имеющих активность от 12,5 до 20,9 Дж/г (от 3 до 5 кал/г), должно быть от 1 к 1 до 1 к 1,5; методом интерполяции устанавливают, что для глины с теплотой смачивания 18,3 Дж/г (4,4 кал/г) необходимое количество асбеста составит

 или Gасб = 102´1,35 = 148 кг.

Необходимое количество пылевидных наполнителей определяют из условия содержания минеральных компонентов в составе мастик в пределах 70% от массы битума, т.е.

Количество пылевидных наполнителей

Gпыл.н = Gмин.к - (Gэм + Gасб); Gпыл.н = 700 - (102 +148) = 450 кг.

Количество воды берут в пределах 40-60% от массы битума, что в среднем составит

Кроме того, на приготовление шихты эмульгатора из расчета 80% от массы шихты (глина+асбест), что составит

 Gв = (102 + 148)´0,8 = 200 кг.

Примечание. Следует учитывать, что расход воды в процессе приготовления мастики (пасты) в зависимости от интенсивности ее испарения при смешивании с горячим битумом может увеличиваться в 1,2-1,3 раза.

Таким образом, общее количество всех исходных компонентов мастики на замес составит

Gбит + Gэм + Gасб + Gпыл.н + Gв = 1000 + 102 + 148 + 450 + (500 + 200) = 2400 кг.

При плотности мастики 1200 кг/м3 объем ее составит 2400:1200 = 2,0 м3, что обеспечивает вместимость барабана смесителя марки СМК-126, 2,6 м3.

4.3. Потребность в оборудовании, инструментах, инвентаре и приспособлениях приведена в табл.5.

Таблица 5.

Перечень оборудования, инструментов, инвентаря и приспособлений к установке УПЭМ-20

Наименование

Тип, марка

Количество

Техническая характеристика

Типовое оборудование

Смеситель лопастной двухвальный

CMK-126

1

 

 

Объем 2,6 м3; наружный диаметр лопастей 750 мм; длина смесительного корыта 3500 мм; установленная мощность 40 кВт; масса 4790 кг

Растворосмеситель

СБ-8 (С-289)

1

Объем смесительного барабана 325 л; частота вращения лопастного вала 31,2 об/мин; установленная мощность 4,5 кВт

Установка для транспортирования штукатурных растворов

СО-48 (С-854)

1

Производительность 2 м3/ч; максимальное рабочее давление 1,5 МПа; дальность подачи по горизонтали 50 м; установленная мощность 2,2 кВт

Конвейер ленточный

ТК-8 (С-948)

1

Длина 5 м; ширина ленты 0,4 м; установленная мощность 2,8 кВт; масса 420 кг

Счетчик воды (дозатор)

ДВК-40

1

Расходы, м3/ч:

наименьший ... 1.5

наибольший ... 10,0

Нестандартное оборудование

Дозатор битума

ПКБ НИИСП Госстроя УССР

1

Вместимость камеры по загрузке 2500 кг; пределы дозирования 50...100...2500 кг; цена деления шкалы 50 кг; масса 1730 кг

Накопительная емкость

ПКБ НИИСП Госстроя УССР

2

Геометрический объем бункера 20 м3; частота вращения шнека 75 об/мин: установленная мощность 5,5 кВт; масса 1910 кг

Насосная станция

То же

4

Производительность 450 л/мин; тип насоса ДС-125; установленная мощность 7,5 кВт; масса 370 кг

Вибросито

То же

2

Число вибраторов 2; тип вибраторов ИВ-19; установленная мощность 0,54 кВт; рабочая часть - плита с отверстиями диаметром 5 мм по всей плоскости

Отдельные детали и узлы

Площадка оператора

ПКБ НИИСП Госстроя УССР

1

Площадь 2 м2

Пульт управления

То же

1

-

Бункер для дозировки асбеста и пылевидного наполнителя

То же

1

Вместимость 0,5 м3

Битумо - и водораспределительные трубы

То же

2

-

Промежуточная емкость

То же

1

Вместимость 2,5 м3

Сливное устройство с течкой и отстойником для промывочной воды

То же

1

-

Технологические трубопроводы

То же

1 комплект

-

Инвентарь, приспособления, инструменты

Емкость для хранения минеральных компонентов

Собственного изготовления

3

Деревянная или металлическая с крышкой, исключающей увлажнение материалов

Ключи гаечные с открытым зевом двусторонние

ГОСТ 2839-80Е

1 комплект

 

Ведро оцинкованное жестяное

МРТУ

2

 

Лопата подборочная

ЛП-2 ГОСТ 3620-75

2

 

Рукав резиновый напорный диаметром 25 мм

ГОСТ 18698-79

20 м

 

Приборы для установления консистенции пасты и мастики:

РСТ УССР 5027-84

-

 

конус эталонный

ГОСТ 5802-78

1

Согласно РСТ УССР 5027-64

секундомер механический

ГОСТ 5072-79

1

посуда металлическая типа "МП"

ТУ

1 комплект

Весы рычажные общего назначения

ГОСТ 14004-68

1

Разрешающая способность взвешивания 10 кг

Очки защитные с боковыми щитками

02-3 ГОСТ 12.4.013-75

2

 

 

 




ГОСТЫ, СТРОИТЕЛЬНЫЕ и ТЕХНИЧЕСКИЕ НОРМАТИВЫ.
Некоммерческая онлайн система, содержащая все Российские Госты, национальные Стандарты и нормативы.
В Системе содержится более 150000 файлов нормативно-технической документации, действующей на территории РФ.
Система предназначена для широкого круга инженерно-технических специалистов.

Рейтинг@Mail.ru Яндекс цитирования

Copyright © www.gostrf.com, 2008 - 2026