Крупнейшая бесплатная информационно-справочная система онлайн доступа к полному собранию технических нормативно-правовых актов РФ. Огромная база технических нормативов (более 150 тысяч документов) и полное собрание национальных стандартов, аутентичное официальной базе Госстандарта. GOSTRF.com - это более 1 Терабайта бесплатной технической информации для всех пользователей интернета. Все электронные копии представленных здесь документов могут распространяться без каких-либо ограничений. Поощряется распространение информации с этого сайта на любых других ресурсах. Каждый человек имеет право на неограниченный доступ к этим документам! Каждый человек имеет право на знание требований, изложенных в данных нормативно-правовых актах!

  


 

МИНИСТЕРСТВО ЭНЕРГЕТИКИ И ЭлЕКтРИфИКАЦИИ СССР

УПРАВЛЕНИЕ ОРГАНИЗАЦИИ ТРУДА И ЗАРАБОТНОЙ ПЛАТЫ

Центр по научной организации труда и управления

в энергетическом строительстве

«Энергостройтруд»

КАРТА ТРУДОВОГО ПРОЦЕССА СТРОИТЕЛЬНОГО ПРОИЗВОДСТВА
ПОДАЧА ЖЕСТКИХ РАСТВОРОВ

УСТАНОВКОЙ УПТЖР-2,5 С ПРИМЕНЕНИЕМ

КОМПРЕССОРНОЙ СТАНЦИИ ДК-9М

КТ-0.0-0.7-86

Москва 1987

СОДЕРЖАНИЕ

 

Карта трудового процесса строительного производства

КТ-0.0-0.7-86

Подача жестких растворов установкой УПТЖР-2,5 с применением компрессорной станции ДК-9М

Разработана нормативно-исследовательской станцией № 21 при тресте "Юговостокатомэнергострой".

 

Рассмотрена, откорректирована и рекомендована Центром "Энергостройтруд" для внедрения в строительное производство

1. Область и эффективность применения карты

1.1. Карта предназначена для организации труда рабочих при подаче жестких растворов на отметку 50 м в помещения реакторного отделения установкой УПТЖР-2,5 с применением компрессорной станции ДК-9М.

1.2. Показатели производительности труда

 

По карте

Выработка на 1 чел.-день,1 м3

6,5

Затраты труда на подачу 1 м3 раствора, чел.-ч

1,22

Примечание. В затраты труда включено время на подготовительно-заключительные работы (5 %) и отдых (10 %)

2. Условие и подготовка выполнения процесса

2.1. До начала подачи жесткого раствора в помещения реакторного отделения необходимо; проложить напорный рукав (штукатурный шланг, рассчитанный на давление 10 кгс/cм2); подсоединить его к гасителю; подвести к установке от компрессора сжатый воздух (Рис.1); обеспечить подъезд автосамосвалов с раствором к установке; доставить на рабочие места инструменты и приспособления.

2.2. Перекачиваемая смесь должна быть хорошо перемешана, одного состава, постоянной подвижности.

2.3. Работы следует выполнять, соблюдая правила техники безопасности и охраны труда рабочих в соответствии с главой СНиП III-4-80 "Техника безопасности в строительстве".

2.4. Режим труда и отдыха определен из условия оптимально высокого темпа выполнения трудовых процессов в соответствии с "Руководством по техническому нормированию труда рабочих в строительстве" (М., Стройиздат, 1977).

3. Исполнители, предметы и орудия труда

3.1. Исполнители:

Штукатур 2 разр. (Ш1, Ш2) - 2

3.2. Инструменты, приспособления и инвентарь

Наименование, назначение и основные параметры

ГОСТ, ОСТ, ТУ, № чертежа, марка

Кол-во, шт.

1. Гаситель

Собств. изготовления

1

2. Рукава резиновые напорные с текстильным каркасом для подачи жестких растворов Æ63 мм

ГОСТ 18698-79

120 п.м

3. Рукава резиновые напорные с текстильным каркасом для подачи сжатого воздуха Æ 50 мм

ГОСТ 18698-79

20 п.м

4. Насос для подачи вода

"ГНОМ"

1

5. Тележка

ТР

2

6. Емкость для воды объемом 1 м3

-

1

7. Лопата растворная

ЛР ГОСТ 3620-76

2

8. Скребок

Р.ч. № 210 ВНИИСМИ Минстройдормаша

1

9. Портативная УКВ радиостанция

20РТП-2-4М

2

4. Технология процесса и организация труда

4.1. Подачу жестких растворов на отметку 50,0 м выполняют в следующем порядке: принимают раствор из автосамосвала в приемный бункер установки; устанавливают гаситель и тележку, перемешивают и подают раствор на рабочее место; принимают раствор в емкость тележки; очищают сетку приемного бункера установки; промывают и продувают напорные рукава после окончания подачи раствора.

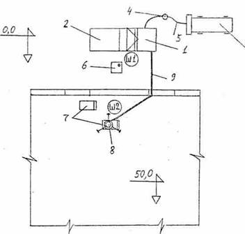
4.2. Схема организации рабочего места

Условные обозначения

1. Установка УПТЖР-2,5

2. Эстакада для автосамосвалов

3. Компрессорная станция ДК-9М

4. Воздухосборник

5. Резиновые напорные рукава для подачи сжатого воздуха Æ 50 мм

6. Емкость для воды

7. Тележки .

8. Гаситель

9. Резиновый напорный рукав для подачи раствора Æ 63 км

Ш1, Ш2 - рабочие места штукатуров

4.3. График трудового процесса

4.4. Описание операций, их продолжительность, исполнители, орудия труда.

1. Прием раствора из автосамосвала в приемный бункер установки

Штукатур Ш1 подает сигналы водителю автосамосвала на подъезд и остановку, следит за выгрузкой раствора из кузова автосамосвала в приемный бункер установки, окончив приемку, скребком очищает кузов от остатков раствора.

Операция выполняется 7 мин.

2. Установка гасителя и тележки

Штукатур Ш2 на отметке устанавливает гаситель и подводит под него тележку.

Операция выполняется 14 мин;

3. Перемешивание раствора

После приема раствора штукатур Ш1 следит за перемешиванием раствора. При необходимости с помощью насоса добавляет воду.

Операция выполняется 7 мин.

4. Подача раствора

Штукатур Ш2 подает сигналы через штукатура Ш1 машинистам установки и компрессора на готовность приема раствора. Штукатур Ш1 следит за подачей раствора на отметку и наблюдает за напорными рукавами. Операция выполняется 55 мин.

5. Прием раствора в емкость тележки

Штукатур Ш2 следит за тем, чтобы раствор из гасителя падал точно в емкость тележки. После ее заполнения рабочие обслуживаемой бригады выкатывают тележку и штукатур Ш2 заменяет ее на порожнюю.

Операция выполняется 57 мин.

6. Очистка сетки приемного бункера

Штукатур Ш1 удаляет с сетки приемного бункера установки частицы наполнителя крупнее 10 мм и другие отходы.

Операция выполняется 2 мин.

7. Промывка и продувка напорных рукавов

После окончания подачи раствора штукатур Ш1 при помощи воды и воздуха промывает и продувает напорные рукава, а штукатур Ш2 принимает воду после промывки рукавов в специальную емкость.

Операция выполняется 7 мин.

Норма времени Нвр. На подачу 1 м3 раствора

156 : 2,5 = 62,4 чел.-мин.

Выработка В на одного рабочего за восьмичасовую смену^

Рис. 1. Схема подсоединения компрессорной станции ДК-9М к установке УПТЖР-2,5

 




ГОСТЫ, СТРОИТЕЛЬНЫЕ и ТЕХНИЧЕСКИЕ НОРМАТИВЫ.
Некоммерческая онлайн система, содержащая все Российские Госты, национальные Стандарты и нормативы.
В Системе содержится более 150000 файлов нормативно-технической документации, действующей на территории РФ.
Система предназначена для широкого круга инженерно-технических специалистов.

Рейтинг@Mail.ru Яндекс цитирования

Copyright © www.gostrf.com, 2008 - 2026