Крупнейшая бесплатная информационно-справочная система онлайн доступа к полному собранию технических нормативно-правовых актов РФ. Огромная база технических нормативов (более 150 тысяч документов) и полное собрание национальных стандартов, аутентичное официальной базе Госстандарта. GOSTRF.com - это более 1 Терабайта бесплатной технической информации для всех пользователей интернета. Все электронные копии представленных здесь документов могут распространяться без каких-либо ограничений. Поощряется распространение информации с этого сайта на любых других ресурсах. Каждый человек имеет право на неограниченный доступ к этим документам! Каждый человек имеет право на знание требований, изложенных в данных нормативно-правовых актах!

  


 

НИИЖБ ГОССТРОЯ СССР

РЕКОМЕНДАЦИИ

ПО РЕМОНТУ ЯЧЕИСТОБЕТОННЫХ СТЕН ЖИЛЫХ И ПРОМЫШЛЕННЫХ ЗДАНИЙ

МОСКВА-1987

Госстрой СССР

Ордена Трудового Красного Знамени

научно-исследовательский институт

бетона и железобетона (НИИЖБ)

Утверждены

директором НИИЖБ

26.02.1987 г.

СОДЕРЖАНИЕ

ПРЕДИСЛОВИЕ

ОСНОВНЫЕ ТЕРМИНЫ

1. ОБЩИЕ ПОЛОЖЕНИЯ

2. ВИДЫ ПОВРЕЖДЕНИЙ

3. ВИДЫ РЕМОНТОВ

4. ВИДЫ И СОСТАВЫ РЕМОНТНЫХ РАСТВОРОВ

5. СОСТАВЫ ПЕНООБРАЗОВАТЕЛЕЙ

6. СПОСОБЫ ПРИГОТОВЛЕНИЯ РАСТВОРНЫХ СМЕСЕЙ

7. ТЕХНОЛОГИЯ ВЫПОЛНЕНИЯ РЕМОНТА

8. РЕМОНТ НАРУЖНОЙ ОТДЕЛКИ СТЕН

9. ПОВЫШЕНИЕ ОТЕПЛЕННОСТИ СТЕН

10. ЗАВОДСКОЙ РЕМОНТ ПАНЕЛЕЙ

11. КОНТРОЛЬ КАЧЕСТВА РЕМОНТА

12. ТЕХНИКА БЕЗОПАСНОСТИ ПРИ РЕМОНТНЫХ РАБОТАХ

Приложение 1 МАТЕРИАЛЫ И ТРЕБОВАНИЯ К НИМ

Приложение 2 ПРИГОТОВЛЕНИЕ ПЕНООБРАЗОВАТЕЛЕЙ

Приложение 3 КОНТРОЛЬ КАЧЕСТВА ПЕНЫ

Приложение 4 ОПИСАНИЕ ВИСКОЗИМЕТРА СУТТАРДА И ОПРЕДЕЛЕНИЕ ПЛАСТИЧНОСТИ РЕМОНТНОГО РАСТВОРА

Печатается по решению секции бетонных и железобетонных конструкций НТС НИИЖБ Госстроя СССР от 6 февраля 1987 г.

Содержат основные положения и практические способы осуществления ремонта ячеистобетонных стен жилых и промышленных зданий. Даны конкретные рекомендации по ремонту с учетом основной специфики ячеистого бетона - повышенной пористости.

Приведены новые эффективные составы поризованных растворов, которые должны применяться в большинстве видов ремонта.

Предназначены для инженерно-технических работников ремонтно-строительных и проектных организаций, а также организаций, эксплуатирующих здания со стенами из ячеистых бетонов.

ПРЕДИСЛОВИЕ

Ячеистые бетоны (газобетон, газозолосиликат, газосиликатобетон, пенобетон и другие их разновидности) являются высокоэффективным стеновым материалом. Ежегодно общий объем их составляет около 11 млн. кв. м стен (3,5 млн. м3 бетона).

Более чем в ста городах страны эксплуатируются здания с общей площадью стен около 150 млн. м2.

При проведении ремонта ячеистобетонных стен требуется тщательный учет основной специфики ячеистых бетонов - их высокой пористости. Без этого качество ремонта, осуществляемого обычными приемами, снижается.

Поэтому назрела необходимость дополнить имеющуюся литературу и указания по рассматриваемому вопросу настоящими Рекомендациями, содержащими новые данные об основных, рекомендуемых для ремонта, поризованных растворах.

В данных Рекомендациях не затронуты вопросы экономики ремонтов (их стоимости, анализа их эффективности, оценки сроков службы и т.п.) ввиду того, что решение этих вопросов зависит в каждом конкретном случае от различных местных условий и цен. Эти вопросы освещены в опубликованных работах по ремонту ячеистобетонных зданий*, а также в "Указаниях по ремонту стен жилых домов из ячеистобетонных панелей" Уральского научно-исследовательского института Академии коммунального хозяйства им. К.Д. Памфилова (Свердловск, 1981).

* Михалко В.Р., Безлепкин И.Г. Ремонт наружных стен из ячеистобетонных панелей. - М.: Стройиздат, 1977.

Михалко В.Р. Ремонт конструкций крупнопанельных зданий.- М.: Стройиздат, 1986.

Поскольку ремонты зданий со стенами из ячеистых бетонов осуществляют самые разнообразные организации (крупные и мелкие, строящиеся и эксплуатирующие здания и индивидуальные застройщики), некоторые пункты текста Рекомендаций изложены несколько более подробно, чем обычно.

Рекомендации разработаны НИИЖБ Госстроя СССР (кандидаты техн. наук В.В. Макаричев, А.М. Крохин) и КТБ НИИЖБ (инженеры Т.А. Щербакова, О.И. Марголина, Е.С. Фискинд).

ОСНОВНЫЕ ТЕРМИНЫ

Ремонт - комплекс операций по восстановлению исправности (работоспособности) изделий - в данном случае различных участков ячеистобетонных стен из армированных панелей, крупных или мелких стеновых блоков.

Текущий ремонт - ремонт, выполняемый для восстановления исправности и изделий (стен) и состоящий в замене их небольших участков (отдельных частей панелей или нескольких блоков).

Капитальный ремонт - ремонт, выполняемый для устранения неисправности здания путем полной (или близкой к полной) замены стеновых панелей или значительных участков стен из мелких блоков.

Неисправность - состояние объекта (стены или ее элемента), при котором он не соответствует полному выполнению своих функций (требованиям технической документации).

Повреждение - событие, заключающееся в нарушении исправности объекта или его составных частей.

Дефект - каждое отдельное несоответствие продукции требованиям, установленным нормативной документацией при приемке продукции или после ремонта. Термин "дефект" применяется только при контроле качества продукции.

Ремонтный раствор - условное сокращенное название раствора для ремонта того или иного участка стен зданий.

Растворная смесь - это материалы, составляющие раствор в незатвердевшем (пластичном) состоянии.

1. ОБЩИЕ ПОЛОЖЕНИЯ

1.1. Настоящие Рекомендации распространяются на ремонт ячеистобетонных стен жилых, общественных и производственных зданий, выполненных из армированных панелей и мелких блоков, а также на ремонт в заводских условиях отдельных стеновых панелей, имеющих повреждения (трещины или сколы), возникшие в процессе изготовления панелей.

1.2. Рекомендации не распространяются на ремонт стальных закладных и соединительных деталей в узлах крепления стеновых панелей к внутренним несущим конструкциям зданий.

1.3. До осуществления работ по ремонту ячеистобетонных стен зданий должны быть проверены и приведены в исправное состояние все другие части зданий, неисправности которых явились (или могут являться) причиной повреждения стен. В частности, должны быть в исправном состоянии карнизы, водосточные желоба и воронки (при внутреннем водоотводе), кровля и места примыкания ее к вертикальным поверхностям парапетов, вентиляционных шахт и труб, места примыкания балконов и козырьков к стенам.

Вокруг зданий должен быть спланирован грунт и сделана отмостка так, чтобы цоколь выступал над ней на 25 - 40 см (в зависимости от продольного и поперечного уклона отмостки).

1.4. Все применяемые способы ремонта при различных повреждениях стен (включая отделку) должны обеспечить более интенсивное удаление водяного пара через наружную поверхность стен, чем проникновение пара через их внутреннюю поверхность (т.е. чтобы обеспечивать сушку стен через наружную поверхность). Необходимо, чтобы наружные слои стен были более паропроницаемыми чем внутренние.

1.5. При ремонте повреждений на наружных поверхностях стен (как панельных, так и блочных) следует применять не обычные растворы, имеющие среднюю плотность порядка 1800 - 2000 кг/м3, а поризованные - с плотностью 1500 кг/м3 и ниже. При этом поризованные растворы должны быть достаточно морозостойкими.

1.6. При ремонте внутренних поверхностей стен (и особенно при заделке швов между панелями и по периметру оконных проемов) следует применять не поризованные, а обычные плотные растворы и даже специально уплотненные (путем железнения).

1.7. Для окраски внутренних поверхностей стен рекомендуется применять масляную краску.

2. ВИДЫ ПОВРЕЖДЕНИЙ

2.1. Виды и причины повреждений ячеистобетонных стен зданий, а также способ ремонта приведены в табл.1.

Таблица 1

Вида и характеристика повреждений

Возможные основные причины повреждений

Где изложен способ ремонта в настоящих Рекомендациях

1

2

3

1. Снижение качества защитно-декоративной отделки наружных поверхностей стен (шелушение и растрескивание лицевого слоя покрытия, отпадение фактурного слоя и плитки)

Нормальные эксплуатационные факторы (нагревание и охлаждение, намокание, замораживание и оттаивание), чрезмерное увлажнение из-за неисправностей водосточных устройств или низкое качество строительства зданий

Раздел 8

2. Сетка поверхностных трещин в бетоне панелей хаотическая или соответствующая расположению стержней арматурных сеток

Повышенная усадка бетона в сочетании с карбонизацией; недостаточная толщина защитного слоя арматуры; чрезмерное поверхностное увлажнение и высыхание

пп.7.2, 8.5

3. Отдельные единичные трещины разных направлений шириной более 0,4 мм на наружных поверхностях стен

Повышенная усадка бетона (особенно в первые годы эксплуатации). Температурные и другие деформации стен

п.7.2

4. Разрушение наружных поверхностей стен {наличие трещин, приводящих к отслоению бетона) на глубину до арматуры (10 – 40 мм) площадью более 0,5 мм2

Усадка бетона; чрезмерное увлажнение (от дождевых брызг, неисправности водостоков); коррозия арматуры

пп.7.5-7.7

5. То же, глубиной более 40 мм, с выкрашиванием и отпадение кусков бетона и оголением арматуры

Усадка бетона; чрезмерное систематическое увлажнение (от дождевых брызг, неисправности водостоков, подсос влаги из грунта), скрытые дефекты изготовления панелей (внутренние температурно-усадочные напряжения!

пп.7.8-7.9

6. Разрушение швов между панелями (иногда с выпадением раствора) и швов вокруг оконных проемов (в том числе, под наружными подоконными участками стен) с частным разрушением примыкающего к швам ячеистого бетона

Плохая пароизоляция швов с внутренней стороны стен (проникание паров в толщу швов и замерзание конденсата в наружной части их). Проникновение конденсата, стекающего с окон, в подоконную часть стен. Плохое состояние наружных подоконных сливов и отсутствие их с внутренней стороны проемов (в промышленных зданиях)

пп.7.10-7.13

7. Разрушение наружной поверхности стен над балконами, входными козырьками и крыльцами

Усиленное увлажнение поверхности стен брызгами от дождевых капель

пп.7.4-7.5

8. Разрушение наружных участков стен под балконами и под железобетонными наружными сливами под окнами

Размораживание ячеистого бетона в местах контакта его с железобетонными элементами, которые, будучи введенными в толщу стен, вызывают снижение их термического сопротивления, а также вследствие обратного уклона

пп.7.4-7.6

9. Коррозия арматуры, проявляющаяся в виде ржавых потеков на наружной поверхности стен и в виде трещин, идущих вдоль проржавевших стержней

Недостаточная толщина бетонного защитного слоя в сочетании с низким качеством антикоррозийной обмазки арматуры и с повышенным увлажнением бетона стен

пп.7.7-7.21

10. Разрушение внутренних поверхностей наружных стен вблизи швов между панелями; разрушение подоконных участков стен (в том числе, мелкоблочных), в углах и других местах, где происходит промерзание

Систематическое увлажнение бетона в указанных местах вследствие промерзания неудовлетворительно заделанных швов, подоконных участков и других мест, где имеются "мостики холода"

пп.7.14-7.16

2.2. К числу неисправностей стен зданий, вызывающих многие из приведенных выше (табл. 1) местных повреждений, относится общее недостаточное сопротивление теплопередаче (термическое сопротивление стен), которое надлежит устранять соответствующим ремонтом, направленным на общее увеличение отепленности стен.

При этом повышение отепленности стен зданий (ремонт) следует осуществлять по возможности быстрее, так как в недостаточно теплых (холодных) стенах повреждения прогрессируют, появляются новые и все это приводит к снижению общей долговечности стен.

2.3. При оценке степени недостаточной отепленности стен следует различать явные и неявные признаки. К первым относятся многочисленные случаи промерзания наружных углов стен зданий.

Неявная недостаточность отепленности стен устанавливается экспериментально, путем испытания стен в натурных условиях (по специальной методике) или расчетом термического сопротивления стен по фактическим характеристикам примененного ячеистого бетона, раствора швов и штукатурки.

2.4. Недостаточная отепленность стен зданий имеет место в результате применения в процессе строительства более плотного ячеистого бетона и раствора, чем это предусмотрено проектами, а также в результате заниженной толщины стен.

2.5. Способы устранения недостаточной отепленности стен приведены в разд. 9.

3. ВИДЫ РЕМОНТОВ

3.1. Рекомендуемые конкретные разновидности ремонтов* ячеистобетонных стен предназначены для осуществления следующих общих видов ремонта:

текущего - профилактического и непредвиденного;

капитального - комплексного и выборочного.

3.2. При выборе способа ремонта, соответствующего виду повреждения, следует иметь в виду назначение и характеристику основных разновидностей ремонтов.

3.3. Ремонт наружной отделки стен предназначен для восстановления качества защитно-декоративной отделки при повреждениях типа растрескивания, шелушения, отслаивания отделки, а также отпадения фактурных слоев и плитки. В этот вид ремонта входит также и отделка листовыми материалами "на относе". Технология данного вида ремонта изложена в разд.8.

* Рекомендации по отделке ячеистобетонных стен жилых и промышленных зданий – М.: Стройиздат, 1987.

Положение о проведении планово-предупредительного ремонта жилых и общественных зданий. - М.: Стройиздат, 1965.

3.4. Ремонт единичных трещин на ячеистобетонной поверхности стен производится методом расшивки на ширину до 15 мм и обычным плотным цементным или цементноизвестковым раствором, либо поризованным раствором (см. п.7.2).

3.5. Ремонт поверхностных разрушений и отслоений ячеистого бетона глубиной до 20 - 30 мм осуществляется нанесением поризованных растворов методом оштукатуривания (см.пп.7.4-7.5).

Аналогичный ремонт отслоений глубиной до 20 мм, но выполняемый методом заливки поризованного раствора за передвижной щит изложен в п.7.6.

3.6. Ремонт поверхностных разрушений и отслоений бетона глубиной более 50 мм на больших площадях (более 0,5 м2) требующий применения гвоздей, проволоки или сеток, изложен в пп. 7.7-7.8.

3.7. Ремонт особо глубоких разрушений (более 100 мм) стен на значительной площади (более 1 м2) рекомендуется выполнять при помощи кладки из мелких ячеистобетонных элементов на поризованных растворах (см. п.7.9).

3.8. Ремонт швов между панелями и швов, расположенных по периметру оконных проемов, являющийся сложным, трудоемким и ответственным процессом, должен обеспечить паропроницаемость заделки швов у наружной поверхности стен и надежную пароизоляцию на внутренней поверхности (см. пп.7.10-7.14).

3.9. Ремонт участков стен над балконами и входными козырьками предназначен для ликвидации имеющихся повреждений стен (вследствие брызг от дождевых капель) и для восстановления наружной отделки стен. С целью профилактики рекомендуется защитить данные участки асбестоцементными или жестяными листами наподобие отделки "на относе" (см. п.8.10).

3.10. Ремонт арматуры, подвергнутой коррозии, предназначен для восстановления ее несущей способности (если она является работающей на заданные усилия) или для ее удаления (если она является не рабочей, т.е. конструктивной). Данный способ изложен в пп.7.17-7.21.

3.11. Ремонт внутренних поверхностей наружных стен предназначен для ликвидации повреждений на основной поверхности стен, т.е. между оконными проемами и панельными швами. Он должен осуществляться плотным (не поризованным) раствором, т.е. аналогично заделке швов с внутренней стороны стен (см. п.3.8). Способ ремонта внутренних поверхностей изложен в пп. 7.14-7.16.

3.12. Ремонтные работы по повышению отепленности стен предназначены для устранения иногда имеющего место явного промерзания стен в углах зданий, у вертикальных стыков между панелями, в местах опирания железобетонных перекрытий на стены, а также не явной (скрытой) недостаточности термического сопротивления стен. И в том и в другом случае повышение отепленности стен (а также перекрытий) необходимо для повышения долговечности их, для экономии топлива и для улучшения условий проживания людей.

Данные ремонтные работы освещены в разд. 9.

3.13. Ремонт стеновых панелей в заводских условиях предназначен для устранения повреждений, которые эти панели получают в процессе тепловлажностной обработки в автоклавах (технологические трещины), при остывании (температурно-усадочные трещины) и в процессе распалубки и перевозки на склад.

Хотя эти повреждения и не являются эксплуатационными и устранение их не относится к ремонту зданий, этот вид ремонта включен в данные Рекомендации потому, что методика его осуществления имеет сходство с другими, указанными выше, видами ремонтов.

Ремонт панелей в заводских условиях освещен в разд.9.

4. ВИДЫ И СОСТАВЫ РЕМОНТНЫХ РАСТВОРОВ

4.1. Для ремонта стен из ячеистого бетона применяются растворы поризованные и обычные.

4.2. Составы растворов и их назначение приведены в табл.2 и 3.

Таблица 2

Номер состава

Состав раствора, мас.ч

Наименование добавки и ее назначение

Назначение раствора

1

2

3

4

1.

Цемент – 1

Песок – 3

ПВА - 50%-ная или латекс СКС-65 ГП -10 % (массы цемента)

Вода - до рабочей консистенции 13 - 15 см по конусу СтройЦНИЛ

Добавка ПВА (СКС-65ГП) вводится для повышения пластичности раствора и увеличения адгезии раствора с ремонтируемым основанием

При ремонте внутренней стороны стен, заделке швов между панелями, вокруг оконных и дверных проемов и отдельных наружных трещин, сколов и отслоений, а также при оштукатуривании и затирке внутренних поверхностей стен из мелких блоков и при наклеивании плиточных материалов

2.

Цемент – 1

Известковое тесто - 0,2

Песок - 4

ПВА-50%-ная пластифицированная или латекс СКС-65ГП - 10 (массы цемента)

Вода - до рабочей консистенции

13 - 15 см по конусу СтройЦНИЛ

То же

То же

3.

Цемент - 1

Мел - 0,3

Краска ПХВ - 0,6

 

Краска ПХВ вводится в цемент для повышения пластичности раствора, мел - для придания составу отбеливающих свойств и как наполнитель

При ремонте трещин и выколов глубиной до 15 мм

4.

Цемент - 1

Песок - 3

Дисперсия ПВА - 50%-ная или латекс СКС-65ГП - 10 % (массы цемента)„ Химические добавки*

Подогретая вода до консистенции 13 - 15 см по конусу СтройЦНИЛ

Химические добавки (поташ, нитрит натрия)вводятся в растворную смесь для сохранения ею пластичных свойств при ремонте в зимних условиях (для предохранения от замерзания)

Растворы используются при ремонте внутренней стороны ячеистобетонных стен в зимнее время года

* Наименование химических добавок и их количество приведены в табл.5.

Таблица 3

Номер состава

Состав раствора, мас. ч.

Наименование добавки и ее назначение

Назначение раствора

1

2

3

4

1.

Цемент - 1

Песок - 2-3

Вода - до консистенции 9-12 см по Суттарду

Пена * - вводится до получения растворной смеси со средней плотностью I500 кг/м3

Пена приготовляется отдельно и вводится в растворную смесь для снижения ее средней плотности

При ремонте наружных поверхностей с крупными дефектами

2.

Цемент – 1

Песок - 2-3

Пенообразователь -0,6

Вода - до консистенции 10-12 см по Суттарду

Пенообразователь подается в скоростной смеситель, где готовится растворная смесь и за счет интенсивного перемешивания осуществляется ее вспенивание

При ремонте наружной отделки плиточными материалами, а также и наружных поверхностей стен

3.

Цемент - 1

Молотый песок -1,5-2,5

Немолотый песок -0,5-1

СНВ - 0,8 (массы сухих компонентов)

Вода до консистенции 10-12 см по Суттарду

СНВ - абиетат натрия - воздухововлекающая добавка вводится в растворную смесь. При интенсивном перемешивании осуществляется поризация растворной смеси за счет вспенивания

При ремонте наружных поверхностей стен с крупными дефектами

4.

Цемент - 1

Песок - 1,0-1,5

Газобетонная крошка или керамзит (фракции 5-10 см или 10-20 мм) -1,5-3

Латекс СКС-65ГП -0,2 (массы газобетонной крошки)

Вода - до консистенции 12-14 см по конусу СтройЦНИЛ

Газобетонная крошка (или керамзит) вводится в смесь как легкий наполнитель для снижения плотности полученного раствора. Латекс СКС-65ГП вводится для повышения пластичности раствора и увеличения адгезии раствора с основанием. Песок можно заменить дробленым ячеистым бетоном или дробленым керамзитом

То же

* Компоненты и составы для приготовления пенообразователей и пен даны в разд.5.

4.3. Прочность на сжатие (марка) ремонтных растворов должна быть не ниже прочности (марки) ремонтируемого ячеистого бетона и не должна превышать ее более, чем в 1,5 раза (растворы с более высокой прочностью имеют пониженную деформативность и вследствие этого отслаиваются от ячеистого бетона).

4.4. Для увеличения сроков схватывания ремонтных растворных смесей в их состав следует ввести до 10 % (массы цемента) гашеной извести.

4.5. Для повышения прочности раствора на 7 - 10% часть воды затворения рекомендуется заменять подмыленным щелоком (до 25%).

4.6. Для поризации ремонтных растворов может быть взят любой пенообразователь, рекомендованный к применению (разд. 6).

4.7. Поризованный раствор после твердения должен иметь среднюю плотность (объемную массу) в высушенном состоянии не более 1500 кг/м3.

4.8. Для придания растворам гидрофобных свойств в их состав можно вводить 2% (массы цемента) гидрофобизирующей добавки кремнийорганической жидкости ГКЖ-10 или ГКЖ-11 в виде 25%-ный водных растворов или кремнийорганической жидкости 136-41 в виде 10%-ного раствора.

5. СОСТАВЫ ПЕНООБРАЗОВАТЕЛЕЙ

5.1. Для поризации ремонтных растворов рекомендуется применять традиционные пенообразователи: смолосапониновый, ПО-6 (гидролизованная кровь ГК), клееканифольный, а также синтетические пенообразователи, получаемые на основе ПАВ и стабилизаторов.

5.2. Соотношение между компонентами традиционных пенообразователей должно быть следующее:

смолосапониновый: мыльный корень - 1 мас.ч.; вода - 10 мас.ч.;

ПО-6 (гидролизованная кровь): боенская кровь - 1 мас.ч.; едкий натр (сухой) - 0,02 мас.ч.; хлористый аммоний - 1,35 мас.ч. (массы едкого натра); сернокислое железо (15% раствор) - 0,3 мас.ч.;

клееканифольный: канифоль - 1 мас.ч.; едкий натр (16% раствор) - 2 мас.ч.; клей мездровый (50% раствор) - 1,45 мас.ч.; вода - 7 мас.ч.;

алюмосульфонафтеновый: керосиновый контакт (нефтяные сульфокислоты) - 1 мас.ч.; сернокислый глинозем - 1 мас.ч.; едкий натр (сухой) - 0,12 мас.ч.; вода - 3 мас.ч.

5.3. Составы синтетических пенообразователей представлены в табл. 4.

5.4. Для повышения устойчивости пены и ее стойкости в растворной смеси в состав синтетических пенообразователей рекомендуется вводить стабилизаторы, включающие водорастворимые клеи и щелочные добавки.

Таблица 4

Пенообразующее вещество ПАВ

Количественное содержание ПАВ, мас.ч.

Содержание стабилизаторов пены, мас.ч.

Содержание

жидкое стекло ПЛ-1,4

КМЦ

клей казеиновый

Клей мездровый (или костный)

тринатрий фосфат

воды, мас.ч.

Сульфонол

1

-

-

0,2

-

-

13

То же

1

 

0,3

-

-

0,3

13

"

1

-

-

-

0,3

-

13

"

1

2

-

-

-

0,5

13

ПАВ на основе первичных и вторичных алкилсульфатов:

Паста алкилсульфатов

1

1,2

-

-

-

0,5

15

То же

1

-

-

0,3

 

-

16

Скруберная паста

1

1

-

-

-

-

10

То же

1

-

-

-

0,2

-

12

Моющее средство "Прогресс"

1

-

0,06

-

-

0,03

3

То же

1

-

-

0,03

-

-

1

5.5. Способы приготовления пенообразователей, а также контроль их качества приведены в прил.2 и 3.

6. СПОСОБЫ ПРИГОТОВЛЕНИЯ РАСТВОРНЫХ СМЕСЕЙ

6.1. Поризованные растворы приготавливают путем:

введения в растворную смесь отдельно приготовленной пены;

введения в растворную смесь пенообразователей (традиционных или синтетических), указанных в разд.5;

введения в растворную смесь пористых наполнителей (молотого ячеистого бетона, керамзита и др.).

6.2. Технология приготовления поризованных растворов с помощью пен включает следующие этапы:

приготовление растворной смеси;

приготовление пены;

перемешивание пены с растворной смесью.

6.3. Для приготовления поризованного раствора с введением в растворную смесь отдельно приготовленной пены следует использовать двухбарабанную растворомешалку, разработанную в КТБ НИИЖБ (рис.1,а). Растворная смесь приготавливается в нижнем барабане с горизонтальным валом (с числом оборотов 40 - 60 в мин).

Взбивание пены производится одновременно в верхнем барабане, оборудованном решетчатой лопастью (с числом оборотов 250 - 300 в мин).

После приготовления пена подается в нижний барабан и дополнительно перемешивается с растворной смесью.

6.4. Пену также можно приготавливать в емкости с помощью пневмо- или электродрели (с числом оборотов 400 - 700 в мин), со специальной решетчатой насадкой (рис.1,б) или в турбулентном смесителе СБ-436, имеющем 320 об/мин (рис.1,в), турбулентный смеситель следует переоборудовать: заменить ротор решетчатой лопастью, изготовить плотную крышку. Приготовление растворной смеси и смешивание ее с пеной в этом случае можно производить в растворомешалках (с горизонтальным валом) емкостью 50 - 100 л, типа СО-48а, СО-46 и С-772.

6.5. В зависимости от требуемой плотности раствора соотношение объемов растворной смеси и вводимой пены должно составить от 1,5:1 до 1:1.

6.6. Приготовление поризованных растворов путем введения пенообразователей непосредственно в растворную смесь производится в следующей последовательности: вода и пенообразователь, например: ПО - 6 (ГК) или СНВ, либо синтетический пенообразователь, заливаются в скоростную растворомешалку и перемешиваются в течение 2 мин, затем загружается отдозированное количество вяжущего и заполнителя и перемешивание продолжается дополнительно не менее 3 - 4 мин.

6.7. Поризованные растворы путем вспенивания растворной смеси рекомендуется приготавливать в смесителях и растворомешалках принудительного действия с числом оборотов 150 - 300 в мин (типа СБ-436), оборудованных специальным ротором, при продолжительности перемешивания до 5 мин. Возможно также приготовление смеси в обычных растворомешалках с числом оборотов 80 - 120 в мин и продолжительностью перемешивания 6 - 10 мин.

6.8. Поризованные растворы на основе пористых заполнителей готовятся в обычных растворомешалках принудительного действия. При их приготовлении песок или его часть заменяется молотым ячеистым бетоном или дробленым керамзитом.

6.9. Пористые заполнители вводятся в раствор в последнюю очередь. Консистенция растворной смеси должна составлять 11 - 14 см по конусу СтройЦНИЛ.

6.10. Приготовление поризованных растворов должно производиться непосредственно на строительной площадке. Длительная транспортировка поризованной растворной смеси любого вида (более 30 - 40 мин) исключается. После приготовления поризованную растворную смесь следует использовать в течение часа.

6.11. Средняя плотность поризованной растворной смеси должна быть не более 1500 кг/м3. Она определяется путем взвешивания раствора в литровой кружке.

Рис. 1. Схемы двухбарабанной растворомешалки (а), установки на базе электродрели с насадкой (б) и турбулентного смесителя СБ-43 Б (в)

1 - съемная крышка; 2 - решетчатая насадка; 3 - электродрель; 4 - замки; 5 - емкость объемом 20 - 30 л; 6 - люк для выгрузки; 7 - решетчатая лопасть; 8 - емкость смесителя; 9 - электромотор; 11 - платформа

6.12. Обычные плотные ремонтные растворы с полимерными добавками получают путем введения в их состав (табл. 2) либо дисперсии ПВА-50%-ной пластифицированной, либо стиролбутадиенового латекса СКС-65 ГП в количестве 10% массы цемента.

6.13. Компоненты плотных ремонтных растворов перемешивают в растворомешалках типа СО-46, СО-23А при следующей последовательности загрузки компонентов: вода (70% общего количества), дисперсия ПВА или латекс. Смесь перемешивают в течение 1 - 2 мин. Затем добавляют цемент и песок, смесь вновь перемешивают в течение 5 - 7 мин. Во время перемешивания добавляют оставшуюся воду.

6.14. Полимерцементная растворная смесь изготавливается из расчета использования ее в течение 4 ч с момента приготовления.

6.15. Для получения полимерцементного ремонтного раствора ускоренного твердения в растворную смесь непосредственно перед укладкой добавляют глиноземистый цемент в соотношении 10:1.

Количество растворной смеси быстрого твердения изготавливают из расчета ее использования в течение 15 мин.

При введении в растворную смесь добавки глиноземистого цемента при необходимости (для получения удобоукладываемой растворной смеси) добавляют воду.

6.16. При ремонте ячеистобетонных стен в зимних условиях (при температуре воздуха от -5°С до -25°С) применяет растворные смеси состава 1:0,2:4 (цемент : известковое тесто : песок) или 1:3 (цемент : песок), изготовленные на подогретой воде и песке, с введением пластифицирующих добавок типа ПВА или СКС-65 ГП (см. табл.2) и химических добавок (поташ, нитрит натрия, аммиачная вода, хлористый натрий), расход которых указан в табл. 5.

Таблица 5

Наименован из добавки

Расход на 100 л воды, кг

Температура наружного воздуха, °С

Температура раствора, °С

Водный раствор поташа (К2CO3)

4,1 - 6,6

-5 - -15

5 - 10

Нитрит натрия ( NaNО2)

7% - 10% массы цемента

-10 - -25

10 - 15

Хлористый кальций (СаCl2)

2,3 - 5,3

-5 - -15

15 - 35

Хлористый натрий (NaCl)

2,3 - 5,3

-5 - -15

15 - 35

7. ТЕХНОЛОГИЯ ВЫПОЛНЕНИЯ РЕМОНТА

Ремонт наружных поверхностей стен

7.1. Ремонт ячеистобетонных стен следует осуществлять в следующей последовательности:

очистить поверхность панелей от бухтящего или разрушающегося слоя ячеистого бетона;

обеспылить поверхность ремонтируемых участков, обильно смочив их водой;

огрунтовать поверхность дисперсией ПВА (50%-ной) или латексом СКС-65 ГП, разведенных водой в соотношении 1:3 (по объему), или смочить водой;

произвести ремонт поврежденных участков в соответствии с видом и размером разрушения.

7.2. При отдельных (единичных) трещинах раскрытием более 0,4 мм ремонт производят обычным плотным раствором любого состава (см. табл. 2). До начала заделки трещины необходимо расшить на ширину 5 - 15 мм.

7.3. Заделку отдельных выбоин и сколов рекомендуется осуществлять поризованным раствором любого состава (табл. 3).

7.4. Ремонт разрушенного поверхностного слоя глубиной до 10 мм следует производить поризованным раствором состава № 1, 2 или 3 (см. табл. 3) путем оштукатуривания без уплотнения, затирки или железнения, чтобы не нарушить пористую структуру раствора.

7.5. При разрушениях на глубину от 10 до 20 мм на очищенную и огрунтованную поверхность наносят поризованный раствор любого состава (см. табл. 3). После очистки разрушенной поверхности на нее следует нанести бороздки или насечки. Лицевую поверхность раствора не уплотнять, не затирать и не железнить (см. п.7.4).

7.6. В том случае, если ремонтируются участки небольшие по площади (до 0,5 м), но с глубокими повреждениями (до 20 мм), то рекомендуется пользоваться передвижным щитом, изготовленным из водостойкой фанеры или дюрали. Щит прижимается к нижней части разрушенного участка и постепенно, по мере нанесения поризованной растворной смеси, поднимается вверх, придерживая нанесенную смесь от сползания.

После того, как выемка полностью заполнена смесью, щит следует прикрепить шурупами к стене на 2 - 3 ч.

7.7. При разрушении ячеистого бетона на глубину от 20 до 50 мм и площадью до 0,5 м2 в очищенную от разрушений и огрунтованную часть панели в шахматном порядке на расстоянии 150 - 200 мм один от другого с наклоном 75 - 85° к вертикальной плоскости, вбить оцинкованные гвозди длиной 150 - 200 мм и диаметром 5 мм так, чтобы крайний ряд отстоял от кромки не менее 100 мм. Гвозди должны быть углублены в неразрушенную часть бетона не менее, чем на 100 мм, а шляпка гвоздя отстояла от наружной поверхности не менее, чем на 10 мм.

Навить на гвозди алюминиевую проволоку (рис. 2) и нанести один из поризованных растворов, составы которого указаны в табл. 3.

Во избежание растрескивания поверхность затвердевшего раствора следует увлажнять водой каждые 4 ч в течение 2 сут.

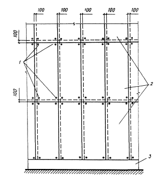
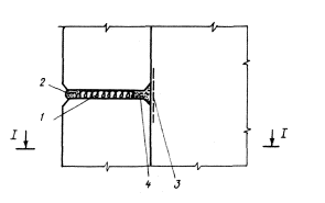
Рис. 2. Схема ремонта панели из ячеистого бетона с глубиной разрушения от 20 до 50 мм и площадью до 0,5 м2

1 - панель; 2 - гвозди; 3 - металлическая проволока; 4 - контур разрушения

7.8. При разрушении на глубину свыше 50 мм и площадью более 0,5 м на вбитые в ремонтируемую часть панели гвозди надеваются полотна металлической сетки (рис. 3), общая площадь которой соответствует площади ремонтируемого участка. Затем на обеспыленный, огрунтованный и заармированный участок наносят поризованный раствор (см. табл. 3).

Рис. 3. Схема ремонта панели из ячеистого бетона с глубиной разрушения свыше 50 мм и площадью более 0,5 м

1 - панель; 2 - гвозди; 3 - металлическая сетка; 4 - контур разрушения

Поверхность затвердевшего раствора в первые двое суток также следует увлажнять водой через каждые 4 ч.

7.9. Повреждения больших и глубоких участков рекомендуется устранять путем заполнения их кладкой из мелких ячеистобетонных элементов (рис. 4).

Последовательность выполнения работ:

расчистить поврежденные участки;

заготовить штучные элементы необходимых размеров;

очистить арматуру от коррозии и покрыть ее антикоррозионным покрытием согласно "Инструкции по изготовлению изделий из ячеистого бетона" СН 277-80 (М.: Стройиздат, 1981);

заложить поврежденные места заготовленными элементами правильной формы или бесформенными кусками.

Элементы надлежащего размера получают раскалыванием или распиловкой мелких стеновых ячеистобетонных блоков, плотность бетона которых должна быть не выше, чем плотность бетона стен. Растворы для кладки должны быть поризованными.

Рис. 4. Схема ремонта повреждений способом кладки из мелких ячеистобетонных элементов

1 - кладка из мелких ячеистобетонных элементов; 2 - контур разрушения

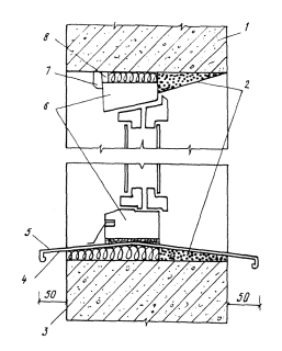
Рис. 5. Схема размещения основных материалов в ремонтируемых швах между панелями

1 - эффективная теплоизоляция; 2 - поризованный цементный раствор или паропроницаемая мастика; 3 - дополнительная пароизоляция стен вдоль швов;

4 - уплотненный цементный раствор с железнением поверхности со стороны помещения

Ремонт швов

7.10. До начала ремонта швов между панелями, а также швов в оконных и дверных проемах (вокруг оконных и дверных коробок), их следует расчистить.

7.11. После ремонта ячеистого бетона на участках стен, примыкающих к шву, и соответствующей грунтовки внутренней полости шва, в него вводятся имеющиеся в наличии мастичные или прокладочные герметики. При этом желательно ввести в среднюю часть шва больше высокоэффективного теплоизолирующего материала, например, полос из пороизола.

7.12. Принципиальная схема заделки швов между панелями приведена на рис. 5,а швов в оконных проемах - на рис. 6 - 8.

Рис. 6. Схема размещения основных материалов в ремонтируемых швах между стенами и оконными (и дверными) коробками - боковыми и верхними

1 - коробка оконного (или дверного) блока; 2 - поризованный цементный раствор со средней плотностью ниже 1500 кг/м3 без железнения поверхности с паропронипаемой покраской; 3 - эффективная теплоизоляция; 4 - уплотненный цементный раствор с железнением поверхности и покрытием масляной (или другой пароизоляционной) краской

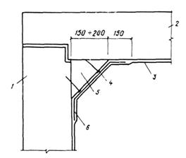
Рис. 7. Схема размещения основных материалов в ремонтируемых швах под подоконниками

1 - поризованный цементный раствор со средней плотностью ниже 1500 кг/м3; 2 - крепежная стальная полоса 4×10 мм с шагом 600 мм; 3 - подоконный слив из оцинкованной стали; 4 - коробка оконного блока; 5 - подоконная доска; 6 - дополнительная пароизоляция вдоль шва на длину подоконника (мешковина, пропитанная олифой, масляная краска и т.п.); 7 - уплотненный цементный раствор, уложенный до установки подоконника или тщательно зачеканенный после установки подоконника; 8 - эффективная теплоизоляция

Общим требованием для заделки этих швов является следующее. Заделка швов с наружной стороны должна производиться паропроницаемыми (т.е. поризованными) растворами с тем, чтобы в наружной части швов не происходило систематического накапливания влаги, которая неизбежно проникает в виде пара в стену с ее внутренней стороны.

Заделка внутренних участков швов (т.е. со стороны помещений), в противоположность заделки наружных, должна производиться максимально плотными цементными растворами, с тем, чтобы уменьшить проникновение пара в толщу швов. При этом поверхность раствора следует уплотнить и зажелезнить.

Эти принципы должны соблюдаться во всех случаях ремонта, несмотря на большое разнообразие конструкций оконных коробок и переплетов, которые применялись в прежние годы при строительстве ремонтируемых зданий. Несовершенство некоторых старых конструктивных решений стыков и швов, а также подоконных участков стен, часто являющихся причиной повреждений вблизи оконных проемов и в швах, должно быть при ремонте устранено.

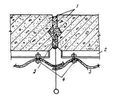
Рис. 8. Схема заделки верхнего и нижнего швов между панелями и оконным заполнением в стенах производственных зданий

1 - панель; 2 - плотный цементный раствор; 3 - просмоленная пакля; 4 - стальная полоса 4 × 10 мм с шагом 500 мм; 5 - оцинкованная жесть; 6 - оконная коробка; 7 - деревянная рейка или поризованный цементных раствор; 8 - герметик

7.13. В конструкции швов между подоконниками и нижележащими панелями (или мелкоблочной кладкой) должна быть исключена возможность протекания конденсатной воды с окон в нижележащие участки стен.

В частности, для этого в стенах производственных зданий рекомендуется выполнять наружные и внутренние подоконные сливы из одного листа оцинкованной жести (см. рис. 8).

Ремонт внутренних поверхностей стен

7.14. Повреждения внутренних поверхностей стен на глубину до арматуры, а также в подоконных участках стен, устраняются путем заделки их плотным (непоризованным) раствором (состав 1 и 2 в табл. 2).

7.15. При глубоких выколах и разрушениях стен (более 30 мм) основное пространство в глубине должно заполняться поризованным раствором с включением крупных кусков ячеистого бетона той же плотности, что и бетон стены. А поверхностный слой толщиной порядка 10 – 15 мм выполняется из плотного непоризованного раствора с железнением.

7.16. Если причиной дефекта (разрушения) стены являлось отсутствие подоконника, организованного водослива, козырьков над входами и т.п., то перед ремонтом эти причины должны быть устранены.

Ремонт арматуры

7.17. При ремонте арматуры, поврежденной коррозией, надлежит прежде всего установить назначение ее: является ли она рабочей или конструктивной.

К конструктивным стержням арматуры относятся, как правило, стержни сеток и каркасов небольшого диаметра (8 мм и менее), расположенные у поверхностей панелей как в направлениях вдоль, так и поперек панелей.

Рабочими стержнями являются те, которые работают на растяжение вдоль основного пролета панелей, испытывающих изгиб либо в вертикальной плоскости, либо в горизонтальном направлении, или и в том и другом направлениях при косом изгибе.

При выяснении действительной работы поврежденных панелей и их арматурных стержней, в случае необходимости, целесообразно провести соответствующий расчет прочности и жесткости панелей с учетом имеющегося фактического сопряжения их с внутренними несущими конструкциями зданий (с колоннами или поперечными стенами и с междуэтажными перекрытиями).

Рабочими стержнями являются не только продольные, работающие на растяжение вследствие изгиба панелей (в нормальных поперечных сечениях), но и некоторые поперечные стержни, работающие на растяжение в наклонных (косых) сечениях панелей.

Во многих случаях стеновые панели практически не работают на изгиб из своей плоскости, а также и в своей плоскости. В таких случаях все арматурные стержни можно считать конструктивными.

7.18. Конструктивные арматурные стержни, поврежденные коррозией, ремонтировать не рекомендуется, их надлежит удалить.

При этом следует удостовериться, что участки стержней, прилегающие к удаляемому месту, не имеют повреждений. В противном случае их также следует удалить.

7.19. Бетон, разрушенный и раздробленный вокруг удаляемых стержней, должен быть восстановлен по методике ремонта поверхностных разрушений бетона панелей поризованным раствором (см.пп.7.5-7.8) в зависимости от объема и характера повреждений бетона.

7.20. При ремонте рабочей аркатуры, подвергнутой незначительной коррозии, можно ограничиться очисткой ее и восстановлением антикоррозионной обмазки мастикой, составы которой приведены в разделе 3 СН 277-80.

7.21. При необходимости сохранить прочность (разрывное усилие) ремонтируемых стержней, повергнутых значительной коррозии, прокорродированный участок их должен быть удален, а к оставшимся участкам стержней должны быть приварены компенсирующие стержни (коротыши), желательно по два симметрично расположенных стержня (можно меньшего диаметра).

После сварки все стержни должны быть покрыты антикоррозионной мастикой.

8. РЕМОНТ НАРУЖНОЙ ОТДЕЛКИ СТЕН

8.1. Ремонтные работы по отделке фасадов следует производить после окончания других видов ремонта, а именно: работ по герметизации, заделке швов и стыков между панелями на фасаде здания, а также ремонта кровли и карнизных навесов, козырьков над входами, гидроизоляции и устройству отмостки вокруг зданий, установки пожарных лестниц и водосточных труб, ремонта разрушенных участков поверхности панелей, трещин.

8.2. Отделка на ремонтируемых участках стен должна соответствовать отделке всего фасада здания.

8.3. Ремонт следует производить с инвентарных трубчатых лесов или люлек. Запрещается производить ремонт отделки во время дождя, зимой, при ветре, скорость которого превышает 10 м/сек.

8.4. На поверхности стен, где необходимо восстановить защитно-отделочные покрытия на основе лакокрасочных материалов, не должно быть трещин, жировых и ржавых пятен, пыли, раковин, выколов и впадин. Поверхности должны быть отремонтированы и просушены. Соблюдение этих требований обязательно, так как предварительная подготовка поверхности к отделке оказывает существенное влияние на качество ее сцепления с основанием.

8.5. Технология ремонта отделки лакокрасочными материалами заключается в следующем:

произвести тщательную очистку поверхности панели от старой отслаивающейся краски. Хорошо держащиеся слои краски следует с помощью щеток промыть мыльной водой или 5%-ной аммиачной водой;

огрунтовать ремонтируемые участки стен разбавленными составами основных красок, которые будут применены при окончательной окраске фасада;

высушить и произвести окончательную окраску всего фасада здания основными составами красок.

Для очистки фасадов от старой краски можно использовать пескоструйные аппараты марки ПА-60, ПА-40, либо скребки, металлические щетки и т.п.

Защитно-отделочные покрытия на основе лакокрасочных и полимерцементных составов можно наносить кистью, валиками или пистолетами-распылителями типа СО-3А, ГСХ (Р-68), 0-45.

Виды и составы отделок, рекомендуемые при ремонте наружных поверхностей стен, приведены в табл. 6.

8.6. Технология ремонта отделки мелкозернистой крошкой заключается в следующем:

на подготовленную поверхность нанести грунтовочный слой, состоящий из латекса СКС-65 ГП или дисперсии ПВА - 50%-ной пластифицированной и воды, взятых в соотношении 1:3 (по объему);

- просохшую огрунтованную поверхность нанести клеющую основу, состоящую из лака Э-ВА-5189, либо дисперсии ПВА - 50%-ной пластифицированной с добавлением 40% цемента (массы лака или дисперсии);

сразу после нанесения клеющей основы нанести крошку, либо приклеить заранее приготовленный ковер с крошкой;

после высыхания нанести закрепляющий крошку состав, аналогичный грунтовочному составу.

Цветовая тональность и фракция применяемого для ремонта отделочного материала должна соответствовать старому покрытию.

 


Таблица 6

Наименование старого вида покраски фасадов

Наименование покрытия, рекомендуемого при перекраске

Материалы, используемые при перекраске

Примечание

грунт

шпаклевка

окраска

 

1

2

3

4

5

6

Эмаль кремнийорганическая КО-174

Эмаль КО-174

Эмаль КО-174, разведенная до вязкости 20 с по вискозиметру ВЗ-4

Эмаль KО-I74 с добавлением талька в соотношении 1 : 1 (по массе) вязкостью 25 с по ВЗ-4

2 слоя эмали КО-174 исходной вязкости

 

Краска хлорвиниловая ХВ-161 (пластифицированная)

Краска XB-16I, разведенная до вязкости 20 с по ВЗ-4

Лак ХВ-148

2 слоя краски XB-16I исходной вязкости

 

Краска цементно-перхлорвиниловая ЦПХВ

Краска ЦПХВ

Краска ЦПХВ, разведенная до вязкости 20-30 с по ВЗ-4

Краска ЦПХВ с после дующим нанесением 5%-ного лака ПХВ вязкостью 100-200 с по ВЗ-4

Краска ЦПХВ вязкостью 60-60 с по ВЗ-4

 

Эмаль на основе хлорсульфированного полиэтилена ХП-799

Лак ХП-734 исходной вязкости

Лак ХП-734 с добавлением портландцемента, молотого песка или андезита в соотношении 1:1 (по массе) вязкость 40 с по ВЗ-4

Эмаль ХП-799 вязкостью 50-60 с по ВЗ-4

 

Краска XB-I61

По технологии, указанной выше

 

Эмаль K0-I74

По технологии, указанной  выше

 

Краска перхлopвиниловая ПХВ

Краска XB-I61

По технологии, указанной  выше

 

Краска поливинилацетатная Э-ВА-17

Краска Э-ВА-17

Дисперсия ПВА, разведенная водой в соотношении 1:3 (по объему)

Краска Э-ВА-17 с добавлением 40 % цемента или молотого песка и 0,1-0,2 % жидкости 136-41 (массы краски) вязкостью 60 с по ВЗ-4

Краска Э-ВА-17 вязкостью 50 с по ВЗ-4

Для придания шероховатости в отделочный состав краски Э-ВА-17 вязкостью 40-50 с по ВЗ-4 вводится песок фракции до 2 мм в соотношении 1:2 (по массе)

Поливинилацетатные краски различной модификации ПВАЦ, ПВАГ

Дисперсия ПВА, разведенная водой в соотношении 1:3 (по объему)

Краски ПВАЦ, ПВАГ вязкостью 14-16 см по Суттарду

Краски ПВАЦ, ПВАГ вязкостью 14-16 см по Суттарду

Для придания шероховатости в отделочный состав краски ПВАЦ вводится песок фракции до 1,2 мм в соотношении 1:1,5 (по массе)

Цементные краски с добавлением дисперсии ПВА

Увлажнение водой

Цементные краски с добавлением дисперсии ПВА и песка. Вязкость краски 80 с по ВЗ-4 до введения песка

Цементные краски с добавлением дисперсии ПВА вязкостью 80 с по ВЗ-4

 

Стиролбутадиеновая краска Э-КЧ-112

Латекс СКС-60, СКС-65, СКС-65ГП, разведенный водой до вязкости 15-20 с по ВЗ-4

Краска Э-КЧ-112 с добавлением 40 % цемента или молотого песка, (массы краски), 10%-ный раствор казеината аммония (25%-ной концентрации). Вязкость краски 60 с по ВЗ-4

Краска Э-КЧ-112 вязкостью 40-50 с по ВЗ-4

Для придания шероховатости в отделочный состав краски Э-КЧ-П2 вязкостью 40-50 с по ВЗ-4 вводится песок фракции до 2 мм в соотношении 1:2 (по массе

Стиролбутадиеновая краска Э-КЧ-112

Краска Э-КЧ-112

По технологии, указанной выше

 

Краска Э-ВА-17

Краски ПВАЦ и ПВАГ

Цементные краски с добавлением дисперсии ПВА

Цементные и известковые краски

Перекрасить любой вышеуказанной краской или краской, выбранной по СН-277

Полностью снять старую краску

 

 

 

 

Примечания. 1. Все шпаклевочные а составы наносятся только на участки панелей, где старая краска не сохранились.

2. Краски и эмали на органических растворителях КО-174, ЦПХВ, XB-161, ХП-799 и ПХВ наносят на поверхности панелей, влажность которых не превышает 8 %.

 


Для нанесения крошки используют пистолет-распылитель типа "Крошкомет", а для нанесения грунтовочных, клеющих и закрепляющих составов - пистолеты-распылители типа ГСХ (Р-68), 0-45, валики или кисти.

8.7. Технология ремонта мелкоразмерными плиточными и дроблеными материалами включает в себя следующие работы.

До начала ремонтных работ необходимо удалить отслаивающиеся и имеющие недостаточное сцепление с основанием стеклянные или керамические плитки (при недостаточном сцеплении при простукивании издается глухой звук).

При отпадении отдельных плиток их следует приклеить эпоксидным клеем состава 1:10 (эпоксидная смола ЭД-5 или ЭД-6: отвердитель - полиэтиленполиамин), либо с помощью густотертой краски. Возможно также закрашивание отдельных ячеек эмалями в тон плиток.

Места, на которые должны быть приклеены плитки, необходимо очистить от пыли (протереть ветошью, либо обдуть струей сжатого воздуха).

При отсутствии в швах между плитками раствора, их следует заделать полимерцементным раствором состава 1:3 (цемент - песок) с добавлением дисперсии ПВА 50%-ной пластифицированной 10% (массы цемента).

При отпадении большого количества плиток, поврежденные участки следует ремонтировать, используя ковры с плиткой, по форме и размерам соответствующие разрушенным участкам. Ремонт в этом случае производится в следующей последовательности:

на поверхности поврежденного участка панели сделать насечки, обеспылить сжатым воздухом и огрунтовать составом дисперсии ПВА 50%-ной пластифицированной, разведенной водой в соотношении 1 : 3 (дисперсия : вода) по объему;

нанести полимерцементный раствор состава 1:3 (цемент-песок) с добавлением 10% (массы цемента) дисперсии ПВА 50%-ной пластифицированной;

не ранее, чем через 10 мин и не позднее, чем через 30 мин плотно прижать ковер с плиткой к нанесенному раствору так, чтобы совпали швы между плитками;

после отверждения раствора бумагу ковра смочить водой и снять в диагональном направлении;

смыть клей с поверхности плиток, а незаполненные швы заделать раствором;

через 6 ч после ремонта поверхность плиток промыть водой. Во избежание смещения ковра целесообразно через каждые 10 рядов плиток (по краям ковра) забить деревянные штыри.

8.8. Для приготовления ковра используют крафт-бумагу, клей казеиновый или галерту, стеклянную или керамическую плитку, а также бой плитки при отделке типа "брекчия".

8.9. Ремонт отделки каменными дроблеными материалами производится по той же технологии, которая предусмотрена для ремонта плиточными материалами. При незначительных разрушениях каменные дробленые материалы поштучно втапливаются в свежий раствор, при разрушениях от 0,5 мм более целесообразно использовать ковры.

8.10. При наличии на зданиях значительных повреждений стеновых панелей, требующих проведения восстановительных работ большого объема, целесообразно применять отделку на относе (местное или общее экранирование стен).

В качестве защитно-отделочных экранов могут применяться волнистые или плоские листы из асбестоцемента, металла, цветного пластика или стеклоцемента, лицевая поверхность которых должна быть без трещин и сколов, а кромки листов прямолинейными.

Для устройства экранов из волнистых листов на стенах зданий предусматривается стальной фахверк в виде горизонтальных элементов, выполненных из уголков или швеллеров.

Защитно-отделочные листы устанавливаются на расстоянии не менее 20 мм от стены. Примерные схемы раскладки волнистых листов из асбестоцемента и их крепление показаны на рис. 9 и 10.

Для крепления экранов из плоских листов можно применять анкеры крепления с пластмассовым расклинивающим элементом, а также с пластмассовым дюбелем, разработанные в НИПИсиликатобетоне.

Элементы стального фахверка и все металлические детали крепления должны быть защищены от коррозии в соответствии с требованиями СНиП 2.03.11-85 "Защита строительных конструкций от коррозии".

Для улучшения внешнего вида и повышения долговечности защитно-отделочные листы могут быть окрещены атмосферостойкими лакокрасочными покрытиями.

Рекомендуется также применять экранирование тех участков стен, которые подвергаются усиленному увлажнению от дождевых брызг над балконами и входными козырьками.

Рис. 9. Схема раскладки асбестоцементных волнистых листов с креплением к фахверкам на глухом участке стены

1 - крепежные детали; 2 - асбестоцементные волнистые листы; 3 - цоколь

Более полно технология отделки изложена в "Рекомендациях по отделке ячеистобетонных стен жилых и промышленных зданий" - М.: Стройиздат, 1987.

Рис. 10. Схема сопряжения асбестоцементных волнистых листов на плоскости стены

1 - ячеистобетонная панель; 2 - фахверк; 3 - асбестоцементные волнистые листы; 4 - крепежные детали; 5 - пементнопесчаный раствор

9. ПОВЫШЕНИЕ ОТЕПЛЕННОСТИ СТЕН

9.1. Ремонт стен, направленный на повышение их отепленности (термического сопротивления), предназначенный для устранения промерзания (явного и неявного, местного или по всей поверхности стен), заключается в утеплении их дополнительными слоями теплоизоляционных материалов до термического сопротивления, требуемого по главе СНиП II-3-79** "Строительная теплотехника" (М., 1986).

9.2. Наиболее эффективным является расположение дополнительных утеплителей с наружной стороны стен. Однако практическое осуществление этого способа во многих случаях бывает невозможным. Поэтому допускается утепление по второму способу - с внутренней стороны стен.

9.3. При утеплении стен с внутренней стороны должны быть выполнены следующие работы:

очистка ремонтируемой поверхности стен от обоев или краски;

прикрепление плитной (блочной) или листовой теплоизоляции, или напыление жидкой теплоизоляционной смеси;

тщательное нанесение жидкой или наклеиваемой пароизоляции;

выравнивание пароизоляции или устройство плитного основания для отделки и устройство отделки.

9.4. Очищенная поверхность стен перед устройством теплоизоляционного слоя должна быть сухой, с влажностью ячеистого бетона не более 7%. При большей влажности следует применить специальные сушильные установки (в частности конструкции Академии коммунального хозяйства типа КС-АКХ, РС-АКХ и др.).

9.5. В зависимости от величины необходимого добавочного термического сопротивления и от наличия у ремонтирующих организаций теплоизоляционных материалов можно рекомендовать следующие утеплители:

осуществляемые путем напыления - асбоминвата и вспененные пластмассы (пенополиуретан, фенолформальдегид и др.);

плитные - пенопласта (ПСБ, ПСБ-С и др.) и древесно-волокнистые плиты (ДВП);

цементно-песчаные поризованные растворы;

пементно-песчаные неавтоклавные ячеистые бетоны на молотом песке (пенобетон и газобетон);

автоклавные ячеистобетонные теплоизоляционные плиты и мелкие стеновые блоки, распиленные на изделия нужных размеров;

мелкозернистые легкие бетоны (на пористых заполнителях);

антисептированная древесина.

9.6. В качестве пароизоляции рекомендуется:

битумная горячая мастика, холодная мастика БЛК, изол и гидроизол, рубероид подкладочный, пергамин кровельный, пропитанная олифой мешковина или серпянка, масляная краска.

Должно быть обращено внимание на обязательность и тщательность выполнения пароизоляции на поверхности дополнительной теплоизоляции и на прилегающие к ней участки внутренней поверхности стен шириной не менее 20 см.

9.7. После устройства пароизоляции на утепляемых участках стен должна быть восстановлена отделка - покраска или обои (аналогичная отделке неремонтируемых участков стен). При этом необходимо сначала выравнить поверхность пароизоляции плиточными материалами (сухая штукатурка, древесно-волокнистые плиты, фанера и др.).

9.8. Местное утепление с внутренней стороны стен, необходимое для устранения явного (или неявного) промерзания (чаще всего встречающегося в наружных углах зданий), рекомендуется производить устройством скосов с помощью мягкой теплоизоляции (пенопласта) или жесткой теплоизоляции (треугольных призм из ячеистого бетона) (рис. 11).

Рис. 11. Схема утепления наружных углов зданий с внутренней стороны стен с помощью мягкой или жесткой теплоизоляции

1 - продольная стена; 2 - торцевая стена; 3 - отделочное покрытие; 4 - гвозди; 5 - теплоизоляция (пенопласт или призмы из ячеистого бетона); 6 - пароизоляция

Устройство скоса утепляется пенопластом, который пароизолируется битумной мастикой. Поскольку эти оба материала не жесткие, для подготовки к отделке применена сухая штукатурка, которая прикрепляется к ячеистому бетону стен гвоздями. На созданную таким образом плотную поверхность наносится окончательная отделка - краска или обои.

Другой вид утепления угла здания - утепление сборными треугольными призмами из автоклавного ячеистого бетона, выпиленными из стеновых мелких блоков с размерами порядка 15×20×60 см. Такие блоки изготовляют многие заводы ячеистого бетона по ГОСТ 25485-82 с маркой по средней плотности D > 700 класса В2,5 (М35) (при естественной влажности 800 - 850 кг/м3).

Треугольные призмы устанавливаются друг на друга и приклеиваются к стенам здания клеевидным раствором. Дополнительным креплением к стенам являются гвозди (по 2 штуки на призму), забиваемые "вразбежку" с шагом 250 мм.

Поверхность собранных на высоту этажа ячеистобетонных призм выравнивается цементным раствором.

Затем наносится пароизоляция (жидкая или наклеиваемая) и выполняется окончательная отделка краской или обоями.

9.9. Аналогичным образом - в виде скосов - осуществляется утепление с внутренней стороны углов в местах пересечения наружных стен зданий с внутренними стенами, а также в местах опирания перекрытий на наружные стены.

9.10. В связи с тем, что при изложенном выше (пп.9.3 - 9.9) способе утепления стен с внутренней стороны зданий усиливается промерзание их с наружной стороны (что для ячеистых бетонов нежелательно) следует, по возможности, шире применять упомянутый в п.9.2 более эффективный способ утепления стен с наружной стороны.

Этому способствует хорошая гвоздимость ячеистого бетона и возможность его распиливания.

9.11. Из числа теплоизоляционных материалов, применяемых при утеплении стен изнутри (см.п. 9.5), для утепления их снаружи следует рекомендовать:

наиболее эффективные (хотя и не жесткие) материалы - асбоминвату, вспененные и плитные пластмассы;

автоклавные ячеистобетонные плиты (достаточно жесткие и теплоизолирующие) с марками по плотности D > 700 - D > 800 кг/м3 и классами по прочности на сжатие B 1,5 - В 5 (М25 - М75).

9.12. Отепление стен зданий с помощью асбоминваты и вспененных пластмасс производят методом напыления их на очищенные и выравненные поверхности стен, а плитными пенопластами - путем наклеивания.

Защитно-декоративная отделка стен при данном способе может быть только в виде экранов из асбестоцементных и других подобных плит, прикрепляемых к стенам с помощью реек и стоек (фахверка) на некотором расстоянии от стен, т.е. "на относе" (см. п.8.10).

Данный способ повышения отепленности зданий может быть рекомендован пока что для применения в опытном порядке на небольших объектах.

9.13. Более уверенно может быть рекомендован способ утепления стен с наружной стороны зданий путем использования указанных выше (п.9.11) ячеистобетонных плит типа перегородочных, которые выпускаются заводами с размерами от 40×80×8 до 50×60×10 и 60×60×15 см.

Подобные плиты толщиной порядка 10 см из наиболее распространенного и достаточно морозостойкого конструктивно-теплоизоляционного ячеистого бетона с плотностью 700 кг/м3 прикрепляются к существующим стенам (и между собой) при помощи различных цементно-полимерных клеющих растворов (рис. 12).

Для большей надежности прикрепления такого дополнительного слоя ячеистого бетона к ремонтируемым стенам должны быть предусмотрены "Т"-образные длинные тонкие (диаметром 6 - 8 мм) оцинкованные болты, которые укладываются одним концом (см. рис.12) в горизонтальные швы между отепляющими плитами, а другим концом вставляются в отверстия в существующих стенах, просверливаемые по месту. На этом конце на болт одевается шайба и навинчивается гайка. Для размещения шайбы и гайки в ячеистобетонной стене должно быть вырублено углубление с таким расчетом, чтобы от конца болта до внутренней поверхности стены было расстояние в 10 - 15 мм. Эти углубления после установки болтов заделываются обычным или клеющим цементным раствором. Шаг болтов примерно 1×1 или 1,5×1,5 м.

При этом способе также как и при предыдущем значительную трудоемкость составляет устройство защитно-декоративной отделки новой поверхности стен.

В данном случае должна быть применена отделка, скрывающая неровности, которые будут получаться на поверхности приклеенных плит. Для этого может потребоваться не тонкослойная, а нормальная штукатурка толщиной 10 - 20 мм, которая должна быть выполнена из поризованного раствора.

Окончательная лицевая отделка может быть лакокрасочная или из мелкозернистой крошки (разд. 8). Отделка плиточными и дробленными материалами не рекомендуется.

Рис. 12. Схема утепления углов зданий с наружной стороны стен

1 - ячеистобетонные плиты или кирпич; 2 - "Т"-образные болты; 3 - отепляемые стены; 4 - поризованный раствор

9.14. Помимо материалов, пригодных для утепления ячеистобетонных стен зданий с наружной стороны (п. 9.11), рекомендуется кирпич - глиняный, силикатный и специальный облицовочный (ГОСТ 7484-78).

Наиболее распространенной является облицовка толщиной в "полкирпича". Пример местного утепления (угла здания) приведен на рис. 12, а всей поверхности стены - на рис.13.

Кирпичная кладка должна быть надежно прикреплена к стенам из ячеистого бетона (помимо раствора) при помощи стяжных длинных и тонких оцинкованных болтов (п. 9.13), которые вставляются в сквозные отверстия, просверливаемые в стенах в нужных местах при возведении кладки.

Рис. 13. Пример утепления стен кирпичной кладкой

1 - кладка толщиной в полкирпича; 2 - "Т"-образные болты, прикрепляющие кладку к стене; 3 - железобетонные консоли, забетонированные в отверстиях, вырубленных в фундаментах; 4 - стандартные железобетонные перемычки; 5 - новая гидроизоляция; 6 - существующие фундамент и стена; 7 - существующая гидроизоляция

Для опирания кладки не обязательно устраивать уширение фундаментов зданий. Для создания плоскости опирания нижнего ряда кирпичей можно выпустить из фундамента (или стен подвала) отдельные консоли с шагом 1,5 - 3,0 м, на которые уложить железобетонные балки типа перемычек (см. рис. 13).

Однако в отличие от обычных облицовок кирпичных зданий в данном случае необходимо вести кладку на поризованных растворах. Это повышает термическое сопротивление облицовки и ее паропроницаемость.

Преимуществом утепления стен кирпичом является то, что он выполняет одновременно функции утеплителя и защитно-декоративной отделки стен (при кладке с расшивкой швов, т.е. без штукатурки).

При необходимости увеличения термического сопротивления облицовки можно увеличить толщину шва между ней и стеной и заложить туда какой-либо эффективный утеплитель.

10. ЗАВОДСКОЙ РЕМОНТ ПАНЕЛЕЙ

10.1. Исправление дефектов панелей может быть произведено двумя способами: путем приклеивания отколотых кусков и путем исправления дефектов специально приготовленной растворной смесью.

10.2. Исправление дефектов панелей следует производить на подставках - стендах в горизонтальном или наклонном положении, или на лагах в вертикальном положении при надлежащем закреплении панелей.

10.3. Технология ремонта путем приклеивания отколотых кусков заключается в следующем:

подготовить по шаблону нужные ремонтные куски газобетона;

поверхность откола и приклеиваемого куска бетона очищают от пыли и огрунтовывают дисперсией ПВА, разведенной водой в соотношении 1:3 (дисперсия : вода) по объему;

на обе поверхности откола и приклеиваемого куска бетона наносят клеющий ремонтный раствор - ПВАМ, состоящий из дисперсии ПВА (26 мас.ч.), газобетонного порошка и воды (по 37 мас.ч.). Возможно также использование дисперсии ПВА исходной вязкости;

склеиваемые куски газобетона прижимают друг к другу и фиксируют в необходимом положении оцинкованными гвоздями.

10.4. Компоненты ПВАМ перемешиваются в любой мешалке до достижения гомогенности при следующей очередности загрузки: дисперсия ПВА - вода - газобетонный порошок.

10.5. Клеющую растворную смесь укладывают на склеиваемые поверхности тонким слоем с помощью мастерка. Дисперсия ПВА наносится на поверхность кистью.

10.6. Если отколовшиеся куски газобетона, которые необходимо приклеить, не сохранились, то поверхности откола (по шаблону) выравниваются пилой.

По тому же шаблону нужные куски выпиливаются из неармированного газобетона.

10.7. Если поверхность панели в местах склеивания неровная, то ее следует выравнить раствором ПВАМ, но не ранее, чем через 1 ч после склеивания.

10.8. Технология ремонта свежеприготовленной растворной смесью заключается в следующем:

ремонтируемые места огрунтовываются пластифицированной дисперсией ПВА, разбавленной водой в соотношении 1:3 (дисперсия : вода) по объему;

в дефектные ремонтируемые места глубиной более 25 мм вбивают оцинкованные гвозди или крючки, изготовленные из оцинкованной проволоки;

наносят клеющую растворную смесь.

10.9. Ремонтный раствор для устранения небольших дефектов (трещин, сколов) в целях ускорения схватывания готовят в два приема: сначала готовят цементно-песчаную растворную смесь состава 1 (см. табл.2) с консистенцией 6 - 8 см по конусу СтройЦНИЛ. Затем, непосредственно перед укладкой в дело, в растворную смесь вводят добавку глиноземистого цемента в соотношении 10:1 (по объему).

10.10. Трещины и выколы в стеновых панелях ремонтируются согласно разделам 4, 6 и 7 настоящих Рекомендаций.

11. КОНТРОЛЬ КАЧЕСТВА РЕМОНТА

11.1. После исправления дефектов панели должны иметь поверхность, годную под отделку (шпаклевку и окраску), т.е. они должны соответствовать требованиям п. 24 ГОСТ 11118-73.

11.2. Контроль за процессом производства ремонтных и отделочных работ осуществляется отделом эксплуатации и ремонта зданий или лабораторией ремонтно-строительных организаций в соответствии с требованиями СНиП 111-21-73 "Отделочные покрытия строительных конструкций".

11.3. На выполнение работы по ремонту поверхностей стен, заделке швов (герметизация стыков), замене прокорродированной арматуры и по ремонту защитно-отделочных покрытий должны быть составлены приемно-сдаточные акты с участием представителей заказчика и исполнителя.

11.4. Методы проверки показателей качества ремонтных работ приведены в табл.7.

Таблица 7

Наименование ремонтных работ

Показатель качества

Метода проверки

Окрасочные пароизолирующие защитные покрытия на основе лакокрасочных и полимерных материалов

Внешний вид: отсутствие трещин, пузырьков потеков, механических повреждений

Визуальным осмотром

Сплошность

Электрическим дефектоскопом ЭД-4, КВД-1t

Адгезия

Визуальным осмотром поверхности и решетчатым надрезом по ГОСТ 15140-69

Толщина

Визуально или микрометром на образцах (фольге), окрашенных одновременно с защищаемой поверхностью

Покрытия на основе плиточных материалов

Внешний вид: отсутствие на плитках бумаги от ковра, грязи; соблюдение шва между плитками и его заполнение ;соответствие плитки по цвету и форме

Визуальным осмотром

Сцепление плиток с ячеистым бетоном или поризованным раствором

Простукиванием деревянным молоточком (отсутствие глухого звука)

Ремонт стеновых панелей растворами

Внешний вид: отсутствие трещин, наплывов раствора, масляных пятен, бугров, механических повреждений

Визуальным осмотром

Сцепление раствора с ячеистым бетоном

Простукиванием деревянным молоточком (отсутствие глухого звука;

Ремонт швов

Полнота отверждения мастик

Прочерчивание линий по поверхности металлическим шпателем или мастерком

Адгезия раствора

Простукиванием деревянным молоточком

Качество заполнения швов

Визуальным осмотром

12. ТЕХНИКА БЕЗОПАСНОСТИ ПРИ РЕМОНТНЫХ РАБОТАХ

12.1. При ремонте стен из ячеистобетонных панелей следует соблюдать требованиям СНиП III-4-80 "Техника безопасности в строительстве" (М.: Стройиздат, 1985), а также руководствоваться "Правилами техники безопасности при текущем и капитальном ремонте жилых и общественных зданий" (М.: Стройиздат, 1972).

12.2. При ремонте с красками, содержащими токсичные и горючие растворители, необходимо соблюдать правила техники безопасности, предусмотренные "Техническими указаниями по технологии отделки жилых зданий различными видами синтетических красителей" (АКХ, 1985).

12.3. Рабочие, выполняющие работы с красками на органических растворителях, должны иметь спецодежду, защитные очки, резиновые перчатки, респираторы.

12.4. При работе с кремнийфтористым натрием, вводимым в краски ПВАЦ, необходимо применять резиновые перчатки и респираторы. Кремнийфтористый натрий следует хранить в закрытых бочках. Необходимо соблюдать меры личной гигиены.

12.5. При ремонте фасадов зданий с подъемных механизмов необходимо соблюдать правила техники безопасности как при установке, монтаже, так и непосредственно при работе. При работе с люлек необходимо применять страховочные веревки и пояса.

12.6. Подъемные механизмы, используемые при ремонте, должны устанавливаться на площадку с твердым основанием. Грузовая платформа подъемника должна быть ограждена. У мест управления подъемником должна быть установлена сигнализация со всех мест, на которых производится разгрузка и загрузка материалов.

12.7. Насос для подачи раствора, шланги и пистолет-распылитель должны содержаться в чистоте. После окончания работ необходимо удалить строительный раствор из насоса, шланга и растворомешалки, а также краски из пистолета-распылителя, бачка и шлангов.

12.8. Мешалку и все приспособления после окончания работы необходимо тщательно промыть водой. Во время перерыва в работе пистолеты-распылители и другие инструменты для нанесения лакокрасочных полимерных составов хранят в емкостях с водой.

Приложение 1
МАТЕРИАЛЫ И ТРЕБОВАНИЯ К НИМ

Для ремонта стен из ячеистого бетона и их отделки применяют следующие основные материалы: минеральные вяжущие, наполнители, добавки, пенообразователи, а также полимерцементные клеи, лаки, краски, герметизирующие мастики и упругие прокладки, декоративные присыпки и облицовочные материалы.

В качестве минеральных вяжущих применяют: обычный, белый или цветной портландцементы марки не ниже 300 (ГОСТ 10178-85), (ГОСТ 965-78), (ГОСТ 15825-80); негашеную молотую известь или известь пушонку (ГОСТ 9179-77) с удельной поверхностью не менее 2500 см2/г.

Не рекомендуется применять цемент с добавками трепела, глиежа, трассов, глинита, опоки, пепла.

В качестве наполнителей применяют:

песок, удовлетворяющий требованиям ГОСТ 8736-85 (песок должен быть просеян через сито с ячейками 3×3 мм), или песок молотый с удельной поверхностью 600 - 800 см2/г;

керамзит дробленый или молотый, который должен проходить через сито с размером ячейки 3×3 мм (керамзита фракции до 1,5 мм должно быть не менее 50%);

ячеистый бетон дробленый, который должен проходить через сито 3×3 мм (причем фракций, не проходящих через сито 1,5×1,5 мм должно быть не менее 50%).

Для изготовления пенообразователей применяют следующие материалы:

смолосапониновый: мыльный корень (ОСТ 4303-79);

ПО-6 или ГК (гидролизованная кровь): техническая кровь (от убоя рогатого скота); едкий натр (ГОСТ 2263-79); хлористый или углекислый аммоний (ГОСТ 3773-72); (ГОСТ 3770-75), сернокислое железо (ГОСТ 4148-78);

клееканифольный: канифоль сосновая (ГОСТ 19113-84), клей мездровый (ГОСТ 3252-80), или клей костный (ГОСТ 2067-80);

СНВ - смола абиетиновая нейтрализованная воздухововлекающая (ТУ 81-05-75-69).

Для приготовления синтетических пенообразователей применяют:

следующие поверхностно-активные вещества (ПАВ):

сульфонол-детергент советской марки ДС-РАС (ТУ 84-373-72);

паста алкилсульфатов (ТУ 38-10765-75); скруберная паста (ТУ 38-107, 101-1-76); моющее средство "Прогресс" (ТУ 38-10719-77).

Для повышения устойчивости пены на синтетических ПАВ используют следующие вещества: жидкое стекло (ГОСТ 13078-81); КМЦ - карбоксилметилцеллюлоза (ОСТ 6-05-386-80); клей казеиновый марки В-207 или ОБ (ГОСТ 3056-74); клей мездровый (ГОСТ 3252-80); клей костный (ГОСТ 2067-80); тринатрийфосфат (ГОСТ 201-76).

В качестве специальных добавок применяют: кремнийорганическую жидкость ГКЖ-10 (ГОСТ 13032-77) и ГКЖ-11 (ГОСТ 13004-77), жидкость 136-41 (ГОСТ 10834-76).

В качестве клеев при ремонте защитно-отделочкых покрытий с присыпками применяют: акриловую эмульсию МБМ-5с (ТУ 6-01-274-74), синтетический латекс СКС-65 ГП, СКС-60 ГП или СКС-65 ГПБ (ГОСТ 10564-75 с изм.), поливинилацетатную 50%-ную пластифицированную дисперсию ПВА (ГОСТ 18992-80 с изм.), лак Э-ВА-5189 (ТУ 6-10-I7-47-80).

При ремонте применяют следующие лакокрасочные материалы: краски водоэмульсионные Э-КЧ-112, 3-BA-I7 и их модификации (ГОСТ 19214-80), (ГОСТ 20833-75 с изм.), кремнийорганические эмали KО-174 (ТУ 6-02-576-75), лак KО-85 (ГОСТ 11066-74), хлорсульфированный полиэтиленовый лак ХП-734 (ТУ 6-02-1152-82), полимерцементную краску ПВАЦ, нефтеполимерную краску ОМС ВН-30 ДТС (ТУ 84-725-78).

При ремонте плиточными и дроблеными материалами применяют:

дробленые естественные и искусственные каменные материалы (мрамор, гранит, доломит, плотный известняк) фракции 10 - 15; 15 - 20 мм, эрклез, битое стекло, бой кирпича, отходы стеклоплитки и фарфоро-фаянсовой промышленности фракцией до 2,5 мм; керамическую плитку (глазурованную и неглазурованную) размером 48×48 мм и плитку типа "брекчия" (ГОСТ 13996-84); коврово-мозаичную стеклянную плитку размером 21×21 мм (ГОСТ 17057-80).

При ремонте швов применяют: полиизобутиленовую строительную мастику УМС-50 (ГОСТ 19177-81); двухкомпонентную тиоколовую мастику АМ-0,5 (ТУ 84-246-75); бутилкаучуковую нетвердеющую мастику "БУТЕПРОЛ" и "ЭЛАСТОСИЛ 11-0,6" (ТУ 6-02-775-73); двухкомпонентную тиоколовую мастику У-30М (ГОСТ 13489-79). К ним применяют соответственно грунтовки - мастику КН-20, БСХА, БСНХА, грунтовку Т-50, мастику КН-3 и КЭПС-50. Герметизирующие прокладки: пороизол марки П-А, П-Б, П-В (ГОСТ 19177-81), гернит (ГОСТ 5.1011-76) и пористые резиновые прокладки ПРП (ГОСТ 19177-81).

Для отделки внутренних поверхностей стен после ремонта применяют: эмали ХП-799 (ТУ 84-618-81), ХВ-1100 (ГОСТ 6993-79), водоэмульсионные краски Э-КЧ-26 (ГОСТ 19214-80); Э-ВА-27 (ГОСТ 20833-75), пентафталевые эмали ПФ-115 (ГОСТ 6465-76), ПФ-133 (ГОСТ 926-82), масляные краски различных цветов.

Приложение 2
ПРИГОТОВЛЕНИЕ ПЕНООБРАЗОВАТЕЛЕЙ

Приготовление синтетических пенообразователей

Приготовление синтетических пенообразователей включает в себя три этапа:

а) растворение ПАВ (поверхностно-активного вещества) в воде;

растворение ПАВ следует производить в воде, взятой по расчету и подогретой до температуры 40 - 60°С. После введения ПАВ раствор должен медленно перемешиваться в течение 20 - 30 мин до остывания (до комнатной температуры);

б) приготовление стабилизатора пены;

раствор казеинового клея готовится на основе казеинового клея и воды, взятых в соотношении 1:3 - 1:5. Клей вводится в воду и перемешивается в течение 20 - 30 мин до получения однородной массы без комков;

раствор карбоксиметилцеллюлозы (КМЦ) готовится путем его растворения в воде в соотношении 1:5 - 1:8. Вначале порошок КМЦ заливается водой, и он набухает в течение 1 ч, затем осуществляется его перемешивание в течение 20 - 30 мин до получения однородной массы;

раствор мездрового или костного клея готовится путем растворения в воде в соотношении 1:2 - 1:5 и выдержки до набухания в течение 24 ч. Затем клей обогревают в течение 2 ч горячей водой или паром при температуре 50°С до получения однородной массы без комков;

жидкое стекло и тринатрийфосфат следует растворять в воде, перемешивая до полного растворения;

в) смешивание раствора ПАВ со стабилизатором;

раствор ПАВ вводят в раствор стабилизатора и перемешивают в течение 20 - 40 мин. После этого пенообразователь готов к употреблению.

Срок хранения пенообразователя на основе казеинового клея 1 сут КМЦ и мездрового клея - не более 3 сут, жидкого стекла - не более 10 сут.

Приготовление смолосапонинового пенообразователя

Для приготовления смолосапонинового пенообразователя применяют мыльный корень и воду.

Операции приготовления:

а) размельчение мыльного корня;

мыльный корень лучше всего размельчать в дробилках или мельницах. После дробления корень просеивают через сито с отверстиями 1 - 2 мм. Остаток на сите подвергают вторичному помолу;

б) замачивание мыльного корня в воде;

для извлечения из мыльного корня пенообразующих веществ его помещают в металлический бак заливают водой в соотношении 1:10 (по массе) и оставляют на 48 ч. Полученную жидкость (водный раствор сапонина) выливают, а мыльный корень используют для следующих операций;

в) кипячение мыльного корня при температуре 100оС;

вымоченный пыльный корень в том же баке вновь заливают водой до прежнего уровня, а смесь кипятят до получения жидкости плотностью не менее 1,01 г/см3. В процессе кипячения по мере испарения воды в бак доливает воду, чтобы уровень ее был постоянным. Эту жидкость (водный раствор смоляного экстракта) выливают во второй бак, а проэкстрагированный мыльный корень выбрасывают;

г) замачивание мыльного корня в смоляном экстракте;

во второй бак с водным раствором смоляного экстракта закладывают новую порцию молотого мыльного корня. Соотношение мыльного корня и смоляного экстракта должно быть 1:10 (по массе). Вымачивание новой порции мыльного корня продолжается до получения жидкости с плотностью не менее 1,02 г/см. Полученный смолосапониновый пенообразователь сливают в третий бак для хранения готового пенообразователя, а вымоченный мыльный корень перекладывают в первый бак, и процесс повторяют.

Приготовление пенообразователя ПО-6 (гидролизованная кровь ГК)

Для приготовления пенообразователя ПО-6 применяют техническую боенскую кровь, едкий натр, сернокислое железо, хлористый аммоний и воду

Техническая боенская кровь должна быть свежей, несвернувшейся.

Приготовление пенообразователя ГК состоит из:

а) получения 20%-ного раствора едкого натра;

для получения 20%-ного водного раствора едкий натр растворяют в воде при температуре 20оС до получения раствора с плотностью 1,23 г/см3;

б) гидролиза технической боенской крови;

для гидролиза боенской крови добавляют к ней 20%-ный водный раствор едкого натра.

Количество добавляемого едкого натра должно составлять 2% массы, взятой для гидролиза крови в расчете на сухой едкий натр;

в) нейтрализации раствора гидролизованной крови;

нейтрализацию гидролизованной крови производят хлористым аммонием, причем расход хлористого аммония составляет 1,35 кг на 1 кг сухого едкого натра, израсходованного для гидролиза технической боенской крови.

В случае отсутствия хлористого аммония нейтрализацию можно производить 5%-ным раствором соляной или серной кислоты.

Нейтрализацию производят небольшими порциями при постоянном перемешивании.

На 1 кг сухого едкого натра требуется 20 кг 5%-ного раствора соляной кислоты или 10 кг 5%-ного раствора серной кислоты.

После нейтрализации гидролизованной крови раствор охлаждается до комнатной температуры;

г) приготовления 15%-ного раствора сернокислого железа;

для приготовления 15%-ного раствора сернокислое железо берут из расчета 176 г на 1 л кипяченой воды с температурой 40 - 50°С. Раствор сернокислого железа можно заменить 15%-ным растровом медного купороса;

д) смешивания гидролизованной крови с сернокислым железом:

для получения готового пенообразователя смешивает остывшую гидролизованную кровь с 15%-ным раствором сернокислого железа в соотношении 1:0,3 (по объему).

Процесс смешивания рекомендуется производить в барабане пенобетономешалки при получении ячеистобетонной смеси.

Приготовление клееканифольного пенообразователя

Для приготовления клееканифольного пенообразователя применяют клей, канифоль, едкий натр и воду. Вначале готовятся клеевой раствор и отдельно канифольное мыло. Затем полученный клеевой раствор смешивают с канифольным мылом.

Для приготовления клеевого раствора клей разбивает на куски размером 2 - 3 см, укладывают в железный бак и заливают водой, температура которой должна быть 15 - 20°С, в пропорции 1:2 - 1:4 (по массе). Клей замачивают в воде в течение 24 ч.

Клеевой раствор приготавливают в сосудах, обогреваемых горячей водой или паром, при температуре 40 - 50°С в течение 1,5 - 2 ч до полного растворения клея.

Приготовление канифольного мыла осуществляется в два этапа.

В 1 л воды растворяют при кипячении 166 г едкого натра (плотность получаемого раствора должна быть равной 1,16 г/см3). Канифоль, раздробленную на мелкие куски и просеянную через сито с отверстиями 5 мм, постепенно добавляют при непрерывном перемешивании в кипящий раствор едкого натра.

Соотношение канифоли и раствора едкого натра берут в пропорции 1:1, причем канифоль принимают по массе (в кг), а раствор едкого натра - по объему (в л).

Кипячение раствора едкого натра с канифолью продолжают 1,5 - 2 ч до полного растворения канифоли, характеризуемого однородным цветом массы и отсутствием комков и крупинок. Испарившееся при кипячении количество воды восполняют горячей водой (t = 70°С). В результате получают канифольное мыло.

Смешивание клеевого раствора и канифольного мыла в пропорции 1:0,7 (по массе) проводят при температуре клея 30°С и канифольного мыла 60оС. Клеевой раствор небольшими порциями вливают в канифольное мыло при тщательном перемешивании. Полученная смесь называется клееканифольным пенообразователем.

Клееканифольный пенообразователь хранят в плотно закрытых деревянных бочках, стеклянных или глиняных сосудах в прохладном месте при положительной температуре. Срок хранения клееканифольного пенообразователя в холодное время года не более 20 сут, в жаркое время - не более 10 сут.

Клееканифольный пенообразователь перед употреблением разбавляют горячей водой (t - 50оС) в пропорции 1:5 (по объему). В таком виде он носит название "Рабочего состава".

Приготовление алюмосульфонафтенового пенообразователя

Для приготовления алюмосульфонафтенового пенообразователя применяют керосиновый контакт, сернокислый глинозем, едкий натр и воду.

На 1 м поризованного раствора расходуется: керосинового контакта 0,8 - 1,2 кг, сернокислого глинозема 0,8 - 1,2 кг и едкого натра 0,10 - 0,14 кг.

Приготовление алюмосульфонафтенового пенообразователя состоит из следующих операций:

а) приготовление водного раствора сернокислого глинозема;

б) получение 20%-ного раствора едкого натра;

в) нейтрализация керосинового контакта (получение натриевой соли нефтяных кислот);

г) смешивание натриевой соли нефтяных сульфокислот с водным раствором сернокислого глинозема.

Для приготовления водного раствора сернокислого глинозема его разбивают на куски размером 3 - 5 см, которые укладывают в деревянный бак и заливают горячей водой, затем смесь подвергают действию острого пара в течение 2 - 2,5 ч или выдерживают в горячей воде около 24 ч.

Плотность раствора должна быть равна 1,16. После тщательного перемешивания и охлаждения раствор считается готовым.

Для получения 20%-ного раствора едкого натра его растворяют при непрерывном перемешивании в таком количестве воды, чтобы плотность раствора при 20°С была равна 1,23.

Керосиновый контакт разбавляют водой в соотношении 1:2 (по объему) и затем добавляют небольшими порциями (при обязательном помешивании) 20%-ный раствор едкого натра. Свободная серная кислота при этом переходит в сульфат натрия, а нефтяные сульфокислоты - в натриевую соль нефтяных сульфокислот.

Конец нейтрализации определяют посредством индикатора "конгорот"

Количество 100%-ного едкого натра, необходимое для нейтрализации керосинового контакта, определяется по формуле:

где В1 - содержание свободной серной кислоты в керосиновом контакте, в %; B2 - содержание нефтяных сульфокислот в керосиновом контакте, в %; X - количество керосинового контакта, взятого для нейтрализации, в кг.

Пример. Керосиновый контакт по паспорту или предварительному анализу содержит 40% нефтяных сульфокислот и 0,5% свободной серной кислоты. Всего взято для нейтрализации 300 кг керосинового контакта.

По формуле:

получаем

Нейтрализованный раствор нагревают до температуры 80 - 90°С, при этом происходит расслоение жидкости. После остывания верхний слой - керосин - удаляют, а нижний слой, представляющий собой водный раствор натриевой соли нефтяных сульфокислот плотностью 1,06 - 1,07, используют в качестве готового пенообразователя.

На каждый замес дают одну мас.ч. пенообразователя и 1,2 мас.ч. водного раствора сернокислого глинозема.

Алюмосульфонафтеновый пенообразователь может храниться в течение одного года.

Приложение 3
КОНТРОЛЬ КАЧЕСТВА ПЕНЫ

Контроль кратности и стабильности пены осуществляется с помощью сосуда, изготовленного из прозрачного материала (оргстекла) с отверстиями в днище. Сосуд имеет размеры: диаметр 9,9 см, высота 13 см, объем 1 л. Отверстия в количестве 13 шт. равномерно распределены по днищу сосуда и имеют диаметр 0,3 см.

После приготовления пена помещается в сосуд и взвешивается.

Кратность пены Кп определяется по соотношению средней плотности пенообразователя  и средней плотности пены , полученной после приготовления

.

Стабильность (устойчивость) пены С определяется по разности между 100% и водоотделением В у пены, которое происходит за 15 мин ее выдержки в сосуде с отверстиями в днище.

С = 100% - В.

Водоотделение - это разница между первоначальной МН и конечной МК массой пены (после 15 мин выдержки), отнесенная к первоначальной массе пены и умноженная на 100 %.

.

Стойкость пены в растворной смеси определяется путем смешивания вручную в течение 1 мин 1 л пены и 1 л непоризованной растворной смеси.

Коэффициент стойкости вычисляется по следующей формуле:

,

где VП.Р - объем поризованной растворной смеси, полученной после смешивания, мл; VP - объем непоризованной растворной смеси, мл; VП - объем пены, мл.

Приложение 4
ОПИСАНИЕ ВИСКОЗИМЕТРА СУТТАРДА И ОПРЕДЕЛЕНИЕ ПЛАСТИЧНОСТИ РЕМОНТНОГО РАСТВОРА

Прибор Суттарда состоит из медного или латунного цилиндра, имеющего внутренний диаметр 5 см и высоту 10 см, и квадратного листа стекла с размером сторон 25 см. Цилиндр должен быть хорошо отполирован у краев и внутри.

На стекло наносят 15 концентрических окружностей диметром от 5 до 20 см с интервалом 1 см. Окружности можно нанести на обыкновенную бумагу и поместить ее между двумя листами стекла.

Перед испытанием цилиндр и стеклянную пластинку смачивают чистой водой посредством мягкой ткани.

Стеклянная пластинка ставится строго горизонтально на прочный стол, а цилиндр ставится в центре концентрических окружностей.

Для определения диаметра расплыва часть поризованного раствора выливают в цилиндр, поставленный на стекло, и выравнивают поверхность раствора с краями цилиндра. После этого резким и строго вертикальным движением поднимают цилиндр снизу вверх; при этом раствор расплывается на стекле в виде лепешки, диаметр которой обуславливается консистенцией раствора. Диаметр лепешки в сантиметрах и является показателем пластичности раствора.

 




ГОСТЫ, СТРОИТЕЛЬНЫЕ и ТЕХНИЧЕСКИЕ НОРМАТИВЫ.
Некоммерческая онлайн система, содержащая все Российские Госты, национальные Стандарты и нормативы.
В Системе содержится более 150000 файлов нормативно-технической документации, действующей на территории РФ.
Система предназначена для широкого круга инженерно-технических специалистов.

Рейтинг@Mail.ru Яндекс цитирования

Copyright © www.gostrf.com, 2008 - 2026