|
|
|
МИНИСТЕРСТВО ГРАЖДАНСКОЙ АВИАЦИИ ГОСУДАРСТВЕННЫЙ ПРОЕКТНО-ИЗЫСКАТЕЛЬСКИЙ И НАУЧНО-ИССЛЕДОВАТЕЛЬСКИЙ ИНСТИТУТ АЭРОПРОЕКТ РЕКОМЕНДАЦИИ ПО ЭКСПЛУАТАЦИОННОЙ ОЦЕНКЕ И ВЫЯВЛЕНИЮ РЕЗЕРВОВ ПРОЧНОСТИ ЖЕСТКИХ АЭРОДРОМНЫХ ПОКРЫТИЙ Москва 1986 Настоящие Рекомендации разработаны ГПИ и НИИ ГА Аэропроект и кафедрой «Аэропорты» Московского автомобильно-дорожного института при участии организаций Министерства авиационной промышленности. Рекомендации рассчитаны на инженерно-технический состав эксплуатационных служб и других подразделений Министерства гражданской авиации. Рекомендации разработаны докторами техн. наук Г.И. Глушковым, В.Е. Тригони, кандидатами техн. наук А.П. Виноградовым, Л.И. Горецким, В.Д. Садовым, А.А. Чутковым, инженерами Ю.С. Барит, С.В. Безруковым, В.Г. Колесниченко, Д.А. Мильштейном, В.Н. Семеновым. Научные редакторы д-р техн. наук В.Е. Тригони и канд. техн. наук А.П. Виноградов. Работа утверждена заместителем начальника ГПИ и НИИ ГА Аэропроект В.И. Черниковым 31 марта 1986 г. Содержание 1. ОБЩИЕ ПОЛОЖЕНИЯ МЕТОДА ОЦЕНКИ1.1. Оценка эксплуатационной прочности жестких покрытий аэродромов гражданской авиации должна производиться в соответствии с основными требованиями, изложенными в нормативных и методических документах по проектированию и эксплуатации аэродромов ГА. Сущность такой оценки состоит в сопоставлении параметров, характеризующих фактическую прочность конструкции покрытия по сезонам года и реальное силовое воздействие нагрузки взлетно-посадочных устройств на эту конструкцию в данный период. Эта оценка заключается в проверке условия предельного состояния бетонных, армированных и двухслойных аэродромных конструкций: md £ mu, где md - расчетный изгибающий момент в покрытии от нагрузок взлетно-посадочных устройств, тu - предельный изгибающий момент в плите покрытия. 1.2. Для оценки прочности жестких аэродромных покрытий должны быть представлены следующие данные: характеристика аэродрома: конструкции покрытий и оснований, параметры конструктивных слоёв и стыковых соединений, характеристики материалов оснований и покрытий, грунтовые и гидрогеологические условие, географическая широта, климатическая зона расположения аэродрома и тип местности по условиям увлажнения; характеристика нагрузки воздушного судна: нагрузка на колесо основной опоры, количество колес и внутреннее давление в пневматиках, расстояние между колесами главной опоры. 1.3. В основу данного метода эксплуатационной оценки прочности жестких покрытий положены следующие основные положения: учет изменяющейся распределяющей способности грунтовых оснований, т.е. расчетной модели упругого основания по сезонам года и расчетных характеристик грунтов в эти сезоны; уточнение переходных коэффициентов для реальных условий загружения плит многоколесными опорами тяжелых воздушных судов; фактическая интенсивность эксплуатации покрытий воздушными судами; учет повышенной однородности бетона покрытий, длительное время находящихся в эксплуатации; фактические закономерности в пределах годового цикла температурного режима, влияющие на несущую способность жестких покрытий по отдельным сезонам года; силовое и температурное воздействие газовых струй реактивных двигателей воздушных судов на поверхностные слои асфальтобетонных покрытий; учет. технического состояния покрытий: степени трещиноватости сколов кромок плит, шелушения поверхности, просадок, фактических размеров конструктивных слоев и их прочностных характеристик; системный подход к эксплуатационной оценке прочности покрытий на базе математических моделей, реализуемых на ЭВМ. 1.4. Последовательность эксплуатационной оценки прочности жестких покрытий включает следующие основные этапы: определение расчетного изгибающего момента в покрытии от нагрузки воздушного судна; определение предельного изгибающего, момента, характеризующего несущую способность покрытия; сопоставление изгибающего и предельного моментов в покрытии; заключение о наличии резервов прочности покрытия и возможности эксплуатации воздушного судна с соответствующей взлетной массой по сезонам года. 1.5. Эксплуатационная оценка прочности покрытий выполняется на ЭВМ ЕС по программе, допускающей ввод исходных данных в двух вариантах: расчетные параметры оценивавши конструкции покрытия по данным главы СНиП 2.05.08-85; фактические параметры оцениваемой конструкции покрытия по данным обследования и специальных испытаний. 1.6. При отсутствии ЭВМ эксплуатационная оценка прочности жестких покрытий может выполняться в соответствии с основными положениями данных Рекомендаций путем нахождения расчетного и предельного изгибающих моментов по указаниям главы СНиП 2.05.08-85. 2. ИСХОДНЫЕ ДАННЫЕ ДЛЯ ОЦЕНКИ ПРОЧНОСТИ ПОКРЫТИЯ2.1. Исходными данными для эксплуатационной оценки прочности покрытий являются: тип монолитного покрытия (бетонные, армобетонные, железобетонные) и наличие слоев усиления (вид слоя усиления); толщина однослойного покрытия t или в двухслойном покрытии толщина верхнего слоя tsup и нижнего слоя tinf; толщина слоя усиления; марка бетона каждого слоя на растяжение при изгибе; марка материала слоя усиления на растяжение при изгибе; степень износа покрытия (растрескивание, шелушение, выбоины, сколы кромок плит и другие дефекты); толщина искусственного основания ti и характеристика материала (вид обработки вяжущими); наличие напластований (число слоев) естественного грунтового основания в пределах сжимаемой толщи; коэффициенты постели отдельных слоев грунтового основания. 2.2. Вид грунта принимают по данным проектно-исполнительной документации; при отсутствии таких данных рядом с обследуемым участком покрытия закладываются шурфы на глубину не менее расчетной толщины обжимаемого слоя грунта под покрытием. Из шурфов отбирают образцы грунта и производят оценку их физико-механических свойств, включая фактическую влажность на момент испытания. Необходимые исходные данные по конструкциям искусственных покрытий и оснований принимают по проектно-исполнительной документации, а в случае ее отсутствия - по результатам осмотра и измерения толщин в прикопках, которые выполняется до краям обследуемых участков покрытий. При отсутствия данных о проектных марках (классах) бетона монолитных покрытий их значения принимаются: для покрытий, построенных до 1960 г. - 260/35 (класс бетона по прочности на растяжение при изгибе Вbtb - 2,8/35); для покрытий, построенных в период после 1960 г, до 1930 г. - 350/45 (класс бетона по прочности на растяжение пря изгибе Вbtb - 3,6/45); для покрытий, построенных после 1980 г. - 400/50 (класс бетона на растяжение при изгибе Вbtb - 4,0/50). 2.3. При эксплуатационной оценке прочности жестких покрытий следует устанавливать фактическую однородность бетона по данным исполнительной строительной документации или путем специальных исследований. В случае отсутствия таких данных можно руководствоваться табл. 1. Таблица 1
3. ВЫБОР РАСЧЕТНОЙ МОДЕЛИ И ОПРЕДЕЛЕНИЕ ПАРАМЕТРОВ ГРУНТОВЫХ ОСНОВАНИЙ В РАЗЛИЧНЫЕ СЕЗОНЫ ГОДА3.1. Дифференцированный учет деформативных характеристик грунтовых оснований и различных: расчетных моделей их работы для выявления фактической несущей способности покрытий и допустимой нагрузки на них с сохранением ресурсов работы и сроков службы требует при проведении эксплуатационной оценки прочности установления следующих данных: продолжительности отдельных сезонов года, характеризующих состояние грунтового основания по несущей способности; параметров расчетной модели грунтового основания в отдельные сезоны года; расчетных характеристик несущей способности грунтовых оснований. 3.2. Продолжительность сезонов года по условиям несущей способности грунтовых оснований определяется по климатическим справочникам применительно к дорожно-климатическим зонам территории СССР. Данные для Европейской части СССР приведены в табл. 2. Началом весеннего (расчетного) периода принято наступление положительных среднесуточных температур, а окончанием - переход относительной влажности через рубеж 0,75 Wт или достижение грунтом твердопластичного состояния. Окончание летнего сезона соответствует началу накопления влаги на глубине 0,5 м. Зимний период начинается при промерзании грунта на глубину более 0,1 м. Таблица 2
Для других районов страны необходимые климатические данные могут быть получены из специальных справочников, данных ближайших метеорологических и агрометеорологических станций, а также метеорологических служб аэропортов и территориальных управлений ГА. 3.3. При теоретической оценке несущей способности аэродромных покрытий в пределах годового цикла особое внимание должно уделяться распределяющей способности естественного грунтового основании по отдельным сезонам года. В связи с отмеченным, расчетная модель грунтового основания должна приниматься по величине приведенной толщи сжимаемого слоя, а также отношения полных осадок поверхности за пределами штампа к полной осадке самого штампа. Расчетная модель грунтового основания при наличии результатов натурных испытаний определяется по табл. 3. Таблица 3
Допускается устанавливать расчётную модель грунтового основания по величине влажности грунта. При величине относительной влажности от 0,75 до 1,0 Wт (мягкопластичное состояние) в качестве расчетной следует принимать модель Винклера (модель коэффициента постели), а при влажности менее 0,76 Wт (твёрдопластичное состояние) - модель линейно-деформируемого полупространства. В зимнее время при промерзании грунтовой толщи на 40-50 см по данным ряда исследований мерзлый грунт не сжимается, а работает на изгиб как плита с определенным значением прочности на растяжение при изгибе. Поэтому при определении несущей способности жесткого покрытия в зимний период грунтовое основание следует рассматривать, как жесткий слой, работавший на изгиб. 3.4. При отсутствии экспериментальных данных расчетные параметра естественных грунтовых оснований в период весенней распутицы можно устанавливать по данным главы СНиП 2.05.08-85. 3.5, Расчетные значения параметров естественных грунтовых оснований в летний, осенний и зимний периоды года устанавливаются путем умножения данных, приведенных в СНиП 2.05.08-85, на коэффициент Кс (табл. 4). Таблица 4
Примечание. Значения коэффициента Кс для зимнего периода даны при промерзании естественного основания на глубину не менее 25 см. 4. УЧЕТ ТЕХНИЧЕСКОГО СОСТОЯНИЯ ПОКРЫТИЙ И УСЛОВИЙ ИХ ЭКСПЛУАТАЦИИ4.1. Для проведения оценки прочности аэродромного покрытия необходимо: произвести дефектовку покрытий путем осмотра в натуре по обычной методике обследований состояния аэродромных покрытий; подсчитать процент плит с дефектами разных категорий, составить дефектную ведомость и дать оценку категории износа или разрушения в соответствии с НАС ГА; установить на основе изучения проектной (исполнительной) документации данные о конструкции покрытия, подстилающих грунтах, уровне грунтовых вод; получить необходимые данные о строительных материалах, использованных при устройстве покрытия и искусственного основания; учетом дорожно-климатической зоны, в которой располагается аэродром, уточнить климатические данные аэродрома, глубину промерзания, количество осадков; изучить эксплуатационное состояние водоотводных систем покрытия и прилегающих грунтовых участков и эффективность их работы в поддержании нормального влажностного режима основания и подстилающего грунта; получить необходимые данные о парке воздушных судов, эксплуатирующихся в данном аэропорту, и интенсивности их работы, а также предполагаемую интенсивность полетов воздушных судов расчетного типа. 4.2. При отсутствии проектной документации или недостаточном количестве информации, содержащейся в ней, необходимые исходные данные должны быть, получены путем обследования в натуре покрытий, оснований, грунтовых и гидрогеологических условий. Необходимые в ряде случаев натурные испытания покрытий воздушными судами, базирующимися в аэропорту, требуются прежде всего для выявления фактических данных, характеризующих несущую способность покрытий в комплексе с естественными и искусственными основаниями. В результате таких испытаний устанавливается расчетное значение прогиба конструкции покрытия, фактический коэффициент постели грунтового основания и модуль упругости бетона. В ряде случаев натурные испытания покрытий должны быть дополнены неразрушающими испытаниями ультразвуковой и радиоизотопной аппаратурой для оценки свойств материалов покрытий и оснований [1]. 4.3. Несущая способность аэродромных покрытий должна определяться на трех или двух наиболее характерных его участках (группах) А, Б и В. Решение о возможности работы заданных типов воздушных судов с данного аэродрома должно приниматься, как правило, исходя из несущей способности покрытий ИВПП с учетом фактического состояния покрытий и на других участках аэродрома (перрон, МС и т.д.). 5. УЧЕТ ДИНАМИЧНОСТИ ПРИЛОЖЕНИЯ НАГРУЗОК5.1. Динамическое воздействие нагрузки тяжелых воздушных судов, учитываемое коэффициентами динамичности и разгрузки, при эксплуатационной оценке прочности покрытий должно быть проанализировано для различных случаев загружения покрытий с учетом аэродинамических и жесткостных характеристик планера. Для этих целей, прежде всего, необходимо оценить коэффициент динамичности с учетом фактического технического состояния поверхности по виду и характеру неровностей, их особенностям для режимов руления и взлета, а также реальным условиям работы грунтового основания за соответствующий период загружения покрытий и величины перегрузки. 5.2. Расчетные коэффициенты динамичности при воздействии самолетных нагрузок следует определять с учетом разного влагонасыщения естественных грунтовых оснований по сезонам года. При определении расчетных коэффициентов динамичности необходимо учитывать осадку покрытия за время деформирования:
где: Sst - статический прогиб покрытия; St - динамический прогиб покрытия; τ - время деформации; Ψ - коэффициент, характеризующий упруго-вязкие свойства грунта, определяемый по [2]/ С учетом (1) расчетный коэффициент динамичности в различные сезоны будет определяться по формулам:
где: n0 - коэффициент дополнительной перегрузки, принимаемый равным 1,25 - 1,4;
5.3. Значения коэффициента динамичности для разных серпов года, вычисленные по формуле (2) с учетом скорости движения самолета, состояния покрытия и параметра χ рекомендуется устанавливать при коэффициенте перегрузки nd = 1,2. Для других значений nd коэффициент динамичности определяют по формуле:
где К'd - коэффициент динамичности при коэффициенте дополнительной перегрузки ndi. 5.4. При ровности жестких покрытий, оцениваемой в соответствии с табл. 5 на «хорошо», допускается уменьшать значения коэффициентов динамичности, принятых в СНиП 2.05.08-85, на 10 %, а для ровности, оцениваемой на «отлично», - на 20 %, но принимать не менее 1. Таблица 5
6. УЧЕТ ВЛИЯНИЯ МНОГОКОЛЕСНЫХ ОПОР ПРИ РАСЧЕТЕ ПРОЧНОСТИ ПОКРЫТИЙ6.1. При эксплуатационной оценке прочности жестких покрытий, как и при проектировании, применяют переходный коэффициент, учитывающий напряженное состояние плиты покрытия при различном местоположения самолетной нагрузки по отношению к напряженному состоянию плиты, нагруженной той же нагрузкой при центральном ее положении. При вычислении центрального изгибающего момента в плите от нагрузки принимают в качестве расчетной схемы бесконечную плиту на упругом основании (центральное загружение плиты). 6.2. Переходный (краевой) коэффициент может быть определен в соответствии с положениями СНиП 2.05.08-85, но желательно определять его, особенно для двухслойных покрытий, по данным натурных испытаний покрытий статической нагрузкой расчетного (оцениваемого) воздушного судка по следующей формуле:
где: Еb - модуль упругости бетона; t - толщина плиты;
μb - коэффициент Пуассона бетона; f(d) - функция, значения которой определяются по СНиП 2.05.08-85;
Раскрывая содержание символа кривизны деформированной поверхности плиты, формуле (4) можно придать следующий вид:
где W - приращение прогиба плиты на участке длиной 0,3 £ L £ 1,0 м (рис. 1).
Рис. 1. Схема расчета кривизны изгиба плиты 7. РАСЧЕТ ТЕХНИЧЕСКОГО РЕСУРСА ЖЕСТКИХ АЭРОДРОМНЫХ ПОКРЫТИЙ7.1. При проведении эксплуатационной оценки и выявлении резервов прочности жестких покрытий необходимо установить технический ресурс (оставшийся до конца cока службы) работы аэродромных покрытий c четом их технического состояния и приложенного на момент оценки количества воздействий нагрузок воздушных судов c начала ввода покрытия в эксплуатацию. 7.2. Методика оценки технического ресурса бетонных и армобетонных покрытий включает следующие основные этапы. 7.1.1. Технический ресурс U0 покрытия определяется по формуле:
где: Umax - максимально допустимое количество приложений нагрузки расчетного воздушного судна на данное покрытие; Ud - приведенное количество приложений нагрузки расчетного воздушного судна за весь предшествующий период эксплуатации (определяется в соответствии со СНиП 2.05.08-85). При определении количества приложений нагрузки от каждого типа воздушных судов следует учитывать проходы воздушных судов как со взлетной, так и с посадочной массой. Кроме того, должны быть проанализированы пути руления и учтены все проходы воздушных судов, установленные в результате этого анализа. 7.1.2 Максимально допустимое количество приложений нагрузки расчетного воздушного судна на данное покрытие Umax определяется следующим образом.
где: ns - общее количество плит в ряду; nF - количество плит в ряду, имеющих сильные повреждения. Строится график зависимости силовой деструкции по рядам плит от числа проходов расчетного самолета по каждому ряду плит D(U). Для этого определяется вероятность проходов самолета по рядам плит:
где: ζ - среднеквадратическое отклонение; x1, x2 - границы интегралов (принимается интеграл, равный ширине плиты);
После замены переменных
Значения Фn(z) табулированы [3]. При отсутствии магистральной РД, т.е., при рулении по ВПП. аналогичные расчеты по определению вероятностей должны проводиться также для режима руления по ВПП. Среднеквадратическое отклонение от оси ВПП для некоторых самолетов для режима посадки по данным работы [4] приведены в табл. 6. Таблица 6
Для самолетов Ил-62 к Ил-86 данные приняты по экстраполяции, (для Ил-62 ζ = 2,6 м, для Ил-86 ζ = 2,7 м). Так как интервал, в котором определяется вероятность проходов самолета, принят равным ширина плиты, т.е. не менее 3,6 м„ то математическое ожидание отклонения опоры воздушного судна от оси ВПП для всех режимов допускается принимать равным половине колеи главных опор, а среднеквадратическое отклонение ζ для режима руления по ВПП - 1,0 м. Для самолета Ил-86 следует учитывать наличие третьей главной
опоры под фюзеляжем (математическое ожидание 7.1.3. По результатам вычислений строится гистограмма распределения проходов Ud воpдушного судна и совмещается с гистограммой распределения силовых трещин (деструкции) по рядам плит (рис. 2) и затем строится график зависимости силовой деструкции D от числа проходов и подбирается соответствующее уравнение деструкции для ряда плит (рис. 3, кривая 1). Далее, при нескольких произвольно заданных значениях Ud в соответствии с гистограммой распределения количества проходов воздушного судна по ВПП (см. рис. 2) с помощью кривой 1, рис. 3, определяется путём деструкция Dj для прохода воздушного судна по каждому ряду. Затем определяется суммарная деструкция покрытия Dвпп для этих значений Ud и строится кривая деструкции для всей ВПП (рис. 3, кривая 2),
где: m - число рядов плит на обследуемом учаcтке ВПП. 7.1.4. Определение уравнения кривой деструкции для ряда плит по данным обследования производится по следующей методике. Определяем КL из уравнения:
где: KL - коэффициент долговечности покрытия.
Рис. 2. Распределение количества проходов воздушных судов и силовых трещин по рядам плит ВПП
Рис. 3. Зависимость силовой деструкции для ряда плит (1) и для всей ВПП (2) от количества проходов расчетного типа воздушного судна Для каждого ряда вычисляется значение коэффициента долговечности KLj формуле:
Затем определяется среднее значение этого коэффициента
Вычисляется величина
Определяется отклонение экспериментальных значений деструкции от расчетных:
Полученные значения подставляются в уравнение:
где α - малая величина, на которую отличается наивероятнейшее значение КL от среднего значения. Далее вычисляется Уравнение (9) записывается с вычисленным значением КL Кривые деструкции для различных коэффициентов долговечности приведены на рис. 4. Аналогичным образом подбирается уравнение деструкции для всей ВПП 7.1.5. Определяется сигнальная оценка Ѕ эксплуатационно-технического состояния покрытия (табл. 7).
Количество проходов воздушного судна Ud Рис.
4. Кривые деструкции
|
|||||||||||||||||||||||||||||||||||||||||||||||||||||||||||||||||||||||||||||||||||||||||||||||||||||||||||||||||||||||||||||||||||||||||||||||||||||||||||||||||||||||||||||||||||||||||||||||||||||||||||||||||||||||||||||||||||||||||||||||||||||||||||||||||||||||||||||||||||||||||||||||||||||||||||||||||||||||||||||||||||||||||||||||||||||||||||||||||||||||||||||||||||||||||||||||||||||||||||||||||||||||||||||||||||||||||||||||||||||||||||||||||||||||||||||||||||||||||||||||||||||||||||||||||||||||||||||||||||||||||||||||||||||||||||||||||||||||||||||||||||||||||||||||||||||||||||||||||||||||||||||||||||||||||||||||||||||||||||||||||||||||||||||||||||||||||||||||||||||||||||||||||||||||||||||||||||||||||||||||||||||||||||||||||||||||||||||||||||||||||||||||||||||||||||||||||||||||||||||||||||||||||||||||||||||||||||||||||||||||||||||||||||||||||||||||||||||||||||||||||||||||||||||||||||||||||||||||||||||||||||||||||||||||||||||||||||||||||||||||||||||||||||||||||||||||||||||||||||||||
|
Эксплуатационно-техническое состояние покрытия |
Специальная оценка |
|
Стадия нормальной эксплуатации |
3,5-0 |
|
Критическая стадия |
2,5 - 3,5 |
|
Стадия недопустимых повреждений |
< 2,5 |
Сигнальная оценка определяется по формуле
|
Ѕ =
5,0 - D0 = 5,0- |
(15) |
где:
D0 = обобщений показатель повреждений покрытия;
Di - показатель повреждения покрытия i-го вида;
ncrc - количество видов повреждения принятых к рассмотрению;
аi показатель весомости каждого вида повреждений, равный: для сколов кромок 0,1; для сквозных трещин - 0,05; при шелушении поверхности - 0.03.
По рис 3 (кривая 2) определяются показатели деструкции для нескольких значений Ud (например, 103, 104, 105; а затем для этих значений D строится кривая сигнальной оценки S (рис. 5, кривая 1) для сквозных трещин по формуле
S = 5 - D·0,05
По данным индивидуального обследования определяется общее количество сколов кромок D' на покрытии, и затем строится кривая 2 (рис. 5) сигнальной оценки S' с учетом сколов кромок:
S' = 5 - (D·0,05 + D'·0,1);
На пересечения этой кривой с линией S' = 2,5 определяется предельно допустимое приведенное количество проходов воздушного судна U mах

Количество проходов воздушного судна Ud
Рис. 5. Определение предельно-допустимого количества проходов воздушного судна Umax :
1, 2 - кривая сигнальной оценки покрытия соответственно для сквозных трещин и с учетом сколов кромок.
8.1. Влияние температурного режима при определении требуемой
толщины бетонных покрытий оценивается согласно СНиП 2.05.08-85 введением при нахождения предельного
изгибающего момента mu коэффициента условий работы
γс, обобщающего условия нарастания прочности цементобетона во
времени
и температурного
воздействия
. При этом, поскольку по данным работы [5]
, то
.
8.2, Реальное значение коэффициента условий работы покрытий следует устанавливать, исходя из конкретных местных температурных условий по формуле
|
|
(16) |
где:
- нормативное
сопротивление растяжению при изгибе;
- фактическое
температурное напряжение.
8.3. Исследования температурных напряжений в цементобетонных покрытиях в различные периоды (сезоны) года и суток (днём. ночью) показали. Что наиболее неблагоприятными они являются в летний период;
на нижней поверхности близи угловых и краевых участков плиты:
|
|
(17) |
на нижней поверхности при отсутствии сжатия плиты на контуре
|
|
(18) |
где
- максимальное
отклонение от среднего значения температуры на поверхности покрытия днем;
- в весенне-осенний период:
остаются действительными условия и формулы для летнего
периода, но, как
правило, применима формула (17), при этом
в весенний
период имеет меньшее значение, чем в летний;
- в зимний период
|
|
(19) |
где:
α - коэффициент теплодеформативности цемонтобетона;
Eg - модуль упругоcти цементобетона;
a3 - коэффициент уменьшения температурных напряжений на нижней поверхности;
μb - коэффициент Пуассона;
PR - сопротивление перемещению плиты, равное 0,5LBτc (L - длина плиты);
B - ширина плиты;
tw - толщина покрытия.
Значения коэффициента а3 можно определить по рис. 6.

Рис. 6. Изменение параметра а3 в зависимости от толщины покрытия
Температурная перепад, вызывающий сжатие плит на контуре при летних дневных температурах, определяется по формуле:
|
|
(20) |
где
ty - температура укладки цементобетонной смеси в покрытии.
Максимальное отклонение температуры на поверхности покрытия от среднего значения температуры воздуха имеет вид:
|
|
(21) |
где:
максимальные и минимальные температуры воздуха течение суток;
ρ - коэффициент поглощения тепла, равный 0,65-0;88 (в зависимости от состояния и возраста цементобетона);
Jmt - среднесуточная интенсивность солнечной радиации;
Kop - коэффициент, учитывающий уменьшение солнечной радиации в любой чаc суток;
K12 - коэффициент перехода к количеству солнечной радиации, начиная с 12 ч дня от среднесуточной;
Kn - коэффициент, учитывающий ослабление солнечной радиации вследствие запыленности воздуха над аэродромом, равный 0,5-0,65;
an- коэффициент теплоотдачи.
Значения коэффициентов Kop и K12 приведены в табл. 8.
|
Северная широта, град. |
К12 |
Коэффициенты Кор в разные часы суток |
||||||||
|
12 |
11; 13 |
10; 14 |
9; 15 |
8; 16 |
7; 17 |
6; 18 |
5; 19 |
4;20 |
||
|
35 |
0,125 |
1 |
0,96 |
0,87 |
0,71 |
0,52 |
0,3 |
0,11 |
0,004 |
0 |
|
40 |
0,123 |
1 |
0,96 |
0,87 |
0,72 |
0,53 |
0,33 |
0,13 |
0,005 |
0 |
|
45 |
0,120 |
1 |
0,97 |
0,88 |
0,72 |
0,54 |
0,36 |
0,16 |
0,033 |
0 |
|
60 |
0,117 |
1 |
0,97 |
0,88 |
0,73 |
0,56 |
0,39 |
0,18 |
0,05 |
0 |
|
65 |
0,112 |
1 |
0,97 |
0,88 |
0,74 |
0,158 |
0,42 |
0,2 |
0,08 |
0,009 |
|
60 |
1,09 |
1 |
0,97 |
0,88 |
0,76 |
0,6 |
0,44 |
0,23 |
0,11 |
0,05 |
|
65 |
1,05 |
1 |
0,96 |
0,9 |
0,81 |
0,61 |
0,47 |
0,28 |
0,14 |
0,07 |
|
70 |
0,099 |
1 |
0,96 |
0,89 |
0,83 |
0,64 |
0,5 |
0,31 |
0,19 |
0,10 |
|
75 |
0,092 |
1 |
0,94 |
0,87 |
0,81 |
0,158 |
0,55 |
0,37 |
0,25 |
0,15 |
Отклонение от среднего значения температуры равно:
|
|
(22) |
где:
- амплитуда
колебаний температуры на поверхности, равная максимальному дневному отклонению
(формула 21) и ночному, определяемому по формуле
![]()
ω - угловая частота колебаний температуры, равная 2π:Т (Т - период полного колебания, равный 24 ч);
α - коэффициент температуропроводности цементобетона, равный 0,004.
Удельное сопротивление перемещению плиты, зависящее от типа основания, равно:
|
τс = pf |
(23) |
где:
P - давление плиты на грунт, равное P = twγ (γ - объёмная масса);
f - коэффициент трения, зависящий от типа основания и размеров плиты.
Для определения f предварительно находится показатель вида трения χск по формуле
|
|
(24) |
где:
fck - предельное значение коэффициента трения, при котором возникает «скользящее трение» (fck,= fu);
n, c - показатели степени параметров трения плиты по основанию.
Значения fи и параметров n и c - приведена и табл. 9.
Температура, вызывающая перемещение плиты по основанию, равна
|
|
(25) |
где
- максимальное
отклонение от среднего значения температуры не. поверхности покрытия ночью.
|
Тип основания |
Толщина плиты tw, см |
fu |
Параметры |
|
|
n |
c |
|||
|
Песчаное |
15 30 45 |
1,15 0,9 0,65 |
0,28 0,31 0,33 |
8,1 7,5 6,0 |
|
Песок, обработанный битумом, рулонная прослойка |
15 30 45 |
1,6 1,3 1,1 |
0,4 0,35 0,3 |
26 11 7 |
|
Песчаное с одним слоем пергамина |
- |
0,66 |
0,25 |
5 |
|
Песчаное с одним слоем полиэтилена |
- |
0,6 |
0,22 |
4 |
Зная показатель вида трения χск , находят коэффициент трения:
|
при
|
|
|
|
(26) |
|
При
|
|
|
|
(27) |
Силы смерзания при температурах от -1,6 до -12 ºС можно находить по формулам для песчаных оснований:
|
τ = 0,03 + 0,126[T], |
(28) |
для основания из связанного грунта (суглинка):
|
τ = 0,1 + 0,4[T], |
(29) |
где [T] - абсолютное значение отрицательных температур.
8.4. Для определения температурных напряжений предварительно необходимо установить:
данные о конструкции, размерах и материале покрытия;
внешние (фактические) температурные условия;
температурные воздействия, определяющие работу покрытия;
характеристику основания и силы трения.
8.5. Данные о конструкции, размерах и материале покрытия должны характеризовать:
толщину и размеры плит в плане, конструкцию стыков, марку цементобетона на растяжение при изгибе, модуль упругости, объемную массу;
коэффициенты: Пуассона, теплодеформативности, температуропроводности, теплопередачи, однородности цементобетона;
район (географический пункт) расположения объекта и температуру воздуха в момент укладки цементобетонной смеси.
8.6. Внешние температурные условия устанавливаются по «Климатическому справочнику СССР», или непосредственно на местной метеорологической станции. Они должны содержать по каждому характерному месяцу сезонов:
среднемесячные температуры;
среднеминимальные месячные температуры;
среднемаксимальные (в 13 ч дня) температуры;
среднемесячные интенсивности солнечной радиации. Среднемесячная интенсивность солнечной радиации в справочниках учитывает вероятность облачности. В расчетах при определении эквивалентной температуры нагрева за счет солнечной радиации требуются среднесуточные данные при безоблачном небе. Поэтому необходимо делать перерасчет по формуле
|
|
(30) |
где:
n - число cуток в месяце;
10000 - переводной коэффициент;
- коэффициент,
учитывающий увеличение солнечной радиации при безоблачном небе.
В зависимости от северной широты при 35, 40, 45, 50, 55, 60,
65, 70, 75 град.
соответственно,
будет равен 1; 1,03; 1,05; 1,14; 1,21; 1,26; 1,3; 1,36; 1,41.
8.7. Температурные воздействия характеризуется следующими данными:
амплитудой колебания температуры на поверхности цементобетонного покрытия;
температурой, вызывающей перемещение плиты по основанию;
температурным перепадом, вызывающим сжатие плиты вследствие сопротивления на контуре.
8.8. По значениям фактических температурных напряжений,
определенных для различных периодов года, по формуле (16) находят коэффициенты
и далее общие
коэффициенты условий работы по формуле
, при
этом, если значение этого коэффициента больше принятого СНиП, то будет
установлена (получена) возможность увеличения нагрузки.
9.1. Наличие специфического воздействия газовых струй на аэродромные покрытия требует оценки температуроустойчивости и аэродинамической сдвигоустойчивости асфальтобетонных покрытий. Для этих целей необходимы следующие исходные данные:
параметры скоростного поля струи в зоне контакта с поверхностью покрытия;
параметры температурного поля, возникающего на поверхности в зоне контакта струи и распространяющегося в толщу асфальтобетона за расчетную продолжительность воздействия;
критические значения скоростного напора газового потока, разрушающего асфальтобетонные слои с разной степенью начального трещинообразования.
9.2. Математическая модель оценки параметров поля газовоздушных струй двигателей включает следующие основные этапы.
1. Определяют скорость звука а и число Маха М на срезе сопла:
|
|
(31) |
где:
К =1,33 - показатель адиабаты струи;
R = 289,3 - газовая постоянная;
W0 - скорость струи на срезе сопла.
2. С помощью таблицы газодинамических функций находят следующие параметры:
|
|
(32) |
где:
Ts - статическая температура;
Tw - полная температура струи на срезе сопла.
Относительный подогрев струи определяется по формула
, где Те
- температура окружающей среды (воздуха).
3. По известным значениям угла наклона оси струи к поверхности покрытия β0 и высоты Н оси сопла над покрытием рассчитывается расстояние от среза сопла до точки натекания оси струи на покрытие:
|
|
(33) |
Относительное расстояние рассчитывается по формуле:
|
|
(34) |
где d - диаметр сопла.
4. Для учёта эффекта Коанда
предварительно рассчитывают траекторию оси струи, натекающей на плоскую
преграду при известных Н и
по формуле.
предложенной С.Ю. Крашенинниковым [6]:
|
|
(35) |
где Y и X - относительный координаты оси струи (
,
);
хк - ордината точки натекания оси струи.
Значение хк находится с помощью следующего соотношения;
|
|
(36) |
Угол натекания искривленной струи
на преграду
определяется из
трансцендентного уравнения:
|
|
(37) |
5. Значения профилей скоростей и температуры в различных сечениях струи и её поля в зоне натекания на неровность покрытия представлены уравнением:
|
|
(38) |
|
|
(39) |
где:
Wm и Tm - соответственно, скорость и температура на оси струи;
- безразмерная
координата точки, в которой оцениваются параметры струи и ее поля (r радиус
струи или поля).
6. Изменение осевой скорости струи; определяется по формуле:
|
|
(40) |
где:
с - экспериментальный коэффициент (с = 0,22);
nw - коэффициент неравномерности распределения скорости по сечению сопла, равный 1,1-1,4, в зависимости от типа двигателя.
Представим параметры, входящие в формулу (39):

где nт - коэффициент неравномерности распределения температуры по сечению сопла (nт = 1 ÷ 3).
Значения относительного расстояния от переходного сечения
струи до среза сопла
. в зависимости от Θ и функции F(ι) указаны
в работе [6].
7. Дня определения осевой
скорости струи находят значения
по формуле (40),
задаваясь при этом значением
. Зная значение
, далее определяют действительные скорости по оси потока по
формуле:
|
|
(41) |
где m - отношение скорости струйного потока к скорости .на оси струи.
Температуру на оси струи определяют по формуле:
|
|
(42) |
где Т0 - температура струи в начальном сечении.
8. Для определения размера расчетной зоны в любом сечении струи - радиуса струи r используется закон нарастания толщины затопленной (Wн = 0) и неизотермической (θ ¹ 1) осесимметричной струи в следующей форме:
|
|
(43) |
где Кт = 0,745, С = 0,22 (для основного участка струи).
В зоне натекания струи на поверхность покрытия при Х ¹ L, толщина струи, т.е. ее радиус, определяется по формуле:
|
|
(44) |
Радиусом струи в данном сечении условно считают расстояние от оси струи с максимальной скоростью Wm до той точки, где скорость струи составляет Wi = 0,01Wm.
9. Зоной максимального воздействия считается область контакта струи с покрытием, где действует, центральная часть пристеночного слоя газового потока со скоростью Wi = (1÷0,5) Wm. Площадь сечения струи в зоне контакта находится по формуле:
|
|
(45) |
Площадь покрытия, подверженная воздействию центральной части
струи, приближенно равна площади полуэллипса с осями a = 0,441r и ![]()
|
|
(46) |
10. При оценке аэродинамической устойчивости несвязанных частей имеющего трещины покрытия используется понятие средней скорости в зоне контакта струи с покрытием:
|
|
(47) |
11. Размер расчетной зоны с
максимальной (безразмерной температурой
= 0,9÷1,0
рассчитывается по формуле:
|
(T - Tm)cp » 0,945(Tm - Tn) |
(48) |
12. Для определения температуры поверхности покрытия в расчётной зоне коэффициент конвективного теплообмена αк между струёй и поверхностью покрытия рассчитывается по формуле:
|
|
(49) |
где:
λ - коэффициент теплопроводности материала покрытия;
l - характерный размер - диаметр расчетной зоны;
Wu -
критерий Нуcсельта,
характеризующий интенсивность теплообмена в зоне контакта струи о покрытием; Nu = 0,032
(в диапазоне Re = 105 ÷ 2·106).
Число Рейнольдса в зоне контакта
|
|
(50) |
где:
;- средняя скорость струи в расчетной зоне;
- коэффициент
кинематической вязкости газовоздушной смеси при температуре Тm.
Учитывая, что в зоне контакта струи с поверхностью покрытия
газовоздушная смесь состоит на 70-80 % из воздуха, значение
можно принимать по
соответствующим таблицам для воздуха.
13. Температура поверхности покрытия Тр находятся по формуле:
|
|
(51) |
Плотность теплового потока газовоздушной струи в зоне контакта с покрытием определяется из формулы:
|
|
(52) |
где:
- теплоемкость
воздуха при температуре
определяется
по таблицам.
Расчет температурного и скоростного полей газовой струи реактивных двигателей воздушных судов, лежащий в основе оценки аэродинамической устойчивости работы асфальтобетонных покрытий, целесообразно выполнять на ЭВМ, поскольку ручные расчеты требуют больших затрат времени.
На. основе приведенных соотношений математической модели разработаны алгоритмы и блок-схема расчета параметров газовоздушных струй (рис. 7), натекающих на покрытия, а также температуры поверхности покрытия в зоне контакта с газовый потоком.
В данной программе расчета на ЭВМ параметров поля струи все необходимые табличные значения находятся в памяти ЭВМ. Основными исходными данными при расчете являются:
высота оси сопла (струи) двигателя над покрытием H, м;
угол наклона оси сопла (струи) над покрытием β0, град.;
статическая температура То, ºК, и скорость истечения газовой струи на срезе сопла W0 м/c
радиус сопла r, м;
температура окружающего воздуха Тн, ºК.
Расчет начинаемой с определения точки натекания газовой струи на поверхности покрытия, скорости газовой струи и температуры покрытия в этой точке. Далее, программа определяет скорость струи и температуру покрытия по пикетам (через 5 м) по оси струи, а также по ширине струи через 0,5 м на каждом пикете.
При оценке аэродинамической сдвигоустойчивости асфальтобетонных слоев усиления следует учитывать следующие составляющие газодинамического воздействия газовой струи:
динамическое давление, обусловленное ударом, возникающим при взаимодействии струи с покрытием;
силу сопротивления, связанную с обтеканием газовым потоком поверхности покрытия;
подъемные силы, создаваемые перепадами давлений при, обтекании поверхности покрытия, и турбулентностью струи.
Аэродинамические силы, действующие на покрытие, представленные двумя составляющими вертикальной: вертикальной Pυ , удерживающей покрытие, и горизонтальной Рh, стремящейся сдвинуть или поднять покрытие, определяются следующими зависимостями:
|
|
(53) |
|
|
(54) |
где:
Сх, Су - коэффициенты аэродинамических сил, определяемые экспериментальным путём, либо по рекомендациям, указанным далее;
Wmt - средняя скорость потока;
S - расчётная площадь обдуваемой поверхности;
Ρ - плотность газовоздушной смеси в струе на расстоянии L от среза сопла;
Kd - коэффициент динамичности струйного воздействия , равный 1,25;
Kε - коэффициент, учитывающий степень турбулентности струи, равный 1.3.
Аэродинамические коэффициенты сил сопротивления Ск и подъёмной силы Су изменяются в широких пределах и зависят от размеров обтекаемых объектов и их расположения по отношению к газовой струе. Для плоских гладких объектов эти коэффициенты имеют величину порядка 0,01 (асфальтобетонные покрытия хорошего качества). При наличии небольшого количества на поверхности трещин величина коэффициентов увеличивается до 0.1. Для сильно разрушенных поверхностей асфальтобетонных покрытий, имеющих разветвлённую сеть трещин, а также упрощенных и дерновых покрытий величины этих коэффициентов составляют от 0.2 до 0.5. в зависимости от степени разрушения и характера неровностей поверхностей.
Для обеспечения устойчивой работы покрытия при воздействии струи необходимо. Чтобы вес верхнего слоя покрытия Р был больше отрывающего усилия F, т.е. P > F, где F = Ph - Pv.
Из этого условия минимальная толщина слоя асфальта составляет
|
|
(55) |
где:
- отрывающее усилие, отнесённое к единице площади;
- объёмныё вес асфальтобетона.

Рис. 7. Блок-схема расчёта температур и скоростей в поле струи расчётного двигателя.
10.1. Поскольку несущая способность жестких аэродромных покрытий является достаточно сложной функцией многих параметров и переменных величин, для оценки эксплуатационной пригодности воздушных судов к базировании на аэродромной сети ГА целесообразно использовать системный подход, анализирующий структуру и взаимосвязи различных компонентов данной системы в виде некоторых формализованных этапов, в основном - цели, входы, выходы, ограничения, расчетные характеристики и функции оценки данной системы. Функционирование системы может быть представлено математической моделью, действующей соответственно некоторому регламенту для того, чтобы добиться поставленной цели. Таким образом, рассматриваемая система «аэродромное покрытие» может быть представлена математической моделью, подчиняющейся физическим законам для превращения переменных входа в различные ответные реакции, характеризуемые функцией несущей способности покрытия.
10.2. Разработанная математическая модель в виде алгоритма и программы расчета на ЭВМ позволяет оценить несущую способность существующего аэродромного покрытия заданной конструкции в виде однослойных (бетонных или цементобетонных) и двухслойных (с верхним слоем из бетона и армобетона) на искусственных основаниях, а также конструкции усиления из бетона или асфальтобетона. В основу алгоритма разработанной математической модели положены аналитический расчет по формулам и техническим требованиям, изложенным в главе СНиП 2.05.08-85, и некоторые специальные методики расчета. Алгоритм и программа расчета на ЭВМ построены по модульному принципу, что позволит в дальнейшем добавлять к созданной модели блоки и заменяя одни блоки другими, получать новые математические модели аэродромных покрытий *.
*Программа находится в Московском автомобильно-дорожном институте.
10.3. Программная система предназначена для оценки несущей способности жестких аэродромных покрытий. В отличие от программ расчета требуемой прочности покрытий, при проектировании новых наземных объектов целью данной программной системы является установление возможности эксплуатации тяжелых воздушных судов на действующей сети аэродромов ГА. В результате работы программной системы определяется допустимая взлетная масса воздушных судов для эксплуатации на выбранном объекте базирования, а также выявляются имеющиеся резервы прочности аэродромных покрытий.
10.4. Программная система состоит из отдельных подпрограмм, записанных в библиотеке объектных модулей и головной программы PRONS, которая реализована в виде абсолютного (загрузочного) модуля и соединяется с подпрограммами при редактировании. Характеристики воздушных судов содержатся и файле СНАRSH , который изымается и реализуется программой WWOD. При необходимости внесения изменений и дополнений следует ввести заново этот файл с перфокарт па пакет магнитных дисков. Все программное обеспечение создано в DOСЕС на языка РL/1.
10.5. В программной системе выделены специальные блоки хранения и поиска следующей информации:
характеристики естественных и искусственных оснований и их расчетные параметры;
таблицы расчетных коэффициентов (перегрузки, условий работы, динамичности и т.д.);
таблицы значений единичных изгибающих моментов и функций приведенного радиуса;
значения эмпирических и графических зависимостей новой редакции СНиП, и другие данные.
10.6. Структура программкой системы состоит из девяти модулей (процедур), работающих под управлением головной программы PRONS, отдельного модуля записи характеристик воздушных судов WWOD в файл СНАRSH. Последний может и не использоваться, но в этом случае характеристики нагрузки (расчетный тип воздушного судна должен задаваться в исходных данных расчета (четыре перфокарты).
10.7. Ниже дается описание головной программы и подпрограмм.
Головная программа PRONS, управляющая процессом расчета, вводит исходные данные, рассчитывает предельный изгибающий момент mu, проверяет условие прочности покрытия и, если оно не удовлетворяется, корректирует величину нагрузки. Затем процесс повторяется, и после того, как условия прочности выполнены, программа печатает результаты расчета и заканчивает работу.
Процедура РЕСN производит печать исходных данных расчета.
Процедура RASК 1 предназначена для поиска в нормативной базе данных задачи значений коэффициентов динамичности, перегрузки, условий работы по заданной нагрузке и группе участков покрытий.
Процедура ТАВСЕ по заданному виду грунта, дорожно-климатической зоне и типу гидрологических условий определяет соответствующее значение коэффициента постели (в случае, если этот коэффициент не задан в исходных данных).
Процедура ТABCЕ предназначена для выдачи хранящихся данных о расчетных характеристиках бетона. Эти характеристики выдаются по заданной в исходных данных марке бетона.
Процедура РОКIN определяет коэффициент Кu учитывающий интенсивность приложения колесных нагрузок воздушных судов.
Процедура RSM вводит сезонную поправку к определенному или заданному коэффициенту постели грунта и осуществляет все операции по определению расчетного изгибающего момента.
Процедура ТAВFG определяет по значению приведенного радиуса функцию f(α).
Процедура ТАBSM определяет максимальную сумму изгибающих моментов от действия пневматиков шасси, расположенных за пределами расчетного сечения.
Процедура ASВЕТN вычисляет расчетную толщину жесткого покрытия, усиленного слоя асфальтобетона.
Процедура WWОВ предназначена для ввода характеристик нормативных нагрузок и воздушных судов, необходимых для оценки несущей способности, В программой системе может не использоваться, если нагрузки будут задаваться в исходных данных.
Структура программной системы представлена на рис. 8.
10.8. Головная программа, PRONS вводит с магнитного диска ими перфокарт в поле РSАМ (60) файл характеристик воздушных судов. Затем вводятся исходные данные для оценки несущей способности покрытий заданного типа. С использованием процедуры РЕСН происходит выдача исходных данных в табличной форме. После этого головная программа обращается к подпрограмме RASKI, которая устанавливает справочные коэффициенты динамичности, перегрузки и условий работы покрытия. Если покрытие усилено асфальтобетоном, значение коэффициента динамичности снижается на 15 % (в пределе его значение не менее 1). С помощью модуля ТАВСЕ определяется расчетный коэффициент постели грунтового основания (если он не задан явно в исходных данных). Значение коэффициента устанавливается в зависимости от заданного вида грунта, дорожно-климатической зоны, типа местности и признака расположения аэродрома. При наличии искусственного основания, не укрепленного неорганическим вяжущим, определяется эквивалентный коэффициент постели в соответствии с методологией СНиП 2.05.08-85.
10.9. .Расчетные характеристики несущих слоев искусственного покрытия находятся путем обращения к процедуре ТАВЕТ. Если покрытие двухслойное, обращение происходит дважды. В случае, если категория разрушения покрытия не равна нулю, учитывается уменьшение его толщины.
Для двухслойного или перекрытого асфальтобетоном однослойного покрытия определяется поправочный множитель к коэффициенту условий работы нижележащего слоя конструкции в зависимости от толщины верхнего слоя. При наличии асфальтобетонных слоев усиления расчетная толщина бетонного покрытия устанавливается подпрограммой АSВЕТN.
10.10. Следующим этапом является вычисление путем вызова модуля РОКIN коэффициента К1 , учитывающего интенсивность приложения колесных нагрузок воздушных судов. Этот коэффициент определяется в зависимости от количества учитываемых при оценке несущей способности, воздушных судов разных типов NN и количества их движений с учетом перспективы, В случае, если NN = 99, этот показатель вводится с перфокарт. При NN = Ф коэффициент К1 принимается в зависимости от класса аэродрома.

Рис. 8. Структура программной системы PRONS по оценке несущей способности аэродромных покрытий
10.11. Для нахождения расчетного нагибающего момента от заданной нагрузки управление передается в подпрограмму RSМ. Эта подпрограмма вычисляет жесткость плит покрытия по СНиП 2.05.08-86.
10.12. При необходимости оценки несущей способности ; покрытий по отдельным cезонам года производится корректировка коэффициента постели неукрепленного и грунтового оснований с учетом соответствующего сезона года.
10.13. Далее переходят к нахождению упругой характеристики плит покрытия, колесной нагрузки и радиуса круга, равновеликого площади отпечатка пневматика. Затем обращением к процедуре ТАFG и ТАВSМ вычисляется центральный изгибающий момент в покрытии.
10.14. После этого происходит вычисление расчетных изгибающих моментов по СНиП 2.05.08-85.
10.15. Далее управление вычислительным процессом вновь передается в основную программу РRONS. Эта программа вводит поправки к расчетному моменту (моментам), зависящие от данного сезона года и учитывающие работу грунтового основания по моделям Винклера или упругого полупространства (зима-лето). После этого вычислительный процесс связан с нахождением предельных изгибающих моментов, которые рассчитываются по СНиП 2.05.08-85.
10.16. Вычислительный процесс завершается определением отношения (отношений) mu/md. Еcли полученное отношение отличается от единицы более чем на 3 %, производится корректировка допустимой взлетной массы воздушного судна в ту или иную сторону и вновь осуществляется итерационный процесс вычисления расчетного момента, предельного момента и т.д. В противном случае (при соблюдении этого условия) полученное значение допустимой взлетной массы воздушного судна выводится на печать, и программа заканчивает свою работу.
10.17. Указания по заполнению исходных данных следующие.
В качестве исходных данных используются три группы расчетных показателей, характеризующих нагрузку, конструкцию покрытия и расчетный участок аэродрома.
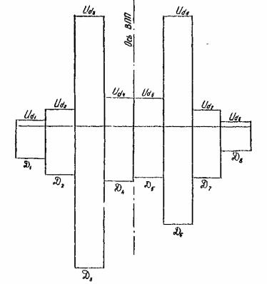
Информация о характеристиках нагрузки вводится программой РRONS или WWOD массивом перфокарт. Первая карта массива содержит число вводимых типов нагрузок.
Перфокарты заполняются следующим образом.
1. Первая карта массива содержит число вводимых типов нагрузок. Если нагрузки вводятся из файла СНАRSN , тогда набивается Æ.
2. Вторая карта содержит:
категорию нормативной нагрузки, к которой относится воздушное судно - цифра от Æ до 6;
тип воздушного судна или категорию нормативной нагрузки - цифра или несколько букв в апострофах (например `I` или `Ил-86`);
взлетная масса в килограммах - до шести цифр;
долю массы на основные опоры - целое или дробное число до трех знаков после точки;
давление в пневматиках - две цифры до точки и одна после;
число колес главной опоры - одна цифра;
число главных опор - одна цифра;
число осей главной опоры - одна цифра.
3. Третья карта содержит координаты X колес шасси (в см) до трех цифр.
4. Четвертая карта содержит координаты Y колес шасси в том же формате,
Координаты колес шасси заполняются в порядке следования номеров колес (1,1; 1,2; 1,3; 1,4; 2,1, ..., 4,4) согласно приведенной схеме (рис. 9). Если колесо в заданной схеме отсутствует, соответствующие координаты X и Y равны нулю. На приведенной схеме 2.2 - расчетное колесо.

Рис. 9. Схема координат многоколесных шасси
При заполнении к перфорации все данные первых четырех карт разделяются пробелами.
После этого набивается карта, содержащая наименование расчета. Если нагрузка вводится из файла СНАRSN, то ее порядковый номер 2, в противном случае - 5.
5. Пятая карта может содержать, например, наименование объекта (Ленинград ВПП-2) и включает до 80 символов.
6. Шестая (или третья) карта отражает исходные данные на расчет, которые набиваются с первой позиции в определенных колонках, и содержит:
а) класс аэродрома - один из четырех символов: А, Б, В, Г;
б) тип воздушного судна - до 10 символов (например, Ил-62) или категорию нормативной нагрузки (цифра от 1 до 6). Строка заполняется, начиная с первой позиции; недостающие символы дополняются пробелами;
в) взлётную массу воздушного судна (позиции 12-17) заполнять не обязательно. Если взлетная масса не задана, она выбирается из массива характеристик воздушных судов;
г) число воздушных судов, учитываемых при расчете К1 (если NN = Ø, то К1 определяется по таблице нормативной базы (позиции 18-19);
д) группу участков - один из четырех символов: А, Б, В, Г (позиция 20);)
е) вид грунта - одна цифра (позиции 21): 1 - песок гравелистый, песок крупный; 2 - песок средней крупности; 3 - песок мелкий; 4 - песок пылеватый; 5 - супесь, 6 - суглинок непылеватый, глина; 7 - супесь и суглинок пылеватые;
ж) дорожно-климатическую зону - одна цифра от 1 до 5 (позиция 22);
з) тип местности - одна цифра от I до 3 (позиция 23);
и) коэффициент постели по результатам натурных испытаний - заполнение необязательно, так как может быть найден в нормативной базе данных (позиции 24-27);
к) признак расположения аэродрома восточнее линии Волга-Сев. Двина (позиция 26):
РR = 0 - аэродром расположен западнее линии Волга-Сев. Двина;
РR = 1 - аэродром расположен восточнее линии Волга-Сев. Двина;
л) признак наличия слоистого основания или искусственного основания, не обработанного вяжущими (позиция 29):
0 - слоистое основание отсутствует; 1 - слоистое основание имеется.
Если в позиции 29 проставляется 1, то вводятся следующие данные: коэффициент постели верхнего слоя основания (позиции 30-33); толщина верхнего слоя основания (позиции 34-35); коэффициент постели нижнего слой основания (позиции 36-39); толщина нижнего слоя основания (позиции 40-41);
м) поправочный множитель на широту местности, который равен (позиции 42-46): 0,95 для объектов, расположенных между 43 и 50° с.ш.; 0,90 для объектов, расположенных ниже 43° с.ш.; 1,00 - для объектов, расположенных выше 50°с.ш.;
и) вид покрытия (позиция 46):
0 - железобетонное; 1 - однослойное бетонное; 2 - однослойное армобетонное; 3 - двухслойное бетонное; 4 - двухслойное (армобетон-бетон); 5 - усиление бетона асфальтобетоном; 6 - усиление армобетона асфальтобетоном; 7 - усиление железобетона асфальтобетоном;
о) марку бетона на растяжение при изгибе верхнего или единственного слоя покрытия. Для тяжелого бетона заполняются позиции 47-48, для мелкозернистого - 49-50.
о') марку бетона на растяжение при изгибе нижнего слоя. Заполняется при расчете двухслойного покрытия аналогично предыдущему (позиции 61-52 и 53-54);
п) толщину верхнего (единственного) слоя покрытия (позиции 55-56);
р) процент армирования существующего ненапрягаемого железобетонного покрытия (позиции 57-60). Возможные значения: 0,25; 0,30; 0,36; 0,40;
с) категорию разрушения - одна цифра (1, 2, 3) в позиции 61;
т) толщину существующего покрытия при усилении или нижнего слоя покрытия (позиции 62-63);
у) признак устройства искусственного основания из материалов, обработанных вяжущими (позиция 64):
0 - не производится расчет искусственного основания; 1 - производится расчет искусственного основания;
ф) расчетное сопротивление растяжению при изгибе искусственного основания (позиции 65-68). Заполняется, если в позиции 64 записана единица;
х) толщину искусственного жесткого основания (позиции 69-70);
ц) наличие и вид стыковых соединений в верхнем н нижней слоях покрытия (WР = 3,4, позиции 71-72):
00 - стыковых; соединений нет; 01 - стыковые соединения есть и нижнем слое; 10 - стыковые соединения есть в верхнем слое; 11 - стыковые соединения есть в обоих слоях;
ч) признак совмещения стыков слоёв покрытия (WР = 3,4, позиция 72):
0 - стыки не совмещены; 1 - стыки совмещены.
ш) учет перспективы (срок службы) в годах. Если не предполагается расчет коэффициентов К1 по интенсивности движения судов (NN =0), принимается 20 (позиции 74-75);
щ) вид климатических условий (позиция 76) при среднемесячной температуре наружного воздуха наиболее холодного месяца:
1 - выше минус 5°С; 2 - от минус 5 до минус 15°С; 3 - ниже минус 15°С; заполнение обязательно;
э) признак выдачи промежуточных результатов (позиция 77):
0 - результаты не выдаются; 1 - результаты выдаются; заполнение не обязательно;
ю) толщину асфальтобетонного слоя усиления (позиции 78-79);
я) признак сезона (позиция 80): 1 - весна; 2 - лето; 3 - осень; 4 - зима.
Для того чтобы произвести несколько оценочных расчетов, необходимо заполнить и набить карты других вариантов (позиция 46, например, покрытия типа 5-7), а затем разместить их после основного варианта. Признаком окончания расчета (для одного варианта это 8-я карта) является перфокарта, содержащая * * * * * в позициях 1-5.
1. В качестве опытных данных для оценки коэффициента резерва Кр прочности армобетонного покрытия будем использовать экспериментальные результаты статических штамповых испытаний армобетонного покрытия РД объекта ГА.
Характеристики покрытия для расчета коэффициента Кр следующие:
1) жесткость сечения плиты
В = 0,085 Eв t3 = 31·104 МПa·м4/м;
2) упругая характеристика плиты
![]()
3) радиус штампа (отпечатка) Re = 0,28 м;
4) параметр ![]()
5) параметр f(d) = 0,161 (по СНиП 2.05.08-85);
6) кривизна поверхности плиты
.
В результате штамповых испытаний на участке ±50 см в обе стороны от центра плиты при одиночной нагрузке 96, 192, 288, 384 кН получены данные по приращению прогибов: 0,04; 0,09; 0,15; 0,21 мм.
В результате вычислений по формуле (5) (краевой коэффициент К = 1,0) при одиночной нагрузке 96, 192, 288, 384 кН получены коэффициенты резерва прочности покрытия; 1,32; 1,18; 1,07; 1,00.
На основании экспериментальных данных средний коэффициент резерва составит 1,14 (без учета коэффициента динамичности нагрузки).
2. В качестве второго примера оценки коэффициента резерва прочности армобетонного покрытия рассмотрим результаты статических испытаний реальной многоколесной нагрузкой от самолета Ил-86.
Характеристики покрытия:
1) армобетонные плиты толщиной 30 см из бетона класса прочности на растяжение при изгибе Bbtb 3,6/45;
2) грунт основания - суглинок пылеватый;
3) упругая характеристика плиты С = 0,9 м;
4) жесткость сечения плиты В = 74·104 МПа·м4/м;
5) стыки между плитами - свободные.
Характеристики самолетной нагрузки Ил-86:
1) нагрузка на колесо основной опоры Pк = 151 кН;
2) давление в пневматике колеса Р6 = 8,5 кгс/см2 (0,83 МПа);
3) расстояние между колесами на опоре А×В = 1,25×1,49 м;
4) радиус отпечатка колеса Re= 0,24 м.
Приращение прогиба края плиты на база L = 0,3 м составило 0,0005 см.
Расчетное значение переходного краевого коэффициента К = 1,5.
Расчет значения коэффициента Кр производим в последовательности, аналогичной первому примеру.
1) Вычисляем параметры:
![]()
f(α) = 0,179;

где
определяется в соответствии со СНиП 2.05.08-85.
2) Вычисляем значение коэффициента Кр
![]()
Таким образом, из двух рассмотренных примеров можно сделать вывод, что существующая методика эксплуатационной оценки прочности жестких аэродромных покрытий содержит, как минимум, 15 %-ный резерв прочности, следовательно, можно повысить эффективность эксплуатации аэродромной сети.
Исходные данные
Объект расположен в IV дорожно-климатической зоне.
Конструкция покрытия: цементобетон Bbtb 3,6/45 толщиной t = 18 см; пескоцемент толщиной t < 15 см ( Е = 2900 МПа).
Коэффициент постели грунта в расчетный период - 50 МН/м3 (5 кгс/см3).
Размеры плит 3,5 × 5,0 м.
Общее количество плит в каждом ряду - 504.
Магистральная РД в аэропорту отсутствует. Руление самолетов производится по ВПП.
Интенсивность движения самолетов в аэропорту за предшествующий период эксплуатации представлена в табл. 1 приложения 2.
|
Тип самолета |
Самолето-вылеты по годам |
Всего |
||||||||
|
1976 |
1977 |
1978 |
1979 |
1980 |
1981 |
1982 |
1983 |
1984 |
||
|
Ту-134 |
845 |
1453 |
1587 |
1817 |
1901 |
2390 |
2124 |
2374 |
2034 |
16625 |
|
Ил-18 |
2 |
2 |
4 |
16 |
5 |
2 |
- |
3 |
11 |
46 |
|
Ан-12 |
7 |
1 |
1 |
6 |
4 |
4 |
5 |
13 |
18 |
59 |
|
Ан-24 |
2912 |
2434 |
2623 |
2791 |
3151 |
2911 |
2869 |
2297 |
1839 |
23827 |
|
Як-40 |
534 |
479 |
1062 |
898 |
964 |
781 |
758 |
764 |
644 |
6884 |
Количество плит с продольными трещинами, определенное в результате визуального обследования (дефектовочная матрица), приведено ниже.
|
ГК0 |
1 |
2 |
3 |
4 |
5 |
6 |
7 |
8 |
9 |
10 |
11 |
12 |
13 |
14 |
15 |
16 |
17 |
18 |
19 |
20 |
21 |
22 |
23 |
24 |
25 |
26 |
Всего |
% |
|
|
4 |
0 |
0 |
0 |
0 |
0 |
0 |
0 |
0 |
1 |
1 |
2 |
0 |
3 |
0 |
0 |
0 |
1 |
1 |
0 |
1 |
0 |
1 |
5 |
0 |
0 |
20 |
4 |
|
|
10 |
0 |
0 |
3 |
0 |
0 |
0 |
0 |
0 |
2 |
5 |
0 |
0 |
0 |
0 |
0 |
0 |
2 |
1 |
0 |
3 |
0 |
1 |
2 |
1 |
0 |
30 |
6 |
|
|
2 |
6 |
5 |
3 |
1 |
5 |
2 |
2 |
3 |
3 |
1 |
0 |
4 |
2 |
4 |
6 |
1 |
1 |
6 |
3 |
12 |
8 |
4 |
3 |
0 |
0 |
87 |
17,3 |
|
|
1 |
5 |
3 |
3 |
1 |
3 |
0 |
0 |
0 |
2 |
1 |
0 |
0 |
0 |
0 |
0 |
0 |
2 |
3 |
0 |
0 |
3 |
2 |
3 |
2 |
0 |
34 |
6,8 |
|
|
1 |
1 |
3 |
о |
1 |
0 |
0 |
0 |
4 |
1 |
0 |
3 |
7 |
4 |
0 |
0 |
1 |
0 |
3 |
0 |
1 |
1 |
0 |
1 |
0 |
0 |
32 |
6,3 |
|
|
0 |
2 |
7 |
5 |
z |
2 |
0 |
1 |
7 |
3 |
0 |
1 |
0 |
7 |
3 |
2 |
4 |
0 |
4 |
4 |
5 |
0 |
1 |
0 |
0 |
0 |
60 |
11,9 |
|
|
0 |
0 |
0 |
1 |
0 |
I |
0 |
2 |
0 |
1 |
0 |
3 |
I |
4 |
3 |
2 |
0 |
0 |
0 |
0 |
4 |
5 |
2 |
2 |
1 |
0 |
32 |
6,3 |
|
|
0 |
0 |
0 |
0 |
1 |
0 |
0 |
о |
0 |
4 |
5 |
0 |
0 |
0 |
0 |
0 |
0 |
0 |
1 |
0 |
1 |
0 |
1 |
0 |
0 |
0 |
15 |
3 |
Расчет.
1. Определение приведенной интенсивности движения самолетов.
За расчетный принят самолет Ту-134.
Приведение количества проходов i-x самолетов к числу проходов самолета Ту-134 производится в соответствии со СНиП 2.05.08-85:
определяется упругая характеристика покрытия l = 74 см;
определяется число проходов для самолетов со взлетной массой Goff , посадочной массой Gland , а также для режима руления:
Ui = Ni·na·Kb,
где:
Ni - суммарное число самолето-вылетов i -го самолета (см. табл. 1, приложения 2);
nа - число осей в опоре;
Kb = 1 для взлетающих и приземляющихся самолетов;
Kb = 0,5 для режима руления, так как загрузка обоих концов ВПП одинакова.
Результаты вычислений сведены в табл. 2 приложения 2.
|
Параметр |
Тип самолета |
|||||||||
|
Ту-134 |
Ил-18 |
Ан-12 |
Ан-24 |
Як-40 |
||||||
|
Goff |
Gland |
Goff |
Gland |
Goff |
Gland |
Goff |
Gland |
Goff |
Gland |
|
|
Количество самолето-вылетов |
16525 |
16525 |
45 |
45 |
59 |
59 |
23827 |
23827 |
6884 |
6884 |
|
mci |
1,0 |
0,92 |
1.25 |
1,03 |
1,2 |
1,14 |
0,87 |
0,87 |
0,84 |
0,84 |
|
Ui |
Режим взлёта и посадки |
|||||||||
|
33050 |
33050 |
90 |
90 |
118 |
118 |
23827 |
23827 |
6884 |
6884 |
|
|
Uei |
33050 |
8000 |
9000 |
200 |
5000 |
2000 |
1300 |
1300 |
180 |
180 |
|
Ui |
Режим руления |
|||||||||
|
16525 |
16525 |
45 |
45 |
59 |
59 |
11913 |
11913 |
3442 |
3442 |
|
|
Uei |
16525 |
3000 |
5000 |
90 |
3000 |
1100 |
800 |
800 |
100 |
100 |
Приведенное количество проходов расчетного самолета для режима валета и посадки Ud = ∑Uei = 60210, для режима руления Ud = ∑Uei = 30515.
Общее приведенное количество проходов расчетного самолёта - 90725.
2. Определение приведенного количества проходов расчетного самолета по каждой плите.
Ширина плиты - 3,5 м.
Определяется вероятность проходов самолета до каждой плите. Результаты расчетов сведены в табл. 3 и 4 приложения 2.
|
Параметр |
Расчет для взлета и посадки |
||||||
|
|
|||||||
|
x1 = -7,0 x2 = -3,5 |
x1 = -3,5 x2 = 0 |
x1 = 0 x2 = 3,5 |
x1 = 3,5 x2 = 7,0 |
x1 = 7,0 x2 = 10,5 |
x1 = 10,5 x2 = 14,0 |
x1 = 14,0 x2 = 17,5 |
|
|
x1- |
-11,75 |
-8,25 |
-4,76 |
-1,25 |
8,25' |
5,75 |
9,25 |
|
|
-5,34 |
-3,75 |
-2,16 |
-0,57 |
1,02 |
2.61 |
4,20 |
|
Φ*(z1) |
0 |
0,0001 |
0,0155 |
0,2845 |
0,8461 |
0,9954 |
1,0 |
|
x2- |
-8,25 |
-4,75 |
-1,25 |
2,25 |
5,75 |
9,25 |
12,75 |
|
|
-3,76 |
-2,16 |
-0,568 |
1,02 |
2,61 |
4,30 |
8,79 |
|
Φ*(z2) |
0,0001 |
0,0155 |
0,2845 |
0,8461 |
0,9954 |
1,0 |
1,0 |
|
Ρ = Φ*(z2) - Φ*(z1) |
0,0001 |
0,0164 |
0,269 |
0,5616 |
0,1493 |
0,0046 |
0 |
Примечание. Ф* (z) определяется из [3].
|
Параметр |
Расчет для режима руления |
||||||
|
|
|||||||
|
x1 = -7,0 x2 = -3,5 |
x1 = -3,5 x2 = 0 |
x1 = 0 x2 = 3,5 |
x1 = 3,5 x2 = 7.0 |
x1 = 7,0 x2 = 10,5 |
x1 = 10,5 x2 = 14,0 |
x1 = 14,0 x2 = 17,5 |
|
|
x1- |
-11,75 |
-8,25 |
-4,75 |
-1,25 |
2,25 |
5,75 |
9,25 |
|
|
-11,75 |
-8,25 |
-4,75 |
-1,25 |
2,25 |
5,75 |
9,25 |
|
Φ*(z1) |
0 |
0 |
0 |
0,1056 |
0,9877 |
1,0 |
1,0 |
|
x2- |
-8,25 |
-4,75 |
-1,25 |
2,25 |
5,75 |
9,25 |
12,75 |
|
|
-8,25 |
-4,75 |
-1,25 |
2,25 |
5,75 |
9,25 |
12,75 |
|
Φ*(z2) |
0 |
0 |
0,1056 |
0,9877 |
1,0 |
1,0 |
1,0 |
|
Ρ = Φ*(z2) - Φ*(z1) |
0 |
0 |
0,1056 |
0,8821 |
0,0123 |
0 |
0 |
Примечание. Ф* (z) определяется из [3].
Вычисляется процент проходов опоры самолета, приходящийся па каждый ряд плит, и строится гистограмма распределения числа проходов по рядам плит (рис. 1, приложения 2). Затем строится симметричная гистограмма для второй опоры самолета и суммируется процент проходов самолета по рядам плит для каждого режима, а затем определяется суммарное количество проходов по каждому ряду плит Udj.
По дефектовочной матрице строится гистограмма распределения сквозных трещин по рядам плит (см. рис. 2).
По данным рис. 2 строится график зависимости силовой деструкции от количества проходов расчетного самолета для каждого ряда плит (см. рис. 3, кривая 1), а затем подбирается уравнение силовой деструкции для ряда плит.
Суммарный процент проходов расчетного самолета по рядам плит следующий: 0,15; 5,16; 33,47; 11,21; 11,21; 33,47; 5,16; 0,15 соответственно для 1, 2, 3, 4, 5, 6, 7, 8 рядов.
3. Определение уравнения кривой деструкции для каждого ряда плит и для всей ВПП.
Вычисления по методике, изложенной в п. 7.2, сведены в табл. 5 приложения 2.


Риc. 1. Гистограммы распределения количества проходов расчетного самолета по рядам плит:
а - для режима руления; б - для режима взлета и посадки
|
Номер ряда |
Dj % |
|
|
|
|
|
|
|
|
D*j при KLm |
φj = Dj - D*j |
λ2j |
φj λj |
|
1 |
4 |
138 |
2,140 |
440 |
6,82·10-3 |
-4,9373 |
0,5252 |
|
-1,879 |
1,122 |
2.878 |
3,5306 |
-5,408 |
|
2 |
6 |
4683 |
3,670 |
32910 |
1,519·10-4 |
-8,7923 |
0,7722 |
|
-140,59 |
10,13 |
4,129 |
19765 |
530,50 |
|
3 |
17,3 |
30370 |
4,4824 |
162961 |
10-4 |
-9,2103 |
0,7994 |
0,7331 |
-696,17 |
46,205 |
-28,91 |
484653 |
20126,27 |
|
4 |
6,8 |
10173 |
4,0075 |
66525 |
8,72·10-5 |
-9,3473 |
0,3083 |
-234,19 |
19,45 |
-12,65 |
80764 |
3595,0 |
|
|
5 |
6,3 |
10173 |
4,0075 |
66525 |
7,97·10-5 |
-9,4372 |
0,8141 |
|
-284,19 |
19,45 |
-12,15 |
80764 |
3737,1 |
|
6 |
11,9 |
3370 |
4,4824 |
162961 |
6,69·10-5 |
-9,5123 |
0,3255 |
|
-696,17 |
46,205 |
-34,31 |
484653 |
23885,59 |
|
7 |
6,3 |
4683 |
3,670 |
32910 |
1,61·10-4 |
-8,7341 |
0,7634 |
|
-140,59 |
10,129 |
-3,829 |
19765 |
538.32 |
|
8 |
3 |
138 |
2,140 |
440 |
4,55·10-3 |
-5,3298 |
0,5515 |
|
-1,879 |
1,122. |
1,278 |
3,5306 ∑ = 1170371 |
3,53 ∑ = . 52462,73 |

Из табл. 5
1170371 α = 52462,78; α = 0,0448,
следовательно,
KL = 0,7331 + 0,0448 = 0,7779,
таким образом, уравнение кривой деструкции для каждого ряда плит имеет вид:
На риз. 3 наносится кривая деструкции покрытия для коэффициента долговечности покрытия КL = 0,7779 (см. рис. 3, кривая 1).
Определяется силовая деструкция для всей ВПП. Вычисления сведены в табл. 6 приложения 2.
|
Ud |
Номер ряда |
Nn |
Dn,% |
∑D |
∑D:8 |
|
|
1 |
16 |
1,0 |
|
|
|
|
2 |
616 |
1,6 |
|
|
|
|
3 |
3347 |
3,9 |
|
|
|
|
4 |
1121 |
2,0 |
|
|
|
10000 |
5 |
1121 |
2,0 |
17,0 |
2,125 |
|
|
6 |
3347 |
3,9 |
|
|
|
|
7 |
616 |
1,6 |
|
|
|
|
8 |
16 |
1,0 |
|
|
|
|
1 |
46 |
1.0 |
|
|
|
|
2 |
1648 |
2,4 |
|
|
|
|
3 |
6694 |
6,6 |
|
|
|
30000 |
4 |
2242 |
3,0 |
26,0 |
3,25 |
|
|
5 |
2242 |
3,0 |
|
|
|
|
6 |
6694 |
6,6 |
|
|
|
|
7 |
1548 |
2,4 |
|
|
|
|
8 |
45 |
1,0 |
|
|
|
|
1 |
75 |
1.1 |
|
|
|
|
2 |
2580 |
3,25 |
|
|
|
|
3 |
16735 |
14,8 |
|
|
|
50000 |
4 |
5605 |
6,0 |
50,3 |
6,28 |
|
|
5 |
5605 |
6,0 |
|
|
|
|
6 |
16735 |
14,8 |
|
|
|
|
7 |
2580 |
3,25 |
|
|
|
|
8 |
75 |
1,1 |
|
|
|
|
1 |
150 |
1,2 |
|
|
|
|
2 |
5160 |
5,5 |
|
|
|
|
3 |
33470 |
24,0 |
|
|
|
100000 |
4 |
11210 |
10,9 |
83,2 |
10,4 |
|
|
5 |
11210 |
10,9 |
|
|
|
|
6 |
33470 |
24,0 |
|
|
|
|
7 |
5160 |
5,5 |
|
|
|
|
8 |
150 |
1,2 |
|
|
Затем строится график зависимости силовой деструкции от числа проходов расчетного самолета для всей ВПП (см. рис. 3, кривая 2).
4. Определение сигнальной оценки эксплуатационно-технического состояния покрытия.
По рис. 3, кривая 2 определяется деструкция покрытия D при различных Ud , а затем определяется сигнальная оценка покрытия по формуле: S = 5 - D·ai . Для сквозных трещин ai = 0,05. Вычисления сведены в табл. 7 приложения 2.
|
Ud |
D |
S = 5-Dai |
|
103 |
1,0 |
4,95 |
|
104 |
2,13 |
4,89 |
|
3·104 |
3,25 |
4,84 |
По вычисленным значениям S на рис. 2 приложения 2 наносится кривая. На пересечении этой кривой с прямой, соответствующей S = 2,5, получаем предельно допустимое приведенное количество проходов расчетного самолета Ту-134.

Рис. 2. Определение предельно допустимого количества проходов самолёта Ту-134 в зависимости от сигнальной оценки S.
Допустимое количество рейсов расчетного самолета определяется делением технического ресурса U0 на число осей опоры самолета nа и коэффициент загрузки стартов, и в случае отсутствия МРД оно уменьшается в 2 раза.
Из рис. 2 видно, что на данном покрытии допускается неограниченное количество проходов самолета Ту-134 с максимальной взлетной массой.
Литература
2. Раев-Богословский Б.С., Глушков Р.И., Ткаченко A.С. и др. Жесткие покрытия аэродромов. М., Автотрансиздат, 1961.
3. Вентцель Е.С. Теория вероятностей. М., «Наука», 1969.
6. Тригони В.Е. Струйная эрозия аэродромов. М., «Транспорт», 1981.
|
ГОСТЫ, СТРОИТЕЛЬНЫЕ и ТЕХНИЧЕСКИЕ НОРМАТИВЫ. Некоммерческая онлайн система, содержащая все Российские Госты, национальные Стандарты и нормативы. В Системе содержится более 150000 файлов нормативно-технической документации, действующей на территории РФ. Система предназначена для широкого круга инженерно-технических специалистов. Copyright © www.gostrf.com, 2008 - 2026 |