Крупнейшая бесплатная информационно-справочная система онлайн доступа к полному собранию технических нормативно-правовых актов РФ. Огромная база технических нормативов (более 150 тысяч документов) и полное собрание национальных стандартов, аутентичное официальной базе Госстандарта. GOSTRF.com - это более 1 Терабайта бесплатной технической информации для всех пользователей интернета. Все электронные копии представленных здесь документов могут распространяться без каких-либо ограничений. Поощряется распространение информации с этого сайта на любых других ресурсах. Каждый человек имеет право на неограниченный доступ к этим документам! Каждый человек имеет право на знание требований, изложенных в данных нормативно-правовых актах!

  


 

ФЕДЕРАЛЬНОЕ АГЕНТСТВО

ПО ТЕХНИЧЕСКОМУ РЕГУЛИРОВАНИЮ И МЕТРОЛОГИИ

НАЦИОНАЛЬНЫЙ
СТАНДАРТ
РОССИЙСКОЙ
ФЕДЕРАЦИИ

ГОСТ P ИСО
12156-1-
2006

Топливо дизельное

ОПРЕДЕЛЕНИЕ СМАЗЫВАЮЩЕЙ СПОСОБНОСТИ НА АППАРАТЕ HFRR

Часть 1

Метод испытаний

ISO 12156-1:1997

Diesel fuel - Assessment of lubricity using the high-frequency reciprocating rig

(HFRR) - Part 1: Test method

(IDT)

Москва

Стандартинформ

2006

Предисловие

Цели и принципы стандартизации в Российской Федерации установлены Федеральным законом от 27 декабря 2002 г. 184-ФЗ «О техническом регулировании», а правила применения национальных стандартов Российской Федерации - ГОСТ P 1.0-2004 «Стандартизация в Российской Федерации. Основные положения»

Сведения о стандарте

1. ПОДГОТОВЛЕН Открытым акционерным обществом «Всероссийский научно-исследовательский институт по переработке нефти» (ОАО «ВНИИНП») на основе собственного аутентичного перевода стандарта, указанного в пункте 4

2. ВНЕСЕН Техническим комитетом по стандартизации ТК 31 «Нефтяные топлива и смазочные материалы»

3. УТВЕРЖДЕН И ВВЕДЕН В ДЕЙСТВИЕ Приказом Федерального агентства по техническому регулированию и метрологии от 28 сентября 2006 г. 208-ст

4. Настоящий стандарт идентичен международному стандарту ИСО 12156-1:1997 «Дизельное топливо. Оценка смазывающей способности на аппарате с возвратно-поступательным движением высокой частоты (HFRR). Часть 1. Метод испытаний» (ISO 12156-1:1997 «Diesel fuel - Assessment of lubricity using the high-frequency reciprocating rig (HFRR) - Part 1:Test method») с Изменением 1:1998.

Наименование настоящего стандарта изменено относительно наименования указанного международного стандарта для приведения в соответствие с ГОСТ P 1.5-2004 (подраздел 3.5).

При применении настоящего стандарта рекомендуется использовать вместо ссылочных международных и региональных стандартов соответствующие им национальные стандарты Российской Федерации, сведения о которых приведены в дополнительном приложении B

5. ВВЕДЕН ВПЕРВЫЕ

Информация об изменениях к настоящему стандарту публикуется в ежегодно издаваемом информационном указателе «Национальные стандарты», а текст изменений и поправок - в ежемесячно издаваемых информационных указателях «Национальные стандарты». В случае пересмотра (замены) или отмены настоящего стандарта соответствующее уведомление будет опубликовано в ежемесячно издаваемом информационном указателе «Национальные стандарты». Соответствующая информация, уведомление и тексты размещаются также в информационной системе общего пользования - на официальном сайте Федерального агентства по техническому регулированию и метрологии в сети Интернет

Содержание

1. Область применения

2. Нормативные ссылки

3. Термины и определения

4. Сущность метода

5. Реактивы и материалы

6. Аппаратура

7. Подготовка к испытанию и калибровка

8. Проведение испытания

9. Измерение пятна износа

10. Обработка результатов

11. Протокол испытаний

12. Прецизионность

Приложение А (справочное) Измерение пятна износа

Приложение В (справочное) Сведения о соответствии национальных стандартов Российской Федерации ссылочным международным и региональным стандартам

Введение

Любое дизельное топливо, проходящее через систему впрыска, играет роль смазывающего материала. Чрезмерный износ, который ведет к быстрому выходу из строя деталей системы впрыска топлива, можно объяснить недостаточной смазывающей способностью топлива.

Для целого ряда комбинаций «топливо/деталь системы впрыска топлива» установлено влияние топлива на изнашиваемость деталей системы впрыска топлива, подвергающихся смешанному трению. Результаты испытания смазывающих свойств топлива данным методом, при различных комбинациях, позволяют с достаточной точностью предсказать смазывающую способность топлива.

НАЦИОНАЛЬНЫЙ СТАНДАРТ РОССИЙСКОЙ ФЕДЕРАЦИИ

Топливо дизельное

ОПРЕДЕЛЕНИЕ СМАЗЫВАЮЩЕЙ СПОСОБНОСТИ НА АППАРАТЕ HFRR

Часть 1

Метод испытаний

Diesel fuel. Determination of lubricity by the HFRR - apparatus. Part 1. Test method

Дата введения - 2007-07-01

(Поправка. ИУС 3-2007)

1. Область применения

1.1. Настоящий стандарт устанавливает метод определения смазывающей способности дизельных топлив, включая дизельное топливо, содержащее присадки, улучшающие его смазывающие способности, на аппарате с высокочастотным возвратно-поступательным движением шарика (HFRR).

Примечание - Возможность определения смазывающей способности всех комбинаций присадка/топливо настоящим методом не установлена.

1.2. Настоящий стандарт не содержит описания мер безопасности, которые должны соблюдаться при проведении испытаний. Принятие всех мер по технике безопасности является обязанностью пользователя стандартом.

2. Нормативные ссылки

В настоящем стандарте использованы нормативные ссылки на следующие международные и региональные стандарты:

ИСО 4259:1992 Нефтепродукты. Определение и применение показателей прецизионности методов испытания

ИСО 5272:1979 Толуол для промышленного применения. Технические условия

ИСО 6507-1:1997 Металлические материалы. Испытание твердости по Виккерсу. Часть 1. Метод испытания

ИСО 6508-1:1999 Металлические материалы. Испытание твердости по Роквеллу. Часть 1. Метод испытания (шкалы A- B-C-D-E-F-G-H-K-N-T)

Руководство ИСО 33:2000 Использование сертифицированных эталонных материалов

Руководство ИСО 34:2000 Общие требования к компетенции производителей эталонных материалов

Руководство ИСО 35:1989 Сертификация эталонных материалов. Общие и статистические принципы

АСТМ Д 329-02 Ацетон. Технические требования

АИСИ Е-52100 Сталь хромированная

АНСИ Б3.12 Металлические шарики

3. Термины и определения

В настоящем стандарте применены следующие термины с соответствующими определениями:

3.1. смазывающая способность: Свойство топлива, измеряемое пятном износа на металлическом шарике, которое образуется в результате трения металлического шарика о неподвижную металлическую пластину, полностью погруженную в топливо в точно определенных условиях испытания.

3.2. MWSD: Измеренный средний диаметр пятна износа, образующийся на шарике.

3.3. WS1.4: Расчетное значение диаметра пятна износа, скорректированное к стандартному давлению водяных паров 1,4 кПа.

3.4. HCF: Коэффициент корректировки влажности (мкм / кПа), приводящий значение пятна износа, полученное в условиях испытания, к стандартизованному давлению водяного пара, равному 1,4 кПа.

4. Сущность метода

4.1. Образец испытуемого топлива помещают в емкость, в которой поддерживается заданная температура. Металлический шарик прочно закрепляют в вертикально расположенном держателе и прижимают с приложением нагрузки к горизонтально укрепленной металлической пластине. Шарик совершает возвратно-поступательные движения с определенной частотой и длиной хода. При этом поверхность шарика, вступающая в контакт с пластиной, полностью погружена в топливо. Металлические свойства шарика, пластины, температура, нагрузка, прилагаемая к шарику; частота и длина хода шарика точно заданы.

Для корректировки размера пятна износа, полученного на испытуемом шарике, к стандартному набору условий испытания в процессе испытания учитывают условия окружающей среды. Полученный в результате испытаний диаметр пятна износа является мерой смазывающей способности жидкости.

5. Реактивы и материалы

5.1. Сжатый воздух под давлением от 140 до 210 кПа с содержанием углеводорода не более 0,1 см3/м3, воды - не более 50 см3/м3. Используется для сушки деталей установки.

Предупреждение - Следует соблюдать особую осторожность вблизи легковоспламеняющихся веществ.

5.2. Толуол для промышленных целей по ИСО 5272.

Предупреждение - Толуол - легковоспламеняющееся вещество. Пары его вредны при вдыхании.

5.3. Ацетон по АСТМ Д 329.

Предупреждение - Ацетон - легковоспламеняющееся вещество. Пары его взрывоопасны.

5.4. Эталонные жидкости*

Для проверки состояния и надежности работы аппарата, применяемого для испытания, используют две эталонные жидкости, подготовленные в соответствии с Руководством ИСО 33 и Руководством ИСО 34. Эти жидкости должны иметь четкую маркировку с указанием значения, полученного на аппарате HFRR (WS1.4), с соответствующим диапазоном допустимых значений, выраженных в микрометрах, с поправочным коэффициентом влажности HCF, выраженным в микрометрах/килопаскалях. Расчетные значения (диаметра пятна износа), полученные в результате проведения испытаний настоящим методом на аппарате HFRR, для обеих эталонных жидкостей должны отличаться не менее чем на 200 мкм друг от друга.

Примечание - Установлено, что в качестве эталонной жидкости с высокой смазывающей способностью пригодны эталонные жидкости СЕС RF-90-A-92, DF-92-02 и жидкость А по Руководству ИСО 35. В качестве эталонной жидкости с низкой смазывающей способностью пригодны эталонные жидкости СЕС DF-70-00 и жидкость В по Руководству ИСО 35. Эта информация приведена для удобства пользователей данным методом и не является обязательной. Можно использовать эквивалентные жидкости, если доказано, что их применение дает такие же результаты.

*Эталонные жидкости закупают по импорту.

6. Аппаратура

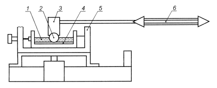
6.1. Аппарат HFRR

Аппарат для испытания, приведенный на рисунке 1, должен обеспечивать возможность приводить в возвратно-поступательное движение с заданной частотой, длиной хода и нагрузкой укрепленный металлический шарик в контакте со стационарной стальной пластиной; при этом вступающие в контакт поверхности должны быть полностью погружены в испытуемое топливо в соответствии с условиями испытания по таблице 1.

Примечание - Для испытания можно применять аппараты HFRR и HFR2 либо другое оборудование, если оно дает такие же результаты.

1 - резервуар для топлива; 2 - металлический шарик; 3 - нагрузка; 4 - металлическая пластина; 5 - нагревательный элемент; 6 - направление возвратно-поступательного движения

Рисунок 1 - Схема аппарата HFRR

Таблица 1 - Условия проведения испытаний

Параметр

Значение

Объем топлива, см3

2 ±0,2

Амплитуда колебаний, мм

1 ± 0,02

Частота колебаний, Гц

50 ± 1

Характеристики воздуха в лаборатории*

Рисунок 2

Температура топлива, °С

60 + 2

Приложенная нагрузка, г * *

200 + 1

Длительность испытания, мин

75 ± 0,1

Площадь поверхности топлива, мм2

600 ± 100

* Характеристики воздуха в лаборатории, измеренные на расстоянии 0,1-0,25 м от резервуара с жидкостью, должны регулироваться в принятом диапазоне характеристик, указанных на рисунке 2.

* * Общая приложенная нагрузка, включая вес держателя.

Резервуар для топлива должен выполнять две функции: жестко удерживать металлическую пластину и содержать топливо. Температура резервуара и находящейся в нем жидкости должна поддерживаться в соответствующем диапазоне с помощью регулируемого электронагревателя, непосредственно связанного с резервуаром.

Блок регулировки аппарата для контроля переменных рабочих параметров должен обеспечивать хранение и восстановление результатов измерения.

Относительная влажность воздуха, %

1 - недостаточная влажность; 2 - допустимый диапазон влажности; 3 - избыточная влажность

Рисунок 2 - Характеристики воздуха в лаборатории

6.2. Испытательная пластина, изготовленная из каленого металлического прута (сталь по АИСИ Е-52100), с твердостью по Виккерсу «HV 30» от 190 до 210 (ИСО 6507). Её поверхность должна быть от полирована до значения Ra < 0,02 мкм.

6.3. Испытуемый металлический шарик по АНСИ Б 3.12 диаметром 6 мм, изготовленный из стали марки 28 по АИСИ Е-52100, который должен обладать твердостью по Роквеллу от 58 до 66 (ИСО 6508-1) и отполированной поверхностью Ra < 0,05 мкм.

6.4. Микроскоп со 100-кратным увеличением и разрешающей способностью, равной 1 мкм, обеспечивающий измерение пятна износа на испытуемом шарике.

6.5. Эксикатор, содержащий осушающий агент, пригодный для хранения металлических шариков, пластин и деталей аппарата.

6.6. Ванна очистительная ультразвукового типа, мощностью не менее 40 W, с резервуаром из не ржавеющей стали соответствующей емкости.

6.7. Контейнер для топлива из листовой нержавеющей стали с эпоксидным покрытием. Другие материалы могут использоваться для изготовления контейнера только в случае, если они дают аналогичные результаты.

6.8. Устройство для измерения времени, механическое или электронное, позволяющее измерить (75 ±0,1) мин.

6.9. Груз массой 200 г, включающий массу приспособлений для его крепления.

7. Подготовка к испытанию и калибровка

7.1. Подготовка аппарата HFRR

7.1.1. Используемые при испытании металлические пластины (зеркальной поверхностью вверх) и металлические шарики с помощью чистых пинцетов помещают в стеклянный контейнер, заливают их толуолом так, чтобы толуол полностью покрыл все пластины и шарики, и оставляют для «замачивания» не менее чем на 8 ч, затем контейнер помещают на 10 мин в ультразвуковую очистительную ванну. После этого пластины (зеркальной поверхностью вверх) и шарики переносят в контейнер со свежим толуолом, контейнер закрывают крышкой и хранят соответствующим образом, избегая загрязнений.

7.1.2. Детали аппарата

Перед испытанием все детали аппарата, держатели, шурупы и другие комплектующие детали, контактирующие с испытуемым топливом, помещают вместе с испытуемыми металлическими пластинами и шариками (предварительно очищенными, как описано в 7.1.1) в чистый стеклянный стакан и полностью заливают толуолом. Стакан помещают на 10 мин в ультразвуковую очистительную ванну, затем с помощью чистых пинцетов детали, металлические пластины и шарики перемещают в стакан с ацетоном. Стакан ставят на 2 мин в ультразвуковую очистительную ванну. Затем детали аккуратно вынимают и, если их не используют сразу, хранят в эксикаторе.

7.2. Калибровка и регулировка

7.2.1. Температура

Точность терморегулятора, используемого для поддержания необходимой температуры испытуемого топлива, проверяют с помощью калиброванного устройства измерения температуры.

7.2.2. Частота

Частоту возвратно-поступательных движений привода проверяют калиброванным частотомером.

7.2.3. Длина хода

Длина хода должна быть тщательно измерена, поскольку является основным параметром прецизионности испытания. Длина хода для аппаратов, применяемых в данном методе, контролируется электронной самокалибровкой. Альтернативно длину хода, используя калиброванный микроскоп, проверяют путем измерения полной длины пятна износа на испытательной пластине после проведения испытания эталонной жидкости, обладающей низкой смазывающей способностью. Для получения фактической длины пятна износа из измеренной длины пятна износа вычитают среднюю ширину пятна износа.

7.2.4. Продолжительность испытания

Длительность проведения испытания контролируют с помощью калиброванного устройства измерения времени - таймера (6.8).

7.2.5. Режим работы испытательного аппарата

Режим работы аппаратуры необходимо проверять в соответствии с инструкциями, приведенными в Руководстве ИСО 33 и ИСО 4259, проводя единичное испытание (как указано в разделах 7-9) каждой из двух эталонных жидкостей. Для расчета значения WS1,4 (раздел 3) необходимо использовать сертифицированное значение HCF (раздел 3) для конкретной эталонной жидкости.

Если WS1.4 находится вне сертифицированного диапазона допустимых значений, для такой эталонной жидкости следует провести два дополнительных испытания. Если результат одного из этих испытаний не соответствует диапазону, следует провести проверку аппаратуры и длины хода (7.2.1-7.2.4). Если результат для жидкости с низкими смазывающими свойствами является слишком низким, то, возможно, ее необходимо заменить.

Испытания эталонных жидкостей следует проводить с каждой из них после проведения 25 испытаний или по истечении 10 дней испытаний (в зависимости от того, какое из указанных условий будет выполнено первым).

8. Проведение испытания

8.1. При проведении испытания с особой тщательностью соблюдают чистоту и описанные способы очистки материалов. При установке, регулировке и манипулировании всеми используемыми при испытании деталями (пластинами, шариками, емкостями, приспособлениями для крепления и т.д.) следует защищать их от загрязнения, используя чистые пинцеты. Также тщательно следят за отсутствием царапин на поверхности металлических шариков и пластин.

8.2. С помощью пинцета металлическую пластину (блестящей поверхностью вверх) помещают в емкость для испытуемого образца топлива. Пластину закрепляют в емкости, а емкость - в аппарате. Проверяют правильность установки в емкости с испытуемым топливом устройства для измерения температуры.

8.3. С помощью пинцета стальной шарик закрепляют в держателе, а держатель присоединяют к концу рычага вибратора. Перед окончательным закреплением держателя проверяют горизонтальность его положения.

8.4. Измеряют температуру и относительную влажность окружающего воздуха на расстоянии от 0,1 до 0,25 м от емкости с образцом для испытания. Если полученные значения не отвечают требованиям, приведенным на рисунке 2, перед началом испытания принимают меры для изменения относительной влажности. Регистрируют температуру и относительную влажность воздуха.

8.5. С помощью одноразовой пипетки помещают в емкость 2 см3 испытуемого топлива.

8.6. Опускают рычаг и подвешивают к нему груз массой 200 г. Убеждаются, что груз и его крепление находятся в свободном состоянии.

8.7. Устанавливают регулятор температуры, длину хода и частоту колебаний в соответствии со значениями, приведенными в таблице 1.

8.8. Продолжительность испытания - 75 мин. После окончания испытания отключают вибратор и нагреватель и удаляют прикрепленный груз. Поднимают рычаг и освобождают держатель шарика.

8.9. Измеряют температуру и относительную влажность на расстоянии от 0,1 до 0,5 м от емкости с образцом топлива. Чтобы результаты испытания были признаны действительными, они должны соответствовать требованиям, приведенным на рисунке 2. Регистрируют температуру и относительную влажность.

8.10. Не освобождая шарик из держателя, промывают держатель несколько раз в толуоле, затем несколько раз в ацетоне, после чего помещают держатель в стакан со свежим толуолом. Стакан помещают на 30 с в ультразвуковую очистительную ванну.

8.11. Держатель шарика перемещают в стакан со свежим ацетоном и на 30 с помещают в ультра звуковую очистительную ванну. После высыхания держателя и шарика на воздухе пятно износа обводят специальным маркером.

8.12. Емкость с жидкостью удаляют из аппарата и освобождают от жидкости соответствующим образом. Не вынимая пластины из емкости, несколько раз промывают ее толуолом, затем - несколько раз ацетоном и помещают емкость в стакан со свежим толуолом. Стакан ставят на 30 с в ультразвуковую очистительную ванну.

8.13. Переносят емкость (вместе с испытательной пластиной) в стакан со свежим ацетоном и затем на 30 с в ультразвуковую очистительную ванну. После сушки пластины на воздухе вынимают ее из емкости и хранят в соответствующей таре (пластиковом пакете), используя в качестве маркировки номер эксперимента.

8.14. Металлический шарик, находящийся в держателе, помещают под микроскоп и измеряют диаметр пятна износа в соответствии с разделом 9.

8.15. После измерения пятна износа металлический шарик освобождают из держателя и хранят в соответствующем сосуде вместе с металлической пластиной.

9. Измерение пятна износа

9.1. Помещают металлический шарик под микроскоп со 100-кратным увеличением.

9.2. Испытуемый шарик двигают в поле зрения к центру пятна износа. Регулируют подсветку микроскопа, чтобы был ясно различим край пятна износа. При возникновении вопросов - см. приложение А.

9.3. Измеряют диаметр пятна износа по оси абсцисс и оси ординат с точностью до 1 мкм. Полученные в результате измерений значения заносят в таблицу. Если расхождение в размерах пятна износа по оси абсцисс и оси ординат превышает диапазон от плюс 100 до минус 30 мкм, следует проверить правильность определения границ пятна износа.

10. Обработка результатов

10.1. Некоррелированный средний диаметр пятна износа MWSD, мкм, рассчитывают по формуле

                                                                    (1)

где x - размер пятна износа, перпендикулярный к направлению возвратно-поступательного движения, мкм;

у - размер пятна износа, параллельный направлению возвратно-поступательного движения, мкм.

10.2. Исходное абсолютное давление насыщенных паров в момент начала испытания AVP1 кПа, рассчитывают по формуле

                                                               (2)

где RH1 - относительная влажность в момент начала испытания, %;

где T1 - температура окружающего воздуха в момент начала испытания, °С.

10.3. Абсолютное давление насыщенных паров в конце испытания AVP2, кПа, рассчитывают по формуле

                                                              (3)

где RH2 - относительная влажность в конце испытания, %;

где Т2 - температура окружающего воздуха в конце испытания, °С.

10.4. Среднее значение абсолютного давления AVP, кПа, рассчитывают по формуле

                                                          (4)

10.5. Скорректированный диаметр пятна износа WS1.4, мкм, рассчитывают по формуле

WS 1,4 = MWSD + HCF (1,4-AVP),                                    (5)

где HCF - поправочный коэффициент влажности. Для неизвестного топлива HCF = 60.

11. Протокол испытаний

Протокол испытаний должен содержать:

- ссылку на настоящий стандарт;

- описание испытуемого топлива;

- результаты измерений пятна износа по осям абсцисс и ординат и нескорректированного среднего диаметра пятна износа MWSD с точностью до 1 мкм;

- данные о температуре и относительной влажности воздушной среды в начале и конце испытания;

- рассчитанное среднее значение абсолютного давления паров A VP;

- скорректированный средний диаметр пятна износа WS1.4 с точностью до 1 мкм;

- описание формы пятна износа;

- данные об испытуемых образцах топлив;

- дату и полученные в результате последнего испытания характеристики обоих эталонных топлив;

- дату проведения испытания.

12. Прецизионность

Прецизионность была установлена при испытании топлив со средним диаметром пятна износа в диапазоне от 300 до 600 мкм с помощью статистической обработки результатов испытаний, проведенных в различных лабораториях в соответствии с ИСО 4259.

12.1. Повторяемость (сходимость) r

Разность двух результатов испытаний, полученных одним и тем же оператором в одной лаборатории на идентичном материале с использованием одного и того же оборудования в одинаковых условиях, в течение длительного времени и при точном соблюдении метода проведения испытания может превышать значение r = 63 мкм только в одном случае из 20.

12.2. Воспроизводимость R

Разность двух результатов независимых испытаний, полученных различными операторами одним и тем же методом на идентичном материале в разных лабораториях с использованием различного оборудования, в течение длительного времени может превышать значение R = 102 мкм только в одном случае из 20.

Приложение А
(справочное)
Измерение пятна износа

А.1. Внешний вид пятна износа может изменяться в зависимости от испытуемого топлива и в особенности при испытании топлива с присадками, улучшающими его смазывающую способность.

Обычно пятно износа представляет собой серию царапин, образовавшихся по направлению движения шарика, которые больше по направлению оси абсцисс, чем по оси ординат.

В некоторых случаях, например когда проводят испытание эталонных жидкостей с низкой смазывающей способностью, граница между пятном износа и обесцвеченной (но без износа) площадью шарика отчетлива и размер пятна легко измерить. В других случаях центральная поцарапанная часть пятна окружена менее четкой площадью износа и между площадями с износом и без износа на шарике нет резкой границы. В этих случаях, возможно, будет трудно увидеть или измерить форму пятна, как показано на рисунке А.1. Полное пятно износа включает отчетливую и менее отчетливую площади.

1 - шарик; 2 - поверхность, не подвергшаяся износу; 3 - неясно выраженная часть пятна износа; 4 - ясно выраженная часть пятна износа

Рисунок А.1 - Пример рисунка пятна износа с неясно выраженной границей износа

Примеры различных форм пятен износа с обозначением его границ представлены на рисунках А.2 и А.3.

Рисунок А.2 - Различные формы пятна износа

Рисунок А.3 - Различные формы пятна износа

Приложение В
(справочное)
Сведения о соответствии национальных стандартов Российской Федерации ссылочным международным и региональным стандартам

Таблица В.1

Обозначение ссылочного международного, регионального стандарта

Обозначение и наименование соответствующего национального стандарта

ИСО 4259: 1992

ГОСТ Р 8.580-2001 Государственная система обеспечения единства измерений. Определение и применение показателей прецизионности методов испытаний нефтепродуктов

ИСО 5272:1979

*

ИСО 6507-1:1997

*

ИСО 6508-1:1999

*

Руководство ИСО 33:2000

*

Руководство ИСО 34:2000

*

Руководство ИСО 35:2000

*

АСТМ Д 329-02

*

АИСИ Е-52100

*

АНСИ Б3.12

*

* Соответствующий национальный стандарт отсутствует. До его утверждения рекомендуется использовать перевод на русский язык данного международного (регионального) стандарта. Перевод данного международного (регионального) стандарта находится в Федеральном информационном фонде технических регламентов и стандартов.

 

Ключевые слова: дизельное топливо, смазывающие свойства, аппарат HFRR, высокочастотное возвратно-поступательное движение, металлический шарик, пятно износа

 

 




ГОСТЫ, СТРОИТЕЛЬНЫЕ и ТЕХНИЧЕСКИЕ НОРМАТИВЫ.
Некоммерческая онлайн система, содержащая все Российские Госты, национальные Стандарты и нормативы.
В Системе содержится более 150000 файлов нормативно-технической документации, действующей на территории РФ.
Система предназначена для широкого круга инженерно-технических специалистов.

Рейтинг@Mail.ru Яндекс цитирования

Copyright © www.gostrf.com, 2008 - 2026