Крупнейшая бесплатная информационно-справочная система онлайн доступа к полному собранию технических нормативно-правовых актов РФ. Огромная база технических нормативов (более 150 тысяч документов) и полное собрание национальных стандартов, аутентичное официальной базе Госстандарта. GOSTRF.com - это более 1 Терабайта бесплатной технической информации для всех пользователей интернета. Все электронные копии представленных здесь документов могут распространяться без каких-либо ограничений. Поощряется распространение информации с этого сайта на любых других ресурсах. Каждый человек имеет право на неограниченный доступ к этим документам! Каждый человек имеет право на знание требований, изложенных в данных нормативно-правовых актах!

  


 

ФЕДЕРАЛЬНОЕ АГЕНТСТВО

ПО ТЕХНИЧЕСКОМУ РЕГУЛИРОВАНИЮ И МЕТРОЛОГИИ

НАЦИОНАЛЬНЫЙ
СТАНДАРТ
российской
ФЕДЕРАЦИИ

ГОСТ Р
52625-
2006
(
EH 81-58:2003)

Лифты

ДВЕРИ ШАХТ ЛИФТОВ

Методы испытаний на огнестойкость

EN 81-58:2003

Safety rules for the construction and installation of lifts - Examination and tests - Part 58: Landing doors fire resistance test

(MOD)

Москва

Стандартинформ

2007

Предисловие

Цели и принципы стандартизации в Российской Федерации установлены Федеральным законом от 27 декабря 2002 г. 184-ФЗ «О техническом регулировании», а правила применения национальных стандартов Российской Федерации - ГОСТ Р 1.0-2004 «Стандартизация в Российской Федерации. Основные положения»

Сведения о стандарте

1 ПОДГОТОВЛЕН Закрытым Акционерным обществом «Акционерная Компания «Лифт», Техническим комитетом по стандартизации «Лифты, эскалаторы, пассажирские конвейеры и подъемные платформы для инвалидов» (ТК 209)

2 ВНЕСЕН Закрытым Акционерным обществом «Акционерная Компания «Лифт», Техническим комитетом по стандартизации ТК 209 «Лифты, эскалаторы, пассажирские конвейеры и подъемные платформы для инвалидов»

3 УТВЕРЖДЕН И ВВЕДЕН В ДЕЙСТВИЕ Приказом Федерального агентства по техническому регулированию и метрологии от 27 декабря 2006 г. 362-ст

4 В настоящем стандарте реализованы требования проекта специального технического регламента «О безопасности лифтов»

5 Настоящий стандарт модифицирован по отношению к европейскому стандарту ЕН 81-58:2003 «Правила безопасности по устройству и установке лифтов. Экспертиза и испытания. Часть 58. Испытание дверей шахт лифтов на огнестойкость» (EN 81-58:2003 «Safety rules for the construction and installation of lifts - Examination and tests - Part 58: Landing doors fire resistance test»). Дополнительные положения и требования, включенные в текст стандарта для учета потребностей национальной экономики Российской Федерации, выделены курсивом.

Наименование настоящего стандарта изменено относительно наименования указанного европейского стандарта для приведения в соответствие с ГОСТ Р 1.5-2004 (подраздел 3.5)

6 ВВЕДЕН ВПЕРВЫЕ

Информация об изменениях к настоящему стандарту публикуется в ежегодно издаваемом информационном указателе «Национальные стандарты», а текст изменений и поправок - в ежемесячно издаваемых информационных указателях «Национальные стандарты». В случае пересмотра (замены) или отмены настоящего стандарта соответствующее уведомление будет опубликовано в ежемесячно издаваемом информационном указателе «Национальные стандарты». Соответствующая информация, уведомление и тексты размещаются также в информационной системе общего пользования - на официальном сайте Федерального агентства по техническому регулированию и метрологии в сети Интернет

Содержание

1 Область применения

2 Нормативные ссылки

3 Термины и определения

4 Сущность метода

5 Предельные состояния

6 Испытательное и измерительное оборудование

7 Условия испытаний

8 Образец для испытаний

9 Подготовка образца к испытаниям

10 Вкладыш испытательной печи

11 Определение предела огнестойкости

12 Проведение испытаний

13 Оценка результатов испытаний

14 Отчет об испытании

Приложение А (обязательное) Приспособления для определения потери целостности конструкции

Библиография

 

Введение

Важным элементом обеспечения пожарной безопасности зданий и сооружений являются противопожарные преграды, предназначенные для предотвращения распространения пожара и продуктов горе­ния из помещений с очагом пожара в другие помещения.

Противопожарные преграды подразделяют на противопожарные стены, перегородки и перекрытия. Ограждающие конструкции шахт лифтов являются противопожарными перегородками, а двери шахт лифтов служат заполнением проемов в этих противопожарных перегородках.

Противопожарные перегородки и заполнения проемов двери шахт лифтов в противопожарных перегородках характеризуются огнестойкостью. Поэтому ограждающие конструкции лифтов в настоящее время все чаще производят на специализированных предприятиях с высокой степенью автоматизации производства.

Эти специализированные предприятия поставляют свою продукцию производителям комплектных лифтов. Таким образом осуществляется активная международная торговля дверями шахт лифтов.

В этих условиях создание стандарта, устанавливающего методы испытаний дверей шахт лифтов, гармонизированного с наиболее широко применяемыми международными стандартами в этой области, является актуальной задачей в целях устранения технических барьеров в торговле.

Настоящий стандарт гармонизирован с принятым в 2003 году европейским стандартом ЕН 81-58 «Правила безопасности по устройству и установке лифтов. Экспертиза и испытания. Часть 58. Испытания дверей шахт лифтов на огнестойкость».

Применяемые в настоящее время в России методы испытаний дверей шахт лифтов на огнестойкость представляют собой важный шаг на пути гармонизации с зарубежными методиками, однако требуют как расширения области применения (методы испытаний дверей шахт лифтов с различной теплопроводностью или теплопередачей, в том числе площадью светопрозрачного заполнения дверного проема 25 % и более), так и дальнейшего сближения с принятыми европейскими стандартами в области методов испытаний на огнестойкость. В то же время введенная в стандарт ЕН 81-58 методика определения предельного состояния «потеря целостности» еще не встретила полной поддержки даже в странах Европы прежде всего из-за необходимости полной замены испытательного оборудования, что значительно увеличивает стоимость испытаний, а также из-за того, что данная методика отличается от методов испытаний на огнестойкость дверей общего применения.

В связи с этим в настоящем стандарте для испытаний по определению предельного состояния «потеря целостности» приведена хорошо зарекомендовавшая себя отечественная методика, гармонизированная с европейскими методиками, применяемыми для дверей общего назначения и дверей шахт лифтов.

В настоящий стандарт введены также положения стандарта ЕН 1363-2:1999 «Испытания на огнестойкость. Часть 2. Альтернативные и дополнительные процедуры», регламентирующие методику определения предельного состояния «допустимая плотность теплового потока» с учетом разработанной Всероссийским научно-исследовательским институтом противопожарной обороны «Временной методикой испытаний на огнестойкость светопрозрачных строительных конструкций».

НАЦИОНАЛЬНЫЙ СТАНДАРТ РОССИЙСКОЙ ФЕДЕРАЦИИ

Лифты

ДВЕРИ ШАХТ ЛИФТОВ

Методы испытаний на огнестойкость

Lifts. Landing doors. Fire resistance test methods

Дата введения - 2008-07-01

1 Область применения

Настоящий стандарт устанавливает методы испытаний на огнестойкость дверей шахт лифтов, которые могут быть подвергнуты воздействию факторов пожара со стороны этажной площадки.

Методы испытаний распространяются на все виды и конструктивные исполнения дверей шахт лифтов, включая двери площадью светопрозрачного заполнения более 25 % дверного проема в свету.

Методы испытаний на огнестойкость предусматривают определение следующих предельных состояний:

- потеря целостности;

- потеря теплоизолирующей способности;

- допустимая плотность теплового потока.

2 Нормативные ссылки

В настоящем стандарте использованы нормативные ссылки на следующие стандарты:

ГОСТ 12.1.004-91 Система стандартов безопасности труда. Пожарная безопасность. Общие требования

ГОСТ 12.1.019-79 Система стандартов безопасности труда. Электробезопасность. Общие требования и номенклатура видов защиты

ГОСТ 30247.0-94 (ИСО 834-75) Конструкции строительные. Методы испытаний на огнестойкость. Общие требования (ИСО 834:1975 «Испытания на огнестойкость. Элементы строительных конструкций», MOD)

ГОСТ 30247.1-94 (ИСО 834-75) Конструкции строительные. Методы испытаний на огнестойкость. Несущие и ограждающие конструкции (ИСО 834:1975 «Испытания на огнестойкость. Элементы строительных конструкций», MOD)

ГОСТ 30247.2-97 Конструкции строительные. Методы испытаний на огнестойкость. Двери и ворота (ИСО 3008:1976 «Испытания на огнестойкость. Двери и элементы, закрывающие проемы», NEQ)

Примечание - При пользовании настоящим стандартом целесообразно проверить действие ссылочных стандартов в информационной системе общего пользования - на официальном сайте Федерального агентства по техническому регулированию и метрологии в сети Интернет или по ежегодно издаваемому информационному указателю «Национальные стандарты», который опубликован по состоянию на 1 января текущего года, и по соответствующим ежемесячно издаваемым информационным указателям, опубликованным в текущем году. Если ссылочный стандарт заменен (изменен), то при пользовании настоящим стандартом следует руководствоваться замененным (измененным) стандартом. Если ссылочный стандарт отменен без замены, то положение, в котором дана ссылка на него, применяется в части, не затрагивающей эту ссылку.

3 Термины и определения

В настоящем стандарте применены термины, установленные ГОСТ 30247.0, ГОСТ 30247.1, а также следующие термины с соответствующими определениями:

3.1 дверь шахты лифта: Дверь, предназначенная для установки в проеме ограждения шахты на этаже для обеспечения доступа в лифт.

3.2 дверь шахты лифта без теплоизоляции: Дверь шахты лифта, не предназначенная для соответствия критерию по теплоизолирующей способности.

3.3 дверь шахты лифта с теплоизоляцией: Дверь шахты лифта, предназначенная для соответствия критерию по теплоизолирующей способности.

3.4 дверной проем: Проем в ограждении шахты, через который при открывании дверей шахты лифта обеспечивается проход людей или перемещение груза.

3.5 дверное устройство: Комплектная конструкция двери, включающая в себя обрамление, раму, направляющие, створки дверей, которые предназначены для обеспечения прохода между кабиной и этажной площадкой, а также элементы металлоконструкций, обрамления и другие компоненты, необходимые для работы дверей.

3.6 опорная конструкция (вкладыш): Строительный элемент в виде фрагмента ограждения шахты лифта с дверным проемом, который устанавливается на передней части испытательной печи и на котором монтируется испытуемый образец двери шахты.

3.7 плотность теплового потока: Количество тепловой энергии на единицу площади, передаваемой в форме излучения и конвекции на измерительное устройство со стороны необогреваемой поверхности испытуемого образца двери шахты.

4 Сущность метода

4.1 Процедуру определения огнестойкости дверей, которые при установке их в здании могут подвергаться воздействию огня с обеих сторон двери и служат для предотвращения проникновения огня с одной стороны двери на другую регламентирует ГОСТ 30247.2.

Двери шахт лифтов представляют собой специальное использование дверей, при котором они подвергаются воздействию огня только с одной стороны - со стороны этажной площадки и при котором опасность связана с проникновением огня и горячих газов в шахту лифта.

4.2 Испытание состоит в создании теплового воздействия на образец двери шахты лифта со стороны этажной площадки. Тепловое воздействие оказывают в соответствии с ГОСТ 30247.0 в течение периода, соответствующего заявленной огнестойкости испытуемой двери.

При проведении испытаний в испытательной печи должно быть обеспечено положительное давление по всей высоте двери со стороны теплового воздействия на нее.

5 Предельные состояния

5.1 Предел огнестойкости дверей шахт лифтов устанавливают по времени наступления одного или последовательно нескольких нормируемых для данной конструкции предельных состояний:

- потери целостности;

- потери теплоизолирующей способности;

- допустимой плотности теплового потока.

5.2 Потеря целостности

Предельное состояние «потеря целостности» наступает в следующих случаях.

5.2.1 При появлении устойчивого пламени с необогреваемой стороны образца длительностью 10 с и более. Этот критерий применяют как для дверей, к которым предъявляются требования по теплоизолирующей способности, так и для дверей, к которым не предъявляются требования по теплоизолирующей способности [1].

5.2.2 При образовании в конструкции образца сквозных отверстий (щелей) с размерами, позволяющими щупу диаметром 6,0 мм проникать и перемещаться вдоль отверстия (щели) на расстояние не менее 150 мм или щупу диаметром 25,0 мм беспрепятственно проникать в сквозные отверстия (щели). Конструкция щупов приведена на рисунке А.1 (приложение А). Этот критерий применяют для дверей, к которым не предъявляются требования по теплоизолирующей способности и дверей с теплоизоляцией [1].

5.2.3 Воспламенение или возникновение тления со свечением ватного тампона в результате воздействия огня или горячих газов, проникающих из печи на необогреваемую сторону образца через зазоры, щели, отверстия. Рамку с ватным тампоном, устройство которой приведено на рисунке А.2 (приложение А), подносят к тем местам на необогреваемой стороне образца, где ожидается проникание пламени или горячих газов. Рамку удерживают в течение 10 с на расстоянии (30 ± 5) мм от поверхности образца. Обугливание ватного тампона без тления со свечением не считается показателем потери целостности. Повторное использование данного тампона не допускается. Этот критерий применяют для дверей, к которым предъявляются требования по теплоизолирующей способности [1].

5.3 Потеря теплоизолирующей способности

Предельное состояние «потеря теплоизолирующей способности» наступает в следующих случаях.

5.3.1 При повышении средней температуры на необогреваемой поверхности образца в сравнении с температурой перед началом испытаний более чем на 280°С.

5.3.2 При повышении максимальной температуры в любой из точек необогреваемой поверхности образца по сравнению с температурой перед началом испытаний более чем на 330°С.

5.4 Допустимая плотность теплового потока

Предельное состояние «допустимая плотность теплового потока» наступает в случаях, если измеряемая при испытании плотность теплового потока превышает 15 кВт/м2. Допустимую плотность определяют при испытании как среднее значение, измеренное напротив геометрического центра образца, выполненного из одного материала, или как максимальное значение, равное среднему или превышающее его для образцов дверей, выполненных из материалов с различной теплопередающей способностью (например, при использовании стекла в створках) [2].

6 Испытательное и измерительное оборудование

6.1 Для проведения испытания на огнестойкость применяют испытательную печь с системой подачи и сжигания топлива, а также с системой дымовых каналов с регулирующим устройством, обеспечивающим регламентированные температурный режим и избыточное давление в огневой камере печи по ГОСТ 30247.0 и ГОСТ 30247.1. Испытательная печь оснащается системой измерения и регистрации параметров в огневой камере по ГОСТ 30247.0.

6.2 Применяемое при испытаниях дверей шахт лифтов на огнестойкость измерительное оборудование включает в себя:

- термоэлектрические преобразователи (термопары) по ГОСТ 30247.0;

- ватные тампоны по ГОСТ 30247.0;

- проволочную рамку для установки ватного тампона с ручкой в соответствии с рисунком А.1 (приложение А);

- стальные щупы в соответствии с рисунком А.2 (приложение А);

- приемник потока теплового излучения.

7 Условия испытаний

7.1 Температурный режим в печи должен соответствовать ГОСТ 30247.0.

7.2 Давление в печи должно соответствовать ГОСТ 30247.1.

8 Образец для испытаний

8.1 Конструкция

Образец для испытаний должен быть изготовлен, укомплектован и собран в полном соответствии с технической документацией на дверь, огнестойкость которой должна быть определена в результате испытаний.

Представленный для испытаний образец дверей, в конструкции которых применены светопрозрачные (стеклянные) элементы, должен быть изготовлен с учетом того, что результаты испытаний могут распространяться на тип испытуемых дверей со следующими ограничениями:

- тип стекла и способ его крепления, включая тип и число фиксирующих элементов на погонный метр периметра, не должны отличаться от испытанного образца;

- число закрытых стеклом проемов и размеры этого стекла на типоразмерах испытуемой двери могут быть уменьшены, но не увеличены по сравнению с образцом;

- расстояние от края стекла до рамы дверной створки или расстояние между застекленными
отверстиями
в створке должно быть не менее, чем на испытанном образце;

- изменение расположения стекла в раме дверной створки может повлиять на значение измеряемой плотности теплового потока [3].

8.2 Число образцов

Огнестойкость дверей шахты лифта определяют для условий теплового воздействия с одной стороны этажной площадки. Для этих условий испытанию подвергают только один образец двери.

8.3 Размер образца

Образец для испытаний должен иметь размеры, предусмотренные технической документацией на испытуемый тип двери, или размеры, максимально допустимые конструкцией испытательной печи.

Для дверей, имеющих габаритные размеры по ширине и (или) высоте более 2600 мм, допускается изготовлять образцы для испытаний с уменьшением размера (размеров) до 2600 мм, сохранив при этом идентичность конструкции в части, обеспечивающей огнестойкость.

8.4 Установка образца

Образец должен быть смонтирован на специальном вкладыше испытательной печи, имеющем необходимую огнестойкость. Вкладыш может быть изготовлен из монолитного бетона или бетонных блоков плотностью не менее 800 кг/м3 или из кирпича толщиной не менее (250 ± 50) мм.

Строительный проем во вкладыше для установки испытуемого образца двери должен иметь размеры, соответствующие проекту строительного проема для дверей шахты лифта, предусмотренного технической документацией.

8.5 Отбор образца для испытаний

Способ отбора образца для испытаний должен обеспечить полную идентичность его конструкции и технологии изготовления типу двери, огнестойкость которой должна быть определена. С этой целью отбор образца для испытаний проводят со склада готовой продукции завода-изготовителя с участием представителя испытательной лаборатории. Допускается проводить отбор образца для испытаний непосредственно при изготовлении и сборке данного образца на заводе-изготовителе в присутствии представителя испытательной лаборатории. При этом для обеспечения возможности детального изуче­ния конструкции испытательная лаборатория может потребовать изготовления не менее двух образцов дверей, один из которых будет использован для испытания, а другой - для оценки идентичности производимых дверей испытанному образцу.

8.6 Сопроводительная техническая документация

Комплект технической документации, поставляемой вместе с образцом двери, должен включать в себя техническое описание конструкции двери, позволяющее провести ее анализ с точки зрения обеспечения огнестойкости.

В описании должны быть указаны следующие данные:

- тип (марка) двери;

- назначение (область применения);

- спецификация материалов, использованных в элементах конструкции двери, включая теплоизолирующие материалы, обшивку, облицовку;

- чертежи (эскизы) образца с указанием размеров дверного проема, створок, вертикальных и горизонтальных элементов обрамления (при наличии), вертикальный и горизонтальный разрез конструкции двери, на которых представлены взаимное расположение створок, уплотнений, механизма подвески створок, воздушные лабиринты и зазоры;

- документ завода-изготовителя, подтверждающий полное соответствие образца технической документации;

- инструкция по монтажу дверей;

- проект фрагмента ограждения шахты, в котором должен быть смонтирован образец.

8.7 Монтаж образца на фрагменте должен быть выполнен по инструкции изготовителя двери в соответствии с требованиями [4].

9 Подготовка образца к испытаниям

9.1 До начала испытаний должно быть проверено соответствие конструкции испытуемого образца, включая комплектацию и имеющиеся зазоры, технической документации, а также соответствие установки образца двери на фрагменте ограждения шахты лифта технической документации и инструкции по монтажу. Образец двери должен быть проверен на работоспособность. Створки образца должны быть до начала испытаний закрыты и заперты на замок в соответствии с требованиями [4]. До начала испытаний на смонтированном образце двери должно быть проведено не менее 10 циклов открывания - закрывания створок.

10 Вкладыш испытательной печи

10.1 Вкладыш испытательной печи, на котором монтируется образец двери, должен представлять собой фрагмент ограждения шахты лифта, идентичный применяемому на практике.

10.2 Конструкция мест соединения фрагмента ограждения шахты лифта с дверью, а также материалы, используемые в этих местах, также должны быть идентичными применяемым на практике. При использовании для монтажа образца минеральных вяжущих материалов испытание на огнестойкость может быть проведено только по истечении нормативного времени отвердения вяжущих материалов.

11 Определение предела огнестойкости

11.1 Определение предельного состояния «потеря целостности»

Потеря целостности определяется с учетом 5.2 вследствие

11.1.1 Появления устойчивого пламени с необогреваемой стороны образца, место, время появления и длительность устанавливаются визуально по 5.2.1;

11.1.2 Образования в конструкции образца сквозных отверстий (щелей) устанавливается при помощи щупов по 5.2.2;

11.1.3 Воспламенения или возникновения тления со свечением ватного тампона в результате проникновения пламени или горячих газов из печи на необогреваемую сторону образца по 5.2.3.

11.2 Определение предельного состояния «потеря теплоизолирующей способности»

Показатель «потеря теплоизолирующей способности» определяют с учетом 5.3.

Для определения потери теплоизолирующей способности на необогреваемой поверхности подвергающегося испытанию образца двери устанавливают термоэлектрические преобразователи (далее - термопары) по ГОСТ 30247.0.

Термопары распределяют по необогреваемой поверхности образца двери с целью определения средней и максимальной температуры на необогреваемой поверхности в ходе испытаний. Если к дверям шахты лифта не предъявляют требования по показателю теплоизолирующей способности, то температуру на необогреваемой поверхности образца не измеряют.

11.2.1 Размещение термопар для определения средней температуры на необогреваемой поверхности образца

11.2.1.1 Створка (створки) образца

На створке должно быть установлено пять термопар:

1-я термопара - в центре площади створки (створок);

2, 3, 4 и 5-я термопара - в центре каждой четверти поверхности створки.

При совпадении указанных точек установки термопар с ребрами жесткости, краями, стыками и притворами створки (створок) точки установки термопар должны быть смещены на (100 ± 5) мм влево, вправо, вверх или вниз.

Максимальное число термопар, равномерно распределенных по поверхности всех створок, не должно превышать 12.

Если двери имеют створки небольшого размера (например, менее 400 мм ширины) и размещение пяти термопар и/или смещение места их установки от ребер жесткости, краев, стыков и притворов не может быть обеспечено, а также число термопар может превысить принятое максимальное число 12, то допускается устанавливать термопары, равномерно распределив их по всей поверхности дверного проема в свету, - в центре и на диагоналях этой поверхности.

Если конструкция створок включает в себя элементы с различной теплоизолирующей способностью (например, светопрозрачные элементы) и площади этих элементов превышают 0,2 м2, то должна быть определена средняя температура для каждого из таких элементов.

Для этой цели должны быть установлены дополнительные термопары, равномерно распределенные по поверхности этих элементов из расчета одна термопара на 1 м2 площади, но не менее двух термопар.

Если общая площадь поверхности какого-либо элемента дверной конструкции равна или менее 0,2 м2, то при определении средней температуры необогреваемой поверхности образца этот элемент может не учитываться [3].

11.2.1.2 Рама (обрамление) образца

Конструкция двери шахты помимо створок может включать в себя следующие элементы:

- верхнюю балку с механизмом подвески створок;

- два вертикальных боковых элемента и верхний горизонтальный элемент, перекрывающий верхнюю часть проема в ограждении шахты.

На боковых вертикальных элементах и верхнем горизонтальном элементе, ширина или высота которых соответственно превышает 300 мм, должны быть установлены термопары из расчета одна термопара на 1 м2, но не менее двух термопар. Эти термопары должны быть установлены на расстоянии не менее 100 мм от ребер жесткости, краев боковых и верхних элементов. Если высота верхнего элемента или ширина боковых элементов менее 300 мм, то термопары для определения средней температуры на них не устанавливают.

11.2.2 Размещение термопар для определения максимальной температуры на необогреваемой поверхности образца

11.2.2.1 Створка (створки) образца

Максимальную температуру следует определять по термопарам, установленным на створке (створках) образца, в соответствии с 11.2.1.1.

11.2.2.2 Рама (обрамление) образца

Максимальную температуру следует определять по термопарам, установленным на раме (обрамлении) образца, в соответствии с 11.2.1.2.

При этом на вертикальных и горизонтальных элементах рамы, ширина или высота которых имеет размеры от 100 до 300 мм, должна быть установлена только одна термопара в центре каждого элемента.

На вертикальных и горизонтальных элементах, ширина или высота которых менее 100 мм, измерения температуры не производят.

11.3 Определение предельного состояния «допустимая плотность теплового потока»

11.3.1 Показатель «допустимая плотность теплового потока» определяют с учетом 5.4 [2]. Определение допустимой плотности теплового потока осуществляется в соответствии с [2]. Измерение плотности теплового потока от поверхностей, температура которых при испытании менее 300°С, не проводят, поскольку плотность теплового потока в этих случаях не превышает 6,0 кВт/м2 [2].

Диапазон измеряемых значений приемника потока теплового излучения должен соответствовать значению допустимой плотности теплового потока, установленной для дверей шахты лифта. Погрешность градуировки приемника не должна превышать ±10 %.

11.3.2 Измерение плотности теплового потока проводят приемником теплового излучения (датчиком теплового потока), расположенном на расстоянии 1,0 м [2]от необогреваемой поверхности испытуемого образца.

В зоне измерений, кроме испытуемого образца, не должно быть других объектов с существенным тепловым излучением.

Измерения следует проводить в следующих местах.

11.3.2.1 Напротив геометрического центра образца.

11.3.2.2 В точке, где вероятна наибольшая плотность теплового потока. Это место определяют в результате анализа конструкции образца или рассчитывают с учетом геометрических размеров образца.

Если образец имеет симметричную конструкцию и выполнен из одного материала, то настоящее положение совпадает с 11.3.2.1.

Если образец выполнен из материалов с различной теплопередающей способностью (например, при использовании стекла в створках дверей), то определение места ожидаемой максимальной плотности теплового потока затруднительно. В этих случаях следует применять следующую процедуру:

- определить все поверхности на испытуемом образце, где можно ожидать температуру более 300°С, а площадь каждой такой поверхности более - 0,1 м2.

Измерение плотности теплового потока должно быть выполнено напротив геометрического центра каждой такой поверхности:

- две или более идентичные соседние части образца, имеющие одинаковую высоту или ширину и отстоящие друг от друга менее чем на 0,1 м, могут приниматься как единая поверхность теплового излучения;

- если на образце имеются части поверхности, которые не достигнут температуры 300°С и площадь этих частей менее 10 % общей площади, то эти поверхности могут быть приняты как единая поверхность теплового излучения.

11.3.3 Измерения плотности теплового потока в указанных выше местах следует проводить с интервалом не более 1 мин. Для каждого из указанных мест измерений следует регистрировать время, когда плотность теплового потока превышает 5, 10 и 15 кВт/м2.

12 Проведение испытаний

12.1 Испытания по определению предельных состояний «потеря целостности», «потеря теплоизолирующей способности» и «допустимая плотность теплового потока» следует проводить в условиях, регламентированных ГОСТ 30247.0.

12.2 В процессе испытаний следует регистрировать следующие параметры:

12.2.1 Температура в печи - по ГОСТ 30247.0.

12.2.2 Давление газов в печи - по ГОСТ 30247.1.

12.2.3 Время и характер разрушения или изменения состояния образца и его частей (механизма подвески створок, перекос створок, устройств фиксации створок и т.п.).

12.2.4 Для дверей, к которым предъявляются требования по показателям целостности и теплоизолирующей способности, следует регистрировать:

- время и место появления устойчивого пламени на необогреваемой стороне образца длительностью 10 с и более по 11.1.1;

- время воспламенения или тления со свечением ватного тампона по 11.1.3.

12.2.5 Для дверей, к которым предъявляются требования только по показателю целостности:

- время появления, место и размер образовавшихся в образце сквозных отверстий (щелей) по 11.1.2.

12.2.6 Для дверей, к которым предъявляют требования по показателю плотности теплового потока:

- время появления, место и значение плотности теплового потока по 11.3.

12.3 Испытания проводят до наступления заявленных нормируемых предельных состояний.

12.4 Если предельные состояния достигаются ранее заявленных, то испытания прекращают.

В этом случае по результатам испытаний определяют фактические значения предельных состояний и предел огнестойкости образца.

12.5 Если за время, заявленное для испытаний конструкции, не были достигнуты предельные состояния, то испытания могут быть продолжены до определения фактической огнестойкости.

12.6 Испытания следует проводить в присутствии представителя заказчика (изготовителя).

13 Оценка результатов испытаний

13.1 Показателем огнестойкости дверей шахт лифтов является предел огнестойкости. Предел огнестойкости дверей шахт лифтов устанавливают по времени (в минутах) наступления при испытании образца двери одного или более признаков предельных состояний:

- потеря целостности (в минутах);

- потеря теплоизолирующей способности (в минутах);

- достижения допустимой плотности теплового потока (в минутах).

13.2 Фактическое время наступления признаков предельных состояний, полученное при испытании образца, округляют до ближайшего меньшего значения из следующего ряда: 15,20, 30,45, 60, 90 и 120 мин.

13.3 Обозначение предельных состояний:

Е - предельное состояние «потеря целостности»;

I - предельное состояние «потеря теплоизолирующей способности»;

W - предельное состояние «допустимая плотность теплового потока».

13.4 Предел огнестойкости дверей шахт лифтов по результатам испытаний образца классифицируют следующим образом:

Е - период, в течение которого обеспечивается предельное состояние «потеря целостности»;

EI - период, в течение которого обеспечивают предельное состояние «потеря целостности» и «потеря теплоизолирующей способности»;

EW - период, в течение которого обеспечивают предельные состояния «потеря целостности» и «допустимая плотность теплового потока».

Предел огнестойкости, характеризующийся двумя признаками предельных состояний, должен приниматься по признаку предельного состояния с меньшим временем.

Например, если при испытании образца установлено, что Е составило 47 мин, I - 18 мин, W - 25 мин, то придел огнестойкости двери шахты лифта составит: Е45; ЕЙ 5; EW20.

13.5 Классификацию пределов огнестойкости дверей шахт лифтов следует проводить в соответствии с таблицей 1.

Таблица 1 - Классификация пределов огнестойкости

В минутах

Е

15

-

30

15

60

90

120

EI

15

20

30

45

60

90

120

EW

-

20

30

-

60

-

-

13.6 Результаты испытаний образца распространяются на:

13.6.1 двери одинаковой конструкции с размерами проемов по ширине и высоте, отличающимся от размера проема испытанного образца:

- в меньшую сторону на 35 % с округлением в сторону уменьшения до размера, кратного 100 мм;

- в большую сторону на 15 % с округлением в сторону увеличения до размера, кратного 50 мм.

13.6.2 горизонтально-раздвижные телескопические двери с меньшим числом створок, чем у испытанного образца.

13.6.3 дверь заявленных размеров, если образец для испытаний выполнен с уменьшением размеров в соответствии с 8.3. В этом случае на дверь распространяются условия 13.6.1.

14 Отчет об испытании

14.1 Отчет об испытании оформляют протоколом испытаний, который должен содержать следующую информацию:

- наименование и адрес организации (лаборатории), проводящей испытания;

- наименование, адрес и код ОКПО организации-заказчика;

- наименование и адрес организации - изготовителя двери;

- сведения о представителе заказчика (изготовителя), присутствовавшем при испытании;

- дату проведения испытаний;

- наименование изделия, товарный знак и маркировку образца с указанием шифра технической документации на конструкцию;

- код ОКП (ТНВЭД) на изделие;

- заявленные предельные состояния (показатели огнестойкости) двери;

- наименование нормативного документа, содержащего метод испытаний;

- описание, чертежи (эскизы) конструкции образца двери, представленные заказчиком;

- описание фрагмента (вкладыша), в котором устанавливается образец;

- данные о технических характеристиках материалов, примененных в конструкции образца;

- инструкцию по монтажу двери;

- акт отбора образца (при проведении сертификационного испытания);

- условия окружающей среды при проведении испытаний;

- сведения об испытательном оборудовании и средствах измерения параметров;

- схему установки термопар на испытуемом образце двери;

- схему установки устройства для измерения плотности теплового потока;

- значение давления в огневой камере печи;

- значение температуры в огневой камере печи;

- изменение температуры в местах установки термопар;

- наблюдения в процессе испытаний за состоянием образца с приложением фотоматериалов;

- оценку результатов испытания;

- фактический предел результатов испытания;

область применения полученных результатов;

- предел огнестойкости двери шахты лифта;

- срок действия отчета об испытании.

14.2 Протокол испытания является документом, в котором определен предел огнестойкости дверей, образец которых прошел испытания на огнестойкость.

Отчет действует период времени, в течение которого не было проведено изменений:

- нормативных документов на продукцию и (или) метод испытаний на огнестойкость;

- конструкции и (или) технологии изготовления дверей.

Информация об изменениях должна быть направлена заказчиком в лабораторию, проводившую испытания.

Лаборатория принимает решение о продолжении действия отчета об испытаниях или необходимости проведения новых испытаний на основании анализа влияния произошедших изменений на огнестойкость дверей.

При проведении испытаний дверей на огнестойкость следует соблюдать требования безопасности и производственной санитарии согласно ГОСТ 12.1.004, ГОСТ 12.1.019 и ГОСТ 30247.0.

Приложение А
(обязательное)
Приспособления для определения потери целостности конструкции

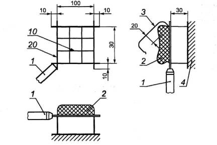
1 - ручка; 2 - ватный тампон; 3 - зажим; 4 - поверхность опытного образца

Рисунок А.1 - Рамка для закрепления ватного тампона

1 - ручка

Рисунок А.2 - Конструкция щупов

Библиография

[1] СНиП 21-01-97

Пожарная безопасность зданий и сооружений

[2] ЕН 1363-2:2000

Испытания на огнестойкость. Часть 2. Альтернативные и дополнительные процедуры

[3] ЕН 1634-1:2000

Испытания на огнестойкость дверных устройств и занавесей. Часть 1. Противопожарные двери и занавесы

[4] ПБ 10-558-03

Правила устройства и безопасной эксплуатации лифтов. Госгортехнадзор РФ

 

Ключевые слова: лифты, методы испытаний на огнестойкость

 




ГОСТЫ, СТРОИТЕЛЬНЫЕ и ТЕХНИЧЕСКИЕ НОРМАТИВЫ.
Некоммерческая онлайн система, содержащая все Российские Госты, национальные Стандарты и нормативы.
В Системе содержится более 150000 файлов нормативно-технической документации, действующей на территории РФ.
Система предназначена для широкого круга инженерно-технических специалистов.

Рейтинг@Mail.ru Яндекс цитирования

Copyright © www.gostrf.com, 2008 - 2026