Крупнейшая бесплатная информационно-справочная система онлайн доступа к полному собранию технических нормативно-правовых актов РФ. Огромная база технических нормативов (более 150 тысяч документов) и полное собрание национальных стандартов, аутентичное официальной базе Госстандарта. GOSTRF.com - это более 1 Терабайта бесплатной технической информации для всех пользователей интернета. Все электронные копии представленных здесь документов могут распространяться без каких-либо ограничений. Поощряется распространение информации с этого сайта на любых других ресурсах. Каждый человек имеет право на неограниченный доступ к этим документам! Каждый человек имеет право на знание требований, изложенных в данных нормативно-правовых актах!

  


 

Пособие по проектированию жилых зданий.

Вып. 3

(к СНиП 2.08.01-85)

6. ПЕРЕКРЫТИЯ

6.1. Междуэтажные перекрытия жилых зданий состоят из несущей части и пола. Перекрытия над шумными нежилыми помещениями, расположенными в жилом здании (магазинами, столовыми, предприятиями бытового обслуживания и т. п.), рекомендуется проектировать с двойным перекрытием (самонесущая железобетонная плита потолка, не связанная непосредственно с плитой несущей части перекрытия). При наличии технического этажа между жилой частью дома и встроенными шумными помещениями самонесущий потолок не требуется. Звукоизоляцию перекрытий от воздушного и ударного шума следует проверять по СНиП II-12-77.

6.2. Перекрытия над техническим подпольем и проездами следует проектировать утепленными. Требуемое сопротивление теплопередаче над подпольем рекомендуется определять из условия обеспечения 50 % (за 1 ч.) воздухообмена в подполье, с использованием уровня воздушно-теплового баланса. При этом необходимо учитывать влияние ограждающих конструкций и теплоотдачи размещенных в подполье трубопроводов отопления и горячего водоснабжения.

Полы

6.3. Полы жилых зданий классифицируются по видам покрытий (паркетные, линолеумные, дощатые, плитные) и по типам конструкций (однослойные, слоистые, раздельные беспустотные и раздельные с пустотами — по лагам).

6.4. Однослойный пол укладывается непосредственно на плиты перекрытий или на выравнивающий слой, устроенный по плитам перекрытий.

В качестве покрытия однослойного пола во всех помещениях квартиры, кроме санитарно-технических узлов, рекомендуется применять линолеум на теплозвукоизоляционной подоснове по ГОСТ 18108—80, или ему подобные материалы, отвечающие требованиям действующих ТУ. Материалы для покрытия полов должны иметь биостойкую, незагнивающую подоснову.

В помещениях санитарно-технических узлов, а также в вестибюлях, внеквартирных коридорах, лестничных клетках, лифтовых холлах и т. д. рекомендуется устраивать полы из керамических (метлахских) плиток. В санитарно-технических узлах допускается полы выполнять из линолеума на резиновой основе.

Однослойный пол рекомендуется применять в междуэтажных перекрытиях, несущая часть которых обеспечивает индекс изоляции воздушного шума не менее 51 дБ. При расчете звукоизоляции перекрытия с однослойным полом необходимо учитывать снижение звукоизоляции вследствие резонансных колебаний пола и косвенной передачи шума смежными конструкциями.

6.5. Слоистый пол состоит из твердого покрытия пола и звукоизоляционного слоя.

В качестве покрытия пола рекомендуется применять штучный паркет (ГОСТ 862.1—85) и паркетные щиты (ГОСТ 862.4—77 и ТУ 13-767—84). В качестве звукоизоляционного слоя рекомендуется применять древесно-волокнистые плиты марок 4, 12 и 20 (ГОСТ 4598—86). В случае покрытия пола из штучного паркета рекомендуется предусматривать дополнительный распределительный слой из древесно-волокнистых плит марки ПТ-100 (ГОСТ 4598—86). Требуемая толщина звукоизоляционного слоя определяется расчетом или на основании результатов натурных измерений звукоизоляции.

Слоистый пол рекомендуется применять в междуэтажных перекрытиях, несущая часть которых обеспечивает индекс изоляции воздушного шума не менее 50 дБ, а также в перекрытиях над более холодными помещениями, когда требуется дополнительное утепление перекрытий.

6.6. Раздельный беспустотный пол состоит из покрытия, жесткого основания и звукоизоляционного слоя.

В качестве покрытия раздельного беспустотного пола рекомендуется применять все виды линолеума (см. п. 6.4), плитки ПВХ и другие аналогичные материалы. Допускается также применить штучный паркет (ГОСТ 862.4—87) и сверхтвердые древесно-волокнистые плиты (ГОСТ 4598—86). Жесткое основание рекомендуется выполнять в виде монолитной стяжки толщиной 40 мм из легких бетонов на пористых заполнителях или поризованных и фосфогипсовом вяжущем класса не менее В10 и марки по плотности не более D 1200. При покрытии из паркета стяжка может выполняться из мелкозернистого тяжелого бетона. При плитах перекрытия размером на комнату стяжку рекомендуется выполнять в заводских условиях в составе комплексной плиты перекрытия. При устройстве стяжки из бетонов на пористых заполнителях в построечных условиях рекомендуется предусматривать шлифование верхней поверхности стяжки. Выравнивание такой стяжки цементным раствором не допускается.

Между монолитной стяжкой и звукоизоляционным слоем рекомендуется располагать слои водонепроницаемой бумаги или другого подобного материала с перехлестыванием в стыках.

Сборные стяжки основания пола рекомендуется выполнять из бетона на пористых заполнителях класса не ниже В12,5 или гипсоцементно-пуццоланового бетона класса не ниже В5.

Покрытие пола из обычного (нетеплого) линолеума (ГОСТ 7251—77, ГОСТ 14632—79, ГОСТ 16914—71), плиток ПВХ (ГОСТ 16475—81), сверхтвердых древесно-волокнистых плит (ГОСТ 4598—86) рекомендуется укладывать на стяжку из бетона на пористых заполнителях с маркой по плотности не более D1200 или стяжку из гипсоцементно-пуццоланового бетона с маркой по плотности не более D 1300.

В качестве звукоизоляционного слоя раздельных беспустотных полов рекомендуется применять: плиты теплоизоляционные из минеральной ваты на синтетическом связующем (ГОСТ 16297—80), полужесткие марки 125, жесткие марки 150, толщиной 35 — 60 мм (ГОСТ 9573—82), плиты древесно-волокнистые мягкие марки 4 плотностью не более 250 кг/м3, толщиной 20 ¸ 40 мм (ГОСТ 4598—86), плиты фибролитовые на портландцементе марки 300 толщиной 50 мм (ГОСТ 8928—81), песок прокаленный, керамзит предельной крупности 20 мм и другие подобные материалы, толщина слоя которых устанавливается на основании результатов исследования звукоизоляции в натурных условиях.

6.7. Раздельный пол с пустотами состоит из покрытия пола, лаг и звукоизоляционных прокладок под лаги.

В качестве покрытия раздельного пола с пустотами рекомендуется применять паркетные доски и щиты деревянные однослойные (ТУ 13-767—84). Допускается также применять шпунтованные доски (ГОСТ 8242—75), а также сверхтвердые древесно-волокнистые плиты по сплошному настилу из нешпунтованных и нестроганных досок толщиной 22 мм из низкосортной древесины и деловых короткомерных отходов лесопиления и деревообработки или из древесностружечных плит толщиной не менее 19 мм марки П-3 (ГОСТ 10632—77*).

Лаги рекомендуется выполнять из прямоугольных деревянных брусков сечением 40 ´ 80 мм или клиновидных высотой 40 мм, шириной поверху — 70 и понизу — 26мм. Расстояние между осями лаг назначается в зависимости от конструкции пола: при толщине основания 19 ¸ 22 мм расстояние между осями лаг не должно превышать 400 мм, а в других случаях — 500 мм.

В качестве звукоизоляционных прокладок под лаги рекомендуется применять плитные материалы, используемые для устройства звукоизоляционного слоя раздельных беспустотных полов (см. п. 6.6).

6.8. Слоистый пол с покрытием из паркета, деревянный пол по лагам и бетонное основание раздельного пола рекомендуется отделять по контуру от стен и других конструкций зазором шириной 10 — 30 мм, заполняемым звукоизоляционным материалом и перекрываемым плинтусом или галтелью.

6.9. Раздельный пол рекомендуется применять при выполнении несущей части перекрытия из сплошных и многопустотных панелей, для которых индекс изоляции от воздушного звука менее 50 дБ.

6.10. Полы подвалов и технических подполий рекомендуется располагать выше уровня грунтовых вод. Если такое решение невыполнимо, в проекте рекомендуется предусматривать меры по водопонижению за счет дренажей и др. Применение противонапорных конструкций допускается лишь при невозможности водопонижения. При этом наружные стены подземной части и железобетонная плита пола подвала должны иметь сплошную гидроизоляцию со стороны грунта и рассчитываться на дополнительные усилия от гидростатического давления.

Плиты перекрытий

6.11. Сборные плиты междуэтажных перекрытий рекомендуется проектировать сплошного сечения (однослойными или трехслойными) или с пустотами.

Однослойные сборные плиты сплошного сечения рекомендуется проектировать из тяжелого или легкого бетона классов не ниже В12,5. При полах раздельного типа и слоистых толщину плит рекомендуется принимать не менее 10 см. При однослойных полах минимальная толщина плит определяется требованиями изоляции воздушного шума.

Плиты размером на комнату при опирании по контуру, двум длинным и одной короткой или только двум длинным сторонам рекомендуется армировать сварными сетками, расположенными в нижней (растянутой) зоне плиты. Арматурные стержни, расположенные вдоль короткого пролета плиты, рекомендуется частично не доводить до опор в соответствии с изменением изгибающих моментов вдоль пролета плиты. В случае, если до опор не доводится половина стержней, разреженное армирование принимается на участках шириной с каждой стороны плиты не более а = 0,14 l 20d, где l — длина короткого пролета плиты, dдиаметр стержней.

Для сборных однослойных плит, длина которых 6 м и более, при опирании по двум коротким сторонам или двум коротким и одной длинной рекомендуется предусматривать предварительно напряженное армирование вдоль длинной стороны плиты. В плитах, работающих на изгиб из плоскости в двух направлениях, кроме предварительно напряженной арматуры рекомендуется устанавливать поперечную арматуру в виде сварных сеток.

Плиты, опертые по двум коротким и одной длинной сторонам, допускается проектировать без предварительно напряженного армирования.

Трехслойные сборные плиты перекрытий рекомендуется проектировать сборными. Верхний и нижний слои выполняются из тяжелого бетона класса на нижнее В15, средний слой — из крупнопористого бетона (например, керамзитобетона) класса не ниже В3,5. Опорные зоны трехслойных плит перекрытий следует выполнять из тяжелого бетона на всю толщину плиты.

Многопустотные сборные плиты перекрытий рекомендуется проектировать из тяжелого или легкого бетона класса не ниже В15.

Пустоты в плитах можно располагать поперек или вдоль опор в зависимости от схемы опирания на стены и прочности плит по сечениям вдоль пустот и по межпустотным ребрам.

При платформенном стыке многопустотных плит перекрытий со стенами рекомендуется предусматривать конструктивно-технологические меры повышения прочности опорных сечений.

6.12. Для перекрытий из сборных плит рекомендуется учитывать их совместную работу на изгиб из плоскости, обеспечиваемую бетонными шпоночными соединениями и арматурными связями. При учете совместной работы плит проектную толщину зазора, через который замоноличивается стык, рекомендуется принимать не менее 40 мм.

6.13. При армировании сборных плит сварными сетками рекомендуется преимущественно применять стержневую арматуру диаметром 6 — 14 мм класса A-III и арматурную проволоку диаметром 3 — 4 мм класса Bp-I. Из условия минимальной стоимости и расхода арматуры рекомендуется в сварных сетках шаги продольных и поперечных стержней назначать согласно табл. 10.

Таблица 10

Диаметр стали, мм

Класс стали

Шаг, мм

Площадь попереч­ного сечения Аs, мм2

Расчетное растягива­ющее усилие Ns, Н/мм

Расход стали, кг на 1 м2 сетки

 

 

100

71

27,31

0,55

3

Вp-l

200

35

13,48

0,27

 

 

250

28

10,78

0,22

 

 

300

23

8,86

0,18

 

 

100

120

47,25

0,99

 

 

150

81

31,

0,66

4

Вp-l

200

63

23,63

0,5

 

 

250

50

18,75

0,4

 

 

300

42

15,75

0,33

 

 

100

283

101,88

2,22

6

A-III

150

189

68,04

1,45

 

 

200

141

50,8

1,11

 

 

250

113

40,7

0,89

 

 

300

94

33,8

0,74

8

A-III

300

168

60,5

1,3

10

A-III

300

261

98

2,04

12

A-III

100

1131

424

8,88

12

A-III

200

5,65

212

2,44

 

 

300

377

141,3

2,96

 

 

100

1539

577

12,1

14

A-III

200

769

288,5

6,1

 

 

300

513

192

4

6.14. Размещение и количество монтажных петель или отверстий, используемых для подъема плит, рекомендуется принимать таким, чтобы исключить необходимость дополнительного армирования изделий на монтажные и транспортные воздействия.

6.15. В плитах перекрытий рекомендуется устраивать каналы для скрытой электропроводки. Диаметр каналов в сплошных плитах рекомендуется принимать не более 30 мм.

Заделку сквозных технологических и коммуникационных отверстий в плитах перекрытий рекомендуется предусматривать раствором на расширяющемся цементе или гипсе.

6.16. Глубину опирания сборных плит на стены в зависимости от характера их опирания рекомендуется принимать не менее, мм: при опирании по контуру, а также двум длинным и одной короткой сторонам — 40; при опирании по двум сторонам и пролете плит 4,2 м и менее, а также по двум коротким и одной длинной сторонам — 50; при опирании по двум сторонам и пролете плит более 4,2 м — 70.

При назначении глубины опирания плит перекрытий следует также учитывать требования СНиП 2.03.01—84 к анкеровке арматуры на опорах.

6.17. При применении сборных плит перекрытий в зданиях со стенами из монолитного бетона рекомендуется конструктивно обеспечивать их неразрезность на опорах. С этой целью рекомендуется предусматривать петлевые соединения плит, замоноличенные бетоном. Для увеличения размеров полости, замоноличиваемой бетоном, допускается плиты при монтаже опирать на монтажные столики или телескопические стойки.

6.18. Сборно-монолитные слоистые плиты рекомендуется проектировать из сборной железобетонной плиты-скорлупы, выполняющей роль оставляемой опалубки, и слоя монолитного бетона. Плиту-скорлупу рекомендуется изготавливать из тяжелого бетона класса не ниже В15, толщиной 4 — 6 см. .Монолитный слой рекомендуется выполнять из тяжелого бетона класса не менее В12,5 или легкого бетона класса не ниже В7,5. Толщину слоя монолитного бетона рекомендуется принимать не менее толщины скорлупы.

Нижнюю растянутую арматуру плиты рекомендуется размещать в сборной плите-скорлупе, при этом применять предварительно напряженное армирование. Верхняя растянутая арматура, необходимая для восприятия изгибающих моментов на опорах, располагается в монолитном слое плиты. Для обеспечения совместной работы сборного и монолитного слоев рекомендуется на верхней поверхности сборного элемента предусматривать местные углубления для образования шпонок и (или) арматурные выпуски.

6.19. Монолитные плиты перекрытий рекомендуется проектировать однослойными из тяжелого или легкого бетона класса не ниже В12,5. Толщину плит рекомендуется назначать не менее требуемой по условиям звукоизоляции от воздушного шума при однослойных полах.

6.20. Монолитные и сборно-монолитные плиты перекрытий рекомендуется проектировать как защемленные стенами в опорных сечениях.

При возведении зданий в объемно-переставных опалубках, извлекаемых на фасад, плита перекрытия бетонируется одновременно с внутренними стенами. При использовании сборных панелей наружных стен рекомендуется плиту перекрытий рассматривать как защемленную по трем сторонам со свободной четвертой стороной.

При монолитных наружных стенах, которые бетонируются после возведения внутренних конструкций, плиты перекрытий в зависимости от узла их сопряжения с наружной стенкой могут проектироваться защемленными по контуру или по трем сторонам по внутренним стенам и со свободным опиранием на наружную стену.

При возведении монолитных наружных и внутренних стен в едином цикле (например, в блочной или щитовой опалубках), монолитные и сборно-монолитные плиты перекрытий рекомендуется проектировать как защемленные по контуру.

6.21. Монолитные плиты перекрытия рекомендуется армировать сварными сетками. Диаметры и шаги продольной и поперечной арматуры сеток рекомендуется принимать согласно табл. 10. Допускается применение стандартных сеток, выпускаемых промышленностью.

При одностороннем опирании плит перекрытий на стены в случае недостаточной длины анкеровки верхней сетки рекомендуется предусматривать приварку к ней поперечных анкерующих стержней.

В неразрезных плитах перекрытия рабочую арматуру над опорами следует обрывать на расстоянии не ближе 0,25l от грани опоры, где l ‑ пролет плиты. Пролетная арматура в опорных сечениях плиты заводится за грань опоры не менее 20 мм; стык арматурных сеток производится внахлестку с соблюдением требований СНиП 2.03.01—84.

В сечениях плите, где трещины в эксплуатационной стадии не образуются, допускается увеличение расстояния между рабочими стержнями арматуры до 400 мм с соблюдением требований СНиП 2.03.01—84.

В плитах, защемленных по трем сторонам, свободный край дополнительно армируется объемным каркасом из четырех стержней диаметром 10 мм из стали класса A-III для восприятия усадочных и температурных воздействий.

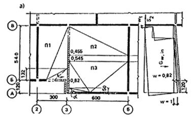
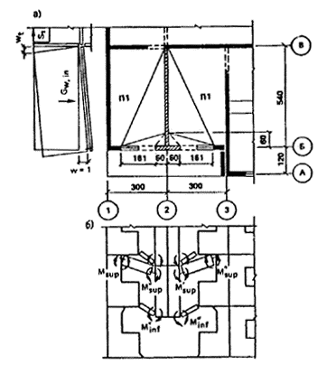
Схема армирования монолитной плиты перекрытия, защемленной по трем сторонам, с четвертой свободной показана на рис. 42.

Pис. 42. Схемы армирования монолитной плиты

а — защемленный по контуру; б — защемленной по трем сторонам и четвертой свободной

СВ — сетка верхнего армирования, СН — сетка нижнего армирования, КП — каркас пространственный

Сборно-монолитные плиты перекрытий рекомендуется армировать аналогично монолитным плитам; надопорную арматуру рекомендуется размещать в монолитном слое, пролетную — в скорлупе.

Размер скорлупы в плане рекомендуется назначать из условия Сборно-монолитные плиты перекрытий рекомендуется армировать аналогично монолитным плитам; надопорную арматуру рекомендуется размещать в монолитном слое, пролетную — в скорлупе. Размер скорлупы в плане рекомендуется назначать из условия обеспечения прочности и трещиностойкости бетона при ее изготовлении и монтаже. Стык скорлупы в перекрываемой ячейке не должен производиться в зоне максимальных моментов. В зоне стыка по скорлупам укладывается арматура площадью, эквивалентной изгибающему моменту, в расчетном сечении плиты с перепуском на длину не менее lсп, где lсп — расчетная длина анкеровки арматуры. Заведение скорлупы за грань стены производится на величину не менее 20 мм.

Совместная работа сборного и монолитного слоев перекрытия должна обеспечиваться сцеплением бетона и монтажными арматурными элементами, установленными в сборной плите-скорлупе.

Схема армирования сборно-монолитной плиты перекрытия показана на рис. 43.

Рис. 43. Сборно-монолитная плита

а ¾ схема армирования сборно-монолитной плиты, защемленной по контуру; б — конструктивное решение сборной плиты скорлупы без внешнего армирования; в ¾ то же, с внешним армированием

СВ — сетка верхнего армирования, ПС — плита-скорлупа

1 — монтажная петля, 2 — петлевые выпуски

Расчет железобетонных плит перекрытий

6.22. При расчете железобетонных плит перекрытий по предельным состояниям первой группы (по прочности) и второй группы (по деформациям, образованию и раскрытию трещин) рекомендуется различать плиты, работающие на изгиб из плоскости в одном и двух направлениях.

Плиты, опертые по контуру и имеющие соотношение размеров длинной стороны к короткой 3:1 и менее, а также плиты, опертые по трем сторонам и имеющие соотношение размеров вдоль параллельно расположенных опор к размеру вдоль свободного края 1,5:1 и менее, рекомендуется рассчитывать как работающие на изгиб из плоскости в двух направлениях. Расчет таких плит разрешается выполнять методами, изложенными в настоящем Пособии. При необходимости уточненный расчет таких плит может выполняться по специальным программам на ЭВМ, учитывающим нелинейную работу железобетона с трещинами.

Остальные плиты рекомендуется рассчитывать как работающие на изгиб в одном направлении по СНиП 2.03.01—84 и соответствующим пособиям.

6.23. Для плит, работающих на изгиб из плоскости в двух направлениях, различаются расчетные длины l1 и l2. Для плит, опертых по контуру, принимается, что пролет l1 не превышает пролет l2. Для плит, опертых по трем сторонам, пролет соответствует расстоянию между параллельно расположенными опорами (размер вдоль свободного края плиты).

Для свободно опертых плит расчетный пролет принимается равным расстоянию между серединами опорных площадок плит перекрытий. Для защемленных на опорах плит расчетный пролет принимается равным пролету в свету (до грани опор).

6.24. Для плит перекрытий, работающих на изгиб в двух направлениях, коэффициенты армирования (отношение площади сеченая арматуры к рабочей площади сечения плиты, перпендикулярного арматуре) m1 и m2 вдоль пролетов соответственно l1 и l2 рекомендуется назначать так, чтобы выполнялись условия:

m1 ³ mmin;.                                                    (149)

0,5 (m1 + m2 ³ mmin,                                     (150)

где mmin минимальное значение коэффициента армирования, принимаемое по CHиП 2.03.01—84 равным 0,05 %.

Для железобетонных слабоармированных элементов, несущая способность которых исчерпывается одновременно с образованием трещин в бетоне растянутой зоны, площадь сечения продольной растянутой арматуры должна быть увеличена по сравнению с требуемой из расчета по прочности не менее чем на 15 % (по СНиП 20301—84).

6.25. При расчете плит перекрытий нагрузки от веса опирающихся на них ненесущих наружных стен и перегородок рекомендуется учитывать следующим образом:

для жестких ненесущих стен и перегородок в виде сборных бетонных и железобетонных панелей нагрузка от их веса прикладывается к плите в виде сосредоточенных сил, которые считаются расположенными:

для панелей без проемов, а также простенков панелей с проемами шириной более половины высоты этажа — на расстоянии 1/12 длины соответственно панели и простенка от их краев; для крайних простенков панелей с проемами шириной не более половины высоты этажа — на расстоянии 1/3 от наружного края простенка, а для средних простенков — по середине их длины;

для нежестких ненесущих стен и перегородок из каменной кладки, мелких блоков, листовых материалов 60 % нагрузки от их веса считается распределенной по длине простенков, а остальная часть в виде сосредоточенных сил, положение которых назначается аналогично нагрузке от жестких стен и перегородок.

Если в процессе эксплуатации здания возможно изменение положения перегородок, то нагрузку от веса рекомендуется задавать в виде распределенной нагрузки, эквивалентной наиболее неблагоприятной схеме расположения перегородок в конструктивной ячейке, но не менее 0,5 кН/м2 (50 кгс/м2).

Расчет железобетонных плит перекрытий по предельным состояниям первой группы

6.26. Сборные плиты, не имеющие специальных связей для обеспечения неразрезности на опорах, рассчитываются по прочности в предположении свободного (без защемления) их опирания на стены. Для плиты, работающей на изгиб из плоскости в двух направлениях, при платформенном стыке со стенами, разрешается считать, что углы плиты закреплены от подъема.

Монолитные плиты, а также сборные, имеющие специальные связи для обеспечения неразрезности на опорах, рекомендуется рассчитывать с учетом их защемления стенами на опорах. При этом для сборных и сборно-монолитных плит необходимо учитывать две стадии их работы: до и после устройства связей, обеспечивающих защемление плиты.

Расчет по прочности плит, работающих на изгиб из плоскости в двух направлениях, рекомендуется выполнять кинематическим способом метода предельного равновесия.

При расчете плит по прочности различают следующие случаи:

армирование плиты задано; требуется определить предельное по условиям прочности значение равномерно распределенной нагрузки на плиту ;

задана нагрузка на плиту; требуется определить требуемое армирование.

6.27. Для плиты с заданным армированием расчет по прочности выполняется в следующей последовательности:

выявляются расчетные сечения; для всех плит в качестве расчетных условно рассматриваются сечения, перпендикулярные пролетам l2 и проходящие через центр плиты; для плит с защемленными опорами также рассматриваются сечения вдоль этих опор, кроме того, должны быть рассмотрены сечения, где изменяется армирование плиты. Для многопустотных плит дополнительно рассматриваются сечения вдоль пустот, примыкающих к опорам;

определяются значения изгибающих моментов, воспринимаемых плитой по расчетным сечениям; при одностороннем армировании изгибающий момент для i-го сечения плиты определяется по формуле

                                             (151)

где Rsi, Asi соответственно расчетное сопротивление и площадь поперечного сечения продольной арматуры в i-м сечении плиты; hoi рабочая высота сечения; Rb расчетное сопротивление бетона плиты сжатию (призменная прочность); di — длина плиты вдоль сечения i;

намечается схема излома плиты в предельном состоянии и определяются углы наклона линий излома по отношению к стороне плиты вдоль пролета l2; для свободно опертых и защемленных по контуру плит схемы излома рекомендуется принимать соответственно по рис. 44 и 45, при этом угол наклона линий излома к сторонам вдоль пролета допускается принимать равным 45°. Для свободно опертых по трем сторонам плит рекомендуется рассматривать две схемы излома (рис, 44, б, в), при этом для плит с соотношением сторон l2/l2 ³ l допускается принимать, что угол j = 45°;

Pис. 44. Расчетные схемы излома свободно опертой плиты

а — опертой по контуру; б, в — опертой по трем сторонам

Рис. 45. Расчетные схемы излома плиты, защемленной по контуру (а) и трем сторонам (б)

1, 2, 3 расчетные сечения при определении нагрузки образования трещин

определяется предельное значение равномерно распределенной нагрузки на плиты ;

нагрузка  сопоставляется с расчетной нагрузкой на плиту q; прочность плиты считается обеспеченной, если  ³ 1.

При загружении плиты на различных участках неодинаковыми распределенными нагрузками, а также точечными и полосовыми сосредоточенными нагрузками, допускается указанные нагрузки заменять приведенной равномерно распределенной нагрузкой, определяемой из условия равенства работ фактических и приведенной нагрузок на перемещениях, которые соответствуют заданной схеме излома плиты.

Для свободно опертой по контуру плиты предельная нагрузка  вычисляется по формулам:

при армировании сетками, все стержни которых вдоль пролетов l1 и l2 доводятся до опор или обрываются в пролете по эпюре моментов согласно п. 6.11:

                                              (152)

где М1, М2 — значения изгибающих моментов, воспринимаемые плитой при изгибе по балочным схемам соответственно вдоль пролётов l1, l2; gр — коэффициент условий работы, определяемый по графику на рис. 46;

l = l2/l1.                                                       (153)

Рис. 46. График для определения коэффициента gp, учитывающего пространственную работу плиты, опертой по контуру

а — при равномерном армировании; б — с концентрацией арматуры в средней части плиты

При армировании сетками, в которых стержни вдоль пролета попеременно не доводят до опор на расстояние а > 0,14l1, а вдоль пролета l2 все доводят до опор

                                       (154)

где x = а/l1.                                                (155)

Для свободно опертой по трем сторонам плиты, армированной в двух направлениях, предельная нагрузка  принимается равной меньшему из значений, вычисляемых для двух схем излома по рис. 44, б, в.

При изломе плиты по схеме рис. 44, б

                                           (156)

где                           (157)

y — коэффициент ортотропии армирования

                                           (158)

При изломе плиты по схеме рис. 44, в

                                         (159)

где                               (160)

В формулах (156) — (159) величина l вычисляется по формуле (153), при этом пролетом l1 считается пролет вдоль свободного края плиты.

Для плиты, имеющей защемленные опоры, предельная нагрузка  вычисляется по формулам:

при защемлении по контуру (рис. 45, а)

                      (161)

при защемлении по трем сторонам и одном свободном крае вдоль пролета l1 (рис. 45, б)

                         (162)

где M1, М2 — изгибающие моменты, воспринимаемые в пролете плиты при изгибе соответственно вдоль пролетов l1 и l2; MI, М¢I изгибающие моменты, воспринимаемые на опорах при изгибе вдоль пролета l1; МII, M¢II то же, вдоль пролета l2.

6.28. Предварительно напряженные в одном направлении плиты рассчитываются по прочности с учетом следующих особенностей:

при расчете прочности принимается, что величина gр = 1;

при расчете прочности плит, опертых по трем сторонам и имеющих армирование только вдоль пролета l1, в виде предварительно напряженной арматуры, в формулах (156) и (159) принимается, что величина М2 = 0, а коэффициент ортотропии y вычисляется исходя из изгибающих моментов Mb1 и Mb2, при которых в плите образуются трещины при ее изгибе соответственно вдоль пролетов l1 и l2, при этом учитывается влияние предварительного напряжения.

Многопустотные панели должны, кроме того, быть проверены расчетом по указаниям п. 6.33.

6.29. Для железобетонных плит перекрытий, кроме расчета по указаниям п. 6.27, необходимо проверять прочность по наклонным сечениям от действия поперечной силы. Расчет выполняется по указаниям норм проектирования железобетонных конструкций для наклонных сечений, проходящих через опоры.

Значение поперечной силы в опорном сечении для плиты, работающей на изгиб в двух направлениях, рекомендуется принимать большим из двух значений, подсчитанных исходя из упругой стадии работы плиты и в предельном состоянии (для принятой в расчете схемы излома плиты).

Для предварительного расчета допускается поперечную силу определять из условия опирания плиты по двум сторонам. Если требования расчета по поперечной силе оказываются выполненными без дополнительного армирования или повышения класса бетона плиты, то дальнейшего уточнения значения поперечных сил не требуется.

6.30. В случае, если задана нагрузка на плиты и требуется определить ее армирование, расчет рекомендуется выполнять в следующей последовательности:

а) задается тип и схема армирования плиты и предварительно назначается класс арматуры;

б) определяется оптимальное соотношение значений изгибающих моментов в расчетных сечениях и определяется требуемая площадь сечения арматуры;

в) при армировании плиты сварными сетками с использованием данных табл. 10 назначаются диаметры арматурных стержней и их шаги в сетке; при необходимости корректируются результаты расчета с учетом принятых классов и диаметров арматуры.

6.31. Для свободно опертой по контуру плиты, армированной сеткой, все стержни которой доводятся до опоры или половина стержней обрывается на расстоянии а £ 0,14 l120d, изгибающие моменты M1 и М2, действующие соответственно вдоль пролетов l1 и l2, рекомендуется определять по формулам:

М1 = Моgр(1 ‑ 2/3nорt/l);                                         (163)

М2 = Моgрn2орt/3l,                                                    (164)

где Мо — изгибающий момент в среднем сечении плиты, соответствующий балочной схеме работы плиты вдоль пролета

Мо = q l21 l2/8;                                                           (165)

gр — коэффициент условий работы, определяемый по п. 6.27; nорt — коэффициент, равный котангенсу угла наклона линии излома к стороне плиты вдоль пролета l2; при оптимальном по условиям прочности армирования плиты коэффициент nорt рекомендуется определять по формуле

nорt = gsh02/(lh01);                                                     (166)

gs — коэффициент, зависящий от вида арматуры, вдоль пролетов l1 и l2; при армировании одинаковой арматурой в обоих направлениях коэффициент gs = l; при армировании плиты вдоль пролета l1 стержневой арматурой класса А-III, а вдоль пролета l2 проволочной арматурой класса Вр-1 коэффициент gs = 0,9; в остальных случаях коэффициент gs определяется по формуле

gs = Rs2Cs1/(Rs1Cs2);                                                   (167)

Rs1, Cs1расчетное сопротивление и стоимость 1 м арматурных стержней, расположенных вдоль пролета l1; Rs2, Cs2 то же, вдоль пролета l2, h01, h02 — рабочая высота сечения плиты при изгибе соответственно вдоль пролетов l1 и l2.

Площади сечения арматуры Аs1, As2, расположенной соответственно вдоль пролетов l1 и l2, определяются по формулам:

As1 = Rbl2x1/Rs1;                                                         (168)

As2 = Rbl1х2/Rs2,                                                         (169)

где                        (170)

                            (171)

В случае, если по условиям расчета на монтажные нагрузки или по конструктивным соображениям арматура вдоль пролета l2 задана, то изгибающий момент М1, по которому определяется площадь арматуры вдоль пролета l1, вычисляется по формуле

М1 = [Мо (ln2/3)М2l/n]gр/l,                            (172)

где                                                (173)

6.32. Для свободно опертой по трем сторонам плиты, армированной сеткой, все стержни которой доводятся до опоры, изгибающие моменты М1 и М2, по которым определяется площадь арматуры соответственно вдоль пролетов l1 и l2, вычисляются по формулам:

в случае, если l2 > 0,25gsh02/h01, то

М1 = Mo(ll/3nорt/l);                                              (174)

М2 = Mon2орt/(3l),                                     (175)

где

nорt = gsh02/(2lh01);                                   (176)

в случае, если l2 £ 0,25gsh02/h01

М1 = Mo/t(4nорtl);                                      (177)

М2 = Mo(nорt ‑ 4/3l),                                 (178)

где

                                   (179)

Особенности расчета по прочности многопустотных плит

6.33. Многопустотные плиты с пустотами цилиндрической формы, работающие на изгиб из плоскости в двух направлениях, а также плиты, опертые по двум сторонам, в которых пустоты расположены параллельно опорам, рассчитывают с учетом особенностей, изложенных в настоящем пункте.

Расчет прочности плиты по нормальным сечениям, перпендикулярным направлению пустот, выполняется для приведенного двутаврового сечения, для которого ширины сжатой и растянутой полок b¢f,red и bf,red равны ширине плиты b вдоль рассматриваемого сечения, а приведенные высоты (толщины) полок h¢f,red, hf,red и толщину стенки bw,red определяют по формулам,

h¢f,red = h¢f + 0,0569d;                                (180)

hf,red = hf + 0,0569d;                                  (181)

hw,red = b — 0,8862dn,                                             (182)

где h¢f, hf — минимальные толщины соответственно сжатой и растянутой полок; d — диаметр пустот в плите; п — количество пустот, пересекающих расчетное сечение плиты.

Расчет прочности плиты по нормальным сечениям, параллельным направлению пустот при действии изгибающего момента, выполняют как для прямоугольного сечения, при этом расчетная высота сжатой зоны не должна превышать минимальную толщину сжатой полки (в сечении вдоль оси пустоты).

Изгибающие моменты, действующие в расчетных сечениях, допускается определять как для плит сплошного сечения.

В многопустотной плите должна быть проверена прочность ребер на срез по горизонтальным сечениям и прочность полок на срез по вертикальным сечениям.

Для опертой по двум сторонам плиты с пустотами, расположенными параллельно опорам, прочность на срез проверяется по формулам:

для опорного ребра

                                        (183)

для ближайшего к опорному промежуточного ребра

                                        (184)

для полок (в сечении по ближайшей к опоре пустоте)

                                     (185)

где q расчетная нагрузка на плиту; l — расчетный пролет плиты; bwo — минимальная толщина опорного ребра; bw — то же, промежуточного ребра; Rbt расчетное сопротивление бетона растяжению; jb3 — коэффициент, принимаемый по СНиП 2.03.01—84 равным для бетона: тяжелого и ячеистого — 0,6; мелкозернистого — 0,5; легкого при марке по средней плотности D1900 и более — 0,5; D1800 и менее — 0,4.

Для опертой по четырем сторонам плиты с пустотами, расположенными вдоль длинной стороны плиты, а также для опертой по трем сторонам плиты с пустотами, расположенными перпендикулярно свободному краю, расчет ребер и плит по прочности на срез рекомендуется определять по формулам (183) и (185) как для плиты, опертой по двум сторонам, параллельным пустотам.

Для опертой по трем сторонам плиты с пустотами, расположенными параллельно свободной стороне плиты, при соотношении ее сторон l2/l1 > 2, прочность ребер на срез проверяют по формулам:

для крайнего опорного ребра

                                   (186)

для ближайшего к опорному промежуточного ребра

                                      (187)

где bwo минимальная толщина опорного ребра; bw — то же, промежуточного ребра; so — расстояние по горизонтали от оси опоры до центра первой пустоты в плите. Приближенно допускается принимать, что

so = (bwo + d)/2;                                         (188)

s — шаг пустот;

                                        (189)

I момент инерции при изгибе для сечения плиты, перпендикулярного пустотам; при симметричном по высоте плиты расположении пустот

I = l2h3/12 npd4/64;                                      (190)

Itor ‑ момент инерции при свободном кручении для сечения плиты, перпендикулярного пустотам; величину Itor допускается определять как для замкнутого коробчатого сечения по формуле

                           91)

h количество пустот, hf — толщина полки.

Особенности расчета по прочности предварительно напряженных плит, опертых по трем сторонам

6.34. При расчете по прочности опертых по трем сторонам плит с комбинированным армированием в виде предварительно напряженной арматуры с площадью сечения Аsp и ненапряженной арматуры с площадью сечения Аs вводят приведенные сопротивления (Rs,red), стоимость арматуры (Cs,red) и расчетную высоту сечения с комбинированным армированием (ho,red), которые вычисляют по формулам:

Rs,red = (RAsp + RsАs)/Аs,red;                                     (192)

Cs,red = (CA + CsАs)/Аs,red;                                    (193)

ho,red = (hoрAsp + hosАsRs/R)/ Аs,red,                       (194)

где Аs,red = Asp + Аs;                                                                                      (195)

R, C, — соответственно расчетное сопротивление растяжению и стоимость предварительно напряженной арматуры; Rs, Cs то же, ненапряженной арматуры; hoр — расчетная высота сечения для предварительно напряженной арматуры; hos то же, ненапряженной арматуры.

6.35. При расчете по прочности опертых по трем сторонам плит с армированием только предварительно напряженной арматурой, параллельной свободному краю плиты, необходимо дополнительно проверить трещиностойкость плиты для сечений вдоль пустот.

При проверке трещиностойкости учитывается расчетное сопротивление бетона растяжению Rbt, которое определяется как для бетонного элемента.

Прочность многопустотной плиты по сечению вдоль средней по ее ширине пустоты при совместном действии общего и местного изгиба проверяют по формуле

                               (196)

где 0,85 — коэффициент, приближенно учитывающий возможное снижение прочности бетона на растяжение при установлении класса бетона по прочности на сжатие; hred — приведенная высота полки, вычисляемая по формуле (181).

В случае, если условие (196) выполнено, то плиту допускается армировать в одном направлении. Расчет такой плиты выполняют с использованием следующих предпосылок:

направление трещин при разрушении плиты совпадает с направлением первоначальных трещин и зависит от соотношения сторон плиты l = l2/l1 и моментов трещинообразования бетонного сечения плиты Mcrc1 и Mcrc2 соответственно при изгибе вдоль пролетов l1 и l2;

момент трещинообразования Mcrc1 определяется с учетом влияния предварительного напряжения арматуры по формуле

Mcrc1 = Rbt,serWpl,1 + Р(eop + r),                                (197)

где Rbt,ser расчетное сопротивление бетона плиты осевому растяжению для предельных состояний второй группы; Wpl,1 — пластический момент сопротивления сечения плиты, перпендикулярного свободному краю (определяется по указаниям норм проектирования железобетонных конструкций и пособий к нему; Р — усилие предварительного обжатия за минусом потерь предварительного напряжения; eop — эксцентриситет усилия Р относительно центра тяжести приведенного сечения; r — расстояние от центра тяжести приведенного сечения до ядровой точки, наиболее удаленной от растянутой зоны, трещинообразование которой проверяется;

r = jWred/Ared,                                             (199)

j = 1,6 ‑ sb/Rb,ser,                                       (199)

но не менее 0,7 и не более 1; sb — максимальное напряжение в сжатом бетоне от внешней нагрузки и усилия предварительного напряжения, вычисление как для упругого тела по приведенному сечению;

момент трещинообразования Mcrc2 определяется для сечения по пустоте; при симметричном по высоте расположении пустот

Mcrc2 = Rbt,serhf (hhf) l1.                                          (200)

Прочность плиты с заданным армированием предварительно напряженной арматурой, расположенной параллельно свободному краю, должна удовлетворять условиям:

                                  (201)

                                (202)

где М1 изгибающий момент, воспринимаемый плитой при опирании по двум сторонам; коэффициенты n1 и n2 вычисляют соответственно по формулам (157) и (160).

Особенности расчета по прочности монолитных плит

6.36. Для определения требуемого по условиям прочности армирования монолитных плит рекомендуется предварительно задавать значения коэффициентов ортотропии армирования y, yI, yII, которые характеризуют соотношение изгибающих моментов в пролетных и опорных сечениях плиты, приходящихся на единицу длины сечения (рис. 47).

Рис. 47. Схемы действия изгибающих моментов и распределения рабочей арматуры в плитах

а — защемленных по контуру; 6 — защемленных по трем сторонам и четвертой свободной

В зависимости от схемы опирания плиты и соотношения ее размеров в плане коэффициенты ортотропии рекомендуется назначать по табл. 11.

Таблица 11

Способ защемления плиты

 

 

 

По контуру

1

1 0,9

 

 

 

 

0,80,6

 

 

 

 

0,7 ‑ 0,5

1 ‑ 2

1 ‑ 2

 

 

0,5 ‑ 0,3

 

 

 

 

0,4 ‑ 0,2

 

 

 

 

0,2 ‑ 0,15

 

 

По трем сторо­нам, один край свободный

0,7 ‑ 1,5

0,3 ‑ 0,1

1 ‑ 2

1 ‑ 2

При заданной распределенной нагрузке на плиту q погонный изгибающий момент m1, по которому подбирается пролетная арматура, располагается вдоль пролета l1, определяется по формулам:

для плиты, защемленной по контуру,

                 (203)

для плиты, защемленной по трем сторонам и одной свободной,

                        (204)

где yI, y¢I — коэффициенты ортотропии для параллельных опорных сечений вдоль стороны плиты длиной l2; yII, y¢IIто же, длиной lI, (для свободного края величина y¢II).

Погонные изгибающие моменты в других сечениях плиты вычисляют по формулам:

m2 = m1 y;                                                  (205)

mI = mI yI;                                                  (206)

mII = m2yII,                                                 (207)

где m2 погонный изгибающий момент в пролете плиты, вызывающий изгиб вдоль пролета l2; mI — погонный изгибающий момент на опоре плиты, вызывающий изгиб вдоль пролета l1; mII то же, вдоль пролета l2.

6.37. При одностороннем защемлении плиты стеной (см. рис. 42) изгибающий момент в опорном сечении следует ограничивать несущей способностью анкера

mI(II) £ 0,9honan,                                         (208)

где nan погонное растягивающее усилие в анкерах, определяемое расчетом на выкалывание бетона,

nan = 0,5 Аап Rbt;                                        (209)

Аап площадь проекции поверхности выкалывания па плоскость, нормальную к анкеру.

При анкеровке сетки поперечным стержнем площадь поверхности выкалывания определяют по формуле

Аап = 2lап b,                                                (210)

где lап длина заделки верхней сетки за грань опоры, принимается не менее 10d (d диаметр продольного стержня верхней сетки).

Поперечный анкерующий стержень рекомендуется выполнять из стали класса А-III и назначать по табл. 12 в зависимости от усилия nan, приходящегося на один продольный стержень.

Таблица 12

nan, кН

4,5

8

13,5

19,5

26

31

43,5

Диаметр попереч­ного стержня dan, мм

6

8

10

12

14

10

18

6.38. В сборно-монолитных перекрытиях дополнительно проводят проверку прочности шва сопряжения монолитной и сборной части плиты на сдвиг из условия

t £ Rt,                                                          (211)

где t касательное напряжение в шве, определяемое по формуле

t = Q/(bz),                                                        (212)

Q поперечная сила от внешних нагрузок в нормальном сечении сборно-монолитного перекрытия; b расчетная ширина сечения, z плечо внутренней пары сил; Rt предельное сопротивление срезу, зависящее от характера контактной поверхности шва, принимаемое равным 0,2 МПа при гладкой поверхности скорлупы и 0,3 МПа — при механическом создании зарубок и вмятин.

Расчет железобетонных плит перекрытий по предельным состояниям второй группы

6.39. Сборные плиты, не имеющие специальных связей для обеспечении неразрезности перекрытий на опорах, рассчитывают по предельным состояниям второй группы как свободно опертые. При защемлении перекрытий стенами в случае, если на опоре не образуются трещины, а также при наличии специальных связей, обеспечивающих неразрезность перекрытий на опорах, разрешается при расчете плит по предельным состояниям второй группы рассматривать две стадии их работы: до и после защемления.

Расчет по предельным состояниям второй группы до защемления плиты выполняют в предположении ее свободного опирания. Для этой стадии проверяется возможность образования в пролете плит трещин и определятся их кратковременное раскрытие от нагрузок, приложенных до защемления плиты. При расчете учитывают нагрузки от собственного веса плиты и опирающихся на нее сборных элементов (плит основания пола, панельных перегородок, санитарно-технических кабин и др.), устанавливаемых до монтажа плит очередного этажа, а также временная нагрузка от веса монтажного оборудования (подкосов, кондукторов и т.п.), емкостей с раствором или складируемых на перекрытии материалов. Временную монтажную нагрузку рекомендуется принимать не менее 0,5 кН/м2 (50 кгс/м2).

Для второй стадии работы плиты определяют кратковременные прогибы от нагрузки, приложенной после защемления плиты (перегородки из штучных материалов, полы, временная нагрузка), и приращение прогибов от всех длительно действующих нагрузок, обусловленное развитием деформаций ползучести бетона плиты, а также проверяют возможность образования трещин в пролете и на опорах от суммарных нагрузок. В случае образования трещин на опорах при отсутствии специальных связей, рассчитанных на восприятие изгибающих моментов в опорных сечениях, плита рассчитывается как свободно опертая. При образовании трещин в пролете проверяется их раскрытие от длительно действующей нагрузки.

При расчете сборных плит с учетом защемления на опорах рекомендуется учитывать конечную жесткость при повороте опорных закреплений.

6.40. Для монолитных плит все нагрузки разрешается считать приложенными после снятия опалубки.

Сборные плиты-скорлупы сборно-монолитных перекрытий разрешается проверять расчетом по предельным состояниям второй группы только для монтажа. Для уменьшения их прогибов и предотвращения образования трещин до набора монолитным бетоном расчетной прочности рекомендуется применять временные телескопические подставки. Для монтажа сборных плит-скорлуп рекомендуется применять такие схемы их подъема, которые не приводят к образованию трещин.

Сборно-монолитное перекрытие после набора бетоном расчетной прочности рассчитывают аналогично монолитному перекрытию.

6.41. При определении прогибов плит перекрытий нагрузку от веса ненесущих панельных наружных стен и перегородок принимают по п. 6.25.

Сосредоточенные нагрузки от наружных стен и перегородок допускается заменять равномерно распределенной нагрузкой, эквивалентной по величине изгибающему моменту в перекрытиях.

6.42. При расчете плит перекрытий по предельным состояниям второй группы различаются следующие нагрузки: qn ‑ нормативная нагрузка, по которой проверяется образование трещин в плите; ql нормативная длительно действующая нагрузка, по которой проверяют прогибы и раскрытие трещин; q1 нагрузка, приложенная к плите до ее защемления (при учете двух стадий работы плиты); q2 — то же, после защемления плиты.

При определении нагрузки qn учитывается полное значение временной нагрузки, равное для квартир жилых зданий 1,5 кН/м2 (150 кгс/м2). При определении нагрузки q1 учитывается только длительно действующая часть временной нагрузки, равная 0,3 кН/м2 (30 кгс/м2).

Нагрузки q1, q2 определяют по п. 6.39.

Все нагрузки определяют с коэффициентом безопасности по нагрузке, равным 1.

6.43. Прогибы и раскрытие трещин плиты, работающий на изгиб из плоскости в двух направлениях, разрешается определять приближенно путем линейной интерполяции прогибов, соответствующих нагрузке, при которой образуются трещины в плите qcrc, и предельной нагрузке qser, определенной исходя из характеристик материала плиты для предельных состояний второй группы. Для плиты, рассчитываемой с учетом двух стадий работы (до и после защемления), при определении прогибов и раскрытии трещин следует различать случаи, когда трещины образуются до и после защемления плиты.

Расчет железобетонных плит по образованию трещин

6.44. Образование трещин проверяют для сечения по середине пролета l1 плиты, а для защемленных стенами плит также для опорных сечений.

6.45. Для сборной свободно опертой плиты нагрузку qcrc, при которой в ней образуются трещины в пролете, определяют по формуле

qcrc = Mcrc/(a1 l21 l2),                                  (213)

где Mcrc — изгибающий момент, соответствующий образованию трещин в расчетном сечении плиты; для предварительно напряженных плит величина Mcrc вычисляется с учетом влияния предварительного напряжения арматуры на момент образования трещин; a1 — коэффициент, определяемый для плит, опертых по четырем и трем сторонам (рис. 48 и 49); для плиты, опертой по двум противоположным сторонам, коэффициент a1 = 0,125.

Для сборных плит, рассчитываемых с учетом двух стадий работы (до и после защемления), нагрузки qcrc и qоcrc, при которых образуются трещины соответственно в пролете и на опоре, рекомендуется вычислять по формулам:

                      (214)

                                              (215)

где q1 — нагрузка, приложенная к плите до ее защемления; а2, а3 — коэффициенты, определяемые для плит, опертых по четырем и трем сторонам, по графикам рис. 48 и 49; для плиты, опертой по двум противоположным сторонам, а2 = 0,0417; а3 = 0,0833; а — коэффициент, учитывающий упругую податливость защемления,

                                             (216)

Кj — коэффициент жесткости опоры при повороте, вычисляемый для платформенного стыка по формуле

                        (217)

Eip изгибная жесткость плиты перекрытия при изгибе вдоль пролета l1; d длина плиты вдоль опоры; bpl,1, bpl,2 глубины опорных площадок плиты перекрытия соответственно для верхнего и нижнего растворных швов; lm,1, lm,2 — коэффициенты податливости при сжатии соответственно верхнего и нижнего растворных швов, определяемые по прил. 2; Mоcrc — изгибающий момент, при котором образуются трещины в опорном сечении плиты.

В случае если qоcrc < qп, то плита рассчитывается как свободно опертая.

Рис. 48. Коэффициенты для плит, свободно опертых по контуру

Рис. 49. Коэффициенты для плит, свободно опертых по трем сторонам

6.46. Для монолитной плиты сплошного сечения нагрузка qcrc,i, при которой образуются трещины в i-м сечении плиты (см. рис. 45), определяется по формуле

qcrc,i = аоi h2 Rbt,                                         (218)

где аоi коэффициент, определяемый в зависимости от соотношения сторон плит и схемы защемления по табл. 13.

Таблица 13

Опирание плиты

Соотношение сторон

Коэффициенты

 

l = l2/l1

ао1

ао2

ао3

bо

Защемление по

1

5,6

5,6

9,4

0,3

контуру

1,11

5

5,2

8

0,31

 

1,25

4,3

4,9

6,8

0,31

 

1,43

3,9

4,7

6

0,31

 

1,66

3,6

4,6

5,3

0,31

 

2

3,5

4,6

4,9

0,32

Защемление по трем

0,7

3,3

4,3

5,6

0,26

сторонам

0,8

3,3

4,2

5,1

0,33

 

0,9

3,3

4,2

4,9

0,33

 

1

3,3

4,2

4,8

0,34

 

1,2

3,4

4,2

4,7

0,32

 

1,5

3,4

4,2

4,6

0,32

Расчет прогибов железобетонных плит

6.47. Прогибы свободно опертых по двум сторонам плит определяются по нормам проектирования железобетонных конструкций. Максимальные прогибы от длительно действующих нагрузок свободно опертых по трем или четырем сторонам плит с закрепленными от подъема углами разрешается определять по формулам:

в случае, когда трещины не образуются, qcrc > qn

f = jb2 l41 b1 ql/(jb1 Eb h3),                                      (219)

где b1 — коэффициент, вычисляемый по графикам на рис. 50, 51 в зависимости от схемы опирания плиты; ql длительно действующая нагрузка, по которой проверяется прогиб плиты; Eb начальный модуль упругости бетона плиты; h толщина плиты;

Рис. 50. Коэффициенты bi для плит, свободно опертых по контуру

Рис. 51. Коэффициенты bi для плит, свободно опертых по трем сторонам

в случае, когда трещины образуются при нагрузке (qcrc < ql),

f = jb2 fcrc + (fser jb2 fcrc) (ql qcrc)/( qser qcrc),                              (220)

где fcrc кратковременный прогиб при нагрузке qcrc, соответствующей моменту образования трещин в плите;

                                       (221)

jb1 — коэффициент, учитывающий влияние кратковременной ползучести бетона и определяемый для бетонов: тяжелого, легкого при плотном мелком заполнителе — 0,85; легкого при пористом мелком заполнителе — 0,7; jb2 коэффициент, учитывающий влияние длительной ползучести на деформации элемента без трещин, определяемый по СНиП 2.03.01—84: для тяжелого, легкого и ячеистого бетонов при w, равной 40 — 75 % (влажности воздуха окружающей среды), jb2 = 2, при w ниже 40 % jb2 = 3; fser прогиб плиты в предельном состоянии от длительных нагрузок, вычисленный исходя из расчетных характеристик бетона и арматуры, для предельных состояний второй группы

                 (222)

Rs,ser расчетное сопротивление для предельных состояний второй группы арматуры плиты, расположенной вдоль пролета l1; Es1 — модуль упругости арматуры, расположенный вдоль пролета l1; ho1 — рабочая высота сечения при изгибе плиты вдоль пролета l1; m приведенный коэффициент армирования,

m = (m1 n2j + m2)/(1 + n2j),                                      (223)

m1, m2 — коэффициенты армирования (отношение площади сечения арматуры к площади всего сечения) соответственно вдоль пролетов l1 и l2; njкотангенс угла наклона линии излома, принимаемый для плит, опертых по четырем сторонам, а также по трем сторонам при l £ 1, равным 1, а при l > 1 — определяется по указаниям п. 6.27; n — коэффициент, характеризующий упругопластическое состояние бетона сжатой зоны, принимаемый по СНиП 2.03.01—84. При продолжительном действии нагрузок для конструкций из тяжелого и легкого бетона при влажности воздуха окружающей среды 40 — 75 % n  = 0,15; ниже 40 % n  = 0,l;

x = 0,1 + 0,5m Rs,ser/Rb,ser,                                         (224)

h1 коэффициент, учитывающий возможные отклонения толщины защитного слоя арматуры; для опертых по контуру армированных сетками плит толщиной менее 16 см

h1 = ho1/(ho1 0,7),                                 (225)

но не более 1,2; в остальных случаях принимается по СНиП 2.03.01—84. В формуле (225) величину ho1 принимать в см. h2 — коэффициент, учитывающий несовпадение наибольшего прогиба плиты с прогибом в точке пересечений линий излома и определяемый по формулам:

для опертых по контуру плит

h2 = 1 + 0,2(l2/l1 ‑ 1);                                (226)

для плит, опертых по трем сторонам

при l2 ³ 0,5l1, h2 = 1 + 0,2(2l2/l1 ‑ 1);                   (227)

при l2 £ 0,5l1, h2 = 1 ‑ (1 ‑ 2l2/l1)2;                        (228)

qser предельная нагрузка на плиту, вычисляемая в п. 6.27 с использованием расчетных характеристик арматуры и бетона для предельных состояний второй группы;

в случае, когда трещины образуются при нагрузке qcrc ³ qn,

f = fcrc (jb2qlqn + qcrc)/qcrc + (fserfcrc)(qnqcrc)/(qserqcrc),          (229)

где fser вычисляется по формуле (222) при n = 0,45.

6.48. Максимальные прогибы от длительно действующих нагрузок сборных плит, рассчитываемых с учетом двух стадий их работы (до и после защемления), разрешается определять по формулам:

в случае, когда трещины в пролете не образуются (qcrc > qn), то

f = jb2 l41[b1qla(qlq1)(b1b2)]/(jb1 Eb h3),                    (230)

где b1, b2 — коэффициенты, определяемые по графикам на рис. 50, 51; а — коэффициент, учитывающий податливость защемления плиты и определяемый по формуле (216); q1 — нагрузка, при которой происходит упругое защемление плиты;

в случае, когда трещины в пролете образуются до упругого защемления плиты, q1 ³ qcrc

f = jb2 fcrc + (fser jb2 fcrc)(ql qcrc Dq)/(qserqcrc),                           (231)

где fcrc вычисляется по формуле (221); fser — вычисляется по формуле (222);

Dq = a(qlq1)(1 ‑ b2/b1);                                         (232)

в случае, когда трещины в пролете образуются после упругого защемления плиты, q1 < qcrc

f = jb2[focrc + (fserfocrc)(ql qocrc)/(qserqocrc),                    (233)

где

focrc = [b1 qocrc ‑ (qocrcql)( b1b2)a] l41/(jb1 Eb h3),                          (234)

qocrc нагрузка, при которой в защемленной плите образуются трещины в пролете.

6.49. Для монолитных плит, защемленных по контуру или трем сторонам, максимальный прогиб определяется по формулам:

в случае, когда трещины в пролете не образуются (qcrc ³ qn)

f = jb2 b2 ql l41/(jb1 Eb h3);                                      (235)

в случае, когда трещины в пролете образуются при нагрузке qcrc < ql,

f = focrc + (foserfocrc) (ql qcrc)/(qserqcrc),                            (236)

где focrc прогиб защемленной плиты в момент образования трещин в пролете, определяемый по формуле

focrc = b2 qcrc l41/(jb1 Eb h3);                                     (237)

foser — прогиб защемленной плиты в предельном состоянии от длительных нагрузок, вычисленный исходя из расчетных характеристик бетона и арматуры для предельных состояний второй группы

foser = fser 0,                                                  (238)

где fser — вычисляется по формуле (222); 0 — коэффициент, учитывающий влияние защемления плиты на ее прогибы в предельном состоянии и определяемый по табл. 14 в зависимости от значения величины

                                               (239)

yi — коэффициенты, характеризующие ортотропию армирования плиты (см. п. 6.36); п — количество защемленных сторон плиты;

Таблица 14

Схема плиты

Коэффициент 0

0 = 1/(1 + y/n)

0 = (1 + 0,25y/n)/(1 + y/n)

в случае, если трещины образуются при нагрузке qсrс, удовлетворяющей условиям, что ql < qсrс £ qn

f = [focrc + (foserfocrc) (qn qcrc)/(qserqcrc)] ql/qn.                              (240)

Расчет раскрытия трещин

6.50. Ширина раскрытия трещин железобетонных плит определяется согласно СНиП 2.03.01—84 в зависимости от значения напряжения ss, в растянутой арматуре в сечении с трещиной.

Для плит, опертых по контуру и трем сторонам, напряжение разрешается определять по формулам:

при ql > qcrc

ss = ss,crc + (Rs,serss,crc)(qlqcrc)/(qserqcrc);                      (241)

при ql £ qcrc < qn

ss = [+ (Rs,serss,crc)(qnqcrc)/(qserqcrc)] ql/qn,                  (242)

где ss,crc — напряжение в арматуре непосредственно после образования трещины в сечении

                                            (243)

Mсrc изгибающий момент, при котором в рассматриваемом сечении образуются трещины; x — вычисляется по формуле (224).

6.51. В слабоармированных сечениях плиты при m £ 0,8 % расчетное значение раскрытия трещин допускается уменьшать умножением на коэффициент w, учитывающий работу растянутого бетона над трещинами,

w = w1 w2 £ 1,                                            (244)

где w1 ‑ коэффициент, учитывающий уровень нагружения

                        (245)

mn, ml изгибающий момент, действующий в сечении плиты соответственно от нагрузки qn и ql:

mn = mcrc + (msermcrc)(qnqcrc)/(qserqcrc);                        (246)

ml = mcrc + (msermcrc)(qlqcrc)/(qserqcrc),                         (247)

mser предельный момент, воспринимаемый сечением плиты; определяется при характеристиках бетона и арматуры, соответствующих предельным состояниям второй группы; mо — момент, при котором растянутый бетон над трещинами практически выключается из работы:

                    (248)

Wо упругий момент сопротивления сечения при изгибе; s = 100 Н/см2 — сжимающее напряжение; y2 — коэффициент, учитывающий длительность действия нагрузки;

y2 = l,8mcrc/mn ³ 1;                                    (249)

при mo < mn коэффициент y2 = 1.

Расчет плит перекрытия на монтажные воздействия

6.52. Для монтажа плит перекрытий рекомендуется предусматривать статически определимые схемы подъема. Распределение усилий от собственного веса плиты в точках подвески ее к монтажной траверсе задается конструкцией этой траверсы, выполняемой в виде рычажного механизма или системы вращающихся блоков.

Плиты перекрытий и монтажную оснастку для их подъема в горизонтальном положении следует проектировать исходя из условия, что проекция на поверхность плиты ее центра тяжести и крюка подъемного крана должны совпадать. Это условие распространяется на симметричные и несимметричные изделия.

Применение статически неопределимых систем подъема (траверсы с постоянным закреплением четырех стропов на кольце) допускается только для плит шириной до 2 м, опираемых по коротким сторонам. В этом случае плита рассчитывается как подвешенная на двух петлях, расположенных по диагонали.

6.53. При проектировании системы подъема и размещении монтажных петель или отверстий следует стремиться к тому, чтобы изгибающие моменты от монтажных воздействий не превосходили моментов от полной нормативной нагрузки. Если это условие выполнить не удается, то при расчете деформаций плиты в эксплуатационной стадии следует учитывать снижение их жесткости в результате кратковременного действия монтажных нагрузок в тех случаях, когда они вызывают появление трещин.

6.54. Для монтажных (подъемных) петель плит перекрытий следует применять только горячекатаную арматурную сталь класса А-I.

6.55.  В зависимости от статического усилия, приходящегося на одну петлю, диаметр ее принимается по табл. 15.

Таблица 15

Диаметр петли, мм

Предельное стати­ческое усилие на одну плиту, кН (кгс)

Диаметр петли, мм

Предельное стати­ческое усилие на одну плиту кН (кгс)

6

1 (100)

18

25 (2500)

8

3 (300)

20

31 (3100)

10

7 (700)

22

38 (3800)

12

10 (1000)

25

49 (4900)

14

15 (1500)

28

61 (6100)

16

20 (2000)

32

80 (8000)

При использовании монтажных траверс, обеспечивающих приложение нагрузки под углом к оси симметрии петли менее 15°, а также при подъеме плит за четыре петли не балансирующей траверсой (статически неопределимой системой), когда вся нагрузка от веса панели считается приложенной только к двум любым петлям, расположенным по диагонали, приведенные в табл. 15 значения предельных статических усилий могут быть повышены на 50 %.

6.55. При расчете плит на монтажные нагрузки их собственный вес, определяемый с учетом производственной влажности, принимается с коэффициентом динамичности 1,4. Соответственно увеличиваются и сосредоточенные усилия в местах подвески панелей. Все расчетные характеристики бетона принимаются сниженными с учетом отношения отпускной прочности бетона к проектной. Учитывая кратковременность динамических перегрузок, расчетные характеристики бетона умножают на коэффициент условия работы gb2 = 1,1.

6.56. На монтажные воздействия проверяются сечения, параллельные сторонам плиты, проходящие через оси подъемных петель или монтажных отверстий, а также те, в которых значения поперечной силы равны нулю. Изгибающие моменты в указанных сечениях определяют из условия равновесия внешних и внутренних сил по формулам сопротивления материалов для статически определимых стержневых систем.

Изгибающий момент, приходящийся на единицу ширины сечения, определяют по формуле

m = Mg/b,                                                    (250)

где M, Н×м — изгибающий момент от монтажных воздействий, действующий в сечении шириной b; g — коэффициент неравномерности распределения изгибающего момента по ширине сечения с учетом пластического перераспределения напряжений.

При расположении сечения, в котором поперечная сила равна нулю, на расстоянии большем 0,4 расстояния между ближайшими петлями или монтажными отверстиями до оси этих петель (или отверстий), коэффициент g принимается равным 1,2 — для расчета по трещинообразованию, 1 — для расчета необходимого армирования. В остальных случаях коэффициент g принимается соответственно равным 1,4 и 1,2.

6.57. Плиты шириной до 2 м, поднимаемые за 4 петли небалансирующей траверсой, считаются подвешенными только к двум любым петлям, расположенным по диагонали.

При расчете таких плит на монтажные воздействия проверяется необходимость постановки и сечение верхней поперечной по отношению к пролету арматуры.

Верхняя арматура не предусматривается, если соблюдается условие

Mcrc,lon ³ 0,175Gb,                                     (251)

где Mcrc,lon, кН/м ¾ изгибающий момент в продольном сечении плиты, при котором напряжения в верхней растянутой зоне бетона достигают величины расчетного сопротивления растяжению Rbt с учетом отношения отпускной и проектной прочности бетона; G, кН монтажный вес плиты, умноженный на коэффициент динамичности 1,4; b, м ¾ ширина плиты.

Для плит сплошного сечения условие (251) может быть записано в виде

Rbt ³ 0,6 Gb                                                (252)

где l и h соответственно длина и толщина плиты.

При несоблюдении условия (251) верхняя поперечная арматура, распределенная но длине элемента, подбирается из условия восприятия изгибающего момента

М ³ 0,15 Gb.                                                             (253)

6.58. Плиты, поднимаемые за 6 точек с помощью траверсы, обеспечивающей равенство усилий во всех стропах, рассчитываются в предположении равенства вертикальных составляющих усилий, приложенных к монтажным петлям или отверстиям. Для среднего поперечного сечения вертикальные составляющие усилий, приложенных к средней паре петель (или отверстий), принимаются с коэффициентом 1,2, а вертикальные составляющие усилий, приложенных в остальных четырех точках, — с коэффициентом 0,9.

6.59. В случае, когда по технологическим или конструктивным причинам подъемные петли устанавливают по боковым граням плит, не менее 50 % верхней расчетной арматуры следует располагать в зоне концентрации растягивающих напряжений в непосредственной близости от петель.

Для предотвращения вырывания петель из плоскости панелей у края петлевой ниши в бетоне следует предусматривать анкерные петли, снабженные в местах перегиба анкерующими стержнями периодического профиля, диаметром не менее диаметра монтажной петли. Анкерные петли выполняются из стали класса A-I, а их сечение рассчитывается на монтажное усилие, действующее на петлю, с коэффициентом динамичности 1,4 (без учета разложения усилия по обеим ветвям анкерной петли).

6.60. В целях приближения характера работы плиты во время подъема к характеру работы во время эксплуатации при опирании по четырем сторонам подъемные петли рекомендуется также располагать по четырем сторонам: в середине коротких сторон и на 1/3 от краев длинных (рис. 52).

Значения изгибающего момента при подъеме, приходящегося на единицу ширины плиты, в этом случае следует определять по формуле

m = Gb,                                                       (254)

где b — безразмерный коэффициент, принимаемый для различных точек плиты по табл. 16, в зависимости от соотношения сторон плиты l = l2/l1.

Таблица 16

 

Коэффициент b для плиты, поднимаемой за шесть монтажных петель (рис. 52), при определении усилий от изгиба

l = l2/l1

в поперечном направлении в точках

в продольном направлении в точках

 

А

C

B

C

1,0

‑0,0188

0,0693

‑0,0572

0,0278

1,1

‑0,0232

0,0657

‑0,0567

0,0258

1,2

‑0,0277

0,0625

‑0,0562

0,0245

1,3

‑0,0325

0,0598

‑0,0558

0,0240

1,4

‑0,0375

0,0575

‑0,0555

0,0242

1,5

‑0,0427

0,0555

‑0,0553

0,0247

1,6

‑0,0482

0,0537

‑0,0053

0,0255

1,7

‑0,0538

0,0520

‑0,0553

0,0267

1,8

‑0,0597

0,0505

0,0553

0,0280

1,9

‑0,0657

0,0491

‑0,0555

0,0293

2,0

‑0,0718

0,0478

‑0,0556

0,0307

2,1

‑0,0780

0,0465

‑0,0558

0,0320

2,2

‑0,0843

0,0453

‑0,0560

0,0332

2,3

‑0,907

0,0441

‑0,0562

0,0343

2,4

‑0,0972

0,0430

‑0,0563

0,0353

2,5

‑0,1036

0,0418

‑0,0565

0,0363

Примечание. Отрицательное значение коэффициента означает, что растянута верхняя зона плиты.

Сечение верхней арматуры, предназначенной для восприятия растягивающих усилий в точках А и В (см. рис. 52), следует определять по величинам изгибающих моментов в этих точках, принимая, что ширина сечения равна 0,1 ширины плиты (меньшего ее пролета). Всю эту арматуру следует концентрировать в непосредственной близости от лунки или ниши, в которой установлена монтажная петля. Длину стержней указанной арматуры следует назначать равной 100 ее диаметрам, по не менее 800 мм (в обе стороны от оси петли по 50d или по 400, d диаметр петли).

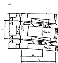
Pис. 52. Размещение монтажных петель в плите, опертой на стены по контуру

а — симметричная плита, б асимметричная плита (с балконом); в — симметричная плита длиной 4,2 м и менее; А, В, С — точки, в которых определяются усилия; е ¾ расстояние между центрами тяжести несущей части всей комплексной панели

В случае асимметричных плит с балконами и плитами основания раздельного (плавающего) пола монтажную петлю, расположенную со стороны балкона, рекомендуется смещать по направлению к центру тяжести изделия на величину 6е (рис. 52, в). Таким способом достигается центрирование плиты и частичное использование при монтаже несущей способности балконной консоли. Указанные плиты допускается рассчитывать по формуле (254), принимая в расчет их полную длину.

В опираемых по контуру плитах длиной не более 4,2 м допускается устройство четырех монтажных петель, располагаемых в серединах каждой из сторон (рис. 52, г). Указанные плиты следует рассчитывать по формуле (254), принимая коэффициент b по табл. 17.

Таблица 17

 

Коэффициент b для плиты, поднимаемой за четыре монтажных петли (рис. 53), при определении усилий от изгиба

l = l2/l1

в поперечном направлении в точках

в продольном направлении в точках

 

А

С

В

С

1

—0,0965

0,0497

—0,0963

0,0497

1,1

—0,0995

0,0470

—0,1027

0,0530

1,2

—0,1025

0,0445

—0,1035

0,0562

1,3

—0,1055

0,0422

—0,114

0,0592

1,4

¾0,1085

0,0402

—0,118

0,0620

1,5

—0,1115

0,0385

¾0,122

0,0647

1,6

—0,1145

0,0370

—0,125

0,0675

1,7

—0,1175

0,0357

—0,128

0,0702

1,8

—0,1205

0,0347

¾0,30

0,0730

Примечание. Отрицательное значение b означает, что растянута верхняя зона плиты.

Рис. 53. Схема к примеру расчета сборной плиты перекрытия, опертой по контуру

Остальные условия расчета и конструирования таких плит то же, что и плит с шестью монтажными петлями.

6.61 При бетонировании монолитных конструкций необходимо использовать оптимальное количество опалубки, что связано со cроками ее оборачиваемости и условиями распалубки. Поэтому кроме основного расчета на эксплуатационную нагрузку в случае необходимости дополнительно проверяется плита по прочности и трещиностойкости на действие нагрузки, учитывающей особенности технологии возведения здания.

6.62. Возможны два варианта демонтажа опалубки монолитной плиты перекрытия: полная распалубка и частичная с переопиранием на инвентарные стойки.

Плита при полном распалубливании рассчитывается на нагрузки, учитывающие собственный вес с коэффициентом надежности по нагрузке gf = 1,2 и сосредоточенную нагрузку от веса рабочего и груза G = l,3 кН (gf = 1,3), находящегося в невыгодном сечении плиты. Распалубочная прочность бетона принимается в соответствии со СНиП III-15-76.

При бетонировании монолитных конструкций или при частичном распалубливании плиты перекрытия нижележащая плита проверяется на сосредоточенные нагрузки Q, передаваемые стопками при набранной прочности бетона на момент загружения.

Расчетная схема монолитной плиты принимается в виде однопролетной балки, защемленной на опорах пролетом l1.

6.63. В сборно-монолитной конструкции перекрытия при расчете на монтажные нагрузки необходимо произвести проверку плиты-скорлупы при следующих стадиях монтажа:

при подъеме и установке скорлупы в проектное положение;

при бетонировании монолитного слоя перекрытия.

Подъем плиты-скорлупы производится с помощью строповочного захвата пли самобалансирующей траверсы за четыре, шесть или восемь монтажных петель. Количество петель определяется расчетом. Монтаж скорлупы в проектное положение производится на временную систему опорных прогонов и стоек, после чего бетонируется монолитный слой плиты.

Плита-скорлупа рассчитывается с коэффициентами надежности по нагрузке: при расчете на монтажные нагрузки gf  =1,5; при расчете на нагрузки, возникающие при бетонировании монолитного слоя от собственного веса скорлупы, gf  = 1,1, от веса слоя монолитного бетона gf  = 1,2 и от нагрузки людей и транспортных средств, равной 1,5 кН/м2, gf  = 1,3.

Монтаж скорлупы производится при требуемой расчетной прочности бетона, но не менее 70 %.

Расчетная схема скорлупы на монтажные воздействия принимается в виде неразрезной балки в расчетном направлении.

6.64. Конструктивное решение скорлупы может быть выполнено в двух вариантах: без внешнего армирования или с внешним армированием.

В первом случае арматура скорлупы размещена в толще плиты, во втором — для увеличения прочности (жесткости) скорлупа дополнительно армирована треугольными каркасами с внешней арматурой.

6.65. Изгибающий момент, воспринимаемый сечением скорлупы, принимается равным большему из значений величин Mb и Ms, определяемых по формулам:

Mb = Rbtbh21/3,5;                                       (255)

Мs = RsAs [h01 ‑ 0,5RsAs/(Rbb)],                                              (256)

где h1 и h01 — толщина и рабочая высота сечения скорлупы; b расчетная ширина скорлупы; As площадь сечения расчетной арматуры.

При наличии внешнего армирования расчет скорлупы в опорном сечении производится из условия

                                   (257)

где А¢s площадь сечения внешней арматуры; h¢o — рабочая высота, равная расстоянию от сжатой грани скорлупы до центра площади сечения внешней арматуры.

Подъем скорлупы с внешней арматурой в проектное положение производится за монтажные петли.

Образование трещин в скорлупе до эксплуатационной стадии работы не допускается.

ПРИМЕРЫ РАСЧЕТА ПЛИТ ПЕРЕКРЫТИЯ

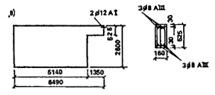
Пример 8. Свободно опертая по контуру плита перекрытия крупнопанельного здания (рис. 53).

Исходные данные. Размеры плиты в плане — 3580 ´ 6580 мм. Толщина 120 мм. Размеры опорных площадок: вдоль короткого пролета — 50мм; вдоль длинного пролета — 70 мм.

Расчетные пролеты плиты: l1 = 3580 — 50 = 3530 мм; l2 = 6580 — 70 = 6510 мм.

Соотношение расчетных пролетов l = l2/l1 = 6510/3530 = 1,844.

Плита из тяжелого бетона класса по прочности на сжатие В 15 кассетного изготовления. Расчетные сопротивления:

для предельных состоянии первой группы (при расчете на длительные нагрузки) Rb = 8,5 × 0,9 × 0,85 = 6,5 МПа; Rbt = 0,75 × 0,9 × 0,85 = 0,57 МПа;

для предельных состояний второй группы Rb,ser = 11 МПа; Rbt,ser = 1,15 МПа.

Начальный модуль упругости бетона при сжатии и растяжении для изделий кассетного изготовления Eb = 20,5 × 103 × 0,85 = 17,4 ´ 103 МПа.

Нагрузки на 1 м2 плиты без учета собственного веса: расчетная — 4500 Н/м2 (~ 450 кгс/м2); нормативная — 3600 Н/м2 (~ 360 кгс/м2); длительная — 2600 Н/м2 (~ 260 кгс/м2).

Масса 1 м2 плиты 0,12 × 2500 = 300 кг/м2.

Суммарные нагрузки на плиту с учетом коэффициента надежности по назначению, gп = 0,95:

расчетная — q = 0,95 (300× 9,81 × 1,1 + 4500) = 7350 Н/м2;

нормативная — qn = 0,95(300 × 9,81 + 3600) = 6216 Н/м2;

длительная ql = 0,95(300 × 9,81 + 2600) = 5266 Н/м2.

Максимальное значение изгибающего момента в плите при опирании по балочной схеме по двум длинным сторонам Mo = ql21/8 = 7350 × 3,532 × 6,51/8 = 74530 Н/м = 74,53 × 106 Н × мм.

Расчет прочности плиты при действии эксплуатационных нагрузок. Примем армирование плиты сварной сеткой, в которой стержни вдоль пролета l1 через один обрываются согласно эпюре моментов. Предварительно назначим арматуру вдоль пролета l1 из стали класса А-III, а вдоль пролета l2 из стали класса Вр-I. При таком армировании по п. 6.31 коэффициент gs = 0,9. Примем, что h01 = 100 мм, h02 = 92 мм. Тогда коэффициент  

По рис. 46 при l1/h = 3530/120 = 29,4 и l = 1,844 коэффициент gр = 0,90. Изгибающие моменты вдоль пролетов l1 и l2, соответствующие оптимальной схеме армирования:  Н×мм;  Н×мм. Определим требуемое армирование вдоль пролета l1: Ns1 = Rbh01x1 = 6,5 × 100 × 0,158 = 103 Н/мм.

По табл. 10 принимаем арматуру диаметром 10 мм из стали класса А-III с шагом 300 мм (Ns1 = 98 Н/мм; as1 = 261 мм2/м).

Коэффициент армирования m1 = as1/(h01 × 103) = 261/(100 × 103) = 2,6l × 10‑3 = 0,261 % > mmin = 0,05 %.

Требуемое армирование вдоль пролета l2: Ns2 = Rbh02x2 = 6,5 × 92 × 0,014 = 8,4 Н/мм.

По табл. 10 принимаем арматуру диаметром 3 мм из стали класса Вр-1 с шагом 300 мм (Ns1 = 8,86 Н/мм, as2 = 23 мм2/м).

Коэффициент армирования  Проверяем условие 0,5(m1 + m2) = 0,5(0,261 + 0,025)10-2 = 0,141 % > mmin = 0,05 %.

Расчет прочности платы при действии монтажных нагрузок. Монтажный вес плиты с учетом коэффициента динамичности 1,4 G = 300 × 9,81 × 1,4 × 3,58 × 6,58 = 97 × 103 Н.

Примем схему подъема за шесть петель, расположенных в середине коротких сторон и в третях длинных сторон.

По формуле (254) с учетом приведенных в табл. 16 значений (при l = 1,844) определим изгибающие моменты, приходящиеся на единицу длины сечения плиты.

Изгибающие моменты в точке С (в середине плиты):

в поперечном направлении b = 0,05; Mc = 0,05 × 97 × 103 = 4,8 ´ 103 Н×мм/мм;

в продольном направлении b = 0,0283; Mс = 0,0283 × 97 × 103 = 2,75 × 103 Н×мм/мм.

При расчете на монтажные нагрузки учтем, что возможен подъем плиты при 70 % прочности плиты, тогда расчетное сопротивление сжатию (с учетом коэффициента 1,1, учитывающего кратковременность действия динамических нагрузок) Rb = 8,5 × 0,85 × l,l × 0,7 = 6,0 МПа.

Изгибающие моменты, воспринимаемые плитой при принятом армировании (при расчете на монтажные нагрузки):

в поперечном направлении (Ms1 = 98 Н/мм; h01 = 100 мм). m1 = Ns1(h01 Ns1/2Rb) = 98(100 ‑ 98/2 × 6) = 9000 Н > 4,8 × 103 Н;

в продольном направлении (Ns2 = 8,86 Н/мм; h02 = 92 мм) mc2 = Ns2(h02Ns2/2Rb = 8,86(928,86/2 × 6) = 808 Н < mc = 2,75 × 103 Н.

Необходимо увеличить армирование вдоль пролета l2. Определим требуемое по условиям прочности плиты при монтаже армирование в продольном направлении:  Ns2 = 6 × 92 × 0,056 = 30,7 Н/мм.

Принимаем арматуру из проволоки класса Вр-1 диаметром 4 мм, с шагом 150 мм (Ns2 = 31,5 Н/мм; as2 = 84 мм2/м).

В связи с тем, что увеличена арматура вдоль пролета l2, скорректируем армирование вдоль пролета l1. При эксплуатационных нагрузках принятое армирование обеспечивает восприятие изгибающего момента вдоль пролета l2, равного M2 = Ms2l1(h02 ‑ 0,5Ns2/Rb) = 31,5 × 3530 (92 × 0,5 × 31,5/6) = 9,9 × 106 Н×мм.

Изгибающий момент M1, по которому должна быть определена арматура вдоль пролета l1, определим из условия  откуда (при q = 7350 H/м2 = 7,35 × 10-3 Н/мм2)  Н×мм;  Ns1 = 6,5 × 100 × 0,128 = 83,2 Н/мм.

Принимаем арматуру из стержней диаметром 8 мм из стали класса А-III с шагом 200 мм (Ns = 89 Н/мм; аs1 = 251 мм2/м).

Коэффициент армирования: m1 = 251/(100 × 103) = 0,251 × 10-2 = 0,251 % > mmin = 0,05 %; m2 = 84/(92 × 103) = 0,09 × 10-2 = 0,09 %;

m = 0,5(m1 + m2) = 0,5(0,251 + 0,09)10-2 = 0,170 % > mmin = 0,05 %.

Принятое армирование удовлетворяет условиям прочности при эксплуатационных и монтажных нагрузках и требованиям к минимальному проценту армирования.

Расчет плиты по образованию трещин. Нагрузка, по которой должно быть проверено образование трещин, qn = 6216 Н/м2 = 6,2 ´ 10-3 Н/мм2.

Изгибающий момент, соответствующий образованию трещин при изгибе вдоль пролета l1, определяем приближенно по формуле Mcrc = l2h2Rbt,ser/3,5 = 6510 × 1202 × 1,15/3,5 = 30,8 × 106 Н×мм.

По графику на рис. 48 при l = 1,844 коэффициент а1 = 0,095.

Нагрузка, при которой в пролете плиты образуются трещины,

 Н/мм2 < ql = 5,3 × 10-3 < qn = 6,2 × 10-3 Н/мм2.

В плите образуются трещины.

Расчет прогибов плиты. Определим предельную нагрузку qsеr при характеристиках материалов для предельных состояний второй группы: Rs,ser1 = 390 МПа, Rs,ser2 = 405 МПа, Rb,ser = 11 МПа; Rbf,ser = 1,15 МПа; Es1 = 20 × 104 МПа, Ns1 = 251 × 10-3 × 390 = 97,9 Н/мм; Ns2 = 84 × 10-3 × 405 = 34 Н/мм;

 Н×мм;

 Н×мм;

 Н/мм2.

Приведенный коэффициент армирования m = 0,17 × 10-2.

Относительная высота сжатой зоны бетона x = 0,l + 0,5mRs,ser,l/l/Rb,ser = 0,l + 0,5 × 0,17 × 10-2 × 390/11 = 0,13.

При влажности воздуха 40 % и более коэффициент v = 0,15.

Предельный прогиб плиты,. соответствующий нагрузке ql

Коэффициенты h1 = h01/(h01 ‑ 0,7) = 100/(100 — 7) = 1,075; h02 =1 + 0,2 (l1) = 1 + 0,2(1,844 1) = 1,17.

По графику на рис. 50 b = 0,108.

Прогиб при нагрузке qcrc = 4,2 × 10-3 Н/мм2; fcrc = (l41b1qcrc)/(jb1Ebh3) = (53304 × 0,108 × 4,2 × 10-3)/(0,85 × 17,4 × 103 × 1203) = 2,79 мм; fcrcjb2 = 2,79 × 2 = 5,6 мм.

Прогиб плиты определяем по формуле f = jb2fcrc + (fserjb2fcrc) (q1qcrc)/(qser qcrc) = 5,6 + (825,6) (5,27 ‑ 4,2)/(8,81 — 4,2) = 23,3 мм > l/200 = 3530/200 = 17,6 мм.

Прогиб превышает допустимую величину. Необходимо увеличить армирование плиты.

Увеличим вдвое арматуру вдоль пролета l1, тогда M1 = 2,6 × 9 ´ 106 = 121,8 × 106 Н×мм;

 

m = 0,5(2 × 0,251 + 0,09) = 0,295 %;

x = 0,1 + 0,5 × 0,295 × 10-2 × 390/11 = 0,152;

 

 

Требуемый прогиб обеспечен.

Окончательно примем: вдоль пролета l1 — арматура диаметром 8 мм с шагом 100 мм из стали класса A-III; вдоль пролета l2 арматура диаметром 4 мм с шагом 150 мм из стали класса Вр-I.

Пример 9. Опертая по трем сторонам многопустотная плита крупнопанельного здания (рис. 54).

Рис. 54. Схема к примеру расчета сборной многопустотной плиты, опертой по трем сторонам

Требуется определить расчетное армирование, проверить прочность, прогибы и трещиностойкость многопустотной плиты, опертой по двум коротким и одной длинной сторонам на стены крупнопанельного здания. Плита имеет комбинированное армирование: предварительно напряженной арматурой вдоль длинной стороны и сварной сеткой в двух направлениях.

Исходные данные. Размеры плиты 5980 ´ 3580 мм, толщина 220 мм. Диаметр пустот d = l40 мм, шаг пустот svac = 200 мм, количество пустот n = 17. Толщина ребер: крайнего bwo = 90 мм, промежуточного — bw = 60 мм. Толщина (высота) верхней и нижней полок h¢f = hf =40 мм.

Плита после установки на нее перегородок защемляется на опорах в платформенных стыках стеновыми панелями. Глубина опирания плиты: по коротким сторонам 80 мм, по длинной стороне 100 мм.

Расчетные пролети плиты: l1 = 5980 — 2 × 0,5 × 80 = 5900 мм; l2 = 3580 0,5 × 100 = 3530 мм; l = l2/l1 = 0,6.

Бетон плиты тяжелый класса по прочности на сжатие В20. Сопротивления бетона Rb,ser = 15 МПа, Rbt,ser = 1,4 МПа, Rb = 11,5 × 0,9 = 10,3 МПа, Rbt = 0,9 × 0,9 = 0,81 МПа. Начальный модуль упругости бетона Eb = 24000 МПа.

Напрягаемая арматура из стали класса Ат-V диаметром 10 — 12 мм, для которой Rs,ser = 785 МПа, Rsp = 680 МПа, Еsp = 190 000 МПа, цена 1 т — 181 руб.

Ненапрягаемая арматура из проволоки класса Вр-I диаметром 5мм, для которой Rs,ser = 395 МПа, Rs =360 МПа, Еs = 170000 МПа, цена 1 т — 202 руб.

Защитные слон: для напрягаемой арматуры — 25 мм, для ненапрягаемой арматуры — 15 мм.

Нагрузка на плиту равномерно распределенная.

Нормативная нагрузка на 1 м плиты: от собственного веса плиты 4 кН; от веса пола 0,1 кН, от веса перегородок 1,3 кН, временная нагрузка 1,5 кН, в том числе длительная 0,3 кН.

Расчетные нагрузки с учетом коэффициента надежности по назначению gn = 0,95:

при расчете прочности

q = (1,1×4 + 1,2×0,1 + 1,1×1,3 + 1,3×1,5) 0,95 = 7,5 кН/м2 = 7,5×10-3 Н/мм2;

при проверке трещиностойкости

q1n = (4 + l,3) 0,95 = 5,0 кН/м2 = 5×10-3 Н/мм2;

q2n = (0,1 + 1,5) 0,95 = 1,52 кН/м2 = 1,52×10-3 Н/мм2;

при проверке прогибов и раскрытия трещин

q1l = q1n = 5 кH; q2l = (0,1 + 0,3) 0,95 = 0,4 кH/м2 = 0,4×10-3 Н/мм2.

Проверка прочности плиты вдоль пустот. Моменты инерции бетонного сечения плиты:

при изгибе вдоль пустот

I = l2h3/12 npd4/64 = 3530×2203/12 ‑ 3,14×17×1404/64 = 2,79/109 мм;

при кручении

 

Вычисляем безразмерный параметр

Приведенные толщины полок hf,red = h¢f,red = h1 + 0,0569d = 40 + 0,0569×140 = 48 мм.

Прочность плиты по сечению вдоль средней по ее ширине пустоты без армирования проверяем по условию

Так как q = 7,5 кН/м2, то прочность без армирования не обеспечена. Необходимо предусмотреть установку арматуры.

Определение требуемой по условиям прочности арматуры. При расчете прочности плита считается свободно опертой по трем сторонам (двум коротким и одной длинной). Частичное защемление плиты в платформенных стыках не учитываем в запас прочности.

Расчетные высоты сечения соответственно вдоль пролетов l1, l2: h01 = 220 ‑ 25 0,5 × 10 = 190 мм; h02 = 22015 0,5 × 5 = 208 мм. Вдоль пролета l1 плита имеет комбинированное армирование. Примем предварительно, что площади напряженной и ненапряженной арматуры вдоль пролета имеют соотношение 3:1. Тогда для комбинированного армирования приведенное сопротивление арматуры Rs1 = (3Rsр + Rs)/4 = (3 × 680 + 360)/4 = 600 МПа, приведенная цена 1 т Cs1 = (3 × 181 + 202)/4 = 186 руб.

Для арматуры вдоль пролета l2 Rs2 = 360 МПа, Cs2 = 202 руб. Определяем коэффициент gs = (Rs2Cs1)/(Rs1Cs2) = (369 × 186)/(600 × 200) = 0,56.

Изгибающий момент от расчетной нагрузки в среднем сечении при опирании плиты по балочной схеме по двум коротким сторонам М0 = ql12l2/8 = 7,5 × 5,92 × 3,530/8 = 115,2 кН×м = 115,2×106 Н×мм.

Проверим условие l2 > 0,25gsh02/h01. Имеем l2 = 0,62 = 0,36 > 0,25 × 0,56 × 202/190 = 0,15.

Условие выполнено.

Определим оптимальное по условию прочности армирование плиты: vopt = 0,5gsh02/(lh01) = 0,5 × 0,52 × 202/(0,6 × 190) = 0,495;

 М2 = М0v2opt/(3l) = 115,2 × 0,4952/(3 × 0,6) = 15,7 × 106 Н×мм.

Определим требуемое армирование плиты. Высота сжатой зоны бетона  

Так как х1 = 21,8 мм < h¢f = 40 мм и х'2 = 1,28 мм < h¢f  = 40 мм, то сжатая зона проходит в пределах толщины полки. Поэтому требуемую площадь арматуры определяем как для прямоугольного сечения по формулам: As1 = x1l2Rb/Rs1 = 12,5 × 3530 × 10,3/600 = 757 мм2; Аs2 = x2l1Rb/Rs2 = 1,28 × 5900 × 10,3/360 = 216 мм2.

Ранее было принято, что площадь предварительно напряженной арматуры вдоль пролета l1 составляет 3/4 площади поперечного сечения всей арматуры в этом направлении. Тогда требуемая площадь предварительно напряженной арматуры Ар = 0,75 × 757 = 568 мм2.

Принимаем 8 стержней диаметром 10 мм из стали класса Ат-V, площадь сечения Ap1 = 628 мм2.

Требуемая площадь ненапряженной арматуры вдоль пролета l1 Аs1 = Areds1 Aр1 = 757 ‑ 628 = 129 мм2.

Принимаем 7 стержней диаметром 5 мм из проволоки класса Вр-1, площадь сечения As1 = 137 мм2 (шаг 400 мм).

Вдоль пролета l1 принимаем 16 стержней диаметром 5 мм из проволоки класса Вр-1, площадь сечения 313 мм (шаг 400 мм).

Проверка прочности ребер на срез. Расстояние по горизонтали от оси опоры плиты до центра первой пустоты So = (bwo + d)/2 = (90 + 140)/2 = 115 мм.

Прочность крайнего опорного ребра проверяем по формуле

 

Так как q = 7,5 кН/м2, то условие прочности для крайнего ребра выполнено.

Прочность ближайшего к опоре промежуточного ребра проверяем по формуле

 

Так как q = 7,5 кН/м2, то условие прочности для первого промежуточного ребра выполнено.

Расчет по образованию трещин. Нормальные трещины при изгибе плиты не возникают, если выполняется условие М £ Мсrс, где М — изгибающий момент от нормативной нагрузки в сечении, для которого проверяется возможность образования трещин; Mсrc момент, воспринимаемый сечением при образовании трещин.

Изгибающий момент М определим с учетом двух стадий работы плиты до и после защемления стенами.

По рис. 49 a1 = 0,073, a2 = 0,033, a3 = 0,08. Тогда изгибающие моменты в среднем (Мп) и опорном (Моп) сечениях от нормативной нагрузки равны: Мп = (a1q1n + a2q2n)l2l21 = 0,073 × 5 × 10-3 + 0,033 × 1,52 ´ 10-3)3530 × 59002 = 51 × 106 Н×мм; Моп = 1,1a3q2n l2l21 = 1,1 × 0,08 × 1,52 ´ 10-3 × 3530 × 59002 = 16,4 × 106 Н×мм2.

Проверим возможность образования трещин в середине пролета l1. Вдоль этого пролета плита имеет предварительно напряженное армирование. Поэтому момент Мсгс определяем по формуле Мсгс = Rbt,serWpl + P(eop + r), где Wplмомент сопротивления приведенного сечения для крайнего растянутого волокна с учетом неупругих деформаций растянутого бетона; Р — усилие предварительного напряжения за минусом всех потерь; eop — эксцентриситет усилия предварительного обжатия Р относительно центра тяжести приведенного сечения; r — расстояние от центра тяжести приведенного сечения до ядровой точки, наиболее удаленной от проверяемой растянутой грани сечения.

Для проверки трещиностойкости плиты при ее изгибе вдоль пролета l1 примем расчетное двутавровое сечение, в котором круглые пустоты заменены эквивалентными по площади квадратными со стороной а = 124 мм.

Расчетное сечение имеет следующие геометрические размеры: bf = b¢f = l2 = 3530 мм, b = l2na = 3530 17 × 124 = 1422 мм; hf = h¢f = hred = 48 мм. Вычислим параметры: y1 = (bfb)hf/(bh) = (3530 1422)48/(1422 × 220) = 0,323; y¢1 = 2y1 = 2 × 0,323 = 0,647.

Так как коэффициент армирования плиты вдоль пролета l1 m = (628 + 156)/(220 × 3530) = 0,001 < 0,01, то момент сопротивления Wpl определяем без учета влияния арматуры по формуле Wpl = (0,292 + 0,75y1 + 0,057y¢1) = (0,292 + 0,75 × 0,323 + 0,075 × 0,647) 122 × 2202 = 4,01 × 107 мм3.

Для определения усилия предварительного натяжения Р необходимо задать начальное значение напряжения арматуры ssp и вычислить потери натяжения. Примем, что натяжение арматуры осуществляется электротермическим способом на упоры, при котором рекомендуется назначить напряжение ssp из условия ssp = Rs,ser р, где Rs,ser = 785 МПа; р = 30 + 360/l = 30 + 360/6 = 90 МПа (l = — длина натягиваемого стержня, м). При максимально допустимом предварительном напряжении арматуры ssp = 785 — 90 = 685 МПа.

Определим первые потери предварительного напряжения: потери от релаксации s1 = 0,03ssp = 0,03 × 695 = 21 MПa; потери от температурного перепада Dt между температурами нагреваемого стержня и упоров; величины Dt примем по СНиП 2.03.01—84, равными 65 °С, тогда s2 = 1,25 Dt = 1,25 × 65 = 81 МПа;

потери s3 = s4 = s5 = 0;

потери от быстронатекающей ползучести s6 определяется в зависимости от значения напряжений в бетоне sbp на уровне центра тяжести напряженной арматуры с учетом потерь s1 ... s5. Для определения напряжений sbp вычислим следующие величины:

усилие предварительного напряжения за минусом потерь s1 ... s5

 

площадь приведенного сечения Аred = 3530 × 202 17 × 1242 = 5,19 ´ 105 мм2;

эксцентриситет усилия в предварительно напряженной арматуре относительно центра тяжести приведенного сечения еор = уredap = 110 30 = 80 мм;

изгибающий момент от собственного веса плиты в ее среднем сечении при изгибе по балочной схеме вдоль пролета l1 Mg = gl2l21/8 = 4 × 10-3 × 3530 × 59002 = 6,14-107 Н×мм (g = 4 кН/м2 = 4 × 10-3 Н/мм2 — распределенная нагрузка от собственного веса плиты).

Тогда sbp = P1/Ared + (P1eopMg)eop/I = (3,725 × 105/5,15 × 105 + (3,725 × 105 × 80 ‑ 6,14 × 107) × 80/2,79 × 10o = ‑ 0,182 МПа.

Знак «минус» означает, что напряжения растягивающие. В этом случае потери напряжения s6 = 0.

Первые потери предварительного напряжения  

Определим теперь вторые потери предварительного напряжения:

потери от релаксации напряженной арматуры при натяжении на упоры si = 0;

потери от усадки ss = 40 MПа;

потери от ползучести бетона не учитываем, так как напряжения sbр растягивающие.

Тогда вторые потери  

Суммарные потери s = 102 + 40 = 142 МПа > 100 МПа. Поэтому найденное значение потерь не увеличиваем.

С учетом всех потерь усилие обжатия  

Расстояние r определяем как для упругого тела по формуле r = I (yredAred) = 2,79 × 109/(110 × 5,15 × 105 = 49,2 мм.

С учетом найденных величин Mcrc = l,4 × 4,01 × 107 + 3,47 × 105(80 + 49,2) = 101 × 106 H×мм > Мn = 51 × 106 Н×мм. Трещины в пролете не образуются.

Проверим теперь возможность образования трещин на опоре при защемлении плиты стенами. Так как изгибающий момент Mocrc = Rbt,serI/yred = 1,4 × 2,79 × 109/110 = 35,5 × 106 Н×мм > Mon = 16,4 ´ 106 Н×мм, то трещины на опоре не образуются.

При проверке прочности плиты на изгиб вдоль пролета l2 было установлено, что возможно образование трещин вдоль пустот. При проверке трещиностойкости плиты необходимо вместо расчетной принять нормативную нагрузку на плиту qn, а вместо расчетного сопротивления бетона растяжению Rbt ¾ величину Rbt,ser.

Условно образования трещин

 

Так как qn = qn1 + qn2 = (5 + 1,52)10-3 = 0,00652 Н/мм2, то при проверке по второй группе предельных состояний трещины вдоль пустот не образуются.

Проверка прогибов плиты. Так как в плите при действии нормативных нагрузок трещины не образуются, то прогибы определяем как для упругого тела. В первом приближении прогибы определим как для плиты, свободно опертой по двум коротким сторонам по формуле

 

Прогиб, подсчитанный для балочной схемы опирания, меньше предельно допустимого. Поэтому нет необходимости уточнять значение прогиба плиты с учетом опирания по трем сторонам и защемления на опорах.

Пример 10. Монолитная плита перекрытия сплошного сечения, защемленная по трем сторонам (рис. 55).

Рис. 55. Схемы к примеру расчета монолитной плиты перекрытия

Исходные данные. Плита толщиной 13 см в конструктивной ячейке 6 ´ 6 м сборно-монолитного здания с внутренними стенами из монолитного бетона и навесными фасадными панелями. Плита перекрытия формуется в едином цикле с внутренними стенами. Внутренние стены и плиту перекрытия изготавливают из тяжелого бетона класса по прочности В15.

Расчетная схема плиты: плита защемлена по трем сторонам и не имеет опоры по четвертой стороне.

Расчетные пролеты плиты: l1 = 6000 160 = 5840 мм; l2 = 6000 ‑ 80 = 5920 мм.

Соотношение сторон плиты l = l2/l1 = 5920/5840 » 1 < 1,5 плита работает на изгиб из плоскости в двух направлениях.

Рабочие высоты сечения плиты: h01 = 160 ‑ 20 = 140 мм; h02 = 160 ‑ 25 = 135 мм.

Унифицированные нагрузки на плиту:

без учета собственного веса р = 4,5 × 10-3 Н/мм2; рп = 3,6 × 10-3; pl = 2,4 × 10-3 Н/мм2;

с учетом собственного веса g = 0,16  × 2500 × 9,8 = 4  × 103 Н/м2 = 4 × 10-3 Н/мм2.

Расчетные нагрузки с учетом коэффициента надежности по назначению yn = 0,95:

q = 0,95(p + l,lg) = 0,95(4,5-3 + 1,1 × 4 × 10-3) = 8,45 × 10-3 Н/мм2;

qn = 0,95(pn + g) = 0,95(3,6 × 10-3 + 4 × 10-3) = 7,22 × 10-3 Н/мм2;

ql = 0,95(pl + g) = 0,95(2,4 × 10-3 + 4 × 10-3) = 6,l × 10-3 Н/мм2.

Расчетные характеристики бетона и арматуры.

Для тяжелого бетона класса В15 естественного твердения: Rb = 8,5 × 0,9 = 7,65 МПа; Rbt = 0,75 × 0,9 = 0,675 МПа;

при расчете прогибов плиты Rbn = Rb,ser = 11 МПа; Rbt,n = Rbt,ser = 1,15 МПа; Eb = 23 × 103 МПа.

Характеристика арматуры:

стержни периодического профиля класса А-III диаметром 6 — 8 мм — Rs = 355 МПа; Rsn = Rs,ser = 390 МПа; Es = 20 × 104 МПа;

проволочная арматура периодического профиля класса Вр-1, диаметром 4 мм Rs = 370 МПа; Rsn = Rs,ser = 405 МПа; Еs  = 17 ´ 104 MПа;

диаметром 5мм Rs = 360 МПа; Rsn = Rs,ser = 395 МПа; Es = 17 × 104 МПа.

Нагрузка образования трещин в опорных и пролетном сечениях плиты

По табл. 13 при l = 1: а01 = 3,3, а02 = 4,2, а03 = 4,8;

qcrc,1 = 3,3(1602 × 1,15)/58402 = 2,85 × 10-3 Н/мм2 < qn;

qcrc21 = 3,3(1602 × 1,15)/58402 = 3,62 × 10-3 Н/мм2 < qn;

qcrc,3 = 3,3(1602 × 1,15)/58402 = 4,14 × 10-3 Н/мм2 < qn.

В плите в опорных и пролетном сечении образуются трещины, тогда при назначении арматуры должны удовлетворяться условия: в опорных сечениях аsi ³ as,crc, в пролетном сечении 0,5(as1 + as2) ³ as,crc.

Момент, воспринимаемый сечением плиты при образовании трещин на длину b = 1 м,

mcrc = (bh2Rbt,ser)/3,5 = (1000 × 1602 × 1,15)/3,5 = 8,41 × 106 Н×мм.

Требуемое сечение арматуры для восприятия mcrc:

Ao = mcrc/(Rbbh20) = (8,41 × 106)/(7,65 × 1000 × 1402) = 0,056; h = 0,97;

as,crc = mcrc/(Rshho) = (8,41 × 106)/(355 × 0,97 × 140) = 173 мм2.

Расчет несущей способности плиты. При одностороннем сопряжении перекрытия с несущей стеной опорная сетка анкеруется поперечным стержнем, заведенным в толщу стены на глубину lan = 120 мм, тогда:

поверхность выкалывания на длине b = 1000 мм

s = 2lan b = 2 × 120 × 1000 = 2,4 × 105 мм2;

растягивающее усилие, воспринимаемое анкером,

nan = 0,5sRbt = 0,5 × 2,4 × 105 × 0,675 = 0,81 × 105 Н.

Максимальное усилие, воспринимаемое анкером,

man = 0,9nanho = 0,9 × 0,81 × 105 × 140 = 10,2 × 106 Н×мм;

требуемое армирование для восприятия момента man

Ао = (10,2 × 106)/(7,65 × 1000 × 1402) = 0,068; h = 0,965;

as,an = (10,2 × 106)/(355 × 0,965 × 140) = 213 мм2.

 Плита работает с трещинами по опорному сечению. Площадь арматуры подбираем из условий

m¢1 £ man (a¢s,1 £ as,an);

m1 ³ mcrc(a¢s,1 ³ as,crc).

Принимаем проволоку диаметром 10 мм с шагом 100 мм из стали класса Вр-I (a¢s,1 = 196 мм2).

Момент, воспринимаемый сечением плиты на данной опоре, m¢1 = rsa¢s,1 (ho ‑ 0,5rsa¢s,1/Rbb) = 360 × 196(140 0,5 × 360 × 196)/(7,65 ´ 1000) = 9,55 × 106 Н×мм.

Поперечный анкерующий стержень назначается в зависимости от усилия, приходящегося на один продольный стержень опорной сетки,

 

Анкерующий стержень принимаем диаметром 8 мм из стали класса А-III.

Несущую способность плиты определяем по формуле

 

По табл. 11 задаем коэффициенты распределения изгибающих моментов

y1 = m2/m1 = 0,15; yI = mI/m1 = 1,5; yII = mII/y1m1 = 2;

8,45 × 10-3 = [24(2m1 × 5,92 + 0,15m1 × 5,84 + l,5m1 × 5,92 + 9,55 × 106 × 5,92 + 0,3m1 × 5,84]/58402(6 × 5920 × 5840),

откуда

m1 = 12,84 × 106 Н×мм, тогда требуемое армирование плиты

Ao = (12,84 × 106)/(7,65 × 1000 × 140)2 = 0,086; h = 0,955;

as,1 = (12,84 × 106)/(355 × 0,985 × 140) = 270 мм2.

Принятым соотношениям yi, соответствующих коэффициентам распределения арматуры: as,2 = 270 × 0,15 = 40,5 мм2, as,1 = 270 × 1,5 = 405 мм2; as,1I = 270 × 0,15 × 2 = 81 мм2.

Армирование плиты в пролете принимаем вдоль l1 из стали диаметром 6 мм, класса А-III с шагом 175 мм (as,1 = 287 мм2); вдоль l2 из стали диаметром 5,5 мм, класса Вр-1 с шагом 200 мм (as,2 = 63 мм2). Условие 0,5(as,1 + as,2) ³ as,crc выполняется;

на опорах as,1 = 402 мм2, a¢s,I = 196 мм2,

условие as,i ³ as,crc выполняется.

Проверка несущей способности плиты при принятом армировании:

 

m2 = 13,56 × 0,15 = 2,03 × 106 Н×мм;

 

m¢I = 9,55 × 106 Н×мм; mII = 2,03 × 2 = 4,06 × 106 Н×мм;

 

Прочность плиты обеспечена

Расчет по раскрытию трещин нормальных к продольной оси производим по формуле

 

1.    В опорном сечении

qcrc = 2,85 × 10-3 Н/мм2 < ql = 6,1 × 10-3 Н/мм2;

a¢s,1 = 196 мм2 (Вр-I)

Относительная высота сжатой зоны при образовании трещин

 

Напряжения в арматуре при действии нагрузки, соответствующей моменту образования трещин,

ss,ser = mcrc/[(1 ‑ 0,5x)hoa¢s,1] = 8,41 × 106/[(1 ‑ 0,5 × 0,125)140 × 196] = 327 МПа.

Предельная несущая способность плиты

qser = qRs,ser/Rb,ser = 8,6 × 10-3 × 390/355 = 9,45 × 10-3 Н/мм2.

Напряжение в стержнях арматуры

ss = ss,ser = (Rs,serss,ser)(qlqcrc)/(qserqcrc) = 327 + (395 ‑ 327(6,1 ‑ 2,85)10-3 /(9,45 ‑ 2,85)10-3 = 360 МПа, тогда

 

где d = 1 — для изгибаемых элементов; jl = l,6 15m = 1,6 — 15 ´ 0,0014 = 1,58 — коэффициент, учитывающий продолжительное действие нагрузки.

h = l,2 — при проволочной арматуре периодического профиля. Корректируем величину раскрытия трещины с учетом работы растянутого бетона над трещинами.

Момент, при котором растянутый бетон над трещинами практически выключается из работы, mo = mcrc + ybh2Rbt,ser = 8,41 × 106 + 0,13 × 1000 × 1602 × 1,15 = 12,24 × 106 Н×мм2; y = (15mа)/h = (15 × 0,0014 ´ 7,39)/1,2 = 0,13; а = Es/Eb = 17 × 104/23 × 103 = 7,39.

Момент, действующий в сечении плиты от нагрузки ql,

тl = mcrc + (msermcrc) (qlqcrc)/(qserqcrc) =

 

где mser = m¢1Rs,ser/Rs = 9,55 × 106 × 395/360 = 10,48 × 106 Н×мм.

Коэффициент, учитывающий уровень нагружения плиты,

 

Коэффициент, учитывающий длительность действия нагрузки,

jl1 = 1,8mcrc/ml = 1,8 × 8,41 × 106/9,43 × 106 = 1,6.

Коэффициент, учитывающий работу растянутого бетона над трещинами,

jb = jf1jl1 = 0,388 × 1,6 = 0,62, тогда величина раскрытия трещины aсгс = 0,46 × 0,62 = 0,285 мм < aсгс,2 = 0,3 мм.

Определение ширины раскрытия трещины в остальных опорных сечениях производится аналогично приведенному расчету.

2.    В пролетном сечении:

qcrc = 4,14 × 10-3 Н/мм2 < ql = 6,1 × 10-3 Н/мм2;

арматура диаметром 8мм из стали класса А-III с шагом 175 мм as,1 = 287 мм2, as,2 = 63 мм2;

Определяем величины:

ho = 0,5(h01 + h02) = 0,5(140 + 135) = 137,5 мм;

as = mbho = 0,00126 × 1000 × 137,5 = 173,3 мм2;

 

Определяем

x = 0,1 + 0,5 × 0,00126 × 390/11 = 0,122;

j1 = 1,6 ‑ 15 × 0,00126 = 1,58; h = 1 ¾ при стержневой арматуре периодического профиля, тогда  

 Корректируем величину раскрытия трещины с учетом работы растянутого бетона над трещинами

mo = 8,41 × 106 + 0,16 × 1000 × 1602 × 1,15 = 13,12 × 106 Н×мм;

y = 15 × 0,00126 × 8,45/1 = 0,16; а = 19,44 × 104/23 × 103 = 8,45;

 

тогда aсrc = 0,39 × 0,183 = 0,071 мм < 0,3 мм.

Прогиб плиты определяется в середине пролета свободной стороны. При ql = 6,1 × 10-3 Н/мм2 > qcrc = 4,14 × 10-3 Н/мм2;

f = fcrc + (fser fcrc) (qlqcrc)/(qser qcrc).

Прогиб плиты перед моментом образования трещин в пролете

где jb2 = 2 для учета влияния длительной ползучести бетона, b° = 0,34 (см. табл. 13).

Прогибы плиты в предельном состоянии определяем как для плиты, защемленной по контуру с соотношением сторон l1 : 2l2, l¢ = 2l2/l1 = (2 × 5920)/5840 » 2,

 

где q — коэффициент, учитывающий степень защемления плиты в опорных сечениях, определяется при yII £ yI:

y1 = mI/m1 = (18,65 × 106)/(13,56 × 106) = 1,375;

y¢I = m¢I/mI = (9,55 × 106)/(13,56 × 106) = 0,7.

Из условия yII + y¢II £ yI + y¢I принимаем

yII + y¢II = yI + y¢I = 1,37 + 0,7, тогда

q = 1/(1 + 0,25åyi) = 1/[1 + 0,25(13,75 + 0,7 + 13,75 + 0,7)] = 0,49;

v = 0,15 — коэффициент, характеризующий упругопластическое состояние бетона сжатой зоны; h1 = l + 0,2(2l 1) = 1 + 0,2(2 × 1 — 1) = 1,2 коэффициент, учитывающий увеличение предельного прогиба у середины свободного края плиты, защемленной по трем сторонам при l > 0,5; h2 = h01/(h01 ‑ 0,7) = 14/(14 0,7) = 1,05 коэффициент, учитывающий возможные отклонения в толщине защитного слоя арматуры;

 

Жесткость плиты обеспечена.

7. КРЫШИ

Конструкции крыш

7.1. Крыши жилых зданий рекомендуется проектировать чердачными с применением сборных железобетонных элементов. Для зданий менее 5 этажей чердачные крыши допускается проектировать скатными с кровлей из штучных материалов.

Вход на чердак и выход на крышу рекомендуется устраивать из лестничной клетки через несгораемую дверь размером 1,5 ´ 0,8 м. Вход на чердак рекомендуется предусматривать в каждой секции здания, а выход на крышу — из расчета один выход на 1000 м2, при этом в торцевых секциях во всех случаях рекомендуется предусматривать выходы на крышу.

7.2. Чердачные железобетонные крыши подразделяются:

по тепловому режиму чердака — с холодным (в том числе открытым) и теплым чердаком;

по способу удаления воздуха из вытяжной вентиляции здания — на крыши с выбросом воздуха из вентиляции наружу (холодный чердак) и с выбросом воздуха из вентиляции в чердачное пространство (теплый и открытый чердак);

по конструкции покрытия — из железобетонных плит (без теплоизоляции или утепленных плит) покрытия;

по виду кровли — рулонные и безрулонные с защитной мастичной (окрасочной) гидроизоляцией или без нее (при атмосферостойком бетоне).

В крыше с холодным чердаком (рис. 56) внутреннее пространство вентилируется наружным воздухом через отверстия в стенах, площадь сечения которых при железобетонном покрытии должна быть не менее: в I и II климатических районах — 1/500, в III и IV — 1/50 площади перекрытия. В крыше с открытым чердаком площадь вентиляционных отверстий в стенах определяется теплотехническим расчетом по зимним и летним условиям эксплуатации.

Рис. 56. Схема крыши с холодным чердаком

а — покрытие с рулонной кровлей; б ¾ покрытие с безрулонной кровлей

1 — железобетонная кровельная панель под рулонную кровлю; 2 — железобетонная кровельная панель с безрулонной кровлей; 3 — железобетонный водосборный лоток; 4 опорная панель; 5 — панели перекрытия; 6 слой утеплителя с защитным слоем; 7 приточно-вытяжные отверстия в стенах; 8 — блок вентиляционных каналов; 9 утепленный патрубок внутреннего водостока

При скатной кровле из штучных материалов чердачное пространство вентилируется через зазоры между его листами, поэтому в I и II климатических районах вентиляционные отверстия допускается уменьшать до 0,01.

При крыше с холодным открытым чердаком (рис. 57) теплоизоляция укладывается по плитам чердачного перекрытия. Теплоизоляционный слой по периметру чердака на ширину не менее 1 м рекомендуется защищать от увлажнения. Вентиляционные шахты и вытяжки канализационных стояков при холодном чердаке должны быть утеплены выше чердачного перекрытия.

Рис. 57. Схема крыши с открытым чердаком

а — покрытие с рулонной кровлей; б — покрытие с безрулонной кровлей

1 — железобетонная кровельная панель под рулонную кровлю; 2 — железобетонная кровельная панель с безрулонной кровлей; 3 железобетонный водосборный лоток; 4 — панели перекрытия; 5 ¾ опорная панель; 6 — оголовок вентиляционного блока; 7 — вытяжная вентиляционная шахта; 8 — вентилирующее отверстие в наружной стене; 9 — слой утеплителя с защитным слоем; 10 — утепленный патрубок внутреннего водостока

В крыше с теплым чердаком (рис. 58) чердачное пространство, имеющее утепленные фризовые наружные стены и утепленное кровельное покрытие, обогревается теплым воздухом, который поступает из вытяжной вентиляции дома. Для удаления воздуха из чердачного пространства следует предусматривать вытяжные шахты по одной на каждую секцию. Чердачное пространство следует посекционно разделять стенами на изолированные отсеки. Дверные проемы в стенах, обеспечивающие сквозной проход по чердаку, должны иметь уплотненные притворы. Для защиты вытяжных вентиляционных шахт от атмосферных осадков при холодном чердаке рекомендуется устанавливать над ними защитные зонты.

Рис. 58. Схема крыши с теплым чердаком

а — покрытие с рулонной кровлей; б — покрытие с безрулонной кровлей

1 — легкобетонная панель покрытия под рулонную кровлю; 2 — то же, лотка; 3 — двухслойная панель покрытия с безрулонной кровлей; 4 — то же, лотка; 5 — опорная панель; 6 — панели перекрытия; 7 — сплошные наружные стены; 8 — оголовок вентиляционного блока; 9 — вытяжная вентиляционная шахта; 10 — защитный зонт; 11 ¾ водосборный поддон; 12 — внутренний водосток

Крыши с холодным чердаком разрешается применяй в жилых зданиях любой этажности. Крыши с теплым чердаком рекомендуется применять в зданиях высотой 9 и более этажей.

Допустимость применения крыш с теплым чердаком в зданиях высотой менее 9 этажей необходимо обосновать технико-экономическим расчетом. В зданиях высотой менее 5 этажей крыши с теплым чердаком применять не рекомендуется,

Вентиляционные блоки с каналами, проходящими через чердак с выпуском воздуха наружу, должны быть выше уровня покрытия не менее чем на 0,7 м (при уклоне кровли до 10 %).

В крышах с выбросом вентилируемого воздуха в чердачное пространство, выполняющее функции вентиляционной камеры статического давления, вытяжка осуществляется через вытяжные шахты, а при крышах с открытым чердаком — также вентилирующие отверстия в фризовых стенах.

Железобетонное покрытие чердачной крыши состоит из скатных плит, образующих наклонные поверхности для стока атмосферных вод, и лотковых плит, служащих для сбора и отвода атмосферных вод в систему внутреннего водостока.

Ширину открытой части лотковых плит рекомендуется принимать не менее 0,9 м, а расстояние между ее низом и чердачным перекрытием не менее 1,2 м.

При крышах с внутренним водостоком водосточные воронки рекомендуется устанавливать в лотковых плитах покрытия не менее одной на каждую секцию. Водосточные стояки и патрубки в пределах холодного чердака следует утеплять. В малоэтажных зданиях при наружном неорганизованном водостоке (в зданиях высотой 1 — 2 этажа) необходимо здание размещать с отступом от красной линии на 2 м, с установкой козырьков над входами и балконами.

7.3. Кровли из штучных материалов рекомендуется выполнять из асбестоцементных листов, черепицы или других аналогичных материалов.

Рулонная кровля выполняется из слоев рулонных кровельных материалов, которые наклеивают на элементы покрытия в построечных условиях.

Для рулонных кровель рекомендуется применять рубероиды по ГОСТ 10923—82 (рубероид кровельный с крупнозернистой посыпкой, рубероид подкладочный с пылевидной или мелкозернистой посыпкой), пергамин кровельный (ГОСТ 2697 83), стеклорубероид (ГОСТ 15879—70), рубероид наплавляемый (ТУ 21-27-53—76), изол рулонный (ГОСТ 1029679) и рулонные сетчатые стеклоткани из бесщелочного стекла.

Для наклейки кровельных материалов рекомендуется применять горячие битумные кровельные мастики (ГОСТ 2889—80).

Нижний слой рулонной кровли рекомендуется выполнять с частичной приклейкой к основанию, в том числе из перфорированного рубероида («дышащая кровля»). В случае применения сплошных рулонных материалов рекомендуется их приклеивать к основанию полосами или пятнами на площади около 30 %. Во всех случаях кровельный ковер не следует приклеивать вдоль стыков плит на полосе шириной 25 см. При использовании в верхнем слое кровельного ковра рубероида с крупнозернистой посыпкой допускается не устраивать защитного слоя из гравия в IIII климатических районах.

Уклон рулонной кровли на скатах рекомендуется принимать не менее 2 %, в лотках — не менее 1 %.

Рулонную кровлю не рекомендуется применять в I и IV климатических районах.

В крыше с безрулонной кровлей защитные функции выполняет бетон кровельной панели, защищенный гидромастиками, наносимыми на верхнюю поверхность панели, как правило, в заводских условиях.

Гидроизоляционные защитные мастики для безрулонных кровель должны обладать адгезией к бетону, сохранять прочность и эластичность в диапазоне эксплуатационных температур в соответствии с ТУ на эти материалы. Мастичные и окрасочные составы должны удовлетворять следующим требованиям: прочность на сжатие не менее 0,5 МПа, сцепление с бетоном при сдвиге не ниже 1 МПа, морозостойкость не менее 100 циклов, водонепроницаемость при давлении не менее 0,8 МПа, теплоустойчивость не ниже 90 °С, относительное удлинение при 20 °С не менее 200 %.

Бетон, из которого выполняются панели для безрулонной кровли, должен удовлетворять требованиям, указанным в табл. 18 для панелей с защитной мастичной окраской и без поверхностной гидроизоляции.

Таблица 18

 

Характеристика бетона плит

Минимальное значение показателя бетона

покрытия

с защитной мас­тичной окраской

без гидроизоляции (атмосферостой­кий бетон)

Класс бетона по прочности на сжатие

В25

В25

Класс бетона по прочности на растяжение

Bt1,6

Bt1,6

Марка бетона по водонепро­ницаемости

W6

W8

Марка бетона по морозо­стойкости при наружной температуре холодной пятидневки, °С:

 

 

выше минус 15

F200

F300

от минус 15 до минус 35

F300

F400

ниже минус 35

F300

F500

В крышах с безрулонной кровлей уклон скатов должен быть не менее 5 %, в водосборных лотках — не менее 2 %. Конструкция кровельной панели должна обеспечивать в эксплуатационных условиях отсутствие трещин на верхней поверхности с защитной окраской, а для панелей без гидроизоляции — и в момент распалубки изделия. Верхняя лицевая поверхность кровельных панелей должна соответствовать категории А2 по ГОСТ 13015.0—83 для панелей с защитной окраской и категории А1 — для панелей без гидроизоляции.

7.4. Железобетонные элементы чердачного покрытия (кровельные плиты и плиты лотков) рекомендуется проектировать с опиранием по двум сторонам. Применение неразрезных конструкций не рекомендуется.

Кровельные плиты рекомендуется опирать на наружные стены и лотковые плиты, располагаемые вдоль средней оси здания. При наружных не несущих стенах в плоскости наружных стен рекомендуется предусматривать установку железобетонных балок, опертых на несущие поперечные стены жилых этажей.

Принятая схема опирания сборных элементов покрытия должна обеспечивать свободу температурных деформаций покрытия или его частей. При этом следует обеспечивать устойчивость конструкций кровли.

7.5. При рулонной кровле кровельные плиты проектируют с гладкой верхней поверхностью. В стыках плит рекомендуется предусматривать устройство бетонных шпонок.

При рулонной кровле рекомендуется на карнизе укладывать профильные бетонные камни.

7.6. При безрулонной кровле стыки кровельных плит рекомендуется проектировать с бортовыми ребрами высотой не менее 10 см, перекрываемыми бетонными нащельниками. В местах опирания на водосборный лоток кровельных плит рекомендуется образовывать консольный свес длиной не менее 30 см со сливным ребром по краю. При безрулонном покрытии рекомендуется кровельные панели опирать на наружные стены с образованием свеса. При необходимости карнизный узел выполняется с бетонным парапетом.

Сборные элементы рекомендуется изготовлять в перевернутом положении («лицом» вниз) и переводить в рабочее положение с помощью кантователей. Для обеспечения требуемых показателей бетона по морозостойкости и водонепроницаемости рекомендуется применять виброударную технологию изготовления кровельных элементов и предусматривать тепловлажностную обработку по «мягкому режиму».

7.7. Плиты покрытия крыш с холодным чердаком рекомендуется проектировать в виде тонкостенных ребристых панелей из железобетона: ребрами вниз — при рулонной кровле и ребрами вверх — при безрулонной кровле. Толщину полки кровельных плит рекомендуется принимать не менее 40 мм, а толщину безрулонного лотка — не менее 60 мм.

Плиты покрытия теплого чердака при безрулонной кровле должны иметь верхний кровельный слой не менее 40 мм из плотного бетона и бортовые ребра высотой 100 мм. Плиты рекомендуется проектировать двухслойными, в том числе с теплоизоляционными вкладышами.

Плиты покрытия теплого чердака под рулонную кровлю рекомендуется проектировать однослойными из легкого бетона, в том числе с термовкладышами или трехслойными.

7.8. Плиты чердачного перекрытия рекомендуется проектировать аналогичными по конструкции междуэтажным перекрытиям.

Теплотехнический расчет

7.9. Теплотехнический расчет теплого чердака выполняют из условия ограничения теплопотерь чердачного перекрытия и невыпадения конденсата на внутренней поверхности наружных ограждений при соблюдении теплового баланса неотапливаемого помещения.

Расчет рекомендуется начинать с определения температуры воздуха в чердаке по санитарно-гигиеническим условиям

tIчер = tв ¾ DtнавRперо,                                (258)

где tв температура внутреннего воздуха, °С; Dtн — нормируемый перепад температуры у поверхности потолка, принимаемый равным 4 °С; Rперо сопротивление теплопередаче чердачного перекрытия, м2 × °С/Вт; ав — коэффициент теплоотдачи внутренней поверхности ограждения, Вт/м2 × °С.

Определяют сопротивление теплопередачи покрытия по условию теплового баланса

     (259)

где tчер температура воздуха в чердаке, °С; tн — температура наружного воздуха, °С; tвен — температура воздуха в вентиляционных каналах, °С; qвен удельные теплопоступления с воздухом вентиляции, Вт/м2 × °С; Аст — приведенная площадь наружных стен.

За температуру наружного воздуха принимают температуру холодной пятидневки. Температура воздуха в вентиляционных каналах считается на 1 °С выше температуры внутреннего воздуха. Удельные теплопоступления с воздухом вентиляции определяют как отношение произведения нормативного расхода воздуха на его плотность и теплоемкость к площади покрытия.

Температура внутренней поверхности покрытия

                                       (260)

должна быть не ниже показанной на графике рис. 59.

Расчетная температура наружного воздуха, °0

Pис. 59. Расчетные температуры внутренней поверхности покрытия

tпок — основного покрытия; tхол — холодного участка

При соблюдении указанного условия в формулу (259) вводится температура чердака по условию невыпадения конденсата

                                      (261)

Действительную температуру воздуха в чердаке определяют по формуле

 (262)

7.10. Теплотехнический расчет открытого чердака выполняется из условия предотвращения выпадения конденсата на поверхность покрытия и соблюдения теплового, влажностного и воздушного, балансов. Воздухообмен чердака определяется притоком наружного воздуха по условию баланса влаги

Gn = Gв[(dвdр)/(dpdн)],                                      (263)

где Gn, Gв — приведенный расход наружного и вентиляционного воздуха, кг/ч×м2 покрытия; dн, dв — влагосодержание наружного и вентиляционного воздуха, г/кг.

Действительную температуру воздуха в чердаке определяют из условия теплового баланса

   (264)

где с = 1,01 кДж/кг×°С — теплоемкость воздуха.

Температуру внутренней поверхности покрытия определяют по формуле

tпок = tгер ‑ (tгерtн)/(апоквRпоко).                                             (265)

Принимая температуры tпок за точку росы, находят расчетное (насыщающее) влагосодержание воздуха dp. С учетом воздушного баланса рассчитывают действительное влагосодержание воздуха в чердаке

dгер = (Gвdв + Gнdн)/(Gв + Gн),                                (266)

которое не может быть больше расчетного. В противном случае расчет продолжают до совпадения значений.

Площадь отверстии на 1 м наружных стен для вентиляции чердака рассчитывают по формуле

Ао = BGн/(3600yнvо),                                                (267)

для которой скорость движения воздуха в отверстии находится из выражения

                                   (268)

где ун — плотность наружного воздуха, кг/м3; Vн скорость ветра, м/с; kн, kп — аэродинамические коэффициенты для наветренной и подветренной стороны; åx ¾ сумма коэффициентов местных сопротивлений воздушного потока; В — ширина здания, м.

Температура и влагосодержание наружного воздуха и скорость ветра принимают по средним многолетним значениям за январь. Влагосодержание вентиляционного воздуха определяют как сумму влагосодержания наружного воздуха и приращения влагосодержания в жилых помещениях, которое принимают при газификации домов 3,3 г/кг, для домов с электроплитами — 3 г/кг.

8. ОБЪЕМНЫЕ БЛОКИ

8.1. Несущие объемные блоки рекомендуется проектировать двух типов (рис. 60):

первый ¾ из открытого со стороны наружной стены цельноформованного коробчатого элемента и приставной панели наружной стены (типа «лежачий стакан»);

второй — из открытого со стороны пола цельноформованного коробчатого элемента, приставной плиты пола и, в ряде случаев, утепляющей панели наружной стены (типа «колпак»). Применение других типов объемных блоков следует специально обосновать.

Рис. 60. Схема объемного блока типа «лежащий стакан» (а), «колпак» (б)

8.2. Коробчатые элементы несущих объемных блоков рекомендуется выполнять в виде пятиплоскостной конструкции из бетона класса не ниже В10 с плоскими или ребристыми стенками и ненарушенной потолочной плитой переменной толщины.

Внутренние поверхности стен коробчатого элемента рекомендуется проектировать с технологическими уклонами по высоте или по длине не более 15 мм.

8.3. В объемном блоке первого типа стенки и плиту пола рекомендуется выполнять ребристыми; с ребрами наружу; ребра продольных стенок и плиты пола располагают в одной плоскости с шагом 1000 — 1100 мм. Плиту пола допускается выполнять плоской с ребрами по контуру. Для зданий ниже 10 этажей при необходимости стенки можно выполнять плоскими, увеличенной толщины. Высоту ребер рекомендуется принимать 100 — 120 мм, толщину стенок между ребрами — не менее 60 мм. Торцевые стенки объемного блока рекомендуется выполнять плоскими, толщиной 60 100 мм.

Толщину потолочной плиты рекомендуется принимать не менее 80 мм.

В объемных блоках второго типа стенки рекомендуется проектировать  плоскими с местными утолщениями с внешней стороны объемного блока вдоль пересечения его граней. Сечения элементов рекомендуется принимать: продольных стен между утолщениями по контуру — от 55 (внизу) до 65 мм (вверху) из тяжелого бетона или от 30 до 90 мм из легкого бетона; поперечных стен от 80 до 90 мм из любого бетона; потолка переменного сечения с минимальной толщиной 40 и 60 мм соответственно для тяжелого и легкого бетонов и толщиной в местах примыкания к стенам ¾ 90 мм. Плиту пола рекомендуется проектировать ребристой с контурными ребрами высотой не менее 160 мм и толщиной плиты из тяжелого бетона 50 мм, из легкого бетона 110 мм. В плите из тяжелого бетона высоту промежуточных ребер рекомендуется принимать на 20 мм менее высоты контурных ребер. Допускается проектировать плиту без промежуточных ребер, толщиной не менее 80 мм. Плиту пола присоединяют к коробчатому элементу растворным швом и сваркой закладных деталей.

8.4. Стенки объемных блоков панельно-блочных зданий, на которые опираются сборные плиты перекрытий, следует проектировать толщиной не менее 120 мм исходя из противопожарных требований.

Рекомендуются следующие схемы передачи вертикальных нагрузок (опирания) с блока на блок:

по всему (или части) контуру стен, что обеспечивает более равномерную загрузку стен, высокую несущую способность блока и меньший расход материалов;

по четырем угловым участкам, что приближает схему работы блоков к зданию со скрытым каркасом; эта схема дает возможность максимального раскрытия проемов и безрастворного опирания блоков, что может оказаться целесообразным при монтаже зданий, например в условиях Севера.

8.5. Наружные стены в зависимости от типа объемного блока проектируют трехслойными, двухслойными или однослойными.

В объемных блоках первого типа наружную стену выполняют из однослойных или трехслойных панелей, объединяемых с коробчатыми элементами в заводских условиях.

В объемных блоках второго типа наружную стену образует однослойная или двухслойная панель, изготавливаемая в едином технологическом цикле или объединенная в заводских условиях с внешней стенкой коробчатого элемента.

Однослойные и трехслойные панели наружных стен рекомендуется проектировать аналогично стенам крупнопанельных зданий.

8.6. Несущие объемные блоки санитарно-технических кабин рекомендуется проектировать бетонными или из листовых материалов.

Бетонный блок рекомендуется проектировать из тяжелого или легкого бетона класса не ниже В10. Допускается стены и потолочную плиту проектировать из гипсобетона класса не ниже В5. Конструкцию бетонного объемного элемента рекомендуется принимать в виде цельноформованного элемента, имеющего пять внешних граней (без пола или потолка) и внутренние перегородки. Толщину стен и потолков плиты рекомендуется принимать не менее 50 мм. Потолочную плиту допускается выполнять из листовых материалов.

Объемный блок из листовых материалов рекомендуется проектировать состоящим из железобетонной плиты пола, каркаса и обшивки листовыми материалами. При заводской сборке объемного блока допускается применять бескаркасное решение; в этом случае листы рекомендуется соединять с помощью профилированных элементов, изготавливаемых экструзионным методом.

8.7. Для обеспечения необходимой разницы в отметках полов санузлов и остальных помещений квартиры отметка панели пола в санузле должна быть меньше на 20 мм, чем в проходном шлюзе и кухне. Рекомендуется предусматривать изготовление плиты пола для санузла с готовым покрытием из керамической плитки.

8.8. Внутренние перегородки между помещениями, входящими в состав объемного блока, рекомендуется выполнять монолитно связанными со стенами и потолком. Сопряжение монолитных перегородок со стенами и потолком рекомендуется выполнять по дуге окружности с радиусом 10 — 20 мм.

8.9. Армирование коробчатых элементов объемных блоков рекомендуется выполнять в виде пространственных арматурных каркасов, собираемых на специальных кондукторах из сеток и каркасов, которые соединяют между собой с помощью контактной сварки.

Потолочную плиту рекомендуется армировать сварной сеткой с ячейками не более 250 ´ 250 мм из проволоки класса Вр-I диаметром не менее 3 мм.

Плоские стены рекомендуется армировать гнутыми сварными каркасами, состоящими из трех продольных стержней диаметром не менее 6 мм, устанавливаемыми с шагом не более 1500 мм. Такие же каркасы рекомендуется устанавливать в местах пересечения граней коробчатого элемента, в ребрах и вутах. По контуру проемов необходимо предусматривать армирование отдельными стержнями или каркасами.

Стенки ненесущих объемных элементов рекомендуется армировать сварными сетками аналогично армированию потолочной плиты.

Армирование плиты пола и надпроемных перемычек устанавливают расчетом.

8.10. Конструкция объемного блока должна предусматривать возможность его подъема и монтажа как за петли, так и при помощи специальных захватов за панель пола или горизонтальные вуты в его верхней части.

8.11. При транспортировании объемного блока рекомендуется предусматривать линейное опирание на деревянные прокладки. Для защиты объемного блока от атмосферных осадков рекомендуется предусматривать специальные инвентарные укрытия потолочной плиты.

При перевозке объемных блоков на железнодорожных платформах необходимо применять упругую схему их крепления с использованием демпфирующих прокладок.

Особенности расчета объемных блоков

8.12. Расчет объемных блоков на эксплуатационные воздействия рекомендуется выполнять в следующей последовательности:

из расчета здания определяют усилия, действующие в плоскостях стен блоков;

определяют эксцентриситеты вертикальных сил относительно нейтральной плоскости стены;

проверяют несущую способность блоков и их соединений.

Помимо этого, производится проверка по прочности, жесткости и трещиностойкости отдельного блока на усилия, возникающие в процессе изготовления, транспортно-монтажных воздействий и по прочности здания на аварийные воздействия.

При выборе расчетных схем зданий для определения усилий в плоскостях стен в большинстве случаев следует принимать условно жесткие или податливые диски перекрытий. Жесткими считаются диски, в которых стыки панелей перекрытий в их плоскости обеспечивают передачу горизонтальных сдвиговых усилий, — платформенные стыки крупнопанельных зданий; стыки панелей с замоноличиванием швов между ними при наличии не менее двух шпонок на длину стыка двух элементов; стыки опирания панелей перекрытий на объемные блоки, в которых вертикальная нагрузка от стен вышележащих блоков передается через опорные торцы панелей.

Жесткими (рис. 61, а) считаются также диски перекрытий одного поперечника здания, состоящего из двух или нескольких столбов объемных блоков, которые соединены в уровне перекрытий не менее, чем двумя сварными связями на закладных деталях.

Рис. 61. Конструктивные схемы горизонтальных диафрагм жесткости

1 — объемные блоки; 3 — плиты перекрытия

Податливыми считаются диски, в которых опирание панелей перекрытий на объемные блоки производится через «точечные пальцы», когда горизонтальные связи между соседними столбами блоков осуществляются на сварке закладных деталей и в других случаях, не перечисленных в предыдущем абзаце.

В расчетной схеме здания с податливыми дисками перекрытий рекомендуется делить на несколько (меньших размеров) фрагментов, в которых диски считаются жесткими (рис. 61, б), и рассчитывать эти фрагменты раздельно.

8.13. Столбы блоков рекомендуется рассматривать как консольные стержни двутаврового сплошного сечения.

В зависимости от количества и расположения дверных проемов в продольных стенах блоков различают два типа столбов (рис. 62).

Рис. 62. Расчетные схемы вертикальных диафрагм жесткости столба из объемных блоков

Блоки в столбах первого типа не имеют проемов в продольных стенах или имеют один проем. Сечение их образуется суммированием сечений стен одинаковых направлений.

Блоки в столбах второго типа имеют не менее одного проема в каждой из продольных стен. Столбы при этом расчленяют на отдельные вертикальные несущие элементы (в форме прямоугольника, тавра, двутавра или швеллера), соединенные надприемными перемычками.

Для многоветвевых составных стержней для упрощения расчета допускается представление расчетной схемы, составленной из двухветвевых составных стержней.

8.14. При расчете столба на изгиб в направлении продольной оси здания от внецентренного приложения вертикальных нагрузок, как и при расчете в поперечном направлении, различают два типа столбов.

Блоки в столбах первого типа имеют проем только в одной торцевой стене, как правило, наружной. Сечение их считается монолитным. Усилия в таком столбе определяют как для монолитного стержня с учетом его закрепления в уровне каждого перекрытия.

Блоки в столбах второго типа имеют проемы в обеих торцовых стенах. Расчетная схема столба при этом представляется консольным составным стержнем с упругоподатливыми связями сдвига, зависящими от податливости перемычек.

По ней столбы рассчитывают на действие временных нагрузок, прикладываемых после окончания монтажа. Допускается пользоваться этой же схемой при расчете на постоянные нагрузки от собственного веса блоков.

Для учета перераспределения усилий между ветвями составного стержня в процессе монтажа при расчете на действие нагрузок от собственного веса панелей перекрытий, опираемых на блоки, рекомендуется применять поэтажно изменяемую расчетную схему.

8.15. После определения горизонтальных осевых и внецентренных в плоскостях стен вертикальных нагрузок, приходящихся на каждый из вертикальных элементов (столбы блоков и панельные диафрагмы), для наиболее опасных сечений должны быть подсчитаны усилия, действующие в плоскости стен.

8.16. Вертикальные нормальные напряжения в горизонтальном шве объемно-блочного столба, возникающие по участкам опирания блоков от действия перпендикулярно плоскости шва сил Мх, Му, N, допускается определять по формуле

s = N/Ant ± Mxy/Ix ± Мхx/Iy,                                     (269)

где N, Mx, My — соответственно осевое усилие и изгибающие моменты относительно осей, проходящих через центр тяжести сечения блока; Ant площадь несущих стен блока за вычетом проемов (при контурной схеме опирания) или угловых участков (при угловой схеме); Ix, Iy — моменты инерции горизонтального сечения блока (при контурной схеме) или угловых участков (при угловой схеме) относительно осей, проходящих через центр тяжести сечения несущих стен блока; х, у — расстояния от центра тяжести горизонтального сечения несущих стен блока (участков опирания при угловой схеме) до места определения ординат эпюр s. Величины ординат эпюры рекомендуется определять для угловых точек блока, принимая промежуточные значения по линейной интерполяции.

8.17. Для расчета на изгиб из плоскости граней блоков рекомендуется учитывать пространственную работу самих блоков и при контурной схеме опирания совместную их работу в столбе (защемление блоков).

Наиболее существенным является защемление продольных (длинных) стен блоков. Поэтому возможным упрощением расчетной схемы блока является введение в нее не передающих изгибающих усилий шарнирных цилиндрических связей торцевых граней с продольными.

Для определения максимальных величин изгибающих моментов по среднему поперечному сечению блоков, не имеющих широких (более 1,2 м) проемов в продольных стенах, возможна замена пространственного столба объемных блоков на плоскую многоэтажную раму с упругоподатливыми связями ригелей и стоек (рис. 63, а).

Рис. 63. Расчетные схемы для определения усилий в столбе из объемных блоков с учетом частичного защемления блоков в горизонтальных стыках

а — столб блоков, б — объемный блок

8.19. Для приближенного определения величин изгибающих моментов по среднему поперечному сечению блоков без специальных программ допускается использовать расчетную схему в виде одноэтажной рамы, с учетом дополнительных связей, условно заменяющих влияние вышележащих блоков (рис. 63, б).

Жесткости дополнительных связей на изгиб можно приближенно определять по формуле

С = (bcondw)3/(12lm),                                                            (270)

где bсon — ширина площадки контакта с учетом возможности непробетонирования краевых участков; dw — возможное смещение объемных блоков от проектного положения по горизонтали; lm податливость на сжатие растворного шва.

В практических целях возможно пользоваться той же схемой и для расчета блоков, не имеющих симметрии толщин стен (но отличающихся по толщине не более чем в 2 раза), на несимметричные нагрузки.

8.20. При расчете столба блоков на изгиб из плоскости грани принимаются нагрузки:

при расчете отдельного блока — вертикальные распределенные на перекрытие нагрузки от его собственного веса g;

при расчете столба — вертикальные, распределенные на перекрытие нагрузки, за исключением нагрузок от собственного веса (рg);

распределенные вдоль шва вертикальные нагрузки Q от опирания плиты перекрытия на стеку блока, приложенные с эксцентриситетом еQ относительно нейтральной оси стены;

распределенные вдоль шва вертикальные нагрузки от вышележащих этажей N, приложенные с эксцентриситетом е относительно нейтральной оси стены.

Эксцентриситеты е рекомендуется считать одинаковыми по высоте столба.

8.21. Эксцентриситет е равен сумме эксцентриситетов е1 и e2 соответственно из-за наличия геометрического эксцентриситета центра тяжести поперечного сечения шва относительно нейтральной оси стенки нижнего блока и из-за возможного отклонения от проектной величины сдвижки нижней опорной части верхнего блока относительно верхней опорной части нижнего блока (рис. 64). При отсутствии экспериментально обоснованных значений рекомендуется принимать величины е1 = 0,5 cм, e2 = 1 см.

Рис. 64. Схемы для определения эксцентриситетов в стыке объемных блоков

8.22. Для проверки прочности каждой из несущих стен блока следует предусматривать такую комбинацию эксцентриситетов нагрузки еQ, e1 и е2, которые приводят к наиневыгоднейшей комбинации нормальной силы и момента из плоскости стены (как правило, Mmax, N). Эти величины можно условно считать для блока эксцентриситетами внешних вертикальных нагрузок, приложенных в плоскостях стен.

8.23. После определения эпюры изгибающих моментов в среднем сечении блока или у края проема допускается их промежуточные по длине стены значения считать распределенными по полуволне синусоиды с максимумом в среднем сечении (у края проема) и нулем у края стены.

8.24. Изгибающий момент, вводимый в расчет при определении несущей способности стены для каждого вертикального сечения, принимается максимальным в средней трети высоты этажа по эпюре М для рамы, образованной этим сечением.

Расчетный эксцентриситет сжимающей силы в среднем сечении блока должен приниматься равным полученному из расчета блока (или заменяющей рамы) как статически неопределимой конструкции, но не менее величины е, равной 0,1 высоты сечения при h £ 10 см и 1см при h ³ 10 см. Этим приемом можно пользоваться при полученной из расчета величине эксцентриситета внутренних сил в среднем сечении блока, не выходящей из пределов ядра сечения. В противном случае требуется уточнение расчетной схемы или изменение геометрических характеристик элементов и стыков блоков.

8.25. Проверка несущей способности объемных блоков производится для двух горизонтальных сечений:

в опорном сечении (горизонтальном стыке);

в промежуточном по высоте стены (в средней ее трети), где действует максимальный изгибающий (из плоскости стены) момент.

8.26. Прочность опорных сечений (горизонтальных стыков) объемных блоков рекомендуется проверять как для платформенных стыков с односторонним опиранием перекрытий.

8.27. При проверке несущей способности промежуточных по высоте сечений стен объемных блоков допускается условно расчленять стены вертикальными сечениями (рис. 65) и определять независимо среднюю несущую способность Ni расчлененных сечений с учетом величины эксцентриситета еi ( вертикальных сил, действующих в каждом сечении, после чего суммировать их по длине каждой стены и сравнивать с действующей на нее расчетной нагрузкой

  (271)

где n — число участков дробления длины стены (без проемов); рекомендуется принимать n ³ 5. Ребристые стены с регулярными вертикальными ребрами целесообразно дробить на одинаковые участки таврового сечения шириной, равной расстоянию между ребрами; Ni средняя несущая способность единицы длины 1-го вертикального участка стены; bi — длина 1-го участка; N1, N3 ординаты эпюры N по краям стены; l, l1, l2 длины соответственно стены, участка до проема и проема.

Рис. 65. Схемы усилий в стенках объемного блока

а — без проемов; б — с несимметрично расположенным проемом; в — с симметричным расположенным проемом; г — схема объемного блока

8.28. Несущую способность угловых участков стен (при монолитной связи смежных стен) допускается определять отдельно как для бетонных (железобетонных) элементов уголкового профиля с длиной перьев уголка, равной шести толщинам стенок.

Эксцентриситет сжимающей силы, приходящийся на этот угол, принимается не менее 2 см.

При наличии с одной или двух сторон углового сечения проемов обязателен учет продольного изгиба углового элемента.

8.29. Расчетная длина (высота) стен блоков (стоек рамы) lo принимается равной 0,8 Hо, если над расчетным сечением расположено не менее четырех этажей блоков. В остальных случаях lo = 0,9Hо, где Hо — высота этажа, за вычетом толщины перекрытия.

8.30. При учете транспортных и монтажных воздействий необходимо производить расчет отдельного блока по несущей способности, трещиностойкости и деформациям на зависание угла. Прогиб свободного угла блока, опертого по трем углам, определяется по формуле

 (272)

где Р — вес блока симметричного по толщине стенок (без наружной стены и балкона) с учетом коэффициента динамичности; Gi, ti — модуль сдвига и толщина i-й грани (i = 1, 2, ..., 6).

Для сплошных граней при определении Gi допускается считать, что они работают без образования трещин, если соблюдается условие

Р £ 4htRbt,ser.                                               (273)

Для граней с проемами величину Gi можно определять исходя из условия равенства горизонтальных перемещений сплошной грани и грани с проемом, имеющей те же наружные размеры.

8.31. При наличии немонолитных связей сдвига, соединяющих отдельные грани блоков, их жесткость должна вводиться в величину G соответствующей грани.

Возможный прогиб свободного угла блока длиной более 4,8 м должен быть ограничен при статических воздействиях величиной 10 мм, при динамических — 15мм; при длине блока до 4,8 м — 7 и 10 мм.

8.32. Несущую способность блока при зависании угла допускается определять по методу предельного равновесия. Трещины при перекосах появляются и развиваются, в первую очередь, в углах проемов. В состоянии предельного равновесия эти участки в расчетной схеме следует превращать в пластические шарниры. Чтобы определить разрушающие усилия на блок, проверить или подобрать армирование всех граней, следует превратить блок в пространственный механизм, для чего необходимо последовательно превращать в плоский механизм каждую грань с проемом; остальные грани при этом считаются абсолютно жесткими в своей плоскости.

Определение несущей способности следует производить в соответствии с вероятными схемами излома граней исходя из наименее благоприятного варианта работы конструкции для продольных граней. При этом следует суммировать усилия от кручения блока с изгибом в вертикальной плоскости.

Армирование элементов блока рекомендуется назначать на 20 — 30 % выше, чем полученное по расчету методом предельного равновесия.

8.33. Перемычки под и над проемами в стенах при зависании угла блока должны быть проверены по поперечной силе Q, равной:

для торцевых граней

Q == Р/8;                                                    (274)

для продольных граней

Q = P(3b/а)/8.                                        (275)

8.34. Все плоские элементы, в том числе и комплектующие блок (панели пола, панели наружных стен) должны быть проверены по прочности и ширине раскрытия трещин при действии распалубочных, монтажных и транспортных нагрузок с учетом возможного изменения расчетных схем элементов при работе на эти воздействия.

При этом учитывается действительная минимальная прочность бетона элемента на момент воздействия.

Не допускается транспортирование объемных элементов до достижения бетоном прочности, равной 0,7 и плоских элементов ‑ до 0,5 нормативных сопротивлений.

Распалубочные усилия на элемент принимают по данным специальных исследований, но не менее 20 МПа (200 кгс/м2).

При расчете на транспортные и монтажные нагрузки действие собственного веса принимается с коэффициентом динамичности, равным 1,8 при транспортировании и 1,5 ‑ при монтаже.

Максимальная кратковременная ширина раскрытия трещин ‑ 0,4 мм.

8.35. Горизонтальные элементы блоков рассчитываются на вертикальные транспортные нагрузки с учетом пространственной работы и действительной расчетной схемы (наличие временных подпорок, демпфирующих стоек и т.п.).

Плита потолка блока должна проверяться по прочности на действие сосредоточенной нормативной нагрузки 2000 Н (вес двух монтажников с инструментом).

ПРИЛОЖЕНИЕ 1

РЕКОМЕНДАЦИИ ПО ОПРЕДЕЛЕНИЮ УСИЛИЙ В НЕСУЩЕЙ СИСТЕМЕ ЗДАНИЯ НА ОСНОВЕ РАСЧЕТНОЙ СХЕМЫ В ВИДЕ ВЕРТИКАЛЬНОГО СОСТАВНОГО СТЕРЖНЯ

1. В настоящем приложении изложена упрощенная методика определения усилий в несущей системе бескаркасного здания с одинаковыми по высоте конструктивно-планировочными решениями. Методика позволяет выполнять расчет с помощью карманных или настольных калькуляторов без применения специальных программ для ЭВМ. Методику рекомендуется использовать на начальных стадиях проектирования при компоновке несущей системы для предварительного назначения толщин и классов бетона стен, расчета стыковых соединений и связей. Если параметры конструкций, назначенные по конструктивным соображениям (например по условиям обеспечения ограждающих функций), обеспечивают требуемую прочность и жесткость несущих конструкций, то не требуется дальнейшего уточнения результатов расчета.

В противном случае рекомендуется выполнять расчет по специальным программам на ЭВМ с использованием уточненных расчетных схем и предпосылок.

2. Для предварительного расчета рекомендуется использовать расчетную схему в виде системы вертикальных диафрагм жесткости, объединенных между собой в уровне перекрытий, которые считаются абсолютно жесткими в собственной плоскости. Каждая из вертикальных диафрагм жесткости рассматривается как вертикальный составной стержень, защемленный основанием.

В составном стержне выделяют несущие и связевые элементы. Форму и размеры несущих элементов (столбов) рекомендуется назначить по рекомендациям разд. 3 настоящего Пособия. Дискретно расположенные связевые элементы (перемычки, податливые стыковые соединения, перекрытия) заменяют эквивалентными по жесткости (податливости) при сдвиге непрерывными связями, соединяющими столбы. Для упрощения расчета разрешается в диафрагмах с постоянным шагом проемов по длине стены (например, для наружных стен при расчете их на усилия в плоскости стены) не включать в расчетную схему промежуточные простенки; при этом податливость связей между крайними столбами принимается равной сумме податливостей вертикальных рядов связей между ними.

3. При расчете на вертикальные нагрузки, температурные воздействия и неоднократную усадку сопрягаемых стен каждую вертикальную диафрагму жесткости рассчитывают независимо, считая, что отсутствуют горизонтальные перемещения составной системы. Горизонтальные (ветровые) нагрузки распределяются между вертикальными диафрагмами жесткости пропорционально их приведенной изгибной жесткости, определяемой по п.7 настоящего приложения.

4.    Расчет рекомендуется выполнять в следующей последовательности:

определяют жесткостные характеристики связей сдвига и столбов; по формуле (3) Пособия проверяют, можно ли считать связь сдвига жесткой. В случае, если связь считается жесткой, то соединенные этой связью столбы объединяют в один и для такого объединенного столба снова определяют жесткостные характеристики;

каждую из вертикальных диафрагм жесткости рассчитывают независимо на непосредственно приложенные к ней вертикальные нагрузки и температурно-влажностные воздействия, а также на единичную сосредоточенную силу в уровне верха здания;

определяют приведенную изгибную жесткость каждой из диафрагм EIi,red;

для зданий, при расчете которых необходимо учитывать влияние динамической составляющей ветровой нагрузки и проверять ускорения колебаний, возникающих в результате пульсаций ветрового напора;

определяют приведенную изгибную жесткость здания EIred, равную сумме приведенных изгибных жесткостей всех диафрагм;

вычисляют период колебаний основного тона и расчетные ветровые нагрузки и проверяют значение ускорений колебаний;

расчетная ветровая нагрузка распределяется между диафрагмами пропорционально их приведенной изгибной жесткости;

определяют усилия в каждой из диафрагм от ветровых нагрузок.

5. Для определения усилий в плоском составном стержне с r рядами податливых продольных связей рекомендуется использовать метод сил. В качестве неизвестных принимают продольные силы Ti (i = 1, 2, ..., r), перераспределяемые между столбами i и (i + l).

Продольную силу Ti  (x) в сечении x = х/H (х — расстояние от верха здания до рассматриваемого сечения, Н высота здания) рекомендуется определять по формуле

                        (1)

                (2)

                           (3)

 (4)

                                    (5)

                                    (6)

Тvi определяют из решения следующей системы алгебраических уравнений:

 

(i = 1, 2, ..., r);                                                           (7)

                                                      (8)

Jv1 = 2/w3v;                                                  (9)

Jv2 = 2 sin wv/w4v;                                      (10)

Jv3 = 4(wv sin wv ‑ 1)/w5v;                          (11)

Jv4 = 6 sin wv(w2v ‑ 2)/w6v;                        (12)

wv = (2v ‑ 1)p/2;                                         (13)

bi — погонная жесткость при сдвиге связи между столбами i и i + 1; ai(i + 1) коэффициент линейного температурного расширения для столба i(i + l); yif коэффициенты, вычисляемые по формулам:

yi,i = 1/(EАi) + 1/(EАi+1) + L2i/åEI;                         (14)

yi,i+1 = yi+1,i = ‑1/(EАi+1) + LiLi+1/åEI;                    (15)

yi,j = yj,i = LiLj/åEI;      `                             (16)

Ti(i + 1) изменение средней температуры столба i(i + 1); eoi(i+1) стесненная, средняя по толщине стены, деформация усадки столба i(i + 1); Dti(i+1) перепад температур по толщине столба i(i + 1), Pi(i+1) —вертикальная сосредоточенная сила, приложенная в верхнем сечении 6==0 столба x = 0 столба i(i + l); eoi(i+1) эксцентриситет продольной силы Pi(i+1) в плоскости диафрагмы; ЕAi(i+1) продольная жесткость столба i(i + 1); ЕIi(i+1) изгибная жесткость столба i(i + 1); åEI ¾ сумма изгибных жесткостей всех столбов диафрагмы; pi(i+1) — равномерно распределенная по высоте продольная сжимающая сила в столбе i(i + 1); ei(i+1) — эксцентриситет продольной силы pi(i+1) в плоскости диафрагмы; S — сосредоточенная поперечная нагрузка, приложенная в сечении x = 0;  — равномерно распределенная поперечная нагрузка;   максимальное значение распределенной поперечной нагрузки, изменяющейся по линейной зависимости от нуля в сечении x = 0;   количество членов приближения.

Коэффициенты wv, J приведены в табл. 1.

Таблица 1

v

wv

w2v

Jv1

Jv2

Jv3

Jv4

1

1,5708

2,4674

0,51602

0,32851

0,23874

0,18669

2

4,7124

22,207

0,01911

-0,00405

-0,00983

-0,011071

3

7,8540

61,685

0,00413

0,000526

+0,000917

0,001526

4

10,995

120,90

0,00150

-0,000137

-0,000298

-0,000404

5

14,137

199,86

0,00071

0,000050

0,000093

0,000149

В связи с быстрой сходимостью ряда при вычислении величины Тvi допускается учитывать один член ряда ( = l).

6.Усилия в составном стержне с r рядами податливых связей сдвига определяют по формулам:

продольная сила в сечении x столба i

Ni(x) = Noi(x) + Ti-1(x) ‑ Ti(x),                                  (17)

Noi(x) = Pi + xpiH;                                                     (18)

изгибающий момент в сечении x столба i

                                        (19)

      (20)

сдвигающая сила в связях между столбами i и i + l в уровне верхнего этажа п

Vi(xn) = Ti (xn)                                                          (21)

в уровне этажа h < n

Vi(xh) = Ti(xh) ‑ Ti(xh+1);                                                          (22)

где                                       xh = 1 ‑ (h + 1)/n                                                                (23)

(h = 1, 2, ..., n).

7. Приведенную изгибную жесткость вертикальной диафрагмы с r рядами проемов рекомендуется определять по формуле

                 (24)

где Bj корни уравнения (2) при v = l для нагрузки в виде единичной сосредоточенной поперечной силы S = 1, приложенной в сечении x = 0.

8. Период основного тона колебаний в случае, когда длина в плане вертикальных диафрагм не превышает 0,2 высоты здания, можно определять по формуле

                                (25)

где т — масса единицы высоты здания, рассматриваемого как консольный стержень; åEIred — сумма приведенных изгибных жесткостей вертикальных диафрагм.

В случае, если имеются диафрагмы, длина которых больше 0,2 высоты здания, то при определении периода колебаний необходимо учитывать влияние деформаций сдвига стен в собственной плоскости. Период первого тона в этом случае можно определять по формуле

                           (26)

y = (14,56 + 13,32t + 3,36t2)/(5,04 + 2,8t);                     (27)

v = 12åEIred/(H2åGAred),                                        (28)

åGAred сумма сдвиговых жесткостей вертикальных диафрагм, определяемых без учета площади полок.

Определение усилий в протяженных зданиях от температурных и усадочных воздействий

9. Для протяженных в плане здания усилий от температурно-влажностных воздействий рекомендуется определять с использованием расчетной схемы в виде горизонтальной составной системы с продольными поясами в уровне перекрытий, которые соединены податливыми связями сдвига. Приводимые ниже расчетные формулы применимы для регулирования по высоте составных стержней. Нижний ярус составной системы может иметь геометрические и жесткостные характеристики, отличающиеся от остальных ярусов. Расчетные формулы получены для системы с бесконечно большим числом ярусов и применимы для определения усилий в нижней половине высоты здания при количестве этажей девять и более (в верхних этажах усилия существенно уменьшаются).

При расчете учитываются изменения во времени средних по сечениям конструкции температур Dt (по отношению к начальной температуре tо) и относительных деформаций усадки бетона e, возникающих из-за уменьшения его начальной влажности.

Изменение во времени средних по сечениям конструкций температур Dt и начальные температуры tо определяются по СНиП 2.01.07—85.

10. Расчет на температурно-влажностные воздействия выполняется для стадий возведения и эксплуатации здания.

Для стадии возведения рекомендуется различать два расчетных случая:

первый — здание возведено в теплое время года и до пуска отопления конструкции здания охлаждаются вследствие понижения температуры наружного воздуха в холодное время года;

второй — здание возведено в холодное время года и конструкции здания нагреваются вследствие повышения температуры наружного воздуха в теплое время года.

В первом расчетном случае из-за противодействия основания температурным изменениям линейных размеров продольных конструкций в них возникают растягивающие напряжения, во втором расчетном случае — сжимающее напряжения.

В первом расчетном случае усадочные деформации можно не учитывать, так как в холодное время года деформации усадки бетона не увеличиваются. В связи с тем, что температурные и усадочные деформации во втором расчетном случае противоположны по знаку, а сжимающие напряжения в продольных конструкциях, как правило, не опасны, допускается второй расчетный случай не рассматривать.

Для стадии эксплуатации необходимо проверить конструкции на совместное влияние температурного сокращения продольных наружных стен и деформаций усадки продольных конструкций.

Для зданий с ненесущими наружными стенами, а также с трехслойными несущими стенами с гибкими связями между слоями при определении усилия во внутренних конструкциях можно учитывать только изменение деформаций усадки. Наружный слой продольных трехслойных стен в случае опирания его на фундамент следует рассчитывать на совместное влияние уменьшения его средней температуры (при переходе от теплого к холодному времени года) и деформаций усадки.

11. Продольное усилие в сечении x продольного пояса над k-м ярусом определяется по формуле

                (29)

где аk — коэффициент линейных температурных деформаций бетона конструкций, образующий продольный пояс k; Dtk — расчетный перепад средних температур продольного пояса k; ek — расчетное изменение деформаций усадки бетона, образующего продольный пояс k; ЕAk — продольная жесткость k-го пояса (при k > 1 ЕAk = EA);

wm = (2m ‑ 1) p/2;                                                      (30)

x — безразмерная координата, отсчитываемая вдоль длины составной системы с началом отсчета по ее середине (0 £ x £ 1); b1, b — погонные жесткости при сдвиге продольных связей соответственно в первом и всех остальных ярусах составной системы;

                      (31)

при b1 = b и EA1 = EAqm = 1 полудлина составной системы (половина расстояния между температурно-усадочными швами);

                                                (32)

В формуле (29) число учитываемых членов ряда рекомендуется принимать с учетом того, что первый отбрасываемый член ряда характеризует ошибку вычислений. Для получения решения с точностью 0,05 достаточно учесть пять членов ряда. В общем случае рекомендуется удерживать нечетное число членов ряда.

Погонное сдвигающее усилие в продольных связях k-го яруса определяется по формуле

       (34)

12. Продольная жесткость k-го пояса EAk определяется как сумма продольных жесткостей перекрытия Eak,r продольных стен EAk,w. При изменении жесткостных характеристик перекрытий и продольных стен по длине определяется приведенная продольная жесткость пояса, определяемая по формуле

                           (35)

где Li длина i-го участка по длине здания, в пределах которого продольная жесткость пояса постоянна; EAk,i — продольная жесткость k-гo пояса на i-м участке; n — общее число участков.

Продольная жесткость пояса до образования трещин в бетоне определяется по формуле

EA = ElAb + EsAs,                                        (36)

где El длительный модуль деформации бетона

El = Eb/(1 + jbt);                                        (37)

Eb начальный модуль упругости бетона; jbt определяется по формуле (2) Пособия.

Продольная жесткость пояса после образования в нем трещин определяется по формуле

ЕA = ЕsАs/ys,                                                             (38)

где ys — коэффициент, учитывающий работу растянутого бетона между трещинами и определяемый согласно нормам проектирования железобетонных конструкций.

13. Погонная жесткость (связей сдвига k-го пояса определяется по формуле

                                 (39)

где GAk,i — жесткость при сдвиге горизонтального сечения продольных стен k-го яруса на i-м участке: Нk — высота k-го яруса; Li — длина i-го участка.

Жесткость при сдвиге i-го участка сквозной продольной стены с проемами рекомендуется определять для горизонтального сечения в уровне проемов по формуле

GAk,i = EiAi/(2,5 + H2o/Li),                                       (40)

где Ai, Li соответственно площадь и длина горизонтального сечения стены на i-м участке; Hо высота проема в стене в k-м ярусе.

Жесткость при сдвиге i-го участка продольной стены, состоящей из отдельных, не связанных между собой участков, рекомендуется определять по формуле

                                (41)

где Сj — коэффициент жесткости основания при повороте фундамента в плоскости стены; Iji ¾ момент инерции фундамента i-го участка стены относительно оси, перпендикулярной плоскости поворота фундамента.

При опирании стен на свайные фундаменты с высоко расположенными ростверками жесткости при сдвиге связей необходимо определять по специальным рекомендациям.

ПРИЛОЖЕНИЕ 2

РЕКОМЕНДАЦИИ ПО ОБЕСПЕЧЕНИЮ УСТОЙЧИВОСТИ КРУПНОПАНЕЛЬНЫХ ЗДАНИЙ ПРИ АВАРИЙНЫХ ВОЗДЕЙСТВИЯХ

1. Несущая система жилых зданий должна быть устойчива к прогрессирующему (цепному) разрушению в случае локального разрушения отдельных конструкций при аварийных воздействиях (взрыв бытового газа или других взрывоопасных веществ, пожар и т. п.). Это требование означает, что в случае аварийных воздействий, не предусмотренных условиями нормальной эксплуатации зданий (взрывы, пожары, ударные воздействия транспортных средств и т. п.), допускаются локальные разрушения несущих конструкций (полное или частичное разрушение отдельных стен в пределах одного этажа и двух смежных осей здания), но эти первичные разрушения не должны приводить к обрушению конструкций или к разрушению соседних несущих элементов, на которые передается нагрузка, ранее воспринимавшаяся элементами, поврежденными аварийным воздействием.

Конструктивная система здания должна обеспечивать его прочность и устойчивость в случае локального разрушения несущих конструкций, как минимум на время, необходимое для эвакуации людей, Перемещение конструкций и раскрытие в них трещин не ограничивается.

2. Устойчивость здания к прогрессирующему обрушению проверяется расчетом на особое сочетание нагрузок и воздействий, включающее постоянные и временные длительные нагрузки, а также воздействие гипотетических локальных разрушений несущих конструкций. Постоянная и временная длительная нагрузка должна определяться по СНиП 2.01.07—85. При этом коэффициенты сочетаний нагрузок и коэффициенты надежности по нагрузкам к постоянным и длительным нагрузкам следует принимать равными единице.

Воздействия локальных разрушений несущих конструкций учитываются тем, что из конструктивной системы здания удаляются отдельные элементы, которые могут быть разрушены при аварийных воздействиях.

Для панельных жилых зданий в качестве расчетной схемы локального разрушения следует рассматривать разрушение (удаление) двух пересекающихся стен в пределах одного (любого) этажа на участках от их вертикального стыка (в частности, от угла здания) до ближайшего проема в каждой стене или до следующего вертикального стыка со стеной перпендикулярного направления.

Для оценки устойчивости здания против прогрессирующего обрушения разрешается рассматривать лишь наиболее опасные расчетные схемы разрушения:

локальные разрушения, включающие разрушения наружных стен, ослабленных дверными проемами выходов на балконы и лоджии (схемы 1, 2, 3 на рис. 11);

локальные разрушения, включающие разрушения внутренних стен, слабо связанных с остальными вертикальными конструкциями из-за наличия дверных проемов (см. схемы 1, 4, 5 на рис. 11), из-за балочной разрезки большепролетных плиточных перекрытий (см. схемы 2, 5 на рис. 11) или из-за частичного отсутствия связей через перекрытия (стены, примыкающие к лестничным клеткам; схема 4 на рис. 11).

3. При расчете панельных зданий на устойчивость к прогрессирующему обрушению нормативные сопротивления материалов принимают в соответствии со СНиП 2.03.01—84 и СНиП 11-23-81. Расчетные характеристики сопротивления материалов, определяемые делением нормативных сопротивлений на коэффициенты надежности, для бетонных и железобетонных конструкций повышают за счет использования коэффициентов надежности, указанных в табл. 1. Кроме того, расчетные сопротивления умножают на коэффициенты условий работы, учитывающие малую вероятность аварийных воздействий и интенсивный рост прочности бетона в первый период после возведения здания, а также возможность использования арматуры за пределом текучести материала. Коэффициенты условий работы для бетона принимают по табл. 2, для арматуры классов А-I, А-II, А-III вводится единый коэффициент уs = 1,1.

Таблица 1

Материал

Напряженное состояние или характеристика материала

Условное обозначение

Коэффициент надежности по материалам

Бетон

Сжатие

Растяжение

yb

ybt

1,15

1,25

Арматура

Класс A-I, A-II

Класс A-III

Проволочная

ys

1,1

1,05

1,2

Таблица 2

Факторы, обусловливающие введение коэффициентов

Условное обозначение

Коэффициент условий ра­боты бетона

1. Конструкции бетонные

yb1

0,9

2. Нарастание прочности бетона во времени, кроме бетонов класса В50 и выше, бетонов на глиноземистом цементе, алюминатных и алитовых портландцементах

yb2

1,25

3. Элементы заводского изготовления (бетонные и железобетонные)

yb3

1,15

Расчетные сопротивления прокатной стали принимаются по СНиП II-23-81 с учетом допустимости работы пластичных сталей за пределом текучести. Коэффициент условий работы для пластичных сталей принимается равным 1,1.

4. Для оценки устойчивости панельных зданий к прогрессирующему обрушению следует выделить два типа неповрежденных конструктивных элементов. В элементах первого типа воздействия локальных разрушений не вызывают качественного изменения напряженного состояния, а приводят лишь к увеличению напряжений и усилий (неповрежденные стеновые диафрагмы и плиты перекрытий, нерасположенные над локальным разрушением). В элементах второго типа (к ним относятся конструкции, потерявшие первоначальные опоры — стеновые панели и плиты перекрытий, расположенные над локальным разрушением) в рассматриваемом состоянии здания качественно меняется напряженное состояние.

В связи с тем, что элементы первого типа при нормальных эксплуатационных воздействиях подвергаются нагрузкам в два-три раза ниже разрушающих, а расчетные локальные разрушения, как правило, не могут вызвать перегрузки этих конструкций более, чем в два раза, прочность элементов первого типа разрешается не проверять. Основной задачей расчета является проверка устойчивости стеновых панелей и плит перекрытий, расположенных выше локального разрушения и потерявших опору в результате локального разрушения стен. Устойчивость этих конструкций зависит как от прочности самих зависших элементов, так и от прочности их связей между собой и с неповрежденными стенами.

Устойчивость здания против прогрессирующего обрушения следует обеспечивать, в первую очередь, за счет рационального конструирования связей между сборными элементами. Усиление самих сборных элементов, расположенных над локальным разрушением, не рекомендуется.

6. В целях повышения экономичности конструктивных решений связей, препятствующих прогрессирующему обрушению, необходимо повышать их пластичность, добиваясь, чтобы в предельном состоянии после исчерпания несущей способности связь не выключалась из работы и допускала без разрушения сравнительно большие абсолютные деформации (порядка нескольких миллиметров).

Для обеспечения пластичности соединений сборных элементов их конструктивные решения должны включать специальные пластичные элементы, выполненные из пластичной листовой или арматурной стали.

Растянутая линейная связь между сборными элементами, как правило, представляет цепочку последовательно соединенных элементов — анкер закладной детали, закладная деталь, собственно связь, закладная деталь второго элемента и ее анкер. В силу случайной изменчивости сопротивлении отдельных элементов этой цепи и их соединений предельное состояние всего стыка определяется слабейшим звеном. Соответственно реальная пластичность всего соединения зависит от того, какой элемент окажется слабейшим:

если произойдет выкалывание бетона, в котором анкеруется закладная деталь, то разрушение будет носить хрупкий характер с весьма незначительными абсолютными деформациями, предшествующими выключению связи из работы (рис. 1, а);

если разрушится одно из сварных соединений, то, хотя при качественной сварке пластичность и проявится в силу малой протяженности самого разрушаемого звена, абсолютные деформации, предшествующие выключению связи из работы, будут сравнительно невелики (рис. 1, б);

только в том случае, когда слабейшим звеном соединения окажется собственно металлическая связь, все соединение проявит максимально возможные пластические свойства (рис. 1, в).

Рис. 1. Диаграмма деформирования растянутой линейной связи при разрушении различных ее элементов

а — при выкалывании анкерующего бетона; б — при разрушении сварных соединений; в — при разрушении листовой или стержневой связи

Соединения сборных элементов, препятствующие прогрессирующему обрушению панельных зданий, должны проектироваться неравнопрочными, при этом элемент, разрушение которого обеспечивает наибольшие пластические деформации соединения, должен быть наименее прочным.

Для выполнения этого условия рекомендуется рассчитывать все элементы соединения, кроме наиболее пластичного, на усилие в 1,5 раза больше прочности пластичного элемента, например, анкеровку закладных деталей и сварные соединения рекомендуется рассчитывать на усилие в 1,5 раза больше, чем саму связь.

Надпроемные перемычки, работающие как связи сдвига, необходимо проектировать так, чтобы они разрушались от изгиба, а не от действия поперечной силы.

Шпоночные сдвиговые соединения необходимо проектировать так, чтобы прочность отдельных шпонок на срез была в 1,5 раза больше их прочности при смятии.

Помимо обеспечения пластичности связей для защиты зданий от прогрессирующего обрушения рекомендуется использовать в комплексе следующие конструктивные мероприятия:

объединять отдельные плиты междуэтажных перекрытий в единый диск специальными металлическими связями, работающими в плоскости перекрытия на растяжение и сдвиг;

заводить плиты перекрытий в несущие стены перпендикулярного направления, используя их как шпоночную связь сдвига (при платформенных стыках такая связь образуется естественным образом);

устраивать междуэтажные связи, обеспечивающие работу горизонтальных стыков между перекрытиями и стенами на растяжение и сдвиг. Для устройства таких связей рекомендуется использовать подъемные петли, штыри и т. п. детали, например, как показано на рис. 2. Такие связи очень пластичны как при растяжении, так и при сдвиге, они обеспечивают совместную работу всех конструкций, расположенных выше локального разрушения; возможность устройства таких связей не зависит от особенностей плана здания.

Рис. 2. Вариант конструктивного решения междуэтажной связи

I — гайка; 2 шайба; 3 — подъемный штырь

6. Для расчета панельных зданий на устойчивость к прогрессирующему обрушению рекомендуется использовать пространственную расчетную модель в виде системы пластинок (с проемами или без проемов), соединенных между собой сосредоточенными связями, прочность которых эквивалентна прочности фактических связей между панелями (рис. 3, а). Такая модель здания должна быть рассчитана при всех выбранных в соответствии с рекомендациями п. 2 расчетных схемах локального разрушения конструкций.

Рис. 3. Расчетная модель здания с локальными разрушениями

1 ¾ локальные разрушения

В случае обеспечения пластичной работы конструктивной системы здания в предельном состоянии расчет рекомендуется проводить кинематическим методом теории предельного равновесия. В этом случае допускается проверять устойчивость лишь элементов, расположенных над локальным разрушением, и расчет здания при каждой выбранной схеме локального разрушения сводится к следующей процедуре:

задаются наиболее вероятные механизмы прогрессирующего (вторичного) обрушения конструкций здания, потерявших опору (задать механизм разрушения значит определить все разрушаемые связи и найти возможные обобщенные перемещения (wi) по направлению усилий в этих связях);

для каждого из выбранных механизмов прогрессирующего обрушения определяются прочности всех пластично разрушаемых связей (Si); находятся равнодействующие внешних сил, приложенных к отдельным звеньям механизма, то есть к отдельным неразрушаемым элементам или их частям (Gi), и перемещения по направлению их действия (ui):

определяется работа внутренних сил (W) и внешних нагрузок (U) на возможных перемещениях рассматриваемого механизма

и проверяется условие равновесия

W ³ U.                                                                        (1)

Указанная расчетная процедура справедлива лишь при условии выполнения требований п. 5 об обеспечении пластичной работы отдельных панелей и связей между ними в предельном состоянии. Если пластичность какой-либо связи не обеспечена, ее работа учитываться не должна (связь считается отсутствующей). Если таких связей и элементов, которые могут разрушаться хрупко, много, и их формальное исключение слишком сильно уменьшает оценку сопротивления здания прогрессирующему обрушению, следует или обеспечить пластичность связей или изменить саму процедуру расчета. В последнем случае здание должно быть рассчитано на основании упругой пластинчатой модели, включающей расчетное локальное разрушение и позволяющей учесть изменившийся характер работы элементов, потерявших опору. Полученные при этом усилия в отдельных элементах должны сравниваться с их расчетными несущими способностями. Устойчивость здания против прогрессирующего обрушения при этом будет обеспечена, если для любого элемента соблюдается условие F £ S, где F и S соответственно усилие в элементе, найденное из упругого расчета, и его расчетная несущая способность, найденная с учетом указаний п. 3.

Особенности расчета зданий поперечно-стеновой и перекрестно-стеновой систем с ненесущими продольными наружными стенами из легких небетонных материалов

7. Для зданий с несущими поперечными и внутренними продольными стенами и ненесущими небетонными продольными наружными стенами опасность локального разрушения определяется лишь его расположением на плане здания, но не зависит от расположения по его высоте. Наиболее опасными и, следовательно, расчетными локальными разрушениями являются:

разрушение панели торцевой поперечной стены, примыкающей к углу здания;

разрушение панели внутренней поперечной стены, несущей нагрузку от навесных лоджий или балконов и при том ослабленной дверными проемами.

Количество расчетных локальных разрушений указанных типов в каждом конкретном случае определяется индивидуально в зависимости от особенностей плана здания и принятых конструктивных решений. При унифицированном решении сборных элементов и связей между ними и относительно простом плане здания можно ограничиться рассмотрением двух-трех наиболее опасных локальных разрушений.

При каждом выбранном локальном разрушении необходимо рассмотреть все указанные в пп. 8 — 11 механизмы прогрессирующего обрушения и проверить соответствующие рассматриваемому случаю расчетные условия.

8. Первый механизм прогрессирующего обрушения характеризуется одновременным поступательным смещением вниз всех стеновых панелей (или отдельных их частей), расположенных над локальным разрушением (рис. 4). Такое смещение возможно при разрушении связей сдвига между продольными и поперечными стенами (рис. 4, а) или при разрушении надпроемных перемычек и плит перекрытий (рис. 4, б, в).

При оценке возможности одновременного обрушения конструкций всех этажей условие равновесия (1) заменяется условием

Wf ³ Uf                                                         (2)

где Wf  и Uf  — соответственно работа внутренних и внешних сил на перемещениях элементов одного этажа; этажи разделяются нижней поверхностью перекрытия, которое относится к этажу, расположенному над перекрытием.

Если плиты перекрытий не заведены в продольные несущие стены, обрушению препятствуют лишь связи сдвига между панелями разрушенной поперечной стены и продольной стены (рис. 4, а). В этом случае условие равновесия (2) эквивалентно требованию

S1 ³ Gw,in + Gl + 0,5(G¢w,ex + G¢¢w,ex) + 0,5(q¢L¢l¢ + q¢¢L¢¢l¢¢),                              (3)

где S1 — прочность связей сдвига в вертикальном стыке между продольными и поперечными стенами; Gw,in, Gl — соответственно вес панели поперечной стены и приходящаяся на нее нагрузка от лоджии; G¢w,ex, G¢¢w,ex ¾ соответственно веса панелей наружных стен, примыкающих с двух сторон к разрушенной поперечной стене; q', q¢¢ — равномерно распределенная нагрузка па плиты перекрытия; L', L", 1', 1" размеры плит перекрытий, опирающихся на разрушенную стену.

Рис. 4. Варианты механизма прогрессирующего обрушения I типа

Если плиты перекрытия заведены в продольные и поперечные стены (платформенные стыки), они образуют между ними практически неразрушимую связь сдвига. В этом случае рассматриваются лишь такие разновидности механизма обрушения I типа, которые возможны при ослаблении поперечной стены дверными проемами (см. рис. 4, б, в). При этом условие (2) принимает вид

WIw,in + WIp ³ UIw,in + UIp + Uw,ex,                                           (4)

где WIw,in, UIw,in соответственно работа внутренних и внешних сил на перемещениях отдельных частей панели внутренней стены; WIp, UIp соответственно работа внутренних и внешних сил, приложенных к плитам перекрытий; Uw,ex работа внешних сил, приложенных к наружным панелям.

Работа WIw,in определяется сопротивлением изгибу над- и подпроемных перемычек и в общем случае определяется соотношением

WIw,in = (M¢sup + M¢¢sup + M'inf + M"inf)/b,                      (5)

где M¢sup, M¢¢sup, M'inf , M"inf   соответственно прочности при изгибе левого и правого опорных сечений верхней и нижней перемычек, a b пролет перемычек.

Если поперечная стена отделена от продольной дверным проемом и связь между ними отсутствует, то WIw,in = 0. Если связь между поперечной стеной и продольной осуществляется перемычкой — «флажком» (см. рис. 4, в), то прочность левого опорного сечения (M¢sup) определяется прочностью горизонтальной линейной связи (S2); при этом прочность сдвиговой связи в соответствии с рекомендациями п. 4 должна удовлетворять условию

S1 ³ l,5 M¢¢sup/b.                                                         (6)

Работа Uw,in определяется весом обрушающейся части панели внутренней стены аGw,in, (где Gw,in вес всей панели, 0 < а < 1) и приложенной к ней вертикальной нагрузкой от навесной лоджии (Gl)

UIw,in = аGw,in + Gl.                                                   (7)

Работа внешних и внутренних сил, приложенных к плитам перекрытий, первоначально опертых по трем сторонам, определяется их пластическим изломом по схеме, показанной на рис. 4, б, в, и вычисляется по формулам

WIp = W¢Ip + W¢¢Ip; Up = U¢Ip + U¢¢Ip,                                      (8)

где

                          (9)

li, Li пролет i-й плиты в направлении продольных стен и пролет в поперечном для здания направлении; М1i (М¢1i), М2i (М'2i) изгибающие моменты, воспринимаемые i-й плитой перекрытия при ее изгибе по балочной схеме соответственно вдоль пролетов li, и Li при растяжении нижних волокон (верхних волокон); t ширина дверного проема во внутренней стене (см. рис. 4, б, в); f — привязка начала проема к внутреннему торцу.

Если перекрытие выполнено из балочных плит, то в неравенстве (9) принимается

WIp = 0; UIp = 0,5 (q¢L¢l¢ + q¢¢L¢¢l¢¢).                                       (10)

Работа сил, обусловленных весом наружных панелей, примыкающих к поврежденной стене слева и справа (G¢w,ex и G¢¢w,ex) приблизительно вычисляется так:

Uw,ex = 0,5(G¢w,exW¢w,ex + G¢¢w,ex W¢¢w,ex).                                 (11)

Выполнение требования (4) является необходимым условием предотвращения прогрессирующего обрушения здания, при сравнительно небольших перемещениях (менее 10 см) конструкций, потерявших опору. Если оно выполнено, следует перейти к проверке дополнительных условий, изложенных в пп. 9 — 11.

Если же условие (4) не соблюдается, возможны два варианта:

первый — усилением (или перераспределением) арматуры перемычек внутренних стен и плит перекрытий добиться его выполнения;

второй — перейти к другим конструктивным способам защиты от прогрессирующего обрушения, допускающим очень большие перемещения (десятки сантиметров) элементов, потерявших опору и требующих соответственно выполнять расчет по деформированной схеме (см. п. 12).

9. Механизм прогрессирующего обрушения второго типа характеризуется одновременным поворотом каждой стеновой панели, расположенной над локальным разрушением, вокруг своего центра вращения (рис. 5). Такое смещение требует разрушения растянутых связей этих панелей с неповрежденной стеной (S2; на рис. 5, а), разрушения связей сдвига стеновых панелей с плитами перекрытий в горизонтальных стыках (S3 на рис. 5) и пластического излома плит перекрытий, первоначально опертых по трем сторонам, по схеме, приведенной на рис. 5, г.

Рис. 5. Механизм прогрессирующего разрушения II типа

В рассматриваемом случае условие (2) принимает вид

WIIt + WIIp ³ UIIw,in + UIIp + Uw,ex,                                           (12)

где WIIp, UIIw,in, UIIp, Uw,ex ¾ то же, что и величины WIp, UIw,in, UIp, UIw,ex в (4), a WIIt — работа сил сопротивления связей (S2 и S3) меновых панелей, потерявших опору, с неповрежденными конструкциями. Отдельные слагаемые из (12) вычисляются следующим образом:

WIIt = S2y2/L + S3h/L;                                               (13)

UIIw,in = Gw,inx/L + Gl,                                               (14)

где y2, h, x расстояния от центра вращения до линии действия усилий S2, S3 и силы тяжести Gw,in (см. рис. 5); WIIp, UIIp — вычисляются по формулам (8) при соответствующей замене верхнего индекса, причем

WIIpi = (M'1i/li + M¢2i/Li)wi; UIIpi = qiLiliui/6.                         (15)

Здесь все величины имеют тот же смысл, что и в (9); величина Uw,ex вычисляется по формуле (11).

Выполнения условия (12) следует добиваться прежде всего за счет увеличения связей сдвига (S3), так как увеличение прочности растянутой связи (S2) не всегда возможно (рис. 5, б), а иногда и нецелесообразно: если к продольной стене прикрепляется поперечная стена лишь с одной стороны, то для учета этой связи в расчете необходимо оценить прочность продольной стены на изгиб из ее плоскости (см. рис. 5, в).

10. Помимо условий необрушения (4) и (12) необходимо оценить возможность обрушения лишь одних плит перекрытий, расположенных непосредственно над выбитой панелью поперечной стены и первоначально опертых по трем сторонам (третий механизм).

Для того, чтобы эти плиты не обрушивались, достаточно выполнить условие

WIIp ³ UIIp + Uw,exS4ww,ex,                                      (16)

где S4 прочность сдвиговой связи между навесной панелью и поперечной стеной (рис. 6); в формуле (16) S4 принимается по расчету, но не более величины Uw,ex.

Рис. 6. Схема обрушения плит перекрытий

Если соотношение (16) не выполняется, это значит, что плиты необходимо прикрепить к вышерасположенной поперечной стене связями, воспринимающими растяжение (рис. 6). Тогда условие (16) заменяется следующим:

WIIp + WIIIt ³ UIIp + Uw,exS4ww,ex,                          (17)

где WIIItработа сил растяжения связей S5. Эта работа вычисляется по формуле

WIIIt = nS5wx5/L,                                                        (18)

n число связей; x5 координата, определяемая линией действия равнодействующей реакции рассматриваемых связей в предположении, что все они достигли своего предельного значения — S5.

Если перекрытия выполнены из балочных плит, условие (16) не выполняется (WIIp = 0); поэтому в этом случае постановка связей рассматриваемого типа обязательна. При этом их прочность определяется величиной опорных реакций каждой балочной плиты.

11. Четвертый механизм обрушения предусматривает перемещения конструкций лишь одного этажа, расположенного непосредственно над выбитой панелью поперечной стены (рис. 7). Этот механизм предполагает сочетание поступательного перемещения поперечной стены (как в первом механизме) с изломом плит, характерным для второго механизма (см. рис. 5, в, г). Такой механизм возможен лишь при ослаблении поперечной стены дверными или оконными проемами.

Рис. 7. Схема обрушения конструкций одного этажа

Условие невозможности образования механизма рассматриваемого типа

WIw,in(1 ‑ c/L) + WIIp + WIVt ³ (1 ‑ c/L)UIw,in + UIIp + Uw,exS4(ww,exww,in), (19)

где WIVt работа сил растяжения вертикальных связей типа S5 и S6;

                      (20)

где k число связей шестого типа; S6, S5 предельные усилия в связях шестого и пятого типа; wi — перемещения по направлению i-й связи пятого типа, они определяются как разность перемещений точки прикрепления связи к плите и точки прикрепления связи к панели поперечной стены.

Если при отсутствии связей шестого типа (S6 = 0) условие (19) не выполняется, не рекомендуется добиваться его выполнения за счет усиления связей пятого типа — это неэкономично, поскольку эти связи, как следует из уравнения (20), работают неравномерно. В этом случае наиболее рациональное решение — поставить связи шестого типа и образовать связь по типу, описанной в п. 5.

12. Если при локальном разрушении внутренней поперечной стены не удастся обеспечить выполнение условия (4), то есть не удается предотвратить прогрессирующее обрушение по первой схеме (см. рис. 4), рекомендуется специальными связями плит перекрытий обеспечить их эффективное сопротивление прогрессирующему обрушению, при больших прогибах как элементов висячей системы (рис. 8). Такой прием обычно оказывается целесообразнее и необходим при локальном разрушении поперечной стены, значительно удаленной от остальных несущих стен и связанной с ними только балочными плитами перекрытий или слабоармированными большепролетными плитами, первоначально опертыми по трем сторонам.

Рис. 8. Работа плит перекрытий как элементов висячей системы

Требования, которым должны удовлетворять связи и плиты, образующие висячую систему, вытекают из расчета по деформированной схеме (см. рис. 8, б): цепь последовательно соединенных элементов (связь — плита — связь — плита — связь) должна включать очень пластичное звено, которое обеспечивало бы общее удлинение цепи порядка нескольких процентов (естественно, при этом в плитах допускаются какие угодно трещины). Для выполнения этого условия необходимо, чтобы

                           (21)

где G погонная нагрузка, приходящаяся на разрушенную стену с каждого этажа

G = 0,5q(l¢ + l¢¢) + Gw,in/L;

N погонная несущая способность слабейшего звена висячей цепи; e —расчетное относительное удлинение плиты с меньшим пролетом (точнее — относительное увеличение расстояния между точками стыковки этой плиты с другими плитами); w — прогиб, при котором достигается равновесие; lmin, lmax соответственно минимальный и максимальный пролеты.

Соотношения (21) получены из предположения, что в силу случайной изменчивости сопротивлении материалов максимальное возможное удлинение реализуется лишь в одной плите. Таким образом, в случае lmin = lmax = l при e = 4 ¸ 6 % из (21) следует, что N = (2 ¸ 2,5) и w = (0,2 ¸ 0,25)l.

Максимально возможное относительное удлинение плиты существенно зависит от конструктивного решения ее арматуры и связей между плитами, от соотношения прочностей отдельных элементов, от их пластичности, от прочности соединения этих элементов; теоретически определить эту величину в общем случае не удается и поэтому каждое конкретное конструктивное решение рекомендуется оценивать экспериментально.

Особенности расчета зданий перекрестно-стеновой конструктивной системы с наружными стенами из бетонных или железобетонных панелей

13. Для расчета зданий с железобетонными наружными стенами следует использовать те же основные типы механизмов прогрессирующего обрушения, что и для зданий с ненесущими наружными стенами из легких небетонных материалов. При этом однако необходимо учитывать, что для образования этих механизмов требуется разрушение не только внутренних стеновых панелей и плит перекрытий, но и наружных стеновых панелей, которые в рассматриваемом случае обязательно включаются в работу, даже если они запроектированы навесными.

Наружные стеновые панели с проемом, независимо от типа механизма общего прогрессирующего обрушения, работают на перекос как прямоугольные рамы (рис. 9). При этом, если плиты перекрытий заведены в наружные стены, то они тоже вовлекаются в работу и характер их разрушения меняется — к основным пластическим шарнирам, показанным на рис. 4 и 5, добавляются шарниры, связанные с изломом внешнего края плиты (рис. 10). При проверке возможности обрушения одних плит перекрытий (см. п. 10) этих шарниров нет.

Рис. 9. Работа элементов наружных стен

Рис. 10. Работа плит перекрытий в зданиях с железобетонными наружными стенами

Для того, чтобы учесть сопротивление наружных стен прогрессирующему обрушению и связанное с ними дополнительное сопротивление плит перекрытий, нужно вычислить работу соответствующих внутренних сил (Ww,ex) по п. 14 и использовать ее при проверке условий равновесия, указанных в п. 15.

14. Для того, чтобы учесть сопротивление наружной стены прогрессирующему обрушению, нужно вычислить работу внутренних сил при разрушении панелей наружных стен типового этажа (Ww,ex). Поскольку при локальном разрушении внутренней стены прогрессирующему обрушению на каждом этаже сопротивляются две панели наружной стены (или одна двухмодульная), величина Ww,ex в общем случае рассматривается как сумма слагаемых

Ww,ex = W¢w,ex + W¢¢w,ex.                                                             (22)

Величина работы W¢w,ex (W¢¢w,ex) зависит от соотношения геометрических размеров панели и армирования ее перемычек и простенков, а также от наличия в ней проема для балконной двери. В общем случае любую наружную панель можно рассматривать как раму, разрушающуюся вследствие образования в ней четырех пластических шарниров (см. рис. 9, б, в), так что

 (23)

При этом предельные изгибающие моменты, действующие в угловых шарнирах (например, M¢sup в левом верхнем углу), определяют как наименьшие из двух величин несущих способностей по изгибу перемычки и простенка, образующих этот угол.

В случае локального разрушения поперечной стены, примыкающей к углу здания, панель наружной стены может разрушиться по схеме поворота жесткого диска (см. рис. 9, a); при этом работа внутренних сил будет определяться прочностью сдвиговой связи этой панели с вышележащим перекрытием (V) и растянутой связи с соседней фасадной панелью (S)

Ww,ex = (S + V)h/l.                                                     (24)

Из двух возможных значений Ww,ex, определенных по формулам (23) и (24), в дальнейших расчетах учитывается меньшее.

15. Для учета сопротивления наружной стены прогрессирующему обрушению прежде всего необходимо убедиться в том, что она «несет сама себя», то есть проверить условие

Rw,ex = Ww,exUw,ex > 0,                                                           (25)

в котором работа внешних сил Uw,ex определяется по формуле (11).

В тех случаях, когда условие (25) не выполняется (Rw,ex < 0), весь дальнейший расчет проводится точно так же, как для зданий с продольными ненесущими стенами из легких небетонных материалов по рекомендациям пп. 8 11 с той лишь разницей, что во всех соотношениях работа Uw,ex заменяется величиной Rw,ex. Если же условие (25) выполняется, то дальнейший расчет определяется конструктивным решением сопряжения плит перекрытий и наружной продольной стены.

Если плиты перекрытия не заведены в наружную стену, необходимо, чтобы прочность соединения внутренней панели поперечной стены и нацелен наружных стен при их взаимном сдвиге (S4) удовлетворяла условию

S4W > Rw,ex                                                  (28)

В этом случае проверка возможности прогрессирующего обрушения проводится последовательно по рекомендациям пп. 8 11 со следующими незначительными изменениями:

в соотношениях (4) и (12) работа Uw,ex заменяется величиной — Rw,ex;

в формулах (16), (17) принимается, что Uw,ex = S4ww,еx;

в формуле (19) принимается Uw,exS4(ww,еx ww,im) = ‑Rw,ex.

Если плиты перекрытий заведены в наружную стену, то сдвиговая связь между внутренней поперечной и продольной наружной стенами может не ставиться (S4 = 0), и для оценки защиты здания от прогрессирующего обрушения проверяются лишь условия (4) и (12) при

Uiw,ex = Riw,ex Wip,bor,                                                             (27)

где Wip,bor дополнительная работа плит перекрытий, связанная с изломом их внешнего края, заведенного в наружную стену; эта работа зависит от типа рассматриваемого механизма прогрессирующего обрушения.

Сопротивление внешнего края плиты перекрытия, заведенного в наружные стены, создает дополнительную работу внутренних сил, вычисляемую для механизма обрушения первого типа (см. рис. 10, а) для i-й плиты

       (28)

где ei, di, Si — привязки краевых шарниров в плите, а остальные величины те же, что в (9).

Для механизма обрушения второго типа

 (29)

При использовании формулы (27) следует помнить, что она применима только при Rw,ex > 0,  то есть при Uw,ex = ‑ (Rw,ex + Wp,bor) < 0.

При проверке невозможности обрушения одних лишь плит перекрытий по формулам (16), (17) принимать Uw,exS4wW,ex = 0.

В формуле (19) при этом принимается:

если S7w > Rw,ex, то Uw,ex = ‑ Rw,ex;

если S7w £ Rw,ex, то Uw,ex = S7w; Ww,ex = 0,                                                         (30)

где Si — несущая способность связи растяжения между наружной стеной и перекрытием.

Пример расчета устойчивости конструкций против прогрессирующего обрушения при аварийных воздействиях применительно к 9-этажным крупнопанельным домам

1. Исходные данные. Конструктивная система здания — поперечно-стеновая со смешанным (600 + 300 см) шагом поперечных несущих стен (рис. 11). Высота этажа hf = 280 см. Наружные стены толщиной 35 см однослойные керамзитобетонные, в шаге 600 см — двухмодульные, в шаге 300 см — одномодульные; внутренние стены толщиной 16 см из тяжелого бетона В15 (рис. 12 и табл. 3). Плиты перекрытий сплошные толщиной 16 см из тяжелого бетона В15 и В20, армированного нижней сеткой.

Pис. 11. Фрагмент жилого дома

Рис. 12. Стеновые панели

Характеристика панелей

Обозна­чение

Едини­ца изме­рения

Наруж­ные стены

Внут­ренние стены

Плиты перекрытий

 

 

 

 

 

П1

П2, ПЗ

Класс бетона

Вb

¾

В7,5

B15

B15

B20

Нормативное сопро­тивление бетона осевому сжатию

Rbп

МПа

5,5

11

11

15

Нормативное сопро­тивление бетона осевому растяжению

Rbt,n

МПа

0,7

1,15

l,15

1,4

Коэффициенты условий

yb1

¾

1,25

1,25

1,25

1,25

работы

yb2

¾

1,15

1,15

1,15

1,15

Толщина панели

tw

мм

350

160

160

160

Нормативные нагрузки на перекрытия: постоянная нагрузка g = 5,8 кН/м2; длительная (часть временной нагрузки) ql = 0,5 кН/м2. Всего q = (g + ql) = 6,3 кН/м2.

Нормативная нагрузка на лоджии gl = 0,6 кН/м2.

Расчет производится по прил. 1. Несущие способности элементов определяют по СНиП 2.03.01—84. Наиболее опасные случаи расположения гипотетических локальных разрушений на плане здания в соответствии с п. 7 показаны на рис. 11. Здесь для примера рассмотрены схемы разрушений № 1 и № 2.

2. Проверка устойчивости здания при локальном разрушении его несущих конструкций по схеме № 1. (рис. 13). Рассматривается обрушение конструктивной ячейки в осях 1 3 и Б — В i-го этажа. Первично разрушается панель внутренней стены по оси 2 между осями Б и В и примыкающие к ней простенки панелей наружных стен по оси Б. Проверяется невозможность обрушения зависших над локальным разрушением конструкций перекрытий и стеновых панелей. Прогрессирующему обрушению в данном случае сопротивляются на каждом этаже две плиты П1; связи растяжения второго типа, соединяющие внутреннюю поперечную стену с продольной внутренней стеной; связи сдвига между наружными стенами и внутренней; две наружные стеновые панели, разрушающиеся как рамы с образованием четырех пластических шарниров (см. п. 14).

Рис. 13. 1-я схема излома элементов фрагмента

2.1. Расчет несущей способности отдельных сечений конструктивных элементов.

2.1.1. Панель наружной стены НС1. Расчетное сопротивление материалов определяют по указаниям п. 3 настоящего приложения.

Бетон: Rbnyb2yb3/yb = 5,5/1,15 × 1,15 × 1,25 = 6,9 МПа; Rbt = Rbt,nyb2yb3yb = 0,7 × 1,15/1,25 × 1,25 = 0,805 МПа.

Арматура диаметром 8 мм класса А-III Rs =390/l,05 × 1,1 = 408 МПа.

Верхняя перемычка

Несущая способность по изгибу верхней перемычки определяется по СНиП 203.01—84 при Аs = 1,508 см2 (3 стержня диаметром 8 мм из стали класса A-III); b = 35 см; h = 29 см; ho = 29 — 3 = 26 см.

Сечение симметричное.

Высота сжатой зоны x = (RsAs)/(Rbb) = (408 × 150,8)/(6,9 × 350) = 25,5 мм

Несущая способность сечений М1 = М2 = Rbbx(ho ‑ 0,5x) = 6,9 × 350 ´ 25,5(2600,5 × 25,5) = 15,2 × 106 Н×мм = 15,2 кН×м.

Невозможность хрупкого разрушения элементов наружной панели проверяется в соответствии с требованиями п. 5. При разрушении наружной стены так, как показано на рис. 13, б, величина поперечной силы, соответствующей возникновению предельных изгибающих моментов в верхней перемычке с коэффициентом 1,5, равна: Q = 1,5(M1 + М2)/lin = 1,5(15,2 + 15,2)/1,61 = 28,3 кН.

Поперечное армирование составляют хомуты из 3 стержней диаметром 5 мм из стали класса Вр-1, шаг s = 200 мм: As = 0,59 см2; Rsw = 395/1,2 × 1,1 × 0,8 × 0,9 = 261 МПа.

Прочность по наклонной полосе между наклонными трещинами проверяется из условия: Q £ 0,3jw1jb1Rbbh2o mw = Asw/(bs) = 59/(350 ´ 200) = 0,00084; a = Es/Eb = (17 × 104)/(16 × 103) = 10,6; jw1 = 1 + 5amw = 1 + 5 × 10,6 × 0,00084 = 1,04; b = 0,02; jb1 = 1 ‑ bRb = 1 ‑ 0,02 × 6,9 = 0,862; 0,3jw1jb1Rbbho = 0,3 × 1,04 × 0,862 × 6,9 × 350 × 260 = 169 000 Н = 169 кН > 28,3 кН.

Условие прочности выполняется.

Прочность по наклонной трещине проверяем по условию Q £ Qb + Qsw, где Qb = jb2(1 +jf + jn)Rbtbh2o/c, jb2 = 1,9; jf = 0; jn = 0; (1 + jf + jn) = 1.

Проверка производится дважды: для с = 200 мм и для со. с = 200 мм, Qsw = 0; Qb = (l,9 × 0,805 × 350 × 2602)/200 = 180,9 × 103 = 180,9 кН > 28,3 кН.

Условие прочности выполняется.

 где qsw = (RswAsw)/S = (261 × 59)/200 = 77 Н/мм;  Qsw = qswco = 77 × 686 = 52822 Н = 52,8 кН; Qb = (1,9 × 0,805 × 350 × 2602)/686 = 527,52 Н > 52,8 кН; Qb + Qsw = 52,8 × 2 = 105,6 кН; 28,3 кН < 105,6 кН.

Условие прочности выполняется.

Нижняя перемычка

Предельные изгибающие моменты для нижней перемычки определяются аналогично.

Нижняя арматура 2 стержня диаметром 8 мм из стали класса А-III As = 1,005см2; h = 10 cм; ho = 8см; linf = 0,89 м; М1 = 2,9 кН×м.

Верхней арматуры в перемычке нет, M2 = 0. Q = (1,5 × 2,9)/0,89 = 4,9 кН.

Поперечная арматура отсутствует.

Условие прочности: Q £ jb3 (1 + jn)Rbtbh2o, где jb3 = 0,5; jn = 0; jb3 (1 + jn)Rbtbh2o = 0,5 × l × 0,805 × 350 × 80 × 10-3 = 11,3 кН. 4,9 < 11,3.

Условие прочности выполняется.

Простенки

Несущая способность по изгибу простенков заведомо больше, чем перемычек, так как высота сечения более узкого простенка вдвое больше высоты сечения верхней перемычки при соотношении площадей арматуры 1 : 5.

Проверка прочности простенков по поперечной силе дает удовлетворительные результаты и здесь не приводится.

Предельные изгибающие моменты, действующие в угловых шарнирах рамы наружной панели НС1, принимаются из расчета перемычек по изгибу: M¢sup = M¢¢sup = 15,2 кН×м; M¢¢inf = 2,9кН×м; M¢¢inf = 0.

2.1.2. Несущая способность сечений плиты перекрытия П1.

Плиты перекрытий П1 железобетонные (см. табл. 3) размером на комнату, запроектированные на работу при опирании по четырем сторонам, верхней арматуры не имеют, несущая способность их сечений по изгибу при растяжении верхних волокон равна нулю: M¢1 = M¢2 = 0.

Несущая способность поперечного сечения плиты П1 по изгибу при растяжении нижних волокон при изгибе вдоль короткой стороны определяется по СНиП 2.03.01—84 при b = 540 см; ho = 14 см; As = 10,05 см2 (20 стержней диаметром 8 мм из стали класса А-III); Rs = 405 МПа, бетон класса В15, Rb = 3,8 МПа и равна M1 = 49,4 кН×м.

Несущая способность сечения при изгибе вдоль длинной стороны определяется при b = 300 см, h = 16 см; ho = 14,7 см; Аs = 1,76 см2 (14 стержней диаметром 4 Вр-1), Rs = 370 МПа и равна М2 = 9,7 кН×м.

2.1.3. Несущая способность связей.

а) Связи сдвига третьего типа в конструкции отсутствуют, то есть S3 = 0.

б) Связь растяжения второго типа между внутренними стенами состоит из двух стержней диаметром 12 мм из стали класса А-I (Ast = 2,26 см2) с расчетным сопротивлением Rs = 235/1,1 × 1,1 = 235 МПа.

Несущая способность связи S2 = 235 × 226 = 53110 Н = 53,1 кН.

2.2. Оценка возможности возникновения механизма прогрессирующего обрушения первого типа.

Поскольку плиты перекрытий заведены в стены, а внутренняя поперечная стена не имеет дверного проема, первый механизм обрушения невозможен (см. п. 8 настоящего приложения).

2.3. Оценка возможности возникновения механизма прогрессирующего обрушения второго типа.

Расчет производится в соответствии с пп. 9 (см. рис. 13), 13 — 15 настоящего приложения.

2.3.1. Анализ сопротивления наружных стен. Поскольку в данном примере рассматривается здание с наружными стенами из железобетонных панелей, в соответствии с указаниями п. 14, расчет следует начинать с оценки сопротивления, прогрессирующему обрушению панелей наружных стен и лишь после этого переходить к проверке возможности образования различных типов механизмов прогрессирующего обрушения, изложенной в пп. 8 — 11. Оценка сопротивления наружных стеновых панелей прогрессирующему обрушению производится по формулам (22), (23).

Слева и справа одинаковые панели НС 1, их разрушение одинаково, предельные изгибающие моменты приняты по п. 2.1.1: M¢sup = M¢¢sup = 15,2 кН×м; M¢inf = 2,9кН×м; M¢¢inf = 0; lsup = 1,61 м; linf = 0,89 м; w = 1.

Работа внутренних сил определяется по формуле (23): W'w,ex = W¢¢w,ex = (15,2 × 2/1,61 + 2,9/0,89)1 = 22,1 кН, Ww,ex = 2 × 22,l = 2 кH.

Работа сил веса определяется по формуле (11) при G¢w,ex = G¢¢w,ex = 26,6 кН; Uw,ex = 2 × 0,5 × 26,6 × 1 = 26,6 кН.

Проверяется условие (25): Rw,ex = Ww,exUw,ex > 0, Rw,ex = 44,2 26,6 = 17,6 кН > 0.

Условие выполнено.

2.3.2. Сопротивление обрушению плит перекрытий. Плиты перекрытий заведены в наружные стены, поэтому для них определяется сопротивление их внешнего края по п. 15. Левая и правая плиты одинаковы, схемы излома их также одинаковы и показаны на рис. 13, в. Изгибающие моменты, воспринимаемые сечениями плиты П1, принимаются по п. 2.1.2: M¢1 = M¢2 = 0; М1 = 49,4 кН×м; М2 = 9,7 кН×м.

Сопротивление внешнего края плиты перекрытия, заведенного в наружные стены, подсчитывается по формуле (29) настоящего приложения, которая в случае M¢1 = M¢2 = 0 принимает вид WIIpi,bor = si(M1i/Li + M2i/li)wi/di, тогда при s1 = s2 = 0,6 м и d1 = d2 = l,61 м для каждой плиты получим:

WIIp1,bor = WIIp2,bor = 0,6/1,61(49,4/5,4 + 9,7/3) × = 4,6 кН; WIIp,bor = WIIp1,bor + WIIp2,bor = 2 × 4,6 = 9,2 кH.

Теперь по формуле (27) определяем Uw,ex = ‑Rw,exWp,bor = ‑17,6 ‑ 9,2 = ‑26,8 кН×м и далее весь расчет производится в соответствии с требованиями п. 9.

Работа внутренних и внешних сил на перемещениях плит перекрытий подсчитывается по формулам (15): WIIp = WIIp1 = WIIp2 = 0 при

М'11 = М¢12 = М'21 = М'22 = 0;  

 

2.3.3. Работа связей определяется по формуле (13), которая при S3 = 0 примет вид: WIIt = S2y2/L.

В п. 2.1.3 определено S2 = 53,l кН; y2 = 2,6 м (высота стены); L = 5,4 м; WIIt = 53,1 × 2,6/5,4 = 25,5 кН.

2.3.4. Работа поперечной внутренней стены. Панель внутренней стены поворачивается как жесткий диск, при этом работа сил веса определяется по формуле (14) UIIw,in = Gw,inx/L + G1, где Gw,in = 54,9 кН; G1 = 2,2 кН; x = 0,5L; UIIw,in = 54,9 × 0,5 + 2,2 = 29,7 кН.

2.3.5. Проверка общего условия невозможности образования механизма второго типа. Проверка производится по формуле (12)

WIIt + WIIр > UIIw,in + UIIр + Uw,ex; WIIt + WIIр = 25,5 кН;

UIIw,in + UIIр + Uр,ex = 29,7 + 25 ‑ 26,8 = 27,9 кН > 25,5 кН.

Условие равновесия не выполняется. Необходимо или усилить связь второго типа, или поставить связи третьего типа.

В последнем случае необходимая несущая способность связей с учетом формулы (13) определяется S3 = (27,9 — 25,5)L/h = (2,4 × 5,4)/ 2,6 = 5 кН, что соответствует площади сечения стержня из стали А-I As = 5 × 10/235 = 0,21 см2.

2.4. Оценка возможности возникновения механизма прогрессирующего обрушения третьего типа. Проверка производится в соответствии с п. 10. Для третьего механизма обрушения рассматривается обрушение одних только плит перекрытий, расположенных непосредственно над выбитыми панелями, защемление плит в этих панелях не реализуется и в соответствии с требованиями п. 15 настоящего приложения в формулах (16) и (17) нужно принимать Uw,ex S4wwex = 0. Тогда формула (16) примет вид: WIIр ³ UIIр, где WIIр = 0, UIIр = 25 кН (см. п. 2.3.2).

Условие (16) не выполняется (0 < 25), следовательно, необходимо установить связи растяжения между плитой и вышерасположенной стеной. При установке на внешнем углу каждой плиты связи диаметром 10 мм из стали класса А-I получим S5 = 18,4 кН, x5 = L, w = 1. Тогда проверяется условие (17), которое при WIIр = 0 и Uw,ex S4wwex = 0 запишется WIIIt ³ UIIр, где WIIIt = nS5x5w/L = 2 × 18,4 = 36,8 кН > 25 кН, условие необрушения соблюдается.

2.5. Оценка возможности возникновения механизма прогрессирующего обрушения четвертого типа. Так как внутренняя поперечная стена не имеет проемов, а плиты перекрытий заведены в стены, этот механизм обрушения невозможен (см. п. 11).

3. Проверка устойчивости здания при локальном разрушении его несущих конструкций по схеме № 2. Рассматривается обрушение конструктивной ячейки в осях 2 — 5 и А — В (рис. 14) на i-м этаже здания. Первично разрушается панель внутренней стены по оси 3 между осями А и В и примыкающие к ней два простенка наружных стен по осям А и Б. Проверяется невозможность обрушения зависших над этим локальным разрушением конструкций перекрытий и стеновых панелей. Прогрессирующему разрушению в данном случае сопротивляются на каждом этаже панель внутренней стены; связи сдвига и растяжения, соединяющие ее с внутренними продольными стенами; плиты перекрытий слева и справа от оси 3; наружные стены и связи сдвига между наружными стенами и панелью внутренней стены.

Рис. 14. 2-я схема излома элементов фрагмента

3.1. Расчет несущей способности отдельных сечений конструктивных элементов.

3.1.1. Панель наружной стены НС1. Несущие способности сечений панели при изломе ее (как рамы с четырьмя пластическими шарнирами) примем по результатам расчета, приведенного в п. 2.1.1: M¢sup = M¢¢sup = 15,2 кН×м; M'inf = 2,9 кН×м; M¢'inf = 0.

3.1.2. Панель наружной стены НС2. Панель двухмодульная, при потере одной опоры работает как рама с образованием четырех пластических шарниров.

Предельные изгибающие моменты в сечениях верхней перемычки. При Rb = 12,6 МПа; Rs = 405 МПа; Аs = 1,01 см2; b = 35 см, h = 46 см определяют по аналогии с перемычками панели НС1, и равны М1 = М2 = 17,3 кН×м.

Предельные изгибающие моменты в сечениях подоконной перемычки при Аs = 1,01 см2; b = 35 см, h = 87 см, равны М1 = М2 = 34,5 кН×м.

Несущая способность простенков по изгибу заведомо больше, чем перемычек, так как при одинаковом с перемычкой армировании они имеют большую высоту сечения.

Проверка возможности разрушения панели от действия поперечной силы производится так, как это показано в расчете панели НС1. Здесь этот расчет не приводится, он дает удовлетворительный результат.

Предельные изгибающие моменты, действующие в угловых шарнирах рамы, равны M¢w,sup = M¢¢w,sup = 17,3 = 17,3 кН×м; M¢w,inf = M¢¢w,inf = 34,5 кН×м.

3.1.3. Плиты перекрытий. Предельные моменты в сечениях плиты П1 принимаются из расчета, приведенного в п. 2.1.2: М¢11 = М¢21 = 0; М11 = 49,4 кн×м; М21 = 9,7 кН×м.

Плита перекрытия П2 не имеет верхней арматуры, следовательно М'12 = М¢22 = 0. При характеристиках h = 16 см, бетон класса М20, Rb = 18,8 МПа определяют несущие способности сечений.

Изгиб вдоль короткой стороны: b = L = 600 см, ho = 14,5 см, Аs = 6,09 см2 (31 стержень диаметром 5мм из проволоки класса Вр-I); Rs = 362 МПа, M12 = 32,l кH×м. Изгиб вдоль длинной стороны: b = l = 300 см; ho = 13 см; As = 35,41 см2 (23 стержня диаметром 14 мм из стали класса А-III); Rs = 405 МПа; М22 = 150,4 кН×м.

Плита перекрытия П3 по размерам, классу бетона, высоте сечения и армированию аналогична плите П2, следовательно несущие способности по изгибу ее сечений равны M¢13 = М¢23 = 0; М13 = 32,1 кН×м; М23 = 150,4 кН×м.

3.1.4. Панель внутренней стены. Прочность по изгибу сечения перемычки — «флажка» определяется по аналогии с сечениями перемычек наружных стен при характеристиках: h = 52,5 см; Rb = 13,8 МПа; b = 16 см; Аs = 1,508 см2, Rs = 405 МПа. Предельный изгибающий момент М¢¢sup = 29,7 кН×м.

Прочность сдвиговой связи S1 определяется по рекомендациям п. 5.36 и формуле (124). Пособия: S1 = hfrRsAs,tr, где hfr = 0,7; Rs = 235 МПа, As,tr = 2,260 cм2 (2 стержня диаметром 12 мм из стали класса А-I), S1 = 0,7 × 235 × 226 × 10-3 = 37,2 кН. Далее проверяется условие (6) S1 > l,5 М¢¢suр/b, l,5 М¢¢suр/b = l,5 × 29,7/1,35 = 33 кН < 37,2 кН, условие удовлетворяется.

Прочность горизонтальной связи растяжения определяет прочность левого опорного сечения перемычки. Рассмотренная в предыдущем пункте связь при работе на растяжение имеет прочность S2 = 235 × 0,226 = 53 кН. Сопротивление изгибу левого сечения перемычки М¢suр = S2ho = 53(52,5 1,5) = =27 кН×м. Здесь принимается, что прочность анкеровки связи и прочность примыкающей стены не менее прочности связи на растяжение. Нижняя перемычка в проеме отсутствует и М'inf = М'¢inf = 0.

3.1.5. Связи сдвига четвертого типа

Эти связи соединяют наружные панели с внутренней стеной. Прочность каждой связи определяется по аналогии со связью сдвига S1, при As,tr = 1,13 см2; S4 = 0,7 × 235 × 0,113 = 18,6 кН.

3.2. Оценка возможности возникновения механизма прогрессирующего обрушения первого типа (см. рис. 14). Расчет производится в соответствии с п. 8 и с учетом пп. 13 — 15.

3.2.1. Анализ сопротивления наружных стен.

а) Схема разрушения левой панели НС1 отличается от описанной в 2.3.1 только величиной рабочего пролета надоконной перемычки. При расположении балконной двери ближе к обрушаемой внутренней стене, чем окно lsup = linf = 0,89 м. Предельные изгибающие моменты приняты по п. 2.1.1 M¢sup = M¢¢inf = 15,2кН×м; M¢inf = 0; M¢¢inf = 2,9 кН×м. По формуле (23) вычисляем W¢w,ex = (5,2 × 2/0,89 + 2,9/0,89) 1 = 37,4 кН.

б) Наружная панель НС2 имеет оконный проем, где lsup = linf = 0,91 м; предельные моменты приняты по п. 3.1.2 M¢sup = M¢¢sup = 17,3 кH×м; M¢inf = M¢¢inf = 34,5 кН×м; w = 1; по аналогии с НС1 вычисляется: W¢¢w,ex = (2 × 17,3 + 2 × 34,5)/0,91 = 113,8 кН.

в) Сумма работ внутренних сил наружных панелей вычисляется по формуле (22) Ww,ex = W¢w,ex + W¢¢w,ex = 151,2 кН.

Работа сил веса наружных стен определяется по формуле (11) п. 8, но так как панель НС2 двухмодульная, в формулу подставляется не полный вес панели, а половина его. Тогда: Uw,ex = 0,5(G¢w,ex + 0,5G¢¢w,ex) = 0,5(26,6 + 0,5×68,7) = 30,5 кН.

Затем проверяется условие (25) Rw,ex = WW,ex Uw,ex > 0. Rw,ex = 113,8 — 30,5 = 83,3 кН > 0, условие выполнено.

3.2.2. Сопротивление обрушению плит перекрытий.

а) Левая плита перекрытий имеет характеристики: М¢11 = M¢21 = 0; М11 = = 49,4 кН×м; М21 = 9,7 кН×м; L = 5,4 м; t = 1,35 м; f = 0. Для первого механизма обрушения сопротивление внешнего края определяется по формуле (28), которая в случае М¢11 = M¢21 = 0 принимает вид:

 

Здесь s = 1,32 м; d = 0,89; е = 0,79 м (рис. 15, б).

Работа внутренних и внешних сил на перемещениях плиты перекрытия П1 подсчитывается по формуле (9) при М¢11 = M¢21 = 0 WIp1 = M21/t = 97/1,35 = 7,2 кН; UIp1 = 0,5ql(L ‑ 2/3t) = 0,5 × 6,3 × 3(5,4 ‑ 2/3 ´ 1,35) = 42,5 кН.

б) Плита перекрытия П2 (см. рис. 15, в, г).

Так как в. прил. 2 не рассматривается случай разрезки перекрытия в комнате на две и более плит, работа внутренних и внешних сил определяется по формулам п. 6  

Схема излома плиты П2 показана на рис. 15, г, пунктиром обозначен пластический шарнир с растяжением нижней арматуры. Направление этого шарнира выбрано таким, чтобы работа внутренних сил была минимальной. Из геометрических соотношений находим h1 = 1,55 м; h2 = 1,03 м; а = 20,1°. Угол перелома плиты в пластическом шарнире w = (0,911 0,048)/1,03 (1 0,911)/1,55 = 0,781 1/м.

Рис. 15. Возможные схемы излома плит перекрытий

Предельный изгибающий момент в сечении по линии шарнира М = M12a1cos a/L + M22a2sin a/l = 32,l/6 × 4,5 × cos 20,l° + 150,4/3 × 1,65 × sin 20,1° = 53,4 кН×м. WIp2 = Mw = 53,4 × 0,781 = 41,7 кН. UIp2 = 1/6 × 6,3[[4,5 × l,65(l + 1 + 0,25) + 1,5 × 3(0 + 0 + 0,25) + l,35 × 4,5(0 + l+ 0,25)] = 26,7 кН.

в) Плита перекрытия П3 (см. рис. 15, д, е).

Армирование плиты П3 аналогично плите П2. Несущая способность поперечных сечений плиты по изгибу M13 = 32,1 кН×м; М23 = 150,4 кН×м. Пластические шарниры проходят через края оконного проема в наружной стене (рис. 15, е). Пластический шарнир с растяжением нижних волокон возникает в плите из-за ее защемления в наружных стенах, поэтому работа внутренних сил на перемещениях этого шарнира относится к сопротивлению внешнего края. Из геометрических соотношений h = 0,787 м; w = 1,161/м; а = 70,9°. Так же, как и для плиты П2, вычисляется M = 144 кН×м, а также величины WIp3,bor и UIp3

WIp3,bor = Mw = 144 × 1,16 = 167 кН; UIp3 = 34,5 кН×м.

г) Величина Wp4 для доборной плиты равна нулю, работа внешних сил определяется

UIp4 = 0,5qLl = 0,5 × 6,3 × 6 × 0,6 = 11,3 кН.

д) Суммируя по всем плитам перекрытия ячейки, получим

WIp,bor = WIp1,bor + WIp3,bor = 16.4 + 167 = 183,4 кН,

WIp = WIp1 + WIp2 = 7,2 + 41,7 = 48,9 кН,

UIp = UIp1 + UIp2 + UIp3 + UIp4 = 42,5 + 26,7 + 34,5 + 11,3 = 115 кН.

В соответствии с указаниями п. 15 по формуле (27) определяется UIw,ex = ‑ RIw,exWIp,bor = ‑83,3 ‑ 183,4 = ‑ 266,7 кН.

3.2.3. Работа поперечной внутренней стены. Предельные моменты в перемычке — «флажке» (см. п. 3.1.4 Пособия) М¢sup = 27 кН×м; М¢¢sup = 37,2 кН×м. При отсутствии нижней перемычки М¢inf = М¢¢inf = 0, и тогда формула (5) примет вид WIw,inf = (M¢sup + M¢¢sup)/b = (27 + 29,7)/1,35 = 42 кН.

Вес панели Gw,in = 55,5 кН.

Нагрузка, передающаяся с лоджии Cl = 14 + 0,6 × 1,2 × 3 × 1/2 = 15,1 кН, где вес стенки лоджии составляет 14 кН.

Работа внешних сил на единичном перемещении вычислим по формуле (7) UIw,in = 70,6 кН.

3.2.4. Проверка общего условия невозможности образования механизма первого типа. Проверка производится по формуле (4), которую в случае отрицательного значения Uw,ex запишем в виде WIw,in + WIpUw,ex ³ UIw,in + UIp.

Подставляя в эту формулу полученные выше значения, получим 42 + 48,9 + 266,7 > 70,6 + 115; 357,6 > 185,6, условие выполняется, обрушение конструкций по рассматриваемой схеме (механизм I типа) невозможно.

3.3. Оценка возможности возникновения механизма прогрессирующего обрушения второго типа (рис. 16). Расчет производится в соответствии с требованиями п. 9 и с учетом пп. 13 — 15, а также особенностей конструкции рассматриваемой ячейки.

Рис. 16. 3-я схема излома элементов фрагмента

3.3.1. Анализ сопротивления наружных стен. Схемы излома наружных керамзитобетонных стен те же, что и для первого механизма обрушения с той только разницей, что перемещение левой панели НС1 равно w¢¢ = w¢¢L¢/L¢¢ = l × 5,4/6,6 = 0,82.

Тогда, используя результат, полученный в п. 3.2.1а, определяем: W¢w,ex = 37,4 × 0,82 = 30,7 кН.

Для правой наружной панели w = 1, значит, как и в п. 3.2.1б W¢w,ex = 113,8 кН; W¢w,ex = 30,7 + 113,8 = 144,5 кН.

При подсчете работы сил веса, учитывая, что перемещение НС1 w1 = 0,82, получим Uw,ex = 0,5(26,6 × 0,82 + 0,5 × 68,7) = 28,l кН; Rw,ex = 144,5 28,1 = 116,4 кН > 0.

3.3.2. Сопротивление обрушению плит перекрытий.

а) Сопротивление внешнего края левой плиты П1 определяется по формуле (29), которая при М¢11 = М¢21 = 0 имеет вид

WIIp,bor = s/d(M11/L + M21/l)w¢ = 1,32/0,89 (49,4/5,4 + 9,7/3) 0,82 = 15,1 кН.

Работа внутренних и внешних сил, приложенных к плите П1, принимается из расчета, изложенного в п. 2.3.2, при w = 0,82, WIIp1 = 0; UIIp2 = 0,82 × 12,5 = 10,2 кН.

б) Плита П2 разрушается с образованием одного пластического шарнира с растяжением верхних волокон (см. рис. 16). Так как верхней арматуры в плите нет, WIIp2 = 0. UIIp2 = l/6 × 6,3 × 3 × 6 × 0,455 = 8,6 кН.

в) Разрушение плиты П3 показано на рис. 16, г, пластический шарнир с растяжением нижних волокон определяет сопротивление внешнего края перекрытия, заведенного в наружную стену. Из геометрических соотношений определяют величины w = 1,42 1/м, и а = 37,5°.

Предельный изгибающий момент, воспринимаемый сечением плиты по линии пластического шарнира, подсчитывается по формуле, приведенной в п. 3.2.2б и равен М = 16,4 кН. Тогда работы внешних и внутренних сил, приложенных к плите П3, составят: WIIp3,bor = 42,3 кН; WIIp3 = 0; UIIp3 = 10 кН.

г) Работа внешних сил на перемещениях доборной плиты UIIp4 = 0,5(0,455 +0 ,545)0,5 × 6,0 × 6,3 × 0,6 = 5,7 кН.

д) Сумма работ внутренних сил в плитах перекрытий ячейки составит WIIp,bor = 15,1 + 42,3 = 57,4 кН; WIIp = 0; UIIp = 10,2 + 8,6 + 10 + 5,7 = 34,5 кН.

По формуле (27) определяем UIIw,ex = ‑Rw,exWIIp,bor = ‑116,4 ‑ 57,4 = ‑173,8 кН.

3.3.3. Работа связей. Связей сдвига третьего типа между перекрытием и нижерасположенной внутренней стеной в конструкции нет, поэтому формула (13) принимает вид WIIt = S2y2/L, где S2 = 53 кН; y2 = 2,6 м; L = 6,6 м; WIIt = 20,9 кН.

3.3.4. Сопротивление внутренней стены. Работа внешних сил, приложенных к внутренней поперечной стене, вычисляется по формуле (14) при Gw,in = 55,5 кН; Gt = 15,l кН, L = 6,6 м; х = [15,14 × 2,6(1,35 + 0,5 × 5,14) + 0,5 × 0,525 × 1,352]/(5,14 × 2,6 + 1,35 × 0,525) = 3,75 м.

UIIw,in = Gw,inx/L + Gt = 55,5 (3,75/6,6) + 15,l = 46,6 кН.

3.3.6. Проверка общего условия невозможности образования механизма второго типа. Проверка производится по формуле (12). которую в данном случае удобнее записать в виде WIIt Uw,ex ³ UIIw,in + UIIp; 26,9 + 173,8 > 46,6 + 34,5; 200,7 кН > 81,1 кН, условие выполняется. Обрушение конструкций по рассматриваемой схеме (механизм второго типа) невозможно.

3.4. Оценка возможности возникновения механизма прогрессирующего обрушения третьего типа. Как указывалось в п. 2.4, проверку устойчивости к прогрессирующему обрушению в данном случае нужно вести по формуле WIIIp ³ UIIIр.

В связи с тем. что перекрытие справа разрезано на три плиты, схемы разрушения этих плит отличаются от схем, описанных в прил. 2, поэтому условие (16) проверяется отдельно для каждой плиты.

а) Обрушение плиты П1 (см. рис. 15, а) рассмотрено в п. 2.4, проведенный расчет показал необходимость установки связи диаметром 10 мм прикрепляющей угол плиты к вышерасположенной стене.

б) Схема обрушения плиты П2 показана на рис. 15, в. Возникновение пластического шарнира в плите с растяжением верхней арматуры не вызывает работы внутренних сил из-за отсутствия верхней арматуры, то есть WIIIp2 = 0. Работа внешних сил на перемещениях плиты UIIIp2 = 1/6 qLl = 18,9 кН.

Условие устойчивости против обрушения WIIIp ³ UIIIp не выполняется, так как 0 < 18,9 и, следовательно, необходимо угол плиты прикрепить связью к вышерасположенной стене. При установке стержня диаметром 10 мм из стали класса А-I получаем n = 1; S5 = 18,4 кН; x5 = L, и тогда по формуле (17) проверяется условие необрушения плиты П2: WIIIt2 > UIIIp2, где WIIIt2 = 18,4 кН.

Таким образом, 18,4 кН » 18,9 кН, связь достаточна.

в) Аналогичным образом определяется необходимость установки связей пятого типа 2 стержня диаметром 10 мм из стали класса А-I в плите П3; схема излома которой показана на рис. 15, д. Определив величины работ внутренних и внешних сил на перемещениях плиты П3: WIIIp3 = 0; UIIIp3 = 31,2 кН, WIIIt3 = 2 × 18,4 = 36,8 кН, проверяем условие невозможности обрушения: WIIIt3 = 36б8 кН > 31,2 кН, условие выполняется.

3.5. Проверка общего условия невозможности образования механизма четвертого типа.

3.5.1. Анализ сопротивления наружных стен. По указанию п. 15 настоящего приложения необходимо проверить условие Stw > Rw,ex. Так как связи растяжения седьмого типа между наружными стенами и плитами перекрытий отсутствуют в конструкции, Stw = 0, и упомянутое условие не выполняется; в соответствии с п. 15 в формуле (19) нужно принимать Uw,ex = 0, ww,ex = 0.

3.5.2. Работа плит перекрытий. В связи с тем, что левое перекрытие разрезано на отдельные плиты, величины WIVp и UIVp вычисляют в соответствии со схемами излома элементов, показанными на рис. 17.

Рис. 17. 4-я схема излома элементов фрагмента

Все плиты перекрытий разрушаются с образованием верхних пластических шарниров, следовательно WIVp = 0.

Для подсчета работ внешних сил, приложенных к плитам перекрытий, из очевидных геометрических соотношений определяют их перемещения wp1 = 1; wp2 = (0,25 × 3)/1,35 = 0,56; wp3 = ww,in = 0,25. Далее определяют работу внешних сил на перемещениях каждой плиты перекрытия: Up1 = 6,3 × 5,4 × 2,21 × l/6 = 12,5 кН; Up2 = 6,3 × 3 × 6 × 0,56/6 = 10,6 кН; Up3 = 6,3(3 × 6 × 0,25 + l,95 × 3 × 2 × 0,25)/6 = 7,8 кН; Up4 = 0,5 × 6,3 × 0,6 × 6 × 0,5(0,25 + 0,56) = 3,2 кН; UIVp = 12,5 + 10,6 + 7,8 + 3,2 = 34,1 кН.

3.5.3. Работа связей.

а) Сопротивление связей пятого типа (см. п. 3.4) S5 = 18,4 кН.

Связи шестого типа в конструкции отсутствуют.

Работа внутренних сил при разрушении связей определяется по формуле (20)  

б) Связи сдвига четвертого типа в конструкции представлены тремя стержнями диаметром 12 мм из стали класса А-I по одному стержню между внутренней стеной и каждой наружной панелью, а также между стенкой лоджии и внутренней стеной, несущая способность каждого стержня в соответствии с п. 3.1.5 равна 18,6 кН, тогда S4 = 18,6 × 3 = 55,8 кН.

Сопротивление внутренней стены

Из п. 3.2.3 принимается WIw,in = 42 кН; UIw,in = 70,6 кН.

3.5.4. Проверка общего условия невозможности образования механизма четвертого типа. Проверка производится по формуле (19), которая в случае равенства нулю величин WIVp, Uw,ex и ww,ex, принимает вид (1 ‑ с/L)WIw,in + WIVt ³ (1 ‑ с/L)UIVp + UIVpS4ww,in,

где L = 5,4 м; L c = 1,35; 1 ‑ с/L = 0,25.

Подставляя вычисленные выше значения, получим

(1 ‑ с/L)WIw,in + WIVt = 0,25 × 42 + 19,5 = 30 кН;

(1 ‑ с/L)UIw,in + UIVpS4ww,in = 0,25 × 70,6 + 34,1 55,8 × 0,25 = 37,7 кН >30 кН.

Условие необрушения не выполняется, рекомендуется поставить связи шестого типа, несущая способность которых с учетом формулы (20) определяется

S6 = L/(L с) × (37,7 — 30) = 30,8 кН.

Обеспечить величину S6 можно, например, поставив два стержня диаметром 10 мм из стали класса А-I.

ПРИЛОЖЕНИЕ 3

РАСЧЕТ КОНСТРУКЦИЙ НИЖНИХ НЕЖИЛЫХ ЭТАЖЕЙ БЕСКАРКАСНЫХ ЖИЛЫХ ЗДАНИЙ

1. В настоящем приложении рассмотрены особенности расчета сборных несущих конструкций нижних нежилых этажей жилых зданий, конструктивные решения которых рекомендованы разд. 2 настоящего Пособия.

2. Несущую систему конструкций нижних нежилых этажей рекомендуется рассчитывать совместно с опирающимися на них конструкциями верхних этажей. При расчете здания допускается из несущей системы выделять фрагмент, состоящий из конструкций подвала, техподполья, первого нежилого этажа, технического этажа и типового жилого этажа либо двух типовых этажей, по верху которых приложена нагрузка от веса конструкций вышерасположенных этажей и ветровая нагрузка на них.

При расчете зданий комбинированной системы с каркасными нижними этажами горизонтальные (ветровые) нагрузки рекомендуется передавать на стены лестнично-лифтовых узлов. При расчете зданий стеновой системы со встроенными нежилыми нижними этажами допускается в первом приближении усилия от горизонтальных нагрузок определять как для регулярной системы без учета изменения положения и размеров проемов в нижних этажах. После определения усилий от горизонтальной нагрузки каждая из стен (диафрагм жесткости) рассчитывается с учетом реальной схемы и расположения проемов.

При расчете рекомендуется учитывать, что для зданий высотой 12 этажей и менее, как правило, усилия от ветровых нагрузок не являются определяющим для назначения сечений конструкций и их армирования. Поэтому компоновку несущей системы зданий со встроенными нежилыми помещениями допускается выполнять исходя из вертикальных нагрузок.

3. Несущую систему конструкций нижних этажей рекомендуется рассчитывать с использованием метода конечного элемента (МКЭ). Расчет допускается выполнять в упругой стадии.

При использовании МКЭ рекомендуется:

модель разбивать на прямоугольные элементы так, чтобы размеры простенков и перемычки были кратны размерам сетки;

при арочных проемах дуги окружности заменять прямыми и вводить в углах треугольные плоские элементы;

платформенный стык моделировать в виде прямоугольных элементов с толщиной, равной средней толщине верхней и нижней панелей и модулем упругости, который является обратной величиной от податливости платформенного стыка на сжатие;

стойки каркаса моделировать связями конечной жесткости, которые учитывают также податливость основания;

в плоскую расчетную модель необходимо включать горизонтальные связи между конструкциями, расположенными вдоль одной оси, которые работают в нижнем этаже на растяжение, а выше — на сжатие, с их реальными жесткостными характеристиками;

при расчете стеновых систем в расчетной схеме необходимо учитывать податливость основания;

в зданиях с опиранием перекрытий по трем и четырем сторонам рекомендуется пользоваться для расчета пространственными расчетными схемами с включением стен поперечного и продольного направлений, учитывая связи на сдвиг конечной жесткости (между продольной и поперечной стеной) в уровне перекрытий, это позволит снизить нагрузку на простенок поперечной стены в уровне пола второго этажа, примыкающий к продольной стене, на 10 — 15 % в зависимости от конструкции;

при наличии оси симметрии в расчет включать часть поперечника до оси симметрии, учитывая работу отрезанной части выполнением краевых условий на оси симметрии.

4. Прочность конструкций встроенных этажей и их армирование рекомендуется проверять по интегральным значениям усилий в основных сечениях, полученным исходя из напряжений в этих сечениях.

5. При расчете зданий стеновой системы принимается, что основными сечениями, по которым необходима проверка прочности, являются горизонтальные опорные сечения в уровне пола первого и второго этажей, горизонтальные сечения по верху проемов и вертикальные сечения перемычек первого этажа в местах заделки и в середине пролета; горизонтальные стыки необходимо проверять на действие вертикального давления, перемычку — на растяжение в центре и поперечную силу в заделке, а также момента.

6. При назначении размеров и расположения проемов в первом этаже следует учитывать, что несимметричное расположение проема в первом этаже приводит к неравномерному распределению давления в зоне платформенного стыка; наиболее выгодно располагать проем в первом этаже симметрично так, чтобы проем в типовом этаже находился в зоне перемычки над проемом первого этажа.

7. Размеры простенков в панели первого этажа должны назначаться таким образом, чтобы среднее давление на 1 м простенка не превышало несущей способности 1 м платформенного стыка, при этом в расчетную длину шва над панелью первого этажа могут быть включены участки перемычек длиной 0,5 от ее высоты в месте заделки в простенок. При несимметричном расположении проемов наиболее нагружен меньший по ширине простенок (как правило).

8. Расчет перемычки на действие поперечной и внецентренной продольной сил можно выполнять независимо. Для назначения размеров сечения поперечную силу в перемычке рекомендуется определять как произведение максимального среднего давления на 1 м простенка, умноженного на 0,8 высоты перемычки. Растягивающая сила в перемычке может быть определена как усилие в затяжке условной арки. Для перемычек пролетом от 3,3 до 2,4 м такая условная арка (рис. 1) приближенно имеет пролет, равный пролету перемычки в свету, и высоту, также равную пролету перемычки; растягивающее усилие в ней рекомендуется определять по формуле

                                          (1)

где q — нагрузка от верхних этажей в уровне пола второго типового этажа; lo пролет перемычки в свету; hlin высота перемычки; hmin минимальная высота перемычки, равная 0,5м.

Рис. 1. Схема условной арки для определения растягивающей силы в перемычке первого нежилого этажа

9. Если по результатам упругого расчета расчетные параметры конструкции определяют усилия сжатия в горизонтальном стыке, то данные упругого расчета могут быть использованы для определения прочности и армирования конструкции. Если определяющими являются усилия в перемычке, то рекомендуется применить для расчета упругую расчетную модель, позволяющую снизить расход арматуры на армирование перемычки.

10. Для бескаркасных зданий, в одном панельном нежилом этаже которых стеновые панели имеют большие (более 1,5 м) проемы, допускается приближенный расчет перемычек и стыков стеновых панелей при выполнении следующих конструктивных ограничений: длина панели — не менее 6 м, ширина проема — не более 2,4 м, ширина каждого из простенков — не менее 0,75 от ширины проема, высота сечения перемычки — не менее 1/3 от ее длины (ширины проема), в панели технического подполья проемы расположены под проемом нежилого этажа. Число панелей с большими проемами не превышает трех на каждую секцию.

Если перечисленные ограничения соблюдены, то прочность верхнего стыка и перемычки панели нежилого этажа проверяется по следующим формулам:

при отсутствии проема в стеновой панели жилой части дома

 (2)

                 (3)

при наличии в жилом этаже проема, расположенного в плане в пределах проема нежилого этажа и имеющего ширину, меньшую половины ширины проема нежилого этажа (см. рис. 1):

    (4)

                  (5)

В формулах (2) — (5) N — равнодействующая всех внутренних вертикальных усилий в уровне верха стеновой панели нежилого этажа; Rj1 предельное сопротивление стыка над панелью нежилого этажа; t1, t2 толщины стеновых панелей жилого и нежилого этажей соответственно; M1, М2 предельные моменты, воспринимаемые сечениями перемычки на опоре и в середине пролета, вычисляемые по СНиП 2.03.01—84; l1, l2 ширины простенков панели нежилого этажа; Rbt расчетное сопротивление бетона при растяжении; ho рабочая высота сечения перемычки; qsw усилие в хомутах на единицу длины перемычки; lnt длина панели жилого этажа за вычетом ширины проема (lnt = lw1l01).

При подборе поперечной арматуры перемычки должно быть соблюдено условие

                               (6)

где Rb расчетное сопротивление бетона при сжатии, jw1 и jb1 — коэффициенты, вычисляемые по СНиП 2.03.01—84.

Прочность нижнего стыка оценивается по формулам:

для левого простенка

N (1 + 0,5l02/l1)/lwi £ 0,8Rj2t2;                                 (7)

для правого простенка

N (1 + 0,5l02/l2)/lwi £ 0,8Rj2t2,                                  (8)

где Rj2 — предельное сопротивление стыка под панелью нежилого этажа.

11. При каркасном решении нижних этажей здания наиболее напряженными участками балок-стенок, которые необходимо проверять расчетом, являются следующие:

перемычки (верхние и нижние) в зоне проемов (для прохода людей); они должны быть проверены на поперечную силу и момент, действующие в этом сечении;

участки главных балок-стенок в местах опирания на них второстепенных балок-стенок необходимо проверять на действие поперечной силы и смятие опорных частей;

опорные участки балок-стенок и колонн рассчитывать на смятие.

12. Прогибы балок-стенок, на которые опираются несущие стены здания при каркасной конструкции нижних этажей, рекомендуется ограничивать исходя из предельных взаимных смещений стеновых панелей, равных 1 см. Предельные прогибы ригелей следует принимать по СНиП 2.03.01—84.

13. Для увеличения несущей способности и жесткости системы возможно объединение балок-стенок и ригелей в единую систему при помощи металлических или железобетонных связей по длине зоны контакта.

Несущая система балки-стенки и ригеля может считаться монолитной, если стыковое соединение воспринимает сдвигающее усилие равное или большее, чем усилие, определяемое по формуле

Т = (ММb Мr)/Н,                                            (9)

где М максимальный момент внешних сил, действующий на систему; Мb, Мr — предельные моменты, воспринимаемые балкой-стенкой и ригелем; Н расстояние между нейтральными осями балки-стенки и ригеля.

В случае, если условие (9) не выполняется для систем, в которых жесткость ригеля соизмерима с жесткостью балки-стенки, несущую способность системы можно проверять методом предельного равновесия.

Несущая способность системы должна определяться как наименьшее из значений, соответствующих различным нормальным сечениям, наиболее опасными из которых являются: в середине пролета системы, в зоне проема, в местах изменения высоты, толщины сечения и армирования.

14. Для системы, предельное состояние которой определяется образованием шарнира в зоне максимального момента, предельную нагрузку на систему можно определить по формуле

                     (10)

где q равномерно распределенная нагрузка, проложенная по верху балки-стенки и соответствующая несущей способности системы по рассматриваемому нормальному сечению; Мb, Мr предельные моменты, воспринимаемые балкой-стенкой и ригелем в рассматриваемом сечении; М¢b — момент в рассматриваемом сечении несущего элемента от нагрузки, приложенной непосредственно к элементу (включая собственный вес балки-стенки);

М¢b = qol1(ll1)/2;                                                          (11)

l расчетный пролет системы, определяемый по формуле

l = lo + (c1 + c2)/3;                                                    (12)

lo — пролет в свету между опорами; с1, с2 ширина левой и правой площадок опирания; l1 — расстояние до рассматриваемого сечения; Т1, T2 предельные сдвигающие силы, воспринимаемые стыком на участках l1 и (l l1).

15. Расчетную длину колонн (при их расчете на вертикальную нагрузку) рекомендуется принимать в зависимости от жесткости узлов между балками-стенками и колонной, жесткости дисков перекрытий и наличия диафрагм жесткости, но не менее высоты первого этажа. В местах опирания ригелей на колонны необходимо предусмотреть металлические закладные детали в колонне и ригеле, воспринимающие часть опорного момента, величиной не менее 30 кН×м.

Пример расчета. Требуется проверить прочность стеновой панели первого нежилого этажа, показанной на рис. 2 (lw = 6 м).

Рис. 2. Стеновая панель первого нежилого этажа

Исходные данные:

N = 3400 кН. Бетон класса В20 Rb = 11,5 МПа, Rbt = 0,9 МПа. Арматура класса А-III Rs = 355 МПа, Rsw = 255 МПа. Армирование в опорных и пролетном сечениях перемычки одинаково, площадь сечения продольной арматуры As = 942 мм2. Площадь сечения хомутов Asw = 85 мм2. Шаг хомутов s =150 мм.

Прочность стыков: верхнего Rj1 = 4,5 МПа, нижнего Rj2 = 6,5 МПа.

Толщины панелей: жилого этажа tw1 = 180 мм; нежилого этажа tw2 = 220 мм. Высота перемычки h = 800 мм; ho = 760 мм.

Предельные моменты сечения перемычки: M1 = M2 = M.

Высота сжатой зоны х = (355 × 942)/(11,5 × 220) = 132 мм.

Относительная высота сжатой зоны:

x = 132/760 = 0,174 < xR = 0,625.

Предельный момент поперечного сечения М = 11,5 × 220 × 7602 × 0,174(1 ‑ 0,5 × 174) = 253 × 106 Н×мм. Проверка выполнения неравенства (2):

 

Усилие в хомутах на единицу длины перемычки

qsw = 255 × 85/150 = 144 Н/мм.

Проверка выполнения неравенства (3):

 

Для проверки выполнения неравенства (6) вычисляем

jw1 = l + 5 × 20 × 104/(24 × 103)85/(220 × 150) = 1,108;

тогда jb1 = 1 — 0,01 × 11,5 = 0,885;

 

Проверка прочности нижнего стыка по формуле (8):

3400000/6000 [1 + 0,5(2400/1800)] = 944 < 0,8 × 6,5 × 220 = 1140 Н/мм.

Кроме проверки прочности необходимо проверить ширину раскрытия трещин.

ПРИЛОЖЕНИЕ 4

РЕКОМЕНДАЦИИ ПО ОПРЕДЕЛЕНИЮ ПОДАТЛИВОСТИ СОЕДИНЕНИЙ ЭЛЕМЕНТОВ НЕСУЩИХ КОНСТРУКЦИЙ

1. В настоящем приложении приведены рекомендации по определению коэффициентов податливости соединений сборных бетонных и железобетонных элементов, а также швов бетонирования стен из монолитного бетона, стыков между сборными и монолитными конструкциями жилых зданий и перемычек.

Коэффициентом податливости соединения называется величина, численно равная деформации соединения, вызванной единичной сосредоточенной или распределенной силой.

Коэффициенты податливости соединений при растяжении lt, сдвиге lt, коэффициенты податливости перемычек при перекосе ltin определяют от сосредоточенных сил; коэффициенты податливости при сжатии lс и повороте lj от распределенных сил.

Для соединений, имеющих несколько характерных стадий работы (например, до образования трещин в соединении и после), коэффициенты податливости (жесткости) следует принимать для каждой стадии дифференцированно. Деформация соединения в этом случае определяется как сумма деформаций от приращений усилий на отдельных этапах.

Основные виды соединений и размерность коэффициентов податливости приведены в табл. 1.

Таблица 1

Коэффициент податливости

Обозна­чение

Размерность

Схема соединения

При растяжении

lt

мм/Н (см/кгс)

При сжатии

lс

мм3/Н (см/кгс)

При сдвиге

lt

мм/H (см/кгс)

При повороте

lj

1/МН (1/кгс)

При соединении элементов системой связей следует различать следующие случаи их расположения:

последовательное (рис. 1, а, б); параллельное (рис. 1, в, г); смешанное (рис. 1, д, е).

Рис. 1. Схема соединений

а, б — последовательные; в, г — параллельные; д, е — смешанные

последовательное (рис. 1, а, б); параллельное (рис. 1, в, а); смешанное (рис. 1, д, е).

Коэффициенты податливости l соединения, состоящего из системы сосредоточенных связей, определяют по формулам:

в случае последовательного расположения связей

                                                  (1)

в случае параллельного расположения связей

                                   (2)

где n — число связей в соединении; li коэффициент податливости i-й связи.

В смешанном случае выделяют группы однородно расположенных связей и для каждой из них по формулам (1) или (2) вычисляют коэффициенты податливости, в результате чего систему приводят к случаю последовательного или параллельного расположения связей.

Для определения коэффициента податливости соединения, имеющего сосредоточенные и распределенные связи, последние заменяют эквивалентными по жесткости, сосредоточенными.

2. Коэффициент податливости при растяжении lt соединения сборных элементов в виде сваренных между собой и замоноличенных бетоном арматурных выпусков определяют по формуле

lt = 2aсrс/ss,                                                (3)

где acrc ширина раскрытия трещин, нормальных к арматурной связи, вызванных растягивающими напряжениями в связи ss; значение ширины раскрытия трещин рекомендуется определять по указаниям норм проектирования железобетонных конструкций.

Деформации растяжения связей в виде петлевых выпусков диаметра 8 — 12 мм, соединенных между собой скобами из арматурной стали и замоноличенных бетоном класса не ниже В 15, можно определять как для сварных связей, площадь которых соответствует площади поперечного сечения арматуры петлевого выпуска. Диаметр арматуры скобы должен быть при этом не менее диаметра петлевого выпуска.

3. Коэффициент податливости при сжатии соединения элементов определяют в зависимости от конструктивного типа стыка. Для контактного горизонтального стыка, в котором сжимающую нагрузку передают через слой раствора, толщиной не более 30 мм, коэффициент податливости при сжатии lс,соn определяют по формуле

lс,соn = (lт + hcon/Eb,w)А/Асoп,                                  (4)

 где lт — коэффициент податливости горизонтального растворного шва при сжатии, определяемый по п. 4 настоящего приложения; hcon высота контактного участка стыка; Eb,w модуль деформации бетона стены; А площадь горизонтального сечения стены в уровне расположения проемов; Асoп — площадь контактного участка стыка, через которую передают сжимающую нагрузку.

Для монолитного горизонтального стыка, в котором сжимающая нагрузка передается через растворный шов в уровне верха перекрытия и слой бетона, коэффициент податливости при сжатии Ас,топ определяют по формуле

lс,топ = (lm + lтоп + hтоп/Eтоп)A/Aтоп,                  (5)

где hmon высота (толщина) слоя монолитного бетона в стыке; Eтоп начальный модуль упругости бетона замоноличивания стыка; Атoп площадь монолитного участка стыка (за минусом опорных участков перекрытий и других ослаблений сечения стыка); lтоп — коэффициент податливости, вычисляемый по п. 5 настоящего приложения.

Для платформенного горизонтального стыка, в котором сжимающая нагрузка передается через опорные участки плит перекрытий и два растворных шва, уложенные между плитами перекрытий и соединяемыми элементами, коэффициент податливости при сжатии lc,pl определяют по формуле

lc,pl = (l¢m + l¢¢m + hpl/Epl)A/Apl,                                             (6)

где l¢m, l¢¢m — коэффициенты податливости при сжатии соответственно верхнего и нижнего растворных швов; hpl высота (толщина) опорной части плиты перекрытия; Epl начальный модуль упругости бетона опорной части плиты перекрытий; Apl площадь платформенных участков стыка, через которые передается сжимающее усилие; при неодинаковых размерах опорных площадок вверху и внизу плиты перекрытия принимается их среднее значение.

Для платформенно-монолитного стыка, в котором сжимающая нагрузка передается через платформенный участок площадью Apl и монолитный участок площадью Атoп, коэффициент податливости при сжатии A c,pl,mon определяют по формуле

lc,pl,mon = l/(1/lc,pl + l/lc,mon),                                  (7)

где lc,mon, lc,pl коэффициенты податливости при сжатии, вычисляемые соответственно по формулам (5) и (6).

Для контактно-платформенного стыка, в котором сжимающая нагрузка передается через контактный участок площадью Асoп и платформенный участок площадью Apl, коэффициент податливости при сжатии lс,соп,pl вычисляют по формуле

lс,соп,pl = 1/(1/lс,соn + 1/lc,pl),                                  (8)

где lс,соn, lc,pl коэффициенты податливости при сжатии, вычисляемые соответственно по формулам (4) и (6).

4. Коэффициент податливости при сжатии горизонтального растворного шва lm определяют в зависимости от способа укладки и прочности раствора и среднего значения сжимающих напряжений в растворном шве sm.

При кратковременном сжатии для раствора прочностью на сжатие 1 МПа и более при толщине шва 10 20 мм коэффициент податливости растворного шва lm рекомендуется определять по формулам

при sm £ 1,15R2/3m;

lm = 1,5 × 10-3 R-2/3mtm;                                    (9)

при sm ³ 1,15R2/3m, но не более 2R2/3m;

lm = 5 × 10-3 R-2/3mtm;                                       (10)

где sm среднее значение сжимающих напряжений в растворном шве, МПа; Rm — кубиковая прочность раствора, МПа; tm — толщина растворного шва, мм; lm коэффициент податливости растворного шва при кратковременном сжатии, мм3/Н.

Коэффициенты податливости растворных швов при кратковременном сжатии при расчете на нагрузки, действующие в стадии эксплуатации здания, разрешается принимать по табл. 2.

Таблица 2

Среднее значение сжимающих напря­жений в растворном

Коэффициент податливости растворного шва толщиной 20 мм при кратковременном сжатии lm   (мм3/Н) при кубиковой прочности раствора (МПа)

шве sm, МПа

1

2,5

5

10

20

При sm £ s1 = 1,15 R2/3m

0,03

0,016

0,01

0,0065

0,004

При s1 < sm = 2R2/3m

0,1

0,054

0,034

0,021

0,013

Для горизонтальных швов бетонирования стен из монолитного бетона классов В7,5 В15 коэффициент податливости при сжатии принимается равным: для тяжелого бетона 0,01 мм3(1 × 10-4 см3/кгс); для легкого бетона 0,02 мм3/Н (2 × 10-4 см3/кгс).

При сжатии горизонтального растворного шва или шва бетонирования стены из монолитного бетона длительной нагрузкой коэффициент податливости разрешается вычислять по формуле

lm,t = lm(l + jt),                                                         (11)

где lm коэффициент податливости шва при кратковременном сжатии; jt — характеристика ползучести шва, принимается равной 1.

5. Для горизонтального шва на прокладках («сухой» шов) коэффициент податливости при кратковременном сжатии определяют по формуле

lc = tc/(Ec + acsс),                                                     (12)

где tс толщина сжатой прокладки в горизонтальном шве; Еc — начальный модуль упругости прокладки; аc безразмерный коэффициент; sс среднее значение нормальных напряжений, сжимающих прокладки.

Величины Еc и аc разрешается определять по табл. 3.

Таблица 3

 

Материал прокладки

Толщина прокладки, мм

Еc,

МПа

 

аc

Асбестовый картон марки КАОН

3

7

2

Асбестовый картон марки КАП

4

2,8

1,8

Асбестовый картон марки КАОН

6

9

1,7

Асбодревесно-волокнистая плита (АДВП)

4,8

17

2,6

Древесно-волокнистая плита мягкая М12 (ДВП)

12,5

1,8

1,8

То же

16

2,2

1,2

Синтетические сетки из полиэфирной нити, слоями

5

14,2

3,5

Сетки и сукно бумажной промышленности («СУБ»)

7

3,7

3,1

Лавсановое волокно прессованное

6

6

4,4

Рубероид, слоями

3,77

14

4,2

Пергамин, слоями

¾

15

2,5

Паронит, слоями

4,2

22

4

Линолеум ПХВ

1,8

12

8,3

Песок средней крупности в оболочке из стеклоткани

30

80

0

Коэффициент податливости горизонтального шва на прокладках при длительном сжатии lct допускается принимать равным 1,2lc.

6. Коэффициент податливости при сдвиге lt (мм/Н) соединения двух сборных элементов принимается равным сумме коэффициентов податливости для сечений, примыкающих к каждому из соединяемых элементов.

Для бетонного шпоночного соединения из nk однотипных шпонок коэффициент податливости при взаимном сдвиге сборного элемента и бетона замоноличивания стыка определяют по формуле

ltb = lloc(1/Eb + 1/Emon)/(Alocnk),                                   (13)

где lloc условная высота шпонки, принимаемая при определении ее податливости при сдвиге, равной 250 мм; Aloc — площадь сжатия шпонки, через которую передается в соединении сжимающее усилие, мм2; Eb модуль деформации бетона сборного элемента, МПа; Етоп — то же, бетона замоноличивания вертикального стыка, МПа.

Для армированного шпоночного соединения до образования в стыке наклонных трещин коэффициент податливости при сдвиге определяют по формуле (13), а после образования наклонных трещин — по формуле

lts = ltb + lts,                                                            (14)

где                                                                      (15)

где ds — диаметр арматурных связей между сборными элементами, мм; ns — количество арматурных связей между сборными элементами; Еb — модуль деформации бетона сборного элемента, МПа; Етоп — то же, бетона замоноличивания вертикального стыка, МПа.

Для бесшпоночного соединения сборных элементов с помощью замоноличенных бетоном арматурных связей коэффициент податливости при сдвиге вычисляется по формуле (15).

Опертые по контуру панели перекрытий при платформенном стыке стеновых панелей могут рассматриваться как связи сдвига между стенами перпендикулярного направления. Для такой связи при марке раствора в швах не ниже 100 и деформациях сдвига не более 0,5 мм коэффициент податливости при сдвиге lt,pl = 5 × 10-6 мм/Н (5 × 10-6 см/кгс).

7. Коэффициентом податливости перемычки называется величина, численно равная взаимному линейному смещению опор по вертикали от единичной поперечной силы, вызывающей перекос перемычки.

Диаграмму зависимости «поперечная сила — взаимное линейное смещение опор» перемычки рекомендуется принимать в виде ломаной (рис. 2), точки перелома которой отражают характерные изменения деформированного состояния или расчетной схемы перемычки, вызванные образованием очередной вертикальной либо наклонной трещины.

Рис. 2. Диаграмма зависимости «поперечная сила Q — взаимное линейное смещение f опор перемычки» при перекосе

1, ..., m — точки диаграммы, соответствующие образованию вертикальных трещин и наклонной трещины

Коэффициенты податливости перемычек при перекосе рекомендуется определять исходя из следующих предпосылок и допущений:

выделяют три последовательные стадии деформирования перемычек, границами которых являются моменты появления первых нормальных и наклонных трещин;

принимается, что нормальные трещины первоначально образуются в опорных сечениях перемычки (в местах ее заделки в простенки); по мере увеличения усилий, вызывающих перекос перемычки, могут образовываться дополнительные нормальные трещины; шаг нормальных сечений принимается зависящим только от конструктивного решения перемычки;

наклонные трещины возникают после образования всех нормальных трещин; в тавровой перемычке наклонная трещина развивается только в пределах высоты стенки и, дойдя до полки, переходит в продольную (горизонтальную) трещину.

8. Коэффициент податливости перемычки (до образования трещин) определяют по формулам:

для перемычки прямоугольного сечения

llin = (l2red/h2lin + 3)lred/(AlinEb),                                             (16)

для перемычки таврового сечения

                                    (17)

где lred приведенный пролет перемычки

lred = l + 0,6hlin,                                          (18)

l пролет перемычки в свету; hlin высота сечения перемычки; Eb,. Gb соответственно, начальный модуль упругости и модуль сдвига бетона перемычки; llin, Alin соответственно, момент инерции и площадь поперечного сечения перемычки. В случае таврового сечения (составного либо монолитного) за величину Alin принимается площадь сечения ребра перемычки на всю его высоту, включая толщину полки.

9. При использовании расчетной схемы диафрагмы в виде составного стержня с непрерывными продольными связями в формулы (16) и (17) вводят дополнительное слагаемое lw, учитывающее податливость примыкающих к перемычке простенков от изгиба и сдвига в пределах этажа

lw = l1(s1/Het)2 + l2(s2/Het)2,                                         (19)

где l1(2) коэффициент податливости левого (правого) простенка при местном изгибе и сдвиге в пределах этажа; s1(2) — расстояние от середины пролета перемычки в свету до оси левого (правого) простенка, в который защемлена перемычка; Het — высота этажа;

                             (20)

m — коэффициент, принимаемый равным: 1,2 — для прямоугольных в плане простенков; I — для простенков таврового либо двутаврового в плане сечения; I1(2) момент инерции сечения в плане левого (правого) простенка; A1(2) — площадь сечения в плане левого (правого) простенка. В случае таврового либо двутаврового сечения за величину A1(2) принимают площадь сечения стенки тавра (двутавра) на всю ее высоту, но без учета свесов полок.

С увеличением коэффициента податливости собственно перемычки относительное влияние податливости примыкающих к ней простенков уменьшается. Например, для перемычек, работающих в упругой стадии, при 2 £ l/hlin < 3 податливость простенков можно не учитывать при длине последних 3000 мм и более, а при l/hlin — при длине 2000 мм и более.

10. Коэффициент податливости перемычки в фазе образования вертикальных трещин определяют по формулам:

для перемычки прямоугольного сечения (рис. 3)

                       (21)

Рис. 3. Деформирование перемычки прямоугольного сечения при перекосе в фазе образования нормальных трещин

а — схема трещинообразования; б — расчетная схема; в идеализированная расчетная схема

для перемычки таврового сечения (рис. 4)

Рис. 4. Деформирование перемычки таврового сечения при перекосе в фазе образования нормальных трещин

а — схема трещинообразования; б — расчетная схема; в ¾ идеализированная расчетная схема

                               (22)

где mколичество вертикальных трещин в одной из растянутых опорных зон перемычки округляется до ближайшего целого числа

m = 0,5(l ‑ 2WcrcRbt,ser/Qlin)/lcrc + 1;                        (23)

lcrc среднее расстояние между соседними вертикальными трещинами;

lcrc = hAlin/(10pds);                                                   (24)

h — коэффициент, учитывающий вид и профиль арматуры, принимаемый для стержневой арматуры периодического профиля, — 0,7; гладкой — 1; ds номинальный диаметр продольной растянутой арматуры, перемычки, мм; Wcrc момент сопротивления трещинообразованию для нижней (верхней) растянутой опорной зоны перемычки; Rbt,ser расчетное сопротивление бетона растяжению для продольных состояний второй группы; Qlin поперечная сила в перемычке; acrc — ширина раскрытия нормальных трещин в растянутой опорной зоне перемычки от единичной поперечной силы Qlin = 1 Н, мм/Н;

                                         (25)

                                                    (26)

Здесь величина ds в мм, m коэффициент армирования, m = As/(bho); b — ширина поперечного сечения прямоугольной перемычки либо ребра тавровой; ho рабочая высота сечения перемычки; а' расстояние от равнодействующей усилий в продольной растянутой арматуре до ближайшей грани сечения.

Учет податливости примыкающих простенков производят в соответствии с п. 9.

11. Поперечные силы в перемычке, вызывающие образование соответственно 1-й, m-й вертикальной трещины, определяют по формулам

Qcrc,1 = 2WcrcRbt,ser/l;                                                 (27)

                                       (28)

12. Коэффициент податливости перемычки в фазе образования наклонных трещин определяют по формулам:

для перемычки прямоугольного сечения с отношением l/hlin £ l,5 (рис. 5)

Рис. 5. Деформирование перемычки прямоугольного сечения при l/hlin £ l,5 при перекосе в фазе образования наклонных трещин

a схема трещинообразования; б — идеализированная расчетная схема

                                 (29)

для перемычки прямоугольного сечения с отношением l/hlin > 1,5 (рис. 6)

Рис. 6. Деформирование перемычки прямоугольного сечения при l/hlin > 1,5 при перекосе в фазе образования наклонных трещин

а схема трещинообразования; б — идеализированная расчетная схема

                  (30)

для перемычки таврового сечения (рис. 7).

Рис. 7. Деформирование перемычки таврового сечения при перекосе в фазе образования наклонных трещин

а схема трещинообразования; при l/hlim £ 1,5; б — то же, при l/hlim > 1,5; в — идеализированная расчетная схема

 (31)

где If, Af — соответственно момент инерции и площадь поперечного сечения ребра перемычки высотой (hlimhf); hf высота полки.

Учет податливости примыкающих простенков производят в соответствии с п. 9.

13. Поперечную силу, вызывающую образование наклонной трещины, определяют по формуле

Qy = ARbt,ser/sin 2y;                                    (32)

где у — угол наклонной трещины к горизонтали,

yarctg(l/hlin).                                               (33)

При l/hlin > l,5 принимают y = arcctg 1,5 = 34°.

ПРИЛОЖЕНИЕ 5

РАСЧЕТ ПРОЧНОСТИ АНКЕРОВКИ ДЕТАЛЕЙ ДЛЯ ПОДЪЕМА ОДНОСЛОЙНЫХ ПЛОСКИХ ИЗДЕЛИЙ ИЗ ТЯЖЕЛОГО БЕТОНА

1. Данные рекомендации распространяются на проектирование строповочных деталей и отверстий для подъема в вертикальном положении однослойных неармированных и слабоармированных плоских изделий толщиной 80 — 220 мм из тяжелого бетона с крупностью заполнителя 10 или 20 мм и нормативной кубиковой прочностью бетона в момент первого подъема от 5 до 25 МПа при действии усилия вдоль детали (подъем с помощью траверс). Допускается подъем за стропы при устройстве отверстий или установке строповочных петель, при этом допускается сгиб выступающей части петли.

Примечание. Подъем за стропы при отсутствии траверс может быть допущен и для других деталей. При этом должна обеспечиваться передача усилия вдоль детали путем использования специальных устройств для восприятия бетоном горизонтальной составляющей усилия в стропах без сгиба выступающей из бетона части детали.

Нормативная кубиковая прочность бетона в момент первого подъема назначается в зависимости от отпускной прочности, а также технологии изготовления изделия и указывается в рабочих чертежах.

2. Рекомендации распространяются на следующие детали: строповочные петли из арматуры диаметром от 10 до 22 мм класса А-I с крюками, расположенными в срединной плоскости панели (рис. 1), гладкие стержни из арматуры диаметром от 10 до 22 мм класса А-I с анкерами в виде крюков или шайб (рис. 2 и 3), детали из полосовой стали (рис. 4). Рекомендации распространяются также на строповочные отверстия (рис. 5).

Рис. 1. Схема расположения строповочной петли в панели

1 — край панели или проема

Рис. 2. Схема расположения в панели стержня с крюком на конце

1 край панели или проема

Рис. 3. Схема расположения в панели стержня с шайбой на конце

1 — край панели или проема

Рис. 4. Схема расположения в панели детали из полосовой стали

1 ¾ край панели или проема

Pис. 5. Схема расположения отверстия в панели

1 — край панели или проема

3. Прочие детали для подъема, не указанные в п. 2, а также детали для подъема многослойных, однослойных армированных панелей и панелей из бетонов других видов следует проектировать в соответствии со СНиП 2.03.01—84.

4. Рекомендуемый расчет прочности анкеровки предполагает отсутствие сквозных трещин в верхней части изделия. Строповка за детали и отверстия бракованных изделий, имеющих сквозные трещины в зоне анкеровки деталей и около отверстий, не допускается.

Конструктивные требования

5. Применяемая арматурная сталь для петель и стержней должна соответствовать требованиям СНиП 2.03.01—84, предъявляемым к строповочным петлям. Детали из листовой стали изготавливают из стали марок ВСтЗпс6 и ВСтЗсп5 по ГОСТ 380—71* в соответствии с указаниями СНиП II-23-81* по применению сталей в зависимости от расчетной температуры. Глубина заделки l деталей должна быть не менее 25 см (при изготовлении в кассетах — не менее 30 см), а расстояние между двумя соседними деталями — не менее 2,5 l. Длина и конструкция выступающей из бетона части деталей зависят от конструкции захватного приспособления и особенностей узла сопряжения сборных элементов. Выступающая часть детали из листовой стали должна быть рассчитана в соответствии со СНиП II-23-81*.

Диаметр строповочного отверстия назначается в зависимости от имеющихся строповочных приспособлений, но не более 70 мм; глубина заложения отверстия l (см рис. 5) определяется по п. 15, но не менее величин, указанных выше для деталей.

Расстояние между деталью и краем панели или проема b (см. рис. 1 — 4) назначается не менее 200 мм, а при устройстве строповочных отверстий — не менее 400 мм (см. рис. 5).

7. Шайбы, как правило, следует изготавливать путем высадки плоской головки (высаженной пластинки). Возможна также приварка к стержню. При этом размер пластины (диаметр круглой или сторона квадратной шайбы) должен быть не менее величины, определяемой расчетом (см. ниже), а толщина пластины — не менее с/4. Детали из листовой стали следует, как правило, изготовлять методом штамповки с последующим машинным гнутьем, а стержни с крюком и строповочные петли — с применением машинного гнутья.

При изготовлении изделий должно быть обеспечено точное положение выступающей из бетона части деталей для возможности использования их в качестве фиксаторов изделий на монтаже. Необходимо не допускать изгиба выступов при транспортировке и монтаже панелей.

Точность положения детали в срединной плоскости изделия и ее выступающей части должна соответствовать допускам на установку арматуры и выпусков железобетонных изделий.

При установке стержня с крюком последний должен быть обращен в сторону, противоположную ближайшему краю изделий или проема (см. рис. 2).

Расчет деталей

8. Расчет деталей включает в себя определение действующего усилия с коэффициентом надежности по нагрузкам, равным 1, подбор поперечного сечения деталей по прочности металла и определение глубины заделки изделия и размеров концевой части деталей по прочности бетона. Прочность бетона проверяется для двух возможных видов разрушения: выкалывания и локального разрушения в месте расположения концевой части анкера. Расчет по металлу выступающей части деталей должен быть выполнен в зависимости от типа детали и способов захвата.

9. Расчет строповочной детали ведется на действующее усилие Fn с коэффициентом надежности по нагрузке, равным 1, по нормативной кубиковой прочности бетона на осевое сжатие в момент первого подъема изделия.

10. Усилие (с коэффициентом надежности по нагрузке, равным 1) на деталь определяют путем деления нормативного веса изделия на число деталей, одновременно работающих при подъеме. Число деталей, принимаемых в расчете, равно 2, а при наличии специальных самобалансирующих траверс может быть и больше.

Подбор поперечного сечения деталей по прочности металлов

11. Диаметр ds для арматуры строповочной петли (см. рис. 1) и стержня с крюком или шайбой (см. рис. 2, 3) назначается в зависимости от усилия (с коэффициентом надежности по нагрузке, равным 1) по табл. 1. Поперечное сечение детали из листовой стали определяют по расчетному сопротивлению металла в соответствии со СНиП II-23-81* с учетом коэффициентов динамичности 1,4 к надежности по нагрузке 1,1, на которые следует умножить величину действующего усилия.

Таблица I

 

Диаметр

Усилие на деталь с коэффициентом надежности по нагрузке, равным 1 кН

арматуры, мм

для строповочной петли с подъемом

для стержня без

 

без сгиба высту­пающей части

со сгибом высту­пающей части

сгиба выступа­ющей части

10

10,5

7

7,6

12

16,5

11

11

14

22,5

15

15

16

30

20

19,6

18

37,5

25

24,8

20

46,5

31

30,6

22

57

38

37

При ослаблении сечения деталей резьбой или другим способом расчет следует вести по сечению нетто.

Определение глубины заделки и размеров концевой части по прочности бетона

12. Глубина заделки деталей для подъема определяется по формуле

                                          (1)

где Fn действующее на деталь усилие с коэффициентом надежности по нагрузке, равным 1; yd — коэффициент динамичности, равный 1,4; уf коэффициент надежности по нагрузке, равный 1,1; у1 — коэффициент, равный 0,92 для строповочной петли, 1 — для стержня с шайбой на конце и 0,65 — для стержня с крюком на конце; t — толщина изделия; Rb,1cr расчетное значение критического коэффициента интенсивности напряжении, принимаемое по табл. 2; а коэффициент, принимаемый по табл. 3 и учитывающий отношение расстояния между деталью и краем изделия (или проемом) b к глубине заделки детали l. При расчете по формуле ( 1 ) выбор а по табл. 3 в зависимости от l производится методом последовательных приближений; при первом шаге можно принять а = 1.

Таблица 2

Нормативная кубико­вая прочность бетона на сжатие в момент первого подъема, МПа

Расчетное значение критического коэффи­циента интенсивности напряжений

Размер концевой зоны трещины, см

5

0,27

25

7,5

0,35

17

10

0,43

13

12,5

0,5

11

15

0,56

10,5

20

0,68

10

25

0,79

9

Примечания: 1. При кассетном способе изготовления изделий значения Rb,1cr следует умножить на 0,85. 2. Значениями Rb,1cr можно пользоваться при отношении l/d ³ 3. При l,5 £ l/d £ 3 эти значения Rb,1cr следует умножать на коэффициент, равный (0,19l/d + 0,43). 3. Значения Rb,1cr и d приведены для бетона с крупностью заполнителя 20 мм. Для бетонов с заполнителем 10 мм значения Rb,1cr необходимо уменьшать в 1,4, а значения d в два раза.

Таблица 4

b/l

0,1

0,2

0,4

0,6

0,8

1

2 и более

а

0,55

0,65

0,80

0,9

0,94

0,95

1

Глубина заделки l, вычисляемая по формуле (1), должна удовлетворять условию

l £ lu,                                                           (2)

где lu предельная величина глубины заделки, определяемая согласно п. 13. Если условие (2) не выполняется, то деталь не может воспринять заданное усилие Fn. В этом случае следует изменить число деталей или их тип, либо параметры, от которых зависит lu.

13. Предельную величину глубины заделки деталей для подъема определяем по формулам:

для строповочной петли и стержня с крюком на конце

                                    (3)

для стержня с шайбой на конце

                                       (4)

где ds,red = ds + a/4; cred = c + a/4; а ¾ максимальный размер заполнителя; h1, h2 — коэффициенты, принимаемые в зависимости от отношения t/d по табл. 4; h3 — коэффициент, равный 2,4 для стержней с крюком; 3,4 — для строповочной петли при s = t/3 и 4,7 при s = 2t (для промежуточных значений s величина h3 принимается по линейной интерполяции); d — размер концевой зоны трещины, определяемый по табл. 2.

Таблица 4

t/d

0,8

1

1,5

2

2,5

3

h1

5,5

5,5

5,0

4,7

4,5

4,2

h2

4,75

4,5

4,0

3,7

3,5

3,4

Примечание. Значения коэффициентов h1 и h2 для промежуточных значений t/d могут быть определены по линейной интерполяции.

14. Глубина заделки деталей из листовой стали назначается по формуле (1), в которой коэффициент у1 = 1. Габариты концевой части детали принимают по расчету на местное сжатие бетона в соответствии с требованиями СНиП 2.03.01—84.

15. Глубина заложения строповочного отверстия определяется по формуле (1), в которой коэффициент у1 = 1.

Бетон у отверстия проверяется на местное сжатие в соответствии с требованиями СНиП 2.03.01—84.

16. При проверочном расчете (заданы глубина заделки и нормативная кубиковая прочность бетона на сжатие в момент первого подъема) за усилие (с коэффициентом надежности по нагрузке, равным 1) Fn на деталь или строповочное отверстие принимают минимальное значение из величин усилий, определенных из условий разрушения от выкалывания бетона Fn,exp и локального разрушения Fn,loc.

Разрушение от выкалывания бетона. Усилие на деталь или строповочное отверстие определяется по формуле

                                                 (5)

Локальное разрушение. Усилие определяется по формулам: для строповочной петли и стержня с крюком па конце

                               (6)

для стержня с шайбой на конце

                                     (7)

где y — коэффициент, равный: для стержня с крюком — 1, для строповочной петли при s = t/3 ‑ 1,7 при s ³ 2t 2; для промежуточных значений s величина y принимается по линейной интерполяции, Rbt расчетное значение сопротивления бетона при осевом растяжении; значения остальных величии, входящих в формулы (6) и (7), приведены в п. 12.

Для детали из листовой стали и для строповочного отверстия локальное разрушение оценивается расчетом на местное сжатие с учетом коэффициента динамичности и надежности по нагрузке.

Примеры расчета деталей

Пример 1. Требуется запроектировать детали для подъема стеновой панели толщиной 14 см, массой 6000 кг. Предполагается в каждой панели установить два стержня с шайбой на конце. Расстояние от места установки деталей до края панели — 120 см. Перевод в горизонтальное положение производится с помощью кантователя, подъем — с помощью самобалансирующих траверс (усилие направлено вдоль стержня). Нормативная кубиковая прочность бетона в момент первого подъема 7,5 МПа, крупность заполнителя — 20 мм.

Усилие на деталь (с коэффициентом надежности по нагрузке, равным 1) Fn = 60/2 = 30 кН. Диаметр стержня принимается по табл.1 равным 20 мм.

Глубина заделки определяется по формуле (1), в которой коэффициент y1 = 1 (для бетона согласно табл. 2 Rb,1cr = 0,35 кН/см3/2, d = 17 см).

l = [(30 × 1,4 × 1,1)/(1,25 × 1 × 14 × 0,35 × 1)]2 = 57 см.

Так как расстояние до края панели 120 > 2 × 57, то близость к краю не учитывается.

Минимальный размер шайбы cred определим решением уравнения (4), принимая lu = 57 см, d = 17 см (по табл. 2), h2 = 4,73 (по табл. 4 для t/d = 0,824):

 

решив это уравнение, найдем, что cred = 5,7 см.

Минимально необходимый размер шайбы с = 5,7 2/4 = 5,2 см.

Пример 2. Требуется запроектировать деталь для подъема стеновой панели с исходными данными примера 1 при расположении детали на расстоянии 40 см от края панели.

Определение глубины заделки производим методом последовательных приближений. Сначала не учитываем близость к краю, тогда глубина заделки равна 57 см (см. пример 1). Отношение b/l = 40/57 = 0,7; ему соответствует а = 0,92 по табл. 3. Из-за влияния края величина l должна быть больше 57 см, а коэффициент меньше 0,92. Принимаем a = 0,82, тогда l = [(30 × l,4 × l,l)/(l,25 × l × 14 × 0,35 × 0,82)]2 = 85 см.

Отношение b/l = 40/85 = 0,47. Коэффициент a = 0,835. Для а = 0,835l = [(30 × 1,4 × 1,1)/(1,25 × 1 × 14 × 0,35 × 0,835)] = 82 см.

Отношение b/l = 40/82 = 0,49 » 0,5. Коэффициент a = 0,845 »0,85.

Принимаем l = 80 см. Для этой глубины заделки минимальный размер шайбы сred, определяем из уравнения (4)

решив это уравнение, найдем, что сred = 6,5 см.

Минимальный размер шайбы равен с = 6,5 — 2/4 = 6,0 см.

Пример 3. Требуется запроектировать детали для подъема стеновых панелей с исходными данными примера 1 при нормативной кубиковой прочности бетона при первом подъеме 10 МПа и крупности заполнителя 20 мм в случае установки двух стержней с крюками на конце (D = 3,5ds = 7 см).

Глубину заделки определяем по формуле (1), в которой коэффициент y1 = 0,65 (для бетона с прочностью 10 МПа по табл. 2 определяем Rb,1cr = 0,43 кН/см3/2, d = 13 см). l = [(30 × 1,4 × 1,1)/(1,25 × 0,65 × 14 × 0,43 × 1)]2 = 89 см.

Предельную глубину заделки определяем по формуле (3) (h3 = 2,4; ds,red = 2 + 2/4 = 2,5 см, при t/d = 1,08 по табл. 4 h1 = 5,4), она равна

 

Подъем панели за стержни диаметром 20 мм и концевой частью в виде крюка невозможен.

Пример 4. Требуется запроектировать детали для подъема стеновой панели с исходными данными примера 3 в случае установки двух строповочных петель.

Перевод в горизонтальное положение производится с помощью кантователя, подъем стропами со сгибом выступающей части. Параметры петли: D = s = 3,5ds. Петли расположены на значительном расстоянии друг от друга и от края панели или проема.

Усилие на деталь (с коэффициентом надежности по нагрузке, равным 1) Fn = 60/2 = 30 кН. Диаметр стержня принимается по табл. 1 равным 20 мм, D = 7 см.

Глубину заделки определяем по формуле (1), в которой y1 = 0,92; для бетона с нормативной кубиковой прочностью 10 МПа по табл. 2 Rb,1cr = 0,43 кН/см3/2, d = 13 см, l = [(30 × 1,4 × 1,1)/(1,25 × 0,92 × 14 × 0,43 × 1)]2 = 45 см.

Предельную глубину заделки для петли определяем по формуле (3) при h3 = 3,6; ds,red = 2 + 2/4 = 2,5 см; h1 = 5,4 (при t/d= 1,07 — по табл. 4)

 

Принимаем глубину заделки равной 45 см.

Пример 5. Требуется запроектировать строповочные петли для подъема стеновой панели с исходными данными примера 3, для случая подъема с помощью самобалансирующих траверс усилие направлено вдоль петли.

Диаметр арматуры петли принимаем по табл. 1 равным 16 мм, D = 56 мм.

Глубину заделки определяем по формуле (1), так же, как и в примере 4, она равна 45 см.

Предельную глубину заделки для петли определяем по формуле (3) при h3 = 3,5; ds,red = 1,6 + 2/4 = 2,1cм; h1 = 5,4 (при t/d = 1,07 табл. 4)

 

Принимаем глубину заделки 45 см.

ПРИЛОЖЕНИЕ 6

ОСНОВНЫЕ СВЕДЕНИЯ О МАТЕРИАЛАХ И ИЗДЕЛИЯХ ДЛЯ ИЗОЛЯЦИИ СТЫКОВ

Наименование материала, ГОСТ или ТУ

 

Описание материала

 

Назначение материала

Сред­ний расход на 1 м стыка

 

Примечания

1. Уплотняющие прокладки

Прокладки ре­зиновые порис­тые уплотняю­щие (ПРП), ГОСТ 19177—81

Вулканизиро­ванные порис­тые прокладки круглого (диа­метром от 10 до 60 мм) и прямо­угольного (30´40 и 40´60 мм) сечений из смесей на осно­ве различных каучуков. Цвета: черный, корич­невый

Устройство упругой основы под герметизи­рующие масти­ки в закрытых и дренированных стыках панелей наружных стен; устройство воздухозащиты в стыках всех типов

1,05 м

Интервал температур эксплуатации от —30 до +70 °С, для морозо­стойких про­кладок от —60 до +50 °С. Рекомендуе­мое обжатие в стыке 20 — 50 %

Прокладки пено­полиэтиленовые, уплотняющие сплошного сечения марки Вилатерм-СМ, ТУ 6-05-2048-87  с отверстием по центру сечения марки Вилатерм-СП, ТУ 6-221-762-86

Вспененные прокладки круг­лого (диаметры 30, 40 и 50 мм) и прямоугольного (30´40 и 40´60 мм) сечений, по­лучаемые экст­рузией полиэти­лена низкой плотности. Цвет серый

Устройство уп­ругой основы под герметизи­рующие масти­ки в закрытых и дренированных стыках панелей наружных стен; устройство воздухозащиты в стыках всех ти­пов. Прокладки прямоугольных сечений пред­назначены для горизонтальных открытых стыков

1,05 м

Интервал тем­ператур экс­плуатации от —60 до +70 °С. Рекомендуе­мое обжатие в стыке 20 — 50 %

2. Герметизирующие мастики

Мастика герме­тизирующая нетвердеющая строительная, ГОСТ 14791-79

Вязкая однород­ная на основе полиизобутиле­нового, бутило­вого, этиленпро­пиленового, изо­пренового кау­чуков. Цвет от светло-серого до коричневого

Герметизация закрытых и дре­нированных стыков панелей наружных стен средних разме­ров (до 4 м) и мест примыка­ния оконных и дверных блоков к граням про­емов

1 кг

Интервал температур эксплуатации от —50 до +70 °С

То же, ТЕГЕ­РОН

ТУ 21-29-87-82

Вязкая однород­ная на основе синтетического каучука

То же, для север­ных районов

0,7 кг

Интервал тем­ператур экс­плуатации от —60 до +70 °С

Отверждающая тиоколовая мастика марки АМ-5, ТУ 84-246-85

Двухкомпонентные материалы на основе поли­сульфидного ка­учука (тиокола); масса пастооб­разная перед смешиванием и резиноподобная после отвержде­ния. Цвет свет­ло-серый

Герметизация закрытых и дренированных стыков панелей наружных стен в том числе сты­ков панелей больших разме­ров (более 4 м)

0,3 кг

Интервал температур эксплуатации от —50 до +70 °С

Отверждающая герметизирую­щая мастика марки ЛТ-1, ТУ 38.103650-88

Двухкомпонент­ный материал на основе ТПМ-полимера: масса пастообразная перед смешива­нием и резино­подобная после отверждения. Цвет серый

То же

0,3 кг

То же, нанесе­ние грунтовки не требуется

Отверждающи­еся бутил-каучу­ковые мастики марок Гермабу­тил-УМ и Гер­мабутил-М, РСТ УССР 5018-81

Двухкомпонент­ные материалы на основе бутил­каучука, смеши­ваемые перед употреблением. Цвет темный и светлый

Герметизация закрытых и дренированных стыков панелей наружных стен

0,3 кг

Интервал температур эксплуатации от —50 до +80 °С

Отверждающая­ся герметизиру­ющая мастика марки Геростом ТУ 21-29-113-86

Однокомпонен­тный материал на основе кар­боксилатного каучука и эпок­сидной смолы. Цвет бежевый

Герметизация закрытых и дре­нированных сты­ков панелей на­ружных стен и металлических элементов в сборном стро­ительстве

0,4 кг

Интервал тем­ператур экс­плуатации от —40 до +70 °С. Нанесение грунтовых сос­тавов не требу­ется

Клей ¾ герме­тик кремний­органический Эла-стосил-11-06, ТУ 6-02-775-76

Однокомпонентный отверждаю­щийся материал на основе сили­конового каучу­ка. Цвет светлый

Герметизация стыков панелей наружных стен в суровых клима­тических услови­ях

0,3 кг

Интервал температур эксплуатации от —55 до +90 °С

3. Воздухозащитные ленты

Лента воздухо­защитная Герво­лент, ТУ 21-29-46-84

Лента из невул­канизованной резины на осно­ве синтетичес­ких каучуков. Ширина 180 мм, толщина 1,2 мм

Оклейка меж­панельных вер­тикальных сты­ков изнутри при монтаже зданий

0,3 кг

Интервал температур эксплуатации от —40 до +80 °С. Наклеива­ется на клеях типа КН или клее-герметике 51-Г-18

Лента гермети­зирующая само­клеющаяся Гер­лен-Д, ТУ 400-1-165-79

Нетвердеющая клейкая лента, дублированная с одной стороны нетканым син­тетическим ма­териалом. Ши­рина 100, 120, 200 мм; толщина 3 мм

То же

0,4 кг (при шири­не 100 мм)

Интервал тем­ператур экс­плуатации от —50 до +60 °С. Наклеивается после обработ­ки поверхности клеем-гермети­ком 51-Г-18

4. Водоотбойные экраны

Профили поли­винилхлорид­ные, ТУ 21-29-78-82

Комплект из двух профилей-направляющих длиной 2850 мм каждый и водо­отбойного экра­на той же длины, изготовляемый из пластмассы на основе жест­кого ПВХ. Цвет серый

Водозащита вертикальных стыков панелей наружных стен (жесткий экран)

1 м эк­рана и 2 м про­филей-на­прав­ляю­щих

Интервал температур эксплуатации от —40 до +70 °С

Лента алюми­ниевая гофриро­ванная

Водоотбойный экран в виде гофрированной ленты из алюми­ниевых сплавов марок А-1, АД-1, Амц, Амr. Ширина 60 мм

То же

1 м ленты

То же

Лист из стабили­зированного полиэтилена (высокого дав­ления), ГОСТ 16337-77*

Лента шириной 85 и 110 мм, толщиной 1,5 — 1,8 мм. Цвет черный

Водозащита вертикальных стыков панелей наружных стен (гибкий экран)

0,25 кг

Интервал температур эксплуатации от —40 до +70 °С

Лист из частич­но вспененного стабилизиро­ванного поли­этилена, ТУ П-42-71

Лента шириной 85 и 110 мм толщиной 1,5 — 1,8 мм. Цвет черный

То же

0,16 кг

То же

Резиновый лист, ГОСТ 7338-77*

Лента шириной 85 и 110 мм, толщиной 1,5 — 1,8 мм

Водозащита вертикальных стыков панелей наружных стен (гибкий экран)

0,16 кг

Интервал температур эксплуатации от —40 до +60 °С

5. Водоотводящие фартуки

Резиновый лист, ГОСТ 7338-77*

Лист из атмо­сферостойкой резины толщи­ной 1,5 — 2 мм

Водоотводящий фартук для стыков открыто­го и дренирован­ного типа

Размер 220 ´

220 мм

Наклеивается на клеях типа КН на верхние грани панелей в местах пере­сечения верти­кального и го­ризонтального стыков

Фольгоизол, ГОСТ 20429-84

Рулонный мате­риал из тонкой рифленой фоль­ги, покрытой с одной стороны слоем резино­битумного вяжущего

То же

То же

Наклеивается на резиноби­тумных мастиках

6. Грунтовочные и клеящие составы

Герметик высыхающий 51-Г-18, ТУ 400-1-137-78

Однокомпонен­тный состав на основе дивинил­стирольного термоэласто­пласта в раство­рителе

Огрунтовка сты­куемых поверх­ностей бетонных панелей наруж­ных стен в за­водских услови­ях; приклеива­ние воздухо-защитных лент

0,4 кг

Интервал температур эксплуатации от —70 до +70 °С

Состав латекс­ный грунтовоч­ный ЛСГ-905, ТУ 400-1-209-80

Однокомпонен­тный состав на основе латекса и бутилкаучука. Цвет серый

Гидрофобное покрытие сты­куемых поверх­ностей бетонных панелей наруж­ных стен в за­водских услови­ях при примене­нии открытых стыков

0,3 кг

Интервал температур эксплуатации от —50 до +50 °С

Мастики клея­щие каучуковые КН-2 и КН-3, ГОСТ 24064-80

Вязкие одноком­понентные пас­тообразные сос­тавы на основе хлоропренового каучука в раст­ворителе

Огрунтовка сты­куемых поверх­ностей бетонных панелей наруж­ных стен в за­водских услови­ях, приклеива­ние водоотводя­щих фартуков и прокладок ПРП при устройстве воздухозащиты

0,2 кг

 

Праймер 141-50, ТУ 6-02-983-75

Прозрачная жидкость жел­товатого цвета или бесцветная

Огрунтовка граней панелей перед нанесени­ем герметика Эластосил II-06

0,2 кг

Наносится кистью или набрызгом

Состав грунто­вочный под нетвердеющие мастики ЛСГ-Н, ТУ 21-29-128-87

Однокомпонен­тный состав на основе латексов. Цвет светло-бежевый

Огрунтовка граней панелей в заводских усло­виях перед нане­сением нетвер­деющих мастик

0,3 кг

Наносится кистью

 

 




ГОСТЫ, СТРОИТЕЛЬНЫЕ и ТЕХНИЧЕСКИЕ НОРМАТИВЫ.
Некоммерческая онлайн система, содержащая все Российские Госты, национальные Стандарты и нормативы.
В Системе содержится более 150000 файлов нормативно-технической документации, действующей на территории РФ.
Система предназначена для широкого круга инженерно-технических специалистов.

Рейтинг@Mail.ru Яндекс цитирования

Copyright © www.gostrf.com, 2008 - 2026