Крупнейшая бесплатная информационно-справочная система онлайн доступа к полному собранию технических нормативно-правовых актов РФ. Огромная база технических нормативов (более 150 тысяч документов) и полное собрание национальных стандартов, аутентичное официальной базе Госстандарта. GOSTRF.com - это более 1 Терабайта бесплатной технической информации для всех пользователей интернета. Все электронные копии представленных здесь документов могут распространяться без каких-либо ограничений. Поощряется распространение информации с этого сайта на любых других ресурсах. Каждый человек имеет право на неограниченный доступ к этим документам! Каждый человек имеет право на знание требований, изложенных в данных нормативно-правовых актах!

  


 

 

 

Утверждаю

Начальник Управления технического
нормирования, стандартизации и сертификации в строительстве и ЖКХ Госстроя России

__________ Тишенко В.В.

«__________» ___________________ 2003 г.

 

Поправка
к ГОСТ 8269.0-97 Щебень и гравий из плотных горных пород и отходов промышленного производства для строительных работ. Методы физико-механических испытаний

В каком месте

Напечатано

Должно быть

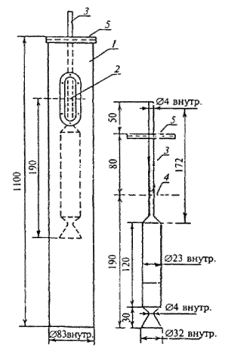
Пункт 4.5.2.1 рисунок 2

1 - цилиндр; 2 - метка на цилиндре 1000 см3, 3 - пипетка; 4 - уровень суспензии в цилиндре; 5 - опорная крышка пипетки

Рисунок 2 - Металлический цилиндр и мерная пипетка

1 - цилиндр; 2 - пипетка; 3 - метка на цилиндре (1000 мл); 4 - уровень суспензии в цилиндре; 5 - опорная крышка пипетки

Рисунок 2 - Металлический цилиндр и мерная пипетка

 

Главный специалист                                                                             Т.А. Фиронова

 

 




ГОСТЫ, СТРОИТЕЛЬНЫЕ и ТЕХНИЧЕСКИЕ НОРМАТИВЫ.
Некоммерческая онлайн система, содержащая все Российские Госты, национальные Стандарты и нормативы.
В Системе содержится более 150000 файлов нормативно-технической документации, действующей на территории РФ.
Система предназначена для широкого круга инженерно-технических специалистов.

Рейтинг@Mail.ru Яндекс цитирования

Copyright © www.gostrf.com, 2008 - 2026