Крупнейшая бесплатная информационно-справочная система онлайн доступа к полному собранию технических нормативно-правовых актов РФ. Огромная база технических нормативов (более 150 тысяч документов) и полное собрание национальных стандартов, аутентичное официальной базе Госстандарта. GOSTRF.com - это более 1 Терабайта бесплатной технической информации для всех пользователей интернета. Все электронные копии представленных здесь документов могут распространяться без каких-либо ограничений. Поощряется распространение информации с этого сайта на любых других ресурсах. Каждый человек имеет право на неограниченный доступ к этим документам! Каждый человек имеет право на знание требований, изложенных в данных нормативно-правовых актах!

  


 

МИНИСТЕРСТВО СВЯЗИ СССР

ГЛАВНОЕ УПРАВЛЕНИЕ
П
О ПРОЕКТИРОВАНИЮ ОБЪЕКТОВ СВЯЗИ
ГЛАВСВЯЗЬ
ПРОЕКТ

Утверждено

приказом министра связи

СССР

№ 141

от 26 марта 1975 г.

РУКОВОДСТВО
ПО ПРОЕКТИРОВАНИЮ
СЕТИ ЭЛЕКТРОСВЯЗИ
В СЕЛЬСКОЙ МЕСТНОСТИ

ИЗДАТЕЛЬСТВО «СВЯЗЬ»

МОСКВА 1976 г.

ПРЕДИСЛОВИЕ

Поставленные XXIV съездом КПСС задачи по подъему всей экономики нашей страны и повышению благосостояния советского народа во многом зависят от успешного развития сельского хозяйства.

Повышение эффективности сельскохозяйственного производства может быть достигнуто не только за счет повышения культуры земледелия, уровня механизации и химизации, но и создания системы управления, оснащенной современными техническими средствами, с помощью которых можно было бы обеспечить передачу и получение необходимой производственной информации. Это связано с оснащением сельского хозяйства современными средствами электрической связи. Вот почему необходимо уделять значительное внимание вопросам проектирования и строительства сельских сетей электросвязи.

Настоящее руководство по проектированию сетей электросвязи в сельской местности составлено взамен «Указаний по проектированию сельских телефонных сетей» (Издательство «Связь», 1964 г.) в полном соответствии с:

- «Основными положениями системы сельской телефонной связи», утвержденными Междуведомственным координационным советом (МВКС) при министре связи СССР 26 февраля 1974 г.;

- «Принципами организации электросвязи в сельской местности», утвержденными МВКС 8 июня 1971 г.;

- «Основными положениями системы ведомственной телефонной связи», утвержденными МВКС 3 апреля 1973 г.;

- «Основными положениями общегосударственной системы передачи данных» (ОГСПД).

Оно имеет целью установить общую методику разработки проектных решений по развитию и строительству сельских телефонных сетей (СТС), сетей внутрипроизводственной связи (ВПС) совхозов и колхозов (диспетчерской проводной и радиотелефонной связи, документальной и технологической связи) и создать единые рекомендации по построению комплекса сооружений электросвязи на различных этапах их развития.

Руководство предусматривает перспективное по СТС и текущее проектирование сооружений СТС и ВПС, охватывает проектирование линейных и станционных сооружений и электроустановок (электропитание и электроснабжение). Наименования населенных пунктов и расстояния между ними, указанные на рисунках, схемах и в таблицах, являются гипотетическими. Вопросы проектирования гражданских сооружений в Руководстве не рассматриваются.

Руководство разработано институтами «Гипросвязь-2», ЛОНИИС, ГСПИ и рассмотрено Главсвязьпроектом, Техническим управлением (ТУ), Главным управлением городской и сельской телефонной связи (ГУТС), Главным телеграфным управлением (ГТУ) и Главным радиоуправлением (ГРУ) Министерства связи СССР. Корректировка Руководства по замечаниям ТУ, ГТУ и ГРУ осуществлена Главсвязьпроектом с привлечением специалистов институтов «Гипросвязь-2» и «Гипросвязь».

Состав, содержание и оформление проектной документации в Руководстве приводятся без подробностей, так как такие вопросы освещаются в утвержденных Министерством связи СССР эталонах, типовых решениях и других нормативно-справочных материалах.

Руководство рассчитано на инженерно-технических работников проектных, строительных, эксплуатационных и др. организаций.

Оно подготовлено авторским коллективом сотрудников институтов «Гипросвязь-2» в составе Атливаника Л. Я., Войку К. И., Волынской Л. Г., Михайлова Н. Н., Соминского М. Л., ЛОНИИС в составе Павловского И. Е., Сасонко С. Б., Смирнова Н. Н., ГСПИ в составе Метелкина В. И., Рубина Г. З., Колкановой С. С., Балиной В. Р. и Студницыной М. В. (Главсвязьпроект). Общее редактирование Руководства осуществлено Атливаником Л. Я.

Главное Управление

по проектированию объектов связи

Министерства связи СССР

1. ПРИНЦИПЫ ОРГАНИЗАЦИИ И ОСНОВНЫЕ ПОЛОЖЕНИЯ ПОСТРОЕНИЯ И ПРОЕКТИРОВАНИЯ СЕТИ ЭЛЕКТРОСВЯЗИ

1.1. СЕТЬ ЭЛЕКТРОСВЯЗИ И ЕЕ НАЗНАЧЕНИЕ

Под электросвязью в сельской местности понимается вся система связи сельского административного района, включающая связь общего пользования, внутрипроизводственную связь колхозов, совхозов и других сельскохозяйственных предприятий, а также учрежденческо-производственную связь ведомств, промышленных и строительных организаций.

Для организации электросвязи в сельской местности на территории сельского административного района создается сеть линий и каналов связи, входящая в первичную сеть ЕАСС. На первичной сети в сельской местности используются воздушные, кабельные и радиорелейные линии, а также линии радиосвязи. На основе первичной сети в сельской местности организуются сети электросвязи следующих видов:

1. Сети общего пользования (ОП):

- телефонной связи общего пользования ТФ-ОП (СТС);

- телеграфной (факсимильной) связи;

- передачи вещания (звукового);

2. Внутрипроизводственные сетиПС):

- внутрипроизводственной телефонной связи колхозов, совхозов и других сельскохозяйственных предприятий (ВПТС);

- диспетчерской проводной телефонной связи (ДТС);

- диспетчерской радиотелефонной связи (ДРС);

- телеграфной (документальной) связи - факсимильной (ВПФС) и абонентского телеграфа (AT);

- передачи данных с низкой и средней скоростью (СПД);

- передачи информации технологического характера - телеконтроль, телесигнализация и телеизмерение (ПТИ);

- директорской связи (ДС);

- громкоговорящей поисковой связи.

Примечание. Абоненты ДТС, ВПТС, СПД, ДС и ПТИ не должны иметь выхода на сеть ТФ-ОП.

3. Ведомственной телефонной связи.

Для организации ведомственной телефонной связи могут создаваться сети: учрежденческой телефонной связи, производственной телефонной связи и учрежденческо-производственной телефонной связи.

Сеть телефонной связи общего пользования (СТС) предназначается для установления соединений между любыми абонентами этой сети в пределах сельского административного района с абонентской системой оплаты, а также для выхода абонентов на сети зоновой, междугородной и международной телефонной связи.

Сеть телеграфной и факсимильной связи общего пользования предназначена для обмена документальной информацией между сельскими отделениями связи и районным узлом связи.

Сеть передачи вещания (звукового) предназначается для передачи центральных, республиканских, краевых, областных и районных программ вещания, а также сигналов дистанционного управления станциями радиотрансляционных узлов. Передача центральных, республиканских, краевых и областных программ должна проводиться по каналам не ниже II класса качества (28). Для передачи районных программ вещания и в необходимых случаях программ совхозного и колхозного вещания допускается использование стандартных каналов ТЧ. Эти каналы используются также для контроля и резервного управления станциями радиотрансляционных узлов.

Сеть внутрипроизводственной телефонной связи колхозов, совхозов и других сельскохозяйственных предприятий предназначается для установления соединений между производственными объектами в пределах одного хозяйства. Оборудование сети должно обеспечивать: установление соединений между абонентами внутри хозяйства (предприятия), выход абонентов этой сети на сеть общего пользования и ограничение выхода на сеть общего пользования для части абонентов.

Сеть диспетчерской телефонной связи предназначается для организации оперативно-командной связи в пределах сельскохозяйственного предприятия. Сеть диспетчерской телефонной связи может быть проводной и радиотелефонной. Оборудование этой сети должно обеспечить возможность:

- оперативного вызова диспетчером абонентов сети;

- индивидуальной, групповой (только для проводной сети) и циркулярной связи диспетчера с абонентами;

- громкоговорящей связи.

Сеть факсимильной внутрипроизводственной связи предназначается для организации передачи документальной информации внутри хозяйства. Для передачи документальной информации из сельскохозяйственного предприятия и вышестоящую организацию используется сеть абонентского телеграфа.

Сеть передачи данных предназначается для передачи информации сельскохозяйственными предприятиями соответствующим вычислительным центрам.

Сеть передачи информации технологического характера предназначается для дистанционного контроля производственных процессов внутри хозяйства путем телеконтроля, телеизмерения и телесигнализации. Оборудование этой сети должно обеспечивать возможность передачи дискретных и аналоговых сигналов по некоммутируемым цепям и каналам связи.

Сеть директорской связи предназначена для организации непосредственной телефонной связи между руководителем сельскохозяйственным предприятием и его прямыми подчиненными. Оборудование этой сети должно обеспечивать возможность проведения совещания и громкоговорящей связи с прямыми абонентами. Сеть громкоговорящей поисковой связи организуется совместно с сетью диспетчерской проводной телефонной связи. В необходимых случаях предусматривается автономная сеть поисковой связи с использованием самостоятельных линий.

Сетями учрежденческой телефонной связи называются ведомственные телефонные сети, непосредственно не используемые в производственно-технологическом процессе.

Сетями производственной телефонной связи называются ведомственные телефонные сети, предназначенные для непосредственной организации и руководства производственно-технологическим процессом.

Сетями учрежденческо-производственной телефонной связи называются объединенные ведомственные телефонные сети, предназначенные для организации как учрежденческой, так и производственной телефонной связи. Оборудование этих сетей должно обеспечивать организацию местных и внешних телефонных связей абонентов учрежденческих, производственных и учрежденческо-производственных телефонных сетей, а также узлы, обеспечивающие организацию транзитных соединений по каналам и соединительным линиям на ведомственных телефонных сетях.

Для организации сети ведомственной телефонной связи может также использоваться оборудование общегосударственной телефонной сети путем установки в учреждениях и на предприятиях части оборудования ЛТС общегосударственной сети, предназначенного для обслуживания соответствующей группы абонентов учрежденческой телефонной связью.

1.2. ПРИНЦИПЫ ПОСТРОЕНИЯ СЕТИ ЭЛЕКТРОСВЯЗИ

СЕТЬ СТС

На СТС применяется радиальное и радиально-узловое построение сети. При радиальном построении сельские оконечные телефонные станции непосредственно связываются с телефонной станцией районного центра (одноступенчатая схема построения).

При радиально-узловом построении сельские оконечные телефонные станции связываются с узловыми станциями, которые, в свою очередь, соединяются с центральной телефонной станцией в районном центре (двухступенчатая схема построения). По месту расположения на сети и выполняемым функциям телефонные станции СТС делятся на следующие виды станций:

а) центральная станция (ЦС), расположенная в районном центре, выполняющая одновременно функции городской (местной) телефонной станции и транзитного узла. В ЦС включаются СЛ узловых станций (УС) (при двухступенчатом схеме построения) и СЛ оконечных станций (ОС) (при одноступенчатой схеме построения);

б) УС, расположенные в любом из населенных пунктов сельского района. В УС включаются СЛ ОС (при двухступенчатой схеме построения), и через нее осуществляется связь ОС между собой, а также с ЦС;

в) ОС, расположенные в любом из населенных пунктов сельского района. СЛ ОС (в зависимости от схемы построения) включаются в ЦС или УС.

Принципы построения СТС показаны на рис. 1.1.

Рис. 1.1. Принципы построения СТС

В зависимости от схемы построения на СТС образуется различное число ступеней связи между телефонными станциями. При одноступенчатой схеме построения, когда ОС непосредственно включаются в ЦС, связь между указанными станциями осуществляется через одну ступень (ОС - ЦС). При двухступенчатой схеме построения, когда ОС связывается с УС, а через них - с ЦС, связь ОС с ЦС осуществляется через две ступени (ОС - УС и УС - ЦС).

Одноступенчатая схема построения СТС обеспечивает минимальное затухание, упрощает станционное оборудование и ускоряет процесс соединений. Поэтому применение при проектировании одноступенчатого построения на СТС является наиболее предпочтительным и перспективным.

Двухступенчатое построение СТС может применяться при проектировании в случае технико-экономической целесообразности узлообразования.

Сельские АТС устанавливаются в центрах телефонной нагрузки с тем, чтобы обеспечить минимум расходов на строительство линейных сооружений. Междугородные соединения с абонентами СТС осуществляются через ЦС районного центра независимо от способа их установления (ручной, полуавтоматический или автоматический). При автоматизации междугородной и зоновой связи используются заказно-соединительные линии (ЗСЛ) и соединительные линии (СЛМ), по которым ЦС райцентра связывается с АМТС зоны.

При необходимости (значительное тяготение) на СТС могут проектироваться поперечные связи на уровне УС и ОС координатной и вновь разрабатываемых систем. В состав линейных сооружений сети СТС входят абонентские и межстанционные линии, которые должны быть преимущественно кабельные, а также радиорелейные и воздушные. Когда применение кабельных и воздушных линий невозможно или экономически нецелесообразно, используются радиорелейные линии.

С целью экономического построения и использования абонентских линий и межстанционных СЛ СТС, при проектировании следует применять на абонентских линиях, наряду с индивидуальным, спаренное включение телефонных аппаратов, групповые установки (ГУ), а на соединительных линиях - усилители мостового типа и аппаратуру уплотнения. При этом спаренное включение телефонных аппаратов в основном рекомендуется только для абонентов квартирного сектора. Спаренное включение телефонных аппаратов народнохозяйственного сектора допускается только в отдельных случаях.

СЕТЬ ТЕЛЕГРАФНОЙ (ФАКСИМИЛЬНОЙ) СВЯЗИ

В соответствии с ЕАСС телеграфная связь организуется на основе принципов прямых соединений с использованием автоматических коммутационных станций. Для организации факсимильной связи используется коммутируемая телефонная сеть. Решение об использовании телефонной сети для факсимильной связи принимается по согласованию с соответствующими организациями Министерства связи СССР. На абонентских пунктах устанавливается оконечное оборудование - телеграфные и факсимильные аппараты.

Установление соединения между факсимильными аппаратами для передачи документальной информации осуществляется так же, как при обычной телефонной связи с последующим переключением линии, после ответа вызываемого абонента, с телефонных аппаратов на факсимильные аппараты.

СЕТЬ ПЕРЕДАЧИ ПРОГРАММ ЗВУКОВОГО ВЕЩАНИЯ

Сеть передачи программ звукового вещания в пределах сельского административного района строится по радиальному и радиально-узловому принципу. Различаются два способа подачи программ вещания и сигналов управления:

- с использованием радиоканалов УКВ ЧМ радиовещательных передатчиков (в настоящих указаниях не рассматривается);

- с использованием проводных каналов вещания, образованных по цепям СТС.

Проводные каналы вещания организуются с помощью аппаратуры сельского проводного вещания (АВСП), а передача сигналов контроля и резервного управления станциями сельских радиотрансляционных узлов обеспечивается аппаратурой общестанционной автоматики (ОСА) и аппаратурой контроля и резервного управления (АКРУ) по цепям СТС. Схема построения сети передачи программ вещания в сельском районе с помощью АВСП аналогична приведенной на рис. 1.1. В районном центре устанавливается центральная станция проводного вещания (ЦС - ПВ).

В местах размещения узловых, а в отдельных случаях и оконечных станций СТС, откуда необходимо передавать программу вещания к нескольким пунктам, устанавливаются приеморазветвительные (ПРС - ПВ) или промежуточные (ПС - ПВ) станции проводного вещания, которые обеспечивают прием программ от ЦС - ПВ и передачу ее к нижестоящим оконечным пунктам, где устанавливаются оконечные станции проводного вещания (ОС - ПВ). Эти пункты, как правило, совмещаются с ОС СТС.

Организация передачи программ проводного вещания с помощью АВСП базируется на использовании линейных и станционных сооружений межстанционной сети СТС.

СЕТЬ ВПТС

Сеть внутрипроизводственной телефонной связи колхозов и совхозов базируется на сети телефонной связи общего пользования. Отсюда все принципы построения СТС сохраняются и для ВПТС. Следует, однако, отметить, что абоненты СТС включаются в телефонную сеть без ограничения, а абоненты ВПТС могут включаться как с ограничением, так и без ограничения права выхода на сеть телефонной связи общего пользования. При этом, если данное хозяйство обслуживается только одной АТС, устанавливаемой на центральной усадьбе колхоза или совхоза, то часть абонентов ВПТС может быть включена с ограничением. Если же хозяйство обслуживается несколькими ОС, включенными в УС, расположенную на центральной усадьбе, то ограничение права выхода абонентам ВПТС не допускается, так как такие абоненты при этом лишаются возможности внутрипроизводственной телефонной связи. Исключением являются абоненты, включенные в совмещенные линии.

Для сетей ВПТС и СТС используется общая АТС и общие линейные сооружения.

В зависимости от местных условий, размеров территории хозяйства, числа входящих в него населенных пунктов, количества жителей в них и телефонной плотности, определяющих построение телефонной сети общего пользования, предусматриваются следующие возможности организации ВПТС колхозов и совхозов:

- обслуживание телефонной связью колхоза или совхоза одной сельской АТС, устанавливаемой на центральной усадьбе и охватывающей один станционный район;

- обслуживание колхоза или совхоза телефонной связью несколькими сельскими АТС, образующими один узловой район с узловой станцией, размещаемой на центральной усадьбе, и ОС, устанавливаемыми в отделениях и бригадах этого хозяйства;

- обслуживание телефонной связью нескольких колхозов и совхозов одной сельской АТС, когда нецелесообразно устанавливать АТС в каждом хозяйстве;

- включение в узловую станцию одного хозяйства ОС разных колхозов и совхозов.

В первую очередь при организации телефонной связи сельскохозяйственного предприятия проектируется установка оконечной АТС на центральной усадьбе.

СЕТЬ ДИСПЕТЧЕРСКОЙ ТЕЛЕФОННОЙ СВЯЗИ

Сети диспетчерской телефонной связи строятся на базе средств проводной и радиосвязи. Сеть диспетчерской проводной телефонной связи организуется как из прямых цепей, используемых только для диспетчерской связи, так и из цепей, совмещенных с ВПТС. Прямые цепи диспетчерской связи включаются непосредственно в коммутатор диспетчерской связи ДС), устанавливаемый на центральной усадьбе хозяйства, а совмещенные цепи включаются параллельно абонентской линии АТС центральной усадьбы. Прямые цепи диспетчерской связи предусматриваются в общих с СТС (ВПТС) линейных сооружениях. В совмещенные цепи диспетчерской связи могут включаться только абоненты с индивидуальными (не спаренными) телефонными аппаратами, не имеющие права выхода на сеть общего пользования.

Для организации диспетчерской проводной телефонной связи с производственными объектами отделений (бригад), где установлена ГУ (ОС), необходимо предусматривать самостоятельную цепь, используемую как для диспетчерской, так и для внутрипроизводственной телефонной связи. Если нет возможности предоставить самостоятельные цепи для включения в диспетчерский коммутатор абонентских пунктов производственных объектов (отделений, бригад), в которых установлены ГУ (ОС), телефонная связь между этими объектами и диспетчером обеспечивается по сети ВПТС (СТС) через сельскую АТС.

Телефонная связь абонентов сети ВПТС, имеющих право выхода на телефонную сеть общего пользования с диспетчером, обеспечивается только через сельскую АТС хозяйства.

Диспетчерская проводная телефонная сеть организуется на сельскохозяйственных предприятиях, обслуживаемых одной или несколькими сельскими АТС. В этих же хозяйствах организуется также диспетчерская радиотелефонная связь. В хозяйствах, телефонная связь которых обеспечивается сельской АТС, расположенной в другом хозяйстве, когда не могут быть использованы проводные средства связи, диспетчерская связь строится путем использования только средств радиотелефонной связи.

Диспетчерская радиотелефонная сеть в колхозах и совхозах организуется между диспетчером, находящимся на центральной усадьбе, и бригадами или отделениями, а также с подвижными, труднодоступными и удаленными производственными объектами по радиальному и радиально-кустовому принципу. Сети диспетчерской радиотелефонной связи являются автономными и взаимодействуют с сетью диспетчерской проводной телефонной связи, для чего центральная радиостанция (ЦРС) включается в КДС.

Все радиостанции диспетчерской радиотелефонной связи должны работать в одном канале. При этом в хозяйствах со сложной структурой управления, когда радиостанции устанавливаются в конторах отделений хозяйств, абоненты могут вызывать как диспетчера центральной радиостанции, так и диспетчера-информатора своего отделения (бригады) или любого абонента сети (при симплексной связи). В сети диспетчерской радиотелефонной связи включаются как передвижные радиостанции, устанавливаемые на автомашинах (АРС), так и носимые (портативные) радиостанции. Выход абонентов этой сети на телефонную сеть общего пользования не предусматривается.

СЕТЬ АБОНЕНТСКОГО ТЕЛЕГРАФА

Сеть абонентского телеграфа, соединяющая оконечные телеграфные аппараты (абонентские пункты) с автоматическими коммутационными станциями или подстанциями абонентской телеграфной связи, расположенными в райцентре, базируется на использовании в пределах сельского населенного пункта отдельных цепей в абонентских сетях СТС (или УПТС), а между населенными пунктами отдельных физических цепей или каналов тонального телеграфирования сети межстанционной связи. При этом в первую очередь обеспечивается необходимым количеством соединительных линий сеть ТФ - ОП.

СЕТЬ ПЕРЕДАЧИ ДАННЫХ

Сеть передачи данных в пределах района должна организовываться в соответствии с «Основными положениями общегосударственной системы передачи данных».

При использовании для передачи данных коммутируемой телефонной сети, а также при выборе типа применяемой аппаратуры должно быть получено разрешение соответствующих организаций Министерства связи СССР.

СЕТЬ ПЕРЕДАЧИ ИНФОРМАЦИИ ТЕХНОЛОГИЧЕСКОГО ХАРАКТЕРА

Сеть передачи информации технологического характера частично совмещается с сетью внутрипроизводственной телефонной связи в пределах хозяйства на участках абонентских и межстанционных сетей, путем использования самостоятельных пар в общих кабелях, физических цепей воздушных линий и каналов ТЧ аппаратуры уплотнения.

Сеть передачи информации технологического характера состоит из датчиков контроля (ДК), контролируемых полукомплектов (КП), диспетчерских полукомплектов (ДМ) и цепей, связывающих их. Сигналы, поступающие от датчиков, расположенных на производственных объектах отделений (бригад), принимаются КП по отдельным цепям, соединяющим ряд ДК с одним КП, и передаются на ДП, соединяемый с КП одной физической цепью или каналом ТЧ аппаратуры уплотнения. ДК подключаются к пульту устройства телемеханики (ПУТ), устанавливаемому в диспетчерском пункте центральной усадьбы хозяйства. На ПУТ фиксируются сигналы, поступающие от ДК. Цепи от ДК, которые расположены на производственных объектах в пределах центральной усадьбы, включаются непосредственно в ПУТ. Таким образом, для соединения ДК с КП или ПУТ используются отдельные физические цепи абонентских сетей, а для связи КП с ДП - физические цепи или каналы ТЧ аппаратуры уплотнения межстанционных сетей.

По физическим цепям, используемым для передачи информации технологического характера и размещаемым в общем кабеле с другими цепями СТС и ВПТС или из одном профиле воздушных линий связи, могут передаваться сигналы:

- постоянного тока напряжением не более 60 В, длительностью импульсов, не менее 40 мс;

- переменного тока в полосе частот 0,3-3,4 кГц с напряжением не более 1,2 В.

Для передачи сигналов телеконтроля, телесигнализации и телеизмерений по каналам ТЧ аппаратуры уплотнения допустимая средняя мощность сигнала за час не должна превышать 32 мкВт в точке нулевого относительного уровня канала ТЧ.

Передача сигналов постоянного тока по каналам ТЧ аппаратуры уплотнения не предусматривается.

СЕТЬ ДИРЕКТОРСКОЙ СВЯЗИ

Сеть директорской связи организуется путем использования пар в общих кабелях сетей СТС и ВПТС и состоит из абонентских линий, включаемых в коммутатор директорской связи (КД). Как правило, КД соединяется с местной АТС хозяйства. Выход абонентов этой сети на телефонную сеть общего пользования не предусматривается.

СЕТЬ ВЕДОМСТВЕННОЙ ТЕЛЕФОННОЙ СВЯЗИ

Сети ведомственной телефонной связи должны строиться в соответствии с «Основными положениями системы ведомственной телефонной связи». Эти сети могут иметь выход к телефонной сети СТС только на уровнях центральной или узловой станции.

Ведомственные телефонные сети, имеющие выход на общегосударственную сеть, должны удовлетворять единым техническим нормам и требованиям, предъявляемым к техническим средствам и каналам ЕАСС, сопрягаться с первичной и вторичными сетями ЕАСС и строиться в соответствии с принципами «Системы общегосударственной автоматически коммутируемой телефонной сети».

В УПАТС могут включаться:

- индивидуальные абонентские линии;

- абонентские линии со спаренными телефонными аппаратами без взаимной связи;

- линии удаленных абонентов;

- абонентские линии коллективного пользования, не имеющие права выхода на общегосударственную сеть, с избирательным вызовом;

- соединительные линии с АТС общегосударственной сети;

- соединительные линии и каналы к другим УПАТС и ведомственным АМТС и МТС ручного обслуживания.

Примечание. На ведомственных телефонных сетях в качестве абонентских линий могут использоваться стандартные каналы ТЧ, образованные с помощью аппаратуры уплотнения. Выход с этих каналов на общегосударственную сеть разрешается при условии выполнения требований ЕАСС о максимально допустимом качестве НЧ переприемов.

Учрежденческие телефонные сети могут постепенно объединяться с общегосударственной телефонной сетью. Объединение местных телефонных сетей должно осуществляться на основе их полной автоматизации с учетом приведения объединяемых учрежденческих сетей в соответствии с требованиями и нормами ЕАСС. Объединение производственных и учрежденческо-производственных телефонных сетей с общегосударственной сетью допускается в случаях, когда это разрешает характер производственного процесса.

1.3. ТИПЫ СЕЛЬСКИХ АТС, ИХ КРАТКАЯ ХАРАКТЕРИСТИКА И РЕКОМЕНДАЦИИ ПО ИСПОЛЬЗОВАНИЮ

Основной системой коммутационного оборудования на СТС, до создания новых квазиэлектронных и электронных АТС, является координатная система. На СТС рекомендуется использовать следующие типы сельских АТС координатной системы: АТС К-100/2000, АТС К-50/200, АТС К-50/200М и АТСК. Ниже приводится их краткая характеристика.

АТС K-100/2000. Станция предназначается для использования в качестве центральной, узловой и оконечной АТС. Емкость станции кратна 100 номерам, а применение ее на сети эффективно при емкости более 200 номеров. В станциях различной емкости и разного назначения применяются единые блоки абонентского, группового и регистрового искания. Станция рассчитана на включение физических цепей и каналов аппаратуры уплотнения, причем при коммутации последних обеспечивается четырехпроводный транзит. Для организации связи между станциями по физическим цепям принят индуктивный способ передачи сигналов управления и взаимодействия, использующий временной импульсный код. Индуктивные комплекты РСЛ могут также использоваться для организации связи по каналам сельской аппаратуры уплотнения с выделенным сигнальным каналом. В АТС К-100/2000 имеются соответствующие комплекты РСЛ для организации связи сельских АТС с городскими телефонными станциями декадно-шаговой и координатной систем. На станции предусмотрена возможность организовать поперечные связи.

В усовершенствованной АТС К-100/2000 предусмотрены новые линейные комплекты, позволяющие расширить возможности этой станции по межстанционной связи, а также аппаратура АОН и промышленное оборудование для организации исходящей междугородной связи по зоновому принципу с АМТС-2 или с АМТС-3.

АТС К-50/200. Станция предназначена для использования в качестве узловой и оконечной станций при конечной абонентской емкости, не превышающей 200 номеров. Расширение станции производится блоками по 50 номеров. При использовании станции в качестве узловой на ней дополнительно к абонентскому устанавливается транзитное оборудование. Для связи по физическим цепям принят индуктивный способ передачи сигналов управления и взаимодействия. Индуктивные комплекты применяются также при связи по каналам сельской аппаратуры уплотнения с выделенным сигнальным каналом. Станция обеспечивает организацию четырехпроводного транзита при использовании узловой АТС комплектов РСЛТЧ вместо РСЛТ.

АТС К-50/200М. Эта станция является модернизированным вариантом АТС К-50/200, она удовлетворяет всем требованиям автоматизации междугородной телефонном связи, и позволяет осуществить не только открытую, но и закрытую нумерацию, а также организацию поперечной связи на уровне ОС и УС. В составе АТС предусмотрены подключающие комплекты, обеспечивающие согласование оборудования станции с аппаратурой ИКМ, имеющей электронные СУ.

Предельно допустимое количество СЛ для ОС типов АТС К-50/200 и К-50/200М приведено далее в табл. 3.1.

Предельно допустимое количество СЛ для УС типа АТС К-50/200 равно 49 и типа АТС K-50/200M - 54.

АТСК. Оборудование АТСК разработано для городских телефонных сетей и на СТС может использоваться в качестве ЦС. Для этой цели предусмотрены пятизначные регистры сельской связи (ВРС-5) и двусторонние индуктивные комплекты РСЛ, включаемые в АТСК через подключающие комплекты входящей связи (ПКВ). Для применения на ЦС разработаны специальные блоки группового искания, допускающие включение малых пучков линий. До выпуска промышленностью этих блоков на ЦС могут применяться типовые блоки ГИ, используемые на ГАТС. Блоки ГИ и индуктивные комплекты РСЛ допускают возможность организации четырехпроводных транзитных соединений.

В качестве ЦС при емкости станции до 2000 номеров должны применяться станции типа АТС К-100/2000, а при большей емкости - станции типа АТСК. Допускается расширение действующих станций типа АТС К-100/2000 до 4000 номеров из однотипного оборудования, а также строительство новых станций из оборудования АТС К-100/2000 емкостью более 2000 номеров, если их конечная емкость не превышает 4000 номеров.

В качестве УС и ОС при емкости, превышающей 200 номеров, рекомендуется применение станций АТС К-100/2000, а при емкости УС и ОС до 200 номеров - станций типа АТС К-50/200.

Существующие на сельских телефонных сетях УС и ОС других систем должны использоваться до их износа или пока они по емкости могут удовлетворять потребности населенного пункта в телефонной связи. Эти станции должны также заменяться, если они по своим техническим возможностям не удовлетворяют требованиям автоматической междугородной (зоновой) связи. Существующие ЦС декадно-шаговой системы АТС-100/500, 100/500М, АТС-47, АТС-54, АТС-54А, находящиеся в хорошем техническом состоянии, целесообразно сохранить. При переходе на автоматическую связь по зоновому принципу эти АТС следует включать на правах ОС в координатный узел, организуемый в райцентре для выполнения транзитных функций. Расширение емкости ЦС типов АТС-100/500 и АТС-100/500М осуществляется оборудованием координатной системы, а остальные декадно-шаговые АТС - оборудованием АТС-54А. При расширении координатным оборудованием оно используется также для организации транзитного узла.

ОБЩИЕ ТРЕБОВАНИЯ К ОБОРУДОВАНИЮ ВЕДОМСТВЕННЫХ СЕТЕЙ

Для организации ведомственных сетей может применяться следующее коммутационное оборудование:

- оборудование координатных учрежденческих АТС типа АТС К-100/2000 емкостью от 100 до 2000 номеров с возможностью расширения емкости;

- оборудование координатных учрежденческо-производственных АТС типа УПАТС 100/400 емкостью от 100 до 400 номеров.

1.4. ОРГАНИЗАЦИЯ СВЯЗИ СЕЛЬСКИХ АТС С ГОРОДСКИМИ

В случаях, когда районным центром является город с районированной телефонной сетью, связь между сельскими и городскими АТС райцентра организуется по принципам местной связи. Эта связь обеспечивается:

- через одну из городских АТС координатной системы путем ее соответствующего дооборудования; городская АТС выполняет в этом случае функции сельского транзитного узла входящего и исходящего сообщения;

- путем организации специального узла сельско-пригородного входящего и исходящего сообщения (УСП), выполняющего для сельских АТС функции ЦС без номерной емкости.

Выбор одного из этих вариантов зависит от конкретных условий и обосновывается технико-экономическими расчетами.

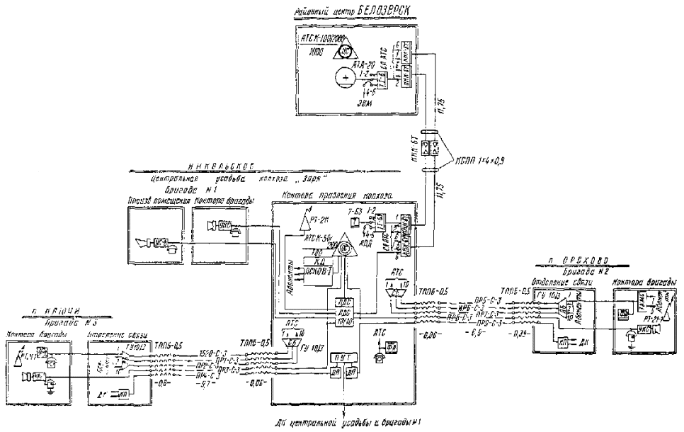
Принцип организации связи сельских АТС с городскими через УСП приведен на рис. 1.2. На ГТС без узлообразования (связь между РАТС по принципу «каждая с каждой», пятизначная нумерация) для организации УСП используются типовые блоки ГИ и регистровое оборудование сельской координатной АТС К-100/2000. На ГТС с узлообразованием или с возможностью перехода на узлообразование в результате интенсивного развития ГТС УСП организуется из оборудования АТСК с применением блоков ГИ, рекомендуемых для ЦС, в отличие от ЦС индуктивные комплекты РСЛ включаются на УСП через входящие комплекты ПКП, которые обеспечивают подключение СЛ к регистру АРБ.

Рис. 1.2. Принципы организации связи через УСП

Для облегчения выполнения норм затухания разговорного тракта УСП рекомендуется размещать в одном здании с МТС или с АМТС, если последняя находится в том же городе.

1.5. НУМЕРАЦИЯ НА СЕЛЬСКИХ ТЕЛЕФОННЫХ СЕТЯХ

При выборе нумерации абонентов сельских телефонных сетей следует учитывать технические возможности действующих и проектируемых сельских телефонных станций.

С учетом технических возможностей сельских АТС и конкретных условий; на СТС могут применяться следующие типы нумерации:

а) закрытая пятизначная нумерация, при которой внутристанционные и межстанционные соединения осуществляются с любой станции, независимо от ее местоположения на сети, набором пятизначного номера требуемого абонента; вызов спецслужб райцентра производится набором сокращенных номеров 00-09, а выход на АМТС или зоновый телефонный узел (ЗУ) по заказно-соединительным линиям набором индекса выхода цифры «8»;

б) открытая нумерация, при которой внутристанционный номер может в зависимости от емкости и типа АТС содержать два - пять знаков, а межстанционная связь осуществляется набором пятизначных номеров с индексом выхода или без него.

Возможные варианты набора номеров межстанционной связи при открытой нумерации с индексом выхода, когда ЦС находится в сельском райцентре или в городе с нерайонированной сетью, приведены в табл. 1.1.

Таблица 1.1

Вызывающий абонент

Вызываемый абонент

Спецслужбы райцентра

Выход на АМТС (ЗУ)

станций своего узлового района

ЦС и других станций через ЦС

1. ЦС всех типов

-

ХХХХХ

8

2. УС и ОС АТС К-100/2000 и АТС К-50/200М с пятизначными абонентскими регистрами

ХХХХХ

ХХХХХ

8

3. УС декадно-шаговой системы

ХХХ(Х)

0ХХХХХ

00Х

08

4. УС координатной системы, кроме указанных в п. 2

9ХХХХХ

9ХХХХХ

90Х

98

5. ОС всех типов, кроме указанных в п. 2:

 

 

 

 

а) ОС включена в ЦС

-

9ХХХХХ

90Х

98

б) ОС включена в координатную УС

9ХХХХХ

9ХХХХХ

90Х

98

в) ОС включена в декадно-шаговую УС

9ХХХ(Х)

0ХХХХХ

00Х

08

В случае, когда райцентром является город с районированной сетью и на ГТС организуется транзитный узел для СТС, возможны следующие варианты нумерации:

ГТС без узлообразования. При включении СТС в районированную ГТС без узлообразования (пятизначная нумерация на ГТС) различаются два случая:

а) номинальная суммарная емкость ГТС и СТС (с учетом перспективы) 80 тысяч номеров. На такой сети организуется УСП, а в отдельных случаях функции транзитного узла выполняет РАТС типа АТС К-100/2000 или АТСК. На общей сети сохраняется пятизначная нумерация. Нумерация абонентов сети (ГТС и СТС) приведена в табл. 1.2;

б) номинальная суммарная емкость ГТС и СТС превышает (с учетом перспективы) 80 тысяч номеров, а емкость ГТС при этом не превышает 70 тысяч номеров. На общей сети применяется смешанная пятиестизначная нумерация, пятизначная для абонентов ГТС и шестизначная для абонентов СТС. Из городской нумерации выделяется один первый знак для связи с СТС, на городских координатных АТС применяются пяти-, шестизначные регистры. В качестве транзитного узла используется УСП, а в отдельных случаях РАТС типа АТСК.

Нумерация абонентов сети (ГТС и СТС) при смешанной нумерации приведена в табл. 1.3.

ГТС с узлообразованием. При включении СТС в ГТС с узлообразованием (шести или семизначная нумерация) для общей сети сохраняется нумерация, принятая на ГТС, а для сельской сети из этой нумерации выделяется стотысячная номерная группа.

Нумерация абонентов общей сельской и городской телефонной сети с шестизначной нумерацией приведена в табл. 1.4. Для сети с семизначной нумерацией сохраняется тот же принцип, только вместо шестизначного набирается семизначный номер.

В качестве первых знаков пятизначной нумерации можно использовать любые цифры, кроме 8 и 0, что позволяет довести номерную емкость СТС района при открытой и закрытой нумерациях до 80000 номеров.

Таблица 1.2

Вызывающий абонент

Вызываемый абонент

Спецслужбы ГТС

Выход на АМТС (ЗУ)

станций своего сельского узлового района

других станций СТС

ГТС

1. Сельской АТС К-100/2000 или АТС К-50/200М с пятизначными абонентскими регистрами

ХХХХХ

ХХХХХ

ХХХХХ

8

2. УС декадно-шаговой системы

ХХХ(Х)

0ХХХХХ

0ХХХХХ

00Х

08

3. УС координатной системы, кроме указанных в п. 1

9ХХХХХ

9ХХХХХ

9ХХХХХ

90Х

98

4. ОС всех типов, кроме указанных в п. 1:

 

 

 

 

 

а) ОС включено в ЦС или УСП

-

9ХХХХХ

9ХХХХХ

90Х

98

б) ОС включено в координатную УС

9ХХХХХ

9ХХХХХ

9ХХХХХ

90Х

98

в) ОС включено в декадно-шаговую УС

9ХХХ(Х)

0ХХХХХ

0ХХХХХ

00Х

08

5. ГТС

-

ХХХХХ

ХХХХХ

8

Таблица 1.3

Вызывающий абонент

Вызываемый абонент

Спецслужбы ГТС

Выход в АМТС (ЗУ)

станций всего сельского узлового района

других станций СТС

ГТС

1. Сельской АТС К-100/2000 и АТСК-50/200М с пятизначными абонентскими регистрами

ХХХХХ

0ХХХХХХ

0ХХХХХ

00Х

08

2. УС декадно-шаговой системы

ХХХ(Х)

0ХХХХХХ

0ХХХХХ

00Х

08

3. УС координатной системы, кроме указанных в п. 1

9ХХХХХ

0ХХХХХХ

0ХХХХХ

00Х

08

4. ОС всех типов, кроме указанных в п. 1:

 

 

 

 

 

а) ОС включена в УСП

-

0ХХХХХХ

0ХХХХХ

00Х

08

б) ОС включена в координатную УС

9ХХХХХ

0ХХХХХХ

0ХХХХХ

00Х

08

в) ОС включена в декадно-шаговую УС

9ХХХ(Х)

0ХХХХХХ

0ХХХХХ

00Х

08

5. ГТС

-

ХХХХХХ

ХХХХХ

8

Примечание. После набора индекса выхода «0» абоненты УС и ОС должны получить зуммер готовности из приборов УСП или опорной АТСК.

Таблица 1.4

Вызывающий абонент

Вызываемый абонент

Спецслужбы ГТС

Выход на АМТС (ЗУ)

станций своего сельского узлового района

других станций СТС

ГТС

1. Сельской АТС К-100/2000 и АТС К-50/200М, с пятизначными абонентскими регистрами

ХХХХХ

0ХХХХХХ

0ХХХХХХ

00Х

08

2. УС декадно-шаговой системы

ХХХ(Х)

0ХХХХХХ

0ХХХХХХ

00Х

08

3. УС координатной системы, кроме указанных в п. 1

9ХХХХХ

0ХХХХХХ

0ХХХХХХ

00Х

08

4. ОС всех типов, кроме указанных в п. 1:

 

 

 

 

 

а) ОС включена в УСП

-

0ХХХХХХ

0ХХХХХХ

00Х

08

б) ОС включена в координатную УС

9ХХХХХ

0ХХХХХХ

0ХХХХХХ

00Х

08

в) ОС включена в декадно-шаговую УС

9ХХХ(Х)

0ХХХХХХ

0ХХХХХХ

00Х

08

5. ГТС

-

ХХХХХХ

ХХХХХХ

8

Примечание. После набора индекса выхода «0» абоненты УС и ОС должны получить зуммер готовности из приборов УСП.

В качестве первых знаков сокращенных номеров внутристанционной связи не могут быть использованы:

- для абонентов станций АТС К-100/2000 и АТС К-50/200М с пятизначными абонентскими регистрами цифры 8 и 0 и первые цифры пятизначных номеров, присвоенных абонентам СТС. Вследствие этого, в зависимости от емкости АТС К-100/2000 и числа первых цифр пятизначных номеров абонентов сети района на отдельных УС и ОС этого типа, необходимо будет организовывать внутристанционную связь набором не сокращенных, а полных пятизначных номеров. Введение сокращенной четырехзначной нумерации на станциях К-100/2000 возможно, но нецелесообразно;

- для абонентов УС и ОС прочих типов цифры, используемые в качестве индексов выхода.

Открытую нумерацию с индексом выхода, как наиболее экономичную по первоначальным затратам на станционные сооружения, следует предусматривать на ближайший этап развития СТС и сохранять ее, по возможности, длительный срок. По мере развития СТС и внедрения на сельской сети координатных АТС с пятизначными абонентскими регистрами можно отказаться от набора дополнительного индекса на внешнюю связь и осуществить переход к закрытой нумерации. Переход от одного вида нумерации к другому можно осуществить не сразу для всего района, а постепенно по отдельным направлениям.

1.6. ОРГАНИЗАЦИЯ СВЯЗИ СЕЛЬСКИХ АТС С МТС И АМТС (ЗУ)

Различаются следующие возможности организации междугородной связи абонентов сельских АТС: через МТС райцентра и через АМТС зоны.

СВЯЗЬ ЧЕРЕЗ МТС РАЙЦЕНТРА

Связь между МТС райцентра и станциями СТС осуществляется через ЦС по заказным и соединительным линиям, связывающим ЦС с МТС. Заказные линии включаются на ЦС на правах спецлиний. На участках ОС - УС - ЦС и ОС - ЦС используются, как правило, пучки универсальных СЛ, общие для местной и междугородной связи.

ЦС декадно-шаговой системы. При размещении ЦС и МТС в одном здании связь между ними осуществляется по трехпроводным внутриобъектовым соединительным линиям, которые подключаются к коммутаторам МТС через согласовывающие комплекты СК, а на ЦС включаются в приборы I ГИМ. Связь с абонентами ЦС организуется с использованием приборов межгоршнура (ГИМ, ЛИМ), а с абонентами УС и ОС по соединительным линиям, оборудованным универсальными линейными комплектами. Полуавтоматические каналы заканчиваются на МТС комплектами ВКТН, которые через МГИ связываются с I/II ГИМ ЦС (рис. 1.3а).

Рис. 1.3. Структурная схема связи декадно-шаговой ЦС с МТС

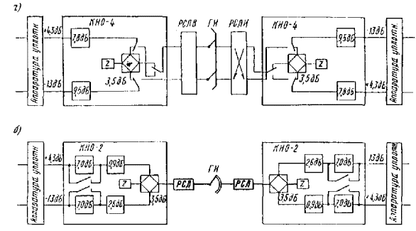
Для выполнения нормы затухания в сельской аппаратуре уплотнения используются двухпроводные комплекты низкочастотных окончаний (КНО-2), предусматривающие при междугородном соединении выключение удлинителей 7,0 дБ в трактах передачи и приема канала.

При размещении МТС и ЦС в разных зданиях выключение удлинителей в КНО-2 допускается при использовании между МТС и ЦС четырехпроводных соединительных линийис. 1.3б), оборудованных комплектами с усилителями (РСЛ4-ИМ и РСЛ4-ВМ). На стороне МТС, кроме того, комплекты СК должны быть заменены на комплекты СКР. Применение комплектов РСЛ4-ИМ, РСЛ4-ВМ и СКР возможно после освоения их промышленностью.

ЦС типа АТС К-100/2000. При размещении МТС и ЦС в одном здании связь между ними осуществляется по трехпроводным СЛ, с использованием на ЦС комплектов BШКМ и ВШКМА. В этом случае исключается возможность организации на ЦС четырехпроводного транзита, а обеспечение норм затухания, как и при декадно-шаговой АТС, осуществляется лишь при межгорсоединениях с помощью двухпроводного комплекта низкочастотных окончаний с выключением удлинителей КНО-2 (рис. 1.4а).

Более перспективной является схема включения, приведенная на рис. 1.4б, которая позволяет использовать на выходах к каналам сельской аппаратуры уплотнения четырехприводные комплекты низкочастотных окончаний (КНО-4) и осуществить на ЦС четырехпроводный транзит каналов уплотнения при междугородном и местном соединениях.

При размещении МТС и ЦС в разных зданиях обеспечение норм затухания возможно при организации связи между ними по четырехпроводным физическим СЛ ис. 1.4а).

ЦС типа АТСК. При размещении ЦС и MTС в одном здании связь между ними может быть организована двумя способами:

а) установкой на МТС IГИМ декадно-шаговой системыис. 1.5а) с восстановлением первой цифры номера в регистрах ЦС;

б) заменой на МТС СК на СКР и переходом на четырехпроводные физические линии (рис. 1.5б).

В этом случае восстановление первой цифры не требуется. Более перспективен второй вариант, позволяющий осуществить на ЦС четырехпроводный транзит. При размещении МТС и ЦС в разных зданиях связь организуется так же, как и с ЦС АТС К-100/2000 (см. рис. 1.4в), с той лишь разницей, что на АТС используется не ПКУ и IГИ, а ПКВ и IГИМ.

Рис. 1.4. Структурная схема связи ЦС типа АТС К-100/2000 с МТС

Рис. 1.5. Структурная схема связи ЦС типа АТСК с МТС

До организации междугородной связи по зоновому принципу исходящая автоматическая связь от абонентов ЦС любого типа (кроме АТСК) к абонентам Областного центра может организоваться с помощью аппаратуры автоматической внутриобластной связи (АВТС). Аппаратура обеспечивает учет состоявшихся переговоров индивидуальными электромагнитными счетчиками.

СВЯЗЬ ЧЕРЕЗ АМТС

Связь с АМТС осуществляется по соединительным и заказно-соединительным линиям ЗСЛ, организуемым между АМТС и ЦС. При использовании на зоновой сети АМТС-2 или АМТС-3 на стороне ЦС устанавливается промоборудование: исходящие комплекты заказно-соединительных линий (ИКЗСЛ), промежуточные регистры (ПР) и устройство запроса и приема информации (УЗПИ). При использовании на зоновой сети АМТС-4 или АРМ-20 установка промоборудования на ЦС не требуется. В качестве заказно-соединительных и соединительных линий между ЦС и АМТС могут использоваться физические четырехпроводные линии, оборудованные усилителями, каналы аппаратуры частотного уплотнения с выделенными и не выделенными сигнальными каналами и каналы аппаратуры временного уплотнения с ИКМ.

Использование того или иного типа линий определяется технико-экономическими соображениями.

Для организации входящей междугородной связи требуется, чтобы на СТС действовала пятизначная нумерация при вызове любого абонента сети из ЦС.

Учет состоявшихся внутризоновых и междугородных автоматических соединений осуществляется с помощью аппаратуры централизованного учета, установленной на АМТС. Номер телефона и категория вызывающего абонента определяются автоматически, для чего АТС сельских сетей оборудуются аппаратурой автоматического определения номера и категории телефона вызывающего абонента (АОН).

Использование аппаратуры АОН предусматривается на координатных АТС типов: АТС К-50/200, АТС К-50/200М, АТС К-100/2000, АТСК, а также на декадно-шаговых АТС типов АТС-100/500(100/500М), АТС-47, АТС-54(54А), УАТС-49. При автоматизации исходящей междугородной связи все АТС других типов должны заменяться на координатные АТС.

Использование набора собственного номера (НСН) на СТС допускается только для абонентов ЦС. Применение на одной и той же СТС аппаратуры АОН и способа НСН не допускается.

1.7. НОРМЫ И РАСПРЕДЕЛЕНИЕ ЗАТУХАНИЯ НА СТС

Системой общегосударственной автоматически коммутируемой телефонной сети СССР (ОАКТС) установлены следующие нормы остаточного затухания разговорного тракта на сельских телефонных сетях на частоте 800 Гц:

- между двумя наиболее удаленными аппаратами абонентов при местной связи - ≤ 28,7 дБ;

- от аппарата абонента до МТС (АМТС, ЗУ) - 9,5 дБ;

- абонентской линии ≤ 4,3 дБ;

- соединительной линии (или соединительных линий при двухступенчатом построении) от ОС до МТС (АМТС, ЗУ), включая станционное затухание транзитных станций (без станционного затухания МТС) ≤ 4,3 дБ. В эту норму входит также затухание, вносимое линейными трансформаторами на физических линиях;

- станционных устройств каждой ОС, УС и ЦС при двухпроводных соединениях - 0,9 дБ;

- станционных устройств УС и ЦС при четырехпроводных соединениях четырехпроводных трактов (каналы аппаратуры уплотнения или четырехпроводные физические СЛ) - 0 дБ;

- канала аппаратуры уплотнения при двухпроводном окончании - 7,0 дБ;

- составного канала из двух и более каналов аппаратуры уплотнения при четырехпроводных транзитных соединениях - 7,0 дБ.

При четырехпроводном транзите на АМТС междугородный канал оканчивается дифсистемой на ЦС. При таких же соединениях на транзитных узлах СТС (ЦС, УС) междугородный канал может заканчиваться дифсистемой на УС или ОС. В этом случае затухание СЛ 4,3 дБ допускается до станции, где заканчивается междугородный канал и не учитывается затухание, вносимое этой станцией, так как можно условно считать, что АМТС с ее затуханием 0,9 дБ переносится в пункт окончания междугородного канала.

Ввиду сложности выполнения норм затухания от аппарата абонента до шнуровой МТС временно допускается ее превышение на 1,8 дБ, т. затухание тракта абонент - МТС может достигать 11,3 дБ. Распределение затухания от аппарата наиболее удаленного абонента СТС до шнуровой МТС, расположенной в одном здании с ЦС, приведено на рис. 1.6.

Рис. 1.6. Распределение затухания на СТС (МТС и ЦС в одном здании)

Распределение затухания

Станция

Линейный тр-р

Линия

Всего

абонентская

соединительная

а) 1,8

0,9

4,3

4,3

11,3

б) 2,7

1,8

4,3

2,5

11,3

в) 1,8

-

4,3

7,0

> 11,3

г) 2,7

0,9

4,3

3,4

11,31)

д) 1,8

-

4,3 (7,7)

0

6,12) (9,5)

Примечания: 1. На ЦС обеспечено нулевое транзитное затухание.

2. На ЦС и УС нулевое транзитное затухание АЛ; 7,7 дБ допускается при условии соблюдения параметров по сопротивлению емкости.

При одноступенчатом построении сети между ЦС и ОС могут применяться физические двухпроводные цепи, при необходимости с усилителями мостового типа (рис. 1.6а). При двухступенчатом построении физические цепи на участках ЦС - УС и УС - ОС (рис. 1.6б) можно применять, если суммарное затухание двух участков с учетом применения усилителей не превышает 4,3 дБ.

Канал сельской аппаратуры уплотнения вносит затухание 7,0 дБ, поэтому при применении аппаратуры уплотнения даже на одноступенчатом построении затухание может оказаться не в норме (рис. 1.6в). Выполнение норм в этих условиях возможно при обеспечении на ЦС нулевого транзитного затухания, при котором канал уплотнения за пунктом транзита не вносит в тракт дополнительного затухания (рис. 1.6г, д). При наличии в райцентре шнуровой МТС указанное достигается двумя способами: а) с помощью автоматического выключения в КНО-2 удлинителей 7,0 дБ, при включении СЛ от МТС по схемам рис. 1.3а, 1.4а, 1.5а; б) организацией на координатной ЦС четырехпроводных транзитов, при включении СЛ в соответствии с рис. 1.4б, 1.5б.

Рис 1.7. Распределение затухания на СТС (МТС и ЦС в разных зданиях)

Распределение затухания

Станция

Линейный тр-р

Линия

Всего

абонентская

соединительная

а) 1,8

0,9

4,3

4,3

11,3

б) 2,7

1,8

4,3

2,5

11,3

в) 2,7

1,8

4,3

2,5

11,3

г) 1,8

0,9

4,3

4,3

11,31)

д) 0,9

-

4,3 (8,6)

0

5,22) (9,5)

Примечания: 1. На ЦС обеспечено нулевое транзитное затухание.

2. На ЦС и УС нулевое транзитное затухание АЛ; 8,6 дБ допускается при условии соблюдения параметров по сопротивлению и емкости.

При размещении МТС к ЦС в разных зданиях к СЛ прибавляется еще один участок физической цепи (МТС - ЦС), что усложняет выполнение норм затухания. Как видно из рис. 1.7, наиболее благоприятными являются варианты г) и д), при которых благодаря наличию на участке МТС - ЦС четырехпроводных физических линий, включенных по схемам рис. 1.3б и 1.4в, и аппаратуре уплотнения между сельскими АТС, на транзитных АТС обеспечивается нулевое транзитное затухание, а следовательно, и выполнение норм.

При связи через АМТС норма затухания тракта должна выполняться как при входящей связи от АМТС по СЛ, так и при исходящей междугородной связи от абонентов СТС по заказно-соединительным линиям. На СТС межстанционные СЛ являются универсальными и по ним осуществляется как исходящая, так и входящая междугородная связь. Норма затухания на них должна удовлетворяться для обоих видов связи.

Распределение затухания на СТС при зоновой связи (через АМТС) приведено на рис. 1.8. На рис. 1.8а и б приведены условия, при которых на участках сельской сети могут применяться физические цепи. Как видно из рисунков, физические межстанционные СЛ могут иметь только ограниченное применение.

Рис. 1.8. Распределение затухания на СТС при связи от АМТС

Распределение затухания

Станция

Линейный тр-р

Линия

Всего

абонентская

соединительная

а) 0,9

0,9

4,3

3,4

9,5

б) 1,8

1,8

4,3

1,6

9,5

в) 1,8

1,8

4,3

7,0 + х

12,0 + х

г) 0,9

0,9

4,3

3,4

9,51)

д) -

-

4,3 (9,5)

-

4,32) (9,5)

Примечания: 1. На ЦС обеспечено нулевое транзитное затухание.

2. На ЦС и УС нулевое транзитное затухание АЛ; 9,5 дБ допускается при условии соблюдения параметров по сопротивлению и емкости.

На рис. 1.8г, д приведены варианты с применением на СТС аппаратуры уплотнения и обеспечения на ЦС и УС нулевого транзитного затухания, а на рис. 1.8в - когда нулевое транзитное затухание на ЦС не обеспечено. Последний вариант соответствует ЦС декадно-шагового типа, на которой автоматическое выключение удлинителей 7,0 дБ в КНО-2 возможно только при межгорсоединении по СЛ и невозможно при связи по ЗСЛ.

Сказанное еще раз подтверждает необходимость выполнения изложенных выше рекомендаций в части дооборудования декадно-шаговой ЦС координатным транзитным узлом, при переводе СТС на зоновый принцип связи.

Следует учитывать, что аппаратура уплотнения для связи на участке ЦС - АМТС должна, как правило, устанавливаться на ЦС. При необходимости использования существующей аппаратуры уплотнения или размещения новой вне здания ЦС согласовывающие комплекты на ЦС должны связываться с аппаратурой уплотнения четырехпроводными соединительными линиями. В этом случае затухание СЛ должно компенсироваться выключением удлинителей в согласовывающем комплекте, а при необходимости - установкой в пунктах передачи и приема односторонних усилителей.

При размещении аппаратуры уплотнения вне здания ЦС рекомендуется применение аппаратуры без выделенного сигнального канала (ВСК), так как каналы аппаратуры с ВСК должны соединяться с ЦС не только четырьмя проводами СЛ, но и еще двумя сигнальными проводами.

Выбор комплектов РСЛ для всех типов сельских АТС зависит от специфических условий сети и места их применения и при конкретном проектировании производится на основании структурных схем и характеристик комплектов, приведенных в [1]. Состояние разработки еще не выпускаемых серийно комплектов приведено там же.

1.8. ОБЩИЕ ПОЛОЖЕНИЯ ПО ПРОЕКТИРОВАНИЮ И ПРОЕКТНЫЕ ЭТАПЫ РАЗВИТИЯ СЕЛЬСКИХ СЕТЕЙ ЭЛЕКТРОСВЯЗИ

Проектирование сооружений сельских сетей электросвязи делится на перспективное и текущее.

Перспективное проектирование представляет собой разработку схем развития СТС с учетом других сетей электросвязи сельского административного района на два проектных этапа и на перспективу.

Текущее проектирование представляет собой разработку проектно-сметной документации, необходимой для осуществления строительства комплекса сооружений абонентских и межстанционных сетей электросвязи. Как перспективному, так и текущему проектированию должны предшествовать изыскания.

Целью изысканий является сбор сведений, необходимых для разработки перспективных и текущих проектов, и согласование основных проектных решений со всеми заинтересованными организациями.

В процессе изысканий необходимо установить:

- экономическую целесообразность и объем предполагаемого развития сетей электросвязи сельского района;

- наиболее экономичные и рациональные способы организации связи с учетом потребности всех видов электросвязи;

- места расположения станций и очередность их открытия;

- экономичное направление трасс для линейных сооружений абонентской и межстанционной сетей.

При разработке перспективных схем развития сельских сетей проектные этапы, как правило, совпадают с периодами народнохозяйственного плана (пятилетки). Первый этап может составлять и большую часть пятилетнего периода или несколько его превышать.

Если перспективная схема развития СТС разрабатывается в первых двух годах текущей пятилетки, то за первый этап развития сети принимается период от года начала проектирования до конца этой пятилетки. Если же перспективная схема разрабатывается в третьем - пятом году текущего пятилетнего плана развития народного хозяйства, то за первый перспективный этап принимается период от года начала проектирования до конца следующего пятилетнего плана.

В качестве второго этапа развития сети СТС принимается период следующего за первым этапом пятилетнего плана развития народного хозяйства страны.

Так, например, если перспективная схема развития сети разрабатывается в 1977 г., то за первый проектный этап должен быть принят период с 1977 г. по 1980 г., а за второй этап - с 1981 г. по 1985 г. Если же перспективная схема разрабатывается в 1978 г., то за первый проектный этап должен быть принят период с 1978 г. по 1985 г., за второй - с 1985 г. по 1990 г.

В качестве перспективы принимается период 20-25 лет после начала разработки схемы развития сети СТС.

В конкретном случае за эту перспективу принимается период, на который разработана схема районной планировки данного сельского административного района (как правило, это бывает 1995-2000 гг.).

1.9. ТЕХНИКО-ЭКОНОМИЧЕСКИЕ ОБОСНОВАНИЯ ПРОЕКТНЫХ РЕШЕНИЙ

Технико-экономические обоснования проектных решений на развитие и строительство сетей электросвязи производятся при перспективном проектировании. Технико-экономическими расчетами следует обосновывать целесообразность выделения станционных и узловых районов, применения аппаратуры уплотнения, усилителей НЧ, групповых установок (ГУ) и нового оборудования.

Технико-экономические расчеты выполняются в соответствии с действующими руководствами и методическими указаниями по определению экономической эффективности капитальных вложений и новой техники в хозяйстве связи. Сами расчеты, как правило, к проектам не прилагаются, а приводятся только их результаты и соответствующие выводы. Технико-экономические показатели определяются как в перспективных проектах (схемах развития), так и в техно-рабочих проектах и сравниваются с действующими нормативами удельных капитальных вложений, которые установлены для каждого из видов сооружений сетей электросвязи. К комплексу показателей, характеризующих экономическую эффективность капитальных вложений и подлежащих расчету, относятся:

- удельные капитальные вложения;

- фондоотдача;

- прибыль и рентабельность;

- производительность труда;

- фондовооруженность.

1.10. СОСТАВ, СОДЕРЖАНИЕ И ОФОРМЛЕНИЕ ПРОЕКТНОЙ ДОКУМЕНТАЦИИ

Состав, содержание и оформление проектной документации на развитие и строительство сооружений электросвязи определяется:

а) эталоном перспективной схемы развития сети СТС с учетом других видов электросвязи сельского района;

б) эталоном техно-рабочего проекта на строительство сооружений проводной связи в сельской местности.

Абонентская сеть:

в) эталоном техно-рабочего проекта на строительство сооружений проводной связи в сельской местности.

Межстанционная сеть.

Указанные эталоны определяют собой состав проектной документации.

В техно-рабочих проектах на строительство абонентской сети линейные сооружения должны разрабатываться раздельно по каждому пункту (станционному району), сооружения межстанционной сети - по участкам.

Станционные сооружения должны разрабатываться отдельно по каждой строительной площадке.

В техно-рабочих проектах необходимо отражать требования безопасности при строительстве и эксплуатации проектируемых сооружений.

Пояснительные записки должны составляться кратко и в соответствии с эталонами. При разработке чертежей должны использоваться принятые условно обозначения, согласно ГОСТ и нормалям.

Оформление чертежей должно соответствовать действующей системе чертежного хозяйства.

2. ИЗЫСКАТЕЛЬСКИЕ РАБОТЫ

2.1. ОБЩИЕ ТРЕБОВАНИЯ

Изыскательские работы проводятся как при перспективном, так и при текущем проектировании. Полученные при изысканиях материалы являются основой для проектирования всего комплекса сооружений связи. Они оформляются в виде отчета, состоящего из пояснительной записки, графических и табличных материалов, протоколов, справок, выписок и т.п. и должны храниться в сброшюрованном виде в архиве проектной организации.

Основанием для проведения изыскательских работ являются при перспективном проектировании - задание на разработку перспективной схемы развития сельской телефонной связи; при текущем проектировании - задание на разработку техно-рабочего проекта и утвержденная перспективная схема развития сельской телефонной связи.

Изыскательские работы разделяются на подготовительные, технические изыскания и обработку материалов и согласование.

Подготовительные работы проводятся до выезда изыскателя на объект. В процессе их изыскатель должен: получить и изучить все необходимые исходные документы, подобрать необходимые картографические материалы и заблаговременно предупредить заказчика о времени выезда на объект, а также указать сроки, в течение которых следует подготовить исходные данные.

Технические изыскания, обработка их и согласование производятся на объекте.

Предварительные проектные решения, принятые при изысканиях, должны соответствовать рекомендациям, изложенным в гл. 3 и 4 настоящих указаний.

2.2. ИЗЫСКАНИЯ ДЛЯ ПЕРСПЕКТИВНОГО ПРОЕКТИРОВАНИЯ

Сбор исходных данных. При изысканиях для разработки перспективной схемы развития СТС района должны быть получены:

1. План района в масштабе 1:50000 или 1:100000 с нанесенными на нем границами землепользования существующих и перспективных хозяйств (колхозов, совхозов). На этом плане должны быть указаны:

- существующие и перспективные населенные пункты и количество населения в них на перспективу;

- места расположения центральных усадеб, отделений, бригад, ферм колхозов и совхозов.

2. Краткая характеристика района: удельный вес сельского хозяйства и его направленность, характеристика промышленности, климатические условия, рельеф местности, характер грунтов, наличие рек, водоемов, болот и их краткая характеристика.

3. Данные об общей организации территории района (площадь земель, планировка, дороги и улицы и степень их благоустройства), степени освоения земель, по планировке дорожной сети, об административном и хозяйственном делении района.

4. Данные о наличии и дате утверждения проекта районной планировки и об имеющихся в нем решениях об изменении административных границ, освоения земель, планировки, дорожной сети, планировки и характера застройки, благоустройства или ликвидации населенных пунктов, развития подземных и наземных инженерных сетей.

5. Список существующих и перспективных населенных пунктов района, а также количество населения в них по этапам развития. Данные заносятся в таблицу (приложение 2.1).

6. Существующая схема организации связи района, в которой должны быть отражены:

а) типы телефонных станций, установленных в населенных пунктах района, с указанием их монтируемой и задействованной емкости;

б) количество СЛ между станциями;

в) типы линий и аппаратура уплотнения, используемые для межстанционной связи.

Сведения п.п. 6а и 6б заносятся в таблицу-приложение 2.2, а п. 6в - в таблицу-приложение 2.3.

7. Схема воздушных линий связи района с указанием высоты опор, количества опор на километр, материала и диаметра проводов, основных профилей и мест расположения уплотненных цепей и длин линий по участкам.

8. По линейным сооружениям: общая протяженность воздушных линий, общая протяженность стальных и цветных цепей, количество километров и километро-пар кабелей, оценка технического состояния линейных сооружений связи.

9. Сведения о существующих учрежденческих и производственных телефонных станциях с указанием их местонахождения, количества абонентов, имеющих право выхода на сеть министерства связи. Эти данные заносятся в таблицу-приложение 2.4.

10. План телефонизации района на текущую пятилетку, разработанный производственно-техническим управлением связи или республиканским узлом электросвязи и радиофикации министерства связи союзной республики.

Материалы по пунктам 1-4 могут быть получены в райисполкоме, а по пунктам 5-10 - в производственно-технических управлениях связи (или в министерстве связи республики).

Обследования. При изысканиях к перспективному проектированию должны проводиться выборочные обследования:

- сооружений СТС с целью выявления соответствия материалов паспортизации фактическому положению;

- сел, рабочих поселков и городов с целью ознакомления с существующей топографией, характером застройки, степенью благоустройства, инженерных сетей, учреждений, организаций и предприятий;

- автомобильных и проселочных дорог с целью определения направлений трасс, пригодных для прокладки кабелей и строительства столбовых линий;

- пахотных угодий и лесных массивов с целью выявления резервных направлений, пригодных для строительства столбовых линий по кратчайшим трассам.

Результаты обследования фиксируются в рабочих журналах.

Обработка материалов изысканий. В процессе обработки материалов изысканий выполняются следующие работы:

- определяется количество абонентских устройств в целом для района на каждый из проектных этапов;

- распределяются абонентские устройства по населенным пунктам на каждый из проектных этапов на основе п. 3.2 настоящих указаний;

- определяются границы станционных районов, обслуживаемых ОС, УС и ЦС;

- намечаются места размещения и сроки строительства станций, а также их емкости на каждый из проектных этапов;

- намечаются трассы прокладки кабелей и строительства столбовых линий межстанционной сети;

- составляются рекомендации для заказчика по закреплению площадок для строительства зданий районных узлов связи и сельских отделений связи, а также по закреплению помещений для станций на первом этапе в готовых домах.

Согласования. Принятые при обработке материалов изысканий предварительные проектные решения согласовываются с эксплуатационно-техническими, районными узлами связи и исполкомом районного Совета.

2.3. ИЗЫСКАНИЯ ДЛЯ ТЕКУЩЕГО ПРОЕКТИРОВАНИЯ

ИЗЫСКАНИЯ ПО ЛИНЕЙНЫМ СООРУЖЕНИЯМ

Сбор исходных данных. При изысканиях к проектам на строительство абонентских сетей по каждому населенному пункту должны быть получены:

а) данные о его административно-хозяйственном значении (райцентр, центральная усадьба совхоза или колхоза, отделение совхоза, бригада колхоза и т.), сведения об организации территории (площадь земель, планировка, дороги и улицы и степень их благоустройства), данные о наземных и подземных инженерных сетях (телефонные сооружения, сооружения радиофикации, электросети, ЛЭП, сети водопровода и канализации, газофикации и т.п.), сведения о количестве населения;

б) планы населенных пунктов с указанием мест расположения зданий различного назначения. Для небольших населенных пунктов планы должны быть в масштабах не менее 1:5000 при проектировании воздушных и 1:2000 при проектировании кабельных линий, для крупных - 1:500, на участках, где проектируется прокладка канализации и кабелей, в масштабе не менее 1:1000 на тех участках, где проектируются воздушные линии.

При необходимости проектирования абонентской сети между населенными пунктами должен быть получен план территории, на которой намечается строительство в масштабе не менее 1:2000 для кабельных и 1:10000 для воздушных линий. При условии согласования со строительной организацией планы могут использоваться и в других масштабах. В тех случаях, когда подоснова отсутствует, изыскатель должен провести глазомерную съемку территории, на которой намечается строительство;

в) планы населенных пунктов с распределением абонентских устройств по зданиям;

г) основные данные, характеризующие существующие линейные сооружения (приложение 2.5);

д) ведомость загрузки распределительных оконечных устройств (приложение 2.6);

е) ведомость загрузки распределительных шкафов (приложение 2.7);

ж) данные о прямых проводах (приложение 2.8);

з) карточки существующих кабельных вводов в дома (в необходимых случаях);

и) схема существующей абонентской сети (при шкафной системе - схемы распределительной и магистральной сетей);

к) схема существующей канализации;

л) чертежи линейного ввода в станцию с данными о размещении кабелей в блоках канализации и на каркасах.

По межстанционной сети должны быть получены следующие исходные данные:

а) план территории района, на которой намечается строительство межстанционной сети, в масштабе не менее 1:2000 для кабельных и 1:10000 для воздушных линий.

При отсутствии подосновы изыскатели должны провести необходимую глазомерную съемку;

б) данные о количестве существующих СЛ по проектируемым направлениям (приложение 2.9);

в) существующие схемы построения сети и организации связи на проектируемом направлении;

г) схема межстанционной сети с указанием трасс кабельных и воздушных линий, типа аппаратуры уплотнения и длин усилительных участков;

д) схемы скрещивания цепей воздушных линий на интересующем направлении;

е) справку о наличии грызунов по трассам прокладки кабелей межстанционной сети;

ж) чертежи линейного ввода.

Кроме того, для проектирования абонентской и межстанционной сети следует получить:

- данные о состоянии кабельных и воздушных линий СТС (приложение 2.10);

- справки о грунтах и местных климатических и метеорологических условиях;

- данные по замощению дорог и улиц и усовершенствованию их покрытий в течение ближайших трех - пяти лет;

- копии формуляров паспортизации линейных сооружений;

- чертежи мачтовых и кабельных переходов через реки, а также по мостам, переходов через ж. пути и дороги - по интересующим направлениям;

- справки, необходимые для составления сметной документации.

Обследования. При обследовании должно быть выполнено следующее:

а) проверено выборочным порядком соответствие исходных данных фактическому положению;

б) осмотрены планировка населенных пунктов, состояние застройки и уличной сети;

в) выбран оптимальный вариант трассы для прокладки подземных, подвесных и подводных кабелей, строительства канализации для строительства столбовых линий абонентской и межстанционной сети;

г) осмотрены места пересечений с воздушными линиями электропередачи, линиями связи, нефте- и газопроводом и др.;

д) выбраны места переходов через реки, ж. пути, автодороги и др.;

е) обследованы дома, в которые намечается устраивать подземные кабельные вводы;

ж) осмотрены места установки кабельных опор и распределительных шкафов;

з) выполнено шурфование и взятие грунта с целью определения его категории (выполняется при необходимости).

Результаты обследований фиксируются в рабочих журналах.

Обработка материалов изысканий. В процессе обработки должны быть выполнены следующие работы:

а) распределены по домам проектируемые абонентские устройства, с учетом существующих;

б) выделены зоны обслуживания абонентов от оконечных распределительных устройств, зоны прямого питания и шкафные районы;

в) намечены места ввода кабелей в дома и места установки кабельных опор, стоек и шкафов;

г) скомплектованы пучки линий абонентских и межстанционных сетей в отдельные кабели и воздушно-проволочные линии;

д) составлены эскизы карточек кабельных вводов в дома (для емкостей вводов 10 пар и более);

е) составлены чертежи абонентской сети;

ж) составлены чертежи кабельных и воздушных переходов через реки, железные дороги, автодороги, по мостам, эскизы переходов через теплопроводы, газопроводы, нефтепроводы, электрические и др. кабели и т.п.1);

1) Чертежи выполняются в масштабах, рекомендованных действующими эталонами и методическими указаниями.

з) разработана схема организации межстанционной связи;

и) составлены трассы межстанционной сети;

к) составлены эскизы устройства линейных вводов.

Согласования. Принятые в процессе обработки решения подлежат согласованию:

а) чертежи трасс абонентской сети (распределительной и магистральной сети) и межстанционной сетей исполкомом местного Совета (районным архитектором), ЭТУС, РУС и другими заинтересованными организациями;

б) чертежи кабельных и мачтовых переходов через реки - со службами бассейновых управлений пути;

в) чертежи переходов через дороги по мостам - соответственно со службами эксплуатации автомобильных дорог и владельцами мостов;

г) чертежи переходов через ж. пути - с главными инженерами отделений ж.д. Эти чертежи подлежат утверждению управлением ж.д.

При наличии на трассах строительства линий месторождений полезных ископаемых, зон затопления необходимы дополнительные согласования соответственно с горным надзором геологического управления и Министерством энергетики и электрификации СССР.

ИЗЫСКАНИЯ ПО СТАНЦИОННЫМ СООРУЖЕНИЯМ

Сбор исходных данных. При проектировании строительства или расширения ЦС должны быть получены:

а) данные о существующем оборудовании телефонной станции, об аппаратуре уплотнения и ЭПУ (приложения 2.11-2.14);

б) данные о существующей в райцентре междугородной телефонной станции (приложение 2.15), а также сведения об ожидаемом развитии существующей МТС или планируемом переходе на полноавтоматическую зоновую и междугородную связь;

в) сведения об учрежденческих и производственных телефонных станциях, включаемых в проектируемую АТС (приложение 2.16);

г) данные о существующих заземлениях, а при необходимости их переустройства или устройства новых заземлений, также данные о грунтах;

д) планы расположения существующего оборудования АТС, аппаратуры уплотнения, ЭПУ в масштабе 1:50 или 1:100, включая оборудование электросвязи и радиофикации, размещенные в общих помещениях с расширяемой станцией;

е) план расположения электродов заземлений на участке телефонной станции - в случае, если заземления подлежат реконструкции, либо генплан участка в масштабе 1:500 или большем - при необходимости устройства новых заземлений;

ж) план расположения оборудования МТС в масштабе 1:50 или 1:100 и эскизы фасадов полей междугородных коммутаторов, если МТС подлежит дооборудованию в связи со строительством или расширением ЦС.

При проектировании расширения ОС и УС собираются данные в соответствии с пп. а, г, д, е, а при строительстве новой ОС или УС в соответствии с п. г, е. Кроме того, при новом строительстве должна быть получена справка от заказчика (ЭТУС, РУС, совхоз, колхоз) или выписка из протокола заседаний местного Совета о предоставлении помещений для размещения проектируемой телефонной станции и получены планы этих помещений в масштабе 1:50 или 1:100. При проектировании диспетчерского оборудования должны быть получены планы помещений под диспетчерскую службу в масштабе 1:50 или 1:100.

Обследования. При проектировании расширения телефонной станции обследования выполняются в следующем объеме:

а) сверяются чертежи расположения станционного оборудования, в том числе оборудования других видов электросвязи и радиофикации, с фактическим размещением, замеченные отклонения фиксируются;

б) путем контрольных замеров уточняются свободные площади технических помещений, намечаемых к использованию для расширения станции;

в) по фактическим данным уточняются схемы прохождения цепей линейной, питающей проводок аппаратуры уплотнения, электропитания, типы, сечения проложенных шин, кабелей и проводов;

г) выясняется возможность использования существующих желобов для прокладки проектируемых шин, кабелей, проводов, а также составляются эскизы новых трасс желобов, шин, кабелей;

д) уточняются фасады стативов, стоек, промщитов, кроссов, вводно-коммутационных устройств оборудования АТС и уплотнения коммутационных устройств ЭПУ с целью выявления возможности использования свободных мест;

е) проверяются и уточняются схемы кроссировок декад (направлений) поля ГИ, с которыми связано расширение или дооборудование АТС;

ж) при необходимости проводятся измерения величин сопротивлений существующих заземлений телефонной станции;

з) на телефонной станции, которая должна быть связана соединительными линиями непосредственно с проектируемой, при необходимости выполняются обследования, приведенные в пп. б, д, е.

В проектах расширения ЦС, кроме того, уточняются планы расположения оборудования МТС (если предполагается ее дооборудование соединительными и заказными линиями с ЦС), проверяются фасады поля коммутаторного оборудования, кросса, стативов РСЛ для использования при дооборудовании. Определяется состав и количество полуфабрикатов, необходимых для обеспечения включения в МТС дополнительных соединительных и заказных линий (рамки с гнездами, гребенки со штифтами, номеронабиратели рабочих мест, защитные полосы и т.п.).

Если проектируется строительство новой телефонной станции, обследуются помещения, выделенные для размещения оборудования, с проверкой всех размеров.

В случае необходимости демонтажа существующей телефонной станции в связи со строительством новой АТС выясняется техническое состояние и возможность дальнейшего использования демонтируемого оборудования и объем работ по его демонтажу.

При проектировании оборудования диспетчерской связи обследуются помещения, выделенные на центральной усадьбе для диспетчерского пункта хозяйства, и проверяются размеры помещений.

Обработка материалов изысканий. В процессе обработки должно выполняться следующее:

а) на основании данных изысканий по линейным сооружениям уточняется потребная емкость телефонной станции и ее вводнокоммутационных устройств, количество направлений и число СЛ межстанционной связи, в том числе организуемых с помощью аппаратуры уплотнения. Определяются тип и емкость проектируемой АТС и ориентировочный состав аппаратуры уплотнения;

б) определяется ориентировочный состав станционного оборудования диспетчерской, директорской, технологической и документальной связи, проектируемого к установке на центральной усадьбе хозяйства;

в) определяется система электропитания и ориентировочный состав оборудования ЭПУ с учетом расположения АТС и диспетчерской совхоза (колхоза) в одном или разных зданиях;

г) уточняется возможность совмещенного размещения и обслуживания проектируемой телефонной станции с оборудованием других видов электросвязи и радиофикации;

д) при новом строительстве, исходя из выбранного типа и емкости АТС, подбирается типовой проект АТС и производится его привязка в части скелетной схемы связи, объемов и расположения оборудования. При необходимости составляются новые эскизы функциональной схемы связи и расположения оборудования;

е) определяется объем дооборудования МТС и телефонных станций, непосредственно связанных с проектируемой;

ж) составляются эскизы расположения оборудования на проектируемой АТС, в помещениях диспетчерской, на дооборудуемых телефонных станциях и МТС;

з) при новом строительстве, а при необходимости и при расширении на генплане участка наносится эскиз размещения контуров заземлений;

и) определяется необходимость перепланировки помещений, выделенных под АТС и диспетчерский пункт, и их приспособление в соответствии с техническими требованиями на помещения (приложение 2.17). Составляется задание на приспособление помещений.

Согласования. Принятые в процессе обработки решения согласовываются в следующем объеме:

а) с районным или эксплуатационно-техническим узлом связи - объем дооборудования АТС и МТС, эскизы функциональной схемы связи, расположения оборудования, эскиз устройства заземлений (с владельцем участка);

б) с руководством совхоза (колхоза) - эскизы расположения оборудования в диспетчерской и устройства заземлений.

ИЗЫСКАНИЯ ПО ЭЛЕКТРОСНАБЖЕНИЮ

До начала изысканий необходимо предварительно рассчитать потребную мощность электроэнергии для обеспечения нагрузок АТС, аппаратуры уплотнения и внутрипроизводственной связи.

Сбор исходных данных. При изыскании должны быть получены:

а) данные по электроснабжению (приложение 2.18);

б) технические условия местной электроснабжающей организации на присоединение проектируемой АТС к электросети (приложение 2.19), получаемой по заявке заказчика (приложение 2.20);

в) план участка территории населенного пункта в масштабе 1:500, 1:1000 или 1:2000, на котором намечается прокладка низковольтных кабелей или воздушной линии электроснабжения с указанием типов дорожных покрытий.

Обследования. При изысканиях должны быть обследованы:

а) вводы и вводные устройства существующих кабельных и воздушных линий электроснабжения для определения возможности их использования;

б) при наличии вблизи от проектируемой АТС других объектов связи (УП, радиоузла и т.п.), имеющих резервную электростанцию (дизельную), уточняется возможность подключения к ней резервного фидера электроснабжения АТС;

в) проектируемые трассы прокладки кабелей или постройки воздушной линии электроснабжения.

Обработка материалов изыскания. При обработке исходных данных и результатов обследования должны быть выполнены:

а) эскизы прокладки, постройки или реконструкции подземно-кабельных или воздушных низковольтных линий электроснабжения с привязкой их трасс к местным ориентирам;

б) эскиз подключения к устройствам электроснабжения, если это потребует электроснабжающая организация.

Согласования. После обработки материалов должны быть согласованы:

а) эскизы прокладки кабелей или постройки воздушной линии - с местным Советом, руководством колхоза (совхоза), ЭТУС и другими заинтересованными организациями;

б) эскиз подключения к устройствам электроснабжения - с электроснабжающей организацией;

в) эскизы переходов прокладки кабелей или воздушной линии через автомобильные дороги - со службой эксплуатации автомобильных дорог и со всеми заинтересованными организациями, а через железные дороги - с отделениями железной дороги.

ИЗЫСКАНИЯ ПО ГРАЖДАНСКИМ СООРУЖЕНИЯМ

Сбор исходных данных. При изысканиях по приспособлению помещений, предназначенных для АТС, должны быть получены обмерные чертежи (эскизы) поэтажных планов и разрезов зданий в масштабе 1:50 или 1:100, а также чертежи водопровода, канализации и отопления.

Обследования. Для разработки предварительных решений должны быть обследованы:

а) выделенные помещения для АТС и диспетчерского пункта с проверкой всех их размеров;

б) типы и конструкции перекрытий в помещениях, предназначенных для АТС, с проверкой при необходимости сечений балок и плит, а также их рабочей арматуры.

Обработка материалов изысканий. При обработке материалов изысканий должны быть уточнены технические требования к помещениям и в соответствии с заданием на приспособление помещений приняты предварительные решения по:

а) планировке технических и вспомогательных служб в выделенных помещениях, с учетом проектируемого расположения в них оборудования, АТС и диспетчерского пункта;

б) усилению или замене перекрытий в технических помещениях АТС, сносу или установке стен и перегородок, переустройству отопления, водопровода, канализации;

в) обеспечению гидро- и звукоизоляции между помещениями, в которых располагается проектируемое оборудование, и другими соседними помещениями;

г) оборудованию необходимых помещений сантехническими устройствами с учетом местных требований;

д) использованию местных конструкций и материалов для замены перекрытий и устройства стен и перегородок;

е) устройству рабочего, аварийного и ремонтного освещений.

Согласования. Принятые предварительные решения по приспособлению технических помещений должны быть согласованы с владельцами помещений (ЭТУС, РУС совхоза, колхоза).

3. РАЗРАБОТКА ПЕРСПЕКТИВНЫХ СХЕМ РАЗВИТИЯ СЕЛЬСКИХ ТЕЛЕФОННЫХ СЕТЕЙ

3.1. ОБЩИЕ ПОЛОЖЕНИЯ И ИСХОДНЫЕ ДАННЫЕ

Развитие сельских сетей электросвязи, в первую очередь, телефонной связи, должно осуществляться только на основе полной автоматизации с применением перспективных систем коммутационного оборудования и аппаратуры уплотнения.

Для автоматизации СТС требуется:

а) создание нумерации с учетом перспективы и удобств пользования телефонной связью;

б) наличие развитой межстанционной сети района с обеспечением необходимого количества соединительных линий между телефонными станциями;

в) обеспечение норм затухания при связи абонентов СТС как внутри своего района и зоны, так и при выходе на магистральную сеть страны;

г) увязка всех принимаемых при автоматизации СТС решений с задачами создания Единой автоматизированной системы связи страны (ЕАСС).

Для принятия правильных решений при текущем проектировании необходимо иметь перспективную схему развития сети телефонной связи сельского района с учетом других сетей электросвязи.

Для первого и второго проектных этапов перспективная схема развития сети телефонной связи должна содержать:

- количество абонентских устройств (основных телефонных аппаратов и телефонов-автоматов, телефонных аппаратов УПТС, имеющих право выхода на сеть общего пользования и прямых проводов);

- схему построения и организации сети телефонной связи района;

- количество, типы и емкость телефонных станций (АТС), а также ориентировочные сроки и очередность их открытия;

- основные направления трасс кабельных, воздушных и радиорелейных линий межстанционной связи;

- нормы на электрические параметры и способы их обеспечения;

- объем капитальных вложений.

Примечание. В число прямых проводов входят цепи и каналы, используемые для документальной связи (абонентский телеграф), передачи программ вещания (звукового), передачи данных (с низкой скоростью) и других целей.

На перспективу в проекте развития сети телефонной связи района разрабатывается схема построения СТС района и план нумерации, а также определяется предельная емкость телефонной сети. При разработке перспективной схемы развития сетей электросвязи района потребность в телефонных аппаратах для района в целом и каждого населенного пункта определяется, исходя из действующих норм телефонной плотности и количества населения в них на каждом проектном этапе.

Эти схемы должны периодически корректироваться в связи с возможными изменениями в административном делении районов, разработкой и выпуском промышленностью новых систем коммутационного оборудования и аппаратуры уплотнения, изменением отдельных решений, намеченных схемой организации связи по автоматизации СТС района, а также изменением норм телефонной плотности.

Перспективная схема развития СТС района разрабатывается на основании утвержденного задания на проектирование, выдаваемого заказчиком - областным (краевым или республиканским (АССР), производственно-техническим управлением связи или министерством связи союзной республики (приложение 3.1).

Исходные данные, необходимые для разработки перспективных схем развития СТС района, собираются в процессе изысканий. Перечень этих данных приведен в гл. 2.

Перспективная схема развития СТС района должна состоять из трех основных документов:

1. Схема построения СТС, которая разрабатывается на основе утвержденной схемы районной планировки и показывает принцип построения телефонной связи района на каждом проектном этапе.

2. Схема организации связи, которая разрабатывается на основе схемы построения и показывает, с помощью какой аппаратуры уплотнения, коммутационного оборудования и линейных сооружений обеспечиваются на каждом проектном этапе принятые в схеме построения решения.

3. Схемы ситуационных трасс воздушных и кабельных линий связи межстанционной сети. Эта схема показывает трассы прохождения воздушных и кабельных линий межстанционной сети и позволяет правильно судить о принятых решениях по выбору мест организации УС и ОС с точки зрения более экономичного использования линейных сооружений.

3.2. РАЗРАБОТКА СХЕМЫ ПОСТРОЕНИЯ СТС

ИСХОДНЫЕ ПОЛОЖЕНИЯ

Для разработки схем построения СТС необходимо определить:

- количество телефонных аппаратов в каждом населенном пункте по этапам;

- места установки телефонных станций (ЦС, УС и ОС) и границы территории, обслуживаемой каждой станцией, для каждого этапа;

- количество СЛ для межстанционной связи на каждый проектный этап.

ОПРЕДЕЛЕНИЕ КОЛИЧЕСТВА ТЕЛЕФОННЫХ АППАРАТОВ ПО НАСЕЛЕННЫМ ПУНКТАМ

Количество телефонных аппаратов для каждого населенного пункта определяется на основе действующих норм телефонной плотности, утвержденных Министерством связи Союза ССР, и численности населения в них на каждом проектном этапе.

Количество телефонных аппаратов, предполагаемых к установке в каждом населенном пункте, на каждом проектном этапе, зависит не только от численности населения, но и от его народно-хозяйственного и культурного значения. В связи с этим в зависимости от местных условий нормы телефонной плотности могут изменяться на ±20 %. Так, например, нормы могут быть снижены для первого этапа, в небольших населенных пунктах, удаленных от центральных усадеб, а также в неперспективных населенных пунктах могут иметь место случаи, когда в отдельных населенных пунктах количество проектируемых телефонных аппаратов, полученных на основе расчета, меньше, чем существующее. В этом случае по согласованию с отраслевыми службами эксплуатации и в зависимости от местных условий следует либо предусматривать незначительный рост, либо сохранить существующее количество телефонных аппаратов.

Результаты расчета количества телефонных аппаратов по этапам для каждого населенного пункта заносятся в таблицу (приложение 3.2). Для удобства пользования таблицей желательно станции в ней располагать в следующем порядке: центральная станция, оконечные станции, включенные непосредственно в ЦС, узловые станции с включенными в них оконечными последовательно по узловым районам.

Данные о численности населения на отдельные проектные этапы и на перспективу принимаются по схеме районной планировки. Если в схеме районной планировки отсутствуют данные о населении для отдельных населенных пунктов и по району в целом на какой-либо этап, то они могут быть определены методом интерполяции на основе данных о населении на предшествующий и последующий этапы.

Следует иметь в виду, что численность населения в отдельных пунктах может уменьшаться от этапа к этапу. Некоторые перспективные населенные пункты согласно схеме районной планировки на втором этапе или в перспективе могут ликвидироваться.

Данные о населении по отдельным пунктам и району в целом на перспективу при отсутствии их в схеме районной планировки рекомендуется ориентировочно определять, исходя из ожидаемой численности населения на 1980 г. с учетом прироста порядка 30-50 % (К = l,3 ÷ 1,5). Этот коэффициент прироста в каждом отдельном случае следует уточнять в местных планирующих органах (облплан, статуправление) и при необходимости корректировать. В отдельных населенных пунктах, которые по данным схемы районной планировки не должны в перспективе развиваться (но и не предусматривается их упразднение), прирост населения на перспективу может быть принят ниже среднего по району. Вместе с этим для населенных пунктов, которые по данным схемы районной планировки или по данным планирующих органов будут иметь небольшое развитие, прирост населения может быть принят выше среднего по району. При этом численность населения по району в целом должна быть равна сумме составляющих по отдельным населенным пунктам.

РАЗМЕЩЕНИЕ ТЕЛЕФОННЫХ СТАНЦИЙ И ОПРЕДЕЛЕНИЕ ГРАНИЦ СТАНЦИОННЫХ РАЙОНОВ. ВЫБОР ТИПОВ АТС

После того как определено для каждого проектного этапа количество телефонных аппаратов по населенным пунктам, определяются емкости телефонных станций, их размещение и границы станционных районов.

1. В первую очередь телефонные станции устанавливаются в населенных пунктах, где расположены центральные усадьбы колхозов или совхозов.

В неперспективных населенных пунктах телефонные станции, как правило, не предусматриваются. В виде исключения допускается строительство АТС в неперспективных населенных пунктах, если на первом этапе в них расположена центральная усадьба или крупное отделение (бригада) совхоза (колхоза).

2. В населенных пунктах, где требуется 20 и более телефонных аппаратов, как правило, открываются телефонные станции.

3. В населенных пунктах с числом телефонных аппаратов менее 20 рекомендуется применять групповые установки (ГУ), ограничив число аппаратов до 10.

4. В населенных пунктах, где требуется до шести телефонных аппаратов, последние включаются как абоненты в ближайшую АТС.

5. Если в колхозе (совхозе) установлена только одна АТС, то она обслуживает все населенные пункты, расположенные на территории этого хозяйства.

В крупных хозяйствах возможна установка двух и более АТС. В этом случае каждая АТС обслуживает ближайшие к ней населенные пункты этого хозяйства.

6. Если центральные усадьбы двух разных хозяйств находятся в населенных пунктах, отстоящих друг от друга на небольшом расстоянии (до 3 км), целесообразно на первом этапе открыть одну АТС на оба хозяйства. В этом случае станция устанавливается в наиболее крупном из двух хозяйств. Кроме того, при выборе места размещения одной АТС на два хозяйства следует исходить из наиболее экономичного построения абонентской сети.

Не допускается включение телефонных аппаратов, установленных в населенных пунктах одного хозяйства, в телефонные станции разных хозяйств, а также включение АТС одного хозяйства в разные УС.

Определив границы станционных районов и населенные пункты, относящиеся к ним, определяют тип и емкость открываемых на каждом этапе АТС, а также необходимость расширения или реконструкции станции с учетом сроков перехода на автоматическую зоновую связь.

При выборе типов телефонных станций надлежит руководствоваться рекомендациями, приведенными в гл. 1 (1.3 и 1.6) настоящего руководства.

СХЕМА ПОСТРОЕНИЯ СТС РАЙОНА

После того как определены места установки АТС и их емкости, разрабатывается схема построения СТС данного района на два проектных этапа и перспективу.

При разработке схемы построения СТС надлежит руководствоваться следующими основными положениями:

1. Центральная станция (ЦС) устанавливается в административном центре района, обслуживает абонентов райцентра и обеспечивает транзитные соединения абонентов всего района.

2. Возможны следующие варианты размещения узловых (УС) и оконечных (ОС) станций:

а) УС и все оконечные станции, включенные в нее, расположены в одном хозяйстве (рис. 3.1а);

Рис. 3.1. Варианты размещения УС и ОС

б) УС и все оконечные станции, включенные в нее, находятся в разных хозяйствах (рис. 3.1б);

в) УС устанавливается в одном хозяйстве, и в нее включаются оконечные станции этого же хозяйства и других хозяйств (рис. 3.1в).

3. АТС, расположенные вблизи райцентра, включаются непосредственно в ЦС в качестве ОС независимо от того, находятся эти населенные пункты в одном или разных хозяйствах.

Рис. 3.2. Организация пункта постоянного транзита

Рис. 3.3. Схема построения СТС

4. Если АТС открываются в населенных пунктах, удаленных от райцентра (ЦС) на 6-8 км, то УС организовываются, лишь когда эти населенные пункты относятся к одному хозяйству, в остальных случаях эти станции включаются непосредственно в ЦС в качестве ОС.

5. Если АТС открываются в населенных пунктах, удаленных от ЦС больше, чем на 10 км, и эти населенные пункты относятся к одному хозяйству, то одна из этих АТС открывается как узловая, а остальные - как ОС, включенные в эту УС.

6. Если АТС открываются в населенных пунктах, удаленных от ЦС больше, чем на 10 км, и они относятся к разным хозяйствам, то организация УС для группы ОС допустима, если это обосновывается технико-экономическими расчетами.

В технико-экономических расчетах должны учитываться капитальные вложения и эксплуатационные расходы для двух сравниваемых вариантов:

- когда рассматриваемая АТС включена непосредственно в ЦС как ОС;

- когда эти АТС включаются в ЦС через УС.

Кроме того, при решении вопроса об одно- или двухступенчатой схеме построения надо учитывать и то, что на участке ОС - УС часто могут быть использованы существующие воздушные линии между УС и ОС, что удешевит стоимость строительства СТС на первом этапе.

7. При одноступенчатой схеме построения там, где это экономически целесообразно, рекомендуется организовывать пункты постоянного четырехпроводного транзита телефонных каналов, идущих от нескольких ОС к ЦС (рис. 3.2). Это позволяет более экономично использовать аппаратуру уплотнения и линейные сооружения на участке от такого транзитного пункта до ЦС и повышает надежность связи по сравнению с тем, если бы в этом же пункте вместо постоянного транзита была организована узловая станция.

На схеме построения приводятся данные о существующем количестве соединительных линий (СЛ) между станциями и СЛ на все проектные этапы (см. разд. 3.3), а в отдельной таблице (приложение 3.2) данные о системах проектируемых АТС и их емкостях на первый и второй проектные этапы. В этой же таблице приводится нумерация абонентов всех станций района на первый проектный этап и перспективу (см. разд. 1.5) и емкость станций на перспективу. Образец схемы построения приведен на рис. 3.3.

3.3. ОПРЕДЕЛЕНИЕ КОЛИЧЕСТВА СОЕДИНИТЕЛЬНЫХ ЛИНИЙ МЕЖДУ СТАНЦИЯМИ

На основе схемы построения производится расчет количества соединительных линий межстанционной сети. При расчете количества СЛ на участках ОС - УС и ОС - ЦС необходимо исходить из типа и емкости монтируемой на каждом этапе ОС и количества включенных в нее телефонных аппаратов с правом внешней связи.

Ориентировочное количество СЛ для УС и ОС рекомендуется определять по табл. 3.2. При этом следует учитывать, что в табл. 3.1 приведено предельное количество СЛ, допустимое данным типом станций.

Количество СЛ от узловой АТС к вышестоящей станции следует определять с учетом суммы телефонных аппаратов, включаемых в данную УС, и телефонных аппаратов всех ОС, включенных в УС. При этом могут быть следующие случаи:

1. УС и ОС, включенные в нее, обслуживают одно хозяйство. В данном случае будет иметь место значительное внутреннее тяготение между абонентами ОС и УС и абонентами различных ОС между собой. Учитывая это, при расчете количества СЛ между УС и вышестоящей станцией на количество телефонных аппаратов, включенных во все ОС, следует применять понижающие коэффициенты: на первом этапе 0,6-0,7, на втором этапе 0,7-0,8, на перспективу 0,8-0,9. Эти коэффициенты могут уточняться в процессе проектирования в зависимости от местных условий.

Таблица 3.1

Емкость АТС, номеров

Число двусторонних СЛ для ОС типа

АТС К-50/200

АТС К-50/200М

50

5

7

100

7

10

150

10

14

200

13

17

Таблица 3.2

Суммарное количество телефонных аппаратов узлового района (или ОС) с правом выхода к вышестоящей станции

Количество СЛ для ОС и УС типа АТС К-100/2000 и УС типа АТС К-50/200 (до 200)

Примечание

двусторонних

односторонних

100

10 ÷ 12

 

Множитель 2 показывает, что количество входящих СЛ принято равным исходящим

200

-

(8 ÷ 11) · 2

300

-

(11 ÷ 13) · 2

400

-

(13 ÷ 15) · 2

500

-

(15 ÷ 17) · 2

600

-

(17 ÷ 19) · 2

700

-

(19 ÷ 21) · 2

800

-

23 × 2

900

-

25 × 2

1000

-

27 × 2

2. Часть ОС обслуживает одно и то же хозяйство, что и УС, в которую они включены, а остальные ОС - другие хозяйства. В данном случае понижающие коэффициенты применяются только для тех ОС, которые обслуживают вместе с УС одно общее хозяйство.

3. УС обслуживает одно хозяйство, а все ОС, включенные в УС, обслуживают другие хозяйства. В этом случае при подсчете количества абонентов узлового района, как правило, понижающие коэффициенты не применяются.

В зависимости от рассчитанного количества абонентов узлового района количество СЛ от УС всех типов к вышестоящей станции определяется по табл. 3.2.

Полученное в результате расчетов для данной УС суммарное количество СЛ ко всем ОС и вышестоящей станции не должно быть больше допустимого числа СЛ, равного 49 для АТС K-50/200 и 54 для К-50/200М (см. гл. 1). При значительном превышении расчетного числа СЛ по сравнению с допустимым необходимо менять тип УС на АТС K-100/2000.

3.4. РАЗРАБОТКА СХЕМЫ ОРГАНИЗАЦИИ СВЯЗИ

ИСХОДНЫЕ ПОЛОЖЕНИЯ

В соответствии со схемой построения СТС разрабатывается схема организации связи, в которой решаются все вопросы выбора типов линейных сооружений и аппаратуры уплотнения на всех участках межстанционной сети.

При выборе аппаратуры уплотнения на межстанционной сети СТС должна быть учтена потребность как телефонной связи, так и других видов электросвязи - передачи программ звукового вещания, телеграфной связи, передачи данных, диспетчерской телефонной связи и передачи информации технологического характера. Необходимое число каналов ТЧ для разных видов электросвязи по отдельным участкам МСС временно рекомендуется принимать по табл. 3.3.

Схема организации связи разрабатывается на первый и второй проектные этапы и обеспечивает возможность принимать правильные технико-экономические решения при конкретном проектировании сооружений СТС (выбор помещений, источников питания и т.) в отдельных населенных пунктах, отдельных узловых районах и по району в целом.

Схема организации связи на перспективу не разрабатывается.

Таблица 3.3

Виды связи

Количество каналов ТЧ по участкам

ЦС - ОС

ЦС - УС

УС - ОС

Первый этап

Второй этап

Первый этап

Второй этап

Первый этап

Второй этап

Телефонная

Определяется расчетом

Телеграфная (АТА) и передача данных (низкоскоростная)

Определяется расчетом

Передача программ вещания

Принимается по перспективной схеме передачи программ вещания

Диспетчерская

1

1

1

1

-

-

Передача информации технологического характера

-

-

-

-

1-2

2-3

ЛИНЕЙНЫЕ СООРУЖЕНИЯ

При организации соединительных линий межстанционной сети необходимо максимально использовать существующие кабельные и воздушные линии связи и там, где это экономически целесообразно, предусматривать реконструкцию этих линий.

Соединительные линии межстанционной сети могут быть организованы как по физическим цепям, так и по каналам ТЧ, образуемым аппаратурой уплотнения на кабельных и воздушных линиях связи.

Если требуемое по расчету количество СЛ межстанционной сети не может быть обеспечено существующими воздушными линиями связи, даже при их уплотнении, рекомендуется предусматривать строительство кабельных линий с применением кабелей типа КСПП 1 × 4 × 1,2 или КСПП 1 × 4 × 0,9 и их модификаций и уплотнение кабелей аппаратурой многоканальной связи.

Строительство новых воздушных линий связи целесообразно предусматривать в основном на участках ОС - УС и ОС - ЦС.

При использовании существующих воздушных линий связи и подвеске новых цепей для организации СЛ между АТС необходимо привести линейные сооружения и соответствие с электрическими нормами.

Строительство кабельных линий связи должно предусматриваться схемой организации связи в первую очередь на направлениях УС - ЦС. На втором этапе следует предусматривать строительство преимущественно кабельных линий на всех участках. При расстояниях между АТС до 6 км целесообразно предусматривать схемой организации связи низкочастотные кабели, емкость которых должна соответствовать количеству СЛ с учетом потребностей на втором проектном этапе, .например, кабели типа ТПП, ТППБ. Если расстояние между АТС превышает 10-12 км, то рекомендуется применять высокочастотные кабели и их уплотнение. На отдельных участках (например, на переходах большой протяженности через судоходные реки) рекомендуется применять кабели КСППК или другие бронированные кабели соответствующей емкости. При применении на соединительных линиях усилителей мостового типа последние должны устанавливаться:

- при одном усилителе на соединительной линии на вышестоящей станции участка;

- при двух усилителях - на двух станциях (по одному усилителю на каждом конце СЛ).


     

Рис. 3.4. Схема организации связи на первый и второй этапы


При больших расстояниях между телефонными станциями и трудностях эксплуатации проводных средств связи (горные местности, отсутствие дорог, тайга, болото) для организации соединительных линий между станциями целесообразно использовать аппаратуру радиорелейной связи, например, радиорелейные линии типа «Контейнер». Основные электрические параметры цепей воздушных и кабельных линий связи приведены в [3, 5].

АППАРАТУРА УПЛОТНЕНИЯ

С целью эффективного использования линейных сооружений на сельских сетях электросвязи применяются многоканальные системы передачи (аппаратура, уплотнения): с частотным делением каналов (системы ЧД) и временным делением каналов (системы ВД). При проектировании сельских сетей аппаратура уплотнения применяется для уплотнения цветных и стальных цепей воздушных линий и кабельных линий связи.

В настоящее время применяется следующая аппаратура уплотнения:

1. На воздушных линиях:

- двухканальная аппаратура В-2 и В-2-2;

- трехканальная аппаратура В-3-3с и ВО-3-4 (производства ВНР);

- двенадцатиканальная аппаратура ВО-12-3 (ВНР)1).

1) Рекомендуется использовать аппаратуру ВО-12-3 и для уплотнения одночетверочных кабелей КСПП, главным образом, подвесных.

Вся эта аппаратура относится к системам с частотным делением каналов.

2. На кабельных линиях:

- шестиканальная аппаратура КНК-6Т;

- двенадцатиканальная аппаратура КНК-12 и ИКМ-12М;

- тридцатиканальная аппаратура «Кама» и «Зона» (36 каналов).

Аппаратура КНК-6Т, КНК-12 и «Кама» относится к системам с частотным делением каналов, а ИКМ-12М и «Зона» к системам с временным делением каналов. Аппаратура уплотнения сельских сетей предназначена для организации соединительных линий (СЛ) между сельскими АТС; ее особенностью является наличие отдельного специально выделенного сигнального канала для передачи сигналов управления и взаимодействия.

Аппаратура уплотнения сельских сетей имеет такие общие характеристики, как эффективно передаваемую полосу частот канала 300-3400 Гц и номинальную величину остаточного затухания канала в двухпроводном оконечном режиме на частоте 800 Гц - 7 дБ.

Основные технические данные аппаратуры уплотнения, применяемой на СТС, приведены в табл. 1-6 (приложение 3.4).

Аппаратура уплотнения воздушных цепей типа В-2, В-2-2, В-3-3с, ВО-12-3 при разработке схемы организации связи должна предусматриваться в основном для первого этапа и в отдельных случаях для второго этапа. Эту аппаратуру целесообразно сохранить и на перспективу (начальный период этого этапа) до ее физического и морального износа или износа воздушных линий связи, цепи которых уплотнены этой аппаратурой.

На кабельных линиях связи межстанционной сети на первом и втором этапах развития СТС схемой организации связи следует предусматривать аппаратуру уплотнения типа КНК-6Т, КНК-12, ИКМ-12М и реже аппаратуру «Кама» и «Зона».

В направлении от ЦС к УС или от ЦС к наиболее крупным ОС, где требуется большое число СЛ, уже на первом и особенно на втором этапах следует ориентироваться на применение аппаратуры уплотнения кабельных цепей типа «Кама» и «Зона».

Образец схемы организации связи приведен на рис. 3.4.

3.5. СХЕМА СИТУАЦИОННЫХ ТРАСС

Схема ситуационных трасс воздушных и кабельных линий межстанционной сети составляется только для первого этапа развития. На схеме приводятся наиболее крупные и важные коммуникации (автодороги, железные дороги, реки и др.), по которым ориентируются воздушные и кабельные линии связи, основной профиль воздушных линий с указанием уплотненных цепей, а также тип и количество кабелей, предусматриваемых в каждом направлении.

На схеме трасс показываются ориентировочно места размещения и количество НУП на кабельных линиях. Образец схемы ситуационных трасс приведен на рис. 3.5.

Рис. 3.5. Схема ситуационных трасс

3.6. НУМЕРАЦИЯ

Разработка нумерации производится в соответствии с основными положениями, приведенными в гл. 1 настоящего руководства.

В перспективной схеме развития СТС нумерация должна предусматриваться на первый этап и перспективу. На первый этап принимается открытая нумерация с индексом выхода, на перспективу - закрытая нумерация. Разработку следует начинать с перспективной нумерации, которая должна быть увязана с нумерацией первого этапа.

Это условие может быть выполнено тем легче, чем больше десятитысячных номерных групп содержит нумерация первого этапа. Вместе с тем наличие в нумерации значительного числа цифр в качестве первых знаков пятизначных номеров исключает возможность использования на узловых и оконечных АТС К-100/2000, удобной для абонентов, сокращенной трехзначной нумерации.

Учитывая изложенное, наиболее оптимальной на первый этап развития является нумерация, содержащая три-четыре десятитысячные группы, и ее рекомендуется предусматривать в перспективных схемах развития. При существующих и планируемых нормах телефонной плотности такая нумерация может оставаться неизменной длительный срок, а для небольших сетей и на перспективу.

Если же нумерация отдельных станций или целых узловых районов, присвоенная на первом этапе развития, в перспективе должна претерпевать изменения, то желательно, чтобы эти изменения касались только первых знаков пятизначных номеров.

При разработке схемы развития СТС для каждой АТС выделяется нумерация, соответствующая емкости станции, исходя из норм телефонной плотности на перспективу. При этом должны быть учтены следующие положения:

а) для абонентов райцентра выделяется одна или более десятитысячных групп;

б) ОС, непосредственно включенные в ЦС, а также учрежденческо-производственные телефонные станции, группируются в отдельные десятитысячные группы, выделяемые для абонентов ЦС;

в) для каждого узлового направления выделяется по нумерации своя десятитысячная группа. Допускается объединение нескольких узловых направлений в общие десятитысячные группы.

Данные о принятой нумерации на первый этап и перспективу вносятся в таблицу (приложение 3.2).

3.7. ОБЕСПЕЧЕНИЕ НОРМ ЗАТУХАНИЯ

При разработке схемы организации связи все принятые решения по выбору систем станционной аппаратуры, типов линейных сооружений следует проверять на соответствие величины затухания от аппарата абонента до междугородной телефонной станции нормам затухания (см. гл. 1).

Принимая решение об использовании аппаратуры уплотнения на межстанционной сети, следует иметь в виду, что при двухступенчатой системе построения сети аппаратуру уплотнения в первую очередь надо устанавливать на участке ЦС - УС, а во вторую очередь - на участке УС - ОС, т.е. установка аппаратуры уплотнения должна производиться в каждом направлении сверху - вниз.

В случае, когда на участке УС - ОС применяется аппаратура уплотнения, а на участке ЦС - УС физические цепи, установленные нормы затухания обеспечить нельзя.

3.8. ОЧЕРЕДНОСТЬ СТРОИТЕЛЬСТВА И РАСШИРЕНИЯ СТС

При перспективном проектировании должен быть решен вопрос об очередности открытия (расширения или реконструкции) той или иной станции, строительства того или другого направления (участка) межстанционной сети на первом и втором проектных этапах. Разрабатывая перспективную схему развития СТС конкретного района, необходимо увязать ее с решениями, принятыми в генеральной схеме развития зоновой (внутриобластной) телефонной сети. При этом определяются сроки и очередность перевода ЦС райцентра и станций всего района на автоматическую зоновую связь.

Все эти вопросы находят отражение в схеме организации связи и поэтому не требуют дополнительных решений.

В пределах первого этапа должны устанавливаться сроки (годы) строительства или расширения, или реконструкции станций, которые сводятся в таблицу (приложение 3.5).

3.9. ОПРЕДЕЛЕНИЕ КАПИТАЛЬНЫХ ВЛОЖЕНИЙ

При разработке перспективной схемы развития СТС конкретного района план капиталовложений определяется укрупненно по всему району в целом на первый и второй проектные этапы.

Структурно план капиталовложений должен составляться так, чтобы были определены затраты по каждому направлению (узловому району) в отдельности. При этом все ОС, включенные в ЦС, принимаются за одно направление. Затраты на строительство сооружений АТС райцентра выделяются отдельно.

Учитывая, что в настоящее время трудно судить о типах АТС, аппаратуры уплотнения и линейных сооружениях, которые будут применяться в отдаленной перспективе, объем капитальных вложений на перспективу не определяется.

Капитальные затраты рассчитываются на линейные сооружения абонентской сети (ОС, УС и ЦС); станционные сооружения АТС (ОС, УС и ЦС); линейные и станционные сооружения межстанционной сети.

При этом к станционным сооружениям межстанционной сети относится оконечная аппаратура уплотнения, устанавливаемая на станциях (ОС, УС и ЦС), а к линейным - устанавливаемая в промежуточных усилительных пунктах (НУП). Капиталовложения на строительство абонентских сооружений СТС (ОС, УС и ЦС, расположенных в сельских райцентрах), а также межстанционной сети следует определять по укрупненным показателям, а при их отсутствии - по нормативам удельных капвложений на строительство сооружений СТС.

Капиталовложения на строительство ЦС райцентра, являющегося городом, определяются по укрупненным показателям или нормативам удельных капиталовложений на строительство сооружений ГТС. При этом, если райцентр является городом с районированной сетью, то капиталовложения на развитие всех городских станций, включая и ЦС, или УСП относятся за счет развития телефонной связи города.

В случае, если выделенный город (областной центр, город областного подчинения и др.) является одновременно административным райцентром и вместо ЦС предусматривается узел сельско-пригородного сообщения, то капиталовложения на строительство такого узла также относятся за счет развития телефонной связи города.

При определении капиталовложения на отдельные этапы, учитывая ожидаемое снижение цен за счет лучшего освоения производства при массовом выпуске аппаратуры и кабельных изделий, рекомендуется вводить понижающие коэффициенты: на первом этапе - 0,9 и на втором этапе - 0,8.

Учитывая, что все ОС и УС, как правило, размещаются в имеющихся или выделяемых помещениях (строящихся по типовым проектам), в плане капиталовложений предусматриваются средства только на приспособление этих помещений и электроснабжение (порядка 5 % от общей суммы затрат на строительство линейных и станционных сооружений абонентских сетей и сетей межстанционной связи).

Расчет стоимости строительства сооружений СТС района на каждый проектный этап сводится в таблицу (приложение 3.6), а план капиталовложений сводится в таблицу (приложение 3.7).

В плане капиталовложений приводятся технико-экономические показатели по каждому этапу в отдельности. При этом стоимость одного номера сети СТС определяется путем деления общих капиталовложений на емкость сети, добавляемую за данный проектный этап.

3.10. ПОРЯДОК УТВЕРЖДЕНИЯ ПЕРСПЕКТИВНОЙ СХЕМЫ РАЗВИТИЯ СТС РАЙОНА

Перспективная схема развития СТС района согласовывается с районным и областным исполнительными комитетами Советов депутатов трудящихся и утверждается начальником областного (краевого) производственно-технического управления связи или министерством связи союзной республики.

4. РАЗРАБОТКА ТЕКУЩИХ ПРОЕКТОВ

4.1. ОБЩИЕ ТРЕБОВАНИЯ

Разработка текущих (конкретных) проектов на строительство абонентских сетей ОС, УС и ЦС, а также межстанционных сетей электросвязи проводится на основании утвержденной перспективной схемы развития сети СТС района и задания на проектирование. При разработке текущих проектов могут уточняться отдельные решения перспективной схемы развития СТС на проектируемую очередь строительства.

Текущее проектирование осуществляется, как правило, в одну стадию (техно-рабочий проект). В отдельных случаях для технически сложных объектов принимается двухстадийное проектирование - технический проект и рабочие чертежи. При текущем проектировании необходимо учитывать требования действующих норм технологического проектирования, эталонов, типовых решений, инструкций, технических условий, ГОСТ, нормалей и правил. Решение о стадийности проектирования указывается в задании.

Техно-рабочие проекты включают основные решения из технического проекта и все элементы рабочих чертежей и должны разрабатываться для объектов, строительство которых намечается осуществлять по типовым проектам и повторно применяемым экономичным индивидуальным проектам, а также для технически несложных объектов. При разработке техно-рабочих проектов потребность в телефонных аппаратах для каждого населенного пункта уточняется по действующим нормам телефонной плотности и количеству населения.

В техно-рабочем проекте должны быть даны законченные технические решения с необходимой для строительства деталировкой. Деталировке не подлежат только те элементы и узлы, конструкции которых приведены в типовых проектах, действующих инструкциях по монтажу, правилах по строительству и альбомах типовых чертежей. Проект до утверждения согласовывается с подрядной организацией.

После утверждения техно-рабочий проект является документом, на основе которого строительная организация осуществляет строительство проектируемых сооружений.

4.2. СХЕМЫ ПОСТРОЕНИЯ СЕТИ, ОРГАНИЗАЦИИ СВЯЗИ И СИТУАЦИОННАЯ ТРАССА

Схемы построения сети, организации связи и ситуационная трасса на проектируемом направлении являются основой для разработки техно-рабочих проектов строительства СТС и внутрипроизводственной связи (ВПС) и составляются по перспективной схеме развития СТС района с учетом уточняющих материалов. На схеме построения сети указывается месторасположение станций, их тип (ЦС, УС, ОС) и емкость, число и длины соединительных линий.

На схеме организации связи приводятся типы линейных сооружений и аппаратуры уплотнения на всех участках межстанционной сети, размещение коммутаторов диспетчерской (КДС) и директорской связи (КД), устройств громкоговорящего и сигнального вызова (УГВ и УСВ), устройства конференцсвязи КС), аппаратов факсимильной связи и абонентского телеграфа, устройств сети передачи информации технологического характера (ПУТ, ДП, КП, ДК).

Схемы построения сети и организации связи вычерчиваются без масштаба.

Рис. 4.1. Схема построения сети ВПС колхоза (совхоза)

На основе решений, принятых в схеме организации связи по строительству новых линейных сооружений (кабельных и воздушных), а также по использованию существующих линейных сооружений и их реконструкции, разрабатывается для первого этапа развития СТС района ситуационная трасса воздушных и кабельных линий межстанционной сети. Этот чертеж выполняется на плане местности (М 1:100000) с указанием трасс, по которым проходят существующие воздушные и кабельные линии, используемые для МСС, а также трасс, по которым намечается построить на первом этапе новые кабельные или воздушные линии связи. Для воздушной линии связи на ситуационной трассе приводится основной профиль линии. На ситуационной трассе показываются шоссейные и железные дороги, реки и коммуникации, которые имеют существенное значение для выбора трассы проектируемых линий связи. Кроме того, показываются места размещения необслуживаемых усилительных пунктов (НУП).

Примеры схем построения сети, организации связи и ситуационной трассы приведены на рис. 4.1-4.4.

№ пп.

Назн. станции

Наименование пунктов установки АТС

Тип станции

Количество абонентов

Количество соединит. линий к вышестоящей станции

Монтиров. емкость

существующая

проектируемая

с правом выхода на внешнюю сеть

без права выхода на внешнюю сеть

Всего

1

ОС

Никольское

-

К-50/200

100

70

3

73

7

2

ГУ

Орехово

-

ГУ-10/3

10

10

-

10

3

3

ГУ

Ключи

-

ГУ-10/3

10

10

-

10

3

4.3. ВЫБОР МЕСТОРАСПОЛОЖЕНИЯ ТЕЛЕФОННЫХ СТАНЦИЙ И ДИСПЕТЧЕРСКИХ ПУНКТОВ

Населенные пункты, где должны размещаться телефонные станции, намечаются в соответствии с перспективной схемой развития телефонной связи района. Допускается изменение пунктов расположения станций в связи с изменившейся обстановкой после разработки перспективной схемы. Телефонные станции, как правило, размещаются в существующем или запроектированном здании предприятия связи, совхоза (колхоза).

В случае, если проектирование телефонной станции совпадает с проектированием здания предприятия связи (совхоза, колхоза) или предшествует ему, рекомендуется месторасположение этого здания выбирать в центре телефонной нагрузки.


Рис. 4.2 Схема организации ВПС колхоза (совхоза)


Диспетчерский пункт на центральной усадьбе совхоза (колхоза) должен располагаться в отдельном помещении в конторе совхоза (колхоза), в одном или разных зданиях с телефонной станцией.

Предпочтительно его располагать в одном здании с АТС.

Абонентские устройства ВПС в отделениях совхоза (бригадах колхоза) следует размещать в конторах отделений (бригад) и производственных подразделениях.

Диспетчерский пункт РО Сельхозтехники следует располагать в отдельных помещениях в административных зданиях на центральных усадьбах РО.

Рис. 4.3. Ситуационная трасса линий ВПС

Краткая характеристика трассы

№ пп.

Наименование

Един. измер.

Количество по участкам

Белозерск - Никольское

Никольское - Ключи

Николь-ское - Орехово

1

Длина трассы

км

23,04

9,6

6,4

2

В том числе местность:

 

-

-

-

открытая

»

8,8

8,8

5,2

залесенная

»

13,1

-

0,1

застроенная

»

1,14

0,8

1,1

3

Переходы через дороги

переходы

4

-

-

 

Несудоходные реки шириной до 100 м

»

-

1

1

Основной объем работ

№ пп.

Наименование

Един. измер.

Количество по участкам

Белозерск-Никольское

Никольское-Ключи

Никольское-Орехово

1

Кабель симметричный емк. 1 × 4, прокладываемый кабелеукладчиком в грунте II гр.

км

11,22

-

-

2

Кабель симметричный емк. 1 × 4, прокладываемый кабелеукладчиком в грунте II гр.

км

10,38

-

-

3

Кабель симметричный емк. 1 × 4, прокладываемый вручную в грунте II гр.

км

0,65

-

-

4

Кабель симметричный емк. 1 × 4, прокладываемый в сущ. телефонной канализации

км

0,35

-

-

5

Протягивание кабеля в трубах на переходах через дороги

 

0,9

-

-

6

Прокладка а/ц труб способом горизонтального бурения на переходах через дороги

переход

2

-

-

7

Устройство НУП (на 1 систему)

шт.

1

-

-

8

Общее потребное количество кабеля

 

 

 

 

 

КСППБ 1 × 4 × 0,9

км

23,16

-

-

 

КСПП 1 × 4 × 0,9

км

0,35

-

-

9

Строительство воздушной линии

км

-

-

6,4

10

Подвеска стальных проводов d = 3 мм

пр. км.

-

77,6

32,0

11

Перекладка стальных проводов d = 3 мм

пр. км.

-

19,2

-

4.4. СОСТАВ И ПРОЕКТИРОВАНИЕ АБОНЕНТСКИХ УСТРОЙСТВ

В соответствии с назначениями отдельных сетей, входящих в ВПС, предусматривается использование следующих абонентских устройств:

в колхозах и совхозах на сетях ВПТС - телефонных аппаратов неспаренных и спаренных;

на сетях диспетчерской связи - телефонных аппаратов диспетчерской связи, включаемых как в прямые, так и в совмещенные линии, а также устройств конференцсвязи (УКС), поисковой связи по диспетчерским линиям (УСВ и УГВ);


Рис. 4.4. Схема организации ВПС РО Сельхозтехники


на сетях телеграфной связи - аппаратов факсимильной связи и абонентского телеграфа;

на сетях передачи данных - аппаратов передачи данных;

на сетях технологической связи - датчиков контроля (ДК);

на сетях директорской связи - телефонных аппаратов директорской связи и телефонных комплектов местной связи (ТКМС);

на сетях поисковой связи - громкоговорителей.

В РО Сельхозтехники на сетях ВПС предусматривается использование абонентских устройств, аналогичных используемым в совхозах и колхозах, за исключением телефонных аппаратов диспетчерской связи, включаемых в совмещенные линии, УКС и аппаратов факсимильной связи.

Телефонные аппараты неспаренные и спаренные включаются:

- в совхозах (колхозах) - в сети АТС этих хозяйств;

- в РО Сельхозтехники - в сети АТС райцентров.

Телефонные аппараты диспетчерской связи, включаемые в прямые линии, устанавливаются на центральных усадьбах у руководящих работников сельхозпредприятий и в производственных подразделениях. Телефонные аппараты диспетчерской связи, включаемые в совмещенные линии, - это аппараты ЦБ АТС с кнопкой для вызова КДС. Они устанавливаются в отделениях совхозов (бригадах колхозов) у управляющих отделениями (бригадиров) и диспетчеров-информаторов. УКС устанавливаются в отделениях совхозов (бригадах колхозов) и подключаются к линиям совмещенных абонентов диспетчерской связи для участия в конференцсвязи.

УСВ и УГВ используются для поисковой связи по диспетчерским линиям. В УСВ в качестве сигнального элемента предусмотрена сирена. ТКМС устанавливаются у руководителей подразделений (бригадиров, заведующих МТФ и т.п.), а телефонные аппараты, включаемые в ТКМС, - у их подчиненных.

Аппараты факсимильной связи устанавливаются у диспетчеров совхозов (колхозов) и в конторах отделений совхозов (бригадах колхозов). Аппараты абонентского телеграфа устанавливаются у диспетчеров сельскохозяйственных предприятий. Они включаются в станции абонентского телеграфа райцентра по физическим цепям или стандартным каналам ТГ, образованным путем вторичного уплотнения каналов ТЧ. Аппараты передачи данных устанавливаются у диспетчеров сельскохозяйственных предприятий и включаются в ЭВМ сельскохозяйственной АСУ района по физическим цепям или стандартным каналам ТЧ.

Различные ДК в совхозах (колхозах), например, осуществляют контроль наличия электроэнергии, уровня воды в водонапорной башне, наличия вакуума в системе молокопровода; микроклимата в овощехранилищах, теплицах и животноводческих помещениях и т.д.

ДК в РО Сельхозтехники используются также для учета отремонтированных тракторов и автомобилей.

Телефонные аппараты директорской связи устанавливаются у руководителей подразделений совхозов (колхозов), РО Сельхозтехники, с которыми директор совхоза (председатель колхоза) и управляющий РО Сельхозтехники должны иметь оперативную связь.

Сети поисковой связи по самостоятельным линиям (от низкочастотных усилителей с микрофоном) предусматривают использование рупорных громкоговорителей мощностью 5-10 Вт.

В совхозах (колхозах) рупорные громкоговорители могут устанавливаться на улицах, например, у автовесов, а в РО Сельхозтехники на территории РО и в производственных подразделениях с большим уровнем шумов (например, в специализированных мастерских по ремонту тракторов).

4.5. ПРОЕКТИРОВАНИЕ ЛИНЕЙНЫХ СООРУЖЕНИЙ

НОРМЫ НА ЭЛЕКТРИЧЕСКИЕ ПАРАМЕТРЫ И ИХ ОБЕСПЕЧЕНИЕ

Нормируются следующие электрические параметры: затухание по участкам трактов СТС, сопротивление шлейфа и емкость абонентских и межстанционных цепей для станций различных типов.

Распределение затухания по участкам трактов СТС должно удовлетворять нормам, приведенным в гл. 1 (см. 1.7). Нормы на сопротивление шлейфа и емкость абонентских и межстанционных низкочастотных цепей приведены в НТП [3]. Эти нормы для станций АТС К-50/200М и усовершенствованных АТС К-100/2000 такие же, как и для станций прежних выпусков (АТС К-50/200; 100/2000).

Электрические нормы цепей диспетчерской и директорской связи определяются допустимыми сопротивлениями шлейфа абонентских и соединительных линий для конкретного типа проектируемых КДС и КД. Для некоторых типов КДС и КД указанные нормы приведены в табл. 4.1.

Таблица 4.1

Тип оборудования

Rшл. абон. линии, Ом

Rшл. соед. линии, Ом

ПДС 10/10 (20/20)

1000 (с аппар. ЦБ)

Определяется по нормам сопротивления шлейфа абонентских линий станции, в которую включен коммутатор

КОС-22М

800 (при питании от источника постоянного тока);

2000 (при питании от источника переменного тока)

То же

СДСМ-50/100

2000

»

«Псков»

1000

»

ТКМС-1/5 (2/8)

800 (300)

»

Одним из способов обеспечения норм на абонентских и межстанционных низкочастотных цепях является выбор соответствующих диаметров проводов и жил кабелей. Кроме того, в отдельных случаях на этих цепях обеспечение норм затухания может осуществиться путем использования соответственно аппаратов ТАУ-04 и усилителей УМС. При организации межстанционных СЛ по каналам аппаратуры уплотнения обеспечение норм затухания должно осуществляться в соответствии с указаниями, приведенными в п. 4.6.

Для целей организации факсимильной связи, абонентского телеграфа, передачи информации технологического характера должны использоваться цепи (каналы) СТС и ВПТС. Если на этих цепях (каналах) электрические нормы выдержаны, то указанные виды сетей ВПС могут быть на них организованы. Сеть поисковой громкоговорящей связи по самостоятельным линиям должна проектироваться с учетом выполнения электрических норм [4].

ТИПЫ ЛИНЕЙНЫХ СООРУЖЕНИЙ, МАРКИ КАБЕЛЕЙ И ПРОВОДОВ И ИХ ПРИМЕНЕНИЕ

Различают линейные сооружения абонентских и межстанционных сетей.

Линейные сооружения могут быть кабельными или воздушными.

Кабельные линии подразделяются на:

- подземные (прокладываемые непосредственно в грунт);

- подземные в канализации;

- подвесные (на столбах и стойках);

- подводные.

Воздушные линии подразделяются на столбовые и стоечные.

На абонентских сетях должны использоваться однопарные (ПРВПМ, ПРППМ) и многопарные (ТПП) кабели, а также стальные провода диаметром от 1,5 до 4 мм. Однопарные кабели прокладываются непосредственно в грунт или в канализации. Многопарные небронированные кабели подвешиваются на столбах, стойках или прокладываются в канализации, а бронированные - непосредственно в грунте.

На межстанционных сетях должны использоваться одночетверочные кабели КСПП бронированные и небронированные, которые прокладываются непосредственно в грунте. Небронированные кабели могут также прокладываться в канализации и подвешиваться на столбах или стойках. На этих сетях используются также стальные и биметаллические провода диаметром 3 и 4 мм.

Подводные кабельные линии оборудуются на переходах через водные преграды (реки, озера, водоемы и т.п.). На переходах используются кабели типа ТК - на абонентских сетях и КСППК - на межстанционных сетях.

Кабельная канализация должна предусматриваться в средних и крупных населенных пунктах с емкостью сети более 200 номеров. Она должна быть общей для прокладки кабелей абонентских и межстанционных сетей и выполняться в соответствии с НТП [6], а также с указаниями, приведенными ниже, в разделе «Кабельная канализация».

Столбовые линии могут применяться на абонентских и межстанционных сетях. Для строительства столбовых линий в лесных районах следует применять деревянные опоры в железобетонных приставках, а в степных районах - железобетонные опоры или деревянные опоры в железобетонных приставках.

Стоечные линии должны сооружаться в населенных пунктах, где трудно выдержать требуемые габариты по отношению к зданиям, подземным сооружениям, линиям связи, радиофикации или воздушным линиям (BЛ) электропередачи. Стойки применяются металлические на 1, 2, 6 и 10 пар проводов. Два последних типа стоек используются при совместной подвеске проводов и кабеля (емкость кабеля не более 30 × 2). Выбор диаметров проводов и жил кабелей проектируемых абонентских и межстанционных сетей производится в соответствии с решением, принятым в перспективной схеме развития сельской телефонной связи по распределению затухания по участкам трактов и с требованием выполнения норм по сопротивлению шлейфа и емкости цепи для данного типа станционного оборудования. Кроме того, при проектировании подлежащих уплотнению цепей необходимо учитывать допустимые для используемой аппаратуры уплотнения длины усилительных участков.

Если при принятых диаметрах проводов и жил не обеспечиваются нормы на электрические параметры, необходимо учитывать возможность использования телефонных аппаратов ТАУ-04 на абонентских сетях и усилителей УМС на межстанционных сетях.

Как правило, диаметры проводов и жил необходимо выбирать минимальными. Провода и жилы большего диаметра следует выбирать в случае, если экономически нецелесообразно применять провода и жилы меньшего диаметра с использованием перечисленного выше оборудования и аппаратуры уплотнения. Диаметры проводов и жил подбираются по звеньям и участкам абонентских и межстанционных сетей, пользуясь данными, приведенными в справочнике и нормах технологического проектирования [5; 3]. При подсчете затухания того или иного участка абонентской и межстанционной сети должно учитываться распределение затухания по участкам трактов [см. 1.7].

АБОНЕНТСКАЯ СЕТЬ

Распределение абонентских устройств по территории населенных пунктов

Все существующие и проектируемые абонентские устройства распределяются на плане населенного пункта, выполненного в масштабе не менее 1:5000.

При этом общее количество существующих абонентских устройств определяется по данным учета эксплуатационных организаций, а проектируемых - по перспективной схеме развития СТС района с учетом уточняющих материалов. Если в сельских населенных пунктах потребность в абонентских устройствах превышает определенную перспективной схемой развития СТС района, то увеличение количества телефонных аппаратов должно быть обосновано.

Проектируемые абонентские устройства распределяются с учетом существующих.

На чертежах количество абонентских устройств в пределах здания указывается в виде дроби, где в числителе показано количество существующих абонентских устройств, в знаменателе - количество проектируемых с учетом существующих.

Например:

.

Здесь 2 и 5 - количество неспаренных телефонных аппаратов; 2сп и 4сп - количество спаренных телефонных аппаратов; 1а - количество телефонов-автоматов; 1п - количество прямых проводов (цепей), используемых для абонентского телеграфа и других целей; 2тк - количество аппаратов, включаемых в телефонный комплект местной связи; 3дс - количество аппаратов диспетчерской связи, работающих по совмещенным линиям; 2дп - количество аппаратов диспетчерской связи, работающих по прямым линиям; 1д - количество аппаратов директорской связи; 1тс - количество абонентских устройств (ДК) технологической связи. На плане населенного пункта отмечаются места установки ТКМС и громкоговорителей (Г) сети поселковой связи. Приведенная выше запись количества абонентских устройств дана для случая проектирования ВПС в сельхозпредприятии. Если проектируется СТС (ВПТС), в этой записи отражаются только телефонные аппараты (неспаренные и спаренные), телефоны-автоматы и прямые провода.

При распределении проектируемых абонентских устройств СТС следует учитывать:

- потребность в абонентских устройствах (на проектном этапе) квартирного и народно-хозяйственного секторов;

- потребность в прямых проводах (для абонентского телеграфа, отделений связи, сети радиофикации, милиции, пожарной охраны и т.п.);

- выданные технические условия на подключение новых объектов.

Потребность в абонентских устройствах определяется на основании задания на проектирование, действующих норм телефонной плотности, утвержденных Министерством связи СССР и уточняется в процессе проектирования. Количество телефонов-автоматов принимается в размере 2-4 % от монтируемой емкости АТС и проектируется с учетом технических возможностей станции. Общее количество прямых проводов предусматривается в объеме 5-10 % от номинальной емкости проектируемой сети на основании материалов изысканий. Количество соединительных линий с УПТС определяется по действующим нормам технологического проектирования [7].

При проектировании распределения абонентских устройств по территории сельхозпредприятий рекомендуется пользоваться примерными списками абонентов ВПС, приведенными в приложении 4.1-4.3. Эти списки должны уточняться при конкретном проектировании.

Системы построения абонентских, сетей

На СТС емкостью до 200 номеров линейные сооружения абонентской сети проектируются по бесшкафной системе (рис. 4.5а), а при емкости СТС более 200 номеров - по шкафной системе (рис. 4.5б). Бесшкафная система позволяет переключать линии между станцией и абонентскими устройствами в оконечных распределительных устройствах (кабельных ящиках, распределительных коробках). Шкафная система предусматривает и прямое питание абонентов от телефонной станции в окружности радиусом 300 м от нее, а также жилых и административных зданий с постоянным количеством связей. Эта система позволяет переключать линии также и в распределительных шкафах.

Построение сетей ВПС аналогично построению сетей СТС, причем обе эти сети объединяются в общих кабелях. В этом случае бесшкафная система проектируется при числе абонентских устройств на сети до 300, а шкафная (с элементами прямого питания) при числе абонентских устройств на сети более 300.

Рис. 4.5. Системы построения абонентских сетей СТС и ВПС:

а - бесшкафная система построения абонентских сетей; б - шкафная система построения абонентских сетей

Рекомендации по проектированию абонентских сетей

Проектирование абонентских сетей производится после распределения абонентских устройств по территории населенного пункта.

При бесшкафной системе построения сеть формируется путем объединения кабелей небольшой емкости (от вводов в здания и кабельных опор), располагаемых на совпадающих направлениях, в более крупные. Объединение производится с конца линий в направлении на АТС.

При шкафной системе построения сети (что имеет место в основном в райцентрах) выделяются шкафные районы и зоны прямого питания. Проектирование сетей в этом случае ведется в соответствии с рекомендациями НТП [6].

Допустимые запасы емкости в кабелях как при бесшкафной, так и при шкафной системах построения сетей определяются по указанным НТП.

Линейные сооружения абонентской сети следует проектировать:

- на направлениях до восьми цепей путем подвески стальных проводов или кабелей емкостью 10 × 2 на столбах (в отдельных случаях на стойках, устанавливаемых на крышах зданий), а также путем прокладки однопарных кабелей или кабелей емкостью 10 × 2 в земле;

- на направлениях более восьми цепей путем подвески на опорах или прокладки в грунте многопарных кабелей и реже - подвески стальных цепей на столбах (до 16 цепей).

Прокладку многопарных кабелей непосредственно в грунте следует проектировать, как правило, на участках, где не намечается развитие, и на трассах, где не имеется и не предполагается устройство усовершенствованных дорожных покрытий. В остальных случаях прокладка многопарных кабелей должна проектироваться в кабельной канализации.

При проектировании абонентских сетей следует максимально использовать существующие кабельные и воздушные линии; во вновь прокладываемых кабелях не допускать неиспользованных запасов емкости; избегать параллельной прокладки по одному направлению нескольких кабелей небольшой емкости.

В зависимости от принятой системы построения сети и характера населенного пункта должны быть намечены места установки кабельных опор (стоек), распределительных коробок, распределительных шкафов, определены места вводов кабелей в дома, а также зоны обслуживания оконечных распределительных устройств и шкафов. Кабельные ящики устанавливаются на столбах (в случае стоечных линий - на чердаках), распределительные коробки в коридорах общественных, административных, производственных зданий и других местах, не затрудняющих их эксплуатацию. Вводы в здания, в которых проектируется не более трех абонентов, должны быть воздушными (от столбов и стоек) и кабельными (однопарными кабелями). При количестве абонентов в здании более трех вводы в них проектируются подземными кабелями. Воздушные кабельные вводы допускается проектировать в малоэтажные здания при емкости ввода не более 10 пар.

В целях экономии кабелей и создания гибкости сети следует предусматривать параллельное включение коробок и кабельных ящиков. Запараллеливание их допускается не более трех раз.

При выделении шкафных районов следует стремиться, чтобы территория их была компактной, а границами были преимущественно естественные преграды - реки, сады, бульвары, овраги, ж.д. разрывы в застройке населенного пункта.

Распределительные шкафы устанавливаются в начале шкафного района с некоторым сдвигом от его границы с таким расчетом, чтобы в сторону АТС отходило не более 20-30 % общей емкости распределительной сети шкафа. Шкафы размещают внутри помещений (в подъездах, коридорах и т.п.), а в отдельных случаях у капитальных стен домов. Для установки в помещениях предусматриваются шкафы типа ШРП, для установки на улицах - типа ШР. При шкафной системе построения сети, на основе загрузки распределительных шкафов и их мест расположения, формируются кабели магистральной сети. Трассы этих кабелей должны проектироваться по наикратчайшим расстояниям и в зонах отсутствия высокого уровня грунтовых вод. Кабели магистральной сети должны проектироваться в кабельной канализации, как исключение - путем непосредственной прокладки в грунте бронированных кабелей. Распределительные кабели всегда следует проектировать в одном канале (в верхнем ряду блока канализации), располагаемом со стороны застройки.

Увеличение дальности связи на абонентских сетях

Для увеличения дальности связи применяются телефонные аппараты с усилителями типа ТАУ-04 и другие. Аппараты применяются в случаях, когда затухание абонентских линий на частоте 0,8 кГц превышает установленные нормы. Они могут включаться в кабельные линии, имеющие затухание на частоте 0,8 кГц 6-13 дБ, и в воздушные линии, имеющие затухание 6-10 дБ. Аппараты обеспечивают получение остаточного затухания в линии 4,3 дБ.

МЕЖСТАНЦИОННАЯ СЕТЬ (МСС)

Рекомендации по проектированию МСС с учетом организации ВПС

Межстанционные сети организуются на участках: ЦС - ОС, ЦС - УС, УС - ОС.

Межстанционные сети проектируются по отдельным направлениям или участкам на основе данных перспективной схемы развития СТС и материалов, уточняющих эту схему. При изменении емкости станций, по сравнению с принятыми и перспективной схеме, потребность межстанционных СЛ уточняется на всех участках данного направления.

Для организации связи между диспетчерами РО Сельхозтехники и совхозов (колхозов) должны предусматриваться соединительные линии между ЦС райцентра и коммутаторами диспетчерской связи.

В проекте межстанционной сети приводятся схемы построения сети, организации связи и ситуационная трасса линии связи на рассматриваемом направлении.

Линейные сооружения направлений и участков МСС, в зависимости от местных условий, следует предусматривать с прокладкой кабелей в земле (непосредственно или в канализации) с подвеской проводов или кабелей на опорах. В земле прокладываются одночетверочные и многопарные кабели, на переходах через водные преграды - такие же кабели, но с броней из стальной проволоки. Одночетверочные бронированные кабели прокладываются на направлениях, где имеются грызуны. По опорам подвешиваются цепи из стальных или биметаллических проводов, реже - одночетверочные или многопарные кабели.

Межстанционные СЛ могут быть организованы как путем уплотнения кабельных или воздушных цепей, так и путем использования неуплотненных цепей. Одночетверочные кабели и биметаллические цепи могут использоваться только как уплотненные, а стальные цепи как уплотненные и неуплотненные. Многопарные кабели не уплотняются. Одночетверочные кабели КСПП подлежат симметрированию в случае уплотнения их аппаратурой «Кама», а также КНК-12 без компандеров. На подходах воздушных межстанционных СЛ к оконечным пунктам и НУП, а также на переходах через препятствия (водные преграды, пересечение с ЛЭП, ж.д. пути, автомобильные дороги и т.д.) оборудуются кабельные вводы и вставки.

ПРИМЕНЕНИЕ УСИЛИТЕЛЕЙ УМС

Усилители УМС используются для снижения затухания в спектре частот 0,3-3,4 кГц неуплотненных и непупинизированных цепей соединительных линий межстанционной связи СТС, в качестве которых используются либо многопарные кабели, проложенные в грунте или кабельной канализации, либо стальные провода диаметром 3 и 4 мм. В отдельных случаях УМС используются и на соединительных линиях, состоящих из участков кабельных и воздушных цепей (составные линии).

Величина усиления УМС зависит от затухания цепи и может быть установлена в пределах 3,5-8,7 дБ на частоте 0,8 кГц при включении усилителей в кабельные цепи и в пределах 3,5-7,4 дБ при включении в воздушные стальные цепи.

КАБЕЛЬНАЯ КАНАЛИЗАЦИЯ

В зависимости от местных условий, кабельная канализация должна предусматриваться из асбестоцементных, бетонных или полиэтиленовых труб с применением сборных железобетонных колодцев и коробок.

Емкость кабельной канализации на отдельных участках при бесшкафной системе построения сети должна определяться, исходя из средней загрузки каналов, занимаемых кабелями абонентской сети [6, табл. 4.1], необходимости прокладки каналов для кабелей соединительных линий и радиофикации, а также необходимости прокладки запасных каналов.

При наличии на трассах только кабелей абонентской сети емкость блоков кабельной канализации по направлениям определяют по формуле

Б = Р / К,                                                                    (4.1)

где Б - емкость блока (количество каналов канализации); Р - потребное количество пар кабелей абонентской сети; К - оптимальная загрузка канала, пар [6, табл. 4.1].

При шкафной системе построения емкость кабельной канализации на отдельных участках должна определяться, исходя из средней загрузки каналов, занимаемых под прокладку магистральных кабелей [6, табл. 4.1], необходимости прокладки каналов для кабелей распределительной сети и каналов для дополнительных потребностей (таких же, как и в случае бесшкафной системы построения сети).

В случае наличия на трассах только магистральных и распределительных кабелей определение емкости блоков кабельной канализации по направлениям производят по формуле

Б = Р / К + 1,                                                             (4.2)

где Б и К - см. (4.1); Р - потребное количество магистральных пар; 1 - одноотверстная кабельная канализация для распределительной сети.

Если на трассах кроме абонентских (при шкафной системе магистральных и распределительных) кабелей имеются междугородные кабели и кабели других назначений, то следует добавить к емкости блока, определенной по ф-ле (4.1) или (4.2), потребное количество каналов для указанных кабелей.

Для обеспечения возможности развития сети без дальнейшего переустройства канализации емкость ее следует определять также с учетом действующих норм, приведенных в [6].

ТРАССЫ ЛИНИЙ

Трассы для строительства кабельной канализации, кабельных и воздушных линий должны выбираться с учетом особенностей вида сооружений и местных условий. Оптимальный вариант трассы должен удовлетворять следующим требованиям:

а) иметь минимальную длину;

б) обеспечивать установленные нормами расстояния между сооружениями связи и другими инженерными сетями, сооружениями и зелеными насаждениями;

в) не проходить по землям, пригодным для сельского хозяйства;

г) не создавать трудностей в работе сельскохозяйственных машин;

д) обеспечивать возможность максимального применения механизмов при производстве линейных работ;

е) обеспечивать удобство эксплуатации;

ж) обеспечивать минимальные затраты по защите линий от всех видов вредных влияний;

з) иметь наименьшее количество пересечений с препятствиями.

Выбранные трассы наносятся на чертежи, которые выполняются для линий в небольших населенных пунктах в масштабе не менее 1:5000 при проектировании воздушных и 1:2000 при проектировании кабельных линий. Для крупных населенных пунктов, имеющих подземные инженерные сети, в масштабах - 1:500 на участках, где проектируются кабельные линии и канализация, и не менее 1:1000 на участках, где проектируются воздушные линии. Для линий между населенными пунктами в масштабах не менее 1:2000 для кабельных и не менее 1:10000 для воздушных линий.

В случае отсутствия подосновы в указанных масштабах, чертежи могут выполняться и в других масштабах при условии согласований их с подрядной организацией.

Чертежи ситуационных трасс должны выполняться в масштабе не менее 1:100000.

ПЕРЕХОДЫ ЧЕРЕЗ ПРЕПЯТСТВИЯ

Переходы через препятствия (автодороги и железные дороги, водные преграды, теплопроводы, газопроводы, нефтепроводы, электрические и другие кабели, ВЛ высокого и низкого напряжения, овраги, ирригационные сооружения и другие) проектируются либо кабельные (подземными или подвесными кабелями), либо воздушные (стальными или биметаллическими проводами). Выбор способа перехода зависит от типа проектируемой линии, вида препятствия и конкретных условий пересечения.

Устройство переходов через ВЛ всех напряжений должно выполняться в соответствии с действующими ПУЭ. Все остальные переходы - по эталонам и в соответствии с правилами и нормами, указанными в [3, 8, 9, 29].

Кабельные переходы через овраги могут оборудоваться, если они не имеют обрывистых берегов.

При проектировании подземных переходов через ж. пути учитываются:

- характер путей (магистральные, подъездные), электропитание ж.д. (постоянным или переменным током);

- требование по защите кабелей от влияния эл.;

- возможность ведения работ по прокладке трубопроводов под ж.д. путями скрытым способом.

Кабельные переходы через реки (водоемы) проектируются с учетом их транспортного значения. Переходы через мелкие реки, водоемы глубиной до 1 м (при плавном рельефе дна) должны предусматриваться путем прокладки кабелей кабелеукладчиком, при большей глубине (до 6 м) - кабелеукладчиком на выброшенных тросах.

Переходы через глубокие реки проектируются в основном по мостам. Использование металлических труб для трубопроводов, при прокладке по мостам, не допускается. На канализации, прокладываемой по конструкциям мостов для обеспечения необходимых длин пролетов, должны предусматриваться смотровые пункты - коробки с крышками. Если нет возможности прокладки кабеля по мосту, проектируются подводные кабельные переходы в соответствии с НТП [3].

Подвесные кабели могут проектироваться через:

- реки, каналы (арыки) и овраги при длинах переходов, в зависимости от района строительства, 50-100 м;

- по временным мостам независимо от их длин;

- через ж.д. пути немагистральных и неэлектрифицированных направлений (подъезды к заводам, складам и т.п.) при наличии не более двух рельсовых путей.

При проектировании переходов подвесными кабелями должны учитываться необходимые габаритные расстояния в соответствии с НТП [3] и климатические условия (ветер, гололед, иней и т.).

Мачтовые переходы проектируются с учетом того, что трасса линии на подходе к переходу должна быть кратчайшей и проходить в месте, где река имеет минимальную ширину, либо в том месте, где имеется остров, пригодный для установки на нем промежуточной мачты. Установка мачт не должна проектироваться в зоне ледохода, заливаемых водой местах, а также на размываемых берегах. Проектирование мачтовых переходов должно производиться с учетом требований правил [9].

ЛИНЕЙНЫЕ ВВОДЫ

К линейным вводам относятся сооружения на участке от станционного колодца, вводно-кабельной (вводной) опоры или места подхода линейных кабелей, до вводно-коммутационных (оконечных) устройств на телефонных станциях или диспетчерских пунктах. Вводы в здания станций проектируются на предельную их емкость, выполняются различными способами и могут быть:

- при емкости ввода менее 100 × 2 кабельными, воздушными или подземными;

- при емкости ввода 100 × 2 и более - только подземно-кабельными.

Вводы в оконечные АТС емкостью 50 номеров, диспетчерские пункты, имеющие такую же емкость сети, и групповые установки следует проектировать подвесными или подземными кабелями. В последнем случае для ввода в здание кабели прокладываются по стене и защищаются металлическими желобами. Вводы подземных кабелей в оконечные АТС емкостью более 50 номеров, диспетчерские пункты, имеющие сети такой же емкости, и узловые станции следует проектировать в асбестоцементных (в отдельных случаях в стальных) трубах диаметром 100 мм, прокладываемых через фундаменты зданий. Количество труб проектируется с учетом ввода кабелей абонентской и межстанционной сетей.

В совхозах и колхозах, в случаях, когда АТС и диспетчерский пункт расположены в одном или разных зданиях, линейный ввод в АТС помимо абонентских цепей ВПТС, общего пользования и межстанционных должен учитывать ввод цепей ВПС. Линейный ввод в диспетчерский пункт РО Сельхозтехники должен учитывать, кроме цепей телефонной связи общего пользования, также ввод цепей ВПС.

Уплотненные кабели межстанционной сети на вводах группируются и отдельные трубы. При наличии различных систем уплотнения в отдельные трубы группируются кабели, уплотняемые однотипными системами.

На станциях кабели абонентских и соединительных линий должны включаться в вводно-коммутационные устройства или кроссы. Типы ВКУ и кроссов приведены в табл. 4.2 и 4.3.

Промышленностью освоен выпуск новых ВКУ для станций АТС K-50/200М и АТС К-100/2000. Сведения об этих ВКУ приведены в разд. 4.6.

Помимо приведенных в табл. 4.3 рекомендаций по включению цепей, уплотненных аппаратурой КНК-6Т, эти цепи могут включаться на кабельные коробки, поставляемые в комплекте с этой аппаратурой. Аппаратура В-2 (В-2-2) при наличии 3-5 систем должна размещаться на напольных стативах (СТ-5). Эти стативы имеют плату ввода, коммутации и защиты (ВКЗ). Если число систем В-2 (В-2-2) невелико (1-2), то эта аппаратура должна размещаться на настенных стативах (СТН-2), имеющих платы защиты на две цепи.

Таблица 4.2

Количество абонентских линий, включаемых в ВКУ или кросс

Тип АТС, на которой используется ВКУ или кросс

Тип конструкции

ВКУ 100 абонентских линий

ОС и УС типа АТС К-50/200

Настенный шкаф

ВКУ 375 абонентских линий

АТС К-100/2000

Шкаф-статив

Кросс 3-рядный 3(150 × 2)

»

Каркас напольный

Кросс 4-рядный 4(150 × 2)

»

»

Кросс 5ядный 5(150 × 2)

»

»

Кросс абонентский на 400 линий (ВНР)

АТС К-100/2000 (ВНР)

»

Цепи, уплотняемые аппаратурой ВО-12-3 (при отсутствии промежуточных станций), В-3-3С и «Кама», включаются в ВКУ сельских АТС, а уплотняемые аппаратурой ВО-3-4, КHК-12 и ИКМ-12М - непосредственно на стойки (шкафы) этой аппаратуры.

При проектировании вводов абонентской сети распайку кабелей марки ТПП большой емкости на кабели емкостью 100 × 2 следует производить горизонтальными муфтами при высоте шахты менее 3,5 м и вертикальными муфтами при высоте шахты свыше 3,5 м, а зарядку оконечных кабельных устройств выполнять кабелями ТСВ.

При проектировании ввода цепей в существующих кабелях типа ТЗ последние должны включаться или в боксы междугородного типа, или разделываться в оконечной муфте (воронке). От бокса до ВКУ монтаж выполняется кабелями ПВЧС-250 или ВЧС-160 для уплотненных цепей и ПКСВ-2 - для неуплотненных цепей.

Кабели ТПП при вводе в линейный блок (ЛБ) групповой установки ГУ 10/3 могут включаться или непосредственно на этот блок или на распределительные коробки КРТ-10. В последнем случае от коробки до ЛБ прокладывается кабель ТСВ необходимой емкости.

СОДЕРЖАНИЕ КАБЕЛЕЙ ПОД ДАВЛЕНИЕМ

На станциях емкостью от 1000 номеров должны проектироваться компрессорно-сигнальные установки (КСУ) для содержания под постоянным воздушным давлением магистральных кабелей абонентской сети и кабелей соединительных линий емкостью от 100 пар и более. При этом кабели прямого питания не содержатся под давлением, если их длина не превышает 500 м.

Выпускаемая промышленностью КСУ-М может обслуживать до 30 кабелей (10, 20, 30) емкостью не более 1200 × 2, в том числе не более трех кабелей с поврежденными оболочками. В состав КСУ-М входят три элемента: компрессорная группа, блок осушки и автоматики, распределительный статив. Для удобства обслуживания оборудование КСУ-М целесообразно располагать в отдельной комнате (или выпрямительной, на свободных площадях) смежной с шахтой или над ней. При этом должна быть обеспечена герметизация вводов воздуховодов в шахту. Распределительный статив может устанавливаться и в шахте.

Помещение, предназначенное для размещения компрессорной, должно удовлетворять требованиям НТП [10].

ЗАЩИТА ЛИНИЙ И АБОНЕНТСКИХ ПУНКТОВ ОТ ОПАСНЫХ НАПРЯЖЕНИЙ И ТОКОВ

При проектировании воздушных и кабельных линий должны приниматься меры для защиты их, а также аппаратуры связи и абонентов от вредного влияния атмосферного электричества, эл.ж.д. и ВЛ высокого напряжения.


Таблица 4.3

Допустимое количество линий, включаемых в ВКУ

Тип АТС, на которой используется ВКУ

Рекомендации по включению в ВКУ уплотненных цепей СЛ

Тип конструкции

В-2(В-2-2), В-3-3С

КНК-6Т, КНК-12

КАМА1)

Количество цепей

Номера четырехполюсников

Количество цепей

Номера четырехполюсников

Количество цепей

Номера четырехполюсников

100 абонентских

ОС АТС К-50/200

7

1-7-й

2

1 и 7-й (с экранированным монтажом)

2

1 и 7-й

Настенный шкаф

22 соединительные

УС АТС К-50/200 и ОС АТС К-100/2000

22

1-2

5-24-й

11

Любой из 22 через 1 комплект

2

1 и 7-й

»

75 соединительных

АТС К-100/2000

75

Любые

22

Любые из 75 через 1 комплект

8

1, 7, 41, 44, 56, 76, 24, 36, (33)-й

Шкаф-статив

75 соединительных (ВКУ производства ВНР)

АТС К-100/2000 (производства - ВНР)

75

»

45

20 (с экранированным монтажом) или любые 25 через 1 комплект

20

1-20-й (с экранами и экранированным монтажом)

»

6 соединительных и 3 фантомные цепи (ВКУ-2)

АТС-100/500, 100/500М

6

»

6

Любые

6

Любые

Блок навесного типа

1) При необходимости дистанционного питания НУП, разрядники в ВКУ должны быть заменены на РВ-500, РВ-1000 и т.п.


Расчеты опасных и мешающих влияний, а также защита линий от этих влияний должны производиться в соответствии с правилами [11, 12, 13].

Необслуживаемые усилительные пункты (НУП) аппаратуры уплотнения СТС, питаемые дистанционно по системе «провод - провод», должны оборудоваться одним защитным заземлением. НУП аппаратуры уплотнения B-2-2, питаемый по системе «провод - земля», должен оборудоваться двумя заземлениями - «рабочим» и «защитным». НУП (ВУС) аппаратуры ВО-12-3, питаемый по системе «провод - провод» или «провод - земля», должен оборудоваться соответственно одним или двумя указанными заземлениями. При проектировании воздушных линий на необходимых опорах должны оборудоваться молниеотводы и каскадная защита на подходах к кабельных опорам.

Заземление для НУП, опор воздушных линий, каскадная защита, а также защита подвесных кабелей и абонентских пунктов должны предусматриваться в соответствии с ГОСТ [14, 15]. Защита подземных линий из одночетверочных и многопарных кабелей должна предусматриваться в соответствии с руководством и НТП [16, 3]. Абонентские пункты с телефонными аппаратами диспетчерской связи, работающие по совмещенным линиям, должны оборудоваться такими же заземлениями, как и блокираторы.

СКРЕЩИВАНИЕ ЦЕПЕЙ

Скрещивание цепей СТС должно производиться в соответствии с действующими инструкциями 1968 и 1959 гг. [17, 18]. Инструкцией 1959 г. рекомендуется пользоваться в тех случаях, когда известно, что при скрещивании цепей по этой инструкции существующий или проектируемый профиль линии обеспечит возможность получения необходимого количества СЛ в ближайшие 10 лет.

СОВМЕСТНАЯ ПОДВЕСКА ЦЕПЕЙ СТС (ВПС) И ФИДЕРНЫХ РАДИОТРАНСЛЯЦИОННЫХ ЦЕПЕЙ

Совместная подвеска цепей СТС и фидерных радиотрансляционных цепей должна производиться в соответствии с инструкцией [19].

УПЛОТНЕНИЕ ЦЕПЕЙ

Исходные данные для проектирования аппаратуры уплотнения приведены в гл. 3 (см. 3.4).

При проектировании уплотнения линий СТС электрические расчеты каналов связи можно не делать, если принятые длины усилительных и переприемных участков укладываются в пределы допустимых отклонений для данного типа аппаратуры.

В случае необходимости электрические расчеты каналов связи выполняются с использованием следующих исходных данных:

- схемы организации связи з схемы определяется протяженность связи и количество каналов);

- типа и электрических характеристик проектируемой (существующей) линии (профиль и тип воздушной линии, тип кабельных вставок, вводов, тип кабеля кабельной линии и его электрические характеристики, протяженности линий, вставок, вводов);

- основных электрических характеристик аппаратуры уплотнения и норм, определяющих качество каналов связи;

- расчетных метеорологических условий по трассе проектируемой (существующей) воздушной линии и расчетных температур грунта на глубине прокладки кабеля.

При электрическом расчете воздушных цепей определяется рабочее затухание намечаемых усилительных и переприемных участков цепи при наивысших используемых частотах и в наиболее тяжелых метеорологических условиях и строятся диаграммы уровней, а в необходимых случаях определяется напряжение шумов в каналах [20, 21].

Полученные расчетные данные оцениваются путем сопоставления с качественными показателями для конкретного случая.

ИСПОЛЬЗОВАНИЕ ИСКУССТВЕННЫХ ЦЕПЕЙ

По искусственным (фантомным) цепям кабельных линий, уплотняемых аппаратурой КНК-6Т, КНК-12, ИКМ-12М и «Кама», может быть организована служебная связь между оконечными станциями и НУП и между НУП.

В случае необходимости вместо служебной связи по фантомным цепям кабеля, уплотняемого аппаратурой КНК-6Т, может быть организован канал вещания 2-го класса (в спектре частот 0,1 ÷ 6 кГц) с помощью аппаратуры АВСП.

Искусственные цепи используются для передачи дистанционного питания НУП.

ПЕРЕКЛЮЧЕНИЕ АБОНЕНТСКИХ УСТРОЙСТВ И СОЕДИНИТЕЛЬНЫХ ЛИНИЙ

В техно-рабочем проекте должны приводиться решения по переключению существующих абонентских устройств и соединительных линий действующих или упраздненных станций и сетей на вновь строящиеся станции и сети. Эти решения разрабатываются с учетом очередности строительства и ввода в эксплуатацию отдельных станций и отдельных направлений абонентских и межстанционных сетей.

Разработка соображений по переключению абонентских устройств и соединительных линий должна предусматривать постепенный ввод в действие отдельных направлений линейных сооружений и бесперебойную работу связей.

РАДИОРЕЛЕЙНЫЕ ЛИНИИ

Радиорелейные линии используются в районах с вытянутой территорией, при организации связи с труднодоступными объектами (находящимися в горах, среди болот или на островах), а также при необходимости сравнительно быстрой организации связи. Радиорелейные линии используются на направлениях МСС.

Эти линии могут быть организованы с помощью аппаратуры малоканальных (МК) РРЛ типа «Контейнер», которая работает в дециметровом диапазоне частот (392-467,95 МГц) и позволяет организовать 12 высокочастотных дуплексных стволов связи. Каждый ствол обеспечивает одновременную дуплексную работу шести резервируемых или 12 нерезервируемых телефонных каналов, для чего используется аппаратура уплотнения. Аппаратура обеспечивает организацию шести высокочастотных телефонных каналов в диапазоне 4-32 кГц по однополосной четырехпроводной системе. Эффективно передаваемая полоса частот канала ТЧ 0,3-3,4 кГц. Она обеспечивает возможность вторичного уплотнения канала ТЧ для передачи сигналов многоканального тонального телеграфа, фототелеграфа и передачи данных. Для передачи сигналов управления и взаимодействия используется вынесенный сигнальный канал с частотой 3825 Гц. Спектр частот 0,3-1,8 кГц может быть использован для организации канала служебной связи и аварийной сигнализации. Каналы аппаратуры рассчитаны для использования на СТС в качестве соединительных линий между АТС, а также для организации автоматического транзита через АТС. Оборудование РРЛ «Контейнер» состоит из стационарных станций трех различных типов, из которых составляются радиорелейные линии связи (см. табл. 4.4). Станции имеют одинаковые конструктивные оформления в виде образуемых из блоков стоек.

Главная станция является обслуживаемой и располагается в помещениях. Промежуточные и оконечные станции необслуживаемые и размещаются либо в помещениях, либо в термокамерах (контейнерах) типа кабельных необслуживаемых усилительных пунктов (НУП). Промежуточные и оконечные станции включаются автоматически, по команде с главной станции.

Дальность связи по РРЛ составляет 200-300 км, при наличии пяти промежуточных станций с расстоянием между ними 35-50 км. РРЛ максимальной протяженности состоит из семи станций радиооборудования - одной главной, пяти промежуточных и одной оконечной.

В состав аппаратуры уплотнения входят оконечные станции ОР-6 и промежуточные станции с выделением каналов ВР-6. Аппаратура размещается на стойке. На одной стойке предусмотрена установка двух станций ОР-6 либо одной ВР-6.

Таблица 4.4

Наименование блоков

Количество для каждого типа станций

Наименование блоков

Количество для каждого типа станций

главной

промежуточной

оконечной

главной

промежуточной

оконечной

Приемопередатчик

2

4

2

Антенна

1

2

1

Блок автоматики главной станции

1

-

-

Фильтр антенный

1

2

1

Блок организации каналов

1

1

1

Устройство электропитания

1

1

1

На связи максимальной протяженности могут быть установлены два промежуточных пункта с выделением от одного до трех каналов. На промежуточном пункте, где нет необходимости выделения каналов, аппаратура уплотнения не устанавливается. Аппаратура уплотнения и выделения каналов может устанавливаться в помещении главной, промежуточной и оконечной станций или может быть отнесена от них на расстояние до 1 км.

Электропитание станций РРЛ и аппаратуры уплотнения осуществляется от сети переменного тока напряжением 220 или 127 В, либо от резервных источников постоянного тока напряжением 24 или 60 В. Переключение с основного источника питания на резервный производится автоматически, при снижении напряжения сети переменного тока ниже допустимого. Обратное переключение на основной источник электропитания производится также автоматически при повышении напряжения сети выше допустимой минимальной величины.

4.6. ПРОЕКТИРОВАНИЕ СТАНЦИОННЫХ СООРУЖЕНИЙ

ВВОДНО-КОММУТАЦИОННОЕ ОБОРУДОВАНИЕ, РЕКОМЕНДАЦИИ ПО ЕГО ПРИМЕНЕНИЮ

Вводно-коммутационные устройства (ВКУ) предназначены для ввода и коммутации абонентских и соединительных линий, а также для защиты станционной аппаратуры от опасных напряжений и токов, возникающих на линии связи. Типы ВКУ, применяемые на АТС К-100/2000 и АТС К-50/200, приведены в табл. 4.2, а рекомендации по включению в ВКУ соединительных линий - в табл. 4.3.

После промышленного освоения в составе АТС К-100/2000 отечественной поставки взамен приведенных в табл. 4.2 будут поставляться ВКУ новой конструкции, а именно: статив для включения 1200 абонентских линий и статив для включения 150 СЛ, из которых 50 могут быть уплотнены в диапазоне частот до 150 кГц. Включение абонентских и соединительных линий предусмотрено на ВКУ в платы с разрядниками типа Р-27. На стативе ВКУ СЛ предусмотрены места для установки блоков защиты аппаратуры ИКМ.

ВКУ станции АТС К-50/200М представляет собой один статив для ОС и УС любой емкости. Статив рассчитан на включение в него 200 абонентских и 38 соединительных линий, восемь из которых могут быть уплотнены в диапазоне частот до 150 кГц. На стативе имеется свободное место для установки на нем одной платы защиты аппаратуры ИКМ.

Устанавливать статив ВКУ следует в одном ряду со стативами абонентского оборудования станции, с краю ряда, у статива 1. Соединение ВКУ с прочими стативами АТС осуществляется заводскими жгутами с врубами. Имеется возможность включения через ВКУ десяти совмещенных линий абонентов АТС и диспетчерского коммутатора при емкости АТС 50 №№ и двадцати совмещенных линий - при емкости АТС свыше 50 №№. Взамен любого десятка совмещенных линий возможно включение через ВКУ групповой установки ГУ-10/3.

В составе диспетчерского коммутатора ПДС-10/10 производства НРБ имеется вводно-распределительное устройство (ВРУ) на 30 линий, а коммутатора ПДС-20/20 - на 60 линий. ВРУ представляет собой настенный каркас с рамками и грамполосами. ВРУ на 30 линий поставляется с двумя рамками со штифтами 20 × 2 и двумя грамполосами 25 × 2, ВРУ на 60 линий с тремя рамками и тремя грамполосами.

При размещении диспетчерского пункта совхоза (колхоза) в одном здании с АТС кабели абонентской сети, общие для АТС, диспетчерской, директорской и технологической связи, должны заводиться на ВКУ АТС. В этом случае на ВКУ должны выводиться также кабели со станционных устройств диспетчерского пункта. В случае недостаточности емкости ВКУ следует кабели, в которых сконцентрированы абонентские устройства только диспетчерского пункта (например, датчики контроля крупного зернохранилища), подавать не на ВКУ, а на ВРУ, с установкой последнего в диспетчерском пункте. В этом случае часть соответствующих станционных устройств следует также выводить на ВРУ. При размещении диспетчерской и АТС в разных зданиях на ВРУ следует завести все станционные устройства диспетчерского пункта, распределительные коробки абонентской сети здания, в котором находится диспетчерский пункт, кабели с абонентскими устройствами только диспетчерского пункта, кабель передачи с ВКУ АТС.

В случае недостаточности емкости ВРУ допускается применение взамен него ячейки кросса.

АППАРАТУРА УПЛОТНЕНИЯ

Основные технические данные аппаратуры уплотнения и рекомендации по ее применению изложены в гл. 3 настоящего Руководства. Следует дополнительно учесть, что сельская аппаратура частотного уплотнения поставляется с комплектами низкочастотных окончаний (КНО), состав и назначение которых приведены в табл. 4.5. Тип КНО необходимо оговаривать при заказе аппаратуры уплотнения. Следует учесть, что КНО-2 и КНО-4 обеспечивают работу АТС и в оконечном режиме. Конструктивно КНО аппаратуры уплотнения (кроме В-2 и В-2-2) представляют собой съемные платы, в аппаратуре В-2 и В-2-2 КНО - несъемные. При применении на уплотненных линиях комплектов РСЛ, на платах которых имеются свои КНО, комплекты низкочастотных окончаний аппаратуры уплотнения не используются, с рабочих мест снимаются, а несъемные выпаиваются или закорачиваются.

Таблица 4.5

Тип аппаратуры уплотнения

Тип КНО для

ЦС и УС при двухпроводном транзите с выключ. удлинителем (КНО-2)

ЦС и УС при четырехпроводном транзите (КНО-4)

ЦС и УС при двух- или четырехпроводном транзите (КНО-2 или КНО-4)

Оконечной АТС и любой РТС

Примечание

В-2 и В-2-2

I

II

-

III

 

В-3-3с

ДС-2Т

ДС-4Т

-

ДС

 

В0-3-4

II

III

-

I

 

В0-12-3

II

III

II-III (объединенная)

I

Режим работы КНО типа II-III устанавл. перемычками

КНК-6Т и КНК-12

-

-

ВАЙ

ВИЙ

То же, для ВАЙ

МК-РРЛ

-

-

ДСТ

То же, для ДСТ

Аппаратура ИКМ-12М имеет КНО, обеспечивающие четырехпроводный транзит, а также оконечный режим с остаточным затуханием 7 и 3,5 дБ. Эти КНО работают совместно с индуктивными комплектами РСЛ. Аппаратура «Кама» поставляется без КНО, так как последний имеется в комплектах РСЛУ.

СОВМЕСТНАЯ РАБОТА СЕЛЬСКИХ ТЕЛЕФОННЫХ СТАНЦИЙ

Все типы сельских телефонных станций допускают совместную работу при согласовании способов передачи по соединительным линиям сигналов управления и взаимодействия.

На сельских телефонных сетях основным является индуктивный способ передачи сигналов. В составе сельской АТС любого типа имеется индуктивный комплект РСЛ. Аналогичным комплектом (ВК ЦС ВРСМ) дооборудуется ручная телефонная станция при включении в нее СЛ от сельских АТС. Индуктивные комплекты универсальны (общие для местной и междугородной связи) и могут использоваться на двухпроводных физических СЛ, а также на линиях, организованных с помощью сельской аппаратуры частотного уплотнения, с выделенным сигнальным каналом. Комплекты не удовлетворяют требованиям автоматизации междугородной связи, так как в них отсутствует возможность неоднократного запроса о номере и категории вызывающего абонента.

Таблица 4.6

Наименование комплектов

Основные данные

Назначение

РСЛ ВЧ

Универсальный, двусторонний, с КНО четырехпроводного транзита или двухпроводного транзита с выключением удлинителей. На плате два комплекта

Для СЛ, организуемых с помощью аппаратуры с выделенным сигнальным каналом с однотипными АТС, а также с АТС, имеющими в своем составе аналогичные комплекты

РСЛИ (индуктивный)

Универсальный, двусторонний, с возможностью 4-проводного транзита. На плате один комплект

Для неуплотненных СЛ между АТС любого типа и уплотненных между станциями, не имеющими комплектов типа РСЛ ВЧ

РСЛВ, РСЛИ-У, РСЛВ-УМ, РСЛИ-УМ

Односторонние, раздельные для местной и междугородной связи, с КНО четырехпроводного транзита. На плате два комплекта

Для СЛ, уплотненных аппаратурой с выделенным сигнальным каналом с однотипными АТС и АТС городского типа

ПКУ (подключающий компл. универсальный)

Входящий, с возможностью четырехпроводной коммутации разговорного тракта. Плата на два комплекта

Для подключения регистров к новым комплектам РСЛ при входящей связи, а также для взаимодействия с электронным согласовывающим устройством (СУ) аппаратуры ИКМ

РСЛИ-4

То же, исходящий

Для взаимодействия с СУ аппаратуры ИКМ

Совместная работа между собой станций АТС К-100/2000 может быть также осуществлена по трехпроводным односторонним физическим СЛ, с передачей сигналов управления и взаимодействия полярным кодом. В этом случае СЛ оборудуются универсальными комплектами РСЛИ-П/БЗ и РСЛВ-ПЗ, поставляемыми в составе АТС К-100/2000. Организация связи по трехпроводным СЛ должна предусматриваться между станциями, размещенными в одном населенном пункте. При техникокономической целесообразности трехпроводные СЛ допускаются между станциями, расположенными в разных пунктах.

Разработанные для АТС К-100/2000 новые комплекты РСЛ удовлетворяют требованиям автоматизации междугородной связи и расширяют ее возможности по связи с другими АТС. Данные об этих комплектах приведены в табл. 4.6. Новые комплекты должны применяться по мере их промышленного освоения.

В дополнение к табл. 4.6 необходимо учитывать следующее:

- уплотнение СЛ на участке между ЦС и УС (ОС) с помощью комплектов типа РСЛ-4 возможно при наличии на ЦС раздельных блоков IГИ и IГИМ;

- комплекты ПКУ и РСЛИ-4 могут использоваться также на трехпроводных СЛ с АТС городского типа и на СЛМ и ЗСЛ с АМТС, как это изложено в [1];

- для новых комплектов специального статива не предусмотрено, они должны устанавливаться на рабочих местах существующих стативов. Рекомендуется размещать ПКУ на стативах, РИ, прочие комплекты - на стативах ГИ, РСЛ.

Данные о комплектах РСЛ станций АТС К-50/200М приведены в табл. 4.7. Эти комплекты также удовлетворяют требованиям автоматизации междугородной связи.

Таблица 4.7

Наименование комплекта для

Основные данные

Назначение

ОС

УС

РСЛО ВЧ

РСЛТ ВЧ

Универсальный, двусторонний, с КНО четырехпровод. транзита на РСЛТ ВЧ

Аналогично компл. РСЛ ВЧ АТС К-100/2000

РСЛ (индуктивный)

РСЛТ (индуктивный)

Универсальный, двусторонний, с возможностью четырехпровод. транзита в РСЛТ

Аналогично компл. РСЛИ АТС К-100/2000

ПКО

ПКТ

Универсальный, двусторонний

Для взаимодействия с СУ аппаратуры ИКМ

СОВМЕСТНАЯ РАБОТА СЕЛЬСКИХ АТС С ГОРОДСКИМИ

Совместная работа сельских АТС с городскими может осуществляться на СТС в случаях:

- включения ОС и УС в ЦС декадно-шаговой системы (ДШС) типа АТС-47, АТС-54, АТС-54А или УАТС-49, которая по техническим возможностям аналогична городской АТС ДШС;

- включения ОС и УС в ЦС или УСП координатной системы типа АТСК;

- наличия в райцентре станций городского и сельского типов или городской АТС ДШС и транзитного узла из оборудования АТС K-100/2000.

В первых двух случаях совместная работа сельских АТС с городскими должна осуществляться по двухпроводным физическим или уплотненным соединительным линиям, в третьем случае - по трехпроводным СЛ.

При двухпроводных или уплотненных СЛ на городской АТС должны устанавливаться согласовывающие линейные комплекты, которые разработаны и осваиваются промышленностью. Для АТС ДШС это комплекты РСЛИндуктивный) и РСЛ ВЧ-Д, для АТСК только индуктивный комплект РСЛИ1). Указанные комплекты универсальные, двусторонние, с возможностью осуществления четырехпроводных транзитов.

1) Ожидается разработка для АТСК также комплектов PCЛ ВЧ.

Оконечные и узловые АТС К-100/2000 могут быть связаны с городской АТС также линиями, уплотненными аппаратурой типа «Кама», с применением на СЛ комплектов РСЛУ сельской и городской АТС.

Трехпроводные физические соединительные линии должны включаться на стороне АТС К-100/2000 в комплекты РСЛВ-БЗ и РСЛИ-П/Б-З, а после освоения промышленностью - в комплекты ПКУ и РСЛИ-4. На АТС ДШС такие СЛ включаются на входы и в поле ступени ГИ непосредственно, а на АТСК - через комплекты ПКВ и РСЛИ-3 этой станции.

ОРГАНИЗАЦИЯ СВЯЗИ С АМТС

Принципы организации связи сельских АТС с МТС райцентра и с АМТС зоны подробно изложены в гл. 1 настоящего Руководства. Организация автоматической связи по зоновому принципу для АТС заключается в основном в их дооборудовании аппаратурой АОН, которая допускается к установке на станциях типов: АТС К-50/200, АТС К-50/200М, АТС К-100/2000, АТС-100/500 (100/500М), АТС-47, АТС-54, АТС-54А, УАТС-49, АТСК.

Аппаратура АОН состоит из электронного передающего устройства (ПЭУ) и приемного устройства (УЗПИ). ПЭУ должно устанавливаться на каждой АТС, УЗПИ - лишь на ЦС, УСП или транзитном узле райцентра при их включении в АМТС-2 или АМТС-3. В этом случае устанавливается также промоборудование для связи с АМТС, состоящее из комплектов ИКЗСЛ и промрегистров ПР.

В станциях АТС К-50/200М ПЭУ расположена на стативе ВКУ и ее соединение с другими стативами АТС производится врубами. Для АТС К-50/200 ПЭУ предусматривается к изготовлению отдельным блоком настенного типа.

Для АТС К-100/2000 промышленностью осваивается выпуск следующего оборудования для связи с АМТС:

- статив ПЭУ, полное заполнение которого рассчитано на 2000 номеров. Возможна его комплектация на меньшую емкость;

- статив УЗПИ, один для ЦС любой емкости;

- статив ИКЗСЛ - ПР, на котором имеются места для расположения 20 ИКЗСЛ и 4 ПP, смонтированных в соотношении 10:2.

При необходимости это соотношение может быть уменьшено путем оставления свободными отдельных мест ИКЗСЛ.

Для АТС типов АТС-47, АТС-54, АТС-54А и АТСК ПЭУ представляет собою статив конструкции АТСК, на котором размещено оборудование на 5000 номеров. Такой статив целесообразно устанавливать на крупных ЦС (емкостью не менее 2000 номеров). Рассматривается вопрос об освоении промышленностью статива ПЭУ для станций меньшей емкости, который можно будет применять также на АТС-100/500 (100/500M) и УАТС-49.

В составе АТСК имеются также стативы УЗПИ, ИКЗСЛ и др., которые при необходимости следует предусматривать для ЦС и УСП типа АТСК. Что касается декадно-шаговых ЦС любого типа, то для них такие стативы предусматривать не следует. При переходе на автоматическую связь по зоновому принципу в райцентре с декадно-шаговой АТС должен быть организован транзитный координатный узел, в который ЦС включается на правах оконечной станции. УЗПИ и промоборудование для связи с АМТС должны быть однотипными с оборудованием транзитного узла.

Применение аппаратуры АОН на АТС-100/500 (100/500М), АТС-47, АТС-54 и УАТС-49 возможно после соответствующего схемного приспособления оборудования этих станций. На АТС других типов схемных приспособлений не требуется.

Для обеспечения неоднократного запроса о номере и категории вызывающего абонента и трансляции импульсов схемные приспособления необходимы также в комплектах РСЛ АТС К-50/200, АТС-100/500 (100/500М), АТС К-100/2000. В последних вместо схемных переделок возможна замена старых комплектов РСЛ новыми.

Все схемные приспособления выполняются по рекомендациям ЛОНИИС.

ОРГАНИЗАЦИЯ ТРАНЗИТНЫХ СОЕДИНЕНИЙ

При проектировании аппаратуры уплотнения на нейтральных и узловых АТС транзитные соединения каналов аппаратуры уплотнения должны предусматриваться такими, чтобы они способствовали выполнению норм затухания. Это могут быть четырехпроводные транзитные соединения с автоматическим выключением двух дифсистем по 3,5 дБ каждая (рис. 4.6а) или двухпроводные - с автоматическим выключением удлинителей 7,0 дБ только на исходящей стороне соединения (рис. 4.6б). Выключение дифсистем или удлинителей производится контактами транзитного реле КНО.

Рис. 4.6. Схема транзитных соединений

Для организации таких транзитов необходимо соответственно соединить между собой аппаратуру уплотнения и оборудование АТС. При этом следует учесть, что на одной АТС может быть осуществлен лишь один вид транзита каналов уплотнения. Способ соединения аппаратуры уплотнения с оборудованием АТС зависит от типа и назначения АТС, а также от типа комплекта РСЛ.

При использовании на уплотненных СЛ индуктивных комплектов РСЛ четырехпроводный транзит на УС и ЦС АТС К-100/2000 и УС АТС К-50/200М возможен, если соединить КНО-4 каждого канала аппаратуры уплотнения с комплектом РСЛ семью проводами: четыре провода разговорного тракта, по одному проводу прием (Пр) и передача (Пер) сигналов управления и взаимодействия и провод транзита (Тр). На АТС К-100/2000, помимо того, следует предусмотреть еще два провода блокировки (Бл), которые транзитное соединение не формируют, а предотвращают занятие комплекта РСЛ при неисправности или профилактической проверке канала. При односторонних линиях проводами Бл соединяются КНО и комплект РСЛ, используемые на исходящей СЛ.

В случаях применения на уплотненной СЛ комплектов РСЛ, имеющих свои КНО, соединение канала аппаратуры уплотнения с комплектом РСЛ производится шестью проводами: четыре - для разговорного тракта, Пр и Пер.

Двухпроводный транзит с выключением удлинителей применяется при невозможности организации четырехпроводного транзита. На ЦС такой транзит предусматривается лишь для междугородного соединения. При двухпроводном транзите индуктивный комплект соединяется с КНО-2 аппаратуры уплотнения (см. рис. 1.3, 1.4а, 1.5а). Число соединительных проводов для комплекта РСЛ, используемого для двусторонней или исходящей СЛ, равно пяти (два - разговорный тракт, Пр, Пер, Тр), а на входящей СЛ - четырем (без провода Тр).

Некоторое отличие от указанного составляют соединения на ЦС АТС-100/500 (100/500М) и городской АТС ДШС, если на последней применены комплекты РСЛ АТС-100/500. В этих случаях число соединительных проводов для двухпроводного транзита увеличивается, так как необходим еще один провод Пр, а в отдельных случаях и второй провод Тр.

В случаях, когда на узловой АТС К-50/200 для уплотненных линий используются комплекты РСЛТ, а не РСЛТЧ, на этой АТС возможна организация двухпроводного транзита с выключением удлинителей. Соединение комплекта РСЛТ с К/10-2 производится, как и на ЦС, пятью проводами. В комплекте РСЛТ и КНО-2 осуществляются незначительные перепайки, рекомендованные ЛОНИИС.

В пунктах, где организуется постоянный низкочастотный транзит каналов уплотненияис. 3.2), аппаратура уплотнения должна быть с КНО-4. Соединение между собой каналов осуществляется шестью проводами, как это приведено на рис. 4.7.

Рис. 4.7. Схема включения аппаратуры уплотнения при постоянном низкочастотном транзите:

- х - х - упраздняемые соединения; - - - - - - устанавливаемые соединения

При применении в таком пункте аппаратуры «Кама», поставляемой без КНО, взамен КНО необходимо впаять удлинители 7,8 и 9,5 дБ в соответствии со схемой рис. 4.7.

ОБОРУДОВАНИЕ СЕТИ ПЕРЕДАЧИ ПРОГРАММ ЗВУКОВОГО ВЕЩАНИЯ

Передача программ звукового вещания осуществляется с помощью аппаратуры АВСП.

В комплект этой аппаратуры входят следующие типы станций:

- ПС - ПВ - центральная станция проводного вещания, устанавливается в райцентре;

- ПРС - ПВ - приемно-разветвительная станция, устанавливается на крупных узловых телефонных станциях, когда требуется большое число ответвлений (до десяти);

- ПС - ПВ - промежуточная станция, устанавливается на УС, где требуется меньшее число ответвлений (до шести);

- ОС - ПВ - оконечная станция проводного вещания, устанавливается в пункте приема программы.

Кроме того, в комплект аппаратуры АВСП входят необслуживаемые усилительные пункты (НУП - ПВ), согласовывающие устройства линейные (СУЛ-42) и станционные (СУС-42).

Станции АВСП выполнены в виде бездверных шкафов габаритами: ЦС - ПВ – 2163 × 667 × 290, ПРС - ПВ – 2163 × 667 × 290, ПС - ПВ – 1500 × 667 × 290, ОС - ПВ – 266 × 667 × 290. Первый размер высота, второй - ширина, третий - глубина.

Наружные усилительные пункты (НУП - ПВ) предназначены для установки в местах, где требуется усиление в каналах 4 и 5-го спектров и отсутствует необходимость в ответвлении и выделении программ. Соответственно выпускаются два типа аппаратуры усилительных пунктов - 4НУП - ПВ и 5НУП - ПВ. Каждый из них состоит из двух частей (коробок) НУП - ПВ- нижней подземной коробки размерами 425 × 395 × 291 мм и НУП - ПВ-В - верхней столбовой коробки размерами 390 × 556 × 340 мм.

Соединение коробок НУП - ПВ между собой производится при помощи кабелей, входящих в комплект НУПа. Согласующие устройства СУЛ-42 и СУС-42 предназначены для установки в начале и конце кабельного ввода или кабельной вставки. Первое устройство представляет собою металлический ящик, крепящийся на столбе, второе - коробку, устанавливаемую на станции.

Передача программ вещания при помощи аппаратуры АВСП возможна в четырех различных спектрах, один из которых - низкочастотный и три высокочастотных:

первый спектр    - 0,1 ÷ 6,0 кГц

второй спектр    - 7,88 ÷ 13,78 кГц

четвертый спектр   - 28,7 ÷ 34,6 кГц

пятый спектр      - 34,8 ÷ 40,7 кГц

Третий высокочастотный спектр в аппаратуре АВСП не образуется.

Первый спектр используется для передачи программы вещания по фантомным цепям одночетверочных кабелей КСПП, уплотненных системой КНК-6т, и по системе ИКМ-12М за счет 11-го и 12-го телефонных каналов.

При передаче программы вещания по фантомным цепям, последние не могут быть использованы для служебной связи.

Спектры 2, 4 и 5 применяются для преобразования каналов вещания на воздушных цепях СТС. Варианты использования спектров приведены в табл. 4.8.

Таблица 4.8

Система уплотнения

Спектры АВСП

при работе на одной цепи

при работе на параллельных цепях

Передача вещания в направлении от А к Б

Передача вещания в направлении от Б к А

Передача вещания и направлении от А к Б

Передача вещания в направлении от Б к А

Цепь не уплотнена

2,4 и 5

2,4 и 5

2,4 и 5

2,4 и 5

В-2-2 (В-2)

5

5

2 и 5

4 и 5

В-3-3с

-

5

2 и 5

4 и 5

В0-3-4

-

5

2 и 5

4 и 5

В0-12-3

2

2

2

2 и 4

Кроме того, спектр 5 используется при передаче программ звукового вещания по кабельным линиям, уплотненным аппаратурой КНК-12, непосредственно в линейном спектре этой аппаратуры, взамен восьмого и девятого телефонных каналов.

ЦС - ПВ обеспечивает возможность передачи программ вещания в любом из четырех спектров в разных направлениях.

В местах разветвления программы вещания в зависимости от количества требуемых направлений устанавливаются станции ПРС - ПВ или ПС - ПВ, которые позволяют преобразовывать спектр принимаемой ими программы в любой из четырех спектров для передачи ее в другие направления.

Указанные в табл. 4.8 данные необходимо учитывать при выборе аппаратуры уплотнения и линейных сооружений для организации соединительных линий МСС для телефонной связи.

Затухание цепей, используемых для передачи программ вещания с помощью аппаратуры АВСП, не должно превышать:

47,7 дБ - для спектра 5 и 52,1 дБ - для спектров 2 и 4.

В случаях, когда затухание этих цепей превышает указанные величины, необходимо устанавливать промежуточные необслуживаемые усилительные станции для спектров 4 и 5 АВСП.

При этом НУП АВСП следует размещать в местах, где имеется аппаратура СТС (ОС, УС). На одном направлении между ЦС - ПВ и ПРС - ПВ (или ПС - ПВ) допускается устанавливать до 2 НУП АВСП (три усилительных участка).

Между ЦС - ПВ, ПРС - ПВ, ПС - ПВ и ОС - ПВ можно устанавливать только один НУП АВСП (два усилительных участка).

Минимальные и максимальные длины усилительных участков для линий из стальных проводов с диаметром 3 и 4 мм, уплотненных аппаратурой АВСП, в зависимости от номера применяемого спектра, приведены в приложении 3.4 (табл. 7).

При организации канала вещания по фантомным цепям кабелей КСПП 1 × 4 × 0,9 или 1 × 4 × 1,2 с помощью аппаратуры АВСП (1-й спектр) длина усилительного участка равна трем усилительным участкам аппаратуры КНК-6т.

При передаче программ вещания по сдвоенным телефонным каналам аппаратуры КНК-12 и ИКМ-12м длина усилительного участка для вещания равна длине усилительного участка этой аппаратуры, так как в этих случаях канал вещания организуется непосредственно в линейном спектре аппаратуры ИКМ-1и КНК-12.

Для контроля и резервного управления станциями радиотрансляционных узлов должна предусматриваться аппаратура ОСА и АКРУ (аппаратура контроля и резервного управления).

Эта аппаратура позволяет осуществлять контроль и резервное управление по коммутируемой телефонной сети путем кратковременного занятия свободных цепей и каналов.

ОБОРУДОВАНИЕ СЕТЕЙ ДИСПЕТЧЕРСКОЙ, ДИРЕКТОРСКОЙ ТЕЛЕФОННОЙ СВЯЗИ И ПОИСКОВОЙ ГРОМКОГОВОРЯЩЕЙ СВЯЗИ

Установки диспетчерской связи предназначены для организации на предприятии оперативной телефонной связи. На сельскохозяйственных предприятиях, диспетчерская служба которых имеет некоторые специфические особенности, должны применяться специальные установки (коммутаторы) диспетчерской связи.

К таким установкам относятся в настоящее время специальные диспетчерские коммутаторы типа ПДС-10/10 и ПДС-20/20 производств НРБ. Кроме этих коммутаторов, могут быть использованы установки отечественного производства, применяемые на промышленных предприятиях, как-то СДСМ-50/100 и КОС-22М, а в последующем и специальные диспетчерские установки, разработанные для сельхозпредприятий. Установки СДСМ-50/100 и КОС-22М обладают меньшими возможностями по сравнению с ПДС и их применение допустимо при отсутствии последних.

Директорские коммутаторы предназначены для организации непосредственной связи между руководителем и его подчиненными. Для руководителя сельскохозяйственного предприятия могут быть использованы установки, применяемые на промышленных предприятиях и в учреждениях. К ним относятся установка оперативной телефонной связи (УОТС) типа «Псков» и некоторые коммутаторы серии КД. Предпочтительнее использование УОТС типа «Псков».

Простейшей установкой, с помощью которой можно организовать оперативную телефонную связь руководителя с небольшим числом прямых абонентов, является телефонный комплект местной связи (ТКМС). При необходимости его следует применять в отделениях совхозов, бригадах колхозов, на фермах, в ремонтных мастерских и т.п.

Различаются два вида ТКМС:

- TKМС-2/8 производства НРБ, предназначенный для сельхозпредприятий;

- ТКМС отечественного производства, применяемый на промышленных предприятиях и рекомендуемый для сельскохозяйственных предприятий при отсутствии ТКМС-2/8.

Основные технические данные некоторых видов диспетчерских и директорских установок приведены в приложении 4.4.

Для организации поисковой связи следует применять микрофон динамический типа МД-59, усилитель типа УМ-50А и рупорные громкоговорители 10ГРД-IV-6.

ОБОРУДОВАНИЕ СЕТЕЙ ДОКУМЕНТАЛЬНОЙ СВЯЗИ И ПЕРЕДАЧИ ДАННЫХ

Документальная связь организуется с помощью факсимильных и телеграфных аппаратов.

Наиболее приемлемым для сетей общего пользования и ВНС является приемо-передающий факсимильный аппарат «Штрих-М» или «Штрих-Л», которые осуществляют открытую запись на обычную писчую бумагу.

На сети абонентского телеграфа ВПС рекомендуется использовать рулонные буквопечатающие телеграфные аппараты Т-63 (производства ГДР), которые отличаются удобством пользования и простотой обслуживания.

Для увеличения пропускной способности и надежности работы телеграфные аппараты оснащены средствами автоматизации (перфораторы, реперфораторы, трансмиттеры).

Для передачи данных в настоящее время могут быть использованы:

- на скорость 50 Бод - телеграфные аппараты (Т-63) с соответствующими приставками для повышения достоверности (типа FKJ ГДР);

- на скорость до 200 Бод - оконечные установки передачи данных типа АП-2, ТАП-2 (ВНР);

- на скорость 600/1200 Бод «Аккорд 1200 ПП».

В дальнейшем по мере организации серийного производства может быть использована аппаратура телеобработки ЕС ЭВВ, модернизированная для коммутируемых сетей.

Для автоматической коммутации абонентских установок в райцентре должны предусматриваться автоматические телеграфные малые станции координатного типа. При передаче информации со скоростью до 50 Бод возможно применение станции абонентского телеграфа типа АТК-20 (абонентская емкость 20 линий и 6 каналов к опорной станции). При необходимости передачи со скоростью до 200 Бод должна применяться станция АТК-ПД.

ОБОРУДОВАНИЕ СЕТИ ПЕРЕДАЧИ ИНФОРМАЦИИ ТЕХНОЛОГИЧЕСКОГО ХАРАКТЕРА

Информация технологического характера производится с помощью датчиков контроляК), осуществляющих телеконтроль и телесигнализацию отдельных технологических процессов.

Прием от датчиков информации технологического характера и передача ее в диспетчерский пункт должен производиться аппаратурой, которая для сельского хозяйства пока еще не разработана. Временно может быть использована аппаратура типа РТС-1М, применяемая в энергосистемах и состоящая из полукомплектов контролируемого пункта (КП) и диспетчерских полукомплектов (ДП). Пульт управления телемеханикой (ПУТ), на котором фиксируются сигналы, поступающие от ДК, до его промышленного освоения, может изготавливаться на месте по согласованию с Министерством сельского хозяйства.

ЭЛЕКТРОПИТАЮЩИЕ УСТАНОВКИ

Общие положения

Электропитающие установки (ЭПУ) должны быть автоматизированными, не требующими постоянного обслуживания.

Сельские АТС должны питаться от источников постоянного тока номинальным напряжением 60 В с заземленным положительным полюсом. Групповые установки (ГУ) должны питаться:

- станционный блок (СБ) от ЭПУ опорной АТС номинальным напряжением 60 В;

- линейный блок (ЛБ) от источника постоянного тока номинальным напряжением 24 В.

Автоматические телеграфные коммутационные станции малой емкости должны питаться от сети переменного тока напряжением 220 В и от двух источников постоянного тока напряжением ±63 В с заземленной средней точкой. Аппаратура уплотнения должна питаться от однофазной сети переменного тока напряжением 220 В, либо от источников постоянного тока АТС. Радиорелейные линии типа «Контейнер» и аппаратура уплотнения этих линий должны питаться от сети переменного тока напряжением 220 и 127 В. Аппаратура АВСП питается от сети переменного тока напряжением 220 В. Аппаратура диспетчерских пунктов должна питаться от однофазной сети переменного тока напряжением 220 В, а диспетчерские установки типа СДС-М-50/100 требуют, кроме того, и источника постоянного тока напряжением 60 В. Питание диспетчерского коммутатора типа ПДС, размещенного в одном здании с АТС, может осуществляться постоянным током от ЭПУ АТС.

Согласно [1] допустимые пределы отклонений питающего напряжения составляют:

а) для ЦС АТС К-100/2000, АТСК и АТС-5                                              58-66 В;

б) для УС и ОС-АТС К-50/200, АТС К-50/200M и АТС К-100/2000          54-72 В;

в) для ГУ (ЛБ)                                                                                                   21,6-32 В.

Пределы отклонения питающего напряжения для коммутаторов диспетчерской связи составляют 54-66 В.

В качестве основного источника постоянного тока применяются выпрямительные блоки и устройства, а в качестве резервного источника - одногруппная аккумуляторная батарея. Эта батарея должна обеспечивать резервирование питания всей нагрузки: АТС, аппаратура уплотнения, оборудование станции РРЛ типа «Контейнер», аппаратура АВСП и диспетчерского пункта, находящихся в общем с АТС здании.

Аккумуляторная батарея должна состоять из кислотных аккумуляторов закрытого исполнения.

При затруднении получения таких аккумуляторов на АТС емкостью до 200 номеров допускается применение щелочных аккумуляторов.

На АТС емкостью до 200 номеров аккумуляторная батарея может не устанавливаться в случаях, когда:

- электроснабжение осуществляется от ТП, подключенной к двум источникам;

- электроснабжение обеспечивается от электростанции с несколькими генераторами;

- в наличии имеется резервный источник электроснабжения на период плановой остановки основного источника.

В тех случаях, когда диспетчерский пункт размещается в отдельном от АТС здании и в его состав входит коммутатор диспетчерской связи типа ПДС-10/10 или ПДС-20/20, для резервного питания должна предусматриваться отдельная аккумуляторная батарея, включаемая в буфер к выпрямителю, входящему в состав коммутатора.

Данные о расходе тока для питания АТС, аппаратуры уплотнения, АВСП, усилителей и коммутаторов диспетчерской связи приведены в приложении 4.5.

Системы питания

В зависимости от емкости АТС, ЭПУ должны выполняться по одной из следующих систем электропитания:

а) для АТС емкостью до 500 номеров - по системе с отделенной от нагрузки батареей.

В аварийных ситуациях (при перерывах в электроснабжении АТС и при выходе из строя выпрямительных блоков и устройств) к нагрузке автоматически подключается аккумуляторная батарея. Для ЭПУ АТС емкостью до 200 номеров при подключении батареи допускается перерыв питания длительностью до 0,5 с. Для ЭПУ АТС емкостью 300-500 номеров батарея должна подключаться без перерыва питания;

б) для АТС емкостью более 500 номеров, АТС K-100/2000 импортной поставки (любой емкости), а также линейного блока ГУ - по буферной системе.

Буферная система электропитания может предусматриваться также для АТС емкостью 300-500 номеров в случаях:

- расхода тока в ЧНН более 25 А, из-за наличия на АТС большого объема аппаратуры уплотнения;

- предполагаемого в ближайшей перспективе увеличения емкости АТС более 500 номеров.

Тип и состав оборудования

Тип и состав выпрямительного, коммутационного и распределительного оборудования, применяемого на сельских станциях отечественного и импортного производства, приведен в приложении 4.6.

В качестве кислотных аккумуляторов закрытого исполнения должны применяться элементы типа СН или СНП. Для АТС емкостью до 500 номеров допускается применение элементов АБН-72, соединенных в две параллельные ветви. Применение кислотных аккумуляторов открытого исполнения типа С допускается, как исключение, в случаях, когда невозможно получение аккумуляторов закрытого исполнения.

В качестве щелочных рекомендуется применять аккумуляторы типа НЖ. Для АТС импортных поставок аккумуляторные батареи входят в состав основного оборудования.

Рис. 4.8. Структурная схема ЭПУ-60 В при расходе тока в ЧНН до 15 А, выполненная по системе с отделенной от нагрузки батарей:

1 - вводный силовой ящик типа ЯБПВУ-1м; 2 - счетчик типа САЧ672М; 3 - к нагрузке (аппаратура уплотнения и др.); 4 - аккумуляторная батарея из 30 кислотных или 47 щелочных аккумуляторов; 5 - щиток постоянного тока (может быть применен ЩЭ-8 и др.); 6 - к нагрузке (стативы АТС, аппаратура уплотнения и др.); 7 - от контура заземления; 8 - к корпусам оборудования

Примечания: 1. В случае питания от однофазной сети переменного тока на вводе устанавливается оборудование, обозначенное пунктиром.

2. Структурная схема ЭПУ ЛТС производства НРБ А аналогична, лишь вместо ВБ1, 2 и БАЗ следует предусматривать электровыпрямительную установку типа ТПУ-60/15.

Рис. 4.9. Структурная схема ЭПУ-60 В при расходе тока в ЧНН от 18 до 25 А, выполненная по системе с отделенной от нагрузки батареей:

1 - вводный силовой щит типа ВЩ-2М; 2 - к нагрузке (аппаратура уплотнения и др.); 3 - аккумуляторная батарея из 30 аккумуляторов; 4 - к нагрузке (аппаратура уплотнения и др.); в данном случае «+» подается от шины автозала; 5 - к магистральным типам автозала; 6 - к корпусам оборудования; 7 - от контуров заземления. Отвод выполняется от 20-го аккумулятора и предназначен для безобрывного переключения основного источника питания на резервный и обратно.

Рис. 4.10. Структурная схема ЭПУ-60 В при расходе тока в ЧНН от 26 до 50 А, выполненная по буферной системе с противоэлементами:

1 - вводный щит типа ВЩ-2М; 2 - к нагрузке (аппаратура уплотнения и др.); 3 - резерв; 4 - к нагрузке (аппаратура уплотнения и др.). В данном случае «+» подается от шины автозала; 5 - аккумуляторная батарея из 32 аккумуляторов; 6 - от контуров заземления; 7 - к корпусам оборудования; 8 - к магистральным шинам автозала

Рис. 4.11. Структурная схема ЭПУ-60 при расходе тока в ЧИН от 26 до 140 А, выполненная по буферной системе с дополнительными элементами:

1 - вводный щит типа ВЩ-2М; 2 - к нагрузке (аппаратура уплотнения и др.); 3 - резерв; 4 - аккумуляторная батарея ОЭ-28 аккум., ДЭ 3 + 2 аккум.; 5 - к корпусу оборудования; 6 - к корпусам ВУК и ШК; 7 - от контуров заземления; 8 - к нагрузке (аппаратура уплотнения и др.). В данном случае «+» подается от шины автозала; 9 - к магистральным шинам автозала

Расчетное значение емкости батареи и тип аккумуляторов определяется в зависимости от условий электроснабжения и суммарного расхода тока для питания аппаратуры АТС, уплотнения, АВСП, внутрипроизводственной связи и ламп аварийного освещения.

Рис. 4.12. Структурная схема ЭПУ-60 В ЦС АТС К-100/2000 производства ВНР:

1 - вводный щит типа ВЩ-2М; 2 - сети ремонтного освещения; 3 - к нагрузке (аппаратура уплотнения, хоз. нужды и др.); 4 - резерв; 5 - к контурам заземления; 6 - к магистральным шинам автозала; 7 - статив ОС; 8 - аварийное освещение; 9 - аппаратура уплотнения. В данном случае «+» подается от шины заземления; 10 - аккумуляторная батарея

Формулы для определения емкости аккумуляторных батарей приведены в НТП [30].

Структурные схемы ЭПУ приведены на рис. 4.8-4.12, на которых приведено также количество элементов в аккумуляторных батареях.

РАЗМЕЩЕНИЕ И МОНТАЖ ОБОРУДОВАНИЯ, ПРИВЯЗКА ТИПОВЫХ ПРОЕКТОВ И ИСПОЛЬЗОВАНИЕ ТИПОВЫХ РЕШЕНИЙ ПРИ КОНКРЕТНОМ ПРОЕКТИРОВАНИИ

Размещение оборудования

Размещение оборудования должно учитывать удобства эксплуатации, минимальный расход станционного кабеля и возможность дальнейшего развития. При этом должны быть соблюдены нормы по размещению оборудования, приведенные в НТП [30].

Планировка технических помещений и чертежи размещения оборудования сельских АТС приведены в типовых проектах. Размещение прочего оборудования сетей электросвязи должно производиться с учетом следующего:

Аппаратура уплотнения. На оконечных и узловых станциях аппаратура уплотнения должна размещаться в общих помещениях с оборудованием АТС. В райцентре аппаратуру уплотнения следует устанавливать в общем линейно-аппаратном цехе с аппаратурой уплотнения внутризоновой сети (ЛАЦ МТС РЦ (ЦС)). В таком ЛАЦ аппаратура уплотнения сельской связи группируется отдельно от оборудования внутризоновой сети. При невозможности размещения аппаратуры уплотнения сельской сети и ЛАЦ ее следует располагать в общих помещениях с оборудованием ЦС, а если не позволяет площадь автозала - в отдельном помещении.

Совместное размещение аппаратуры уплотнения с оборудованием ЛАЦ МТС и АТС должно производиться в соответствии с принципами размещения основного оборудования. Размещение аппаратуры уплотнения в отдельном помещении должно производиться в зависимости от конфигурации помещения по одну или по обеим сторонам от главного прохода (одностороннее или двустороннее расположение).

Аппаратура АВСП. Размещение аппаратуры АВСП производится в общих помещениях с аппаратурой уплотнения по тем же принципам и нормам.

Оборудование ЭПУ. Выпрямительные блоки и коммутационные устройства ЭПУ следует устанавливать в общих помещениях со стативами АТС. Аккумуляторные батареи могут размещаться в общих помещениях с ЭПУ или в отдельных помещениях. В общих помещениях размещаются шкафы с аккумуляторными батареями из щелочных или кислотных элементов закрытого исполнения, а также открытые стеллажи с аккумуляторными батареями из кислотных элементов закрытого исполнения, содержащимися в режиме постоянного подзаряда без интенсивного газообразования (напряжением не выше 2,3 В/акк.).

В шкафах, оборудованных воздуховодом естественной вытяжки, могут устанавливаться аккумуляторные батареи из щелочных элементов (при емкости АТС до 200 номеров) и кислотных типа АБН-72 (при емкости АТС до 500 номеров).

В отдельных помещениях должны размещаться стеллажи с аккумуляторными батареями из кислотных элементов открытого исполнения.

В зданиях, где помимо АТС расположены другие предприятия электросвязи (МТС, радиоузел и т.п.) и имеются специальные помещения выпрямительной и аккумуляторной, целесообразно в этих помещениях устанавливать также соответствующее оборудование ЭПУ АТС.

ЭПУ для оборудования диспетчерского пункта центральной усадьбы, расположенного в разных зданиях с АТС, должно размещаться в помещениях диспетчерской.

Оборудование ВПС. На центральной усадьбе хозяйства, в помещении диспетчерского пункта, следует размещать: диспетчерский коммутатор, телеграфный и факсимильный аппараты, микрофон и усилитель поисковой связи, радиостанцию, аппаратуру передачи данных, ДП и ПУТ технологической связи. Контролируемый полукомплект (КП) должен размешаться в отделении (бригаде) хозяйства, совместно с АТС или ГУ, а в их отсутствие в любом выделенном помещении.

Коммутатор директорской связи следует устанавливать в кабинете руководителя хозяйства, а статив коммутатора: на АТС - при ее размещении в здании конторы хозяйства, в диспетчерском пункте - при размещении АТС вне здания конторы. При размещении вне здания конторы и АТС и диспетчерского пункта коммутатор и статив устанавливаются совместно. Входящий в комплектацию УОТС типа «Псков» статив напольного типа обслуживается только с лицевой стороны и может быть установлен вплотную к стене. ТКМС следует устанавливать в помещении руководителя подразделения (отделения, бригады, фермы и т.п.).

Монтаж оборудования

Монтаж оборудования должен вестись по чертежам проекта: планам расположения оборудования, кабельным планам, схемам включения внешних кабелей в аппаратуру и т.п. На кабельных планах должны указываться количество, тип, емкость кабелей и проводов и между какими элементами оборудования они прокладываются.

Кабели АТС и низкочастотных цепей аппаратуры уплотнения должны прокладываться от стативов (стоек) и других элементов аппаратуры до промежуточных устройств (ПЩ, ПСП), на которых с помощью кроссировок между гребенками создаются соответствующие схемные соединения. Непосредственное соединение аппаратуры допускается для АТС К-50/200, не имеющей промежуточных устройств. Кроме того, без промежуточных устройств на любой АТС производятся соединения сигнальных цепей и цепей электропитания.

Кабели, провода и шины токораспределительной сети для объектов с расходом тока до 15 A не рассчитываются, а выбираются по соображениям механической прочности и удобства прокладки. Для объектов с расходом тока в ЧНН свыше 15 А кабели, провода и шины токораспределительной сети выбираются на основании расчета, с применением ближайших стандартных сечений в сторону увеличения. При расчете токораспределительной сети необходимо определить расчетные величины токов нагрузки для отдельных участков сети, длины этих участков и падения напряжения на них. При этом следует учесть, что допустимое падение напряжения от выводов аккумуляторной батареи до клемм включения нагрузки принимается равным 1 В для ЭПУ, выполненных по системе с отделенной от нагрузки батареей или по буферной системе с кремниевыми противоэлементами, и 1,4 В - для ЭПУ, выполненных по буферной системе с дополнительными элементами.

Сечение проводов каждого участка сети определяется из выражения:

,

где ρ - удельное сопротивление материала, равное 1/57 для меди, 1/33 для алюминия; Ii, Li, и ΔUi - ток, длина провода и падение напряжения на рассматриваемых участках.

Перечень кабелей, проводов и шин, рекомендуемых к применению для монтажа станционного оборудования, приведен в приложении 4.7.

Привязка типовых проектов и использование типовых решений

При проектировании необходимо максимально использовать типовые проекты сельских АТС путем их привязки к условиям конкретного объекта. При этом необходимо иметь в виду факторы, которые могут повлечь за собой изменения материалов типового проекта. К таким факторам относятся:

- помещения, выделяемые под расположение оборудования, которые могут отличаться от принятых в типовом проекте;

- число направлений связи, включаемых в ЦС и УС и количество СЛ, что влияет на структурную схему АТС и объем оборудования;

- количество и состав аппаратуры уплотнения и типы комплектов, применяемых на физических и уплотненных СЛ;

- наличие групповых установок, неучтенных к включению в типовых проектах АТС К-100/2000 и АТС К-50/200;

- величина расхода тока для питания оборудования АТС, уплотнения и диспетчерского пункта, располагаемого в одном здании с АТС, которая может превышать принятую в типовом проекте и вызвать изменение состава оборудования ЭПУ.

При наличии указанных факторов привязываются или составляются заново структурная схема АТС, планы расположения оборудования и схемы кабельных соединений. Для АТС К-100/2000, кроме того, необходимо привязать фасады промщитов, схемы кроссировок на ПЩ, таблицы запараллеливания сборных рамок и ряд других чертежей, изменение которых вызвано коррекцией структурной схемы, объема и расположения оборудования.

Подлежат привязке также заказные спецификации и сметная документация.

При проектировании следует использовать типовые решения, разработанные институтами Гипросвязь, в которых приведены образцы техно-рабочих проектов и необходимые методические указания.

ДООБОРУДОВАНИЕ СТАНЦИЙ

Дооборудование станций предусматривается при проектировании строительства (расширения) другой станции, непосредственно с ней связываемой соединительными линиями. В основном это относится к ЦС.

В объем работ по дооборудованию входит установка и монтаж стативов, комплектов РСЛ, промщитов и т.д. При применении на СЛ аппаратуры уплотнения в объем работ входит также установка и монтаж этой аппаратуры.

При проектировании дооборудования следует учесть возможность максимального использования свободных мест на стативах, промщитах, ВКУ, стойках аппаратуры уплотнения, а также наличие свободных комплектов РСЛ, рамок со штифтами и т.п. с тем, чтобы избежать применения излишнего оборудования и сократить затраты. Эти данные уточняются в период изысканий при обследовании дооборудуемой АТС. Определяется также наличие свободной площади для установки стативов дооборудования.

Проектная документация на дооборудование должна отразить изменение структурной схемы АТС в связи с появлением нового направления связи, а также изменения в плане расположения оборудования. При увеличении числа СЛ существующего направления связи структурная схема может к проекту не прикладываться. Последнее относится к плану расположения оборудовании к фасадам промщитов, если объем дооборудования незначителен. В этих случаях происшедшие изменения следует отражать в пояснительной записке. Кроме того, проектная документация должна содержать комплект рабочих чертежей по монтажу оборудования, как-то: соединительные схемы, кроссировки на промщитах и т.п.

В проекте должно быть приведено решение о способе транзита каналов аппаратуры уплотнения, а для АТС К-100/2000, кроме того, даны рекомендации по кроссировкам на стативах ГИ и РИ для нового направления связи.

4.7. СЕТЬ ДИСПЕТЧЕРСКОЙ РАДИОТЕЛЕФОННОЙ СВЯЗИ

ОРГАНИЗАЦИЯ ДИСПЕТЧЕРСКОЙ РАДИОТЕЛЕФОННОЙ СВЯЗИ В СЕЛЬСКОЙ МЕСТНОСТИ

Диспетчерская радиотелефонная связь в условиях сельской местности должна осуществляться, как правило, в диапазоне УКВ. В отдельных случаях для связи между стационарными объектами допускается использование КВ диапазона.

Диспетчерская радиотелефонная связь центральных усадеб и отделений организуется с подвижными, труднодоступными и удаленными производственными объектами по радиальному и радиально-кустовому принципу. В оперативном отношении все передвижные радиостанции подчиняются главной радиостанции, размещаемой в центральной усадьбе, и ее указания о порядке работы в эфире обязательны для всех радиостанций данной радиосети.

Все радиостанции сети диспетчерской радиотелефонной связи работают в одном канале. При этом в хозяйствах со сложной структурой управления, когда радиостанции устанавливаются в конторах отделений хозяйств, абоненты могут вызвать как диспетчера центральной радиостанции, так и диспетчера-информатора своего отделения или любого абонента сети (при симплексной связи). При этом абоненты сети диспетчерской связи не должны иметь выхода на сеть ТФ - ОП.

В том случае, когда система управления хозяйства проста, абоненты могут выйти на связь как с центральным диспетчером, так и с любым абонентом сети.

В сеть диспетчерской радиотелефонной связи могут включаться радиостанции.

В случае значительно вытянутой конфигурации территории хозяйства, когда возникает необходимость увеличения дальности связи в заданном направлении или когда требуется организация связи на ограниченной территории, не соприкасающейся с основной территорией хозяйства, используется отдельная вынесенная стационарная радиостанция, соединенная линией проводной связи с пультом главного диспетчера, или организуется отдельная линия КВ или УКВ радиосвязи по направлению (в тех случаях, когда не могут быть использованы наземные средства связи). КВ диапазон используется только тогда, когда необходимо организовать связь колхоза с районом или с удаленными объектами колхоза, находящимися на расстояниях, превышающих 50-60 км.

Организация радиотелефонной диспетчерской связи производится с применением радиочастот, назначаемых в установленном порядке местными органами Государственной инспекции электросвязи. Преимущественно для этих целей используются радиочастоты из полос 33-46 МГц и 57,0-57,5 МГц.

Конкретному проектированию сетей диспетчерской радиотелефонной связи должно предшествовать составление частотных планов на основе утвержденных в установленном порядке норм на минимально допустимую напряженность поля на границе зоны обслуживания, защитное отношение и приведенные высоты антенн.

Радиостанции в сельской местности имеют только служебное назначение и предназначены для обеспечения оперативной радиотелефонной связи между центральной усадьбой, производственными подразделениями и мобильными объектами. Перед строительством сети радиотелефонной связи в сельской местности необходимо разработать проект, в котором рассматриваются вопросы организации радиотелефонной связи, состава и размещения объектов, установки, монтажа, электропитания и заземления оборудования, ориентировочного расчета дальности связи и выбора антенно-мачтовых сооружений, определен объем оборудования, материалов и стоимость строительства.

При проектировании диспетчерской радиотелефонной связи необходимо учитывать положения, изложенные в [27, 32].

Внутрипроизводственная диспетчерская радиотелефонная связь совхоза (колхоза) или районного объединения «Сельхозтехника» может быть построена при использовании УКВ радиостанций, например, комплекса «Гранит-М» или РТ-21-1.

В соответствии с заданием на проектирование и списком абонентов разрабатывается схема организации связи. В качестве примера построения сети диспетчерской радиотелефонной связи приведена организация диспетчерской радиотелефонной связи крупного совхоза на радиостанциях типа РТ-21-1 (рис. 4.13). Радиотелефонная связь организуется между диспетчерским пунктом центральной усадьбы и стационарными пунктами, в состав которых входят отделения, молочно-товарные фермы и т., а также между стационарными и подвижными объектами, между двумя подвижными объектами.

Рис. 4.13. Схема организации радиотелефонной связи

Для радиотелефонной связи используются симплексные радиостанции типа РТ-21-1, устанавливаемые на стационарных объектах и автомашинах. Как видно из схемы организации связи, связь должна осуществляться между любыми двумя стационарными объектами. Также предусматривается связь двух мобильных радиостанций между собой и связь мобильных радиостанций со стационарными. В радиосети совхоза радиостанция, установленная на центральной усадьбе, является главной. Для связи с работниками, находящимися в полевых условиях, дополнительно предусматриваются носимые радиостанции «Кактус» или «Сирена». Схема организации связи должна быть утверждена областным (районным) управлением сельского хозяйства и согласована с областным (краевым) или республиканским (АССР) производственно-техническим управлением связи.

КРАТКАЯ ХАРАКТЕРИСТИКА ОБОРУДОВАНИЯ, РЕКОМЕНДУЕМОГО К ПРИМЕНЕНИЮ

Для организации радиотелефонной связи в сельской местности рекомендуются к применению радиостанции комплекса «Гранит-М» и радиотелефон типа РТ-21-1, устанавливаемые как на стационарных, так и на подвижных объектах. В качестве носимых могут быть использованы радиостанции типа «Кактус» или «Сирена». Радиостанции комплекса «Гранит-М» и радиостанция РТ-21-1 по своим параметрам мало отличаются друг от друга. Выбор того или иного типа в основном определяется возможностью выделения частот и поставками. Радиостанции комплекса «Гранит-М» обеспечивают несколько большую дальность действия по сравнению с PT-21-1, поэтому их целесообразно использовать для организации радиотелефонной связи в хозяйствах, расположенных на значительных территориях.

Основные технические данные симплексных УКВ радиотелефонных станций, применяемых на сетях внутрипроизводственной связи сельхозпредприятий, приведены в приложении 4.8.

УСТАНОВКА РАДИОСТАНЦИИ В МАШИНЕ

Перед установкой радиостанции РТ-21-1 на передвижном объекте следует выбрать наиболее подходящее место для монтажа оборудования. Это место должно обеспечивать свободный доступ воздуха к аппаратуре и обеспечивать защиту ее от метеовоздействий.

Ниже приводятся рекомендации по установке радиостанции РТ-21-1 на автомашины «Волга» и ГАЗ-69.

Пульт управления и громкоговоритель следует установить на приборной доске автомашины, а фиксатор микрофона в непосредственной близости от них. В автомашине «Волга» пульт управления следует установить под радиоприемником, а громкоговоритель - справа, на нижней кромке приборного щита, фиксатор микрофона необходимо укрепить между громкоговорителем радиоприемника и частями автомашины.

В автомашине ГАЗ-69 пульт управления и громкоговоритель следует установить на нижней кромке приборного щита (громкоговоритель справа), а фиксатор микрофона установить на лицевой части щита в таком месте, в котором он не будет мешать водителю.

Приемопередатчик в автомашине «Волга» устанавливается в багажном отсеке на раме под задним стеклом кабины. В автомашине ГАЗ-69 приемопередатчик удобно установить под сидением за водителем. Можно устанавливать приемопередатчик на специальной раме, укрепленной на полу автомашины. Рама крепится четырьмя болтами к полу автомашины, а монтажное основание - двумя или более болтами к ребру, после чего приемопередатчик устанавливается на эти конструкции.

Монтаж автомобильной антенны производится вне зависимости от монтажа приемопередатчика. Специальная форма уголкового железа, на котором закреплена антенна, позволяет устанавливать антенну на вертикальной или наклонной стенке. В автомашине «Волга» антенна монтируется на задней части багажного отсека около линии стоповых сигналов. В автомашине ГАЗ-69 удобным местом для монтажа является пространство под передним стеклом, справа от места установки дворников, или на задней стене багажного отсека. Кабель, который оканчивается антенным разъемом, следует провести наиболее коротким путем к приемопередатчику.

При монтаже следует обращать внимание на место укладки кабелей и не допускать их прокладки через места, где они могут быть легко повреждены, целесообразно укладку кабелей производить под обивкой автомашины. При монтаже очень важно знать, какой из полюсов источников соединен с шасси автомашины. Если это отрицательный полюс, то надписанный провод шнура питания «шасси» следует соединить с отрицательным электродом батареи, а другой провод шнура питания соединить с положительным электродом. Если с шасси автомашины соединен положительный полюс (в более старых моделях автомашин), то обязательным является использование отдельной аккумуляторной батареи или следует изменить электрическую проводку в автомашине, изменить электроды аккумуляторной батареи и выводы бортовых приборов, а генератор автомашины перемагнитить.

При установке радиотелефона на автомашине необходимо контролировать надежность контакта питающего шнура с аккумулятором.

В некоторых отдельных случаях возникает необходимость использовать автомашины других марок (тракторы, тягачи и пр.), поэтому при конкретном проектировании надо рассматривать вопрос установки радиотелефона на подвижном объекте.

ОПРЕДЕЛЕНИЕ ДАЛЬНОСТИ СВЯЗИ И РАЗМЕЩЕНИЕ ОБЪЕКТОВ ДИСПЕТЧЕРСКОЙ РАДИОТЕЛЕФОННОЙ СВЯЗИ

Условия распространения УКВ радиоволн сложны и зависят от большого количества параметров.

Дальность связи в УКВ диапазоне в основном зависит от следующих факторов.

1. Электрических параметров аппаратуры:

- мощности передатчиков;

- чувствительности приемника;

- типа и параметров модуляции;

- диапазона частот.

2. Параметров антенно-фидерного тракта станции:

- затухания;

- коэффициента усиления антенны;

- неравномерности диаграммы в горизонтальной плоскости.

3. Высоты установки антенн.

4. Механизма распространения радиоволн в условиях прямой видимости.

5. Рельефа и характера местности, застройки, растительности.

6. Метеорологических условий.

7. Уровня помех в точках приема и т.д.

Поле в точке приема является результатом взаимодействия прямой волны и волн, отраженных от поверхности земли, неоднородностей рельефа местности, строений, неоднородностей атмосферы.

Кроме того, величина поля в точке приема зависит от условий рефракции земной волны в меняющейся атмосфере, а также дифракции на местных предметах.

На распространение УКВ радиоволн влияет также затухание в растительности, проводимость почвы и т.д.

Ориентировочный расчет дальности связи для радиостанций «Гранит-М» и РТ-21-1 можно провести, используя графики зависимости напряженности поля УКВ от расстояния и частоты, приведенные на рис. 4.14, 4.15, 4.16 [21].

Рис. 4.14. Зависимость напряженности поля УКВ от расстояния и частоты:

1 - f = 30 МГц, λ = 10 м; 2 - f = 60 МГц, λ = 5 м; 3 - f = 150 МГц, λ = 2 м

Рис. 4.15. Значение высотных коэффициентов Kh для различных высот антенн и частот связи:

1 - f = 150 МГц, λ = 2 м; 2 - f = 60 МГц, λ = 5 м; 3 - f = 30 МГц, λ = 10 м

По рекомендациям МККР значения граничной напряженности поля следующие:

30 ÷ 50 МГц                                                      - 2,51 мкВ (8 дБ)

50 ÷ 100 МГц                                                    - 5 мкВ (14 дБ)

100 ÷ 200 МГц                                                  - 10 мкВ (20 дБ)

400 ÷ 470 МГц                                                  - 13,8 мкВ (28 дБ)

Расчетная напряженность поля вычисляется по формуле

,

где Ен - необходимая напряженность поля в точке приема, ориентировочно 5-10 мкВ/м; большая величина берется при повышенном уровне помех; Kh и Kh2 - коэффициенты, учитывающие зависимость напряженности поля от высоты подъема антенн, определяемые по графику рис. 4.15; КЕ - коэффициент ослабления поля для данной трассы, определяемый по графику рис. 4.16; PΣ = РAGA - излучаемая мощность, GA - коэффициент усиления антенны.

При стационарной установке радиостанций зона покрытия радиосвязью в заданном направлении может быть увеличена за счет установки антенн на возвышенных местах и на возможно высоких опорах. С целью уменьшения потерь в главном фидере аппаратуру следует размещать как можно ближе к антенне.

Рис. 4.16. Значение коэффициента KE для различных трасс при распространении метровых волн

Антенна может быть отнесена от радиостанции на некоторое расстояние, определенное расчетом и не влияющее на дальность связи; при этом радиостанция устанавливается в удобном для эксплуатации месте и соединяется с антенной кабелем. При выборе места установки антенны следует обращать внимание на наличие близких источников помех (мастерские, кузницы, рентгеновская аппаратура и пр.), так как дальность связи в этом случае уменьшается.

Антенны необходимо располагать в стороне от отражающих предметов. От больших по размерам местных препятствий антенны должны быть удалены на расстояние, превышающее три - пять их высот. Радиостанции нужно удалять возможно дальше от холмов с закругленными вершинами и пологими скатами, так как такие холмы сильно поглощают энергию. Расстояние от антенны до любых металлических предметов должно быть не менее двух длин волн.

Не следует располагать радиостанции в редком лесу, на опушках и полянах. Вертикальную антенну нельзя располагать непосредственно у стволов деревьев или опор.

В городах и поселках антенны рекомендуется размещать выше уровня крыш.

При расчете дальности связи невозможно учесть все факторы, влияющие на дальность. В реальных условиях дальность связи может существенно отличаться от расчетной. Поэтому в случаях неустойчивой связи рекомендуется тщательно выбирать месторасположение радиостанции и использовать ретрансляторы.

Радиус действия радиостанции может быть также увеличен за счет сопряжения радиостанций с проводными линиями связи и радиорелейными станциями.

Предварительный анализ рельефа местности и выбор высоты и места установки антенн с учетом данных указаний может быть сделан по продольным профилям трасс радиосвязи. Для надежной связи должна быть обеспечена прямая оптическая видимость между антеннами. Образец такого профиля приведен на рис. 4.17. Радиус кривизны земли принимается для стандартной рефракции.

Рис. 4.17. Продольный профиль трассы

Для ориентировочного расчета трасс, проходящих по ровной местности, можно принять дальность действия связи до границы прямой видимости, которая определяется по формуле

,

где R - дальность действия связи, км; h1, h2 - высоты подвеса антенн, м.

При организации радиотелефонной связи в горных условиях дальность связи должна определяться опытным путем посредством объезда трассы.

При использовании радиостанции типа РТ-21-1 дальность связи примерно составляет:

между стационарными пунктами 30 км;

между стационарными и подвижными 20 км;

между подвижными пунктами 10 ÷ 30 км.

Необходимо отметить, что приведенные расчетные значения дальности связи являются ориентировочными и при конкретном проектировании могут не подтвердиться. Радиотелефонная связь между двумя стационарными пунктами совхоза (колхоза) организуется при помощи двух радиостанций, размещаемых в этих пунктах, при этом высота установки антенн определяется расстоянием между ними. На каждом подвижном объекте устанавливается также по одной радиостанции.

Для обеспечения радиотелефонной связи в условиях среднепересеченной местности между различными объектами совхоза (колхоза) производится расчет ориентировочной дальности связи.

На основании расчетов и анализа продольных профилей рельефа местности и конкретных объектов производится выбор типа и высоты антенных опор, устанавливаемых на стационарных пунктах.

При проектировании сельских сетей радиотелефонной связи выбор высоты установки антенн на стационарных пунктах производится в следующем порядке:

1. Определяется высота установки антенны центрального диспетчерского пункта, исходя из условия обеспечения необходимой дальности связи с подвижными объектами.

2. Определяется высота установки антенн стационарных пунктов при известной высоте установки антенны центрального диспетчерского пункта, исходя из местных условий (расстояние до центрального диспетчерского пункта, рельефа местности и пр.).

В качестве примера определения высоты установки антенны на диспетчерском пункте центральной усадьбы рассмотрим следующий случай. Необходимо обеспечить дальность связи с подвижными объектами, находящимися на расстоянии до 20 км при помощи радиостанции типа PT-21-1, высота установки антенны на подвижном объекте 2 м.

Расчетная напряженность поля определяется по графику рис. 4.14 для r = 20 км и частоты f = 150 МГц:

Ep = 0,12 .

Принимаем значение Енеобх = 10  для обеспечения необходимого качества связи.

Из формулы  определяем значение

.

Значение Kh2 для высоты h2 = 2 м и f = 150 МГц определяем по графику рис. 4.15:

Kh2 = 2.

Коэффициент ослабления поля трассой определяется по графику рис. 4.16:

KЕ = 1.

Излучаемая мощность

PΣ = РAGA = 10 Вт, так как коэффициент усиления антенны GA = 1 и мощность в антенне PА = 10 Вт.

Потери в фидере при использовании кабеля типа РК-75-9-13

ВФ = βl,

где β = 0,2 дБ/м - погонное затухание кабеля; l = 40 м - длина фидера,

ВФ = 0,2 · 40 = 8 дБ,

что эквивалентно уменьшению мощности в антеннах в 6,3 раза.

Излучаемая мощность с учетом потерь в фидере

PΣ = 10 : 6,3 = 1,6 Вт.

Окончательно имеем

.

По графику рис. 4.15 определяем значение высоты установки антенны на диспетчерском пункте центральной усадьбы

h2 = 30 м (не менее 30 м).

При определении высоты установки антенн остальных стационарных пунктов следует исходить из того, что:

1) необходимая высота установки антенны на диспетчерском пункте центральной усадьбы найдена из условия обеспечения связи с подвижными объектами;

2) расстояние до рассматриваемого стационарного пункта задано местными условиями.

Пусть расстояние до одного из стационарных пунктов составляет 40 км. Высота установки антенны центрального диспетчерского пункта определена выше и равна h1 = 30 м, необходимо определить высоту h3 установки антенны на данном стационарном пункте.

По графику рис. 4.14 определяем значение Ep для r = 40 км и частоты f = 150 МГц Eр = 0,02 мкВ/м.

Из формулы  определяем значение

.

По графику рис. 4.15 определяем значение высоты установки антенны на стационарном пункте

h3 = 13 м (не менее 13 м).

Примерный ситуационный план размещения объектов радиотелефонной связи колхоза показан на рис. 4.13.

Как видно из этого рисунка, каждый из стационарных и подвижных объектов оборудуется одной радиостанцией, позволяющей осуществлять связь между любыми стационарными и подвижными абонентами данной радиосети; кроме того, предусматривается наличие в диспетчерских пунктах центральной усадьбы и отделений радиостанции. Планы расположения оборудования в диспетчерских пунктах приведены в типовых решениях на строительство внутрипроизводственной и диспетчерской проводной и радиосвязи в колхозах, совхозах и на предприятиях Союзсельхозтехники.

Размещение оборудования должно быть произведено с учетом обеспечения минимальных длин кабелей между блоками управления и питания. Помещение должно удовлетворять физико-климатическим требованиям на эксплуатацию аппаратуры. Все радиооборудование должно быть установлено таким образом, чтобы обеспечить легкий и быстрый доступ к нему для обслуживания и производства ремонта. На подвижных объектах радиостанции устанавливаются с учетом обеспечения минимального значения тряски и прочих внешних воздействий.

Размещение радиостанции желательно вблизи антенны и источников питания.

ВЫБОР АНТЕННО-МАЧТОВЫХ УСТРОЙСТВ

Выбор высоты установки антенн в диспетчерском пункте центральной усадьбы определяется условием обеспечения связи с наиболее удаленными объектами, более устойчивой связи с пунктами на сравнительно близких расстояниях и обеспечения наибольшей дальности связи с автомашинами.

При определении высоты установки антенны на центральной усадьбе прежде всего необходимо обеспечить требуемую дальность для связи с подвижными объектами. В отдельных случаях допускается уменьшение зоны обслуживания от центральной усадьбы для подвижных объектов за счет покрытия зоны обслуживания стационарными радиостанциями, установленными на диспетчерских пунктах отделений, молочно-товарных ферм и т.п. объектах.

Выбор типа опоры определяется местными условиями - наличием существующих зданий и сооружений, на которых могут устанавливаться антенны, возможности получения деревянных или металлических опор и т.п.

Следует отметить, что данные, полученные в результате расчета дальности связи (по методике, приведенной в разделе «Определение дальности связи и размещение объектов диспетчерской радиотелефонной связи»), являются ориентировочными, и на практике дальность связи с подвижными объектами может отличаться от расчетной, так как условия распространения радиоволн зависят от рельефа местности, растительности, времени года и суток, застройки, уровня помех в точке приема и т.

Рис. 4.18. План расположения антенн при стационарной установке радиостанции:

а - центральная усадьба; б - молочно-товарная ферма; в - тракторный стан

Рис. 4.19. Установка антенны и прокладки кабеля на мачте металлической с установкой оборудования на мачте:

1 - антенна радиостанции; 2 - мачта металлическая; 3 - шкаф с радиостанцией

Рис. 4.20. Установка антенн на крыше здания:

1 - антенно-мачтового устройства

В связи с вышеизложенным после установки антенн должны быть проведены экспериментальные измерения, по которым точно определяется зона обслуживания.

Особенно велико значение рельефа при связи с подвижными объектами, так как в этом случае условия распространения радиоволн постоянно изменяются, и на отдельных участках местности качество связи может ухудшиться (лощины, овраги и т.д.).

Рис. 4.21. Установка антенны и прокладка кабеля на мачте металлической с установкой оборудования в здании:

1 - антенна радиостанции; 2 - мачта металлическая

Рис. 4.22 Установка антенны и прокладка кабеля на мачте деревянной с установкой оборудования в здании:

1 - антенна радиостанции; 2 - мачта деревянная

Антенны стационарных пунктов в зависимости от конкретных условий в каждом пункте (рельефа местности, расстояния до центральной усадьбы, высоты здания) устанавливаются либо на крыше здания, либо на опоре около здания, деревянной или металлической. Схематичные примерные планы расположения антенн при стационарной установке радиостанции РТ-21-1 приведены на рис. 4.18. Способ установки антенн на мачтах и на крыше здания и прокладки кабеля, а также ввода его в здания показаны на рис. 4.19, 4.20, 4.21, 4.22.

УСТАНОВКА И МОНТАЖ ОБОРУДОВАНИЯ

Радиостанции могут устанавливаться на стационарном или на подвижном объектах. Структурная схема установки радиостанции в автомашине приведена на рис. 4.23, а рекомендации по установке приведены в разделе «Краткая характеристика оборудования, рекомендуемого к применению».

При стационарной установке радиостанция размещается на столе радиооператора.

Соединение блоков радиостанции осуществляется кабелями межблочного монтажа, входящими в комплект радиостанции.

Кабель питания прокладывается от общего щитка к столу радиооператора по стене и крепится скобами. Рядом со столом или на столе устанавливается розетка.

Антенный кабель от приемопередатчика до кабельного ввода в здание крепится по стене аппаратной скобами.

Рис. 4.23. Структурная схема установки радиостанции PT-21-1 в автомашине:

1 - микрофон; 2 - громкоговоритель; 3 - пульт управления; 4 - антенна; 5 - приемопередатчик; 6 - аккумуляторная батарея

Рис. 4.24. Полумонтажная схема пункта диспетчерской радиосвязи:

1 - микрофон; 2 - громкоговоритель; 3 - пульт управления; 4 - антенна; 5 - приемопередатчик; 6 - блок питания ТСТ 12-5

При монтаже антенных устройств рекомендуется провести пробную проверку связи и надлежащим образом выбрать место установки антенны по лучшей слышимости.

Полумонтажная схема диспетчерского пункта центральной усадьбы отделений совхоза, тракторных станов, молочно-товарных ферм показана на рис. 4.24.

ЭЛЕКТРОПИТАНИЕ И ЗАЗЕМЛЕНИЕ

Электропитание радиостанции при установке в диспетчерской осуществляется от сети напряжением 220 В (50 Гц) при помощи выпрямителя.

При установке радиостанции в автомашине электропитание осуществляется от аккумуляторной батареи 12,6 В, которая установлена в автомашине. Минус источника питания должен быть подключен к корпусу.

Защитное заземление выполняется проводом ПР-500 сечением 10 мм2. Провод заземления прокладывается по внешней части стола и полу, а к аппаратуре подключается под гайку или скобу. К контуру заземления должны быть подключены корпусы оборудования и оболочки экранированных кабелей.

В качестве защитного заземления может быть использован нулевой провод электросети, контур защитного заземления, применяемого для оборудования диспетчерской проводной связи. Мачты и антенны должны быть заземлены. Молниезащита объектов радиотелефонной связи осуществляется в соответствии с действующими указаниями по проектированию молниезащиты радиообъектов.

4.8. ЭЛЕКТРОСНАБЖЕНИЕ

Предприятия связи относятся к первой категории потребителей электроэнергии в части обеспечения их надежным электроснабжением. Условия электроснабжения сельских предприятий связи влияют на состав и мощность оборудования электроснабжения. В зависимости от условий электроснабжения от внешних источников электроустановки сельских телефонных сетей классифицируются по группам IБ, IIА, IIБ и III (по классификации, принятой Министерством связи).

К группе IБ относятся электроустановки, имеющие полностью обеспеченное круглосуточное и устойчивое электроснабжение от внешних источников мощностью не менее 100 кВ·А. Подача электроэнергии должна осуществляться от одного внешнего источника по одной линии. Величина колебаний напряжения на шинах предприятий связи не должна выходить за пределы -10 ÷ +5 %.

К группе IIА относятся электроустановки с не полностью обеспеченным внешним электроснабжением. Эти электроустановки должны получать электроэнергию круглосуточно от одного источника мощностью менее 1000 кВ·А или от более мощного источника, но с заведомо частыми перебоями аварийного характера или имеющих колебания напряжения не более чем -15 ÷ +5 %.

К группе IIБ относятся электроустановки, условия электроснабжения которых те же, что и для групп IБ и IIА, но электроэнергия может подаваться не круглосуточно (не менее 16 ч в сутки без перерыва).

К III группе относятся электроустановки с необеспеченным внешним электроснабжением. Эти электроустановки лишены возможности получать электроэнергию от внешних источников или имеют возможность получать электроэнергию с колебаниями напряжения больше, чем -15 ÷ +5 %, или с сезонными перерывами. Основным источником электроэнергии является собственная электростанция.

Вопросы электроснабжения должны решаться на основании изысканий и технических условий, получаемых от местных электроснабжающих организаций.

При этом для типовых зданий вопросы электроснабжения решаются путем проверки достаточности электроэнергии, подаваемой в эти здания, и при необходимости должны даваться соответствующие рекомендации по ее умощнению; для нетиповых, приспосабливаемых под АТС зданий, должна предусматриваться самостоятельная (без присоединения посторонних потребителей) питающая линия низкого напряжения, подключаемая к ближайшим ТП (местной электростанции). Принятые решения по электроснабжению приводятся в проекте приспособления здания (помещений).

В случае размещения АТС и диспетчерского пункта в одном здании вопрос электроснабжения решается с учетом нагрузок всего оборудования. Если диспетчерский пункт размещается в отдельном от АТС здании, то его электроснабжение обеспечивается от общей сети питания этого здания.

При осуществлении электроснабжения АТС по самостоятельной линии низкого напряжения должны устанавливаться:

а) на АТС емкостью до 200 номеров включительно - вводный силовой ящик ЯБПВУ-1М и счетчик САЧ-И672М при питании от трехфазной сети переменного тока, а при питании от однофазной сети - вводный щит СЩ-2М, в состав которого входит счетчик;

б) на АТС емкостью свыше 200 до 2000 номеров - вводный щит ВЩ-2М, в состав которого входят счетчики.

При проектировании линии низкого напряжения (воздушной или кабельной) должны быть учтены мощности (нагрузки) для:

- электропитания АТС, аппаратуры уплотнения и диспетчерского пункта с возможностью одновременного заряда аккумуляторной батареи;

- электроосвещения помещений;

- электропитания токоприемников хозяйственных нужд, электродвигателем вентиляции и др.;

- других возможных нагрузок в данном здании (например, радиотрансляционный узел, телеграф и др.).

Сечения проводов и кабелей должны выбираться по наибольшему длительно допустимому току нагрузки, а затем проверяться по допустимому падению напряжения, которое на участке от ТП до вводного щитка АТС может быть принято равным 3 % от номинального напряжения сети.

4.9. УСТРОЙСТВО ЗАЗЕМЛЕНИЙ

Согласно ГОСТ [14] для станционных сооружений АТС и аппаратуры уплотнения на сельских АТС должны быть оборудованы три обособленных заземления: защитные или рабочее и два измерительных.

На АТС емкостью до 200 номеров допускается устройство лишь одного стационарного защитного или рабочего заземления, а в качестве измерительных заземлений использовать временные (переносные). Величины сопротивлений заземления определяются в зависимости от удельного сопротивления грунта и числа соединительных линий. Для аппаратуры диспетчерских пунктов, размещенных в общих с АТС зданиях, самостоятельные заземления не должны предусматриваться, а используются заземления АТС.

Для диспетчерских пунктов, размещенных в отдельных от АТС зданиях, должно быть оборудовано самостоятельное заземление, которое используется в качестве защитного и рабочего.

Величины сопротивлений этого заземления должны быть:

- не более 8 Ом для грунтов с удельным сопротивлением до 100 Ом·м;

- не более 10 Ом для грунтов с удельным сопротивлением от 100 до 300 Ом·м;

- не более 15 Ом для грунтов с удельным сопротивлением от 300 до 500 Ом·м.

Количество электродов заземления определяется в зависимости от удельного сопротивления грунта и требуемой величины сопротивления заземления в соответствии с [22].

4.10. ТРЕБОВАНИЯ БЕЗОПАСНОСТИ

Требования безопасности и охраны труда должны предусматриваться в соответствии с действующими эталонами, постановлениями, правилами и вновь издаваемыми документами по этим вопросам.

В техно-рабочих проектах должно предусматриваться:

1) по линейным сооружениям:

- защита абонентских пунктов путем оборудования защитных заземлений и установки абонентских защитных устройств;

- устройство заземлений для защиты угловых, переходных, вводных, кабельных, разрезных, контрольных и мачтовых опор;

- устройство заземлений и искровых разрядников на подходах воздушных линий к телефонным станциям с центральной батареей, а также к кабельным вводам и кабельным вставкам;

- оборудование заземлений и установка предохранителей с разрядниками для блокираторов;

- заземление металлических оболочек, экрана кабелей с пластмассовой оболочкой и троса подвесных кабелей;

- оборудование заземлений для НУП аппаратуры уплотнения;

- установка разрядников, прокладка защитных тросов, прокладка кабелей в металлических трубах при проектировании трасс кабелей связи в зоне опасного влияния электрожелезнодорожных и высоковольтных линий.

Линейные сооружения должны быть запроектированы так, чтобы выдерживались необходимые габариты. На рабочих чертежах следует указывать привязки к постоянным ориентирам трасс проектируемых линий связи и переходов через препятствия (нефте- и газопроводы, теплопроводы, воздушные линии электропередачи, автомобильные и железные дороги, действующие линии связи, радиофикации и т.). Должны соблюдаться меры защиты при работе среди действующих проводов и линий электропередач, находящихся под напряжением.

На рабочих чертежах трасс должны указываться места пересечений с подземными и наземными инженерными сооружениями (препятствиями) и делаться предупредительные надписи: например, «Осторожно, газопровод», «Опасно, ВЛ» и т.п., а в отдельных случаях должны приводиться профили пересечений и во всех случаях пересечений согласования с владельцами сооружений;

2) по станционным сооружениям:

- размещение оборудования в технических помещениях с обеспечением нормируемых эксплуатационных проходов;

- заземление всех металлоконструкций оборудования (стативы АТС, стойки аппаратуры уплотнения и электропитания, каркасы с оборудованием и т.п.);

- прокладка диэлектрических резиновых ковриков у оборудования, питаемого переменным током напряжением 380/220 В, подлежащего оперативному обслуживанию и профилактике;

- применение для проведения ремонтных и профилактических работ пониженного напряжения 36 В для переносных ламп и ручного инструмента;

- применение аварийного освещения;

- установка необходимых вентиляционных устройств с целью удаления вредностей (газов и тумана серной кислоты), выделяющихся от аккумуляторной батареи в помещении;

- применение стремянок, тумбочек и т.п. для обслуживания оборудования на высоте.

Все работы по установке и монтажу станционного оборудования, включая его настройку, должны производиться монтажными организациями в соответствии с действующими Правилами техники безопасности и охрани труда.

4.11. ОПРЕДЕЛЕНИЕ ОБЪЕМОВ РАБОТ И СМЕТНОЙ СТОИМОСТИ СТРОИТЕЛЬСТВА

Объемы работ по строительству сооружений СТС и ВПС определяются по чертежам. Единицы измерения объемных показателей принимаются в соответствии с действующими прейскурантами, ценниками, сборниками ЕРЕР. На основании выявленного объема работ составляется смета. При разработке проектов на строительство ВПС, в тех случаях, когда в проектируемые станции совхозов (колхозов) предусматривается включение абонентов (или станций) нескольких хозяйств, строительство межстанционных сетей должно предусматриваться на долевом участии заинтересованных совхозов (колхозов).

При разработке сметной документации следует пользоваться действующими инструкциями [24, 25].

4.12. СОГЛАСОВАНИЕ ЧЕРТЕЖЕЙ И УТВЕРЖДЕНИЕ ПРОЕКТОВ

Необходимые чертежи по линейным и станционным сооружениям должны согласовываться с заинтересованными организациями. Техно-рабочие проекты на строительство сооружений СТС и ВПС, разработанные в соответствии с действующими правилами и нормами, должны рассматриваться экспертными комиссиями при областных (краевых) ПТУС и министерствах связи союзных республик. На основании протоколов комиссии техно-рабочие проекты по СТС и сводные сметы к ним должны утверждаться приказами по ПТУС или министерствам связи союзных республик, а техно-рабочие проекты на строительство сооружений ВПС и сводные сметы к ним должны согласовываться соответствующими ПТУС или министерствами связи союзных республик и утверждаться соответствующими приказами руководителей сельхозпредприятий.

Сводная смета к техно-рабочему проекту, до ее утверждения, должна согласовываться заказчиком проекта (с участием проектной организации) с подрядной организацией, в соответствии с Инструкциями [24, 25].

ПРИЛОЖЕНИЕ. 2.1

ДАННЫЕ О КОЛИЧЕСТВЕ ЖИТЕЛЕЙ В НАСЕЛЕННЫХ ПУНКТАХ

_______________________ района ____________________ области

№ пп.

Наименование населенных пунктов

Наименование хозяйств

Количество жителей, тыс. чел.

Примечание

Существующие

I этап

II этап

Перспектива

1

2

3

4

5

6

7

8

 

 

 

 

 

 

 

При отсутствии данных по графам 5, 6, 7 по отдельным населенным пунктам следует получить данные об изменении количества жителей в целом по району

Составил:                                  должность                  подпись                 ., о., фамилия)

ПРИЛОЖЕНИЕ 2.2

ДАННЫЕ О СУЩЕСТВУЮЩИХ ТЕЛЕФОННЫХ СТАНЦИЯХ МИНИСТЕРСТВА СВЯЗИ

_________________ района _________________ области по состоянию

на _________________ 19 __ г.

№ пп.

Наименование пункта установки станции

Назначение станции (ЦС, УС, ОС)

Система станции

Емкость станции, №№

В какую станцию (пункт) включена

Количество каналов (СЛ) к вышестоящей станции

Примечание

монтированная

задействованная

Всего

В том числе

НЧ

ВЧ

1

2

3

4

5

6

7

8

9

10

11

 

 

 

 

 

 

 

 

 

 

 

Составил:                                  должность                  подпись                 ., о., фамилия)

ПРИЛОЖЕНИЕ 2.3

ДАННЫЕ О СУЩЕСТВУЮЩИХ ЛИНЕЙНЫХ СООРУЖЕНИЯХ СТС

________________________ района ________________________ области

по состоянию на __________________ 19 __ г.

№ пп.

Наименование участка (направления)

Тип линии (воздушная, кабельная)

Профиль линии (номер)

Материал и диаметр проводов, марка кабеля

Протяженность цепи или кабеля, км

Год подвески цепи или прокладки кабеля

Аппаратура уплотнения (тип)

Кому принадлежит линия, на которой подвешена цепь

Состояние проводов или кабеля

Примечание

1

2

3

4

5

6

7

8

9

10

11

 

 

 

 

 

 

 

 

 

 

 

Составил:                                  должность                  подпись                 ., о., фамилия)

ПРИЛОЖЕНИЕ 2.4

ДАННЫЕ ОБ УЧРЕЖДЕНЧЕСКО-ПРОИЗВОДСТВЕННЫХ ТЕЛЕФОННЫХ СТАНЦИЯХ, ИМЕЮЩИХ ВЫХОД НА СЕТЬ МИНИСТЕРСТВА СВЯЗИ

_______________________ района _______________________ области

в _________________ по состоянию на _________________ 19 __ г.

№ пп.

Наименование пункта установки станции и кому принадлежит

Тип станции

Емкость станции, №№

Количество абонентов с правом выхода на сеть общего пользования

Количество соединительных линий

Расстояние до опорной телефонной станции Мин. связи, км

В какую телефонную станцию Мин. связи включена (наименование пункта)

Будет ли передача на Мин. связи

Примечание

монтированная

задействованная

1

2

3

4

5

6

7

8

9

10

11

 

 

 

 

 

 

 

 

 

 

 

Составил:                                  должность                  подпись                 ., о., фамилия)

ПРИЛОЖЕНИЕ 2.5

ОСНОВНЫЕ ДАННЫЕ, ХАРАКТЕРИЗУЮЩИЕ СУЩЕСТВУЮЩУЮ СТС

в п. _______________________

1. АТС (или РТС) размещается по улице ____________________ дом ___________.

2. МТС размещается по улице _______________________ дом _________________.

3. Общее количество связей:

А. Занимающих емкость станции

а) основных телефонных аппаратов _______________________ штук

в том числе:

- неспаренных _________________ шт.

- спаренных ___________________ шт.

б) телефонов-автоматов _________ шт.

в) соединительных линий с УПТС ______________ шт.

___________________________________________________________

Итого ______________ шт.

Б. Не занимающих емкость станции

а) параллельных аппаратов ___________________ шт.

б) дополнительных аппаратов _________________ шт.

в) соединительных линий ____________________ шт.

г) прямых проводов__________________________ шт.

д) СЛ с МТС ________________________________ шт.

___________________________________________________________

Итого ______________ шт.

Составил:                            должность                    подпись                ., о., фамилия)

Главный инженер _________________________________ подпись (и., о., фамилия)

(наименование ЭТУС)

Дата

ПРИЛОЖЕНИЕ 2.6

ВЕДОМОСТЬ ЗАГРУЗКИ ОКОНЕЧНЫХ РАСПРЕДЕЛИТЕЛЬНЫХ УСТРОЙСТВ СТС В

___________________________________________________________________________

(наименование населенного пункта и района)

по состоянию на ____________________ 19 __ г.

№ пп.

Номера

Существующая загрузка распределительных устройств, шт.

распределительных коробок

кабельных ящиков

телефонными аппаратами

телефонами-автоматами

СЛ с УПТС

межстанционными СЛ

прямыми проводами

неспаренными

спаренными

двухпроводными

трехпроводными

двухпроводными

трехпроводными

1

2

3

4

5

6

7

8

9

10

11

 

 

 

 

 

 

 

 

 

 

 

 

Всего

 

 

 

 

 

 

 

 

Составил:                                  должность                  подпись                   ., о., фамилия)


ПРИЛОЖЕНИЕ 2.7

ВЕДОМОСТЬ ЗАГРУЗКИ РАСПРЕДЕЛИТЕЛЬНЫХ ШКАФОВ АБОНЕНТСКИМИ УСТРОЙСТВАМИ И СОЕДИНИТЕЛЬНЫМИ ЛИНИЯМИ

В _________________________________________________________________________

(наименование населенного пункта и района)

по состоянию на _________________ 19 __ г.

№пп

Номера распределительных шкафов

Емкость распределительных шкафов

Местонахождение шкафов (адрес)

Емкость заведенных в шкаф кабелей в парах

Существующая загрузка распределительного шкафа, шт.

телефонными аппаратами

телефонами-автоматами

СЛ с УПТС

межстанционными СЛ

прямыми проводами

магистральных

распределительных

неспаренными

спаренными

двухпроводными

трехпроводными

двухпроводными

трехпроводными

 

 

 

А. Шкафные районы

 

 

 

 

 

 

 

 

Итого

 

 

 

 

 

 

 

 

 

 

Б. Зона прямого питания

 

 

 

 

 

 

 

 

Итого

 

 

 

 

 

 

 

 

 

 

Всего

 

1

 

 

 

 

 

 

 

 

Составил:             должность                         подпись                               ., о., фамилия)

Главный инженер _________________ подпись (и., о., фамилия)

(наименование ЭТУС)


ПРИЛОЖЕНИЕ 2.8

ДАННЫЕ О ПРЯМЫХ ПРОВОДАХ АТС (PТC) В _____________________________

(наименование населенного пункта

___________________________________________________________________________

и района)

по состоянию на ____________________ 19 __ г.

№ пп.

Первый конец

Второй конец

Количество прямых проводов

Примечание

откуда (наименование предприятия)

адрес

куда (наименование предприятия)

адрес

существующих

добавляемых

всего

 

А. С предприятиями Министерства связи

 

 

 

 

Б. С предприятиями других ведомств

 

 

 

Составил:             должность                         подпись                               ., о., фамилия)

Главный инженер _________________ подпись (и., о., фамилия)

(наименование ЭТУС)

ПРИЛОЖЕНИЕ 2.9

ДАННЫЕ О КОЛИЧЕСТВЕ СУЩЕСТВУЮЩИХ СОЕДИНИТЕЛЬНЫХ ЛИНИЙ ПО ПРОЕКТИРУЕМЫМ НАПРАВЛЕНИЯМ МЕЖСТАНЦИОННЫХ СЛ

В _________________________________________________________________________

аименование населенного пункта и района)

по состоянию на _____________ 19 __ г.

№ пп.

Наименование направлений межстанционных СЛ

Количество НЧ и ВЧ каналов, используемых для

межстанционной связи

поперечной связи

телеграфной связи

подачи программ вещания

 

 

 

 

 

 

 

Bсего

 

 

 

 

Составил:             должность                         подпись                               ., о., фамилия)

Главный инженер _________________ подпись (и., о., фамилия)

(наименование ЭТУС)


ПРИЛОЖЕНИЕ 2.10

ДАННЫЕ О СОСТОЯНИИ КАБЕЛЬНЫХ И ВОЗДУШНЫХ ЛИНИЙ СТС

В _________________________________________

аименование населенного пункта и района)

на ___________________________ 19 __ г.

№ пп.

Наименование, номера кабелей или воздушно-проволочных цепей (для СЛ дополнительно наименование участков)

Количество поврежденных пар в кабелях

Сопротивления изоляции

Переходное затухание на расчетной частоте

Примечание

Всего

В том числе

жил кабелей

воздушных цепей

между кабельными цепями

между воздушными цепями

механических повреждений

по переходному затуханию

в норме, %

ниже нормы, %

в норме, %

ниже нормы, %

в норме, %

ниже нормы, %

на ближнем конце, Нп

защищенность на дальнем конце. Нп

 

 

 

 

 

 

 

 

 

 

 

 

 

 

Составил:             должность                         подпись                               ., о., фамилия)

Главный инженер _________________ подпись (и., о., фамилия)

(наименование ЭТУС)

Примечание. Данные по межстанционным CЛ приводятся только на интересующих направлениях.


ПРИЛОЖЕНИЕ 2.11

ОСНОВНЫЕ ТЕХНИЧЕСКИЕ ДАННЫЕ СУЩЕСТВУЮЩЕЙ ТЕЛЕФОННОЙ СТАНЦИИ В п. _______________________

по состоянию на _______________________ 19 __ г.

№ пп.

Технические данные

Наименование пунктов установки станции

 

 

 

 

1

2

3

4

5

6

1

Тип станции и ее назначение (ОС, УС, ЦС)

 

 

 

 

2

Емкость станции в номерах:

 

 

 

 

монтированная

 

 

 

 

задействованная

 

 

 

 

3

Количество соединительных линий:

 

 

 

 

монтированное

 

 

 

 

задействованное

 

 

 

 

4

Тип вводных устройств:

 

 

 

 

абонентских линий

 

 

 

 

соединительных линий

 

 

 

 

5

Монтированная емкость линейной стороны кросса и количество защитных полос

 

 

 

 

6

Год ввода станции в эксплуатацию

 

 

 

 

7

Общее состояние оборудования (процент износа)

 

 

 

 

Составил:             должность                         подпись                               ., о., фамилия)

Главный инженер _________________ подпись (и., о., фамилия)

(наименование ЭТУС)

ПРИЛОЖЕНИЕ 2.12

ВЕДОМОСТЬ СУЩЕСТВУЮЩЕЙ АППАРАТУРЫ УПЛОТНЕНИЯ И ВВОДНО-КОММУТАЦИОННОГО ОБОРУДОВАНИЯ

___________________________________________________________________________

(наименование населенного пункта, района)

по состоянию на ____________________ 19 __ г.

№ пп.

Наименование и тип оборудования

Емкость оборудования

Год выпуска

Примечание

монтированная

используемая

1

2

3

4

5

6

 

 

 

 

 

 

Составил:             должность                         подпись                               ., о., фамилия)

Главный инженер _________________ подпись (и., о., фамилия)

(наименование ЭТУС)

ПРИЛОЖЕНИЕ 2.13

ДАННЫЕ О СУЩЕСТВУЮЩЕМ ОБОРУДОВАНИИ ВЫПРЯМИТЕЛЬНОЙ

В _________________________________________________________________________

(наименование населенного пункта)

по состоянию на ___________________ 19 __ г.

№ пп.

Наименование оборудования

Количество

Напряжение питания и режим работы

Выпрямл. напряжение пост. тока (для ВУ) В

Величина выпрямл. тока (для ВУ) А

Мощность ВУ кВт

Год установки

Процент износа

1

2

3

4

5

6

7

8

9

 

 

 

 

 

 

 

 

 

Составил:             должность                         подпись                               ., о., фамилия)

Главный инженер _________________ подпись (и., о., фамилия)

(наименование ЭТУС)

ПРИЛОЖЕНИЕ 2.14

ДАННЫЕ О СУЩЕСТВУЮЩЕМ ОБОРУДОВАНИИ АККУМУЛЯТОРНЫХ БАТАРЕЙ

В _________________________________________________________________________

(наименование населенного пункта)

по состоянию на __________________ 19 __ г.

№ пп.

Наименование оборудования

Количество батарей

Напряжение батарей, В

Число аккумуляторов в батарее

Тип аккумуляторов

Емкость батареи, А·ч

Год установки

Состояние батареи: отдача в % по емкости

Режим работы и тип зарядного устройства

1

2

3

4

5

В

7

8

9

10

 

 

 

 

 

 

 

 

 

 

Составил:             должность                         подпись                               ., о., фамилия)

Главный инженер _________________ подпись (и., о., фамилия)

(наименование ЭТУС)

ПРИЛОЖЕНИЕ 2.15

ОСНОВНЫЕ ТЕХНИЧЕСКИЕ ДАННЫЕ О СУЩЕСТВУЮЩЕЙ МЕЖДУГОРОДНОЙ ТЕЛЕФОННОЙ СТАНЦИИ

в ____________________________________ по состоянию на

(наименование пункта)

____________________________________19 __ г.

1. Система станции ________________________________________________________

2. Система обслуживания (заказная, немедленная и т.п.)

3. Число каналов __________________________________________________________

(ручных, исходящей и входящей п/а)

4. Количество коммутаторов ________________________________________________

аздельно заказной и немедленной системы)

5. Количество рабочих мест _________________________________________________

6. Количество рабочих столов:

монтированных _________________________________________________________

задействованных ________________________________________________________

7. Количество соединительных линий с ЦС:

монтированных _________________________________________________________

задействованных ________________________________________________________

8. Расстояние от МТС до ЦС по трассе

_________________________________________________________________________

случае, если они расположены в разных зданиях)

Составил:             должность                         подпись                               ., о., фамилия)

Главный инженер _________________ подпись (и., о., фамилия)

(наименование ЭТУС)


ПРИЛОЖЕНИЕ 2.16

ДАННЫЕ ОБ УЧРЕЖДЕНЧЕСКО-ПРОИЗВОДСТВЕННЫХ ТЕЛЕФОННЫХ СТАНЦИЯХ, ВКЛЮЧЕННЫХ В АТС п.

№ пп.

Наименование владельцев УПТС

Система станции и год выпуска

Монтированная емкость, №№

Количество абонентов, имеющих право внешней связи

Количество смонтированных комплектов РСЛ внешней связи

Количество СЛ двухпроводных и трехпроводных

Расстояние до опорной станции по трассе СЛ

Примечание

входящих

исходящих

двустороннего действия

входящих для связи с МТС

входящих

исходящих

двусторонних

входящих для связи с МТС

1

2

3

4

5

6

7

8

9

10

11

12

13

14

15

 

 

 

 

 

 

 

 

 

 

 

 

 

 

 

 

 

 

 

 

 

 

 

 

 

 

 

 

 

 

 

 

 

 

 

 

 

 

 

 

 

 

 

 

 

Составил:             должность                         подпись                               ., о., фамилия)

Главный инженер _________________ подпись (и., о., фамилия)

(наименование ЭТУС)


ПРИЛОЖЕНИЕ 2.17

ТЕХНИЧЕСКИЕ ТРЕБОВАНИЯ К ПОМЕЩЕНИЯМ ДЛЯ УСТАНОВКИ ОБОРУДОВАНИЯ ЭЛЕКТРОСВЯЗИ

1. Помещения, предусматриваемые для установки оборудования электросвязи, должны выделяться в зданиях, отвечающих по огнестойкости требованиям НТП 45.558 - «Сооружения гражданские предприятий проводной и почтовой связи».

2. Размеры технических помещений должны допускать возможность размещения в них оборудования с учетом намечаемого развития.

3. Перекрытия под техническими помещениями должны быть рассчитаны на нагрузку от устанавливаемого оборудования с учетом коэффициента перегрузки.

4. Чистые полы помещений аппаратных должны иметь ровную поверхность и жесткое основание. Они могут быть паркетными, дощатыми или покрытые линолеумом на тканевой основе.

5. Помещения аппаратных должны быть сухими, хорошо вентилируемыми, с естественным освещением.

6. Искусственное электрическое освещение технических помещений должно быть оборудовано в соответствии со СНиП, ч. II, раздел А, гл. 9 «Искусственное освещение. Нормы проектирования» (СНиП II А.9-71) и МРТУ 45.122.68 «Правила и нормы искусственного освещения предприятий связи».

7. Приточно-вытяжная вентиляция должна соответствовать требованиям НТП 45.588. Относительная влажность помещений аппаратных должна быть в пределах 45-75 %.

8. Отопление помещений должно быть центральное, водяное и, как исключение, печное. При печном отоплении топки не должны выходить в технические помещения.

9. Высота помещений аппаратной от пола до низа прогона балки или потолка должна быть не менее 3 м для АТС1) и не менее 2,5 м для диспетчерской.

1) Для АТСК - не менее 3,6 м.

10. Стены и потолок окрашиваются масляной краской. В диспетчерской стены и потолки должны быть отделаны звукопоглощающими материалами.

11. Высота помещения аккумуляторной от пола до низа прогона балки или потолка должна быть не менее 2,4 м.

12. Вход в аккумуляторное помещение должен быть через тамбур, обе двери которого должны открываться наружу. Тамбур должен иметь такие размеры, чтобы внутреннюю дверь можно было открывать и закрывать при закрытой наружной двери.

13. Чистый пол аккумуляторной должен иметь жесткое основание и выполнен из кислотоупорного асфальта или метлахской плитки на кислотоупорном цементе.

14. Стены и потолок аккумуляторной окрашиваются кислотоупорной краской. Потолок должен быть ровным.

15. Помещение аккумуляторной оборудуется специальной приточно-вытяжной вентиляцией.

16. В аккумуляторной должна применяться специальная герметическая аппаратура электроосвещения, проводка к которой выполняется проводом в герметической кислотоупорной оболочке.

Устанавливать в аккумуляторной выключатели, штепсельные розетки и предохранители не допускается.

17. Должны быть предусмотрены:

- сеть аварийного освещения (в соответствии с НТП 45.1370-71);

- сеть ремонтного освещения 36 В с количеством розеток, определяемым проектом.

ПРИЛОЖЕНИЕ 2.18

ДАННЫЕ ПО ЭЛЕКТРОСНАБЖЕНИЮ ____________________________

(наименование пункта, района)

по состоянию на ______________________________________________ 19 __ г.

1. Номинальное напряжение сети переменного тока ____________________________

2. Продолжительность подачи электроэнергии в сутки __________________________

_________________________________________________________________________

(круглосуточно или определенной продолжительности)

3. Бывают ли перерывы в подаче электроэнергии и какой длительности за сутки

_________________________________________________________________________

4. Бывают ли длительные перерывы в подаче электроэнергии по причинам аварийного или ремонтно-профилактического характера (указать, как часто и на какое время) _____________________________________________________________

5. Являются ли перерывы заранее обусловленными ____________________________

6. Колебания сетевого напряжения в течение суток (на шинах низкого напряжения) в вольтах и процент от номинального напряжения ______________________________

7. Колебания частоты переменного тока ______________________________________

8. Характеристика существующего ввода переменного тока _____________________

Примечание. В неэлектрифицированных пунктах указать, имеются ли перспективы на электрификацию в течение ближайших двух-трех лет.

Должность _______________________________________ подпись (и., о., фамилия)

(наименование электроснабжающей организации)

ПРИЛОЖЕНИЕ 2.19

ТЕХНИЧЕСКИЕ УСЛОВИЯ НА ПРИСОЕДИНЕНИЕ

№ пп.

Вопросы

Ответы

1

Разрешается присоединение потребляемой мощности

________________________ кВт

2

Место (точки) присоединения

 

3

Напряжение в точках присоединения (линейное, фазовое)

Линейное _______________ В

Фазовое ________________ В

4

Тип и технические данные существующего оборудования в точках присоединения

 

5

Объем работы в точках присоединения, возлагаемые на Министерство связи

 

6

Перечень необходимой аппаратуры и основных материалов для монтажа в точках присоединения

 

7

Следует ли организовать учет электроэнергии:

а) в техздании

или

б) в точке присоединения

Требуется ли установка только активного учета или также и реактивного учета

 

8

Задается ли электроснабжающей организацией коэффициент мощности (cos α), какой величины, необходимость установки компенсационных устройств и где их предлагается установить в ТП или в техздании

Задается

Не задается

(ненужное зачеркнуть)

9

Дополнительные условия электроснабжающей организации

Перечислить

Технические условия выданы со сроком действия ___________ года

Электроснабжающая организация:

Должность                      подпись                ., о., фамилия)

Печать                              Дата выдачи

ПРИЛОЖЕНИЕ 2.20

ЗАЯВКА НА ПОЛУЧЕНИЕ ТЕХНИЧЕСКИХ УСЛОВИЙ ПРИСОЕДИНЕНИЯ

1. Наименование и адрес заявителя __________________________________________

2. Адрес проектируемого объекта ___________________________________________

3. Характеристика проектируемого объекта ___________________________________

4. Имеющаяся в настоящее время нагрузка по договору _________________________

5. Имеющаяся в настоящее время подключенная мощность:

а) потребляемая _______________________________________________________ кВт

б) трансформаторов __________________________________________________ кВ·А

6. Требуемая дополнительная потребляемая мощность __________________________

_______________________________________________________________________ кВт

7. Планируемый срок ввода объекта в эксплуатацию ________________________ год

8. Ожидаемая, при полном развитии, величина потребляемой мощности и срок полного развития ____________________ кВт ________________________________ год

Технические условия на присоединение следует направить

___________________________________________________________________________

(наименование организации и адрес)

Составил: должность _________________ подпись (и., о., фамилия)

Примечание. Настоящая заявка, с приложением двух экземпляров форм технических условий на присоединение, направляется в электроснабжающую организацию при письме за подписью гл. инженера ЭТУС или ОПТУС.

ПРИЛОЖЕНИЕ 3.1

«Утверждаю»

__________________

Подпись (фамилия)

Дата, печать.

ЗАДАНИЕ НА РАЗРАБОТКУ ПЕРСПЕКТИВНОЙ СХЕМЫ РАЗВИТИЯ СЕТИ СЕЛЬСКОЙ ТЕЛЕФОННОЙ СВЯЗИ ________________________________________

(наименование района, области, края, АССР)

I. ОБЩИЕ ВОПРОСЫ

1. Заказчик проекта _______________________________________________________

(наименование областного ПТУС или министерства связи союзной республики).

2. Проектированию подлежит схема развития сети сельской телефонной связи района с учетом других видов электросвязи. Развитие сети предусмотреть на два проектных этапа и перспективу (2000 г.).

3. В основу разработки перспективной схемы развития СТС должна быть положена схема районной планировки _____________________________ района, разработанная институтом ______________________ в 197 __ г. и утвержденная решением № __________ от « » ______________ исполнительного комитета _______________________ областного Совета депутатов трудящихся.

4. При разработке схемы развития СТС района учесть решения, принятые в генеральной схеме развития связи _______________ зоны, разработанной институтом _______________________ в 19 __ г. и утвержденной решением № _________ от ________ Министерства связи __________________________________________.

5. При определении количества телефонных аппаратов по населенным пунктам принять нормы телефонной плотности, утвержденные Министерством связи СССР ___________ 19 __ г. с отклонением в сторону увеличения на I этапе на _____ %, на II этапе на _____ %, так как достигнутая плотность по району в целом уже составляет ______ аппаратов на тысячу жителей.

6. Предусмотреть переход района на принцип автоматической зоновой телефонной связи, начиная с 19 __ г., а райцентра с 19 __ г.

7. В схеме развития СТС дополнительно рассмотреть следующие вопросы:

__________________________________________________________________________

Начальник службы ГСТС, ОПТСУ ____________________________________________

Подпись (фамилия) _________________________________________________________

Дата ____________________________________

ПРИЛОЖЕНИЕ 3.2

РАСЧЕТ КОЛИЧЕСТВА ТЕЛЕФОННЫХ АППАРАТОВ

_____________________ района _________________ области

№ п.п.

Наименование населенных пунктов

Количество жителей

Количество телефонных аппаратов

существующее

на первый этап

на второй этап

на перспективу

существующее

на первый этап

на второй этап

на перспективу

1

2

3

4

5

6

7

8

9

10

 

 

 

 

 

 

 

 

 

 

Составил:              должность                         подпись                                  (и., о., фамилия)

Проверил:              должность                         подпись                                  (и., о., фамилия)

ПРИЛОЖЕНИЕ 3.3

ДАННЫЕ О ТЕЛЕФОННЫХ СТАНЦИЯХ И НУМЕРАЦИЯ АБОНЕНТОВ

Назначение станции

Наименование пунктов установки

Тип станций и монтированная емкость, №№

Монтированная емкость станций на перспективу, №№

Нумерация абонентов

существующие

на первый этап

на второй этап

на первый этап

на перспективу

 

 

 

 

 

 

 

 

Составил:              должность                         подпись                                  (и., о., фамилия)

Проверил:              должность ___________  подпись                                  (и., о., фамилия)


ПРИЛОЖЕНИЕ 3.4

Таблица 1

Основные технические данные аппаратуры уплотнения, применяемой на СТС

№ пп

Наименование

Основные данные аппаратуры уплотнения

В

В-2-2

В-3-3с

ВО-3-4

ВО-12-3

КНК-6т

КНК-12

ИKM-12M

«Кама»

1

2

3

4

5

6

7

8

9

10

11

1

Тип линии

Воздушная, стальные провода 3 и 4 мм

Воздушная, стальные провода 3 и 4 мм. Кабель КСПП 1 × 4 × 1,2

Воздушная, стальные провода 3 и 4 мм

Воздушная, медные и биметаллические цепи

Кабельная

Кабели: КСПП 1 × 4 × 0,9; КСПП (ВТСП) 1 × 4 × 1,2

2

Система связи

Двухпроводная, двухполосная

Двухпроводная, двухполосная. Однокабельная, двухполосная

Двухпроводная, двухполосная

Двухпроводная, двухполосная

Однокабельная, двухпроводная, двухполосная

Однокабельная (двухкабельная), четырехпроводная, однополосная

Однокабельная, двухпроводная, двухполосная

3

Линейный спектр, кГц

4,6-25,7

4,6-25,7

4-31

4-31

36-143

16-120

6-108

Временное уплотнение соответствует полосе частот до 740-800 кГц

12-552

Направление А - Б

4,63-12,7

4,63-12,7

I 4-16 (П)

II 4-16 (О)

III 4-16 (П)

IV 4-16 (О)

4-16 (П)

4-16 (О)

4-16 (О)

4-16 (П)

92-140 (О)

95-143 (П)

93-141 (П)

94-142 (О)

16-60

6-54

0-740

12-256

Направление Б - А

17,63-25,7

12,63-25,7

I 19-31 (П)

II 19-31 (О)

III 18-30 (П)

IV 18-30 (О)

19-31 (П)

18-30 (О)

18-30 (П)

19-31 (О)

36-84 (П)

36-84 (О)

36-84 (П)

36-84 (О)

76-120

60-108

0-740

304-548

4

Количество организуемых ТЧ каналов, возможности их использования для связи:

2

2

3

3

12

6

12

12

30

телефонной

2

2

3

3

12

6

12

12

30

телеграфной

-

-

Один из телефонных каналов для вторичного уплотнения аппаратурой ТТ

Три канала тонального телеграфирования без занятия телефонных. Один из телефонных для уплотнения аппаратурой ТТ

Один из телефонных для уплотнения аппаратурой ТТ

Два из телефонных для уплотнения каждого аппаратурой ТТ

Два из телефонных для уплотнения каждого аппаратурой ТТ

Два независимых телеграфных без занятия телефонных

Один из телефонных для уплотнения аппаратурой ТТ-ЧМ

Фототелеграфной вещания (звукового)

Используется один телефонный канал

 

 

Вместо двух телефонных один канал вещания

Вместо двух телефонных один канал вещания

Вместо двух или трех телефонных один канал вещания

1 канал по фантомной цепи

Вместо двух телефонных один канал вещания

Вместо двух телефонных (11 или 12) один канал вещания

-

5

Длина переприемного участка, км

32 (см. табл. 2)

87 (см. табл. 3)

По стальным цепям; 150 км - при одном ОУП и 4 НУП; 75 км - при 2 НУП без ОУП, по кабельным цепям; 57 км - КСПП 1 × 4 × 1,2 (см. табл. 4 и 5)

По стальным цепям: 75 км - без ОУП при двух НУП; 150 км - при одном ОУП и четырех НУП

2000

112-КСПП 1 × 4 × 1,2; 98-КСПП 1 × 4 × 0,9

112-КСПП 1 × 4 × 1,2; 105-КСПП 1 × 4 × 0,9

100 - при одном ОУП; 50 - без ОУП

50 по кабелям КСПП (ВТСП) 1 × 4

6

Номинальная длина усилительного участка, км

См. табл. 2

См. табл. 3

См. табл. 4 и табл. 5

-

80-150 км. Лето, сыро +20 °С, без ВУС. При неблагоприятных условиях включается ВУС (см. примечание 4)

См. табл. 6

См. табл. 6

7,2-КСПП 1  × 4 × 0,9; 7,8-КСПП 1 × 4 × 1,2

8,2-КСППБ 1 × 4 × 0,9; 9,1-КСППБ 1 × 4 × 1,2; 6,0-КСПП 1 × 4 × 0,9; 7,0-КСПП 1 × 4 × 1,2

7

Количество дистанционно питаемых НУП между двумя питающими:

 

 

 

 

 

 

 

 

 

по схеме «провод - провод»

-

-

2

2

2 (ВУС)

6

6

По фантомной цепи:

6-КСПП 1 × 4 × 0,9

7-КСПП 1 × 4 × 1,2

По фантомной цепи:

5

по схеме «провод - земля»

-

2

-

-

2 (ВУС)

-

-

-

-

Примечания: 1. При загрузке каналов следует учитывать, что в одной и той же системе нельзя использовать каналы тональной частоты одновременно для ТТ, фототелеграфирования и вещания. Возможно использование каналов ТЧ для цепей: ТТ и вещания; ТТ и фототелеграфирования.

2. Каналы вещания, организуемые по цепям, уплотненным аппаратурой СТС, имеют эффективно передаваемую полосу частот 50-6000 Гц.

3. В таблице принято: прямое положение линейного спектра - П, обратное - О.

4. При использовании для уплотнения аппаратурой ВО-12-3 подвесных кабелей КСПП 1 × 4 × 0,9 (1,2), длина делительного участка при двух ВУС в зоне умеренного климата 16 (17,2) км, в зоне жаркого климата 15 (16), а при одном ОУП и четырех ВУС соответственно 15 (16,4) км и 14 (15,2) км.

5. В качестве аппаратуры вторичного уплотнения может использоваться аппаратура тонального телеграфирования типов TT-6 и ТТ-5 для образования ТГ каналов со скоростью 50 Бод и СКАТТ-12 для получения 12 каналов 50 Бод, 6 каналов 100 Бод или 3 каналов 200 Бод.

6. В аппаратуре сохраняется НЧ канал, занимающий спектр ниже 3,6 кГц, используемый для организации СЛ в случае, если его затухание на частоте 800 Гц не превышает 9,6 дБ, а сопротивление шлейфа - не более 2000 Ом.


Таблица 2

Аппаратура В-2

Диаметр провода, мм

Расстояние между проводами, см

Дальность связи, км

номинальная

максимальная

минимальная

3

20

22,3

26,6

7,5

30

23,6

28,0

7,8

60

25,8

31,4

8,5

4

20

26,6

32,4

9,0

30

28,1

34,2

9,8

60

31,5

38,6

11,0


Таблица 3

Аппаратура В-2-2

Диаметр провода, мм

Расстояние между проводами, см

Длина одного усилительного участка, км, при числе усилительных участков

Дальность связи, км, при числе усилительных участков

номинальная

максимальная

минимальная

номинальная

максимальная

минимальная

1

2

3

1

2

3

1

2

3

1

2

3

1

2

3

1

2

3

3

20

22,3

20,4

19,3

23,4

21,5

20,5

8,4

6,7

5,6

22,3

40,8

57,9

23,4

43,0

61,5

8,4

13,4

16,8

30

23,6

21,5

20,4

24,7

22,6

21,6

8,8

7,1

5,9

23,6

43,0

61,2

24,7

45,2

64,8

8,8

14,2

17,7

60

25,8

23,6

22,3

27,0

24,8

23,7

9,7

7,7

6,5

25,8

47,2

66,9

27,0

49,6

71,1

9,7

15,4

19,5

4

20

26,6

24,3

23,0

28,0

25,7

24,5

10,0

8,0

6,7

26,6

48,6

69,0

28,0

51,4

73,5

10,0

16,0

20,1

30

28,1

25,7

24,4

29,6

27,1

25,8

10,5

8,4

7,1

28,1

51,4

73,2

29,6

54,2

77,4

10,5

16,8

21,3

60

31,5

28,8

27,2

33,0

30,3

29,0

11,8

9,4

7,9

31,5

57,6

81,6

33,0

60,6

87,0

11,8

18,8

23,7

Таблица 4

Аппаратура В-3-3с

Количество НУП

Стальные цепи

Длина усилительного участка, км (номер участка в направлении А - Б)

Дальность связи, км

Диаметр проводов, мм

Расстояние между проводами, см

1

2

3

номинальная (оптимальная)

максимальная

минимальная

номинальная (оптимальная)

максимальная

минимальная

номинальная (оптимальная)

максимальная

минимальная

номинальная (оптимальная)

максимальная

минимальная

1

2

3

4

5

6

7

8

9

10

11

12

13

14

15

 

3

20

24/33

25/34

8/25

-

-

-

-

-

-

24/33

25/34

8/25

30

26/35

27/36

9/27

26/35

27/36

9/27

60

29/38

30/39

10/30

29/38

30/39

10/30

4

20

31/39

32/40

10/32

 

 

 

 

 

 

31/39

32/40

10/32

30

32/42

33/43

11/33

32/42

33/43

11/33

60

36/46

37/47

12/37

36/46

37/47

12/37

1

3

20

Определяется графическим расчетом как в случае без компандера, так и с компандером

18,81)

8,41)

Определяется графическим расчетом как в случае без компандера, так и с компандером

18,81)

8,41)

Определяется графическим расчетом как в случае без компандера, так и с компандером

-

-

Определяется суммированием длин всех участков как в случае без компандера, так и с компандером

37,62)

16,82)

30

18,8

8,7

18,8

8,7

37,6

17,4

60

18,8

9,7

18,8

9,7

37,6

19,4

4

20

25,01)

10,01)

33,51)

10,01)

-

-

58,52)

20,02)

30

26,3

10,5

33,5

10,5

59,8

21,0

60

29,8

12,9

33,5

12,0

63,3

24,0

2

3

20

18,81)

8,41)

21,71)

8,41)

18,81)

8,41)

 

58,62)

25,22)

30

18,8

8,7

24,2

8,7

18,8

8,7

59,3

26,1

60

18,8

9,7

24,2

9,7

18,8

9,7

61,8

29,1

4

20

25,01)

10,01)

25,01)

10,01)

33,51)

10,01)

83,52)

30,02)

30

26,3

10,5

26,3

10,5

33,5

10,5

86,1

31,5

60

29,8

12,0

29,8

12,0

33,5

12,0

93,1

36,0

1) Длины усилительных участков для случая применения аппаратуры с компандером, а для случая без компандера определяются графическим расчетом.

2) Для случая применения аппаратуры с компандером, а для случая без компандера она определяется суммированием длин всех усилительных участков.

Примечание. В числителе дана длина усилительного участка для случая применения аппаратуры без компандера, а в знаменателе - с компандером. Графический расчет приведен в [2].


Таблица 5

Аппаратура В-3-3с для уплотнения кабеля КСПП 1 × 4

Кол-во НУП

Диаметр жил кабеля, мм

Длина усилительного участка, км (номер участка в направлении А - Б)

Дальность связи, км

номин. (оптим.)

макс.

миним.

номин. (оптим.)

макс.

миним.

номин. (оптим.)

макс.

миним.

номин.

максим.

миним.

1

2

3

4

5

6

7

8

9

10

11

12

13

14

Без НУП

0,9

22,0

22,9

8,6

-

-

-

-

-

-

22,0

22,9

8,6

1,2

29,0

29,4

11,0

-

-

-

-

-

-

29,0

29,4

11,0

1

0,9

20,0

20,4

8,6

15,0

15,9

9,9

-

-

-

35,0

36,3

18,5

1,2

26,0

26,3

11,0

20,0

20,4

12,7

-

-

-

46,0

46,7

23,7

2

0,9

20,0

20,4

8,6

16,0

16,3

9,9

15,0

15,1

9,8

51,0

51,8

28,3

1,2

26,0

26,3

11,0

20,0

21,0

12,7

19,0

19,4

12,6

57,0

57,0

36,3

Примечание. Максимальная и минимальная дальности связи по кабелю КСПП 1 × 4 × 1,2 при трех усилительных участках меньше суммы максимально возможных длин отдельных участков, так как ограничивается максимальным пределом регулировки выравнивателя кривизны.

Таблица 6

Аппаратура КНК-6Т, КНК-12, ИКМ-12М, «Кама»

Тип аппаратуры

Тип кабеля

Длина усилительного участка, км

Длине связи, км

номин.

максим.

миним.

1

2

3

4

5

6

КНК-6Т

КСПП 1 × 4 × 0,9

14

15

12 - между НУП

2 - между ОП - НУП

98

 

КСПП 1 × 4 × 1,2

16

17

14 - между НУП

2 - между ОП - НУП

112

КНК-12

КСПП 1 × 4 × 0,9

15

16,5

7,5

105

КСПП 1 × 4 × 1,2

16

18

8

112

ИКМ-12М

КСПП 1 × 4 × 0,9

7,2

7,4

1,9

50

КСПП 1 × 4 × 1,2

7,8

8,0

2,0

54

«Кама»1)

КСПП 1 × 4 × 0,9

8,2

8,9

2,5

50

КСПП 1 × 4 × 1,2

9,1

10,0

2,8

54

1) Приведенные в таблице данные справедливы только для бронированных кабелей. Для небронированных кабелей номинальная длина усилительного участка на 2,1 км короче.

Таблица 7

Аппаратура АВСП

Спектр АВСП, кГц

Длина усилительного участка, км, при расстоянии а между проводами, см, и диаметре D стальных проводов, мм

а = 20

а = 30

а = 60

D = 3

D = 4

D = 3

D = 4

D = 3

D = 4

миним.

максим.

миним.

максим.

миним.

максим.

миним.

максим.

миним.

максим.

миним.

максим.

2

(7,88 + 13,78)

-

49,1

-

58,8

-

51,7

-

61,3

-

56,6

-

70,6

4

(28,7 + 34,6)

13

28

16

33

14

29

17

35

15

32

19

39

5

(34,8 + 40,7)

10

23

12

27

10

24

12

29

11

26

14

32

ПРИЛОЖЕНИЕ 3.5

ДАННЫЕ ОБ ОЧЕРЕДНОСТИ (СРОКАХ) ОТКРЫТИЯ СТАНЦИЙ СТС РАЙОНА _________________ ОБЛАСТИ НА ПЕРВЫЙ ЭТАП ________________

№ пп.

Наименование станции

Тип станции

Емкость

Год открытия (расширения)

 

 

 

 

 

Составил:                должность                       подпись                                  (и., о., фамилия)

ПРИЛОЖЕНИЕ 3.6

РАСЧЕТ СТОИМОСТИ СТРОИТЕЛЬСТВА СООРУЖЕНИЙ СТС _______________________ РАЙОНА НА _______________ ЭТАП

№ пп.

Наименование направлений

Линейные сооружения абонентской сети тыс. руб.

Станционные сооружения АТС, тыс. руб.

Межстанционная сеть, тыс. руб.

Всего по направлениям, тыс. руб.

Примечание

1

2

3

4

5

6

7

1

ЦС

 

 

 

 

При необходимости указывается, что затраты относятся за счет ГТС

2

ОС, включенные в ЦС

 

 

 

 

 

3

Узловой район, обслуживаемый УСП

 

 

 

 

 

4

Узловой район, обслуживаемый УС п.

 

 

 

 

 

5

.....................................

 

 

 

 

 

 

Всего

Приспособление зданий и электроснабжение 5 % от основных капитальных вложений

 

 

 

 

 

 

Всего с учетом понижающего коэффициента для _____ этапа

 

 

 

 

Указывается понижающий коэффициент

 

Итого

 

 

 

 

 

Составил:                должность                       подпись                                  (и., о., фамилия)

Проверил:                должность                       подпись                                  (и., о., фамилия)

ПРИЛОЖЕНИЕ 3.7

ПЛАН КАПИТАЛОВЛОЖЕНИЙ НА РАЗВИТИЕ СТС ______________________ РАЙОНА ________________ ОБЛАСТИ

№ пп.

Этапы развития

Размер проектируемых капиталовложений

Технико-экономические показатели

Всего тыс. руб.

В том числе

Линейные сооружения абонентской сети

Станционные сооружения АТС

Межстанционная сеть

Приспособления зданий и электроснабжения

Добавляемая емкость, №№

Стоимость одного номера руб.

тыс. руб.

%

тыс. руб.

%

тыс. руб.

%

тыс. руб.

%

1

2

3

4

5

6

7

8

9

10

11

12

13

1

Первый этап

 

 

 

 

 

 

 

 

 

 

 

2

Второй этап

 

 

 

 

 

 

 

 

 

 

 

 

Всего

 

 

 

 

 

 

 

 

 

 

 

Начальник ПКО (ПКБ)                                    подпись                                  (и., о., фамилия)

Автор проекта        должность                       подпись                                  ., о., фамилия)


ПРИЛОЖЕНИЕ 4.1

ПРИМЕРНЫЙ СПИСОК АБОНЕНТОВ ВПС ЦЕНТРАЛЬНОЙ УСАДЬБЫ (ЦУ) СРЕДНЕГО КОЛХОЗА И БРИГАДЫ, РАСПОЛОЖЕННОЙ НА ТЕРРИТОРИИ ЦУ (НАСЕЛЕНИЕ - ДО 2-3 ТЫС. ЧЕЛ.)

№ пп.

Наименование абонентов

Тип устанавливаемых абонентских устройств

Примечание

Телеф. аппараты, включаемые в АТС

Телефоны-автоматы

Телеф. аппараты диспетчерской связи, включаемые

УКС

УСВ

УГВ

ТКМС1)

Телеф. аппараты, включаемые в ТКМС

Телеф. аппараты, включаемые в КД

ДК

неспарснные

спаренные

в прямые линии

в совмещенные линии

1

2

3

4

5

6

7

8

9

10

11

12

13

14

15

 

I. Управление

 

 

 

 

 

 

 

 

 

 

 

 

 

1

Председатель колхоза

«Псков-1»

3

-

-

1

-

-

-

-

-

-

-

-

3 - количество СЛ на «Псков-1»

2

Секретарь

1

-

-

1

-

-

-

-

-

-

1

-

 

3

Главный агроном

1

-

-

1

-

-

-

-

-

-

1

-

 

4

Главный инженер

1

-

-

1

-

-

-

-

-

-

1

-

 

5

Главный зоотехник

1

-

-

1

-

-

-

-

-

-

1

-

 

6

Главный экономист

1

-

-

1

-

-

-

-

-

-

1

-

 

7

Главный бухгалтер

1

-

-

1

-

-

-

-

-

-

1

-

 

8

Главный ветврач

1

-

-

1

-

-

-

-

-

-

1

-

 

9

Партком

1

-

-

-

-

-

-

-

-

-

-

-

 

10

Отдел кадров (местком)

1

-

-

-

-

-

-

-

-

-

-

-

 

11

Прораб

1

-

-

-

-

-

-

-

-

-

1

-

 

12

Диспетчерский пункт

1

-

-

-

-

-

-

-

-

-

-

-

 

 

II. Производственный сектор

 

 

 

 

 

 

 

 

 

 

 

 

 

13

Ферма КРС

-

-

-

1

-

-

1

-

-

-

-

1

 

14

Мастерская

-

1

-

1

-

-

-

1

-

-

-

-

 

15

Гараж

-

1

-

1

-

-

-

1

-

-

1

-

 

16

Пункт технического обслуживания

1

 

 

1

 

 

 

1

 

 

 

1

 

17

Зерноток

-

-

-

1

-

-

-

1

-

-

-

1

 

18

Склад материальный

-

-

-

1

-

-

1

-

-

-

-

-

 

19

Склад ГСМ

1

-

-

-

-

-

-

-

-

-

-

-

 

20

Бригадир бригады № 2

-

-

-

-

1

-

-

-

-

-

-

-

Аппарат устанавливается в бригаде

21

Бригадир бригады № 3

-

-

-

-

1

-

-

-

-

-

-

-

 

III. Бригада № 1

 

 

 

 

 

 

 

 

 

 

 

 

 

22

Бригадир

1

-

-

-

1

1

-

-

1

-

-

-

 

23

Свиноферма

-

-

-

-

1

-

1

-

-

1

-

1

 

24

Пункт технического обслуживания

1

-

-

-

-

-

-

-

-

1

-

-

 

25

Склад запасных частей

1

-

-

-

-

-

-

-

-

1

-

-

 

26

Зерносклад

-

-

-

-

-

-

-

-

-

1

-

1

 

 

IV. Культурно-бытовой сектор

 

 

 

 

 

 

 

 

 

 

 

 

 

27

Больница

1

-

-

-

-

-

-

-

-

-

-

-

 

28

Школа

1

-

-

-

-

-

-

-

-

-

-

-

 

29

Отделение связи

1

-

1

-

-

-

-

-

-

-

-

-

 

30

Детсад

1

-

-

-

-

-

-

-

-

-

-

-

 

31

Столовая

1

-

-

-

-

-

-

-

-

-

-

-

 

 

V. Квартирный сектор

 

 

 

 

 

 

 

 

 

 

 

 

 

32

Квартира председателя

1

-

-

-

-

-

-

-

-

-

-

-

 

33

« гл. инженера

1

-

-

-

-

-

-

-

-

-

-

-

 

34

« гл. агронома

1

-

-

-

-

-

-

-

-

-

-

-

 

35

« гл. зоотехника

1

-

-

-

-

-

-

-

-

-

-

-

 

36

« гл. экономиста

1

-

-

-

-

-

-

-

-

-

-

-

 

37

« гл. бухгалтера

1

-

-

-

-

-

-

-

-

-

-

-

 

38

« гл. ветврача

1

-

-

-

-

-

-

-

-

-

-

-

 

39

« бригадира

1

-

-

-

-

-

-

-

-

-

-

-

 

40

Прочие квартиры

2)

2)

-

-

-

-

-

-

-

-

-

-

 

1) В этой графе приводится тип ТКМС (например, ТКМС 1/5, ТКМС 2/8).

2) Число неспаренных и спаренных телефонных аппаратов определяется при конкретном проектировании.


ПРИЛОЖЕНИЕ 4.2

ПРИМЕРНЫЙ СПИСОК АБОНЕНТОВ ВПС БРИГАДЫ СРЕДНЕГО КОЛХОЗА (НАСЕЛЕНИЕ ДО 700 ЧЕЛОВЕК)

№ пп.

Наименование абонентов

Тип устанавливаемых устройств

Примечание

Телеф. аппараты, включаемые в ГУ 10/3, неспаренные

Устр-ва диспетчерской связи, включаемые в совмещенную линию

ТКМС1)

Телеф. аппараты, включаемые в ТКМС

ДК

Телеф. аппараты

УКС

УСВ

1

2

3

4

5

6

7

8

9

10

1

Бригадир

1

1

1

-

1

-

-

 

2

Диспетчер-информатор бригады № 2

1

1

-

-

-

-

-

 

3

Ферма КРС

-

1

-

1

-

2

1

 

4

Мастерская

1

-

-

-

-

2

-

 

5

Склад

1

-

-

-

-

1

-

 

6

Отделение связи

2

-

-

-

-

-

-

 

7

Столовая

1

-

-

-

-

-

-

 

8

Школа

1

-

-

-

-

-

-

 

9

Квартира бригадира

1

-

-

-

-

-

-

 

1) В этой графе приводится тип ТКМС (например, ТКМС 1/5, ТКМС 2/8).


ПРИЛОЖЕНИЕ 4.3

ПРИМЕРНЫЙ СПИСОК ПРОЕКТИРУЕМЫХ АБОНЕНТОВ ВПС РАЙОННОГО ОБЪЕДИНЕНИЯ «СЕЛЬХОЗТЕХНИКА»

№ пп.

Наименование абонентов

Тип устанавливаемых абонентских устройств

Примечание

Телеф. аппараты, включаемые в АТС

Телеф. аппараты диспетчерской связи, включ. в прямые линии

УСВ

УГВ

ТКМС1)

Телеф. аппараты, включаемые в ТКМС

Телеф. аппараты, включаемые в КД

Громкоговорители сети поисковой связи

ДК

неспаренные

спаренные

1

2

3

4

5

6

7

8

9

10

11

12

13

1

Управляющий

1

-

1

-

-

-

-

-

-

-

 

2

Секретарь

1

-

-

-

-

-

-

-

-

-

 

3

Зав. управ. - гл. инженер

1

-

1

-

-

-

-

1

-

-

 

4

Зав. управл. по производству

1

-

1

-

-

-

-

1

-

-

 

51

Зам. управл. по торговле

1

-

1

-

-

1

-

1

-

-

 

6

Партбюро

1

-

-

-

-

-

-

-

-

-

 

7

Профбюро

1

-

-

-

-

-

-

-

-

-

 

8

Гл. бухгалтер

1

-

1

-

-

-

-

1

-

-

 

9

Начальник механизированного отряда

1

-

1

-

-

-

-

1

-

-

 

10

Начальник станции технического обслуживания животноводческого оборудования

1

-

1

-

-

-

-

1

-

-

 

11

Начальник рекламной станции

-

1

-

-

-

-

-

-

-

-

 

12

Начальник МСС

1

-

-

-

-

-

-

-

-

-

 

13

Радиомастерская

1

-

-

-

-

-

-

-

-

-

 

14

Группа механизации трудоемких процессов

1

-

1

-

-

-

-

-

-

-

 

15

Группа минеральных удобрений

1

-

-

-

-

-

-

-

-

-

 

16

Бухгалтерия

1

-

1

-

-

-

-

1

-

-

 

17

Плановый отдел

2

-

1

-

-

-

-

1

-

-

 

18

Отдел кадров

1

-

-

-

-

-

-

1

-

-

 

19

Группа спроса

1

-

1

-

-

-

-

-

-

-

 

20

Диспетчерский пункт

1

-

-

-

-

-

-

-

-

-

 

21

Станция технического обслуживания МТП

1

-

3

3

-

-

-

1

-

-

 

22

Специализированная мастерская по ремонту тракторов

1

-

4

3

1

1

5

1

-

2

 

23

Административно-бытовые помещения спец. мастерских

1

-

-

-

-

-

-

-

-

-

 

24

Торговая база

1

-

1

-

-

1

5

1

-

-

 

25

Топливо-раздаточный пункт

2

-

-

-

-

-

-

1

-

-

 

26

Автобаза

1

-

1

-

-

-

-

1

-

-

 

27

Диспетчер автобазы

1

-

1

-

-

-

-

-

-

-

 

28

Станция технического обслуживания автомобилей

1

-

4

3

1

1

5

1

-

2

 

29

Линейно-монтажный участок по механизации ферм

1

-

1

-

-

-

-

1

-

-

 

30

Технический обменный пункт

1

-

1

-

-

-

-

1

-

-

 

31

Мастерская СМУ

1

-

1

-

-

-

-

1

-

-

 

32

Склад минер. удобрений

1

-

-

-

-

-

-

-

-

-

 

33

Склад ГСМ

1

-

-

-

-

-

1

-

-

-

 

34

Блок складов запчастей

1

-

-

-

-

-

-

-

-

-

 

35

Склад ремфонда

1

-

-

-

-

-

-

-

-

-

 

36

Склад СМУ

1

-

-

-

-

-

1

-

-

-

 

37

Склад общего назначения

1

-

-

-

-

-

1

-

-

-

 

38

Распределительное устройство с подстанцией

1

-

-

-

-

-

-

-

-

-

 

39

Завхоз

-

1

-

-

-

-

-

-

-

-

 

40

Зав. курсами

-

1

-

-

-

-

-

-

-

-

 

41

Врач

-

1

-

-

-

-

-

-

-

-

 

42

Библиотека

-

1

-

-

-

-

-

-

-

-

 

43

Клуб (зал заседаний)

-

1

-

-

-

-

-

-

-

-

 

44

Проходная

1

-

-

-

-

-

-

-

-

-

 

45

Территория РО

-

-

-

-

-

-

-

-

2

-

 

1) В этой графе приводится тип ТКМС (например, ТКМС 1/5, ТКМС 2/8).

ПРИЛОЖЕНИЕ 4.4

ОСНОВНЫЕ ТЕХНИЧЕСКИЕ ДАННЫЕ ДИСПЕТЧЕРСКИХ И ДИРЕКТОРСКИХ УСТАНОВОК

Тип установки

Количество линий

Электропитание

Комплектация

Габариты (высота, ширина, глубина), мм

Примечание

абонентских

соединительных

Наименование

Кол-во

1

2

3

4

5

6

7

8

ПДС-10/10

20, в том числе 10 совмещ. с абонентскими линиями АТС, 10 прямых (5 с апп. МБ, 5 с апп. ЦБ)

2 с АТС или РТС, ЦБ, 1 с ЦРС

От сети переменного тока 220 В. Резерв от источника пост. тока 60 В

Пульт диспетчера

1

840 × 1400 × 650

Возможно использование абонентских комплектов совмещенных линий для включения линий прямых абонентов, имеющих аппараты с кнопками

Выпрямит. устр-во 60 В, 3 А

1

Вводно-распред. устр-во на 30 линий для аппаратов:

1

МБ

5

ЦБ

5

ЦБ - АТС с кнопкой

10

Дополнительно

По проекту

Устр-во конференц-связи УКС

» принуд. сигнального

» вызова УСВ

» громкогов. вызова УГВ

ПДС-20/20

40, в том числе 20 совмещ. и 20 прямых (5 с апп. МБ, 15 с апп. ЦБ)

4 с АТС или РТС, 1 с ЦРС

То же

Пульт диспетчера

1

840 × 1400 × 650

То же

Выпрямит устр-во 60В, 3 А

1

Вводно-распред. устр-во на 60 линий для аппаратов:

МБ

5

ЦБ

15

ЦБ - АТС с кнопкой

20

Дополнительно

 

То же, что и для ПДС-10/10

 

СДСМ-50/100

50, в том числе совмещенные с абонентами АТС в любом количестве

4 с АТС или РТС, ЦБ, 1 с радиоузлом

От источника пост. тока 60 В и сети перем. тока 127/220 В

Пульт настольный

1

295 × 520 × 570

 

Статив абонентский

1

1170 × 630 × 300

Усилительное устр-во

1

210 × 192 × 92

Микрофон динамич. МД-44

1

 

Тел. апп. АТС с кнопкой

50

 

Дополнительно

 

 

Статив промежуточный

1

1170 × 630 × 300

Усилит. абонентские УА-1

По проекту

 

КОС-22М

20

2 с АТС или РТС, ЦБ

От источника пост. тока 24 или 48 В и сети перем. тока 127/220 В

Коммутатор - настольный вызывной трансформатор

1

1

271 × 604 × 306

277 × 614 × 306

 

УОТС типа «Псков-1»

16

6 с АТС и РТС, ЦБ, 2 с 4-пров. коммут.

От сети перем. тока 127/220 В

Пульт настольный

1

155 × 280 × 300

Возможно с помощью перемычек преобразования комплект СЛ с АТС для включения прямых абонентов, и четырехпроводная СЛ для включения СЛ с АТС

Статив

1

1900×475×265

Телеф. аппарат настольный ЦБ

20

 

ТКМС (отеч. пр-ва)

5

1 с АТС или РТС, ЦБ

От сети перемен. тока 127/220 В

Коммутатор настольный

1

192 × 350 × 150

 

Блок питания

1

272 × 199 × 87

ТКМС 2/8 (Пр-80 ВНР)

8

2 с АТС или ПДС

То же

Коммутатор

1

140 × 40 × 240

 

Блок питания

1

Телеф. аппарат АТС

8

Дополнительно

 

Устройство УСВ

По проекту


ПРИЛОЖЕНИЕ 4.5

ДАННЫЕ РАСХОДА ТОКА И МОЩНОСТИ ДЛЯ ПИТАНИЯ АППАРАТУРЫ

пп.

Тип аппаратуры

Единица измерения

Величина

Примечание

постоянного тока в ЧНН, А

мощности по переменному току, Вт

1

2

3

4

5

6

1

АТС К-50/200 (50/200 М)

Станция

 

 

 

а) оконечная емкость 50 №№

3,0

-

б)              »                 100 №№

6,0

-

в)              »                 150 №№

9,0

-

г)              »                 200 №№

12,0

-

д) узловая емкость 50 №№

4,5

-

е)              »             100 №№

9,0

-

ж)             »             150 №№

12,5

-

з)              »             200 №№

15,0

-

АТС К-100/2000 емкостью:

Станция

 

 

 

а) 200 №№

10,0

-

б) 300 №№

15,0

-

в) 400 №№

20,0

-

г) 500 №№

25,0

-

д) 1000 №№

45,0

-

е) 2000 №№

90,0

-

2

Станционный блок ГУ-10/3 Автоматические телеграфные коммутационные станции малой емкости

Блок

0,8

-

 

3

АТК-20

Станция

6,1

5000

Питается от сети переменного тока напряжением 220 В от двух источников постоянного тока напряжением ±60 В с заземленной средней точкой

4

АТК-ПД

»

6,1

700

 

Аппаратура уплотнения:

 

 

 

 

5

В-2

»

0,27

-

 

6

В-2-2

»

 

 

 

а) оконечная

0,33

-

б) промежуточная

0,085

-

7

В-3-3с

»

 

 

 

а) оконечная

1,7

50

б) промежуточная

0,04

75

8

ВО-3-4

»

 

 

 

а) оконечная

1,9

 

б) промежуточная

1,7

 

9

ВО-12-3

»

 

 

 

а) оконечная

4,7

154-220

б) промежуточная

4,2

154-220

10

КНК-6Т

»

 

 

 

а) оконечная (2 или 4 системы)

4,0

150

б) промежуточная (на 2 системы)

0,015

-

11

КНК-12

»

 

 

 

а) оконечная (на 2 системы)

2,4

100

б) промежуточная (на 2 системы)

0,04

-

12

ИКМ-12М

»

 

 

 

а) оконечная (1 система)

1,3

50

б) промежуточная (1 система)

0,95

-

13

«Кама»

»

 

 

 

а) оконечная стойка СИГ на 30 каналов без ПСУ

1,3

78

то же, с ПСУ

1,45

-

стойка СГО на 120 каналов

1,8

108

Стойка СДП с одним устройством передачи ДП

 

2,0

120

Комплект на одну цепь ДП

То же, в полной комплектации

 

12,0

720

Комплект на шесть цепей ДП

Стойка ОРС

 

0,5 (Расход тока приводится только для расчета сеч. проводов)

-

Стойка на один ряд аппаратуры «Кама»

б) промежуточная:

 

 

 

 

Стойка СПУ с одной трансляцией без АРУ

 

0,12

6

На одну 30-канальную систему

То же, с одной трансляцией с АРУ

 

0,18

10

То же

То же, с четырьмя трансляциями с АРУ

 

0,48

24

На четыре 30-канальные системы

То же, с четырьмя трансляциями без АРУ

 

0,72

40

То же

 

Усилители НЧ

 

 

 

 

14

УМС-1

Блок

0,03

-

 

15

УМС-3

»

0,09

-

 

16

УМС-5

»

0,0015

-

 

 

Коммутаторы диспетчерской связи

Коммутатор

 

 

 

17

ПДС-10/10

 

3,0

 

 

18

ПДС-20/20

 

3,0

 

 

19

СДС-М-50/100

 

4,0

 

 

Величина тока для АТС К-100/2000 соответствует напряжению 66 В, а для остальных АТС - 60 В.

ПРИЛОЖЕНИЕ 4.6

Таблица 1

СОСТАВ ОБОРУДОВАНИЯ ЭПУ ОТЕЧЕСТВЕННОГО ПРОИЗВОДСТВА

Суммарный расход тока в ЧНН А

Тип, состав оборудования

Количество, шт.

Примечание

1

2

3

4

До 15

ЯБПВУ-1М - выводной силовой ящик

1

1) При расходе тока: до 5 А - ВБ-60/5-2; 6-10 А - ВБ-60/10-2; 11-15 A - ВБ-60/15-2

2) При расходе тока: до 10 А - БАЗ; 11-15 А - БАЗ-2. При безаккумуляторном питании блок автоматики и заряда не устанавливается

СА4-И672М - счетчик электроэнергии

1

ВБ1) - выпрямительный блок

2

БАЗ2) - блок автоматики и заряда

1

ОЩ-6 - распределительный щиток в цепях переменного и постоянного токов

2

ЩЗ-П2 - щиток заземлений

1

16-25

ВЩ-2М - вводный силовой щит

1

 

ЭВУ-60/25-4 - электровыпрямительная установка

1

ОЩ-6 или ОЩ-12

2

ЩЗ-П2

1

26-50

ВЩ-2М

1

ЭПУ выполняется по буферной системе с кремниевыми противоэлементами, а при колебании напряжения 54-72 В без противоэлементов.

СМ 62-1/1 - шкаф силовой распределительный

1

ВУК-90/25 - выпрямительное устройство

3

ЩБ-60/100 - щит батарейный

1

КСЩП-5/60 - сборка контакторная щелочных противоэлементов

1

В последнем случае КСЩП-5/60 и В-200 не предусматриваются, а аккумуляторная батарея должна состоять из 30 аккумуляторов

В-200 - вентили полупроводниковые

12

ОЩ-6

2

ЩЗ-П2

1

26-140

ВЩ-2М

1

1) При расходе тока: 26-70 А - ВУК-67/70; 71-140 А - ВУК-67/140.

ЭПУ выполняется по буферной системе с дополнительными элементами

СП62-1/1

1

ВУК1)

2

ШК-60/150 - шкаф автоматической коммутации и заряда дополнительных элементов

1

ОЩ-6

2

В графе 1 учитывается величина постоянного тока, потребляемого от основных источников ЭПУ.

Таблица 2

СОСТАВ ОБОРУДОВАНИЯ ЭПУ ИМПОРТНОГО ПРОИЗВОДСТВА

Тип АТС

Емкость, номер

Блок коммутации БК, шт.

Зэрядно-буферные выпрямительные устройства ЗБВУ, шт.

Примечание

с общим регулятором напряжения

с индивидуальным регулятором напряжения

АТС К-100/2000 ВНР

до 700

1

1

1

 

800-1500

1

1

2

 

1500-2000

1

1

3

 

АТС К-50/200 НРБ

до 200

ТПУ-60/15 - 1 шт.

 

Для ЦС из оборудования АТС К-100/2000 BMP, кроме того, должны предусматриваться блоки сужения пределов напряжения из расчета: один блок БСН-У - при 1 ЧНН до 50 А; один БСН-У и один БСН - при 1 ЧНН 51-100 А.

ПРИЛОЖЕНИЕ 4.7

ПЕРЕЧЕНЬ КАБЕЛЕЙ, ПРОВОДОВ И ШИНЫ ДЛЯ МОНТАЖА СТАНЦИОННОГО ОБОРУДОВАНИЯ

№ пп.

Тип кабелей, проводов и шин

Назначение

Примечание

1

ВЧС-60, ВЧС-160, ПВЧС-250

Прокладка цепей, уплотненных соответственно до 60, 160 и 250 кГц от вводного оборудования до аппаратуры уплотнения

Для аппаратуры уплотнения «Кама» временно допускается применение кабеля ПВЧС-250

2

РК-75

То же, уплотненных свыше 250 кГц между стойками аппаратуры уплотнения «Кама»

 

3

ТСВ

Внутристанционное соединение НЧ цепей аппаратуры уплотнения, оборудования АТС и внутрипроизводственной связи

 

4

МШДЛ, МЭШДЛ

Межстоечные соединения цепей сигнализации

 

5

МГВЭ

Прокладка индукторных и зуммерных цепей

 

6

ПКСВ

Кроссировка на стойках и щитах

 

7

ВРГ, АВРГ, АВВГ, АПР

Для прокладки цепей питающей проводки

 

8

АШ

Магистр. шины питания

 

9

СШ

Магистральные шины заземления корпусов оборудования

 

10

АНРГ

Соединение щитка заземлений с корпусами оборудования

 


ПРИЛОЖЕНИЕ 4.8

ОСНОВНЫЕ ДАННЫЕ СИМПЛЕКСНЫХ УКВ РАДИОТЕЛЕФОННЫХ СТАНЦИЙ, ПРИМЕНЯЕМЫХ НА СЕТЯХ ВНУТРИПРОИЗВОДСТВЕННОЙ СВЯЗИ СЕЛЬХОЗПРЕДПРИЯТИЙ

Тип радиостанции

Диапазон частот, МГц

Количество каналов

Выходная мощность передатчика, Вт

Дальность действия при работе

Источник питания

Тип антенны

Габариты (длина, глубина, высота), мм

Масса радиостанции, кг

Состав радиостанции

Примечание

с однотипными станциями

абонентской станции с диспетчерской или наоборот

Напряжение питания, В

Тип элемента или аккумулят. батарей

приемопередатчика

пульта управления

 

перем. ток

пост. ток

Стационарные радиостанции

51РТС-А2-ЧМ («Гранит-М»)

33-46

1

8

20-40

15-30

127

220

12,6

6СТ-54 или любой другой тип

Широкополосный излучатель

-

400 × 360 × 125

-

90 (включая антенно-мачтовое устройство)

Стойка с приемопередатчиком, блоком питания и блоком дистанционного управления

Пульт управления

Антенно-мачтовое устройство

Индикатор

1. Стойка имеет габариты: 345 × 305 × 455. Она может быть установлена на расстоянии до 10 км от пульта управления.

2. Радиостанция устанавливается на диспетчерском пункте

65РТС-А2-ЧМ («Гранит-М»)

33-46

1 или 3

8

20-40

15-30

127

220

12,6

6СТ-54 или любой другой тип

Широкополосный излучатель

-

-

-

80 (включая антенно-мачтовое устройство)

Стойка с приемопередатчиком, блоком питания и пультом управления

Антенно-мачтовое устройство

Громкоговоритель

Стойка имеет габариты: 345 × 305 × 455

PT21-1 (с фазовой модуляцией)

148-174

1

10

30-40

30-40

220

12,6

6СТ-54 (при использовании ее в качестве мобильной)

Несимметричный штырь с противовесом

312 × 297 × 34

173 × 136 × 54

270 × 210 × 100

13,3

Приемопередатчик: Пульт управления с громкоговорителем

Микрофон

Шнур питания с предохранителем

Антенна стационарная

Антенна передвижная, блок питания от сети, стабилизированный

Выпрямитель ТСТ 125

Радиостанция может быть использована и в качестве мобильной. В этом случае используется передвижная антеннa - несимметричный штырь

Мобильные радиостанции

50РТС-А2-ЧМ («Гранит-М»)

33-46

1 или 3

8

8-15

15-30

-

12,6

6CT-54

Штырь

275 × 220 × 125

260 × 230 × 75

-

14

Приемопередатчик

Пульт управления

Громкоговоритель

Антенно-согласующее устройство

Монтажный комплект

 

67PTM-A2-4M («Гранит-М»)

33-46

1 или 3

8

8-15

15-30

127

220

(на объекте)

12,6

6СТ-54

Штырь

275 × 220 × 125

260 × 230 × 75

275 × 220 × 125

25

Приемопередатчик

Пульт управления

Блок питания

Громкоговоритель

Антенно-согласующее устройство

Монтажный комплект

 

Носимые радиостанции

21РТН-2-ЧМ («Кактус-58P1»)

33-46

1

1

4

7-10

127

220

(на объекте)

12,5

10ЦНК-0,85

Штырь телескопический

115 × 60 × 190

-

-

1,7

Приемопередатчик с аккумуляторным блоком питания

Антенна

Манипулятор

По отдельному заказу

Блок питания от сети

Комплект зарядного устройства для аккумуляторов

 

23РТН-2-ЧМ

(«Сирена-63Р1»)

140-174

1

0,8

3

7-10

127

220

(на объекте)

12,5

10ЦНК-0,85

Штырь телескопический

115 × 60 × 190

-

-

1,8

Приемопередатчик с аккумуляторным блоком питания

Антенна

Манипулятор

По отдельному заказу

Блок питания от сети

Комплект зарядного устройства для аккумуляторов

 

Примечание. В радиостанциях серии «Гранит-М» предусмотрен автоматический переход на питание от аккумуляторов при отключении сети переменного тока и обратно. Сетевые блоки питания дают возможность подзарядить аккумуляторную батарею 12,6 В током не более 1,5 А.


ПРИЛОЖЕНИЕ 4.9

ОБОЗНАЧЕНИЯ УСЛОВНЫЕ ГРАФИЧЕСКИЕ В СХЕМАХ

Проектируемые

Существующие

Наименование

Групповая установка на схемах построения сети и ситуационных трассах

Групповая установка (линейный блок - ЛБ, станционный блок - СБ) на схемах организации связи

Станция автоматическая, абонентского телеграфа координатной системы. Указываются тип и емкость станции

Аппаратура уплотнения. Указывается тип

Аппаратура необслуживаемого усилительного пункта. Указывается тип

 

Усилитель тональной частоты. Указывается тип

Коммутатор диспетчерской связи. Указывается тип

Коммутатор директорской связи. Указывается тип

Телефонный комплект местной связи

Телефонный концентратор. Указывается тип

Пульт устройств телемеханики

Полукомплект телесигнализации диспетчерского пункта

Полукомплект телесигнализации контролируемого пункта

Датчик контроля

Устройство конференцсвязи

Устройство сигнального вызова

Устройство громкоговорящего вызова

Громкоговоритель сети поисковой связи

Аппарат факсимильной связи

Телеграфный аппарат

Телефонный аппарат АТС

Телефонный аппарат, включаемой в совмещенные линии диспетчерской связи

Телефонный аппарат, включаемый в прямые линии диспетчерской связи

Стационарная радиостанция

Линия связи воздушная

Цепь воздушная с указанием номера, материала, диаметра проводов и протяженности в км

Пункт необслуживаемый усилительный

Вводные кабели с указанием их марки и протяженности

Обозначается крестиками (х) на сооружении

Упраздняемое сооружение:

центральная усадьба совхоза (колхоза)

отделение совхоза (бригада колхоза)

Другие обозначения, встречающиеся на рисунках, приняты по ГОСТ 2.753.71

СПИСОК ЛИТЕРАТУРЫ

1.    Основные положения системы сельской телефонной связи. М., ЦНИИС, 1974. 145 с.

2.    Типовые решения по уплотнению линий сельской телефонной связи аппаратурой В-3-3с. М., «Связь», 1970. 88 с.

3.    Нормы технологического проектирования. Линии кабельных сельских телефонных сетей. НТП 45.1369-71. М., «Связь», 1973. 31 с.

4.    Электрические нормы проектирования радиотрансляционных сетей. М., Связьиздат, 1961. 80 с.

5.    Гумеля А. Н., Шварцман В. О. Электрические характеристики кабельных и воздушных линий связи. М., «Связь», 1963. 208 с.

6.    Нормы технологического проектирования. Линии кабельные городских телефонных сетей. НТП 322-68. М., «Связь», 1970. 42 с.

7.    Станции городских телефонных сетей. Нормы технологического проектирования (НТП 327-68). М., «Связь», 1970. 40 с.

8.    Правила строительства и ремонта воздушных линий связи и радиотрансляционных сетей, ч. I. М., «Связь», 1975. 256 с.

9.    Правила строительства и ремонта воздушных линий связи и радиотрансляционных сетей, чч. II, III. М., Связьиздат, 1960. 80 с. Ч. III. М., «Связь», 1975. 145 с.

10.  Нормы технологического проектирования. Сооружения гражданские проводной и почтовой связи. НТП 45.588-74.

11.  Правила защиты устройств проводной связи от влияния тяговой сети электрических железных дорог постоянного тока, ч. I. M., «Транспорт», 1969. 45с.

12.  Временные правила защиты устройств проводной связи и проводного вещания от влияния тяговой сети электрических железных дорог переменного тока. М., «Транспорт», 1973. 96 с.

13.  Правила защиты устройств проводной связи, железнодорожной сигнализации и телемеханики от опасного и мешающего влияния линий электропередачи, ч. I. Опасные влияния. М., «Связь», 1969. 57 с.

14.  ГОСТ 464-68. Заземления для стационарных установок проводной связи и станций радиотрансляционных узлов. Нормы сопротивления. М., Издательство стандартов, 1968. 12 с.

15.  ГОСТ 5238-73. Защита установок проводной связи от опасных напряжений и токов, возникающих на линиях. Правила схемы. М., Издательство стандартов, 1973. 26 с.

16.  Руководство по защите подземных кабелей связи от ударов молнии. М., «Связь», 1968. 57 с.

17.  Инструкция по скрещиванию телефонных цепей воздушных линий связи. М., «Связь», 1968. 46 с.

18.  Инструкция по скрещиванию телефонных цепей воздушных линий связи. М., «Связь», 1959. 272 с.

19.  Инструкция по совместной подвеске фидерных радиотрансляционных цепей и цепей сельской телефонной связи. М., «Связь», 1964. 42 с.

20.  Сборник материалов для электрических расчетов каналов кабельных и воздушных линий связи. М., Связьиздат, 1968. 196 с.

21.  Яцкевич А. Н. Номограммы для электрических расчетов высокочастотных каналов воздушных линий связи. М., «Связь», 1963. 46 с.

22.  Руководство по проектированию, строительству и эксплуатации заземлений в установках проводной связи и радиотрансляционных узлов. М., «Связь» 1971. 68 с.

23.  Техника безопасности и охрана труда на предприятиях и в строительных организациях связи. Сборник постановлений и правил. М., «Связь», 1969. 528 с.

24.  Временная инструкция по разработке проектов и смет для промышленного строительства СН-202-69. М., Стройиздат, 1970. 64 с.

25.  Временная инструкция по разработке проектов и смет для строительства, предприятий и сооружений связи, радиовещания и телевидения ВСН-106-73. Мин. связи СССР. М., «Связь», 1974. 65 с.

26.  Обозначения условные графические в схемах. Телефонные сети. Линейные сооружения и устройства. ГОСТ 2.753-71. 9 с.

27.  Верещагин Е. М. Антенны и распространение радиоволн. М., Военное издательство Министерства обороны СССР, 1964. 237 с.

28.  ГОСТ 11515-65. Тракты радиовещательные. Классы. Основные количественные показатели. М., Издательство стандартов, 1965. 21 с.

29.  Временная инструкция по прокладке и монтажу одночетверочных кабелей типа КСПП. М., «Связь», 1970. 64 с.

30.  Нормы технологического проектирования. Станции сельских телефонных сетей. НТП 45.1370-74. М., «Связь», 1975. 30 с.

31.  Нормы технологического проектирования. Станционные сооружения междугородной проводной связи. Телеграфные станции и узлы. НТП 45.325-71. М., «Связь», 1973. 40 с.

32.  Инструкция № 120 «О порядке приобретения, строительства (установки) и эксплуатации радиостанций и ВЧ установок». Издание 4-е, переработанное и дополненное. М., «Связь», 1970. 39 с.

СОДЕРЖАНИЕ

Предисловие. 1

1. Принципы организации и основные положения построения и проектирования сети электросвязи. 2

1.1. Сеть электросвязи и ее назначение. 2

1.2. Принципы построения сети электросвязи. 4

1.3. Типы сельских атс, их краткая характеристика и рекомендации по использованию.. 8

1.4. Организация связи сельских АТС с городскими. 9

1.5. Нумерация на сельских телефонных сетях. 10

1.6. Организация связи сельских АТС с МТС и АМТС (ЗУ) 12

1.7. Нормы и распределение затухания на стс. 14

1.8. Общие положения по проектированию и проектные этапы развития сельских сетей электросвязи. 17

1.9. Технико-экономические обоснования проектных решений. 18

1.10. Состав, содержание и оформление проектной документации. 18

2. Изыскательские работы.. 19

2.1. Общие требования. 19

2.2. Изыскания для перспективного проектирования. 19

2.3. Изыскания для текущего проектирования. 20

3. Разработка перспективных схем развития сельских телефонных сетей. 25

3.1. Общие положения и исходные данные. 25

3.2. Разработка схемы построения СТС.. 26

3.3. Определение количества соединительных линий между станциями. 29

3.4. Разработка схемы организации связи. 30

3.5. Схема ситуационных трасс. 33

3.6. Нумерация. 34

3.7. Обеспечение норм затухания. 35

3.8. Очередность строительства и расширения стс. 35

3.9. Определение капитальных вложений. 35

3.10. Порядок утверждения перспективной схемы развития СТС района. 36

4. Разработка текущих проектов. 36

4.1. Общие требования. 36

4.2. Схемы построения сети, организации связи и ситуационная трасса. 37

4.3. Выбор месторасположения телефонных станций и диспетчерских пунктов. 38

4.4. Состав и проектирование абонентских устройств. 41

4.5. Проектирование линейных сооружений. 43

4.6. Проектирование станционных сооружений. 55

4.7. Сеть диспетчерской радиотелефонной связи. 68

4.8. Электроснабжение. 78

4.9. Устройство заземлений. 79

4.10. Требования безопасности. 79

4.11. Определение объемов работ и сметной стоимости строительства. 80

4.12. Согласование чертежей и утверждение проектов. 80

Приложение. 2.1. Данные о количестве жителей в населенных пунктах. 81

Приложение 2.2. Данные о существующих телефонных станциях Министерства связи. 81

Приложение 2.3. Данные о существующих линейных сооружениях СТС.. 81

Приложение 2.4. Данные об учрежденческо-производственных телефонных станциях, имеющих выход на сеть Министерства связи. 81

Приложение 2.5. Основные данные, характеризующие существующую СТС.. 82

Приложение 2.6. Ведомость загрузки оконечных распределительных устройств СТС.. 82

Приложение 2.7. Ведомость загрузки распределительных шкафов абонентскими устройствами и соединительными линиями. 83

Приложение 2.8. Данные о прямых проводах АТС (РТС) 84

Приложение 2.9. Данные о количестве существующих соединительных линий по проектируемым направлениям межстанционных СЛ.. 84

Приложение 2.10. Данные о состоянии кабельных и воздушных линий СТС.. 85

Приложение 2.11. Основные технические данные существующей телефонной станции. 86

Приложение 2.12. Ведомость существующей аппаратуры уплотнения и вводно-коммутационного оборудования. 86

Приложение 2.13. Данные о существующем оборудовании выпрямительной. 86

Приложение 2.14. Данные о существующем оборудовании аккумуляторных батарей. 87

Приложение 2.15. Основные технические данные о существующей междугородной телефонной станции. 87

Приложение 2.16. Данные об учрежденческо-производственных телефонных станциях, включенных в АТС.. 88

Приложение 2.17. Технические требования к помещениям для установки оборудования электросвязи. 89

Приложение 2.18. Данные по электроснабжению.. 89

Приложение 2.19. Технические условия на присоединение. 90

Приложение 2.20. Заявка на получение технических условий присоединения. 90

Приложение 3.1. Задание на разработку перспективной схемы развития сети сельской телефонной связи. 91

Приложение 3.2. Расчет количества телефонных аппаратов. 91

Приложение 3.3. Данные о телефонных станциях и нумерация абонентов. 91

Приложение 3.4. Таблица 1. Основные технические данные аппаратуры уплотнения, применяемой на СТС.. 93

Таблица 2. Аппаратура В-2. 95

Таблица 3. Аппаратура В-2-2. 96

Таблица 4. Аппаратура В-3-3с. 96

Таблица 5. Аппаратура В-3-3с для уплотнения кабеля КСПП 1 × 4. 97

Таблица 6. Аппаратура КНК-6Т, КНК-12, ИКМ-12М, «Кама». 97

Таблица 7. Аппаратура АВСП.. 97

Приложение 3.5. Данные об очередности (сроках) открытия станций СТС на первый этап. 97

Приложение 3.6. Расчет стоимости строительства сооружений СТС.. 98

Приложение 3.7. План капиталовложений на развитие СТС.. 98

Приложение 4.1. Примерный список абонентов ВПС центральной усадьбы (ЦУ) среднего колхоза и бригады, расположенной на территории ЦУ.. 99

Приложение 4.2. Примерный список абонентов ВПС бригады среднего колхоза. 101

Приложение 4.3. Примерный список проектируемых абонентов ВПС районного объединения «Сельхозтехника». 102

Приложение 4.4. Основные технические данные диспетчерских и директорских установок. 103

Приложение 4.5. Данные расхода тока и мощности для питания аппаратуры.. 105

Приложение 4.6. Таблица 1. Состав оборудования ЭПУ отечественного производства. 106

Таблица 2. Состав оборудования ЭПУ импортного производства. 106

Приложение 4.7. Перечень кабелей, проводов и шины для монтажа станционного оборудования. 107

Приложение 4.8. Основные данные симплексных УКВ радиотелефонных станций, применяемых на сетях внутрипроизводственной связи сельхозпредприятий. 108

Приложение 4.9. Обозначения условные графические в схемах. 110

Список литературы   112

 

 




ГОСТЫ, СТРОИТЕЛЬНЫЕ и ТЕХНИЧЕСКИЕ НОРМАТИВЫ.
Некоммерческая онлайн система, содержащая все Российские Госты, национальные Стандарты и нормативы.
В Системе содержится более 150000 файлов нормативно-технической документации, действующей на территории РФ.
Система предназначена для широкого круга инженерно-технических специалистов.

Рейтинг@Mail.ru Яндекс цитирования

Copyright © www.gostrf.com, 2008 - 2026