Крупнейшая бесплатная информационно-справочная система онлайн доступа к полному собранию технических нормативно-правовых актов РФ. Огромная база технических нормативов (более 150 тысяч документов) и полное собрание национальных стандартов, аутентичное официальной базе Госстандарта. GOSTRF.com - это более 1 Терабайта бесплатной технической информации для всех пользователей интернета. Все электронные копии представленных здесь документов могут распространяться без каких-либо ограничений. Поощряется распространение информации с этого сайта на любых других ресурсах. Каждый человек имеет право на неограниченный доступ к этим документам! Каждый человек имеет право на знание требований, изложенных в данных нормативно-правовых актах!

  


 

МИНИСТЕРСТВО АВТОМОБИЛЬНЫХ ДОРОГ РСФСР

Государственный дорожный проектно-изыскательский и
научно-исследовательский институт
ГИПРОДОРНИИ

РЕКОМЕНДАЦИИ
ПО СОДЕРЖАНИЮ И РЕМОНТУ МЕТАЛЛИЧЕСКИХ
ПРОЛЕТНЫХ СТРОЕНИЙ АВТОДОРОЖНЫХ МОСТОВ

УТВЕРЖДЕНЫ

Минавтодором РСФСР

Протокол № 29

от 28.10.1982 г.

Москва
1983

ПРЕДИСЛОВИЕ

Долговечность металлических пролетных строений во многом зависит от правильного выполнения работ по их содержанию и ремонту. Отсутствие единых требований приводит к несвоевременным ремонтным работам и появлению повреждений.

В Гипродорнии разработаны рекомендации по содержанию и ремонту металлических пролетных строений из разных конструкций (балочные со сплошной стенкой, сталежелезобетонные, фермы со сквозной решеткой, и др.).

В "рекомендациях" освещены вопросы организации содержания пролетных строений, даны перечень основных дефектов и методика их выявления, приведен ориентировочный срок периодичности ремонта элементов конструкций. В разделах по технологии ремонта предложены способы устранения повреждений и дефектов в мостовом полотне, железобетонной плите проезжей части, в металлических конструкциях (замена заклепок, усиление элементов, окраска металла и проч.). Приложения справочного характера даны в конце документа.

Данные "рекомендации" предназначены для инженерно-технического персонала, занимающегося эксплуатацией мостов.

"Рекомендации" составлены кандидатами технических наук С.А. Мусатовым и В.И. Шестериковым. В их разработке приняли участие также инженеры А.В. Бугурусланов, Л.М. Максименко.

Замечания и предложения просим направлять по адресу:

109089, Москва Ж-89, наб. Мориса Тореза, 34, Гипродорнии.

Зам. директора Гипродорнии

по научной работе, д-р техн. наук                                                        А.П. Васильев

I. ОБЩИЕ ПОЛОЖЕНИЯ

1.1. Задачи и состав работы по содержанию и ремонту

1.1.1. Основная задача содержания и ремонта металлических1) пролетных2) строений - обеспечение в любое время года удобного и безопасного движения транспортных средств и пешеходов по ним.

1) Под металлическими подразумевают все типы пролетных строений, у которых главные несущие элементы выполнены из металла (включая стальные балки, объединенные в совместную работу с железобетонной плитой).

2) Пролетные строения состоят из элементов проезжей части и тротуаров на мосту или путепроводе, главных несущих элементов (ферм, балок, арок, висячих систем), связей, а также опорных частей.

Главным направлением решения задачи является выполнение на сооружении профилактических работ, направленных на предупреждение образования дефектов, а при появлении их - своевременное выявление и устранение. При выполнении этих работ следует руководствоваться "Техническими правилами" [I].

1.1.2. Содержание - наиболее ответственный вид работ, в который входят надзор, уход за конструкциями пролетных строений, предохранение их от преждевременного износа и обеспечение нормальных условий эксплуатации, регулярные текущие, периодические и специальные осмотры конструкций, ведение технического учета (в том числе книги искусственного сооружения).

Содержание конструкций осуществляют непрерывно в течение года. Состав и объемы работ устанавливают в зависимости от конструкций и состояния сооружения, времени года, эксплуатационных и климатических условий.

1.1.3. При текущем ремонте пролетного строения работы направлены, в основном, на предупреждение и исправление небольших по объему повреждений. В зависимости от их видов к работам по текущему ремонту относят:

на проезжей части и тротуарах: заделку выбоин, трещин и швов, устранение волн и наплывов, устройство асфальтобетонных и бетонных покрытий на тротуарах, смену или ремонт отдельных секций перильного ограждения (секций ограждений безопасности), смену или перекладку отдельных бордюрных камней, исправление съемных элементов деформационных швов (лотков, листов перекрытия, замену мастики в швах заполненного типа), устранение просадок в местах сопряжения с подходами, восстановление водоотвода на отдельных участках проезжей части (ремонт водоотводных трубок, их удлинение и т.д.);

на деревянной проезжей части: замену верхнего настила, отдельных досок нижнего или отдельных элементов балочной клетки, исправление некоторых секций деревянных перил и тротуаров:

на железобетонной плите проезжей части: заделку раковин, сколов, затирку трещин, подкраску поверхности участков плиты;

на несущих стальных элементах пролетных строений: замену отдельных заклепок, связей, выправление отдельных ветвей клепаных элементов, устранение дефектов сварных швов (наплывов, резких переходов и т.д.), очистку от ржавчины и окраску отдельных участков металла, исправление съемных деталей опорных частей, ремонт смотровых приспособлений, локализацию трещин в сварных и клепаных элементах.

1.1.4. При среднем ремонте выполняют исправление значительных по объему повреждений, которые проводят по проектам или ведомостям дефектов и сметам. По среднему ремонту на пролетном строении проводят следующие работы:

на проезжей части: сплошную замену старого асфальтобетонного покрытия на новое (обязательно со снятием старого) или двойного дощатого настила на новое, переустройство балочной метки, восстановление гидроизоляции, всей системы водоотвода на проезжей части, замену перильных ограждений или бордюрных камней (при общей длине участка более 100 м), исправление деформационных швов с переустройством окаймлений или замену старой конструкции на новую, переустройство тротуаров (без изменения габарита моста);

на железобетонной плите проезжей части: восстановление поверхности плиты или устройство защитных покрытий от воздействия агрессивной среды, объединение плиты со стальными балками при частичном его нарушении, устранение трещин и щелей путем инъектирования (например, в местах сопряжения плиты с прогоном);

на несущих стальных элементах пролетных строений: замену заклепок на новые или высокопрочные болты в узлах, соединениях и прикреплениях, сплошную очистку и окраску стальных конструкций или устройство других защитных покрытий от коррозии металла, восстановление отдельных поврежденных элементов балок или ветвей клепаных элементов ферм, а также комбинированных систем (стоек, подвесок, раскосов), исправление формы и положения элементов ферм, замену связей, выправление или замену рабочих элементов опорных частей (катков, балансиров и т.п.), устранение трещин, способствующих снижению несущей способности элемента.

1.1.5. К капитальному ремонту относят работы по улучшению транспортно-эксплуатационных характеристик пролетных строений (уширение проезжей части, повышение грузоподъемности, замена ответственных элементов и т.д.). Его проводят по специальным проектам.

1.2. Организация работ по содержанию и ремонту

1.2.1. Содержание пролетных строений начинается с момента приемки их в эксплуатацию, поэтому в приемке должны участвовать представители дорожных подразделений (на уровне начальника или главного инженера ДРСУ), ответственные в будущем за сохранность и содержание пролетных строений. Особое внимание обращают на отклонения от проекта, превышающие допустимые значения согласно правил приемки [2], а также на качество устройства смотровых приспособлений, ходов, лестничных спусков (их прочность, безопасность работы на них, доступ к узлам, стыкам и ответственным элементам).

1.2.2. Работы по уходу и текущему ремонту металлических пролетных строений рекомендуют выполнять специализированными звеньями патрульной службы дорожных подразделений. При среднем ремонте сложные работы (также же, как при текущем ремонте, но в большем объеме) проводят те же объединенные (укрупненные) бригады [3].

Для постоянного обслуживания на металлических пролетных строениях моста общей длиной более 100 м рекомендуют выделять одного рабочего. Все работы ведут при соблюдении требований правил техники безопасности при ремонте и содержании автомобильных дорог.

Наиболее сложные ремонтные работы (такие как восстановление раскосов или балок, сплошная окраска металла и т.п.) поручают строительно-ремонтным организациям, имеющим соответствующее оборудование и квалифицированный инженерно-технический персонал.

1.2.3. Организацию содержания металлических пролетных строений по каждому участку дороги устанавливает и утверждает начальник дорожного подразделения. Работы выполняют по месячным графикам, которые составляют мостовые мастера на основании общих планов с учетом условий эксплуатации и результатов текущих, периодических и специальных осмотров конструкций.

Все виды осмотров пролетных строений должны проводиться в соответствии с указаниями [4].

1.2.4. Текущий ремонт производят периодически в течение года на основании результатов осмотров конструкций. Постоянный контроль за его выполнением осуществляют мастер и главный инженер или начальник дорожного подразделения. Работы следует производить комплексно на всем сооружении, устраняя неисправности во всех его частях: проезжей, главных несущих элементах, а также опорах, укреплениях конусов, русла и т.д. Звенья или бригады должны состоять их рабочих, владеющих несколькими специальностями (например, дорожный рабочий, столяр, маляр, монтажник, моторист, разнорабочий и т.д.).

1.2.5. Необходимость проведения работ по среднему ремонту пролетных строений, а также объем их в каждом отдельном случае определяют на основании периодических и специальных осмотров с учетом условий эксплуатации сооружения. При среднем ремонте обязательно выполняют вое работы по содержанию и текущему ремонту конструкций, предусмотренные графиком на этот период.

В процессе эксплуатации различные элементы пролетных строений имеют разные сроки износа, поэтому для каждой группы элементов требуется своя периодичность восстановления. Планирование среднего ремонта возможно поэлементно: покрытия проезжей части, деформационных швов, гидроизоляции, главных несущих элементов и опорных частей. Ее устанавливают на основании длительных наблюдений.

1.2.6. Ориентировочные сроки проведения среднего (планово-предупредительного) ремонта можно принять следующими:

покрытия полотна проезжей части (деревянного настила) и тротуаров - как на примыкающей автомобильной дороге (» 6 лет);

гидроизоляции проезжей части - не менее 15 лет;

деформационных швов - 5-8 лет (в зависимости от конструкции шва);

обновления окраски металла несущих элементов - 6-8 лет (в зависимости от материала краски);

выправления опорных частей - 10 лет;

ремонта (восстановление или замена) поврежденных металлических элементов с заменой ослабленных заклепок и добавлением металла до 5% от веса конструкции - 30-35 лет.

1.2.7. Технический надзор за ремонтными работами, выполняемыми специализированными организациями, осуществляет мостовой мастер. Он обязан следить за качеством работ, контролировать соблюдение всех правил и требований по обеспечению безопасности движения, установленного проектом режима эксплуатации на период ремонта.

Приемку законченных работ производит специальная комиссия, назначаемая дорожным управлением [2], при этом от исполнителя должна быть получена соответствующая документация (проект, сертификаты на использованные материалы, акты промежуточной приемки работ).

1.2.8. Работы по ремонту и содержанию следует производить, как правило, без ограничения движения по сооружению. Однако если такая необходимость возникает, то режим эксплуатации на период ремонта устанавливают с учетом требований мостостанции, проводившей обследование или осмотр конструкции, согласно "Инструкции [5], или по специальному проекту, где оговариваются условия движения по сооружению на период выполнения ремонтных работ.

1.2.9. В книгу искусственных сооружений следует регулярно заносить все изменения о их состоянии, а также данные о результатах выполнения ремонтных работ. Особенно тщательно необходимо регистрировать все изменения, происходящие в главных несущих элементах: образование и развитие трещин в металле, изменение величин прогиба (провисания) пролетных строений, расстройство соединений, образование и развитие силовых трещин в бетоне плиты проезжей части и др.

Книгу составляют из отдельных листов, прошнуровывают и скрепляют печатью (см. прил. 1).

1.2.10. Пролетные строения должны быть соответствующим образом подготовлены к проведению работ по содержанию и ремонту. Прежде всего необходимо обеспечить доступ ко всем элементам конструкций. Для этого на пролетных строениях предусматривают смотровые приспособления, конструкции которых могут быть приняты согласно [1], либо построены по индивидуальным проектам. Перед началом ремонтных работ подмости и другие виды смотровых приспособлений принимает и осматривает мостовой мастер, после чего рабочих допускают к работе. Смотровые приспособления должны обеспечивать безопасность во время ремонта.

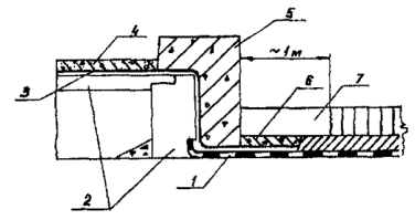
1.2.11. На пролетных строениях, состоящих из главных балок со оплошной стенкой, необходимо иметь постоянные проходы с обеих сторон каждой балки на уровне продольных связей по элементам последних. Если в дорожном хозяйстве имеются передвижные смотровые приспособления для доступа к наружным сторонам балок, то постоянные ходы с наружной стороны можно не устраивать. Для осмотра и ремонта наружных поверхностей балок может быть рекомендована люлька по типу, указанному на рис. 1.

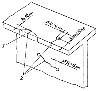
При высоких стенках балок проходы устраивают в 2-3 яруса, примерно через 2-25 м по высоте. В этом случае к ребрам жесткости приваривают консоли из уголков (80´80´8) и по ним устраивают дощатый настил (рис. 2). Аналогично делают проходы ниже уровня нижнего пояса при малой высоте балок. Детали конструкций таких консолей изготавливают на стройплощадках и в виде блоков доставляют на место установки.

Рис. I. Схема передвижных смотровых приспособлений для ремонта фасада несущих балок

(предложена канд. техн. наук В.И. Шестериковым, инж. Е.А. Антоновым)

В качестве временных смотровых приспособлений могут быть использованы конструкции в виде подвешенных на тяжах деревянных подмостей (рис. 2), которые при необходимости передвигают вдоль пролетного строения или устраивают как сплошные по всей длине пролета. Такие подмости следует применять при высоте балок менее 1,5 м.

1.2.12. На пролетных строениях со сквозной решеткой и ездой поверху проходы можно устраивать по продольным нижним связям (вдоль ферм или в виде центрального прохода между ними). Все проходы ограждают перилами из арматурных стержней диаметром 25-28 мм или уголков 75´75´8, приваренных к металлическим элементам (ребрам или связям).

Рис. 2. Смотровые приспособления:
а - постоянные; б - передвижные;
1 - несущий брус; 2 - стяжные брусья; 3 – стальные подвески; 4 - настил; 5 - скобы

Для доступа к верхним поясам ферм на раскосах прикрепляют легкую металлическую лестницу с перилами высотой 0,9-1 м с двух сторон.

1.2.13. Как правило, проходы соединяются переходами по опорным балкам (над опорами моста) и при необходимости лестницами. Сходы на пролетные строения устраивают либо с береговых опор, либо через люки с проезжей части моста по лестницам.

Смотровые приспособления необходимо проектировать на нагрузку общим весом не менее 250-300 кг. Перед приемкой конструкций их рекомендуют испытывать нагрузкой, превышающей расчетную в 1,5 раза.

1.3. Требования к пролетным строениям и оценка их технического состояния

1.3.1. Пролетные строения необходимо содержать в чистоте. Не допускается засорение элементов и их соединений мусором, застой воды, скопление грязи и снега на конструкциях.

Все открытые поверхности стальных элементов должны иметь антикоррозионные покрытия, а плоскости качения и скольжения опорных частей - натерты графитом.

1.3.2. В металлических элементах пролетных строений и их соединениях не допускаются трещины в металле, искривления по длине элемента, погнутости профиля проката, смещения в соединениях, ослабления и другие дефекты.

Заклепочные соединения не должны иметь заклепок слабых или с недопустимыми дефектами. Высокопрочные болты должны иметь расчетную величину натяжения при плотном прижатии головки болта и гайки к шайбе, а шайб - к поверхности металлов.

1.3.3. Все неисправности (повреждения и дефекты) пролетных строений можно разделить на три категории, в зависимости от чего пролетным строениям дается оценка его состояния:

I категория - неисправности, не влияющие на грузоподъемность и долговечность конструкций, дальнейшее развитие которых не исключено. Такие повреждения и дефекты устраняют при уходе за сооружением. Оценка в этом случае соответствует четырем баллам. К этим дефектам относят:

на проезжей части - неровности покрытия до 2-3 см и одиночные трещины в нем, мелкие повреждения в бордюре, ограждающих устройствах, перилах и т.д., износ отдельных досок верхнего настила;

на железобетонной плите проезжей части - сколы бетона без оголения арматуры, повреждения на небольших участках защитных покрытий без коррозии бетона и стали, трещины в бетоне с раскрытием до 0,3 мм;

на металлических конструкциях - застой воды, повреждения защитных покрытий без коррозии металла, небольшие погнутости связей, ослабления отдельных связующих заклепок.

II категория - неисправности, оказывающие влияние на грузоподъемность, долговечность и безопасность движения по пролетным строениям. Дефекты и повреждения устраняют при текущем и среднем ремонте конструкций. К ним относят:

на проезжей части - неровности более 3 см, массовые трещины, выколы покрытия, бордюры и ограждения не соответствуют по высоте и состоянию требованиям норм, отдельные разрывы в перилах, участки повреждения крепления стоек, износ верхнего настила и загнивание нижнего, а также элементов балочной клетки, перелом продольного профиля до 0,3%;

на железобетонной плите - повреждения бетона с коррозией арматуры, гидроизоляции с выщелачиванием бетона, стыков и сопряжений сборных элементов;

на металлических конструкциях - коррозия металла, ослабление заклепок или болтов в соединениях и прикреплениях, разрывы и повреждения связей, отдельных ветвей составных элементов (трещины, выбоины, вмятины и т.д.),погнутости растянутых, сжатых и сжато-растянутых элементов, угон или перекос катков, разрушение участков объединения металлических балок с железобетонной плитой. Пролетные строения с такими дефектами оценивают тремя баллами.

III категория - неисправности, значительно снижающие грузоподъемность конструкции или безопасность движения по пролетным строениям, не допускающие дальнейшей эксплуатации сооружения без ограничений (снижение грузоподъемности более чем на 10%). Режим эксплуатации пролетных строений с такими дефектами и повреждениями устанавливают после обследования специалистами мостостанций.

В III категорию входят:

неисправности, требующие запрещения любого движения транспортных средств или массового прохода по сооружению. Мосты, отнесенные к этой категории, следует считать аварийными.

Все неисправности должны устранять, как правило, при капитальном ремонте или при реконструкции сооружения в целом.

К дефектам III категории относят:

повреждения в виде нарушения объединения плиты с балками в сталежелезобетонных пролетных строениях, разрушения плиты проезжей части, обрушение перильного ограждения, снижение несущей способности металлических балок или арок пролетных строений, главных элементов ферм (узлов, поясов, раскосов) и подвесных систем (вантов, канатов, пилопов, подвесок и т.д.).

Оценка состояния пролетных строений в этом случае соответствует двум баллам и принята здесь в соответствии с категориями неисправности по инструкции [4].

1.3.4. В табл. 1.1. дан перечень характерных дефектов металлических пролетных строений с указанием категории неисправностей и мероприятий, необходимых для их устранения. Пролетные строения разделены по типам конструкций: балки клепаные, сталежелезобетонные со сплошной стенкой, сквозные фермы с ездой поверху и понизу, арочные и висячие системы.

Таблица 1.1

Дефекты металлических пролетных строений и мероприятия по их устранению

Характер и расположение

Способ выявления

Причины появления и категории дефектов

Мероприятия по их устранению

1

2

3

4

Пролетные строения из клепаных балок со сплошной стенкой

Отдельные слабые заклепки в прикреплении верхних поясных уголков к вертикальному листу (при деревянной проезжей части)

Визуальный осмотр, остукивание заклепок

Ударные воздействия на верхний пояс, особенно при появлении коррозии металла заклепок. Категория дефекта - II

Замена слабых заклепок высокопрочными болтами

Трещины в горизонтальных полках поясных уголков и горизонтальных листах верхнего пояса ( то же)

Визуальный осмотр

Усталостные явления металла при значительной его коррозии. Категория дефекта - П

Перекрытие трещины накладками на высокопрочных болтах с предварительной очисткой от продуктов коррозии

Трещины в поясных уголках нижних поясов (в средней части пролета и в опорных сечениях). Наиболее вероятны в местах примыкания фасонок связей, ребер жесткости и местах скопления грязи

Визуальный осмотр, при необходимости обработка поверхности металла сомнительных участков

Усталостные явления металла при значительной его коррозии. Категория дефекта - II или - в зависимости от величины ослабления - III

Перекрытие трещины накладками на высокопрочных болтах с очисткой продуктов коррозии на металле

Трещины в продольных связях, возможны разрывы

Визуальный осмотр

Коррозия металла. Категория дефекта - II - при одиночных дефектах

Перекрытие накладками или замена на новые связи

Коррозия элементов. Наиболее подвержены ей горизонтальные элементы верхних поясов, фасонки связей, опорные зоны балок, домкратные балки и поперечные связи над ними. При запущенном состоянии - все элементы

То же

Разрушение защитных покрытий, отсутствие водоотвода, повреждение водоотводящих устройств, отсутствие ухода за конструкциями. Категория дефекта - I-III - в зависимости от степени развития коррозии

В зависимости от степени - зачистка и окраска, восстановление элемента или его замена на новый

Сталежелезобетонные пролетные строения из сварных балок со оплошной стенкой при клепаных (или на высокопрочных болтах) монтажных соединениях

Заклепки с дефектами или повреждения болтовых соединений (разрушение заклепки или болта)

Визуальный осмотр, остукивание креплений

Коррозия заклепок или соединяемых элементов, излишнее затягивание болта

Очистка элемента от продуктов коррозии и замена на высокопрочные болты поврежденных заклепок или болтов. Проверка ослабления сечения

Ослабление заклепок в креплении продольных связей

 

Знакопеременные воздействия при некачественном исполнении крепления. Категория дефекта - II - при одиночных случаях. Категория дефекта - II или III - при нескольких

 

Трещины в швах и околошовной зоне поясов. Наиболее вероятными являются места примыкания поясов к ребрам жесткости, неплавное изменение сечения, подрезы металла, дефекты сварных швов и зоны коррозии металла

Визуальный осмотр или гаммаграфирование

Усталостные явления, вызванные перенапряжением металла от сварки, развитием микроповреждений в швах, концентрацией напряжений в металле Категория дефекта - II - при мелких трещинах в шве или у края листа при l £ 1 см. Категория - III при трещине, выходящей на основной металл пояса

Предварительное просверливание отверстия по концам трещины и установка за ней наблюдения, в дальнейшем заваривание - трещины или восстановление элемента

Провисание главных балок, их наклон в вертикальной плоскости

Визуальный осмотр, измерение стрелы прогиба или угла наклона балки

Ослабление монтажных креплений, нарушение объединения плиты с балкой, а так же при строительстве Категория дефекта - II-III

Наблюдение за дефектом во время его прогрессирования, обследование и ремонт

Выпучивание стенки балки в приопорных зонах (на участке 1/6l от оси выпирания)

Возможен также разрыв шва в местах прикрепления вертикальных ребер жесткости к поясам или продольным ребрам

Искривление ребер жесткости

Визуальный осмотр, измерение стрелы выпучивания стенки f

Потеря местной устойчивости при про ходе тяжелых нагрузок, когда в материале стенки и шве допущены отклонения от норм

Категория дефекта - I - при f/l £ 1/250

Категория дефекта - II-III - при f/l > 1/250

Наблюдение за дефектом и в случае прогрессирующего характера, исправление стенки, заварка швов

Коррозия элементов

Наиболее подвержены коррозии балки в местах фильтрации воды через плиту, пояса около ребер жесткости, края балок под деформационными швами, загрязненные участки балок под водоотводными трубками

Визуальный осмотр, измерение величины ослабления сечений

Неудовлетворительный уход за конструкциями

Влага удерживается на поверхности металла

Категория дефекта - I-III

Очистка металла от коррозии, вычисление ослабления сечения, окраска и восстановление элемента, устранение причин его увлажнения

Нарушение объединения железобетонной плиты проезжей части с верхним стальным поясом главных несущих балок

Визуальный осмотр, измерение прогибов пролетных строений

Применение некачественных материалов или некачественное устройство сопряжения плиты со стальной балкой)

Категория дефекта - II - при одиночных нарушениях (в зоне расположения одного упора)

Категория дефектов - II-III - при нескольких случаях в пролете

Вызов мостостанции для проверки грузоподъемности, наблюдение за состоянием дефектов, ремонт по проекту, ограничение движения

Трещины и разрушение бетона в железобетонной плите по контакту с прогоном

Визуальный осмотр, контрольные измерения

Некачественное выполнение узла (сопряжения сборных плит с балкой)

Категория дефекта - II - на отдельных участках пролета

Категория дефекта - III - по всей длине

Ремонт узла путем инъектирования щелей и зазоров

Дефекты железобетонной плиты проезжей части: трещины, сколы, раковины, обнажение арматуры, потеки ржавчины, трещины в швах, фильтрация воды через плиту

Визуальный осмотр

Низкое качество бетона или его уплотнения при бетонировании, недостатки при изготовлении сборных плит и их омоноличивании

Повреждение гидроизоляции

Восстановление гидроизоляции плиты, очистка поверхности от слабого бетона и коррозии, нанесение защитных покрытий

Пролетные строения со сквозными фермами

Слабые заклепки в узлах и стыках

Наиболее подвержены ослаблению заклепки в прикреплениях средних раскосов, подвесок, связей и других элементах, работающих на одиночный срез

Визуальный осмотр, остукивание

Недостатки конструкции (большая свободная длина при знакопеременных воздействиях)

Некачественные заклепки

Категория дефекта - II - при ослаблении заклепок в соединениях менее 10%

Категория дефекта - III - более 10%

Замена слабых заклепок высокопрочными болтами

Усталостные трещины в прикреплениях элементов (старые мосты)

Наиболее вероятно их появление в местах ослабления заклепок

Визуальный осмотр, подготовка мест для осмотра

Длительная эксплуатация сооружения при большой интенсивности движения

Неудовлетворительное содержание

Проверка грузоподъемности

Замена заклепок высокопрочными болтами, заварка трещин

Коррозия элементов ферм

Наиболее подвержены ей нижние пояса и узлы корытообразного и Н-образного сечения, а также элементы с большими свесами полок. Коррозии подвергаются вначале горизонтальные листы, заклепочные головки, фасонки нижних горизонтальных связей между фермами, места сплачивания уголка и листа, а также примыкания стойки (раскоса) к плите

При запущенном состоянии моста происходит коррозия вертикальных листов и других элементов

Визуальный осмотр, очистка наиболее ослабленных мест, измерение площади сечения в них

Неудовлетворительный уход за конструкциями

Категория дефекта - I-III

Проверка грузоподъемности элемента о ослабленным сечением

При необходимости сечения восстанавливают

Распучивание ржавчиной клепаных элементов старых мостов при большом шаге связующих заклепок и наличии конструктивных мешков в узловых участках

То же

Недостатки конструкции

Категория дефекта - I-III - в зависимости от степени ослабления сечения

Очистка от продуктов коррозии и грязи зазоров между элементами и заделка их полимерными составами (например, герметиком)

Деформация (депланация, искривление) элементов ферм или отдельных ветвей, разрывы полок с изменением формы элемента

Наиболее часто они встречаются в раскосах и стойках (подвесках) ферм с ездой понизу, в связях в средней части пролета ферм (балках)

Визуальный осмотр, измерение стрелы

Повреждение элементов негабаритными нагрузками или наездом на них транспортных средств

Категория дефекта - II - при неисправной решетке

Категория дефекта - III - при снижении грузоподъемности

При стреле искривления сжатых элементов менее 1/30 их высоты ведут наблюдения, а при большей производят проверку грузоподъемности элемента

Металлические арки с ездой поверху

Коррозия металла элементов

Процесс, как правило, начинается в местах примыкания поперечных балок к продольным, в верхних полках надарочных прогонов, в местах сопряжения прогонов со стойкой и стойки с аркой, в зоне стыков арки по верхнему поясу, на фасовках связей, а также в загрязненных местах, где вода с проезжей части проникает на несущие элементы (в том числе в короба арки)

Визуальный осмотр, измерение площади ослабления сечений

Недостатки конструкции и неудовлетворительный уход

Выявление мест коррозии металла, очистка от коррозии и окраска

Искривление стойки, распорки между арками, поперечных связей (в средней части пролета)

Визуальный осмотр, проверка положения элемента и его несущей способности

Недостатки строительства или результат потери устойчивости сжатых элементов

Исправление положения элементов или их замена

Расстройство (ослабление заклепок) соединений в местах прикрепления стойки к прогонам или к арке, в креплении связей к фасовкам и между собой

Визуальный осмотр, остукивание заклепок, при наличии ослабленных заклепок - проверка несущей способности соединения

Воздействие знакопеременных усилий (особенно при большой свободной длине элементов)

Замена заклепок высокопрочными болтами

Трещины в связях, распорках, стойках старых мостов при значительном их повреждении коррозией

Визуальный осмотр

Неудовлетворительный уход, интенсивная эксплуатация сооружения

Восстановление элементов накладками или замена на новые

Распучивание стоек при большом шаге связующих заклепок и наличии конструктивных "мешков"

То же

Неудовлетворительный уход, запущенность в окраске

Удаление коррозии, очистка и окраска металла, установление дополнительных заклепок

Металлические опорные части

Угон и перекос катков

Визуальный осмотр, измерение положения катков и балансиров

Неудовлетворительное содержание (загрязнение и ржавление поверхностей качения)

Категория дефекта - II

Выправление катков и установление постоянного ухода за опорными частями

Срез болтов и соединительных планок катков, развал катков

То же

Интенсивная коррозия болтов и планок при отсутствии ухода за опорными частями

Категория дефекта - II

Восстановление деталей опорных частей, очистка и окраска элементов, замена планок, болтов

Неплотное опирание пролетных строений на опорные части и подферменники, образование "канавок* в опорных плитах под катками, трещины в подферменниках

Измерение глубины канавок, наблюдение за поведением мест опирания при проходе транспортных средств

Недостатки конструкции, строительства

Устранение неплотностей подкладкой металлических листов соответствующей толщины, установление обоймы вокруг подферменников

Металлические деформационные швы

Загрязнение конструкции шва

Визуальный осмотр

Неудовлетворительный уход

Очистка конструкции

Неплотное прижатие стального листа пружиной

Определяют по стуку листа снизу шва

Недостаточное прижатие пружины при монтаже

Подтягивание пружины

Большой свес листа или срез болтов, стягивающих пружину из-за коррозии металла, отрыв листа

Сильный стук листа, слышимый сверху

Недостаток конструкции шва или неудовлетворительный уход

Очистка от ржавчины, установка новых болтов

Пролетные строения висячих и вантовых систем

Смещение блока с анкерным креплением, трещинообразование в блоке или его разрушение в результате действия натяжения стальных канатов

Визуальное наблюдение

Некачественное выполнение работ при строительстве или проектировании

Категория дефекта - III

Обследование сооружения мостостанцией, ограничение движения, наблюдение за развитием дефекта, ремонт анкерного блока

Блокировка шарнирного соединения опоры и опорных частей

Визуальный осмотр, измерение положения шарниров

Отсутствие надлежащего ухода

Категория дефекта - II

Незамедлительное выполнение работ по очистке шарниров от мусора и других отложений, смазка трущихся поверхностей

Трещины в верхней части пилона или по его длине в результате блокировки шарнирных соединений

Визуальный осмотр

Изменение схемы работы опоры и опасные деформации в пилоне при блокировке шарниров

Категория дефекта - III

Обследование, ограничение движения, ремонт опоры с устранением причин образования дефекта

Раскручивание отдельных проволок или нарушение целостности внешнего слоя стального каната

Визуальное наблюдение

Чрезмерные перегибы или неудовлетворительная укладка волокон каната

Категория дефекта - I

Наблюдение за состоянием, нанесение защитных покрытий

Коррозия элементов (канатов, цепи-зоны ловушек воды в местах крепления подвесок), щели в соединительных кольцах

Визуальный осмотр

Недостатки конструкции, отсутствие должного ухода

Категория дефекта - III

Восстановление защитных покрытий

Разрывы проволок в результате их коррозии или механических повреждений могут быть одиночными или многочисленными в соседних или различных сечениях (видимые или скрытые внутри каната)

То же

Неудовлетворительный уход за конструкциями

Проверка несущей способности канатов, обследование, устранение дефекта путем восстановления стального каната

Проскальзывание узла крепления подвески к канату или повреждение шарнира подвески

Недостаточное крепление на канате или его обрыв, чрезмерная жесткость крепления

Регулировка крепления подвески

Наклон плоскости положения каната и настила проезжей части

Неравномерное натяжение канатов, различные конструкции канатов и возраст их

Регулировка натяжения стальных канатов

Нарушение вертикальности подвести (одной или всех)

Визуальный осмотр

Недостаток конструкций, проскальзывание крепления (одна подвеска)

Регулировка крепления подвесок

Наклон фермы

То же

Неправильная регулировка подвески, вызывающая чрезмерные прогибы настила

То же

2. СОДЕРЖАНИЕ ПРОЛЕТНЫХ СТРОЕНИЙ

2.1. Текущий надзор и уход

2.1.1. При текущем надзоре производят наблюдения за общим состоянием пролетных строений. Мостовой мастер (рабочий, которому поручено выполнение этих работ) регулярно обходит пролетные строения c целью обнаружения дефектов, таких, например, как повреждение решетки перил или крепления стоек к плите, деформационных швов и сопряжения моста c насыпью, разрушение ограждающих устройств, образование на проезжей части выбоин, неровностей и застоя воды, загрязнение покрытия мусором, стеснение проезжей части посторонними предметами, засорение водоотводных трубок и т.д., а также наглядных повреждений несущих конструкций (например, значительное провисание балок и ферм, их перекос и загрязнение, разрывы и разрушения несущих элементов в результате механических воздействий и т.д.).

В этот период также проверяют правильность расстановки дорожных знаков перед сооружением, определяющей установленный режим движения. При необходимости производят замену соответствующих знаков или их восстановление.

2.1.2. Уход за пролетными строениями предусматривает уборку проезжей части (покрытия и тротуаров, перил, декоративных и ограждающих элементов), несущих конструкций, отвод воды с этих элементов и при необходимости профилактические работы на сооружении (смазку трущихся поверхностей катков графитом, механизмов деформационных швов и т.д.), а также небольшие восстановления декоративных поверхностей (штукатурные и покрасочные работы).

Работы по уборке выполняют главным образом механизированным способом и только труднодоступные места очищают вручную.

При очистке металлических элементов не разрешено использовать скребки, которые могут повредить окрасочный слой. В этих случаях применяют метлы, ветошь, смоченную в воде. При больших объемах очистительных работ используют компрессорные установки типа ЗИФ-55 или ЗИФ-55в.

2.1.3. При уходе за пролетными строениями особое внимание следует обращать на отвод воды c несущих элементов и на участки, где возможно ее скопление. Как правило, это происходит в пазухах и корытообразных элементах фермы, на балках со сплошной стенкой и в местах наиболее интенсивной коррозии металла.

Сброс воды с металлических элементов рекомендуют осуществлять через отверстия диаметром 20-23 мм, устраиваемые в пониженных участках мест сбора воды. Отверстия в металле получают или сверлением, или срубкой соответствующих связующих (нерасчетных) заклепок с раззенковкой отверстия, при этом не допускается ослабление несущей способности элемента, что определяется расчетом. Обнаженный металл следует окрашивать.

В сварных растянутых элементах сверлить отверстия в металле не разрешается, так как ослабление сечения уменьшает его расчетную площадь. В таких конструкциях воду c элементов необходимо сбрасывать ветошью или мягкими метлами (при каждом обходе конструкций).

2.1.4. В состав работ по зимней уборке входят удаление снега и льда, борьба со снежными накатами и с гололедом. Для уборки снега с проезжей части могут быть рекомендованы роторные снегоочистители типа Д-565, сбрасывающие снег через перила.

В отдельных случаях могут использоваться бульдозеры и автогрейдеры. Очистку узких тротуаров производят вручную.

Уборку снега со стальных конструкций должны производить деревянными лопатами. Лед, образующийся на элементах, скалывают осторожно, чтобы не повредить окраску металла. Если тонкая корка (пленка) льда имеет плотное сцепление с металлом, то ее оставляют, не допуская последующего нароста льда.

2.1.5. Профилактические работы на деталях пролетных строений (опорных частях, механизмах деформационных швов, натяжных устройствах, шарнирах и т.д. предусматривают очистку от грязи, масел, посторонних предметов, регулировку креплений, нанесение новых смазочных материалов и других защитных покрытий. Работы проводят не реже одного раза в год в зависимости от состояния деталей.

2.1.6. Восстановление декоративных поверхностей проводят по мере необходимости с использованием методов ремонта, изложенных в соответствующих разделах рекомендаций (например, по окраске металлических элементов или нанесении защитных покрытий по бетону). К этим работам относят: подкраску небольших участков поверхностей перил, ограждающих устройств и других элементов, расположенных на проезжей части (мачт освещения, портальных рам ферм при езде понизу и т.д.).

2.1.7. Периодичность работ по текущему надзору и уходу зависит от условий эксплуатации сооружения. В летний период на проезжей части их рекомендуют проводить не реже одного раза в 10 дней или в режиме уборки покрытия на примыкающих участках дороги. На несущих конструкциях такие работы проводят весной и осенью до наступления минусовых температур.

Зимой периодичность работ должна обеспечивать своевременную уборку снега и льда с пролетных строений.

2.1.8. Осенью до наступления минусовых температур необходимо привести в надлежащее состояние все смотровые ходы, лестницы, площадки, осуществляющие доступ к стальным элементам и их соединениям. В зимний период смотровые приспособления следует регулярно очищать от снега и льда.

2.1.9. При содержании пролетных строений надо следить за тем, чтобы при проходе транспортных средств по мосту несущие элементы не испытывали перенапряжения, так как перегрузка пролетных строений может снизить во времени несущую способность и срок их службы.

Для этого необходимо осуществлять своевременную расстановку дорожно-сигнальных знаков перед сооружением и использовать эффективные методы определения условий проезда тяжелых транспортных средств по пролетным строениям при согласовании возможности их пропуска по автомобильным дорогам. В этих случаях могут быть использованы "Методика оперативного решения задач об условиях пропуска по мостам транспортных средств" или "Программа автоматического решения задач об условиях пропуска транспортных средств по мостам на заданном маршруте", разработанные Гипродорнии и другими организациями.

2.2. Особенности содержания пролетных строений в северных районах при низких минусовых температурах и в зонах повышенной агрессивности среды

2.2.1. В районах, где продолжительное время полярные ночи, все мосты следует оборудовать электрическим освещением. На проезжей части и несущих конструкциях пролетных строений больших мостов может быть смонтирована постоянная разводка кабеля для подключения переносной системы освещения. В дневное время (при отсутствии осмотра и ремонта) разводка на проезжей части должна обесточиваться.

2.2.2. При содержании пролетных строений в северных районах все мероприятия, связанные с периодическими и специальными осмотрами, а также крупными ремонтными работами, рекомендуют планировать на летний период. Работы по уходу, постоянному надзору, текущему осмотру и ремонту проводят в течение года в зависимости от состояния и режима эксплуатации сооружения, а также погодных условий.

2.2.3. В зимний период металлические пролетные строения следует осматривать не реже одного раза в месяц. Особое внимание при этом обращают на состояние сварных элементов и участки приварки дополнительного металла (при ремонте) к клепаным элементам.

2.2.4. На металлических пролетных строениях, выполненных с применением сварки элементов, при температуре воздуха ниже -20°С не разрешается производить ремонтные работы. В таких случаях поврежденный участок на проезжей части ограждают, движение ограничивают.

2.2.5. В период температур ниже -20°С на пролетных строениях со сварными элементами и соединениями организуют наблюдения с целью выявления в металле видимых трещин. При этом также проверяют положение подвижных опорных частей, ровность покрытия и правильность расстановки дорожных знаков на мосту и его подходах.

О всех изменениях состояния сооружения и его элементов необходимо немедленно сообщать в управление (при обнаружении трещин в основном металле или смещении катков опорных частей в критическое положение). В таких случаях движение по мосту должно быть ограничено.

2.2.6. При выявлении трещин на металлических элементах особое внимание обращают на участки возможного перенапряжения металла. Это, как правило, участки с резким изменениям сечения, например, места обрыва листов, вокруг заклепочных отверстий, примыкания ребер жесткости к основному металлу балок, околошовная зона, подрезы, необработанные концы швов, подрезы металла от механических воздействий, а также участки со значительной коррозией металла.

Образование трещин при низких минусовых температурах в результате хладоломкости металла возможно также и на участках элементов, где имеются внутренние нарушения структуры металла. Поэтому следует осматривать все поверхности металлических конструкций.

2.2.7. Положение опорных частей проверяют на случай возможного завала катков при значительном понижении температуры, если катки были установлены неправильно. Зимой контролируют их положение и при необходимости корректируют расчетом величину "критической" температуры, при которой каток перемещается в свое крайнее положение. Это состояние может создать опасность завала катка и резкого смещения пролетных строений при низких минусовых температурах. Если имеется такая опасность и своевременно переставить катки не предоставилось возможным, то необходимо на опоре установить страховочные клетки, препятствующие вертикальному смещению пролетных строений в зоне опорной части. "Критическая" температура вычисляется по формуле

где D - длина возможного перемещения катка до крайнего (критического) положения;

t - температура в момент измерения.

2.2.8. На покрытии проезжей части особое внимание обращают на неровности (порожки), которые прежде всего могут встречаться в зоне деформационных швов и сопряжения моста с подходами.

Полотно проезжей части в течение всего зимнего периода должно быть в таком состоянии, чтобы исключались даже небольшие ударные и динамические воздействия колес на конструкции пролетных строений.

Работы по восстановлению ровности покрытия проезжей части рекомендуют проводить только в летне-осенний период.

2.2.9. При необходимости, когда температура ниже -20°С, перед мостами с пролетными строениями из металла со сварными элементами и соединениями устанавливают дорожные знаки по ГОСТу 10807-78, определяющие порядок движения транспортных средств и ограничивающие их массу, скорость и дистанцию. Назначение режима движения и установку дорожных знаков в этих условиях производят в соответствии с указаниями [6] или п.п. 2.2.10-2.2.12.

Если возникает необходимость ограничить движение по мосту транспортных средств по их массе или давлению на ось, то рекомендуют также установить соответствующие указатели в местах предполагаемых съездов.

2.2.10. Режим движения на период низких температур назначают на основании сведений о физико-механических свойствах металла, использованного в главных несущих сварных элементах пролетных строений. Сведения о свойствах металла должны быть представлены в сертификатах на металл, хранящихся в техдокументации на сооружение. Если такие данные отсутствуют, то их следует определить при испытании образцов металла из несущих конструкций на ударную вязкость в соответствии с ГОСТом 9454-78. Вырезать образцы следует из наименее напряженных участков конструкций путем их высверливания или выпиливания.

Места вырезки их определяют специалисты мостоиспытательных станций, выполняющие работы по обследованию сооружений (см. п. 2.3.6). Ослабление элементов проверяют расчетом.

2.2.11. Если металл несущих сварных элементов для конструкций обычного исполнения удовлетворяет требованиям норм по ударной вязкости при минусовых температурах (-40°С), то пролетные строения из такого металла могут эксплуатироваться с соблюдением общих принятых правил их эксплуатации до температуры окружающего воздуха -40°С. Аналогично, такие пролетные строения из металла, рассчитанного для северной климатической зоны, в обычном режиме могут эксплуатироваться до -50°С (по группе А) или -70°С (по группе Б), если ударная вязкость металла удовлетворяет соответствующим нормам.

При более низких температурах (соответственно для металла обычного и северного исполнения) эксплуатацию таких пролетных строений рекомендуют вести при следующих ограничениях в режиме движения: скорость транспортных средств, имеющих общую массу более 3,5 т, ограничивается 20 км/ч при дистанции движения не менее 40 м.

2.2.12. В случаях, когда результаты испытания металла на ударную вязкость при минусовой температуре оказываются неудовлетворительными (металл не удовлетворяет нормам), режим движения по мосту устанавливается мостоиспытательной станцией после обследования пролетных строений и тщательного исследования металла несущих элементов.

2.2.13. В период низких минусовых температур не рекомендуют пропускать по мосту тяжеловесные транспортные средства, а также машины и механизмы, вызывающие повышенные динамические колебания пролетных строений.

Движение по мосту закрывают в случае обнаружения трещины или разрыва в основном металле несущих элементов независимо от места их расположения (за исключением ребер жесткости, одиночных связей и поперечной трещины в пределах шва). Восстанавливают его только после выяснения причин образования и устранения дефекта.

2.2.14. В северных районах особое внимание должно быть уделено защите плиты проезжей части от увлажнения. Для этого необходимо следить за состоянием гидроизоляции и защитных покрытий железобетонной плиты, не допускать образования трещин и проникновения влаги в бетон. Для устранения дефектов в плите рекомендуют применять материалы, стойкие к низким температурам.

К ним относят составы на основе эпоксидных смол или герметики, используемые для герметизации трещин путем их иньектирования или устройства по ним покрытий. Для восстановления гидроизоляции проезжей части рекомендуют тиоколовые герметики. Ремонт металлических элементов должны производить металлом, рассчитанным для применения его на севере.

2.2.15. Пролетные строения, расположенные в зонах повышенной агрессивности окружающей среды, рекомендуют осматривать не реже, чем раз в квартал, а в случаях необходимости (например, если рядом химзавод, сбрасывающий загрязненные воды, водоем с морской водой и т.д.) - более часто. Особенность таких осмотров заключается в необходимости более тщательного выявления очагов коррозии металла и бетона. При обнаружении даже небольших участков коррозии следует принимать срочные меры для устранения дефектов, не допуская их развития и глубокого поражения металла ржавчиной. При появлении ржавчины, разрушении покрытия или изменении цвета окраски производят тщательную зачистку этих мест и их окраску максимальным количеством слоев. В качестве защитных покрытий нужно использовать наиболее стойкие к агрессивной окружающей среде материалы (см. табл. 4.5).

Периодичность сплошной окраски металла мостов в таких районах устанавливают опытным путем (по времени сохранения покрытия на значительной части поверхности металла).

2.3. Осмотры и порядок выявления дефектов

2.3.1. Общий порядок осмотра металлических пролетных строений различных систем установлен [1, 2].

Текущие осмотры исправных пролетных строений в обычных условиях проводит мостовой мастер не реже двух раз в год: весной (после прохода паводковых вод и ледохода) и осенью (при подготовке сооружения к зиме).

Пролетные строения, эксплуатируемые в особых условиях когда имеет место повышенный рост повреждений (например, интенсивная коррозия металла в условиях агрессивной окружающей среды или быстрый износ отдельных элементов при высокой интенсивности движения и частом пропуске по сооружению нагрузок, близких по своему воздействию к нормативным и т.д.), а также все конструкции, эксплуатируемые более 40 лет или находящиеся в ветхом состоянии, следует осматривать чаще, чем это предусмотрено нормами. Периодичность работ должна определяться условиями состояния сооружения - в период очередного текущего осмотра назначают время для последующего осмотра. Результаты проверки необходимо фиксировать в книге искусственного сооружения.

2.3.2. При осмотрах пролетных строений особое внимание обращают на слабые и наиболее ответственные элементы, в которых образование дефектов наиболее вероятно. Это, как правило, узлы и прикрепления, зоны сварных швов и околошовная зона, места сопряжения железобетонной плиты проезжей части с главными или вспомогательными (прогонами) балками.

2.3.3. В клепаных соединениях или элементах слабые заклепки выявляют визуальным осмотром и остукиванием заклепочных головок молотком массой 200 г.

В отдельных случаях, когда невозможно непосредственно проверить заклепки с близкого расстояния, производят осмотр их с помощью бинокля. Признаками возможного ослабления заклепок могут служить ржавые венчики вокруг заклепочных головок, ржавые подтеки по поверхности элемента в направлении от заклепок или ржавчины из зазоров между соединяемыми элементами, трещины в окраске около головок, заклепки с неоформленными головками.

Остукивать сомнительные заклепки рекомендуют во всех случаях. При остукивании следует приложить палец или боек с противоположной стороны головки. При ударе молотком слабая заклепка издает глухой звук, палец ощущает смещение головки, а боек при этом слегка отскакивает. В пролетных строениях со сквозными главными фермами обязательно остукивают заклепки в прикреплении средних раскосов и подвесок (особенно в соединениях, работающих на одиночный срез), а также в верхних узлах. Проверяют заклепки и в продольных связях.

В пролетных строениях из клепаных балок со сплошной стенкой и сквозных фермах с ездой поверху (при деревянной проезжей части) рекомендуют проверять в первую очередь заклепки в вертикальных полках верхних поясных уголков.

На старых пролетных строениях ослабление заклепок можно проследить в момент проезда тяжелых транспортных средств, если приложить палец в месте предполагаемого перемещения головки заклепки.

2.3.4. Трещины в металле выявляют при визуальном осмотре поверхности конструкций. В местах их появления могут быть ржавые налеты или повреждения окрасочного слоя вдоль трещины. При выявлении таких участков металл зачищают и обнаженную поверхность осматривают через лупу. Если имеется сомнение в наличии трещины, то можно попытаться вырубить тонкую стружку металла предполагаемого направления трещины. Раздвоение стружки подтвердит ее наличие. Вырубать стружку следует осторожно острым зубилом, чтобы не повредить металл глубокими зарубками.

В старых конструкциях возможно образование усталостных трещин в местах прикрепления растянутых элементов и в зонах наиболее вероятного расстройства заклепок. В сварных элементах - это околошовная зона. Поэтому такие участки следует осматривать особенно тщательно.

Все обнаруженные трещины должны быть замерены (ширина раскрытия - в десятых долях, мм; длина - в мм) и зафиксированы яркой краской, отличной от общего цвета пролетного строения. Линии должны проходить вдоль трещины. Соответствующие пометки делают также в книге искусственного сооружения. Для устранения дальнейшего развития трещин сразу после обнаружения проводят мероприятия по их локализации в соответствии с указаниями п.4.3.7. Место, где образовалась трещина, очищают от краски, покрывают слоем прозрачного лака или смазки и регулярно наблюдают за ее развитием.

2.3.5. Для выявления коррозии металла производят визуальный осмотр конструкции. Она может быть обнаружена на разных стадиях своего развития, что требует соответствующих мероприятий по устранению дефекта (табл. 2.1). Участки коррозии металла в наиболее ослабленных сечениях очищают от ржавчины и измеряют толщину сохранившегося металла с точностью до 1 мм. Если на металле имеется налет ржавчины или коррозия наблюдается только в поверхностном слое (ее начало), то измерения не производят. Размеры пораженного участка определяют с помощью линейки, угольника и штангенциркуля. В местах значительных очагов коррозии измерения рекомендуют проводить в нескольких точках через 10 см по ширине листа или полки уголка.

Толщину ослабленной стенки балки или горизонтального листа Н-образного или корытообразного профиля элемента можно определить непосредственным измерением, если просверлить в этом месте отверстие диаметром 6-8 мм. По окончании работ стенки отверстия должны быть окрашены.

Площадь сечения ослабленного коррозией элемента вычисляют как сумму всех измеренных участков в сечении (ослабленных и неповрежденных).

Если по длине элемента имеется несколько участков с очагами коррозии металла и нельзя визуально определить участок с наибольшим ослаблением площади сечения, то рекомендуют провести измерения в нескольких из них и за расчетное принять наименьшее. Обычно расчетное сечение принимают в плоскости, перпендикулярной к продольной оси элемента, но в ослабленном сечении может оказаться, что разрушение наступит по наиболее слабому направлению, что следует учитывать при измерениях.

Таблица 2.1

Виды коррозионных повреждений

Виды повреждений и стадии развития

Внешние признаки

Мероприятия по устранению повреждений

1

2

3

Повреждение защитного покрытия, легкий налет ржавчины

Светло-коричневый налет по оголенному металлу

Удаляется жесткими тканями

Очистка металла щетками и его окраска

Коррозия металла без заметного уменьшения его сечения

Коричневый налет по металлу

Удаляется стальными щетками

Очистка металла стальными щетками, пескоструйным аппаратом

Окраска

Точечная коррозия при наличии мелких пор на поверхности металла

Одиночные или многочисленные корродирующие углубления с булавочную головку

Очистка пескоструйным аппаратом

Окраска

Коррозия, вызывающая уменьшение сечения металла (местное или на значительной площади поверхности)

Рыхлый слой ржавчины на поверхности металла

Очистка металла от продуктов коррозии, измерение величины ослабления, при необходимости - усиление

Значительная коррозия или разрушение металла коррозией (местное или на значительной площади поверхности)

В местах коррозии металл может продавливаться

Слои ржавчины могут удаляться вручную

Удаление поврежденного участка металла

Усиление (или замена) элемента

Коррозия в щелях, трещинах, на контакте между элементами

При отсутствии коррозии видны подтеки ржавчины из щелей и т.д.

По возможности очистка щелей от ржавчины, заполнение щелей мастиками, пастами и т.д.

Вспучивание элемента или его деформация из-за превращения части металла в продукты коррозии

Увеличение объема металла в сечении или искривление ветви элемента в случае плотного прилегания элементов друг к другу

Удаление поврежденного элемента и замена на новый

2.3.6. В клепаных балках со сплошной стенкой можно условно выделить три зоны влияния дефектов на грузоподъемность балки (рис. 3).

Дефекты, вызывающие ослабление сечения в зоне I (заопорной части пролетного строения и средней части стенки при отсутствии повреждений в ребрах жесткости), не оказывают существенного влияния на несущую способность балки, поэтому при оценке грузоподъемности их можно не учитывать. Такие же дефекты, образовавшиеся в зоне 2 (пояса балок), учитывают при расчете ослабленного сечения поясов по изгибающему моменту, а в зоне 3 (приопорные участки стенки) - при расчете стенки на поперечную силу.

Дефекты, ослабляющие сечения в зоне I сварных балок, также практически де снижают грузоподъемность, но являются опасным очагом для дальнейшего развития дефекта в зонах 2 и 3 (в виде трещин), поэтому их устраняют в короткие сроки.

2.3.7. Механические повреждения выявляют также при визуальном осмотре элементов. При обнаружении дефектов производят их измерение с помощью линейки и штангенциркуля и вычисляют величину ослабления сечения элемента. Если в результате механического воздействия произошли изгибы или искривление профиля элемента без образования трещин, разрыва, пробоин в металле, то такое повреждение является наиболее опасным для сжатых и сжато-растянутых элементов, так как оно может снизить их устойчивость и грузоподъемность. Учитывать возможность снижения грузоподъемности этих элементов следует при измеренной стреле изгиба более 1/500 длины хорды (рис. 4), а в составных сечениях при искривлении одной ветви - при стреле более 1/300 длины хорды этой ветви. Все деформированные края листа или полки уголка, а также вмятины со стрелой изгиба более 1/100 длины хорды рассматривают как ослабление сечения, а в расчетную площадь включают только недеформированную часть.

Рис. 3. Зоны влияния дефектов в балках со сплошной стенкой:
а - разрезных; б - неразрезных систем;
1, 2, 3 - зоны расположения дефектов

Рис. 4. Искривление элемента:

а - сплошного сечения; б - составного -"- ;

f - стрела выгиба, мм; L - длина искривленной части элемента в рассматриваемой плоскости

2.3.8. При оценке состояния металлического элемента следует учитывать, что в клепаных конструкциях трещины, пробоины, разрывы и коррозия металла, а также его деформация, ослабляют сечение только той детали (уголка, листа) элемента, в которой образовался дефект, а в сварных конструкциях - всего сечения элемента (балки, раскоса, пояса, стойки и т.д.). Поэтому в клепаных конструкциях в таких случаях производят ремонт детали, а в сварных - целого элемента.

2.3.9. Все элементы, имеющие ослабление сечений более 2%, следует проверять расчетом. Для этого определяют их грузоподъемность с учетом ослабления сечений по формулам:

 - для случая одиночных (гусеничных или колесных) нагрузок   (2.1);

 - для случая колонн автомобильных нагрузок          (2.2)

где Sк, Sa - усилие в элементе от временной нагрузки (колеса и автомобиля);

Sпр - предельное усилие (изгибающий момент, продольная сила и т.д.), воспринимаемое сечением из условия прочности, вычисленное по действующим нормам на проектирование с учетом коэффициентов выносливости, продольного изгиба j и ослабления сечения элемента;

ng, Sg - коэффициент перегрузки и усилие в сечении элемента от собственной массы конструкции;

nТ, SТ - то же, от толпы на тротуаре;

nк, na - коэффициенты перегрузки от одиночной или колесной нагрузки;

(1+m)e - динамический коэффициент и полосность движения для колонн автомобилей.

2.3.10. Наибольшее вычисленное значение Sк или Sa сопоставляют с нормативным значением усилия Sвр от временной нагрузки в элементе (полученное из проекта или расчетным путем).

Если окажется, что S меньше Sвр на 10% и более, то поврежденный элемент необходимо усилить, а при разнице менее 10% ремонт поврежденного элемента можно ограничить устранением причин, способствующих прогрессированию имеющегося дефекта.

2.3.11. При определении Sпр в сквозных фермах необходимо учитывать следующее:

в сжатом искривленном элементе со стрелой изгиба f более 1/7 радиуса его инерции вычисление коэффициента продольного изгиба ведут с учетом этого дефекта, а рабочую площадь для расчета принимают равной j1Fбр, где Fбр - площадь сечения элемента. Коэффициент j1 определяют по [7];

в элементе с искривленными краями листа или полки уголка, а также при наличии вмятин в расчет берут только недеформированную часть площади сечения, если стрела изгиба превышает радиус инерции поврежденной части;

рабочая площадь в сечении, ослабленном пробоинами или трещинами, принимают за вычетом поврежденного участка, границы которого располагаются на расстоянии 3 мм от края пробоины или у края засверленного отверстия на конце трещины.

В расчете следует учитывать эксцентриситет передачи усилия на сохранившуюся часть сечения.

Расчетную гибкость элемента цельного сечения в обеих плоскостях, а для составных - из плоскости соединительной решетки определяют по формулам [7] без учета ослабления.

2.3.12 При расчете балок со сплошной стенкой предельные усилия вычисляют по общепринятым формулам с учетом изменения геометрических характеристик сечений за счет ослабления. Границы неповрежденной части сечения принимают в соответствии с п. 2.3.11.

Необходимость учета дефекта определяют зоной их расположения в балке (см. п. 2.3.6). Сжатый пояс балки в случае его искривления из плоскости фермы между связями проверяют на устойчивость с учетом дефекта.

2.3.13. Осматривая железобетонную плиту проезжей части сталежелезобетонных пролетных строений, следует прежде всего выявить места фильтрации воды через плиту на главные несущие элементы, зоны разрушения объединения несущих балок или прогонов с железобетонной плитой, а также крупные повреждения в самой плите (коррозию арматуры, разрушение стыков сборных деталей и т.д.).

2.3.14. Признаками нарушения объединения балок с плитой являются сколы и трещины (продольные и поперечные) в зоне расположения упоров в бетоне плиты. Одиночный случай такого повреждения (на участке длиной до 0,3 м вдоль одной балки) еще не является основанием для ограничения движения по пролетному строению;

подобные дефекты на нескольких участках требуют проведения глубокого изучения образовавшихся повреждений и при необходимости ограничения движения.

Если появились признаки нарушения объединения бетона и стали, то необходимо выяснить причину этого явления и принять меры к устранению дефекта, так как такое повреждение может повлиять на несущую способность объединенного сечения пролетного строения.

Наиболее четко это можно выявить при испытании пролетного строения временной нагрузкой.

2.3.15. Серьезным недостатком железобетонной плиты является повреждение стыков ее сборных элементов: отсутствие заполнения поперечного шва раствором между плитами и нарушение монолитности продольного шва между сборными элементами (над металлическим прогоном). В процессе эксплуатации пролетных строений эти дефекты увеличивают прогибы и провисание балок, что ухудшает условия движения по пролетным строениям.

Наиболее распространенный дефект - недостаточная толщина защитного слоя бетона. Признаками его являются просвечивание арматуры через бетон или пятна ржавчины на поверхности бетона. Такие участки нужно фиксировать и устранять дефект.

Трещины на поверхности, как правило, усадочного происхождения и носят беспорядочный характер. Трещины с раскрытием до 0,02 см не герметизируют, а при их большом раскрытии герметизируют. Распространенным местом образования трещин в сталежелезобетонных пролетных строениях является зона контакта металлического прогона с вутом железобетонной плиты в результате нарушения работы сопряжения. Трещины силового характера образуются преимущественно в средней зоне между балками и в неразрезных системах над опорным сечением.

При возникновении таких трещин необходимо выяснить причину их появления. Они могут быть вызваны проходом транспортного средства с давлением на ось значительно выше проектного или нарушением работы связей, а также недостатками в конструкции плиты.

При выборе способа устранения дефектов в плите нужно прежде всего устранить причины их появления, а также фильтрации воды через плиту (если такое имеет место).

2.3.16. При осмотре опорных частей основное внимание обращают на правильность расположения кареток и противоугонных устройств, балансиров и катков. Путем натурных измерений устанавливают взаимное расположение элементов, перекосы катков и их угон, проверяют затяжку болтов. Если при строительстве установка опорных частей была выполнена правильно, то их конструкции в период эксплуатации, как правило, не имеют серьезных повреждений. В таких случаях необходимо следить за чистотой конструкции (особенно поверхностей качания) и своевременным возобновлением смазки, проверять наличие защитных коробов и исправность их конструкций.

Перекосы и угон катков являются следствием проскальзывания и заклинивания подвижных частей из-за загрязнения и коррозии металла, а также отсутствия смазки. Поэтому в период осмотра следует обращать внимание на коррозионные процессы в опорных частях, особенно в шарнирах, и на поверхностях соприкасания катка и плиты.

В многокатковых опорных частях проверяют взаимное расположение катков, состояние кареток и противоугонных устройств. Расстояние между катками проверяют с обеих сторон в случае визуального наблюдения их смещения относительно друг друга. При срезных катках необходимо проверять зазор между ними. Минимальная его величина должна быть не менее 1 см при наибольшем наклоне срезных катков.

2.3.17. Расчетное отклонение оси балансира относительно оси опорной плиты определяют по формуле:

                                                      (2.3)

где t - температура воздуха в момент проверки, °С;

D - коэффициент линейного расширения стали (D = 0,000012);

l - расчетный пролет балок ферм, см;

t0 - температура, при которой оси балансира опорной плиты и центр катков должны совпадать, °С.

                                               (2.4)

где tср - средняя годовая температура по изотермам для данной местности;

Dк - продольное перемещение подвижного конца пролетного строения от временной нагрузки. "Плюс" соответствует расположению опорных частей под нижним поясом ферм, "минус" - под верхним поясом. Нормальное отклонение центра катков от оси опорной плиты считается при величине d/2. Для типовых пролетов сталежелезобетонных конструкций положение катков в зависимости от температур воздуха принимают по табл. 2.2.

В районах, где возможны минусовые температуры (ниже -20°С), следует периодически определять температуру, соответствующую "критическому" положению катков (см. п. 2.2.7).

2.3.18. При осмотре конструкции проезжей части основное внимание должно быть уделено состоянию гидроизоляции, покрытию и участкам сопряжения пролетных строений между собой и с подходами к мосту.

Состояние гидроизоляции определяют по признакам фильтрации воды через плиту проезжей части (щели, швы, трещины, по фасаду плиты и балок и т.д.). Если фильтрация воды отсутствует, то гидроизоляцию можно признать исправной. Если в сухую погоду на поверхности железобетонной плиты имеются пятна белого цвета, а при дождливой - они становятся мокрые, то это свидетельствует о недавнем повреждении изоляции (1-2 сезона). Появление битумных пятен, сталактитовых сосулек и подтеков ржавчины свидетельствует о более давнем времени разрушения изоляции (не менее 6 сезонов).

Наиболее характерными местами проникновения влаги на нижерасположенные элементы являются монтажные швы и трещины в плите. Образование подтеков на фасаде пролетных строений свидетельствует о нарушении гидроизоляции в зоне расположения тротуаров.

2.3.19. На металлических пролетных строениях применяют в основном деформационные швы перекрытого типа. Разрушения их обычно начинаются на границе покрытия с окаймлением (в виде трещин и последующих выколов) и на ближайшем участке покрытия 0,2-0,3 м около шва. Распространенным дефектом шва является неплотное прилегание скользящего листа к нижнему, интенсивная коррозия скользящих листов, окаймлений, пружин и лотка, что ведет к отрыву скользящего листа от конструкции, нарушению изоляции в шве и в целом к разрушению шва. При осмотре визуально проверяют состояние всех элементов деформационного шва и околошовной зоны, а также наличие смазки в пружинных стаканах, натяжение пружин, величину просвета под листом и т.д. При увлажнении подферменной части опоры моста следует проверить состояние лотка в шве и принять меры к устранению его дефектов (загрязнения и коррозии лотка, недостаточного наклона, не обеспечивающего сток воды).

Таблица 2.2

Положение подвижных опорных частей

Схема пролетных строений

№ опоры

Расчетный пролет, м

Величина "а" при температуре °С

-40

-35

-30

-25

-20

-15

-10

-5

0

+5

+10

+15

+20

+25

+30

+35

+40

1

2

3

4

5

6

7

8

9

10

11

12

13

14

15

16

17

18

19

20

42

 

42

+25

+23

+21

+19

+17

+15

+13

+10

+8

+6

+4

+2

0

-2

-4

-6

-8

63

 

63

+38

+35

+32

+29

+26

+22

+18

+16

+13

+10

+6

+3

0

-3

-6

-10

-13

84

 

84

-

-

+46

+41

+36

+31

+26

+20

+15

+10

+5

0

-6

-11

-15

-

-

33,6

 

33,6

-

-

+22

+21

+19

+14

+15

+13

+11

+9

+7

+5

+3

+1

0

-

-

 

 

 

 

 

 

 

 

 

 

 

 

 

 

 

3´42

1

42

+20

+18

+16

+13

+11

+9

+7

+5

+3

+1

-1

-3

-5

-7

-10

-12

-14

 

4

2´42

+37

+32

+28

+24

+20

+16

+11

+3

+3

-1

-5

-10

-14

-18

-22

-26

-31

 

3

42

+17

+15

+13

+11

+8

+6

+4

+2

0

-2

-4

-6

-8

-11

-13

-15

-17

 

 

 

 

 

 

 

 

 

 

 

 

 

 

 

3´63

1

63

+29

+25

+23

+20

+17

+14

+10

+7

+4

+1

-2

-6

-9

-12

-15

-18

-21

 

4

2´63

+54

+48

+42

+35

+29

+23

+16

+10

+4

-2

-8

-15

-21

-27

-34

-40

-56

 

3

63

+25

+22

+19

+16

+12

+9

+6

+3

0

-3

-6

-9

-12

-16

-19

-22

-25

 

 

 

 

 

 

 

 

 

 

 

 

 

63+2´

´84+63

2; 4

84

+34

+29

+25

+21

+17

+13

+8

+4

0

-4

-8

-13

-17

-21

-25

-29

-34

1; 5

84+63

+63

+55

+48

+41

+33

+26

+19

+11

+4

-3

-11

-18

-25

-33

-40

-47

-55

 

 

 

 

 

 

 

 

 

63+3´

´84+63

2; 4

84

+34

+29

+25

+21

+17

+13

+8

+4

0

-4

-8

-13

-17

-21

-25

-29

-34

1

84+63

+63

+55

+48

+41

+33

+26

+19

+11

+4

-3

-11

-18

-25

-33

-40

-47

-55

5

84+84

+77

+63

+34

+46

+38

+29

+21

+12

+4

-4

-13

-21

-30

-38

-46

-44

-63

6

84+84+63

+97

+86

+74

+63

+51

+40

+28

+17

+5

-7

-18

-30

-41

-53

-64

-76

-87

Примечание: "а" - смещение середины нижней плиты относительно середины верхнего балансира, мм. Смещение в сторону пролета принято со знаком "-", в обратную - со знаком "+".

2.3.20. Осмотр покрытия и тротуаров предусматривает выявление механических повреждений и дефектов износа, а также проверку работы системы водоотвода.

На асфальтобетонных покрытиях выявляют наплывы, волны, трещины. При длительной эксплуатации может образоваться сетка трещин с ячейками 0,2-0,5 м и в дальнейшем выкол асфальтобетона с повреждением нижележащих слоев.

2.3.21. На деревянных настилах визуально проверяют степень износа досок, надежность прикрепления гвоздевого соединения, плотность опирания досок на нижележащие элементы (прогоны или поперечины), гнили и других дефектов древесины (изломы, размочаливание концов). Максимальный износ досок не должен превышать более 2-3 см по толщине или 25% толщины для одиночного настила.

На тротуарах проверяют наличие стока воды, степень износа настила или покрытия, состояние тротуарных плит, крепления металлических кронштейнов, крышек над люками для спуска к смотровым приспособлениям, лестничные спуски и перила, ограждающие конструкции и т.д.

3. РЕМОНТ ЭЛЕМЕНТОВ ПРОЕЗЖЕЙ ЧАСТИ

3.1. Восстановление асфальтобетонного покрытия

3.1.1. Ремонт асфальтобетонного покрытия производят при образовании в нем: трещин, выколов, волн, наплывов, нарушений соответствующих уклонов для стока воды и других дефектах.

Работы включают следующие операции: вырубку поврежденных участков покрытия с последующей очисткой основания; грунтовку и укладку асфальтобетона с разравниванием и уплотнением смеси; затирку поверхности; установку и снятие ограждений на участке ремонта.

3.1.2. Если покрытие имеет повреждения на площади более 50% всего полотна пролетного строения, то его заменяют на новое. Нельзя укладывать новый слой асфальтобетона сверху поврежденного. Это может привести к увеличению собственного веса пролетных строений.

При укладке нового покрытия необходимо следить за отверстиями для отвода воды. Они не должны быть перекрыты асфальтобетоном.

3.1.3. Для ремонта применяют прочный и водонепроницаемый асфальтобетон. Водонепроницаемость обеспечивается за счет применения активированных минеральных порошков или битумов с ПАВ. Неактивированные минеральные порошки допускают применять в асфальтобетонные покрытия только для мостов длиной до 30 м.

При устройстве новых покрытий следует руководствоваться требованиями ГОСТа 9128-76, ГОСТа 12801-77, СНиПом Ш-40-78, а также другими действующими нормами по строительству дорожных асфальтобетонных покрытий.

При ремонте участков покрытия к материалам предъявляют такие же требования, как при новом строительстве.

3.1.4. До начала работ участок ограждают соответствующими приспособлениями и дорожно-сигнальными знаками.

В подготовительный период размечают поврежденные участки и готовят необходимый инструмент и механизмы, затем вырубают поврежденную поверхность с последующей обработкой краев отбойными молотками. При сплошной срубке старого асфальтобетона на мостах больших пролетов возможно использование бульдозера с ослаблением сплошности покрытия прорезями дорожной фрезы до защитного слоя. Разработанный асфальтобетон выносят за пределы сооружения, выравнивают поверхность пневмомолотками и очищают основание от пыли и грязи, затем обрабатывают его битумом из расчета 400¸500 г на 1 м2 площади. При ямочном ремонте тщательно смазывают края сохранившегося покрытия для повышения сцепления его с новым асфальтом.

3.1.5. При ремонте небольших участков покрытия асфальтобетонную смесь выгружают из транспортных средств в местах, удобных для ее переноса к месту укладки. Неиспользованная смесь удаляется с моста сразу после окончания ремонтных работ.

Горячую асфальтобетонную смесь переносят совковыми лопатами на расстояние не более 8 м. Все работы по восстановлению покрытия выполняют согласно [1].

3.2. Ремонт цементобетонного покрытия и защитного слоя

3.2.1. Ремонт цементобетонного покрытия производят в случае шелушения поверхности, образования раковин, трещин, выколов или разрушения покрытия.

Защитный слой восстанавливают при ремонте изоляции и износе покрытия (асфальтобетонного, цементобетонного и др.).

3.2.2. Устранение повреждений производят с помощью цементо-бетонных или цементно-пеcчаных смесей, а также полимер- и асфальтобетонов. Работы следует выполнять при положительной температуре воздуха не ниже +5°С; в случае применения материалов на полимерной основе температура воздуха должна быть не ниже +15°С.

При повреждениях отдельных участков глубиной до 3 см (шелушение поверхности) рекомендуют использовать эпоксидные клеи или эпоксидно-минеральные смеси. Более глубокие повреждения покрытия устраняют цементобетонами или цементно-песчаными смесями.

Марка прочности цементобетонов должна быть не ниже 200.

Асфальтобетонные покрытия по цементобетонным можно устраивать в случаях, когда это не снижает грузоподъемности пролетных строений. Все используемые материалы должны отвечать требованиям, предъявляемым к материалам для конструкций мостов.

3.2.3. Работы по ремонту предусматривают следующие операции: установку ограждающих щитов и знаков; подготовку инструмента, механизмов и материалов; подготовку ремонтируемого участка; укладку ремонтных составов, их уплотнение с отделкой поверхности и уход за свежеуложенным составом; уборку мусора и неиспользованных материалов; снятие ограждений по окончании ремонта.

3.2.4. При подготовке участка покрытия к ремонту поврежденные места размечают мелом или краской, затем при помощи установки для нарезки швов прорезают щель по контуру участка на глубину повреждения и скалывают бетон пневмо- или электроинструментами. Слабый и вырубленный бетон удаляют, участок очищают от пыли и продувают сжатым воздухом, а затем промывают водой.

3.2.5. В случае устранения локальных повреждений цементно-бетонной смесью на очищенную и увлажненную поверхность наносят волосяными щетками в два слоя (каждый толщиной до 2 мм) цементный клей и затем, через 15-20 мин после исчезновения водной пленки, по нему укладывают бетонную смесь на высоту, превышающую уровень поверхности покрытия или защитного слоя на 2-3 см. Уложенный бетон уплотняют поверхностным вибратором типа ИВ-2 или виброрейкой. При глубине уплотнения более 5 см можно пользоваться вибратором типа ИВ-47; небольшие участки допускают уплотнять ручными трамбовками массой 12-16 кг. Поверхность выравнивают деревянной гладилкой с резиновой лентой и кельмами. Ровность покрытия проверяют трехметровой рейкой, приложенной к поверхности (просвет не должен превышать 3 мм).

3.2.6. Цементный клей готовят из пластифицированного дорожного цемента марки 600 в любой закрытой металлической емкости при В/Ц = 0,3¸0,35. Смесь перемешивают 2-3 мин и затем подвергают виброактивации с использованием глубинного вибратора.

Рекомендуют использовать бетонную смесь следующего состава: портландцемент марки 600 - 450 кг; песок - 500-700 кг; гранитный щебень (фракции 2-5 мм) - 1000-1200 кг; вода - 160-180 л. Для повышения морозостойкости бетона используют поверхностно-активные вещества.

3.2.7. При плотном основном бетоне покрытия (защитного слоя) и глубине повреждения участка до 1 cм ремонт следует выполнять эпоксидным клеем, состоящим иp (в частях по массе) эпоксидной смолы ЭД-5 (ГОСТ 10587-76) - 100 вес частей; полиэтиленполиамина (ТУ 6-02-594) или кубиковых остатков при получении гексаметилендиамида - 17¸20 вес частей и дибутилфталата (ГОСТ 8723-75) - 20 вес частей.

Перед нанесением клея ремонтируемую поверхность очищают песком из пескоструйного аппарата и продувают сжатым воздухом. Клей (300-400 г/м2) наносят с помощью щеток и гладилок по сухой поверхности, распределяя равномерно по всему участку; по уложенному составу рассыпают сухой песок в количестве 2,5-3,5 кг/ м2.

Для уменьшения расхода смолы рекомендуют вводить в состав клея портландцемент марки 500 в соотношении по массе 1:1 (клей-цемент). При работе с клеями нужно иметь в виду, что с момента затворения до схватывания его при температуре воздуха +20-25°С проходит не более 30-40 мин. Поэтому все операции по ремонту необходимо планировать заранее.

3.2.8. При повреждениях участка глубиной 1¸3 см клей используется как подготовительный слой, по которому укладывают эпоксидно-минеральную смесь. Сверху уложенную смесь покрывают песком из расчета 1 кг/ м2. В состав смеси входят эпоксидный клей и минеральные составляющие в соотношении по массе 1:7¸1:10. Минеральная часть содержит цемент и песок в пропорции соответственно (25¸40 и 75¸60%). Уплотнение смеси производят катками массой до 5 т.

3.2.9. Приготовление ремонтных смесей и уход за свежеуложенными материалами, а также начало движения по ним должны осуществляться согласно [1].

3.2.10. Устранение отдельных трещин на покрытии и в защитном слое проводят с помощью жидких и разжиженных битумов, мастик, битумных эмульсий и бетонных смесей.

Для заделки трещин шириной до 2 см рекомендуют разжиженные битумы марки БНД-90/130 или БНД-60/90 в керосине или дизельном топливе в соотношении 1:1. Температура раствора должна быть +80-85°С. Раствор наносят краскопультом или кистью в несколько приемов в зависимости от глубины трещины.

При узких трещинах с раскрытием 2-6 мм по их длине вырубают крейцмейселем бороздки шириной 8-10 мм и глубиной 30-35 мм. Образовавшуюся щель очищают от бетона и пыли и покрывают разжиженным битумом. После высыхания трещину заливают тем же составом.

Трещины рекомендуют заделывать в прохладную погоду, когда они имеют наибольшее раскрытие.

3.2.11. Если на всей поверхности покрытия проезжей части пролетного строения имеются выбоины, выколы бетона или его "шелушение" глубиной до 3 см ремонт рекомендуют проводить с помощью укладки цементно-песчаной смеси по коллоидному клею. Для этого покрытие очищают от пыли и грязи не менее 6 раз поливомоечной машиной, оборудованной металлической щеткой, затем промывают водой.

Коллоидный клей тонким слоем 1-2 мм наносят на сухую поверхность покрытия с помощью пистолета-распылителя, расходуя его примерно 2-3 кг/м2. Цементно-песчаную смесь укладывают по клею сразу после его нанесения. Работы следует организовывать таким образом, чтобы процесс укладки смеси не прерывался.

Ремонт ведут обычно на одной половине ширины проезда, а на другую переходят после того, как разрешено движение по отремонтированной полосе. Нанесение клея и укладку смеси рекомендуют вести участками, постепенно продвигаясь вдоль пролета.

Коллоидный клей принимают следующего состава: тонкомолотый цемент марки не ниже 500 и кварцевый дробленый песок в пропорции по массе соответственно 60 и 40% при В/Ц - 0,3¸0,35. Для приготовления клея может быть использована закрытая емкость, где перемешивают смесь в течение 2-3 мин. Затем 5-7 мин. смесь подвергают виброактивации вибратором типа ИВ-47 или И-116. После этого клей готов к употреблению в течение 30 мин.

Цементно-песчаную смесь рекомендуют использовать из цемента марки 500 - 480 кг, песка - 1660 кг, воды - 170 л. Смесь укладывают лопатами и разравнивают граблями; уплотнение ведут поверхностным вибратором. Свежеуложенную массу закрывают мешковиной или слоем опилок через 1-2 ч после уплотнения и поливают водой. В течение суток увлажнение поверхности производят через каждые 3-4 ч, после чего поверхность покрывают влажным песком.

3.2.12. Технология устройства покрытия на всей длине пролетного строения при глубине повреждений более 3 см принимается согласно [1]. Следует учитывать, что общая толщина покрытия после ремонта не должна превышать проектные размеры (на мосту) более 1-2 см.

Восстановление защитного слоя после ремонта гидроизоляции производят в соответствии с требованиями инструкции [8].

3.3. Ремонт перил

3.3.1. Ремонт металлических перил производят при их механических повреждениях или коррозии металла, ослаблении крепления стоек к тротуарному блоку или тротуарным консолям.

При восстановлении перил разбирают поврежденную часть, выправляют деформированные элементы и устанавливают их на место; при необходимости заменяют детали, восстановить которые невозможно.

3.3.2. Поврежденную часть перил срезают автогеном; уголки и круглую сталь выправляют с помощью прессов или других механических способов; новый металл замеряют и нарезают автогеном для нового металлического перильного ограждения; кромки угловой и круглой стали обрабатывают; готовые детали устанавливают на место и прикрепляют либо на сварке, используя газосварочный аппарат, либо на болтах, для этого предварительно в деталях в местах соединения сверлят отверстия с последующей обработкой.

3.3.3. Если отдельные стойки сломаны с повреждением их крепления в плите, перильное ограждение временно крепят к ближайшим, хорошо закрепленным. При этом горизонтальные элементы, связывающие ближайшие стойки, выполняют из более крупного профиля, чем в обычном ограждении.

3.3.4. Если нарушено крепление стойки в железобетонной плите (стойка "качается") или разрушен бетон в месте ее заделки, стойку временно удаляют, закрепив решетку к соседним стойкам; при необходимости снимают и решетку около ремонтируемой стойки; затем бетон плиты в месте предполагаемого крепления стойки вырубают пневмоинструментом на толщину плиты. Размеры отверстия должны быть таковы, чтобы зазор между установленной стойкой и стенкой вырубленного отверстия составлял 2-3 см. Стенки отверстия очищают металлическими щетками от пыли и промывают водой, после этого крепят опалубку и устанавливают стойку в гнездо, закрепив ее временно в требуемом положении. В гнездо закладывают арматурную сетку из проволок диаметром 4-6 мм с ячейками 50´50 мм, расположив ее вокруг стойки. Сетку рекомендуют устанавливать на расстоянии 1 см по контуру отверстия. Если в отверстие попадают рабочие стержни плиты, то арматурную сетку и стойку целесообразно прикрепить к ним. Отверстия заделывают вибрированным бетоном не ниже марки бетона плиты, но всегда не ниже 200. Сварочные работы при установке решетки можно производить только на третьи сутки после бетонирования.

Отремонтированные перильные ограждения очищают от ржавчины и окрашивают.

3.3.5. При ремонте тротуаров, закрепленных на металлических кронштейнах, заменяют поврежденные элементы и закрепляют их по месту на сварке или высокопрочных болтах.

3.4. Ремонт деревянной проезжей части

3.4.1. Ремонт деревянной проезжей части и тротуаров проводят в случае износа верхнего настила или загнивания балочной клетки.

3.4.2. При ремонте деревянной конструкции разбирают проезжую часть на ремонтируемом участке и при необходимости снимают часть верхнего и нижнего настилов, прогоны и поперечные балки (поперечины).

3.4.3. До начала работ замеряют элементы, подлежащие замене, на стройдворе подготавливают новые доски для настила и брусья. По снятым размерам их опиливают, остругивают, снимают фаски. Подготовленные элементы доставляют на место, устанавливают ограждения и дорожные знаки. При помощи ломов и гвоздодеров разбирают дефектные доски и брусья, а на их место укладывают новые. По окончании работ снятые элементы убирают с проезжей части, а гнилые сжигают.

3.4.4. Новые элементы изготавливают из сосны, ели, реже - кедра и пихты. Применяемый материал должен отвечать требованиям ГОСТа 9463-72 и ГОСТа 8486-66. Влажность древесины не должна превышать 25%. Для конструкций балочной клетки и настила разрешают использовать древесину второй категории. Сушку лесоматериалов в естественных условиях и хранение проводят согласно ГОСТу 3808-80. Гвозди для крепления элементов принимают по ГОСТу 4028-63.

3.4.5. На мостах, где по деревянному настилу устроено асфальтобетонное покрытие, ремонт деревянных конструкций производят аналогично вышеизложенному. По окончании ремонта производят укладку асфальтобетона по деревоплите или по дощатому настилу, выполняют поверхностную обработку битумными и песчано-щебеночными материалами. Работы выполняют в соответствии с требованиями нормативных документов по ремонту дорожных одежд [1].

3.5. Ремонт гидроизоляции проезжей части

3.5.1. Ремонт гидроизоляции проезжей части производят при появлении пятен и подтеков воды на нижней поверхности плиты и балках, а также по фасаду пролетных строений. Обнаруженные дефекты следует проверить в период сильных дождей или с помощью поливомоечных машин. Недостатки проявятся в течение 0,5-1,5 ч.

3.5.2. При наличии признаков повреждения изоляции на нескольких участках вдоль пролета работы по ремонту следует проводить по всей длине пролетного строения, так как локальный ремонт отдельных участков может оказаться неэффективным (место протечки плиты не всегда позволяет определить место повреждения изоляции). Если по ширине плиты имеются признаки нарушения изоляции, то ремонт необходимо производить по всей ширине пролетного строения. При наличии дефектов только у крайних элементов или на консолях плиты и фасаде балок ремонтируют лишь полосу гидроизоляции вдоль пролета около тротуара шириной до 180 см и при необходимости и под тротуарами.

3.5.3. Локальный ремонт отдельных участков производят при одиночных признаках повреждения изоляции, сопровождающихся интенсивным увлажнением низа плиты и несущих элементов. В таком случае изоляцию ремонтируют на участке вдоль и поперек пролета с радиусом не менее 1,5 м в сторону от места фильтрации воды. Если на проезжей части существует продольный уклон, то ремонтируют участок выше места фильтрации. Длину его определяют опытным путем.

3.5.4. При ремонте поврежденный изоляционный слой заменяют на новый. Необходимо следить, чтобы толщина его во всех случаях не превышала 1 см. Если с ремонтом изоляции мостового полотна одновременно ремонтируют тротуары, изоляцию устраивают на полную ширину плиты проезжей части,

3.5.5. Работу организуют таким образом, чтобы обеспечить поочередный проезд транспортных средств в обоих направлениях по одной полосе.

Ремонт гидроизоляции состоит из следующих операций: установки и снятия ограждений места работ, разборки покрытия, вскрытия защитного слоя, удаления поврежденной изоляции, подготовки основания для укладки новой изоляции, защитного слоя и покрытия. Перед началом работ должны быть подготовлены необходимые инструменты и механизмы, а ремонтируемый участок огражден соответствующими приспособлениями и дорожными знаками.

3.5.6. При удалении покрытия и защитного слоя постепенно откалывают куски асфальта и бетона, бульдозером убирают их с ремонтируемого участка.

Обнаженную поверхность бетона подстилающего слоя выравнивают металлическими щетками и шлифовальной машиной, участками срубают и удаляют слабый бетон. При необходимости заделывают трещины и раковины как при ремонте цементобетонных покрытий. Кроме того, заменяют поврежденные водоотводные трубки или устанавливают дополнительные, если это необходимо. Перед началом устройства гидроизоляции подготовленную поверхность продувают сжатым воздухом и просушивают.

3.5.7. Для ремонта гидроизоляции на пролетных строениях могут быть рекомендованы конструкции изоляционного слоя из различных материалов, предложенных в инструкции [8].

3.5.8. Практически во всех климатических зонах РСФСР может быть применена изоляция на основе горячих битумных мастик типа БМ-1, БМ-2 и БМ-3, состоящих из трех слоев мастики марок Ю-I, Ю-II и С-III - для I-III климатических зон (табл. 3.1) и полотен армирующего материала.

Таблица 3.1

Горячие битумные мастики

Компоненты мастики

Составы мастик, в частях по массе

марки мастики

Ю-I

Ю-II

С-III

1

2

3

4

Битум-нефтяной пластбит для изоляции нефтегазопроводов или мастика МБР

95-100

85-90

75-80

Индустриальное масло

5-0

15-10

25-20

Асбест № 7

0

0

25-20

Битум нефтяной строительный

90-100

75-80

-

Индустриальное масло

10-0

25-20

-

Асбест № 7

0

25-0

-

Битум нефтяной БНК

95

85-90

-

Индустриальное масло

5

15-10

-

Асбест № 7

0

25-0

-

В качестве армирующего материала применяют армирующие сетки Э3-200 по ГОСТу 19907-74, ткань льно-джутокенафную упаковочную № 2, 3 и технического назначения № I и 2 по ГОСТу 5520-71.

3.5.9. Применяют также гидроизоляцию из полиэтиленовой пленки (толщина ее - не менее 0,15 мм) эластичной в интервале температур до -60°С стабилизированной сажей, сохраняющей свои свойства во времени. Пленка должна соответствовать требованиям ГОСТа 10354-73. Конструкция такой изоляции состоит из подстилающего слоя гидроизола или пергамина и двух слоев полиэтиленовой пленки, которые покрывают сверху пергамином по ГОСТу 2697-75 или гидроизолом по ГОСТу 7415-74. Работы по укладке, стыковке и сварке гидроизоляции выполняют специализированные бригады.

В случае повреждения пленки накладывают заплату, которая промазывается мастикой КН-2 по ТУ 38-00-506-72 слоем толщиной 1-1,5 мм по периметру на расстоянии 10-15 см от дефектного места.

3.5.10. Для суровых климатических условий рекомендуют применять тиоколовую мастичную гидроизоляцию (ТМ). Мастики могут быть двухкомпонентными марки СМ-I по ТУ 3833-119-69 или трехкомпонентными марки У-30М по ГОСТу 13489-79.

3.5.11. В случае применения для ремонта изоляции из битумных лаков, разжиженного битума или горячих резино-битумных мастик, армированных рулонным материалом (гидроизолом, стеклотканями), по подготовленной поверхности бетона наносят грунтовочный слой кистью с длинной рукояткой или краскораспылителем. После просыхания грунтовочного слоя всю поверхность покрывают битумной мастикой (или резинобитумной) при температуре +160-180°С слоем 2 мм и накладывают листы из рулонного материала с перекрытием полотен не менее 10-15 см. Если ремонт проводят на части мостового полотна, то новая изоляция должна перекрывать неповрежденный участок изоляции не менее, чем на 40 см. При многослойной гидроизоляции повторяют слой мастики и рулонный материал. На последний слой по рулонному материалу наносят также слой мастики толщиной 2 мм. Рулонный материал расстилают на поверхности и разглаживают ручным катком, начиная от середины (по ширине) полотна. Эти работы рекомендуют проводить в сухую погоду при температуре от +15 до +25°С; ниже +5°С устраивать гидроизоляцию из этих материалов не следует.

Работы по устройству изоляции начинают от тротуарных блоков к середине проезжей части. Рулонные материалы расстилают вдоль пролетного строения. Крайнее полотно укладывают так, чтобы оно находило на вертикальную поверхность тротуарного блока на 12 см. Изоляция приклеивается к вертикальной поверхности мастикой или синтетическими клеями.

3.5.12. При устройстве гидроизоляции около водоотводных трубок выполняют следующие операции: очищают трубки от грязи и мусора, устраняют повреждения бетона вокруг нее, металл трубки очищают от ржавчины и окрашивают битумным лаком, при необходимости заменяют их, выполняют сопряжение изоляции с трубками. Сопряжение гидроизоляции с водоотводными трубками должно быть выполнено с применением резиноподобных манжетных элементов заводского изготовления. Можно сопрягать гидроизоляцию с трубками послойным наклеиванием вокруг их раструба косынок, вырезанных из армирующего материала (стеклянного, льно-джутокенафного), и с заведением в раструб лепестков. При любых типах гидроизоляции с применением армирующей ткани у водоотводных трубок укладывают два дополнительных ее слоя, армирующий материал которых перед укладкой раскраивают на секторные косынки.

Дополнительную гидроизоляцию перекрывают основной, которую над трубкой разрезают крестообразно, а секторные ее концы отгибают в раструб, приклеивая мастикой к его поверхности.

3.5.13. При использовании для гидроизоляции полиэтиленовой пленки необходимо иметь малогабаритную машину МСМ-I для сварки пленки или импульсивный полоз ИП-I.

Такая изоляция устраивается без приклеивания пленки к основанию, приклеивают ее только в местах примыкания к вертикальной поверхности тротуарного блока (бордюра). Для этого используют битумную мастику.

Пленку раскатывают по подготовленной чистой и ровной поверхности плиты с насухо уложенным на ней подстилающим слоем беспокровного рулонного материала (пергамина или гидроизола). Кромки соседних полотен сваривают импульсным полозом ИП-I или ленточной сварочной машиной МСМ-IМ. По первому слою полиэтиленовой пленки расстилают второй и затем сверху укладывают рулонный материал. По окончании сварки поверхности сваренных пленок обрабатывают ацетоном или этиловым спиртом и наждачной бумагой.

Ширина стыкуемых кромок при сварке внахлестку составляет 2-3 cм. Уложенную гидроизоляцию должны защищать от непосредственного воздействия солнечных лучей, поэтому при перерывах в работе ее следует укрывать брезентом. В процессе работ ходить по изоляции можно только в мягкой обуви.

Места примыкания пленки к вертикальной поверхности тротуарного блока покрывают мастикой или клеем КН-2. Пленку также покрывают слоем клея на ширину, которая будет примыкать к вертикальной плоскости. Примерно через 30 мин (при клее КН-2) или I ч (при мастике) пленку накладывают и прижимают к поверхности тротуарного блока с помощью шпателя. Защемление пленки производят через каждые 2-3 см быстросхватывающим цементно-песчаным раствором состава 1:2. В качестве вяжущего используют гипсоглиноземистый расширяющийся цемент.

3.5.14. При ремонте изоляции с применением тиоколовых мастик проводят тщательную очистку поверхности пескоструйными аппаратами и затем на подготовленную бетонную поверхность вначале наносят слой тиоколовой грунтовки и выдерживают его не менее 12 ч. Затем кладут первый слой мастики толщиной 1-1,5 мм; по нему укладывают армирующую сетку или ткань, а сверху наносят второй слой мастики. Защитный слой бетона наносят через 7-10 ч после второго слоя тиоколовой мастики.

3.5.15. Ремонт всей гидроизоляции можно производить с помощью нового изоляционного ковра по защитному слою старой конструкции мостового полотна. В этом случае удаляется только покрытие. Возможность увеличения собственного веса пролетного строения за счет утолщения полотна проверяют расчетом.

Устройство гидроизоляции по защитному слою осуществляют в следующем порядке: ограждают место работ на проезжей части моста и подходах, намечают границу срубки покрытия; удаляют асфальтобетонное покрытие на огороженной части моста; устраивают штрабу вдоль тротуара или бордюра глубиной 20-30 мм и шириной 10-20 мм и заполняют мастикой; зачеканивают и изолируют швы тротуарных блоков; очищают поверхность защитного слоя от остатков асфальтобетона и грязи, продувают, высушивают и выравнивают поверхность защитного слоя; укладывают новый изоляционный и защитный слой и покрытие; повторяют весь цикл работ на второй половине моста.

3.5.16. Зачеканку швов тротуарных блоков делают для предотвращения попадания воды на железобетонную плиту и верхний пояс главных балок. При зачеканке тщательно очищают и продувают шов на глубину 40-50 мм, забивают в него "сухой" цементный раствор, а над швом наклеивают полоску стеклоткани с помощью мастики (которую используют для устройства изоляции) или тиоколового герметика. Цементный раствор приготавливают из цемента марки 400¸500, В/Ц = 0,15.

Продольную штрабу в защитном слое выполняют либо нарезкой, либо с помощью пневмоинструмента. Перед заливкой штрабы мастикой ее продувают и просушивают (например, пламенем горелки).

3.5.17. Конструкция гидроизоляции по защитному слою может быть принята и без бетонного защитного слоя, не допускающая увлажнения собственной массы конструкций.

Гидроизоляцию без бетонного защитного слоя устраивают с применением утяжеленных рулонных материалов: гидростеклоизола и фольгоизола, а также армогидробутила.

Перед устройством на подготовленную поверхность наносят грунтовочный слой из битумного лака и по нему укладывают слои изоляции одежды. Конструкция гидроизоляции ремонтируемых мостов показана на рис. 5.

3.5.18. В случае устройства изоляции по выравнивающему слою необходимо предусматривать улучшение водоотвода, в частности, с участков у тротуаров. Для улучшения водоотвода поверхность защитного слоя выравнивают таким образом, чтобы увеличить площадь сброса воды в водоотводные трубки вдоль моста. Кроме того, у тротуаров между водоотводными трубками до укладки изоляционного слоя в проезжей части сверлят сквозные отверстия диаметром 20-25 мм для сброса фильтрационной воды через 3 м (без продольного уклона) или через 6 м (продольный уклон - 2%).

Рис. 5. Конструкции гидроизоляции ремонтируемых мостов:

а - с использованием фольгоизола; б - гидростеклоизола и армогидробутила;
1 - гидроизоляция проезжей части; 2 - защитный слой; 3 - выравнивающий слой; 4 - грунтовочный слой; 5 - фольгоизол; 6 - гидростеклоизол; 7 - армогидробутил; 8 - рубероид; 9 - нижний слой асфальтобетона (35-40 мм): 10 - верхний слой асфальтобетона (30-35 мм)

3.5.19. Для улучшения гидроизоляционных свойств одежды без ремонта изоляции рекомендуют поверхностный слой защитного покрытия пропитывать олифой (оксоль или натуральной) или гидрофобизирующей кремний-органической жидкостью ГКЖ-94.

Улучшение гидроизоляционных свойств одежды производят в случаях незначительной фильтрации воды через плиту (отдельные следы выщелачивания, коррозии арматуры и металла верхнего пояса).

Олифу можно использовать в случаях ровной, без трещин поверхности защитного слоя, а ГКЖ-94 - при неровностях глубиной до 3 мм и трещинах с раскрытием до 0,2 мм. Для районов среднесуточной температурой ниже -30°С применять олифу не рекомендуют.

Перед пропиткой поверхность защитного слоя очищают металлическими щетками и промывают струей воды под давлением 0,4-0,5 МПа затем продувают сжатым воздухом. Одновременно производят зачеканку швов тротуарных блоков и устройство штрабы вдоль тротуара в соответствии с указаниями п.п. 3.5.15; 3.5.16.

На подготовленную поверхность разливают олифу, нагретую до температуры +80-100°С и затем через 1-3 ч укладывают асфальтобетонную смесь.

В случае применения ГКЖ-94 гидрофобизацию поверхности защитного слоя производят 2 раза 10%-ным раствором этой жидкости с последующим (через 6-12 ч при температуре +20°С) нанесением двух слоев нефтеполимерной смолы.

Кремнийорганическую жидкость растворяют в воде и после перемешивания наносят распылителем на слой.

Перед нанесением нефтеполимерной смолы ее растворяют в ксилоле в соответствии 1:20 в течение 1 сут и распыляют. Расход материалов на 1 м2 поверхности бетона следующий:

олифа                                                       - 400¸450 г;

ГКЖ-94 (10%-ный раствор)                 - 200¸250 г на 1 слой;

НПС (раствор в ксилоле)                      - 350¸400          -"-

3.5.20. Ремонт гидроизоляции только у тротуаров осуществляют при локальных повреждениях у крайних балок. Под тротуарами ремонт производят так же, как при ремонте изоляции на всей площади моста. Для случаев, требующих устройства изоляции тротуаров, ремонтные работы целесообразно выполнять одновременно с заменой, добетонированием или перекладкой бордюров, поскольку в этом случае представляется возможным уложить изоляцию без стыков в пониженном участке (рис. 6).

Рис. 6. Схема ремонта изоляции около тротуара с установкой нового бордюра:

1 - гидроизоляция проезжей части; 2 - тротуар: 3 - новая изоляция; 4 - защитный слой; 5 - новый блок; 6 - заполнение вырубки защитного слоя; 7 - то же, покрытия

3.6. Ремонт деформационных швов

3.6.1. В зависимости от характера и причин повреждения деформационных швов их ремонтируют или заменяют на более совершенные конструкции.

В металлических пролетных строениях применяют в основном два типа деформационных швов. На мостах с пролетными строениями длиной более 30 м устраивают перекрытие шва с металлическим скользящим листом или гребенчатыми металлическими плитами, а до 30 м - швы с заполнением мастиками.

3.6.2. Ремонт деформационного шва со скользящим металлическим листом производят в случае расстройства (ослабления креплений) соединений или их искривления, заклинивания, значительной коррозии металла или полного разрушения шва, повреждения лотков, повреждения изоляции шва и участков примыкания слоев одежды к окаймлению и т.д.

3.6.3. Работы по ремонту швов со скользящим листом ведут без перерыва движения, выполняя все операции на одной половине ширины моста, и после окончания этих работ переходят на другую половину (табл. 3.2).

Таблица 3.2

Перечень и порядок выполнения ремонтных работ в зависимости от повреждений деформационного шва перекрытого типа

Повреждение

Причина появления дефекта

Перечень работ

1

2

3

Разрушение покрытия у окаймления

Недостаточная толщина, некачественное уплотнение, отсутствие зазора между окаймлением и покрытием

Срубка покрытия на ширине, превышающей поврежденный участок на 0,2 м; ремонт защитного слоя, укладка покрытия, нарезка штрабы в покрытии вдоль окаймления, заливка штрабы мастикой

Нарушение изоляции у окаймления; выщелачивание в плите, в зоне деформационных швов

Некачественное сопряжение изоляции с окаймлением, применение некачественных материалов

Ступенчатая вырубка покрытия и защитного слоя на ширине 1 м с каждой стороны шва, сверление отверстий 20-25 мм в "мертвых" зонах корытообразного профиля (у тротуаров) на всю толщину плиты для отвода фильтрационной воды, устройство слоя усиления гидроизоляции, восстановление защитного слоя и покрытия

Отрыв скользящего листа, стук его

Неправильное закрепление листа

Удаление скользящих листов, установка новых листов с правильным опиранием (жесткое закрепление недопустимо) и прижатием пружинами, очистка, промывка водоотводных лотков с приданием им требуемых уклонов (не менее 5%), очистка подферменников, концевых участков балок с восстановлением окраски, очистка опорных частей

Раскатанное окаймление

Недостаточная анкеровка

Ступенчатая вырубка всех слоев на участке не менее 1 м с каждой стороны шва, устройство дополнительного крепления, окаймления к плите и балкам, а также монолитного армированного бетонного прилива, стыковка всех слоев с бетонным приливом

Разрушение окаймления и прилегающих участков, в том числе плиты в зоне шва

Недостаточная анкеровка окаймления, разрушение гидроизоляции, неправильная установка

Ступенчатая вырубка всех слоев на участке шириной не менее 1 м, удаление поврежденных конструкций, срубка бетона плиты на участке 0,5 м, установка новых конструкций, восстановление слоев

3.6.4. При ступенчатой вырубке слоев одежды асфальтобетон удаляют на ширине 1 м от шва с обеих сторон, затем снимают защитный слой на ширине 0,8 м, удаляют изоляцию на 0,5 м, а выравнивающий слой - на 0,2 м.

3.6.5. На пролетных строениях, где деформационные швы выполнены в виде швов заполненного типа ремонт проводят при появлении следующих дефектов: разрушении и продавливании компенсатора и заполнения в зазоре, нарушении герметизации шва, выкрашивании мастики, выпучивании покрытия в зоне шва и др.

Ремонт деформационных швов заполненного типа рекомендуют выполнять в соответствии с указаниями [9]. Конструкция деформационного шва, включающего компенсатор (металлический или неметаллический), гидроизоляционный слой, дополненный полиэтиленовой пленкой, уплотнитель в уровне защитного слоя и заполнитель (пористый материал и мастику на битумной основе), показана на рис. 7.

Рис. 7. Последовательность ремонтных работ при реконструкции швов заполненного типа:

а - ступенчатая вырубка слоев одежды и установка компенсатора; б - устройство гидроизоляции покрытия и заполнение зазора; 1 - асфальтобетонное покрытие; 2 - защитный слой; 3 - гидроизоляция; 4 - выравнивающий слой; 5 - полимерраствор; 6 -металлический компенсатор; 7 - продольный стержень; 8 - рулонный изоляционный материал; 9 - полиэтиленовая пленка; 10 - пористый заполнитель; 11 - бетонный прилив; 12 - арматурный каркас; 13 - мастика

3.6.6. Новый компенсатор изготавливают из латуни по ГОСТу 931-78 или оцинкованного железа по ГОСТу 8875-56. Старый компенсатор очищают от грязи и ржавчины и покрывают двумя-тремя слоями битумного лака.

Затем его устанавливают на место, закрепляя сваркой к обнаженным стержням продольной арматуры плиты, и бетонируют выравнивающий слой раствором. Марка цемента раствора должна быть не ниже 500.

3.6.7. Затвердевшую поверхность бетона очищают, затем укладывают грунтовку из битумного лака и гидроизоляцию из трех слоев битумной мастики, армированной стеклотканью. Гидроизоляцию подводят к компенсатору и укладывают по его контуру.

Затем по изоляции расстилают полиэтиленовую пленку и закладывают в компенсатор пористый материал (пеньковый канат) в два ряда по высоте. После восстановления покрытия в местах выруба и подготовки зазора в него заливают мастику, нагретую в котле до температуры +160°С. Предварительно зазор прочищают сжатым воздухом и смазывают стенки битумной грунтовкой.

3.6.8. Мастика для заполнения на основе ДСТ состоит из битума марки БНД 60/90 (96%) с добавками ДСТ (4%).

Для устройства деформационных швов используют: авторемонтер ДЭ-5, силовой агрегат РД-903, щетки электрические ДС-505, установку СБ-30, каток ручной Т-207М, котел битумный - 9178 и для разогрева мастики Т-204, приспособление для заливки швов Т-201, кисти для нанесения битумных мастик.

3.6.9. При ремонте старых деформационных швов возможна замена их на новые конструкции, обладающие повышенной надежностью по сравнению с примененными.

Выбор конструкции шва определяют действительными величинами перемещений ремонтируемых швов.

Рекомендуемые типы деформационных швов приведены в таблице 3.3.

Таблица 3.3

Область возможного применения типов деформационных швов в зависимости от величины перемещений

Тип шва

Конструкция шва

Индекс конструкции

Наибольшая величина перемещений, мм

Минимальная среднесуточная температура воздуха, °С

1

2

3

4

5

Заполненный

С компенсатором и заполнением мастикой

 

15

-30°-40°С

С резиновым компенсатором

К-8-50

2´К-8-100

20-50

до 100

-50°С

Перекрытый

Со скользящим листом

ПС-100

ПС-СП-300

50-100

200-300

Без ограничения

-²-

Со скользящей гребенкой

ПГ-250

100-250

-²-

3.7. Ремонт железобетонной плиты проезжей части

3.7.1. Ремонт железобетонной плиты пролетных строений производят при наличии в ней раковин, cколов, трещин, повреждения защитного слоя (с оголением арматуры), отсутствии требуемых защитных покрытий. Ремонт предусматривает восстановление поверхности и герметизацию трещин. Все работы выполняют главным образом на нижней поверхности плиты и в местах сопряжения с главными и второстепенными стальными элементами, а также на фасадных поверхностях. Ремонт верхней поверхности плиты проводят одновременно с переустройством гидроизоляции в случаях повреждения сточного треугольника (слоя смазки), наличии сквозных трещин, щелей или провалов отдельных участков плиты.

Для ремонта плиты необходимо применять материалы и технологию работ, используемые при устранении повреждений в железобетонных и бетонных мостах.

3.7.2. Работы по устранению повреждений в плите включают следующие операции: устройство подмостей и ограждений; подготовку материалов и механизмов (инструмента и оборудования); очистку ремонтируемого участка от пыли, грязи, масляных и битумных пятен, слабого и трещиноватого бетона; установку (при необходимости) дополнительных арматурных сеток и каркасов; изготовление опалубки и ее закрепление; приготовление ремонтных составов и их укладку; уход за свежеуложенными составами; уборку рабочего места от строительного мусора и неиспользованных материалов; разборку, очистку и уборку механизмов и инструмента с моста.

3.7.3. Небольшие участки ремонтируемой поверхности расчищают до плотного бетона вручную металлическими щетками, скребками, скарпелями или пневмомолотками; при больших площадях или сплошном ремонте поверхности плиты рекомендуют применять гидропескоструйные аппараты, механические щетки. Масляные пятна удаляют с бетона мягкими тряпками, смоченными в бензине или ацетоне. Поверхности, загрязненные маслами, жирами, битумами обрабатывают растворителями (нанесением 10%-ного раствора каустической соды и последующей промывкой струей воды). После очистки поверхность рекомендуют продуть сжатым воздухом, промыть струей воды и просушить. Ржавчину с арматуры можно удалить металлическими щетками.

3.7.4. В зависимости от размеров и вида повреждения на нижнюю поверхность плиты покрытия наносят вручную мастерком или механизированным способом, например, торкретированием, и инъектированием (герметизацией) трещин.

В качестве ремонтных составов могут быть использованы цементные и полимерные клеи, цементно-песчаные и полимерцементные смеси, а также покрытия из полимерных красок.

3.7.5. Удаление трещин и щелей, устройство покрытий по нижней поверхности плиты следует проводить после того, как будут устранены дефекты гидроизоляции. Иначе вода, попадая в поры бетона плиты, не будет иметь выхода наружу, и процесс разрушения плиты будет развиваться быстрее, а выполненный ремонт, только усугубит положение.

Заделку раковин и сколов по нижней поверхности плиты следует проводить в тех случаях, когда дефекты способствуют коррозии арматуры (в зоне раковин имеются подтеки ржавчины или обнажены стержни арматуры).

3.7.6. Отдельные глубокие раковины сверху и сбоку плиты, сквозные дыры в плите, а также крупные сколы бетона (характерные повреждения консольных участков плиты под тротуарами) рекомендуют устранять с помощью цементных бетонов марок не ниже 300 или полимербетонов. Бетонирование ведут в металлической или деревянной опалубке, пристраиваемой на месте. Поверхность ее покрывают расплавленным парафином во избежание сцепления с ремонтным составом. Перед установкой опалубки покрытие из парафина должно загустеть.

3.7.7. Перед укладкой ремонтных составов на подготовленную поверхность бетона рекомендуют нанести эпоксидную грунтовку, которая повысит сцепление старого и нового бетонов. Грунтовку наносят кистью на сухую поверхность, тщательно втирая ее и не оставляя непрокрашенных мест.

При применении в качестве ремонтного состава цементных бетонов разрешают использовать грунтовки на вяжущем КЦК (коллоидном цементном клее) (см. п. 3.2.1). Такую грунтовку наносят на увлажненную бетонную поверхность ровным слоем с помощью кисти или щетки; толщина слоя должна быть 1,5-2 мм. Бетонную смесь нужно уложить вручную в течение 30 мин с момента виброактивации КЦК и уплотнить штыкованием или вибратором (поверхностным или глубинным). При цементных бетонах опалубку можно снимать через 2-3 сут, при полимербетонах - через 16 ч.

Уход за свежеуложенным цементным бетоном производят в соответствии c общими правилами ведения работ. Уход за полимербетонами не требуется.

При глубине раковин до 20 мм используют цементно-песчаные (см. п. 3.2.11) или эпоксидноминеральные смеси (см. п. 3.2.8), которые также укладывают на поверхность бетона по грунтовке в соответствии c ранее изложенными правилами.

Раствор наносят мастерком на ремонтируемый участок и немедленно прижимают его опалубкой, на которой должен быть излишек состава. В момент прижатия происходит уплотнение и выдавливание излишка раствора.

Мелкие углубления на нижней поверхности плиты (до 10 мм) заделывают латексным или эпоксидным раствором с добавками микроасбеста до 10% от веса смолы. Раствор наносят мастерком толщиной слоя 5-7 мм, затем распределяют сильными бросками до необходимой толщины уплотнения и заглаживают в уровень поверхности плиты. Через час поверхность увлажняют и заглаживают деревянной гладилкой.

3.7.8. Вяжущий состав полимербетона получают на основе эпоксидных диановых смол ЭД-5 и ЭД-6 или алкилрезорциновой эпоксидной смолы ЭИС-I (ТУ 38-109-1-71), а также используют мономер ФА и ФАМ по МРТУ № 6-05-946-64.

Отвердителем для мономеров является бензосульфокислота (по ТУ МХП 307-54), заполнителем - кварцевый песок с крупностью 0,3-0,6 мм и щебень с максимальными фракциями до 20 мм, наполнителем - молотый кварцевый песок. Полимербетонную смесь из мономера готовят в соотношении по массе: 10 (мономер); 2,5 (бензосульфокислота); 50 (щебень); 25 (песок); 12,5 (наполнитель). Эту смесь приготавливают в следующей последовательности: в дозированное количество щебня и песка кладут около половины приходящегося на замес мономера и перемешивают 2-3 мин, затем добавляют молотый наполнитель и остаток мономера, последним вводят бензосульфокислоту и перемешивают до исчезновения изумрудных пятен.

Составы полимербетона, грунтовок и полимерраствора на основе эпоксидных смол приведены в табл. 3.4.

Количество отвердителя ПЭПА принимают на основании пробных замесов с таким расчетом, чтобы жизнеспособность состава была 1,5-2 ч. Песок подбирают в количестве, удобном для нанесения состава мастерком. Если ремонтируют всю толщину плиты, то количество дегтя следует уменьшить в составах до 30 весовых частей.

Состав с дивинилстирольным латексом СКС-65ГП марки Б по ТУ 38-103-111-72 образуют добавлением его в бетон или раствор в количестве 10% сухого вещества от массы цемента. Латекс добавляют небольшими порциями (при тщательном его перемешивании) в водоцементную смесь при В/Ц = 0,25, а затем обычным порядком вводят и щебень. Воду подливают с учетом ее содержания в составе латексной эмульсии.

3.7.9. При шероховатой поверхности бетона плиты, ее выветривании, наличии многочисленных мелких трещин (трещиноватый бетон), отсутствии необходимой толщины защитного слоя бетона ремонт рекомендуют выполнять с помощью полимерцементных и цементных покрытий, наносимых вручную мастерком (при небольших объемах работ), или методом торкретирования цемент-пушкой, растворонасосом или комплектом оборудования РД-802. В качестве покрытия рекомендуют использовать полимерцементный раствор, состоящий из цемента, песка и водной поливинилацетатной эмульсии (ПВАЭ) - ГОСТ 18922-73. Состав принимают следующий: на 10 л цемента - 5¸16 л песка (крупностью до 3 мм); 2,5-3 л ПВАЭ и 4,5-5 л воды. Состав подбирают в зависимости от удобства укладывания раствора и требуемой пластичности на пробных замесах. При отсутствии ПВАЭ используют другие водные полимерные эмульсии (сополимерные, полиэтиленовые), эпоксидные смолы и др.

Таблица 3.4

Составы на основе полимерных материалов

Компоненты

Количество в весовых частях

Грунтовка

Раствор

Бетон

1

2

3

4

Смола ЭД-5, ЭИС-1

100

100

100

Деготь

70

70

50-70

Пластификатор

20

20

20

Полиэтиленполиамин (НЭПА)

8-12

8-12

8-12

Песок

-

400

350

Щебень

-

-

500

Работы следует проводить при температуре воздуха не ниже +10°С и не выше +25°С. Перед нанесением покрытий поверхность бетона должна быть чистой и влажной, но без содержания капель воды.

3.7.10. В конструкциях, эксплуатируемых в агрессивной среде, для защиты бетона и арматуры плиты от коррозии рекомендуют покрытия из специальных пленкообразующих материалов на основе эпоксидных и перхлорвиниловых смол: хлорсульфированный полиэтилен, органосиликатная краска ВН-30, перхлорвиниловая краска (эмаль ХВ-124, ХВ-125), сополимерная краска (эмаль ХС-119, грунтовка ХС-059). Перечисленные покрытия наносят на сухую поверхность бетона с помощью краскораспылителя в два-три слоя (один слой - грунтовочный, остальные - покровные). Для районов Крайнего Севера или высоких температур рекомендуют покрытия на основе хлорсульфированного полиэтилена (эмали ХСПЭ), стойкие в пределах температур от -60°С до +130°С. Продолжительность их сушки составляет 1,5-2,5 ч.

3.7.11. В зависимости от вида и размеров раскрытия, трещины герметизируют жесткими покрытиями или инъектируют вязкими и жесткими составами.

Трещины усадочного происхождения и раскрытием до 2 мм рекомендуют заделывать покрытиями на основе цементных, полимерцементных составов или синтетических смол. При общем раскрытии трещин более 2 мм их рекомендуют инъектировать; в этом случае могут быть использованы полимерцементные составы, герметики или эпоксидные клеи.

Герметики (см. п. 4.4.4) следует использовать в трещинах, которые под влиянием внешних воздействий периодически изменяют свое раскрытие более, чем на 0,15 мм. Это, как правило, силовые трещины в плите неразрезных систем, расположенные над опорами. Эпоксидные смолы для инъектирования рекомендуют только при появлении опасности коррозии арматуры плиты при агрессивной среде.

3.7.12. Одиночные трещины заделывают каждую в отдельности, а при большем их количестве устраивают сплошные покрытия. В зависимости от ширины трещин d применяют полимерцементные растворы (d = 1-2 мм); тесто (d = 0,5-1 мм) и краски (d < 0,5 мм). Последние готовят из состава ПВАЭ и цемента марки 500, просеянного через сито № 200, в соотношении 2,5:10 (по объему); содержание воды - 2-3 или 4-5 л.

Одиночные трещины затирают составом с помощью мастерка. Для устройства сплошных покрытий используют установки для торкретирования или "набрызга" составов марки СБ-13; СБ-117; СБ-67А производительностью от 1,5 до 4 м3/ч. В дальнейшем может быть также рекомендована установка РД-802, разработанная Гипродорнии, которая в настоящее время проходит испытания. После укладки покрытия его обильно смачивают водой, повторяя процедуру каждые 30 мин в течение 2 ч.

3.7.13. Все трещины и щели, образовавшиеся на границе бетона плиты с верхней поверхностью полки металлической балки или прогона, следует заделывать инъектированием полимерцементных или полимерных составов. При трещине шириной более 1 мм в качестве инъектиционного состава используют эпоксидный клей с наполнителем из цемента или молотого песка в количестве до 250 вес. частей на 100 вес. частей смолы. Состав клея содержит смолу-растворитель-отвердитель в соотношении по массе 100:40:10; клеем без наполнителя заделывают трещины шириной менее 1 мм.

При подготовке к работам по инъектированию производят следующие операции: сверлят отверстия диаметром 12 мм на глубину 60 мм для установки штуцеров (инъекционных трубок) по трещинам или щелям бетона; очищают отверстия от пыли сжатым воздухом, устанавливают в отверстия трубки на эпоксидном клее, обеспечивают наружную герметизацию трещин; проверяют сообщаемость штуцеров. Трубки диаметром 10 мм и длиной 65-70 мм с наружной резьбой устанавливают на расстоянии 50 см друг от друга. Размер выступающей из бетона части трубы должен быть около 10 мм.

Наружную герметизацию выполняют на эпоксидном клее в два слоя. Для инъектирования используют установку типа УНК-2, разработанную лабораторией ЦНИИС МТС. Нагнетание клея прекращают при прорыве наружной герметизации или давлении по манометру 100 кгс/см2.

3.7.14. В случаях одиночных сколов бетона в местах расположения упоров на верхнем поясе стальных балок, восстановление объединения железобетонной плиты с балками проводят в следующем порядке: вскрывают проезжую часть над местом повреждения плиты; вырубают слабый бетон, образуя вокруг упора свободное от бетона место диаметром до 0,5-0,6 м; если слабый бетон плиты лежит почти до следующего упора, то его вырубают вокруг этого упора; очищают металл упора от остатков старого бетона и пыли, заделывают этот участок бетоном марки не ниже 400. В период бетонирования и твердения бетона движение по пролетному строению должно быть закрыто для грузовых транспортных средств общей массой более 3,5 т, при этом скорость не должна превышать 20 км/ч. Движение возобновляют после набора прочности бетона до 0,7 от проектной. Бетонирование необходимо проводить при тщательном уплотнении бетонной смеси глубинным вибратором.

3.7.15. При значительных участках нарушения объединения плиты с балками выполняют тот же ремонт, что и при одиночных разрушениях. На период ремонта (подготовки, укладки и твердения бетона) необходимо обязательно производить разгрузку пролетного строения (ремонтируемой балки) от элементов проезжей части, тротуаров, а также временной нагрузки. Разгрузить балку можно следующим способом: под пролетное строение подводят временную опору (или несколько таких опор) и с нее поддомкрачивают конструкцию на высоту, обеспечивающую ей положение, которое соответствует работе стальной балки только на постоянную нагрузку от собственной массы металла пролетного строения и железобетонной плиты проезжей части.

Величину подъема пролетного строения (балки) определяют расчетом.

Разгрузить пролетное строение можно также созданием предварительного напряжения в нижнем поясе балок при сжатии их пучками арматуры или канатами из высокопрочной проволоки.

Если проектом ремонта предусмотрена замена всех элементов проезжей части и тротуаров, то восстановление объединения плиты с балкой производят в момент отсутствия на пролетном строении заменяемых элементов.

3.7.16. Материалами железобетонной плиты проезжей части являются:

тяжелый бетон марки 300-400 по ГОСТу 4795-68; портландцемент для бетона должен быть марки 500-600 по ГОСТу 101178-76; заполнитель принимают по ГОСТу 10268-80, кварцевый песок должен удовлетворять требованиям ГОСТа 8736-77; щебень - ГОСТа 8267-75, вода пресная без содержания примесей в виде жиров, сахара, солей, кислот и прочих вредных веществ;

арматура из горячекатаных стержней гладкого профиля класса А-I, стали марки В Ст.3сп2 и Ст.3Гпе3 по ГОСТу 380-71, диаметром 6-18 мм и стержней периодического профиля класса А-II марки ВСт5сп2 по ГОСТу 380-71 диаметром 10-32 мм.

3.7.17. Основные инструменты и механизмы для выполнения работ по ремонту железобетонной плиты - молотки слесарные, скарпели (зубила), щетки металлические, скребки, мастерки, деревянные или металлические гладилки (рис. 8), лопаты железные, щетки, ведра, проволочные сита для просеивания песка и цемента, ящики для приготовления смесей, дозировочные емкости; при механизированном ведении работ - пескоструйный аппарат, компрессор, растворонасос, бетономешалка, насос для воды.

Рис. 8. Инструмент для ремонта железобетонной плиты:

а - для расчистки швов (скарпель); б - щетки для очистки поверхности (деталь крепления проволок); в - для нанесения раствора (кельма, мастерок, сокол)

4. РЕМОНТ ЭЛЕМЕНТОВ МЕТАЛЛИЧЕСКИХ КОНСТРУКЦИЙ

4.1. Подготовительные работы

4.1.1. Ремонт стальных конструкций пролетных строений предусматривает смену слабых или поврежденных заклепок, устранение трещин в металле, выправление местных деформаций или искривлений и восстановление элементов, ослабленных трещинами или коррозией металла, восстановление объединения железобетонной плиты со стальными балками, защитных покрытий, исправление положения катков и др.

4.1.2. При выполнении большого объема работ составляют проект, в котором приводят сведения о состоянии пролетных строений и опор, конструкций ремонтируемых или усиляемых элементов, соответствующие расчеты их прочности; последовательность и технологический процесс производства работ, конструкции подмостей и их расчет, календарный план и смету, мероприятия по технике безопасности и организации движения по мосту на период ремонта пролетных строений.

4.1.3. Необходимость ремонта определяют только при совместном учете грузоподъемности элементов по расчету и технического состояния элементов пролетных строений, а также поведения их под временной и постоянной нагрузкой. Все эти данные могут быть получены при тщательном осмотре конструкций и выполнении инструментальных измерений на них. В ряде случаев проводят испытание сооружения. До начала работ организация, выполняющая ремонт, должна проверить в проекте соответствие учтенных дефектов с натурными данными. Все работы следует проводить с соблюдением действующих технических условий и правил.

4.1.4. При подготовке к ремонту заготавливают необходимый материал. Все изменения, вносимые в проект из-за отсутствия необходимых материалов требуемых марок и сортамента сталей, оборудования и механизмов, согласовывают с проектными организациями, составлявшими проект ремонта, и заказчиком.

В целях сокращения перерыва в движении по мосту при работе на сооружении все детали и новые элементы следует подготавливать на стройплощадках, а на месте - только их монтировать.

4.2. Замена слабых заклепок

4.2.1. Замену заклепок производят при их ослаблении в прикреплениях и соединениях элементов главных балок и ферм, а также в прикреплениях продольных и поперечных балок, в вертикальных полках верхних поясных уголков балок, элементах продольных и поперечных связей и т.д. Слабые заклепки, а также с неоформленными или пережженными головками заменяют на высокопрочные болты. Элементы в таком соединении взаимно не смещаются, концентрация напряжений около заклепочных отверстий снижается; установка болтов не требует сложной технологии работ. Новые заклепки применяют только в исключительных случаях.

4.2.2. В прикреплении можно одновременно заменять не более 10% общего числа заклепок, а при десяти заклепках и менее - только по одной. Слабые заклепки удаляют газовой резкой заклепочных головок (не допуская нагрева основного металла) или сверлением. Не разрешается удалять заклепки срубкой вручную, так как при сильных ударах возможно расстройство соседних заклепок.

4.2.3. Для срезки заклепочных головок кислородными резаками рекомендуют использовать вставной резак РАЗ-70. Мундштук резака устанавливают на металл вблизи заклепки таким образом, чтобы его торец находился на расстоянии 8-10 мм от головки заклепки, а сам он прикасался боковой стороной к металлическому листу. В процессе резки мундштук, не отрывая от поверхности листа, плавно поворачивают вокруг одной (опорной) точки то в одну, то в другую сторону в пределах, обеспечивающих срез головки (рис. 9). После удаления головки стержень заклепки выбивают из отверстия бородком или, если это невозможно, высверливают. Категорически запрещается выжигать стержень или применять сварку для резки. Заклепку сверлят на высоту головки при диаметре сверла на 2-3 мм меньше диаметра заклепки и затем срубают головку.

4.2.4. При замене заклепок на высокопрочные болты места распучивания элементов очищают от ржавчины и после натяжения болта на требуемое усилие шпаклюют и окрашивают наружные поверхности. Отверстия под высокопрочные болты разрешают не рассверливать, если болт проходит в них без повреждения резьбы.

Рассверловку отверстия не производят и тогда, если чернота, овальность или косина в нем не препятствуют постановке болтов без повреждения резьбы и плотному опиранию шайбы всей поверхностью.

Рис. 9. Схема срезки головок заклепок резаком РАЗ-70:
1 - заклепка; 2 - мундштук; 3 - опорный центр

Перед постановкой болтов (не ранее, чем за 12 ч) поверхность элементов в пределах площади опирания шайб, а также сами шайбы, болты и гайки очищают от грязи, ржавчины, старой краски, масляных пятен и окалины, удаляют заусенцы вокруг отверстия и на резьбе. Гайки предварительно должны быть провернуты вручную по всей резьбе болтов. Перед затяжкой резьба гаек должна быть смазана маслом, при этом резьбу болтов не смазывают.

Очистку поверхности металла проводят теми же способами, что и при подготовке металла под окраску.

4.2.5. Высокопрочные болты для устройства соединений и прикреплений элементов при ремонте конструкций по размерам должны соответствовать ГОСТу 22353-77: высокопрочные гайки и шайбы под болты и гайки - по ГОСТу 22354-77 и ГОСТу 22355-77. Общие технические требования к материалам для высокопрочных болтов, гаек и шайб представлены в ГОСТе 22356-77. Прочность стали должна быть не ниже 110 кгс/мм2; диаметр может быть 18, 22 и 24 мм.

Преимущественно применяют болты диаметром 22 и 24 мм.

Болт устанавливают в конструкцию обязательно с двумя шайбами (одна под головку болта, другая - под гайку). В стесненных условиях, когда шайба не опирается на металл всей поверхностью, ее срезают с одной стороны не более чем на 0,1 наружного диаметра.

Диаметр высокопрочных болтов принимают в зависимости от диаметра заменяемых заклепок; заклепки диаметром 19-21 мм рекомендуют заменять болтом 18 мм, 23 и 26 мм - болтами диаметром 22 и 24 мм. Полную длину болтов назначают в зависимости от толщины стягиваемого пакета (табл. 4.1). Во всех случаях после натяжения болта гайка должна быть полностью навинчена на болт; при этом его стержень должен выступать за гайкой на 2-3 витка.

Таблица 4.1

Длина болтов в зависимости от толщины стягиваемого пакета

Диаметр болта, мм

Толщина стягиваемого пакета, мм

Длина болта, мм

Масса 1000 болтов с гайками и двумя шайбами, кг

1

2

3

4

18

19-32

60

317

29-37

65

337

18-29

65

580

28-39

75

609

22

38-49

85

639

48-59

95

669

57-74

110

711

72-89

125

755

24

45-57

95

719

55-67

105

754

Гайки затягивают с приложением крутящего момента в зависимости от номинального диаметра болта (табл. 4.2).

Таблица 4.2

Величина усилия натяжения болта

Номинальный диаметр болта, мм

Расчетное напряжение болта, тс (кн)

Расчетный крутящий момент, кгс×м (Н×М)

1

2

3

18

13 (127,4)

40 (392)

22

20 (196)

75 (735)

24

23 (225,4)

94 (921)

27

30 (294)

137 (1343)

4.2.6. Натяжение высокопрочных болтов до расчетных величин выполняют ручными динамометрическими ключами или пневматическими гайковертами. Натягивают болты в два приема: сначала болт затягивают накидным ключом с рукояткой длиной до 1 м, а затем ключом с контролируемым манометром. Работы следует проводить при ограниченном движении по мосту транспортных средств, а окончательное натяжение - при отсутствии временной нагрузки (исключая пешеходное движение и транспортные средства массой до 3,5 т).

В отдельных случаях допустимо (например, когда заменяют одиночные заклепки или имеются стесненные условия) контролировать натяжение болта по величине поворота гайки от положения ручной затяжки. Работы выполняют в следующем порядке: накидным ключом с длиной рукоятки до 0,5 м затягивают болт до отказа и фиксируют положение гайки краской; затем отмеряют требуемый угол поворота и наносят вторую черту на верхней детали пакета. Далее ключом поворачивают гайку до тех пор, пока отметка на ней не совпадет с чертой на детали. Требуемый угол поворота принимают согласно табл. 4.3.

4.2.7. После натяжения болтов для обнаружения ослабления ближайших заклепок производят остукивание молотком. Все поставленные болты подлежат приемке (допускаются отклонения величины натяжения в пределах от -5% до +10%). После этого головки болтов, поставленные шайбы, гайки и основной металл очищают (при необходимости) и окрашивают.

4.2.8. В случаях, когда ставят новые заклепки, отверстие под ними очищают от ржавчины, грязи и масла, а в случае овальности или черноты отверстия его рассверливают до получения гладких поверхностей. Диаметр подготовленного отверстия не должен превышать величин, указанных в табл. 4.4. Применение оправок для направления несовпадающих дыр в склепываемых элементах запрещено.

Таблица 4.3

Величина угла поворота гайки

Число тем в стягиваемом пакете

Требуемый угол поворота гайки, град.

М 18, 22

М 24, 27

1

2

3

2-4

180

120

4-6

270

210

6-8

360

300

4.2.9. Обычные заклепки с полукруглой головкой должны соответствовать ГОСТу 10299-80, а с потайной - ГОСТу 10300-80 (технические условия). Для них применяют углеродистую мартеновскую горячекатаную сталь марки Ст2сп по ГОСТу 499-70 (до 01.01.1982 г.), а для северного исполнения - низколегированную мартеновскую спокойную сталь марки 09Г2 по ГОСТу 6713-75 с последующей термообработкой, обеспечивающей ударную вязкость при температуре -70°С не менее 3 кгс/см2. Диаметр стержней заклепок принимают на 0,5¸1 мм меньше диаметра отверстия, чтобы в него мог войти нагретый стержень.

Длину заклепок подбирают из расчета плотного заполнения отверстия и образования замыкающей головки и принимают равной 1,12d + 1,4d (где d и d - толщина склепываемого пакета и диаметр отверстия в мм).

Таблица 4.4

Допустимый размер отверстия

Вид соединения

Диаметр отверстия, мм

проект

МАХ

min

1

2

3

4

На заклепках

20

20,5

19,8

23

23,5

22,8

26

26,6

25,8

4.2.10. Для клепки заклепок диаметром 21¸29 мм рекомендуют пневматический клепальный молоток типа марки КЕ-28. При толщине склепываемого пакета более 4,5 диаметра для клепки используют одновременно два молотка, один из которых выполняет роль поддержки. Перед установкой на место заклепку нагревают до светло-красного каления и затем освобождают от окалины постукиванием о твердый предмет. В момент установки в отверстие заклепка должна иметь темно-вишневый цвет. Нагрев ее производят на переносных горнах, оборудованных защитными козырьками.

Бригада при механизированной клепке состоит из клепальщика, двух подручных (на молотке и поддержке) и нагревальщика. Вновь поставленные заклепки подлежат приемке.

4.3. Восстановление металлических элементов

4.3.1. Металлические элементы восстанавливают при наличии в них местных, ослабляющих сечение, повреждений в виде трещин, разрывов отдельных частей элемента, трещиноватых вмятин, глубокого поражения части элемента ржавчиной, искривления элемента, погнутости краев профиля и т.д.

При восстановлении сечения элемента производят его усиление или выправление.

4.3.2. Поврежденный элемент заменяют на новый или заменяют часть поврежденной его длины с установкой вставки, или прикрепляют дополнительный металл (накладки) на поврежденную часть.

При замене элемента на новый рабочую площадь сечения элемента и его прикрепление к фасовкам определяют расчетом по общим формулам [7]. Если новый поврежденный элемент тех же размеров и из той же стали (по физико-механическим свойствам), то производят расчет только его прикрепления (по площади прикрепляемого элемента).

Рабочую площадь вставки и ее прикрепление к сохранившейся части элемента рассчитывают также, как для случая замены элемента. Для устройства прикрепления рекомендуют применять симметричные соединения (двусторонние накладки).

Поскольку замена элемента и введение вставки требуют временного выключения из работы поврежденного элемента, то разрабатывают проект устройства временных приспособлений, которые должны обеспечить полную разгрузку ремонтируемого элемента.

4.3.3. Восстановление элемента при добавлении металла выполняют без его разгрузки от постоянной нагрузки. При расчете усилие от временной нагрузки передают на новый и старый металл, а от постоянной - только на старый.

Расчет элементов при восстановлении их путем добавления металла и прикрепления его на высокопрочных болтах производят по следующим формулам:

                                            (4.1)

                                                   (4.2)

где sc и sн - напряжения в старом и новом (добавляемом) металле при осевых усилиях;

Рq и Pp - усилия от постоянной и временной нагрузок, кг;

N - усилие от разгружающей силы, кг;

wнн; wсн - площадь нетто нового и старого металла;

wнб; wсб - площадь брутто нового и старого металла.

4.3.4. Количество болтов (n) в стыковых полунакладках или в узле прикрепления элемента определяют в зависимости от площади поперечного сечения накладки или прикрепления элемента по формуле:

                                                        (4.3)

где wбр - рабочая площадь поперечного сечения болта, см2;

0,8 - коэффициент, учитывающий ослабление растянутых и влияние продольного изгибов сжатых элементов;

m - количество плоскостей трения;

mб - коэффициент высокопрочных болтов, 1/см2. Для высокопрочных болтов диаметром 22 мм принято mб = 0,340 для диаметра 24 мм.

Минимальное расстояние между болтами следующее: между центрами в ряду - 70 мм; между центрами по диагонали - 80; от центра болта до края элемента - 50; наибольшее расстояние между центрами - 160 мм; от центра болта до края элемента - 8d (d - толщина накладки), но не более 120 мм.

4.3.5. Количество заклепок (n) в полунакладках или узле прикрепления элемента определяют в зависимости от площади накладки (рабочей площади целой части поврежденного элемента) по формулам:

                                             (4.4)

где wбр - площадь поперечного сечения, см2;

                                      (4.5)

где wЗ - площадь заклепки, d - диаметр, d - толщина накладки. Кср = 0,7; Ксм = 1,75; R0 и R - основное расчетное сопротивление металла накладки и заклепки.

В случае применения заклепок и накладок из стали типа марки Ст3

                                                (4.6)

Минимальное расстояние между центрами заклепок в ряду равно 3d; по диагонали - 3,5 d; от центра заклепки до края элемента - 1,5d. Максимальное расстояние между центрами заклепок по крайнему ряду - 160 мм; по среднему ряду - 24d (для сжатия вдоль элемента - 16 d).

4.3.6. Выбор способа ремонта определяют на основании технико-экономического сравнения вариантов с учетом трудоемкости работ, необходимого оборудования, механизмов и материалов.

Наиболее простой способ - добавление металла на поврежденную часть элемента. Его рекомендуют в основном для клепаных конструкций и элементов, когда повреждены отдельные ветви сечения.

Если ослабление элемента в целом составляет более 20-30%, то следует производить его замену (полную или частичную), так как такой элемент уже может находиться в перенапряженном состоянии от постоянной нагрузки.

При повреждении сварного элемента вопрос его восстановления должен быть решен со специалистами по сварке, ибо здесь наиболее эффективным способом является или заварка дефекта (трещин, пробоин), или приварка накладок. Ремонт таких элементов необходимо проводить по специальным проектам. Если сварка элемента недопустима, то его или восстанавливают с применением накладок на высокопрочных болтах, или заменяют на новый.

Рис. 10. Схема удаления и засверливания трещин:
1 - удаляемый металл; 2 - трещины

4.3.7. Перед выполнением работ по восстановлению элементов производят соответствующую обработку поврежденных мест (рис. 10).

Если на кромке имеется трещина длиной менее 10 мм, ее вырубают острым зубилом. Образующееся углубление обрабатывают наждачным кругом или напильником до образования плавных переходов. При ослаблении сечения элемента более 2% производят проверку расчетом допустимости полученного ослабления.

Трещины длиной более 10 мм по ее концам обязательно засверливают на всю толщину элемента (листа или уголка) для предотвращения дальнейшего ее развития. Для этого керном отмечают концы трещины, а затем просверливают в этих местах отверстия диаметром 12-16 мм. Если расположение трещины не влияет на грузоподъемность элемента, то его оставляют под наблюдением без соответствующего усиления. Трещину, имеющую опасное расположение, при ремонте перекрывают накладками. Засверленные отверстия окрашивают на всю их глубину.

Трещину в сварных швах (наружные) вырубают острым зубилом с последующей зачисткой их наждачным кругом.

При обработке трещин используют электродрель, молотки слесарные, керны, скобы, кисти и бачки с краской.

Из элементов с глубокими вмятинами, пробоинами, рваными и погнутыми полками, искривленными участками, которые невозможно исправить, вырезают деформированную часть, выправляют небольшие погнутости, очищают от грязи и ржавчины участки, которые будут перекрыты накладками. В элементах с местной глубокой коррозией металла очистку от ржавчины производят наждачным кругом или пескоструйными аппаратами. После подготовки поврежденный элемент восстанавливают.

4.3.8. Ремонт элемента клепаных конструкций с добавлением металла выполняют путем перекрытия ослабленного (или поврежденного) сечения накладками на высокопрочных болтах.

Работы по ремонту поврежденного сечения элемента предусматривают следующие операции: установку ограждений и устройство подмостей, подготовку оборудования и инструмента, замеров поврежденного элемента, заготовку деталей для усиления и их доставку к месту работ, установку накладок на элемент, окраску отремонтированного элемента и уборку рабочего места; при необходимости организовывают регулирование движения по мосту.

4.3.9. В зависимости от конструктивных особенностей металлического элемента для его восстановления применяют плоские и угловые дву- и односторонние накладки. Двусторонние накладки лучше обеспечивают передачу усилий, поэтому такое восстановление считают предпочтительным. Для них применяют прокатные профили, изготовленные из углеродистой стали с пределом текучести не ниже 24 кгс/мм2 или из стали повышенной прочности, применяемой для пролетных строений мостов. Желательно, чтобы материалы накладок и усиляемого элемента были из одного класса стали.

Размеры накладок назначают в зависимости от размеров перекрываемых элементов и количества болтов, подлежащих постановке. Назначение размеров накладок производят согласно расчета усиления. Площадь нового металла рекомендуют принимать равной площади прокатного профиля восстанавливаемого элемента.

4.3.10. Повреждения в стенках сплошных составных балок перекрывают двусторонними плоскими накладками таких размеров, чтобы можно было с каждой стороны от места повреждения поставить не менее двух рядов болтов или заклепок (рис. 11а).

Повреждения в горизонтальных полках поясных уголков балок перекрывают плоскими или уголковыми накладками на всю ширину пояса (рис. 11б). Трещины в вертикальных полках уголков можно перекрывать плоскими листами или также уголковыми накладками, которые должны иметь толщину не менее 10 мм. Уголковые накладки принимают того же сечения, что и поясные уголки. Количество болтов (заклепок) в них в каждую сторону от трещины должно обеспечивать полное прикрепление уголка по площади. Крепление производят по обеим полкам уголка. Для обеспечения плотного прилегания уголковых накладок необходимо снять наждачным кругом металл у обушка (вершины уголка) накладки.

Трещины в местах прикрепления элементов перекрывают плоскими одно- или двусторонними накладками. Она может быть установлена на все прикрепление или только на поврежденную часть (рис. 12). В этом случае при постановке высокопрочных болтов необходимо заменить три ряда заклепок неповрежденной части на эти болты. В случае использования при ремонте высокопрочных болтов их необходимо также ставить на второй ветке двустенчатых элементов.

При наличии дефекта вне узла фермы в поясе или раскосе устанавливают, как правило, двусторонние накладки. Суммарную площадь накладок принимают не меньше площади перекрываемого элемента.

4.3.11. Работы по восстановлению стальных элементов выполняет бригада (5 чел.) под руководством мастера. Работы подразделяют на три периода: подготовительный, основной и заключительный. В подготовительный выполняют разметку отверстий в элементах с нанесением центров дыр и кернением; сверление отверстий в элементах, удаление существующих заклепок (одновременно не более одной) и постановку временных высокопрочных или обычных болтов; разметку накладок с проверкой по месту; резку их и новых элементов, обработку кромок, сверление отверстий в накладках и новых элементах, очистку соприкасающихся поверхностей.

Рис. 11. Схемы усиления клепаных элементов балок со сплошной стенкой:
а - усиление стенки и поясов; б - усиление пояса горизонтальным листом; 1 - трещина; 2 - коррозия: 3 - накладка и уголки усиления; 4 - новые заклепки или высокопрочные болты; 6 - заклепки или болты по старым дырам

Рис. 12. Схемы усиления клепаных элементов сквозных ферм:
а - усиления прикрепления; б - усиление нижнего пояса (обозначения см. рис. 11)

В основной период, удалив временно установленные болты, производят постановку накладок и высокопрочных болтов на место и их затяжку динамическим ключом на расчетное усилие. На заключительной стадии производят очистку и окраску отремонтированных участков.

4.3.12. При заготовке металла для накладок производят резку соответствующего профиля (листа или уголка) автогеном или пилами. Кромки отрезанной заготовки после газовой резки обрабатывают строжкой или наждачным кругом на глубину не менее 2 мм.

Отверстия в накладках при их заготовке сверлят по разметке или шаблону, снятому с натуры при постановке болтов по старым отверстиям в элементе. Для высокопрочных болтов отверстия обычно принимают на 4 мм больше диаметра болта. Это облегчает постановку болтов, если допущена небольшая неточность при разбивке отверстий.

При ремонте элемента необходимо стремиться максимально использовать для заклепок или болтов имеющиеся в элементе отверстия. Если их недостаточно, то перед постановкой накладок в элементе производят досверловку отверстий. Для этого делают предварительно разметку элемента по шаблону накладки.

4.3.13. Постановку накладок проводят при ограниченном движении по мосту в случае, если требуется расклепка стыков и прикреплений или удаление большого количества связующих заклепок (например, на участке длиной более 0,5 м). В период натяжения высокопрочных болтов или установки новых заклепок движение по мосту закрывают. При длительном перерыве работ между снятием заклепок и постановкой накладок временно устанавливают половину обычных болтов и пробок.

4.3.14. Ремонт ослабленных сварных элементов, как правило, производят с помощью приварки элементов усиления. Применение заклепок или высокопрочных болтов возможно, если ослабление сечения основного металла отверстиями под заклепки (болты) не снижает грузоподъемности элемента. Это определяют соответствующим расчетом по нормам проектирования стальных конструкций мостов.

Сварку поврежденных элементов выполняют по специальным проектам, разрабатываемым проектными организациями на основании материалов обследования повреждений.

Сварочные работы проводят специализированные строительные организации, имеющие в своем штате квалифицированных сварщиков и соответствующее оборудование.

4.3.15. При наличии в элементе искривления (погнутости) предварительно определяют влияние дефекта на грузоподъемность, Мелкие погнутости выправляют струбцинами или специальными "лапами", а в отдельных случаях - молотками. Для выправления значительных местных деформаций: вертикальных, горизонтальных и наклонных сжатых элементов могут использовать домкраты с упорными балками. Наиболее ответственные элементы (воспринимающие наибольшие усилия и имеющие мощное сечение) ремонтируют в соответствии с проектом усиления.

4.3.16. Погнутые элементы связей составных стержней (диагонали распорки) для выправления можно снимать поочередно, заменяя их временными, поставленными на простых болтах. Снятые элементы можно выправлять механическим способом с нагревом элемента и без него. Если выправить элемент или устранить другие повреждения нельзя, то следует провести замену. Новые элементы связей должны иметь сечение не менее, чем у снятого. Заготовку новых элементов производят по технологии изготовления накладок. Правку металла при подогреве разрешено проводить в диапазоне температур нагретого металла от 750° до 850°С.

Работы по замене связей выполняют при ограниченном движении по мосту. При этом запрещается заменять связи одновременно в смежных панелях.

4.3.17. Замену элементов соединительной решетки производят в следующей последовательности: заклепки прикрепления дефектных элементов (по одной) заменяют монтажными болтами, затем сами элементы (по одному) заменяют новыми и прикрепляют высокопрочными болтами. Запрещено одновременно производить замену двух и более деталей решетки в сжатых и сжаторастянутых элементах. В период замены не разрешено движение по мосту.

4.3.18. Перед изготовлением деталей для ремонта элементов и разметкой в них отверстий должны быть сняты шаблоны с нанесением маркировки элемента (место установки детали), указанием отверстий, подлежащих сверлению, и формы обработки кромок. Шаблон рекомендуют готовить из металла или фанеры.

Разбивку заклепочных отверстий на шаблонах по "старым дырам" рекомендуют выполнять на элементе после срубки заклепок, а по "новым" - в соответствии с эскизами или чертежами проекта усиления.

Разметку элементов и накладок производят на выверенных стелажах, при этом шаблоны прижимают к металлу элемента струбцинами. При разметке на металл наносят центровые керны и контрольные окружности. Работы проводят на металле после его высадки или выгиба (если это необходимо по состоянию материала).

Сверление по "новым дырам" в ремонтируемом элементе следует производить по заранее просверленным отверстиям в накладках или новом устанавливаемом элементе. Отверстия в новом металле по "старым дырам" сверлят по шаблонам или по снятой части элемента диаметром меньше проектного на 3 мм и только после сборки конструкции производят досверловку через отверстия усиляемых элементов.

4.3.19. В случае замены поврежденного элемента на новый или восстановления элемента с вырезом поврежденной части необходимо выключить элемент из работы на время ремонта. Для этого могут быть использованы различные специальные приспособления, временно заменяющие рабочий элемент (рис. 13 а, б). Сжатые элементы можно разгружать с помощью домкратов в сочетании с распорными брусьями, а растянутые - стальными тяжами. Элементы, воспринимающие знакопеременные усилия (сжато-растянутые), разгружают таким типом приспособлений, который соответствует работе элемента только на постоянные нагрузки. В этот период движение по пролетному строению должно быть запрещено и возобновляется оно после установки и включения в работу основного элемента.

4.3.20. Растянутые элементы решетки ферм (раскосы, подвески) при усилиях от постоянной нагрузки до 10¸12 т можно выключить из работы, заменив их тяжами с муфтами. На каждый элемент устанавливают по четыре тяжа, располагая их симметрично относительно оси элемента. Тяжи крепят гайками на поясах к упорным уголкам. Натяжение тяжей создается муфтами. Тяж образуется из двух стержней, объединенных между собой муфтами на резьбе с мелким шагом. По концам тяжа навинчиваются гайки, служащие упором при натяжении. Диаметр стержней принимают 22-25 мм из круглой стали с пределом текучести не менее 24 кгс/мм2, длина муфты должна быть определена по расчету, но не менее 250 мм; зазор между стержнями в муфте к моменту начала создания в них напряжения должен составлять не менее 50 мм.

Рис. 13. Схемы разгрузочных устройств для выключения несущих элементов ферм из работы:
а - сжатого цемента; б - растянутого элемента

Натяжение сначала производят одновременно двумя кососимметрично расположенными тяжами-залогами, равными одному обороту муфты, затем работают с другой парой тяжей. Натяжение контролируют по величине удлинения стержня. Удлинение, соответствующее необходимой величине натяжения, определяют по формуле:

где l1; l2 - база измерения (до и после натяжения стержня);

Pq; wбр; Е - усилие, приходящееся на один тяж, площадь стержня (брутто) и модуль упругости стали.

4.3.21. Для выключения из работы одного элемента, имеющего усилие более 10-12 т, рекомендуют использовать арматурные пучки и домкраты двойного действия для натяжения пучков арматуры. В этом случае арматурные пучки, расположенные симметрично по одному с каждой стороны элемента (относительно плоскости фермы), должны полностью принять усилие от ремонтируемого элемента. С одного конца пучок крепят к жесткому упору на поясе фермы, а с другого - к тяжам, которые обеспечивают регулирование положения пучка. Усилие от пучка к тяжам передается через траверсу (рис. 13б). Натяжение пучков производят домкратами, закрепляемыми в месте расположения тяжей (между ними). Положение пучков фиксируют гайками на концах тяжей, служащими упором. Размеры пучка, тяжей и траверс, а также грузоподъемность и тип домкрата подбирают в зависимости от конкретных условий - величины усилий в элементе и его положения в конструкциях.

4.3.22. Для выключения из работы отдельных сжатых элементов с небольшими усилиями (от собственного веса пролетных строений) можно использовать распорные брусья (деревянные или металлические сварные) в сочетании с домкратами. В этом случае должны быть разработаны специальные упоры, которые устанавливают и закрепляют на элементе.

В период замены поврежденного элемента усилие будет передаваться через распорные брусья и упоры на другие элементы конструкции. Домкратов должно быть не менее двух, расположенных симметрично относительно оси элемента и плоскости фермы (или балки).

4.3.23. При замене большого числа элементов, восстановлении деталей поясов балок и ферм, узлов, а также элементов решетки при усилиях в поврежденном элементе более 16-20 т, ремонт конструкций рекомендуют проводить со оплошных подмостей, устраиваемых на временных опорах под пролетным строением. Разгрузку конструкций пролетных строений от собственного веса производят путем их поддомкрачивания с подмостей. Порядок и последовательность работ проводят в соответствии с проектом ремонта конструкций.

4.3.24. Для ремонта стальных элементов и конструкций следует применять стали, используемые при строительстве мостов. В пролетных строениях, выполненных из углеродистой стали, разрешают использовать сталь марки 16Д (бывшую М16С) по ГОСТу 6713-75. На старых пролетных строениях (постройки 30-40х годов и ранее) допускается применять сталь марки БСт3сп5 по ГОСТу 380-71 для ремонта элементов. Эту сталь следует также использовать для восстановления различных эксплуатационных обустройств (смотровых приспособлений, перил, ограждающих устройств, элементов тротуаров).

4.3.25. Пролетные строения, выполненные из низколегированной стали, ремонтируют, как правило, металлом из сталей марки 15ХСНД или 10ХСНД по ГОСТу 6713-75; разрешается применять низколегированные стали 14Г2АФД по ГОСТу 1982-73. При их отсутствии для усиления элементов, выполненных из высокопрочной стали, путем добавления металла, можно использовать углеродистую сталь марки 16Д.

4.3.26. Для мостов северного исполнения необходимо применять стали, которые удовлетворяют требованиям хладостойкости. Это стали марки 15ХСНД-2 и 15ХСНД-3 по ГОСТу 6713-75, рекомендуемые для зоны исполнения А (расчетная минимальная температура до -50°С включительно), и марки 10ХСНД-3 по ГОСТу 6713-75 для зоны исполнения Б (расчетная минимальная температура от -50°С и ниже).

Мелкие прокатные профили (с полкой 70 мм и менее) для вспомогательных деталей и эксплуатационных обустройств (листы для футляров опорных частей и т.д.) допускают применять из стали ВСТ3сп5. Тонкие прокладки (толщиной 8 мм и менее) могут быть из стали соответствующей марки без термообработки.

4.3.27. При ремонте стальных конструкций материалы для сварочных работ должны быть указаны в проекте усиления конструкции.

Для полуавтоматической сварки может быть использована стальная сварочная проволока марок CВ-08ГA; CВ-08Гс и Св-10Г2 по ГОСТу 2246-70, а ручной - электроды типа Э50А по ГОСТу 9467-75; вспомогательные детали и элементы можно приваривать электродами типа Э42.

При ремонте пролетных строений рекомендуют применять прокат стандартных размеров в виде уголков, швеллеров и двутавров; наиболее часто используют листовой прокат. Минимальные толщины проката из условия их коррозии принимают: 100´100´10 мм (уголки), 80´80´8 мм (связи), 10 мм (накладки). Максимальные толщины листа из низколегированной и углеродистой стали должны быть не более 40 мм.

4.3.28. Для выполнения перечисленных работ необходимы следующие механизмы: электро- или пневмосверлильные станки с набором сверл, газовые резаки с принадлежностями, крейцмейсели и зубила (набор), кувалды, ключи накидные, рычажные с динамометрами, щетки и скребки для очистки металла (набор), бородки, передвижные компрессоры и комплекты с пистолетом-распылителем для окраски, топора, пилы, гвоздодеры, блоки с консолью или малые краны для подачи элементов подмостей, материалов и инструментов к месту работ, домкраты с насосной станцией.

4.4. Окраска металлических элементов

4.4.1. Все стальные конструкции мостов должны периодически окрашивать для защиты металла от коррозии. Периодичность зависит от применяемого материала, качества работ и условий эксплуатации сооружения.

В промежуток между основными сроками сплошной окраски производят частичную подкраску отдельных участков пролетных строений, подверженных коррозии. Такими участками обычно являются опорные узлы и поддомкратные балки, горизонтальные поверхности Н-образных и корытообразных открытых сверху элементов, пазухи, щели, верхние пояса балок под деревянной проезжей частью, фасовки продольных связей и пр.

4.4.2. Необходимость окраски металла определяют по состоянию защитных покрытий - по внешним признакам нарушения защитного слоя: трещинам, пузырям, сыпи, отслоению покрытия, коррозии металла. При обнаружении дефектов определяют размеры повреждения, подбирают необходимые лакокрасочные материалы в зависимости от условий эксплуатации конструкции или элемента и производят окраску поврежденного участка в соответствии с принятой технологией выполнения этих работ.

Работы по устройству защитных покрытий от коррозии предусматривают следующие операции: подготовку поверхности, нанесение прилегающего слоя к металлу, обеспечивающего прочность сцепления покрытия с металлом (слоя грунтовки), высушивание грунтовки, нанесение не менее двух слоев эмали (краски) для создания защитного покрытия достаточной химической стойкости и послойная сушка слоев покрытия, приемка покрытия.

4.4.3. Поверхность металла необходимо каждый раз тщательно готовить к окраске. Для этого старое поврежденное покрытие и ржавчину удаляют и затем окрашивают. Покрытие, имеющее прочное сцепление с металлом, сохраняют и очищают только на границе поврежденной и неповрежденной частей. В зависимости от объемов работ применяют механический или ручной способы очистки металла. Последний может быть рекомендован либо как вспомогательный при механическом способе, либо при малом объеме работ (например, в случае окраски отдельных элементов). При механическом способе очистки используют электрические щетки на базе сверлильных машин ИЭ 1002, ИЭ 1012 и ИЭ 6002 (щетка-насадка ИК 8203), а также пневматические типы шлифовального ИИ 2203. Применение пескоструйных аппаратов целесообразно при сплошной очистке пролетных строений (главных балок, ферм и т.д.). и толщине продуктов коррозии не более 1 мм. Очистку вручную производят простейшими инструментами: стальными щетками, зубилом с молотком, скребками и стальным шпателем.

Обезжиривание поверхности производят уайт-спиритом, бензином или другими растворителями.

Старая краска может быть удалена смывкой СП-6 (ТУ 10-641-74), которую наносят кистью на поверхность металла и задерживают 60 мин; расход смывки составляет 200-250 г на 1 м2 поверхности. После размягчения и набухания покрытия всю массу удаляют шпателем, скребком или щеткой. Применение смывки возможно при температуре не ниже +5°С. При подготовке к окраске элементов пролетных строений, на которые попадает грязь с проезжей части моста (стенки и нижние пояса главных балок, верхние пояса, раскосы и стойки пролетных строений с ездой понизу, элементы деформационных швов и т.д.), их поверхности перед нанесением травильных паст, грунтовок промывают водой.

4.4.4. При подготовке к окраске очень важно устранить щели и зазоры в местах сплачивания прокатных элементов клепаных конструкций. Для герметизации зазоров шириной 0,3-1,5 мм рекомендуют такие материалы, как У-30М по ГОСТу 13489-79, КМ-0,5 по ТУ 84-246-71 или эластосил II-0IВ по ТУ-6-08-655-71. Герметизацию щелей производят шпателем из металла, фторопласта или полиэтилена. Материал должен заполнять щели сплошным слоем без пустот; излишек герметика на поверхности удаляют скребком до начала его вулканизации. При заполнении щелей герметикой нужно учитывать, что повторная герметизация одних и тех же мест не допустима после вулканизации материала (через 15 мин после первого заполнения). Применять шпаклевку для герметизации щелей не рекомендуют.

4.4.5. Подготовленная для окраски поверхность металла должна быть принята мостовым мастером, который производит также тщательный осмотр, выявляя трещины и другие дефекты. Если дефекты в металле обнаружены в процессе окраски конструкций, то бригадир работ должен сообщить об этом мостовому мастеру для принятия необходимых мер.

Очистку металла производят непосредственно перед нанесением грунтовки. Объем работ по очистке следует подбирать таким, чтобы в тот же день можно было произвести нанесение грунтовочного слоя на очищенный участок металла.

Металл пролетных строений, расположенных вблизи морского побережья, перед окраской рекомендуют промыть струей пресной воды, просушить и непосредственно перед нанесением грунтовочного слоя обдуть струей сжатого воздуха.

4.4.6. Окраску следует выполнять в летнее время при сухой безветренной погоде, но не в жаркое время. При дожде и тумане краску наносить нельзя. Наиболее низкая температура при окраске -+5°С.

4.4.7. Для окраски пролетных строений применяют полимерные лакокрасочные материалы и масляные краски в сочетаниях, указанных в табл. 4.5. При выборе системы покрытия следует исходить прежде всего из необходимости защиты металла от атмосферных воздействий в самых неблагоприятных случаях его эксплуатации и обеспечить наибольший срок службы покрытия (не менее 8 лет). В табл. 4.5 даны рекомендуемые области применения различных систем покрытий в зависимости от природных условий.

4.4.8. При полной или частичной окраске металлических конструкций необходимо строго соблюдать требования, предъявляемые к числу наносимых слоев лакокрасочных материалов и общей толщине покрытия. Так, в случае применения полимерных материалов наносят два слоя грунтовки и два-три слоя покровных лакокрасочных материалов, а при окраске масляными красками устраивают один слой грунтовки и два слоя покровных материалов. Суммарная толщина должна быть не менее 100-120 мкм.

4.4.9. Краску (покровных слоев) следует выбирать по возможности светлых оттенков, что облегчает наблюдение за металлом и уменьшает температурные влияния на пролетные строения.

В случаях подкраски отдельных мест элементов важно, чтобы наружный слой был аналогичным с общим цветом всего элемента или пролетного строения.

Если элемент имеет повреждения защитного покрытия на большей части своей поверхности, то его окрашивают полностью. При этом сохранившуюся часть покрытия очищают от грязи, масел и битума и одновременно с нанесением двух наружных покровных слоев на поврежденном участке элемента окрашивают.

Вся нумерация узлов, маркировка мест установки реек для нивелирования и съемки плана, а также другие отметки на металле должны быть возобновлены после окраски. Дату окончания сплошной окраски выносят на вертикальную поверхность сплошных балок или на нижний пояс ферм первой панели.

4.4.10. Лакокрасочные материалы по своим показателям должны удовлетворять требованиям стандартов. Перед употреблением их проверяют по следующим показателям: условной вязкости (ГОСТ 8420-74), малярной консистенции красок и степени перетира (ГОСТ 6589-74), укрывистости (ГОСТ 8784-75) и продолжительности высыхания пленки.

Таблица 4.5

Рекомендуемые системы лакокрасочных покрытий и металла

Сочетания грунтов и покровных материалов

Срок службы, годы

Характеристика покрытия

Климатические условия

Грунтовка

К-во слоев

Покровный материал

К-во слоев

1

2

3

4

5

6

7

Эпоксидная грунтшпатлевка ЭП-00-10 по ГОСТу 10277-76 или протекторная ЭП-057 по ТУ 6-10-117-71

1

Эпоксидная грунтшпатлевка ЭП-00-10 по ГОСТу 10277-76

1

Не менее 10

Покрытия высокой атмосферостойкости, стойкие в условиях промышленной атмосферы, повышенной влажности и низких температур

Рекомендуется для умеренного и холодного климата

Протекторная ЭП-057 по ТУ 6-10-117-71

1

Перхлорвиниловые эмали ХВ-125 по ГОСТу 10144-74 или ХВ-113 по ГОСТу 18374-79

2

То же

Покрытия повышенной атмосферостойкости, стойкие в условиях повышенной влажности и морской атмосферы

То же

Сополимервинихлоридные ХС-059 по ТУ 6-10-1115-75 и перхлорвиниловые ХВ-050 по ОСТ 6-10-314-74

2

Перхлорвиниловые ХВ-125, ХВ-124 по ГОСТу 10144-74, ХВ-113 или сополимервинилхлоридная эмаль ХС-119 по ГОСТу 21824-76

2

Не более 10

Покрытие повышенной атмосферостойкости, стойкие в условиях повышенной влажности и морской атмосферы

Для умеренного и холодного климата

Фенол-формальдегидная ФД-03К по ГОСТу 9109-76

2

Эмали перхлорвиниловые ХВ-125, ХВ-124, ХВ-113, сополимервинилхлоридная ХС-119

3

Не более 8

Покрытия атмосферостойкие

Для умеренного и холодного климата

Сурик железный на олифе льняной натуральной

1

Сурик железный на олифе льняной натуральной

1

Не более 4-5

Покрытия атмосферо- и химически стойкие

Для умеренного климата

Сурик железный по ГОСТу 8866-76 на олифе льняной натуральной

1

Белила цинковые с добавкой 5-7% (по массе) алюминиевой пудры на олифе натуральной (льняной)

2

Не более 5

Покрытия атмосферостойкие рекомендуется для сельской атмосферы

Для умеренного климата

4.4.11. Материалы для окраски поступают в густотертом виде или готовые к употреблению. Полимерные краски выпускают, как правило, в виде двух компонентов: основы и отвердителя. Рабочие составы образуют добавлением в краску соответствующих разбавителей или растворителей. Способ приготовления рабочих составов должен быть приложен к паспорту на лакокрасочный материал при поставке его заказчику. При отсутствии такого состава краску готовят в соответствии с инструкциями по окраске стальных мостов [10, 11] или аналогичным документам.

Рабочие составы делают в следующей последовательности: перемешивают лакокрасочные материалы до однородной консистенции, разбавляют их до рабочей и фильтруют готовый материал. Если в таре на поверхности лакокрасочного материала есть пленка, то ее удаляют перед перемешиванием. Перед началом работ готовую краску выдерживают 10-20 мин на воздухе, чтобы приблизить к температуре окрашиваемой поверхности. Отвердители вводят в полимерные материалы непосредственно перед нанесением их на поверхность, так как готовые составы склонны к загустению. Поэтому их готовят в количестве, необходимом для суточного потребления.

Фильтруют лакокрасочные материалы через сито, имеющее 900-1600 отверстий на 1 см2. Рабочую вязкость определяют по вискозиметру при температуре +18-20°С.

4.4.12. Первый грунтовочный слой наносят на протертую насухо поверхность металла сразу после приемки работ по очистке. На головки заклепок и болтов, места соединения элементов наносят дополнительный слой грунтовки после высушивания ранее уложенного. После высыхания наносят второй слой (при соответствующей технологии) или слой покровного материала. Число их определяют требуемой системой покрытия.

Наилучшее качество сцепления грунтовки с металлом достигается при ручном способе, так как в этом случае лучше окрашиваются все неровности металла и удаляется пленка влаги в процессе ручной растушевки.

Механический способ нанесения грунтовки методом распыления рекомендуют при значительном объеме работ. Ее наносят тонким равномерным слоем без пропуска и подтеков. Поврежденные участки первого слоя устраняют дополнительной грунтовкой. Второй слой наносят только после устранения повреждений первого. На слой грунтовки, при необходимости заделки пазов, неровностей металлическим шпателем наносят шпатлевку слоями толщиной не более 0,5 мм каждый.

4.4.13. При малом объеме работ (подкраске элементов) металл красят вручную. Вязкость материала должна соответствовать малярной консистенции, т.е. краска должна легко сходить с кисти при небольшом нажиме на окрашиваемую поверхность и допускать легкую растушевку. Вязкость в пределах 40-80 с по воронке вискозиметра ВЗ-1.

В процессе работы краску периодически перемешивают лопаткой-мешалкой. Наносят краску широкими полосами, тонким и ровным слоем с тщательной растушевкой в горизонтальном и вертикальном направлениях. Применяют кисти: маховые, ручник, филеночные и флейцы. Перед окраской их обвязывают тонким шпагатом на длину до 2/3 от основания. Вместо кисти можно использовать поролоновые валики диаметром 60-80 мм.

Для подкраски элементов пролетных строений нужны малярные кисти (набор), металлические щетки, шпатели и сита (900-1600 отверстий на 1 см), скребки, веники, дозировочные емкости, ветошь, зубила, лопатки.

4.4.14. Элементы малого сечения такие, как перила и заполнение перильных ограждений, соединительная решетка, составные элементы сквозных ферм старых мостов, продольные и поперечные связи следует окрашивать вручную, так как механизированный способ вызывает значительные потери материалов.

В случае применения перхлорвиниловых и сополимерных лакокрасочных материалов применять ручной способ окраски не рекомендуют, ибо в этих материалах содержатся быстроулетучивающиеся растворители, что затрудняет растушевку.

4.4.15. Для окраски конструкций рекомендуют применять метод безвоздушного распыления лакокрасочных материалов с использованием установок типа ВИЗА-I, Факел-3, УБРХ-IМ, 2600Н и 7000H, что снижает потери материалов на 25% и расход сжатого воздуха до 60% по сравнению с методом пневматического распыления краски. При этом способе достигается высокая адгезия покрытия к металлу и улучшается гигиена труда.

Особенно эффективен этот метод для окраски элементов сквозных ферм. Сплошную окраску главных несущих и поперечных балок со сплошной стенкой, мощных элементов ферм ведут методом распыления, используя покрасочный агрегат, состоящий из передвижной компрессорной установки типа С07А, СО-62-М или СО-45А, краскораспылителя типа КР-10, КРУ-1, ЗИЛ, СО-71 или СО-19А и красконагнетательного бачка емкостью до 65 л (СО-12А); для очистки воздуха компрессорных установок от масел и влаги используют подвесные масловлагоотделители типа С-418А, С-732 и др.

4.4.16. Примерные нормативы расхода лакокрасочных материалов (г/м2) на один слой при нанесении методом распыления и ручным способом приведены в табл. 4.6. Здесь же представлены данные о расходе этих материалов на 1 м моста при его габарите Г 11,5+2´0,75 и длине пролета 42 м. Для пролета 15; 24; 33; 63 м и более следует вводить поправочный коэффициент соответственно 0,70; 0,80; 1,0 и 1,50; при габарите Г8 расход краски на 1 м уменьшается на 15-20%.

Таблица 4.6

Примерные нормативы расхода лакокрасочных материалов

Лакокрасочный материал

Расход материала при нанесении, г/м2

Расход материала на 1 м (один слой), кг

Кол-во слоев

Общий расход в кг на 1 м пролетного строения

ручным способом

механизированным способом

1

2

3

4

5

6

Сурик железный

34

43

1,00

3

3,00

Олифа

10

26

0,60

3

1,80

Грунтовка:

 

 

 

 

 

ФЛ-03К

67

85

2,00

2

4,00

растворитель

4

13

0,30

2

0,60

Грунтовка:

 

 

 

 

 

ЭП-057

143

183

4,22

1

4,22

растворитель

9

27

0,62

1

0,62

Грунтовка:

 

 

 

 

 

ХС-059

92

139

3,2

2

6,40

растворитель

6

56

1,30

2

2,60

Грунтовка:

 

 

 

 

 

ХВ-050

146

219

5,04

2

10,1

растворитель

9

88

2,00

2

4,0

Покровные:

 

 

 

 

 

ХВ-124

-

207

4,80

2

9,60

растворитель

-

84

1,95

2

3,90

Покровные:

 

 

 

 

 

ХВ-125

-

207

4,80

2

9,60

растворитель

-

84

1,95

2

3,90

Шпатлевка:

 

 

 

 

 

ЭП-00-10

49

63

1,45

1

1,45

растворитель + отвердитель

3+2

9+3

0,20+0,07

1

0,2+0,07

4.5. Выправление подвижных опорных частей

4.5.1. Выправление положения опорных частей выполняют в случае угона и перекоса катков, а также при передвижке балансира. Для этого домкратами поднимают концы пролетных строений на высоту, достаточную для разгрузки опорных частей.

Работы могут проводить по специальным проектам. Весь комплекс состоит из следующих операций: устройства шпальных клеток и установки на них домкратов; устройства страховочных клеток с клиньями и ограждений для безопасности работ; подъемки одного конца пролетного строения; производства работ по выправлению положения катков с учетом температуры в этот момент; очистки и натирки графитом трущихся поверхностей опорных частей; опускания пролетного строения на опорные части, разборки клеток, уборки материалов и оборудования.

4.5.2. Если измерениями установлено, что имеется угон и перекос катков, то приступают к подготовке подъема пролетного строения. Для этого устраивают площадку и ограждения на месте работ, раскладывают в требуемом порядке инструмент и оборудование, выравнивают шпальные клетки, устанавливают домкраты. Обычно домкраты располагают под опорной поперечной (домкратной) балкой в месте нахождения ребра жёсткости или месте, предусмотренном в проекте. При необходимости проверяют расчётом прочность элементов; воспринимающих давление от домкрата, и если требуется, производят их усиление. Рядом с домкратом располагают страховочные клетки с клиньями, которые будут подбивать по мере подъема пролетного строения (рис. 14).

Рис. 14. Схема подъема пролетного строения для ремонта опорных частей:
1 - домкрат; 2 - страховочные клети

4.5.3. Количество домкратов подбирают по массе пролетного строения и всех обустройств на нем. Для безопасной работы используют те, грузоподъемность которых превосходит полную массу пролетного строения на 50-100%. Перед началом работ проверяют работоспособность манометра, насоса и домкрата путем нагружения последнего на 10-15% от ожидаемой нагрузки.

Если невозможно установить домкрат на опоре или в конструкции не предусмотрен его опорный элемент, то необходимо разработать специальный проект, предусматривающий усиление опорных связей или устройство площадки для установки домкрата под фермами или балками. Проект должен также содержать организацию работ по подъемке конструкции.

4.5.4. При подъемке пролетного строения любое движение по мосту должно быть закрыто. Конструкцию поднимают постепенно, при этом нужно следить, чтобы все домкраты по возможности были нагружены равномерно. По мере подъема и по окончании подбивают клинья на страховочных подмостях. Выход поршня гидравлического домкрата должен быть в пределах 2 см, а при больших величинах его выхода устанавливают страховочные кольца вокруг поршня между его головкой и корпусом домкрата.

Высота подъема должна быть минимальной, чтобы можно было свободно выправить положение опорной части. В балочно-неразрезных пролетных строениях подъем опорного узла на высоту более 2-3 см должен быть проверен расчетом.

4.5.5. После подъема пролетного строения выполняют соответствующие работы по выправлению опорных частей, натирают трущиеся поверхности графитом. После этого конструкции постепенно опускают залогами по 1-2 см по команде руководителя, убирая при этом соответственно клинья и страховочные кольца. По окончании работ убирают домкраты, шпальные клетки, инструмент и материалы.

4.5.6. Характеристики домкратов, которые могут быть использованы при этих работах приведены в прил. 4, табл. 2.

Помимо домкратов при производстве работ необходимы: насосные (гидравлические) станции типа НС-400 со шлангами высокого давления и манометром, молотки массой 1,5-2 кг, ключи гаечные, щетки металлические, скребки, бидон с керосином и тару с графитом, венчики, ветошь, ломы остроконечные.

5. КОНТРОЛЬ КАЧЕСТВА СОДЕРЖАНИЯ И РЕМОНТА ПРОЛЕТНЫХ СТРОЕНИЙ

5.1. Требования по контролю качества при содержании

5.1.1. Контроль за состоянием пролетного строения производят силами дорожных хозяйств, которые подразделяют на визуальный, инструментальный и лабораторный [4] в зависимости от поставленных задач.

При визуальном контроле регистрируют деформации и дефекты пролетного строения и определяют общее его состояние.

5.1.2. На стадии завершения строительства и приемки пролетных строений в эксплуатацию проводят первый контроль их состояния. В этом случае все элементы конструкций должны удовлетворять требованиям СНиП III-43-75 и СНиП III-18-75.

При завершении очередных ремонтных работ производят их приемку в соответствии с [2].

5.1.3. В инструментальный контроль входит определение количественных изменений в конструкции. Для этого используют нивелир и теодолит с рейками, лупы с делениями, щупы, мерные ленты, а также специальные приборы для выявления трещин в металле и бетоне, оценки плотности материалов в массиве, определения расположения арматуры в плите проезжей части. Перечень рекомендуемого инструмента приведен в [4].

5.1.4. Для проверки свойств использованных материалов при ремонте выборочно (по мере необходимости) производят лабораторный контроль в специальных дорожных передвижных или стационарных лабораториях. Контроль качества материалов, изделий и смесей ведут путем их испытания или химического анализа в соответствии с действующими стандартами.

5.2. Контроль качества при ремонте

5.2.1. При ремонте пролетных строений контроль качества производства работ предусматривает проверку соответствия поступающих строительных материалов и конструкций установленным требованиям, правильность выполнения основных технологических операций и отдельных видов работ, а также приемочный контроль на завершения ремонта.

Результаты приемочного контроля - основа дли оценки эффективности и качества ремонтных работ.

5.2.2. Качество материалов для устранения просадок и сколов в покрытии их асфальтобетона проверяют в лаборатории путем определения физико-механических свойств смеси и ее состава в соответствии с ГОСТом 12801-77 и ГОСТом 9128-76. Контроль качества при устройстве асфальтобетонных покрытий на мостах проводят как при ремонте этих покрытий на автомобильных дорогах.

5.2.3. При ремонте цементобетонных покрытий и защитного слоя проверяют соответствие качества примененных материалов требованиям ГОСТов и других документов по результатам лабораторных испытаний.

Покрытие после ремонта должно быть ровным без разрывов, раковин, трещин и т.п. Толщина не должна превышать проектные размеры более чем на 2 см; ровность проверяют трехметровой рейкой. Зазор под рейкой не должен превышать 3 мм. Толщину покрытия и прочность примененных смесей определяют путем отбора проб из покрытия. Отбирают не менее трех образцов из разных участков отремонтированного полотна проезжей части. Образцы в виде кернов вырезают на 28-й день после укладки бетонной смеси. Их высота должна быть на 2-3 см меньше толщины бетонного слоя над изоляцией проезжей части.

При текущем ремонте покрытия, устраняющем отдельные сколы и раковины, испытание образцов не проводят.

5.2.4. В процессе устройства или ремонта покрытия проверяют соответствие продольных и поперечных уклонов на этих участках, плавность сопряжения покрытия с деформационными швами и в местах сопряжения с подходами.

5.2.5. Контроль качества ремонта перильного ограждения предусматривает проверку размеров и положения стоек, их закрепления, прямолинейность перильного ограждения, качество окраски.

Правильность установки стойки определяют вертикальностью ее положения (проверка с помощью отвеса) и положением в общем створе перильного ограждения (проверка по шнуру, натянутому между крайними стойками, - отклонение не должно превышать 5 мм). Проверку выполняют до бетонирования основания стойки и после завершения работ.

5.2.6. При ремонте гидроизоляции контроль качества работ осуществляют на стадии подготовки основания под изоляцию, при завершении укладки каждого слоя рулонного материала или пленки, по окончании устройства изоляционного ковра и затем защитного слоя из бетона. Все используемые материалы перед их укладкой должны быть проверены на соответствие их требованиям по ГОСТам.

Поверхность под изоляцией должна быть ровной, без острых выступов, обеспечивающей укладку рулонных материалов без переломов и образования воздушных мешков. Рулонные материалы с рваными краями и повреждениями в пределах полотна не допускаются для использования. Проверяют качество и правильность укладки полотен в местах сопряжения друг с другом и в зонах деформационных швов, у бордюрных камней и водоотводных трубок. Толщина изоляции не должна превышать 1 см, а защитного слоя - 3-4 см. Все случайные проколы изоляции перед устройством защитного слоя должны быть устранены наложением заплат и заливкой битумными мастиками. Качество работ устанавливают визуальным путем.

5.2.7. Качество ремонта деформационных швов проверяют визуально при установке и креплении окаймлений, лотков и листов перекрытия шва. При мастичных деформационных швах заполненного типа качество используемых материалов и составов проверяют лабораторным испытанием. Работы по восстановлению шва контролируют на каждом этапе: при установке компенсатора, восстановлении участков покрытия около деформационного шва, заполнении его пористым материалом и мастикой.

5.2.8. Контроль качества ремонта железобетонной плиты проезжей части предусматривает проверку материалов (бетонной или полимербетонной смеси и их компонентов) в лаборатории, согласно действующих ГОСТов, визуальный осмотр подготовленных участков для ремонта и установленной опалубки и контроль за приготовлением смесей, подготовку оборудования (для инъектирования трещин или торкретирования поверхности), проверку отремонтированных участков. Перед выполнением ремонта поверхность бетона должна быть очищена от слабого бетона, пыли, жиров и битума, а опалубка - иметь гладкую поверхность и должна быть смазана с внутренней стороны, а также надежно закреплена на ремонтируемом участке.

Перед началом работ используемое оборудование должно быть проверено в действии - подачу материалов, режим нанесения покрытия, сообщаемость трещин перед инъектированием проверяют путем нагнетания воздуха. Выход воздуха из трещин должен производиться только через специальные отверстия, которые при рабочем режиме наглухо закрывают пробками. Качество выполненных работ оценивают визуально, а также остукиванием легким молотком поверхности бетона отремонтированного участка. Поверхность должна быть ровной, без трещин и наплывов ремонтных составов. При несильных ударах бетон должен издавать звонкий звук (его проверяют через 28 сут после бетонирования или через 3 сут в случае применения полимерных материалов.

5.2.9. При использовании заклепок для ремонта стальных элементов приемку работ и оценку их качества следует выполнять сразу после клепки, чтобы было легче заменить заклепки с дефектами. Новые заклепки должны быть изготовлены из сталей, соответствующих ГОСТам, и иметь размеры согласно табл. 5.1. Контроль качества поставленных заклепок - визуальный с остукиванием головок лёгким молотком (см. п. 2.3.3). Одновременно с проверкой новых следует проверять соседние с ними старые заклепки, так как их установка может вызвать ослабление отдельных из них. Если производится повторная переклепка, то проверка качества выполненных работ повторяется.

Кроме клепки необходимо проверять плотность сопряжения склепываемых частей (листов, полок, уголков и т.д.) - щуп толщиной 0,3 мм не должен проходить в зазоры между этими частями.

5.2.10. Все высокопрочные болты перед установкой в конструкцию должны быть проверены на соответствие их ГОСТу, марок стали и размеров. Проверяют также гайки к высокопрочным болтам и шайбы. Гайки должны легко "от руки" накручиваться на болт. Болтовые соединения и отдельно поставленные болты принимают после окончания затяжки последнего болта. В этом случае производят проверку напряжения болтов на крутящий момент. Величину крутящего момента принимают на 5% меньше расчетного. Проверяют в среднем один из пяти болтов. Если обнаружится, что 1% болтов не дотянут, то проверяют все соединение. После устранения недостатка производят повторную проверку натяжения болтов. В соединениях на высокопрочных болтах проверяют плотность сопряжения деталей, как указано в п. 5.2.9.

5.2.11. Контроль качества работ по восстановлению или выправлению поврежденных элементов несущих конструкций производят на стадии заготовки деталей усиления (накладок, новых элементов или вставок на части длины элемента) и после их установки в конструкцию. На первом этапе проверяют изготовленную деталь усиления на соответствие ее марки стали, профиля и размеров требованиям ГОСТа и проекта ремонта или восстановления элемента (если ремонт выполняется без проекта, раздел 2.3). При установке элемента качество выполненных соединений проверяют на месте согласно п. 5.2.9 и 5.2.10. Проверку качества выправления элемента без последующего его усиления производят визуально и путем контрольных измерений мест "остаточных" искривлений. Кривизна элемента не должна превышать допустимые величины согласно [2].

5.2.12. Контроль качества выполненного ремонта опорных частей предусматривает проверку соответствия новых примененных деталей по материалу и размерам ГОСТу или проектным решениям, визуальную проверку правильности сборки деталей и надежности их соединения, а также контрольную путем измерения и расчета, соответствия положения (наклона) катков требуемому на момент приемки работ.

5.2.13. Соответствие использованных сталей ГОСТу определяют на основании сертификатов на поставляемый металл, а при их отсутствии и в сомнительных случаях - на основании лабораторных испытаний металла для определения его физико-механических и химических свойств. Испытание металлов и других ремонтных материалов должны проводить в соответствии с ГОСТами.

5.2.14. Качество выполненных лакокрасочных покрытий определяют визуально. Контроль по окраске проводят после нанесения каждого слоя в отдельности. Внешним осмотром проверяют высыхание краски, ее сцепление с окрашиваемой поверхностью (адгезию) и определяют толщину покрытия. Краска считается высохшей, если после нажатия пальцем в течение 5-7 сек на ней не остается отпечатка пальцев. Покрытие должно быть равномерным, без пропусков (просвета металла или нижних слоев), подтеков и других дефектов (пор, сорности, морщин и складок, трещин, мелких бугорков, пузырьков и ряби). Адгезию покрытия к металлу и толщину определяют только в случаях сплошной окраски пролетного строения, а при подкраске или окраске отдельных элементов ограничиваются внешним осмотром покрытия.

Все лакокрасочные материалы проверяют на соответствие стандартам или техническим условиям, а также на срок годности. Малярные свойства определяют по условной вязкости (ГОСТ 8420-74), малярной консистенции (ГОСТ 10086-39), продолжительности высыхания, степени перетира красок (ГОСТ 6589-74) и укрывистости (ГОСТ 8784-75).

Таблица 5.1

Размеры конических заклепок

Название размера

Диаметр отверстия, мм

23

26

29

1

2

3

4

Диаметр заклепки d

22

25

28

Допускаемые отклонения для d

+0,4 и -0,3

+0,4 и -0,3

+0,4 и -0,3

Диаметр конической части стержня у головки dк

22,6

25,6

28,6

Допускаемые отклонения для dк

+0,2 и -0,2

+0,2 и -0,2

+0,2 и -0,2

Диаметр головки D

38

42

47

Высота головки h

16

19

22

Толщина пакета при длине заклепки l, мм:

 

 

 

120

75-80

-

-

125

81-84

-

-

130

85-89

84-88

-

135

90-94

89-93

-

140

95-98

94-97

93-96

145

99-103

93-102

97-101

6. ОХРАНА ТРУДА И ТЕХНИКА БЕЗОПАСНОСТИ

6.1. Общие требования

6.1.1. При ремонте пролетных строений соблюдают указания по охране труда, изложенные в нормативной и технической документации:

СНиП III-4-79 техники безопасности в строительстве;

правилах техники безопасности при строительстве, ремонте и содержании автомобильных дорог;

правилах по технике безопасности при эксплуатации контактной сети постоянного (переменного) тока электрофицированных железных дорог;

инструкции по проведению осмотров мостов и труб на автомобильных дорогах (ВСН 4-81);

правилах техники безопасности и производственной санитарии при производстве работ по реконструкции и капитальному ремонту искусственных сооружений;

правилах техники безопасности при эксплуатации электроустановок потребителей;

правилах устройства и безопасной эксплуатации воздушных компрессоров и воздухопроводов;

правилах устройства и безопасной эксплуатации грузоподъемных кранов;

правилах техники безопасности и производственной санитарии при производстве ацетилена, кислорода и газопламенной обработке металлов;

правилах техники безопасности и производственной санитарии при электросварочных работах;

правилах техники безопасности при работе с абразивным инструментом;

правилах техники безопасности и производственной санитарии при холодной обработке металлов;

правилах пожарной безопасности при производстве строительно-монтажных работ;

правилах техники пожарной безопасности и промышленной санитарии для окрасочных цехов.

6.1.2. При работе с механизмами и выполнении работ по ремонту конструкций необходимо также соблюдать соответствующие требования на производимый вид работ, изложенные в технологических правилах или инструкции (руководстве) по эксплуатации используемого механизма или инструмента.

6.1.3. В проектах по ремонту пролетных строений необходимо предусмотреть мероприятия по обеспечению охраны труда на всех этапах технологического процесса, гарантирующие также безопасность движения по мосту и под ним.

Обеспечение требований охраны труда по содержанию и текущему ремонту возлагается на мостового мастера, а при среднем и капитальном ремонте - на производителя работ. К работам на мосту допускают лиц в возрасте не моложе 18 лет, прошедших медицинский осмотр и изучивших требования безопасного ведения работ.

6.1.4. Подмости и лестничные переходы должны быть надежно закреплены и оборудованы перилами; обладать достаточной прочностью и устойчивостью. Настил устраивают без щелей между досками. Помимо перил, устанавливают бортовые доски с внутренней стороны перильных стоек.

На путепроводах подмости под пролетным строением не должны располагаться в пределах габарита приближения строений. Все работы над железной дорогой необходимо согласовывать со службой пути.

6.1.5. Стремянки для прохода рабочих делают из плотно сбитых щитов шириной не менее 1 м, на которые по всей длине набивают поперечные планки через 30-40 см. Стремянки должны быть закреплены против сдвига; уклон - не более 1:3.

При необходимости устройства подмостей в несколько ярусов применение их на козлах или типа конверта разрешено только в два яруса (не более) по сплошному настилу на балках или фермах. При отсутствии настила устройство подмостей непосредственно по балкам или фермам не допустимо.

Разборку лесов ведут постепенно сверху вниз; при этом запрещается валить леса без их разборки.

6.1.6. Подмости для работы должны иметь площадь и размеры, обеспечивающие размещение необходимого оборудования и материалов и возможность свободного прохода людей вокруг них. Ширина прохода должна быть не менее 1 м. Количество материалов на подмостях должно быть минимальным для выполнения определенного этапа, ремонтных работ.

6.1.7. При ремонтных работах без перерыва движения по мосту и под ним инструмент и механизмы необходимо складировать у бордюрного ограждения или, по возможности, вне пределов моста, чтобы не мешать движению транспортных средств и пешеходов.

6.2. Правила техники безопасности при работе с механизмами и механизированным инструментом

6.2.1. При работе с пневматическим инструментом необходимо соблюдать следующие правила:

инструмент перед началом работ должен быть отрегулирован так, чтобы клапаны легко открывались и закрывались, не пропуская воздуха;

шланги присоединять и разъединять только при отключенной подаче воздуха;

во время работы инструмента, не следует допускать резких изгибов шланга или его перекручивания.

6.2.2. Работать с электроинструментом разрешается только в резиновых перчатках и обуви. Перед началом необходимо проверить тщательность изоляции ручек, электропроводки и наличие заземления корпуса.

Вся электропроводка должна быть заключена в резиновую оболочку: места разрыва необходимо заизолировать и во время работы инструмента не допускать контакта металла конструкции с поврежденным участком оболочки. Электропроводку рекомендуют подвешивать на изоляторах.

6.2.3. При работе с компрессором необходимо каждый раз перед его пуском открывать раздаточные вентили и продувочные краны на воздухосборнике и промежуточном холодильнике. Перевод компрессора на рабочий режим следует производить только после установления нормального числа оборотов. Во время его работы вблизи не разрешается применять открытый огонь, а также работать с избыточным давлением воздуха; ресивер должен быть защищен от солнечных лучей. При очистке клапанов, фильтров и других деталей, через которые проходит воздух под давлением, запрещается пользоваться бензином или керосином.

6.2.4. К кранам или талям допускают рабочих, изучивших правила работы с ними; подъемные механизмы должны иметь отметку об очередном их испытании в соответствии с действующими нормами. При использовании подъемных механизмов необходимо строго следить, чтобы поднимаемый груз не превышал грузоподъемности механизма с учетом вылета стрелы (крана). В случае ограниченных условий поворота крана в месте его работы рекомендуют устраивать ограничители поворота.

6.2.5. Для работы с дробеструйными аппаратами допускают лиц, прошедших специальное медицинское обследование. В период работы аппарата рабочие должны быть одеты в спецодежду, глаза и лицо защищены от механических повреждений с помощью наголовных щитков с прозрачным экраном из оргстекла.

Перед началом работ необходимо проверить все шланги и их соединения. Резьбовые соединения должны быть завернуты на всю длину. При гидропескоструйной очистке рабочим необходимы влагонепроницаемый костюм, резиновые сапоги и рукавицы.

6.2.6. При механическом способе нанесения покрытий пистолет и расходная емкость должны иметь отвод зарядов статического электричества через насосный узел.

Работа с агрегатами безвоздушного распыления требует строгого соблюдения следующих правил;

при замене или прочистке распылительных сопел пистолет следует направлять вниз, а пусковую скобу устанавливать на предохранитель;

при возникновении протечки жидкости или отказе клапана распыления следует немедленно остановить агрегат и открыть перепускной клапан;

категорически запрещается оставлять без присмотра агрегат под давлением или работать на неисправном; снижать и резко изгибать или растягивать шланг высокого давления; устранять неисправности или перемещать насосный агрегат при включенном двигателе; использовать взрывоопасные растворители или материалы неизвестного состава; работать в зоне открытого огня; применять для очистки частей агрегата этилированный бензин, ароматические растворители и другие ядовитые и неизвестные жидкости.

6.3. Правила техники безопасности при ремонте пролетных строений

6.3.1. При выполнении ремонтных работ погрузка и разгрузка элементов, а также их подъем к месту установки и спуск должны производиться с помощью кранов или полиспастов. Разгрузка элементов сбрасыванием не допускается. Подъем и спуск выполняют на стропах, имеющих бирку с указанием допускаемой грузоподъемности и дату последнего испытания. Перед использованием стропы осматривают, а негодные заменяют.

Подъем материалов необходимо осуществлять при согласованном действии строповщика и крановщика, все рабочие должны находиться на безопасном расстоянии от крана и поднимаемого груза.

6.3.2. Подъем элементов производят только по вертикали. Поднимаемая конструкция или деталь должны быть поданы к месту подъема так, чтобы место строповки находилось на одной вертикальной линии с полиспастом или крюком крана. Подъем выполняют по команде. Поднятый элемент следует сразу установить на место; при этом его немедленно закрепляют сборочными болтами и пробками в количестве, предусмотренном проектом производства работ.

6.3.3. Чтобы не засорить рабочее место на монтаже, все элементы и детали подают очищенными от строительного мусора. Следует также избегать загрязнения подмостей мусором и маслами, что затрудняет передвижение людей. Работать на высоте необходимо в застегнутой одежде и в специальной нескользящей обуви. Весь инструмент должен находиться в ящиках или сумках.

6.3.4. Мелкие детали (накладки, болты), которые сразу не устанавливают на место, размещают на подмостях так, как это предусмотрено в проекте. Болты, гайки и т.д. должны быть в специальной таре и не мешать проходу.

6.3.5. При наводке стыков и установке болтов, пробок и т.д. запрещается проверять совпадение отверстий руками и работать или находиться под элементом до его закрепления требуемым количеством болтов, пробок и т.д. Наводку стыков или соединений производят ломиками; при необходимости допускается в качестве предварительного закрепления забивать оправки в совмещенные отверстия с последующей постановкой болтов и пробок.

6.3.6. До выключения элемента из работы при ремонте могут быть использованы пучки их высокопрочной проволоки и стальные тяжи. Перед применением необходимо проверить их качество и надежность.

При натяжении арматуры на места работ должны быть вывешены таблицы показаний манометра или других приборов, соответствующие монтажным и наибольшим усилиям пучка или тяжа. Во время натяжения лица, не связанные с выполнением этих работ, должна быть удалены на безопасное расстояние. По отношению к участникам должны быть приняты меры по их безопасности (предохранительные щиты, безопасное место работ и т.д.). Все работы выполняются по команде руководителя (мостового мастера, бригадира).

6.3.7. Замену заклепок выполняют с подмостей, имеющих ограждения и достаточную площадь для безопасного ведения работ. Все работающие должны иметь спецодежду, рукавицы, защитные очки и шлемы. Убирать металлическую стружку следует металлическими и волосяными щетками, а также крючками. Натяжение болтов выполняют ключами соответствующих размеров, обеспечивая надлежащий охват гайки. Перед работой должна быть проверена и уточнена тарировка ключа.

Приложение 1

Министерство

автомобильных дорог РСФСР

Автомобильная дорога,

Автодор, ДРСУ ДЭУ и т.д.

Книга

моста (путепровода)
(карточка №   )

Дорога……………….............Километр……………………..............Пикет………...........

Наименование сооружения .………………………………...............

Наименование водотока ..................………………………………...

Ближайшие к мосту:

населенный пункт...........……………………………………........;

расстояние от него……………………………………..................;

станция жел. дороги..............…………………………………….;

расстояние до нее........………………………………………........;

Сооружение охраняется…………………………………....................

Конструкция………………………………………..............................

I. Данные о грузоподъемности
(отмечается принятая схема нагрузки от колонны автомобилей и одиночная, дата ее назначения и основание)

II. Ограничения движения (длительные)

Дата введения

Характер

Причины

Дата снятия

Мероприятия, послужившие к отмене ограничения

1

2

3

4

5

 

 

 

 

 

III. Происшествия на мосту

Дата

Описание повреждений

Время ликвидации повреждений и исполнитель работы

1

2

3

 

 

 

IV. Осмотры и ремонты мостового полотна

Дата, фамилия, производившего осмотр

Описание повреждений

Дата исправления, исполнитель работ

Метод ремонта, стоимость работ

1

2

3

4

 

 

 

 

V-VII. Осмотры и ремонты пролетных строений, а также опор и регуляционных сооружений записывают отдельно по форме, указанной как в п.IV

VIII. Наблюдения за дефектами пролетных строений

Дата

Объекты

В чем состоят наблюдения

Результаты

1

2

3

4

 

 

 

 

IX. Окраска металлических пролетных строений (указывается число слоев окраски и цвет)

Дата нанесения каждого слоя

Наименование пролетных строений или их отдельных частей

Материал слоя и расход его на 1 м2

Объем работ, м2

Качество

Стоимость

1

2

3

4

5

6

 

 

 

 

 

 

X. Профили промеров русла реки и планы их расположения (профили русла за различные периоды вычерчивают совмещенными на одном чертеже)

XI. Замечания и распоряжения по содержанию и ремонту

Указать дату, фамилию, должность и подпись лица, давшего замечание (или распоряжение); текст замечания со сроком исполнения и отметку об исполнении распоряжения.

Приложение 2

Ориентировочные нормы затрат труда на работы по ремонту и содержанию металлических пролетных строений

Наименование работ

Количество един. изм.

Норма времени чел./дн.

1

2

3

Прочистка водоотводных трубок

10 шт.

9,1

Очистка покрытия мостового полотна от грязи, снега и льда (вручную)

100 м

3

Осмотры пролетных строений

1 coop.

0,2-1,0

Ремонт перил с простым перильным ограждением (металлические)

10,0 м

3,3

Заделка раковин и сколов в железобетонной плите

0,1 м2

0,15

Нанесение покрытий на плиту:

 

 

вручную

10 "

5,2

методом торкретирования

10 "

0,8

Устранение трещин в плите

10 м

3,62

Окраска элементов сквозных ферм

2

0,06

То же

10 "

0,55

Очистка и натирка опорных частей графитом

2 опр.част.

2,5

Замена футляров опорных частей

2    "       "

2,2

Выправление катков опорных частей при их угоне

1 прол. стр.

10,8*

12,0**

Засверливание отверстий по концам трещин в металле:

 

 

вручную

10 отв.

1,5

пневмоинструментом

20 "

1,2

Замена заклепок на высокопрочные болты без засверливания на большой диаметр

10 шт.

0,75

Замена заклепок на ковше без сверления на больший диаметр:

 

 

вручную

10 шт.

1,5

с применением механизации

10 "

1,1

Постановка накладок на элемент на высокопрочных болтах

10 "

9,2

То же, на заклёпках

10 "

10,4

Замена отдельных элементов с дефектами без учета устройств подмостей на высокопрочных болтах

100 кг

1,65

То же , на заклепках

100 "

2,1

Выправление деформированных элементов путем демонтажа и установки на высокопрочных болтах

100 "

1,6

То же, на заклепках

100 "

1,9

То же, без демонтажа (домкратами, талями)

1 эл.

16,8

Примечание. * При длине пролета l £ 55 м;

** при l > 55 м.

Приложение 3

Таблица I

Типы машин и механизмов, рекомендуемые для ремонта металлических пролетных строений

Машины и механизмы

Марка машины

Назначение

Краткая характеристика

Изготовитель

1

2

3

4

5

Кран стреловой переносной, полноповоротный, грузоподъемностью 1 т

КЛ-18

Для подъема элементов и материалов на пролетное строение

Грузовой момент - 0,2 м (2,1 тс, м), вылет стрелы - 2,3-4 м; высота подъема - 5,0¸4,5

Днепропетровский з-д строительных машин

КЛ-2

То же

Вылет стрелы - 5,0/3,2 м;

Высота подъема - 10 м

Масса конструктивная - 1,28 т

То же

Ручной пневмоинструмент ударного действия

МО-8

ОМП-8

Мо-10

МОТ-10

ОМП-10

Для вырубки бетона или асфальтобетона

Расход воздуха - 0,85¸1,0 м3/мин

 

Ручной электроинструмент ударного действия

ИЭ-4203

ИЭ-4204

ИЭ-4206

То же

Потребная мощность - от 0,39 до 1 кВт

 

Компрессоры

ЗИЛ-55

ЗИЛ-55В

Для подключения пневмоинструмента

Производительность - 5,5 - м3/мин

Рабочее давление - 7 кг/см2

Число шлангов - 5

 

Насосная станция

НСР-400

(Г-105)

Для привода гидродомкрата

Рабочее давление - 400 кгс/см2

Размеры - 420´250´509 мм

Масса - 26 кг

Кемеровский з-д строймашин

Домкрат

 

См. табл. 2

 

 

Машина сверлильная электрическая

ИЗ-1032

Для сверления отверстий в стали средней твердости

Частота вращения-940 об/мин

Электродвигатель - 0,42 кВт 220 В; 50 Гц

Масса - 1,7 кг

Конаковский з-д механизированного инструмента

Машина сверлильная пневматическая

ИП-1019

Тоже

Частота вращения 1000 об/мин

Расход воздуха - 0,9 м3/мин

Масса - 1,7 кг

Московский з-д Пневмостроймашина

Молоток пневматический рубильный

ИП-4119

Для рубки металла, обработки литья

Энергия удара - 1,25 кгс×м

Частота ударов - 2200 в мин

Масса - 5,5 кг

Свердловский з-д Пневмостроймашина

Машина шлифовальная электрическая

ИЭ-2008

Для зачистки сварных швов, очистки металла от коррозии

Частота вращения - 6800 об/мин

Электродвигатель - 0,6 кВт; 220 в, 50:гц Масса - 3,8 кг

Резекненское производственное объединение Электростройинструмент

Пневматические реверсивные щетки

 

Для очистки металла от краски и ржавчины

Частота вращения - до 3000 об/мин

Расход воздуха - 0,8 м3/мин

Полная масса - 3,4 кг

-

Пневматический краскораспылитель (ручной)

СО-71А

Для нанесения краски на поверхность металла

Расход краски - не более 1,4 л/мин

Расход воздуха -не более 0,32 м3/мин

Масса - 0,68 кг

Вильнюсское производственное объединение строительно-отделочных машин

 

СО-123

То же

Расход воздуха - 0,027 м3/мин

Производительность 100 м2

Масса - 0,8 кг

 

 

СО-19А

Для нанесения краски на поверхность металла

Расход краски - 0,15 л/мин

Расход воздуха - 0,04 м3/мин

Масса - 0,65 кг

 

Компрессор диафрагменный

СО-45А

Для окраски мостов

Производительность - 0,05 м3/мин

Масса - 21 кг

Электродвигатель - 0,27 кВт 220В

Вильнюсское производственное объединение строительно-отделочных машин

Передвижная компрессорная установка для малярных работ

СО-74

То же

Производительность - 0,5 м3/мин

Размеры - 920´430´820

Электродвигатель - 4 кВт 220/380 В

Масса - 140 кг

-"-

Красконагнетательный бак

СО-12А

-"-

Емкость - 20 л

Давление сжатого воздуха - 0,4 кгс/см2

Габаритные размеры - 350´300´700;

Масса - 20 кг

Назрановский - з-д Электроинструмент, г.Назрань,

Установка безвоздушного распыления

2600Н

Для окраски металлических конструкций

Производительность - 3,6 л/мин

Габаритные размеры - 845´435´705

Масса - 50 кг

Вильнюсское производственное объединение строительно-отделочных машин, г. Вильнюс

 

7000Н

То же

Производительность - 5,6 л/мин

Габаритные размеры - 975´500´610

Масса - 80 кг

 

Агрегат штукатурный

СО-57А

Для приготовления и нанесения растворов на поверхность бетона

Объем замеса - 6,5 л

Дальность подачи - по горизонтали - 100 м

Масса агрегата - 750 кг

Лебедянский з-д строительно-отделочных машин

Мешалка двухвальная

СО-8

Для приготовления шпаклевок, окрасочных паст

Объем замеса - 40 л

Производительность - 120-15С кг/ч

Масса - 210 кг

Одесский з-д строительно-отделочных машин

Щетка электрическая

ДС-505

(Д-378)

Для очистки поверхности железобетонных плит

Производительность - 350 м2

При расчистке швов - 180 м/ч

 

Нарезчик швов в затвердевшем бетоне

ДС-510

Для устройства прорезей в покрытии и железобетонной плите

Глубина прореза - 5 см

-Производительность - 16,3 м/ч

 

Автокраны

К-52

К-102

К-123

Для подъема материалов

Погрузки и разгрузки при ремонте конструкций

 

 

Динамометрический ключ (контрольный)

КРМ

Для натяжения болтов

Резьба М18-М-24

Ногинский опытный з-д монтажных приспособлений

Запорожский механический з-д МПС

Таблица 2

Типы домкратов для подъема пролетных строений

Марка

Грузоподъемность, тс

Ход плунжера, мм

Предельное давление, кгс/см2

Диаметр, мм

Габаритные размеры, мм

Вес, кг

плунжера

поршня

1

2

3

4

5

6

7

8

ДГ-5

5

100

400

40

-

130´130´180

7,8

ДГ-10

10

100

400

60

-

155´155´220

14,6

ДГ-25

25

150

400

90

-

180´180´245

28,5

ДГ-50

50

150

400

125

-

210´210´290

52

ДГМ-100

100

155

400

110

150

345´260´320

54

ДГМ-200

200

155

400

150

210

420´325´330

92

ДГО-20

20

90

320

10

90

188´150´170

20

ДГО-50

50

100

410

17

125

313´176´220

63

ДГО-100

100

155

392

17

180

375´245´285

125

ДГО-200

200

155

408

17

250

470´340´304

209

МДГ-50

50

100

400

-

125

163´215´279

36,6

МДГ-100

100

155

400

-

180

232´288´363

78

МДГ-200

200

155

400

-

255

325´330´400

186

ДГ-100-2

100

155

400

110

150

370´190´325

57

ДГ-200-2

200

155

400

150

210

440´250´370

116

Домкраты серии ДГ и ДМГ являются конструкциями ЦНИИСК им. Кучеренко, которые выпускаются их опытным заводом; домкраты ДГО и МДГ производит Ногинский опытный завод, а ДГ - Кемеровский з-д Строймашина.

ЛИТЕРАТУРА

1. ВСН 24-75 - Технические правила ремонта и содержания автомобильных дорог - М.:Транспорт, 1976.

2. ВСН 19-81. Правила приемки работ при строительстве, капитальном и среднем ремонте автомобильных дорог - М.: Транспорт, 1982.

3. Рекомендации по структуре и организации службы ремонта и содержания мостов и труб на автомобильных дорогах. - М.: Ротапринт ЦБНТИ Минавтодора РСФСР, 1979.

4. ВСН 4-81. Инструкция по проведению осмотра мостов и труб на автомобильных дорогах - М.: Транспорт, 1982.

5. ВСН 179-73. Инструкция по ограждению мест работ и расстановке дорожных знаков при строительстве, реконструкции и ремонте автомобильных дорог - М.: Транспорт, 1974.

6. Временная инструкция по ограничению веса и скорости движения транспортных средств, пропускаемых в зимний период по мостам со сварными металлическими пролетными строениями - М.: Ротапринт ЦБНТИ Минавтодора РСФСР, 1979.

7. СН 200-62. Технические условия проектирования мостов и труб - М.: Трансжелдориздат, 1962.

8. ВСН 32-81. Инструкция по устройству гидроизоляции конструкций мостов и труб на железных, автомобильных и городских дорогах - М.: Ротапринт ЦНИИС Министерства транспортного строительства СССР , 1981.

9. Рекомендации по ремонту и содержанию деформационных швов в малых и средних мостах - М.: Ротапринт ЦБНТИ Минавтодора РСФСР, 1982.

10. Инструкция по окраске металлических конструкций, эксплуатируемых на автомобильных дорогах РСФСР, мостов, путепроводов и пр. - М.: Ротапринт ЦБНТИ Минавтодора РСФСР, 1960.

11. Руководство по защите строительных металлоконструкций, работающих в агрессивных средах и различных климатических условиях - М.: Стройиздат, 1974.

СОДЕРЖАНИЕ

Предисловие. 1

I. Общие положения. 1

1.1. Задачи и состав работы по содержанию и ремонту. 1

1.2. Организация работ по содержанию и ремонту. 2

1.3. Требования к пролетным строениям и оценка их технического состояния. 5

2. Содержание пролетных строений. 11

2.1. Текущий надзор и уход. 11

2.2. Особенности содержания пролетных строений в северных районах при низких минусовых температурах и в зонах повышенной агрессивности среды.. 12

2.3. Осмотры и порядок выявления дефектов. 14

3. Ремонт элементов проезжей части. 21

3.1. Восстановление асфальтобетонного покрытия. 21

3.2. Ремонт цементобетонного покрытия и защитного слоя. 21

3.3. Ремонт перил. 23

3.4. Ремонт деревянной проезжей части. 24

3.5. Ремонт гидроизоляции проезжей части. 24

3.6. Ремонт деформационных швов. 28

3.7. Ремонт железобетонной плиты проезжей части. 30

4. Ремонт элементов металлических конструкций. 34

4.1. Подготовительные работы.. 34

4.2. Замена слабых заклепок. 35

4.3. Восстановление металлических элементов. 38

4.4. Окраска металлических элементов. 45

4.5. Выправление подвижных опорных частей. 49

5. Контроль качества содержания и ремонта пролетных строений. 50

5.1. Требования по контролю качества при содержании. 50

5.2. Контроль качества при ремонте. 50

6. Охрана труда и техника безопасности. 53

6.1. Общие требования. 53

6.2. Правила техники безопасности при работе с механизмами и механизированным инструментом.. 54

6.3. Правила техники безопасности при ремонте пролетных строений. 55

Приложение 1 Книга моста (путепровода) 56

Приложение 2 Ориентировочные нормы затрат труда на работы по ремонту и содержанию металлических пролетных строений. 57

Приложение 3 Типы машин и механизмов, рекомендуемые для ремонта металлических пролетных строений. 57

Литература. 59

 

 




ГОСТЫ, СТРОИТЕЛЬНЫЕ и ТЕХНИЧЕСКИЕ НОРМАТИВЫ.
Некоммерческая онлайн система, содержащая все Российские Госты, национальные Стандарты и нормативы.
В Системе содержится более 150000 файлов нормативно-технической документации, действующей на территории РФ.
Система предназначена для широкого круга инженерно-технических специалистов.

Рейтинг@Mail.ru Яндекс цитирования

Copyright © www.gostrf.com, 2008 - 2026