|
|
|
МИНИСТЕРСТВО ТРАНСПОРТНОГО СТРОИТЕЛЬСТВА ГЛАВНОЕ ТЕХНИЧЕСКОЕ УПРАВЛЕНИЕ ИНСТРУКЦИЯ
ВСН 136-78 МИНТРАНССТРОЙ МОСКВА 2001 ПРЕДИСЛОВИЕНастоящая «Инструкция по проектированию вспомогательных сооружений и устройств для строительства мостов» разработана в развитие и дополнение действующих глав СНиП и предназначена для использования проектными и строительными организациями Министерства транспортного строительства, проектирующими вспомогательные сооружения и устройства, применяемые при строительстве мостов и труб на железных, автомобильных дорогах и в городах. В текст «Инструкции» включены основные требования к расчету и конструированию, являющиеся специфическими для вспомогательных сооружений и подлежащие учету при проектировании, но не содержащиеся в действующих главах СНиП. «Инструкция» разработана отделением искусственных сооружений Всесоюзного научно-исследовательского института транспортного строительства (ЦНИИС) при участии СКВ Главмостостроя. Руководители работы кандидаты техн. наук Каменцев В. П. и Мойжес Л. Б. В составлении отдельных разделов «Инструкции» участвовали д-р техн. наук Луга А. А., кандидаты техн. наук Завриев К. С., Казиницкая Б. И., Каменцев В. П., Мойжес Л. Б., Рыбчинский В. П., Николаи К. В., инженеры Щукарева А. Е. и Деревянко Н. С. (ЦНИИС), инженеры Бахтиаров И. П., Варшавский Е. А., Гевондян З. С., Забродин Б. А., Званский Г. М., Лясковский В. П., Рязанский Л. Д., канд. техн. наук Соловьев А. В., инж. Эпштейн В. М. (СКВ Главмостостроя). Текст «Инструкции» рассмотрен на секции строительства мостов Научно-технического совета Минтрансстроя, Гипротрансмостом, кафедрой «Мосты и тоннели» Московского автомобильно-дорожного института и согласован Главмостостроем Министерства транспортного строительства. Замечания и пожелания по тексту настоящей «Инструкции» просьба направлять по адресу: 129329, Москва, Игарский проезд, 2, ЦНИИС. Зам. директора института Г. Д. ХАСХАЧИХ Руководитель отделения искусственных сооружений К. С. СИЛИН
1. ОСНОВНЫЕ ПОЛОЖЕНИЯОбщие указания1.1. Настоящая «Инструкция» составлена в развитие глав СНиП III-43-75 «Мосты и трубы», II-6-74 «Нагрузки и воздействия», II-B.3-72 «Стальные конструкции. Нормы проектирования», II-B.4-71 «Деревянные конструкции. Нормы проектирования», II-21-75 «Бетонные и железобетонные конструкции» и распространяется на проектирование специальных вспомогательных сооружений, приспособлений, устройств и установок (по перечню согласно прилож. 1), необходимых для строительства мостов, путепроводов и эстакад во всех строительно-климатических зонах. 1.2. Проектирование специальных вспомогательных сооружений, приспособлений, устройств и установок должно осуществляться при разработке технического (техно-рабочего) проекта и рабочих чертежей моста. При разработке технического проекта моста (путепровода) раздел «Специальные вспомогательные сооружения, приспособления, устройства и установки» должен содержать: а) варианты конструктивных решений указанных сооружений в увязке с проектом моста и проектом организации строительства. Варианты разрабатываются, как правило, только для рекомендуемой конструкции основного сооружения в объеме, достаточном для выявления сметных показателей; б) основные обоснования конструктивных решений указанных сооружений.
На стадии рабочих чертежей раздел проекта моста (путепровода) «Специальные вспомогательные сооружения, приспособления, устройства и установки» должен содержать: а) необходимые для изготовления и строительства детальные чертежи конструкций специальных вспомогательных сооружений с указаниями по качеству применяемых материалов (изделий) и ссылками на соответствующие ГОСТы, ТУ и т. п.; б) требования к изготовлению конструкций на предприятиях или в условиях мастерских строительных организаций; в) указания о порядке эксплуатации в различных строительно-климатических зонах, включая, в необходимых случаях, требования по испытаниям; г) расчетные листы для сложных случаев, включающие основные положения результатов расчета; д) указания по технике безопасности. 1.3. Перечень вспомогательных сооружений и устройств, применяемые для них материалы и инвентарные конструкции определяются техническим проектом. Рабочие чертежи вспомогательных сооружений разрабатываются на основе технического проекта и в соответствии с заданием на проектирование. 1.4. Отступления от выданных заказчиком к производству работ рабочих чертежей вспомогательных сооружений, вызванные уточнением условий производства работ, допускаются по согласованию с заказчиком и проектной организацией, с внесением соответствующих изменений в рабочие чертежи. 1.5. Как правило, вспомогательные сооружения должны выполняться из инвентарных конструкций заводского изготовления (прилож. 2-8). Применение индивидуальных конструкций (включая деревянные) допускается в виде исключения при отсутствии требуемого инвентаря. Вспомогательные сооружения должны отвечать современным требованиям индустриально-скоростного строительства, возможности наибольшей механизации строительных процессов, а также требованиям техники безопасности. Заглубление оснований у шпунта, перемычек, фундаментов и других подводных сооружений должно назначаться с учетом размыва грунта. Вспомогательные сооружения, находящиеся в пределах судоходных участков мостового перехода, помимо установки сигнальных знаков, должны быть обеспечены от навала обращающихся в период строительства судов путем создания необходимых условий провода судов в створе моста. Эти мероприятия должны быть согласованы с органами эксплуатации речного флота. В особых случаях, при наличии соответствующих указаний в проекте организации строительства, следует предусматривать установку специальных защитных ограждений или расчет вспомогательного сооружения на навал судна. 1.7. Авторский надзор за вспомогательными сооружениями должен осуществляться в порядке, установленном действующим Положением Госстроя СССР, а также руководствами, утвержденными Минтрансстроем. Габариты1.8. Все вспомогательные сооружения, располагаемые над железными дорогами либо в непосредственной близости к ним, должны удовлетворять габаритам приближения строений С (Сп) по ГОСТ 9238-73. На линиях, где установлены другие габариты, следует руководствоваться действующими габаритами. Допускается по согласованию с управлениями железных дорог уменьшение на период строительства габарита по ширине и высоте до одного из классов габаритной проходимости в соответствии с «Указаниями по применению габаритов приближения строений ГОСТ 9238-73» (М., «Транспорт», 1973). При строительстве на действующих автомобильных дорогах и улицах следует соблюдать габариты приближения конструкций мостов на автомобильных и городских дорогах, установленные в главах СНиП II-Д.5-72 «Автомобильные дороги СССР. Нормы проектирования», II-60-75 «Планировка и застройка городов, поселков и сельских пунктов» и II-43-75 «Мосты и трубы». Уменьшение габаритов допускается по согласованию с органами, эксплуатирующими дороги (улицы). 1.9. Подмостовые габариты в просветах подмостей в пределах судового и сплавного фарватеров устанавливаются в зависимости от характера судоходства в период строительства и класса водного пути с учетом требований «Норм проектирования подмостовых габаритов на судоходных и сплавных реках и основных требований к расположению мостов» (НСП 103-52) и в каждом случае подлежат согласованию с местными органами речного флота. а) за рабочий уровень воды (ледостава) в проекте принимается наивысший возможный в период производства данного вида работ сезонный уровень воды (ледостава), соответствующий расчетному расходу (уровню ледостава) вероятностью превышения 10 %. При этом должны учитываться также возможные превышения уровня от воздействия нагонных ветров или заторов. На реках с регулируемым стоком рабочий уровень назначается на основе данных организаций, регулирующих сток; б) верх шпунтовых ограждений, бездонных ящиков, грунтовых перемычек должен возвышаться над рабочим уровнем не менее чем на 0,7 м и на 0,3 м при ледоставе и над уровнем грунтовых вод; островки для опускания колодцев и кессонов должны возвышаться над рабочим уровнем не менее чем на 0,5 м; в) возвышение низа пролетных строений рабочих мостиков, подкрановых эстакад, подмостей на несудоходных и несплавных реках, а также в несудоходных пролетах судоходных рек должно быть не менее 0,7 м над рабочим уровнем. Разрешается уменьшать величины возвышения при непродолжительном стоянии высоких уровней, допустимости временного затопления конструкций, возможности их кратковременного снятия; г) на переходах с карчеходом, селями не рекомендуется устраивать вспомогательные сооружения в пролетах между капитальными опорами. При необходимости их устройства расстояние между опорами подмостей в свету должно быть не менее 10 м и они должны устраиваться в период наименее вероятного появления опасных воздействий. На водотоках с карчеходом и селевыми потоками возвышение низа конструкций пролетных строений подкрановых эстакад и рабочих мостиков над рабочим уровнем должно быть не менее 1,0 м. На переходах с наледями следует, как правило, избегать устройства промежуточных опор в пределах наледи. Низ конструкций пролетных строений должен возвышаться на 0,5 м над рабочим уровнем, соответствующим высоте 0,8ΔНр, где ΔНр - расчетная мощность наледи. 1.11. Ширину проходов и пешеходных переходов следует назначать не менее 0,8 м. Указания по расчету конструкций и оснований1.12. Конструкция вспомогательных сооружений и их основания должны быть рассчитаны на силовые и другие воздействия по методу предельных состояний. Предельными являются недопустимые состояния, при наступлении которых конструкция или основание перестает удовлетворять требованиям, предъявляемым к ним процессом производства строительных работ. Предельные состояния подразделяются на две группы: первая группа (первое предельное состояние) - по непригодности к использованию вследствие потери несущей способности или по необходимости прекращения использования как при сохранении несущей способности, так и при появлении возможности исчерпания последней; вторая группа (второе предельное состояние) - по появлению чрезмерных деформаций, которые могут затруднить нормальное использование вспомогательных конструкций. Предельные состояния вызываются в первой группе: потерей устойчивости положения, плавучести и остойчивости; общей потерей устойчивости формы; местной потерей устойчивости формы, приводящей к потере несущей способности; хрупким, вязким или иного характера разрушением, в том числе с превышением временного сопротивления разрыву, сдвигом или выпиранием грунта в основании; текучестью, обмятием или другими чрезмерными пластическими деформациями материала (при наличии площадки текучести); чрезмерными сдвигами во фрикционных соединениях; местной потерей устойчивости формы, приводящей к чрезмерным деформациям, но не к потере несущей способности; чрезмерными упругими деформациями, которые могут оказать недопустимое влияние на форму или несущую способность возводимых капитальных сооружений. Во второй группе: упругими или остаточными перемещениями (прогибами, выгибами, осадками, смещениями, кренами, углами поворота и колебаниями). 1.13. Кроме расчетов на силовые воздействия в необходимых случаях должны быть выполнены и другие расчеты: теплотехнические расчеты опалубок при зимнем бетонировании; фильтрационные расчеты ограждений котлованов; размывов у оснований временных опор и шпунтовых ограждений (если размыв не исключен конструктивными мерами); тяговых усилий для перемещения собираемых конструкций. 1.14. Расчет конструкций вспомогательных сооружений и их оснований по первому предельному состоянию производится на расчетные нагрузки, определяемые как произведения нормативных нагрузок на соответствующие коэффициенты перегрузки п, динамики 1+μ и на коэффициенты сочетаний пс. Указания по величинам коэффициентов для различных расчетов приведены в разделах 2-6. Расчет конструкций и их оснований по второму предельному состоянию производится на нормативные нагрузки и воздействия. 1.15. Нагрузки должны приниматься при расчетах в наиболее неблагоприятных, возможных на отдельных этапах производства работ, положениях и сочетаниях для отдельных элементов и конструкций вспомогательных сооружений и их оснований в целом. Положения и сочетания нагрузок должны устанавливаться при проектировании с учетом рекомендаций, приведенных в разделах 3-6. Сочетания нагрузок при расчете на ледовые воздействия и карчеход должны устанавливаться с учетом состояния сооружений при их пропуске и, как правило, приниматься для нерабочего состояния. (В разделах 3-6 эти расчеты, как правило, не учитываются в перечне рекомендуемых сочетаний нагрузок). Сейсмические воздействия на вспомогательные сооружения не учитываются. 1.16. Расчетные сопротивления материалов (грунта) при расчетах на прочность и устойчивость должны приниматься согласно указаниям разделов 7-10. В необходимых случаях они понижаются или увеличиваются умножением на коэффициенты условий работы т, учитывающие приближенность расчетных схем и принятых в расчете предпосылок, а также уменьшаются независимо от значений т делением на коэффициент надежности k, учитывающий степень ответственности и значимость последствий наступления тех или иных предельных состояний. Порядок применения коэффициентов т, k устанавливается требованиями табл. 1 и соответствующих пунктов разделов 3-10. В неоговоренных случаях т и k принимаются равными 1. Таблица 1
Примечания. 1. На коэффициенты kн следует делить значения расчетных сопротивлений (удерживающих усилий), на коэффициенты т - умножать расчетные сопротивления. При расчетах плавучести на коэффициент надежности умножается расчетный вес судна. 2. Коэффициенты kн и т должны применяться совместно с другими коэффициентами условий работы, приведенными в разделе 7 и в соответствующих главах СНиП, на которые даны ссылки в разделах 8-10. 3. Коэффициенты т при расчете на устойчивость положения должны приниматься согласно требованиям разделов 1 и 4 (для шпунтовых ограждений). 1.17. Устойчивость конструкций против опрокидывания следует рассчитывать по формуле
где МОП - момент опрокидывающих сил относительно оси возможного поворота (опрокидывания) конструкций; при опирании конструкции на отдельные опоры ось опрокидывания принимается проходящей через оси крайних опор, а при сплошном опирании - через крайнее нижнее ребро конструкции; My - момент удерживающих сил относительно той же оси; т - коэффициент условий работы, принимаемый для конструкций с сосредоточенным опиранием (на отдельные точки) - 0,95; для опор, ряжей и клеток - 0,9; для шпунтовых стенок - согласно разделу 4. При расчете устойчивости конструкций, имеющих анкеры, следует учитывать удерживающий момент от усилия, равного расчетной несущей способности анкера. 1.18. Устойчивость конструкции против сдвига следует рассчитывать по формуле
где Тсд - сдвигающая сила, равная сумме проекций сдвигающих сил на плоскость возможного сдвига (скольжения); Тy - предельная величина сдвигающей силы, равная проекции удерживающих сил на ту же плоскость; т - коэффициент условий работы; т=0,9 для надземных и т=1,0 для подземных конструкций; kн - коэффициент безопасности по материалу, учитывающий изменчивость коэффициентов трения и принимаемый равным 1,1. При расчете устойчивости конструкции, усиленной анкером или упором, следует учитывать удерживающую силу, равную расчетной несущей способности анкера или упора. Значения коэффициента трения различных материалов при расчетах устойчивости положения следует принимать в соответствии с прилож. 9. При расчете устойчивости шпунта следует руководствоваться указаниями раздела 4. Проверка плавучести должна производиться по формуле
где γ - объемный вес воды, равный для пресной воды 1 тс/м3; ΣVп - предельное водоизмещение судна, равное водоизмещению его при осадке, равной высоте борта по миделю, м3; ΣQ - расчетный вес судна, принимаемый по указаниям раздела 6, т; kн - коэффициент надежности, принимаемый по указаниям табл. 1 и раздела 6. Остойчивость плавучей системы обеспечивается при соблюдении следующих условий: а) положительное значение метацентрической высоты; б) недопущение входа кромки палубы в воду; в) недопущение выхода из воды днища (середины скулы). Расчетные формулы для проверки предельных состояний по пунктам «а», «б», «в» приведены в разделе 6. 1.21. Упругие деформации вспомогательных сооружений и устройств по второму предельному состоянию вычисляются от нормативной нагрузки (без коэффициентов перегрузки и динамических коэффициентов). В сооружениях с монтажными соединениями на обычных (не высокопрочных) болтах деформации должны вычисляться с учетом податливости соединений, для чего следует увеличивать расчетный упругий прогиб на 30 %. В конструкциях с растянутыми фланцевыми стыками дополнительно учитываются деформации стыка. Величины остаточных деформаций следует принимать (на одно пересечение) в местах примыкания: дерева к дереву - 2 мм; дерева к металлу и бетону - 1 мм; металла к бетону - 0,5 мм; металла к металлу (в сжатых фланцевых стыках) - 0,2 мм. Осадку плотно подбитых лежней следует принимать равной 10 мм и осадку песочниц, заполненных песком, - 5 мм. 1.22. Расчетная схема конструкции вспомогательных сооружений и устройств должна соответствовать ее проектной геометрической схеме с учетом конструктивных решений для каждого этапа производства работ и порядка загружения конструкций. Строительный подъем и деформации под нагрузкой при назначении расчетной схемы не учитываются. Определение усилий в элементах конструкции производится в предположении упругой работы материала. При этом допускается пространственную конструкцию расчленять на отдельные плоские системы. В необходимых случаях учитывается взаимное влияние плоскостных систем в металлических конструкциях. 2. НАГРУЗКИ И ИХ КОЭФФИЦИЕНТЫ2.1. Расчет конструкции вспомогательных сооружений следует производить с учетом возможных для отдельных элементов, соединений или всей конструкции (основания) в целом неблагоприятных сочетаний нагрузок и воздействий, приведенных в табл. 2. Таблица 2
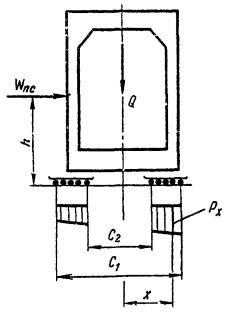
2.2. В зависимости от продолжительности действия нагрузки подразделяются на постоянные и временные (кратковременные и длительные). К кратковременным относятся: а) нагрузки под № 11, 14, 16-20; б) нагрузки от вибрирования бетонной смеси и от сотрясений при выгрузке бетонной смеси из числа нагрузок, предусмотренных под № 12. К длительным временным относятся нагрузки под № 5, 8, 10, 13, 15 и горизонтальное давление свежеуложенной бетонной смеси (нагрузка № 12). Примечание. Особые нагрузки, предусмотренные общими требованиями главы СНиП II-6-74 «Нагрузки и воздействия» (сейсмические, от аварий механизмов), при расчете вспомогательных сооружений не учитываются. 2.3. Основными характеристиками нагрузок являются их нормативные значения, определяемые согласно пп. 2.4-2.23. Расчетная нагрузка определяется как произведение нормативной нагрузки на коэффициент перегрузки п, учитывающий возможное отклонение нагрузок в неблагоприятную сторону от нормативных значений и устанавливаемый в зависимости от учитываемого предельного состояния. Величины коэффициентов перегрузки n принимаются согласно табл. 13. Особенности сочетаний нагрузок, учитываемых при расчетах вспомогательных сооружений различного назначения, приведены в разделах 3-6. Вероятность сочетаний различных видов нагрузки учитывается коэффициентами сочетания пс, величина которых принимается в соответствии с указаниями разделов 3-6. В случаях, специально не оговоренных, величина nс=1. Коэффициенты сочетаний пс вводятся в виде множителя к кратковременным нагрузкам. Влияние динамических нагрузок учитывается при расчете надземных конструкций путем введения динамических коэффициентов согласно указаниям пп. 2.9, 2.10, 3.40, 4.89, 4.91, 5.18, 5.20. 2.4. Вертикальная нагрузка от собственного веса вспомогательных сооружений определяется по проектным спецификациям или проектным объемам и объемным весам материалов и грунтов, приведенным в прилож. 9 и 10. В соответствующих случаях должно быть учтено и горизонтальное воздействие вертикальной нагрузки (распор, натяжение и т. п.). Распределение нагрузки от собственного веса в рассчитываемых конструкциях принимается: а) в настилах, поперечинах, прогонах, насадках, балочных и кружальных фермах, коробках опалубки и т. п. линейных элементах - равномерным по длине конструкции, если действительная неравномерность не превышает 10 % средней величины; б) в стойках подмостей, пирсов, опор, подкрановых эстакад и т. п. поддерживающих конструкциях - равномерным между всеми стойками рамы или опоры; в) в прочих конструкциях - по фактическому весу отдельных ее частей. 2.5. Вертикальное давление от веса грунта Р (в тс/м2) на ограждения котлованов, подпорные стенки и т. п. определяется по формуле
где γ - объемный вес грунта, тс/м3; Н - расчетная толщина слоя грунта, м. Горизонтальное (боковое) давление грунта на ограждения котлованов определяется согласно прилож. 11. Допускается использовать рекомендации прилож. 11 также при определении горизонтального давления на подпорные стенки временного типа. 2.6. Гидростатическое давление воды учитывается для частей сооружений и грунтов, расположенных ниже уровня поверхностных или грунтовых вод, путем уменьшения веса частей сооружений и введения в расчет бокового давления воды, а также давления воды на днища (подушки). Уровень воды принимается невыгоднейший - наинизший или наивысший возможный вероятностью превышения 10 % для периода производства данного вида работ. Уровень воды, давящей на ограждения котлованов, определяется с учетом рекомендаций прилож. 11 и раздела 4. Гидростатическое давление воды Р (в тс/м2) в любом направлении принимается равным
где γ - объемный вес воды, принимаемый 1 тс/м3; Н - расчетная высота слоя воды, м. 2.7. Гидродинамическое давление воды на подводную часть конструкции Nвп (в кгс) принимается равным
где Nл - лобовое давление воды (в кгс), равное
Nт - сила трения воды по поверхности плавающего тела (в кгс), принимаемая равной
V - для неподвижных конструкций средняя скорость течения воды, принимаемая по данным поплавковых наблюдений и измерений вертушкой в пределах горизонта погружения; для перемещающихся конструкций V - относительная скорость перемещения воды и плавающего тела, м/с. В случае, если подводная часть конструкции (плавсистемы) стесняет живое сечение более чем на 10 %, необходимо учитывать возрастание скорости водного потока; φ0 - коэффициент, учитывающий степень обтекаемости погруженного в воду тела, принимаемый для заостренных или закругленных в плане очертаний равным 0,75, а для прямоугольных очертаний - 1,00; f - коэффициент, характеризующий трение воды по поверхности погруженного тела принимаемый, для металлических поверхностей равным 0,17, для деревянных - 0,25, для бетонных - 0,20 кгс·с2/м4; F - подводная площадь по миделю (наиболее широкому поперечному сечению), м2; S - площадь смоченной поверхности (поверхность трения воды), м2. Значения F и S принимаются равными: а) для плашкоутов и барж
б) для бездонных ящиков, кессонов и т. п.
где t - осадка плашкоута или баржи, м; Н - глубина воды в месте опускания бездонного ящика или кессона, м; В - ширина плашкоута, баржи, бездонного ящика, кессона, м; L - длина плашкоута, баржи, бездонного ящика, кессона, м. При V≥2 м/с следует учитывать возрастание уровня воды у сооружения
где g - ускорение силы тяжести, м/с2. При наличии косины течения, когда продольная ось тела составляет с направлением струй угол, отличный от 0°, лобовое давление воды Nл должно исчисляться не по площади миделя, а по проекции погруженной в воду части плавучего тела на плоскость, нормальную к направлению течения. Помимо давления текущей воды должна учитываться нагрузка от воздействия волн в размере 0,03 тс/м для рек шириной до 300 м и 0,12 тс/м при ширине 500 м. При строительстве на акваториях с большими высотами волн (озера, водохранилища, широкие реки) должен производиться более точный расчет волнового давления в соответствии со СНиП II-57-75 «Нагрузки и воздействия на гидротехнические сооружения (волновые, ледовые и от судов)». 2.8. Воздействие искусственного регулирования усилий в конструкциях вспомогательных сооружений учитывается в случаях, предусмотренных проектом (например, придание плашкоутам первоначально обратного выгиба соответствующим порядком их балластировки). Величина усилий устанавливается при составлении проекта. При реконструкции существующих мостов вес конструкций должен определяться с учетом их фактического состояния. В соответствующих случаях должно быть учтено и горизонтальное воздействие вертикальной нагрузки (распор, натяжение и др.). Вес возводимых конструкций, передаваемый на вспомогательные сооружения (сборочные клетки, прогоны и т. п.), допускается принимать равномерно распределенным по длине, если фактические колебания его по длине не превышают 10 %. При устройстве нескольких (более двух) прогонов, рядов сборочных клеток и т. п. в плоскости поперечной к оси моста нагрузка от возводимых конструкций принимается равномерно распределенной в поперечном направлении, если крутильная жесткость возводимой конструкции равна или более крутильной жесткости вспомогательных сооружений. Вес устанавливаемых или укладываемых кранами на вспомогательные сооружения (подмости и т. п.) элементов и грузов (за исключением бетона) учитывается с динамическим коэффициентом, равным 1,1. 2.10. Вертикальная нагрузка от копров, монтажного (грузоподъемного) оборудования и транспортных средств принимается по паспортным данным и каталогам. Нагрузку от консольных кранов, вагонов, тепловозов, обращающихся по сети, следует определять, пользуясь эквивалентными нагрузками, приведенными в прилож. 12. Нагрузка от нестандартного оборудования определяется по проектной документации. Копры, монтажное и транспортное оборудование должны быть установлены в положение, вызывающее наибольшие силовые воздействия на конструкции вспомогательных сооружений, их элементы и соединения (например, при минимальном вылете и максимальном весе груза или максимальном вылете и минимальном весе груза, без груза, при различном положении стрелы в плане и наклоне стрелы копра). Вес наклоняющейся стрелы, подвешенного к крану (копру) груза, с учетом веса строповочных устройств и оттяжек, принимается с динамическим коэффициентом, равным 1,1; вес молота - с динамическим коэффициентом 1,2. Вертикальные нагрузки на отдельные ноги (колеса) кранов должны определяться с учетом распределения веса крана и груза, а также с учетом действия горизонтальных нагрузок (тяговых, ветровых, инерционных), действующих на кран. При этом места приложения отдельных нагрузок (тяговых, ветровых, инерционных) должны приниматься в соответствии с условиями работы крана. 2.11. Нагрузка от людей, инструмента и мелкого оборудования учитывается в виде: а) равномерно распределенной вертикальной нагрузки интенсивностью 250 кгс/м2 - при расчете досок опалубки плит, настилов рабочих подмостей и рештований, проходов, тротуаров, а также непосредственно поддерживающих их конструкций (несущих ребер, поперечин, прогонов и т. п.); б) равномерно распределенной вертикальной нагрузки интенсивностью 200 кгс/м2 - при расчете рабочих подмостей, временных опор, пирсов, рабочих мостиков с длиной загружаемого участка менее 60 м и интенсивностью 100 кгс/м2 при длине загружаемого участка 60 м и более. Указанной нагрузкой загружаются участки, не занятые монтируемой (бетонируемой) конструкцией (обычно учитывается как нагрузка на тротуарах); в) нагрузки, равной 75 кгс/м для загружения собираемых пролетных строений без тротуаров (при определении усилий на временные опоры); г) сосредоточенной горизонтальной нагрузки величиной 70 кгс, приложенной посередине пролета между стойками перил или к стойке перил. Доски опалубки и настилов подмостей, ступени лестниц, а также непосредственно поддерживающие их конструкции, независимо от расчета на нагрузки, указанные выше, проверяются на сосредоточенный груз величиной 130 кгс. При ширине доски менее 15 см нагрузку распределяют на две доски (при условии сплачивания их поперечными планками). Нагрузка для крюков, служащих для подвешивания лестниц, принимается равной 200 кгс. Нагрузка (вес материалов, инструмента и рабочих) для подвесных люлек на одного рабочего принимается равной 120 кгс и на двух рабочих - 250 кгс. Каждая тетива приставных лестниц рассчитывается на сосредоточенный груз 100 кгс. 2.12. Величина силы трения Nнт при перемещениях пролетных строений, бездонных ящиков, подкрановых и подкопровых тележек кранов и копров и др. по горизонтальной плоскости определяется по формулам: а) при перемещении по рельсам на подкладках (салазках) или по бетонному, грунтовому и деревянному основанию
б) при перемещении по рельсам на катках
в) при перемещении по рельсам на тележках с подшипниками скольжения
то же с подшипниками качения
г) при перемещении по полимерным устройствам скольжения
где Р - нормативная нагрузка от веса перемещаемой конструкции (механизма), тс; f1 - коэффициент трения скольжения, принимаемый по прилож. 9; f2 - коэффициент трения качения катка (колеса) по рельсам, принимаемый по табл. 3; f3 - коэффициент трения скольжения в подшипниках, принимаемый равным от 0,05 до 0,10 см; f4 - коэффициент трения качения в подшипниках, равный 0,02 см; f5 - коэффициент трения скольжения для полимерных материалов, принимаемый по табл. 4; R1 - радиус катка, см; R2 - радиус колеса, см; k=2 - коэффициент, учитывающий влияние местных неровностей рельсов и катков, перекоса катков, непараллельности накаточных путей и прочих факторов, вызывающих возрастание сопротивления движению; r - радиус оси колеса, см. Таблица 3
Таблица 4
Примечания. 1. В таблице указаны значения коэффициента трения при трогании с места. При скольжении значения f5 понижаются в среднем до 80 %. 2. При замене полированного листа листом, покрашенным эмалью, значения коэффициента трения увеличиваются на 10 %. 2.13. Инерционная горизонтальная нагрузка, направленная вдоль кранового (копрового) рельсового пути, должна приниматься равной 0,08 собственного веса любого элемента крана (ноги, ригеля, тележки, груза) и приложенной в центре тяжести соответствующего элемента. Продольная нагрузка при перекосе и заклинке ног крана принимается равной 0,12 нормативной вертикальной нагрузки на ведущие колеса передвигающейся ноги и приложенной к головке рельсов подкранового пути. Направление усилий на заклиненной и передвигающейся ноге принимается противоположным. Нормативная горизонтальная нагрузка, направленная поперек кранового пути и вызываемая торможением тележки, должна приниматься равной 0,05 суммы весов груза, веса тележки и канатов грузового полиспаста. Инерционные горизонтальные нагрузки Т (в тс), возникающие при остановке механизма вращения крана (копра), принимаются равными: а) от собственного веса стрелы
б) от суммы весов груза, грузового блока и канатов грузового полиспаста
где Gc - вес стрелы, приведенный к оголовку, т; Gгр - сумма весов груза, грузового блока и канатов грузового полиспаста, т; а′ - величина замедления вращательного движения, м/с2, определяемая по формуле
где n - скорость вращения платформы крана (копра), об/мин; l - вылет стрелы, м; t - время остановки в с, определяемое по табл. 5. Примечания. 1. В вес груза включаются веса грузозахватных устройств, траверс и оттяжек. 2. При подъеме груза двумя или более грузозахватными механизмами должна учитываться неравномерность передачи веса груза, если она может иметь место по условиям производства работ. При известной мощности двигателей поворота усилия, возникающие при вращении, допускается определять по п. 4.92. Сила Т прикладывается к оголовку стрелы. Нагрузка от торможения автомашин и автокранов (при скоростях не свыше 30 км/ч) принимается равной 0,25Ра, где Ра - вес автокрана (автомашины), и 0,3Рг, где Рг - вес гусеничного крана (трактора, бульдозера). При скоростях менее 5 км/ч тормозную нагрузку допускается не учитывать. Таблица 5
Примечание. Для промежуточных значений l величины t определяются по интерполяциям. 2.14. Нагрузки от укладки и вибрирования бетонной смеси принимаются: а) вертикальные - от вибрирования бетонной смеси - 200 кгс/м2 горизонтальной поверхности опалубки; б) горизонтальные (на боковую поверхность опалубки): от давления свежеуложенной бетонной смеси - по табл. 6; от сотрясения при выгрузке бетонной смеси - по табл. 7; от вибрирования бетонной смеси – 400k3, кгс/м2, где k3 - коэффициент, учитывающий неодновременную работу вибраторов по ширине бетонируемого изделия и вводимый в расчет прогонов и стоек опалубки; k3=1 - для изделий шириной 1,5 м и менее и изделий, уплотняемых с помощью наружных вибраторов; k3=0,8 - для изделий шириной свыше 1,5 м. Для поверхности форм, наклонных в сторону изделия, давление бетонной смеси определяется путем умножения горизонтального давления бетонной смеси на синус угла наклона поверхности формы к горизонту. При угле наклона менее 30° к горизонтали давление бетонной смеси на форму не учитывается. Таблица 6
В табл. 6 обозначено: Р - нормативное максимальное боковое давление бетонной смеси, кгс/м2; γ - объемный вес бетонной смеси (γ =2350 кгс/м3 для тяжелого бетона); Н - высота уложенного слоя бетона, оказывающего давление на опалубку (но не более слоя, уложенного в течение 4 часов); V - скорость бетонирования (по вертикали), м/ч; R - радиус действия внутреннего вибратора, м; R1 - радиус действия наружного вибратора, м; k1 - коэффициент, учитывающий влияние консистенции бетонной смеси: при осадке конуса 0-2 см k1=0,8; при осадке конуса 4-6 см k1=1,0; при осадке конуса 8-12 см k1=1,2; k2 - коэффициент, учитывающий влияние температуры бетонной смеси: для смеси с температурой 5-7° k2=1,15; для смеси с температурой 12-17° k2=1,0; для смеси с температурой 28-32° k2=0,85; hд - высота «действующего столба» подводного бетона, принимается hд =kI, м, где k - показатель сохранения подвижности бетонной смеси в часах; I - скорость бетонирования, м/ч. Примечания. 1. Ориентировочно принимается: радиус действия внутренних вибраторов R=0,75 м, наружных вибраторов R1=1 м. 2. В случае, если температура бетона неизвестна, значение k2 принимается равным 1,0. 3. Показатель подвижности бетонной смеси k следует принимать не менее 0,7-0,8 часа, а скорость бетонирования I - не менее 0,3 м/ч. Таблица 7
2.15. Воздействие домкратов на конструкции вспомогательных сооружений, при регулировании напряжения или выправке положения и строительного подъема монтируемых (возводимых) конструкций, определяется как опорное давление на домкраты от нормативных нагрузок плюс дополнительное устанавливаемое проектом конструкции усилие, необходимое для регулирования в ней напряжений (положения). Определение опорных давлений (реакций на домкраты) от монтируемой конструкции производится по расчетной схеме, имевшей место к началу регулирования, напряжений или выправки положения и строительного подъема, независимо от предшествовавшего порядка монтажа и распределения усилий (указанными факторами нельзя пренебречь при расчете самой конструкции). а) при перемещении по пирсам на тележках с устройством подвижного опирания одного конца пролетного строения
б) то же при неподвижном опирании обоих концов пролетного строения
в) при продольном перемещении на катках
г) при перемещении на полимерных устройствах скольжения
где Р - нормативная нагрузка от веса надвигаемой конструкции. Величина бокового усилия, приведенная выше, учитывается только для расчета упорных устройств, деталей их крепления, прогонов накаточных путей и опор высотой менее 1 м. При расчете накаточных опор высотой более 1 м и их оснований величина бокового усилия учитывается в размере 50 % от приведенных выше значений. 2.17. Значение статической составляющей ветровой нагрузки qсн (в кгс/м2) нормальной к расчетной поверхности вспомогательных сооружений, монтажных приспособлений, механизмов и возводимых мостовых конструкций определяется по формуле
где q0 - скоростной напор ветра, кгс/м2; с - аэродинамический коэффициент; k - коэффициент, учитывающий изменение скоростного напора ветра по высоте (берется отдельно для каждого элемента сооружения с учетом его высоты). Величины скоростного напора ветра приведены в табл. 8, значения k и с - в табл. 9 и 10. Таблица 8
Примечания. 1. При проверке прочности и устойчивости сооружений на стадиях работы продолжительностью эксплуатации не более двух недель или в безветренный период (опалубка перед бетонированием, монтажная вышка перед загруженном и т. п.) допускается величину нормативного скоростного напора принимать равным 0,8 от значений, приведенных в таблице. 2. Нормативный скоростной напор ветра принят для высоты над поверхностью земли до 10 м. Таблица 9
Примечания. 1. Местности типа А - открытые степи, лесостепи, пустыни, озера, водохранилища. 2. Местности типа Б - города, лесные массивы с высотой препятствий более 10 м. Таблица 10
Примечание. Для сооружений со сложным контуром допускается уточнять величину с согласно СНиП II-6-74 «Нагрузки и воздействия». Для высоких сооружений с периодом собственных колебаний более 0,25 с ветровая нагрузка должна определяться с учетом динамической составляющей, согласно указаниям главы СНиП II-6-74 «Нагрузки и воздействия». В случаях, когда скорость ветра при производстве работ ограничивается по условиям производства работ и техники безопасности, скоростной напор ветра принимается равным: а) при расчете мощности тяговых обустройств и буксиров для установки пролетных строений на плавучих опорах - 9,0 кгс/м2 (из условия производства работ при ветре скоростью до 10 м/с); б) при расчете: подмостей, опор, подкрановых эстакад и других устройств в процессе работы монтажных кранов; тяговых средств в процессе перекатки (надвижки) пролетного строения; подъемных устройств и средств в процессе подъемки пролетного строения; устройств, воспринимающих воздействие домкратов в процессе регулирования напряжений или выправке положения и строительного подъема монтируемых конструкций - 18,0 кгс/м2 (из условия производства работ при ветре до 13 м/с). Расчетную ветровую поверхность принимают по проектным контурам, т. е. по площади проекции частей сооружения (силуэта судна, крана, копра) на вертикальную плоскость, перпендикулярную направлению ветра. Для решетчатых конструкций с однотипными элементами разрешается расчетную поверхность принимать равной площади фермы, вычисленной по ее наружному габариту со следующими значениями коэффициентов заполнения φ: а) для монтируемых балочных пролетных строений со сквозными фермами: первая ферма - 0,2; вторая и последующая фермы - 0,15; б) для вспомогательных сооружений: решетчатые башни из инвентарных конструкций - по табл. 11; решетчатые башни и стрелы кранов (копров) - 0,8. Таблица 11
Для других решетчатых конструкций значения с и φ должны определяться согласно табл. 8 СНиП II-6-74 «Нагрузки и воздействия». На остальные сооружения и подъемно-транспортное оборудование продольная ветровая нагрузка определяется тем же порядком, как и поперечная ветровая нагрузка. В конструкциях, имеющих развитые горизонтальные (наклонные) плоскости (настилы, опалубки, навесы), должно учитываться образование зон разрежения и скоростного напора у горизонтальных (наклонных) плоскостей, вызывающее образование вертикальных (подъемных) усилий. Эти усилия должны определяться, как и горизонтальная ветровая нагрузка при значениях с= -0,4. 2.19. Нагрузка от давления льда на защитные конструкции вспомогательных сооружений, подвергающихся по условиям производства работ ледовым воздействиям, на реках с ледоходом принимается (в тc на метр ширины опоры или ледореза) равной: а) при отсутствии режущего ребра – 50hл, (55 hл - для районов БАМ и севернее линии Красноярск-Воркута); б) при наличии вертикального режущего ребра - 35 hл, (40 hл - для районов БАМ и севернее линии Красноярск-Воркута), где hл - толщина льда. Нагрузка от давления льда прикладывается вдоль реки в уровне высокого ледохода вероятностью превышения 10 %. Для особо ответственных сооружений (опоры при полунавесной сборке), а также при действии заторных масс льда и нагрузки от ледяных полей ледовая нагрузка должна определяться точными способами в соответствии с указаниями СНиП II-57-75 «Нагрузки и воздействия на гидротехнические сооружения (волновые, ледовые и от судов)». Величина hл должна приниматься равной 0,8 от наибольшей за зимний период толщины льда вероятностью превышения 10 %. На реках, промерзающих до дна, должна приниматься толщина льда, наблюдаемая при осеннем ледоставе. Примечание. Толщина льда, принятая в расчете, должна указываться в проекте. Если фактическая толщина льда будет больше принятой в расчете, то должны приниматься дополнительные меры при пропуске ледохода. 2.20. Нагрузка от навала судов и плавсистем на вспомогательные сооружения или защищающие их устройства принимается: от обращающихся по реке судов - по табл. 12; Таблица 12
от плавсистем, имеющихся на строительстве, согласно приведенным ниже указаниям. Кинетическую энергию навала судна Eн (в тс·м) при подходе его к причальному сооружению следует определять по формуле где Dc - расчетное водоизмещение судна, тc; V - нормальная к поверхности сооружения составляющая скорости подхода судна, м/с, принимаемая в обычных условиях равной 0,2 м/с; ν - коэффициент, учитывающий поглощение кинетической энергии подходящего судна и равный 0,45, для сооружений на сваях. Энергию деформации причальных сооружений допускается определять по формуле где k - коэффициент жесткости причального сооружения в горизонтальном направлении, тс/м (ориентировочно k≈200 тс/м); Hx - поперечная горизонтальная нагрузка на причал от навала судов при подходе к сооружению. Значения Hx определяют, приравнивая выражения (1) и (2). Продольная нагрузка Hу (в тс) от навала судна при подходе к сооружению должна определяться по формуле
где f - коэффициент трения, принимаемый в зависимости от материала лицевой поверхности отбойного устройства: при поверхности из бетона или резины f=0,5, при деревянной поверхности f=0,4. Нагрузка от навала на вспомогательные сооружения считается приложенной посередине их длины или ширины на уровне рабочего горизонта воды, за исключением случаев, когда имеются выступы, фиксирующие уровень действия этой нагрузки, и когда при более низком уровне нагрузка вызывает более значительные воздействия. 2.21. При расположении опор подмостей в пределах полотна действующей автомобильной дороги ограждение опор должно быть рассчитано на действие горизонтального усилия от наезда автомобиля. Нормативная величина этого усилия, приложенного на высоте 1,0 м над уровнем проезжей части, принимается равной 20 тс при условии ограничения скоростей грузовых автомашин до 25 км/ч. 2.22. Воздействие осадки грунта в основаниях вспомогательных сооружений следует принимать по результатам расчета оснований. Осадка грунта учитывается при расчетах сборочных плазов на насыпях, опор сборочных подмостей при сборке (надвижке) по неразрезной схеме в тех случаях, когда осадка не исключается конструктивными мерами. а) от удара одиночного бревна Н (в тс)
где V - скорость течения воды, м/с; б) от навала при образовании затора Pз (в тс) по формуле
где В и L - длина и ширина затора, м; V - скорость течения, м/с; qсн - интенсивность ветровой нагрузки, кгс/м2 (по п. 2.17). 2.24. Нормативные нагрузки и воздействия, вычисленные в соответствии с пп. 2.1-2.23, принимаются с коэффициентами перегрузки п, приведенными в табл. 13 для расчетов по первому предельному состоянию. Таблица 13
Примечание. Вес вспомогательных и монтируемых мостовых конструкций, а также строительных материалов и оборудования, подвешенных к крану либо погруженных на транспортные средства, принимается с коэффициентом перегрузки, приведенным в таблице для данного вида конструкции, материала и оборудования. 2.25. Указанные в табл. 13 коэффициенты перегрузки п принимаются по каждой строке одинаковыми в пределах целой части сооружения (пролетного строения, подмостей, пирсов, промежуточных опор, призмы обрушения и т. п.), за исключением расчета на устойчивость положения конструкции. Коэффициенты перегрузки в этом случае принимаются в соответствии с п. 1.19. 3. СПЕЦИАЛЬНЫЕ ВСПОМОГАТЕЛЬНЫЕ СООРУЖЕНИЯ, ПРИСПОСОБЛЕНИЯ, УСТРОЙСТВА И УСТАНОВКИ ОБЩЕГО НАЗНАЧЕНИЯПодкрановые эстакады3.1. Эстакады, предназначенные для пропуска и работы козловых монтажных кранов, следует, как правило, проектировать в низком уровне с опорами на свайном или (при невозможности погружения свай) ряжевых основаниях. Подкрановые эстакады как дорогостоящие сооружения должны применяться при соответствующем технико-экономическом обосновании. Отметка низа конструкций пролетных строений эстакады должна назначаться в соответствии с указаниями п. 1.10, в. Допускается в исключительных случаях временное затопление эстакады паводковыми водами при условии соблюдения требований п. 1.6 и при условии, что проектами организации строительства предусмотрены перерывы в работе кранов на время затопления. Пролетные строения и обстройку опор выше горизонта наинизшего ледохода рекомендуется проектировать с учетом возможности их разборки на случай пропуска ледохода. Подкрановый путь на эстакаде (насыпи) следует располагать горизонтально. В отдельных случаях допускается устраивать подкрановый путь с уклоном не более 0,003. 3.2. При одновременном устройстве подкрановой эстакады под козловой кран и рабочего мостика рекомендуется для увеличения жесткости опор и более рационального использования свай свайное основание под жесткую ногу крана объединять со свайным основанием рабочего мостика. 3.3. В пределах пойменной части при достаточной несущей способности грунта основания и небольших высотах эстакаду рекомендуется заменять насыпью, отсыпаемой из непучинистых грунтов. Замена эстакады насыпью должна быть экономически обоснована. Ширина верхней площадки насыпи должна быть не менее 300 см, заложение откосов 1:1,25. Подошва насыпи должна быть удалена от откоса котлована (сооружаемого без крепления) не менее чем на 0,85 глубины котлована. Верхняя площадка насыпи должна иметь поперечный уклон 0,008. На участках с вечномерзлыми грунтами отсыпка насыпи для козловых кранов не рекомендуется. Допускается устройство продуваемой наброски из камней. 3.4. Эстакады должны иметь настил шириной 0,80 м и односторонние перила, отвечающие требованиям подраздела «Рабочие подмости, леса, площадки и другие приспособления для выполнения работ на высоте». 3.5. Подкрановые пути на эстакадах (насыпях) должны удовлетворять следующим условиям: а) тип рельса принимается в зависимости от величины давления на ходовое колесо: до 22 тс - Р43; 23-25 тс - Р50; 26-28 тс - Р65. Ширина головки рельса должна быть не менее чем на 10 мм уже расстояния между ребордами ходового колеса. Допускается использование старогодных рельсов на тип более установленного выше; б) рельсы должны укладываться на плоские или клинчатые подкладки шириной 150-160 мм, толщиной 12-16 мм и длиной 230-380 мм. Разрешается устанавливать рельсы без подкладок при нагрузке на колесо до 15 тс. Рельсы к шпалам должны пришиваться тремя костылями (шурупами): в) полушпалы (шпалы) должны укладываться на расстоянии по осям 700 мм при давлении на колесо 15 тс, 600 мм - при давлении от 15 до 20 тс и 500 мм - при большем давлении. Шпалы (полушпалы) должны применяться типа IA, IБ. Допускается применение деревянных брусьев соответствующих размеров; г) рельсовые стыки должны перекрываться накладками. Пути на эстакадах с металлическими пролетными строениями укладываются без стыковых зазоров; на земляном полотне - с зазорами; д) полушпалы крепятся к металлическим пролетным строениям двумя лапчатыми болтами; е) балластный слой (на насыпях) должен иметь толщину под шпалой не менее 25 см, плечо не менее 20 см и заложение 1:2; 3.6. На расстоянии не менее 1,5 м от конца пути должен устанавливаться конечный выключатель, а также тупиковый упор, рассчитанный на восприятие удара движущегося крана (по методике СНиП II-6-74 «Нагрузки и воздействия», приложение III). 3.7. Подкрановые эстакады должны быть рассчитаны по первому и второму предельным состояниям на нагрузки и воздействия в их невыгодном сочетании. В табл. 14 приведены сочетания нагрузок, рассматриваемые при расчете подкрановых эстакад для козловых кранов на рельсовом ходу, в табл. 15 - сочетания нагрузок, рассматриваемые при расчете подкрановых опор (подставок) и эстакад для монтажных кранов (деррик-кранов и т. п.). Рис. 1. Схемы приложения нагрузок в подкрановых эстакадах: а - к пролетному строению; б - к опоре в продольном направлении; в - к опоре в поперечном направлении 3.8. Расчет эстакад под козловые краны производится отдельно под жесткую и гибкую (шарнирную) ноги крана в продольном и поперечном направлениях на следующие нагрузки (рис. 1): собственный вес пролетных строений эстакады Gпс; собственный вес опор эстакады Gо; давление на эстакаду ветра Wпс и Wо; нагрузки от перемещающегося по эстакаде крана: вертикальную Р, горизонтальную продольную N и горизонтальную поперечную Q. 3.9. Усилия Р, Q и N считаются приложенными в уровне головки рельса подкранового пути. Инерционные силы от различных частей крана считаются приложенными в центре тяжести соответствующих частей (рис. 2). Давление ветра считается приложенным в центре соответствующих наветренных площадей. Инерция груза и давление ветра на груз при гибком его подвесе прикладываются в центре подвески к грузовой тележке. 3.10. Величины Р, N, Q определяются отдельно под гибкой и жесткой ногой крана с учетом положения и особенностей передачи горизонтальных воздействий на гибкую и жесткую ногу в козловых кранах. Рис. 2. Схема приложения нагрузок к козловому крану: а - на жесткую ногу; б - на гибкую ногу; Gжн, Gгн, Gр, Gхт, Gг, Gгр - веса соответственно жесткой ноги, гибкой ноги, ригеля, ходовой тележки, грузового полиспаста, груза; Wт, Wр, Wжн, Wгн, Wгр – усилия от продольно направленного ветра, приходящиеся соответственно на грузовую тележку, ригель, жесткую и гибкую ноги, груз; W′т, W′р, W′жн, W′гн - усилия от поперечно направленного ветра, приходящиеся соответственно на грузовую тележку, ригель, жесткую и гибкую ноги, груз; Нт, Нгр, Нр, Нжн, Нгн - инерционные силы при торможении крана, приложенные соответственно к грузовой тележке, грузу, ригелю, жесткой ноге, гибкой ноге; Н′т, Н′гр - инерционные силы при торможении тележки и груза При определении усилий по сочетаниям 4, 5 и 6 (см. табл. 14) для кратковременных нагрузок учитывается коэффициент сочетаний 0,90. В сочетаниях 1-9 вес груза учитывается без динамического коэффициента; в сочетании 10 с динамическим коэффициентом согласно разделу 2. Таблица 14
3.11. При проверке эстакады на устойчивость в поперечном направлении для нахождения горизонтальных сил Q и минимальных вертикальных нагрузок Р на тележки жесткой (гибкой) ноги крана расположение грузовой тележки и номинального груза принимается у противоположной ноги, а направление инерционных сил и ветра - разгружающим искомую вертикальную нагрузку. Таблица 15
Примечание. Интенсивность давления ветра в третьем и четвертом сочетаниях нагрузок принимается при V=13 м/с, а в пятом - по табл. 8. Из этих же условий определяется в необходимых случаях минимальное усилие в сваях с целью проверки их работы на выдергивание. В случае, если в свае будут действовать растягивающие усилия, конструкция узла сопряжения головы сваи с ростверком должна обеспечивать работу на растяжение. 3.12. Наибольшая из полученных по табл. 14 нагрузок, действующих вдоль эстакады, распределяется поровну между всеми опорами на длине эстакады до 50 м. При этом должны быть приняты конструктивные меры, обеспечивающие передачу продольной силы с подкранового пути на опоры. Пролетные строения рекомендуется опирать на опоры через брусья (прокладки) при отсутствии опорных частей. 3.13. Распределение приходящихся на тележку вертикальных и горизонтальных нагрузок принимается равномерным между всеми колесами этой тележки. 3.14. Величина горизонтальной поперечной силы, приходящейся на рассчитываемую опору эстакады, принимается пропорциональной вертикальной нагрузке на опору, т. е. вычисляется по той же линии влияния. 3.15. Наибольшие прогибы от временной нагрузки пролетных строений подкрановых эстакад для кранов, перемещающихся на рельсовом ходу, не должны превышать 1/600 пролета для кранов грузоподъемностью до 50 т и 1/750 для кранов большей грузоподъемности. 3.16. Расчетные сопротивления для пролетных строений подкрановых эстакад должны уменьшаться делением на коэффициент надежности 1,05. Стапеля3.17. Стапеля для спуска на воду ряжей, колодцев, плашкоутов и т. п. следует устраивать из металлических, железобетонных или деревянных прогонов, опирающихся на каменную подсыпку (сплошную или участками) или основание, устроенное из свай. Верх металлических прогонов служит одновременно путем скольжения (или путем для тележек). По верху деревянных и железобетонных прогонов должны укладываться специальные устройства скольжения. Стапеля с каменной подсыпкой
следует устраивать на участках, где дно имеет крутизну в пределах При крутом дне или пылеватых песках, илах, плывуне рекомендуется устраивать свайные основания под прогоны. Длина надводной части определяется условиями изготовления или установки погружаемой конструкции, длина подводной части - условием перемещения конструкции всеми опорными точками до момента полного ее всплытия. При расчете длины подводной части стапеля необходимо вес сдвигаемой конструкции принимать с коэффициентом перегрузки бóльшим единицы и учитывать запас под низом конструкции 0,20 м (рис. 3). 3.18. Рекомендуется уклон стапеля принимать по возможности параллельным береговому откосу. Максимальный угол наклона стапеля должен обеспечивать устойчивость от опрокидывания вокруг передней стенки (грани) опускаемой конструкции. При расчетах устойчивости положение прогонов стапеля при опирании их на подсыпку следует принимать с условной осадкой руслового конца на 0,5 м против проектного положения. Расчеты устойчивости должны выполняться с учетом взвешивающего действия воды и тяговых (тормозных) усилий. Рис. 3. Схема для расчета длины наклонной части стапеля: 1 - фальшборт; 2 - прогоны; 3 - спайный якорь; h - осадка, соответствующий положению тела на плаву При крутом откосе дна и укладке прогонов на подсыпку следует применять треугольные прогоны с нижними поясами, расположенными по дну, и верхними - под уклоном, определяемым условиями спуска, или устраивать салазки треугольного очертания (с верхним горизонтальным настилом). Верхняя (надводная) часть стапеля может быть либо горизонтальной, либо иметь наклон. Угол наклона верхней части должен быть не более величины, соответствующей 0,5 коэффициента трения. Сопряжение наклонных накаточных путей верхней и нижней частей стапеля производится вставками из рельсов, изогнутых по дуге радиуса не менее 1 м. 3.19. Прогоны должны быть закреплены к береговым свайным якорям, рассчитанным на восприятие усилия трения при движении конструкции по прогонам стапеля. Для наброски под прогоны должен применяться камень (щебень) крупностью не менее d=3V2 см, где V - скорость течения, м/с. Верхние слои должны отсыпаться из более мелкого камня, нижние - из крупного. Край подсыпки должен отстоять от наружной грани прогона на 0,5 м, боковые грани подсыпки должны иметь уклон 1:1. Конструкция прогонов должна обеспечивать их от опрокидывания. Узкие и высокие прогоны должны объединяться между собой поперечными связями. 3.20. При опирании на каменную подсыпку толщиной не менее 20 см и весе спускаемой конструкции до 100 т сечение прогона может назначаться конструктивно, но не менее четырех брусьев сечением 20х20 см (в 2 ряда) при деревянных прогонах и двух двутавров № 24, связанных в пакет, при металлических прогонах. При весе менее 50 т допускается устройство прогонов из одиночных рельсов типа Р43 на полушпалах с шагом 0,5 м. При больших нагрузках сечение прогона определяется расчетом как балки на упругом основании. Прогоны при этом рассчитываются на нагрузку от веса конструкции (с учетом плавучести), распределенную на три точки опирания. При опирании на сваи прогоны рассчитываются как разрезные балки. Глубина забивки и сечение свай должны определяться с учетом действия только вертикальных сил, а наклонные усилия в прогонах рекомендуется полностью воспринимать свайными якорями, устраиваемыми выше уреза воды и соединенными с верхним концом прогона. Рекомендуется сваи стапеля объединять попарно насадками из лежачих двутавров, расположенными параллельно урезу воды и служащими для опирания прогонов. 3.21. Для перемещения спускаемой конструкции могут использоваться тяговые лебедки с закреплением тянущего троса за куст свай или подводный якорь, а также толкающие домкраты. При большой крутизне следует ставить тормозные лебедки. Мощность тяговых лебедок (домкратов) должна подбираться с учетом сил трения и гидродинамического усилия при условной скорости 0,1 м/мин. Устройства для производства работ со льда3.22. В зимних условиях допускается устраивать ледовые дороги и размещать на льду оборудование (копры, краны). 3.23. При определении грузоподъемности ледяного покрова для автодорог следует использовать данные табл. 16, составленные для зимнего льда. Грузоподъемность льда весной уменьшается вдвое. При появлении на льду воды расчетная нагрузка на лед должна быть снижена на 80 %. При измерениях учитывается только толщина прочных слоев льда. Слой снежного и пористого, пропитанного водой льда из общей толщины исключается. Таблица 16
3.24. При забивке шпунта, свай и в других случаях, когда нагрузка длительное время находится на льду, требуемая толщина льда должна приниматься на 30 % больше значений, приведенных в табл. 16. Допускаемое время t (в ч) нахождения нагрузки Qp определяется с учетом зависимости
где Q - предельная нагрузка по табл. 16. 3.25. Для увеличения грузоподъемности льда допускается послойное намораживание его поверх ледяного покрова на толщину не более 30 % его начальной толщины. В расчетах грузоподъемности учитывают приведенную толщину льда h=h1+0,7h2, где h1 - толщина естественного и h2 - искусственно полученного льда. Для повышения грузоподъемности ледяного покрова толщиной менее 30 см допускается также укладывать верхнее строение из поперечин и прогонов с заливкой их водой и вмораживанием. При этом длина поперечин должна быть на 2 м больше длины груза. Поперечины должны укладываться с шагом 0,4-0,5 м с укладкой поверх их дощатых колей или колен из древен или брусьев. Доля нагрузки Qл (в тс), приходящейся на ледяной покров, определяется формулой
где
где IдEд - жесткость поперечины, кгс/см2; bп - шаг укладки поперечин, см; hл - толщина льда, см; 106 - модуль упругости льда, кгс/см2; Р - общая нагрузка, тс. 3.26. При установке копров на льду под передние, наиболее нагруженные, части копров должны укладываться щиты из бревен диаметром 20 см длиной на 3 м больше ширины копра. Майна для опускания свай должна иметь минимально необходимые размеры и раскрываться по мере забивки. 3.27. Устройство ледяных дорог допускается на расстояния не менее 100 м от полыней. Дороги должны проектироваться с односторонним движением и расположением дороги противоположного направления на расстоянии 150 м. Сопряжения дорог с берегом (рис. 4) должны обеспечивать надежность переходного участка. Рис. 4. Сопряжение ледовой дороги с берегом: а - шпальная клетка на льду; б - шпальная клетка на берегу, 1 - снежно-хворостяная гать; 2 - прогоны; 3 - снежный валик Рабочие подмости, леса, площадки и другие приспособления для выполнения работ на высоте3.28. Рабочие подмости, ограждения и рештования должны быть: простой конструкции, отвечающей условиям их изготовления силами строительной организации; транспортабельны, просты и безопасны при использовании, монтаже и демонтаже. Число типов их должно быть минимальным при наибольшей оборачиваемости. 3.29. При конструировании всех видов рабочих подмостей, ограждений и рештований следует выполнять следующие требования: а) ширина настилов должна быть не менее 1,0 м, а в подвесных люльках для одного или двух рабочих, а также в переходных площадках - не менее 0,6 м. Переходные площадки должны иметь с обеих сторон ограждения. Длина подвесных подмостей назначается с учетом характера выполняемых работ и используемого инструмента. Подмости, с которых закручиваются высокопрочные болты с использованием динамометрических ключей, должны иметь длину А+4,0 м, где А - расстояние между крайними болтами. Отметка верха настила подмостей должна приниматься на 70-80 см ниже низа конструкции. Высота прохода на многоярусных подмостях должна быть не менее 1,8 м; б) зазор между краем настила и монтируемой конструкцией должен быть не более 10 см; в) стыкование щитов или досок настилов внахлестку допускается только по их длине, причем концы стыкуемых элементов должны быть расположены на опоре и перекрывать ее не менее чем на 20 см в каждую сторону; г) деревянный настил должен быть предохранен от перемещения относительно поддерживающих конструкций путем прикрепления к ним гвоздями, болтами и т. д. или путем закрепления на нем поперечных реек, упирающихся в поддерживающие конструкции. Настилы подмостей всех видов и люлек должны устраиваться без щелей, зазоров и с бортовыми досками, чтобы исключить возможность падения пробок, болтов, инструмента; д) металлический настил должен иметь бортовые элементы высотой не менее 10 см, а деревянный настил - бортовые доски высотой не менее 15 см. Если установка бортовых досок неудобна или невозможна, зазор между настилом подмостей и монтируемой конструкцией должен быть закрыт досками, закрепленными от смещения; е) поручни перил должны быть расположены на высоте не менее 1 м от уровня настила, а в подъемных люльках - не менее 1,2 м; на высоте 0,5 м от уровня настила в перилах должен устанавливаться промежуточный ограждающий элемент. Настилы подвесных подмостей надлежит ограждать с наружной и торцевой сторон, а настилы люлек со всех четырех сторон; ж) отдельные секции передвижных подмостей могут соединяться друг с другом переходными площадками, прочно закрепленными и огражденными перилами. Соединение отдельных секций подъемных люлек переходными площадками, стремянками или лестницами не допускается. Подвесные подлости во избежание раскачивания должны быть раскреплены растяжками или схватками к устойчивым частям строящегося сооружения; з) для подъема и спуска люлек при помощи лебедок, находящихся на самих люльках, надлежит применять гибкие стальные канаты диаметром не менее 7 мм по ГОСТ 3079-69 (7668-69, 2688-69, 7684-69, 7685-69); и) подвесные и приставные лестницы должны иметь ширину не менее 400 мм и шаг ступеней - не более 350 мм, верх приставных лестниц должен быть закреплен от бокового смещения; уклон приставных лестниц не должен превышать 60°; сходни (трапы, мостики) с причалов (подмостей) на плавучие средства должны иметь уклон не свыше 1:3 и двустороннее боковое ограждение. Приставные лестницы для подъема на подмости должны иметь перила; к) высота отдельных маршей подвесных и приставных лестниц ограничивается величиной 5 м; общая высота (длина) приставной лестницы должна обеспечивать рабочему возможность производить работу стоя на ступеньке, находящейся на расстоянии не менее 1 м от верхнего конца лестницы. Ступени деревянных приставных лестниц должны быть врезаны в тетивы, которые не реже чем через 2 м следует скреплять стяжными болтами. Запрещается применять лестницы, сбитые гвоздями, без врезки перекладин в тетивы; л) навесные металлические лестницы для монтажных работ должны быть надежно прикреплены к конструкциям, а высотой более 5 м ограждены металлическими дугами; м) навесные лестницы должны иметь упоры, обеспечивающие расстояние между тетивой и конструкцией не менее 15 см (для того, чтобы можно было свободно становиться на ступени); н) при необходимости выполнять работы с одновременным поддерживанием деталей, например коробов опалубок и т. п., следует применять специальные леса или лестницы-стремянки с верхними площадками, огражденными перилами; о) нижние концы приставных лестниц должны иметь упоры в виде острых металлических шипов, резиновых наконечников и других тормозных устройств, в зависимости от состояния и рода материала опорных поверхностей; п) рабочие подмости должны быть оборудованы в противопожарном отношении. прочности и устойчивости положения проектируемых устройств; прочности элементов, обеспечивающих закрепление или подвеску подмостей, площадок и пр.; прочности элементов основной конструкции, непосредственно воспринимающих нагрузку от подмостей, площадок, перил и пр.; зыбкости настила подмостей путем расчета досок на прогиб от сосредоточенного груза 60 кгс; величина прогиба при этом не должна превышать 0,25 см (при ширине досок менее 15 см нагрузка распределяется на две доски). 3.31. При выполнении расчетов, предусмотренных в п. 3.30, учитываются следующие нагрузки: собственный вес устройств; временная нагрузка от веса тяжелого оборудования (если его установка предусмотрена технологией производства работ); временная нагрузка от людей, инструмента, мелкого оборудования (по п. 2.11). Ветровая нагрузка учитывается только для отдельно стоящих устройств. 3.32. Значения расчетных усилий в канатах подвесных подмостей и люлек не должны превышать значений разрывных усилий канатов в целом, деленных на коэффициент безопасности по материалу 1,6 и коэффициент надежности kн=5. Прочие несущие элементы подвесных и подъемных подмостей и люлек должны рассчитываться с коэффициентом надежности 1,3. При проектировании конструкций, удерживаемых силами трения, величина удерживающей силы должна определяться с коэффициентом надежности, равным 2. Такие конструкции допускается применять в подмостях, ограждениях и рештованиях, на которых не находятся люди. 3.33. Диаметр канатов подвесных подмостей должен быть не менее 7 мм; диаметр стержневых подвесок - не менее 10 мм. 3.34. В рабочих чертежах подмостей, ограждений, рештований должны быть указаны величины нормативных нагрузок, принятые при расчете. Рабочие мостики3.35. Рабочие мостики служат для пропуска и работы транспортных средств, строительных и грузоподъемных машин. Рабочие мостики рекомендуется устраивать прямыми в плане и с продольным уклоном не более 0,005. Рабочие мостики рекомендуется устраивать с низовой стороны строящегося моста. Рабочие мостики для одной полосы движения должны иметь ширину (расстояние между колесоотбойными брусьями) не менее 3,8 м. Сопряжение рабочего мостика с дорогой разрешается выполнять в виде аппарели или въездного щита. 3.36. Проезжую часть рабочего мостика рекомендуется устраивать коленного типа на поперечинах. Поперечины изготовляются из бревен, опиленных на два канта с шириной канта не менее 1/3 диаметра; укладываются они через 0,5-0,7 м. Поперечный настил закрепляется колесоотбойным брусом высотой 15 см, связующие болты диаметром 12 мм устанавливают с шагом 1 м. Колейный настил устраивается из досок толщиной 4-5 см, пришитых через 1,5 м к поперечинам гвоздями диаметром 4-4,5 мм и длиной 100 мм. Внутреннее расстояние между проезжими частями колей не должно быть более 0,8 м. Межколейный промежуток рекомендуется перекрывать щитами настила или ограждать внутренними колесоотбоями. Вместо колейного настила допускается покрытие из слоя гравия толщиной 10 см по сплошному настилу из поперечин (преимущественно на мостиках для пропуска гусеничной нагрузки). 3.37. На рабочих мостиках, используемых для прохода рабочих, должны устраиваться двусторонние тротуары шириной по 0,8 м каждый с перильным ограждением. В конструкции рабочих мостиков под стреловые самоходные краны в необходимых случаях следует предусматривать устройства для установки выносных опор (аутригеров) крана в местах, предусмотренных технологической схемой монтажных работ. 3.38. Пролетные строения рабочих мостиков рекомендуется устраивать металлическими, разрезной конструкции, преимущественно из инвентарных балок. Опоры рабочих мостиков следует устраивать свайными, свайными с надстройкой из инвентарных элементов, а при невозможности забивки свай - ряжевыми или рамно-ряжевыми. Как исключение, допускается устройство клеточных опор. Пролетные строения рабочих мостиков допускается устанавливать на деревянные насадки (мауэрлаты) или балки ростверков инвентарных конструкций. Пролетные строения должны крепиться к деревянной насадке (мауэрлатному брусу) штырями на каждом конце, а к металлическим балкам ростверка - болтами, пропущенными через овальные отверстия, что допускает температурные перемещения пролетных строений. 3.39. Для обеспечения общей устойчивости балок (прогонов, пакетов) в необходимых по расчету случаях устраиваются жесткие закрепления от поперечных смещений сжатых поясов. В качестве таких закреплений допускается принимать узлы неизменяемых, ферм продольных связей, жесткие поперечные связи, препятствующие повороту сечения балки, жесткий диск проезжей части. Распорки между сжатыми поясами следует принимать в качестве жестких связей лишь в том случае, если они являются элементами неизменяемых поперечных или продольных связей. Для балок высотой более 50 см не рекомендуется учитывать в качестве жестких закреплений поперечный и продольный деревянные настилы. Допускается принимать в качестве жестких закреплений от поперечных смещений места сболчивания пакетов из двутавров через деревянные прокладки, размещенные по всей высоте стенок. 3.41. Расчет рабочих мостиков производится на сочетания нагрузок, приведенные в табл. 17. Таблица 17
Примечания. 1. Тормозная нагрузка может не учитываться при ограничении скоростей движения до 5 км/ч. 2. При определении нагрузок на колесо или выносную опору стрелового крана расположение стрелы следует принимать самым невыгодным из двух вариантов (наибольший вылет с минимальным грузом и наименьший вылет с максимальным грузом). Тормозные силы при опирании на мауэрлаты и насадки допускается принимать равномерно распределенными между двумя опорами. 3.42. Прогибы пролетных строений рабочих мостиков не ограничиваются. Ледорезы и карчеотбойники3.43. При необходимости защиты рабочих мостиков, монтажных подмостей подкрановых эстакад, шпунтовых ограждений впереди них устанавливаются ледорезы. Ледорезы следует применять в случаях, предусмотренных проектом организации строительства. Ледорезы устанавливаются отдельно от опор на расстоянии до 3 м. Ширина ледореза не должна быть меньше ширины опоры. Верх ледорезов должен располагаться на 0,5 м выше уровня ледохода вероятностью превышения 10 %. Передний конец режущего ребра ледореза должен быть ниже уровня низкого ледохода на 0,5 м. Наружные поверхности ледореза не должны иметь выступающих углов. 3.44. На реках, промерзающих до дна, рекомендуется устройство ряжевых ледорезов или шатровых с ряжевым основанием. 3.45. Сваи шатровых ледорезов в продольном направлении располагают с шагом 2-3 м. 3.46. Уклон режущего ребра шатра вдоль реки должен быть 1:1,5-1:1,75. Уклоны боковых граней должны составлять от 1:1,5 до 1:2,5. Режущее ребро ледореза должно устраиваться из трех сплоченных бревен и должно усиляться уголком или листовым железом толщиной не менее 6 мм на ширине не менее 20 см. 3.47. На водотоках со слабым ледоходом и грунтами, допускающими забивку свай, устраиваются кустовые ледорезы с крыльями и без них из 4-7 свай, забитых на глубину 3-4 м. Сваи кустового ледореза объединяются болтами и хомутами из полосовой стали, устанавливаемыми через 1 м. Глубина забивки свай ледорезов без крыльев должна быть не менее 4 м. При устройстве кустовых ледорезов с крыльями задние сваи располагают на расстоянии 2,5 м от куста сваи и связывают их подкосами и обшивкой, образующей крылья. 3.48. В грунтах, допускающих забивку свай, разрешается устройство цилиндрических ледорезов из сплошного ряда свай диаметром 24 см, забитых по контуру круга диаметром, равным ширине опоры моста. Внутри ледорез засыпают камнем. Снаружи ледореза устанавливаются хомуты из полосового металла с расстоянием между ними 1,5 м. 3.49. Элементы шатра должны быть объединены в продольном и поперечном направлениях схватками и подкосами. В узлах примыкания необходимо устанавливать металлические хомуты и болты. Обшивка шатровой части должна быть сплошной с направлением досок (пластин) обшивки толщиной 8-10 см вдоль ледохода. Пластины должны прикрепляться гвоздями диаметром 10 мм. Рамы надстройки шатрового ледореза должны устраиваться из бревен диаметром не менее 24-26 см. Подводную часть ледореза рекомендуется защищать ряжевой рубашкой с засыпкой камнем. 3.50. Режущее ребро ряжевого ледореза должно поддерживаться продольной стенкой. 3.51. Ледорезы должны соединяться переходами с защищаемой конструкцией. 3.52. Ледорезы рассчитываются на сочетание ледовой и постоянной нагрузок. На ледорезы с наклонным режущим ребром нормативное давление льда учитывается в виде: вертикальной составляющей V, тс
горизонтальной составляющей Н, тс
где β - угол наклона режущего ребра к горизонту; hл - толщина льда, м. 3.53. Перед опорами на горных и полугорных реках, несущих в период паводков карчи, необходимо устраивать карчеотбойники на расстоянии 2,5-3,0 м. Карчеотбойник состоит из двух рядов свай диаметром 26-30 см, расположенных под углом друг к другу, соединенных схватками и обшитых в два слоя досками толщиной 5 см. Со стороны опоры обшивка досками не делается. По переднему ребру карчеотбойника, обращенному против течения, закрепляется вертикально рельс. Карчеотбойник внутри засыпается камнем. Высота карчеотбойника делается не менее чем на 0,5 м над рабочим уровнем воды (см. п. 1.10). Противоналедные устройства и лежневые дороги3.54. При строительстве мостов и труб на водотоках с наледями на период строительства должны устраиваться временные противоналедные устройства, исключающие закупоривание отверстий мостов (труб) и попадание в котлованы наледных вод. 3.55. В качестве противоналедных устройств при малых расходах и пологих склонах следует применять: а) валы из недренирующего грунта (рис. 5); б) переносные заборы (рис. 6). Рис. 5. Противоналедные устройства в виде валов из недренирующего или малодренирующего грунта: 1 - валы из грунта; 2 - лед Допускается также устройство валов из льда или плотного снега. Высота валов и заборов должна быть не менее 0,8ΔHр, где ΔHр - расчетная мощность наледи (по проекту моста или трубы). Заборы должны быть рассчитаны на устойчивость при действии ветровой нагрузки (наледь горизонтального давления не оказывает). Заборы могут устраиваться деревянными или с применением брезента. Заборы и валы должны устраиваться с верховой стороны на расстоянии 20-40 м от котлована. При большой мощности наледи в узких и крутых логах валы и заборы следует устраивать в несколько ярусов. 3.56. Лежневые дороги в пределах строительных площадок мостов проектируют с учетом следующих обстоятельств: а) на участках с просадочными, переувлажненными, вечномерзлыми грунтами рекомендуются лежнево-сланевые дороги (рис. 7); Рис. 6. Противоналедные устройства из заборов или переносных щитов: 1 - забор или щит высотой до 3 м; 2 - лед; 3 - насыпь дороги Рис. 7. Типы лежнево-сланевой дороги: а - для однопутного движения; б - для двухпутного движения б) дороги вблизи мостов, строящихся на наледных участках, рекомендуется сооружать с верховой стороны на расстоянии 30-40 м. При забивке (бурении) свай и других работах на вечномерзлых грунтах в летнее время следует укладывать лежневые дороги или деревянные щиты для защиты дернового слоя вблизи опоры и сохранения мерзлотных условий грунта. Временные причалы3.57. Причалы предназначаются для перегрузки массовых грузов и конструкций и перевозки людей на время строительства моста. Причалы могут устраиваться ряжевыми, на свайном основании или плавучими. Выбор типа конструкции причала должен производиться в зависимости от геологических и гидрологических условий, грузоподъемности применяемых кранов. 3.58. Расчетный судоходный уровень должен назначаться в проекте организации строительства с учетом планируемого характера движения судов и, как правило, соответствовать межпаводковому уровню межени. При сезонных завозках грузов со стороны (в паводковый период) за расчетный судоходный уровень принимается отметка паводкового горизонта вероятностью превышения расхода 50 %. 3.59. Глубина акватории у причала должна определяться исходя из наибольшей осадки судна, навигационного запаса глубины, равного 0,2 м, запаса 0,3 м на засорение акватории, а также запаса на сгон воды. На реках с регулируемым стоком должны учитываться суточные и сезонные колебания уровня. 3.60. Расположение причалов рекомендуется назначать из условия обеспечения длины свободного пространства акватории с каждой стороны причала не менее двойной длины наибольшего судна. Местоположение причала должно выбираться с учетом естественных условий, обеспечивающих удобный подъезд к причалу и защиту сооружения от ледохода и волны. Рекомендуется располагать причалы с низовой стороны строящегося моста. 3.61. Отметка верха причала должна назначаться с учетом высоты швартующихся судов (катеров) плашкоутов. Разность между отметкой палубы пассажирского судна и отметкой площадки, как правило, не должна превышать ±0,75 м. В случае швартовки судов с разной высотой следует устраивать причал с площадками в разных уровнях или оборудовать причал лестничными сходами. 3.62. На причалах следует предусматривать швартовые и отбойные устройства. Необходимо также иметь колесоотбои высотой 20 см, леерные и перильные ограждения высотой 1,1 м. Отбойные устройства рекомендуется выполнять навесными из отдельных секций, без жестких креплений к причалу. 3.63. Причальный плашкоут должен устанавливаться не менее чем на четырех якорях или швартоваться за тумбы на берегу. 3.64. При навесных отбойных устройствах верхняя часть свайной причальной стенки должна быть обшита деревянными пластинами толщиной не менее 12 см. Сваи следует защищать от истирающего действия льда. 3.65. Съезды от причала к береговой территории должны иметь крутизну не свыше 10 %. Лестничные сходы с причалов на берег должны иметь уклон не свыше 1:3 и иметь двустороннее боковое ограждение. Переходные мостики с плашкоутов должны шарнирно крепиться к плашкоуту и свободно опираться на береговой устой. 3.66. Конструкции причала в целом и отдельных узлов должны рассчитываться на действие следующих нагрузок: собственного веса; от навала судна при причаливании; швартовых (от гидродинамического и ветрового воздействия на ошвартованные суда); от веса людей, инструмента и мелкого оборудования (интенсивностью 400 кгс/м2); от веса складируемых грузов (для грузовых причалов); от подъемных и транспортных механизмов на причале (вертикальные и горизонтальные нагрузки); от давления грунта (для причалов-набережных). 3.67. Нагрузки от навала судов при причаливании считаются приложенными в уровне отбойных устройств; швартовые - по фактическому расположению устройств. 3.68. Узлы ростверков свайных причалов должны конструироваться с учетом передачи горизонтальных нагрузок через насадки и балки ростверка. 3.69. Расчет свайных фундаментов причальных сооружений должен производиться с учетом рекомендаций раздела 7; нагрузки от горизонтального давления грунта на причалы-набережные должны определяться с учетом рекомендаций прилож. 11. Плавучие причалы должны рассчитываться на остойчивость и плавучесть в соответствии с указаниями раздела 6. 3.70. Причалы должны оборудоваться противопожарным и спасательным инвентарем. Грунтовые якоря3.71. Для закрепления вант, оттяжек, блоков полиспастов, отводных роликов, тяговых и анкерных тросов на суше следует применять: а) полузакопанные и закопанные якоря (в том числе свайные и закладные); б) наземные якоря (в том числе с шипами). 3.72. Свайные якоря устраивают из одиночных бревен (брусьев), пакетов бревен (брусьев), железобетонных свай (стоек), забитых или закопанных в грунт. Для повышения несущей способности якорь усиливают плитами (щитами) в верхней части, расположенными со стороны внешнего усилия. Стойки (сваи) якоря рекомендуется закапывать (забивать) в грунт под углом около 90° к направлению внешнего усилия. Отдельные бревна свайных якорей должны объединяться между собой и со щитом болтами диаметром не менее 20 мм. Опирание тяжей (тросов) на деревянные элементы должно производиться перпендикулярно направлению усилия через металлические прокладки толщиной 4 мм. Тросы (тяжи) должны закрепляться скобами для предотвращения соскальзывания. 3.73. При проектировании свайных якорей должны быть выполнены следующие расчетные проверки: прочности сечения столбов, плиты (щита); глубины заделки столбов. 3.74. Расчет прочности свайного якоря должен производиться на уровне на 0,75 м ниже поверхности грунта и без учета отпора верхней части грунта. Момент сопротивления якоря из пакета бревен принимается равным сумме моментов сопротивлений отдельных бревен (брусьев), т. е. без учета их совместной работы. При устройстве врубки в месте опирания троса (тяжа) дополнительно проверяется опорное сечение. 3.75. Глубина закопки столба якоря h (в м) и размеры опорной плиты а, b, d должны назначаться из условия (рис. 8) Рис. 8. Свайный якорь
Значения φ и γ для закопанных якорей должны приниматься по прилож. 10, как для насыпного грунта. Свайные якоря должны проверяться на выдергивание от действия составляющей, направленной вдоль свай (как свая, работающая на трении). 3.76. Сечения элементов плиты должны рассчитываться в предположении равномерного распределения реактивного давления, равного Р по ее площади. 3.77. При расчете закопанных закладных якорей в виде зарытой в землю плиты или горизонтального бревна (пакета бревен) со щитом или без (рис. 9) расчет по несущей способности производится по формуле
Рис. 9. Расчетная схема закопанного закладного якоря где Nрв - расчетная выдергивающая сила, передаваемая на плиту якоря; Кн - коэффициент надежности; Кн=1,0 - для устройств горизонтальной перекатки; Кн=1,2 - для сухопутных анкеров плавучих систем и анкеров лебедок, работающих на подъем; gф - вес плиты якоря; β - угол наклона силы Nрв к вертикали; Nп - несущая способность основания плиты якоря,
γз - объемный вес насыпного грунта засыпки; V - объем обелиска выпирания, определяемый по рис. 9; ωi - площадь боковой поверхности грани обелиска выпирания; c0=0,5с, где с - удельное сцепление грунта; αi - углы наклона к вертикали граней обелиска выпирания (см. рис. 9); φ - угол внутреннего трения насыпного грунта засыпки. 3.78. Расчет прочности
сечения самой плиты (пакета бревен) производится на равномерно распределенную
по площади нагрузку интенсивностью 3.79. Наземные якоря проверяют на подъем и сдвиг. На подъем якоря проверяют по формуле
где Q - вес якоря; Р - расчетное усилие на якорь; α - угол наклона усилия Р к горизонту. Проверку якоря на сдвиг производят по формуле
где f - коэффициент трения нижней поверхности якоря о грунт. При проектировании наземных якорей с шипами следует руководствоваться «Рекомендациями по устройству якорей с шипами», ВНИИМонтажспецстрой Минмонтажспецстроя СССР, 1972 г. 4. УСТРОЙСТВА ДЛЯ СООРУЖЕНИЯ ФУНДАМЕНТОВОграждения котлованов4.1. Тип ограждения котлована следует назначать с учетом конструкции фундамента, гидрогеологических условий, способов производства и сроков работ и обеспечения их безопасности. Конструкция ограждения для данных условий должна обеспечивать: наименьшую водопроницаемость ограждения; прочность, жесткость и неизменяемость его под действием статических и динамических нагрузок, возникающих в процессе работ (давление воды, грунта и бетонной смеси, воздействие волн, вес оборудования и т. п.); наименьшее количество крепежных работ, выполняемых в процессе разработки котлована и кладки фундамента; устойчивость близлежащих существующих сооружений. Грунтовые перемычки4.2. Грунтовые перемычки для ограждения котлованов следует устраивать при глубине воды до 2 м и скорости течения до 0,5 м/с и малофильтрующем и неразмываемом грунте дна. 4.3. В случае применения грунтовых перемычек необходимо учитывать стеснение ими живого сечения реки. В необходимых случаях должна быть предусмотрена защита откосов перемычки от размыва путем укладки по откосам хворостяных и дощатых щитов, тюфяков или камня крупностью d (в см) не менее d=3V2, где V - скорость течения, м/с. 4.4. Ширина грунтовых перемычек по верху должна быть не менее 1 м. Крутизну откосов следует назначать в зависимости от угла естественного откоса грунта перемычки в водо-насыщенном состоянии, но не круче 1:2 со стороны водоема и 1:1 со стороны котлована. Возвышение верха перемычки над рабочим уровнем воды (ледохода) в реке должно приниматься по п. 1.10, б. 4.5. В целях уменьшения стеснения живого сечения реки и фильтрации воды через перемычку следует проектировать грунтовые перемычки в комбинации с деревянным шпунтовым ограждением, забиваемым внутри перемычки по ее периметру (рис. 10). Ширина перемычки по верху в этом случае должна быть не менее 50 см. В грунтах, не допускающих забивку шпунта, возможно применение ограждения из ряжевых перемычек. 4.6. В месте проектного положения перемычки следует очищать дно от карчей, камней и других препятствий, могущих уменьшить водонепроницаемость перемычки. Указания об очистке дна должны быть оговорены в проекте. Рис. 10. Шпунтовая однорядная перемычка с односторонней отсыпкой грунта 4.7. Для отсыпки перемычек следует применять мелкие пески, супеси и суглинки с содержанием глинистых частиц до 20 %. Применение глин и суглинков с содержанием глинистых частиц более 20 % не допускается. Закладное крепление4.8. Закладное крепление стен котлованов следует предусматривать на суходолах в устойчивых грунтах (при (φ>25°) при отсутствии грунтовых вод или при их незначительном притоке. 4.9. Закладное крепление рекомендуется устраивать из металлических двутавровых свай, забиваемых в грунт по периметру котлована с шагом 1,2-1,5 м и закладываемых между ними по мере разработки котлована досок забирки (рис. 11). Сваи, как правило, должны раскрепляться системой металлических или деревянных распорок (расстрелов). При глубине котлована до 4 м допускается устраивать крепление котлована без распорок с соблюдением требований п. 4.10. Сваи крепления котлована следует забивать на расстоянии 0,35-0,50 м от наружной грани фундамента. а) давление от собственного веса грунта и временной нагрузки на призме обрушения определяется согласно прилож. 11; Рис. 11. Закладное крепление из металлических двутавровых свай б) для креплений с двумя и более ярусами распорок по высоте возможно не заглублять сваи ниже дна котлована, располагая нижний ярус распорок вблизи подошвы котлована. При необходимости расположения распорок выше дна котлована глубину забивки определяют расчетом с учетом рекомендаций пп. 4.10, г и 4.50-4.53. Металлические сваи допускается проверять на прочность по расчетному изгибающему моменту, определенному из условия выравнивания опорных и пролетных моментов согласно СНиП II-В.3-72. Усилия в распорках должны определяться с учетом неразрезности свай. Расчеты прочности и устойчивости крепления должны выполняться для каждого этапа устройства, перекрепления и разборки крепления; в) для креплений с одним ярусом распорок минимальная глубина забивки свай определяется по расчету из условия обеспечения ее устойчивости против поворота вокруг оси опирания на крепление. Расчет должен выполняться по методике, принятой для расчета шпунтовых ограждений с одним ярусом распорных креплений (пп. 4.46-4.48). При этом величину активного давления учитывают в пределах высоты забирки, а пассивное давление - в пределах ширины, равной b+0,3 м, где b - ширина полки сваи в м. Стойки проверяются на прочность по пластическому моменту сопротивления; г) для креплений, не имеющих распорок, минимальная глубина забивки свай h=t0+Δt определяется по расчету на устойчивость, считая ось поворота стенки, расположенной на глубине t0 от подошвы котлована. Величины t0, а также Δt (заглубление сваи ниже оси поворота) определяют по методике, принятой для расчета шпунтовых стенок (пп. 4.42-4.45). При этом величину активного давления учитывают в пределах высоты забирки, а пассивное давление в пределах ширины, равной b+0,5t0tgφ м, где b - ширина полки сваи в м. Рекомендуется в пределах заглубления приваривать к полке балки лист δ=20 мм и шириной 1,5 ширины полки; д) толщину досок следует определять расчетом на прочность для уровня посередине глубины котлована и для подошвы котлована. При этом во всех случаях толщина досок должна приниматься не менее 4 см; е) распорки следует располагать по высоте с учетом минимально возможного количества перекреплений при бетонировании фундамента опоры. При значительной ширине котлованов (более 10 м) с целью сокращения свободной длины распорок следует применять средние сваи, забиваемые параллельно основным сваям крепления в их створе; ж) на концах свай рекомендуется устраивать симметричное заострение под углом 45° с горизонтальным участком стенки на торце 8÷10 см. Острие следует усиливать сварными накладками. Бездонные ящики и перемычки4.11. Съемные и несъемные бездонные ящики для ограждения котлованов опор следует применять, как правило, на водотоках с глубиной воды до 4 м. Ящики могут изготавливаться деревянными или металлическими. Для глубин до 7 м целесообразно применять бездонные ящики из понтонов типа КС с ножом в нижней части (рис. 12). Примечание. Бездонные ящики в виде железобетонных тонкостенных конструкций, входящих в состав фундамента, должны разрабатываться в составе проекта моста по нормам проектирования мостов. 4.12. Конструкция бездонных ящиков должна быть прочной, жесткой и водонепроницаемой. Размеры ящика назначаются с учетом возможности водоотлива. При больших скоростях течения воды следует устраивать ящики с обтекателями. 4.13. В деревянных ящиках водонепроницаемая обшивка должна выполняться из двух слоев досок толщиной не менее 4 см с прослойкой рубероида. Доски обшивки должны быть тщательно прифугованы и припазованы под конопатку (со стороны давления воды) в три пряди. Каждый слой после конопатки должен быть просмолен. Доски для обшивки следует пришивать под углом 45°, используя обшивку в качестве стенки ферм жесткости, поясами которой будут служить продольные брусья. Рис. 12. Бездонный ящик из понтонов КС: a - устройство тампонажного слоя; б - бетонирование ростверка; Продольные брусья следует устраивать парными или одиночными поверху и понизу обшивки, а при необходимости и посередине. В случаях, обоснованных расчетом, продольные брусья должны раскрепляться распорками. Распорки, оставляемые в теле фундамента, следует устраивать железобетонными. 4.14. К низу ящика следует прикреплять металлический, деревянный или железобетонный нож, облегчающий заглубление ящика в грунт. При укладке тампонажной подушки из подводного бетона рекомендуется высоту ножа при съемных ящиках принимать равной толщине подушки. 4.15. Бездонные ящики следует устанавливать на дно, заранее спланированное до отметки, близкой к проектной (с учетом размыва грунта при опускании и посадке). Для уменьшения притока воды в месте опирания бездонного ящика на дно реки следует предусматривать обсыпку камнем, укладку мешков с глиной по периметру, с внешней стороны, а также укладку изнутри подводного бетона тампонажной подушки. 4.16. Собранный ящик устанавливают на месте сооружения фундамента, используя его собственную плавучесть или с помощью кранов, судов, барж, а также понтонов КС, обстроенных для опускания ящика в проектное положение. При использовании понтонов установку ящика в проектное положение по высоте следует осуществлять заполнением понтонов водой. 4.17. Для погружения на дно и для предотвращения всплытия деревянного бездонного ящика при подъеме уровня воды в акватории его необходимо пригружать грузом весом, равным до 30 % веса ящика. 4.18. В качестве ограждения для устройства плит высоких ростверков рекомендуется применять металлические щитовые перемычки (рис. 13), перемычки из стальных шпунтин и перемычки, собираемые из понтонов типа КС (рис. 14). Для круглых в плане колодцев безростверковых опор рекомендуется применять перемычки в виде обечаек из листовой стали толщиной 6-12 мм с внутренними распорными креплениями, установленными с шагом 1-2 м (рис. 15). 4.19. В конструкции перемычек для сооружения плит ростверков, расположенных в воде выше поверхности грунта, следует устраивать деревянное, дерево-металлическое или железобетонное днище с отверстиями для пропуска свай или оболочек (см. рис. 13 и 14). Диаметр отверстий должен превышать наружный диаметр сваи или оболочки на 4-5 см. Зазоры в местах соединения днища водонепроницаемой перемычки со стенами колодцев (оболочек) следует уплотнять резиновыми шлангами, пеньковыми канатами, деревянными кружалами, мешками с песком или подводным бетоном. При расстоянии от дна реки до низа плиты ростверка порядка 3-5 м следует обследовать целесообразность устройства перемычки до дна с устройством подсыпки из песка или щебня на высоту от дна до плиты ростверка. Рис. 13. Металлическое щитовое ограждение ростверка: 1 - тело опоры; 2 - фундаментная плита; 3
- тампонажная бетонная подушка; 4 -
оболочка; 4.20. Щиты перемычки (понтоны) следует опирать на днище. Днище рекомендуется прикреплять к распорно-направляющему каркасу. Рис. 14. Перемычка из понтонов КС: 1 - понтоны КС; 2 - днище; 3 - тампонажная бетонная подушка; 4 - распорное крепление; 5 - оболочки Для уменьшения сцепления щитов с тампонажным слоем подводного бетона рекомендуется устраивать обмазочную изоляцию. Стыки щитов (понтонов) должны герметизироваться резиновыми прокладками. 4.21. При устройстве перемычек из понтонов в конструкции днища, а также ножа, остающегося в грунте, должны быть предусмотрены устройства, позволяющие отсоединять понтоны под водой. Рис. 15. Стальное ограждение верхней части круглого колодца: 1 - колодец; 2 - обшивка ограждения; 3 - распорные крепления; 4 - резиновый уплотнитель 4.22. Распорные крепления перемычек и ящиков, воспринимающие давление воды, следует, по возможности, одновременно использовать в качестве направляющих устройств для погружения оболочек, а также несущих элементов рабочих подмостей. 4.23. При конструировании съемных распорных креплений необходимо учитывать последовательность их разборки или перестановки по мере бетонирования плиты и тела опоры. 4.24. Для бездонных ящиков и водонепроницаемых перемычек должны быть выполнены следующие расчеты: прочности под воздействием гидростатического давления воды, давления подводного бетона фундаментной подушки при укладке и собственного веса рассчитываемой конструкции; остойчивости и плавучести при подаче на плаву к месту опускания и устойчивости против опрокидывания после установки ящика (перемычки) на дно; прочности при установке ящика (перемычки) краном; мощности буксиров, лебедок и якорного закрепления при транспортировке и опускании ящика (перемычки) на дно. Ограждения из стального шпунта4.25. Ограждения из стального шпунта следует проектировать при глубине погружения в грунт более 6 м при плотных глинистых и гравелистых грунтах основания и при глубине воды в месте сооружения опоры более 2 м. Стальной шпунт должен, как правило, извлекаться для повторного использования, за исключением случаев, когда он входит в конструкцию опоры. Проект шпунтового ограждения должен разрабатываться с учетом минимального расхода шпунта. 4.26. Размеры шпунтового ограждения в плане должны приниматься на 30 см больше проектных размеров на участках укладки подводного бетона враспор со шпунтом. Для фундаментов, сооружаемых насухо, размеры ограждения должны назначаться с учетом установки опалубки. При назначении размеров ограждения, не имеющих распорных креплений, должны учитываться горизонтальные смещения, принимаемые для каждой стенки в размере 1,5 % высоты котлована. При забивке наклонных свай расположение стального шпунта должно быть назначено с таким расчетом, чтобы острие шпунтин отстояло от свай не менее чем на 1 м при откачке без устройства тампонажной подушки и 0,5 м при устройстве тампонажной подушки. Верх шпунтового ограждения следует назначать на 0,3 м выше уровня грунтовых вод и выше принятого рабочего уровня воды (льда) в реке согласно требованиям п. 1.10, б. Отметка грунта возле шпунтового ограждения, принимаемая в расчете, должна назначаться с учетом возможного уровня размыва (для русловых опор в легкоразмываемых грунтах). 4.27. Для ограждения котлованов мостовых опор основным профилем стального шпунта является корытный профиль. Шпунт плоского профиля ввиду его незначительного момента сопротивления следует применять преимущественно для образования цилиндрических стенок ограждения искусственных островков. При необходимости применения стального шпунта, изготавливаемого на строительной площадке из профильной стали, в проекте должны быть указаны способ сплачивания профилей и технология сварочных работ. Шпунтины не должны иметь выступающих частей, препятствующих забивке. Марка стали и электродов выбирается в соответствии с указаниями раздела 10. Нижние концы шпунтин должны быть обрезаны под углом 1:4. В грунтах, содержащих включения (камней, карчей), нижние концы шпунтин обрезаются перпендикулярно оси. 4.28. Шпунтовые ограждения в случаях, определяемых расчетом, должны раскрепляться горизонтальными поясами-обвязками по контуру котлована и системой поперечных, продольных или угловых распорок. Конструкция и сечения обвязок и распорок должны назначаться по расчету. Расстояния между распорками крепления в плане в продольном и поперечном направлениях должны назначаться с учетом применяемых механизмов и способа разработки котлована. При сооружении под защитой шпунта плит фундаментов из свай или оболочек распорные конструкции должны проектироваться с учетом использования их одновременно как направляющих каркасов. 4.29. Для упрощения и значительного облегчения распорных креплений в ряде случаев целесообразно ограждения из стального шпунта делать кольцевого очертания в плане с креплением из кольцевых поясов-обвязок без поперечных распорок. Количество поясов и места установки их по высоте котлована определяются расчетом. Для удобства установки и разборки пояса рекомендуется делать их составными на болтовых стыках. Под обвязки следует устанавливать столики. В случаях, когда необходимо уменьшить осадку строений (пути), расположенных вблизи шпунтового ограждения, распорки при установке должны быть обжаты (домкратами, клиньями) и закреплены с усилием не меньшим расчетного сжимающего. 4.30. Стыкование шпунтин по их длине допускается с применением накладок со сварными или болтовыми соединениями. При необходимости стыкования стальных шпунтов различных профилей следует применять комбинированную стыковую шпунтовую сваю, сваренную из продольных половин обоих стыкуемых шпунтовых профилей. 4.31. При низком горизонте грунтовых вод следует предусматривать разработку котлованов до отметки, близкой к горизонту грунтовых вод, без крепления, но с устройством бермы, ширина которой должна обеспечивать удобное производство всех работ по забивке шпунта и сооружению фундамента. При устройстве шпунтового ограждения на местности, покрытой водой, забивку шпунта следует производить после установки обвязки или каркасов, служащих для фиксации положения шпунта в плане и включающих пояса креплений, необходимые по расчету. Каркасы или обвязки могут устанавливаться на маячные сваи, спланированное основание, подводный ростверк или удерживаться на плаву в процессе забивки на специальных плашкоутах. В неразмываемых грунтах, удерживающих откос до 1:1,5 под водой, допускается устанавливать каркас и забивать шпунт после подводной разработки грунта котлована на всю глубину (или ее часть). Общие положения расчета шпунтовых ограждений котловановДля шпунтовых ограждений, заглубленных в пески или супеси, кроме указанных расчетов, необходимо проверить глубину забивки шпунта t (считая от дна котлована) по условию исключения опасности выноса (наплыва) грунта в котлован при откачке из него воды без устройства водозащитной подушки. Независимо от результатов расчета глубину забивки шпунта (считая от дна котлована или отметки размыва) следует принимать в случаях текучих и текучепластичных глин, суглинков и супесей, водонасыщенных илов, пылеватых и мелких песков не менее 2 м, а в остальных случаях - не менее 1 м. В ограждениях с водозащитной подушкой глубина забивки должна быть не менее 1 м в любых грунтах. 4.33. Минимальную глубину t забивки шпунта (считая от дна котлована) по условию исключения опасности выноса (наплыва) грунта при откачке воды из котлована определяют по формуле где h′в - расстояние от дна котлована до горизонта воды снаружи котлована во время откачки; γв - 1 тс/м3 - объемный вес воды; γвзв - объемный вес грунта во взвешенном в воде состоянии, допускается принимать γвзв=1 тс/м3; т1 - коэффициент условий работы, принимаемый равным: 0,7 - для гравелистого и крупного песка, а также супеси; 0,5 - для песка средней крупности и мелкого; 0,4 - для пылеватого песка; π=3,14. Для кольцевых ограждений, а также для ограждений любой в плане формы, но при условии, что расстояние от горизонта воды снаружи котлована до низа шпунта более чем в два раза превышает расстояние от низа шпунта до кровли слоя грунта, являющегося водоупором, допускается значение t, полученное по формуле (4.1), уменьшать на 10 %. 4.34. Минимальную глубину t забивки шпунта (считая от дна котлована) по условию обеспечения устойчивости стенок против опрокидывания, согласно п. 1.17, определяют исходя из равенства где Моп - момент опрокидывающих сил относительно оси возможного поворота (опрокидывания) стенок; Мпр - предельная величина опрокидывающего момента, равная моменту удерживающих сил относительно той же оси; т - коэффициент условий работы (см. п. 4.35). 4.35. Расчетные давления воды и грунта (активного и пассивного) получают умножением нормативных давлений, определяемых согласно прилож. 11, на коэффициенты перегрузки, принимаемые по п. 2.24. При этом для активного давления грунта принимают коэффициент перегрузки nа=1,2, а для пассивного - nп=0,8. Не учитываемое в прилож. 11 влияние фильтрационного потока при откачке воды из котлованов, разрабатываемых в песчаных грунтах, на давления воды и грунта учитывают коэффициентом условий работы, принимаемым в зависимости от гидрогеологических условий и конструкции ограждения. 4.36. При устройстве ограждения в водопроницаемых грунтах с осуществлением подводной водозащитной подушки, в расчете шпунтовой стенки, отражающем стадию ее работы до бетонирования подушки, учитывают гидростатическое давление, соответствующее откачке воды из котлована на глубину, необходимую для постановки яруса креплений, но не менее 1,5 м и не менее четверти разности между горизонтом воды (на местности, не покрытой водой, - грунтовой) и дном котлована. в первой схеме принимают,
что ниже поверхности водонепроницаемого грунта горизонтальное давление на
шпунтовую стенку обусловлено только гидростатическим давлением воды,
проникающей между стенкой и грунтом на глубину во второй схеме не предусматривают возможности проникания воды между стенкой и водонепроницаемым грунтом и принимают, что этот грунт оказывает горизонтальное давление на стенку, будучи пригруженным сверху гидростатическим давлением, а при наличии над водонепроницаемым грунтом водопроницаемого и весом последнего; вес слоя водопроницаемого грунта, расположенного ниже горизонта воды, определяют с учетом взвешивания в воде. В обеих схемах выше поверхности водонепроницаемого грунта учитывают горизонтальную нагрузку на стенку от гидростатического давления и, в необходимых случаях, от давления водопроницаемого грунта. Глубину а) для ограждений, не имеющих распорных креплений (рис. 16, а),
где h′ - глубина погружения шпунта в водонепроницаемый грунт; б) для ограждений с одним ярусом креплений (рис. 16, б)
где t - глубина погружения шпунта ниже дна котлована; в) для ограждения с несколькими ярусами креплений (рис. 16, в) - на 0,5 м ниже уровня грунта в котловане при установке верхнего яруса креплений, расположенного в пределах водонепроницаемого грунта. Рис. 16. Схемы для определения глубины проникания воды между шпунтовой стенкой и водонепроницаемым грунтом: а - при ограждениях, не имеющих распорных креплений; б - при ограждениях с одним ярусом креплений; в - при ограждениях с несколькими ярусами креплений 4.38. Элементы креплений должны рассчитываться на совместное действие горизонтальной нагрузки, передаваемой шпунтовыми стенками, и вертикальной нагрузки от веса обустройств и конструкций, предусмотренных проектом. Наибольший изгибающий момент в элементе от веса обустройств и конструкций не должен быть меньше наибольшего изгибающего момента от равномерно распределенной нагрузки интенсивностью
где q1 - нагрузка, принимаемая равной 50 кгс/м2 для верхнего яруса креплений и 25 кгс/м2 для остальных ярусов; F - площадь котлована, приходящаяся на рассчитываемый элемент крепления, м2; l - длина элемента, м. 4.39. При расчетах шпунтовой стенки на прочность значения расчетных сопротивлений шпунта и креплений должны приниматься согласно разделам 8 и 10 с делением их на коэффициент надежности, принимаемый равным: 1,1 - для шпунтовых ограждений на местности, покрытой водой; 1,0 - во всех остальных случаях. 4.40. Момент сопротивления поперечного сечения погонного метра стенки Wx (см. прилож. 8) из шпунта типа ШК или Ларсен следует принимать со следующими коэффициентами, учитывающими возможность относительных смещений шпунтин в замках: 0,7 - в случае слабых грунтов и отсутствии обвязок, прикрепленных к шпунту; 0,8 - в случае тех же грунтов и наличии обвязок, прикрепленных к шпунту; 1,0 - в остальных случаях. 4.41. При расчете прочности шпунтовых стенок (но не креплений) должны вводиться коэффициенты условий работы, равные: 1,15 - для стенок кольцевых в плане ограждений; 1,10 - для стенок длиной менее 5 м замкнутых в плане ограждений прямоугольной формы с промежуточными ярусами распорных креплений. Расчеты шпунтовых ограждений, не имеющих распорных крепленийГлубину t0 определяют на основе равенства (4.2), считая ось поворота стенки расположенной на этой глубине и пренебрегая моментом пассивного давления грунта относительно указанной оси (точки О на рис. 17). В соответствии с этим в равенстве (4.2) принимают Моп равным моменту активного давления грунта и гидростатического давления, действующих выше глубины t0, относительно оси поворота стенки, a Мпр - моменту пассивного давления, действующего со стороны котлована (прямого отпора) выше глубины t0, относительно той же оси. т=0,95 - коэффициент условий работы. В общем случае для решения уравнения, выражающего условие (4.2), принимают способ последовательных попыток, т. е. задаются глубиной t0, которую затем уточняют. Расчетная схема, принимаемая при определении глубины t0, показана на рис. 17; эпюры давлений, показанные на рис. 17, а, относятся к случаю расчета стенки, погружаемой в песок или супесь, а эпюры давлений, показанные на рис. 17, б и в, - к случаю расчета стенки, погружаемой в глину или суглинок (см. п. 4.37). Так как глубина t0 не является полной глубиной погружения шпунта ниже дна котлована (см. формулу 4.3), то при учете проникания воды между стенкой и суглинком или глиной рекомендуется принимать глубину hв=0,8×(hгр+t0) (см. рис. 17, в). Рис. 17. Схема, используемая в расчетах шпунтовых ограждений, не имеющих распорных креплений, и эпюры давлений: а - при расчете стенки, погружаемой в песок или супесь; б и в - при расчете стенки, погружаемой в суглинок или глину Дополнительную глубину Δt определяют по формуле
где Е′п - равнодействующая пассивного давления грунта с внешней стороны котлована (обратного отпора); р′п - интенсивность этого давления на глубине t0. Равнодействующую обратного отпора грунта определяют по формуле
где Еп, Еа и Ев - равнодействующие соответственно прямого отпора грунта, активного давления грунта и гидростатического давления, действующих на стенку выше глубины t0. Интенсивность р′п пассивного давления грунта, действующего на стенку с внешней стороны котлована, определяют, принимая глубину H=hгр+t0 (см. рис. 17). 4.43. Изгибающие моменты, действующие в поперечных сечениях шпунтовой стенки, определяют как для консольного стержня с заделкой на глубине t0 (от дна котлована); за нагрузку принимают гидростатическое давление, активное и пассивное (прямой отпор) давления, действующие на стенку выше этой глубины (см. рис. 17). 4.44. При устройстве ограждения в водопроницаемых грунтах с осуществлением водозащитной подушки расчет шпунтовой стенки, отражающий стадию ее работы до бетонирования подушки, выполняют согласно пп. 4.42 и 4.43, а расчет шпунтовой стенки, отражающий стадию ее работы после бетонирования подушки, выполняют согласно п. 4.45. 4.45. Глубину t0 погружения стенки ниже дна котлована определяют из условия обеспечения ее устойчивости против поворота вокруг оси, расположенной на 0,5 м ниже верха водозащитной подушки (точка О на рис. 18). В соответствии с этим в равенстве (4.2) принимают Моп равным моменту активного давления взвешенного в воде грунта и гидростатического давления, действующих на стенку выше оси ее поворота, относительно этой оси, а Мпр - моменту пассивного давления взвешенного в воде грунта (обратного отпора), действующего на стенку ниже оси ее поворота, относительно этой оси. т=0,95 - коэффициент условий работы. Рис. 18. Схема, используемая в расчетах шпунтовых ограждений, не имеющих распорных креплений, в водопроницаемых грунтах с осуществлением водозащитной подушки При определении момента Мпр эпюру пассивного давления грунта считают треугольной с нулевой ординатой на уровне оси поворота стенки; наибольшую ее ординату находят, принимая H=hгр+t. Величина наибольшего изгибающего момента в поперечном сечении стенки может быть принята равной моменту Моп. Расчет шпунтовых ограждений с одним ярусом распорных креплений4.46. Минимальную глубину t погружения стенки ниже дна котлована (без водозащитной подушки) определяют из условия обеспечения ее устойчивости против поворота вокруг оси опирания стенки на крепление (точки О на рис. 19, а)*. В соответствии с этим в равенстве (4.2) принимают Моп равным моменту активного давления грунта и гидростатического давления относительно оси поворота стенки, а Мпр - моменту пассивного давления грунта (прямого отпора) относительно этой оси. * На рис. 19 показаны схемы, относящиеся к случаю расчета стенки, погруженной в песок или супесь. т - коэффициент условий работы, принимаемый согласно п. 4.47. Рис. 19. Схемы расчета шпунтовых ограждений с одним ярусом распорных креплений: а - для определения минимальной глубины забивки шпунта; б - для определения изгибающих моментов в его поперечных сечениях Для замкнутых в плане шпунтовых ограждений глубину забивки t, определенную расчетом на устойчивость, допускается уменьшать на 15 % для кольцевых ограждений с радиусом менее 5 м и на 10 % для прямоугольных с длиной наибольшей стороны менее 5 м. 4.47. Коэффициент m условий работы в расчете устойчивости (см. п. 4.46) принимают: а) в случае связных грунтов, а также несвязных, но при заглублении острия шпунта в слой глины или суглинка - 0,95; б) в остальных случаях несвязных грунтов: - при частичной откачке воды из котлована на глубину (от горизонта воды) не более 0,25h на водотоках и не более 0,25h′в на местности, не покрытой водой, - 0,95; - при полной откачке воды из котлована - по графику рис. 20 на открытых водотоках и по графику рис. 21 на местности, не покрытой водой. Рис. 20. Схема и график для определения коэффициента условий работы в расчете устойчивости шпунтового ограждения на открытом водотоке при одном ярусе распорных креплений Рис. 21. Схема и график для определения коэффициента условий работы в расчете устойчивости шпунтового ограждения на местности, не покрытой водой Здесь, а также на графиках рис. 20 и 21: h - глубина котлована; h′в - расстояние от дна котлована до горизонта грунтовых вод; hгр - расстояние от дна котлована до уровня грунта снаружи котлована;
φ - угол внутреннего трения грунта. При промежуточных значениях h, h′в, μгр и μв величину коэффициента т следует определять линейной интерполяцией. 4.48.
Изгибающие моменты, действующие в поперечных сечениях шпунтовой стенки,
определяют по схеме балки, свободно лежащей на двух опорах, одну из которых
принимают на уровне оси опирания стенок на крепление (точки О на рис. 19), а другую на глубине Изгибающий момент в сечении шпунтовой стенки, расположенном в пролете, допускается принимать равным
где Mв - изгибающий момент в поперечном сечении шпунта от гидростатического давления воды, определенный по указанной выше схеме; Mгр - то же от давления грунта; 0,75 - коэффициент, учитывающий перераспределение давления грунта. В случаях недостаточной прочности шпунтовой стенки по материалу целесообразно изменить положение распорки по высоте или увеличить глубину погружения шпунта в грунт с тем, чтобы за счет обеспечения заделки нижней части стенки снизить величины изгибающих моментов в ее поперечных сечениях. Расчет стенки с учетом заделки ее нижней части в грунте может быть выполнен графо-аналитическим способом. По схеме, приведенной на рис. 19, б, определяют также давление q стенки на обвязку крепления (как реакцию на верхней опоре). Усилие в распорке допускается принимать равным где lл и lп - пролеты обвязки слева и справа от рассматриваемой распорки. 4.49. При устройстве ограждения с водозащитной подушкой расчет шпунтовой стенки, отражающий стадию ее работы до бетонирования подушки, выполняют согласно пп. 4.46-4.48. Для стадии работы стенки после бетонирования подушки и полной откачки воды из котлована проверяют прочность стенки и крепления; при этом стенку по-прежнему рассматривают по схеме балки, свободно лежащей на двух опорах, но нижнюю опору принимают на 0,5 м ниже верха подушки. Расчет шпунтовых ограждений с двумя и более ярусами распорных креплений4.50. Минимальную глубину t погружения стенки ниже дна котлована при отсутствии водозащитной подушки определяют из условия обеспечения ее устойчивости против поворота вокруг оси, расположенной на уровне нижнего яруса крепления (точки О на рас. 22, а). В соответствии с этим равенство (4.2) записывают в виде где Ма и Mв - моменты соответственно активного давления грунта и гидростатического давления, действующих на стенку ниже оси ее поворота, относительно этой оси; М′а и М′в - то же для давлений, действующих на стенку выше оси поворота; Mп - момент пассивного давления грунта на стенку (прямого отпора) относительно той же оси; т - коэффициент условий работы, принимаемый согласно п. 4.51. Формула (4.8) справедлива, если 2М′а+М′в≤WхR; при невыполнении этого неравенства для определения минимальной глубины t погружения стенки используют формулу
где Wх - момент сопротивления поперечного сечения шпунтовой стенки (см. п. 4.40); R - расчетное сопротивление материала шпунта. Рис. 22. Схемы расчета шпунтовых ограждений с двумя и более ярусами креплений: а - для определения минимальное глубины забивки шпунта; б - для определения изгибающих моментов в его поперечных сечениях 4.51. Коэффициент условий работы т (см. п. 4.50) следует принимать по рекомендациям п. 4.47 (как для ограждения с одним ярусом креплений) с той лишь разницей, что при полной откачке воды из котлована, разрабатываемого в несвязных грунтах на открытых водотоках, значение т следует принимать не по графику, приведенному на рис. 20, а по графику рис. 23, на котором использованы те же обозначения. Для замкнутых в плане шпунтовых ограждений глубину забивки t, определенную расчетом на устойчивость, допускается уменьшать согласно п. 4.46. Уменьшения глубины забивки шпунта по условию обеспечения устойчивости стенки можно достичь понижением уровня расположения нижнего яруса крепления (если это возможно по условиям производства работ). 4.52. Изгибающие моменты,
действующие в поперечных сечениях шпунтовой стенки, а также давление q стенки на обвязку каждого из ярусов
крепления определяют по схеме свободно лежащей многопролетной неразрезной
балки, нижнюю опору которой принимают расположенной на глубине Рис. 23. График для определения коэффициента условий работы в расчете устойчивости шпунтового ограждения на открытом водотоке при двух и более ярусах креплений Усилие в распорке каждого из ярусов допускается определять по формуле (4.7). 4.53. Если предусматривается осуществление водозащитной подушки, то следует производить расчет прочности стенки и креплений, соответствующий полной откачке воды из котлована. Такой расчет производят, по-прежнему рассматривая стенку как многопролетную неразрезную балку, но нижнюю опору принимают расположенной на 0,5 м ниже верха тампонажной подушки. Особые случаи расчета4.54. В случае, если на шпунт дополнительно передается вертикальная нагрузка (от копров, кранов и т. п.), глубина забивки шпунтин на участке передачи вертикальной нагрузки должна быть проверена на восприятие вертикальных усилий в соответствии с нормами проектирования свай. При этом поверхность грунта принимают на отметке дна котлована, а ширину участка ограждения, передающего сосредоточенную нагрузку, определяют из условия распространения усилия в ограждении под углом 30° к вертикали. 4.55. При проектировании шпунтовых ограждений вблизи существующих зданий и сооружений, конструкция которых не допускает осадку основания, необходимо: а) давление грунта на ограждение определять как давление покоя; б) распорки креплений должны иметь устройства (клинья, домкраты) для создания предварительного обжатия, равного расчетному усилию. 4.56. Шпунтовые ограждения, подвергающиеся воздействию льда или возможности навала судов, должны быть дополнительно проверены расчетом на эти нагрузки. При этом, как правило, должны устраиваться дополнительные плоскости распорок на уровне приложения этих нагрузок (при разности уровней первой подвижки льда и высокого ледохода более 1,5 м - две плоскости распорок). Лед вокруг ограждения должен окапываться. При устройстве шпунтовых ограждений (перемычек) опор на высоком свайном ростверке необходимо проверить прочность и устойчивость ограждения при действии распора изнутри (от грунта, находящегося внутри ограждения). При этом отметка поверхности окружающего грунта должна приниматься с учетом размыва. Расчет должен проводиться по методике, рекомендованной для расчета искусственных островков. Замкнутые шпунтовые ограждения должны проверяться на всплытие при наивысшей отметке рабочего уровня. При слабых грунтах в основании шпунтовые ограждения должны проверяться на предотвращение выпирания грунта из-под шпунта. Необходимую по этому условию глубину забивки h определяют из условия
где q - расчетное давление на шпунт в уровне дна котлована; γ - объемный вес грунта; φ - угол внутреннего трения грунта по подошве котлована. Деревянное шпунтовое ограждение4.57. Ограждение из деревянного шпунта следует проектировать при глубине погружения в грунт в зависимости от его плотности до 6 м, если в грунте нет включений в виде камней, затонувших деревьев и т. п. На открытых водотоках при глубине воды 3-4 м ограждение из деревянного шпунта рекомендуется проектировать двойное с расстоянием между шпунтовыми стенками не менее 1 м с заполнением пазух между стенками мелким песком, супесями или суглинками, с содержанием глинистых частиц не более 20 %. Применение для засыпки пазух глин и суглинков с глинистыми частицами более 20 % не допускается. 4.58. Деревянный шпунт применяется из лесоматериалов II категории хвойных пород, а из лиственных при длине не свыше 3 м. Наилучшая форма гребня и паза шпунта - прямоугольная. Гребень и паз треугольной формы применяют при толщине шпунта не более 8 см. Рекомендуемые соотношения размеров поперечного сечения для разных типов деревянного шпунта приведены на рис. 24. Рис. 24. Поперечное сечение деревянного шпунта Длина заострения шпунтовой сваи назначается в зависимости от проходимых грунтов и должна составлять от одной (для тяжелых грунтов) до трех (для легких грунтов) толщин шпунта (рис. 25). Верх шпунтовых свай, погружаемых забивкой, должен быть срезан строго перпендикулярно к оси сваи и снабжен бугелем прямоугольной формы (рис. 25). Все болты и скобы в шпунтовых сваях устанавливают «впотай». Маячные сваи рекомендуется располагать вне направляющих схваток. Расстояние между маячными сваями не должно превышать 2 м. Рис. 25. Конструкция деревянных шпунтовых свай: 1 - бугель 4.59. Необходимая величина заглубления шпунта в грунт устанавливается расчетом в соответствии с указаниями, приведенными в подразделе «Общие положения расчета шпунтовых ограждений котлованов». При любых условиях величина заглубления однорядного шпунта в связные, крупнопесчаные и гравелистые грунты должна быть не менее 1 м, а для мелкопесчаных и плывунных грунтов - 2 м. Глубина погружения внешнего ряда двойного деревянного шпунтового ограждения во всех случаях должна быть не менее 2 м. Искусственные островки4.60. Искусственные островки для погружения опускных колодцев и кессонов, размещения бурового и сваебойного оборудования рекомендуется предусматривать, как правило, при глубине воды до 4-6 м. 4.61. Площадки и искусственные островки для опускных колодцев и кессонов следует предусматривать горизонтальными с возвышением отметки островков без ограждений и верха шпунтового ограждения не менее 0,5 м над рабочим уровнем воды, возможным в период от начала закладки колодца (кессона) до опускания его на глубину, обеспечивающую устойчивость сооружения в случае размыва площадки или островка. На ограждаемых островках со шпунтовым ограждением площадка может возвышаться на 0,5 м выше отметки воды в момент отсыпки островка (при условии возвышения верха шпунтового ограждения над рабочим уровнем и обеспечения его водонепроницаемости). 4.62. Проектные размеры площадки (островка) должны допускать удобное размещение бурового и сваебойного оборудования, устройств крепления наружной опалубки колодца (кессона), путей для отвозки грунта и подачи бетона, а также подмостей для устройства шахтных труб и шлюзовых аппаратов. Планировка площадки должна предусматривать отвод талых и ливневых вод, удаление бугров и возвышений. 4.63. При проектировании островков, расположенных в местах с крутыми склонами дна реки, следует предусматривать меры, предотвращающие возможность сползания отсыпки по наклонной поверхности дна (предварительная планировка дна, применение песчано-гравелистых грунтов для отсыпки). 4.64. Неограждаемые островки (рис. 26, а) следует применять при глубине воды не более 3-4 м, возможности стеснения живого сечения реки и средних скоростях течения не выше 0,30 м/с при отсыпке островка из мелкого песка, 0,80 м/с - из крупного песка и соответственно 1,20 м/с и 1,50 м/с - при отсыпке из среднего и крупного гравия. Рис. 26. Схемы искусственных островков: а - без ограждения; б - с ограждением, не воспринимающим давление грунта; в - с ограждением, воспринимающим давление грунта засыпки; г - расчетная схема островка Не допускается отсыпка искусственных островков из илистых, торфянистых и лёссовидных грунтов. Крутизна откосов должна приниматься от 2:1 для гравелистых грунтов до 5:1 для мелкого песка. Ширина бермы должна быть не менее 2 м. Верхнюю часть островка и бермы следует прикрывать мешками с песком или камнем. 4.65. Островки с ограждением, предотвращающим подмыв откосов, но не воспринимающим давления засыпки (рис. 26, б), следует применять при глубине воды не свыше 3 м. Ограждение островков устраивают из легкого шпунта, щитов, расположенных между парными сваями, или козелковых опор со щитами, устанавливаемых по всему контуру островка или с верховой стороны. Ограждение должно сопротивляться воздействию водного потока, определяемому в соответствии с требованиями раздела 2. Глубина забивки шпунтин (свай) назначается с учетом возможного размыва. Рекомендуется обсыпка камнем по периметру ограждения. Ограждению с верховой стороны следует придавать обтекаемую форму в плане. 4.66. Островки с ограждением, воспринимающим давление засыпки (рис. 26, в), следует устраивать при глубине воды до 8 м, скорости течения выше 1,5 м/с, а также невозможности стеснения живого сечения реки. Ограждения островков, воспринимающие давление засыпки, могут выполняться: а) щитовыми; б) ряжевыми; в) шпунтовыми (деревянными или стальными). 4.67. Щитовые ограждения (см. рис. 26, в) устраивают при глубине до 2 м из щитов, заводимых в пространство между парными предварительно забитыми в грунт сваями. Ширину бермы b в этом случае рекомендуется
принимать равной При соблюдении этого условия щитовое ограждение рассчитывается только на собственный вес грунта. 4.68. Деревянный шпунт применяют при глубине воды до 4 м. Шпунт забивают между парными направляющими схватками, прикрепленными к маячным сваям диаметром порядка 22 см, забитыми через 2-2,5 м. Распор от давления засыпки передается верхней частью шпунта через подкосы на откосные сваи (рис. 27). Расчет шпунта ведется по методике, приведенной для стального шпунта, принимая подкос за распорное крепление. Рис. 27. Островок в деревянном шпунтовом ограждении: 1 - насыпной грунт; 2 - деревянный шпунт; 3 - подкосы; 4 - сваи Глубина забивки шпунта определяется расчетом на выпирание грунта (см. п. 4.69) и устойчивость положения и должна быть не менее 2 м ниже линии размыва. Ширина бермы островка должна быть не менее 1,5 м. При этом расчет ограждения должен выполняться с учетом как веса засыпки, так и веса колодца. Ширину бермы принимают не менее 1,5 м. Глубина забивки шпунта h цилиндрического ограждения ниже линии размыва должна назначаться из условий исключения выпирания грунта из-под низа шпунта
где q - расчетное давление от веса засыпки и колодца в уровне дна реки, тс/м2; φд - угол внутреннего трения грунта на дне реки. При скальном грунте допускается установка стального шпунта в виде цилиндра в плане и без забивки его в скалу. 4.70. Шпунт цилиндрического ограждения проверяется на разрыв по формуле
где Р - сопротивление при растяжении (в тоннах на погонный метр замка), зависящее от толщины стенки или прочности замка шпунтины, тc; D - диаметр островка, м; е - интенсивность горизонтального давления засыпки, тс/м2. На уровне дна реки
где γ - объемный веc засыпки во взвешенном состоянии, тс/м3; hз - приведенная к весу грунта засыпки нагрузка на поверхность островка, т/м2 (рис. 26, г). Для шпунтовых свай плоских профилей ШП1 и ШП2 расчетное сопротивление при растяжении должно приниматься равным значению разрывного усилия по табл. 18, деленному на коэффициент безопасности по материалу 1,3. При использовании шпунта типа ШК и Ларсен растягивающие усилия должны восприниматься объемлющими стальными поясами. 4.71. Минимальная глубина забивки стального шпунта, ограждающего островок с прямолинейными сторонами в плане, определяется расчетом на выпирание грунта и устойчивость стенки и, во всяком случае, должна быть не менее 2,0 м ниже линии размыва. Таблица 18
4.72. При слабых грунтах засыпки (с расчетным сопротивлением 1,2÷2,0 кгс/см2) верхняя площадка островка для изготовления колодца должна покрываться по контуру ножа песчаной подушкой толщиной 0,3-0,6 м. Под нож колодца укладывают подкладки, размеры и количество которых назначаются из условия, чтобы давление под ними от расчетной нагрузки не превышало 2,0 кгс/см2. Направляющие каркасы4.73. Для сохранения в процессе забивки проектного положения погружаемых шпунта, свай и оболочек следует предусматривать направляющие каркасы (кондукторы), конструкция которых определяется типом сооружения и местными условиями. Следует по возможности использовать направляющие каркасы для свай и оболочек одновременно в качестве распорных креплений ограждений котлованов, а также в качестве направляющих для забивки шпунта ограждения и для рабочих площадок при производстве работ по погружению свай и оболочек. Примечание. Требования к каркасам опор вспомогательных сооружений на высоком свайном ростверке приведены в разделе 7. 4.74. Направляющие каркасы следует устраивать из одной (одноярусные), двух (двухъярусные) или нескольких (многоярусные) решетчатых горизонтальных плоскостей с ячейками для пропуска свай или оболочек. Плоскости необходимо объединять системой вертикальных, горизонтальных и диагональных связей (по вертикальным и горизонтальным плоскостям) в неизменяемую пространственную конструкцию. Направляющие каркасы рекомендуется проектировать из дерева (рис. 28), из неинвентарного металла (рис. 29) и, при соответствующем обосновании, из инвентарных конструкций. Рис. 28. Направляющий каркас из деревянных элементов: 1 - сваи; 2 - поперечные схватки сечением 22/2 Применение каркасов разового использования, остающихся в бетоне фундаментной плиты, допускается в случаях включения их в работу основной конструкции опоры в качестве жесткой арматуры. Одноярусные каркасы при забивке свай на суходолах разрешается выполнять в виде железобетонных плит. Расстояние между плоскостями каркаса при бескопровом погружении должно быть в пределах 3,0 м. 4.75. Одноярусные каркасы рекомендуется применять при погружении свай и вертикальных оболочек на суходолах или водотоках со скоростью течения менее 1 м/с и при незначительной глубине воды. Рис. 29. Направляющий каркас из металлических элементов: 1 - металлические элементы; 2 - направляющие деревянные брусья; 3 - оболочки; 4 - болты На водотоках со скоростью течения воды более 1 м/с, а также при погружении наклонных свай и оболочек необходимо предусматривать двухъярусные или многоярусные каркасы. 4.76. Для облегчения установки, а также предохранения оболочек от повреждения металлическими элементами в ячейках каркаса должны предусматриваться направляющие деревянные брусья длиной не менее 2 м в одноярусных каркасах и не менее 4 м в двухъярусных каркасах. Для наклонных оболочек длину брусьев следует принимать не менее 6 м. Кольцевой зазор между оболочками и направляющими брусьями необходимо принимать равным 2-3 см. 4.77. Конструкция каркаса должна быть рассчитана на прочность и устойчивость положения при действии следующих нагрузок: усилия от собственного веса при установке; усилия, возникающие при установке в проектное положение наклонных свай, а также вертикальных свай. В последнем случае горизонтальные усилия принимаются равными 0,03 веса сваи с направлением в любую сторону и приложенными в любом ярусе каркаса; усилия давления грунта и воды, передаваемые от шпунта (при использовании направляющего каркаса одновременно в качестве распорных креплений ограждений котлована); усилия отжатая при забивке свай, принимаемые равными 0,5N (в кгс), где N - энергия удара, кгс·м; воздействие водного потока (для плавучих кондукторов). 4.78. В проектах каркасов должны содержаться указания по выверке положения и жесткому закреплению их во время забивки. При необходимости направляющие каркасы устанавливают на деревянные сваи (на суходолах) или подвешивают на маячные сваи (на водотоках) и дополнительно расчаливают тросами с натяжными приспособлениями не менее чем к четырем жестким якорям. Вспомогательные устройства для укладки подводного бетона4.79. В проекте вспомогательных устройств для укладки подводного бетона методом ВПТ должны быть приведены: а) схема расположения бетонолитных труб; б) конструкция бетонолитной трубы с загрузочной воронкой (бункером) на трубе и скользящими пробками; в) подмости и приспособления для навешивания, подъема и опускания труб и размещения оборудования, а также отдельные подмости для размещения персонала; г) устройства для подачи бетонной смеси к воронке трубы. Кроме того, должны быть приведены чертежи: при бетонировании оболочек - оборудования для промывки забоя от шлама; при вибрационной укладке бетона - расположения и конструкции вибровозбудителя; при посекционной укладке подводного бетона в сооружения большой площади - конструкции опалубки. 4.80. Количество бетонолитных труб должно назначаться из условий: а) радиус действия трубы не должен превышать 6 м; б) зоны действия соседних труб должны перекрывать друг друга на 10-20 % радиуса; в) расчетный радиус действия трубы r должен удовлетворять условию
где k - показатель сохранения подвижности бетонной смеси (см. раздел 2), ч; I - скорость бетонирования, м/ч (не менее 0,3). Места установки труб должны определяться с учетом указаний в проекте производства работ. 4.81. Для подачи бетонной смеси в полость оболочек и скважин должна применяться бетонолитная труба диаметром 300 мм. Для укладки бетонной смеси в котлованы и опускные колодцы должны применяться бетонолитные трубы диаметром 200-300 мм в зависимости от требуемой интенсивности бетонирования: при 11 м3/ч - 200 мм; при 17 м3/ч - 250 мм; при 25 м3/ч - 300 мм. 4.82. Толщина стенок труб должна быть 4-5 мм, а при вибрационной укладке 6-10 мм. Верхняя часть трубы на высоту, равную толщине слоя бетона плюс 1 м, должна состоять из звеньев длиной 1 м. Нижний конец трубы должен быть усилен ободком толщиной 6 мм и высотой 100 мм. Звенья труб следует соединять при помощи замковых или фланцево-болтовых соединений с уплотнительными прокладками из листовой резины или паранита толщиной 6 мм. На верхнем конце бетонолитной трубы должен устанавливаться бункер-воронка объемом не менее 1,5 объема трубы и не менее 2 м3 (рис. 30). Для стенок бункера должна применяться листовая сталь толщиной не менее 4 мм. Угол наклона листов нижней части бункера к горизонтали должен быть не менее 45°. Рис. 30. Конструкция приемной воронки объемом 2 м3 с площадками: 1 - скобы; 2 - площадка и лестница из арматуры периодического профиля В случае, если размеры и вес бетонолитной трубы ограничивают объем воронки, а также для улучшения условий подачи бетона, следует устраивать вертикально над воронкой неподвижный бункер емкостью 2-5 м3 с затвором. Бункер можно устраивать один на 1-3 бетонолитные трубы. 4.83. Бетонолитная труба с бункером должна быть подвешена на тросах к лебедке. При этом: общая высота подъема трубы должна быть не менее длины звена бетонолитной трубы плюс 1 м; грузоподъемность лебедки должна соответствовать сумме усилий от веса труб с приемной воронкой, заполненных бетоном, и сил трения, возникающих при извлечении трубы из уложенного бетона. 4.84. Бетонолитные трубы, устанавливаемые в оболочках, должны снабжаться фиксирующими и направляющими устройствами («фонарями»), расположенными друг от друга на расстоянии не менее 3 м и обеспечивающими центрирование трубы (рис. 31). В верхней части каждого звена должны быть приварены скобы диаметром 25 мм для фиксации положения трубы в процессе заполнения приемной воронки. 4.85. При вибрационной укладке к нижнему звену трубы крепится основной вибратор мощностью свыше 1 квт (например, типа ИВ-60). Рис. 31. Фиксирующие и направляющие устройства на бетонолитной трубе: 1 - скобы для фиксации положения трубы; 2 - направляющие скобы Рис. 32. Конструкция жесткого крепления вибратора к бетонолитной трубе: 1 - бетонолитная труба; 2 - подкладка; 3 - накладка; 4 - затяжной болт Ø 20 мм; 5 - шплинт; 6 - вибратор ИВ-60 (С-825) Вибратор должен крепиться зашплинтованными болтами (рис. 32). Узел примыкания питающего кабеля к вибратору должен герметизироваться. При длине трубы свыше 20 м устанавливается дополнительный вибратор в средней части трубы. 4.86. Для предохранения бетонной смеси от воды в начальный период должны применяться скользящие пробки из мешковины, пакли, мешков с опилками, подвешиваемые к горловине воронки перед началом заполнения ее бетонной смесью. При подводной укладке бетона в скважины, пробуренные в скальной породе, рекомендуется применять стальные пробки (рис. 33). Рис. 33. Стальная пробка, устанавливаемая в основании воронки при подводной укладке бетона в скважины: а - стальная пробка; б - схема установки пробки; 1 - листовая резина; 2 - направляющие дужки; 3 - пробка; 4 - подвес пробки; 5 - бетон; L - глубина установки пробки - не менее диаметра трубы 4.87. У приемных бункеров (воронок) должны устраиваться площадки с перилами для размещения рабочих, принимающих бетон. При разности уровней затвора бадьи с бетоном и воронки более 1,5 м должны устанавливаться звеньевые хобота. 4.88. Конструкция вышки для подвески труб и размещения механизмов, оборудования и персонала должна обеспечивать: заполнение воронок труб бетонной смесью при различном их положении; подъем и опускание труб; сохранение положения труб при смене и снятии верхних звеньев; предохранение труб от горизонтальных смещений и перекосов во время бетонирования. При укладке бетона в котлованы должны предусматриваться два яруса направляющих, удаленных на 2-3 м друг от друга, с ячейками, на 5 см превышающими наружный диаметр трубы. При этом: нагрузка от веса труб и воронки с бетоном должна приниматься с динамическим коэффициентом 1,2 при весе меньше 3 т и 1,1 при большем весе; усилия выдергивания бетонолитных труб из свежеуложенной бетонной смеси принимаются равными 0,3F, тc (где F - площадь соприкасающихся поверхностей трубы и бетона, м2). Сечение бетонолитной трубы и конструкция стыков звеньев должны быть проверены расчетом на усилия, возникающие при подъеме из горизонтального положения в вертикальное, и на нагрузки от веса бетона и усилий выдергивания в рабочем положении. Вспомогательные устройства для погружения свай, оболочек и столбов4.90. Указания настоящего подраздела должны учитываться при проектировании: подкопровых мостов для самоходных и несамоходных копров; подмостей для копров, подкопровых мостов и буровых станков. Примечания. 1. Плашкоуты и искусственные островки для копров и буровых станков должны проектироваться в соответствии с указаниями соответствующих подразделов разделов 4 и 6. При установке копров на льду должны учитываться требования раздела 3. 2. Пути для копров на рельсовом ходу и подкопровых мостов должны удовлетворять требованиям пп. 3.5 и 3.6. Вес сваи в момент подъема должен приниматься с динамическим коэффициентом 1,4, вес мачты копра при наклоне - с динамическим коэффициентом 1,2, вес молота при подъеме - с коэффициентом 1,3. Нагрузка от веса сваи принимается действующей под углом до 30° к вертикали (частичное подтаскивание). Реактивный момент М (в кгс·м), действующий на подкопровую тележку, при вращении поворотной платформы копра принимают равным
где Nпов - мощность электродвигателя поворота, квт; п - число оборотов в мин. Реактивный момент передается
на мост в виде пары сил, направленных поперек оси пути и равных 4.93. Пути для копра на подкопровом мосту должны оборудоваться по концам упорами, тележки моста должны иметь стопорные устройства для закрепления моста при забивке. 4.94. Подмости для установки копров (подкрановых мостов) должны рассчитываться с учетом собственного веса, ветровой нагрузки, инерционных сил торможения копра (для самоходных копров) или тяговых усилий перемещения копров, усилий, возникающих при вращении копров (буровых установок). Инерционные нагрузки должны приниматься в соответствии с указаниями раздела 2, нагрузки от вращения платформы - в соответствии с разделом 2 и п. 4.92. Подмости должны обладать жесткостью, гарантирующей от раскачивания копра (буровой установки) при работе. Для повышения горизонтальной жесткости следует предусматривать установку связей между балками ростверка и сваями подмостей, при глубине воды более 2 м. При опирании подмостей (подкранового моста) на шпунтовое ограждение необходимо повысить его горизонтальную жесткость путем приварки элементов верхнего яруса распорного крепления к шпунтинам и создания таким образом жесткого диска. В конструкциях подмостей должны быть предусмотрены места для закрепления оттяжками из троса диаметром 19-22 мм с натяжными муфтами буровых станков УКС и т. п. 5. ОПАЛУБКА МОНОЛИТНЫХ КОНСТРУКЦИЙОбщие указания5.1. Указания настоящего раздела распространяются на проектирование деревянной опалубки монолитных конструкций, а также опалубки швов и стыков сборных и сборно-монолитных конструкций. 5.2. Опалубка должна: обеспечивать заданные геометрические формы и размеры; быть прочной, жесткой, устойчивой при действии нагрузок от веса и бокового давления свежеуложенной бетонной смеси, транспортных устройств; исключать вытекание раствора через зазоры между щитами и отдельными досками; обеспечивать получение гладкой поверхности с минимальной пористостью, а также со скругленными прямыми и острыми углами конструкции; обеспечивать возможность разборки с минимальными усилиями отрыва и в порядке, указанном в проекте производства работ; быть экономичной, нетрудоемкой в изготовлении и монтаже, допускать возможность многократного применения; обеспечивать удобство и безопасность работ по установке арматуры и укладке бетонной смеси; обеспечивать заданный режим твердения бетона. 5.3. Конструкция опалубки должна быть увязана с принятыми способами подачи и укладки (установки) арматуры и бетона. Рекомендуется при необходимости предусматривать закладные щитки и доски для удобства очистки форм от мусора и воды перед бетонированием и для укладки бетона в труднодоступные места. Применение закладных досок и щитков для видимых участков лицевых поверхностей не рекомендуется. Закладные доски должны сплачиваться в четверть. Доски обшивки боковых вертикальных поверхностей опор следует располагать вертикально; горизонтальных поверхностей и боковых поверхностей оголовков и ригелей - вдоль наиболее длинной стороны. Для изготовления опалубки разрешается применять лесоматериалы хвойных и лиственных пород II категории для основных несущих элементов и III категории - для прочих; фанеру бакелизированную марок ФБС и ФБСВ толщиной 10 мм и более (ГОСТ 11539-73), фанеру клееную марок ФСВ, ФК, ФБА толщиной 8 мм и более (ГОСТ 3916-69), твердые и сверхтвердые древесноволокнистые плиты (ГОСТ 4598-74) прочностью не менее 350 кгс/см2 и толщиной не менее 4 мм. Лиственницу не разрешается, а пихту не рекомендуется применять в гвоздевых конструкциях; древесноволокнистые плиты следует защищать от длительного увлажнения. Для металлических деталей опалубок должны применяться стали марок, указанных в разделе 10. 5.4. Толщина досок должна назначаться по расчету, но быть не менее 19 мм, а для многократно оборачиваемых щитов - 25 мм. Толщина металлических элементов (косынок, уголков, шайб) должна быть не менее 4 мм. Ширина досок опалубки должна быть не более 15 см; на закруглениях ширина реек должна быть не более 5 см. Ширина досок опалубок стыков и швов при изготовлении их из одной доски не ограничивается. Доски должны сплачиваться в четверть. Опалубка видимых поверхностей бетона, а также фундаментов в пределах деятельного слоя вечномерзлых грунтов должна быть острогана, если она не покрывается пластиком или фанерой. Во избежание коробления каждая доска обшивки должна прикрепляться к каждому ребру двумя гвоздями длиной в 2,5 раза больше толщины доски. 5.5. Поверхность опалубки видимых поверхностей бетона монолитных конструкций северного исполнения рекомендуется обшивать фанерой или полотнищами поливинилхлоридной пленки толщиной 2-3 мм. Пленку или фанеру рекомендуется применять также для покрытия опалубки стыков и зазоров между сборными элементами, изготовленными в металлической опалубке. При применении пластикового или фанерного покрытия допускается устройство разреженной опалубки. Фанера и пленка должны приклеиваться водостойкими клеями или прибиваться гвоздями через 30 см. 5.6. Сопряжения щитов между собой, а также с ранее забетонированными элементами должны герметизироваться поролоновыми лентами, прокладками губчатой резины (по типу, применяемому в стыках крупнопанельных зданий), заделываться паклей. Сопряжения щитов не должны создавать взаимного защемления, препятствующего распалубке. 5.7. Внутренние (входящие), прямые и острые углы опалубки в целях предохранения углов бетонных конструкций от повреждений должны скругляться. В деревянной опалубке рекомендуется нашивать рейки с размером сторон 25 мм (если проектом конструкции не предусмотрено иное скругление). Рис. 34. Тяжи со съемными наконечниками: а - при установленной опалубке; б - после снятия опалубки; 1 - элементы опалубки; 2 - гайка; 3 - шайба; 4 - съемный конический наконечник; 5 - стяжка, остающаяся в бетоне; 6 - заделка раствором; 7 - бетон конструкции 5.8. Для взаимного раскрепления элементов опалубки следует применять болты, накладки и тяжи. Проволочные стяжки допускаются только для подземных конструкций. Количество тяжей должно быть по возможности меньшим (за счет более мощных ребер, кружал и стоек опалубки). Для видимых бетонных поверхностей должны устанавливаться тяжи со съемными наконечниками (рис. 34). 5.9. Разборка опалубки должна производиться, как правило, поворотом щитов. В конструкциях щитов должны предусматриваться строповочные приспособления и устройства для отрыва щита от бетона. Расчет элементов опалубки5.10. При проектировании опалубок должны быть проверены расчетом: а) прочность отдельных щитов при перевозке и установке; б) прочность и устойчивость положения собранной опалубки и отдельных щитов при действии собственного веса, напора и отсоса от ветровой нагрузки; в) прочность и деформация отдельных элементов опалубки во время бетонирования (при сочетаниях нагрузок, приведенных в табл. 19); Таблица 19
Примечания. 1. В числителе указаны нагрузки, учитываемые при расчете по первому, в знаменателе - по второму предельным состояниям. 2. Коэффициенты сочетаний для всех видов нагрузки nс=1. 3. При расчете протоков, тяжей, подкосов и др. нагрузка от сотрясений при выгрузке принимается действующей в пределах площади 3,0 м2 при наиболее невыгодном расположении нагрузки. г) усилия и прочность щитов опалубки при отрыве; д) прочность узлов крепления наружных вибраторов. Прогибы изгибаемых элементов опалубки при бетонировании не должны превышать 1/400 пролета для лицевых поверхностей надземных конструкций и 1/200 для прочих конструкций. 5.11. Деревянную опалубку разрешается рассчитывать путем последовательной проверки отдельных ее элементов на действующие нагрузки в невыгодных сочетаниях (см. табл. 19). По расчету должны определяться минимальные сечения обшивки, ребер, прогонов, поддерживающих конструкций, тяжей, анкеров, болтов. 5.12. Доски обшивки опалубки рассчитываются с учетом их неразрезности. Пролет досок принимается равным расстоянию между ребрами. Доски горизонтальных поверхностей опалубки рассчитываются на равномерно распределенную по их длине вертикальную нагрузку в сочетаниях, приведенных в табл. 19, а также на сосредоточенную нагрузку 130 кгс от веса рабочего с грузом (при ширине доски менее 15 см нагрузку распределяют на две доски). Доски вертикальных поверхностей опалубки рассчитывают: а) горизонтально расположенные - на равномерно распределенную по их длине горизонтальную нагрузку в сочетаниях, приведенных в табл. 19; б) вертикально расположенные - на нагрузку, соответствующую расчетной эпюре давления бетона (см. раздел 2), приложенную в первом нижнем пролете при определении максимального пролетного момента и прогиба, и во втором пролете - при определении максимального опорного момента. 5.13. Ребра, несущие обшивку, рассчитываются как балки, расчетная схема которых устанавливается в соответствии с конструктивным решением опалубки (многопролетные, однопролетные, консольные). Нагрузка на горизонтальные ребра имеет постоянную интенсивность, равную вертикальной или горизонтальной расчетной нагрузке на погонный метр ребра. Нагрузка на вертикальные ребра соответствует расчетной эпюре бокового давления бетона, измененной пропорционально расстоянию между ребрами по горизонтали. 5.14. Горизонтальные кружальные ребра для опалубки опор с полукруглым очертанием носовой и кормовой частей, не имеющие опорных стоек, рассчитываются на растяжение усилием
где d - диаметр окружности (ширина опоры); q - интенсивность нагрузки на ребро. На это же усилие рассчитывается количество гвоздей, соединяющих отдельные доски в кружальное ребро, и прикрепление кружального ребра к прямолинейным ребрам в точках А и В (рис. 35). Рис. 35. Расчетная схема кружальных ребер опалубки опор: 1 - тяжи 5.15. Прогоны, стойки и обвязка (для случая горизонтальных досок обшивки), служащие опорами ребер, рассчитываются как разрезные или неразрезные балки, загруженные сосредоточенными грузами - опорными реакциями ребер. Опорами прогонов служат насадки подмостей, опорами стоек - стяжки или подкосы, опорами обвязки - стяжки или анкерные тяжи. Если тяжи поставлены в каждом пересечении ребер со стойками или обвязками, последние на изгиб не рассчитываются, являясь, однако, необходимыми монтажными элементами каркаса опалубки. При определении сечений ребер, стоек и обвязки следует учитывать их ослабление болтами, тяжами и анкерами. 5.16. Тяжи и анкеры рассчитываются на опорные реакции от стоек или обвязок. Для случая, изображенного на рис. 35, усилие в крайнем тяже АВ (от 1 пог. м по высоте опоры) равно
5.17. Изгибающие моменты и прогибы при расчете элементов опалубки с учетом их неразрезности допускается определять по следующим приближенным формулам: от равномерно распределенной нагрузки q: максимальный момент максимальный прогиб от сосредоточенной силы Р: максимальный момент максимальный прогиб 5.19. При расчете усилий отрыва в момент распалубки прямолинейных участков инвентарной опалубки сила сцепления с бетоном учитывается в виде распределенной нагрузки нормальной к рабочей поверхности опалубки. Если отделение формы от поверхности бетона происходит путем параллельного перемещения, (например, извлечение коробов), то нормативное усилие принимают равным произведению площади на величину удельного сцепления qmax=1,5 тс/м2 для деревянной и 1 тс/м2 для пластиковой опалубки. Если отделение опалубки от поверхности происходит путем поворота опалубки, то величина усилий отрыва определяется в предположении, что удельное сцепление q в любой точке формы определяется по формуле
где Rmax - максимальный радиус точки формы относительно оси поворота; r - радиус точки, для которой определяется удельное сцепление (рис. 36); qmax - максимальная величина удельного сцепления. Удельное сцепление опалубки с бетоном qmax принимается равным 0,05 кгс/см2 для покрытия из полимерной пленки, 0,1 кгс/см2 - для деревянной и 0,08 кгс/см2 - для фанерной опалубки. Рис. 36. Расчетная схема давления для определения сцепления с бетоном прямолинейного участка опалубки Расчет утепления опалубок5.21. При бетонировании зимой монолитных опор толщиной более 2 м методом термоса требуемое термическое сопротивление опалубки R рекомендуется принимать по графику рис. 37 в зависимости от ожидаемой температуры наружного воздуха в период выдержки бетона. Для конструкций, в которых замораживание бетона допускается при 100 % прочности (северное исполнение, зона ледохода), значения R по графику рис. 37 должны увеличиваться на 30 %. При известной величине термического сопротивления R толщина слоев ограждения (утепления) δi определяется с использованием зависимости
где δi - толщина каждого слоя ограждения, м; λi - расчетная величина коэффициента теплопроводности каждого слоя ограждения (табл. 20); Таблица 20
β - поправочный коэффициент, учитывающий влияние ветра; β=0,6 - для ожидаемых скоростей ветра менее 5 м/с и β=0,4 для больших скоростей. Примечания. 1. Требования п. 5.21 распространяются на опалубку, в которую укладывается бетонная смесь с температурой не ниже 15°. 2. При бетонировании сборно-монолитных опор термическое сопротивление определяется с учетом сборных контурных элементов. 5.22. При устройстве опалубки зазоров в боковой поверхности сборно-монолитных опор опалубка должна утепляться с наружной стороны (если не устраивается общее утепление контурных блоков). Термическое сопротивление R утепления должно соответствовать термическому сопротивлению сборных блоков, равному 0,3δ, м2°С/Вт, где δ - толщина блоков в м. 5.23. Утепленная опалубка стыковых зазоров должна заходить на сборный элемент не менее чем на 50 см. При этом в пределах крайнего участка от начала сборного элемента до конца опалубки утепление должно уменьшаться от расчетной величины (кривая R1 на рис. 37) до нуля. Рис. 37. Кривые зависимости
оптимального термического сопротивления боковых поверхностей опоры R1 (в
м2 °С/Вт)
от расчетной температуры наружного воздуха, °С Требования к проектированию опалубок и тепляков с искусственным обогревом5.24. Опалубка с периферийным искусственным прогревом допускается только для стыков (швов) замоноличивания сборных конструкций и монолитных бетонных конструкций сечением не свыше 60×60 см. Массивные опоры должны выдерживаться в тепляках с температурой внутри помещения от +5 до +10°C. 5.25. Тепляки опор допускается устраивать из двух слоев брезента или слоя досок, обшитых толем. Между поверхностью опалубки или неопалубленной поверхностью бетона и конструкцией тепляка должен быть зазор не менее 20 см. В помещении тепляка должно быть не менее двух выходов для людей. 5.26. При проектировании опалубки с паровыми рубашками необходимо руководствоваться следующими указаниями: а) паровые рубашки допустимо применять только для конструкций сечением бетона не свыше 60×60 см; б) термическое сопротивление наружной обшивки рубашки должно приниматься в зависимости от температуры наружного воздуха по кривой R1 рис. 37; в) для равномерного прогрева вертикальных конструкций их паровые рубашки надлежит разделять на отсеки высотой не более 3-4 м, причем необходимо предусматривать самостоятельную подачу пара снизу в каждый отсек; г) ввод пара в паровые рубашки прогонов, балок, ригелей необходимо предусматривать не реже чем через 2-3 м по их длине, а в паровые рубашки плит - не менее чем один ввод на каждые 5-8 м2 поверхности; д) должны быть предусмотрены мероприятия для удаления конденсата и предотвращения образования сосулек льда. Требования к проектированию скользящей опалубки5.27. Скользящую опалубку рекомендуется применять при сооружении однотипных опор высотой не менее 12 м сплошного сечения или пустотелых (с толщиной стенок не менее 20 см). Скользящая опалубка должна, как правило, проектироваться с расчетом 10-15-кратной оборачиваемости. Скользящая опалубка может проектироваться как стержневой (рис. 38), так и бесстержневой с подвеской к направляющим, смонтированным на козловом кране или с закреплением к опорным поясам. 5.28. Скользящая опалубка должна проектироваться с разборными металлическими несущими конструкциями и щитами с металлической или фанерной палубой. Металлическая палуба толщиной не менее 4 мм должна крепиться к каркасу прерывистой сваркой. Фанерная палуба крепится к металлическому каркасу шурупами с потайной головкой, устанавливаемыми через 10 см, и клеем. Рис. 38. Стержневая скользящая опалубка 1 - опалубка; 2 - стойка домкратной рамы; 3 - ригель домкратной рамы; 4 – домкрат; 5 - домкратный стержень; 6 - рабочая площадка; 7 - подвесные подмости Соединения щитов между собой, с кружалами и домкратной рамой должны выполняться на болтах. Допускается устройство щитов из досок толщиной не менее 25 мм и шириной 8-10 см, соединенных в шпунт. Доски должны быть обшиты кровельным железом со стороны бетона. Каркасы дощатых щитов рекомендуется усиливать диагоналями для повышения жесткости. 5.29. Высота щитов опалубки должна быть не менее 1000 мм и не свыше 2000 мм. Меньшие значения должны назначаться для конструкций; бетонируемых с малой скоростью (5÷10 см/ч); большие значения должны приниматься для конструкций, бетонируемых со скоростью 20÷30 см/ч. 5.30. В опалубочных щитах расстояние от верхней кромки до верхнего яруса кружал должно быть не более 150 мм. Щиты должны стыковаться с помощью накладок и болтов на горизонтальных ребрах. 5.31. Для обеспечения наклона стенок щитов с уширением опалубки книзу необходимо при проектировании назначать разницу 5 мм между линейными размерами нижних и верхних кружал (рис. 39). 5.32. Домкратные рамы должны размещаться таким образом, чтобы нагрузка на них распределялась равномерно. Стойки домкратных рам рекомендуется устраивать трубчатыми, а ригели из швеллеров. Для соединения рамы со щитами следует к стойкам рамы приваривать консоли. Для опирания домкрата на ригеле должна предусматриваться специальная площадка. 5.33. В качестве домкратных стержней следует применять стержни диаметром 25-32 мм. Стыкование стержней должно осуществляться на внутренней резьбе (рис. 40). На нижнем конце стержень должен иметь пластину для опирания на фундамент. 5.34. Для подъема стержневой скользящей опалубки рекомендуются специальные гидравлические домкраты (типа ОГД-61, ОГД-61А, ОГД-64, ОГД-64У). Домкратная установка должна обеспечивать скорость подъема в пределах 5÷30 см/ч. 5.35. Для размещения оборудования и производства работ по всему периметру бетонируемого сооружения в уровне верхнего края опалубки должна устраиваться рабочая площадка с перилами, удовлетворяющая требованиям раздела 3. Опирание несущих конструкций рабочей площадки на конструкции кружал и домкратных рам должно быть свободным с соединением досок настила сшивными планками. В дополнение к рабочей площадке рекомендуется устраивать подвесные подмости для работ по отделке бетонной поверхности ниже опалубки. 5.36. Сечения элементов опалубки должны назначаться по расчету. При этом в дополнение к общим требованиям должны учитываться следующие: а) прогиб обшивки опалубки не должен превышать 1,5 мм; б) давление свежеуложенной бетонной смеси должно учитываться на высоте 0,5 м; Рис. 39. Схема наклона щитов скользящей опалубки Рис. 40. Соединение домкратных стержней: а - разрез домкратного стержня; б - пластина для опирания домкратных стержней на фундамент; 1 - корпус стержня; 2 - отверстие с резьбой внутри стержня; 3 - штифт с резьбой в) нормативная нагрузка, возникающая от трения стенок опалубки по бетону, должна приниматься равной 300 кгс/м2 с коэффициентами перегрузки 2,0 и 0,8; г) при расчете устойчивости домкратных стержней опирание на верхнем конце принимается шарнирным, на нижнем конце - заделанным на расстоянии 1 м от верха уложенной бетонной смеси; Рис. 41. Нагрузки, действующие на скользящую опалубку: P - усилия в домкратах; N1, N2, N3, N4 - силы трения; Н1, Н2 - усилия бокового давления бетона; Т1 и Т2 - усилия от нагрузки на рабочие подмости; F - усилия от собственного веса опалубки д) при определении мощности подъемных домкратов должна учитываться нагрузка на рабочие подмости величиной 150 кгс/м2; е) домкратная рама должна рассчитываться на одновременное воздействие усилий бокового давления бетона и сил трения (рис. 41); ж) элементы каркаса щитов (кружала) должны рассчитываться на боковое давление бетона на расстоянии между двумя домкратными рамами; з) в случае, если скользящая опалубка закрыта тепляком, ее элементы должны быть рассчитаны с учетом ветровой нагрузки, действующей на поверхности ограждения. Если конструкция опалубки объединена с устройством для подъема бетонной смеси, в расчете должны учитываться дополнительные крановые нагрузки. При этом силы трения опалубки по бетону должны учитываться с коэффициентом перегрузки 0,8. 5.37. В проекте скользящей опалубки должна быть приведена конструкция устройств для ручного или автоматического контроля за горизонтальностью опалубки и положением ее относительно вертикальной оси (например, в виде заполненной водой системы резиновых гибких шлангов, соединенных между собой стеклянными трубками с мерными делениями, установленными вертикально на стойках домкратной рамы). 6. СПЕЦИАЛЬНЫЕ ВСПОМОГАТЕЛЬНЫЕ СООРУЖЕНИЯ ДЛЯ МОНТАЖА СТАЛЬНЫХ И СТАЛЕЖЕЛЕЗОБЕТОННЫХ КОНСТРУКЦИЙСборочные подмости и промежуточные опоры для полунавесной сборки6.1. Выбор схемы подмостей, конструкции оснований и надстройки для сборки балочных пролетных строений следует производить с учетом конструкции пролетного строения, принятого в проекте способа монтажа и местных условий мостового перехода (гидрогеологических, судоходных и др.). 6.2. Количество, расположение в пролетах моста и размеры промежуточных опор для полунавесной сборки назначаются из условий: обеспечения устойчивости положения и прочности элементов собранной части пролетного строения в момент перед опиранием его переднего конца на последующую опору (приемную консоль); прочности и устойчивости положения промежуточной опоры при действии вертикальных и горизонтальных нагрузок в их невыгодном сочетании. 6.3. Длину устройств для сборки базовой части пролетного строения, собираемого уравновешенно-навесным способом (рис. 42), назначают из условий обеспечения его устойчивости против опрокидывания относительно крайних граней опорных устройств в процессе двусторонней навесной сборки и прочности его элементов перед опиранием собираемых консолей на постоянные или временные опоры. 6.4. Опоры подмостей для сборки пролетных строений со сквозными фермами следует располагать под основными узлами ферм. Опоры подмостей для сборки пролетных строений со сплошными главными балками следует располагать в местах, согласованных с организацией-разработчиком пролетного строения. Рис. 42. Опорные устройства для уравновешенной сборки: а - с опиранием на самостоятельную опору; б - закрепляемые за постоянную опору; 1 - сборочные краны; 2 - опорное устройство; 3 - опора; 4 - временное перекрытие 6.5. Отметка верха опор подмостей должна назначаться с учетом установки под нижними поясами пролетного строения домкратов и сборочных (страховочных) клеток высотой, обеспечивающей удобство работ по установке соединений (обычно 80 см). 6.6. Сборочные (страховочные) клетки и домкраты для выверки строительного подъема, а также регулирования напряжений, должны устанавливаться в местах, где исключены потеря местной устойчивости или повреждения монтируемой и поддерживающей конструкции. В необходимых определяемых расчетом случаях конструкции должны быть усилены. 6.7. Опирание домкратов на металлическое основание (клетки, оголовок) следует производить через фанерные прокладки, а на деревянное основание - через стальную распределительную плиту (как правило, рельсовый пакет). Опирание пролетных строений на домкраты допускается только через распределительную стальную плиту. Во всех случаях на верхнюю часть домкрата и под него должна быть уложена фанерная прокладка. Применение стальных прокладок или прокладок из досок запрещено. 6.8. На оголовках промежуточных опор и опорных устройствах при полунавесной сборке должны быть предусмотрены распределительные ростверки с домкратными батареями и опорными (страховочными) клетками для регулирования положения монтируемого пролетного строения, например, при просадках опор. 6.9. Отметка верха распределительных ростверков промежуточных опор при полунавесной сборке должна назначаться из условия обеспечения проектного положения опорных узлов пролетного строения с учетом возможных деформаций опоры и прогиба монтируемой консоли. В случаях, когда прогиб монтируемой консоли велик, следует принимать специальные меры по опиранию конца пролетного строения на опору (монтаж в повышенном уровне, устройство столиков, аванбеков, подъемных приспособлений на конце консоли и т. п.). 6.10. При замыкании в пролете пролетных строений, собираемых уравновешенно-навесным или навесным способом, на опорных устройствах и капитальных опорах следует предусматривать специальные обустройства, обеспечивающие возможность горизонтального перемещения пролетного строения в пределах, необходимых для установки элементов замыкающей панели (с учетом колебаний температуры). 6.11. В течение всего времени монтажа пролетных строений необходимо обеспечивать свободу их температурных деформаций. 6.12. Оголовки опор и опорные устройства должны иметь рабочие площадки, отвечающие требованиям раздела 3. 6.13. На реках с карчеходом и в судовых ходах надстройка опор и нижний ростверк должны быть объединены для обеспечения опор от сдвига. Для защиты одиночных стоек от повреждений при навале бревен рекомендуется устраивать защитные стенки треугольного очертания в плане. 6.14. Стойки опор должны быть связаны в неизменяемую пространственную конструкцию поперечными, продольными, а в необходимых случаях диагональными и горизонтальными связями. Отдельные опоры из плоских рам должны быть связаны с прогонами и ростверками. Размеры опор поперек моста назначаются из условия обеспечения поперечной устойчивости системы под действием вертикальных и горизонтальных нагрузок, с учетом ширины и конструкции поперечного сечения пролетного строения. 6.16. Конструкций-опор должны быть рассчитаны на прочность и устойчивость положения при воздействии нагрузок в наиболее невыгодных их сочетаниях, могущих иметь место до момента вступления в работу монтируемого пролетного строения. Сочетания нагрузок, рекомендуемые при расчете опор подмостей для сборки пролетных строений, приведены в табл. 21. Таблица 21
Примечания. 1. Вес передвижных подмостей и транспортных средств с грузом учитывается в зависимости от их наличия и невыгоднейшего положения на пролетном строении. 2. Ветер на кран, перемещающийся по проезжей части пролетного строения, учитывается на ветровую поверхность крана, не закрытую пролетным строением. 3. При расчетах устойчивости положения ветровая нагрузка принимается расчетной интенсивности: при расчетах на прочность в третьем сочетании соответствующей V=13 м/с, а во втором сочетании - расчетной интенсивности, но не выше принятой в проекте пролетного строения (для стадии монтажа). 6.17. Элементы оголовков промежуточных опор и подмостей рассчитываются на нагрузку: а) передаваемую от сборочных опорных клеток (при сборке) и домкратов (при поддомкрачивании); б) от собственного веса, а также веса людей, инструмента и мелкого оборудования на рабочих площадках оголовков интенсивностью q=250 кгс/м2. 6.18. Прогоны сборочных подмостей рассчитываются как однопролетные балки на равномерно распределенную по длине прогона нагрузку и сосредоточенные нагрузки, передающиеся через сборочные клетки (при сборке), домкраты (при поддомкрачивании). Равномерно распределенная нагрузка слагается: из собственного веса настила, поперечин и прогонов; веса людей, инструмента и мелкого оборудования (на тротуарах) и веса подкрановых и транспортных путей, если они располагаются на настиле подмостей. Интенсивность нагрузки должна приниматься согласно рекомендациям раздела 2. Сосредоточенная нагрузка слагается: из веса монтируемого пролетного строения и веса рештований на нем; веса подкрановых и транспортных путей, сборочного крана и транспортных средств (с грузами), если они расположены на пролетном строении; давления поперечно направленного ветра на пролетное строение. 6.19. Величины сосредоточенных нагрузок под узлами пролетного строения определяются для двух случаев монтажа: а) при опирании пролетного строения на сборочные клетки (нагрузка по пп. 2, 3, 4, 5 и 8 табл. 21) в предположении его разрезности в узлах; б) при опирании пролетного строения на домкраты (нагрузка по пп. 2, 3 и 8 табл. 21) в предположении его неразрезности в узлах. 6.20. Промежуточные опоры и опорные обустройства при полунавесной сборке рассчитываются по первому предельному состоянию на прочность и устойчивость положения в соответствии с расчетными схемами, изображенными на рис. 43, а, б. Рис. 43. Расчетные схемы нагрузок на промежуточные опоры и опорные устройства: а - при полунавесной сборке; б – при уравновешенно-навесной сборке На рис. 43 обозначено: q - равномерно распределенная нагрузка от веса пролетного строения, рештований, подкрановых и транспортных путей, трубопроводов, людей, инструмента и мелкого оборудования (интенсивностью 75 кгс/пог. м); Ркр - равнодействующая собственного веса крана; Рэл - вес наиболее тяжелого монтажного элемента (с динамическим коэффициентом) при наибольшем вылете стрелы; Ртс - равнодействующая веса транспортных средств с грузом (при наличии); Рп - равнодействующая веса передвижных подмостей с людьми и инструментом (при наличии); G - собственный вес промежуточной опоры (опорных устройств); Wкр, Wпс, Wо - давление ветра соответственно на кран, пролетное строение и опору. Нагрузки определяются при предельной длине консоли монтируемого пролетного строения и наиболее невыгодных положениях сборочного крана, транспортных средств и подвесных подмостей. В случае подачи монтажных элементов сбоку от крана при определении нагрузок от крана Ркр следует учитывать эксцентричный характер нагрузки. 6.21. Вертикальные нагрузки для каждой из промежуточных опор в пролете при полунавесной сборке определяются в предположении полной разгрузки всех предыдущих промежуточных временных опор. 6.22. Вертикальные нагрузки на опорные устройства для уравновешенно-навесного монтажа определяются по схеме двухконсольной балки при максимальной (с одной стороны) длине консоли монтируемого пролетного строения. Если конструкция разгружающих устройств симметрична относительно постоянной опоры, то за опорную базу двухконсольной балки принимается расстояние между постоянной опорной частью и опорной клеткой со стороны длинной консоли (расстояние с на рис. 43, б). Реакции, действующие на опору и на конструкцию разгружающих устройств, определяются пропорционально жесткостям системы. Рис. 44. Расчетная схема сборочных подмостей 6.23. Давление поперечно направленного ветра на пролетное строение и кран передается на опоры подмостей в виде горизонтальных сил, приложенных через клетки или домкраты, и в виде пары вертикально направленных сил PW (рис. 44)
где MW - момент ветровой нагрузки; b - расстояние между осями фермы. Горизонтальные нагрузки от ветра на пролетное строение и краны передаются на опорные устройства пропорционально приходящейся на них доле вертикальной нагрузки. При определении ветровой нагрузки на подмости верхнюю границу их контура принимают по линии, ограничивающей верх сборочных клеток; нижнюю границу принимают на уровне горизонта воды (поверхности грунта). 6.24. Промежуточные опоры должны проверяться на устойчивость до загрузки пролетным строением и после. Устойчивость ненагруженных опор должна проверяться при действии ветровой нагрузки вдоль и поперек моста, а после загрузки только поперек (см. п. 6.15). В необходимых случаях для обеспечения устойчивости опор следует устанавливать ванты и расчалки, рассчитанные на ветровое давление поперечного и продольного ветра на опору, или заанкеривать надстройку за основание. 6.25. Усилия в стойках опор должны определяться без учета работы стоек на растяжение (если конструкция сопряжений стоек с ростверками и нижнего ростверка с основанием не обеспечивает передачу растягивающих усилий). Если по расчету в стойках оказываются растягивающие усилия, расчет повторяется с исключением растянутых стоек. Опоры для надвижки (перекатки)6.26. Количество, размеры и взаимное расположение в пролетах моста и на насыпи подхода опор для надвижки (размеры стапеля) назначаются из условий: прочности и устойчивости против опрокидывания надвигаемого пролетного строения в момент перед накаткой его переднего конца (аванбека) на очередную промежуточную или капитальную опору (обстройку опоры); прочности и устойчивости против опрокидывания опоры под действием вертикальных и горизонтальных нагрузок в их невыгодном сочетании; возможности размещения устройств скольжения, накаточных путей и опорных площадок для установки домкратов на оголовке опоры. 6.27. Для обеспечения плавного перехода перекаточных устройств в местах сопряжения опор (стапеля) с капитальными опорами подмостям (стапелю) должен быть придан строительный подъем, учитывающий упругие и остаточные деформации их под нагрузкой. При расположении сборочного стапеля на насыпи подхода следует обеспечивать достаточную жесткость основания за счет заблаговременной отсыпки насыпи с тщательным послойным уплотнением или за счет устройства жесткого лежневого или свайного основания. Ось стапеля должна составлять в вертикальной плоскости выпуклый угол 1/1000 с осью пролетного строения в первом пролете или располагаться горизонтально. Стапели для сборки надвигаемой конструкции выполняют из шпальных клеток или из бетона. Сборочный стапель может быть устроен из временных опор, обустроенных перекаточными устройствами. Конструкция опор и нижних накаточных путей, укладываемых на насыпи, должна обеспечивать возможность регулирования их положения по высоте в пределах до 1/100 высоты насыпи. 6.28. При надвижке пролетных строений с прерывистыми верхними накаточными путями размер верхней части опоры должен обеспечивать размещение на ней двух смежных участков накаточных путей. Размер по фасаду моста верхней части опоры для надвижки пролетных строений со сквозными фермами и накаточными устройствами только под узлами должен быть не менее 1,25 длины его панели. Конструкция распределительных ростверков должна предусматривать возможность размещения на них необходимого количества регулируемых по высоте устройств скольжения (накаточных путей), устройств для поддомкрачивания пролетного строения, устройств для ограничения боковых смещений и выправки в плане (при необходимости). При расположении накаточных путей (устройств скольжения) под продольными балками проезжей части на распределительных ростверках под поясами главных ферм должны быть предусмотрены страховочные клетки с зазором не более 3 см. Устройства скольжения (накаточные пути) в целях снижения изгибающего момента в опорах разрешается располагать эксцентрично относительно центра опор, сдвигая их вдоль моста против направления движения. При определении величины эксцентриситета следует учитывать возможность появления горизонтальных усилий, направленных против направления движения (температурных, ветровых, от расположения надвигаемой конструкции на уклоне и т. п.). Величина эксцентриситета должна определяться расчетом с учетом прочности опоры как в момент надвижки, так и при неподвижных конструкциях. При надвижке пролетных строений полупролетами с замыканием их в пролете на оголовках опор должны предусматриваться устройства, обеспечивающие возможность поперечного перемещения полупролетов при замыкании. Оголовки опор должны быть снабжены приспособлениями для перестановки деталей устройств скольжения, улавливания и установки катков. При применении полимерных устройств скольжения следует автоматически контролировать горизонтальные усилия, если грузоподъемность тянущих и толкающих устройств превышает расчетную несущую способность перекаточной опоры на восприятие нагрузок при надвижке. 6.30. Отметки распределительных ростверков перекаточных опор назначаются с учетом уровня надвижки пролетного строения (проектного или повышенного), прогиба его консоли в момент перед накаткой ее на промежуточную или капитальную опору и упругих и остаточных деформаций опор под нагрузкой. 6.31. В тех случаях, когда ширина оголовков капитальных опор недостаточна для размещения устройств скольжения (накаточных путей), а также при необходимости сокращения вылета консоли надвигаемого пролетного строения, допускается располагать устройства скольжения на вспомогательных конструкциях уширения оголовков этих опор. При этом должна быть предусмотрена возможность установки опорных частей после надвижки пролетного строения без демонтажа конструкций уширения. 6.32. Опоры для надвижки, обстройка капитальных опор, устройства скольжения (накаточные пути) должны быть рассчитаны на воздействие нагрузок, приведенных в табл. 22, в наиболее невыгодном их сочетании и положении. Таблица 22
Примечания. 1. В третьем сочетании принимается расчетная интенсивность ветровой нагрузки; в первом и третьем - соответствующая V=13 м/с. 2. При сборке конструкций, надвигаемых полупролетами с замыканием в пролете, опоры должны рассчитываться на надвижку вдоль и поперек моста. 3. При надвижке по наклонным путям величина тягового усилия должна определяться с учетом величины и направления уклона. Опоры рассчитываются на прочность и устойчивость положения в продольном и поперечном направлениях в соответствии со схемами приложения нагрузок на опору, изображенными на рис. 45. Рис. 45. Схема приложения нагрузок к перекаточной опоре: а - в продольном направлении; б - в поперечном направлении; P1 и P2 - удельные давления на накаточные устройства (тс/м); ΣP1 и ΣP2 - общая нагрузка на отдельные нитки накаточных устройств (с учетом ветровой нагрузки); Wпс и Wо - давление ветра соответственно на пролетное строение и опору, направленное поперек оси моста; W′пс и W′о - то же вдоль оси моста; Nт - тяговое усилие; G - собственный вес опоры При определении усилий во втором сочетании учитывается коэффициент сочетаний nс=0,9 (к нагрузке от поперечного ветра). Расчеты по второму предельному состоянию при надвижке металлических пролетных строений производятся при вычислении строительного подъема опор, а также в тех случаях, когда возможно появление осадок опор, опасных для надвигаемого пролетного строения. 6.33. Дополнительно к расчетам на сочетания нагрузок, приведенных в табл. 22, опоры должны быть проверены на следующие нагрузки: а) давление продольного и поперечного ветра расчетной интенсивностью на не нагруженную пролетным строением опору; б) от домкратов, если в процессе надвижки предусмотрено поддомкрачивание конца консоли надвигаемого пролетного строения; в) от пролетного строения и монтажного крана, если после надвижки пролетного строения (например, металлической балки сталежелезобетонного пролетного строения) его сборка будет продолжена в пролете с использованием перекаточных опор; г) усилия, возникающие при выправке пролетного строения в плане, перекосе катков и непараллельности путей. а) при опирании пролетного строения на одном участке накаточных путей (рис. 46, а) по формулам: случай 1, с<3а
случай 2, с≥3а
б) при опирании пролетного строения на двух участках накаточного пути (рис. 46, б) по формулам: давление в любой точке накаточного пути
наибольшая величина давления
В приведенных формулах на рис. 46 обозначено: Q - вес пролетного строения и верхних накаточных путей, т; рх - удельное давление на накаточный путь, тс/м; сп - длина участка опирания пролетного строения на накаточный путь, м; lo - положение общего центра всех площадок опирания, определяемое из выражения
е - расстояние от центра площадок опирания до точки приложения силы Q, м; li - координаты центров площадок опирания; ап - расстояние от центра площадок опирания до середины каждой площадки;
Рис. 46. Расчетные схемы нижнего накаточного пути при продольной перекатке: а - при опирании пролетного строения на одном участке накаточного пути; б - при опирании пролетного строения на двух участках накаточного пути 6.35. Вертикальные нагрузки на опоры от веса пролетного строения и верхних накаточных путей определяются как площади соответствующих эпюр давления, вычисленных по вышеприведенным формулам. 6.36. Тяговое усилие и давление продольного и поперечно направленного на пролетное строение ветра распределяются между опорами (участками опирания) пропорционально вертикальным нагрузкам, приходящимся на опоры от надвигаемого пролетного строения:
где N - полное тяговое усилие, определяемое по указанию п. 6.86; Nтn - усилие, приходящееся на п-ю опору; Wд и Wп - давление продольного и поперечного ветра на пролетное строение; Wдn и Wпn - соответственно давление ветра, приходящееся на n-ю опору; Q - полная вертикальная нагрузка от пролетного строения; Qn - вертикальная нагрузка, приходящаяся на n-ю опору. Тяговое усилие и давление ветра прикладываются в уровне верха нижних накаточных путей. Пирсы6.38. Пирсы и подмости для сборки пролетных строений, устанавливаемых на плаву, должны быть расположены, как правило, с низовой стороны моста и на расстоянии, обеспечивающем свободный вывод, перемещение плавучей системы вдоль моста, разворот и завод ее в пролет. Пирсы для выкатки пролетных строений на плавучие опоры следует располагать под опорными узлами перпендикулярно продольной оси сборочных подмостей. 6.39. Длина береговых перекаточных пирсов должна обеспечивать возможность заводки между ними плавучих опор для снятия с пирсов пролетных строений при рабочем горизонте воды, с учетом его колебания и запасом глубины под днищем плавучих опор не менее установленного в п. 6.117. В целях сокращения длины пирсов и для защиты их от воздействия льда, при возможности производства дноуглубительных работ, следует устраивать ковш. Уклон подводной части откосов ковша следует принимать в зависимости от грунта в пределах 1:3÷1:5. 6.40. При значительной высоте моста или длине перекатки (на мелководье) пирсы следует сооружать в низком уровне. Перекатку пролетных строений в этом случае производят: в проектном уровне на специальных перекаточных опорах, являющихся концевыми частями сборочных подмостей; в низком уровне на тележках (катках) или специальными передвижными подъемниками. Подъемка пролетных строений с тележек в уровень перевозки на плаву осуществляется подъемниками, сооружаемыми в конце пирсов. 6.41. Поперечные размеры пирсов определяются количеством накаточных путей (одиночный или совмещенный пирс) и условиями обеспечения их поперечной устойчивости под действием вертикальных и горизонтальных нагрузок. Отметка верха прогонов (плиты) пирсов назначается с учетом конструкции накаточного пути, перекаточных и подъемных устройств и должна быть увязана с отметкой сборочных подмостей и отметками перевозки пролетных строений на плавучих опорах. 6.42. Свайный фундамент низких пирсов рекомендуется перекрывать металлическими балками, а при значительных нагрузках железобетонной монолитной плитой. 6.43. Конструкция пирсов должна предусматривать возможность установки на них домкратов для поддомкрачивания пролетного строения при установке его на накаточном пути и снятия с него. Пирсы в уровне накаточных путей должны иметь рабочий настил и тротуары, отвечающие требованиям раздела 3. 6.44. Пирсы, накаточные пути и устройства должны быть рассчитаны на прочность и устойчивость положения в продольном и поперечном направлениях в соответствии со схемами приложения нагрузок, изображенными на рис. 47, в сочетаниях, приведенных в табл. 23. Кроме того, определяются необходимый строительный подъем (см. п. 6.37) и прогибы прогонов (ферм) перекаточных пирсов. Таблица 23
Примечания. 1. Тяговое усилие на пирсы не учитывается в случаях, когда накаточные пути уперты в капитальную опору или оно воспринимается работой нижних накаточных путей на сжатие (при креплении к ним отводных блоков тяговых полиспастов). 2. Величина ветровой нагрузки в 1 и 3 сочетаниях принимается соответствующей скорости ветра V=13 м/с, во 2 и 4 сочетаниях - расчетной интенсивности. 6.45. Дополнительно к расчетам на сочетания нагрузок, приведенных в табл. 23, пирсы должны быть проверены на: а) давление поперечно направленного на пирсы ветра расчетной интенсивности при отсутствии на них пролетного строения; б) нагрузки от домкратов в местах поддомкрачивания пролетного строения, при установке его на накаточные устройства и снятии с них. 6.46. Давление Q от веса пролетного строения на нижний накаточный путь разрешается принимать равномерно распределенным по длине верхних накаточных путей при симметричном относительно середины пролетного строения их расположении. В поперечном направлении давление Q прикладывается на одиночные пирсы центрально, а на совмещенные - с эксцентриситетом е (рис. 47). Рис. 47. Схемы приложения нагрузок к пирсам: а - вдоль пирсов; б - поперек пирсов; Q - нагрузка от перекатываемого пролетного строения; Nт - тяговое усилие; G - собственный вес рассчитываемых элементов пирса; Wпс, Wо - давление ветра соответственно на пролетное строение и опору вдоль перекатки; W′пс, W′о - то же поперек перекатки 6.47. Давление на накаточный путь Рx (в тс/пог. м) от воздействия на пролетное строение ветра вдоль перекатки допускается определять по методу внецентренного сжатия по формуле (рис. 48)
где Q и Wпс - приходящаяся на пирс часть нагрузки от веса пролетного строения и давления ветра; h - возвышение центра ветрового давления над верхом нижних накаточных путей; т - коэффициент условий работы, принимаемый т=1,1 при с2=0; т=1,0 при с2≠0. Рис. 48. Расчетная схема давления на накаточный путь 6.48. Тяговое усилие Nт, давление ветра на пролетное строение поперек перекатки Wпс и воздействие от перекоса катков Н прикладываются в уровне верха нижних накаточных путей. Распределение между опорами пирса тягового усилия и нагрузки от ветра на пролетное строение вдоль перекатки принимаются: - при длине пирса 50 м и менее (при любой величине пролета в пирсах) - равномерно между всеми опорами; - при большей длине пирса - равномерно между опорами на длине 50 м. 6.49. При расчете прочности элементов опор и прогонов (ферм) пирсов должен вводиться коэффициент надежности kн=1,05. Прогибы прогонов (ферм) пирсов под нагрузкой не должны превышать 1/300l. Накаточные пути и устройства скольженияОбщие требования6.50. Устройства скольжения, накаточные пути, перекаточные устройства, тяговые и тормозные средства, применяемые при надвижке (перекатке) пролетных строений, должны обеспечивать плавное, без рывков и перекосов движение перемещаемых конструкций, надежность их закрепления и безопасность работы. 6.51. Конструкция устройств скольжения и накаточных путей должна обеспечивать: возможность поворота опорных сечений пролетных строений; исключение смещения надвигаемой конструкции поперек направления надвижки; контроль горизонтальных усилий, передающихся на опоры, с автоматическим выключением (например, концевым выключателем) механизмов надвижки при превышении заданных значений деформаций (см. п. 6.29). Конструкция устройств должна исключать появление в пролетном строении недопустимых напряжений из-за местных неровностей, изгиба и перекоса. При надвижке железобетонных пролетных строений в устройствах скольжения должны предусматриваться шарниры (упругие прокладки или плоские домкраты). 6.52. Во всех случаях верхний накаточный путь (прерывистый и непрерывный) должен быть прямолинейным в горизонтальной и вертикальной плоскостях. Прямолинейность накаточного пути в вертикальной плоскости следует обеспечивать применением поперечин переменной высоты и их прирубкой к поясам ферм (продольных балок) или применением металлических распределительных прокладок переменной высоты. 6.53. Конструкция накаточных путей (устройств скольжения) должна обеспечивать возможность размещения домкратов для установки пролетного строения на накаточные пути и опорные части. 6.54. Нижние пути для продольной надвижки пролетных строений на насыпи подходов должны быть уложены на щебеночный или крупнозернистый песчаный балласт, толщина которого под подошвой шпалы должна быть не менее 25 см. Количество шпал должно быть не менее 1440 шт./км при давлении на пог. м пути до 60 тс и 1840 шт./км при давлении на пог. м пути от 60 до 100 тс. При давлении более 100 тс/пог. м рекомендуется устраивать сплошную железобетонную плиту или сплошную деревянную клетку. На оголовках опор для нижних путей устраивается сплошная выкладка из металлических балок или брусьев, скрепленных между собой скобами или болтами для обеспечения восприятия горизонтальных нагрузок. 6.55. Уклон накаточных путей в сторону надвижки не должен превышать 5 % и уклона, соответствующего половине значения от коэффициента трения в перекаточных устройствах. 6.56. Нижние накаточные пути (устройства скольжения) на оголовках опор должны обеспечивать восприятие ими горизонтальных сил, возникающих при надвижке (перекатке) пролетных строений. 6.57. При использовании для накаточных путей двутавровых прокатных балок следует обеспечить устойчивость их положения и формы стенок и полок. 6.58. Опирание на накаточные пути берегового конца пролетного строения, надвигаемого с плавучей опорой, должно осуществляться при помощи специальной балансирной или гидравлической каретки, обеспечивающей равномерную передачу нагрузок при вертикальных колебаниях плавучей опоры. 6.59. Накаточные пути и устройства скольжения должны быть рассчитаны на наибольшие величины удельных давлений. При продольной надвижке пролетных строений по насыпи подходов или перекаточным опорам величины удельных давлений на перекаточные устройства принимаются по огибающим эпюрам давлений, определяемым в соответствии с указаниями пп. 6.32-6.34, для различных участков накаточного пути и стадий надвижки. При поперечной передвижке пролетных строений величины удельных давлений определяются по указаниям п. 6.46 и 6.47. Устройства скольжения6.60. Для надвижки следует применять специальные устройства скольжения. Использовать в качестве устройств скольжения резиново-стальные опорные части пролетных строений не рекомендуется. В зависимости от конкретных условий применяют различные схемы устройств скольжения для надвижки пролетных строений с применением антифрикционных полимерных прокладок. Устройства скольжения могут быть непрерывного (рис. 49) и циклического (рис. 50) действия. В первом случае пролетное строение (балку) надвигают на значительную часть длины без остановок и поддомкрачивания, во втором случае пролетное строение периодически приподнимают с помощью домкратов для изменения положения кареток и контртел. Рис. 49. Устройства скольжения непрерывного действия: а - с переставными полимерными прокладками; б - с переставными салазками; в - по полимерным прокладкам; г - с составными путями скольжения; д - по сплошным путям скольжения; е - с переставным упором; 1 - путь скольжения; 2 - контртело; 3 - каретка; 4 - резиновый шарнир; 5 - полимерная прокладка; 6 - надвигаемая конструкция; 7 - выравнивающий лист; 8 - реечный домкрат; 9 - переставной упор 6.61. Антифрикционные прокладки для устройств скольжения изготавливают из фторопласта-4 марки А или Б незакаленного по ГОСТ 10007-72 или полиэтилена ВП (высокой плотности, например, полиэтилена марок 20206-002, 20306-005, 20406-007, 203-03, 203-18) по ГОСТ 16338-70, высокомолекулярного полиэтилена марки 21504000 по ТУ 6-05-13-74 и нафтленовой ткани. Размер прокладок в плане должен быть не менее 20×20 см. Рис. 50. Устройства скольжения циклического действия: а - с переставным контртелом; б - с переставной кареткой; 1 - путь скольжения; 2 - контртело; 3 - каретка; 4 - резиновый шарнир; 5 - полимерная прокладка; 6 - надвигаемая конструкция; 7 - домкрат для подъемки; 8 - домкрат для надвижки 6.62. Контртела (элементы, по которым перемещается антифрикционная прокладка) изготовляют из: полированных листов
нержавеющей стали с шероховатостью 6.63. Режим сушки после покраски дан в табл. 24. Таблица 24
6.64. Контртело по длине стыкуют без выступов, сварные швы зачищают заподлицо с последующей полировкой или покраской; рекомендуется устраивать уклоны (скосы) спереди и сзади по ходу надвижки. 6.65. Поверхности контртела при применении фторопласта-4 и полиэтилена ВП допускается смазывать. При положительных температурах применяют солидол синтетический и синтетический «С» по ГОСТ 4366-64; при отрицательных температурах ЦИАТИМ 201 по ГОСТ 6267-59 или ЦИАТИМ 203 по ГОСТ 8773-63. Можно использовать и жидкие масла, например, для положительных температур - масло осевое, при отрицательных температурах - веретенное масло АУ по ГОСТ 1642-50, масло АМГ-10 по ГОСТ 6794-55. Жидкие масла имеют меньшую вязкость, легче вытесняются и могут давать несколько повышенное значение коэффициентов трения покоя. Не рекомендуется смазка в условиях, когда возможно попадание пыли. 6.66. Прокладки в
устройствах скольжения располагают свободно на стальном листе, поверхность
которого имеет шероховатость 6.67. При свободном расположении прокладок рекомендуется принимать толщину прокладки 2-5 мм, при расположении в обойме - 4-20 мм. Листы фторопласта следует укладывать в обойме на резиновую и стальную прокладки. При этом из обоймы может выступать до половины толщины прокладки, но не менее 2-3 мм. 6.68. При потолочном расположении применяют полимерные прокладки толщиной 5-20 мм. Их монтажные крепления выполняют потайными винтами или планками, которые не должны выходить за поверхность обоймы. 6.69. В полимерных прокладках на поверхностях, контактирующих с полированным контртелом, рекомендуется делать концентрические выточки - аккумуляторы смазки сечением 1×0,5 мм (см. рис. 51, б). Рис. 51. Расположение в устройствах скольжения антифрикционных прокладок: а - свободно опирающихся на шероховатую поверхность; б - заключенных в обойму; 1 - надвигаемая конструкция; 2 - контртело; 3 - полимерная прокладка; 4 - опорная поверхность; 5 - обойма; 6 - канавка для смазки 6.70. Упругую прокладку между фторопластом и нижней поверхностью пролетного строения выполняют из полос пятислойной фанеры, стыкуемой «в торец». Уступы на нижней поверхности балок перед установкой фанеры устраняют стальными прокладками (в том числе клиновидными). 6.71. В схемах, изображенных на рис. 49 и 50, рекомендуются при положительных температурах номинальные осевые давления для фторопласта-4 до 150 кгс/см2, для полиэтилена ВП - до 150 кгс/см2, а при отрицательных температурах соответственно до 200 и 300 кгс/см2. На нафтленовую ткань давление не должно превышать 300 кгс/см2. 6.72. При надвижке пролетных строений, расположенных на продольном уклоне или вертикальной кривой, уклон плоскости скольжения устройств скольжения на каждой опоре должен быть равен уклону пролетного строения на этой опоре. 6.73. В случае надвижки пролетных строений при температурах ниже 0 °С для уменьшения коэффициента трения следует применять устройства, скольжения с обогреваемым контртелом (рис. 52). Рис. 52. Деталь устройства скольжения с обогреваемым контртелом: 1 - надвигаемая конструкция; 2 - фанера; 3 - фторопласт; 4 - контртело; 5 - стальной лист с пазами; 6 - трубчатые электронагреватели; 7 - листовой асбест; 8 - стальной лист δ=4÷6 мм; 9 - резиновая прокладка; 10 - опорная конструкция Конструкция устройства скольжения и терморегулятора должна обеспечивать равномерный нагрев контртела и постоянство температуры с точностью ±5 °С. При надвижке без обогрева контртела следует применять смазки (веретенное масло, осевое масло), имеющие температуру застывания ниже предполагаемой. 6.74. Для обеспечения проектного положения пролетных строений в плане при надвижке их по полимерным устройствам скольжения следует предусматривать специальные направляющие устройства (рис. 53), рассчитанные на восприятие бокового усилия при надвижке. Величина последнего принимается равной сумме нагрузок от давления ветра рабочего состояния (V=13 м/с) в сочетании с усилиями от бокового смещения надвигаемой конструкции (по п. 2.16). Боковые устройства должны быть также рассчитаны на разность усилия от давления ветра расчетной интенсивности поперек надвижки и горизонтального усилия в устройствах скольжения (третье сочетание нагрузок см. табл. 23). Рис. 53. Направляющее устройство: 1 - домкрат винтовой; 2 - обрезиненный направляющий ролик; 3 - устройство скольжения; 4 - опорная конструкция Направляющие устройства, обеспечивающие правильное положение надвигаемой конструкции в плане, должны быть расположены не менее чем на трети опор, в том числе на первой (по ходу надвижки) промежуточной опоре. Направляющие устройства устанавливаются с зазором между боковой гранью надвигаемой конструкции и роликом устройства. Размер зазора должен быть больше на 1 см суммы допусков на точность монтажа и изготовление конструкции. Рекомендуется объединять направляющие устройства с устройствами скольжения. При применении полимерных устройств скольжения необходимо заземлять надвигаемую конструкцию на всех стадиях сборки и надвижки. Накаточные пути6.75. Накаточные пути рекомендуется выполнять преимущественно из старогодных железнодорожных рельсов на деревянных поперечинах. Количество и тип рельсов (или балок) в накаточных путях, а также шаг поперечин определяются расчетом, с учетом конструкции перекаточных устройств. При перекатке на катках нижний накаточный путь, как правило, должен иметь на 1 рельс (балку) больше, чем верхний. Стыки рельсов следует располагать вразбежку, а рельсы соединять без зазоров и перекрывать плоскими накладками. Концы накаточных путей должны быть плавно отогнуты по радиусу не менее 50 см в сторону подошвы с уклоном до 15 % - нижние на длине не менее 1,0 м, верхние - на длине не менее 0,20 м. Рабочие поверхности накаточных путей должны быть ровными, сварные стыки и прочие выступы - зачищены. Старогодные рельсы должны иметь одинаковую высоту. Конструкция крепления рельсового пути к шпалам должна обеспечивать передачу продольных усилий. 6.76. Верхний накаточный путь может быть как непрерывным, так и прерывистым. Прерывистый путь допускается устраивать под узлами ферм в случаях недостаточной прочности и жесткости поясов пролетных строений, а также при надвижке их по насыпи подходов или сплошным подмостям. Допускается использование нижнего пояса балок со сплошной стенкой без накаточного пути. 6.77. Распределительные устройства, каретки и роликовые тележки должны обеспечивать равномерное распределение нагрузки на катки или ролики. Изгибающие моменты в распределительных устройствах принимаются равными изгибающему моменту консоли, загруженной равномерно распределенной нагрузкой, соответствующей площади опирания катков (рис. 54). Каретки для поперечной перекатки на катках должны быть жестко скреплены с перекатываемой конструкцией и рассчитаны с учетом возможного бокового усилия (распора). Рис. 54. Опирание узла пролетного строения на накаточные пути при продольной надвижке на плаву: 1 - опорный узел пролетного строения; 2 - опорные части; 3 - каретка; 4 - катки; 5 - нижний накаточный путь 6.78. Роликовые опоры должны состоять из отдельных двухроликовых элементов, последовательно объединяемых шарнирно в группы из двух, четырех, восьми элементов. 6.79. Конструкция тележек для поперечной перекатки (рис. 55) должна обеспечивать: равномерную нагрузку на все ролики тележки; возможность продольного перемещения одного из концов перекатываемого пролетного строения по тележке для уменьшения влияния распора, возникающего от непараллельности накаточных путей, забега тележек и от изменения длины пролетного строения при прогибах и температурных перепадах. Тележки должны быть устойчивыми в свободном состоянии. Высота реборд колес менее 20 мм не допускается. Тип рельса для перекаточного пути должен выбираться применительно к рекомендациям для подкрановых путей (раздел 3). Рис. 55. Опирание узла пролетного строения при поперечной перекатке на тележках: 1 - опорный узел пролетного строения; 2 - катки; 3 - перекаточная тележка; 4 - опорные плиты тележки; 5 - ограничители положения катков 6.80. Катки для перекатки
рекомендуется применять диаметром 80-120 мм из твердых сталей не ниже марки Ст.
5 с шероховатостью поверхности катания Длина катков должна быть на 20-30 см больше ширины накаточного пути. Расстояние между катками в свету не должно быть менее 5 см. 6.81. Количество рельсов накаточного пути, длина накаточных кареток, диаметр катков и их количество на погонный метр пути назначаются, исходя из величин предельных нагрузок на пересечение катка с рельсом или балкой накаточного пути, принимаемых по табл. 25, и наибольших величин удельных давлений на накаточный путь с учетом дополнительного коэффициента К=1,25, учитывающего неравномерность передачи нагрузки на отдельные катки. Таблица 25
Тяговые (толкающие) и тормозные устройства6.82. Надвигаемые конструкции должны оснащаться тяговыми, тормозными и стопорными устройствами. Тяговые (толкающие) устройства должны обеспечить плавную надвижку конструкций и иметь тормозные и стопорные приспособления и ограничители грузоподъемности. Скорость перемещения не должна превышать 0,25 м/мин при надвижке на устройствах скольжения и 0,5 м/мин при перекатке на катках и на роликовых тележках. 6.83. Тормозные устройства должны обязательно устраиваться в случаях: надвижки по уклону более 10 %; надвижки с помощью тяговых лебедок; если ветровая нагрузка вдоль надвижки больше 0,5 нормативного усилия трения в устройствах скольжения. В остальных случаях допускается ограничиваться стопорными устройствами, ограничивающими возвратные движения надвигаемых конструкций. 6.84. Для перемещения пролетных строений следует применять лебедки с канатоемкостью 200-400 м или домкраты со скоростью рабочего хода не свыше 5 мм/с. Автомобили и тракторы как тяговые средства не допускаются. Тяговые лебедки для перемещения пролетного строения с помощью плавучей опоры на переднем конце следует располагать на пролетном строении, а на плавучей опоре следует располагать пеленажные лебедки. 6.85. Относительно продольной оси перекатки полиспасты располагаются строго симметрично и так, чтобы тросы не мешали работе с катками, а угол между направлением перекатки и осью полиспаста был не более 10°. Расстояние между блоками при максимальном сближении должно быть не менее 5 диаметров роликов. Подвижные блоки полиспаста должны крепиться к пролетному строению так, чтобы исключить разворот блока вокруг горизонтальной оси. Расположение отводных роликов и лебедки должно удовлетворять условию, чтобы трос к барабану лебедки подходил снизу под углом не более 5° выше и 90° ниже горизонта. При длине перекатки, превышающей максимальную длину полиспастов (определяемую канатоемкостью лебедки), необходимо предусматривать возможность быстрого перекрепления блоков полиспаста. 6.86. Тяговые и тормозные средства должны быть подобраны на суммарную нагрузку от силы трения, определяемой по указанию раздела 2, давления продольного ветра на пролетное строение в процессе его надвижки (при скорости V=13 м/с), составляющей веса, направленной вдоль плоскости надвижки (при наклонном ее положении), а также гидродинамического усилия (при надвижке с помощью плавучей опоры). 6.87. Выбор мощности лебедок
производится с учетом отношения величины нормативного тягового усилия N к
усилию Р в сбегающем конце троса у лебедки Таблица 26
Примечания. 1. Ролик неподвижного блока, с которого сбегает конец троса, считается отводным. 2. Данные относятся к полиспастам с блоками на подшипниках трения. Величина К приведена ориентировочно и может уточняться в зависимости от конструкции полиспаста (например, типа подшипников). Паспортная грузоподъемность лебедки при надвижке пролетных строений должна не менее чем на 30 % превышать усилие Р. Паспортная грузоподъемность домкратов должна не менее чем на 30 % превышать величину тягового усилия. Диаметр роликов (отводных, полиспаста) должен приниматься равным не менее 15 диаметрам троса. 6.88. При применении тянущих домкратов должны применяться тяги с вытяжкой при расчетном тяговом усилии не более 10 см (предпочтительно в виде пластинчатых цепей). Рекомендуется тянущие домкраты располагать на устоях мостов, передавая нагрузку на тягу через рамку или траверсы. Рекомендуется предусматривать специальные домкраты для возврата поршней рабочих (тянущих) домкратов в исходное положение. 6.89. При надвижке пролетных строений с помощью домкратов, упираемых в хвостовую часть пролетного строения, рекомендуется устраивать передвижные упоры и съемные вставки, устанавливаемые между домкратами и торцом пролетного строения. При сплошных нижних накаточных путях, закрепленных от смещения, рекомендуется применять перемещающиеся домкраты с зажимами (типа гидропередвижчика). Для повышения трения между упорными плитами гидродомкрата и накаточным путем следует укладывать стальные прокладки с насеченной и закаленной поверхностью. 6.90. Домкраты должны располагаться строго симметрично относительно оси надвижки и объединяться в общую батарею. 6.91. При надвижке в период, когда температура наружного воздуха ниже минус 40 °С, должны применяться механизмы (лебедки, домкраты), отвечающие общим техническим требованиям ГОСТ 14892-69* «Машины, приборы и другие технические изделия, предназначенные для эксплуатации в условиях низких температур» (северное исполнение). Аванбеки, приемные консоли и анкерные устройства6.92. При надвижке пролетного строения с применением аванбека длина последнего должна назначаться из условия обеспечения прочности и устойчивости против опрокидывания надвигаемой системы (аванбека с пролетным строением) в момент перед опиранием аванбека на следующую капитальную или промежуточную опору. Конец аванбека, для облегчения его накатывания на опору, следует выполнять с плавным подъемом кверху на величину прогиба от собственного веса консольной части. При надвижке неразрезных пролетных строений или при опирании на несколько опор при надвижке длина аванбека и его жесткость должны назначаться из условия обеспечения прочности, устойчивости элементов пролетного строения и, по возможности, минимальных усилий в надвигаемом пролетном строении. Оптимальная длина аванбека обычно составляет 0,6-0,7 расстояния между опорами. При надвижке неразрезных пролетных строений следует подбирать жесткость аванбека так, чтобы обеспечить минимальные усилия в надвигаемом пролетном строении. 6.93. Конструкция аванбека и его крепление к пролетному строению должны быть рассчитаны для следующих трех положений: а) нахождение аванбека на весу, когда он работает как консоль; б) поддомкрачивание переднего конца аванбека; в) опирание аванбека в любом из его промежуточных узлов. Сочетания нагрузок при этом должны приниматься по табл. 27. 6.94. Приемные консоли на капитальных опорах должны быть рассчитаны на воздействие нагрузок, приведенных в табл. 27 в наиболее невыгодном их сочетании и положении. Таблица 27
Примечания. 1. Вес пролетного строения при подъеме (усилия в домкратах) должен приниматься с коэффициентом перегрузки, учитывающим возможное примерзание его к основанию, сцепление и др. Величина коэффициента принимается от 1,1 до 1,5. 2. В расчетах на устойчивость положение пролетного строения принимается с перекосом (взаимным превышением узлов), равным 0,001 расстояния между узлами опирания. 3. В первом сочетании учитывается давление ветра расчетной интенсивности; во втором - соответствующее скорости ветра V=13 м/с. Усилия, передающиеся на приемную консоль, не должны превышать усилий, воспринимаемых конструкцией капитальной опоры (по проекту моста). 6.95. Конструкция шпренгеля должна обеспечивать возможность регулирования прогиба консоли пролетного строения при надвижке его на капитальные опоры (обычно поддомкрачиванием стойки шпренгеля). В проекте шпренгеля должны быть указаны способы непосредственного измерения усилий в шпренгеле и стойке на всех стадиях надвижки пролетного строения. 6.96. Расчетное усилие в вертикальных анкерах, удерживающих от опрокидывания пролетное строение, собираемое внавес, определяется по формуле
где Моп и Муд - расчетные опрокидывающий и удерживающий моменты от постоянных и крановых нагрузок; l - величина анкерного пролета; kн - коэффициент надежности, равный 2,0; т - коэффициент условий работы, т=0,7 при устройстве раздельных анкеров в плоскости каждой фермы и т=1 в остальных случаях. 6.97. Расчет заделки анкеров в бетон выполняется согласно СНиП II-21-75. При расчете заделки из фасонных профилей сцепление принимается равным 10 кгс/см2 для элементов с гладкой поверхностью и 15 кгс/см2 для элементов с поверхностью периодического профиля. 6.98. Несущая способность анкерного массива проверяется в плоскости конца анкеров. При этом учитывается только собственный вес массива и не учитывается работа бетона на растяжение (т. е. вес вышележащей части должен быть не менее Р). 6.99. Независимо от результатов расчета глубина заделки анкеров в бетон должна быть не менее одного метра. 6.100. Конструкция вертикального анкера должна обеспечивать свободу температурных перемещений. Устройства для подъемки (опускания) пролетных строений6.101. Конструкция неподвижных подъемных средств (мачт, подъемников и др.) должна обеспечивать: устойчивость поднимаемого пролетного строения или его части на всех этапах подъемки; равномерную нагрузку на подъемные устройства; необходимые горизонтальные перемещения подъемных устройств или узлов подвешивания (опирания) пролетного строения; возможность закрепления поднимаемого пролета в процессе подъема; удобство и безопасность обслуживания. 6.102. Подъемка (опускание) пролетных строений полиспастами рекомендуется при нагрузке на полиспаст до 50 тс. Подвешивание пролетных строений к полиспастам должно осуществляться по статически определимой схеме, исключающей перегрузку полиспастов или полиспастных групп. 6.103. При подъемке за один конец пролетного строения с поворотом вокруг шарнира под другим концом конструкция поворотного шарнира и его закрепление должны допускать восприятие возникающих при этом горизонтальных усилий Опирание второго конца на домкратную установку должно обеспечивать вертикальную передачу нагрузки на домкраты и возможность беспрепятственного горизонтального перемещения поднимаемого конца конструкции в пределах, устанавливаемых геометрическими расчетами. 6.104. Опускание пролетных строений возможно производить на домкратах и металлических песочницах. При этом должны быть приняты конструктивные меры, обеспечивающие устойчивость домкратов (песочниц) и восприятие ими горизонтальных нагрузок от ветра. 6.105. Песочницы должны быть цилиндрической формы. Конструкция песочниц должна допускать их демонтаж в процессе опускания пролетного строения. Соединения элементов корпуса песочниц должны быть плотными и не допускать высыпания песка под нагрузкой. Применяемый в песочницах песок должен быть чистым, сухим и просеянным на сите с ячейками 1-1,2 мм. Давление на песок в песочницах не должно превышать 50 кгс/см2. Песочницы должны быть защищены от попадания в них воды и снега. 6.106. При проектировании песочниц должны быть выполнены расчеты: а) поршня - на прочность при действии сосредоточенной нагрузки сверху и равномерно распределенного давления по плоскости опирания на песок; б) основания песочницы - на равномерно распределенную нагрузку по площади песчаного заполнения; в) боковых стенок песочниц - на вертикальное и боковое давление. Величина вертикальной нагрузки принимается равной весу опускаемого груза. Величина бокового давления σn принимается равной
где σv - вертикальные напряжения в песке (от внешней нагрузки и веса столба песка); ξ - коэффициент бокового давления, равный 0,4 для песочниц с выборкой песка сверху и 1,0 - для песочниц с выпуском песка через нижние отверстия. Сечение цилиндрических песочниц допускается проверять на прочность в предположении равномерного давления изнутри по периметру окружности. Усилие N (в кгс/см) радиального сечения принимается равным
где d - диаметр песочницы, см. 6.107. Подъемка (опускание) пролетных строений или их блоков домкратами на клетках допускается, как правило, при высоте клеток не свыше 2 м. Материал и размеры клеток должны обеспечивать устойчивое положение поднимаемого пролетного строения и равномерное распределение нагрузки по их площади и основанию. Брусья клеток должны быть соединены скобами. 6.108. Опирание домкратов на металлическое основание (клетки, оголовок) следует производить через фанерные прокладки, а на деревянное основание - через распределительную металлическую плиту (как правило - рельсовый пакет). Опирание пролетных строений на домкраты допускается только через распределительную плиту или наддомкратные пакеты. На головы домкратов во всех случаях должны быть уложены фанерные прокладки. Применение металлических прокладок или прокладок из досок запрещается. 6.109. Домкратные установки для подъемки (опускания) пролетных строений (за исключением отдельно стоящих домкратов) должны иметь, как правило, приводные гидронасосы для питания и централизованное управление, позволяющее регулировать режим работы каждого или группы домкратов. Домкратные установки, а также отдельно стоящие домкраты должны быть снабжены опломбированными манометрами и страховочными приспособлениями в виде стопорных гаек или набора полуколец (помимо клеток), что должно быть оговорено в проекте. Объединение домкратов в батареи рекомендуется проектировать с таким расчетом, чтобы в процессе подъемки или опускания пролетное строение всегда опиралось в трех точках. 6.110. В проекте устройств для подъемки (опускания) пролетного строения должны быть указаны средства и способы контроля его положения по отметкам и в плане, а в необходимых случаях - приборы по определению напряжений и прогибов. 6.111. При проектировании подъемных устройств должны быть выполнены расчеты (по первому предельному состоянию) прочности и устойчивости подъемных обустройств (фермоподъемников, песочниц, клеток). 6.112. Нагрузки и их сочетания для расчета подъемных устройств принимаются по табл. 27. 6.113. Грузоподъемность домкратов и лебедок должна превышать не менее чем на 30 % приходящуюся на них нормативную нагрузку с учетом перегруза от ветра скоростью 13 м/с. 6.114. Элементы обстройки и распределительных конструкций, непосредственно воспринимающие нагрузку от подъемных средств, и узлы подвеса или опирания поднимаемого пролетного строения должны быть рассчитаны на восприятие сосредоточенной опорной реакции, увеличенной на 30 % (т. е. в предположении опирания конструкции на три точки). 6.115. При необходимости опирания пролетного строения в период опускания (подъемки) на три опоры и более (по длине его) в проекте должен быть строго определен порядок работ в зависимости от усилий и деформаций, возникающих при опускании. Плавучие опоры и устройства для их перемещения6.117. Размеры и водоизмещение плашкоутов (барж) плавучих опор и их взаимное расположение должны приниматься исходя из условия обеспечения необходимой грузоподъемности и остойчивости в продольном и поперечном направлениях как отдельных плавучих опор, так и плавучей системы в целом, определяемых по указанию пп. 6.135 и 6.137. При этом должны быть соблюдены зазоры между бортами плавучих опор и пирсами, а также постоянными опорами не менее 0,5 м при выводе плавучей системы из ковша и 1 м при установке ее в пролете. Запас глубины воды под днищем плавучих опор должен быть не менее 0,2 м, с учетом возможного колебания горизонта воды в районе перевозки, определяемого в соответствии с указаниями п. 6.116. 6.118. Плашкоуты плавучих опор следует, как правило, комплектовать из инвентарных металлических понтонов закрытого типа, допускающих балластировку через донные отверстия, а сброс водного балласта - подачей сжатого воздуха в балластируемые понтоны. При применении плавучих опор в условиях возможного резкого подъема воды в результате нагона ее ветром использование указанных понтонов является обязательным. Разрешается использование металлических палубных барж при достаточной прочности и жесткости их корпуса на действие возникающих в процессе перевозки сил. В необходимых, определяемых расчетом случаях, корпус барж следует усилять. При устройстве плавучей опоры из нескольких барж последние должны быть жестко соединены между собой в поперечном направлении. 6.119. Плашкоуты плавучих опор из понтонов следует принимать преимущественно прямоугольного очертания в плане, располагая понтоны симметрично относительно оси опорного давления. Понтоны типа КС, при соединении их в плашкоуты, следует располагать продольной стороной в направлении действия наибольшего изгибающего момента. Объединение понтонов типа КС в плашкоуты допускается при высоте борта как 1,80 м, так и 3,60 м. Последнее рекомендуется при наличии (обеспечении) достаточных глубин воды на путях перемещения плавучей системы и обеспечении остойчивости плавучей опоры (системы). 6.120. При использовании в плавучих опорах барж следует руководствоваться их паспортными данными и исполнительными чертежами, с учетом результатов натурного обследования их состояния. Баржи для плавучих опор могут быть использованы как сухогрузные, так и наливные с продольной и поперечными переборками. При выборе барж, кроме указанного выше, следует руководствоваться следующим: максимальную длину барж рекомендуется принимать не более 50 м; грузоподъемность барж принимать не менее чем на 25 % больше расчетной нагрузки на них; при образовании плавучей опоры из нескольких барж последние должны быть однотипные и одинаковой грузоподъемности. 6.121. Плавучие опоры прямоугольного в плане очертания, имеющие значительную ширину и осадку, перемещаемые при скорости течения более 1,0 м/с, следует оборудовать обтекателями, преимущественно закрытого типа. 6.122. При значительных сосредоточенных нагрузках на плавучую опору от веса перевозимого пролетного строения или его блока для распределения усилий в плашкоуте плавучей опоры рекомендуется: а) применение металлических ферм усиления, включаемых в совместную с корпусом плашкоута работу. В этом случае усилия между плашкоутом и фермами обстройки при расчете плавучих опор должны распределяться из условия совместности деформаций. При этом должна быть учтена деформативность плашкоутов из понтонов КС вследствие остаточных деформаций в их стыках, соединяемых на болтах; б) создание предварительного напряжения в плавучей опоре путем придания плашкоуту обратного выгиба посредством балластировки его концевых частей, объединения обстройки с плашкоутом в единую конструкцию и последующего сбрасывания балласта. При значительном запасе в грузоподъемности барж и наличии достаточных глубин воды создание предварительного напряжения допускается производить только посредством балластировки носового и кормового отсеков. 6.123. Для восприятия горизонтальных поперечных составляющих усилий, передаваемых на плашкоуты (баржи) при буксировке, пролетное строение должно быть раскреплено тросовыми расчалками за носовую и кормовую части плашкоутов (барж). В состав этих расчалок должны быть включены натяжные устройства. Аналогичные расчалки (поперечные и диагональные) должны быть установлены между плавучими опорами. 6.124. При вынужденной передаче нагрузки от веса перевозимого пролетного строения эксцентрично относительно продольной оси отдельно установленного в плавучей системе плашкоута (баржи) обстройка смежных плашкоутов (барж) должна быть объединена соединительными фермами, установленными в средней части плавучих опор. 6.125. Обстройка плавучих опор должна распределять вес перевозимого пролетного строения в соответствии с расчетом плашкоута (баржи) на прочность корпуса, а также местную прочность и устойчивость набора. Обстройку плавучих опор следует, как правило, выполнять из инвентарных конструкций. 6.126. Высоту обстройки плавучих опор необходимо назначать исходя из возможного максимального уровня воды в период перевозки, с учетом длительных и суточных колебаний его. При колебаниях уровня воды более ±0,2 м высоту обстройки следует регулировать съемными оголовками и балочными клетками. 6.127. Плавучие опоры должны быть оборудованы средствами для регулирования и контроля находящегося в них водного балласта, положения пролетного строения по высоте, перемещения плавучей системы, раскрепления пролетного строения к постоянным опорам при заводке в пролет моста, раскрепления плавучих опор между собой и с пролетным строением и раскрепления на якорях при сильном ветре, включая аварийные якори и приспособления для непосредственного закрепления якорных тросов на палубах плашкоутов (барж). Конструкция указанных приспособлений должна обеспечивать быстрое и плавное торможение плавучей системы после сброса якорей. 6.128. Балластировочные средства и устройства должны обеспечивать: а) балластировку плавучих опор в течение 1,5-2,0 часов и разбалластировку - в течение 2,0-2,5 часов; б) подачу водного балласта во все балластируемые понтоны и отсеки плавучей опоры; в) сброс водного балласта из всех без исключения понтонов и отсеков плавучей опоры. При балластировке понтонов через донные отверстия на каждом плашкоуте должен находиться резервный самовсасывающий насос для откачки воды из глухих понтонов, если они протекают и невозможно удалить воду сжатым воздухом; г) безотказную подачу сжатого воздуха в понтоны для отжатия балласта в течение всего периода эксплуатации плавучей опоры; д) бесперебойность работы системы балластирования в случае погружения палубы плашкоута ниже горизонта воды до 20 см; е) минимальную высоту неоткачиваемого «мертвого» (остаточного) балласта, указанную в п. 6.141. 6.129. При балластировке понтонов через донные отверстия часть понтонов, распределенных равномерно по площади плашкоута, должна быть закрыта от поступления воды через донные отверстия. Количество этих понтонов должно определяться по указаниям п. 6.135. Остальные понтоны должны быть объединены в четыре симметрично расположенные секции, каждая из которых должна иметь обособленную воздушную разводящую сеть с отводом к пульту управления. Конструкция пульта управления должна допускать подачу сжатого воздуха как от компрессоров, установленных на плавучей опоре, так и от береговых компрессорных станций (при наличии). В последнем случае на плавучей опоре допускается установка только рабочего и запасного компрессоров, используемых в особых случаях (при утечке воздуха из балластируемых понтонов, при водотечности небалластируемых понтонов). Мощность рабочего и запасного компрессоров должна составлять не менее 15 % мощности компрессоров, определенной по указаниям п. 6.128. Конструкция пульта управления и воздушной разводящей сети должна допускать подачу (выпуск) сжатого воздуха: а) одновременно во все секции; б) только в любую секцию; в) только в любой понтон. Каждый понтон должен иметь отдельный кран на воздушной разводящей сети. 6.130. Порядок балластировки и разбалластировки плавучих опор устанавливается проектом и должен обеспечивать равномерное их загружение, не вызывать перенапряжения в конструкциях плавучей опоры или ее обстройки, а также обеспечивать остойчивость отдельных плавучих опор и всей плавучей системы в целом. 6.131. Порядок погрузки, перевозки и установки пролетных строений на опорные части определяется проектом производства работ с учетом требований главы СНиП III-43-75 «Мосты и трубы». Средства для перемещения и закрепления плавучих опор должны отвечать требованиям пп. 6.145-6.155. 6.132. При расчете плавучих опор должны быть проверены: а) по первому предельному состоянию (на расчетные нагрузки): плавучесть; остойчивость плавучих опор и плавучей системы в целом; плавучесть отдельной опоры, балластируемой через донные отверстия в понтонах; прочность плашкоутов (барж), обстройки и соединительных ферм; б) по второму предельному состоянию (на нормативные нагрузки): объем водного балласта и емкость балластных резервуаров (отсеков), с учетом допустимых осадок, деформации плавучих опор и погрузочных обустройств. 6.133. Плавучие опоры должны рассчитываться на действие следующих нагрузок: вес перевозимого пролетного строения с обустройствами; вес плавучей опоры с обустройствами и оборудованием; вес водного балласта; ветровая нагрузка; гидростатическое давление воды; волновая нагрузка. 6.134. Сочетания нагрузок, рассматриваемые при расчете плавучих опор в продольном и поперечном направлениях, принимаются по табл. 28. При расчете плавучих опор на прочность, при втором сочетании нагрузок, коэффициент сочетаний временных нагрузок пс принимается равным 0,95. К временным нагрузкам относятся все нагрузки, кроме веса плавучей опоры с обустройствами и оборудованием, веса остаточного балласта и гидростатического давления воды. Таблица 28
Примечания. 1. Приведенные в пп. 1, 2, 6 и 7 нагрузки исчисляются по указаниям раздела 2, с соответствующими коэффициентами перегрузки. 2. Гидростатическое давление воды определяется по указанию п. 6.144. 3. При условии обеспечения местными организациями гидрометеорологической службы надежного прогноза о скоростях ветра на период перевозки расчет остойчивости плавучей системы в целом допускается производить на давление ветра, вычисленное по расчетной ветровой нагрузке, равной 50 кгс/м2, независимо от высоты. Остойчивость отдельной опоры при отстое ее рассчитывается на давление ветра, исчисленное по указанию раздела 2, а при выводе ее из пролета - на нормативное ветровое давление, соответствующее скорости ветра 10 м/с. Остойчивость отдельной плавучей опоры, собранной из понтонов, балластируемых через донные отверстия, допускается при отстое проверять с учетом отжатая воздухом воды из балластируемых понтонов. 4. Волновая нагрузка определяется по прилож. 15. 6.135. Плавучесть плавучих опор должна определяться по формуле
где γ - объемный вес воды, равный для пресной воды 1 тс/м3; ΣVп - предельное водоизмещение опор плавучей системы, равное суммарному водоизмещению их при осадке, равной высоте борта по миделю. Для плашкоутов, собранных из понтонов, прогиб плашкоута допускается не учитывать; ΣQ - расчетный вес плавучей системы, равный сумме расчетных весов: перевозимого пролетного строения с обустройствами - Р, плавучих опор с обустройствами и оборудованием - G, регулировочного и остаточного балласта - Gрег+Gост; kн - коэффициент надежности, принимаемый равным: для плавучих опор, образованных из понтонов, балластируемых через донные отверстия, - 1,125; для плавучих опор, образованных из понтонов и барж, балластируемых с помощью насосов, - 1,20. Для плавучих опор, собранных из понтонов, балластируемых через донные отверстия, плавучесть от воздействия постоянных нагрузок должна обеспечиваться только глухими небалластируемыми понтонами. 6.137. Остойчивость должна определяться следующими условиями (рис. 56): а) метацентрическая высота ρ-а должна быть положительной во всех расчетных случаях, т. е.
где ρ - метацентрический радиус, равный расстоянию между центром тяжести вытесненного объема воды (центром водоизмещения zv) и метацентром zm, расположенным в точке пересечения вертикали, проходящей через смещенный центр водоизмещения z′v, с осью О-О плавучей системы или опоры; а - расстояние от центра тяжести плавучей системы za до центра водоизмещения zv, принимаемое равным тому же расстоянию при начальном положении плавучей опоры (системы); б) при крене и дифференте плавучих опор и плавучей системы в целом от действия расчетной ветровой нагрузки кромка палубы в любой точке не должна уходить под воду. Расчет осадок должен производиться согласно указаниям п. 6.139 и 6.140. Примечания. 1. При проверке остойчивости все нагрузки должны приниматься расчетные. Значение коэффициента перегрузки для собственного веса плашкоута с обстройкой и оборудованием должно приниматься в их невыгодном значении (0,9 или 1,1). 2. В расчетах остойчивости плавучей системы, а также отдельных плавучих опор, в случае применения плашкоутов из понтонов, балластируемых через донные отверстия, принимается, что все балластируемые понтоны изолированы от воздухопроводящей сети, т. е. краны у каждого понтона перекрыты, что должно быть особо оговорено в проекте. Рис. 56. Схема определения остойчивости плавучей опоры 6.138. Величина метацентрического радиуса ρ (в м) должна определяться по формуле
где I - момент инерции площади плашкоутов (барж) в уровне ватерлинии плавучей опоры относительно оси ее наклонения, принимаемый при кренах, относительно оси с меньшим моментом инерции, а при дифферентах относительно оси с большим моментом инерции площади, м4; Σin - сумма собственных моментов инерции поверхности балласта в понтонах (отсеках барж) относительно осей, проходящих через центры тяжести этих поверхностей, параллельно осям наклонения плавучей опоры (системы), м4; ΣVρ - объем (водоизмещение) погруженной части опор плавучей системы или отдельной опоры, м3. В плашкоутах, образованных из понтонов, балластируемых в соответствии с п. 6.129 через донные отверстия, собственные моменты инерции поверхности балласта в понтонах должны учитываться только для балластируемых понтонов. Примеры определения моментов инерции для различных случаев расположения понтонов в опорах и способов их балластировки приведены в прилож. 14. Последовательность балластировки в пролете плашкоутов, образованных из понтонов, балластируемых через донные отверстия, должна быть указана в рабочих чертежах. 6.139. Осадка плавучих опор tв (в м) от вертикальных нагрузок должна определяться по формуле
где ΣQ - расчетная (или нормативная, см. п. 6.136) нагрузка, приходящаяся на данную плавучую опору, тс; Ω - площадь плавучей опоры по ватерлинии, м2; kв - коэффициент полноты водоизмещения, принимаемый для понтонов типа КС равным 0,97. В случае балластировки понтонов через донные отверстия (по п. 6.129) осадка отдельной опоры t′в (в м) определяется при отсутствии избыточного давления воздуха в балластируемых понтонах по формуле
где Σω - суммарная площадь небалластируемых понтонов. При проверке остойчивости плавучей опоры, находящейся на отстое, осадку ее допускается определять с учетом отжатия воды из балластируемых понтонов. Осадка барж плавучей опоры определяется по паспортным данным в зависимости от расчетной нагрузки на баржу. 6.140. Осадка плавучих спор tг (в м) от расчетных ветровых нагрузок, вызывающих крен или дифферент отдельной опоры (плавучей системы) определяется по формуле
где φ - угол крена или дифферента плавучей опоры (системы); b - половина размера плавучей опоры в плоскости кренящего (дифферентующего) момента (см. рис. 56). Значения tgφ находятся из выражения
где ΣМ - суммарный момент относительно центра водоизмещения от расчетных ветровых нагрузок, приходящийся на плавучую опору, тс·м; т - коэффициент, учитывающий в данном случае динамическое воздействие ветра при порывах его и инерцию плавучей опоры (системы) и принимаемый равным 1,2. Угол φ должен удовлетворять условиям:
где φ1 - угол крена (дифферента), соответствующий началу входа кромки палубы в воду; φ2 - угол крена (дифферента), соответствующий началу выхода из воды днища (середины скулы).
где Vраб, Vрег и Vост - объемы соответственно рабочего, регулировочного и остаточного балласта, м3. Величину Vраб, необходимую для погружения (всплытия) плавучих опор при погрузке пролетного строения или установке его на опорные части, следует определять по формуле
где Р - нормативный вес пролетного строения, т;
Δ - погружение (всплытие) опоры, м; Δ1 - упругие деформации пролетного строения при погрузке или установке его на опорные части; Δ2 и Δ3 - деформации погрузочных обустройств и плавучей опоры; Δ4 - зазор между низом пролетного строения и верхом погрузочных обустройств или опорных частей, принимаемый 0,05-0,10 м. Для предварительных расчетов допускается принимать Δ≈0,15÷0,20 м. Объем Vрег определяется по формуле
где hрег - величина регулирования осадки плавучих опор на случай возможных колебаний уровня воды за время одного цикла перевозки, но не менее чем за сутки. Величина hрег должна приниматься не менее максимального суточного изменения уровня воды, зафиксированного за последние 10 лет наблюдений на период перевозки. В необходимых случаях должен быть учтен балласт, применяемый для устранения крена или дифферента несимметричной плавучей опоры или системы. Объем остаточного балласта следует определять по формуле
где δ - толщина слоя остаточного балласта (в м), принимаемая для понтонов КС, балластируемых наливом воды насосами, равной 0,10 м, а для барж - в зависимости от конструкции набора днища. Для понтонов КС, балластируемых через донные отверстия, толщина слоя остаточного балласта принимается равной 0,08 м, а для глухих небалластируемых понтонов того же плашкоута - равной нулю. 6.142. Объем балластных резервуаров плавучей опоры должен быть достаточен для размещения расчетного объема балласта, что должно быть проверено расчетом. При балластировке понтонов через донные отверстия следует учитывать, что уровень воды в балластных понтонах не может быть выше уровня воды за бортом. 6.143. Командный пункт плавучей системы должен быть оборудован радиотелефонной связью с буксирами и береговыми обустройствами и громкоговорящей связью с плавучими опорами. Определенные изгибающие моменты и поперечные силы алгебраически суммируются с моментами и поперечными силами от волновой нагрузки, вычисляемыми согласно прил. 15. 6.145. Устройства для перемещения плавучей системы (буксиры, лебедки, полиспасты) должны обеспечивать ее перемещение в заданном направлении при скорости ветра до 10 м/с. Якорные и раскрепляющие обустройства, включая аварийные якори, должны обеспечивать удержание плавучей системы при расчетном давлении ветра. Нормативное давление ветра должно определяться по п. 2.17. 6.146. Вывод плавучей системы с акватории пирса (ковша) и заводка в пролет моста допускаются только с помощью лебедок. Перемещение плавучей системы следует производить с помощью буксиров, а при небольших расстояниях - электролебедками. Точная наводка при установке пролетного строения на опорные части должна производиться с помощью талей, установленных на оголовках опор, и лебедок с короткими тросами, установленных на плашкоутах (баржах). 6.147. Лебедки для перемещения плавучих систем следует размещать: при перевозке на плаву пролетных строений с помощью буксиров - на плашкоутах плавучей системы; при перевозке на плаву пролетных строений с помощью лебедок - на плашкоутах плавучей системы и на одном или обоих берегах; при продольной надвижке пролетных строений - с опиранием одного конца на плавучую опору: тяговые лебедки - на пролетном строении; тормозные лебедки - на берегу; пеленажные лебедки - на плашкоуте плавучей опоры. Количество лебедок и мощность полиспастов следует выбирать такими, чтобы номинальная грузоподъемность каждой лебедки была на 30 % больше нормативного усилия в выходной ветви полиспаста. 6.148. Тросы тяговых лебедок должны проходить через закрепленные к палубе устройства (например, киповую планку проектировки СКБ Главмостостроя), обеспечивающие: а) изменение направления тросов как в плане, так и в вертикальной плоскости; б) относительно быстрое (до 5 мин) закрепление тросов и восприятие полностью нагрузки на случай раскрепления плавучей системы на якорях при усилении ветра; в) закрепление троса без скольжения. Конструкция соединений тяговых и буксирных тросов должна быть простой и обеспечивать быстрое выполнение работ по их соединению и разъединению при наводке. 6.149. Переносные донные якори должны удовлетворять следующим требованиям: а) обеспечивать расчетную грузоподъемность при изменении направления троса в секторе до 120° с начальным перемещением якоря по дну не более 15 м от места его установки; б) иметь поплавки для определения местоположения якоря и размещения на них тросовых соединений. На судоходных реках поплавки должны быть оборудованы сигналами речного флота. 6.150. Расположение якорей не должно нарушать условий судоходства и должно обеспечивать удобное перемещение плавучей системы. Переносные донные якори, как правило, следует размещать в створе с капитальными опорами. 6.151. Лебедки и якоря для перемещения и раскрепления плавучих систем (опор) должны рассчитываться на сочетания нагрузок, приведенных в табл. 29. Таблица 29
Примечания. 1. Нагрузки определяются в соответствии с указаниями пп. 2.7; 2.17; 2.18. 2. Поперечный ветер - ветер поперек течения. 3. Усилия, передаваемые на якоря и лебедки, должны определяться с учетом принятого расположения якорей (мест закрепления тросов за постоянные опоры) и невыгоднейших углов подхода к ним (в плане) тросов. 6.152. Якоря и якорные канаты должны рассчитываться на горизонтальные усилия S (в кгс) (рис. 57), определяемые по формулам: Рис. 57. Схема определения длины якорного каната для верховых закреплений
и для низовых закреплений
где Wp, Nmax и Nmin принимаются по табл. 29 с соответствующими коэффициентами перегрузки. Минимальная длина якорного каната Lmin (в м) определяется из условия, чтобы канат подходил к якорю горизонтально, по формуле
где q - погонный вес якорного каната, кг/пог. м; Н - по рис. 57, м. Горизонтальное усилие на якорь адмиралтейского типа допускается принимать в пределах 5-6 весов якоря при песчаных и 8-12 весов якоря при глинистых грунтах. Горизонтальное усилие на железобетонный якорь-присос допускается принимать в пределах 1,3-1,6 весов якоря, но не более 70 % предельного усилия, определенного при испытании якоря. 6.153. Подбор лебедок и тросов для пеленажных раскреплений должен производиться на максимальные усилия, возникающие в них от действия расчетных нагрузок при указанных в табл. 29 сочетаниях, для различных положений перемещаемой системы. 6.154. Коэффициент безопасности по материалу для тросов должен приниматься 3,5 по отношению к разрывному усилию троса в целом.
где W10 - расчетное давление ветра при скорости его V=10 м/с на надводную часть плавучей системы; Nmax - расчетная гидродинамическая нагрузка на подводную часть плавучей системы, кгс; Р - удельная сила тяги буксира, принимаемая 10-15 кгс/л. с. Плашкоуты для установки сухопутных кранов и копров, а также для перевозки строительных конструкций и материалов6.156. Проектирование плашкоутов для установки сухопутных кранов и копров, а также для перевозки строительных конструкций и материалов должно производиться по указаниям предыдущего подраздела с учетом изложенных ниже дополнительных указаний. На плашкоутах допускается как бортовая (на одном плашкоуте), так и центральная установки копров (на мостике или портале, опирающихся на два плашкоута, располагающихся с зазором). В последнем случае плашкоуты должны иметь в носу и корме съемное жесткое раскрепление по палубе. Бортовая установка копра или другой сваебойной машины рекомендуется для дизельных или пневматических молотов, а также для вибропогружателей или других сваебойных средств, которые в рабочем состоянии закрепляются на голове сваи. Бортовая установка позволяет свободное передвижение плашкоута вокруг забиваемой группы свай (только при отсутствии шпунтового ограждения). Для копров со свободно падающим молотом следует применять центральную установку на мостиках или порталах, располагая молот над центром расчетной площади ватерлинии обоих плашкоутов. В этом случае исключается наклонение копра при подъеме и сбрасывании молота. Размеры и расположение плашкоутов и их балластировка (расположение контргрузов) подбираются так, чтобы стрела копра во время забивки была вертикальной или имела заданный наклон. Высота обстройки плашкоута должна быть увязана с возможной отметкой верха свай после их забивки. 6.158. Козловые краны должны устанавливаться на два плашкоута, располагающиеся с зазором. Установка козлового крана на плашкоуты и раскрепление их друг с другом производятся аналогично случаю установки копра на мостике или портале (см. п. 6.157). 6.159. При установке на плашкоуте крана с неповоротной стрелой размеры плашкоута в плане определяются плавучестью и остойчивостью плавучей системы. 6.160. При установке на плашкоуте кранов с поворотной стрелой ширина плашкоута должна назначаться исходя из того, чтобы при подъеме наиболее тяжелого груза при необходимом вылете стрелы, направленной перпендикулярно к продольной оси плашкоута, угол крена плашкоута не превышал предельного угла наклона крана, определяемого по паспортным данным. Длина плашкоута и вес необходимого постоянного контргруза (твердого балласта), располагаемого в кормовой части плашкоута, должны назначаться исходя из того, чтобы при подъеме наиболее тяжелого груза при необходимом вылете стрелы, направленной вдоль продольной оси плашкоута, дифферент на нос был равен дифференту на корму при нерабочем положении крана, а угол дифферента не превышал предельного угла наклона крана, определяемого по паспортным данным. 6.161. При проектировании плавучих средств для размещения на них стреловых и козловых кранов, копров и другого аналогичного оборудования, а также перевозки грузов необходимо выполнить следующие расчеты: а) по первому предельному состоянию (на расчетные нагрузки): плавучести системы; остойчивости системы; прочности плашкоута, распределительных ростверков и других элементов; мощности тяговых средств и якорных закреплений; б) по второму предельному состоянию (на нормативные нагрузки): объема и размещения противовесов из условия допустимого для данного крана или копра крена (дифферента) плашкоута. Нагрузки и их сочетания для расчета плавучих средств под краны, копры и другое оборудование принимаются по указанию табл. 30. Таблица 30
Примечания. 1. В сочетаниях 2 и 4 интенсивность ветровой нагрузки принимается равной расчетной для данного района; в сочетаниях 1 и 3 при V=10 м/с. 2. В сочетаниях 1 и 3 центр тяжести груза должен приниматься в точке подвеса его к крану (копру) в сочетании с наиболее невыгодным положением копра (крана) на плашкоуте. 3. В сочетаниях 1 и 3 рассматривается также случай обрыва груза с копра (крана). В этом случае вес груза условно прилагается к стреле снизу вверх. 4. При расчете плашкоутов для кранов необходимо в сочетаниях 1 и 3 рассмотреть случаи: а) наибольшей высоты подъема груза; б) наибольшего вылета поднимаемого груза. 5. Волновая нагрузка определяется по прилож. 15. 6.162. Плавучесть плашкоутов допускается определять по формуле п. 6.135 при следующих коэффициентах надежности kн: а) при установке на плашкоутах копров и стреловых кранов kн=2; б) при установке на плашкоутах козловых кранов, а также при перевозке строительных конструкций и материалов kн=1,25. 6.163. Остойчивость плашкоутов следует проверять согласно указаниям п. 6.137, с дополнительным требованием о недопущении выхода из воды днища (середины скулы). 6.164. При установке на плашкоутах копров или стреловых кранов должно учитываться наклонение плашкоута (крен и дифферент) от действия кренящего (дифферентующего) момента. Дополнительная осадка определяется по п. 6.140, а угол крена или дифферента плашкоута вычисляется по формуле
где ΣMп - расчетный момент от постоянных нагрузок; ΣMвр - расчетный момент от временных нагрузок; m - принимается равным 1,2. 6.165. Плашкоут должен иметь в плане минимум два понтона, установленных вдоль плашкоута и два поперек его. Не допускается применение одиночных инвентарных понтонов. 6.166. Понтоны, образующие плашкоут, рекомендуется устанавливать плашмя, т. е. с высотой борта 1,80 м. 6.167. Плашкоут с копром (краном) во время работы должен быть расчален не менее чем в четырех направлениях к якорям, заложенным на берегу, к якорям, уложенным на дно, или к ранее забитым сваям. 6.168. При установке копров и козловых кранов на двух раздельных плашкоутах связи между ними должны быть рассчитаны на усилие от расчалок при транспортировке и разворотах плавучей установки с помощью лебедок. При этом в расчете должны учитываться наличие поперечных связей (между плашкоутами) только с одной (носовой, кормовой) стороны. 6.169. На углах плашкоута должны быть нанесены несмываемой краской водомерные рейки. Ноль рейки должен соответствовать уровню днища. 6.170. Плашкоуты, запроектированные для перевозки строительных конструкций и материалов, должны иметь нанесенную несмываемой краской ватерлинию, располагаемую при высоте борта 1,8 м, на высоте 1,40 м от днища. 7. ОСНОВАНИЯ И ФУНДАМЕНТЫОбщие указания7.1. Специальные вспомогательные сооружения, устройства и приспособления, из числа перечисленных в прилож. 1, находящиеся в русле реки, следует сооружать, как правило, на фундаментах из забивных свай и в отдельных необходимых случаях, при соответствующем технико-экономическом обосновании, на железобетонных или стальных сваях-оболочках. Применение фундаментов из ряжей или свайно-ряжевых фундаментов, засыпаемых камнем, допускается при невозможности заглубления свай в неразмываемую толщу либо при необходимости восприятия опорой тяжелой ледовой нагрузки. При этом следует учитывать стеснение ряжами живого сечения реки и возможность обеспечения их разборки до состояния, не препятствующего судоходству и сплаву. Вне русла реки могут быть применены, кроме свайных, фундаменты на лежнях, а при соответствующем обосновании - бетонные фундаменты на естественном основании, при этом должны быть предусмотрены мероприятия, обеспечивающие основание от подмыва. 7.2. Проектирование фундаментов следует производить с учетом результатов инженерно-геологических и гидрогеологических изысканий мостового перехода, а в необходимых случаях дополнительного обследования грунтов в месте расположения вспомогательного сооружения, выполняемого генпроектировщиком по заданию строительной организации. 7.3. Вопросы проектирования фундаментов вспомогательных конструкций из свай-оболочек настоящим разделом не рассматриваются и, в необходимых случаях, проектирование их должно производиться в соответствии с действующими указаниями по проектированию оболочек. Материалы и изделия7.4. При проектировании свайных фундаментов вспомогательных сооружений и конструкций допускается применять: а) деревянные одиночные или пакетные сваи из двух, трех, четырех бревен или брусьев; б) железобетонные призматические сваи квадратного или прямоугольного поперечного сечения с ненапрягаемой или предварительно напряженной арматурой; в) железобетонные трубчатые сваи; г) стальные сваи из двутавров, швеллеров, труб, различных шпунтовых профилей, из одного, двух или трех старогодных рельсов, из широкополых уголков и т. п.; д) сваи-оболочки (железобетонные или стальные). В необходимых случаях допускается заполнение их бетоном; е) стальные каркасы и ростверки из инвентарных конструкций с добавлением в необходимых случаях индивидуального металла. Применение стальных свай должно быть обосновано, а в проекте приведено требование по извлечению их из грунта по окончании строительства. 7.5. При проектировании фундаментов на естественном основании можно применять: а) в отдельных случаях, при соответствующем обосновании, фундаменты из монолитного или сборного железобетона; б) в лежневых фундаментах - окантованные бревна местных хвойных и лиственных пород (преимущественно короткомер), отвечающих требованиям раздела 8, шпалы и брусья; в) в ряжевых фундаментах - лес местных хвойных и лиственных пород, отвечающих требованиям раздела 8. 7.6. Применение монолитного бетона и железобетона марок, указанных в разделе 9, допускается: в фундаментах на естественном основании, как правило, не подлежащих последующей разборке после демонтажа вспомогательных конструкций; при омоноличивании голов свай высоких ростверков под тяжелые нагрузки; в плитах ростверков перекаточных пирсов, сооружаемых в низком уровне, когда накаточные пути укладываются непосредственно по плите ростверка. Расчетные сопротивления грунтовых оснований и расчетная несущая способность свай7.7. Расчетные сопротивления грунтовых оснований следует принимать согласно указаниям пп. 7.8-7.10. Расчетная несущая способность свай и свай-оболочек (диаметром не более 0,8 м) принимается согласно указаниям пп. 7.11-7.15.
где R′ - условное сопротивление грунта (для глубины 3 м), принимаемое по табл. 31-34, кгс/см2; b - ширина (меньшая сторона или диаметр) подошвы фундамента, м; при ширине более 6 м принимается b=6 м; h - глубина заложения подошвы фундамента, считая: для опор вспомогательных сооружений - от поверхности грунта у данной опоры с учетом возможного местного размыва, м. При h<1 м в формулу для определения R следует подставлять h=1 м; k1 и k2 - коэффициенты, принимаемые по табл. 35; γ - объемный вес (в тс/м3) сухого или влажного грунта, расположенного выше подошвы фундамента; для водонасыщенного грунта следует принимать γ=2 тс/м3; hв - глубина воды, считая от межени до дна водотока, м. Таблица 31
Примечание. Для глинистых грунтов твердой консистенции допускается принимать R′=2Rcж, где Rcж - предел прочности (средний на одноосное сжатие образцов, испытанных в состоянии естественной влажности), принимаемый для супеси от 5 до 10 кгс/см2, для суглинков от 6 до 20 кгс/см2, для глин от 8 до 30 кгс/см2. Таблица 32
Таблица 33
Примечания. 1. Для плотных водонасыщенных песков значения R′ увеличиваются на 60 %, при установлении степени плотности статическим зондированием - на 100 %. 2. Для маловлажных песков как средней плотности, так и для плотных (учитывая также указания п. 1 данного примечания) значения R′ увеличиваются на 50 %. 3. Вид песчаного грунта устанавливается в зависимости от гранулометрического состава: песок гравелистый - вес частиц крупнее 2 мм составляет более 25 %; песок крупный - вес частиц крупнее 0,5 мм составляет более 50 %; песок средней крупности - вес частиц крупнее 0,25 мм составляет более 50 %; песок мелкий - вес частиц крупнее 0,1 мм составляет более 75 %; песок пылеватый - вес частиц крупнее 0,1 мм составляет менее 75 %. Наименование грунта принимается по первому удовлетворяющему показателю в порядке расположения наименования. Таблица 34
Таблица 35
Расчетные сопротивления слабых грунтов на уровне их дневной поверхности следует принимать по табл. 36. Таблица 36
7.9. Расчетные сопротивления сильнотрещиноватых скальных пород следует определять в зависимости от степени выветрелости, как для грунтов каменистых или щебенистых, согласно п. 7.8. Для остальных скальных пород расчетные сопротивления не нормируются.
Расчетная несущая способность по осевому растяжению (по грунту) одной сваи или сваи-оболочки определяется по формуле
где k1 - коэффициент надежности по грунту, принимаемый при количестве висячих свай в опоре более 20 равным 1,3; при 11-20 равным 1,5; при 6-10 равным 1,6; при 1-5 равным 1,7; при сваях-стойках k1=1; k2 - коэффициент надежности по грунту, принимаемый для свай, забиваемых в грунт на глубину 3 м и более, равным 1,3; U - периметр поперечного сечения ствола сваи или сваи-оболочки, м; li - толщина отдельных пройденных слоев грунта ниже уровня местного размыва при расчетном расходе воды, м; fi - расчетное сопротивление сил трения слоев грунта, по боковой поверхности сваи (в тс/м2), определяемое по табл. 37. Для торфов или заторфованных грунтов значение fi принимается равным 0,5 тс/м2 независимо от глубины залегания. При погружении свай подмывом значения умножаются на коэффициент 0,8. При забивке свай в предварительно пробуренные скважины (лидеры) диаметром, равным стороне квадратной или диаметру круглой сваи, значения f умножаются на коэффициент 0,5; при диаметре скважин на 5 см меньше упомянутых размеров ствола сваи - на коэффициент 0,6; F - площадь опирания сваи или сваи-оболочки, м2; для одиночных деревянных нецилиндрованных свай - принимается равной полусумме площадей поперечных сечений у острия и на уровне местного размыва при расчетном расходе воды; Rc - расчетное сопротивление нескального грунтового основания (в тс/м2) в плоскости острия сваи, определяемое по табл. 38. При плотных песках и супесях степень плотности которых определена статическим зондированием, значения Rc умножают на коэффициент 2. При отсутствии установок для статического зондирования пески и супеси, залегающие глубже 10 м, считая от поверхности грунта или дна водоема, допускается считать плотными, при этом табличные значения Rc умножаются на коэффициент 1,6. При получении значения Rc больше 2000 тс/м2 - во всех случаях в расчетах надлежит принимать Rc=2000 тс/м2. Таблица 37
Таблица 38
Примечание. Числитель относится к пескам, а знаменатель - к глинам. Указанные в табл. 37 и 38 средние глубины расположения i-го слоя грунта (при определении fi) и глубины погружения свай (при определении Rc) следует отсчитывать от расчетного уровня, за который принимают: на суходолах - уровень дневной поверхности грунта; в реках - наинизший уровень воды при ее глубине hв≤10 м или уровень, соответствующий hв=10 м при hв>10 м. При забивке трубчатых свай с открытым нижним концом в любые грунты (а вибропогружателем только в песчаные грунты) с оставлением грунтового ядра величина Rс определяется по табл. 38. Для свай-оболочек, опираемых на нескальные грунты, принимается Rс=1,3R, где R - расчетное сопротивление согласно п. 7.8. При просадочных (лёссовых) грунтах значения fi и Rс принимаются, как для суглинков соответствующей консистенции. При грунтах скальных, крупнообломочных (щебенистых, галечниковых, валунных и т. п.) и связных твердой консистенции принимается Rс=2000 тс/м2. αi - коэффициент, учитывающий влияние вибропогружения на грунт основания, принимаемый по табл. 39. Таблица 39
7.12. Расчетная несущая способность Р забивкой сваи с уширенной пятой (рис. 58), воспринимающей осевую сжимающую нагрузку, определяется по формуле
где Fп - площадь уширенной пяты опирания, м2; Fбп - площадь боковой поверхности уширенной пяты и нижерасположенного конца сваи на контакте с грунтом, в котором они остановлены, м2; Fбс - площадь боковой поверхности ствола выше верха уширенной пяты, м2; fбп - расчетное сопротивление сил трения грунта вдоль боковой поверхности Fбп пяты, принимаемое по табл. 37; fбс=1 тс/м2 - расчетное сопротивление сил трения грунта вдоль боковой поверхности Fбс ствола сваи, учитывается только при прохождении сваей толщи минеральных грунтов; k1 - см. п. 7.11. Рис. 58. Расчетная схема определения несущей способности забивкой сваи с уширенной пятой 7.13. Для свай-оболочек (Ø>0,8 м до 2 м), опираемых на нескальные грунты, принимается Rc=1,3R, где R - расчетное сопротивление согласно п. 7.8. 7.14. В тех случаях, когда известны только общие данные о грунтах, допускается определять расчетную несущую способность сваи по формуле
где σ - удельная (приведенная) несущая способность сваи, принимаемая по табл. 40, тс/м2; U - периметр поперечного сечения ствола сваи, м; L0 - глубина погружения сваи в грунт, м. 7.16. Необходимая минимальная энергия удара молота W, в кгс·м, должна отвечать условию
где 40 - коэффициент, кгс·м/тс; Р′ - расчетная нагрузка на сваю по проекту, тc. Примечание. При выборе молотов для забивки наклонных свай вычисленную энергию удара следует увеличивать умножением на повышающие коэффициенты, принимаемые при наклонах свай 5:1, 4:1, 3:1, 2:1, 1:1 соответственно 1,1; 1,15; 1,25; 1,4; 1,7. 7.17. Расчетный отказ определяется по формуле:
где п - коэффициент, зависящий от материала сваи и способов забивки, принимаемый по табл. 41; k1 – см. п. 7.11; F - площадь, ограниченная наружным контуром сплошного или полого поперечного сечения ствола сваи (независимо от наличия или отсутствия острия); для свай с уширенной пятой величина F принимается равной полной площади поперечного сечения пяты, м2; Wр - расчетная энергия удара, тc·см: а) для дизель-молотов расчетное значение энергии удара принимается: для трубчатых Wp=0,9QH, для штанговых Wp=0,4QH, где Q - вес ударной части молота, тс; Н - высота падения ударной части молота в период окончания забивки свай, принимается равной: для трубчатых - 280 см, для штанговых при весах ударных частей в 1250, 1800 и 2500 кгс соответственно 170, 200 и 220 см. Примечание. При забивке сваи в слабые грунты высота подскока-падения ударной части молота - может быть меньше указанных выше. В таких случаях следует принимать значения Н, соответствующие фактически замеренным; Таблица 40
Таблица 41
б) для подвесных молотов и для молотов одиночного действия
где H - фактическая высота подъема ударной части молота, см; в) для молотов двойного действия - согласно паспортным, данным; г) для вибропогружателей принимается эквивалентная величина Wp по формуле Wp=44B, где В - вынуждающая сила вибропогружателя, тc. При забивке или вибропогружении наклонных свай расчетные величины энергии ударов молотов и эквивалентные им величины для вибропогружателей должны понижаться в зависимости от наклона свай на величины коэффициентов, приведенных в п. 7.16. М - коэффициент, учитывающий влияние вибровоздействия на грунт, принимаемый равным единице при использовании свайных молотов и по табл. 42 при использовании вибропогружателей. Таблица 42
Примечание. При плотных песках и гравии, а также супесях твердой консистенции значения коэффициентов М повышаются на 60 %, при установлении плотности статическим зондированием - на 100 %; Qп - полный вес молота или вибропогружателя, тс; q - вес сваи, наголовника и подбабка, тс; ε - коэффициент восстановления удара, при забивке молотами ε2=0,2, при применении вибропогружателей ε2=0. 7.18. Фактическая расчетная несущая способность сваи P0 по данным ее забивки и добивки определяется по формуле
где e0 - фактический отказ, равный величине погружения сваи, см; при забивке молотами - от одного удара; при применении вибропогружателя - от его работы в течение одной минуты. Формулами 7.17 и 7.18 следует пользоваться при отказах не менее 0,2 см. Конструирование7.19. Глубина заложения фундаментов вспомогательных сооружений должна назначаться по результатам расчета грунтовых оснований с учетом: а) геологических и гидрогеологических условий места расположения сооружения; б) глубины промерзания; в) условий размыва грунтов основания; г) характерных особенностей конструкции фундамента и метода производства работ по его возведению. Для районов распространения вечномерзлых грунтов при назначении глубины заложения фундаментов следует также учитывать мерзлотно-грунтовые условия места расположения сооружения; при маловлажных вечномерзлых и сезоннопромерзающих грунтах глубина заложения подошвы фундамента не лимитируется. 7.20. Подошву фундамента сборного, ряжевого и лежневого типов следует закладывать: а) на суходолах и неразмываемых поймах при пучинистых грунтах - не менее чем на 0,25 м ниже расчетной глубины промерзания; б) на суходолах и неразмываемых поймах при непучинистых крупнопесчаных, гравелистых и галечниковых грунтах и при скальных породах - независимо от глубины промерзания грунтов; в) на размываемых поймах на 0,5 м ниже глубины местного размыва у данной опоры с соблюдением вышеприведенных указаний относительно промерзания. В случаях принятия защитных мер от подмыва (каменная обсыпка, укрепление фашинами, шпунтовые ограждения и т. п.) - только с учетом условий промерзания; г) в руслах рек при размываемых грунтах - на 0,5 м ниже глубины местного размыва у данной опоры, в случае принятия защитных мер от подмыва или при неразмываемом грунте допускается непосредственное опирание фундамента на выравненную его поверхность. 7.21. В местах отсутствия подмыва грунтов основания допускается подошву фундамента мелкого заложения располагать на подсыпках толщиной не менее 0,3 м, устраиваемых из щебенистых, галечниковых, гравелистых или песчаных грунтов. Подсыпки под фундаменты, сооружаемые в пределах суходолов, должны устраиваться на предварительно очищенных от растительного покрова площадках. Размеры подсыпки под подошвой фундамента в плане следует назначать с расчетом, чтобы ширина бермы была на 0,5 м больше размеров фундамента. Откосы подсыпки принимаются не круче 1:1,5. В пределах водотоков подсыпку надлежит устраивать из камня с откосами 1:1,5. 7.22. На немерзлых грунтах с твердыми включениями, а также любых мерзлых грунтах следует применять забивные стальные сваи. 7.23. В зависимости от свободной длины сваи рекомендуется применять фундаменты, состоящие: а) из одиночных деревянных вертикальных свай - при свободной их длине до 2 м с постановкой горизонтальных продольных и поперечных схваток около верхних концов свай. При свободной длине свай менее 1 м постановка схваток необязательна; б) из пакетных деревянных вертикальных свай - при свободной их длине до 4 м с постановкой горизонтальных продольных и поперечных схваток около верхних концов свай, при свободной длине сваи менее 2 м постановка схваток необязательна; в) из вертикальных и наклонных деревянных свай (как одиночных, так и пакетных) - при свободной их длине не свыше 4 м; г) из стальных и железобетонных вертикальных свай - при свободной их длине не свыше 6 м, при условии обеспечения требуемой жесткости опор; д) из вертикальных свай любого типа, объединенных пространственным каркасом, - при глубинах воды свыше 4 м. 7.24. Несущую способность по грунту сваи в мерзлых грунтах следует определять по расчетному отказу. 7.25. Глубина погружения свай в грунт определяется в зависимости от расчетной нагрузки на сваю и геологических условий, но должна быть для висячих свай не менее 3 м от уровня возможного местного размыва дна реки у данной опоры. В случаях последующего устройства вокруг свайного фундамента ряжа с загрузкой камнем может быть допущена меньшая глубина забивки свай, но при условии получения требуемого отказа. Для свай-стоек глубина погружения определяется отметкой опорного пласта грунта. 7.26. Сваи, работающие на растягивающие усилия, должны иметь необходимую прочность на растяжение в сопряжениях с ростверком (плитой) в стыках и заделке их в грунте. 7.27. При расчетном шарнирном опирании свай на скальную породу их низ должен быть заглублен в неразмываемую толщу плотных или средней плотности наносных отложений не менее чем на 1 м. При необходимости свайный фундамент укрепляется путем обсыпки камнем (например, ограждением в виде ряжевой перемычки высотой не менее 1 м, заполненной камнем). При опирании свай непосредственно на скалу (без укрепления путем обсыпки камнем), глубине забивки свай ниже уровня размыва менее 3 м, а также во всех случаях, когда глубина воды в месте устройства опор более 4 м, свайные фундаменты должны сооружаться с применением подводных каркасов, связей или наклонных свай. 7.28. При просадочных грунтах рекомендуется применять свайные фундаменты, сваи которых по возможности должны проходить сквозь просадочную толщу грунта. 7.29. В конструкции фундаментов с наклонными сваями следует предусматривать сваи, имеющие наклоны вдоль и поперек оси моста. 7.30. Если фундаменты из одних вертикальных свай не могут воспринять расчетные горизонтальные нагрузки, то независимо от свободной длины свай часть из них или все следует располагать с наклоном от 5:1 до 2:1 и в особых случаях до 1:1. 7.31. Сваи размещаются в рядовом или шахматном порядке с расчетом возможно более равномерного распределения на них нагрузки. Расстояние между осями забивных висячих свай должно быть не менее трех толщин свай в уровне их острия и не менее 1,5 толщин свай - в уровне низа плиты (ростверка), а для свай-оболочек - не менее 1 м в свету. При двухрядном расположении вертикальных свай допускается уменьшать расстояние между осями рядов до двух толщин свай. Расстояние между осями свай-стоек в уровне их низа должно быть не менее двух толщин свай. 7.32. Размещение свай в плане внецентренно нагруженного фундамента следует производить в соответствии с расчетной нагрузкой, действующей в плоскости подошвы плиты ростверка. При этом равнодействующая постоянных сил, действующих на свайный фундамент, должна проходить возможно ближе к центру тяжести плана свайного фундамента в уровне нижних концов свай. 7.33. Для фундаментов допускается использовать одиночные деревянные сваи с диаметром в верхнем отрубе не менее 18 см. При необходимости устройства стыка сваи (рис. 59) последний выполняется на штыре и стальных накладках (полосовых, уголковых, швеллерных) в количестве не менее 4 штук, прикрепляемых 4-6 шурупами или глухарями каждая. Длина накладок должна быть равна трем диаметрам свай. Накладки свай, погружаемых через каркасы, должны быть плоскими, поставленными с расчетом, чтобы головки болтов и гайки с концами болтов были заподлицо с поверхностью ствола сваи, а поперечное сечение сваи - постоянным по всей длине, что должно быть оговорено в проекте. Рис. 59. Стык деревянных свай: a - в торец с накладками; б - в торец с патрубком; в - вполдерева с хомутами; 1 - накладки из металлической полосы или уголка; 2 - шуруп; 3 - стык; 4 - патрубок; 5 - хомут; 6 - болт; 7 - штырь 7.34. Стыки одиночных деревянных свай следует располагать в разных уровнях и не менее чем на 1,5-2 м ниже уровня возможного местного размыва. Если стыки свай не заглублены в грунт, в их уровне должны быть поставлены схватки. 7.35. Пакетные сваи составляются из бревен или брусьев, соединяемых между собой болтами. Стыки бревен или брусьев размещаются вразбежку с расстоянием между стыками смежных элементов не менее 1,5 м и перекрываются стальными, преимущественно уголковыми накладками длиной, равной трем диаметрам бревна или стороны бруса на болтах, по 4-6 болтов в накладке. Расстояние между болтами, скрепляющими бревна или брусья в пакет, не должны превышать (в каждом ряду) 55 см. Сваи, погружаемые в каркасах, должны удовлетворять требованию, приведенному в п. 7.33. 7.36. На поймах и суходолах низ насадок и схваток свайных опор необходимо располагать выше естественной поверхности грунта не менее чем на 0,5 м; в руслах рек - возможно ближе к уровню воды. 7.37. В случае необходимости укрепления грунта дна реки от размывов следует применять каменную наброску, габионы и др. 7.38. Подводные диагональные связи применять не рекомендуется, но допускается при условии обеспечения систематического надзора и подтягивания тяжей, что должно быть оговорено в проекте. 7.39. В местах залегания с поверхности больших толщ слабых и относительно слабых грунтов допускается применение забивных свай с уширенными пятами. Текучие и текуче-пластичные грунты, а также торф, как правило, должны быть пройдены стволом сваи, а уширенная пята заведена в нижележащие более прочные грунты. В тех случаях, когда из материала уширенной пяты можно создать сваю, длина которой достаточна для заведения ее нижнего конца в грунт с высокой несущей способностью, применение забивных свай с уширенными пятами нецелесообразно. Уширенные пяты забивных деревянных свай рекомендуется устраивать в комлевой части и конструировать по схемам» приведённым на рис. 60. Рис. 60. Забивные деревянные сваи с уширенной пятой: а - из двух продольных коротышей; б - из четырех продольных коротышей 7.40. Головы деревянных свай должны быть объединены деревянным или стальным ростверком, обеспечивающим распределение на сваи нагрузок, действующих на свайный фундамент. В особых случаях допускается головы свай объединять железобетонной плитой. 7.41. Толщина насадок деревянных ростверков должна быть не менее 22 см, а ширина - обеспечивать перекрытие голов свай ряда. Соединение свай с насадками должно осуществляться хомутами либо планками, на болтах и шурупах (глухарях) с постановкой осевых штырей. 7.42. Деревянные элементы распределительной клетки ростверка должны быть скреплены с насадками и между собой штырями, а металлические элементы с деревянными соединены костылями либо шурупами. 7.43. Схватки всех видов должны быть прирублены к сваям в чашку и прикреплены к ним болтами. Для обеспечения заделки голов свай схватки должны быть парными. 7.44. Железобетонные сваи должны объединяться железобетонной плитой. Высота монолитной плиты назначается по расчету, но не менее 50 см. Головы свай или свай-оболочек должны быть заделаны в плиту не менее чем на 15 см при условии, что остальная часть заделки осуществляется с помощью выпусков стержней продольной арматуры (без устройства крюков) на длину, определенную расчетом, но не менее 20 диаметров стержня при арматуре периодического профиля и 40 диаметров стержня - при гладкой арматуре. Расстояние от края плиты до грани сваи должно быть не менее 25 см. Марка бетона плиты должна быть не ниже 150. 7.45. Головы стальных свай рекомендуется объединять ростверком из стальных конструкций, жестко соединенных со сваями при помощи привариваемых к ним переходных опорных башмаков. 7.46. Ширину ряжа (вдоль моста) следует назначать не менее ⅓ его высоты и не менее 2 м. Верх ряжа должен возвышаться над наивысшим уровнем ледохода вероятностью превышения 10 % не менее чем на 1 м и не менее чем на 0,75 м над рабочим горизонтом воды. Высота ряжа назначается с запасом 5 % на осадку и усушку. 7.47. На суходолах и реках со слабым течением ряжи рекомендуются прямоугольными в плане. Ряжи, подверженные действию льда, следует совмещать с ледорезами. В этом случае с верховой стороны ряжа необходимо устраивать вертикальное режущее ребро. При сильном ледоходе ряжи следует устраивать с ледорезами, имеющими режущее ребро с наклоном 1:1,5-1:1,75. На реках с особо сильным ледоходом необходимо предусматривать также сооружение аванпостных ледорезов. 7.48. Венцы стен ряжа укладываются или с просветами, равными высоте бруса или окантованного бревна, или вплотную друг к другу. 7.49. Ряж заполняется камнем. При ряжах, венцы которых укладываются с просветами, размеры камня должны быть больше просветов. 7.50. Ряжи следует рубить из брусьев сечением не меньше 18×18 см, либо из круглых или окантованных на два каната бревен диаметром не меньше 18 см. Диаметр бревен и размеры поперечных сечений брусьев принимаются в зависимости от величин давлений, передаваемых на ряж. 7.51. Между наружными стенами ряжа необходимо устраивать поперечные и продольные перегородки (внутренние стены). Размеры сторон ячеек, образуемых внутренними стенами, не должны превышать 2 м. 7.52. Стыки бревен или брусьев в стенах ряжа следует располагать вразбежку. В крайних ячейках ряжа стыкование бревен или брусьев не допускается. 7.53. В углах наружных стен ряжа, а также в местах примыкания перегородок должны устанавливаться вертикальные брусья или окантованные бревна-сжимы с овальными по высоте дырами (прорезями) для болтов, через три венца в четвертом. В поперечном направлении наружные стены ряжа должны соединяться также стальными тяжами диаметром 22 мм, пропускаемыми через сжимы. 7.54. Под опорными частями опирающихся на ряж конструкций или под стойками рамных надстроек должны делаться стены на всю высоту ряжа. В других местах поперечные и продольные стены можно выполнять в виде отдельных распорок высотой в несколько венцов, располагая их по фасаду ряжа в шахматном порядке. Венцы ряжа следует соединять между собой штырями. 7.55. В нижней части ряжа должен быть устроен пол (днище) на высоте 2-4 венца от низа (тем выше, чем слабее грунт) из бревен, врубленных в венцы наружных стен. Расстояние между бревнами пола следует назначать в зависимости от крупности камня, которым загружается ряж. В ряжах, устанавливаемых на плаву, венцы, расположенные ниже пола, соединяются стальными хомутами с двумя рядами венцов, расположенных выше пола. 7.56. Ряжи устанавливаются на выровненное каменной наброской дно. Нижние два венца ряжа должны быть заделаны в подсыпку. 7.57. Для предохранения от подмыва по периметру ряжа следует устраивать каменную наброску на высоту 1,0-1,5 м выше подошвы ряжа с горизонтальной бермой шириной не менее 0,5 м и с уклоном откосов порядка 1:1,5-1:2. 7.58. При проектировании деревянных и стальных ростверков, а также ряжей, помимо приведенных требований, необходимо руководствоваться указаниями разделов 8 и 10 по проектированию деревянных и стальных конструкций. Расчеты фундаментов7.59. Расчеты грунтовых оснований и фундаментов вспомогательных сооружений следует производить по предельным состояниям I и II. По предельным состояниям I следует рассчитывать как фундаменты мелкого заложения, так и свайные. Расчеты выполняют: а) на прочность и устойчивость формы конструкции фундамента (по материалу) согласно разделам 8-10; б) на прочность (устойчивость) грунтовых оснований фундаментов мелкого заложения, а также несущую способность по грунту свайных фундаментов согласно настоящему разделу; в) на устойчивость положения фундаментов (против опрокидывания и скольжения) согласно разделу 1. Фундаменты вспомогательных сооружений не рассчитывают на действие сил пучения. По второму предельному состоянию следует рассчитывать массивные, ряжевые и лежневые фундаменты, проверяя положение равнодействующей нормальных нагрузок в уровне подошвы этих фундаментов согласно п. 7.63. В расчетах оснований и фундаментов горизонтальные нагрузки необходимо учитывать действующими либо вдоль, либо поперек оси моста. 7.60. Расчеты прочности оснований фундаментов мелкого заложения следует производить по формуле
где σ - наибольшее напряжение на грунт; N - осевая сжимающая сила от расчетных нагрузок в уровне подошвы фундамента; М - момент в уровне подошвы фундамента относительно его центра тяжести от расчетных нагрузок; F и W - площадь и момент сопротивления подошвы фундамента; R - расчетное сопротивление осевому сжатию грунта в уровне подошвы фундамента. Если
где а - длина подошвы фундамента; b - ширина подошвы фундамента (в направлении, перпендикулярном плоскости действия момента М). Примечания. 1. Если ниже несущего пласта (на который опирается подошва фундамента мелкого заложения) залегает слой более слабого грунта, то необходимо дополнительно проверить прочность этого слоя с учетом распределения давления под углом 10° к вертикали в несущем пласте из песчаных грунтов и 5° - из глинистых грунтов. Указанная проверка производится на нагрузку, равную сумме осевой сжимающей силы N и веса столба грунта, площадь основания которого в уровне кровли слабого слоя определяется указанными выше углами распределения давления. 2. Объемный вес загруженного камнем ряжа следует принимать равным 1,9 тс/м3. При проверке устойчивости вес части ряжа, погруженного в воду, принимать равным 1,2 тс/м3. 3. Расчетные значения площади F, момента сопротивления W подошвы ряжевого фундамента принимают равным 0,7 от величин, вычисленных по габаритным размерам их внешнего контура. Для глин и скальных грунтов с смыливающейся поверхностью (глинистые известняки, глинистые сланцы и т. п.) при затоплении водой 0,10 Для тех же грунтов во влажном состоянии 0,25 Для тех же грунтов в сухом состоянии 0,30 Для суглинков и супесей 0,30 Для песков 0,40 Для гравелистых и галечниковых грунтов 0,50 Для скальных пород с несмыливающейся поверхностью 0,60 7.62. Не рекомендуется располагать фундаменты вспомогательных сооружений: на крутых склонах; при наличии под несущим пластом слоя немерзлого слабого или мерзлого оттаивающего в процессе эксплуатации вспомогательного сооружения глинистого грунта; при наличии прослоек водонасыщенного грунта, подстилаемого глиной. При необходимости такого расположения фундаментов их следует рассчитывать на устойчивость против глубокого сдвига-смещения фундамента совместно с грунтом по кругло-цилиндрической поверхности скольжения. Кроме того, для сооружений, возводимых на крутых склонах, следует проверять возможность возникновения локальных оползневых сдвигов на ранее устойчивых склонах, вследствие дополнительного их нагружения весом насыпи или опоры, нарушения устойчивости пластов грунта в процессе производства работ или изменения режима грунтовых вод. 7.63.
Для оснований фундаментов мелкого заложения (массивного, ряжевого и лежневого
типов), рассчитываемых без учета заделки в грунте, положение равнодействующей
активных сил, характеризуемое относительным эксцентриситетом 1) на нескальных грунтах при отсутствии бокового давления грунта на фундамент: а) при учете только постоянных нагрузок - 0,2; б) при учете постоянных и временных нагрузок - 1,0; 2) на нескальных грунтах при наличии бокового давления грунта на фундамент: а) при учете только постоянных нагрузок - 0,5; б) при учете постоянных и временных нагрузок - 0,6; 3) на скальных породах, при учете постоянных и временных нагрузок - 1,2, где М - момент действующих сил относительно главной центральной оси подошвы фундамента;
7.64. В общем случае свайные фундаменты следует рассчитывать, как пространственные конструкции. Расчет свайных фундаментов, имеющих вертикальную плоскость симметрии, на нагрузки, действующие в этой плоскости, допускается производить по плоской расчетной схеме, представляющей собой проекцию фундамента на указанную плоскость. По плоской расчетной схеме допускается рассчитывать также фундаменты с одними вертикальными сваями на нагрузки, действующие в вертикальной плоскости, которая проходит через центр тяжести поперечных сечений всех свай перпендикулярно вертикальной плоскости симметрии фундамента. 7.65. При срезке грунта или возможности размыва дна расчетную поверхность грунта следует принимать соответственно на отметке срезки или местного размыва у опоры. Примыкание верхних концов деревянных свай к насадкам следует рассматривать, как шарнирное. 7.67. Перемещения фундаментной конструкции, усилия, действующие на каждую сваю, а также гибкость свай допускается определять в предположении, что сваи в нижней части имеют жесткую заделку (закрепление против поперечных смещений и поворота), расположенную на глубине hм от расчетной поверхности грунта. Исключение составляют фундаменты со сваями, погруженными в грунт на глубину менее 3 м и опертыми на скальную породу, а также фундаменты со сваями, погруженными в грунт с предварительным устройством уширения в нижней части свай. Такие фундаменты рекомендуется рассчитывать, рассматривая закрепление свай в грунте шарнирным. При опирании свай на скальную породу шарнир следует принимать на уровне поверхности скальной породы, а при наличии у свай уширения - на уровне верха уширения. 7.68. В случаях, когда замена закрепления верхнего и нижнего концов свай, принятого согласно пп. 7.66 и 7.67, на шарнирное не приводит к геометрической изменяемости конструкции, допускается расчет фундамента (за исключением определения гибкости свай) упрощать, принимая сваи шарнирно закрепленными вверху и внизу. 7.69. Глубину hм расположения жесткой заделки (см. п. 7.67) следует определять по формуле: а)
при h≤2ηd б) при h≥2ηd hм=ηd, где h - глубина погружения сваи, считая от расчетной поверхности грунта; d - толщина ствола сваи (сторона квадратного сечения или диаметр круглого); η - коэффициент, принимаемый по табл. 43 в зависимости от материала сваи и вида верхнего слоя грунта (считая от его расчетной поверхности). Таблица 43
В тех случаях, когда сваи заделаны в грунте, который сохраняется в мерзлом состоянии в течение всего периода эксплуатации временного сооружения, величину hм следует определять по формуле hм=ηd независимо от глубины h. 7.70. Если по расчету получаются растягивающие усилия в сваях, то в случаях, когда конструкция сопряжения свай с вышерасположенной частью фундамента не может обеспечить передачу таких усилий, требуется повторить расчет, изменив плоскую расчетную схему фундамента путем исключения из нее растянутых свай. 7.71. Свайные фундаменты следует рассчитывать согласно прилож. 16, раздел 1 которого содержит формулы, охватывающие расчеты свайных фундаментов, не усиленных каркасом, а раздел 2 - расчеты свайных фундаментов, усиленных каркасом, соединенным с плитой или балками ростверка. Предполагается, что каркас внизу имеет решетку, в ячейках которой без зазоров расположены сваи. Это требование должно обеспечиваться надежными методами заклинки свай в ячейках каркаса (дерево-металлическими клиньями, мешками с цементом и т. п.). В расчетах свайных фундаментов допускается использование формул, приведенных в пп. 7.72-7.74. 7.72. Если в фундаменте только вертикальные сваи и в расчете они рассматриваются как жестко заделанные в вышерасположенной конструкции (см. п. 7.66) и в грунте (см. п. 7.67), то продольное усилие N и наибольший изгибающий момент М в свае допускается определять по формулам
где Рх, Нх и М0 - вертикальная и горизонтальная составляющие внешней нагрузки на фундамент и ее момент относительно точки О, расположенной в уровне низа конструкции, объединяющей головы свай, на вертикали, проходящей через центр тяжести поперечных сечений всех свай (рис. 61); nоб - общее число свай в фундаменте; х - координата головы сваи, для которой определяется продольная сила N; хi - координата головы сваи каждого (i-го) ряда, перпендикулярного плоскости действия внешней нагрузки (i-ой сваи на плоской схеме - см. рис. 61); ki - число свай в каждом (i-ом) ряду; l0 - длина участка сваи над расчетной поверхностью грунта; при подошве плиты фундамента, расположенной на уровне этой поверхности или ниже, следует принимать l0=0; hм - глубина расположения жесткой заделки сваи, считая от расчетной поверхности грунта (определяется по п. 7.69). 7.73. Если в фундаменте только вертикальные сваи и в расчете они рассматриваются как шарнирно прикрепленные к вышерасположенной конструкции (см. п. 7.66) и жестко заделанные в грунте (см. п. 7.67), то продольное усилие N и наибольший (по длине свай) изгибающий момент М1 в поперечном сечении допускается определять по формулам
где d - толщина ствола сваи; η1 - коэффициент, принимаемый равным 0,5, за исключением районов распространения вечномерзлых грунтов, для которых следует принимать η1=1,0; η - коэффициент, принимаемый по п. 7.69. Остальные величины пояснены в п. 7.72. Рис. 61. Расчетная схема фундамента из вертикальных свай 7.74. Для свайных фундаментов с симметричной плоской расчетной схемой, показанной на рис. 62, допускается согласно п. 7.68 принимать сваи шарнирно закрепленными вверху и внизу и при показателе наклона свай iн≥3 продольные усилия N определять по формулам: а) в наклонных сваях
б) в вертикальных сваях
где nн и nв - число наклонных и вертикальных свай;
е - расстояние на плоской расчетной схеме между вертикальными сваями и осью опоры (см. рис. 62); Pz, Hх и M0 - по п. 7.72. Рис. 62. Расчетная схема фундамента с вертикальными и наклонными сваями 7.75. Свободную длину свай lc следует определять с учетом вида закрепления свай вверху и внизу, принимаемого по пп. 7.66 и 7.67, и схемы расположения свай в фундаменте: а) в случае однорядного фундамента, как правило, следует принимать lc=2lм; б) в случае наличия в фундаменте наклонных свай, сопротивляющихся смещению конструкции, объединяющей головы свай, в любом направлении, допускается принимать: lc=0,5lм при заделке свай вверху и внизу; lc=0,75lм при заделке вверху и шарнире внизу или при шарнире вверху и заделке внизу; lc=lм при шарнирах вверху и внизу; в) в остальных случаях допускается принимать: lc=lм при заделке свай вверху и внизу; lc=2lм при заделке вверху и шарнире внизу или при шарнире вверху и заделке внизу. Здесь lм длина изгиба сваи. Если свая рассматривается как жестко защемленная в грунте, длину изгиба сваи следует определять по формуле
а если свая рассматривается как шарнирно закрепленная в грунте - принимать равной расстоянию по вертикали от головы сваи до места расположения шарнира (см. п. 7.67). Для фундаментов, усиленных каркасом (см. п. 7.71), свободную длину l0 свай следует принимать согласно прилож. 16. 7.76. Несущую способность грунтового основания фундаментов из свай следует проверять по формуле
где Nmax - наибольшее продольное усилие в свае; Р - расчетная несущая способность одиночной сваи при сжатии; m и m1 - коэффициенты условий работы. В случаях, когда свайный фундамент имеет монолитную плиту, лежащую на грунте или заглубленную в любой грунт, кроме илов, текучих или текучепластичных глин и суглинков, следует принимать m=1,1; в остальных случаях m=1. В случаях, когда в направлении действия внешних нагрузок фундамент имеет один или несколько рядов из четырех или более свай и в составе нагрузок учитывается давление ветра и льда, допускается принимать m1=1,1; в остальных случаях m1=1. Если Nmin+G<0, должно быть дополнительно проверено условие |Nmin+G|<Po, где Nmin - наименьшее продольное усилие в верхнем сечении сваи (отрицательно при растяжении); G - собственный вес сваи; Рo - расчетная несущая способность одиночной сваи при растяжении. Рис. 63 Схема для расчета конструкции, объединяющей головы сваи 7.77. Прочность конструкции, объединяющей головы свай, следует рассчитывать, учитывая фактическую передачу усилий на нее от обстройки опоры и от свай (рис. 63), а при наличии каркаса и от каркаса. Прочность каркаса следует рассчитывать, рассматривая его закрепленным на конструкции, объединяющей головы свай, и загруженным усилиями, передаваемыми сваями решетке каркаса. 8. ДЕРЕВЯННЫЕ КОНСТРУКЦИИОбщие требования8.1. Расчеты и конструирование узлов деревянных конструкций вспомогательных сооружений должны выполняться в соответствии с главой СНиП II-В.4-71* «Деревянные конструкции. Нормы проектирования» с учетом дополнительных требований пп. 8.2-8.21 и значений коэффициентов условий работы и коэффициентов надежности, приведенных в разделах 1, 3-7. 8.2. В деревянных конструкциях вспомогательных сооружений следует применять: а) в прогонах, пакетах подкрановых эстакад и рабочих мостиков - древесину хвойных пород, удовлетворяющую требованиям к I категории; б) в элементах прочих несущих конструкций - древесину хвойных и лиственных пород, отвечающую требованиям ко II категории; в) в элементах вспомогательного назначения, повреждение которых не нарушает целостности несущих конструкций, - древесину хвойных и лиственных пород III категории; г) в элементах деревянной опалубки - по указаниям раздела 5. Примечания. 1. В конструкциях тепляков, утеплений опалубок, настилов тротуаров, ограждений допускается использовать кругляк толщиной 4-7 см (жерди) и подтоварник. 2. В элементах древесины II категории в частичное смягчение требований СНиП II-B.4-71 допускается: а) для пиломатериалов: глубина и длина трещин вне зон соединений не более 1/2 толщины и длины элемента (вместо 1/3); сумма размеров сучков на длине 20 см должна быть не свыше 1/5 стороны элемента (вместо 1/3); б) для круглого леса: не нормируется косослой; глубина трещин вне зон соединений - не более 1/2 толщины элемента (вместо 1/3). 8.3. Лесоматериалы, бывшие в употреблении, допускаются к применению при условии, что они удовлетворяют по качеству всем приведенным выше требованиям. 8.4. Влажность древесины для изготовления конструкций, работающих с полным использованием расчетных сопротивлений либо требующих особо тщательного изготовления и плотной пригонки (опалубка, инвентарные конструкции) должна быть не более 25 %, а для окрашиваемых конструкций - не более 20 %. Влажность клееных конструкций должна приниматься по СНиП II-B.4-71. В остальных случаях влажность древесины не ограничивается. 8.5. Шпалы и брусья для подкрановых и перекаточных путей должны применяться типов IБ и IIБ из хвойных пород. 8.6. При назначении расчетных сопротивлений влияние условий эксплуатации учитывается только в следующих случаях: а) расчетные сопротивления древесины конструкций, расположенных под водой, снижаются умножением на коэффициент условий работы, равный 0,9; б) расчетные сопротивления элементов опалубки и тепляков, подвергающихся воздействию пара, снижаются умножением на коэффициент условий работы, равный 0,8. 8.7. Расчетные сопротивления элементов заборного крепления ограждения котлованов повышаются умножением на коэффициент условий работы, равный 1,1. При расчете элементов опалубки монолитных конструкций (кроме поддерживающих лесов) расчетные сопротивления древесины и фанеры увеличиваются умножением на коэффициент условий работы, равный 1,15. Расчетные сопротивления на изгиб, растяжение, сжатие и смятие вдоль торца прогонов и пакетов подкрановых эстакад, рабочих мостиков, тротуаров при действии временной вертикальной нагрузки увеличиваются умножением на коэффициент условий работы 1,10. При расчетах на смятие сопряжения насадок со сваями (стойками) вводится коэффициент условий работы т=1,2. Расчетную несущую способность цилиндрических нагелей в соединениях надземных конструкций определяют согласно главе СНиП II-B.4-71. Величину расчетной несущей способности умножают: для всех видов нагелей и нагрузок - на коэффициент условий работы т=1,25; для гвоздевых соединений, работающих на боковое давление бетонной смеси, - на коэффициент условий работы т=1,75. Расчетную несущую способность нагелей в соединениях элементов конструкций, подвергающихся длительному увлажнению (в том числе пропариванию), снижают умножением на коэффициент условий работы т=0,85. 8.8. Размеры сечений элементов и деталей должны быть не менее указанных в табл. 44. Конструирование элементов из круглого леса должно производиться с учетом сбега бревен, равного 1 см на 1 пог. м бревна. Таблица 44
8.9. В изгибаемых элементах, в сечениях с наибольшими изгибающими моментами, необходимо избегать ослабления подрезками крайних растянутых волокон. Глубина подрезки в опорных сечениях допускается не более чем на 1/3 толщины элемента, длина опорной площади подрезки не должна превышать толщины элемента. Глубина врубок и врезок в стойках, насадках и связях должна быть не более 1/3 толщины элемента и не менее 2 см в брусьях и 3 см в бревнах. Рабочую плоскость смятия, как правило, следует располагать перпендикулярно к оси примыкающего сжатого элемента. Несимметричное ослабление сечения стоек не должно превышать 0,4 площади поперечного сечения и симметричное - 0,5. 8.10. Для уменьшения размеров поперечного сечения элементов, работа которых определяется напряжением на смятие древесины поперек волокон, следует применять в узлах металлические прокладки. Прокладки должны рассчитываться на изгиб. Скобы в узловых сопряжениях применяются только в качестве нерасчетных скреплений. 8.11. Неинвентарные деревянные конструкции могут проектироваться без соблюдения требований о проветривании и доступе к местам соединения для осмотра. При сроке службы деревянных конструкций менее 5 лет допускается не предусматривать их защиты от загнивания. Дополнительные требования к деревянным опорам подкрановых эстакад, рабочих мостиков, монтажных подмостей8.12. Опоры следует проектировать свайными, свайно-рамными, рамно-ряжевыми, ряжевыми, лежневыми или клеточными (последние преимущественно для устоев высотой не более 2 м). При установке опор вне русла реки на лежневое основание должны быть приняты меры к отводу от опор поверхностных вод и обеспечению защиты основания от подмыва, пучения и просадки грунта. При высоте до 6 м и пролетах до 6 м рекомендуется применять плоские свайные опоры. При больших высотах и пролетах следует применять двухрядные башенные опоры с расстоянием по фасаду моста 1/4-1/5 высоты опоры. При высоте опоры над грунтом более 2 м должны ставиться диагональные схватки, крепящиеся к сваям на врубках с болтами. При высоте опор более 6 м следует забивать наклонные сваи или ставить укосины с уклоном не более 4:1. Разрешается установка верхнего конца укосины под насадку; нижний конец укосины должен врубаться в вертикальную откосную сваю или нижнюю насадку. Насадки должны крепиться к сваям вертикальными штырями и дополнительно с помощью скоб, двусторонних планок или хомутов. 8.13. Надстройку опор на свайном основании рекомендуется выполнять, как правило, из инвентарных элементов, а при соответствующем обосновании из индивидуальных объемных рамных блоков, изготовляемых в стороне и устанавливаемых в собранном виде. 8.14. Опоры рекомендуется обшивать пластинами толщиной 10 см до уровня на 0,5 м выше горизонта ледохода вероятностью превышения 10 %, а при возможном карчеходе ограждать защитной заостренной в плане стенкой. 8.15. В клеточных опорах нижний ряд брусьев следует делать сплошным. Число брусьев в ряду подбирается по условиям смятия поперек волокон. Каждый брус должен прикрепляться к нижнему ряду двумя скобами. 8.16. При устройстве ряжевого основания опор могут применяться ряжевые опоры на всю высоту или опоры с рамной надстройкой из инвентарных или индивидуальных конструкций (рамно-ряжевые опоры). На водотоках с сильным ледоходом рекомендуется рамную надстройку возводить, начиная с отметки на 1,0 м выше уровня ледохода вероятностью превышения 10 %. Целесообразно высокие ряжи делать телескопическими. Выше уровня ледохода ряжи рекомендуется делать со сквозными наружными стенками без врубок. При конструировании ряжевых опор должны соблюдаться требования, изложенные в разделе «Основания и фундаменты». 8.17. Деревянные опоры рассчитывают в предположении, что укосины, диагональные связи и раскосы не воспринимают вертикальных сил. Глубина забивки откосных свай опор, а также свай ледорезов назначается исходя из условной расчетной нагрузки на сваю, принимаемой 10 тс, если в проекте не указана большая нагрузка. Усилия D в схватках и диагональных связях деревянных опор определяют по формуле
где ΣH - сумма горизонтальных усилий; α - угол наклона связей к горизонтали. 8.18. Свободную длину стоек башенных опор принимают равной расстояниям между узлами связей. Свободную длину свай принимают по указаниям раздела «Основания и фундаменты». Гибкость деревянных стоек должна быть не более 100, связей - 150. 8.19. Расчеты на устойчивость положения опор против опрокидывания производят относительно сроста наружной коренной сваи при опорах без укосин или наклонных свай и относительно нижней точки боковой укосины или наклонной сваи - при опорах с боковыми укосинами или наклонными сваями. 8.20. Длина свободного конца лежней и насадок рам, а также опорных элементов, к которым примыкают сжатые стойки, должна быть не менее толщины опорного элемента и не менее 20 см. Стыки стоек следует осуществлять впритык на штыре с примыканием торцов всей плоскостью и перекрытием стыка стальными накладками на болтах или отрезком трубы. В соединениях связей со стойками обязательно устройство врубок. Все соединяемые элементы опор должны быть стянуты болтами, а при необходимости хомутами. Болты должны иметь стальные шайбы с обоих концов. 9. БЕТОННЫЕ И ЖЕЛЕЗОБЕТОННЫЕ КОНСТРУКЦИИ9.1. Расчет несущей способности бетонных и железобетонных элементов вспомогательных сооружений (свай, ростверков, фундаментных блоков, стоек и других элементов, не входящих в состав конструкций постоянных мостов) должен выполняться в соответствии с главой СниП II-21-75 «Бетонные и железобетонные конструкции» с учетом дополнительных указаний пп. 9.2-9.6 и значений коэффициентов условий работы и коэффициентов надежности, приведенных в разделах 3-7. Расчеты усталостного разрушения, разрушения под совместным воздействием силовых факторов и неблагоприятных воздействий внешней среды, образования и раскрытия трещин допускается не производить. Примечание. Расчет по трещиностойкости (третья категория) должен производиться только при применении арматуры класса A-IV и выше и арматурных стержней диаметром свыше 30 мм класса AI-AIII. 9.3. Проектные марки бетона должны назначаться только по прочности. 9.4. Арматура для железобетонных конструкций должна назначаться в соответствии с общими требованиями СНиП II-21-75. При этом за расчетную температуру принимается температура, ожидаемая в период производства работ. Допускается применять арматуру марок, допускаемых СНиП II-21-75 только для температур выше минус 40° и в случае действия температур ниже минус 40 °С при условии снижения расчетных сопротивлений на 30 %. 9.5. В проектах вспомогательных бетонных и железобетонных конструкций, расположенных в зонах с температурой наиболее холодной пятидневки ниже минус 40 °С, должно содержаться указание о том, что изготовление их должно производиться по общим нормам производства работ, без учета дополнительных технологических требований к конструкциям северного исполнения. 9.6. При расчетах закладных анкерных закреплений в бетоне вспомогательных или основных конструкций должны учитываться коэффициенты надежности, равные 2 для анкеров пролетных строений и приемных консолей и 1,5 - для анкеров в соединении стоек опор с ростверками (см. раздел 6). Для закладных деталей конструкций, эксплуатируемых при температуре выше минус 40°, должны применяться стали марок, приведенных в главе СНиП II-21-75. При температурах ниже минус 40° следует применять стали в соответствии с рекомендациями раздела 10. 10. МЕТАЛЛИЧЕСКИЕ КОНСТРУКЦИИ10.1. Проектирование стальных конструкций вспомогательных сооружений должно выполняться в соответствии с главой СНиП II-B.3-72 «Стальные конструкции. Нормы проектирования» с учетом дополнительных указаний пп. 10.2-10.21 и значений коэффициентов условий работы и коэффициентов надежности, приведенных в разделах 1, 3-7. 10.2. Марки стали для вспомогательных сооружений следует назначать в соответствии с разделом 2 и приложением 1 главы СНиП II-B.3-72 с учетом изменений, приведенных в Бюллетене строительной техники № 1 и 2 за 1976 г. (прилож. 17). При определении группы конструкций по приложению 1 к упомянутой главе СНиП следует руководствоваться следующими указаниями: Группа I. Инвентарные сварные конструкции, работающие в особо тяжелых условиях и подвергающиеся непосредственному воздействию динамических или вибрационных нагрузок: устройства для подъема (опускания) и надвижки, пролетные строения подкрановых эстакад и рабочих мостиков, подкопровые мосты, подмости для погружения свай и оболочек и т. п. Группа II. Неинвентарные сварные конструкции, находящиеся под непосредственным воздействием динамических или вибрационных нагрузок, устройства для подъема (опускания) и надвижки, пролетные строения подкрановых эстакад и рабочих мостиков, подкопровые мосты, подмости для погружения свай и оболочек и т. п. Группы III и IV. Сварные конструкции, не подвергающиеся непосредственному воздействию подвижных или вибрационных нагрузок, - инвентарные и неинвентарные несущие конструкции и элементы (стойки, ростверки, крепление котлованов, понтоны и т. п.). При этом все марки сталей, рекомендуемые приложением 1 СНиП II-В.3-72 для конструкций I, II, III и IV групп, эксплуатируемых при температуре ниже минус 40 °С, допускается применять с заменой требований по ударной вязкости при температуре минус 70 °С (категории 9 и 15 по ГОСТ 19281-73 и ГОСТ 19282-73) требованием по ударной вязкости при температуре минус 40 °С (категории 6 и 12 по ГОСТ 19281-73 и ГОСТ 19282-73). Группа VI. Вспомогательные конструкции, а также слабонагруженные конструкции и элементы с напряжением менее 0,4 расчетного сопротивления с применением сварки и без сварки (различные устройства и приспособления, стальные элементы деревянных конструкций, оборудование для укладки бетона, лестницы, площадки, бункера и т. п.). Группа VII. Конструкции, относящиеся к группам I и II при выполнении их клепаными (болтовыми). Группа VIII. Конструкции, относящиеся к группам III и IV, при выполнении их клепаными, болтовыми, а также элементы конструкций, не имеющие сварных соединений. 10.3. При температуре выше минус 40 °С разрешается применение для любых конструкций низколегированных сталей марок 15ХСНД, 102С1Д и углеродистой стали марки 16Д по ГОСТ 6713-75. При температуре ниже минус 40° допускается для любых конструкций применять стали марки 15ХСНД-2, 15ХСНД-3, 15ХСНД-40, 10ХСНД-2, 10ХСНД-3, 10Г2С1Д-3, 10Г2С1Д-40 по ГОСТ 6713-75. В целях унификации снабжения рекомендуется в первую очередь применять стали марок ВСт.3, 10ХСНД, 15ХСНД и для элементов из труб - 09Г2С и Ст.20. Применение несущих конструкций из рельсов всех типов без устройства сварных соединений допускается без ограничений при любых климатических условиях. Значения расчетных сопротивлений для расчетов должны приниматься, как для стали класса 38/23, а для рельсов Р43 и Р50, как для стали класса 44/29. 10.4. Для вант, расчалок, якорных закреплений и др. следует применять стальные канаты типов, приведенных в табл. 45. Таблица 45
10.5. Для несущих элементов трубчатого сечения рекомендуется применять стальные бесшовные трубы по ГОСТ 8732-70* группы В (ГОСТ 8731-74) из стали марки 20 (ГОСТ 1050-74) и 09Г2С (ГОСТ 19282-73). Расчетные сопротивления для стали марки 20 принимать, как для стали класса 38/23. В конструкциях, предназначенных для эксплуатации при температуре ниже минус 40 °С, трубы должны поставляться по группе Г термообработанными. Нормы механических свойств должны соответствовать указанным в стандартах на сталь. Разрешается также применение труб электросварных по ГОСТ 10704-76, удовлетворяющих требованиям для группы А по ГОСТ 10705-76. 10.6. Для фрикционных болтовых соединений должны применяться метизы, отвечающие требованиям ОСТ 35-02-72 «Болты высокопрочные, гайки и шайбы к ним». Для конструкций, эксплуатируемых при температуре выше минус 40 °С, допускается применять высокопрочные болты из стали 40Х по ТУ 14-4-87-72. 10.7. Марки сталей для болтов следует назначать в соответствии с требованиями раздела 2 главы СНиП II-B.3-72 (с учетом изменений, утвержденных постановлением Госстроя СССР от 23 июня 1976 г.). При нецентрализованном изготовлении нестандартных расчетных болтов в стальных конструкциях, эксплуатируемых при температуре ниже минус 40 °С, следует применять сталь марок 09Г2, 14Г2, 15ХСНД по ГОСТ 19281-73 с последующей термообработкой, обеспечивающей ударную вязкость при температуре минус 70 °С не менее 3 кгс/см2. Гайки к болтам следует предусматривать из полосовой стали по ГОСТ 6422-52* марки 35 по ГОСТ 1050-74. Болты-шарниры, шарниры и катки, эксплуатируемые при температуре ниже минус 40 °С, следует применять из кованой или горячекатаной стали марки ВСт5сп2 по ГОСТ 380-71*. В конструкциях, эксплуатируемых при температуре выше минус 40 °С, для расчетных болтов и гаек к ним следует применять помимо сталей, указанных выше, сталь марок ВСт.3 2-6 категорий (спокойной и полуспокойной), Ст.5сп3, Ст.5пс3 по ГОСТ 380-71*, марок 20, 25, 30 и 35 по ГОСТ 1050-74. Для нерасчетных болтов и гаек к ним допускается применять сталь марок ВСт.3 и АСт.3 любых категорий и степени раскисления. Гайки к указанным выше болтам следует предусматривать из полосовой стали по ГОСТ 6422-52* марок Ст.3, Ст.4, Ст.5 по ГОСТ 380-71*, марок 20, 25, 30 и 35 по ГОСТ 1050-74. В конструкциях из низколегированной стали допускается применять болты из стали 40Х по ГОСТ 4543-71. Болты-шарниры, шарниры и катки, эксплуатируемые при температуре выше минус 40 °С, следует применять из кованой или горячекатаной стали марки ВСт.5 по ГОСТ 380-71*, стали марок 35 и 45 по ГОСТ 1050-74 или марки 40Х по ГОСТ 4543-71. 10.8. Для ручной сварки рекомендуется применять электроды по ГОСТ 9467-75 типов: Э42А, Э46А (марок УОНИ-13/45, УОНИ-13/55, СМ-11, ОЗС-2, УП-1/45, АНО-7, АНО-9) - для сварки углеродистых сталей в любых конструкциях, Э46А, Э50А (марок УОНИ-13/55, УП-1/55, УП-2/55) - для сварки низколегированных сталей в любых конструкциях, Э42, Э46, Э50 (марок АНО-1, АНО-5, АНО-6, АНО-3, АНО-4, ОЗС-3, ОЗС-4, ОЗС-6, МР-3) - для сварки углеродистой стали в конструкциях II и III групп - для сварки соединительных (нерасчетных) швов в конструкциях I группы. Если сварка производится при отрицательной температуре, следует применять электроды типа Э42А и Э42А-Ф (марок УОНИ-13/55, УОНИ-13/45) - для углеродистой стали и Э50А и Э50А-Ф тех же марок для низколегированных сталей. Сварку низколегированных сталей с углеродистыми следует выполнять электродами для низколегированных сталей. Для автоматической (полуавтоматической) сварки углеродистых сталей следует применять углеродистую стальную сварочную проволоку марок Св-08А и Св-08ГА по ГОСТ 2246-70 и плавленный флюс марок ОСЦ 45, ОСЦ-45М, АН-348-А и АН-348-АМ. Для автоматической (полуавтоматической) сварки низколегированных сталей следует применять стальную сварочную проволоку марок Св-08ГА, Св-10НМА, Св-10ГА, Св-10Г2, Св-12ГС по ГОСТ 2246-70 и плавленный флюс марок ОСЦ-45, АН-348-А, ОСЦ-45М, АН-348-АМ, АН-22, АН-60 (только для поясных угловых швов). Допускается при соответствующем обосновании применять другие марки электродов и флюсов, обеспечивающие механические свойства сварных швов на уровне требований к свойствам основного металла. Для ручной сварки конструкций из сталей марок ВСт.3сп5 и ВСт.3пс5, эксплуатируемых при температурах ниже минус 40 °С, следует применять электроды типа Э42А-Ф марки УОНИ-13/45. Для сварки низколегированных сталей конструкций, эксплуатируемых при температуре ниже минус 40 °С, следует применять электроды типа Э50А-Ф марки УОНИ-13/55, а для сварки соединительных (нерасчетных) швов также электроды Э42А-Ф марки УОНИ-13/45. 10.9. Непосредственная приварка различных вспомогательных деталей (кронштейны, перила) к несущим элементам конструкций не допускается. Приваривать эти детали допускается только к ребрам жесткости. 10.10. В конструкциях, предназначенных для эксплуатации при температуре ниже минус 40 °С, не допускается приварка диафрагм, связей и ребер жесткости к поясам балок. 10.11. В конструкциях, предназначенных для эксплуатации при температуре ниже минус 40 °С, следует применять элементы со сплошной стенкой, без обрыва отдельных частей по длине элемента, а в узлах применять соединения, обеспечивающие плавное изменение напряжений. Прикрепление отдельных элементов рекомендуется осуществлять без эксцентриситетов. Пояса балок и стоек следует проектировать однолистовыми с постоянным сечением. 10.12. Для сталей класса С52/40 в конструкциях, предназначенных для эксплуатации при температуре ниже минус 40 °С, вводится дополнительный коэффициент надежности 1,05. 10.13. В примыкании ребер жесткости к поясам следует устраивать треугольные срезы углов ребер со стороны стенки балки (рис. 64). Рис. 64. Примыкание ребер жесткости к поясам балок Ребра должны плотно прилегать к поясным листам балки, для чего следует предусматривать постановку прокладок толщиной 16-20 мм между концом ребер и поясом. Допускается приваривать ребра жесткости к листу сжатого пояса балки, а также к листу нижнего пояса на опоре, только для конструкций, работающих при температуре выше минус 40 °С. 10.14. Сопряжения углов рамных конструкций рекомендуется выполнять с помощью вставок. Ребра жесткости, параллельные стыковым швам стенки, необходимо удалять от стыков на расстояние, в 10 раз превышающее толщину стенки (рис. 65). При пересечении стыковых швов они должны зачищаться на длину 50 мм (рис. 66). В сварных узлах не следует допускать пересечения угловых швов. 10.15. Сварные конструкции для эксплуатации при температуре ниже минус 40 °С рекомендуется проектировать с широким применением автоматической и полуавтоматической сварки (взамен ручной). 10.16. В конструкциях, выполненных из УИКМ-60: а) сечения элементов следует, как правило, применять симметричными из двух или четырех уголков. В случаях неизбежности применения элементов из одиночных или строенных уголков несущую способность таких элементов определяют с учетом эксцентричного приложения нагрузки; Рис. 65. Расположение ребер жесткости, параллельных стыковым швам стенки балки: 1 - стык; 2 - ребра жесткости Рис. 66. Пересечение стыковых швов б) в башенных опорах с ромбической решеткой при расстоянии между осями стоек 4 м для увеличения жесткости узла пересечения раскосов следует ставить дополнительные сквозные стойки (распорки) из марок УИКМ М16 или М201. Возможно также закрепление узла от выпучивания из плоскости ферм установкой поперечных ромбических связей; в) расстояние между поперечными связями, обеспечивающими неизменяемость пространственной конструкции, назначается по расчету и во всех случаях должно быть не более 4 м; г) применение существующих инвентарных конструкций УИКМ-60 в стоечных вспомогательных сооружениях, при расчетной температуре ниже минус 40 °С, допускается как исключение, до обеспечения строительных организаций конструкциями МИК-С, со снижением расчетных сопротивлений на 30 %. 10.17. В пакетных конструкциях из двутавровых балок отдельные балки в полупакете связывают между собой, как правило, поперечными диафрагмами. Между полупакетами необходимо устанавливать металлические продольные связи в плоскости верхнего пояса с панелью не более 3,0 м и поперечными связями на расстояниях, не превышающих 5,5 м. Усилия отпора для проверки элементов, используемых для уменьшения свободной длины элементов (распорки, стяжки), следует принимать в размере 3 % продольного усилия сжатого элемента. 10.18. В соединениях с фланцевыми стыками и фрезерованными торцами элементов сжимающая сила считается полностью передающейся через торцы. Во внецентренно сжатых элементах болты или заклепки указанных соединений проверяются на наибольшее растягивающее усилие от действия изгибающего момента, соответствующего минимальной продольной силе. 10.19. Расчет прикрепляемых элементов на прочность при применении фрикционных соединений следует производить по сечению нетто в предположении, что 50 % усилия, приходящегося на каждый болт в рассматриваемом сечении, уже передано силами трения. 10.20. При определении прогибов изгибаемых конструкций со стыками на обычных болтах прогибы балок увеличиваются на 20 %. Толщина листов, кроме перечисленных ниже случаев 10/8 Толщина планок 8/6 Толщина прокладок 6/4 Толщина опорных листов 16/16 Размеры уголков в основных сечениях 75×75×8 Размеры уголков соединительной решетки составных стержней 63×40×6 Диаметр болта 16 Диаметр стержневых тяг, подвесок 10 Примечание. В числителе приведены значения для инвентарных конструкций, в знаменателе - для конструкций одноразового использования. Наибольшая толщина проката при соединении частей болтами или заклепками - 24 мм; в сварных элементах - 30 мм. 10.22. При проектировании алюминиевых конструкций следует руководствоваться главой СНиП II-24-74 «Алюминиевые конструкции» с учетом значений коэффициентов условий работы и коэффициентов надежности, приведенных в разделах 1, 3-7. Приложение 1ПЕРЕЧЕНЬ
|
|||||||||||||||||||||||||||||||||||||||||||||||||||||||||||||||||||||||||||||||||||||||||||||||||||||||||||||||||||||||||||||||||||||||||||||||||||||||||||||||||||||||||||||||||||||||||||||||||||||||||||||||||||||||||||||||||||||||||||||||||||||||||||||||||||||||||||||||||||||||||||||||||||||||||||||||||||||||||||||||||||||||||||||||||||||||||||||||||||||||||||||||||||||||||||||||||||||||||||||||||||||||||||||||||||||||||||||||||||||||||||||||||||||||||||||||||||||||||||||||||||||||||||||||||||||||||||||||||||||||||||||||||||||||||||||||||||||||||||||||||||||||||||||||||||||||||||||||||||||||||||||||||||||||||||||||||||||||||||||||||||||||||||||||||||||||||||||||||||||||||||||||||||||||||||||||||||||||||||||||||||||||||||||||||||||||||||||||||||||||||||||||||||||||||||||||||||||||||||||||||||||||||||||||||||||||||||||||||||||||||||||||||||||||||||||||||||||||||||||||||||||||||||||||||||||||||||||||||||||||||||||||||||||||||||||||||||||||||||||||||||||||||||||||||||||||||||||||||||||||
|
Наименование инвентаря |
Наименование проектной организации, разработавшей проект, и год разработки |
Условия применения при температуре ниже минус 40ºС |
Примечание |
|
Универсальные конструкции для мостостроения УИКМ-60 |
ЦПКБ Мостотреста, 1960 г. |
С ограничением несущей способности элементов до 0,7 и с заменой болтов |
Марки универсальных инвентарных конструкций УИКМ-55 входят в состав УИКМ-60 |
|
УИКМ-60 (укрупненные) |
СКБ Главмостостроя, 1973 г. |
То же |
|
|
Мостовые инвентарные конструкции стоечные МИК-С |
СКБ Главмостостроя, 1974 г. |
Без ограничений |
|
|
Мостовые инвентарные конструкции пакетные МИК-П |
СКБ Главмостостроя, 1975 г. |
То же |
|
|
Инвентарное мостостроительное имущество ИМИ-60 |
Ленгипротрансмост, 1960 г. |
С ограничением несущей способности элементов до 0,4 и с заменой болтов |
|
|
Понтоны типа КС и КС-У |
ЦПКБ Главмостостроя, 1951 г. |
|
Понтоны типов КС-У, КС-3 и КС-63 взаимозаменяемы |
|
То же КС-3 |
ЦПКБ Главмостостроя, 1953 г. |
|
|
|
То же КС-63 |
ЦПКВ Мостотреста, 1963 г. |
|
а) Ведомость марок
|
Назначение марки |
№ марки |
Сечение или толщина, мм |
Длина (в мм) или площадь (в м2) |
Масса, кг |
|
Стойка, пояс |
201 1Н |
L 125×125×10 L 120×120×10 |
3994 3994 |
76,4 73,1 |
|
То же |
341 |
L 125×125×10 |
1590 |
30,4 |
|
» |
202 2Н |
L 125×125×10 L 120×120×10 |
1994 1994 |
38,2 36,5 |
|
» |
342 |
L 125×125×10 |
1794 |
34,4 |
|
» |
343 |
L 125×125×10 |
1694 |
32,5 |
|
Коротыш стойки |
7Н |
L 125×125×10 |
594 |
10,9 |
|
Раскос тяжелый |
203 3Н |
L 90×90×9 L 100×75×10 |
2290 2290 |
28,0 30,0 |
|
Раскос легкий |
5Н |
L 75×75×8 |
2418 |
21,8 |
|
Раскос тяжелый |
344 |
L 90×90×9 |
2110 |
25,7 |
|
То же |
345 |
L 90×90×9 |
696 |
8,5 |
|
Раскос легкий |
346 |
L 75×75×8 |
1004 |
9,0 |
|
Распорка |
4 |
L 75×75×8 |
1730 |
15,6 |
|
» |
16Н |
L 75×75×8 |
3730 |
33,7 |
|
Стыковая накладка стоек |
6Н |
L 100×100×10 |
780 |
11,8 |
|
Стыковая накладка раскосов |
9 |
L 75×75×8 |
690 |
6,2 |
|
Накладка (прокладка) |
15Н |
80×580×10 |
- |
3,6 |
|
Опорный уголок |
206 |
L 100×100×10 |
780 |
11,8 |
|
Соединительная планка стоек |
19 |
180×220×10 |
- |
3,1 |
|
Соединительные планки раскосов и распорок |
20 |
160×180×10 |
- |
2,3 |
|
27 |
160×260×10 |
- |
3,3 |
|
|
28 |
160×460×10 |
- |
5,8 |
|
|
Соединительная планка распорок |
30 |
160×260×10 |
- |
3,3 |
|
Фасонки стоек |
8 |
265×510×10 |
0,135 |
10,6 |
|
Слабая плоскость |
14Н |
440×890×10 |
0,330 |
26,0 |
|
|
349 |
265×890×10 |
0,162 |
12,7 |
|
|
350 |
310×435×10 |
0,086 |
6,8 |
|
Фасонки стоек |
211 (11H) |
590×870×10 и 200×330×5 |
0,491 0,056 |
47,3 |
|
|
||||
|
Сильная плоскость |
12H |
380×590×10 |
0,187 |
14,7 |
|
|
22 |
420×610×10 |
0,256 |
20,1 |
|
|
26 |
610×610×10 |
0,372 |
29,2 |
|
|
229 (29) |
870×930×10 и 200×330×5 |
0,764 0,056 |
77,6 |
|
|
||||
|
|
347 |
870×1390×10 |
0,992 |
93,0 |
|
|
|
200×250×5 |
0,025 |
|
|
|
348 |
820×870×10 |
0,605 |
55,0 |
|
|
|
200×250×5 |
0,025 |
|
|
Фасонки связей |
17 |
370×670×10 |
0,233 |
18,6 |
|
|
18 |
325×325×10 |
0,075 |
5,9 |
|
|
23 |
290×600×10 |
0,160 |
12,5 |
|
|
217 |
290×670×10 |
0,173 |
13,6 |
|
Фасонка ростверков |
258 |
500×590×10 |
0,255 |
19,8 |
|
Башмаки стойки |
221 (121) |
- |
- |
103,0 |
|
Башмак фермы |
351 |
- |
- |
260,3 |
|
Башмак фермы опорный |
352 |
- |
- |
177,8 |
|
Башмак шарнира нижний |
358 |
- |
- |
176,5 |
|
Башмак шарнира верхний |
354 |
- |
- |
137,7 |
|
То же |
355 |
- |
- |
181,0 |
|
Башмак шарнира опорный |
356 |
- |
- |
162,5 |
|
Балки ростверка |
231 (131) |
I № 55 I № 55а |
2990 2990 |
265,0 314,0 |
|
|
||||
|
|
232 (132) |
I № 55 I № 55а |
4990 4990 |
442,0 524,0 |
|
|
||||
|
Прогон |
233 (133) |
I № 55 I № 55а |
10990 10990 |
974,0 1154,0 |
|
|
||||
|
Распорки с деталями |
134 |
I № 30а |
1930 |
68,0 |
|
|
234 |
I № 30 |
1930 |
62,6 |
|
|
259 |
I № 55 |
1970 |
214,0 |
|
|
260 |
I № 55 |
1770 |
196,0 |
|
Диафрагма |
235 135 |
450×350×12 и L 100×100×10 450×350×12 и L 100×100×10 |
350 514 350 510 |
17,0 |
|
|
||||
|
|
17,0 |
|||
|
|
||||
|
Ребра жесткости |
136 |
L 100×100×10 |
510 |
8,0 |
|
|
236 |
L 100×100×10 |
514 |
8,0 |
|
Стыковая накладка |
137 |
390×390×10 |
0,152 |
12,0 |
|
Планка-прокладка |
238 (138) |
160×260×5 160×260×10 |
0,038 0,038 |
1,5 3,0 |
|
|
||||
|
Шарнир |
357 |
Ø 100 |
120 |
9,0 |
|
Болты с гайками и шайбами |
24 |
M-22 |
65 |
0,55 |
|
|
25 |
M-27 |
85 |
0,87 |
Примечание. Марки 1Н, 2H, 3Н, 11Н, 29, 121, 131, 132, 133, 134 включены в проект УИКМ-60 из «Проекта универсальных инвентарных конструкций для мостостроения УИКМ-55» (ЦПКБ Главмостостроя № 522и).
б) Предельные усилия на элементы сквозных конструкций УИКМ-60
|
Элементы и марки |
Состав сечения |
Эскиз сечения |
Характеристика элемента |
Предельные усилия Nпр, тс |
|
||||||
|
Расстояние между центрами узлов l0, см |
Свободная длина при изгибе в пл. фер мы l0, см |
Толщина фасонки в месте прикрепления, δ, см |
Максимальная гибкость λ |
||||||||
|
по сжатию |
по растяжению |
по прикреплению |
|
||||||||
|
усилие |
к марке |
|
|||||||||
|
Раскосы 5Н, 346 |
L 75×75×8 |
|
283 |
228 |
1 |
173 |
не допускается |
6,0 |
min 9,9 |
ко всем фасовкам и башмакам |
|
|
114** |
86 |
5,0 |
|
||||||||
|
283 |
228 |
2 |
173 |
не допускается |
4,6 |
min 14,8 |
то же |
|
|||
|
114** |
86 |
3,7** |
|
||||||||
|
2L 75×75×8 |
|
283 |
228 |
1 |
100 |
11,1 |
14,5 |
min 15,0 |
» |
||
|
2 |
11,7 |
13,8 |
|
||||||||
|
|
566 |
228* |
1 |
100 |
11,1* |
14,5 |
min 15,0 |
» |
|||
|
2 |
11,7* |
13,8 |
|
||||||||
|
Раскос 3Н |
L 100×75×10 |
|
283 |
204 |
1 |
161 |
не допускается |
5,1 |
22,4 |
ко всем фасонкам и башмакам |
|
|
102** |
80 |
4,6** |
|
||||||||
|
283 |
204 |
2 |
161 |
не допускается |
4,5 |
|
|||||
|
102** |
80 |
4,1** |
|
||||||||
|
2L 100×75×10 |
|
283 |
204 |
1 |
105 |
35,6 |
58,4 |
44,7 |
то же |
|
|
|
|
283 |
2 |
100 |
32,1 |
43,2 |
|
|||||
|
102** |
1 |
65 |
29,8** |
30,2 |
|
||||||
|
2 |
24,6** |
25,2 |
|
||||||||
|
4L 100×75×10 |
|
283 |
204 |
1 |
103 |
81,0 |
116,8 |
55,2 |
14Н |
|
|
|
2 |
95 |
79,7 |
91,5 |
89,5 |
11Н, 29, 229, 121, 221, 211, 347, 348, 351-355 |
|
|||||
|
Раскосы 203, 344, 345 |
L 90×90×9 |
|
283 |
204 |
1 |
138*** |
3,7*** |
5,2 |
22,4 |
ко всем фасонкам и башмакам |
|
|
102** |
69 |
5,0** |
|
||||||||
|
283 |
204 |
2 |
138*** |
3,2*** |
4,4 |
|
|||||
|
102** |
69 |
4,2** |
|
||||||||
|
2L 90×90×9 |
|
283 |
204 |
1 |
87 |
46,4 |
54,8 |
44,7 |
ко всем фасонкам и башмакам |
||
|
2 |
85 |
39,1 |
43,1 |
|
|||||||
|
|
283 |
102** |
1 |
56 |
28,1** |
28,2 |
|||||
|
2 |
24,1** |
24,2 |
|
||||||||
|
4L 90×90×9 |
|
283 |
204 |
1 |
85 |
94,2 |
109,8 |
55,2 |
14Н |
|
|
|
2 |
80 |
84,2 |
90,2 |
89,5 |
11Н, 211, 29, 229, 121, 321, 347, 348, 351-355 |
|
|||||
|
Распорки 4, 16Н |
L 75×75×8 |
|
200 |
200 |
|
135 |
2,7 |
3,7 |
min 9,9 |
ко всем фасонкам и башмакам |
|
|
400 |
400 |
270 |
не допускается |
|
|||||||
|
2L 75×75×8 |
|
200 |
200 |
|
85 |
34,7 |
36,1 |
15,0 |
353 |
|
|
|
19,8 |
8, 17, 22, 23; 26, 217, 349 |
|
|||||||||
|
400 |
400 |
148*** |
14,3*** |
34,8 |
354, 355 |
|
|||||
|
39,6 |
11Н, 14Н, 29, 121, 211, 221, 229 |
|
|||||||||
|
4L 75×75×8 |
|
200 |
200 |
|
74 |
72,2 |
72,2 |
30 |
8, 17, 22, 23, 26, 217, 349 |
|
|
|
400 |
400 |
124 |
37,6 |
60 |
11Н, 14Н, 29, 211, 221, 229 |
|
|||||
|
Пояса, стойки 1Н, 2Н, 201, 202, 341, 342, 343 |
L 120×120×10 L 125×125×10 |
|
200 |
200 |
|
85 |
7,8 |
8,5 |
37,2 |
ко всем фасонкам, башмакам и в стыке |
|
|
400 |
400 |
170 |
не допускается |
|
|||||||
|
Пояса, стойки 1Н, 2Н, 201, 202, 341, 342, 343 |
2L 120×120×10 2L 125×125×10 |
|
200 |
200 |
|
53 |
78,0 |
78,0 |
74,5 |
347, 348, 354 |
|
|
104,5 |
121, 221 |
|
|||||||||
|
400 |
400 |
91 |
66,8 |
134,5 |
351, 352, 353, 355 |
|
|||||
|
101,8 |
в стыке |
|
|||||||||
|
4L 120×120×10 4L 125×125×10 |
|
200 |
200 |
|
48 |
156,0 |
156,0 |
92,0 |
347, 348, 354 |
|
|
|
159,0 |
121, 221 |
|
|||||||||
|
400 |
400 |
81 |
145,0 |
166,0 |
351, 352, 353, 355 |
|
|||||
|
159,5 |
в стыке |
|
|||||||||
Примечания. Усилия определены в предположении установки всех соединительных планок, двустороннего перекрытия стыка элементов из уголков 120×120×10 (обеих полок) и прикрепления элементов на полное количество болтов.
* - для L=566 см - при пересечении раскоса с растянутой или нерабочей распоркой из 2L 75×75×8. При отсутствии распорки Nпр=0.
** - при пересечении с растянутым раскосом.
*** - допускается только в качестве элементов связей.
в) Предельные усилия на элементы ростверков
|
Сортамент |
Состав сечения (марки) |
Эскиз сечения |
Характеристика сечения |
|
Qпр при |
Qпр в месте прикрепления |
|
|
|
Iбр |
Wнт |
|||||||
|
Qпрmax |
||||||||
|
см4 |
см3 |
|||||||
|
тс·м |
тс |
тс |
|
|||||
|
I № 55а ОСТ 10016-36 |
I № 55а (131, 132) |
|
62870 |
1925 |
42,4 |
63,0, |
- |
|
|
36,9 |
|
|||||||
|
I № 55а (133) |
2070 |
45,5 |
76,2 |
- |
|
|||
|
39,8 |
|
|||||||
|
стык I № 55а (16M, 15H, 2M137) |
|
- |
- |
43,6 |
75,7 |
- |
|
|
|
0 |
92,0 |
|
||||||
|
I № 30а ОСТ 10017-36 |
I № 30а (134) |
|
6048 |
380 |
8,35 |
- |
11,7 |
|
|
- |
|
|||||||
|
I № 55 ГОСТ 8239-56 |
I № 55 (231, 232) |
|
55150 |
1714 |
37,7 |
51,5 |
- |
|
|
31,8 |
|
|||||||
|
I № 55 (233) |
1833 |
40,3 |
64,2 |
|
||||
|
34,1 |
|
|||||||
|
стык I № 55 (16M, 15H, 2M137) |
|
- |
- |
44,0 |
62,8 |
- |
|
|
|
0 |
75,7 |
|
||||||
|
I № 30 ГОСТ 8240-56 |
I № 30 (234) |
|
5810 |
362 |
8,0 |
- |
15,6 |
|
|
- |
|
|||||||
|
I № 55 ГОСТ 8239-56 |
I № 55 (259, 260) |
|
55160 |
1714 |
37,7 |
51,5 |
59,6 |
|
|
31,8 |
64,2 |
|
||||||
г) Рабочие
площади стыковых деталей в стыках элементов из L 120×120×10
(L 125×125×10)
|
Сечение стыкуемого элемента |
Рабочие площади стыковых деталей (фасонок и накладок), см2 |
|||||||
|
Марки |
||||||||
|
6Н |
8 |
11Н |
14Н |
15H |
22 |
26 |
29, 347, 348 |
|
|
L 120×120×10 |
13,8 |
6,0 |
14,2 |
6,6 |
5,2 |
10,6 |
10,6 |
14,2 |
|
2L 120×120×10 |
13,8 |
6,0 |
19,4 |
6,0 |
5,2 |
17,2 |
17,2 |
19,4 |
|
4L 120×120×10 |
13,8 |
6,0 |
19,4 |
6,0 |
5,2 |
17,2 |
17,2 |
19,4 |
д) Предельные усилия на узлы ростверков
|
Сортамент балок |
Узел |
Схема приложения нагрузки |
Число и подклинка ребер жесткости |
Pпр, тс |
|
I № 55а ОСТ 10016-36 |
Пересечение одностенчатых балок I № 55а |
|
по 2 шт. не подклинены |
53,6 |
|
по 4 шт. подклинены |
130,0 |
|||
|
Опирание одностенчатой балки I № 55а на марки 121, 221 |
|
2 шт. не подклинены |
149,0 |
|
|
4 шт. подклинены |
156,0 |
|||
|
Опирание двухстенчатой балки I № 55а на марки 121, 221 |
|
по 4 шт. подклинены |
156,0 |
|
|
I № 55а ОСТ 10016-36 |
Сосредоточенная нагрузка на I № 55а |
|
отсутствуют |
20,0 |
|
I № 55 ГОСТ 8239-56 |
Пересечение одностенчатых балок I № 55 |
|
по 2 шт. не подклинены |
40,0 |
|
по 4 шт. подклинены |
110,0 |
|||
|
Опирание одностенчатой балки I № 55 на марки 121, 221 |
|
2 шт. не подклинены |
147,0 |
|
|
4 шт. подклинены |
156,0 |
|||
|
Опирание двухстенчатой балки I № 55 на марки 121, 221 |
|
по 4 шт. подклинены |
156,0 |
|
|
Сосредоточенная нагрузка на I № 55 |
|
отсутствуют |
14,0 |
е) Предельные усилия на болт (марки 24, 25) и на шарнир (марки 357), тс
|
Диаметр болта или шарнира, мм |
По срезу в соединениях |
По смятию в соединениях толщиной, мм |
|||||
|
односрезных |
двухсрезных |
δ=8 |
δ=9 |
δ=10 |
δ=20 |
δ=30 |
|
|
Ø 22 |
4,95 |
9,9 |
6,0 |
8,8 |
7,5 |
15,0 |
- |
|
Ø 27 |
7,45 |
14,0 |
- |
8,3 |
9,2 |
18,4 |
- |
|
Ø 100 |
- |
282,0 |
- |
- |
- |
- |
190,0 |
Башенные конструкции ИМИ-60 предназначаются для устройства временных опор различного назначения (подмостей, эстакад).
Комплект башенных конструкций ИМИ-60 состоит из 17 элементов, изготовленных из стали марки М16С или 15ХСНД (см. таблицу).
Элементы стоек (марки № 1 и 2) имеют фланцевые листы по торцам и стыкуются впритык.
Элементы собираются на болтах, имеющих диаметр цилиндрической части, равный 25,5 мм и нарезную часть с резьбой М22.
Для оголовков и ростверков наряду с инвентарными элементами необходимо применять индивидуальные.
а) Ведомость марок
|
Марка |
Назначение марки |
Эскиз марки |
Масса, кг |
|
M1 |
Стойка |
|
206 |
|
М2 |
» |
|
82 |
|
М3 |
Распорка |
|
15,7 |
|
М4 |
» |
|
52,7 |
|
М5 |
Диагональ |
|
27,6 |
|
М6 |
Фасонка вертикальных связей |
|
10,8 |
|
М7 |
Диагональ |
|
28,8 |
|
М8 |
Фасонка вертикальных и горизонтальных связей |
|
21,7 |
|
М9 |
Фасонка горизонтальных связей |
|
16,1 |
|
М10 |
Балка оголовка |
|
637 |
|
М11 |
То же |
|
723 |
|
М14 |
Распорка |
|
30,4 |
|
M15 |
Балка ростверка |
|
501 |
|
M17 |
Фасонка горизонтальных связей |
|
15,9 |
|
M18 |
Соединительный элемент |
|
16,1 |
|
М12а |
Балка оголовка |
|
298 |
|
М12 |
» |
|
338 |
|
М13 |
Диафрагма |
|
27 |
б) Основные расчетные данные*
|
Марка |
Тип сечения |
Состав сечения |
Fбр, см2 |
Fнт, см |
|
|
|
Предельные усилия, Nпр, тс |
|
|
по сжатию |
по растяжению |
||||||||
|
M1, M2 |
|
в. л. 250×8 |
77,6 |
61 |
10935 |
631 |
16,8/33,4 |
141,5 |
128 |
|
2765 |
- |
33,6/66,8 |
121,8 |
||||||
|
М3, М4 |
|
L 80×80×7 |
10,8 |
9,0 |
65,3 |
- |
106 |
11,8 |
18,9 |
|
М3 |
|
2L 80×80×7 |
21,6 |
18,0 |
130,6 291,6 |
- |
106 |
23,6 |
37,8 |
|
М5 |
|
L 90×90×8 |
13,9 |
11,8 |
106 |
- |
133 |
10,8 |
24,8 |
|
М5 |
|
2L 90×90×8 |
27,8 |
23,6 |
212 |
- |
133 |
21,7 |
49,6 |
|
М7 |
|
L 80×80×7 |
10,8 |
9,0 |
65,3 |
- |
61,5 |
17,7 |
18,9 |
|
М10 |
|
в. л. 670×12 |
157,2 |
157,2 |
120446 |
3430 308 |
- |
- |
- |
|
M11 |
|
в. л. 660×12 |
156,0 |
143,5 |
116506 3696 |
3250 308 |
- |
- |
- |
|
2M11 |
|
2 в. л.
660×12 |
312 |
287 |
233012 128450 |
6500 2310 |
- |
- |
- |
|
M12 |
|
в. л. 670×12 |
157,2 |
144,7 |
120446 3696 |
3318 310 |
- |
- |
- |
|
2M12 |
|
2 в. л.
670×12 |
314,4 |
289,4 |
240892 129380 |
6636 2330 |
- |
- |
- |
* Расчетные данные приведены для элементов из стали М16С.
Стоечные конструкции предназначаются для башенных частей вспомогательных опор, монтажных подмостей, опор для надвижки, подкрановых эстакад, рабочих мостиков и др.
Комплект МИК-С состоит из 12 марок: 4 марки стоек длиной 2 и 4 м, 5 марок раскосов и распорок, одна цельносварная марка ростверка, одна соединительная планка и один тип болта диаметром 24 мм (см. таблицу).
Стойки запроектированы из труб (ГОСТ 8731-66) с маркой стали 09Г2С, термически обработанной, с гарантией ударной вязкости при температуре минус 40 °С и после механического старения.
На концах стойки снабжены фланцами для примыкания друг к другу и к ростверкам и фасонками для присоединения раскосов, расположенными в четырех плоскостях под углом 90° друг к другу. С одной стороны стоек фланцы развиты для присоединения распорок. Раскосы (марка Л5) и распорки (марка Л6) могут изготавливаться из труб или уголков 75×75×6 мм. На концах распорки и раскосы имеют фасонки с отверстием для одного высокопрочного болта диаметром 24 мм и вспомогательным отверстием для наводки при монтаже.
|
Марка |
Эскиз марки |
Предельное усилие, тс |
Масса, кг |
|
Л-1 |
|
+10-100 |
227 |
|
Л-2 |
|
+10-100 |
136 |
|
Л-3 |
|
+5-44 |
147 |
|
Л-4 |
|
+5-44 |
100 |
|
Л-5 |
|
±11 |
45 |
|
Л-6 |
|
±11 |
33 |
|
Л-7 |
|
±11 |
94 |
|
Л-8 |
|
±11 |
84 |
|
Л-9 |
|
±11 |
68 |
|
Л-10 |
|
|
2,64 |
|
Л-11 |
|
|
1245 |
|
Л-12 |
|
|
0,65 |
Примечания. 1. Гибкость и предельные нагрузки марок Л-1 и Л-3 даны для свободной длины l=200 см (числитель) и l=400 см (знаменатель). Нагрузка указана для стыка стоек одинакового диаметра.
2. В графе расчетных усилий знаком «+» обозначены растягивающие усилия, знаком «-» обозначены сжимающие усилия.
Рис. 1. Схема сборки опоры из элементов МИК-С:
а - плоскостная секция; б - башенная опора; в - линейный элемент
Соединения элементов стоек, распорок и раскосов осуществляются на высокопрочных болтах (ВПБ) диаметром 24 мм, закручиваемых обычным ключом с моментом порядка 20-30 кгс·м без специальной обработки контактных поверхностей.
Марка ростверка состоит из четырех сварных двутавров и двух швеллерных связей, объединенных на сварке. Листовая сталь для сварных балок и фасонов принята марки 15ХСНД с гарантией ударной вязкости при температуре минус 40 °С и после механического старения.
Из элементов стоек, распорок, раскосов и ростверков собирается основной элемент МИК-С - башня из 4 (8) стоек размером в плане 2×2 (2,5×2,5) м и высотой, кратной 2 м (рис. 1).
Отдельные башни могут объединяться между собой в продольном и поперечном направлении с помощью раскосов и распорок в пространственные конструкции опор неограниченного размера. При этом расстояние между башнями может быть 2, 4 и 6 м.
Сборка башен может производиться плоскостными и пространственными секциями, а также из отдельных линейных элементов.
Пакетные инвентарные конструкции МИК-П предназначаются для применения в различных вспомогательных сооружениях в комплекте со стоечными конструкциями МИК-С.
МИК-П рекомендуется применять в рабочих мостиках, подмостях, пирсах, подкрановых эстакадах (рис. 1), причалах, распределительных конструкциях на плавучих опорах и опорах для надвижки. Факультативное применение МИК-П предусматривается: для перекрытия прогалов над трубами; для перекрытия пролетов временных мостов на притрассовых автодорогах; для перекрытия пролетов временных железнодорожных мостов при строительстве на обходах; при восстановлении; в разгрузочных конструкциях (при отсутствии ограничений по высоте).
МИК-П могут опираться как на конструкции башен из МИК-С, так и на опоры любой другой конструкции.
Пакетные конструкции (см. таблицу) изготовляют из сварных балок высотой 550 и 1040 мм, длиной 8000 и 11920 мм. Из отдельных балок могут устраиваться пролетные строения длиной 8,0; 11,92; 16,0; 19,92 м (в исключительных случаях 23,84 м).
Стыки балок - на накладках и высокопрочных болтах диаметром 24 мм.
К стенкам балок приварены через определенные расстояния полудиафрагмы, состоящие из вертикальных и горизонтальных ребер, к которым приварен фланцевый лист.
Полудиафрагмы приварены в одних марках с двух сторон, в других - с одной. С помощью полудиафрагм отдельные балки объединяются в пространственную конструкцию из любого числа балок, устанавливаемых с шагом 550 мм в поперечном направлении. Объединение полудиафрагм осуществляется также высокопрочными болтами диаметром 24 мм.
При необходимости установки балок с большим шагом в поперечном направлении между фланцевыми листами полудиафрагм устанавливают набор инвентарных вставок требуемой ширины. Балки могут объединяться также уголковыми продольными связями, прикрепляемыми к горизонтальным фасонкам полудиафрагм. В фасонках устроены дугообразные прорези с краями, очерченными по дугам окружностей, центры которых совмещены с центром узла (точкой пересечения оси балки с осью полудиафрагмы). Такое решение узла позволяет обеспечить центрировку диагональных связей при любом расстоянии между балками.
Основные несущие элементы МИК-П запроектированы из низколегированной стали марки 15ХСНД с гарантией ударной вязкости при температуре минус 40 °С и после механического старения.

Рис. 1. Примерные монтажные схемы пакетных пролетных строений:
а - под железнодорожную нагрузку; б - под автомобильную нагрузку; в - для подкрановых эстакад под козловой кран К-451 (длиной 16 м)
|
Марка |
Назначение марки |
Эскиз марки |
Сортамент |
Характеристика элемента |
||
|
Iх-х, см4 |
Wбрx-x, см3 |
Масса, кг |
||||
|
П-1 |
Балки |
|
Лист |
57977 |
2108 |
1561 |
|
П-1a |
» |
|
Лист |
57977 |
2108 |
1802 |
|
П-2 |
» |
|
Лист |
57977 |
2108 |
1054 |
|
П-2a |
» |
|
Лист |
57977 |
2108 |
1232 |
|
П-3 |
» |
|
Лист |
404433 |
7778 |
2921 |
|
П-3а |
» |
|
Лист |
404433 |
7778 |
3241 |
|
П-4 |
» |
|
Лист |
404433 |
7778 |
1915 |
|
П-4а |
» |
|
Лист |
404433 |
7778 |
2172 |
Продолжение
|
Марка |
Назначение марки |
Эскиз марки |
Сортамент |
Масса, кг |
|
П-9 (П-10) |
Диафрагмы |
|
δ 12 |
466 (196) |
|
П-11 (П-12) |
» |
|
δ 12, 16 |
371 (261) |
|
П-13 (П-15) |
» |
|
δ 12 |
90 (86) |
|
П-14 (П-16) |
» |
|
δ 12, 16 |
192 (158) |
|
П-17 |
» |
|
δ 12 |
566 |
|
от П-18 до П-24 |
Раскосы |
|
L 100×100×10 |
от 55,7 до 35,0 |
|
П-25 |
Накладки |
|
Лист δ 12 |
12 |
|
П-26 |
» |
|
Лист δ 12 |
4,0 |
|
П-27 |
» |
|
Лист δ 12 |
20 |
|
П-28 |
» |
|
Лист δ 16 |
48 |
|
П-29 |
» |
|
Лист δ 16 |
22 |
|
П-30 |
» |
|
Лист δ 12 |
28 |
|
П-31 |
|
Болт М27×100 с гайкой и шайбой по ГОСТ 7798-70 или ВПБ болт М24 |
- |
0,7 |
|
П-32 |
Ребра жесткости |
|
L 100×100×10 |
15,1 |
|
П-33 |
То же |
|
L 100×100×10 |
7,8 |
Рис. 1. Схема универсального понтона КС
|
Показатель |
Изм. |
КС-3 |
КС-63 |
|
Габаритные размеры: |
|
|
|
|
длина |
м |
7,2 |
7,2 |
|
ширина |
» |
3,6 |
3,6 |
|
высота |
» |
1,8 |
1,8 |
|
Масса |
т |
5,9 |
5,96 |
|
Полное водоизмещение |
м3 |
45 |
45 |
|
Осадка от собственной массы |
м |
0,25 |
0,25 |
|
Грузоподъемность нормативная при сухом борте 0,5 м |
тс |
26,3 |
26,3 |
|
Предельные нагрузки (рис 1): |
|
|
|
|
в узлах усиленных шпангоутных рам Р |
» |
46 |
47 |
|
по всем бортовым узлам шпангоута Р1 |
» |
31 |
32 |
|
в узлах понтона P2 |
» |
26 |
24 |
|
в узлах торцевой стенки Р3 |
» |
26 |
28 |
|
в любой точке пролета шпангоута Р4 |
» |
2,5 |
4,0 |
|
Материал понтона |
|
Ст. 3 |
ГОСТ 380-60 |
|
Толщина обшивки, мм: |
|
|
|
|
бортов и торцов |
|
4 |
4 |
|
палубы и днища |
|
3 |
4 |
Предельные усилия на понтон и на стык понтонов
|
Вид деформации |
Фактор, определяющий несущую способность |
КС-3 |
КС-63 |
|||
|
Мпр, тс·м |
Qпр, тс |
Мпр, тс·м |
Qпр, тс |
|||
|
Изгиб понтона в плоскости бортов h=1,6 м |
Прочность понтона |
см. график (рис. 2) |
||||
|
Прочность стыка |
546 |
138 |
575 |
138 |
||
|
Изгиб понтона в плоскости палубы h=3,6 м |
Прочность понтона |
см. график (рис. 3) |
||||
|
Прочность стыка |
608 |
207 |
608 |
276 |
||
|
Изгиб понтона в плоскости торцов при h=1,8 м |
Прочность понтона и стыка |
При наличии местной нагрузки (W=1,8 тс/м2) |
229* |
119* |
348* |
124* |
|
При отсутствии местной нагрузки |
389* |
119* |
486* |
124* |
||
|
Изгиб понтона в плоскости торцов при h=3,6 м |
Прочность понтона и стыка |
При наличии местной нагрузки (W=3,6 тс/м2) |
148* |
238* |
430* |
248* |
|
При отсутствии местной нагрузки |
792* |
238* |
993* |
248* |
||
Примечания. 1. Расчет понтона произведен на случай работы понтона как части плашкоута с осадкой 1,8 и 3,6 м.
2. * Указаны значения Мпр при Q=0 и Qпр при М=0.
3. При одновременном действии М и Q прочность понтона должна быть проверена расчетом в каждом конкретном случае.
4. При допущении замены понтонов КС-63 на КС-3 в расчете учитывается меньшее из двух значений грузоподъемности.
Рис. 2. График предельных усилий на понтон при изгибе в плоскости бортов и при наличии местной нагрузки (гидростатического давления) W=1,8 тс/м2
Рис. 3. График предельных усилий на понтон при изгибе в плоскости палубы:
1 - при отсутствии местной нагрузки; 2 - по изгибу кильсона при наличии местной нагрузки (гидростатического давления) W=3,6 тс/м2; 3 - по прочности стыка; 4 - по прочности шпангоута; 5 - по местной устойчивости обшивки палубы и днища при наличии гидростатического давления W=3,6 тс/м2

Рис. 4. Схема предельных нагрузок на понтон при использовании его в конструкциях подмостей:
а - на узлы борта; б - на узлы торца P1=50 тс при условии постановки металлических вкладышей в горизонтальные коробки в месте опирания
|
Профиль |
ГОСТ |
Наименование |
Ширина, мм |
Толщина, мм |
Длина, м |
|
|
от |
до |
|||||
|
|
ГОСТ 4781-55* |
Сталь прокатная для шпунтовых свай. Шпунтовая свая ШП-1 |
400 |
10 |
8 |
22 |
|
|
To же |
Сталь прокатная для шпунтовых свай. Шпунтовая свая ШП-2 |
200 |
8 |
8 |
22 |
|
|
» |
Сталь прокатная для шпунтовых свай. Шпунтовая корытная свая ШК-1 |
400 |
10 |
8 |
22 |
|
|
» |
Сталь прокатная для шпунтовых свай. Шпунтовая корытная свая ШК-2 |
400 |
10 |
8 |
22 |
|
|
» |
Сталь прокатная для шпунтовых свай. Сталь шпунтовая зетового профиля ШД-3 |
400 |
9 |
8 |
22 |
|
|
» |
Сталь прокатная для шпунтовых свай. Сталь шпунтовая зетового профиля ШД-5 |
400 |
12 |
8 |
25 |
Характеристика шпунтовых свай
|
Поперечное сечение шпунтовых свай |
Тип шпунтовых свай |
Вес пог. м шпунтовой сваи, кг |
Площадь сечения шпунтовой сваи, см2 |
Момент инерции |
Момент сопротивления |
Расчетная ширина шпунтовой сваи В, мм |
Толщина шпунтовой стенки Н, мм |
Толщина стенки сваи, d, мм |
||
|
отдельной шпунтовой сваи Ix1, см4 |
пог. м шпунтовой стенки Ix, см4 |
отдельной шпунтовой сваи Wx1, см3 |
пог. м шпунтовой стенки Wх, см3 |
|||||||
|
|
ШП-1 |
64 |
82 |
332 |
961 |
73 |
188,5 |
400 |
- |
10 |
|
ШП-2 |
30 |
39 |
80 |
482 |
28 |
136 |
200 |
- |
8 |
|
|
|
ШК-1 |
50 |
64 |
730 |
3000 |
114 |
400 |
400 |
2×75 |
10 |
|
ШК-2 |
58 |
74 |
2243 |
10425 |
260 |
835 |
400 |
2×125 |
10 |
|
|
|
ШД-3 |
61 |
78 |
7600 |
19000 |
630 |
1570 |
400 |
240 |
9 |
|
ШД-5 |
93 |
119 |
20100 |
50250 |
1256 |
3140 |
400 |
320 |
12 |
|
|
|
Ларсен-III |
62 |
79,2 |
- |
23200 |
- |
1600 |
400 |
2×145 |
- |
|
Ларсен-IV |
74 |
94,3 |
4660 |
39600 |
405 |
2200 |
400 |
2×180 |
11 |
|
|
Ларсен-V |
100 |
127,6 |
6243 |
50943 |
461 |
2962 |
420 |
2×172 |
13 |
|
|
Наименование материалов |
Объемный вес материала, тс/м3 |
|
Сталь |
7,85 |
|
Чугун |
7,20 |
|
Свинец |
11,40 |
|
Алюминий и его сплавы |
2,70 |
|
Бетон вибрированный на гравии или щебне из природного камня |
2,35 |
|
Железобетон (в зависимости от величины коэффициента армирования μ в процентах) |
2,35 |
|
Кладка из тесаных или грубооколотых камней гранита |
2,7 |
|
То же песчаника |
2,4 |
|
» известняка |
2,0 |
|
Кладка бутовая и бутобетонная на известковом камне |
2,0 |
|
на песчаниках и кварцитах |
2,2 |
|
на граните и базальте |
2,4 |
|
Кладка кирпичная |
1,8 |
|
Мастика асфальтовая |
1,6 |
|
Асфальтобетон песчаный |
2,0 |
|
» среднезернистый |
2,3 |
|
Балласт щебеночный |
1,7 |
|
То же с частями верхнего строения пути |
2,0 |
|
Сосна, ель, кедр: |
|
|
пропитанные |
0,7 |
|
непропитанные |
0,6 |
|
Дуб и лиственница: |
|
|
пропитанные |
0,9 |
|
непропитанные |
0,8 |
|
Шлакобетон |
1,8 |
|
Керамзитобетон |
1,6 |
|
Шлак |
0,6-0,8 |
|
Вата минеральная |
0,1-0,15 |
|
Плиты минераловатные |
0,1-0,2 |
|
Фанера клееная |
0,6 |
|
Плиты древесноволокнистые и древесностружечные |
1,0 |
|
Опилки |
0,25 |
|
Пенопласт |
0,08-0,15 |
|
Рубероид, пергамин, толь |
0,6 |
|
Снег |
0,3 |
|
Лед |
0,9 |
Примечание. Вес металла сварных швов принимается 1,0 % от веса основного металла для болто-сварных и 2 % для сварных конструкций. Вес головок болтов, гаек, выступающих концов болтов принимается равным 3 % от веса основного металла.
|
Пара трущихся тел |
Коэффициенты трения скольжения (при трогании с места) |
|||
|
Поверхности |
||||
|
сухие |
смоченные водой |
смазанные |
||
|
Сталь по стали (без обработки) |
0,20 |
0,45 |
0,15 |
|
|
Дерево по дереву: |
|
|
|
|
|
при параллельных волокнах |
0,60 0,48 (для дуба) |
0,70 |
0,15 |
|
|
при взаимно перпендикулярных волокнах |
0,55 |
0,71 |
0,20 |
|
|
торцом |
0,45 |
|
|
|
|
Дерево по стали |
0,50 |
0,65 |
0,20 |
|
|
» » льду |
0,04 |
- |
- |
|
|
» » грунту |
0,50-0,60 |
0,10-0,25 |
- |
|
|
» » бетону |
0,40 |
|
|
|
|
Бетон по глине |
0,25 |
0,10 |
- |
|
|
» » суглинкам и супесям |
0,30 |
0,25 |
- |
|
|
» » песку |
0,40 |
0,25 |
- |
|
|
» » гравию и гальке |
0,50 |
- |
- |
|
|
» » скале |
0,60 |
- |
- |
|
|
» » бетону |
0,60 |
- |
- |
|
|
» » тиксотропной рубашке из глинистого раствора |
- |
0,01 |
- |
|
|
Сталь по льду |
0,02 |
- |
- |
|
|
Полимерные прокладки по стали |
||||
|
Сталь по асфальту |
0,35 |
0,40 |
- |
|
|
Сталь по неопалубленной поверхности бетона |
0,45 |
- |
0,25 |
|
|
Сталь по гладкой бетонной поверхности |
0,35 |
- |
0,20 |
|
Примечания. 1. Коэффициенты трения стали по стали указаны для малых давлений (до 20 кгс/см2). Для обработанных поверхностей в стыках на высокопрочных болтах см. СНиП II-B.3-72.
2. При проверке устойчивости против скольжения фундаментов вспомогательных сооружений следует руководствоваться также п. 7.61 настоящей «Инструкции».
а) Песчаных грунтов
|
Виды песков |
Характеристика грунтов |
Характеристика грунтов при коэффициенте пористости ε |
|||
|
0,45 |
0,55 |
0,65 |
0,75 |
||
|
Гравелистые и крупные |
с |
0,02 |
0,01 |
- |
- |
|
φ |
43 |
40 |
38 |
- |
|
|
γ |
2,05 |
1,95 |
1,90 |
- |
|
|
Средней крупности |
с |
0,03 |
0,02 |
0,01 |
- |
|
φ |
40 |
38 |
35 |
- |
|
|
γ |
2,05 |
1,95 |
1,90 |
- |
|
|
Мелкие |
с |
0,06 |
0,04 |
0,02 |
- |
|
φ |
38 |
36 |
32 |
28 |
|
|
γ |
1,95 |
1,95 |
1,90 |
1,90 |
|
|
Пылеватые |
с |
0,08 |
0,06 |
0,04 |
0,02 |
|
φ |
36 |
34 |
30 |
26 |
|
|
γ |
1,95 |
1,95 |
1,90 |
1,90 |
|
Примечание. Для насыпного грунта φ принимается на 5° ниже, а γ - на 10 % меньше.
б) Глинистых грунтов четвертичных отложений
|
Наименование грунтов и консистенция IL |
Характеристика грунтов |
Характеристика грунтов при коэффициенте пористости ε |
||||||
|
0,45 |
0,55 |
0,65 |
0,75 |
0,85 |
0,95 |
1,05 |
||
|
Супеси 0≤IL≤0,25 |
γ |
2,10 |
2,00 |
1,95 |
- |
- |
- |
- |
|
с |
0,15 |
0,11 |
0,08 |
- |
- |
- |
- |
|
|
φ |
30 |
29 |
27 |
- |
- |
- |
- |
|
|
0,25≤IL≤0,75 |
γ |
2,10 |
2,00 |
1,95 |
1,90 |
- |
- |
- |
|
с |
0,13 |
0,09 |
0,06 |
0,03 |
- |
- |
- |
|
|
φ |
28 |
26 |
24 |
21 |
- |
- |
- |
|
|
0,25≤IL≤0,75 |
γ |
2,10 |
2,00 |
1,95 |
1,90 |
1,85 |
1,80 |
1,75 |
|
с |
0,47 |
0,37 |
0,31 |
0,25 |
0,22 |
0,19 |
0,15 |
|
|
φ |
26 |
25 |
24 |
23 |
22 |
20 |
20 |
|
|
Суглинки 0,25≤IL≤0,75 |
γ |
2,10 |
2,00 |
1,95 |
1,90 |
1,85 |
1,80 |
- |
|
с |
0,39 |
0,34 |
0,28 |
0,23 |
0,18 |
0,15 |
- |
|
|
φ |
24 |
23 |
22 |
21 |
19 |
17 |
- |
|
|
0,25≤IL≤0,75 |
γ |
- |
- |
1,95 |
1,90 |
1,85 |
1,80 |
1,75 |
|
с |
- |
- |
0,25 |
0,20 |
0,16 |
0,14 |
0,12 |
|
|
φ |
- |
- |
19 |
18 |
16 |
14 |
12 |
|
|
0,25≤IL≤0,75 |
γ |
- |
2,00 |
1,95 |
1,90 |
1,85 |
1,80 |
1,75 |
|
с |
- |
0,81 |
0,68 |
0,54 |
0,47 |
0,41 |
0,36 |
|
|
φ |
- |
21 |
20 |
19 |
18 |
16 |
14 |
|
|
Глины 0,25≤IL≤0,75 |
γ |
- |
- |
1,95 |
1,90 |
1,85 |
1,80 |
1,75 |
|
с |
- |
- |
0,57 |
0,50 |
0,43 |
0,37 |
0,32 |
|
|
φ |
- |
- |
18 |
17 |
16 |
14 |
11 |
|
|
0,25≤IL≤0,75 |
γ |
- |
- |
1,95 |
1,90 |
1,85 |
1,80 |
1,75 |
|
с |
- |
- |
0,45 |
0,41 |
0,36 |
0,33 |
0,29 |
|
|
φ |
- |
- |
15 |
14 |
12 |
10 |
7 |
|
1 В настоящем приложении речь идет только о нормативных величинах (давления, веса, нагрузки, характеристик грунта); в целях избежания повторений слово «нормативное» далее опускается.
1. Давление воды на ограждение котлована принимают распределенным по закону гидростатики. Давление грунта (активное и пассивное) определяют по теории Кулона, учитывая сцепление в суглинках и глинах.
2. Нормативное активное давление и нормативное пассивное давление грунта определяют в зависимости от нормативных характеристик грунта (объемного веса γ, угла внутреннего трения φ, а для суглинков и глин также и от сцепления с), устанавливаемых на основании данных инженерно-геологических изысканий с учетом природного состояния грунта.
Для предварительных расчетов допускается нормативные характеристики грунтов принимать по табл. прилож. 10.
3. При определении давлений на ограждение допускается разнородные грунты, различающиеся значениями каждой из характеристик (объемного веса γ, угла внутреннего трения φ и сцепления с) не более чем на 20 %, рассматривать как однородный грунт со средневзвешенными значениями характеристик
(1)
где γi, φi, ci - значения γ, φ и c для i-го слоя грунта толщиной hi.
4. Если песок или супесь расположены ниже поверхности воды, то горизонтальное давление на ограждение следует определять, суммируя гидростатическое давление и активное или пассивное давление взвешенного в воде грунта.
Объемный вес грунта во взвешенном состоянии определяют по формуле
(2)
где ε - коэффициент пористости грунта;
γ0 - удельный вес грунта, принимаемый в среднем 2,7 тс/м3;
γв=1 тс/м3 - объемный вес воды.
Допускается принимать γзв=1 тс/м3.
5. В случаях, когда котлован разрабатывают на местности, не покрытой водой, и превышение h′в уровня грунтовых вод над дном котлована составляет не более 2 м и не более трети глубины котлована, допускается в расчете ограждений с одним или несколькими ярусами распорных креплений определять прямой отпор грунта (пассивное давление грунта со стороны котлована) с учетом трения грунта по стенке ограждения. Угол трения грунта по стенке принимают равным
при h′в>0;
при h′в=0,
где φ - угол внутреннего трения грунта в котловане.
В остальных случаях давление грунта (активное и пассивное) на ограждение следует определять, принимая δ=0.
6. Вертикальную нагрузку на призме обрушения принимают:
а) от веса материалов и возможной отсыпки грунта в виде равномерно распределенной нагрузки интенсивностью, соответствующей предполагаемым проектным размерам материалов и отсыпки, но не менее 1 тс/м2;
Рис. 1. Вертикальная нагрузка на призме обрушения от автотранспорта
б) от строительного оборудования, кранов, копров и транспортных средств, перемещающихся по рельсам, - по паспортным данным, каталогам и справочникам (с учетом загружения, наиболее неблагоприятного для рассчитываемой конструкции);
в) от автотранспорта, проходящего по дороге, расположенной вдоль котлована, в виде полосовой нагрузки р с шириной полосы 3,0 м для каждого ряда машин (рис. 1).
Рис. 2. Вертикальная нагрузка на призме обрушения от гусеничных и колесных кранов
При расстоянии b между краем котлована и бровкой дороги b=3,0-2,0 м и весе машин до 25 т величина р принимается равной 2,0 тс/м2, при расстоянии 2,0-1,0 м – p=3,0 тс/м2 и при меньшем расстоянии - 4,0 тс/м2. При расстоянии между дорогой и котлованом больше 3,0 м величина р=1,0 тс/м2. При весе машин до 30 тс значения р увеличиваются в 1,2 раза; при весе до 45 тс - в 1,9 раза и весе 60 тс - в 2,5 раза;
г) от гусеничных и колесных кранов, работающих в непосредственной близости от котлована, в виде полосовой нагрузки р шириной 1,50 м (рис. 2). Величина р принимается равной 3,0 тс/м2 при рабочем весе (собственный вес крана и максимального груза) до 10 тс, 6,0 тс/м2 при рабочем весе 30 тс, 9,0 тс/м2 при рабочем весе 50 тс и 12,0 тс/м2 при рабочем весе 70 тс (промежуточные значения - по интерполяции);
д) от трамвая, проходящего параллельно стенке, принимается в виде полосовой нагрузки, равной 1,5 тс/м2 при распределении ее на ширине 3,0 м;
е) от железнодорожного пути, проходящего параллельно стенке ограждения, принимается в виде полосовой нагрузки, распределенной на ширине 3,5 м с интенсивностью 28 тс/пог. м на линиях, где проходит нагрузка, близкая к расчетной С14 (тяжелые транспортеры, электровозы).
Допускается уменьшать интенсивность нагрузки с учетом реально обращающейся нагрузки и рекомендаций прилож. 12.
Рис. 3. К определению эквивалентной нагрузки от однорельсовой тележки на призме обрушения
Рис. 4. К определению эквивалентной нагрузки от двухрельсовой тележки на призме обрушения
7. При определении активного давления на ограждение вертикальную нагрузку на призме обрушения, распределенную в пределах двух площадок с общей осью, параллельной стенке (рис. 3 и 4), приводят к эквивалентной нагрузке, распределенной по сплошной полосе, имеющей неограниченную протяженность вдоль стенки и ширину b. Под размером b (шириной полосы распределения эквивалентной нагрузки) понимают:
для рельсовой нагрузки - длину полушпалы при однорельсовых тележках (см. рис. 3) или длину шпалы при двухрельсовых тележках (см. рис. 4).
8. Интенсивность эквивалентной нагрузки (см. п. 7) определяют по формуле
(3)
где Q - равнодействующая вертикальной нагрузки, распределенной на поверхности призмы обрушения в пределах одной площадки или двух площадок b×f с общей осью, параллельной стенке (см. рис. 3 и 4);
l - длина участка стенки, в пределах которого на стенку действует боковое давление грунта от загружения призмы обрушения этой вертикальной нагрузкой.
В случаях, когда нагрузка на призме обрушения приложена по схемам рис. 3-4 и при этом удовлетворяется условие
(4)
принимают
(5)
в остальных случаях следует принимать
(6)
где с - для рельсовой нагрузки - база тележки крана, рабочего мостика или платформы (см. рис. 3 и 4);
f - для рельсовой нагрузки - длина распределения нагрузки рельсом (см. рис. 3 и 4), принимаемая равной 1 м;
a - расстояние от центра площадки передачи нагрузки до стенки ограждения;
φ - угол внутреннего трения грунта за стенкой.
Если в пределах высоты
расположены слои
грунта с углами внутреннего трения, отличающимися друг от друга не более чем на
20 %, допускается принимать φ=φср, где φср - средневзвешенное
для глубины
значение угла
внутреннего трения грунта.
При большем различии в значениях углов внутреннего трения грунта длину l определяют на основе построения, показанного на рис. 5.
Рис. 5. К определению эквивалентной нагрузки при наличии за стенкой нескольких слоев грунта, отличающихся углами внутреннего трения
9. Если поверхность грунта ограничена плоскостью и на ней равномерно распределена нагрузка интенсивностью q, то активное давление песка или супеси на стенку ограждения принимают изменяющимся по прямолинейному закону от значения p1 на уровне верха стенок до значения р2 на глубину Н (рис. 6):
(7)
где γ - объемный вес грунта;
λа - коэффициент активного давления грунта, определяемый выражением
φ - угол внутреннего трения грунта;
α - угол между плоскостью, ограничивающей поверхность грунта, и горизонтальной плоскостью; правило знаков для угла α показано на рис. 6.
При горизонтальной поверхности грунта (α=0) и отсутствии на ней нагрузки
(9)
10. В случаях, не охваченных п. 9, активное давление песка или супеси на стенку ограждения может быть определено излагаемым ниже способом.
Находят равнодействующую активного давления грунта - силу Е, как наибольшее из значений Еi, подсчитанных по формуле
где Gi - сумма веса Gгр предполагаемой призмы обрушения ABCi и равнодействующей расположенной над ней нагрузки (рис. 7, а);
Θi - угол между предполагаемой плоскостью обрушения и горизонтальной плоскостью.
Значение Θi, которому соответствует наибольшее значение Ei, определенное по формуле (10), принимают за угол Θ между плоскостью обрушения и горизонтальной плоскостью.
Силу Е рассматривают как сумму силы Eгр от веса призмы обрушения и сил Eq от каждой из нагрузок1 на призме обрушения.
1 В целях упрощения рис. 7 на нем показана лишь одна нагрузка интенсивностью q, распределенная на ширине b.
Силу Eгр определяют по формуле
(11)
Рис. 6. К определению активного давления песка или супеси на стенку ограждения в случае, если поверхность грунта ограничена плоскостью и на ней равномерно распределена нагрузка
Принимают, что сила Eгр является равнодействующей давлений, эпюра которых имеет вид прямоугольника (см. рис. 7, б).
Силу Eq от нагрузки q, расположенной на призме обрушения и распределенной по ширине b, определяют по формуле
(12)
Принимают, что сила Eq является равнодействующей давления на стенку, равномерно распределенного между точками А1 и А2 на пересечении со стенкой прямых, проведенных параллельно следу плоскости обрушения из начала и конца участка, в пределах которого действует нагрузка q (см. рис. 7, б). Если плоскость обрушения делит участок, на котором расположена нагрузка q, то за конец участка следует принимать след пересечения плоскости обрушения с поверхностью грунта.
Рис. 7. К определению активного давления песка или супеси на стенку ограждений при произвольном очертании поверхности грунта и расположении на ней нагрузки
11. Если поверхность грунта горизонтальна и на ней равномерно распределена нагрузка интенсивностью q, то активное давление грунта из нескольких слоев песка или супеси в пределах каждого (i-го) слоя принимают изменяющимся прямолинейно от давления pi, на уровне кровли этого слоя до давления p′i на уровне его подошвы (рис. 8):
(13)
где hi - толщина i-го слоя грунта с объемным весом γi и углом внутреннего трения φi;
- коэффициент активного
давления грунта i-го слоя.
12. Активное давление суглинка или глины допускается определять, учитывая сцепление грунта с путем уменьшения ординат эпюры, построенной как для несвязного грунта по объемному весу γ и углу φ внутреннего трения суглинка или глины) на величину, которая при плоской поверхности грунта, наклоненной к горизонту под углом а, определяется выражением
где λа - коэффициент активного давления грунта, определяемый по формуле (8).
Рис. 8. К определению активного давления грунта из нескольких слоев песка или супеси на стенку ограждения
В пределах участка, на котором велечина рс превышает ординаты активного давления, вычисленные как для несвязного грунта, активное давление суглинка или глины не учитывают.
Построение эпюры активного давления однородного грунта в виде суглинка или глины показано на рис. 9.
В случае разнородного грунта уменьшение активного давления за счет сцепления учитывают в пределах каждого слоя суглинка или глины, определяя величину рс по формуле (14) по характеристикам φ и с соответствующего слоя.
При горизонтальной поверхности грунта (α=0) формула (14) может быть представлена в виде
(15)
13. Эпюру пассивного давления супеси или песка на стенку принимают в виде треугольника с наибольшей ординатой (рис. 10):
(16)
где λп - коэффициент пассивного давления грунта, определяемый выражением
Угол δ трения грунта по стенке следует принимать по п. 5. При δ=0 формула (17) упрощается и принимает вид
(18)
14. Ординаты эпюры
пассивного давления суглинка или глины на стенку (рис. 11) получают суммированием
соответствующих ординат двух эпюр: эпюры, построенной как для несвязного грунта
(по значению угла φ внутреннего
трения суглинка или глины) и эпюры с ординатами, равными
.
Рис. 9. К определению активного давления суглинка или глины
Рис. 10. Эпюра пассивного давления песка или супеси на стенку ограждения
Для поверхностного слоя, где возможно нарушение структуры суглинка или глины, расчетное сцепление с принимают уменьшающимся по линейному закону от полной величины (определяемой по п. 2) на глубине 1,0 м до нуля у поверхности грунта.
15. При проектировании замкнутых в плане ограждений узких и глубоких котлованов, расположенных в сухих грунтах с углом внутреннего трения более 30°, допускается учитывать снижение активного давления грунта за счет пространственных условий работы.
Рис. 11. Эпюра пассивного давления суглинка или глины на стенку ограждения
Снижение учитывается
коэффициентом η, вводимым к
величине давления Е от собственного
веса грунта. Коэффициент η следует
принимать равным 0,7 при
и 1,0 при k≥2 (В - наибольший размер в плане и Н - глубина котлована). При значениях
0,5<k<2 величина его принимается по интерполяции.
1. Изгибающие моменты в середине пролета разрезных балочных пролетных строений, возникающие при проходе по ним консольных кранов ГЭПК-130 и ГЭК-80 с блоками железобетонных пролетных строений, определяются по эквивалентным равномерно распределенным нагрузкам k в тс/м пути при α=0,5 (для линий влияния треугольного очертания), приведенным в табл. 1.
Таблица 1
|
Эквивалентные нагрузки k в тс/м пути от консольных кранов |
|||||||
|
ГЭПК-130 |
ГЭК-80 |
||||||
|
с блоками пролетных
строений |
|||||||
|
50 16,5 |
60 18,7 |
85 |
108 27,6 |
50 (45)* 16,5 |
60 (60) |
85 (75) |
|
|
15,8 |
19,7 |
20,1 |
21,0 |
21,8 |
16,0 |
16,5 |
19,0 |
|
18,0 |
19,4 |
19,8 |
20,6 |
21,4 |
15,1 |
15,5 |
17,9 |
|
22,9 |
18,8 |
19,2 |
20,2 |
- |
13,1 |
13,5 |
15,5 |
|
26,9 |
18,5 |
18,8 |
19,7 |
20,4 |
- |
- |
- |
|
Давление осей крана, тс |
34,4 |
35,1 |
36,7 |
38,1 |
28,0 |
29,0 |
33,6 |
* Вес блоков указан с учетом строповочных приспособлений. В скобках дан вес противовесов.
Здесь
- положение вершины
линии влияния,
где а - проекция наименьшего расстояния от вершины линии влияния, м;
λ - длина загружения линии влияния, м.
Опорные реакции допускается определять по упомянутым табличным значениям эквивалентных нагрузок, увеличенным на 15 %.
Схема строповки блоков принята по действующим типовым проектам сборных пролетных строений (с нормальной высотой) из предварительно напряженного железобетона.
2. Схемы наиболее часто обращающегося на нашей сети подвижного состава, а также схемы строящихся восьмиосных цистерн (в габарите для цистерн - Тц) и тепловозов шестиосных (в одной секции) приведены на рисунке. Характеристики каждой из единиц подвижного состава помещены в табл. 2.
Таблица 2
|
Характеристики единиц подвижного состава |
||||||
|
число осей |
грузоподъемность, тс |
нагрузка от оси на рельсы, тс |
длина по осям сцепления автосцепок, м |
нагрузка на погонный метр пути, тс/м |
||
|
Обращающиеся |
хоппер-дозатор |
4 |
60 |
20,64 |
10,87 |
7,60 |
|
полувагон |
6 |
94 |
20,90 |
16,40 |
7,65 |
|
|
полувагон |
8 |
125 |
21,00 |
20,24 |
8,30 |
|
|
тепловоз ТЭ3 |
6 (в секции) |
- |
21,00 |
16,974 |
7,42 |
|
|
Строящиеся |
цистерна |
8 |
125 |
22,00 |
18,69 |
9,42 |
|
тепловоз ТЭ121 |
6 (в секции) |
- |
25,00 |
22,00 |
6,82 |
|
3. Эквивалентные нагрузки k в тс/м пути от воздействия приведенных на рисунке схем для загружения линий влияния треугольного очертания (при α=0 и α=0,5) от однотипных вагонов приведены в табл. 3, а от ряда тепловозов ТЭ3 и ТЭ121 (без учета вагонной нагрузки) - в табл. 4.
Таблица 3
|
Эквивалентные нагрузки k в тс/м пути |
||||||||
|
от обращающихся полувагонов с количеством осей |
от строящейся восьмиосной цистерны в габарите Тц |
|||||||
|
4 |
6 |
8 |
||||||
|
α=0 |
α=0,5 |
α=0 |
α=0,5 |
α=0 |
α=0,5 |
α=0 |
α=0,5 |
|
|
1 |
44,00 |
44,00 |
44,00 |
44,00 |
44,00 |
44,00 |
44,00 |
44,00 |
|
2 |
23,65 |
22,00 |
27,50 |
22,00 |
29,15 |
22,00 |
29,15 |
22,00 |
|
3 |
20,29 |
14,67 |
22,00 |
16,50 |
22,73 |
17,62 |
22,73 |
17,62 |
|
4 |
16,91 |
13,00 |
20,63 |
16,50 |
20,49 |
15,40 |
20,49 |
15,40 |
|
5 |
15,72 |
11,69 |
18,48 |
15,84 |
18,39 |
15,14 |
18,39 |
15,14 |
|
6 |
14,58 |
11,68 |
16,55 |
14,67 |
16,99 |
14,18 |
16,99 |
14,18 |
|
7 |
14,24 |
11,28 |
15,75 |
13,47 |
16,07 |
13,65 |
16,07 |
13,65 |
|
8 |
13,65 |
10,70 |
15,18 |
12,38 |
15,06 |
13,20 |
15,06 |
13,20 |
|
9 |
12,96 |
10,39 |
14,73 |
11,50 |
14,52 |
12,60 |
14,52 |
12,60 |
|
10 |
12,26 |
10,17 |
14,57 |
11,51 |
13,96 |
11,99 |
13,96 |
11,99 |
|
12 |
11,30 |
9,51 |
13,79 |
11,07 |
13,55 |
11,39 |
13,55 |
11,39 |
|
14 |
10,84 |
8,94 |
12,82 |
10,83 |
13,27 |
11,00 |
13,27 |
11,00 |
|
16 |
10,52 |
8,56 |
11,88 |
10,35 |
12,91 |
10,83 |
12,91 |
10,83 |
|
18 |
10,35 |
8,26 |
11,24 |
9,81 |
12,37 |
10,68 |
12,37 |
10,68 |
|
20 |
10,15 |
8,23 |
10,94 |
9,27 |
11,78 |
10,41 |
11,93 |
10,41 |
|
25 |
9,64 |
8,19 |
10,43 |
8,49 |
11,00 |
9,54 |
11,42 |
9,77 |
|
30 |
9,44 |
8,28 |
10,16 |
8,12 |
10,64 |
9,08 |
11,08 |
9,66 |
|
35 |
9,20 |
8,23 |
9,72 |
8,10 |
10,50 |
8,84 |
10,95 |
9,46 |
|
40 |
9,09 |
8,13 |
9,52 |
8,22 |
10,24 |
8,72 |
10,67 |
9,45 |
|
45 |
8,94 |
8,12 |
9,43 |
8,27 |
10,01 |
8,77 |
10,54 |
9,45 |
|
50 |
8,87 |
8,16 |
9,24 |
8,28 |
9,89 |
8,83 |
10,44 |
9,51 |
|
60 |
8,74 |
8,12 |
9,07 |
8,11 |
9,72 |
8,89 |
10,26 |
9,51 |
|
70 |
8,65 |
8,12 |
8,90 |
8,08 |
9,55 |
8,77 |
10,16 |
9,43 |
|
80 |
8,59 |
8,12 |
8,81 |
8,14 |
9,47 |
8,70 |
10,05 |
9,42 |
|
90 |
8,53 |
8,10 |
8,71 |
8,08 |
9,36 |
8,73 |
10,00 |
9,46 |
|
100 |
8,48 |
8,11 |
8,64 |
8,06 |
9,31 |
8,75 |
9,93 |
9,42 |
Примечания. 1. Осевое давление при определении эквивалентных нагрузок для обращающихся вагонов условно принято таким же, как и у строящихся, равным 22 тс.
2. При учете распределения сосредоточенного давления элементами верхнего строения пути величины k принимаются не более:
22 тс/м пути при передаче давления мостовой поперечиной и при непосредственном прикреплении рельсов к пролетному строению;
17 тс/м пути при передаче давления через балласт (и при расчете подпорных стен).
Таблица 4
|
Эквивалентные нагрузки k в тс/м пути от тепловозов |
||||
|
ТЭ3 (давление оси 21 тс) |
ТЭ121 (давление оси 25 тс) |
|||
|
α=0 |
α=0,5 |
α=0 |
α=0,5 |
|
|
1 |
42,00 |
42,00 |
50,00 |
50,00 |
|
2 |
21,00 |
21,00 |
25,00 |
25,00 |
|
3 |
18,20 |
14,00 |
21,39 |
16,67 |
|
4 |
15,49 |
11,42 |
18,28 |
13,37 |
|
5 |
14,62 |
11,09 |
17,10 |
12,80 |
|
6 |
13,65 |
11,20 |
16,04 |
13,06 |
|
7 |
12,60 |
10,80 |
14,85 |
12,65 |
|
8 |
11,62 |
10,24 |
13,71 |
12,03 |
|
9 |
11,06 |
9,64 |
12,69 |
11,36 |
|
10 |
10,64 |
9,07 |
11,98 |
10,70 |
|
12 |
10,17 |
8,05 |
11,18 |
9,51 |
|
14 |
9,92 |
7,73 |
10,79 |
8,52 |
|
16 |
9,56 |
7,56 |
10,61 |
8,13 |
|
18 |
9,24 |
7,53 |
10,23 |
7,96 |
|
20 |
9,05 |
7,57 |
9,79 |
7,80 |
|
25 |
8,74 |
7,71 |
8,97 |
7,41 |
|
30 |
8,53 |
7,48 |
8,66 |
7,14 |
|
35 |
8,36 |
7,45 |
8,39 |
7,12 |
|
40 |
8,26 |
7,51 |
8,27 |
6,88 |
|
45 |
8,15 |
7,49 |
8,04 |
6,84 |
|
50 |
8,09 |
7,44 |
7,92 |
6,87 |
|
60 |
7,97 |
7,47 |
7,76 |
6,91 |
|
70 |
7,89 |
7,43 |
7,60 |
6,86 |
|
80 |
7,83 |
7,44 |
7,51 |
6,87 |
|
90 |
7,79 |
7,44 |
7,43 |
6,83 |
|
100 |
7,75 |
7,43 |
7,37 |
6,86 |
Примечание. Ограничения величин эквивалентных нагрузок k в тс/м пути принимаются такие же, как и для вагонов с осевым давлением 22 тс.

Схемы осевых нагрузок подвижного состава:
а - обращающиеся вагоны: четырехосный хоппер-дозатор, цельнометаллические шести- и восьмиосные полувагоны; б - строящиеся восьмиосные цистерны; в - обращающиеся тепловозы ТЭ3; г - строящиеся тепловозы ТЭ-121
|
Схема плашкоута опоры |
Моменты инерции площади плашкоута |
|
|
1. При балластировке понтонов наливом воды насосами (балластируемые понтоны заштрихованы). Момент инерции при определении крена
Момент инерции при определении дифферента
|
|
|
2. При балластировке понтонов через донные отверстия (балластируемые понтоны заштрихованы). Момент инерции при определении крена
Момент инерции при определении дифферента
где |
Принятые обозначения:
а и b - размеры понтона, соответственно вдоль оси Х-Х и У-У;
n и n1 - число понтонов, соответственно вдоль оси Х-Х и У-У:
т - общее количество балластируемых понтонов в опоре;
ω - площадь поверхности водного балласта в одном понтоне;
ixп и iyп - моменты инерции площади ω относительно собственных осей xп и уп параллельных соответствующим осям плашкоута опоры;
lx и lу - расстояния от центра тяжести площади ω каждого балластируемого понтона соответственно до оси наклонения У-У и X-X;
k - коэффициент, учитывающий влияние разобщения балластируемых понтонов от воздухопроводной сети. При сообщении внутреннего пространства понтонов с наружным воздухом k=1;
λ - разность уровней воды внутри понтона и снаружи для рассматриваемого положения плавучей опоры, м;
t - высота надводного борта для рассматриваемого положения плавучей опоры, м.
Дополнительный волновой изгибающий момент ΔМ (в тc·м) вычисляется по формуле
![]()
где kн - коэффициент полноты водоизмещения;
L - длина плашкоута в уровне ватерлинии, м;
В - ширина плашкоута в уровне ватерлинии по миделю, м;
h - расчетная высота волны во время перевозки пролетных строений, м.
Расчетная высота волны должна назначаться на основании данных местного пароходства, относящихся к району перемещения плавучих опор при строительстве данного моста, и приниматься не менее 0,6 м.
Коэффициент k0 вычисляется по формуле
![]()
Коэффициент k1, в зависимости от длины судна L, принимается равным:
при длине судна 20 м - 0,0123;
при длине судна 40 м - 0,0101;
при длине судна 60 м - 0,0085;
при длине судна 100 м - 0,0061.
При промежуточных значениях L коэффициент k1 определяется по интерполяции.
Коэффициент k2 вычисляется по формуле
![]()
где Тн - осадка судна носом, м.
Эпюра дополнительного волнового изгибающего момента ΔМ принимается по рис. 1.
Рис. 1. Эпюра момента ΔМ от волновой нагрузки
Дополнительная волновая перерезывающая сила ΔQ (в тс), определяется по формуле
![]()
Рис. 2. Эпюра поперечной силы ΔQ от волновой нагрузки
Эпюра дополнительной волновой перерезывающей силы ΔQ принимается по рис. 2.
1. Расчет свайных фундаментов, не усиленных каркасом
1. Свайные фундаменты рассчитываются с использованием прямоугольной системы координат хОz (рис. 1, а). Ее начало совмещается с точкой О, расположенной в уровне низа конструкции, объединяющей головы свай. В случае симметричной плоской расчетной схемы фундамента эта точка принимается на вертикальной оси симметрии схемы; в случае несимметричной плоской расчетной схемы фундамента с одними вертикальными сваями - на вертикали, проходящей через центр тяжести поперечных сечений всех свай, а в остальных случаях - произвольно. Ось х - горизонтальна и направлена вправо; ось z вертикальна и направлена вниз.
Рис. 1. К расчету свайных фундаментов, не усиленных каркасом:
а - плоская расчетная схема фундамента; б - усилия, действующие на сваю фундамента
2. Положение каждой (i-ой) сваи на плоской расчетной схеме определяется координатой xi точки пересечения оси сваи с осью х и углом φi между осью сваи и вертикалью; угол φi положителен, когда ось сваи расположена справа от проведенной через ее голову вертикали (см. рис. 1, а).
3. Действующие на фундамент внешние нагрузки приводятся к точке О и раскладываются на силы Нх и Рz, направленные вдоль осей х и z соответственно, и момент M0 относительно точки О. Силы Нх и Рz положительны, когда их направления совпадают с положительными направлениями осей x и z соответственно: момент М0 положителен, когда он действует по часовой стрелке (см. рис. 1, а).
4. В общем случае поступательные смещения а и с низа конструкции, объединяющей головы свай, в направлении осей x и z соответственно и угол β ее поворота относительно точки О определяется в результате решения системы канонических уравнений:
где raa, rac, …, rββ - коэффициенты канонических уравнений, определяемые согласно п. 5.
В случае симметричной плоской расчетной схемы фундамента, а также в случае несимметричной плоской расчетной схемы, но при наличии только вертикальных свай (закрепление верхних и нижних концов свай может быть любым) система уравнений (1) упрощается и ее решение может быть представлено в виде:
где
Смещения а и с положительны, когда их направления совпадают с положительными направлениями осей х и z соответственно: угол β положителен, когда поворот конструкции, объединяющей головы свай, вокруг точки О происходит по часовой стрелке.
5. Величины raa, rac, …, rββ в общем случае расчета определяются по формулам:
где
(5)
ρ1, ρ2, ρ3 и ρ4 - характеристики жесткости свай, определяемые согласно пп. 6 и 7;
ki - число свай в ряду, который на плоскую расчетную схему проектируется как одна (i-я) свая;
nоб - общее число свай в фундаменте.
В формулах (4) знаки Σ означают суммирование по всем рядам свай (по всем n сваям на плоской расчетной схеме фундамента).
В частном случае, когда рассчитывается фундамент с одними вертикальными сваями, формулы (4) упрощаются и принимают вид:
(6)
6. Величину ρ1 (см. п. 5) следует определять по формулам:
а) в случаях опирания свай на скальную породу, крупнообломочный грунт или на грунт, мерзлое состояние которого сохраняется в течение всего периода эксплуатации временного сооружения,
(7)
б) в остальных случаях
где EF - жесткость поперечного сечения сваи при сжатии;
l0 - длина участка сваи, расположенного выше расчетной поверхности грунта (в качестве l0 можно принимать расстояние по вертикали от расчетной поверхности грунта до низа конструкции, объединяющей головы свай);
h - глубина погружения сваи, считая от расчетной поверхности грунта;
Р - несущая способность одиночной сваи при сжатии.
В формулу (8) следует подставлять EF и Р в тс, l0 в м; при этом значение ρ1 будет выражено в тс/м.
7. Величины ρ2, ρ3 и ρ4 (см. п. 5) определяются по формулам, приведенным в табл. 1, в зависимости от вида закрепления сваи вверху и внизу, принимаемого в соответствии с пп. 7.66-7.68 Инструкции. В этих формулах: EI - жесткость поперечного сечения ствола сваи при изгибе; lм - длина изгиба сваи, принимаемая по п. 7.75 Инструкции.
8. Продольное усилие N, поперечное усилие Q и момент М, действующие на голову сваи i-го ряда, определяются по формулам:
(9)
Таблица 1
|
Формулы для определения величин ρ2, ρ3 и ρ4 при закреплении свай |
||||
|
вверху и внизу заделки |
вверху - шарнир; внизу - заделка |
вверху и внизу шарниры |
вверху – заделка; внизу - шарнир |
|
|
ρ2 |
12EI lм3 |
3EI lм3 |
0 |
3EI lм3 |
|
ρ3 |
6EI |
0 |
0 |
3EI lм2 |
|
ρ4 |
4EI lм |
0 |
0 |
3EI lм |
Для вертикальных свай sinφi=0, cosφi=1 и, следовательно,
(10)
Положительные направления усилий H, Q и М показаны на рис. 1, б.
9. Если при расчете фундамента принимается, что сваи внизу имеют жесткую заделку (см. п. 7.67 Инструкции), то наибольший изгибающий момент М1, действующий в поперечном сечении сваи на ее участке, расположенном в грунте, может быть определен по формуле
(11)
где l0, η1, η и d - величины, поясненные в пп. 7.69, 7.72 и 7.73 Инструкции.
2. Расчет свайных фундаментов, усиленных каркасом
10. Свайные фундаменты, усиленные каркасом, рекомендуется рассчитывать с использованием системы координат хОz с началом в точке О, расположенной на уровне подошвы плиты или низа балок ростверка в центре тяжести поперечных сечений всех свай; ось х горизонтальна, ось z вертикальна (рис. 2, а). Приведение внешней нагрузки к точке О, разложение ее на составляющие Нх, Рz и M0, неизвестные перемещения a и β плиты или балок ростверка и правила знаков для всех этих величин принимаются теми же, что и при расчете свайных фундаментов, не усиленных каркасом (см. пп. 3 и 4)). Вертикальное смещение с точки О плиты или балок ростверка может не определяться.
Рис. 2. К расчету свайных фундаментов, усиленных каркасом:
а - плоская расчетная схема фундамента; б - усилия, действующие на сваю фундамента; 1 - плита или балки ростверка; 2 - решетка каркаса
11. Перемещения a и β определяются по формулам (2) и (3). Входящие в эти формулы величины следует определять, пользуясь выражениями:
(12)
где nоб - общее число свай в фундаменте;
b - расстояние от подошвы плиты или низа балок ростверка до решетки каркаса (высота каркаса);
ki - число свай в ряду, который на плоскую расчетную схему проектируется как одна (i-я) свая;
ρ1 - величина, определяемая согласно п. 6;
и
- величины,
определяемые по формулам, приведенным в табл. 2, и различающиеся в зависимости
от вида закрепления свай вверху и внизу, принимаемого по пп. 7.66 и 7.67
Инструкции.
Таблица 2
|
Формулы для определения величин |
||||||
|
|
|
|
|
|
|
|
|
Вверху и внизу заделки |
|
|
|
|
|
|
|
Вверху - шарнир, внизу - заделка |
0 |
|
|
0 |
|
|
|
Вверху и внизу шарниры |
0 |
|
|
0 |
|
|
|
Вверху - заделка, внизу - шарнир |
|
|
|
|
|
|
В формулах, приведенных в табл. 2, EI - жесткость поперечного сечения ствола сваи при изгибе, lм - длина изгиба сваи, определяемая по п. 7.75 Инструкции.
12. Продольное усилие N, поперечное усилие Q и момент М, действующие со стороны плиты или балок ростверка на голову сваи i-гo ряда, а также усилие Н, передаваемое со стороны решетки каркаса на сваю, определяются по формулам
(13)
Положительные направления усилий N, Q, М и H, действующих на сваю, показаны на рис. 2, б.
13. Если при расчете фундамента принимается, что сваи внизу имеют жесткую заделку (см. п. 7.67), то наибольший изгибающий момент M1, действующий в поперечном сечении сваи на ее участке, расположенном в грунте, может быть определен по формуле
(14)
где величины d, l0, η, и η1 пояснены в пп. 7.69, 7.72 и 7.73 Инструкции;
остальные величины - в пп. 11 и 12.
14. Свободную длину lс сваи следует принимать равной меньшей из величин, получаемых по формулам:
а) если согласно п. 7.67 Инструкции принимается, что свая в нижней части имеет жесткую заделку,
и
;
б) если согласно п. 7.67 Инструкции принимается, что свая шарнирно закреплена в грунте,
и
,
где lм и b - соответственно длина изгиба сваи и высота каркаса.
|
Расчетная температура в ºС |
Класс стали |
Марка стали |
Толщина листового, сортового и фасонного проката в мм |
ГОСТ или ТУ на поставку |
Примечания |
||
|
Группа I |
С38/23 |
|
|
|
|
||
|
ВСт. 3Гпс5 |
от 5 до 30 |
ГОСТ 380-71* |
|
||||
|
ВСт. 3сп5 |
» 5 » 25 |
ГОСТ 380-71* |
|
||||
|
М16С |
» 26 » 40 |
ГОСТ 6713-53 |
Ударная вязкость при -20 ºС и после механического старения ≥3,5 кгс·м/см2 |
||||
|
t≥-40 |
С44/29 |
ВСт. Тпс |
от 10 до 25 |
ГОСТ 14637-69* |
Ударная вязкость при -40 ºС и после механического старения> 3 кгс·м/см2 |
||
|
09Г2С-12 |
» 21 » 60 |
ГОСТ 19281(2)-73 |
|||||
|
С46/33 |
09Г2С-12 |
от 4 до 20 |
ГОСТ 19281(2)-73 |
|
|||
|
10Г2С1-12 |
» 4 » 11 |
ГОСТ 19281(2)-73 |
|
||||
|
10Г2С1Д-12 |
» 12 » 40 |
ГОСТ 19281(2)-73 |
|
||||
|
15ХСНД 12 |
» 4 » 32 |
ГОСТ 19281 (2)-73 |
|
||||
|
14Г2-12 |
» 4 » 32 |
Применяется только для фасонок ферм |
|||||
|
С52/40 |
10Г2С1-12 |
от 10 до 40 |
Сталь термоупрочненная |
||||
|
10ХСНД-12 |
» 4 » 15 |
ГОСТ 19281-73 |
|
||||
|
10ХСНД-12 |
» 4 » 40 |
|
|||||
|
14Г2АФ-12 |
» 4 » 50 |
|
|||||
|
15Г2АФДпс-12 |
» 4 » 32 |
|
|||||
|
-40>t≥-65 |
С44/29 |
09Г2С-15 |
oт 21 до 60 |
|
|||
|
С46/33 |
09Г2С-15 |
» 4 » 11 |
ГОСТ 19281-73 |
|
|||
|
09Г2С-15 |
» 4 » 20 |
|
|||||
|
10Г2С1-15 |
от 10 до 40 |
Сталь термоупрочненная |
|||||
|
10ХСНД-15 |
» 4 » 11 |
ГОСТ 19281-73 |
|
||||
|
С52/40 |
10ХСНД-15 |
» 4 » 40 |
|
||||
|
14Г2АФ-15 |
» 4 » 50 |
|
|||||
|
15Г2АФДпс-15 |
» 4 » 32 |
|
|||||
|
Группа II |
С38/23 |
ВСт. 3пс6 |
от 5 до 10 |
ГОСТ 380-71* |
|
||
|
ВСт. 3Гпс5 |
» 11 » 30 |
ГОСТ 380-71* |
|
||||
|
t≥-40 |
ВСт. 3сп5 |
» 11 » 25 |
ГОСТ 380-71* |
|
|||
|
09Г2С-12 |
» 61 » 160 |
ГОСТ 19281(2)-73 |
|
||||
|
С44/29 |
ВСт. Тпс |
от 10 до 25 |
ГОСТ 14637-69* |
Ударная вязкость при -40 ºС и после механического старения 3 кгс·м/см2 |
|||
|
14Г2-12 |
от 4 до 22 |
ГОСТ 19281(2)-73 |
|
||||
|
10Г2С1-12 |
» 4 » 11 |
ГОСТ 19281(2)-73 |
|
||||
|
С46/33 |
10Г2С1Д-12 |
» 12 » 40 |
ГОСТ 19281(2)-73 |
|
|||
|
15ХСНД-12 |
» 4 » 32 |
ГОСТ 19281(2)-73 |
|
||||
|
10ХНДП-12 |
» 4 » 8 |
ГОСТ 19281(2)-73 |
|
||||
|
10Г2С1-12 |
от 10 до 40 |
Сталь термоупрочненная |
|||||
|
10ХСНД-12 |
» 4 » 15 |
ГОСТ 19281-73 |
|
||||
|
С52/40 |
10ХСНД-12 |
» 4 » 40 |
|
||||
|
14Г2АФ-12 |
» 4 » 50 |
|
|||||
|
t≥-40 |
С60/45 |
15Г2АФДпс-12 |
от 4 до 32 |
|
|||
|
16Г2АФ-12 |
» 4 » 50 |
|
|||||
|
18Г2АФпс-12 |
» 4 » 32 |
До 1 января 1977 г. поставляется по ЧМТУ 1-741-69 |
|||||
|
15Г2СФ-12 |
» 10 » 32 |
Сталь термоупрочненная. До 1 января 1977 г. поставляется по ТУ 14-1-64-71 |
|||||
|
-40>t≥-65 |
С38/23 |
09Г2С-15 |
от 61 до 160 |
|
|||
|
С44/29 |
09Г2С-15 |
» 21 » 60 |
|
||||
|
С46/33 |
09Г2С-15 |
от 4 до 11 |
ГОСТ 19281-73 |
|
|||
|
09Г2С-15 |
» 4 » 20 |
|
|||||
|
19Г2С1-15 |
» 4 » 11 |
ГОСТ 19281(2)-73 |
|
||||
|
10Г2С1Д-15 |
от 12 до 60 |
|
|||||
|
15ХСНД-15 |
» 4 » 11 |
ГОСТ 19281-73 |
|
||||
|
15ХСНД-15 |
» 4 » 32 |
|
|||||
|
-40>t≥-65 |
С52/40 |
10Г2С1-15 |
от 10 до 40 |
Сталь термоупрочненная |
|||
|
10ХСНД-15 |
» 4 » 11 |
ГОСТ 19281-73 |
|
||||
|
10ХСНД-15 |
» 4 » 40 |
|
|||||
|
14Г2АФ-15 |
» 4 » 50 |
|
|||||
|
15Г2АФДпс-15 |
» 4 » 32 |
|
|||||
|
-40>t≥-65 |
С60/45 |
16Г2АФ-15 |
от 4 до 50 |
|
|||
|
18Г2АФпс-15 |
» 4 » 32 |
До 1 января 1977 г. поставляется по ЧМТУ 1-741-69 |
|||||
|
Группа III t≥-30 |
С38/23 |
ВСт. 3пс6 |
от 5 до 25 |
ГОСТ 380-71* |
|
||
|
-30>t≥-40 |
С38/23 |
ВСт. 3пс6 |
от 5 до 10 |
ГОСТ 380-71* |
|
||
|
ВСт. 3Гпс5 |
» 11 » 30 |
ГОСТ 380-71* |
|
||||
|
ВСт. 3сп5 |
» 11 » 25 |
ГОСТ 380-71* |
|
||||
|
t≥-40 |
С44/29 |
ВСт. Тпс |
от 10 до 25 |
ГОСТ 14637-69* |
Ударная вязкость при –40 °С≥ 3 кгс·м/см2 |
||
|
С46/33 |
14Г2-6 |
от 4 до 32 |
ГОСТ 19281(2)-73 |
|
|||
|
10ХНДП-6 |
» 4 » 9 |
ГОСТ 19281(2)-73 |
|
||||
|
С46/33 |
10ХНДП |
» 10 » 12 |
ТУ 14-1-389-72 ТУ 14-1-1217-75 |
Ударная вязкость при -40 °С≥ 3 кгс·м/см2 |
|||
|
10Г2С1-6 |
от 10 до 40 |
Сталь термоупрочненная |
|||||
|
14Г2АФ-6 |
» 4 » 50 |
|
|||||
|
15Г2АФДпс-6 |
» 4 » 32 |
|
|||||
|
С52/40 |
15Г2СФ-6 |
» 4 » 20 |
ГОСТ 19281-73 |
|
|||
|
15Г2СФ-6 |
» 4 » 32 |
До 1 января 1977 г. поставляется по ТУ 14-1-64-71 |
|||||
|
16Г2АФ-6 |
от 4 до 50 |
|
|||||
|
С60/45 |
15Г2СФ-6 |
» 10 » 32 |
Сталь термоупрочненная. До 1 января 1977 г поставляется по ТУ 14-1-64-71 |
||||
|
t≥-40 |
С70/60 |
18Г2АФпс-6 |
от 4 до 32 |
До 1 января 1977 г. поставляется по ЧМТУ 1-741-69 |
|||
|
12Г2СМФ |
» 10 » 32 |
ТУ 14-1-1308-75 |
Ударная вязкость при -40 °С≥3,5 кгс·м/см2 |
||||
|
-40>t≥-65 |
С44/29 |
09Г2-12 |
от 4 до 10 |
ГОСТ 19281(2)-73 |
|
||
|
09Г2С-15 |
» 21 » 60 |
|
|||||
|
С46/33 |
09Г2С-12 |
от 4 до 11 |
ГОСТ 19281-73 |
|
|||
|
09Г2С-12 |
» 4 » 9 |
|
|||||
|
09Г2С-15 |
» 10 » 20 |
|
|||||
|
10Г2С1-15 |
» 4 » 11 |
ГОСТ 19281-73 |
|
||||
|
10Г2С1-15 |
» 4 » 60 |
|
|||||
|
15ХСНД-15 |
от 4 до 11 |
ГОСТ 19281-73 |
|
||||
|
15ХСНД-15 |
» 4 » 32 |
|
|||||
|
10Г2С1-15 |
от 10 до 40 |
Сталь термоупрочненная |
|||||
|
10ХСНД-15 |
» 4 » 11 |
ГОСТ 19281-73 |
|
||||
|
10ХСНД-15 |
» 4 » 40 |
|
|||||
|
С52/40 |
14Г2АФ-15 |
от 4 до 50 |
|
||||
|
15Г2АФДпс-15 |
» 4 » 32 |
|
|||||
|
16Г2АФ-15 |
от 4 до 50 |
|
|||||
|
С60/45 |
18Г2АФпс-15 |
» 4 » 32 |
До 1 января 1977 г. поставляется по ЧМТУ 1-741-69 |
||||
|
Группа IV t≥-30 |
С38/23 |
ВСт. 3кп2 |
от 4 до 40 |
ГОСТ 380-71* |
|
||
|
|
ВСт. 3кп2 |
» 41 »160 |
ГОСТ 380-71* |
Применяется только для опорных плит |
|||
|
С44/29 |
ВСт.Тпс |
от 10 до 25 |
ГОСТ 14637-69* |
Ударная вязкость при -40 °С≥3 кгс·м/см2 |
|||
|
-30>t≥-4 |
С38/23 |
ВСт. 3пс6 |
от 5 до 25 |
ГОСТ 380-71* |
|
||
|
t≥-40 |
С 44/29 |
ВСт. Тпс |
от 10 до 25 |
ГОСТ 14637-69* |
Ударная вязкость при -40 °С ≥3 кгс·м/см2 |
||
|
14Г2-6 |
от 4 до 32 |
ГОСТ 19281(2)-73 |
|
||||
|
10ХНДП-6 |
» 4 » 9 |
ГОСТ 19281(2)-73 |
|
||||
|
С46/33 |
10ХНДП |
от 10 до 12 |
ТУ 14-1-389-72 ТУ 14-1-1217-75 |
Ударная вязкость при -40 °С ≥3 кгс·м/см2 |
|||
|
10Г2С1-6 |
от 10 до 40 |
Сталь термоупрочненная |
|||||
|
14Г2АФ-6 |
» 4 » 50 |
|
|||||
|
15Г2АФДпс-6 |
» 4 » 32 |
|
|||||
|
С52/40 |
15Г2СФ-6 |
» 4 » 20 |
ГОСТ 19281-73 |
|
|||
|
15Г2СФ-6 |
» 4 » 32 |
До 1 января 1977 г. поставляется по ТУ 14-1-64-71 |
|||||
|
16Г2АФ-6 |
» 4 » 50 |
|
|||||
|
С60/45 |
18Г2АФпс-6 |
от 4 до 32 |
До 1 января 1977 г. поставляется по ЧМТУ 1-741-69 |
||||
|
15Г2СФ-6 |
» 10 » 32 |
Сталь термоупрочненная. До 1 января 1977 г. поставляется по ТУ 14-1-64-71 |
|||||
|
t≥-40 |
С70/60 |
12Г2СМФ |
от 10 до 32 |
ТУ 14-1-1308-75 |
Ударная вязкость при -40 °С ≥3,5 кгс·м/см2 |
||
|
-40>t≥-50 |
С38/23 |
09Г2С-6 |
от 61 до 160 |
Применяется только для опорных плит |
|||
|
С44/29 |
ВСт. Тпс |
от 10 до 25 |
ГОСТ 14637-69* |
Ударная вязкость при -40 °С ≥3 кгс·м/см2 |
|||
|
09Г2-6 |
» 4 » 32 |
ГОСТ 19281(2)-73 |
|
||||
|
09Г2С-6 |
» 21 » 32 |
ГОСТ 19281(2)-73 |
|
||||
|
09Г2С-9 |
» 33 » 60 |
|
|||||
|
10Г2С1-6 |
» 61 »160 |
Применяется только для опорных плит |
|||||
|
09Г2С-6 |
от 4 до 20 |
ГОСТ 19281(2)-73 |
|
||||
|
10Г2С1-6 |
» 4 » 20 |
ГОСТ 19281(2)-73 |
|
||||
|
С46/33 |
10Г2С1-9 |
» 21 » 60 |
|
||||
|
10ХНДП-6 |
» 4 » 9 |
ГОСТ 19281(2)-73 |
|
||||
|
10Г2С1-9 |
от 10 до 40 |
Сталь термоупрочненная |
|||||
|
С52/40 |
14Г2АФ-9 |
» 4 » 50 |
|
||||
|
15Г2АФДпс-9 |
» 4 » 32 |
|
|||||
|
16Г2АФ-9 |
от 4 до 50 |
|
|||||
|
С60/45 |
18Г2АФпс-9 |
» 4 » 32 |
До 1 января 1977 г поставляется по ЧМТУ 1-741-69 |
||||
|
-50>t≥-65 |
С44/29 |
09Г2С-9 |
от 21 до 60 |
|
|||
|
С46/33 |
09Г2С-9 |
от 4 до 11 |
ГОСТ 19281-73 |
|
|||
|
09Г2С-9 |
» 4 » 20 |
|
|||||
|
10Г2С1-9 |
» 4 » 11 |
ГОСТ 19281-73 |
|
||||
|
10Г2С1-9 |
» 4 » 60 |
|
|||||
|
15ХСНД-9 |
» 4 » 11 |
ГОСТ 19281-73 |
|
||||
|
15ХСНД-9 |
» 4 » 32 |
|
|||||
|
С52/40 |
10Г2С1-9 |
от 10 до 40 |
Сталь термоупрочненная |
||||
|
10ХСНД-9 |
» 11 » 40 |
|
|||||
|
14Г2АФ-9 |
» 4 » 50 |
|
|||||
|
15Г2АФДпс-9 |
» 4 » 32 |
|
|||||
|
С60/45 |
16Г2АФ-9 |
от 4 до 50 |
|
||||
|
18Г2Афпс-9 |
» 4 » 32 |
До 1 января 1977 г поставляется по ЧМТУ 1-741-69 |
|||||
|
Группа V. Конструкции I, II, III, IV групп, монтируемые при расчетной температуре ниже минус 40 °С и эксплуатируемые в отаплнваемых помещениях. Все марки сталей, рекомендуемые для конструкций I, II, III, IV групп в районах с расчетной температурой ниже минус 40 °С, с заменой требования по ударной вязкости при температуре минус 70 °С (категории 9 и 15 по ГОСТ 19281-73 и ГОСТ 19282-73) требованием по ударной вязкости при температуре минус 40 °С (категории 6 и 12 по ГОСТ 19281-73 и ГОСТ 19282-73). |
|||||||
|
Группа VI t≥-40 |
С38/23 |
ВСт. 3кп2 |
от 4 до 30 |
ГОСТ 380-71* |
|
||
|
С46/33 |
10ХНДП-6 |
от 4 до 9 |
ГОСТ 19281(2)-73 |
|
|||
|
|
10ХНДП |
» 10 » 12 |
ТУ 14-1-389-72 ТУ 14-1-1217-75 |
Ударная вязкость при -40 °С ≥3 кгс·м/см2 |
|||
|
-40>t≥-65 |
С38/23 |
ВСт. 3сп5 |
от 5 до 25 |
ГОСТ 380-71* |
|
||
|
ВСт. 3Гпс6 |
» 5 » 30 |
ГОСТ 380-71* |
|
||||
|
С46/33 |
10ХНДП-12 |
от 4 до 9 |
ГОСТ 19281(2)-73 |
|
|||
|
Глава VII t≥-40 |
С38/23 |
ВСт. 3пс6 |
от 5 до 25 |
ГОСТ 380-71* |
|
||
|
ВСт. 3Гпс5 |
» 10 » 30 |
ГОСТ 380-71* |
|
||||
|
С44/29 |
ВСт.Тпс |
от 10 до 25 |
ГОСТ 14637-69* |
Ударная вязкость при -40 °С≥3 кгс·м/см2 |
|||
|
09Г2-6 |
» 4 » 32 |
ГОСТ 19281(2)-73 |
|
||||
|
С46/33 |
14Г2-6 |
от 4 до 32 |
ГОСТ 19281(2)-73 |
|
|||
|
10ХНДП-6 |
» 4 » 9 |
ГОСТ 19281(2)-73 |
|
||||
|
10ХНДП |
» 10 » 12 |
ТУ 14-1-389-72 ТУ 14-1-1217-75 |
Ударная вязкость при –40 °С≥3 кгс·м/см2 |
||||
|
С52/40 |
10Г2С1-6 |
от 10 до 40 |
Сталь термоупрочненная |
||||
|
-40>t≥-65 |
С44/29 |
ВСт. Тсп |
от 10 до 25 |
ГОСТ 14637-69* |
Ударная вязкость при –40 °С и после механического старения ≥3 кгс·м/см2 |
||
|
09Г2-12 |
» 4 » 20 |
ГОСТ 19281(2)-73 |
|
||||
|
09Г2С-12 |
» 21 » 32 |
ГОСТ 19281(2)-73 |
|
||||
|
С46/33 |
14Г2-12 |
от 4 до 32 |
ГОСТ 19281(2)-73 |
|
|||
|
|
10Г2С1-12 |
» 4 » 32 |
ГОСТ 19281 (2)-73 |
|
|||
|
С52/40 |
10Г2С1-15 |
от 10 до 40 |
Сталь термоупрочненная |
||||
|
Группа VIII. Конструкции, относящиеся к группе IV, при выполнении их клепаными, а также элементы конструкций, не имеющих сварных соединений. |
|||||||
|
t≥-40 |
С38/23 |
ВСт. 3кп2 |
от 4 до 30 |
ГОСТ 380-71* |
|
||
|
С44/29 |
ВСт.Ткп |
от 10 до 25 |
ГОСТ 14637-69* |
Ударная вязкость при -40 °С≥3 кгс·м/см2 |
|||
|
С46/33 |
14Г2-6 |
от 4 до 32 |
ГОСТ 19281(2)-73 |
|
|||
|
10ХНДП-6 |
» 4 » 9 |
ГОСТ 19281(2)-73 |
|
||||
|
|
10ХНДП |
» 10 » 12 |
ТУ 14-1-389-72 ТУ 14-1-1217-75 |
Ударная вязкость при –40 °С≥3 кгс·м м/см2 |
|||
|
С52/40 |
10Г2С1-6 |
от 10 до 40 |
Сталь термоупрочненная |
||||
|
-40>t≥-65 |
С44/29 |
ВСт.Тпс |
or 10 до 25 |
ГОСТ 14637-69* |
Ударная вязкость при -40 °С и после механического старения ≥3 кгс·м/см |
||
|
09Г2-12 |
» 4 » 20 |
ГОСТ 19281(2)-73 |
|
||||
|
09Г2С-12 |
» 21 » 32 |
ГOCT 19281(2)-73 |
|
||||
|
С46/33 |
14Г2-12 |
от 4 до 32 |
ГОСТ 19281(2)-73 |
|
|||
|
|
10Г2С1-12 |
» 4 » 32 |
ГОСТ 19281(2)-73 |
|
|||
|
|
10ХНДП-12 |
» 4 » 9 |
ГОСТ 19281(2)-73 |
|
|||
|
С52/40 |
10Г2С1-15 |
от 10 до 40 |
Сталь термоупрочненная |
||||
Примечания. 1. За расчетную температуру принимается:
а) при возведении конструкций в районах с расчетной температурой наружного воздуха минус 40 °С и выше - температура, при которой конструкции эксплуатируются;
б) при возведении конструкций в районах с расчетной температурой наружного воздуха ниже минус 40 °С - температура наружного воздуха данного района.
За температуру наружного воздуха района принимается средняя температура наиболее холодной пятидневки, согласно указаниям главы СНиП по строительной климатологии и геофизике.
2. За толщину, указанную в графе 4, для двутавров и шнеллеров условно принимается толщина стенки.
3. При толщинах проката менее 5 мм приведенные в таблице марки стали применяются без требований по ударной вязкости.
4. При соответсгвующсм технико-экономическом обосновании стали марок 09Г2С, 09Г2, 10Г2С1, 15Г2СФ, 14Г2АФ, 16Г2АФ, 18Г2АФпс могут заказываться как стали повышенной коррозионной стойкости (с медью); в этом случае к названию марки добавляется буква «Д», а именно: 09Г2СД, 10Г2С1Д, 15Г2СФД, 14Г2АФД, 16Г2АФД, 18Г2АФДпс согласно ГОСТ 19281-73 и 19282-73.
5. Для конструкций всех групп, кроме групп I и II, при расчетных температурах t≥-50 °С допускается применять прокат толщиной 4 мм и менее из стали ВСт. 3кп2 по ГОСТ 380-71*.
6. Низколегированные стали, поставляемые по ГОСТ 19281-73 и по ГОСТ 19282-73, одного диапазона толщин и одной категории в таблице указывается одной строчкой, причем оба стандарта в графе 5 обозначены как ГОСТ 19281 (2)-73.
7. Допускается вместо сталей марок ВСт. 3Гпс и ВСт. 3сп применять сталь марки В18Гпс соответствующих категорий по ТУ 14-2-173-75.
Дебит Q м3/с приближенно определяется по формуле
![]()
где k - коэффициент водопроницаемости грунта (табл. 1), м/с;
Н - разность уровней воды в водоеме и котловане, м;
ΣР - периметр ограждения, м;
qr - поправочный коэффициент.
|
Коэффициент водопроницаемости грунтов |
|
|
Глинистые мелкие и пылеватые пески |
2·10-5÷5·10-5 |
|
Мелкий песок |
5·10-5÷10-4 |
|
Песок средней крупности |
10-4÷10-3 |
|
Крупный гравелистый песок |
10-3÷5·10-3 |
|
Гравий |
5·10-3÷10-2 |
Примечание. Меньшие значения коэффициента соответствуют грунтам с малой пористостью.
Рис. 1. График для
определения
в водопроницаемых грунтах
Для случая, когда под подошвой шпунтового ограждения
нет поблизости водоупорного слоя, величина qr определяется по графику
рис. 1
в зависимости от отношений
и
,
где t - глубина котлована от дна водоема;
S - заглубление шпунта ниже дна котлована;
b - половина ширины котлована (ширина котлована принимается равной большей стороне для прямоугольных котлованов и диаметру для круглых).
В случае, если поблизости от подошвы шпунта залегает слой водоупорного грунта, величина qr определяется по графику (рис. 2) в зависимости от отношений
![]()
где S1 - заглубление шпунта ниже дна водоема;
S2 - заглубление шпунта ниже дна котлована;
T1 - расстояние от дна водоема до водоупора;
T2 - расстояние от дна котлована до водоупора.
Рис. 2. График для
определения
в случае близкого расположения водоупорного слоя (Ф1 определяется в функции
; Ф2 – в функции
)
При определении мощности водоотливных средств следует учитывать дополнительный приток воды через неплотности в боковых стенках ограждения.
Величину дополнительного притока следует принимать в размере 20 % от дебита, определенного по приведенной выше методике.
СОДЕРЖАНИЕ
|
ГОСТЫ, СТРОИТЕЛЬНЫЕ и ТЕХНИЧЕСКИЕ НОРМАТИВЫ. Некоммерческая онлайн система, содержащая все Российские Госты, национальные Стандарты и нормативы. В Системе содержится более 150000 файлов нормативно-технической документации, действующей на территории РФ. Система предназначена для широкого круга инженерно-технических специалистов. Copyright © www.gostrf.com, 2008 - 2026 |