Крупнейшая бесплатная информационно-справочная система онлайн доступа к полному собранию технических нормативно-правовых актов РФ. Огромная база технических нормативов (более 150 тысяч документов) и полное собрание национальных стандартов, аутентичное официальной базе Госстандарта. GOSTRF.com - это более 1 Терабайта бесплатной технической информации для всех пользователей интернета. Все электронные копии представленных здесь документов могут распространяться без каких-либо ограничений. Поощряется распространение информации с этого сайта на любых других ресурсах. Каждый человек имеет право на неограниченный доступ к этим документам! Каждый человек имеет право на знание требований, изложенных в данных нормативно-правовых актах!

  


 

МИНИСТЕРСТВО ТРАНСПОРТНОГО СТРОИТЕЛЬСТВА СССР

Согласована Госстроем СССР

20 сентября 1982 г.

№ ДП-5231-1

Утверждена Минтрансстроем

29 апреля 1983 г.

№ ЛН-550

ИНСТРУКЦИЯ
ПО ПРОЕКТИРОВАНИЮ ДОРОЖНЫХ ОДЕЖД
НЕЖЕСТКОГО ТИПА

ВСН 46-83

МИНТРАНССТРОЙ

МОСКВА, «ТРАНСПОРТ», 1985

Инструкция по проектированию дорожных одежд нежесткого типа. ВСН 46-83. Министерство транспортного строительства СССР. - М.: Транспорт, 1985.

Инструкция содержит указания по конструированию и расчету дорожных одежд автомобильных дорог общей сети СССР, дорог промышленных и сельскохозяйственных предприятий, городских дорог и улиц. Инструкция применима для проектирования одежд на вновь сооружаемых дорогах и улицах, разработки каталогов и альбомов типовых решений, оценки прочности и проектирования усиления одежд, для решения вопроса об ограничении и регулировании движения на дорогах.

Предназначена для инженерно-технических работников дорожного хозяйства.

Общее редактирование выполнено д-ром техн. наук М. П. Корсунским, кандидатами техн. наук Ю. М. Васильевым и П. И. Теляевым. Список участников разработки Инструкции приведен в приложении 11.

Ответственный за выпуск П. И. Теляев

Заведующий редакцией В. Г. Чванов

Редактор Е. С. Голубкова

Министерство транспортного строительства СССР
(Мннтрансстрой)

Ведомственные строительные нормы

ВСН 46-83
Минтрансстрой СССР

«Инструкция по проектированию дорожных одежд нежесткого типа»

Взамен «Инструкции по проектированию дорожных одежд нежесткого типа»
ВСН 46-72

1. ОБЩИЕ ПОЛОЖЕНИЯ

1.1. Инструкция содержит указания по конструированию и расчету нежестких одежд автомобильных дорог общей сети СССР, промышленных и сельскохозяйственных предприятий, городских дорог и улиц. Инструкцией следует пользоваться при: а) проектировании одежд па вновь сооружаемых и реконструируемых дорогах и улицах; б) разработке каталогов и альбомов типовых решении по конструкциям дорожных одежд; в) оценке прочности и проектировании усиления одежд существующих дорог и улиц; г) решении вопроса об ограничении и регулировании движения на эксплуатируемых дорогах и улицах в неблагоприятные периоды года, а также о сроке возможного пропуска по дороге без ущерба для прочности одежды особо тяжелых нагрузок, не предназначенных для движения по дороге в течение всего года.

1.2. По сопротивлению нагрузкам от транспортных средств и характеру деформирования дорожные одежды разделены на две группы - жесткие и нежесткие.

Нежесткие дорожные одежды - это одежды со слоями, устроенными из разного вида асфальтобетонов (дегтебетонов), из материалов и грунтов, укрепленных битумом, цементом, известью, комплексными и другими вяжущими, а также из слабосвязных зернистых материалов (щебня, шлака, гравия и др.).

Расчетная схема конструкции - слоистое упругое полупространство, равномерно нагруженное по площади круга.

1.3. В многослойных конструкциях различают следующие элементы дорожной одежды.

Покрытие - верхняя часть одежды, воспринимающая усилия от колес автомобилей и подвергающаяся непосредственному воздействию атмосферных факторов. Покрытие должно быть прочным, ровным, шероховатым, противостоять пластическим деформациям при высоких положительных температурах, быть трещиностойким и хорошо сопротивляться износу - оно должно обеспечивать необходимые эксплуатационные качества проезжей части.

В I - III дорожно-климатических зонах покрытие должно быть водонепроницаемым. В покрытие входят также слои износа, шероховатый слои, защитный слой.

Основание - несущая прочная часть одежды, обеспечивающая совместно, с покрытием перераспределение и снижение давления на расположенные ниже дополнительные слои или грунт земляного полотна (подстилающий грунт). Слои основания, непосредственно подстилающие усовершенствованное покрытие, должны быть преимущественно монолитными, сдвигоустойчивыми и достаточно хорошо сопротивляться растягивающим напряжениям при изгибе. Нижние слои основания устраивают из материалов менее прочных, чем вышележащие, но из достаточно морозо- и водостойких материалов.

Внесена
Государственным всесоюзным дорожным научно-исследовательским институтом Союздорнии

Утверждена
распоряжением Министерства транспортного строительства от 29 апреля 1983 г.

Введена в действие
1 января 1984 г.

Дополнительные слои основания - слои между основанием и подстилающим грунтом на участках с неблагоприятными погодно-климатическими и грунтово-гидрологическими условиями.

Эти слои совместно с покрытием и основанием должны обеспечивать наряду с прочностью необходимые морозоустойчивость и дренирование конструкции и создавать условия для снижения толщины слоев из дорогостоящих материалов. В соответствии с основной функцией, которую выполняет дополнительный слой, его называют морозозащитным, теплоизоляционным, дренирующим. К дополнительным слоям и прослойкам относят также гидро- и пароизоляционные, капилляропрерывающие, противозаиливающие и др. Дополнительные слои устраивают из песка и других местных материалов в естественном состоянии или укрепленных органическими, минеральными или комплексными вяжущими веществами, из местных грунтов, в том числе пучинистых, обработанных вяжущими, из укрепленных смесей с добавками пористых заполнителей. В районах вечномерзлых грунтов и в других районах с особо неблагоприятными природными условиями устраивают теплоизоляционные слои из высокоэффективных теплоизоляционных материалов.

Дополнительные слои должны обеспечивать возможность движения по ним построечных транспортных средств и дорожно-строительных машин.

Классификация дорожных одежд и покрытии приведена в табл. 1.1.

Грунт земляного полотна (подстилающий грунт) - это тщательно уплотненные и спланированные верхние слои земляного полотна, отвечающего требованиям СНиП «Автомобильные дороги. Нормы проектирования», на которые укладывают слои дорожной одежды. На подстилающий грунт передается и распределяется все давление от транспортных нагрузок и на него существенно воздействуют изменчивые природные факторы, поэтому он является весьма ответственным элементом конструкции. Повышение сопротивления грунта внешним нагрузкам, предотвращение возникновения разуплотнения его вследствие морозного пучения, увлажнения, осушение и обеспечение постоянства водного режима земляного полотна - наиболее рациональные способы увеличения прочности, долговечности и экономичности дорожной одежды; поэтому дорожную одежду и земляное полотно следует проектировать совместно - комплексно.

1.4. Капитальную дорожную одежду с усовершенствованным покрытием проектируют с таким расчетом, чтобы под действием движения ни в одном из ее слоев и подстилающем грунте не возникло остаточных деформации, и, кроме того, чтобы воздействие природных факторов не приводило к недопустимым изменениям в ее элементах. Только при этом могут быть гарантированы работа всей дорожной конструкции в стадии обратимых (упругих) деформаций и сохранение высоких эксплуатационных качеств, обеспечивающих возможность движения с расчетными скоростями в течение всего периода между капитальными ремонтами.

Облегченную дорожную одежду с усовершенствованным покрытием, эксплуатационные требования к которому сравнительно высоки, рассчитывают также на работу без накопления остаточных деформации, но на менее продолжительный срок между капитальными ремонтами, чем для капитальных одежд. Это позволяет принять меньший запас прочности и облегчить конструкцию.

При проектировании переходных дорожных одежд, выравнивание которых не сопряжено со значительными затратами (щебеночные, гравийные и подобные им покрытия), допустимо некоторое накопление, остаточных деформаций под действием движения.

1.5. В районах с влажным и холодным климатом па участках с неблагоприятными грунтово-гидрологическими условиями должны быть предусмотрены меры по осушению и обеспечению морозоустойчивости дорожной одежды и земляного полотна.

Таблица 1.1

Типы дорожных одежд

Виды покрытий, материал и способы его укладки

Область применения

Усовершенствованные покрытия:

Капитальные

а) из асфальтобетонных смесей марки I, укладываемых и горячем и теплом состоянии

На дорогах I, II, I-c и IIIп категорий, городских скоростных дорогах и магистральных улицах общегородского и районного значения, основных внутризаводских дорогах крупных промышленных предприятий

 

б) из асфальтобетонных смесей марки II, укладываемых в горячем состоянии

На дорогах III, I-c и IVп категорий и городских дорогах местного значения при соответствующем технико-экономическом обосновании

Облегченные

a) из асфальтобетонных смесей марки II, укладываемых и теплом состоянии; дегтебетонных марки I, укладываемых в горячем состоянии

На дорогах III и II-с категорий, городских дорогах местного значения, на внутризаводских дорогах

 

б) из холодных асфальтобетонных смесей марки I; дегтебетонных горячих смесей марок I и II, холодной мелкозернистой дегтебетонной смеси марки

На дорогах III и IVп категории

 

в) из асфальтобетонных смесей марки III, укладываемых в горячем и теплом состоянии; холодных асфальтобетонных смесей марки II; дегтебетонных смесей марки II, холодной мелкозернистой и песчаной дегтебетонной смеси марки II; материалов, обработанных битумом по способу смешения на дороге с поверхностной обработкой

На дорогах IV и II-с категорий

 

г) из каменных материалов, обработанных органическими вяжущими в установке или методами пропитки (полупропитки); черного щебня, приготовленного в установке и уложенного по способу заклинки; эмульсионно-битумо-минеральных смесей, и том числе из каменных материалов, обработанных битумной эмульсией; пористой и высокопористой асфальтобетонной смеси с поверхностной обработкой; прочного щебня с двойной поверхностной обработкой

На дорогах III, IV и II-c категории и на первой стадии двухстадийного строительства дорог II, III и IVп категорий

Покрытия переходные

Переходные

из щебня прочных пород, устроенные по способу заклинки без применения вяжущих материалов; грунтов и малопрочных каменных материалов, укрепленных вяжущими; булыжного и колотого камня (мостовые)

На дорогах IV, V, II-c и III-с категории и на первой стадии двухстадийного строительства дорог III категории

Низшие

из щебеночно-(гравийного)-песчаных смесей; малопрочных каменных материалов и шлаков; грунтов, укрепленных или улучшенных различными местными материалами; древесных материалов и др.

На дорогах V и III-с категории

Примечания: 1. Асфальтобетонные покрытия не следует предусматривать на дорогах IV категории, если элементы плана и продольного профиля не соответствуют скорости движения автомобилей 80 км/ч в равнинной, 60 км/ч - в пересеченной и 10 км/ч - в горной местности.

2. Покрытия, в которых содержатся каменноугольные дегти, не следует применять на участках дорог, проходящих в пределах населенных пунктов, а также на внутризаводских и сельскохозяйственных дорогах.

3. По эстетическим соображениям или при необходимости пропуска транспортных средств на гусеничном ходу на городских дорогах всех категорий и площадях допускается устройство покрытия в виде мостовой из брусчатки или мозаики на бетонном или каменном основании.

4. При проектировании реконструкции автомобильных дорог рекомендуется предусматривать использование по возможности существующих дорожных одежд в качестве оснований, после снятия для дальнейшей переработки и применения асфальтобетона старого покрытия.

5. Асфальтобетон из теплых смесей рекомендуется применять только па дорогах I-II дорожно-климатических зон.

При проектировании дорожных одежд в районах вечномерзлых грунтов (I дорожно-климатическая зона), помимо прочего, должны быть учтены характер вечномерзлых грунтов, их температурный и водный режим, а также влияние толщины деятельного слоя и вечномерзлого грунта (жесткого основания) на прочность дорожной одежды 1.

1 Здесь и далее под прочностью дорожной одежды подразумевается также и прочность земляного полотна.

1.6. Запроектированная дорожная одежда должна быть не только прочной и надежной в эксплуатации, но экономичной и возможно менее материалоемкой, особенно по расходу дефицитных материалов и энергии. Экономичность конструкции определяют по результатам сопоставления вариантов с оценкой сравнительной экономической эффективности капитальных вложений. Варианты сопоставляют между собой по сумме приведенных капитальных вложений, дорожных и транспортных затрат, необходимых для заданного объема перевозок за период сравнения вариантов.

1.7. При проектировании дорожных одежд и разработке типовых (унифицированных) решений по конструкциям дорожной одежды необходимо учитывать опыт службы различных конструкций в разных регионах страны, результаты региональных дорожных исследований, отраженные в действующих для этих районов технических условиях, нормах, правилах производства работ и других технических документах.

В результате анализа и обобщения данных опыта и исследований допускается расширить номенклатуру материалов (в особенности местных), приведенную в настоящей инструкции, уточнить расчетные значения характеристик грунтов и материалов - расчетные влажность и температуру, модуль упругости, сопротивление растяжению при изгибе, параметры сопротивления сдвигу и т.п. и назначать их в пределах, указанных для аналогичных материалов в инструкции.

При разработке региональных типовых конструкции дорожной одежды следует также учитывать специализацию дорожно-строительных организаций, обеспеченность их дорожно-строительными материалами, предусматривать максимальную механизацию и индустриализацию строительных процессов, применять преимущественно материалы заводского изготовления и не требующие многократных проходов укладочных машин и механизмов, стремиться к снижению трудоемкости и затрат ручного труда.

2. КОНСТРУИРОВАНИЕ ДОРОЖНОЙ ОДЕЖДЫ И ЗЕМЛЯНОГО ПОЛОТНА

Задачи и принципы конструирования

2.1. Проектирование дорожной одежды и земляного полотна представляет собой единый процесс конструирования и расчета дорожной конструкции на прочность, морозоустойчивость и осушение и технико-экономического обоснования вариантов.

2.2. Задачи конструирования дорожной одежды: а) назначение типа покрытия; б) выбор материалов для устройства слоев одежды и размещение их в конструкции в такой последовательности, чтобы наилучшим образом проявились их грузораспределяющая и деформативная способности, прочностные и теплофизические свойства; в) установление числа слоев и их ориентировочных толщин; г) назначение морозо- или теплозащитных мер, а также мер по повышению трещиностойкости и сдвигоустойчивости слоев, чувствительных к тепловлажностным воздействиям.

2.3. При конструировании дорожной одежды необходимо руководствоваться следующими принципами:

а) тип покрытия, конструкция одежды в целом должны удовлетворять транспортно-эксплуатационным требованиям, предъявляемым к дороге или улице соответствующей категории, и ожидаемым в перспективе составу и интенсивности движения. Должна быть установлена целесообразность стадийного строительства с целью поэтапного повышения эксплуатационных качеств;

б) конструкцию одежды нужно выбирать типовую или вновь разрабатывать для каждого участка или ряда участков дороги, характеризующихся сходными природными условиями (грунты земляного полотна, увлажнение, микроклимат), одинаковыми расчетными нагрузками, а также в равной степени обеспеченными строительными материалами. Следует рассмотреть целесообразность укрепления верхней части земляного полотна, что обеспечит стабильные во времени деформационные и прочностные характеристики верхнего слоя земляного полотна на участках большого протяжения, на которых можно применять однотипную конструкцию дорожной одежды. При выборе конструкции одежды для данных условии предпочтение следует отдавать проверенной на практике типовой конструкции;

в) в соответствующих элементах конструкции должны быть широко использованы местные малопрочные материалы с предварительной переработкой или укреплением их. В районах, недостаточно обеспеченных стандартными каменными материалами, необходимо широко применять, местные каменные материалы, побочные продукты промышленности и грунты, свойства которых могут быть улучшены обработкой их вяжущими (цемент, битум, известь, активные золы уноса и др.). Одновременно надо стремиться к созданию конструкции, по возможности наименее материалоемкой. Нужно иметь в виду, что эффективны все дорожные одежды, те конструктивные слои основания которых выполнены из укрепленных грунтов;

г) конструкция должна быть технологичной и обеспечивать возможность максимальной механизации и индустриализации дорожно-строительных процессов;

д) при назначении конструкции дорожной одежды следует учитывать региональный опыт строительства и службы дорог и заданном конкретном районе.

2.4. При конструировании дорожной одежды необходимо иметь в виду, что процесс деформирования и прочностные качеств материален, содержащих органическое вяжущее, обусловливающие проявление упруго-вязко-пластических свойств композиции, существенно зависят от температуры и режима нагружения (скорости изменения и продолжительности действия нагрузки), тогда как свойства зернистых материалов (щебеночные, гравийные и подобные им), а также материалов и грунтов, укрепленных неорганическими вяжущими, сравнительно мало зависят от температуры и режима нагружения.

2.5. В процессе конструирования дорожной одежды следует определять, из каких грунтов (местных или привозных) целесообразно сооружать земляное полотно на отдельных участках, отдавая предпочтение водо- и морозоустойчивым грунтам. Необходимо назначать меры для обеспечения морозоустойчивости дорожной конструкции и предохранения ее от избыточного увлажнения. Наиболее целесообразное решение нужно выбирать с учетом того, насколько эффективны и технологичны отдельные мероприятия в конкретных условиях.

2.6. При назначении типов покрытия для разных вариантов конструкции дорожных одежд следует руководствоваться п. 1.3 настоящей инструкции, ГОСТ «Смеси асфальтобетонные дорожные, аэродромные и асфальтобетон» и СНиП «Автомобильные дороги. Нормы проектирования». Конструкцию дорожной одежды и тип покрытия нужно обосновывать технико-экономическим анализом вариантов по приведенным суммарным затратам.

2.7. При выборе материалов для устройства слоев дорожной одежды необходимо учитывать следующие положения.

Покрытие и верхние слои основания испытывают значительные напряжения растяжения и температурные воздействия. Поэтому они должны быть монолитными, водо-, морозо- и термостойкими.

При выборе материала для верхнего слоя основания надо учитывать категорию дороги, тип покрытия, а также и то, что слои, содержащие органические вяжущие, обладают лучшими деформационными качествами и теплофизическими свойствами, чем материалы или грунты, укрепленные неорганическими вяжущими. Однако материалы, содержащие органическое вяжущее, весьма чувствительны к высокой положительной температуре, при которой уменьшается их сдвигоустойчивость, или отрицательной температуре, приводящей к повышению их хрупкости.

На магистральных дорогах с тяжелым и скоростным движением основания нужно устраивать преимущественно из укрепленных материалов.

Щебеночные материалы должны быть уложены по принципу заклинки.

2.8. При применении укрепленных грунтов и материалов необходимо предусматривать комплекс материаловедческих, технологических и конструктивных мероприятий по ограничению развития трещин в основании, приводящих, как правило, к возникновению (копированию) трещин и в покрытии. К материаловедческим мерам относится, в частности, укрепление грунтов и материалов комплексными или малоусадочными вяжущими, а к конструктивным - устройство теплозащиты над слоями из материалов, укрепленных неорганическими вяжущими. Необходимо, чтобы теплофизические свойства материалов покрытия и верхнего слоя основания существенно не различались.

Для предотвращения появления «копирующихся» трещин на покрытии минимальную допустимую толщину слоев из материалов, содержащих органическое вяжущее и укладываемых на верхний слой основания из материалов, укрепленных цементом, нужно принимать с учетом категории дороги:

Категория дорог общей сети (аналог

категории улиц и городских дорог см. табл. 2.1)        I                    II                   III

Наименьшая толщина слоев из материалов,

содержащих органическое вяжущее, см                     16                    12                 10

Примечание. В случае применения материалов, укрепленных комплексными вяжущими, а также медленно твердеющими и гидравлическими вяжущими, толщина слоя может быть снижена на 20 %, в условиях жарких и сухих районов IV-V дорожно-климатических зон - на 30 %; на дорогах IV категории с покрытиями из черных смесей толщина слоя покрытия может составить 8-6 см.

Нижние слои основания и дополнительные слои одежды должны совместно с верхними слоями и покрытием обеспечивать необходимую прочность конструкции, морозоустойчивость, а также дренирующую способность. Нижние слои основания, особенно из зернистых материалов, должны сопротивляться сдвиговым напряжениям. Во многих случаях целесообразно предусматривать их укрепление вяжущим.

2.9. Общую толщину дорожной одежды надо назначать по расчету на прочность и морозоустойчивость.

Если общая толщина дорожной одежды, полученная расчетом на прочность, меньше толщины, установленной по морозоустойчивости, то следует предусмотреть дополнительные морозозащитные или теплоизоляционные слои. В этом случае конструкцию основания дорожной одежды нужно назначать одновременно с проектированием морозозащитных или теплоизоляционных и дренирующих слоев.

2.10. Толщину покрытия усовершенствованного типа следует назначать так, чтобы действующие в его наиболее напряженной зоне растягивающие напряжения не превышали допускаемых.

Толщину покрытия переходного тина надо определять с таким расчетом, чтобы упругий прогиб поверхности одежды не превышал допускаемый.

2.11. Толщины промежуточных слоев одежды с усовершенствованным покрытием следует назначать так, чтобы под действием расчетных нагрузок в монолитных слоях основания из материалов, укрепленных неорганическими вяжущими, полимерными или вязкими органическими вяжущими, а также комплексными вяжущими, растягивающие напряжения при изгибе не превышали допускаемых, а в зернистых и слабосвязных материалах (гравий, песок, смеси на основе жидких органических вяжущих и т.п.) не возникали бы недопустимые деформации сдвига.

2.12. Необходимо предусматривать в конструкции одежды возможно меньшее число слоев (2 - 4 без учета дополнительных слоев) из разных материалов, используя и качестве основания пористый и высокопористый асфальтобетон, дегтебетон, тощий цементобетон, грунты и материалы, укрепленные вяжущими. В отдельных случаях, когда технически и экономически целесообразно, можно назначать и большее число слоев дорожной одежды.

2.13. В задачу проектирования земляного полотна наряду с установлением его формы и размеров, обеспечивающих устойчивость откосов и грунтов основания под насыпью, безопасность движения и незаносимость дороги снегом или песком (см. СНиП «Автомобильные дороги. Нормы проектирования»), входит назначение комплекса мер по обеспечению морозоустойчивости дорожной конструкции и предохранения ее от избыточного увлажнения.

2.14. Для существенного уменьшения притока поверхностных вод в основание дорожной одежды и в грунт земляного полотна необходимо предусматривать такие мероприятия, как укрепление обочин, обеспечение надлежащего их поперечного уклона, устройство бордюров и лотков, а также установление безопасного расстояния от бровки земляного полотна до уреза длительно застаивающейся поверхностной воды. Значительному уменьшению притока поверхностной воды к земляному полотну могут также способствовать монолитные слои дорожной одежды из материалов (грунтов), укрепленных вяжущими.

2.15. В районах с неблагоприятными погодно-климатическими и грунтово-гидрологическими условиями для ограничения миграции влаги из нижних слоев земляного полотна в верхние следует предусматривать также мероприятия, как увеличение расстояния от поверхности покрытия до уровня грунтовых вод (возведение более высокой насыпи, понижение УГВ), применение для сооружения насыпи непучинистых или малопучинистых грунтов (см. приложение 7), введение в конструкцию морозозащитных слоев из стабильных (не изменяющих своего объема при замерзании в увлажненном состоянии) материалов, капилляропрерывающих и водоизолирующих прослоек. С целью существенной экономии привозных и дефицитных дорожно-строительных материалов следует вводить теплоизоляционные слои в конструкции на пучиноопасных участках.

2.16. В тех случаях, когда применение указанных в п. 2.14 и 2.15 мероприятий экономически невыгодно и не приводит к тому, чтобы количество воды, поступающей в основание дорожной одежды из зернистых материалов, было меньше, чем может разместиться в свободных норах материала одежды, необходимо предусматривав мероприятия по осушению конструкции или принять дорожную одежду из монолитных (плотных) слоев.

2.17. Конструкция дорожной одежды и введенные в нее дополнительные слои существенно влияют на процесс влагонакопления в грунтах земляного полотна. Изменение же влажности грунта приводит к изменению деформационных и прочностных свойств его, что, в свою очередь, вызывает необходимость сооружения одежды различной толщины для обеспечения требуемой прочности конструкции. Подобное взаимное влияние земляного полотна и одежды обусловливает необходимость совместного вариантного проектирования их с тем, чтобы получить наиболее экономичную и надежную конструкцию дорожной одежды и земляного полотна в данных условиях.

Эффективный метод, позволяющий применять однотипную конструкцию дорожной одежды, - укрепление верхней части земляного полотна на различную толщину слоя грунта.

2.18. Проектировать дорожную одежду в связи с необходимостью ее усиления при реконструкции дорог следует с учетом основных положений, изложенных выше применительно к конструированию и расчету новых дорожных одежд. Однако в этом случае обязательно должен быть широко использован опыт службы одежды за период эксплуатации существующей дороги и учтены особенности, связанные с наличием старой конструкции дорожной одежды.

Вопрос усиления дорожной одежды следует рассматривать в тех случаях, когда ее фактическое состояние не удовлетворяет эксплуатационным требованиям.

Тип покрытия при разработке проекта реконструкции дороги не должен быть менее совершенным, чем существующего покрытия.

2.19. В целях обеспечения благоприятных условий работы прикромочных частей дорожной одежды основание следует устраивать на 0,6 м шире проезжей части и укрепительной полосы, а дополнительный нижний слой из песка или другого зернистого материала укладывать на 1 м шире основания или на всю ширину земляного полотна.

На автомобильных дорогах I-II категорий, а также на городских улицах края дорожной одежды целесообразно укреплять путем установки бортовых камней, плит или устройства монолитного бортика. Укрепление обочин дорог нужно предусматривать в соответствии с указаниями СНиП «Автомобильные дороги. Нормы проектирования» и рекомендациями специальных документов.

2.20. Дорожную одежду ведомственных дорог (подъезды к карьерам, промышленные и лесовозные дороги с четко выраженным направлением движения) следует проектировать различной толщины на полосах движения автомобилей двух направлений - с грузом и без груза.

Капитальные дорожные одежды с усовершенствованным покрытием

2.21. Капитальные дорожные одежды с асфальтобетонными покрытиями (рис. 2.1) применяют преимущественно на дорогах I, II, 1-с и IIIп категорий, на основных внутрихозяйственных дорогах крупных промышленных предприятий и важных строительных объектов, а при соответствующих технико-экономических обоснованиях на дорогах III, II-с и IVп категорий. (СНиП «Автомобильные дороги. Нормы проектирования», а также «Планировка и застройка городов, поселков и сельских населенных пунктов».)

2.22. Вид, марку и тип асфальтобетона для покрытия в зависимости от категории дороги и климатических условий (зоны) нужно намечать в соответствии с ГОСТ «Смеси асфальтобетонные дорожные, аэродромные и асфальтобетон». В основном следует применять плотный асфальтобетон I - II марок типов А, Б, В, Г. Для условий I - II дорожно-климатических зон на дорогах I и II категорий предпочтительно использовать асфальтобетон типов Б и Г.

В дорожно-климатических зонах I и частично во II для устройства усовершенствованных покрытий необходимо применять теплый асфальтобетон.

2.23. Для капитальных одежд толщину асфальтобетонного покрытия, устраиваемого из сравнительно дорогих материалов, следует назначать близкой к минимальной конструктивной.

Верхний слой основания капитальных дорожных одежд нужно устраивать главным образом из монолитных материалов - из пористого асфальтобетона, дегтебетона, щебеночных смесей, обработанных битумной эмульсией, «тощего» асфальтобетона, фракционированного щебня, обработанного вязким битумом по способу пропитки, а также из фракционированного щебня, уложенного по принципу расклинки мелким щебнем или гранулированным активным шлаком, укрепленного по методу пропитки цементно-песчаной смесью, и т.п. Покрытие толщиной 3-5 см на дорогах, предназначенных для движения автомобилей большой грузоподъемности, удовлетворительно работает только на основании, верхний слой которого асфальтобетонный.

Для устройства нижнего слоя основания необходимо применять преимущественно монолитные (укрепленные грунты и каменные материалы) и зернистые материалы.

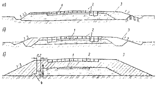
Рис. 2.1. Поперечные профили земляного полотна и конструкции капитальных одежд дорог I-II категории с усовершенствованным покрытием для дорожно-климатических зон II-III и IV-V (примеры):

1 - средне- или мелкозернистый асфальтобетон I марки; 2 - крупнозернистый пористый асфальтобетон или дегтебетон; 3 - щебень, укрепленный цементом или комплексным вяжущим; 4 - грунт повышенной плотности; 5 - грунт, укрепленный неорганическим вяжущим; 6 - песок, гравий, шлак (дополнительный слой основания); 7 - щебень с расклинкой; 8 - тощий цементобетон; 9 - грунт и материалы, укрепленные комплексными вяжущими или активной золой уноса; 10 - гравий, укрепленный цементом; 11 - гравий, укрепленный малыми дозами цемента, или грунт, обработанный жидким органическим вяжущим; 12 - гравийная смесь с добавками дробленого щебня; 13 - пенопласт; 14 - конструктивный теплоизоляционный слой из цементогрунта с легким заполнителем

2.24. Материалы основания должны отвечать требованиям, изложенным в соответствующих нормативно-технических документах Госстандарта СССР и Госстроя СССР.

Облегченные и переходные дорожные одежды

2.25. Дорожные одежды облегченного типа с усовершенствованными покрытиями (асфальтобетонные, дегтебетонные, из черного щебня, из щебня, обработанного вяжущими по способу пропитки, из крупнообломочных материалов, из песчаных или супесчаных грунтов, обработанных в установке битумной эмульсией совместно с цементом) необходимо применять преимущественно на дорогах III, IV, II-с и IVп категорий (рис. 2.2) и при стадийном строительстве дорожных одежд на первой стадии строительства дорог II, II-c и IIIп категорий. Такие одежды можно устраивать и на внутрихозяйственных дорогах промышленных и сельскохозяйственных предприятий, где по санитарным условиям не могут быть допущены покрытия переходного типа.

2.26. Усовершенствованное покрытие облегченных дорожных одежд следует, как правило, устраивать толщиной 4-6 см при применении асфальтобетона и 6-8 см при использовании других материалов, указанных в п. 2.25. Более точно толщину покрытия нужно устанавливать расчетом на прочность.

2.27. Основания для облегченных дорожных одежд с усовершенствованным покрытием, как правило, необходимо устраивать из монолитных и зернистых материалов. При этом на дорогах III, II-с и IV категорий целесообразно устраивать основание дорожной одежды из гравийного пористого асфальтобетона; гравийно-песчаных смесей, обработанных эмульсией, дегтями и другими органическими вяжущими; различных материалов и грунтов и побочных продуктов промышленности, обработанных неорганическими или комплексными вяжущими, щебеночных и щебеночно-гравийных смесей.

2.28. Дорожные одежды с покрытиями переходного типа (щебеночные и гравийные из прочных пород, из малопрочных каменных материалов и грунтов, укрепленных органическими, неорганическими или комплексными вяжущими, мостовые из булыжного и колотого камня) следует устраивать на дорогах IV, III-с и V категорий (рис. 2.3). При стадийном строительстве дорожной одежды такие конструкции нужно предусматривать на первой стадии строительства дорог III, IIIп, III-с и IVп категории. Их можно применять на внутренних дорогах промышленных предприятий и строительных объектов, где по санитарным условиям движения нет необходимости в устройстве покрытий усовершенствованных типов. (СНиП «Автомобильные дороги. Нормы проектирования».)

2.29. При проектировании дорожных одежд с покрытием переходного типа надо стремиться, чтобы одежды состояли из одного-двух слоев.

Для покрытий, устраиваемых по способу заклинки, следует применять фракционированный щебень естественных горных пород, щебень из горнорудных отходов и щебень из малоактивных металлургических шлаков (ГОСТы на «Щебень из естественного камня для строительных работ» и «Щебень шлаковый доменный и сталеплавильный для дорожного строительства»).

2.30. При конструировании одежд переходного типа как первоочередной конструкции стадийного строительства для устройства слоев одежды на первой стадии необходимо применять материалы, которые отвечают требованиям, предъявляемым к материалам для устройства слоев основания под усовершенствованные покрытия. В ряде случаев для сокращения первоначальных затрат могут оказаться целесообразными упрощенные конструкции, движение по которым в неблагоприятный период года должно быть ограничено по нагрузке на ось транспортных средств и по интенсивности.

Рис. 2.2. Конструкции облегченных одежд дорог III-IV категорий с усовершенствованным покрытием (примеры):

1 - асфальтобетон мелкозернистый II-III марок; 2 - крупнозернистый асфальтобетон или фракционированный щебень (гравий), обработанный битумом; 3 - подобранная щебеночная (гравийная) смесь, щебень с расклинкой; 4 - грунт укрепленный неорганическим вяжущим; 5 - грунт повышенной плотности; 6 - песок, гравий, шлак; 7 - щебень обработанный органическим вяжущим в установке; 8 -грунт или материал, обработанный комплексными вяжущими; 9 - грунт или малопрочный каменный материал, обработанный органическим вяжущим; 10 - грунт повышенной плотности

Рис. 2.3. Конструкции одежд дорог IV-V категорий с переходными типами покрытий (примеры):

1 - поверхностная обработка; 2 - подобранные гравийные или песчаные смеси, укрепленные портландцементом; 3 - песок, гравий, шлак; 4 - грунт повышенной плотности; 5 - грунт, укрепленный неорганическим или жидким органическим вяжущим; 6 - щебень; 7 - гравийная смесь; 8-гравийная смесь из некондиционных материалов, укрепленная малыми дозами цемента; 9 - гравийно-песчаная смесь; 10 - грунт с добавлением щебня

Конструкции дорожных одежд с дополнительными слоями

2.31. При проектировании участков дорог, находящихся в неблагоприятных климатических и грунтово-гидрологических условиях следует предусматривать меры по защите дорожной конструкции от вредного влияния воды и мороза. Наряду с другими мероприятиями, указанными в п. 2.13 - 2.15, можно вводить в конструкцию дополнительные слои и прослойки.

2.32. Одно из основных и нередко наиболее экономичное мероприятие по предохранению конструкции от чрезмерного зимнего вспучивания - устройство морозозащитных слоев из стабильных зернистых материалов, таких как песок, гравии, щебень, шлаки и др., а также из грунтов, укрепленных вяжущими, или гидрофобизированных грунтов. Наличие в конструкции таких слоев способствует уменьшению толщины промерзающею слоя грунта. Слои из зернистых материалов наряду с морозозащитной выполняют функцию дренирования, а из укрепленных грунтов - предохраняют конструкцию от увлажнения водой с поверхности. Толщины морозозащитных слоев определяют расчетом (см. п. 4.18 - 4.28). Деформационные и прочностные характеристики материала слоя учитывают при расчете дорожной конструкции на прочность.

2.33. Устройство теплоизоляционных слоев следует предусматривать на пучиноопасных участках, где технически невозможны или экономически нецелесообразны традиционные мероприятия по обеспечению морозоустойчивости конструкции (например, требуется морозозащитный слой очень большой толщины). Теплоизоляционные слои нужно устраивать из материалов с более эффективными теплозащитными свойствами, чем у обычных дорожно-строительных материалов.

С помощью теплоизоляции можно частично или полностью предотвратить промерзание земляного полотна, уменьшить или исключить деформации, вызванные пучением грунта. Теплоизоляцию из пенопласта целесообразно применять для устройства теплоизоляционных слоев лишь в особо неблагоприятных грунтово-гидрологических условиях - «мокрые» выемки, земляное полотно в нулевых отметках, низкие насыпи, где глубина промерзания больше расстояния от поверхности покрытия до уровня грунтовых вод или длительно застаивающихся поверхностных вод. В других случаях могут быть использованы легкие бетоны, теплоизоляционные композиции из укрепленных вяжущими местных материалов (грунтов) или отходов промышленности и пористых заполнителей (керамзит, перлит, аглопорит, гранулы полистирола, измельченные отходы пенопласта) и др.

Толщину и расположение теплоизоляционного слоя в конструкции определяют теплотехническим расчетом (см. п. 4.29 - 4.45). Деформационные и прочностные характеристики материала слоя, а также его толщину следует учитывать при расчете дорожной конструкции на прочность.

Оптимальную конструкцию и теплоизоляционные материалы нужно выбирать на основании технико-экономического сравнения вариантов, равноценных по морозоустойчивости. При этом должна быть рассмотрена также конструкция с традиционным морозозащитным слоем или в сочетании его с теплоизоляцией.

2.34. Для уменьшения влагонакопления в верхней части земляного полотна следует предусматривать водонепроницаемые прослойки (из грунта, обработанного битумом, из полиэтиленовой пленки, нетканых синтетических материалов), устраиваемые обычно на всю ширину земляного полотна. При большой ширине земляного полотна и водонепроницаемом покрытии допускается устройство замкнутых прослоек («обойм») на ширину проезжей части. Глубина заложения прослойки от поверхности покрытия должна быть более 90 см во II климатической зоне и 65 см - в V зоне.

2.35. Капилляропрерывающие прослойки нужно устраивать толщиной 10-15 см на всю ширину земляного полотна из крупного песка или гравия. Для предохранения прослойки от загрязнения под и над ней необходимо предусматривать слои мелкого гравия толщиной 3-5 см.

2.36. В южных районах существенное уменьшение объема мигрирующей, преимущественно парообразной влаги, может быть достигнуто устройством слоев пароизоляции из полимерных рулонных материалов, грунта, обработанного органическим вяжущим веществом, или из слоя тщательно уплотненного грунта в «обойме».

2.37. Дренирующие слои, как правило, необходимы на участках с земляным полотном из недренирующих грунтов во всех случаях, когда грунт может увлажниться до полной влагоемкости - при неглубоком залегании уровня подземных вод, на длительно подтапливаемых участках, в районах с большим количеством осадков, а также на участках, в основании проезжей части которых возможно скопление воды, проникающей с поверхности (участки с затяжными продольными уклонами, при сравнительно легко водопроницаемых грунтах обочин, на вогнутых переломах продольного профиля, у прилегающих к проезжей части зеленых насаждений и газонов).

Дренирующие слои следует устраивать из песка, гравийных материалов, отсортированного шлака и других фильтрующих местных материалов. Необходимый коэффициент фильтрации материала нужно устанавливать в соответствии с п. 5.8.

На участках, проходящих в неблагоприятных грунтовых и гидрологических условиях выемок и нулевых отметок, а также в местах, где ожидается большое скопление поды (вогнутые переломы профиля и др.), не следует применять материалы для дренирующего слоя с коэффициентом фильтрации меньше 2 м/сут. В районах, где дренирующий слой промерзает, материалы слоя должны быть морозостойкими и достаточно прочными.

При назначении конструкций водоотводящих устройств надо руководствоваться следующими соображениями. В большинстве случаев, особенно на пучиноопасных участках, рационально устройство верхней части земляного полотна из дренирующего материала без специальных водоотводящих устройств, так как он здесь выполняет одновременно функции морозозащитного слоя (рис. 2.4, в, г). При большом количестве подлежащей отводу воды, т.е. более 0,007 м3/сут на 1 м2 проезжей части, а также в выемках и в местах с нулевыми отметками может оказаться целесообразным устройство продольных трубчатых дрен (гончарные, асбестоцементные, пластмассовые трубы и трубофильтры) у краев проезжей части с поперечными выпусками (рис 24, а, б); может быть применен также продольный дренаж из крупнопористого материала - щебня, гальки.

Рис 2.4. Длина L пути фильтрации с учетом конструкции земляного полотна и дренажных устройств:

а - при продольных трубчатых дренах и двухскатном профиле; б - то же, при односкатном; в, г - при устройстве верхней части земляного полотна из фильтрующих материалов

Дренажную конструкцию следует выбирать на основании технико-экономического сравнения вариантов дренирующих слоев с различными водоотводящими устройствами.

2.38. На участках с затяжными уклонами, где продольный уклон больше поперечного, для перехвата и отвода воды, перемещающейся в дренирующем слое вдоль дороги, нужно устраивать в грунтовом основании мелкие прорези и укладывать в них перфорированные трубы, трубофильтры или щебень с противозаиливающей изоляцией.

2.39. Если крупнопористый материал (щебень, границ, шлак) укладывается непосредственно на грунт земляного полотна, то следует предусматривать прослойку, препятствующую взаимопроникновению материалов смежных слоев. В качестве материалов прослойки можно применять, мелкий щебень, высевки (0-10 мм), гравийно-песчаные смеси, крупные и средней крупности пески, непылеватые шлаки, непучинистые золошлаки, синтетические текстильные материалы, укладываемые в один слой со стыковкой соседних полотен внахлест на 10-15 см, и т.д. Защитной прослойкой может служить слой из грунта, укрепленного вяжущими, толщиной 5-8 см. Толщину прослойки из зернистого материала нужно принимать равной 5-10 см, а при переувлажненном грунте земляного полотна - 15-20 см.

Особенности конструирования дорожных одежд со слоями из малопрочных материалов и побочных продуктов промышленности

2.40. При конструировании дорожных одежд необходимо в соответствующих элементах широко применять местные материалы с предварительной переработкой или укреплением их.

Возможность использования слабых известняков, опоки, гравийных материалов, дресвы, ракушечника и др. без обработки вяжущими нужно устанавливать с учетом прочности и дробимости материала, гранулометрического состава, числа пластичности его мелкой части, условий работы в том или ином слое одежды и предъявляемых требований к прочности и морозоустойчивости дорожной конструкции. Главным критерием возможности применения указанных материалов без обработки вяжущими служит соответствие их свойств требованиям ГОСТ 23558-79. Если свойства не отвечают этим требованиям, материалы необходимо переработать. Во избежание существенных деформации дорожной одежды, особенно на участках с неблагоприятными грунтово-гидрологическими условиями, не следует применять в основании (даже для нижних слоев) материалы, в которых содержится мало скелетных частиц или число пластичности мелкозема более 7.

2.41. Дорожные одежды с покрытием из обработанных вяжущим или необработанных малопрочных материалов, устраиваемым на песчаном, гравийном и щебеночном основании или на основании из укрепленного грунта, удовлетворительно работают лишь в IV и V климатических зонах при интенсивности движения не более 100 авт./сут с нагрузкой на ось не более 70 кН.

При большей интенсивности движения целесообразно предусматривать обработку малопрочных материалов органическими и неорганическими вяжущими, резко улучшающую структурно-механические свойства этих материалов. Особенно рациональным для устройства оснований под усовершенствованные покрытия или покрытий на дорогах IV-V категорий может быть тощий цементобетон на основе слабого известнякового щебня, ракушечника, речных песчаников и др., а также гравийные материалы, укрепленные неорганическим вяжущим.

2.42. При конструировании дорожной одежды со слоями из шлака необходимо учитывать, что шлаковый щебень из высокоактивных и активных шлаков можно использовать для устройства покрытий на дорогах IV-V категории и для оснований (из улучшенных и неулучшенных шлаков) дорог II-IV категорий. Щебень неустойчивой структуры из активных шлаков можно использовать только для устройства оснований, а щебень из малоактивных шлаков неустойчивой структуры - после приобретения ими устойчивой структуры.

Для повышения монолитности и прочности слоев из кислых малоактивных шлаков с модулем основности 1 менее 1 следует к шлаковому щебню предусмотреть добавку мелких частиц из активных шлаков и 2-3 % гашеной взвести или молотого гранулированного шлака в количестве 20-25 % от массы щебня. Для устройства слоев дорожных одежд, которые должны обладать улучшенными прочностными и деформационными качествами, нужно применять шлаковый щебень, обработанный органическими и минеральными вяжущими.

1 Модуль основности Мо - соотношение (в процентах) основных и кислых окислов:

Кислые металлургические шлаки целесообразно обрабатывать каменноугольными дегтями, которые обладают более высокими адгезионными свойствами, чем нефтяные битумы. Их можно обрабатывать также битумной эмульсией с известью, активной золой уноса и т.д.

Мероприятия по повышению прочности грунта активной зоны земляного полотна

2.43. Основное требование к земляному полотну - обеспечение стабильности его работы во времени - может быть удовлетворено проведением ряда мероприятий, таких, как устройство его верхней части из непучинистых, малопучинистых и малонабухающих грунтов, тщательное уплотнение грунта до требуемой плотности и при оптимальной влажности (особенно при уплотнении засоленных грунтов), защита грунта от увлажнения поверхностными и подземными водами и т.п.

В сухих местах III-V дорожно-климатических зон целесообразно коэффициент уплотнения верхнего слоя земляного полотна толщиной 30-50 см повышать до 1,0-1,05. Слой грунта, повышенной плотности следует рассматривать как самостоятельный конструктивный слой. Расчетные деформационные и прочностные характеристики грунта в этом слое выше в данных условиях по сравнению с нормируемыми для грунта земляного полотна (см. приложение 2).

Если слой повышенной плотности принят из связного (набухающего) грунта, необходимо предусмотреть меры по защите его от увлажнения.

2.44. Эффективное мероприятие по повышению стабильности земляного полотна - укрепление его верхнего слоя небольшим количеством вяжущих (например, 3-4 % цемента, 10-15 % золуноса или гранулированными шлаками, известью и т.п.). Укрепление верхнего слоя целесообразно в тех случаях, когда расчетный модуль упругости грунта меньше 40 МПа, т.е. при расчетной влажности грунта более 0,7 предела текучести. Укрепление верхнего слоя земляного полотна стабилизирует его физико-механические свойства и повышает модуль упругости, уменьшает расход стандартных материалов на устройство дорожной одежды, повышает ее технико-эксплуатационные параметры и т.д.

Учет региональных особенностей

2.45. При проектировании дорожных одежд и земляного полотна в сложных природных условиях (районы вечномерзлых грунтов, заболоченная местность, овражистая местность, горные и предгорные районы, засушливые или орошаемые районы, песчаные пустыни и др.) наряду с учетом общих нормативных положений и рекомендации настоящей инструкции следует руководствоваться указаниями специальных региональных нормативно-технических документов.

2.46. Расчетную влажность грунтов и зависящие от нее расчетные значения их деформационных и прочностных характеристик с учетом природных особенностей I дорожно-климатической зоны, горных, приморских и засушливых районов, а также районов с частыми оттепелями, нужно назначать в соответствии с указаниями приложения 2.

Расчетные температуры, деформационные и прочностные характеристики асфальтобетона и других материалов, содержащих органическое вяжущее, необходимо устанавливать в соответствии с рекомендациями приложения 3.

2.47. Принципы проектирования дорожной одежды в районах, перечисленных в п. 2.46, не отличаются от принципов проектирования одежд для других районов.

Земляное же полотно более значительно (чем дорожная одежда) подвержено сезонным изменениям, интенсивность которых зависит от общих климатических условий региона и от индивидуальных природных особенностей данного участка. Чтобы в наибольшей мере обеспечить стабильную работу земляного полотна, наряду с общими указаниями настоящей инструкции необходимо учесть следующее.

В районах распространения вечномерзлых грунтов земляное полотно конструируется с учетом одного из трех принципов регулирования мерзлотного состояния его основания: первый - сохранение вечномерзлых грунтов в основании насыпи в течение всего периода эксплуатации дороги; второй - частичное оттаивание мерзлых грунтов основания на глубину, определяемую расчетом; третий - полное, оттаивание вечномерзлых грунтов до начала строительства дороги и осушение придорожной полосы.

Земляное полотно в районах вечномерзлых грунтов следует устраивать преимущественно в насыпях; выемки допускаются в исключительных случаях. Высоту насыпи земляного полотна в районах печной мерзлоты следует назначать по теплотехническому расчету, но не менее 1,2-1,5 м. На всей дорожной полосе отвода и в основании насыпи при проектировании в зоне вечной мерзлоты по 1-му и 2-му принципам надо предусматривать обязательное сохранение мохорастительного покрова. Для предохранения его от разрушения целесообразно устраивать прослойку из дренирующего грунта или, при ограниченной высоте насыпи, - теплоизоляционную прослойку из местных материалов, т.е. из уплотненного мха, торфа, шлака, нестроевой древесины и др.

При благоприятных грунтово-гидрологических и мерзлотных условиях, когда допускается сезонное оттаивание основания насыпи, земляное полотно из местных глинистых грунтов притрассовых или сосредоточенных карьеров нужно возводить непосредственно на мохорастительном покрове.

На подтопляемых участках и на подходах к мостам в районах распространения вечномерзлых грунтов земляное полотно предпочтительно возводить из обломочных грунтов. Верхнюю часть насыпи, находящуюся выше отметки расчетного уровня воды плюс набег волны и плюс запас в 0,5 м, можно возводить из глинистых грунтов.

При проектировании выемок, проходящих в сырых местах, следует предусматривать теплозащиту откосов местными теплоизоляционными материалами, а также замену переувлажненных пылевато-глинистых грунтов в основной части выемки песчаными или другими стабильными непучинистыми грунтами. При проектировании дорог в районах орошаемых земель необходимо учитывать неблагоприятное влияние на работу земляного полотна повышенного уровня подземных вод во время поливов сельскохозяйственных угодий, местного повышения подземных вод вблизи сооружений оросительной сети, затопления резервов, водоотводных кюветов в результате полива земель.

В районах искусственного орошения с постоянным подтоплением автомобильных дорог земляное полотно следует проектировать в насыпях. Возвышение низа дорожной одежды по оси дороги над зимне-весенним уровнем подземных вод (или поверхностных) при слабо- и среднезасоленных грунтах может быть увеличено на 20 % (для суглинков - на 35 %), а при сильно засоленных грунтах - на 40-60 % по сравнению с требованиями, представленными в СНиП «Автомобильные дороги». Нормы проектирования».

При конструировании земляного полотна дорог районов песчаных пустынь его следует проектировать в нулевых отметках или в невысоких насыпях (0,5-0,6 м) и придавать ему обтекаемую форму путем создания пологих откосов для обеспечения беспрепятственного переноса песка через дорогу. При этом необходимо сохранять существующую растительность. Кроме того, следует укреплять поверхность песка под дорожной одеждой, на обочинах и откосах слоем из связного грунта толщиной 15 см или из оптимальной смеси песка и суглинка или же из песка, обработанного битумной эмульсией.

Защитные слои из укрепленных или неукрепленных материалов на земляном полотне из барханных песков нужно рассматривать как конструктивные элементы дорожной одежды.

Выемки в барханных песках глубиной до 2,0 м необходимо предусматривать раскрытыми с крутизной откосов 1:10; откосы более глубоких выемок - крутизной 1:2. Кроме того, нужно предусматривать в этом случае бермы шириной 10-20 м. Проезжую часть следует располагать несколько выше дна раскрытой выемки (на 0,2-0,4 м).

2.48. В условиях горной местности южных районов необходимо принять меры обеспечения сдвигоустойчивости покрытий, для чего следует в конструкцию дорожной одежды вводить жесткую прослойку, в частности из пористого черного щебня, укрепленного цементно-песчаным раствором способом пропитки.

Конструирование одежд при проектировании реконструкции существующих дорог

2.49. Для обоснованного назначения мероприятий по реконструкции существующих дорог, ограничению увлажнения их с целью повышения прочности и устойчивости дорожной одежды необходимо располагать подробными данными: а) о конструкции, поведении в эксплуатации и о прочности дорожной одежды; б) о состоянии проезжей части и земляного полотна; в) о наличии и эффективности морозозащитных элементов, дренирующих слоев и водоотводящих устройств. Указанные данные устанавливаются на основании специальных инженерно-геологических обследований, изучения материалов о службе дорог, визуальных и инструментальных определении параметров дорог.

Рис. 2.5. Поперечные профили реконструируемых дорог:

а - с односторонним уширением; б - с двусторонним уширением; в - то же, с утолщением существующей одежды; 1 - старая одежда; 2 - новая одежда с основанием; 3 - проектируемая часть земляного полотна; 4 - уступы на откосах существующего земляного полотна

Рис. 2.6. Расположение дренажа на реконструируемых дорогах:

а - со сплошным водоотводящим слоем; б - с продольными трубчатыми дренами; 1 - существующая дорожная одежда; 2 - вновь устраиваемое покрытие; 3 - то же, основание; 4 - укрепительная полоса; 5 - новый дренирующий слой на всю ширину земляного полотна или песчаный, хорошо фильтрующий грунт обочин; 6 - укрепление обочин; 7 - засев травами; 8 - заглубление относительно низа старого песчаного слоя, равное 0,6-0,8 hк (в метрах), где hк - высота капиллярного покрытия в песке старого слоя; 9 - новый дренирующий слой при уширении проезжей части; 10 - оголовок; 11 - бетонные плиты; 12 - трубчатый выпуск из дрены; 13 - фильтрующая обсыпка; 14 - продольная трубчатая дрена

Рис. 2.7. Конструкции с теплоизоляционным слоем на реконструируемых дорогах, расположенных на пучинистых участках:

1 - покрытие; 2 - основание; 3 - конструктивно-изоляционный слой; 4 - старое покрытие; 5 - старое основание; 6 - старый песчаный слой; 7 - подстилающий грунт; 8 - укрепительная полоса; 9 - новый конструктивный слой под теплоизоляцией в зоне уширения проезжей части; 10 - новый дренирующий слой

2.50. Если предстоит только усилить дорожную одежду без уширения проезжей части и земляного полотна, то наиболее рациональным может оказаться утолщение одежды стабильными материалами до пределов, требуемых для обеспечения достаточной прочности и морозоустойчивости конструкции. При проектировании усиления дорожных одежд необходимо предусмотреть эффективные меры по обеспечению хорошего сцепления нового слоя покрытия со старым изношенным и поврежденным. Целесообразно предусматривать переработку и использование асфальтобетона существующей одежды.

В общую толщину слоев из стабильных материалов не следует включать загрязненные материалы дополнительных слоев и основания, а также неморозостойкие  слабопрочные каменные материалы.

В случае применения при реконструкции дорог новых слоев одежды из щебня, гравия, шлака и грунтов, укрепленных цементом, над ними необходимо располагать слои из материалов, обработанных органическими или комплексными вяжущими, общей толщиной не менее указанной в п. 2.8.

Нижние слои из зернистых материалов можно укладывать на существующее водонепроницаемое покрытие только при проведении мероприятии, исключающих влагонакопление в этих слоях.

2.51. На участках, где, кроме усиления дорожной одежды, предусмотрено также уширение проезжей части и земляного полотна, должна быть обеспечена равнопрочность всей одежды в пределах ширины новой проезжей части. Как правило, следует предусматривать одностороннее уширение земляного полотна (рис. 2,5, а), а двустороннее уширение (рис. 2.5, б, в) - только при необходимости или экономической целесообразности.

2.52. Для уширения земляного полотна следует применять несвязные грунты. Связные грунты можно использовать в случае их идентичности с грунтом существующего земляного полотна.

2.53. При проектировании реконструкции дороги дренажные устройства следует назначать, с учетом состояния старой дороги и ее дренажной системы, а также принятых технических решений по перестройке - усиление дорожной одежды, усиление с уширением, полная перестройка.

Если новую дренажную систему предусматривают в пределах уширения проезжей части и обочин, то для усиления фильтрации воды в старом подстилающем слое необходимо новый дренирующий слой устраивать с заглублением по отношению к низу старого (рис. 2.6).

2.54. На реконструируемых участках дорог, где обеспечение необходимой морозоустойчивости традиционными мерами технически невозможно или экономически нецелесообразно, нужно в новую дорожную одежду вводить теплоизоляционный слой (рис. 2.7). Толщину этого слоя следует определять теплотехническим расчетом.

Для предохранения грунта земляного полотна под дорожной одеждой от промерзания со стороны обочины теплоизоляционный слой должен быть устроен на 1 м шире проезжей части с каждой стороны.

2.55. Принципы и методы расчета на прочность, морозоустойчивость и дренирование усиливаемых и реконструируемых участков, а также расчет теплоизоляционных слоев в основном те же, что и новых конструкций дорожных одежд.

Особенности конструирования одежд городских улиц и дорог

2.56. При конструировании одежд городских улиц и дорог необходимо учитывать ряд особенностей, связанных с условиями их строительства и эксплуатации: а) ограниченную возможность варьирования проектных отметок продольного профиля, обусловленную общими архитектурно-планировочными требованиями; б) необходимость временного сбора воды у кромок проезжей части с последующим отводом ее через ливневую канализацию; в) необходимость в ряде случаев размещения под проезжей частью электротехнических, тепловых, водопроводных и других коммуникации; г) необходимость устройства сопряжений дорожной одежды с люками, трамвайными путями; д) расположение улицы или дороги в непосредственной близости от жилых построек; е) наличие участков, где наблюдаются частые разгоны и торможение транспортных средств на проезжей части, а также участков остановок общественного транспорта с наибольшим совпадением траекторий движения колес транспортных средств.

Таблица 2.1

Группа

Категории улиц и дорог

Аналог категории дороги общей сети

I

Скоростные дороги, магистральные улицы общегородского значения, дороги грузового движения

I-II

II

Магистральные улицы районного значения

II

III

Улицы и дороги местного значения, дороги промышленных и складских районов

III

IV

Жилые улицы и проезды, поселковые улицы и дороги

IV-V

2.57. При конструировании одежд городских дорог и улиц должны быть удовлетворены основные требования, предъявляемые к конструкциям одежд дорог общей сети, и, кроме того, повышены требования к водонепроницаемости, беспыльности, бесшумности покрытий, к ремонтопригодности дорожных одежд, к сопряжениям с элементами встроенных конструкций городских дорог и улиц. При этом, покрытия городских дорог и улиц должны обладать повышенной износостойкостью, сдвигоустойчивостью, шероховатой поверхностью.

В наибольшей мере этим требованиям отвечают нежесткие одежды с усовершенствованными покрытиями.

2.58. Покрытия и верхние слои оснований из асфальтобетонных смесей следует проектировать в соответствии с рекомендациями приложения ГОСТ 9128-84 «Смеси асфальтобетонные дорожные, аэродромные и асфальтобетон». Условный переход от категории городских дорог и улиц к категориям автомобильных дорог общей сети показан в табл. 2.1.

2.59. Чтобы удовлетворить требования к сдвигоустойчивости и летнее время и к трещиностойкости покрытий зимой, предпочтительно применять для приготовления асфальтобетонных смесей битумы марок: а) БНД (БН) - 130/200 и БНД (БН) - 90/130 в I дорожно-климатической зоне; б) БНД (БН) - 90/130, БНД (БН) - 60/90 во II дорожно-климатической зоне; в) БНД (БН) - 60/90 и БНД - 40/60 в III-IV дорожно-климатических зонах; г) БНД - 10/60 в V дорожно-климатической зоне.

2.60. При проектировании дорожных одежд городских улиц и дорог группы I (см. табл. 2.1) с асфальтобетонными покрытиями в верхнем слое основания необходимо применять только монолитные материалы типа крупнозернистых пористых и высокопористых (преимущественно в III-V дорожных зонах) асфальтобетонных смесей, тощего цементобетона марок 75-150, а также щебня, обработанного по методу пропитки цементно-песчаной смесью (раствором).

Асфальтобетонные основания следует, как правило, предусматривать однослойными. Двухслойное асфальтобетонное основание нужно применять лишь при необходимости использования в нижнем слое песчаных и мелкозернистых смесей, обладающих пониженной сдвигоустойчивостью. В этом случае общая толщина размещаемых над ними асфальтобетонных слоев повышенной сдвигоустойчивостью (покрытие с основанием из крупнозернистых асфальтобетонных смесей) не должна быть менее 12 см.

Нижние слои основания и дополнительные слои, а также основания для других групп городских улиц и дорог нужно проектировать в соответствии с указаниями глав 3-5 настоящей Инструкции.

2.61. При отсутствии ливневой канализации следует предусматривать продольные и поперечные дренажи мелкого заложения как элемент дорожной одежды. Продольный дренаж нужно устраивать при продольном уклоне проезжей части менее 30 %о, а поперечный - при продольных уклонах 30 %о и более.

2.62. В условиях города при высоком уровне грунтовых вод (УГВ) следует тире применять конструкции дорожных одежд с теплоизоляционными слоями (см. п. 4.29-4.45).

2.63. Для остановок общественного транспорта в городах необходимо конструировать дорожные одежды с покрытиями и основаниями повышенной сдвигоустойчивости при высоких положительных температурах. Основание следует устраивать, как правило, из пористых или высокопористых асфальтобетонных смесей на вязком битуме, из тощего бетона или грунта, укрепленного цементом. При применении материалов, содержащих цемент, необходимо предусматривать «трещинопрерывающие» прослойки.

2.64. На участках, где трамвайные пути расположены не на обособленном земляном полотне, одежда внутри путей и между ними должна иметь такую же прочность, как у дорожной одежды, примыкающей к рельсовым путям.

3. РАСЧЕТ ДОРОЖНЫХ ОДЕЖД НА ПРОЧНОСТЬ

Основные положения

3.1. Задача расчета - определение толщины слоев одежды в вариантах, намеченных при конструировании, или выбор материалов с соответствующими деформационными и прочностными характеристиками при заданных толщинах слоев.

3.2. Расчет дорожной одежды на прочность основан на следующих предпосылках:

а) зависимость деформации от напряжения для дорожно-строительных материалов и грунтов при расчетных нагрузках, показателях влажности, плотности и температуры является линейной;

б) напряженно-деформированное состояние дорожной одежды под действием местной нагрузки (осесимметричной подвижной или статической) определяется решениями теории упругости для слоистого (двухслойного и трехслойного) полупространств с учетом условий сопряжения слоев на контактах;

в) влияние продолжительности и повторности действия нагрузок от движущихся автомобилей на напряженно-деформированное состояние дорожных одежд учитывается путем введения и расчет характеристик упруговязких и усталостных свойств материалов и грунтов в зависимости от особенностей работы различных частей дороги - перегонов, перекрестков, остановок и стоянок автомобилей, обочин, остановок городских общественных транспортных средств;

г) силы инерции, действующие на одежду и земляное полотно в процессе деформирования, весьма малы и расчетом не учитываются (задача квазистатическая);

д) предельное состояние дорожной одежды характеризуется показателями, зависящими от свойств материала каждого слоя одежды и грунта земляного полотна, а также от их размещения и условий работы в конструкции;

е) за расчетные принимают наиболее тяжелые автомобили, которые систематически обращаются по дороге в неблагоприятный период года;

ж) интенсивность движения учитывается при установлении допускаемых значении прочностных характеристик материалов и грунтов и упругого прогиба конструкции в целом.

3.3. Реальные многослойные дорожные конструкции приводятся к двухслойным и трехслойным моделям с помощью методов, изложенных и п. 3.33, 3.39, 3.42. При расчетах на ЭВМ могут быть использованы более сложные методы приведения, если они дают более близкие к решениям теории упругости для многослойных систем результаты в оценке напряженно-деформированного состояния (с учетом условий сопряжения слоев).

3.4. Дорожные одежды на перегонах дорог нужно рассчитывать на кратковременное многократное действие подвижных нагрузок. Продолжительность действия нагрузок при современных скоростях движения грузовых автомобилей необходимо принимать равной 0,1 с; и этом случае и расчет принимаются значения модуля упругости и прочностных характеристик материалов и грунта, определенные тоже при продолжительности действия нагрузки 0,1 с.

3.5. Одежды на остановках автобусов и троллейбусов, перекрестках дорог, на подходах к пересечениям с железнодорожными и трамвайными путями и т.д. нужно рассчитывать на многократное кратковременное действие нагрузки, а также на продолжительное однократное нагружение. При расчете одежды на длительное действие нагрузки используются значения модуля упругости материалов и грунтов и их прочностные характеристики, определенные при продолжительности нагружения не менее 10 мин.

3.6. Одежды на стоянках автомобилей и обочинах дорог следует рассчитывать на продолжительное нагружение (более 10 мин). Ввиду малой повторности воздействия нагрузок здесь можно вести расчет на единичное нагружение.

3.7. При расчете на прочность дорожных одежд с асфальтобетонным покрытием следует учитывать особенности поведения его и эксплуатации в зависимости от температуры. В то время, как покрытие наиболее напряженно работает при низких положительных температурах, грунт земляного полотна и слои одежды из слабосвязных материалов испытывают большие напряжения при повышенных весенних температурах, когда модуль упругости асфальтобетона существенно снижается. Поэтому при расчете собственно асфальтобетонного покрытия на растяжение при изгибе характеристики его должны соответствовать низким весенним температурам (см. приложение 3). При расчете же слоев из слабосвязных материалов, а также грунта на сопротивление сдвигу модуль упругости асфальтового бетона покрытия должен соответствовать весенним повышенным температурам (см. приложения 2 и 3).

3.8. Дорожные одежды в местах, перечисленных в п. 3.5 и 3.6, следует рассчитывать на продолжительное статическое воздействие нагрузки по сдвигу в грунте, в слабосвязных материалах слоев, а также в слоях, обработанных органическими вяжущими. Кроме того, необходимо рассчитывать на растяжение при изгибе монолитные слои из материалов, содержащих неорганическое вяжущее.

3.9. Дорожную одежду нужно рассчитывать с учетом надежности, под которой подразумевают вероятность безотказной работы конструкции в течение всего периода между капитальными ремонтами.

Отказ - это такое состояние дорожной одежды в соответствующий ему коэффициент прочности, при котором требуется проведение капитального ремонта ранее срока, установленного девствующими нормами. Количественным показателем служит уровень надежности, представляющий собой отношение протяженности прочных, не требующих капитального ремонта конструкции, к общей протяженности участка с данным значением запаса прочности.

3.10. Установление допустимого уровня надежности проектируемой конструкции к концу периода между капитальными ремонтами - технико-экономическая задача, заключающаяся в определении сравнительной экономической эффективности капитальных вложении с учетом фактора времени, строительных затрат, дорожно-транспортных эксплуатационных расходов, направленных на повышение надежности конструкции. Решать ее в каждом конкретном случае целесообразно на основе сравнения вариантов.

Для основных случаев проектирования допустимый (требуемый) уровень надежности Кн, определяющий минимальное значение коэффициента прочности Кпр, которое дорожная одежда должна иметь к концу срока службы между капитальными ремонтами, нормирован в зависимости от категории дороги, капитальности одежды и типа покрытия (табл. 3.1). Допустимый уровень надежности городских дорог и улиц следует принимать тоже по табл. 3.1 с учетом данных табл. 2.1. При уровне надежности, отличном от указанных значений его в табл. 3.1, минимальный коэффициент Кпр прочности одежды следует принимать по графику (рис. 3.1).

3.11. С учетом уровня надежности конструкции определяют расчетные значения сопротивления растяжению при изгибе асфальтобетона и влажности грунта (см. приложения 2, 3).

Рис. 3.1. Зависимость коэффициента прочности Кпр от уровня надежности Кн

Расчетное значение характеристики

 при ; ,                              (3.1)

где  - среднее значение характеристики по результатам n испытаний;

t - коэффициент нормированного отклонения от  при допустимом уровне надежности (см. п. 3.10) в зависимости от числа лет наблюдений или количества опытов (см. приложение 2, п. 11);

nм - коэффициент вариации характеристики;

sм - среднее квадратическое отклонение характеристики.

Таблица 3.1

Тип одежды и покрытия

Категория дороги

Kн

Кпр

Дорожные одежды капитального типа с усовершенствованным покрытием

I, II, IIIп, Ic

0,95

1,0

III, IVн, IIc

0,90

0,94

Одежды облегченного типа с усовершенствованным покрытием

III, IV, IVн, IIc

0,85

0,90

Переходные дорожные одежды

IV, V, IIc, IIIc

0,60

0,63

Знак перед вторым членом в скобках формулы (3.1) должен быть тот, который обеспечивает большую надежность.

Расчетные значения всех остальных прочностных и деформационных характеристик материалов и грунта нужно принимать по приложениям 2 и 3.

3.12. Основа для назначения конструкции и расчета на прочность дорожных одежд - перспективная приведенная интенсивность воздействия нагрузки в период неблагоприятный для работы дорожных одежд. Интенсивность устанавливается при проведении титульных экономических обследований по данным анализа закономерностей изменения интенсивности движения и объемов перевозок по годам.

3.13. Наряду с установлением исходной интенсивности движения и темпа ее роста весьма важно правильное определение перспективного срока П (числа лет), для которого следует определять расчетную интенсивность:

П=Х+У+Z,

где Х - число лет от года окончания титульных экономических обследований района вновь проектируемой дороги или от года последнего учета движения на существующей дороге до начала строительства;

У - число лег от начала строительства до ввода дороги в эксплуатацию;

Z - продолжительность периода между капитальными ремонтами дорожной одежды, установленная региональными нормами в зависимости от категории дороги и степени капитальности конструкции.

Расчетные нагрузки

3.14. Одежды автомобильных дорог и городских улиц нужно рассчитывать с учетом состава и интенсивности перспективного движения, ожидаемого на год службы перед капитальным ремонтом. Срок службы до капитального ремонта необходимо принимать по соответствующим нормативам.

В качестве параметров, характеризующих размер и повторяемость воздействия нагрузок от автомобилей и других транспортных средств на дорожную одежду следует при проектировании ее на воздействие: а) неподвижного транспортного средства пользоваться средним расчетным давлением р (в мегапаскалях) колеса на покрытие, расчетным диаметром Dн (в сантиметрах) круга, равновеликого следу колеса неподвижного автомобиля; б) движущегося транспортного средства пользоваться давлением р (в мегапаскалях), расчетным диаметром Dд (в сантиметрах) следа колеса движущегося автомобиля, а также приведенной расчетной интенсивностью Np (в единицах в сутки) воздействия нагрузки.

3.15. При расчете на прочность одежд автомобильных дорог I-III категории, скоростных и магистральных городских дорог и улиц, а также других дорог (подъездных и внутренних дорог промышленных, лесозаготовительных и сельскохозяйственных предприятий), по проезжей части которых в наиболее неблагоприятный для работы дорожной одежды период года необходимо предусматривать систематический проезд двухосных автомобилей с наибольшей статической нагрузкой на ось 100 кН, трехосных - 80 кН, автобусов - 110 кН, в качестве расчетной следует принимать нормированную нагрузку для транспортных средств группы А (см. приложение 1, табл. 1).

При проектировании дорог IV и V категорий, городских улиц и дорог местного значения, промышленных, сельскохозяйственных и других дорог, по которым предусматривается проезд главным образом двухосных автомобилей с наибольшей статической нагрузкой на ось 60 кН, трехосных - 50 кН, автобусов - 70 кН, в качестве расчетной следует принимать нормированную нагрузку для транспортных средств группы Б (см. приложение 1, табл. 1).

Если же в наиболее неблагоприятный период года но дорогам IV и V категорий, а также по дорогам сельскохозяйственных и других предприятий предусматривается систематическое движение автомобилей группы А, то в качестве расчетной нужно принимать нормированную нагрузку от колеса наиболее нагруженной оси автомобиля группы А.

3.16. В случае, когда в составе движения проектируемой внутрихозяйственной дороги предусматриваются автомобили или другие транспортные средства с нагрузками на ось, превышающими нормированные для автомобилей группы А или Б, за расчетную следует принимать наибольшую нагрузку, воздействие которой ожидается в наиболее неблагоприятный для работы дорожной одежды период года.

При этом, если предполагается движение транспортных средств с нагрузкой на ось, превышающей нормированную (для группы А или Б) не более, чем на 20 %, а число таких транспортных средств не превышает 5 % от суммарной интенсивности движения грузовых автомобилей и автобусов (троллейбусов), то за расчетную следует принимать нормированную нагрузку (см. приложение 1, табл. 1).

3.17. При проектировании одежд автомобильных дорог, улиц, площадей, автостоянок, площадок для отдыха, подъездных и внутренних дорог промышленных и сельскохозяйственных предприятий и других объектов со специализированным движением могут быть в качестве расчетных приняты (при наличии обоснования) нагрузки от транспортных средств соответствующих марок, систематическая эксплуатация которых предусматривается на рассматриваемом объекте.

Данные о параметрах нагрузок, передаваемых на дорожное покрытие как наиболее распространенными, так и перспективными транспортными средствами, приведены в приложении 1, табл. 2.

3.18. При проектировании промышленных, лесовозных и других специальных дорог, по которым предусматривается движение многоколёсных транспортных средств (специализированные полуприцепы, прицепы-тяжеловозы, контейнеровозы и т.д.), а также для проверки па прочность одежд существующих автомобильных дорог общей сети при единичных проездах таких транспортных средств следует параметры р и Dэ расчетной (эквивалентной) нагрузки Q(э) определять с учетом совместного воздействия колес транспортного средства на напряженно-деформированное состояние дорожной одежды в соответствии с п. 3 приложения 1.

3.19. Одежду всех полос проезжей части автомобильных дорог и городских улиц, а также обочины нужно проектировать на ту же расчетную нагрузку, что и одежду крайней справа полосы проезжей части. В случае строго специализированного движения в разных направлениях (например, дороги карьеров и промышленных предприятий, подъездные пути к строительным объектам), а также в пределах различных полос движения (например, автобусное или троллейбусное движение) могут быть приняты для этих направлений и полос разные расчетные нагрузки.

Дорожную одежду в пределах трамвайных путей, если они расположены на необособленном земляном полотне, необходимо рассчитывать на ту же нагрузку, что и одежду основной проезжей части улицы.

3.20. При расчете на прочность одежд автомобильных дорог и городских улиц следует учитывать перспективную интенсивность движения автомобилей разных марок в двух направлениях, которая приводится к эквивалентной интенсивности воздействия расчетной нагрузки на одну полосу проезжей части в сутки.

Среднесуточное перспективное приведенное к расчетной нагрузке число проездов всех колес (как ведущих, так и ведомых), расположенных по одному борту автомобилей и других транспортных средств, в пределах одной полосы проезжей части является приведенной расчетной интенсивностью Nр (в единицах в сутки) воздействия нагрузки. Причем

,                                                   (3.2)

Таблица 3.2

Число полос движения

Значения коэффициента fпол для полосы номер

Число полос движения

Значения коэффициента fпол для полосы номер

1

2

3

1

2

3

1

1,00

-

-

4

0,35

0,20

 

2

0,55

-

-

6

0,30

0,20

0,05

3

0,50

0,50

-

 

 

 

 

Примечание: 1. Порядковый номер полосы считается справа по ходу движения в одном направлении.

2. Для расчета обочин принимается fпол = 0,01.

3. На многополосных дорогах допускается проектировать одежду переменной толщины по ширине проезжей части, рассчитав дорожную одежду в пределах различных полос в соответствии со значениями Nр найденными по формуле (3.2).

4. На перекрестках и подходах к ним (в местах перестройки потока автомобилей для выполнения левых поворотов и др.) при расчете одежды в пределах всех полос движения нужно принимать fпол = 0,50, если общее число полос проезжей части проектируемой дороги более трех.

где fпол - коэффициент, учитывающий число полос движения и распределение движения по ним (табл. 3.2);

n - общее число различных марок транспортных средств в составе транспортного потока;

Nm - число проездов в сутки в обоих направлениях транспортных средств m-й марки;

Smсум - суммарный коэффициент приведения воздействия на дорожную одежду транспортного средства m-й марки к расчетной нагрузке Qрасч.

Если расчетной является нормированная нагрузка от автомобилей группы А или Б и транспортный поток состоит только из серийных транспортных средств, указанных в табл. 2 приложения 1, то коэффициенты приведения SmсумА или SmсумБ находят по той же табл. 2 приложения 1.

3.21. Для транспортных средств, не указанных в табл. 2 приложения 1, а также при расчетных нагрузках, отличающихся от нормированных для автомобилей группы А или Б (см. приложение 1, табл. 1), значение суммарного коэффициента приведения

,                                                         (3.3)

где n - число осей у данного транспортного средства, для приведения которого определяется коэффициент Smсум;

Sn - коэффициент приведения эквивалентной нагрузки  от колеса n-й оси движущегося транспортного средства к расчетной нагрузке Qрасч, определяемый по графику (см. приложение 1, рис. 1). Коэффициенты Sn определяются для нагрузок менее расчетной, а также для нагрузок, превышающих расчетную не более, чем на 20 %.

При определении коэффициента приведения Snдля колеса данной п-й оси находят эквивалентную нагрузку  (с учетом влияния колес других осей) и ее отношение к расчетной нагрузке Qрасч. В зависимости от этого отношения по графику (см. приложение 1, рис. 1) находят Sn

Эквивалентная нагрузка от колес n-й оси двухосного автомобиля

,                                                           (3.4)

где Кдин - коэффициент динамичности, учитывающий повышение нагрузки на покрытие при колебаниях автомобиля и принимаемый равным 1,30;

Qn - номинальная статическая нагрузка на колесо n-й оси (n = 1; 2). От колес n-й оси трехосного автомобиля нагрузки

,                                           (3.5)

где Qn - как и в формуле (3.4), номинальная статическая нагрузка на колесо n-й оси (n =1; 2; 3);

gп-1 - коэффициент, учитывающий влияние колеса оси, идущей впереди n-й, на напряженно-деформированное состояние дорожной одежды под колесом n-й оси;

gп+1 -коэффициент, учитывающий влияние колеса оси, идущей позади n-й.

Коэффициенты gп-1, gп+1 определяются по графикам (см. приложение 1, рис. 2 и 3). Нагрузки  для многоколесных транспортных средств (специализированные прицепы, полуприцепы-тяжеловозы и т.д.) находятся - по формуле (1) приложения 1.

Критерии прочности

3.22. Дорожные одежды рассчитывать на прочность следует по трем критериям: а) сопротивление сдвигу в грунтах и слоях из слабосвязных материалов; б) сопротивление растяжению при изгибе монолитных слоев;

в) сопротивление упругому прогибу всей конструкции. Пластические смещения в грунте и слабосвязных материалах не возникнут, если сдвигающие напряжения в них не достигнут местного предельного равновесия по сдвигу. Сплошность монолитных слоев не будет нарушена, если растягивающие напряжения при многократном изгибе не превысят допустимых напряжений для материала данного слоя, установленных с учетом усталостных явлений.

Вся конструкция дорожной одежды под воздействием силовых и природных факторов будет более надежно работать, если упругий прогиб (обобщенная приближенная характеристика) ее не превысит нормированного значения, установленного по результатам испытания и изучения опыта службы дорожных одежд в различных природных условиях и разных условиях движения.

3.23. Допускается не рассчитывать по упругому прогибу дорожные одежды, предназначенные для движения особо тяжелых транспортных средств с нагрузкой на ось, равной или превышающей 120 кН.

3.24. Последовательность расчета по критериям прочности может быть принята любой. Однако методически целесообразно при больших перспективных интенсивностях воздействия нагрузок и малой влажности грунтов (W < 0,7Wт) начинать расчеты по упругому прогибу, а при малых интенсивностях воздействия нагрузок и высокой влажности грунтов - по сдвигу в грунте.

Конструкция дорожной одежды считается прочной, если коэффициент прочности по каждому из критериев больше или ранен Кпр , найденному с учетом требуемого уровня надежности проектируемой одежды (см. рис. 3.1). Конструкции нужно выбирать на: основе экономических сопоставлений нескольких вариантов конструкции, удовлетворяющих условиям прочности. При этом может оказаться, что коэффициент прочности по какому-либо из критериев значительно превышает Кпр. При равных экономических показателях предпочтение должно быть отдано варианту, у которого среднее значение из всех коэффициентов прочности больше.

3.25. Независимо от результатов расчета на прочность минимальная толщина покрытия (с учетом запаса на износ) и других конструктивных слоев одежды в уплотненном состоянии не должна быть менее следующих значений (в сантиметрах):

Асфальтобетон (дегтебетон) крупнозернистый.................................................................................................................. 6-7

То же, мелкозернистый.................................................................................................................. 3-5

 " песчаный.................................................................................................................. 3-4

 " холодный.................................................................................................................. 3

Щебеночные (гравийные) материалы, обработанные органическими вяжущими.................................................................................................................. 8

Щебень, обработанный по способу пропитки.................................................................................................................. 8

Щебеночные и гравийные материалы, не обработанные вяжущими, на песчаном основании.................................................................................................................. 15

То же, на прочном основании (каменном или из укрепленного грунта).................................................................................................................. 8

Грунты и малопрочные каменные материалы, обработанные органическими, комплексными или неорганическими вяжущими.................................................................................................................. 10

Грунт повышенной прочности.................................................................................................................. 50

Примечания: 1. Большие из значений толщин асфальтобетонных покрытий даны для дорог I-II категории, а меньшие - для дорог III-IV категории.

2. Когда по условиям воздействия нагрузок требуемая общая толщина асфальтобетонных слоев покрытия и основания менее суммы двух минимально-конструктивных толщин, целесообразна замена покрытия и верхнего слоя основания одним слоем покрытия большей, чем указано, толщины, устанавливаемой расчетом.

3. Толщина слоя должна превышать размер наиболее крупных частиц каменных материалов не менее чем в 1,5 раза (кроме слоев, устраиваемых по способу пропитки).

3.26. Если при конструировании дорожной одежды для обеспечения нормальной технологии устройства слоя из крупнозернистого материала на переувлажненном глинистом грунте или одномерном песке предусмотрена защитная прослойка (см. п. 2.39 настоящей Инструкции), то толщину этой прослойки не следует учитывать при расчете конструкции на прочность.

В случае же, когда защитная прослойка из песка, гравий или мелкого щебня предусмотрена против взаимопроникания грунта и материала в процессе эксплуатации дороги, то толщину прослойки, за вычетом 5 см, нужно учитывать в расчете на прочность. Толщину прослойки из грунта, укрепленного вяжущим, при расчете конструкции на прочность необходимо учитывать полностью.

3.27. Для обеспечения работы капитальной дорожной одежды без накопления остаточных деформации необходимо, чтобы ни в одном из слоев и в подстилающем грунте не возникали пластические смещения, не нарушалась сплошность монолитных слоев и прогиб поверхности одежды под расчетной нагрузкой не превосходил допускаемых значений.

Дорожную одежду капитального типа на воздействие подвижной нагрузки следует рассчитывать по всем трем критериям при высоком уровне надежности (см. п. 3.10 и табл. 3.1 настоящей Инструкции).

3.28. Дорожные одежды облегченного типа нужно проектировав с учетом меньшего срока их службы до капитального ремонта по сравнению с капитальными одеждами. Так как, кроме того, применяемые материалы для устройства облегченных одежд обеспечивают сравнительно более простую технологию производства ремонта, то на таких одеждах допускается возникновение незначительных остаточных деформаций (в пределах норм допусков по ровности проезжей части).

Облегченные одежды следует рассчитывать на воздействие подвижных нагрузок тоже по трем критериям, но с уменьшенным допускаемым уровнем надежности по сравнению с капитальными (см. п. 3.10 и табл. 3.1 настоящей Инструкции).

3.29. Одежды с покрытиями переходного типа - щебеночными, гравийными и из других прочных минеральных материалов, а также из грунтов и надстрочных каменных материалов, обработанных вяжущими, мостовые из булыжного и колотого камня следует рассчитывать на воздействие подвижных нагрузок только по двум критериям - сдвигу в грунте и упругому прогибу при соответствующем допускаемом уровне надежности (см. п. 3.10 и табл. 3.1 настоящей Инструкции).

Расчет дорожных одежд по допускаемому упругому прогибу

3.30. Конструкция дорожной одежды удовлетворяет требованиям надежности и прочности по критерию упругого прогиба, если

Кпр £ Еобщтр,                                                          (3.6)

где Кпр - коэффициент прочности дорожной одежды, найденный по графику (см. рис. 3.1) или табл. 3.1, в зависимости от допустимого уровня надежности;

Еобщ - общий модуль упругости конструкции;

Етр - требуемый модуль упругости конструкции с учетом капитальности одежды, типа покрытия и интенсивности воздействия нагрузки.

3.31. При расчете одежд требуемый модуль упругости следует определять по графику (рис. 3.2), построенному по результатам статистической обработки экспериментальных данных.

Если за расчетные приняты автобусы с нагрузкой на ось 110 кН (группа А) или 70 кН (группа Б, то требуемые модули упругости, определенные по графику (см. рис. 3.2), следует увеличить на 10 %. Для дорог V климатической зоны требуемые модули упругости, найденные по этому графику, следует уменьшить на 15 %.

Рис. 3.2. Требуемые модули упругости Етр для нагрузок групп А и Б

Таблица 3.3

Категория дороги

Расчетная приведенная интенсивность воздействия нагрузки на полосу, ед./сут.

Требуемый модуль упругости одежды, МПа

Категория дороги

Расчетная приведенная интенсивность воздействия нагрузки на полосу, ед./сут.

Требуемый модуль упругости одежды, МПа

капитальной

облегченной

переходной

капитальной

облегченной

переходной

I

500

230

-

-

IV

(70)

-

125

65

II

250

220

180

-

V

(50)

-

100

50

III

70

180

100

-

 

 

 

 

 

Примечание. Интенсивность воздействия нагрузки в скобках приведена для группы Б, без скобок - для группы А.

3.32. Независимо от данных, полученных по графику (см. рис. 3.2), требуемый модуль упругости для дорог общей сети не должен быть меньше указанного в табл. 3.3. Минимальные требуемый модули упругости городских дорог также могут быть определены по табл. 3.3 с учетом данных табл. 2.2.

3.33. Располагая значением требуемого модуля упругости, нужно послойно рассчитать одежду с помощью номограммы (см. вкладку, рис. 3.3). Эта номограмма связывает отношение Е21 модулей упругости нижнего и верхнего слоев, относительную толщину h/D верхнего слоя и отношение Eобщ/Е1 общего модуля упругости на поверхности двухслойной системы к модулю упругости верхнего слоя. Для определения Eобщ на номограмме проводится вертикаль из точки на горизонтальной оси, соответствующей значению h/D, и горизонтальная прямая из точки на вертикальной оси соответствующей отношению Е21. Точка пересечения этих прямых диет искомое значение Eобщ/Е1. Зная величину Е1, нетрудно вычислить Eобщ.

Послойный расчет многослойной конструкции можно вести снизу вверх, начиная с подстилающего одежду грунта, когда надо модуль упругости конструкции, или сверху вниз, когда модуль и коэффициент Кпр прочности дорожной одежды.

При толщине i-го слоя многослойной дорожной одежды (счет слоев сверху вниз), превышающей 2D, общий модуль упругости на поверхности i-го слоя

,                             (3.7)

,                                                  (3.8)

где i - номер рассматриваемого слоя дорожной одежды, считая сверху вниз (i=1, 2, 3...);

hi - толщина i-го слоя, см;

D - диаметр нагруженной площади, см;

 - общий модуль упругости полупространства, подстилающего i-й слой, МПа;

Ei - модуль упругости материала i-го слоя, МПа.

Расчетные значения модуля упругости грунтов и материалов следует назначать в соответствии с указаниями приложений 2 и 3.

Значения модуля упругости материалов, содержащих органическое вяжущее, необходимо принимать во всех климатических зонах при температуре +10° С по табл. 13 приложения 3.

3.34. Общая толщина верхних слоев из материалов, содержащих органическое вяжущее, ориентировочно назначается в зависимости от требуемого модуля упругости:

Модуль упругости, МПа    до 125      125-180         180-220         220-250         250-300

Толщина слоя, см                    4-6           6-8                8-10              10-13            13-16

3.35. Дорожную одежду по допустимому упругому прогибу (требуемому модулю упругости) нужно рассчитывать в следующем порядке:

а) в соответствии с указаниями п. 3.10 настоящей Инструкции определить минимальное значение коэффициента прочности Кпр;

б) по расчетной приведенной интенсивности воздействия нагрузки на одну полосу с учетом капитальности одежды по номограмме (см. рис. 3.2) назначить требуемый модуль упругости Eтp конструкции;

в) вычислить произведение КпрЕтр=Еобщ

г) по данным п. 3.34 предварительно назначить толщину верхних слоев из материалов, содержащих органическое вяжущее;

д) модуль упругости грунта активной зоны земляного полотна назначить по приложению 2, а модули упругости материалов слоев - по приложению 3 (для материалов содержащих органическое вяжущее, при температуре +10° С);

е) по номограмме (см. рис. 3.3), выполняя расчет сверху вниз, найти модуль упругости и на поверхности основания;

ж) если основание однослойное, то по модулям упругости на поверхности основания, материала основания и грунта земляного полотна определить толщину основания по той же номограмме (см. рис. 3.3);

з) если по конструктивным или технологическим соображениям, а также по условиям осушения или обеспечения необходимой морозоустойчивости и т.п. предусмотрено основание из нескольких слоев, то предварительно нужно назначить толщины дополнительных слоев, а затем послойно снизу вверх найти по номограмме (см. рис. 3.3) модуль упругости на поверхности дополнительного слоя (морозозащитного, теплоизоляционного, дренирующего или другого дополнительного слоя), после чего аналогично изложенному определить толщину остальной части основания;

и) можно расчет вести снизу вверх с последовательным определением модулей упругости на поверхности конструктивных слоев.

Расчет дорожных одежд по сдвигу в грунте земляного полотна

3.36. Дорожную одежду нужно проектировать с расчетом, чтобы под действием кратковременных или длительных нагрузок в подстилающем грунте не возникали остаточные деформации, вызванные пластическими смещениями. Сдвиг в грунте земляного полотна не возникнет, если

Кпр £ Тдоп/Т,                                                        (3.9)

где Кпр - минимальное значение коэффициента прочности, определяемое по графику (см. рис. 3.1), с учетом заданного уровня надежности;

Тдоп - допускаемое напряжение сдвига, обусловленное сцеплением в грунте (п. 3.38);

Т - активное напряжение сдвига в грунте от действующей кратковременной или длительной нагрузки (п. 3.37). Под активным напряжением сдвига следует понимать разность между сдвигающими напряжениями и удерживающими силами, обусловленными внутренним трением в грунте.

3.37. Активное напряжение сдвига в грунте

Т = tн + tв,                                                             (3.10)

где tн - активное напряжение сдвига от временной нагрузки;

tв - то же, от собственного веса дорожной одежды. Активное напряжение сдвига в грунте от временной нагрузки

tн = [(s1 - s3) - (s1 + s3)sinj]:(2cosj),                                   (3.11)

где j - угол внутреннего трения грунта;

s1 - максимальное главное напряжение;

s3 - минимальное главное напряжение (полагают, что s1 ³ s3 = s2).

Главные напряжения s1 и s3 надо вычислять по решениям теории упругости для слоистых сред. Поскольку применение в этих целях решения для многослойных сред требует большого объема трудоемких вычислений, реальную многослойную дорожную конструкцию можно приводить к двухслойной расчетной модели, в которой нижним слоем служит подстилающий грунт, а верхний слой имеет толщину, равную сумме толщин слоев дорожной одежды, и средний модуль упругости всей дорожной одежды (рис. 3.4)

,                                                      (3.12)

где n - число слоев дорожной одежды;

Еi - модуль упругости i-го слоя;

hi - толщина i-го слоя.

Наихудшие условия работы грунта на сдвиг имеют место при наибольших положительных температурах покрытия, наблюдаемых в расчетный период весной. Поэтому при расчете дорожных одежд по сдвигу значения модуля упругости материалов, содержащих органическое вяжущее, должны соответствовать температурам: во II дорожно-климатической зоне +20°С, в III зоне - +30°С, в IV зоне - +10°С, в V зоне - +50°С.

После приведения многослойной реальной конструкции к двухслойной модели вычисляется  (от единичной нагрузки) по номограмме (см. рис. 3.5), связывающей относительную толщину одежды  (верхняя горизонтальная шкала), отношение модулей упругости верхнего и нижнего слоев Есргр = Е12 (кривые на номограмме), угол jгр внутреннего трения грунта (лучи на номограмме) и максимальное активное напряжение сдвига  от единичной нагрузки в нижнем слое (нижняя горизонтальная шкала). Номограмма построена для случая совместимости работы слоев на контакте. Для материала дорожной одежды принят коэффициент Пуассона m1 = 0,25 и для подстилающего грунта - m2 = 0,35. Эти значения mi характерны для распространенных конструкций дорожной одежды, работающих в стадии обратимых деформаций. Возможные отклонения от принятых значений коэффициента Пуассона мало влияют на результаты расчета.

Для малых значений  дана деталь (см. вкладку рис. 3.6) основной номограммы.

Рис. 3.4. Схема к приведению многослойной конструкции к двухслойной при расчете грунта земляного полотна по сдвигу

Рис. 3.5. Номограмма для определения активного напряжения сдвига от временной нагрузки в нижнем слое двухслойной системы (при h/D = 0¸2,0). Порядок пользования показан штриховой линией со стрелками

Активное напряжение сдвига tн в грунте от собственного веса дорожной одежды находится по номограмме (рис. 3.7) в зависимости от общей толщины  дорожной одежды (горизонтальная ось) и угла jгр внутреннего трения грунта (лучи на номограмме).

3.38. Допускаемое напряжение сдвига в грунте

Тдоп = сгрk1k2k3,                                                     (3.13)

где сгр - сцепление в грунте активной зоны земляного полотна в расчетный период, МПа;

k1 - коэффициент, учитывающий снижение сопротивления грунта сдвигу под агрессивным действием подвижных нагрузок, колебании и т.д. (при расчете на воздействие кратковременных нагрузок принимают k1 = 0,6, при длительном действии нагрузок с малой повторностью k1 = 0,9);

k2 - коэффициент запаса на неоднородность условии работы конструкции, связанный с недоучетом неблагоприятных природных особенностей, технологических и других причин (эти факторы проявляются тем больше, чем выше интенсивность движения; коэффициент k2 определяется по графику (рис. 3.8), при расчете на длительное действие нагрузки k2 = 1,23);

k3 - коэффициент, учитывающий особенности работы грунта в конструкции, связанные с увеличением фактического сцепления в грунте за счет защемления, явления дилатансии и зацепления частиц (введением коэффициента k3 учитывается также отличие реальных условий сопряжения слоев на контакте от принятых при построении номограммы (см. рис. 3.5). Значения k3 с учетом характера грунта следующие:

Пески крупные …………………………………………………………………………. 7,0

Пески средней крупности ………………………………….………………………….. 6,0

Пески мелкие …………………………………………………………………………... 5,0

Пески пылеватые, супеси крупные …………………………………………………… 3,0

Глинистые грунты (глины, суглинки, супеси, кроме крупной) …………………….. 1,5

3.39. По сдвигу в грунте земляного полотна одежду нужно рассчитывать методом последовательного приближения. Порядок расчета следующий. Для одежды, приведенной к двухслойной модели, находятся отношения

Еср : Егр и

где Еср - средний модуль упругости одежды, найденный по формуле (3.12). Если расчет ведут на воздействие движущихся нагрузок, то в формулу (3.12) в качестве расчетных модулей упругости Еi слоев подставляют модули упругости, соответствующие длительности действия нагрузки 0,1 с (см. приложение 3, табл. 12 - 14).

При расчете на длительное действие нагрузки принимают модули упругости материалов, соответствующие длительности действия нагрузки не менее 10 мин (см. приложение 3, табл. 14, 16 - 18);

Егр - модуль упругости грунта, соответствующий кратковременному или длительному действию нагрузки (прилож. 2);

 - общая толщина дорожной одежды;

D - расчетный диаметр нагруженной площади, соответствующий динамическому или статическому действию нагрузки.

Рис. 3.7. Номограмма для определения активного напряжения сдвига tв от собственного веса дорожной одежды

Затем по формуле (3.10) определяется действующее в грунте земляного полотна активное напряжение сдвига Т. Составляющая tн будет произведением , где  можно найти с помощью номограммы (рис. 3.5 или ее детали, рис. 3.6), а р - действующая нагрузка.

Напряжение tв от веса одежды находится по номограмме (см. рис. 3.7). Действующее в грунте напряжение сдвига

,                                                           (3.14)

По формуле (3.13) вычисляется допускаемое напряжение сдвига Тдоп, с которым затем нужно сравнивать действующие напряжения Т на всех стадиях последовательного приближения. Условия прочности по сдвигу в грунте считают выполненным, если Тдоп/Т ³ Кпр, где Кпр - коэффициент прочности, определяемый по графику (см. рис. 3.1).

Если Кпр > Тдоп/Т, то следует или увеличить толщину какого-либо слоя или нескольких слоев одежды и тем самым увеличить общую, толщину , или увеличить Еср , путем замены материала какого-либо слоя материалом с более высоким Еi, или же заменить или укрепить грунт земляного полотна. Если Тдоп/Т >> Кпр и необходимая толщина дорожной одежды не диктуется прочими условиями (критерии упругого прогиба, растяжение при изгибе), то следует уменьшить толщину слоя (или слоев) или же использован, материалы с меньшими модулями упругости с тем, чтобы добиться равенства Кпр = Тдоп/Т.

Рис. 3.8. Зависимость коэффициента k2, учитывающего повторность нагружения, для материалов и грунтов, рассчитываемых по сдвигу, от расчетной приведенной интенсивности Nр воздействия нагрузки

Рис. 3.9. Зависимость относительного активного напряжения сдвига Dtн/tн в подстилающем полупространстве от нагрузки р при изменении на 1 см толщины hi какого-либо слоя дорожной одежды с модулем упругости Еi

Для измененной конструкции вновь нужно найти активное напряжение сдвига в грунте земляного полотна и сравнить его с допускаемым напряжением сдвига в грунте.

3.40. Чтобы сократить число попыток при корректировке конструкции одежды, можно воспользоваться номограммой (рис. 3.9). По ней определяется относительное изменение максимального активного напряжения сдвига Dtн/tн в подстилающем грунте (вертикальная ось) от нагрузки при изменении на 1 см толщины hi, какого-либо конструктивного слоя с модулем упругости Еi. Значения Dtн/tн зависят от относительной толщины всей одежды  (горизонтальная ось) и модуля упругости Еi рассматриваемого i-го слоя.

3.41. При другом порядке расчета задастся средний модуль упругости дорожной одежды Еcp и по номограмме (см. рис. 3.5 или 3.6) определяется требуемая толщина одежды.

Возможен вариант расчета, когда по заданной конструкции дорожной одежды и виду грунта земляного полотна определяется нагрузка, которая без ущерба для состояния одежды может быть ею воспринята.

Расчет промежуточных слоев из слабосвязных материалов на устойчивость против сдвига

3.42. Слои из слабосвязных материалов - гравийных, песчаных и подобных им, а также из материалов и грунтов, укрепленных жидким вяжущим, одежд капитального и облегченного 1 типа рассчитываются, исходя из условия, чтобы в них не возникали остаточные деформации под действием сдвигающих напряжений.

1 Слои из слабосвязных материалов одежд переходного типа нет необходимости рассчитывать по сдвигу в связи с относительной легкостью исправления их деформации.

Расчет недуг приближенным методом с использованием зависимостей (3.9)-(3.14). Порядок расчета следующий.

А. Многослойную конструкцию нужно привести к двухслойной модели в которой рассчитываемый слой условно служит полупространством из слабосвязного материала с присущими этому материалу расчетными характеристиками (рис. 3.10). Толщину верхнего слоя модели принимают равной сумме толщин всех слоев, расположенных над рассчитываемым, т. е. , а средний модуль упругости этой системы слоев вычисляют по формуле (3.12). В расчет вводят модули упругости соответствующие расчетной длительности действия нагрузки и расчетной температуре для данной дорожно-климатической зоны.

Б. Вычисляют отношения

 и ,

где D - диаметр нагруженной площади с учетом характера действия нагрузки (подвижная или статическая).

По найденным отношениям с помощью номограмм (см. рис. 3.5 и 3.6) получают =tн/р. По номограмме (см. рис. 3.7) находят активное напряжение сдвига от веса вышележащих слоев. Вычисляют действующее в слое активное напряжение сдвига по формуле (3.14).

В. Вычисляют допускаемое активное напряжение сдвига по формуле (3.13), полагая в этой формуле сгр равным сцеплению в слабосвязном материале (см. приложение 3); коэффициенты k1, k2 и k3 принимают по п. 3.38; для грунтов, укрепленных жидким битумом (см. приложение 3, табл. 17), а также неукрепленных малопрочных каменных материалов коэффициент k3 = 1,5.

Г. Вычисляют отношение Тдоп/Т и сопоставляют его с коэффициентом прочности Кпр, найденным при заданном уровне надежности проектируемой дороги (см. рис. 3.1). Если Кпр £ Тдоп/Т, то условие прочности выдержано. Если же Кпр > Тдоп/Т, то следует увеличить толщину какого-либо из вышележащих (над рассчитываемым) слоев с тем, чтобы условие прочности Кпр £ Тдоп/Т соблюдалось. Чтобы не изменились условия прочности по упругому прогибу дорожной одежды или по сдвигу в грунте, необходимо одновременно толщину рассчитываемого слоя уменьшить. Соотношение между увеличением толщины вышележащего слоя и уменьшением толщины рассчитываемого слоя может быть найдено по номограмме (см рис 3.9).

Рис. 3.10. Схема приведения многослойной конструкции к двухслойной модели при расчете промежуточного слоя по сопротивлению сдвигу

Расчет монолитных слоев на растяжение при изгибе

3.43. В монолитных слоях дорожной одежды - из асфальтобетона, дегтебетона, материалов и грунтов, укрепленных комплексными и неорганическими вяжущими, и др., - возникающие при прогибе одежды напряжения под действием повторных кратковременных нагрузок не должны вызывать нарушения структуры материала и приводить к образованию трещин, т.е. должно быть обеспечено условие:

Кпр £ Rп/sr.                                                           (3.15)

где Кпр- требуемый коэффициент прочности с учетом заданного уровня надежности (см. табл. 3.1 и рис. 3.1);

Rп - предельное допустимое растягивающее напряжение материала слоя с учетом усталостных явлений;

sr - наибольшее растягивающее напряжение в рассматриваемом слое, устанавливаемое расчетом.

3.44. Наибольшее растягивающее напряжение sr при изгибе и монолитном слое вычисляют с помощью программ, построенных по решениям задачи теории упругости о слоистом полупространстве (рис. 3.11, 3.12).

В проектировании дорожных одежд встречаются два характерных случая: 1) монолитный слой или несколько смежных слоев из однотипных монолитных материалов находятся в верхней части дорожной одежды - это асфальтобетонные и подобные им покрытия, асфальтобетонные основания расположенные непосредственно под асфальтобетонным покрытием; 2) монолитный слой расположен в толще дорожной одежды - различного рода монолитные основания.

3.45. Покрытия из асфальтобетона и дегтебетона рассчитывать на растяжение при изгибе можно с помощью номограммы (см. рис. 3.11). Номограмма связывает относительную толщину покрытия h1/D (горизонтальная ось) и отношение модуля упругости материала покрытия к общему модулю на поверхности основания Е1об.осн (кривые на номограмме) с максимальным растягивающим напряжением  при изгибе в материале покрытия от местной нагрузки равной 1 МПа (вертикальная ось). Значение диаметра D круга, равновеликого площади контакта колеса с покрытием, принимается по приложению 1. Номограмма составлена для наиболее опасного случая, когда не обеспечено достаточное сцепление покрытия с основанием.

3.46. При расчете на изгиб слоев асфальтобетонного основания, подстилающего асфальтобетонное покрытие, следует весь пакет слоев из асфальтового бетона принимать за один эквивалентный слой. В этом случае модуль упругости эквивалентного слоя толщиной, равной общей толщине пакета, необходимо определять по формуле (3.12), а рассчитывать на удовлетворение неравенства (3.15) в нижнем слое асфальтобетонного основания.

3.47 Промежуточные монолитные слои одежды можно рассчитывать по номограмме (см. рис. 3.12). При этом многослойную конструкцию предварительно следует приводить к трехслойной, где средним будет рассчитываемый монолитный слой (см. слой h2 на рис. 3.12) Номограмма связывает относительную толщину двух верхних слоев трехслойной системы (h1+h2)/D и растягивающее напряжение  от единичной нагрузки в нижней точке рассчитываемого слоя под центром нагруженной площади (где эти напряжения достигают наибольшего значения) при различных отношениях модулей упругости слоев Е12 (кривые на номограмме) и Е23 (лучи на номограмме). Полное значение растягивающего напряжения sr вычисляться по формуле (3.17), приведенной в п. 3.49.

3.48. Допускаемое растягивающее напряжение при изгибе асфальтобетона

Rдоп = Rр,                                                           (3.16)

где Rр - расчетное сопротивление растяжению при изгибе с учетом повторности приложения нагрузок (см приложение 3, формулу (5).

Для материалов и грунтов, укрепленных неорганическими или комплексными вяжущими веществами, Rдоп = RукрКц. Значение Rукр принимают по приложению 2, табл. 17, а коэффициент Кц - там же по рис. 8.

3.49. Покрытие (см. п. 3.45) или эквивалентный монолитный слой рассчитывают на изгиб (п. 3.46) в следующем порядке:

А. Вычисляют h1/D при однослойном покрытии или  (асфальтобетонное покрытие на основании из асфальтобетонных слоев), а затем по формуле (3.12) находят средний модуль упругости пакета слоев из асфальтового бетона.

Б. Общий модуль упругости Еоб.осн на поверхности подстилающего асфальтобетон основания определяют с помощью номограммы (см. рис. 3.3) путем последовательного приведения слоев, как указано в п. 3.33.

В. По отношениям Е1об.осн или Еср.аоб.осн и h1/D или  с помощью номограммы (см. рис. 3.11) определяют растягивающее напряжение  в рассчитываемом слое, от единичной нагрузки. Полное растягивающее напряжение

sr = pKd,                                                          (3.17)

где р - расчетное давление на покрытие, МПа (см. приложение 1);

Kd - коэффициент, учитывающий особенности напряженного состояния покрытия под колесом автомобиля со спаренными баллонами.

Обычно Kd = 0,85, но при расчете покрытии па особые нагрузки (однобаллонное колесо) Kd = 1,0.

Рис. 3.11 Номограмма для определения растягивающего напряжения при изгибе от единичной нагрузки в верхнем монолитном слое

Рис. 3.12. Номограмма для определения растягивающего напряжения  в промежуточном монолитном слое дорожной одежды

Г. Вычисляют допускаемое растягивающее напряжение по формуле (3.16). В пакете асфальтобетонных слоев за расчетное допускаемое растягивающее напряжение Rдоп принимают значение, характерное для материала нижнего слоя. Затем вычисляют отношение Rдоп/sr; если Rдоп/sr ³ Кпр, где Кпр - минимальный требуемый коэффициент прочности (см. рис. 3.1), то конструкцию считают удовлетворяющей требованиям прочности на растяжение при изгибе. В противном случае нужна корректировка толщины слоев.

3.50. Промежуточные монолитные слои целесообразно рассчитывать в такой последовательности. Вначале по формуле (3.12) вычислить средний модуль упругости конструктивных слоев, лежащих выше рассчитываемого монолитного слоя (см. слой h2 на рис. 3.12). Расчетные модули упругости слоев из материалов, содержащих органическое вяжущее, следует принимать при температуре, указанной в п. 3.37 настоящей Инструкции. Слои, подстилающие монолитный слой, надо привести к эквивалентному по жесткости однородному полупространству с модулем упругости Е3, который можно получить путем последовательного вычисления общих модулей каждой пары смежных слоев, как указано в п. 3.33, по номограмме (см. рис. 3.3). Затем по номограмме (рис. 3.12) надо найти растягивающее напряжение  в рассчитываемом слое от единичной нагрузки, действующей на поверхности покрытия. Для этого из точки на верхней горизонтальной оси, соответствующей отношению , следует провести вертикаль до кривой с известным отношением E1/E2, а из точки пересечения провести горизонтальную прямую до луча, соответствующего отношению Е2/Е3, откуда опустить вертикаль на нижнюю горизонтальную ось, где найти значение . Расчетное значение sr нужно найти по формуле (3.17) при Кd = 1,0. Далее последовательность расчета полностью совпадает с последовательностью по п. 3.49.

Расчет слоев из асфальтобетона по сопротивлению сдвигу

3.51. Цель расчета (для случаев по п. 3.5 и 3.6) - проверка соответствия свойств выбранной асфальтобетонной смеси (для верхнего слоя основания или для покрытия) условию сдвигоустойчивости материала и конструкции. При неудовлетворении требований прочности по сдвигу в асфальтобетоне необходима его замена более сдвигоустойчивым материалом или перепроектирование конструкции.

3.52. Асфальтобетонный слой следует рассчитывать на сопротивление сдвигу при длительном действии нагрузки по приближенному методу. За расчетную надо принимать температуру +50° С и соответственно этой температуре выбирать расчетные характеристики обработанных битумом материалов (см. приложение 3, табл. 14).

3.53. Условия, при которых асфальтобетон работает в верхнем слое основания без накопления остаточных деформаций, определяются неравенством (3.9).

3.54. Действующее в асфальтобетоне активное напряжение сдвига tн можно вычислить по формуле (3.11).

Рис. 3.13. Номограмма для определения активного напряжения сдвига tн в слое асфальтобетона

Для практических расчетов составлена номограмма (рис 3.13), снизывающая относительную толщину слоев из асфальтобетона (горизонтальная ось), отношение среднего модуля упругости слоев асфальтобетона к общему модулю упругости подстилающего их основания, т.е. Еср.асф/Еоб.осн (кривые на номограмме) и относительное максимальное активное напряжение сдвига tн/р в асфальтобетоне (вертикальная ось). Номограмма получена по решению теории упругости о слоистом полупространстве для случая, когда не обеспечено достаточное сцепление покрытия с основанием.

3.55. Допускаемое активное напряжение сдвига в асфальтобетоне

тдоп = Кс,                                                        (3.18)

где К - комплексный коэффициент, учитывающий зацепление зерен асфальтобетона, условия работы (см. приложение 3, табл. 15);

с - сцепление в слое асфальтобетона (см. приложение 3, табл. 15).

3.50. Порядок расчета асфальтобетона на сопротивление сдвигу следующий.

По формуле (3.12) вычисляют средний модуль упругости Еср.асф слоев асфальтобетона, определяют общий модуль упругости Еоб.осн на поверхности подстилающего основания и находят отношения Еср.асф/Еоб.осн и , где - суммарная толщина слоев асфальтобетона. Затем по номограмме (см. рис. 3.13) находят на вертикальной оси активное напряжение сдвига tн/р от единичной нагрузки. Полное напряжение сдвига Т = (tн/р)р, где р - расчетное давление на покрытие. Если Еср.асф/Еоб.осн < 2,0, то все расчеты ведутся как для отношения Еср.асф/Еоб.осн = 2,0. После этого вычисляют допускаемое напряжение сдвига по формуле (3.18) и отношение Тдоп/Т. Причем, если Тдоп/Т ³ 1, то условие сдвигоустойчивости асфальтобетона считается выполненным, если же 1 > Тдоп/Т, то необходимо заменить материал верхнего слоя основания из асфальтобетона более сдвигоустойчивым или переконструировать дорожную одежду с тем, чтобы снизить напряжение сдвига Т.

Особенности расчета дорожных одежд для зоны вечномерзлых грунтов

3.57 Конструкции дорожных одежд для зоны вечной мерзлоты нужно рассчитывать на прочность тоже по трем критериям, как и для других дорожно-климатических зон. При этом следует учитывать особенности водно-теплового режима земляного полотна и продолжительность расчетного периода указанного региона (приложение 2), а также влияние мерзлого донника и глубины оттаявшего слоя грунта на общий модуль упругости полупространства, подстилающего дорожную одежду.

3.58. Требуемый модуль упругости дорожной конструкции

Етр1 = ЕтрКп,                                                        (3.19)

где Етр - требуемый модуль упругости, определяемый по графику (см рис. 3.2);

Кп - коэффициент, учитывающий продолжительность расчетного периода.

Коэффициенты Кп необходимо принимать разными для различных дорожно-климатических районов вечной мерзлоты (см. приложение 2): для района I1 Кп = 1,3; I2 Кп = 1,2; I3 Кп = 1,1.

3.59. На поверхности оттаявшего слоя грунта, находящегося на мерзлом основании, общий модуль упругости

Еоб.т = ЕтА,                                                           (3.20)

где Ет - модуль упругости талого грунта при расчетной влажности (см. приложение 2, табл. 10), MПа;

А - комплексный коэффициент, учитывающий наличие мерзлого слоя и неоднородное увлажнение сезоннооттаивающего слоя и принимаемый по табл. 3.4 в зависимости от глубины оттаивания. Общий модуль упругости на поверхности покрытия или любого другого слоя одежды следует определять методом последовательно-послойного приведения с помощью номограммы (см рис. 3.3) в соответствии с указаниями п. 3.33 настоящей Инструкции.

Проектирование усиления дорожных одежд

3.60. Под усилением дорожных одежд при капитальном ремонте дорог понимается утолщение их или устройство более совершенных типов покрытий с использованием существующих одежд в качестве оснований с целью улучшения транспортно-эксплуатационных характеристик и увеличения прочности конструкций в пределах норм, соответствующих технической категории, установленной для дачной дороги.

Таблица 3.4

Относительная толщина талого слоя, Н/D

Коэффициент А для грунтов

Относительная толщина талого слоя, Н/D

Коэффициент А для грунтов

супеси

суглинка и глины

супеси

суглинка и глины

2,5

0,50

0,33

4,0

0,15

0,38

3,0

0,43

0,34

4,5

0,47

0,41

3,3

0,43

0,35

4,8

0,44

0,44

3,5

0,44

0,36

5,0

0,50

0,46

Обозначения: D - диаметр следа расчетного колеса; Н - толщина талого слоя.

Усиление одежд необходимо, если проезжая часть существующей дороги находится в таком состоянии, при котором их коэффициенты надежности и прочности настолько малы, что невозможно или неэкономично поддерживать эксплуатационные качества на требуемом уровне только текущим и средним ремонтами. Это бывает при коэффициенте прочности, определенном по формуле (3.6), меньшем, чем указано в табл. 3.1.

Усиление конструкции следует предусматривать и в случаях, когда по результатам оценки прочности одежды с учетом дальнейшего роста интенсивности движения можно ожидать прогрессирующего разрушения одежды в ближайшее время.

3.61. Меры по усилению дорожных одежд назначаются с использованием основных положений, изложенных применительно к проектированию новых одежд, но с учетом особенностей, связанных с наличием старой одежды, и характера исходных данных.

Если имеются достоверные данные о фактических прогибах существующих покрытий под колесом расчетного автомобиля, относящиеся к периоду наибольшего ослабления конструкции (см. приложение 5), то толщины слоев усиления следует назначать на основе расчета по упругому прогибу всей конструкции, с проверкой на растяжение при изгибе и на сдвиг только вновь укладываемых слоев. Рассчитывать слои существующей одежды и грунт земляного полотна по сопротивлению сдвигу и растяжению при изгибе не следует. Если нет достоверных данных о прогибах существующей одежды, то допускается проектировать слои усиления на основе материалов изысканий, содержащих результаты измерения толщин всех конструктивных слоев одежды, характеристику их состояния и качества, сведения о виде грунта земляного полотна и об условиях его увлажнения. В этом случае толщины слоев усиления одежды следует назначать на основе расчета по упругому прогибу всей конструкции, сопротивлению растяжению при изгибе слоев старой, и новой частей одежды и сопротивлению сдвигу всех слабосвязных слоев и грунта земляного полотна.

3.62. Вопрос о конструкции и сроке усиления одежды необходимо решать окончательно на основании технико-экономического сравнения вариантов. Если усиление одежды в данное время экономически невыгодно или невозможно усилить одежду в год проведения испытаний, то на участках дорог с недостаточной прочностью конструкции следует временно ограничить движение транспортных средств в периоды года, неблагоприятные по условиям увлажнения земляного полотна.

3.63. Требуемый модуль упругости Етр одежды в зависимости от интенсивности воздействия нагрузок к концу срока между капитальными ремонтами и нового типа покрытия находится по графику (см. рис. 3.2).

Таблица 3.5

Типы покрытия существующей одежды

Общая толщина существующей дорожной одежды, м, для климатических и грунтово-гидрологических условий

D, МПа

тяжелых

сложных

средней сложности

Усовершенствованный для капитальных одежд

Более 0,95

Более 0,75

Более 0,45

0

0,90-0,95

0,70-0,75

0,40-0,45

14

0,85-0,89

0,65-0,69

0,35-0,39

28

0,80-0,84

0,60-0,64

0,30-0,34

42

0,75-0,79

0,55-0,59

Толщина не ограничена

52

Усовершенствованный для облегченных одежд:

 

 

 

 

на вязком битуме

Более 0,80

Более 0,70

Более 0,40

0

 

0,75-0,80

0,60-0,70

0,35-0,40

10

 

0,70-0,74

0,50-0,59

0,30-0,34

25

на жидком битуме

Более 0,75

Более 0,65

Более 0,40

0

 

0,70-0,75

0,55-0,65

0,35-0,40

14

 

0,65-0,69

0,45-0,54

0,30-0,34

25

Примечания: 1. Сложность климатических и грунтово-гидрологических условий: тяжелые - II дорожно-климатическая зона, 3-й тип местности по характеру и степени увлажнения, земляное полотно сложено из пылеватых супесчаных и суглинистых грунтов; сложные - II дорожно-климатическая зона, 3-й тип местности, земляное полотно из непылеватых суглинистых грунтов и глин или II зона, 2-й тип местности, земляное полотно из пылеватых супесей и пылеватых суглинков; средней сложности - II зона, 2-й тип местности, земляное полотно из суглинков (непылеватых) и глин или II зона, 1-й тип местности либо III зона, 2-3-й тип местности, земляное полотно из пылеватых супесей и пылеватых суглинков.

2. В общую толщину существующей дорожной одежды следует включать толщину всех слоев стабильных материалов, в том числе и дренирующего слоя.

Если одежды проектируются без проверки существующей конструкции на сдвиг и растяжение при изгибе, то найденное на графике (см. рис. 3.2) значение Етр нужно увеличить на величину А с учетом степени сложности климатических и грунтово-гидрологических условий (табл. 3.5), а также с учетом толщины песчаного слоя в существующей: конструкции одежды (табл. 3.6).

В этих случаях требуемый модуль упругости

Етр = ( + Dк,                                                   (3.21)

где  - требуемый модуль упругости по графику (см. рис. 3.2).

Значения А принимают по табл. 3.5, а Кк - по табл. 3.6. При благоприятных грунтово-гидрологических условиях, а также в III зоне 1-го типа местности по условиям увлажнения, а в IV и V зонах независимо от типа местности А=0. В случае отсутствия песчаного слоя Кк = 1,00.

3.64. Выбирая тип покрытия, следует руководствоваться предварительными данными об интенсивности воздействия расчетной нагрузки (единиц в сутки):

Усовершенствованный тип покрытия для капитальных одежд                    Более 300

То же, для облегченных одежд                                                                         100-300

Переходный тип покрытия                                                                               Менее 100

Примечание. Тип нового покрытия не должен быть менее совершенным, чем покрытие усиливаемой одежды.

Таблица 3.6

Тип покрытия существующей одежды

Приведенная интенсивность воздействия нагрузок, ед./сут.

Коэффициент Кк при толщине песчаного слоя, м

Более 0,50

0,45

0,35

Общая толщина существующей одежды над песчаным слоем, м

0,35

0,30

0,25

0,20

0,30

0,25

0,20

0,25

0,20

Усовершенствованный для капитальных одежд

100

1,00

1,10

1,40

1,60

1,00

1,25

1,40

1,00

1,02

300

1,00

1,00

1,35

1,45

1,00

1,11

1,25

1,00

1,00

500

1,00

1,00

1,25

1,30

1,00

1,00

1,12

1,00

1,00

1000

1,00

1,00

1,20

1,24

1,00

1,00

1,07

1,00

1,00

3000

1,00

1,00

1,12

1,15

1,00

1,00

1,00

1,00

1,00

5000

1,00

1,00

1,00

1,05

1,00

1,00

1,00

1,00

1,00

Более 5000

1,00

1,00

1,00

1,00

1,00

1,00

1,00

1,00

1,00

Усовершенствованный для облегченной одежды

50

1,00

1,20

1,65

2,00

1,00

1,40

1,60

1,00

1,12

100

1,00

1,10

1,50

1,80

1,00

1,30

1,45

1,00

1,04

300

1,00

1,00

1,40

1,00

1,00

1,15

1,30

1,00

1,00

500

1,00

1,00

1,25

1,40

1,00

1,00

1,10

1,00

1,00

Примечание. При толщине песчаного слоя менее 0,3 м, а так же при песчаном слое толщиной более 0,5 м, 0,45 и 0,35 м и общей толщине одежды над ним более, соответственно 0,35 м, 0,30 и 0,25 м следует принимать Кк = 1,00.

3.65. Толщины слоев усиления существующей дорожной одежды по условиям формирования в начальный период эксплуатации не должны быть менее величин, указанных в п. 3.25.

Если, по данным расчета, слой усиления должен иметь толщину менее указанной в п. 3.25, но больше половины этой величины, то следует применять толщину по п. 3.25 или рассмотреть, вариант применения другого материала, из которого можно устраивать более тонкий слой.

Если результаты расчета показывают, что необходимая толщина слоя усиления из материала, содержащего органическое вяжущее, меньше половины значения, указанного в п. 3.25, то достаточно предусмотреть устройство поверхностной обработки после производства ямочного ремонта проезжей части.

3.66. При проектировании усиления существующей дорожной одежды с покрытием переходного типа, а также в случаях, когда существующее усовершенствованное покрытие находится в неудовлетворительном состоянии (на проезжей части имеются сетка трещин, отдельные частые трещины, выбоины и другие дефекты), минимальную толщину слоя усиления из материала, содержащего органическое вяжущее, нужно назначать с учетом интенсивности воздействия нагрузки:

Приведенная интенсивность нагрузки, ед./сут                                                               100                                                               200                                                               500                                                               1000                                                               2000                                                               5000                                                               >5000

Минимальная толщина покрытия из материала, содержащего органическое вяжущее, см                                                               7                                                               8                                                               10                                                               12                                                               13                                                               15                                                               17

Примечания: 1. Минимальную толщину покрытия из плотного горячего асфальтобетона следует принимать по данным п. 3.25.

2. Если существующее покрытие из материалов, содержащих органическое вяжущее, находится в хорошем состоянии и на нем имеются лишь отдельные редко расположенные трещины (см приложение 5), то в указанные толщины необходимо включать 50 % толщины существующего покрытия.

3.67. В случаях, когда полученная расчетом толщина слоя усиления больше указанной в п. 3.66, нижнюю часть его следует предусмотреть из другого, менее прочного и дорогостоящего материала, чем асфальтобетон.

4. ОБЕСПЕЧЕНИЕ МОРОЗОУСТОЙЧИВОСТИ ДОРОЖНЫХ ОДЕЖД И ЗЕМЛЯНОГО ПОЛОТНА

Общие вопросы

4.1. В районах сезонного промерзания грунтов на участках дорог, находящихся в неблагоприятных грунтово-гидрологических условиях, наряду с требуемой прочностью должна быть обеспечена достаточная морозоустойчивость дорожных одежд и земляного полотна.

4.2. Не требуется специальных мер по морозозащите конструкций: а) в районах с глубиной промерзания менее 0,6 м; б) при земляном полотне, сложенном на всю глубину промерзания из непучинистых грунтов или слабопучинистых грунтов (см. приложение 7. табл. 30); в) в случаях, когда общая толщина дорожной одежды превышает 2/3, глубины промерзания.

4.3. Основные мероприятия, способствующие обеспечению требуемой морозоустойчивости дорожной одежды и земляного полотна:

а) использование непучинистых или слабопучинистых грунтов (см. приложение 7, табл. 30) для сооружения верхней части земляного полотна, находящегося в зоне промерзания;

б) обеспечение достаточного возвышения покрытия над уровнем грунтовых или поверхностных вод;

в) устройство морозозащитных слоев из стабильных, не изменяющих своего объема при промерзании в увлажненном состоянии материалов, или теплоизоляционных слоев, задерживающих ход и снижающих глубину промерзания земляного полотна;

г) применение специальных устройств, предохраняющих земляное полотно от неблагоприятного воздействия отрицательных температур воздуха;

д) понижение уровня грунтовых вод;

е) устройство капилляропрерывающих и водоизоляционных прослоек.

Оптимальное решение нужно принимать на основании технико-экономического сравнения вариантов отдельных или сочетания нескольких мероприятий.

4.4. Конструкция достаточно морозоустойчива, если удовлетворяется условие:

(lпуч + lмз) < lдоп,                                                        (4.1)

где lпуч - расчетное (ожидаемое) пучение грунта земляного полотна;

lмз - расчетное пучение морозозащитного слоя из материала, не удовлетворяющего требованиям п. 4.7 и 4.8 настоящей Инструкции, а также пучение верхней части земляного полотна, устроенной из слабопучинистых грунтов, в том числе укрепленных малыми дозами вяжущего;

lдоп - допускаемое зимнее вспучивание покрытия.

4.5. Конструкции рассчитываются на морозоустойчивость для характерных участков или групп участков дороги, сходных по грунтово-гидрологическим условиям, имеющих одинаковое покрытие, одну и ту же конструкцию земляного полотна, а так же в равной мере обеспеченных местными строительными материалами.

4.6. Метод расчета дорожных конструкции на морозоустойчивость следует выбирать с учетом: а) типа местности по условиям увлажнения; б) отношения расчетной глубины промерзания к расстоянию от поверхности покрытия до расчетного уровня грунтовых вод; в) вида материла (стабильного традиционного, теплоизоляционного, конструктивно-теплоизоляционного), применяемого для морозозащиты конструкции.

Требования к морозозащитным (стабильным) и теплоизоляционным материалам

4.7. Для устройства морозозащитных слоев нужно применять зернистые материалы, такие, как щебень, песчано-гравийные смеси, шлаки и непучинистые грунты I группы (см. приложение 7, табл. 30), характеризующиеся Кпуч < 1 %. В этом случае характеристику lмз не следует вводить в формулу (4.1).

Материалы и грунты II группы (см. приложение 7, табл. 30) характеризующиеся Кпуч=1¸2 % и коэффициентом фильтрации не менее 1 м/с, после их проверки на морозоустойчивость (приложение 6) также могут быть использованы для устройства морозозащитных слоев. При этом характеристику lмз надо вводить в расчет по формуле (4.1). Значение lмз равно произведению толщины морозозащитного слоя на Кпуч.

4.8. В районах, не обеспеченных кондиционными зернистыми материалами, следует шире применять для устройства морозозащитных слоев грунты, укрепленные вяжущими, и гидрофобизированные.

Грунты, укрепленные цементом, должны отвечать следующим требованиям: 1) коэффициент морозного пучения не должен превышать 2 %; 2) коэффициент морозоустойчивости не должен быть ниже 0,65 при температуре замораживания -5°С.

Пределы прочности при сжатии Rсж и изгибе Rизг стандартных лабораторных образцов из укрепленных цементом грунтов должны находиться в диапазоне, указанном в табл. 4.1.

4.9. Теплоизоляционные слои нужно устраивать из материалов с более эффективными теплозащитными свойствами, чем у грунтов и обычных дорожно-строительных материалов.

Для теплоизоляции дорожной конструкции могут быть применены: а) полимерные материалы (пенопласты); б) легкие бетоны, в которых содержатся пористые заполнители (керамзит, аглопорит гранулы полистирола, измельченный пенопласт); в) металлургические шлаки; г) золошлаковые смеси как обработанные цементом, битумом или битумной эмульсией, так и не обработанные; д) композиции из местных материалов или грунтов, легких заполнителей и вяжущих, приготовленные способом смещения в установке; е) битумоминеральные смеси - обычные и с легкими заполнителями. Перечисленные смеси и исходные материалы должны удовлетворять требованиям к дорожно-строительным материалам по соответствующим ГОСТам, СНиПам и инструкциям.

Таблица 4.1

Группа исходного грунта по степени пучинистости (приложение 7, табл. 30)

Пределы прочности укрепленного цементом грунта, МПа

Группа исходного грунта по степени пучинистости (приложение 7, табл. 30)

Пределы прочности укрепленного цементом грунта, МПа

Rсж

Rизг

Rсж

Rизг

II

0,7-1,0

0,1-0,2

IV

1,6-2,0

0,4-0,5

III

1,0-1,5

0,2-0,3

V, VI

>2,0

>0,5

4.10. Среди указанных в п. 4.9 материалов весьма важное место занимают такие новые прогрессивные материалы, как грунты, укрепленные вяжущим веществом, с добавкой легких (пористых) заполнителем. К этим композициям как к материалам, применяемым для устройства конструктивных теплоизоляционных слоев, предъявляются соответствующие требования в отношении физико-механических и теплофизических свойств, учитывающие вид укрепляемого грунта и пористого заполнителя, а также условия работы этого материала в конструкции - климатические и грунтово-гидрологические особенности местности, тип покрытия, интенсивность и состав движения, местоположение слоя в конструкции. Коэффициент теплопроводности их не должен превышать 0,6 Вт/мК; предел прочности при сжатии водонасыщенных образцов в возрасте 28 и 7 суток - соответственно 1,0-2,0 и 0,6-1,5 МПa; предел прочности на растяжение при изгибе водонасыщенных образцов-балочек в возрасте 28 сут. - 0,1-0,2 МПа; коэффициент морозного пучения - не более 1 %.

Примечание. Коэффициент теплоусвоения материала Si определяют по формуле п. 4.35.

Рис. 4.1. Переходные клиновидные конструкции (примеры):

а - на подъезде к мосту в виде утолщения теплоизоляции; б - то же, но с утолщенным морозозащитным слоем; в - при сопряжении двух участков с разной высотой пучения; 1 - песок средней крупности; 2 - теплоизолирующий слой из битумоцементогрунта с пористым заполнителем; 3 - асфальтобетон III марки; 4 - асфальтобетон: I марки; 5 - клиновидное утолщение; 6 - то же, песчаного слоя; 7 - пучинистый грунт; 8 - слабопучинистый грунт; L - длина переходного участка

Конструктивные меры по уменьшению глубины промерзания и обеспечению морозоустойчивости конструкций

4.11. Наиболее рациональными, отвечающими требованиям в отношении морозоустойчивости, являются дорожные одежды на насыпях из непучинистых или слабопучинистых грунтов или на насыпях, в которых возвышение поверхности покрытия над расчетным уровнем Н грунтовых вод больше расчетной глубины промерзания z или равно ей, т. е. при z/H £ 1,0.

На участках, где невозможно выполнить это условие, в конструкции целесообразно вводить теплоизоляционные слои в целях уменьшения, глубины или полного предотвращения промерзания земляного полотна, или же предусмотреть меры по понижению уровня грунтовых вод. Нередко оказывается целесообразным предусматривать устройство водоизолирующих или каппиляропрерывающих прослоек для ограничения миграции влаги из нижних слоев земляного полотна в верхние, а следовательно, и пучения грунта при промерзании.

4.12. Дорожные одежды с теплоизоляционными слоями из таких дефицитных материалов, как пенопласты целесообразно назначать лишь для участков дорог, находящихся в особо неблагоприятных грунтово-гидрологических условиях, таких как «мокрые» выемки, земляное полотно в нулевых отметках, низкие насыпи (z/H > 1,0).

4.13. Для пучинистых участков, находящихся в более благоприятных условиях по сравнению с перечисленными в п. 4.12, можно ограничиться конструкциями с конструктивно-теплоизоляционными слоями, позволяющими уменьшить глубину промерзания земляного полотна до допустимых пределов, отвечающих требованиям в отношении морозоустойчивости дорожной одежды и земляного полотна.

4.14. Для пучинистых участков, на которых невозможно осуществить меры, перечисленные в п. 4.11 - 4.13 настоящей Инструкции, следует разрабатывать индивидуальные мероприятия по обеспечению морозоустойчивости дорожных одежд и земляного полотна. При разработке таких проектов необходимо учитывать: 1) условия залегании грунтов с ненарушенной структурой в основании насыпи, влияющие на неравномерность пучения; 2) возможную степень переувлажнения грунтов из за недостаточного возвышения дорожной одежды над расчетным уровнем грунтовых или длительно застаивающихся поверхностных под; 3) неизбежное изменение плотности грунтов в течение года в процессе эксплуатации дороги в период между капитальными ремонтами дорожной одежды.

4.15. В местах сопряжения участков, где ожидается разный размер пучения, следует предусматривать переходный участок дорожной одежды для предотвращения перепада (ступеньки) поверхности покрытия (рис. 4.1).

4.16. Па переходном участке необходимо предусматривать теплоизоляционный или морозозащитный слой клиновидной формы с тем, чтобы пучение на концах этого участка было равно предполагаемому зимнему поднятию покрытия на сопрягаемых участках.

4.17. Клиновидный теплоизоляционный или морозозащитный слой для переходного участка следует проектировать одновременно с назначением теплоизоляции или морозозащиты на основном протяжении дороги, предусматривая те же материалы.

Расчет конструкций на морозоустойчивость

4.18. Зимнее вспучивание существенно не влияет на ровность покрытия и долговечность дорожной одежды, если общее поднятие проезжей части в процессе промерзания конструкции не превышает следующих значений lдоп (в сантиметрах) по формуле (4.1):

Капитальная одежда:

Цементобетонное монолитное покрытие ……………………………………………… 3

               сборное покрытие …………………………………………………... 4

Асфальтобетонное покрытие (горячая и теплая смесь I и II марок) …………………. 4

Облегченная одежда:

Асфальтобетонное покрытие (горячая и теплая смесь III марки) ……………………. 6

Переходная одежда …………………………………………………………………….. 10

Примечание. В восточных районах II-III дорожно-климатических зон значения lдоп следует увеличивать на 20-40 % (большее значение - для облегченных и переходных дорожных одежд).

4.19. Ожидаемое зимнее вспучивание дорожной конструкции зависит от размера зимнего влагонакопления в грунте земляного полотна, которое, в свою очередь, в основном зависит от глубины и скорости промерзания, условий увлажнения конструкции, возвышения верха земляного полотна над поверхностью земли и над уровнем грунтовых вод, свойств грунта и степени его уплотнения, толщины слоев стабильных материалов и их теплофизических свойств и других факторов.

Рис. 4.2. Номограмма для расчета конструкции на морозоустойчивость:

1 - слои из стабильных материалов; 2 - грунт земляного полотна; 3 - глубина промерзания

4.20. Для расчета конструкций на морозоустойчивость при z/H £ 1,0 при определении по номограмме (рис. 4.2) ожидаемого пучения lпуч нужны значения следующих параметров:

z - расчетная глубина промерзания, см;

z1 - толщина стабильных слоев дорожной одежды, в том числе и дополнительного морозозащитного слоя, см;

ei - эквиваленты теплотехнических свойств материалов по отношению к уплотненному щебню (приложение 9);

Н - расчетная глубина залегания уровня грунтовых вод (УГВ), см;

В - комплексная характеристика грунта по степени пучинистости (табл. 4.2), см2/сут;

a0 - климатический показатель, см2/сут.

С помощью номограммы (см. рис 4.2) можно найти значения любого из перечисленных параметров при известных остальных. Так, общую толщину слоев z1 из стабильных материалов можно определить следующим образом. Вычислить отношение lпуч a0/(Bz) при lпуч = lдоп, найти его значение на вертикальной оси номограммы, провести горизонтальную прямую до пересечения с кривой, соответствующей z/H, и, перенося эту точку на горизонтальную ось, получить значение z1/z; откуда, зная z, найти z1.

Рис. 4.3. Карта изолиний глубины промерзания zср грунтов на территории СССР:

1 - граница сплошного распространения вечномерзлых грунтов; 2 - то же, островного (глубиной до 25 м). Поправка, добавляемая к zср при определении глубины промерзания дороги:

zср, м

0,8

1,0

1,2

1,4

1,6

1,8

2,0

2,2

2,4

Поправка, м

0,30

0,40

0,50

0,57

0,63

0,68

0,72

0,75

0,77

При расчете конструкции на морозоустойчивость при z/H > 1,0 можно ожидаемое пучение lпуч и общую толщину стабильных слоев дорожной одежды (в том числе и дополнительного морозозащитного слоя, z1), необходимую для обеспечения морозоустойчивости конструкции, назначить по методу, изложенному в приложении 7.

4.21. Расчетные значения глубины промерзания z и расстояния Н до предзимнего уровня подземных вод следует определять в соответствии с ГОСТом и инструктивными указаниями с использованием многолетних данных наблюдений за изменением этих параметров в натурных условиях сходных с условиями района строительства. Допускается назначать расчетные значения z и Н по данным региональных исследований.

При отсутствии достоверных практических данных о глубине промерзания за расчетную может быть принята глубина промерзания по карте (рис. 4.3) и при этом климатический показатель следует назначать по карте изолиний a0 (рис. 4.4).

При использовании данных непосредственных измерений глубины промерзания величина

,                                                    (4.2)

где  - средняя многолетняя глубина промерзания по данным измерения, см;

z1.0 - толщина дорожной одежды на объекте измерения, см;

 - средняя многолетняя продолжительность промерзания грунта земляного полотна, сут.

4.22. Комплексная характеристика В (п. 4.20) зависит от влагопроводимости грунта, полной его влагоемкости при требуемой плотности (за вычетом защемленного воздуха), а так же от капиллярной влагоемкости. Значение В следует определять на основе данных испытаний грунта на морозоустойчивость.

В = Кпучa0/1,86, (4.3)

где Кпуч - коэффициент пучения грунта, определяемый по приложению 6, в долях единицы.

Рис. 4.4. Карта изолиний климатического коэффициента a0.

Поз. 1 и 2 - см. на рис. 4.3

Таблица 4.2

Грунты

Показатель В, см2/сут

Степень пучинистости в условиях 3-го типа местности по характеру увлажнения

Песок (непылеватый) с содержанием частиц мельче 0,05 мм в пределах 2 15 %, супесь легкая крупная

1,5-2,0

Слабопучинстые

Глины, суглинки легкие и тяжелые (непылеватые), супеси легкие

3,0-3,5

Пучинистые

Супеси пылеватые, суглинки тяжелые пылеватые пески пылеватые

4,0-4,5

Сильнопучинистые

Супеси тяжелые пылеватые, суглинки легкие пылеватые

5,0

Чрезмерно пучинистые

Если экспериментально определить коэффициент Кпуч невозможно, расчетное значение комплексной характеристики В грунтов можно брать по табл. 4.2.

4.23. С учетом теплотехнических свойств эквивалентная толщина (по отношению к щебню из гранитных пород) слоев из стабильных материалов:

z1.э = h1e1 + h2e2 + h3e3 +...,                                                (4.4)

где h1, h2, h3, … - толщины слоев дорожной одежды из стабильных материалов, см;

e1, e2, e3 ... - эквиваленты теплотехнических свойств материалов по отношению к уплотненному щебню (см. приложение 9).

4.24. На дорогах с капитальными одеждами и усовершенствованными покрытиями при 2-м типе местности по условиям увлажнения необходимая общая эквивалентная толщина  слоев из стабильных материалов составляет обычно 65-80 % от толщины, получаемо по номограмме (см. рис. 4.2) при z/H » 1,0, т. е.  = (0,65 ¸ 0,80); коэффициент, равный 0,65, принимают при обеспечении безопасного расстояния от бровки земляного полотна до уреза длительно застаивающейся воды (см. п. 5.19).

4.25. На участках дорог, находящихся на местности 1-го типа по условиям увлажнения, не наблюдается значительного зимнего влагонакопления и пучения даже в районах с глубоким промерзанием. В этом случае толщина дорожной одежды, определяемая расчетом на прочность, обеспечивает также и необходимую морозоустойчивость конструкции.

Однако на дорогах с капитальной одеждой, если она подстилается пылеватыми супесями, следует предусматривать меры по ограничению поступления воды в дорожную конструкцию с поверхности.

4.26. Облегченные дорожные одежды с усовершенствованными покрытиями при 2-м типе местности по условиям увлажнения необходимо проверять на морозоустойчивость только при пылеватых супесчаных грунтах. При других подстилающих грунтах толщины дорожных одежд, определяемые расчетом на прочность, обеспечивают также и морозоустойчивость.

Облегченные конструкции дорожных одежд с усовершенствованными покрытиями при 1-м типе местности на морозоустойчивость проверять не требуется.

4.27. Если для обеспечения необходимой морозоустойчивости требуется общая толщина дорожной одежды, превышающая толщину, полученную расчетом на прочность, следует конструкцию одежды откорректировать и вновь рассчитать по критериям прочности.

4.28. Морозозащитный слой из фильтрующих материалов обычно служит и элементом дренажной конструкции, поэтому он должен быть рассчитан также на своевременный отвод поступающей воды

Расчет теплоизоляционных слоев дорожной конструкции

4.29. Для определения толщины теплоизоляционных и конструктивных теплоизоляционных слоев необходим теплотехнический расчет дорожной одежды и земляного полотна. Рассчитывают конструкцию применительно к модели дорожной одежды и земляного полотна, представляющей собой трехслойное полупространство, состоящее из материалов (слоев) с различными теплофизическими свойствами. Средний слой, материал которого характеризуется более эффективными по сравнению с другими слоями теплозащитными свойствами, называется теплоизоляционным.

При многослойной конструкции слои, находящиеся над теплоизоляционным слоем, следует приводить к эквивалентному по теплофизическим характеристикам однородному слою, а слои, лежащие под теплоизоляцией, включая земляное полотно, - к эквивалентному однородному полупространству (см. п. 4.36).

4.30. Расчет теплоизоляционного слоя сводится к удовлетворению условия:

А(h + d) £ [А(h + d)],                                                    (4.5)

где А(h + d) - ожидаемая амплитуда колебания температуры поверхности земляного полотна (низа теплоизоляции), °С;

[А(h + d)] - то же, допускаемое, °С..

4.31. Допускаемое значение амплитуды годового колебания температуры поверхности земляного полотна

[А(h + d)] = tп.ср + [t],                                                     (4.6)

где tп.ср - среднегодовая температура поверхности покрытия в наиболее неблагоприятный год в районах, где преобладают положительные температуры, за период между капитальными ремонтами, °С (приложение 10);

[t] - допускаемая самая низкая отрицательная температура поверхности земляного полотна в расчетный год с учетом температуры замерзания грунта, °С.

Под наиболее неблагоприятным годом понимают год с максимальной суммой отрицательных температур поверхности покрытия за период между капитальными ремонтами дорожной одежды.

4.32 Допускаемая отрицательная температура поверхности земляного полотна

[t] = /c/ + /tзам/ при t1 = f([it]:tпр.с),                                          (4,7)

где t1 - находят по графику (рис. 4.5);

tзам - температура замерзания грунта, принимаемая для песков - минус 0,3°С, супесей - минус 0,6°С, суглинков - минус 1,0°С и для глин - минус 1,5°С.

При расчете теплоизоляционного слоя, предназначенного для полного предотвращения промерзания земляного полотна, принимают t1 = 0°C.

4.33. Чтобы воспользоваться графиком (см. рис. 4.5), необходимо предварительно определить допускаемое значение произведения средневзвешенной отрицательной температуры t поверхности земляного полотна и продолжительности t его промерзания, используя равенство:

[tt]=,                                                 (4.8)

где [z] - допускаемая глубина промерзания земляного полотна от низа теплоизоляционного слоя, м;

r - удельная теплота перехода воды в лед, принимаемая равной 335 000 Дж/кг;

Wт - влажность грунта при пределе текучести, доли единицы;

Wн - содержание незамерзшей воды, доли единицы;

gм - плотность скелета мерзлого грунта, кг/м3;

lм - коэффициент теплопроводности мерзлого грунта, Вт/(м×К).

4.34. Допускаемая глубина промерзания земляного полотна

[z] = lдоппуч,                                                           (4.9)

где lдоп - допускаемое пучение (см. п. 4.18);

Кпуч - коэффициент пучения грунта 3-го типа местности по условиям увлажнения (см. п. 4.22 и приложение 6), доли единицы.

Значения lдоп могут быть приняты меньшими по сравнению с указанными в п. 4.18, если при этом ровность поверхности покрытия обеспечит высокую экономическую эффективность работы транспортных средств, обращающихся по дороге. Но, поскольку снижение величины lдоп приводит, естественно, к удорожанию дорожной одежды, оптимальное значение lдоп должно быть определено на основании технико-экономического сравнения вариантов.

4.35 Левую часть неравенств (4.5) определяют по номограммам, связывающим следующие комплексы параметров:

; ; ; ; ; ; Ап = 0,5(tпmax - tпmin),

где h - толщина слоя, находящегося над теплоизоляцией, т. е. общая толщина слоев над теплоизоляцией при многослойной конструкции, м;

d - толщина теплоизоляционного слоя, м;

Aп - амплитуда годового колебания температуры поверхности покрытия, °С (см. приложение 10);

w- частота колебаний температуры, с-1;

а1, а2 - коэффициенты температуропроводности материала, находящегося над теплоизоляцией и теплоизоляционного материала [a=l/(сg)], м2/с;

сi - удельная теплоемкость материала Дж/(кг×К).

Рис. 4.5. График зависимости температур t1/tп.ср от [tt]/tп.ср для определения допускаемой суммы отрицательных температур за зиму на поверхности земляного полотна под теплоизоляцией

Рис. 4.6. Номограмма для расчета теплоизоляционных слоев дорожной конструкции при s1/s3 = 0,8 и N = A(h + d)/Aп при

При расчете теплоизоляционного слоя используют номограммы (рис. 4.6, 4.7). Предварительно вычисляют отношение A(h + d)/Aп, затем на нижней оси номограммы (см. рис. 4.6) находят точку, соответствующую величине A(h + d)/Aп = [A(h + d)]/Aп. Из этой точки ведут вертикаль до пересечения с лучом , откуда проводят горизонтальную пряную до кривой с заданным значением s1/s2. Из точки пересечения горизонтали с кривой s1/s2 опускают перпендикуляр на верхнюю ось абсцисс, отсекающий на ней отрезок . Зная величины а2 и w = 2×10-7 с-1, нетрудно вычислить толщину теплоизоляционного слоя d.

При расчете конструкций, для которых отношение . s1/s2 = s отличаемся от 0,8, наряду с номограммой (см рис. 4.6) используют другую номограмму (см рис. 4.7). В этом случае по предварительно полученной при s1/s3 = 0,8 (см рис. 4.6) величине  и фактическому значению s1/s3 находят (см рис. 4.7) значение , а затем и величину ds.

Искомая толщина теплоизолирующего слоя

d = Ктds,                                                           (4.10)

где Кт = 0,8 - коэффициент, учитывающий влияние теплового потока от грунтовых вод на промерзание конструкций.

Пользуясь номограммами (см. рис. 4.6, 4.7), можно определить любой другой комплекс показателей. В частности, можно найти ожидаемую амплитуду колебания температуры на нижней границе теплоизоляционного слоя A(h + d) при известных значениях остальных показателей, связанны; между собой номограммами.

4.36. При расчете теплоизоляционного слоя, укладываемого в многослойную дорожную конструкцию, се приводят к трехслойной модели следующим образом.

Слои, лежащие над теплоизоляцией, заменяют одним слоем, эквивалентным им по термическому сопротивлению и имеющим толщину h, равную сумме толщин этих слоев . Коэффициент теплопроводности такого эквивалентного слоя

lэ,                                                            (4.11)

где u - число слоев над теплоизоляцией, приводимых к эквивалентному;

i - номер слоя.

Плотность gэ и удельную теплоемкость сэ эквивалентного слоя определяют соответственно:

gэ,                                                               (4.12)

сэ,                                                               (4.13)

Слои, находящиеся под теплоизоляцией, объединяют с грунтом земляного полотна в одно эквивалентное полупространство.

Поскольку коэффициенты теплоусвоения si обычных дорожно-строительных слабосвязных материалов (пески, гравийные материалы и др.) существенно не различаются, значения теплофизических характеристик при определении амплитуды колебания температуры на нижней границе теплоизоляции принимают для эквивалентного полупространства такими же, как и для грунта. Значения температуры замерзания, Wт, Wн (см. п. 4.33) и gi (см. п. 4.35) применительно к эквивалентному полупространству также принимают равными соответствующим значениям этих параметров для грунта.

4.37. Допустимая глубина промерзания эквивалентного полупространства

[z] = Shст + lдоппуч,                                               (4.14)

где Shст - общая толщина слоев из стабильных материалов, находящихся между нижней границей теплоизоляции и поверхностью земляною полотна.

Рис. 4.7. Номограмма для определения толщины теплоизоляционного слоя

Таблица 4.3

Покрытие

lдр, см

Уклон iдоп, %о, для категории дороги

I

II

III

Монолитный цементобетон

2

0,5

1,0

1,0-2,0

Горячий асфальтобетон марок I-II

4

2,0

2,5

3,0

Горячий асфальтобетон марки III

6

-

4,0

5,0

Примечание. Уклон равный 1 %о соответствует неравномерному пучению 1 мм/м.

4.38. В соответствии с п. 4.4 следует проверить по формуле (4.1) условия обеспечения морозоустойчивости конструкции, содержащей теплоизоляционный слой. При этом глубину z промерзания от поверхности покрытия и общую приведенную толщину z1,э слоев из стабильных материалов, включая толщину теплоизоляции, принимают:

z = Shiei + deи + [z]; z1,э = Shei + deи;                                   (4.15)

при aз.п = [z]2/(2t),                                                   (4.16)

t,                                        (4.17)

где ei, eи - эквиваленты соответственно по теплотехническим свойствам материалов слоев (см. приложение 9, табл. 32), находящихся над теплозащитой, и теплоизоляционного материала по отношению к уплотненному щебню;

aз.п - показатель, зависящий от скорости и глубины промерзания земляного полотна, который определяют по формуле (4.16);

t - продолжительность промерзания земляного полотна в часах, определяемая по формуле (4.17).

Величину [А(h + d)] находят по формуле (4.6).

4.39. При проектировании сопряжения смежных участков, на концах которых ожидается разное пучение, длину L (в метрах) переходной клиновидной конструкции из стабильного или теплоизоляционного материала следует определять по формуле:

L = 10lдр/lдоп,                                                        (4.18)

где lдр - допустимая разность пучения на концах сопрягаемых участков (табл. 4.3), см;

lдоп - допускаемый продольный уклон поверхности покрытия переходного участка, образующийся в результате зимнего пучения (см. табл. 4.3), %о.

4.40. Толщину теплоизоляционного или морозозащитного слоя на концах переходного участка следует назначать с таким расчетом, чтобы пучение здесь не превосходило ожидаемого поднятия покрытия (на сопрягаемых участках) и не было больше допустимого.

Особенности расчета на прочность конструкций с теплоизоляционным слоем

4.41. Дорожную одежду с теплоизоляционным слоем следует рассчитывать на прочность в соответствии с указаниями раздела 3 и с учетом рекомендаций п. 4.42 - 4.45.

4.42. Расчетную влажность, от которой зависят расчетные значения деформационных и прочностных характеристик грунта, нужно устанавливать после теплотехнического расчета конструкции.

4.43. Расчетную влажность непылеватых супесей в конструкциях с теплоизоляцией, предотвращающей промерзание земляного полотна, следует принимать равной 0,7 Wr, а всех других грунтов, в том числе пылеватых супесей - 0,75 Wт, где Wт - влажность у границы текучести. Для конструкций, обеспечивающих ограничение глубины промерзания земляного полотна, значение расчетной влажности, определяемой по приложению 2, нужно уменьшать на 0,03-0,05 Wr.

Прочностные и деформационные характеристики грунта при расчетной влажности следует назначать в соответствии с указаниями приложения 3.

4.44. Расчетные значения деформационных и прочностных характеристик жесткого пенопласта, легких бетонов и других конструкционно-теплоизоляционных материалов необходимо принимать по таблицам приложения 3.

4.45. Материалы, находящиеся выше теплоизоляционного слоя, расположенного на глубине от поверхности покрытия более 35 см, обычно сохраняют свои свойства такими же, как и в традиционных конструкциях (без теплоизоляции), и значения расчетных характеристик этих материалов следует принимать по приложению 3.

5. ПРОЕКТИРОВАНИЕ УСТРОЙСТВ ПО ОСУШЕНИЮ ДОРОЖНЫХ ОДЕЖД И ЗЕМЛЯНОГО ПОЛОТНА

Основные предпосылки

5.1. Дренажная конструкция (дренирующий слой и водоотводящие устройства) необходима на участках с земляным полотном из слабофильтрующих грунтов (пылеватых песков, пылеватых и тяжелых супесей, суглинков и глин) и с традиционной дорожной одеждой из зернистых материалов в I и II дорожно-климатических зонах при всех типах местности по условиям увлажнения, в III зоне - только при 2-м и 3-м типах местности, в IV и V зонах - только при 3-м типе местности.

5.2. При проектировании дренирования дорожных одежд в районах сезонного промерзания грунта следует учитывать два расчетных этапа работы дренажных конструкций. Первый относится к началу весеннего периода, когда основание дорожной одежды под серединой проезжей части уже оттаяло, и образовалась талая зона, а дренирующий слой у ее краев находится еще в мерзлом состоянии, и водоотводящие устройства не работают. Второй расчетный вариант относится ко времени, когда дренирующий слой полностью оттаял, и водоотводящие устройства начали нормально работать.

5.3. Дренажная конструкция должна быть рассчитана так, чтобы на первом этапе было обеспечено временное размещение поступающей поды в дренирующем слое до начала работы водоотводящих устройств, а на втором этапе вода своевременно и полностью отводилась бы из основания.

5.4. Для предотвращения неблагоприятного гидравлического воздействия на материал и обеспечения его устойчивости и дренирующем слое под действием кратковременных повторных нагрузок от движущихся автомобилей полная толщина дренирующего слоя

hп = hнас + hзап,                                                           (5.1)

где hнас - толщина слоя, полностью насыщенного водой, м;

hзап - дополнительная толщина слоя, зависящая от капиллярных свойств материала и равная для песков крупных 0,10-0,12 м, средней крупности 0,14-0,15 м и мелких 0,18-0,20 м.

Во всех случаях полную толщину дренирующего слоя следует принимать не менее 0,20 м.

5.5. Рассчитывают дренирующий слой с учетом фильтрационных и капиллярных свойств материала, конструкции земляного полотна и тина водоотводящих устройств.

5.6. При использовании материалов с коэффициентом фильтрации Кф < 4 м/сут дренирующий слой, полную толщину которого определяют из условия своевременного отвода воды, обеспечивает обычно и временное размещение ее до тех пор, пока не начнут работать водоотводящие устройства; при Кф > 7 м/сут дренирующий слой, рассчитанный на временное размещение воды, обеспечивает, как правило, и своевременный отвод ее после оттаивания водоотводящих устройств; при Кф = 4¸7 м/сут необходимо рассчитывать слой на обеспечение своевременного отвода воды и временное размещение ее.

5.7. Толщину дренирующего слоя из мелких и средней крупности песков следует определясь с учетом движения воды не только в свободном состоянии, но и в зоне капиллярного насыщения.

Требования к материалам и трубам дренажных конструкций

5.8. Для устройства дренирующих слоев следует использовать зернистые материалы (щебень, гравий, песок, шлак и др.), отвечающие требованиям ГОСТа. При содержании частиц мельче 0,15 мм не более 5 % (по массе), а пылевидных, глинистых и илистых частиц, определяемых отмучиванием, в количестве, указанном в ГОСТе «Песок для строительных работ», материал заведомо пригоден для устройства дренирующего слоя.

5.9. Фактический коэффициент фильтрации дренирующего материала определяют в приборе Союздорнии при максимальной плотности материала, установленной методом стандартного уплотнения.

5.10. В зависимости от коэффициента фильтрации дренирующего материала область преимущественного применения его характеризуется следующим.

При коэффициенте фильтрации материала, равном 1-2 м/сут, его целесообразно применять, на участках, где одновременно с дренированием основания требуется морозозащитный слой значительной толщины, устраиваемый на всю ширину земляного полотна, а также при 1-м типе местности по условиям увлажнения.

Для устройства дренирующего слоя в насыпях только на ширину проезжей части и в выемках, особенно при 3-м типе местности по условиям увлажнения, следует использовать материалы, имеющие коэффициент фильтрации более 2 м/сут.

5.11. Для устройства продольных и поперечных дрен применяют керамические, асбоцементные (перфорированные или с пропилами) или пластмассовые трубы, или же трубофильтры диаметром 50-100 мм. Трубофильтры керамзитобетонные дренажные применимы при неагрессивных к бетону грунтовых водах.

Трубы для устройства дрен должны удовлетворять следующим общим требованиям: а) иметь достаточную водопропускную способность для обеспечения отвода всей поступающей в них воды; б) через водоприемные отверстия в дрены не должны проникать частицы материала дренирующего слоя; в) выдерживать давление от вышележащих слоев грунта и одежды, а также от временных нагрузок; г) быть морозостойкими; д) сохранять перечисленные свойства в течение длительного времени; е) диаметр дренажных труб должен быть не менее 50 мм при глубине промерзания до 0,8 м и не менее 80 мм при более глубоком промерзании.

5.12. Весьма перспективно использование пластмассовых труб. Выпускаемые промышленностью полиэтиленовые трубы обладают значительной длиной (8 - 200 м), благодаря чему уменьшается число стыков, а также малой массой, гибкостью. Трубы стойки к воздействию агрессивных вод. Укладку их нетрудно механизировать. В целях обеспечения требуемой жесткости стенок следует применять гофрированные полиэтиленовые трубы марки ПВП диаметром 80 мм. Обычно полиэтиленовые трубы выпускаются с готовой перфорацией в виде круглых отверстий или узких прорезей. Для дренажей пригодны трубы с отверстием не более 5 мм, длина же прорезей должна быть не более 25 мм.

5.13. Вокруг дренажных труб с перфорацией или прорезями необходимо предусмотреть фильтрующую обсыпку. Необходимо, чтобы зернистые материалы, применяемые для устройства таких обсыпок, удовлетворяли следующие требования: а) область водопроницаемостью выше водопроницаемости дренирующего слоя; б) обсыпка должна препятствовать прониканию частиц грунта и песка в дрену, а сам фильтр не заливаться; в) частицы фильтра не должны проникать в водоприемные отверстия дрен; г) каменный материал обсыпки должен быть морозостойким.

Коэффициент однородности К, и междуслойности m материала для фильтровой обсыпки.

К0 = D60/D10 = 5¸10: m = D50/d10 = 10¸20,

где D60, D50, D10 - диаметр частиц обсыпки, меньше которых имеется 60, 50 и 10 % по массе;

d10 - то же, для материала дренирующего слоя.

При трубофильтровых дренах устройства фильтровых обсыпок не требуется.

Приток воды в основание дорожной одежды и меры по его ограничению

5.14. В основание проезжей части поступает вода, освобождающаяся при оттаивании переувлажненного грунта земляного полотна под проезжей частью и обочинами, и вода от атмосферных осадков проникающая с поверхности дороги и с придорожной полосы.

Приток воды в основание традиционной конструкции, отнесенной к 1 м2 проезжей части, q за сутки и Q за весь расчетный период весной принимают по табл. 5.1.

Таблица 5.1

Дорожно-климатическая зона

Тип местности по увлажнению

Объем воды, поступающей в основание

Супесь легкая (непылеватая) и песок пылеватый (группа А)

Суглинок непылеватый и глина (группа Б)

Суглинок пылеватый (группа В)

Супесь пылеватая (группа Г)

 

1

15/2,5

20/2

35/3

80/3,5

II

2

25/3

50/3

80/4

130/4,5

 

3

60/3,5

90/4

130/4,5

180/5

III

1

10/1,5

10/1,5

15/2

30,3

 

2

15/2

25/2

30/2,5

40/3

 

3

25/2,5

40/2,5

50/3,5

60/4

IV и V

3

20/2

20/2

30/2,5

40/3

Примечания: 1. В числителе дан общий объем воды Q (в литрах на квадратный метр), поступающей в основание за весь расчетный период, а в знаменателе - ее удельное q.

2. Для насыпей, возведенных из непылеватых грунтов, высотой более, чем требуется по техническим нормам, во II дорожно-климатической зоне принимают q=1,5 л/(м2×сут).

3. При наличии разделительной полосы, для участков, проходящих в нулевых отметках, насыпей высотой менее, чем требуется по техническим нормам, во II расчетные значения Q и q повышают на 20 %.

4. Для районов Прибалтики значения Q и q следует увеличивать на 25 %.

5. Для восточных районов страны значения притока воды следует уменьшить на 5-10 %.

Таблица 5.2

Дорожно-климатическая зона

Тип увлажнения местности

КП для непылеватых грунтов

Пылеватые грунты

Кп

Кг

II

1

1,5

1,5

1,0/1,0

 

2

1,5

1,6

1,2/1,2

 

3

1,6

1,7

1,3/1,2

III

1

1,4

1,5

1,0/1,0

 

2

1,4

1,5

1,1/1,0

 

3

1,5

1,6

1,2/1,1

IV и V

3

-

1,3

1,1/1,0

Примечания: 1. Для непылеватых грунтов Кг = 1,0.

2. В числителе указаны значения Кг для дорог I и II категорий, а в знаменателе - III и IV категорий.

5.15. С учетом коэффициентов «пик» и гидрологического запаса приток воды в дренирующий слой (в кубических метрах на 1 м2)

в сутки

qp = qКпКг:1000;                                                      (5.2)

общий

Q=qpТзап,

где Кп - коэффициент «пик», учитывающий неустановившийся режим поступления воды из-за неравномерного оттаивания и выпадения атмосферных осадков (табл. 5.2);

Кг - коэффициент гидрологического запаса, учитывающий снижение фильтрационной способности дренирующего слоя в процессе эксплуатации дороги (см. табл. 5.2);

Тзап - средняя продолжительность запаздывания начала работы водоотводящих устройств (см. п. 5.32).

5.16. На участках, где продольный уклон уменьшается, вода накапливается ввиду различных скоростей ее притока и оттока.

Количество воды, поступающей за сутки в основание на 1 м2 проезжей части

qвог = qрКвог,                                                           (5.3)

а за весь срок запаздывания оттаивания водоотводящих устройств

Qвог = qвогТзап,                                                        (5.4)

где Квог - коэффициент, характеризующий накопление воды в местах изменения продольного уклона.

Если уклоны у перелома профиля имеют одинаковое направление, коэффициент Квог определяют по номограмме (рис. 5.1) в зависимости от отношений:

(i1 - i2)/i2 и Кфi2/n,

i1 и i2 - продольные уклоны выше и ниже перелома профиля;

n - пористость материала дренирующего слоя, доли единицы;

Кф - коэффициент фильтрации материала дренирующего слоя, м/сут.

Рис. 5.1. Номограмма для определения коэффициента Квог увеличения объема поды в дренирующем слое в местах изменения погнутого профиля

При встречных уклонах продольного профиля

Квог = 1 + Кф(Тзап + 1)(i1 + i2)/(2n).                                     (5.5)

5.17. Для уменьшения притока поверхностных вод в основание проезжей части и в грунт земляного покрытия следует предусматривать одно или несколько из следующих мероприятий: а) укрепление обочин с приданием им надлежащего поперечного уклона; б) устройство бордюров у краев проезжей части; в) правильное размеры берм и крутизна откосов; г) правильное размещение боковых канав; д) устройство монолитных слоев основания шире проезжей части.

5.18. Для дорог, I, II, IIIп категории необходимо предусмотреть укрепление обочин усовершенствованным покрытием шириной полосы не менее 0,75 м, а для дорог III и IVп категории с усовершенствованным покрытием - шириной не менее 0,5 м.

Укрепление остальной части обочин следует назначать в зависимости от интенсивности и характера движения, грунтов земляного полотна и особенностей климата в виде одерновки, щебеночного, гравийного или шлакового покрытия.

5.19. На участках дорог, где грунт придорожной полосы за лето просыхает на глубину до 1,5 м (до оптимальной влажности), безопасное расстояние lу от бровки земляного полотна до уреза воды, застаивающейся осенью в придорожной полосе (рис. 5.2), можно определять по номограмме (рис. 5.3) в зависимости от

Кф/[(Wпв - W0)d] и t,

где Кф - коэффициент фильтрации грунта, м/сут;

Wпв - полная влагоемкость грунта, доли единицы по массе;

W0 - оптимальная влажность грунта, доли единицы;

d - объемная масса скелета грунта, г/см3;

t - продолжительность стояния воды у подошвы насыпи весной и осенью, сут. При отсутствии фактических данных принимают максимальное t=230 сут.

Рис. 5.2. Схемы к расчету безопасного расстояния lу от бровки земляного полотна до уреза застоявшейся у дороги воды; Б - берма

Величина lу для супесей обычно составляет 4-10 м, для суглинков легких и пылеватых - 2-3 м, для суглинков тяжелых и глин она не превышает 2 м.

5.20. Для участков, где летом влажность грунта на придорожной местности не уменьшается до оптимального значения, величину lу определяют также по номограмме (см. рис. 5.3). Однако это не гарантирует от поступления в дренирующий слой воды, объем q (в литрах на квадратный метр) которой и необходимо учитывать, при назначении конструкций дренажных устройств.

5.21. Наличие в дорожных одеждах основания из монолитных материалов (цементогрунтов, битумоминеральных материалов и др.) способствует уменьшению поступления воды с поверхности дороги.

Снижение притока воды в дренирующий слой зависит от толщины слоя из монолитного материала и объема свободных пор в нем.

5.22. При окончательном установлении расчетного притока в данную конкретную дорожную конструкцию следует учитывать реализацию той или иной меры (предусмотренных п. 5.18 - 5.21) по II и III дорожно-климатических зонах, приводящей к снижению притока воды и дренирующий слой (в процентах):

Рис. 5.3. Номограмма для определения безопасного расстояния lу от бровки земляного полотна до уреза воды в боковых канавах

Тип местности по условиям увлажнения                                                                                                              1                                                                                                              2                                                                                                              3

Меры по ограничению воды

а) водонепроницаемые обочины и надлежащий поперечный уклон                                                                                                              20                                                                                                              15                                                                                                              12

б) безопасное расстояние от бровки земляного полотна до уреза воды при влажности грунта оптимальной                                                                                                              -                                                                                                              20                                                                                                              15

в) то же, выше оптимальной                                                                                                              -                                                                                                              10                                                                                                              7

г) монолитные слои основания и свободная пористость материала до 5 %                                                                                                              20                                                                                                              20                                                                                                              20

д) то же, 5-10 %                                                                                                              10                                                                                                              10                                                                                                              10

е) теплоизоляционные слои                                                                                                              -                                                                                                              20                                                                                                              20

Примечание. Если предусмотрено два или несколько мероприятий, то соответствующие данные таблицы нужно суммировать.

Конструкции и расчет дренажных устройств

5.23. Примеры наиболее распространенных и хорошо зарекомендовавших себя в эксплуатации дренажных конструкции для участков дорог, проходящих и насыпях, и местах с нулевыми отметками, а также для реконструируемых участков, приведены на рис. 2.6 и 5.4.

Рис. 5.4. Дренажные конструкции (примеры):

а - на участках с малыми насыпями; б - при верхней части насыпи из дренирующих материалов; в - при подкюветном дренаже в выемке; 1 - плиты; 2 - плита у оголовка дрены; 3 - труба диаметром не менее 50 мм; 4 - подкюветный дренаж; 5 - водосточная труба; Н - высота насыпи

5.24. При назначении мероприятий по дренированию дорожной одежды и земляного полотна целесообразно соблюдать такую последовательность проектирования:

а) дорогу разделить на типичные участки по виду продольного профиля и природным условиям (характер рельефа местности, наличие водотоков, пересекающих дорогу, и др.) с учетом особенностей конструкций земляного полотна (насыпь, выемка, места с нулевыми отметками) и дорожной одежды (наличие монолитных слоев основания, а также морозозащитных или теплоизоляционных слоев из укрепленных материалов), обеспеченности материалами для дренирующего слоя и дрен; осуществления мер по ограничению притока поды в дорожную конструкцию;

б) для типичных участков определить количество воды, поступающем в основание; за сутки и за весь расчетный период (п. 5.14 - 5.16) с учетом предусмотренных мер по ограничению притока воды в дорожную конструкцию (п. 5.22);

в) наметить варианты дренажных конструкций;

г) обосновать расчетом толщину дренирующего слоя, необходимую в данных условиях, или определить, каким значением коэффициента фильтрации должен обладать дренирующий материал в заданной дренажной конструкции.

5.25. Дренажную конструкцию нужно проектировать с учетом объема притока воды, поступающей в основание дорожной одежды в расчетный период, фильтрационной способности материала, конструкции земляного полотна и т.д.

При удельном объеме притока воды в сутки q = 0,005 ¸ 0,007 м3/сут и более на 1 м2 проезжей части, а также на участках с нулевыми отметками, в выемках и недостаточно высоких насыпях целесообразно устройство продольных трубчатых дрен у краев проезжей части.

Рис. 5.5. Номограмма для расчета дренирующего слоя из крупных песков:

L - длина пути фильтрации, равная 3.5 м; i - уклон низа дренирующею слоя

С целью повышения водопропускной способности дренажных устройств и тем самым более широкого использования мелких песков с коэффициентом фильтрации Кф ³ 2 м/сут по краям основания дорожных одежд необходимо устраивать углубленные продольные ровики с трубчатыми дренами.

5.26. Поперечные выпуски из продольных дрен следует устраивать из длинномерных труб диаметром 8-10 см. Уклон труб-выпусков принимают больше уклона продольных дрен, но не менее 0,04-0,05. Расстояние между поперечными выпусками устанавливают с учетом продольного уклона дороги и рельефа местности, но оно не должно превышать 300 м. При продольном уклоне дороги 20 %о и менее выпускные трубы допускается укладывать в плане перпендикулярно к оси дороги; при уклоне до 40%о - под углом 85°, а при большем уклоне под углом 75° к ее оси.

5.27. На участках с затяжными продольными уклонами, превышающими поперечные, в местах погнутых вертикальных кривых для поперечного перехвата воды, движущейся в дренирующем слое вдоль дороги, и в местах уменьшения уклонов предусматривают поперечные трубчатые дрены диаметром 80 - 100 мм (поперечные прорези мелкого заложения), укладываемые в ровики глубиной 0,15 - 0,2 м с фильтровыми обсыпками из каменных материалов или фильтрующего нетканого синтетического материала типа Дорнита, Бидима и др. Расстояние между поперечными прорезями принимают равным 10 - 20 м.

5.28. При наличии водосточной сети предусматривают сброс воды из поперечных выпусков и поперечных прорезей непосредственно в водоприемники.

5.29. При устройстве дренирующего слоя из крупных песков и других материалов с коэффициентом фильтрации более 10 м/сут расчет его толщины на своевременный отвод воды ведут по номограмме (рис. 5.5). По известным значениям qр (в кубических метрах за сутки на 1 м2, см. формулу (5.2) и Кф (в метрах за сутки) на оси абсцисс номограммы находят величину qрф, а по ней на оси ординат - hнас (в метрах). При длине пути фильтрации L > 3,5 м найденное по номограмме значение hнас умножают на отношение L/3,5.

Рис. 5.6. Номограмма для расчета толщины hнас дренирующего слоя из песков мелких и средней крупности

Рис. 5.7. Углубленный продольный ровик с трубчатой дреной:

1 - Труба диаметром 80 - 100 мм или трубофильтр диаметром 50 мм; 2 - зона движения свободной воды; 3 - зона движения капиллярной воды; 4 - подушка из мелкого гравия или щебня

Рис. 5.8. Номограмма для расчета дренирующего слоя в конструкции с углубленными продольными ровиками при песке:

а - мелком; б - средней крупности

Полную толщину дренирующего слоя вычисляют по формуле (5.1). По номограмме (см. рис. 5.5) можно также определить требуемый коэффициент фильтрации дренирующего материала при известных значениях qр, h, i, hнас, L.

5.30. Метод расчета толщины дренирующего слоя, устраиваемого из песков мелких и средней крупности, основан на закономерностях установившегося режима движения воды в двух взаимно связанных потоках, расположенных в два яруса: в нижнем потоке движется свободная, а в верхнем - капиллярная вода. Дренирующий слой в этом случае можно рассчитать с помощью номограммы (рис. 5.6). Для чего предварительно вычисляют отношение q’/Кф (где q’ - приток воды на 1 м дороги, м3/сут; Кф - коэффициент фильтрации дренирующего материала); (q - определяют с учетом расчетного объема притока воды (п. 5.14 - 5.16); при односкатном поперечном профиле проезжей части q’=qрВ, при двухскатном q’ = 0,5qрВ (где В - ширина проезжей части, м). Затем по номограмме (см. рис. 5.6) при известных значениях q’/Кф и поперечного уклона грунтового основания находят отношение 3,5hнас/L (горизонтальная ось) и по нему при заданной длине пути фильтрации определяют величину hнас, а по формуле (5.1) находят полную толщину дренирующего слоя.

По этой же номограмме можно определить и требуемый коэффициент фильтрации материала при заданной толщине дренирующего слоя и известных других параметрах.

5.31. Дренирующий слой в дренажной конструкции с углубленными продольными ровиками, (рис. 5.7), усиливающими процесс движения воды в песке мелком и средней крупности, рассчитывают с помощью номограмм (рис. 5.8).

По этим номограммам получают сразу полную толщину дренирующего слоя hп в зависимости от крупности песка, расчетного объема притока воды в дренирующий слой (см. п. 5.14 и 5.15) qр, коэффициента фильтрации дренирующего материала Кф длины пути фильтрации L (расстояние от оси дороги до внешней бровки ровика, поперечного уклона низа дренирующего слоя i). По этим номограммам можно определить требуемое значение коэффициента фильтрации песка при известных других параметрах дренажной конструкции.

5.32. Полную толщину дренирующего слоя hп (в метрах), достаточную для временного размещения в его порах поступающей в конструкцию в начальный период ее оттаивания воды, определяют по формуле, основанной на сравнении объема воды, подлежащей размещению, и объема свободных пор в материале дренирующего слоя:

hп = (Q/n + 0,3hзап):(1 - jзим),                                         (5.6)

при Q = qpTзап,

где jзим - коэффициент заполнения пор влагой в материале дренирующего слоя к началу оттаивания (табл. 5.3);

Q - количество воды, накопившейся в дренирующем слое за время запаздывания Tзап начала работы водоотводящих устройств, м32 (во II дорожно-климатической зоне Tзап = 4¸6 сут, в III зоне - 3¸4 сут, большие значения для мелких песков);

n - пористость материала, и долях единицы.

5.33. В процессе эксплуатации дороги выходы на откосы сплошного песчаного дренирующего слоя нередко заиливаются. В таком случае следует рассчитать дренирующий слой на кратковременное размещение воды и осушение и, кроме того, проверить достаточен ли объем незаполненных пор в этом слое для размещения в нем на продолжительное время (tпр = 15¸20 сут в условиях II III дорожно-климатических зон) поступающего количества воды с учетом испарения влаги.

5.34. На участках дорог с многополосной проезжей частью, где невозможно обеспечить длину пути фильтрации L £ 10 м, дренирующий слой должен быть рассчитан на поглощение всего количества поды, поступающей за весь расчетный период.

Полная толщина требуемого песчаного слоя для этих участков может быть рассчитана по формуле (5.6), но количество подлежащей размещению в свободных порах воды следует принимать Q = qрt , где t - полное число дней притока воды в подстилающий слой.

Таблица 5.3

Толщина дренирующего слоя, см

Значение jзим во II дорожно-климатической зоне при пористости n, равной

0,4

0,38

0,32

0,28

До 20

0,4

0,5

0,6

0,7

20 - 40

0,35

0,4

0,5

0,6

Более 40

0,3

0,35

0,45

0,55

Примечание. В III дорожно-климатической зоне величину jзим следует принимать равной 0,8 от значений, указанных в этой таблице.

Особенности проектирования дренажа реконструируемых дорог

5.35. При назначении конструкции дренажных устройств реконструируемых дорог следует руководствоваться указаниями п. 2.53.

5.30. На участках, где дренирующий слой под каменной частью существующей дорожной одежды устроен только на ширину проезжей части, рациональна конструкция нового дренажного устройства, в котором для отвода воды служит песчаный слой, вновь уложенный на всю ширину обочин.

5.37. На участках, где в существующей одежде нет песчаного слоя (или песок заилился так, что утратил фильтрационные свойства), новый дренирующий слой нужно устраивать в пределах уширения проезжей части, укрепительных полос и обочин с некоторым заглублением относительно низа старой одежды (но не менее 5 см), если для обеспечения необходимой прочности уширяемой части одежды не требуется более толстый слой песка.

5.38. На участках, где существующий дренирующий слой уложен на всю ширину земляного полотна и фильтрационные свойства песка удовлетворяют требованиям п. 5.8, в целях максимального использования имеющихся конструкции дренажа, покрытие в пределах уширения и укрепления полосы устраивают на новом основании по существующему песчаному слою.

5.39. На участках полной перестройки дорог и значительного повышения отметок земляного полотна с засыпкой существующей дорожной одежды грунтом мероприятия по обеспечению осушения активной зоны и новой одежды существенно не отличаются от применяемых при новом строительстве.

5.40. В выемках и на участках с нулевыми отметками при неблагоприятных грунтово-гидрологических условиях, обусловливающих значительный приток воды в основание проезжей части, для быстрого удаления виды из дренирующего слоя может быть применен продольный дренаж с трубчатыми поперечными выпусками.

5.41. Принципы расчета дренирующего слоя реконструируемых дорог те же, что и новых дорог - должно быть обеспечено и временное размещение воды в начале весны и своевременный ее отвод в последующей стадии. При значительных продольных уклонах необходимо предусмотреть меры по предотвращению движения воды в песчаном подстилающем слое по уклону.

ПРИЛОЖЕНИЕ 1

РАСЧЕТНЫЕ НАГРУЗКИ

1. При проектировании дорожных одежд в качестве расчетных (кроме случаев, указанных и п. 3.16 - 3.18 настоящей инструкции) принимают нормированные СНиП нагрузки, соответствующие предельным нагрузкам на ось автомобилей (табл. 1).

Таблица 1

Транспортные средства

Номинальная статическая нагрузка на ось, кН

Нормированная нагрузка, передаваемая дорожной одежде колесом автомобиля, кН

Среднее расчетное удельное давление р колеса на покрытие, МПа

Расчетный диаметр следа колеса автомобиля, см

неподвижного Qн. норм

движущегося Qд. норм

неподвижного

движущегося

Автомобили:

 

 

 

 

 

 

группа A

100

50

65

0,6

33

37

группа Б

60

30

39

0,5

28

32

Автобусы:

 

 

 

 

 

 

группа А

110

55

72

0,6

34

39

группа Б

70

35

46

0,5

30

34

Примечание. Указанные в таблице нормированные нагрузки для автобусов принимают за расчетные при количестве последних более 5 % в составе грузового и автобусного движений.

2. Основные данные о нагрузках, передаваемых на дорожное покрытие выпускаемыми в настоящее время серийными автотранспортными средствами, приведены в табл. 2.

3. При проектировании дорожных одежд для многоколёсных специализированных транспортных средств, а также при определении возможности единичных проездов таких транспортных средств по существующей дороге в качестве расчетной принимают наибольшую эквивалентную нагрузку  с параметрами р и Dэ. Эквивалентную нагрузку  определяют с учетом влияния колес данной оси и соседних осей, расположенных друг от друга на расстоянии менее 2,5 м.

Для расчета дорожной одежды на воздействие движущегося многоколёсного транспортного средства эквивалентная нагрузка

,                                              (1)

при Кq = qj-1 + 1 + qj+1,                                                         (2)

где Qnj - номинальная статическая, нагрузка на j-е колесо (с одиночными или спаренными шинами) n-й оси;

gn-1, gn+1 - коэффициенты, характеризующие соответственно влияние впереди и сзади идущих колес движущегося транспортного средства на напряженно-деформированное состояние дорожной одежды под данным колесом n-й оси и определяемые по графику (рис. 2) в зависимости от отношения расстояния L между осями к диаметру Dд следа данного колеса;

Кдин - коэффициент динамичности, учитывающий повышение нагрузки на покрытие при колебаниях транспортного средства, принимаемый равным 1,30;

qj-1, qj+1 - коэффициенты, характеризующие дополнительное воздействие других колес данной n-й оси и определяемые по графику (рис 3). При 1 < l/Dд <2 принимают q(l)=1.


Таблица 2

Марка транспортного средства

Грузоподъемность, т

Нагрузка на покрытие от переднего колеса, кН

Нагрузка на покрытие от заднего колеса, кН

Расстояние между осями задней тележки трехосного автомобиля a, м

Среднее удельное давление от заднего колеса на покрытие, р, МПа

Диаметр следа заднего колеса для расчета дорожной одежды на действие автомобиля, см

Суммарный коэффициент для приведения автомобиля к расчетным нормированным нагрузкам (автомобили группы А и Б)

неподвижного

движущегося

неподвижного, Qн

движущегося, Qд

неподвижного, Dн

движущегося, Dд

группа А Sсумм.А

группа Б Sсумм.Б

Грузовые автомобили

УАЗ-451

1,0

12,0

15,6

15,0

19,5

-

0,27

27

30

0,00

0,06

ГАЗ-53А

4,0

9,0

11,8

28,0

36,3

-

0,53

26

30-

0,08

0,74

ЗИЛ-133Г1

8,0

20,9

27,1

27,5

35,8

1,40

0,35

32

.6

0,30

2,43

Урал-377Н

7,5

20,0

26,0

27,5

35,8

1,40

0,36

31

36

0,29

2,39

ЗИЛ-130

5,0

12,9

16,7

34,8

45,2

-

0,60

27

31

0,20

1,94

Урал-4320

5,0

21,8

28,3

22,7

29,5

1,40

0,32

30

34

0,14

1,14

КрАЗ-257Б1

12,00

23,0

29,9

45,0

58,5

1,40

0,50

34

39

2,71

-

МАЗ-516Б

14,50

28,5

37,0

45,0

58,5

1,46

0,55

32

37

2,46

-

МАЗ-500А

8,0

24,1

31,4

50,0

65,0

-

0,65

31

36

1,04

-

ЗИЛ-130-76

6,0

13,1

17,1

39,5

51,4

-

0,60

29

33

0,36

-

Магирус-232Д19L

11,5

30,0

39,0

65,0

84,5

-

0,6

37

42

-

-

Магирус-290Д26L

16,60

30,0

39,0

50,0

65,0

1,38

0,6

33

37

4,21

-

КамАЗ-5320

8,0

21,9

28,5

27,3

35,5

1,32

0,45

28

32

0,27

2,25

КрАЗ-255Б

7,5

27,2

35,4

35,6

46,2

1,40

0,35

36

41

1,10

-

Седельные тягачи

КамАЗ-5410

8,1

20,8

27,1

27,1

35,6

1,32

0,45

28

32

0,27

2,21

Урал-377СН

7,5

18,2

23,7

27,3

35,5

1,40

0,36

31

5

0,28

2,22

МАЗ-504А (Шкода-706 RTTN)

7,75

21,9

28,4

50,0

05,0

-

0,65

31

36

1,03

-

KA3-608Б

4,5

14,0

18,2

29,6

38,5

-

0,60

25

29

0,10

0,98

Урал-375С-К1

5,5

20,2

26,3

22,7

29,5

1,40

0,32

30

34

0,13

1,07

ЗИЛ-157КВ

4,35

14,7

19,1

18,2

23,6

1,12

0,35

26

29

0,05

0,41

КрАЗ-255В

8,0

27,4

35,6

33,4

43,4

1,40

0,35

35

40

0,83

0,72

ЗИЛ-131В

5,0

17,8

23,1

20,3

26,4

1,25

0,30

29

34

0,09

-

КрАЗ-258Б1

12,0

22,1

28,7

43,7

56,8

1,40

0,50

33

38

2,34

-

Мерседес Бенц 2232LS

14,00

30,0

39,0

40,0

52,0

1,35

0,50

32

36

1,65

-

Вольво F89-32 (6´2)

14,50

32.5

42,2

41,2

53,6

1,32

0,45

34

39

2,14

-

Вольво F89-32 (6´4)

13,85

32,5

42,2

54,0

05,0

1,37

0,45

38

43

5,23

-

Автомобили-самосвалы

ГАЗ-САЗ-53Б

3,50

9,0

11,7

28,0

36,4

-

0,53

26

30

0,08

0,74

ЗИЛ-ММЗ-554

4,00

13,9

18,1

32,5

42,2

-

0,60

26

30

0,15

1,40

КамАЗ-5511

10,00

22,4

29,1

36,1

47,0

1,32

0,45

32

37

1,05

-

МАЗ-503А

8,00

26,2

34,1

50,0

65,0

-

0,65

31

36

1,06

-

КрАЗ-256Б1

12,00

22,6

29,4

47,1

61,3

1,40

0,50

35

40

3,48

-

Магирус-290Д-26К

14,50

30,0

39,0

50,0

65,0

1,38

0,60

33

37

4,21

-

Татра 138S1

12,70

24,5

31,9

44,1

57,3

1,32

0,60

31

35

2,34

-

Татра 148S1

15,00

30,0

39,0

50,0

65,0

1,32

0,60

33

37

4,49

-

Внедорожные автомобили

БелАЗ-540А

27,00

78,0

101,4

162,0

210,6

-

0,50

64

73

-

-

БелАЗ-548А

40,00

116,0

150,8

228,0

296,4

-

0,56

72

82

-

-

БелАЗ-549

80,00

238,4

309,9

503,2

654,2

-

0,56

107

122

-

-

Прицепы общего назначения

ГКБ-817

5,50

20,1

26,1

20,1

26,1

-

0,60

21

24

0,04

0,34

МАЗ-8923

8,00

30,0

39,0

30,0

39,0

-

0,55

26

30

0,21

2,00

ГКБ-8350

8,0

14,4

18,7

14,4

18,7

-

0,38

22

25

0,01

0,08

Полуприцепы общего назначения

ОдАЗ-9370

14,20

-

-

27,5

35,8

1,32

0,36

31

36

0,30

2,38

КАЗ-717

11,50

-

-

27,5

35,8

1,37

0,30

34

39

0,32

2,53

MAЗ-5245

13,5

-

-

50,0

65,0

-

0,48

36

42

1,00

-

Автобусы

ПАЗ-3201

 

13,2

17,2

22,6

29,4

-

0,30

31

35

0,03

0,31

ЛАЗ-695Н

 

19,9

25,9

37,2

48,4

-

0,50

31

35

0,29

-

ЛАЗ-699Н

 

23,4

30,4

39,8

51,7

-

0,50

32

46

0,40

-

ЛАЗ-4202

 

20,5

26,7

46,5

60,5

-

0,75

28

32

0,75

-

ЛиАЗ-677

 

28,7

37,3

41,6

54,1

-

0,675

28

32

0,53

-

Икарус-250

 

28,0

36,4

47,9

62,3

-

0,650

31

35

0,91

-

Икарус-255

 

27,8

36,1

46,5

60,4

-

0,600

31

36

0,80

-

Икарус-280

 

27,2

35,4

45,2

58,8

-

0,650

30

34

0,81

-

 

 

 

 

29,4

38,2

 

0,775

22

25

 

 

Икарус-260

 

28,2

36,7

43,4

59,0

-

0,650

30

34

0,79

-

Троллейбусы

ЗИУ-9В

 

31,4

40,6

51,8

67,4

-

0,66

32

36

1,30

-

ЗИУ-682В

 

30,4

39,6

54,4

70,7

-

0,66

32

37

1,56

-

Шкода-9ТР

 

30,0

39,0

50,0

65,0

-

0,80

28

32

1,11

-

Примечания: 1. Диаметры Dн и Dд следов колес соответствуют нагрузкам на покрытие от заднего колеса при среднем удельном давлении р, равном давлению воздуха в шинах.

2. Нагрузка на заднюю ось порожнего транспортного средства в среднем составляет для распространенных грузовых автомобилей и самосвалов 0,38, для троллейбусов и автобусов 0,58 от нагрузки на заднюю ось груженого транспортного средства.

3. В разделе “Седельные тягачи” в столбце “грузоподъемность” указана максимально допустимая нагрузка на седельно-сцепное устройство.

4. В связи с тем, что автобусы Икарус-280 имеют три оси (моста), расположенные на расстояниях между собой более 2 м, параметры нагрузок от задних осей даны в виде дробей, числители и знаменатели которых соответствуют второй и третьей осям автобуса.

5. Прочерки в последних двух столбцах означают, что данное транспортное средство не следует приводить к расчетной интенсивности воздействия нагрузки транспортных средств групп А пли Б соответственно, поскольку наибольшая нагрузка на колесо данного транспортного средства превышает нормированную (см. табл. 1) более, чем на 20 %.

6. Суммарные коэффициенты Sсумм.А и Sсумм.Б для приведения воздействия транспортного средства на дорожную одежду к расчетной нормированной нагрузке от автомобиля групп А или Б определены по графику (рис. 1).

Таблица 3

Показатель лесовозного автопоезда

Схема по рис. 4, а

Схема по рис. 4, б

МАЗ-509 + ГКБ-9383-011

МАЗ-5434 + ГКБ-9383-011

КрАЗ-260Л + ГКБ-9383-011

КрАЗ-255Л + ГКБ-9383-011

Урал-375Н + ГКБ-9383-011

ЗИЛ-131 + ТМЗ-802

Урал-377 + ТМЗ-802

КамАЗ-5410 + ТМЗ-802

МАЗ-515Б + ГКБ-9383-011

Масса автопоезда, т

29,4/13,6

33,0/13,0

42,3/18,0

39,9/17,1

31,1/11,9

21,3/9,1

25,2/9,9

25,4/9,2

40,7/13,5

Статическая нагрузка на оси, кН:

 

 

 

 

 

 

 

 

 

первую 2 Qн1

50/44

54/43

72/66

58/55

42/36

32/29

40/34

41/32

57/49

вторую 2 Qн2

98/92

102/43

80/35

75,5/58

54,5/22

36,5/19

54/20

54,5/18

90,5/23

третью 2 Qн3

-/-

-/-

80/35

75,5/58

54,5/22

36,5/19

54/20

51,5/18

90,5/23

четвертую 2 Qн4

73/-

87/22

95/22

95/-

80/20

54/12

52/12,5

52/12

84,5/20

пятую 2 Qн5

73/-

87/22

95/22

95/-

80/20

54/12

52/12,5

52/12

84,5/20

Нагрузка на покрытие от колеса движущегося автопоезда (с учетом коэффициента динамичности Кдин=1,3) на оси, кН:

 

 

 

 

 

 

 

 

 

первую

32,5/28,6

35,1/27,9

46,8/42,9

37,7/35,8

27,3/23,4

20,8/18,8

26,0/22,1

26,6/20,8

37,0/31,8

вторую

63,7/59,8

66,3/29,7

52,0/22,7

49,0/37,7

35,4/14,3

23,6/12,3

35,1/13

35,3/11,7

58,7/14,9

третью

-

-

52,0/22,7

49,0/37,7

35,4/14,3

23,6/12,3

35,1/13

35,3/11,7

58,7/14,9

четвертую

47,5/-

56,6/14,3

61,7/14,3

61,3/-

52,0/13,0

35,1/7,8

33,8/8,0

33,8/7,8

54,8/13,0

пятую

47,5/-

56,6/14,3

61,7/14,3

61,8/-

52,0/13,0

35,1/7,8

33,8/8,0

33,8/7,8

54,8/13,0

Расстояние между осями автопоезда, м:

 

 

 

 

 

 

 

 

 

второй и третьей (тягач)

-

-

1,40

1,40

1,40

1,25

1,40

1,32

1,46

четвертой и пятой (прицеп)

1,35

1,35

1,40

1,35

1,35

1,20

1,20

1,20

1,35

Давление от колес, МПа:

 

 

 

 

 

 

 

 

 

тягача

0,55

0,53

0,42

0,40

0,532

0,35

0,39

0,45

0,53

прицепа

0,50

0,55

0,55

0,55

0,50

0,45

0,45

0,45

0,50

Диаметр следа колеса для расчета дорожной одежды на действие движущегося автомобиля, см:

 

 

 

 

 

 

 

 

 

тягача

 

-

40/26

40/35

37/24

29/21

34/21

31/18

37/19

прицепа

-35/-

36/18

38/-

36/18

36/18

31/15

31/15

30/15

37/18

Суммарный коэффициент Sсумм.А для всех осей одного автопоезда

2,89

3,58

5,56

5,14

1,79

0,31

0,45

0,48

4,49

В том числе:

 

 

 

 

 

 

 

 

 

для груженого

2,16

3,52

5,38

4,82

1,79

0,31

0,44

0,47

4,45

для порожнего

0,73

0,06

0,18

0,32

-

-

0,01

0,01

0,04

Примечание. В числителе дан показатель для автопоезда груженого, а в знаменателе - порожнего.


Определив  для различных колес многоколёсного транспортного средства, находят наибольшее значение эквивалентной нагрузки, которое принимают за расчетное. Параметры расчетной эквивалентной нагрузки:

р = рв; ,                                                 (3)

где рв - давление воздуха в шине колеса, которому соответствует наибольшая эквивалентная нагрузка.

Примечание. При проектировании дорожной одежды на воздействие неподвижного многоколесного транспортного средства эквивалентную нагрузку находят тоже по формуле (1) при Кдин =1; причем воздействие колес соседних осей учитывают, подставив в эту формулу вместо gn-1 и gn+1 коэффициенты qj-1 и qj+1, определяемые по графику (см. рис. 3) в зависимости от отношения расстояния L между осями к диаметру следа данного колеса Dн.

Рис. 1. Зависимость коэффициента приведения Sn от отношения нагрузки  колеса на дорожную одежду к расчетной Qрасч; построена по формуле Sn = (Qп(э)/Qрасч)4,4

4. Основные данные о нагрузках, передаваемых па дорожное покрытие лесовозными автопоездами, приведены в табл. 3 и на рис. 4.

5. Рассмотрим два примера расчета приведенной интенсивности воздействия нагрузки.

Пример 1. Определить параметры расчетной нагрузки для проектирования нежесткой одежды автомобильной дороги II категории с двухполосной проезжей частью.

Согласно технико-экономическим расчетам, интенсивность движения на перспективу составляет 6000 авт./сут в обоих направлениях, в том числе: автомобилей легковых - 2000, грузовых - 3500, автобусов - 500. Движение автомобилей с нагрузками, превышающими 100 кН на ось, в весенний период не предусматривается.

Перспективные состав и интенсивность движения в обоих направлениях автомобилей и автобусов приведены в табл. 4.

Для одежды автомобильной дороги II категории в качестве расчетной принимают нормированную нагрузку от колеса автомобиля группы А (см. табл. 1): Qн.норм = 50 кН, Qд.норм = 65 кН.

Рис. 2. Зависимость коэффициентов g, учитывающих влияние колес других осей транспортного средства, от отношения расстояния L между осями к диаметру Dд следа заданного колеса:

1, 2 - значения gn-1 для дорожных одежд, удовлетворяющих требованиям интенсивного движения автомобилей соответственно группы А и Б; 3, 4 - то же, gn+1

Рис. 3. Зависимость коэффициентов q, учитывающих влияние других колес данной осп транспортного средства, от отношения расстояния l между центрами отпечатков рассматриваемого колеса и других колес (в поперечном направлении) к диаметру Dд следа заданного колеся для дорожных одежд, удовлетворяющих требованиям интенсивного движения автомобилей группы А и Б

Коэффициенты Smсум.А для приведения воздействия на дорожную одежду автомобилей, принятых за типичные, к расчетной нагрузке группы А находят по табл. 2.

Приведенная расчетная интенсивность воздействия нагрузки по формуле (3.2):

Np = 0,55(700×0 + 1400×0,08 + 700×0,27 + 350×0,36 + 350×3,41 + 200×0,03 + 150×0,40 + +150×0,91) = 1276 ед./сут.

Искомые параметры расчетной нагрузки:

1) для проектирования дорожной одежды на действие движущегося транспортного средства: р=0,6 МПа, Dд =37 см, Np =1276 ед./сут;

2) для проектирования одежды на действие неподвижного транспортного средства: р=0,6 МПа, Dн = 33 см.

Пример 2. Определить параметры расчетной нагрузки для проектирования нежесткой одежды автомобильной дороги IV категории с двухполосной проезжей частью.

Рис. 4. Схемы распределения нагрузки от лесовозных автопоездов:

а - МАЗ-509 + ГКБ-9383-011, МАЗ-5434 + ГКБ-9383-011; б - КрАЗ-260Л + ГКБ-010, КрАЗ-255Л + ГКБ-9383-010; «Урал»-375Н + ГКБ-9383-011, ЗИЛ-131 + ТМЗ-802, «Урал»-377 + ТМ3-802; КамАЗ-5410 + ТМЗ-802, МАЗ-515Л + ГКВ-9383-011

Таблица 4

Группа по грузоподъемности (масса груза)

Марка автомобилей, принятых за типичные для данной группы по грузоподъемности

Грузоподъемность, т

Количество транспортных средств, %

Интенсивность движения в обоих направлениях, Nn авт./сут.

Коэффициент для приведения к нормированной нагрузке, Smсум.А

Грузовые автомобили

Легкие (до 2,5 т)

УА3-451

1

20

700

0

Средние (2,5 - 5 т)

ГАЗ-53А

4

40

1100

0,08

Тяжелые (5 - 15 т)

КамАЗ-5320

8

20

700

0,27

 

ЗИЛ-130-76

6

10

350

0,36

 

КрАЗ-256Б1

12

10

350

3,41

Автобусы

Малые

ПАЗ-3201

-

40

200

0,03

Средние

ЛАЗ-С99Н

-

30

150

0,40

Большие

Икарус-250

-

30

150

0,91

Согласно технико-экономическим разработкам, интенсивность движения на перспективу составляет 600 авт./сут в обоих направлениях, в том числе автомобилей легковых 150, грузовых - 400, автобусов - 50. По дороге предполагаются перевозки грузов с помощью прицепа-тяжеловоза ЧМЗАП-5208 и двух автомобилей-тягачей КрАЗ-255Б. Перспективные состав и интенсивность движения в обоих направлениях автомобилей и автобусов приведены в табл. 5.

Таблица 5

Группа по грузоподъемности

Марка автомобилей, принятых за типичные для данной группы по грузоподъемности

Грузоподъемность, т

Число транспортных средств, %

Интенсивность движения в обоих направлениях, Nm авт./сут.

Коэффициент для приведения к нормированной нагрузке, Smсумм

Грузовые автомобили

Легкие (до 2,5 т)

ГАЗ-66-02

2,0

20

80

-

 

УАЗ-451ДМ

1,0

4,5

18

-

Средние (2,5 - 5 т)

ГАЗ-52-04

2,5

20

80

-

 

ГАЗ-САЗ-53Б

3,5

10

40

-

 

3ИЛ-ММЗ-555

4,5

20

80

-

Тяжелые (5 - 15 т)

КамАЗ-5511

10,0

15

60

0,067

 

КрАЗ-256Б1

12,0

9

36

0,300

 

КрАЗ-255Б (тягач)

7,5

1

4

0,089

Сверхтяжелые с нагрузкой на ось более 120 кН

ЧМЗАП-5208

40,0

0,5

2

2,34

Автобусы

Малые

ПАЗ-3201

-

80

40

-

Средние

ЛАЗ-695Н

-

20

10

0,023

Рис. 5. Схема расположения колес прицепа-тяжеловоза ЧМЗАП-5208:

1 - наиболее нагруженное колесо Q12 = 109 кН

Одежды автомобильных дорог IV категории, как правило, рассчитывают на нагрузку группы Б. Однако в данном случае по дороге предусматривается круглогодичное движении автомобилей группы А. Поэтому дорожную одежду следует рассчитывать на нагрузку, не менее нормированной, передаваемой на дорожную одежду колесом автомобиля группы А. Кроме того, согласно п. 3.21 настоящей Инструкции, необходимо найти значение наибольшей эквивалентной колесной нагрузки . Если окажется, что это  превышает нормированную нагрузку от автомобиля группы А, то ее следует принимать в качестве расчетной.

Схема расположения колес прицепа ЧМЗАП-5208 показана на рис. 5. Статическая нагрузка на колеса первой оси - 46 кН, второй и третьей - 40,76 кН. Давление воздуха в шинах рв = 0,70 МПа. На основании изучения схемы расстановки колес и распределения осевых нагрузок устанавливают следующее:

а) наихудшие условия для работы дорожной одежды создаются под колесами первой и последней оси (первой, поскольку номинальные нагрузки на колеса этой оси выше, чем на аналогичные колеса остальных осей, а последней, поскольку уровень дополнительного воздействия на дорожную одежду под колесами этой оси со стороны колес остальных осей прицепа наибольший по сравнению с колесами других осей);

б) среди колес каждой оси наибольшее воздействие на дорожную одежду оказывает второе (третье) колесо, так как все колеса оси равнонагружены, а уровень дополнительного воздействия на дорожную одежду со стороны остальных колес оси под внутренними колесами оси выше чем под внешними.

Таким образом, из всех колес прицепа наибольшая эквивалентная нагрузка создается под вторым (третьим) колесом первой или под вторым (третьим) колесом третьей оси.

Затем определяют эквивалентную колесную нагрузку  для второго колеса первой оси прицепа ЧМЗАП-5208.

Диаметр круга, равновеликого отпечатку движущегося колеса

Dд,

где Кдин - коэффициент динамичности, равный 1,30;

Qн - номинальная нагрузка на неподвижное колесо, кН.

В данном случае

Dд = 0,33 м = 33 см.

Определяют отношение расстояния от ближайшей (второй) оси до рассматриваемой к диаметру Dд:

L2/Dд = 415,5:33 = 12,59.

По графику (см. рис. 2, кривая 3) находят

gn+1 = 0,0.

Следовательно, влиянием колес второй и третьей осей прицепа на напряжения и деформации дорожной одежды под первой осью можно пренебречь.

Определяют отношения расстояний от остальных колес рассматриваемой оси до второго колеса к диаметру Dд и (см. рис. 3, кривая 1) находят значения коэффициентов q:

l1/Dд = 84,0:33=2,55,                   q1 = 0,323;

l3/Dд = 68,0:33=2,06,                   q3 = 0,405;

l4/Dд = 152,0:33=4,61,                 q4 = 0,096.

Подставляя найденные значения коэффициентов в формулы (1) и (2), находят значение наибольшей эквивалентной колесной нагрузки для колес первой оси:

= 46(0,323 + 1,000 + 0,405 + 0,096)1,30 = 109,08 кН.

Аналогично определяют эквивалентную колесную нагрузку для второго колеса третьей оси:

Dд = 0,31 м = 31 см.

Отношение расстояния L между второй и третьей осью к диаметру

L/Dд = 119,0:0,31 = 3,84.

По графику (см. рис. 2, кривая 1) находят gn-1 = 0,246. Далее находят значения коэффициентов q:

l1/Dд = 84,0:31=2,71,                   q1 = 0,296;

l3/Dд = 73,0:31=2,06,                   q3 = 0,352;

l4/Dд = 157,0:31=5,06,                 q4 = 0,072.

По формулам (1) и (2) находят наибольшую эквивалентную колесную нагрузку для колес третьей оси:

= 40,76(1,000 + 0,246)(0,296 + 1,000 + 0,352 + 0,072)1,30 = 113,56 кН.

Таким образом, расчетом установлено, что наибольшая эквивалентная нагрузка для прицепа ЧМЗАП-5208 составляет Qэ = 113,56 кН. Это значение превышает нормированную нагрузку от движущегося автомобиля группы А и его следует принять в качестве расчетного.

По формуле (3) диаметр круга, равновеликого отпечатку колеса с нагрузкой Qэ = 113,56 кН:

D = 0,45 м = 45 см.

Аналогично предыдущему устанавливается наибольшая эквивалентная колесная нагрузка для второй оси = 96,23 кН.

Для определения суммарного коэффициента приведения воздействия от прицепа ЧМЗАП-5208 к расчетной нагрузке Qрасч = 113,56 кН вычисляют отношения наибольших колесных нагрузок Qэ, к нагрузке Qрасч каждой оси, а затем по графику (см. рис. 1) находят значения коэффициентов приведения s:

/Qрасч = 109,08:113,56=0,96,                    S1 = 0,84;

/Qрасч = 96,23:113,56=0,85,                      S2 = 0,50;

/Qрасч = 113,56:113,56=1,00,                    S1 = 1,00;

Таким образом, искомый суммарный коэффициент приведения:

Sчмзан = 0,84 + 0,50 + 1,00 = 2,34.

Аналогично определяют суммарные коэффициенты приведения воздействия на дорожную одежду остальных транспортных средств к расчетной нагрузке Qрасч = 113,56 кН.

Для КрАЗ-256Б1 из табл. 2 следует, что нагрузка на колесо передней оси движущегося автомобиля Q1==29,40 кН. Воздействием колес второй и третьей осей при определении  пренебрегают, так как расстояние до них превышает 2,5 м. Там же находят значения номинальных нагрузок па колеса задней оси движущегося автомобиля Q2 = Q3 = 61,30 кН, диаметр круга, равновеликого отпечатку колеса движущегося автомобиля Dд = 40 см, и расстояние между осями задней тележки L=140 см. Отношение этого расстояния к диаметру:

L/Dд = 140:40 = 3,50.

По графику (см. рис. 2, кривые 1 и 2) находят gn-1 = 0,290 и gn+1 = 0,082. Тогда для колеса второй оси = 61,30(1 + 0,082) = 66,33 кН, а для колеса третьей оси = 61,30(1 + 0,290) = 79,08 кН.

Аналогично находят с помощью графика (см. рис. 1) суммарный коэффициент для приведения воздействия от автомобиля КрАЗ-256Б1 к расчетной нагрузке Qрасч = 113,56 кН:

/Qрасч = 29,40:113,56=0,26,                      S1 = 0,00;

/Qрасч = 66,33:113,56=0,58,                      S2 = 0,09;

/Qрасч = 79,08:113,56=0,70,                      S1 = 0,21;

Таким образом, искомый суммарный коэффициент приведения для КрАЗ-256Б1

SКрАЗ = 0,09 + 0,21 = 0,30.

Так же находят суммарные коэффициенты для приведения воздействия от остальных транспортных средств на дорожную одежду к расчетной нагрузке Qрасч = 113,56 кН (результаты даны в столбце 6 табл. 5).

Затем определяют приведенную расчетную интенсивность воздействия нагрузки по формуле (3.2);

Nр = 0,5(60×0,087 + 36×0,300 + 4×0,089 + 2×2,34 + 10×0,023)»10 ед./сут.

Для проектирования дорожной одежды на воздействие неподвижного транспортного средства вначале определяют значения наибольшей эквивалентной колесной нагрузки от неподвижного транспортного средства в соответствии с п. 3 настоящего приложения.

Диаметр круга, равновеликого отпечатку неподвижного второго колеса второй оси

Dн= 0,27 м = 27 см.

Определив отношение расстоянии от нерпой и третьей осей до второй к диаметру Dн, по графику (см. рис. 3, кривая А) находят коэффициент q по формуле (1):

L1/Dн = 415,5:27=15,39,             q1 = 0,000;

L3/Dн = 119,0:27=4,41,               q3 = 0,109;

Так же определяют отношение расстояний от остальных колес рассматриваемой оси до второю колеса к диаметру Dн и по графику (см. рис. 3, кривая 1) находят коэффициенты q в формуле (2):

l1/Dн = 84,0:27=3,11,                  q1 = 0,240;

l3/Dн = 73,0:27=2,70,                  q3 = 0,298;

l4/Dн = 157,0:27=5,81,                q4 = 0,42.

Подставляя найденные коэффициенты в формулы (1) и (2), находят наибольшую эквивалентную колесную нагрузку для колес второй оси:

= 40,76(1 + 0,109)(0,240 + 1,000 + 0,298 + 0,042) = 71,42 кН.

Подобным же образом устанавливают наибольшие эквивалентные колесные нагрузки для вторых колес первой и третьей оси:

=77,79 кН;   =71,42 кН.

Следовательно, наибольшая эквивалентная колесная нагрузка для неподвижного прицепа ЧМЗАП-5208 составляет Q(э) = 77,79 кН. Это значение превышает нормированную нагрузку от колеса неподвижного автомобиля группы А и ее необходимо принимать в качестве расчетной, т.е. Qрасч = 77,79 кН. Диаметр круга, равновеликого отпечатку колеса с этой нагрузкой

Dн= 0,38 м = 38 см.

Следовательно, искомые параметры расчетной нагрузки для проектирования дорожной одежды на действие движущегося транспортного средства:

р = 0,7 MПа, Dд = 45 см, Np = 10 ед./сут;

на действие неподвижного транспортного средства:

р = 0,70 MПа, Dн = 38 см

ПРИЛОЖЕНИЕ 2

РАСЧЕТНЫЕ ХАРАКТЕРИСТИКИ ГРУНТОВ

1. Основными параметрами механических свойств грунта земляного полотна, которыми пользуются в расчетах дорожных одежд на прочность, служат деформационные и прочностные характеристики, модуль упругости Егр, коэффициент Пуассона mгр, угол внутреннего трения jгр и удельное сцепление сгр.

2. Расчетные значения характеристик грунта можно определять как по результатам непосредственных испытаний образцов в лаборатории, так и по данным пробного нагружения подстилающего грунта земляного полотна при расчетном состоянии; частные значения характеристик, по которым вычисляют нормативные и расчетные значения, должны быть получены единым методом.

Если невозможно выполнить испытания, расчетные характеристики могут быть установлены в зависимости от вида грунта и его расчетной влажности, обусловленной природными условиями и особенностями его работы, по таблицам и графикам, составленным на основании обобщения многочисленных испытании грунтов.

При проектировании усиления или реконструкции дорожной одежды расчетные характеристики грунта могут быть получены расчетом («обратным») существующей дорожной конструкции с учетом ее поведения в процессе многолетней эксплуатации.

3. Прочностные и деформационные характеристики грунта зависят от влажности, плотности, структуры, а также от режима его погружения. Поэтому такие характеристики назначают в два этапа - вначале определяют расчетную влажность Wp, а затем устанавливают Егр, jгр и сгр при расчетной влажности.

4. Влажность грунта в активной зоне земляного полотна зависит от погодно-климатических условий местности, а также от конструктивных особенностей участка дороги - от вида грунта, конструкции земляного полотна, теплофизических свойств слоев дорожной одежды, наличия тех или иных мер по регулированию водно-теплового режима дорожной одежды и земляного полотна и др.

Активной зоной считают верхнюю часть земляного полотна от низа дорожной одежды до глубины 1,3-1,6 м от поверхности покрытия. В этой зоне распространяются значительные напряжения от временных нагрузок, а водно-тепловой режим и состояние грунта наиболее изменчивы и зависят от погодно-климатических условий.

5. Для определения расчетной влажности Wр грунта необходимо располагать данными о его средней многолетней влажности . Средние значения влажности  грунта в активной зоне земляного полотна автомобильных дорог с усовершенствованными покрытиями и традиционными основаниями дорожных одежд (щебень, гравий и др.), наблюдавшиеся в наиболее неблагоприятный (весенний) период года, приведены в табл. 6.

Значения влажности действительны для дорог с земляным полотном, проходящим в насыпи и удовлетворяющим требованиям СНиП «Автомобильные дороги. Нормы проектирования» в отношении плотности грунта и возвышения низа дорожной одежды над уровнем грунтовых или длительно стоящих поверхностных вод. Поэтому для дорог, проходящих в неблагоприятных грунтово-гидрологических условиях (в выемках в нулевых отметках), данные табл. 6 следует увеличивать на 0,03 Wт.

При возвышении земляного полотна над грунтовыми и поверхностными водами или над поверхностью земли, превышающем значения, требуемые СНиПом более чем в 1,5 раза, влажность грунта следует принимать как для 1-го типа местности.

6. Значения влажности грунта, приведенные в табл. 6, дифференцированы в зависимости от дорожно-климатических зон и подзон Советского Союза (табл. 7 и рис. 7) по признаку примерно одинаковой влажности грунта земляного полотна автомобильных дорог, находящихся в сходных по типу увлажнения местности (табл. 8) условиях. По этому признаку II дорожно-климатическая зона разделена на две подзоны - северную II1 и южную II2 с общей границей между ними, проходящей примерно через Барановичи - Рославль - Клин - Рыбинск - Котлас - Березники - Ивдель (см. табл. 7 и рис. 7). Зона вечной мерзлоты (I дорожно-климатическая зона) разделена на три подзоны - северную подзону I1 низкотемпературных вечномерзлых грунтов сплошного распространения, центральную подзону I2 низкотемпературных вечномерзлых грунтов сплошного распространения и южную подзону I3 высокотемпературных вечномерзлых грунтов сплошного и островного распространения.

Рис. 6. Номограмма для определения относительной влажности W от толщины z1 стабильного слоя

Таблица 6

Дорожно-климатические зоны и подзоны (табл. 7)

Тип местности но условиям увлажнения (табл. 8)

Среднее значение влажности  грунта, доли от Wт

Супесь легкая

Песок пылеватый

Суглинок легкий и тяжелый, глины

Супесь пылеватая и тяжелая пылеватая, суглинок пылеватый

I1

1

0,53

0,57

0,62

0,65

 

2

0,55

0,59

0,65

0,67

 

3

0,57

0,62

0,67

0,70

I2

1

0,57

0,57

0,62

0,65

 

2

0,59

0,62

0,67

0,70

 

3

0,62

0,65

0,70

0,75

I3

1

0,60

0,62

0,65

0,70

 

2

0,62

0,65

0,70

0,75

 

3

0,65

0,70

0,75

0,80

II1

1

0,60

0,62

0,65

0,70

 

2

0,63

0,65

0,68

0,73

 

3

0,05

0,67

0,70

0,75

II2

1

0,57

0,59

0,62

0,67

 

2

0,60

0,62

0,65

0,70

 

3

0,62

0,64

0,67

0,72

III

1

0,55

0,57

0,60

0,63

 

2-3

0,59

0,61

0,63

0,67

IV

1

0,53

0,55

0,57

0,60

 

2-3

0,57

0,58

0,60

0,64

V

1

0,52

0,53

0,54

0,57

 

2-3

0,55

0,56

0,57

0,60

Примечание. Средние значения влажности  грунта в таблице приведены для толщины одежды 75 см. Если одежда имеет большую толщину, влагонакопление в верхней части земляного полотна за счет грунтовой и поверхностной воды уменьшиться: в этом случае расчетную платность грунта корректируют с помощью номограммы (см. рис. 7).

Помимо деления СССР по климатическим условиям с севера на юг, следует учитывать, что при переходе с запада на восток климат становится более континентальным, уменьшается количество осадков и возрастает скорость промерзания. В западных же районах значительное влияние на водно-тепловой режим оказывают продолжительные оттепели, наблюдаемые во все зимние месяцы и приводят к дополнительному притоку влаги в грунт.

Для районов II-III дорожно-климатических зон западнее линии Нарва - Псков - Смоленск - Орел - Воронеж значения влажности грунтов, приведенные в табл. 6, увеличивают на 0,02¸0,05 Wт, большее значение принимают для районов западнее линии Талин - Рига - Вильнюс - Минск - Харьков, меньшее - для районов восточнее этой линии. Значение средней влажности  грунта земляного полотна дорог, проходящих вблизи дорожно-климатических зон и подзон (±50 км), принимают равной промежуточному значению между соответствующими влажностями грунта в смежных зонах и подзонах.

Таблица 7

Номер дорожно-климатической зоны и подзолы

Примерные географические границы

I

Севернее линии, соединяющей Мончегорск - Несь - Усинск - Ивдель - Игрим - устье Подкаменной Тунгуски - Канск - Туран - Горно-Алтайск - государственная граница - Благовещенск - Биробиджан - Николаевск-на-Амуре. Включает географические зоны тундры, лесотундры и северо-восточную часть лесной зоны с распространением вечномерзлых грунтов

I1 северная подзона

Расположена севернее линии: Нарьян-Мар - Салехард - Курейка - Трубка Удачная - Верхоянск - Дружина - Горный мыс - Марково

I2 центральная подзона

Расположена восточнее линии: устье р. Нижней Тунгуски - Ербогачен - Ленек - Бодайбо - Богдарин и севернее линии: Могоча - Сковородино - Зая - Охотск - Палатка - Слаутское. Ограничена с севера I1 подзоной

I3 южная подзона

Расположена между южной географической границей вечной мерзлоты в европейской части СССР, в Западной Сибири, на Дальнем Востоке, севернее южной государственной границы в Восточной Сибири и южной границей северной и центральной подзон

II

От границы I зоны до линии, соединяющей Львов - Житомир - Тулу - Горький - Ижевск - Томск - Канск. На Дальнем Востоке от границы I зоны (Благовещенск - Биробиджан - Николаевск-на-Амуре) до государственной границы. Включает географическую зону лесов с избыточным увлажнением грунтов

II1 северная подзона

Расположена севернее линии, соединяющей Барановичи - Рославль - Клин - Рыбинск - Котлас - Березники - Ивдель

II2 южная подзона

Расположена южнее линии, соединяющей Барановичи - Рославль - Клин - Рыбинск - Котлас - Березники - Ивдель

III

От границы III зоны до линии, соединяющей Кишинев - Кировоград - Белгород - Куйбышев - Магнитогорск - Омск - Бийск - Туран. Включает лесостепную географическую зону со значительным увлажнением грунтов в отдельные годы

IV

От границы III зоны до линии, соединяющей Джульфу - Степанакерт - Буйнакск - Кизляр - Волгоград, и далее проходит южнее на 200 км линии, соединяющей Уральск - Актюбинск - Караганду, и до северного побережья; озера Балхаш. Включает географическую степную зону с недостаточным увлажнением грунтов

V

Расположена к юго-западу и югу от границы IV зоны до государственной границы и включает пустынную и пустынно-степную географические зоны с засушливым климатом и распространением засоленных грунтов

Примечание. Кубань и западную часть Северного Кавказа следует относить к III дорожно-климатической зоне.


Рис. 7. Карта дорожно-климатических зон и подзон


Таблица 8

Тип местности по характеру и степени увлажнения

Условия увлажнения

Признаки

1

Сухие места

Поверхностный сток обеспечен, грунтовые воды не оказывают существенного влияния на увлажнение верхней толщи почвогрунтов. В I зоне, кроме того, мощность сезонно оттаивающего слоя достигает 2,5 м; грунты гравийно-галечниковые, песчаные, а также супесчаные, глинистые, непросадочные с влажностью менее 0,7 Wт

2

Сырые места с избыточным увлажнением в отдельные периоды года

Поверхностный сток не обеспечен, но грунтовые воды не оказывают существенного влияния на увлажнение верхней толщи почвогрунтов. Почвы с признаками поверхностного заболачивания. Весной и осенью появляется застои воды на поверхности. В I зоне, кроме того, это плоские водоразделы, пологие склоны гор и их шлейфы с мощностью сезонно оттаивающего слоя от 1,0 до 2,5м. Грунты глинистые, просадочные, с влажностью 0,7¸0,9 Wт

3

Места с постоянным избыточным увлажнением

Грунтовые воды или длительно стоящие (более 30 сут) поверхностные воды влияют на увлажнение верхней толщи грунтов; почвы торфяные, оглееные, с признаками заболачивания, а так же солончаки и постоянно орошаемые территории засушливых областей. В I зоне, кроме того, заболоченные тальвеги, замкнутые впадины с развитым мохо-торфяным покровом и малой мощностью (до 1 м) сезонно оттаивающего слоя; грунты глинистые, сильно просадочные, содержащие в пределах двойной мощности сезонно оттаивающего слоя линзы льда толщиной более 10 см. Влажность связных грунтов более 0,9 Wт

7. Внутри каждой зоны отдельные участки дорог по характеру и степени увлажнения относятся к одному из трех типов местности (табл. 8). Тип увлажнения местности устанавливают при изысканиях.

8. Средние влажности  грунта, приведенные в табл. 6, действительны для равнинного рельефа. В предгорных и горных районах среднюю влажность устанавливают по данным региональных схем дорожно-климатического районирования, разрабатываемых в дополнение к карте дорожно-климатических зон. При отсутствии региональных схем районирования по вертикальной зональности среднюю влажность в предгорных (до 1000 м) и горных (выше 1000 м) районах увеличивают по сравнению с рекомендуемой в табл. 6 соответственно на 0,03¸0,05 Wт.

9. Для отдельных хорошо изученных регионов страны средние влажности (табл. 6) могут быть откорректированы с учетом местных условий. Так, в южных районах страны (УССР, юг РСФСР, районы Средней Азии и др.) для уточнения влажности грунта земляного полотна можно воспользоваться данными многолетних весенних наблюдений за влажностью грунтов поля, производимых на агрометеостанциях (АМС) по стандартной методике гидрометеослужбы.

10. При расчете конструкций, в которых предусмотрены такие мероприятия, как устройство монолитных оснований дорожных одежд, водонепроницаемых обочин, совершенный дренаж, теплоизоляционные слои, полностью предотвращающие промерзание земляного полотна, и др., среднюю влажность по табл. 6 следует уменьшить на значения, указанные в табл. 9.

11. Расчетную влажность грунта следует устанавливать вероятностным методом ввиду временной (по сезонам и годам) изменчивости влажности грунта земляного полотна и необходимости рассчитывать дорожную конструкцию на прочность с заданным уровнем проектной надежности.

Под расчетной влажностью Wp грунта в этом случае подразумевают максимальное значение средней влажности грунта в пределах активной зоны земляного полотна, наблюдающееся в наиболее неблагоприятный период года (время, в течение которого грунт активной зоны наиболее увлажнен) хотя бы в одном году за срок между капитальными ремонтами дорожной одежды.

Таблица 9

Конструктивное мероприятие

Снижение средней влажности, в долях Wт, в дорожно-климатических зонах

II

III

IV

V

Основания одежды или морозозащитные слои на границе раздела с грунтом земляного полотна из укрепленных материалов и грунтов на основе:

 

 

 

 

крупнообломочного грунта и песка

0,01

0,04

0,03

0,03

супеси

0,05

0,05

0,05

0,04

пылеватых песков и супесей, суглинка, зологрунтов

0,08

0,08

0,06

0,05

Укрепление обочин (не менее, чем на 2/3 их ширины):

 

 

 

 

асфальтобетоном

0,05

0,04

0,03

0,02

щебнем (гравием)

0,02

0,02

0,02

0,02

Дренаж с продольными трубчатыми дренами

0,05

0,03

-

--

Обеспечение безопасного расстояния от уреза застаивающейся воды до бровки земляного полотна

0,03

0,02

 

 

Устройство в земляном полотне гидроизоляционных прослоек из полимерных рулонных материалов

0,05

0,05

0,03

0,03

Устройство теплоизолирующего слоя, предотвращающего промерзание грунта

Снизить на расчетное зимнее влагонакопление

Грунт в активной зоне земляного полотна в "обойме"

Снизить расчетную влажность грунта до оптимального значения

Грунт, уплотненный до Купл = 1,03¸1,05 в слое 0,3-0,5 м от низа дорожной одежды

 

0,05

1,03-0,05

0,03-0,05

Таблица 10

Грунт

Обозначение в измеритель

Расчетные значения характеристик при влажности грунта, доли от Wт

0,5

0,55

0,6

0,65

0,7

0,75

0,8

0,85

0,9

0,95

Супесь легкая

Егр, МПа

70

60

56

53

49

45

43

42

41

40

 

jгр, град

37

36

36

36

35

35

34

34

33

33

 

сгр, МПа

0,015

0,014

0,014

0,013

0,012

0,011

0,010

0,009

0,008

0,007

Песок пылеватый

Егр, МПа

96

90

84

78

72

66

60

54

48

43

 

jгр, град

38

38

37

37

36

35

34

33

32

31

 

сгр, МПа

0,026

0,024

0,022

0,018

0,014

0,012

0,011

0,010

0,009

0,008

Суглинок легкий и тяжелый, глина

Егр, МПа

108

90

72

50

41

34

29

25

24

23

jгр, град

32

27

24

21

18

15

13

11

10

9

сгр, МПа

0,045

0,036

0,030

0,024

0,019

0,015

0,011

0,009

0,006

0,006

Супесь пылеватая, тяжелая пылеватая, суглинок легкий пылеватый

Егр, МПа

108

90

72

54

46

38

32

27

26

25

jгр, град

32

27

24

21

18

15

13

11

10

9

сгр, МПа

0,045

0,036

0,030

0,024

0,016

0,013

0,010

0,008

0,005

0,004

Расчетная влажность грунта

Wp = (1 + tw),                                                          (4)

где  - средняя влажность грунта в долях от Wт (табл. 6);

w - коэффициент вариации влажности, равный 0,1;

t - коэффициент нормированного отклонения, принимаемый в зависимости от заданного уровня проектной надежности конструкции дорожной одежды.

Уровень проектной надежности, Кн                        0,60          0,85          0,9           0,95

Коэффициент t нормированного отклонения        0,26          1,06          1,32         1,71

12. Деформационные и прочностные характеристики глинистых грунтов и пылеватых песков существенно зависят от их влажности. Расчетные значения этих характеристик при кратковременном нагружении приведены в табл. 10.

Значения характеристик суглинка и глины даны применительно к гидро-слюдистому и каолинитовому минералогическому составу глинистых частиц. Характеристики суглинков и глин монтмориллонитового состава при влажности (0,6-0,75) Wт, а также некоторых засоленных грунтов следует определять экспериментальными методами. При влажности выше 0,75 Wт для этих грунтов должны быть приняты меры по защите их от чрезмерного увлажнения или замене таких грунтов.

13. Деформационные и прочностные характеристики песков за исключением пылеватых и супеси легкой крупной мало зависят от их влажности (во всяком случае, в интервале до полной влагоемкости) и, следовательно, они мало изменчивы от погодно-климатических условий. Деформационные и прочностные расчетные характеристики таких грунтов при плотности, соответствующей требованиям СНиПа, принимаются по табл. 11.

Таблица 11

Грунт

Расчетные характеристики

Егр, МПа

jгр, град

сгр, МПа

Песок крупный, гравелистый

130

42

0,005

 ” средней крупности

120

40

0,005

 ” мелкий

100

38

0,005

 ” одноразмерный (барханный, дюнный или подобный им)

75

33

0,005

Супесь легкая крупная

05

40

0,005

14. Данными табл. 10 и 11 следует пользоваться при расчете конструкций на прочность при действии подвижных нагрузок.

При расчете конструкций на статическое действие нагрузок модули упругости грунтов следует уменьшить на 5 % для несвязных и на 15 % для связных грунтов.

ПРИЛОЖЕНИЕ 3

РАСЧЕТНЫЕ ХАРАКТЕРИСТИКИ МАТЕРИАЛОВ ДОРОЖНОЙ ОДЕЖДЫ

1 Материалы, содержащие органическое вяжущее, обладают упруго-вязко-пластическими свойствами. Модули упругости этих материалов, как и прочностные их характеристики, в значительной мере зависят от температуры и режима нагружения - скорости приложения нагрузки, продолжительности действия ее и др. Прочность таких материалов зависит, кроме того, от повторности нагружений и условий работы в конструкции.

Таблица 12

Материал

Марка битума

Характеристики для расчета на изгиб

Модуль упругости Е, МПа

Среднее сопротивление растяжению при изгибе , МПа

Плотный асфальтобетон I-II марки

БНД-40/60

6000

3,2

БНД-60/90

4500

2,8

БНД-90/130

3600

2,4

БНД-130/200

2600

2,0

БНД-200/300

2000

1,8

БГ-70/130

1700

1,7

СГ-130/200

1500

1,6

Пористый асфальтобетон

БНД-40/60

3600

1,8

БНД-60/90

2800

1,6

БНД-90/130

2200

1,4

БНД-130/200

1800

1,2

БНД-200/300

1100

1,1

Высокопористый щебеночный асфальтобетон

БНД-40/60

3000

1,1

БНД-60/90

2100

1,0

БНД-90/130

1700

0,9

Высокопористый песчаный асфальтобетон, в том числе битумопесчаная смесь по ТУ 218 РСФСР 395-79

БНД-40/60

3000

1,3

БНД-60/90

2100

1,1

Плотный дегтебетон

-

10000

2,5

Пористый дегтебетон

-

5000

1,5

Таблица 13

Материал

Марка битума

Расчетные значения кратковременного модуля упругости Е, МПа, при температуре покрытия, °С

+10

+20

+30

+40

+50(60)

Плотный асфальтобетон

БНД-40/60

4400

2600

1300

690

430

БНД-60/90

3200

1800

900

550

380

БНД-90/130

2400

1200

660

440

350

БНД-130/200

1500

800

560

380

320

БНД-200/300

1200

600

420

350

300

БГ-70/130

1000

}1400

350

300

300

СГ-130/200

900

СГ-70/130

}800

350

300

250

250

МГ-70/130

Пористый и высокопористый асфальтобетон, в том  числе битумо-песчаная смесь по ТУ 218 РСФСР 395-79

БНД-40/60

2800

1700

900

540

390

БНД-60/90

2000

1200

700

460

300

БНД-90/130

1400

800

510

380

350

БНД-130/200

1100

590

410

340

340

БНД-200/300

950

460

350

330

330

Плотный дегтебетон

-

3800

1500

800

500

350

Пористый дегтебетон

-

2000

800

400

350

300

Примечания: 1. Если данных непосредственных региональных наблюдений за температурой покрытия не имеется, можно применять в качестве расчетной температуры асфальтобетона в I-II дорожно-климатических зонах +20° С, в III зоне - +30° С, в IV - +40° С и в V - +50° С.

2. Модули упругости плотного асфальтобетона даны в таблице применительно к смесям типа Б. При температурах от 30 до 50 °С модули упругости для смесей типа А следует увеличить, а типов В, Г, Д - уменьшить на 20 %.

3. Модули упругости пористого и высокопористого асфальтобетона даны в таблице применительно к песчаным смесям. При температуре от 30 до 50 °С модули упругости для мелкозернистых смесей следует увеличить на 10 %, а для крупнозернистых смесей - на 20 %.

4. Расчетные значения кратковременного модуля упругости Е приведены для использования в расчетах конструкций по упругому прогибу и сдвигу в грунте и в промежуточных слоях одежды.

Так как конструкции дорожных одежд на перегонных участках подвергаются в основном воздействию подвижных нагрузок, а на стоянках, остановках, перекрестках и т.п. - статическому воздействию от средств транспорта, значения модуля упругости асфальтового бетона ниже в табл. 12 - 14 даны применительно к этим двум видам режима нагружения конструкции.

2. При расчете асфальтобетонного покрытия на прочность необходимо располагать данными о расчетной его температуре, т. е. температуре, при которой покрытие в конкретных условиях работает наиболее напряженно. В районах сезонного промерзания дорожных конструкций независимо от того, в какой дорожно-климатической зоне они находятся, наиболее неблагоприятные условия для работы покрытия наступают в начале весны при низкой положительной температуре покрытия, с учетом которой составлена табл. 12.

К концу весны при значительном оттаивании земляного полотна модуль упругости асфальтобетона уменьшается, что неблагоприятно сказывается на сопротивлении сдвигу грунта земляного полотна и промежуточных слоев одежды. Так как интенсивность повышения температуры воздуха в весенне-летнее время разная в различных дорожно-климатических зонах, то и расчетная температура покрытия также неодинакова. В табл. 13 приведены значения кратковременного модуля упругости асфальтобетона при разных температурах. Расчетные значения температуры в данном случае желательно уточнять по результатам региональных наблюдений.

Таблица 14

Вид асфальтобетона

Вид смеси

Расчетный модуль упругости Е при статическом действии нагрузки, МПа, при расчетной температуре, °С

+20

+30

+40

+50

Плотные смеси, тип Б

Крупнозернистая

400

350

300

250

Плотные смеси, типы Г, Д

Мелкозернистая

300

270

220

200

Пористые и высокопористые смеси

Песчаная

200

180

160

150

Крупнозернистая

360

320

280

250

Мелкозернистая

290

250

220

200

Песчаная

250

225

200

190

Примечание. Модули упругости асфальтобетона типа А увеличивают на 20 %, а типа В уменьшают на 20 %.

3. Данные табл. 12 и 13 относятся к асфальтобетону на битумах марок БНД. Допустимо использование этих данных при применении битума марок БН соответствующей вязкости.

4. В табл. 12, 13 и 14 приведены значения деформационных и прочностных характеристик асфальтобетона и дегтебетона, используемые в расчетах по критерию - сопротивление растяжению при изгибе (см. табл. 12), сопротивление сдвигу в грунте и слоях из зернистых и слабосвязных материалов (см. табл. 13 и 14), упругому прогибу поверхности покрытия конструкции (см. табл. 14).

Рис. 8. Зависимость коэффициента усталости Ку, учитывающего повторность нагружения от расчетной приведенной интенсивности Nр воздействия нагрузки на полосу:

1 - для асфальтобетонов на битумах БНД-130/200 и БНД-200/300, высокопористых асфальтобетонов и дегтебетона; 2 - для плотных и пористых асфальтобетонов на битумах БНД-40/60, БНД-60/90 и БНД-90/130; 3 - для материалов и грунтов, укрепленных неорганическими вяжущими

5. Расчетное значение сопротивления асфальтобетона или дегтебетона растяжению при изгибе

Rp =(1 - tnR)КyКm,                                                     (5)

где  - среднее значение сопротивления асфальтобетона растяжению при изгибе (см. табл. 12);

t - коэффициент нормированного отклонения R, принимаемый по п. 11 приложения 2 в зависимости от уровня проектной надежности Кн конструкции дорожной одежды; Кн=0,95;

nR - коэффициент вариации прочности на растяжение при изгибе асфальтобетона, равный 0,1;

Кy - коэффициент усталости, учитывающий повторность нагружения от расчетной приведенной интенсивности движения на полосу, определяемый по графику (рис. 8);

Кm - коэффициент снижения прочности, от воздействия природно-климатических факторов; назначается для асфальтобетона I - II марок на щебне изверженных пород Кm=1,0 и III марки - Кm = 0,8; для смесей на щебне осадочных пород и гравийных материалов I марки Кm = 0,9 и II - III марок - 0,7; для дегтебетонов - Кm = 0,7.

6. При расчете дорожной одежды на статическое действие нагрузки расчетные значения модуля упругости асфальтобетона необходимо принимать по табл. 14.

7. Для расчета асфальтобетонных слоев по сопротивлению сдвигу, расчетные значения модуля упругости асфальтобетона следует принимать по табл. 14, а расчетные характеристики для определения допускаемого сопротивления асфальтобетона сдвигу - по табл. 15.

Таблица 15

Вид смеси асфальтобетонных слоев

Характеристика асфальтобетона для расчета на сдвиг

Вид смеси асфальтобетонных слоев

Характеристика асфальтобетона для расчета на сдвиг

Комплексный коэффициент К

Сцепление саб, МПа

Комплексный коэффициент К

Сцепление саб, МПа

Крупнозернистая

1,6

0,30/0,27

Мелкозернистая

1,1

0,20/0,17

Песчаная

0,9

0,15/0,13

Примечания: 1. В числителе дано сцепление для горячих смесей на вязких битумах (40/130), а в знаменателе - для смесей с битумом 130/300.

2. Характеристики материалов даны ориентировочные и должны уточняться по мере накопления данных исследований.

3. Если асфальтобетон приготовлен с применением дробленого песка, то сцепление следует увеличить на 20 %.

8. Расчетные значения характеристик материалов и грунтов, укрепленных вяжущими веществами, следует принимать по табл. 16 и 17. В табл. 17 приведены также характеристики слоев из неукрепленных зернистых материалов.

Характеристики материалов, приведенные в табл. 16, 17, а также в табл. 18 (см. ниже) до накопления дифференцированных по длительности действия нагрузки данных следует применять при расчетах как на кратковременное, так и на длительное (статическое) нагружение.

9. Расчетные значения деформационных и прочностных характеристик теплоизоляционных материалов, используемые в расчетах на прочность дорожных одежд с теплоизолирующими слоями, следует принимать по табл. 18.

Таблица 16

№ пп.

Материал

Расчетные характеристики материалов и грунтов, укрепленных вяжущим

Модуль упругости Е, МПа

Прочность на растяжение при изгибе, R, МПа

1.

Щебень и гравий, обработанные цементом, марок:

 

 

 

75

1000

0,7

 

60

900

0,6

 

40

700

0,5

2.

Крупнообломочные грунты и гравийно-песчаные смеси оптимального или близких к оптимальному составов, укрепленные комплексными вяжущими:

 

 

 

I класс прочности

900-700

0,55-0,45

 

II класс прочности

650-500

0,42-0,35

 

III класс прочности

450-300

0,32-0,25

3.

То же, укрепленные цементом:

 

 

 

I класс прочности

800-550

0,46-0,34

 

II класс прочности

530-350

0,33-0,25

 

III класс прочности

320-280

0,22-0,20

4.

То же, укрепленные активной золой-уносом или гранулированным шлаком, известью, фосфатными вяжущими и другими композиционными вяжущими из них с добавками или без добавок ПАВ, дегтем и т.п.:

 

 

 

I класс прочности

700-530

0,40-0,32

 

II класс прочности

500-330

0,31-0,22

 

III класс прочности

300-250

0,20-0,18

5.

Крупнообломочные грунты и гравийно-песчаные смеси оптимального или близких к оптимальному составу, укрепленные вязким битумом или эмульсией на вязком битуме

350-250

0,35-0,30

6.

Крупнообломочные грунты и гравийно-песчаные смеси неоптимального состава, пески (кроме мелких, пылеватых и одноразмерных), супесь легкая, крупная, щебень малопрочных пород и отходы камнедробления, укрепленные комплексными вяжущими:

 

 

 

I класс прочности

800-650

0,50-0,42

 

II класс прочности

600-450

0,40-0,32

 

III класс прочности

420-280

0,31-0,24

7.

То же, укрепленные цементом:

 

 

 

I класс прочности

700-500

0,40-0,30

 

II класс прочности

480-330

0,28-0,22

 

III класс прочности

300-250

0,19-0,18

8.

То же, укрепленные вяжущими, указанными в порядковом номере 4:

 

 

 

II класс прочности

450-300

0,25-0,17

 

III класс прочности

280-200

0,16-0,12

9.

То же, укрепленные вязким битумом или эмульсией на вязком битуме

300-200

0,30-0,25

10.

Пески мелкие и пылеватые, супесь легкая и пылеватая, укрепленные комплексными вяжущими:

 

 

 

I класс прочности

750-600

0,47-0,40

 

II класс прочности

650-400

0,37-0,30

 

III класс прочности

380-250

0,28-0,22

11.

То же, укрепленные цементом:

 

 

 

I класс прочности

650-480

0,35-0,26

 

II класс прочности

450-300

0,25-0,18

 

III класс прочности

260-220

0,16-0,13

12.

То же, укрепленные вяжущими, указанными в п. 4:

 

 

 

II класс прочности

430-280

0,22-0,11

 

III класс прочности

230-180

0,08-0,07

13.

То же, укрепленные вязкими битумами или эмульсиями на вязких битумах

300-220

0,25-0,20

14.

Побочные продукты промышленности (каменные материалы и крупнообломочные грунты, сопутствующие рудным ископаемым, золошлаковые смеси, формовочные смеси, фосфоритные “хвосты” и т.п.), укрепленные комплексными вяжущими:

 

 

 

I класса прочности

700-550

0,45-0,37

 

II класс прочности

530-350

0,36-0,28

 

III класс прочности

320-200

0,20-0,12

15.

То же, укрепленные цементом:

 

 

 

I класса прочности

600-420

0,30-0,22

 

II класс прочности

400-250

0,20-0,14

 

III класс прочности

220-180

0,12-0,09

15.

То же, укрепленные вяжущими, указанными в п. 4:

 

 

 

II класс прочности

350-220

0,15-0,09

 

III класс прочности

200-130

0,08-0,06

17.

То же, укрепленные вязкими битумами или эмульсиями на вязких битумах

250-180

0,20-0,15

18.

Супеси тяжелые и пылеватые, суглинки легкие, укрепленные комплексными вяжущими:

 

 

 

I класс прочности

600-500

0,40-0,35

 

II класс прочности

450-300

0,32-0,25

 

III класс прочности

280-150

0,24-0,10

19.

То же, укрепленные минеральными вяжущими - цементом, золой-уносом или гранулированным шлаком:

 

 

 

I класс прочности

600-350

0,22-0,16

 

II класс прочности

350-230

0,16-0,12

 

III класс прочности

200-120

0,09-0,07

20.

То же, укрепленные вяжущими, указанными в п. 4:

 

 

 

II класс прочности

300-200

0,12-0,08

 

III класс прочности

180-100

0,06-0,05

21.

То же, укрепленные эмульсиями на вязких битумах

250-180

0,17-0,10

22.

Суглинки тяжелые и пылеватые, глины песчанистые и пылеватые, укрепленные минеральными и комплексными вяжущими:

 

 

 

II класс прочности

330-200

0,12-0,08

 

III класс прочности

180-80

0,00-0,05

Примечания: 1. Под комплексными вяжущими понимаются: цемент + вязкий битум или эмульсии на вязком битуме; цемент + полимерное вяжущее, цемент (известь) + активные золы-уносы или гранулированные шлаки и т.п.

2. Большие значения расчетных характеристик принимают при: а) использовании более качественных минеральных материалов и активных вяжущих; б) укреплении материалов и грунтов неорганическими вяжущими в III-V дорожно-климатических зонах; в) укреплении вязким битумом и битумной эмульсией на вязком битуме в I-II дорожно-климатических зонах.

3. Подбирать составы смесей и назначать их класс прочности следует ГОСТ 23558-79 и по Инструкции СН 25-74.

10. Расчетные характеристики неукрепленных малопрочных каменных материалов принимают по рис. 9. Под малопрочными каменными материалами понимаются гравий, щебень, гравийные, щебеночные и гравийно-(щебеночно)-песчаные смеси, в которых содержится или же может образовался в процессе строительства и эксплуатации основания избыточное по сравнению с действующими нормами количество мелких частиц, с числом их пластичности до 7. Предусматривается применение: природных или искусственно составленных смесей с содержанием зерен гравия (щебня) крупнее 5, мм не менее 20 %, щебня из осадочных пород марок 400, 300 и 200 по дробимости, щебня из изверженных и метаморфических пород марки 600 по дробимости, дресвы, опоки, грунтощебня и др.

Упругодеформационные и прочностные свойства малопрочных материалов зависят в основном от процентного содержания и числа пластичности смеси фракции размером мельче 0,63 мм. Для щебня число пластичности этих фракций определяется после его стандартного испытания на дробимость или износ.

Расчетные характеристики слоев из щебеночных смесей и щебня для дорог во II-III дорожно-климатических зонах устанавливают по графику (см. рис. 9); для дорог в IV- V климатических зонах значения этих характеристик следует увеличивать на 25 %. Расчетные характеристики слоев из гравийных и гравийно-песчаных смесей для дорог в IV-V климатических зонах устанавливают по графику рис. 9; для дорог во II-III климатических зонах значения этих характеристик следует уменьшить на 30 %.

Рис. 9. Зависимость модуля упругости Е; от содержания частиц n размером менее 0,63 мм (или показателя дробимости малопрочного щебня) для щебеночных и гравийных материалов (смесей). На кривых показано число пластичности частиц в смеси размером мельче 0,63 мм

Таблица 17

Материал (грунт)

Расчетные характеристики

Примечание

Модуль упругости Е, МПа

Угол внутреннего трения j, град

Сцепление см, МПа

Черный щебень, уложенный по способу заклинки

600-900

-

-

Большие значения - для покрытий, меньшие - для оснований

Слой из щебня класса прочности, устроенный по способу пропитки вязким битумом

400-600

 

 

То же

Щебень фракционированный I-III класса прочности, уложенный по способу заклинки:

 

 

 

 

из прочных осадочных пород

350-450

-

-

из изверженных пород

250-350

 

 

-

Фракционированый щебень, укрепленный цементно-песчаной смесью по способу пропитки

500

 

 

 

Шлак с подобранным гранулометрическим составом:

 

 

 

Большие значения при устойчивой структуре шлака

активный

350-450

 

 

малоактивный

200-300

-

-

Рядовой шлаковый щебень

150-200

-

-

-

Каменная мостовая, пакеляж

400-500

-

-

-

Грунт, укрепленный жидким битумом:

 

 

 

 

супесь непылеватая

150-200

25-35

0,02-0,035

Большие значения - при смешении в установке и применении битумной эмульсии

суглинок, супесь пылеватая

80-150

15-25

0,02-0,035

Песчано-гравийные смеси № 1,2,4 по ГОСТ 25607-83

180

45

0,03

 

Песок, удовлетворяющий требованиям Государственного стандарта:

 

 

 

 

130

42

0,007

Показатели см и Е приняты при остаточной пористости песка, уплотненного до максимальной плотности 26 %<n<32 %, при n<26 % - увеличиваются на 20 %, а при n>32% уменьшается на 20 %

крупный и гравелистый

120

40

0,006

средней крупности мелкий

100

38

0,005

Таблица 18

Теплоизоляционный материал

Расчетные характеристики

Модуль упругости, Е, МПа

Предел прочности при изгибе, R, МПа

Пенопласт марки ПС-4

13,0-33,5

0,8-1,2

Стиропорбетон

500,0-800,0

0,3-0,4

Аглопоритовый щебень, обработанный вязким битумом

400,0

0,4

Керамзитовый гравий, обработанный вязким битумом

500,0

0,4

Гравий (щебень) с легкими заполнителями, обработанные вязким битумом

500,0

0,8

Цементогрунт с перлитом

130,0

0,2

То же, с полистиролом, состава:

300,0

0,2

гранулы полистирола 3-2 %

песок 97-98 % (% от массы)

цемент 7-6 %

То же, с керамзитом, состава;

300,0

0,3

песок 75 %

керамзит 25 %

цемент 6 %

Битумоцементогрунт с перлитом, состава:

200,0-300,0

0,2-0,3

перлитовый щебень 25-20 %

песок 75-80 %

цемент 4-6 %

битум 12-10 % от (массы песка, перлита и цемента)

Цементогрунт с аглопоритом, состава:

250,0-350,0

0,25-0,35

супесь или песок 70-80 %

аглопорит 30-20 %

цемент 6 %

Золошлаковые смеси, укрепленные цементы

150,0

0,4

Грунт, укрепленный золой-уносом

200,0

0,4

Цементогрунт, обработанный битумной эмульсией

-

0,6

ПРИЛОЖЕНИЕ 4

ПРИМЕРЫ РАСЧЕТА

Пример 1. Требуется запроектировать конструкцию одежды с асфальтобетонным покрытием для дороги II категории, проходящей во 2 подзоне II дорожно-климатической зоны.

Исходные данные: местность по условиям увлажнения относится ко 2-му типу; грунт земляного полотна - суглинок пылеватый; материалы для основания - фракционированный щебень из прочных осадочных пород и песок средней крупности.

Перспективная интенсивность грузового движения на полосу 2440 авт./сут; распределение по маркам грузовых автомобилей:

Марка автомобиля

ЗИЛ-130

МАЗ-500А

ЗИЛ-ММЗ-554

КамАЗ-5511

КрАЗ-256Б1

Число проходов по полосе в сутки

900

540

450

450

100

За расчетную нагрузку принят автомобиль группы А со следующими параметрами (см. табл. 1): давление на покрытие р = 0,6 МПа, расчетный диаметр следа колеса движущегося автомобиля Dд =37 см. Суммарные коэффициенты (см. графу 11 табл. 2) для приведения автомобилей к расчетной нормированной нагрузке группы А в порядке упоминания марок автомобилей в исходных данных равны 0,20; 1,04; 0,15; 1,05 и 3,48. Расчетная приведенная интенсивность воздействия нагрузки на полосу

Np=900×0,20 + 540×1,04 + 450×0,15 + 450×1,05 + 100×3,48 = 1630 ед./сут.

Требуемый уровень надежности для заданной категории дороги Кн = 0,95 (см. табл. 3.1).

Расчетные характеристики материалов дорожной одежды и грунта земляного полотна назначают исходя из эксплуатационных требований, с учетом наличия и стоимости отдельных материалов, условии их транспортировки; принимая по внимание имеющуюся технику, намечают следующие материалы для слоев дорожной одежды: 1) покрытие - плотный асфальтобетон 1 марки, горячий, на битуме БНД-60/90; 2) верхний слой основания - пористый асфальтобетон, горячий, на битуме БНД-60/90; 3) слои основания - фракционированный щебень из прочных осадочных пород и песок средней крупности с остаточной пористостью 25 %. Характеристики материалов приведены в табл. 19.

При конструировании дорожной одежды намечают следующие толщины слоев дорожной одежды (индекс соответствует номеру слоя в табл. 19); h1 = 5 см; h2 = 8 см; h3 = 30 см; h4 = 50 см (рис. 10).

Коэффициенты прочности по всем критериям, соответствующие требуемому уровню надежности Кн = 0,95 (см. табл. 3.1) принимают не менее единицы (рис. 3.1). Расчет в данном случае слагается из четырех основных этапов.

1. При вычисленной расчетной приведенной интенсивности воздействия нагрузки находят по рис. 3.2 требуемый модуль упругости Етр = 275 МПа. Это значение Етр выше минимального модуля упругости, приведенного в табл. 3.3.

Послойно рассчитывают дорожную одежду снизу вверх с помощью графика (см. рис. 3.3), в результате чего получают общий модуль упругости на поверхности покрытия (этапы расчета сведены в табл. 20).

Затем определяют коэффициент прочности по упругому прогибу:

Еобщтр = 275:275 = 1,0,

что равно минимальному требуемому значению Кпр.

Рис. 10. Деталь конструкции к примеру 1:

1 - плотный асфальтобетон; 2 - пористый асфальтобетон; 3 - фракционированный щебень из прочных осадочных пород: 4 - песок средней крупности; 5 - суглинок тяжелый

Таблица 19

№ слоя

Материал слоя и грунт

Источник исходных данных

Расчет по

упругому прогибу

сопротивлению сдвигу

сопротивлению растяжению при изгибе

1

Асфальтобетон покрытия

Табл. 13 + 10°С

Е1 = 3200 MПa

-

-

То же + 20°С

-

Е1 = 1800 МПа

-

Табл. 12

-

-

Е1 = 4500 МПа

2

Асфальтобетон верхнего слоя основания

Табл. 13 + 10°С

Е2 = 2000 МПа

-

-

То же + 20°С

 

 

-

Табл. 12

-

Е2 = 1200 МПа

 

Формулы (3.16) и (5)

-

-

Е2 = 2800 МПа

 

 

 

R = 1,6 МПа

 

 

 

Rдоп = 1,6´(1 - 1,71×0,1)´0,921×1 = 1,22 МПа

3

Щебень осадочных пород

Табл. 17

Е3 = 350 МПа

Е3 = 350 МПа

Е3 = 350 МПа

4

Песок средней крупности

Табл. 17

Е4 = 120 МПа

Е4 = 120 МПа

Е4 = 120 МПа

 

 

j4 = 40°

 

 

 

с4 = 0,006 МПа

 

5

Суглинок пылеватый

Табл. 6

-

= 0,70 Wт;

 

Формулу (4)

 

Wисх = 0,7´(1 + 1,7×0,1)

 

 

Wт = 0,82 Wт

 

С учетом поправки на толщину одежды (см. п. 11 приложения 2 и рис. 7)

 

При Wисх = 0,82 Wт

 

 

Sh = 93 см

 

 

Wр = 0,79

 

Табл. 10 (в дальнейшем уточняются по фактической Sh)

Егр = 33 МПа

Егр = 33 МПа;

Егр = 33 МПа

 

jгр = 13°;

 

 

с = 0,0106 МПа

 

Таблица 20

№ слоя

Материал

Е, МПа

h, см

h

Общий модуль упругости, МПа

Dд

1

Асфальтобетон

3200

5

0,14

Еобщ = 275

2

2000

8

0,22

 = 240

3

Щебень

350

30

0,81

 = 168

4

Песок

120

50

1,35

 = 78

5

Суглинок

33

-

-

-

2. Рассчитывают конструкцию по сопротивлению сдвигу в грунте. Для чего вычисляют по формуле (3.1) средний модуль упругости одежды:

 МПа.

По отношениям Есргр = 377/33 = 11,4 и Sh/Dд = 93:37=2,51 и при jгр = 13° с помощью номограммы (см. рис. 3.6) находят удельное напряжение сдвига  = 0,0098; отсюда

tн = р = 0,0098×0,6 = 0,0059 МПа.

По номограмме (см. рис. 3.7) определяют напряжение сдвига от веса одежды при толщине ее 93 см и jгр = 13°, tв = 0,0008 МПа. Суммарное напряжение сдвига в грунте

Т=tн + tв = 0,0059 + 0,0008 = 0,0067 МПа.

Допустимое сдвигающее напряжение в грунте по формуле (3.12);

Тдоп = сгрk1k2k3 =0,0106×0,6×0,7×1,5 = 0,0067 МПа.

Тдоп/T = 0,0067/0,0067 = 1,0, что равно минимальному требуемому коэффициенту прочности.

3. Рассчитывают асфальтобетонные слои на сопротивление растяжению при изгибе:

 = (4500×5 + 2800×8):13 = 3454 МПа.

По отношениям общ = 3454:168 = 20,6 и (h1 + h2):Dд = 13:37 = 0,35 с помощью номограммы (см. рис. 3.11) находят, что  = 2,35.

Следовательно, по формуле (17) sr = рКб = 2,35×0,6×0,85 = 1,20 МПа.

Rдоп/sr = 1,22:1,20= 1,02, что несколько больше Кпр = 1,0.

4. Проверяют, удовлетворяется или условие прочности по сдвигу в песчаном слое основания. Для этого определяют средний модуль упругости слоев, лежащих выше песчаного, при температуре асфальтобетона +20° С:

=(1800×5 + 1200×8 + 350×30):43 = 677 МПа.

При пес = 677:120=5,64, Sh/Dд = 43:37=1,16, активное напряжение сдвига в песке от подвижной нагрузки по номограмме (см. рис. 3.5) составит tн = р = 0,022´0,6 = 0,0132 МПа.

Активное напряжение сдвига от собственного веса tв = -0,0030 МПа. Полное активное напряжение сдвига Тпес = 0,0132 - 0,0030 = 0,0102 МПа, а допускаемое для песка, найденное по формуле (3.12): Тдоп = 0,006×0,6×0,7×6 = 0,0151 МПа, Тдоппес = 0,0151:(0,0102) = 1,48.

Следовательно, выбранная конструкция удовлетворяет всем критериям прочности.

Пример 2. Требуется запроектировать конструкцию дорожной одежды с асфальтобетонным покрытием для городской скоростной дороги при следующих исходных данных: дорожно-климатическая зона - IV; поскольку имеется ливневая канализация, а грунтовые поды находятся на большой глубине, местность по условиям увлажнения отнесена к 1-му типу; грунт земляного полотна - суглинок пылеватый; материалы для сооружения основания - щебень из прочных известняковых пород и крупный песок.

Таблица 21

Марка автомобиля

Нагрузка, кН от движущегося автомобиля на колесо

Коэффициент приведения к расчетной нагрузке 72 кН на колесо

Интенсивность движения на полосе, авт./сут

Приведенное число воздействий от четной нагрузки по полосе, сут

переднее

заднее

переднее

заднее

суммарный

Автобусы

 

 

 

 

 

 

 

ЛАЗ-4202

26,7

60,5

0,02

0,48

0,50

340

170

Икарус 250

36,4

62,3

0,05

0,54

0,59

380

224

Троллейбусы

 

 

 

 

 

 

 

ЗИУ-9В

40,6

67,4

0,08

0,80

0,88

200

176

ЗИУ-682В

39,6

70,7

0,07

0,95

1,02

210

214

Автомобили

 

 

 

 

 

 

 

ГАЗ-53А

11,8

36,3

-

0,05

0,05

320

16

ЗИЛ-130-76

17,1

51,4

-

0,23

0,23

420

97

МАЗ-500А

31,4

65,0

0,3

0,68

0,71

430

305

Итого воздействий расчетной нагрузки в сутки

-

-

-

-

-

-

1202

Перспективная интенсивность движения по полосе составляет 2300 авт./сут., в том числе: автобусов ЛАЗ-4202 340 авт./сут, Икарус-250 380 авт./сут; троллейбусов ЗИУ-9В 200 авт./сут, ЗИУ-682В 210 авт./сут; автомобилей ГАЗ-53А 320 авт./сут, ЗИЛ-130-76 420 авт./сут, МАЗ-500А 430 авт./сут.

Поскольку в составе движения имеются троллейбусы ЗИУ-9В и ЗИУ-682В, нагрузка на заднее колесо которых превышает нормированную нагрузку для автомобиля группы А, а число троллейбусов составляет более 5 % общей интенсивности движения, за расчетную нагрузку следует принять автобус группы А. По данным табл. 1, расчетное давление на покрытие р = 0,6 МПа и расчетный диаметр следа колеса движущейся нагрузки Dд = 39 см.

Конструирование и расчет в данном случае слагается из семи этапов:

1. Приведенная перспективная интенсивность движения к расчетной интенсивности нагрузки дана в табл. 21.

2. Минимальное значение коэффициента прочности одежды по любому из критериев, соответствующее коэффициенту надежности Кн = 0,95 (см. табл. 3.1), составляет (см. рис. 3.1) Кпр =1,0.

3. Принимая во внимание высокие эксплуатационные требования к скоростной дороге, намечают конструкцию одежды: покрытие из плотного асфальтобетона, уложенного на основание из высокопористого асфальтобетона, подстилаемого слоями из щебня и крупнозернистого песка. Расчетные характеристики материалов и грунта следующие:

а) модули упругости асфальтобетона покрытия (асфальтобетон плотный I марки, на битуме БНД-60/90) при +40°С Е1 =550 МПа, а при +10°С Е1 = 3200 МПа, в расчете на изгиб Е1 = 4500 МПа;

б) асфальтобетон верхнего слоя основания (асфальтобетон высокопористый I марки, на битуме БНД-60/90). Его модуль упругости при +40°С Е2 = 460 МПа, а при +10°С Е2 = 2000 МПа, в расчете на изгиб Е2 = 2100 МПа, сопротивление растяжению при изгибе

Rизг = 1,0(1 - 1,71×0,1)0,98×1,0 = 0,812 МПа;

Таблица 22

№ слоя

Материал слоя

Е, МПа

h, см

h

Общий модуль упругости на поверхности слоев, МПа

D

1

Асфальтобетон покрытия

3200

5

0,128

Еобщ = 352

2

Асфальтобетон основания

2000

15

0,385

= 300

3

Щебень известняковый

350

23

0,590

= 144

4

Песок крупный

130

28

0,718

= 76

5

Грунт-суглинок пылеватый

46

-

-

-

в) модуль упругости фракционированного щебня из прочных осадочных пород (см. табл. 17) Е3 = 350 МПа;

г) расчетные характеристики крупного песка (см. табл. 17): Е4 = 130 МПа, (jп = 42°, с4 = 0,007 МПа;

д) расчетная относительная влажность грунта земляного полотна (см. приложение 2, табл. 6)

Wp = 0,60(1 + 1,71×0,1)Wт = 0,70 Wт.

При этой расчетной влажности расчетные характеристики грунта: Егр =46 МПа; jгр = 18°; сгр = 0,016 МПа.

4. При расчете одежды по упругому прогибу требуемый модуль упругости конструкции в соответствии с указаниями п. 3.31 настоящей инструкции составляет Егр = 265×1,1 = 292 МПа.

Подбирают толщины слоев одежды так, чтобы общий модуль упругости на поверхности покрытия был не менее Eтp с учетом заданной надежности. Этому условию отвечает конструкция (рис. 11), результаты расчета которой приведены в табл. 22; Еобщ > Етр; Еобщгр = 352:292 = 1,21 > Кпр = 1,0.

5. Определяют, не достигается ли предельное равновесие по сдвигу в подстилающем одежду грунте. Вычисляют средний модуль упругости дорожной одежды:

Еср = (550×5 + 460×15 + 350×23 + 130×28):71 = 301 МПа.

Отношения: Есртр = 301/46 = 6,54;

Sh/D = 71:39 = 1,82.

По этим данным с помощью номограммы (см. рис. 3.5) при jгр = 18° находят tн/р = 0,0182; активное напряжение сдвига от временной нагрузки tн = 0,0182×0,6 = 0,0109 МПа. Активное напряжение сдвига от веса вышележащих слоев одежды (см. рис. 3.7) tв = -0,0003 МПа. Полное активное напряжение сдвига: Т = 0,0109 - 0,0003=0,0106 МПа. Допускаемое активное напряжение сдвига в грунте:

Тдоп = 0,016×0,6×0,75×1,5 = 0,0108 МПа.

Таким образом, Т < Тдоп, Тдоп/Т = 0,0108:0,0106 = 1,02 > Кпр =1,0.

6. Определяют, не достигается ли предельное напряженное состояние в песчаном слое. Для этого вычисляют средний модуль упругости слоев, лежащих выше песчаного,

= (550×5 + 460×15 + 350×23):43 = 412 МПа;

отношения:

пес = 412:130 = 3,17 и Sh/D = 43:39 = 1,10.

Рис. 11. Деталь конструкции к примеру 2:

1 - плотный асфальтобетон; 2 - высокопористый асфальтобетон;  3 - известняковый щебень; 4 - песок крупный; 5 - суглинок легкий пылеватый

Активное напряжение сдвига в песчаном слое от движущейся нагрузки при этих отношениях по номограмме (см. рис. 3.5) составляет tн/р = 0,029, откуда tн = 0,029×0,6 = 0,0174 МПа. Напряжение сдвига от веса слоев одежды, лежащих выше песчаного по номограмме (см. рис. 3.7): tв = -0,0034 МПа.

Полное активное напряжение сдвига:

Тпес = 0,0174 - 0,0034 = 0,0140 МПа,

что меньше Тдоп = 0,007×0,6×0,75×7,0 = 0,022.

7. Рассчитывают асфальтобетон на растяжение при изгибе. Для этого вначале определяют средний модуль упругости асфальтобетонных слоев дорожной одежды

 = (4500×5 + 2200×15):20 = 2775 МПа.

При  = 144 МПа (см. табл. 22) отношение Еср/ = 2775:144 = 19,27. Относительная толщина асфальтобетонного слоя

(h1 + h2):D = 20:39 = 0,513

По номограмме (см. рис. 3.11) инструкции  = 1,59 и sr = 1,59×0,6×0,85 = 0,811 МПа. Коэффициент прочности Rизг/sr = 0,812:0,811 = 1,00, что равно минимальному требуемому коэффициенту прочности Кпр = 1,0.

Согласно расчетам, принятая конструкция удовлетворяет всем критериям прочности.

Пример 3. Требуется запроектировать дорожную одежду для дороги IIIп категории, проходящей в IV дорожно-климатической зоне при 2-м типе местности по условиям увлажнения, при следующих исходных данных: расчетная интенсивность воздействия нагрузки группы А - 500 ед. сут. на полосу; параметры нагрузки: давление р = 0,6 МПа, диаметр нагруженной площади движущегося автомобиля Dд = 37 см; материалы для сооружения основания - щебень известняковый песок, а грунт земляного полотна - суглинок пылеватый.

Конструирование и расчет слагается из семи этапов.

1. Предварительно намечают конструкцию одежды: двухслойный асфальтобетон на известняковом щебне; основание из фракционированного щебня 2-го класса прочности, укладываемого с расклинкой; подстилающий слой из песка мелкого.

2. Требуемый коэффициент прочности проектируемой дорожной одежды, соответствующий коэффициенту надежности для дороги IIIп категории 0,95Кпр ³ 1,0 (см. табл. 3.1).

3. Рассчетные характеристики Еi материалов и грунта принимают:

а) для материала усовершенствованного капитального покрытия - плотного асфальтобетона I марки (битум БНД-60/90) динамические модули упругости (см. табл. 12, 13); при +40°С, Е1 = 550 МПа, при +10°С Е1 = 3200 МПа и при расчете на изгиб Е1 = 4500 МПа;

б) для верхнего слоя основания - пористого асфальтобетона из известнякового щебня марки 700 (битум БНД-60/90) модуль , упругости (см. табл. 12, 14): при +40° С, Е2 = 460 МПа; при +10°С, Е2 = 2000 МПа, а при расчете на изгиб Е2 = 2800 МПа, причем допускаемое напряжение на растяжение при изгибе по формуле (5):

R2 =1,6(1 - 1,71×0,1)1,10×0,9 = 1,31 МПа;

в) для нижнего слоя основания - фракционированного щебня 2-го класса прочности из осадочных пород, укладываемого с расклинкой (см. табл. 17) Е3 = 350 МПа;

г) модуль упругости и характеристики прочности песка (табл. 17).

Е4 = 120 МПа, j4 = 40°,                             с4 =0,006 МПа;

д) расчетные характеристики грунта земляного полотна - суглинка пылеватого при расчетной влажности (см. табл. 6, формулу (4):

Wp = 0,64(1 + 1,71×0,1)Wт = 0,75 Wт,

Егр = 38 МПа;            jгр = 15°; сгр = 0,013 МПа;

допускаемое напряжение сдвига в грунте по формуле (3.12)

Тгр = 0,013×0,6×0,88×1,50 = 0,0103 МПа.

4. Требуемый модуль упругости при заданной интенсивности воздействия нагрузки составляет 245 МПа.

5. Подбирая толщины слоев одежды так, чтобы общий модуль упругости на поверхности покрытия был близок к Eтp, устанавливают, что этому условию отвечает конструкция, результаты расчета которой приведены в табл. 23. Отсюда имеют Еобщтр = 272:245 = 1,11 > Кпр = 1

6. Проверяют конструкцию на сопротивление сдвигу в грунте. Находят, что

 МПа,

a Sh/Dд = 72:37 = 1,95 и пес = 278:38 = 7,32.

При этих отношениях и jгр = 15° по номограмме (см. рис. 3.6) находят  = 0,0167, откуда tн = 0,0167×0,6 = 0,0100 МПа. Составляющая от веса одежды (см. рис. 3.7) равна tв = +0,0002 МПа. Действующее в грунте сдвигающее напряжение

Т = tн + tв = 0,0100 + 0,0002 = 0,0102 МПа.

Таблица 23

№ слоя

Материал слоя

Е, МПа

h, см

h

Общий модуль упругости на поверхности слоев, МПа

D

1

Асфальтобетон покрытия

3200

4

0,108

Еобщ = 272

2

Асфальтобетон основания

2000

8

0,216

= 240

3

Известняковый щебень

350

30

0,81

= 15

4

Песок

120

30

0,81

= 70

5

Грунт-суглинок пылеватый

38

-

-

 

Коэффициент прочности по сдвигу в грунте

Тдоп/Т = 0,0103:0,0102 = 1,01 > Кпр = 1,00.

7. Проверяют прочность конструкции на сопротивление сдвигу в песке. Допускаемое напряжение сдвига в песке

Тдоп = k1k2k3c4 = 0.6×0,88×6,0×0,006 = 0,0190 МПа;

=(550×4 + 460×8 + 350×30):42 = 390 МПа.

При Еcpпес = 390:120 = 3,25 и Sh/Dд = 42:37 = 1,14 и при j4 = 40° по номограмме (см. рис. 3.5) определяют  = 0,052, откуда tн = 0,03×0,6 = 0,018 МПа.

От веса вышележащих слоев при Sh = 42 см и j4 = 40° составляющая напряжения сдвига tв = -0,0028 МПа; действующее напряжение сдвига в песке

Т4 = 0,018 - 0,0028 = 0,0152 МПа.

Коэффициент прочности по сдвигу в песке Tдоп/Т = 0,0190:0,0152 = 1,25. Условия прочности песка по сдвигу допускают корректировку конструкции, если это экономически целесообразно.

8. Выясняют прочность асфальтобетона на растяжение при изгибе

 = (4500×4 + 2800×8):12 = 3367 МПа.

При отношениях Есросн = 3367:159 = 21,18 и Shi/Dд = 12:37 =0,324 по номограмме (см. рис. 3.11) находят, что  = 2,5, откуда действующее растягивающее напряжение при изгибе sr = 2,5×0,6×0,85 = 1,28 МПа; R2/sr = 1,31:1,28 = 1,02, что равно минимальному требуемому коэффициенту прочности.

Пример 4. Требуется запроектировать дорожную одежду с покрытием из гравийного материала на дороге IV категории во II1 дорожно-климатической зоне (1-я подзона) при следующих исходных данных: местность по условиям увлажнения относится ко 2-му типу; грунт земляного полотна - суглинок тяжелый; материал для основания - песок мелкий; расчетная нагрузка - автомобиль группы Б (Dд = 32 см, р = 0,5 МПа), расчетная интенсивность воздействия нагрузки - 250 ед./сут на полосу, заданный уровень надежности сооружения (см. табл. 3.1) Кн = 0,60.

Конструирование и расчет слагается из четырех основных этапов.

1. Устанавливают расчетные характеристики грунта земляного полотна и материалов конструктивных слоев:

а) расчетная влажность грунта при заданном уровне надежности Кн = 0,60 (см. табл. 6) по формуле (4)

Wр = 0,68Wт(1 + 0,25×0,1) = 0,70Wт;

б) характеристики грунта при расчетной влажности 0,70Wт (см. табл. 10)

Егр = 41 МПа,                      jгр = 18°,                     сгр = 0,019 МПа;

в) расчетное значение модуля упругости материалов (гравийной смеси) при условии, что частиц менее 0,63 мм 15 % и n = 0,5 (см. приложение 3, рис. 8) Е1 = 190 МПа, а мелкого песка (см. табл. 17) Е2 = 100 МПа.

Рис. 12. Деталь конструкции к примеру 4:

1 - гравийный материал; 2 - песок мелкий; 3 - суглинок тяжелый

По графику (см. рис. 3.1) находят, что минимальное допустимое значение коэффициентов прочности при коэффициенте надежности Кн = 0,60 составляет Кпр = 0,63.

2. Предварительно намечают конструкцию одежды (рис. 12): гравийный материал h1 = 18 см; слой песка h2 = 28 см.

3. Рассчитывают конструкцию по упругому прогибу. При Nр = 250 ед./сут требуемый модуль упругости Етр = 165 МПа; он превышает минимальное значение для заданных условий (см. табл. 3.3). Поэтому в расчет вводят полученный по номограмме (см. рис. 3.2) требуемый модуль упругости. Результаты расчета (см. в табл. 24).

Коэффициент прочности по упругому прогибу Еобщтр = 104:165 = 0,63, что равно минимально допустимому значению коэффициента прочности Кпр при заданном уровне надежности Кн = 0,60 дороги.

4. Рассчитывают конструкцию на сопротивление сдвигу в грунте земляного полотна. При заданных толщинах слоев одежды (см. рис. 12), средний модуль упругости одежды

Еср = (190×18 + 100×28):46 = 135 МПа,

а отношения Есртр = 135:41 = 3,29 и (h1 + h2)/Dд = 46:32 = 1,44.

Для этих отношений по номограмме (см. рис. 3.5) находят, что  = 0,049, откуда tн = ×р = 0,049×0,5 = 0,0245 МПа. Составляющая активного напряжения сдвига за счет веса одежды (см. рис. 3.7) tв = 0,0002 МПа. Полное активное напряжение сдвига в грунте

Т = tн + tв = 0,0245 - 0,0002 = 0,0243 МПа;

допускаемое активное напряжение сдвига в грунте

Тдоп = k1k2k3cгр = 0,6×0,99×1,5×0,019 = 0,0169 МПа.

Коэффициент прочности по сопротивлению сдвигу в грунте составляет Тдоппр = 0,0169:0,0243 = 0,70, что превышает требуемое значение Кпр = 0,63. Но поскольку коэффициент прочности по упругому прогибу равен требуемому, нет необходимости перепроектировать конструкцию одежды.

5. Расчет песчаного слоя по сопротивлению сдвигу не требуется (см. п. 3.29).

Таблица 24

Материал строя

Модуль упругости Е, МПа

Толщина h, см

hi

Еобщ, МПа

Dд

Гравийный материал

190

18

0,56

Еобщ = 104

Песок

100

28

0,88

 = 68

Грунт

41

-

-

-

Пример 5. Требуется запроектировать конструкцию дорожной одежды внутризаводской дороги на комбинате при исходных данных: II дорожно-климатическая зона, I-я подзона расчетная интенсивность движения в сутки на полосу - 100 большегрузных автомобилей БелАЗ-548А и 80 автомобилей БелАЗ-540. При наличии столь тяжелых автомобилей в составе движения влияние стандартных автомобилей можно не учитывать.

Параметры расчетного автомобиля БелАЗ-548А: давление на покрытие р = 0,56 МПа, расчетный диаметр следа колеса Dд = 82 см. Грунт земляного полотна - суглинок легкий. Тип увлажнения местности 1-ый. Для устройства дорожной одежды могут быть использованы материалы: асфальтобетон плотный I марки (битум БНД-60/90), асфальтобетон высокопористый на битуме БНД-60/90, щебень известняковый, укладываемый с расклинкой, и песок средней крупности.

Конструирование и расчет включает семь этапов.

1. Предварительно намечают конструкцию: асфальтобетонное покрытие 5 см, верхний слой основания из высокопористого асфальтобетона 17 см, щебень известняковый 30 см, песоксредней крупности 40 см.

2. Результаты приведения интенсивности движения к расчетной интенсивности нагрузки, воздействующей на полосу, помещены в табл. 25. Проектируемую дорогу относят к III категории. По табл. 3.1 находят, что коэффициент надежности для такой дороги Кн = 0,9.

3. По таблицам приложений 2 и 3 назначают расчетные характеристики материалов дорожной одежды и грунта с учетом заданного уровня надежности: асфальтобетон плотный на битуме БНД-60/90 при температуре +20°С модуль упругости Е1 = 1800 МПа; асфальтобетон высокопористый из каменных материалов изверженных пород на битуме БНД-60/90 при температуре +20°С модуль упругости Е2 = 1200 МПа, для расчета на изгиб Е2 = 2100 МПа, сопротивление растяжению при изгибе

Rизг = 1,00(1 - 1,32×0,1)1,8×1,0 = 1,56 МПа;

Щебень известняковый, укладываемый с расклинкой, Е3 = 300 МПа; песок средней крупности (см. табл. 17) Е4 = 120 МПа, j4 = 40°, с4 = 0,006 МПа; суглинок легкий, II дорожно-климатическая зона, I подзона, I тип местности по условиям увлажнения. Отсюда:

Wр = 0,65Wт(1 + 1,32×0,1) = 0,77Wт;

Егр = 35 МПа,                      jгр = 16°,                     сгр = 0,016 МПа;

Тдоп.гр = 0,6×1,1×1,5×0,016 = 0,0158 МПа.

4. Согласно п. 3.23, расчет по упругому прогибу одежд, предназначенных для движения большегрузных автомобилей, не требуется.

Таблица 25

Марка автомобиля

Количество проездов осей N

Ось

Нагрузка на колесо Qn, кН

Qn

Коэффициент приведения S

N/S

Qрасч

БелАЗ-548А

100

Передняя

150,8

0,509

0,05

5

 

100

Задняя

296,4

1,0

1,0

100

БелАЗ-540

80

Передняя

101,4

0,342

-

-

 

80

Задняя

210,6

0,711

0,22

18

 

 

Итого: Nр = SNS = 123 ед./сут.

 

5. Рассчитывают толщину одежды, исходя из условия, чтобы не достигалось предельное состояние по сдвигу в грунте активной зоны земляного полотна. Средний модуль упругости дорожной одежды:

Еср = (1800×5 + 1200×17 + 300×30 + 120×40):92 = 470 МПа.

При отношении Sh/Dд = 92:82 = 1,12; Есргр = 470:35 = 13,4 и jгр = 16° по номограмме (см. рис. 3.6) находят, что  = 0,295. Отсюдаактивное напряжение сдвига от временной нагрузки  = 0,56×0,0295 = 0,0165 МПа. Активное напряжение сдвига от веса одежды толщиной 92 см при jгр = 16° по номограмме (см. рис. 3.7) tв = 0,0002 МПа. Суммарное активное сдвигающее напряжение в грунте

Т = tн + tв = 0,0165 + 0,0002 = 0,0167 МПа.

Допускаемое активное напряжение сдвига в грунте (см. п. 3) Тдоп = 0,0158 МПа.

Коэффициент прочности Тдоп/Т = 0,0158:0,0167 = 0,946, что практически равно минимальному коэффициенту прочности с учетом заданного уровня надежности 0,9, т.е. Кпр = 0,94.

Рассчитывают сдвигающие напряжения в песке дополнительного слоя основания, рассматривая двухслойную систему со средним модулем упругости верхнего слоя

 = (180×5 + 1200×17 + 300×30):52 = 729 МПа

и с модулем упругости нижележащего полупространства Е4. Сдвигающее напряжение от временной нагрузки в песчаном материале определяют по номограмме (см. рис. 3.5) при (h1 + h2 + h3):Dд = 52/82 = 0,63; 4 = 738:120 = 6,15; jн = 40°

 = 0,043;                      tн4 = 0,56×0,043 = 0,0241 МПа.

Активное напряжение сдвига от собственного веса конструкции толщиной h1 + h2 + h3 = 52 см при j4 = 40° по номограмме (см. рис. 3.7) tв = -0,0037 МПа. Суммарное напряжение сдвига в песке дополнительного слоя основания Т = tн + tв = 0,0241 - 0,0037 = 0,0204 МПа. Допускаемое напряжение сдвига в песчаном слое:

Тдоп = k1k2k3c4 = 0,6×1,1×6×0,006 = 0,0238 МПа.

Коэффициент прочности Тдоп/Т = 0,0238:0,0204 = 1,17.

Для заданного уровня надежности минимальный коэффициент прочности Кпр = 0,94.

7. Проверяют, не превышает ли максимальное растягивающее напряжение в асфальтобетоне допускаемого из условия сохранения сплошности материала покрытия. С помощью номограммы (см. рис. 3.3),последовательно рассматривая системы со слоями h4 и h3, находят модуль упругости , на поверхности основания щебеночного слоя (рис. 13) при

h1/Dд = 40:82 = 0,488; Егр4 = 35:120 = 0,292;

 = 0,455×120 = 55 МПа.

При h3/Dд = 30:82 = 0,366; 3 = 55:300 = 0,183;  = 0,285×300 = 86 МПа. Средний модуль упругости асфальтобетонных слоев

 = (4500×5 + 2100×17):22 = 2645 МПа.

Затем вычисляют отношения

/ = 2645:86 = 30,7;

h/D = 22:82 = 0,27

и по номограмме (см. рис. 3.11) находят, что s = 3,45. Растягивающее напряжение при изгибе асфальтобетона sr = 3,45×0,56×0,85 = 1,04 МПа и допускаемом в нижнем слое асфальтобетона Rизг = 1,56 МПа. Здесь коэффициент прочности Rизг/sr = 1,56:1,64 = 0,95, что практически равно минимальному коэффициенту прочности Кпр = 0,94.

Рис. 13. Деталь конструкции к примеру 5:

1 - плотный асфальтобетон; 2 - высокопористый асфальтобетон; 3 - известняковый щебень; 4 - песок средней крупности; 5 - суглинок легкий

Пример 6. Требуется запроектировать дорожную одежду с асфальтобетонным покрытием для автобусной остановки, расположенной на дороге II технической категории. Необходимый уровень надежности одежды можно принять равным уровню надежности одежды на основной дороге, т.е. Кн = 0,95.

Исходные данные следующие: дорожно-климатическая зона II, 1-я подзона, тип местности по условиям увлажнения 1-й; грунт земляного полотна - суглинок тяжелый; материалы для сооружения основания - гравийно-песчаная смесь, цемент. Перспективная интенсивность автобусного движения в сутки в одном направлении Nа = 155 автобусов Икарус-250. За расчетную нагрузку принимают автобус группы А: давление на покрытие р = 0,6 МПа, расчетный диаметр следа неподвижного колеса Dн = 34; см, движущегося Dд = 30 см. Расчетная приведенная интенсивноcть воздействия нагрузки на полосу

Nр = Nа(S1 + S2),

где S1, S2 - коэффициенты приведения нагрузки на переднее и заднее колесо автобуса к расчетной нагрузке, определяемые по графику (рис. 1, приложение 1) имеем

Nр = 155(0,05 + 0,53) = 90 ед./сут.

Конструирование и расчет слагаются из пяти основных этапов.

1. Намечают конструкцию дорожной одежды: слои плотного мелкозернистого асфальтобетона (на битуме БНД-60/90) толщиной h1 = 5 см; слой пористого мелкозернистого асфальтобетона (на битуме БНД-60/90) толщиной h2 = 7 см; гравийно-песчаная смесь, укрепленная 4 % цемента, толщиной h3 = 27 см; слой песка средней крупности толщиной h4 = 10 см.

Расчетные характеристики материалов и грунта:

а) модули упругости асфальтобетона покрытия (асфальтобетон плотный, I марки, тип А): динамические (см. табл. 12, 13) при +20°С модуль Е1 = 1800 МПа, при +10°С модуль Е1 = 3200 МПа, при расчете покрытия на изгиб Е1 = 4500 МПа; статические (см. табл. 14) при +20° С модуль Е1 = 360 МПа, при +50° С модуль Е1 = 240 МПа;

б) характеристики асфальтобетона верхнего слоя основания (асфальтобетон пористый, I марки): динамические модули упругости (см. табл. 12, 13), при +20° С модуль Е2 = 1200 МПа, при +10° С модуль Е2 = 2000 МПа, при расчете покрытия на изгиб Е2 = 2800 МПа; сопротивление растяжению при изгибе по формуле (5)

Rизг = 1,6(1 - 1,71×0,1)1,0×1,43 = 1,90 МПа;

статические модули упругости (см. табл. 14) при +20° С модуль Е2 = 290 МПа, при +50° С модуль Е2 = 200 МПа;

Таблица 26

№ слоя

Материал слоя

Е, МПа

h, см

h

Общий модуль упругости на поверхности слоев, МПа

Dд

1

Асфальтобетон покрытия

3200

5

0,128

Еобщ = 208

2

Асфальтобетон основания

2000

7

0,179

= 170

3

Гравийно-песчаная смесь, укрепленная цементом

400

27

0,692

= 126

4

Песок средней крупности

120

10

0,256

= 49

5

Грунт-суглинок тяжелый

40

-

-

-

в) характеристики гравийно-песчаной смеси, укрепленной 4 % цемента (см. табл. 16) Е3 = 400 МПа, Rукр = 0,25 МПа;

г) модуль упругости и характеристики прочности песка средней крупности с остаточной пористостью n < 26 % (см. табл. 17):

Е4 = 120 МПа,                     j4 = 40°,                      с4 = 0,0055 МПа;

д) расчетные характеристики грунта земляного полотна - суглинка тяжелого при расчетной влажности с учетом требовании п. 10 приложения 2 (см. табл. 9);

Wр = (0,65 - 0,04)(1 + 1,71×0,1)Wт = 0,71Wт, jгр =18°; сгр = 0,018 МПа;

динамический модуль упругости (см. п. 13 приложения 2, табл. 10) Егр = 40 МПа; статический модуль упругости грунта принимают на 15 % меньше динамического (приложение 2, п. 14); Етр = 3,5 МПа.

1. Конструкцию рассчитывают вначале при динамическом воздействии нагрузки. Для чего:

а) рассчитывают конструкцию по упругому прогибу. Требуемый модуль упругости при заданной интенсивности воздействия нагрузки согласно рис. 3.2 и с учетом табл. 3.3 и п. 3.31 составляет 195×1,10 = 215 МПа. При коэффициенте надежности 0,95 наименьший коэффициент прочности должен быть не менее 1,00, поэтому общий модуль упругости на поверхности покрытия должен быть не менее 215 МПа.

Расчет принятой конструкции по упругому прогибу приведен в табл. 26. Коэффициент прочности по упругому прогибу Еобщтр = 208:208 = 1,0, что равно минимальному коэффициенту прочности при уровне надежности Кн = 0,95;

а) проверяют устойчивость конструкции против сдвига в грунте:

Еcp = (1800×5 + 1200×7 + 400×27 + 120×10):49 = 600 МПа;

Sh/Dд = 49:39 = 1,256; Еcp/Егр = 600:40 = 15,0;

при этих отношениях и jгр = 18° находят tн = ´р =0,0224´0,6 = 0,0134 МПа, tв = -0,0001 МПа. Действующее в грунте сдвигающее напряжение

Т = tн + tв = 0,0134 - 0,0001 = 0,0133 МПа,

допускаемое

Тдоп = k1k2k3c4 =0,6×1,14×1,5×0,018 = 0,0185 МПа;

Тдоп/Т = 0,0185:0,0133=1,39 > Кпр = 1,0;

в) проверяют прочность конструкции по сопротивлению сдвигу в песке:

=(1800×5 + 1200×7 + 400×27):39 = 723 МПа;

Sh/Dд = 39:39 = 1,00; пес = 723:120 = 6,03;

Т = tн + tв = 0,0235×0,6 - 0,0028 = 0,0113 МПа;

Тдоп = 0,6×1,14×6,0×0,0055 = 0,0220 МПа;

Тдоп/Т = 0,0226:0,01133 > 1,0;

г) намеченную конструкцию проверяют на сопротивление асфальтобетонных слоев растяжению при изгибе, модуль

 = (4500×5 + 2800×7):12 = 3508 МПа.

При отношениях / = 3508:126 = 27,8 и (h1 + h2)/Dд = 12:39 = 0,31 по номограмме (см. рис. 3.11) находят, что  = 3,0, откуда действующее растягивающее напряжение при изгибе sr = 3,00×0,6×0,85 = 153 МПа; отношение Rдоп/sr = 1,90:1,53 = 1,24; в соответствии с п. 2.8, несмотря на запас прочности уменьшать толщину слоев покрытия нецелесообразно;

д) проверяют, не превосходит ли растягивающее напряжение при изгибе допустимое для гравийно-песчаной смеси, укрепленной цементом. Средневзвешенный модуль упругости асфальтобетонных слоев  = (1800×5 + 1200×7):12 = 1450 МПа; для отношений 3 = 1450:400 = 3,62, Е3/ = 400:49 = 8,16 и (h1 + h2+ h3)Dд = 39:39 = 1,0 путем экстраполяции данных номограммы (см. рис. 3.12) находят  = 0,33;

растягивающее напряжение при изгибе укрепленного цементом гравийного материала составляет sr = 0,33×0,6 = 0,198 МПа, Rдоп = 0,25×1,16 = 0,29 МПа, Rдоп/sr = 0,29:0,198 = 1,46 > Кпр.

Принятая конструкция удовлетворяет условиям прочности при воздействии на нее подвижной нагрузки.

4. Для расчета конструкции при статическом воздействии нагрузки сначала проверяют ее на сопротивление сдвигу в грунте земляного полотна:

Еср = (360×5 + 290×7 + 400×27 + 120×10):49 = 323 МПа;

Sh/Dд = 49/34 = 1,44; Есргр = 323:35 = 9,23,

откуда

tн = 0,023×0,6 = 0,0138 МПа;  tв = -0,001 МПа;

Т = tн + tв =0,0138 - 0,0001 = 0,0137 МПа;

Тдоп = k1k2k3c5 = 0,91×,23×1,5×0,018=0,030 МПа;

Тдоп/Т = 0,030:0,0137 = 2,19 >> Кпр = 1,0.

Затем проверяют прочность конструкции по сопротивлению растяжению при изгибе слоя из гравийно-песчаной смеси, укрепленной 4 % цемента,

 = (300×5 ï 290×7):12 = 319 МПа;

путем послойного расчета с помощью номограммы (см. рис. 3.3) определяют модуль упругости на поверхности песчаного слоя: h4/Dн = 101:34 = 0,294; Егр4 = 35:120 = 0,292; 4 = 0,378;  = 45 МПа. По отношению 3 = 319:400 = 0,80; Е3/ = 400:45 = 8,89 и (h1 + h2+ h3):Dн = 39:34 = 1,15, находят  = 0,375, sr =×р = 0,375×0,6 = 0,225 МПа; Rдоп = RукрКц =0,25×1,24 = 0,31 МПа.

Здесь коэффициент Кц принят наибольшим по графику (см. рис. 8)

Rдоп/sr = 0,31:0,225 = 1,38 > Кпр.

Кроме того, определяют, не достигается ли предельное равновесие по сдвигу в слое асфальтобетона. Для расчета характеристики асфальтобетона принимаются при +50° С.

Модуль упругости на поверхности укрепленной гравийно-песчаной смеси:

3 = 45:400 = 0,112;                 h3/Dн = 27:34 = 0,794;

3 = 0,320;                               = 128 МПа.

Вычисляют средний модуль упругости асфальтобетонных слоев

Еср.асф = (240×5 + 200×7):12 = 217 МПа,

а затем отношения:

Еср.асф/ = 217:128 = 1,70;    (h1 + h2)/Dн = 12:34 = 0,353.

Активное напряжение сдвига в асфальтобетоне находят по номограмме (см. рис. 3.13) при отношении Еср.асф/ = 1; напряжение  = 0,29;

Т = р = 0,29×0,6 = 0,174 МПа.

Допускаемое напряжение сдвига в асфальтобетоне

Тдоп = К×с = 1,1×0,20 = 0,22 МПа;

Тдоп/Т = 0,22:0,174 = 1,26,

что больше минимального коэффициента прочности Кпр = 1,0.

Принятая конструкция одежды с толщинами слоев h1 = 5 см, h2 = 7 см, h3 = 27 см, h4 = 10 см имеет коэффициент прочности по упругому прогибу равный минимально допустимому Кпр = 1,0, что не позволяет уменьшить толщину слоев основания, несмотря на значительные запасы прочности по другим критериям.

ПРИЛОЖЕНИЕ 5

ИСПЫТАНИЕ И ОЦЕНКА ПРОЧНОСТИ НЕЖЕСТКОЙ ДОРОЖНОЙ ОДЕЖДЫ ПО УПРУГОМУ ПРОГИБУ

Общие положения. Полевые испытания в расчетный период года с целью оценки прочности дорожных одежд производят на стадии приемки дорог в эксплуатацию или в процессе эксплуатации, особенно, когда ровность дорожных одежд не удовлетворяет требованиям движения.

Испытания могут быть проведены методом статического нагружения колесом автомобиля или более производительными методами кратковременного нагружения. Между результатами испытаний одежды разными методами имеются удовлетворительные корреляционные связи. Например, между упругими прогибами дорожной одежды с асфальтобетонным покрытием, полученными при статических испытаниях lст штампом с параметрами нагрузки группы А и кратковременным нагружением с использованием установки динамического нагружения lд падающим на штамп грузом, имеется следующая зависимость (в миллиметрах):

lст = (0,3h/h1 + 1,1)lд,                                                          (6)

где h - толщина слоев из материалов, содержащих органическое вяжущее;

h1 - наиболее распространенная толщина слоев из указанных материалов, равная 100 мм.

Зависимость (6) справедлива в диапазоне фактических прогибов 0,1 £ lд £ 1,0 мм.

Результаты полевых испытаний, выполненных в разное время, следует привести к сопоставимому виду. Полученные значения общего модуля упругости конструкции нужно сопоставить с требуемым по условиям движения модуля упругости. Для непрочных участков следует назначить и рассчитать слои усиления или наметить мероприятия по организации движения автомобильного транспорта в неблагоприятные по условиям увлажнения периоды года.

Подготовительные работы. До начала испытаний дорожной одежды необходимо изучить: 1) продольный профиль и план трассы (по проектной документации); 2) особенности строительства дороги, включая погодно-климатические условия во время возведения земляного полотна и устройства конструктивных слоев дорожной одежды, технологию производства работ (по журналу производства работ); 3) перечень мероприятий по содержанию дороги и данные о времени проведения ремонтных работ, о видах ремонтов с указанием состояния дорожной одежды перед ремонтом, об объеме и технологии выполненных работ, их качестве и примененных материалах, погодно-климатических условиях при ремонтных работах (по паспорту дороги, актам приемки работы, журналам производства ремонтных работ); 4) данные учета состава и интенсивности движения автомобилей за весь период эксплуатации дороги (по сводным ведомостям); 5) результаты выполненных ранее обследований (по отчетам, дефектным ведомостям).

Затем следует визуально оценивать состояние дорожной одежды и установить виды и размеры ее дефектов (табл. 27). Одновременно необходимо оценить состояние поверхности стока и соответствие земляного полотна требованиям строительных норм. При необходимости нужно принять решение по углублению дорожных канав и планировке поверхности стока.

На основании анализа документальных данных составляют сводную ведомость и разбивают дорогу на характерные участки, отличающиеся друг от друга хотя бы одним из следующих признаков:

1) конструкцией дорожной одежды; 2) видом грунта земляного полотна; 3) типом местности по условиям увлажнения; 4) технологией устройства дорожной одежды и качеством примененных при этом материалов; 5) приведенной интенсивностью движения; 6) состоянием проезжей части по видам дефектов (см. табл. 27). Длина характерного участка, как правило, не должна быть менее 0,5 км.

На характерном участке предварительно намечают контрольную точку, находящуюся в месте, наиболее полно представляющем картину внешнего состояния и конструкцию дорожной одежды на участке, и все данные об этой точке заносят в сводную ведомость (рис. 14).

Оборудование для испытания одежды. Для испытания дорожных одежд применяют оборудование, позволяющее осуществлять кратковременное динамическое или статическое воздействие нагрузки на конструкции. Для статического нагружения используют автомобили марок МАЗ-500, МАЗ-503 и др., относящиеся к группе А.

Таблица 27

Вид дефекта дорожной одежды

Характеристика повреждения

Одиночные трещины па проезжей части

Трещины разного направления обычно расположены друг от друга на значительном расстоянии (не менее 10 м)

Редкие трещины

Поперечные и косые, не связанные между собой трещины; среднее расстояние между соседними трещинами 4-10 м

Частые трещины

Поперечные и косые трещины с ответвлениями, иногда связанные между собой, но, как правило, не образующие замкнутых фигур; среднее расстояние между соседними трещинами 1-4 м

Сетка трещин с крупными ячейками

Трещины произвольного очертания, образующие замкнутые фигуры, расположены в разных местах проезжей части

Колейность

Плавное искажение поперечного профиля покрытия, локализованное на полосах наката

Сетка трещин с мелкими ячейками

Сетка трещин только на полосах наката

Продольные трещины на полосках наката в сочетании с поперечными трещинами на всю ширину проезжей части

Сочетание частых, отстоящих друг от друга на расстоянии 20-40 см продольных трещин на полосах наката с частыми поперечными (1 - 4 м) трещинами на всю ширину проезжей части

Просадки

Резкие искажения профиля покрытия, имеющие вид впадин с округлыми краями; на асфальтобетонном покрытии часто сопровождаются сеткой трещин

Проломы

Полное разрушение дорожной одежды с резким искажением профиля покрытия; на асфальтобетонном покрытии сопровождается сеткой трещин в прилегающих зонах покрытия

Выкрашивание и шелушение

Поверхностное разрушение покрытия и отслаивание вяжущего от минерального материала

Выбоины

Местные разрушения дорожного покрытия, имеющие вид углубления с резко очерченными краями

Волны

Закономерное чередование (через 0,5 - 2 м) на покрытии впадин и гребней в поперечном направлении по отношению к оси дороги

Сдвиги

Смещение покрытия, наблюдающееся обычно на крутых спусках, на местах остановок и торможения автомобилей; иногда в местах сдвига наблюдаются разрывы покрытия

Пучины и пучиноопасные места

Паутинообразные трещины, в отдельных местах проезжей части - взбугривания, «зыбь» покрытия под движущимся колесом автомобиля


Рис. 14. Сводная ведомость паспортных данных обследуемой дороги:

Числа на конструктивных слоях - их толщина в сантиметрах; в нижней графе над чертой - привязка контрольной точки к километровому столбу, под чертой - расстояние от кромки проезжей части в метрах


Прогиб поверхности покрытия измеряют с помощью рычажных прогибомеров конструкции КП-204, МАДИ - ЦНИЛ, Ленфилиала Союздорнии 1 или других аналогичных приборов. Прогибомер КП-201, в отличие от МАДИ-ЦНИЛ, имеет опоры, располагающиеся вне чащи прогибов покрытия, что обеспечивает большую точность и более высокую производительность испытания.

1 Авторское свидетельство № 311131 «Устройство для измерения прогибов дорожных покрытий».

Для динамического (кратковременного) нагружения дорожной одежды применяют установки типа 2 УДН-НК, Дина 3, УДН-Н. Большое число данных и динамических прогибах одежд могут быть получены с помощью вибрационного оборудования, а также испытанием одежд трехосным автомобилем с натяжной лентой над задней тележкой (установка КАДИ). Эти данные могут быть использованы в расчетах после корректировки по результатам испытания на контрольных точках.

2 Введена в комплект передвижной лаборатории модели КП-502 МП, принятой к серийному производству.

Принцип действия установки динамического погружения (УДП) следующий (рис. 15). Груз, сбрасываемый с определенной высоты по направляющей на пружину, создает кратковременное усилие, которое через штамп действует на испытываемую дорожную одежду. Пружина может находиться не на штампе, а быть приваренной к грузу. Груз, а также штамп поднимают ручной или механической лебедкой. Для измерения упругой деформации одежды применяют вибрографы (типа ВР-1, ВР-1А), записывающие результаты испытания на специальную бумажную ленту, или датчики перемещения с фиксацией деформации с помощью осциллографа и др.

Установка (УДН-Н) может быть навешена на кузов автомобиля. В модели УДН-НК груз сбрасывают не на жесткий штамп с пружиной, а на спаренное колесо, играющее роль одновременно и амортизатора.

Кратковременное усилие в установках с падающим грузом изменяется во времени по закону, близкому к синусоидальному. Наибольшее динамическое усилие Qд (в ньютонах) и длительность нагружения Тд (в секундах) при сбрасывании груза на систему «пружина - жесткий штамп» (см. рис. 15) вычисляют по приближенным формулам:

Qд;                                                     (7)

Кп = 0,5(l + l’/l);                                                       (8)

Тд,                                                  (9)

где М - масса падающего груза, кг;

g - ускорение свободного падения, равное 9,81 м/с2;

Н - высота падения груза, см;

d - характеризующий жесткость амортизатора показатель, равный деформации амортизатора от статического действия груза массой М, м;

Кп - коэффициент, учитывающий потери энергии при сбрасывании груза;

l l’ - вертикальные деформации дорожной одежды соответственно от первого и второго удара груза (после подскока) при одном и том же сбрасывании, см.

Для наиболее распространенных случаев испытания дорожных одежд Кп = 0,9. Величину d определяют путем тарировки амортизирующего устройства, которую нужно проводить ежегодно перед началом испытаний.

Для развития кратковременного усилия Qд, соответствующего нагрузке группы А (при Qд = 5×104 Н), на УДН с подъемом груза ручной лебедкой обычно принимают d = 0,040 - 0,043 см, М = 100±5 кг; наибольшее значение Н = 80¸100 см. При большем из указанных значений d нужно принимать и большее значение М или Н. С учетом динамического коэффициента допустимая величина Qд = 60000 ± 5000 Н; длительность действия нагрузки Тд = 0,02 - 0,03 с.

Оборудование с генератором колебаний обычно монтируют на прицепе к автомобилю. Комплекс вибрационного оборудования обеспечивает высокую производительность работ при полевых испытаниях одежд и предназначен: 1) для нагружения дорожных одежд периодически изменяемой вибрационной нагрузкой; 2) измерения, возникающего при этом динамического прогиба в нескольких точках покрытия; 3) регистрации полученной информации с целью последующей ее обработки.

Рис. 15. Принципиальная схема установки динамического нагружения (УДН):

1 - штамп; 2 - пружина; 3 - падающий груз; 4 - направляющая штанга; 5 - штатив измерительного прибора; 6 - измерительный прибор

Вибрационные усилия, создаваемые вибратором, действуют на испытываемую дорожную одежду через спаренные колеса, соответствующие по параметрам колесам расчетного автомобиля.

Датчики ускорения, жестко связанные с измерительными роликами, воспринимают вертикальные колебания поверхности дороги и преобразуют их в электрические сигналы, которые поступают на входы усилительно-преобразовательной электронной аппаратуры, установленной в кузове автомобиля-тягача.

Оборудование, создающее кратковременную нагрузку проездом колеса автомобиля, имеется на установке непрерывного контроля (УНК-1), разработанной в КАДИ и ХАДИ.

УНК (КАДИ-ХАДИ) смонтирована на автомобиле КрАЗ. На спаренные колеса задней тележки автомобиля надета бесконечная гибкая транспортерная лента. Постоянное натяжение ленты при движении автомобиля обеспечивается натяжными направляющими роликами и колесами автомобиля. На ленте закреплена металлическая пластина 400´500´1,5 мм. Жесткость пластины во много раз меньше жесткости пневматических колес, поэтому при наезде колеса пластина копирует чашу прогиба одежды под колесом. Для измерения кривизны пластины, т.е. чаши прогиба, на пластине закреплены тензометрические датчики. При движении автомобиля пластина сначала прижимается к одежде первым колесом задней тележки, которое разгружено и находится только под действием собственного веса. При перемещении автомобиля пластина остается на этом же месте и на все наезжает второе колесо задней тележки. Это колесо нагружено расчетной нагрузкой по группе А или Б. Поэтому осадка одежды под ним больше, чем под первым разгруженным колесом тележки. При наезде каждого колеса в обоих случаях от датчика на пластине через гибкий кабель и токосъемник передается сигнал на измерительную аппаратуру, размещенную и салопе автомобиля. При проезде тележки фиксируется под груженым колесом чаша прогиба, ординаты которой пропорциональны разности прогибов l2 - l1.

Методика испытаний. Дорожную одежду в контрольные точках и на всем протяжении характерных участков (линейные испытания) испытывают в наиболее неблагоприятной по увлажнению дорожной конструкции период года (расчетный период).

На контрольных точках испытание начинают несколько раньше, чем линейные, т. е. в самом начале расчетного периода. Для районов с сезонным промерзанием грунта земляного полотна начало расчетного периода zн можно ориентировочно относить к дате перехода температуры воздуха весной через +5° С, которую принимают по климатологическому справочнику. В этих районах ориентировочная продолжительность периода (в сутках)

Тр = h0/а,                                                               (10)

где h0 - глубина промерзания грунта полотна (II, III дорожно-климатические зоны), см;

а - среднесуточная скорость оттаивания полотна, рапная от 1 до 3 см/сут, рассчитываемая по скорости опускания изотермы льдообразования (ориентировочно нулевой изотермы), приведенной в климатологических справочниках, см/сут.

Дата окончания расчетного периода

zoк = zн + Тp.                                                              (11)

В южных районах, где расчетный период наибольшего ослабления одежды совпадает с зимой, испытания на контрольных точках начинают с наступлением устойчивой влажной погоды в сочетании с низкими (для конкретного района) температурами.

Для получения данных об особенностях суточного изменения прогиба (модуля упругости) дорожной одежды, связанного с изменением температуры покрытия, на каждой контрольной точке должно быть проведено по два испытания в день - в первой и во второй половине дня. При испытаниях фиксируют температуру Т асфальтобетонного покрытия на глубине 3 - 5 см.

Когда по результатам испытаний на контрольных точках станет видна общая тенденция увеличения изо дня в день прогиба покрытия, следует начинать линейные испытания. Характерный участок линейных испытаний должен быть разделен на отрезки длиной примерно по 1000 м. На каждом отрезке нужно провести по 20 измерений, что обеспечит достаточную точность результатов испытаний для большинства практических случаев. Если на коротких отрезках (менее 100 м) отмечено резкое снижение прочности (густая сетка трещин, просадка и т.п.), то необходимо провести не менее 15 уточняющих испытаний в точках, расположенных па равных расстояниях одна от другой.

На дорогах с разделительной полосой испытания проводят аналогично - по внешним полосам наката каждой из проезжих частей.

В период проведения линейных испытаний продолжают и испытания на контрольных точках, пока не станет видна тенденция стабилизации прочности дорожной одежды. Обычно общая длительность испытаний на контрольных точках составляет 30 - 35 дней.

При проведении испытаний динамическими установками УДН, УДН-Н, УДН-НК кратковременное нагружение дорожной одежды производят с помощью падающего груза (см. рис 15), сбрасывая его с высоты Н, установленной в соответствии с формулой (7). Эта высота обеспечивает возникновение кратковременного усилия, соответствующего нагрузке на заднее колесо автомобиля группы А (Qд = 5×104 Н). Величину Н уточняют при тарировке амортизирующего устройства до начала испытаний.

Оборудование высокой производительности для измерения прогиба и кривой чаши прогиба в процессе движения автомобиля целесообразно использовать только при линейных испытаниях.

Обработка результатов ежедневных испытаний (по несколько тысяч каждый день) при работе с оборудованием, основная часть которого - вибрационный комплекс, практически возможна только с применением ЭВМ.

При испытаниях с помощью УНК на каждом километре записывают 125 измерений при движении со скоростью v = 4 - 8 км/ч. В случае необходимости на ленте самописца можно получить любое меньшее число измерений.

Перед испытанием аппаратуру тарируют. На испытуемом маршруте выбирают участок длиною 20 - 30 м и производят 2 - 4 пробных (повторных) проезда УНК с постоянной скоростью v1, равной например, 5 км/ч. Точки на покрытии, где ложится металлическая пластина, фиксируют мелом. Вычисляют среднее значение сигнала  на тарировочном участке, соответствующее средней кривизне линии прогибов, эквивалентной прочности одежды на испытуемом участке.

В фиксированных точках измеряют 5 - 7 раз прогиб под груженым колесом движущегося со скоростью 20 - 30 км/ч автомобиля КрАЗ и вычисляют среднее значение эквивалентного модуля  на тарировочном участке и тарировочный коэффициент

b = /.                                                                 (12)

В дальнейшем при проезде со скоростью v1 эквивалентный модуль одежды

Еэi = bai,                                                                    (13)

где ai - измеренный сигнал при скорости v1.

Рис. 16. Зависимость температурного коэффициента Ко от температуры Т асфальтобетонного покрытия в момент испытания.

Цифры на кривых - суммарная толщина асфальтобетонных слоев конструкции. Штриховыми кривыми показаны данные для испытания под колесом автомобиля, сплошными - под жестким штампом

При существенном изменении конструктивных слоев одежды необходима новая тарировка.

Обработка результатов испытаний. Время испытаний конструкций на контрольной точке, а также на характерном участке не совпадает со временем, когда температура слоев, содержащих органическое вяжущее, равна расчетной, т.е. +10° С. Поэтому измеренные прогибы l следует приводить к сопоставимому по температуре виду lс

lс = lКо,                                                          (14)

где l - измеренный прогиб;

Ко - температурный коэффициент, принимаемый по графику (рис. 16).

Так как время проведения линейных испытаний в отдельных местах характерных участком обычно тоже не совпадает по времени наибольшей потери прочности конструкцией в расчетный период, то результаты и этих испытании также следует приводить к сопоставимому виду. Такую корректировку выполняют с помощью графика изменения прогиба конструкции во времени (график «прогиб - время»), построенного по результатам ежедневных измерений прогиба на контрольной точке, приведенных к сопоставимому виду по температуре.

Приведенный к сопоставимому виду прогиб покрытия на характерном участке линейных испытаний

lпрi = ( + tкsк)( + tjisji)/lкi                                               (15)

где ,  -средние значения прогибов покрытия по данным измерения прогибов соответственно в различных местах j по протяженности характерного участка, выполненный в i-ый  день расчетного периода и на контрольной точке в разные дни всего расчетного периода, приведенных к сопоставимому виду по температуре ();

sji, sк - средине квадратические отклонения прогибов соответственно для характерного участка и для контрольной точки;

tji, tк - коэффициенты нормированных отклонении, значения которых принимают для заданного уровня проектной надежности усиленной конструкции (табл. 28) и числа испытаний соответственно на характерном участке и ни контрольной точке;

lкi - измеренный на контрольной точке прогиб в 1-й день, т. е. в день линейных испытаний на характерном участке;

i - порядковый номер дня от начала расчетного периода;

j - порядковый номер места испытаний на характерном участке.

Величины l, d и t определяют по общеизвестным методам статистики. Приведенные к сопоставимому виду фактические значения модулей упругости дорожной одежды (в мегапаскалях)

Епрi = KqpD(1 - m2)/lпрi,                                                         (16)

где Kq - коэффициент, зависящий от характера передачи нагрузки на покрытие; так при испытании с помощью жесткого штампа Kq = 0,25p, а с помощью спаренного колеса и прогибомеров - Kq » 0,6;

р - давление па покрытие, МПа;

D - диаметр круга, эквивалентного следу колеса;

m - коэффициент Пуассона (m = 0,30).

Если дорожные одежды испытаны автомобилями, весовые параметры которых значительно отличаются от параметров нагрузки группы А, то для нагрузки группы А фактические модули упругости конструкции

Е = ЕjDj : 33 = 0,030ЕjDj,                                                   (17)

Еj - фактический модуль упругости конструкции, определенный для случая испытания нерасчетной нагрузкой;

Dj - диаметр круга, равновеликого площади отпечатка протектора колеса нерасчетной нагрузки.

Фиксация результатов испытаний кратковременной нагрузкой в зависимости от примененной аппаратуры может быть осуществлена: а) в графической (аналоговой) форме в виде кривой, воспроизводящей в определенном масштабе изменение вертикальной деформации одежды во времени; б) в цифровом виде при наличии в комплекте аппаратуры цифропечатающего устройства или цифрового электронного индикатора, высвечивающего значения прогиба на панели; в) на магнитной пленке, главным образом, в случае применения оборудования высокой производительности.

При расшифровке записи в графической форме измеряют высоту всплеска деформации lизм, а затем определяют фактическую деформацию

lф = lизм/mизм,                                                           (18)

где mизм - масштаб записи измеренной деформации.

При пользовании вибрографами масштаб записи должен быть не менее 6. При малом размере графической записи следует применять лупу или специальный микроскоп со шкалой типа ИПБ-2. При цифропечатающем устройстве lизм дается в цифрах, что упрощает обработку. То же относится к случаю использования цифрового электронного индикатора.

Таблица 28

n-1

Нормированное отклонение t для уровня проектом надежности

n-1

Нормированное отклонение t для уровня проектом надежности

0,85

0,90

0,95

0,98

0,99

0,85

0,90

0,95

0,98

0,99

2

1,31

1,89

2,92

4,87

6,96

12

1,08

1,36

1,78

2,33

2,68

3

1,25

1,64

2,35

3,45

4,54

13

1,08

1,35

1,77

2,30

2,65

4

1,19

1,53

2,13

3,02

3,75

14

1,08

1,34

1,76

2,28

2,62

5

1,16

1,48

2,01

2,74

3,36

15

1,07

1,34

1,75

2,27

2,60

6

1,13

1,44

1,94

2,63

3,14

16

1,07

1,34

1,75

2,26

2,58

7

1,12

1,41

1,90

2,54

3,00

17

1,07

1,33

1,74

2,25

2,57

8

1,11

1,40

1,86

2,49

2,90

18

1,07

1,33

1,73

2,24

2,55

9

1,10

1,38

1,83

2,44

2,82

19

1,07

1,33

1,73

2,23

2,54

10

1,10

1,37

1,81

2,40

2,76

20

1,06

1,32

1,72

2,22

2,53

11

1,09

1,36

1,80

2,36

2,72

25

1,06

,32

,71

2,19

2,49

Примечание. n - число опытов или измерений.

Значения lф заносят в журнал испытаний на контрольных точках и в журнал линейных испытаний.

Модуль упругости одежды от кратковременной нагрузки определяют по формуле (16). В этой формуле давление

Р = Qд/F,

где Qд - динамическое усилие по формуле (7);

F - площадь штампа, равная 0,25 pD2 или отпечатка колеса.

При обработке результатов испытаний с помощью малых и ручных ЭВМ рекомендуется следующая методика. Если на характерном участке имеются отрезки, на которых измеренные прогибы резко (в 2-3 раза) отличаются от среднего значения по участку, следует провести «очистку» данных испытаний. Для чего на каждом характерном участке и отдельно на каждом отрезке резкого снижения прочности вычисляют средине (фактические) модули упругости

Еср.р  или Еср.р = mpD(1 - m2)/(),                              (19)

где Еpj, - «очищенные» значения фактических модулей упругости, МПа;

lpj - то же, упругих деформаций, см;

m - число «очищенных» результатов испытаний;

р, D, m - то же, что и в формуле 16.

«Очищенные» значения Epj и lpj должны соответствовать условиям:

0,4Етр £ Epj £ 1,1Етр

или

р1D1(1 - m2)/(0,4Етр) ³ lpj ³ р1D1(1 - m2)/(1,1Етр),                             (20)

где Етр - требуемый модуль упругости, МПа;

р1, D1 - среднее давление на покрытие и диаметр следа колеса, соответствующие расчетной нагрузке группы А.

Поскольку p1 = 0,6 МПа, D1 = 33 см и (1 - m2) условно можно считать:

45,0/Етр ³ lpj ³16,4/Етр.                                                  (21)

Таким образом, при определении среднего расчетного модуля по формуле (19) отбрасывают точки, в которых прочность заведомо обеспечена, и точки, в которых прочность существенно (в 2,5 раза) ниже требуемой. В точках, где Epj <0,4 Етр, вопрос об усилении нужно решать отдельно. Указанный способ отбрасывания данных, существенно отличающихся от Етр, позволяет повысить однородность и соответственно надежность одежды после усиления. В местах, где Epj >1,1 Етр, покрытие не усиляют при условии хорошего состояния его на участках. Если число точек с Epj <0,4 Eтp или с lpj > 45,0/Етp превышает на данном участке 40 %, то Еср вычисляют, не исключая значения пониженные Epj или повышенные lpj.

Па коротких отрезках дороги с резко пониженной прочностью рассмотренную выше «очистку» результатов испытаний не проводят.

Поскольку и после отбрасывания крайних значении модулей упругости или упругих деформации результаты испытании имеют определенную неоднородность, в целях повышения надежности усиленной дорожной одежды фактический расчетный модуль Ефр (в мегапаскалях) существующей одежды следует определять по выражению:

Ефр = Еср.р(1 - tvЕр),                                                    (22)

где t - нормированное отклонение, зависящее от заданного уровня надежности усиленной одежды и числа испытаний (см. табл. 28);

vЕр - коэффициенты вариации очищенного массива модулей упругости.

Если при проектировании усиления дорожных одежд исходят из учета не только строительных, но и приведенных транспортных и эксплуатационных затрат, то для существующей дорожной одежды расчетный модуль упругости

Еор = Еср.р(2 - bcvc),                                                     (23)

где Еор - оптимизированный расчетный модуль упругости на участке;

bc - коэффициент гарантийной вероятности, определяемый по табл. 29;

vc - коэффициент вариации общих модулей упругости на участке.

Требуемый модуль упругости усиленной одежды определяют с учетом рекомендаций раздела 3 настоящей Инструкции.

Приведение результатов испытаний к расчетному году. Полевые испытания дорожных одежд могут быть выполнены не в расчетном году. В результате полученные данные не дадут объективной характеристики состояния дорожной одежды и потребуют соответствующей корректировки. Корректировать целесообразно с учетом многолетних наблюдений за изменением влажности грунтов земляного полотна, учитывая, что примерно 80 % вертикальной деформации конструкции под нагрузкой обусловливается деформационными характеристиками грунтов, подстилающих дорожную одежду. На участках обследуемой дороги с различным грунтом земляного полотна отрывают шурфы на обочине непосредственно вблизи контрольных точек и периодически (одни раз в 3-5 дней) отбирают пробы грунта из-под проезжей части для выявления изменения относительной влажности грунта во времени (график «влажность - время»). Сопоставляя графики «прогиб - время» и «влажность - время», определяют относительную влажность W грунта земляного полотна на характерном участке, соответствующую типичному для всего расчетного периода состоянию дорожной одежды. Полученную влажность  сопоставляют с влажностью грунтов расчетного года (см. приложение 2) и в случае различия корректируют результаты линейных испытаний дорожных одежд.

В качестве влажности грунта расчетного года целесообразно принять

наиболее вероятную влажность за рассматриваемый перспективный период. Учитывая, однако, многообразие случайных факторов, определяющих водно-тепловой режим земляного полотна, и ограниченность статистических данных о распределениях влажности грунтов за различные периоды разных лет эксплуатации дороги, можно расчетную относительную влажность  за периоды 5-15 лет принять с учетом грунта земляного полотна по следующим данным:

Супесь легкая ………………………… 0,76 ± 3 %

Суглинок пылеватый ………………… 0,86 + 2,5 %

Фактические значения модуля упругости Ефр, полученные по формуле (10), корректируют в такой последовательности:

1) по приложению 2 определяют модули упругости грунтов земляного полотна Ео и Ер, соответствующие влажности  и p;


Таблица 29

Категория дороги

Тип покрытия

Общая интенсивность движения Nо авт./сут

Коэффициент гарантийной вероятности bе и при vе коэффициенте вариации по модулям упругости существующей дорожной одежды

0,2

0,3

Отношение Еср.р : Етр

0,5

0,6

0,7

0,8

0,5

0,6

0,7

0,8

II

Усовершенствованное капитальное

3000

0,80-0,95

0,85-0,95

0,90-1,10

0,90-1,10

1,00-1,10

1,05-1,15

1,10-1,15

1,25-1,35

8000

1,00-1,15

1,00-1,15

1,05-1,20

1,05-1,15

1,10-1,20

1,20-1,30

1,30-1,40

1,20-1,35

III

То же

1000

0,50-0,80

0,55-0,85

0,60-0,90

0,60-0,90

0,70-0,95

0,75-0,95

0,75-0,95

0,80-1,00

4000

0,80-1,05

0,90-1,10

0,90-1,10

0,95-1,15

1,00-1,15

1,05-1,15

1,10-1,20

1,30-1,35

III

Усовершенствованное облегченное

1000

0,65-0,90

0,70-0,95

0,75-1,00

0,75-1,00

0,80-1,00

0,90-1,00

0,95-1,00

1,35-1,10

4000

0,90-1,05

0,96-1,15

1,03-1,20

1,10-1,25

1,10-1,15

1,25-1,30

1,25-1,40

1,25-1,35

IV

Усовершенствованное капитальное

200

0,10-0,60

0,10-0,65

0,15-0,65

0,10-0,60

0,25-0,70

0,30-0,75

0,30-0,75

0,30-0,75

1000

0,70-1,00

0,75-1,05

0,80-1,05

0,80-1,05

0,90-1,10

0,95-1,10

0,95-1,15

1,00-1,15

 

Усовершенствованное облегченное

-

0,30-0,75

0,40-0,80

0,45-0,85

0,50-0,90

0,55-0,85

0,60-0,90

0,65-0,95

0,70-0,95

Примечания: 1. Первая цифра bе соответствует 5 %, вторая 50 % легковых автомобилей в общем потоке движения.

2. Для значений vЕ, Еср.ртр, Nо лежащие между значениями, указанными в таблице, возможна линейная интерполяция.

3. Для величин vЕ более 0,3 принимать те же значения bе, что и при vЕ = 0,3 для соответствующих отношении. Еср.ртр.


2) определяют средний модуль упругости слоев дорожной одежды с помощью номограммы для послойного расчета (см. рис. 29 и 30) по известным фактическим модулям упругости дорожной одежды Ефр, толщине дорожной одежды к модулям упругости грунта земляного полотна при характерном состоянии конструкции Ео;

3) приведенный к расчетному году модуль упругости дорожной одежды Еф, определяют по той же номограмме для послойного расчета (см. рис. 3.3) при известных Е1 и Ер.

Особенности оценки прочности дорожных одежд в районах действия зимних оттепелей по данным разовых испытаний. Для районов зимних оттепелей (приложение 2) предложен и используется в БССР метод оценки прочности дорожных одежд на основании результатов испытаний, выполненных за пределами короткого времени (4-5 дней), когда одежда наиболее ослаблена. Одежду испытывают, когда среднесуточная температура покрытия находится в диапазоне от +10 до +30° С. Измеренные упругие прогибы приводят к расчетным, учитывающим наибольшее ослабление одежды в неблагоприятный период данной весны и наиболее неблагоприятное сочетание погодно-климатических факторов в период между капитальными ремонтами, по зависимости:

lр = lиКоm/b,                                                           (24)

где lи - измеренный упругий прогиб;

Ко - температурный коэффициент, зависящий от температуры покрытия и измеренного упругого прогиба (см. рис. 16);

m - коэффициент, зависящий от времени проведения испытания и вида грунта земляного полотна (если испытания проведены весной при глубине оттаивания грунтов земляного полотна на 20-40 см. коэффициент m = 1,00; если испытания проведены в мае или июне и земляное полотно сложено из глинистых грунтов, то коэффициент m принимают соответственно равным 1,35 и 1,50; при земляном полотне из песков и производстве испытаний в апреле - июле m = 1,25);

b - климатический коэффициент.

По номограмме (рис. 17) определяют коэффициент b в зависимости от параметра М и количества осадков Q в предзимний период (в месячный срок до перехода среднесуточной температуры воздуха через -5° С) Для дорог с земляным полотном, сложенным из песчаных грунтов, коэффициент b = 1,0. Значение параметра М

M = DT:ï0,5T1 - Dï.                                                      (25)

где D - сумма градусо-дней мороза за период до наступления продолжительной и интенсивной оттепели (не менее 4 дней с положительной среднесуточной температурой);

Т1 - сумма градусо-дней тепла за зиму;

Т - сумма градусо-дней мороза за зиму;

0,5T1 - D - абсолютная величина, без учета знака плюс или минус.

За начало промерзания дорожных одежд принимают дату перехода среднесуточной температуры воздуха через минус 5° С. Сумму градусо-дней тепла и мороза определяют сложением соответствующих среднесуточных температур воздуха. При наличии нескольких оттепелей в течение зимы, предшествующих периоду испытаний, величины M вычисляют для каждой из них и принимают наибольшее М.

Рис. 17. Номограмма для определения климатического коэффициента b

По расчетным прогибам lр и результатам визуального обследования:

дороги (см. «Подготовительные работы») выделяют участки, характеризующиеся примерно одинаковым состоянием покрытия и близкими прогибами lр. При выделении характерных участков дороги желательно, чтобы их протяженность была близка к шагу проектирования, а число измерений на участке достаточным для статистической оценки, прочности. Для каждого из выделенных характерных участков дороги величины lр выписывают в единые статистические ряды и определяют среднее арифметическое значение lсрs, среднеквадратическую ошибку sl. Прогиб lq, характеризующий участок дороги с заданной надежностью при данном числе точек n > 12 на участке, в которых измерен прогиб, выражается зависимостью:

lq = lср + tsl,                                                       (26)

где t - коэффициент нормированного отклонения, зависящий от заданного уровня надежности и числа точек, на которых произведены испытания (см. табл. 28).

По вычисленным значениям прогиба lq и параметрам нагрузки определяют фактический модуль упругости одежды по формуле (16). Затем строят эпюру прочности дорожной одежды, на которую наносят фактический модуль упругости Еф и требуемый, в зависимости от интенсивности движения в момент испытания и на перспективу.

ПРИЛОЖЕНИЕ 6

МЕТОДИКА ИСПЫТАНИЯ ГРУНТОВ И МАТЕРИАЛОВ НА МОРОЗОУСТОЙЧИВОСТЬ

В лабораторных условиях пригодность грунтов и материалов для устройства морозозащитных слоев устанавливают на основании результатов промораживания образцов, в процессе которого измеряют деформации морозного пучения. Показатель пригодности Кпуч, т.е. коэффициент пучения грунта или материалов представляет собой выраженное в процентах отношение вертикальной деформации пучения к первоначальной высоте образца.

Условия испытания, характерные для работы грунтов и материалов в морозозащитных слоях дорожных одежд, установлены, исходя из следующих соображений:

а) средняя скорость промерзания земляного полотна автомобильных дорог колеблется от 1-1,5 см/сут. для II и III дорожно-климатических зон Европейской части территории СССР и до 1,5-2,5 см/сут. для Сибири, а также Северного Казахстана и горных районов IV-V дорожно-климатических зон. Для обеспечения таких скоростей промерзания в лаборатории испытания ведут соответственно при температуре воздуха в камере от минус 3 до минус 5° С или от минус 5 до минус 8° С. При этом более низкие температуры принимаются для районов с более суровым континентальным климатом;

б) влияние давления вышележащих слоев на вспучивание материала при промерзании и влияние глубины расположения грунтовых вод ориентировочно учитывают умножением коэффициента пучения Кпуч.л, получаемого в результате лабораторных испытаний, на коэффициенты Кнагр и Кугв, определяемые по графикам (рис. 18 и 19);

Рис. 18. Зависимость коэффициента Кнагр от глубины hп промерзания от поверхности покрытия:

1 - супесь тяжелая и пылеватая, суглинок, глина; 2 - песок, супесь

в) испытываемый материал уплотняют до коэффициента уплотнения равного 0,98-1 от максимальной плотности при оптимальной влажности;

г) грунты и материалы, предназначенные для устройства морозозащитных слоев на местности 3-го типа по условиям увлажнения, испытывают при неограниченном подсосе влаги во время промораживания. Для условий 2-го типа местности испытания проводят также при возможности неограниченного подсоса воды, но за коэффициент пучения Кпуч в этом случае принимают 0,6 от полученной в опыте величины.

Примечание. Грунты, укрепленные добавками, образующими жесткие связи между частицами (цемент, известь и т.п.), необходимо проверять, помимо вспучивания, также и на морозостойкость, т.е. на сохранение структуры в процессе повторных промораживаний.

Испытания проводят в цилиндрической форме (рис. 20), состоящей из отдельных стальных колец, имеющих пазы, с помощью которых кольца соединяют друг с другом. Пазы сделаны с допусками, позволяющими кольцам свободно перемещаться по вертикали при промораживании грунта и таким образом обеспечивать беспрепятственное вспучивание образца. Пазы и внешнюю поверхность колец предварительно смазывают вязкой смазкой типа техническою вазелина, солидола и др. На съемный поддон (с отверстиями) формы укладывают фильтровальную бумагу для более равномерного распределения влаги по площади при подтоке воды к образцу и с целью предохранения водяной камеры от попадания в нее грунта.

Образец грунта уплотняют на прессе или трамбованием. Сформованный образец при комнатной температуре в течение двух - четырех суток (нижний предел - для слабосвязных, верхний - для связных грунтов) насыщают водой.

Для промораживания образцов могут быть использованы автоматические холодильники, обеспечивающие необходимую температуру. В камеру холодильника устанавливают деревянный каркас, обшитый со стороны дверцы холодильника фанерой и заполненный теплоизоляционным материалом. На съемной крышке каркаса устанавливают формы с образцами для промораживания (рис. 21). Расстояние от поверхности крышки до низа морозильной камеры должно быть не более 50 см. Пространство между образцами до верха форм заполняют теплоизоляционным материалом, чтобы промораживание грунта происходило только сверху. Если для этого применяют сыпучий теплоизолятор (опилки, пробковую крошку и т.п.), то со стороны дверцы холодильника необходимо установить тонкую стенку, препятствующую осыпанию теплоизолятора. Воду к промораживаемым образцам подают от расположенной вне камеры делительной воронки, позволяющей поддерживать постоянный напор (см. рис. 21).

Рис. 19. Изменение коэффициента КУГВ расстояния hн низа дорожной одежды до УГВ:

1 и 2 - см. рис. 18

Рис. 20. Форма для испытания грунта на морозное пучение:

1 - верхнее кольцо формы; 2 - промежуточные кольца; 3 - днище с отверстиями; 4 - второе дно формы; 5 - штуцер; 6 - грунтовый образец

Рис. 21. Схема оборудования холодильника для испытания на морозное пучение грунтов:

1 - стенки холодильника; 2 - морозильная камера; 3 - индикаторы; 4 - подача воды к образцам; 5 - засыпка из теплоизолирующего материала; 6 - крышка корпуса; 7 - формы с образцами грунта; 8 - верх образца грунта

Вертикальную деформацию образца измеряют индикаторами часового типа (мессурами) с ценой деления 0,01 мм.

Испытывают до полного промерзания образца, которое продолжается обычно около 4 сут. К этому времени показания мессур уже не изменяются, что указывает на окончание процесса промерзания.

Терморегулятор обеспечивает заданную температуру в холодильнике, контролируемую датчиком (термометром), помещенным внутри холодильника над поверхностью теплоизоляции. Не рекомендуется часто открывать холодильник. Целесообразно сделать в его дверце окно из оргстекла, через которое можно наблюдать за показаниями термометра, и индикаторов. Показания индикаторов обычно фиксируют через каждые 6 ч. Если в процессе испытания пучение достигает предельного значения (например, 10 мм), индикаторы приходится переставлять; отсчеты записывают до и после перестановки.

На основании показании индикаторов вычисляют коэффициент пучения грунта (в процентах)

Кпуч = 100Dh/h,

где Dh - размер вспучивания образца;

h - начальная высота образца.

Рекомендуется для контроля промораживать одновременно два образца одного грунта. Материалы, коэффициент пучения которых не превышает 1 %, можно считать практически не изменяющими объема при промерзании.

ПРИЛОЖЕНИЕ 7

ПРОВЕРКА НА МОРОЗОУСТОЙЧИВОСТЬ ДОРОЖНОЙ КОНСТРУКЦИИ ПРИ УСЛОВИИ z/H > 1

Толщину слоев z1 из стабильных материалов, необходимую для обеспечения морозоустойчивости дорожной конструкции, при z/H > 1,0 определяют следующим образом. Для заданного вида грунта и типа местности по характеру увлажнения назначают группу грунта по степени пучинистости при замерзании (табл. 30). Затем по точке пересечения кривой (рис. 22) для данного вида грунта с ограничительной прямой соответствующей принятому типу покрытия, находят необходимую толщину z1cp слоев стабильных материалов для средних условий. Средние условия характеризуются параметрами: глубина промерзания z = 1,5 м, грунтовые воды выходят на поверхность, т.е. H = 0, а Купл = 0,98¸1,0 и W = 0,6 Wт. При других исходных данных требуемых по условию обеспечения морозоустойчивости общую толщину z1 дорожной одежды определяют с учетом ряда факторов, влияющих на морозное пучение грунта:

z1 = z1срКугвКплКнагрКстКв,                                                   (27)

где Кугв - коэффициент, учитывающий глубину залегания УГВ (см. рис. 19);

z1ср - средняя толщина слоев из стабильных материалов;

Кпл - коэффициент, зависящий от степени уплотнения грунта (табл. 31);

Кнагр - коэффициент, учитывающий влияние нагрузки от собственного веса вышележащей конструкции на грунт в промерзающем слое и зависящий от глубины промерзания (см. рис. 18);

Кст - коэффициент, учитывающий влияние структуры грунта естественного сложения (для песка равен 1,0; супесей - 1,1; суглинка - 1,2; глины - 1,3);

Кв - коэффициент, зависящий от расчетной влажности грунта.

Таблица 30

Пучинистость грунта

Характеристика грунта

Тип местности по характеру увлажнения грунта

Среднее относительное морозное пучение lпуч при глубине промерзания 1,5 м, %

Группа грунта по степени пучинистости

Непучинистый

Песок гравелистый, крупный и средней крупности, с содержанием частиц менее 0,05 мм меньше 2 %

2-3

Менее 1*

I

 

Песок гравелистый, крупный и средней крупности, с содержанием частиц менее 0 ,05 мм меньше 1,5 %, песок мелкий с содержанием частиц менее 0,05 мм меньше 2 %

1

Менее 1*

I

Слабопучинистый

Песок гравелистый, крупный и средней крупности, с содержанием частиц менее 0,05 мм меньше 15 %, песок мелкий с содержанием частиц менее 0,05 мм меньше 2 %

2-3

1-2*

II

 

Песок мелкий с содержанием частиц менее 0,05 мм меньше 15 %, супесь легкая и легкая крупная

1

1-2*

II

 

Песок мелкий с содержанием частиц менее 0,05 мм меньше 15 %, супесь легкая крупная

2-3

2-4

III

 

Песок пылеватый, супесь пылеватая, суглинок легкий, тяжелый, тяжелый пылеватый, глины

1

2-4

III

Пучинистый

Супесь легкая, суглинки легкие и тяжелые, глины

2-3

4-7

IV

 

Супесь тяжелая пылеватая, суглинок легкий пылеватый

1

4-7

IV

Очень пучинистый

Песок пылеватый, супеси пылеватые, суглинок тяжелый пылеватый

2-3

7-10

V

Чрезмерно пучинистый

Супесь тяжелая пылеватая суглинок легкий пылеватый

2-3

10-15 и более

VI

* Относительное пучение щебенистых, гравелистых, дресвяных песков при содержании более 15 % частиц размером мельче 0,05 мм ориентировочно может быть принято как для пылеватого песка, но с проверкой данных в лаборатории.

Рис. 22. Номограммы для определения требуемой (по условию обеспечения морозоустойчивости) толщины дорожной одежды с морозозащитным слоем из песка:

II-VI - кривые групп грунтов по степени пучинистости (см. табл. 30); 1¸4 - линии, ограничивающие морозное поднятие покрытий различной капитальности (см. п. 4.18); z - глубина промерзания; z1 - требуемая толщина стабильных слоев

Относительная влажность грунта

(W/Wт)

0,6

0,7

0,8

0,9

Коэффициент Кв

1,0

1,1

1,2

1,3

При глубине промерзания более 2,0 м рассчитывают то же по номограмме (см. рис. 22) для z = 2,0 м и установленное значение z1 увеличивают на 8 % при глубине промерзания 2,5 м и на 12 % - при глубине 3,0 м.

При расчете общей толщины дорожной одежды по условию ее морозоустойчивости для дорог в городских условиях на участках с обеспеченным водоотводом поверхностных вод, с дренажными устройствами в установленную величину z1 вводят коэффициент 0,8. Найденная [см. рис. 22 или формулу (27)] толщина дорожной одежды обеспечивает морозоустойчивость конструкции; при этом имеется в виду, что нижний слой основания, выполняющий функции морозозащитного слоя, устроен из песка или гравийно-песчаной смеси.

Таблица 31

Коэффициент уплощения грунта Купл

Коэффициент Кпл для грунтов

Коэффициент уплощения грунта Купл

Коэффициент Кпл для грунтов

Глина, суглинок, супесь легкая и пылеватая, песок пылеватый

Супесь легкая, крупная, песок непылеватый

Глина, суглинок, супесь легкая и пылеватая, песок пылеватый

Супесь легкая, крупная, песок непылеватый

1,01-1,03

0,8

1,0

0,94-0,90

1,3

1,2

1,00-0,98

1,0

1,0

Менее 0,90

1,5

1,3

0,97-0,95

1,2

1,1

 

 

 

Если морозозащитный слой устраивают из монолитного материала (грунт, укрепленный неорганическими или комплексными вяжущими), жесткость которого снижает неравномерность зимнего поднятия покрытия, то толщину морозозащитного слоя принимают на 30-50 % меньшей, чем расчетный слой из песка. Если же морозозащитный слой устраивают из материалов, существенно отличающихся от песка по теплофизическим свойствам (зологрунт, шлак, грунт, укрепленный органическими вяжущими и др.), то толщина h¢ такого слоя выражается через толщину hпес слоя песка (гравийно-песчаной смеси)

,                                                     (28)

где a -поправочный коэффициент, равный 1,0 - для песка, 0,95 - для материалов при l¢ = до 1,2 Вт/м×К и 0,90 - для материалов при l¢ = 1,2¸0,6 Вт/м×К);

l¢, lпес - коэффициенты теплопроводности соответственно материала морозозащитного слоя и песка.

Для существующей дорожной конструкции возможное поднятие поверхности покрытия, т.е. деформация морозного пучения

lпуч = lпуч.срКугвКплКстКвКнагр,                                                (29)

где lпуч.ср - расчетное морозное поднятие средних условий, определяемое по данным табл. 30 и графику (рис. 22) при известной толщине морозозащитного слоя.

Пример 1. Необходимо определить общую толщину дорожной одежды с асфальтобетонным покрытием по условию морозоустойчивости при следующих исходных данных. Местность 3-го типа по условиям увлажнения, грунт - суглинок тяжелый пылеватый, толщина дорожной одежды по условию прочности - 0,6 м, расстояние от поверхности проектируемого покрытия до уровня грунтовых вод 1,0 м, глубина промерзания 1,5 м, коэффициент уплотнения грунта Купл = 0,96, влажность грунта 0,8 Wт.

Согласно классификации грунтов по степени пучинистости (см. табл. 30), данный грунт в условиях 3-го типа местности относится к группе V. По графику (см. рис. 22) установили, что z1cp = 1,0 м; по рис. 19 нашли Кугв = 0,75; по табл. 31 - Кпл = 1,2; по рис. 18 Кнагр = 1,0; Кст = 1,0 и по примечанию к формуле (27) Кв = 1,2; отсюда z1 = 1,0×0,75×1,2×1,2 = 1,1 м.

Для уменьшения толщины z1 дорожной одежды, требуемой по условию обеспечения морозоустойчивости, можно предусмотреть следующие мероприятия:

а) очень пучинистый грунт верхней части земляного полотна заменить менее пучинистым, например, супесью легкой (IV группа по степени пучинистости) и уплотнить ее до Купл = 1,0. Тогда Kпл = 1,0 и z1 = 0,8×0,65×1,1×1,2 = 0,70 м;

б) понизить уровень грунтовых вод, например, до Н = 2,5 м. В этом случае для суглинка тяжелого Кугв = 0,55 (см. рис. 19)

z1 = 1,0×0,55×1,2×1,2 = 0,8 м.

Пример 2. В условиях, аналогичных приведенным в примере 1, требуется оценить деформацию морозного поднятия покрытия, если толщина дорожной одежды составляет 0,6 м.

По графику (рис. 22) для данного грунта (V группа по степени пучинистости) lпуч.ср = 0,08 м. Значения коэффициентов такие же, как и в примере 1. Тогда искомая деформация морозного пучения составит:

lпуч. = 0,08×0,75×1,2×1,2 = 0,09 м.

Полученное морозное пучение значительно превышает допустимое, равное 4 см. Следовательно, можно ожидать разрушения покрытия.

ПРИЛОЖЕНИЕ 8

МЕТОДЫ ЭКСПЕРИМЕНТАЛЬНОГО ОПРЕДЕЛЕНИЯ ДЕФОРМАЦИОННЫХ И ПРОЧНОСТНЫХ ХАРАКТЕРИСТИК МАТЕРИАЛОВ И ГРУНТОВ

Испытание образцов из материалов, содержащих органическое вяжущее (асфальтобетон, дегтебетон, битумогрунты и др.). Прочность на растяжение при изгибе и модуль упругости при температуре от 0 до +20° С определяют по результатам испытаний кратковременно действующими нагрузками образцов-балочек размером 4´4´16 см, изготовленных из смесей, содержащих каменные зерна не крупнее 10 мм. Модуль упругости при повышенных температурах (30-60° С) определяют по результатам испытаний цилиндрических образцов диаметром 20 см и высотой 20 см ±2 см. Характеристики среднезернистых и крупнозернистых асфальтобетонов и дегтебетонов назначают ориентировочно по результатам испытании мелкозернистых асфальтобетонов с гранулометрией соответствующего типа (А, Б, В) и пористых мелкозернистых асфальтобетонов с плотностью такой же, как у среднезернистых и крупнозернистых асфальтобетонов.

При подготовке образцов-балочек смеси приготавливают в соответствии с указаниями ГОСТ «Асфальтобетоны дорожные аэродромные. Методы испытаний» и СП 25-74. Образцы-балочки готовят в стальных формах прямоугольного сечения. В процессе уплотнения асфальтобетонных смесей обеспечивают двустороннее приложение нагрузки с передачей давления на уплотненную смесь через два вкладыша, имеющих возможность свободного передвижения в форме навстречу друг другу.

Конструкция пресс-формы (рис. 23) должна предотвращать возможность перекоса вкладышей по отношению к форме. Готовые образцы-балочки должны посередине иметь плотность не ниже установленной стандартным методом 1. Образцы готовят следующим образом. Форму и вкладыши нагревают до температуры 90-100° С в протирают тканью, слегка смоченной соляровым маслом или керосином. На нижний вкладыш насаживают форму на глубину 1 см, до упора на поддерживающие пружины или резиновые подкладки. Затем в форму закладывают стальную пластину толщиной 0,5-1,0 мм (поддон для образца). Размеры пластины - длина и ширина - должны соответствовать размеру вкладыша (грани образца). В форму помещают навеску смеси и уплотняют.

1 Далее эта плотность называется стандартной плотностью.

Рис. 23. Пресс-форма для изготовления образцов-балочек

Для достижения необходимой плотности при минимальном разрушении минеральных зерен рекомендуется сначала уплотнять смеси на виброплощадке, а затем доуплотнять статической нагрузкой. При отсутствии специального оборудования первичное уплотнение производят следующим образом. В подготовленную форму засыпают половину требующейся навески смеси, нагретой до заданной температуры; распределяют смесь и предварительно нагретым стальным стержнем штыкуют ее равномерно по всей длине образца. Общее число ударов - 80 (стальной стержень может быть круглым диаметром 20 мм или иметь квадратное сечение со стороной 20 мм, длина стержня - 20 см). Затем насыпают в форму оставшуюся часть смеси, разравнивают и снова штыкуют таким же образом. В форму вставляют верхний вкладыш, затем устанавливают ее на пресс и выдерживают под статической нагрузкой в течение 3 мин. Уплотняющую нагрузку определяют опытным путем. Ориентировочно она находится в пределах 20-40 МПа для асфальтобетонных (дегтебетонных) смесей и 5-20 МПа - для битумогрунтов.

Готовый уплотненный образец выталкивают из формы специальным выжимным приспособлением, переносят его вместе со стальной пластиной-поддоном к месту хранения до испытания, затем стальной поддон отделяют от образца (в случае необходимости с помощью ножа). Изготовленные образцы до испытания выдерживают при комнатной температуре в течение 12-42 ч. Перед испытаниями проверяют плотность, пористость минерального остова и остаточную пористость образцов.

Из одной и той же смеси должно быть приготовлено шесть образцов, три из них для определения прочности на растяжение при изгибе, три - для установления модуля упругости. Желательно сначала испытать на прочность, с тем, чтобы определить разрушающую нагрузку.

Испытательное устройство для испытания образцов на изгиб и определения модуля упругости должно обеспечивать возможность многократного приложения нагрузки длительностью действия 0,05-0,20 с, с паузами между нагружениями не менее, чем в 10 раз превышающими продолжительность действия нагрузки. Для проведения испытания рекомендуются маятниковый прибор Госдорнии и электромагнитный пульсатор Ленфилиала Союздорнии.

Прибор Госдорнии (рис. 24) представляет собой маятник в виде рычага 4, жестко укрепленный с помощью кронштейна 7 на каркасе из стальных стержней 15 и станины 13. К верхней площадке, каркаса прикреплен механизм нагружения 8, а на средней площадке каркаса размещены подвижная 10 и неподвижная 14 опоры под образец-балочку 9.

Рычаг 4 с грузом приводится в верхнее исходное положение, фиксируемое указателем 11, и свободно отпускается. Его вращение относительно оси 3 под действием собственного веса обеспечивает перемещение сферической поверхности эксцентрика 2, связанного с резьбовым валиком 5, по поверхности головки механизма нагружения 8, включая его в работу. Это создает на образец 9 кратковременно приложенную нагрузку заданной длительности. Необходимая длительность нагружения (0,1 с) обеспечивается длиной контакта между эксцентриками и головкой механизма нагружения и задается выдвижением регулировочной гайки 2 вдоль резьбового валика 5 на 2 мм.

Принцип действия механизма нагружения следующий (рис. 25). Сферическая часть эксцентрика 1, перемещаясь по поверхности головки 2 механизма нагружения, обеспечивает вертикальное перемещение самой головки втулки 4 внутри направляющей втулки 3. В свою очередь, втулка 4 через шайбу 6 сжимает пружину 8, опирающуюся на гайку 9, навинченную на толкатель 7. Свободно перемещаясь внутри втулки 4, толкатель под действием пружины передает усилие через регулировочный винт 11 и нагрузочный штамп 12 образцу 13 посередине пролета штамп распределяет нагрузку по всей ширине образца. Нагрузка на образец зависит от жесткости пружины 8 и регулируется ее сжатием с помощью перемещения гайки 9 вдоль резьбовой части толкателя 7. Для определения размера нагрузки используют тарировочный график пружины - экспериментально установленную зависимость между нагрузкой и длиной сжатой пружины.

Рис. 24. Маятниковый прибор

Для создания требуемой нагрузки сжимают пружину 8 с помощью гайки 9 на необходимое значение в зависимости от требуемой нагрузки и фиксируют контргайкой 10. Далее нагрузочный механизм устанавливают так, чтобы нагрузочный штамп находился на середине пролета балочки. Затем поворачивают рычаг, устанавливая при этом стрелку указателя в нулевое положение (резьбовой валик должен принять строго вертикальное положение). С помощью регулировочного винта 11 поднимают через толкатель 7 и втулку 4 головку 2 до соприкосновения с регулировочной гайкой 1, предварительно установленной в верхнее положение. Поворотом рычага регулировочную гайку выводят из соприкосновения с головкой и выдвигают ее на 2 мм для обеспечения длительности действия нагрузки в 0,1 с. Затем маятниковое устройство устанавливают в исходное положение (15-10° по указателю положения) и фиксируют. Для загружения образца освобождают зафиксированное маятниковое устройство.

Электромагнитный пульсатор Ленфилиала Союздорнии (рис. 26) представляет собой цилиндрический корпус 3 электромагнита, который вместе с помещенной в нем проволочной катушкой четырьмя стойками жестко прикреплен затяжными гайками к станине 5. В осевое отверстие корпуса вставлен шток, сочлененный с якорем электромагнита. При пропуске по катушке магнита электрического тока возникает электромагнитная сила, притягивающая подвижной якорь 2 к жестко закрепленному на станине корпусу электромагнита. Через шток усилие от электромагнита передается на испытуемый образец 4. Это усилие зависит от зазора между якорем и корпусом магнита. Необходимый зазор между диском якоря и корпусом устанавливают с помощью каркаса из двух опорных колец 1.

Нижнее кольцо сочленено резьбой с корпусом электромагнита, якорь магнита двумя пружинами прижимается к верхнему опорному кольцу, которое, таким образом, служит упором, ограничивающим и фиксирующим вертикальное перемещение якоря в момент разгрузки. Размер воздушного зазора регулируют вращением каркаса опорных колец по резьбе вокруг корпуса магнита. Снизу на шток якоря навинчен на резьбе специальный наконечник для того, чтобы ликвидировать имеющийся или образующийся в процессе проведения испытании зазор между штоком якоря и образцом.

Рис. 25. Механизмы нагружения

Установка питается переменным током общей сети, поэтому в электрическую схему введен стабилизатор напряжения и выпрямитель. Продолжительность действия нагрузок - 0,1 с, интервал между ними 1 с обеспечивается электромеханическим прерывателем электрического тока.

Создаваемую электромагнитную нагрузку в зависимости от зазора между якорем и корпусом магнита тарируют и проверяют механическими динамометрами ДОСМ-3, ДОСМ-5. Для этого динамометр устанавливают на станине прибора до и после испытании таким образом, чтобы усилие or штока якоря передавалось на него так же, как и на испытуемый образец.

Измерение нагрузок и деформаций аппаратурой с фиксацией сигналов невооруженным глазом (механические динамометры, индикаторы часового типа и др.) допускается при времени действия нагрузки не менее 0,1 с; при более кратковременных нагружениях используют аппаратуру с записью сигналов па осциллографах.

Перемещения при кратковременном нагружении можно фиксировать тоже индикатором часового типа, снабженным винтом на его втулке. Поворотом этого винта создают трение между стержнем и втулкой, обеспечивают остановку стрелки индикатора при удалении нагрузки в том положении, и котором эта стрелка находилась в момент возникновения наибольшего перемещения (первый отсчет по индикатору). Затем стержень индикатора подводят вручную до соприкосновения с нижней гранью балочки и снимают второй отсчет по индикатору. По разности отсчетов вычисляют обратимое перемещение.

Нагрузка должна вызвать напряжение, равное расчетному допускаемому, для ближайшего аналога испытуемому материалу. Она может быть также принята равной 0,2-0,3 от разрушающей нагрузки, установленной ранее испытанием образцов на прочность.

Перед испытанием образцы выдерживают в течение 2 ч при заданной температуре, которую поддерживают и в процессе испытаний.

Образцы боковой гранью укладывают на две опоры, удаленные друг от друга на расстояние 14 см. Одна из опор - подвижная, в виде шарнира, в частности, в виде шарнира-стойки. Часть опоры, соприкасающаяся с образцом, имеет цилиндрическую поверхность радиусом 5 мм. Нагрузку прикладывают к середине образца через стальную накладку с нижней цилиндрической (радиусом 10 мм) или плоской (шириной порядка 8 мм) поверхностью. Для удобства центровки образца около опор целесообразно устанавливать опоры, фиксирующие положение образца относительно опор, а подушку, передающую нагрузку па образец, связать с опорной станиной с помощью рычага и стойки.

Вертикальный прогиб образца измеряют с помощью устройства, позволяющего из фиксируемого индикатором вертикального смещения исключать локальные деформации материалов на опорах (смятие).

Устройство представляет собой навесную рамку, закрепляемую в местах предполагаемой нейтральной линии изгиба (посередине высоты балочки) над опорами или же на торцах образца.

Рис. 26. прибор для испытаний образцов-балочек на изгиб повторными кратковременными нагрузками

Рис. 27. Схемы для учета смятия балочки на опорах при испытании ее на изгиб

а - для общего вертикального перемещения середины балочки; б - для вертикального перемещения от смятия балочки на опорах

Подготовленный к испытанию образец нагружают, при этом фиксируют упругий прогиб. Для определения кратковременного модуля упругости используют значение упругого прогиба, измеренного после 10-30 циклов предварительных повторных уплотняющих нагружений. Модуль упругости лабораторный

Ел = КlКtPl3/(48fJ),                                                        (30)

где Кl, Кt - поправки, определяемые ниже по формулам (31) и (32);

Р - вертикальная нагрузка;

l - расчетный пролет балочки (0,14 м);

f - упругий прогиб балочки;

J - момент инерции сечения образца (J = bh3/12, а b, h ширина и высота балочки).

Если навесная рамка измерительного устройства закреплена на торцах образца длиной L, в расчеты по формуле (30) вводится поправка:

Кl = (3L - l)/(2t),                                                          (31)

При испытании с продолжительностью нагруженbя tп, отличающейся от расчетной tр = 0,1 с, в расчеты по формуле (30) следует ввести поправку

Кt .                                                              (32)

Для определения кратковременного модуля упругости испытывают, как указывалось, не менее трех образцов. За значение модуля упругости принимают среднее арифметическое. Расхождения между данными параллельных испытаний не должны превышать 15 %.

Если нет навесной рамки измерительного устройства, то упругое обмятие деформируемого образца на опорах и упругую податливость опор учитывают следующим образом. После испытания на изгиб (рис. 27) и измерения общего вертикального смещения fизм низа образца, обусловленного не только изгибом, но и упругим обмятием образца в зонах контакта с опорами, податливостью опорных стоек и т.д., проводят дополнительное испытание. Поверх балочки на двух опорах укладывают достаточно жесткую стальную пластинку и нагружают ее той же силой Р; при этом асфальтобетонная балочка не изгибается, а только обратимо смещается в вертикальном направлении относительно опорной станины. Это дополнительное смещение fдоп тоже фиксируют индикатором. Расчетный упругий прогиб f = fизм - fдоп.

Способ подготовки образцов к испытанию на прочность по растяжению при изгибе и схема их нагружения те же, что и при испытании с целью определения модуля упругости. Образцы испытывают на механическом прессе УММ-5 со скоростью деформирования 100 мм/мин при расчетной температуре асфальтобетона. Разрушающую нагрузку Рр измеряют силоизмерительным устройством, обеспечивающим точность отсчета до 5 %, в частности, механическим динамометром ДОСМ-5 или ДОСМ-3, закрепляемым в верхнем захвате пресса.

При изгибе однократным нагружением лабораторный предел прочности на растяжение:

Rизг.л = 3Ррl/(2bh2).                                                         (33)

Испытывают не менее трех образцов. За нормативное принимают среднее арифметическое значение показателя.

Для определения модуля упругости при повышенных температурах, т. е. от +30 до +60° С, смесь приготавливают в соответствии с требованиями стандартных методик. Цилиндрические образцы изготавливают в стальной форме диаметром 20 см и высотой не менее 28 см. Форма состоит из отдельных колец, верхнее из которых служит для размещения в форме всего заданного объема материала в рыхлом состоянии и снимается после прессовки.

Смесь послойно укладывают в форму, тщательно штыкуют и затем уплотняют на 150-тонном гидравлическом прессе. Нагрузку подбирают, чтобы плотность асфальтобетона, контролируемая по толщине уплотненного слоя, была стандартной, т.е. уплотняющая нагрузка при формовке образцов ориентировочно должна находиться в пределах 5-15 МПа для грунтовых смесей, 15-25 МПа для песчаных и мелкозернистых смесей и до 40 МПа для среднезернистых и крупнозернистых смесей.

Образцы испытывают через 12-42 ч после изготовления и не ранее, чем через 4 ч после их выдерживания в термокамере при заданной температуре. Испытывают в термокамере или в лабораторном помещении, поддерживая температуру образца электрообогревателями. Нагрузку на образец от рычажного пресса передают через стальной штамп D = 4 см; деформации измеряют индикаторами часового типа (рис. 28). Жесткость крепления индикаторов проверяют легким постукиванием металлическим предметом по краю формы; стрелки индикаторов должны чуть заметно дрожать, но после прекращения постукивания возвращаться в свое первоначальное положение. Постукивать по форме следует также и в процессе испытания перед снятием с индикаторов рабочих отсчетов.

Образец испытывают дважды при нагрузке р = 0,5 МПа с длительностью действия 5 и 300 с (5 мин); продолжительность действия нагрузки и отдыха после разгрузки принимают одинаковой. Показания индикаторов снимают в конце нагружения и в конце отдыха, а затем по разности отсчетом рассчитывают обратимое вертикальное перемещение (в сантиметрах) штампа f.

Модули упругости (в мегапаскалях)

Eл = pрD(1 - m2)/(4f) » 14,7/f,                                               (34)

где m - коэффициент Пуассона;

D - диаметр штампа.

Располагая значениями модуля упругости асфальтобетона, полученными в результате испытания моделей в лаборатории при продолжительности действия нагрузки 5 с (Е5) и 300 с (Е300), определяют модуль упругости Ел этого материала, работающего в условиях, близких к натурным:

Ел = 300.                                                             (35)

Рис. 28. Схема установки штампа и индикаторов при определении модуля упругости материала на рычажном прессе:

1 - индикаторы часового типа; 2 - штамп с заплечиками; 3 - форма с образцом

Эта формула учитывает различие в процессах формировании материала, в сопротивлении его деформированию, а также в режимах нагружения в лабораториях и натуре.

Испытание образцов из материалов, содержащих неорганическое вяжущее. К таким материалам относятся цемент, известь, гранулированный шлак, зола-уноса и др. Сопротивление растяжению при изгибе и модуль упругости грунтов и материалов, укрепленных неорганическим вяжущим, определяют на образцах-балочках, которые изготавливают и хранят до испытаний по стандартной методике. Для каждого вида испытаний готовят по три образца. Образцы в зависимости от размера испытывают на прессах рычажных, гидравлических или с механической подачей поршня, способных передавать нагрузку 5-10 кН. Точность отсчета показаний силоизмерительного устройства пресса до 5 %.

Прессы для испытаний образцов-балочек должны быть оборудованы дополнительными приспособлениями - специальными столами (подставками) или траверсами, несущими на себе цилиндрические опоры для балочек, при этом одна из опор должна быть подвижной. Радиус закругления опорных поверхностей должен быть в пределах 10-15 мм. В подставке имеется отверстие для крепления индикатора часового типа (см. рис. 27).

Испытываемый образец после извлечения из воды вытирают мягкой тканью и помещают на две опоры подставки, расстояние между которыми равно 14 см для балочек размером 4´4´16 см и 30 см для балочек размером 10´10´40 см. Образец устанавливают на опоры той гранью, которая при изготовлении образца была вертикальной. Поверхность балочки должна прилегать к опорам плотно по всей ширине. Образец нагружают посередине пролета на всю ширину балочки. Под образец помещают прикрепленный к подставке индикатор часового типа для определения вертикального смещения (прогиба). После установки образца приступают к испытанию. Скорость нагружения образцов должна составлять 2-4 мм/мин.

Предел прочности на растяжение при изгибе вычисляют по формуле (33), как среднее арифметическое результатов испытаний трех образцов; расхождение между результатами отдельных испытаний не должно превышать 15 %. Ориентировочные значения предела прочности на растяжение при изгибе можно получить по результатам испытания цилиндрических образцов на растяжение Rраск при расколе. В этом случае предел прочности на растяжение при изгибе

Rизг.л @ 2 Rраск.                                                           (36)

При определении модуля упругости образец нагружают ступенями, с разгрузкой после каждой ступени. Значение ступени нагрузки выбирают так, чтобы иметь три - пять ступеней в процессе испытания. Вертикальный прогиб fсумм балочки измеряют индикатором часового тина. Время действия каждой ступени нагрузки 1 мин, разгрузки 30 с. Для исключения местного упругого смятия образца в зоне его контакта с опорами испытания производят по схеме рис. 27.

Модуль упругости определяют при нагрузке 0,5-0,7 от разрушающей нагрузки по формуле (30) при Кt = 1,0.

С помощью одного и того же образца-оболочки можно одновременно с определением модуля упругости найти предел прочности на растяжение при изгибе. В этом случае испытывают ступенчато-возрастающей нагрузкой до разрушения балочки. Ступень нагрузки DР назначают в зависимости от предельной нагрузки Рпр, при которой фиксируется разрушение, исходя из условия DР £ 0,1 Рпр.

За расчетную разрушающую нагрузку Рр принимают разность между предельной нагрузкой, при которой зафиксировано разрушение данной балочки, и половиной последней ступени DР.

Определение значений характеристик монолитных материалов по данным лабораторных испытаний. Расчетное значение модуля упругости

Ер = Кк×Ел,                                                                    (37)

где Кк - коэффициент, учитывающий изменение модуля упругости материала и конструктивном слое в процессе эксплуатации дороги.

Модули упругости слоев из монолитных материалов могут уменьшаться в результате образования трещин и водо-морозных воздействий и возрастать в результате длительных и многолетних физико-химических изменений вяжущих веществ. Для асфальтобетона трещинообразование не допускается, что же касается возможного снижения жесткости от водо-морозных воздействий, то они в большей или меньшей мере компенсируются повышением жесткости вяжущего. Поэтому для асфальтобетонов следует принимать Кк = 1. Для материалов и грунтов, укрепленных цементом, находящихся в конструктивных слоях дорожной одежды, характерно образование трещин и пространственная неоднородность. Ориентировочные значения коэффициента Кк с учетом укрепляемых неорганическими вяжущими материалов или грунтов следующие:

Подобранная щебеночная (гравийная) смесь

0,1

Малопрочный каменный материал, отходы камнедробления и смеси с супесью или песком

0,06

Легкая супесь, разнозернистые пески

0,05

Пылеватая супесь, суглинок

0,04

Коэффициент Кк необходимо уточнять по мере накопления данных испытаний.

Сопротивление растяжению при изгибе

Rизг = Rизг.лКрКкпКт;                                                        (38)

где Kр - коэффициент, учитывающий снижение прочности материала в конструкции от водо-морозных воздействий. Для асфальтобетонов его принимают равным коэффициенту длительной водоустойчивости, а для материалов и грунтов, укрепленных неорганическими вяжущими, равным коэффициенту морозостойкости;

Ккп - коэффициент, учитывающий кратковременность и повторность нагружения на дороге 1;

1 При установлении табличных значений (см. табл. 12 и 16) расчетного сопротивления растяжению при изгибе были приняты коэффициенты: 1) Кр - в соответствии со стандартными требованиями, предъявляемыми к асфальтобетону, к материалам и грунтам, укрепленным неорганическими вяжущими; 2) Ккп - при интенсивности движения по дороге N = 1000 авт./сут для теплого и высокопористого асфальтобетона при Ккп = N-m = 0,155, для горячего асфальтобетона при Ккп = 0,33, для материалов и грунтов, укрепленных цементом, при Ккп = 0,66.

Кт - коэффициент, учитывающий снижение прочности материала в конструкции в результате температурно-усадочных воздействий. Принимая во внимание малое число данных натурных наблюдении, для асфальтобетонов с учетом релаксации длительно действующих температурно-усадочных напряжений Кт = 1,0, для укрепленных неорганическими вяжущими каменных материалов Кт = 0,9, а для связных грунтов Кт = 0,8;

m - показатель усталостной зависимости. Для теплого (плотного и пористого) и высокопористого асфальтобетона m = 0,27, для горячего (плотного и пористого) асфальтобетона m = 0,16, а для материалов и грунтов, укрепленных цементом, m = 0,06;

N - интенсивность воздействия нагрузок от расчетных автомобилей, ед./сут, по одной полосе.

В связи с недостаточной изученностью вопроса методы определения значений характеристик монолитных материалов по данным лабораторных испытаний следует рассматривать как приближенные.

Определение модуля упругости грунтов и материалов в натурных условиях. Испытания проводят на реальных конструкциях, имеющихся на дорогах или создаваемых в натурном масштабе на полигонах и в грунтовых каналах. Модули упругости грунтов земляного полотна и неукрепленных каменных материалов слоев оснований определяют испытанием местным нагружением. Нагрузку на испытуемую конструкцию передают через круглый жесткий штамп с диаметром, близким к размеру усредненного следа колеса расчетного автомобиля (30 см £ D £ 34 см). Конструкции со слоями из монолитных или плотных слабосвязных материалов допускается испытывать с помощью сдвоенного пневматического колеса с профилем обода 203В, 216В, 228В.

Наиболее точно модуль упругости грунта или материала устанавливают на однородной полупространственной конструкции, устроенной путем послойной укладки и уплотнения грунта или материалов при общей толщине не менее 40. В этом случае модуль упругости вычисляют непосредственно по результатам испытания.

Модули упругости материалов слоев основания меньшей толщины определяют по результатам послойных штамповых испытаний. При испытании штампом, установленным на поверхности испытуемого слоя, определяют общий модуль Еобщ упругости конструкции, а при установке штампа на нижележащие слои Е2, затем по номограммам (рис. 29 и 30 на вкладке рис.) рассчитывают модуль упругости испытуемого слоя.

Послойно следует испытывать конструкции с основанием, имеющим не больше двух слоев.

Грунты и слои одежды в испытуемой конструкции должны быть уложены в соответствии с действующими правилами производства и приемки работ; они должны быть во всем массиве однородными по зерновому (гранулометрическому) составу, по показателям плотности и влажности. При этих условиях испытания можно проводить на дорогах после устройства и приемки земляного полотна и основания (до укладки покрытия), а также в процессе эксплуатации дороги при наличии достоверной информации об условиях ее строительства.

Получаемые в этих случаях данные испытания относятся к состоянию конструкции в момент проведения испытания, обычно при влажности грунта и материалов основания меньше расчетной. Для того чтобы установить значения модулей упругости, соответствующие расчетному периоду (см. приложение 5), испытания следует приурочить к соответствующему моменту времени - весной, после дождей или специального увлажнения конструкции. В период испытания влажность связных грунтов должна соответствовать расчетной (см. приложение 2); влажность каменных материалов, в которых содержатся пли образуются при уплотнении пластичные мелкие фракции (мельче 0,63 мм), должна быть не менее расчетного значения.

Wр = КkmWт + (1 - m)Wк,                                                     (40)

где Кk - коэффициент, зависящий от климатических условий и принимаемый для II дорожно-климатической зоны, равным 0,8, для III - 0,75, IV-0,7 и V-0,6;

m - содержание в смеси фракций мельче 0,63 мм, в долях от единицы;

Wт - предел текучести этих мелких фракций, %;

Wк - водопоглощение щебня (гравия), % по массе.

Рис. 31. Схема установки для штамповых испытаний дорожной одежды

Модуль упругости конструкции определяют испытаниями с помощью установки (рис. 31). Нагрузка па поверхность испытуемой конструкции передается через круглый жесткий штамп 6 и домкрат 4, упираемый в раму 2, груженого автомобиля или упорную балку пресс-рамы на грунтовом канале. Нагрузку на штамп измеряют с помощью механического динамометра 3. Вертикальное перемещение штампа фиксируют прогибомером рычажного типа, измерительный стержень которого 1 устанавливают в центре штампа. В этом случае домкрат на трех опорных стойках 5 устанавливают на штампе соосно. Вертикальное перемещение штампа можно также замерять двумя индикаторами часового типа, установленными вдоль диаметра штампа на равных расстояниях от его центра. Индикаторы надежно закрепляют на жесткой реперной балке, опоры которой должны быть удалены на расстояние не менее, чем 4D от штампа и колес испытательного автомобиля. Расчетное перемещение принимают равным полусумме отсчетов по этим индикаторам.

До испытания передние колеса автомобиля блокируют тормозами и жестко закрепляют на месте с помощью опорных башмаков.

При испытаниях автомобилем средней грузоподъемности для обеспечения испытательной нагрузки до 50 кН кузов и подрессоренную часть автомобиля «взвешивают» - приподнимают с помощью домкрата и под раму рядом с задним мостом подставляют опоры, на которые после разгрузки домкрата передается вес автомобиля. Расстояние между опорами и местом испытания должно быть не менее 1,5 м. При большом числе испытании желательно, чтобы рессоры автомобиля были блокированы. Штамп устанавливают на испытуемый слои после тщательного выравнивания его поверхности тонким слоем (1-5 мм) из мелкого песка без нарушения сложившейся структуры материала и тщательно притирают. Затем конструкцию выдерживают под максимальной испытательной нагрузкой в течение 2 мин и разгружают.

Перед испытанием проверяют жесткость установки индикаторов и устойчивость измерительной системы. Для этого слегка постукивают металлическим предметом по швеллеру прогибомера или по опорной балке и следят за стрелкой индикатора, которая должна чуть заметно дрожать, но оставаться на одном и том же делении.

Нагрузку при испытании прикладывают ступенями до максимального расчетного значения: 0,5 МПа па поверхности основания, 0,2 МПа на подстилающих слоях и песках и 0,5-1 МПа на связных грунтах земляного полотна (большие значения - при влажности грунта менее 0,7Wт); всего должно быть не менее 3-5 ступеней. Время выдерживания нагрузки 30 с и паузы после разгрузки по 30 с, время, затрачиваемое на нагружения и разгрузку, 10-20 с.

Отсчеты по индикаторам снимают после выдерживания заданной ступени нагрузки, а также после паузы, следующей за разгрузкой; перед снятием отсчетов повторно легко постукивают по швеллеру прогибомера (или опорной балке).

По разности отсчетов определяют упругую деформацию конструкции. На основании таких данных строят график зависимости упругой деформации от удельной нагрузки. График должен представлять собой плавную кривую без точек перегиба, выпуклую вверх - для зернистых материалов и вниз - для связных грунтов; при испытании слоистой конструкции из зернистых материалов и связных грунтов зависимость обычно близка к линейной. Если график не соответствует этому, то, по всей вероятности, испытание проведено с дефектом, а его данные требуют более тщательной проверки.

Модуль упругости грунта или материала в однородной конструкции, а также общий, модуль упругости слоистой конструкции, испытанных нагружением с помощью жесткого штампа

Еу = 0,25pрD(1 - m2)/l,                                                     (41)

где р - максимальное (расчетное) давление от штампа;

D - диаметр жесткого штампа;

m - коэффициент Пуассона (для грунтов земляного полотна m = 0,35, для материалов оснований m = 0,25, а при вычислении общего модуля упругости m = 0,3);

l - упругая деформация, соответствующая этой нагрузке. Для дорожной одежды, испытанной с помощью сдвоенного колеса автомобиля, общий модуль упругости

Еу = (1 - m2)Р/(0,4plD),                                                         (42)

где Р - общая нагрузка на колесо;

l - упругий прогиб конструкции между баллонами колеса;

D - диаметр условного круглого, гибкого штампа, передающего нагрузку на покрытие, равный 0,33 м.

При послойных испытаниях после определения общего модуля упругости в месте установки жесткого штампа удаляют материал испытуемого слоя на площадке размерами не менее трех диаметров, штампа и затем определяют модуль упругости подстилающих грунтов и материалов.

Послойно можно испытывать в узком шурфе, пробиваемом на ширину штампа. Это допустимо на конструкциях с ограниченными толщинами слоев; для несущей части основания - от 0,5 D до 1,0 D, а для дополнительного слоя основания - от 1,0 D до 2 D. В этом случае полученные испытаниями модули упругости подстилающих слоев следует уменьшить на 20 % при установке штампа на связные грунты с повышенной влажностью (более 0,8 Wт) или на рыхлые (одноразмерные) и пылеватые пески с объемной массой скелета менее 1,8 г/см3, или же на 10 % - при установке штампа на связные грунты с влажностью 0,7 Wт £ W £ 0,8 Wт или на плотные пески. При установке штампа в шурфе на слоях из щебеночных, гравийных, гравийно-песчаных и других плотных смесей и на связных грунтах с влажностью менее 0,7 Wт эта поправка не вводится.

Испытывать штампом щебеночные и гравийные основания можно при нагрузках менее 0,5 МПа, определяя модуль упругости при расчетной нагрузке путем экстраполяции. В частности, определив модуль упругости слоя основания Е2 при испытательных нагрузках 0,2 МПа и Е3 при 0,3 МПа модуль для расчетной нагрузки (р = 0,5 МПа)

Е5 = 2,261gE3 - 1,261gЕ2,                                                 (43)

По данным трех испытаний, проведенных через 10-15 м на дороге и через 1-2 м - в канале, определяют среднее арифметическое значение модуля упругости грунта или слоя; разброс отдельных показателей не должен превышать 20 %.

Определение модуля упругости грунта в лаборатории. Расчетные значения модулей упругости грунта можно получить по результатам испытания грунта в лаборатории при той же влажности и плотности, которые он будет иметь в дорожной конструкции в расчетный период. Так как отобрать образцы с ненарушенным сложением из конструкции в расчетный период весьма затруднительно, а при новом строительстве невозможно, приходится искусственно приготавливать образцы, обладающие требуемой влажностью и плотностью. Как показывают результаты сравнительных испытаний, разница в модулях упругости, определенных в конструкции и в лаборатории для грунтов при одной и той же влажности и плотности; в большинстве случаев невелика. Расчетная влажность грунтов при приготовлении образцов (если для данных местных условии отсутствуют более достоверные ее значения) может быть определена по приложению 2.

Плотность грунта зависит от принятой расчетной влажности. При влажности, близкой к оптимальной, определенной методом стандартного уплотнения (около 0,65-0,70 от границы текучести), и более низкой, за расчетный коэффициент плотности грунта в верхней части земляного полотна следует принимать в дорожно-климатических зонах II-III Ку = 0,98¸1,02; в зонах IV-V Ку = 0,95¸0,98 (большие значения коэффициентов уплотнения принимают для капитальных дорожных одежд, меньшие - для облегченных и переходных).

При более высоких расчетных влажностях плотность образцов грунта устанавливают, исходя из условия, чтобы в порах скелета разместилась вся вода и защемленный воздух. В этом случае плотность скелета грунта:

gск = g(1 - V)/1 + (Wg/gв),                                                 (44)

где g - плотность минеральной части, принимаемая в среднем для непластичных грунтов 2,65 т/м3 и для пластичных - 2,68 т/м3;

V - объем защемленного в порах воздуха, в долях единицы (обычно 0,05 - для пластичных и 0,08 - для непластичных грунтов);

W - весовая влажность, в долях единицы;

gв - плотность воды, принимаемая равной 1 т/м3.

Образцы грунта приготавливают с послойным уплотнением в стальной цилиндрической форме, диаметр которой должен быть не менее четырех, а высота - не менее трех диаметров D штампа. Так как грунт испытывают штампом D = 4¸5 см, диаметр формы должен быть 15-20 см, а высота - 15 см.

Когда расчетная влажность образца не превышает значительно оптимальную, образец приготавливают при расчетной влажности и требуемой плотности. В этом случае необходимое количество (по массе) равномерно увлажненного грунта укладывают в форму в три-четыре приема, обычно равными порциями. Каждый слой уплотняют металлической трамбовкой до требуемого по расчету объема. Образовавшуюся на поверхности каждого слоя переуплотненную корку разрыхляют, затем укладывают и уплотняют следующую порцию грунта, и так до заполнения всей формы. Образец изготавливают на 2 см выше поверхности формы, для чего к форме с помощью фланцев крепят надставку, разрезанную по образующей (рис. 32). Перед испытанием надставку снимают, а излишек грунта аккуратно срезают заподлицо с поверхностью формы. Этим обеспечивают гладкую однородную поверхность образца, на которую устанавливают штамп при испытании.

Уплотненный в форме грунт вместе с надставкой помещают не менее, чем на сутки во влажный эксикатор для более равномерного распределения влаги. Только после этого образец испытывают.

Рис. 32. Форма со съемной надставкой:

1 - надставка; 2 - форма: 3 - днище с отверстиями; 4 - патрубок

Когда расчетная влажность грунта значительно выше оптимальной, образцы для испытания приготавливают, насыщая водой предварительно уплотненный до требуемой плотности грунт. Для этого металлическая форма должна иметь второе дно с отверстиями диаметром 0,5- 1 мм (см. рис. 32). В образующуюся полость вставляют два патрубка, к которым крепят резиновые трубки. Грунт укладывают в форму (поверх уложенной на дно с отверстиями фильтровальной бумаги) и уплотняют послойно до плотности скелета, вычисленной по формуле (44). Особенно тщательно нужно разрыхлять поверхность каждого слоя на глубину около 5 мм, чтобы разрушить образовавшуюся переуплотненную корку. В противном случае не будет достигнут равномерное по высоте насыщение образца водой. Для насыщения на один патрубок надевают резиновый шланг от резервуара с водой, устанавливаемого так, чтобы уровень воды находился на 20-50 см выше поверхности грунта в форме. На другой патрубок надевают шланг, прикрепленный к установленной вертикально стеклянной трубке. При этом нужно следить, чтобы между поверхностью воды в полости формы и дном с отверстиями не образовалась воздушная подушка.

Образец насыщают до полного заполнения пор водой, что определяют периодическим взвешиванием формы с грунтом. Для насыщения требуется 2-5 сут.

По окончании насыщения на шланги ставят зажимы, шланги отключают от источников питания водой, помещают форму с грунтом на сутки во влажный эксикатор, после чего образец испытывают на рычажном прессе. Нагрузку прикладывают через штамп, помещаемый в центре образца. Штамп имеет расположенные по диаметру заплечики, на которые устанавливают ножки индикаторов для замера вертикальных перемещений штампа (см. рис. 28). Перемещение центра штампа принимают равным полусумме отсчетов по индикаторам. Держатели индикаторов укрепляют на фасонных пластинках, привинченных к фланцу формы.

Нагружают ступенями с разгрузкой после каждой ступени. Каждую ступень нагрузки выдерживают до затухания деформации (разница отсчетов по индикаторам - не более 0,01 мм за 5 мин). После того как зафиксирован отсчет по индикаторам, штамп разгружают и ожидают восстановления деформации (допуск тот же, что и при нагружении). Затем нагружают следующей ступенью, и так до достижения нагрузки, при которой начинают интенсивно развиваться пластические смещения в толще массива. Это обычно сопровождается значительным увеличением остаточной деформации. Ступени нагрузки выбирают такими, чтобы иметь три - пять ступеней в процессе испытания.

На основе полученных значений обратимой деформации при каждой ступени нагрузки строят график зависимости упругой деформации грунта от давления по подошве штампа и по формуле (41) вычисляют модуль упругости при каждой ступени нагрузки.

При испытании связных грунтов высокой влажности следует давать пригрузку вокруг штампа. Во избежание больших ошибок нельзя испытывать в лаборатории малыми штампами образцы слабосвязных зернистых материалов (гравий, щебень). Такие материалы следует испытывать штампами диаметром 25-35 см. При каждом значении влажности и плотности грунта должно быть испытано не менее шести образцов.

Определение характеристик сопротивления грунтов и материалов сдвигу в лабораторных условиях. Поскольку в основу расчета грунтовых оснований и слоев из слабосвязных материалов положена обобщенная теория прочности Мора, за расчетные принимают характеристики, определяемые касательной (огибающей) и построенным па основе испытаний исследуемого материала предельным кругам Мора (рис. 33). Наклон касательной к предельным кругам дает угол внутреннего трения в исследуемом грунте или материале, а отрезок, отсекаемый касательной на вертикальной оси, - сцепление.

Испытания для построения предельных кругов Мора могут быть проведены на приборах трехосного сжатия, а также на приборах, обеспечивающих сдвиг в данной плоскости (плоский сдвиг). Испытания на приборах трехосного сжатия предпочтительнее, так как дают более надежные данные. При испытании па приборах, обеспечивающих сдвиг в заданной плоскости, возможна некоторая погрешность, для исключения которой необходимо применять специальные методики обработки результатов. Целесообразны параллельные испытания па приборах трехосного сжатия (контрольные) и па приборах плоского сдвига. Опыт показывает, что в подавляющем большинстве случаев результаты испытаний на приборах трехосного сжатия и приборах плоского сдвига не различаются сколько-нибудь существенно.

Для получения расчетных характеристик сопротивления грунтов и материалов сдвигу образцы испытывают при влажности и плотности, соответствующих состоянию грунтов и материалов в расчетный период. После каждого испытания проводят контрольные определения влажности и плотности испытанных образцов и при выявлении отклонений от заданных значений корректируют результаты испытании или выбраковывают их.

Рекомендуются испытания на приборах с автоматической регистрацией нагрузок и деформаций.

Целесообразны испытания, в которых разрушение образца наступает через 3-5 мин.

Для испытания образцов грунтов и материалов в условиях трехосного напряженного состояния существует большое число приборов. Для каждого из них разработана подробная методика испытания с учетом особенностей конструкции прибора. Поэтому здесь даются лишь общие рекомендации, которые следует учитывать при испытаниях, чтобы получить расчетные характеристики, используемые при проектировании дорожных одежд.

Испытывают цилиндрические образцы с отношением диаметра к высоте 1:2. Минимальный диаметр образца зависит от крупности фракций, содержащихся в грунте или материале. При максимальном размере зерен испытуемого грунта или материала до 5 мм принимают диаметр образца равным 60 мм; при размере зерен до 20 мм - диаметр образца 100 мм.

Образцы грунта, имеющие требуемую влажность и плотность, можно готовить в больших формах и затем из них специальным резаком вырезать цилиндр нужного диаметра и высоты или приготавливать образец с послойным уплотнением грунта в специальной разъемной форме требуемых диаметра и высоты.

На образцы связных грунтов и материалов после того, как они вынуты из формы или резака, надевают манжет из резины толщиной 0,2-0,3 мм. Диаметр манжет должен быть на 2-3 мм меньше образца. Образец с манжетом устанавливают и камеру прибора, после чего камеру закрывают и заполняют водой.

Рис. 33. Диаграмма Мора для суглинистого грунта при j = 22°, с = 0,07 МПа, W = 13,3 % и d = 1850 кг/м3

Образцы слабосвязных грунтов и материалов приготавливают в разъемной стальной форме, в которую предварительно вложен резиновый манжет, а также плитка, поддерживающая образец снизу. Уплотненный послойно до требуемой плотности образец вместе с формой помещают в камеру прибора, где в образце создается небольшой вакуум (около 100 мм рт. ст.). После удаления разъемной формы камеру закрывают и заполняют водой. Образцы испытывают при различных значениях бокового давления. Следует испытать при данных условиях испытания не менее трех образцов каждого грунта или материала одинаковой влажности и плотности при каждом значении бокового давления.

Все испытания проводят таким образом, чтобы плотность и влажность образцов в момент разрушения соответствовали расчетным значениям этих характеристик. С этой целью испытания ведут по закрытой системе. Допустимы испытания, как с постоянной скоростью нагружения, так и с постоянной скоростью деформирования. При испытаниях с постоянной скоростью нагружения вертикальную нагрузку на образец создают с помощью отрегулированной струи воды или равномерного насыпания дроби. Скорость нагружения - 0,01 - 0,02 МПа/мин при испытании грунтов и 0,02 - 0,04 МПа/мин при испытании материалов. В процессе нагружения через равные промежутки времени (1-2 мин) фиксируют вертикальные деформации образца. Нагружают до достижения интенсивного роста деформаций.

На основе результатов испытаний вычисляют скорость деформирования образца при различных вертикальных нагрузках и изображают полученные зависимости графически (рис. 34).

На начальной стадии нагружения скорость деформирования равномерно и сравнительно медленно возрастает по мере увеличения нагрузки. По после того, как нагрузка достигает определенного размера (разной при различном боковом обжатии), скорость деформирования резко увеличивается и наступает так называемое лавинное нарушение структуры. Эти точки соответствуют достижению предельного равновесия в образце по сдвигу при имеющемся боковом давлении. При испытаниях с постоянной скоростью деформирования регистрируют изменение нагрузки на образец во времени. За разрушающую принимают нагрузку, соответствующую деформации грунта, равной 1/10 высоты образца. Скорость деформирования 1-2 мм/мин. На основании полученных данных строят диаграмму Мора и обычным порядком определяют угол внутреннего трения и сцепление в грунте при данной влажности и плотности (см. рис. 33).

Мелкозернистые грунты испытывают на сдвиг в заданной плоскости обычно в виде цилиндрических образцов диаметром не менее 70 мм (F = 40 см2) и высотой 3-3,5 см, грунты и материалы, содержащие крупные включения, но не более 40 мм, - в формах размером до 30´30 см. Замена более крупных фракции допускается равным по массе количеством фракций от 10 до 40 мм. Образцы с данной влажностью и плотностью или приготавливают в большой форме и затем вырезают специальным резаком (мелкозернистые грунты), или готовят непосредственно в форме, имеющейся в приборе. Образцы испытывают при разных нормальных нагрузках. При каждом значении нормальных нагрузок необходимо испытать не менее трех образцов одинаковой влажности и плотности.

Рис. 34. Зависимость скорости деформирования V вертикальной нагрузки при испытании суглинистого грунта на приборе трехосного сжатия (пример):

Ñ - точка резкого увеличения скорости деформирования; W = 13,3% и d = 1850 кг/м3

Рис. 35. Диаграмма Кулона:

t - касательное напряжение; с - сцепление, МПа; j - угол внутреннего трения, град; s - удельная вертикальная нагрузка

Рис. 36. Зависимость скорости деформирования V от сдвигающих напряжений t при испытании на приборе плоского сдвига (пример):

р - удельная вертикальная нагрузка; V - точка резкого увеличения деформации сдвига

В целях обеспечения разрушения образца в виде сдвига (исключив явление отрыва) значение нормальных нагрузок необходимо выбирать так, чтобы экспериментальные точки на графике «нормальные напряжения - сопротивляемость сдвигу», располагались не выше луча, проведенного из начала координат под углом 45° к оси абсцисс (рис. 35). Экспериментальные точки, не отвечающие этому условию, при построении прямой tn = sntgjW + сW в расчет не принимают (отбраковывают).

Максимальная нормальная нагрузка не должна существенно превышать напряжений в дорожной конструкции. Если прибор снабжен приспособлением для сдвига с постоянной скоростью деформирования, то испытывают со скоростью деформирования около 0,25-0,50 см/мин. На основе результатов отсчетов по динамометру, взятых через равные промежутки времени, устанавливают зависимость между сдвигающим напряжением и деформацией сдвига. Эта зависимость изображается графически, откуда получают значение максимального сопротивления сдвигу при данных условиях испытания (рис. 36).

Если прибор не имеет приспособления для обеспечения постоянной скорости деформирования, то сдвигающую нагрузку увеличивают с постоянной скоростью (нагружение струей воды). Одновременно фиксируют деформацию сдвига через рапные промежутки времени и по полученным данным строят зависимость скорости: деформирования от нагрузки. За сопротивление сдвигу применяют напряжение, соответствующее резкому увеличению скорости деформирования. Получив значения сопротивления сдвигу при разных вертикальных нагрузках, значения угла внутреннего трения и сцепления находят из уравнения Кулона t = c + stgj, путем графического построения (см. рис. 35).

ПРИЛОЖЕНИЕ 9

ТЕПЛОФИЗИЧЕСКИЕ ХАРАКТЕРИСТИКИ МАТЕРИАЛОВ И ГРУНТОВ

При проектировании конструкций с теплоизоляционными слоями используют расчетные значения следующих характеристик материалов и грунтов:

а) пучинистости - коэффициент пучения и критерий морозоустойчивости; б) теплофизические - коэффициенты теплопроводности и температуропроводности, удельная теплоемкость; в) деформационные - модуль упругости и коэффициент Пуассона; г) прочностные - сопротивление растяжению при изгибе (монолитные материалы) и параметры сопротивления сдвигу (грунты и слабосвязные материалы).

Таблица 32

№ п/п

Материал, грунт

Плотность, кг/м3

Коэффициент теплопроводности l, Вт/(м×К)

Удельная теплоемкость суд´10-3, Дж/(кг×К)

Эквивалент по гранитному щебню

1

Асфальтобетон горячий плотный

2400

1,40

1,65

1,15

 

То же, пористый

2300

1,25

1,65

1,22

 

То же, высокопористый, в том числе битумопесчаная смесь (ТУ 218 РСФСР 395-79)

2200-1900

1,10-1,00

1,50-1,25

1,30-1,36

2

Аглопоритовый щебень, обработанный вязким битумом

800

0,23

1,25

2,83

3

Керамзитовый гравий, обработанный вязким битумом

1100

0,64

1,15

1,71

4

Гравий (щебень) с легкими заполнителями, обработанные вязким битумом

2000

0,52

1,65

1,89

5

Супесь, укрепленная 10 %-ной битумной эмульсией

1700-1900

1,45

0,9

1,13

6

Цементобетон

2400

1,74

0,85

1,03

7

Песок разномерный, укрепленный 6-10 % цемента

2100

1,86

0,9

1,00

8

Песок мелкий, одномерный укрепленный 10 % цемента

2100

1,62

0,95

1,07

9

Цементогрунт с керамзитом:

 

 

 

 

 

песок-75 % (массы), керамзит-25 %, цемент-6 %

1500-1600

0,58-0,70

0,90-0,95

1,79-1,63

10

Цементогрунт с гранулами полистирола; песок 97-98 %, гранулы полистирола 3-2 % и цемент 7-6 %

1300-1500

0,41-0,58

1,25

2,14-1,79

11

Битумоцементогрунт с перлитом (перлитовый щебень - 25-20 %, песок 75-80 %, цемент-6-4 %, битум - 12-10 % от массы песка, перлита и цемента)

1400

0,52-0,58

1,35

1,89

12

Цементогрунт с аглопоритом (супесь или песок - 70-80 %, аглопорит - 30-20 %, цемент - 6 %)

1700-1800

0,64-0,75

1,00-1,1

1,71-1,57

13

Шлакобетон

1600

0,58

1,15

1,79

14

Керамзитобетон

1400

0,75

1,45

1,57

15

Стиропорбетон

00-110

0,23

1,45

2,83

16

Слабопрочные известняки, укрепленные известью

2000

1,16

1,1

1,27

17

Суглинок, укрепленный 6-12 % цемента

1750-1900

1,45

0,85

1,13

18

Суглинок, укрепленный 2-6 % цемента и 6-2 % извести

1800-1900

1,33

0,85

1,18

19

Супесь, укрепленная 8-10 % цемента

1700-1900

1,51

0,90

1,11

20

Пенопласт марки ПС-4

40-60

0,052

1,45

5,95

21

Каменноугольная золошлаковая смесь, укрепленная б-8 % цемента

-

0,7

-

-

22

Шлак топочный

800

0,46

1,1

2,0

23

Щебень из гранита

1800

1,86

0,85

1,0

24

Щебень из известняка

1600

1,39

0,9

1,15

25

Гравий

1800

1,86

0,9

1,0

26

Песок крупный талый

2000

1,74

1,1

1,03

 

То же, мерзлый

2000

2,32

0,9

0,88

27

Песок средней крупности талый

1950

1,91

1,1

0,98

 

То же, мерзлый

1950

2,44

0,9

0,87

28

Песок мелкий талый

1850

1,91

1,1

0,98

 

То же, мерзлый

1850

2,32

0,9

0,89

29

Песок пылеватый талый

1750

1,80

1,1

1,02

 

То же, мерзлый

1750

2,20

0,9

0,92

30

Супесь талая

2100

1,80

1,35

1,02

 

То же, мерзлая

2100

2,03

1,0

0,90

31

Суглинок и глина талые

2000

1,62

1,45

1,07

 

То же, мерзлые

2000

1,97

1,25

0,97

32

Лессы талые

1500

1,51

1,45

1,11

 

То же, мерзлые

1500

2,09

1,05

0,94

Характеристики, необходимые для расчета конструкций на прочность и морозоустойчивость, устанавливают, руководствуясь указаниями приложений 2 и 3.

Приводимыми в табл. 32 расчетными значениями теплофизических характеристик разных материалов и грунтов следует пользоваться лишь при отсутствии приборов и оборудования для экспериментального определения этих характеристик.

Расчетное значение коэффициента температуропроводности

а = l/(сg),

где l - коэффициент теплопроводности;

с - удельная теплоемкость;

g - объемная масса.

ПРИЛОЖЕНИЕ 10

ПРОГНОЗИРОВАНИЕ СРЕДНЕГОДОВОЙ ТЕМПЕРАТУРЫ ПОВЕРХНОСТИ ПОКРЫТИЯ И АМПЛИТУДЫ КОЛЕБАНИЙ ТЕМПЕРАТУРЫ В РАСЧЕТНОМ ГОДУ

При отсутствии данных систематических измерении в районе, где будет построена дорога, среднегодовую температуру tп.ср поверхности покрытия и амплитуду Ап годового колебания температуры в расчетном году прогнозируют следующим образом.

Вычисляют расчетные значения среднемесячной температуры воздуха самого холодного месяца (январь для Северо-Запада)

tв.min = в.min - stt                                                     (45)

и самого теплого (июль)

tв.max = в.max + stt                                                    (46)

где в.min и в.max - средине многолетние значения среднемесячной температуры воздуха самого холодного и самого теплого месяцев (принимают по таблицам СНиП «Строительная климатология и геофизика»);

st - среднее квадратическое отклонение среднемесячной температуры воздуха, определяемое по графику (рис. 37);

t - коэффициент нормированного отклонения, зависящий от надежности и числа лет наблюдении (см. приложение 5, табл. 28).

Далее в самом холодном и самом теплом месяце определяют среднемесячную температуру поверхности покрытия

tп.min = 4К1(p - 1)tв.min/(3p);                                          (47)

tп.mах = 4К2(p + 1)tв.mах/(3p);                                         (48)

где K1, К2 - коэффициенты, характеризующие влияние теплоизоляционною слоя на температуру поверхности покрытия. При асфальтобетонном покрытии и теплоизоляционном слое из пенопласта К1 = 1,33, а К2 = 1,125, при других материалах теплоизоляционного слоя - К1 = К2 =1,0.

Среднегодовая температура поверхности покрытия в расчетном году

Tп.ср = 0,5(tп.max + tп.min);                                          (49)

амплитуда колебания

Aп = 0,5(tп.max - tп.min);                                              (50)

Рис. 37. Корреляционная зависимость между средним многолетним значением среднемесячной температуры в воздуха и средним квадратическим отклонением st

Для асфальтобетонного покрытия в конструкциях, где применен теплоизоляционный материал, за исключением пенопласта, значения tп.ср и Ап в расчетном году приведены в табл. 33. Расчетный - это год с максимальной суммой отрицательных температур поверхности покрытия за период между капитальными ремонтами дорожной одежды (в данном случае 20 лет).

Таблица 33

Город

tп.ср, °С

Ап, °С

Город

tп.ср, °С

Ап, °С

Великие Луки

10,72

12,76

Ленинград

9,92

22,64

Вильнюс

12,44

20,62

Минск

12,59

22,22

Вологда

8,46

22,56

Москва

11,12

22,70

Вышний Волочек

10,12

21,20

Новгород

9,68

20,14

Горький

11,04

24,12

Пермь

9,28

27,80

Иваново

9,02

23,34

Петрозаводск

7,38

20.98

Казань

9,62

25,18

Псков

10,68

21,74

Калинин

9,56

23,24

Рига

11,69

20,88

Калуга

10,60

23,86

Рязань

10,18

25,44

Каунас

12,90

21,16

Саратов

13,58

28,16

Кострома

9,28

23,94

Смоленск

10,98

23,16

Киров

8,08

24,86

Таллин

10,06

18,62

Курск

11,82

22,54

Тамбов

12,16

25,68

ПРИЛОЖЕНИЕ 11

СПИСОК УЧАСТНИКОВ РАЗРАБОТКИ ИНСТРУКЦИИ

Руководители темы и ответственные исполнители: Ю. М. Васильев, М. Б. Корсунский, П. П. Теляев.

В написании разделов и параграфов Инструкции также участвовали:

В. Ф. Бабков, В. Л. Воробьев, С. С. Коновалов, В. К. Некрасов, А. Я. Тулаев, В. П. Финашин, С. В. Шведенко, С. В. Шестоперов, Ю. М. Яковлев (МАДИ);

Р. Л. Агапова, Д. П. Гегелия, П. В. Горелышев, В. Д. Казарновский, Л. Л. Марков, Б. С. Марышев, Л. Е. Мерзликин, Ю. Л. Мотылев, В. И. Рувинский, П. Ф. Хорошилов (Союздорнии);

B.H. Гайвороиский, Е. А. Золотарь, М. Г. Мельникова, В. А. Мазуров, Т. Е. Полтаранова, П. Д. Россовский, А. О. Салль, И. П. Шульпшский (Ленинградский филиал Союздорнии);

Б. Б. Самойленко, А. В. Смирнов (Омский филиал Союздорнии);

А. М. Каменев (Казахский филиал Союздорнии);

Ю. В. Бутлицкий, О. А. Сяпич (Среднеазиатский филиал Союздорнии);

В. Д. Браславский, А. А. Новиков (Союздорпроект);

В. К. Апестин, А. В. Руденский (Гипродорнии);

Б. С. Радовский, Е. Я. Щербакова (Госдорнии);

В. Г. Корюков, Р. 3. Порицкий (Белдорнии);

О. Т. Батраков, В. А. Золотарев, А. Я. Калужский, Б. П. Плевако, В. И. Ряпухин (ХАДИ);

В. А. Давыдов, В. Е Каганович (СибАДИ);

В. М. Сиденко (КАДИ);

А. А. Тимофеев (Академия коммунального хозяйства РСФСР);

А. В. Епифанов (Ленгипролестранс);

Е. И. Шелопаев (Красноярский политехнический институт);

В. А. Семенов (Владимирский политехнический институт);

В. М. Гоглидзе (Грузинский политехнический институт);

Д. К. Томлянович (Гипрокоммундортранс);

А. М. Шак (Институт повышения квалификации Минавтодора РСФСР);

А. Г. Колчанов (Промтрансниипроект);

Б. А. Розенгауз (Ленгипроинжпроект).


Pиc. 29 Номограмма для модуля упругости Е верхнего слоя двухслойном системы

Рис. 30. Номограмма для определения модуля упругости Е1 двухслойной системы (деталь номограммы рис. 29)

Рис. 3.3. Номограмма для определения общего модуля упругости двухслойной системы Еобщ

Рис. 3.6. Деталь номограммы для определения активного напряжения сдвига от временной нагрузки в нижнем слое двухслойной системы (при h/D=0¸4)


СОДЕРЖАНИЕ

1. ОБЩИЕ ПОЛОЖЕНИЯ.. 1

2. КОНСТРУИРОВАНИЕ ДОРОЖНОЙ ОДЕЖДЫ И ЗЕМЛЯНОГО ПОЛОТНА.. 4

Задачи и принципы конструирования. 4

Капитальные дорожные одежды с усовершенствованным покрытием.. 8

Облегченные и переходные дорожные одежды.. 9

Конструкции дорожных одежд с дополнительными слоями. 10

Особенности конструирования дорожных одежд со слоями из малопрочных материалов и побочных продуктов промышленности. 12

Мероприятия по повышению прочности грунта активной зоны земляного полотна. 13

Учет региональных особенностей. 13

Конструирование одежд при проектировании реконструкции существующих дорог. 14

Особенности конструирования одежд городских улиц и дорог. 16

3. РАСЧЕТ ДОРОЖНЫХ ОДЕЖД НА ПРОЧНОСТЬ. 17

Основные положения. 17

Расчетные нагрузки. 20

Критерии прочности. 22

Расчет дорожных одежд по допускаемому упругому прогибу. 24

Расчет дорожных одежд по сдвигу в грунте земляного полотна. 26

Расчет промежуточных слоев из слабосвязных материалов на устойчивость против сдвига. 30

Расчет монолитных слоев на растяжение при изгибе. 31

Расчет слоев из асфальтобетона по сопротивлению сдвигу. 34

Особенности расчета дорожных одежд для зоны вечномерзлых грунтов. 35

Проектирование усиления дорожных одежд. 36

4. ОБЕСПЕЧЕНИЕ МОРОЗОУСТОЙЧИВОСТИ ДОРОЖНЫХ ОДЕЖД И ЗЕМЛЯНОГО ПОЛОТНА.. 39

Общие вопросы.. 39

Требования к морозозащитным (стабильным) и теплоизоляционным материалам.. 39

Конструктивные меры по уменьшению глубины промерзания и обеспечению морозоустойчивости конструкций. 41

Расчет конструкций на морозоустойчивость. 41

Расчет теплоизоляционных слоев дорожной конструкции. 45

Особенности расчета на прочность конструкций с теплоизоляционным слоем.. 49

5. ПРОЕКТИРОВАНИЕ УСТРОЙСТВ ПО ОСУШЕНИЮ ДОРОЖНЫХ ОДЕЖД И ЗЕМЛЯНОГО ПОЛОТНА.. 50

Основные предпосылки. 50

Требования к материалам и трубам дренажных конструкций. 50

Приток воды в основание дорожной одежды и меры по его ограничению.. 51

Конструкции и расчет дренажных устройств. 54

Особенности проектирования дренажа реконструируемых дорог. 58

Приложение 1 Расчетные нагрузки. 59

Приложение 2 Расчетные характеристики грунтов. 69

Приложение 3 Расчетные характеристики материалов дорожной одежды.. 76

Приложение 4 Примеры расчета. 82

Приложение 5 Испытание и оценка прочности нежесткой дорожной одежды по упругому прогибу. 95

Приложение 6 Методика испытания грунтов и материалов на морозоустойчивость. 107

Приложение 7 Проверка на морозоустойчивость дорожной конструкции при условии z/H > 1. 110

Приложение 8 Методы экспериментального определения деформационных и прочностных характеристик материалов и грунтов. 112

Приложение 9 Теплофизические характеристики материалов и грунтов. 127

Приложение 10 Прогнозирование среднегодовой температуры поверхности покрытия и амплитуды колебаний температуры в расчетном году. 128

Приложение 11 Список участников разработки инструкции. 130

 

 




ГОСТЫ, СТРОИТЕЛЬНЫЕ и ТЕХНИЧЕСКИЕ НОРМАТИВЫ.
Некоммерческая онлайн система, содержащая все Российские Госты, национальные Стандарты и нормативы.
В Системе содержится более 150000 файлов нормативно-технической документации, действующей на территории РФ.
Система предназначена для широкого круга инженерно-технических специалистов.

Рейтинг@Mail.ru Яндекс цитирования

Copyright © www.gostrf.com, 2008 - 2026