Крупнейшая бесплатная информационно-справочная система онлайн доступа к полному собранию технических нормативно-правовых актов РФ. Огромная база технических нормативов (более 150 тысяч документов) и полное собрание национальных стандартов, аутентичное официальной базе Госстандарта. GOSTRF.com - это более 1 Терабайта бесплатной технической информации для всех пользователей интернета. Все электронные копии представленных здесь документов могут распространяться без каких-либо ограничений. Поощряется распространение информации с этого сайта на любых других ресурсах. Каждый человек имеет право на неограниченный доступ к этим документам! Каждый человек имеет право на знание требований, изложенных в данных нормативно-правовых актах!

  


 

СССР

МИНИСТЕРСТВО ТРАНСПОРТНОГО СТРОИТЕЛЬСТВА

ВСЕСОЮЗНЫЙ ОРДЕНА ОКТЯБРЬСКОЙ РЕВОЛЮЦИИ
НАУЧНО-ИССЛЕДОВАТЕЛЬСКИЙ ИНСТИТУТ
ТРАНСПОРТНОГО СТРОИТЕЛЬСТВА

УТВЕРЖДАЮ

Зам. директора института

Г.Д. Хасхачих

25 сентября 1988 г.

РЕКОМЕНДАЦИИ ПО ТЕХНОЛОГИИ ПРИМЕНЕНИЯ
ХИМИЧЕСКИХ ДОБАВОК ПРИ ПРОИЗВОДСТВЕ
МОНОЛИТНЫХ БЕТОННЫХ И ЖЕЛЕЗОБЕТОННЫХ
КОНСТРУКЦИЙ ТОННЕЛЕЙ И МЕТРОПОЛИТЕНОВ

Согласованы Главтоннельметростроем

Москва 1988

ПРЕДИСЛОВИЕ

В настоящих Рекомендациях изложены особенности приготовления и применения товарных бетонных смесей на строительных объектах горных транспортных тоннелей и метрополитенов при возведении монолитных бетонных и железобетонных конструкций.

В Рекомендациях приведены требования к исходным материалам, принципы проектирования состава бетона с химическими добавками, указания по их выбору, технология приготовления, транспортирования и укладки бетонной смеси, получение товарного бетона на объектах Главтоннельметростроя, особенности контроля качества бетона, техника безопасности и охрана труда.

Рекомендации разработали кандидаты техн. наук Ю.М. Анин, В.М. Смолянский, В.С. Гладков, В.Е. Меркин (ЦНИИС), канд. техн. наук В.Г. Голубов, инж. Г.К. Амбарнова (СКТБ Главтоннельметростроя).

Замечания и предложения просим направлять по адресу: 129329, Москва, ул. Кольская, д.1, ЦНИИС.

Зав. отделением стройиндустрии

и строительных материалов

Е.Н. Щербаков

1. ОБЩИЕ ПОЛОЖЕНИЯ

1.1. Настоящие Рекомендации распространяются на товарные бетонные смеси, изготовленные на бетоносмесительных установках стационарного типа и инвентарных, с пластифицирующими (в том числе с суперпластификаторами), воздухововлекающими и комплексными химическими добавками, предназначенными для возведения монолитных бетонных и железобетонных конструкций горных транспортных тоннелей и метрополитенов.

1.2. Для бетонов, имеющих марки не ниже W4 (по водонепроницаемости) и F150 (по морозостойкости), применение пластифицирующих и воздухововлекающих добавок обязательно.

2. ТРЕБОВАНИЯ К МАТЕРИАЛАМ ДЛЯ БЕТОНА

2.1. Для приготовления товарных бетонных смесей следует применять портландцемент, в том числе бездобавочный и с минеральными добавками по ГОСТ 10178-85 и ГОСТ 23464-79.

При агрессивных воздействиях на бетонные конструкции в процессе эксплуатации портландцемент выбирают в соответствии со СНиП 2.03.11-85.

2.2. В зависимости от требуемого класса бетона по прочности марку цемента следует назначать в соответствии с данными табл. 1.

Таблица 1

Проектный класс бетона по прочности на сжатие (по СНиП 2.03.04-84)

Марка цемента

рекомендуемая

допустимая

В7,5

300

400

В12,5

400

300, 500

В15

400

300, 500

В20

400

500

В25

500

400, 550

В30

600

500, 550

Допускается применение цемента и меньшей марки при использовании суперпластификаторов С-3 и 10-03 после проведения дополнительных лабораторных испытаний.

2.3. В качестве мелкого заполнителя рекомендуется использовать песок, удовлетворяющий требованиям ГОСТ 10268-80.

Применение песков, отличающихся по зерновому составу от указанного в табл. 2, допускается только при соответствующем технико-экономическом обосновании, если при этом расход цемента не превышает норм, предусмотренных СНиП 5.01.23-83.

2.4. В качестве крупного заполнителя следует применять щебень, удовлетворяющий требованиям ГОСТ 8267-82, ГОСТ 8269-86, ГОСТ 10260-82, ГОСТ 23254-78 или гравий (ГОСТ 8268-82).

Максимальный размер зерен крупного заполнителя принимается по СНиП III-15-76 (но не более 20 мм).

Максимальное содержание крупного заполнителя на 1 м3 бетонной смеси при использовании трубопроводного транспорта должно быть не более значений, указанных в табл. 2.

Таблица 2

Максимальный размер зерен крупного заполнителя, мм

Объем крупного заполнителя, м33, при модуле крупности мелкого заполнителя

1,4

1,6

1,8

2,0

2,4

2,8

10

0,55

0,52

0,48

0,45

0,42

0,4

20

0,65

0,63

0,6

0,58

0,56

0,54

2.5. В случае использования горной породы в качестве крупного заполнителя для бетона необходимо определить минералогический состав породы для оценки возможности ее применения в качестве сырья для щебня.

2.6. Для получения крупного заполнителя из горной породы рекомендуется использовать камнедробильные и сортировочные установки на строительных площадках тоннельных отрядов.

2.7. Вода для затворения бетонной смеси должна соответствовать требованиям ГОСТ 23732-79.

2.8. Для приготовления бетонов рекомендуется использовать добавки, характеристики которых приведены в табл. 3.

3. ВЫБОР ХИМИЧЕСКИХ ДОБАВОК

3.1. Химические добавки выбирают с учетом следующих обстоятельств:

технологического эффекта;

возможности поставки;

имеющихся на объекте условий приемки, хранения и приготовления бетонных смесей;

возможности использования на одном БСУ не более двух видов добавок.

3.2. Рекомендуемые составы и дозировки добавок даны в табл. 4.

3.3. Объем вовлеченного воздуха в бетонной смеси с воздухововлекающими добавками, предназначенной для получения морозостойких бетонов (F200 и выше), должен составлять 2 - 4 %.

4. ПОДБОР БЕТОНА С ХИМИЧЕСКИМИ ДОБАВКАМИ

4.1. Целью подбора состава бетона является определение такого соотношения между исходными материалами, при которых гарантируется необходимая прочность, морозостойкость и водонепроницаемость бетона в конструкции с учетом технологии изготовления и укладки бетонной смеси, а также экономичности бетона (минимальный расход цемента или минимальная стоимость).

4.2. Составы бетонов с пластифицирующими добавками подбирают так же, как и для обычного бетона, а затем проводят пробные замесы и в случае необходимости - корректировку состава.

Таблица 3

Добавки

Условное обозначение

Стандарт или ТУ

Содержание сухого вещества, %

Вид поставки

Основной характер воздействия на бетонную смесь

Достигаемый эффект

Примерная стоимость в пересчете на сухое вещество, руб./т

Сульфитно-дрожжевая бражка

ЛСТ

(СДБ)

ОСТ 13-183-83 Минлесбумпрома

50 - 76

В бумажных мешках или цистернах

Пластификация

Улучшение удобоукладываемости, снижение расхода цемента

65

Лигносульфонат технический модифицированный

ЛСТМ-2

ТУ 13-04-600-81 с изменением № 1

47 - 50

В железнодорожных цистернах

То же

То же

53

Суперпластификатор

С-3

ТУ 6-14-625 Минхимпрома

33

То же

-"-

Улучшение удобоукладываемости, снижение расхода цемента, повышение прочности

340

То же

10-03

ТУ 44-3-505-81 Минхимпрома

19 - 21

В металлических бочках или железнодорожных цистернах

-"-

То же

1250

Кремнегельалюминий-фторсодержащий

КГ

ТУ 6-08-465-81 Минудобрений

80 - 90

В бумажных мешках

Повышение связности, уплотнение бетонной смеси

Повышение водонепроницаемости

10

Полиамидная смола

С № 89

МРТУ 6-05-1224-76 Минхимпрома

30 - 35

В стеклянных бутылях

Пластификация

Повышение водонепроницаемости

100

Синтетическая комплексная добавка на основе углекислого натрия

авт. свид. № 1350142

ТУ 6-18-14-81 Минхимпрома

75

В полиэтиленовых мешках

Пластификация и ускорение твердения

Повышение морозостойкости, водонепроницаемости, прочности в ранние сроки

200 - 300

Триполифосфат натрия

ТПФН

13493-77

98

В бумажных мешках

Пластификация, регулирование сроков твердения

То же

300

Смола нейтрализованная воздухововлекающая

СНВ

ТУ 81-05-7-74 Минлесбумпрома

100

В деревянных бочках

Воздухововлечение

Повышение морозостойкости

1600

Алюминат натрия

NaAlO2

ТУ 48-5-52-76 Минхимпрома

100

В бумажных мешках

Ускорение твердения

Повышение ранней прочности и водонепроницаемости

500

Смола древесная омыленная

СДО

ТУ 81-05-2-78 Минлесбумпрома

70 - 90

В деревянных бочках

Воздухововлечение

Повышение морозостойкости и коррозионной стойкости

50

Таблица 4

№ п/п

Добавка

Количество компонентов добавок в пересчете на сухое вещество, % массы цемента

1

ЛСТ (СДБ)

0,1 - 0,3

2

ЛСТМ-2

0,1 - 0,3

3

С-3

0,3 - 1,0

4

10-03

0,3 - 1,0

5

С № 89

0,5 - 1,0

6

СНВ + ЛСТ (СДБ)

(0,003 + 0,03) + (0,1 + 0,3)

7

СНВ + ЛСТМ-2

(0,003 - 0,03) + (0,1 - 0,3)

8

СНВ + 10-03

(0,003 - 0,03) + (0,3 - 1,0)

9

СНВ + С-3

(0,003 - 0,03) + (0,3 - 1,0)

10

С № 89+ТПФН

(0,5 - 1,0) + (0,2 - 0,4)

11

КГ+ЛСТ (СДБ)

(0,1 - 0,3) + (0,1 - 0,3)

12

С-3 + NaAlO2

(0,3 - 1,0) + (0,3 - 1,5)

13

МС-15

0,1 - 0,15

14

10-03 + СДО

(0,3 - 1,0) + (0,003 - 0,03)

При использовании воздухововлекающих, а также некоторых пластифицирующих добавок в составе бетонной смеси следует учитывать соответствующее количество вовлеченного воздуха.

4.3. Расход воды и объемное содержание песка в смеси заполнителей рекомендуется определять в зависимости от наибольшего размера зерен крупного заполнителя (табл. 5).

Таблица 5

Наибольший объем зерен крупного заполнителя, мм

Водопотребность бетонной смеси, л

Объемное содержание (часть) песка в смеси заполнителей при воздухосодержании, %

2

4

6

10

220

55

53

50

20

200

43

40

38

Примечания: 1. Данные таблицы составлены для смесей подвижностью 5 см, приготовленных на щебне с водопоглощением природного песка с модулем крупности Мкр = 2,5 и В/Ц = 0,4.

2. При изменении модуля крупности на ± 0,1 или водоцементного отношения на ± 0,2 объемное содержание песка изменяется соответственно на ± 0,5 %.

3. При изменении водоцементного отношения на ± 0,05 водопотребность изменяется соответственно на ± 2 %.

4. При использовании суперпластификаторов водопотребность равноподвижных смесей снижается на 15 - 25 %.

5. При подборе состава высокоподвижных смесей с суперпластификатором (осадка конуса 10 см и выше) для предупреждения расслоения долю песка необходимо увеличивать на 5 - 10 %.

4.4. Расход цемента Ц определяется из следующего соотношения:

                                                 (1)

где B - содержание воды*, л;

 - количество вовлеченного воздуха, устанавливаемое в зависимости от требуемой морозостойкости и водонепроницаемости (в соответствии с ВСН 150-68);

 и  - соответственно проектная прочность бетона в возрасте 28 сут. и активность цемента, МПа.

* Расход всех компонентов (кроме химических добавок) приводится на 1 м3 бетонной смеси.

4.5. По формуле (2) определяется абсолютный объем заполнителей

                                               (2)

где gц - плотность цемента, г/см3.

4.6. Расход песка и щебня устанавливаются по формулам:

                                                            (3)

                                                       (4)

где r - объемное содержание песка в смеси заполнителей (см. табл. 1);

 и  - соответственно плотность песка и щебня, г/см3.

4.7. В качестве добавок к бетону рекомендуется применять индивидуальные продукты (или их сочетания), номенклатура которых приведена в табл. 1.

4.8. Оптимальная дозировка пластифицирующей добавки выбирается в соответствии с табл. 1 и должна соответствовать возможно меньшему расходу воды на 1 м3 бетонной смеси по сравнению с равноподвижной смесью, приготовленной без добавок при сохранении прочности бетона в возрасте 28 сут.

4.9. Дозировка воздухововлекающей добавки устанавливается в зависимости от требуемого воздухосодержания (см. ВСН 150-68). При этом следует иметь в виду, что воздухосодержание увеличивается с ростом подвижности бетонной смеси, увеличением количества песка в смеси заполнителей и при более интенсивном перемешивании и понижается с увеличением расхода цемента, повышением температуры бетонной смеси, увеличением времени транспортировки и виброукладки бетонной смеси.

4.10. В случае необходимости сокращения цикла бетонирования и, в частности, времени выстойки монолитного бетона в опалубке, в бетонную смесь вводят добавки - ускорители твердения. При их применении следует учитывать возможное влияние на процессы отверждения, сокращение «жизнеспособности» бетонной смеси - времени (с момента приготовления), в течение которого сохраняются необходимые по технологии формовочные свойства бетонной смеси.

4.11. Путем проведения пробных замесов определяются подвижность и воздухосодержание бетонной смеси и в случае необходимости корректируют расход воды, объемное содержание песка и дозировку добавок.

Пример расчета состава монолитной бетонной смеси приведен в рекомендуемом приложении 1.

5. ПРИГОТОВЛЕНИЕ ВОДНЫХ РАСТВОРОВ ДОБАВОК

5.1. Добавки вводятся в бетонную смесь, как правило, с водой затворения, в виде 5 - 10 %-ных водных растворов. При использовании комплексных добавок растворы их компонентов готовятся и дозируются раздельно. Необходимая концентрация достигается путем растворения определенного количества добавки в воде, подогретой до 70 °С. Концентрации добавок контролируют также по плотности приготовленных растворов. Плотность водных растворов различных добавок в зависимости от концентрации приведена в справочном приложении 2.

Необходимые количества растворов вводятся в бетонную смесь, как правило, на БСУ с помощью объемных или весовых дозаторов. Работа установки с весовым дозированием химической добавки описана в рекомендуемом приложении 3.

Техническая характеристика весового дозатора 6.145 АД-30-2 БЖ приведена в справочном приложении 4.

5.2. Необходимое количество (по массе) дозируемого раствора добавки Рр.д., кг, определяется по формуле

                                                      (5)

где D - дозировка добавки, % массы цемента;

Ц - расход цемента на 1 м бетона, кг;

С - концентрация раствора добавки, %.

Если раствор добавки дозируется по объему Vр.д., л, то последний рассчитывается по формуле

                                                          (6)

где gр.д. - плотность раствора, г/см3.

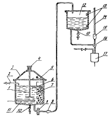
5.3. Схема установки для приготовления и объемного дозирования в бетонную смесь водных растворов одного из компонентов комплексной добавки приведена на рисунке. Добавка растворяется в приготовительной емкости 6, снабженной устройством 11 для подогрева раствора. Добавку вводят через люк 5 в корзину 7. Раствор перемешивается механической мешалкой 1, снабженной электродвигателем 4, который закреплен на крышке 3. Воду подают через трубку 2. Приготовленный раствор перекачивается центробежным насосом 8 через фильтр 9 в расходную емкость 12, снабженную датчиком уровня 13. Из расходной емкости раствор через гидрораспределитель 16 направляется в объемный дозатор 15, снабженный воздушной трубкой 14. Отмеренная доза подается в дозатор воды 17, а оттуда (вместе с водой затворения) - в бетоносмеситель. Для слива остатков раствора и промывки емкости имеется трубка 10.

Схема установки для приготовления водных растворов химических добавок:

1 - лопастная мешалка; 2 - трубка подачи воды; 3 - рамка; 4 - электродвигатель; 5 - загрузочный люк; 6 - приготовительная емкость; 7 - корзина для растворения твердой добавки; 8 - центробежный насос; 9 - фильтр; 10 - дренажные трубы; 11 - нагревательное устройство; 12 - расходная емкость; 13 - мембранные датчики уровня; 14 - воздушная трубка; 15 - объемный дозатор; 16 - гидрораспределитель; 17 - водный дозатор

5.4. Перед перекачиванием растворов добавок из одной емкости в другую их следует тщательно перемешивать.

При перемешивании растворов поверхностно-активных веществ (ЛСТМ-2, СНВ, С-3, СДО и др.) необходимо учитывать возможность пенообразования, особенно при барботировании сжатым воздухом. Для уменьшения вспенивания рекомендуется врезку трубопроводов подачи растворов добавок предусматривать в нижней части емкости. При механическом перемешивании лопасти мешалки следует располагать как можно ближе к днищу приготовительной емкости. Скорость вращения вала мешалки не должна превышать 60 об./мин.

Растворы добавок надо хранить в чистых емкостях при положительной температуре.

Концентрация водных растворов добавок устанавливается в зависимости от возможностей обеспечения точности дозирования и от консистенции раствора, удобной для его хранения и перекачивания.

Время наполнения и опорожнения дозаторов для добавок не должно превышать соответствующего времени работы водного раствора.

6. ТЕХНОЛОГИЯ ПРИГОТОВЛЕНИЯ БЕТОННОЙ СМЕСИ, УКЛАДКА, ФОРМОВАНИЕ МОНОЛИТНЫХ БЕТОННЫХ И ЖЕЛЕЗОБЕТОННЫХ КОНСТРУКЦИЙ

6.1. Бетонную смесь с добавками приготавливают, транспортируют и укладывают в соответствии с ГОСТ 7473-85, СНиП III-15-76 и настоящими Рекомендациями.

6.2. Сыпучие материалы дозируют по массе, воду и добавки - по массе или объему. Точность дозирования должна быть не менее 2 % для цемента, воды и добавок и не менее 2,5 % для заполнителей.

6.3. Бетонную смесь целесообразно приготавливать в бетоносмесителях циклического действия или автобетоносмесителях непосредственно на объекте.

Воду и заполнители в зимнее время рекомендуется подогревать.

6.4. Продолжительность перемешивания бетонной смеси с добавками должна определяться в заводской лаборатории в соответствии с п. 4.15 СНиП III-15-76.

6.5. Бетонная смесь, доставленная к месту укладки, должна иметь степени расслоения не более 5 %, водоотделение не более 2 % и отклонение от заданной подвижности не более 2 см.

6.6. Бетонную смесь с добавками необходимо укладывать за опалубку не позднее чем через 1,5 ч после ее приготовления.

6.7. В зимнее время бетонная смесь на месте укладки должна иметь температуру, обеспечивающую нормальные условия транспортирования, укладки в конструкцию и твердения бетона до достижения им требуемой прочности. Оборудование, используемое для перевозки бетонной смеси, рекомендуется утеплить.

6.8. Транспортировать бетонную смесь следует в автобетоносмесителях и пневмобетононагнетателях, например в ПБНЗ (рекомендуемое приложение 5), разработанном ЦНИИСом и СКТБ Главтоннельметростроя, приспособленном для работы в условиях подземных выработок, с выгрузкой в местах укладки бетона непосредственно за опалубку или с перегрузкой в бетоноукладочные установки.

6.9. Температура окружающего воздуха в месте укладки бетонной смеси и выдерживании до получения распалубочной прочности должна быть не менее 5 °С.

7. КОНТРОЛЬ КАЧЕСТВА БЕТОНА

7.1. Производство работ и качество бетона с добавками контролируют в соответствии с требованиями СНиП III-15-76, «Руководства по применению химических добавок в бетоне» (М., Стройиздат, 1981) и настоящих Рекомендаций.

7.2. При изготовлении бетонных смесей контролируют:

качество материалов, применяемых при изготовлении бетонной смеси;

состояние оборудования для дозирования и перемешивания составляющих бетонной смеси;

концентрацию и температуру растворов добавок;

правильность дозирования рабочих растворов добавок и очередность их введения (если добавка комплексная);

качество приготовленной бетонной смеси (удобоукладываемость, расслаиваемость, воздухосодержание и т.д.);

технологические режимы транспортирования и укладки бетонной смеси;

температурные условия при приготовлении бетонной смеси, ее транспортировании и укладке.

7.3. При приготовлении добавок контролируют готовность узла по приготовлению химических добавок и соответствие концентрации добавок установленной величине.

7.4. При транспортировании бетонных смесей с добавками контролируют готовность транспортных средств и время с момента приготовления бетонных смесей до укладки.

7.5. При укладке бетонных смесей с добавками контролируют:

удобоукладываемость;

воздухосодержание;

расслаиваемость (связность);

температуру.

7.6. Отбор проб бетонной смеси производят по ГОСТ 10180-78.

7.7. При твердении бетона контролируют:

температурно-влажностный режим твердения;

прочность при распалубке и в 28-суточном возрасте;

водонепроницаемость;

морозостойкость.

7.8. Прочность бетона на сжатие контролируют по ГОСТ 18105-86 и ГОСТ 10180-78.

7.9. Концентрацию рабочего раствора добавок определяют ареометром по ГОСТ 18481-81 Е и таблице справочного приложения 2. При отличии плотности от заданной она должна быть доведена до принятой в расчете.

7.10. Подвижность, среднюю плотность, показатель пористости и расслаиваемости определяют соответственно по ГОСТ 10181.0-81, ГОСТ 10181.1-81, ГОСТ 10181.2-81, ГОСТ 10181.3-81, ГОСТ 10181.4-81. Подвижность бетонной смеси следует проверять не реже 1 раза в смену, а также при каждом изменении состава бетона.

7.11. Контроль воздухосодержания бетонной смеси проводят по ГОСТ 10181.3-81 не реже 1 раза в смену.

7.12. Марка бетона по водонепроницаемости определяется по ГОСТ 12730.5-84 в 28-суточном возрасте, а по морозостойкости - в соответствии с ГОСТ 10060-86 по достижении проектной прочности.

7.13. Температуру транспортируемой бетонной смеси измеряют техническим термометром по ГОСТ 2823-73 Е, погружая его в смесь на глубину не менее 5 см.

7.14. Дозаторы следует проверять не реже одного раза в месяц по ГОСТ 7473-76.

7.15. Для контролирования бетонирования рекомендуется вести специальные рабочие журналы при приготовлении бетонной смеси с химическими добавками, при производстве бетонных работ и при уходе за бетоном.

8. ТЕХНИКА БЕЗОПАСНОСТИ ПРИ РАБОТЕ С ХИМИЧЕСКИМИ ДОБАВКАМИ

8.1. При производстве работ необходимо соблюдать правила техники безопасности согласно СНиП III-4-80, ГОСТ 12.4.001-80. ССБТ «Средства защиты работающих. Классификация»; ГОСТ 12.1.004-85. ССБТ «Пожарная безопасность. Общие требования»; ГОСТ 12.0.004-79. ССБТ «Организация обучения работающих безопасности труда. Общие положения».

8.2. При проектировании складских зданий для хранения добавок надо соблюдать требования СНиП II-90-81. При проектировании и эксплуатации узлов для переработки водных растворов химических добавок следует выполнять «Единые требования безопасности и производственной санитарии к конструкциям машин, проектируемых и изготовляемых в транспортном строительстве» (М., Оргтрансстрой, 1970).

8.3. Помещения, где готовятся и хранятся растворы химических добавок, должны быть оборудованы приточно-вытяжной вентиляцией. Принимать пищу в этих помещениях запрещается.

8.4. К работе с добавками допускаются лица не моложе 18 лет, прошедшие медицинское освидетельствование и инструктаж по технике безопасности при работе с добавками.

8.5. Рабочие, занятые приготовлением растворов добавок, должны пройти обучение и специальный инструктаж. Рабочих необходимо обеспечить резиновыми сапогами, перчатками, защитными очками.

8.6. Во избежание раздражающего действия на слизистую оболочку глаз токсичного суперпластификатора С-3, а также попадания его на незащищенные участки кожи необходимо работать в защитных очках и резиновых перчатках. Жидкий концентрат С-3 пожаробезопасен. Образующийся при высыхании С-3 продукт - трудногорючее вещество.

8.7. Пылевидный остаток после высыхания суперпластификатора 10-03 при смешивании с воздухом может образовывать взрывоопасные аэрозоли. Последние раздражающе действуют на органы дыхания и слизистые оболочки. Пролитый суперпластификатор 10-03 следует сразу же смыть водой.

8.8. При производстве бетонных работ с применением суперпластификаторов необходимо учитывать повышенную текучесть бетонных смесей в течение 2 - 6 ч с момента приготовления. Опалубка и транспортные средства должны быть герметичными.

Приложение 1

Рекомендуемое

ПРИМЕР РАСЧЕТА СОСТАВА БЕТОНА

Необходимо подобрать состав монолитного бетона класса В25, морозостойкостью F200. Бетонная смесь подается в опалубку пневмобетононагнетателем и должна иметь подвижность 10 см. Для приготовления бетона используются портландцемент марки 400 и плотностью 3,1 г/см3, природный песок с модулем крупности 2,08 (плотность породы 2,65 г/см3), гранитный щебень фракции 5 - 20 (плотность породы 2,57 г/см3).

1. По табл. 5 определяем первоначальную водопотребность бетонной смеси

В1 = 200 л.

2. По примечанию 2 к той же таблице корректируем водопотребность с учетом подвижности бетонной смеси

3. По ВСН 150-68 (табл. 3) устанавливаем, что при В/Ц от 0,41 до 0,5 и наибольшей крупности щебня 20 мм воздухосодержание бетонной смеси D для получения морозостойких бетонов (F до 300) должно составлять 5 %.

4. По формуле (1) рассчитываем расход цемента

5. Определяем водоцементное отношение

Это В/Ц соответствует выбранному по п. 3 и не требует корректировки водопотребности согласно примечанию 3 к табл. 5.

6. По формуле (2) рассчитываем абсолютный объем заполнителей

7. По табл. 5 находим объемное содержание песка в смеси заполнителей

 = 39 %.

После корректировки по примечанию 2 к табл. 5

8. По формулам (3) и (4) вычисляем расходы песка и щебня:

9. При расходе комплексной добавки (ЛСТМ-2 + СНВ) соответственно 0,2 и 0,005 % от массы цемента их количество в пересчете на сухой продукт составит 1,03 и 0,026 кг.

При использовании ЛСТМ-2 и СНВ в виде растворов соответственно 10- и 5 %-ной концентрации, их объем составит согласно формулам (5) и (6) и приложению 2:

Приложение 2

Справочное

ПЛОТНОСТЬ РАСТВОРОВ РАЗЛИЧНЫХ ДОБАВОК В ЗАВИСИМОСТИ ОТ ИХ КОНЦЕНТРАЦИИ

Концентрация раствора, %

Плотность раствора, г/см3

С-3

10-03

ЛСТ(СДБ)

СНВ

С № 89

ТПФН

ЛСТМ-2

1

-

1,004

1,004

1,003

1,003

1,006

-

2

-

1,010

1,009

1,005

1,006

1,012

-

3

-

-

1,013

1,009

1,009

1,021

-

4

-

-

1,017

1,012

1,012

1,028

-

5

1,02

1,025

1,021

1,015

1,015

1,036

1,018

6

-

-

1,025

1,018

1,018

1,045

-

7

-

1,036

1,029

1,021

1,021

1,052

1,028

8

-

-

1,033

1,024

1,024

1,062

-

9

1,04

1,046

1,038

1,027

1,027

1,070

-

10

-

-

1,043

1,030

1,030

1,075

1,041

11

-

1,057

-

-

-

-

-

12

-

-

1,053

1,036

1,036

-

1,051

13

-

1,066

-

-

-

-

-

14

-

-

1,063

1,042

1,042

-

1,060

15

-

1,075

-

-

-

1,116

-

16

-

-

1,073

1,048

1,048

-

1,069

17

1,08

1,083

-

-

-

-

-

18

-

-

1,083

1,054

1,054

-

1,079

19

-

1,093

-

-

-

-

-

20

1,09

1,103

1,091

1,060

1,060

1,158

1,088

Приложение 3

Рекомендуемое

УСТАНОВКА ДЛЯ ПРИГОТОВЛЕНИЯ ХИМИЧЕСКИХ ДОБАВОК С ВЕСОВЫМ ДОЗИРОВАНИЕМ

Установка состоит из трех блоков (рисунок):

суперпластификатора 10-03;

пластификатора СДБ;

добавки СДО.

Блок СП 10-03 предназначен для корректировки плотности раствора и заполнения весового дозатора.

Блоки СДБ и СДО предназначены для приготовления растворов рабочей концентрации и заполнения весового дозатора.

Каждый блок комплектуется необходимыми измерительными приборами и технологическим оборудованием. Управление блоками дистанционное, с пульта управления оператора бетоносмесительного узла.

Работа установки

Блок суперпластификатора 10-03

Суперпластификатор 10-03 вводят в бетонную смесь по схеме: склад для хранения - бак расходный - дозатор химической добавки - дозатор воды - бетоносмеситель.

На щите оператора установки располагаются лампочки индикации уровня расходного бака, сблокированные с прибором ЭРСУ-3.

Заполнение весового автоматического дозатора химической добавки 6.145 АД-30-2БЖ осуществляется с пульта управления оператора. Кнопкой включается насос и соответственно выпускной вентиль расходного бака. Одновременно открываются два питателя дозатора химической добавки, и она поступает в грузоприемное устройство. По достижении предварительной (грубой) массы закрывается клапан питателя грубой заливки, продукт поступает медленно через доливочный питатель. Одновременно автоматически изменяется скорость подачи добавки насосом. По достижении заданной массы закрывается клапан питателя доливки и автоматически отключается насос. Стрелка циферблатного указателя устанавливается на заданной массе.

С пульта управления оператора кнопкой открывается выпускной клапан грузоприемного устройства, добавка поступает в дозатор воды отделения приготовления дозирования компонентов бетонной смеси. Стрелка циферблатного указателя возвращается на нуль.

Добавку периодически перемешивают мешалкой, установленной на крышке бака.

В случае перелива добавки она самотеком по трубопроводу возвращается в емкости для хранения.

Блок пластификатора СДБ

СДБ поставляют в виде 50 %-ного жидкого концентрата. В бетонную смесь его вводят по схеме: склад для хранения - приготовительно-расходный бак - дозатор химической добавки - дозатор воды - бетоносмеситель.

Жидкий концентрат СДБ подают из емкостей-хранилищ в приготовительно-расходный бак при помощи насосов. Туда же подают холодную воду, пар в паровую рубашку и при постоянном перемешивании доводят раствор до рабочей концентрации. Далее процесс аналогичен процессу, проводимому с СП 10-03.

Блок воздухововлекающей добавки СДО

Добавка СДО поступает на БСУ в виде твердого концентрата в бумажных мешках. В бетонную смесь вводится по схеме: склад для хранения - растворение твердого концентрата в приготовительной емкости - расходная емкость - дозатор химической добавки - дозатор воды - бетоносмеситель.

Для приготовления водного раствора химической добавки отвешенную на весах дозу твердого концентрата загружают в корзину приготовительного бака. На борт устанавливают переносную лопастную мешалку. Бак заполняют холодной водой таким образом, чтобы твердый концентрат был полностью в воде. Подают пар в паровую рубашку. Растворение химической добавки ведут при работающей мешалке и закрытой крышке приготовительного бака.


Установка для приготовления химических добавок:

1 - тельфер; 2 - мешалка переносная с редуктором МП-125/400-630; 3 - реактор открытый с рубашкой РОР-630; 4 - дозатор весовой автоматический 6.145 АД-30-2FЖ; 5 - аппарат чугунный эмалированный ЧЭрн-2-0; 6 - пробоотборник


Приготовленный раствор центробежным насосом перекачивают в расходный бак, в котором его доводят до рабочей концентрации, добавляя необходимое количество воды.

Далее процесс аналогичен процессу, проводимому с СП 10-03.

В случае перелива добавки в расходный бак она самотеком возвращается в приготовительный бак.

Комплексную химическую добавку дозируют следующим образом.

При поступлении команды на начало цикла открываются два питателя первого компонента, происходит дозирование добавки, как было описано выше. По достижении заданной массы закрывается клапан питателя доливки первого компонента и начинается заливка второго компонента аналогично первому. После набора суммарной массы двух компонентов по команде открывается выпускной клапан грузоприемного устройства, проводится опорожнение бункера. Насос автоматически отключается, выпускной клапан закрывается, стрелка циферблатного указателя возвращается на нуль.

Приложение 4

Справочное

ДОЗАТОР ВЕСОВОЙ АВТОМАТИЧЕСКИЙ 6,145 АД-30-2БЖ

Техническая характеристика

Вид........................................................................................................................................

Стационарный, дискретного действия, двухкомпонентный

Дозируемые продукты....................................................................................................

Жидкие

Химические добавки........................................................................................................

Растворы солей, суспензии, эмульсии поверхностно-активных веществ

Концентрация растворов.................................................................................................

0,5 - 20 %

Вязкость...............................................................................................................................

Близка к вязкости воды

Плотность............................................................................................................................

1 - 1,3 г/см3

Пределы дозирования......................................................................................................

1,5 - 30 кг

Длительность цикла дозирования..................................................................................

Не более 45 с

Объем грузоприемного устройства.............................................................................

50 л

Цена деления шкалы циферблатного указателя.........................................................

0,1 кг

Класс точности...................................................................................................................

1,5

Управление дозатором....................................................................................................

Электропневматическое

Питание................................................................................................................................

От сети переменного тока напряжением 220 В, частотой 50 Гц

Потребляемая мощность.................................................................................................

0,5 кВт

Питание воздухом.............................................................................................................

От пневмосети давлением 0,4 - 0,6 МПа

Расход воздуха (по всасыванию) ...................................................................................

Не более 0,5 м3

Габаритные размеры.......................................................................................................

1375 ´ 1300 ´ 1500 см

Масса дозатора..................................................................................................................

280 кг

Количество задаваемых доз: ..........................................................................................

 

исполнение 1................................................................................................................

До трех

исполнение 2................................................................................................................

До шести

Требуемое исполнение указывается заказчиком, при отсутствии указания поставляется исполнение 1.

Дозатор должен работать в комплекте с весовыми автоматическими дозаторами для остальных составляющих бетонной смеси. Управление осуществляется с пульта оператора БСУ.

Приложение 5

Рекомендуемое

НАГНЕТАТЕЛЬ ПБНЗ

Нагнетатель предназначен для транспортировки, перемешивания и выгрузки готовой бетонной смеси (рисунок).

Нагнетатель перемещается по рельсовым путям с помощью электровоза.

Объем цистерны по загрузке бетоном составляет 3 м3, диаметр бетоновода 150 мм, ширина рельсовой колеи 600 мм, 750 мм, 900 мм, наибольшая крупность применяемого заполнителя 50 мм, осадка конуса бетонной смеси 8 - 20 см.

Работа нагнетателя проводится в такой последовательности. После установки нагнетателя под загрузку бетонной смесью включается привод лопастного вала на перемешивание и проводится загрузка бетонной смеси в открытый люк. Затем люк закрывается, отключается электропитание, и нагнетатель с помощью электровоза доставляется к месту выгрузки. В пути перемешивается бетонная смесь.

Перед выгрузкой смеси бетоновод и нагнетатель присоединяют к пневмосистеме сжатого воздуха. Затем его отключают от электросети и проводят чистку нагнетателя и его составных частей. Перед следующим наполнением нагнетатель промывают водой.

Нагнетатель ПБНЗ:

1 - корпус; 2 - загрузочный люк; 3 - лопастная мешалка; 4 - электродвигатель; 5 - рама; 6 - выпускной штуцер

СОДЕРЖАНИЕ

Предисловие. 1

1. Общие положения. 1

2. Требования к материалам для бетона. 2

3. Выбор химических добавок. 3

4. Подбор бетона с химическими добавками. 3

5. Приготовление водных растворов добавок. 6

6. Технология приготовления бетонной смеси, укладка, формование монолитных бетонных и железобетонных конструкций. 7

7. Контроль качества бетона. 8

8. Техника безопасности при работе с химическими добавками. 9

Приложение 1 Пример расчета состава бетона. 10

Приложение 2 Плотность растворов различных добавок в зависимости от их концентрации. 11

Приложение 3 Установка для приготовления химических добавок с весовым дозированием.. 11

Приложение 4 Дозатор весовой автоматический 6,145 АД-30-2БЖ... 14

Приложение 5 Нагнетатель пбнз. 14

 

 




ГОСТЫ, СТРОИТЕЛЬНЫЕ и ТЕХНИЧЕСКИЕ НОРМАТИВЫ.
Некоммерческая онлайн система, содержащая все Российские Госты, национальные Стандарты и нормативы.
В Системе содержится более 150000 файлов нормативно-технической документации, действующей на территории РФ.
Система предназначена для широкого круга инженерно-технических специалистов.

Рейтинг@Mail.ru Яндекс цитирования

Copyright © www.gostrf.com, 2008 - 2026