|
|
|
ВЕДОМСТВЕННЫЕ СТРОИТЕЛЬНЫЕ НОРМЫ НОРМЫ ПРОЕКТИРОВАНИЯ КОНТАКТНОЙ СЕТИ ВСН 141-90 Минтрансстрой МИНИСТЕРСТВО ТРАНСПОРТНОГО СТРОИТЕЛЬСТВА СССР МОСКВА 1992 Разработаны Всесоюзным ордена Октябрьской Революции научно-исследовательским институтом транспортного строительства (ЦНИИС) МИНТРАНССТРОЯ СССР (доктор техн. наук В. П. Шурыгин, кандидаты техн. наук А. П. Чучев, Л. Ф. Белов, А. А. Орел, В. Я. Кулага, Ф. Б. Глазман, Ю. С. Рягузов, А. И. Шелест; инженеры В. А. Балаш, В. В. Стыцюк), Трансэлектропроектом (инженеры В. Я. Новогрудский и Г. Н. Брод), ЛИИЖТом (кандидат техн. наук Л. Л. Кудрявцев, инж. А. В. Котомкин), ВНИИЖТом (кандидат техн. наук. В. И. Подольский). Внесены Всесоюзным ордена Октябрьской Революции научно-исследовательским институтом транспортного строительства. Подготовлены к утверждению Главным научно-техническим управлением Минтрансстроя СССР. С введением в действие «Норм проектирования контактной сети» ВСН 141-90 утрачивают силу «Нормы проектирования конструкций контактной сети» ВСН 141-84. Согласованы Главным управлением электрификации и электроснабжения МПС, Главным управлением проектирования и капитального строительства Минтрансстроя СССР. Настоящие Нормы разработаны в развитие соответствующих глав II ч. СНиП с учетом переработки «Норм проектирования конструкций контактной сети» ВСН 141-84 и научных исследований, выполненных в ЦНИИСе, ЛИИЖТе, МИИТе, ВНИИЖТе в 1985-1989 гг. Нормы содержат основные положения расчета конструкций контактной сети, включая правила проектирования стальных и железобетонных опор, поддерживающих и фиксирующих устройств, фундаментов для опор, определения нагрузок, расчета длин пролетов, расчета контактных подвесок с дополнительной проверкой надежности, а также правила привязки типовых конструкций.
Содержание ОБЩИЕ ПОЛОЖЕНИЯ1.1. Данные нормы распространяются на проектирование и расчет типовых и индивидуальных конструкций контактной сети электрифицируемых железных дорог и ВЛ, подвешиваемых на опорах контактной сети, на расчеты длин пролетов и привязку типовых конструкций в конкретных проектах электрифицируемых участков железных дорог. 1.2. Проектирование строительных конструкций контактной сети следует осуществлять с выполнением требований глав II ч. СНиП, а также стандартов СЭВ-СТСЭВ 384-78 «Надежность строительных конструкций и оснований. Основные положения по расчету», СТ СЭВ 3972-83 «Надежность строительных конструкций и оснований. Конструкции стальные. Основные положения и расчеты» и СТ СЭВ 1407-78 «Надежность строительных конструкций и оснований. Нагрузки и воздействия. Основные положения». Кроме этого, необходимо руководствоваться требованиями данных «Норм проектирования», учитывающих специфические особенности работы контактной сети.
1.3. При проектировании конструкций контактной сети следует: выполнять требования «Технических правил по экономному расходованию основных строительных материалов ТП-101-81*, М., 1985 г.; применять экономичные профили проката и эффективные марки сталей (в т.ч. коррозионностойкие и высокопрочные); применять прогрессивные конструкции (комбинированные из двух марок стали, предварительно напряженные, из высокопрочных пластмасс); предусматривать технологичность изготовления и монтажа конструкций, а также их ремонтопригодность в эксплуатации; обеспечивать заданный срок работы конструкций в эксплуатации; выполнять требования государственных стандартов; обеспечивать наименьшие приведенные затраты на строительство и эксплуатацию. 1.4. При проектировании контактной сети следует применять унифицированные значения ее параметров (габарита опор, длины пролета, длины анкерных участков, длины струн). Для массовых конструкций фундаментов, опор, поддерживающих, фиксирующих и анкеровочных устройств контактной сети следует разрабатывать типовые проекты и до массового применения в конкретных проектах проверять конструкции испытанием опытных образцов. В проекте должны быть схемы испытаний и значения контрольных нагрузок для них. 1.5. Расчет конструкций контактной сети следует производить по методу предельных состояний. Повторяемость климатических нагрузок при расчете контактной сети следует принимать один раз в 10 лет. 1.6. Механический расчет проводов выполняется методами статического расчета согласно указаниям главы 3 данных норм. Длина пролета между опорами определяется методом динамического расчета в соответствии с методикой, изложенной в обязательном приложении 1. 1.7. Расчет опорных, поддерживающих и фиксирующих устройств контактной сети следует выполнять с учетом коэффициента надежности по назначению gп = 0,95. На коэффициент gп следует делить: предельные значения несущей способности, расчетные значения сопротивлений, предельные значения деформаций, раскрытия трещин или умножать: расчетные значения нагрузок, усилий или воздействий. 1.8. При расчете опор контактной сети по деформациям (предельному состоянию второй группы) следует определить изменение прогиба опоры от воздействия временных нормативных нагрузок, добавляя к ним нагрузки от изменения натяжения проводов. Изменение упругого прогиба консольных опор на уровне контактного провода (без учета поворота фундамента) не должно превышать ± 65 мм, а упругого прогиба вершины опор гибких поперечин должно быть не более 1/150 их высоты. 1.9. Расчет железобетонных опор по образованию или раскрытию трещин (вторая группа предельных состояний) следует осуществлять на сочетание постоянных нормативных нагрузок и временных климатических нагрузок годичной повторяемости: при этих нагрузках поперечные трещины в предварительно напряженных опорах с проволочной арматурой не допускаются. 1.10. Привязку типовых конструкций контактной сети в проектах электрифицируемых участков необходимо выполнять по расчетным нагрузкам; значения допустимых расчетных нагрузок должны быть приведены в типовых проектах конструкций контактной сети. Железобетонные опоры при привязке, кроме того, следует проверять по нагрузкам, допустимым по образованию или раскрытию трещин, определяемым согласно указаниям п. 1.9 данных Норм. 2. НАГРУЗКИ И ВОЗДЕЙСТВИЯ2.1. Нагрузки, действующие на контактную сеть, подразделяются на постоянные и временные, а последние - на кратковременные и особые. 2.2. К постоянным относятся следующие нагрузки: а) вес проводов, изоляторов, оборудования и арматуры контактной сети; б) вес строительных конструкций опорных, поддерживающих, фиксирующих и анкеровочных устройств; в) вес грунта (при расчете фундаментов опор); г) усилия от натяжения и изменения направления проводов некомпенсированных (при среднегодовой температуре) и компенсированных. Среднегодовую температуру следует определять по указаниям СНиП по строительной климатологии и геофизике. 2.3. К кратковременный относятся нагрузки: а) давление ветра на провода, тросы и другие конструкции контактной сети; б) вес гололеда на проводах, поддерживающих и фиксирующих устройствах; в) вес гололеда на настилах опор и на жестких поперечинах; г) усилия от дополнительного натяжения некомпенсированных проводов и изменения их направления при отклонениях минимальной температуры от среднегодовой; д) вес монтера с инструментом на проводах или конструкциях; Примечание. При определении натяжения тросов гибких поперечин следует учитывать указания пп. 2.2 и 2.3 при определении среднегодовой температуры и отклонений от нее; е) нагрузки, возникающие при погрузке, разгрузке, перевозке и монтаже конструкций; ж) нагрузки, возникающие при монтаже проводов контактной сети. 2.4. К особым нагрузкам и воздействиям относятся: а) нагрузки, возникающие при обрыве проводов контактной сети; б) сейсмические воздействия. 2.5. Расчет конструкции контактной сети необходимо производить на наиболее неблагоприятные сочетания нагрузок, действующих одновременно в процессе строительства или эксплуатации. При этом необходимо рассматривать основные и особые сочетания нагрузок. В основные сочетания входят постоянные и возможные кратковременные нагрузки, наиболее существенно влияющие на напряженное состояние конструкции, например, постоянные нагрузки плюс воздействие одной или нескольких кратковременных нагрузок - максимального для данного района ветра, минимальной температуры при отсутствии гололеда и ветра, ветра на провода, покрытые гололедом, монтажных нагрузок при отсутствии гололеда, но при температуре минус 20 °С. В особые сочетания входят возможные в действительных условиях постоянные и временные нагрузки при одновременном действии нагрузок, возникающих при обрыве проводов контактной сети или при сейсмических воздействиях. 2.6. Значения расчетных нагрузок, необходимых для расчета конструкций контактной сети, следует определять путем умножения каждой из нагрузок на соответствующий ей коэффициент надежности по нагрузке. Постоянные нагрузки 2.7. Нагрузки от веса проводов, тросов, оборудования, деталей и конструкций контактной сети определяются по проектным данным, каталогам и справочным материалам. Нормативную нагрузку от веса проводов, деталей и конструкций Qн1 Н,, подвешиваемых на опорах контактной сети определяют по формуле: Qн1 = S(gl + Qн + QД), (1) где g - линейная нагрузка от веса провода или цепной подвески, Н/м; l - расчетная длина пролета, м; Qн - нагрузка от изоляторов, Н; QД - нагрузка от деталей, Н. При определении нагрузки на опорные, поддерживающие или фиксирующие устройства расчетную длину пролета принимают равной среднему арифметическому от длины двух пролетов, примыкающих к рассчитываемой опоре. 2.8. Коэффициент надежности по нагрузке для веса проводов деталей и конструкций контактной сети принимают равным 1,1. Если уменьшение постоянной нагрузки может ухудшить условия работы конструкций контактной сети, то коэффициент надежности по нагрузке следует принимать равным 0,9. 2.9. Коэффициент надежности по нагрузке для натяжения компенсированных проводов и усилий, передаваемых от них на конструкции, нужно принимать равным 1,1. Нагрузки в расчетном режиме, передаваемые на конструкции контактной сети от натяжения некомпенсированных проводов, определяют по уравнению состояния провода, принимая в исходном режиме нормативные значения нагрузок и соответствующие им натяжения провода. При этом следует учитывать требования пп. 2.17, 2.31, 2.35 и 2.41. Ветровые нагрузки 2.10. При определении ветровой нагрузки для конкретных электрифицируемых участков следует руководствоваться указаниями СНиП по определению нагрузок и воздействий. Ветровую нагрузку следует определять как сумму средней и пульсационной составляющих. 2.11. Нормативное значение ветрового давления qнз Па (скорости ветра vнз м/с) определяют: qнз = К2vqo, vнз = Кvvo, (2) где qo - нормативное значение парового давления, Па, принимаемое по табл. 1; vo - нормативное значение скорости ветра, м/с,
повторяемостью 1 раз в 10 лет на высоте 10 м над уровнем земли;
Примечание. Для малоизученных районов скорость и давление ветра следует принимать на район выше.
Примечания: 1. Сооружение считается расположенным в местности данного типа, если эта местность сохраняется на расстоянии: для местности по п. 2-250 м; по п. 3 - 200 м, по п. 4 - 100 м, по п. 5 - 50 м, по п. 6 - 50 м. 2. Для местности по пп. 1 - 4 дано наименьшее значение параметра шероховатости для условий режима максимального ветра с учетом наличия снегового покрова. Эти же значения параметра шероховатости принимают и при гололеде. 3. Значение параметра шероховатости по п. 5 дано для случая, когда станционные постройки расположены с обеих сторон железнодорожного пути не далее 50 м. В противном случае его значение принимают для местности, лежащей с наветренной стороны станционных построек 4. В случаях, когда местность не подходит под приведенную выше классификацию, можно принимать промежуточное значение параметра шероховатости. 5. Для участков контактной сети, проходящих по берегу озера, водоема, моря, если с другой его стороны расположена отвесная стена гор, параметр шероховатости следует принимать по п. 2. Высоту расположения проводов контактной сети над подстилающей поверхностью для участков железной дороги с различным профилем следует определять в соответствии со схемами рис. 2. Для участков, расположенных в выемке глубиной 7 м и более, высоту z над подстилающей поверхностью следует принимать равной 3 м. 6. При расположении железнодорожной насыпи на местности с параметром шероховатости 0,5 и 1 м высота расположения проводов контактной сети уменьшается на высоту препятствия, т.е. становится равной (z - 10) м. При этом значение параметра шероховатости подстилающей поверхности принимают равным 0,15 м по п. 5 и 0,2 м - п. 6.
Рис. 1. Параметр шероховатости подстилающей поверхности zо, м. Коэффициент изменения ветрового давления: I - насыпь высотой 40 м (zм на рис. 2); II - нулевое место; III - выемка глубиной 5 м (zв на рис. 2)
Рис. 2. Схемы расположения проводов контактной сети над подстилающей поверхностью 2.12. Нормативное значение средней составляющей ветровой нагрузки Qсн Н на опорные, поддерживающие и фиксирующие устройства контактной сети определяют по формуле: Qсн = qнзСхFк, (3) где Сх - аэродинамический коэффициент, принимаемый по п. 2 18 настоящих Норм и по обязательному приложению 4 СНиП 2.01.07-85 по нагрузкам и воздействиям; Fк - площадь конструкции или ее части по наружному габариту, перпендикулярная направлению ветрового потока, м2. 2.13. Нормативное значение пульсационной составляющей ветровой нагрузки на опорные, поддерживающие и фиксирующие устройства Qпн Н определяют по формуле: Qпн = 0,73×Qсн×vп×mп, (4) где vп×- коэффициент пространственной корреляции пульсации давления ветра, принимаемый по табл. 3; mп - коэффициент пульсаций давления ветра, принимаемый по рис. 3. 2.14. Нормативное значение средней составляющей ветровой нагрузки Qсн×Н на провода и передаваемой с проводов на опорные, поддерживающие и фиксирующие устройства определяют по формуле: Qсн×= aнqнвСхFк, (5) где aн - коэффициент, учитывающий неравномерность давлений ветра вдоль пролета, принимаемый равным: при давлении ветра до 400 Па - 0,9; 401-650-0,8; 651-1000-0,7; более 1001 Па - 0,65; при механическом расчете проводов и длин пролетов aн = 1.
Рис. 3. Коэффициент пульсаций давления ветра 2.15. При наличии многолетних (не менее 20 лет) данных местных гидрометеостанций о скоростях ветра допускается определять нормативное ветровое давление по выражению: qo = 0,0615v2о, где vо - скорость ветра на уровне 10 м над поверхностью земли, соответствующая десятиминутному интервалу осреднения и превышаемая в среднем в 10 лет, м/с 2.16. Нормативное значение пульсационной составляющей ветровой нагрузки, передаваемой с проводов на опорные, поддерживающие и фиксирующие устройства Qпн H, находят по формуле: Qпн = 0,73×Qсн×vп×mп×xп, (6) где xп - коэффициент динамичности, принимаемый по рис. 4 в зависимости от веса провода (проводов) (при гололеде вместе с весом отложения).
Рис. 4. Коэффициент динамичности для проводов контактной сети 2.17. При расчете ветровой нагрузки, передаваемой с проводов на опорные, поддерживающие и фиксирующие устройства контактной сети, следует принимать следующие коэффициенты надежности по ветровой нагрузке: а) при расчете по прочности - 1,3; б) при расчете по деформациям - 1,0; в) при расчете по образованию трещин в железобетонных опорах - 0,75. Расчетное значение ветровой нагрузки на опорные, поддерживающие и фиксирующие устройства следует определять как произведение нормативного значения на коэффициент надежности по ветровой нагрузке 1,2. Механический расчет проводов выполняют на нормативное значение средней составляющей ветровой нагрузки, принимая нормативное ветровое давление qo (п. 2.11), умноженное на коэффициент 1,10. 2.18. При определении ветровой нагрузки на провода и конструкции контактной сети значения аэродинамического коэффициента лобового сопротивления Сх принимать следующие: а) одиночные провода и тросы диаметром 20 мм и более - 1,10; б) то же диаметром менее 20 мм и также на провода и тросы, покрытые гололедом - 1,20; в) одиночные контактные провода и тросы цепной подвески с учетом зажимов и струн - 1,25; г) двойные контактные провода с расстоянием между ними 40 мм на нулевых местах и на насыпях высотой до 5 м от сопротивления единичного провода - 1,55, то же на насыпях более 5 м - 1,85; д) железобетонные опоры кольцевого и круглого сечения - 0,7; е) ригели жестких поперечин по пп. 2.19 - 2.22 данных Норм; ж) плоские элементы конструкций - 1,4. 2.19. Расчет ветровых нагрузок на ригели жестких поперечин следует выполнять в соответствии с рекомендациями СНиП 2.01.07-85 по нагрузкам и воздействиям и дополнительными рекомендациями пп. 2.20 - 2.22настоящих Норм. 2.20. Ветровые нагрузки на ригели жестких поперечин необходимо определять для отсека фермы и приводить затем к нагрузке на 1 м. За отсек принята часть фермы, заключенная между двумя поперечными сечениями на длине панели и характеризующаяся схемой решетки и геометрическими параметрами, которые повторяются по длине фермы (рис. 5). 2.21. Горизонтальную расчетную нагрузку на отсек ригеля х1 Н определяют при действии ветра вдоль пути:
где nв - коэффициент надежности по
ветровой нагрузке, принимаемый равным 1,2;
где Sп, Sпв, Sрк, Spп, Spкг, Spкc - характерные площади стержней отсека, соответственно нижнего и верхнего поясов, раскосов, распорки, раскоса горизонтальной грани, раскоса в поперечном сечении, м2, определяемые по формулам (7). Sп = dпlо; Sпв = dвlо;
где dн, dв - ширина полки нижнего и верхнего пояса, м; lo - длина отсека, м; dрк, оп, ркг, ркс - ширина полки стержней решетки, м; gр - угол между поясом и раскосом в поперечном сечении, град; nрк, nрп - число раскосов, распорок на одной вертикальной грани отсека; nркг - число раскосов на одной горизонтальной грани отсека; nркс - число раскосов в поперечных сечениях четырехгранного отсека; gr, gc - углы отклонения от вертикали раскосов, расположенных на горизонтальной грани отсека и в поперечном сечении отсека четырехгранной фермы. Аэродинамический коэффициент Сх1 определяют по табл. 4.
2.22. Суммарную горизонтальную расчетную ветровую нагрузку на ферму ригеля и несущие тросы цепной подвески, направленную перпендикулярно оси пути, z1 H, определяют по формуле (8):
где Ветровая нагрузка на ферму ригеля поперечины в направлении, перпендикулярном оси пути, может быть принята равной 30 % от ветровой нагрузки на ферму вдоль оси пути.
Рис. 5. Схема отсека фермы Наибольшая величина суммарной ветровой нагрузки имеет место при угле скольжения b = 15° (рис. 6). В последней формуле аэродинамический коэффициент лобового сопротивления несущих тросов (контактных проводов) при угле скольжения b = 15° определяют по формуле: Сxi = Cx1 × cos2b1 = Cx1×0,932, где Cxi - аэродинамические коэффициенты лобового сопротивления несущих тросов (контактных проводов) при их поперечном обтекании. 2.23. Максимальное значение ветровой нагрузки следует определять при температуре воздуха минус 5 °С. Гололедные нагрузки 2.24. Гололедную нагрузку на контактную сеть следует рассчитывать в соответствии с указаниями главы СНиП по нагрузкам и воздействиям и дополнительными требованиями данных Норм. 2.25. Нормативное значение гололедной нагрузки на проводах и тросах, подвешенных на опорах контактной сети, Qгн Н находят по формуле: Qгн = qгнl, (9) где qгн - нормативное значение линейной гололедной нагрузки Н/м, определяемой, исходя из толщины стенки гололеда, приведенного к цилиндрической форме с плотностью g = 0,9 г/см3. 2.26. Нормативную толщину стенки гололеда bн повторяемостью один раз в 10 лет, приведенную к высоте 10 м над поверхностью земли и диаметру провода 10 мм, следует принимать для различных географических районов по табл. 5. Для малоизученных районов толщину стенки гололеда принимать на район выше. Изменение толщины стенки гололеда в зависимости от диаметра провода следует учитывать по указаниям главы СНиП «Нагрузки и воздействия». 2.27. Местные условия образования гололедно-изморозевого отложения учитывают поправочным коэффициентом Кb к толщине стенки отложения по данным табл. 6.
Рис. 6. Схема положения подвески относительно ригеля
2.28. С целью учета особенностей гололедообразования на проводах контактной подвески необходимо: а) при определении веса гололеда на контактных проводах толщину стенки гололеда принимать равной 50 % толщины стенки, принятой для данного района; б) при определении веса гололеда на несущем тросе вводить поправочный коэффициент к весу отложения, равный 0,8. 2.29. Нагрузку от гололеда на струнах Рг Н/м, отнесенную к длине пролета, следует определять по выражению: при одном контактном проводе: Рг = g×p×0,13bн×(1,15bн + dс)10-3; (10) при двух контактных проводах и шахматном расположении струн: Рг = g×p×0,2bн×(1,15bн + dс)10-3; (11) где bн - нормативная толщина стенки гололеда; dc - диаметр струны, мм; g - плотность гололеда g = 0,9 г/см3. 2.30. При различных углах встречи гололедонесущего потока с проводами необходимо принимать следующие значения массы гололеда, %: при угле встречи 90° (перпендикулярно оси пути) 100 при 0° (вдоль оси пути) 30 Примечания: 1. Указания п. 2.30 необходимо учитывать при расчете жестких поперечин на наиболее невыгодные сочетания ветровых и гололедных нагрузок. 2. Гололедные нагрузки для промежуточных значений угла допускается определять линейной интерполяцией между указанными значениями. 2.31. При расчете конструкций контактной сети необходимо принимать следующие значения коэффициентов надежности по нагрузке к гололедной нагрузке: а) при расчете по прочности: для проводов в I, II, III гололедных районах - 1,3; в IV, V - 1,4; для гололедных отложений на конструкциях опорных, поддерживающих и фиксирующих устройств - 1,3; для проводов, на которых проектом предусмотрена плавка гололеда @ 1; б) при расчете по деформациям: в I, II, III районах - 0,5; в IV, V - 0,7; в) при расчете по образованию трещин в железобетонных опорах - 0,3. 2.32. Нормативное значение ветрового давления, Па (скорость ветра, м/с) при гололеде принимать по табл. 7.
2.33. Местные условия защищенности контактной сети при определении давления ветра в заданных условиях при гололеде следует учитывать в соответствии с указаниями п. 2.11. Значения средней и пульсационной составляющих нормативной ветровой нагрузки при гололеде определяют по указаниям пп. 2.12 - 2.16. Ветровую нагрузку на контактные провода следует определять с учетом указаний п. 2.28. 2.34. Расчет проводов и длин пролетов следует выполнять на нормативное значение средней составляющей ветровой нагрузки при гололеде, умноженной на коэффициент 1,10. 2.35. При расчете ветровой нагрузки, передаваемой с проводов, покрытых гололедом, на опорные, поддерживающие и фиксирующие устройства, необходимо принимать следующие коэффициенты надежности по нагрузке: а) при расчете по прочности - 1,3; б) при расчете по деформациям - 0,85; в) при расчете по образованию трещин в железобетонных опорах - в I, II гололедных районах - 0,55; III, IV, V - 0,45. 2.36. Гололедную нагрузку следует находить при температуре, определяемой согласно указаниям главы СНиП по нагрузкам и воздействиям. 2.37. Гололедную нагрузку на ферму жесткой поперечины определяют для отсека фермы и приводят затем к нагрузке на 1 м ее длины. Расчетную гололедную нагрузку qгфр Н/м определяют по формуле:
где nГ - коэффициент перегрузки для гололедной нагрузки на ферму, принимаемый согласно требованиям главы СНиП по нагрузкам и воздействиям; So - поверхность отсека, подверженная обледенению, м2. So = 0,6S. Здесь S - полная поверхность отсека фермы, м2; S = S¢пnп + S¢пвnпв + S¢ркnрк + S¢рпnрп + S¢ркгnркг + S¢рпгnрпг + S¢рксnркс; S¢п, S¢пв, S¢рк, S¢рп, S¢ркг, S¢рпг, S¢ркс - общая поверхность нижнего пояса (п), верхнего пояса (пв), раскоса (рк), распорки (рп), раскоса горизонтальной грани (ркг), распорки горизонтальной грани (рпг), раскосов в поперечном сечении фермы (ркс). Sп = 4dlo; S¢пв = 4dвlo;
вф - высота фермы, аф - ширина фермы, dcp - определяют по формуле (7), nп; nпв; nрк; nрп; nркг; nрпг; nркс - число поясов нижних, верхних, раскосов и распорок на вертикальных гранях, раскосов и распорок на горизонтальных гранях, а также раскосов в поперечных сечениях отсека фермы (соответственно). Температурные воздействия 2.38. Расчет натяжения некомпенсированных проводов и передаваемых ими усилий на конструкции следует производить на основании данных об изменениях температуры в районе электрифицируемого участка в соответствии с требованиями главы СНиП по строительной климатологии и геофизике, а при отсутствии необходимых материалов в этих Нормах - по данным ближайших метеостанций. 2.39. Нормативное значение минимальной температуры воздуха (°С), определяют по формуле: tнmin = t1 D1 - 6, где t1 - многолетняя средняя месячная температура воздуха в январе, принимаемая по карте 5 обязательного приложения 5 главы СНиП по нагрузкам и воздействиям или по СНиП строительной климатологии и геофизики; D1 - отклонение средней суточной температуры от средней месячной (t1), принимаемой главой СНиП по нагрузкам и воздействиям. При наличии многолетних (не менее 20 лет) данных местных метеостанций допускается определять нормативное значение температуры воздуха по формуле:
где 2.40. Расчетное значение минимальной температуры воздуха равно абсолютной минимальной температуре. 2.41. При определении нагрузок, передаваемых на конструкции контактной сети от натяжения некомпенсированных проводов при температурных воздействиях, необходимо принимать следующие значения коэффициентов к величине натяжения:
2.42. Нормативное и расчетное значения максимальной температуры воздуха следует принимать равными абсолютной максимальной температуре воздуха tmax с учетом воздействия солнечной радиации (прямой и рассеянной). Эквивалентное увеличение максимальной температуры воздуха в результате нагрева проводов солнечной радиацией определяют по выражению: tр = 0,0162jmax, где jmax - максимальное значение суммарной солнечной радиации в Вт/м2, принимаемое по табл. 5 СНиП 2.01.01-82 по строительной климатологии м геофизике. Для районов, расположенных между 46 и 56 градусами с. ш., температуру нагрева проводов солнечной радиацией tр можно принять равной 14 °С. 2.43. При определении длины анкерных участков цепных подвесок изменение температуры воздуха следует определять как среднее между среднегодовым и нормативным значениями. 2.44. Температуру беспровесного положения контактного провода следует определять по выражению: tо = где Более точно температуру беспровесного положения контактного провода можно определить, исходя из следующих соотношений: если значения если Здесь tн - средняя нормативная температура воздуха.
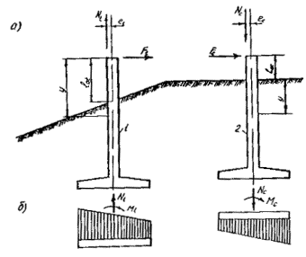
Монтажные нагрузки 2.45. Конструкции контактной сети (опоры, консоли, жесткие поперечины, кронштейны фиксаторов) следует проверять расчетом на действие монтажных нагрузок, возникающих при погрузке, разгрузке и перевозке, выполняемых в соответствии с требованиями «Инструкции по производству и приемке строительных и монтажных работ при электрификации железных дорог», ВСН 12-82, а также при монтаже как самих конструкций, так и располагаемых на них элементов контактной сети (проводов и др.). 2.46. При расчете конструкций на воздействие нагрузок, возникающих при погрузочно-разгрузочных работах и перевозке, должны быть рассмотрены схемы строповки и погрузки, вызывающие наибольшие усилия в конструктивных элементах. Если возникающие при этом монтажные нагрузки приводят к необходимости увеличения сечений конструкции, то в проекте должны быть предусмотрены более рациональные схемы строповки и погрузки, по которым и определяют затем значения монтажных нагрузок. Монтажные нагрузки при погрузке, разгрузке и перевозке конструкций следует определять с учетом коэффициентов; обусловленных динамическим воздействием: при подъеме кранами 1,25 при перевозке транспортом 1,6 При проектировании типовых конструкций следует принимать коэффициент надежности по монтажной нагрузке равным 1,6. 2.47. Опоры и жесткие поперечины, перевозимые или складируемые в несколько рядов, нужно проверять расчетом на действие нагрузок от массы вышележащих конструкций на нижний ряд. 2.48. Опорные и поддерживающие конструкции необходимо проверять на нагрузки, возникающие при монтаже цепных подвесок и одиночных проводов, подвешиваемых со стороны поля. При этом полученные усилия необходимо умножать на коэффициент КД = 1,25, учитывающий динамическое воздействие нагрузки. Если методы монтажа отличаются от приведенных в ВСН 12-82, то величины этих нагрузок следует определять в зависимости от методов монтажа. Если намечаемый метод монтажа создает нагрузки, недопустимые для типовых конструкций, то должны быть внесены изменения в метод монтажа или в конструкцию. 2.49. Горизонтальные и наклонные элементы решетки металлических опор и жестких поперечин при угле наклона 30° и менее, а также консоли и кронштейны фиксаторов проверяют расчетом на силу от массы монтера, равный 1000 Н. 2.50. Анкерные опоры и их оттяжки следует рассчитывать на усилия вдоль пути от анкеруемых проводов. При этом для определения расчетной нагрузки величину нормативного натяжения в проводах в основных сочетаниях следует увеличивать на 15 %. Нагрузки от обрыва проводов 2.51. Определение нагрузок аварийного режима на консольные опоры контактной сети следует производить для случая обрыва несущего троса цепных контактных подвесок, дающего наиболее невыгодные сочетания и наибольшие величины действующих на конструкцию сил; эти силы превышают нагрузки, возникающие при обрыве контактных или усиливающих проводов. Нагрузки при обрыве проводов на опорах питающих линий определяют, исходя из условий обрыва одного из проводов, подвешенных на опоре, дающего наибольший изгибающий или крутящий момент на опору. Продольная (вдоль линии) сила, приложенная в точке крепления провода при его обрыве, принимается равной 0,5 наибольшего натяжения провода, подвешенного на металлической опоре, и 0,3 наибольшего натяжения провода при его подвеске на железобетонной опоре. Нагрузки на концевые, угловые и анкерные опоры при обрыве проводов питающих и отсасывающих линий определяют по Правилам устройства электроустановок (ПУЭ). При этом нагрузки определяют из условий обрыва проводов одной линии, дающих наибольший изгибающий или крутящий момент на опору. За линию принимаются провода, закрепленные на одной натяжной гирлянде. 2.52. Расчетную схему для определений усилий, действующих на консольные опоры контактной сети при обрыве проводов цепной подвески, следует принимать по рис. 7.
Рис. 7. Схема действия сил на опору при обрыве несущего троса На конце консоли приложена вертикальная нагрузка QД Н, QД = КДQс, (14) где КД = 1,9 - динамический коэффициент; Qc - вес цепной контактной подвески, зависящий от типа применяемых проводов и длины пролета, Н. Консоль (рис. 8) развернута на угол bк к линии, перпендикулярной оси пути таким образом, что точка закрепления троса передвинута вдоль пути на величину hп, равную конструктивной высоте цепной контактной подвески. Угол bк определяют из условия
Рис. 8. Расположение консоли (в плане) при действии максимальных сил, возникающих при обрыве проводов Изгибающий момент МД создается вертикальной силой, приложенной на конце консоли МД = аДQД + а1Qк + аТQн, (15) где аТ - расстояние от оси опоры до точки крепления несущего троса, м; а1 - расстояние от оси опоры до центра тяжести консоли, м; Qк - вес консоли, Н; Qн - вес изолятора, Н. Очертание эпюры изгибающих моментов соответствует приведенному на рис. 7. Работа опоры, имеющей разные значения моментов инерции сечения вдоль оси пути и перпендикулярно к ней, соответствует косому изгибу. Составляющие изгибающего момента вдоль оси пути Ме и перпендикулярно к оси пути Мп нужно вычислять по формулам: Mе = MДsinbк; (16) Мп = MДсosbк, (17) где МД - изгибающий момент в плоскости действия равнодействующей силы. 2.53. Нагрузку на конструкции контактной сети от обрыва несущего троса определяют для заданного типа контактной подвески, района по гололеду и длин пролетов. Для определения вертикальных сил, действующих при обрыве, следует принимать толщину стенки гололеда, равную 0,5 максимальной. 2.54. Расчет нагрузок на ригель жесткой поперечины в аварийном режиме следует выполнять для случая обрыва несущего троса в середине пролета контактной подвески одного из главных путей, дающего наиболее невыгодные сочетания и наибольшие величины действующих сил. При расчете в аварийном режиме продольной нагрузки в опорных узлах поперечины следует рассматривать ту контактную подвеску, обрыв несущего троса которой даст максимальное значение продольной нагрузки. Вертикальную нагрузку, действующую при обрыве проводов на жесткую поперечину, следует определять по формуле (14). При расчете жесткой поперечины на вертикальную нагрузку от обрыва проводов действие продольной силы не учитывают. При подвешивании контактной подвески на консольных стойках место приложения вертикальной нагрузки следует определять с учетом поворота консоли на угол bк (см. п. 2.52). 2.55. Нагрузку вдоль оси пути на анкерные опоры при обрыве проводов следует определять по максимальной величине их натяжения с учетом коэффициента 1,15, обусловленного динамическим воздействием нагрузки при обрыве контактного провода или несущего троса. 2.56. Усилие вдоль пути, действующее при обрыве проводов компенсированной контактной подвески на анкерную опору средней анкеровки, нужно определять как сумму, состоящую из максимального натяжения в дополнительном тросе и 40 % натяжения в несущем тросе. 2.57. Продольную нагрузку на жесткие поперечины Рож, Н от обрыва несущего троса следует принимать в зависимости от веса контактной подвески с учетом гололедного отложения на проводах Qп Н, величины натяжения троса Т и длины узла подвешивания троса на ригеле l по выражению: Рож = Р¢ожКТКl, (18) где Р¢ож = 0,3 + 0,4Qп; (19) КТ - коэффициент, учитывающий величину натяжения Т несущего троса (рис. 9); Кl - коэффициент, учитывающий длину узла подвешивания l, несущего троса на ригеле жесткой поперечины (рис. 10). При подвешивании контактной подвески на консольных стойках и несущего троса компенсированной подвески на роликах расчет жесткой поперечины в аварийном режиме на продольную нагрузку не производят.
Рис. 9. Коэффициент, учитывающий величину натяжения несущего троса
Рис. 10. Коэффициент, учитывающий длину узла подвешивания несущего троса на ригеле жесткой поперечины 2.58. При расчете жесткой поперечины на продольную нагрузку от обрыва несущего троса вертикальная составляющая нагрузки Qп принимается равной весу подвески с учетом гололедного отложения на проводах. 2.59. Реакция необорванных несущих тросов контактных подвесок соседних путей включает статическую и динамическую составляющие. Статическую составляющую реакции тросов следует определять по пп. 5.53 - 5.57 Норм. Суммарная величина реакции тросов равна значению статической составляющей, умноженному на коэффициент динамичности, равный 1,5. 2.60. При проектировании типовых конструкций контактной сети нагрузки от обрыва проводов следует принимать для наиболее тяжелых расчетных условий; максимальной длины пролета, наиболее тяжелого типа контактной подвески и наибольшего веса отложения на проводах. Рекомендуемые при типовом проектировании величины нагрузок приведены в табл. 8 и 9. Примечания. 1. В таблицах приведена максимальная возможная в заданном ветровом районе унифицированная длина пролета, при которой определено усилие от обрыва 2. Максимальная длина пролета определена при значении параметра шероховатости подстилающей поверхности, равном 0,5м. 3. Натяжение несущих тросов равно 20 кН. 2.61. Расчет консольных опор контактной сети на особые сочетания нагрузок, появляющихся в результате обрыва проводов, следует производить только по первому предельному состоянию (по несущей способности). 2.62. Расчетное сопротивление стали для расчета конструкции контактной сети по несущей способности на нагрузки от обрыва проводов следует принимать: при учете гололеда - равным нормативному, а без гололедных отложений - 95 % от нормативного. При расчете железобетонных опор расчетное сопротивление стали может быть повышено на 10 %, а бетона - на 25 %. 2.63. При проектировании консолей необходимо производить проверочный расчет на нагрузки от обрыва проводов. Вертикальную силу, приложенную на конце консоли, следует определять в соответствии с п. 2.52 настоящих Норм. 2.64. Кронштейны фиксаторов для случая обрыва проводов следует рассчитывать на вертикальную нагрузку, приложенную в точке крепления фиксатора и равную массе контактных проводов на длине максимального пролета.
Сейсмические воздействия 2.65. В районах с сейсмичностью 8 - 9 баллов фундаменты, опоры и соединенные с ними жестким (не шарнирным) узлом жесткие поперечины или другие конструктивные элементы контактной сети следует рассчитывать с учетом сейсмических воздействий, принимаемых в соответствии с указаниями главы СНиП по проектированию и строительству в сейсмических районах (П-7-81) и настоящих Норм. Конструкции, имеющие шарнирное соединение с опорой (консоли, фиксаторы), рассчитывают без учета сейсмических воздействий. 2.66. Расчеты ВЛ электропередачи и контактной сети на сейсмические воздействия необходимо осуществлять для двух расчетных режимов: а) распространение сейсмических волн перпендикулярно направлению контактной сети или ВЛ; в этом расчетном режиме следует делать проверку опор контактной сети по прочности и по деформациям, а опор ВЛ - по деформациям и прочности с учетом дополнительного момента от влияния массы проводов, получающегося в результате наклона опор; инерционные силы от массы проводов в этом расчетном режиме не учитывают; б) направление сейсмических волн совпадает с направлением ВЛ электропередачи или контактной сети; в этом случае необходимо определять деформации опор на уровне подвешивания проводов, затем по разности деформаций опор определить изменение натяжения проводов за счет изменения длины пролета некомпенсированных проводов (начиная от анкерной опоры) и по величине изменения натяжения проводов определять продольную силу, действующую в точке крепления проводов к изоляторам, после этого делать проверку прочности штыревых изоляторов и опор. Для проводов контактной сети как на перегонах, так и на станциях в районах с сейсмичностью 8 - 9 баллов рекомендуется компенсированная анкеровка, снижающая сейсмические воздействия на изоляторы и опоры при их направлении вдоль пути; не рекомендуется применение штыревых и опорных изоляторов. 2.67. Для снижения усилий от сейсмических воздействий на кронштейны и опоры вдоль пути от некомпенсированных проводов необходимо предусматривать специальные конструктивные мероприятия. 2.68. В расчетах на сейсмостойкость опору контактной сети или ВЛ электропередачи следует считать как систему с п степенями свободы с массой, сосредоточенной в п точках, соответствующих центрам масс элементов, на которые разделена опора, причем стопки длиной до 15,6 м следует рассчитывать при п = 5, при расчете стоек длиной до 21 м принимать п = 7, а длиной более 21 м - п = 10. Расчетные изгибающие моменты от действия сейсмических сил для системы с п степенями свободы следует определять не менее, чем для трех форм колебаний. Расчетные сопротивления стали и бетона при расчете конструкций на сейсмические воздействия принимать в соответствии с п. 2.62 данных Норм. 2.69. Для опор контактной сети, ВЛ электропередачи коэффициент динамичности bl = 1/Тl при определении сейсмических сил следует увеличивать согласно действующим Нормам в 1,5 раза и принимать равным bi =1,5/Тi, где Тi - период собственных колебаний опоры. Методика расчета опорных конструкции контактной сети на сейсмические воздействия приведена в приложении 5. Сочетания нагрузок 2.70. Сочетание нагрузок для расчета конструкций контактной сети принимают в соответствии с пп. 2.1 - 2.5 настоящих Норм. 2.71. Нагрузки при различных сочетаниях нужно умножать на коэффициенты сочетаний, приведенные в табл. 10. Таблица 10
2.72. При расчете конструкций контактной сети на основные сочетания, включающие одну кратковременную нагрузку, величину последней следует учитывать без снижения, а при расчете на те же сочетания, но при двух и более кратковременных нагрузках, расчетные величины этих нагрузок (или соответствующих им усилий в конструкциях) следует умножать на коэффициент сочетаний 0,9. При расчете конструкции контактной сети на особые сочетания расчетные величины кратковременных нагрузок (или соответствующих им усилий в конструкциях) следует умножать на коэффициент сочетаний 0,8, кроме случаев, оговоренных в нормах проектирования зданий и сооружений в сейсмических районах. 2.73. При учете сочетаний нагрузок за одну кратковременную нагрузку следует принимать: ветровую нагрузку и температурные воздействия в соответствии с п. 2.23; гололедно-ветровую нагрузку и температурные воздействия в соответствии с пп. 2.32, 2.36. 3. ПРОЕКТИРОВАНИЕ КОНТАКТНЫХ ПОДВЕСОК И ВОЗДУШНЫХ ЛИНИЙ3.1. При определении наибольшего допускаемого по прочности натяжения проводов и тросов следует учитывать статистические характерные прочности проводов и действующих в данном районе климатических нагрузок, срок службы проводов, снижение их прочности в эксплуатации, динамические нагрузки, возникающие при колебании проводов, возможное отклонение натяжения провода при его монтаже. 3.2. Напряжения в проводе за весь срок службы его не должны превышать величины предела упругости материала провода. 3.3. Максимальное натяжение проводов воздушных линий и несущих тросов полукомпенсированных цепных контактных подвесок может быть достигнуто в одном из следующих расчетных режимов: минимальная температура воздуха при отсутствии добавочных нагрузок; наибольшая гололедная нагрузка при одновременном воздействии давления ветра; наибольшая ветровая нагрузка. 3.4. Наибольшее допускаемое по прочности значение натяжения проводов воздушных линий и несущих тросов контактных подвесок определяют в зависимости от расчетного режима и марки провода по выражению Ндоп = R/Кз, (20) где R - величина разрушающей нагрузки при растяжении проводов, принимаемая по государственным стандартам или заводским сертификатам; Кз - коэффициент запаса прочности, принимаемый по табл. 11.
Примечание. Для несущих тросов компенсированных контактных подвесок величину Кз следует принимать равной: для троса марки ПБСМ-2,8; ПБСА-3,0; М-22. Величину наибольшего допускаемого натяжения проводов несущих тросов Ндоп, кН (кгс), следует принимать по табл. 12.
Примечание. Для несущих тросов компенсированных контактных подвесок величину номинального натяжения следует принимать равной: для троса марки ПБСМ-70 - 15,68 (1600); ПБСМ-95 - 19,60 (2000); ПБСА-50/70 - 17,64 (1800); М-120 - 19,60 кН (2000 кгс). 3.5. Для новых марок несущих тросов контактных подвесок и проводов воздушных линий, не приведенных в табл. 11, коэффициент запаса прочности
где Кп - коэффициент надежности по нагрузке, принимаемый по табл. 13; Ко - коэффициент надежности по материалу; т - коэффициент условий работы; Кпу - коэффициент, равный отношению предела упругости материала провода к его временному сопротивлению при растяжении. Значения коэффициентов т, Ко и Кпу приведены в табл. 14. 3.6. За исходный расчетный режим следует принимать режим, при котором при заданных расчетных условиях натяжение провода за срок его службы будет максимальным. Расчет производят в такой последовательности: устанавливают режим наибольшей добавочной нагрузки; по величине критического пролета и заданных пролетов анкерного участка с учетом способа закрепления провода на поддерживающих конструкциях (подвижные точки подвеса или нет) определяют исходный расчетный режим. 3.7. Критическим пролетом lкр следует считать пролет, в котором максимальное за срок службы натяжение провода (несущего троса) при низшей температуре воздуха равно натяжению при наибольшей добавочной нагрузке. Для одиночного провода воздушной линии
где НДдоп, Нtдоп - наибольшее допускаемое значение натяжения провода воздушной линии соответственно при режиме наибольшей добавочной нагрузки и низшей температуре воздуха; qД - результирующая линейная нагрузка на провод воздушной линии при режиме наибольшей добавочной нагрузки, g - вес 1 м провода; tД, tmin -соответственно температура воздуха при режиме наибольшей добавочной нагрузки и низшая температура воздуха в заданном районе; a - температурный коэффициент линейного расширения материала провода; S, Е - соответственно сечение провода и модуль упругости материала провода. 3.8. Для пролетов длиной меньше критического за исходный расчетный режим следует принимать режим низшей температуры воздуха, для пролетов длиной больше критического - режим наибольшей добавочной нагрузки.
3.9. Критической нагрузкой qкр следует считать такую нагрузку в режиме добавочной нагрузки, при которой максимальное натяжение провода равно наибольшему натяжению при низшей температуре воздуха. Для провода воздушной линии
где l - расчетный пролет, принимаемый равным при подвижных точках подвеса провода величине эквивалентного пролета. 3.10. Если qкр > qв, то за исходный расчетный режим следует принимать режим низшей температуры воздуха, если qкр < qД - режим наибольшей добавочной нагрузки. 3.11. Расчетный режим наибольшей добавочной нагрузки (гололедно-ветровая нагрузка или наибольшая ветровая нагрузка), при котором натяжение провода принимает максимальное значение, определяют следующим образом: для провода воздушной линии
где НГдоп и НВдоп - наибольшее допускаемое значение натяжения провода воздушной линии соответственно при режиме гололеда с ветром и наибольшей ветровой нагрузки; qВ - результирующая линейная нагрузка на провод воздушной липни при режиме наибольшей ветровой нагрузки. Для несущего троса выражения аналогичные (22), (23) и (24) определяют из уравнения состояния для полукомпенсированной цепной контактной подвески. Если qГ > q'Г, то за исходный расчетный режим следует принимать режим наибольшей гололедной нагрузки при одновременном воздействии давления ветра; при qГ < q'Г - режим наибольшей ветровой нагрузки. Здесь qГ - результирующая линейная нагрузка на провод (несущий трос) при режиме гололеда с ветром. 3.12. Максимальное за срок службы натяжение провода равно наибольшему допускаемому натяжению при исходном расчетном режиме, умноженному на соответствующий коэффициент надежности по нагрузке Нmax = НдопКп. (25) 3.13. Наименьшее за время эксплуатации провода значение разрушающей нагрузки Rм = Rm/Ко. (26) 3.14. Натяжение провода воздушной линии при воздействии веса провода и сосредоточенных сил следует определять по уравнению состояния провода
где Р1, Р2, Р3 … Рi, Рк - сосредоточенные силы, действующие на провод в исходном режиме на расстоянии а от левой опоры на расстоянии вi от правой; i = 1, 2, 3 … К - число действующих на провод в исходном расчетном режиме сосредоточенных сил; Рх1, Рх2, Рх3 … Рхm ... Pxn - сосредоточенные силы, действующие на провод в рассчитываемом режиме на расстоянии am от левой опоры и на расстоянии вm от правой; i = l, 2, 3 ... К - число действующих на провод в рассчитываемом режиме сосредоточенных сил. Индекс «1» относится к величинам в исходном расчетном режиме и индекс «х» - в рассчитываемом режиме. 3.15. Стрела провеса провода воздушной линии на расстоянии х от левой опоры определяется по следующему выражению:
где Рп - сосредоточенные силы, действующие на провод слева от сечения х. 4. ЗАЩИТА КОНСТРУКЦИЙ КОНТАКТНОЙ СЕТИ ОТ КОРРОЗИИ4.1. Проектирование защиты стальных конструкций контактной сети, железобетонных опор и фундаментов от коррозии следует производить в соответствии с рекомендациями главы СНиП по защите строительных конструкций от коррозии, «Инструкции по заземлению устройств электроснабжения на электрифицированных железных дорогах» и других действующих нормативных документов по проектированию антикоррозионной защиты строительных конструкций, утвержденных в установленном порядке. 4.2. Обеспечение требуемой долговечности стальных несущих конструкций контактной сети следует достигать путем: устройства защиты от агрессивных воздействий окружающей среды; применения атмосферостойких сталей, при необходимости в сочетании с защитными покрытиями; других способов увеличения срока службы конструкций по условиям коррозии (приложение 9). Предпочтение следует отдавать металлизационным и комбинированным защитным покрытиям. 4.3. Поверхности металлических конструкций должны быть доступны для очистки и нанесения защитных покрытий. Зазоры между стыкуемыми элементами должны отсутствовать. 4.4. Подготовка поверхности металла под алюминирование должна выполняться сухим способом для исключения отложения солей в щелях между стыкуемыми элементами сварных конструкций, неизбежного при химическом методе. 4.5. После выполнения сварки алюминированного проката сварные соединения дополнительно защищают от коррозии, нанося алюминиевые покрытия на сварной шов методом газопламенного напыления. 4.6. Стальные детали контактной сети должны быть, как правило, оцинкованы. Толщина покрытий стальных деталей должна приниматься в соответствии с требованиями главы СНиП по защите строительных конструкций от коррозии. 4.7. В рабочих чертежах железобетонных опор и фундаментов необходимо указывать тип вяжущего и заполнителей для изготовления бетона, наиболее стойкие в данной среде, минеральные и органические добавки к бетону, требуемую плотность бетона, характеризуемую коэффициентом фильтрации или соответствующей ему маркой по водопроницаемости, толщину защитного слоя бетона, вид арматуры и способы ее фиксации, способ и средства защиты от агрессивных сред, периодичность восстановления их. 4.8. Предохранение арматуры железобетонных опор и фундаментов от коррозии должно обеспечиваться в соответствии с рекомендациями раздела II главы СНиП по защите строительных конструкций от коррозии. 4.9. На фундаментную часть центрифугированных опор, стаканные и свайные фундаменты, предназначенные для работы в неагрессивных средах, защитные покрытия можно не наносить. 4.10. В грунтах с агрессивными средами область применения бетона для фундаментов и опор, а также область применения бетонов разной плотности раздельных опор определять в соответствии с приложением 10. 4.11. Фундаменты металлических опор должны выступать из грунта не менее чем на 300 мм. Оголовки фундаментов заделывать не следует. Сечения анкерных болтов следует подбирать с учетом износа их в зоне, расположенной выше обреза фундамента. 5. ПРОЕКТИРОВАНИЕ МЕТАЛЛИЧЕСКИХ КОНСТРУКЦИЙ ОПОРНЫХ, ПОДДЕРЖИВАЮЩИХ И ФИКСИРУЮЩИХ УСТРОЙСТВ КОНТАКТНОЙ СЕТИМатериалы для металлических конструкций контактной сети 5.1. Стальные конструкции устройств энергоснабжения железных дорог распределяются по условиям применения сталей на следующие группы, нумерация которых соответствует нумерации групп, приведенных в табл. 50 приложения 1 главы СНиП по проектированию стальных конструкций. Группа 1. К конструкциям устройств энергоснабжения не относится. Группа 2. Конструкции и элементы, связанные с натяжением проводов; тяги консолей и кронштейнов; закладные детали для их крепления; штанги, хомуты и штанги анкерных оттяжек; компенсаторные ролики, полухомуты (с резьбой и сваркой); детали для крепления жестких поперечин к наголовникам; бугели штампованные и т.п. Для группы 2 применять сталь по табл. 15. Группа 3. Элементы узлов крепления поддерживающих устройств (сварные, штампованные, гнутые); элементы закладных деталей (кроме болтов), пяты и хомуты для крепления консолей и кронштейнов и т.п. Конструкции и элементы несущих, поддерживающих и фиксирующих устройств (сварные, гнутые, штампованные); опоры, ригели и оголовки жестких поперечин, прожекторные мачты, опоры молниеотводов, подкосы консолей, кронштейны ЛЭП и дополнительных проводов (кроме тяг из круглой стали), кронштейны анкерных оттяжек, стойки консольные и фиксаторные, стойки-надставки для опор и жестких поперечин, траверсы переходных опор, фиксаторы и фиксаторные кронштейны, коромысла анкеровок и т.п., конструкции ОРУ и тяговых подстанций.
_________ * Кроме круглой стали. Для группы 3 применять сталь по табл. 16. Таблица 16
___________ * Кроме круглой стали Группа 4. Конструкции ВЛ до 1 кВ, вспомогательные конструкции и элементы (сварные, штампованные, гнутые); кронштейны для светильников и прожекторов, оснастка молниеотводов, детали ограничителей, анкеровочные устройства, заградительные щиты, детали заземления и т.п. Для группы 4 применять сталь согласно табл. 17.
__________ * Кроме круглой стали. Обозначения, принятые в табл. 15 - 17: а) фасонный прокат толщиной до 11 мм, а при согласовании с изготовителем до 20 мм; листовой - всех толщин; г) для района II4 для неотапливаемых зданий и конструкций, эксплуатируемых при температуре наружного воздуха, применять толщины не более 10 мм; д) при толщине проката не более 11 мм допускается применять сталь категории 3; е) кроме опор ВЛ, ОРУ и КС; ж) прокат толщиной до 10 мм и с учетом требований разд. 10 СНиП по проектированию стальных конструкций; и) кроме района II4 для неотапливаемых зданий и конструкций, эксплуатируемых при температуре наружного воздуха. Знак «+» означает, что данную сталь следует применять; знак «-» означает, что данную сталь в указанном климатическом районе применять не следует. 1. Требования настоящих таблиц распространяются на листовой прокат толщиной от 2 мм и фасонный прокат толщиной от 4 мм по ГОСТ 27772-88*; сортовой прокат (круг, квадрат, полоса) применять по ТУ 14-1-3023-80, ГОСТ 380-71** (с 1990 г. ГОСТ 535-88 и с 1991 г. ГОСТ 380-88 и ГОСТ 19281-73*. Указанные категории стали относятся к прокату толщиной не менее 5 мм. При толщине менее 5 мм приведенные в таблице стали применяются без требований по ударной вязкости. 2. Климатические районы строительства устанавливаются в соответствии с ГОСТ 16350-80 «Климат СССР. Районирование и статистические параметры климатических факторов для технических изделий». Указанные в головке таблиц в скобках расчетные температуры соответствуют температуре наружного воздуха соответствующего района, за которую принимается средняя температура наиболее холодной пятидневки согласно указаниям СНиП по строительной климатологии и геофизике. 3. При соответствующем технико-экономическом обосновании стали С345, С375 могут заказываться, как стали повышенной коррозионной стойкости (с медью) - С345Д, С375Д. 4. Применение термоупрочненного прокатного нагрева фасонного проката из стали С345Т и С375Т, поставляемого по ГОСТ 27772-88* как сталь С345 и С375, не допускается в конструкциях, которые при изготовлении подвергаются металлизации или пластическим деформациям при температуре выше 700 °С. 5. К сортовому прокату (круг, квадрат, полоса) по ТУ 14-1-3023-80, ГОСТ 380-71** (с 1990 г. ГОСТ 535-88) и ГОСТ 19281-73* предъявляются такие же требования, как к фасонному прокату такой же толщины по ГОСТ 27772-88*. Соответствие марок сталей по ТУ 14-1-3023-80, ГОСТ 380-71* и ГОСТ 19281-73*, ГОСТ 19282-73*, сталей по ГОСТ 27772-88* следует определять по табл. 51, б главы СНиП по проектированию стальных конструкций. 5.2. Для болтовых соединений конструкций контактной сети, а также для фундаментных блоков следует применять стальные болты и гайки в соответствии с требованиями Главы СНиП II-23-81* по проектированию стальных конструкций (табл. 57*) с учетом того, что конструкции контактной сети не рассчитываются на выносливость. 5.3. Валики надлежит применять: при расчетной температуре минус 30 °С и выше - из углеродистой стали С235 по ГОСТ 27772-88*; при расчетной температуре минус 40 °С и выше - из углеродистой стали С255 по ГОСТ 27772-88*; при расчетной температуре минус 65 °С - из углеродистой стали или из низколегированной стали С345 по ГОСТ 27772-88*. 5.4. Приведенные выше понятия «штампованные или гнутые» относятся только к холодной штамповке или гнутью (без нагрева). 5.5. Стальные конструкции контактной сети должны иметь надежное защитное покрытие от коррозии (окраска, оцинковка, алюминирование и т.п.). Стальные сварные конструкции, для которых предусматривается горячее оцинкование или алюминирование, должны иметь сварные соединения встык; сварка внахлестку не допускается. Все конструкции контактной сети при изготовлении нужно маркировать с указанием года изготовления и завода-изготовителя; на каждую отгружаемую с завода партию конструкций и деталей должен быть сертификат с указанием марки стали. 5.6. Применение алюминиевых сплавов для конструкции контактной сети допускается при технико-экономическом обосновании его целесообразности. 5.7. Для конструкций контактной сети в основном рекомендуются сплавы АМг2М, АМг2П, АД31Т, АД31Т1 в соответствии с требованиями СНиП по алюминиевым конструкциям. 5.8. Алюминиевые сплавы марок, не указанных в п. 5.7, применяют по отдельному разрешению организации, утверждающей проект. 5.9. Материалы для заклепок, болтов, отливок из литейных алюминиевых сплавов, а также для электродов и присадочного материала следует применять в соответствии с указаниями пп. 2.6 - 2.9 СНиП по алюминиевым конструкциям. Расчетные характеристики материалов и соединений 5.10. Физические характеристики стали (модули упругости, коэффициенты поперечной деформации, коэффициент литейного расширения, объемный вес) принимают согласно указаниям табл. 63 приложения 3 Главы СНиП II-23-81* по проектированию стальных конструкций. 5.11. Расчетные сопротивления стали при проектировании конструкций контактной сети принимают согласно указаниям пп. 3.1, 3.2 и табл. 2 и 7 Главы СНиП II-23-81* по проектированию стальных конструкций. 5.12. Расчетные сопротивления (усилия) при растяжении стального каната принимают равными значению разрывного усилия каната в целом, установленному государственными стандартами или заводскими сертификатами, деленному на коэффициент безопасности по материалу 1,6 и умноженному на коэффициент условий работы элемента конструкций, принимаемый по табл. 18. 5.13. Для конструктивных элементов, не перечисленных в табл. 18, коэффициент условий работы принимают m = 1. 5.14. Расчетные сопротивления сварных соединений, выполняемых при монтаже, должны быть дополнительно понижены путем умножения на коэффициент, равный 0,8 (см. табл. 18). 5.15. Расчетные сопротивления болтовых соединений следует принимать по табл. 58*-61* главы СНиП II-23-81* по проектированию стальных конструкций. 5.16. Расчетные сопротивления стали в конструкциях контактной сети понижают умножением на коэффициенты условий работы, принимаемые по табл. 18.
5.17. Расчетные сопротивления деформируемых алюминиевых сплавов, отливок, сварных, заклепочных и болтовых соединений для расчетных температур наружного воздуха в интервале от 50 до 65 °С следует принимать согласно указаниям главы СНиП по проектированию стальных конструкций. 5.18. При расчете элементов и соединений конструкций и алюминиевых сплавов расчетные сопротивления следует умножать на коэффициенты условий работы, принимаемые согласно указаниям главы СНиП по проектированию стальных конструкций. Для сжато-изогнутых элементов консолей и фиксаторов при l ³ 200 коэффициент условий работы следует принимать m = 0,8. 5.19. Расчетное сопротивление изгибу для стержневых фарфоровых изоляторов, применяемых в консолях и фиксаторах, Rф до Н/см2, принимают в соответствии с результатами испытаний следующим: Для консольных изоляторов ИКСУ-27 190 (при разрушающей нагрузке на изолятор в целом) 110 Для фиксаторных изоляторов VKL-60/7 300 (при разрушающей нагрузке на изолятор в целом) 80 Примечание. При изменении геометрических размеров и технологии изготовления стержневых изоляторов расчетные сопротивления для них необходимо определять дополнительно. Проектирование стальных конструкций опорных и поддерживающих устройств 5.20. Расчет стальных конструкций контактной сети выполняют в соответствии с требованиями главы СНиП по проектированию стальных конструкций и дополнительными указаниями данных Норм. 5.21. Типовые консольные опоры контактной сети рассчитывают на нагрузки, соответствующие огибающим эпюрам изгибающих моментов и поперечных сил, приведенным для железобетонных опор в гл. 6 настоящих Норм. Кроме этого, должна быть произведена проверка на действие нагрузок, возникающих при обрыве проводов. Расчет нетиповых (индивидуальных) стальных опор следует производить на нагрузки, определяемые в проектах конкретными условиями. 5.22. Типовые стальные станционные опоры гибких поперечин и фундаменты для них рассчитывают по обобщенным эпюрам изгибающих моментов, поперечных (перерезывающих) и продольных (вертикальных) сил. Расчетные нагрузки для проектирования типовых стальных опор гибких поперечин определяют путем умножения значений нормативных нагрузок на обобщенный коэффициент перегрузки nоб = 1,15. Для подбора опор гибких поперечин расчетным является режим гололеда с ветром или режим максимального ветра. При небольшом поперечном пролете (до 30 м) расчетным может быть режим максимального ветра. Расчетным является сечение на уровне обреза фундамента. Расчет опор гибких поперечин в направлении, перпендикулярном оси пути, производят на действие внешних сил от натяжения поперечного несущего троса, приложенного к вершине опоры, и от натяжений верхнего и нижнего фиксирующего тросов, приложенных соответственно на высоте 10 и 7,5 м от уровня обреза фундамента, а также от давления ветра на опору. Горизонтальную силу от натяжения поперечного несущего троса принимают равной частному от деления максимального изгибающего момента от вертикальных сил (считая трос как балку на двух опорах) на стрелу провеса троса в этом же сечении; вертикальную составляющую натяжения этого троса принимают равной половине вертикальных сил, действующих на трос. Нормативная горизонтальная сила натяжения поперечного несущего и фиксирующего тросов, принятая при расчете типовых опор гибких поперечин, приведена в табл. 19. Таблица 19
Промежуточные опоры гибких поперечин необходимо проверять расчетом на следующие нагрузки: а) усилия от анкеровки одиночных проводов, создающие нормативный изгибающий момент на уровне обреза фундамента, - 100 кНм; б) продольная составляющая от нагрузок, действующих перпендикулярно оси пути при возможном развороте опоры на 5°; в) давление ветра на опору. Анкерные опоры гибких поперечин рассчитывают на действие изгибающего момента вдоль пути, равного 250 кНм на уровне обреза фундамента. 5.23. Стальные конструкции опорных и поддерживающих устройств нужно проверять на действие монтажных нагрузок. 5.24. Расчет центрально-сжатых и центрально-растянутых элементов, а также расчет сварных соединений стальных конструкций опорных и поддерживающих устройств осуществляют согласно указаниям СНиП II-23-81*. 5.25. Расчет элементов стальных опор, на которые действуют нагрузки (изгибающие моменты) перпендикулярно и вдоль оси пути, для анкерных самонесущих опор или для промежуточных опор при обрыве проводов выполняют на усилия, получаемые суммированием воздействия от моментов, действующих в двух взаимно перпендикулярных плоскостях. 5.26. Пространственную решетчатую конструкцию металлической опоры следует рассматривать как консольный стержень. При действии на опору несимметричной нагрузки усилия в элементах складываются из усилий от изгиба и кручения. Изгибающая сила распределяется между плоскими вертикальными фермами. Усилия, возникающие при кручении в элементах призматических стержней квадратного и прямоугольного сечений, определяют по табл. 20. В табл. 20
lo - расстояние от места приложения крутящего момента для рассматриваемого сечения; da и dв - длины раскосов соответственно по сторонам a и в. Крутящий момент в стержнях определяют в зависимости от их вида в соответствии с табл. 21.
Перерезывающие силы в гранях при кручении стержней определяют по табл. 22. Таблица 22
5.27. Расчет деформаций (прогибов) опор с переменным по высоте моментом инерции допускается выполнять делением всей высоты опоры на четыре части и определением среднего момента инерции для каждой части. Прогиб б вершины опоры от действия силы Р, приложенной в той же точке, определяют
где I1, I2, I3, I4 - моменты инерции посередине каждого из четырех участков (рис. 11).
Рис. 11. Схема опоры с переменным моментом инерции для расчета ее прогибов в точках: а-А; б-Б При действии нескольких сил на опору их располагают на границах смежных участков. Если необходимо определить прогиб d2 точки В, в которой сила не приложена (например, на уровне контактного провода), то находят прогиб ближайшей точки на границе двух участков, а прогиб d2 - по формуле (33).
(прогиб d1 находят по формулам, аналогичным указанной выше для определения d). 5.28. При центрировании решетки в конструкциях из одиночных уголков на обушок поясного уголка влияние эксцентриситета в узлах можно не учитывать при расчете конструкций: с учетом обрыва проводов на совместное действие продольной силы, поперечной силы и крутящего момента; на расчетные нагрузки (без учета кручения), когда величины усилий в элементах решетки не превышают 15 % максимального усилия в поясе от той же нагрузки. Если усилия в элементах решетки превышают 15 % максимального усилия в поясе от той же нагрузки, необходимо центрировать раскосы на центр тяжести пояса или увеличивать расчетные усилия в элементах опоры (поясах и раскосах) путем умножения на коэффициент а, значения которого приведены в табл. 23. Таблица 23
5.29. Для составных центрально-сжатых стержней опор с поясами из равнобоких уголков, ветви которых соединены планками пли решетками, коэффициент продольного изгиба относительно свободной оси, перпендикулярной плоскости планок и решеток, нужно определять по приведенной гибкости lгр, вычисляемой в соответствии с указаниями СНиП II-23-81*. Гибкость отдельных ветвей lв на участке между планками должна быть не более 40. В составных стержнях с решетками гибкость отдельных ветвей На участках между узлами не должна превышать приведенную гибкость lпр стержня в целом. 5.30. Предельные гибкости элементов опор и жестких поперечин должны соответствовать требованиям главы СНиП по проектированию стальных конструкций. 5.31. Составные, внецентренно-сжатые сквозные стержни подлежат проверке как по общей устойчивости в соответствии с указаниями главы СНиП по проектированию стальных конструкций, так и по устойчивости отдельных ветвей. Отдельные ветви решетчатой стойки проверяют, как центрально-сжатые в панели с максимальным сжимающим усилием, которое определяют нормальной силой и изгибающим моментом, действующими в сечениях составной решетчатой стойки. 5.32. Проверку местной устойчивости пояса стойки с планками в панели с максимальным изгибающим моментом выполняют в соответствии с указаниями, главы СНиП II-23-81* по проектированию стальных конструкций, как для элементов сплошного сечения. Максимальный изгибающий момент в ветви сквозного стержня с планками определяют: для опоры, имеющей две стойки (швеллерной),
для опоры, имеющей четыре стойки (уголковой),
где lп - расстояние между центрами планок; Q - максимальная поперечная сила, действующая на опору и принимаемая постоянной по всей длине стойки. Расчет планок (рис. 12) следует выполнять на перерезывающую силу Т и изгибающий момент М, определяемые по формулам (36) - (40) для четырехгранных стоек
для трехгранных стоек
M = 0,6Qпlп; (39)
Значение условной поперечной силы Qусл, приходящейся на элементы одной грани составного стержня, определяют по табл. 24, где Fs площадь брутто всего стержня, см2.
Рис. 12. Схема усилий при расчете планок стальных опор
5.33. Соединительные решетки следует рассчитывать, как решетки у ферм. 5.34. Соединение ветвей внецентренно-сжатого стержня с помощью планок не рекомендуется, если условная поперечная сила меньше реальной поперечной силы. Соединительные элементы сквозных стержней в виде планок можно применять только при соединении их с поясами на сварке. Соединительные элементы (планки пли решетки) внецентренно-сжатых стержней нужно рассчитывать либо на фактическую поперечную силу, либо на условную поперечную силу. При этом в качестве расчетной поперечной силы принимают большую из них. 5.35. На участках постоянного тока стальные опоры должны иметь изоляцию от арматуры или анкерных болтов железобетонного фундамента, а на участках переменного тока такая изоляция должна быть на опорах, заземляемых присоединением к рельсу наглухо без искровых промежутков при двухниточных рельсовых цепях СЦБ. 5.36. Местные нагрузки на панели поясов стальных решетчатых конструкций учитывают по их фактической величине и направлению, считая панель, как трехпролетную балку, шарнирно-опертую в узлах; при этом пояса рассчитывают на сложное сопротивление от действия продольной силы и местного изгибающего момента. 5.37. При расположении анкерных болтов с эксцентриситетом относительно осей поясов и при наличии опорной рамы, служащей для передачи усилий от анкерных болтов поясам, допускается пользоваться приближенным расчетом, в котором не учитывают дополнительные моменты в поясах от указанного эксцентриситета. При расчете опорной рамы необходимо учитывать изгибающий момент, обусловленный наличием эксцентриситета е. 5.38. Схемы решетки, размеры поперечных сечений и сбег стальных опор по высоте выбирают на основе сравнения вариантов с учетом специфики условий эксплуатации. 5.39. Конструкции стальных опор должны учитывать условия крепления на них консолей, кронштейнов, поперечных несущих и фиксирующих тросов и т.п. 5.40. Если длина стальной конструкции более длины выпускаемых промышленностью элементов проката (уголков, швеллеров и пр.), то при изменении сечений поясов следует ориентироваться на использование полных длин профильной стали по сортаменту. Проектирование жестких поперечин 5.41. В зависимости от конструктивного выполнения и расчетной схемы жесткие поперечины могут быть балочного и рамного типов. В направлении, перпендикулярном к оси пути, жесткие поперечины балочного типа рассчитывают, как балки на двух шарнирных опорах, а поперечины рамного типа - как рамы. В направлении вдоль пути ригель в обеих схемах рассчитывают, как балку на двух шарнирных опорах с учетом реакции тросов подвески. Рекомендуется преимущественно применять поперечины рамного типа. Для предотвращения гнездования птиц следует изготавливать нижнюю горизонтальную ферму жестких поперечин без распорок. 5.42. Жесткие поперечины рамного и балочного типов следует рассчитывать по несущей способности на действие суммарных расчетных нагрузок, а по деформациям - на действие суммарных нормативных нагрузок. Для жестких поперечин, перекрывающих четыре и более путей, толщину раскосов и стоек ригелей допускается по согласованию с Госстроем принимать до 5 мм. Рекомендуется для ригелей жестких поперечин применять атмосферостойкие низколегированные стали. Расчет прогибов ригелей жестких поперечин рекомендуется выполнять на нормативную суммарную нагрузку от постоянной и временной нагрузки, при этом величина допускаемого вертикального прогиба должна составлять 1/150 длины пролета. Строительный подъем рекомендуется назначать равным прогибу. 5.43. В рамных поперечинах для расчета деформаций опор с переменным по высоте моментом инерции всю высоту опоры можно разделить на три равные части, считая от вершины опоры до уровня поверхности грунта. Момент инерции каждой части определяют по среднему сечению и принимают постоянным для всего участка. 5.44. Жесткие поперечины рамного типа не рекомендуется применять в неустойчивых и пучинистых грунтах. 5.45. Ригели жестких поперечин рамного типа выполняют в виде сквозных ферм, свариваемых на комплектовочных базах из отдельных блоков, длину которых определяют из условий перевозки на железнодорожном подвижном составе. 5.46. Требуемую по условиям расположения путей длину поперечин обеспечивают уменьшением числа панелей в крайних блоках. 5.47. В поперечинах рамного типа требуемую длину поперечин, кроме уменьшения числа панелей, обеспечивают изменением длины монтажных панелей. 5.48. Для каждой длины поперечины 2 - 3 типа по несущей способности за счет изменения сечения поясных уголков. 5.49. В рабочих чертежах жестких поперечин необходимо приводить указания по подбору типоразмеров железобетонных опор и заделке их в грунте. 5.50. Расчет жестких поперечин необходимо выполнить на следующие сочетания нагрузок: а) постоянные нагрузки в сочетании с гололедом и ветровой нагрузкой при направлении ветра перпендикулярно оси пути; б) то же при направлении ветра вдоль оси пути; в) постоянные нагрузки в сочетании с действием ветра, направленного перпендикулярно оси пути; г) то же при направлении ветра вдоль оси пути; д) постоянные нагрузки в сочетании с гололедом и усилием, возникающим при обрыве несущего троса по одному главному пути. Для рамных поперечин решающим при расчете стоек является сочетание «а», а при расчете ригеля - сочетание «б» и «д». Для балочных поперечин расчет ригеля и стоек необходимо выполнять на сочетания «б», «г», «д». 5.51. Жесткие поперечины в нормальном режиме рассчитывают на вертикальные нагрузки, сосредоточенные в местах крепления подвески к поперечинам, от массы контактной подвески, изоляторов и арматуры, а также гололеда на проводах и на нагрузки от гололеда на поперечине, равномерно распределенные по ее длине при одновременном действии ветровой нагрузки. 5.52. Массу ригеля рамной жесткой поперечины учитывают в монтажном состоянии как для статически определимой двухшарнирной балки, свободно опирающейся на стойки. Полученную эпюру моментов суммируют с эпюрой моментов от нагрузок заданного расчетного сочетания в рамной схеме поперечины. Первоначально, когда неизвестна масса конструкции ригеля рамной жесткой поперечины, ее принимают для расчета по действующему типовому проекту балочных поперечин с коэффициентом 0,9. Расположение по длине поперечины вертикальных нагрузок от контактных подвесок и станционных путей, а также горизонтальной нагрузки от обрыва проводов принимают таким, которое создает наиболее тяжелые условия загружения. При определении расчетных нагрузок каждую из нормативных нагрузок умножают на коэффициент перегрузки. 5.53. На нагрузки, действующие вдоль пути (ветровые, усилие от обрыва несущего троса), ригель поперечины рекомендуется рассчитывать с учетом реакции тросов. Ригель имеет расчетную схему по типу двухшарнирной балки. Жесткость балки определяют, как сумму жесткостей двух горизонтальных ферм ригеля. Реакции тросов направлены в сторону, противоположную действию внешней нагрузки, и приложены в местах прикрепления цепных подвесок к ригелю. При этом равномерно распределенную ветровую нагрузку на ригель необходимо заменить сосредоточенными силами, приложенными в местах прикрепления к ригелю подвесок. Усилие от обрыва несущего троса приложено как сосредоточенная сила в месте прикрепления к ригелю цепной подвески одного из главных путей. 5.54. Для определения реакций тросов ригель рассматривают, как статически неопределимую балку на промежуточных линейно деформируемых опорах в местах прикрепления продольных несущих тросов цепных подвесок. Цифрами на рис. 13, 14 обозначены номера путей. Места соединения ригеля с железобетонными стойками рассматривают как податливые опоры ввиду деформативности стоек. Основная статически определимая система получается отбрасыванием лишних связей (промежуточных опор) и заменой их неизвестными силами х1 ... хi представляющими собой реакции тросов (см. рис. 13, 14), для определения которых составляются системы канонических уравнений.
Рис. 13. Схема для расчета жесткой поперечины с учетом реакции тросов: а - общий вид; б - схема ригеля на упругих опорах; в - расчетная схема а)
б)
в)
Рис. 14. Расчетная схема определения жесткости податливой связи: а - расчетная схема поперечины в плане; б - действительная схема деформации ригеля; в - схема приложения усилия от реакции тросов
Здесь dij - единичные перемещения по направлению i-й связи от j-й реакции - находят перемножением единичных эпюр моментов:
Dip - грузовые перемещения по направлению i-й связи - находят перемножением соответствующих площадей единичных эпюр моментов и грузовых эпюр:
аij - коэффициент положения связи относительно вершин стоек;
Коническую железобетонную опору, имеющую переменную по длине жесткость, разбивают на три равных участка. Момент инерции каждого участка определяют по среднему диаметру:
Здесь аiр - коэффициент положения внешней силы относительно вершин стоек. Жесткости К1 податливых связей определяют в зависимости от массы цепных подвесок Gi, гирлянд изоляторов g, а также от расстояния l, см от низа гирлянды до точки поворота (см. рис. 12). С достаточной степенью точности жесткость Кi может быть определена по формуле:
5.55. Жесткие поперечины рамного типа следует рассчитывать методом сил как трижды статически неопределимые системы с жесткой или упруго податливой заделками стоек в грунте. 5.56. При расчетах на действие внешних сил уравнения деформации выражают условие равенства нулю перемещений по направлению лишних связей:
где х1, х2, х3 - неизвестные силы по направлению отброшенных связей в основной системе. 5.57. Расчет жестких поперечин рамного типа рекомендуется выполнять на ЭВМ с использованием разработанной в ЦНИИСе программы «Расчет и подбор жестких поперечин рамной конструкции контактной сети электрифицированных железных дорог», инв. № 50860000626. 5.58. Расчет элементов ригелей жестких поперечин, представляющих собой пространственные конструкции из одиночных уголков, выполняется по рекомендациям главы СНиП по проектированию стальных конструкций, гл. 5. Проектирование консолей 5.59. Расчет консолей рекомендуется осуществлять на следующие сочетания нагрузок: основные; особые. Размеры сечений следует определять по наиболее невыгодному сочетанию нагрузок. Проверку расчетов на действие монтажных нагрузок и нагрузок, возникающих при обрыве проводов, нужно производить для всех консолей. 5.60. Расчет центрально-сжатых, центрально-растянутых и изгибаемых элементов, а также сжато-изогнутых элементов, имеющих гибкость менее 200, и расчет соединений стальных конструкций консолей производят в соответствии с указаниями главы СНиП по проектированию стальных конструкций. 5.61. Расчет элементов консолей, имеющих гибкость более 200, подверженных действию осевой силы (сжатию) с изгибом, производят в соответствии с указаниями настоящих Норм. 5.62. В сжато-изогнутых элементах консолей допускаются следующие величины наибольших гибкостей:
5.63. Проверку устойчивости сжатых и сжато-изогнутых стержней, имеющих гибкость более 200, производят путем определения коэффициента устойчивости
где Величина коэффициента устойчивости nу < 2 не допускается. 5.64. Прочность сплошных сжато-изогнутых (и растянуто-изогнутых) стержней, имеющих гибкость более 200, проверяют по формуле:
где N, Мх, My - расчетное значение продольной силы и изгибающих моментов относительно осей х-х, у-у; Fнт - площадь нетто поперечного сечения стержня; Ix, Iу - моменты инерции сечения стержня относительно осей; х, у - координаты рассматриваемой точки сечения относительно его главных осей; m = 0,8 - коэффициент условий работы для сжато-изогнутых стержней с гибкостью более 200; R - расчетное сопротивление стали изгибу. 5.65. Сжатую тягу консоли следует рассчитывать как сжато-изогнутый элемент, сжимаемый продольной силой и изгибаемый моментом от собственного веса и моментом от продольной силы, величина последнего изменяется по мере изменения прогиба. Кроме этого, необходимо учитывать влияние эксцентриситета приложения продольной силы, обусловленного конструкцией тяги. Сжатые (жесткие) тяги применяют в тех случаях, когда при невыгоднейшем сочетании нагрузок в тяге возникают сжимающие усилия любой величины или растягивающие усилия менее 0,5 кН. 5.66. При значениях коэффициента устойчивости 2 ³ nу £ 10 максимальный изгибающий момент сжато-изогнутых стержней с гибкостью более 200 рекомендуется определять путем построения эпюры изгибающих моментов с учетом действия поперечных и продольных сил по формуле Мx = М¢p×mp + М¢qmq + М¢мmм (52) или Мх = Мр + Мq + Мм, (53) где М¢p, М¢q - текущее значение момента от поперечных сил (сосредоточенных Р и равномерно расположенных q) без учета действия продольной силы N; М¢м - значение момента от внешних сил на конец стержня (например, в точке крепления тяги к изогнутой консоли); mp, mq, тм - условные эксцентриситеты, представляющие собой отношение суммарного момента от действия поперечных и продольных сил к изгибающему моменту от поперечных сил, соответственно mp от сосредоточенной силы Р; mq - равномерно распределенной нагрузки q и mм - от момента М на конце стержня. Значения условных
эксцентриситетов в зависимости от коэффициента устойчивости пу, и от отношения
При промежуточных значениях nу и vo или уx величины mp и mq определяют по интерполяции. 5.67. Для сжато-изогнутых стержней, имеющих гибкость l > 200 и коэффициент устойчивости n > 10, суммарный максимальный изгибающий момент, как правило, находят в тех же сечениях, в которых будет максимальный изгибающий момент от поперечных сил. Так, в неизолированных изогнутых консолях, а также в консолях с обратными фиксаторными стойками максимальный изгибающий момент находят в точке крепления тяги к кронштейну консоли, а в остальных случаях - в точке крепления фиксатора к кронштейну консоли. Для сжато-изогнутых элементов, имеющих коэффициент устойчивости n > 10, построение эпюры суммарных изгибающих моментов для определения максимального момента необязательно.
При промежуточных значениях nу и vx величину тм определяют по интерполяции. 5.68. При определении изгибающих моментов для составных стержней (металлический стержень с жестко соединенным с ним стержневым изолятором) нагрузка от массы изолятора может быть принята в виде сосредоточенной вертикальной силы, приложенной в центре тяжести изолятора. 5.69. Для типовых консолей следует определять предельные значения вертикальных и горизонтальных усилий с указанием точек их приложения на расчетной схеме. 5.70. Кронштейны консолей, на которых предусматривается крепление фиксаторов или фиксаторных стоек, нужно проверять расчетом по деформациям.
Рис. 15. Расчетные схемы определения изгибающих моментов и прогибов сжато-изогнутых стержней большой гибкости при нагружении: а - сосредоточенной силой (Мр
= М1рМр;
б - распределенной нагрузкой (Мq
= М1qmq;
в - изгибающим моментом (Мм
= М1мm; Относительная величина предельного прогиба кронштейна консоли должна составлять 1/150, а абсолютная величина горизонтальной составляющей прогиба (от кратковременных нагрузок) в точке крепления фиксатора или фиксаторной стойки не должна превышать 35 мм. Прогибы сжато-изогнутых стержней определяют по рис. 15 и данным табл. 25 и 26. 5.71. Прочность фарфоровых стержневых изоляторов следует проверять по формуле:
где Ми - максимальный расчетный изгибающий момент, действующий в сечении фарфорового изолятора; Nи - расчетная продольная сила; Wи и Fи - момент сопротивления и площадь рассматриваемого сечения изолятора; mф.и - коэффициент условий работы фарфоровых стержневых изоляторов, принимаемый равным 0,7; Rф - расчетное сопротивление фарфора изгибу; принимают по данным завода-изготовителя или по результатам испытаний. Максимальный изгибающий момент определяют в соответствии с указаниями п. 5.66 для сечения по месту заделки фарфора в шапке изолятора, расположенной со стороны средней части пролета стержня. 5.72. Для построения эпюры изгибающих моментов сжато-изогнутых стержней, нагруженных сосредоточенной силой Р в пролете (см. рис. 13, а), после определения условного эксцентриситета mp в сечении под силой определяют эксцентриситеты для участка слева от силы
и справа от силы
Проектирование фиксаторов 5.73. Расчет фиксаторов рекомендуется осуществлять на следующие сочетания нагрузок: а) постоянные нагрузки в сочетании с максимальным ветром; б) постоянные нагрузки, а также гололед при одновременном действии ветра. Кроме этого, фиксаторные кронштейны и изоляторы, а также основные стержни фиксаторов следует проверять на действие нагрузок, возникающих при обрыве проводов и при монтаже (масса монтера на основном стержне или фиксаторном кронштейне). Размеры сечений металлических элементов следует определять по наиболее выгодному сочетанию нагрузок. 5.74. Фиксаторы необходимо рассчитывать по прочности, устойчивости стержней и устойчивости системы стержней сочлененных фиксаторов. 5.75. Расчет фиксаторов по деформациям заключается в определении прогибов их стержней под воздействием кратковременных нагрузок. Прогиб основного стержня фиксатора должен составлять не более 1/200 его длины. 5.76. Расчеты прочности и устойчивости стержней фиксаторов при гибкости более 200 следует производить в соответствии с указаниями настоящих Норм. 5.77. Максимальная гибкость сжато-изогнутых стержней фиксаторов не должна быть более 550, при этом значение коэффициента устойчивости должно быть не менее 2. 5.78. Прочность стержней фиксаторов при l < 200 и фиксаторных стоек нужно проверять в соответствии с указаниями СНиП II-23-81*. 5.79. Прочность и устойчивость дополнительных стержней (сочлененных фиксаторов) из алюминиевых сплавов, имеющих гибкость l £ 150, следует проверять в соответствии с указаниями СНиП по проектированию стальных конструкции, а при гибкости l > 150 - в соответствии с указаниями настоящих Норм. При этом модуль упругости и расчетное сопротивление принимают по данным СНиП. 5.80. Конструкции фиксаторных устройств должны учитывать возможность перетекания токов в шарнирных соединениях (при разности потенциалов в несущем тросе и контактном проводе). 5.81. Длины основных стержней фиксаторов определяют в зависимости от габарита установки опоры, величины зигзага контактного провода, длины дополнительного стержня, а также от принятой схемы конструктивного выполнения консоли и фиксатора. 5.82. Длина дополнительного стержня фиксатора полукомпенсированной подвески должна быть не менее 1200 мм, а для компенсированной подвески (кроме воздушных стрелок) может быть уменьшена до значений, определяемых расчетом. 5.83. Фиксаторы контактной сети (кроме гибких на внешней стороне кривых малых радиусов, фиксаторов анкеруемой ветви на сопряжениях и на фиксирующих тросах поперечин) должны быть сочлененными. Часть веса фиксатора, передаваемая на контактный провод, должна быть минимальной. 5.84. Конструкции фиксаторов должны иметь устройства, предотвращающие потерю устойчивости системы при действии ветра. 5.85. Узлы крепления фиксаторов к фиксаторным кронштейнам, стойкам, фиксирующим тросам поперечин должны обеспечивать шарнирность в горизонтальном и вертикальном направлениях. 6. ПРОЕКТИРОВАНИЕ ЖЕЛЕЗОБЕТОННЫХ ОПОРОбщие указания 6.1. Железобетонные опоры должны проектироваться в соответствии со СНиП 2.03.01-84 как объекты, имеющие важное народнохозяйственное значение высокой надежности, которая обеспечивается расчетом, выбором материалов и соответствующим назначением размеров и конструированием. Железобетонные опоры могут применяться в районах с расчетной температурой не ниже 70 °С и в сейсмических районах до 9 баллов включительно. 6.2. Рекомендуется преимущественно применять предварительно напряженные опоры кольцевого сечения. В отдельных случаях на основании технико-экономических расчетов могут применяться опоры и других сечений, а также опоры без предварительного напряжения арматуры. 6.3. При проектировании опор должны приниматься конструктивные схемы, обеспечивающие прочность, жесткость, трещиностойкость, а также устойчивость опор в грунте на стадии монтажа и эксплуатации. Рекомендуется применять опоры двух типов: объединенных с фундаментной частью (нераздельные) и с отдельными фундаментами (раздельные). Нераздельные опоры следует применять в сухих и обводненных грунтах (независимо от уровня грунтовых вод). Раздельные железобетонные опоры следует применять в сильно обводненных грунтах (где затруднена разработка котлованов), а также, когда не обеспечивается устойчивость в грунте нераздельных опор. Основные расчетные требования 6.4. Железобетонные опоры должны удовлетворять требованиям расчета по прочности и по пригодности к нормальной эксплуатации. Расчет по прочности должен обеспечить конструкции от любого вида разрушений. Расчет по пригодности к нормальной эксплуатации должен обеспечивать опоры от недопустимых по ширине раскрытия трещин для сохранности от коррозии арматуры, а также от чрезмерных прогибов. 6.5. Расчет опор по предельным состояниям производится для всех стадий - изготовления, транспортирования, монтажа и эксплуатации. Расчет опор по раскрытию трещин и по деформациям допускается не проводить, если при опытной проверке установлена их достаточная трещиностойкость, а жесткость конструкций в процессе их эксплуатации достаточна. 6.6. Железобетонные опоры контактной сети следует рассчитывать на нагрузки поперек пути по огибающим эпюрам изгибающих моментов и поперечных (перерезывающих) сил (рис. 16), значения для которых приведены в табл. 27, а также на нагрузки вдоль пути при обрыве проводов в соответствии с данными главы 2 настоящих Норм. Нормативные нагрузки для расчета железобетонных опор можно определять путем деления расчетных нагрузок на обобщенный коэффициент надежности по нагрузке, равный 1,15. 6.7. Подземная часть эпюры (см. рис. 16), показанная пунктиром, может изменяться в зависимости от длины части опоры, расположенной ниже условного обреза фундамента, а также при применении раздельных опор или опор с обратной коничностью. 6.8. Значения нагрузок, применяемых в расчетах опор, необходимо умножать на коэффициент надежности по назначению, принимаемый для сооружений II класса ответственности равным g = 0,95. 6.9. К трещиностойкости железобетонных опор предъявляются требования II категории трещиностойкости конструкций, допускающих ограниченное по ширине непродолжительное раскрытие трещин при условии их последующего надежного закрытия. Предельно допустимая ширина раскрытия трещин должна составлять: для условий неагрессивной среды 0,15 мм, для слабоагрессивной среды - 0,1 мм, для среднеагрессивной среды - 0,05 мм. В сильноагрессивной среде трещины в опорах не допускаются. Указанные требования к трещиностойкости опор относятся к поперечным трещинам. Во избежание образования и раскрытия продольных трещин в опорах следует принимать конструктивные меры путем установки в вершине и комле дополнительной поперечной арматуры, а также ограничивать значения сжимающих напряжений в бетоне в стадии предварительного обжатия в соответствии с рекомендациями табл. 7 СНиП 2.03.01-84. 6.10. Прогибы железобетонных опор не должны превышать предельно допустимых значений, устанавливаемых из условия обеспечения нормального токосъема.
Рис. 16. Огибающие обобщенные эпюры для расчета железобетонных опор контактной сети: а - изгибающих моментов; б - перерезывающих сил (В скобках для опор 15,6 м); I - условный обрез фундамента
Примечания: 1. Значения расчетных усилий в строках 1 и 8 применяют при расчете по первому предельному состоянию (по прочности). 2. Значения усилий в строках 4 и 6 применяют при расчете по деформациям на уровне контактного провода. 3. В строках 8 и 9 в числителе стоят значения перерезывающих сил на участке от сечении вверх, а в знаменателе - от сечений вниз. 4. В таблице значения моментов па уровне обреза фундамента (Мо) приведены для опоры длиной 13,6 м. Для опоры длиной 15,6 м значение Mo = M1o × 1,125. Величина максимального прогиба в уровне контактного провода (на расстоянии 7300 мм от условного обреза фундамента) не должна превышать установленной ГОСТ 19330-81*. Прирост прогиба от приложения нормативных временных нагрузок не должен превышать 65 мм. 6.11. При расчете предварительно напряженных опор необходимо учитывать потери предварительного напряжения арматуры: а) первые потери - релаксации напряжений в арматуре, деформации анкеров, форм и от быстронатекающей ползучести; б) вторые потери - усадки и ползучести бетона. Величины потерь напряжений определяются в соответствии с рекомендациями главы СНиП по проектированию железобетонных конструкций. Материалы для железобетонных опор 6.12. Для железобетонных опор следует предусматривать тяжелый бетон средней плотности до 2500 кг/м3. 6.13. При проектировании опор устанавливаются следующие показатели качества бетона: а) класс по прочности на сжатие; б) марка по морозостойкости; в) показатель проницаемости; г) марка по водопроницаемости. Для железобетонных предварительно напряженных опор следует принимать класс бетона по прочности на сжатие не ниже В30, марка по морозостойкости F200 при расчетной зимней температуре воздуха ниже минус 40 °С и F150 при расчетной зимней температуре выше минус 40 °С. По показателю проницаемости для опор должен приниматься бетон особо низкой проницаемости и маркой по водопроницаемости не ниже W 8. 6.14. Нормативные и расчетные характеристики бетона опор, коэффициенты условий работы, коэффициенты надежности по бетону при растяжении и сжатии должны приниматься в соответствии со СНиП 2.03.01-84. 6.15. Для армирования железобетонных опор необходимо предусматривать арматуру, отвечающую требованиям действующих стандартов. В качестве продольной напрягаемой арматуры предварительно напряженных опор следует применять высокопрочную проволоку периодического профиля класса В-II преимущественно диаметром 5 мм и более. Допускается при отсутствии необходимого сертификата применение проволоки диаметром 4 мм. В качестве продольной ненапрягаемой арматуры следует применять арматуру класса A-III. В качестве поперечной арматуры необходимо преимущественно использовать проволоку периодического профиля класса B-I диаметром не менее 3 мм. При наличии технико-экономических обоснований допускается применение и других видов арматуры. 6.16 Нормативные и расчетные сопротивления арматуры, коэффициенты надежности и условий работы следует принимать в соответствии со СНиП 2.03.01-84. Передаточная прочность бетона должна быть не ниже значений, приведенных в табл. 28. Таблица 28
Максимальные сжимающие напряжения в бетоне в стадии предварительного обжатия не должны превышать значений, приведенных в табл. 7 СНиП 2.03.01-84. Расчет железобетонных опор 6.17. Расчет опор по прочности, жесткости и трещиностойкости производится в соответствии с требованиями СНиП 2.03.01-84 Расчет по прочности и трещиностойкости должен производиться для сечений, нормальных к продольной оси опор, расположенных в уровне пяты консоли и в уровне условного обреза фундамента. 6.18. При расчете прогибов влияние длительной ползучести бетона на деформации опор без трещин допускается не учитывать. Конструктивные требования 6.19. Опоры кольцевого сечения должны иметь отверстия в верхней части для установки закладных деталей и в нижней части (на 0,5 м выше условного обреза фундамента) для вентиляции внутренней полости опоры. Суммарная площадь вентиляционных отверстий может быть определена из формулы: SF = AqV, (57) где SF - суммарная площадь поперечного сечения отверстий; q - избыточное влагосодержание в полости опоры, г/ч м3; V - объем полости стойки, м3; А - переходный коэффициент, равный (0,5-1) ч.cм2/г. Избыточное влагосодержание определяется экспериментально. При отсутствии таких данных величину можно принять равной 80 г/ч. м3. Полученное значение площади вентиляционных отверстий при указанной величине q достаточно для обеспечения требуемой вентиляции опор практически для всех регионов страны. 6.20. Минимальная толщина стенки опор должна быть не менее 50 мм. 6.21. Защитный слой бетона для продольной рабочей арматуры должен быть не менее 20 м. 6.22. На участках постоянного тока в опорах для повышения их коррозионной устойчивости необходимо кроме предварительно напряженной проволочной арматуры устанавливать ненапряженные стержни. 6.23. У верхних концов предварительно напряженных опор для предотвращения образования продольных трещин должны быть установлены три усиливающих кольца из арматуры класса A-I диаметром 8 мм, у нижних концов - дополнительно не менее трех витков спиральной арматуры. Шаг спирали должен быть не более 100 мм. 6.24. Зазоры между проволоками и зазоры между стержнями, а также их расположение должны приниматься в соответствии с требованиями главы СНиП по проектированию бетонных и железобетонных конструкций. 6.25. В верхних отверстиях для закладных деталей должны устанавливаться изолирующие элементы для предотвращения прямого контакта арматуры опор с закладными деталями контактной подвески. 7. ПРОЕКТИРОВАНИЕ ФУНДАМЕНТОВ ОПОР КОНТАКТНОЙ СЕТИ7.1. Фундаменты опор контактной сети следует проектировать с учетом результатов инженерно-геологических изысканий грунтов электрифицируемого участка. 7.2. Наименование грунтов в описаниях результатов изысканий и в проектах фундаментов необходимо принимать согласно ГОСТ 25100-82. 7.3. Проверку несущей способности при привязке следует осуществлять в талых грунтах. Для районов распространения вечной мерзлоты и глубокого сезонного промерзания несущую способность фундаментов следует проверять для летних и зимних (с учетом слоя мерзлого грунта) условий. 7.4. При расчете фундаментов опор контактной сети должны быть обеспечены: а) от действия расчетных нагрузок - достаточная несущая способность основания, не допускающая потери устойчивости (опрокидывания) фундаментов и опор; б) от действия нормативных нагрузок - недопущение деформации основания, не превышающих предельно допустимых (по условиям эксплуатации) отклонений опор на уровне контактного провода более 35 мм. При обеспечении несущей способности одиночных, ступенчатых, групповых свайных и раздельных фундаментов, а также вертикальных призматических анкеров проверку по деформациям можно не производить, так как приведенные в настоящих Нормах расчетные характеристики грунта определены, исходя из допустимых (по условиям эксплуатации) перемещений фундаментов опор. 7.5. За расчетную поверхность грунта при расчете одиночного фундамента принимают горизонтальную плоскость, проходящую через точку пересечения вертикальной оси фундамента с дневной поверхностью грунта, а при наличии насыпного неуплотненного слоя (песчаный балласт, шлак и пр.) - с нижней поверхностью этого слоя. 7.6. Расчет фундаментов производят на комбинации нагрузок, которые могут оказаться наиболее невыгодными. При этом следует иметь в виду, что в ряде случаев расчета закрепления фундамента в грунте наиболее невыгодной может оказаться не максимальная нагрузка, а меньшая по величине, но действующая в направлении, в котором грунт хуже сопротивляется опрокидыванию фундамента или, например, для которой коэффициент gсl, учитывающий долю постоянной нагрузки в суммарной (см. п. 7.22), имеет меньшее значение. 7.7. Во всех случаях при любых сочетаниях нагрузок следует учитывать нагрузку от массы фундамента, а для ступенчатых и раздельных фундаментов и от массы грунта над их уступами. В расчете ступенчатых и раздельных фундаментов учитывают взвешивающее действие воды от подошвы фундамента до верхнего уровня грунтовых вод, при этом ниже горизонта грунтовой воды вес единицы объема грунта принимают равной 10 кН/м3, а вес единицы объема фундамента уменьшают на 10 кН/м3. 7.8. Нагрузку, равнодействующая которой расположена в одной вертикальной плоскости симметрии фундамента, приводят (рис. 17, а): а) к вертикальной силе Nd, равной сумме проекций сил на вертикальную ось у фундамента, действующей вдоль оси у; б) к горизонтальной силе Fd, равной сумме проекций сил на горизонтальную ось х, действующей вдоль оси х; в) к моменту Мd, равному сумме моментов сил относительно оси z. Сила Fd, действующая вдоль оси х, и момент Мd относительно оси z могут быть заменены силой Fd (той же величины), действующей параллельно оси х на высоте Нх от нее (см. рис. 17, б).
Рис. 17. Расчетные схемы нагрузок, действующих в одной плоскости: а - вертикальная сила Nd, горизонтальная сила Fd и момент Мd; б - вертикальная сила Nd и горизонтальная сила Fd на высоте Нх Вертикальная ось у проходит через центр тяжести поперечных сечений одиночного фундамента или центр свайного основания группового фундамента. Горизонтальные оси х и z расположены на уровне расчетной поверхности грунта (для одиночного фундамента) или на уровне низа конструкции опоры, а при наличии ростверка - на уровне подошвы его плиты (для группового свайного и раздельного фундаментов). 7.9. В общем случае нагрузку, одновременно действующую в нескольких плоскостях, проходящих через вертикальную ось фундамента (косая нагрузка), приводят (рис. 18, а): а) к вертикальной силе Nd, равной сумме проекций сил на вертикальную ось у фундамента, действующей вдоль оси у; б) к горизонтальной силе Fdx, равной сумме проекций сил на горизонтальную ось х, действующей вдоль оси х; в) к горизонтальной силе Fdz, равной сумме проекций сил на горизонтальную ось z, действующей вдоль оси z; г) к моменту Мdz, равному сумме моментов сил относительно оси z; д) к моменту Мdx, равному сумме моментов сил относительно оси х.
Рис. 18. Расчетные схемы нагрузок, действующих в двух плоскостях: а - вертикальная сила Nd - горизонтальные силы Fdx и Fdz, моменты Мdx и Мdz; б - вертикальная сила Nd и горизонтальные силы Fdx и Fdz - действующие соответственно на высоте Нх и Нz Сила Fd, действующая вдоль оси х, и момент Мdz относительно оси z могут быть заменены силой Fdх (той же величины), действующей параллельно оси х на высоте Нx от нее
Аналогично сила
7.10. При нагрузке, равнодействующая которой расположена в одной вертикальной плоскости симметрии фундамента, устойчивое закрепление его в грунте считают обеспеченным, если величины расчетного момента Мd и расчетной вертикальной силы Nd удовлетворяют условиям Мd £ Mf; (61) Nd £ Nf, (62) где Mf - расчетная несущая способность фундамента по грунту на действие момента или горизонтальной силы, приложенной на высоте Н; Nf - расчетная несущая способность фундамента по грунту на действие вертикальной силы. 7.11. В общем случае при нагрузке, одновременно действующей в нескольких плоскостях, проходящих через вертикальную ось фундамента, устойчивое закрепление фундамента в грунте считается обеспеченным, если величины расчетного момента Мdz и расчетной вертикальной силы Nd внешних нагрузок удовлетворяют условиям Мdz £ Nd £ Nf, (64) где 7.12. Расчет железобетонных и бетонных элементов конструкций фундаментов по прочности, деформациям, образованию и раскрытию трещин следует производить в соответствии с требованиями главы СНиП по проектированию бетонных и железобетонных конструкций. 7.13. Ширина раскрытия трещин при расчете конструкций железобетонных фундаментов со стержневой арматурой не должна превышать 0,2 мм. 7.14. Прочность конструкции сборных железобетонных элементов фундаментов должна быть проверена на действие нагрузок, возникающих при транспортировании и монтаже. РАСЧЕТ ОДИНОЧНЫХ ПРИЗМАТИЧЕСКИХ ФУНДАМЕНТОВ Определение расчетной несущей способности фундамента при нагрузке, действующей в одной вертикальной плоскости 7.15. Значение Мf расчетной несущей способности заданного фундамента по грунту на действие момента при нагрузке, равнодействующая которой расположена в одной вертикальной плоскости симметрии фундамента, вычисляют по формуле: Мf = М°'/gcfgcogcvgccgcrgcl, (65) где М°' - значение расчетной несущей способности условного фундамента по грунту на действие горизонтальной нагрузки или изгибающего момента, приведенное к уровню условного обреза фундамента (п. 7.16); gcf - коэффициент условий работы, учитывающий влияние формы поперечного сечения призматического фундамента (п. 7.17); gco - коэффициент условий работы, учитывающий влияние очертания поверхности грунта в месте расположения фундамента (п. 7.18); gcv - коэффициент условий работы, учитывающий влияние вибрации (колебаний) грунта около фундамента от проходящих поездов (п. 7.19); gcc - коэффициент условий работы, учитывающий влияние повышенного уплотнения грунта, имеющего место при забивке фундамента (п. 7.20); gcr - коэффициент условий работы, учитывающий влияние верхнего строения пути (п. 7.21); gcl - коэффициент, условий работы, учитывающий долю постоянной нагрузки в суммарной (п. 7.22). 7.16. Значение М°' расчетной несущей способности условного фундамента относительно уровня условного обреза фундамента определяют из условия:
где Мо - значение расчетной несущей способности условного фундамента относительно расчетной поверхности грунта (п. 7.23); Н' - высота приложения равнодействующей горизонтальной нагрузки относительно уровня условного обреза фундамента; Н - то же относительно расчетной поверхности грунта (п. 7.5). 7.17. Значения коэффициента условий работы gcf принимают равными: а) для одиночных фундаментов без лежней при форме поперечного сечения в виде: прямоугольника - 1,0; круга или кольца - 0,9; двутавра - 1,1; трехлучевого - 0,9; в) для сдвоенных фундаментов, расположенных вдоль пути: при нагрузке, действующей вдоль оси пути - 1,1 (при ширине фундамента, равной размеру поперечного сечения фундамента, измеренного в направлении, перпендикулярном оси пути); при нагрузке, действующей поперек оси пути - 1,0 (при удвоенной ширине фундамента, равной размеру поперечного сечения сдвоенного фундамента между его наружными гранями, измеренного в направлении вдоль оси пути). 7.18. Значения коэффициента условий работы gco при нагрузке, действующей в плоскости, перпендикулярной бровке земляного полотна, определяют по следующим таблицам. При расположении фундамента на площадке (рис. 19, а) и нагрузке, действующей в сторону откоса, - по табл. 29, при нагрузке, действующей в сторону площадки, - по табл. 30. При расположении фундамента на откосе (см. рис. 19, б), при нагрузке, действующей в сторону откоса, - по табл. 31. при нагрузке, действующей в противоположную сторону, - по табл. 32. При определении gco конфигурацию грунта, отличающуюся от изображенной на схемах (см. рис. 19), следует приводить к этим схемам.
Рис. 19. Значение коэффициента усо, при нагрузке, действующей в плоскости, перпендикулярной оси пути, при расположении фундамента: а - на площадке; б - на откосе При нагрузке, действующей в плоскости, параллельной бровке земляного полотна, значение gсо принимают равным 1.
7.19. Значения коэффициента условий работы gcv при наличии колебании грунта около фундамента от проходящих поездов, т.е. для опор контактной сети, устанавливаемых в теле земляного полотна главных путей, принимают равными 0,9, а при отсутствии колебаний gcv = 1. 7.20. Значения коэффициента условий работы gсс принимают: а) для фундаментов, установленных в котлованы, отрытые вручную, буровой машиной или иным способом (закапываемых) gсс = 1; б) для свайных фундаментов сплошных сечений и пустотелых, забитых с закрытым концом, gсс = 1,2; в) для свайных фундаментов пустотелых, забитых с открытым концом, двутавровых и трехлучевых gсс = 1,1; г) для опор с обратной комичностью, устанавливаемых в выштампованные котлованы gсс = 1,30. 7.21. Значения коэффициента условий работы gсr принимают: а) во всех случаях при расположении фундамента за кюветом или при расстоянии от оси ближайшего пути до ближайшей грани фундамента более 4 м, или при моменте, действующем в плоскости, параллельной оси пути, gсr = 1; б) и остальных случаях: при моменте, действующем в сторону пути, и расстоянии от оси ближайшего пути до передней грани фундамента менее 3,2 м gсr = 1,2; от 3,2 до 4 м gсr = 1,1; при моменте, действующем в сторону поля, и расстоянии от оси ближайшего пути до ближайшей грани фундамента до 4 м gсr = 1,1. 7.22. Значение коэффициента условий работы gt определяют по формуле:
где x - коэффициент, характеризующий долю расчетной постоянной нагрузки в суммарной, определяемый: а) при моментах Мdс и Мdt, действующих в одном направлении
Формула (68) применима при Hc ³ d и Ht ³ d, т.е. в подавляющем большинстве практических случаев расчета фундаментов опор контактной сети; в остальных случаях:
б) при моментах Мdc и Мdt, действующих в противоположных направлениях при Мdc < Мdt, gct = 2, если Мdc > Мdt, расчет производят только на действие момента Мdc при gсt = 0,52. Здесь Мdc и Нс - соответственно расчетный момент Мd и плечо Нc только постоянной нагрузки, входящей в расчетную комбинацию; Мdt и Нt - то же, только временной нагрузки, d - расчетная глубина фундамента (п. 7.24); go - расстояние от расчетной поверхности грунта до оси поворота фундамента при действии на него расчетной комбинации нагрузок. 7.23. В качестве условного фундамента принимают призматический фундамент прямоугольного поперечного сечения (без лежней или с лежнями), закопанный на горизонтальной площадке, при отсутствии в непосредственной близости железнодорожного пути и при нагрузке, в которой доля постоянной составляет 35 % (x = 0,35). Таким образом, для условного фундамента: gcf = gco = gcv = gcc = gcr = gct = 1. Размеры поперечного сечения условного фундамента принимают по табл. 33. 7.24. Условный фундамент имеет размеры: bf - размер поперечного сечения в направлении, перпендикулярном плоскости действия нагрузки; af - размер поперечного сечения в направлении, параллельном плоскости действия нагрузки. За расчетную глубину d принимают расстояние от расчетной поверхности грунта (п. 7.5) до подошвы фундамента. При свайном фундаменте, имеющем заострение, изменяющее ширину bf, за расчетную глубину d принимают расстояние от расчетной поверхности грунта до середины заострения. 7.25. Значение Mf расчетной несущей способности фундамента по грунту на действие момента, помимо формулы (65) может быть определено также из следующего выражения Мf = Мo¢gccgctgcg, (70) где gсg - обобщенный коэффициент условий работы. gсg = gcfgcvgccgcr (71)
bf; аf - размеры поперечного сечения. Значение коэффициента gсg можно принимать по табл. 34. Таблица 34
Примечания: 1. Для фундаментов, расположенных вне зоны колебаний грунта от проходящих поездов, значения коэффициентов, приведенных в таблице, следует делить на 0,9. 2. Значения коэффициентов gсg в таблице даны для фундаментов без лежней. При фундаментах с лежнями значения gсg принимают по графе 3, независимо от формы поперечного сечения фундамента. 7.26. Значение Nf расчетной несущей способности фундамента в грунте против просадки на действие вертикальной силы для закапываемых фундаментов определяют по формуле: Nf = kg(gcvPdtg + sfAf), (72) где kg - коэффициент однородности, учитывающий возможное отличие фактических характеристик грунта от их нормативных значений, принимаемых равным 0,7; Af - площадь подошвы фундамента; Р - периметр поперечного сечения фундамента; для фундамента таврового, двутаврового или трехлучевого сечений периметр определяют по контурам, показанным на рис. 20 жирными линиями; tg - предельное значение удельного сопротивления трения грунта по вертикальной поверхности фундамента. Если фундамент опирается на плиту, уложенную на грунт, за Аf принимают площадь плиты в плане. Значение sf в формуле (72) принимают по табл. 35, tg = 10 кН/м2.
Рис. 20. Расчетный периметр фундаментов: а - таврового; б - двутаврового; в - трехлучевого сечения
Проверку закрепления свайных фундаментов в грунте против просадки по формуле (72), как правило, производить не требуется, а поэтому значение расчетной несущей способности фундамента на действие вертикальных сил для таких фундаментов не определяют. В отдельных случаях (при большой вертикальной силе и слабых грунтах) значение Nf находят по формуле: Nf = kgSu,c, (73) где Su.c определяют по формуле (128) п. 7.59. Помимо проверки несущей способности фундаментов в грунте против осадки производят также проверку закопанных и свайных фундаментов, установленных в районах распространения вечной мерзлоты и глубокого сезонного промерзания, на выпучивание (пп. 7.111 - 7.119). Определение Мо для условного фундамента 7.27. Расчетная схема условного фундамента без лежней, расположенного в однородном по несущей способности слое грунта, принятая для определения М°, изображена на рис 21. На фундамент действуют: а) горизонтальная сила б) вертикальная сила No, принимаемая равной расчетной вертикальной силе Nd (включающей вес фундамента), No = Nd; (74)
Рис. 21. Расчетная схема уставного призматического фундамента в) напряжение sу давления грунта на переднюю грань фундамента (на участке от g = 0 до g = gо) и на заднюю грань фундамента (на участке от g = gо до g = d), величина которых в каждой точке этих граней прямо пропорциональна глубине g расположения этой точки от расчетной поверхности грунта
где Rg - коэффициент пропорциональности, представляющий собой расчетное сопротивление грунта на глубине g = 1 в условиях пространственной задачи (при ширине фундамента, равной bf), bf - размер поперечного сечения фундамента в направлении, перпендикулярном плоскости действия нагрузки; г) нормальное напряжение Rgsb давления грунта на участок подошвы фундамента аb. Расстояние от расчетной поверхности грунта до оси поворота фундамента обозначено через gо, эксцентриситет силы давления грунта на подошву фундамента - через е. 7.28. Значение коэффициента пропорциональности Rg кН/м2, характеризующего изменение давления sg с глубиной при bf ³ 0,3 м, определяются по формуле Rg = kgRu(bf + Cf), (76) а при bf < 0,3 м - по формуле
где Ru - коэффициент пропорциональности (кН/м3), представляющий собой предельное (нормативное) сопротивление грунта на глубине g = 1 в условиях плоской задачи (при ширине фундамента, равной bf = 1); Сf - характеристика грунта, м, учитывающая пространственную работу фундамента. 7.29. Значения характеристик грунтов Ru и Сf, принимаемые при расчете одиночных фундаментов, а также значения sf для закапываемых фундаментов приведены в табл. 35. Эти значения предусматривают послойное уплотнение грунта засыпки котлована (отрытых вручную, буровой машиной или иным способом) до плотности окружающего грунта. Наименование грунта устанавливают по крупности частиц (для песков), по числу пластичности и его природной влажности (для супесей, суглинков и глины) в соответствии с классификацией грунтов, приведенной в ГОСТ 25100-82. 7.30. Расчетная несущая способность М° условного фундамента с лежнями, расположенного в двух различающихся по несущей способности слоях грунта (рис. 22), определяют по следующим формулам: а) когда ось поворота фундамента расположена в пределах верхнего слоя
Рис. 22. Расчетная схема фундамента с лежнями: 1 - граница верхнего и нижнего слоев грунта б) когда ось поворота фундамента расположена в пределах нижнего слоя
где d1 - расчетная толщина верхнего слоя (т.е. расстояние от расчетной поверхности грунта до подошвы верхнего слоя); Pt и Рd - расчетные сопротивления соответственно верхнего и нижнего лежней действию горизонтальной нагрузки (см п. 7.33); R1 и R2 - значение коэффициентов пропорциональности, характеризующих изменение давления грунта с глубиной, определяемые по формулам (76) и (77), соответственно для верхнего и нижнего слоя, dt и dd - глубины расположения от расчетной поверхности грунта соответственно верхнего и нижнего лежней. Уравнения (78) и (79) решают путем последовательных приближений. При наличии одного лишь верхнего лежня в формулы (78) или (79) следует подставлять значение Рd = 0, а при наличии одного лишь нижнего Pt = 0. 7.31. Формула (78) применима при выполнении условия dt £ go £ d1, (80) где gо - глубина расположения оси поворота фундамента, определяемая по формуле
При невыполнении левого неравенства условия (80), т.е. при dt > go, значение Мо следует определить по формуле
Невыполнение правого неравенства условия (80), т.е. при gо > d1, свидетельствует о том, что ось поворота фундамента расположена в пределах нижнего слоя и фундамент следует рассчитывать по формуле (79). 7.32. Формула (79) применима, когда выполняется условие d1 £ go £ dd. (83) Здесь gо определяется по формуле
При невыполнении правого неравенства условия (83), т.е. при gо > dd значение М° следует определять по формуле
При использовании формулы (82) go = dt, а при использовании формулы (85) go = dd. При отсутствии нижнего лежня должно выполняться условие d1 £ go £ d. 7.33. Расчетные сопротивления лежней Pt и Pd определяют по формулам: Pt = Rtd¢t(lt – bf); (86) Pd = Rdd¢d(lt – b1), (87) где Rt и Rd - значения коэффициентов пропорциональности, определяемые подстановкой соответственно bt и bd вместо bf в формулы (76) и (77); lt и ld - длины соответственно верхнего и нижнего лежней; bt и bd - ширина соответственно верхнего и нижнего лежней; bf - ширина опоры в месте установки соответственно верхнего и нижнего лежней; d¢t и d¢d - глубина расположения рабочей грани соответственно верхнего и нижнего лежней (от фактической поверхности грунта). 7.34. При расчете фундамента без лежней, находящегося в однородном слое и с одинаковой несущей способностью, характеризующейся по всей глубине d коэффициентом пропорциональности Rg (п. 7.27) в формулах (78) и (79) следует принимать d1 = d и R1 = R2 = Rg, а Рt = Pd = 0. В этом случае расчет условного фундамента производят по формуле
где gо - определяется по формуле
е - эксцентриситет силы
давления грунта по подошве фундамента для закопанных фундаментов при е = 0,4аf, (90) Фундаменты с учетом коничности в подземной части рекомендуется рассчитывать по методике, приведенной в приложении 6. Для закопанных фундаментов
при
Здесь аf-размер поперечного сечения фундамента (вдоль направления действия нагрузки); bf-размер поперечного сечения фундамента в направлении, перпендикулярном плоскости действия нагрузки; kg и sf - те же значения, что в формуле 72 (см. п. 7.26). 7.35. Формула (88) применима при выполнении условия
7.36. При H ³ 0,75d, необходимость решения уравнения (88) способом последовательных приближений при определении М° устраняется. В данном случае можно использовать следующую приближенную формулу М° = (0,1Rgd3 + Nde)h, (93) где h - коэффициент, учитывающий
влияние плеча Н на величину момента,
принимаемый по графику, приведенному на рис. 23 в зависимости от отношения
Рис. 23. Определение коэффициента h, учитывающего влияние плеча Н на величину момента 7.37. В пучинистых грунтах районов распространения вечной мерзлоты и глубокого сезонного промерзания расчет несущей способности одиночных призматических фундаментов при действии горизонтальной нагрузки выполняют в соответствии с пп. 7.98 - 7.110. Определение несущей способности фундамента при нагрузке, одновременно действующей в нескольких плоскостях 7.38. Значение
где Мfz - значение расчетной несущей способности фундамента по грунту на действие момента (п. 7.15) при нагрузке, равнодействующая которой расположена в плоскости ху, и плече горизонтальной силы, равном Нх; Мfx - значение расчетной несущей способности фундамента по грунту на действие момента (п. 7.15) при нагрузке, равнодействующая которой расположена в плоскости уz, и плече горизонтальной силы, равном Hz. 7.39. Значение Мfz и Мfx определяют по формулам, приведенным выше, для случаев, когда нагрузка действует в одной вертикальной плоскости симметрии фундамента. При определении каждого из них учитывают полное значение вертикальной силы Nd. При заданном значении расчетной
несущей способности фундамента по грунту на действие момента в одной плоскости,
например, момента
Значение Nf расчетной несущей способности фундамента по грунту на действие вертикальной силы вычисляют в соответствии с п. 7.26. Определение внутренних усилий в сечениях призматических фундаментов 7.40. Продольную силу в поперечных сечениях фундамента (по всей его длине) принимают равной вертикальной силе Nd. Изгибающий момент, действующий в поперечных сечениях фундамента без лежней на глубине у от расчетной поверхности грунта, от приложенной на высоте Н горизонтальной силы F может быть определен по формуле
где
Наибольшее значение изгибающего момента Мmax, действующего в поперечных сечениях фундамента, вычисляют по формуле (96) при y = y1, где y1 определяется уравнением
Значения глубин yо и y1 приведены в табл. 36. Эпюра изгибающих моментов My, построенная с использованием формулы (96), показана на рис. 24, а.
Рис. 24. Эпюра усилий в поперечных сечениях призматического фундамента и давлений грунта по его боковой поверхности: а - изгибающих моментов Му; б - поперечных сил Qу; в - давлений грунта qy
7.41. Поперечная сила Qy, действующая в поперечном сечении фундамента без лежней на глубине у от расчетной поверхности грунта от приложенной на высоте Н горизонтальной силы, может быть определена по формуле
Наибольшее значение поперечной силы Qmax, действующее на глубине уo, определяют по формуле
Эпюра поперечных сил Qy, построенная с использованием формулы (99), показана на рис. 24. 7.42. Интенсивность давления грунта qy, действующая по боковой поверхности фундамента без лежней на глубине у от расчетной поверхности грунта, может быть определена по формуле
Значение интенсивности
давления грунта, действующего на глубине
Эпюра давления грунта qу, построенная с использованием формулы (101), показана на рис. 24, в. На это давление грунта рассчитывают, например, полки двутавровых (или коробчатых) фундаментов (рис. 25, а); полки трехлучевых фундаментов рассчитывают на давление грунта, равное qу cos a (рис. 25, б). 7.43. При величине горизонтальной
силы F = 0 (т.е. при действии на
фундамент чистого момента) в формулах (96),
(99) - (103) принимают следующие
значения: глубина Определение внутренних усилий в сечениях опор с обратной коничностью в подземной части рекомендуется определять по методике, приведенной в приложении 6.
Рис. 25. Интенсивность давления грунта на полки фундамента: а - двутаврового; б - трехлучевого 7.44. Лежни рассчитывают на давление грунта, отнесенное к единице длины лежня, равное для верхнего лежня
для нижнего
где
Ag = bfd2 + (lt – bf)b2t + (ld – bf)b2d; (107) Bg = bfd3 + (lt – bt)b3t + (ld – bf)b3d; (108) Cg = bfd4 + (lt – bf)b4t + (ld – bf)b4d; (109) здесь lt; bt; ld и bd имеют те же значения, что и в п. 7.33. При наличии только одного верхнего лежня в формулах (107) - (109) значения (ld – bf) = 0; при наличии только нижнего лежня в этих же формулах значения (lt – bf) = 0. РАСЧЕТ СТУПЕНЧАТЫХ ФУНДАМЕНТОВ Определение несущей способности фундамента 7.45. Значение Мf расчетной несущей способности заданного фундамента по грунту на действие момента при нагрузке, равнодействующая которой расположена в одной вертикальной плоскости симметрии фундамента, вычисляют по формуле
где М° - значение расчетной несущей способности условного фундамента по грунту на действие момента (п. 7.51); Nd - вертикальная нагрузка, включая массу фундамента и грунта на его уступах, ограниченную вертикальными плоскостями, проходящими через наружные грани нижнего уступа; Gw - вес клина грунта со стороны задней грани фундамента (рис. 26), ограниченная наклонными гранями обелиска (при условии установки фундамента на площадке); G¢w - вес части клина грунта со стороны задней грани фундамента (см. рис. 26), отсекаемая откосом земляного полотна (при условии установки фундамента на откосе); f и f¢ - расстояние от оси фундамента до центра тяжести соответственно клина грунта Gw и G¢w; gco - коэффициент условий работы, учитывающий влияние очертания поверхности грунта и места установки фундамента (п. 7.18); ycv- коэффициент условий работы, учитывающий влияние вибрации (колебаний) грунта около фундамента от проходящих поездов (п. 7.47); yct - коэффициент условий работы, учитывающий долю постоянной нагрузки в суммарной (п. 7.22). В качестве условного фундамента принимают фундамент заданных размеров, закопанный на горизонтальной площадке, при отсутствии в непосредственной близости железнодорожного пути и при нагрузке, в которой доля постоянной составляет 35 % (x = 0,35). Таким образом, для условного фундамента yсо = ycv = yct = 1. 7.46. При определении величины Gw и G'w тангенс угла наклона граней клина грунта к вертикали принимают равным v (п. 7.81). 7.47. Значение коэффициента ycv при наличии колебаний грунта около фундамента от проходящих поездов принимают равным 0,95, а при отсутствии колебаний ycv = 1. 7.48. Значение
Рис. 26. Схема распределения массы грунта на уступах ступенчатого фундамента: а - на площадке; б - на откосе 7.49. Значение Nf расчетной несущей способности фундамента по грунту на действие вертикальной силы вычисляют по формуле Nf = kgsfAf, (111) здесь kg; sf; Af - те же значения, что в формуле (72) (см. п. 7.26). Определение М° для ступенчатого фундамента 7.50. Расчетная схема условного ступенчатого фундамента, принятая для определения М°, приведена на рис. 27. В схеме приняты следующие обозначения:
Рис. 27. Расчетная схема ступенчатого фундамента: 1 - расчетная поверхность грунта; 2 - ось поворота фундамента n - общее число участков фундамента, различающихся шириной в направлении, перпендикулярном плоскости действия нагрузки; i - номер участка, в пределах которого расположена ось поворота фундамента; d1; d2;…;dк; dn - расстояния от расчетной поверхности грунта до нижних границ 1-го, 2-го, к-го, n-го участков соответственно; b1; b2; …; bк; bn - ширины границ 1-го, 2-го, к-го и n-го участков соответственно в направлении, перпендикулярном плоскости действия нагрузки; af - размер подошвы фундамента в направлении, параллельном плоскости действия нагрузки; R1; R2; …; Rк; Rn - значения коэффициентов пропорциональности Rк (см. п. 7.53) для 1-го, 2-го, к-го и n-го участков соответственно; F1 - равнодействующая давления грунта на передние грани фундамента, расположенные выше i-го участка; F2 – равнодействующая давления грунта на задние грани фундамента, расположенные ниже i-го участка; d1; d2 - плечи соответственно сил F1 и F2 относительно точки 0 (пересечения вертикальной оси фундамента с расчетной поверхностью грунта). При нумерации участков отдельным номером обозначается по высоте фундамента каждый участок, имеющий одинаковую ширину независимо от того, меняется ли в пределах этого участка размер горизонтального поперечного сечения фундамента в направлении, параллельном плоскости действия нагрузки. 7.51. Расчет условного фундамента на нагрузку, действующую в одной из вертикальных плоскостей его симметрии, производят по формуле
7.52. Значения е; F1; F2; F1a1; F2a2, входящие в уравнение (112), определяют по формулам
При к = 1 значение dк-1 = 0. 7.53. Значения коэффициентов пропорциональности Rк, входящих в уравнения (112) и (114) - (117), определяют по формуле Rк = kgRu(bк + сf). (118) 7.54. Значения характеристик грунтов Ru; сf и sf при расчете ступенчатых фундаментов принимают по табл. 35. 7.55. Уравнение (112) решают путем последовательных приближений. Расчет выполняют в следующем порядке: а) делают предположение о том, в пределах какого участка расположена точка поворота фундамента, т. е. какой участок следует считать i-м; б) по формуле (112) при значении i определяют величину М°, которая должна удовлетворять условию
в) если условие (119) не выполняется, то, следовательно, участок был выбран неверно. За i-й в этом случае следует принять другой участок и расчет повторить. При этом в случае невыполнения левого неравенства условия (119) рекомендуется за i-й принять участок, расположенный более высоко, а в случае невыполнения правого неравенства - более низко. 7.56. Ориентировочно в качестве i-го участка можно принимать тот, в пределах которого расположена точка поворота фундамента при плече горизонтальной силы H = ¥. В этом случае искомый i-й участок может быть определен как удовлетворяющий неравенствам FS - 2F2 > 0; FS - 2F2 – Ri(d2i – d2i-1) < 0, (120) где FS - полная площадь эпюры sкbк горизонтального давления грунта на фундамент (на его передние и задние грани);
7.57. Расстояние уа от расчетной поверхности грунта до оси поворота фундамента может быть определено по формуле
РАСЧЕТ ГРУППОВЫХ ФУНДАМЕНТОВ НА ВЕРТИКАЛЬНЫХ СВАЯХ Определение расчетной несущей способности фундамента при нагрузке, действующей в одной вертикальной плоскости симметрии 7.58. Значение Мf расчетной несущей способности группового свайного фундамента по грунту (рис. 28) на действие момента равно меньшей из величин, определяемых по формулам:
где Sut - предельное сопротивление одной растянутой сваи (п. 7.59); Suc - то же сжатой (п. 7.59); Nd - расчетная вертикальная нагрузка, действующая на фундамент (включая массу плиты ростверка и свай); np - число сваи в фундаменте; х; z - расстояния от главных осей плана до оси каждой сваи; xt; zt - расстояния от главных осей плана свай до оси наиболее удаленной растянутой сваи; хс; zс - то же сжатой; kt - коэффициент однородности, учитывающий возможное отличие фактических характеристик грунта от нормативных значении для растянутой сваи (п. 7.65); kc - то же сжатой (п. 7.65); gcv - коэффициент условий работы (см. п. 7.19); gc3 - коэффициент условий работы, учитывающий условность расчетной схемы фундамента, по которой предполагается шарнирное прикрепление голов свай к опоре или плите ростверка (п. 7.66); gc4z -коэффициент условий работы, учитывающий различную податливость рядов сжатых и растянутых свай, расположенных параллельно оси z (124); gc4x - то же рядов свай, расположенных параллельно оси х (п. 7.67). Формулы (123) и (125) соответствуют случаю, когда предельное состояние фундамента наступает в результате исчерпания несущей способности растянутой сваи, а формулы (124) и (126) - сжатой. 7.59. Значения предельных сопротивлений Sut и Suc для забивных свай Sut = Pplttp; (127) Suc = Pplñtp + sрАр; (128) lt и lс - расчетные длины соответственно растянутой и сжатой свай; Рр - периметр поперечного сечения сваи, при сваях таврового и двутаврового сечений периметр определяют по контурам, показанным на рис 20 жирными линиями, tр - предельные значения удельного сопротивления трению грунта по боковой поверхности сваи; sр - предельное значение давления грунта по основанию сваи; Ар - площадь поперечного сечения сваи. Для свай кольцевого сечения, погружаемых с открытым нижним концом, площадь Ар определяют, как для свай сплошного сечения. 7.60. Длину lt (или lс) сваи в грунте принимают равной расстоянию (по вертикальной оси сваи) от поверхности грунта (а при верхнем насыпном неуплотненном слое, например, песчаного балласта, шлака, - от нижней поверхности этого слоя) или при наличии ростверка с плитой, заглубленной в грунт, - от подошвы плиты до начала заострения нижнего конца сваи, а при отсутствии острия - до подошвы сваи. Длина lt растянутых свай не должна быть меньше 4 м. Расстояние между сваями следует принимать не менее двух диаметров (размеров поперечного сечения) свай. 7.61. При расчете свайного фундамента в зависимости от глубины свай в грунте значения sр принимают по графику (рис. 29), а значения tр - по графику (рис. 30). 7.62. Для свай, погруженных вибраторами, значения tр умножают на коэффициент a1 равный: Для песков 1,1 Для супесей 0,9 Для суглинков 0,8 Для глин 0,7 Для забитых свай коэффициент a1 = 1 7.63. Для свай, погруженных
в направляющие скважины, образованные бурением или трубой, погружаемой вибропогружателем,
с выемкой грунта, значение tр умножают на коэффициент a2, принимаемый по графику (рис. 31) в зависимости от отношения При учете коэффициента a2 принимают коэффициент a1 = 1. 7.64. Для свай, погруженных в направляющие скважины, образованные трубой с закрытым концом (без выемки грунта), принимают коэффициент a2 = 1 При этом значение tр умножают на коэффициент a1, значения которого приведены в п. 7.62.
Рис. 28. Схема группового свайного фундамента: 1 - сваи; 2 - уровень низа конструкции опоры или подошвы плиты ростверка 7.65. Значения коэффициентов однородности kt и kc принимают kt = 0,5; kc = 0,7. 7.66. Значения коэффициентов условий работы gс3 принимают равными: при прикреплении голов свай к опоре или плите ростверка болтами gс3 = 1;
Рис. 29. Значение sр для свайного фундамента: 1 - гравелистые и крупные пески, твердые супеси, суглинки и глины; 2 - пески средней крупности; 3 - мелкие пески и тугопластичные супеси, суглинки и глины; 4 - пылеватые пески и мягкопластичные супеси, суглинки и глины; 5 - текучепластичные супеси, суглинки и глины
Рис. 30. Значение tр для свайного фундамента: 1 - гравелистые, крупные и средней крупности (забивка без подмыва) пески, твердые супеси, суглинки и глины; 2 - мелкие и пылеватые (забивка без подмыва) пески, тугопластичные супеси, суглинки и глины; 3 - гравелистые, крупные и средней крупности (забивка с подмывом) пески; 4 - мягкопластичные супеси, суглинки и глины; 5 - мелкие и пылеватые (забивка с подмывом) пески; 6 - текучепластичные супеси, суглинки и глины; 7 - илы
Рис. 31. Определения значения коэффициента a2 при заделке голов свай в плиту ростверка, не заглубленную в грунт, gс3 = 1,2; при заделке голов свай в плиту ростверка, заглубленную в грунт, gс3 = 1,4. 7.67. Значения коэффициентов условий работы gс4z или gс4х приведены в табл. 37. Таблица 37
7.68. Значение Nf расчетной несущей способности свайного фундамента по грунту на действие вертикальной силы определяют по формуле Nf = kсSucnp, (129) где Suc - определяют по свае с наименьшим сопротивлением сжатию. Определение расчетной несущей способности фундамента при нагрузке, одновременно действующей в нескольких плоскостях 7.69. Значение
7.70. Значение
7.71. Значение Nf определяют в соответствии с п. 7.68. РАСЧЕТ ОТДЕЛЬНЫХ СВАЙ 7.72. Кроме расчета группового свайного фундамента (пп. 7.58 - 7.71), должны быть выполнены расчеты закрепления в грунте (против опрокидывания) и прочности отдельных свай фундамента при действии на каждую из них изгибающего момента Мр, горизонтальной силы Fр, продольной растягивающей силы Nt или сжимающей силы Nс, приложенных на уровне верха сваи (а при наличии ростверка - в уровне подошвы его плиты). 7.73. Расчет закрепления в
грунте (против опрокидывания) производят только для тех свай, у которых
отношение Этот расчет выполняют в соответствии с указаниями пп. 7.15 - 7.44. При растягивающей силе Nt в формулы (65) - (109) следует подставлять значение Nde = 0. 7.74. Значение продольной растягивающей силы Nt или сжимающей силы Nc, горизонтальной силы Fp и изгибающего момента Мр, действующих на каждую сваю (для фундамента с одной вертикальной плоскостью симметрии при наличии плиты ростверка) в уровне подошвы его плиты, определяют по формулам Nt = Q1t[Cs + Y(x - e)]; (134) Nc = Q1c[Cs + Y(x - e)]; (135) Fp = Q2as - Q3Y; (136) Мр = -Q3as + Q4Y, (137) где as - смещение плиты ростверка по направлению горизонтальной оси х (п. 7.75); Сs - то же по направлению вертикальной оси у (п. 7.75); Y - угол поворота плиты ростверка вокруг оси z (п. 7.75); х - расстояние от оси плана сваи до оси сваи, для которой определяют усилия; e - расстояние от оси плана сваи до упругого центра (п. 7.75); Qi - соответствующее усилие (продольная сила, горизонтальная сила или момент) в голове сваи при перемещении плиты ростверка на единицу в направлении этого усилия (п. 7.76). 7.75. Значение перемещений ростверка аs; Сs и Y определяют по формулам аs = k1Fd + k3(Md - Nde); (138) Cs = k4Nd - Ye; (139) Y = k3Fd + k6(Md - Nde); (140) где ki в формулах (138) - (140) k1 = D1rфф; (141) k3 = D1rаф; (142)
k6 = D1raa. (144) Здесь
Положение упругого центра определяют по формуле
В формулах (146) - (150)
знак Количество kt (растянутых свай в фундаменте) и mc (сжатых) определяют методом последовательных приближений. Для этого, задаваясь величинами kt и mc определяют по формуле (150) величину e. Если, подсчитанная таким образом величина e, определяющая границу растянутых и сжатых свай фундаментов, соответствует принятому в попытке количеству растянутых и сжатых свай, то попытка оказалась правильной. Если это условие не выполняется, то задаются новыми значениями kt и mc и расчет повторяют. 7.76. Значения величин Q1 для каждой сваи фундамента вычисляют по формулам Q1t = Q1c = Q2 = Q3 = Q4 = где Ер - модуль упругости материала сваи; Ар - площадь поперечного сечения сваи; Iр - момент инерции поперечного сечения сваи; lt, lc - расчетная длина растянутой или сжатой сваи при действии продольной силы (п. 7.77); lm - расчетная длина сваи при изгибе (п. 7.77). 7.77. Значение расчетных длин свай lt; lc; lm вычисляют по формулам
lm = lор + 5ар, (158) где lор - свободная длина сваи (от подошвы плиты ростверка до поверхности грунта); при ростверке, заглубленном в грунт, lор = 0; Nt - продольная растягивающая (близкая к расчетной) нагрузка на сваи; Nc - то же сжимающая нагрузка; dt - перемещение головы растянутой сваи при нагрузке Nt; dc - то же сжатой сваи при нагрузке Nc, аp - размер поперечного сечения сваи в направлении, параллельном плоскости действия нагрузки. Величины усилий Nt и Nc и соответствующие им продольные перемещения голов свай dt и dc устанавливают по результатам статических испытаний свай на растягивающую или сжимающую нагрузки. При отсутствии таких
результатов испытаний свай значения 7.78. При отношении длины
сваи в грунте к размерам ее поперечного сечения При а) продольной силе растянутых свай
Рис. 32.
Значение 1 - растянутых; 2 - сжатых б) продольной силе сжатых свай
в) изгибающему моменту, приближенно определяемому по формуле (96), где принимается d = lp, в тех случаях, когда lp >15ар, следует в формуле (96) принимать значение - d15ар. 7.79. Для районов распространения вечной мерзлоты и глубокого сезонного промерзания предельное сопротивление растянутых Sut и сжатых Suc свай определяют с учетом касательных сил морозного пучения грунта (пп. 7.111 - 7.119). В пучинистых грунтах низ ростверков располагают выше поверхности грунта. РАСЧЕТ РАЗДЕЛЬНЫХ ФУНДАМЕНТОВ 7.80. Значение Мfz, расчетной несущей способности раздельного фундамента на действие момента по грунту (рис. 33) при нагрузке, действующей в плоскости ху, принимают равным меньшей из величин, полученных по формулам (161) - (165): а) по условию выпирания грунта над плитой растянутого блока
б) по условию смятия грунта над плитой растянутого блока
в) по сопротивлению сжатого блока
В формулах (161) - (163) Sut - предельное сопротивление растянутого блока (п. 7.81); Suc - предельное сопротивление сжатого блока (п. 7.82); gcv - коэффициент условий работы (см п. 7.19); t - расстояние между центрами крепления опоры к блокам (см. рис. 33); lt; dt, lс и dc - размеры растянутого и сжатого блоков (см. рис. 33); G1 - сумма веса опоры и вертикальной составляющей от подвести; G2c и G2t - вес соответственно сжатого и растянутого блоков; G3с и G3t - вес грунта над уступами соответственно сжатого и растянутого блоков. При определении веса фундамента вес единицы объема его части, расположенной ниже уровня грунтовой воды, снижают на 10 кН/м3.
Рис. 33. Схема раздельного фундамента а - растянутый блок; б - сжатый блок 7.81. Значения Sut предельного сопротивления растянутого блока определяют: а) по условию выпирания грунта над плитой блока Sut = 0,5gd2t(2at + 2St + 2,7gdt)g + G2t + G3t; (164) б) по условию смятия над плитой блока Sut = 0,6(atSta¢tS¢t)(sf + 4dt – 12) + G2t, (165) где at; a't; St; S't - размеры (в плане) растянутого блока (см. рис. 33); g - коэффициент, принимаемый: пески крупные и средней крупности, глина, суглинки и супеси твердые 0,4 пески мелкие, глины, суглинки и супеси тугопластичные 0,33 пески пылеватые, глины, суглинки и супеси мягкопластичные 0,25; g - вес единицы объема грунта засыпки кН/м3. Значение sf принимают по табл. 35. Формулы (164) и (165) предусматривают послойное уплотнение грунта засыпки котлованов до плотности окружающего грунта. 7.82. Значение Suс предельного сопротивления сжатого блока Suс = (sf + 4dc – 2)acSc – G2t – G3t, (166) где dc - расчетная глубина сжатого блока; ас и Sс - размеры (в плане) растянутого блока (см. рис. 33). 7.83. Значение Мfx расчетной несущей способности фундамента по грунту при нагрузке, действующей в плоскости yz, определяют по формуле Мfx = Мft + Мfс, (167) где Мft; Мfс - значение расчетной несущей способности соответственно для растянутого и сжатого блоков фундамента по грунту в плоскости yz (п. 7.84). В случаях, когда конструкция прикрепления опоры к блоку исключает возможность передачи ему от опоры изгибающего момента в плоскости yz (например, при блоке, имеющем одну стойку, крепление опоры к которой осуществлено с помощью центрального болта), значение расчетного момента Мft и Мfс для этого блока при расчете по формуле (167) принимают равным нулю. 7.84. Значение Мft и Мfс определяют по формулам расчета ступенчатых фундаментов (102 - 114). Вертикальная ось такого фундамента совпадает с вертикальной осью рассчитываемого блока. Значения расчетной вертикальной силы Nd и эксцентриситета e принимают при расчете: а) для растянутого блока
б) для сжатого блока
7.85. Значение
При заданном значении расчетной
несущей способности фундамента по грунту в одной плоскости, например
Входящие в формулу (173) значения Мfz определяют по п. 7.80, а значение Mfx - по формуле (167). 7.86. При расчете прочности фундамента расчетную продольную силу в поперечных сечениях стоек принимают по всей длине постоянной и равной (рис. 34, a): а) для растянутого блока
б) для сжатого блока
Рис. 34. Схема сил для расчета прочности раздельного фундамента: a - расчетные схемы стоек; б - эпюры реакции грунта; 1 - растянутый блок; 2 - сжатый блок 7.87. Горизонтальные силы, приложенные к верху стоек блоков (см. рис. 34), принимают равными
7.88. Изгибающий момент в сечении стойки на глубине у от ее верха (см. рис. 34, а) при g £ lot + 4,5арr для растянутой стойки и g £ loc + 4,5арr для сжатой стойки определяют по формулам: а) для растянутого блока Mt = Nte¢t + Fty; (178) б) для сжатого блока Mс = -Nce¢c + Fcy, (179) где e¢t, и e¢c - эксцентриситеты вертикальных сил Nt и Nc в сечении стойки на глубине у. При g ³ lot + 4,5арr для растянутой стойки и g ³ loc + 4,5арr для сжатой стойки в формулу (178) вместо у подставляют lot + 4,5арr, а в формулу (179) вместо у подставляют loс + 4,5арr. Величина арr равна размеру среднего сечения стойки блока в плоскости действия внешнего момента Мd. 7.89. Усилия в плитах блоков при расчете их прочности определяют от вертикальных сил Nt (или Nс) и моментов Мt (или Мс), передаваемых плитам в центрах стоек блоков (см. рис. 34). Реакцию грунта при этом определяют по формулам внецентренного сжатия. 7.90. При проектировании блочных фундаментов допускается применение в одном фундаменте растянутых и сжатых блоков, подошва которых расположена на разной глубине. РАСЧЕТ АНКЕРОВ 7.91. Закрепление анкеров в грунте считается обеспеченным, если величина расчетного усилия Тd (рис. 35) удовлетворяет условию Тd £ Tf, (180) где Тf - значение расчетной несущей способности анкера по грунту. 7.92. Значение Тf несущей способности анкера по грунту принимают равным меньшей из величин:
где Nfa - расчетная несущая способность анкера по грунту на действие выдергивающего усилия (п. 7.93); Мfa - расчетная несущая способность анкера по грунту на действие момента, определяемая по формулам расчета одиночных призматических фундаментов (пп. 7.15 - 7.36), при этом подставляют значение Nd = 0; a - угол наклона усилия Тd к горизонтали; Ha - плечо силы Тd относительно расчетной поверхности грунта (см. рис. 35). При плече Ha = 0, т.е. при действии горизонтальной составляющей усилия в анкере в уровне расчетной поверхности грунта, значение Tf расчетной несущей способности анкера по грунту вместо формулы (182) следует определять из выражения
здесь Ffa - расчетная несущая способность анкера по грунту на действие горизонтальной силы (п. 7.94). 7.93. Значение Nfa расчетной несущей способности анкера по грунту на действие выдергивающего усилия определяют по формуле Nfa = kggcvPadatg + 0,9Ga; (184) kg - коэффициент однородности, принимаемый равным 0,5; gcv - коэффициент условий работы (см. п. 7.19); pa - периметр поперечного сечения анкера; при анкере таврового, двутаврового или трехлучевого сечений периметр определяют по контурам, показанным на рис. 20 жирными линиями; tg - предельное значение удельного сопротивления трения грунта по боковой поверхности анкера, принимаемое при закапываемом анкере по п. 7.26, а при свайном - по п. 7.61; Ga - вес анкера.
Рис. 35. Схема вертикального анкера: 1 - расчетная поверхность; 2 - анкер В пучинистых грунтах районов распространения вечной мерзлоты и глубокого сезонного промерзания при определении величины Nta необходимо учитывать касательные силы морозного пучения грунта (пп. 7.111 - 7.119). 7.94. Значение Ffa расчетной несущей способности анкера по грунту на действие горизонтальной силы (горизонтальной составляющей усилия в анкере) определяют по формуле Ffa = Foagccgctgcg, (185) где Foa - значение расчетной несущей способности условного анкера по грунту на действие горизонтальной силы (п. 7.95). 7.95. Значение F°a расчетной несущей способности условного анкера по грунту на действие горизонтальной силы при Ha = 0 определяют по формуле Foa =0,13Rdd3a, (186) где Rd - коэффициент пропорциональности (п. 7.28). 7.96. При расчете прочности анкера расчетные усилия в его поперечных сечениях подсчитывают по тем же формулам, по которым определяют внутренние усилия в сечениях призматического фундамента (пп. 7.40 - 7.44). При этом продольную силу в поперечных сечениях анкера (по всей его длине) принимают равной Nda = Tdsina (187) РАСЧЕТ ФУНДАМЕНТОВ ОПОР КОНТАКТНОЙ СЕТИ В ОСОБЫХ ГЕОЛОГИЧЕСКИХ УСЛОВИЯХ Расчет фундаментов опор контактной сети на горизонтальную нагрузку в пучинистых грунтах 7.97. Расчет фундаментов опор контактной сети на горизонтальную нагрузку (боковую устойчивость) в условиях вечной мерзлоты и глубокого сезонного промерзания следует выполнять для летних и зимних условий. 7.98. К районам с глубоким сезонным промерзанием относится территория Восточной Сибири (Забайкалье и Дальний Восток) с глубиной сезонного промерзания более 2 м. 7.99. Расчет одиночных призматических фундаментов, в том числе с лежнями и анкерными плитами (башмаками), в условиях вечной мерзлоты и глубокого сезонного промерзания выполняют в соответствии с указаниями, приведенными в пп. 7.15 - 7.44 с учетом следующих особенностей: а) при расчете фундаментов, установленных на откосе земляного полотна, для зимних условий учитывают горизонтальную составляющую силу морозного пучения грунта Fs, направленную нормально к боковой поверхности фундамента, приложенную на глубине, равной 1/3 активного слоя пучения hs (рис. 36); б) сопротивление грунта по подошве фундамента (или анкерной плиты) как для зимних, так и для летних условий не учитывают, т.е. принимают Nd = 0. 7.100. Значение Fs горизонтальной силы морозного пучения грунта
где smax - максимальное горизонтальное напряжение, вызванное морозным пучением грунта, действующее нормально к боковой поверхности фундамента (см. рис. 36), принимаемое по табл. 42; hs - глубина активного слоя пучения грунта, принимаемая равной 2/3 нормативной глубины промерзания hf или оттаивания ht согласно требованиям СНиП II-18-76; bf - ширина фундамента. 7.101. Значение Мf расчетной несущей способности призматических фундаментов по грунту на действие моментов внешних нагрузок для летних и зимних условий определяют по формуле (65) или (70). При определении величины несущей способности фундамента Мf и зависимости от соотношений глубин талого ht или мерзлого hf слоя грунта и глубины заложения фундамента d возможны следующие случаи заделки фундамента: а) для летнего периода: при наличии толщин талого слоя ht больше глубины заложения фундамента d на участках, где слой сезоннопромерзающего-оттаивающего грунта не сливается с вечномерзлой толщей или вечномерзлые грунты отсутствуют, т.е. ht > d; при наличии в пределах нижней зоны глубины заложения фундамента слоя вечномерзлого грунта на участках, где слой сезоннопромерзающего-оттаивающего грунта сливается с вечномерзлой толщей, т.е. при ht < d;
Рис. 36. Схема учета нормальной составляющей сил морозного пучения грунта на откосе б) для зимнего периода: при наличии в пределах нижней зоны глубины заложения фундамента d слоя талого грунта на участках, где слой сезоннопромерзающего-оттаивающего грунта не сливается с вечномерзлой толщей или вечномерзлые грунты отсутствуют, т.е. при hf < d; при наличии толщи мерзлого грунта hf больше глубины заложения фундамента на участках, где слой сезоннопромерзающего-оттаивающего грунта сливается с вечномерзлой толщей, т.е. при hf > d. 7.102. Для зимнего периода возможны два сочетания нагрузок: горизонтальная составляющая сил морозного пучения грунта Fs, действует в одном направлении с эксплуатационной нагрузкой Fo (рис. 37, а); горизонтальная составляющая сил морозного пучения грунта Fs действует в разных направлениях с эксплуатационной нагрузкой Fo (рис. 37, б). 7.103. Расчетную несущую способность Мf условного фундамента, расположенного в двух различающихся по несущей способности слоях грунта, определяют по следующим формулам: а) когда ось поворота фундамента расположена в пределах верхнего слоя
уо - глубина сил поворота фундамента, равная
б) когда ось поворота фундамента расположена в пределах нижнего слоя
где
где h1 - расчетная толщина верхнего слоя; Н - высота приложения равнодействующей горизонтальных эксплуатационных нагрузок (от расчетной поверхности грунта); R1; R2 - значения коэффициентов пропорциональности, характеризующих изменения давления грунта от глубины, соответственно для верхнего и нижнего слоев; Pt; Рd; Рр - расчетные сопротивления соответственно верхнего и нижнего лежней, а также анкерной плиты (башмака) действию горизонтальной нагрузки; dt; dd; dp - глубины расположения от расчетной поверхности грунта соответственно верхнего и нижнего лежней, а также анкерной плиты. 7.104. Формула (189) применима, когда выполняется условие dt £ yo £ h1. (193) Здесь yо определяют по формуле (190). При невыполнении левого неравенства условия (193) следует пользоваться формулой
Невыполнение правого неравенства условия (193) свидетельствует о том, что ось поворота фундамента расположена в пределах нижнего слоя и фундамент следует рассчитывать по формуле (191). 7.105. Формула (191) применима, когда выполняется условие h1 £ yo £ dp. (195) В данном случае уо находят по формуле (192). При невыполнении правого неравенства условия (195) следует пользоваться формулой
Рис. 37. Расчетная схема определения несущей способности фундамента па действие горизонтальной нагрузки Р: a - при действии нагрузки Р и силы Np в одном направлении; б - то же в разных направлениях; 1 - фактическая поверхность грунта; 2 - расчетная поверхность грунта При использовании формулы (194) yo = dt, а при использовании формулы (196) yo = dp. При наличии одного верхнего лежня в формулы (189) - (196) следует подставлять значение Рd = 0, а при наличии нижнего лежня Pt = 0; при установке опоры без анкерной плиты (башмака) следует принимать Рp = 0. 7.106. Формулы (189) - (196) применимы как при расчете фундаментов для летних, так и для зимних условий с учетом следующих положений: при расчете фундаментов для летних условий принимают Fs = 0; при расчете для летних условий принимают h1 = ht при наличии в пределах нижней зоны глубины заложения фундамента d слоя вечномерзлого грунта (п. 7.101); при расчете фундаментов для зимних условий принято направление Fs, совпадающее с направлением эксплуатационных нагрузок (см. рис. 37, а), когда Fs действует в разных направлениях с эксплуатационной нагрузкой (см. рис. 37, б), следует принимать величину Fs со знаком минус; при расчете для зимних условий принимают h1 – hf при наличии в пределах нижней зоны глубины заложения фундамента d слоя талого грунта (п. 7.101); при расчете фундаментов для летнего периода при ht > d и для зимнего при hf > d в пределах глубины заложения фундамента возможны случаи расположения фундамента как в одном слое грунта, обладающем по всей глубине d одинаковой несущей способностью, так и в двух различающихся по несущей способности слоях грунта. Например, для зимнего периода характеристики верхнего слоя мерзлого грунта в пределах деятельного слоя (сезонного промерзания) могут отличаться от характеристик нижнего слоя вечномерзлого грунта; при расчете фундаментов, находящихся в однородном слое с одинаковой несущей способностью, характеризующейся по всей глубине коэффициентом пропорциональности R, следует принимать h1 = d, R1 = R2 = Rg. 7.107. Значение коэффициента пропорциональности Rg (в том числе R1 и R2), характеризующего изменение давления грунта, как для летнего, так и для зимнего периода, определяют по формуле (76). 7.108. Значение характеристик Rut и Сt талого грунта для летнего и зимнего периодов принимают по табл. 38. Таблица 38
Примечание. Для неблагоприятных участков значения характеристик грунтов следует уменьшать на 25 %. 7.109. Значения характеристик Ruf, Сf и ssmax мерзлого грунта верхнего деятельного слоя (в пределах глубины сезонного промерзания-оттаивания) для зимнего периода принимают по табл. 39. Таблица 39
Примечание. В числителе приведены значения для условно-благоприятных участков, в знаменателе - для неблагоприятных. Классификация участков земляного полотна в зависимости от условий морозного пучения грунта, влияющих на устойчивость опор контактной сети, приведены в приложении 7. 7.110. Расчетное сопротивление лежней Pt и Рd, а также анкерной плиты Рp определяют по формулам: Pt = Rtdt(lt - bf); (197) Pd = Rddd(ld - bf); (198) Pp = Rpdp(lp - bf), (199) где lt; ld; lp - соответственно длина верхнего и нижнего лежней, а также размер анкерной плиты, определяемый перпендикулярно плоскости действия нагрузки; bf - ширина опоры соответственно в месте установки верхнего и нижнего лежней, а также анкерной плиты. Значение коэффициентов пропорциональности Rt, Rd и Rp определяют подстановкой в формулу (76) вместо величины bf соответственно ширины (размера по вертикали) верхнего и нижнего лежней bt и bd, а также анкерной плиты bр (см. рис. 37). Расчет фундаментов опор контактной сети па воздействие сил морозного пучения 7.111. Расчет фундаментов опор контактной сети на выпучивание выполняют в соответствии с требованиями СНиП II-18-76. Проверка устойчивости закопанных и свайных фундаментов опор контактной сети на выпучивание выполняется по формуле
где N - нормативное значение постоянной вертикальной нагрузки на опору; G - нормативное значение веса опоры и фундамента, включая вес грунта на уступах анкерной плиты (башмака); Qt - расчетное значение силы, удерживающей фундамент от выпучивания вследствие трения его о талый слой грунта; Qf - то же вследствие смерзания его с вечномерзлым грунтом; ts - нормативное значение касательной силы морозного пучения грунта; As - площадь боковой поверхности части фундамента, находящейся в пределах активной зоны пучения грунта; nv; п1 - коэффициенты перегрузки соответственно вертикальной постоянной нагрузки и массы конструкции с грунтом на уступах, принимаемые равными 0,9; g¢c - коэффициент условий работы, равный 1,0; noks - произведение коэффициентов соответственно перегрузки и снижения подъемной силы пучения грунта вследствие вертикального давления на нижележащие слои грунта от увеличивающегося в объеме промерзающего слоя пучинистого грунта, принимаемое равным: noks = 1,0 - для нераздельных центрифугированных конических опор и фундаментов с анкерными плитами (башмаки), noks = 1,1 - для призматических свайных фундаментов; gg - коэффициент надежности, принимаемый равным 1.1. 7.112. Нормативное значение касательной силы морозного пучения грунта ts принимают на основании опытных данных. При отсутствии опытных данных допускается принимать ts = 60 кН/м2 - на условно-благоприятных участках; ts = 80 кН/м2 - на неблагоприятных участках. 7.113. Площадь As = Pfhs, где Рf - периметр поперечного сечения части фундамента, находящейся в пределах активной зоны пучения грунта. Глубину активной зоны пучения грунта hs следует определять по п. 7.100. 7.114. При проверке устойчивости фундаментов опор контактной сети на выпучивание могут быть два расчетных случая: а) нижняя часть фундамента заделана в вечномерзлый грунт (рис. 38, а); б) нижняя часть фундамента находится в пределах талого слоя грунта (рис. 38, б). Для первого расчетного случая значения сил Qt и Qf определяют по формулам Qt = ttAt; (201) Qf = RсопAf + RdisAg, (202) где tt - расчетное сопротивление трения талого слоя грунта, принимаемое для закапываемых фундаментов по опытным данным; при отсутствии опытных данных допускается принимать: для глинистых грунтов 20, для песчаных 30 кН/м2; At - часть площади боковой поверхности трения талого слоя грунта, находящейся ниже глубины промерзания; Rсоп - расчетное сопротивление мерзлых грунтов сдвигу по поверхности смерзания с фундаментом, принимаемое по табл. 3 приложения 6 СНиП II-18-76; Rdis - расчетное сопротивление мерзлого грунта сдвигу по грунту, принимаемое по табл. 4 приложения 6 СНиП II-18-76; Аf - площадь поверхности сдвига смерзшегося грунта с поверхностью фундамента; Ag - площадь поверхности сдвига мерзлого грунта внутри грунтового массива. Для второго случая Qf = 0. 7.115. Для фундамента с анкерной плитой (башмаком) площади Af, At и Аg следует определять по формулам: At = Pp(hpf - hf); (203) Af = Ppbp; (204) Ag = Pp(d – hpf - bp), (205) где Рр - периметр горизонтального сечения анкерной плиты; hpf - глубина залегания поверхности вечномерзлого грунта. Для фундамента без анкерной плиты Ag = 0, a At и Af определяют по формулам At = Pf(hpf - hf); (206) Af = Pf(d - hpf), (207) где Рf - периметр поперечного сечения части фундамента, находящейся соответственно в пределах талого и вечномерзлого грунта.
Рис. 38. Расчетная схема на выпучивание фундамента с анкерной плитой: a - при заделке фундамента в вечномерзлый грунт; б - то же в талый грунт; I, II, III - соответственно сезонномерзлый, талый и мерзлый грунт
Рис. 39. Расчетная схема проверки на выпучивание свай (обозначения см. на рис. 38) 7.116. При проверке устойчивости на выпучивание фундаментов из призматических свай (рис. 39): Qt = kgSttiAti; (208) Qf = SRсопAfi, (209) где tti - нормативное (предельное сопротивление трения только талого слоя грунта по боковой поверхности сваи для i-го слоя, принимаемое по графику (см. рис. 30); Rсоп - расчетное сопротивление слоя мерзлых грунтов сдвигу по поверхности смерзания со свай, принимаемое по табл. 3 приложения 6 СНиП II-18-76; Аti; Аfi - соответственно площади поверхности трения талого слоя грунта и поверхности сдвига мерзлого грунта по боковой поверхности сваи для i-гo слоя; kg - коэффициент однородности, принимаемый равным 0,7. При заглублении низа сваи выше поверхности вечномерзлого грунта (см. рис. 39) Qf = 0. 7.117. Проверку устойчивости на выпучивание анкеров для крепления оттяжек анкерных опор выполняют по формуле (200). При этом вместо N принимают значение вертикальной выдергивающей составляющей нормативного усилия в оттяжке Tn, равное N = Tnsina (со знаком минус, а коэффициент перегрузки nv - равным 1,1). 7.118. При установке опор контактной сети с противопучинными мероприятиями (засыпкой пазух котлованов дренирующим грунтом, путем покрытия полимерной пленкой с консистентной смазкой и т.п.) значения касательных сил морозного пучения грунта ts, снижают на 50 %. 7.119. Конструкции фундаментов опор контактной сети, устанавливаемые в пучинистых грунтах районов распространения вечной мерзлоты и глубокого сезонного промерзания, следует проектировать с учетом специальных мероприятий против воздействия морозного пучения. Наиболее эффективными являются следующие меры борьбы с выпучиванием грунтов: замена пучинистых грунтов, окружающих фундамент, непучинистыми (песками большой и средней купности, гравием, галечником и другим крупнообломочным материалом) с устройством ограждения, предотвращающего заиливание дренирующего грунта засыпки, и отводом поверхностных вод; применение анкерных плит; обмазка или обмотка боковых граней фундамента в зоне активного пучения материалами, которые не смерзаются с грунтом (многослойной полиэтиленовой пленкой с консистентной смазкой и др.). Снижение сил морозного пучения грунта следует обеспечивать путем: уменьшения поперечного сечения фундамента в зоне пучения грунта и увеличения глубины и периметра сечения в зоне анкеровки; применения гладких наружных граней фундамента, вертикальных или наклонных (конических или пирамидальных, сужающихся кверху), без выступов и пазух в пределах зоны сезонно-мерзлого грунта. Расчет закрепления опор контактной сети в скальных грунтах 7.120. Опоры контактной сети в зависимости от прочности и трещиностойкости скальных грунтов закрепляют двумя основными способами: а) с разработкой котлованов и последующей установкой в них нераздельных опор (рис. 40, а); б) с помощью анкерных болтов, закрепленных в скале (рис. 40, б). В скальных грунтах I группы рекомендуется устанавливать опоры в разрабатываемые котлованы, в грунтах II группы - с помощью анкерных болтов. Классификация скальных грунтов приведена в приложении 8. 7.121. Расчет одиночных фундаментов опор контактной сети в скальных грунтах производят в соответствии со следующими основными положениями (рис. 41): а) фундамент, закрепленный в скальном грунте, рассматривается как стержень, погруженный на глубину d в упругое полупространство; б) давление фундамента
(стержня) на упругую среду передается с помощью двух условных связей,
расположенных на расстоянии в) давление на упругую среду
(грунт) от каждой связи передается равномерно на площадку шириной, равной
ширине фундамента bf и высотой г) значение коэффициента поперечной деформации среды принимается усредненным и равным 0,3. 7.122. Угол наклона b фундамента или опоры, установленной в скальном грунте с обратной засыпкой пазух котлована крупнообломочным грунтом, должен удовлетворять условию
где dс - перемещение верха опоры на уровне контактного провода, принимаемое равным 35 мм в соответствии с п. 7.4; Нс - высота контактного провода от расчетной поверхности грунта.
Рис. 40. Схема установки опор в скальном грунте: а - с разработкой котлованов; б - с помощью анкерных болтов; 1 - опора; 2 - бетонный оголовок; 3 - засыпка; 4 - стальной башмак; 5 - бетонная подготовка; 6 - анкерные болты Угол наклона b определяют по формуле
Мп - нормативный момент в уровне поверхности грунта; gcf - коэффициент условий работы, учитывающий влияние формы поперечного сечения фундамента, принимаемый для прямоугольного или двутаврового сечения равным 1, для круглого - 0,9; df - коэффициент, определяемый по графику (рис. 42); вf - ширина фундамента; Е - модуль упругости грунта засыпки пазух котлована между стенками фундамента и котлована, принимаемый по табл. 40.
Рис. 41. Расчетная схема заделки фундамента в скальном грунте: 1, 2 - условные связи
Рис. 42. График определения коэффициента df Таблица 40
7.123. Расчет анкерного закрепления опор контактной сети в скальных грунтах осуществляют в следующем порядке: а) определяют усилие Na, действующее на один анкер
где Мd - расчетный момент, действующий на опору на уровне обреза фундамента; аа - расстояние между анкерами в плоскости действия момента; na - число растянутых анкеров; б) находят площадь (нетто) Аа анкера
где gсa - коэффициент условий работы анкера, равный 0,7 для железобетонных консольных опор и 0,6 для крепления оттяжек анкерных опор и металлических станционных опор; Rа - расчетное сопротивление стали анкера; в) определяют диаметр анкера dа; г) определяют длину заделки анкера в скальном грунте
где tt = 120 кН/мм - напряжение сцепления стали анкера с раствором; kg - коэффициент однородности, учитывающий степень трещиноватости выветрелости скального грунта, принимаемый равным 0,8 для слаботрещиноватых (невыветрелых) и 0,6 для среднетрещиноватых (слабовыветрелых) грунтов. Конструктивно величину длины анкера lа принимают не меньше 1,2 м. Расчет одиночных свайных фундаментов в слабых грунтах 7.124. Расчет одиночных свайных фундаментов, расположенных в двух различающихся по несущей способности слоях грунта (включая нижний слой слабого грунта) производится по следующей расчетной схеме (рис. 43):
Рис. 43. Расчетная эпюра коэффициента постели: 1 - верхний слой; 2 - нижний слой а) для верхней части сваи глубиной 0 < у < lс, расположенной в слое грунта, обладающем большей несущей способностью, чем слой слабого грунта, принимается жесткость ЕрIр = ¥, а грунт рассматривается как упругодеформируемая среда с коэффициентом постели C1, возрастающим пропорционально глубине; б) для нижней части сваи, расположенной в слое слабого грунта (торф, иольдневая глина) глубиной lc < у < lp принимается жесткость сваи EpIp, грунт рассматривается как упругое основание с постоянным коэффициентом постели С2, не зависящим от глубины. 7.125. Значение коэффициента постели С1 для верхнего слоя грунта определяют по формуле
где Коэффициент
пропорциональности Таблица 41
7.126. Горизонтальное перемещение опоры dс на уровне контактного провода от деформации свайного фундамента в грунте (без учета прогиба опоры) определяют по формуле
где g¢cl - коэффициент условий работы, учитывающий долю постоянной нагрузки в суммарной, принимаемый равным g¢cl = 0,5 + x, (217) здесь x - доля постоянной нагрузки в суммарной, определяемая по формуле (68); gcf - коэффициент условий работы, учитывающий влияние нормы поперечного сечения сваи, принимаемый по п. 7.17; g¢cv - коэффициент условий работы, учитывающий влияние вибрации (колебаний) грунта около свайного фундамента от проходящих поездов, принимаемый g¢cv = 0,9; g¢cr - коэффициент условий работы, учитывающий направление действия нагрузки (при действии нагрузки к «пути» g¢cr = 1,1 вдоль пути g¢cr = 1,0, к «полю» g¢cr = 0,9); dо - горизонтальное перемещение сваи на уровне расчетной поверхности грунта; bо - угол поворота сваи на уровне расчетной поверхности грунта; Нс - высота контактного провода от уровня расчетной поверхности грунта. Значение горизонтального перемещения dо от действующих нормативных нагрузок не должно превышать 35 мм. 7.127. Горизонтальное перемещение dо и угол поворота сваи на уровне поверхности грунта находятся по формулам dо = Fпdпп + Мпdпm; (218) bо = Fпdmп + Мпdmm. (219) где Fп и Мп - действующие на уровне верха сваи соответственно горизонтальная сила и изгибающий момент (от нормативных нагрузок); dпп, dmп соответственно горизонтальное перемещение и угол поворота сваи на уровне поверхности грунта от действующей в том же уровне единичной горизонтальной силы F = 1 (рис. 44); dпm; dmm - тo же от единичного момента М = 1 (см. рис. 44, б). 7.128. Перемещения dпп, dпm, dmп и dmm определяют по формулам
где bp - расчетная ширина сваи; х1 и х2 - соответственно поперечная сила и изгибающий момент в поперечном сечении сваи на границе двух слоев грунта (при у = lс) при действии на поверхности грунта единичной горизонтальной силы F = 1; x¢1 и x'2 – то же при действии единичного момента М = 1.
Рис 44. Схемы перемещений сваи в уровне поверхности грунта: а - от горизонтальной силы Р = 1; б - от момента М = 1; 1 - верхний слой; 2 - нижний слой Усилия х1, х2, х¢1, х¢2 определяют по формулам
Здесь EpIp - жесткость поперечного сечения сваи; ag - коэффициент деформации нижнего участка сваи, находящегося в слое слабого грунта, определяемый по формуле
При этом перемещение dmn = dnm. 7.129. Расчетную ширину сваи определяют по формуле bp = (1,5b + 0,5), (236) где b - размер поперечного сечения сваи в направлении, перпендикулярном плоскости действия нагрузки, м. 7.130. Изгибающий момент My в поперечных сечениях сваи ниже поверхности грунта определяют по формулам: а) на участке глубиной 0 < у < lс
где уо - глубина расположения оси поворота верхнего участка сваи; (п. 7.131); Qi; Мi - соответственно поперечная сила и изгибающий момент в поперечном сечении сваи на границе двух слоев на глубине lс (п. 7.131); б) на участке глубиной lс < у < lр
где h1 и h2 - коэффициенты, определяемые по табл. 42.
7.131. Значение глубины yо расположения оси поворота верхнего участка сваи определяют по формуле
где Qi = x1F + x¢1FH; (240) Mi = x2F + x'2FH. (241) 7.132. Значения h1 и h2 определяют по формулам (242) и (243) или по табл. 42. h1 = e-agysinagy; (242) h2 = e-agycosagy. (243) 7.133. Наибольшее значение изгибающего момента Мmax, действующего в поперечных сечениях сваи, вычисляют по формуле (237) при у = у1, где у1 - глубина расположения сечения с наибольшим моментом, определяемая по формуле
КОНСТРУКТИВНЫЕ ТРЕБОВАНИЯ 7.134. Конструкции сборных железобетонных фундаментов необходимо изготавливать из тяжелого бетона с классом по прочности на сжатие не менее В25. Марку бетона по морозостойкости следует принимать в соответствии с требованиями СНиП 2.03.01-84. 7.135. Толщина защитного слоя бетона (до рабочей арматуры) в сборных железобетонных фундаментах и сваях должна соответствовать требованиям СНиП 2.03.01-84. 7.136. При устройстве фундаментов в грунтах с агрессивными грунтовыми водами должны быть предусмотрены мероприятия, предохраняющие материал фундамента от коррозии в соответствии с требованиями СНиП 2.03.11-85. 7.137. В сборных железобетонных элементах не допускается использование монтажных петель в подземной части фундаментов. Вместо монтажных петель нужно применять, как правило, монтажные отверстия. В случаях, когда конструкция фундамента имеет монтажные петли, необходимые при распалубке, перед отправкой на электрифицируемый участок такие петли должны быть срезаны, а места срезки петель покрыты защитным слоем или битумом (двумя слоями). 7.138. В свайных фундаментах не допускается касания неизолированных от электричества болтов для крепления металлических опор с арматурой ростверков или свай. Расстояние между незащищенными анкерными болтами и арматурой ростверка или свай должно быть не менее 30 мм. Стыковать сваи с ростверком следует с помощью сварки стальных закладных элементов или выпусков из ростверков с продольной арматурой свай с последующим омоноличиванием этих стыков бетоном для защиты от коррозии. Расчет прочности соединения свай с ростверком необходимо производить без учета бетона омоноличивания. Расчет сварных соединений стыка следует выполнять, руководствуясь указаниями СНиП II-23-81*. 7.139. Закладные детали, анкерные болты и другие стальные детали фундаментов следует изготавливать из марок сталей в соответствии с требованиями, приведенными в гл. 5 настоящих Норм. 7.140. Закрепление опор контактной сети на свежеотсыпанных насыпях рекомендуется осуществлять в соответствии с требованиями, приведенными в приложении 9. 8. ПРИВЯЗКА ТИПОВЫХ КОНСТРУКЦИЙ8.1. Привязка (применение) типовых конструкций должна производиться с учетом указаний типовой проектной документации с максимальным использованием готовых вспомогательных материалов (графиков, таблиц, номограмм) и вычислительной техники. 8.2. Выбор типовых конструкций по геометрическим размерам следует производить в зависимости от конкретных условий их применения (схем размещения проводов на опорах, габаритов опор и проводов, назначения конструкций и т.д.). 8.3. Расчетные климатические условия для привязки типовых конструкций контактной сети следует определять в соответствии с требованиями СНиП 2.01.01-82, 2.01.07-85 и главой 2 настоящих Норм. 8.4. При определении ветровой и гололедной нагрузок следует учитывать влияние микроклиматических особенностей в районе электрифицируемой линии (см. главу 2). 8.5. Привязку типовых конструкций следует производить по расчетным нагрузкам, которые должны определяться, как правило, при основных сочетаниях в следующих режимах: а) наибольшая гололедная нагрузка, давление ветра по пп. 2.32 - 2.35, температура воздуха минус 5 °С; б) наибольшая ветровая нагрузка, температура воздуха минус 5 °С, гололед отсутствует; в) минимальная температура воздуха, ветер и гололед отсутствуют. Допускается не выполнять расчеты для режимов, дающих заведомо меньшие нагрузки; например, при определении изгибающих моментов промежуточных опор на прямой таким режимом будет режим «в». 8.6. Расчет на особые сочетания нагрузок при привязке типовых конструкций должен производиться в случаях изменения типовых систем подвески и возникающих при обрыве проводов усилий, превышающих принятые при проектировании типовых конструкций. Проверка типовых конструкций на монтажные нагрузки должна производиться в случаях, предусмотренных в п. 2.48. 8.7. Определять нагрузки, действующие на конструкции контактной сети, следует с учетом нормативных нагрузок, коэффициентов надежности по нагрузке, коэффициентов сочетаний и т.д., приведенных в главе 2. 8.8. Определять изгибающие и крутящие моменты, перерезывающие и осевые силы и др. следует при величинах и направлении нагрузок, создающих наиболее неблагоприятные условия работы конструкций. В необходимых условиях, когда заранее определить такое направление нагрузок не представляется возможным, расчеты следует вести для различных направлений ветра. 8.9. При привязке конструкций следует учитывать предусмотренные нормами допуски на их установку и монтаж проводов, а также требования раздела 4 Норм. 8.10. Выбор типовых конструкций следует производить путем сравнения наибольших значений расчетных осевых и перерезывающих сил, изгибающих моментов и т.п. с соответствующими данными типовых конструкций. Принимается конструкция, рассчитанная на равную или большую нагрузку. Допускается применение типовых конструкций с превышением усилий, изгибающих моментов и т.п., до 3 % от соответствующей величины, предусмотренной чертежами этих конструкций. 8.11. Разработка и повторное применение индивидуальных конструкций допускается при технико-экономическом обосновании и согласии организации, утверждающей проект (рабочий проект). 8.12. При привязке типовых конструкций рекомендуется рассматривать целесообразность сокращения количества типоразмеров за счет объединения немассовых типов с имеющими большую несущую способность. 8.13. Привязку консольных и фиксирующих опор, опор питающих и отсасывающих линий, опор гибких и жестких поперечин, а также фундаментов к ним следует производить по изгибающему моменту на уровне условного обреза или верха фундамента. В необходимых случаях следует проверять изгибающий момент или перерезывающую силу на уровне пяты консоли или в другом опасном сечении. Опоры и ригели жестких поперечин рамного типа подбираются путем сравнения эпюр моментов, построенных по расчетным нагрузкам с эпюрами моментов, приведенными в типовом проекте. Привязку жестких поперечин балочного типа следует производить по изгибающему моменту в опасном сечении в режимах «а» и «б» (п. 8.5) и при обрыве несущего троса. 8.14. Гибкие и жесткие поперечины (включая опоры) следует рассчитывать с учетом электрификации всех перекрываемых путей. 8.15. Несущая способность фундаментов металлических опор гибких поперечин и питающих линий должна соответствовать несущей способности опор. 8.16. Несущая способность железобетонных опор по условиям закрепления в грунте должна соответствовать расчетным нагрузкам. 8.17. Привязку консолей и кронштейнов следует производить по изгибающему моменту в месте крепления тяги (консоли и кронштейны), подкоса (кронштейны) или по изгибающему моменту и сжимающей силе на участке между пятой и местом крепления тяги (консоли). Проверять жесткость типовых консолей следует только в случае применения в условиях, не предусмотренных типовым проектом. 8.18. Привязку фиксаторов следует производить по горизонтальной силе, передаваемой от фиксируемого провода, определяемой в режимах «а» и «б» (п. 8.5). 8.19. Привязку анкеровочных устройств следует производить по горизонтальной силе натяжения анкеруемых проводов: а) компенсированных - по расчетному натяжению; б) некомпенсированных - в режимах «а» и «в» (п. 8.5). Приложение 1
|
|||||||||||||||||||||||||||||||||||||||||||||||||||||||||||||||||||||||||||||||||||||||||||||||||||||||||||||||||||||||||||||||||||||||||||||||||||||||||||||||||||||||||||||||||||||||||||||||||||||||||||||||||||||||||||||||||||||||||||||||||||||||||||||||||||||||||||||||||||||||||||||||||||||||||||||||||||||||||||||||||||||||||||||||||||||||||||||||||||||||||||||||||||||||||||||||||||||||||||||||||||||||||||||||||||||||||||||||||||||||||||||||||||||||||||||||||||||||||||||||||||||||||||||||||||||||||||||||||||||||||||||||||||||||||||||||||||||||||||||||||||||||||||||||||||||||||||||||||||||||||||||||||||||||||||||||||||||||||||||||||||||||||||||||||||||||||||||||||||||||||||||||||||||||||||||||||||||||||||||||||||||||||||||||||||||||||||||||||||||||||||||||||||||||||||||||||||||||||||||||||||||||||||||||||||||||||||||||||||||||||||||||||||||||||||||||||||||||||||||||||||||||||||||||||||||||||||||||||||||||||||||||||||||||||||||||||||||||||||||||||||||||||||||||||||||||||||||||||||||||
|
Тип провода |
МФ-100 НЛФ-100 БРФ-100 |
2МФ-100 2НЛФ-100 2БРФ-100 |
МФ-85 НЛФ-85 БРФ-85 |
ПБСМ-70 ПБСА-50/70 |
ПВСМ-951 М-120 |
ПБСМ-952 |
|
Коэффициент жесткости опорного узла ky, Н/м×106 |
1,1 |
2,2 |
0,95 |
1,7 |
2,0 |
1,7 |
___________
1 - при двух контактных проводах;
2 - при одном контактном проводе.
,
.
где Рк - линейная ветровая нагрузка на контактный провод Н/м, определяемая по указаниям п. 2.12 данных Норм; К - натяжение контактного провода.
5. Динамическую составляющую
отклонения
, м, определяют по формуле
,
где vп, mп, lп - то же и в п. 2.16 настоящих Норм.
6. Максимальную допустимую длину пролета цепной контактной подвески определяют по формуле
,
где для прямого участка
;
для участка, расположенного на кривой,
,
где укmax - максимальное допустимое отклонение контактного провода, включающее статическую и динамическую составляющие и равное 0,5 м для прямого участка пути и 0,45 м - для криволинейного; ак - зигзаг контактного провода или его вынос на кривой, м; gк - изменение прогиба опор на уровне контактного провода при действии ветровой нагрузки, м; Rк - радиус кривой, м; Рс - горизонтальная составляющая линейной ветровой нагрузки, передающейся с контактного провода через струны на несущий, трос, Н/м.
7. Максимальную допустимую длину пролета контактной сети в зависимости от нормативной скорости ветра в заданных условиях следует принимать по обязательному приложению 2.
8. Приближенно максимальную допустимую длину пролета методом динамического расчета определяют по формуле:
для прямого участка пути

для кривого участка пути
,
где k1 = k2 + 2vпmпxп; vп, mп, xп - то же, что и в п. 2.16 настоящих Норм; k2 = ад×сд×ед - коэффициент, учитывающий упругие деформации провода при его отклонении; ад - величина, определяемая по табл. 1.2; ед - величина, определяемая по рис. 1.1 в зависимости от веса провода (проводов) (при гололеде вместе с весом отложения); сд×- величина, определяемая по рис 1.2.
Таблица 1.2
|
Длина пролета l, м |
30 |
40 |
60 |
60 |
70 |
80 |
|
ag |
0,72 |
0,7 |
0,68 |
0,66 |
0,64 |
0,62 |
Максимальная длина пролета при двух контактных проводах не должна быть по условиям токосъема более 76 м и при одном контактном проводе - более 72 м.
Пример 1. Для покрытого гололедом контактного провода МФ-100 определить отклонение в середине пролета. Длина пролета l = 60 м. Участок расположен в IV гололедном районе на местности z = 0,1 м, b = 20 мм, kв = 1,1. Следовательно, bн = bkв = 1,1 × 20 = 22 мм. (Обозначения приняты согласно гл. 2 Норм).

Рис. 1.1. Зависимость коэффициента ед от веса провода

Рис. 1.2. Зависимость коэффициента сд от нормативного значения скорости ветра в заданных условиях
В соответствии с табл. 7, пп. 2.11, 2.34 Норм
qнз = qok2v = 1,10 × 167 × 1,12 = 222,3 Па.
Нормативное значение средней составляющей нагрузки от ветра
H/м.
Статическая составляющая отклонения (без учета упругих деформаций провода)
м.
Динамическая составляющая отклонения
3 × 0,42 × 0,6 × 0,10 × 1,52 = 0,116 м.
Полное отклонение у = 0,54 м.
Пример 2. Определить максимальную допустимую длину пролета компенсированной подвески типа ПБСМ-70 + 1МФ-100 на изолированных консолях для прямого участка пути. Железнодорожный участок проходит но открытой равнинной местности (z = 0,1 м) с нормативной скоростью ветра v = 30 м/с (qо = 563 Па).
Данные проводов приведены в табл. 1.3.
Таблица 1.3
|
Контактный провод |
Несущий трос |
Единица измерения |
||
|
Обозначение |
Значение |
Обозначение |
Значение |
|
|
dк |
11,8 |
dТ |
11 |
мм |
|
gк |
8,9 |
gТ |
6,06 |
Н/м |
|
К |
10 |
Т |
15 |
кН |
При таких исходных данных
Н/м;
Н/м;
Для определения скорости ветра в заданных условиях по рис. 1 настоящих Норм находим Кv = 1,1
Тогда vнз = 30 × 1,1 = 33 м/с или qнз = 681 Па.
qп = 8,9 + 6,06 + 0,5 = 15,46
Н/м;
Н/м.
Вначале принимаем Рс = 0, k1 = 1;
м.
Пользуясь данными табл. 1.2 и рисунков 1.1 и 1.2, находим коэффициент k1 = k2 + 2vпmпxп = 1,173 и Рс = 0,29 Н/м.
Вновь находим максимальную допустимую длину пролета, но при
Рс = 0,29 Н/м и k1 = 1,173;
м.
Для получения более точного результата расчет следует продолжить. Для последнего значения длины пролета определим
k1 = 1,194 и Рc = 0,5 Н/м.
Для этих значений
м.
Полученная длина пролета с большой точностью совпадает с величиной, принятой при определении Рс и k1. Поэтому дальнейшее их уточнение не требуется.
Максимальная допустимая длина пролета, рассчитанная точным методом динамического расчета на ЭВМ для тех же расчетных условий, равна 55,85 м, т. е. погрешность упрощенного варианта метода расчета составляет 1,3 %.
Пример 3. Определить максимальную допустимую длину пролета полукомпенсированной цепной подвески М-120 + 2МФ-100 для прямого участка пути. Подвеска смонтирована на неизолированных консолях, в подвесной гирлянде два изолятора. Конструктивная высота цепной подвески hк = 2,2 м. Расстояние между контактными проводами 40 мм.
Электрифицируемый железнодорожный участок проходит по холмистой открытой местности в районе с нормативной скоростью ветра v = 35 м/с (qо = 765,6 Па). Минимальная температура воздуха минус 40 °С. Данные несущего троса: d1 = 14 мм, g1 = 10,58 Н/м, T = 20 кН.
В соответствии с табл. 1 Норм значение параметра шероховатости подстилающей поверхности в районе электрифицируемой линии принимаем равным zо = 0,2 м.
Нормативный скоростной напор ветра для заданных условий трассы
qнз = 765,6 × 0,932 = 662 Па.
Ветровая нагрузка на провода
Н/м;
Н/м.
Вес подвески qп = 2 × 8,9 + 10,58 + 1 = 29,4 Н/м.
Суммарная нагрузка на трос
Н/м.
Натяжение троса при режиме максимального ветра и при беспровесном положении контактного провода
Т = 0,7 × Тmax = 14 кН; То = 0,8 × Тmax = 16 кН.
При Рс = 0 и k1 = 1 получим
м;
для полученной длины пролета: k1 = 1,159 и Рс = -1,87 Н/м.
С учетом найденных значений k1 и Рс длина пролета
м.
Продолжим интерационный процесс, уточнив значение k1 и Рс.
k1 = 1,208 и Рс = 1,83 Н/м;
м.
Поскольку полученная длина пролета незначительно отличается от принятой при определении эквивалентной нагрузки и коэффициент k1, корректировать последние не требуется.
Для тех же расчетных условий точное значение длины пролета, вычисленное на ЭВМ, равно 65,4 м. Следовательно, погрешность по упрощенному варианту составляет 0,8 %.
1. Максимальные допустимые длины пролетов определены по методу динамического расчета, изложенному в приложении 1.
2. При расчете приняты следующие расчетные условия:
Зигзаги контактного провода на прямых участках пути, мм 300
Выносы контактного провода па кривых участках пути, мм 400
Максимальное допустимое отклонение контактного провода
от оси токоприемника, м:
на прямых участках пути 0,5
на кривых участках пути 0,45
Напряжение в контактных проводах, МПа 100
Максимальное натяжение несущих тросов полукомпенсированных
подвесок, кН:
М-120, ПБСМ-95 20
ПБСМ-70, ПБСА-50/70 16
Номинальное натяжение несущих тросов компенсированных
контактных подвесок, кН:
М-120, ПБСМ-95 (МФ-150, 2МФ-100) 18
ПБСМ-70, ПБСА-50/70, ПБСМ-95 (2МФ-100) 15
Конструктивная высота цепной контактной подвески, м:
при постоянном токе 2
при переменном токе 1,8
Длина подвесной гирлянды изоляторов, м:
изолированная консоль 0,16
неизолированная консоль при числе изоляторов:
2 0,42
3 0,55
4 0,68
Аэродинамический коэффициент лобового сопротивления:
одиночных проводов и тросов с учетом зажимов и струн 1,25
двойного контактного провода 1,85
3. Пример использования номограмм для определения длины пролета приведен на рис 2.1 - 2.16.
По значениям скорости ветра v и стенки гололеда b в заданных условиях (по пп. 2.11, 2.17, 2.32, 2.34 Норм) на левой части номограмм определяют ветровую нагрузку на контактный провод. Для полученной нагрузки на правой части номограмм находят длину пролета, соответствующую заданному плану пути.
4. При необходимости максимальную допустимую длину пролета корректируют по режиму гололеда с ветром.
5. Длину пролета для промежуточных значений радиусов кривых и толщины стенки гололеда на приведенных номограммах следует определять линейной интерполяцией.

Рис. 2.1. Максимально допустимые длины пролетов
Переменный ток, подвеска компенсированная, на изолированных консолях: ПБСМ-70 + МФ-100, ПБСМ-95 + МФ-100, ПБСА-50/70 + МФ-100

Рис. 2.2. Максимально допустимые длины пролетов
Переменный ток, подвеска полукомпенсированная, на изолированных консолях: ПБСМ-95 + МФ-100, ПБСМ-70 + МФ-100

Рис. 2.3. Максимально допустимые длины пролетов
Переменный ток, подвеска полукомпенсированная, на изолированных консолях: ПБСА-50/70 + МФ-85

Рис. 2.4. Максимально допустимые длины пролетов
Переменный ток, подвеска полукомпенсированная на гирлянде из трех изоляторов: ПБСМ-70 + МФ-85. Подвеска компенсированная, на гирлянде из четырех изоляторов: ПБСА-50/70 + МФ-100

Рис. 2.5. Максимально допустимые длины пролетов
Переменный ток, подвеска полукомпенсированная, на гирлянде из трех изоляторов: ПБСА-50/70 + МФ-85; на гирлянде из четырех изоляторов: ПБСМ-70 + МФ-85

Рис 2.6 Максимально допустимые длины пролетов
Переменный ток, подвеска полукомпенсированная на гирлянде из четырех изоляторов: ПБСА-50/70 + МФ-100
![]()

Рис 2.7. Максимально допустимые длины пролетов
Переменный ток, подвеска полукомпенсированная, на гирлянде из четырех изоляторов: ПБСМ-95 + МФ-100; на гирлянде на трех изоляторов ПБСА-50/70 + МФ-100

Рис. 2.8. Максимально допустимые длины пролетов
Переменный ток, подвеска полукомпенсированная, на гирлянде из четырех изоляторов: ПБСА-50/70 + МФ-85

Рис. 2.9. Максимально допустимые длины пролетов
Переменный ток, подвеска компенсированная, на гирлянде из трех изоляторов: ПБСМ-95 + МФ-100, ПБСА-30/70 + МФ-100, ПБСМ-70 + МФ-100; на гирлянде из четырех изоляторов: ПБСМ-95 + МФ-100, ПБСМ-70 + МФ-100. Постоянный ток, подвеска компенсированная, на гирлянде из двух изоляторов: ПБСА-50/70 + МФ-100; подвеска полукомпенсированная: ПБСМ-70 + МФ-85; ПБСА-50/70 + МФ-85

Рис. 2.10. Максимально допустимые длины пролетов
Переменный ток подвеска полукомпенсированная на изолированных консолях: ПБСА-50/70 + МФ-100. Переменный ток, подвеска полукомпенсированная, на гирлянде из двух изоляторов: ПБСМ-95 + МФ-100

Рис. 2.11. Максимально допустимые длины пролетов
Переменный ток, подвеска полукомпенсированная на гирлянде из трех изоляторов: ПБСМ-95 + МФ-100, ПБСМ-70 + МФ-100; на гирлянде из четырех изоляторов: ПБСМ-95 + МФ-100. Переменный ток: подвеска полукомпенсированная на гирлянде из двух изоляторов: ПБСА-50/70 + МФ-100

Рис. 2.12. Максимально допустимые длины пролетов
Постоянный ток, подвеска компенсированная, на гирлянде из двух изоляторов: М-120 + 2МФ-100; ПБСМ-95 + 2МФ-100

Рис. 2.13. Максимально допустимые длины пролетов
Постоянный ток, подвеска компенсированная, на гирлянде из двух изоляторов:
М-120 + МФ-150; ПБСМ-95 + МФ-150

Рис. 2.14. Максимально допустимые длины пролетов
Постоянный ток, подвеска компенсированная на гирлянде из двух изоляторов: ПБСМ-70 + МФ-100

Рис. 2.15. Максимально допустимые длины пролетов
Постоянный ток подвеска полукомпенсированная, на гирлянде из двух изоляторов: ПБСМ-95 + 2МФ-100; М-120 + 2МФ-100

Рис. 2.16. Максимально допустимые длины пролетов
Постоянный ток, подвеска полукомпенсированная на гирлянде из двух изоляторов: ПБСМ-95 + МФ-150; М-120 + МФ-150
Пример 1. Найти нормативный скоростной напор ветра для местности, расположенной в V ветровом районе qo = 684 Па, v = 33 м/с), железнодорожный участок проходит по равнинной местности.
По табл. 2 настоящих Норм для заданной поверхности принимаем zо = 0,1 м.
Для нулевого места по рис. 1 настоящих норм находим Кv = 1,1.
Тогда qнз = 1,12 × 684 = 826 Па или vиз = 36,6 м/с/
Пример 2. Участок находится в том же ветровом районе, но защищен с двух сторон лесозащитными насаждениями (zo = 0,5 м). Тогда qнз = 0,7142 × 684 = 349 Па или vиз = 23,8 м/с.
Пример 3. Найти нормативное значение ветровой нагрузки на контактный провод МФ-100. Скорость ветра в заданных условиях vиз = 40 м/с (qнз = 970 Па), длина пролета l = 60 м.
Н.
По табл. 3, 4 и рис. 3 Норм находим значения коэффициентов
mп = 0,16, gп = 0,6 и xп = 1,41
Тогда пульсационная составляющая нагрузки
Qпн = 0,73Qснmпvпxп = 0,73 × 600 × 0,6 × 0.16 × 1,41 = 59 Н.
Нормативное значение ветровой нагрузки Qн = Qсн + Qпн = 659 Н.
Пример 4. Определить нагрузку на несущие конструкции от гололеда на контактном проводе МФ-100. Участок расположен в IV гололедном районе и проходит по незащищенной от ветра открытой ровной поверхности.
Нормативная толщина стенки отложения для IV района равна 20 мм.
Для открытой местности вводится поправочный коэффициент Кв = 1,1.
Тогда bн =1,1 × 20 = 22 мм.
Нормативная линейная нагрузка от гололеда
qгн = 0,0009 × 3,14 × 0,5 × 22(22 × 0,5 + 12,3) = 7,2 Н/м.
Гололедная нагрузка при расчете конструкций контактной сети:
по прочности qгн = 1,4 × 7,2 = 10,1 Н/м,
по деформациям qг = 0,7 × 7,2 = 5,04 Н/м,
по образованию трещин в железобетонных опорах
qг = 0,3 × 7,2 = 2,16 Н/м.
Пример 5. Для условий предыдущего примера определить ветровую нагрузку, передаваемую с провода на несущие конструкции. В IV районе нормативная скорость ветра при гололеде qo = 167 Па.
Для открытой поверхности (zo = 0,1 м) поправочный коэффициент Кv = 1,1.
Тогда qнз = 167 × 1,12 = 202,2 Пa.
Длина пролета l = 60 м.
Нормативное значение средней составляющей ветровой нагрузки на обледенелый провод
Н.
Пульсационная составляющая ветровой нагрузки
Qпн = 0,73Qснvпmпxп = 0,73 × 484,1 × 0,6 × 0,10 × 1,5 = 31,8 Н.
Ветровая нагрузка на покрытый гололедом провод при расчете:
по прочности Qгв = (484,1 + 31,8) × 1,3 = 670,7 Н/м;
но деформациям Qгв = 515,9 × 0,85 = 438,6 Н/м;
по образованию трещин в железобетонных опорах
Qгв = 515,9 × 0,45 = 232,2 Н/м.
Определить методом динамического расчета нагрузки для тех же условий, но при Кv = 0,93 (zо = 0,2 м) и Кв = 1.
Для этих условий: qнз = 144 Па; bн = 20 мм; vп = 0,6; mп = 0,10; xп = 1,49.
Н, Qпн = 20,2 Н.
Ветровая нагрузка при расчете:
по прочности Qгв = 329,3 × 1,3 = 428,1 Н/м,
по деформациям Qгв = 329,3 × 0,85 = 279,9 Н/м,
по образованию трещин в железобетонных опорах
Qгв = 329,3 × 0,45 = 148,2 Н/м.
Пример 6. Определить максимальное усилие вдоль пути, действующее на ригель жесткой поперечины, при обрыве несущего троса.
Контактная подвеска М-120 + 2МФ-100 с натяжением несущего троса 20 кН. Нормативная толщина стенки гололеда 25 мм, длина пролета равна 75 м. Вертикальная нагрузка на несущий трос от веса подвески с гололедом равна 83,4 Н/м.
В соответствии с п. 2.57
Р¢ож = 0,3 + 0,4 × 83,4 × 75 × 102 = 2,80 кН.
По рис. 2.8 величина КТ = 1,48 и согласно рис. 2.9 Кl = 1.
Максимальная продольная нагрузка на жесткую поперечину при обрыве несущего троса Рож = 2,80 × 1,48 = 4,14 кН.
Пример 1. Определить расчетный режим усиливающего провода А-185. Воздушная линия расположена в V районе по гололеду (b = 25 мм, qo = 195 Па), нормативное значение минимальной температуры воздуха минус 40 °С, скорость ветра 40 м/с, длина эквивалентного пролета 60 м.
Линейная нагрузка на провод:
при режиме гололеда с ветром qг = 38,4 Н/м;
при режиме наибольшей ветровой нагрузки qв = 21,6 Н/м.
По табл. 12 наибольшее допускаемое натяжение провода при режиме гололеда с ветром равно 7,84, при режиме наибольшей ветровой нагрузки и при режиме низшей температуры воздуха - 10,29 кН.
Определяем режим наибольшей добавочной нагрузки, при котором в течение срока службы провода его натяжение будет наибольшим:
Н/м.
q¢г < qг, следовательно, наибольшее натяжение провода за время эксплуатации будет при воздействии гололедно-ветровой нагрузки.
Длина критического пролета
м.
lэ > lкр, т.е. исходным будет расчетный режим воздействия гололеда с ветром.
Пример 2. Определить натяжение и прочностные характеристики троса ПБСМ-70. Железнодорожный участок проходит в V районе по гололеду.
По ГОСТ 4775-75 разрушающая нагрузка при растяжении троса R = 49,05 кН.
По табл. 2 наибольшее допускаемое натяжение равно, кН:
при режиме гололеда с ветром - 14,70;
при наибольшей ветровой нагрузке - 16,66;
при низшей температуре воздуха - 16,66.
Наименьшее за время эксплуатации троса значение разрушающей нагрузки Rм = Rm/ko = 49,5 × 0,75/1,02 = 36,1 кН.
Максимальное за срок службы натяжение троса в зависимости от принятого исходного расчетного режима составит, кН:
при режиме гололеда с ветром 14,70 × 1,20 = 17,6;
при наибольшей ветровой нагрузке 16,66 × 1,05 = 17,5;
при низшей температуре воздуха 16,66 × 1,05 = 17,5.
Следовательно, величина максимального за срок службы натяжения троса с заданной обеспеченностью не зависит от принятого исходного расчетного режима.
Общие положения
1. По настоящей методике определяются сейсмические нагрузки на железобетонные и металлические опоры, а также на жесткие поперечины контактной сети.
Методика может быть также использована при определении сейсмических нагрузок на опорные конструкции энергоснабжения такие, как опоры воздушных линий продольного электроснабжения, осветительные мачты и порталы, открытые части тяговых подстанций и др.
2. Сейсмические силы, действующие на эти конструкции в любом k-том сечении и соответствующие i-тому тону колебаний, согласно СНиП II-7-81 определяются по формуле:
Siк = KcKфQкbihiк, (1)
где Кс - коэффициент сейсмичности; Kф - коэффициент, принимаемый для гибких конструкций равным 1,5; Qк - вес сосредоточенного груза в k-том сечении; bi - коэффициент динамичности, соответствующий i-тому тону колебаний; hiк - коэффициент формы колебаний.
3. Значения коэффициента Кс определяются по СНиП II-7-81.
Кс = К1 × К2 × А,
где К1 и К2 - коэффициенты, учитывающие допускаемые повреждения сооружений и их конструктивные решения; А - коэффициент, значения которого принимаются равными 0,1; 0,2; 0,4 для расчетной сейсмичности 7, 8, 9 баллов.
Для опорных конструкций железнодорожного электроснабжения при:
7 баллах Кс = 0,25 × 1 × 0,1 = 0,025;
8 баллах Кс = 0,25 × 1 × 0,2 = 0,05;
9 баллах Кс = 0,25 × 1 × 0,4 = 0,1.
4. Для стопки или жесткой поперечины с п сосредоточенными массами, которым соответствуют п степеней свободы, частоты и формы собственных колебаний согласно Инструкции по определению расчетной сейсмической нагрузки для зданий и сооружений находятся из следующей системы уравнений:
, (2)
Здесь mn - сосредоточенные массы грузов; dnn - перемещения от единичных сил; wi - частоты собственных колебаний конструкции; Xin - амплитуды колебаний.
Частоты wi вычисляются из условия равенства нулю детерминанта этой системы уравнений.
Форма собственных колебаний определяется отношением амплитуд Хij/Xiк при фиксированном К, вычисляется путем совместного решения приведенной системы уравнений при подстановке в них значения частоты wi, соответствующей рассматриваемому тону колебаний i.
Полагая в уравнениях этой системы в каждом случае Xi1 = 1, получают (n - 1) систем уравнений, решая которые определяют Xi2, ..., Xin для каждого i-того случая, а затем и коэффициенты форм колебаний hiк по формуле:
. (3)
В этой формуле Xi(yк) и Xi(yj) - смещения стойки (поперечины) при собственных колебаниях по i-тому тону в рассматриваемой точке k и во всех точках j, где в соответствии с расчетной схемой ее вес принят сосредоточенным.
5. Сейсмические силы, соответствующие формам колебаний Siк определяют по формуле (1), а расчетные сейсмические силы в каждом сечении k при j степенях свободы - по формуле:
. (4)
Моменты в сечениях стойки (поперечины) от действия расчетных сейсмических сил при 9-балльном сейсмическом воздействии определяются по формуле:
. (5)
Соответствующие моменты при 8 баллах будут в 2 раза меньше, а при 7 баллах - в 4 раза меньше, чем при 9-балльном воздействии.
6. Порядок расчета железобетонных конических стоек.
6.1. Разбивают стойку на п частей; находят массы сосредоточенных грузов п, распределенных по закону рычага в точки приложении сейсмических сил, по формулам:
, (6)
при j равном от 1 до (n - 1) и
, (7)
при j = п.
Здесь r- плотность железобетона; l = L/n - длина стойки части стойки; t - толщина стенки стойки; Dнв - наружный диаметр стойки в верхнем сечении; a - сбег.
Расчетные сосредоточенные массы в любой точке j
mj = m¢j + m¢¢j,
где Sm¢¢j = mo - масса обустройств опоры (консоли, кронштейны, арматура), распределяемая в точки сосредоточения грузов следующим образом:
при 2 £ n £ 5;
при 5 < n £ 10;
при 10 < n £ 15.
6.2. Определяется средний момент инерции верхнего и нижнего сечения каждого участка l
. (8)
Причем момент инерции Ij в любом сечении железобетонной конической стойки вычисляется по формуле:
, (9)
где Dнj и Dвj = Dнj - 2t - соответственно наружный и внутренний диаметр сечения, а в свою очередь Dнj = Dнв + аl(п - j) при j = 0 ¸ n; n' = Ea/E - отношение модулей упругости арматуры и бетона; Aа - площадь арматуры в данном сечении; rа - средний радиус армирования.
6.3. Способом перемножения эпюр по правилу Верещагина (рис. 5.1) вычисляются единичные перемещения dmk по формуле:
, (10)
где j, k, т - номера точек, в которых определяются единичные перемещения, и точек приложения единичных сил Р = 1.
6.4. Из системы уравнений (2) находятся частоты собственных колебаний wi, соответствующие им периоды Ti = 2p/wi и связанные с ними коэффициенты динамичности bi = 1/Ti, а также формы колебаний хiк и по формуле (3) - коэффициенты форм колебаний - hiк.

Рис. 5.1. Эпюры моментов стойки для их перемножения
6.5. Завершает расчеты вычисление сейсмических сил Siк, соответствующих формам колебаний, расчетных сейсмических сил Sрасч.к в каждом сечении k по формуле (4) и расчетных моментов Мрасч.к по формуле (5).
7. Порядок расчета металлических жестких поперечин.
7.1. Из проекта берется масса поперечины с ее дополнительными обустройствами (ограждения, прожекторы и др.).
Разбив поперечину на п частей и вычислив массу каждой из них, находят массу сосредоточенных грузов, распределенных по закону рычага в те точки j, в которых прикладываются сейсмические силы.
7.2. Определяется момент инерции каждого участка по формуле:
Ij = 2(Ix1 + A1a21) + 2(Ix2 + A2a22), (11)
где Ix1 и Ix2 - моменты инерции уголков, взятые из сортамента для
нижнего и верхнего поясов поперечины; А1
и А2 - площади поперечного
сечения уголков;
и
- размеры поперечного
сечения конструкций, а z -
расстояние от обушка до центра тяжести уголка.
7.3. Вычисляются единичные перемещения по формуле:
. (12)
Здесь xj и xj-1 - координаты точек приложения сейсмических сил; Мjm; Мjк; M(j-1)m; M(j-1)к - значения ординат эпюр моментов от единичных сил (рис. 5.2), равные:
при 0 £ xj-1 < xm и 0 < xj £ xm
;
.
При xm £ xj-1 < l и xm < xj £ l
;
.
При 0 £ xj-1 < xк и 0 < xj £ xк
;
.
При xк £ xj-1 < l и xк < xj £ l
;
.

Рис. 5.2. Эпюры моментов балки для их перемножения
Найденные единичные перемещения отдельных точек поперечины складываются с перемещения вершин стоек. Полученные таким образом суммарные перемещения от единичных сил используются для определения частот и периодов собственных колебаний поперечин и коэффициентов динамичности.
7.4. Дальнейший порядок расчета тот же, что и описанный для стоек.
8. Точность определяемых сейсмических нагрузок на опорные конструкции железнодорожного электроснабжения зависит от количества участков n, на которые разбивается стойка или поперечина в расчетной схеме.
Рекомендуемые значения п для различных конструкций приведены в п. 2.68 настоящих Норм.
9. Все расчеты по определению сейсмических нагрузок на опорные конструкции электроснабжения железных дорог рекомендуется выполнять с помощью ЭВМ по специально разработанным программам.
Определение М° для условного фундамента
1. Расчетная схема для условного фундамента с коничностью в подземной части без лежней, расположенного в однородном по несущей способности слое грунта, принятая для определения М°, изображена на рис. 6.1. Расчетная схема, отличается от принятой в п. 7.27 тем, что ширина фундамента bfy (размер поперечного сечения в направлении, перпендикулярном плоскости действия нагрузки) изменяется с глубиной у:
bfy = bof – 2ytga, (1)
где tga - угол коничности фундамента.
2. Определение М° условного фундамента с коничностью в подземной части производится из совместного решения уравнений (2) и (3)
. (2)
, (3)
где обозначения, что и в формуле 88.

Рис. 6.1. Расчетная схема условного фундамента с коничностью в подземной части:
а - вдоль действия нагрузки, б - поперек действия нагрузки
При этом Rg определяется по формуле 76, где вместо bf следует подставлять значение bof - размер поперечного сечения фундамента в уровне расчетной поверхности грунта.
Уравнения (2) и (3) решают методом последовательных приближений. По формулам (2) и (3) можно рассчитывать как несущую способность в грунте нераздельных железобетонных опор контактной сети с обратной коничностью в подземной части, так и типовые опоры. При увеличении ширины опоры с глубиной в формулах (2) и (3) необходимо принимать угол a - отрицательным.
Определение внутренних усилий в сечениях подземной части фундамента
3. Изгибающий момент My и поперечная сила Qy, действующие в поперечных сечениях фундамента с коничностью в подземной части без лежней на глубине у от расчетной поверхности грунта, могут быть определены по формулам:
; (4)
; (5)
где
. (6)
Формулы (4) - (6) применимы при условии, что фундамент с обратной коничностью установлен в выштампованный котлован, в результате чего вокруг него образована в грунте уплотненная зона.
Участки земляного полотна в зависимости от условий морозного пучения грунта, влияющих на устойчивость опор контактной сети, подразделяют на благоприятные, условно-благоприятные, неблагоприятные и особо неблагоприятные.
1. Благоприятные:
насыпи высотой более 3 м, без балластных мешков, не подверженные просадкам в грунты основания;
насыпи высотой менее 3 м, если в их основании залегают галечно-гравийные, щебеночные, а также глинистые грунты, имеющие естественную влажность около границы раскатывания в период, предшествующий сезонному промерзанию;
нулевые места и выемки в скальных породах, в галечно-гравийных и песчаных грунтах, а также в глинистых грунтах, имеющих естественную влажность около границы раскатывания в период, предшествующий сезонному промерзанию.
На этих участках обеспечивается необходимая устойчивость типовых опор от воздействия морозного пучения (при промерзании-оттаивании грунтов) без проведения специальных мероприятий.
2. Условно-благоприятные:
насыпи высотой более 3 м на прямых участках при ежегодном пучении полотна на 50 - 100 мм;
насыпи высотой менее 3 м на прямых участках с балластными мешками, способствующими появлению пучин;
выемки на прямых участках, нулевые места и откосы насыпей более 3 м с внутренней стороны кривых при ежегодном пучении откосов до 50 мм.
На этих участках действуют силы морозного пучения, вызывающие боковые отклонения и вертикальные перемещения типовых опор.
Условно-благоприятные участки можно привести к благоприятным, если до установки опор провести работы по оздоровлению земляного полотна.
3. Неблагоприятные:
насыпи различной высоты, подверженные просадкам вследствие недостаточной несущей способности протаивающих грунтов основания;
насыпи высотой до 3 м, отсыпанные суглинками и супесями на марях и заболоченных участках, а также нулевые места и насыпи на прямых участках при ежегодном пучении земляного полотна на 100 мм и более;
выемки, а также откосы насыпей с внутренней стороны кривых при ежегодном пучении грунта на 50 - 100 мм.
На этих участках возможны недопустимые перемещения типовых опор, связанные с процессом промерзания - оттаивания земляного полотна.
4. Особо неблагоприятные:
выемки, а также откосы насыпей с внутренней стороны кривых при ежегодном пучении грунта, превышающем 100 мм.
Характеризуются недопустимыми перемещениями типовых опор.
В зависимости от прочности и трещиноватости скальные грунты подразделяют на две группы, приведенные в таблице.
|
Трещиноватость |
Категория |
Прочность при Rc, кН/м2 |
||
|
Характеристика |
Слабая, менее 1500 |
Средняя, от 1500 до 5000 |
Прочная, более 5000 |
|
|
Расстояние между трещинами менее 0,2 м, площадь блоков менее 0,04 м2 |
Сильная |
I группа |
||
|
Расстояние между трещинами от 0,2 до 0,5 м, площадь блоков от 0,04 до 0,25 м2 |
Средняя |
I группа |
II группа |
|
|
Расстояние между трещинами более 0,5 м, площадь блоков более 0,25 м2 |
Слабая |
I группа |
II группа |
|
Примечание. В соответствии с ГОСТ 25100-82 к I группе относятся малопрочные выветрелые скальные грунты, ко II группе - прочные и средней прочности, невыветрелые и слабовыветрелые скальные грунты.
Прочность скальных грунтов характеризуется временным сопротивлением Rс на одноосное сжатие кернов в водонасыщенном состоянии, а трещиноватость - путем визуального осмотра скальных пород с промером расстояний между трещинами и размеров блоков.
По способам разработки скальные грунты можно подразделить на две группы:
I группа - поддающиеся разработке отбойными молотками и не допускающие возможности нормального образования шпуров диаметром 40 - 50 мм и глубиной до 1,5 м;
II группа не поддающиеся разработке отбойными молотками и допускающие возможность образования шпуров диаметром 40 - 50 мм глубиной 1,5 м.
1. Способ обеспечения требуемого срока службы стальных конструкций контактной сети следует выбирать на стадии разработки и привязки типовых проектов к конкретным условиям работы на основе минимизации всех затрат на изготовление и эксплуатацию. Принятый способ должен указываться в проекте электрификации. Требуемый срок службы стальных конструкций контактной сети установлен «Правилами технического обслуживания и ремонта контактной сети электрифицированных железных дорог».
2. Требуемый срок службы конструкций должен быть не меньше следующего, определяемого по выражению
,
где Т1 - суммарный срок службы защитных покрытий, n - раз наносимых за время эксплуатации, включая начальное; T2 - срок исчерпания резерва прочности, I сг.
3. Системы защитных покрытий должны выполняться в соответствии с рекомендациями главы СНиПа по защите строительных конструкций от коррозии (приложение 14 и 15) и табл. 9.1.
Сроки службы Т1 лакокрасочных покрытий составляют 4 - 6 лет, а металлизационных – 20 - 25 лет.
4. Срок исчерпания резерва прочности T2 следует определять с учетом затухания коррозионных процессов во времени, пользуясь выражением
d = dо×Тn2.
где d - толщина скорродированного металла на каждой корродирующей поверхности за период T2, мкм; dо×- начальная скорость коррозии металла в атмосферных условиях (за первый год) при работе в незащищенном состоянии, мкм/год; T2 - время, годы; п - коэффициент затухания коррозии.
Количество слоев может определять, в зависимости от требуемой толщины покрытия, организация-изготовитель с учетом технологии изготовления.
Система защитных покрытий для металлических конструкций контактной сети
|
Металлизационные покрытия |
Лакокрасочные материалы для временной межоперационной защиты |
Лакокрасочные материалы для окрашивания стальных конструкций |
Рекомендуемая толщина комплексного**** покрытия |
|||
|
грунтовка |
покрывной лакокрасочный материал |
|||||
|
марка |
количество слоев |
марка |
количество слоев*** |
|||
|
Цинковые или алюминиевые |
* |
ВЛ-02 |
1 |
ХВ-124 |
3-2 |
|
|
|
|
ВО-023 |
1 |
ХВ-125 |
3-2 |
|
|
|
|
|
1 |
ХС-119 |
3-2 |
|
|
|
|
ВЛ-02 |
1 |
ЭП-0010 |
2 |
|
|
|
|
ВЛ-023 |
|
|
|
|
|
|
|
ВЛ-02 |
1 |
ЭП-1155 |
1 |
|
|
|
|
ВЛ-023 |
1 |
|
|
|
|
|
ЭП-057 |
ЭП-057 |
1* |
ХВ-124 |
4-3 |
90-110 |
|
|
|
|
|
ХВ-125 |
4-3 |
90-110 |
|
|
|
|
|
ХС-119 |
4-3 |
90-110 |
|
|
|
|
|
ЭП-1155 |
1 |
120-140 |
|
|
|
|
|
ЭП-0010 |
2 |
80-100 |
|
|
ВЛ-02 |
ХС-068 |
2 |
ХВ-124 |
6-4 |
120-140 |
|
|
ВЛ-023 |
ХС-059 |
2 |
ХВ-125 |
5-4 |
120-140 |
|
|
|
ФЛ-03К** |
2 |
ХС-119 |
5-4 |
120-140 |
|
|
ВЛ-02 |
ВЛ-02 |
1* |
ЭП-1155 |
2 |
110-130 |
|
|
ВЛ-023 |
ВЛ-023 |
1* |
ЭП-1155 |
1 |
110-130 |
|
|
ВЛ-02 |
ВЛ-02 |
1* |
ЭП-0010 |
2 |
110-130 |
|
|
ВЛ-023 |
ВЛ-023 |
1* |
ЭП-0010 |
2 |
110-130 |
|
|
ВЛ-02 или ВЛ-023 с |
1* |
ХВ-123 |
5-3 |
100-120 |
|
|
|
алюминиевой пудрой |
1* |
ХВ-125 |
4-3 |
100-120 |
|
|
|
|
|
ХС-119 |
4-3 |
100-120 |
|
__________
* С подгрунтовкой поврежденных мест.
** Для умеренного и тропического климата.
*** Меньшая цифра соответствует количеству слоев в слабоагрессивной среде, большая - среднеагрессивной среде.
**** Толщина комбинированного металлизационно-лакокрасочного покрытия приведена в виде дроби: в числителе - толщина металлизационного покрытия, в знаменателе - лакокрасочного.
Средние значения параметров dо, n и коэффициентов вариации, начального коррозионного износа vdо, приведены в табл. 9.2.
|
Коррозионный район |
Параметры |
||||
|
Начальный износ dо (мкм/год) при расположении корродирующих элементов |
Коэффициент вариации начального износа vdо |
Коэффициент затухания коррозионного процесса n |
|||
|
вертикально |
под углом 45° к горизонту |
горизонтально |
|||
|
1 |
27 |
31 |
34 |
0,25 |
0,71 |
|
2 |
25 |
29 |
31 |
0,20 |
0,68 |
|
3 |
20 |
23 |
25 |
0,20 |
0,62 |
|
4 |
16 |
18 |
20 |
0,20 |
0,62 |
|
5 |
10 |
12 |
13 |
0,18 |
0,56 |
Примечания. 1. В таблице приведены параметры коррозионного износа обыкновенной углеродистой стали, усредненные для дороги в целом.
2. Коррозионные районы включают:
1 - Донецкую и Приднепровскую дороги;
2 - Октябрьскую, Прибалтийскую, Северную, Московскую дороги;
3 - Белорусскую, Львовскую, Молдавскую, Одесскую, Северо-Кавказскую, Южную и Юго-Западную дороги;
4 - Закавказскую, Азербайджанскую, Юго-Восточную, Куйбышевскую, Свердловскую, Южно-Уральскую, Горьковскую, Приволжскую, Целинную, Западно-Сибирскую, Кемеровскую дороги;
5 - Алма-Атинскую и Восточно-Сибирскую дороги.
3. При электрификации дорог, не указанных в примечании 2, следует относить их по коррозионной активности воздушной среды к близ расположенным дорогам.
5. На участках дорог с повышенной агрессивностью воздушной среды начальная скорость коррозионного износа стали dо должна определяться в соответствии с рекомендациями ГОСТ 9.040-74 «Единая система защиты от коррозии и старения. Материалы и сплавы. Расчетно-экспериментальный метод ускоренного определения коррозионных потерь».
Участки дорог с повышенной агрессивностью воздушной среды расположены, как правило, около химических и металлургических производств (до 0,6 км от них) и в прибрежной (морской) зоне (до 100 м от уровня воды).
При отсутствии на момент проектирования экспериментальных данных по кинетике коррозии стали, определяемой по ГОСТ 9.040-74, для конкретных условий работы конструкций следует учитывать в расчетах максимальные значения dо и п, найденные к настоящему времени для отдельных дорог с высоким содержанием в воздухе Сl и SO2. Значения их приведены в табл. 9.3.
6. Коррозионный износ элементов стальных конструкций, частично засыпаемых в процессе эксплуатации грунтом, например, анкерных болтов или поясных уголков в зоне, расположенной выше обреза фундамента, следует определять, принимая dо = 150 мкм/год и n = 0,85 при отсутствии в грунтах сульфатов и хлоридов и dо = 300 мкм/год и n = 0,95 - при наличии их.
Таблица 9.3
Максимальное значение параметров коррозионного износа
|
Дорога |
Вид агрессивного воздействия среды |
Параметры |
||||
|
Начальный износ dо (мкм/год) при расположении корродирующих элементов |
Коэффициент вариации начального износа vdо |
Коэффициент затухания коррозионного процесса n |
||||
|
вертикально |
под углом 45° к горизонту |
горизонтально |
||||
|
Донецкая, Приднепровская |
SO2 |
90 |
103 |
112 |
0,26 |
0,81 |
|
Азербайджанская |
Cl |
110 |
127 |
137 |
0,20 |
0,80 |
|
Северо-Кавказская |
Cl |
98 |
113 |
122 |
0,20 |
0,80 |
7. Средние значения начального коррозионного износа dо, приведенные в табл. 9.1 и 9.2 следует применять при определении средних сроков службы металлоконструкций. Для вычисления гарантированных сроков службы пользоваться величиной dог, определяемой по выражению
dог = dо (1 + 1,96vdо), (3)
где vdо - коэффициент вариации начального износа, приведенный в таблицах 9.2 и 9.3.
8. При коррозионном износе стальных конструкций из обыкновенной углеродистой стали снижение прочностных свойств металла можно не учитывать, если уменьшение толщины элементов не превышает 25 %. При уменьшении толщины элементов более чем на 25 % необходимо расчетное сопротивление вводить с коэффициентом 0,9.
9. Критические температуры перехода в хрупкое состояние строительных сталей, подвергшихся коррозионному износу, следует повышать на 20 % для стали марки СтЗ и на 25 % для стали марки 09Г2.
10. В агрессивных средах для изготовления конструктивных элементов контактной сети следует применять стали согласно рекомендациям раздела II главы СНиПа по защите строительных конструкций от коррозии.
11. Для предотвращения контактной коррозии в местах контактов между стальными и алюминиевыми или оцинкованными элементами нужно предусмотреть лакокрасочные покрытия, наносимые на стыкуемые конструкции до сборки.
1. К свежеотсыпанным насыпям относятся насыпи высотой более 2 м, простоявшие до сооружения опор контактной сети менее 5 лет. На таких насыпях необходимо предусматривать специальные мероприятия по обеспечению устойчивости опор.
На насыпях из несвязных гравийно-галечниковых и раздробленных скальных грунтов специальные мероприятия по обеспечению устойчивости опор не предусматриваются
2. На свежеотсыпанных насыпях, простоявших менее 1 года, опоры контактной сети рекомендуется не устанавливать, если относительная плотность грунта откосной части насыпи на глубине 0,2 м и на глубине 1,5 м менее 0,9 Пробы грунта для определения плотности отбирают на откосе свежеотсыпанной насыпи на расстоянии 0,3 м от бровки с той стороны, где останавливаются опоры.
При значениях относительной плотности грунта более 0,98 специальных мероприятий по обеспечению устойчивости опор контактной сети проводить не следует, a при выборе способов обеспечения устойчивости опор такие насыпи следует рассматривать как обычные - устоявшиеся.
3. Для обеспечения устойчивости опор и анкеров контактной сети в свежеотсыпанных насыпях рекомендуется применять:
нераздельные опоры с увеличенной подземной частью опоры на 0,5 м против типового решения для устоявшихся насыпей или раздельные опоры со свайными фундаментами, погружаемыми агрегатом АВСЭ;
нераздельные опоры с обратной коничностью в нижней части, устанавливаемые в выштампованные котлованы;
свайные анкеры длиной 4,5 м, погружаемые агрегатом АВСЭ.
Верхние лежни для нераздельных опор, устанавливаемых на откосах свежеотсыпанных насыпей, применять не рекомендуется.
4. Высоту подвески контактного провода на свежеотсыпанных насыпях следует увеличивать для компенсации осадки насыпи и последующей подъемки пути с учетом возможной осадки, определяемой проектом (но не более 500 мм от нормального положения контактного провода). При этом срок окончания осадки насыпи следует принимать равным 5 годам с момента окончания ее отсыпки.
5. Фундаменты для стальных опор гибких поперечин на свежеотсыпанных насыпях рекомендуется принимать, как правило, свайные со сборным ростверком.
1. Железобетонные нераздельные опоры с защитным покрытием наружной и внутренней поверхности подземной части мастикой «изол» или битумом применять независимо от уровня грунтовых вод на участках постоянного и переменного тока при содержании сульфатов до 1000 мг/л, а ионов хлора менее 1000 мг/л. При содержании ионов хлора более 1000 мг/л предельное содержание сульфатов определяется по формуле 850 + 0,15Сl, но не выше 2000 мг/л.
2. Раздельные железобетонные опоры на фундаментах стаканного типа из сульфатостойкого портландцемента с битумным покрытием следует применять при содержании сульфатов до 3000 мг/л.
3. При содержании сульфатов в воде-среде более 300 мг/л используют бетон повышенной плотности на сульфатостойком портландцементе и изоляцию по специальному проекту.
|
ГОСТЫ, СТРОИТЕЛЬНЫЕ и ТЕХНИЧЕСКИЕ НОРМАТИВЫ. Некоммерческая онлайн система, содержащая все Российские Госты, национальные Стандарты и нормативы. В Системе содержится более 150000 файлов нормативно-технической документации, действующей на территории РФ. Система предназначена для широкого круга инженерно-технических специалистов. Copyright © www.gostrf.com, 2008 - 2026 |