Крупнейшая бесплатная информационно-справочная система онлайн доступа к полному собранию технических нормативно-правовых актов РФ. Огромная база технических нормативов (более 150 тысяч документов) и полное собрание национальных стандартов, аутентичное официальной базе Госстандарта. GOSTRF.com - это более 1 Терабайта бесплатной технической информации для всех пользователей интернета. Все электронные копии представленных здесь документов могут распространяться без каких-либо ограничений. Поощряется распространение информации с этого сайта на любых других ресурсах. Каждый человек имеет право на неограниченный доступ к этим документам! Каждый человек имеет право на знание требований, изложенных в данных нормативно-правовых актах!

  


 

ВЕДОМСТВЕННЫЕ СТРОИТЕЛЬНЫЕ НОРМЫ

НОРМЫ
проектирования и производства
буровзрывных работ при сооружении земляного полотна

ВСН 178-91

МОСКВА 2000

Разработаны: ЦНИИС Минтрансстроя - руководитель темы канд. техн. наук П. Г. Пешков, ответственные исполнители канд. техн. наук М. И. Оноцкий, канд. техн. наук А. П. Семин, канд. техн. наук Ю. В. Глазков.

Всесоюзным трестом "Трансвзрывпром" - руководитель темы канд. техн. наук В. И. Пугачев, ответственные исполнители И. В. Гаврилин, канд. техн. наук Р. А. Гильманов, канд. техн. наук Б. П. Сергеев.

Институтом Мосгипротранс - руководитель темы В. В. Шолин, ответственный исполнитель М. Г. Дыкман.

Внесены и подготовлены к утверждению Отделом научно-технического развития Государственной корпорации "Трансстрой".

С введением в действие BCН 178-91 "Нормы проектирования и производства буровзрывных работ при сооружении земляного полотна" утрачивают силу ВСН 178-74 "Технические указания по проектированию и производству буровзрывных работ при сооружении земляного полотна".

ВВЕДЕНИЕ

ВСН 178-91 является нормативным документом, обобщающим накопленный опыт в области проектирования и производства буровзрывных работ при строительстве новых и реконструкции железных и автомобильных дорог, портов и других транспортных сооружений, а также при добыче нерудных полезных ископаемых на открытых разработках.

Нормы содержат требования к разработке соответствующей технической документации на стадиях проектирования взрывных работ и предусматривают использование наиболее эффективных способов бурения, новейшей буровой техники и прогрессивной технологии ведения взрывных работ, регламентируют состав, порядок разработки, согласования и утверждения проектной документации на буровзрывные работы; предусматривают основные требования к организации, производству, контролю качества буровзрывных работ.

Настоящие Нормы составлены взамен Технических указаний по проектированию и производству буровзрывных работ при сооружении земляного полотна (ВСН 178-74), дополнены новыми разделами, которые касаются правил проектирования и производства взрывных работ в сложных условиях, в том числе на строительстве вторых путей, в городских условиях, на крутых косогорах, под водой, рассмотрены особенности ведения работ в северных районах.

Приведены технологические решения взрывания с целью образования откосов выемок с минимальным нарушением естественной устойчивости скальных массивов, обеспечения большей сохранности окружающей среды от вредных сейсмических, воздушных и гидравлических воздействий взрыва и уменьшения разлета осколков породы.

В приложениях к ВСН 178-91 приводятся дополнительные материалы, необходимые для осуществления указанных работ.

Предусматривается, что для обеспечения безопасности производства буровзрывных работ следует строго руководствоваться: Едиными правилами безопасности при взрывных работах, "Недра", 1990; СНиП III-4-80 Техника безопасности в строительстве; Едиными правилами безопасности при разработке месторождений полезных ископаемых открытым способом, "Недра", 1969; ОСТ 35-10-80. Сооружение земляного полотна железных и автомобильных дорог. Требования безопасности, ВПТИтрансстрой, 1981 и Инструкцией по обеспечению безопасности движения поездов при производстве буровзрывных и скальных работ на строительстве вторых путей (ВСН 175-71).

Работа выполнена сотрудниками ЦНИИС, треста "Трансвзрывпром" и института Мосгипротранс.

Введение написано В. И. Пугачевым и А. П. Семиным.

Раздел 1 - В. И. Пугачевым.

Раздел 2 - И. В. Гаврилиным, В. И. Пугачевым и М. Г. Дыкманом.

Раздел 3 - А. П. Семиным, И. В. Гаврилиным.

Раздел 4 - Ю. В. Глазковым, В. И. Пугачевым, А. П. Семиным и Б. Н. Сергеевым.

Раздел 5 - Р. А. Гильмановым, В. И. Пугачевым и А. П. Семиным.

Раздел 6 - Р. А. Гильмановым, В. И. Пугачевым, Ю. В. Глазковым.

Раздел 7 - Р. А. Гильмановым.

Раздел 8 - А. П. Семиным.

Раздел 9 - М. И. Оноцким.

Общая редакция ВСН выполнена В. И. Пугачевым.

Государственная корпорация "Трансстрой"

Ведомственные строительные нормы

ВСН 178-91

Нормы проектирования и производства буровзрывных работ при сооружении земляного полотна

Взамен
ВСН 178-74

1. ОРГАНИЗАЦИЯ БУРОВЗРЫВНЫХ РАБОТ

Общие положения

1.1. В процессе сооружения земляного полотна буровзрывные работы производятся на скальных участках трассы при устройстве выемок и кюветов, нагорных и водоотводных канав, траншей для укладки кабелей и трубопроводов, насыпей в основании косогоров и прижимов, разработке резервов и притрассовых карьеров, нарезке технологических полок, сооружении котлованов под опоры мостов, виадуков, контактной сети и других сооружений, устройстве рабочих площадок и т. п.

Взрывной способ применяют также при возведении насыпей на болотах, дноуглубительных работах в морских портах, рыхлении сезонно- и многолетнемерзлых грунтов, корчевке пней, добыче строительных материалов в карьерах, уплотнении просадочных грунтов, разрушении конструкции при реконструкции сооружений и др.

Внесены
Всесоюзным ордена Октябрьской революции научно-исследовательским институтом транспортного строительства

Утверждены
Государственной корпорацией "Трансстрой"
9 декабря 1991 г. № МО-05

Срок
введения в действие
1 июля 1992 г.

1.2. Применение взрывного способа не допускается:

для рыхления мерзлого грунта при толщине промерзания менее 0,5 м;

для рыхления скальных грунтов, поддающихся рыхлению и разработке землеройными машинами при уширении выемок под второй путь;

при корчевке пней диаметром менее 50 см (менее 30 см в мерзлых грунтах);

для выполнения подготовительных работ на болотах по устройству дренажных прорезей, канав-торфоприемников, водоотводных канав и по выторфовыванию при глубине разработки до 4 м;

в местах развития оползневых явлений;

вблизи месторождений минеральных вод, расположения звероферм и птицеферм, памятников культуры и природы;

в заповедниках и национальных парках;

на месторождениях полезных ископаемых (если буровзрывные работы не способ добычи);

в водоемах и реках, а также вблизи них в весенне-летний период;

для образования полок на крутых склонах скальных массивов, находящихся в неустойчивом равновесии.

1.3. Разработка взрывным способом выемок, расположенных на расстоянии до 50 м от искусственных сооружений (если другие расстояния не определены проектом), должна быть закончена до начала возведения этих сооружений.

Взрывание и разработку выемок в вечномерзлых грунтах следует начинать в зимний и весенний периоды года.

1.4. Взрывание скважинных, камерных и котловых зарядов производится по проектам, а при систематическом взрывании - по типовым проектам, корректируемым на каждый массовый взрыв по фактическим данным расположения зарядных выработок. Взрывание шпуровых (в том числе и котловых шпуровых зарядов) рукавов и наружных зарядов - по паспортам.

Взрывание на сброс, выброс, специальные взрывные работы и взрывание в населенных пунктах производится по проектам.

Проекты утверждаются главным инженером организации, ведущей взрывные работы, по согласованию с руководителем организации (предприятия) заказчика, а паспорта и корректировочные расчеты - руководителями взрывных работ.

С проектами и паспортами на буровзрывные работы должен быть ознакомлен под роспись весь персонал, выполняющий буровзрывные работы.

Отступления от проекта согласовываются с организацией, которая составляла проект, и утверждаются главным инженером организации, ведущей взрывные работы.

1.5. Перед началом взрывных работ на местности устанавливается граница опасной зоны и отмечается условными знаками.

1.6. До начала взрывных работ составляется график их производства, с которым должны быть ознакомлены все работники объекта и жители ближайших населенных пунктов. Кроме того, перечисленный контингент должен быть ознакомлен со значением звуковых и световых сигналов.

Проекты на буровзрывные работы согласовываются с местными органами охраны природы.

Выбор способов и методов производства взрывных работ

1.7. При разработке скальных выемок применяют следующие основные способы взрывания: на рыхление, выброс, сброс и обрушение.

Способы взрывания при разработке скальных выемок выбираются исходя из условий рельефа местности и распределения объемов земляных (скальных) масс по выемкам и насыпям, расположения сооружений и коммуникаций вблизи места взрыва, а также сохранности окружающей среды.

1.8. При поперечном уклоне местности до 40° применяют, как правило, взрывы на рыхление и выброс, а в случаях сооружения полувыемок на косогорах с углом откоса более 40° - взрывы на рыхление, сброс и обрушение.

Для образования ненарушенных откосов при устройстве выемок и полувыемок следует применять специальные технологии взрывных работ.

1.9. Проведение указанных в п. 1.7 основных способов взрывания следует осуществлять методом скважинных или шпуровых зарядов. Применение метода камерных зарядов при соответствующем технико-экономическом обосновании допускается в исключительных случаях только для перемещения породы из выемки в кавальер и при сооружении земляного полотна на прижимах или крутых косогорах, при невозможности применения метода скважинных зарядов.

1.10. При подчистных планировочных работах, устройстве канав, кюветов, нарезке технологических полок до ширины основания 1-2 м, небольших котлованов с глубиной взрываемого слоя до 0,5 м, рекомендуется шпуровой метод взрывных работ.

Выбор способов бурения скважин

1.11. Для образования скважин следует применять:

а) шарошечный способ бурения - в некрепких (VI группы, по СНиП IV-2-82, сб. 3), среднекрепких (VII-VIII групп) и в крепких (IX группы) малоабразивных грунтах, а также в грунтах с нескальными прослойками и в нескальных мерзлых и моренных грунтах, содержащих твердые включения;

б) ударно-шарошечный (с погружным ударником и шарошечным долотом), пневмоударный (с погружным ударником) и ударно-вращательный (с выносным ударником) способы бурения - в среднекрепких, крепких и весьма крепких грунтах (VIII-XI групп);

в) вращательный способ бурения - в мерзлых и полускальных (IV-VI групп) грунтах.

Временные здания и сооружения, предусматриваемые для буровзрывных работ

1.12. В подготовительный период до начала взрывных работ должно быть завершено строительство складов ВМ, подъездных путей к ним и объектам взрывных работ, тупиков для разгрузки ВМ, мастерских, а также служебных, жилых и других помещений.

1.13. Средства на строительство складов ВМ, в согласованном с субподрядчиком размере, должны выделяться из общей суммы средств, предусмотренной в сводном сметном расчете и сводной смете на временные здания и сооружения всего строительства отдельной графой и не включаться в объектно-сметный расчет и объектную смету. Расчеты по указанным средствам производятся после завершения строительства склада ВМ.

Число складов и их размещение должно обеспечивать возможность доставки ВМ на участки работ и возврата остатков ВМ на склад в течение светлого времени суток из расчета 2-3 часов езды автотранспортом от склада ВМ до места работ.

Склады ВМ, железнодорожные спецтупики и площадки для разгрузки ВМ должны быть построены в соответствии с типовыми или индивидуальными проектами, привязанными к местным условиям и предусматривающими, как правило, механизацию погрузочно-разгрузочных работ и приняты комиссионно с участием контролирующих органов и организаций, ведущих взрывные работы, с составлением соответствующего акта.

1.14. Выбор мест для строительства складов ВМ осуществляется комиссионно с участием организаций, ведущих взрывные работы, и контролирующих органов и согласовывается с заинтересованными организациями.

Данные о площадках под склады ВМ включаются в акт комиссионного выбора общей площадки (трассы) для строительства всего объекта.

Ходатайство о представлении земельного участка для склада ВМ и его отводе возбуждается заказчиком в порядке, предусмотренном земельным законодательством республики, на территории которой намечается строительство.

2. ПРОЕКТНАЯ И ПРОИЗВОДСТВЕННО-ИСПОЛНИТЕЛЬСКАЯ ДОКУМЕНТАЦИЯ НА ВЗРЫВНЫЕ РАБОТЫ

2.1. Для организации и производства буровзрывных работ разрабатывается проектная документация в составе проектно-сметной и организационно-технологической, а также производственно-исполнительская, составленные согласно требованиям СНиП 3.01.01-85 "Организация строительного производства", СНиП 3.02.01-87 "Земляные сооружения, основания и фундаменты", СНиП III-4-80 "Техника безопасности в строительстве", СНиП IV-2-82 "Сборник элементных сметных норм на строительные конструкции и работы", СН 449-72 "Указания по проектированию земляного полотна железных дорог", ВСН 175-71 "Инструкция по обеспечению безопасности движения поездов при производстве буровзрывных и скальных работ на строительстве вторых путей", "Единых правил безопасности при разработке месторождений полезных ископаемых открытым способом", "Единых правил безопасности при взрывных работах", "Основ земельного законодательства Союза ССР и союзных республик" (1968 г.), "Основ водного законодательства Союза ССР и союзных республик" (1970 г.), "Основ законодательства Союза ССР и союзных республик о недрах" (1975 г.) и методических указаний, норм и других природоохранных инструкций (обязательное приложение 1).

2.2. Проектная документация на буровзрывные работы должна разрабатываться в объеме и составе, достаточном для обоснования принимаемых проектных решений в зависимости от специфики видов строительства, сложности условий производства и других особенностей выполнения взрывных работ.

В пределах, установленных проектом, должна быть обеспечена сохранность зданий, сооружений, оборудования, инженерных и транспортных коммуникаций, ненарушение производственных процессов на промышленных, сельскохозяйственных и других предприятиях, охрана природы.

Если при взрывных работах не могут быть полностью исключены повреждения существующих и строящихся зданий и сооружений, то возможности повреждения должны быть указаны в проекте.

Соответствующие решения должны быть согласованы с заинтересованными организациями.

В рабочей документации на взрывные работы и проекте производства взрывных работ вблизи ответственных инженерных сооружений и действующих производств следует учитывать специальные технические требования и условия согласования проектов производства взрывных работ, предъявленные организациями, эксплуатирующими эти сооружения.

2.3. Проектная документация па буровзрывные работы разрабатывается специализированной проектной организацией или организацией, выполняющей взрывные работы, в соответствии с заданием на проектирование, выданным генеральным проектировщиком объекта или другими заказчиками проектной документации, а также договором, заключенным между ними на выполнение проектных работ.

2.4. Задание на проектирование должно содержать подробные исходные данные в соответствии с требованиями к проектированию, включающие обязательно: решение по организации буровзрывных работ, методам их производства, средствам механизации бурения и взрывания, согласованные с организацией, проводящей взрывные работы, а также средствам механизации уборки взорванного грунта;

данные о мощности специализированных на взрывных работах организаций, наличии складов ВМ, подсобных зданий и возможности их использования и развития, возможности использования местных кадров;

сведения о местах расположения станций (пунктов) прибытия грузов, наличии специальных тупиков и площадок для разгрузки ВМ;

специальный план местности в радиусе опасной зоны с нанесением всех зданий, сооружений, дорог, линий электропередач и связи, садов и других угодий и т. п.;

характеристику выемок и котлованов с оценкой устойчивости скального массива в естественном состоянии и при образовании в нем проектных откосов;

поперечные и продольные профили выемок и котлованов с нанесением инженерно-геологических условий.

В характеристике инженерно-геологических условий, приводимой в записке ПОС, должны быть указаны обязательно:

название разрабатываемого грунта, глубина и мощность зон пресных вод с требованиями по их охране, степень трещиноватости по зонам с данными об элементах залегания господствующих систем трещин;

скорость распространения упругих колебаний в массиве взрываемых грунтов;

требования к сохранности зданий и сооружений, охране окружающей среды;

наибольшее число гроз за месяц и грозовой период;

дополнительные требования к охране труда и технике безопасности, вытекающие из конкретных местных условий и производства работ;

другие данные и сведения, необходимые для проектирования БВР.

2.5. На буровзрывные работы составляется следующая проектная документация:

2.5.1. В строительстве:

а) в составе ТЭО и проекта:

раздел буровзрывных работ в проекте организации строительства;

сметная документация;

б) в составе рабочего проекта:

раздел буровзрывных работ в проекте организации строительства;

сметная документация;

рабочие чертежи на буровзрывные работы;

в) в составе рабочей документации:

рабочие чертежи на буровзрывные работы;

сметная документация;

г) проект производства работ (ППР).

2.5.2. При добыче нерудных полезных ископаемых:

а) на стадии ТЭО карьера;

выбор метода взрывных работ и бурового оборудования;

выбор высоты уступа и ширины рабочих площадок;

определение стоимости работ;

б) на стадии проекта карьера:

уточнение показателей взрывных работ, принятых в ТЭО;

установление объемов взрываемых блоков;

емкость склада ВМ;

сметная документация;

в) на стадии рабочих чертежей:

детализация принятых решений и вариантов в пределах утвержденных показателей и затрат;

составление типовых чертежей взрывных работ (типового проекта производства буровзрывных работ);

сметная документация.

2.6. На мелкие, разовые и эпизодические работы составляется в качестве проектной документации паспорт или технический проект массового взрыва.

Технический проект массового взрыва должен состоять из:

а) ситуационного плана;

б) поперечных разрезов с геологической характеристикой и категорией грунтов;

в) расчета зарядов с указанием их величин, сетки расположения зарядов, конструкции зарядов, величины забойки и перебура;

г) схемы взрывания с указанием интервала замедления;

д) сведения общего характера - диаметр скважин, объем буровых работ, объем взрываемого блока, расчетный выход горной массы, удельный расход ВВ и др.

Паспорт буровзрывных работ должен содержать:

указания по расположению, глубине, количеству взрываемых в серии шпуров или наружных зарядов; наименование применяемых ВВ и СВ;

данные о диаметре шпуров, конструкции и величине зарядов, забойке и материале для нее;

указания по количеству взрываемых в серии шпуров и последовательности их взрывания по сериям;

указания по устройству взрывной сети;

план местности с указанием места взрывных работ, границы опасной зоны, постов оцепления и мест укрытия рабочих.

2.7. Раздел буровзрывных работ в составе ПОС состоит из:

а) календарного плана производства буровзрывных работ;

б) перечня сооружений подготовительного периода, необходимых для выполнения буровзрывных работ, включая склады ВМ емкостью не менее 3-месячной потребности строительства во взрывчатых материалах;

в) описания методов производства буровзрывных работ;

г) ведомости объемов буровзрывных работ с выделением их в составе пусковых комплексов и объектов;

д) ведомости потребности во взрывчатых материалах с распределением по срокам строительства;

е) ведомости потребности в буровых машинах и автотранспорте;

ж) ведомости потребности в рабочих кадрах.

В составе пояснительной записки к ПОС указывается:

характеристика условий для производства БВР;

обоснование методов производства БВР;

обоснование количества "окон" при строительстве 2-го пути;

обоснование по разработке ППР.

На всех стадиях (п. 2.5, 2.6 и 2.7) проектно-сметная документация должна содержать самостоятельный раздел, по охране природы.

2.8. В состав рабочей документации на буровзрывные работы должны входить рабочие чертежи и пояснительная записка.

Пояснительная записка включает:

а) гидрогеологические условия;

б) технологические решения взрывных работ, расчет зарядов, взрывных сетей, потребность в материалах, оборудовании, затратах труда;

в) сметы (локальные и объектные);

г) ведомость объемов работ по методам взрывания;

д) ситуационный план местности в пределах границы опасной зоны взрыва с нанесением наземных и подземных сооружений, коммуникаций и угодий;

е) мероприятия по охране природы.

2.9. Сметная документация составляется в порядке, установленном "Инструкцией о составе, порядке разработки, согласования и утверждения проектно-сметной документации на строительство предприятий, зданий и сооружений", СНиП 1.02.01-85.

2.10. Сметная стоимость буровзрывных работ согласно объектным (локальным) сметам, составленным по рабочим чертежам, входит в состав ведомости сметной стоимости товарной строительной продукции отдельной строкой.

2.11. Стоимость буровзрывных работ по каждой главе проекта (рабочего проекта), рабочей документации должна определяться локальными сметами с выделением раздельно грунтов IV-V групп и грунтов VI-XI групп. Итоги локальных смет на буровзрывные работы включаются в объектную смету отдельными строками для грунтов IV-V группы с начислением всех лимитированных и прочих затрат.

2.12. Рабочая документация на буровзрывные работы разрабатывается в целом на строительство сооружения, предприятия или их очередей с продолжительностью строительства до двух лет, а при большей продолжительности - на годовой объем строительно-монтажных работ.

2.13. При необходимости выполнения буровзрывных работ, не предусмотренных проектом организации строительства, в том числе опытно-экспериментальных взрывных работ, проектная организация по согласованному с ней техническому заданию может составлять проектную документацию в одностадийном порядке.

2.14. Проектная документация должна составляться на все взрывы, выполняемые методом скважинных или камерных зарядов, а также на все взрывы в зоне населенных пунктов, железных и автомобильных дорог, ценных угодий, ЛЭП и других сооружений, независимо от метода взрывных работ.

2.15. В рабочих чертежах буровзрывных работ должны быть уточнены принятые в ТЭО или проекте конструкции выемок, объемы и методы буровзрывных работ и определены:

а) организация буровзрывных работ;

б) высота разрабатываемых уступов или мощность взрываемых слоев грунта;

в) расположение зарядов в плане и профиле, величины зарядов и их конструкция;

г) количество взрывных выработок, их размеры и схемы крепления;

д) схемы взрывных сетей;

е) радиусы опасных зон и меры по защите зданий, сооружений и угодий, попадающих в эти зоны, а также мероприятия по технике безопасности при буровзрывных работах;

ж) продолжительность и число "окон", необходимых для взрывных работ при производстве их в зоне действующей железной или автомобильной дороги.

2.16. Проекты производства работ (ППР) разрабатываются для взаимной увязки выполнения буровзрывных и земляных работ, с целью снижения общей их стоимости и трудоемкости, сокращения срока разработки объекта, увеличения полезного времени и производительности механизмов, повышения качества, безопасности работ и наибольшей сохранности окружающей среды.

Исходными данными для разработки проекта производства буровзрывных работ служат:

а) задание на разработку ППР, содержащее сведения об объемах и сроках разработки;

б) смета;

в) проект организации строительства;

г) рабочие чертежи;

д) сведения о сроках и порядке поставки материалов и оборудования, количестве и типах намечаемых к использованию буровых машин и транспортных средств, а также о рабочих кадрах по профессиям;

е) другие сведения по специфике буровзрывных работ на данном строительстве.

В состав проекта производства буровзрывных работ для строительства объектов включаются:

а) график или календарный план производства работ, в которых на основе объемов буровзрывных работ и разработанной технологии устанавливаются последовательность и сроки выполнения работ, определяется потребность в трудовых ресурсах;

б) график поступления на объект взрывматериалов;

в) график потребности в рабочих кадрах;

г) график потребности в буровых машинах;

д) технологические карты (схемы) на выполнение отдельных видов работ с включением схем операционного контроля качества, описанием методов производства работ, указанием трудозатрат, потребности в материалах, машинах и т. д.;

е) решения по охране труда и технике безопасности, требующие проектной разработки (способы обеспечения безопасности забоев, устройство заземлений, ограждения зоны и др.);

ж) методы осуществления контроля и оценки качества БВР (указания о допусках, схемы операционного контроля качества, способы освидетельствования и фиксации скрытых работ, сроки проверки качества работ и др.);

з) мероприятия по организации работ методом бригадного подряда, вахтовым способом;

и) необходимость строительства и перечень временных зданий и сооружений;

к) мероприятия по защите действующих коммуникаций и сооружений от действий взрывов и мероприятия по охране природы.

2.17. При составлении ППР необходимо предусматривать проведение средствами организаций, выполняющих земляные работы, следующих видов работ:

а) устройство временных подъездных и внутриобъектных дорог;

б) устройство временных водоотводных канав;

в) уборку нескального грунта (вскрыши);

г) нарезку технологических рабочих полок требуемой ширины в условиях косогоров и прижимов;

д) устройство рабочих площадок для установки машин и механизмов;

е) зачистку откосов выемок (полувыемок) до проектного очертания после разработки каждого взорванного слоя грунта.

2.18. При разработке ППР должны быть намечены мероприятия, обеспечивающие:

а) достижение максимальной степени дробления породы при минимальном объеме негабаритов;

б) снижение объема зачистных работ вплоть до полной их ликвидации;

в) минимальное нарушение породы в откосах при взрывных работах;

г) возможность механизации работ;

д) максимальную выработку буровых, зарядных, экскаваторно-транспортных и других средств, эффективную работу всего персонала, связанного с выполнением работ.

2.19. При разработке ППР для работ в условиях Севера, Сибири и Дальнего Востока следует предусматривать применение машин в северном исполнении. Для обеспечения в указанных районах бесперебойной работы в зимнее и весеннее время следует указывать необходимые резервы и материальные ресурсы, ВВ и СВ, ГСМ, бурового инструмента и т. п., которые в период распутицы должны находиться в зоне наличия подъездов к объектам работ.

Указанные ресурсы следует помещать на стройплощадках, в передвижных и других временных складах или хранилищах контейнерного типа. В отдельных случаях при технико-экономическом обосновании для доставки указанных выше средств и материалов может быть предусмотрено использование вездеходов и вертолетов.

2.20. В ППР по сооружению земляного полотна на крутых и отвесных косогорах и прижимах для образования пионерных троп необходимо предусматривать привлечение генподрядчиком специальных субподрядных бригад (организаций) альпинистов для выполнения буровых, взрывных и других работ на склонах круче 40°, обученных безопасным методам их выполнения в горных условиях с применением альпинистских приемов, скалолазного оборудования, обуви и т. п. и соответствующих буровых средств. До образования пионерных троп должно быть предусмотрено выполнение работ по ликвидации вышерасположенных опасно нависающих и слабодержащихся участков и кусков породы или отдельностей.

2.21. При расположении объекта работ в условиях высокогорья в ППР должны быть заложены мероприятия по обеспечению адаптации рабочих и технического персонала. При этом необходимо также учитывать установленные в нормативных документах изменения норм выработки, а также особенности в эксплуатации механизмов.

2.22. В зависимости от климатических условий ведения работ в ППР должны предусматриваться соответствующие мероприятия, обеспечивающие нормальные условия для работы людей и эксплуатации машин и механизмов.

При особой сложности условий производства взрывных работ (уширение выемок под второй путь и взрывание в зоне населенных пунктов, взрывание выемок глубиной более 25 м, крутизне естественного откоса более 20°, на оползнеопасных склонах, вблизи магистральных трубопроводов, мостов, тоннелей ЛЭП, линии связи), по решению организации, утвердившей проект, разработка проекта производства работ должна выполняться проектной организацией за счет средств на проектные работы по данной стройке.

В остальных случаях ППР разрабатывается организацией, выполняющей буровзрывные работы или по ее заказу проектной организацией за счет накладных расходов в строительстве.

2.23. Производственно-исполнительская документация включает в себя:

технический расчет;

корректировочный расчет;

распорядок проведения массового взрыва;

акт скрытых работ;

приказ на производство массового взрыва.

2.24. Буровзрывные работы осуществляются на основе следующей технической документации:

а) на карьере:

типового проекта производства буровзрывных работ;

проекта массового взрыва, состоящего из технического расчета, корректировочного расчета, распорядка проведения массового взрыва, акта скрытых работ;

б) на строительстве:

проекта буровзрывных работ, состоящего из рабочих чертежей (рабочей документации) с пояснительной запиской и ППР;

проекта массового взрыва, состоящего из технического расчета (в случае отсутствия необходимости составления рабочих чертежей), корректировочного расчета, распорядка проведения массового взрыва, акта скрытых работ.

Состав и порядок составления, применения и утверждения технического и корректировочного расчетов, распорядка проведения массового взрыва, акта скрытых работ и т. д установлены "Временной инструкцией по организации и производству массовых взрывов на дневной поверхности, выполняемых трестом "Трансвзрывпром".

3. ТРЕБОВАНИЯ К ВЗРЫВНЫМ РАБОТАМ

Буровзрывные работы должны обеспечивать получение выработок требуемой формы и размеров с минимальными отклонениями от проектного контура; необходимое дробление и развал взорванного грунта, позволяющие организовать высокопроизводительную работу погрузочно-транспортных средств; максимальную механизацию тяжелых и трудоемких работ; наиболее полное использование энергии взрывчатых веществ; минимум планировочных и вспомогательных работ, получение устойчивых откосов и надежных оснований выемок с минимальным трещинообразованием за пределами контура.

3.1. Содержание негабаритных кусков в составе разрыхленного грунта при скважинном методе взрывных работ не должно превышать значений, предусмотренных табл. 1.

Таблица 1

Емкость ковша экскаватора, м3

Выход негабарита, %, для группы грунтов

IV

V

VI

VII

VIII

IX

X

XI

До 0,5

7

13

14

18

19

28

 

 

0,5-1,0

4

9

9,5

14

14,5

19,5

20

24

1-2

2,8

5,5

6

8

8,5

11

12

14

2-3

-

-

1,8

2,8

3

3,5

4

4,5

Свыше 3

-

-

1

1,8

2

2,8

3

3

Примечание. Для экскаваторов с ковшом емкостью 0,65 м3 негабаритом считается отдельность размером свыше 0,6 м в ребре, с ковшом емкостью 1-1,25 м3 - свыше 0,7 м, с ковшом емкостью 1,6 м3 - свыше 0,85 м, с ковшом емкостью 2,0 м3 - свыше 0,95 м.

Размер габарита принимается равным: 2/3 наибольшей конструктивной глубины копания - для скреперов; 1/2 высоты отвала - для бульдозеров и грейдеров; 1/2 ширины кузова и по весу половину паспортной грузоподъемности - для транспортных средств; 3/4 меньшей стороны приемного отверстия - для дробилки (если предусмотрено последующее дробление камня).

3.2 Мощность взрываемого слоя грунтов для экскаваторных проходок следует принимать по табл. 2.

При разработке выемок в массивах, сложенных горизонтально-слоистыми грунтами, мощность взрываемого слоя следует принимать из расчета образования подошвы забоя по одной из плоскостей раздела, но не больше чем указано в табл. 2. Увеличение мощности взрываемого слоя сверх указанного в табл. 2 допустимо при соответствующем технико-экономическом обосновании.

Таблица 2

Емкость ковша экскаватора, м3

Радиус черпания, м

Мощность взрываемого слоя, м, при крутизне откоса выемки

1 : 1

1 : 0,75

1 : 0,5

1 : 0,2

0,65

9,2

5,0

6,0

7,0

 8,0

1,0-1,25

9,1-9,9

6,1

7,6

8,0

8,0

1,6

9,9

8,0

9,0

9,5

10,2

При продольном способе разработки косогорных полувыемок с одновременным взрыванием не более двух рядов зарядов мощность взрываемого слоя ограничивается высотой черпания экскаватора.

3.3. При проектировании крутизны откосов в коренных слабовыветрелых и слаботрещиноватых скальных грунтах (sСЖ>600 кгс/см2, блочность ³ 0,5 м) следует руководствоваться данными рис. 1 и табл. 3.

Рис. 1. Поперечный профиль выемки

Таблица 3

Инженерно-геологические условия

1 : n

Н, м

Отсутствие выдержанных систем поверхностей ослабления, направленных в сторону откоса под углом 30-35°. Заполнитель трещин отсутствует

1 : 0,2

35-40

1 : 0,5

40

Наличие выдержанных систем поверхностей ослабления, направленных в сторону откоса под углом 30-35°. Заполнитель трещин отсутствует

1 : 0,5

20

1 : 0,75

20-30

1 : 1

30

Наличие выдержанных систем поверхностей ослабления, направленных в сторону откоса под углом 30-35°. Имеется заполнитель трещин

1 : 0,5

10

1 : 0,75

10-15

1 : 1

15

Примечания: 1. Откосы крутизной 1:0,2 следует получать методом контурного взрывания; откосы заложением 1:0,5 целесообразно выполнять с использованием наклонных откосных скважин.

2. Для улавливания скальных обломков, выпадение которых при высокой сейсмичности неизбежно, необходимо повсеместное устройство траншей.

3.4. Рекомендуемая крутизна откосов для сильнотрещиноватых грунтов (блочность <0,5 м) приведена в табл. 4.

Таблица 4

 

Инженерно-геологические условия

1 : n

H, м

Блочность 0,3-0,5 м

Отсутствие неблагоприятно ориентированных систем поверхностей ослабления и заполнителя трещин

1 : 0,5

£30

1 : 0,75

>30

То же при наличии заполнителя трещин

1 : 0,5

£15

1 : 0,75

15-20

1 : 1

>20

Наличие неблагоприятно ориентированных систем поверхностей ослабления. Заполнитель трещин отсутствует

1 : 0,5

£20

1 : 0,75

20-30

1 : 1

³30

То же при наличии заполнителя трещин

1 : 0,5

£10

1 : 0,75

10-15

1 : 1

>15

Блочность 0,05-0,3 м

Отсутствие неблагоприятно ориентированных систем поверхностей ослабления и заполнителя трещин

1 : 0,75

£25

1 : 1

>25

То же при наличии заполнителя трещин

1 : 0,75

£15

1 : 1

15-20

1 : 1,5

>20

Наличие неблагоприятно ориентированных систем поверхностей ослабления. Заполнитель трещин отсутствует

1 : 0,75

£20

1 : 1

20-30

1 : 1,5

>30

То же при наличии заполнителя трещин

1 : 0,75

£10

1 : 1

10-15

1 : 1,5

>15

3.5. В нижней зоне шлейфа "разборной скале" при мощности слоя hH£3 м заложение откоса принимается таким же, как и в нижележащем скальном грунте. При мощности слоя hH>3 м заложение откоса (1:К) в зависимости от блочности принимается равным 1:0,75-1,5.

3.6. Рекомендуемый откос верхней зоны шлейфа (делювия) приведен в табл. 5.

Таблица 5

Мощность верхней зоны шлейфа (HB), М

1 : n

£0,8

1 : 0,5

0,8-2,0

1 : 1

2,0-4,0

1 : 1-1 : 1,25

>4,0

1 : 1,5

3.7. Габариты траншей принимаются в соответствии с табл. 6.

Таблица 6

Н, м

В, м

Z, м

£16

4

1,0-1,25

16-25

4-5

1,25-1,5

25-35

5-6

1,50-2,0

>35

6-8

2,0-2,5

3.8. При применении контурного взрывания следует проектировать очертания выемок (полувыемок) с увеличением ширины рабочей площадки по каждому ярусу выемки для станков БТС-75 не менее 1,4 м, для станков БТС-150, СБШ-160 не менее 2,0 м.

3.9. Объем работ по зачистке бортов и дна выемок принимается по табл. 7.

Таблица 7

Способ производства работ

Объем работ по зачистке в % от профильного объема выемки

Группа пород

IV-V

VI

VII

VIII

IX-XI

Шпуровыми зарядами

1

2

3

4

5

Скважинными зарядами

2

4

5

6

7

Камерными зарядами

3

5

6

7

8

3.10. При разработке скальных выемок с применением буровзрывных работ недобор в откосах выемок не должен превышать 10 см. Отдельные выступы и углубления, образовавшиеся в откосах, не должны препятствовать нормальной эксплуатации выемок, производству ремонтных работ и стоку воды, а также ухудшать видимость.

4. РАСЧЕТ ПАРАМЕТРОВ ВЗРЫВА И ПРОИЗВОДСТВО РАБОТ ПРИ РЫХЛЕНИИ ПОРОД НА НОВОСТРОЙКАХ

Взрывные работы при сооружении горизонтальных и слабокосогорных выемок с применением скважинных зарядов

4.1. Перед началом ведения буровзрывных работ поверхность участка трассы в пределах объекта должна быть подготовлена организацией-заказчиком взрывных работ для перемещения и установки буровых машин и компрессоров.

Нескальные и слабые скальные грунты, прикрывающие коренные скальные массивы, должны быть предварительно разрыхлены и убраны с участка взрывных работ.

4.2. Объем взрываемой в один прием скальной породы для работы экскаватора или погрузчика рекомендуется принимать равным или кратным недельной выработке соответствующей погрузочной машины.

В летних условиях при необходимости заряжания вслед за бурением при рыхлении вечномерзлых грунтов указанный объем следует определять с учетом имеющихся в наличии типов ВВ и СВ, а также времени вторичной смерзаемости.

4.3. Разработку выемок глубиной более 10 м следует выполнять послойно в несколько проходок (по глубине выемки). Неглубокие выемки (до 2,5 м) или их участки для достижения хорошего дробления породы и проработки подошвы рекомендуется взрывать скважинами малого диаметра.

4.4. На строительных объектах с большим объемом взрывных работ процессы погрузочно-разгрузочных и зарядных работ следует механизировать. Применяемое зарядное оборудование (обязательное приложение 2) должно быть допущено Проматомнадзором СССР к постоянному применению, эксплуатация его производится по специальной инструкции, разработанной заводом-изготовителем.

4.5. Для выполнения взрывных работ, в зависимости от специфических условий (дробимость грунта, горногеологические и гидрогеологические данные, температура окружающего воздуха и др.) и технико-экономических характеристик ассортимента ВВ, используются взрывчатые вещества, приведенные в обязательном приложении 3.

4.6. Параметры буровзрывных работ при сооружении выемок на новостроящихся объектах (выемках) подбираются в зависимости от степени взрываемости грунта, его крепости и трещиноватости.

Основными расчетными параметрами взрыва при данном диаметре заряда являются: масса заряда Q, расстояние между скважинами aP и между рядами b, величина перебура Dl и забойки lЗ.

Диаметр скважинных зарядов рыхления для достижения необходимой степени дробления при наименьшем разрушении откосов и разбросе породы, а также для лучшего использования обмена скважин следует принимать в породах IV- Х групп не больше 160 мм, а в труднодробимых породах - 105¸112 мм.

Расчетное расстояние между скважинами при квадратной сетке их размещения определяется по формуле

                                                                  (1)

где аР - расстояние между скважинами при квадратной сетке их размещения, м; Р - вместимость 1 м скважины, кг/м (обязательное приложение 4); q - расчетный расход ВВ, кг/м3 (определяют по обязательному приложению 5).

Величину q при этом следует принимать:

наименьшей при взрывании легкодробимых (независимо от группы) грунтов: сильно выветрелых, плитчатых, тонкослоистых и сильнотрещиноватых, разделенных на отдельности размером до 0,5 м; с выраженным кливажем и рассланцованных или сильно окварцованных, а также метаморфизированных - типа порфиритов, кварцитов и им подобных;

средней при взрывании среднедробимых с небольшой вязкостью грунтов VI-IX групп: средне- и крупнослоистых, слаботрещиноватых;

наибольшей при взрывании труднодробимых с большой вязкостью грунтов VI-Х групп: средне- и крупнослоистых, слаботрещноватых, разделенных на отдельности размером 0,8-2,0 м.

При использовании ВВ, отличающихся от аммонита 6ЖВ, расчетный расход их q, принимаемый по приложению 5, следует умножать на соответствующие переводные коэффициенты е (обязательное приложение 6).

Величина заряда ВВ в скважине QС (кг) определяется по формуле

                                                             (2)

где li - длины участков заряда с ВВ одинаковой плотности, м; Pi - количество ВВ данной плотности в 1 пог. м скважины, кг; m - число участков заряда (в скважине) с ВВ разной плотности.

При недостаточности сведений о свойствах грунтов для определения показателя их взрываемости расчетную величину расстояния между скважинными зарядами "а" или величину линии сопротивления по подошве "W" (м) определяют по формуле

                                                (3)

где КП - коэффициент перебура, принимается равным 0,25-0,35; lП - длина перебура, м; qВ - расчетный удельный расход ВВ, принимаемый равным 2/3 от значения q (обязательное приложение 7) при взрывании в условиях одной открытой поверхности и равным 1/3 от значений q при уступной отбойке.

Длина перебура принимается (8¸10) диаметров скважины (dСКВ). Длина забойки принимается, как правило, 22dСКВ.

При необходимости снизить разлет и развал взорванной породы длина забойки может увеличиваться до 40dСКВ.

Число рядов основных скважинных зарядов в поперечном сечении выемки определяется по формуле

NЗ=В/аР+1,                                                                   (4)

где NЗ - число рядов основных зарядов; В - ширина выемки в уровне основной площадки земляного полотна или в уровне взрываемого слоя грунта, м.

При определении числа NЗ следует так откорректировать величину аР, чтобы крайние основные заряды помещались точно в основании откосов выемки.

4.7. В выемках глубиной более 4-6 м при крутизне откосов менее 1 : 0,2, разрабатываемых без предварительного щелеобразования, кроме основных скважинных зарядов рыхления необходимо закладывать заряды в откосные скважины (рис. 2) для рыхления грунта по всему сечению выемки и снижения объема доработок.

4.8. Откосные скважины располагают наклонно (см. рис. 2, б) при крутизне откоса до 1 : 0,33 и вертикально - в случае более пологих откосов (см. рис. 2, а).

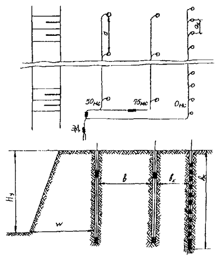
4.9. При четном числе скважин в поперечном сечении выемки и продольно-порядном короткозамедленном взрывании два центральных ряда скважин должны располагаться сближенно или с небольшим наклоном к вертикальной осевой плоскости выемки так, чтобы угол схождения этих скважин составлял не менее 10-15° (рис. 3).

4.10. При разработке выемок в слабых или неустойчивых грунтах короткими участками скважинам необходимо придавать наклон, соответствующий боковой поверхности образуемого уступа, и взрывать их поперечными рядами (рис. 4).

4.11. Для рыхления грунта в выемке до уровня основной площадки земляного полотна скважины необходимо бурить ниже проектных отметок, т. е. с перебуром.

Величину перебура скважин Dl устанавливают в зависимости от выбранного ВВ, прочности грунта и удаления скважин от обнаженной поверхности в уровне основной площадки земляного полотна (см. рис. 3), или от расстояния вП между разновременно взрываемыми рядами скважин.

В крепких слаботрещиноватых грунтах IX-XI групп при взрывании выемки зарядами из аммонита 6ЖВ для первого ряда скважин Dl=0,4аР, а для остальных рядов Dl=0,4вП, в грунтах средней прочности (VII-VIII) для первого ряда скважин Dl=0,3вП, для остальных Dl=0,3вП; в некрепких грунтах (V-VI групп) величину перебура необходимо снижать для скважин первого ряда до Dl=0,2вП.

Рис. 2. Расположение вертикальных (а) и наклонных (б) откосных скважин в поперечном профиле выемки:

l - участок основных зарядов

Рис. 3. Расположение основных скважинных зарядов в поперечном профиле выемки при четном числе рядов

Рис. 4. Схема расположения скважин в неустойчивых породах при лобовой разработке выемки:

а - поперечный разрез; б - продольный разрез

При разработке выемок в грунтах, сложенных из слабосцементированных горизонтальных слоев или включающих нескальные прослойки в уровне подошвы выемки, скважины следует бурить без перебура.

4.12. Короткозамедленное взрывание скважинных зарядов осуществляется электродетонаторами короткозамедленного взрывания или пиротехническими реле КЗДШ.

В зависимости от технологии разработки и взрывания выемки следует применять следующие основные схемы расположения и замедления взрыва скважинных зарядов ВВ:

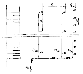
продольно-порядные схемы КЗВ (рис. 5) - при разработке выемок глубиной до 4 м с продольными проходками экскаватора или при взрывании их в один прием;

поперечно-порядные схемы КЗВ (рис. 6) - при разработке выемок шириной в основании до 10 м и выемок в легкодробимых грунтах при лобовой проходке их по всей ширине и взрывании короткими участками;

поперечно-врубовые схемы КЗВ (рис. 7) - при разработке выемок более 10 м в основании при лобовой проходке их по всей ширине и взрывании короткими участками.

Врубовые заряды, взрываемые ранее других (на рис. 5 и 7 ряды врубовых зарядов отмечены крестиками), должны быть усилены за счет:

уменьшения расстояния аР или вП на 20¸25%;

наклонного расположения (на рис. 5 - показано пунктиром);

увеличения диаметра скважин до 150 мм;

применения более плотных и мощных ВВ.

При применении продольно-порядковых схем КЗВ скважины в смежных рядах следует располагать в шахматном порядке.

Рис. 5. Продольно порядные схемы КЗВ:

а - для выемки на косогоре; б - для выемки на равнинном участке; 1, 2, 3, 4, 5 - очередность взрывания рядов скважин

Рис. 6. Поперечно-порядная схема КЗВ:

1, 2, 3, 4, 5 - очередность взрывания рядов скважин

В этих случаях проектные расстояния между скважинами в ряду следует принимать в 1,2-1,6 раз больше, чем расстояния между рядами зарядов аР (большие значения аР относятся к случаям взрывания труднодробимых грунтов).

При использовании поперечно-врубовых схем КЗВ (см. рис. 7) скважины следует располагать по квадратной сетке со стороной квадрата, равной аР, кроме двух центральных рядов скважин - при трапециевидном врубе, или трех - при клиновом врубе; расстояние между указанными центральными рядами может быть меньше.

Для увеличения или уменьшения "развала" взорванного грунта сетку скважин следует принимать прямоугольной с соотношением сторон 1:1,2¸1:1,3, располагая меньшую сторону соответственно вдоль или поперек оси выемки.

4.13. Интервал замедления (t, мс) определяют по формуле

tСаК,                                                                (5)

где КС - коэффициент, учитывающий свойства и строение взрываемого грунта, изменяющийся в пределах от 3 до 6; величина КС зависит от скорости упругой волны в образце грунта и может быть определена по табл. 8; аК - кратчайшее расстояние между соседними разновременно взрываемыми скважинами, м.

Рис. 7. Поперечно-врубовые схемы КЗВ:

а - с треугольным врубом; б - с трапециевидным врубом; 1, 2, 3, 4, 5, 6, 7 - очередность взрывания скважин

Таблица 8

Скорость упругой волны в образце, м/сек

6000

5000

4000

3000

Значение коэффициента КС

3

4

5

6

Типичные примеры грунтов

Кварциты, габбро, порфириты, сланцы кристаллические, диабазы - слаботрещиноватые

Граниты, мраморы, гнейсы - слаботрещиноватые

Доломиты, сланцы глинистые - плотные

Известняки, песчаники - плотные

Примечание. В трещиноватых и выветрелых в разной степени грунтах скорость упругой волны в 1,5-3 раза меньше приведенных величин, поэтому значение КС следует соответственно увеличивать.

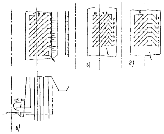
Рациональные схемы взрывных сетей при короткозамедленном взрывании приведены на рис. 8-11.

Рис. 8. Схема взрывной сети для КЗВ при одном ряде скважинных зарядов:

1 - ДШ; 2 - скважина; 3 - откос уступа

Рис. 9. Схема взрывной сети при нескольких рядах скважинных зарядов, взрываемых с замедлением по рядам:

1 - ДШ; 2 - скважина; 3 - откос разрабатываемого слоя породы

Рис. 10. Взрывная сеть при поперечно-врубовой схеме КЗВ:

1 - ДШ; 2 - скважина; 3 - откос разрабатываемого слоя породы

Рис. 11. Схема взрывной сети при нескольких рядах зарядов, взрываемых с замедлением по рядам с применением КЗДШ:

1 - скважина; 2 - ДШ; 3 - откос разрабатываемого слоя породы

4.14. В качестве источника тока для взрывания электродетонаторов следует применять стандартные конденсаторные взрывные машинки или минные станции.

Инициирование взрыва ДШ в поверхностной части сети следует производить от двух последовательно соединенных электродетонаторов, связанных вместе.

При наличии блуждающих токов в районе взрываемого объекта необходимо применять для короткозамедленного взрывания пиротехническое реле.

Взрывание с применением метода камерных зарядов

4.15. Основными расчетными параметрами при взрывах камерными (сосредоточенными) зарядами являются их величины Q и расстояния: а - между зарядами в ряду и в - между рядами зарядов. Глубина заложения зарядов при этом определяется, как правило, проектной отметкой основной площадки земляного полотна или отметкой подошвы карьерного уступа.

Величины сосредоточенных зарядов ВВ (кг) рассчитывают по формуле

Q=f(n)qВW3,                                                             (6)

где f(n) - функция показателя действия взрыва; W - длина ЛНС, определяемая на поперечном профиле по расположению центра заряда, м; qВ - расчетный расход ВВ для зарядов нормального выброса.

При расчете величины сосредоточенного заряда рыхления по формуле значение f (n) следует принимать равным 0,4-0,6 в зависимости от свойств грунтов и местных условий (большие значения - для крепких грунтов и при отсутствии поблизости сооружений, зданий, дорог).

При взрывах, проводимых в непосредственной близости от сооружений и коммуникаций, когда разлет кусков взорванного грунта недопустим, величина заряда рыхления должна быть уменьшена до минимальных значений. Значение функций f(n) при этом следует принимать равным 0,2-0,25 (большее значение - для крепких грунтов).

Расстояние между сосредоточенными зарядами рыхления следует принимать равным приблизительно глубине их заложения, а между зарядами вспучивания - не более глубины их заложения.

4.16. При расчете взрыва на выброс для образования выемки должны быть установлены глубины заложения зарядов и длины ЛНС (W), по которым определяют величины зарядов Q и расстояния между ними. Кроме того, в необходимых случаях должны быть определены видимая глубина траншеи НТ, радиус сферы полного разрушения грунта RР, ширина вН и высота hН навалов, образуемых выбрасываемым грунтом.

Величину камерных зарядов выброса QВ (кг) для выемок глубиной до 25 м следует определять по формуле:

QВ=qW3(0,4+0,6n3).                                                     (7)

Для выемок глубиной более 25 м величины зарядов, полученные по формуле, следует умножать на коэффициент

                                                           (8)

Показатель действия взрыва n в формуле (7) при однорядном расположении и совмещении зарядов с проектной отметкой выемки необходимо принимать равным 1,2-1,3 для достижения относительного выброса, равного 40%, 1,6-1,8 - для выброса 50% и 2,0-2,2 - для выброса 80%. Для выемок глубиной до 7 м следует принимать большие из указанных значений.

4.17. При образовании выемок взрывами на выброс на косогорах с поперечным уклоном более 15° величины камерных зарядов, рассчитанные по формуле (7), следует уменьшать, умножая на коэффициент

                                                          (9)

где a - угол отклонения ЛНС от вертикали, град.

В таких случаях ряды зарядов должны быть смещены в нагорную сторону настолько, чтобы расчетный раствор воронки с низовой стороны не выходил за проектное очертание выемки, а с нагорной стороны приближался к верхней части проектируемого откоса.

В сильновыветриваемых скальных грунтах центр камерных зарядов следует помещать выше отметок основной площадки земляного полотна на величину радиуса сферы полного разрушения.

,                                                        (10)

где lP - коэффициент, зависящий от свойств грунта и ВВ изменяющихся от 0,1 до 0,4 (меньшие значения принимают при использовании ВВ средней бризантности и взрывании в крепких грунтах);

В слабовыветривающихся скальных грунтах величина W определяется на поперечных профилях при заложении заряда на уровне или ниже уровня основной площадки земляного полотна, в зависимости от принятого показателя действия взрыва для достижения заданного выброса и проектного очертания траншей.

Заряды выброса должны размещаться в ряду на расстоянии друг от друга а, м:

a=0,5W(n+l).                                                       (11)

Расстояние между рядами зарядов (м) следует принимать

в=0,85а.                                                            (12)

Необходимое число рядов зарядов определяется по формуле

                                                        (13)

В - ширина выемки в основании, м.

Заряды в рядах следует располагать в шахматном порядке, а на косогорных участках - в каждом продольном ряду независимо от расположения зарядов в соседних рядах.

Зарядным камерам необходимо придавать форму преимущественно куба и параллелепипеда, вытянутого вдоль выемки; в грунтах V-VI групп в верхней части камер целесообразно предусматривать воздушные промежутки.

Видимую глубину траншеи (НТ, м), образующейся при взрывах на выброс в скальных грунтах, следует определять по формуле

HТ=0,30W(2n-l).                                                      (14)

Приблизительные значения ширины (вН, м) и высоты (hН, м) навала взорванного грунта с обеих сторон траншеи, образуемой взрывом, определяют по формулам:

ВН=5nW,                                                              (15)

                                                          (16)

где n - показатель действия взрыва.

При необходимости перемещения основной части взрываемого грунта в одну сторону от выемки следует предусматривать направленный выброс.

4.18. Для достижения направленного выброса, кроме основного ряда зарядов, должен приниматься, по крайней мере, один вспомогательный ряд зарядов (рис. 12). Показатель действия взрыва зарядов этого ряда следует принимать на 0,5 меньше, чем для зарядов основного ряда.

Если ширила выемки понизу в 1,5-2 раза превышает глубину, то необходимо проектировать два вспомогательных ряда зарядов.

Вспомогательный ряд зарядов следует располагать со стороны проектируемого направления выброса основной части грунта.

Расположение вспомогательных зарядов в поперечном профиле выемки должно быть таким, чтобы ЛНС основного заряда была направлена перпендикулярно откосу траншеи, образуемой взрывом вспомогательных зарядов. При этом должно быть соблюдено условие W£0,8НЗ.

Вспомогательный ряд зарядов следует взрывать с опережением на 0,5-2 с относительно основного ряда в зависимости от глубины выемки Н (при Н=6 м - 0,5 с; при Н=20 м - 2с).

4.19. Величины основных камерных зарядов при взрывах на обрушение следует рассчитывать но приведенной выше формуле (6). При этом значения функций показателя выброса следует принимать в зависимости от механических свойств и сложения грунтов равными 0,05¸0,15. Меньшее значение f(n) относится к некрепким сильнотрещиноватым грунтам и к грунтам, разделенным прослойками, большее - к крепким слаботрещиноватым грунтам.

Рис. 12. Схема расположения основного QО и вспомогательного QВ ряда зарядов в поперечном профиле выемки при направленном выбросе

Расстояния между основными камерными зарядами обрушениями в ряду (аОБ) в зависимости от строения скального массива следует принимать аОБ=0,8¸1,4×Wnn.

При неблагоприятном строении (поперечная слоистость) значение аОБ должно быть минимальным, при благоприятном строении (продольная слоистость) - максимальным.

Величину вспомогательных скважинных и камерных зарядов и расстояние между ними определяют как для зарядов рыхления.

Во всех случаях заряды обрушения должны взрываться в один прием и мгновенно, кроме вспомогательных, которые следует взрывать с опережением на 75-150 мс (меньшее опережение принимается в более крепких грунтах).

Расчет параметров взрыва и производство работ при взрывании на рыхление, сброс и обрушение на крутых косогорах скважинными зарядами

4.20. Выбор метода взрывания и разработки полувыемки на крутом косогоре и прижиме зависит от характеристики рельефа и инженерно-геологических условий. Косогоры и прижимы по крутизне разделяются на несколько категорий: на участки до 30°, от 30 до 60-65° и более 65°; по инженерно-геологическим условиям - на прикрытые малым (до 1 м) или большим (свыше 1 м) слоем делювия (элювия) или с открытым выходом коренных скальных грунтов; по условиям подъезда к трассе дороги - на доступные и недоступные для непосредственного подъезда средств разработки без значительных дополнительных земляных работ.

4.21. Выемки или полувыемки в скальном массиве на косогоре со склоном до 30° образуются с применением взрывов на рыхление; при большой крутизне склона - до 60-65° - взрывами рыхления или на сброс (рис. 13), а при крутизне более 65° - взрывами на обрушение (рис. 14). В общем случае при образовании полувыемки на крутом косогоре или прижиме должна быть пройдена рабочая тропа, затем технологическая полка шириной до 3 м и, наконец, рабочая полка шириной 5-6 м для установки, работы и перемещения тяжелых буровых машин и землеройной техники (рис. 15).

Рис. 13. Схема взрыва на сброс

Образованная взрывным способом на склоне прижима или крутом косогоре рабочая тропа до установки на нее буровых станков должна быть полностью очищена от взорванного грунта.

При проходке рабочей тропы необходимо предусмотреть мероприятия, обеспечивающие безопасность работ по сборке откосов выше тропы.

На участках непосредственного выхода коренных скальных грунтов на поверхность склона прижима для образования тропы могут применяться шпуровые заряды или скважинные заряды диаметром 105 мм.

Перемещение рабочего персонала должно осуществляться с применением альпинистских методов страховки рабочих на местах бурения, взрывания или работы ломиками и киркой. Расширение тропы до технологической полки производится в этом случае при рыхлении и частичном сбросе грунта взрывом с использованием метода шпуровых или скважинных зарядов. При этом предпочтительны скважинные заряды.

Рис. 14. Схема взрыва на обрушение

Рис. 15. Технологическая схема разработки полувыемки на крутом косогоре:

1 - бурение шпуров перфоратором; 2 - образование тропы взрывом; 3 - бурение скважин станком БМК-4; 4 - рыхление грунта взрывом; 5 - нарезка технологической полки бульдозером; 6 - бурение скважин машиной СБШ-160; 7 - рыхление взрывом; 8 - разработка грунта экскаватором

На участках крутого склона или прижима, прикрытых малым слоем (до 1 м) делювия, рабочая тропа прокладывается вручную с применением лопат и кирок.

При наличии большого слоя (более 1 м) делювия рабочая полка образуется с помощью бульдозера на мощном тракторе.

Рабочую тропу или полку в делювиально-элювиальном слое породы следует прокладывать в теплое время года.

В тех случаях, когда скальный массив имеет крутой склон, полка на скальном участке трассы может прокладываться с торца проходкой с "головы" короткими участками путем взрывов на сброс.

Для образования крутых и устойчивых откосов при устройстве полувыемок на участках крутых косогоров и прижимов взрывом на сброс рекомендуется применение контурного взрывания. При этом снижается объем дорогостоящих и трудоемких скальных работ и повышается эксплуатационное качество земляного полотна.

В других условиях для образования откосов крутизной 1:0,5 и более следует применять наклонные откосные скважины уменьшенного диаметра (105 мм и менее) со сближенным их расположением в ряду в плоскости откоса.

4.22. При строительстве инженерных объектов в сложных условиях с повышенными экологическими требованиями разработку скального грунта на косогорах при угле склона меньше 30° следует производить взрывами на рыхление.

В случае заложения откоса выемки крутизной 1:0,2 или круче необходимо применять контурное взрывание. При более пологом заложении полувыемок возможно применение откосного ряда скважины.

Расчет параметров скважинных зарядов рыхления и их расположения на взрываемом блоке производится согласно формулам (1; 2). Существенным отличием разработки выемок на косогоре является сложность получения ровной поверхности подошвы при взрыве 1-го ряда (ближайшего к поверхности косогора) скважинных зарядов из-за возможности скола грунта на поверхность косогора и, как результат, "ухода" рабочей площадки.

Для предотвращения этого явления рекомендуются следующие мероприятия:

конструкцию заряда 1-го ряда скважин рыхления необходимо применять согласно рис. 16;

основные параметры заряда определяются по формулам:

hПЕР=0,2×cos a×W

hПЕР - величина перебура, м;

QД=0,8×cos a×WР

QД - масса донного заряда, кг;

hИН=8¸10dC

hИН - величина инертного промежутка, м,

где W - величина ЛСПП, м; Р - вместимость скважины, кг/м; a - угол склона косогора, град; hИН - диаметр скважины, м.

Рис. 16. Конструкция заряда в скважинах первого ряда

Следует избегать порядного или одновременного взрывания группы смежных зарядов 1-го ряда.

Для уменьшения сброса при рыхлении грунта следует применять врубовые или диагональные схемы взрывания с направлением отбойки в сторону законтурного массива.

Особенностью рыхления горных пород при уширении существующих выемок или полок до проектного контура является возможность рассредоточения фронта работы, что позволит более высокими темпами вести строительство инженерных сооружений.

При возможности создания пионерной тропы вдоль контура уширяемой выемки по ее верхнему заложению возможна следующая схема ведения взрывных работ на рыхление (рис. 17).

С пионерной тропы бурят ряд контурных скважин в плоскости контура, а с действующей выемки (рабочей полки) бурят веера скважин рыхления. Скважины рыхления не добуривают до контура выемки (плоскости расположения контурных скважин) на величину (вК, м).

вК=0,5W,                                                             (17)

где W - ЛСПП зарядов рыхления, м.

Параметры расположения скважин в веерах следующие:

а=(1,1¸1,2)W;                                                         (18)

в=(0,85¸0,95)W,                                                        (19)

где а - максимальное расхождение скважин в веере, м; в - расстояние между веерами, м.

Рис. 17. Уширение выемок с применением контурных скважин:

1 - веерные скважины рыхления; 2 - контурные скважины

Скважины в веере располагают равномерно по сечению дорабатываемого объема выемки. Длина незаряженной части скважины (аналог забойки) составляет примерно (l¸l,3)W. Верхняя скважина каждого веера располагается на расстоянии (1¸1,5)W от свободной поверхности косогора. При создании зарядов в веерных скважинах рыхления используют пневмозаряжание. В качестве ВВ рекомендуется использовать самые мощные ВВ, допущенные к пневмозаряжанию.

Заряды в контурных скважинах взрывают одновременно в первую очередь по сравнению с зарядами рыхления. Заряды в веерах рыхления рекомендуется взрывать одновременно с замедлением между веерами.

При невозможности создания пионерной тропы для размещения легкого бурового оборудования по верхнему заложению выемки рекомендуется лобовая разработка уширяемой выемки короткими участками. Размещение веерных скважин рыхления, их параметры, конструкция заряда и технология взрывания в этом случае остаются теми же, что и в описанной выше технологии. В плоскости откоса в лоб забоя бурят отрезной ряд веерных скважин. Максимальное расстояние между ними рекомендуется принимать равным (м):

                                                           (20)

где Р - вместимость скважины, кг/м; е - относительная работоспособность ВВ; q - расчетный удельный расход ВВ на рыхление, кг/м3.

Максимальная высота забуривания веерных скважин определяется конструкцией бурового органа. Откосные веерные скважины можно недобуривать до свободной поверхности косогора на расстояние (hB, м) вдоль плоскости откоса, определяемое по формуле

hB=(2¸3)aMAX.                                                         (21)

Меньшие значения рекомендуется при крупноблочных грунтах с неблагоприятным расположением системы трещин. В сильно трещиноватых грунтах целесообразно недобуривать на большее расстояние.

Для повышения качества откоса выемки при веерном расположении откосных скважин необходимо обеспечивать высокую точность забуривания и бурения (отклонение скважины от проектной плоскости не должно превышать 1°). При такой точности бурения рекомендуемая длина заходки lЗ составляет (25¸35) м.

В качестве ВВ необходимо применять гранулированные взрывчатые вещества, допускаемые к пневматическому заряжанию и обладающие низкой скоростью детонации и энергетическими показателями.

4.23. При взрывании на сброс, выполняемом, как правило, методом скважинных зарядов, объем грунта, предназначенный к перемещению взрывом, может составить до 70% от проектного объема полувыемки.

Диаметр основных скважин должен быть максимальным. Общее потребное количество ВВ определяют как сумму величин всех зарядов сосредоточенной формы с учетом поправки на косогорность. Рассчитанную суммарную величину расхода ВВ следует уменьшать на (20¸30)%.

Для уменьшения разрушения откосов и увеличения вместимости скважин их следует бурить с наклоном, возможно более близким к углу заложения откоса.

Расстояния а между скважинами в ряду должны быть менее (0,8¸0,85) кратчайшего расстояния W от центра зарядов до поверхности косогора или до соседнего заряда скважин (рис. 18). Если при однорядном расположении скважин общее потребное количество ВВ не вмещается в скважины, то следует увеличить число рядов скважин. При этом должно соблюдаться условие а£(0,7¸0,8)в.

Величину перебура и длину "забойки" следует определять так же, как и для скважинных зарядов рыхления.

Рис. 18. Схема расположения скважинных зарядов при взрывах на сброс

При многорядном взрывании длину "забойки" в крайнем ряду скважин с низовой стороны косогора необходимо уменьшать в 1,5-2 раза.

При многорядном расположении скважин взрывание их следует осуществлять порядно с замедлением 25,0-100 мс, начиная с низовой стороны. В каждом ряду скважины должны взрываться одновременно.

Перемещение оставшейся части взорванного грунта при взрывах на сброс производят бульдозером под откос в низовую сторону или в насыпь автосамосвалами с погрузкой экскаваторами. При этом приоткосная часть должна разрабатываться только экскаваторами с одновременной оборкой откосов от неустойчивых и нависающих выступов грунта.

4.24. Взрывы на обрушение, как правило, применяются при разработке глубоких скальных выемок большой крутизны. Качество дробления грунтов при обрушении зависят от их сложения - толщины слоев и степени трещиноватости.

Устройство полувыемок с применением взрывов на обрушение в тех случаях, когда возможна доставка и работа буровых средств с нагорной стороны, необходимо выполнять с использованием скважинных зарядов, пробуренных сверху вниз. В этом случае скважинные заряды обрушения закладывают друг от друга на расстоянии аОБ=(0,6¸0,8)×W, м. При поперечной слоистости грунтов принимают меньшие значения аОБ. Диаметр скважин следует принимать в пределах (100¸150) мм.

Величины зарядов ВВ в скважинах при взрывании на обрушение определяют по вместимости 1 пог. м скважины и длине зарядов, устанавливаемой на поперечном профиле, с учетом перебура и за вычетом длины "забойки". Расчетная величина зарядов QОБ должна быть проверена на соответствие объемной нагрузке при указанном ниже удельном расходе ВВ qОБ. Объемная нагрузка VОБ3) в этом случае определяется из выражения

VОБОБВН,                                                              (22)

где Н - высота обрушаемой части уступа, м; В - ширина указанной части уступа в уровне подошвы, м.

Удельный расход ВВ принимается, в зависимости от группы грунтов и величины  где Wnn - величина ЛПС в уровне основания скважины.

Для грунтов VI-IX групп и величины Q=(0,15¸0,2) расход ВВ следует принимать равным (0,1¸0,2) кг/м3, для грунтов VIII-IX групп и выше величины Q<0,15 q=0,66 расход ВВ равен (0,5¸0,7) кг/м3.

Если расчетная величина скважинного заряда QОБ, проектируемая в виде сплошной колонки, превышает величину VОБqОБ, то его следует выполнять прерывистой конструкции, уменьшая общую величину заряда в скважине; если заряд недостаточен, то скважины следует соответственно сблизить.

Длина перебура скважин при взрывах на обрушение должна назначаться в пределах (0,25¸0,4) W в зависимости от прочности грунтов принятого типа ВВ.

Длина "забойки" должна быть не менее величины W. При отношении Н/В³2 в верхней части заряда необходимо предусматривать устройство воздушного или другого инертного промежутка.

Для обеспечения устойчивости откоса при повышенной крутизне следует применять при обрушении контурное взрывание. При этом контурный ряд скважин бурят строго в плоскости откоса, а скважины обрушения располагают на расстоянии ВК от контурных скважин. Величина ВК равна половине W (ЛСПП) зарядов обрушения, рассчитанной по формуле (17), как для зарядов рыхления.

В случаях невозможности устройства подъездов и установки станков для бурения скважин обрушения сверху необходимо применять технологию взрывания обрушением, с использованием горизонтальных скважин (рис. 19).

Горизонтальные скважины следует располагать вблизи основания выемки на расстоянии равном (м):

BО=0,5W,                                                               (23)

где W - величина ЛСПП.

Количество скважин обрушения рассчитывается по формуле

                                                                 (24)

Рис. 19. Схема взрыва на обрушение горизонтальными скважинными зарядами

Рис. 20. Схема взрыва на обрушение веерными скважинами

а масса заряда в скважине по формуле

Q=qB3sin3a(0,4+0,6ctga),

где Q - масса заряда в скважине, кг; Р - вместимость скважин, кг; q - расчетный удельный расход на выброс, кг/м3.

Скважины располагают равномерно вдоль площадки основания выемки в 1¸2 ряда. При этом величина расстояния до контура выемки от скважин обрушения не должна быть меньше 0,5W.

Для снижения сейсмического эффекта рекомендуется взрывать заряды обрушения короткозамедленно, начиная с зарядов, ближайших к свободной поверхности косогора.

При невозможности забурить контурный ряд сверху, в лоб забоя в плоскости откоса бурят отрезной ряд веерных скважин (рис. 20).

Параметры расположения веерных скважин отрезного ряда, конструкция заряда, технология бурения и заряжания рекомендуется принимать согласно рекомендациям по ведению БВР методом рыхления при уширении выемок лобовым забоем.

Откосный или контурный ряд скважинных зарядов при обрушении должен взрываться в первую очередь.

Взрывное рыхление мерзлых грунтов

4.25. В табл. 9 приводится классификация мерзлых грунтов по взрываемости и рекомендуемый удельный расход ВВ.

Параметры расположения скважинных зарядов определяются по формулам (1), (4), (5).

4.26. Особенностью разработки многолетнемерзлых грунтов является вторичная смерзаемость их после взрыва, а также изменение физико-механических свойств - влажности, температуры, льдистости и др. в течение всего года.

При значительных объемах работ на выемках разработку их рекомендуется вести с двух сторон и по возможности на полную глубину.

При производстве буровзрывных работ в теплое время года необходимо защищать грунт от оттаивания, сокращать перерывы между сменами и вести работы "узким" фронтом. Во избежание потерь скважин или трудоемкой работы по их очистке от льда и ила зарядку их рекомендуется производить вслед за бурением с соблюдением при этом всех требований, предусмотренных Инструкцией.

Таблица 9

Категория взрываемости

Грунты

Температура, °С

Льдистость

Рекомендуемый удельный расход ВВ (кг/м3) при взрывании

на рыхление

на выброс и сброс

Легковзрываемые

Мерзлые песчаные со степенью водонасыщения до 0,5

-0,5 и ниже

Сильнольдистые

0,4-0,6

1,3-1,8

Средневзрываемые

Мерзлые песчаные со степенью водонасыщения 0,5-0,9

То же

Льдистые и сильнольдистые

0,6-0,8

1,5-2,0

 

Мерзлые, моренные, обломочные и гравийные с песчаным заполнителем

"

 

 

 

 

Мерзлые, глинистые, моренные, обломочные и гравийные грунты с глинистым заполнителем

От -5 и ниже

 

 

 

Трудновзрываемые

Мерзлые глинистые, моренные, обломочные и гравийные грунты с глинистым заполнителем

От 0 до -5

Слабольдистые и льдистые

0,8-1,1

1,8-2,5

Примечание. Сильнольдистые грунты - содержание льда свыше 50%, льдистые грунты - содержание льда 25-50%, слабольдистые грунты - содержание льда до 25%.

4.27. При взрывании многолетнемерзлых грунтов используется методика расчета параметров взрывных работ, как и при взрывании скальных грунтов, но удельный расход ВВ рекомендуется увеличивать на (15¸20)%.

4.28. При взрывании легкодробимых многолетнемерзлых. грунтов следует применять ВВ средней мощности со скоростью детонации (3,5¸4,0)×103 м/с.

4.29. В теплое время года концы детонирующего шнура любой марки, опускаемые в скважину, должны быть тщательно изолированы изоляционной лентой или мастикой. При дублировании не рекомендуется разрезать детонирующий шнур, а помещать его в скважину сложенным вдвое.

4.30. Для качественного дробления мерзлых грунтов в зимний период, когда они прикрыты сверху более крепкой коркой сезонномерзлого грунта, наиболее эффективным приемом является максимальное сближение зарядов ВВ с расположением их по сетке от 1,5´1,5 до 2´2 м в зависимости от вязкости грунта. При этом диаметр скважин должен быть уменьшен соответственно до 70-100 мм.

4.31. Для улучшения качества рыхления многолетнемерзлого грунта в верхних слоях взрываемого участка рекомендуется: "поднимать" заряды ближе к устью скважин за счет разделения их на две-три части промежуточной инертной забойкой; бурить между основными дополнительные скважины глубиной до 2 м. В целях повышения надежности (безотказности) взрывания в многолетнемерзлых грунтах рекомендуется устанавливать в каждой скважине 2 боевика - в верхней и нижней части заряда ВВ.

Взрывные работы на карьерах щебзаводов

4.32. Для дробления пород на карьерах применяется в основном метод скважинных зарядов.

Заряды размещаются в вертикальных (наиболее часто применяемых) или наклонных скважинах.

4.33. Расчет параметров взрыва при уступной отбойке породы:

величина преодолеваемого сопротивления по подошве уступа для одиночного скважинного заряда (м) равна:

                                                         (24, а)

где Р - вместимость 1 м скважины, кг; q - удельный расход ВВ, кг/м3.

Ориентировочно величина перебура Dl принимается равной (10¸15) диаметров скважинного заряда Dl=0,5qW;

величина забойки принимается равной (20¸25)d, в зависимости от крепости пород и диаметра скважинного заряда;

масса скважинного заряда (кг) Q=P(lС-lзаб);

расстояние между зарядами в ряду

a=mW,

где m=0,8¸1,4; а - расстояние между рядами зарядов, м; в=(0,9¸1,0)W - при короткозамедленном взрывании; в=(0,85)W - при мгновенном взрывании.

4.34. При завышенном W применяются парносближенные заряды, при этом преодолеваемое сопротивление составит:

                                                            (25)

Расстояние между скважинами в паре принимается в пределах (4¸6) диаметров скважин, которые рассматриваются как одиночная скважина с эквивалентной вместимостью 1 м скважины.

4.35. В мелко- и среднеобломочных породах диаметр скважинных зарядов и удельный расход ВВ практически не оказывают влияния на степень дробления пород, поэтому отбойку рекомендуется вести скважинными зарядами диаметром 200 мм и более при минимальном расходе ВВ, рекомендуемом для данных горно-геологических условий.

4.36. Ориентировочная ширина развала горной массы В (м), составит:

                                                             (26)

где Н - высота уступа, м.

4.37. Негабаритные куски грунта и валуны дробятся взрывами шпуровых или наружных (накладных) зарядов. Для дробления негабаритов наиболее экономично и эффективно применение шпуровых зарядов.

Параметры для дробления негабаритов шпуровым методом определяются в соответствии с табл. 10.

Таблица 10

Длина ребра негабарита, м

Диаметр заряда, мм

Глубина бурения, см

Масса заряда, г

Длина ребра негабарита, м

Диаметр заряда, мм

Глубина бурения, мм

Масса заряда, г

0,5

32

15

20-40

1,1

36

50-55

100-200

0,6

32

20

30-60

1,2

36

55-60

120-250

0,7

32

25

40-80

1,3

36

60-65

140-280

0,8

32

25-30

50-100

1,4

36

65-70

170-340

0,9

32

35-40

70-140

1,5

36

70-80

190-380

1,0

32

45-50

90-180

 

 

 

 

5. СПЕЦИАЛЬНЫЕ ВИДЫ РАБОТ

Взрывание при строительстве вторых путей

5.1. Подготовительные работы перед проведением взрывов на строительстве вторых железнодорожных путей включат в себя меры, обеспечивающие сохранность пути и других обустройств.

Характер этих мероприятий определяется рабочей документацией и зависит от условий производства работ, глубины выемок, ширины их понизу, крутизны откосов, метода взрывных работ, геологического строения массива и т. п.

К основным мероприятиям по защите железнодорожного пути, сооружений и обустройств от повреждений относятся:

укрытие пути настилом из шпал; укрытие водоотводных устройств настилом; защита опор контактной сети, линий связи и электропередач; защита пролетных строений путепроводов и мостов.

5.2. В целях уменьшения разлета скального грунта и защиты проводов контактной сети, линий электропередач и связи, места взрыва рекомендуется укрывать металлическими сетками с пригрузкой их балластом в мешках.

5.3. Разработку полускальных и разрушенных скальных (IV-VI групп), а также мерзлых грунтов следует предусматривать с применением механических средств (рыхлителей, фрез, ковшей активного действия и т. д.).

5.4. При глубине выемок до 2 м буровзрывные работы в труднодробимых грунтах следует вести методом шпуровых или скважинных зарядов малого диаметра (до 100 мм) и с применением скважин среднего диаметра (не более 150 мм) в легкодробимых грунтах.

5.5. Объем грунта, попадающего на путь, зависит от высоты взрываемого уступа, длины участка взрыва, а также метода взрывания. Ориентировочный объем грунта, попавшего на путь, можно определить графически (рис. 21).

5.6. В зависимости от продолжительности "окна" и типа грунтов практикой установлен разовый объем взрывания, величина которого приводится в табл. 11.

Рис. 21. Схема для графического определения объема грунта на пути при взрыве

Таблица 11

Характеристика грунтов

Продолжительность "окна" в часах

Объем взрываемого грунта, м3

на электрифицированных участках

на неэлектрифицированных участках

Легкодробимые

1

-

50-100

2

400-1000

300-800

3

500-1400

600-1500

Среднедробимые

1

-

40-100

2

300-700

250-600

3

400-1000

300-900

Труднодробимые

1

-

20-50

2

150-300

120-300

3

200-500

150-400

5.7. Разработка выемок при уширении под вторые пути в слабокосогорных условиях может осуществляться (рис. 22) путем понижения уступа; лобовой разработкой с двух сторон; многоуступной системой.

5.8. При уширении под второй путь скальных выемок глубиной более 2 м с откосами круче 1:1 должна предусматриваться лобовая одноуступная схема разработки, которая ведется, как правило, с обоих концов короткими участками.

Параметры взрыва определяют по расчетному расходу ВВ и вместимости скважин в соответствии с разделом 4.

При лобовой разработке уширяемых выемок глубиной более 8¸10 м ближайшие к пути скважины следует бурить с наклоном от пути и вдоль него.

При разработке уширяемой выемки в слаботрещиноватых и слоистых прочносцементированных грунтах следует предусматривать заложение скважин с перебуром. При разработке сильнотрещиноватых слоистых и разделенных на отдельности пород, способных к сдвижке от взрыва, заряды в скважинах ближайшего к пути ряда должны помещаться на 0,5¸1 м выше отметки головки рельса.

5.9. При глубине выемок более 10 м и устойчивых пологих откосах может быть применена многоуступная послойная разработка выемки.

5.10. Взрывание выемок на раздельном полотне в легко- и среднедробимых скальных грунтах, покрытых связным грунтом мощностью до 2-3 м, следует предусматривать без предварительного удаления слоя грунта, если этот грунт пригоден для укладки в насыпи.

Рис. 22. Схемы разработки выемок при уширении под вторые пути:

а - путем понижения уступа; б - лобовая разработка с четырех сторон; в - лобовая разработка при небольшом уширении; г - многоуступная система разработки; 1 - шнуры; 2 - скважины: 3 - забойка; 4 - забой экскаватора

5.11. Рациональными схемами взрывания зарядов при уширении выемок под второй путь являются поперечно-порядные, продольно-порядные, врубовые, диагональные и др. (рис. 23).

Рис. 23. Схемы взрывания зарядов при строительстве вторых путей:

а - простая - поперечно-порядная; б - косая (диагональная); в - схема с использованием пионерной траншеи; г - с треугольным врубом; д - с трапецеидальным врубом. Стрелками обозначено направление движения породы, цифрами - порядок замедления

5.12. При глубине выемок от 2-3 до 5 м, крутых косогорах в грунтах VI-IX групп при уширении до 6-10 м целесообразно применять схемы направленного взрывания в торцевую сторону.

При глубине выемок более 5 м целесообразно устройство поверху пионерной траншеи с направленностью взрывания в полевую сторону с помощью диагональной схемы.

В крепких труднодробимых грунтах целесообразно применять схемы с треугольным или трапецеидальным врубом, смещенным в полевую сторону.

5.13. Для лучшего дробления грунта во всех случаях рекомендуется применение короткозамедленного взрывания. В крепких монолитных грунтах в целях уменьшения возможности подбоя зарядов рекомендуется уменьшать (против средних значений) интервалы замедлений.

5.14. При выборе системы и длины участка взрывания следует руководствоваться следующим:

а) выемки глубиной до 2 м при крутых откосах и до 3 м при пологих откосах (1:1 и менее) в грунтах любой крепости при расстоянии от оси пути до основания откоса 4,5 м и более целесообразно разрабатывать на полное сечение, при этом длина участка взрыва может достигать 100 м и более;

б) выемки глубиной до 5¸6 м при пологих откосах (1:1 и менее) в легкодробимых грунтах при уширении их до 6 м целесообразно разрабатывать также на полное сечение;

в) при глубине выемок в легкодробимых грунтах более 6 м и уширении их на 6¸10 м рекомендуется разрабатывать их несколькими уступами с направленностью взрыва в торцевую и полевую сторону. Длина участка взрывания при этом должна быть ограничена 30-50 м.

Широкие выемки глубиной более 2-3 м с любой крутизной откоса во всех грунтах, при уширении свыше 10 м (на станциях, при реконструкции железных дорог и т. д.) целесообразно взрывать в несколько слоев скважинными зарядами одним из следующих вариантов:

а) с предварительным образованием с полевой стороны пионерной траншеи с направленностью взрыва основной части выемки в пионерную траншею с применением поперечно-порядной схемы КЗВ;

б) взрыванием скважинных зарядов с образованием вруба с полевой стороны и скважинных отбойных зарядов в основной части выемки с обеспечением направленности взрыва в полевую сторону за счет применения диагональной схемы КЗВ.

Рис. 24. Схема разработки выемок при уширении под вторые пути в слабокосогорных условиях с применением контурного взрывания:

1 - шпуры; 2 - скважины рыхления; 3 - забойка; 4 - забой экскаватора; 5 - контурные скважины, I - участок взорванного грунта; II - обуренный участок

Рис. 25. Схема взрывания зарядов при уширении выемки под второй путь с использованием контурного взрывания:

0¸VII последовательность взрывания групп зарядов

5.15. При разработке выемок под второй путь глубиной более 3,5 м на раздельном полотне в удалении менее 15-25 м от ближайшего откоса, имеющего высоту более 3 м и крутизну более 1:1, рекомендуется применять контурное взрывание зарядов для защиты откоса от разрушения взрывом (рис. 24).

Контурные скважины следует располагать строго в плоскости контура выемки на расстоянии, определяемом для различных технологий контурного взрывания в зависимости от естественной системы трещин по табл. 12.

Таблица 12

Угол между плоскостью контура и системой трещин, град

Расстояние между скважинами, м

метод предварительного щелеобразования

метод МПО

0¸15

1,0

1,4

15¸75

0,8

1,2

75¸90

0,9

1,3

Рекомендуемая схема взрывания приведена на рис. 25.

5.16. Мероприятия по обеспечению безопасности движения поездов, по технике безопасности, по защите пути, путевых устройств и вооружений, устройств СЦБ, связи, контактной сети и опор, по соблюдению габарита приближения строений и другие, вытекающие из конкретных местных особенностей, должны быть предусмотрены в рабочей документации.

При проектировании и производстве взрывов по уширению выемок под второй путь следует строго соблюдать "Инструкцию по обеспечению безопасности движения поездов при производстве буровзрывных и скальных работ на строительстве вторых путей" ВСН 175-71.

Проходка шурфов, штолен, камер и котлованов

5.17. Проходку шурфов, штолен и небольших камер в грунтах VII-Х групп рекомендуется вести с применением врубового взрывания.

С этой целью во всех случаях, когда позволяют местные условия и наличие буровых средств, в центре выработки до начала проходки необходимо предусматривать бурение незаряжаемой врубовой скважины диаметром 100-150 мм. Бурение каждого комплекта шпуров при этом следует проектировать па глубину до 3,0 м. При отсутствии врубовой скважины тип вруба принимают: при наклонном расположении выработки - пирамидальный, клиновый; при вертикальном или горизонтальном расположении - призматический и щелевой. Длину отбойных шпуров принимают на 0,2 м меньше врубовых.

5.18. Число шпуров в комплекте при проходке определяется по формуле М. М. Протодьяконова

                                                           (27)

где NK - число шпуров при диаметре 36 мм (для аммонита 6ЖВ); f - коэффициент крепости грунта по М.М. Протодьяконову; S - площадь поперечного сечения выработки, м2.

Для других диаметров шпуров (d, мм) величину NK следует изменять пропорционально отношению .

Расчетное значение NK подлежит уточнению в конкретных условиях забоя.

5.19. Диаметр шпуровых зарядов при проходке шурфов, штолен и небольших камер в грунтах VIII-Х групп должен быть не менее 36 мм. Величину зарядов в комплекте шпуров при взрывании шурфов, штолен и небольших камер следует рассчитывать из условия заряжания врубовых шпуров на 0,7¸0,8, а отбойных - на 0,4¸0,6 их длины. Меньшие значения - при глубине шпуров более 1 м.

5.20. Число шпуров и расход ВВ при проходке больших зарядных камер следует уменьшать в два-три раза по сравнению с величинами, определенными для шурфов или штолен.

5.21. Величины и число шпуровых зарядов при взрывании котлованов в скальных выемках под опоры контактной сети следует рассчитывать так же, как и при проходке шурфов.

5.22. Принятые параметры должны быть уточнены по результатам первых взрывов.

Посадка насыпей на минеральное дно болот

5.23. Взрывные работы при посадке насыпей на минеральное дно болот ведутся для:

удаления верхнего торфяного покрова болот, чтобы затем соорудить насыпь;

вытеснения торфа из-под насыпей для осаждения их в освобожденное пространство;

вытеснения торфа у откосов насыпей и посадки основания последних на минеральное дно болот.

5.24. Торфяной покров болот удаляют путем образования продольных или поперечных траншей в полосе намечаемой насыпи взрыванием зарядов на выброс, помещенных в наклонные скважины.

В целях максимального отброса взорванного грунта за пределы трассы поперечные траншеи следует располагать не перпендикулярно к оси трассы, а диагонально.

При продольном способе отсыпки насыпи выторфовывание взрывами осуществляют по всей ширине насыпи участками длиной от 10 до 40 м (в зависимости от заданного сменного темпа сооружения земляного полотна).

При отсыпке насыпи "от себя" выторфовывание производят по всей ширине насыпи, но участками длиной до 5 м.

При продольной отсыпке насыпи скважинные заряды для образования траншей следует располагать в 3-4 ряда и более в шахматном порядке вдоль оси.

Расстояние между скважинами и их рядами следует применять равным (м):

абб¸1,2Нб,                                                           (28)

где Нб - мощность торфяного слоя, м.

Массу зарядов определяют по формуле Q=f(n)qW3, принимая при этом n=1,5¸2,25.

Диаметр зарядов следует назначать из условия размещения в скважине расчетного количества ВВ при длине зарядов не более 10d. Длина "забойки" при этом должна быть не менее 0,5W. Диаметр скважин должен быть на 50-80 мм больше диаметра заряда d. Взрывание следует проектировать от полевой стороны к оси траншеи продольными рядами, порядно, с замедлением, равным 50-100 мс. При отсыпке насыпи "с головы" очертание ее в плане должно быть таким, как показано на рис. 26. Скважины для выторфовывания располагают при этом в одни или два ряда параллельно торцевой стороне насыпи.

Рис. 26. Схема расположения зарядов при образовании поперечных траншей в "голове" насыпи:

а - разрез; б - план

Расстояния между скважинами и их рядами, величину зарядов и диаметр скважин определяют так же, как и при продольной отсыпке насыпи.

Первый ряд скважин следует располагать впереди насыпи на расстоянии 0,5-2 м в зависимости от мощности торфяного слоя и угла наклона скважин.

При двухрядном расположении скважин в первую очередь производится взрывание более удаленного от насыпи ряда, а затем с замедлением 100-150 мс - ближнего ряда зарядов.

5.25. Взрывание зарядов ВВ с целью вытеснения торфа или ила из-под насыпи (рис. 27) следует производить на участках длиной от 20 до 50 м в зависимости от принятого темпа работ, производительности средств бурения и глубины болота.

Заряды при этом виде взрывания делят на основные, предназначенные для вытеснения торфа или ила из-под насыпи, и вспомогательные, предназначенные для образования торфоприемников.

Скважины для основных зарядов необходимо закладывать в насыпи продольными рядами. При мощности торфа до 3 м принимают 3 ряда зарядов, при большей мощности - 4 ряда зарядов по ширине насыпи.

Вспомогательные заряды следует закладывать в верхней плотной части торфа вдоль насыпи на расстоянии 2 м от ее откоса.

До взрыва насыпь должна быть возведена выше уровня болота на величину, равную толщине торфа или ила под насыпью. Общая высота погружаемой взрывом насыпи во избежание прорыва газов должна быть не менее 3,5 м.

Рис. 27. Схема расположения скважинных зарядов в разрезе (а) и плане (б) при посадке насыпи на минеральное дно болота:

I - вспомогательные заряды; II и III - основные заряды

Рис. 28. Схема расположения скважинных зарядов при посадке на дно болота откосного участка широкой насыпи:

I - ядро насыпи; II - откосный участок; 1 - вспомогательный заряд; 2, 3 - основные заряды

Расстояние между рядами скважин при взрывании зарядами диаметром 100¸150 мм устанавливают в пределах от 3 до 5 м. Скважины в продольных рядах можно располагать друг против друга или в шахматном порядке.

Длину зарядов в скважинах следует ограничивать снизу уровнем дна болота.

Диаметр вспомогательных зарядов для образования торфоприемников принимают не более 100 мм. Длина этих зарядов должна быть на 0,2¸0,3 м меньше толщины торфяной коры, разрушаемой взрывами.

Расстояние между вспомогательными зарядами должно равняться толщине разрушаемого слоя торфа.

Взрывание скважинных зарядов производят рядами с коротким замедлением, начиная от вспомогательных зарядов, и далее по направлению к оси насыпи. Центральные один или два ряда зарядов взрываются в последнюю очередь.

Интервал замедления при расстояниях между зарядами 3 и 5 м необходимо принимать равным соответственно 50 и 100 мс.

5.26. При отсыпке нижней части насыпей шириной более 12 м вначале следует отсыпать и посадить на минеральное дно болота ограниченную по ширине часть (ядро), а затем присыпать с поверхности к ядру и опустить на дно откосные участки насыпи.

При этом в присыпанных дополнительно откосных участках в зависимости от их ширины В2 скважинные заряды следует располагать в один (при B2>4 м) или два ряда (рис. 28).

В этом случае, кроме основных зарядов, для образования торфоприемников необходимо предусматривать закладку и взрывание вспомогательных скважинных зарядов, как и при посадке ядра насыпи, однако заряжание скважин происходит вслед за бурением. Ближайшие к погружному ядру насыпи основные скважины следует размещать па расстоянии 1¸1,5 м.

Диаметр зарядов необходимо принимать не более 100 мм при диаметре скважин 140¸150 мм. Остальные параметры взрывных работ в этом случае определяют так же, как и при посадке взрывом ядра насыпи.

5.27. Расчетные параметры при производстве взрывных работ по выторфовыванию или посадке насыпей на дно болот подлежат уточнению по результатам первых производственных взрывов.

Показателями правильности расчетных параметров взрыва являются: а) подъем массы грунта насыпи в момент взрыва над уровнем болота на 1,5-2 м; б) отсутствие воронок в насыпи и разброса грунта.

Подводные дноуглубительные работы

5.28. Метод накладных зарядов может применяться при дноуглублении водоемов, проведении подводных траншей, дроблении валунов, негабаритных кусков, удалении скал, карчей, подводных свай, ряжей, шпунтового ряда, разрушении старых мостовых устоев, взрываний затонувших судов, барж, дроблении льда, уплотнении несвязных грунтов и каменных постелей.

Накладные заряды при взрывании под водой применяются в тех случаях, когда невозможно или нецелесообразно бурить шпуры или скважины для размещения зарядов. Масса заряда для взрывания устоев мостов, плотин и подпорных стенок определяется специальным расчетом.

При дноуглубительных работах общий расход ВВ (Q, кг) определяется по формуле:

Q=qHWS,                                                             (29)

где qH - удельный расход ВВ, кг/м3; W - глубина рыхления, м; S - площадь взрываемого участка, м2.

Удельный расход ВВ при разработке различных пород подводными накладными зарядами приведен ниже.

Группа грунтов и пород по СНиП

II

III

IV

V

VI

VII

VIII

IX

X

XI

qH, кг/м3

12

20

30

35

40

70

100

150

200

300

Если глубина погружения заряда меньше 2W, рассчитанную массу заряда необходимо увеличить: при глубине погружения на l,4W - на 25%; при глубине погружения (0,7¸1,4 W) - на 50-25%.

Число взрываемых слоев, если мощность разрыхляемого слоя превышает 0,5 м, определяется по формуле:

hСЛ=W/(03¸0,5),                                                    (30)

где (0,3¸0,5) - максимальная мощность слоя скальных пород, взрываемого за один прием, м.

Расход ВВ на рыхление одного слоя (кг):

QСЛ=Q/nСЛ.                                                        (31)

Расстояние между накладными зарядами в одном ряду (м):

а=(3¸3,5)m,                                                         (32)

где m - мощность слоя, одновременно взрываемого за один прием, м.

Расстояние между рядами зарядов (м):

b=(2,5¸3)m.                                                         (33)

Площадь действия одного заряда (м2):

Si=ab.                                                              (34)

Число накладных зарядов для рыхления одного слоя:

nЗАР=S/S1.                                                          (35)

Масса одного заряда (кг):

Q1=QC/nЗАР.                                                                                               (36)

При дроблении одиночных валунов и негабарита масса накладных зарядов (кг) определяется по формуле:

Q=qHV,                                                              (37)

где qH - удельный расход ВВ на дробление породы, принимаемый для скальных пород в пределах (1,5¸3) кг/м3; V - объем негабаритного куска или валуна, м3.

Заряд должен помещаться примерно над центром куска.

5.29. Взрывные работы по льду также обладают рядом особенностей. Величина подводного заряда (кг) при взрывании ледяного покрова рассчитывается по формуле:

Q=qW3,                                                             (38)

где q - расчетный удельный расход ВВ, кг/м3; W - линия наименьшего сопротивления от центра заряда до верха ледяного покрова, м.

Величина q на основе практических данных принимается в пределах от 0,3 до 1,5 кг/м3 в зависимости от заданного диаметра майны, требуемой степени дробления в ней льда к допустимой величины разброса кусков льда. При q=0,3 кг/м3 образуется майна диаметром (3¸3,5)W, полностью забитая крупными осколками льда; при q=0,9 кг/м3 происходит разброс льда и образование майны диаметром 4W. Дальнейшее увеличение расчетного удельного расхода ВВ позволяет образовать майны диаметром (7-8)W.

Расстояние между зарядами зависит от условий взрывания и требуемого диаметра майны и принимается от 5W до 15W. При образовании майны непосредственно у защищаемого объекта расстояние между зарядами принимается минимальным, равным 5W. При наличии закраин и полыней расстояние между зарядами может приниматься в пределах (10¸15)W. Для раскалывания ледяного покрова на отдельные участки заряды располагают рядами.

5.30. Метод шпуровых и скважинных зарядов принимается при дноуглублении водоемов, проведении подводных траншей и выемок. Чаще всего метод шпуровых зарядов принимается при мощности снимаемого слоя породы до 1 м, а метод скважинных зарядов - более 1 м.

Способ расчета скважинных и шпуровых зарядов, взрываемых при одной обнаженной поверхности, когда оси заряда перпендикулярны к ней, зависит от того, меньше или больше мощность взрываемого слоя (Н) приведенной мощности взрываемого слоя (НПР).

Приведенная мощность взрываемого слоя

                                               (39)

где Р - вместимость 1 м скважины (шпура), кг; q1 - расчетный удельный расход ВВ, кг/м3.

Если мощность взрываемого слоя Н меньше приведенной НПР, заряды рассчитываются по следующей методике. Находится масса заряда (кг)

Q=q1H3.                                                             (40)

Определяется длина заряда (м)

lЗАР=Q/P.                                                           (41)

Глубина скважины (l, м) составит

l=H+lПЕР.                                                             (42)

где lПЕР - величина перебура, м.

Величина перебура (м)

lПЕР=0,5q1lЗАР.                                                          (43)

Если скальная порода подстилается нескальной, перебур не требуется.

Расстояние между зарядами в ряду (м)

а=mН,                                                                (44)

где m - относительное расстояние между зарядами, принимаемое равным 0,7-1,2.

При многорядном взрывании расстояние между зарядами а принимается равным (0,7¸1,0)Н.

Если для заданных условий известен фактический удельный расход ВВ, то масса заряда (кг) определяется по формуле

Q=qфabH,                                                            (45)

где qф - фактический удельный расход ВВ, кг/м3.

Если мощность взрываемого слоя H больше приведенной HПР, то заряды рассчитываются по другой методике.

Определяется расстояние (м) между зарядами в ряду

                                                       (46)

где m - принимается равным 0,7¸0,9.

Определяется величина перебура (м)

lПЕР=0,5q1a.                                                            (47)

Перебур не требуется, если взрываемая скальная порода подстилается нескальной.

Рассчитывается глубина скважины (м):

l=H+lПЕР.                                                             (48)

Определяется масса заряда (кг):

Q=P(l-lЗАБ),                                                           (49)

где lЗАБ - величина забойки, принимается равной 15-20 диаметрам заряда.

При многорядном расположении зарядов расстояние между рядами принимается равным (0,9¸l)a.

Если для заданных условий известен фактический удельный расход ВВ (qФ), параметры расположения зарядов определяются следующим образом.

Определяется длина забойки, устанавливается величина перебура. По формуле (49) вычисляют массу заряда; затем находят расстояние между зарядами (м). При расположении скважин по квадратной сетке

                                                  (50)

Величину удельного расхода ВВ определяют согласно обязательному приложению 5, причем для зарядов рыхления она должна быть увеличена в 1,5-2 раза.

При наличии слоя наносов над скальным грунтом величину заряда следует принимать с учетом мощности слоя.

Если необходимо обеспечить высокое качество дробления скважинными зарядами, расчетную сетку расположения зарядов следует уменьшить на 20-30%.

5.31. Открытые в воде заряды находят применение для уплотнения рыхлых несвязных грунтов любой крупности, включая подводную каменную наброску. Условием качественного уплотнения является отсутствие воронки выброса грунта или разброса камней при взрыве.

Минимальное расстояние заряда от поверхности грунта, обеспечивающее отсутствие воронки выброса (м), определяется по формуле

                                                    (51)

где h - высота установки заряда, м; Q - масса заряда, кг; K1, mГР - коэффициенты, зависящие от вида грунта и типа ВВ.

Наибольший эффект и экономичность использования заряда ВВ для уплотнения грунтов достигаются при камуфлетных взрывах в воде. Глубина погружения заряда (м)

                                                          (52)

где h3 - глубина погружения заряда, м; К2 - коэффициент, К2=2,32.

Оптимальная масса заряда для уплотнения грунта подводными взрывами (кг)

Q=K3Hmгр, кг,                                                           (53)

где H=h+h3 - глубина водоема на участке уплотнения грунта, м; К3, mГР - коэффициенты.

При оптимальной массе заряда, определяемой по формуле (53), или массе заряда меньше оптимальной глубина эффективного уплотнения грунта (м)

                                                          (54)

где К4 - коэффициент.

Расстояние между зарядами должно быть равным двум радиусам эффективного действия взрыва. Радиус эффективного действия для зарядов оптимальной или меньшей массы (м)

                                                           (55)

По данным эксперимента для одиночных зарядов тротила значения коэффициентов К и m приведены ниже.

Коэффициент

К1

К2

К3

К4

К5

m1

m2

Песчано-гравийные грунты и каменная наброска

0,35

0,35

0,1

1,8

2

1,95

2,46

Рыхлые пески подводного сплава

0,35

2,32

0,1

3

2,5-3

1,95

2,46

Взрывание бетонных и железобетонных фундаментов и конструкций

5.32. Дробление фундаментов выполняют, как правило, методом шпуровых зарядов сразу на всю высоту при их мощности не более 2 м или послойно.

При разрушении фундамента на всю его высоту, чтобы ограничить действие взрыва за проектную отметку, длину шпуров принимают меньше высоты фундамента на 4-5 диаметров заряда. При послойном разрушении фундамента длину шпуров принимают равной толщине разрушаемого слоя, кроме последнего слоя, в котором длину шпура принимают меньше толщины разрушаемого слоя на 4-5 диаметров заряда. При толщине разрушаемого слоя £0,4 м, длина шпура составляет 2/3 толщины.

При дроблении фундаментов горизонтальными шпурами расстояние между основанием фундамента и нижним рядом шпуров должно быть не менее 0,2 м.

Массу заряда в шпуре определяют по формуле (кг):

                                                      (56)

где Q - масса заряда, кг; К - расчетный удельный расход ВВ, кг/м3, для кирпича, бетона без арматуры и бута К равняется 0,3¸0,5, для железобетона - 0,5¸0,7; W - ЛНС (расстояние от оси шпура до края фундамента), м.

При W>1 м массу заряда в шпуре определяют по формуле:

Q=KW3.                                                          (57)

Значение ЛНС принимают в пределах 0,5¸0,7 длины шпура.

При дроблении фундаментов высотой более 1 м, а также если W составляет менее половины длины шпура, заряд в шпуре следует рассредоточить, рассчитывая каждую часть заряда на свою ЛНС. Расстояние между центрами зарядов, рассредоточенных в одном шпуре, следует принимать равным расстоянию между шпурами, кроме верхнего промежутка, который может быть короче остальных вследствие уменьшения верхнего заряда. Промежутки между зарядами можно оставлять свободными от забойки (воздушный промежуток) или заполнять забоечным материалом. Верхняя свободная от заряда часть шпура должна быть обязательно заполнена забоечным материалом (рис. 29).

5.33. Для разрушения бетонных и железобетонных (с малой насыщенностью арматурой) фундаментов может быть применен гидровзрывной способ. В качестве заряда ВВ используют нити ДШ. Длину нитей ДШ принимают равной 0,65¸0,75 длины шпура.

В нижней части шпура размещают заряд водоустойчивого ВВ массой 0,05¸0,1 кг. Свободное пространство в шпуре заполняют водой, верхний уровень которой должен находиться на 10 см ниже устья шпура (рис. 30).

Параметры БВР устанавливают на основании опытных взрывов. Расстояние между шпуровыми зарядами в ряду принимается в пределах (1,0¸1,5)W, а между рядами зарядов (0,85¸1,0)W.

5.34. При разделении фундаментов или других конструкций на транспортабельные блоки шпуры располагают по линии среза в один-два ряда. Массу заряда в шпуре рассчитывают по формулам (56), (57), а расстояние между шпурами в ряду и между рядами шпуров принимают в пределах (0,6¸0,8) W.

5.35. При частичном разрушении фундаментов требуется отделить разрушаемую часть от сохраняемой. Для этого используют контурное взрывание по методу предварительного щелеобразования. При контурном взрывании сплошную щель на всю высоту разрушаемого слоя образуют взрывом рассредоточенных зарядов малого диаметра в сближенных шпурах. При этом диаметр заряда должен быть в 2-3 раза меньше диаметра шпура. При взрывании фундаментов в качестве ВВ контурных шпуров используют ДШ, который прокладывают в каждом шпуре в 2-4 нити. Плотность заряжания составляет 0,036¸0,48 кг/м. Расстояние между шпурами (м) определяют по формуле

a=22dК3,                                                           (58)

где а - расстояние между шпурами, м; d - диаметр заряда, м; К3 - коэффициент зажима. При контурной отбойке K3=1,0.

Рис. 29. Конструкция шпуровых зарядов при взрывании фундаментов разной мощности:

а - мощность взрываемого слоя более 1 м; б - мощность взрываемого слоя менее 1 м

Рис. 30. Конструкция заряда при гидровзрывном способе разрушения фундаментов:

1 - вода в шпуре; 2 - нити ДШ; 3 - дополнительный заряд ВВ

Взрывание контурных шпуров следует проводить до взрывания основных зарядов. Допускается короткозамедленное взрывание основных зарядов по отношению к контурным с замедлением не менее 50 мс.

Если необходимо сохранить часть фундамента, лежащего ниже разрушаемого слоя, между нижней частью заряда ВВ и охраняемой частью фундамента устраивают охранный целик. Мощность охранного целика составляет до 10 диаметров заряда. Доработку целика до проектной отметки производят пневматическими отбойными молотками.

5.36. При разделении толстостенных частей железобетонных фундаментов, плит, стен и других конструкций на блоки можно использовать удлиненные накладные заряды, которые размещают по линии реза. Массу накладных зарядов (кг) определяют по формуле

Q=ABR2l,                                                            (59)

где А - коэффициент, зависящий от свойств разрушаемого материала (принимается по табл. 13); В - коэффициент забивки. При взрывании без забивки В=9,0, при слое забивки не менее толщины разрушаемой конструкции В=6,5 для железобетона и 5,0 для кирпича и бетона; R - толщина разрушаемой конструкции, м; l - длина заряда, м.

Таблица 13

Наименование материала

Значение А

Примечание

Кирпичная кладка на известковом растворе:

 

 

слабая

0,75

 

прочная

1,00

 

Кирпичная кладка на цементном растворе

1,20

 

Кладка из естественного камня на цементном растворе

1,40

 

Бетон:

 

 

строительный

1,50

 

фортификационный

1,80

 

Железобетон:

 

 

для выбивания бетона

5,00

Арматура не перебивается

для выбивания бетона с частичным перебиванием арматуры

20,00

Перебиваются ближайшие к зарядам прутья арматуры

При длине заряда, равной двум и более толщинам перебиваемой конструкции, масса накладного заряда может быть уменьшена вдвое.

5.37. Для обрезания железобетонных свай и других конструкций можно использовать кумулятивные заряды. При этом необходимо оголить арматуру и обеспечить плотный контакт зарядов с арматурой, марку заряда выбирают в соответствии с толщиной перерезаемой арматуры. При кольцевом расположении заряда вокруг сваи и плотном контакте заряда с арматурой и бетоном сваи обеспечивается не только перерезание арматуры, но и полное обрезание сваи.

Взрывные работы по металлу

5.38. При взрывании металлоконструкций используют шпуровые, накладные и неконтактные заряды.

5.39. Шпуровые заряды, как правило, используют для дробления металлических изделий при толщине конструкции более 15 см. Шпуры диаметром 30-35 мм в металле бурят сверлами или прожигают кислородом (кислородное копье). Шпуры располагают по линии реза с шагом, равным 1¸1,5 длины шпура, но не более 30¸40 см один от другого. Длина шпура составляет 1/2¸1/3 толщины взрываемой конструкции, для стали может доходить до 3/4 толщины. Длина заряда составляет 0,7 длины шпура, оставшуюся часть шпура забивают сухим песком или глиной.

5.40. Накладные заряды применяют для разбивания фасонных или составных конструкций, металлических листов и плит толщиной до 15 мм. Массу накладного заряда (кг) определяют по формуле

Q=KSS,                                                              (60)

где Q - масса накладного заряда, кг; КS - расчетный коэффициент, кг/см2 (принимают по табл. 14); S - площадь поперечного сечения перебиваемой конструкции, cм2.

Таблица 14

Материал

КS, кг/см

Сталь:

 

хрупкая, каленая

0,018-0,02

вязкая

0,022-0,025

Чугун:

 

белый

0,012-0,014

серый

0,015-0,017

При перебивании фасонных и составных конструкций массу заряда определяют для каждой части отдельно.

5.41. Стальные трубы и пустотелые объекты дробят зарядами, располагаемыми по наружной поверхности труб на протяжении не менее 3/4 окружности. Площадь поперечного сечения перебиваемой конструкции (см2) в этом случае определяют по формуле:

S=pDa,                                                              (61)

где D - внешний диаметр трубы, см; а - толщина стенки трубы, см.

5.42. Стальные стержни, тросы и другие металлоконструкции перебивают парными сосредоточенными зарядами, располагаемыми с двух противоположных сторон перебиваемого предмета со сдвигом одного по отношению к другому. Взрыв обоих зарядов производят одновременно.

Массу каждого из зарядов принимают из расчета 0,05 кг на 1 см2 сечения при диаметре до 4 см и 0,1 кг - при диаметре более 4 см.

Для перебивания и пробивания стальных листов целесообразно применять кумулятивные заряды. Диаметр кумулятивной выемки (мм) определяют по формуле:

dВ=(1,2¸1,5)h,                                                         (62)

где dВ - диаметр кумулятивной выемки, мм; h - толщина перебиваемого листа, мм.

Наружный диаметр заряда изготавливают в соответствии с его массой, которую рассчитывают по формуле (60).

5.43. Наилучшие результаты при перерезании металлоконструкций дает использование кумулятивных зарядов и удлиненных кумулятивных зарядов (УКЗ) заводского изготовления. Кумулятивные заряды обеспечивают на воздухе разрезание преграды (СтЗ) толщиной 4-25 мм (табл. 15).

Таблица 15

Марка заряда

Толщина разрезаемой преграды (СтЗ), мм

Масса 1 м заряда, кг

Масса навески ВВ в 1 м заряда, кг

ШКЗ-1

4

-

-

ШКЗ-2

7

-

-

ШКЗ-3

11

0,32

0,2

ШK3-4

15

0,43

0,27

ШКЗ-5

19

0,6

0,4

ШКЗ-6

25

-

-

Использование кумулятивных зарядов для резки металлоконструкций позволяет достаточно эффективно локализовать разлет кусков разрезаемого металла, так как он происходит только в направлении действия кумулятивной струи заряда.

Для ликвидации аварий в скважинах приходится выполнять работы по обрыву или ликвидации смятия обсадных труб. В этом случае обычно используют неконтактные заряды.

5.44. При торпедировании скважин для обрыва труб используют как штатные труборезы (например, кумулятивные), так и кустарно изготовленные. Для обрыва трубы массу заряда торпеды определяют по формуле:

Q=30r2d,                                                                (63)

где Q - масса разрушающего заряда, кг; r - расстояние от заряда до стенки трубы, м; d - толщина разрушаемой стенки трубы, м.

5.45. Для ликвидации смятия трубы взрывные работы, как правило, выполняют с использованием удлиненных цилиндрических зарядов, линейную плотность которых (кг/м), определяют по формуле:

j=0,5rd.                                                                (64)

Для достижения необходимого внутреннего диаметра обсадной трубы при необходимости выполняется повторное взрывание. При этом параметры второго и последующих зарядов корректируются на основании результатов предыдущих взрывов.

Для ликвидации прихвата труб обсадных колонн при бурении необходимо выполнить их встряхивание. При этом должна быть обеспечена целостность трубы. Предельно допустимую массу заряда (сосредоточенного и линейного) (кг) для этого случая определяют по формулам:

QБЕЗ=0,15r2d,                                                           (65)

jБЕЗ=0,07rd.                                                            (66)

Взрывные работы по обрушению зданий

5.46. Здания и сооружения обрушивают на свое основание или в заданном направлении.

При обрушении зданий и сооружений на свое основание взрывным способом образуют подбой по всему периметру наружных стен и других несущих конструкций. Высота сквозного подбоя должна быть не менее половины толщины стены.

Для образования подбоя шпуровые заряды располагают в два и три ряда в шахматном порядке.

Заряд следует размещать так, чтобы его центр совпадал с серединой стены. В этом случае длину шпура (м) определяют по формуле

                                                       (67)

где С - толщина стены, м; lЗАР - длина заряда.

Расстояние между шпурами в ряду принимают равным (1,0¸1,4)W, между рядами зарядов (1,3¸1,6)W. Крайние шпуры бурят на расстоянии W от краев стен или простенков.

5.47. Принцип направленного обрушения сооружений заключается в образовании сквозного подбоя (вруба) в несущих опорах со стороны направления валки при сохранении опоры (целика) с противоположной стороны. В результате создания опрокидывающего момента обеспечивается падение сооружения в заданном направлении.

Более точная направленность обрушения обеспечивается в том случае, когда целик испытывает меньшее напряжение на сжатие и ограничен большей по длине хордой АВ. Этому требованию для круглых труб (рис. 31) отвечает целик в секторе с центральным углом b, равным 135-140° (по периметру 1,2 Д). Глубину вруба (расстояние от оси условного шарнира до края горизонтального сечения вруба) (м) определяют по формуле

                                                  (68)

где LВР - глубина вруба, м; D - диаметр основания обрушаемой конструкции, м; b - центральный угол целика, град.

Угол вруба b определяется минимально необходимым углом наклона сооружения a, при котором проекция центра тяжести сооружения на плоскость горизонтального сечения на уровне вруба выйдет за контур сечения (т. е, будет обеспечено условие опрокидывания сооружения).

a=j1-j2.                                                              (69)

Угол a определяют из формул:

                                                        (70)

                                              (71)

где НC - высота центра тяжести сооружения, м; hH - высота горизонтального сечения вруба на уровне условного шарнира, м; b - расстояние между осями условного шарнира и сооружения, м:

                                                           (72)

Угол вруба b должен равняться углу наклона или превышать его. Необходимую высоту вруба (м) определяют по формуле:

HBP=LBPtgb,                                                            (73)

где HBP - высота вруба, м.

При направленном обрушении форму вруба принимают прямоугольной (при расположении зарядов в два ряда) или трапециевидной формы. В последнем случае нижние два ряда зарядов принимают одинаковой длины, остальные - короче в соответствии с принятым углом вруба. Для создания подбоя или образования вруба используют шпуровые и накладные заряды. Массу заряда в шпуре определяют по формуле (65). ЛНС принимают равной половины толщины стены. Значение расчетного удельного расхода ВВ принимают для кирпичной клади 0,4¸0,6 кг/м3, бетона 0,5¸0,7 и железобетона 0,9¸1,2 кг/м3. При взрывании железобетона принимают повышенный удельный расход ВВ, так как взрыв шпуровых зарядов должен не только раздробить бетон конструкции, но и выбить его из арматуры.

Рис. 31. Схема для расчета опрокидывания трубы в заданном направлении

Для обеспечения направленной валки здания шпуры располагают в форме клина. Узкая сторона клина определяет направление падения. Верхний ряд шпуров располагают под углом 10°, нижний - под углом 20° к вершине клипа. Глубину шпуров принимают 0,75 толщины стены. Расстояние между любой парой соседних шпуров - 0,3 м. Если расстояние превышает 0,4 м, то в середине бурят дополнительные шпуры.

5.48. При обрушении тонкостенных конструкций (при толщине стенок до 0,2 м) для образования вруба можно использовать удлиненные накладные заряды, которые размещают по площади вруба рядами. Удлиненный наружный заряд в ряду формируют в виде группы отдельных зарядов.

Массу каждого отдельного удлиненного заряда принимают с таким расчетом, чтобы обеспечить полное выбивание бетона из арматуры в пределах вруба. Расчет массы удлиненного накладного заряда производят согласно формуле (60). Длину каждого отдельного заряда (м) принимают в пределах

l=(1,0¸2,5)h,                                                            (74)

расстояние между зарядами в ряду (м):

а=(0,5¸1,5)h,                                                           (75)

между рядами зарядов (м):

в=(1,9¸3,0)h,                                                           (76)

где h - толщина перебиваемой конструкции, м.

5.49. При обрушении тонкостенных сооружений с малым отношением высоты сооружения к его основанию, когда для обеспечения направленности необходимо образовать вруб большой высоты, целесообразно использовать комбинированную систему расположения зарядов. В нижней части вруба (на высоту 1,0¸1,2 м) размещают удлиненные накладные заряды, а в верхней - шпуровые заряды. При такой комбинации зарядов значительно сокращается трудоемкость подготовительных операций, связанных с бурением шпуров в нижней части вруба (где должно располагаться до 70% шпуровых зарядов), и в то же время можно обеспечить качественное укрытие накладных зарядов.

Для направленной палки участка стены, здания или сооружения необходимо определить участок стены вертикальным резом (пробурить и взорвать один ряд шпуров на всю высоту или обрезать металлические связи с оставляемой частью стены). Направленное обрушение обеспечивается за счет образования в нижней части стены треугольного вруба при сохранении опорного целика со стороны, противоположной обрушению.

Толщина опорного целика (м) принимается

lН=0,25Н,                                                               (77)

где H - толщина стены, м.

Массу заряда (кг) для разрушения оставшейся части стены рассчитывают на подбой по формуле

Q=K(H-lЦ)1,5,                                                           (78)

где КЦ - расчетный удельный расход, кг/м3.

Шпуры располагают в два ряда в шахматном порядке. Длина верхнего шпура принимается 2/3(H-lЦ), нижнего - 2/3 Н.

Корчевка пней

5.50. Корчевка пней взрыванием состоит в том, что под пнем выбуривается шпур (подколка), куда помещается заряд ВВ. В отдельных случаях пни, имеющие глубокие корни, взрывают зарядами в шпурах, высверливаемых в самой древесине пня.

В зависимости от корневой системы пня, заряд располагается при стелящейся (разветвленной) корневой системе - под центром пня, а при наличии стержневого корня - сбоку, вплотную к нему.

При корчевке пней, расположенных на косогоре, заряд помещают с нагорной стороны.

Глубина подкопки (расположение зарядов) зависит от диаметра пия, давности рубки, особенности грунта и целей корчевания. Средняя глубина подкопки должна быть равна 1,5-2 диаметра пня, измеряемого у корневой шейки его на высоте 10 см от начала разветвления корней. Глубина подкопки уменьшается по сравнению со средней глубиной при корчевке пней давней рубки, при корчевке в каменистых грунтах и при поверхностной системе корней.

В рыхлых песчаных грунтах глубина подкопки увеличивается.

При корчевке пней с диаметром более 1 м при наличии мощных стержневых корней заряды располагаются в двух подкопках, выбуренных с противоположных сторон пня.

Такие заряды следует взрывать детонирующим шнуром или электродетонаторами. Взрывание может производиться и при одной подкопке, но с предварительным простреливанием.

Величина заряда рассчитывается по диаметру пня, измеренному на высоте 10 см от ответвления корней.

Величины зарядов для корчевки пней определяют из расчета расхода 15¸25 г ВВ (аммонита 6 ЖВ) на 1 см диаметра пня. При корчевке пней вблизи зданий и сооружений их подкапывают со стороны здания.

Величина заряда в этом случае должна быть уменьшена на 1/3 против нормальной расчетной.

Если пни расположены близко один к другому и корни их тесно переплетаются, все заряды под пнями должны взрываться одновременно.

При размещении зарядов в шпуры, выбуренные непосредственно в древесине пней, первоначальная ориентировочная величина зарядов определяется из расчета 7,5 г аммонита на каждый сантиметр диаметра пня.

Заряженные подкопки засыпают на всю их длину до устья песком, глиной или землей. В материале забойки не должно быть мелких камней или гальки.

При корчевке пней в зарослях каждая заряженная подкопка отмечается цветным флажком, укрепляемым на стержне с железным острием. При взрывании шпуров флажки снимаются.

Взрывная подготовка грунтов взрывом с целью их уплотнения и образования полостей

5.51. Уплотнение несвязных водонасыщенных грунтов можно осуществлять камуфлетными взрывами, в результате которых полость заполняется разжиженным грунтом за счет обрушения свода и стенок.

Уплотнение лессовых грунтов производится после предварительного водонасыщения с помощью дренажных скважин. Степень водонасыщения должна обеспечивать самопроизвольное заполнение полости грунтом и просадку его поверхности после взрыва. Для обеспечения требуемой степени водонасыщения необходимо около 1 м3 воды на 1 м3 лессового грунта. Применяют, в основном, два варианта проведения взрывных работ.

5.52. По первому варианту. Снимают растительный слой и подготавливают котлован для замачивания глубиной 0,5 м.

Бурят дренажные, взрывные и совмещенные скважины диаметром 0,3¸0,5 м глубиной 0,7Н просадочной толщи. В скважины опускают трубы диаметром 0,1¸0,15 м для размещения заряда ВВ.

Затрубное пространство засыпают дренажным материалом. Заполняют котлован водой. После полного замачивания грунтов расчетным количеством воды в трубы опускают заряд ВВ и производят взрыв. После взрыва мощными кранами выдергивают остатки труб для повторного использования.

Масса заряда ВВ (кг) определяется по формуле:

Q=0,055h3,                                                             (79)

где h - глубина скважины, м.

По результатам опытных взрывов параметры буровзрывных работ уточняются.

5.53. По второму варианту. Заряды ВВ с водостойким детонирующим шнуром опускают в сухие дренажно-взрывные скважины до начала замачивания грунтов без использования обсадных труб. Диаметр скважин 0,12¸0,18 м.

Замачивание производится наполнением котлована водой из расчета полного промачивания 0,75Н просадочной толщи. Нижняя часть после взрывов достаточно уплотняется под большими нагрузками вышележащего грунта при стекании вниз избыточной воды из обводненного верхнего слоя просадочной толщи. Взрыв проводят в сухих котлованах через 2-3 суток после впитывания воды.

Рекомендуемые параметры буровзрывных работ представлены в табл. 16.

Таблица 16

Мощность просадочной толщи, Н, м

5-8

8-12

12-15

15-20

20-25

25-30

30-50

Глубина скважин, м

3-4,5

1,5-5

5-6

6-7,5

7,5-9

9-10,5

10,5-12

Масса заряда в скважине, кг

3-3,5

3-4

4-6

6-8

8-9

9-10

10-14

Расстояние между скважинами, м

3

3-1

4-4,5

4,5-5

5

5-5,5

5,5-6,5

5.54. С помощью взрыва в сжимаемых пластичных грунтах могут быть образованы различные виды полостей.

Для образования цилиндрической выработки по ее оси пробуривают скважину, заполняют ее на всю длину и взрывают. Диаметр полости (м3) определяется из соотношения

                                                       (80)

где d - диаметр скважины, м; D - плотность заряжания, кг/м3; е - переводной коэффициент к аммониту № 6 ЖВ; r - плотность грунта, кг/м3; КГ - коэффициент, зависящий от свойств грунта.

Для расчетов рекомендуются следующие значения КГ: супесь - 1,0; вязкая глина - 1,15; плотная глина - 1,18; суглинок, лесс с супесью - 1,29; синяя глина - 1,41; очень крепкая глина - 1,64. При взрыве устье скважины разрушается, в выработку попадает порода с приблизительным объемом V=1,8D3.

5.55. Для образования сферической полости используют взрыв сосредоточенного заряда. Диаметр полости (м) определяется из соотношения:

                                                         (81)

где К - коэффициент (для глин и суглинков 0,24¸0,3, для супесей 0,29¸0,4); КН - коэффициент глубины (при Н=5¸10 м КН=0,52¸0,46; при Н=12¸18 м КН=0,44¸0,40).

Глубина заложения заряда для получения камуфлетной полости должна быть не менее (м):

                                                            (82)

Для предотвращения образования воронки и уменьшения засыпания выработки грунтом применяются следующие методы:

перед началом бурения в устье формируемой выработки проходят шурф высотой (22¸25) d с диаметром в верхней части (1,2¸1,5)D;

использование в верхней части зарядов с воздушными промежутками. Величина промежутка 2¸5 м.

Для получения выработки с одинаковым сечением по высоте следует применять обратное инициирование.

6. ОХРАНА ОКРУЖАЮЩЕЙ СРЕДЫ ПРИ ПРОИЗВОДСТВЕ БУРОВЗРЫВНЫХ РАБОТ

6.1. При производстве буровзрывных работ в целях охраны окружающей природы следует соблюдать требования ГОСТов 12.1.003-76 и 12.4.025-76, СН 245-71 и нормативных материалов, приведенных в обязательном приложении 1.

Защита массива от излишнего разрушения

6.2. Задача защиты окружающей среды от вредных воздействий взрыва начинается с защиты горного массива от излишних разрушений за пределами проектного контура разрушаемого объема пород, с разработки проектных и организационных решений, обеспечивающих уменьшение зоны разрушения радиальными трещинами и трещинами заколов за счет:

уменьшения диаметра зарядов в приконтурной зоне взрываемого объема породы;

применения зарядов с воздушными промежутками;

применения в зарядах взрывчатых веществ с меньшей. плотностью и скоростью детонации;

применением укороченной забойки до 8¸10 диаметров скважин и наклонного их расположения;

направления действия взрыва в сторону отбойки, открытой поверхности, уменьшая фактическую величину ЛНС каждого заряда за счет принятия рациональной сетки расположения зарядов и схем короткозамедленного взрывания, обеспечивающих большие значения коэффициента сближения зарядов "m" (5³m³2);

устройства экранирующей щели способом предварительного щелеобразования или зоны из разрыхленной породы между зарядом и защищаемым массивом;

эффективного взаимодействия соседних зарядов, преимущественного разрушения массива по линии расположения зарядов магистральной трещиной благодаря организации встречной интерференции нестационарных полей напряжений от взрыва зарядов в соседних скважинах (способ взрывания ВИСС).

Контурное взрывание

6.3. Технология контурного взрывания предназначена для образования ровной, гладкой поверхности откосов инженерного сооружения в скальных грунтах при минимуме нарушения законтурного массива. Она основана на образовании взрывом маломощных зарядов ВВ, располагаемых в скважинах по контуру сооружения, трещины-щели вдоль контура.

6.4. Основными разновидностями технологии контурного взрывания на объектах транспортного строительства являются:

способ предварительного щелеобразования (МПЩ) - заключается в образовании контурной щели одновременным взрывом сближенных маломощных зарядов с последующим рыхлением скважинными зарядами в пределах контура инженерного сооружения (рис. 32);

способ последующего оконтуривания (МПО) - заключается в образовании контурной поверхности одновременным взрывом сближенных маломощных скважинных зарядов после рыхления грунта скважинными зарядами в пределах контура (рис. 33);

Рис. 32. Схема контурного взрывания методом предварительного щелеобразования.

0 мс, 50 мс, 7,5 мс - интервалы замедления

способ контурного взрывания с использованием дополнительного поля напряжений от зарядов рыхления (способ КВИН) - заключается в образовании контурной щели вдоль инженерного сооружения секциями, причем взрывание маломощных зарядов в контурных скважинах каждой секции производится одновременно до взрыва зарядов рыхления этой же секции. В момент взрыва зарядов в контурных скважинах вблизи них действует поле напряжений от предконтурного ряда скважинных зарядов рыхления предыдущей секции, что обеспечивается правильным выбором интервала замедления (рис. 34);

Рис. 33. Схема контурного взрывания методом последующего оконтуривания.

0 мс, 25 мс, 50 мс - интервалы замедления

способ организации встречной интерференции полей напряжений смежных скважинных зарядов (способ ВИСС) - заключается в чередовании взрывания верхнего и нижнего боевиков, одновременном инициировании зарядов в контурных скважинах при рациональном соотношении скорости детонации заряда к скорости продольной волны в массиве и отношение длины зарядов к расстоянию между ними (рис. 35).

Способ ВИСС может применяться с каждым из трех вышеперечисленных методов контурного взрывания, расстояние между скважинами при этом способе равно (16¸28)dСКВ, объемная плотность заряда 0,06¸0,21 (меньшие значения принимают для трещиноватых пород).

6.5. Исходные инженерно-геологические данные для выбора разновидности технологии контурного взрывания и параметров должны содержать: название и категорию грунтов (по классификации СНиП), обводненность массива, трещиноватость массива (по классификации Междуведомственной комиссии по взрывному делу) (обязательное приложение 8), выветриваемость грунта, расположение пластов или доминирующей системы трещин относительно оси выемки, угол падения пластов или доминирующей системы трещин, скорость распространения упругих колебаний, а также поперечный разрез инженерного сооружения.

6.6. Основным параметром, которым задаются при проектировании и ведении БВР с применением технологии контурного взрывания, является диаметр контурных скважин - dK.

Рис. 34. Схема контурного взрывания способом КВИН:

1 - скважины предконтурного ряда; 2 - контурные скважины; 3 - скважины рыхления; 4 - контурная щель; 5 - ближайшая скважина предконтурного ряда; I, II, III - номера секций

Рис. 35. Схема инициирования контурного ряда скважинных зарядов способом ВИСС (с помощью ДШ):

1 - скважины, 2 - нити ДШ; 3 - боевики в скважинах

6.7. В зависимости от геометрических размеров выемок или полувыемок целесообразно назначать следующие разновидности технологии контурного взрывания:

при разработке выемок длиной более 30-40 м, а также полувыемок при возможности размещения более 2-х продольных рядов скважин рыхления и длине не менее 30 м рекомендуется использование метода КВИН;

в остальных случаях необходимо применять методы МПЩ или МПО, при этом предпочтение следует отдавать методу МПЩ, так как в этом случае обеспечивается лучшая сохранность законтурного массива от действия зарядов рыхления. При этом для глубины разработки более 4-5 м во всех скальных грунтах рекомендуется применение метода ВИСС.

6.8. Основными параметрами, определяемыми при проектировании и производстве БВР, являются:

линейная плотность заряжания контурных скважин Р, кг/м (количество ВВ, приходящегося на 1 пог. м длины скважины);

расстояние между контурными скважинами в ряду - аК, м;

расстояние вК, от ближайших зарядов рыхления до ряда контурных скважин, м;

в способе КВИН - величина t (интервал замедления взрыва контурных зарядов по отношению к зарядам рыхления предконтурного ряда предыдущей секции), мс;

в способе ВИСС - расстояние между уровнями боевиков (м) в соседних скважинах

                                                      (82)

где а - расстояние между скважинами, м; D - скорость детонации заряда ВВ по скважине, м/с; с - скорость продольной волны в массиве, м/с; Dt - интервал замедления между боевиками в скважине, мс.

Кроме основных расчетных параметров, подлежат определению нижеперечисленные параметры:

длина контурных скважин lK, м;

величина перебура контурных скважин относительно скважин рыхления DlK, м;

расстояние от устья контурной скважины до верхнего, помещаемого в ней патрона ВВ lзб, м;

в способе МПЩ время замедления взрыва зарядов рыхления относительно взрыва контурных зарядов tK, мс;

порядок инициирования контурных зарядов и зарядов рыхления;

конструкция заряда.

Длину контурных скважин lK назначают в зависимости от мощности разрабатываемого слоя грунта с учетом величины перебура. Длина контурных скважин, как правило, при точности бурения 1° не должна превышать 10 м. При допущении отступления от этого правила должны быть приняты меры, обеспечивающие повышенную точность бурения скважин по проекту.

Величину перебура DlK контурных скважин относительно дна двух ближайших рядов скважин рыхления можно принимать равной 0,2¸0,5 м при разработке выемок в грунтах VI-VII групп. При устройстве полувыемок в грунтах VIII-IX групп перебур контурных скважин можно не делать. В тех случаях, когда образуемая взрывом контурная щель предназначается для защиты откосов существующих выемок, а также тоннелей, труб, зданий и других сооружений от разрушительного действия массовых взрывов, величина перебура контурных скважин должна определяться расчетом и уточняться по результатам опытных взрывов.

Расстояние lзб следует принимать равным величине расстояния между контурными скважинами, рассчитанной для метода МПЩ с зарядами той же конструкции.

6.9. Заряды в контурных скважинах по конструкции делятся на гирляндовые, шланговые и сплошные. Гирляндовые заряды представляют собой стандартные патроны, например, аммонита 6-ЖВ, равномерно размещенные по длине скважины вдоль нити ДШ. Для этой цели патроны следует прикреплять на равных расстояниях друг от друга к рейке, веревке или другой прочной основе, образуя заряд-гирлянду.

В наклонных скважинах патроны должны быть прикреплены обязательно к жесткой основе (например, к деревянным рейкам) во избежание контакта со стенками скважин. Скорость детонации такого заряда равна скорости детонации ДШ (V=6500 м/с). Шланговые заряды представляют собой серийно выпускаемые гибкие оболочки, заполненные рассыпным ВВ, например, аммонитом ПЖВ-20. Скорость детонации такого заряда равна скорости детонации ВВ в оболочке. При использовании сплошной конструкции заряда в контурных скважинах целесообразно применять низкоплотные ВВ.

При наличии шланговых зарядов необходимой плотности заряжания необходимо использовать их при ведении взрывных работ.

При использовании метода ВИСС рекомендуется применять сплошные контурные заряды с регулируемой скоростью детонации и энергией или шланговые заряды.

В грунтах I-II категорий по трещиноватости следует применять только шланговые или гирляндовые заряды с заполнением пространства между зарядом и стенками скважины забойкой из дисперсного материала (заполняющая забойка). В грунтах III-V категорий по трещиноватости при использовании шланговых или гирляндовых зарядов заполняющую забойку можно не применять.

6.10. Нижнюю часть контурных зарядов целесообразно усиливать несколькими дополнительными патронами, сложенными в пачку с общим количеством ВВ 0,4-1,2 кг в зависимости от расстояния аК и прочности грунта. Если в скважине при малом ее диаметре нельзя разместить пачку дополнительных патронов, то можно помещать ВВ в нижней части скважины россыпью.

6.11. Основные параметры контурного взрывания способом МПЩ, рекомендуемые при строительстве скальных выемок, представлены в табл. 17.

Таблица 17

Характеристика грунта по трещиноватости

Параметры контурного взрывания

Диаметр контурных скважин, мм

Величина параметра в различных группах грунта по СНиП

VII

VIII

IX

X

II категория

Сильнотрещиноватые грунты (среднеблочные)

Р, кг/м

75

0,2

0,25

0,25

0,3

105

0,35

0,4

0,4

0,45

150

0,65

0,7

0,8

0,9

ак, м

75

0,5

0,5

0,55

0,6

105

0,6

0,65

0,7

0,7

150

0,8

0,85

0,9

1,0

III категория

Среднетрещиноватые грунты (крупноблочные)

Р, кг/м

75

0,25

0,25

0,3

0,3

105

0,4

0,4

0,45

0,5

150

0,75

0,8

0,9

1,0

ак, м

75

0,6

0,6

0,65

0,65

105

0,7

0,75

0,8

0,9

150

0,9

0,95

1,0

1,1

IV категория

Малотрещиноватые грунты (весьма крупноблочные)

Р, кг/м

75

0,25

0,3

0,3

0,35

105

0,4

0,45

0,5

0,55

150

0,8

0,9

1,0

1,1

ак, м

75

0,6

0,65

0,7

0,75

105

0,8

0,9

0,9

1,0

150

1,0

1,0

1,1

1,2

V категория

Практически монолитные грунты

Р, кг/м

75

0,3

0,3

0,35

0,35

105

0,45

0,5

0,55

0,6

150

0,9

1,0

1,1

1,2

ак, м

75

0,6

0,7

0,7

0,75

105

0,9

0,9

1,0

1,0

150

1,1

1,1

1,2

1,3

*Р - линейная плотность заряжания контурных скважин без заполняющей забойки (при использовании заполняющей забойки величину Р необходимо уменьшить на 20¸25%; аК - расстояние между контурными скважинами.

6.12. Расстояние bK (м) от линии расположения зарядов рыхления до зарядов контурного ряда рекомендуется принимать в зависимости от прочности и строения массива пород не меньше величины (0,4¸0,6)×аР, где аР - расчетное расстояние между зарядами рыхления. В труднодробимых и в прочных слаботрещиноватых грунтах, а также при неблагоприятном для рыхления залегании грунтов, расстояние bK должно быть минимальным. Для второго и последующих слоев грунтов в выемках, разрабатываемых послойно, а также при разработке полувыемок и выемок на крутых косогорах величины bK следует принимать равными (0,4¸0,5)аР.

Количество контурных зарядов в ряду должно назначаться таким, чтобы длина контурной щели, образующейся при взрыве выемки или полувыемки, была на 10-15 м больше длины участка, взрываемого на рыхление. Это "опережение" необходимо для того, чтобы предотвратить трещинообразование от взрывов рыхления в массиве за пределами контура выемки.

Инициирование взрыва патронов в контурных зарядах следует предусматривать от одной нитки ДШ, прикрепленной к патронам по всей длине зарядов.

6.13. Взрывание контурных зарядов в ряду следует производить одновременно от одной нитки ДШ (при способе ВИСС - две нитки ДШ), а при непосредственной близости сооружений - проектировать взрывание с замедлением по группам. Взрыв контурных зарядов должен выполняться ранее взрыва зарядов рыхления, а при наличии в опасной зоне железнодорожного пути и жилых зданий - в один прием, с зарядами рыхления, но с достаточным миллисекундным опережением взрыва предконтурного ряда. Величину tK следует принимать равной 50¸100 мс. Наименьшие значения рекомендуется принимать для прочных грунтов и в массивах грунтов с благоприятным для контурного взрывания строением. Минимальные величины допустимы также в случаях использования для зарядов рыхления скважин диаметром 60¸100 мм и взрывания их с применением поперечно-врубовой схемы замедления.

Для снижения действия взрыва на сооружения рекомендуется сближать контурные скважины (уменьшать aК), уменьшая при этом величину плотности заряжания.

Для метода последующего оконтуривания линейная плотность заряжания Р принимается той же, что и в способе МПЩ при одновременном увеличении расстояния между контурными скважинами аК в 1,4¸1,5 раза. Расстояние между контурным и предконтурным рядами скважин bK определяется по формуле bK=(1,1¸1,2)аK.

6.14. В способе МПО контурные заряды взрывают в последнюю очередь после взрыва скважин рыхления и уборки взорванного грунта.

6.15. При использовании способа КВИН, как правило, блок взрывается отдельными секциями, в каждой из которых первыми инициируются заряды в контурных скважинах, а последними - заряды предконтурного ряда, после которых взрываются контурные заряды следующей секции с замедлением равным (мс) , где С1 - скорость продольных волн в массиве; СДШ - скорость детонации ДШ; LС - длина взрываемой секции.

Начальную контурную щель в 1 секции создают методом МПЩ.

При последующих взрывах по разработке выемки используют контурную щель, получаемую от предыдущего взрыва способом КВИН. Для этого в последней секции при каждом взрыве располагают только контурные скважины.

Максимальная длина взрываемых секций LC зависит от диаметра зарядов рыхления d и равна (м):

LC=(280,0¸320,0)d,                                                    (83)

но не превышает, для имеющихся в настоящее время средств инициирования 40¸50 м.

Интервал замедления t можно получить увеличением длины участкового ДШ на длину Dl (м)

DlДШt.                                                               (84)

При этом во избежание отказа при подбое петли ДШ следует дублировать инициирование ряда контурных зарядов путем подключения ЭД следующей серии к участковой нити ДШ.

При наличии систем инициирования (электронные детонаторы, система "Нонель"), обеспечивающих точность инициирования в пределах ±0,5 мс, их следует применять для осуществления методов ВИСС и КВИН.

При бурении скважин и монтаже взрывной сети следует предусматривать опережение контурной щели в каждой секции. Величина этого опережения зависит от диаметра зарядов рыхления и примерно равна

lОП=(30¸35)d, м.                                                     (85)

Расстояние между контурными скважинами  при способе КВИН для получения не худшего по качеству откоса инженерного сооружения следует увеличивать по сравнению с данными табл. 17 в 1,6¸1,9 раза.

Величина расстояния  уточняется после проведения первых взрывов.

При необходимости получения более качественной поверхности контура и снижения нарушенности в законтурной части в методе КВИН рекомендуется уменьшать расстояние  на 25¸30% по сравнению с расчетным при соответствующем уменьшении линейной плотности заряжания контурных скважин.

6.16. Безопасные расстояния определяются по формулам Единых правил безопасности при взрывных работах. Для ответственных и сложных сооружений вопросы сейсмической безопасности, а также действия других нежелательных эффектов взрыва решаются специалистами. Для некоторых часто встречающихся случаев ниже приводятся рекомендуемые формулы для оценки сейсмики, ударных воздушных, гидроударных волн и разлета кусков породы.

Сейсмическое действие взрыва

6.17. Сотрясение грунта при производственных взрывах заглубленных зарядов на карьерах, рудниках, стройплощадках и пр. могут представлять опасность для сооружений, расположенных вблизи места взрыва.

Критерием сейсмической опасности взрывов является скорость колебания грунта у основания сооружения. Критическая скорость зависит от массы заряда, расстояния, условий взрывания и пр.

Радиус безопасного расстояния (м) по сейсмическому действию взрыва рассчитывают по формуле

                                                       (86)

где Q - масса мгновенновзрываемого заряда, кг; Е - коэффициент, зависящий от условий взрывания и положения охраняемого объекта (табл. 18); КГ - коэффициент, зависящий от геологических условий (табл. 19); g - коэффициент, зависящий от расстояния и от места расположения заряда до охраняемого объекта (в ближайшей зоне RC£100 d-g=0,33¸0,5, в дальней зоне RC>100 d-g=0,5¸0,67); VKP - допустимая критическая скорость колебании грунта, определяемая типом сооружения и его состоянием (табл. 20).

Таблица 18

Условия взрывания и положение объекта

Е

Рыхление в карьерных условиях, объект на дневной поверхности

1

Взрыв в подземных условиях

1,5-3,0

Взрыв на выброс

1,5-2,0

Взрыв на рыхление при одной обнаженной поверхности

0,7-0,8

Таблица 19

Таблица 20

Тип сооружения

VKP, см/с

многократные взрывы

однократные взрывы

Жилые здания и сооружения

1-3

5-10

Промышленные здания, транспортные эстакады, мосты

5-7

10-14

Одноэтажные каркасные здания, малосвязные породы

10

20

Массив трещиноватых пород, железобетонная обделка тоннелей (М 200, М 300)

20

50

Массив скальных малотрещнноватых пород; массивный гидротехнический бетон 70% проектной прочности (М 200, М 300)

50

100

Массив прочных скальных пород

100

150

Гидротехнический бетон, набравший менее 70% проектной прочности

6.18. В некоторых случаях может оказаться экономически выгодным производить взрывы, при которых скорость в районе охраняемых объектов превысит критическую, однако при этом необходимо знать ожидаемую интенсивность повреждения. Для оценки может служить сила сотрясения грунта, выраженная в баллах (табл. 21).

При размещении зарядов в воде или в насыпных почвенных и водонасыщенных грунтах сейсмобезопасный радиус, рассчитываемый по формуле (86), следует увеличивать в 1,5-2,0 раза.

Таблица 21

Балл

Характеристика колебания и вызываемых ими нарушений

Допустимая скорость, см/с

Предельная скорость, см/с

I

Колебания отмечаются только приборами

0,1

0,2

II

Колебания ощущаются в отдельных случаях при тишине

0,2

0,4

III

Колебания ощущаются некоторыми людьми или людьми, знающими о взрыве

0,4

0,8

IV

Колебания отмечаются многими людьми, дребезжание стекол

0,8

1,5

V

Осыпание побелки; повреждение штукатурки и отдельных ветхих зданий

1,5

3,0

VI

Тонкие трещины в штукатурке, повреждение зданий, имевших деформацию

3,0

6,0

VII

Повреждение зданий, находившихся в удовлетворительном состоянии: трещины в штукатурке, падение кусков штукатурки, тонкие трещины в сочленении стенок и перекрытий; трещины в печах, трубах

6,0

12,0

VIII

Значительные повреждения зданий, трещины в несущих конструкциях и стенах, большие трещины в перегородках, падение печных труб, обвалы штукатурки

12,0

24,0

IX

Разрушение зданий, большие трещины в стенках, расслоение кладки, падение некоторых участков стен

24,0

48,0

X-XII

Большие разрушения и обвалы зданий

24,0

48,0

6.19. Количественная оценка сейсмического действия взрыва при изменении некоторых его параметров может осуществляться путем введения в зависимость ряда электрических коэффициентов K1, К2, К3, ... , К10, учитывающих условия взрывания и параметры взрыва:

коэффициент глубины заложения зарядов K1 учитывает, что чем больше энергия заряда использована в зоне дробления, тем меньше сейсмическое действие взрыва, и определяется по формуле:

 или                                         (87)

где СР - скорость продольной волны, м/с; CS - скорость поперечной волны, м/с; Q - масса заряда, ВВ, кг; W - линия наименьшего сопротивления, м; q - удельный расход ВВ, кг/м3.

коэффициент геометрии заряда К2 зависит от диаметра применяемых зарядов и определяется по формуле:

;                                                            (88)

коэффициент степени свободы разрушаемого объема К3 учитывает, что чем выше степень зажима среды, разрушаемой взрывом, тем больше энергии ВВ переходит в энергию волны сжатия, определяющей сейсмический эффект в ближней зоне, и определяется по формуле:

К3=0,25N2,                                                            (89)

где N - число степеней свободы (открытых поверхностей) взрываемого объекта;

коэффициент потенциальной энергии ВВ К4, определяющий сейсмическую активность зарядов ВВ, особенно в ближней зоне, зависит от скорости детонации ВВ и его потенциальной энергии, определяется относительно эталонного ВВ типа аммонита 6 ЖВ с потенциальной энергией К4 по формуле:

                                                          (90)

коэффициент короткозамедленного взрывания K5=2/3 при условии, что время замедления превышает время существования положительной фазы волны напряжений, т. е.

t3³algR,                                                             (91)

где a - коэффициент условии взрывания, составляющий 0,11-0,13;

коэффициент концентрации взрывных работ К6 определяет, что при многократном производстве взрывных работ допустимая масса ВВ снижается согласно следующим данным:

число взрывов в год

10

50

100

250

500

коэффициент снижения массы зарядов ВВ К6

0,98

0,90

0,22

0,64

0,56

коэффициент ориентации взрываемых объектов относительно окружающих сооружений К7, значения которого принимаются:

в тылу взрываемого блока ................................. 1,0

на фланге взрываемого блока, детонация направлена:

от объекта ...................................................... 5-6

в сторону объекта ........................................... 2

со стороны фронта взрываемого блока ........ 2;

коэффициент естественного экранирования сейсмических волн К8=2¸4 учитывает наличие между очагом взрыва и защищаемым объектом выработанного пространства;

коэффициент искусственного экранирования сейсмических волн К9 учитывает наличие между очагом взрыва и защищаемым сооружением искусственного экрана;

коэффициент конструкции заряда К10, учитывающий применение скважинных зарядов с воздушными промежутками в перебуре, равный 0,8-0,9, снижающие сейсмический эффект взрыва, особенно в ближней зоне.

6.20. Для эффективного снижения сейсмического действия взрыва применяется короткозамедленное взрывание (КЗВ). Оптимальные интервалы замедления рекомендуются следующие:

Категория трещиноватости по классификации Междуведомственной комиссии по взрывному делу

не менее, мс

I-II ............................................................................................................................. 35-50

III .............................................................................................................................. 25-35

IV .............................................................................................................................. 15-25

V ............................................................................................................................... 10-15

Верхняя граница принимается при диаметре заряда более 0,105 м.

Суммарный заряд (кг) при КЗВ определяется по формуле:

SQ=0,65nQ,                                                          (92)

где n - число групп замедления; Q - масса заряда в одной группе, кг.

6.21. На расстояниях меньше 25 м от зданий сейсмическое воздействие носит локальный характер. Предельно допустимая масса заряда (кг) может определяться по формуле:

Q=Kr1,5,                                                              (93)

где К=0,2 - для жилого и К=0,3 - для промышленного зданий; r - расстояние до охраняемого объекта, м.

По формуле (87) определяют заряд одной группы при КЗВ без ограничения числа групп при условии, что интервал замедления будет не меньше 50 мс.

6.22. Для предохранения сооружений или бортов выемок от повреждения сейсмическим воздействием взрыва по границе охраняемого объекта следует образовывать щель предварительного откола методом контурного взрывания. При малых расстояниях между местом взрыва и охраняемым объектом (не более 10-50 м) в зависимости от условий взрывания такая щель может в 2¸4 раза снизить сейсмический эффект взрыва. Степень снижения в конкретных условиях устанавливается специалистами.

Действие ударно-воздушной волны (УВВ) взрыва на застекление

6.23. В ближней зоне взрыва (r£200 м) критерием опасности является импульс фазы сжатия УВВ - ST, т. е. повреждение застекления происходит при значениях импульса, превосходящих критическую величину.

Первые повреждения застекления наблюдаются при ST³4,5 Па×с.

6.24. В средней и дальней зонах взрыва (г>200 м) критерием опасности является избыточное давление DР на фронте волны. Она зависит от качества стекла и способа его крепления и составляет 1000¸2000 Па.

В качестве расчетных предельно допустимых значений импульса и давления УВВ принимаются SТ=2,5 Па×с, DР=500 Па.

Расстояния, безопасные по действию УВВ на остекленение (м), при взрывах на открытой поверхности для случаев мгновенного взрывания наружных скважинных и шпуровых зарядов рыхления могут определяться по формулам:

при QЭ=1000¸5000 кг

 

при QЭ=2¸11000 кг

(94)

при QЭ£2 кг

 

где ОЭ - эквивалентная масса заряда, кг; КТ - коэффициент, зависящий от физико-механических свойств взрываемых пород (табл. 22).

Для взрыва открытых (наружных зарядов) эквивалентная масса заряда (кг) равняется

QЭЗНQ,                                                              (95)

где Q - суммарная масса наружных зарядов, кг; КЗН - коэффициент, учитывающий влияние слоя засыпки наружного заряда (табл. 23).

Для случая взрыва группы скважинных или шпуровых зарядов длиной меньше двенадцати диаметров эквивалентная масса (кг) равна:

QЭ=KЗQ1m+QДШ,                                                        (96)

где Q1 - масса одиночного заряда, кг; ОДШ - масса ВВ в сети ДШ, кг; m - количество мгновенно взрываемых зарядов; КЗ - коэффициент, учитывающий влияние забойки скважины или шпура (табл. 24).

Для случая взрыва группы скважинных или шпуровых зарядов длиной больше 12d

QЭ=12РdКЗmQДШ.                                                         (97)

где Р - вместимость скважин, кг/м; d - диаметр скважин, м.

Для взрыва шпуровых зарядов (дробление негабарита, спецвзрывные работы)

QЭ=0,25Q1mКЗQДШ.                                                      (98)

Значения коэффициентов КТ, КЗН и КЗ приведены в табл. 22, 23, 24.

Таблица 22

Категория пород по взрываемости

Коэффициент крепости пород по шкале проф. М. М. Протодьяконова

Категория пород по классификации СНиП

Породы

Коэффициент

I-II. Легко и средневзрываемые

до 12

до VI

Песчаники, сланцы, мел, уголь, известняки, гипс, доломиты, мерзлые грунты

0,5

III. Трудновзрываемые

12-16

V1-VIII

Известняки крепкие, гранодиориты, гранит некрепкий, гранитогнейсы

1,0

IV-V. Весьма и исключительно трудновзрываемые

16 и более

IX-XI

Граниты, порфириты, кварциты, базальты, трахилипариты

1,6

Таблица 23

h3/h0

0

0,5

1,0

1,5

2,0

2,5

3,0

3,5

4,0

5,0

КЗН

1

0,85

0,7

0,6

0,5

0,4

0,3

0,25

0,16

0,12

h3 - высота слоя засыпки; h0 - высота заряда.

Таблица 24

Вид забойки

Коэффициент КЗ при относительной длине забойки lЗ/d

0

5

10

15

25

20

Грунтовая забойка

1

0,15

0,02

0,003

0,002

0,001

Воздушная забойка

1

0,3

0,07

0,02

0,004

0,002

Если заряды инициируются магистралью из детонирующего шнура (ДШ), то к эквивалентному заряду добавляется суммарная масса заряда сети ДШ.

6.25. В случае короткозамедленного взрывания под Q1 и m следует понимать массу эквивалентного заряда и число зарядов одной группы, если интервал замедления между группами не менее 50 мс. При интервале замедления не менее 35 мс безопасное расстояние должно быть увеличено в 1,2 раза. Суммарная масса заряда и число групп замедления при этом не ограничиваются.

6.26. В случае короткозамедленного взрывания прямолинейной серии зарядов, на фланге которой расположен охраняемый объект, в принципе возможно усиление эффекта в данном направлении за счет синхронного сложения УВВ от отдельных групп зарядов. Во избежание этого интервалы замедления между отдельными группами должны подчиняться следующим требованиям:

при инициировании со стороны охраняемого объекта

                                                               (99)

при инициировании со стороны, противоположной охраняемому объекту,

 или                                              (100)

где t - интервал замедления, с; t+ - продолжительность положительной фазы УВВ, с; l - расстояние между зарядами, м; с - скорость распространения слабой ударной воздушной волны; с»340 м/с.

6.27. Если взрывные работы производятся зимой и эквивалентная масса заряда QЭ>2 кг, то безопасные расстояния должны быть увеличены в 1,5 раза; если QЭ<2 кг, то сезон проведения взрывных работ можно не учитывать.

6.28. Не рекомендуется проводить взрывы, если в сторону охраняемого объекта дует ветер, скорость которого на поверхности земли больше 5 м/с.

Действие гидроударной волны (ГУВ) подводного взрыва

6.29. При подводных взрывах критерием опасности для подводных сооружений и ихтиофауны является удельная энергия гидроударной волны.

Расчетные безопасные значения удельной энергии Еб (Дж/м2) по действию ГУВ на некоторые охраняемые объекты, ихтиофауну приведены в табл. 25.

Таблица 25

Охраняемые объекты

Удельная анергия (Дж/м2) действия ГУВ

Железобетонные подводные сооружения, бетон М 200

4000

Металлические трубы и листовые конструкции

6´105

Суда с толщиной обшивки до 3 мм

350

Кефаль, хамса, тюлька

30

Чехонь, синец, уклейка, мелкий судак

50

Карась, окунь, судак, щука, густера, лещ, плотва, тарань, горбыль, язь, карп

150

Линь, сазан, севрюга, морской окунь, морской судак, камбала, морской еж

250

Бычок, терпуг, рачки, креветки, кормовые организмы

2500

6.30. При взрыве сосредоточенного накладного заряда радиус опасной зоны определяется по формуле

                                                       (101)

где rб - безопасное расстояние, м; К - коэффициент, зависящий от свойств ВВ (для аммонита № 6 ЖВ К=220, для тротила К=270); Еб - предельно допустимая удельная энергия ГУВ для охраняемых сооружений или рыб (принимается по табл. 25) Дж/м2; ВЕ - степень снижения удельной энергии ГУВ при локализации места взрыва пузырьковой завесой (берется из табл. 26, при отсутствии ПЗ-ВЕ=1); Q - масса накладного заряда.

6.31. При методе скважинных (шпуровых) зарядов даже при повышенных требованиях к качеству дробления длина забойки не должна быть меньше пяти диаметров. В этом случае радиус опасной зоны определяется по формуле

                                                    (102)

где Н - глубина водоема, м; Q - суммарная масса скважинных зарядов, кг

При инициации скважинных зарядов ДШ радиус опасной зоны от взрыва ДШ определяется по формуле:

rб=30(Nm/Eб)0,46,                                                        (103)

где m - число скважинных зарядов; N - число ниток ДШ в скважине.

Максимальное значение rб из рассчитанных по формулам (98) и (99) является окончательным радиусом опасной зоны. Фактически при шпуровых зарядах (диаметром менее 42 мм) радиус опасной зоны определяется взрывом ДШ, а не основного заряда.

6.32. Радиус опасной зоны от карьерных взрывов, находящихся в непосредственной близости от водоемов, определяется по формуле (99).

6.33. Для снижения воздействия ГУВ на ихтиофауну и сооружения необходимо применять короткозамедленное взрывание с интервалом замедления не менее 15 мс. При этом для накладных зарядов радиус опасной зоны определяется по формуле (101), если под Q понимать заряд одной группы.

Для скважинных (шпуровых) зарядов радиус опасной зоны при КЗВ определяется по формуле (102), с умножением на коэффициент 1,2. При этом под Q понимают соответственно суммарную массу скважинных зарядов в одной группе.

6.34. Для снижения ущерба ихтиофауне при взрыве накладных зарядов можно применять пузырьковую завесу (ПЗ). Для устройства ПЗ на дне водоема вокруг заряда укладывается воздухораспределитель, состоящий из перфорированных труб с проходным отверстием не менее 50 мм и толщиной стенок 1-3 мм. Применяются стальные, дюралевые, полиэтиленовые трубы или пневматический шланг. Перфорация выполняется путем сверления в трубе двух рядов-отверстий в шахматном порядке. Расстояние между рядами 25 мм. При диаметре отверстия 1 мм шаг в ряду составляет 25-30 мм, при диаметре 2 мм - 40-60 мм.

6.35. В целях предохранения воздухораспределителя ПЗ от заиливания в месте укладки труб должны быть удалены наносы или трубы должны быть приподняты над наносами. Для достижения равномерной работы ПЗ необходимо, чтобы отдельные секции воздухораспределителя устанавливались горизонтально.

При многократном использовании воздухораспределителя и ПЗ расстояние от него до крайнего заряда (м) определяется по формуле:

                                                           (104)

где d - толщина трубы, м; Q - масса накладного заряда.

При однократных взрывах

                                                           (105)

6.36. Конструктивно ПЗ может быть выполнена стационарной или передвижной. Стационарная завеса устанавливается по периметру предполагаемого района ведения подводных взрывных работ. Передвижная завеса локализует участок каждого конкретного взрыва. Для защиты сооружений ПЗ располагается так, чтобы оставался зазор между завесой и охраняемым объектом 0,5¸1,0 м.

6.37. Расчетные значения степени снижения максимального давления ВР и удельной энергии ГУВ ВЕ в зависимости от расхода воздуха в ПЗ и масс зарядов представлены в табл. 26.

Общий расход воздуха определяется по формуле

                                                      (106)

где L - длина завесы, м; q1 - расход воздуха на 1 м ПЗ, обеспечивающий заданную степень снижения энергии ГУВ, м3/мин×м.

Таблица 26

Расход воздуха на 1 м трубы воздухораспределителя, м3/мин×м

Масса накладного заряда, кг

0,1¸1,0

1,0¸10

10¸50

Степень снижения

bp

be

bp

be

bp

be

0,2

7

30

5

14

3,5

8

0,3

12

70

8,5

30

6,5

19

0,4

19

130

13

60

10

35

0,5

26

210

18

95

13

60

0,6

34

320

23

140

18

85

0,7

42

450

29

190

22

120

0,8

50

600

35

250

26

160

Разлет кусков грунта и распространение ядовитых газов при взрыве

6.38. Радиус безопасного расстояния по разлету кусков грунта с надежностью 0,997 можно оценить по формуле:

                               (107)

где Rp - радиус безопасного расстояния, м; r - плотность породы, кг/м3; Q - масса заряда, кг; а - расстояние между скважинами в ряду, м; b - расстояние между рядами скважин, м; lЗАБ - длина забойки, м; П - показатель простреливаемости, м3/кг; К1=1/1+0,4tgb2 - коэффициент косогорности местности;  - коэффициент, учитывающий снос летящих кусков породы ветром; b - угол наклона местности, град; uВ - скорость ветра, м/с; ХСР - средний размер куска, м.

Предупреждение разлета кусков взорванного грунта

6.39. В легко- и труднодробимых грунтах уменьшить дальность разлета кусков породы без применения укрытий зарядов и заметного снижения качества дробления можно, применяя специальные технологии взрывания:

а) в легкодробимых грунтах удельный расход ВВ снижается до значений, рассчитываемых для каждого скважинного или камерного заряда как для зарядов наибольшего камуфлета, принимая показатель действия взрыва f(n)=0,1¸0,2. Расстояние между зарядами при этом принимается как для сосредоточенных зарядов рыхления;

б) в среднедробимых грунтах с целью обеспечения приемлемого качества дробления допускается сохранение нормативного удельного расхода ВВ для скважинных зарядов, но расстояние между зарядами уменьшается до величины, обеспечивающей размещение расчетного заряда в скважинах при глубине забойки 40¸60 диаметров скважин;

в) в тех же грунтах в необводненных скважинах размещают заряды с воздушными промежутками в перебуре, длину которых принимают 0,3¸0,4 длины расчетного заряда. Удельный расход ВВ, расстояние между скважинами и длину забойки при этом принимают обычными для данных грунтов и ожидаемой степени дробления;

г) в грунтах любой крепости при высоте уступа 3 и более метров разрушение массива формируется по заданным направлениям магистральными трещинами взрыванием скважинных зарядов малой плотности. Для этого скважины бурят на расстоянии, равном от 5 их диаметров заряда в ряду в сильнотрещиноватых породах до 14 диаметров в практически монолитных породах, а расстояние между рядами принимают в 1,2-1,3 раза больше. В скважинах размещают сплошные или гирляндовые заряды из взрывчатого вещества, имеющего малый критический диаметр, и оставляют кольцевой воздушный промежуток с результирующей плотностью заряжания равной (0,06¸0,15)×103 кг/м3, предохраняющей стенки скважин и грунты в их окрестности от объемного разрушения. В крепких малотрещиноватых грунтах заряд размещают на всю длину скважины. Часть заряда на длине скважины до 20¸30 ее диаметров от устья заполняется ВВ переменной плотностью. В трещиноватых грунтах, включающих естественные отдельности малых размеров, на эту длину выполняют забойку для предупреждения разлета этих естественных отдельностей. В необводненных грунтах может быть выполнен перебур величиной до 0,3¸0,5 расстояний между рядами скважин, в котором заряд не размещают, а оставляют воздушный промежуток.

6.40. Для ограничения дальности разлета кусков грунта могут применяться различного рода укрытия зарядов или невзрывные средства разрушения пород.

Основным типом укрытий являются скрепленные металлические листы, а также деревянные щиты, собранные из бревен диаметром 15¸20 см, уложенных в 1¸2 наката и скрепленных металлическими стяжами, болтами или скобками.

Массу сплошного щитового укрытия (т) (с учетом ширины перекрытия) определяют по формуле:

                                              (108)

где  НЭ=0,22КН, W=lЗАБ+0,5lЗАР; d - диаметр зарядов, м; lЗАБ - длина забойки, м; lЗАР - длина заряда, м; НУ - высота установки укрытия (принимается не менее 0,25 м); К - расчетный удельный расход дробления, кг/м3; Н - мощность взрываемого слоя.

Расстояние, на которое перекрывается поверхность взрываемого массива от крайних зарядов до края укрытия, принимается равным

                                        (109)

где НПЕР - ширина перекрытия, м;

rp - допустимый радиус разлета кусков при взрывании с укрытием, м;

Rр - радиус разлета кусков при взрывании без укрытия, м.

Массу сплошного укрытия из мешков с песком или насыпного грунта, располагаемых непосредственно на взрываемой поверхности, можно определить по формуле:

Му=0,33rW,                                                         (110)

где My - масса 1 м2 укрытия, кг; r - плотность взрываемого грунта, кг/м3.

Для снижения высоты подбрасывания газообразными продуктами щиты устанавливают на расстояние не менее 0,65 м от взрываемой поверхности.

6.41. В особо ответственных случаях применяют арочные укрытия, которые изготавливают в виде сварных каркасов из труб диаметром примерно 200 м, с приваренными изнутри металлическими полосами шириной 20-30 мм, образующими решетку. К решетке при помощи проволоки прикрепляют металлическую сетку.

6.42. Для уменьшения радиуса разлета кусков грунта дробление негабаритов следует осуществлять, прежде всего, с использованием шпуровых зарядов или накладными кумулятивными зарядами, а при наличии оборудования также и бутобоями.

Взрывание на выброс и сброс в зоне ценных лесных угодий, пахотных земель, лугов и в непосредственной близости от водоемов и рек должно быть, как правило, исключено.

6.43. Расстояние, безопасное по действию ядовитых газов при массовых взрывах зарядов на данной поверхности, может определяться по формуле:

                                               (111)

где rr0 - радиус опасной зоны по направлению ветра, где процентное содержание ядовитых газов (в пересчете на условную окись углерода) превышает предельно допустимую концентрацию, м; Q - общая масса взорванных зарядов, кг; uВ - скорость ветра, м/с.

Для снижения объема вредных газов, выделяющихся при взрывании зарядов, следует применять, прежде всего, ВВ с положительным или близким к нулевому кислородным балансом. Таким условиям удовлетворяют игданит и граммонит 79/21.

Уменьшения количества токсичных газов можно также достигнуть выполнением следующих мероприятий:

достижением при заряжании оптимальной плотности заряда;

недопущением расслаивания компонентов смесевых ВВ в процессе заряжания;

применением инициирующих средств оптимальной мощности;

использованием рецептур ВВ, критический диаметр которых меньше, чем диаметр заряжаемых скважин;

обеспечением качественной забойки скважинных зарядов.

7. КОНТРОЛЬ КАЧЕСТВА БУРОВЗРЫВНЫХ РАБОТ

7.1. Качество забуренных скважин проверяет прораб или мастер, выполнявшие работы совместно с представителем организации Заказчика.

Оценка качества взрывных работ производится после взрыва прорабом или мастером совместно с представителем организации Заказчика.

При этом должны быть определены:

а) качество дробления породы;

б) ширина развала взорванной массы;

в) максимальный разлет взорванной породы;

г) нарушенность поверхности откоса выемки;

д) наличие отказов или мест возможных отказов.

7.2. Оценкой качества буровзрывных работ является:

при бурении: отклонение фактических параметров скважин (расстояние между ними, длина перебура, угол наклона скважин) от проектных;

при взрывании: дробление горной массы (выход негабарита).

Допускается отклонение фактического расстояния между скважинами от проектного в пределах ±2dС (dС - диаметр скважины). Бурение перебура меньше проектного не допускается, увеличение длины перебура по сравнению с проектным допускается не более 0,5 м.

Допускается отклонение фактического угла наклона скважин рыхления на ±5°С от проектного.

7.3. Оценка качества обуривания забоя определяется следующим образом: по числу выборочных измерений К, расстояний между скважинами и числу измерений m с отклонениями, выходящими за пределы допустимых, рассчитывается процент измеренных расстояний Di, не выходящих за пределы допустимых отклонений;

                                                    (112)

По числу пробуренных скважин N и по количеству перебуров j, выходящих за пределы допустимых отклонений, рассчитывается процент измерений, не выходящих за пределы допустимых отклонений.

                                                      (113)

По числу пробуренных скважин N и по количеству измерений углов j, выходящих за пределы допустимых отклонений, рассчитывается процент измерений, не выходящих за пределы допустимых отклонений

                                                      (114)

Процент допустимых отклонений по качеству обуривания забоя определяется по формуле:

                                                 (115)

Если вК лежит в пределах 95-100%, то качество обуривания "отличное", при вК=(90-95)% качество "хорошее", при вК=(80-90)% - "удовлетворительное" и при вК<80% считается, что допущен брак.

7.4. Выход негабарита определяется экспресс-методом.

При данном методе на развале отбитой горной массы с помощью рулетки выделяется прямоугольник не менее 20´10 м. (А´В). В выделенном прямоугольнике подсчитывается количество негабаритных кусков (n). Куски обмериваются в двух взаимно перпендикулярных направлениях. Суммируются большие и меньшие размеры кусков и определяется их средняя величина (аСР и вСР). Выход негабарита определяется по формуле:

                                                (116)

При фактическом выходе негабарита в пределе от 0% до gН=min% дробление оценивается отметкой "отлично", при gН=max% до gН=max+10 - "удовлетворительно", а при фактическом выходе негабарита, попадающим в интервал gН=max+10% и выше считается, что допущен брак.

7.5. Ответственность за контроль качества работ возлагается на руководителя взрывных работ.

8. МЕХАНИЗАЦИЯ ПОГРУЗОЧНО-РАЗГРУЗОЧНЫХ И ЗАРЯДНЫХ РАБОТ

Механизация погрузочно-разгрузочных работ

8.1. При подготовке взрывных работ механизируются следующие технологические погрузочно-разгрузочные операции:

а) разгрузка ж.д. вагонов и погрузка ВВ (в контейнерах, стропконтейнерах) в автомобильный транспорт;

б) разгрузка автомобилей и размещение ВВ в хранилище или на специальные площадки;

в) подача ВВ к рассматривателю и растаривание ВВ с загрузкой его в зарядную машину.

8.2. Для механизации выгрузки ВВ из вагона необходимо совмещать уровень пола вагона с дном кузова автомобиля, а также желательно оборудовать прирельсовую площадку разгрузочной рампой, размеры которой принимаются из условия разгрузки одного вагона грузоподъемностью 60 т.

ВВ может поставляться в мешках навалом, а также в мягких или жестких контейнерах,

8.3. В случае поставки ВВ в мешках, из последних формируются пакеты на поддонах и используются двухнастильные четырехзаходные стандартные плоские деревянные поддоны размером 800´1200 мм, грузоподъемностью не более 1 т, или специализированные двухнастильные и двухзаходные поддоны размером 800´1600 мм грузоподъемностью более 1,2 т.

8.4. В целях сохранности пакетов от развала мешков при перевозках автотранспортом производится их склеивание жидким стеклом или другим быстросхватывающимся клеем (дикстриновым, сульфидиоспиртовой бардой и др.). Сформированные пакеты транспортируются после полного схватывания клея.

Для формирования пакетов с ВВ целесообразно применять стропконтейнеры или пакетирующие стропы. Стропконтейнеры изготавливаются из синтетической трехслойной капроновой ленты, имеющей разрывное усилие 22 кН. Для пакетирования мешков с ВВ применяются многооборотный универсальный двухветвевой стропконтейнер СК-1 и полутораветвевой пакетирующий строп СП-4Ф.

8.5. Формирование пакетов с ВВ производится в железнодорожном вагоне у дверного проема.

Загрузка автомобиля пакетами с ВВ осуществляется с помощью вилочного автопогрузчика или электропогрузчика (напольной тележки) без их заезда в вагон.

8.6. Для транспортирования и хранения гранулированных ВВ применяется мягкий специализированный контейнер разового использования МКР-1,0 С (ТУ 6-19-74-77), изготавливаемый из синтетических нитепрошивных материалов с полиэтиленовым пленочным вкладышем. Контейнер МКР-1.0 С представляет собой емкость (мешок) с глухим днищем или разгрузочным люком. Грузонесущими элементами являются стропы, составляющие одно целое с оболочкой контейнера. Выгрузка ВВ в мягких контейнерах осуществляется из вагона электропогрузчиками.

8.7. В случае поставки ВВ в жестких контейнерах в полувагонах, их выгрузка может осуществляться автокраном.

На территории склада ВМ разгрузка автомобиля производится различными средствами в зависимости от типа механизированного склада.

8.8. Механизированные склады в зависимости от способа ведения работ, условий хранения ВВ и применяемых механизмов при проведении погрузочно-разгрузочных работ могут быть следующих типов: тельферный; контейнерный; секционный.

Рис. 36. Тельферный механизированный склад ВМ:

1 - вагон, груженный мешками ВВ; 2 - стропконтейнер; 3 - автомобиль; 4 -механизированное хранилище; 5 - монорельсовые пути; 6 - перегрузочная площадка; 7, 9 - таль; 8 - центральный монорельсовый путь; 10 - пункт подготовки ВВ; 11 - эстакада рамной конструкции; 12 - растариватель; 13 - машина зарядная; 14 - зонт; 15 - воздуховоды; 16 - фильтр рукавный; 17 - вентилятор с электродвигателем; 18 - площадка для сбора мешкотары

8.9. Тельферный механизированный склад (рис. 36) основан на использовании контейнеров, грузоподъемных талей и растаривающей установки.

При этом типе механизированного склада ВМ предусматривается следующий порядок выполнения работ. В случае поставки ВВ в контейнерах они загружаются в автомобиль.

При поставке ВВ навалом мешки укладываются в контейнера, установленные на автомобиле. Перемещение загруженных контейнеров из автомобиля в хранилище ВВ и из хранилища на пункт растаривания осуществляется при помощи талей, установленных на монорельсовых путях, проложенных внутри хранилища и на открытом участке склада между хранилищем и пунктом растаривания.

8.10. Для грузопереработки ВВ в жестких контейнерах на объектах с ограниченным расходом ВВ применяются главным образом универсальные унифицированные среднетоннажные контейнеры массой брутто 3 и 5 т, изготавливаемые в соответствии с ГОСТ 18477-79.

Контейнеры для ВВ должны обеспечивать полную сохранность груза и безопасность при транспортировании и изготовляться из материала, химически нейтрального по отношению к ВВ. Контейнер загружается ВВ одного вида и одной партии.

На складах ВМ контейнеры с ВВ хранятся на специальных открытых контейнерных площадках, установленных в штабеля высотой не более, чем в два яруса.

Расположение контейнеров с ВВ на складе должно обеспечивать свободный доступ к двум контейнерам и выгрузку ВВ из него.

Контейнерная площадка должна иметь:

железнодорожные или автомобильные подъездные пути;

устройства, обеспечивающие отвод грунтовой, талой и дождевой воды;

устройства для сбора воды, загрязненной ВВ в результате аварии;

электрическое освещение с арматурой и светильниками во взрывоопасном исполнении;

противопожарные средства;

надежную систему молниезащиты.

При размещении контейнеров с ВВ на рядом расположенных площадках между площадками должны соблюдаться расстояния, исключающие взаимную передачу детонации между зарядами.

Погрузочно-разгрузочные и транспортные операции с контейнерами осуществляются на территории склада автопогрузчиками или автомобилем самопогрузчиком П-404, допущенным для этой цели Госпроматомнадзором.

8.11. Секционный механизированный склад ВМ состоит из:

отдельных двухэтажных секций (рис. 37), состыкованных между собой.

Рис. 37. Секция хранилища:

1 - каркас секции; 2 - пакет с ВВ на поддоне; 3 - таблица с указанием даты поступления ВВ, номера партии и количества ВВ в секции; 4 - вентиляционная труба

Секционные хранилища предназначены для хранения ВВ в пакетах, стропконтейнерах (ГОСТ 3078-74) или в мягких контейнерах (ТУ 6-19-74-77) на поддонах (ГОСТ3078-74).

Секции оборудуются двумя отдельными доступами с закрывающимися двухстворчатыми дверями. Каждая секция делится на 12 ячеек, по шесть с каждой загрузочной стороны, из них по три секции на этаже.

Пакеты, стропконтейнеры или мягкие контейнеры устанавливаются в каждую ячейку на деревянные поддоны.

Транспортирование стропконтейнеров (мягких контейнеров), пакетов по территории склада и загрузка ячеек секционных хранилищ осуществляется автопогрузчиками грузоподъемностью не менее 1 т.

Механизированное заряжание скважин

8.12. Механизированное заряжание скважин взрывчатыми веществами производится специальным оборудованием, допущенным Госпроматомнадзором СССР к постоянному применению или промышленным испытаниям. Для механизированного заряжания скважин применяются транспортно-зарядные машины, установленные на шасси автомобилей различной грузоподъемности, или транспортно-зарядные установки, смонтированные на прицепах. Техническая характеристика транспортно-зарядных машин приведена в обязательном приложении 2.

8.13. По принципу действия наиболее распространены транспортно-зарядные машины со шнековыми рабочими органами (МЗ-3А; МЗ-4; МДЗ-1М), управляемыми диафрагмами (МЗ-8) и бункерного типа.

8.14. Для заряжания контурных, горизонтальных и восстающих скважин применяется транспортно-зарядная установка ТЗУ-Т с рабочим органом "Ульба" (рис. 38).

Установка ТЗУ-Т предназначена для механизированного (пневматического) заряжания скважин диаметром 75-220 мм гранулированными ВВ, допущенными для механизированного (пневматического) заряжания.

Транспортно-зарядная установка ТЗУ-Т применяется, в основном, при сооружении выемок (полувыемок) в крутокосогорных условиях при разработке "в лоб забоя", при уширении троп и заряжании скважин простейшими ВВ, изготавливаемыми вблизи объекта работ.

В функции ТЗУ-Т входят: вакуумная загрузка ВВ в нагнетательную камеру, заряжание скважин, стабилизация параметров пневмотранспорта ВВ (расход ВВ и сжатого воздуха, расход смачивающей жидкости), встряхивание ВВ в камере, контроль за параметрами и др.

На объект работы установка буксируется автомобилем, в кузов которого грузятся мешки с ВВ. Бак для воды заполняется перед транспортированием установки.

На месте работ установка фиксируется тормозными башмаками и заземляется.

Рис. 38. Транспортно-зарядная установка ТЗУ-Т:

1 - пневмозарядчик "Ульба"; 2 - шасси; 3 - барабан для намотки шлангов; 4 - бак для воды; 5 - ящик; 6 - огнетушитель; 7 - башмак; 8 - заземление

На расстоянии 10-20 м от установки располагается компрессор, соединенный с ней шлангом, по которому подается сжатый воздух.

Перед заряжанием замеряется глубина скважин, затем производится заполнение камеры взрывчатым веществом.

Масса заряда в скважинах должна соответствовать паспортным (проектным) данным.

Дозировка массы заряда осуществляется при помощи весового дозатора установки и контролируется по длине заряда.

Трубопровод, оснащенный насадкой, вводится в скважину и подача ВВ начинается, когда расстояние между насадкой и дном скважины составит около 0,6 м.

Это же расстояние между насадкой и зарядом выдерживается и по мере извлечения трубопровода в процессе заряжания скважины.

После заполнения скважины проектной массой ВВ трубопровод полностью извлекается из скважины и устанавливаются боевики с ВМ. Извлекать трубопровод из скважины при заряжании рекомендуется со скоростью не более 0,2 м/с, С целью ограничения выноса пыли и частиц ВВ из скважины при заряжании в устье ее рекомендуется устанавливать фильтр.

Все работы с транспортно-зарядной установкой и транспортно-зарядными машинами должны производиться в строгом соответствии с инструкцией по эксплуатации и Едиными правилами безопасности.

Для транспортирования ВВ, заряжания скважин на открытых горных работах преимущественно игданитом, приготовляемым машиной в процессе заряжания, и гранулированными ВВ заводского производства применяется машина МЗП-6 (техническая характеристика машины приведена в приложении 2).

Конструкция машины предусматривает дозированную подачу дизельного топлива в аммиачную селитру при изготовлении игданита или воды в гранулированных ВВ заводского производства для снятия статического электричества и пылеподавления.

Бункер машины оборудован предохранительными сетками для предупреждения попадания скомковавшихся кусков ВВ и посторонних предметов в тракт прохождения ВВ.

Детали машины, соприкасающиеся с ВВ, изготовлены из материалов, устойчивых против коррозии и не дающих искр при соударении.

9. БУРОВЫЕ РАБОТЫ

9.1. Бурение скважин осуществляют как в скальных, так и в мерзлых грунтах, которые разрабатывают с применением взрывного рыхления. Характеристика оборудования, рекомендуемого для бурения скважин, приведена в прил. 9 и 10.

Для образования скважин следует применять:

а) вращательный способ бурения - в мерзлых и скальных грунтах невысокой крепости (до VI группы); в качестве породоразрушающего инструмента применяются резцовые долота, очистка скважин от выбуренного грунта (шлама) осуществляется преимущественно шнеком с добавлением небольшого объема сжатого воздуха (шнеко-воздушная очистка) и сжатым воздухом;

б) шарошечный способ бурения - в скальных грунтах VI-IX групп, в мерзлых грунтах с наличием крепких скальных включений; породоразрушающий инструмент - шарошечные долота, очистка скважин от шлама - сжатым воздухом;

в) ударно-вращательный - в скальных грунтах IX-XI групп и грунтах этой группы с наличием нескальных прослоек.

Буровой инструмент - погружные пневмоударники и буровые коронки, очистка скважин от шлама - сжатым воздухом;

Бурение должно выполняться, в основном, машинами БТС-75, БТС-150, СБШ-160.

9.2. Наиболее эффективной машиной, предназначенной для бурения взрывных скважин шарошечными долотами, является самоходная буровая машина СБШ-160, производительность которой на 20-30% выше производительности машины БТС-150. Она развивает наибольшее осевое усилие, что обеспечивает возможность эффективной работы в грунтах IX группы.

9.3. Для бурения взрывных скважин малого диаметра в скальных грунтах любой крепости предназначена машина БТС-75, которая с наибольшим эффектом может быть использована при разработке неглубоких выемок, при уширении скальных выемок под второй путь, для образования "гладких", ненарушенных откосов. Машина БТС-75 универсальная, ее можно использовать при бурении практически любых скальных грунтов. Она обеспечивает бурение вертикальных и наклонных скважин, причем наклон может быть осуществлен как в продольной, так и поперечной плоскостях. Последнее позволяет значительно сократить объемы земляных работ при послойной разработке выемок, так как при таком бурении практически исключается необходимость в устройстве дополнительных полок на верхних уступах для размещения машин.

9.4. При разработке небольших, значительно удаленных друг от друга объектов следует применять станки с погружными пневмоударниками: УГБ-50; УРБ-2м; при разработке труднодоступных объектов необходимо применять станки СБУ-100-32.

9.5. При бурении грунтов VI-VII групп следует использовать шарошечные долота типа "Т" и "ТЗ". В грунтах VIII группы следует применять долота типа "К", а в грунтах IX группы - долота типа "ОК". Во всех случаях предпочтение следует отдавать долотам с продувкой опор (типа "ПВ").

Бурению предшествует осмотр долота с целью определения его работоспособности: шарошки должны нормально вращаться, вооружение должно быть исправным.

Каждое новое долото должно быть приработано на облегченном режиме в течение 10-15 мин (осевое усилие 1-2 тс, частота вращения 60-80 об/мин при непрерывной подаче сжатого воздуха). Для удобства приработку лучше организовать централизованно: все новые долота можно приработать на специальном стенде, где в качестве забоя можно использовать плиту, изготовленную из любого мягкого металла (бронза, латунь, дюралюминий, свинец и пр.). Приработку можно осуществлять на буровом станке, проходящем обкатку.

При бурении в обводненных грунтах шарошечными долотами, имеющими продувочные каналы в лапах, во избежание зашламовывания опор, необходимо применять специальные обратные клапаны.

9.6. Для увеличения срока службы долот бурение следует осуществлять с принудительной смазкой, для чего над долотом необходимо устанавливать лубрикаторы,

9.7. Чтобы избежать сильных вибраций бурового става и машины при глубине бурения свыше 6 м следует применять противовибрационные буровые штанги.

9.8. Для эффективного бурения машинами БТС-150 крепких скальных грунтов IX-XI групп рекомендуется в качестве сменных рабочих органов использовать погружные пневмоударники, оснащенные либо буровыми коронками (ударно-вращательное бурение), либо шарошечными долотами (ударно-шарошечное бурение).

Для реализации указанных способов на буровой став с помощью специальных переходников устанавливается погружной пневмоударник либо с буровой коронкой, либо через дополнительный переходник шарошечное долото.

Важным преимуществом ударно-шарошечного способа является возможность эффективного бурения на сниженном осевом давлении, что позволяет избежать сильных вибраций бурового става и машины при глубине скважин более 6 м.

В зависимости от требований можно рекомендовать следующие режимы ударно-шарошечного бурения:

а) для достижения наибольшей скорости бурения осевое усилие 7-8 тс, частота вращения 180-190 об/мин;

б) для достижения наибольшей проходки на долото осевое усилие 4-5 тс, частота вращения 100-120 об/мин.

При бурении погружными пневмоударниками с коронками осевое усилие не должно превышать 0,3-0,4 тс, а частота вращения 40-60 об/мин (для машины БТС-150 минимальная - 80-90 об/мин).

9.9. Наиболее часто встречающееся осложнение при бурении скальных пород - это осыпание грунта с поверхности в скважину. В этом случае для закрепления устья скважины используют увлажненную глину, подавая ее непосредственно под долото.

9.10. Бурение мерзлых грунтов осуществляют преимущественно вращательным способом с применением резцовых долот.

9.11. Если размеры скальных включений превышают 15-20 мм, следует применять шарошечное или ударно-вращательное бурение.

9.12. Удаление бурового шлама при бурении в мерзлых грунтах рекомендуется производить:

шнековыми штангами при вращательном способе бурения;

продуванием сжатым воздухом при шарошечном и пневмоударном способах бурения.

При бурении вечномерзлых суглинистых или глинистых грунтов, влажность которых равна 10% и более при температуре ниже -20°С, а также при бурении грунтов с содержанием более 10% твердых включений, удаление бурового шлама можно производить шнековыми штангами с одновременным продуванием сжатым воздухом.

В процессе бурения скважин необходимо следить за тем, чтобы выдача породы из скважин была равномерной. Прекращение выдачи буровой крошки свидетельствует о том, что продувочные отверстия долота забиты грунтом и требуется их прочистка или замена. При перерывах в работе более получаса буровой став рекомендуется извлекать из скважины во избежание его прихвата.

9.13. Особые трудности при проходке грунтов с включениями валунов и глинистых прослоек вызываются тем, что происходит сильная вибрация бурового става, искривление скважин, а также его поломка. Для исключения этого необходимо снижать осевое давление на буровой став и скорость его вращения, увеличивать число продувок.

9.14. При бурении сильнообводненных мелкодисперсных грунтов из-за разогревания долота и от подаваемого компрессором сжатого воздуха с температурой +15° - +20°С происходит оттаивание мерзлого грунта, вследствие чего практически прекращается выдача шлама на поверхность, оттаявший грунт налипает на буровой став, образуются грунтовые сальники. В этих случаях рекомендуется усиленная продувка долота и частая очистка шарошек и штанг при подъеме их на поверхность.

9.15. На пологих косогорах буровые машины вводятся в действие без нарезки проходов и площадок. Если коренные (скальные) породы покрыты слоем рыхлых отложений, то последние предварительно удаляются механическими средствами (бульдозерами). На косогорах средней и выше средней крутизны для работы буровых машин необходимо устраивать вспомогательные технологические полки.

9.16. На крутокосогорных участках для реализации лобовой проходки целесообразно бурить горизонтальные скважины с использованием машин БТС-75 и станков ШПА-3М, оснащенных погружными пневмоударниками.

9.17. При уширении скальных выемок под второй путь предпочтение следует отдать машинам БТС-75.

При доработке подошвы выемок и карьеров следует применять машины БТС-75 и станки типа СБР и СБУ.

9.18. На косогорах средней крутизны нарезку продольных рабочих полок в рыхлом слое породы для буровых машин выполняют бульдозерами. Откосные и контурные скважины при глубине выемок более 7 м и крутизне откоса 1:0,5 и круче бурят в плоскости отрыва породы. Скважины рыхления при глубине полувыемки до 7 м бурят и взрывают участками длиной 20 м и более по всему сечению или на всю длину полувыемки в один прием; при большей глубине полувыемки рыхление породы и ее разработка ведется в несколько слоев (уступов) также по всей ширине полувыемки.

9.19. На карьерах рекомендуется применять станки СБШ-250, 2СБШ-200 (2СБШ-200Н, 4СБШ-200), СБУ-125 и СБУ-100Г.

Приложение 1

(Обязательное)

ПЕРЕЧЕНЬ ОСНОВНОЙ НОРМАТИВНО-МЕТОДИЧЕСКОЙ ДОКУМЕНТАЦИИ ПО ОХРАНЕ ПРИРОДЫ

1. Закон СССР "Об охране и использовании животного мира". - Решения партии и правительства по хозяйственным вопросам: Сб. документов. М. Политиздат. 1981 - т. 13.

2. Постановление ВС СССР от 17 июня 1977 г. "О мерах по дальнейшему улучшению охраны лесов и рациональному использованию лесных ресурсов". - Решения партии и правительства по хозяйственным вопросам: Сб. документов. - М., Политиздат, 1977 г. - т.11.

3. Водный кодекс РСФСР, 1972 г.

4. ГОСТ 17.0.0.01-76 (СТ СЭВ 1364-78).

5. ГОСТ 17.0.0.02-79. Охрана природы. Метрологическое обеспечение контроля загрязненности атмосферы, поверхностных вод и почвы. Основные положения.

6. ГОСТ 17.1.306-87. Охрана природы. Гидросфера. Общие требования к охране подземных вод.

7. ГОСТ 17.1.3.07-02 ОПГ. Правила контроля качества воды, водоемов и водотоков.

8. ГОСТ 17.1.3.12-86 ОПГ. Общие правила охраны вод от загрязнения при бурении и добыче нефти и газа на суше.

9. ГОСТ 17.1.3.13-86 ОПГ. Общие требования к охране поверхностных вод от загрязнения.

10. ГОСТ 17.1.4.01-80. Общие требования к методам определения нефтепродуктов в природных и сточных водах. Госстандарт СССР, М., 1984 г.

11. ГОСТ 17.2.1.02-86. Охрана природы. Атмосфера. Выбросы двигателей автомобилей, тракторов, самоходных сельскохозяйственных и строительно-дорожных машин. Термины и определения.

12. ГОСТ 17.2.2.02-86. Охрана природы. Атмосфера. Нормы и методы измерения дымности отработавших газов тракторных и комбайновых дизелей.

13. ГОСТ 17.2.2.03-87. Охрана природы. Атмосфера. Нормы и методы измерений содержания окиси углерода и углеводородов в отработавших газах автомобилей с бензиновыми двигателями. Требования безопасности.

14. ГОСТ 17.2.2.05-86. Охрана природы. Атмосфера. Нормы и методы измерения выбросов вредных веществ с отработавшими газами тракторных и комбайновых дизелей. Госстандарт СССР, М., 1986 г.

15. ГОСТ 17.4.3.02-85. Охрана природы. Почвы. Требования к охране плодородного слоя почвы при производстве земляных работ.

16. ГОСТ 24525.4-80. Управление охраной окружающей среды.

17. Закон об охране природы в РСФСР. 1960 г.

18. Закон РСФСР о здравоохранении. 1971 г.

19. Закон РСФСР об охране атмосферного воздуха. 1982 г.

20. Инструкция по нормированию выбросов (сбросов) загрязняющих веществ в атмосферу и водные объекты (нормы и их расчет). Утв. ГКП СССР.

21. Методические указания по борьбе с загрязнением атмосферного воздуха выхлопными газами автотранспорта. Утв. № 339-60 от 5.10.60 г.

22. Охрана природы. Справочник. М., "Агропромиздат", 1987 г.

23. Охрана природы и улучшение использования природных ресурсов. Отечественные нормативно-технические документы, международные и иностранные стандарты (библиографическая информация). М., изд-во ВНИИКИ, 1986 г.

24. Постановление СМ СССР от 14.05.70 г. № 325 "Об утверждении Положения о государственном контроле за использованием земель".

25. Постановление СМ СССР от 27.11.89 г. "О неотложных мерах экологического оздоровления страны".

26. Постановление СМ СССР от 02.06.76 г. № 407 "О рекультивации земель, сохранении и рациональном использовании плодородного слоя почвы при разработке месторождений полезных ископаемых и торфа, проведение геологоразведочных и других работ".

27. Постановление СМ СССР № 500 от 10.06.79 г. "О порядке согласования и выдачи разрешений на спецводопользование".

28. Постановление СМ СССР от 9 октября 1974 г. № 544 "О некоторых вопросах землепользования при отводе земель для государственных или общественных нужд".

29. Постановление СМ РСФСР от 31 мая 1973 г. № 296 "Об усилении охраны природы и улучшении использования природных ресурсов".

30. Постановление СМ РСФСР от 28 марта 1979 г. № 167 "О дополнительных мерах по усилению охраны природы и улучшению использования природных ресурсов".

31. Постановление ЦК КПСС и СМ СССР от 7 января 1988 г. № 32 "О коренной перестройке в деле охраны природы в стране".

32. Постановление СМ СССР от 14 февраля 1990 г. № 189 "Об обеспечении выполнения постановления Верховного Совета СССР "О неотложных мерах экологического оздоровления страны".

33. Постановление СМ СССР "Об утверждении положения о государственном контроле за использованием и охраной вод" от 22.06 79 г.

34. Постановление Верховного Совета СССР "О соблюдении требований законодательства об охране природы и рациональном использовании природных ресурсов" (1985 г.).

35. Постановление ЦК КПСС и СМ СССР "О дополнительных мерах по усилению охраны природы и улучшению использования природных ресурсов" (1978 г.).

36. Постановление ЦК и СМ СССР "Об усилении охраны природы и улучшении использования природных ресурсов" (1972 г.).

37. Постановление Верховного Совета СССР "О мерах по дальнейшему усилению охраны недр и улучшению использования полезных ископаемых" (1975 г.), т. 4.

38. Постановление СМ СССР "О порядке частичного или полного запрещения использования водных объектов, имеющих особое государственное значение, либо особую научную или культурную ценность" от 11.06.76 г.

39. Постановление СМ СССР "Об усилении охраны малых рек от загрязнения, засорения и истощения и о рациональном использовании их водных ресурсов" от 08.10.80 г.

40. Постановление СМ СССР "О порядке проведения работ на континентальном шельфе СССР и охране его естественных богатств" от 18.07.69 г.

41. Постановление СМ СССР "Об усилении борьбы с загрязнением моря веществами, вредными для здоровья людей и живых ресурсов моря" от 14.02.74 г.

42. Постановление СМ СССР "Об утверждении положения о государственном контроле за охраной атмосферного воздуха" (1982 г.).

43. Постановление СМ СССР "О нормативах предельно допустимых выбросов (ПДВ) в атмосферу..." (1981 г.).

44. Подобедов Н. С. Природные ресурсы земли и охрана окружающей среды. М., "Недра", 1985 г.

Приложение 2

ОСНОВНЫЕ ТЕХНИЧЕСКИЕ ДАННЫЕ ОБОРУДОВАНИЯ, ПРИМЕНЯЕМОГО ПРИ МЕХАНИЗАЦИИ ЗАРЯДНЫХ И ПОГРУЗОЧНО-РАЗГРУЗОЧНЫХ РАБОТ С ВВ

I. Зарядное оборудование

Транспортно-зарядная машина МДЗ-1м

База

автомобиль КрАЗ-256Г

Грузоподъемность, т

7

Техническая производительность, кг/мин

300

Объем бункера, м3

11,5

привод рабочих органов

пневматический

Транспортно-зарядная машина МЗ-3А

База

автомобиль КрАЗ-256Б1

Грузоподъемность, т

10

Техническая производительность, кг/мин

400

Привод рабочих органов

гидравлический

Объем бункера, м3

12,8

Транспортно-зарядная машина МЗ-4

База

автомобиль БелАЗ 540А

Грузоподъемность, т

27

Техническая производительность, кг/мин

300

Привод рабочих органов

гидравлический

Объем бункера, м3

26,6

Зарядная машина МЗ-8

База

автомобиль МАЗ 503Б

Грузоподъемность, т

8

Техническая производительность, кг/мин

450

Транспортно-зарядная установка ТЗУ-Т

База

прицеп СМЗ-8326

Рабочий орган

пневмозарядчик "Ульба"

Емкость камеры, л

400

Производительность заряжания, кг/мин

10 ... 140

Производительность загрузки, кг/мин

60

Дальность подачи, м:

 

по вертикали

до 70

по горизонтали

до 300

Давление воздуха в системе, Па

(5-8)×105

Габаритные размеры, мм:

 

длина

6360

ширина

2120

высота

2915

Зарядная машина МЗП-6

База

автомобиль МАЗ-5337

Грузоподъемность, т

не менее 6

Техническая производительность при пневматической подаче ВВ по зарядному рукаву диаметром 65 мм и длиной до 20 м, кг/мин

не менее 180

Рекомендуемый диаметр заряжаемых скважин, мм

в пределах 100-320

Допустимое отклонение дозирования ВВ (от общей массы заряда, подаваемого в одну скважину), %

±4

Масса сухая, кг

не более 9950

Масса полная, кг

не более 15950

Нагрузки на оси, кг, не более:

 

на переднюю

6000

на заднюю

10000

Габаритные размеры, мм, не более:

 

длина

7000

ширина

2500

высота

3100

II. Транспортное оборудование

Автофургон для перевозки ВВ

База

автомобиль ЗИЛ-130АН

Грузоподъемность, кг

4210

Наибольшая масса, поднимаемая бортом, кг

1300

Высота подъема борта, мм

1360

Внутренние размеры кузова, мм:

 

длина

3665

ширина

2250

высота

1855

Полная масса загруженного автомобиля, кг

10460

Электропогрузчики ЭПВ-1

 

Серия 612

Серия 614

Грузоподъемность, кг

1000

1000

Габаритные размеры, мм:

 

 

длина с вилами

2960

2960

ширина

1030

1030

высота при опущенных вилах

2100

1480

Максимальная высота подъема груза, мм

2750

1500

Наибольшая высота при максимально поднятом грузе, мм

4000

2760

Наибольший радиус поворота, мм:

 

 

внутренний

200

200

внешний

2100

2100

Скорость движения, км/ч:

 

 

с грузом

6,5

6,5

без груза

7,5

7,0

Аккумуляторная батарея

24ТЖН-500

Масса, кг

3100

3040

Напольная тележка для перевозки ВВ

Грузоподъемность, кг

1250

Усиление перемещения в нагруженном состоянии, кгс

не более 55

Усиление на водиле при подъеме груза, кгс

не более 16

Габаритные размеры, мм:

 

длина

2320

ширина

715

высота

627

Масса, кг

95

Электроталь ВТЭ-2-511

Грузоподъемность, т

2

Потребляемая мощность, кВт

3,6

Скорость, м/мин:

 

подъема

8

передвижения

30

III. Растаривающие установки

Растариватель-пневмозагрузчик ГАЗ

Производительность, кг/мин

300-600

Давление в системе, Па

(4-8)×105

Масса, кг

150

Растаривающая установка УРВ-2

Производительность, т/ч

до 25

Привод

электродвигатель ВАО 32-4

Масса, кг

945

Передвижная погрузочно-растаривающая машина МАЗ-503А

Производительность, т/ч

30

База

автомобиль МАЗ-503А

Скорость движения ленты, м/с

0,5

Стационарная, погрузочно-растаривающая установка ГУПР-30

Производительность, т

до 30

Скорость движения ленты, м/с

0,5

Привод

электродвигатель ВЛТ-400А

IV. Забоечное оборудование

Забоечная машина ЗС-2

База

КрАЗ-258

Грузоподъемность, т

до 10

Производительность, кг/мин

170

Забоечный материал

отходы щебеночного карьера и песок

Приложение 3

(Обязательное)

ВЫПИСКА ИЗ "ПЕРЕЧНЯ РЕКОМЕНДУЕМЫХ ПРОМЫШЛЕННЫХ ВЗРЫВЧАТЫХ МАТЕРИАЛОВ, ПРИБОРОВ ВЗРЫВАНИЯ И КОНТРОЛЯ"

Таблица 1

Рекомендуемая область применения взрывчатых веществ на открытых горных работах

Условия размещения ВВ

Коэффициент крепости по шкале проф. М.М. Протодьяконова

Рекомендуемые ВВ

заводского изготовления

Изготавливаемые на прикарьерных пунктах и передвижных установках

Сухие скважины, шурфы, траншеи

До 12

Гранулит М

Гранулит С-6М**

Гранулит АС-4

Гранулит АС-4В

Граммонит 79/21

Игданит

Более 12

Аммонит 6ЖВ

Граммонит 50/50

Граммонит 30/70

Гранитол-7А

Акватол Т-20 (ифзанит Т-20)

Карбатол 15Т

Акватол Т-20 (ГЛТ-20)

Акванал А-10

Карбатол ГЛ-10

Сухие шпуры

До 12

Гранулит М

Гранулит АС-4

Гранулит АС-4В

Игданит

Более 12

Аммонал М-10

Аммонит 6ЖВ

Гранулит АС-8В

Детонит М

Аммонал скальный № 3

 

Обводненные скважины, шурфы, траншеи

До 12

Гранулотол

Аммонит 6ЖВ в полиэтиленовых патронах, мешках

Гранитол-l

Акватол Т-20 (ифзанит Т-20)

Более 12

Гранулотол

Граммонит 30/70*

Граммонит 50/50*

Гранитол-7А

Алюмотол

Аммонал скальный № 3 в полиэтиленовых патронах

Карбатол ГЛ-15Т*

Акватол Т-20* (ГЛТ-20)

Акванал ГЛА-20*

Акванал А-10*

Обводненные шпуры

До 12

Аммонит 6/КВ в полиэтиленовых патронах

 

Более 12

Детонит М

Аммонал-200

Аммонал скальный № 3 в полиэтиленовых патронах

 

Примечания: 1. Водоустойчивые ВВ с ограниченным сроком нахождения в воде (отмечены звездочкой) рекомендуется применять при заряжании обводненных скважин по технологии "под столб воды" либо с предварительным осушением и влагоизоляцией зарядов.

2. ВВ, отмеченное двумя звездочками, аналог игданита и гранулита М.

Таблица 2

Гранулированные взрывчатые вещества, применяемые на открытых горных работах (класс 1)

Наименование ВВ

Водоустойчивость: допустимое время нахождения зарядов в воде

Номер журнального постановления

Примечания

Алюмотол (ГОСТ 12696-76)

Не ограничено

227/78

-

Гранулотол (ГОСТ 25857-83)

То же

300/83

Гранитол-1 (ТУ 84-778-78)

6 суток

249/79

Гранитол-7А (ТУ 84-912-81)

То же

267/82

Граммонит 30/70 (ГОСТ 21988-76)

Не водоустойчив

26/64

ВВ ограниченного применения. До 1990 г. будет заменено гранитолом

Граммонит 50/50 (ГОСТ 21988-76)

То же

72/70

ВВ ограниченного применения. До 1990 г. будет заменено гранитолом

Граммонит 82/18

Не водоустойчив

314/84

Кроме труднопроветриваемых карьеров

Гранулит С-6М (ТУ 84-1076-85)

То же

338/85

-

Примечания: 1. Способ заряжания перечисленных ВВ - механизированный, ручной. Для гранулита С-6М допускается пневматическое заряжание.

2. Вид упаковки - насыпью в мешках.

Для упрощения выбора ВВ взрываемые массивы разделены в зависимости от крепости горных пород на две группы с коэффициентом крепости по шкале проф. М. М. Протодьяконова f до 12 (включительно) и f более 12, и в зависимости от обводненности - также на две группы - сухие и обводненные.

В таблицах свойств ВВ приведено допустимое время их нахождения в обводненных шпурах и скважинах.

Для заряжания обводненных скважин на открытых горных работах заряды в которых будут находиться до взрывания от 7 до 30 сут, пригоден только гранулотол или алюмотол. Водоустойчивые ВВ с ограниченным сроком нахождения в воде необходимо заряжать для уменьшения потерь по технологии "под столб воды" либо с предварительным осушением скважин или влагоизоляцией зарядов.

Заряды в скважинах на открытых горных работах следует инициировать шашками-детонаторами Т-400Г и ТГ-500.

По степени вредного воздействия на организм людей наиболее опасны детониты и углениты, содержащие в своем составе нитроэфиры. При работе с ними необходимо исключать их контакт с открытыми частями тела, а содержание паров нитроэфиров на рабочих местах не должно превышать 0,1 мг/м3.

При работе с гранулотолом, аммонитами, граммонитами и другими тротилосодержащими составами также необходимо избегать их контакта с открытыми частями тела. Содержание пыли ВВ в атмосфере на рабочем месте, в зоне дыхания рабочего, у зарядного устройства и в забоях не должно превышать санитарных норм (тротила - не более 1 мг/м3, алюминиевой пудры - 2 мг/м3, аммиачной селитры - 10 мг/м3, паров индустриального масла - 10 мг/м3, тумана индустриального масла - 300 мг/м3 и т. д.).

Для создания требуемых санитарно-гигиенических условий труда на предприятиях необходимо осуществлять меры защиты от пыли взрывчатых веществ: применять действенные системы пылеотсоса из накопительных бункеров, аспирационные укрытия растаривающих установок, проводить мокрую уборку помещений, увлажнять ВВ в процессе пневматического заряжания, применять специальные насадки для формирования зарядов из рассыпных ВВ в восходящих шпурах и скважинах, устанавливать устройства для улавливания в устье скважин (шпуров) и т. д.

Работающих со взрывчатыми веществами необходимо обеспечивать. индивидуальными средствами защиты: кожаными перчатками, противопылевыми фильтрующими распираторами, очищенной ежемесячно от пыли ВВ спецодеждой, специальными защитными очками, шлемами и др.

Наиболее кардинальным направлением устранения вредного воздействия пыли ВВ является создание оптимизированных систем "ВВ - зарядное устройство", позволяющих вести процесс заряжания в режиме, исключающем выделение частиц пыли в призабойное пространство. Например, созданные в последнее время акваналы раздельного заряжания (АРЗ-8 и АРЗ-8Н) в сочетании с управляемыми системами заряжания типа "Ульба" (ЗДАУ "Ульба", "Ульба-400", "Ульба-400С", "Ульба-100", "Катунь") позволяют вести процесс заряжания шпуров и скважин диаметром до 250 мм с любым углом наклона к горизонту без пыления и потерь ВВ в просыпь. Не пылят водосодержащие ВВ.

Таблица 3

Средства электрического инициирования зарядов ВВ, применяемые на открытых горных работах

Наименование изделия

Кол-во серий замедления

Интервал замедления, мс

Безопасный ток, А

Номер журнального постановления

Примечание

Электродетонаторы: ЭД-8-Э, ЭД-8-Ж (ГОСТ 9069-75)

-

-

0,18

88/71

 

Электродетонатор ЭД-1-8-Т (ТУ 84-638-85)

 

 

0,92±0,02

263/81

Защищен от зарядов статического электричества до 10 кВ и от блуждающих токов силой до 1 А

Электродетонатор ЭД-1-3-Т (ТУ 8-4-638-83)

1¸10

20¸200 (через 20 мс)

0,92±0,02

263/81

То же

11¸14

225¸300 (через 25 мс)

15¸18

350¸500 (через 50 мс)

19¸23

600¸1000 (через 100 мс)

24

1,5 с

25¸29

2,0¸10 с (через 2,0 с)

Электродетонатор ЭД-КЗ (ТУ 84-317-83)

1¸6

25; 50; 75; 100; 150; 250

0,18

12/66

 

Электродетонатор ЭД-ЗД (ТУ 84-317-83)

1¸9

05; 0,75; 1,0; 1,5; 2,0; 4,0; 6,0; 8,0, 10 с

0,18

12/66

 

Электродетонатор ЭД-З-Н (ТУ 84-884-80)

1¸10

20¸200 (через 20 мс)

0.18

 

 

11¸14

225¸300 (через 25 мс)

15¸18

350¸500 (через 50 мс)

19¸23

600¸1000 (через 100 мс)

Примечание. Все приведенные в таблице электродетонаторы водоустойчивые.

Таблица 4

Неэлектрические средства инициирования зарядов ВВ, применяемые на открытых горных работах

Наименование средств инициирования

Допустимая температура эксплуатации, °С

Номер журнального постановления

Некоторые особенности

Детонирующий шнур ДША

(ГОСТ 6196-78)

-28¸+50

88/71

В нитяной оболочке, водостойкость 12 ч при давлении 0,005 МПа

Детонирующий шнур ДШВ

(ГОСТ 6196-78)

-35¸+60

88/71

В полихлорвиниловой оболочке, водостойкость 24 ч, при давлении 0,01 МПа

Детонирующий шнур ДШЭ-6

(ГОСТ 6196-78)

-

-

В полиэтиленовой оболочке, водоустойчивый

Детонирующий шнур ДШЭ-12

(ГОСТ 6(96-78)

-50¸+65

128/74

В полиэтиленовой оболочке, водостойкость 30 ч при давлении 0,3 МПа

Реле пиротехническое КЗДШ-69

(ТУ 84-241-80)

-

269/82

Одностороннего действия, интервал замедления 10, 20, 35, 50, 75, 100, 125 мс

Капсюль-детонатор КД-8Б

(ГОСТ 6254-74)

-

88/71

В бумажной гильзе

Капсюль-детонатор КД-8С

(ГОСТ 6254-74)

-

88/71

-

Капсюль-детонатор КД-8УТС

(ГОСТ 6254-74)

-

88/71

-

Огнепроводный шнур ОША

(ГОСТ 3470-80)

-

302/84

Асфальтированный

Огнепроводный шнур ОШЭ

(ТУ 84-761-78)

-

276/82

Экструзионный

Приложение 4

(Обязательное)

ВМЕСТИМОСТЬ 1 м ШПУРА, СКВАЖИНЫ ПРИ ЗАРЯЖАНИИ ПОРОШКООБРАЗНЫМ ИЛИ ГРАНУЛИРОВАННЫМ ВВ ПЛОТНОСТЬЮ D=0,9 кг/дм3

Диаметр шпура, мм

Вместимость шпура, кг/м

Диаметр скважины, шпура, мм

Вместимость шпура, скважины, кг/м

Диаметр скважины, мм

Вместимость скважины, кг/м

20

0,30

 

 

 

 

25

0,45

 

 

 

 

30

0,63

 

 

 

 

32

0,73

58

2,49

120

10,2

33

0,79

59

2,47

125

11,0

34

0,82

60

2,56

130

12,0

35

0,87

61

2,64

135

12,9

36

0,92

62

2,73

140

13,8

37

0,97

63

2,81

145

14,9

38

1,02

64

2,91

150

15,9

39

1,08

65

2,00

155

17,0

40

1,14

66

3,09

160

.18,1

41

1,18

67

3,19

165

19,3

42

1,25

68

3,30

170

20,5

43

1,31

69

3,35

175

21,7

44

1,37

70

3,48

180

23,0

45

1,44

71

8,58

185

24,3

46

1,50

72

3,68

190

25,6

47

1,57

73

3,78

195

27,0

48

1,64

74

3,89

200

26,4

49

1,70

75

4,02

205

29,8

50

1,77

80

4,5

210

31,3

51

1,85

85

5,1

215

32,8

52

1,92

90

5,7

220

34,3

53

1,99

95

6,4

225

35,8

54

2,07

100

7,1

230

37,4

55

2,15

105

7,8

235

39,1

56

2,23

110

8,6

240

40,8

57

2,31

115

9,4

245

42,4

Приложение 5

(Обязательное)

КЛАССИФИКАЦИЯ ГРУНТОВ

 

Наименование и характеристика грунтов

Средняя плотность грунтов в естественном залегании, кг/м3

Время чистого бурения 1 м шпура бурильным молотком П-36В, мин

Группа грунтов по СНиП IV-2-82, сборник 3

Коэффициент крепости по Протодьяконову

Расчетный расход для зарядов рыхления,

кг/м3

средний

пределы изменения

1

Алевролиты:

 

 

 

 

 

 

 

а) низкой прочности

1500

до 2,8

IV

2-4

0,9

0,8-1

 

б) малопрочные

2200

2,9Ш-3,5

V

3-6

0,8

0,7-0,9

2

Ангидрит:

 

 

 

 

 

 

 

прочный

2900

3,6-4,8

VI

5-8

1,15

1-1,3

3

Аргиллиты:

 

 

 

 

 

 

 

а) плитчатые, малопрочные

200

2,9-3,5

V

3-6

0,8

0,7-0,9

 

б) массивные, средней прочности

2200

3,6-4,8

VI

5-8

1,15

1-1,3

4

Бокситы средней прочности

2600

3,6-4,8

VI

5-8

1,15

1-1,3

5

Гравийно-галечные грунты:

 

 

 

 

 

 

 

а) при размере частиц до 80 мм

1750

 

II

 

 

 

 

б) при размере частиц более 80 мм

1950

 

III

 

 

 

6

Гипс малопрочный

2200

до 2,8

IV

2-4

0,9

0,8-1

7

Глина

 

 

 

 

 

 

 

а) мягко- и тугопластичная без примесей

1800

 

II

 

 

 

 

б) то же с примесью щебня, гальки, гравия или строительного мусора до 10%

1750

 

III

 

 

 

 

в) то же с примесью более 10%

1900

 

III

 

 

 

 

г) полутвердая

1950

 

III

 

 

 

 

д) твердая

1950-2150

 

IV

 

 

 

8

Грунт растительного слоя:

 

 

 

 

 

 

 

а) без корней и примесей

1200

 

I

 

 

 

 

б) с корнями кустарника и деревьев

1200

 

II

 

 

 

 

в) с примесью гравия, щебня или строительного мусора до 10%

1400

 

II

 

 

 

9

Грунты ледникового происхождения (моренные), аллювиальные, делювиальные и пролювиальные отложения:

 

 

 

 

 

 

 

а) глина моренная с содержанием крупнообломочных включений в количестве до 10%

1800

 

III

 

 

 

 

б) то же с содержанием крупнообломочных включений, в количестве от 10% до 35%

2000

 

IV

 

0,4

0,3-0,5

 

в) пески, супеси к суглинки моренные с содержанием крупнообломочных включений в количестве до 10%

1800

 

II

 

 

 

 

г) то же с содержанием крупнообломочных включений от 10% до 35%

2000

 

IV

 

0,4

0,3-0,5

 

д) грунты всех видов с содержанием крупнообломочных включений от 35 до 50%

2100

 

V

 

0,5

0,4-0,6

 

е) то же с содержанием крупнообломочных включений от 50 до 65%

2300

 

VI

 

0,5

0,4-0,6

 

ж) то же с содержанием крупнообломочных включений более 65%

2600

 

VII

 

0,55

0,5-0,6

10

Грунты вечномерзлые и сезонно-мерзлые моренные, аллювиальные, делювиальные и пролювиальные отложения:

 

 

 

 

 

 

 

а) растительный слой, торф, заторфованные грунты

1150

 

IV

2-4

0,65

0,6-0,7

 

б) пески, супеси, суглинки и глина без примесей

1750

 

IV

2-4

0,65

0,6-0,7

 

в) пески, супеси, суглинки и глины с примесью гравия, гальки, дресвы и щебня в количестве до 20% и валунов до 10%

1950

 

V

3-6

0,7

0,6-0,85

 

г) моренные грунты, аллювиальные, делювиальные и пролювиальные отложения с содержанием крупнообломочных включений в количестве до 35%

2000

 

V

3-6

0,7

0,6-0,85

 

д) то же с примесью гравия, гальки, дресвы, щебня в количестве более 20% и валунов более 10%, гравийно-галечные и щебенисто-древесные грунты, а также моренные грунты, аллювиальные, делювиальные и пролювиальные отложения с содержанием крупнообломочных включений от 35 до 50%

2100

 

VI

5-8

0,8

0,75-0,85

 

е) моренные грунты, аллювиальные, делювиальные и пролювиальные отложения с содержанием крупнообломочных включений от 50 до 65%

2300

 

VII

7-10

0,85

0,75-0,95

 

ж) то же с содержанием крупнообломочных включений в количестве более 65%

2500

 

VIII

9-12

0,90

0,8-1,0

11

Диабаз:

 

 

 

 

 

 

 

а) сильновыветривающийся, малопрочный

2600

6,1-8,1

VIII

9-12

1,4

1,25-1,5

 

б) слабовыветривающийся, прочный

2700

8,2-10,3

IX

12-14

1,43

1,3-1,55

 

в) не затронутый выветриванием, очень прочный

2800

10,4-13,7

X

12-16

1,5

1,4-1,6

 

г) не затронутый выветриванием, очень прочный

2900

13,8 и более

XI

16-20 и более

1,55

1,5-1,6

12

Доломит:

 

 

 

 

 

 

 

а) мягкий, пористый выветрившийся, средней прочности

2700

3,6-4,8

VI

5-8

1,15

1-1,3

 

б) прочный

2800

4,9-6

VII

7-10

1,25

1,1-1,4

 

в) очень прочный

2900

6,1-8,1

VIII

9-12

1.4

1,25-1,5

13

Дресва в коренном залегании (элювий)

2000

2,9-3,5

V

3-6

0,8

0,7-0,9

14

Дресвяный грунт

1800

до 2,8

IV

2-4

0,8

0,7-0,9

15

Змеевик (серпентин):

 

 

 

 

 

 

 

а) выветрившийся, малопрочный

2400

2,9-3,5

V

3-6

0,8

0,7-0,9

 

б) средней прочности

2500

3,6-4,8

VI

5-8

1,05

0,9-1,2

 

в) прочный

2600

4,9-6

VII

7-10

1,2

1,1-1,3

16

Известняк:

 

 

 

 

 

 

 

а) выветрившийся, малопрочный

1200

2,9-3,5

V

3-6

0,95

0,8-1,1

 

б) мергелистый, средней прочности

2300

3,6-4,8

VI

5-8

1,1

0,9-1,3

 

в) мергелистый, прочный

2700

4,6-6,0

VII

7-10

1,2

1,0-1,4

 

г) доломитизированный, прочный

2900

6,1-8,1

VIII

9-12

1,35

1,2-1,5

 

д) окварцованный, очень прочный

3100

8,2-10,3

IX

12-14

1,15

1,0-1,3

17

Кварцит:

 

 

 

 

 

 

 

а) снльновыветрившийся, средней прочности

2500

4,9-6,0

VII

7-10

0,9

0,8-1,0

 

б) средневыветрившийся, прочный

2600

6,1-8,1

V1I1

9-12

1,1

1,0-1,2

 

в) слабовыветрившийся, очень прочный

2700

8,2-10,3

.IX

12-14

1,15

1,0-1,3

 

г) невыветрившийся, очень прочный

2800

10,4-13,7

X

12-16

1,3

1,1-l,5

 

д) невыветрившийся, мелкозернистый, очень прочный

3000

13,8 и более

XI

20 и более

1.35

1,2-1,5

18

Конгломераты и брекчии:

 

 

 

 

 

 

 

а) на глинистом цементе, средней прочности

2,100

2,9-3,5

V

3-6

0,9

0,8-1,0

 

б) на известковом цементе, прочные

2300

3,6-4,8

VI

5-8

1,2

1,0-1,4

 

в) на кремнистом цементе, прочные

2600

4,9-6,0

VII

7-10

1,2

1,0-1,4

 

г) то же очень прочные

2900

6,1-8,1

VIII

9-12

0,95

1,2-1,5

19

Коренные глубинные породы (граниты, гнейсы, диориты, сиениты, габбро и др.):

 

 

 

 

 

 

 

а) крупнозернистые, выветрившиеся и древесные, малопрочные

2500

2,9-3,5

V

3-6

1,35

0,8-1,1

 

б) среднезернистые, выветрившиеся, средней прочности

2600

3,6-4,8

VI

5-8

1,15

1-1,3

 

в) мелкозернистые, выветрившиеся, прочные

2700

4,9-6,0

VII

7-10

1,25

1,1-1,4

 

г) крупнозернистые, не затронутые выветриванием, прочные

2800

6,1-8,1

VIII

9-12

1,35

1,2-1,5

 

д) среднезернистые, не затронутые выветриванием, очень прочные

2900

8,2-10,3

IX

12-14

1,40

1,3-1,5

 

е) мелкозернистые, не затронутые выветриванием, очень прочные

3100

10,4-13,7

X

12-16

1,45

1,4-1,5

 

ж) порфировые, не затронутые выветриванием, очень прочные

3300

13,8 и более

XI

16-20 и более

1,50

1,4-1,6

20

Коренные излившиеся породы (андезиты, базальты, порфириты, трахиты и др.):

 

 

 

 

 

 

 

а) сильновыветрившиеся, средней прочности

2600

4,9-6,0

VII

7-10

1,25

1,1-1,4

 

б) слабовыветрившиеся, прочные

2700

6,1-8,1

VIII

9-12

1,35

1,2-1,5

 

в) со следами выветривания, очень прочные

2800

8,2-10,3

IX

12-14

1,40

1,3-1,5

 

г) без следов выветривания, очень прочные

3100

10,4-13,7

X

12-16

1,5

1,4-1,55

 

д) то же очень прочные

3300

13,8 и более

XI

16-20 и более

1,55

1,4-1,6

21

Кремень, очень прочные

3300

13,8 и более

XI

16-20 и более

1,4

1,2-1,6

22

Лёсс

 

 

 

 

 

 

 

а) мягкопластичный

1600

-

I

 

 

 

 

б) тугопластичный

1800

-

II

 

 

 

 

в) твердый

1800

-

III

 

 

 

23

Мел:

 

 

 

 

 

 

 

а) низкой прочности

1550

до 2,8

IV

2-4

0,85

0,7-0,8

 

б) малопрочный

1800

2,9-3,5

V

3-6

0,9

0,8-1,0

24

Мергель:

 

 

 

 

 

 

 

а) низкой прочности

1900

до 2,8

IV

2-4

0,75

0,7-0,8

 

б) малопрочный

2300

2,9-3,5

V

3-6

0,9

0,8-1,0

 

в) средней прочности

2500

3,6-4,8

VI

5-8

1,2

1-1,4

25

Мрамор, прочный

1900

до 2,8

V

3-6

1,0

0,8-1,2

26

Опока

1900

до 2,8

V

3-6

1,0

0,8-1,2

27

Пемза

1100

2,9-3,5

V

3-6

1,2

1-1,4

28

Песок:

 

 

 

 

 

 

 

а) без примесей

1600

-

I

 

 

 

 

б) то же с примесями гальки, щебня, гравия или строительного мусора до 10%

1600

-

I

 

 

 

 

в) то же с примесью более 10%

1700

-

II

 

 

 

 

г) барханный и дюнный

1600

-

II

 

 

 

29

Песчаник:

 

 

 

 

 

 

 

а) выветрившийся, малопрочный

2200

2,9-3,5

V

3-6

0,9

0,8-1

 

б) глинистый, средней прочности

2300

3,6-4,8

VI

5-8

1,2

1-1,4

 

в) на известковом цементе, прочный

2500

4,9-6,0

VII

7-10

1,3

1,1-1,5

 

г) на известковом или железистом цементе, прочный

2600

6,1-8,1

VIII

9-12

1,2

1-1,4

 

д) на кварцевом цементе, очень прочный

2700

8,2-10,3

IX

9-12

1,3

1,1-1,5

 

е) кремнистый, очень прочный

2700

10,4-13,7

X

12-16

1,3

1,1-1,5

30

Ракушечник:

 

 

 

 

 

 

 

а) слабоцементированный, низкой прочности

1200

до 2,8

.IV

2-4

0,7

0,6-0,8

 

б) сцементированный, малопрочный

1800

2,9-3,5

V

3-6

0,95

0,8-1,2

31

Сланцы:

 

 

 

 

 

 

 

а) выветрившиеся, низкой прочности

2000

до 2,8

IV

2-4

0,7

0,6-0,8

 

б) глинистые, малопрочные

2600

2,9-3,5

V

3-6

2,0

0,8-1,2

 

в) средней прочности

2800

3,6-4,8

VI

5-8

1,15

1-1,3

 

г) скварцованные, прочные

2300

4,9-6

VII

7-10

1,05

0,9-1,2

 

д) песчаные, прочные

2500

6,1-8,1

VIII

9-12

1,25

1,1-1,4

 

е) коремнелые, очень прочные

2600

8,2-13,7

X

12-16

1,35

1,2-1,5

 

ж) кремнистые, очень прочные

2600

13,8 и более

XI

16-20

1,4

1,3-1,5

32

Солончак и солонец:

 

 

 

 

 

 

 

а) пластичные

1600

-

II

 

 

 

 

б) твердые

1800

до 2,8

IV

2-4

0,7

0,6-0,8

33

Суглинок:

 

 

 

 

 

 

 

а) мягкопластичный без примесей

1700

-

I

 

 

 

 

б) то же, с примесью гальки, щебня, гравия или строительного мусора до 10% и тугопластичный без примесей

1700

-

I

 

 

 

 

в) мягкопластичный с примесью более 10%, тугопластичный с примесью до 10%, а также полутвердый и твердый без примеси и с примесью до 10%

1750

-

II

 

 

 

 

г) полутвердый и твердый с примесью щебня, гальки, гравия или строительного мусора более 10%

1950

-

III

 

 

 

34

Супесь:

 

 

 

 

 

 

 

а) пластичная без примесей

1650

-

I

 

 

 

 

б) твердая без примесей, а также пластичная и твердая с примесью щебня, гальки, гравия или строительного мусора до 10%

1650

-

I

 

 

 

 

в) твердая и пластичная с примесью более 10%

1850

-

II

 

 

 

35

Торф:

 

 

 

 

 

 

 

а) без древесных корней

800-1000

-

I

 

 

 

 

б) с древесными корнями толщиной до 30 мм

850-1100

-

II

 

 

 

 

в) то же, более 30 мм

90-1200

-

II

 

 

 

36

Трепел:

 

 

 

 

 

 

 

а) низкой прочности

1500

до 2,8

IV

2-4

 

 

 

б) малопрочный

1700

2,9-3,5

V

3-6

0,95

0,8-1,1

37

Туф

1100

2,9-3,5

V

3-6

1,1

0,9-1,3

38

Чернозем и каштановый грунт:

 

 

 

 

 

 

 

а) пластичный

1300

-

I

 

 

 

 

б) пластичный с корнями кустарника

1300

-

II

 

 

 

 

в) твердый

1200

-

III

 

 

 

39

Щебень:

 

 

 

 

 

 

 

а) при размере частиц до 40 мм

1750

-

II

 

 

 

 

б) при размере частиц до 150 мм

1950

-

III

 

 

 

40

Шлак:

 

 

 

 

 

 

 

а) котельный рыхлый

700

-

I

 

 

 

 

б) котельный слежавшийся

700

-

I

 

 

 

 

в) металлургический выветрившийся

-

-

III

 

 

 

 

г) металлургический невыветрившийся

1500

до 2,8

IV

 

 

 

Примечание. Прочность грунтов указана в соответствии с ГОСТ 2100-82 "Грунты. Классификация".

Приложение 6

(Обязательное)

ПЕРЕВОДНЫЕ КОЭФФИЦИЕНТЫ ДЛЯ РАСЧЕТА ЭКВИВАЛЕНТНЫХ ЗАРЯДОВ ВВ ПО ИДЕАЛЬНОЙ РАБОТЕ ВЗРЫВА (ЭТАЛОН - АММОНИТ 6ЖВ)

ВВ

ВВ

Алюмотол

0,83

Граммонит 50/50-В

1,01

Гранулит АС-8

0,89

Гранулит М.

1,13

Гранулит АС-4

0,98

Игданит

1,13

Аммонит 6ЖВ

1,00

Гранулотол

1,20

Граммонит 79/21

1,00

Граммонит 30/70-В

1,26

Приложение 7

(Обязательное)

ПОКАЗАТЕЛЬ ВЗРЫВАЕМОСТИ ГОРНЫХ ПОРОД (ПО АММОНИТУ 6ЖВ)

Наименование породы

Группа пород по СНиП IV-XIII

Расчетный расход ВВ q (показатель взрываемости) для зарядов нормального выброса г (n=r/W=1), кг/м3

Песок

I

1,5-1,70

Песок плотный или влажный

I

1,2-1,3

Суглинок тяжелый

II

1,0-1,15

Глины крепкие

III

1,0-1,3

Лёсс

I-III

0,9-1,3

Мел

IV

0,8-0,95

Гипс

IV

1,0-1,3

Известняк, ракушечник

V-VI

1,5-1,75

Опоки, мергель

IV-V

1,0-1,3

Туфы трещиноватые, пемза плотная тяжелая

V

1,3-1,5

Конгломерат и брекчии на известняковом цементе

V-VI

1,15-1,4

Песчаник на глинистом цементе, сланец глинистый, мергель

VI-VII

1,15-1,4

Доломит, известняк, магнезит, песчаник на известняковом цементе

VII-VIII

1,3-1,7

Известняк, песчаник

VII-IX

1,3-2,1

Гранит, гранодиорит

VI-Х

1,5-2,15

Базельт, андезит

IX-XI

1,75-2,3

Кварцит

Х

1,5-1,75

Порфирит

Х

2,10-2,15

r - радиус основания воронки выброса; W - глубина заложения зарядов ВВ (величина ЛНС).

Приложение 8

(Обязательное)

ВРЕМЕННАЯ КЛАССИФИКАЦИЯ ПОРОД ПО ТРЕЩИНОВАТОСТИ МЕЖДУВЕДОМСТВЕННОЙ КОМИССИИ ПО ВЗРЫВНОМУ ДЕЛУ

Категория породы по трещиноватости

Степень трещиноватости (блочного) массива

Число трещин на 1 м линии, пересекающей наибольшее их число

Средний диаметр отдельностей, м

Содержание, %, в массиве отдельностей размером, мм

300

700

1000

I

Чрезвычайно трещиноватые (мелкоблочные)

10

0,1

10

Близкое к нулю

Нет

II

Сильно трещиноватые (среднеблочные)

2-10

0,1-0,5

10-70

30

5

III

Среднетрещиноватые

1-2

0,5-1,0

70-100

30-80

5-40

IV

Малотрещиноватые (весьма крупноблочные)

1-0,65

1,0-1,5

100

80-100

40-100

V

Практически монолитные. (исключительно крупноблочные)

0,65

1,5

100

100

100


Приложение 9

Техническая характеристика буровых машин, рекомендуемых к применению

Машина

Марка машины

Основное назначение

Диаметр долота (коронки, резца), мм

Тип рабочего органа или инструмента

Глубина бурения, м

Угол бурения (к вертикали), град

Осевое давление на забой, тс

Тип ходовой части

Тип привода (двигателя)

Мощность двигателей машины, кВт

Вес машины, т

Габариты, мм

Способ пылеподавления

Способ очистки скважин

Производительность компрессора, м3/мин

Изготовитель

 

Высота в транспортном положении

Длина в транспортном положении

ширина

 

Станок буровой шарошечный

5СБШ-200-36

СБШ-250МН

Бурение вертикальных скважин по породам VII-IX категорий при годовой производительности 350-500 тыс. м3

214

Шарошечное долото

32

0

0-22

Гусеничный

Электрический

320

50

6000

12750

4800

Сухое

Сжатым воздухом

2´9=18 (ЭК-9)

Министерство тяжелого, энергетического и транспортного машиностроения СССР

 

243

 

 

 

 

 

 

 

 

 

214

 

 

 

 

 

 

 

 

 

243

36

0

0,3

 

 

 

 

 

 

269,9

32

0-30

0,3

400

71,5

 

15350

5450

 

245,5

 

 

 

 

 

 

 

 

 

Буровая машина на базе трактора С-100

БТС-150

Бурение скважин:

 

 

 

 

 

Гусеничный

Дизельный

 

 

 

 

 

Нет (удаление вентилятором)

Сжатым воздухом

 

То же

 

а) в скальных породах при мощности взрываемого слоя более 3,5 м

От 132

до 151

Шарошечное долото

23

0-30

0-11,3

80

20

3600

6160

3080

 

б) в нескальных породах

До 200

Резей и шнек

 

 

 

 

 

 

 

 

 

Станок вращательного бурения

СБР-160

Бурение вертикальных и наклонных скважин в нескальных породах (VI-VII категорий)

150-200

Резец и шнек

24

0-30

Равно весу подвески 1,8 и весу бурового стана

Гусеничный

Электрический

105

25

12925

7080

3400

Не требуется

Шнеком

 

-

 

Буровой станок

БСН

Бурение вертикальных и наклонных скважин я нескальных породах (VI-VII категорий)

110-120

Резец и шнек

25

0-30

Равно весу подвески 0,35 и весу бурового стана

Шагающий

Электрический

14+2,8=16,8

1,4

1350

3325

1950

Не требуется

Шнеком

 

-

 

Станок (модернизированный) БСН

СБР-125

Бурение вертикальных и наклонных скважин я нескальных породах (VI-VII категорий)

115

Резец и шнек

25

0-30

1

Гусеничный

Электрический

22+2,8=24,8

1,95

1350

3360

1970

Не требуется

Шнеком

 

-

 

Станок пневмоударного бурения

СБУ-125

Бурение скважин в породах VIII-XI категорий

125-150

Пневмоударник П-125

22

30-0-14

0-1,3

Гусеничный

Электрический

Мощность вращателя трехскоростного хода - 10, пылеуловителя - 10

5,7

2200

5300

2400

Сухой

Сжатым воздухом

 

-

 

 

СБУ-160

Бурение скважин в породах VIII-XI категорий

160

Пневмоударник П-160, М-32К

32

0-30

0-3

Гусеничный

Электрический

53 (всех двигетелей)

16

3570

7200

3200

Сухое

Сжатым воздухом

 

-

 

 

СБУ-ГА-50

Бурение скважин в породах VIII-XI категорий

105-125

П-125,

П-105

35

0-15-30

1¸6

Гусеничный

Электрический

2´5,5

5

3730

4000

2210

Сухое

Сжатым воздухом

 

Министерство черной металлургии СССР

 

 

2СБУ-100-32

Бурение скважин в породах VIII-XI категорий

100

П-105-2,

К-105КА

32

0,90

6,25

 

Электрический

3,0

0,27

550

2200

450

Сухое

Сжатым воздухом

ПР-10

НИПИгормаш

 

Станок пневмоударного бурения для подземных работ

НКР-100м

Бурение скважин в породах VIII-XI категорий

105

Пневмоударник П1-75,

М-48

40

0-360

0-0,6

Несамоходный на распорной колонке

Электрический

2,8

0,4

650

1300

640

Воздушно-водяная смесь

Воздушно-водяной

смесью

Нет

Министерство тяжелого энергетического и транспортного машиностроения СССР

 

Установка гидрогеологического бурения на базе автомобиля ГАЗ-63

УГБ-50А

Вращательное бурение скважин в породах IV-VI категорий. То же, с пробуриванием крепких пропластиков ударно-канатным способом

135

Резец и шнек. Долото и штанга

50

0

0-1

Пневмоколесный

Дизельный

48

5,1

3000

7000

2000

Не требуется

Желонкой

Нет

То же

 

180

50

15

 

 

230

50

0

0,4

 

180

50

 

135

То же, на базе автомобиля ГАЗ-66

УГБ-50м

Вращательное бурение скважин в породах IV-VI категорий. То же, с пробуриванием крепких пропластиков ударно-канатным способом

135

Резец и шнек. Долото и штанга

50

0

При шнековом бурении 0-1, при ударном - 0,4

Пневмоколесный

Дизельный

48

5,1

3000

8000

2000

Не требуется

Шнеком

Нет

-

 

180

50

 

230

15

 

То же, на базе автомобиля ГАЗ-66

УРБ-2А-2

Может работать с пневмоударником

135

Резец и

шнек

30

0

25

Пневмоколесный

Бензиновый

ЗИЛ-131

10,2

3030

7850

2450

Сухое

Продувка

шнека воздухом

 

Министерство тяжелого энергетического и транспортного машиностроения СССР

 

Станок буровой шарошечный

БТС-75

Бурение скважин шарошечным способом

75-112

Пневмоударник или шарошечное долото

15

0-30

9

Гусеничный

Дизельный

170

24

3425

7610

3160

Сухое

Сжатым воздухом

10

Министерство транспортного строительства СССР

 

СБШ-160

160

32

0-26

15

Гусеничный

Электрический

170

25

38EO

8100

3190

Сухое

Сжатым воздухом

10

То же

 

БТС-160К

160

20

0; 15; 30

16

Гусеничный

Электрический

150

34

3910

10540

3270

Сухое

Сжатым воздухом

10

_

 


Приложение 10

(Рекомендуемое)

ТЕХНИЧЕСКИЕ ХАРАКТЕРИСТИКИ РУЧНЫХ И КОЛОНКОВЫХ ПЕРФОРАТОРОВ

Параметры

Ручные перфораторы

Колонковые перфораторы

ПП-30

ПП-50

ПК-60

ПК-75

Масса, кг

18,0

25,0

60,0

75,0

Длина, мм

570

700

732

775

Диаметр поршня, мм

70

85

100

100

Ход поршня, мм

50

43

80

-

Расход сжатого воздуха, м3/мин

2,5

3,5

3,6

6,0

Давление сжатого воздуха, атм

5

5

5

5

Частота ударов поршня, уд/мин

2400

3000

1360

1400

Энергия удара, кгс×м

4,0

5,2

20,0

14,5

Частота вращения бура, об/мин

-

300

100

-

Крутящий момент, кгс×м

100

200

490

400

Диаметр коронки, мм

36¸40

36¸56

40¸65

65¸85

Глубина бурения, м

4,0

5,0

25,0

50,0

СОДЕРЖАНИЕ

Введение. 1

1. Организация буровзрывных работ. 2

Общие положения. 2

Выбор способов и методов производства взрывных работ. 3

Выбор способов бурения скважин. 3

Временные здания и сооружения, предусматриваемые для буровзрывных работ. 3

2. Проектная и производственно-исполнительская документация на взрывные работы.. 4

3. Требования к взрывным работам.. 9

4. Расчет параметров взрыва и производство работ при рыхлении пород на новостройках. 11

Взрывные работы при сооружении горизонтальных и слабокосогорных выемок с применением скважинных зарядов. 11

Взрывание с применением метода камерных зарядов. 17

Расчет параметров взрыва и производство работ при взрывании на рыхление, сброс и обрушение на крутых косогорах скважинными зарядами. 19

Взрывное рыхление мерзлых грунтов. 25

Взрывные работы на карьерах щебзаводов. 26

5. Специальные виды работ. 27

Взрывание при строительстве вторых путей. 27

Проходка шурфов, штолен, камер и котлованов. 31

Посадка насыпей на минеральное дно болот. 32

Подводные дноуглубительные работы.. 34

Взрывание бетонных и железобетонных фундаментов и конструкций. 37

Взрывные работы по металлу. 39

Взрывные работы по обрушению зданий. 41

Корчевка пней. 43

Взрывная подготовка грунтов взрывом с целью их уплотнения и образования полостей. 44

6. Охрана окружающей среды при производстве буровзрывных работ. 45

Защита массива от излишнего разрушения. 45

Контурное взрывание. 46

Сейсмическое действие взрыва. 51

Действие ударно-воздушной волны (УВВ) взрыва на застекление. 54

Действие гидроударной волны (ГУВ) подводного взрыва. 56

Разлет кусков грунта и распространение ядовитых газов при взрыве. 57

Предупреждение разлета кусков взорванного грунта. 58

7. Контроль качества буровзрывных работ. 59

8. Механизация погрузочно-разгрузочных и зарядных работ. 60

Механизация погрузочно-разгрузочных работ. 60

Механизированное заряжание скважин. 63

9. Буровые работы.. 64

Приложение 1 Перечень основной нормативно-методической документации по охране природы.. 66

Приложение 2 Основные технические данные оборудования, применяемого при механизации зарядных и погрузочно-разгрузочных работ с вв.. 68

Приложение 3 Выписка из "перечня рекомендуемых промышленных взрывчатых материалов, приборов взрывания и контроля". 70

Приложение 4 Вместимость 1 м шпура, скважины при заряжании порошкообразным или гранулированным ВВ плотностью D=0,9 кг/дм3 73

Приложение 5 Классификация грунтов. 73

Приложение 6 Переводные коэффициенты для расчета эквивалентных зарядов вв по идеальной работе взрыва (эталон - аммонит 6жв) 78

Приложение 7 Показатель взрываемости горных пород (по аммониту 6ЖВ) 78

Приложение 8 Временная классификация пород по трещиноватости междуведомственной комиссии по взрывному делу. 79

Приложение 9 Техническая характеристика буровых машин, рекомендуемых к применению.. 80

Приложение 10 Технические характеристики ручных и колонковых перфораторов. 82

 

 




ГОСТЫ, СТРОИТЕЛЬНЫЕ и ТЕХНИЧЕСКИЕ НОРМАТИВЫ.
Некоммерческая онлайн система, содержащая все Российские Госты, национальные Стандарты и нормативы.
В Системе содержится более 150000 файлов нормативно-технической документации, действующей на территории РФ.
Система предназначена для широкого круга инженерно-технических специалистов.

Рейтинг@Mail.ru Яндекс цитирования

Copyright © www.gostrf.com, 2008 - 2026