|
|
|
АДМИНИСТРАЦИЯ МОСКОВСКОЙ ОБЛАСТИ МИНИСТЕРСТВО СТРОИТЕЛЬСТВА НОРМИРОВАНИЕ И СТАНДАРТИЗАЦИЯ ТЕРРИТОРИАЛЬНЫЕ СТРОИТЕЛЬНЫЕ НОРМЫ Проектирование,
расчет и устройство ТСН МФ-97 МО МОСКВА 1998 г. ТСН 50-303-99 Московской области НОРМИРОВАНИЕ И СТАНДАРТИЗАЦИЯ ТЕРРИТОРИАЛЬНЫЕ СТРОИТЕЛЬНЫЕ НОРМЫ Проектирование, расчет и устройство мелко заглубленных фундаментов малоэтажных жилых зданий в Московской области ТСН МФ-97 МО Утверждены постановлением МОСКВА 1998 год АДМИНИСТРАЦИЯ МОСКОВСКОЙ ОБЛАСТИ Министерство строительства Московской области МОСКВА 1998 год СОДЕРЖАНИЕ РАЗРАБОТАНЫ: Министерством строительства Московской области (И.Б. Захаров, к.т.н.; Б.К. Байков, к.т.н.); Мосгипронисельстроем (B.C. Сажин, д.т.н., проф.; А.Г. Бейрит, к.т.н.; В.В. Борщев, к.т.н.; Т.А. Приказчикова, к.т.н.; И.К. Мельникова, инж.; Д.В. Сажин , инж.); НИИ оснований и подземных сооружений Госстроя РФ (В.О. Орлов, д.т.н., проф.; Ю.Б. Баду, к.г.-м.н.; Н.С. Никифорова, к.т.н.; В.Я. Шишкин, к.т.н.); ЦНИИЭПсельстроем (В.А. Заренин, к.т.н.; Л.П. Карабанова, к.т.н.; Л.М. Зарбуев, к.т.н.; А.Т. Мальцев, к.т.н.; Н.А. Мальцева, к.т.н.; В.И. Новгородский, к.т.н.; А.Ф. Светенко, к.т.н.; К.Ш. Погосян, инж.); НИИ Мосстроем (В.А. Трушков, к.т.н.; В. X . Ким, к.т.н.). СОГЛАСОВАНЫ: Лицензионно-экспертным управлением Московской области (Л.Д. Мандель, В.И. Мищерин, Л.В.Головачева); Мособлкомприродой (М.П. Гончаров, Н.А. Белопольская).
Дата введения 01.06.98 ВведениеВ связи с реализацией программы малоэтажного и коттеджного строительства Администрация Московской области проводит комплекс мероприятий, направленных на снижение стоимости строительства, в том числе применение облегченных конструкций, новых строительных материалов и прогрессивных технологий. Большой удельный вес в общей стоимости строительства малоэтажных зданий составляют затраты на устройство фундаментов. Нагрузки на 1пог. м ленточных фундаментов в одно-, двухэтажных зданиях в основном составляют 40... 120кН и только в отдельных случаях - 150...180кН. Небольшие нагрузки на фундаменты обуславливают повышенную чувствительность к силам морозного пучения. Территория Московской области более чем на 80% сложена пучинистыми грунтами. К ним относятся глины, суглинки, супеси, пески пылеватые и мелкие. При определенной влажности эти грунты, промерзая в зимний период, увеличиваются в объеме, что приводит к подъему слоев грунта в пределах глубины его промерзания. Находящиеся в таких грунтах фундаменты подвергаются выпучиванию, если действующие на них нагрузки не уравновешивают силы пучения. Поскольку деформации пучения грунта неравномерны, происходит неравномерный подъем фундаментов, который со временем накапливается, в результате чего конструкции зданий претерпевают недопустимые деформации и разрушаются. Применяемое в практике строительства мероприятие против выпучивания путем заложения фундаментов на глубину промерзания не обеспечивает устойчивость легких зданий, так как такие фундаменты имеют развитую боковую поверхность, по которой действуют большие по значению касательные силы пучения. Таким образом, повсеместно применяемые материалоемкие и дорогостоящие фундаменты не обеспечивают надежную эксплуатацию малоэтажных зданий, построенных на пучинистых грунтах. Одним из путей решения проблемы строительства на пучинистых грунтах малоэтажных зданий является применение мелкозаглубленных фундаментов, закладываемых в сезоннопромерзающем слое грунта. В соответствии с главой СНиП 2.02.01-83* «Основания зданий и сооружений» глубину заложения фундаментов допускается назначать независимо от расчетной глубины промерзания, если «специальными исследованиями и расчетами установлено, что деформации грунтов основания при их промерзании и оттаивании не нарушают эксплуатационную пригодность сооружения». Основной принцип конструирования мелкозаглубленных фундаментов зданий с несущими стенами на пучинистых грунтах заключается в том, что ленточные фундаменты всех стен здания объединяются в единую систему и образуют достаточно жесткую горизонтальную раму, перераспределяющую неравномерные деформации основания. При мелкозаглубленных столбчатых фундаментах рама формируется из фундаментных балок, которые жестко соединяются между собой на опорах. Применение мелкозаглубленных фундаментов базируется на принципиально новом подходе к их проектированию, в основу которого заложен расчет оснований по деформациям пучения. При этом допускаются деформации основания (подъем, в том числе неравномерный), однако они должны быть меньше предельных, которые зависят от конструктивных особенностей здания. При расчете оснований по деформациям пучения учитываются пучинистые свойства грунта, передаваемое на него давление, жесткость фундамента и надфундаментных конструкций на изгиб. Надфундаментные конструкции рассматриваются не только как источник нагрузок на фундаменты, но и как активный элемент, участвующий в совместной работе фундамента с основанием. Чем больше жесткость конструкций на изгиб, тем меньше относительные деформации основания. Одной из мер по уменьшению или полной ликвидации пучинистых свойств грунта, является повышение его плотности и создание глинистого водозащитного экрана, который существенно уменьшает подсос воды в зону промерзания из нижележащих слоев грунта и проникновение поверхностных вод в зону контакта фундамента с грунтом. Это достигается, если при устройстве фундаментов применять способы вытрамбовывания и выштамповывания, сочетающие в себе устройство полости под будущий фундамент и уплотненного грунтового ядра. Тем самым повышаются механические характеристики грунта, что является предпосылкой для увеличения несущей способности фундаментов. Вместе с тем уплотнение грунта снижает его пучинистые свойства: уменьшаются интенсивность и силы пучения. Указанный эффект достигается и при погружении в грунт забивных блоков. Для малоэтажных зданий такие фундаменты могут устраиваться в сезоннопромерзающем слое грунта, т.е. они также являются мелкозаглубленными. Из фундаментов на локально уплотненных основаниях для зданий с несущими стенами наиболее приемлемыми являются ленточные в вытрамбованных или выштампованных траншеях. Столбчатые фундаменты на таких основаниях целесообразно применять преимущественно при безростверковом опирании стен. Это относится и к коротким забивным (пирамидальным и призматическим) и буронабивным сваям. Однако в слабых грунтах столбчатые фундаменты и сваи могут применяться и при строительстве малоэтажных зданий. Начиная с 1987 года во многих субъектах Российской Федерации, в том числе в Московской области, на мелкозаглубленных фундаментах построены тысячи малоэтажных зданий со стенами из разных материалов - кирпича, блоков, панелей, деревянных щитов. Применение их позволило сократить расход бетона на 50-80%, трудозатраты - на 40-70%. Длительный срок эксплуатации зданий на мелкозаглубленных фундаментах свидетельствует об их надежности. В настоящих нормах содержатся требования по конструированию и расчету мелкозаглубленных фундаментов в грунтовых условиях Московской области. Положения норм обоснованы результатами многолетних комплексных экспериментальных исследований, выполненных институтами-разработчиками настоящих норм, опытом проектирования, строительства и эксплуатации зданий. 1. Общие положения1.1. Настоящие нормы распространяются на проектирование и устройство мелкозаглубленных фундаментов жилых зданий до 3-х этажей включительно в Московской области. Примечание. Нормы могут быть использованы для зданий культурно-бытового назначения, садовых домов, гаражей. 1.2. Нормы являются дополнением и развитием СНиП 2.02.01-83* «Основания зданий и сооружений» (М., Стройиздат, 1995). 1.3. Нормы предусматривают использование слоя сезоннопромерзающего грунта в качестве основания фундамента, при этом мелкозаглубленный фундамент может быть устроен как на естественном основании, так и на локально уплотненном. 1.4. Тип и конструкция мелкозаглубленного фундамента, способ подготовки его основания зависят от свойств грунта площадки строительства, и прежде всего, от степени его пучинистости. 1.5. При проектировании мелкозаглубленных фундаментов на пучинистых грунтах обязательным является расчет оснований по деформациям пучения грунта. 1.6. При выборе площадки строительства предпочтение следует отдавать участкам с непучинистыми или с наименее пучинистыми грунтами, однородными по составу, как в плане, так и по глубине той части сезоннопромерзающего грунта, которая проектируется в качестве основания мелкозаглубленного фундамента. 1.7. При проектировании фундаментов на пучинистых грунтах необходимо предусматривать мероприятия, направленные на снижение, как деформаций пучения грунта, так и их влияния на конструкции фундаментов и надземной части зданий, в том числе: - водозащитные, обеспечивающие уменьшение влажности грунта, понижение уровня подземных вод, отвод поверхностных вод от здания посредством устройства вертикальной планировки, дренажных сооружений, водосборных канав, лотков, траншей, дренажных прослоев и т.п. 2. Оценка морозной пучинистости основания2.1. К пучинистым относятся глинистые грунты, пески пылеватые и мелкие, а также крупнообломочные грунты с содержанием глинистого заполнителя более 15% общей массы, имеющие к началу промерзания влажность, которая превышает уровни, определяемые в соответствии с п. 2.8. Крупнообломочные грунты с песчаным заполнителем, пески гравелистые, крупные и средние, не содержащие глинистых фракций, считаются непучинистыми грунтами при любом уровне безнапорных подземных вод. 2.2. Количественным показателем пучинистости грунта является относительная деформация морозного пучения efh, равная отношению подъема ненагруженной поверхности грунта к толщине промерзающего слоя. 2.3. По относительной деформации морозного пучения еfh грунты подразделяются согласно табл. 2.1. Таблица 2.1
2.4. Относительная деформаций морозного пучения efh , как правило, должна устанавливаться на основе опытных данных. При отсутствии опытных данных допускается определять efh по физическим характеристикам грунтов. 2.5. При проведении инженерно-геологических изысканий на площадке планируемого строительства отбор проб грунта для лабораторных испытаний должен производиться через каждые 25 см по глубине выработок в слое сезонного промерзания dfh. Выработки закладываются в наиболее характерных точках площадки (на повышенных и пониженных участках) в пределах контура проектируемого здания. Примечание. Для всех разновидностей пучинистых грунтов нормативная глубина сезонного промерзания в Московской области может быть принята равной 1,5 м. - гранулометрический состав грунта, классифицирующий его вид; - плотность грунта в сухом состоянии, rd - плотность твердых частиц грунта, r s - пластичность грунта: влажность на границах раскатывания - глубину сезонного промерзания грунта d fh 2.7. Относительная деформация морозного пучения грунта определяется по графикам (рис. 2.1) с использованием параметра Rf вычисляемого по формуле Здесь
Рис.
2.1. Зависимость относительной деформации пучения efh от
параметра а) практически непучинистый; б) слабопучинистый; в) среднепучинистый; г) сильнопучинистый; д) чрезмернопучинистый 1, 2 - соответственно супеси и супеси пылеватые (0,02< J p £ 0,07); 3 - суглинки (0,07< Jp £ 0, 17); 4 - суглинки пылеватые (0,07< Jp £ 0,13); 5 - суглинки пылеватые (0,13< Jp £ 0,17); 6 - глины (Jp >0,17).
Рис. 2.2. Зависимость критической влажности W cr числа пластичности J p и предела текучести грунта W L Остальные обозначения те же, что в п. 2.6. 2.8. Глинистые грунты являются пучинистыми, если их расчетная предзимняя влажность W в пределах слоя сезонного промерзания превышает следующие уровни: где W pr - влажность, характеризующая степень заполнения пор грунта льдом, определяется по формуле
2.9. Расчетная предзимняя влажность грунта принимается равной средневзвешенному значению влажности грунта в слое нормативной глубины промерзания, полученной при изысканиях на площадке строительства в летне-осенний период. При этом допускается, что поверхностный сток осадков, выпавших перед изысканиями, одинаков со стоком в предзимний период. Примечание. В расчеты по формулам (2.1, 2.3, 2.4) вводится значение средневзвешенной влажности грунта на наиболее увлажненном участке площадки. 2.10. При глубоком залегании подземных вод расчетную предзимнюю влажность грунта следует определять в соответствии с Приложением 1. Глубокое залегание подземных вод характеризуется условием,
в котором
2.11. Пески пылеватые и мелкие при степени влажности 0,6 < Sr £ 0,8, крупнообломочные грунты с заполнителем (глинистым песком пылеватым и мелким) от 10 до 30% по массе относятся к слабопучинистым грунтам, для которых принимается efh = 0,035. Пески пылеватые и мелкие (при 0,8 <Sr£ 0,95), крупнообломочные грунты с тем же заполнителем более 30% по массе относятся к среднепучинистым грунтам (efh = 0,07). Пески пылеватые и мелкие при Sr > 0,95 относятся к сильнопучинистым грунтам (efh = 0,10). 2.12. Степень пучинистости грунтов следует учитывать при выборе типа фундамента и способа подготовки основания в соответствии с Приложением 2. 3. Конструирование и расчет мелкозаглубленных фундаментов3.1. Требования к конструкциям мелкозаглубленных фундаментов3.1.1. При строительстве на практически непучинистых грунтах мелкозаглубленные фундаменты устраиваются на выравнивающей подсыпке из песка, на пучинистых грунтах - на подушке из непучинистого материала (песок гравелистый, крупный или средней крупности, мелкий щебень, котельный шлак и др.), которая может быть как врезной, так и устраиваемой на поверхности грунта. 3.1.2. Мелкозаглубленные ленточные фундаменты следует устраивать: - на практически непучинистых и слабопучинистых грунтах - из бетонных (керамзитобетонных) блоков, уложенных свободно, без соединения между собой, из монолитного бетона, бутобетона, цементогрунта, бута или глиняного кирпича; - на среднепучинистых грунтах (при efh £ 0,05) - из бетонных (керамзитобетонных) блоков, уложенных свободно, без соединения между собой или из монолитного бетона; - на среднепучинистых (при efh > 0,05) и сильнопучинистых грунтах (при efh<0,12) - из сборных железобетонных блоков, жестко соединенных между собой, или из монолитного железобетона; - на чрезмерно пучинистых грунтах (при efh ³ 0,12) - из монолитного железобетона. Примеры конструктивных решений мелкозаглубленных ленточных фундаментов приведены в Приложении 3. 3.1.3. При efh >0,05 ленточные фундаменты всех стен здания должны быть жестко соединены между собой и объединены в единую конструкцию - систему перекрестных лент. 3.1.4. При недостаточной жесткости стен зданий, строящихся на сильнопучинистых и чрезмерно пучинистых грунтах, следует производить их усиление путем устройства армированных или железобетонных поясов в уровне перекрытий. 3.1.5. Мелкозаглубленные столбчатые фундаменты на среднепучинистых (efh >0,05), сильнопучинистых и чрезмерно пучинистых грунтах должны быть жестко соединены между собой фундаментными балками, объединенными в единую систему. 3.1.6. При устройстве столбчатых фундаментов необходимо предусматривать зазор между нижними гранями фундаментных балок и планировочной поверхностью грунта не менее расчетной деформации (подъема) ненагруженного основания. 3.1.7. Секции зданий, имеющие разную высоту, следует устраивать на раздельных фундаментах. 3.1.8. Примыкающие к зданиям веранды на сильнопучинистых и чрезмерно пучинистых грунтах следует возводить на фундаментах, не связанных с фундаментами зданий. 3.1.9. Протяженные здания, строящиеся на грунтах с efh ³ 0,05, необходимо разрезать по всей высоте на отдельные отсеки, длина которых принимается: для среднепучинистых грунтов - до 30м, сильнопучинистых (при efh ³ 0, 12) - до 24 м, чрезмерно пучинистых (при efh > 0,12) - до 18м, 3.1.10. Мелкозаглубленные фундаменты на сильнопучинистых и чрезмерно пучинистых грунтах следует изготавливать из тяжелого бетона В15. Рабочую продольную арматуру во всех случаях необходимо принимать из стали класса AIII по ГОСТ 5781-82*, поперечную - из стали 04 класса Вр-1 по ГОСТ 6727-80. 3.1.11. При изготовлении мелкозаглубленных фундаментов из железобетона марки бетона по морозостойкости и водонепроницаемости не должны быть ниже F50 и W2. 3.2. Расчет мелкозаглубленных фундаментов3.2.1. Расчет мелкозаглубленных фундаментов производится в следующей последовательности: а) на основе материалов изысканий определяется степень пучинистости грунта основания, и в зависимости от нее выбираются тип фундамента и конструкция фундамента в соответствии с Приложением 2 и разделом 3.1; б) задаются предварительные размеры подошвы фундамента, глубина его заложения, толщина песчаной (песчано-гравийной) подушки; в) в соответствии с требованиями СНиП 2.02.01-83* «Основания зданий и сооружений» производится расчет основания по деформациям; в случае, когда под подошвой подушки залегает грунт меньшей прочности, чем прочность материала подушки, необходимо выполнить проверку этого грунта согласно СНиП 2.02.01-83*; г) выполняется расчет основания мелкозаглубленного фундамента по деформациям морозного пучения грунта. где
3.2.3. Расчет подъема и относительной деформации пучения основания под фундаментом производится в соответствии с Приложением 4. Таблица 3.1 Значения предельных деформаций основания
* Допускается принимать большие значения (DS / L) u , если на основании расчета стены на прочность будет установлено, что напряжения в кладке не превышают расчетных сопротивлений кладки растяжению при изгибе. 4. Особенности проектирования мелкозаглубленных фундаментов на локально уплотненном основании4.1. Требования к грунтам и конструкциям фундаментов на локально уплотненном основании4.1.1. К фундаментам на локально уплотненном основании относятся фундаменты в вытрамбованных (выштампованных ) котлованах или траншеях, фундаменты из забивных блоков. 4.1.2. Характерной особенностью указанных типов фундаментов является наличие окружающей их уплотненной зоны грунта, которая формируется при вытрамбовывании или выштамповывании полостей в основании, погружении блоков путем забивки. 4.1.3. Глубину заложения фундаментов следует принимать равной 0,5-1 м. 4.1.4. Фундаменты должны иметь форму усеченной пирамиды с углом наклона граней к вертикали 5-100 и размеры верхнего сечения, большие размеров нижнего сечения. 4.1.5. Применение мелкозаглубленных фундаментов в вытрамбованных (выштампованных) котлованах или траншеях ограничивается следующими грунтовыми условиями: глинистые грунты с показателем текучести 0,2 - 0,7 и песчаные грунты (пылеватые и мелкие, рыхлые и средней плотности) при залегании подземных вод от подошвы фундаментов на расстоянии не менее 1 м. 4.1.6. Применение забивных блоков ограничивается следующими грунтовыми условиями: глинистые грунты с показателем текучести 0,2-0,8 и песчаные грунты (пылеватые и мелкие, рыхлые и средней плотности) при уровне подземных вод, отстоящем от планировочной отметки не менее чем на 0,5 м. 4.1.7. Для увеличения несущей способности фундамента в вытрамбованном котловане или траншее по грунту следует при формировании котлованов (траншей) втрамбовывать в его основание щебень. 4.1.8. Столбчатые фундаменты на локально уплотненном основании на сильно - и чрезмерно пучинистых грунтах с efh > 0,1 следует жестко соединять между собой фундаментными балками. 4.1.9. Фундаменты в вытрамбованных (выштампованных) траншеях, устраиваемые в пучинистых грунтах с efh < 0,1, допускается не армировать. 4.2. Расчет фундаментов на локально уплотненном основании4.2.1. Фундаменты следует рассчитывать по несущей способности грунта основания исходя из условия
где
4.2.2. Основания фундаментов, устраиваемых на пучинистых грунтах, подлежат расчету по деформациям морозного пучения грунтов. При этом наряду с требованиями п.3.2.2 должно выполняться условие. где
Расчет деформаций пучения основания выполняется в соответствии с Приложением 6. 5. Указания по устройству мелкозаглубленных фундаментов на естественном основании5.1. Работы по подготовке строительных площадок должны выполняться в соответствии с требованиями СНиП 3.02.01-87 «Земляные сооружения, основания и фундаменты». Для снижения возможных деформаций от сил морозного пучения грунтов необходимо выполнять инженерно-мелиоративные мероприятия. 5.2. Для устранения замачивания грунта основания на площадках следует устраивать надежный водоотвод атмосферных вод путем своевременного выполнения вертикальной планировки застраиваемой территории. Работы по вертикальной планировке необходимо производить так, чтобы не изменять направление естественных водостоков. Площадкам следует придавать наибольший уклон (не менее 3%) для стока атмосферных вод, а насыпные грунты послойно уплотнять механизмами до плотности не менее 1,6 т/м 3 и пористости не более 40% (для глинистого грунта без дренирующих прослоек). Следует сохранять на застраиваемой территории растительный покров, являющийся естественным утеплителем грунта; поверхность насыпного грунта покрывать почвенным слоем на 10-15 см и выполнять его задернение. Площадки должны быть надежно ограждены от стока поверхностных вод с соседних участков или прилегающих склонов местности путем устройства берм и водоотводных канав, уклон которых должен быть не менее 5%. При высокой фильтрационной способности грунтов, залегающих с нагорной стороны, следует предусматривать дренаж вокруг здания с отводом воды в пониженную сторону. 5.3. К разработке траншей и котлованов при устройстве мелкозаглубленных фундаментов следует приступать только после того, как на строительную площадку будут завезены фундаментные блоки и все необходимые материалы и оборудование, чтобы процесс возведения фундаментов выполнялся непрерывно, начиная от устройства котлованов и траншей и кончая обратной засыпкой пазух, уплотнением фунта и устройством отмостки. Цель такого требования - комплексно выполнять все работы, не допуская увлажнения грунтов основания. 5.4. Все работы по подготовке площадок, а также по устройству фундаментов на пучинистых грунтах, как правило, следует выполнять в летнее время. В зимнее время устройство фундаментов (особенно на пучинистых грунтах) требует повышенной культуры производства, технологичности и непрерывности всего процесса работ и приводит к удорожанию их стоимости. 5.5. При необходимости ведения работ в зимнее время грунт в местах устройства траншей и котлованов следует заранее утеплять для защиты от промерзания или произвести искусственное оттаивание. 5.6. Подготовка основания под мелкозаглубленный фундамент состоит из отрывки траншей (котлованов), устройства противопучинистой подушки (на пучинистых грунтах) или выравнивающей подсыпки (на непучинистых грунтах). При устройстве подушки непучинистый материал отсыпается слоями толщиной не более 20 см и уплотняется катками, площадочными вибраторами или другими механизмами до плотности rd ³ 1,6 т/м 3 Зачистку дна траншей допускается не производить, так как песчаные подушки выполняют роль выравнивающей подсыпки. 5.7. Траншеи для ленточных фундаментов следует отрывать узкими (0,8-1,5 м) с тем, чтобы пазухи с наружной стороны здания можно было перекрыть отмосткой и гидроизоляционным материалом. 5.8. После укладки фундаментных конструкций (или бетонирования) пазухи траншей (котлованов) должны быть засыпаны предусмотренным в проекте материалом с обязательным уплотнением. 5.9. Разравнивание и уплотнение материала подушки производится послойно. При ширине траншеи менее 0,8 м разравнивание подушки производится вручную, а уплотнение - с помощью механизмов, технические характеристики которых приведены в Приложении 7, или вручную. 5.10. При высоком уровне подземных вод и наличии на стройплощадке верховодки необходимо предусматривать меры по предохранению материала подушки от заиливания. Для этой цели обычно производят по контуру подушки обработку ее гравелистого или щебенистого материала вяжущими веществами или изолируют подушки от воздействия воды полимерными пленками. 5. 11 . Песчаную подушку, как правило, следует устраивать в теплое время года. В зимних условиях необходимо исключать смешивание материала засыпки со снегом и мерзлыми включениями грунта. 5.12. При устройстве мелкозаглубленных фундаментов из цементогрунта следует руководствоваться требованиями ВСН 40-88 «Проектирование и устройство фундаментов из цементогрунта для малоэтажных зданий». 5.13. Для отмостки следует применять керамзитобетон с плотностью в сухом состоянии от 800 до 1000 кг/м 3 . Укладку отмостки можно производить только после тщательной планировки и уплотнения грунта возле фундамента у наружных стен. Ширина отмостки должна обеспечивать перекрытие траншеи с целью исключения попадания в нее ливневых и паводковых вод. Керамзитобетонную отмостку целесообразно укладывать на поверхность грунта с целью меньшего водонасыщения материала. Следует избегать укладки керамзитобетона в отрытое в грунте корыто. Если же по конструктивным соображениям этого избежать нельзя, то необходимо предусмотреть устройство дренажа под отмосткой. 5.14. С целью уменьшения глубины промерзания грунта следует предусматривать задернение участка и посадку кустарниковых насаждений, которые аккумулируют отложения снега. Уменьшение глубины промерзания может быть достигнуто применением утеплителей, укладываемых под отмостку. Для исключения замачивания утеплители могут использоваться, например, в целлофановых мешках в виде матов. 5.15. Запрещается устраивать мелкозаглубленные фундаменты на промороженном основании. В зимнее время допускается устраивать мелкозаглубленные фундаменты только при условии глубокого залегания подземных вод с предварительным оттаиванием мерзлого грунта и обязательной засыпкой пазух непучинистым материалом. 5.16. Мелкозаглубленные фундаменты в основном следует применять в зданиях без подвальных помещений. При использовании мелкозаглубленных фундаментов в зданиях с подвалами необходимо соблюдать требования, изложенные в Приложении 8. 6. Основные требования к производству работ при устройстве мелкозаглубленных фундаментов на локально уплотненном основании6.1. Работы по устройству фундаментов в вытрамбованных котлованах и траншеях следует выполнять в соответствии с требованиями главы СНиП 3.02.01-87 «Земляные сооружения, основания и фундаменты». 6.2. Вытрамбовывание полости в основании производится с помощью навесного оборудования, состоящего из трамбовки, направляющей штанги или рамы, обеспечивающих падение трамбовки строго в одно и то же место; каретки, с помощью которой трамбовка передвигается по направляющей штанге или раме. 6.3. Грузоподъемность механизмов, используемых для вытрамбовывания котлованов, должна быть не менее чем в 2,5 раза больше веса трамбовки. - бетонирование фундаментов (установка сборных элементов) должно быть закончено не позднее 1 суток после окончания вытрамбовывания; -при расстоянии в свету между котлованами до 0,8 ширины фундамента вытрамбовывание производится через один фундамент, а пропущенных фундаментов - не менее чем через 3 суток после бетонирования предыдущих. Примечание. Для предотвращения обрушения стенок готовых котлованов при вытрамбовывании следующих следует применять крепление из инвентарных металлических коробов, повторяющих форму и размеры котлованов и оснащенных системой для поворота их стенок с целью снижения усилий, необходимых для извлечения коробов из котлованов. 6.5. После вытрамбовывания котлованов [траншей] в них укладывается враспор монолитный бетон класса не ниже В 15 или устанавливаются с добивкой сборные элементы, имеющие размеры, несколько превышающие размеры котлованов. 6.6. Укладка бетонной смеси, и ее уплотнение выполняются в соответствии с проектом производства работ, типовыми технологическими картами и требованиями главы СНиП 3.03.01-87. Бетонная смесь в котлован подается равномерными слоями толщиной, равной 1,25 рабочей части глубинного вибратора. Осадка конуса бетонной смеси должна быть 3-5 см. Монтаж и устройство верхнего строения начинается после достижения бетоном 70% проектной прочности. 6.7. Выштамповывание котлованов и траншей осуществляется с помощью сваебойных агрегатов, путем погружения в грунт и последующего извлечения из него металлических штампов, имеющих те же размеры, что и возводимые фундаменты. При устройстве фундаментов необходимо соблюдать требования п.п. 6.4-6.6. 6.8. При вытрамбовывании (выштамповывании) котлованов или траншей, забивке блоков в зимнее время допускается промерзание грунта с поверхности на глубину не более 30 см. 6.9. При промерзании грунта на глубину более 30 см перед началом работ по вытрамбовыванию (выштамповыванию) котлованов или траншей следует производить оттаивание грунта на всю толщину промерзания на площади диаметром, равным 3 размерам трамбовки (штампа) в среднем сечении. Для ленточных фундаментов ширина пятна оттаянного грунта должна быть равной 3 размерам поперечного сечения фундамента в среднем сечении, длина - сумме длины фундамента и удвоенной ширины пятна оттаивания. 6.10. После вытрамбовывания (выштамповывания) котлованов или траншей до проектной отметки они должны закрываться утепленными крышками. Талое состояние грунта на стенках и дне полостей должно сохраняться до бетонирования фундаментов. 6.11. При глубине промерзания грунта более 30 см погружение забивных блоков осуществляется в следующей последовательности: - бурение лидерных скважин на глубину, равную толщине мерзлого слоя грунта; диаметр скважин принимается на 10-20 см больше ширины верхнего обреза блока. Дальнейшая последовательность погружения блоков устанавливается с учетом свойств грунта основания: а) для слабых глинистых грунтов с показателем текучести 0,6 и более и рыхлых водонасыщенных пылеватых песков: - засыпка скважины песком крупным или средней крупности; - установка блока на точку погружения; - забивка блока до проектной отметки; б) для песков средней плотности и глинистых грунтов твердой, полутвердой и тугопластичной консистенции: - установка блока на точку погружения; - забивка блока на 0,5-0,7 проектной глубины; -засыпка песка средней крупности или крупного в пространство между стенками скважины и погружаемым блоком; - добивка блока до проектной отметки. Примечание. В случае б) первоначальная забивка блоков производится на большую глубину в более прочных грунтах,, на меньшую - в более слабых. 6.12. После бетонирования фундаментов в вытрамбованных (выштампованных) полостях, забивки блоков грунт вокруг них следует утеплять на весь период производства работ. Приложение I
|
||||||||||||||||||||||||||||||||||||||||||||||||||||||||||||||||||||||||||||||||||||||||||||||||||||||||||||||||||||||||||||||||||||||||||||||||||||||||||||||||||||||||||||||||||||||||||||||||||||||||||||||||||||||||||||||||||||||||||||||||||||||||||||||||||||||||||||||||||||||||||||||||||||||||||||||||||||||||||||||||||||||||||||||||||||||||||||||||||||||||||||||||||||||||||||||||||||||||||||||||||||||||||||||||||||||||||||||||||||||||||||||||||||||||||||||||||||||||||||||||||||||||||||||||||||||||||||||||||||||||||||||||||||||||||||||||||||||||||||||||||||||||||||||||||||||||||||||||||||||||||||||||||||||||||||||||||||||||||||||||||||||||||||||||||||||||||||||||||||||||||||||||||||||||||||||||||||||||||||||||||||||||||||||||||||||||||||||||||||||||||||||||||||||||||||||||||||||||||||||||||||||||||||||||||||||||||||
|
Наименование районного центра |
Месяцы |
|||||||||||
|
1 |
2 |
3 |
4 |
5 |
6 |
7 |
8 |
9 |
10 |
11 |
12 |
|
|
Дубна |
35 |
35 |
37 |
34 |
51 |
68 |
86 |
73 |
64 |
51 |
44 |
42 |
|
Егорьевск |
36 |
31 |
35 |
31 |
47 |
62 |
78 |
70 |
55 |
47 |
41 |
40 |
|
Кашира |
32 |
26 |
28 |
34 |
53 |
60 |
68 |
64 |
50 |
40 |
39 |
36 |
|
Клин |
36 |
33 |
36 |
33 |
50 |
66 |
83 |
71 |
62 |
50 |
44 |
42 |
|
Можайск |
34 |
30 |
35 |
33 |
52 |
68 |
79 |
75 |
58 |
50 |
40 |
37 |
|
Наро-Фоминск |
31 |
28 |
32 |
34 |
50 |
67 |
80 |
75 |
59 |
54 |
37 |
34 |
|
Сергиев Посад |
34 |
32 |
37 |
37 |
51 |
70 |
88 |
75 |
62 |
57 |
44 |
42 |
|
Серебряные Пруды |
32 |
28 |
29 |
31 |
49 |
55 |
70 |
63 |
42 |
38 |
39 |
43 |
|
Серпухов |
33 |
31 |
36 |
35 |
51 |
60 |
76 |
68 |
54 |
50 |
45 |
43 |
|
Солнечногорск |
35 |
31 |
37 |
34 |
51 |
68 |
83 |
75 |
62 |
51 |
42 |
38 |
1. Предварительный выбор типа мелкозаглубленного фундамента для грунтовых условий Московской области (рис. 1, табл. 1) следует выполнять в соответствии с табл. 2.
2. Из нескольких возможных типов фундамента должен приниматься наиболее реализуемый в конкретных условиях строительства с учетом наличия необходимых средств механизации и оборудования.
Таблица 1
Характерные типы грунтовых условий на территории Московской области
|
Тип грунтовых условий |
Обозначение на схематической карте |
Виды и характеристики грунтов |
Распространенность |
Разновидности грунтов по степени морозной пучинистости |
||
|
при уровне подземных вод d w <2 м |
при уровне подземных вод d w d w >2м |
Итого |
||||
|
1 |
|
Крупнообломочные грунты (в т.ч. содержащие глинистые фракции); скальные, полускальные грунты с поверхности до глубины 2-3 м |
0,3 |
3,1 |
3,4 |
Практически непучинистые, слабопучинистые |
|
2 |
|
Пески (от мелких до крупных) плотные и средней плотности, мощностью 5-6 м |
17,0 |
1,0 |
18,0 |
Практически непучинистые, слабопучинистые |
|
3 |
|
Глинистые грунты (0 £ J L £ 0,5) с прослойками песка (пылеватого и мелкого) мощностью до 5 м до глубины 5-6 м |
26,1 |
36,7 |
62,8 |
Среднепучинистые |
|
4 |
|
Глинистые грунты (J L ³ 0,06), пески (пылеватые и мелкие), рыхлые до глубины 5-6 м |
2,5 |
1,6 |
4,1 |
Сильнопучинистые |
|
5 |
|
Глинистые грунты (J L >0,75) до глубины 2-4 м |
9,2 |
2,0 |
11,2 |
Сильнопучинистые, чрезмерно пятнистые |

Рис. 1. Схематическая карта грунтовых условий Московской области
Таблица 2
Рекомендации по выбору типа мелкозаглубленного фундамента в пучинистых грунта
|
Тип грунтовых условий по табл. 1 |
Нагрузка на фундамент q , кН/м
|
Типы мелкозаглубленных фундаментов |
|
|
1. При d W <2 м |
2. При d W >2 м |
||
|
1 |
£ 40 |
1.1.1. Столбчатые (d < d W) |
1.2.1. То же, что и 1.1.1. |
|
|
>40 |
1.1.2. Ленточные (d < d W) |
1.2.2. То же, что и 1.1.2. |
|
2 |
£40 |
2.1.1. То же, что и 1.1.1. |
2.2.1. То же, что и 1.1.1. |
|
|
>40 |
2.1.2. То же, что и 1.1.2. |
2.2.2. То же, что и 1.1.2. |
|
|
³ 120 |
2.1.3. Ленточные на песчано-гравийных подушках (d + l < d) |
2.2.3. То же, что и 2.1.3. |
|
3 |
£30 |
3.1.1. Столбчатые на песчано-гравийных подушках (d + h n < d W) |
3.2.1. То же, что и 3.1.1. |
|
|
£120 |
3.1.2. Ленточные на песчаных (песчано-гравийных) подушках (d + h n < d W) |
3.2.2. То же, что и 3.1.2. |
|
|
>120 |
3.1.3. Забивные блоки (d W >0,5 м) |
3.2.3. Ленточные в вытрамбованных выштампованных) траншеях |
|
4 |
£ 100 |
4.1.1. То же, что и 3.1.2. |
4.2.1. То же, что и 3.1.2. |
|
|
>100 |
4.1.2. То же, что и 3.1.3. |
4.2.2. То же, что и 3.2.3. |
|
5 |
£80 |
5.1.1. То же, что и 3.1.2. |
5.2.1. То же, что и 3.1.2. |
|
|
>80 |
5.1.2. То же, что и 3.1.3. |
5.2.2. То же, что и 3.2.3. |
d - глубина заложения фундамента, м; h n - толщина подушки, м
1. Для обеспечения совместной работы элементов мелкозаглубленных ленточных фундаментов следует применять конструктивные решения, приведенные на рис. 1.
2. При строительстве панельных зданий на грунтах с расчетным сопротивлением R ³ 0,15 МПа допускается использовать цокольные панели в качестве мелкозаглубленных фундаментов (рис. 2). При относительной деформации пучения грунта efh ³ 0,05 цокольные панели следует жестко соединять между собой в двух уровнях с помощью закладных деталей.
3. При строительстве панельных зданий на грунтах с расчетным сопротивлением R <0, 15 МПа цокольные панели шириной менее 40 см следует устанавливать на мелкозаглубленные фундаменты из сборных железобетонных элементов (рис. 3). При efh >0,05 элементы должны содержать выпуски арматуры, которые соединяются электросваркой или скрутками из проволоки; стыки бетонируются.
4. Для устройства мелкозаглубленных и незаглубленных фундаментов на пучинистых грунтах с 0,05 < efh < 0,10 следует применять железобетонные плиты, разработанные Мосгипронисельстроем (табл. 1).
5. Для устройства мелкозаглубленных и незаглубленных фундаментов на пучинистых грунтах с e fh ³ 0, 10 следует применять железобетонные блоки (рис. 4) серии 1 .110.1-1п (табл. 2).
6. При строительстве на пучинистых грунтах (при efh >0,05) зданий с мелкозаглубленными столбчатыми фундаментами следует применять фундаментные балки длиной 2400, 2700, 3300, 4000 и 4500 мм, содержащие выпуски арматуры (серия 1.100.1-1п, вып.2).

Рис. 1. Конструктивные решения соединений элементов мелкозаглубленных ленточных фундаментов:
а) сборно-монолитный фундамент из железобетонных блоков с выпусками арматуры;
б) фундамент из бетонных блоков с армопоясами;
в) фундамент из бетонных блоков с железобетонным поясом;
г) монолитный железобетонный фундамент.
1 - монолитный бетон; 2 - сборные железобетонные блоки с выпусками арматуры; 3 - армированные пояса; 4 - железобетонный пояс; 5 - монолитный железобетон.

Рис. 2. Примеры использования цокольных панелей в качестве мелкозаглубленных фундаментов:
а) сборная панель;
б) монолитная панель.

Рис. 3. Вариант мелкозаглубленного фундамента из сборных элементов

Рис. 4. Вариант мелкозаглубленного фундамента под кирпичный дом при грунтах с e fh ³ 0, 10.
Номенклатура фундаментных плит
|
№№ пп |
Эскиз |
Марка плиты |
Размеры, мм |
Расход материалов |
Масса, т |
|||
|
L |
b |
h |
тяжелый бетон В15, м 3 |
сталь, кг |
||||
|
1. 2. 3. 4. 5. 6. |
|
ФП53-5 ФП53-4 ФП32-4 ФП27-5 ФП27-4 ФП24-4 |
5300 5300 3200 2700 2700 2400 |
500 400 400 500 400 400 |
200 |
0,53 0,42 0,26 0,27 0,22 0,19 |
35,7 36,2 23,1 20,6 20,3 18,5 |
1,32 1,06 0,64 0,67 0,54 0,48 |
7. При устройстве монолитных ленточных фундаментов следует, как правило, применять фундаментные ленты конструкции Мосгипронисельстроя (табл. 3), заполняемые бетоном; при efh ³ 0,05 фундаменты необходимо армировать.
8. Для уменьшения затрат на устройство фундаментов силами застройщиков следует применять фундаменты из местных строительных материалов, возводимые без привлечения подъемно-кранового оборудования (рис. 5).
Фундаментные блоки серии 1.110. 1-1 n
|
№№ пп |
Эскиз |
Марка блока |
Размеры, мм |
Расход материалов |
Масса, кг |
|||
|
L |
b |
h |
бетон, м 3 |
сталь, кг |
||||
|
1. 2. 3. 4. 5. 6. 7. 8. |
|
ФБ9.4.6-Т ФБ9.5.6-Т ФБ12.4.6-Т ФБ12.5.6-Т ФБ24.4.6-Т ФБ24.5.6-Т ФБ12.4.3-Т ФБ12.5.3-Т |
880 880 1180 1180 2380 2380 1180 1180 |
400 500 400 500 400 500 400 500 |
580 380 580 580 580 580 280 280 |
0,20 0,25 0,27 0,33 0,55 0,68 0,13 0,16 |
4,24 4,24 5,18 5,19 8,90 8,90 4,42 4,42 |
530 670 720 900 1480 1850 350 440 |
Номенклатура фундаментных лент
|
№ |
Эскиз |
Марка |
s ,мм |
h, мм |
b , мм |
l, мм |
Масса, т |
Примечание |
|
1. |
Лента фундаментная
|
ЛФ5.3.4 ЛФ6.3.4 ЛФ1 2.3.4 ЛФ24.3.4 ЛФ5.3.5 ЛФ6.3.5 ЛФ12.3.5 ЛФ24.3.5 ЛФ5.3.6 ЛФ6.3.6 ЛФ12.3.6 ЛФ24.3.6 |
40 |
300 |
400 |
500 600 1200 2400 500 600 1200 2400 500 600 1200 2400 |
0,048 0,058 0,115 0,230 0,053 0,063 0,127 0,253 0,058 0,069 0,138 0,276 |
Бетон класса не менее В15 |
|
500 |
||||||||
|
600 |
Продолжение таблицы 3.
|
№ |
Эскиз |
Марка |
s ,мм |
h, мм |
b , мм |
l, мм |
l 1 , мм |
Масса, т |
Примечание |
|
2. |
Лента фундаментная угловая
|
ЛФУ8.3.4 |
40 |
300 |
400 |
800 |
400 |
0,115 |
|
|
ЛФУ9.3.5 |
600 |
900 |
400 |
0,137 |
|||||
|
ЛФУ10.3.6 |
600 |
1000 |
400 |
0,161 |
|||||
|
3. |
Лента фундаментная торцевая
|
ЛФТ12.3.4 |
40 |
300 |
400 |
1200 |
800 |
0,154 |
|
|
ЛФТ15.3.5 |
500 |
1500 |
1000 |
0,212 |
|||||
|
ЛФТ16.3.6 |
600 |
1600 |
1100 |
0,242 |
Рис. 5. Конструктивные решения фундаментов жилых домов, возводимых силами застройщиков
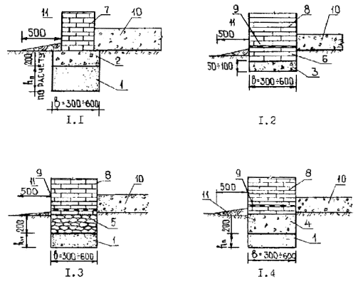
1. Для непучинистых и слабопучинистых грунтов

2. Для среднепучинистых грунтов

3. Для сильнопучинистых грунтов

Область применения:
1.1 - 1-2-этажные деревянные здания, 1-этажные здания со стенами из мелкоштучных материалов;
1.2 - 3.3 - 1-2-этажные здания со стенами из любого материала
Условные обозначения:
1 - песок средней крупности, крупный;
2 - щебень (гравий, кирпичный бой) с проливкой раствором;
3 - выравнивающая бетонная подготовка;
4 - монолитный железобетонный фундамент;
5 - бутовая кладка (бутобетон);
6 - фундамент из красного кирпича;
7 - цоколь (кирпич, мелкие бетонные блоки);
8 - стена из мелкоштучных материалов;
9 - гидроизоляция;
10- засыпка керамзитом (грунтом);
11 - замок из перемятой глины;
12- подсыпка;
13 - армированный пояс.
1. Расчет выполняется в следующей последовательности:
а) производится расчет фундамента по устойчивости на воздействие касательных сил морозного пучения;
б) при предварительно принятых значениях глубины заложения фундамента и толщины подушки из непучинистого материала определяется расчетная величина подъема ненагруженного основания h y;
в) определяются температурный режим и динамика сезонного промерзания грунтов основания, на основе которых рассчитывается удельная нормальная сила пучения;
г) вычисляется величина подъема основания под фундаментом с учетом давления под его подошвой hfp;
д ) рассчитывается относительная деформация пучения основания.
2. В соответствии с условием устойчивости фундамента расчет его на действие касательных сил пучения производится по формуле:
, (1)
где m - коэффициент условий работы основания по боковой поверхности фундамента, принимаемый: при засыпке пазух траншей (котлованов) местным пучинистым грунтом, равным 1; при засыпке пазух шириной 20, 40 и 60 см непучинистым материалом, равным соответственно 0,6; 0,45 и 0,35;
- расчетное значение
удельной касательной силы пучения, КПа;
- расчетная площадь боковой
поверхности фундамента, м2, находящейся в пределах промерзающего
грунта;
- расчетная постоянная нагрузки, кН, от
здания, включая вес фундамента;
- коэффициент перегрузки, принимаемый 0,9.
3. Расчетное значение удельной касательной силы пучения τfhn , кПа, определяется по формуле
, (2)
где
-
нормативное значение удельной касательной силы пучения, кПа, принимаемое
равным: для чрезмерно и сильнопучинистых грунтов - 70 кПа, для среднепучинистых
грунтов - 55 кПа, для слабопучинистых грунтов -40 кПа:
- коэффициент, учитывающий
состояние боковой поверхности фундамента; при гладкой бетонной поверхности
; при шероховатой бетонной поверхности с выступами и
кавернами до 0,5 см ![]()
В случае, если условие (1) не соблюдается, необходимо принять противопучинные мероприятия, в том числе увеличение ширины пазух траншеи (котлована), засыпаемых непучинистым материалом; обработка боковых поверхностей фундамента пластическими смазками, уменьшающими касательные силы пучения и др.
4.
Подъем ненагруженного основания
при
пучении грунта ниже подошвы фундамента определяется по одной из формул,
приведенных в табл. 1, в соответствии с тремя расчетными схемами, отражающими изменение
интенсивности пучения грунта по глубине в зависимости от рельефа местности,
гидрогеологических условий участка строительства и увлажненности грунта.
Входящая в эти формулы величина подъема ненагруженной поверхности грунта hf определяется по формуле
, (3)
где
-
относительная деформация морозного пучения грунта, доли ед., определяется по
результатам испытаний грунтов или по графикам (см. рис.
2.1);
- расчетная глубина
промерзания грунта, определяемая по СНиП 2.02.01-83*.
5.
Удельная нормальная сила пучения грунта
, кПа, в зависимости от вида фундамента определяется по
формулам:
для ленточного фундамента
, (4)
для столбчатого фундамента
, (5)
где b , u - соответственно ширина подошвы ленточного и периметр подошвы столбчатого фундаментов, м;
- толщина слоя грунта, м,
под фундаментом, вызывающего деформацию пучения h fi ,
для первой схемы расчета h fi (см.
табл. 1) d z =0,75 d f -(d
+ h п); для остальных двух схем d z = d f -(d
+ h п);
- коэффициент условий работы
пучинистого грунта под фундаментом, определяемый по табл. 2 в зависимости от d z и площади подошвы А f ;
для ленточного фундамента Аf = b·l1 , где l1 = 1м;
- сопротивление смещению
мерзлого грунта относительно фундамента, кПа, определяемое по графику (рис.
1) в зависимости от расчетной температуры
и скорости
пучения
грунта под
фундаментом.
Скорость перемещения грунта v f , см/ сут, при его пучении под фундаментом определяется из выражения
, (6)
где
- подъем ненагруженного основания, см.
определяемый в соответствии с п.4;
- продолжительность периода, мес.,
промерзания грунта под фундаментом при продолжительности зимнего периода,
равного для Московской области 5 мес.
(7)
Расчетная отрицательная температура грунта (Т d , °С), промерзшего под фундаментом, определяется по формуле
(8)
при
,
, (9)
где
- счетная температура
у поверхности планировки грунта в период его промерзания под фундаментом, °С;
- средняя температура воздуха наиболее
холодного месяца зимнего периода, °С; для Московской области
.
6. Подъем основания фундамента при промерзании пучинистого грунта под его подошвой с учетом передаваемого на грунт давления от здания определяется по формуле
, (10)
Схемы расчета подъема ненагруженного основания фундамента
|
№ схемы |
Условия увлажнения грунтов по виду рельефа |
Расстояние от поверхности грунта до уровня подземных вод,
|
Ориентировочное
значение средней влажности в пределах сезоннопромерзающего слоя, |
Формулы для расчета подъема основания h fi при глубине заложения фундамента d и толщине подушки h п |
|
1. |
Сухие участки – возвышенности, всхолмленные места. Водораздельное плато. Грунты увлажняются только за счет атмосферных осадков |
|
a)
|
|
|
б) |
|
|||
|
2. |
Сырые участки - слабо всхолмленные места, пологие склоны с затяжным уклоном; котловины с признаками поверхностного заболачивания. Грунты увлажняются за счет атмосферных осадков и верховодки, частично подземных вод |
|
|
|
|
3. |
Мокрые участки - пониженные равнины, котловины, межсклоновые низины, заболоченные места. Грунты водонасыщаются за счет атмосферных осадков и подземных вод, включая верховодку |
|
|
|
Примечания:
1. Значение
рассчитывается
с учетом прогноза изменения уровня подземных вод;
2. z -
наименьшее расстояние, м, от границы сезонного промерзания
уровня
подземных вод, при котором эти воды не оказывают влияния на увлажнение
промерзающего грунта; значение z
определяется по таблице 2.2.

Рис. 1. Значение сопротивления смещению пучинистого грунта относительно подошвы фундамента
где Р - давление под подошвой фундамента от внешней нагрузки, кПа;
h fi , Р r - те же обозначения, что в пп . 4 и 5;
b - коэффициент, учитывающий влияние подушки на напряженное состояние пучинистого грунта, определяется по табл. 3.
7. Относительная деформация пучения основания с учетом жесткости конструкций определяется по формуле
, (11)
Таблица 2
|
|
Площадь подошвы фундамента А f , м 2 |
|||||||||
|
0,1 |
0,2 |
0,3 |
0,4 |
0,5 |
0,6 |
0,7 |
0,8 |
0,9 |
1,0 и более |
|
|
0,2 |
0,90 |
0,80 |
0,72 |
0,66 |
0,60 |
0,54 |
0,50 |
0,47 |
0,44 |
0,41 |
|
0,3 |
0,89 |
0,77 |
0,69 |
0,62 |
0,55 |
0,51 |
0,46 |
0,43 |
0,40 |
0,37 |
|
0,4 |
0,87 |
0,74 |
0,65 |
0,56 |
0,49 |
0,45 |
0,41 |
0,38 |
0,35 |
0,32 |
|
0,5 |
0,84 |
0,60 |
0,57 |
0,49 |
0,41 |
0,38 |
0,35 |
0,32 |
0,30 |
0,28 |
|
0,6 |
0,80 |
0,62 |
0,50 |
0,41 |
0,36 |
0,31 |
0,29 |
0,27 |
0,25 |
0,24 |
|
OJ |
0,75 |
0,54 |
0,42 |
0,35 |
0,30 |
0,25 |
0,23 |
0,21 |
0,20 |
0,19 |
|
0,8 |
0,69 |
0,46 |
0,35 |
0,30 |
0,25 |
0,22 |
0,20 |
0,18 |
0,17 |
0,15 |
|
0,9 и более |
0,62 |
0,41 |
0,32 |
0,25 |
0,21 |
0,18 |
0,16 |
0,15 |
0,14 |
0,13 |
где
- коэффициент, зависящий от отношения
и показателя гибкости
К системы основание-фундамент-стена здания, методика расчета которого приведена
в Приложении 5;
значения v определяются по графику (рис. 2);
q - расчетная нагрузка на основание, кН/м;
L - длина фундамента здания (отсека здания), м.
Остальные значения те же, что в пп . 5 и 6.
8. В том случае, когда условия (3.1), (3.2) не выполняются, принимается большая глубина заложения фундамента с повторным расчетом его устойчивости на воздействие касательных сил пучения (1), большая толщина подушки, увеличивается жесткость стены путем устройства железобетонных или армированных поясов, выполняются инженерно-мелиоративные, тепловые и химические мероприятия, направленные на уменьшение влажности окружающего фундамент грунта и глубины его промерзания. Выбор того или иного мероприятия или совокупности их зависит от конкретных условий строительства.
Значения коэффициента b
|
Отношение толщины подушки к ширине подошвы
фундамента |
Фундамент |
|
|
столбчатый |
ленточный |
|
|
0,00 |
1,00 |
1,00 |
|
0,25 |
0,95 |
0,90 |
|
0,50 |
0,70 |
0,80 |
|
0,75 |
0,50 |
0,70 |
|
1,00 |
0,35 |
0,60 |
|
1,25 |
0,25 |
0,50 |
|
1,50 |
0,20 |
0,40 |
Примечание. Для
промежуточных значений
коэффициент b определяется по интерполяции.
9. Максимальные значения изгибающего момента М, кН. м, и поперечной силы F, кН, возникающих в системе фундамент-стена здания, определяются по формулам
; (12)
где [EJ] -то же значение, что в формуле (1) Приложения 5.
Входящие в формулы (12, 13)
коэффициенты
и η1 ,
определяются по графикам (рис.
3 и рис.4).

Рис. 2. Зависимость ω от К

Рис. 3.
Зависимость
от К

Рис.
4. Зависимость
от К
10. Изгибающие моменты и поперечные силы в отдельных конструктивных элементах (фундамент, цоколь, стена, пояс) определяются по формулам
, (14)
, (15)
где [EJ], [GA] - соответственно изгибная и сдвиговая жесткость i - ro конструктивного элемента;
[EJ], [GA] - то же, всей системы.
G i - модуль сдвига, кН.м материала i-ro конструктивного элемента;
А i , [А - соответственно] площадь поперечного сечения i -го элемента.
11. Силы Fr , кН, возникающие в связях панельных стен, определяются по формуле
, (16)
где d j , y 0 , Е j , А j - те же обозначения, что в формуле (13) Приложения 5.
12. По найденным внутренним усилиям в соответствии с требованиями глав СНиП 2.03.01-84«Бетонные и железобетонные конструкции», СНиП II-22-81 «Каменные и армокаменные конструкции» производится расчет на прочность мелкозаглубленного ленточного или фундаментальной балки столбчатого фундамента, а также конструктивных элементов стены.
13. Учитывая знакопеременный характер деформаций оснований из пучинистых грунтов (подъем в период промерзания грунта и осадка при его оттаивании), железобетонные элементы следует армировать в верхней и нижней частях сечений.
1. Показатель гибкости конструкций здания К определяется по формуле
, (1)
где [EJ] - приведенная жесткость на изгиб поперечного сечения конструкций здания в системе фундамент-цоколь-пояс усиления-стена, определяемая по формуле (4), кН·м2
С - коэффициент жесткости основания при пучении грунта, кН/м 2
L - длина стены здания (отсека), м;
для оснований ленточных фундаментов
, (2)
для оснований столбчатых фундаментов
, (3)
Здесь Р r , h fi , b , А f - те же обозначения, что в пп.4, 5 Приложения 4;
n i - число столбчатых фундаментов в пределах длины стены здания (отсека).
2. Приведенная жесткость на изгиб поперечного сечения конструкций здания в системе фундамент-цоколь-пояс усиления стена, кН. м 2 , определяется по формуле.
, (4)
где
- соответственно жесткость на изгиб фундамента, цоколя, пояса
усиления, стены здания.
3. Жесткость на изгиб, кН.м 2 фундамента, цоколя и пояса усиления определяется по формулам
; (5)
; (6)
где
- соответственно модули деформации, кПа, материала
фундамента, цоколя, пояса;
-
соответственно момент инерции, м4 , поперечного сечения фундамента,
цоколя и пояса усиления относительно собственной главной центральной оси;
-
соответственно площади поперечного сечения, м2 , фундамента, цоколя
и пояса усиления;
-
соответственно расстояния, м, от главной центральной оси поперечного сечения
фундамента, цоколя и пояса усиления до условной нейтральной оси сечения всей
системы;
-
соответственно коэффициенты условий работы фундамента, цоколя и пояса усиления,
принимаемые равными 0,25;
Жесткость на изгиб
фундамента, состоящего из блоков, не связанных между собой, принимается равной
нулю. Если цоколь является продолжением фундамента или обеспечена их совместная
работа, цоколь и фундамент следует рассматривать как единый конструктивный
элемент. При отсутствии поясов усиления
. При наличии нескольких поясов усиления жесткость на изгиб
каждого из них определяется по формуле (7).
4. Жесткость на изгиб, кН. м 2 стен из кирпича, блоков, монолитного бетона (железобетона) определяется по формуле
![]()
, (8)
где
- модуль деформации материала стены, кПа;
-
коэффициент условий работы стены, принимаемый равным 0,15 - для стен из
кирпича, 0,2 - для стен из блоков, 0,25 - для стен из монолитного бетона;
-
момент инерции поперечного сечения стены, м4; определяется по
формуле (9);
-
площадь поперечного сечения стены, м2
-
расстояние, м, от главной центральной оси поперечного сечения стены до условной
нейтральной оси сечения всей системы.
Момент инерции поперечного сечения стены определяется по формуле
9)
где
2 - соответственно момент сечения стены по проемам
и по простенкам, м 4
Площадь поперечного сечения стены определяется по формуле
(10)
где
- толщина стены, м.
Расстояние от центра тяжести приведенного поперечного сечения стены до ее нижней грани определяется по формуле
(11)
5. Расстояние от главной центральной оси поперечного сечения фундамента до условной нейтральной оси системы фундамент-цоколь-пояс усиления стена определяется по формуле
, (12)
где
- соответственно модуль деформации и площадь поперечного
сечения i-го конструктивного элемента (цоколя, стены, пояса);
gi - коэффициент условий работы i-го конструктивного элемента;
уi - расстояние от главной нейтральной оси поперечного сечения i-го конструктивного элемента до главной центральной оси поперечного сечения фундамента.
6. Жесткость на изгиб, кН. м 2 , стен из панелей определяется по формуле
, (13)
где
-
соответственно модуль упругости, кПа, и площадь поперечного сечения, м2 ,
j-ой связи;
m - число связей между панелями;
d j - расстояние от j-ой связи до главной центральной оси поперечного сечения фундамента, м;
у0 - расстояние от главной центральной оси поперечного сечения фундамента до условной нейтральной оси системы фундамент-стена здания, определяемое по формуле
, (14)
в которой n - число конструктивных элементов в системе фундамент-стена.
1. При проектировании фундамента на локально уплотненном основании следует определить его несущую способность по грунту и выполнить расчет по деформациям пучения.
2. Расчетная несущая способность фундамента на локально уплотненном основании по грунту определяется по формуле
, (1)
где gп - коэффициент условий работы
грунта под подошвой фундамента, принимаемый: для забивных блоков и фундаментов
в выштампованных котлованах
; для фундаментов в вытрамбованных полостях при
£1 (отношение объема
втрамбованного в основание щебня к объему фундамента)
;
- коэффициент условий работы
грунта на боковой поверхности фундамента, принимаемый: для забивных блоков
; для фундаментов в выштампованных полостях
; для фундаментов в вытрамбованных полостях
;
-
несущая способность подошвы фундамента столбчатого или 1м ленточного фундамента
(соответственно мН или мН /м);
-
несущая способность боковой поверхности столбчатого или 1м ленточного
фундамента (соответственно мН и мН /м).
3. Расчетная несущая способность подошвы фундамента определяется по формуле
(2)
где
- расчетное
сопротивление грунта под подошвой фундамента, кПа, определяемое по графикам и
таблице (рис.
1);
-
площадь подошвы столбчатого или 1 м ленточного фундамента, м 2.
Примечания:
1) Для глинистых грунтов значение R определяется в зависимости от средневзвешенного значения степени влажности Sr плотности сухого грунта ρd и показателя текучести JL в пределах 0,5 м выше и 1,5 м ниже пяты фундамента.
2) При глубине заложения подошвы фундамента 0,5 м, приведенные на рис. 1 значения R умножаются на коэффициент 0,65; при глубине заложения подошвы фундамента 1 м - на коэффициент 0,9; при промежуточных значениях глубины значения R принимаются по интерполяции.
4. Расчетная несущая способность боковой поверхности столбчатых фундаментов определяется по формуле
где a - угол наклона боковых граней фундамента к вертикали, град.;
j y , с y - соответственно угол внутреннего трения, град., и удельное сцепление, кПа, уплотненного грунта (определяется по табл. 1);
А - площадь боковой поверхности грани фундамента, м 2
V - равнодействующая давления грунта на одну грань фундамента, кН, определяемая для однородного однослойного основания по формуле:
где d - глубина заложения подошвы фундамента, м;
Кп - коэффициент, учитывающий пространственный характер работы фундамента, принимаемый 1,3 для песчаных и 1,5 для глинистых грунтов;
g - удельный вес грунта, кН/м 3
bп - размер подошвы фундамента, м;
d - угол трения грунта о боковую поверхность фундамента, град., принимаемый d = jу для песчаных и d =0,5 jу, для глинистых грунтов;
l0 - коэффициент отпора грунта, определяемый по графикам на рис. 2, 3 в зависимости от угла внутреннего трения уплотненного грунта j у и угла наклона боковых граней фундамента a;
рс - давление грунта, кПа, обусловленное сцеплением, равное
, (5)
JL - показатель текучести грунта природной структуры;
j1 , c1 - соответственно расчетный угол внутреннего трения и удельное сцепление грунта природной структуры.
5. Расчетная несущая способность поверхности 1 м ленточного фундамента в вытрамбованной (выштампованной) траншее определяется по формуле:
, (6)
где d , V , j y , c y , A - те же обозначения, что в формуле 3.

б)
|
Вид грунта основания |
Расчетное сопротивление R , МПа (пески средней крупности) |
|
Пески пылеватые |
|
|
маловлажные |
1,0 |
|
влажные |
0,9 |
|
насыщенные водой |
0,8 |
|
Пески мелкие |
|
|
маловлажные |
1,4 |
|
Влажные и насыщенные водой |
1,3 |
|
Пески средней крупности |
|
|
независимо от влажности |
1,7 |
а) глинистый; б) песчаный.

Рис. 2. Графики для определения коэффициента l0 для песчаных грунтов в зависимости от угла внутреннего трения грунта jу и угла наклона к вертикали надвигающейся на грунт грани a при угле трения грунта о бетонную поверхность d = jу

Рис. 3. Графики для определения коэффициента l0 для глинистых грунтов и зависимости от угла внутреннего трения грунта jу и угла наклона к вертикали надвигающейся на грунт грани a при угле трения грунта о бетонную поверхность d =0,5jу.
При определении V по формуле (4) коэффициент Кп для ленточных фундаментов принимается равным 1.
6. При многослойном основании расчетная несущая способность боковой поверхности фундамента определяется суммированием нагрузок, воспринимаемых участками боковой поверхности на контакте с этими слоями:
для столбчатого фундамента
, (7)
для ленточного фундамента
|
Вид грунта основания |
j , град. |
с у , кПа |
|
Пески |
|
|
|
е£0,6 0,6<е £0,75 е>0,75 |
jу =0,9j1 jу = j1 +2 jу = j1 +3 |
су =0,9с1 су =1,3с1 су =1,3с1 |
|
Глинистые грунты |
|
|
|
JL £0,1 0,1<JL £0,2 0,2<JL £0,5 0,5<JL £0,8 |
j у = j1 jу = j1 +1 jу = j1 +2 jу = j1 +1 |
су =0,8с1 су =1,1с1 су =1,6с1 су =1,4с1 |
, (8)
где n - число слоев на контакте с боковой поверхностью фундамента;
jyi , сyi - соответственно угол внутреннего трения, град., удельное сцепление, кПа, уплотненного грунта i -гo слоя;
Аi - площадь i-гo участка боковой грани, м2
Vi - равнодействующая давления грунта на i-ом участке боковой грани, кН, определяемая в соответствии с пп.7, 8.
7. При двухслойном основании равнодействующая давления в слое № 1 определяется по формуле (4), а в слое № 2 - по формуле
где g1 , h1 - соответственно удельный вес, кН/м3, толщина, м, первого слоя;
g2 , l02 , pc 2 , h2 - соответственно удельный вес, кН/м3, коэффициент отпора, давление, обусловленное сцеплением грунта, кПа, толщина, м, слоя № 2.
8. При трехслойном основании равнодействующая давления грунта в слое № 2 определяется по формуле (9), при этом вместо bn следует подставлять размер dn , равный размеру поперечного сечения фундамента на уровне подошвы слоя № 2.
Равнодействующая давления грунта в слое № 3 определяется по формуле
, (10)
в которой параметры g3 , h3 , l03 , рc3 определяются для слоя № 3.
9. Подъем фундамента силами пучения определяется по формуле
, (11)
где v - относительное выпучивание ненагруженного фундамента,
, (12)
hf - подъем ненагруженной поверхности грунта на уровне верхнего обреза фундамента, см, определяется по формуле (3) Приложения 4;
N - расчетная нагрузка на фундамент, кН (для второй группы предельных состояний);
Nn - действующая на фундамент сила пучения, кН;
a - угол наклона боковых граней фундамента к вертикали, град.,
df , d - соответственно расчетная глубина промерзания грунта и глубина заложения фундамента, см;
;
-эмпирические
коэффициенты; при a = 10° ![]()
при a =5°
;![]()
10. Сила пучения, действующая на фундамент, определяется по формуле
, (13)
где Kyk - коэффициент, характеризующий влияние уплотнения грунта на касательные силы пучения; принимается равным 0,7;
tfh , Аfh - те же обозначения, что в п. 2 Приложения 4;
рr - удельная нормальная сила пучения, кПа, определяется по формулам п. 5 Приложения 4 с учетом п. 11;
Ап - то же, что в п. 3;
a - то же, что в п. 9.
11. Удельная нормальная сила пучения грунта рry, кПа, уплотненного при забивке блока, вытрамбовывании (выштамповывании) полости в основании, определяется из выражения
, (14)
где Кун - коэффициент, характеризующий влияние уплотнения грунта на нормальные силы пучения, определяется по формулам:
при
,
, (15)
при
,
, (16)
dу - глубина зоны уплотнения, определяемая из выражения
, (17)
(18)
-
соответственно природная влажность грунта и влажность на границе раскатывания,
доли ед.
12. Относительная деформация
пучения основания определяется в соответствии с п. 7 Приложения
4; при вычислении показателя гибкости К следует принимать: для ленточных фундаментов
; для столбчатых
(где l=1 м; n -
число столбчатых фундаментов в пределах длины здания L ,
м), остальные обозначения те же, что в п. 9 Приложения 6.
При определении w значения
принимаются: для
ленточных фундаментов
, для столбчатых -
.
13. Внутренние усилия в системе фундамент (фундаментальная балка) - стена здания и в отдельных конструктивных элементах определяются согласно пп . 9, 10, 11 Приложения 4 с учетом п. 12.
14. При расчете конструкций на прочность следует руководствоваться пп . 12, 13 Приложения 4.
15. Условие (4.2) считается выполненным, если.
(19)
|
Наименование, тип, марка машин и механизмов |
Основные технические характеристики |
|
1 |
2 |
|
Навесное оборудование |
|
|
Пневмолоты навесные на экскаваторах |
|
|
ПН-1300 |
Масса 350 кг, энергия удара 1274,9 Дж. Размеры плиты 300 ´ 300 мм. Производительность 10-12 м 3 /ч |
|
ПН-1700 |
Масса 450 кг, энергия удара 1667,1 Дж. Размеры плиты 400 ´ 400 мм. Производительность 14-16 м 3 /ч |
|
ПН-2400 |
Масса 500 кг, энергия удара 2356,6 Дж. Размеры плиты 500 ´ 500 мм |
|
Виброплиты навесные к крану (экскаватору) |
|
|
ВПП-6 |
Масса 950 кг, возмущающая сила 60,8 кН. Размеры плиты 1500 ´ 1200 мм |
|
Ручные механизмы |
|
|
Виброплиты самопередвигающиеся |
|
|
SVP -12,5 |
Масса 150 кг, возмущающая сила 12,3 кН. Размеры плиты 550 ´ 500 мм |
|
SVP -25 |
Масса 270 кг, возмущающая сила 24,5 кН. Размеры плиты 750 ´ 750 мм |
|
SVP -31,5 |
Масса 500 кг, возмущающая сила 21,5 кН. Размеры плиты 700 ´ 700 мм |
|
Трамбовки электрические |
|
|
ИЭ-4501 |
Масса 80 кг. Размеры плиты 400 ´ 360 мм. Производительность: 22 м3 /ч - в несвязных грунтах; 15 м 3 /ч - в связных грунтах |
|
ИЭ-4502 |
Масса 160 кг. Размеры плиты 500 ´ 500 мм. Производительность: 32 м3 /ч - в несвязных грунтах; 22 м3 /ч - в связных грунтах |
|
Вибротрамбовки самопередвигающиеся |
|
|
ВУТ-4 |
Масса 200 кг. Возмущающая сила 22 кН. Размеры плиты 500 ´ 428 мм |
|
ВУТ-З |
Масса 50 кг. Возмущающая сила 31,4 кН. Размеры плиты 705 ´ 500 мм. Производительность 8-10 м3 /ч |
1. Для полного исключения
влияния фундамента на стену подвала необходимо последнюю располагать на
расстоянии
, где d п , d - отметки соответственно пола
подвала и подошвы фундамента, м; Р - среднее давление на грунт под подошвой
фундамента, кПа; с 1 , j 1 - расчетные
значения удельного сцепления, кПа, и угла внутреннего трения грунта, град.
2. Стену подвала допускается располагать в непосредственной близости от фундамента (рис. 1, а; 1, в; 1, г) или совмещать с фундаментом (рис. 1, б; 1, в; 1, г). В этих случаях ее следует рассчитывать на прочность.
3. При устройстве монолитных стен подвалов способом «стена в грунте» работы должны производиться в следующей последовательности:
- в местах предусмотренного проектом расположения стен подвала в основании нарезаются щели шириной 15...25 см с помощью баров, щелерезов или дискофрезерных машин (при необходимости стенки щелей крепятся бентонитовым раствором);
- в щелях устанавливаются звенья инвентарной П-образной опалубки, позволяющей при бетонировании сформировать в стенах ребра жесткости;
- в местах расположения ребер устанавливаются доски толщиной 30... 40 мм с забитыми в них гвоздями, обращенными в сторону щелей;

Рис. 1. Конструкции стен подвала
1 - монолитная железобетонная стена подвала с утеплителем;
2 - мелкозаглубленный фундамент;
3 - наружная кирпичная стена;
4 - железобетонная плита перекрытия;
5 - песчаная подушка;
6 - кирпичная кладка;
7 - незаглубленный фундамент;
8 - фундамент из монолитного бетона;
9 - стойки из железобетона или древесины (брус, кругляк);
10 - щиты из досок;
11 - утеплитель;
12 - доска;
13 - сухая штукатурка.
- наружные грани щелей обрабатываются водостойким полимерным материалом, или устраивается завеса из рулонной гидроизоляционной пленки;
- в щели устанавливаются арматурные каркасы;
- производится бетонирование стен;
- после твердения бетона под прикрытием стен производится разработка грунта в пределах подвала;
- извлекается опалубка;
- пространство между ребрами стены заполняется теплоизоляционным материалом;
- к доскам на ребрах стен подвала с помощью шурупов крепятся листы сухой штукатурки, оргалита или деревянные щиты.
4. При совмещении стены подвала с фундаментом конструктивные элементы должны быть жестко соединены между собой.
5. При монтаже стен подвала из сборных ребристых панелей следует жестко соединять их между собой и обеспечить водонепроницаемость стыковых соединений.
6. Для гидроизоляции фундаментов и стен подвалов, защиты их от коррозии следует применять материалы в соответствии с Приложением 9.
1. Гидроизоляция стен подвалов и фундаментов.
При устройстве стен подвалов и фундаментов необходимо обеспечивать надежную защиту их от подземных вод, которая достигается путем использования эффективных гидроизоляционных материалов, в том числе;
1.1. Мастика пленкообразующая клеящая «Гекопрен» (изготовитель АОЗТ «Смолл», г. Москва) выпускается в готовом виде: напыляется, наливается, приклеивается; удовлетворяет строительным и экологическим требованиям (ГОСТ P Ru. 9001.1.4.0217).
1.2. Наплавляемый битумно-полимерный «Изопласт-К» (изготовитель АОЗТ « Киришинефтеоргсинтез »), выпускается в рулонах с крупнозернистой или чешуйчатой подсыпкой с лицевой стороны и полимерной легкоплавкой пленкой с нижней стороны полотна - для верхнего слоя ковра (ГОСТ P Ru 9001.1.4-0179).
1.3. Рулонный наплавляемый битумно-полимерный «Изопласт-11» с мелкозернистой подсыпкой или полимерной легкоплавкой пленкой с лицевой стороны и полимерной легкоплавкой пленкой с нижней стороны полотна (ГОСТ P Ru 9001.1.4-0180).
1.4. Материал «Крома» (изготовитель АООТ «Крома», г. Рыбинск) выпускается в рулонах, состоит из основы (стеклоткань, стеклохолст, ткань или холст), покрытой с двух сторон слоем битумно-вяжущего (битум, минеральный наполнитель и модифицирующие добавки) - ГОСТ P Ru 9001.1.4-0103.
1.5. Вулканизированная пленка ЕРДМ (США, Бельгия) выпускается в рулонах, соответствует ГОСТ 2678-94.
1.6. Мембраны Centriflex РСС (Московский филиал голландской фирмы Драй Воркс Интернэшнл) - защитное покрытие, эластичное (за счет присутствия акрилатов), на минеральной основе, наносится в 3 слоя общей толщиной 3-4 мм, обладает хорошей адгезией к мокрой поверхности бетонной конструкции, долговечно (единый Европейский сертификат ISO -901).
1.7. Мембрана Centriflex FC (Московский филиал голландской фирмы Драй Воркс Интернэшнл), покрытие на латексно-битумной основе, пластичное; наносится вручную или насосом на сухую поверхность бетона, общая толщина покрытия 3 мм, покрытие долговечно (единый Европейский сертификат ISO -901).
1.8. Ватерплаг (фирма «THORO N.V.» представленная в г. Москве АО «Триада-Холдинг») - быстросхватывающийся состав (смесь гидравлических цементов, кремнистых наполнителей и пластифицирующих добавок) - единый Европейский сертификат ISO -901.
1.9. Торосил (фирма «THORO N.V.», представленная в г. Москве АО «Триада-Холдинг») - смесь портландцементов, отсеянного кремнезема и различных добавок; после перемешивания с питьевой водой или со смесью Акрил 60 и питьевой водой до консистенции строительного раствора легко наносится с помощью специальной кисти Торо , щетки или установки для набрызга (единый Европейский сертификат ISO -901).
1.10. Торосил FC (фирма «THORO N.V.», представленная в г. Москве АО «Триада-Холдинг») - водонепроницаемое покрытие на цементной основе; порошок представляет собой смесь портландцементов, кремнезема и активных добавок; после перемешивания с питьевой водой до консистенции строительного раствора легко наносится на влажную поверхность бетона с помощью кисти Торо, щетки или установки для набрызга (единый Европейский сертификат ISO -901).
2. Антикоррозионная защита стен подвалов и фундаментов.
2.1. Защиту от коррозии стен подвалов и фундаментов следует осуществлять применением коррозионно-стойких материалов и выполнением конструкционных требований (первичная зашита), а также использованием вторичных способов защиты (нанесение изоляционных покрытий, пропитка бетона, применение электрохимических методов защиты).
2.2. Степень агрессивного воздействия грунтов оценивается по СНиП 2.03.11-85 ниже уровня подземных вод как для жидкой среды, а выше уровня подземных вод - по табл. 1; она может быть слабоагрессивной, среднеагрессивной и сильноагрессивной.
2.3. При проектировании железобетонных конструкций для эксплуатации в агрессивных грунтовых условиях следует нормировать толщину и проницаемость защитного слоя бетона, а также ширину раскрытия трещин (табл. 2) - первичная защита.
2.4. Для бетонных и железобетонных подземных конструкций (стен подвалов и фундаментов) необходимо применять следующие материалы:
- портландцемент, шлакопортландцемент – ГОСТ 10178-76;
- сульфатостойкий цемент - ГОСТ 22266-76;
- песок кварцевый - ГОСТ 10268-80 (отмучиваемых частиц не более 1%);
- крупный заполнитель из изверженных пород марки не ниже 800 и осадочных пород марки не ниже 600
- ГОСТ 10268-80.
2.5. При проектировании антикоррозионной защиты подземных конструкций следует учитывать степень агрессивности среды, а также толщину конструкций (табл. 3).
2.6. Для повышения стойкости бетонных и железобетонных конструкций в агрессивных условиях эксплуатации рекомендуется использовать химические добавки, снижающие проницаемость бетона и повышающие его химическую стойкость.
Таблица 1
Оценка степени агрессивности воздействия грунтов выше уровня подземных вод
|
Зона влажности по |
Показатель агрессивности, мг, на 1 кг грунта |
Степень агрессивного воздействия грунта на бетонные и железобетонные конструкции |
|||
|
сульфатов в
пересчете на |
хлоридов в пересчете на С1 для бетонов на |
||||
|
портландцементе по ГОСТ 10178-76 |
портландцементе по ГОСТ 10178-78 с содержанием C3 S не более 65%, С3А не более 7%, C3 A + C4 AF не более 22% и шлакопортландцементе |
сульфатостойких цементах по ГОСТ 22266-76 |
портландцементе, шлакопортландцементе по ГОСТ 10178-76 и сульфатостойких цементах по ГОСТ 22266-76 |
||
|
Сухая |
Св. 500 до 1000 |
Св. 3000 до 4000 |
Св. 6000 до 12000 |
Св. 400 до 750 |
Слабоагрессивная |
|
Св. 1000 до 1500 |
Св. 4000 до 5000 |
Св. 12000 до 15000 |
Св. 750 до 7500 |
Среднеагрессивная |
|
|
Св. 1500 |
Св. 5000 |
Св. 15000 |
Св. 7500 |
Сильноагрессивная |
|
|
Нормальная и влажная |
Св. 250 до 500 |
Св. 1500 до 3000 |
Св. 3000 до 6000 |
Св. 250 до 500 |
Слабоагрессивная |
|
Св. 500 до 1000 |
Св. 3000 до 4000 |
Св. 6000 до 8000 |
Св. 500 до 5000 |
Среднеагрессивная |
|
|
Св. 1000 |
Св. 4000 |
Св. 8000 |
Св. 5000 |
Сильноагрессивная |
|
Примечания. 1. Показатели агрессивности по содержанию хлоридов учитываются только для железобетонных конструкций независимо от марки бетона по водонепроницаемости. При одновременном содержании сульфатов их количество пересчитывается на содержание хлоридов умножением на 0,25 и суммируется с содержанием хлоридов.
2. Показатели агрессивности по содержанию сульфатов приведены для бетона марки по водонепроницаемости W4. При оценке 1 степени агрессивного воздействия на бетон марки по водонепроницаемости W 6 показатели следует умножить на 1,3; для бетона марки по водонепроницаемости W8 - на 1,7.
Таблица 2
Требования к железобетонным конструкциям при воздействии жидких агрессивных сред
|
Степень агрессивного воздействия среды |
Категория требований к трещиностойкости и предельно допустимая ширина непродолжительного и продолжительного раскрытия трещин, мм, и зависимости от группы арматурной стали |
Толщина защитного слоя не менее, мм |
Марки по водонепроницаемости бетона, не менее, в зависимости от группы арматурной стали |
||||
|
I |
II |
III |
I |
II |
III |
||
|
Слабоагрессивная |
3/0,2(0,15) |
3/0,15(0,10) |
2/0,1 |
20 |
W4 |
W6 |
W6 |
|
Среднеагрессивная |
3/0,15(0,1) |
3/0,1(0,05) |
1/- |
30 |
W6 |
W6 |
W6 |
|
Сильноагрессивная |
3/0,15(0,1)* |
2/0,05 |
не допускается к применению |
30 |
W6 |
W6 |
- |
Защита наружных поверхностей подземных бетонных и железобетонных конструкций
|
Толщина подземных конструкций |
№ варианта |
Защитное покрытие при степени агрессивности воздействия среды |
|||||
|
группа покрытия |
слабая |
группа покрытия |
средняя |
группа покрытия |
сильная |
||
|
Свыше 0,5 м |
1 |
I |
Битумно-латексные эмульсии |
II |
Битумные покрытия холодные и горячие |
III |
Полимерные покрытия на основе лака ХП-734 |
|
2 |
II |
Битумно-латексные покрытия и мастики |
II |
Битумно-латексные мастики |
III |
То же, на основе полиизоцианата К |
|
|
3 |
II |
Битумно-полимерные покрытия и мастики |
II |
Битумно-полимерные покрытия и мастики |
III |
Оклеечные битумные рулонные материалы с защитной стенкой |
|
|
4 |
II |
Битумные покрытия хoлoдные и горячие |
III |
Асфальтовые мастики холодные и горячие |
III |
Полимеррастворы на основе термореактивных синтетических смол |
|
|
Менее 0,5 м |
1 |
II |
Битумно-латексные мастики |
III |
Асфальтовые мастики холодные и горячие |
IV |
Полимерные покрытии эпоксидные |
|
2 |
II |
Битумные покрытия горячие |
III |
Полимерные покрытия на основе лака ХП-734 |
III |
Оклеечные битумные рулонные материалы с защитной стенкой |
|
|
3 |
II |
Битумно-полимерные покрытия |
III |
То же, на основе полиизоцианата К |
IV |
Оклеечные полимерные рулонные материалы |
|
|
4 |
|
|
III |
Оклеечные битумные рулонные материалы с защитной стенкой |
IV |
Полимерные покрытия, армированные стеклотканью |
|
|
5 |
|
|
III |
Полимеррастворы на основе термореактивных синтетических смол |
|
|
|
Примечание: Необходимость гидроизоляции от увлажнения неагрессивными водами подземных бетонных и железобетонных конструкций определяется по специальным нормативным документам. Гидроизоляционные покрытия могут одновременно служить средством защиты конструкций от коррозии, если они обладают необходимой химической стойкостью в агрессивных средах.
|
ГОСТЫ, СТРОИТЕЛЬНЫЕ и ТЕХНИЧЕСКИЕ НОРМАТИВЫ. Некоммерческая онлайн система, содержащая все Российские Госты, национальные Стандарты и нормативы. В Системе содержится более 150000 файлов нормативно-технической документации, действующей на территории РФ. Система предназначена для широкого круга инженерно-технических специалистов. Copyright © www.gostrf.com, 2008 - 2026 |