Крупнейшая бесплатная информационно-справочная система онлайн доступа к полному собранию технических нормативно-правовых актов РФ. Огромная база технических нормативов (более 150 тысяч документов) и полное собрание национальных стандартов, аутентичное официальной базе Госстандарта. GOSTRF.com - это более 1 Терабайта бесплатной технической информации для всех пользователей интернета. Все электронные копии представленных здесь документов могут распространяться без каких-либо ограничений. Поощряется распространение информации с этого сайта на любых других ресурсах. Каждый человек имеет право на неограниченный доступ к этим документам! Каждый человек имеет право на знание требований, изложенных в данных нормативно-правовых актах!

  


 

ГОСТ 6942-98

МЕЖГОСУДАРСТВЕННЫЙ СТАНДАРТ

ТРУБЫ ЧУГУННЫЕ КАНАЛИЗАЦИОННЫЕ

И ФАСОННЫЕ ЧАСТИ К НИМ

Технические условия

МЕЖГОСУДАРСТВЕННАЯ НАУЧНО-ТЕХНИЧЕСКАЯ КОМИССИЯ

ПО СТАНДАРТИЗАЦИИ, ТЕХНИЧЕСКОМУ НОРМИРОВАНИЮ

И СЕРТИФИКАЦИИ В СТРОИТЕЛЬСТВЕ

(МНТКС)

Москва

Предисловие

1 РАЗРАБОТАН Научно-исследовательским институтом санитарной техники (НИИ сантехники) Российской Федерации

ВНЕСЕН Госстроем России

2 ПРИНЯТ Межгосударственной научно-технической комиссией по стандартизации, техническому нормированию и сертификации в строительстве (МНТКС) 12 ноября 1998 г.

За принятие проголосовали

Наименование государства

Наименование органа государственного управления строительством

Республика Армения

Министерство градостроительства Республики Армения

Республика Казахстан

Комитет по жилищной и строительной политкие при Министерстве энергетики, индустрии и торговли Республики Казахстан

Кыргызская Республика

Государственная инспекция по архитектуре и строительству при Правительстве Кыргызской Республики

Республика Молдова

Министерство территориального развития, строительства и коммунального хозяйства Республики Молдова

Российская Федерация

Госстрой России

Республика Таджикистан

Госстрой Республики Таджикистан

3 ВЗАМЕН ГОСТ 6942.0-80 - ГОСТ 6942.24-80, ГОСТ 4.227-83.

4 ВВЕДЕН В ДЕЙСТВИЕ с 1 января 1999 г. в качестве государственного стандарта Российской Федерации постановлением Госстроя России от 31.12.98 г. № 31.

ГОСТ 6942-98

МЕЖГОСУДАРСТВЕННЫЙ СТАНДАРТ

ТРУБЫ ЧУГУННЫЕ КАНАЛИЗАЦИОННЫЕ И ФАСОННЫЕ ЧАСТИ К НИМ

Технические условия

CAST IRON WASTE PIPES AND FITINGS

Specifications

Дата введения 1999-01-01

1 Область применения

Настоящий стандарт распространяется на чугунные канализационные трубы и фасонные части к ним, предназначенные для систем внутренней канализации зданий.

Обязательные требования к качеству продукции изложены в: 5.1; 5.2.2 - 5.2.4; 5.2.7; 5.2.8; 5.3.1; 5.3.2.

2 Нормативные ссылки

В настоящем стандарте использованы ссылки на следующие стандарты:

ГОСТ 164-90 Штангенрейсмасы. Технические условия

ГОСТ 166-89 Штангенциркули. Технические условия

ГОСТ 1412-85 Чугун с пластинчатым графитом для отливок. Марки

ГОСТ 9812-74 Битумы нефтяные изоляционные. Технические условия

ГОСТ 11506-73 Битумы нефтяные. Метод определения температуры размягчения по кольцу и шару.

ГОСТ 15150-69 Машины, приборы и другие технические изделия. Исполнения для различных климатических районов. Категории, условия эксплуатации, хранения и транспортирования в части воздействия климатических факторов внешней среды

ГОСТ 18510-87 Бумага писчая. Технические условия

ГОСТ 26358-84 Отливки из чугуна. Общие технические условия

ГОСТ 26598-85 Контейнеры и средства пакетирования в строительстве. Общие технические условия

ГОСТ 26645-85 Отливки из металлов и сплавов. Допуски размеров, массы и припуски на механическую обработку.

3 Сортамент

3.1 Сортамент труб и фасонных частей должен соответствовать указанному в таблице 1.

 

Таблица 1

Наименование

Условные проходы, мм

Условное обозначение

 

Dy

dу

графическое

буквенное

Трубы

50

100

150

-

-

-

ТЧК-Dy-L

Патрубки

50

100

150

-

-

-

П-Dy-L

Патрубки компенсационные

100

150

-

-

ПК-Dy

Патрубки переходные

50/100

100/150

-

-

ПП-D1 ´ Dy

Колена

50

100

150

-

-

-

K-Dу

Колена низкие

100

-

KH-100

Отводы 110° и 120°

50

100

-

-

О l10°-Dу или О l20°-Dy

Отводы 135°

50

100

150

-

-

-

О 135°-Dy

Отводы 150°

50

100

100Д

150

-

-

-

-

О 150°- Dy

Отводы-тройники приборные

100

50

ОТПр-100 ´ 50 или ЛОТПр-100 ´ 50

Отступы

50

100

150

-

-

-

ОТС-Dy

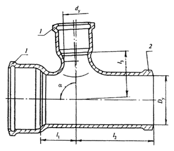
Тройники прямые

50

100

100

100

100

150

150

150

50

50

100

100К

100Д

50

100

150

Тп-Dy ´ dy

Тройники прямые компенсационные

100

150

50

50

ТПК-Dy ´ dy

Тройники прямые низкие

100

100

TH-100 ´ 100

Тройники прямые переходные

100/50

100

ТПР-100/50 ´ 100

Тройники прямые переходные низкие

100/50

100

ТПРН-100/50 ´ 100

Тройники косые 45° и 60°

50

100

100

150

150

150

50

50

100

50

100

150

ТК45°-Dy ´ dу и TK60°-Dy ´ dу

Крестовины прямые

50

100

100

150

150

50

50

100

50

100

КП-Dy ´ dу

Крестовины прямые со смещенной осью отвода

100

50/100

КПС-Dy ´ dу

Крестовины косые 45° и 60°

50

100

100

150

150

50

50

100

50

100

KK45°-Dy ´ dу и KK60°-Dy ´ dу

Крестовины двухплоскостные

100 150

100; 50 100; 50

КД-Dy ´ dу ´ dу

ЛКД-Dy ´ dу ´ dу

Муфты

50

100

150

-

-

-

Мф-Dy

Муфты надвижные

50

100

150

-

-

-

МфН-Dy

Ревизии

50

100

150

-

-

-

P-Dy

Заглушка

50

100

150

-

-

-

З-Dy

Отводы-тройники переходные

100

50

ОТП-100 ´ 50

Прочистки

100

150

-

-

Пр-Dy

4 Типы, конструкции и размеры

4.1 Трубы

4.1.1 Конструкция и размеры труб должны соответствовать указанным на рисунке 1 и в таблице 2.

Допускается по согласованию между потребителем и предприятием-изготовителем изготовление труб без раструбов и поставка их в комплекте с муфтами МФ. Длина таких труб может отличаться от указанной в таблице.

Пример условного обозначения трубы чугунной канализационной Dy = 100 мм, L = 2000 мм:

ТЧК-100-2000 ГОСТ 6942-98

Рисунок I

Таблица 2

Размеры в миллиметрах

Услов­ный проход Dy

Строи­тельная длина L

D1

D2

D3

D4

D5

S

l

b

b1

Мас­са, кг

50

750

1000

2000

65

72

76

86

96

4,0

50

10

8

4,5

5,8

11,0

100

750

1000

1250

2000

2100

2200

 

118

 

123

 

127

 

138

 

151

 

4,5

 

55

 

10

 

10

10,5

13,9

16,1

24,9

26,0

27,1

150

750

1000

2000

2100

2200

 

 

168

 

 

176

 

 

180

 

 

192

 

 

206

 

 

5,0

 

 

60

 

 

10

 

 

12

15,7

20,7

39,6

41,5

43,4

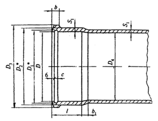
4.2 Раструбы и хвостовики фасонных частей

4.2.1 Раструбы фасонных частей изготавливают четырех типов: I, II, III, IV.

4.2.2 Конструкция и размеры раструбов типа I должны соответствовать указанным на рисунке 2 и в таблице 3, типа II - на рисунке 3 и таблице 4, типа III - на рисунке 4 и типа IV - на рисунке 5. Размеры даны без учета антикоррозионного покрытия. Допускается вариант изготовления раструбов типов I, II, III без кольцевой канавки на внутренней поверхности раструбов.

__________

* Размеры для справок

Рисунок 2

Таблица 3

В миллиметрах

Условный проход Dy

D

D1

D2

D3

D4

b

b1

S

S1

l мин.

с

50

65

72

76

81

90

13

8

4,0

4,5

55

10

100

118

123

128

133

145

14

10

4,5

5,0

55

10

150

168

176

182

187

202

15

12

5,0

5,5

55

10

__________

* Размеры для справок

Рисунок 3

Таблица 4

В миллиметрах

Условный проход Dy

D

D1

D2

D3

D4

b

b1

l мин.

с

S1

50

72

76

81

90

67

13

8

55

9

4,5

100

123

128

133

145

118

14

10

55

10

5,0

150

176

182

187

202

170

15

12

55

12

5,5

Рисунок 4

____________

* Размеры для справок

Рисунок 5

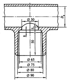
4.2.3 Конструкция и размеры хвостовиков фасонных частей должны соответствовать указанным на рисунке 6 и в таблице 5.

Рисунок 6

Таблица 5

В миллиметрах

Условный проход Dy

D

D1

S

50

58

62

4,0

100

109

114

4,5

150

160

164

5,0

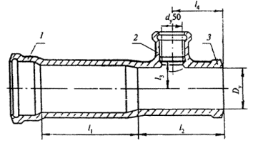
4.3 Патрубки

4.3.1 Конструкция и размеры патрубков должны соответствовать указанным на рисунке 7 и в таблице 6.

Пример условного обозначения патрубка Dy = 100 мм, L = 250 мм;

1 - раструб типа I; 2 - хвостовик

Рисунок 7

Таблица 6

Размеры в миллиметрах

Условный проход Dу

Строительная длина L

Масса, кг

 

50

250

350

400

2,0

2,5

2,8

 

100

200

250

350

3,8

4,4

5,7

150

400

8,8

4.4 Патрубки компенсационные

4.4.1 Конструкция и размеры компенсационных патрубков должны соответствовать указанным на рисунке 8 и в таблице 7.

Пример условного обозначения патрубка компенсационного Dу = 100 мм:

ПК-100 ГОСТ 6942-98

1 - раструб типа II; 2 - хвостовик

Рисунок 8

Таблица 7

Размеры в миллиметрах

Условный проход Dу

l1

l2

Масса, кг

100

130

80

4.5

100

370

80

8,4

150

130

80

6.5

150

380

80

12,8

4.5 Патрубки переходные

4.5.1 Конструкция и размеры переходных патрубков должны соответствовать указанным на рисунке 9 и в таблице 8.

Пример условного обозначения патрубка переходного Dу1 = 50 мм и Dy = 100 мм:

ПП-50/100 ГОСТ 6942-98

1 - раструб типа I, 2 - хвостовик

Рисунок 9

Таблица 8

Условный проход, мм

Масса, кг

Dy

Dy1

 

100

50

1,85

150

100

3,2

4.6 Колена

4.6.1 Конструкция и размеры колен должны соответствовать указанным на рисунке 10 и в таблице 9.

Пример условного обозначения колена Dу = 100 мм;

К-100 ГОСТ 6942-98

а = 92° 30' ± l° 30', 1 - раструб типа I, 2 - хвостовик

Рисунок 10

Таблица 9

Размеры в миллиметрах

Условный проход Dу

l1

l2

Масса, кг

50

57

130

2,0

100

85

150

4,9

150

125

180

7,5

4.7 Колена низкие

4.7.1 Конструкция и размеры колен низких должны соответствовать указанным на рисунке 11. Масса колена низкого 3,4 кг.

Условное обозначение колена низкого:

КН-100 ГОСТ 6942-98

1 - раструб типа IV; 2 - хвостовик

Рисунок 11

4.8 Отводы 110° и 120°

4.8.1 Конструкция и размеры отводов должны соответствовать указанным на рисунке 12 и в таблицах 10 и 11.

Пример условного обозначения отвода с a = 120° и Dy = 50 мм:

О 120°-50 ГОСТ 6942-98

То же, с a = 150° и Dу = 100Д (удлиненный) мм:

О 150°-100Д ГОСТ 6942-98

1 - раструб типа I, 2 - хвостовик

Рисунок 12

Таблица 10

Размеры в миллиметрах

Условный проход Dy

l1

l2

Масса, кг

При a = 110° ± 1° 30'

50

65

135

1,8

100

75

150

4,1

При a = 120° ± 1° 30'

50

55

125

1,7

100

65

140

3,6

Таблица 11

Размеры в миллиметрах

Условный проход Dy

l1

l2

Масса, кг

При a = 135° ± 1° 30'

50

50

115

1,6

100

55

125

3,5

150

100

165

5,4

При a = 150° ± 1° 30'

50

60

130

1,8

100

115

175

5,0

100Д

115

275

6,0

150

65

125

6,1

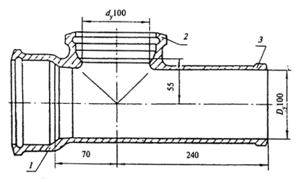
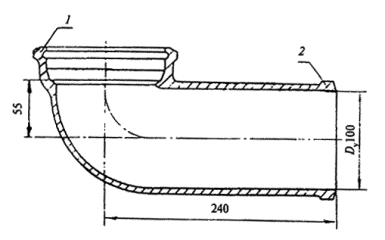
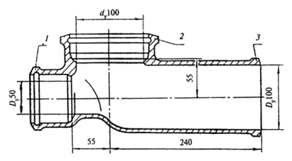
4.9 Отводы-тройники приборные

4.9.1 Отводы-тройники приборные изготавливают в двух исполнениях: правом и левом.

4.9.2 Конструкция и размеры отводов-тройников приборных должны соответствовать указанным на рисунке 13. Масса отвода-тройника 7,0 кг.

Условное обозначение отвода-тройника приборного в правом исполнении:

ОТПр ГОСТ 6942-98

То же, в левом исполнении:

ЛОТПр ГОСТ 6942-98

1 - раструб типа I; 2 - раструб типа III; 3 - хвостовик

Рисунок 13

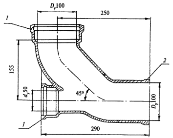
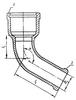
4.10 Отступы

4.10.1 Конструкция и размеры отступов должны соответствовать указанным на рисунке 14 и в таблице 12.

Пример условного обозначения отступа Dу = 100 мм:

ОТС-100 ГОСТ 6942-98

1 - раструб типа I; 2 - хвостовик

Рисунок 14

Таблица 12

Размеры в миллиметрах

Условный проход Dу

L

R

Масса, кг

50

210

60

2,1

100

250

85

5,0

150

250

90

8,0

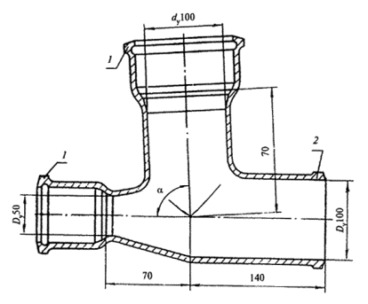
4.11 Тройники прямые

4.11.1 Конструкция и размеры тройников прямых должны соответствовать указанным на рисунке 15 и в таблице 13.

Пример условного обозначения тройника прямого Dу = 50 мм и dу = 50 мм:

ТП-50 ´ 50 ГОСТ 6942-98

То же, длинного, Dу = 100 мм и dу = 100Д мм:

ТП-100 ´ 100Д  ГОСТ 6942-98

Рисунок 15

а = 87° 30' ± 1° 30'; 1 - раструб типа I; 2 - хвостовик

Таблица 13

Размеры в миллиметрах

Условный проход

l1

l2

l3

Масса, кг

Dу

dy

 

 

 

 

50

50

40

120

40

2,4

 

50

40

120

65

4,2

100

100

70

145

70

6,0

 

100Д

95

220

150

8,3

 

50

40

125

90

6,0

150

100

70

155

95

7,5

 

150

95

170

95

10,0

4.12 Тройники прямые компенсационные

4.12.1 Конструкция и размеры тройников прямых компенсационных должны соответствовать указанным на рисунке 16 и в таблице 14.

Пример условного обозначения тройника прямого компенсационного Dу = 100 мм, dу = 50 мм:

 

ТПК –100 ´ 50 ГОСТ 6942-98

1 - раструб типа II; 2 - раструб типа I; 3 - хвостовик

Рисунок 16

Таблица 14

Размеры в миллиметрах

Условный проход Dу

l1

l2

l3

l4

Масса, кг

100

320

160

55

125

9.0

150

330

165

80

130

14,0

4.13 Тройники прямые низкие

4.13.1 Конструкция и размеры тройников прямых низких должны соответствовать указанным на рисунке 17. Масса тройника 5,8 кг.

Условное обозначение тройника прямого низкого:

ТН-100 ´ 100 ГОСТ 6942-98

1 - раструб типа I; 2 - раструб типа IV; 3 - хвостовик

Рисунок 17

4.14 Тройники прямые переходные

4.14.1 Конструкция и размеры тройников прямых переходных должны соответствовать указанным на рисунке 18. Масса тройника 6,8 кг.

Условное обозначение тройника прямого переходного:

ТПР-100/50 ´ 100 ГОСТ 6942-98

а = 87° 30' ± 1°30'; 1 - раструб типа I ; 2 - хвостовик

Рисунок 18

4.15 Тройники прямые переходные низкие

4.15.1 Конструкция и размеры тройников прямых переходных низких должны соответствовать указанным на рисунке 19. Масса тройника 4,7 кг.

Условное обозначение тройника прямого переходного низкого:

ТПРН-100/50 ´ 100 ГОСТ 6942-98

1 - раструб типа I; 2 - раструб типа IV, 3 - хвостовик

Рисунок 19

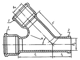
4.16 Тройники косые

4.16.1 Конструкция и размеры тройников косых должны соответствовать указанным на рисунке 20 и в таблице 15.

Пример условного обозначения тройника косого с a = 45°, Dу = 100 мм и = 50 мм:

TK 45°-100 ´ 50 ГОСТ 6942-98

То же, с 60°, Dу = 150 мм и dy = 100 мм:

TK 60°-150 ´ 100 ГОСТ 6942-98

1 - раструб типа I; 2 - хвостовик

Рисунок 20

Таблица 15

Размеры в миллиметрах

Условный проход

l1

l2

l3

Масса, кг

Dу

dy

При a = 45° ± 1° 30'

50

50

90

100

90

2,8

100

50

100

115

150

75

110

125

150

4,8

7,8

 

50

140

50

160

67

150

100

180

85

188

8,4

 

150

220

125

220

12,5

При a = 60° ± 1° 30'

50

50

62

108

62

2,7

100

50

80

95

90

4,8

 

100

110

125

110

7,0

 

50

92-

80

120

6,7

150

100

122

108

135

8,1

 

150

152

138

152

13,0

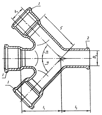
4.17 Крестовины прямые

4.17.1 Конструкция и размеры крестовин прямых должны соответствовать указанным на рисунке 21 и в таблице 16.

Пример условного обозначения крестовины прямой Dу = 100 мм и dу = 50 мм:

КП-100 ´ 50 ГОСТ 6942-98

a = 87° 30' ± l° 30'; 1 - раструб типа I; 2 - хвостовик

Рисунок 21

Таблица 16

Размеры в миллиметрах

Условный проход

l1

l2

l3

Масса, кг

Dу

dy

50

50

40

120

40

3,2

100

50

40

120

65

6,0

100

70

145

70

8,0

150

50

40

125

90

6,5

100

70

155

95

9,8

4.18 Крестовины прямые со смещенной осью отвода

4.18.1 Конструкция и размеры крестовин прямых со смещенной осью отвода должны соответствовать указанным на рисунке 22. Масса тройника 7,6 кг.

Условное обозначение крестовины прямой со смещенной осью отвода:

КПС-100 ´ 50 ГОСТ 6942-98

a = 87° 30' ± 1° 30'; 1 - раструб типа I; 2 - хвостовик

Рисунок 22

4.19 Крестовины косые

4.19.1 Конструкция и размеры крестовин косых должны соответствовать указанным на рисунке 23 и в таблице 17.

Пример условного обозначения крестовины косой с a = 45°, Dу = 100 мм и dу = 100 мм:

KK 45°-100 ´ 100 ГОСТ 6942-98

То же, с a = 60°, Dy = 150 мм и dy = 50 мм:

КК 60°-150 ´ 50 ГОСТ 6942-98

1 - раструб типа I, 2 - хвостовик

Рисунок 23

Таблица 17

Размеры в миллиметрах

Условный проход

l1

l2

l3

Масса, кг

Dу

dy

При a = 45° ± 1° 30'

50

50

90

100

90

4,0

100

50

100

115

150

75

110

125

150

6,9

10,5

150

50

100

140

180

85

85

160

188

7,3

10,5

При a = 60° ± l° 30'

50

50

62

108

62

3,0

100

50

100

80

110

95

125

90

110

5,8

9,8

150

50

100

92

122

80

108

120

135

7,0

10,0

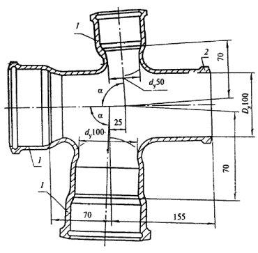
4.20 Крестовины двухплоскостные

4.20.1 Крестовины двухплоскостные изготавливаются в двух исполнениях: правом и левом.

4.20.2 Конструкция и размеры двухплоскостных крестовин должны соответствовать указанным на рисунке 24 и в таблице 18.

Пример условного обозначения крестовина двухплоскостной Dу = 150 мм в правом исполнении:

КД-150 ´ 100 ´ 50 ГОСТ 6942-98

То же, в левом исполнении:

ЛКД-150 ´ 100 ´ 50 ГОСТ 6942-98

a = 87° 30' ± 1° 30'; 1 - раструб типа I; 2 - раструб типа III; 3 - хвостовик

Рисунок 24

Таблица 18

Размеры в миллиметрах

Условный проход Dy

l1

l2

l3

l4

Масса, кг

100

70

155

75

105

6,5

150

100

180

130

145

13,8

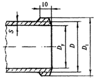
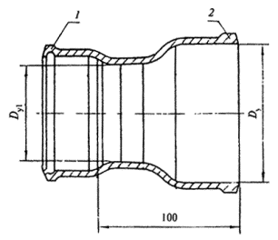
4.21 Муфты

4.21.1 Конструкция и размеры муфт должны соответствовать указанным на рисунке 25 и в таблице 19.

Пример условного обозначения муфты Dу = 100 мм:

Мф-100 ГОСТ 6942-98

1 - раструб типа I

Рисунок 25

Таблица 19

Условный проход Dу, мм

Масса, кг

50

1.3

100

2,7

150

5,0

4.22 Муфты надвижные

4.22.1 Конструкция и размеры муфт надвижных должны соответствовать указанным на рисунке 26 и в таблице 20.

Пример условного обозначения муфты надвижной Dу =100 мм:

МфН-100 ГОСТ 6942-98

1 - раструб типа II

Рисунок 26

Таблица 20

Размеры в миллиметрах

Условный проход Dу

D

L

Масса, кг

50

67

80

1,8

100

118

100

3,8

150

170

120

6,2

4.23 Ревизии

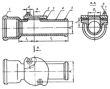
4.23.1 Конструкция и размеры ревизий должны соответствовать указанным на рисунке 27 и в таблице 21.

Пример условного обозначения ревизии Dу =100 мм:

Р-100 ГОСТ 6942-98

4.23.2. Допускается размещение болтов в плоскости А-А и изготовление крышки 2 из стали.

1 - раструб типа I; 2 - крышка; 3 - прокладка; 4 - корпус; 5 - хвостовик; 6 - гайка; 7 - болт

Рисунок 27

Таблица 21

Размеры в миллиметрах

Условный проход Dy

l1

l2

l3

d

A

Масса, кг

Число болтов

50

60

115

34

10

80

2,2

2

100

95

135

58

12

140

6,8

2

150

120

165

84

12

170

10,5

2

4.24 Заглушки

4.24.1 Конструкция и размеры заглушек должны соответствовать указанным на рисунке 28 и в таблице 22.

Пример условного обозначения заглушки Dу = 100 мм:

З-100 ГОСТ 6942-98

4.24.2 Допускается размещение болтов в плоскости Б-Б и изготовление крышки 3 из стали.

1 - болт; 2 - гайка; 3 - крышка; 4 - прокладка; 5 - корпус; 6 - хвостовик

Рисунок 28

Таблица 22

Размеры в миллиметрах

Условный проход Dу

l

A

d

Число болтов

Масса, кг

50

100

80

10

2

0,8

100

110

140

12

2

1,9

150

120

170

12

2

2,8

4.25 Отводы-тройники переходные

4.25.1 Конструкция и размеры отводов-тройников переходных должны соответствовать указанным на рисунке 29. Масса отвода-тройника переходного 7,8 кг.

Пример условного обозначения отвода-тройника переходного:

ОТП-100 ´ 50 ГОСТ 6942-98

1 - раструб типа I; 2 - хвостовик

Рисунок 29

4.26 Прочистки

4.26.1 Конструкция и размеры прочисток должны соответствовать указанным на рисунке 30 и в таблице 23.

Пример условного обозначения прочистки:

Пр-100 ГОСТ 6942-98

4.26.2 Прочистки должны поставляться комплектно со всеми деталями, указанными на рисунке, и в собранном виде.

1 - раструб типа 1; 2 - гайка; 3 - болт; 4 - крышка; 5 - прокладка; 6 - корпус; 7 - хвостовик

Рисунок 30

Таблица 23

Размеры в миллиметрах

Условный проход Dy

l1

l2

l3

Масса, кг

100

53

142

65

6.13

150

53

142

95

10,55

4.27 Размеры и масса даны без учета антикоррозионного покрытия.

5 Технические требования

5.1 Чугунные канализационные трубы и фасонные части к ним следует изготавливать в соответствии с требованиями настоящего стандарта, по конструкторской и технологической документации, утвержденной в установленном порядке.

5.2 Характеристики

5.2.1 Трубы и фасонные части к ним не должны иметь дефектов, ухудшающих их монтажные и эксплуатационные качества: заливов, наростов, капель металла, шлаковых наслоений на наружной и внутренней поверхностях. Допускается устранение незначительных дефектов, обусловленных способом производства и не ухудшающих качества изделий.

5.2.2 Трубы и фасонные части к ним не должны иметь отбела по всей наружной поверхности глубиной более 1 мм, а на торцах и наружной поверхности гладких концов труб на длине 60 мм от торца и в местах разъема литейных форм на фасонных частях - глубиной более 2 мм.

5.2.3 Отклонения от номинальных размеров внутренних диаметров раструбов труб и фасонных частей и наружных диаметров гладких концов труб и хвостовиков фасонных частей (до нанесения на изделие антикоррозионного покрытия) не должны превышать ± 2 мм. Отклонения от размеров строительных длин в изделиях всех типов и диаметров не должны превышать ± 0,9 %.

5.2.4. Допускается утолщение не более чем на 2 мм стенок гладких концов труб на участке длиной до 150 мм и хвостовиков фасонных частей на участке длиной до 70 мм от их торцов с соответствующим уменьшением внутренних диаметров изделий в этих местах, а также закругление с наружной стороны торцов гладких концов труб и хвостовиков фасонных частей.

5.2.5 Предельные отклонения от номинальных размеров отливок изделий, за исключением регламентированных в 3.2.3 и 3.2.4, должны соответствовать 11т классу точности по ГОСТ 26645.

5.2.6 Отклонения от расчетных значений масс изделий, установленных в стандартах на конструкции, и размеры этих изделий (при подсчете которых плотность чугуна принята равной 7,1 г/см3) должны соответствовать 11 т классу точности по ГОСТ 26645.

Отливки, масса которых превышает максимальную, признаются годными при условии, что по всем прочим качественным характеристикам они соответствуют настоящему стандарту.

5.2.7 Отклонения от прямолинейности труб Dу 100 и Dу 150 мм не должны превышать 2 мм на 1 м длины, а труб Dу 50 мм - 5 мм на 1 м длины.

5.2.8 Трубы и фасонные части в сборе после нанесения на их внутренние и наружные поверхности антикоррозионного покрытия и заделки раструбов должны выдерживать гидравлическое давление не менее 0,1 МПа (1,0 кгс/см2).

5.3 Требования к сырью, материалам и комплектующим изделиям

5.3.1 Трубы и фасонные части к ним должны изготавливаться из серого чугуна с пластинчатым графитом по ГОСТ 1412 и в соответствии с требованиями к отливкам по ГОСТ 26358.

5.3.2 Наружная и внутренняя поверхности труб и фасонных частей должны быть покрыты антикоррозионным составом на основе битумов марки БНИ 1У-3 по ГОСТ 9812- или другими составами, обеспечивающими температуру размягчения антикоррозионного покрытия не ниже 333 К (60 °С) и условия эксплуатации УХЛ 4 ГОСТ 15150.

Антикоррозионное покрытие должно быть сплошным, прочным, гладким, без трещин и пузырей, прочно сцепленным с металлом изделий и не должно быть липким.

На поверхности покрытия труб допускаются кольцевые отпечатки от опор для перекатывания труб, а на поверхности покрытия фасонных частей - следы от крючков подвесок цепных конвейеров, а также потеки, вызываемые стоком антикоррозионного состава с труб и фасонных частей, или несплошности покрытия.

5.4 Комплектность

5.4.1 Предприятие-изготовитель должно комплектовать трубы и фасонные части для поставки в ассортименте, определяемом заказом потребителя.

5.5 Маркировка и упаковка

5.5.1 Трубы и фасонные части должны иметь маркировку, отлитую или нанесенную несмываемой краской на торцевой или образующей поверхности раструба или непосредственно за раструбом и включающую:

- товарный знак предприятия-изготовителя;

- условное обозначение изделия;

- обозначение настоящего стандарта.

5.5.2 Трубы упаковывают в контейнеры, пакеты, в кассеты или в связки, увязанные проволокой.

При упаковке трубы укладывают раструбами попеременно в противоположные стороны. Фасонные части укладывают на ящичные поддоны или контейнеры по ГОСТ 26598, при этом грузоподъемность контейнера должна быть использована полностью.

6 Правила приемки

6.1 Трубы и фасонные части принимают партиями. Партией считают количество труб и фасонных частей, изготовленных в течение одной смены и оформленных одним документом о качестве.

6.2. Для проверки соответствия труб и фасонных частей требованиям настоящего стандарта предприятие-изготовитель проводит приемосдаточные и периодические испытания изделий.

6.3. При приемосдаточных испытаниях проводят проверку изделий на соответствие требованиям:

5.2.2 - 0,5 % изделий от партии;

5.2.1 и 5.3.2в части внешнего вида антикоррозионного покрытия - 100 % изделий в партии;

5.2.3 - 5.2.8, 5.3.2в части липкости антикоррозионного покрытия - не менее 2 % изделий от партии.

6.4 Периодические испытания проводят не реже одного раза в квартал.

6.5 Периодическим испытаниям подвергаются изделия, выдержавшие приемосдаточные испытания.

6.6. При периодических испытаниях проводят проверку изделий на соответствие требованиям 5.2.3; 5.5.1 и 5.3.2 в части определения температуры размягчения антикоррозионного покрытия и прочности сцепления его с металлом в объеме 0,5 % изделий от партии.

6.7 Потребитель имеет право проводить контрольную проверку труб и фасонных частей по любому показателю качества, соблюдая порядок отбора изделий, приведенный в 6.3; 6.6, и применяя методы контроля, указанные в разделе 7.

6.8. Если при проверке хотя бы одно изделие по какому-либо показателю не будет соответствовать требованиям настоящего стандарта, то проводят повторную проверку по этому показателю удвоенного числа изделий из той партии.

При неудовлетворительных результатах повторной проверки партию изделий бракуют или проводят поштучную приемку изделий с проверкой показателей, по которым при повторной проверке были получены неудовлетворительные результаты.

7 Методы контроля

7.1 Глубину отбела и размеры отбеленного слоя (5.2.2) проверяют на выбракованных по другим показателям изделиях путем их раскалывания и замера глубины и размеров отбеленного слоя линейкой или штангенциркулем по ГОСТ 166.

7.2 Внешний вид и качество поверхностей изделий (5.2.1) и внешний вид антикоррозионного покрытия изделий (5.3.2) проверяют визуально без применения увеличительных приборов сравнением проверяемого изделия с эталоном.

7.3 Отклонения от размеров труб и фасонных частей (5.2.3 - 5.2.5) проверяют универсальными измерительными инструментами, обеспечивающими необходимую точность измерений. Измерения проводят в двух взаимно перпендикулярных направлениях. Среднее арифметическое значение результатов двух измерений считают наружным (внутренним) диаметром. При этом результат каждого измерения должен находиться в пределах допускаемых отклонений.

7.4 Проверку массы изделий и отклонения от нее (5.2.6) проводят путем взвешивания изделий на весах с классом точности не грубее 2-го.

7.5 Определение наличия и значения величины непрямолинейности труб (5.2.7)

7.5.1 Приспособления и инструменты:

- штангенрейсмас по ГОСТ 164;

- контрольная горизонтальная плита;

- две стальные призматические опоры одинаковой высоты.

7.5.2 Проведение проверки

На контрольную плиту устанавливают параллельно между собой на расстоянии друг от друга более половины длины проверяемой трубы две призматические опоры и на них укладывают трубу прогибом вниз. При помощи штангенрейсмаса с точностью до 0,1 мм измеряют расстояние от поверхности плиты до нижней точки трубы в месте ее наибольшего прогиба.

7.5.3 Подсчет результатов проверки

Значение отклонения от прямолинейности трубы на 1 м ее длины D подсчитывают по формуле

,                                                            (1)

где а - высота опоры, мм;

b - расстояние от горизонтальной поверхности плиты до нижней точки трубы, мм;

l - расстояние между призматическими опорами, м.

7.6 Температуру размягчения антикоррозионного покрытия (5.3.2) проверяют по ГОСТ 11506.

7.7 Прочность сцепления антикоррозионного покрытия с металлом изделия (5.3.2) проверяют путем нанесения на покрытие лезвием ножа надрезов в виде сетки с расстояниями между линиями надрезов не менее 40 мм.

Сцепление покрытия считают прочным, если при надрезах покрытие не будет отслаиваться.

7.8 Липкость антикоррозионного покрытия (5.3.2) проверяют при температуре окружающего воздуха от 15 до 30 °С путем легкого прижатия к покрытию изделия чистого листа писчей бумаги по ГОСТ 18510.

Покрытие считают нелипким, если после снятия бумаги на ней не остается следов покрытия.

Липкость покрытия проверяют не ранее чем через 24 ч после нанесения его на изделие.

7.9 Проверка герметичности труб и фасонных частей (5.2.8)

7.9.1 Приспособления, материалы и оборудование:

- стенд, оборудованный манометром с ценой деления не грубее 0,01 МПа (0,1 кгс/см2);

- насос, создающий гидравлическое давление 0,2 МПа (2 кгс/см2);

- заглушки (глухие и с патрубками).

7.9.2 Проведение проверки

Трубы и фасонные части в сборе располагают на стенде, и на ближайшее к насосу отверстие устанавливают заглушку с патрубком для присоединения к насосу, а на другое отверстие устанавливают заглушку с патрубком для слива воды. Если имеются другие отверстия, то на них устанавливают глухие заглушки. При помощи насоса испытываемый участок трубопровода заполняют водой, перекрывают вентилем или другим запорным устройством патрубок для слива воды и создают в нем давление не менее 0,1 МПа (1,0 кгс/см2). Такое давление поддерживают не менее 15 с, в течение которых производят осмотр соединений участка трубопровода.

7.9.3 Результаты проверки

Участок трубопровода считают герметичным, если при его осмотре не будет обнаружено течи воды через его стенки или раструбные соединения, запотевания наружных поверхностей труб и фасонных частей.

8 Транспортирование и хранение

8.1 Трубы и фасонные части перевозят всеми видами транспорта в соответствии с правилами перевозки грузов, действующими на транспорте данного вида.

8.2 Трубы следует хранить рассортированными по условным диаметрам, фасонные части - по типам и типоразмерам в условиях, исключающих возможность механических повреждений изделий.

9 Указания по монтажу и эксплуатации

9.1 Монтаж труб и фасонных частей должен осуществляться по технологии, обеспечивающей их работоспособность и герметичность соединений, в соответствии со строительными нормами и правилами.

9.2 Трубы и фасонные части могут быть соединены между собой методом зачеканки раструбов просмоленной прядью и цементом или заливкой нагретой серой, а также с помощью резиновой уплотнительной манжеты.

10 Гарантии изготовителя

10.1 Изготовитель гарантирует соответствие труб и фасонных частей к ним требованиям настоящего стандарта при соблюдении правил транспортирования, хранения, монтажа и эксплуатации.

10.2 Гарантийный срок хранения - 3 года со дня изготовления.

Гарантийный срок эксплуатации - 2 года со дня ввода объекта в эксплуатацию или продажи в пределах гарантийного срока хранения.

Ключевые слова: трубы чугунные канализационные, фасонные части, система внутренней канализации зданий

содержание

 

 




ГОСТЫ, СТРОИТЕЛЬНЫЕ и ТЕХНИЧЕСКИЕ НОРМАТИВЫ.
Некоммерческая онлайн система, содержащая все Российские Госты, национальные Стандарты и нормативы.
В Системе содержится более 150000 файлов нормативно-технической документации, действующей на территории РФ.
Система предназначена для широкого круга инженерно-технических специалистов.

Рейтинг@Mail.ru Яндекс цитирования

Copyright © www.gostrf.com, 2008 - 2026