|
|
|
ПРАВИТЕЛЬСТВО МОСКВЫ КОМПЛЕКС АРХИТЕКТУРЫ, СТРОИТЕЛЬСТВА, управление научно-технической
политики ТЕХНИЧЕСКИЕ РЕКОМЕНДАЦИИ
|
|
Правительство Москвы Комплекс архитектуры, строительства, развития и реконструкции города |
Технические рекомендации по устройству кровель с применением рулонного материала Шунгомаст |
ТР 183-07 Вводятся впервые |
1.1 Настоящие Технические рекомендации разработаны на период, рассчитанный до выхода Технического регламента (Закон № 184-ФЗ от 27.12.02 «О техническом регулировании»), и предназначены для использования при устройстве кровель жилых, общественных и промышленных зданий в г. Москве.
1.2 Рекомендации разработаны в соответствии с требованиями следующих нормативных документов: СНиП II-26-76* «Кровли. Нормы проектирования», СНиП 3.04.01-87 «Изоляционные и отделочные покрытия», «Кровли. Руководство по проектированию, устройству, правилам приемки и методам оценки качества» (ОАО «ЦНИИПромзданий», Москва, 2002 г.), СНиП 12-03-2001 «Безопасность труда в строительстве», ППБ 01-03 «Правила пожарной безопасности в Российской Федерации».
1.3 Устройство кровель должно выполняться из сертифицированных материалов специализированными организациями на основе проекта производства работ, рабочих чертежей кровли и настоящих рекомендаций.
2.1 Рабочие чертежи кровли и гидроизоляции разрабатываются проектной организацией в соответствии с «Руководством по устройству кровель и гидроизоляции с применением материалов типа Филизол и ему подобных» (ОАО «ЦНИИПромзданий», Москва, 1996 г.).
|
Разработаны |
Утверждены: Начальник Управления научно-технической политики в строительной отрасли А.Н. Дмитриев |
Дата
введения в действие |
2.2 Кровельный ковер на уклонах 0-1.5% выполняется из двух слоев Филизола Н или Филизол-Маст Н и одного слоя Шунгомаста.
2.3 Кровельный ковер на уклонах 1.5-10% выполняется из одного слоя Филизола Н или Филизол-Маст Н и одного слоя Шунгомаста.
2.4 Кровельный ковер на уклонах более 10% выполняется из одного слоя Шунгомаста. При этом необходимо предусматривать дополнительное крепление материалов.
2.5 Для устройства кровли применяются следующие материалы:
- материал рулонный кровельный и гидроизоляционный наплавляемый битумно-полимерный Филизол (ТУ 5774-008-05108038).
- материал рулонный кровельный и гидроизоляционный наплавляемый битумно-полимерный Филизол-Маст (ТУ 5774-019-05108038).
- материал рулонный кровельный наплавляемый битумно-полимерный Шунгомаст (ТУ 5774-021-05108038).
2.6 В качестве грунтовки рекомендуется применять раствор битума в керосине в соотношении 1:3 - 1:4 или праймер битумный (ТУ 5775-011-17925162). В летнее время может быть применена мастика битумно-полимерная эмульсионная кровельная и гидроизоляционная МЭБИС (ТУ 5775-008-42788835).
2.7 Для изготовления фартуков рекомендуется применять тонколистовую оцинкованную сталь с непрерывных линий (ГОСТ 14918).
2.8 Для заделки стыков рекомендуется применять герметизирующую мастику АМ-0.5 (ТУ 84-240), герметик СП-1М (ТУ 5770-002-56643999), мастику Тиобит (ТУ 5775-012-3247830) или аналогичные.
3.1 Основанием под кровельный ковер могут служить бетонные и железобетонные конструкции, цементно-песчаная или асфальтобетонная стяжки.
3.2 Перед началом работ наименования и марки материалов проверяют на соответствие проекту, качество материалов - на соответствие требованиям технических условий. Готовят инструмент и инвентарь.
3.3 После составления и подписания акта на скрытые работы приступают к укладке материалов.
4.1 Кровельный ковер с верхним слоем из Шунгомаста устраивается по проекту: в лотках, ендовах, перепадах высот, температурных швах (на одном уровне с плоскостью кровли), на коньках и у водоприемных воронок укладывается дополнительный слой.
4.2 Кровельный ковер укладывают, подплавляя с нижней стороны полотна материала битумно-полимерное вяжущее пламенем газовых или соляровых горелок, или инфракрасными излучателями (машина «Луч», облучатели «ИКО-500», ИКО «1000»). Укладка материалов с применением инфракрасных излучателей выполняется в соответствии с ТР 113-01 «Технические рекомендации по устройству кровель из наплавляемых рулонных материалов с применением инфракрасного метода».
4.3 Размер нахлеста полотнищ для нижних слоев составляет 70-90, для верхних слоев вдоль рулона - 85-100, для нижних и верхних слоев поперек рулона - 100-120 мм.
4.4 Не менее, чем за 1 сутки до начала работ по приклеиванию первого слоя кровельного материала железобетонные, бетонные и оштукатуренные поверхности очищаются от мусора и пыли, грунтуются мастикой МЭБИС (только при положительных температурах) или праймером.
4.5 Устройство кровельного ковра выполняется в следующей последовательности:
а) в зоне водоприемной воронки укладывается полотно Филизола или Филизол-Маста марки Н размером 700×700 мм;
б) на коньках и перепадах высот шириной 250 мм с каждой стороны от перегиба укладывается дополнительный слой; в ендовах или лотках - шириной 750 мм с каждой стороны от оси;
в) на температурных швах укладывается один слой шириной 150 мм с каждой стороны от оси, приклеиваемый к основанию только по одной стороне от оси;
в) начиная с нижележащих участков, укладывается нижний слой Филизола или Филизол-Маста марки Н, поперечные стыки смежных полотнищ разносятся между собой на расстояние не менее 500 мм;
г) укладывается второй слой Филизола или Филизол-Маста марки Н (при трехслойном ковре) со сдвигом на 1/3 по ширине рулона; поперечные стыки смежных полотнищ разносятся между собой на расстояние не менее 500 мм и не менее 1000 мм по отношению к нижележащим стыкам;
д) укладывается верхний слой из Шунгомаста со сдвигом на 1/3 по ширине рулона при трехслойном ковре или на 1/2 по ширине рулона при двухслойном ковре; поперечные стыки смежных полотнищ разносятся между собой на расстояние не менее 500 мм и не менее 1000 мм по отношению к нижележащим стыкам;
е) в местах примыканий к вертикальным поверхностям укладываются два дополнительных слоя Филизола Н или Филизол-Маста Н (нижний слой) и Шунгомаста (верхний слой);
ж) на вертикальных поверхностях устанавливаются защитные фартуки.
4.6 На горизонтальной поверхности укладка Филизола, Филизол-Маста или Шунгомаста выполняется следующим образом:
а) рулон раскатывают на длину 3-4 м для уточнения направления и величины нахлеста;
б) конец полотна приклеивают к основанию;
в) рулон скатывают до места приклеивания;
г) подплавляют слой вяжущего, прогревают основание, и рулон постепенно раскатывают, наклеивая на основание;
д) в местах примыканий к вертикальным поверхностям конец полотна заводят на высоту 100 мм.
4.7 В местах примыканий к вертикальным поверхностям дополнительные слои укладываются в следующем порядке:
а) от рулона отмеряют и отрезают кусок материала размером, необходимым для расположения его на вертикальной поверхности, предусмотрев для нижнего слоя дополнительные 100 мм для укладки по горизонтали, и для верхнего слоя - 150 мм.
б) отрезанный кусок складывают в поперечном направлении для нижнего слоя, отступив от края 100 мм и для верхнего слоя 150 мм; материал прикладывают к вертикальной поверхности для уточнения величины нахлеста и высоты подъёма полотна;
в) полотно прижимают к основанию, подплавляют и укладывают на вертикальной поверхности;
г) нижний конец полотна укладывают на горизонтальной поверхности.
4.8 Верхние кромки дополнительных слоев закрывают фартуками из оцинкованной стали, которые закрепляют в соответствии с проектом или заклеивают полосой Шунгомаст шириной 100 мм. Зазор между фартуком и стеной заделывают герметизирующей мастикой.
5.1 Контроль качества применяемых материалов возлагается на строительную лабораторию, производства работ - на мастера или бригадира.
5.2 К укладке материалов приступают после подписания акта на скрытые работы по устройству основания.
5.3 На объекте заводится «Журнал производства работ» и устанавливается постоянный контроль за соблюдением технологии выполнения отдельных этапов.
5.4 Качество укладки материалов и устройства мест примыканий устанавливается путём осмотра их поверхности, на которой не должно быть сквозных отверстий и других дефектов.
В местах соединения полотнищ материала размеры нахлеста должны быть соблюдены. Места примыкания материала к вертикальным поверхностям должны быть выполнены в соответствии с проектом.
5.5 Дефекты или отклонения от проекта, обнаруженные при осмотре слоев, должны быть исправлены до подписания акта на выполненные работы по укладке материалов.
6.1 Работы по устройству кровли должны проводиться в соответствии с требованиями СНиП 12-03-2001 «Безопасность труда в строительстве», ППБ 01-03 «Правилами пожарной безопасности в Российской Федерации», СП 12-136-2002 «Решения по охране труда и промышленной безопасности в проектах организации строительства и проектах производства работ».
6.2 К работам по устройству кровли допускаются мужчины не моложе 18 лет, прошедшие предварительный (при поступлении на работу) и периодический медицинские осмотры, имеющие наряд-допуск.
6.3 Работы по устройству кровли производятся только при использовании средств индивидуальной защиты (СИЗ). Для защиты тела должны быть использованы брезентовые комбинезоны (ГОСТ 27653); для защиты ног - ботинки кожаные (ГОСТ 28507); для защиты рук - брезентовые рукавицы (ГОСТ 12.4.010).
6.4 Рабочие допускаются к работам по устройству кровли только после осмотра основания, ограждений и мест страховки прорабом или мастером вместе с бригадиром.
По окончании работ (смены) материалы и инструменты должны быть убраны с кровли.
6.5 Отходы, образующиеся при использовании кровельных материалов, должны быть собраны в специальные контейнеры и направлены на уничтожение в соответствии с СанПиН 2.1.7.1322-03 «Гигиенические требования к размещению и обезвреживанию отходов производства и потребления».
6.6 Место производства работ должно быть оснащено следующими средствами пожаротушения и медицинской помощи:
- огнетушитель пенный марки ОХП-10 (ТУ-22-4720) из расчета на одну секцию кровли, не менее - 2 шт.
- ящик с песком емкостью 0.05 м3 - 1 шт.
- лопата - 2 шт.
- асбестовое полотно - 1 кв. м.
- аптечка с набором медикаментов - 1 шт.
1 СНиП II-26-76* «Кровли. Нормы проектирования».
2 СНиП 3.04.01-87 «Изоляционные и отделочные покрытия»,
3 «Кровли. Руководство по проектированию, устройству, правилам приемки и методам оценки качества», ОАО «ЦНИИ-Промзданий», Москва, 2002 г.
4 «Руководство по устройству кровель и гидроизоляции с применением материалов типа Филизол и ему подобных», ОАО «ЦНИИПромзданий», Москва, 1996 г.
5 ГОСТ 14918-80* «Сталь тонколистовая оцинкованная с непрерывных линий. Технические условия».
6 ТУ 57774-008-05108038-99 «Материал рулонный кровельный и гидроизоляционный наплавляемый битумно-полимерный Филизол».
7 ТУ 5774-019-05108038-2005 «Материал рулонный кровельный и гидроизоляционный наплавляемый битумно-полимерный Филизол-Маст».
8 ТУ 5774-021-05108038-2006 «Материал рулонный кровельный наплавляемый битумно-полимерный Шунгомаст».
9 ТУ 5775-011-17925162-2003 «Праймер битумный».
10 ТУ 5775-008-42788835-99 «Мастика битумно-полимерная эмульсионная кровельная и гидроизоляционная МЭБИС»
11 ТУ 84-240-85 «Мастика тиоколовая строительного назначения».
12 СНиП 12-03-2001 «Безопасность труда в строительстве».
13 ППБ 01-03 «Правила пожарной безопасности в Российской Федерации».
14 ГОСТ 27653-88 «Костюмы мужские для защиты от механических воздействий, воды и щелочей. Технические условия».
15 ГОСТ 28507-90 «Обувь специальная кожаная для защиты от механических воздействий. Общие технические условия».
16 ГОСТ 12.4.010-75 «Средства индивидуальной защиты. Рукавицы специальные. Технические условия».
17 ТУ 22-4720-80 «Огнетушитель химический пенный».
18 ТУ 5775-012-32478306-01 «Мастика кровельная «Тиобит».
19 ТУ 5770-002-56643999-01 «Герметик полиуретановый СП-1М».
20 ТР 113-01 «Технические рекомендации по устройству кровель из наплавляемых рулонных материалов с применением инфракрасного метода».
21 СП 12-136-2002 «Решения по охране труда и промышленной безопасности в проектах организации строительства и проектах производства работ».
22 СанПиН 2.1.7.1322-03 «Гигиенические требования к размещению и обезвреживанию отходов производства и потребления».

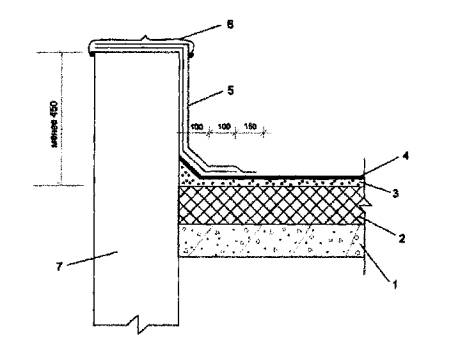
1 - железобетонная плита; 2 - утеплитель; 3 - цементно-песчаная стяжка; 4 - основной водоизоляционный ковер; 5 - дополнительные слои; 6 - фартук из оцинкованной стали; 7 - парапет.
Рисунок 1 - Примыкание водоизоляционного ковра к парапету высотой до 450 мм

1 - железобетонная плита; 2 - утеплитель; 3 - цементно-песчаная стяжка; 4 - основной водоизоляционный ковер; 5 - дополнительные слои; 6 - колпак водоприемной воронки; 7 - водоприемная воронка.
Рисунок 2 - Примыкание водоизоляционного ковра к водоприемной воронке

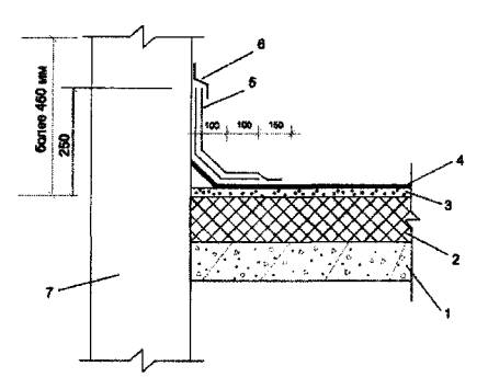
1 - железобетонная плита; 2 - утеплитель; 3 - цементно-песчаная стяжка; 4 - основной водоизоляционный ковер; 5 - дополнительные слои; 6 - фартук из оцинкованной стали или рулонного материала; 7 - парапет, стена или труба.
Рисунок 3 - Примыкание водоизоляционного ковра к парапету высотой более 450 мм стенам и трубам

1 - железобетонная плита; 2 - утеплитель; 3 - цементно-песчаная стяжка; 4 - основной водоизоляционный ковер; 5 - дополнительный слой; 6 - компенсатор
Рисунок 4 - Узел устройства температурного шва а) шириной до 60 мм; б) шириной более 60 мм
|
ГОСТЫ, СТРОИТЕЛЬНЫЕ и ТЕХНИЧЕСКИЕ НОРМАТИВЫ. Некоммерческая онлайн система, содержащая все Российские Госты, национальные Стандарты и нормативы. В Системе содержится более 150000 файлов нормативно-технической документации, действующей на территории РФ. Система предназначена для широкого круга инженерно-технических специалистов. Copyright © www.gostrf.com, 2008 - 2026 |