Крупнейшая бесплатная информационно-справочная система онлайн доступа к полному собранию технических нормативно-правовых актов РФ. Огромная база технических нормативов (более 150 тысяч документов) и полное собрание национальных стандартов, аутентичное официальной базе Госстандарта. GOSTRF.com - это более 1 Терабайта бесплатной технической информации для всех пользователей интернета. Все электронные копии представленных здесь документов могут распространяться без каких-либо ограничений. Поощряется распространение информации с этого сайта на любых других ресурсах. Каждый человек имеет право на неограниченный доступ к этим документам! Каждый человек имеет право на знание требований, изложенных в данных нормативно-правовых актах!

  


 

НЕКОММЕРЧЕСКАЯ ОРГАНИЗАЦИЯ АССОЦИАЦИЯ ПРОИЗВОДИТЕЛЕЙ ЭНЕРГОЭФФЕКТИВНЫХ ОКОН

СТАНДАРТ ОРГАНИЗАЦИИ

СТО 5772-001-47544180-2007

УЗЛЫ ПРИМЫКАНИЯ ОКОННЫХ И БАЛКОННЫХ ДВЕРНЫХ БЛОКОВ К СТЕНОВЫМ ПРОЕМАМ

Технические условия

Москва 2007

Содержание

Предисловие

1 Область применения

2 Нормативные ссылки

3 Термины и определения

4 Требования к узлам примыканий

4.1 Общие положения

4.2 Требования к конструкции

4.3 Требования к материалам

4.4 Требования к монтажу

5 Контроль качества узлов примыканий и их элементов

5.1 Методы испытаний

5.2 Правила приёмки узлов примыканий

6 Оценка теплозащитных качеств узлов примыканий компьютерным методом на стадии их проектирования

6.1 Методика оценки

6.2 Теплотехнический расчёт узла примыкания

6.2.1 Исходные данные

6.2.2 Результаты расчета

7 Оценка водонепроницаемости узлов примыканий в натурных условиях методом дождевания

7.1 Методика оценки

7.2 Расчёт интенсивности дождевания

8 Требования безопасности

ПРИЛОЖЕНИЕ А (справочное)

Примеры конструктивных решений узлов примыканий и их теплозащитные свойства

ПРИЛОЖЕНИЕ Б (справочное)

Технические характеристики изоляционных материалов узлов примыканий

ПРИЛОЖЕНИЕ В (справочное)

Механизмы и инструменты для устройства узлов примыканий

ПРИЛОЖЕНИЕ Г

Сведения о разработчиках стандарта

Предисловие

Настоящий стандарт разработан в соответствии с требованиями ст. 12 и ст. 17 Федерального закона «О техническом регулировании» для добровольного применения в целях, указанных в ст. 11, в том числе для:

- энергосбережения, рационального использования материальных и денежных ресурсов при строительстве и эксплуатации зданий;

- обеспечения научно-технического прогресса при проектировании и строительстве зданий;

- повышения уровня здоровья граждан путём поддержания в зданиях установленных параметров микроклимата исходя из санитарно-гигиенических требований;

- выполнения требований по недопущению превышения предельно-допустимой концентрации (ПДК) вредных веществ в помещениях.

1 РАЗРАБОТАН Ассоциацией Производителей Энергоэффективных Окон (АПРОК), ООО «АПРОК-ТЕСТ», ЗАО «САЗИ», ООО «ИЗОКОМ», ООО «Самарские Оконные Конструкции» («С.О.К.»)

2 ПРИНЯТ НТС АПРОК 18 декабря 2006 г.

3 ВНЕСЁН в реестр Федерального агентства по техническому регулированию и метрологии ФГУП «СТАНДАРТИНФОРМ» с государственным регистрационным № 102777

4 ВВЕДЁН ВПЕРВЫЕ

5 ВВЕДЁН В ДЕЙСТВИЕ с 12 февраля 2007 г. в качестве стандарта НКО Ассоциации Производителей Энергоэффективных Окон (АПРОК)

СТАНДАРТ ОРГАНИЗАЦИИ

Узлы примыкания оконных и балконных дверных блоков к стеновым проёмам

Технические условия

Дата введения 2007 - 12 -02

1 Область применения

Настоящий стандарт распространяется на узлы примыкания оконных и наружных дверных блоков к стеновым проёмам.

1.1 Стандарт устанавливает правила устройства, содержания и эксплуатации узлов примыкания оконных блоков к стеновым проемам с применением однокомпонентных вулканизующихся герметиков, вспененных полиуретановых утеплителей, эластичных пенополиэтиленовых утеплителей и других теплоизоляционных материалов.

1.2 Стандарт применяют при проектировании, разработке конструкторской и технологической документации, а также производстве работ, при строительстве, реконструкции и ремонте жилых, общественных, промышленных зданий различного назначения с учётом требований действующих строительных норм и правил.

1.3 Требования стандарта применяют также при замене оконных блоков в эксплуатируемых помещениях.

1.4 Требования настоящего стандарта могут быть использованы при проектировании и устройстве узлов примыканий витражных конструкций к стеновым проёмам, а также узлов сопряжений конструкций между собой.

1.5 Стандарт не распространяется на узлы примыканий оконных блоков специального назначения (например, противопожарных, взрывозащитных, пулестойких и др.).

1.6 Стандарт может быть использован для целей сертификации.

2 Нормативные ссылки

В настоящем стандарте использованы нормативные ссылки на следующие стандарты:

1 ГОСТ 166-89 Штангенциркули. Технические условия.

2 ГОСТ 427-75 Линейки измерительные металлические. Технические условия.

ГОСТ 2678-94 Материалы рулонные кровельные и гидроизоляционные. Методы испытаний.

ГОСТ 7076-99 Материалы и изделия строительные. Методы определения теплопроводности и термического сопротивления при стационарном тепловом режиме.

5 ГОСТ 7502-98 Рулетки измерительные металлические. Технические условия.

6 ГОСТ 7912-74 Резина. Методы определения температуры предела хрупкости.

7 ГОСТ 10174-90 Прокладки уплотнительные пенополиуретановые для окон и дверей. Технические условия.

8 ГОСТ 17177-94 Материалы и изделия строительные теплоизоляционные. Методы испытаний.

9 ГОСТ 23166-99 Блоки оконные. Общие технические условия.

10 ГОСТ 24700-99 Блоки оконные деревянные со стеклопакетами. Технические условия.

11 ГОСТ 25898-83 Материалы и изделия строительные. Методы определения сопротивления паропроницанию.

12 ГОСТ 26433.0-89 Система обеспечения точности геометрических параметров в строительстве. Правила выполнения измерений. Общие положения

13 ГОСТ 26433.1-89 Система обеспечения точности геометрических параметров в строительстве. Правила выполнения измерений. Элементы заводского изготовления

14 ГОСТ 26433.2-89 Система обеспечения точности геометрических параметров в строительстве. Правила выполнения измерений параметров зданий и сооружений

15 ГОСТ 26433-2-94 Система обеспечения точности геометрических параметров в строительстве. Правила измерений.

16 ГОСТ 26589-94 Материалы кровельные и гидроизоляционные. Методы испытаний.

17 ГОСТ 26602.1-99 Блоки оконные и дверные. Методы определения сопротивления теплопередаче.

18 ГОСТ 26602.2-99 Блоки оконные и дверные. Методы определения воздухо- и водопроницаемости.

19 ГОСТ 26602.3-99 Блоки оконные и дверные. Методы определения звукоизоляции.

20 ГОСТ 30673-99 Профили поливинилхлоридные для оконных и дверных блоков. Технические условия.

21 ГОСТ 30494-96 Здания жилые и общественные. Параметры микроклимата в помещениях.

22 СНиП 12-03-2001 Безопасность труда в строительстве. Часть 1. Общие требования

23 СНиП 12-04-2001 Безопасность труда в строительстве. Часть 2. Строительное производство.

3 Термины и определения

В настоящем стандарте использованы следующие термины и определения:

Узел примыкания оконного блока к проему в стене - конструктивная система, обеспечивающая сопряжение стенового проема с коробкой оконного блока, включающая в себя часть стены, примыкающая к проёму, монтажный шов с откосами, рамный профиль, подоконную доску, слив и другие облицовочные и крепежные детали.

Монтажный зазор - пространство между поверхностью стенового проема и коробкой оконного блока.

Монтажный шов - элемент узла примыкания, представляющий собой комбинацию различных изоляционных материалов, используемых для заполнения монтажного зазора и обладающих заданными характеристиками.

Силовое эксплуатационное воздействие на узел примыкания - воздействие, возникающее от взаимных перемещений оконной коробки и стенового проема

при изменении линейных размеров от температурно-влажностных воздействий, ветровых нагрузок, при усадке здания в процессе эксплуатации и других воздействий.

Деформационная устойчивость монтажного шва - способность монтажного шва сохранять заданные характеристики при изменении линейных размеров монтажного зазора в результате различных эксплуатационных воздействий.

Окно - элемент стеновой или кровельной конструкции, предназначенный для естественного освещения помещений, их вентиляции, защиты от атмосферных, шумовых воздействий и состоящий из оконного блока и узла примыкания оконного блока к проему в стене.

Оконный блок - светопрозрачная конструкция заводского изготовления и состоит из сборочных единиц: коробки и створчатых элементов, встроенных систем проветривания и может включать в себя ряд дополнительных элементов: жалюзи, ставни и др.

Оконный проем - проем в стене (кровле) для монтажа одного или нескольких оконных

блоков, конструкция которого предусматривает также установку монтажного уплотнения, откосов, сливов, подоконной доски.

Коробка - сборочная единица оконного или дверного блока рамочной конструкции, предназначенная для навески створок или полотен, неподвижно закрепляемая к стенкам оконного или дверного проема.

Створка, створчатый элемент - сборочная единица оконного блока рамочной конструкции со светопрозрачным заполнением и соединенная с коробкой, как правило, посредством шарнирной или скользящей связи. Неоткрывающаяся створка закрепляется в коробке неподвижно.

Узел примыкания оконного блока к проему в стене - конструктивная система, обеспечивающая сопряжение стенового оконного проема (в том числе элементов наружного и внутреннего откосов) с коробкой оконного блока, включающая в себя монтажный шов, подоконную доску, слив и другие облицовочные и крепежные детали.

Деформационная устойчивость монтажного шва - способность монтажного шва сохранять заданные характеристики при изменении линейных размеров монтажного зазора в результате различных эксплуатационных воздействий.

4 Требования к узлам примыканий

4.1 Общие положения

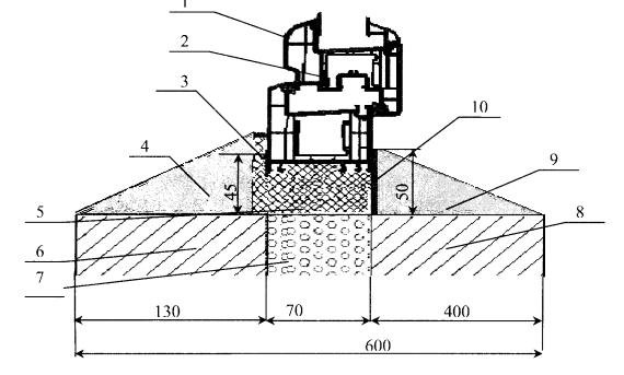
4.1.1 В состав узла примыкания оконного блока входит участок стены, примыкающий к оконному проёму, монтажный шов, закрытый наружным и внутренним откосами, и часть коробки оконного блока, примыкающая к монтажному шву, а так же подоконная доска, слив и другие облицовочные и крепежные детали (рисунок 4.1).

Рисунок 4.1 - Узел примыкания оконного блока к проему многослойной стены (возможный вариант). 1 - наружный защитный слой из железобетона; 2 - теплоизоляционный слой монтажного шва (из пенополиуретана или пенополиэтилена и др.); 3 - гидроизолирующий слой из вулканизующегося герметика; 4 - герметик; 5 - пароизоляционный слой из вулканизующегося герметика; 6 - внутренний откос из «теплого» штукатурного слоя; 7 - внутренний несущий слой из железобетона; 8 - теплоизоляционная вставка в многослойной стене (из волокнистого материала, ПСБС, засыпки и др.).
I, II, III - участки, входящие в состав узла примыкания.
I - участок стены, примыкающий к проёму , II - монтажный шов с откосами, расположенный между стеной и основанием профиля рамы, III - рамный профиль.

4.1.2 При проектировании узлов примыканий следует проводить теплотехнический расчёт и оценку их теплозащитных качеств.

4.1.3 Конструкции узлов примыканий устанавливают в рабочей документации на узлы примыканий оконных блоков к проёмам отличающихся конфигурацией (с четвертью и без четверти), составом стен (однослойные, многослойные, кирпичные, бетонные, деревянные и др.). Примеры конструктивных решений узлов примыканий приведены в Приложении А.

4.1.4 Устройство узлов примыканий производится в соответствии с настоящим стандартом, проектной документацией, проектом производства работ (ППР) и технологической картой.

4.1.5 Контроль качества работ по заполнению проёмов проводится в соответствии с настоящим стандартом и другой действующей нормативной документацией (НД).

4.2 Требования к конструкции

4.2.1 В конструкциях узлов примыканий вне зависимости от конфигурации проёмов, состава стен и типа оконных блоков присутствуют со стороны помещения:

- пароизоляционный слой из вулканизующегося герметика,

- теплоизоляционный слой в монтажном шве (из пенополиуретана, пенополиэтилена или других теплоизоляционных материалов),

- наружный гидроизолирующий слой из вулканизующегося герметика,

- откос (внутренний, наружный) из штукатурного слоя или облицовки.

4.2.2 Конструкции узлов примыканий должны быть устойчивы к различным эксплуатационным воздействиям: температурно-влажностным как с наружной так и со стороны помещения, ветровым нагрузкам температурным, усадочным и другим деформациям.

4.2.3 Узлы примыкания должны быть водонепроницаемыми при воздействии косых дождей. Сопротивление паропроницанию наружного гидроизолирующего слоя монтажного шва в узле примыкания должно быть не более 0,25 м2×ч×Па/мг. Применение пароизоляционных материалов с наружной стороны узла примыкания не допускается.

4.2.4 Сопротивление паропроницанию монтажного шва с откосами со стороны помещения с регулируемым температурно-влажностным режимом должно быть не менее 2,0 м2×ч×Па/мг. Не допускается накопление влаги в теплоизоляционном слое монтажного шва.

4.2.5 В помещениях с регулируемым температурно-влажностным режимом температура на внутренней поверхности откосов узла примыканий должна быть не ниже точки росы при температуре и относительной влажности воздуха в помещении согласно нормативным требованиям температурно-влажностного режима для этих помещений.

4.2.6 Значения показателей воздухо-, водопроницаемости, звукоизоляции монтажных швов следует принимать не ниже значений этих показателей для применяемых оконных блоков.

4.3 Требования к материалам

4.3.1 Материалы и изделия, применяемые для заполнения проемов, должны соответствовать требованиям действующих стандартов, условиям договоров на поставку и технической документации, утвержденной в установленном порядке. Технические характеристики некоторых материалов приведены в Приложении Б.

4.3.2 Блоки, предназначенные для заполнения проемов в наружных стенах зданий, должны удовлетворять требованиям ГОСТ 23166, ГОСТ 30674, ГОСТ 24699, ГОСТ 24700.

4.3.3 Материалы, применяемые для устройства монтажных швов, подразделяют по диапазону рабочих температур, при которых допускается производство монтажных работ, на материалы:

- летнего исполнения (от плюс 5 °С до плюс 35 °С);

- зимнего исполнения (с рабочими температурами ниже плюс 5 °С).

4.3.4 Материалы, применяемые для устройства узлов примыканий, должны быть совместимы между собой, а также с материалами проема, коробки блока и крепежных деталей.

4.3.5 Материалы наружного слоя монтажного шва должны быть устойчивы к воздействию эксплуатационных температур в диапазоне от температуры наиболее холодной пятидневки района эксплуатации и до плюс 70 °С.

4.3.6 Вулканизующиеся герметики, используемые при устройстве гидроизоляции наружных откосов узлов примыканий должны соответствовать требованиям, указанным в таблице 1.

Таблица 1 - Требования к вулканизующимся герметикам, используемым при устройстве гидроизоляции наружных откосов узлов примыкания.

Наименование показателя

Норма

Модуль упругости при 50 % деформации, кгс/см2, не более

0,5

Относительное удлинение в момент разрыва, % не менее

200

Условная прочность в момент разрыва, МПа, не менее

0,15

Коэффициент теплопроводности, Вт/(м×°С), не более

0,29

Прочность сцепления к ПВХ и бетону, кгс/см2, не менее

1,0

Долговечность, условных лет, не менее

20,0

4.3.7 Пенополиуретановые утеплители, используемые в узлах примыкания должны требованиям, указанным в таблице 2.

Таблица 2 - Требования к пенополиуретановым утеплителям, используемым в узлах примыкания.

Наименование показателя

Норма

Температуроустойчивость, °С

от минус 40 до плюс90

Время полного затвердевания, ч, максимум

24

Время образования поверхностной корочки, мин, не более

20

Плотность, кг/м3, не более

30

Прочность на сжатие при 10 % деформации, кгс/см2, не менее

0,5

Прочность при растяжении, кгс/см2, не менее

1,2

Относительное удлинение при разрыве, %, не менее

15

Теплостойкость, °С, не менее

70

Водопоглощение за 24 часа, %, не более

1,0

Коэффициент теплопроводности в сухом состоянии, Вт/(м×°С)

0,035

4.3.8 Пенополиэтиленовые утеплители, используемые в узлах примыкания должны соответствовать требованиям, указанным в таблице 3.

Таблица 3 - Требования к пенополиэтиленовым утеплителям, используемым в узлах примыкания

Наименование показателя

Норма

Плотность, кг/м3, не более

от 20 до 60

Температура установки, °С

от минус 30 до плюс 40

Температуроустойчивость, °С

от минус 60 до плюс 80

Коэффициент теплопроводности в не сжатом сухом состоянии, Вт/(м×°С )

0,035

Водопоглощение за 24 часа, %, не более

2

Прочность на сжатие при 50% деформации, кгс/см2, не менее

1,2

4.3.9 Вулканизующиеся герметики, используемые при устройстве пароизоляции монтажных швов, входящих в состав узлов примыканий, со стороны помещения должны соответствовать требованиям, указанным в таблице 4.

Таблица 4 - Требования к вулканизующимся герметикам, используемым при устройстве пароизоляции монтажных швов, входящих в состав узлов примыканий, со стороны помещения

Наименование показателя

Норма

Модуль упругости при 50 % деформации, кгс/см2, не более

0,5

Относительное удлинение в момент разрыва, %, не менее

200

Условная прочность в момент разрыва, кгс/см , не менее

1,2

Коэффициент теплопроводности, Вт/(м×°С), не более

0,29

Прочность сцепления к ПВХ и бетону, кгс/см2, не менее

1,0

Долговечность, условных лет, не менее

20,0

4.4 Требования к монтажу

4.4.1 Перед установкой блоков необходимо:

- проверить качество и целостность поступающих на объект изделий и конструкций, а также гидроизоляцию коробок деревянных блоков;

- проверить соответствие размеров проемов и блоков требованиям проектной документации и НД;

проверить готовность откосов и штрабов под сливы и подоконные доски;

- очистить проем от наплывов раствора и бетона, строительного мусора, пыли, грязи;

4.4.2 При ремонте зданий и замене блоков в эксплуатируемых помещениях разрушенные при извлечении старых блоков поверхности внутренних и наружных откосов следует очистить от остатков демонтируемой коробки блока и конопатки и восстанавливать цементно-песчаным раствором или штукатурными составами без образования мостиков холода. Мероприятия по восстановлению поврежденных при извлечении блоков участков проемов устанавливают в НД.

4.4.3 Место установки блока, состав работы по устройству узла примыкания выполняется в соответствии с проектной документацией. Инструменты для устройства узлов примыкания приведены в Приложении В.

4.4.4 Блок устанавливают в проем на опорные колодки, распорные колодки (клинья). Примеры расположения опорных (несущих) колодок и крепежных деталей при установке оконных блоков приведены на рисунке 4.2.

Рисунок 4.2 - Примеры расположения опорных (несущих) колодок и крепежных деталей при установке оконных блоков

- опорные (несущие) колодки;

- крепежные детали (системы);

а - оконный блок с вертикальным импостом; б - оконный блок с безимпостным (штульповым) притвором; А - расстояние между крепежными деталями.

4.4.5 Крепление оконных блоков в проемах стен производят с помощью дюбелей, шурупов или монтажных анкеров. Крепежные элементы должны располагаться от углов изделий не менее чем на 100 мм. Расстояние между элементами крепления должно составлять не более 700 мм.

4.4.6 Монтажный шов выполняется одновременно с монтажом оконных блоков.

4.4.7 Перед устройством монтажных швов примыкающие поверхности блока и проема должны быть очищены от пыли, грязи, масляных пятен, наледи и изморози.

4.4.8 Заполнение монтажного зазора производят послойно с учетом температурных и влажностных условий окружающей среды, а также рекомендаций изготовителей изоляционных материалов.

4.4.9 Наружный гидроизолирующий вулканизующийся герметик наносится равномерно без разрывов по всему периметру монтажного шва без наплывов и пустот.

4.4.10 Запрещается производить наружную герметизацию монтажного шва во время дождя и снега.

4.4.11 Допускается наносить вулканизующийся герметик как на сухую, так и на увлажненные (при отсутствии на поверхности капельной влаги) участки.

4.4.12 Нанесение на паропроницаемый наружный слой монтажного шва паронепроницаемой облицовки, слоя, пленки не допускается.

4.4.13 Для устройства центрального тепло- и звукоизоляционного слоя монтажного шва применяют полиуретановый, вспененный полиэтиленовый утеплитель или их комбинацию и др. в соответствии с требованиями настоящего стандарта.

4.4.14 При устройстве центрального слоя монтажного шва полиуретановым пенным утеплителем следует придерживаться следующих правил:

- перед началом работы пенным утеплителем следует очистить поверхности монтажного шва от пыли, а также нанести праймер на поверхности четверти оконного проема;

- заполнение монтажного зазора следует производить при полностью собранном и закрепленном блоке;

- при изменении температуры и влажности окружающей среды или смене поставщика пенного утеплителя начало работы следует начинать с пробного теста на вторичное расширение пенного материала;

- при работе следует контролировать полноту заполнения монтажного шва;

- не допускается выхода излишков пены за внутреннюю плоскость профиля коробки блока;

- в необходимых случаях срезка пенного утеплителя допускается;

- монтажные зазоры шириной более 60 мм следует заполнять пенным утеплителем в несколько проходов, с увлажнением зоны монтажного шва перед каждым последующим проходом.

4.4.15 При устройстве центрального слоя монтажного шва допускается наряду с пенным утеплителем применять пенополиэтиленовые жгуты.

Работы по данной технологии следует проводить с соблюдением следующих правил:

- пенополиэтиленовые жгуты располагают со стороны помещения ближе к внутреннему слою монтажного шва;

- пенополиэтиленовые жгуты должны быть обжаты в монтажном шве на (20 - 30) %;

- пенополиэтиленовые жгуты укладываются без разрывов;

- пенополиэтиленовые жгуты не должны выступать за плоскость внутренней поверхности коробки блока.

4.4.16 Внутренний пароизоляционный слой устраивается непрерывно по всему контуру монтажного шва.

4.4.17 Установка слива осуществляется как в процессе монтажа оконного блока, так и после выполнения монтажных работ.

4.4.18 При установке оконного слива в узлах примыкания к проему и коробке оконного блока следует выполнять мероприятия, исключающие попадание влаги в монтажный шов. На внутренней поверхности слива или в местах контакта с ограждающей конструкцией необходимо устанавливать прокладки (гасители), снижающие шумовое воздействие дождевых капель.

4.4.19 На поверхность откоса под сливом наносится цементно-песчаная стяжка или пенный утеплитель.

4.4.20 Установку подоконной доски выполняют после монтажа оконного блока.

4.4.21 При установке подоконная доска заводится в штрабы откосов и под нижнюю часть оконной коробки. В проектное положение подоконную доску устанавливают при помощи опорных клиньев по уровню с уклоном во внутрь помещения (1-2) градуса.

4.4.22 Не рекомендуется зазор под подоконной доской более чем 60 мм. Превышающий указанный размер зазора следует ликвидировать «тёплым» цементно-песчанным раствором

4.4.23 Зазор под подоконной доской заполняется теплоизоляционным материалом в соответствии с проектной документацией.

4.4.24 Стык в месте контакта коробки оконного блока из ПВХ профилей или алюминиевых профилей с подоконной доской заполняется герметиком.

4.4.25 Отделку поверхности откосов и перемычек (оштукатуривание цементно-песчаным раствором, облицовка листовыми отделочными материалами или панелями) производится после заполнения монтажных зазоров, установки подоконных досок и оконных сливов, в соответствии с проектной документацией.

4.4.26 Оштукатуривание поверхности откосов (внешних и внутренних) в целях повышения теплозащитных качеств узла примыкания производится «теплым» раствором с расчётным коэффициентом теплопроводности не выше 0,25 Вт/(м×°С).

4.4.27 Рекомендуется места примыкания откосов (независимо от их конструкции) к коробке блока и монтажному шву изолировать вулканизующимися герметиками.

5 Контроль качества узлов примыканий и их элементов

5.1 Методы испытаний

5.1.1 Методы испытаний материалов при входном контроле устанавливают в технологической документации с учетом требований НД на эти материалы.

5.1.2 Подготовку поверхностей оконных проемов оценивают визуально. Геометрические размеры монтажных зазоров и размеры дефектов измеряют с помощью рулетки по ГОСТ 7502, линейки по ГОСТ 427, штангенциркуля по ГОСТ 166 с использованием методов по ГОСТ 26433.0 и ГОСТ 26433.1.

5.1.3 Внешний вид и качество устройства утеплителя и укладки герметиков оценивают визуально с расстояния от 400 до 600 мм при освещении не менее 300 лк.

5.1.4 Оценку температурного режима узлов примыкания оконного блока к стеновому проему в зимний период проводят путем проведения натурных испытаний или расчетным методом. Целью натурных испытаний является определение наименьшей температуры на внутренней поверхности узла примыкания. В расчетном методе используется компьютерное моделирование теплопередачи через расчетную область, включающую часть коробки и стены и монтажный шов с откосами между ними. При использовании расчетного метода коэффициент теплопроводности применяемых материалов принимают по результатам испытаний по ГОСТ 7076 или другой нормативной документации. Методика оценки температурного режима узла примыкания с использованием расчетного метода приведена ниже в разделе 6 данного стандарта.

5.1.5 Испытания водопроницаемости узлов примыканий проводят в натурных условиях по методике приведенной в разделе 7 настоящего стандарта.

5.1.6 Звукоизоляцию определяют по ГОСТ 26602.3.

5.1.7 Устойчивость наружного изоляционного слоя к воздействию ультрафиолетового облучения определяют по ГОСТ 30673.

5.1.8 Сопротивление паропроницанию и коэффициент паропроницаемости материалов узла примыкания определяют по ГОСТ 25898.

5.1.9 Водопоглощение утеплителей определяют по ГОСТ 17177.

5.1.10 Морозостойкость материалов узла примыкания производят по ГОСТ 7912.

5.1.11 Теплостойкость материалов узла примыкания производят по ГОСТ 2678.

5.1.12 Долговечность материалов узла примыкания (срок службы) и их совместимость материалов подтверждают соответствующими испытаниями.

5.2 Правила приёмки узлов примыканий

5.2.1 Готовые узлы примыкания и их элементы принимают на строительных объектах партиями. За партию принимают число оконных проемов с установленными оконными блоками и законченными узлами примыкания, выполненными по одной технологии и оформленными одним актом сдачи-приемки.

5.2.2 Приемку узлов примыканий производят путем проведения:

- входного контроля качества применяемых материалов;

- контроля качества подготовки оконных проемов и оконных блоков;

- контроля соблюдения требований к установке оконных блоков;

- производственного операционного контроля;

- приемо-сдаточных испытаний при производстве работ.

Завершение работ по устройству узлов примыканий оформляют актом сдачи-приемки, где также указываются результаты всех видов проведенного контроля узлов примыканий

5.2.3 При проведении контроля качества подготовки оконных проемов и установки оконных блоков проверяют:

- подготовку поверхностей оконных проемов и оконных блоков;

- на соответствие размеров оконных проемов размерам оконных блоков;

- отклонения фактических размеров от проектных;

- другие требования, установленные в технологической документации.

Качество подготовки оконных проемов оформляют актом сдачи-приемки оконных проемов.

5.2.4 Контроль качества работ по уплотнению и герметизации стыков комплексной системой материалов осуществляется пооперационной проверкой качества подготовки поверхности кромок в стыках, качества нанесения монтажной пены, качества нанесения герметиков. Приемку выполненных работ следует сопровождать осмотром всех уплотненных и загерметизированных стыков с выборочными контрольными замерами.

5.2.5 Качество выполненной герметизации оценивают по средством вскрытия узла примыкания на глубину не более 5 мм и шириной не более 30 мм, при проверке определяют соответствие толщины герметизирующего слоя и полосу контакта герметика с оконным блоком и стеновым проемом с проектными величинами. Измерения производят с помощью измерительных приборов с точностью измерения ± 0,1 мм. После измерения этих параметров место вскрытия необходимо закрыть применявшимся герметиком обеспечивая целостность герметизирующего слоя.

5.2.6 Приемосдаточные испытания при производстве работ по устройству монтажных швов производит строительная организация, выполняющая монтаж светопрозрачных конструкций, согласно пунктам 5.2.3 - 5.2.5 настоящего стандарта не реже одного раза в смену.

5.2.7 Оценка теплозащитных качеств конструкций узлов примыканий на стадии их проектирования проводится по сертифицированному программному комплексу по методике приведенной ниже в разделе 6 данного стандарта.

5.2.8 Контрольные натурные испытания на водонепроницаемость проводится выборочно при сертификации, но не менее чем на трёх узлах примыканий.

5.2.9 Приемку работ по устройству узлов примыканий и их элементов оформляют актом сдачи-приемки, подписанным исполнителем и заказчиком, к которому прилагается копии протоколов сертификационных испытаний конструкций и санитарно-эпидемиологическое заключение на используемые материалы.

6 Оценка теплозащитных качеств узлов примыканий компьютерным методом на стадии их проектирования

6.1 Методика оценки

Теплозащитные качества узла примыкания и его элементов оценивается на стадии проектирования по результатам теплотехнического расчёта на базе сертифицированного программного комплекса (ПК) Window-Тест или других сертифицированных программных продуктов, допущенных для использования на территории Российской Федерации.

Исходными данными для расчёта являются:

- чертежи с конструктивными решениями монтажного шва в формате dxf (файл AutoCAD);

- теплотехнические характеристики материалов монтажного шва;

- граничные условия.

В соответствии с ГОСТ 26602.1 теплотехнический расчет основан на математическом моделировании стационарного процесса теплопередаче через узел примыкания оконных блоков к стеновым проёмам. В состав расчётной модели входит участок стены высотой не менее двух её толщины, рама оконного блока с заполнением высотой 100 мм. Сопоставительный анализ вариантов конструкций узла примыкания проводится по результатам расчёта при одних и тех же граничных условиях теплопередачи, а именно:

- расчётная температура наиболее холодной пятидневки tн, °С, принимаемая в соответствии с СНиП 23-01* «Строительная климатология»;

- коэффициент теплоотдачи наружной поверхности aн = 23 Вт/(м×°С), принимаемый согласно ГОСТ 26602.1;

- расчётная температура воздуха в помещении с регулируемым температурно-влажностным режимом tв, °С, принимаемая согласно ГОСТ 30494 для жилых и общественных зданий и соответствующей нормативной документации для зданий иного назначения;

- коэффициент теплоотдачи внутренней поверхности узла примыкания и aв= 8,7 Вт/(м2×°С), принимаемый согласно СНиП 23-02 «Тепловая защита зданий».

Ниже, в качестве примера, приведен теплотехнический расчёт узла примыкания оконного блока из ПВХ профиля к стеновому проёму с четвертью многослойной стены жилых зданий для климатических условий г. Москвы.

6.2 Теплотехнический расчёт узла примыкания

6.2.1 Исходные данные

Исходными данными для составления расчётной модели является конструкция узла примыкания оконного блока к стеновому проёму.

На рисунке 6.3 в качестве примера представлено конструктивное решение узла примыкания оконного блока с ПВХ профилем к проёму с четвертью в трёхслойной стене с внутренним несущим и наружным защитным слоем из железобетона, средним теплоизоляционным слоем из ПСБС плотностью не выше 50 кг/м3.

Рисунок 6.3 - Узел примыкания оконного блока к боковому участку проёма слоистой стены с четвертью.
1 - внутренний несущий слой из железобетона; 2 - «теплый» штукатурный слой; 3 - теплоизоляционный слой стены; 4 - пароизоляция из вулканизующегося герметика; 5 - утеплитель монтажного шва (пенный или пенополиэтиленовый); 6 - герметик; 7 - гидроизоляция из паропроницаемого герметика; 8 - наружный защитный слой из железобетона; 9 - деревянный антисептированный вкладыш.

6.2.2 Результаты расчета

На рисунке 6.4 представлены результаты теплотехнического расчёта в графической форме в виде изотерм по сечению.

Рисунок 6.4 - Температурное поле узла примыкания оконного блока к боковому участку проёма слоистой стены с четвертью.

По результатам теплотехнического расчёта температура на внутренней поверхности на всем участке откоса узла примыкания выше точки росы. По своим теплозащитным качествам конструкция узла примыкания, представленная на рисунке 6.4 может быть рекомендована к применению в жилых зданиях для климатических условий, соответствующих климатическим условиям г. Москвы.

7 Оценка водонепроницаемости узлов примыканий в натурных условиях методом дождевания

7.1 Методика оценки

7.1.1 Испытание водонепроницаемости осуществляется по участкам и при положительной температуре наружного воздуха. На первом этапе испытания последовательному дождеванию подвергаются подоконные участки монтажного шва узла примыкания, начиная с нижних этажей. На втором этапе испытания дождеванию подвергается боковые участки монтажного шва узла примыкания, начиная с нижних этажей. На третьем этапе испытания дождеванию подвергается верхние участки монтажного шва узла примыкания, начиная с нижних этажей. В процессе дождевания проводится наблюдение за влажностным состоянием испытываемого участка с внутренней стороны помещения. Дождевание проводится непрерывно в течение 30 мин или до момента появления следов протечек.

7.1.2 Регистрация результатов дождевания осуществляется постоянно в течение всего периода испытания и заносится в журнал наблюдений. Показания водомерного счётчика регистрируются до начала испытания и после окончания дождевания каждого участка.

7.1.3 В процессе дождевания проводится наблюдение за влажностным состоянием испытываемого участка с внутренней стороны помещения.

7.1.4 Конструкция считается выдержавшим испытание, если в процессе испытания и в течение двух часов после проведения испытания не выявлены протечки в испытываемых участках.

7.1.5 Расход воды за период дождевания соответствует количеству осадков, выпавших на вертикальную поверхность испытываемого участка в течение 12 ч и определяется по формуле (7.1)

Q = Hв´F´0,36,                                                                                                           (7.1)

где Q - расход воды за период дождевания, м3/ч;

Нв - расчётная интенсивность дождя на вертикальную поверхность, мм/мин;

F - площадь испытываемого участка, м2;

0,36 - переводной коэффициент.

7.2 Расчёт интенсивности дождевания

Расчётное количество осадков, выпадающих на вертикальную поверхность здания Нв, определяется по формуле (7.2)

Нв = Нг ´ tga,                                                                                                              (7.2)

где Нг - интенсивность дождя на горизонтальную поверхность, мм/мин;

a - угол между направлением падения осадков и вертикалью фасада.

,                                                                                                                    (7.3)

где  - средняя скорость ветра при дожде, м/с;

 - средняя скорость падения осадков, м/с.

В таблице 5 приведены результаты расчёта интенсивности осадков на вертикальную поверхность (на примере г. Москвы), составленные по результатам многолетних наблюдений, выполненных НИИ Мосстроя и НИИ Строительной физики, МНИИТЭП, ЦНИИЭП жилища и др.

Таблица 5 - Расчётная интенсивность осадков на вертикальную поверхность

Наименование показателя

Норма

Средняя интенсивность дождя на горизонтальную поверхность, Нг, мм/мин

0,50

Скорость падения осадков, , м/с

5,66

Скорость ветра при дожде, , м/с

5,0

Тангенс угла наклона косых дождей, tga

0,88

Угол наклона косого дождя, a, град

41

Средняя интенсивность осадков на вертикальную поверхность, Нв, мм/мин

0,44

По результатам расчёта интенсивности косого дождя на вертикальный фасад определяется расход воды необходимый при дождевании монтажного шва узла примыкания оконного блока к стеновому проёму в зависимости от площади испытываемого участка.

8 Требования безопасности

8.1 При производстве работ по устройству узлов примыканий необходимо соблюдать требования безопасности предусмотренные СНиП III-4 «Техника безопасности в строительстве», СНиП 12-03* «Безопасность труда в строительстве. Часть 1. Общие требования», СП 12-136 «Решения по охране труда и промышленной безопасности в проектах организации строительства и проектах производства работ».

8.2 При работе с механизмами и оборудованием, предназначенными для приготовления и нанесения штукатурных смесей, вулканизирующихся герметиков, необходимо соблюдать требования безопасности, предусмотренные в инструкциях по эксплуатации данного оборудования.

8.3 До начала работ корпуса всех электрических механизмов должны быть надёжно заземлены.

8.4 Изоляционные и отделочные работы следует проводить с использованием инвентарных подмостей, лестницы стремянки. Не допускается производить работы на высоте на не ограждённых рабочих местах и без предохранительных поясов и страховочного каната.

8.5 Работники, занятые производством изоляционных работ, должны быть обеспечены средствами защиты в соответствии с «Типовыми отраслевыми нормами бесплатной выдачи спецодежды, спецобуви и других средств индивидуальной защиты».

8.6 Отходы от изоляционных материалов должны быть собраны в специальные ёмкости и направлены на переработку в соответствии с СанПиН 2.1.7.1322 «Гигиенические требования к размещению и обезвреживанию отходов производства и потребления».

8.7 Изоляционные материалы на органических растворителях должны храниться в проветриваемых взрыво- и пожаробезопасных помещениях и соответствовать требованиям ГОСТ 9980.5 «Материалы лакокрасочные. Транспортирование и хранение».

ПРИЛОЖЕНИЕ А (справочное)

Примеры конструктивных решений узлов примыканий и их теплозащитные свойства

1 Конструкция бокового узла примыкания оконного блока к проему без четверти слоистой кирпичной стены представлена на рисунке А.1.

Рисунок А.1 - Узел примыкания оконного блока к проему слоистой кирпичной стене с отделкой наружных и внутренних откосов штукатурным раствором.
1 - ПВХ профиль (ширина 70 мм); 2 - стальной армирующий профиль; 3 - гидроизоляция из вулканизующегося герметика; 4 - наружный откос из «теплого» штукатурного раствора; 5 - теплоизоляционный слой; 6 - наружная кирпичная кладка; 7 - теплоизоляционная вставка; 8 - внутренняя кирпичная кладка; 9 - внутренний откос из «теплого» штукатурного раствора; 10 - пароизоляция из вулканизующегося герметика.

Таблица А.1 - Теплотехнические характеристики материалов узла примыкания оконного блока к проему без четверти слоистой кирпичной стены, представленной на рисунке А.1.

 

Наименование материала

Расчетный коэффициент теплопроводности, Вт/(м×°С)

ПВХ

0,17

Сталь

50

Вулканизующийся герметик

0,29

«Теплая» штукатурка

0,25

Теплоизоляционный слой

0,05

Кирпичная кладка

0,76

Теплоизоляционная вставка

0,05

Кирпичная кладка

0,76

«Теплая» штукатурка

0,25

Вулканизующийся герметик

0,29

Результаты теплотехнического расчета бокового узла примыкания оконного блока к проему без четверти слоистой кирпичной стены приведены на рисунке А.2.

Рисунок А.2 - Температурное поле узла примыкания оконного блока из ПВХ профиля шириной 70 мм к проему слоистой стены (кирпичная кладка) с отделкой наружных и внутренних откосов штукатурным раствором (рисунок А.2).

По своим теплозащитным качествам конструкция узла примыкания, представленная на рисунке А.1, может быть рекомендована к применению в жилых зданиях для климатических условий, соответствующих климатическим условиям г. Москвы.

2 Конструкция бокового узла примыкания оконного блока к проему без четверти однослойной стены представлена на рисунке А.3

Рисунок А.3 - Узел примыкания оконного блока к проему без четверти однослойной стены (кирпичная кладка).
1 - наружный штукатурный слой из «теплого» раствора; 2 - фальшчетверть из уголка; 3 - гидроизоляция из вулканизующегося герметика; 4 - теплоизоляционный слой; 5 - пароизоляция из вулканизующегося герметика; 6 - грунтовка; 7 - облицовочная ПВХ панель; 8 - рейка; 9 - утеплитель (пенополиэтиленовый); 10 - однослойная стена (кирпичная кладка).

Таблица А.2 - Исходные данные для теплотехнического расчета узла примыкания оконного блока к проему без четверти однослойной стены, представленной на рисунке А.3.

Наименование материала

Расчетный коэффициент теплопроводности, Вт/(м×°С)

«Теплый» штукатурный слой

0,25

Сталь

50

Вулканизующийся герметик

0,29

Теплоизоляционный слой

0,05

Вулканизующийся герметик

0,29

Грунтовка

0,29

ПВХ

0,17

Деревянная рейка

0,14

Теплоизоляционная вставка

0,05

Кирпичная кладка

0,76

Результаты теплотехнического расчета бокового узла примыкания оконного блока к проему без четверти к однослойной стене приведены на рисунке А.4

Рисунок А.4 - Температурное поле узла примыкания оконного блока из ПВХ профиля шириной 70 мм без четверти к однослойной стене (рисунок А.3).

По своим теплозащитным качествам конструкция узла примыкания, представленная на рисунке А.3, не может быть рекомендована к применению в жилых зданиях для климатических условий, соответствующих климатическим условиям г. Москвы

3 Конструкция бокового узла примыкания оконного блока к проему с четвертью слоистой стены с эффективным утеплителем и отделкой внутреннего откоса «теплым» штукатурным раствором представлена на рисунке А.5.

Рисунок А.5 - Узел примыкания оконного блока к проему с четвертью слоистой стены с эффективным утеплителем и отделкой внутреннего откоса «теплым» штукатурным раствором.
1 - наружный защитный слой из железобетона; 2 - теплоизоляционный слой; 3 - гидроизоляция из вулканизующегося герметика; 4 - вкладыш из антисиптированного пиломатериала; 5 - пароизоляция из вулканизующегося герметика; 6 - грунтовка; 7 - утепляющий слой стены; 8 - «теплый» штукатурный раствор; 9 - несущий слой из железобетона.

Таблица А.3 - Исходные данные для теплотехнического расчета узла бокового примыкания оконного блока к проему с четвертью слоистой стены с эффективным утеплителем и отделкой внутреннего откоса «теплым» штукатурным раствором, представленной на рисунке А.5.

Наименование материала

Расчетный коэффициент теплопроводности, Вт/(м×°С)

Железобетон

2,0

Теплоизоляционный слой

0,05

Вулканизующийся герметик

0,29

Пиломатериал

0,14

Вулканизующийся герметик

0,29

Грунтовка

0,29

Теплоизоляционная вставка

0,05

«Теплый» штукатурный слой

0,25

Железобетон

2,0

Результаты теплотехнического расчета бокового узла примыкания оконного блока к проему с четвертью слоистой стены с эффективным утеплителем и отделкой внутреннего откоса «теплым» штукатурным раствором приведены на рисунке А.6

Рисунок А.6 - Температурное поле узла примыкания оконного блока из ПВХ профиля шириной 70 мм к проему с четвертью слоистой стены с эффективным утеплителем и отделкой внутреннего откоса «теплым» штукатурным раствором (рисунок А.5).

По своим теплозащитным качествам конструкция узла примыкания, представленная на рисунке А.5, может быть рекомендована к применению в жилых зданиях для климатических условий, соответствующих климатическим условиям г. Москвы.

4 Конструкция бокового узла примыкания оконного блока к проему без четверти однослойной стены из пенно-газобетонных блоков с отделкой наружных и внутренних откосов «теплым» штукатурным раствором представлена на рисунке А.7.

Рисунок А.7 - Узел примыкания оконного блока к проему без четверти однослойной стены из пенно-газобетонных блоков с отделкой наружных и внутренних откосов «теплым» штукатурным раствором.
1 - наружный откос из «теплого» штукатурного раствора; 2 - фальшчетверть из уголка; 3 - гидроизоляция из вулканизующегося герметика; 4 - теплоизоляционный слой; 5 - пароизоляция из вулканизующегося герметика; 6 - грунтовка; 7 - внутренний откос из «теплого» штукатурного раствора; 8 - стена из пенно-газобетонных блоков.

Таблица А.4 - Исходные данные для теплотехнического расчета узла примыкания оконного блока к проему без четверти однослойной стены из пенно-газобетонных блоков с отделкой наружных и внутренних откосов «теплым» штукатурным раствором, представленной на рисунке А.7

Наименование материала

Расчетный коэффициент теплопроводности, Вт/(м×°С)

«Теплый» штукатурный слой

0,25

Сталь

50

Вулканизующийся герметик

0,29

Теплоизоляционный слой

0,05

Вулканизующийся герметик

0,29

Грунтовка

0,29

«Теплый» штукатурный слой

0,25

Ячеистый бетон

0,2

Результаты теплотехнического расчета бокового узла примыкания оконного блока к проему без четверти в однослойной стене из пенно-газобетонных блоков с отделкой наружных и внутренних откосов «теплым» штукатурным раствором приведены на рисунке А.8

Рисунок А. 8 - Температурное поле узла примыкания оконного блока из ПВХ профиля шириной 70 мм к проему без четверти в однослойной стене из пенно-газобетонных блоков с отделкой наружных и внутренних откосов «теплым» штукатурным раствором (рисунок А. 7).

По своим теплозащитным качествам конструкция узла примыкания, представленная на рисунке А.7, не может быть рекомендована к применению в жилых зданиях для климатических условий, соответствующих климатическим условиям г. Москвы.

5 Конструкция бокового узла примыкания оконного блока к стеновому проему с четвертью однослойной стены (кирпичная кладка) представлена на рисунке А.9.

Рисунок А.9 - Узел примыкания оконного блока к стеновому проему с четвертью в однослойной стене (кирпичная кладка).
1 - наружный откос из «теплого» штукатурного раствора; 2 - теплоизоляционный слой; 3 - гидроизоляция из вулканизующегося герметика; 4 - пароизоляция из вулканизующегося герметика; 5 - грунтовка; 6 - однослойная стена (кирпичная кладка); 7 - внутренний откос из «теплого» штукатурного раствора.

Таблица А.5 - Исходные данные для теплотехнического расчета узла примыкания оконного блока к стеновому проему с четвертью однослойной стены (кирпичная кладка), представленной на рисунке А.9.

Наименование материала

Расчетный коэффициент теплопроводности, Вт/(м×°С)

«Теплый» штукатурный слой

0,25

Вулканизующийся герметик

0,29

Теплоизоляционный слой

0,05

Вулканизующийся герметик

0,29

Грунтовка

0,29

Кирпичная кладка

0,76

«Теплый» штукатурный слой

0,25

Результаты теплотехнического расчета бокового узла примыкания оконного блока к стеновому проему с четвертью однослойной стены (кирпичная кладка) приведены на рисунке А.10

Рисунок А.10 - Температурное поле узла примыкания оконного блока из ПВХ профиля шириной 70 мм к стеновому проему с четвертью в однослойной стене (кирпичная кладка) (рисунок А.9).

По своим теплозащитным качествам конструкция узла примыкания, представленная на рисунке А.9, может быть рекомендована к применению в жилых зданиях для климатических условий, соответствующих климатическим условиям г. Москвы

6 Конструкция бокового узла примыкания оконного блока к стеновому проему с четвертью в однослойной стене (кирпичная кладка) представлена на рисунке А.11.

Рисунок A.11 - Узел примыкания оконного блока к стеновому проему с четвертью в однослойной стене (кирпичная кладка).
1 - наружный откос из «теплого» штукатурного раствора; 2 - гидроизоляция из вулканизующийся герметика; 3 - деревянный профиль (70 мм); 4 - теплоизоляционный слой; 5 - пароизоляция из вулканизующегося герметика; 6 - внутренний откос из «теплого» штукатурного раствора; 7 - грунтовка; 8 - однослойная стена (кирпичная кладка).

Таблица 6 - Исходные данные для теплотехнического расчета узла примыкания оконного блока к стеновому проему с четвертью в однослойной стене (кирпичная кладка).

Наименование материала

Расчетный коэффициент теплопроводности, Вт/(м×°С)

«Теплый» штукатурный слой

0,25

Вулканизующийся герметик

0,29

Дерево

0,14

Теплоизоляционный слой

0,05

Вулканизующийся герметик

0,29

«Теплый» штукатурный слой

0,25

Грунтовка

0,29

Кирпичная кладка

0,76

Результаты теплотехнического расчета бокового узла примыкания оконного блока к бокового стеновому проему с четвертью в однослойной стене (кирпичная кладка) приведены на рисунке А.12.

Рисунок А.12 - Температурное поле оконного блока к стеновому проему с четвертью в однослойной стене (кирпичная кладка) (рисунок А. 11).

По своим теплозащитным качествам конструкция узла примыкания, представленная на рисунке А.11, может быть рекомендована к применению в жилых зданиях для климатических условии, соответствующих климатическим условиям г. Москвы

ПРИЛОЖЕНИЕ Б (справочное)

Технические характеристики изоляционных материалов узлов примыканий

1 Материалы, водонепроницаемого слоя узла примыкания

При устройстве наружного водонепроницаемого слоя могут быть использованы герметики, удовлетворяющие требованиям, приведенные в разделе 4.3.6 настоящего стандарта, например, однокомпонентный однокомпонентный вулканизующийся герметик Стиз-А ТУ 2513-034-32478306-00, свойства которого приведены в таблице Б.1.

Преимущества герметика Стиз-А: полная готовность к применению, возможность выбора цвета, устойчивость к УФ-облучению, атмосферным воздействиям, устойчивость к циклическим температурным механическим и другим деформационным нагрузкам, высокая адгезия к ПВХ, бетону, дереву и окрашенным металлическим поверхностям.

Таблица Б. 1

Наименование показателя

Норма

Температура нанесения, °С

от минус 15 до плюс 35

Интервал температур эксплуатации, °С

от минус 60 до плюс 80

Плотность, г/см3

1,45

Образование поверхностной пленки, ч., не более

2

Относительное удлинение, %, не менее

300

Условная прочность в момент разрыва, МПа, не менее

0,15

Коэффициент теплопроводности, Вт/(м×°С), не более

0,29

Сопротивление паропроницаемости при толщине 2 мм, м2×ч×Па/мг, не более

0,16

Модуль упругости при 50 % деформации, кгс/см2, не более

0,5

Прочность сцепления к бетону, кгс/см2, не менее

1,5

Прочность сцепления к ПВХ, кгс/см2, не менее

1,5

Долговечность, условных лет, не менее

20,0

2 Материалы теплоизоляционного слоя в монтажном шве

Для теплоизоляции монтажного шва могут быть использованы утеплители, удовлетворяющие требованиям, приведенные в разделе 4.3.7,8 настоящего стандарта. К таким материалам относятся, например, пенополиуретановые утеплители типа Polyurethane 502 и полиэтиленовые утеплители типа «ИЗОКОМ». В таблице Б.2 приведены основные свойства утеплителя типа Polyurethane 502, в таблице Б.3 - утеплителя типа «ИЗОКОМ».

Преимущества утеплителя типа Polyurethane 502: Высокие теплоизоляционные и звукоизоляционные качества, хорошая адгезия с поверхностью известных строительных материалов, не подвергается разрушению и усадке со временем при эксплуатации невысокой степенью вторичного расширения 30 %.

Таблица Б.2

Наименование показателя

Норма

Температуроустойчивость, °С

от минус 40 до плюс 90

Температура нанесения, °С

от минус 10 до плюс 30

Время полного затвердевания, ч., не более

24

Время образования поверхностной корочки, мин, не более

20

Кажущаяся плотность, кг/м3

25±5

Прочность на сжатие при 10% деформации, кгс/см2, не менее

0,5

Прочность при растяжении, кгс/см2, не менее

1,2

Относительное удлинение при разрыве, %, не менее

15

Теплостойкость, °С, не менее

70

Водопоглощение за 24 ч, %, не более

1,0

Коэффициент теплопроводности в сухом состоянии, Вт/(м×°С)

0,035

Таблица Б.3

Наименование показателя

Норма

Кажущаяся плотность, кг/м3

от 20 до 60

Температура установки, °С

от минус 30 до плюс 40

Температуроустойчивость, °С

от минус 60 до плюс 80

Коэффициент теплопроводности в не сжатом состоянии, Вт/(м×°С)

0,035

Водопоглощение за 24 ч, %, не более

2

Прочность на сжатие при 50 % деформации, кгс/см2, не менее

1,2

Микробиологическая стойкость по ГОСТ 9.053, баллы

2

3 Материалы пароизоляционного слоя узла примыкания

При устройстве пароизоляционного слоя могут быть использованы герметики, удовлетворяющие требованиям, приведенным в разделе 4.3.9 настоящего стандарта. Одним из таких материалов является однокомпонентный вулканизующийся герметик Сазиласт™ - 11 ТУ 2513-028-32478306-99 на основе акриловых латексов, характеристики которого приведены в таблице Б.4.

Преимущества герметика Сазиласт™: однородность массы, полная готовность к применению, устойчивость к циклическим температурным, механическим и другим динамическим нагрузкам, высокая адгезия к ПВХ, бетону, дереву и окрашенным металлическим поверхностям.

Таблица Б.4

Наименование показателя

Норма

Диапазон температур нанесения, °С

от минус 15 до плюс35

Интервал температур эксплуатации, °С

от минус 60 до плюс 80

Плотность, г/см3

1,45

Относительное удлинение в момент разрыва, %, не менее

300

Условная прочность в момент разрыва, кгс/см2, не менее

1,2

Сопротивления паропроницаемости при толщине 3 мм, м2×ч×Па/мг, не менее

2,0

Коэффициент теплопроводности, Вт/м×°С, не более

0,29

Прочность сцепления к бетону, кгс/см2, не менее

1,5

Прочность сцепления к ПВХ не менее, кгс/см2

1,5

Модуль упругости при 50 % деформации, не более, кгс/см2

0,5

Долговечность, условных лет, не менее

20,0

ПРИЛОЖЕНИЕ В (справочное)

Механизмы и инструменты для устройства узлов примыканий

1 Перфоратор с набором алмазных свёрл

2 Шуруповёрт ручной электрический с набором насадок

3 Углошлифовальная машина с набором дисков

4 Ножовка по дереву

5 Ножовка по металлу с набором полотен

6 Ножницы по металлу

7 Молоток плотницкий

8 Набор шпателей

9 Пистолет под монтажную пену

10 Пистолет под герметик

11 Щётки проволочные

12 Кисти малярные

13 Отвес строительный

14 Уровень строительный

15 Рулетка

16 Штангенциркуль

17 Набор стамесок

18 Угольник металлический

19 Каска строительная

20 Пояс страховочный

21 Очки защитные

ПРИЛОЖЕНИЕ Г

Сведения о разработчиках стандарта

Настоящий стандарт подготовлен рабочей группой специалистов в составе:

Авдеев Е.В. (ЗАО «САЗИ»);

Болыначков Ю.О. (ЗАО «САЗИ»);

Гольдинов В.К. (ООО «С.О.К.»);

Ким Л.Н. (ООО «АПРОК-ТЕСТ»);

Лузина А.Ю. (ООО «АПРОК-ТЕСТ»);

Спиридонов А.В. (НКО «АПРОК»);

Стоян Ю.Ф. (НКО «АПРОК»).

 




ГОСТЫ, СТРОИТЕЛЬНЫЕ и ТЕХНИЧЕСКИЕ НОРМАТИВЫ.
Некоммерческая онлайн система, содержащая все Российские Госты, национальные Стандарты и нормативы.
В Системе содержится более 150000 файлов нормативно-технической документации, действующей на территории РФ.
Система предназначена для широкого круга инженерно-технических специалистов.

Рейтинг@Mail.ru Яндекс цитирования

Copyright © www.gostrf.com, 2008 - 2026