|
|
|
МОСГОРИСПОЛКОМ МОСКОВСКИЙ СТРОИТЕЛЬНЫЙ КОМИТЕТ МОСКОВСКИЙ НАУЧНО-ИССЛЕДОВАТЕЛЬСКИЙ И ПРОЕКТНЫЙ ИНСТИТУТ ТИПОВОГО И ЭКСПЕРИМЕНТАЛЬНОГО ПРОЕКТИРОВАНИЯ МЕТОДИЧЕСКИЕ УКАЗАНИЯ Пособие для проектировщиков МОСКВА - 1990 Содержание «Методические указания» разработаны лабораторией строительной теплофизики МНИПТЭПа в соответствии с планом научно-исследовательских работ на 1986-88 гг. Составлены графики и разработаны методы определения приведенного сопротивления теплопередаче панелей и коэффициента теплотехнической однородности различных участков, однослойных и многослойных стеновых панелей, что дает возможность на стадии разработки конструкций оценить влияние конструктивных факторов на их теплозащиту без проведения сложных расчетов. Приведены графические зависимости, позволяющие определить минимальную и среднюю температуру внутренней поверхности в зоне характерных теплопроводных включений. Определены величины приведенного сопротивления теплопередаче конструкций оконных блоков в соответствии с номенклатурой изделий по ГОСТ 11214-86 и ГОСТ 16289-80, а также по альбомам, разработанным МНИИТЭПом. Приведена методика расчета микроклимата крыш с теплым чердаком. В приложении к работе даны теплозащитные показатели различных видов ограждающих конструкций и их узлов сопряжения, представляющих практический интерес для проектировщиков. Составители - кандидаты технических наук Г.К. Авдеев, В.С. Ваколюк и К.П. Копылов, инж. В.И. Сурков. 1. ОБЩИЕ ПОЛОЖЕНИЯ1.1. Настоящие «Методические указания» разработаны в развитие § 2 «Сопротивление теплопередаче ограждающих конструкций» Строительных норм и правил по строительной теплотехнике (СНиП II-3-79**), утвержденных Госстроем СССР и введенных в действие с 1 июля 1986 г. 1.2. Общие принципы теплотехнического проектирования ограждающих конструкций зданий изложены в «Руководстве по теплотехническому расчету и проектированию ограждающих конструкций зданий» (М., НИИСФ Госстроя СССР, 1985). «Методические указания» в значительной мере расширяют и дополняют гл. 2 этого «Руководства», так как содержат материал по расчету приведенного сопротивления теплопередаче, а в отдельных случаях и минимальной температуры на внутренней поверхности наружных ограждающих конструкций зданий любого назначения. 1.3. При проектировании наружных ограждающих конструкций зданий следует руководствоваться главами СНиП по проектированию зданий соответствующего назначения, строительной теплотехнике (СНиП II-3-79**); отоплению, вентиляции и кондиционированию воздуха (II-33-75*); строительной климатологии и геофизике (2.01.01-82); естественному и искусственному освещению (II-4-79), а также положениями настоящих «Методических указаний». 1.4. «Методические указания» позволяют более полно и конкретно реализовать ряд требований СНиП II-3-79** обеспечению заданных теплотехнических показателей проектируемых зданий с учетом многообразия типоразмеров и конструктивных решений ограждений. 1.5. Представленные в «Методических указаниях» графические зависимости получены на основе многовариантных расчетов на ЭВМ плоских и объемных температурных полей ограждающих конструкций. Они позволяют на стадии разработки и проектирования ограждения оперативно, с приемлемой для инженерных расчетов точностью, определять влияние различного рода конструктивных и теплотехнических факторов на теплозащитные показатели стенового ограждения. 1.6. Принятые в «Указаниях» условные обозначения основных теплотехнических величин и единицы измерений приведены ниже: λ - коэффициент теплопроводности, Вт/м·°С; R - термическое сопротивление слоя ограждающей конструкции, м2·°С/Вт; Rк - термическое сопротивление ограждающей конструкции, м2·°С/Вт;
αв - коэффициент теплоотдачи внутренней поверхности ограждающей конструкции, Вт/м2·°С; αн - коэффициент теплоотдачи наружной поверхности ограждающей конструкции, Вт/м2·°С; tн - расчетная температура наружного воздуха, °С; tв - расчетная температура воздуха внутри помещения, °С; τв - температура на внутренней поверхности ограждения, °С; τу - температура поверхности в углу конструкции, °С; ∆tн - нормативный температурный перепад между температурой внутреннего воздуха и температурой внутренней поверхности ограждающей конструкции, °С; γ - плотность материала, кг/м3; δ - толщина конструкции или слоя, м; п - коэффициент, характеризующий положение наружной поверхности ограждающих конструкций по отношению к наружному воздуху; r - коэффициент теплотехнической однородности, учитывающий влияние стыков, обрамляющих ребер и других теплопроводных включений; η - коэффициент для определения минимальной температуры внутренней поверхности конструкции в зоне теплопроводного включения; ηв - коэффициент для определения температуры внутренней поверхности конструкции посредине между осями параллельно расположенных включений; ηв.ср - коэффициент для определения средней температуры внутренней поверхности конструкции между осями параллельно расположенных теплопроводных включений; а - ширина теплопроводного включения, мм; с - глубина теплопроводного включения, мм; L - расстояние между осями включений, мм. 2. ПРИВЕДЕННОЕ СОПРОТИВЛЕНИЕ ТЕПЛОПЕРЕДАЧЕ СТЕНОВЫХ ОГРАЖДАЮЩИХ КОНСТРУКЦИИПриведенное сопротивление
теплопередаче ОДНОСЛОЙНЫЕ НАРУЖНЫЕ СТЕНОВЫЕ КОНСТРУКЦИИКирпичная кладка2.1. Принципиальная схема разбивки площадей расчетных участков стены из кирпичной кладки для определения
Рис. 1. Схема разбивки площадей расчетных
участков кирпичной стены для определения Приведенное сопротивление теплопередаче
где Fnp - площадь простенков, м2; Fм.у - площадь межоконных участков (по вертикали), м2; Fгу - площадь глухих участков, м2; rпр - определяется по графикам на рис. 2; rм.у - определяется: а) в случае, если междуэтажное перекрытие не углубляется в толщу кладки, по графикам на рис. 2 (при этом Hм.у = L); б) в случае, если междуэтажное перекрытие углубляется в толщу кладки не более чем на 0,5 кирпича, то значение rм.у, полученное по графикам рис. 2, умножается на 0,9; в) в случае, если междуэтажное перекрытие углубляется в толщу кладки более чем на 0,5 кирпича, то значение rм.у участка определяется по температурному полю;
Рис. 2. Определение r простенка кирпичной стены в зависимости от ширины простенка L, толщины конструкции δ и типа окна: ОС - спаренный оконный блок (сплошная линия), ОР - раздельный оконный блок (пунктирная линия) 1 - δ = 510 мм; 2 - δ =640 мм; 3 - δ =780 мм rг.у - определяется: а) в случае, если междуэтажное перекрытие не углубляется в толщу кладки, то rг.у = 1; б) в случае, если междуэтажное перекрытие углубляется в толщу кладки не более чем на 0,5 кирпича, то значение rг.у принимается равным 0,9; в) в случае, если междуэтажное перекрытие углубляется в толщу кладки более чем на 0,5 кирпича, то rг.у определяется на основе расчета по п. 2.8 СНиП II-3-79**. Однослойные панели с оконным проемом2.2. Принципиальная схема
разбивки площадей расчетных участков однослойной панели с оконным проемом для
определения
Рис. 3. Схема разбивки площадей расчетных участков однослойной панели
для определения Приведенное сопротивление
теплопередаче
где Fпан - площадь панели, м2 Fпан = Lпан ∙ Hпан − Lок ∙ Hок; Fпрос - площадь простенка, м2 Fпрос = Lпрос ∙ Hок; Fпер - площадь перемычки, м2 Fпер = Lок ∙ Hпер.
Рис. 4. Определение r простенка однослойной стеновой панели с утепленным колодцеобразным вертикальным закрытым стыком при спаренных (а) и раздельных (б) оконных блоках, L = 400 мм Fп.у - площадь подоконного участка, м2 Fп.у = Lок · Hп.у; Fу.у - площадь угловых участков, м2 Fу.у = Fпан − (Fпрос + Fпер + Fп.у). 2.3. Определение коэффициента теплотехнической однородности простенка панелей rпр производится: для простенка стеновой панели с утепленным колодцеобразным вертикальным закрытым стыком при спаренных и раздельных оконных блоках - по графикам и таблицам на рис. 4; то же, для «открытого» стыка - по графикам и таблицам на рис. 5;
Рис. 5. Определение r простенка однослойной стеновой панели с утепленным колодцеобразным вертикальным «открытым» стыком при спаренных (а) и раздельных (б) оконных блоках, L = 400 мм
Рис. 6. Определение r простенка однослойной стеновой панели с прямым вертикальным стыком при спаренных (а) и раздельных (б) оконных блоках, L = 550 мм для простенка стеновой панели с прямым вертикальным стыком при спаренных и раздельных оконных блоках - по графикам и таблицам на рис. 6; для простенка промежуточного примыкания двухмодульной панели при спаренных и раздельных окнах - по графикам на рис. 7. 2.4. Определение коэффициента теплотехнической однородности r подоконного участка и надоконной перемычки производится: для панелей с утепленным горизонтальным стыком и сплошной плитой перекрытия (δп = 140 мм) при спаренных и раздельных окнах - по графикам и таблице на рис. 8, для панелей с горизонтальным стыком без утеплителя и со спаренным оконным блоком (с плитой перекрытия δп = 220 мм) - по графикам и таблице на рис. 9,
Рис. 7. Определение r простенка промежуточного примыкания двухмодульной панели при спаренных и раздельных оконных блоках
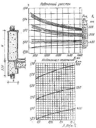
Рис. 8. Определение r подоконного участка и надоконной перемычки с утепленным горизонтальным стыком и сплошной плитой перекрытия (δп = 140 мм) при спаренных (а) и раздельных (б) оконных блоках
Рис. 9. Определение r подоконного участка и надоконной перемычки стеновой панели с горизонтальным стыком без утеплителя и со спаренным оконным блоком (с плитой перекрытия δп = 220 мм)
Рис. 10. Определение r подоконного участка и надоконной перемычки стеновой панели с горизонтальным стыком без утеплителя и с раздельным оконным блоком (с плитой перекрытия δп = 220 мм) то же, с раздельным оконным блоком - по графикам и таблице на рис. 10, для панелей с утепленным горизонтальным стыком и. плитой перекрытия (δп = 220 мм) при раздельных оконных блоках - по графикам на рис. 11,
Рис. 11. Определение r подоконного участка и надоконной перемычки стеновой панели с утепленным горизонтальным стыком при раздельных оконных блоках (с плитой перекрытия δn = 220 мм)
Рис. 12. Определение r подоконного участка и надоконной перемычки стеновой панели с утепленным горизонтальным стыком, при спаренных оконных блоках (с плитой перекрытия δn = 220 мм) то же, при спаренных оконных блоках - по графикам на рис. 12. 2.5. Определение коэффициента теплотехнической однородности угловых участков rу.у под окном и над окном производится: для панелей с утепленным горизонтальным стыком (со сплошной плитой перекрытия δп = 140 мм) - по графикам и таблице на рис. 13,
Рис. 13. Определение r угловых участков под окном (а) и над окном (б) стеновой панели с утепленным горизонтальным стыком (со сплошной плитой перекрытия δп = 140 мм) при L = 400 мм для панелей с горизонтальным стыком без утеплителя (с плитой перекрытия δп = 220 мм) - по графикам и таблице на рис. 14, то же, при утепленном стыке - по графикам и таблице на рис. 15. 2.6. Определение коэффициента теплотехнической однородности r керамзитобетонного импоста в панели при спаренных и раздельных оконных блоках производится по графикам на рис. 16. 2.7. Определение приведенного
сопротивления теплопередаче для панелей с утепленными горизонтальным и вертикальным стыками при междуэтажном перекрытии из сплошной плиты толщиной 140 мм (при изменении ширины окна, но при постоянной его высоте) - по графику на рис. 17; для панелей с утепленным колодцеобразным вертикальным стыком при разном заполнении горизонтального стыка, сопрягающегося с пустотелой плитой перекрытия толщиной 220 мм, и различных размерах оконного проема - по графику на рис. 18; приведенная на графике зависимость дана для условия установки
Рис. 14. Определение r угловых участков под окном (а) и над окном (б) стеновой панели с горизонтальным стыком без утеплителя (с плитой перекрытия δп = 220 мм)
Рис. 15. Определение r угловых участков под окном (а) и над окном (6) стеновой панели с утепленным горизонтальным стыком (с плитой перекрытия δп = 220 мм)
Рис. 16. Определение r импоста однослойной стеновой панели при спаренных (а) и раздельных (б) оконных блоках
Рис. 17. Приведенное сопротивление теплопередаче
Рис. 18. Приведенное
сопротивление теплопередаче в панелях оконных блоков с
раздельными переплетами (ОР); в случае применения оконных блоков со спаренными
переплетами (ОС) необходимо на величину
Рис.
19. Приведенное сопротивление теплопередаче для аналогичных условий, но для панелей, выполненных с плоским вертикальным стыком, - по графику на рис. 19; для панелей внутреннего угла, сопрягающихся с пустотелой плитой перекрытия толщиной 220 мм, для двух отношений Fп/Fо.п - по графику на рис. 20.
Рис. 20. Приведенное
сопротивление теплопередаче Однослойные панели полосовой разрезки (ленточные панели)2.8. Принципиальная схема разбивки ленточной панели на расчетные участки приведена на рис. 21. Определение коэффициента теплотехнической однородности r различных участков ленточной панели, межоконной вставки и угловой панели производится: для краевых участков ленточной панели (участки I и V) - по графику на рис. 21; для межоконных вставок и участка ленточной панели между оконными проемами (участки II и IV) - по графику на рис. 22; для межоконной вставки около угловой панели и для угловой панели - по графикам на рис. 23.
Рис. 21. Разбивка фасада с ленточными панелями и определение r участков I и V: 1 - для δ = 0,2 м, λк.б = 0,54 Вт/м·°С; 2 - для δ = 0,4 м, λк.б = 0,54 Вт/м·°С; 3 - для δ = 0,2 м, λк.б = 0,23 Вт/м·°С; 4 - для δ = 0,4 м, λк.б = 0,23 Вт/м·°С.
Рис. 22. Определение r рядовых межоконных вставок и участков II и IV ленточных панелей: 1 - δ = 0,2 м; 2 - δ = 0,3 м; 3 - δ = 0,4 м
Рис. 23. Определение r ограждений наружного угла: а - панель у окна; б - угловая панель 1 - δ = 0,2 м; 2 - δ = 0,3 м: 3 - δ = 0,4 м МНОГОСЛОЙНЫЕ НАРУЖНЫЕ СТЕНОВЫЕ КОНСТРУКЦИИТрехслойные бетонные панели с оконным проемом и обрамляющими ребрами2.9. Принципиальная схема
разбивки площадей расчетных участков трехслойной панели для определения
Рис. 24. Схема разбивки площадей расчетных участков трехслойной панели с жесткими связями для определения r Приведенное сопротивление
теплопередаче
где F1, F2,..., Fп - площади расчетных участков; r1, r2,..., rп - коэффициенты теплотехнической однородности участков. 2.10. Определение r подоконного участка (уч. 3) производится по графикам на рис. 25. 2.11. Определение r простенка панели (уч. 1) производится по графикам на рис. 26 и 27. 2.12. Определение r надоконной перемычки (уч. 2) производится по графикам на рис. 28
Рис. 25. Определение r подоконного участка трехслойной бетонной панели с обрамляющими ребрами при δут = 100 мм (а) и δут = 125 мм (б): 1 - λ = 0,046 Вт/м2·°С; 2 - λ = 0,07 Вт/м2·°С; 3 - λ = 0,093 Вт/м2·°С 2.13. Определение r участка панели над простенком на высоту надоконной перемычка (уч. 4) производится по графикам на рис. 29. 2.14. Определение r участка панели под простенком на половину высоты подоконного участка (уч. 6) производится по графикам на рис. 30. 2.15. Определение r участка панели под простенком у вертикального стыка на половину ширины простенка (уч. 5) производится по графикам на рис. 31. 2.16. Величина r участка панели вне зоны теплопроводных включений (уч. 7) принимается равной 1. 2.17. Величина r угловых участков панели (уч. 8) определяется на основе расчета объемного температурного поля. Для предварительных расчетов величина r угловых участков трехслойных бетонных панелей может быть принята равной 0,2.
Рис. 26. Определение r простенка бетонной трехслойной панели с обрамляющими ребрами при δут = 100 мм, δв = 110 мм и δн = 70 мм (а) и δут = 100 мм, δв = 85 мм и δн = 95 мм (б)
Рис. 27. Определение r простенка бетонной трехслойной панели с обрамляющими ребрами при δут = 125 мм, δв = 110 мм и δн = 45 мм (a); δут = 125 мм, δв = 85 мм и δн = 70 мм (б)
Рис. 28. Определение r надоконной перемычки трехслойной панели из бетона при δут = 100 мм (а) и δут = 125 мм (б): 1 - λ = 0,046 Вт/м·°С; 2 - λ = 0,07 Вт/м·°С; 3 - λ = 0,093 Вт/м·°С
Рис. 29. Определение r участка трехслойной панели из бетона над простенком при δут = 100 мм (а) и δут = 125 мм (б): 1 - λ =0,046 Вт/м·°С; 2 - λ = 0,07 Вт/м·°С; 3 - λ = 0,093 Вт/м·°С
Рис. 30. Определение r участка трехслойной панели из бетона под простенком при δут = 100 мм (а) и δут = 125 мм (б): 1 - λ = 0,046 Вт/м·°С; 2 - λ = 0,07 Вт/м·°С; 3 - λ = 0,093 Вт/м·°С
Рис. 31. Определение r участка трехслойной панели из бетона у вертикального стыка при δут = 100 мм (а) и δут = 125 мм (б): 1 - λ = 0,046 Вт/м·°С; 2 - λ = 0,07 Вт/м·°С; 3 - λ = 0,093 Вт/м·°С Трехслойные керамзитобетонные панели с оконным проемом и обрамляющими ребрами2.18. Принципиальная схема
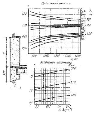
разбивки площадей расчетных участков для определения Приведенное сопротивление теплопередаче трехслойных керамзитобетонных панелей следует определять по формуле (3). 2.19. Определение r простенков панелей толщиной 350 мм производится по графикам на рис. 32 и 33, а для панелей толщиной 400 мм - по графикам на рис. 34 и 35. 2.20. Определение r подоконного участка панелей толщиной 350 мм производится по графикам на рис. 36, а для панелей толщиной 400 мм - по графикам на рис. 37. 2.21. Определение r надоконной перемычки для панели толщиной 350 и 400 мм производится по графикам на рис. 38.
Рис. 32. Определение r простенка трехслойной панели из керамзитобетона толщиной 350 мм при L = 500 мм (а) и 650 мм (б): 1 - λкБ = 0,29 Вт/м·°С; 2 - λкБ = 0,35 Вт/м·°С; 3 - λкБ = 0,44 Вт/м·°С; 4 - λкБ = 0,52 Вт/м·°С; 5 - λкБ = 0,62 Вт/м·°С; 6 - λкБ = 0,72 Вт/м·°С; 7 - λкБ = 0,79 Вт/м·°С
Рис. 33. Определение r простенка трехслойной панели из керамзитобетона толщиной 350 мм при L = 800 мм (а) и 1100 мм (б): 1 - λкБ = 0,29 Вт/м·°С; 2 - λкБ = 0,35 Вт/м·°С; 3 - λкБ = 0,44 Вт/м·°С; 4 - λкБ = 0,52 Вт/м·°С; 5 - λкБ = 0,62 Вт/м·°С; 6 - λкБ = 0,72 Вт/м·°С; 7 - λкБ = 0,79 Вт/м·°С
Рис. 34. Определение r простенка трехслойной панели из керамзитобетона толщиной 400 мм при L = 500 мм (а) и 640 мм (б): 1 - λкБ = 0,29 Вт/м·°С; 2 - λкБ = 0,35 Вт/м·°С; 3 - λкБ = 0,44 Вт/м·°С; 4 - λкБ = 0,52 Вт/м·°С; 5 - λкБ = 0,62 Вт/м·°С; 6 - λкБ = 0,72 Вт/м·°С; 7 - λкБ = 0,79 Вт/м·°С
Рис. 35. Определение r простенка трехслойной панели из керамзитобетона толщиной 400 мм при L = 800 мм (а) и 1100 мм (б): 1 - λкБ = 0,29 Вт/м·°С; 2 - λкБ = 0,35 Вт/м·°С; 3 - λкБ = 0,44 Вт/м·°С; 4 - λкБ = 0,52 Вт/м·°С; 5 - λкБ = 0,62 Вт/м·°С; 6 - λкБ = 0,72 Вт/м·°С; 7 - λкБ = 0,79 Вт/м·°С
Рис. 36. Определение r подоконного участка трехслойной панели из керамзитобетона толщиной 350 мм при H = 735 мм (а), 1035 мм (б) и 1635 мм (в): 1 - λкБ = 0,29 Вт/м·°С; 2 - λкБ = 0,35 Вт/м·°С; 3 - λкБ = 0,44 Вт/м·°С; 4 - λкБ = 0,52 Вт/м·°С; 5 - λкБ = 0,62 Вт/м·°С; 6 - λкБ = 0,72 Вт/м·°С; 7 - λкБ = 0,79 Вт/м·°С
Рис. 37. Определение r подоконного участка трехслойных панелей из керамзитобетона толщиной 400 мм при H = 735 мм (а), 1035 мм (б), 1635 мм (в): 1 - λкБ = 0,29 Вт/м·°С; 2 - λкБ = 0,35 Вт/м·°С; 3 - λкБ = 0,44 Вт/м·°С; 4 - λкБ = 0,52 Вт/м·°С; 5 - λкБ = 0,62 Вт/м·°С; 6 - λкБ = 0,72 Вт/м·°С; 7 - λкБ = 0,79 Вт/м·°С
Рис. 38. Определение r надоконной перемычки трехслойной панели из керамзитобетона при δ = 350 мм (а) и 400 мм (б): 1 - λкБ = 0,29 Вт/м·°С; 2 - λкБ = 0,35 Вт/м·°С; 3 - λкБ = 0,44 Вт/м·°С; 4 - λкБ = 0,52 Вт/м·°С; 5 - λкБ = 0,62 Вт/м·°С; 6 - λкБ = 0,72 Вт/м·°С; 7 - λкБ = 0,79 Вт/м·°С 2.22. Определение приведенного
сопротивления теплопередаче для трехслойных панелей с неутепленной надоконной перемычкой, сопрягающейся с пустотелой плитой перекрытия толщиной 220 мм, с утепленным колодцеобразным вертикальным стыком для отношения Fn/Fo.n = 2,41 (при λут = 0,047 Вт/м·°С) - по графику на рис. 39; для аналогичных конструкций панелей, но с утолщенным на 50 мм по отношению к простенкам утеплителем - по графику на рис. 40;
Рис.
39. Приведенное сопротивление теплопередаче для трехслойных панелей с неутепленной перемычкой, сопрягающейся с пустотелой плитой перекрытия толщиной 220 мм, с плоским вертикальным стыком для отношения Fn/Fo.n = 2,41 (при λут = 0,047 Вт/м·°С) - по графику на рис. 41; для аналогичных конструкций, но при других соотношениях Fn/Fo.n, а также в случае использования утеплителя с λут = 0,041 Вт/м·°С следует использовать повышающие коэффициенты по графикам, приведенным на рис. 42; для трехслойных панелей с утепленной надоконной перемычкой, сопрягающейся с пустотелой плитой перекрытия толщиной 220 мм, с утепленным колодцеобразным вертикальным стыком для отношения Fn/Fo.n = 2,41 - по графику на рис. 43, а для панелей, выполненных с плоским вертикальным стыком, - по графику на рис. 44; для трехслойных панелей с утепленной надоконной перемычкой, сопрягающихся с пустотелой плитой перекрытия толщиной 220 мм, с колодцеобразным и плоским вертикальным стыками, но при других соотношениях Fn/Fo.n следует использовать повышающие коэффициенты по графикам на рис. 45.
Рис.
40. Приведенное сопротивление теплопередаче
Рис.
41. Приведенное сопротивление теплопередаче 2.23 Величину
Pис. 42. Графики для определения повышающих
коэффициентов КF и Кλ при
выявлении
Рис.
43. Приведенное сопротивление теплопередаче
Рис.
44. Приведенное сопротивление теплопередаче
Рис.
45. Графики для определения повышающего коэффициента К при выявлении Трехслойные керамзитобетонные панели полосовой разрезки (ленточные панели) с обрамляющими ребрами2.24. Принципиальная схема
разбивки панелей полосовой разрезки на расчетные участки приведена на рис.21.
Определение приведенного сопротивления теплопередаче
Рис.
46. Приведенное сопротивление теплопередаче
Рис.
47. Поправочный коэффициент на
Рис.
48. Приведенное сопротивление теплопередаче для простеночных панелей разной
ширины (L) - по графикам на рис. 46 и 47; поправочный коэффициент (в %) на для ленточных панелей разной высоты и различных вариантов сопряжения - по графикам на рис. 48. Трехслойные панели с гибкими связями2.25. Определение приведенного
сопротивления теплопередаче
для панелей толщиной 400 мм
Указанные формулы
справедливы при Fn/Fок > 2,5. Графическая зависимость
Рис. 49. Конструкция стеновой одномодульной панели с гибкими связями (δп = 300 и 400 мм)
Рис.
50. Определение 2.26. Определение
где ∆r - поправочный коэффициент, определяемый для δп = 350 и 400 мм по графику на рис. 50 (а и б). 2.27. Значения 3. ОПРЕДЕЛЕНИЕ МИНИМАЛЬНОЙ ТЕМПЕРАТУРЫ ВНУТРЕННЕЙ ПОВЕРХНОСТИ ОГРАЖДЕНИЯНастоящий раздел составлен в
развитие § 2.11* СНиП II-3-79**. Представленные
графики позволяют определить не только минимальную температуру внутренней
поверхности ограждающей конструкции ТЕПЛОПРОВОДНЫЕ ВКЛЮЧЕНИЯ ХАРАКТЕРНОГО ТИПА3.1. Температуру внутренней поверхности в местах теплопроводных включений, показанных на рис. 51, следует определить по формуле
Рис. 51. Схемы теплопроводных включений в ограждающих конструкциях. Типы теплопроводных включений даны по СНиП II-3-79**. Тип IV не рассматривается 3.2. Безразмерный коэффициент η характеризует минимальную температуру на внутренней поверхности конструкции в зоне теплопроводного включения в зависимости от типа включения, его размеров, а также от конструктивных особенностей ограждения. Значение η для различных типов теплопроводных включений следует определять: для бетонных включений I типа - по графику на рис. 52; для металлических включений I типа - по графику на рис. 53; для единичных бетонных включений II типа - по графику на рис. 54; для единичных металлических включений II типа - по графику на рис. 55; для параллельно расположенных бетонных включений II типа - по графикам на рис. 56-60;
Рис. 52. График определения η для бетонных включений I типа: 1 - при P = 2; 2 - P = 2,5; 3 - P = 4; 4 - P = 5; 5 - P = 8; 6 - P = 10; 7 - P = 16; 8 - P = 20; 9 - P = 32
Рис. 53. График определения η для металлических включений I типа: 1 - P = 50; 2 - P = 100; 3 - P = 200; 4 - P = 1000; 5 - P = 1250; 6 - P = 2000; 7 - P = 2500; 8 - P = 5000;
Рис. 54. График определения η единичных бетонных включений II типа для ограждений с δн = 50 мм (сплошная линия) и δн = 70 мм (пунктирная)
Рис. 55. График определения коэффициента η для единичных металлических включений II типа: 1 - δ = 100 + а; 2 - δ = 80 + а; 3 - δ = 60 + а
Рис. 56. График определения η для параллельно расположенных бетонных включений II типа при L = 400 мм (а) и L = 600-1200 мм (б): 1 - при δв = 50; 2 - при δв = 70; 3 - при δв = 90; 4 - при δв = 120
Рис. 57. График определения ηв для параллельно расположенных бетонных включений II типа при δв = 50 мм (а) и δв = 70 мм (б): 1 - при L = 400 мм; 2 - при L = 600 мм; 3 - при L = 800 мм; 4 - при L = 1000 мм; 5 - при L = 1200 мм
Рис. 58. График определения ηв для параллельно расположенных бетонных включений II типа при δв = 90 мм (а) и δв = 120 мм (б): 1 - при L = 400 мм; 2 - при L = 600 мм; 3 - при L = 800 мм; 4 - при L = 1000 мм; 5 - при L = 1200 мм
Рис. 59. График определения ηв.ср для параллельно расположенных бетонных включений II типа при δв = 50 мм (а) и δв = 70 мм (б): 1 - при L = 400; 2 - при L = 600 мм; 3 - при L =800 мм; 4 - при L = 1000 мм; 5 - при L = 1200 мм
Рис. 60. График определения ηв.ср для параллельно расположенных бетонных включений II типа при δв = 90 мм (а) и δв = 120 мм (б): 1 - при L = 400 мм; 2 - при L = 600 мм; 3 - при L = 800 мм; 4 - при L = 1000 мм; 5 - при L = 1200 мм для параллельно расположенных металлических включений II типа - по графикам на рис. 61-65; для бетонных включений III типа - по графику на рис. 66; для металлических включений III типа - по графику на рис. 67;
Рис. 61. График определения η для параллельно расположенных металлических включений II типа при L = 600 мм: 1 - при δут = 60 мм; 2 - при δут = 80 мм; 3 - при δут = 100 мм
Рис. 62. График определения ηв для параллельно расположенных металлических включений II типа при δут = 60 мм: 1 - при L = 600 мм; 2 - при L = 800 мм; 3 - L = 1000 мм; 4 - при L = 1200 мм
Рис. 63. График определения ηв для параллельно расположенных металлических включений II типа при δут = 80 мм (а) и δут = 100 мм (б): 1 - при L = 600 мм; 2 - при L = 800 мм; 3 - при L = 1000 мм; 4 - при L = 1200 мм
Рис. 64. График определения ηв.ср для параллельно расположенных металлических включений II типа при δут = 60 мм (а) и δут = 80 мм (б): 1 - при L = 600 мм; 2 - при L = 800 мм; 3 - при L = 1000 мм; 4 - при L = 1200 мм
Рис. 65. График определения ηв.ср для параллельно расположенных металлических включений II типа при δут = 100 мм: 1 - при L = 600 мм; 2 - при L = 800 мм; 3 - при L = 1000 мм: 4 - L = I200 мм
Рис. 66. График определения ηв.ср для бетонных включений III типа: 1 - при с/δ = 0,065; 2 - при с/δ = 0,167; 3 - с/δ = 0,25; 4 - с/δ = 0,416; 5 - с/δ = 0,714
Рис. 67. График определения η для металлических включений III типа: 1 - при с/δ = 0,0625; 2 - при с/δ = 0,167; 3 - с/δ = 0,25; 4 - с/δ = 0,416
Рис. 68. График определения η для металлических включений V типа (гибкая связь) при разных значениях δут/δв : 1 - 0,25; 2 - 0,5; 3 - 1,0; 4 - 1,5; 5 - 2,0; 6 - 3,0 для включений V типа - металлических единичных стержней представляющих собой гибкие связи в трехслойных бетонных панелях, - по графику на рис. 68. ОПРЕДЕЛЕНИЕ МИНИМАЛЬНОЙ ТЕМПЕРАТУРЫ В УЗЛАХ КОНСОЛЬНОГО ТИПА ОДНОСЛОЙНЫХ ПАНЕЛЕЙ3.3. Общий вид горизонтального стыка однослойных панелей с плитой консольного типа приведен на рис. 69.
Рис: 69. Горизонтальный стык однослойных панелей с плитой консольного типа: а - общий вид; б - шпоночное расположение утепляющих вкладышей в зоне перехода объединенной плиты перекрытия: 1 -фактурный слой, λ = 1,16М6 Вт/м·°С; 2 - керамзитобетон, λ-var; 3 - цементно-песчаный раствор, λ = 0,93 Вт/м·°С; 4 - утеплитель, λ-var; 5 - железобетон, γ = 2500 кг/м3; λ = 2,03 Вт/м·°С; 6 - линолеум на тканевой основе, λ = 0,25 Вт/м·°С Минимальные температуры в узлах подобного типа наблюдаются над и под плитой перекрытия на цементно-песчаном растворе по оси теплопроводного включения, имеющего длину α. Расчет минимальных температур над и под перекрытием τх.1 и τх.2 (рис. 70) состоит из следующих этапов: 1) исходя из конструктивных соображений принимаются размеры α и в, по ним рассчитываются соотношения α/δ и в/δ в которых толщина наружной панели δ - есть величина постоянная и равная 320 мм (при этом принимается, что длина теплоизоляционного вкладыша с будет не менее 400 мм) 2) по графику на рис. 70, зная отношения α/δ и в/δ, находят понижающие коэффициенты ηх.i для определения температур τх.1 и τх.2;
Рис. 70. Определение величины ηх в точках 1 и 2 для бетонных включений в стыках консольного типа однослойных стеновых панелей. Размеры а, в, δ, ∆ обозначены на рис. 69. 3) значения ηx.i остаются без изменения, если стеновая панель имеет толщину δ = 320 мм и выполнена из керамзитобетона с коэффициентом теплопроводности 0,4 Вт/м·°С, при этом высота выравнивающего слоя бетона ∆ = 20 мм, а зона перехода утеплена материалом с λизол = 0,046 Вт/м·°С; 4) в случае утепления зоны перехода материалом с λизол = 0,07 Вт/м·°С значение ηx.i увеличивают на 0,034; 0,026 или 0,019 соответственно при величине α, равной 80, 100 и 120 мм; 5) с учетом найденных коэффициентов ηx.i определяют минимальные температуры над и под перекрытием по формуле (8) с обозначениями для конкретного случая где Rо.о.к - сопротивление теплопередаче, рассчитанное по сечению основной конструкции и равное 0,92 м2·°С/Вт; Rо.т.в - сопротивление теплопередаче, рассчитанное по одномерной схеме передачи тепла в сечении по выравнивающему слою между стеновой панелью и объединенной плитой перекрытия и равное 0,5 м2·°С/Вт; 6) при численных значениях δ, ∆, λк.Б, отличных от принятых в пп. 1 и 3, к температурам, рассчитанным по формуле (8), делаются следующие поправки: если стеновая панель имеет толщину δ более 320 мм, то при каждом увеличении толщины в 20 мм температура τx.i возрастает на 0,3°С; если высота выравнивающего слоя раствора ∆ более 20 мм, то при каждом увеличении высоты на 10 мм температура τx.1 снижается на 0,3°С, а τx.2 - на 0,2°С; если конструктивный материал панели имеет коэффициент теплопроводности выше 0,4 Вт/м·°С, то при каждом приросте λк.Б на 0,07 Вт/м·°С температура τx.1 и τx.2 снижается на 0,2°С; если рассматриваемое стыковое соединение имеет отклонения по нескольким параметрам (δ, ∆, λк.Б), то поправки, приведенные выше, суммируются и производится обобщающая корректировка величины τx.i. Пример. Определить минимальную температуру в горизонтальном стыке с плитой консольного типа при следующей характеристике узлового сопряжения: однослойные стеновые панели: δ = 340 мм, λк.Б = 0,46 Вт/м·°С; железобетонная панель перекрытия δ = 140 мм; размеры отверстий под теплоизоляционные вкладыши в´с = 100´450 мм; утепляющие вкладыши с λизол = 0,07 Вт/м·°С; размеры сквозных включений в´а = 100´110 мм; высота выравнивающего слоя раствора между стеновой панелью и плитой перекрытия: над перекрытием - 30 мм, под перекрытием - 40 мм; пол - линолеум на теплой основе; условия окружающей среды: tв = 18°С, tн = -20°С, αв = 8,7 Вт/м2·°С, ан = 23 Вт/м2·°С. Решение. Определяем отношения а/δ и в/δ:
По графику на рис. 70 находим понижающие коэффициенты ηх.1 и ηх.2 для минимальных температур над и под перекрытием: ηх.1 = 0,5 и ηх.2 = 0,55. Учитывая, что зона перехода утеплена материалом с λизол = 0,07 Вт/м·°С, коэффициенты ηх.1 и ηх.2 для а = 110 мм увеличиваются на 0,0225, следовательно, ηх.1 = 0,5225, ηх.2 = 0,5725. Рассчитываем значения τх.1, и τх.2, по формуле (8)
В полученные величины вносим поправки: на увеличение толщины стеновой панели; на высоту выравнивающего слоя раствора; на увеличение коэффициента теплопроводности стеновой панели. Поправки составляют: для τх.1 + 0,3 + (-0,3) + (- 0,2) = -0,2; для τх.2 + 0,3 + (-0,2) + (- 0,2) = -0,3. Таким образом, величина минимальной температуры над перекрытием составит 10,98°С, под перекрытием 10,69°С. Предположим, что толщина стеновой панели будет не 340, а 360 мм, тогда полученные величины τх.1 и τх.2 следует увеличить еще на 0,3°С. Если при этом высота выравнивающего слоя над перекрытием станет 40 мм вместо рассчитанных 30 мм, то значение τх.1 надо уменьшить на 0,3°С, т.е. в конечном итоге к температурам, рассчитанным в первом варианте, внести поправки: к τх.1 прибавить нуль, а к τх.2 прибавить 0,3. Таким образом, τх.1 будет равна 10,98°С, а τх.2 = 10,99°С, т.е. значения минимальных температур над и под перекрытием в этом случае совпадают. 4. ПРИВЕДЕННОЕ СОПРОТИВЛЕНИЕ ТЕПЛОПЕРЕДАЧЕ ОКОННЫХ БЛОКОВПриведенное сопротивление теплопередаче оконных блоков с учетом их типов и геометрических размеров дано для следующих конструкций: стандартные деревянные оконные блоки с двойным остеклением со спаренными и раздельными створками по ГОСТ 11214-86 (табл. 1 и рис. 71-73); оконные блоки с тройным остеклением по ГОСТ 16289-80 (табл. 2 и рис. 74); специальные шумо- и теплозащитные оконные блоки с двойным остеклением по альбому РМ-1372, доп. 1 «Специальные шумозащитные и теплозащитные оконные блоки с двойным остеклением со звукопоглощающей обкладкой с форточкой для домов серии П55/12» (табл. 3 и рис. 75); модернизированные оконные блоки со спаренными переплетами по альбому МНИИТЭПа (шифр НИ-3033-01) с учетом номенклатуры ГОСТ 11214-86 (табл. 4 и рис. 76). Таблица 1 Приведенное сопротивление теплопередаче оконных блоков с двойным остеклением со спаренными и раздельными створками по ГОСТ 11214-86
Рис. 71. Конструкция и сечения по притворам спаренных и раздельных оконных блоков (ОС и ОР) жилых зданий по ГОСТ 11214-86
Рис. 72. Сечения С1, С2, СЗ, С4, С5 (см. рис. 71) по притворам спаренных оконных блоков (ОС) жилых зданий
Рис. 73. Сечения С1, С2, СЗ, С4, С5, С6 (см. рис. 71) по притворам раздельных оконных блоков (ОР) жилых зданий
Рис. 74. Сечения С1, С2, СЗ, С4, С5, С6 (см. рис. 71) по притворам оконных блоков с тройным остеклением Таблица 2 Приведенное сопротивление теплопередаче оконных блоков с тройным остеклением по ГОСТ 16289-80
Таблица 3 Приведенное сопротивление теплопередаче специальных шумо- и теплозащитных оконных блоков с двойным остеклением по альбому РМ-1372, доп. 1
Рис. 75. Сечения С1, С2, СЗ, С4, С5 (см. рис. 71) по притворам оконных блоков с двойным остеклением со звукопоглощающей обкладкой по альбому МНИИТЭП РМ-1372, доп. 1
Рис. 76. Сечения C1, С2, СЗ, С4, С5 (см. рис. 71)по притворам модернизированных оконных блоков со спаренными переплетами по альбому МНИПТЭП, шифр НИ-3003-01 Таблица 4 Приведенное сопротивление теплопередаче модернизированных оконных блоков со спаренными переплетами и с двойным остеклением по альбому МНИИТЭПа (шифр НИ-3003-01)
5. ТЕПЛОТЕХНИЧЕСКИЕ РАСЧЕТЫ КРЫШИ С ТЕПЛЫМ ЧЕРДАКОМ*РАСЧЕТ КРЫШИ С ТЕПЛЫМ ЧЕРДАКОМ ПРИ СТАЦИОНАРНОМ ТЕМПЕРАТУРНОМ РЕЖИМЕ5.1. Целью теплотехнического расчета крыши с теплым чердаком является определение при расчетных зимних параметрах воздуха потерь тепла помещениями верхнего этажа через чердачное перекрытие при соблюдении двух условий: нормативного температурного перепада ∆tн между расчетной зимней температурой внутреннего воздуха и температурой нижней поверхности чердачного перекрытия (см. СНиП II-3-79**); невыпадения конденсата на внутренней поверхности ограждающих конструкций теплого чердака (выпадение конденсата на ограждающих конструкциях допускается в наиболее холодную пятидневку и только в местах теплопроводных включений). * - Авторское свидетельство № 460365. БИ, 1975, № 6. 5.2. Для прикидочных расчетов при конструировании ограждающих конструкций крыши с теплым чердаком ее приведенное сопротивление теплопередаче можно принимать по данным табл. 5. Таблица 5 Данные для расчета ограждающих конструкций крыши с теплым чердаком
* l - расстояние от оси вентиляционного канала-спутника вентблока до угла здания, м; из ближайших к наружным углам здания вентблокам принимается l наиболее удаленного вентблока. **
- Для зданий 16 этажей и выше Методика теплотехнического расчета5.3. Теплотехнический расчет ведется для торцевой секции здания. Находим минимальную температуру воздуха tм.п теплого чердака над угловой комнатой по формуле tм.п = tу - α0 · ∆tн · Rо.п, (9) где tу - расчетная температура воздуха углового помещения, °С; принимается на 1° выше расчетной зимней температуры внутреннего воздуха углового помещения; α0 - коэффициент теплообмена у потолка углового помещения, Вт/(м2·°С); ∆tн - нормируемый СНиП II-3-79** температурный перепад между расчетной температурой внутреннего воздуха и температурой потолка углового помещения, °С; Rо.п - сопротивление теплопередаче чердачного перекрытия, (м2·°С)/Вт
где δ - толщина чердачного перекрытия, м; λ - коэффициент теплопроводности материала чердачного перекрытия, Вт/(м·°С); αо.п - коэффициент теплообмена у чердачного перекрытия в угловой зоне здания, Вт/(м2·°С); принимается равным 5,8 Вт/(м2·°С). Вычисляем среднюю температуру
воздуха где tч.н - температура вентиляционного воздуха, поступающего в теплый чердак из вентблоков, °С; принимается равной 19°С; Fn - площадь чердачного перекрытия, м2. Определяем требуемое сопротивление теплопередаче панелей фризовых стен и кровли крыши с теплым чердаком где tн - расчетная температура наружного воздуха, °С; принимается равной средней температуре наиболее холодной пятидневки с обеспеченностью 0,92; Fс, Fк - соответственно площадь фризовых стен и кровли м2; L - количество вентиляционного воздуха, поступающего из вентблоков в теплый чердак, м3/ч; для жилых зданий L определяется в зависимости от количества квартир на этаже и этажности здания по табл. 6; со - удельная объемная теплоемкость вентиляционного воздуха, Вт·ч/(м3·°С); Qт - суммарные потери тепла трубопроводами систем горячего водоснабжения и отопления, проложенными в теплом чердаке, Вт. Удельные потери тепла изолированными трубопроводами в зависимости от диаметра труб и разности температур ∆t горячей воды и воздуха чердака принимаются по табл. 7, а неизолированными трубопроводами - по табл. 8. Таблица 6 Расход вентиляционного воздуха квартиры в зависимости от этажности
здания и расчетной температуры наружного воздуха
Примечание: В числителе указан расход вентиляционного воздуха для квартир с электроплитами, в знаменателе - с газовыми плитами. Расходы определены лабораторией инженерного оборудования МНИИТЭПа. Полученное из (12)
Таблица 7 Потери тепла изолированными горизонтальными трубопроводами
Примечание. Для изоляции труб применяются минераловатные маты толщиной 30 мм в обертке стеклотканью (пергамином) или асбестоцементная штукатурка толщиной 10 мм. Таблица 8 Потери тепла неизолированными горизонтальными трубопроводами
где Из конструктивных соображений сопротивления теплопередаче кровли и фризовых стен могут отличаться друг от друга, но при этом должны соблюдаться два условия: сопротивление теплопередаче кровли и фризовых стен должно быть не меньше Rо.к и Ro.c , определенных по формулам (13) и (14); среднее сопротивление
теплопередаче
Расчет потерь тепла через
чердачное перекрытие угловых помещений ведется при температуре воздуха теплого
чердака, равной tм.п, определенной по формуле (9), а для остальных помещений - равной РАСЧЕТ НЕСТАЦИОНАРНОГО ТЕМПЕРАТУРНОГО РЕЖИМА ТЕПЛОГО ЧЕРДАКА5.4. Температура наружного воздуха является основным возмущающим фактором, обусловливающим развитие нестационарных тепловых процессов в помещении теплого чердака. Ввиду того, что поведение наружной температуры во времени в значительной степени носит случайный характер, то практически целесообразно рассматривать два наиболее характерных закона ее изменения - линейный и гармонический. 5.5. При линейном изменении температуры наружного воздуха на участке 0 ≤ Fo ≤ Fo*,.
где t0 - начальная температура наружного воздуха, °С; tm - конечная температура наружного воздуха, °С;
αс - коэффициент температуропроводности фризовых стен, м2/°С; расчет температуры воздуха в помещении теплого чердака проводится по выражению
где
Кп - коэффициент теплопередачи чердачного перекрытия, Вт/м2·°С; λс, λк - коэффициент теплопроводности фризовых стен и кровельных панелей, Вт/м·°С; αс, αк - коэффициент температуропроводности фризовых стен и кровельных панелей, м2/с; lc, lК - толщина фризовых стен и кровельных панелей, м: G - средний в интервале изменения наружной температуры массовый расход воздуха в вентиляционной шахте, кг/с; св - теплоемкость воздуха, Дж/кг·°С; tBX - температура воздуха на входе в чердачное помещение, °С; tB - температура воздуха в квартире последнего этажа, °С; qв - удельные тепловыделения трубопровода горячего водоснабжения, Вт/м; LB - длина трубопровода горячего водоснабжения, м; Кот - коэффициент теплопередачи изоляции трубопровода системы теплоснабжения, Вт/м·°С; L0T - длина трубопровода системы теплоснабжения, м; tт
= t0т
- b · tн
(F0 -
Fоз)
- закон изменения температуры теплоносителя в системе теплоснабжения, τ3 - время запаздывания в реакции системы теплоснабжения на изменение температуры наружного воздуха, с; b - коэффициент. 5.6. Температуры на внутренней поверхности фризовых стен и крыши теплого чердака равны соответственно
5.7. В случае гармонических колебаний температуры наружного воздуха
где Ан - амплитуда колебания температуры наружного воздуха, °С;
Т - период колебания, с; расчет изменения во времени температуры воздуха в помещении теплого чердака проводится по выражению
5.8. В практических расчетах при периодических тепловых воздействиях, как правило, рассматривают квазистационарный режим функционирования зданий и помещений. Учитывая это, из выражения (22) для установившегося режима определим
5.9. В этом случае температура внутренней поверхности крыши теплого чердака определится равенством
5.10. Температура внутренней поверхности стенового ограждения находится из выражения (24), в котором следует принять ν = l, Z1 = Y1, Iк = Iс. 5.11. Плотность теплового потока через чердачное перекрытие рассчитывается по соотношению qп = Кп [tв - tч (Fo)]. (25) 5.12. В соответствии с требованиями СНиП II-3-79** «Строительная теплотехника» должно выполняться условие qп ≤ qтр, (26) где для жилых помещений qтр = 35 Вт/м2. Пример расчета. Требуется определить для зимних климатических условий г. Москвы характер изменения температуры воздуха в чердачном помещении, а также температуру внутренней поверхности фризовых и кровельных панелей в процессе суточных колебаний температуры наружного воздуха. Наружное ограждение чердачного помещения жилого 12-этажного здания серии П30/12 выполнено из однослойных керамзитобетонных панелей. Теплофизические свойства ограждения: ρс = 1100 кг/м3, ρк = 1200 кг/м3, λс = 0,45 ккал/м·°С, λк = 0,5 ккал/м·°С, сс = ск = 0,2 ккал/кг·°С, ас = 2,0-10-3 м2/ч, ак = 2,1·10-3 м2/ч. Другие исходные данные:
В соответствии со СНиП 2.01.01-82 «Строительная климатология и геофизика» для января принято tн (τ) = -10,2 + 6,2·sin (0,262 τ). Используя приведенные выше соотношения, определяем исходные параметры Кс = Kк = 0,375; δс = 0,41 м; δк = 0,434 м; Bic = 5,45; Bik = 5,13; Fo* = 1,02; Fo3 = 0,047; ν = 0,94; μ = 0,02; Y1 = 0,146; Z1 = 0,154; N = 63´103 ккал/ч; A = 17,1°C; β = 0,454; B = 2,03. Результаты расчета установившегося температурного режима теплого чердака, выполненные в соответствии с положениями пп. 5.8.-5.10. настоящего раздела, представлены графиками на рис. 77.
Рис. 77. Изменение температур tн , tч , tc и tк во времени Графические зависимости свидетельствуют о том, что колебания всех расчетных температур происходят с меньшей амплитудой и практически в противофазе по отношению к изменению наружной температуры. Максимальное значение теплового потока через чердачное перекрытие
что удовлетворяет санитарно-гигиеническим требованиям. ПРИЛОЖЕНИЕЗНАЧЕНИЯ
|
|||||||||||||||||||||||||||||||||||||||||||||||||||||||||||||||||||||||||||||||||||||||||||||||||||||||||||||||||||||||||||||||||||||||||||||||||||||||||||||||||||||||||||||||||||||||||||||||||||||||||||||||||||||||||||||||||||||||||||||||||||||||||||||||||||||||||||||||||||||||||||||||||||||||||||||||||||||||||||||||||||||||||||||||||||||||||||||||||||||||||||||||||||||||||||||||||||||||||||||||||||||||||||||||||||||||||||||||||||||||||||||||||||||||||||||||||||||||||||||||||||||||||||||||||||||||||||||||||||||||||||||||||||||||||||||||||||||||||||||||||||||||||||||||||||||||||||||||||||||||||||||||||||||||||||||||||||||||||||||||||||||||||||||||||||||||||||||||||||||||||||||||||||||||||||||||||||||||||||||||||||||||||||||||||||||||||||||||||||||||||||||||||||||||||||||||||||||||||||||||||||||||||||||||||||||||||||||||||||||||||||||||||||||||||||||||||||||||||||||||||||||||||||||||||||||||||||||||||||||||||||||||||||||||||||||||||||||||||||||||||||||||||||||||||||||||||||||||||||||||
|
Тип панели |
Приведенное сопротивление
теплопередаче |
||||||
|
250 |
300 |
350 |
|||||
|
при λут в Вт/м·°С |
|||||||
|
0,047 |
0,081 |
0,047 |
0,081 |
0,047 |
0,081 |
||
|
Полосовая панель (см. рис. 2) |
1,23 |
0,83 |
2,18 |
1,41 |
3,11 |
1,97 |
|
|
Простеночная панель (см. рис. 3) |
1,2 |
0,83 |
2,1 |
1,38 |
2,96 |
1,93 |
|
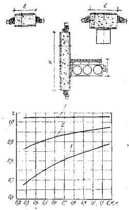
На рис. 4 приведена конструкция панели, разработанной институтом «Моспроект» для зданий плодоовощных баз. Наружный слой панели выполнен из бетона с λ = 1,86 Вт/м·°С, а внутренний слой - из пластичного бетона λп.Б = 1,4 Вт/м·°С. В качестве утеплителя использован пенопласт ПСБ с λ = 0,047 Вт/м·°С.
В табл. 2 приведены типы и
количество гибких связей для исследуемых панелей, а также
и r. Рассмотрены условия,
когда все связи обжаты утеплителем, а также вариант, когда около ветровых и
крепежных связей образуется зазор в утеплителе шириной 5 мм, заполненный
растворной частью бетона.

Рис. 4. Схема раскладки гибких связей в межоконной вставке (панель 1) и ленточной панели (панель 2) для плодоовощных баз
Таблица 2
Конструкция и приведенное сопротивление теплопередаче панелей полосовой
разрезки с гибкими связями (см. рис 4) при ![]()
|
Тип панели |
Тип связи и ее сечение |
Количество связей |
Приведенное сопротивление
теплопередаче |
Коэффициент теплотехнической однородности r |
|
Панель полосовой разрезки |
Ветровая связь 60´6 мм обжата утеплителем |
2 |
2,52 |
0,726 |
|
Крепежная связь 100´10 мм обжата утеплителем |
2 |
|||
|
U-образные стержни диаметром 8 мм |
33 |
|||
|
То же |
То же количество ветровых и крепежных связей в растворе |
2,46 |
0,708 |
|
|
Межоконная вставка |
Ветровая связь 60´6 мм обжата утеплителем |
2 |
1,944 |
0,56 |
|
Крепежная связь 100´10 мм обжата утеплителем |
2 |
|||
|
U-образные стержни диаметром 8 мм |
3 |
|||
|
То же |
То же количество ветровых и крепежных связей в растворе |
1,84 |
0,53 |
|
На рис. 5 приведены схемы расположения в стеновой конструкции стержневой и U-образной гибких связей. Теплозащитные показатели участка площадью 0,18 м2 такой панели приведены в табл. 3. Рассмотрены панели толщиной 250 и 350 мм при двух значениях λут.
На рис. 6 изображена гибкая связь
в форме пластины и ее установка в панелях двух толщин (δп
= 250 и 300 мм). Зона действия этой пластины равна 1,08´1,08 м. В
табл. 4 представлены теплозащитные показатели участка панели, включая
по центру связи, рассчитанные при параметрах внутреннего и
наружного воздуха tв = 20°С и tн = -30°С

Рис. 5. Схемы расположения в стеновой панели стержневой (а) и U-образной гибкой (б) связи: 1 - керамзитобетон, γ = 1800 кг/м3, λ = 0,93 Вт/м·°С; 2 - утеплитель, λут см. табл.; 3 - пескобетон, γ = 2200 кг/м3, λ = l,4 Вт/м·°С
Таблица 3
Теплозащитные показатели участка площадью 0,18 м2 стеновой панели со стержневой и U-образной связью
|
Толщина, мм |
λут, Вт/м·°С |
|
Стержневая связь |
U-образная связь |
|||
|
панели |
утеплителя |
|
r |
|
r |
||
|
250 |
100 |
0,035 |
3,167 |
?,436 |
0,769 |
1,826 |
0,575 |
|
0,047 |
2,451 |
2,007 |
0,819 |
1,585 |
0,647 |
||
|
350 |
200 |
0,035 |
6,034 |
4,358 |
0,722 |
3,022 |
0,5 |
|
0,047 |
4,601 |
3,575 |
0,777 |
2,642 |
?,574 |
||
На рис. 7 изображена гибкая связь сечением 40´4 мм с автоматической фиксацией слоев. Размер стенового участка принят равным 1´1 м, в центре его установлена связь. Наружный и внутренний слои выполнены из бетона (λ = 1,86 Вт/м·°С). Утеплитель - полистирольный пенопласт (λ = 0,047 Вт/м·°С). Рассмотрены также пластинчатые связи сечением 60´6 мм. Результаты теплотехнических расчетов фрагмента стеновой конструкции разной толщины (за счет изменения толщины утеплителя) при постоянной толщине бетонных слоев (δн.с = 120 мм, δв.с = 100 мм) приведены в табл. 5.

Рис. 6. Размеры сквозной металлической пластины и ее расположение в толще панелей при δп = 250 мм (а) и δп = 300 мм (б)
Таблица 4
Теплозащитные показатели участка ленточной панели с пластинчатой гибкой связью (см. рис. 6)
|
Толщина, мм |
Коэффициент теплопроводности утеплителя λут, Вт/м·°С |
Сопротивление теплопередаче, м2·°С/Вт |
Коэффициент теплотехнической однородности r |
Минимальная температура
поверхности по центру связи * |
||
|
панели |
утеплителя |
|
|
|||
|
250 |
100 |
0,035 |
3,167 |
2,681 |
0,846 |
6,9 |
|
0,047 |
2,451 |
2,159 |
0,881 |
6,7 |
||
|
300 |
150 |
0,035 |
4,6 |
3,471 |
0,754 |
6,5 |
|
0,047 |
3,526 |
2,838 |
0,805 |
6,4 |
||
* При tв = 20°С и tн = -30°С.

Рис. 7. Гибкая связь с автоматической фиксацией слоев: а - гибкая связь; б - конструкция стены; в - элемент фиксатора гибкой связи: 1 - бетон, λ = 1,86 Вт/м·°С; 2 - утеплитель, λут = 0,047 Вт/м·°С
Таблица 5
Теплозащитные показатели участка стены в зоне установки металлической гибкой связи (см. рис. 7)
|
Сечение пластины, мм |
Толщина утеплителя, δут, мм |
Сопротивление теплопередаче, м2·°С/Вт |
Коэффициент теплотехнической однородности r |
Температура внутренней поверхности в зоне теплопроводного включения *, °С |
||
|
|
|
|
|
|||
|
40´4 |
100 |
2,426 |
2,166 |
0,89 |
15,4 |
13,4 |
|
60´6 |
100 |
2,426 |
2,015 |
0,83 |
15,2 |
11,6 |
|
125 |
2,963 |
2,406 |
0,81 |
15,6 |
12,4 |
|
|
150 |
3,5 |
2,792 |
0,8 |
16,0 |
13,0 |
|
* Расчеты проведены при tв = 18°С и tн = -32°С.
На рис. 8 приведена конструкция универсальной штампованной закладной детали ШЗД-1. Предполагается использовать ее как гибкую связь в наружных стеновых панелях, изготавливаемых на ДСК-1, и устанавливать в простенке панели у оконного проема (рис. 9). На рис. 9 приводится также сечение простенка панели по оси симметрии гибкой связи и распределение изотерм (8,8; 10 и 12°С) по его внутренней поверхности. Расчет объемного поля, проведенный при tв = 18°С и tн = -32°С, показал низкие теплозащитные качества рассматриваемого участка простенка панели в зоне гибкой связи ШЗД-1. Минимальная температура по оси связи равна 5,3°С и появляется большая зона на поверхности стены с температурой ниже 8,8°С, т. е. ниже точки росы при φв = 55%. Приведенное сопротивление теплопередаче рассматриваемого участка простенка панели равно 0,59 м2·ч/Вт.
На рис. 10
и 11
приведены, номограммы, характеризующие изменение r участка бетонной и
керамзитобетонной трехслойной панели δ = 350 и 400 мм в зависимости
от диаметра U-образной связи, значений
λут и
.
Связи расположены с шагом по горизонтали
900 мм, а по вертикали - 500 мм. Номограммы позволяют:
найти r участка стены по величине условного сопротивления теплопередаче, коэффициенту теплопроводности утеплителя и диаметру связи;
определить
и r, зная λ и толщину утеплителя, а также диаметр связи.

Рис. 8. Универсальная штампованная закладная деталь ШЗД-1: 1 - стойка; 2 - клин; 3 - накладка


Рис. 10. Определение r бетонной конструкции δ = 350 - 400 мм в зависимости от δут, λут и диаметра U-образной металлической связи: 1 - δут = 70 мм; 2 - δут = 100 мм; 3 - δут = 120 мм; 4 - δут = 150 мм; 5 - δут = 170 мм

Рис. 11. Определение r керамзитобетонной конструкции δ = 350 - 400 мм в зависимости от δут , λут и диаметра U-образной металлической связи: 1 - δут = 70 мм; 2 - δут = 100 мм; 3 - δут = 120 мм; 4 - δут = 150 мм; 5 - δут = 170 мм
Номограмма на рис. 11 построена для конструкций с коэффициентом теплопроводности керамзитобетона 0,79 Вт/м·°С. В случае, если коэффициент теплопроводности керамзитобетона равен 0,47 или 0,62 Вт/м·°С, то r определяется по рис. 11 и уточняется с учетом надбавки ∆r по рис. 12.

Рис. 12. Величина надбавки ∆r при пересчете λк.Б с 0,79 Вт/м·°С на 0,47 и 0,62 Вт/м·°С: 1 - λк.Б = 0,47 Вт/м·°С; 2 - λк.Б = 0,62 Вт/м·°С
Специфической особенностью изготовления наружных стеновых панелей домов серии П44/17 производства ДСК-1 (г. Москва) является то, что гибкие связи являются составной частью арматурного сварного объемного каркаса. Объемный арматурный каркас состоит из плоских сварных каркасов, сеток, отдельных стержней (в том числе гибких связей), собранных на кондукторе и соединенных в местах пересечения контактной точечной сваркой. Объемный каркас не дает возможности пронизывать стержнями гибких связей слой утеплителя, а требует нарезки его на отдельные плиты, укладываемые между плоскими каркасами. Это приводит к возникновению швов между плитами утеплителя шириной, равной диаметру арматуры. Проектом предусматривается плотное заполнение швов полосками или крошкой из того же утеплителя. Практически, если подобная операция и выполняется, то качество заполнения швов между плитами утеплителя не контролируется. Это приводит к тому, что в местах гибких связей создаются теплопроводные ребра из растворной части бетона, которые могут иметь разную высоту (по отношению к толщине утеплителя), а иногда быть сквозными между внутренним и наружным слоями бетона панели.
Следует также учитывать, что на ДСК-1 бетонные слои панели имеют разные состав и плотность. Наружный слой панели изготовляется из пластичного бетона γ = 2000 - 2200 кг/м3 с коэффициентом теплопроводности 1,16-1,4 Вт/м·°С, а внутренний слой - из плотного бетона γ = 2400 кг/м3 с λ = 1,86 Вт/м·°С. Наличие пластичного бетона способствует тому, что швы между плитами утеплителя со стороны наружного слоя повсеместно заполняются растворной частью бетона на ⅓ и ½ высоты утеплителя.
Таким образом, специфика
изготовления трехслойных стеновых панелей с гибкими связями на ДСК-1 приводит к
очень большому разбросу приведенного сопротивления теплопередаче стеновых
панелей. Величина
панели
в значительной мере зависит от качества работ бригады, изготовляющей панель.
В табл. 6-11 приведены значения
и
r для
разных участков наружных стеновых панелей с гибкими связями при различном
заполнении швов между плитами утеплителя. На рисунках указаны проектные размеры
плит утеплителя и зазоров между ними. Рассмотрены варианты заполнения связующих
мостиков (т.е. швов между плитами утеплителя) при разных значениях коэффициента
теплопроводности бетонных слоев и утеплителя. Коэффициент теплопроводности
связующего мостика также изменялся в зависимости от количества и диаметра
гибких связей, находящихся в рассматриваемой зоне конструкции.
Таблица 6
Теплозащитные показатели простенка панели длиной 945 мм при различном заполнении связующих мостиков

|
Заполнение связующих мостиков |
Коэффициент теплопроводности материалов, Вт/м·°С |
Сопротивление теплопередаче, м2·°С/Вт |
Коэффициент теплотехнической однородности r |
||||
|
слоев |
утеплителя |
связующих мостиков |
|||||
|
наружного |
внутреннего |
|
|
||||
|
Утеплитель поставлен «враспор» без каркаса |
1,86 |
1,86 |
0,046 |
0,046 |
2,408 |
1,758 |
0,73 |
|
Связующие мостики на 40 мм заполнены раствором без каркаса |
0,046; 1,16 |
1,637 |
0,68 |
||||
|
Каркас обжат утеплителем |
1,31; 1,2 |
1,204 |
0,5 |
||||
|
Каркас с раствором |
2,53; 2,85 |
0,972 |
0,404 |
||||
|
Утеплитель поставлен «враспор» без каркаса |
1,16 |
1,4 |
0,046 |
0,046 |
2,447 |
1,79 |
0,732 |
|
То же |
0,035 |
0,035 |
3,16 |
2,067 |
0,653 |
||
|
Каркас обжат утеплителем |
1,31; 1,2 |
1,375 |
0,434 |
||||
|
Каркас с раствором |
2,53; 2,85 |
1,1 |
0,348 |
||||
Таблица 7
Теплозащитные показатели простенка панели длиной 945 мм при различном заполнении связующих мостиков

|
№№ пп. |
Заполнение связующих мостиков |
Коэффициент теплопроводности материалов, Вт/м·°С |
Сопротивление теплопередаче, м2·°С/Вт |
Коэффициент теплотехнической однородности r |
||||
|
слоев |
утеплителя |
связующих мостиков |
||||||
|
наружного |
внутреннего |
|
|
|||||
|
1 |
Утеплитель без металлических гибких связей, у окна пескобетон δ = 5 мм |
1,4 |
1,86 |
0,046 |
1,4 |
2,418 |
1,842 |
0,762 |
|
2 |
Через утеплитель в двух местах проходят гибкие связи, у окна пескобетон δ = 5 мм |
1,4; 1,2; 1,31 |
1,284 |
0,531 |
||||
|
1,4; 1,49 |
1,239 |
0,512 |
||||||
|
3 |
Те же две гибкие связи, по периметру окна впритык, минеральная вата δ = 120 мм |
0,046 и 0,076 |
1,2; 1,31 |
1,384 |
0,572 |
|||
|
1,4; 1,49 |
1,332 |
0,551 |
||||||
|
4 |
По периметру окна пескобетон δ = 12 мм; связь у окна δ = = 15 мм; связь у стыка δ = 20 мм |
0,046 |
1,4; 1,05; 0,93 |
1,223 |
0,506 |
|||
|
1,4; 1,05; 1,13 |
1,184 |
0,490 |
||||||
|
5 |
То же, но утеплитель у стыка смещен на 50 мм; связь у окна δ = 20 мм; связь у стыка δ = 15 мм |
1,4; 0,93; 1,05 |
1,101 |
0,455 |
||||
|
1,4; 1,13; 1,05 |
1,075 |
0,445 |
||||||
|
6 |
То же, что и в п. 2, но гибкая связь не обжата утеплителем и имеется мостик из пескобетона δ = 15 мм |
1,4; 2,67; 2,91 |
1,032 |
0,427 |
||||
|
1,4; 2,71; 2,79 |
1,036 |
0,429 |
||||||
Таблица 8
Теплозащитные показатели подоконного участка панели при различном заполнении связующего мостика

|
№№ пп. |
Заполнение связующих мостиков |
Коэффициент теплопроводности материалов, Вт/м·°С |
Сопротивление теплопередаче, м2·°С/Вт |
Коэффициент теплотехнической однородности r |
||||
|
слоев |
утеплителя |
связующих мостиков |
||||||
|
наружного |
внутреннего |
|
|
|||||
|
1 |
Утеплитель без металлических гибких связей, у окна пескобетон δ = 40 мм |
1,4 |
1,86 |
0,046 |
1,4 |
2,418 |
1,768 |
0,731 |
|
2 |
Через утеплитель у горизонтального стыка проходит гибкая связь, у окна пескобетон δ = 40 мм |
0,77; 1,4 |
1,629 |
0,674 |
||||
|
0,58; 1,4 |
1,661 |
0,687 |
||||||
|
3 |
То же |
0,77; 1,4 |
1,629 |
0,674 |
||||
|
0,58; 1,4 |
1,661 |
0,687 |
||||||
|
4 |
То же |
0,77; 1,4 |
1,629 |
0,674 |
||||
|
0,58; 1,4 |
1,661 |
0,687 |
||||||
|
5 |
Через утеплитель у горизонтального стыка проходит гибкая связь, у окна пескобетон δ = 40 мм, у горизонтального стыка δ = 10 мм |
0,77; 1,4 |
1,563 |
0,646 |
||||
|
0,58; 1,4 |
1,590 |
0,658 |
||||||
|
6 |
То же, что в п. 2, но гибкая связь не обжата утеплителем и имеется мостик из пескобетона δ = 10 мм |
2,10; 1,4 |
1,464 |
0,605 |
||||
|
1,74; 1,4 |
1,501 |
0,620 |
||||||
Таблица 9
Теплозащитные показатели подоконного участка панели при различном заполнении связующего мостика

|
Заполнение связующих мостиков |
Коэффициент теплопроводности материалов, Вт/м·°С |
Сопротивление теплопередаче, м2·°С/Вт |
Коэффициент теплотехнической однородности r |
||||
|
слоев |
утеплителя |
связующих мостиков |
|||||
|
наружного |
внутреннего |
|
|
||||
|
Утеплитель поставлен «враспор» без каркаса |
1,86 |
1,86 |
0,046 |
0,046 |
2,408 |
1,538 |
0,639 |
|
Связующий мостик на 40 мм заполнен раствором без каркаса |
0,046; 1,16 |
1,504 |
0,625 |
||||
|
Каркас обжат утеплителем |
0,58 |
1,347 |
0,559 |
||||
|
Каркас с раствором. |
1,66 |
1,235 |
0,513 |
||||
|
Утеплитель поставлен «враспор» без каркаса |
1,16 |
1,4 |
0,046 |
0,046 |
2,447 |
1,802 |
0,736 |
|
То же |
0,035 |
0,035 |
3,16 |
2,084 |
0,658 |
||
|
Каркас обжат утеплителем |
0,057 |
1,845 |
0,583 |
||||
|
Каркас с раствором |
1,66 |
1,576 |
0,498 |
||||
Таблица 10
Теплозащитные показатели надоконной перемычки при различном заполнений связующего мостика

|
№№ пп. |
Заполнение связующих мостиков |
Коэффициент теплопроводности материалов, Вт/м·°С |
Сопротивление теплопередаче, м2·°С/Вт |
Коэффициент теплотехнической однородности r |
||||
|
слоев |
утеплителя |
связующих мостиков |
||||||
|
наружного |
внутреннего |
|
|
|||||
|
1 |
Утеплитель поставлен «враспор» без каркаса |
1,86 |
1,86 |
0,046 |
0,046 |
2,408 |
0,839 |
0,349 |
|
2 |
Связующий мостик на 40 мм заполнен раствором без каркаса |
0,046; 1,16 |
0,817 |
0,339 |
||||
|
3 |
Каркас обжат утеплителем |
0,85 |
0,763 |
0,317 |
||||
|
4 |
Каркас с раствором |
1,91 |
0,704 |
0,293 |
||||
|
5 |
Утеплитель поставлен «враспор» без каркаса |
1,16 |
1,4 |
0,046 |
0,046 |
2,447 |
0,981 |
0,401 |
|
6 |
То же |
0,035 |
0,035 |
3,16 |
1,063 |
0,336 |
||
|
7 |
Каркас обжат утеплителем |
0,84 |
0,95 |
0,3 |
||||
|
8 |
Каркас с раствором |
1,91 |
0,859 |
0,271 |
||||
|
9 |
Утеплитель без металлических гибких связей, у окна пескобетон δ = 10 мм |
1,4 |
1,86 |
0,046 |
1,4 |
2,418 |
0,832 |
0,344 |
|
10 |
Через утеплитель в одном месте проходит гибкая связь, у окна пескобетон δ = 10 мм |
0,77; 1,4 |
0,758 |
0,313 |
||||
|
0,85; 1,4 |
0,754 |
0,312 |
||||||
|
11 |
Та же одна гибкая связь, по периметру окна впритык минеральная вата δ = 120 мм |
0,046 и 0,076 |
0,77 |
0,961 |
0,397 |
|||
|
0,85 |
0,954 |
0,395 |
||||||
|
12 |
Та же одна гибкая связь с утеплителем ПСБ, по периметру окна пескобетон δ = 12 мм |
0,046 |
0,77; 1,4 |
0,810 |
0,335 |
|||
|
0,85; 1,4 |
0,805 |
0,333 |
||||||
|
13 |
То же и у горизонтального стыка, пескобетон δ = 10 мм |
0,77; 1,4 |
0,618 |
0,256 |
||||
|
0,85; 1,4 |
0,616 |
0,255 |
||||||
|
14 |
То же, что и в п. 10, но гибкая связь не обжата утеплителем и имеется мостик из пескобетона δ = 10 мм |
2,10; 1,4 |
0,672 |
0,278 |
||||
|
1,98; 1,4 |
0,680 |
0,282 |
||||||
На рис. 13 приведена
раскладка утеплителя в узле сопряжения панелей марки Н36-8т (объемный узел). В
углах сопрягаемых панелей имеется бетонное включение, предусмотренное для
закладных деталей, обеспечивающих крепление наружной панели к несущей
внутренней. Величины
и r для
различных вариантов заполнения теплопроводных мостиков рассматриваемого
объемного узла приведены в табл. 11.

Рис. 13. Раскладка утеплителя в объемном узле сопряжения панелей Н36-8т (проектное решение)
Таблица 11
Теплозащитные показатели объемного узла сопряжения панелей Н36-8т
|
№ варианта |
Конструктивные особенности варианта расчетного участка панели |
Размер бетонного включения в углу панели, мм |
Коэффициент теплопроводности материала, Вт/м·°С |
Сопротивление теплопередаче, м2·°С/Вт |
Коэффициент теплотехнической однородности r |
||||
|
внутреннего слоя панели |
наружного слоя панели |
утеплителя |
|||||||
|
|
|
||||||||
|
1 |
Мостики между утеплителем выполнены из раствора и учтены стержни каркаса диаметром 10 мм |
85´115 |
1,84 |
1,84 |
0,047 |
2,408 |
0,697 |
0,289 |
|
|
2 |
65´115 |
0,709 |
0,294 |
||||||
|
3 |
85´115 |
0,035 |
3,121 |
0,793 |
0,254 |
||||
|
4 |
Утеплитель поставлен в распор к металлическим стержням каркаса |
85´115 |
1,84 |
1,84 |
0,047 |
2,408 |
0,814 |
0,338 |
|
|
5 |
65´115 |
0,828 |
0,344 |
||||||
|
6 |
85´115 |
0,035 |
3,121 |
0,965 |
0,309 |
||||
|
7 |
Теплопроводные мостики и металлические связи между плитами утеплителя отсутствуют |
85´115 |
1,84 |
1,84 |
0,047 |
2,408 |
0,942 |
0,391 |
|
|
8 |
65´115 |
0,985 |
0,409 |
||||||
|
9 |
85´115 |
1,4 |
1,16 |
2,448 |
1,124 |
0,459 |
|||
|
10 |
85´115 |
0,035 |
3,165 |
1,21 |
0,382 |
||||
|
11 |
Мостики между утеплителем выполнены из раствора и отсутствуют металлические связи |
85´115 |
1,84 |
1,84 |
0,035 |
3,121 |
0,872 |
0,28 |
|
|
12 |
85´115 |
1,4 |
1,16 |
0,035 |
3,165 |
1,048 |
0,285 |
||
|
ГОСТЫ, СТРОИТЕЛЬНЫЕ и ТЕХНИЧЕСКИЕ НОРМАТИВЫ. Некоммерческая онлайн система, содержащая все Российские Госты, национальные Стандарты и нормативы. В Системе содержится более 150000 файлов нормативно-технической документации, действующей на территории РФ. Система предназначена для широкого круга инженерно-технических специалистов. Copyright © www.gostrf.com, 2008 - 2026 |