Крупнейшая бесплатная информационно-справочная система онлайн доступа к полному собранию технических нормативно-правовых актов РФ. Огромная база технических нормативов (более 150 тысяч документов) и полное собрание национальных стандартов, аутентичное официальной базе Госстандарта. GOSTRF.com - это более 1 Терабайта бесплатной технической информации для всех пользователей интернета. Все электронные копии представленных здесь документов могут распространяться без каких-либо ограничений. Поощряется распространение информации с этого сайта на любых других ресурсах. Каждый человек имеет право на неограниченный доступ к этим документам! Каждый человек имеет право на знание требований, изложенных в данных нормативно-правовых актах!

  


 

МИНИСТЕРСТВО ТРАНСПОРТНОГО СТРОИТЕЛЬСТВА ВСЕСОЮЗНЫЙ ОРДЕНА ОКТЯБРЬСКОЙ РЕВОЛЮЦИИ НАУЧНО-ИССЛЕДОВАТЕЛЬСКИЙ ИНСТИТУТ ТРАНСПОРТНОГО СТРОИТЕЛЬСТВА

УТВЕРЖДАЮ
Зам. директора института
Г.Д. ХАСХАЧИХ
21 апреля 1987 г.

МЕТОДИЧЕСКИЕ РЕКОМЕНДАЦИИ
ПО ПРОЕКТИРОВАНИЮ СИСТЕМ ОТОПЛЕНИЯ С ПОНИЖЕННЫМ ГРАДИЕНТОМ ТЕМПЕРАТУРЫ ВОЗДУХА

Одобрены Главтранспроектом

Москва 1987

СОДЕРЖАНИЕ

ПРЕДИСЛОВИЕ

Настоящие Методические рекомендации посвящены вопросам проектирования систем отопления и вентиляции, способствующих выравниванию температуры воздуха по высоте помещения, т.е. снижающих градиент температуры.

Такие системы экономичны, особенно для производственных помещений с технологическими тепловыделениями.

Основное внимание в работе уделено вопросам проектирования отопления и вентиляции цехов зданий, специфических для Министерства транспортного строительства.

Методические рекомендации предназначены для проектных и производственных организаций Минтрансстроя.

Работу подготовили: канд. техн. наук A.M. Листов, инженеры А.Б. Скавронская, М.В. Иевлев, М.И. Бычковская, А.Н. Струкова (ЦНИИС), А.Б. Гурвич (Гипропромтрансстрой).

Зав. отделением транспортных зданий

К.Л. Хабибулин

1. ОСНОВНЫЕ ПОЛОЖЕНИЯ

1.1. Основными причинами наличия повышенного градиента температуры воздуха в помещениях являются: во-первых, токи холодного воздуха, проникающего в помещения через неплотности, а также образующиеся у вертикальных наружных ограждений и во-вторых, конвективные источники тепла в нижней, а особенно в верхней зонах.

1.2. Снижение вертикального температурного градиента целесообразно во всех случаях, кроме тех, когда вместе с теплым воздухом поднимаются загрязняющие его вещества и заполняют верхнюю нерабочую зону помещения. При этом ее избыточная температура способствует удержанию вредных технологических выделений вне рабочей зоны, что может быть экономически выгодным, позволяя уменьшить расходы воздуха для вентиляции.

1.3. Правильно выбранные системы отопления могут существенно выровнять температуру воздуха по высоте помещения. Таких систем известно три:

воздушное отопление с сосредоточенной подачей воздуха;

напольное отопление;

отопление инфракрасными излучателями.

В настоящих Методических рекомендациях рассматриваются только два первых вида систем, так как для инфракрасных излучателей нужны газовое топливо или электроэнергия, которыми предприятия Минтрансстроя большей частью не располагают.

Из числа модификаций напольного отопления рекомендации охватывают только воздушные системы, как наиболее простые и надежные в эксплуатации и дающие вместе с тем возможность варьирования конструктивных решений.

1.4. Системы воздушного отопления с сосредоточенной подачей воздуха преимущественно должны применяться для помещений с конвективными тепловыделениями, где теплосодержание воздуха верхней зоны выгодно использовать для нагрева нижней. Надо учитывать, что при интенсивном охлаждении нижней зоны эти системы могут не обеспечить нагрева слоев воздуха у пола.

1.5. Системы воздушного отопления с сосредоточенной подачей воздуха имеют в настоящее время широкое применение, вопросы их проектирования освещены в нескольких работах, из которых для практического использования институтами Главтранспроекта могут быть предложены, например, "Рекомендации по расчету систем воздушного отопления" [1]. Эти рекомендации применяются не всегда правильно, поэтому их основные положения здесь повторены и дополнены.

1.6. Напольное отопление является радикальным средством борьбы с охлаждением нижней зоны помещения.

Устройство напольного воздушного отопления в помещениях, имеющих большую, ширину и длину, затруднительно так же, как и в помещениях, сильно загроможденных технологическим оборудованием.

1.7. Системы напольного воздушного отопления в отечественной практике для производственных помещений до сих пор почти не применялись; системы с выпуском воздуха совсем не рассматривались. Единственный методический документ по проектированию напольного воздушного отопления "Временные рекомендации по проектированию и устройству систем лучистого отопления с теплоносителем - воздухом для промышленных и вспомогательных зданий" [2] охватывает только частные решения. В силу указанных причин предложения по проектированию напольного отопления (разд. 3 настоящих Методических рекомендаций) составлены для применения в опытном порядке.

2. воздушное отопление с СОСРЕДОТОЧЕННОЙ ПОДАЧЕЙ ВОЗДУХА

2.1. Воздушное отопление помещений с сосредоточенной подачей воздуха может проектироваться в двух вариантах.

Первый вариант предусматривает создание циркуляционных потоков в вертикальной плоскости.

Отопительные агрегаты устанавливаются в верхней зоне таким образом, чтобы получалось общее направленное движение воздуха; пройдя верхнюю зону и охладившись от контакта с расположенными в ее пределах наружными ограждениями, воздух возвращается в обратном направлении к агрегатам через нижнюю зону.

Основная задача проектирования состоит в таком размещении и подборе агрегатов, чтобы по аэродинамическим характеристикам обеспечивался устойчивый воздушный поток в нижней зоне, а по тепловым - равномерность распределения в нем температур (перепад температур в рабочей зоне допускается не более 4°С).

По второму варианту циркуляция воздуха создается в верхней зоне в горизонтальной плоскости. Направление выходящих из агрегатов струй должно быть таким, чтобы в верхней зоне создавался круговой поток; по его границе возникает контакт с воздухом нижней зоны, который также вовлекается во вращательное движение, нагреваясь от вышерасположенных слоев.

2.2. Разработку проекта следует начинать с предварительной расстановки агрегатов, причем большие помещения допускается делить на секции так, чтобы в пределах каждой из них образовывались потоки воздуха по первому или второму вариантам с направлением в одну сторону.

Также возможна последовательная по направлению воздушных струй расстановка агрегатов таким образом, чтобы в нижней зоне помещения большой протяженности образовывался общий поток.

При расстановке агрегатов и "трассировании" воздушных потоков необходимо учесть предполагаемое размещение в цехе большегабаритного технологического оборудования: камер, подвижного железнодорожного состава и т.п. Препятствия на пути воздушных потоков как внизу, так и вверху могут нарушить эффективность всей системы отопления.

В особо затруднительных ситуациях задачи должны решаться на физических моделях с помощью научно-исследовательских институтов.

2.3. Разбивка помещения на секции делается последующим правилам:

для первого варианта:

ширина секции в, обслуживаемой одной группой агрегатов, должна быть не более 3h (трех высот); длина секции l - не более 6 h;

для второго варианта:

ширина в не более 4h; длина l не более 8h.

Примеры разбивки помещения показаны на рис. 1.

2.4. После разбивки на секции для каждой из них подсчитывается величина так называемой кинетической характеристики системы КC, м42, по формуле:

,

где Vдоп - допустимая скорость движения воздуха в рабочей зоне по гигиеническим требованиям, м/с;

Fп - площадь сечения помещения (или его секций), перпендикулярного направлению подаваемого воздуха, м;

А - коэффициент для системы отопления по первому варианту равный 0,7, по второму - 1,2.

2.5. Для каждой секции определяется число агрегатов:

где Lагр - воздухопроизводительность одного агрегата, м3/c;

Vагр - скорость выпуска воздуха из агрегата, м/с.

Величина п округляется до целого числа.

Возможно несколько комбинаций подбора агрегатов в зависимости от их типа. Соответственно получаем несколько значений п.

Рис. 1. Пример разбивки помещений (в: плане) на секции при отоплении:

а) по первому варианту; б) по второму варианту; 1 - секция; 2 - отопительные агрегаты; → направление движения воздуха; h - высота помещения; в - ширина секции; l - длина секции

2.6. Для каждой из комбинаций определяются следующие величины:

а) суммарная теплопроизводительность агрегатов ΣQагр, кВт (она должна быть не меньше "теплопотерь" секции), QТ.П;

б) скорость движения воздуха в рабочей зоне, м/с:

;

в) максимальная разность температур воздуха по длине рабочей зоны, °С:

,

где LЦ - расход циркулирующего воздуха;

,

где В - коэффициент:

для схемы по первому варианту ,

для схемы по второму варианту В = 0,5.

Вычисленные по "а", "б," "в" величины должны удовлетворять следующим условиям:

ΣQагрQТ.П; Vр.зVдоп; Δtmax ≤ 4°С

Если хотя бы одно из этих условий не удовлетворяется, надо менять разбивку на секции и комбинации расстановки агрегатов.

2.7. После отбора пригодных комбинаций по п.2.6 для каждой из них определяется ожидаемый вертикальный перепад температуры δtmax, °C, по формулам:

для первого варианта:

;

для второго варианта:

.

2.8. Окончательный выбор расстановки отопительных агрегатов следует производить при условии минимального перепада температуры воздуха по высоте помещения, удобства монтажа и обслуживания агрегатов.

2.9. После подбора и расстановки воздушно-отопительных агрегатов производится проверка уровня шума в рабочей зоне по СНиП II-12-77 [3].Уровень шума на рабочих местах должен соответствовать требованиям ГОСТ 12.1.003-83 [4]. При превышении нормируемого уровня шума отопительно-вентиляционные агрегаты следует снабжать глушителями.

2.10. Обязательной принадлежностью системы воздушного отопления с сосредоточенной подачей воздуха должно быть автоматическое управление ее работой хотя бы по принципу "включено-выключено".

Датчики необходимо устанавливать во вторичных воздушных потоках в нижней зоне, ближе к стороне, на которой стоят агрегаты.

Включаться и выключаться должны только калориферы агрегатов, вентиляторы же должны работать непрерывно. Только при этом будет достигнута полная экономия тепла.

3. СИСТЕМА НАПОЛЬНОГО ВОЗДУШНОГО ОТОПЛЕНИЯ С ВЫПУСКОМ ВОЗДУХА

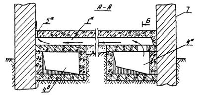
3.1. Система напольного отопления осуществляется путем пропуска теплого воздуха через "греющие" каналы, размещаемые в толще пола. Выпуск воздуха в помещение производится через щели, расположенные по периметру преимущественно наружных стен (рис. 2).

3.2. Напольное отопление может совмещаться с вентиляцией помещения. В этом случае забор воздуха производится снаружи, а его расход учитывается в воздушном балансе помещения.

3.3. В помещениях, где допустима рециркуляция, целесообразно забор воздуха для напольного отопления осуществлять из верхней зоны, используя таким образом тепло удаляемого воздуха.

Рис. 2. Система напольного отопления:

1а, 1б - подпольные "греющие" каналы; 2а, 2б - отопительные агрегаты; 3а, 3б - стояки; 4а, 4б - распределительные каналы; 5а, 5б - щели для выпуска воздуха; 6 - местные нагревательные приборы; 7 - наружная стена; а - элементы системы с нечетными каналами; б - то же, с четными

3.4. Основными исходными данными для проектирования являются:

а) план и разрезы помещения;

б) план размещения на полу технологического оборудования с фундаментами и без  них;

в) расчетные механические нагрузки на пол;

г) теплопотери помещения Qnoм, включая затраты тепла на нагрев инфильтрирующегося воздуха; теплопотери через пол;

д) конструкция пола;

е) требуемые расходы воздуха для вентиляции (приток и вытяжка отдельно) Lnp и Lвыт;

ж) расчетная температура наружного воздуха tН.

3.5. Проектирование начинается с выбора схемы отопления: определения площади пола, подлежащей обогреву, размещения каналов для пропуска воздуха и нагрева пола, мест выпуска воздуха у наружных стен; предпочтительны схемы с возможно более короткими "греющими" каналами.

3.6. Конструктивно система напольного воздушного отопления может решаться: при полах на грунте - устройством специальных настилов по подготовке, при наличии подполья или для вторых этажей - по несущим элементам перекрытий. В последнем случае возможно использование пустотных несущих настилов.

Наиболее характерным для производственных зданий Минтрансстроя является устройство полов на грунте.

В качестве примера конструктивного решения предлагается укладка плит коробчатого сечения с устройством цементной стяжки, слоя асфальта и т.д.

3.7. Ширину каналов рекомендуется принимать вК = 0,8 - 1,2 м, скорость воздуха в них - WK  = 1 - 2 м/с.

3.8. При разработке конструкции пола следует предусмотреть возможность периодической промывки подпольных каналов водой из шланга (обеспечить соответствующий сток воды и места для заправки шланга).

3.9. Выпуск воздуха из подпольных каналов через щель, находящуюся в конце "греющего" канала либо проходящую по периметру помещения у наружных стен, осуществляется со скоростью не более 5 м/с; рекомендуемая ширина щели вЩ10 - 30 мм; направление выходящей струи - вертикальное вдоль стены.

3.10. Распределительный канал (см. рис.2) целесообразно делать переменного сечения в соответствии с правилами расчета воздуховодов равномерной раздачи.

3.11. Расчет начинают с определения общего расхода воздуха L, м3/ч, проходящего по каналам, задаваясь скоростью движения воздуха в канале WK, м/с, и площадью поперечного сечения канала FK, м2:

(1)

где п - число каналов.

3.12. Коэффициент теплоотдачи от воздуха к стенкам канала αК, Вт/(м2·°С), определяется по формуле:

;

(2)

где dЭК - эквивалентный диаметр канала, м:

;

(3)

P - периметр поперечного сечения канала, м.

При этом значение числа Рейнольдса должно удовлетворять условию Re ≥ 2200, где:

;

(4)

При Re < 2200 следует изменить скорость воздуха в канале или размеры его поперечного сечения.

3.13. Определяются коэффициенты теплопередачи:

неполный , Вт/(м2·°С), от воздуха в канале к поверхности пола:

;

(5)

полный КК, Вт/(м2·°С), от воздуха в канале к воздуху рабочей зоны помещения:

;

(6)

где 1,5 -коэффициент, учитывающий излучение боковых и нижней поверхностей канала на его теплопередающую поверхность;

δп - толщина слоев пола над каналом, м;

λп -коэффициент теплопроводности материалов этих слоев, Вт/(м·°С);

αп - коэффициент теплоотдачи от нагретой поверхности пола помещения к воздуху αп = 9,3 Вт/(м2·°С).

При сложной конфигурации канала величины  и КК следует определять, применяя способ электроаналогий (ЭГДА) или другие методы.

3.14. Максимальная допустимая температура воздуха в канале , °С, подсчитывается из условия наибольшей допустимой температуры поверхности пола  = 26°С:

.

(7)

3.15. Наименьшая температура воздуха в конце канала , °С, определяется из выражения:

,

(8)

где  - коэффициент теплопередачи пола в грунт, определяемый в соответствии со СНиП II-33-75* [5] как средневзвешенная величина по площади обогреваемой части пола, Вт/(м2·°С).

3.16. Наименьшая температура поверхности пола , °С, определяется из выражения:

.

(9)

3.17. Скорость выхода теплого воздуха из щели WЩ м/с, определяется из выражения:

,

(10)

где ΣlЩ - общая длина щелей, м;

вЩ - ширина щели, м.

Значение WЩ должно быть не менее 1 м/с и не более 5 м/с; в противном случае следует изменять размеры щели либо расход воздуха, при этом расчет повторяется с новым значением L.

3.18. Подбор оборудования (вентиляторов и калориферов) производится по общему расходу воздуха L, м3/ч, и температуре на входе в каналы , °С.

3.19. Тепло, поступающее от системы напольного отопления QН.ОТ. Вт, учитывается в тепловом балансе помещения. Оно складывается из теплопоступлений от нагретой поверхности пола Qп, Вт:

,

(11)

и теплопоступлений с нагретым воздухом, выходящим из щелей пола, Qв, Вт:

.

(12)

Общее поступление тепла от напольного отопления, Вт:

QН.ОТ = QП + Qв.

(13)

3.20. Аэродинамический расчет системы и подбор оборудования делаются обычным порядком.

4. ПРИМЕР РАСЧЕТА КОМБИНИРОВАННОГО НАПОЛЬНОГО ОТОПЛЕНИЯ

Исходные данные:

размеры цеха в плане 17,8×10,6 м;

высота (средняя) около 6 м;

температура воздуха в рабочей зоне цеха tР.З = + 16°С;

температура наружная расчетная tН = -26°С;

теплопотери цеха (включая инфильтрацию) QПОМ = 55 кВт, в том числе через пол QП = 2,4 кВт;

коэффициент теплопередачи в грунт   = 0,3 Вт/(м2·°С).

За исходную принимаем следующую схему отопления (см. рис. 2):

вся поверхность пола нагревается воздухом, проходящим в подпольных каналах 1а и 1б, идущих вдоль меньшей стороны цеха;

воздух в каналы 1а и 1б поступает от агрегатов 2а и 2б через стояки 3а и 3б и распределительные каналы 4а и 4б;

каналы 1а и 1б заканчиваются воздуховыпускными щелями длиной lЩ0,8м (по ширине канала) и шириной вЩ = 25 мм каждая.

По представленной схеме нагретый воздух, идя по каналам 1а и 1б во встречных направлениях, нагревает поверхность пола; затем через щели выпускается по наружной стене, создавая преграду для опускающихся по ней охлажденных потоков.

По наружной торцевой стене (в нижней ее части) устанавливаются нагревательные приборы (ребристые или гладкие трубы). Сечения каналов по конструктивным соображениям приняты 0,8×0,08 м;

скорость движения воздуха в каналах WК = 1,5 м/с;

толщина бетонного слоя пола над каналами δП = 7 см;

коэффициент теплопроводности бетона:

λП = 1,51 Вт/(м·°С);

предельно допустимые температуры поверхности пола:

, где ΔtН - нормативный температурный перепад по СНиП II-3-75** [6];

площадь обогреваемого пола Fn = 190 м2.

Расчет системы:

1. Определяем расход воздуха, проходящего по каналам, по формуле (1):

L = Wk·Fk·п·3600 = 1,5(0,8·0,08)·20·3600 = 6912 м3/ч,

2. Определяем число Rе по формуле (4):

,

где

3. Определяем αК по формуле (2):

4. Определяем неполный коэффициент теплопередачи от воздуха в каналах поверхности пола по формуле (5):

.

5. Определяем полный коэффициент теплопередачи от воздуха в канале к воздуху рабочей зоны по формуле (6):

6. Наибольшая допустимая температура воздуха в начале канала определяется по формуле (7):

7. Наименьшая температура воздуха в конце канала определяется по формуле (8):

8. Наименьшая температура поверхности пола °С, находится по формуле (9):

Температура пола выше минимально допустимой  = 13,5°С.

9. Проверяем скорость выхода воздуха из щели по формуле (10):

10. Для подбора оборудования принимаем расход воздуха Lв - 6912:2 = 3456 м3/ч на каждый агрегат; температура воздуха на входе в канал  = 38,4°С.

11. Определяем поступление тепла в помещение:

от нагретой поверхности пола по формуле (11):

с нагретым воздухом, выходящим из щелей пола, по формуле (12):

Общее поступление тепла в помещение от напольной системы отопления:

QН.ОТ. = 14,5 + 33,2 = 47,7 кВт.

Дефицит тепла:

ΔQПОМ = QПОМ - QН.ОТ = 55 - 47,7= 7,3 кВт

компенсируется системой отопления с местными нагревательными приборами (радиаторами), устанавливаемыми на наружной стене, у которой отсутствует выпуск теплого воздуха (см. рис. 2).

СПИСОК ЛИТЕРАТУРЫ

1. Рекомендации по расчету систем воздушного отопления. М., Сантехпроект, 1976.

2. Временные рекомендации по проектированию и устройству систем лучистого отопления с теплоносителем - воздухом для промышленных и вспомогательных зданий. М., ЦНИИпромзданий, 1978.

3. Защита от шума. Нормы проектирования. СНиП II-12-77. М., Стройиздат, 1978.

4. ГОСТ 12.1.003-83. Шум. Общие требования безопасности.

5. Отопление, вентиляция и кондиционирование воздуха. Нормы проектирования. СНиП II-33-75*. М., Стройиздат, 1982.

6. Строительная теплотехника. Нормы проектирования. СНиП II-3-79**. М., Стройиздат, 1987.

 




ГОСТЫ, СТРОИТЕЛЬНЫЕ и ТЕХНИЧЕСКИЕ НОРМАТИВЫ.
Некоммерческая онлайн система, содержащая все Российские Госты, национальные Стандарты и нормативы.
В Системе содержится более 150000 файлов нормативно-технической документации, действующей на территории РФ.
Система предназначена для широкого круга инженерно-технических специалистов.

Рейтинг@Mail.ru Яндекс цитирования

Copyright © www.gostrf.com, 2008 - 2026