|
|
|
ГОССТРОЙ СССР ЦЕНТРАЛЬНЫЙ НАУЧНО-ИССЛЕДОВАТЕЛЬСКИЙ И ПРОЕКТНО-ЭКСПЕРИМЕНТАЛЬНЫЙ ИНСТИТУТ ОРГАНИЗАЦИИ МЕХАНИЗАЦИИ И ТЕХНИЧЕСКОЙ ПОМОЩИ СТРОИТЕЛЬСТВУ (ЦНИИОМТП) БЮРО ВНЕДРЕНИЯ МЕТОДИЧЕСКИЕ РЕКОМЕНДАЦИИ ПО ПРОИЗВОДСТВУ РАБОТ ПРИ ВОЗВЕДЕНИИ ПОДЗЕМНОЙ ЧАСТИ ЗДАНИЙ НА СВАЙНЫХ ФУНДАМЕНТАХ МОСКВА-1982 Рекомендовано к изданию решением Научно-технического совета ЦНИИОМТП Госстроя СССР. Методические рекомендации по производству работ при возведении подземной части зданий на свайных фундаментах. М., 1982. 60 с. (Госстрой СССР. Центр. науч.-исслед. и проектно-эксперим. ин-т организации, механизации и техн. помощи стр-ву. ЦНИИОМТП. Бюро внедрения). Рассмотрены вопросы технологического обеспечения работ по устройству подземной части зданий на свайных фундаментах. Приведены схемы производства по вертикальной планировке и разработке котлованов под строящееся здание; схемы производства свайных работ; порядок монтажа конструкций подземной части здания и выполнения работ по устройству обратных засыпок и оснований под воды. В соответствующих разделах даны технические характеристики машин, оборудования и приспособлений, обеспечивающих контроль качества земляных и свайных работ. Методические рекомендации подготовлены отделом возведения зданий и сооружений и монтажа конструкций ЦНИИОМТП Госстроя СССР (А.В. Суровов, Н.К. Мяропольская, В.З. Занкина). Работа предназначена для инженерно-технических работников строительных и проектных организаций. 1. ОБЩАЯ ЧАСТЬ1.1. Методические рекомендации разработаны на основе действующих ГОСТов, СНиПов, СН и других нормативных документов, а также "Стандартов предприятия"* по устройству подземной части зданий на свайных фундаментах. Перечень нормативных документов представлен в Приложении 1. 1.2. Производство всех видов работ следует вести в полном соответствии со СНиПом III-4-80 "Техника безопасности в строительстве". 1.3. В методических рекомендациях рассмотрены все виды работ по возведению подземной части зданий на свайных фундаментах (земляные, свайные, монтажные и др. работы). 1.4. Каждый вид работ состоит из самостоятельных технологических процессов. Земляные работы включают вертикальную планировку площадки и - разработку грунта в котловане; устройство свайных фундаментов - геодезическую разбивку свайного поля, погружение свай, срубку голов свай, монтаж оголовков или элементов сборных ростверков, устройство монолитных ростверков и фундаментов; возведение подземной части здания - монтаж панелей стен, элементов лестниц, лифтовых шахт, специальных помещений и т.д., монтаж перекрытия подземной части здания; устройство обратных засыпок - засыпку внутренних и наружных пазух фундаментов, устройство оснований под полы, уплотнение обратных засыпок и оснований. 1.5. По каждому из перечисленных разделов таблицы контроля качества выполнения работ. 1.6. Все работы должны производиться по рабочим чертежам проекта, привязанного к конкретному объекту строительства и оформленного специальным штампом, разрешающим начало работ. 1.7. До начала каждого вида основных работ должны быть завершены все подготовительные работы. 1.8. Геодезическое обеспечение всех работ возлагается на геодезическую службу строительно-монтажных организаций и линейных инженерно-технических работников. Основная задача этой службы - проведение комплекса геодезических работ, обеспечивающих точное соответствие проекту возводимых в натуре зданий и сооружений, а также геодезический контроль точности проводимых работ в процессе строительства. * "Стандарты предприятия" (СТП) разработаны ЦНИИОМТП Госстроя СССР для строительных организаций Минстроя Латв. ССР. Москва; 1978 г. 1.9. Детальные геодезические работы должны проводиться при устройстве обноски, разбивке осей котлованов и фундаментов, возведении, конструкций, подземной части зданий и сооружений и т.д. В состав геодезического обеспечения входят предварительные вычисления необходимой точности геодезических измерений при разбивках, контроль точности монтажа, выбор способов исполнительной геодезической съемки смонтированных конструкций, составление исполнительных схем, выбор геодезических инструментов, приборов и приспособлений для разбивки и контроля точности монтажа элементов здания. 1.10. При устройстве котлованов главные оси разбивают в том случае, когда здание имеет сложную конфигурацию и значительные размеры, а так же если группа строящихся зданий будет тесно связана между собой технологическими процессами. Основные оси разбивают, если здание имеет вид прямоугольника любых размеров и не связано с другими зданиями единым технологическим процессом. Главные и основные оси являются геодезической основой для детальной разбивки промежуточных осей. Для разбивки главных и основных осей здания необходимо иметь: план фундаментов, генеральный план строительной площадки, проект производства геодезических работ (для сложных строительных объектов); разбивочный чертеж; документацию по геодезической планово-высотной основе на строительной площадке. Главные и основные оси здания разбиваются на местности от геодезических опорных пунктов, пунктов строительной сетки, точек красной линии, существующих капитальных зданий. Разбивка производится способом прямоугольных и полярных координат, угловых и линейных засечек. Взаимное расположение главных и основных осей определяется более точно, чем пунктов разбивочной основы. Поэтому от опорных пунктов разбивается в натуре только одна из наиболее длинных продольных осей, а от нее затем делают дальнейшую разбивку. Конструкция и способы устройства геодезических знаков закрепления осей приведены в Приложении 2. Точность разбивки осей в плане должна соответствовать допускам ГОСТа 21779-76. 1.11. По окончании разбивки главных и основных осей здания должен быть составлен акт и подготовлен разбивочный исполнительный чертеж. 1.12. На исполнительном чертеже показывают: вынесенные в натуру оси здания, знаки закрепления осей, расстояния между осями здания и между знаками закрепления; координаты точек пересечения основных осей в системе строительной сетки; строительные реперы и их отметки, а также вынесенные условные нулевые отметки; предметы ситуации, включая подземные инженерные сети; пункты планово-высотной основы. 1.13. При возведении подземной части зданий и сооружений должна быть составлена следующая геодезическая исполнительная документация: а) акт разбивки основных осей здания или сооружения с приложением исполнительной схемы; б) акт приемки готового котлована с приложением схемы исполнительной съемки; в) акт готовности свайного фундамента (свайного поля) к монтажу конструкций подземной части здания или сооружения с приложением исполнительных схем свайного фундамента (свайного поля); г) акт готовности подземной части здания или сооружения с приложением исполнительных схем съемки смонтированных конструкций. 1.14. Машины, механизмы и приспособления для обеспечения того иди иного технологического процесса следует выбирать в соответствии с проектом производства работ и конкретными условиями площадки. 1.15. Контроль и ответственность за исполнение требований нормативных документов и проекта возлагается на производителя работ и мастера. 2. ЗЕМЛЯНЫЕ РАБОТЫ2.1. Общие требования2.1.1. Земляные работы, связанные с непосредственным возведением подземной части здания и устройством фундаментов, включают вертикальную планировку конкретного участка площадки строящегося здания согласно стройгенплану и разработку котлована под здание. 2.1.2. Работа по вертикальной планировке и разработке котлована начинают после получения разрешения соответствующих организаций на производство земляных работ. 2.1.3. При вертикальной планировке площадки и разработке котлована необходимо соблюдать следующие правила техники безопасности. Недопустимо присутствие людей и выполнение каких-либо работ в зоне действия землеройных машин. Пути перемещения экскаватора в пределах строительной площадки должны быть заранее спланированы, а на слабых грунтах усилены инвентарными щитами. В зоне расположения подземных коммуникаций (электрокабелей, газопроводов и т.п.) земляные работы могут производиться только при наличии письменного разрешения организации, ответственной за эксплуатацию этих коммуникаций. К разрешению должен быть приложен план с указанием расположения и глубины заложения коммуникаций. До начала работ в местах расположения подземных коммуникаций должны быть установлены знаки. Вблизи линий подземных коммуникаций земляные работа должны производиться под наблюдением прораба или мастера, а непосредственно около газопровода или кабелей, находящихся под напряжением, кроме того, под наблюдением представителей газового яла электрохозяйства. Разработка грунта в непосредственной близости от действующих подземных коммуникаций допускается только с помощью лопат; использовать ломы, кирки и пневмоинструмент запрещается. При обнаружении подземных коммуникаций, не указанных в рабочих чертежах, земляные работы должны быть прекращены до выяснения характера коммуникаций и получения разрешения на дальнейшее ведение работ. Перемещение грунта бульдозерами на подъем целесообразно только при уклоне до 10° (1:5, 6). Погрузка грунта в самосвал экскаватором должна производиться со стороны заднего или бокового борта. Запрещается находиться во время погрузка между землеройной машиной и транспортным средством. На время перерыва экскаватор должен быть перемещен от края разрабатываемой выемки не менее чем на 2 м, а ковш опущен на грунт. 2.2. Вертикальная планировка площадки2.2.1. До начала вертикальной планировки должны быть закончены общие подготовительные работы: подготовка территории (вырубка леса, кустарников, снос существующих строений и др.); рытье водоотводных канав и, при необходимости, устройство водопонижения; установка бытовых помещений на площадке; освещение площадки и прочие работы согласно стройгенплану и проекту производства работ; разбивка площадки под планировку с закреплением кольями точек в местах срезки и подсыпки, а также по линии нулевых работ; срезка растительного слоя в местах планировки со складированием грунта во временный отвал для, последующего его использования при благоустройстве площадки. 2.2.2. Вертикальную планировку следует выполнять в строгом соответствии с рабочими чертежами, проектом производства работ и общим балансом земляных масс. 2.2.3. При производстве планировочных работ не допускается оставлять закинутые понижения, не предусмотренные проектом. 2.2.4. Срезка на участках выемок должна осуществляться до устройства на них коммуникаций и фундаментов, а подсыпка на участках насыпей - после устройства тех же сооружений с применением в обоих случаях ограждений от поступления поверхностных вод на планируемую площадку. 2.2.5. Отсыпку грунта в планировочные насыпи следует; вести слоями, толщина которых зависит от параметров применяемых машин и оборудования для уплотнения грунта. Число проходов машин и толщина слоев грунта отсыпки в зависимости от уплотняющих средств приведены в табл.1. Уплотнение отсыпных слоев грунта следует производить при оптимальной влажности. Таблица 1 Количество проходов (ударов) уплотняющих машин
Примечание. В числителе даны показатели для грунта, уплотняемого до плотности не менее 0,95, а в знаменателе - до плотности не менее 0,98 от максимальной. 2.2.6. Плотность грунта, назначенная проектом, контролируется лабораторией в процессе уплотнения, и после окончания работ в соответствии с установленными методами контроля (ГОСТ 22733-77). 2.2.7. Контроль качества по отдельным технологическим операциям следует согласно табл.2. Контроль качества работ по вертикальной планировке площадки
При планировочных работах допускаются отклонения отметок планировки от проектных, если при этом не нарушается заданное направление стока воды СНиП III-8-76 д. п.3.10; 13.29; табл. 21, прим. 4. 2.2.8. Вертикальную планировку площадки с перемещением грунта бульдозером следует выполнять в направлении заданного проектом уклона. Срезаемый грунт перемещают в места подсыпки и распределяют слоями. 2.2.9. При вертикальной планировке площадки одноковшовыми экскаваторами грунт перемещают самосвалами и затем послойно разравнивают бульдозером или экскаватором-планировщиком. 2.2.10. Для уплотнения связных грунтов рекомендуется использовать катки - кулачковые, решетчатые и на пневмомашинах; трамбующие и вибротрамбующие машины. Для несвязных грунтов - вибрационные и вибротрамбующие машины, а также катки на пневмошинах. 2.2.11. Оборудование, рекомендуемое для вертикальной планировки, приведено в табл.3. Оборудование для вертикальной планировки
Рис. 1. Разработка второго яруса котлована бульдозером по ярусно-траншейной схеме h - высота яруса; ℓ - длина отвала бульдозера; Вн, Вв - ширина котлована соответственно но низу и по верху; Лн, Лв - длина котлована соответственно по низу и по верху; 1, 2, 3,…, 11 - последовательность разработки котлована → → - рабочий ход бульдозера; → ∙ → - холостой ход бульдозера 2.3. Разработка котлована2.3.1. До начала разработки котлована должны быть завершены следующие работы: вертикальная планировка площадки; разбивка осей котлована и его контуров с закреплением осей на обноске; устройство временных подъездных путей; планировка и подготовка площадок для отвалов грунта. 2.3.2. Разрабатывать котлован бульдозером рекомендуется по ярусно-траншейной схеме, оставляя между проходками целики грунта (рис.1). После разработки одного яруса на всю его глубину целики перемещают бульдозером в отвал и приступают к разработке следующего яруса. Количество ярусов и их глубина определяются в зависимости от параметров бульдозера. 2.3.3. Разработку неглубоких котлованов (до 1,5 м) при дальности перемещения грунта от 30 до 100 м рекомендуется производить бульдозерами. Для устройства котлованов, имеющих большую глубину, и при необходимости перемещения грунта на расстояние более 100 м следует использовать одноковшовые экскаваторы, оборудованные обратной лопатой, и самосвалы. Рекомендуемая грузоподъемность самосвалов в зависимости oт дальности перевозки грунта и емкости ковша экскаватора приведена в табл.4. Грузоподъемность самосвалов для перевозки грунта
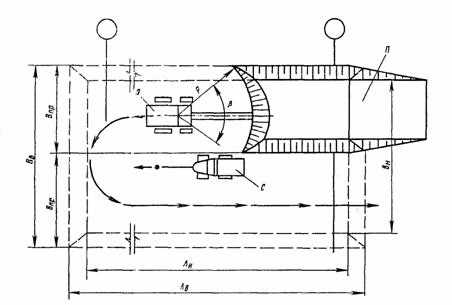
Рис. 2. Разработка котлована одноковшовым экскаватором с погрузкой грунта в автомобиль-самосвал Э - экскаватор; С - автомобиль-самосвал; R - наибольший радиус резания; β - угол поворота при догрузке в автомобиль-самосвал; Впр - ширина проходки (Впр = 1,24-1,3R ); Вн, Вв - ширина разрабатываемого котлована соответственно по низу и по верху; Лн, Лв - длина котлована соответственно по низу и по верху; П - пандусовый съезд для сваебойной машины 2.3.4. Разработку котлована одноковшовым экскаватором с погрузкой грунта в самосвалы (рис.2) выполняют продольными ходками, что позволяет предельно сократить число поворотов экскаватора и наиболее рационально организовать работу транспортных средств. 2.3.5. При погрузке грунта на транспортные средства экскаватором угол поворота его стрелы не должен превышать 70°. Соблюдение этого условия сокращает продолжительность цикла работы и повышает производительность машины. 2.3.6. При разработке котлована необходимо предусмотреть съезда в котлован для сваебойных машин, кранов и автотранспорта. Уклоны съездов должны соответствовать указанным в инструкциях по эксплуатации машин, работающих в котловане. 2.3.7. В котлованах с естественными откосами минимальное расстояние между подошвой откоса и возводимым сооружением должно составлять 0,3 м. 2.3.8. Крутизна откосов котлованов в зависимости от их глубины и свойств грунтов принимается по табл.5. Крутизна откосов котлованов глубиной более 5 м во всех случаях и менее 5 м при неблагоприятных гидрогеологических условиях, а также для грунтов, не предусмотренных табл. 5, должна устанавливаться проектом. Таблица 5 Крутизна откосов в зависимости от глубины котлована и характера грунта.
2.3.9. Непригодный для обратной засыпки грунт надо сразу вывозить с территории строительства. В отдельных случаях, обоснованных проектом, временные отвалы грунта, пригодного дли обратной засыпки, разрешается устраивать на специальных резервных площадках. Их следует размещать с одной стороны котлована (лучше с нагорной). Поверхность отвалов должна быть спланирована для предотвращения переувлажнения грунта. 2.3.10. Дно котлованов, являющееся основанием для сборных или монолитных фундаментов нужно разрабатывать с недобором, не нарушая естественную структуру грунта. Величина недобора зависит от способа разработки и составляет: при бульдозерной разработке - 10 см, а при зачистке бульдозерами - 5-7 см. При разработке котлованов экскаваторами с обратной лопатой величина недобора грунта зависит от емкости ковша. При емкости 0,25-0,4 м3 она равна 10 см, при емкости 0,5-0,65 м3 - 15 см, а при 0,8-1,25 м3 - 20 см. В вестах расположения сборных или монолитных фундаментов оставшиеся на дне котлована недоборы дорабатывают вручную. 2.3.11. Перебор грунта при механизированной разработке котлована ж ручной доработке недоборов недопустим. Для обеспечения качества работ следует строго соблюдать требования проекта и соответствующих нормативных документов (табл.6). Таблица 6 Контроль качества работ при разработке котлованов
2.3.12. Машины, оборудование и инструмент применяемые при разработке котлованов, должны соответствовать принятым в проекте производства работ. 2.3.13. В зимних условиях землянке работа разрешены, если без них невозможно своевременное выполнение последующих общестроительных работ, а также, если необходимо использовать имеющееся на строительстве мощнее землеройное оборудование (емкостью ковша 1 м3 и более). Работы в зимних условиях должны выполняться по специальному проекту производства работ и обосновываться технико-экономическим расчетом. 2.3.14. Разработка мерзлого грунта одноковшовыми экскаваторами (прямая и обратная лопата) без предварительного рыхления допускается при толщине мерзлого грунта: до 0,25м для ковша емкостью 0,5-0,65 м3; от 0,25 до 0,4 и 0,8-1,25 м3. 2.3.15. Грунт, подлежащий разработке, при промерзании его на глубину более указанной в п.2.3.14. должен быть предварительно подготовлен к разработке оттаиванием или рыхлением. Утепление поверхности грунта предохраняет его от промерзания и является одним из способов подготовки грунта к разработке в зимних условиях. Способ подготовки мерзлого грунта к разработке должен выбираться и обосновываться в проекте производства работ. 2.3.16. Землеройные машины в забоях с подготовленным к разработке грунтом должна работать круглые сутки без перерывов узким фронтом во избежание промерзания грунта. 2.3.17. Разрабатывать грунт (за исключением сухого песчаного) на глубину промерзания разрешается без креплений, при дальнейшем же углублении необходимо устанавливать крепления. 2.3.18. В зимнее время грунт оснований котлованов в местах устройства фундаментов следует предохранять от промерзания путем недобора или поверхностным утеплением. Зачистку оснований надо выполнять непосредственно перед устройством фундаментов. 3. УСТРОЙСТВО СВАЙНЫХ ФУНДАМЕНТОВ3.1. Общие требования3.1.1. Устройство свайных фундаментов предусматривает выполнение следующих работ: геодезическую разбивку свайного поля; погружение свай; срубку голов свай; монтаж оголовков при устройстве безростверковых фундаментов; монтаж элементов сборных ростверков или устройство монолитных ростверков для ростверковых фундаментов. 3.1.2. Производство каких-либо работ в опасной зоне, не имеющих непосредственного отношения к выполняемому технологическому процессу, например, раскладка свай в зоне их погружение, установка монтажных хомутов или монтаж оголовков в зоне срубка голов свай и т.д. запрещается. 3.1.3. Погружение свай следует производить копровым оборудованием на базе экскаваторов или тракторов с системой наведения свай и соответствующими сменными дизельными трубчатыми или штанговыми молотами, характеристика и эксплуатационные параметры которых приведены в Приложении 3. 3.1.4. Все работы по устройству свайных фундаментов необходимо выполнять в соответствии с рабочими чертежами, проектом производства работ, а также требованиями СНиПов, "Руководства по производству и приемке работ при устройстве оснований и фундаментов" (Москва, СИ, 1977 г.), ведомственных строительных норм, руководств и рекомендаций. 3.2. Геодезическая разбивка свайного поля3.2.1. После разбивки главных и основных осей здания, окончания разработки котлована и уборки земли с бровки котлована производят детальную разбивку и закрепление всех промежуточных осей здания. 3.2.2. Детальную разбивку промежуточных осей можно выполнять двумя способами. Первый способ - разбивка промежуточных осей по обноске, устраиваемой по периметру сооружения на расстоянии 3-5 м от бровки котлована. Обноску делают сплошную, разреженную или створную. Второй способ - разбивка промежуточных осей по дну котлована с закреплением их деревянными кольями и с последующим выносом осей на обноску. 3.2.3. Детальная разбивка промежуточных осей оформляется актом разбивки и исполнительным чертежом. На исполнительном чертеже показывают: главные, основные и закрепленные в натуре промежуточные оси; их наименование и расстояние между ними; обноску и ее вид (сплошная, разреженная, створная); закрепление промежуточных осей, тип знака; привязку знаков закреплены осей к неподвижным предметам местности и к осям; отметки рабочих реперов. 3.2.4. На строительной площадке для каждого здания должно быть закреплено не менее двух строительных (рабочих) реперов, а для многосекционных зданий по одному строительному реперу на каждую секцию. Рабочие реперы целесообразно совмещать с точками закрепления главных, основных и промежуточных осей. 3.2.5. После завершения работ по созданию рабочей высотной основы должны быть составлены следующие документы; схема рабочей высотной основы; каталог отметок реперов; кроки и чертежи рабочих реперов; журнал нивелирования. 3.2.6. Разбивку свайного поля производят по окончании разбивки основных, а промежуточных осей. Исходными документами для разбивки свайного поля является план осей здания и план свайного поля. 3.2.7. При разбивке центров свай по свайному ряду следует пользоваться компарированной рулеткой. Разбивку выполняют в продольном и поперечном направлениях, руководствуясь рабочими черте нами свайных полей. Способы в порядок разбивки свайных осей приведены в Приложении 4. 3.2.8. Работы по разбивке свайных осей и определению мест положения центров могут выполняться прорабом или мастером, имеющим удостоверения на право производства геодезических работ. Таблица 7 Контроль разбивки свайного поля
3.2.9. Звено геодезистов, выполняющее разбивку свайного поля, должно иметь следующие инструменты и инвентарь: теодолит и нивелир с треногами и рейками, стальные компарированные рулетки РС-20 и РС-50, проволоку для осей, отвес, деревянные колья и стальные штыри с кольцами. 3.3. Погружение свай.3.3.1. К погружению свай можно приступать только после завершения всех подготовительных и вспомогательных работ: устройства площадок для монтажа и демонтажа сваебойного оборудования, складирования свай и других элементов конструкций подземной части; разбивки свайного поля с оформлением соответствующего акта; завоза и комплектации двух-трехдневного запаса свай; проверки заводских паспортов и маркировки свай; раскладки комплектов свай у мест погружения и их разметки для работы 2-3 смен; монтажа и подготовки к работе копра и сваебойного оборудования с оформлением соответствующих записей в журнале производства свайных работ. 3.3.2. Допускается погружать железобетонные забивные сваи, изготовленные в соответствии с ГОСТом 19804-74, а также элементы составных железобетонных свай квадратного сечения, изготовленные по утвержденным рабочим чертежам. 3.3.3. На рабочей поверхности свай не должно быть раковин, наплывов и сколов бетона, трещин и других дефектов. Технические требования к качеству я техническому состоянию свай приведены в Приложении 5. В нем указаны допускаемые отклонения забивных свай и элементов составных свай от типовых размеров. Допускаемые отклонения размеров элементов составных свай полностью соответствуют допускам, предъявляемым к цельным сваям такой же длины и сечения. Если в процессе осмотра свай на строительной площадке обнаружены недопустимые дефекты, должен быть составлен акт с участием представителя завода-изготовителя, а дефектные сваи заменены новыми. 3.3.4. Свайные работы можно начинать только при наличии ПНР или технологических карт на выполнение предусмотренного вида работ, а при производстве свайных работ в зоне расположения подземных коммуникаций (электрокабелей, газо- и водопроводов и т.п.), кроме того, необходимо письменное разрешение организации, ответственной за эксплуатацию коммуникаций. К разрешению должен быть приложен план (схема) расположения подземных коммуникаций с указанием глубины их заложения, составленный на основании исполнительных чертежей. До начала свайных работ в местах расположения подземных коммуникаций следует с помощью шурфов установить точное расположение коммуникаций и обозначить их заметными предупредительными знаками и надписями. 3.3.5. При производстве работ вблизи зданий и сооружений необходимо принимать меры по обеспечению их сохранности. Если в ходе работ появляются непредвиденные деформации зданий и сооружений, трещины в элементах, обсыпается штукатурка, выпадают кирпичи и т.п., то работы следует прекратить и вызвать, представителей проектной организации и заказчика. 3.3.6. Производство свайных работ вблизи подземных коммуникаций, зданий и сооружений допускается только под непосредственным руководством и надзором лица, ответственного за производство указанных работ. 3.3.7. Выбор копрового оборудования и молотов для забивки свай определяется условиями производства работ и типоразмерами погружаемых свай. Основные эксплуатационные характеристики копров и молотов приведены в Приложении 3. 3.3.8. В наголовниках, используемых для забивки свай штанговыми дизель-молотами, следует делать плотную деревянную прокладку (набивку) из дуба или березы толщиной 4 см, а для трубчатых дизель-молотов 15 см с вертикальной ориентацией волокон, при использовании составных свай с болтовыми соединениями деревянная прокладка по углам наголовников не нужна. 3.3.9. После установки копра и наведения стрелы на точку забивки надо тщательно проверить при помощи отвеса вертикальность направляющих. После подъема и установки сваи или ее составных элементов их вертикальность также проверяется отвесом. 3.3.10. Начало погружения сваи или ее первого (нижнего) составного элемента необходимо производить ударами молота с небольшой высотой падения. При этом особенно строго надо следить за правильным положением сваи или ее нижнего составного элемента как в плане, так и по вертикали. 3.3.11. В процессе погружения составных свай необходимо следить за тем, чтобы длина верхнего элемента свай была не менее 4 м. 3.3.12. При транспортировке, складировании и подъеме элементов сваи на копер, а также при их погружения особое внимание нужно обращать на сохранность торцов, замков и прочих стыковых элементов составных свай. 3.3.13. Конструкция стыка составных свах должна обеспечивать соосность элементов после соединения и совладение их боковых граней, а также плотное прилегание торцевых поверхностей элементов и отсутствие зазоров между ними. 3.3.14. Применять какие-либо прокладки в стыках составных свай, как правило, не допускается. В исключительных случаях, при величине зазора между торцами соединяемых элементов до 10 мм, в замках с болтовым соединением допускается использовать металлические клиновидные прокладки с двумя овальными отверстиями для пропуска соединительных болтов стынущей конструкции. Однако число свай с прокладками в стыках не должно превышать 25 % от общего количества свай в фундаменте здания или сооружения. Это соотношение должно соблюдаться для каждого куста или поля свай. 3.3.15. Наращивание составных свай и соединение стыковых элементов следует производить на высоте 0,7-1 м от дна котлована. 3.3.16. Нарастив очередной элемент сваи, 2-3 раза ударяют молотом для более плотного затягивания болтовых соединений, после чего зубилом делают насечки на нарезках болтов для предотвращения развертывания гаек. 3.3.17. В отдельных случаях, когда по грунтовым условиям или по другим обстоятельствам не представляется возможным погрузить свах на требуемую глубину имеющимся оборудованием, могут быть применены следующие меры (по согласованию с представителями проектной организации): использование молотов с более тяжелой ударной частью; погружение свай через лидерные скважины; погружение свай с применением "подмыва". 3.3.18. Забивка свай, работающих в качестве стоек, на последнем, этапе погружения должна производиться с особой осторожностью во избежание поломки сваи при упоре ее в плотный грунт. При резком и внезапном уменьшении отказов нужно немедленно прекратить дальнейшее погружение сваи и сопоставить фактическое положение острия забитой сваи с его положением по проекту, В случае их совпадения свая считается забитой, а при значительных расхождениях необходимо решить вопрос о дальнейшем погружении с представителем проектной организации. 3.3.19. Число свай с максимально допустимыми отклонениями от проектного положения не должно превышать при ленточном расположении свай 25 % от общего их количества. Возможность использования свай с отклонениями сверх допустимых устанавливается проектной организацией. 3.3.20. Недобивки свай при погружении, вызванные технологическими причинами или грунтовыми условиями, допускается на глубину не более 1 м при длине свай больше 10 м, и 0,5 м - для свай меньшей длина. При недобивках свай превышавших указанные и при одновременном достижении проектного отказа, продолжать работы без уменьшения длина применяемых свай можно только по письменному разрешению проектной организации. 3.3.21. Отказы свай в процессе погружения рекомендуется принимать не менее 0,2 см, так как меньшие отказы при продолжительной работе молота в этом режиме приводят к разрушению как свай, так и молота. 3.3.22. В случае поломки сваи или ее отклонения в процессе погружения свыше допустимого (табл. 8) дальнейшее погружение следует прекратить и по указанию проектной организации забить дублирующую сваю. Если применить сваю-дублер невозможно, то представитель проектной организации решает вопрос о дальнейшем использовании сломанной или отклонившейся сваи или об изменении проекта.
3.3.23. Забивку первых 5-20 сваи следует производить в различных точках строительной площадки. При этом забивка должна производиться залогами с подсчетом и регистрацией количества ударов на каждый метр погружения свай. При забивке свай дизель-молотом фактический отказ определяется, как средняя величина погружения сваи от каждого из последних 10 ударов молота (10 ударов молота составляют 1 залог). Молот при этом должен работать в стабильном режиме с равной высотой подкоса ударной части при каждом ударе. При изменении в процессе производства работ принятых в проекте параметров молота или свай указанный в проекте отказ должен быть откорректирован и определяется по расчетным формулам (СНиП III-9-74). Рекомендуемая расчетная энергия удара дизель-молотов для таких случаев приведена в графике Приложения 3. 3.3.24. Выбор необходимого типоразмера молота и минимальной массы его ударной части, соответствующих условиям забивки свай на конкретной площадке и обеспечивающих их погружение до проектных отказов или отметок, следует производить в зависимости от массы свай, их несущей способности и других факторов, предусмотренных СНиПом III-9-74. Для обеспечения заданной производительности труда рекомендуется применять дизель-молоты с типоразмерами и массой ударной части на один порядок выше полученных расчетным путем по формулам СНиПа. 3.3.25. В процессе погружения свай нужно вести журналы по установленным формам. Приемка работ по устройству свайных фундаментов должна производиться на основании следующих документов: проекта свайных фундаментов; паспортов заводов-изготовителей свай и их составных элементов (при использовании составных свай); актов геодезической разбивки осей фундаментов; исполнительных схем расположения свай с указанием их отклонений в плане и по высоте; результатов динамических и статистических испытаний свай (если они были предусмотрены). При приемке составляется акт, в котором отмечаются все выявленные дефекты, указывается срок их устранения и дается оценка качества работы.
Рис. 3. Допускаемые отклонения погруженных свай в плане 1-1, 3-3 - поперечные оси ряда; А-А - продольные оси ряда; О - центр поперечного сечения сваи; О’ - зона смещения центра поперечного сечения сваи в пределах допускаемых отклонении; Д - сторона поперечного сечения сваи 3.3.26. Отклонения забитых свай (рис.3) от проектного положения в плане не должны превышать приведенных в табл.8 или указанных в проекте. 3.3.27. При погружении свай необходимо, кроме общих, соблюдать следующие правила техники безопасности. Запрещается находиться в опасной зоне. Опасными являются: зона вблизи копра с границей, проходящей по окружности, центр которой - место забивки очередной сваи, а радиус равен полной длине копровой стрелы-мачты плюс 5 м; линейная зона шириной 10 м вдоль оси троса для подтаскивания свай от места стоянки копра до места их раскладки; площадка для складирования свай, где их перемещают и раскладывают перед подтаскиванием к копру. Запрещается выдергивать сваи копровым оборудованием; погружать элементы составных свай вибропогружателями; вывозить сваебойное оборудование со стройплощадки до приемки свайного поля и оформления исполнительных актов; штабелирование сваи на дне котлована, раскладывать их на бровке и стаскивать на дно котлована, подтаскивать сваи к копру по неспланированному дну котлована. 3.3.28. Контроль качества погружения свай производится согласно нормативам, приведенным в табл.9. Таблица 9 Контроль качества погружения свай
3.3.29. Бригада, выполнявшая работа по погружению свай должна иметь следующие приспособления и инвентарь: нивелиры и теодолиты с треногами и рейками, рейку с уровнем и отвесом, стальные измерительные рулетки длиной 10, 20 и 50 м, штыри для разбивки осей, лопаты, ломы, кувалды, ключ для разворота свай, гидравлический уровень для контроля высотных отметок, щупы и шаблоны. 3.4. Срубка голов свай3.4.1. Срубку голов свай следует начинать после завершения работ по погружению свай и составления акта приемки - сдачи работ заказчику с обязательным приложением исполнительной схема. 3.4.2. Перед срубкой голов на сваи в местах срубки следует нанести риски. 3.4.3. Для безростверковых и высоких свайных фундаментов срубку голов свай на высоте необходимо производить с инвентарных подмостей, а низких - с земли. 3.4.4. Срубку голов свай под проектную отметку производят отбойными молотками поэтапно (рис.4). 3.4.5. При срубке голов надо следить за тем, чтобы верх срубленной сваи был выше проектной отметки подошвы ростверка или низа оголовка на величину заделки сваи в монолитный ростверк или оголовок (рис.5). 3.4.6. Для предотвращения значительных разрушений голов свай при срубке рекомендуется применять инвентарный металлический хомут, который надевают на сваю по линии намечаемой срубки (рис.4). После срубки в, этом случае получают достаточно ровную поверхность без боковых трещин и сколов. Хомут, кроме того, может служить направляющей при работе с отбойным молотком, предотвращая возможность случайного соскальзывания бойка вниз по свае. 3.4.7. После срубки продольная арматура в торце сваи должна быть очищена и выпрямлена, ее излишки срезаны, в монтажные установочные хомуты либо сняты, либо установлены на уровне, соответствующем дальнейшему монтажу оголовков (рис.6).
Рис. 4. Поэтапная срубка голов сваи I-установка хомута; II- вырубание бетона по углам сваи; III- срубка головы сваи; IV- подготовка сваи к установке оголовка или заделке в ростверк. 1-свая; 2-риска(отметка линии срубки головы сваи); 3-продольная арматура; 4-монтажный обжимной инвентарный хомут (на II-IV этапах монтажный обжимной хомут условно не показан); 5-отбойный молоток
Рис. 5. Схема заделки свай а) - в оголовник; б) - в монтажный ростверк при свободном опирании; в) - то же, при жестком опирании 1 - свая; 2 - оголовок; 3 - монолитный ростверк; 4 - арматура
Рис. 6. Установка хомута для монтажа оголовка 1 - оголенные вертикальные стержни арматуры свай; 2 - установочная риска; 3 - монтажный хомут; 4 - деревянная подкладка; 5 - погруженная свая 3.4.8. Помимо соблюдения общих правил безопасного ведения работ необходимо выполнять ряд требований. Запрещается: срубка голов свай с использованием приставных лестниц; нахождение (за исключением срубщика) в опасной зоне около срубаемой части сваи (радиусом равным длине срубаемой сваи плюс 5 м), так как возможен разлет осколков бетона; одновременная срубка голов соседних свай (в зоне разлета осколков бетона). Необходимо также убедиться, что конструкция и состояние подмостей, применяемых при срубке голов свай на высоте более 1 м, удовлетворяют требованиям техники безопасности (имеются ограждения, нет перекосов и т.п.). 3.4.9. К работе с пневматическим инструментом допускаются лица, имеющие специальные удостоверения. Они должны знать правила эксплуатации; безопасные способы подключения к воздуховодам и отключения от них; местонахождение запорных кранов или вентилей; возможные причины неисправности инструмента и способы их устранения; при работе не допускать перегибов шланга, пересечения его с электрокабелем, следить за герметичностью мест соединений шлангов. 3.4.10. Контроль качества срубки голов свай производится в соответствии с табл.10. Таблица 10 Контроль качества работ при срубке голов свай
* - среднее квадратическое значение погрешности 3.4.1. Бригада, производящая срубку голов свай, должна иметь следующие механизмы, инвентарь и приспособления: инвентарные подмости, монтажные хомуты, компрессор ЗИФ-51 или ЗИФ-55, отбойные молотки ОМП-8 или ОМТП-10, газосварочный аппарат; трансформатор ИВ-4 для питания газосварочного аппарата; четырехветвевой строп, нивелир с треногой и рейкой, клещи для отгибания арматуры, кувалда остроконечная № 5, подборочная лопата, щупы и шаблоны. 3.5. Монтаж оголовков и элементов сборных ростверков3.5.1. К монтажу оголовков разрешается приступать при наличии соответствующих рабочих чертежей, оформленных специальным штампом. 3.5.2. Монтаж оголовков и сборных ростверков начинают после завершения работ по срубке голов свай и подготовке голов свай к монтажу оголовков. 3.5.3. Перед монтажом оголовков необходимо: нанести, на сваи риски, соответствующие проектному положению низа оголовка; установить по рискам хомуты; под хомутами проложить деревянные подкладки из досок толщиной 10-20 мм для предохранения боковых граней свай от разрушения при обжатии хомутами; проверить уровнем горизонтальность установленных хомутов. 3.5.4. Оголовок установить на хомут таким образом, чтобы обрубленный конец сваи и выпуски продольной арматуры оказались внутри оголовка. Допускается некоторое смещение оголовка по отношению к продольной оси сваи в целях исправления её отклонения при забивке. 3.5.5. Оголовки с отметкой низа на уровне пола подвала устанавливать непосредственно на дно котлована без применения хомутов. При необходимости производить по месту подсыпку или срезку грунта вручную до проектных отметок подошвы оголовка. 3.5.6. После заполнения полости оголовков бетонной смесью, провибрировать ее и загладить поверхность бетона под уровень верха оголовков. 3.5.7. Установку элементов высоких сборных ростверков следует производить по достижении бетоном не менее 70 % проектной прочности в летний период и 100 % в зимний. 3.5.8. Для установки оголовков и элементов ростверка по рискам, нанесенным на оголовках, используют один и тот же кран. 3.5.9. Требования к контролю монтажа оголовков и элементов ростверка даны в табл.11. Таблица 11 Контроль качества монтажа оголовков и элементов сборных ростверков
* - Среднее квадратическое значение погрешности. 3.5.10. Бригада, занятая монтажом оголовков и элементов. сборного ростверка должна иметь следующий инвентарь, приспособления и инструменты: инвентарные подмости, приставную лестницу, хомуты монтажные в контейнере, стропы двух- и четырехветвевые, ящик для раствора, вибратор: ИВ-56 или ИВ-17 с понижающим трансформатором ИВ-4, нивелир с треногой и рейкой, шаблоны для нанесения рисок, стальной метр, гаечный ключ № 32, ведро для воды и лопату ЛР, монтажные ломики и кантовки. 3.6. Устройство монолитных ростверков3.6.1. До начала устройства монолитного ростверка должны быть выполнена следующие работы: головы свай подготовлены к заделке их в ростверк; полностью очищены от мусора и подготовлены под устройство ростверка рабочие зоны; доставлены к месту сборки элемента опалубки и арматурные каркасы; бригадиром и прорабом произведена приемка элементов опалубки и каркасов. Принимая опалубку, обязательно проверяют комплектность поставляемой партии элементов опалубки и крепленая ее для каждого участка бетонирования, а также правильность маркировки элементов опалубки в соответствии с маркировочными чертежами. 3.6.2. Перед установкой опалубки необходимо произвести геодезическую разметку мест ее установки в соответствии с рабочими чертежами монолитного ростверка. 3.6.3. Сборка элементов опалубки на месте ее установки выполняется вручную. При сборке укрупненных элементов опалубки и арматурных каркасов, а также при использовании арматурно-опалубочннх блоков для их установки и монтажа следует использовать стреловые краны. 3.6.4. При монтаже опалубки обязательно проверяется ее вертикальность и правильность положения по отношению к осям. 3.6.5. Выверенную установленную опалубку стягивают проволокой, после чего составляется акт готовности к монтажу каркасов. 3.6.6. При установке каркасов прораб или мастер должны контролировать толщину необходимого защитного слоя бетона и расстояния между отдельными стержнями арматуры. 3.6.7. По окончании монтажа каркасов и выверки соответствия их установки проекту составляют акт готовности к приему бетонной смеси. 3.6.8. Возведение монолитного ростверка начинают с устройства постели. Сначала укладывают ограничительный брус, после чего краном подают находящуюся в бункерах бетонную смесь с осадкой конуса 0-1 см, укладывают и разравнивают ее. Уложенную смесь обязательно уплотняют вибраторами. 3.6.9. По окончании твердения бетона производят распалубку и очищают, смазывают и штабелируют снятые элементы опалубки. 3.6.10. По окончании распалубки ростверков обязательно проверяют отметки его верха и геометрические размеры с составлением схемы исполнительной съемки и акта сдачи работ (рис. 7).
Рис. 7. Конструкции монолитных ростверков а) - с однорядным расположением свай; б) - с многорядным расположением свай 1 - пространственный каркас; 2 - опалубка; 3 - бетонная подготовка Н - высота ростверка; d - размер стороны сечения сваи; h - высота бетонной подготовки 3.6.11. Контроль качества работ по устройству монолитного ростверка приведен в табл.12. Контроль качества работ по устройству монолитного ростверка
3.6.12. Бетонные работы в зимнее время должны проводиться в соответствии с проектами производства работ или технологическими картами, где должны быть отражены: технология приготовления, и транспортировки бетонной смеси, обеспечивающая получение заданной температуры при выгрузке из бетоносмесителя и у места укладки смеси; способы и температурный режим выдерживания бетона; прочность бетона к моменту распалубливания; сроки и порядок распалубливания; техника безопасности при производстве работ. 3.6.13. Состояние основания, на которое укладывают бетонную смесь, а также его температура, а способ укладки должны исключать возможность замерзания бетонной смеси у поверхности основания. 3.6.14. Укладку бетонной смеси следует вести непрерывно. При перерывах в работе поверхность бетона необходимо укрывать, утеплять, а при необходимости обогревать. 3.6.15. Во время выдерживания бетона неопалубленные поверхности монолитных бетонных и железобетонных конструкции следует укрывать гидро- и теплоизоляционными материалами немедленно по окончании бетонирования. 3.6.16. При выдерживании бетона в тепляках температура воздуха, там должна быть не ниже +5°С. 3.6.17. При выборе способа выдерживания бетона следует, в первую очередь, рассмотреть возможность использования метода термоса, при котором применяются добавки- ускорители твердения и цементы с повышенным тепловыделением (быстротвердеющие и высоко-марочные). 3.6.18. Способы транспортировки и укладки бетонной смеси должны быть такими, чтобы не допускать ее охлаждения более установленного, в проекте. 3.6.19. При всех способах зимнего бетонирования для проверки прочности бетона следует использовать неразрушающие метода контроля или же испытывать, высверленные керны, если контрольные образцы не могут быть выдержаны в режиме, аналогичном режиму выдерживания конструкций. 3.6.20. Бригада, работающая на устройстве монолитного ростверка, должна быть оснащена следующим оборудованием и инструментом: поворотными бункерами для бетонной смеси емкостью 0,5 и 1 м3 глубинными и поверхностными вибраторами, двухветвевым стропом, сварочным аппаратом, нивелиром и теодолитом с треногами и рейками, рулеткой, стальным метром, лопатами, гладилками, рейками, кельмами и мастерками. 4. МОНТАЖ КОНСТРУКЦИЙ ПОДЗЕМНОЙ ЧАСТИ ЗДАНИЙ4.1. Общие требования4.1.1. Монтаж, цокольных стеновых панелей, панелей перекрытия и других элементов подземной части крупнопанельного здания должен производиться по рабочим чертежам проекта, привязанного к конкретному объекту строительства. Обязательно применение монтажной оснастки, предусмотренной проектом производства работ или типовыми технологическими картами. 4.1.2. Разрешение на производство работ оформляют на рабочих чертежах соответствующим штампом, все отступления от чертежей должны быть согласованы с заказчиками проектной организацией.
Рис. 8. Расположение рисок и растворной постели под монтируемую панель а)- на оголовке; б)- под монтируемую панель 1 - растворная постель; 2 - оголовок; 3 - свая; 4 - места установки маяков; 5 - вспомогательные риски; 6 - главные риски; 7 - опорная поверхность ростверка 4.1.3. При монтаже цокольных стеновых панелей и панелей перекрытия разрешается использовать только конструкции, соответствующие ГОСТам на железобетонные изделия, а также прошедшие входной контроль качества и имеющие штамп ОТК. Сборные конструкции подземной части здания и их элементы, поступающие на монтажную площадку, должны также подвергаться выборочному контролю по их герметическим параметрам (размеры, перекос, пропеллерность граней, расположение закладных деталей и т.д.). 4.1.4. Цокольные стеновые панели и панели перекрытия рекомендуется монтировать с помощью башенных кранов, если монтаж подземной и надземной частей здания ведется без технологического перерыва, и с помощью самоходных стреловых кранов соответствующей грузоподъемности, если проектом предусмотрен перерыв. В этом случае целесообразно в качестве монтажных кранов использовать гусеничные краны РДК-25, K-161, KC-3571 и КС-3562А. 4.1.5. Панели цокольных стен и перекрытия устанавливаются после инструментальной выверки положения оголовков свай или ростверков в плане и по высоте я нанесения на них рисок (рис.8). 4.1.6. Положение панелей стен и перекрытия в процессе монтажа по высоте определяется маяками. 4.1.7. Маяки следует устанавливать в соответствии с исполнительной схемой высотного положения опорных поверхностей оголовков или ростверков и проектным положением низа панелей. Их изготовляют из цементного раствора марки 150-200, укладывая его на середину оголовка или по продольной оси верхней грани ростверка. Добавляя или выдавливая кельмой, раствор и постоянно наблюдая по нивелиру, достигают проектной отметки маяков, после чего срезают кромки раствора по размеру маяков. Монтаж панелей стен и. перекрытия можно начинать после набора раствором прочности не менее 35-50 кг/см2. Схемы расположения маяков и установки стеновых панелей приведены, на рис.9, 10, 17 и в Приложении 6. 4.1.8. Результаты исполнительной съемки смонтированных конструкций и их элементов наносят на копии рабочих чертежей здания или сооружения, а также на специальные схемы-чертежи с указанием направления отклонений от проекта. 4.2. Монтаж стеновых панелей4.2.1. Монтаж цокольных панелей стен следует выполнять по захваткам, размер которых определяется проектом производства работ. 4.2.2. До начала монтажа цокольных панелей должны быть выполнены следующие работы: полностью закончены и переданы по акту свайные фундаменты с установленными на сваях оголовками - при безростверковых конструкциях или полностью завершенными работами по устройству сборных или монолитных ростверков - при наличии ростверков; на опорные поверхности оголовков или ростверков нанесены главные риски, указывающие положение осей монтируемых панелей стен и перекрытий, а также размечена растворная постель (для этого линейкой отмеряют расстояние, равное половине толщины панели, и наносят на оголовки или ростверки рядом с главными малые риски) и установлены маяки; проверены и приняты к монтажу цокольные панели. 4.2.3. Перед началом монтажа конструкций каждой следующей захватки необходимо завершить все работы по монтажу конструкций на предыдущей захватке.
Рис. 9. Схема расположения маяков под стеновыми панелями а) - на одинарных оголовках; б) - на парных оголовках 1 - свая; 2 - оголовок; 3 - маяки, расположенные по центру; 4 - маяк над одной из парных свай; 5 - парный оголовок. ИГ-исполнительный горизонт (по геодезической исполнительной съемке); МГ-монтажный горизонт (по проекту); а, в - соответственно длина и ширина маяков (см. приложение 6); h - высота маяков 4.2.4. Цокольные панели следует устанавливать на цементном растворе марки 150-200 с осадкой конуса Стройнил 7-9 см, укладываемом по верху оголовков вокруг маяков или по верху ростверков. Толщина растворной постели для ростверков должна быть на 10-15 мм выше маяков с учетом выдавливания излишков раствора при посадке панели и опирания ее на маяки. Опираете панели на схватившийся или замерзший раствор запрещается.
Рис. 10. Схема установки стеновых панелей а) - на оголовки; б) - на ростверки 1 - сваи; 2 - оголовки; 3 - маяки; 4 - внутренние стеновые панели; 5 - наружные стеновые панели; 6 - ростверк 4.2.5. Не допускается оставлять не заполненный раствором зазор между основанием панели и оголовком сваи или ростверком. 4.2.6. Толщина растворной постели между цокольной панелью и оголовком, или ростверком должна быть не более 30 мм. В отдельных случаях допускается увеличение толщины шва постели до 40 мм на одном оголовке сваи из трех, расположенных в одном ряду. В этом случае, а также при необходимости применения раствора марки 100 растворную постель необходимо армировать сеткой из проволоки диаметром не менее 5 мм с размером ячеек 50×50 мм или согласно указаниям проекта. 4.2.7. В зимних условиях должен применяться раствор с противоморозной добавкой. 4.2.8. Для контроля прочности раствора в швах сопряжений панелей с оголовками или ростверками из каждых 0,2 м3 раствора надлежит брать по 9 контрольных кубиков. Шесть из них выдерживают в тех же условиях, что и раствор в швах, а затем испытывают (три кубика - перед монтажом панелей и три - перед сдачей дома в эксплуатацию). Три оставшихся кубика должны храниться в нормальных условиях для определения марки раствора. Контроль качества раствора следует проводить согласно "Инструкции по приготовлению и применению строительных растворов" (СН-290-74) и ГОСТу 5802-66 "Методы испытаний строительных растворов". 4.2.9. Приведение в проектное положение и установка стеновых панелей в плане производится по рискам, нанесенным у основания панели и на опорных поверхностях элементов ростверка. Несовмещение рисок на оголовках свай и гранях монтируемых панелей не должно превышать 5 мм. 4.2.10. Установку стеновых панелей по вертикали необходимо выполнять с помощью регулируемых подкосов. Эти подкосы при помощи струбцин или специальных запорных устройств, крепят к верхнему торцу или монтажной петле стеновой панели, а нижнюю их часть - к скобе сваи, расположенной вблизи панели, или к монтажному хомуту, устанавливаемому с этой целью на сваю. В отдельных случаях можно использовать специальные якоря (бетонные блоки со скобами). Проверку вертикальности нужно производить с внутренней стороны панели вблизи ее торцов при помощи рейки-отвеса или рейки с уровнем. 4.2.11. Сразу после установки каждой панели в проектное положение ее надо окончательно закрепить. 4.2.12. При монтаже наружных цокольных панелей выравнивание их в поперечном направлении должно производиться по наружной плоскости стены. 4.2.13. В процессе работ по монтажу цокольных панелей монтируют также сантехнические и вентиляционные блоки, тепловые пункты и спецсооружения, лестничные марши, площадки и лифтовые шахты. После выполнения этих работ монтируют сантехнические и прочие трубопроводы. 4.2.14. После сдачи работ по монтажу панелей стен и прочих элементов подземной части здания разрешается приступать к монтажу панелей перекрытия цокольного этажа. 4.3. Монтаж перекрытия подземной части зданий4.3.1. До начала монтажа панелей перекрытия необходимо закончить все работы по монтажу и постоянному закреплению конструктивных элементов перекрываемой подземной части здания; установить гипсобетонные перегородки и основные столярные изделия; завершить монтаж трубопроводов и оборудования котельных; убрать монтажную оснастку, оборудование и приспособления для монтажа их перекрываемой зоны; подготовить опорные поверхности под монтаж панелей перекрытия (загнуть или срезать арматуру, убрать мусор, очистить от наплывов бетона или раствора торцы панелей стен, установить маяки); при необходимости произвести ремонт опорных поверхностей. 4.3.2. При монтаже панелей перекрытия следует применять цементный раствор марки 150-200. 4.3.3. Панели перекрытия подземной части здания с безростверковым свайным фундаментом следует укладывать на выровненную растворную постель по оголовкам и наружным стеновым панелям, сваривая их закладные детали. Между панелями перекрытия и оголовками свай не должно быть зазоров, не заполненных раствором. Толщина растворной постели между панелью перекрытия и оголовком сваи или ростверком должна быть не более 30 мм. При толщине растворной постели, превышающей 30 мм должна устанавливаться арматурная сетка из проволоки диаметром 5 мм с ячейками размером 50x50 мм (рис. 11). 4.3.4. По окончании всех работ по монтажу элементов подземной части здания составляют исполнительную схему фактического расположения смонтированных конструкций и сдают по акту подземную часть
Рис. 11. Устройство шва сопряжения при величине зазора (h) более 30 мм или при применении раствора марки 100 1-свая; 2-оголовок; 3-растворная постель; 4-сетка из проволоки; 5-панель перекрытия; 6-стеновая панель. 4.3.5. Для обеспечения должного качества монтажа подземной части следует строго соблюдать порядок и очередность установки всех элементов, предусмотренный проектом производства работ. 4.3.6. Контроль качества работ по монтажу элементов подземной части здания должен производиться согласно табл.13. Таблица 13 Контроль качества монтажа конструкций подземной части здания
4.3.7. Бригада, работающая на монтаже подземной части здания, должна иметь следующее оборудование, приспособления и инструменты: двух- и четырехветвевые стропы, нивелир и теодолит с треногами и рейками, комплект оснастки для монтажа панелей и элементов подземной части крупнопанельных зданий, ящики для раствора рейку-отвес и рейку с уровнем, шаблоны для установки стеновых панелей, стальные линейки и метры, лопаты, ломы, кельмы, мастерки, монтажные и контрольные рейки. 5. УСТРОЙСТВО ОБРАТНОЙ ЗАСЫПКИ И УПЛОТНЕНИЕ ГРУНТА5.1. Общие требования5.1.1. Обратную засыпку следует выполнять по рабочим чертежам, привязанным к конкретному объекту, в строгом соответствии, со СНиПом III-8-76 "Земляные сооружения. Правила производства и приемки работ". 5.1.2. Для засыпки пазух следует использовать качественный неорганический грунт, послойно уплотняя его. 5.1.3. Требуемая плотность грунта, выраженная объемной массой скелета грунта или коэффициентом уплотнения, назначается проектом на основании данных исследования грунта методом стандартного уплотнения в соответствии с ГОСТом 22733-77. При этом устанавливается его максимальная плотность и оптимальная влажность. Качество уплотнения зависит от влажности грунта, толщины отсыпаемого слоя, возможностей оборудования и режима уплотнения. Оно оценивается сравнением фактической (достигнутой) объемной массы скелета грунта с заданной в проекте. Основным параметром, контролируемым в процессе выполнения обратных засыпок и служащим для оценки выполненных работ, является объемная масса скелета грунта в г/см3 или т/м3. 5.1.4. Рекомендуемый коэффициент уплотнения грунта, обратных засыпок пазух фундаментов и траншей - 0,95, а оснований под фундаменты и полы - 0,98. Коэффициент взят из проекта "Инструкции по устройству обратных засыпок в стесненных условиях при строительстве промышленных и гражданских зданий". 5.1.5. За качеством уплотнения грунта необходимо вести систематические наблюдения силами строительной организации, представителями технического надзора заказчика и лицами, инспектирующими строительство. Непосредственный контроль возлагается на полевую грунтовую лабораторию. Кроме того, лаборатория проверяет качество грунтов и их пригодность для засыпки; проводит пробное уплотнение для определения числа ударов (проходок) уплотняющей машины и толщины отсыпаемого слоя; участвует в освидетельствовании скрытых работ и их приемке. 5.1.6. Пробы, равномерно взятые по площади и по высоте подсыпок и засыпок, обеспечивают надежную проверку степени плотности слоев грунта, в различных местах подземной части здания. Количество проб, отбираемых для проверки объемной массы скелета уплотненного грунта на засыпаемых и планируемых, участках устанавливается в каждом конкретном случае в зависимости от характера и объема работ, характеристика грунта и местных условий. Пробы отбираются в шахматном порядке через 20-40 м. В обратных засыпках пазух пробы отбираются около граней сооружения на расстоянии не более 0,2 м от них. 5.1.7. При отборе проб уплотненного грунта необходимо обеспечить сохранность его структуры и плотность. В случае недоуплотнения грунта следует выяснить причины и принять меры по доведению плотности до проектной величины, увеличив число ударов или проходов уплотняющих машин и обеспечив требуемую влажность грунта. 5.1.8. При производстве работ по обратной засыпке и уплотнению грунта следует соблюдать следующие правила. Уплотнение грунта трамбованием вблизи подпорных стенок, фундаментов и других конструкций следует производить на таком расстоянии и в таком порядке, которые указаны в проекте производства работ. При работе вибротрамбующих машин вибратор можно включать, когда машина находится на твердом (уплотненном) основании. 5.1.9. При обратной засыпке котлованов и траншей в зимнее время необходимо выполнять следующие дополнительные требования: количество мерзлых комьев грунта, которым засыпают наружные пазухи возведенных зданий, не должно превышать 15 % общего объема засыпок; при засыпке пазух внутри зданий применять мерзлый грунт не разрешается; ' укладка грунта во время сильных снегопадов и метелей запрещена. 5.1.10. Для послойного уплотнения грунта в зависимости от объемов и технологических условий производства работ рекомендуются самоходные вибрационные катки ДУ-25А, трамбующие плиты ДУ-12, вибрационные трамбовки ПВТ-3, электрические трамбовки ИЭ-4501, ИЭ-4504, а также поставляемые из ГДР виброплиты серии SVP. 5.1.11. Для уплотнения грунта в зимних условиях рекомендуются трамбующие машины или плиты тяжелого типа, позволяющие выполнять работы на небольших участках и при значительной толщине уплотняемых слоев грунта. 5.2. Засыпка наружных пазух фундаментов5.2.1. Обратную засыпку пазух с наружной стороны подземной части зданий на свайных фундаментах выполняют после полного завершения монтажа всех конструкций подземной части, включая перекрытие. 5.2.2. Засыпку грунта в пазухи следует вести послойно с последующим уплотнением каждого слоя трамбовками. Для засыпки нужно использовать грунт оптимальной влажности. 5.2.3. Разравнивать слои грунта в пазухах фундаментов рекомендуется малогабаритным бульдозером, а уплотнять - вибрационными трамбовками. 5.2.4. По окончании засыпки наружных пазух следует проверить в грунтовой лаборатории плотность грунта и составить акт по результатам проверки. 5.3. Засыпка внутренних пазух фундаментов, устройство оснований под полы5.3.1. После завершения возведения безростверковых свайных фундаментов обратная засылка производится, как правило, только в местах расположения пазух около отдельных монолитных фундаментов, а также под лифтовыми шахтами, мусоропроводами, вентиляционными, силовыми и другими специальными эксплуатационными устройствами. 5.3.2. Обратная засылка пазух ленточных или кустовых свайных фундаментов с низким ростверком и оснований под полы производится сразу после окончания работ по устройству ростверков. В зависимости от расположения и размеров ростверков обратную засыпку пазух и устройство оснований под полы можно выполнять в один или несколько этапов согласно проекту производства работ. 5.3.3. Грунт оптимальной влажности в места обратных засыпок и оснований под полы подают краном, оснащенным грейфером, а послойное его разравнивание выполняют вручную. В отдельных случаях для перемещения и разравнивания грунта допускается применять малогабаритные бульдозеры при условии, что их использование не повредит конструкции ростверков и фундаментов. 5.3.4. Послойное уплотнение грунта рекомендуется производить ручными или подвесными трамбовками. 5.3.5. По окончании устройства обратных засыпок следует проконтролировать в грунтовой лаборатории качество уплотнения грунта и составить акт о результатах проверки. Для контроля качества уплотнения грунта и его влажности при производстве обратных засыпок и подсыпок, грунтовая лаборатория должна быть оснащена стандартным набором приборов и приспособлений. 5.3.6. Контроль качества уплотнения засыпки пазух фундаментов и подсыпки под полы следует производить в соответствии с табл.14. Таблица 14 Контроль качества уплотнения грунта при обратных засыпках пазух фундаментов и подсыпках под полы
Приложение 1
|
|||||||||||||||||||||||||||||||||||||||||||||||||||||||||||||||||||||||||||||||||||||||||||||||||||||||||||||||||||||||||||||||||||||||||||||||||||||||||||||||||||||||||||||||||||||||||||||||||||||||||||||||||||||||||||||||||||||||||||||||||||||||||||||||||||||||||||||||||||||||||||||||||||||||||||||||||||||||||||||||||||||||||||||||||||||||||||||||||||||||||||||||||||||||||||||||||||||||||||||||||||||||||||||||||||||||||||||||||||||||||||||||||||||||||||||||||||||||||||||||||||||||||||||||||||||||||||||||||||||||||||||||||||||||||||||||||||||||||||||||||||||||||||||||||||
|
Показатели |
Марка копра |
|||
|
С-878 |
СП-49 |
С-860 |
KH-12 |
|
|
Базовая машина |
Трактор. |
Экскаватор |
||
|
Максимальная длина погружаемых свай, м |
8 |
12 |
8 |
12 |
|
Грузоподъемность, т |
7 |
11 |
10 |
14 |
|
Наибольший угол наклона направляющей стрелы, град. |
|
|||
|
Вперед |
13 |
10 |
7 |
5 |
|
Назад |
20 |
20 |
15 |
15 |
|
в сторону |
7 |
7 |
5 |
5 |
|
Изменение вылета направляющей стрелы, м |
0,7 |
0,4 |
0,7. |
1,05 |
|
Молоты, рекомендуемые для погружения свай несущей способностью |
|
|||
|
до 30-35 т |
С-33ОБ, С-996А |
С-33ОБ, С-996А |
С-330Б, С-996А |
С-33ОБ, С-996А |
|
То же, более 30-35 т |
С-996А |
С-996А |
С-996А |
C-1047A |
ЭКСПЛУАТАЦИОННЫЕ ПАРАМЕТРЫ ДИЗЕЛЬНЫХ МОЛОТОВ
|
Показатели |
Марка молота |
|||
|
С-33ОА |
С-33ОБ |
C-1047 |
С-996А |
|
|
Масса ударной части молота, т |
2,5 |
2,5 |
2,5 |
1,8 |
|
Наибольшая высота подъема ударной части молота, м |
2,3 |
2,4 |
3,0 |
3,0 |
|
Наибольшая
потенциальная энергия ударной части, |
5,5 |
6,0 |
7,5. |
5,4 |
|
Число ударов в минуту |
46 |
50 |
42 |
42 |
|
Расчетная высота падения ударной части молота, м |
2,2 |
2,2 |
2,8 |
2,8 |
|
Величина
энергии удара по СНиПу III-9-74, |
2,2 |
2,2 |
6,3 |
4,5 |
|
Рекомендуемая
расчетная энергия удара, |
2,2 |
2,3 |
4,1 |
3,1 |
Примечание. Рекомендуемая расчетная величина энергии удара молота приведена для указанной в таблице наибольшей высоты подъема ударной части. Она дана с учетом поправок на возможную несоосность молота и сваи, неперпендикулярность торцевой поверхности сваи ее продольной оси и других факторов.
Рекомендуемая расчетная энергия удара в зависимости от высоты падения ударной части молота, представлена на рис.13.

Рис. 13. Зависимость рекомендуемой расчетной энергии удара от высоты падения ударной части молота
Разбивку осей свай (рис.14 и 15) выполняют в следующем порядке: переносят основные оси здания 1-1 со створных знаков на обноску; закрепляют на обноске расстояния от оси здания 1-1 до оси свай 1-1; натягивают металлическую проволоку 2 по осям свай 1-1 в продольном и поперечном направлениях; опускают отвес 4 из точек пересечения 3 металлической проволоки; закрепляют на дне котлована колышком или штырем 5 под острием отвеса 4 точки пересечения осей свай (рис.15); натягивают металлическую проволоку 6 в продольном и поперечном направлениях свайного ряда (рис.15).

Рис. 14. Перенос осей свай с обноски на дно котлована
1 - точки оси здания на обноске; 1' - точки оси свай на обноске; 2 - проволока, протянутая по оси свай; 3 - точки пересечения осей свай; 4 - отвесы в точках пересечения осей; 5 - штыри в точках пересечения осей свай на дне котлована; 6 - диагональ для контрольных промеров правильности переноса с осей на дно котлована
После закрепления осей свайных рядов 1-1 необходимы контрольные промеры точности разбивки между рядами осей свай в продольном и поперечном направлениях, а также по диагонали.
Разбивку центров свай, по свайному ряду, следует выполнять компарированной рулеткой в продольном и поперечном направлениях, руководствуясь рабочими чертежами свайного поля.
При разбивке кустов свай и одиночных свай, расположенных не на осях, их местонахождение определяется способом перпендикуляров, засечек или полярным способом по привязкам указанным в рабочих чертежах свайных полей.
Разбивку следует начинать с определения точек пересечения торцевых поперечных и продольных осей, контролируя правильность разбивки промерами по диагонали. При этом теодолит центрируют последовательно, над точками пересечения торцевых осей, ориентируют в створе осей а, откладывая проектные размеры, намечают центры свай первых торцевых рядов.

Рис. 15. Разбивка центров свай
- расстояния от
точек пересечения до центров забиваемых свай в поперечном (а) и продольном (в) направлениях;
- диагонали для
контрольных промеров правильности разбивки осей
1 - стальная проволока; 2 - штыри в точках пересечения осей сваи на дне котлована
В приложении 5 дан порядок проведения разбивочных работ способом линейных засечек. Этот способ применяется яри определении на местности точек, незначительно удалении от пунктов и сторон геодезической основы.
Способ линейных засечек заключается в том, что по известным расстояниям "а", "в" от твердых точек (пунктов геодезической основы) "А", "В" до определенной точки сооружения "С" радиусами, равными отрезкам "а", "в" проводят на местности дуги, в пересечении которых и находится искомая точка. Длина линейных засечек не должна превышать длину мерного прибора, иначе засечки будут сделаны недостаточно точно.

Рис. 16. Схема определения точек способом линейных засечек
а, в - известные расстояния одиночной сваи от пунктов геодезической опоры; А, В - пункты геодезической опоры. (твердые точки); В', В" - створные точки; в', в" - расчетные расстояния
При определении этим способом точек ответственных сооружений, в том числе фундаментов с однорядным расположением свай, необходимо положение искомой точки "С"' определять не двумя, а тремя засечками, например: от опорной точки "А" и от двух створных точек "В’" и "В”" радиусами, равными расчетным расстояниям "а", "в'"и "в''", проводят дуги, в пересечении которых находится искомая точка "С" (см. рис.16).
1. Отклонения от проектных размеров для всех типов свай не должны превышать следующих величин.
По длине призматической части сваи, мм
При длине свай до 10 м включительно ±30
То же, более 10 м ±40
По размеру поперечного сечения сваи, мм ±5
По смещению острия сваи от центра поперечного сечения, мм 10
По расстоянию от центра подъемных
петель и штырей до конца сваи, мм ±50
2. Сваи длиной до 12 м допускается изготовлять с технологическим уклоном двух противоположных сторон поперечного сечения не свыше 1:20.
3. Отпускная прочность бетона свай в момент отгрузки их с предприятия-изготовителя должна быть не ниже проектной.
4. При испытании на трещиностойкость в сваях с напрягаемой арматурой не должны появляться трещины, а в сваях с ненапрягаемой арматурой раскрытие трещин допускается не более, чем на 0,2 мм.
5. При изготовлении свай, предназначенных для эксплуатации в агрессивных средах, следует принимать меры, обеспечивающие стойкость бетона к воздействию такой среды.
6. На поверхности свай не допускаются: раковины диаметром и глубиной более 5 мм; наплывы бетона толщиной более 5 мм; местные сколы бетона в углах сваи глубиной более 50 мм на 1 м сваи; сколы бетона и раковины в торце сваи.
7. Торцевая поверхность сваи должна быть перпендикулярна её боковым граням. Допустимое отклонение - не более 0,01 размера стороны торцевой плоскости.
8. Отклонение от прямой линии (непрямолинейность) профиля граней не должно превышать 3 мм на длину 2 м. Для свай длиной более 6 м непрямолинейность на всю длину сваи не должна превышать 10 мм.
9. Потребитель имеет право делать контрольную проверку качества готовых свай в соответствии с ГОСТом 19804-74.
10. Сваи следует хранить в штабелях, где они должны быть рассортированы по маркам и уложены в горизонтальные ряды острием в одну сторону.
11. Между горизонтальными рядами свай при складировании и при транспортировке должны быть уложены деревянные прокладки, располагаемые рядом с подъемными петлями. Прокладки под нижние ряды свай следует укладывать по плотному, тщательно выровненному основанию, обеспечивая воздушный зазор между основанием и нижним рядом свай.
12. Для сохранности подъемных петель толщина прокладок должна быть на 20 мм больше высоты петель. Прокладки всех вышележащих рядов свай должны быть расположены по вертикали одна над другой.
13. Допустимая высота штабеля не более 2,5 м.
14. Строповка свай при погрузке и разгрузке их с помощью траверсы должна производиться за подъемные петли. При длине свай до 6 м включительно допускается строповка без применения траверсы.
15. Подъем свай на копер следует производить с помощью стропа, закрепленного за сваю у фиксирующего штыря или у верхней подъемной петли.
Строповка свай непосредственно за подъемную петлю или за штырь запрещается.
16. Перемещать сваи волоком запрещается. По спланированной поверхности строительной площадки допускается передвигать сваи к копру на расстояние не более 6 м.
17. Все вышеуказанные требования относятся и к элементам составных свай. Кроме того, допустимые отклонения наклона торцевой плоскости к плоскости перпендикулярной продольной оси элемента (для свай сечением 30×30 см) не должны превышать 0,5 %.
|
Схема расположения панелей стен на оголовках свай (рис. 17) |
Размеры маяка (рис 9), мм |
Расположение маяка на оголовке |
|
|
длина (а) |
ширина (в) |
||
|
а |
200 |
200 |
По центру |
|
б |
200 |
80 |
То же |
|
в |
200 |
200 |
-"- |
|
г |
200 |
200 |
-"- |
|
д |
200 |
200 |
Над сваей |
|
е |
200 |
80 |
-"- |
|
ж |
200 |
80 |
По центру |
|
з |
200 |
200 |
Тo же |
|
и |
200 |
200 |
Над сваей |

Рис. 17. Схемы расположения стеновых панелей на одинарных (а, б, в, г) и парных (д, е, ж, з, и) оголовках
1 - стеновые панели; 2 - одинарные оголовки; 3 - парные оголовки
|
ГОСТЫ, СТРОИТЕЛЬНЫЕ и ТЕХНИЧЕСКИЕ НОРМАТИВЫ. Некоммерческая онлайн система, содержащая все Российские Госты, национальные Стандарты и нормативы. В Системе содержится более 150000 файлов нормативно-технической документации, действующей на территории РФ. Система предназначена для широкого круга инженерно-технических специалистов. Copyright © www.gostrf.com, 2008 - 2026 |