Крупнейшая бесплатная информационно-справочная система онлайн доступа к полному собранию технических нормативно-правовых актов РФ. Огромная база технических нормативов (более 150 тысяч документов) и полное собрание национальных стандартов, аутентичное официальной базе Госстандарта. GOSTRF.com - это более 1 Терабайта бесплатной технической информации для всех пользователей интернета. Все электронные копии представленных здесь документов могут распространяться без каких-либо ограничений. Поощряется распространение информации с этого сайта на любых других ресурсах. Каждый человек имеет право на неограниченный доступ к этим документам! Каждый человек имеет право на знание требований, изложенных в данных нормативно-правовых актах!

  


 

ФЕДЕРАЛЬНОЕ АГЕНТСТВО
ПО ТЕХНИЧЕСКОМУ РЕГУЛИРОВАНИЮ И МЕТРОЛОГИИ

НАЦИОНАЛЬНЫЙ
СТАНДАРТ
РОССИЙСКОЙ
ФЕДЕРАЦИИ

ГОСТ Р
12.4.231-
2007

Система стандартов безопасности труда

СРЕДСТВА ИНДИВИДУАЛЬНОЙ ЗАЩИТЫ ОРГАНОВ ДЫХАНИЯ.
АХ ПРОТИВОГАЗОВЫЕ И КОМБИНИРОВАННЫЕ ФИЛЬТРЫ ДЛЯ ЗАЩИТЫ
ОТ ОРГАНИЧЕСКИХ СОЕДИНЕНИЙ С НИЗКОЙ ТЕМПЕРАТУРОЙ КИПЕНИЯ

Общие технические условия

Москва

Стандартинформ

2009

Предисловие

Цели и принципы стандартизации в Российской Федерации установлены Федеральным законом от 27 декабря 2002 г. № 184-ФЗ «О техническом регулировании», а правила применения национальных стандартов Российской Федерации - ГОСТ Р 1.0-2004 «Стандартизация в Российской Федерации. Основные положения»

Сведения о стандарте

1 РАЗРАБОТАН рабочей группой ПК-2 «Средства индивидуальной защиты органов дыхания» Технического комитета по стандартизации средств индивидуальной защиты ТК 320 «СИЗ»

2 ВНЕСЕН Техническим комитетом по стандартизации средств индивидуальной защиты ТК 320 «СИЗ»

3 УТВЕРЖДЕН И ВВЕДЕН В ДЕЙСТВИЕ Приказом Федерального агентства по техническому регулированию и метрологии от 26 апреля 2007 г. № 87-ст

4 ВВЕДЕН ВПЕРВЫЕ

Информация об изменениях к настоящему стандарту публикуется в ежегодно издаваемом информационном указателе «Национальные стандарты», а текст изменений и поправок - в ежемесячно издаваемых информационных указателях «Национальные стандарты». В случае пересмотра (замены) или отмены настоящего стандарта соответствующее уведомление будет опубликовано в ежемесячно издаваемом информационном указателе «Национальные стандарты». Соответствующая информация, уведомление и тексты размещаются также в информационной системе общего пользования - на официальном сайте Федерального агентства по техническому регулированию и метрологии в сети Интернет

Содержание

1 Область применения

2 Нормативные ссылки

3 Термины и определения

4 Классификация

5 Технические требования

5.1 Масса

5.2 Соединение

5.3 Устойчивость к механическому воздействию

5.4 Начальное сопротивление постоянному воздушному потоку

5.5 Время защитного действия

5.6 Проницаемость

5.7 Материалы

6 Правила приемки

7 Методы испытаний

7.1 Общие положения

7.2 Номинальные значения и допустимые отклонения

7.3 Устойчивость к механическому воздействию

7.4 Начальное сопротивление постоянному воздушному потоку

7.5 Метод определения времени защитного действия

7.6 Определение массы

8 Маркировка

8.1 Общие положения

8.2 Маркировка АХ противогазовых и комбинированных фильтров

8.3 Маркировка на упаковке фильтров

9 Транспортирование и хранение

10 Указания по эксплуатации

НАЦИОНАЛЬНЫЙ СТАНДАРТ РОССИЙСКОЙ ФЕДЕРАЦИИ

Система стандартов безопасности труда

СРЕДСТВА ИНДИВИДУАЛЬНОЙ ЗАЩИТЫ ОРГАНОВ ДЫХАНИЯ.

АХ ПРОТИВОГАЗОВЫЕ И КОМБИНИРОВАННЫЕ ФИЛЬТРЫ ДЛЯ ЗАЩИТЫ
ОТ ОРГАНИЧЕСКИХ СОЕДИНЕНИЙ С НИЗКОЙ ТЕМПЕРАТУРОЙ КИПЕНИЯ

Общие технические условия

Occupational safety standards system. Respiratory protective devices. AX gas filters and combined
filters for protection against low-boiling organic compounds. General specifications

Дата введения - 2007-07-01

1 Область применения

Настоящий стандарт распространяется на противогазовые и/или комбинированные фильтры марки АХ (далее - АХ противогазовые и/или комбинированные фильтры) для защиты от органических соединений с низкой температурой кипения, предназначенные для использования в средствах индивидуальной защиты органов дыхания (СИЗОД) без принудительной подачи воздуха, и устанавливает общие технические требования, испытания и маркировку.

Стандарт не распространяется на СИЗОД для эвакуации (самоспасатели) и на фильтрующие лицевые части.

Стандарт также не распространяется на следующие специальные СИЗОД:

- пожарные;

- военные;

- медицинские;

- авиационные;

- для подводных работ.

2 Нормативные ссылки

В настоящем стандарте использованы нормативные ссылки на следующие стандарты:

ГОСТ Р 12.4.191-99 Система стандартов безопасности труда. Средства индивидуальной защиты органов дыхания. Полумаски фильтрующие для защиты от аэрозолей. Общие технические условия

ГОСТ Р 12.4.194-99 Система стандартов безопасности труда. Средства индивидуальной защиты органов дыхания. Фильтры противоаэрозольные. Общие технические условия

ГОСТ Р 12.4.214-99 Система стандартов безопасности труда. Средства индивидуальной защиты органов дыхания. Резьба для лицевых частей. Стандартное резьбовое соединение

ГОСТ 29329-92 Весы для статического взвешивания. Общие технические требования

Примечание - При пользовании настоящим стандартом целесообразно проверить действие ссылочных стандартов в информационной системе общего пользования - на официальном сайте Федерального агентства по техническому регулированию и метрологии в сети Интернет или по ежегодно издаваемому информационному указателю «Национальные стандарты», который опубликован по состоянию на 1 января текущего года, и по соответствующим ежемесячно издаваемым информационным указателям, опубликованным в текущем году. Если ссылочный стандарт заменен (изменен), то при пользовании настоящим стандартом следует руководствоваться заменяющим (измененным) стандартом. Если ссылочный стандарт отменен без замены, то положение, в котором дана ссылка на него, применяется в части, не затрагивающей эту ссылку.

3 Термины и определения

В настоящем стандарте применены следующие термины с соответствующими определениями.

3.1 АХ противогазовые фильтры: Фильтры, обеспечивающие защиту от органических соединений с температурой кипения не более 65 °С, рекомендованных изготовителем.

3.2 АХ комбинированные фильтры: Фильтры, обеспечивающие защиту от органических соединений с температурой кипения не более 65 °С, рекомендованных изготовителем, и аэрозолей.

4 Классификация

АХ противогазовые фильтры для защиты от органических соединений с низкой температурой кипения, рекомендованных изготовителем, не разделяют на классы и обозначают АХ.

АХ комбинированные фильтры для защиты от органических соединений с низкой температурой кипения, рекомендованных изготовителем, а также твердых и/или жидких аэрозолей, подразделяют на следующие классы в зависимости от эффективности фильтрации аэрозолей по ГОСТ Р 12.4.194 и обозначают:

- АХР1 - низкой эффективности;

- АХР2 - средней эффективности;

- АХР3 - высокой эффективности.

5 Технические требования

5.1 Масса

5.1.1 Масса фильтра(ов), предназначенного(ых) для использования с полумаской, не должна превышать 300 г.

5.1.2 Масса фильтра(ов), предназначенного(ых) для использования с маской, не должна превышать 500 г.

5.1.3 Фильтры с большей массой должны присоединяться к лицевой части с помощью соединительной трубки.

5.2 Соединение

5.2.1 Соединение между фильтром(ами) и лицевой частью должно быть прочным и герметичным.

5.2.2 Фильтр может быть присоединен к лицевой части неразъемным соединением, соединением особого типа или на винтовой резьбе (стандартной по ГОСТ Р 12.4.214 или нестандартной).

5.2.3 Фильтр должен быть заменен без использования специальных инструментов и маркирован во избежание неправильной сборки, если это не исключено конструкцией фильтра. Противоаэрозольный фильтр комбинированного фильтра должен располагаться с внешней стороны противогазового фильтра.

5.2.4 Если используется пара фильтров, предназначенная для применения с лицевой частью для пары фильтров, возможность их подсоединения к стандартному резьбовому соединению должна быть исключена.

5.3 Устойчивость к механическому воздействию

5.3.1 Фильтры должны быть устойчивы к механическому воздействию. Испытания следует проводить в соответствии с требованиями 7.3.

5.3.2 После проведения данного испытания фильтры не должны иметь видимых механических дефектов и должны отвечать требованиям 5.4 и 5.5.

5.4 Начальное сопротивление постоянному воздушному потоку

Начальное сопротивление фильтров постоянному воздушному потоку не должно превышать значений, указанных в таблице 1.

Испытания следует проводить в соответствии с требованиями 7.4.

Таблица 1 - Начальное сопротивление постоянному воздушному потоку АХ противогазовых и комбинированных фильтров

Марка и класс фильтра

Сопротивление постоянному воздушному потоку, Па

при 30 дм3/мин

при 95 дм3/мин

АХ

АХР1

АХР2

АХР3

140

200

210

260

560

770

800

980

5.5 Время защитного действия

Время защитного действия АХ противогазовых фильтров должно соответствовать значениям, указанным в таблице 2.

Время защитного действия следует определять в соответствии с требованиями 7.5.

Таблица 2 - Время защитного действия АХ противогазовых фильтров

Марка фильтра

Тест-газ

Время защитного действия в условиях испытания, мин*

АХ

Диметилэфир СН3ОСН3

50

Изобутан С4Н10

50

* Время защитного действия определяют при лабораторных испытаниях в стандартных условиях. Оно не дает представления о возможном сроке службы фильтра при его практическом применении. Возможный срок службы может оказаться больше или меньше времени защитного действия, определенного в соответствии с настоящим стандартом, в зависимости от условий эксплуатации.

5.6 Проницаемость

Проницаемость противоаэрозольного фильтра, входящего в состав АХ комбинированного фильтра, должна отвечать требованиям ГОСТ Р 12.4.194.

5.7 Материалы

5.7.1 Материалы фильтров должны сохранять свои свойства в процессе хранения и эксплуатации в течение срока годности в соответствии с требованиями нормативных документов.

5.7.2 Материалы фильтров должны быть устойчивы к воздействию условий, для которых они предназначены.

5.7.3 АХ противогазовые и комбинированные фильтры должны быть загерметизированы промышленным способом для защиты от влияния окружающей атмосферы таким образом, чтобы нарушение загерметизированных промышленным способом швов могло быть визуально обнаружено.

5.7.4 Для изготовления АХ противогазовых и комбинированных фильтров следует применять материалы, разрешенные органами здравоохранения для использования в контакте с кожей и вдыхаемым воздухом.

5.7.5 Материалы фильтра(ов) и газообразные продукты, выносимые потоком воздуха из фильтрате), не должны наносить вред здоровью пользователя и вызывать у него неприятные ощущения.

6 Правила приемки

Правила приемки устанавливают в нормативных документах на изделия конкретных видов.

7 Методы испытаний

7.1 Общие положения

Испытания фильтров без стандартной резьбы следует проводить в держателе фильтра, который будет использоваться в СИЗОД.

Все испытания следует проводить так, чтобы газовоздушная смесь или воздух проходили через фильтр в горизонтальном направлении. Каждое испытание следует проводить с использованием трех образцов после определения их устойчивости к механическому воздействию, в соответствии с требованиями 7.3.

Комбинированный фильтр помимо испытаний, предусмотренных настоящим стандартом, должен быть испытан на проницаемость в соответствии с ГОСТ Р 12.4.194.

При испытаниях одного фильтра из фильтрующей пары воздушный поток, проходящий через этот фильтр, должен составлять половину потока, предназначенного для испытания пары фильтров.

При возможности применения одного фильтра из комплекта фильтров для испытания должен быть использован общий воздушный поток.

7.2 Номинальные значения и допустимые отклонения

Все значения, приведенные в настоящем стандарте, являются номинальными.

Допускается отклонение ± 5 % от указанного значения температуры, не оговоренного в стандарте как максимальное или минимальное. При этом температура окружающей среды при испытаниях должна находиться в пределах (24 ± 8) °С.

Исключение составляют испытания на устойчивость к механическому воздействию, которые допускается проводить при температуре (20 ± 10) °С. Все другие значения температур должны задаваться с погрешностью ± 1 °С.

7.3 Устойчивость к механическому воздействию

7.3.1 Оборудование

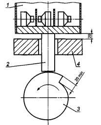
Установка, представленная на рисунке 1, включает стальную коробку 1, закрепленную на вертикально перемещающемся поршне 2, который может подниматься на 20 мм с помощью вращающегося кулачка 3 и опускаться на стальную пластину 4 под действием собственной массы по мере вращения кулачка. Масса стальной коробки должна составлять не менее 10 кг. Масса стальной пластины должна превышать массу стальной коробки более чем в 10 раз.

1 - стальная коробка; 2 - поршень; 3 - кулачок; 4 - стальная пластина

Рисунок 1 - Установка для механического воздействия на фильтры

7.3.2 Испытания

АХ противогазовые и комбинированные фильтры испытывают в состоянии после поставки и изъятия из упаковки, но в загерметизированном виде. Фильтры должны быть помещены набок в стальную коробку 1 так, чтобы они не касались друг друга во время испытания и обеспечивали возможность движения по горизонтали на 6 мм и свободного движения по вертикали. После окончания данного испытания фильтры перед испытанием на время защитного действия следует встряхнуть для удаления из них материала, высыпавшегося в процессе механического воздействия.

Установка должна работать в течение 20 мин со скоростью 100 об/мин.

После проведения испытания фильтры осматривают невооруженным глазом на наличие видимых механических дефектов.

7.4 Начальное сопротивление постоянному воздушному потоку

7.4.1 Подготовка образцов и их фиксация

Испытания проводят на трех АХ противогазовых фильтрах, прошедших испытания на устойчивость к механическому воздействию.

Фильтр герметично закрепляют на испытательной установке по ГОСТ Р 12.4.191 с помощью соответствующего держателя.

7.4.2 Начальное сопротивление постоянному воздушному потоку

Испытания начального сопротивления постоянному воздушному потоку проводят на постоянном воздушном потоке расходом (30,0 ± 0,5) и (95,0 ± 0,5) дм3/мин при температуре и влажности, сочетание которых не приводит к конденсации влаги на фильтре.

7.4.3 Корректировка

Сопротивление приводят к нормальным условиям: температуре 293 К и давлению 9,81 · 104 н/м2 (20 °С и 1 атмосфера). Фиксируют среднеарифметическое значение полученных результатов.

7.5 Метод определения времени защитного действия

7.5.1 Сущность метода

Сущность метода заключается в определении времени появления проскоковой концентрации тест-вещества после прохождения газовоздушной смеси, содержащей тест-вещество, через АХ противогазовый или комбинированный фильтр.

Время защитного действия АХ противогазовых или комбинированных фильтров определяют после испытаний на устойчивость к механическому воздействию и определения сопротивления постоянному воздушному потоку.

7.5.2 Подготовка и проведение испытаний

Испытания проводят так, чтобы контрольная газовоздушная смесь или воздух проходили через фильтр в горизонтальном направлении.

Испытания по каждому тест-газу проводят с использованием трех образцов, которые предварительно подвергают механическому воздействию в соответствии с требованиями 7.3.

Образцы фиксируют в соответствующем зажиме.

7.5.2.1 Для получения заданной входной концентрации тест-вещества и измерения концентрации тест-вещества в газопаровоздушной смеси на выходе из фильтра могут быть использованы любые аналитические методы, обеспечивающие следующие условия:

- на входе: ± 10 % от заданного значения;

- на выходе: ± 20 % от измеренного значения.

7.5.2.2 Время защитного действия следует измерять при расходе воздушного потока(30,0 ± 0,5) дм3/мин при использовании одного фильтра и (15,0 ± 0,5) дм3/мин при использовании двух фильтров, при относительной влажности воздуха (70 ± 2) % и температуре (20 ± 1) °С.

7.5.3 Условия проведения испытаний АХ противогазовых фильтров и проскоковая концентрация тест-газов указаны в таблице 3.

Таблица 3 - Условия испытания и проскоковая концентрация АХ противогазовых фильтров

Марка фильтра

Тест-газ

Концентрация тест-вещества в воздухе

Проскоковая концентрация, см33 (РРМ)*

% по объему

мг/дм3

АХ

Диметилэфир СН3ОСН3

0,05

0,95

5

Изобутан С4Н10

0,25

6,0

5

* Проскоковая концентрация является нормированной и не соответствует действующим в Российской Федерации ПДК.

7.6 Определение массы

7.6.1 Определение массы фильтров (см. 5.1.1.1, 5.1.1.2) проверяют с помощью настольных циферблатных весов с наибольшими пределами взвешивания 10 кг, ценой деления 5 г по ГОСТ 29329 или других весов с такими же метрологическими характеристиками.

8 Маркировка

8.1 Общие положения

Все надписи должны быть четкими и нанесены несмываемой краской.

8.2 Маркировка АХ противогазовых и комбинированных фильтров

В маркировке АХ противогазовых и комбинированных фильтров должны содержаться следующие данные:

8.2.1 Марка, класс и цветовая маркировка - в соответствии с таблицей 4.

Таблица 4 - Цветовая маркировка АХ противогазовых и комбинированных фильтров

Марка и класс фильтра

Цветовая маркировка

АХ

АХР1, АХР2 или АХР3

Коричневый

Коричнево-белый

Если невозможно нанесение маркировки непосредственно на корпус фильтра, то к нему должна быть прикреплена этикетка соответствующего маркировке цвета.

Цвет корпуса может считаться цветовой маркировкой.

Серебристый или светло-серый цвет не может рассматриваться как белый.

На АХ противогазовые фильтры должна быть нанесена надпись: «Только для разового использования».

8.2.2 Отдельные фильтры из комплекта фильтров следует маркировать аналогичным образом и с соответствующими объяснениями в указаниях по эксплуатации.

8.2.3 Номер и год издания настоящего стандарта.

8.2.4 Срок хранения (месяц и год).

8.2.5 Наименование(я), торговая(ые) марка(и) или другая идентификация изготовителя.

8.2.6 Слова: «См. указания по эксплуатации», составленные на официальном(ых) языке(ах) страны назначения, или соответствующая пиктограмма (см. рисунок 2).

Рисунок 2 - Пиктограммы

8.2.7 Маркировка, идентифицирующая марку и класс фильтра.

8.3 Маркировка на упаковке фильтров

Наименьшая упаковочная единица фильтров должна быть маркирована с указанием следующих сведений при условии, что они не указаны на самом фильтре:

- срока хранения;

- маркировки, идентифицирующей марку и класс;

- рекомендуемых изготовителем условий хранения (температуры и влажности).

9 Транспортирование и хранение

Правила транспортирования и хранения устанавливают в нормативных документах на изделия конкретных видов.

10 Указания по эксплуатации

10.1 Наименьшая упаковочная единица должна быть снабжена указаниями по эксплуатации.

10.2 Указания по эксплуатации должны быть составлены на официальном(ых) языке(ах) страны назначения.

10.3 В указаниях по эксплуатации должны содержаться следующие сведения:

- применение (ограничения);

- информация о том, отвечает или нет комбинированный фильтр требованиям по устойчивости к запылению;

- проверка перед использованием;

- порядок сборки;

- правила использования;

- правила ухода;

- условия хранения;

- информация о том, что реальное время защитного действия может отличаться от времени защитного действия, определенного в соответствии с настоящим стандартом, как в большую, так и меньшую сторону в зависимости от условий эксплуатации;

- требования по утилизации.

10.4 Указания по эксплуатации не должны содержать разночтений. В них можно приводить рисунки, нумерацию отдельных частей и их маркировку.

10.5 В указаниях по эксплуатации должны содержаться сведения о возможных осложнениях, возникающих в процессе эксплуатации АХ противогазовых или комбинированных фильтров пользователем, например:

- влияние состава воздуха, содержащего загрязняющие вещества;

- влияние дефицита кислорода в окружающей атмосфере;

- опасность кислородной атмосферы или воздуха, обогащенного кислородом;

- ограничения по применению во взрывоопасной атмосфере.

Ключевые слова: средства индивидуальной защиты органов дыхания, фильтры противогазовые и комбинированные, технические требования, испытания, маркировка

 

 




ГОСТЫ, СТРОИТЕЛЬНЫЕ и ТЕХНИЧЕСКИЕ НОРМАТИВЫ.
Некоммерческая онлайн система, содержащая все Российские Госты, национальные Стандарты и нормативы.
В Системе содержится более 150000 файлов нормативно-технической документации, действующей на территории РФ.
Система предназначена для широкого круга инженерно-технических специалистов.

Рейтинг@Mail.ru Яндекс цитирования

Copyright © www.gostrf.com, 2008 - 2026