Крупнейшая бесплатная информационно-справочная система онлайн доступа к полному собранию технических нормативно-правовых актов РФ. Огромная база технических нормативов (более 150 тысяч документов) и полное собрание национальных стандартов, аутентичное официальной базе Госстандарта. GOSTRF.com - это более 1 Терабайта бесплатной технической информации для всех пользователей интернета. Все электронные копии представленных здесь документов могут распространяться без каких-либо ограничений. Поощряется распространение информации с этого сайта на любых других ресурсах. Каждый человек имеет право на неограниченный доступ к этим документам! Каждый человек имеет право на знание требований, изложенных в данных нормативно-правовых актах!

  


 

МЕЖГОСУДАРСТВЕННЫЙ СОВЕТ ПО СТАНДАРТИЗАЦИИ, МЕТРОЛОГИИ И СЕРТИФИКАЦИИ
(МГС)

INTERSTATE COUNCIL FOR STANDARDIZATION, METROLOGY AND CERTIFICATION
(ISC
)

МЕЖГОСУДАРСТВЕННЫЙ
СТАНДАРТ

ГОСТ
10816-4-
2002

Вибрация

КОНТРОЛЬ СОСТОЯНИЯ МАШИН ПО РЕЗУЛЬТАТАМ ИЗМЕРЕНИЙ
ВИБРАЦИИ НА НЕВРАЩАЮЩИХСЯ ЧАСТЯХ

Часть 4

Газотурбинные установки

ISO 10816-4:1998
Mechanical vibration - Evaluation of machine vibration by measurements on
non-rotating parts - Part 4: Gas turbine driven sets excluding aircraft derivatives

(IDT)

Москва
Стандартинформ
2007

Предисловие

Цели, основные принципы и основной порядок проведения работ по межгосударственной стандартизации установлены ГОСТ 1.0-92 «Межгосударственная система стандартизации. Основные положения» и ГОСТ 1.2-97 «Межгосударственная система стандартизации. Стандарты межгосударственные, правила и рекомендации по межгосударственной стандартизации. Порядок разработки, принятия, применения, обновления и отмены»

Сведения о стандарте

1 ПОДГОТОВЛЕН Открытым акционерным обществом «Научно-исследовательский центр контроля и диагностики технических систем» на основе собственного аутентичного перевода стандарта, указанного в пункте 4

2 ВНЕСЕН Госстандартом России

3 ПРИНЯТ Межгосударственным советом по стандартизации, метрологии и сертификации (протокол № 21 от 30 мая 2002 г.)

За принятие проголосовали:

Краткое наименование страны по MK (ИСО 3166) 004-97

Код страны по МК (ИСО 3166) 004-97

Сокращенное наименование национального органа по стандартизации

Азербайджан

AZ

Азгосстандарт

Армения

AM

Армгосстандарт

Беларусь

BY

Госстандарт Республики Беларусь

Казахстан

KZ

Госстандарт Республики Казахстан

Кыргызстан

KG

Кыргызстандарт

Молдова

MD

Молдова-Стандарт

Российская Федерация

RU

Госстандарт России

Таджикистан

TJ

Таджикстандарт

Туркменистан

TM

Главгосслужба «Туркменстандартлары»

Узбекистан

UZ

Узстандарт

Украина

UA

Госстандарт Украины

4 Настоящий стандарт идентичен международному стандарту ИСО 10816-4:1998 «Вибрация. Оценка состояния машин по результатам измерений вибрации на невращающихся частях. Часть 4. Газотурбинные установки за исключением установок на основе авиационных турбин» (ISO 10816-4:1998 «Mechanical vibration - Evaluation of machine vibration by measurements on non-rotating parts - Part 4: Gas turbine driven sets excluding aircraft derivatives»).

Степень соответствия - идентичная (IDT).

Настоящий стандарт идентичен ГОСТ Р ИСО 10816-4-99

5 Приказом Федерального агентства по техническому регулированию и метрологии от 24 апреля 2007 г. № 75-ст межгосударственный стандарт ГОСТ ИСО 10816-4-2002 введен в действие в качестве национального стандарта Российской Федерации с 1 ноября 2007 г.

6 ВВЕДЕН ВПЕРВЫЕ

Информация о введении в действие (прекращении действия) настоящего стандарта публикуется в указателе «Национальные стандарты».

Информация об изменениях к настоящему стандарту публикуется в указателе «Национальные стандарты», а текст изменений - в информационных указателях «Национальные стандарты». В случае пересмотра или отмены настоящего стандарта соответствующая информация будет опубликована в информационном указателе «Национальные стандарты»

СОДЕРЖАНИЕ

МЕЖГОСУДАРСТВЕННЫЙ СТАНДАРТ

Вибрация

КОНТРОЛЬ СОСТОЯНИЯ МАШИН ПО РЕЗУЛЬТАТАМ ИЗМЕРЕНИЙ
ВИБРАЦИИ НА НЕВРАЩАЮЩИХСЯ ЧАСТЯХ

Часть 4

Газотурбинные установки

Vibration. Evaluation of machine vibration by measurements on non-rotating parts.
Part 4. Gas turbine driven sets

Дата введения - 2007-11-01

1 Область применения

Настоящий стандарт устанавливает руководство по оценке вибрационного состояния агрегатов с приводом от газовых турбин по результатам измерений вибрации на корпусах или опорах подшипников.

Критерии, приведенные в настоящем стандарте, распространяются на газотурбинные установки (далее - установки), работающие под нагрузкой, за исключением установок на основе авиационных турбин, а также газовых турбин, динамические свойства которых аналогичны динамическим свойствам авиационных турбин. Большие отличия характеристик и конструкции авиационных турбин, например, в жесткости корпуса, конструкции подшипников, отношении масс ротора и статора, конструкции основания, требует использования для них других критериев, не рассматриваемых в настоящем стандарте.

Настоящий стандарт распространяется только на установки с приводом от газовых турбин под полной нагрузкой, выходная мощность которых превышает 3 МВт, а рабочие скорости находятся в диапазоне от 3000 до 20000 мин-1. К ним относятся и газовые турбины, непосредственно связанные с другими первичными двигателями, например паровыми турбинами, однако оценка вибрационного состояния паровых турбин выходит за рамки настоящего стандарта. Кроме того, настоящий стандарт распространяется на приводное оборудование, за исключением:

- газовых турбин мощностью менее или равной 3 МВт (ГОСТ ИСО 10816-3);

- насосов с приводом от газовых турбин (ГОСТ ИСО 10816-3);

- паровых турбин и генераторов, соединенных с газовыми турбинами (ГОСТ 25364, а также [1]);

- компрессоров, соединенных с газовыми турбинами (ГОСТ ИСО 10816-3);

- зубчатых передач (ГОСТ ИСО 8579-2).

Критерии настоящего стандарта установлены для измерений вибрации на корпусах и опорах подшипников газовых турбин и приводного оборудования, снабженных подшипниками скольжения с жидкостной смазкой, на месте их эксплуатации в установившемся режиме работы.

Настоящий стандарт распространяется на агрегаты, содержащие зубчатые передачи или подшипники качения, но не предназначен для оценки состояния этих узлов.

2 Нормативные ссылки

В настоящем стандарте использованы ссылки на следующие стандарты.

ГОСТ ИСО 2954-97 Вибрация машин с возвратно-поступательным и вращательным движением. Требования к средствам измерений

ГОСТ ИСО 5348-2002 Вибрация и удар. Механическое крепление акселерометров

ГОСТ ИСО 7919-1-2002 Вибрация. Контроль состояния машин по результатам измерений вибрации на вращающихся валах. Общие требования

ГОСТ ИСО 7919-4-2002 Вибрация. Контроль состояния машин по результатам измерений вибрации на вращающихся валах. Газотурбинные агрегаты

ГОСТ ИСО 8579-2-2002 Вибрация. Контроль вибрационного состояния зубчатых механизмов при приемке продукции

ГОСТ ИСО 10816-1-97 Вибрация. Контроль состояния машин по результатам измерений вибрации на невращающихся частях. Общие требования

ГОСТ ИСО 10816-3-2002 Вибрация. Контроль состояния машин по результатам измерений вибрации на невращающихся частях. Часть 3. Промышленные машины номинальной мощностью более 15 кВт и номинальной скоростью от 120 до 15000 мин-1

ГОСТ 25364-97 Агрегаты паротурбинные стационарные. Нормы вибрации опор валопроводов и общие требования к проведению измерений

3 Измерения вибрации

Методы и средства измерений - по ГОСТ ИСО 10816-1, ГОСТ ИСО 2954 с учетом следующих требований.

Измерительная аппаратура, предназначенная для газовых турбин, должна обеспечивать измерение вибрации в широкой полосе частот, нижняя граница которой равна 10 Гц, а верхняя - не менее чем в шесть раз превышает максимальную частоту вращения ротора. Однако если измерительное оборудование предназначено также для диагностических целей, может потребоваться проведение измерений в более широком диапазоне частот и, возможно, спектральный анализ вибрации. Если необходимо сравнить результаты измерений, полученных для двух разных установок, эти измерения должны быть проведены в одном и том же диапазоне частот.

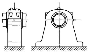
Измерительные точки выбирают таким образом, чтобы измеряемая вибрация содержала достаточную информацию о динамических силах, действующих в машине, и, вместе с тем, в ней не должно чрезмерно проявляться влияние сторонних источников: зубчатого зацепления, процессов сгорания топлива и т.д. Как правило, это требует проведения измерений в двух ортогональных радиальных направлениях на крышке или опоре каждого подшипника согласно рисунку 1. Направление измерений вибрации опоры или корпуса подшипника допускается выбирать произвольно, но предпочтительными являются горизонтальное и вертикальное направления.

Допускается проводить измерения не в двух, а только в одном направлении с использованием одного датчика при условии, что это позволит получать достаточно полную информацию о вибрации подшипника. Однако следует учитывать, что выбранная ориентация единственного датчика может не обеспечивать получение максимального значения вибрации данного подшипника.

Должны быть известны характеристики измерительной системы с учетом влияния на них таких факторов как:

- колебания температуры;

- магнитные поля;

- звуковые поля;

- колебания напряжения питания;

- длина преобразовательного кабеля;

- ориентация датчика.

Требования к креплению датчика вибрации - по ГОСТ ИСО 5348.

Рисунок 1 -Точки измерений на коренных подшипниках

4 Оценка состояния

В ГОСТ ИСО 10816-1 установлены два общих критерия оценки вибрационного состояния машин различных классов. По одному критерию сравнивают абсолютные значения параметра вибрации в широкой полосе частот, по другому - изменения этого параметра.

4.1 Критерий 1. Абсолютные значения вибрации

Данный критерий связан с определением границ для абсолютного значения параметра вибрации, установленных из условия допустимых динамических нагрузок на подшипники и допустимой вибрации, передаваемой вовне на опоры и фундамент. Максимальное значение параметра, измеренное на каждом подшипнике или опоре, сравнивают с границами зон для данного направления измерений. Эти зоны установлены исходя из международного опыта проведения исследований.

Вибрационное состояние установки определяют по наибольшему из полученных в результате измерений значений.

4.1.1 Зоны состояния

Для качественной оценки вибрации установки и принятия решений о необходимых действиях в конкретной ситуации установлены следующие зоны состояния.

Зона А - в эту зону попадает, как правило, вибрация новых установок, вводимых в эксплуатацию.

Зона В - установки, вибрация которых попадает в эту зону, обычно считают пригодными для эксплуатации без ограничения сроков.

Зона С - установки, вибрация которых попадает в эту зону, обычно считают непригодными для длительной непрерывной эксплуатации. Такие установки могут функционировать ограниченный период времени до начала ремонтных работ.

Зона D - уровни вибрации в данной зоне обычно могут вызывать серьезные повреждения установок.

Численные значения границ зон не предназначены для их использования в качестве условий испытаний при приемке продукции. Такие условия должны быть установлены по соглашению между изготовителем и потребителем машины. Однако использование информации об установленных границах зон позволяет избежать ненужных затрат на снижение виброактивности установок и предъявления чрезмерно завышенных требований. В некоторых случаях специфические особенности конкретной установки допускают установление иных границ (более низких или более высоких). В таких случаях, как правило, изготовитель машины должен объяснить причину изменения граничных значений и, в частности, подтвердить, что установка не будет подвергнута опасности при эксплуатации с более высокими уровнями вибрации.

4.1.2 Границы зон вибрационного состояния

Значения границы зон вибрационного состояния, приведенные в таблице А.1, относятся к измерениям вибрации на всех корпусах и опорах подшипников в установившемся режиме работы на номинальной скорости вращения. Однако следует отметить, что на вибрацию установок могут оказывать влияние система крепления и устройства сочленения с приводным оборудованием.

В настоящем стандарте границы зон установлены безотносительно к жесткости фундамента (опоры), поскольку имеющиеся экспериментальные данные не позволяют установить различные критерии для установок, например, на массивных бетонных и на легких стальных фундаментах.

Оценку вибрационного состояния установок проводят на основе измерений виброскорости. В таблице А.1 приведены границы зон состояния, выраженные через среднеквадратические значения (с.к.з.) виброскорости. В ряде случаев измерения проводят с помощью приборов, откалиброванных для считывания не среднеквадратических значений, а пиковых значений виброскорости. Если сигнал вибрации имеет форму, близкую к синусоиде, существует простое соответствие между пиковым и среднеквадратическим значениями; границы зон в таблицах можно привести к пиковым значениям, умножая их на коэффициент .

Для установок характерно преобладание в спектре вибрации гармоники оборотной частоты. В этих случаях, если вместо среднеквадратических измеряют пиковые значения вибрации, можно построить таблицу, аналогичную таблице А.1. Для этого значения границ зон, указанные в таблице А.1, умножают на коэффициент .

4.1.3 Вибрация в осевом направлении

Как правило, в процессе непрерывного контроля состояния газовых турбин не измеряют осевую вибрацию коренных радиально нагруженных подшипников. Такие измерения осуществляют обычно во время периодических осмотров и при проведении диагностических процедур. При измерении осевой вибрации упорных подшипников используют критерии, предусмотренные для радиальной вибрации.

4.2 Критерий 2. Изменения значений вибрации

Данный критерий основан на сравнении измеренного значения широкополосной вибрации в установившемся режиме работы установки с предварительно установленным значением (базовой линией). Значительное изменение значения широкополосной вибрации в сторону увеличения или уменьшения может потребовать принятия определенных мер даже в случае, когда граница зоны С по критерию 1 еще не достигнута. Такие изменения могут быть быстрыми или постепенно нарастающими во времени и указывают на повреждения машины в начальной стадии или на другие неполадки.

Измерения вибрации следует проводить при одном и том же положении и ориентации датчиков вибрации в одном и том же режиме работы установки. При обнаружении значительных изменений вибрации необходимо исследовать возможные причины таких изменений, чтобы предотвратить возникновение опасных ситуаций. Если изменения вибрации превышают 25% значения верхней границы зоны В, такие изменения следует рассматривать как значительные, особенно когда они носят внезапный характер. В этом случае необходимо провести диагностические исследования, чтобы выявить причины такого изменения и определить, какие меры необходимо принять.

Примечание - Изменения вибрации на 25% обычно рассматривают как значительные, однако при эксплуатации конкретной машины могут оказаться допустимыми другие значения; например для некоторых насосов допускаются большие изменения.

4.3 Ограничения функционирования

При долговременной эксплуатации машин обычно устанавливают ограничения функционирования, связанные с вибрацией. Эти ограничения имеют следующие формы.

ПРЕДУПРЕЖДЕНИЕ - для указания, что вибрация или изменения вибрации достигли определенного уровня, когда может потребоваться проведение восстановительных мероприятий. Как правило, при достижении уровня ПРЕДУПРЕЖДЕНИЕ машину можно эксплуатировать в течение некоторого периода времени, пока проводят исследования причин изменения вибрации и определяют комплекс необходимых мероприятий.

ОСТАНОВ - для определения значения вибрации, при превышении которого дальнейшая эксплуатация машины может привести к ее повреждениям. При достижении уровня ОСТАНОВ следует принять немедленные меры по снижению вибрации или остановить машину.

Для проведения анализа вибрации, уровень которой постепенно повышаясь приближается куров-ню ОСТАНОВ, следует принять специальные меры, например, уменьшить рабочую скорость или нагрузку установки, что позволит стабилизировать вибрацию на постоянном или более низком уровне.

4.3.1 Установка уровня ПРЕДУПРЕЖДЕНИЕ

Для различных установок уровень ПРЕДУПРЕЖДЕНИЕ может существенно изменяться: возрастать или уменьшаться. Обычно этот уровень устанавливают относительно некоторого базового значения (базовой линии), определяемого для конкретной установки и определенного положения, и направления измерений по опыту эксплуатации этой установки.

Рекомендуется устанавливать уровень ПРЕДУПРЕЖДЕНИЕ выше базовой линии на значение, равное 25% значения верхней границы зоны В. Если базовое значение мало, уровень ПРЕДУПРЕЖДЕНИЕ может находиться ниже зоны С.

Если базовое значение не определено, например для новых установок, начальную установку уровня ПРЕДУПРЕЖДЕНИЕ следует проводить либо исходя из опыта эксплуатации аналогичных машин, либо относительно согласованного приемлемого значения. Спустя некоторое время по наблюдениям за вибрацией установки следует установить постоянную базовую линию и соответствующим образом скорректировать уровень ПРЕДУПРЕЖДЕНИЕ.

Если сигнал в установившемся режиме работы установки является нестационарным, для получения базовой линии этот сигнал следует каким-либо способом усреднить.

Рекомендуется, чтобы уровень ПРЕДУПРЕЖДЕНИЕ не превышал верхнюю границу зоны В более чем в 1,25 раза.

Изменение базового значения (например, вследствие капитального ремонта установки) может потребовать соответствующего изменения уровня ПРЕДУПРЕЖДЕНИЕ.

4.3.2 Установка уровня ОСТАНОВ

Уровень ОСТАНОВ обычно связывают с необходимостью сохранения механической целостности установки; он может зависеть от различных конструктивных особенностей установки, применяемых для того, чтобы установка могла противостоять воздействию аномальных динамических сил. Таким образом, уровень ОСТАНОВ, как правило, будет одним и тем же для установок аналогичных конструкций и не будет связан с базовой линией.

Вследствие многообразия установок различных конструкций не представляется возможным дать четкое руководство по точному установлению уровня ОСТАНОВ. Обычно уровень ОСТАНОВ устанавливают в пределах зон С или D, но рекомендуется, чтобы он не превышал более чем в 1,25 раза верхнюю границу зоны С, хотя, исходя из опыта эксплуатации конкретной установки, может быть установлено и иное значение.

4.4 Дополнительные процедуры и критерии

Кроме измерений вибрации и оценки состояния машины по настоящему стандарту допускается проводить измерения вибрации валов по ГОСТ ИСО 7919-4. Однако не существует простого способа расчета вибрации вала по вибрации корпуса подшипника и наоборот. Разность между абсолютной и относительной вибрацией характеризует вибрацию корпуса подшипника, но может быть не равна ей численно вследствие неучета фазовых соотношений. Таким образом, если для оценки вибрационного состояния машины наряду с настоящим стандартом применяют также ГОСТ ИСО 7919-4, следует провести независимые измерения вибрации вала и вибрации корпуса или опоры подшипника. Если в результате применения критериев в соответствии с настоящим стандартом и ГОСТ ИСО 7919-4 будут получены разные оценки вибрационного состояния машины, в качестве окончательной оценки, как правило, принимают ту, что накладывает большие ограничения на возможности эксплуатации.

4.5 Оценка вибрационного состояния на основе векторного представления информации

Оценки, рассматриваемые в настоящем стандарте, ограничены использованием широкополосной вибрации без учета частотных составляющих или фазовых соотношений. Во многих случаях это соответствует требованиям испытаний при приемке продукции и эксплуатационного контроля. Однако для долговременного контроля или диагностирования желательно использовать информацию о составляющих вибрации в векторной форме для обнаружения и идентификации изменений в динамическом состоянии машины. Такие изменения могут остаться необнаруженными при использовании только измерений широкополосной вибрации (см. ГОСТ ИСО 10816-1).

Изменения векторных составляющих в качестве критерия оценки вибрационного состояния в настоящем стандарте не рассматривают.

Приложение А
(обязательное)
Границы зон состояния

Таблица А.1 - Границы зон вибрационного состояния, основанные на измерении виброскорости корпуса (опоры) подшипника для установок со скоростью вращения вала от 3000 до 20000 мин-1

Граница зон

С.К.З. виброскорости, мм/с

А/В

4,5

В/С

9,3

C/D

14,7

Примечание - Указанные значения применяют при измерениях радиальной вибрации на всех корпусах (опорах) подшипников в установившемся режиме работы на номинальной скорости, а также для осевой вибрации упорных подшипников. Типичные положения точек измерений приведены на рисунке 1.

Приложение В
(справочное)
Пример установки уровней ПРЕДУПРЕЖДЕНИЕ и ОСТАНОВ

В качестве примера рассмотрим газовую турбину с номинальной скоростью вращения 3000 мин-1. Для новых установок при отсутствии априорной информации о вибрации подшипников уровень ПРЕДУПРЕЖДЕНИЕ устанавливают, как правило, в пределах зоны С по согласованию между изготовителем и потребителем. В данном примере предположим, что он был установлен первоначально для каждого подшипника на уровне нижней границы зоны С, что соответствует среднему квадратическому значению 9,3 мм/с.

Спустя некоторое время после начала эксплуатации установки следует рассмотреть возможность изменения уровня ПРЕДУПРЕЖДЕНИЕ для того, чтобы он соответствовал типичным значениям вибрации каждого подшипника в установившемся режиме. На основе 4.3.1 уровень ПРЕДУПРЕЖДЕНИЕ может быть установлен для каждого подшипника в виде значения, равного сумме типичного уровня вибрации в установившемся режиме, полученного в результате эксплуатации, и 25% верхней границы зоны В.

Уровень ОСТАНОВ, выраженный через среднеквадратическое значение виброскорости, следует оставить равным 14,7 мм/с в соответствии с критерием 1, полагая, что данное значение является критическим для вибрационного состояния машины.

Приложение С
(справочное)
Библиография

[1] ИСО 10816-2-96 Вибрация. Оценка состояния машин по измерениям вибрации на невращающихся частях. Часть 2. Крупные стационарные паротурбинные агрегаты мощностью более 50 МВт

Ключевые слова: вибрация, машины, газотурбинные агрегаты, вращающиеся валы, измерения, оценка, контроль, вибрационное состояние

 

 




ГОСТЫ, СТРОИТЕЛЬНЫЕ и ТЕХНИЧЕСКИЕ НОРМАТИВЫ.
Некоммерческая онлайн система, содержащая все Российские Госты, национальные Стандарты и нормативы.
В Системе содержится более 150000 файлов нормативно-технической документации, действующей на территории РФ.
Система предназначена для широкого круга инженерно-технических специалистов.

Рейтинг@Mail.ru Яндекс цитирования

Copyright © www.gostrf.com, 2008 - 2026