Крупнейшая бесплатная информационно-справочная система онлайн доступа к полному собранию технических нормативно-правовых актов РФ. Огромная база технических нормативов (более 150 тысяч документов) и полное собрание национальных стандартов, аутентичное официальной базе Госстандарта. GOSTRF.com - это более 1 Терабайта бесплатной технической информации для всех пользователей интернета. Все электронные копии представленных здесь документов могут распространяться без каких-либо ограничений. Поощряется распространение информации с этого сайта на любых других ресурсах. Каждый человек имеет право на неограниченный доступ к этим документам! Каждый человек имеет право на знание требований, изложенных в данных нормативно-правовых актах!

  


 

МИНИСТЕРСТВО ТРАНСПОРТНОГО СТРОИТЕЛЬСТВА ГОСУДАРСТВЕННЫЙ ВСЕСОЮЗНЫЙ ДОРОЖНЫЙ
НАУЧНО-ИССЛЕДОВАТЕЛЬСКИЙ ИНСТИТУТ
СОЮЗДОРНИИ

МЕТОДИЧЕСКИЕ
РЕКОМЕНДАЦИИ
ПО ПОВЫШЕНИЮ ЭФФЕКТИВНОСТИ ИСПОЛЬЗОВАНИЯ ВИБРОКАТКОВ ПРИ СООРУЖЕНИИ ЗЕМЛЯНОГО ПОЛОТНА АВТОМОБИЛЬНЫХ ДОРОГ

Москва 1987

Утверждены замдиректора Союздорнии канд. техн. наук Б.С. Марышевым

Одобрены Главдорстроем и Главзапсибдорстроем (письмо № 6204/26-811 от 3.12.84г.)

Изложены принципы уплотнения грунтов вибрационным способом и выбора параметров и типов прицепных и самоходных шарнирно-сочлененных виброкатков с гладкими и кулачковыми вальцами. Приводятся рациональная технология, режимы работы и особенности использования виброкатков при сооружении земляного полотна из песков, в том числе одноразмерных, скальных, крупнообломочных, моренных, суглинистых и других грунтов и дорожных материалов в различном состоянии в разных условиях, включая жаркий климат (маловлажные пески) и зимнее время.

Даны рекомендации по учету ряда особенностей эксплуатации, расширению области использования и модернизации прицепных виброкатков. Показаны пути дальнейшего совершенствования и повышения эффективности их работы.

Содержание

1. Общие положения

2. Основные параметры виброкатков и их влияние на качество и интенсивность уплотнения фунтов

3. Технология уплотнения несвязных грунтов

4. Особенности уплотнения одноразмерных песков

5. Особенности уплотнения связных грунтов

6. Уплотнение грунтов в зимнее время

7. Расширение области использования внброкатков

8. Некоторые особенности эксплуатации и модернизации виброкатков. Контроль качества уплотнения грунта

Приложение 1 Техническая характеристика прицепных, шарнирно сочлененных и комбинированных виброкатков, применяемых в СССР для уплотнения земляного полотна и оснований

Приложение 2 Основные технические параметры гусеничных и колесных тягачей для прицепных виброкатков

Приложение 3 Показатели экономической эффективности технологии уплотнения различных грунтов прицепными виброкатками А-8 и А-12 (ГДР)

Предисловие

В дорожном строительстве нашей страны, и прежде всего при сооружении земляного полотна, повсеместно стали использоваться прицепные и самоходные шарнирно-сочлененные вибрационные катки отечественного и зарубежного производства. Их доля в общем парке грунтоуплотняющей техники в последние годы быстро возросла и достигла в настоящее время 25-30 %.

Они относятся к уплотняющим средствам динамического типа, обладающим определенными достоинствами, возможностями и имеющим обширную практику применения в гидротехнической, транспортной и промышленной областях строительства многих стран мира. В целом ряде случаев виброкатки способны заменить традиционные машины статического типа, а в некоторых случаях, как, например, при уплотнении одноразмерных и барханных песков, скальных, крупнообломочных грунтов, они являются практически единственным эффективным уплотняющим средством.

Особенно высокоэффективными оказались мощные и тяжелые модели виброкатков. С ростом массы изменились их функциональные возможности, что обусловило некоторые прогрессивные изменения в технологии отсыпки и уплотнения грунтов, заметное повышение производительности катков, качества уплотнения, а также снижение себестоимости и трудоемкости этой операции.

Однако в отечественном дорожном строительстве еще не все возможности и достоинства виброкатков выявлены, а известные не всегда используются должным образом. Проведенные Ленинградским и Казахским филиалами Союздорнии анкетный опрос и обследования дорожно-строительных подразделений Главдорстроя, Главзапсибдорстроя и некоторых республиканских министерств показали, что дорожниками пока еще не накоплен надлежащий практический опыт рационального и эффективного применения виброкатков, не везде и не всегда технологические режимы и приемы работы виброкатков соответствуют оптимальным, иногда возникают затруднения в их правильной эксплуатации при изменении грунтовых и погодно-климатических условий, в которых ведется строительство.

Цель настоящих Методических рекомендаций дать достаточно полное и реальное представление о технических возможностях, способностях виброкатков и об особенностях их применения с учетом технологических, грунтовых и погодно-климатических условий строительства земляного полотна и некоторых дорожных оснований и тем самым способствовать повышению эффективности их использования.

Методические рекомендации разработаны на основе обобщения отечественного и зарубежного опыта применения виброкатков и многочисленных полевых экспериментов в Западной Сибири, Коми АССР, Казахстане, Ленинградской обл., Прибалтике, Белоруссии и Молдавииз выполненных Ленинградским и Казахским филиалами Союздорнии с использованием прицепных и шарнирно-сочлененных моделей виброкатков, изготовленных в СССР, ГДР и Швеции. Настоящие Методические рекомендации предназначены развить и дополнить соответствующие разделы и положения СНиП 3.06.03-85 "Автомобильные дороги. Правила производства и приемки работ" и "Руководства по сооружению земляного полотна автомобильных дорог" (М.: Транспорт, 1982).

Методические рекомендации составили кандидаты технических наук М.П. Костельов, Н.В. Питерина, инж. Ю.Л. Куканов (Ленинградский филиал Союздорнии) при участии канд. техн. наук А.М. Каменева и инж. Р.Г. Абулханова (Казахский филиал Союздорнии).

1. Общие положения

1.1. Настоящими Методическими рекомендациями следует руководствоваться при использовании прицепных и самоходных шарнирно-сочлененных вибрационных катков в дорожном строительстве, и прежде всего при сооружении земляного полотна. Они развивают и дополняют соответствующие положения СНиП 3.06.03-85 и "Руководства по сооружению земляного полотна автомобильных дорог".

1.2. Вибрационные катки являются прогрессивным грунтоуплотняющим средством динамического типа. Большинство современных виброкатков работает с некоторым отрывом от укатываемой поверхности, т.е. в виброударном режиме, и поэтому уплотнение грунта происходит под воздействием двух факторов:

вибрации, вызывающей снижение или разрушение внутренних сил трения и сцепления между частицам и грунта и создающей благоприятные условия для эффективного перемещения и плотной упаковки этих частиц;

динамического давления и сдвигающего усилия, создаваемых в грунте за счет частоударного нагружения.

В уплотнении несвязных грунтов превалирующая роль принадлежит первому фактору, второй является лишь дополнением к нему. С повышением же связности материала роль второго фактора возрастает, а первого снижается.

1.3. С повышением массы виброкатка при неизменных параметрах вибрации (амплитуде, частоте) динамическое воздействие катка на грунт возрастает. Например, при изменении массы с 8 до 12 т ударные напряжения в грунте увеличиваются с 6-8 кгс/см2 (0,6-0,8 МПа) до 16-18 кгс/см2 (1,6-1,8 МПа). Поэтому тяжелые виброкатки способны успешно уплотнять также некоторые разновидности связных грунтов.

1.4. Вибрационные катки в большинстве своем оборудуются вальцами двух типов: гладким, используемым на всех типах грунтов и материалов, и кулачковым, предназначенным для уплотнения в основном связных пластичных грунтов. В дорожном строительстве СССР, где связные грунты составляют 52-55 %, скальные, крупнообломочные - около 21-22 % и песчаные - примерно 24-26 %, целесообразно использовать виброкатки как с гладкими, так и с кулачковыми вальцами.

1.5. Эффективность виброкатков (степень уплотнения, толщина прорабатываемого до требуемой плотности слоя, производительность) зависит от конструкции и параметров вибрации катка, типа и состояния грунта и технологических приемов выполнения работ.

2. Основные параметры виброкатков и их влияние на качество и интенсивность уплотнения фунтов

2.1. Виброкатки для уплотнения грунтов могут быть прицепными, буксируемыми гусеничными или пневмоколесными тягачами, и самоходными, у которых вибрационный валец шарнирно сочленен с одноосным двухколесным или многоколесным тягачом.

Самоходные шарнирно-сочлененные катки более маневренны, чем прицепные, однако их проходимость и устойчивость на плохо спланированных поверхностях, рыхлых и маловлажных песках или переувлажненных грунтах недостаточны. Поэтому применять их целесообразнее для укатки верхней части земляного полотна или оснований.

Масса вибрационного вальца и его пригруза у самоходного шарнирно-сочлененного катка составляет в среднем 45-55 % его общей массы, поэтому его уплотняющую способность можно приравнять к способности прицепного виброкатка с массой, соответствующей этим 45-55 %. Например, комбинированный каток ДУ-52 по воздействию его вибровальца на грунт аналогичен прицепному виброкатку массой около 6-7 т, а ДУ-57 -катку массой около 11-13 т (прил.1).

2.2. Основными конструктивными параметрами виброкатка являются его общая масса, масса колеблющегося вальца, масса его пригруза, амплитуда и частота колебаний, диаметр и ширина вальца. Этими параметрами и определяется динамическое воздействие катка на грунт.

В зависимости от общей массы прицепные виброкатки подразделяются на легкие (3-4 т), средние (6-8 т) и тяжелые (10-12 т и более). Большинство из них уплотняют грунты при амплитуде колебаний вальца 1-2 мм и частоте 20-30 Гц.

Технические данные виброкатков, применяемых в дорожном строительстве СССР, приведены в прил.1, гусеничных и колесных тягачей для прицепных виброкатков - в прил.2.

2.3. Основными показателями технологии выполнения операции уплотнения являются толщина уплотняемого слоя грунта, рабочая скорость перемещения и количество проходов виброкатка по одному следу. Экспериментами и испытаниями виброкатков установлено, что максимальная толщина уплотняемого слоя (глубина уплотнения) приблизительно пропорциональна массе катка.

Для большинства реальных случаев эту толщину можно выбирать по табл.1, данные которой получены практическим путем при оптимальных значениях рабочей скорости (2-3 км/ч) и количества проходов виброкатка. Эти показатели в каждом конкретном случае следует уточнять пробным уплотнением грунта.

2.4. На степень уплотнения и толщину прорабатываемого виброкатком слоя грунта большое влияние оказывает режим укатки, т.е. рабочая скорость и количество проходов катка.

Таблица 1

Разновидность грунта, его состояние

Степень уплотнения

Максимальная толщина уплотняемого слоя, см, прицепным виброкатком общей массой, т

Количество проходов катка

3-4

6

8

12-13

Скальный и крупнообломочный с несвязным заполнителем, валунно-галечньй

0,95

-

60-70

80-90

110-130

8-10

Моренный несвязный и малосвязный

0,95

-

50-60

70-80

100-120

6-10

0,98

-

30-40

40-50

60-70

6-10

Песок обычный, в том числе пылеватый, песчано-гравийная смесь

0,95

40-65

65-70

80-90

100-120

4-8

0,98

20-30

40

50

60-70

6-10

Песок одноразмерный с влажностью, %:

4-5

 

 

 

 

 

 

0,95

35-40

45

55

65-70

3-4

 

0,98

20

30

35

40

3-4

6-7

0,95

40-50

60

70-75

80-90

6-8

 

0,98

20-30

40

50

60

6-8

Супесь, в том числе пылеватая, с оптимальной влажностью

0,95

3540

45-50

155-60

70-75

6-8

0,98

20-25

30-35

35-40

40-45

8-10

Суглинок с относительной влажностью, доли оптимальной:

0,95-1,05

0,95

-

30-35

35-40

50-60

8-10

0,85-0,90

0,95

-

15-20

20-25

30-35

10-12

Согласно экспериментальным и практическим данным, чем ниже рабочая скорость катка, тем выше плотность и глубина уплотнения. Однако с уменьшением скорости довольно быстро падает производительность катка. Поэтому опытным путем была найдена скорость (1,5-2,5 км/ч), при которой плотность, толщина слоя и производительность оказались наиболее оптимальными. При работе на такой скорости в основном за 4-8 проходов по одному следу виброкаток реализует практически все свои возможности по достижению наибольшей толщины уплотняемого слоя и высокой плотности грунта.

Уплотнение можно вести и на больших скоростях (5-6 км/ч). Но в этом случае большая скорость должна компенсироваться увеличением количества проходов катка с таким расчетом, чтобы общее время вибрирования грунта на разных скоростях было приблизительно постоянным.

Однако на скоростях выше 2,5 км/ч, например в 2 раза, не только уменьшается время вибрирования грунта, но и снижается амплитуда колебаний в приповерхностных слоях насыпи в 2 раза, а в нижних - в 3-4 раза (рис. 1). Поэтому такой режим работы виброкатка требует более чем пропорционального увеличения количества его проходов и затрудняет достижение высокой плотности грунта, т.е. он целесообразен и выгоден только в случае потребности уплотнить грунт до меньших значений плотности.

Толщины слоев, приведенные в табл. 2, получены при оптимальных рабочих скоростях (не более 2-2,5 км/ч) и указанном числе проходов виброкатков, причем меньшие значения количества проходов относятся к тяжелым, а большие - к легким и средним типам катков.

2.5. Эксплуатационную производительность виброкатка  Пэ3/ч) можно определить по формуле:

,

где 0,75 - коэффициент, учитывающий различные эксплуатационные потери времени (развороты катка, отдых машиниста, непредвиденные остановки и т.п.) и перекрытие соседних полос уплотнения;

V - рабочая скорость, м/ч;

B - ширина уплотнения, м;

hy- толщина уплотняемого слоя, м;

n - число проходов катка по одному следу.

Рис. 1 Затухание по глубине грунта амплитуды колебаний при различных скоростях виброкатка:
1-1,5 км/ч; 2-2,5 км/ч; 3-5 км/ч; Rв - радиус вальца.

В табл.2 приведена расчетная производительность виброкатков на рабочей скорости 2,5 км/ч при различных сочетаниях толщины уплотняемого слоя и количества проходов, соответствующих данным табл.1.

Таблица 2

Ширина вальца катка, м

Количество проходов катка

Эксплуатационная производительность виброкатка м3/ч,
при толщине слоя, см,

20

25

30

35

40

50

60

70

80

90

100

120

1,4--1,5

4

130

165

200

230

260

330

-

-

-

-

-

-

6

90

110

130

155

175

220

-

-

-

-

-

-

8

65

80

100

115

130

165

-

-

-

-

-

-

4

190

235

280

330

375

470

565

655

750

845

940

1125

2,0

6

125

155

190

220

250

310

370

440

500

560

625

750

8

95

120

140

165

190

235

290

330

380

420

470

565

10

75

95

ПО

130

150

190

225

260

300

340

375

450

2,4

4

225

280

340

390

450

560

675

790

900

1000

1120

1350

6

150

185

225

260

300

375

450

525

600

680

750

900

8

110

140

170

200

225

280

340

395

450

500

560

675

10

90

110

135

160

180

225

270

315

360

400

450

540

Примечание: Наибольшую толщину слоя следует выбирать по табл.1.

3. Технология уплотнения несвязных грунтов

3.1. . Несвязные грунты и материалы (скальные, крупнообломочные, валунно-галечные, моренные, песчано-гравийные, песчаные) в неуплотненном состоянии обладают заметной чувствительностью к различного рода сотрясениям, ударам и вибрациям, т.е. значительной деформативной реакцией на динамические воздействия. Поэтому вибрационные катки следует отнести к наиболее эффективным и целесообразным средствам уплотнения таких грунтов и материалов.

3.2. При уплотнении скальных, крупнообломочных и валунно-галечных грунтов максимальный размер отдельных включений не должен превышать 2/3 толщины отсыпаемого слоя. При использовании виброкатков среднего типа (массой 6-8 т) в насыпь не должны допускаться включения крупнее 300-400 мм, тяжелого типа (10-15 т и более) - крупнее 500-600 мм.

3.3. При работе виброкатка на скальных, крупнообломочных, валунно-галечных и моренных грунтах поверхность насыпи необходимо хорошо планировать и не допускать прямого контакта крупных включений с вальцом катка, так как это может привести к быстрым и серьезным поломкам последнего. Негабаритные и крупные обломки следует втапливать в толщу уплотняемого слоя или удалять.

При необходимости в верхней части уплотняемо г о слоя можно предусмотреть отсыпку грунта с мелкими фракциями слоем 20-30 см, что позволит обеспечить необходимую ровность укатываемой поверхности.

3.4. Так как вибрация в глубь грунта передается в точках соприкосновения частиц и кусков (обломков), то затухающий эффект будет значительнее в мелкозернистых скальных, крупнообломочных грунтах, чем в крупнозернистых. Поэтому крупнозернистые скальные, крупнообломочные грунты можно уплотнять более толстыми слоями, достигающими 120-150 см, в случае использования тяжелых виброкатков массой 12-15 т и более.

3.5. Скальные, валунно-галечные и несвязные крупнообломочные грунты обычно уплотняются виброкатками без дополнительного увлажнения или высушивания. При содержании в крупнообломочных грунтах связного мелкозема до 30 % его уплотнение можно вести при влажности выше оптимальной (до 1,3 Wo), более 30 %-в пределах оптимальной (от 0,9 Wo до 1,1 Wo ) и при уменьшении толщины отсыпаемого слоя на треть половину.

3.6. Требуемая степень уплотнения скальных, валунно-галечных и крупнообломочных грунтов достигается за 8-12 проходов виброкатка. Осадка слоя при этом может достигать 8-12 % его толщины, поэтому следует предусматривать соответствующий запас толщины насыпи.

3.7. Песчаный грунт и песчано-гравийная смесь, не имеющие в своем составе пылеватых и глинистых частиц, лучше всего уплотняются виброкатками в водонасыщенном состоянии, когда беспрепятственная фильтрация воды в любом направлении способствует лучшей передаче вибрационных воздействий в глубь грунтового массива.

Мелкие пески в таком состоянии проявляют худшую склонность к уплотнению виброкатками из-за взвешенности их частиц в воде. Поэтому их влажность должка быть снижена до значений, близких к оптимальным.

Хорошее уплотнение непылеватых песков при вибрационной укатке можно получить в их воздушно-сухом состоянии. Однако степень уплотнения и глубина передачи вибровоздействий у сухого песка меньше, чем у влажного. Таким образом, предпочтение следует отдавать уплотнению песка во влажном состоянии.

3.8. Из-за низкой сдвиговой прочности песка и песчано-гравийной смеси, особенно в сухом состоянии, очень трудно получить высокую плотность в приповерхностном слое (10-20 см). Практически он всегда находится в разуплотненном состоянии и тем самым ухудшает передачу вибровоздействий катка нижележащим слоям насыпи, так как действует подобно гасителю колебаний и в силу этого снижает качество уплотнения.

Поэтому рекомендуется, во-первых, доувлажнять хотя бы приповерхностный слой песка до влажности не ниже 6-8 % и, во-вторых, включать его для доуплотнения в толщину последующего отсыпаемого слоя, т.е. толщину последнего уменьшать на 10-20 см.

3.9. Когда необходимая степень плотности не превышает 0,95, виброуплотнение непылеватого песка и песчано-гравийной смеси рекомендуется производить на повышенной рабочей скорости катка (5-6 км/ч) с числом проходов по одному следу, равным примерно 10 для ДУ-14 и А-4, восьми - для ДУ-52 и шести – для А-8, А-12 и ДУ-57.

При таком режиме производительность катков повышается в 1,5-2 раза. Причем толщина отсыпаемого слоя не должна превышать 40-50 см для ДУ-14 и А-4, 60-70 см - для ДУ-52, 80-90 см - для А-8, 100-120 см - для ДУ-57 и А-12.

3.10. При требуемой степени уплотнения 0,98-1,0 непылеватые пески рекомендуется уплотнять только на малых рабочих скоростях (не выше 2,0-2,5 км/ч) с количеством проходов катка и слоями отсыпки, указанными в табл.1.

3.11. У пылеватых песков и супесей дренирующие свойства существенно ниже, чем у чистых песков. При большом содержании воды они становятся пластичными и упругими и поэтому труднее поддаются уплотнению вибрацией.

Очень сложно уплотнить такие грунты вибрационными средствами при их низком влагосодержании. Пылеватые супеси при влажности (0,5÷0,7) Wo практически невозможно уплотнить до степени 0,95 даже тяжелым виброкатком массой 12-13 т. Эти грунты рекомендуется уплотнять такими средствами при влажности, равной (0,9÷1,1) Wo. Если же она ниже и составляет (0,75÷0,85) Wo то следует уменьшать толщину отсыпаемого слоя в 1,5-2 раза и увеличивать количество проходов  виброкатка по одному следу до 12-14.

4. Особенности уплотнения одноразмерных песков

4.1. Одноразмерные пески имеют ряд характерных свойств и признаков, существенным образом влияющих на их уплотняемость и проходимость по ним колесных машин. Это прежде всего:

преимущественное содержание в их зерновом составе одной или двух соседних фракций частиц размером 0,5-0,1 или 0,25-0,10 мм - не менее 60-70 %, хотя встречаются пески с преобладающей фракцией 0,10-0,05 мм в количестве до 85-90 % (табл.3);

коэффициент неоднородности в пределах 1,5-2,8;

отсутствие или незначительное количество (до 5-7 %) в их составе пылеватых, илистых и глинистых частиц;

высокий коэффициент фильтрации, достигающий 1-5 с/сут. и выше;

низкая естественная влажность в буртах, насыпях и "сухоройных" карьерах, не превышающая 3-5 %;

уплотнение в сухом состоянии, при влажности до 1-1,5 % (при уплотнении в сухом состоянии в приборе стандартного уплотнения или на вибростенде достигается плотность, превышающая максимальную стандартную при оптимальной влажности на 0,06-0,09 г/см3);

низкие прочностные показатели, и прежде всего при сдвиге, в маловлажном или сухом состоянии;

высокая чувствительность к динамическим нагрузкам, что свойственно большинству несвязных материалов, и вследствие этого более хорошая уплотняемость, чем при воздействии статических нагрузок.

4.2. На результаты уплотнения виброкатками одноразмерного песка большое влияние оказывают те показатели его свойств и состояний, которые ведут к изменению его прочности при сжатии и сдвиге, внутреннего трения и сцепления. К таким показателям относятся, в частности, наличие пылевато-глинистых частиц и влажность.

Увеличение содержания в песке пылевато-глинистых частиц ведет к повышению качества его уплотнения и лучшей проходимости по нему катков и автомобилей.

Одноразмерные пески удовлетворительно уплотняются в насыпи виброкатками при влажности 6 - 7 % и выше, При меньшей влажности результаты уплотнения заметно ухудшаются.

Поэтому сухие и маловлажные одноразмерные пески во время их уплотнения рекомендуется обильно поливать из расчета повышения их влажности не менее чем до 6 - 7 %.

Увлажнению можно подвергать только поверхностный слой насыпи толщиной 25-30 см, а начинать уплотнение виброкатком необходимо следом за поливочной машиной, так как из-за высокой фильтрационной способности песок быстро обезвоживается.

4.3. Уплотнение сухого или маловлажного (влажность не более 4 – 5 %) одноразмерного песка виброкатками сопровождается разрыхлением (разуплотнением) верхней зоны насыпи за счет сдвиговых деформаций. Чем больше масса катка и чем больше количество его проходов, тем сильнее и глубже разрыхление.

Толщина разрыхленного слоя может достигать 20-30 см, что в существенной мере затрудняет передачу нижележащим слоям песка вибрационных воздействий.

Место отбора проб песка

Содержание частиц, %

песчаных (2-0,05мм)

илистых и пылеватых (0,05-0,005 мм)

глинистых (<0,005 мм)

Тюменская обл.:

 

 

 

п. Ямбург

96,8

2,7

0,5

Нижневартовский район

97,7

2,0

0,3

г. Сургут

92,0

7,0

1,0

Яун-Лор Сургутский

91,7

6,0

1,3

п. Радужный

95,0

5,0

-

г. Ноябрьск

99,8

0,2

-

Коми АССР:

 

 

 

г. Сыктывкар

92,0

-

1,0

г. Сыктывкар,

ВПП аэродрома

-

-

-

Ленинградская обл.

100,0

-

-

г. Горький;

97,8

2,2

-

Волгоградская обл.,

г. Волжский

100,0

-

-

БССР, г. Барановичи

95,0

4,0

1,0

Латвийская ССР:

 

 

 

Рижский морской порт

100,0

-

-

г. Талсы

98,0

1,5

0,5

Казахская ССР (барханный песок)

92,0

7,0

1,0

Таблица 3

Преобладающая фракция частиц

.Коэффициент неоднородности

Стандартное уплотнение

Размер, мм

Содержание, %

Максимальная плотность, г/см5

Оптимальная влажность, %

0,25-0,10

79,8

<3,0

1,65

14,2

0,25-0,10

76,4

<3,0

1,77

9,5

0,10-0,05

85,0

2,6

1,98

10,9

0,50-0,10

78,0

<3,0

1,90

10,1

0,10-0,05

86,0

1,-4

1,76

11,5

0,25-0,10

86,0

2,0

1,67

10,5

0,50-0,10

71,0

2,7

1,76

10,0

0,50-0,10

71,0

-

1,76

10,5

0,50-0,10

57,0

<3,0

1,73

10,6

0,25-0,10

85,4

-

1,72

7,8

0,50-0,10

72,0

-

-

 

0,50-0,10

69,0

2,8

1,78

10,5

0.50-0,10

74,0

<3,0

1,73

12,0

0,25-0,10

89,0

<3,0

-

-

0,10-0,05

85,0

<3,0

1,57

11,0

катка, так как рыхлый слой подобен гасителю колебаний. В силу этого толщина прорабатываемого слоя песка и степень его уплотнения виброкатком снижаются (см. табл.1).

При работе на сухом или маловлажном одноразмерном песке рекомендуется количество проходов виброкатка по одному следу ограничивать 3-4. При большем числе проходов наблюдается сильное разрыхление насыпи и Снижение качества уплотнения на глубине.

На влажном песке или песке с примесью пылевато-глинистых частиц не менее 5-6% количество проходов виброкатка следует увеличивать до 6-8, что ведет к росту толщины уплотняемого слоя и повышенно степени уплотнения (см. табл.1). На таком песке слой разрыхления уменьшается до 10-15 см.

4.4. Если требуемая степень уплотнения одноразмерного песка не превышает 0,95, рекомендуется использовать высокопроизводительный скоростной режим его виброукатки (см. п. 3.9).

4.5 Для высококачественного уплотнения насыпи из одноразмерного песка (со степенью не, менее 0,98 в том числе разрыхляемого виброкатком приповерхностного слоя, могут быть рекомендованы два технологических приема:

толщину отсыпаемого слоя назначают в соответствии с состоянием песка и возможностями виброкатка, уплотнение ведут с обильным увлажнением песка и на оптимальных режимах укатки (скорость 2,0-2,5 км/ч, число проходов - 6-8) и, наконец, толщину следующего отсыпаемого слоя уменьшают на величину зафиксированного разрыхления поверхности (15-20 см);

используют комбинированное уплотнение отсыпаемой и хорошо увлажняемой насыпи. Суть его сводится к применению сначала виброкатка на соответствующих оптимальных режимах работы, а затем решетчатого или пневмоколесного катка для доуплотнения приповерхнотного слоя. Решетчатый каток наиболее пригоден для этой работы, так как имеет прерывистую поверхность вальца и поэтому вызывает меньшие сдвиги поверхности песка. В случае применения пневмоколесного катка давление воздуха в его шинах должно быть снижено до 2,0-2,5 атм, а его балластная пригрузка - до минимума. Для доуплотнения приповерхностного слоя необходимо 4-8 проходов решетчатого или пневмоколесного катка на рабочей скорости не более 3-4 км/ч.

4.6. Для улучшения условий уплотнения насыпи или отдельных ее слоев из одноразмерного песка и повышения проходимости построечного автотранспорта и других колесных машин рекомендуется устраивать так называемую "замыкающую" прослойку толщиной до 10-15см из связного грунта, высевок щебня (0-10 мм), гравийно-песчаной смеси оптимального состава, разноразмерных крупнозернистых песков, шлаков и т.п.

"Замыкающие" прослойки можно устраивать методом обработки верхнего песчаного слоя (6-8 см) вяжущими материалами типа цемента, извести, золы уноса и битумной эмульсии.

5. Особенности уплотнения связных грунтов

5.1. Прочностные и деформативные свойства связного грунта определяются количественным содержанием в нем глинистых частиц и воды. Поэтому для его уплотнения даже при оптимальной влажности требуется значительное статическое и динамическое усилие.

Тех виброударных воздействий, которые развивают современные виброкатки среднего и тяжелого типов, достаточно только для уплотнения связного грунта более тонкими слоями, чем несвязного (см. табл.1). Легкие виброкатки на связных грунтах использовать не рекомендуется.

5.2. Вибрационные катки очень чувствительный изменению влажности связного грунта. Пылеватый суглинок с влажностью ниже (0,80÷0,85) W0, так же как и пылеватую супесь с влажностью ниже (0,70÷0,75) W0 (см.п.3.11), невозможно уплотнить до степени 0,95 даже тяжелым виброкатком.

Поэтому уплотнять суглинки виброкатками среднего и тяжелого типов рекомендуется при влажности не менее (0,85÷0,90) W0 причем слоями не более 20-30см, за 10-12 проходов катка по одному следу.

При оптимальной влажности толщину слоя суглинка можно увеличить в 1,5-2 раза.

5.3. Для уплотнения связных пластичных, в том числе переувлажненных, грунтов рекомендуется использовать виброкатки с кулачковыми вальцами, эффективность которых на таких грунтах выше, чем гладковальцовых вибрационных и кулачковых статических катков. В частности, толщина уплотняемого слоя возрастает из 5-10 см.

5.4. Вальцы прицепных и самоходных виброкатков могут быть оснащены кулачками шиповыми (длина 180-250 мм, опорная поверхность в виде круга или квадрата площадью 30-70 см2) или сегментными (длина 70-130 мм, опорная поверхность в виде прямоугольника площадью 100-150 см2).

Применение катков с шиповыми кулачками наиболее рационально на комковатых суглинках и глинах нормальной или пониженной влажности, На переувлажненных связных грунтах их использование нецелесообразно из-за быстрого залипания вальца. Виброкатки с сегментными кулачками способны качественно уплотнять более широкий диапазон разновидностей грунтов - от низкой до высокой связности (табл. 4), в том числе комковатых и переувлажненных, т.е. они более универсальны и эффективны, чем катки с шиповыми кулачками.

Таблица 4

Тип и общая масса виброкатка с сегментными кулачками

Толщина уплотняемого слоя, см, грунта

песчаного гравийного

пылеватого, непластичного

глинистого связности

малой

высокой

Прицепной:

 

 

 

 

6-8 т

60-80

50-60

35-40

25-30

10-12 т

100-120

70-80

45-50

35-40

15-16 т

140-150

100

55-60

45-50

Самоходный:

 

 

 

 

10-11(6-7)т

60-70

45-50

30-35

25-30

15-16(10)т

90-100

65-70

40-45

30-35

20-21(13)т

120-130

80-90

50-55

40-45

5.5. В дорожном строительстве при возведении земляного полотна из связных грунтов рекомендуется применять самоходный статический кулачковый каток, оснащенный отвалом или ножом и выполняющий разравнивание и предварительное уплотнение грунта, в сочетании с 12-20-тонным самоходным прицепным виброкатком с сегментными кулачками, осуществляющим основное уплотнение. Хорошие результаты могут быть получены и в случае замены кулачкового виброкатка гладковальцовым.

6. Уплотнение грунтов в зимнее время

6.1. Вибрационные катки следует отнести к наиболее подходящим и эффективным грунтоуплотняющим средствам для работы в зимних условиях, так как они способны уплотнять грунт толстыми слоями и с высокой производительностью, что отвечает основным требованиям и правилам сооружения земляного полотна) при отрицательных температурах.

6.2. Технологические режимы работы виброкатков зимой такие же, как и летом, с той только разницей, что в зимнее время накладываются дополнительные ограничения, обусловленные быстрой смерзаемостью грунта, на время выполнения виброкатком операции уплотнения и количество мерзлых комьев в талом грунте.

6.3. Максимально допустимое время выполнения виброкатком операции уплотнения грунта до начала его смерзания и рациональная длина рабочей захватки зависят от температуры наружного воздуха. Их значения рекомендуется принимать по табл. 5.

6.4. При уплотнении грунтов виброкатками в зимнее время количество мерзлых комьев в талом грунте должно составлять не более 10-15 %, а их размер не должен превышать 10-15 см.

Таблица 5

Показатель

Температура воздуха, ºС

-5

-10

-20

-30

Время начала смерзания грунта после его выемки из карьера, мин

85-90

55-60

35-40

15-20

Максимальная длительность уплотнения грунта виброкатком, мин

60-65

40-45

25-30

12-15

Рациональная длина рабочей захватки, м, не более

100-120

60-80

40-50

20-25

Не следует допускать работу виброкатка с включенным вибратором на смерзшейся поверхности грунта, поскольку это может привести к его поломкам.

7. Расширение области использования внброкатков

7.1. Вибрационные катки, обладающие способностью прорабатывать несвязные грунты слоями большой толщины, рекомендуется использовать для доуплотнения земляного полотна, недостаточно или вообще не уплотненного по различным причинам в момент его сооружения.

Такая потребность иногда возникает после отсыпки насыпей зимой в стесненных условиях, например на выторфовываемых болотах, при ремонте земляного полотна и сборного покрытия, при оперативной подготовке верхней части насыпи под скоростное строительство основания и цементобетонного покрытия безрельсовым комплектом машин.

7.2. Большая глубина проработки и значительная зона грунта, подвергаемого вибрационным воздействиям позволяют рекомендовать виброкатки для ускорения консолидации слабого основания земляного полотна, например торфяного, и для посадки насыпей на минеральное дно болот.

Строительная практика и исследования показали, что эта работа может быть успешной даже при толщине насыпи 3-4 м, но при условии выполнения ее виброкатками тяжелого типа за 12-16 проходов по одному следу. Катки среднего типа пригодны для насыпей высотой не более 2,0-2,5 м.

7.3. Уплотнение дорожного основания из щебня группы А (прочный, легкоуплотняемый, из карбонатных пород) и группы Б (прочный, трудноуплотняемый, из магматических пород) рекомендуется производить одним виброкатком среднего или тяжелого типа взамен либо в дополнение к самоходным гладковальцовым каткам статического типа.

В случае использования одного виброкатка требуемые плотность (остаточная пористость) и жесткость щебеночного основания достигаются за 30-35 проходов со скоростью не более 3 км/ч.

8. Некоторые особенности эксплуатации и модернизации виброкатков. Контроль качества уплотнения грунта

8.1. В целях сохранения работоспособности и целостности резинометаллических амортизаторов, установленных между вибрирующими вальцами и рамой катка, не рекомендуется включать вибратор при движении катка по твердой и жесткой поверхности (мерзлый грунт, асфальто- и цементобетонное покрытие и т.п.), само -ходом транспортировать каток на большие расстояния, резко дергать его тягачом или грузоподъемным устройством.

8.2. В нормальном работоспособном состоянии резинометаллические амортизаторы гасят или снижают на 85-95 % амплитуду колебаний, передаваемых от вальца на раму, и тем самым предохраняют двигатель, муфту, аккумуляторы и другие узлы и детали от чрезмерной вибрации и выхода их из строя.

Поэтому рекомендуется строго следить за состоянием амортизаторов, при их поломке немедленно прекратить эксплуатацию виброкатка и осуществить их замену.

8.3. Колебания вальца виброкатка передаются на большие расстояния и могут ощущаться за 40-50 м от него и более. Эти колебания могут вызвать повреждения и даже разрушение зданий, трубопроводов, мостов и других наземных и подземных сооружений вследствие доуплотнения грунтового основания и осадок фундаментов.

В связи с этим при уплотнении грунтов рекомендуется устанавливать безопасные для подобных сооружений расстояния от работающего виброкатка.

Основными критериями опасного воздействия вибрации следует считать скорость (V,мм/с) и ускорение (W, мм/с2) колебаний фундамента и грунта основания. Их можно определить по формулам:

где f - частота колебаний, Гц;

A - амплитуда колебаний фундамента или грунта, мм.

Затухание амплитуды, а следовательно, скорости и ускорения колебаний с удалением от источника вибрации в глубь или по поверхности грунта подчиняется закономерности (см.рис.1):

где А0 и Аz - амплитуда колебаний грунта соответственно у вальца (можно принимать равной амплитуде колебаний вальца) и на расстоянии Z, мм;

β - коэффициент затухания колебаний (для сухих и влажных грунтов β = 0,06÷0,10 м-1,

для водонасыщенных - β =0,03÷0,04 м-1).

Считается, что риск повреждения зданий и сооружений будет исключен, если скорость колебаний не превышает 2-40 мм/с (в среднем принимают 10 мм/с), а доуплотнения сухого или влажного песка не произойдет, если ускорение его колебаний будет ниже (1,2÷2,0)g, где g - ускорение свободного падения.

На основе этих критериев рекомендуется устанавливать безопасные для сооружения расстояния при работе виброкатков. Например, фирма "Динапак" (Швеция) принимает:

где lбез.- безопасное расстояние от сооружения до виброкатка, м;

Q - масса виброкатка, т.

Это значит, что виброкаток, например, массой 8 т не следует приближать к ответственным сооружениям на расстояние ближе 8-12 м (в среднем 10 м).

8.4. В зимнее время прицепной виброкаток А-4, А-8 или А-12 можно нормально эксплуатировать при температуре воздуха не ниже минус 10 - минус 12°С, так как в противном случае возникают трудности с запуском и эксплуатацией дизельного двигателя.

Для устранения этого ограничения, а также в целях экономии горюче-смазочных материалов и аккумуляторов иногда практикуется замена дизельного привода вибратора катка на гидравлический, питаемый от гидронасоса на тягаче.

Такая модернизация целесообразна в случае постоянного использования в качестве тягача общедоступного и энергонасыщенного, т.е. имеющего свободную мощность, трактора. Для катков А-4 и А-8 рекомендуется колесный тягач Т-150 (Т-158), а для А-12 - тягач "Кировец" К-700А (К-701).

Вместо демонтированного на катке дизельного двигателя устанавливают и соединяю/ по месту с карданным валом имеющейся трансмиссии гидромотор требуемой мощности: на А-4 - 210.20, на А-8 - 210.25 и на А-12 - 210.32.

Питание гидромотора рекомендуется осуществлять от гидронасоса такого же типоразмера и модели, что и гидромотор. Гидронасос соединяется с валом отбора мощности трактора и устанавливается на последнем по месту.

Параметры (условный проход, давление, производительность, вместимость) соединительных рукавов, трубопроводов, гидрораспределителей, бака для масла и других элементов гидропривода, монтируемого на тягаче, должны соответствовать требуемым.

Гидромоторы и гидронасосы 210.20 и 210.25 по мощности и частоте вращения хорошо вписываются в параметры виброкатков А-4 и А-8 и тягача Т-150 (Т-158). Гидромотор-гидронасос 210.32 по мощности подходит для виброкатка А-12 и тягача К-700А (К-701), а номинальную частоту вращения имеет меньшую (960-1120 об/мин), чем вал отбора мощности тягача (1700 об/мин у К-700А и 1900 об/мин у К-701) и чем требуется для вращения вала вибратора катка (1500 об/мин).

В силу этого гидронасос 210.32 рекомендуется подключать к валу отбора мощности (ВОМ) тягача "Кировец" через карданный вал, муфту сцепления ВОМ, управляемую из кабины тягача и предназначенную для включения или выключения всей гидравлической системы привода вибратора катка (рис. 2) от дизельного двигателя, и односкоростной понижающий редуктор (до 1000 об/мин). Эта муфта с карданным валом, редуктором и подшипниковыми опорами разработана на ленинградском Кировском заводе и поставляется по отдельному заказу с Тихвинских производств этого завода.

При установке гидромотора 210.32 на каток А-12 вместо дизельного двигателя рекомендуется между гидромотором и карданным валом имеющейся трансмиссии устанавливать промежуточную клиноременную или иную повышающую (в 1,5-1,6 раза) передачу.

Электропитание электромагнитной многодисковой муфты сцепления виброкатка рекомендуется подключать к электросистеме тягача, а освободившиеся на катке аккумуляторы использовать на других дорожных машинах.

Для уравновешивания рамы и обеспечения заданного пригруза на валец виброкатка рекомендуется вместо снятых дизельного двигателя и аккумуляторов размещать дополнительный балласт (бетон, металлические балки и т.п.) на раме катка: А-8 массой 850 кг - спереди 100 кг, сзади 750 кг; А-12 массой 1200 кг - спереди 200 кг, сзади 1000 кг.

8.5. После уплотнения несвязного грунта виброкатком плотность по толщине слоя распределяется неравномерно. Наибольшее значение коэффициента уплотнения, достигающее 1,0-1,02, наблюдается на глубине около 40-50 см. Слои насыпи до глубины 15-20 см, как правило, разуплотнены, особенно значительно в одноразмерных маловлажных песках. Вследствие этого отбор проб песка при контроле качества его уплотнения виброкатками рекомендуется производить с глубины не менее 20-25 см. При этом вместо кольцевого метода отбора проб из-за высокой чувствительности песка к ударам и сотрясениям (кольца забиваются в грунт) рекомендуется применять баллонный плотномер, обеспечивающий более высокую точность измерения.

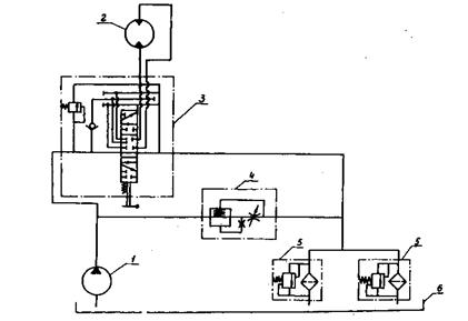
Рис. 2. Гидравлическая схема привода вибратора модернизированного катка А-12:
l - насос 210.32; , 2 - гидромотор; 3 - гидрораспределитель; 4 - дроссель; 5 - фильтр; 6 - бак

8.6. Оценку качества уплотнения виброкатками скальных, крупнообломочных грунтов можно производить по величине осадки поверхности отсыпанного слоя. Степень уплотнения 0,95 будет достигнута в том случае, если накопленная в результате воздействия виброкатка осадка слоя составит не менее 8-10 % его первоначальной толщины, и 0,98 - при осадке не менее 10-12 %.

Приложение 1
Техническая характеристика прицепных, шарнирно сочлененных и комбинированных виброкатков, применяемых в СССР для уплотнения земляного полотна и оснований

Параметр

Марка или модель виброкатка, страна-производитель

ДУ-52, СССР

ДУ-57, СССР

ДУ-14 (Д-480), СССР

А-4, ГДР

А-8, ГДР

А-12, ГДР

К-12, ГДР

СА-15, Швеция

СА-25, Швеция

СА-51S, Швеция

Тип катка

К., шс.

Шс.

Пр.

Пр.

Пр

Пр

К., шс.

Шс.

Шс.

Шс.

Масса общая, т

16,0

20,5

3,05

3,8

8,0

11,8

12,0

6,5

9,0

15,0

Масса вибрирующих частей, т

3,7-4,0

8-9

1,5

1,8

4,6

7,7

2,6-2,8

2,0-2,1

3,2

4,85

Диаметр вальца, мм

1600

1600

1200

1200

1600

2000

1350

1220

1525

1520

Ширина вальца, мм

2000

2400

1400

1500

2000

2000

2100

1670

2130

2130

Расчетная амплитуда колебаний вальца, мм

1,4-1,5

1,1-1,3

1,5

1,0-1,1

1,6

1,8

0,5-0,7

0,7-1,4

1,6

1,8

Частота колебаний. Гц

26

26,6

30-33

20-33

25

25

50

23-29

28,3

25

Максимальная возмущающая сила, тс (кН)

15,0

27,0

8,0

8,2

18,0

36,0

15,0

5-10

16,3

22,0

(147)

(265)

(78,5)

(80,4)

(176,5)

(353)

(147)

(49-98)

(159,9)

(215,8)

Наибольшая толщина уплотняемого слоя грунта, см:

 

 

 

 

 

 

 

 

 

 

песчаного

60-70

90-100

40-50

40-50

80

100-120

50-60

40-50

60

80-90

суглинистого

20-25

35-40

10-15

10-15

25-30

40-45

20

15-20

20-25

25-30

Рабочая скорость, км/ч

0-10

0-8

0,5-3,0

1,0-2,5

1,5-5,0

1,5-5,0

0-5

1,5-6,0

1,5-6,0

0-7

Габаритные размеры катка, м:

 

 

 

 

 

 

 

 

 

 

длина

5,7

6,20

3,93

4,85

5,7

6,12

5,8

4,39

5,30

5,9

ширина

2,4

2,70

1,78

1,80

2,4

2,47

2,5

1,60

2,03

2,4

высота

3,4

3,15

1,42

1,60

1,9

2,05

3,3

1,90

2,10

2,3

Мощность двигателя катка, л.с. 1кВт)

150

165

30

36

51

104

92

70

125

175

(110,4)

(121,4)

(22,1)

(26,5)

(37,5)

(76,5)

(67,7)

(51,5)

(92)

(128,8)

Класс тягача, тс, не менее

-

-

1,4

3

5

6

-

-

-

-

Примечание. Тип катка: пр. - прицепной, шс. - самоходный шарнирно-сочлененный, к. - самоходный комбинированный.

Приложение 2
Основные технические параметры гусеничных и колесных тягачей для прицепных виброкатков

Параметр

Гусеничные

Колесные

ДТ-75В

Т-4А

Т-100М

Т-130

Т-150К

Т-158

К-701

К-700А

Тяговый класс, тс (кН)

3 (30)

4 (40)

10 (100)

10 (100)

3 (30)

3 (30)

5 (50)

5 (50)

Мощность двигателя номинальная (эксплуатационная), 1 кВт

61 (59)

99 (96)

80 (76)

121 (118)

129(121)

129(121)

221(199)

158(147)

Частота вращения коленчатого вала, об/мин

1800

1700

1070

1250

2100

2100

1900

1700

Скорость перемещения вперед, км/ч

5,5-11,5

3,5-9,5

2,36-10,13

3,7-12,2

3,4-30,1

5,1-44,2

2,9-33,8

2,6-30,1

Тяговое усилие, кН

29-11

49-25

-

88-19

44-10

39-5

64-14

59-13

Габаритные размеры, мм:

 

 

 

 

 

 

 

 

длина

4670

4505

4255

4393

5795

5540

7400

7400

ширина

1890

1952

2460

2475

2220

2400

2880

2880

высота

2650

2545

3040

3087

3165

2970

3750

3750

Обозначение шин передних и задних колес (ГОСТ 7463-80)

 

 

 

 

21,3 R24

21,3 R24

28,1 R24

28,1 R24

Масса эксплуатационная, кг

6520

8400

11842

14030

8135

8000

13500

12810

Приложение 3
Показатели экономической эффективности технологии уплотнения различных грунтов прицепными виброкатками А-8 и А-12 (ГДР)

Показатель

Значение показателя при уплотнении

 

одноразмерных песков до Ку = 0,98 вместо пневмоколесного катка ДУ-16В виброкатками

связного грунта до Ку = 0,95 виброкатком А-12 вместе пневмоколесного ДУ-39В

Скоростном - обычных песков до Ку = 0,95 вместо обычной технологии виброкатками

 

А-8

А-12

А-8

А-12

Экономия от снижения себестоимости на 1000 м3 грунта, руб.

21,25

21,27

4,45

3,93

2,37

 

Изменение удельных капитальных затрат, руб.

-27,90

-26,48

-3,20

-12,18

-14,95

 

Снижение приведенных затрат на 1000 м3 грунта, руб.

65,42

65,21

4,95

5,75

4,59

 

Годовой объем внедрения, тыс.м3

4000

4000

4000

4000

4000

 

Экономия от снижения себестоимости на годовой объем внедрения, руб.

85000

85100

17800

15720

9480

 

Изменение величины капитальных вложений на годовой объем внедрения, руб,

-111600

-105920

-12800

-487201

-59800

 

Годовой экономический эффект, руб.

261680

260840

19800

23020

18360

 

Предпроизводственные затраты, руб.

63760

63760

63760

63760

63760

 

Годовой экономический эффект с учетом предпроизводственных затрат руб.

259560

258720

17680

20900

16240

 

Условное количество высвобожденных работающих на годовой объём внедрения, чел.

10,22

12,44

4,3

1,72

0,80

 

Экономия материальных ресурсов в натуральном выражении на 1000 м3 грунта, т:

дизельное топливо

0,0495

0,0221

0,0260

0,0115

0,0177

 

смазочное масло

0,0025

0,0011

1 0,0013

! 0,0006

0,0009

 

Экономия материальных ресурсов в натуральном выражении на годовой объем внедрения, т:

 

 

 

 

 

 

дизельное топливо

198,0

88,4

104,0

46,0

54,80

 

смазочное масло

9,9

4,4

5,2

2,3

3,52

 

 

 




ГОСТЫ, СТРОИТЕЛЬНЫЕ и ТЕХНИЧЕСКИЕ НОРМАТИВЫ.
Некоммерческая онлайн система, содержащая все Российские Госты, национальные Стандарты и нормативы.
В Системе содержится более 150000 файлов нормативно-технической документации, действующей на территории РФ.
Система предназначена для широкого круга инженерно-технических специалистов.

Рейтинг@Mail.ru Яндекс цитирования

Copyright © www.gostrf.com, 2008 - 2026