Крупнейшая бесплатная информационно-справочная система онлайн доступа к полному собранию технических нормативно-правовых актов РФ. Огромная база технических нормативов (более 150 тысяч документов) и полное собрание национальных стандартов, аутентичное официальной базе Госстандарта. GOSTRF.com - это более 1 Терабайта бесплатной технической информации для всех пользователей интернета. Все электронные копии представленных здесь документов могут распространяться без каких-либо ограничений. Поощряется распространение информации с этого сайта на любых других ресурсах. Каждый человек имеет право на неограниченный доступ к этим документам! Каждый человек имеет право на знание требований, изложенных в данных нормативно-правовых актах!

  


 

МИНИСТЕРСТВО ТРАНСПОРТНОГО СТРОИТЕЛЬСТВА ВСЕСОЮЗНЫЙ ПРОЕКТНО-ТЕХНОЛОГИЧЕСКИЙ ИНСТИТУТ ТРАНСПОРТНОГО СТРОИТЕЛЬСТВА «ВПТИТРАНССТРОЙ»

ТИПОВЫЕ ТЕХНОЛОГИЧЕСКИЕ КАРТЫ
КОМПЛЕКСНО-МЕХАНИЗИРОВАННОГО ПРОЦЕССА ВОЗВЕДЕНИЕ НАСЫПИ АВТОМОБИЛЬНОЙ ДОРОГИ ДЛИНОЙ 500 м, ВЫСОТОЙ 3 м ИЗ ПЕСЧАНЫХ И СУПЕСЧАНЫХ ГРУНТОВ В ЗИМНИХ УСЛОВИЯХ С РАЗРАБОТКОЙ ГРУНТА ЭКСКАВАТОРАМИ Э-652, ЭО-4121А, ЭО-5122 В СОСРЕДОТОЧЕННЫХ РЕЗЕРВАХ И ТРАНСПОРТИРОВКОЙ ЕГО АВТОМОБИЛЯМИ-САМОСВАЛАМИ ПРИ ДАЛЬНОСТИ ВОЗКИ 3, 5, 6 км

Согласовано.

Руководитель темы ст. научный сотрудник ЦНИИОМТП Л.В. ГРИНШПУН,

зав. отделом механизации дорожного строительства Союздорнии М.А. ЛИБЕРМАН

МОСКВА 1985

Содержание

ВВЕДЕНИЕ

1. ОБЛАСТЬ ПРИМЕНЕНИЯ

2. ТЕХНОЛОГИЯ И ОРГАНИЗАЦИЯ СТРОИТЕЛЬНОГО ПРОЦЕССА

Вариант 1. ВОЗВЕДЕНИЕ НАСЫПИ АВТОМОБИЛЬНЫХ ДОРОГ ДЛИНОЙ 500 м, ВЫСОТОЙ 3 м, ОТКОСЫ 1:2 С РАЗРАБОТКОЙ ПЕСЧАНОГО И СУПЕСЧАНОГО ГРУНТА I ГРУППЫ В ЗИМНИХ УСЛОВИЯХ В СОСРЕДОТОЧЕННОМ РЕЗЕРВЕ ЭКСКАВАТОРОМ ЭО-5122 С ТРАНСПОРТИРОВКОЙ ЕГО АВТОМОБИЛЯМИ-САМОСВАЛАМИ КрАЗ-256Б ПРИ ДАЛЬНОСТИ ВОЗКИ 3, 5, 6 км С ПРИМЕНЕНИЕМ РЫХЛИТЕЛЯ ДЗ-94С

Вариант 2. ВОЗВЕДЕНИЕ НАСЫПИ АВТОМОБИЛЬНЫХ ДОРОГ ДЛИНОЙ 500 м, ВЫСОТОЙ 3 м, ОТКОСЫ 1:2 С РАЗРАБОТКОЙ ПЕСЧАНОГО И СУПЕСЧАНОГО ГРУНТА I ГРУППЫ В ЗИМНИХ УСЛОВИЯХ В СОСРЕДОТОЧЕННОМ РЕЗЕРВЕ ЭКСКАВАТОРОМ ЭО-4121А С ТРАНСПОРТИРОВКОЙ ЕГО АВТОМОБИЛЯМИ-САМОСВАЛАМИ КамАЗ-5511, ПРИ ДАЛЬНОСТИ ВОЗКИ 3, 5, 6 км С ПРИМЕНЕНИЕМ РЫХЛИТЕЛЯ ДП-9С-1

Вариант 3. ВОЗВЕДЕНИЕ НАСЫПИ АВТОМОБИЛЬНЫХ ДОРОГ ДЛИНОЙ 500 м, ВЫСОТОЙ 3 м, ОТКОСЫ 1:2 С РАЗРАБОТКОЙ ПЕСЧАНОГО И СУПЕСЧАНОГО ГРУНТА I ГРУППЫ В ЗИМНИХ УСЛОВИЯХ В СОСРЕДОТОЧЕННОМ РЕЗЕРВЕ ЭКСКАВАТОРОМ ЭО-4121А С ТРАНСПОРТИРОВКОЙ ЕГО АВТОМОБИЛЯМИ-САМОСВАЛАМИ КамАЗ-5511 ПРИ ДАЛЬНОСТИ ВОЗКИ 3, 5, 6 км С ПРИМЕНЕНИЕМ ЩЕЛЕВЗРЫВНОГО СПОСОБА РЫХЛЕНИЯ

Вариант 4. ВОЗВЕДЕНИЕ НАСЫПИ АВТОМОБИЛЬНЫХ ДОРОГ ДЛИНОЙ 500 м, ВЫСОТОЙ 3 м, ОТКОСЫ 1:2 С РАЗРАБОТКОЙ ПЕСЧАНОГО И СУПЕСЧАНОГО ГРУНТА I ГРУППЫ В ЗИМНИХ УСЛОВИЯХ В СОСРЕДОТОЧЕННОМ РЕЗЕРВЕ ЭКСКАВАТОРОМ Э-652 С ТРАНСПОРТИРОВКОЙ ЕГО АВТОМОБИЛЯМИ-САМОСВАЛАМИ МАЗ-503А ПРИ ДАЛЬНОСТИ ВОЗКИ 3, 5, 6 км С ПРИМЕНЕНИЕМ РЫХЛИТЕЛЯ НА ТРАКТОРЕ Т-180

3. ТЕХНИКО-ЭКОНОМИЧЕСКИЕ ПОКАЗАТЕЛИ

4. МАТЕРИАЛЬНО-ТЕХНИЧЕСКИЕ РЕСУРСЫ

5. КАРТА ОПЕРАЦИОННОГО КОНТРОЛЯ КАЧЕСТВА ПРИ ВОЗВЕДЕНИИ НАСЫПИ ЗЕМЛЯНОГО ПОЛОТНА

6. ОПРЕДЕЛЕНИЕ ЭФФЕКТИВНОСТИ КОМПЛЕКСНО-МЕХАНИЗИРОВАННОГО ПРОЦЕССА

7. РАСХОД ГОРЮЧЕ-СМАЗОЧНЫХ МАТЕРИАЛОВ ДЛЯ КОМПЛЕКТОВ МАШИН

8. ЭКОНОМИЯ ГОРЮЧЕ-СМАЗОЧНЫХ МАТЕРИАЛОВ

ПРИЛОЖЕНИЕ

Приложение 1

Нормы расхода горюче-смазочных материалов

Приложение 2

Расчет транспортных средств к комплексно-механизированному процессу

Приложение 3

Расчет объемов земляных работ для щелевзрывного способа рыхления

Типовые технологические карты комплексно-механизированного процесса разработаны Северо-Западным филиалом ВПТИтрансстроя Министерства транспортного строительства.

Исполнитель В.А. НОВОЖИЛОВА

Редактор Л.И. КУЦЕВА

ВВЕДЕНИЕ

Производство земляных работ является одним из наиболее механизированных видов работ в строительстве. За последние годы значительно возрос парк землеройных и транспортных машин, внедряются новые прогрессивные машины и оборудование.

В настоящее время большой объем земляных работ выполняется экскаваторами с транспортированием грунта автосамосвалами. Важное значение приобретает эффективное использование имеющихся средств механизации. Этому может в значительной мере способствовать расширение масштабов внедрения комплексно-механизированных технологических процессов, предусматривающих наиболее рациональное применение землеройных и транспортных машин и на этой основе значительное снижение трудоемкости работ.

Существенным резервом в деле ускорения работ по сооружению земляного полотна является расширение производства земляных работ при отрицательных температурах с целью ликвидации сезонности дорожных работ и равномерности использования имеющихся машин на протяжении всего года.

Увеличение объема работ в зимних условиях улучшает экономические показатели деятельности дорожно-строительной организации: использование основных фондов, расход фонда заработной платы, распределение накладных расходов и т. д.

В настоящей работе, выполненной в соответствии с методическими рекомендациями Центрального научно-исследовательского и проектно-экспериментального института организации, механизации и технической помощи строительству Госстроя СССР (отдел земляных работ, тт. Гриншпун Л.В., Баранова В.С.) и при участии Всесоюзного государственного дорожного научно-исследовательского института «Союздорнии» (отдел механизации, тт. Либерман М.А., Смоленцева В.А.), рассматривается комплексно-механизированный процесс возведения земляного полотна высотой 3 м, шириной поверху 15 м, с разработкой песчаного и супесчаного грунтов I группы в сосредоточенном резерве экскаваторами ЭО-5122 (1,25 м3), ЭО-4121А (1,0 м3), Э-652 (0,65 м3) и транспортировкой грунта автомобилями-самосвалам КрАЗ-256Б (12 т), КамАЗ-5511 (10 т), МАЗ-503А (8 т) при дальности возки 3, 5, 6 км с использованием бульдозеров ДЗ-110А, автогрейдеров ДЗ-122, катков на пневматических шинах ДУ-16В.

Приведенные рекомендации по формированию комплекта машин позволяют выбрать из имеющихся машин в парке строительных организаций наиболее рациональные для выполнения заданных операций, обеспечивая наибольшую эффективность технологического процесса по удельным приведенным затратам, трудоемкости и продолжительности выполнения работ.

Конструкция земляного полотна принята по альбому «Типовые конструкции и детали сооружений. Серия 3.503-32. Земляное полотно автомобильных дорог общей сети Союза ССР», Минтрансстрой, 1975.

Типовые технологические карты предусматривают применение четырех вариантов комплектов машин и для каждого из них три варианта дальности транспортирования:

1) Возведение насыпи длиной 500 м, шириной поверху 15 м, высотой 3 м, откосы 1:2 с разработкой песчаного и супесчаного грунтов I группы в зимних условиях в сосредоточенном резерве экскаватором ЭО-5122 с транспортировкой его автомобилями-самосвалами КрАЗ-256Б при дальности возки 3, 5, 6 км с применением рыхлителя ДЗ-94С.

2) То же, экскаватором ЭО-4121А и транспортировкой его автомобилями-самосвалами КамАЗ-5511 при дальности возки 3, 5, 6 км с применением рыхлителя ДП-9С-1.

3) То же, экскаватором ЭО-4121А и транспортировкой его автомобилями-самосвалами КамАЗ-5511 при дальности возки 3, 5, 6 км с применением щелевзрывного способа рыхления.

4) То же, экскаватором Э-652 с транспортировкой его автомобилями-самосвалами МАЗ-503А при дальности возки 3, 5, 6 км с применением рыхлителя ДП-22С.

Состав и марки используемых машин для комплексно-механизированного процесса, рассматриваемого в данной работе:

1-й вариант комплекта: экскаватор ЭО-5122 с емкостью ковша 1,25 м3, автомобиль-самосвал КрАЗ-256Б грузоподъемностью 12 т, рыхлитель ДЗ-94С на тракторе Т-330, бульдозер ДЗ-110А, автогрейдер ДЗ-122, каток па пневмошинах ДУ-16В;

2-й вариант комплекта: экскаватор ЭО-4121А с емкостью ковша 1 м3, автомобиль-самосвал КамАЗ-5511 грузоподъемностью 10 т, рыхлитель ДП-9С-1 на тракторе ДЭТ-250, бульдозер ДЗ-110А, автогрейдер ДЗ-122, каток на пневмошинах ДУ-16В;

3-й вариант комплекта: экскаватор ЭО-4121А с емкостью ковша 1 м3, автомобиль-самосвал КамАЗ-5511 грузоподъемностью 10 т, баровая машина БГМ-5, бульдозер ДЗ-110А, автогрейдер ДЗ-122, каток на пневмошинах ДУ-16В;

4-й вариант комплекта: экскаватор Э-652 с емкостью ковша 0,65 м3, автомобиль-самосвал МАЗ-503А грузоподъемностью 8 т, рыхлитель ДП-22С на тракторе Т-180, бульдозер ДЗ-110А, автогрейдер ДЗ-122, каток на пневмошинах ДУ-16В.

Годовой режим работы дорожно-строительных машин, используемых при формировании комплексно-механизированного процесса, а также продолжительность рабочей смены взяты по действующим нормативам Главдорстроя Министерства транспортного строительства.

Нормы расхода топлива соответствуют «Нормам расхода топлива на эксплуатацию основных строительных машин», утвержденным заместителем министра транспортного строительства 25 января 1980 г., оптовые цены- прейскуранту 21 - 01, 22 - 01.

Разделы типовой технологической карты, кроме 2.5 и 2.6, являются общими для четырех вариантов комплектов.

Технико-экономические показатели и расчет экономической эффективности даны в одной таблице для четырех вариантов комплектов машин.

1. ОБЛАСТЬ ПРИМЕНЕНИЯ

1.1. Технологический процесс разработан на возведение насыпи земляного полотна автомобильной дороги длиной 500 м, высотой 3 м, шириной поверху 15 м с заложением откосов 1:2 с разработкой песчаных и супесчаных грунтов I группы в зимних условиях экскаваторами ЭО-5122, ЭО-4121А, Э-652 в сосредоточенных резервах и транспортировкой их автомобилями-самосвалами КрАЗ-256Б, КамАЗ-5511, МАЗ-503А при дальности возки 3, 5, 6 км.

1.2. Отсыпку грунта насыпи производят слоями толщиной 0,3 - 0,35 м с последующим послойным разравниванием бульдозерами ДЗ-110А и уплотнением катками на пневматических шинах ДУ-16В.

Для рыхления грунта при разработке сосредоточенных резервов используют рыхлители ДЗ-94С на тракторе Т-330, ДП-9С-1 на тракторе ДЭТ-250, ДП-22С на тракторе Т-180 и щелевзрывной способ рыхления.

Работы по возведению насыпи ведут в 3 смены на 2-х захватках длиной 25 - 50 м.

1.3. В технологическом процессе возведения насыпи с разработкой песчаного и супесчаного грунтов в зимних условиях с целью обеспечения уплотнения грунтов до требуемой плотности в талом виде принята сменная производительность 4-х экскаваторов ЭО-5122-3048 м3. Число автомобилей-самосвалов КрАЗ-256Б составляет при дальности возки 3 км - 19 - 18 ед., 5 км - 26 - 25 ед., 6 км - 30 - 29 ед. Сменная производительность пяти экскаваторов ЭО-4121А - 2000 м3. Число автомобилей-самосвалов КамАЗ-5511 составляет при дальности возки 3 км - 15 ед., 5 км - 21 - 20 ед., 6 км - 24 - 23 ед. Сменная производительность пяти экскаваторов Э-652-1600 м3. Число автомобилей-самосвалов МАЗ-503А составляет при дальности возки 3 км - 16 - 15 ед., 5 км - 21 - 20 ед., 6 км - 24 - 23 ед.

1.4. В состав работ, рассматриваемых технологическим процессом, входят:

- подготовка поверхности сосредоточенного резерва к разработке в зимнее время и утепление;

- вскрышные работы при разработке сосредоточенного резерва;

- рыхление грунта рыхлителями и разработка грунта экскаваторами;

- щелевзрывной способ рыхления и разработка грунта экскаваторами;

- подготовка основания под насыпь;

- транспортировка грунта автосамосвалами и выгрузка его в насыпь;

- послойное разравнивание грунта бульдозером;

- послойное уплотнение грунта катками;

- отделка верха земляного полотна;

- устройство съездов (въездов) бульдозером;

- поддержание землевозных дорог в исправном состоянии автогрейдером.

1.5. Во всех случаях применения технологического процесса необходима его привязка к конкретным условиям производства работ. При этом уточняются:

- характеристика грунта и объем работ;

- условия транспортирования грунта и количество транспортных единиц;

- режимы уплотнения.

Исходя из наличия в существующем парке машин выбирается один из указанных в карте вариантов комплектов машин.

Технология, приведенная в карте, остается неизменной. Уточнению подлежат калькуляция и графики работ. Соответственно должны быть скорректированы конечные показатели.

2. ТЕХНОЛОГИЯ И ОРГАНИЗАЦИЯ СТРОИТЕЛЬНОГО ПРОЦЕССА

2.1. Указания по подготовке объекта и требования к готовности предшествующих работ

До начала работ по возведению насыпи автомобильных дорог в зимних условиях должны быть выполнены все общие и специальные подготовительные работы:

- поверхность основания насыпи заблаговременно, до наступления устойчивых отрицательных температур, полностью освобождена от растительных остатков, пней, валунов, диаметр которых превышает 2/3 толщины технологического слоя при устройстве насыпи, а также от посторонних предметов;

- произведена геодезическая разбивка;

- восстановлена и закреплена трасса;

- расчищена полоса отвода;

- произведена разбивка элементов земляного полотна;

- установлены снегонезаносимые разбивочные знаки;

- устроены временные и постоянные водоотводы;

- подготовлены подъездные пути и средства защиты их от снежных заносов;

- предохранены от промерзания участки, намеченные к разработке;

- обеспечено освещение мест разработки и укладки грунта;

- подготовлено помещение для обогрева рабочих.

Предшествующие работы оформляются актами на скрытые работы.

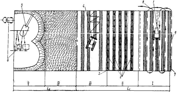
2.2. Схема организации рабочей зоны в период производства работ (рис. 1)

Рис. 1. Схема организации рабочей зоны в период производства работ:

1 - экскаватор ЭО-5122 (ЭО-4121А, Э-652); 2 - автомобили-самосвалы КрАЗ-256Б (КамАЗ-5511, MA3-503A); 3 - рыхлитель ДЗ-94С (ДП-9С-1, ДП-22); 4 - бульдозер ДЗ-110А; 5 - каток на пневматических шинах ДУ-16В; 6 - вешка

2.3. Указания по технологии работ

2.3.1. Работы по возведению насыпи автомобильных дорог в зимних условиях выполняют в следующей последовательности:

- подготавливают поверхность сосредоточенного резерва к разработке в зимнее время и утепление его;

- производят вскрышные работы пои разработке сосредоточенного резерва;

- производят рыхление грунта рыхлителями н разработку грунта экскаваторами ЭО-5122, ЭО-4121А, Э-652;

- производят щелевзрывным способом рыхление грунта и разработку его экскаваторами ЭО-5122, ЭО-4121А, Э-652;

- подготавливают основание под насыпь;

- транспортируют грунт автосамосвалами КрАЗ-256Б, КамАЗ-5511, МАЗ-503А и выгружают его в насыпь при дальности возки 3, 5, 6 км;

- разравнивают послойно грунт бульдозером ДЗ-110А;

- уплотняют грунт катками ДУ-16В;

- отделывают верх земляного полотна автогрейдером ДЗ-122;

- устраивают въезды (съезды) бульдозером ДЗ-110А;

- поддерживают землевозные дороги в исправном состоянии автогрейдером ДЗ-122.

2.3.2. Подготовка поверхности сосредоточенного резерва к разработке в зимнее время и его утепление

Подготовку поверхности сосредоточенного резерва к разработке в зимнее время начинают осенью до наступления морозов. Подготовка заключается в устройстве подъездных дорог, расчистке поверхности, устройстве входных забоев и пионерных траншей, а также в устройства отепляющих слоев или использовании химических реагентов для предотвращения промерзания грунта. Способы защиты от промерзания указывают в ППР.

Грунт предохраняют от промерзания предварительным рыхлением на глубину 35 - 40 см и боронованием на глубину 15 - 20 см. Рыхлить следует перекрестно, дважды, с перекрытием полос на 20 см (рис. 2).

Рис. 2. Схема рыхления грунта:

1 - трактор с рыхлителем; 2 - разрыхленный слой, 3 - конец работы; 4 - начало работы (стрелками показаны направления и последовательность прохода); 5 - нумерация проходов рыхлителя

Разрыхленный грунт утепляют либо укрывая поверхность забоя хворостом, валежником, торфом, шлаком, слоем пены, либо снегом путем снегозадержания с помощью щитов, валов снега или грунта с использованием автогрейдера и бульдозера.

2.3.3. Вскрышные работы при разработке сосредоточенного резерва

Разрабатываемую поверхность сосредоточенного резерва очищают от снега, льда и утепляющих материалов. Вскрышные работы ведут на захватке, равной ширине забоя, с учетом призмы обрушения у экскаваторных забоев. При этом сначала удаляют снег и лед, затем рыхлят мерзлый слой и убирают разрыхленный грунт в отвал рыхлителями ДЗ-94С на тракторе Т-330, ДП-9С-1 - на тракторе ДЭТ-250 и ДП-22С - на тракторе Т-180 с бульдозерным оборудованием.

Разрыв между удалением мерзлого слоя и разработкой забоя делают минимальным, чтобы не допустить промерзания нижележащего грунта на глубину более 5 - 10 см.

Площадь очистки забоя при температуре воздуха до - 10°С определяется суточной производительностью экскаваторов (ЭО-5122 - 9144 м3, ЭО-4121А - 6000 м3, Э-652 - 4800 м3).

При сильных снегопадах и метелях разработку грунта прекращают, а перед возобновлением работ полностью удаляют снег и лед.

2.3.4. Рыхление грунта рыхлителями и разработка его экскаваторами

Рыхление мерзлого грунта производят рыхлителем ДЗ-94С на тракторе Т-330, ДП-9С-1 - на тракторе ДЭТ-250 и ДП-22С- на тракторе Т-180 с бульдозерным оборудованием.

До начала работ по рыхлению мерзлого грунта производят инструментальную разбивку осей земляного сооружения.

Рыхление грунта производят параллельными проходками рыхлителя по всей площади захватки в одном, а затем в другом направлении под углом 70 - 90°. Одно из направлений движения должно быть поперек направления забоя. Расстояние между смежными проходками каждого направления составляет 0,5 - 0,75 м.

Грунт рыхлят слоями с постепенным заглублением у зуба рыхлителя в начале проходки и выглублением в конце. Глубина рыхления зависит от прочности грунта, ее устанавливают на основании опытных проходок. Ориентировочно глубина рыхления составляет 0,25 - 0,45 м, при глубине промерзания до 0,5 м рыхление осуществляется в один слой.

После каждого прохода рыхлитель разворачивается для рыхления в обратном направлении так, чтобы следующий его проход был смещен m отношению к предыдущему на расстояние «в» (рис. 3).

Рис. 3. Схема применения рыхлителя ДП-9С-1:

1 - оптимальная глубина рыхления, 350 - 570 мм; 2 - эффективная глубина рыхления, 120 - 250 мм; 3 - расстояние между параллельными проходами рыхлителя, 500 мм; l - путь заглубления или выглубления стойки рыхлителя, 500 мм. Стрелками указано направление движения рыхлителя

При разработке грунта в зимних условиях забой делят на две смежные захватки, в одной из которых ведут экскавацию разрыхленного грунта, а в другой рыхлят.

Во избежание повторного смерзания экскавацию грунта с погрузкой его в транспортные средства производят сразу после окончания рыхления.

Разработку грунта в зимних условиях производят экскаваторами ЭО-5122 с емкостью ковша 1,25 м3, ЭО-4121А - с емкостью ковша 1,0 м3, Э-652 - с емкостью ковша 0,65 м3, оборудованными обратной лопатой, с погрузкой в транспортные средства. Грунт в сосредоточенном резерве разрабатывают лобовым забоем. Откос лобовой стенки забоя принят равным 1:0,5.

Наибольшие размеры сосредоточенного резерва с откосами различной крутизны, разрабатываемых экскаваторами, а также величина передвижки экскаватора приведены в таблице 1.

Таблица 1

Наименование

Крутизна откосов (1:м)

1:1,25

1:1

1:0,67

1:0,5

1:0,25

Экскаватор ЭО-5122, ковш емкостью 1,25 м3

 

 

 

 

 

Параметры сосредоточенного резерва, м:

 

 

 

 

 

Н . . . . . . . . . . .

3,25

2,3

4,4

2,3

6,2

2,3

6,2

2,3

6,2

2,3

В . . . . . . . . . . .

10,2

10,2

10,2

10,2

9,7

10,2

7,6

10,2

4,5

10,2

в . . . . . . . . . . .

1,4

4,4

1,4

5,6

1,4

7,1

1,4

7,9

1,4

9,0

Величина передвижки экскаватора α, м . . . . . . . . . . .

4,0

5,0

3,0

5,0

0,5

5,0

0,5

5,0

0,5

5,0

Экскаватор ЭО-4121А, ковш емкостью 1,0 м3

 

 

 

 

 

Параметры сосредоточенного резерва, м:

 

 

 

 

 

Н . . . . . . . . . . .

2,6

2,3

3,3

2,3

4,8

2,3

5,0

2,3

5,0

2,3

В . . . . . . . . . . .

7,8

7,8

7,8

7,8

7,8

7,8

6,3

7,8

3,8

7,8

в . . . . . . . . . . .

1,3

2,0

1,3

3,2

1,3

4,7

1,3

5,5

1,3

6,6

Величина передвижки экскаватора α, м . . . . . . . . . . .

3,5

4,0

2,7

4,0

0,6

4,0

0,5

4,0

0,5

4,0

Примечание. В числителе приведены параметры резерва при минимальной ширине его по дну, равной ширине ковша; в знаменателе - максимальной ширине резерва по верху, которую можно разрабатывать экскаватором за один проход.

Технологические схемы разработки резерва экскаватором ЭО-5122 представлены на рис. 4.

Рис. 4. Схема разработки сосредоточенного резерва лобовым забоем экскаватором ЭО-5122 с обратной лопатой и погрузкой грунта в автомобили-самосвалы:

1 - экскаватор ЭО-5122; 2 - вешки; 3 - автомобили-самосвалы КрАЗ-256Б

Во время отсутствия автосамосвалов экскаватор перекидывает грунт из наиболее отдаленных участков забоя к месту погрузки.

Наполнение ковша с «шапкой» должно производиться за один прием черпания. Грунт с уровня подошвы гусениц экскаватора срезается так, чтобы для передвижения машины не требовалось дополнительного выравнивания площадки.

Экскавацию грунта ведут с наименьшими затратами времени на выполнение рабочего цикла, для чего следует совмещать поворот платформы с опусканием порожнего и подъемом груженого ковша.

2.3.5. Рыхление грунта щелевзрывным способом и разработка грунта экскаваторами

Щелевзрывной способ рыхления грунта применяется при больших объемах работ, при глубине промерзания до 1,5 м, и включает в себя три процесса:

- нарезка щелей в мерзлом грунте;

- рыхление мерзлого грунта щелевыми зарядами ВВ (взрывчатого вещества);

- уборка разрыхленного мерзлого грунта за пределы сосредоточенного резерва бульдозером ДЗ-110А и разработка талого грунта экскаваторами ЭО-5122 (1,25 м3), ЭО-4121А (1,0 м3), Э-652 (0,65 м3) с транспортированием его автосамосвалами КрАЗ-256Б (12 т), КамАЗ 5511 (10 т), МАЗ-503А (8 т) на расстояние 3, 5, 6 км.

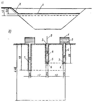
Схема последовательности выполнения технологического процесса при щелевзрывном способе рыхления показана на рис. 5.

Рис. 5. Схема организации работ при щелевзрывном способе рыхления грунта в сосредоточенном резерве:

L1 - захватка 1; L2 - захватка 2; В - ширина захватки; I - нарезка щелей; II - раскладка ДШ и ВВ; III - засыпка зарядном тел»: IV - взрывные работы; V - разработка грунта; 1 - баровая машина БГМ-5; 2 - патронированный заряд ВВ; 3 - ДШ; 4 - бульдозер ДЗ-110А; 5 - экскаватор ЭО-4121А; 6 - автомобили-самосвалы КамАЗ-5511; 7 - начало нарезки щелей; 8 - конец нарезки щелей; 9 - направление нарезки щелей

Перед нарезкой щелей поверхность грунта очищают от снега, льда и размечают положение щелей.

Нарезка щелей осуществляется баровой машиной БГМ-5 на глубину 0,9 м, при глубине промерзания грунта до 1 м параллельно через каждые 1,2 м (рис. 6). В нарезанные баровой машиной БГМ-5 по всей ширине зоны действия экскаватора щели прокладывается детонирующий шнур с привязанным к нему патронированным аммонитом через каждые 10 - 12 см с таким расчетом, чтобы детонирующие шнур имел выпуск с одного конца щели на 1,5 м.

Рис. 6. Схема работы баровой машины:

1 - баровая машина БГМ-5; 2 - грунт от нарезки щели; Нщ - глубина щели; Нпр -глубина промерзания; Нср - глубина сосредоточенного резерва

В каждую щель укладывается 91 единица патронированного аммонита при длине щели 28 м и весе каждого патрона 0,2 кг. При другой длине щели расход ВВ подсчитывается по формуле:

Qуд = Kh2l (кг),

где Qуд - масса заряда, кг;

K - удельный расход ВВ, равный 0,6 - 1,0 кг/м3;

h - глубина линии наименьшего сопротивления;

l - длина щели, м.

Для того, чтобы наметить контуры выработки, нарезают две симметричные незаряженные щели, которые ограничивают действие взрыва. Схемы нарезки и закладывания заряда в щели представлены на рис. 7 (а, б).

Рис. 7. Схема нарезки и заряжания щелей:

а - схема расположения патронированного заряда; 1 - патронированный заряд ВВ; 2 - детонирующий шнур (ДШ); б - схема нарезки щелей; 1 - баровая машине БГМ-5; 2 - ось проходки баровой машины БГМ-5; 3 - забойка; 4 - зарядная щель; 5 - патронированный заряд ВВ; 6 - ДШ; 7 - компенсирующая щель; цифры в кружках - последовательность нарезки щелей

Наиболее эффективно взрывание с применением реле короткого замедления (КЗ), которое привязывают к детонирующему шнуру (рис. 8).

Рис. 8. Схема прокладки детонирующего шнура в щели с использованием реле короткого замедления:

1 - патронированный заряд ВВ; 2 - детонирующий шнур; 3 - реле короткого замедления (КЗ); 4 - электродетонатор (ЭД)

Взрывание ведется в строгом соответствии с установленным режимом и графиком работ.

После засыпки зарядных щелей бульдозером ДЗ-110А за 1 - 2 прохода взрывают мерзлый грунт. Взрыв заряда, заложенного в щелевую выработку шириной 14 см на глубину 0,9 м, обеспечивает рыхление грунта на глубину до 15 м.

Взорванный мерзлый грунт удаляют в обе стороны сосредоточенного резерва бульдозером ДЗ-110А.

При разработке мерзлых грунтов щелевзрывным способом, рыхления сосредоточенный резерв делят на две захватки, в одной из которых ведут экскавацию взорванного грунта, а другую подготавливают к взрыванию.

Взрывание выполняется в светлое время суток.

При разработке сосредоточенного резерва экскаватором, оборудованным обратной лопатой, пионерный забой начинают в его центре, чтобы в дальнейшем рыхление и разработку грунта можно было вести но периметру забоя.

Ширина полосы рыхления такая, при которой грунт под разрыхленным слоем разрабатывается с одной установки экскаватора. Экскаватор перемещается вдоль забоя, и разработка сосредоточенного резерва ведется боковым забоем.

2.3.6. Подготовка основания под насыпь

Перед началом отсыпки насыпи в зимних условиях ее основание тщательно очищают от снега и льда бульдозером ДЗ-110А. Затем поверхность основания планируют за 1 - 2 прохода бульдозера ДЗ-110А с приданием поперечного уклона от оси 20 – 400/00, после чего уплотняют катком на пневмошинах ДУ-16В за 4 прохода по одному следу, непосредственно перед отсыпкой вышележащего слоя. Очистка от снега, планировка, укатка основания насыпи производится во избежание смерзания до начала отсыпки насыпи захватками длиной по 25 м.

2.3.7. Транспортирование грунта самосвалами

Грунт из сосредоточенного резерва транспортируется автосамосвалами КрАЗ-256Б (12 т) при разработке грунта экскаваторами ЭО-5122, КамАЗ-5511 (10 т)-при разработке грунта экскаваторами ЭО-4121А, МАЗ-503А (8 т) - при разработке грунта экскаваторами Э-652.

Перевозка грунта зимой организуется так, чтобы вынутый из забоя грунт был доставлен в насыпь, разгружен и уплотнен раньше, чем произойдет его смерзание.

Время начала смерзания вынутого из забоя грунта в зависимости от температуры наружного воздуха приведено в таблице 2.

Таблица 2

Процесс

Продолжительность процесса, мин

при -5°С

при -10°С

Смерзание открытого грунта после его экскавации в карьере . . . . .

90

60

Смерзание грунта внутри отсыпки . . . . . . . . . . . . . . . . . . . . . . . . . . . . . .

120 - 180

90 - 120

Возка грунта к месту укладки . . . . . . . . . . . . . . . . . . . . . . . . . . . . . . . . . . .

40 - 45

25 - 30

Сокращение продолжительности транспортного цикла осуществляется ускорением процессов погрузки и разгрузки, увеличением скорости машин за счет тщательного ухода за землевозными дорогами.

Для предотвращения смерзания грунта кузова автомобилей-самосвалов опрыскивают изнутри нефтепродуктами или 2%-ным раствором соли хлористого кальция или используют автосамосвалы с двойными стенками, между которыми пропускаются выхлопные газы двигателя.

Очередной автомобиль-самосвал прибывает к месту загрузки не позднее окончания загрузки предыдущего автомобиля.

Для обеспечения бесперебойной работы автомобилей-самосвалов ведется непрерывный надзор за ее стоянием землевозных дорог, особенно в местах погрузки и выгрузки грунта, на въездах на насыпи и съездах с них.

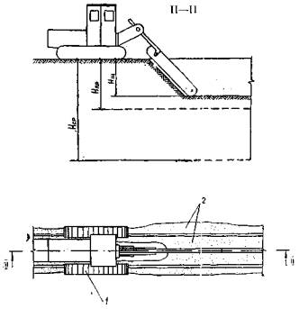
Движение автомобилей-самосвалов организуют по кольцевой схеме, причем в сосредоточенном резерве они должны двигаться навстречу экскаватору при его проходке. Развороты автомобилей-самосвалов производят не загруженными. При ширине земляного полотна 12 м и более автомобили-самосвалы разворачиваются на насыпи; при ширине менее 12 м - для разворота съезжают с насыпи. Грунт выгружают в тело насыпи по расчету, начиная с ее краев на одной половине ширины слоя с приближением к оси земляного полотна. При этом движение автомобилей-самосвалов происходит по уплотненному слою грунта на другой половине ширины слоя, и около места выгрузки они переезжают на отсыпаемую захватку (рис. 9).

Рис. 9. Схема выгрузки грунта и укладки его в насыпь:

1, 2, 3 . . . - последовательность выгрузки грунта из автомобилей-самосвалов

При транспортировании песчаного грунта I группы для отсыпки насыпи слоями 0,3 - 0,35 м автосамосвалами КрАЗ-256Б выгрузку в насыпь производят через каждое 3 м по ее ширине и через каждые 7 м по длине.

При транспортировании песчаного грунта I группы для отсыпки насыпи слоями 0,3 - 0,35 м автосамосвалами КамАЗ-5511 выгрузку в насыпь производят через каждые 3 м по ее ширине и через каждые 6 м по длине.

При транспортировании песчаного грунта I группы для отсыпки насыпи слоями 0,3 - 0,35 м автосамосвалами МАЗ-503А выгрузку в насыпь производят через каждые 3 м по ее ширине и через каждые 5 м по длине. Необходимое количество самосвалов определяют по формуле:

где l - длина транспортного плеча, км;

v - средняя скорость машины, км/час;

tp - время разгрузки, мин;

m - количество ковшей экскаватора, входящих в кузов самосвала;

t - время одной экскавации, мин.

2.3.8. Послойное разравнивание грунта бульдозером

Грунт разравнивают послойно бульдозером с приданием каждому слою поперечного двускатного профиля с уклонами 20 - 400/00 и проектного продольного профиля, сразу же после выгрузки грунта в насыпь.

Не разрешается попадание в тело насыпи снега и льда. Линейные размеры мерзлых комьев не должны превышать 0,2 м. Для обеспечения устойчивости насыпи при оттаивании мерзлых комьев, число которых может быть не более 20% общего объема, их необходимо размещать в насыпи равномерно, не допуская образования гнезд из мерзлых комьев и особенно в откосной части, где они не должны укладываться ближе 1 м от поверхности откоса насыпи.

Вначале за один два прохода бульдозер ДЗ-110А разравнивает грунт ровным слоем толщиной 0,3 - 0,35 м по всей ширине отсыпаемого слоя захватки. Разравнивание грунта бульдозером выполняют продольными проходами, начиная от бровки земляного полотна с постепенным перемещением к оси и с перекрытием предыдущего следа на 0,5 - 0,8 м. Последний проход бульдозер выполняет, начиная от оси земляного полотна, с постепенным перемещением к бровке. После выравнивания производят предварительную послойную планировку грунта за один проход по одному следу и окончательно планируют грунт за 3 прохода по одному следу бульдозером ДЗ-110А.

Поверхность каждого слоя должна быть выровнена так, чтобы на ней не было углублений или возвышений, превышающих 50 мм. Ровность поверхности слоя проверяют визирками или нивелированием.

Отсыпку следующего слоя производят только после разравнивания и уплотнения предыдущего слоя.

2.3.9. Послойное уплотнение грунта катками

Послойное уплотнение грунта катками ДУ-16В до требуемой плотности производится до его замерзания.

Режим уплотнения грунтов в зимних условиях устанавливают по результатам их опытного уплотнения. Результаты пробного уплотнения оформляются в виде графика, по которому устанавливается наибольшая допустимая толщина уплотняемого слоя н необходимое количество проходов.

Уплотнение несвязных грунтов производят при температуре воздуха до -10°С. Допустимое время уплотнения грунта определяют в зависимости от скорости и толщины образования мерзлой корки (глубины промерзания), величина которой не должна превышать 1 см для катков на пневматических шинах ДУ-16В.

Ориентировочное время образования мерзлой корки и допустимое время на уплотнение грунта принимают по таблице 3 и уточняют по результатам пробного уплотнения в конкретных производственных условиях.

Таблица 3

Наименование машины

Время от момента укладки грунта в насыпь до окончания уплотнения не более, час, при толщине слоя, см, (указано в знаменателе)

Температура воздуха

-5°С

-10°С

Катки на пневматических шинах массой 25 т . . . . . .

1,0

30

0,5

30

Уплотнение насыпи пневмокатками ДУ-16В во избежание «сползания» их на откос начинают за 1,5 и до бровки с постепенным приближением к откосу при каждом последующем проходе и заканчивают за 0,5 м до бровки; после прикатки бровчатых частей в дальнейшем насыпь уплотняют от краев к середине.

Кольцевая схема применяется при уплотнении нижних слоев насыпи.

При ограниченном фронте работ в зимних условиях работа пневмокатков организуется по челночной схеме с условием обеспечения достаточной видимости при движении назад (рис. 10, а, б).

Рис. 10 Технологические схемы уплотнения насыпи пневмокатками:

а - по кольцу; б - челночная; 1 - 5 - последовательность хода

2.3.10. Отделка верха земляного полотна

Отделка верха земляного полотна производится в светлое время суток автогрейдером ДЗ-122, оборудованным автоматизированной системой «Профиль-10», совершающим рабочие проходы в двух направлениях за 3 цикла (рис. 11 а, б, в).

Рис. 11. Схема работы автогрейдера ДЗ-122:

а - проходы автогрейдера при первом цикле; б - проходы автогрейдера при втором цикле; в - проходы автогрейдера при третьем цикле; β - угол захвата; α - угол резания; γ - угол наклона

За первый цикл производят грубую планировку земляного полотна при ручном управлении автогрейдером (проходы 1 - 10). В процессе выполнения этого цикла производится срезка бугров и выравнивание впадин, лишний грунт передвинут к оси земляного полотна.

За второй цикл (проходы 11 - 18) производят окончательное выравнивание верха земляного полотна и образование вчерне проектно-поперечного профиля. Эту работу выполняют автогрейдером в автоматическом режиме по кольцевой схеме движения с перемещением от бровки к оси земляного полотна, с перекрытием предыдущего следа на 0,5 - 0,6 м. После этого цикла производят работы по восстановлению оси и габарита земляного полотна.

За третий цикл (проходы 19 - 25) автогрейдером в автоматическом режиме выполняют окончательную планировку верха земляного полотна под проектные отметки.

Первый проход осуществляют по оси земляного полотна на уровне заданной отметки без наклона отвала, при этом указатели уклона ставят в положение «0», ручку «заглубление» поворачивают до предела против часовой стрелки, планировку производят средней частью ножа, угол захвата отвала - 90°, угол резания - 41°, угол наклона - 0°. Работу выполняют на II-й передаче.

Последующие проходы выполняют при движении автогрейдера по кольцевой схеме от оси к бровкам земляного полотна с перекрытием предыдущего следа на 0,6 м. Лишний грунт передвигают к бровкам насыпи. Отвал устанавливают в следующее положение: угол захвата - 55°, угол резания - 41°, угол наклона - до 3°.

Работы по планированию верха земляного полотна ведут на всей длине возведенного земляного полотна.

При производстве работ по разравниванию, планировке и уплотнению грунта в насыпи мастер должен руководствоваться картой операционного контроля (раздел 5).

2.3.11. Устройство въездов (съездов)

Земляное полотно въездов (съездов) возводят одновременно с возведением земляного полотна основной дороги бульдозером ДЗ-110А. К устройству въездов (съездов) приступают после возведения насыпи на высоту 1 м.

Въезды (съезды)) устраивают прямыми (под углом 90° к оси насыпи) с шириной земляного полотна 5,5 м. Расстояние между въездами (съездами) в технологическом процессе принято 25 - 50 м, продольный уклон - 1000/00.

Разравнивание и планировку производят продольными проходами бульдозера вдоль въезда с перекрытием следа на 0,5 м и по всей готовой площади въезда, включая и уже выполненную часть, по которой происходило движение автомобилей.

Проезжей части придают поперечный уклон в нагорную сторону и устраивают лоток для стока поверхностной воды. С низовой стороны вдоль бровки создают упорный земляной валик на высоту 1/3 колеса транспортных средств.

После отсыпки следующего слоя земляного полотна операции по удлинению въездов (съездов) повторяют.

Грунт (въездов) съездов уплотняют колесами автомобилей-самосвалов.

2.3.12. Поддержание землевозных дорог в исправном состоянии

Землевозные дороги постоянно поддерживаются в спланированном состоянии. Автогрейдерами ДЗ-122 ежесменно срезаются бугры и засыпаются впадины. При производстве работ в зимних условиях землевозные дороги очищают от снега до образования снегового наката.

2.3.13. Наименование и перечень глав нормативно-технической документации

При производстве земляных работ в зимних условиях с разработкой грунта экскаваторами и транспортированием его в насыпь автомобилями-самосвалами следует руководствоваться следующими документами:

СниП III-8-76 «Строительные нормы и правила. Правила производства и приемки работ. Земляные сооружения»;

СниП III-40-78 «Автомобильные дороги. Правила производства и приемки работ»;

«Руководство по сооружению земляного полотна автомобильных дорог», М., Транспорт, 1982;

«Руководство по производству земляных работ бульдозерами», М., Стройиздат, 1976.

2.4. Указания по организации труда

2.4.1. Работы по возведению земляного полотна автомобильных дорог в зимних условиях с разработкой песчаного и супесчаного грунта в сосредоточенном резерве ведут в три смены. В каждую смену организуют комплексные звенья рабочих следующих составов:

I-й вариант, ведущая машина - экскаватор ЭО-5122

Машинисты экскаваторов

6

разр.

-4

Помощники машинистов

5

»

-4

Машинист рыхлителя-бульдозера ДЗ-94С

6

»

-1

Машинисты бульдозеров ДЗ-110А

6

»

-3 - 2

Машинисты катков ДУ-16В

6

»

-3 - 2

Водители автомобилей-самосвалов КрАЗ-256Б

 

3 класса:

 

при дальности возки 3 км

19 - 18

то же 5 км

26 - 25

    »    6 км

30 - 29

Машинисты автогрейдеров ДЗ-122:

 

при дальности возки 3 км

2 - 1

то же 5 км

3 - 2

    »    6 км

3 - 2

II-й вариант, ведущая машина - экскаватор ЭО-4121А

Машинисты экскаваторов

6

разр.

-5

Машинист рыхлителя-бульдозера ДП-9С-1

6

»

-1

Машинисты бульдозеров ДЗ-110А

6

»

-3 - 2

Машинисты катков ДУ-16В

6

»

-3 - 2

Водители автомобилей-самосвалов КамАЗ-5511

 

3 класса:

 

при дальности возки 3 км

15

то же 5 км

21 - 20

    »    6 км

24 - 23

Машинисты автогрейдеров ДЗ-122 6 разр.:

 

при дальности возки 3 км

2 - 1

то же 5 км

2

    »    6 км

3 - 2

III-й вариант, ведущая машина - экскаватор ЭО-4121А, с применением щелевзрывного способа рыхления

Машинисты экскаваторов

6

разр.

-5

Машинисты бульдозеров ДЗ-110А

6

»

-5 - 4

Машинисты баровых машин БГМ-5

5

»

-2

 

4

»

-1

Взрывники

3

»

-1

Машинисты катков ДУ-16В

6

»

-3 - 2

Водители автомобилей-самосвалов КамАЗ-5511

 

3 класса:

 

при дальности возки 3 км

15

то же 5 км

21 - 20

    »    6 км

24 - 23

Машинисты автогрейдеров ДЗ-122 6 разр.:

 

при дальности возки 3 км

2 - 1

то же 5 км

3 - 2

    »    6 км

3 - 2

IV вариант, ведущая машина - экскаватор Э-652

Машинисты экскаваторов

6

разр.

-5

Машинист рыхлителей-бульдозера ДП-22С

6

»

-1

Машинисты бульдозеров ДЗ-110А

6

»

-3 - 2

Машинисты катков ДУ-16В

6

»

-3 - 2

Водители автомобилей-самосвалов МАЗ-503А

 

3 класса:

 

при дальности возки 3 км

16 - 15

то же 5 км

21 - 20

    »    6 км

24 - 23

Машинисты автогрейдеров ДЗ-122 6 разр.:

 

при дальности возки 3 км

2 - 1

то же 5 км

3 - 2

    »    6 км

3 - 2

2.4.2. Работы выполняют одновременно на 2-х захватках длиной но 25 м каждая: на одной захватке производят отсыпку, разравнивание и планировку грунта, а на другой его уплотняют. Возведение насыпи производят постепенным перемещением захваток на длину 500 м. К отсыпке следующих слоев приступают после уплотнения последней захватки предыдущего слоя.

Работы в сосредоточенном резерве производятся также на двух захватках: на одной рыхлят мерзлый грунт и перемещают его в отвал, а на другой ведут его экскавацию с погрузкой к автотранспорт.

2.4.3. Машинисты 6 разр. рыхлителями с бульдозерным оборудованием рыхлят мерзлый грунт и производят его перемещение в отвал за пределы сосредоточенного резерва.

Машинисты 6 разр. и помощники машинистов 5 разр. экскаваторами разрабатывают грунт в сосредоточенном резерве и грузят его в автомобили-самосвалы.

Водители 3 класса на автомобилях-самосвалах транспортируют грунт и выгружают его в насыпь.

Машинисты баровых машин 5 разр. осуществляют нарезание щелей в мерзлом грунте, следят за точностью их нарезки.

Взрывники 4 разр. и 3 разр. закладывают заряды в щель и взрывают их.

Машинисты 6 разр. бульдозерами производят обратную засыпку щелей, планировку основания насыпи, разравнивание и планировку послойно грунта в насыпи, устройство въездов (съездов).

Машинисты 6 разр. катками на пневматических шинах осуществляют работы по уплотнению насыпи и послойному уплотнению выровненного и спланированного грунта в насыпи.

Машинисты 6 разр. автогрейдерами выполняют работы по окончательной планировке верха земляного полотна автомобильной дороги, ежесменно осуществляют уход за землевозными дорогами.

2.4.4. На участке работ сосредоточивают склад горюче-смазочных материалов на безопасном расстоянии от проведения взрывных работ, инвентарь, вагончики для принятия пищи, отдыха рабочих, для мастера и кладовой.

Участок работ обеспечивают питьевой водой и водой для технических нужд, медицинской аптечкой.

Механизмы обеспечивают горячей водой.

Заправку машин горюче-смазочными материалами и водой производят на месте работ от топливо- и маслозаправщиков в начале смены.

Вариант 1. ВОЗВЕДЕНИЕ НАСЫПИ АВТОМОБИЛЬНЫХ ДОРОГ ДЛИНОЙ 500 м, ВЫСОТОЙ 3 м, ОТКОСЫ 1:2 С РАЗРАБОТКОЙ ПЕСЧАНОГО И СУПЕСЧАНОГО ГРУНТА I ГРУППЫ В ЗИМНИХ УСЛОВИЯХ В СОСРЕДОТОЧЕННОМ РЕЗЕРВЕ ЭКСКАВАТОРОМ ЭО-5122 С ТРАНСПОРТИРОВКОЙ ЕГО АВТОМОБИЛЯМИ-САМОСВАЛАМИ КрАЗ-256Б ПРИ ДАЛЬНОСТИ ВОЗКИ 3, 5, 6 км С ПРИМЕНЕНИЕМ РЫХЛИТЕЛЯ ДЗ-94С

2.5. График выполнения работ

Итого на 500 м (32288 м2) при дальности возки, км:

3

3007,920

На 1000 м3 при дальности возки, км:

3

93,160

 

5

3696,000

 

5

114,470

 

6

4038,430

 

6

125,080

Примечания. 1. Цифры над линией - количество рабочих, занятых в операции; под линией - продолжительность операции в час.

2. Технологические перерывы катков ДУ-168, маш.-ч - 9.

3. При перерывах в работе продолжительностью смену и более машины используются на других работах.

2.6. Калькуляция затрат труд

Шифр норм и числовые значения поправочных коэффициентов

Содержание работ

Состав звена

Единица измерения

На единицу

Объем работ

На конечную продукцию

норма затрат труда. чел.-ч

расценка, руб.-коп.

норма времени использования машин, маш.-ч

нормативная трудоемкость, чел.-ч

сумма заработной платы, руб.-коп.

нормативное время использования машин, маш.-ч

ЕНиР. § 20-2-61, п. г, табл. 3, № 3, применительно

Очистка от снега и льда поверхности сосредоточенного резерва при перемещении его бульдозером-рыхлителем ДЗ-94С

Машинист рыхлителя-бульдозера 6 разр.-1

100 м3

0,226

0 - 15,9

0,226

80,72

18,24

12 - 83

18,24

ЕНиР. § 20-2-61, т. 6, № 1, применительно

То же основания насыпи бульдозером ДЗ-110А

Машинист бульдозера 6 разр.-1

»

0,226

0 - 15,9

0,226

67,50

15,26

10 - 73

15,26

ЕНиР. § В56-6. табл. 2, № 2а, применительно

Рыхление мерзлого грунта I группы послойно рыхлителем ДЗ-94С на тракторе Т-330

Машинист рыхлителя-бульдозера 6 разр.-1

 

0,44

0 - 34,8

0,44

72,32

31,82

25-17

31,82

ЕНиР, § В56-7, табл. № 2а + 2г, применительно

Перемещение разрыхленного мерзлого грунта в обе стороны за пределы сосредоточенного резерва на среднее расстояние до 30 м бульдозерным оборудованием рыхлителя ДЗ-94С

Машинист рыхлителя 6 разр.-1

»

0,68

0 - 60,8

0,68

72,32

49,18

43 - 97

49,18

ЕНиР, § Т79-7-1, табл. 3, № 2а

Разработка грунта I группы в сосредоточенном резерве и погрузка его в автомобили-самосвалы экскаватором ЭО-5122 с ковшом емкостью 1,25 м3

Машинист 6 разр.-1 Помощник машиниста 5 разр.-1

100 м3

2,1

1 - 57

1,05

322,88

678,05

506 - 92

339,02

Сб. офиц. материалов об оплате труда работников автотранспорта, расчет

Транспортировка грунта автомобилями-самосвалами КрАЗ-256П, грузоподъемностью 12 т для доставки его в насыпь на расстояние, км:

Водитель автомобиля 3 класса-1

 

 

 

 

 

 

 

 

3

 

»

4,87

7 - 41,6

4,87

322,88

1572.43

2394 - 36

1572,43

5

 

»

6,76

9 - 66,4

6,76

322,88

2182,67

3120 - 34

2182,67

6

 

»

7,70

10 - 78,7

7,70

322,88

2486.18

3483 - 04

2486,18

ТНиР, § Т79-5-8. табл. 2. № За. K = 2. применительно

Предварительная планировка основания насыпи за 2 прохода по одному следу бульдозером ДЗ-110А

Машинист бульдозера 6 разр.-1

1000 м2

0,44

0 - 34,8

0,44

13,50

5,94

4 - 70

5,94

ТНиР. § 16-7, табл. 2, № 1а

Уплотнение основания насыпи катком па пневматических шипах ДЗ-16В за 4 прохода по одному следу

Машинист трактора 6 разр.-1

»

1,0

0 - 79

1,00

13,50

13,50

10 - 67

13,50

ЕНиР. § 20-1-20. табл. 2. № 4а. применительно

Послойное разравнивание грунта в насыпи слоями 0,3 – 0,35 м с частичным перемещением грунта на расстояние 5 м бульдозером ДЗ-110А

Машинист бульдозера 6 разр.-1

100 м3

0,59

0 - 46,6

0,59

322,88

190,50

150 - 46

190,50

ТНиР, § Т79-5-8, табл. 2, № За, K = 3, применительно

Предварительная послойная планировка грунта в насыпи бульдозером ДЗ-110А за 3 прохода по одному следу

Машинист бульдозера 6 разр.-1

1000 м2

0,66

0 - 52,2

0,66

102,00

67,32

53 - 24

67,32

ЕНиР, § 2-1-22, табл. 8, № 2а + 4а

Послойное уплотнение насыпи слоем 0,3 м в плотном теле полуприцепным катком ДУ-16В на пневмошинах за 12 проходов по одному следу

Машинист трактора 6 разр.-1

100 м3

0,64

0 - 50,9

0,64

322,88

206,64

164 - 35

206,64

ТНиР, § Т79-3-7, табл. 2, № 1г, K = 3, применительно

Окончательная планировка верха земляного полотна автогрейдером ДЗ-122 за 3 прохода по одному следу

Машинист автогрейдера 6 разр.-1

1000 м2

0,57

0 - 45

0,57

7,50

4,28

3 - 38

4,28

Калькуляция на устройство въездов (съездов)

Работа бульдозера ДЗ-110А на устройстве въездов (съездов) на-

Машинист бульдозера 6 разр.-1

1 въезд (1 съезд)

1,90

1 - 47

1,90

20,00

38,00

29-40

38,00

ЕНиР, § 20-2-61, В, табл. 6, № 1, применительно

Очистка от снега и льда землевозных дорог автогрейдером ДЗ-122, при дальности возки грунта, км:

Машинист автогрейдера 6 разр.-1

 

 

 

 

 

 

 

 

3

 

1 км прохода

0,14

0 - 11,1

0,14

6,00

0,84

0-67

0,84

5

 

То же

0,14

0 - 11,1

0,14

10,00

1,40

1 - 11

1,40

6

 

»

0,14

0 - 11,1

0,14

12.00

1,68

1 - 33

1,68

EHиP,  2-1-30a, № в, применительно

Уход за землевозными дорогами автогрейдером ДЗ-122 при дальности возки, км:

То же

 

 

 

 

 

 

 

 

3

 

1000 м2

0,46

0 - 36,3

0,46

252,00

115,92

91 - 48

115,92

5

 

»

0,46

0 - 36,3

0,46

420,00

193,20

152 - 46

193,20

6

 

»

0,46

0 - 36,3

0,46

504,00

231,84

182 - 95

231,84

Итого на 500 м (32288 м3) при дальности возки, км:

 

 

 

 

 

 

 

 

 

3

 

 

 

 

 

 

3007,92

3502 - 33

2668,89

5

 

 

 

 

 

 

3096,00

4289 - 73

3356,97

6

 

 

 

 

 

 

1038,43

4683 - 14

3699,40

Итого на 1000 м3 при дальности возки, км:

 

 

 

 

 

 

 

 

 

3

 

 

 

 

 

 

93,16

108 - 47

82,66

5

 

 

 

 

 

 

114,47

132 - 86

103,97

6

 

 

 

 

 

 

125,08

145 - 04

114,58

Вариант 2. ВОЗВЕДЕНИЕ НАСЫПИ АВТОМОБИЛЬНЫХ ДОРОГ ДЛИНОЙ 500 м, ВЫСОТОЙ 3 м, ОТКОСЫ 1:2 С РАЗРАБОТКОЙ ПЕСЧАНОГО И СУПЕСЧАНОГО ГРУНТА I ГРУППЫ В ЗИМНИХ УСЛОВИЯХ В СОСРЕДОТОЧЕННОМ РЕЗЕРВЕ ЭКСКАВАТОРОМ ЭО-4121А С ТРАНСПОРТИРОВКОЙ ЕГО АВТОМОБИЛЯМИ-САМОСВАЛАМИ КамАЗ-5511, ПРИ ДАЛЬНОСТИ ВОЗКИ 3, 5, 6 км С ПРИМЕНЕНИЕМ РЫХЛИТЕЛЯ ДП-9С-1

2.5. График выполнения работ

Итого на 500 м (32288 м2) при дальности возки, км:

3

3414,810

На 1000 м3 при дальности возки, км:

3

105,760

 

5

4257,790

 

5

131,870

 

6

4677,600

 

6

144,870

Примечания. 1. Цифры над линией - количество рабочих, занятых и операции, под линией - продолжительность операции в часах.

2. Технологические перерывы: катков ДУ-16В - 30 маш.-ч.

3 При перерывах и paботe в течение смены и более машины используются на других работах.

2.6. Калькуляция затрат труда

Шифр норм и числовые значения поправочных коэффициентов

Содержание работ

Состав звена

единица измерения

На единицу

Объем работ

На конечную продукцию

норма затрат труда, чел.-ч

расценка, руб.-коп.

норма времени использования машин, маш.-ч

нормативная трудоемкость, чел.-ч

сумма заработной платы, руб.-коп.

нормативное время использования машин, маш.-ч

ЕНиР, § 20-2-61, п. г, табл. 3, № 3а + 3б, применительно

Очистка от снега и льда поверхности сосредоточенного резерва бульдозерным оборудованием рыхлителя при перемещении его до 30 м

Машинист рыхлителя-бульдозера 6 разр.-1

100 м3 снега

0,226

0 - 15,9

0,226

80,72

18,24

12 - 83

18,24

ЕНиР, § 20-2-61. п. г, табл. 3. № 3а + 3б. применительно

То же основания насыпи бульдозером ДЗ-110А

Машинист бульдозера 6 разр.-1

То же

0,226

0 - 15,9

0,226

67,50

15,26

10 - 73

15,26

ТНиР. § Т79-8. табл. 2. № 3а, применительно

Рыхление мерзлого грунта I группы, послойно, рыхлителем ДП-9С-1 на тракторе ДЭТ-250

Машинист рыхлителя 6 разр.-1

100 м3

0,70

0 - 55,3

0,70

72,32

50,62

39 - 99

50,62

ТНиР, § Т79-4-9, табл. 2, № 1а + 2а, применительно

Перемещение разрыхленного мерзлого грунта в обе стороны за пределы сосредоточенного резерва на среднее расстояние до 30 м бульдозерным оборудованием рыхлителя ДП-9С-1 на тракторе ДЭТ-250

Машинист рыхлителя-6 разр.-1

100 м3

0,78

0 - 61,6

0,78

72,32

56,41

44 - 55

56,41

ТНиР, § Т79-3-3, № 2а, применительно

Разработка грунта I группы в сосредоточенном резерве и погрузка его в автомобили-самосвалы экскаватором ЭО-4121А с ковшом емкостью 1,0 м3

Машинист экскаватора 6 разр.-1

 

2,00

2 - 98

2,00

322,88

645,76

962 - 18

645,76

Сб. офиц. материалов об оплате труда работников транспорта, расчет

Транспортировка грунта автомобилями-самосвалами КамАЗ-5511 грузоподъемностью 10 т для доставки его в насыпь на расстояние, км

Водитель автомобиля 3 класса-1

 

 

 

 

 

 

 

 

3

 

»

6,00

7 - 77,2

6,00

322,88

1937,28

2509 - 29

1937,28

5

 

»

8,27

10 - 23

8,27

322,88

2670.22

3299 - 70

2670,22

6

 

»

9,40

11 - 44,3

9,40

322,88

3035,07

3694 - 62

3035,07

ТНиР. № Т79-5-8, табл. 2. 3а, K = 2, применительно

Предварительная планировка основания насыпи за 2 прохода по одному следу бульдозером ДЗ-110А

Машинист бульдозера 6 разр.-1

1000 м2

0,44

0 - 34,8

0,44

15,50

5,94

4 - 70

5,94

ТНиР, § 16-17, табл. 2, № la

Уплотнение основания насыпи катком на пневматических шинах ДУ-16В за 4 прохода по одному следу

Машинист трактора 6 разр,-1

То же

1,00

0 - 79

1,00

13,50

13,50

10 - 67

13,50

ЕНиР, § 20-1-20, табл. 2, № 4а, применительно

Послойное разравнивание грунта в насыпи слоями 0,3 - 0,35 м с частичным перемещением грунта на расстояние 5 м бульдозером ДЭ-110А

Машинист бульдозера 6 разр.-1

100 м3

0,59

0 - 46,6

0,59

322,88

190,50

150 - 46

190,50

ТНиР, § Т79-5-8, табл. 2, № 3а, K = 3, применительно

Предварительная послойная планировка грунтов насыпи бульдозером ДЗ-110А за 3 прохода по одному следу

То же

1000 м2

0,66

0 - 52,2

0,66

102,00

67,32

53 - 24

67,32

ЕНиР, § 2-1-22, табл. 8, № 2а + 4а

Послойное уплотнение насыпи слоем 0,3 м в плотном теле полуприцепным катком ДУ-16В на пневматических шинах за 12 проходов по одному следу

Машинист трактора 6 разр.-1

100 м3

0,64

0 - 50,9

0,64

322,88

206,64

164 - 35

206,64

ТНиР. § Т79-3-7, табл. 2. № 1г. А' = 3, применительно

Окончательная планировка верха земляного полотна автогрейдером ДЗ-122 за 3 прохода по одному следу

Машинист автогрейдера 6 разр.-1

1000 м2

0,57

0 - 45

0,57

7,50

4,28

3 - 38

4,28

Калькуляция на устройство въездов (съездов)

Работа бульдозера

Машинист бульдозера 6 разр.-1

1 въезд (1 съезд)

1,90

1 - 47

1,90

20

38,00

29 - 40

38,00

ЕНиР, § 20-2-61, в, табл. 6, № 1, применительно

Очистка от снега и льда землевозных дорог автогрейдером ДЗ-122 при дальности возки грунта, км:

Машинист автогрейдера 6 разр.-1

 

 

 

 

 

 

 

 

3

 

1 км прохода

0,14

0 - 11,1

0,14

6,00

0,84

0-67

0,84

5

 

То же

0,14

0 - 11,1

0,14

10,00

1,40

1 - 11

1,40

6

 

»

0,14

0 - 11,1

0,14

12,00

1,68

1 - 33

1,68

ЕНиР, § 2-1-30а, № 6а, применительно

Уход за землевозными дорогами автогрейдером ДЗ-122 при дальности возки, км:

То же

 

 

 

 

 

 

 

 

3

 

1000 м2

0,46

0 - 36,3

0.46

357,00

164,22

129 - 59

164,22

5

 

»

0,46

0 - 36,3

0,46

595,00

273,70

215 - 99

273,70

6

 

»

0,46

0 - 36,3

0,46

714,00

328,44

259 - 18

328,44

 

Итого на 500 м (32288 м3) при дальности возки, км:

 

 

 

 

 

 

 

 

 

3

 

 

 

 

 

 

3414,81

4126 - 03

3414,81

5

 

 

 

 

 

 

4257,79

5003 - 28

4257,79

6

 

 

 

 

 

 

4677,66

5441 - 61

4677,66

 

Итого на 1000 м3 при дальности возки, км:

 

 

 

 

 

 

 

 

 

3

 

 

 

 

 

 

105,76

127 - 79

105,76

5

 

 

 

 

 

 

131,87

154 - 96

131,87

6

 

 

 

 

 

 

114,87

168 - 53

144,87

Вариант 3. ВОЗВЕДЕНИЕ НАСЫПИ АВТОМОБИЛЬНЫХ ДОРОГ ДЛИНОЙ 500 м, ВЫСОТОЙ 3 м, ОТКОСЫ 1:2 С РАЗРАБОТКОЙ ПЕСЧАНОГО И СУПЕСЧАНОГО ГРУНТА I ГРУППЫ В ЗИМНИХ УСЛОВИЯХ В СОСРЕДОТОЧЕННОМ РЕЗЕРВЕ ЭКСКАВАТОРОМ ЭО-4121А С ТРАНСПОРТИРОВКОЙ ЕГО АВТОМОБИЛЯМИ-САМОСВАЛАМИ КамАЗ-5511 ПРИ ДАЛЬНОСТИ ВОЗКИ 3, 5, 6 км С ПРИМЕНЕНИЕМ ЩЕЛЕВЗРЫВНОГО СПОСОБА РЫХЛЕНИЯ

2.5. График выполнения работ

Итого на 500 м (32288 м3) при дальности возки, км:

3

3696,66

на 1000 м3 при дальности возки, км:

3

114,49

 

5

4546,08

 

5

140,80

 

6

4969,17

 

6

153,90

Примечания. 1. Цифры над линией - количество рабочих, занятых в операции, под линией - продолжительность операции в час.

2. График составлен из условия проведения взрывных работ в светлое время суток.

3. Технологические перерывы бульдозеров ДЗ-110А - 246 маш.-ч, катков ДУ-16В - 30 маш.-ч.

4. При перерывах в работе в течение смены и более машины используются па других работах.

2.6. Калькуляция затрат труда

Шифр норм и числовые значения поправочных коэффициентов

Содержание работ

Состав звена

единица измерения

На единицу

Объем работ

На конечную продукцию

норма затрат труда, чел.-ч

расценка, руб.-коп.

норма времени использования машин, маш.-ч

нормативная трудоемкость, чел.-ч

сумма заработной платы, руб.-коп.

нормативное время использования машин, маш.-ч

ЕниР, § 20-2-61, п. г, табл. 3, № 3а + 3б, применительно

Очистка от снега и льда поверхности сосредоточенного резерва бульдозером ДЗ-110А при перемещении его до 30 м

Машинист бульдозера 6 разр.-1

100 м3 снега

0,226

0 - 15,0

0,226

80,72

18,24

12 - 83

18,24

ЕниР, § 20-2-61, п. г, табл. 3, № 3а + 3б, применительно

То же основание насыпи

То же

То же

0,226

0 - 15,9

0,226

67,50

15,26

10 - 73

15,26

ЕниР, § 2-1-4, № 7а, применительно

Нарезка прорезей в мерзлом грунте баровой установкой БГМ-5 на глубину 0,9 м, при глубине промерзания 1 м

Машинист 5 разр-1

100 м3 прорези

3,40

2 - 30

3,40

60,27

204,92

144 - 05

204,92

Опытные данные ЦНИИОМТП. применительно

Заряжение щелей патронированием ВВ при глубине щелей 0,9 м

Взрывники:

4 разр.-1

3    »    -1

100 кг

1,53

1 - 02,8

-

39,06

60,54

40 - 15

-

Опытные данные ЦНИИОМТП. применительно

Обратная засыпка зарядной щели бульдозером ДЗ-110А при глубине щели 0,9 м

Машинист бульдозера 6 разр.-1

10 п. м

0,028

0 - 02,0

0,028

602,70

16,88

12 - 05

16,88

Опытные данные ЦНИИОМТП, применительно

Взрывание зарядов с помощью детонирующего шнура

Взрывники:

4 разр.-1

3    »   -1

1 взрыв

0,72

0 - 42,5

 

10

7,20

4 - 25

-

ВНиР, § В56-7, № 1а + 1г, применительно

Перемещение разрыхленного мерзлого грунта в обе стороны за пределы сосредоточенного резерва на среднее расстояние до 30 м бульдозером Д3-110а

Машинист бульдозера 6 разр.-1

100 м3

1,24

0 - 97,9

1,24

72,32

89,68

70 - 80

89,68

ТНиР, § Т79-3-3, № 2а, применительно

Разработка грунта I группы в сосредоточенном резерве и погрузкой ого в автомобили-самосвалы экскаватором ЭО-4121 с ковшом емкостью 1,0 м3

Машинист 6 разр.-1

 

2,00

2 - 98

2,00

322,88

645,76

962 - 18

645,76

Сб. офиц. материалов об оплате труда работников транспорта, расчет

Транспортировка грунта автомобилями-самосвалами КамАЗ-5511 грузоподъемностью 10 т для доставки его в насыпь на расстояние, км:

Водитель автомобиля 3 класса-1

 

 

 

 

 

 

 

 

3

 

100 м3

6,00

7 - 77,2

6,00

322,88

1937,28

2509 - 29

1937,28

5

 

»

8,27

10 - 23

8,27

322,88

2670,22

3299 - 70

2670,22

6

 

»

9,40

11 - 44,3

9,40

322,88

3035,07

3694 - 62

3035,07

ТНиР, § Т79-5-8, табл. 2, № 3а, K = 2, применительно

Предварительная планировка основания насыпи за 2 прохода по ледяному следу бульдозером ДЗ-110А

Машинист бульдозера 6 разр.-1

1000 м2

0,44

0 - 34,8

0,44

13,50

5,94

4 - 70

5,94

ТНиР, § 16-7, табл. 2, № 1а

Уплотнение основания насыпи катком на пневматических шинах ДУ-16В

Машинист трактора 6 разр.-1

»

1,00

0 - 79

1,00

13,50

13,50

10 - 67

13,50

ЕНиР, § 20-1-20, табл. 2, № 4а, применительно

Послойное разравнивание грунта в насыпи слоями 0,3 - 0,35 м с частичным перемещением грунта на расстояние 5 м бульдозером ДЗ-110А

Машинист бульдозера 7 разр,-1

100 м3

0,59

0 - 46,6

0,59

322,88

190,50

150 - 46

190,50

ТНиР, § Т79-5-8, табл. 2, № 3а, K = 3, применительно

Предварительная послойная планировка грунта насыпи бульдозером ДЗ-110А за 3 прохода по одному следу

Машинист бульдозера 6 разр.-1

1000 м2

0,66

0 - 52,2

0,66

102,00

67,32

53 -24

67,32

ЕНиР, § 2-1-22, табл. 8, № 2а + 4а

Послойное уплотнение насыпи слоем 0,3 м в плотном теле полуприцепным катком ДУ-16В на пневматических шинах за 12 проходов по одному следу

Машинист трактора 6 разр.-1

100 м3

0,64

0 - 50,9

0,64

322,88

206,64

164 - 35

206,64

ТНиР, § Т79-3-7, табл. 2, № 1г, K = 3, применительно

Окончательная планировка верха земляного полотна автогрейдером ДЗ-122 за 3 прохода по одному следу

Машинист автогрейдера 6 разр.-1

1000 м2

0,57

0 - 45

0,57

7,50

4,28

3 - 38

4,28

Калькуляция на устройство (съездов) въездов

Работа бульдозера ДЗ-110А на устройстве въездов (съездов) насыпи

Машинист бульдозера 6 разр.-1

1 въезд (1 съезд)

1,90

1 - 47

1,90

20

38,00

29 - 40

38,00

ЕНиР, § 20-2-61, п. в, табл. 6, № 1, применительно

Очистка от спета и льда землевозных дорог автогрейдером ДЗ-122 при дальности возки, км:

Машинист автогрейдера 6 разр.-1

 

 

 

 

 

 

 

 

3

 

1 км прохода

0,14

0 - 11,1

0,14

6,00

0,84

0 - 67

0,84

5

 

То же

0,14

0 - 11,1

0,14

10,00

1,40

1 - 11

1,40

6

 

»

0,14

0 - 11,1

0,14

12,00

1,68

1 - 33

1,68

ЕНиР, § 2-1-30a, № 1в, применительно

Уход за землевозными дорогами автогрейдером ДЗ-122 при дальности возки, км:

Машинист автогрейдера 6 разр.-1

 

 

 

 

 

 

 

 

3

 

1000 м2

0,46

0 - 36,3

0,46

378,00

173,88

137 - 21

173,88

5

 

»

0,46

0 - 36,3

0,46

630,00

289,80

228 - 69

289,80

6

 

»

0,46

0 - 36,3

0,46

756,00

347,76

274 - 43

347,76

 

Итого на 500 м (32288 м3) при дальности возки, км:

 

 

 

 

 

 

 

 

 

3

 

 

 

 

 

 

3696,66

4320 - 41

3628,92

5

 

 

 

 

 

 

4546,08

5202 - 74

4478,34

6

 

 

 

 

 

 

4909,17

5643 - 62

4901,43

 

Итого на 1000 м3 при дальности возки, км:

 

 

 

 

 

 

 

 

 

3

 

 

 

 

 

 

114,49

133 - 81

112,39

5

 

 

 

 

 

 

140,80

161 - 14

138,70

6

 

 

 

 

 

 

153,90

174 - 79

151,80

Вариант 4. ВОЗВЕДЕНИЕ НАСЫПИ АВТОМОБИЛЬНЫХ ДОРОГ ДЛИНОЙ 500 м, ВЫСОТОЙ 3 м, ОТКОСЫ 1:2 С РАЗРАБОТКОЙ ПЕСЧАНОГО И СУПЕСЧАНОГО ГРУНТА I ГРУППЫ В ЗИМНИХ УСЛОВИЯХ В СОСРЕДОТОЧЕННОМ РЕЗЕРВЕ ЭКСКАВАТОРОМ Э-652 С ТРАНСПОРТИРОВКОЙ ЕГО АВТОМОБИЛЯМИ-САМОСВАЛАМИ МАЗ-503А ПРИ ДАЛЬНОСТИ ВОЗКИ 3, 5, 6 км С ПРИМЕНЕНИЕМ РЫХЛИТЕЛЯ НА ТРАКТОРЕ Т-180

2.5. График выполнения работ

2.6. Калькуляция затрат труда

Шифр норм и числовые значения поправочных коэффициентов

Содержание работ

Состав звена

Единица измерения

На единицу

Объем работ

На конечную продукцию

норма затрат труда, чел.-ч

расценка, руб.-коп.

норма времени использования машин, маш.-ч

 

нормативная трудоемкость, чел.-ч

сумма заработной платы, руб.-коп.

нормативное время использования машин, маш.-ч

ЕНиР, § 20-2-61, п. г, табл. 3, № 3а + 3б, применительно

Очистка от снега и льда поверхности сосредоточенного резерва бульдозером ДЗ-110А при перемещении его до 30 м

Машинист бульдозера 6 разр.-1

100 м3 снега

0,226

0 - 15,9

0,226

80,72

18,24

12 - 83

18,24

ЕНиР, § 20-2-61, п. г, табл. 3, № 3а + 3б, применительно

То же основания насыпи

То же

То же

0,226

0 - 15,9

0,226

67,50

15,26

10-73

15,26

ТНиР, § Т79-8-1, табл. 2. № 2а

Рыхление мерзлого грунта

Машинист рыхлителя 6 разр.-1

100 м3

0,78

0 - 61,6

0,78

72,32

56,41

44- 55

56,41

ВНиР, § В56-6, № 1а + 1г, применительно

Перемещение разрыхленного мерзлого грунта в обе стороны за пределы сосредоточенного резерва на среднее расстояние до 30 м бульдозерным оборудованием рыхлителя ДП-22С на тракторе Т-180

Машинист рыхлителя-бульдозера 6 разр.-1

100 м3

1,24

0 - 97,9

1,24

72,32

89,68

70-80

89,68

ЕНиР, § 2-1-10, табл. 3, № 5а

Разработка грунта I группы в сосредоточенном резерве и погрузке его в автомобили-самосвалы экскаватором Э-652 с ковшом емкостью 0,65 м3

Машинист 6 разр.-1

»

2,50

1 - 98

2,50

322,88

807,20

639 - 30

807,20

Сб. офиц. матер. об оплате труда работников автотранспорта, расчет

Транспортировка грунта автомобилями-самосвалами МАЗ-503А грузоподъемностью 8 т для доставки его в насыпь на расстояние, км:

Водитель автомобиля 3 класса-1

 

 

 

 

 

 

 

 

3

 

»

7,63

8 - 80,5

7,63

322,88

2463,57

2842 - 99

2463,57

5

 

»

10,46

11 - 85,5

10,46

322,88

3377,32

3827 - 86

3377,32

6

 

»

11,88

13 - 38

11,88

322,88

3835,81

4320 - 56

3835,81

ТНиР, § Т79-5-8, табл. 2, № 3а, K = 2, применительно

Предварительная планировка основания насыпи за 2 прохода по одному следу бульдозером ДЗ-110А

Машинист бульдозера 6 разр.-1

1000 м2

0,44

0 - 34,8

0,44

13,50

5,94

4 - 70

5,94

ТНиР, § 16-7, табл. 2, № 1а

Уплотнение основания насыпи катком на пневматических шинах ДУ-16В за 4 прохода по одному следу

Машинист трактора 6 разр.-1

»

1,00

0 - 79

1,00

13,5

13,50

10 - 67

13,50

ЕНиР, § 20-1-20, табл. 2, № 4а, применительно

Послойное разравнивание грунта в насыпи слоями 0,3-0,35 м с частичным перемещением грунта на расстояние 5 м бульдозером ДЗ-110А

Машинист бульдозера 6 разр.-1

100 м3

0,59

0 - 46,6

0,59

322,88

190,50

150 - 46

190,50

ТНиР, § Т79-5-8, табл. 2, № 3а, K = 3, применительно

Предварительная послойная планировка грунта в насыпи бульдозером ДЗ-110А за 3 прохода по одному следу

То же

1000 м2

0,66

0 - 52,2

0,66

102,00

67,32

53 - 24

67,32

ЕНиР, § 2-1-22, табл. 8, № 2а + 4а

Послойное уплотнение насыпи слоем 0,3 м в плотном теле полуприцепным катком ДУ-16В на пневматических шинах за 12 проходов по одному следу

Машинист трактора 6 разр.-1

100 м3

0,64

0 - 50,9

0,64

322,88

206,64

164 - 35

206,64

ТНиР, § Т79-3-7, табл. 2, № 1г, K = 3, применительно

Окончательная планировка верха земляного полотна автогрейдером ДЗ-122 за 3 прохода по одному следу

Машинист автогрейдера 6 разр.-1

1000 м2

0,57

0 - 45

0,57

7,50

4,28

3 - 38

4,28

Калькуляция на устройство въездов (съездов)

Работа бульдозера ДЗ-110А на устройстве въездов (съездов) насыпи

Машинист бульдозера 6 разр.-1

1 въезд (съезд)

1,90

1 - 47

1,90

2,00

38,00

29 - 40

38,00

ЕНиР, § 20-2-61, п. в, табл. 6, № 1, применительно

Очистка от снега и льда землевозных дорог автогрейдером ДЗ-122 при дальности возки грунта, км:

Машинист автогрейдера 6 разр.-1

 

 

 

 

 

 

 

 

3

 

1 км перехода

0,14

0 - 11,1

0,14

6,00

0,84

0 - 67

0,84

5

 

То же

0,14

0 - 11,1

0,14

10,00

1,40

1 - 11

1,40

6

 

»

0,14

0 - 11,1

0,14

12,00

1,68

1 - 33

1,68

ЕНиР, § 2-1- 30а, № 1в, применительно

Уход за землевозными дорогами автогрейдером ДЗ-122 при дальности возки, км:

Машинист автогрейдера 6 разр.-1

 

 

 

 

 

 

 

 

 

3

 

1000 м2

0,46

0 - 36,3

0,46

441,00

202,86

160 - 08

202,86

 

5

 

»

0,46

0 - 36,3

0,46

735,00

338,10

266 - 81

338,10

 

6

 

»

0,46

0 - 36,3

0,46

882,00

405,72

320 - 17

405,72

 

Итого на 500 м (32288 м3) при дальности возки, км:

 

 

 

 

 

 

 

 

 

3

 

 

 

 

 

 

4180,24

4198 - 15

4180,24

5

 

 

 

 

 

 

5229,79

5290 - 19

5229,79

6

 

 

 

 

 

 

5756,18

5836 - 47

5756,18

 

Итого на 1000 м3 при дальности возки, км:

 

 

 

 

 

 

 

 

 

3

 

 

 

 

 

 

129,47

130 - 02

129,47

5

 

 

 

 

 

 

161,97

163 - 84

161,97

6

 

 

 

 

 

 

178,28

180 - 76

178,28

КАЛЬКУЛЯЦИЯ ЗАТРАТ ТРУДА НА УСТРОЙСТВО ВРЕМЕННОГО ВЪЕЗДА (СЪЕЗДА) БУЛЬДОЗЕРОМ ДЗ-110А НА НАСЫПЬ ВЫСОТОЙ 3 м

Шифр норм и числовые значения поправочных коэффициентов

Содержание работ

Состав звена

Единица измерения

На единицу

Объем работ

На конечную продукцию

норма затрат труда, чел.-ч

расценка, руб.-коп.

норма времени использования машин, мащ.-ч

нормативная трудоемкость, чел.-ч

сумма заработной платы, руб.-коп.

нормативное время использования машин, маш.-ч

ТНиР. § Т79-5-7, табл. 2, № 5а + г, применительно, примеч., п. 3, K = 0,85

Разработка и перемещение грунта I группы на расстояние до 30 м бульдозером ДЗ-110А и отсыпка ровным слоем

Машинист 6 разр-1

100 м3

1,00

0 - 79,2

1,00

1,76

1,76

1 - 39

1,76

ТНиР, § Т79-5-8, табл. 2, № 3а, применительно, K = 2

Предварительная планировка въезда бульдозером ДЗ-110А за 2 прохода по одному следу

То же

1000 м2

0,44

0 - 34,8

0,44

0,14

0,06

0 - 05

0,06

ТНиР, § Т79-5-9, табл. 3, № За,/С=2

Окончательная планировка въезда бульдозером ДЗ-110А за 2 прохода по одному следу

»

»

0,54

0 - 21,3

0,54

0,14

0,08

0 - 03

0,08

 

Итого на один въезд (съезд) - 176 м3

 

 

 

 

 

 

1,90

1 - 47

1,90

2.7. Указания по технике безопасности

2.7.1. При выполнении работ по возведению насыпи земляного полотна автомобильных дорог в зимних условиях с разработкой грунта экскаваторами в сосредоточенных резервах и транспортировкой его автосамосвалами, необходимо соблюдать требования, изложенные в следующих документах: СНиП III-4-80 «Правила производства и приемки работ. Техника безопасности в строительстве». М., Стройиздат, 1980 г.

ГОСТ 35-10-80 «Сооружение земляного полотна железных и автомобильных дорог. Требования безопасности».

«Правила техники безопасности при строительстве, ремонте и содержании автомобильных дорог». М., Транспорт, 1973 г.

«Единые правила безопасности при взрывных работах». М., «Недра», 1976 г.

«Типовая инструкция по охране труда для машиниста и помощника машиниста экскаватора». М., Оргтрансстрой, 1978 г.

«Типовая инструкция по охране труда для машиниста бульдозера». М., Оргтрансстрой, 1978 г.

«Типовая инструкция по охране труда для машинистов грейдеров, автогрейдеров и грейдер-элеваторов». М., Оргтрансстрой, 1975 г.

2.7.2. К управлению всеми машинами допускаются лица, прошедшие соответствующее обучение и имеющие удостоверения на право управления ими.

2.7.3. При производстве механизированных земляных работ требуется установить особое наблюдение за участками работ, где возможны оползни и обрушения грунта.

2.7.4. Во время работы на экскаваторе необходимо соблюдать следующие правила техники безопасности:

Экскаваторы во время работы должны устанавливаться на спланированной площадке. Запрещается подкладывать под гусеницы бревна, камни и другие предметы.

Во время работы экскаватора рабочим запрещается находиться под его ковшом или стрелой, проводить другие работы со стороны забоя.

Посторонним лицам запрещается находиться на расстоянии менее 5 м от радиуса действия экскаватора.

Во время перерывов в работе ковш следует опускать на землю. Очищать ковш можно только, опустив его на грунт. При погрузке грунта ковш экскаватора не должен перемещаться над кабинами автомобилей. Водитель машины во время погрузки должен выходить из кабины.

Запрещается изменять вылет стрелы и регулировать тормоза при поднятом ковше.

В процессе работы нельзя допускать чрезмерного врезания ковша в грунт. Поворот экскаватора с опорожненным ковшом следует начинать только после выхода его из грунта, тормозить в конце поворота с заполненным ковшом нужно плавно, без резких толчков.

При пробивке пионерной траншеи необходимо следить за тем, чтобы при повороте ковш был поднят выше боковой стенки забоя, а хвостовая часть экскаватора не задевала за нее.

В случае совместной работы двух экскаваторов кратчайшее расстояние между ними должно быть не менее суммы наибольших радиусов действия экскаваторов.

Между автомобилями-самосвалами, стоящими друг за другом при подаче под погрузку, необходимо выдерживать интервал не менее 1 м.

2.7.5. При перевозке грунта автосамосвалами для каждого участка дороги в соответствии с местными условиями линейным механиком должна быть установлена скорость движения машины, превышение которой запрещается.

Приближение колес транспортных средств к бровке откоса на расстояние ближе 1 м запрещается.

При работе автосамосвалов не допускается:

движение с поднятым кузовом;

движение задним ходом к месту погрузки более 50 м;

односторонняя загрузка машины, превышающая установленную грузоподъемность. Места разгрузки автосамосвалов на насыпи обозначаются видимым знаком.

2.7.6. При работе бульдозера запрещается: выдвигать отвал за бровку откоса насыпи в момент сбрасывания грунта под откос; поворачивать бульдозер с загруженным или заглубленным отвалом, так как при остановке бульдозера отвал должен быть опущен на землю; находиться рабочим между трактором и отвалом во время работы двигателя.

2.7.7. В процессе укатки грунта прицепным катком запрещается:

движение тягача задним ходом;

производить крутые повороты пневмокатка при большой просадке его колес в грунт;

транспортировать катки на пневмошинах необходимо па прицепе без балласта;

приближение катка к откосу свежеотсыпаемой насыпи на расстояние ближе, чем на 0,5 м.

2.7.8. Запрещается работа автогрейдера на участках с крупными камнями, мешающими нормальной работе, до их уборки; при развороте автогрейдера в конце захватки, а также на крутых поворотах движение должно осуществляться на минимальной скорости; при нарезке сливной призмы расстояние от бровки насыпи до внешнего края колеса автогрейдера должно быть не менее 0,5 м.

2.7.9. Во время движения дорожно-строительных машин на подъеме и спуске нельзя переключать передачи. Машины должны двигаться на спусках при первой передаче.

Дистанция между движущимися машинами должна быть не менее 5 м. Запрещается использовать машины в ночное время при недостаточном освещении мест работы или неисправности освещения на машинах. Запрещается оставлять машины с работающими двигателями.

2.7.10. Землевозные машины должны двигаться с установленной скоростью. Для этого предохраняют дороги от снежных заносов щитами, производят своевременную очистку дорог от снега бульдозером или автогрейдером.

2.7.11. При рыхлении мерзлого грунта взрывным способом нахождение людей в зоне разлета комьев не допускается.

При ведении взрывных работ разрешается применять взрывчатые вещества (ВВ) и средства взрывания (СВ), на которые имеются ГОСТы или утвержденные в установленном порядке технические условия, а также журнальные постановления Госгортехнадзора СССР.

Получение разрешения на право производства взрывных работ, хранение, приобретение и перевозку взрывчатых материалов производится в соответствии с «Едиными правилами безопасности при взрывных работах».

К взрывным работам допускаются лица, сдавшие экзамены квалификационной комиссии и имеющие «Единую книжку взрывника (мастера взрывника)».

Руководство взрывными работами возлагается приказом либо на технического руководителя взрывных работ подрядной организации, либо на назначенное им лицо.

К руководству взрывными работами допускаются лица, имеющие законченное горнотехническое образование, окончившие специальное учебное заведение или курсы, дающие право на техническое руководство (ответственное ведение) горными или взрывными работами.

При выполнении взрывных работ назначается старший взрывник, что оформляется записью в наряде-путевке.

Все работы могут производиться только при наличии разрешения органов Госгортехнадзора, республиканских или ведомственных горнотехнических инспекций.

При любых операциях со взрывчатыми материалами (ВМ) должна соблюдаться максимальная осторожность, ВМ не должны подвергаться ударам и толчкам. Запрещается толкать, бросать, волочить, кантовать и ударять ящики с ВМ.

Вблизи взрывчатых материалов запрещается курить и разводить открытый огонь.

При взрывных работах обязательно соблюдение «Единых правил безопасности при взрывных работах».

2.7.12. При производстве работ в зимних условиях машины оборудуют утепленными кабинами.

3. ТЕХНИКО-ЭКОНОМИЧЕСКИЕ ПОКАЗАТЕЛИ

Наименование машин и механизмов

Затраты труда на 1000 м3 отсыпаемой насыпи, чел.-дн.

Затраты машинного времени на 1000 м3 отсыпаемой насыпи, маш.-смен

Выработка на одного рабочего в день, м3

Дальность возки, км

Дальность возки, км

Дальность возки, км

3

5

6

3

5

6

3

5

6

Экскаватор ЭО-5122

2,62

2,62

2,62

1,31

1,31

1,31

 

 

 

Автомобили-самосвалы КрАЗ-256Б

6,09

8,45

9,63

6,09

8,45

9,63

 

 

 

Рыхлитель ДЗ-94С на тракторе Т-330

0,38

0,38

0,38

0,38

0,38

0,38

 

 

 

Бульдозер ДЗ-110А

1,23

1,23

1,23

1,23

1,23

1,23

 

 

 

Автогрейдер ДЗ-122

0,47

0,77

0,92

0,47

0,77

0,92

 

 

 

Каток на пневмошинах ДУ-16В

0,85

0,85

0,85

0,85

0,85

0,85

 

 

 

Итого

11,64

14,30

15,63

10,33

12,99

14,32

85,87

69,89

63,96

Экскаватор ЭО-4121

2,50

2,50

2,50

2,50

2,50

2,50

 

 

 

Автомобили-самосвалы КамАЗ-5511

7,50

10,34

11,75

7,50

10,34

11,75

 

 

 

Рыхлитель ДЗ-9С-1 на тракторе ДЭТ-250

0,48

0,48

0,48

0,48

0,48

0,48

 

 

 

Бульдозер ДЗ-110А

1,23

1,23

1,23

1,23

1,23

1,23

 

 

 

Автогрейдер ДЗ-122

0,66

1,08

1,29

0,66

1,08

1,29

 

 

 

Каток на пневмошинах ДУ-16В

0,85

0,85

0,85

0,85

0,85

0,85

 

 

 

Итого

13,22

16,48

18,10

13,22

16,48

18,10

75,64

60,67

55,22

Экскаватор ЭО-4121

2,50

2,50

2,50

2,50

2,50

2,50

 

 

 

Автомобили-самосвалы КамАЗ-5511

7,50

10,34

11,75

7,50

10,34

11,75

 

 

 

Баровая машина БГМ-5

0,79

0,79

0,79

0,79

0,79

0,79

 

 

 

Бульдозер ДЗ-110А

1,71

1,71

1,71

1,71

1,71

1,71

 

 

 

Автогрейдер ДЗ-122

0,69

1,14

1,37

0,69

1,14

1,37

 

 

 

Каток на пневмошинах ДУ-16В

0,85

0,85

0,85

0,85

0,85

0,85

 

 

 

Итого

14,04

17,33

18,97

14,04

17,33

18,97

69,87

56,82

51,98

Экскаватор ЭО-652

3,13

3,13

3,13

3,13

3,13

3,13

 

 

 

Автомобили-самосвалы МАЗ-503А

9,54

13,07

14,85

9,54

13,07

14,85

 

 

 

Рыхлитель ДП-22С на тракторе Т-180

0,64

0,64

0,64

0,64

0,64

0,64

 

 

 

Бульдозер ДЗ-110А

1,23

1,23

1,23

1,23

1,23

1,23

 

 

 

Автогрейдер ДЗ-122

0,79

1,31

1,57

0,79

1,31

1,57

 

 

 

Каток на пневмошинах ДУ-16В

0,85

0,85

0,85

0,85

0,85

0,85

 

 

 

Итого

16,18

20,23

22,27

16,18

20,23

22,27

61,79

49,39

44,87

Примечание. Затраты труда и машинного времени механизмов определены без учета технологических перерывов.

4. МАТЕРИАЛЬНО-ТЕХНИЧЕСКИЕ РЕСУРСЫ

4.1. Потребность в машинах, оборудовании, Инструменте, инвентаре, приспособлениях

Комплекты с ведущими машинами

 

Экскаватор ЭО-5122

Экскаватор ЭО-4121

Экскаватор ЭО-4121А

Экскаватор Э-652

марка, ГОСТ

кол-во

марка, ГОСТ

кол-во

марка, ГОСТ

кол-во

марка, ГОСТ

кол-во

Экскаваторы

ЭО-5122, ГОСТ 22894-77

4

ЭО-4121А ГОСТ 22894-77

5

ЭО-4121А ГОСТ 22894-77

5

Э-652 ГОСТ 17343-71

5

Автомобили-самосвалы

КрАЗ-256Б ТУ 37.001.470-80

30 - 18

КамАЗ-5511 ТУ 37.001.779-77

24 - 15

КамАЗ-5511 ТУ 37.001.779-77

24 - 15

МАЗ-503А

24 - 15

Рыхлители

ДЗ-94С на Т-330

1

ДЗ-9С-1 на ДЭТ-250

1

 

 

ДП-22С на Т-180 ГОСТ 7410-79 ГОСТ 7425-71)

1

Баровые машины

-

-

-

-

БГМ-5 на Т-74 ТУ 3413623-75

2

-

-

Бульдозеры

ДЗ-110А ГОСТ 7410-79

3 - 2

ДЗ-110А ГОСТ 7410-79

3 - 2

ДЗ-110А, ГОСТ 7410-79

3 - 2

ДЗ-110А ГОСТ 7410-79

3 - 2

Автогрейдеры

ДЗ-122 ГОСТ 9420-79

3 - 1

ДЗ-122 ГОСТ 9420-79

3 - 1

ДЗ-122 ГОСТ 9420-79

3 - 1

ДЗ-122 ГОСТ 9420-79

3 - 1

Катки на пневмошинах

ДУ-16В ГОСТ 16481-70

3 - 2

ДУ-16В ГОСТ 16481-70

3 - 2

ДУ-16В ГОСТ 16481-70

3 - 2

ДУ-16В ГОСТ 16481-70

3 - 2

Взрывная машина

-

-

-

-

КПМ-1

2

-

-

Проводники тока, контрольные приборы: линейный мост

-

-

-

-

СП-2

1000

-

-

-

-

-

-

СП-1

1000

-

-

-

-

-

-

Р-343

2

-

-

Нивелиры

ГОСТ 10528-76

1

ГОСТ 10528-76

1

ГОСТ 10528-76

1

ГОСТ 10528-76

1

Рейки нивелирные

ГОСТ 11158-76

1

ГОСТ 11158-76

1

ГОСТ 11158-76

1

ГОСТ 11158-76

1

Рулетка измерительная металлическая

ГОСТ 7502-80

1

ГОСТ 7502-80

1

ГОСТ 7502-80

1

ГОСТ 7502-80

1

Лента мерная

-

1

-

1

-

1

-

1

Рейка трехметровая с мерным клином

-

1

-

1

-

1

-

1

Шаблон для проверки поперечного профиля

Изготавливается в мастерских СУ

1

Изготавливается в мастерских СУ

1

Изготавливается в мастерских СУ

1

Изготавливается в мастерских СУ

1

4.2. Потребность в материалах

Комплекты с ведущими машинами

Наименование

Единица измерения

Экскаватор ЭО-5122

Экскаватор ЭО-4121А

Экскаватор ЭО-4121А

Экскаватор Э-652

кол-во

кол-во

кол-во

кол-во

Взрывчатое вещество (аммоний)

кг

-

-

3906

-

Детонирующий шнур

м

-

-

6629

-

Электродетонаторы замедленного действия ЭД-3Д

шт.

-

-

112

-

5. КАРТА ОПЕРАЦИОННОГО КОНТРОЛЯ КАЧЕСТВА ПРИ ВОЗВЕДЕНИИ НАСЫПИ ЗЕМЛЯНОГО ПОЛОТНА

Схема конструкции земляного полотна с указанием предельных отклонений

Контролируемые параметры

Предельные отклонения

Отметка бровки земляного полотна, см

1 = ±5

Ширина земляного полотна между осью и бровкой, см

2 = ±10

Поперечные уклоны

3 = ±0,010

Ровность поверхности (просвет под трехметровой рейкой), см

4 = ±2,5

Примечания. 1. Уменьшение коэффициента уплотнения по абсолютной величине (не более чем у 10% образцов) должно быть не более 4%.

2. Перемешивание разнородных грунтов не допускается.

3. Попадание снега и льда в тело насыпи не допускается.

4. Наличие мерзлого грунта должно быть не более 30%.

5. Контрольные пробы отбирают из каждых 500 м3 грунта, уложенного в тело насыпи, не реже одного раза в смену.

6. Линейные размеры мерзлых комьев не более 2/3 толщины отсыпаемого слоя.

7. Разница между показателями плотности на одном поперечнике верхнего слоя земляного полотна для усовершенствованных покрытий должна быть не более 2 %.

8. Толщина отсыпаемого слоя грунта зависит от рода грунта и применяемых грунтоуплотняющих машин в соответствии с требованиями «Руководства по сооружению земляного полотна автомобильных дорог», М., Транспорт, 1982.

9. Качество уплотнения проверяют до замерзания слоя.

«Руководство по сооружению земляного полотна». М., Транспорт, 1982. СНиП III-8-76, СНиП III-40-78

I

Основание операции, подлежащие контролю

Отсыпка грунта в насыпь

Разравнивание и планировка грунта. Планировка верха земляного полотна

Послойное уплотнение грунта

II

Состав контроля (что проверяется)

Однородность и  влажность грунта в теле насыпи. Относительное содержание мерзлых комьев в грунте, средняя крупность мерзлых комьев

Толщина слоя, высотные отметки, ширина земляного полотна, ровность поверхности верха земляного полотна, поперечные уклоны

Послойное определение плотности грунта в насыпи; толщина уплотняемого слоя; число проходов катков по одному следу; уплотнение грунта при плюсовой температуре, определяемой на поверхности слоя

III

Метод и средства контроля (что и чем проверяется)

Визуальный

Измерительный. Визирки, нивелир, лента мерная, шаблон, рейка трехметровая с мерным клином

Измерительный. Метод режущего кольца, плотномер-влагомер системы Ковалева, радиометрический прибор ПГП-2, грунтовые сита размером отверстий 25 мм

IV

Сроки контроля

Постоянно

Промеры через каждые 50 м. Промеры толщины слоя через

25 м

Промеры в трех точках на поперечнике (по оси и в 1,5 - 2 м от бровки при ширине земполотна до 20 м. При ширине земполотна более 20 м дополнительно по одной пробе в промежутках) на сменную захватку, но не реже чем через 200 м и при высоте насыпи до 30 м и через 50 м при высоте более 3 м. Контроль плотности последнего слоя через 50 м. Контроль плотности проводят на глубине 10 - 15 см от поверхности слоя

V

Должность лица, контролирующего операцию

Мастер, лаборант

Мастер

Мастер, лаборант

VI

Должность лица, ответственного за организацию и обеспечение контроля

 

 

Прораб

VII

Наименование привлекаемой для контроля службы

 

 

Лаборатория

VIII

Документ, в котором регистрируются результаты контроля

Журнал производства работ, журнал лабораторных работ по возведению насыпи в зимнее время

Журнал производства работ по возведению насыпи в зимнее время

Ведомость свойств грунта в сосредоточенном резерве по данным входного контроля. Ведомость контроля качества уплотнения грунтов земляного полотна. Журнал производства работ по возведению насыпи в зимнее время

 

Перечень скрытых работ, на которые составляются акты

 

Перечень скрытых работ не составляется

6. ОПРЕДЕЛЕНИЕ ЭФФЕКТИВНОСТИ КОМПЛЕКСНО-МЕХАНИЗИРОВАННОГО ПРОЦЕССА

Эффективность комплексно-механизированного технологического процесса производства земляных работ определяется сравниванием удельных приведенных затрат, трудоемкости и продолжительности работ для применяемого варианта комплекта машин и для комплекса-аналога.

Эффективность комплексно-механизированного процесса по удельным приведенным затратам равна:

Экмп = ZуаVа - ZуVу,

где Zуа, Zу - удельные приведенные затраты для комплекса-аналога и применяемого процесса, руб./100 м3;

Vа, Vу - объем земляных работ для комплекса-аналога и применяемого комплекса, 100 м3. Для оценки нескольких вариантов комплектов машин используется методика и программа определения экономической эффективности, разработанная ЦНИИОМТП.

1. Удельно приведенные затраты на эксплуатацию машин в заданных условиях представляют собой отношение суммарных приведенных затрат к общему объему земляных работ, выполняемых машинами, и определяются по формуле:

где Z - приведенные затраты на весь объем, руб.;

V - объем земляных работ, выполняемых машинами, 100 м3;

И - текущие затраты, руб.;

Зк - капитальные затраты, руб.;

Ен - нормативный коэффициент эффективности, равный 0,15.

2. Текущие затраты на эксплуатацию машин определяются по формуле:

где Смащ.-ч - себестоимость машино-часа соответствующей машины;

T0i - занятость машины на объекте, маш.-ч.

3. Капитальные затраты определяются по формуле:

где Kд - коэффициент, учитывающий затраты на доставку машины потребителю и ее монтаж, равный 1,09;

Ц - оптовая цена машины, руб.;

Tг - количество часов работы машин в году;

T0 - занятость машины на объекте, маш.-ч.

4. Удельные текущие затраты определяются по формуле:

где И - текущие затраты, руб.;

V - объем земляных работ, выполняемых машинами, 100 м3.

5. Удельные капитальные затраты определяются по формуле:

где Зк - капитальные затраты, руб.;

V - объем земляных работ, выполняемых машинами, 100 м3.

Технико-экономические показатели и эффективность комплексно-механизированных процессов, рассматриваемых в данной работе, определенные в соответствии с «Методическими рекомендациями по построению комплексно-механизированных процессов производства земляных работ», ЦНИИОМТП Госстроя СССР, приведены в таблице.


Технико-экономические показатели на возведение насыпи автомобильных дорог длиной 500 м, высотой 3 м, шириной поверху 15 м в зимних условиях из песчаного и супесчаного грунта I группы комплектами машин в зависимости от дальности возки грунта

№ пп

Наименование показателей

Единица измерения

I комплект, шт.

II комплект, шт.

III комплект, шт.

IV комплект, шт.

экскаватор ЭО-5122-4, автосамосвалы КрАЗ-256Б: 3 км-19-18, 5 км-26-25, 6 км-30-29, рыхлитель ДЗ-94С-1, бульдозер ДЗ-110А-3-2, автогрейдер ДЗ-122-3-1, каток ДУ-16В-3-2

экскаватор ЭО-4121А-5, автосамосвалы КамАЗ-5511: 3 км -15, 5 км-21-20, 6 км-24-23, рыхлитель ДП-9С-1-1, автогрейдер ДЗ-122-3-1, каток ДУ-16B-3-2, бульдозер ДЗ-110А-3-2

экскаватор ЭО-4121А-5, автосамосвалы КамАЗ-5511: 3 км-15, 5 км-21-20, 6 км-24-23, баровая машина БГМ-5, бульдозер ДЗ-110А-3-2, автогрейдер ДЗ-122-3-1, каток ДУ-16В- 3-2

экскаватор Э-652-5, автосамосвалами MA3-503 А: 3 км-16-15, 5 км-21-20, 6 км-24-23, рыхлитель ДП-22С-1, бульдозер ДЗ-110А-3-2, автогрейдер ДЗ-122-3-1, каток ДУ-16В-3-2

Дальность возки, км

3

5

6

3

5

6

3

5

6

3

5

6

1

Объем работ

100 м3

322,88

322,88

322,88

322,88

322,88

322,88

322,88

322,88

322,88

322,88

322,88

322,88

2

Трудоемкость на весь объем работ

маш.-ч

2677,89

3365,97

3708,40

3444,81

4287,79

4707,66

3904,92

4754,34

5177,43

4267,24

5316,79

5843,18

3

То же на 1000 м3

»

82,94

104,25

114,85

106,89

132,80

145,80

120,94

147,25

160,35

132,16

164,67

180,97

4

Стоимость трудовых затрат на весь объем работ

руб.

4913 - 22

6015 - 58

6566 - 35

5809 - 62

7037 - 77

7651 - 13

6353 - 83

7589 - 09

8206 - 32

5973 - 63

7502-49

8267-23

5

То же на 1000 м3

»

152 - 17

186 - 31

203 - 37

179 - 93

217 - 97

236 - 97

196 - 79

235 - 04

254 - 16

185 - 01

232-36

256-05

6

Текущие затраты на эксплуатацию машин

»

14492,93

19282,51

21700,16

16560,12

22387,38

25334,41

18591,93

24438,81

27398,92

18670,20

25826,13

29152,00

7

Удельные текущие затраты

руб./100 м3

44,89

59,72

67,21

51,29

69,34

78,46

57,58

75,69

84,86

57,82

79,99

91,22

8

Капитальные затраты (с учетом нормативного коэффициента эффективности)

руб.

5380,07

6048,41

6380,52

4946,92

5933,67

6422,31

4933,06

5933,06

6430,24

4226,23

4991,74

5375,79

9

Удельные капитальные затраты

руб./100 м3

16,66

18,73

19,76

15,32

18,38

19,89

15,28

18,38

19,92

13,09

15,46

16,65

10

Приведенные затраты

руб.

19873,00

25330,92

28080,68

21507,04

28321,05

31756,72

25345,56

32092,00

35649,29

22896,43

30817,87

34827,79

11

Удельные приведенные затраты

руб./100 м3

61,55

78,45

86,97

66,61

87,72

98,35

78,50

99,71

110,42

70,91

95,45

107,87

12

Эффективность по удельным приведенным затратам

руб.

9,36

17,00

20,90

4,30

7,73

9,52

-7,59

-4,26

-2,55

аналог

13

Снижение трудоемкости

чел.-ч

1250,32

1611,79

1795,75

822,43

1029,00

1135,52

291,58

494,71

598,01

аналог

При расчете технико-экономических показателей принимается время пребывания машин на объекте (Tобъектное) с учетом технологических перерывов (см. исходные данные стр. 60).


Исходные данные для расчета текущих и приведенных затрат

Наименование машин

Оптовая цена машины, руб.

Себестоимость машино-часа, руб./ маш.-ч

Суммарная занятость машин на объекте (на длине 500 м) при дальности возки, км, маш.-ч

Количество работы машины в год, маш.-ч

3

5

6

Экскаватор ЭО-5122

42730

8,6

339

339

339

2190

Автомобили-самосвалы КрАЗ-256Б при дальности возки, км:

 

 

 

 

 

 

3

 

3,67

1572

 

 

 

5

11000

4,72

 

2183

 

2190

6

 

5,07

 

 

2486

 

Экскаватор ЭО-4121

21250

5,81

646

646

646

2190

Автомобили-самосвалы КамАЗ-5511 при дальности, возки, км:

 

 

 

 

 

 

3

 

3,63

1937

 

 

 

5

13700

4,68

 

2670

 

2190

6

 

5,03

 

 

3035

 

 

 

 

 

 

 

 

Автомобили-самосвалы МАЗ-503А, при дальности, возки, км:

19610

5,28

807

807

807

2190

3

 

3,43

2464

 

 

 

5

6970

4,49

 

3377

 

2190

6

 

4,84

 

 

3836

 

Рыхлитель ДЗ-94С на Т-330

217500

19,37

100

100

100

1830

Рыхлитель ДП-9С-1 на ДЭТ-250

66600

12,71

125

125

125

1830

Рыхлитель ДП-22С на Т-180

27200

7,72

164

164

164

1830

Баровая машина БГМ-5

8140

6,83

205

205

205

1830

Взрывная машина КПМ-1 конт. приборы (линейный мост Р-343)

95

0,7

205

205

205

1830

Бульдозер ДЗ-110А:

 

 

 

 

 

 

в варианте с экскаватором ЭО-5122

 

 

317

317

317

 

в варианте с экскаватором ЭО-4121А

 

 

317

317

317

1830

в варианте с экскаватором ЭО-4121А и щелевзрывным способом рыхления

16840

5,51

688

688

688

 

в варианте с экскаватором Э-652

 

 

343

343

343

 

Автогрейдер ДЗ-122:

 

 

 

 

 

 

в варианте с экскаватором ЭО-5122

 

 

121

199

238

 

в варианте с экскаватором ЭО-4121А

 

 

169

280

334

1516

в варианте с экскаватором ЭО-4121А и щелевзрывным способом рыхления

19800

3,27

179

296

354

 

в варианте с экскаватором Э-652

 

 

208

344

412

 

Каток ДУ-16В:

 

 

 

 

 

 

в варианте с экскаватором ЭО-5122

 

 

229

229

229

 

в варианте с экскаватором ЭО-4121А

17420

7,55

250

250

250

1982

в варианте с экскаватором ЭО-4121А и щелевзрывным способом рыхления

 

 

250

250

250

 

в варианте с экскаватором Э-652

 

 

281

281

281

 

При расчете технико-экономических показателей принимается время пребывания машин на объекте (Tобъектное) с учетом технологических перерывов.

Расчет эффективности комплексно-механизированного процесса

1. Текущие затраты на эксплуатацию машин

а) ведущая машина-экскаватор ЭО-5122 при дальности возки грунта:

3 км И = 8,6×339 + 5,51×317 + 7,55×229 + 19,37×100 + 3,27×121 + 3,67×1572 = 14492,93

5 км И = 8,6×339 + 5,51×317 + 7,55×229 + 19,37×100 + 3,27×199 + 4,72×2183 = 19282,51 руб.

6 км И = 8,6×339 + 5,51×317 + 7,55×229 + 19,37×100 + 3,27×238 + 5,07×2486 = 21700,16 руб.

б) ведущая машина-экскаватор ЭО-4121А при дальности возки грунта:

3 км И = 5,81×646 + 12,71×125 + 5,51×317 + 7,55×250 + 3,27×169 + 3,63×1937 = 16560,12 руб.

5 км И = 5,81×646 + 12,71×125 + 5,51×317 + 7,55×250 + 3,27×280 + 4,68×2670 = 22387,38 руб.

6 км И = 5,81×646 + 12,71×125 + 5,51×317 + 7,55×250 + 3,27×334 + 5,03×3035 = 25334,41 руб.

в) ведущая машина-экскаватор-Э-4121А, щелевзрывной способ рыхления, при дальности возки грунта:

3 км И = 5,81×646 + 6,83×205 + 0,7×205 + 5,51×688 + 7,55×250 + 3,27×179+ 3,63×1937 = 18591,93 руб.

5 км И = 5,81×646 + 6,83×205 + 0,7×205 + 5,51×688 + 7,55×250 + 3,27×296 + 4,68×2670 = 24438,81 руб.

6 км И = 5,81×646 + 6,83×205 + 0,7×205 + 5,51×688 + 7,55×250 + 3,27×354 + 5,03×3035 = 27398,92 руб.

г) ведущая машина-экскаватор Э-652 при дальности возки грунта:

3 км И = 5,28×807 + 7,72×164 + 5,51×343 + 7,55×281 + 3,27×208 + 3,43×2464 = 18670,20 руб.

5 км И = 5,28×807 + 7,72×164 + 5,51×343 + 7,55×281 + 3,27×344 + 4,49×3377 = 25826,13 руб.

6 км И = 5,28×807 + 7,72×164 + 5,51×343 + 7,55×281 + 3,27×412 + 4,84×3836 = 29452,00 руб.

2. Удельные текущие затраты на 100 м3

а) ведущая машина-экскаватор ЭО-5122 при дальности возки грунта:

б) ведущая машина-экскаватор ЭО-4121А при дальности возки грунта:

в) ведущая машина-экскаватор ЭО-4121А с применением щелевзрывного способа рыхления при дальности возки грунта:

г) ведущая машина-экскаватор Э-652 при дальности возки грунта:

3. Капитальные затраты

1. Экскаватор ЭО-5122

2. Экскаватор ЭО-4121А

3. Экскаватор ЭО-652

4. Рыхлитель ДЗ-94С на тракторе Т-330

5. Рыхлитель ДП-9С-1 на тракторе ДЭТ-250

6. Рыхлитель ДП-22С на тракторе Т-180

7. Баровая машина БГМ-5

8. Взрывная машина КПМ-1 и контрольные приборы

9. Бульдозер ДЗ-110А:

а) в комплекте с экскаватором ЭО-5122

б) в комплекте с экскаватором ЭО-4121А

в) в комплекте с экскаватором ЭО-4121А и щелевзрывным способом рыхления

г) в комплекте с экскаватором Э-652

10. Каток ДУ-16В

а) в комплекте с экскаватором ЭО-5122

б) в комплекте с экскаватором ЭО-4121А

в) в комплекте с экскаватором ЭО-4121А и щелевзрывным способом рыхления

г) в комплекте с экскаватором Э-652

11. Автогрейдер ДЗ-122

а) в комплекте с экскаватором ЭО-5122 при дальности возки грунта:

б) в комплекте с экскаватором ЭО-4121А при дальности возки грунта:

в) в комплекте с экскаватором ЭО-4121 и щелевзрывным способом рыхления при дальности возки грунта:

г) в комплекте с экскаватором Э-652 при дальности возки грунта:

12. Автомобиль-самосвал КрАЗ-256Б при дальности возки грунта:

13. Автомобиль-самосвал КамАЗ-5511 при дальности возки грунта:

14. Автомобиль-самосвал МАЗ-503А, при дальности возки грунта:

а) капитальные затраты (ведущая машина-экскаватор ЭО-5122) при дальности возки грунта:

3 км Зк = 0,15(7209,63 + 12954,92 + 3179,63 + 2193,85 +  1722,57 + 8606,52) = 5380,07 руб.

5 км Зк = 0,15(7209,63 + 12954,92 + 3179,63 + 2193,85 + 2832,99 +11951,68) = 6048,41 руб.

6 км Зк = 0,15(7209,63 +12954,92 + 3179,63 + 2193,85 + 3388,20 + 13610,57) = 6380,52 руб.

б) капитальные затраты (ведущая машина-экскаватор ЭО-4121А) при дальности перевозки грунта:

3 км Зк =0,15(6832,41 + 4958,61 + 3179,63 + 2395,03 + 2405,91 + 13207,86) = 4946,92 руб.

5 км Зк =0,15(6832,41 + 4958,61 + 3179,63 + 2395,03 + 3986,12 + 18205,99) = 5933,67 руб.

6 км Зк =0,15(6832,41 + 4958,61 + 3179,63 + 2395,03 + 4754,87 + 20694,82) = 6422,31 руб.

в) капитальные затраты (ведущая машина-экскаватор ЭО-4121А) при щелевзрывном способе рыхления и при дальности возки грунта:

3 км Зк =0,15(6832,41 + 993,93 + 11,60 + 6900,90 + 2395,03 + 2548,27 + 13207,86) = 4933,50 руб.

5 км Зк = 0,15(6832,41 + 993,93 + 11,60 + 6900,90 + 2395,03 + 4213,90 + 18205,99) = 5933,06 руб.

6 км Зк = 0,15(6832,41 + 993,93 + 11,60 + 6900,90 + 2395,03 + 5039,60 + 20694,82) = 6430,24 руб.

г) капитальные затраты (ведущая машина-экскаватор Э-652) при дальности возки грунта:

3 км Зк =0,15(7876,50 + 2656,98 + 3440,42 + 2692,01 + 2961,12 + 8547,82) = 4226,23 руб.

5 км Зк =0,15(7876,50 + 2656,98 + 3440,42 + 2692,01 + 4897,23 + 11715,11) = 4991,74 руб.

6 км Зк =0,15(7876,50 + 2656,98 + 3440,42 + 2692,01 + 5865,29 + 13307,42) = 5375,79 руб. 4. 4. Удельные капитальные затраты

а) ведущая машина-экскаватор ЭО-5122 при дальности возки грунта:

б) ведущая машина-экскаватор ЭО-4121А при дальности возки грунта:

в) ведущая машина-экскаватор ЭО-4121А при щелевзрывном способе рыхления и дальности возки грунта:

г) ведущая машина-экскаватор Э-652 при дальности возки грунта:

5. Стоимость материалов при щелевзрывном способе рыхления

Исходные данные:

Аммонит 1 т - 293 руб.

Детонирующий шнур 1 км - 100 руб.

Электродетонаторы замедленного действия 1000 шт. - 114 руб.

Стоимость материалов:

293×3,906 + 100×6,629 + 114×0,112 = 1820,13 руб.

6. Удельный расход материалов

7. Приведенные затраты

а) ведущая машина-экскаватор ЭО-5122 при дальности возки грунта:

3 км Z = 14492,93 + 5380,07 = 19873,00 руб.

5 км Z = 19282,51 + 6048,41 = 25330,92 руб.

6 км Z = 21700,16 + 6380,52 = 28080,68 руб.

б) ведущая машина-экскаватор ЭО-4121А при дальности возки грунта:

3 км Z = 16560,12 + 4946,92 = 21507,04 руб.

5 км Z = 22387,38 + 5933,67 = 28321,05 руб.

6 км Z = 25334,41 + 6422,31 = 31756,72 руб.

в) ведущая машина-экскаватор ЭО-4121А с применением щелевзрывного способа рыхления при дальности возки грунта:

3 км Z = 18591,93 + 4933,50 + 1820,13 = 25345,56 руб.

5 км Z = 24338,81 + 5933,06 + 1820,13 = 32092,00 руб.

6 км Z = 27398,92 + 6430,24 + 1820,13 = 35649,29 руб.

г) ведущая машина-экскаватор Э-652 при дальности возки грунта:

3 км Z = 18670,20 + 4226,23 = 22896,43 руб.

5 км Z = 25826,13 + 4991,74 = 30817,87py6.

6 км Z = 29452,00 + 5375,79 = 34827,79py6.

8. Удельные приведенные затраты

а) ведущая машина-экскаватор ЭО-5122 при дальности возки грунта:

3 км Zу = 44,89 + 16,66 = 61,55 руб.

5 км Zу = 59,72 + 18,73 = 78,45 руб.

6 км Zу = 67,21 + 19,76 = 86,97 руб.

б) ведущая машина-экскаватор ЭО-4121А при дальности возки грунта:

3 км Zу = 51,29 + 15,32 = 66,61 руб.

5 км Zу = 69,34 + 18,38 = 87,72 руб.

6 км Zу = 78,46 + 19,89 = 98,35 руб.

в) ведущая машина-экскаватор ЭО-4121А с применением щелевзрывного способа рыхления при дальности возки грунта:

3 км Zу = 57,58 + 15,28 + 5,64 = 78,50 руб.

5 км Zу = 75,69 + 18,38 + 5,64 = 99,71 руб.

6 км Zу = 84,86 + 19,92 + 5,64= 110,42 руб.

г) ведущая машина-экскаватор Э-652 при дальности возки грунта:

3 км Zу = 57,82 + 13,09 = 70,91 руб.

5 км Zу = 79,99 + 15,46 = 95,45 руб.

6 км Zу = 91,22 + 16,65 = 107,87 руб.

9. Эффективность (-экономия, +перерасход) комплексно-механизированного процесса по удельным приведенным затратам, аналог-ведущая машина-экскаватор Э-652

а) ведущая машина-экскаватор ЭО-5122 при дальности возки грунта:

3 км Э = -61,55 + 70,91 = +9,36 руб.

5 км Э = -78,45 + 95,45 = +17,00 руб.

6 км Э = -86,97 + 107,87 = +20,90 руб.

б) ведущая машина-экскаватор ЭО-4121А при дальности возки грунта:

3 км Э = -66,61 + 70,91 = +4,30 руб.

5 км Э = -87,72 + 95,45 = +7,73 руб.

6 км Э = -98,35 + 107,87 = +9,52 руб.

в) ведущая машина-экскаватор ЭО-4121А с применением щелевзрывного способа рыхления при дальности возки грунта:

3 км Э = -78,50 + 70,91 = -7,59 руб.

5 км Э = -99,71 + 95,45 = -4,26 руб.

6 км Э = -110,42 + 107,87 = -2,55 руб.

10. Стоимость трудовых затрат определена с учетом технологических перерывов и премий в размере 40%

а) ведущая машина-экскаватор ЭО-5122 при дальности возки грунта:

3 км Тз = (3502,33 + 0,79×9)1,4 = 4913,22 руб.

5 км Тз = (4289,73 + 0,79×9)1,4 = 6015,58 руб.

6 км Тз = (4683,14 + 0,79×9)1,4 = 6566,35 руб.

б) ведущая машина-экскаватор ЭО-4121А при дальности возки грунта:

3 км Тз = (4126,03 + 0,79×30)1,4 = 5809,62 руб.

5 км Тз = (5003,28 + 0,79×30)1,4 = 7037,77 руб.

6 км Тз = (5441,61 + 0,79×30)1,4 = 7651,43 руб.

68

в) ведущая машина-экскаватор ЭО-4121А с применением щелевзрывного способа рыхления при дальности возки грунта:

3 км Тз = (4320,41 + 0,79×30 + 0,79×246)1,4 = = 6353,83 руб.

5 км Тз = (5202,74 + 0,79×30 + 0,79×246)1,4 = 7589,09 руб.

6 км Тз = (5643,62 + 0,79×30 + 0,79×246)1,4 = 8206,32 руб.

г) ведущая машина-экскаватор Э-652 при дальности возки грунта:

3 км Тз = (4198,15 + 0,79×61+0,79×26)1,4 = 5973,63 руб.

5 км Тз = (5290,19 + 0,79×61 + 0,79×26)1,4 = 7502,49 руб.

6 км Тз = (5836,47 + 0,79×61 + 0,79×26)1,4 = 8267,28 руб.

11. Трудоемкость комплексно-механизированного процесса с учетом технологических перерывов:

а) ведущая машина-экскаватор ЭО-5122 при дальности возки грунта:

3 км 3007,92 + 9 = 3016,92 чел.-ч; 2668,89 + 9 = 2677,89 маш.-ч.

5 км 3696,00 + 9 = 3705,00 чел.-ч; 3356,97 + 9 = 3365,97 маш.-ч.

6 км 4038,43 + 9 = 4047,43 чел.-ч; 3699,40 + 9 = 3708,40 маш.-ч.

б) ведущая машина-экскаватор ЭО-4121 при дальности возки грунта:

3 км 3414,81 + 30 = 3444,81 чел.-ч; 3414,81 + 30 = 3444,81 маш.-ч.

5 км 4257,79 + 30 = 4287,79 чел.-ч; 4257,79 + 30 = 4287,79 маш.-ч.

6 км 4677,66 + 30 = 4707,66 чел.-ч; 4677,66 + 30 = 4707,66 маш.-ч.

в) ведущая машина-экскаватор ЭО-4121А с применением щелевзрывного способа рыхления при дальности возки грунта:

3 км 3699,66 + 276 = 3975,66 чел.-ч; 3628,92 + 276 = 3904,92 маш.-ч.

5 км 4546,08 + 276 = 4822,08 чел.-ч; 4478,34 + 276 = 4754,34 маш.-ч.

6 км 4969,17 + 276 = 5245,17 чел.-ч; 4901,43 + 276 = 5177,43 маш.-ч.

г) ведущая машина-экскаватор Э-652 при дальности возки грунта:

3 км 4180,24 + 87 = 4267,24 чел.-ч; 4180,24 + 87 = 4267,24 маш.-ч.

5 км 5229,79 + 87 = 5316,79 чел.-ч; 5229,79 + 87 = 5316,79 маш.-ч.

6 км 5756,18 + 87 = 5843,18 чел.-ч; 5756,18 + 87 = 5843,18 маш.-ч.

12. Снижение трудоемкости: (-) экономия, (+) перерасход

а) ведущая машина-экскаватор ЭО-5122 при дальности возки грунта:

3 км -3016,92 + 4267,24 = +1250,32 чел.-ч; -2677,89 + 4267,24 = +1589,35 маш.-ч.

5 км -3705,00 + 5316,79 = +1611,79 чел.-ч; -3365,97 + 5316,79 = +1950,82 маш.-ч.

6 км -4047,43 + 5843,18 = +1795,75 чел.-ч; -3708,40 + 5843,18 = +2134,78 маш.-ч.

б) ведущая машина-экскаватор ЭО-4121А при дальности возки грунта:

3 км -3444,81 + 4267,24 = +822,43 чел.-ч; -3444,81 + 4267,24 = +822,43 маш.-ч.

5 км -4287,79 + 5316,79 = +1029,00 чел.-ч; -4287,79 + 5316,79 = +1029,00 маш.-ч.

6 км -4707,66 + 5843,18 = +1135,52 чел.-ч; -4707,66 + 5843,18 = +1135,52 маш.-ч.

в) ведущая машина-экскаватор ЭО-4121А с применением щелевзрывного способа рыхления при дальности возки грунта:

3 км -3975,66 + 4267,24 = +291,58 чел.-ч; -3904,92 + 4267,24 = +291,58 маш.-ч.

5 км -4822,08 + 5316,79 = +494,71 чел.-ч; -4754,34 + 5316,79 = +494,71 маш.-ч.

6 км -5245,17 + 5843,18 = +598,01 чел.-ч; -5177,43 + 5843,18 = +598,01 маш.-ч.

Основанием для расчета экономической эффективности послужили следующие нормативные документы:

1. СНиП IV-3-82. Сборник сметных цен эксплуатации строительных машин. М., Стройиздат, 1982.

2. Прейскурант 21-01; 22-01.

7. РАСХОД ГОРЮЧЕ-СМАЗОЧНЫХ МАТЕРИАЛОВ ДЛЯ КОМПЛЕКТОВ МАШИН

Комплекты

Дальность транспортировки грунта

3

5

6

Ведущая машина-экскаватор ЭО-5122

 

 

 

Дизтопливо, кг

37656

48924

54558

Бензин, кг

77

81

83

Моторное масло, кг

1696

2201

2454

Смазки, кг

1696

2201

2454

Гидравлическое масло, кг

301

334

350

Ведущая машина-экскаватор ЭО-4121А

 

 

 

Дизтопливо, кг

37038

47033

52031

Бензин, кг

122

128

130

Моторное масло, кг

1664

2112

2336

Смазки, кг

1664

2112

2336

Гидравлическое масло, кг

325

364

387

Ведущая машина-экскаватор ЭО-4121А (щелевзрывной способ рыхления)

 

 

 

Дизтопливо, кг

35330

45386

50414

Бензин, кг

113

119

122

Моторное масло, кг

1379

1830

2055

Смазки, кг

1379

1830

2055

Гидравлическое масло, кг

343

391

416

Ведущая машина-экскаватор Э-652

 

 

 

Дизтопливо, кг

35134

45623

50869

Бензин, кг

117

124

127

Моторное масло, кг

1581

2055

2292

Смазки, кг

1581

2055

2292

Гидравлическое масло, кг

229

284

312

8. ЭКОНОМИЯ ГОРЮЧЕ-СМАЗОЧНЫХ МАТЕРИАЛОВ

Аналог-комплект машин с ведущей машиной-экскаватором Э-652

Наименование материалов

Комплект с ведущей машиной- экскаватором ЭО-4121А

Комплект с ведущей машиной-экскаватором ЭО-4121А (щелевзрывной способ)

Комплект с ведущей машиной-экскаватором ЭО-5122

Дальность возки

Дальность возки

Дальность возки

 

3

5

6

3

5

6

3

5

6

Дизтопливо, кг

-1904

-1410

-1162

-196

+237

+455

-2522

-3301

-3689

Бензин, кг

-5

-4

-3

+4

+5

+5

+40

+124

+127

Моторное масло, кг

-83

-57

-44

+202

+225

+237

-115

-146

-162

Смазки, кг

-83

-57

-44

+202

+225

+237

-115

-146

-162

Гидравлическое масло, кг

-96

-80

-75

-114

-107

-104

-72

-50

-38

Определение расхода горюче-смазочных материалов

1. Дизтопливо

а) вариант № 1 при дальности возки:

3 км 20,0×339,02 + 43,45×99,24 + 11,6×317,02 + 27×220,14 + 9,4×121,04 + 57,6×274,38 = 37655,66 кг.

5 км 20,0×339,02 + 43,45×99,24 + 11,6×317,02 + 27×220,14 + 9,4×198,88 + 57,6×457,30 = 48923,54 кг.

6 км 20,0×339,02 + 43,45×99,24 + 11,6×317,02 + 27×220,14 + 9,4×237,80 + 57,6×548,76 = 54557,49 кг.

б) вариант № 2 при дальности возки:

3 км 11,6×645,76 + 39,05×125,27 + 11,6×317,02 + 27,0×220,14 + 9,4×169,34 + 40,8×329,46 = 37037,59 кг.

5 км 11,6×645,76 + 39,05×125,27 + 11,6×317,02 + 27,0×220,14 + 9,4×279,38 + 40,8×549,10 = 47033,27 кг.

6 км 11,6×645,76 + 39,05×125,27 + 11,6×317,02 + 27,0×220,14 + 9,4×334,40 + 40,8×658,92 = 52031,12 кг.

в) вариант № 3 при дальности возки:

3 км 11,6×645,76 + 8,03×204,92 + 11,6×441,82 + 27,0×220,14 + 9,4×179,0 + 40,8×329,46 = 35329,79 кг.

5 км 11,6×645,76 + 8,03×204,92 + 11,6×441,82 + 27,0×220,14 + 9,4×295,48 + 40,8×549,10 = 45386,01 кг.

6 км 11,6×645,76 + 8,03×204,92+11,6×441,82 + 27,0×220,14 + 9,4×353,72 + 40,8×658,92 = 50414,13 кг.

г) вариант № 4 при дальности возки:

3 км 8,1×807,2 + 19,47×164,33 + 11,6×317,02 + 27,0×220,14 + 9,4×207,98 + 33,6×411,30 = 35133,73 кг.

5 км 8,1×807,2 + 19,47×164,33 + 11,6×317,02 + 27,0×220,14 + 9,4×343,78 + 33,6×685,50 = 45623,37кг.

6 км 8,1×807,2 + 19,47×164,33 + 11,6×317,02 + 27,0×220,14 + 9,4×411,68 + 33,6×822,60 = 50868,19 кг.

2. Бензин

а) вариант № 1 при дальности возки:

3 км 0,21×99,24 + 0,06×317,02 + 0,14×220,14 + 0,05×121,04 = 76,73 кг.

5 км 0,21×99,24 + 0,06×317,02 + 0,14×220,14 + 0,05×198,88 = 80,62 кг.

6 км 0,21×99,24 + 0,06×317,02 + 0,14×220,14 + 0,05×237,8 = 82,57кг.

б) вариант № 2 при дальности возки:

3 км 0,06×645,76 + 0,2×125,27 + 0,06×317,02 + 0,14×220,14 + 0,05×169,34 = 122,11 кг.

5 км 0,06×645,76 + 0,2×125,27 + 0,06×317,02 + 0,14×220,14 + 0,05×279,38 = 127,61 кг.

6 км 0,06×645,76 + 0,2×125,27 + 0,06×317,02 + 0,14×220,14 + 0,05×334,40 = 130,36 кг.

в) вариант № 3 при дальности возки:

3 км 0,06×645,76 + 0,04×204,92 + 0,06×441,82 + 0,14×220,14 + 0,05×179,0 = 113,2 кг.

5 км 0,06×645,76 + 0,04×204,92 + 0,06×441,82 + 0,14×220,14 + 0,05×295,48 = 119,02 кг.

6 км 0,06×645,76 + 0,04×204,92 + 0,06×441,82 + 0,14×220,14 + 0,05×353,72 = 121,94 кг.

г) вариант № 4 при дальности возки:

3 км 0,05×807,2 + 0,1×164,33 + 0,06×317,02 + 0,14×220,14 + 0,05×207,98 = 117,02 кг.

5 км 0,05×807,2 + 0,1×164,33 + 0,06×317,02 + 0,14×220,14 + 0,05×343,78 = 123,81 кг.

6 км 0,05×807,2 + 0,1×164,33 + 0,06×317,02 + 0,14×220,14 + 0,05×411,68 = 127,20 кг.

3. Гидравлическое масло

а) вариант № 1 при дальности возки:

3 км (0,35×339,02 + 0,59×99,24 + 0,20×317,02 + 0,50×220,14 + 0,6×121,04)0,71 = 300,54 кг.

5 км (0,35×339,02 + 0,59×99,24 + 0,20×317,02 + 0,50×220,14 + 0,6×198,88)0,71 = 333,71 кг.

6 км (0,35×339,02 + 0,59×99,24 + 0,20×317,02 + 0,50×220,14 + 0,6×237,8)0,71 = 350,29 кг.

б) вариант № 2 при дальности возки:

3 км (0,23×645,76 + 0,38×125,27 + 0,20×317,02 + 0,50×220,14 + 0,6×169,34)0,69 = 325,12 кг.

5 км (0,23×645,76 + 0,38×125,27 + 0,20×317,02 + 0,50×220,14 + 0,6×279,38)0,69 = 363,78 кг.

6 км (0,23×645,76 + 0,38×125,27 + 0,20×317,02 + 0,50×220,14 + 0,6×334,40)0,69 = 386,56 кг.

в) вариант № 3 при дальности возки:

3 км (0,23×645,76 + 0,21×204,92 + 0,20×441,82 + 0,5×220,14 + 0,6×179,0)0,69 = 343,19 кг.

5 км (0,23×645,76 + 0,21×204,92 + 0,20×441,82 + 0,5×220,14 + 0,6×295,48)0,69 = 391,42 кг.

6 км (0,23×645,76 + 0,21×204,92 + 0,20×441,82 + 0,5×220,14 + 0,6×353,72)0,69 = 415,52кг.

г) вариант № 4 при дальности возки:

3 км (0,23×164,33 + 0,20×317,02 + 0,50×220,14 + 0,6×207,98)0,68 = 228,52 кг.

5 км (0,23×164,33 + 0,20×317,02 + 0,50×220,14 + 0,6×343,78)0,68 = 283,93 кг.

6 км (0,23×164,33 + 0,20×317,02 + 0,50×220,14 + 0,6×411,68)0,68 = 311,63 кг.

4.5. Моторное масло. Смазки

а) вариант № 1 при дальности возки:

3 км 0,90×339,02 + 1,96×99,24 + 0,52×317,02 + 1,22×220,14 + 0,42×121,04 + 2,59×274,98 = 1696,09 кг.

5 км 0,90×339,02 + 1,96×99,24 + 0,52×317,02 + 1,22×220,14 + 0,42×198,88 + 2,59×457,30 = 2200,99 кг.

6 км 0,90×339,02 + 1,96×99,24 + 0,52×317,02 + 1,22×220,14 + 0,42×237,80 + 2,59×548,76 = 2454,22кг.

б) вариант № 2 при дальности возки:

3 км 0,52×645,76 + 1,76×125,27 + 0,52×317,02 + 1,22×220,14 + 0,42×169,34 + 1,83×329,46 = 1663,73 кг.

5 км 0,52×645,76 + 1,76×125,27 + 0,52×317,02 + 1,22×220,14 + 0,42×279,38 + 1,83×549,10 = 2111,89 кг.

6 км 0,52×645,76 + 1,76×125,27 + 0,52×317,02 + 1,22×220,14 + 0,42×334,40 + 1,83×658,92 = 2335,97 кг.

в) вариант № 3 при дальности возки:

3 км 0,52×645,76 + 0,36×204,92 + 0,52×441,82 + 1,22×220,14 + 0,42×179,00 + 1,83×329,46 = 1378,98 кг.

5 км 0,52×645,76 + 0,36×204,92 + 0,52×441,82 + 1,22×220,14 + 0,42×295,48 + 1,83×549,10 = 1829,84 кг.

6 км 0,52×645,76 + 0,36×204,92 + 0,52×441,82 + 1,22×220,14 + 0,42×35,72 +1,83×658,92 = 2055,27 кг.

г) вариант № 4 при дальности возки:

3 км 0,36×807,2 + 0,88×164,33 + 0,52×317,02 + 1,22×220,14 + 0,42×207,98 + 1,52×411,30 = 1581,15 кг.

5 км 0,36×807,2 + 0,88×164,33 + 0,52×317,02 + 1,22×220,14 + 0,42×343,78 + 1,52×685,50 = 2054,97 кг.

6 км 0,36×807,2 + 0,88×164,33 + 0,52×317,02 + 1,22×220,14 + 0,42×411,68 + 1,52×822,60 = 2291,88 кг.

ПРИЛОЖЕНИЕ

Приложение 1

Нормы расхода горюче-смазочных материалов

 

 

Дизтопливо

Бензин

Гидравлическое масло

Моторное масло

Смазки

1

Экскаватор Э-652

8,1 кг/ч

0,05 кг/ч

-

0,36 кг/ч

0,36 кг/ч

2

Экскаватор ЭО-4121

11,6 кг/ч

0,06 кг/ч

0,23 кг/моточас

0,52 кг/ч

0,52 кг/ч

3

Экскаватор ЭО-5122

20,0 кг/ч

-

0,35 кг/моточас

0,90 кг/ч

0,90 кг/ч

4

Бульдозер ДЗ-110А

11,6 кг/ч

0,06 кг/ч

0,20 кг/моточас

0,52 кг/ч

0,52 кг/ч

5

Автогрейдер ДЗ-122

9,4 кг/ч

0,05 кг/ч

0,60 кг/моточас

0,42 кг/ч

0,42 кг/ч

6

Каток ДУ-16В

27,0 кг/ч '

0,14 кг/ч

0,50 кг/моточас

1,22 кг/ч

1,22 кг/ч

7

МАЗ-503А

33,6 кг/100 км пробега-

 

-

1,52 кг/100 км пробега

1,52 кг/100 км пробега

8

КамАЗ-5511

40,8 кг/100 км пробега-

 

-

1,83 кг/100 км пробега

1,83 кг/100 км пробега

9

КрАЗ-256Б

57,6 кг/100 км пробега

 

-

2,59 кг/100 км пробега

2,59 кг/100 км пробега

10

Баровая машина БГМ-5

8,03 кг/ч

0,04 кг/ч

0,21 кг/моточас

0,36 кг/ч

0,36 кг/ч

11

Рыхлитель ДЗ-94С на Т-330

43,45 кг/ч

0,21 кг/ч

0,59 кг/моточас

1,96 кг/ч

1,96 кг/ч

12

Рыхлитель ДП-9С-1 на ДЭТ-250

39,05 кг/ч

0,20 кг/ч

0,38 кг/моточас

1,76 кг/ч

1,76 кг/ч

13

Рыхлитель ДП-22С на Т-180

19,47 кг/ч

0,10 кг/ч

0,23 кг/моточас

0,88 кг/ч

0,88 кг/ч

Пробег:

МАЗ-503А

 

КамАЗ-5511

 

КрАЗ-256Б

 

 

3 км

6855×6 = 41130

 

5491×6 = 32946

 

4573×6 = 27438

 

 

5 км

6855×10 = 68550

 

5491×10 = 54910

 

4573×10 = 45730

 

 

6 км

6855×12 = 82260

 

5491×12 = 65892

 

4573×12 = 54876

 

Основание. 1. Нормы расхода топлива на эксплуатацию основных строительных машин, утверждены заместителем министра транспортного строительства т. Гаркушей А.П. 25 января 1980 г. № Г-114.

2. Временные нормы расхода рабочих жидкостей для гидросистем ДСМ МТС, утверждены заместителем министра транспортного строительства 1 декабря 1981 г.

Приложение 2

Расчет транспортных средств к комплексно-механизированному процессу

«Сооружение насыпи автомобильных дорог длиной 500 м, высотой 3 м, шириной по верху 15 м в зимних условиях с разработкой грунта экскаваторами в сосредоточенных резервах и транспортировкой его большегрузными автосамосвалами на расстояние 3, 5, 6 км»

1. Загрузка в автосамосвалы

γ = 1,7 т/м3

Kк = 0,85 - (коэффициент вместимости ковша);

Kг = 0,98 - (коэффициент использования грузоподъемности).

МАЗ-503А - 4,71 м3 1 ковш - 0,55 м3 Э = 9

КамАЗ-5511 - 5,88 м3 1 ковш - 0,85 м3 Э = 7

КрАЗ-256Б - 7,06 м3 1 ковш - 1,06 м3 Э = 7

2. Цикл экскавации экскаваторов

ЭО-5122 - КрАЗ-256Б 26,85×7:60 = 3,13 мин

ЭО-4121А - КамАЗ-5511 33,05×7:60 = 3,86 мин

Э-652 - МАЗ-503А 29,7×9:60 = 4,46 мин.

3. Время на доставку и обратно при расстоянии, км

4. Время технологического перерыва и маневрирования

КрАЗ-256Б 2 + 2 = 4 мин

КамАЗ-5511 2 + 2 = 4 мин

МАЗ-503А 2 + 2 = 4 мин.

5. Время полного рейса на расстояние

3 км

КрАЗ-256Б

3,13 + 12 + 4 + 1,5 = 20,63 мин

 

КамАЗ-5511

3,86 + 12 + 4 + 1,3 = 21,16 мин

 

МАЗ-503А

4,46 + 12 + 4 + 1,1 = 21,56 мин

5 км

КрАЗ-256Б

3,13 + 20 + 4 + 1,5 = 28,63 мин

 

КамАЗ-5511

3,86 + 20 + 4 + 1,3 = 29,16 мин

 

МАЗ-503А

4,46 + 20 + 4 + 1,1 = 29,56 мин

6 км

КрАЗ-256Б

3,13 + 24 + 4 + 1,5 = 32,63 мин

 

КамАЗ-5511

3,86 + 24 + 4 + 1,3 = 33,16 мин

 

МАЗ-503А

4,46 + 24 + 4 + 1,1 = 33,56 мин.

6. Необходимое количество самосвалов определяется по формуле:

а) автосамосвалы КрАЗ-256Б для транспортирования грунта на расстояние:

б) автосамосвалы КамАЗ-5511 для транспортирования грунта на расстояние:

в) автосамосвалы МАЗ-503А для транспортирования грунта на расстояние:

7. Время на перевозку 100 м3 грунта на расстояние:

3 км

КрАЗ-256Б

7,06 м3 - 20,63 мин

100 м3 - 4,87 ч

 

КамАЗ-5511

5,88 м3 - 21,16 мин

100 м3 - 6,00 ч

 

МАЗ-503А

4,71 м3 - 21,56 мин

100 м3 - 7,63 ч

5 км

КрАЗ-256Б

7,06 м3 - 28,63 мин

100 м3 - 6,76 ч

 

КамАЗ-5511

5,88 м3 - 29,16 мин

100 м3 - 8,27 ч

 

МАЗ-503А

4,71 м3 - 29,56 мин

100 м3 - 10,46 ч

6 км

КрАЗ-256Б

7,06 м3 - 32,63 мин

100 м3 - 7,70 ч

 

КамАЗ-5511

5,88 м3 - 33,16 мин

100 м3 - 9,40 ч

 

МАЗ-503А

4,71 м3 - 33,56 мин

100 м3 - 11,88 ч

8. Нормативное время на весь объем работ на расстояние:

3 км

КрАЗ-256Б

4,87×322,88 = 1572,43 маш.-ч

 

КамАЗ-5511

6,00×322,88 = 1937,28 маш.-ч

 

МАЗ-503А

7,63×322,88 = 2463,57 маш.-ч

5 км

КрАЗ-256Б

6,76×322,88 = 2182,67 маш.-ч

 

КамАЗ-5511

8,27×322,88 = 2670,21 маш.-ч

 

МАЗ-503А

10,46×322,88 = 3377,32 маш.-ч

6 км

КрАЗ-256Б

7,70×322,88 = 2486,18 маш.-ч

 

КамАЗ-5511

9,40×322,88 = 3035,07 маш.-ч

 

МАЗ-503А

11,88×322,88 = 3835,81 маш.-ч.

9. Производительность экскаваторов

ЭО-5122-761,9 м3/смена-95,24 м3

ЭО-412А-400,0 м3/смена-50,0 м3

Э-652-320,0 м3/смена-40,0 м3/ч.

10. Производительность одного автосамосвала

3 км

КрАЗ-256Б - 164,27 м3/смена - 20,53 м3

 

КамАЗ-5511 - 133,33 м3/смена - 16,66 м3

 

МАЗ-503А - 104,85 м3/смена - 13,11 м3

5 км

КрАЗ-256Б - 118,34 м3/смена - 14,79 м3

 

КамАЗ-5511 - 96,73 м3/смена - 12,09 м3

 

МАЗ-503А - 78,48 м3/смена - 9,56 м3

6 км

КрАЗ-256Б - 103,90 м3/смена - 12,99 м3

 

КамАЗ-5511 - 85,11 м3/смена - 10,64 м3

 

МАЗ-503А - 67,34 м3/смена - 8,42 м3/ч.

11. Расчет суммы заработной платы для транспортирования грунта:

а) заработная плата водителей на перевозке 1 ткм груза и 1 т груза, коп.:

КрАЗ-256Б

0,56 + 2,08

КамАЗ-5511

0,61 + 2,08

МАЗ-503А

0,76 + 2,16

б) количество грунта в т: 32288×1,7 = 54890 т.

в) заработная плата для перевозки всего объема грунта:

КрАЗ-256Б

3 км

0,0056×164670 + 0,0216×54890 = 2107,78 руб.

 

5 км

0,0056×274450 + 0,0216×54890 = 2722,55 руб.

 

6 км

0,0056×329340 + 0,0216×54890 = 3029,93 руб.

КамАЗ-5511

3 км

0,0061×164670 + 0,0208×54890 = 2190,12 руб.

 

5 км

0,0061×274450 + 0,0208×54890 = 2859,78 руб.

 

6 км

0,0061×329340 + 0,0208×54890 = 3194,60 руб.

МАЗ-503А

3 км

0,0076×164670 + 0,0208×54890 = 2437,12 руб.

 

5 км

0,0076×274450 + 0,0208×54890 = 3271,45 руб.

 

6 км

0,0076×329340 + 0,0208×54890 = 3688,61 руб.

12. Расчет надбавки за классность шоферам (коэффициент 0,25):

КрАЗ-256Б

3 км

1572,43×0,729×0,25 = 286,58 руб.

 

5 км

2182,67×0,729×0,25 = 397,79 руб.

 

6 км

2486,18×0,729×0,25 = 453,11 руб.

КамАЗ-5511

3 км

1937,28×0,6591×0,25 = 319,17 руб.

 

5 км

2670,22×0,659×0,25 = 439,92 руб.

 

6 км

3035,07×0,659×0,25 = 500,02 руб.

МАЗ-503А

3 км

2463,57×0,659×0,25 = 405,87 руб.

 

5 км

3377,32×0,659×0,25 = 556,41 руб.

 

6 км

3835,81×0,659×0,25 = 631,95 руб.

13. Сумма заработной платы водителей перевозки всего объема грунта:

КрАЗ-256Б

3 км

2107,78 + 286,58 = 2394,36 руб.

 

5 км

2722,55 + 397,79 = 3120,34 руб.

 

6 км

3029,93 + 453,11 = 3483,04 руб.

КамАЗ-5511

3 км

2190,12 + 319,17 = 2509,29 руб.

 

5 км

2859,78 + 439,92 = 3299,70 руб.

 

6 км

3194,60 + 500,02 = 3694,62 руб.

МАЗ-503А

3 км

2437,12 + 405,87 = 2842,99 руб.

 

5 км

3271,45 + 556,41 = 3827,86 руб.

 

6 км

3688,61 + 631,95 = 4320,56 руб.

Приложение 3

Расчет объемов земляных работ для щелевзрывного способа рыхления

1. Принят сосредоточенный резерв размерами:

28×258,3×4,465 = 32288 м3.

2. Глубина промерзания - 1 м.

3. Нарезка щелей производится через каждые 1,2 м. Длина щелей:

258,3:1,2×28 = 6027 м.

4. Объем мерзлого грунта:

1×258,3×28 = 7232 м3.

5. Расход ВВ определяем по формуле согласно «Руководству но производству буровзрывных работ в транспортном строительстве»

Q = 0,8×0,92×6027 = 3906 кг,

где 0,8 - удельный расход ВВ;

0,9 - глубина линии наименьшего сопротивления;

6027 - длина щелей сосредоточенного резерва.

6. Сосредоточенный резерв делится на захватки, во избежание повторного смерзания грунта.

Вся площадь сосредоточенного резерва взрывается за 10 взрывов.

7. Вес каждого патрона равен 0,2 кг.

Количество патронов равно: 3906:0,2 = 19530 штук.

Количество патронов в одной щели длиной 28 м

(0,8×0,81×28):0,2 = 91 ед.

 




ГОСТЫ, СТРОИТЕЛЬНЫЕ и ТЕХНИЧЕСКИЕ НОРМАТИВЫ.
Некоммерческая онлайн система, содержащая все Российские Госты, национальные Стандарты и нормативы.
В Системе содержится более 150000 файлов нормативно-технической документации, действующей на территории РФ.
Система предназначена для широкого круга инженерно-технических специалистов.

Рейтинг@Mail.ru Яндекс цитирования

Copyright © www.gostrf.com, 2008 - 2026