Крупнейшая бесплатная информационно-справочная система онлайн доступа к полному собранию технических нормативно-правовых актов РФ. Огромная база технических нормативов (более 150 тысяч документов) и полное собрание национальных стандартов, аутентичное официальной базе Госстандарта. GOSTRF.com - это более 1 Терабайта бесплатной технической информации для всех пользователей интернета. Все электронные копии представленных здесь документов могут распространяться без каких-либо ограничений. Поощряется распространение информации с этого сайта на любых других ресурсах. Каждый человек имеет право на неограниченный доступ к этим документам! Каждый человек имеет право на знание требований, изложенных в данных нормативно-правовых актах!

  


 

ОРДЕНА ТРУДОВОГО КРАСНОГО ЗНАМЕНИ НАУЧНО-ИССЛЕДОВАТЕЛЬСКИЙ ИНСТИТУТ ОСНОВАНИИ И ПОДЗЕМНЫХ СООРУЖЕНИИ им. Н.М. ГЕРСЕВАНОВА
(НИИОСП им. Н.М. ГЕРСЕВАНОВА) ГОССТРОЯ СССР

РЕКОМЕНДАЦИИ по наблюдению за состоянием грунтов оснований и фундаментов зданий и сооружений, возводимых на вечномерзлых грунтах

МОСКВА СТРОЙИЗДАТ 1982

Содержание

ПРЕДИСЛОВИЕ

1. ОБЩИЕ ПОЛОЖЕНИЯ

2. СОСТАВ РАБОТ В ПЕРИОД ВОЗВЕДЕНИЯ ЗДАНИИ И ПРИЕМОЧНАЯ ДОКУМЕНТАЦИЯ

3. Профилактический контроль

4. ТЕХНИЧЕСКОЕ ОБСЛЕДОВАНИЕ ПРИ НЕДОПУСТИМЫХ ДЕФОРМАЦИЯХ И ПЕРЕД РЕКОНСТРУКЦИЕЙ ЗДАНИИ

ПРИЛОЖЕНИЕ 1 ПРИМЕР РАСПОЛОЖЕНИЯ ТЕМПЕРАТУРНЫХ СКВАЖИН И НИВЕЛИРНЫХ МАРОК ДЛЯ ЗДАНИЯ, ПОСТРОЕННОГО ПО I ПРИНЦИПУ ИСПОЛЬЗОВАНИЯ ГРУНТОВ ОСНОВАНИЙ

ПРИЛОЖЕНИЕ 2 УСТРОЙСТВО НИВЕЛИРНЫХ МАРОК НА ФУНДАМЕНТАХ ЗДАНИЙ, ПОСТРОЕННЫХ ПО I ПРИНЦИПУ ИСПОЛЬЗОВАНИЯ ВЕЧНОМЕРЗЛЫХ ГРУНТОВ В КАЧЕСТВЕ ОСНОВАНИИ ЗДАНИИ И СООРУЖЕНИИ

ПРИЛОЖЕНИЕ 3 УСТРОЙСТВО КОНТРОЛЬНЫХ ТЕМПЕРАТУРНЫХ И ГИДРОГЕОЛОГИЧЕСКИХ СКВАЖИН

ПРИЛОЖЕНИЕ 4 ПЕРЕЧЕНЬ ДОКУМЕНТАЦИИ ПО ОСНОВАНИЯМ И ФУНДАМЕНТАМ (ВЕДЕТСЯ В ПЕРИОД ВОЗВЕДЕНИЯ ЗДАНИЙ В РАЙОНАХ РАСПРОСТРАНЕНИЯ ВЕЧНОМЕРЗЛЫХ ГРУНТОВ И ПЕРЕДАЕТСЯ ЭКСПЛУАТИРУЮЩЕЙ ОРГАНИЗАЦИИ ПРИ СДАЧЕ ЗДАНИЙ И СООРУЖЕНИЙ В ЭКСПЛУАТАЦИЮ)

ПРИЛОЖЕНИЕ 5 АКТ ПРИЕМКИ КОТЛОВАНОВ

ПРИЛОЖЕНИЕ 6 ЖУРНАЛ ХАРАКТЕРИСТИКИ КАЧЕСТВА ЗАСЫПКИ ПАЗУХ КОТЛОВАНОВ, ОБЩЕГО КОТЛОВАНА, СЛОЕВ ЗАМЕНЫ ГРУНТА, ПОДСЫПОК И НАМЫВА ТЕРРИТОРИИ

ПРИЛОЖЕНИЕ 7 ВЫБОРОЧНЫЕ ДАННЫЕ О ТЕХНОЛОГИИ УСТРОЙСТВА ФУНДАМЕНТОВ

ПРИЛОЖЕНИЕ 8 ЖУРНАЛ УСТАНОВКИ БУРООПУСКНЫХ СВАЙ

ПРИЛОЖЕНИЕ 9 ЖУРНАЛ ОТТАИВАНИЯ И ПОГРУЖЕНИЯ ОПУСКНЫХ СВАЙ

ПРИЛОЖЕНИЕ 10 АКТ ПРИЕМКИ ТЕХНИЧЕСКОГО ЭТАЖА И ВЕНТИЛИРУЕМОГО ПОДПОЛЬЯ В ЭКСПЛУАТАЦИЮ

ПРИЛОЖЕНИЕ 11 ЖУРНАЛ НАБЛЮДЕНИЙ ЗА СОСТОЯНИЕМ ГРУНТОВ ОСНОВАНИЙ И ФУНДАМЕНТОВ

ПРИЛОЖЕНИЕ 12 МЕТОДИКА ЗОНДИРОВАНИЯ С ИЗМЕРЕНИЕМ ТЕМПЕРАТУРЫ ГРУНТА

ПРИЛОЖЕНИЕ 13 МИКОЛОГИЧЕСКОЕ ОБСЛЕДОВАНИЕ ДЕРЕВЯННЫХ КОНСТРУКЦИИ В ПОДПОЛЬЯХ ЗДАНИИ, В ОТДЕЛЬНЫХ ОПОРАХ, ЭСТАКАДАХ И т. п.

ПРИЛОЖЕНИЕ 14 МЕТОДИКА ОБСЛЕДОВАНИЯ БЕТОНА ФУНДАМЕНТОВ

ПРИЛОЖЕНИЕ 15 КОНСТРУКЦИЯ ИНЕРЦИОННОГО ТЕРМОМЕТРА

ПРИЛОЖЕНИЕ 16 ИЗГОТОВЛЕНИЕ И ТАРИРОВКА ЭЛЕКТРИЧЕСКИХ ТЕРМОМЕТРОВ СОПРОТИВЛЕНИЯ (ЭТС), ИЗГОТОВЛЕНИЕ ГИРЛЯНД

ПРИЛОЖЕНИЕ 17 СОПОСТАВЛЕНИЕ ИЗМЕРЕННЫХ ТЕМПЕРАТУР И ГЛУБИНЫ ОТТАИВАНИЯ ПОД ЗДАНИЕМ С ПРОЕКТНЫМИ ДАННЫМИ

ПРИЛОЖЕНИЕ 18 РАСПОЛОЖЕНИЕ ПРИБОРОВ ДЛЯ НАБЛЮДЕНИЯ ТЕМПЕРАТУР В ПРОВЕТРИВАЕМЫХ ПОДПОЛЬЯХ ЗДАНИЙ

Рекомендованы к изданию решением секции по фундаментостроению на мерзлых грунтах Ученого совета НИИОСП.

Содержат основные положения по составу и методике проведения наблюдений за состоянием грунтов оснований и фундаментов зданий и сооружений во время строительства и в эксплуатационный период в зависимости от принятого принципа использования вечномерзлых грунтов в качестве оснований. Приведены рекомендуемая методика наблюдений, измерительная аппаратура, формы и журналы документации наблюдений.

Для инженерно-технических работников проектных, строительных и контролирующих организаций.

ПРЕДИСЛОВИЕ

Устойчивость и долговечность зданий и сооружений, возводимых на вечномерзлых грунтах, существенно зависят от соблюдения принятого в проекте температурно-влажностного режима грунтов в основании и состояния фундаментов. Эти условия должны выполняться с начала строительства и затем в течение всего срока эксплуатации здания и сооружения.

В настоящих Рекомендациях излагается порядок и методика наблюдений за состоянием оснований и фундаментов зданий и сооружений, возводимых на вечномерзлых грунтах, проводимых согласно требованиям главы СНиП II-18-76 «Основания и фундаменты на вечномерзлых грунтах».

Рекомендации составлены канд. техн. наук Г.Н. Максимовым (ответственный исполнитель) и инж. В.П. Беловым - прил. 3, 12, 15, 16 (НИИОСП) с участием канд. техн. наук М.М. Капкина, д-ра техн. наук В.А. Клевцова, канд. техн. наук И.С. Кислана - прил. 14 (НИИЖБ), д-ра техн. наук В.О. Орлова (ПНИИИС), канд. техн. наук А.А. Колесова и инж. В.С. Крижановского (Фундаментпроект). Руководитель темы - канд. геол.-мин. наук Д.И. Федорович.

1. ОБЩИЕ ПОЛОЖЕНИЯ

1.1. Настоящие Рекомендации составлены к главам СНиП II-18-76 «Основания и фундаменты на вечномерзлых грунтах», III-9-74 «Основания и фундаменты», III-8-76 «Земляные сооружения», III-3-76 «Приемка в эксплуатацию законченных строительством предприятий, зданий и сооружений. Основные положения», II-21-75 «Бетонные и железобетонные конструкции», а также положениям о проведении планово-предупредительных ремонтов здании и сооружений и другим документам по проведению наблюдений за состоянием грунтов оснований и фундаментов зданий и сооружений.

1.2. Рекомендации распространяются на гражданские и промышленные здания и сооружения, возводимые и возведенные по I и II принципам использования вечномерзлых грунтов в качестве оснований, а также со стабилизацией границы верхней поверхности вечномерзлых грунтов.

1.3. Рекомендации предназначены для проектных и строительных организаций, осуществляющих проектирование, строительство и контроль за качеством работ и соблюдением проектного режима в период строительства зданий и сооружений в соответствии с положениями о производственно-технических отделах СМУ и строительных лабораториях и для эксплуатационных организаций, осуществляющих контроль за состоянием зданий и сооружений и соблюдением установленного для них в проекте эксплуатационного режима согласно положений о проведении планово-предупредительного ремонта зданий.

1.4. Положения Рекомендаций могут быть использованы проектными организациями при разработке программы наблюдений за состоянием фундаментов и грунтов оснований согласно п. 1.5 главы СНиП II-18-76, при проведении авторского надзора, а также при обследовании контролирующими органами ГАСК. (Государственный архитектурно-строительный контроль), заказчиками, мерзлотной службой (инспекцией).

1.5. В состав материалов строительной организации, представляемых при приемке в эксплуатацию законченных объектов, должны входить программа наблюдений, разработанная проектной организацией, результаты наблюдений за состоянием фундаментов и грунтов оснований в период строительства и основные показатели по эксплуатационному режиму, который предусмотрен в период эксплуатации здания (сооружения).

1.6. Первичные материалы наблюдений за состоянием оснований и фундаментов, проводимых в период возведения зданий, а также в период их эксплуатации, должны храниться в эксплуатирующей организации.

1.7. Рекомендации не распространяются на здания и сооружения, находящиеся в аварийном состоянии или подвергнувшиеся деформациям от стихийных бедствий. Соответствующие обследования и наблюдения за состоянием оснований и фундаментов в этих случаях производятся специализированными организациями но особой программе.

2. СОСТАВ РАБОТ В ПЕРИОД ВОЗВЕДЕНИЯ ЗДАНИИ И ПРИЕМОЧНАЯ ДОКУМЕНТАЦИЯ

2.1. Наблюдения в период возведения зданий осуществляются производственно-техническими отделами строительно-монтажных управлений и строительными лабораториями по программе, составленной проектной организацией - автором проекта, и под его контролем в порядке выполнения авторского надзора.

2.2. В период возведения зданий и сооружений оборудуются контрольные температурные и гидрогеологические скважины, осуществляют нивелирование фундаментов, в том числе погруженных свай, оборудование на зданиях и сооружениях постоянных нивелирных марок, измеряются отметки подкрановых путей мостовых кранов, водоотводных лотков в технических этажах и подпольях здании, а также тротуаров у зданий и сооружений. Кроме того, контролируется плотность грунтов, уложенных в насыпях, при замене грунтов в выемках и при намыве территории.

2.3. Для зданий, возводимых по I принципу использования вечномерзлых грунтов в качестве оснований, число контрольных температурных скважин, устанавливаемых рядом со свайными или столбчатыми фундаментами, должно быть не менее 2 % общего числа фундаментов. Глубина этих скважин должна быть не менее глубины заложения фундаментов. Температурные скважины рекомендуется располагать у наружных фундаментов, а также у фундаментов, расположенных посредине здания. Если в подполье предусмотрен водоотводный лоток, дополнительно необходимо предусмотреть скважины у одного или двух фундаментов, расположенных вблизи лотка. Обязательна установка температурных скважин у фундаментов, ближайших к подземному вводу или выпуску санитарно-технических коммуникаций, а при надземной их прокладке в местах их погружения в грунт, за пределами здания (прил. 1).

2.4. Для зданий, возведенных с предварительным охлаждением грунтов оснований или их локальным замораживанием, необходимо сохранять температурные скважины, которые были оборудованы в период проведения работ по охлаждению грунтов.

2.5. Постоянные нивелирные марки на зданиях и сооружениях, построенных по I принципу, устанавливаются на угловых фундаментах и в средней части осей здания по наружному его контуру. Рекомендуется применение нивелирных марок дюбельного типа (прил. 2). Если здание имеет осадочные швы, то марки устанавливают на угловых фундаментах и фундаментах, расположенных по обе стороны от осадочных швов.

2.6. Для зданий и сооружений, возводимых по II принципу с предварительным оттаиванием грунтов оснований или с опиранием на несжимаемые грунты, устройство специальных температурных скважин можно не предусматривать.

Примечание. Целесообразно законсервировать две или три термометрические скважины под зданием, пройденные при проведении предпостроечного оттаивания грунтов.

2.7. Для зданий и сооружений, возводимых по II принципу на малосжимаемых грунтах с допущением их оттаивания в процессе эксплуатации зданий, контрольные температурные скважины устанавливают не менее 2 % общего числа фундаментов у наружных рядов фундаментов, а также в центре и на расстоянии от центра на величину 0,25 или 0,4 ширины здания. Скважины бурятся на глубину сжимаемого слоя, но не более 20 м. Если тепловой режим в различных частях здания неодинаков, рекомендуется предусматривать установку дополнительных контрольных температурных скважин.

2.8. Для зданий и сооружений, возводимых со стабилизацией границы верхней поверхности вечномерзлых грунтов, число контрольных температурных скважин должно быть не менее 2 % общего числа фундаментов и они должны устанавливаться у края здания и в середине его на глубину границы верхней поверхности вечномерзлых грунтов плюс 3 м.

2.9. Постоянные нивелирные марки на зданиях, возводимых по II принципу и со стабилизацией верхней границы вечномерзлых грунтов, устанавливаются на угловых фундаментах, на фундаментах, расположенных по обе стороны осадочных швов, а также на двух-трех фундаментах секций между осадочными швами, для зданий и пролетов без мостовых кранов - на колоннах соответствующих осей внутри здания. Нивелировочные марки устанавливают также на дымовых трубах и фундаментах оборудования, неравномерность осадки которого регламентирована главой СНиП II-15-74 «Основания зданий и сооружений» и другими документами.

2.10. На городских санитарно-технических сетях, укладываемых в вентилируемых каналах, контрольные температурные скважины устанавливают сбоку канала в пазухах выкопанной траншеи и на границе зеленой полосы, под которой расположен канал. Скважины предусматриваются на глубину расчетного оттаивания плюс 3 м.

2.11. Для бесканальных прокладок коммуникаций контрольные температурные скважины располагаются рядом с трубопроводом и на величину одного-двух расчетных радиусов оттаивания в сторону от трубопровода. Скважины проходятся на расчетную глубину оттаивания плюс 3 м.

2.12. Гидрогеологические скважины под зданиями, построенными по II принципу использования вечномерзлых грунтов в качестве оснований, а также со стабилизацией верхней границы вечномерзлого грунта, закладываются в количестве одной-двух в контуре здания на глубину заложения фундаментов плюс 5 м, а в случае свайных фундаментов - на глубину заложения свай.

2.13. Контрольные температурные и гидрогеологические скважины рекомендуется выполнять в соответствии с рис. 3.

2.14. Наблюдения производятся:

за температурами грунтов оснований, перемещениями фундаментов и гидрогеологическими условиями в период возведения зданий с начала строительства до сдачи объекта в эксплуатацию;

за температурами грунтов оснований - ежемесячно с интервалами по глубине не менее 2 м;

за уровнем грунтовых вод - в период строительства зданий, построенных с допущением оттаивания, в конце летнего периода, для зданий с предварительным оттаиванием грунтов - ежемесячно.

Нивелировка фундаментов производится сразу после их установки в период загружения и на момент сдачи в эксплуатацию.

2.15. Данные наблюдений за состоянием фундаментов и грунтов оснований в период строительства наряду о другой технической документацией (актами приемки строительных котлованов, контроля плотности грунтов насыпей и засыпок, данными о технологии бетонных работ и т.д.) передаются эксплуатирующей организации. Полный состав передаваемой документации приведен в прил. 4-11.

2.16. Уклоны отметок, тротуаров, водоотводных лотков в технических этажах и подпольях зданий, при сдаче здания или сооружения в эксплуатацию должны соответствовать проектным данным. При несоответствии они должны быть исправлены и составлен дополнительный акт на их приемку.

2.17. Приемной комиссии предъявляются также данные об имевших место в период строительства деформациях здания, в том числе о трещинах в ростверках и на стенах зданий и о принятых мероприятиях по их устранению1.

1 «Методические указания по техническому обследованию полносборных жилых зданий». - М.: Стройиздат, 1974.

Примечание. На свайные фундаменты, подвергшиеся выпучиванию и осаженные до начальных отметок до их загружения, составляется акт, в котором указывается, какими средствами и насколько была осажена каждая свая.

3. Профилактический контроль

3.1. Профилактический контроль осуществляется в период эксплуатации зданий, в целях обеспечения проектного режима грунтов оснований и фундаментов зданий и сооружений. В состав профилактического контроля входят следующие виды наблюдений: текущий и контрольный осмотр состояния технических этажей, подполий зданий и расположенных в них коммуникаций и других устройств; наблюдения за состоянием бетона фундаментов; наблюдения за температурами грунтов в основании зданий и сооружений; наблюдения за температурой воздуха в подполье; наблюдения за осадками фундаментов; наблюдения за гидрогеологическим режимом основания.

3.2. Текущий осмотр состояния технических этажей и подполий зданий осуществляется эксплуатирующей организацией один раз в месяц. Контрольные осмотры осуществляются не реже одного раза в год. При осмотрах особое внимание рекомендуется обращать на наличие утечек санитарно-технических сетей, состояние водоотводных лотков и отмосток в технических этажах и подпольях зданий, видимые проявления разрушений бетона фундаментов (их отсыревание), а в деревянных домах - на наличие грибков и плесени. При контрольных осмотрах рекомендуется применять неразрушающие методы контроля состояния бетона фундаментов.

Обнаруженные неисправности регистрируются в журнале (прил. 11) и подлежат немедленному устранению. При наличии крупных утечек или систематических протечек санитарно-технических сетей рекомендуется выявить зону оттаивания грунтов. Для этих целей под зданиями рекомендуется применять зондирование приспособлениями, приведенными в прил. 12, а для наружных сетей - установками ударно-вибрационного зондирования с применением набора несоставных зондов и трубок увеличенного диаметра длиной от 3 до 8 м.

При выявлении отсыревания фундаментных конструкций, грибков или плесени, если они не связаны с протечкой санитарно-технических сетей, рекомендуется усилить вентиляцию подполий в летний период года. Образцы плесени и грибков необходимо отправлять на микологическое обследование (см. прил. 13).

3.3. Для промышленных сооружений с мокрыми процессами, вызывающими повышенную агрессивность среды к материалам фундаментов, раз в пять лет отбираются пробы из фундаментов.

Отбор проб на исследование физико-механических свойств бетона производится также для всех зданий при обнаружении в них проявлений разрушения бетона (см. прил. 14).

3.4. Наблюдения за температурами грунтов оснований производятся в термометрических скважинах со следующей периодичностью:

для зданий, построенных по I принципу, два раза в год - соответственно в конце летнего периода и в середине зимы;

для зданий, построенных с допущением оттаивания грунтов в процессе эксплуатации, а также со стабилизацией верхней поверхности вечномерзлого грунта - в первый год эксплуатации один раз в квартал, а в последующие годы один раз в год.

3.5. Температуру в контрольных скважинах измеряют по всей их глубине с интервалами: 1 м до глубины 5 м и 2 м - свыше 5 м.

3.6. Температуру измеряют связками инерционных термометров со шкалой с ценой деления не более 0,2°С. Конструкция инерционных термометров приведена в прил. 15. В связке термометров, погружаемых в скважину для 1-11 районов (по карте рис. 1 главы СНнП II-А.6-72 «Строительная климатология и геофизика»), должно быть не более пяти термометров, а для III-IV районов не более трех. При использовании для измерений температур в скважинах электротермометров серийного изготовления (например, типа ЭТМ-Х1) следует руководствоваться приложенными к ним заводскими инструкциями. Допускается применение электротермометров несерийного производства при условии их тщательной тарировки и сверке с показаниями лабораторных ртутных термометров с ценой деления 0,1°С, не менее чем по трем точкам. Конструкция термометров несерийного производства, изготовление и тарировка приведены в прил. 16. Данные периодических наблюдений температур записываются по форме прил. 15.

3.7. Обработка данных температурных измерений и сопоставление их с проектными данными производятся не позднее чем через две недели после проведения наблюдений. Сопоставление производится по средним максимальным и минимальным температурам и глубине оттаивания. Формы обработки данных приведены в прил. 17.

3.8. Наблюдения за температурой воздуха в проветриваемых подпольях производятся в течение первых двух лет эксплуатации здания с целью корректировки их температурного режима в соответствии с проектом. Температуру рекомендуется измерять два раза в месяц термографами с суточным заводом или инерционными ртутными термометрами. Приборы устанавливаются в двух-трех точках подполья на уровне 1/3 его высоты. По полученным данным корректируется площадь вентиляционных отверстий. Обработка полученных данных наблюдений производится в соответствии с прил. 18. Откорректированная площадь вентиляционных отверстий должна согласовываться с проектной организацией. Необходимо особо отметить, что излишнее понижение температуры воздуха в подпольях приводит к ухудшению комфортности проживания в первых этажах и ускоренному морозному разрушению бетонных фундаментных конструкций.

3.9. Наблюдения за осадками фундаментов зданий и сооружений, построенных с допущением оттаивания грунтов в процессе их эксплуатации на сжимаемых грунтах, производятся в первые два-три года эксплуатации не менее двух раз в год, а в дальнейшем при стабилизации осадок фундаментов - одни риз в пять лет. Для остальных зданий и сооружений наблюдения за осадками производятся в случае появления трещин, раскрытия швов, а также резкого изменения условий работы сооружения. Наблюдения выполняются согласно «Руководству по наблюдениям за деформациями оснований и фундаментов зданий и сооружений». НИИОСП. - М.: Стройиздат, 1975.

3.10. Наблюдения за гидрогеологическим режимом оснований производятся для зданий, построенных по II принципу использования вечномерзлых грунтов в качестве оснований, один раз в год (в осенний период), а в дальнейшем после стабилизации гидрогеологического режима одни раз в пять лет. В процессе наблюдений определяется уровень грунтовых вод и отбираются пробы воды на агрессивность их к бетону.

Примечание. Для промышленных сооружении с мокрыми технологическими процессами гидрогеологические наблюдения производятся но специальным программам.

3.11. Профилактический осмотр наружных санитарно-технических сетей производится согласно положениям об их эксплуатации в северных условиях. При осмотрах вентилируемых каналов рекомендуется обращать внимание на наличие течей труб и арматуры, на неисправность теплоизоляции их, наличие грунтовых вод, образование наледей в каналах их заиливания и т.д.

3.12. В первые два года эксплуатации санитарно-технических сетей измеряются температура грунтов оснований в местах, указанных в пп. 2.10; 2.11, а также температура воздуха в вентилируемых каналах вблизи вентиляционных отверстий и между ними. В процессе дальнейшей эксплуатации санитарно-технических сетей температурные наблюдения за ними в указанном составе рекомендуется выполнять при изменении эксплуатационного режима сетей и после аварий, вызвавших непредусмотренное оттаивание грунтов оснований.

4. ТЕХНИЧЕСКОЕ ОБСЛЕДОВАНИЕ ПРИ НЕДОПУСТИМЫХ ДЕФОРМАЦИЯХ И ПЕРЕД РЕКОНСТРУКЦИЕЙ ЗДАНИЙ

4.1. Техническое обследование зданий при появлении недопустимых деформаций, а также перед их реконструкцией осуществляется специализированной организацией по программе проектной организации, которая разрабатывает проект усиления фундаментов и восстановлении несущей способности основания.

4.2. Материалы обследовании должны содержать данные: инструментальные о величине осадок фундаментов; о характере, местах и величине раскрытия трещин на фундаментных конструкциях и стенах здания; о температурном режиме грунтов основания, в том числе о глубине оттаивания вечномерзлых грунтов в основании фундаментов; о состоянии бетона фундаментов и ростверков; о физико-механических свойствах основания на время проведения обследования.

4.3. При проведении обследований рекомендуется пользоваться имеющимися материалами по наблюдению за состоянием фундаментов и грунтов оснований, проведенных в процессе их эксплуатации. При отсутствии таких материалов данные о развитии деформаций во времени и о возможных причинах их появления устанавливаются путем опросов или просмотром других документов.

ПРИЛОЖЕНИЕ 1

ПРИМЕР РАСПОЛОЖЕНИЯ ТЕМПЕРАТУРНЫХ СКВАЖИН И НИВЕЛИРНЫХ МАРОК ДЛЯ ЗДАНИЯ, ПОСТРОЕННОГО ПО I ПРИНЦИПУ ИСПОЛЬЗОВАНИЯ ГРУНТОВ ОСНОВАНИЙ

Рис. 1. Расположение температурных скважин и нивелирных марок
Т - температурные скважины; Л - лоток; НВ - надземная часть ввода санитарно-технических коммуникаций; ПВ - подземная часть ввода или выпуска санитарно-технических коммуникаций; М - нивелирные марки

№ скважины

Глубина скважины, м

Диаметр обсадной трубы, мм

Материал обсадной трубы

Состояние скважины

Дата обследования

Т-1

 

 

 

 

 

Т-2

 

 

 

 

 

Т-3

 

 

 

 

 

Т-4

 

 

 

 

 

Т-5

 

 

 

 

 

ПРИЛОЖЕНИЕ 2

УСТРОЙСТВО НИВЕЛИРНЫХ МАРОК НА ФУНДАМЕНТАХ ЗДАНИЙ, ПОСТРОЕННЫХ ПО I ПРИНЦИПУ ИСПОЛЬЗОВАНИЯ ВЕЧНОМЕРЗЛЫХ ГРУНТОВ В КАЧЕСТВЕ ОСНОВАНИИ ЗДАНИИ И СООРУЖЕНИИ

Рис. 2. Устройство нивелирных марок на фундаментах зданий
1 - свая или столб фундамента; 2 - наголовник или ростверк; 3 - навесная панель цоколя; 4 - нивелирная марка-дюбель; 5 - отверстие в навесной панели цоколя; 6 - цилиндрический болт (марка)

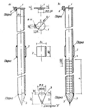
ПРИЛОЖЕНИЕ 3

УСТРОЙСТВО КОНТРОЛЬНЫХ ТЕМПЕРАТУРНЫХ И ГИДРОГЕОЛОГИЧЕСКИХ СКВАЖИН

Рис. 3. Устройство контрольных температурных и гидрогеологических скважин
а - обсадная труба температурной скважины; б - обсадная труба гидрогеологической скважины; 1 -защитная крышка; 2 - обойма; 3 - наконечник; 4 - отверстия по периметру трубы; 5 - латунная сетка с отверстиями 0 от 0,1 до 0,2 мм; 6 - приваренная к трубе гайка М 10; h - длина перфорированного участка, защищенного сеткой

ПРИЛОЖЕНИЕ 4

ПЕРЕЧЕНЬ ДОКУМЕНТАЦИИ ПО ОСНОВАНИЯМ И ФУНДАМЕНТАМ (ВЕДЕТСЯ В ПЕРИОД ВОЗВЕДЕНИЯ ЗДАНИЙ В РАЙОНАХ РАСПРОСТРАНЕНИЯ ВЕЧНОМЕРЗЛЫХ ГРУНТОВ И ПЕРЕДАЕТСЯ ЭКСПЛУАТИРУЮЩЕЙ ОРГАНИЗАЦИИ ПРИ СДАЧЕ ЗДАНИЙ И СООРУЖЕНИЙ В ЭКСПЛУАТАЦИЮ)

1. Материалы инженерно-геологических, гидрогеологических и мерзлотных изысканий.

2. Проект оснований и фундаментов со сведениями по температурному режиму грунтов в основании здания (сооружения) до возведения здания (сооружения) и указаниями по принятому в проекте температурному режиму оснований в период эксплуатации.

3. Акты приемки котлованов, подполий и водоотводных лотков в подпольях, а также данные по качественному выполнению подсыпок, замены грунтов, намыва и других работ по устройству и подготовке оснований (прил. 5, 6).

4. Журнал бетонных работ с данными о технологии возведения фундаментов и результатами испытаний контрольных образцов укладываемого бетона (прил. 7).

5. Паспорта на сваи заводов-изготовителей.

6. Акты лабораторных испытаний контрольных бетонных образцов фундаментов и свай.

7. Акты геодезической разбивки осей фундаментов.

8. Исполнительные схемы расположения свай с указанием отклонений в плане и по высоте.

9. Схемы расположения нивелирных марок, установленных на фундаментных, температурных и других скважинах, а также места установки постоянных пунктов наблюдений за состоянием фундаментов н грунтов оснований (прил. 1).

10. Журналы забивки или погружения свай по форме прил. 15, 15а главы СНиП III-9-74.

11. Журналы погружения буроопускных и опускных свай (прил. 8 и 9 настоящих Рекомендаций).

12. Результаты динамических и статических испытаний свай.

13. Данные о вертикальных перемещениях фундаментов до укладки по ним балок и сведения о мероприятиях, принятых для восстановления их проектного состояния.

14. Инструментальные измерения отметок установленных марок, подкрановых путей мостовых кранов, подсыпок и тротуаров у зданий и сооружений.

15. Акт приемки технического этажа и вентилируемого подполья в эксплуатацию (прил. 10).

Приемочной комиссии должны предъявляться:

при применении искусственного замораживания талых зон или охлаждение оснований

16. Проект с указаниями.

17. Изменение средних максимальных температур в зоне смерзания свай в виде изолиний до и после осуществления искусственного охлаждения.

18. Журналы проведенного охлаждения (замораживания) с отметкой времени работы вентиляторов и перерывов в охлаждении (замораживании);

при применении предпостроечного оттаивания грунтов.

19. Проект с указаниями.

20. Температурные наблюдения в процессе осуществления работ.

21. Данные об осадках грунта по поверхностным и глубинным маркам.

Все указанные данные прикладываются к паспорту здания (сооружения) и журналу наблюдений за состоянием грунтов оснований и фундаментов (прил. 11).

Качество работ по устройству фундаментов отражается в пункте «ж» акта приемки здания в эксплуатацию главы СНиП III-3-76 «Приемка в эксплуатацию законченных строительством предприятий, зданий и сооружений. Основные положения».

ПРИЛОЖЕНИЕ 5

УТВЕРЖДАЮ

Гл. инженер треста (СУ)

«     » _____________19 г.

 

СОГЛАСОВАНО

Представитель дирекции строящегося

предприятия ____________________

(главный инженер ЖЭУ для жилых зданий)

АКТ ПРИЕМКИ КОТЛОВАНОВ

Площадка___________________________________________________

Объект _____________________________________________________

Квартал ____________________________ Дом № _________________

Дата приемки (число, месяц, год)

Комиссия в составе:

1. Представитель проектной организации (или треста строительных изысканий)

2. Инженер технической инспекции

3. Начальник строительного участка

4. Инженер мерзлотной лаборатории (службы) с участием представителей

стройлаборатории, отделов эксплуатации и ремонта зданий __________________________

произвела обследование котлованов под фундаменты и установила:

№ п.п.

Ряд и ось здания

Тип фундамента

Характеристика грунта в основании

Состояние

Примечание

слоя сезонного оттаивания

основания

1

А-1

Столбчатый

Супесчаный пылеватый. Текстура массивная

Промерз; основание мерзлое сухое

Хорошее

 

2

Е-3

Столбчатый

Суглинок пылеватый. Текстура сетчатая Прослойка льда от 1 до 5 мм. Грунтовые отдельности находятся в пластичном состоянии

Промерз; основание мерзлое сухое

Удовлетворительное

 

3

А-17

-

Песок пылеватый. Текстура массивная

То же

Хорошее

 

4

Д-1

Столбчатый

Суглинок пылеватый. Текстура сетчатая. Прослойка льда от 2 до 5 мм

"

Удовлетворительное

 

Комиссия постановила:

1. В основании здания должно быть сохранено вечномерзлое состояние грунтов в пределах природных среднегодовых температур.

2. Для котлованов Е-3, Д-1 разрешается замена грунта на талый песок с трамбованием, укладываемый двумя слоями до проектных отметок в соответствии с указанием проекта для оснований, сложенных грунтами морозной текстуры.

3. Разрешается укладка бетона согласно проекту.

Подписи членов комиссии:

 

представителей:

 

 

 

 

 

 

 

 

 

 

 

 

 

 

 

СПРАВКА
О СОСТОЯНИИ КОТЛОВАНОВ ПОД ФУНДАМЕНТЫ
НА ОБЪЕКТЕ

________________________________________________________________________

________________________________________________________________________

на «_____»__________________________________________19_________________г.

№ п.п.

Ряд и ось здания

Отметка подошвы котлована, м

Черная отметка, м

Планировочная отметка, м

Глубина котлована от планировочной отметки или врезка в скалу, м

Размеры подошвы котлована, м

Расчетная нагрузка на основание, кгс/см2

проектные

фактические

проектная

фактическая

1

2

3

4

5

6

7

8

9

10

1

А-1

-6

-6,02

-3,2

-1,5

4,52

1,5´1,5

1,55´1,5

5

2

Е-3

-6

-6,45

-1

-1,5

4,95

1,5´1,5

1,6´1,6

3

А-17

-6

-5,95

-2,3

-1,5

4,45

1,5´1,9

1,55´1,6

4

Д-1

-6

-6,5

-2

-1.5

5,2

1,5´1,5

1,6´1,5

3

Начальник отдела СУ ______________ Геодезист ____________

                                                     (подпись)                                        (подпись)

Примечания: 1. Графы 3, 6, 8 и 10 заполняются техотделами СУ и передаются начальнику строительного участка.

2. Графы 4, 5, 7, 9 заполняются прорабом и геодезистом.

ПРИЛОЖЕНИЕ 6

ЖУРНАЛ ХАРАКТЕРИСТИКИ КАЧЕСТВА ЗАСЫПКИ ПАЗУХ КОТЛОВАНОВ, ОБЩЕГО КОТЛОВАНА, СЛОЕВ ЗАМЕНЫ ГРУНТА, ПОДСЫПОК И НАМЫВА ТЕРРИТОРИИ

1. Состав грунта, которым выполняются указанные работы __________________________

2. Способ устройства подсыпки (талым грунтом с мерзлыми комьями, с укаткой катками, мерзлыми комьями послойно с проливной водой и естественным замораживанием, земснарядом и т.д.)

Места отбора проб

Ряд и ось здания

Характер выполненных работ

Плотность скелета грунта, кг/м3

Массовая влажность, %

Средства механизации для уплотнения грунтов

Примечания

у отдельных фундаментов

в общем котловане

% содержания мерзлых комьев

 

 

 

 

 

 

 

 

Объемная масса грунта определяется по ГОСТ 5182-78; влажность по ГОСТ 5180-75

ПРИЛОЖЕНИЕ 7

ВЫБОРОЧНЫЕ ДАННЫЕ О ТЕХНОЛОГИИ УСТРОЙСТВА ФУНДАМЕНТОВ

1. Марка цемента ___________. Расход цемента на 1 м3_______________________

2. В/Ц .________________________________________________________________

3. Морозостойкость (чем обеспечена) _____________________________________

4. Тип электродов (или иные методы прогрева) _____________________________

5. Максимальная температура прогрева, °С_________________________________

6. Время прогрева, ч ____________________________________________________

7. Режим прогрева форсированный  _______________________________________

                                     пониженный

8. Термосное выдерживание, ч____________________________________________

9. Добавки для ускорения твердения _______________________________________

10. Количество добавок, %________________________________________________

Температура в точках наблюдений для 3-5 фундаментов:

№ фундамента

№ точки

Дата и часы измерений

Эскиз точек наблюдений в фундаменте

 

 

 

 

 

 

 

 

 

 

 

 

 

 

 

ПРИЛОЖЕНИЕ 8

ЖУРНАЛ УСТАНОВКИ БУРООПУСКНЫХ СВАЙ

1. Наименование строительной организации ______________________________________

2. Объект ____________________________________________________________________

3. Технология погружения свай (под собственной массой, вибропогружателем,

с указанием его типа) __________________________________________________________

4. Тип бурового станка _________________________________________________________

5. Диаметр скважины___________________________________________________________

6. Состав грунтового раствора в околосвайном пространстве, его влажность ____________

7. Тип пластификатора, расход пластифицирующей добавки на 1 м3 раствора____________

8. Характеристика скальных грунтов в зоне заделки сваи-стойки ______________________

9. Характеристика раствора в зоне защемления сван в скальный грунт__________________

10. Тип свай ________ ; марка бетона ______; % армирования_________________________

11. Морозостойкость ___________________________________________________________

12. Приспособления, примененные для срезки или выравнивания свай _________________

Журнал заполняется по следующей форме:

№ п.п.

Дата

Температура воздуха в день погружения сваи, °С

№ сваи

Бурение скважин

Отметка

Глубина обсадки скважины, м

Интервал во времени между окончанием бурения и заливкой раствора, ч

начало, ч-мин

конец, ч-мин

забоя скважины, м

поверхности грунта

по проекту

фактическая

1

2

3

4

5

6

7

8

9

10

11

 

 

 

 

 

 

 

 

 

 

 

Продолжение таблицы

Заливка в скважину раствора

Погружение конуса в раствор, см

Погружение свай

объем раствора, м3

массовая влажность раствора,

температура раствора, °С

длина

отметка головы сваи

срезка сваи, см

механическая добивка сваи, см

по проекту

фактическая

12

13

14

15

16

17

18

19

20

 

 

 

 

 

 

 

 

 

Примечание. При применении забивных свай, погружаемых в талый или пластично-мерзлый грунт, а также в лидерные скважины, рекомендуется пользоваться формой журнала прил. 15 и 15а главы СНиП III-9.74.

ПРИЛОЖЕНИЕ 9

ЖУРНАЛ ОТТАИВАНИЯ И ПОГРУЖЕНИЯ ОПУСКНЫХ СВАЙ

1. Наименование строительной организации _______________________________________

_____________________________________________________________________________

2. Объект ___________. Способ оттаивания (с поверхности грунта, комбинированный с указанием глубины, м, проходки направляющей скважины)_____________________________

3. Тип котла, поверхность нагрева, число подключенных игл, давление пара на

котле ________________________________________________________________________

4. Число подключенных игл для оттаивания грунта под одну сваю, тип наконечника, число отверстий в нем, диаметр отверстий и игл, средний диаметр оттаявших зон (определяется погружением в них шаблонов)

_____________________________________________________________________________

5. Тип свай, марка бетона, морозостойкость _______________________________________

_____________________________________________________________________________

6. До какой температуры проводилось охлаждение оттаявшей зоны перед погружением

свай (определяется термозондированием)__________________________________________

№ п.п.

Дата

Температура наружного воздуха в дни погружения сваи, °С

сваи

Оттаивание грунта паром

давление пара на игле, ати

время

погружения до забоя, мин

выдержки на забое, мин

1

2

3

4

6

6

7

 

 

 

 

 

 

 

Продолжение таблицы

Отметка, м

Интервал во времени между оттаиванием и погружением сваи, ч-мин

Длина сваи, м

Отметки головы сваи, м

Срезка сваи, см (указать приспособления для срезки или  выравнивания)

планировочная

подошвы оттаивания

по проекту

фактическая

8

9

10

11

12

13

14

 

 

 

 

 

 

 

ПРИЛОЖЕНИЕ 10

АКТ ПРИЕМКИ ТЕХНИЧЕСКОГО ЭТАЖА И ВЕНТИЛИРУЕМОГО ПОДПОЛЬЯ В ЭКСПЛУАТАЦИЮ

Город (поселок) ______________________________________________

Квартал _______________________ Дом №_______________________

Улица ____________________ Производственное здание____________

Комиссия в составе:

1. Инженера проектной организации

2. Начальника стройучастка

3. Представителя ЖЭК (отдела эксплуатации производственных зданий)

4. Инженера мерзлотной лаборатории (службы)

установила:

1. Состояние планировки грунта в подполье____________________

2. Состояние отмостки в подполье (тип отмостки) ______________

3. Состояние водоотводного лотка под коммуникациями в техническом этаже или

подполье (данные контрольной проверки лотков уклономерами)______________________

4. Состояние ввода, наличие около него температурной скважины ____________________

5. Наличие и состояние температурных скважин____________________________________

6. Состояние цокольного заполнения и наличие вентиляционных отверстий (их число

и размеры) ____________________________________________________________________

Комиссия постановила:

принять технический этаж и подполье жилого дома № ______________________________

производственного объекта _____________________________________________________

в эксплуатацию с оценкой ______________________________________________________

необходимо исправить уклоны лотков между осями_________________________________

Выправленный лоток предъявить инженеру жилищно-эксплуатационного управления или отдела эксплуатации производственных зданий.

Подписи членов комиссии: ______________________

                                               ______________________

ПРИЛОЖЕНИЕ 11

ЖУРНАЛ НАБЛЮДЕНИЙ ЗА СОСТОЯНИЕМ ГРУНТОВ ОСНОВАНИЙ И ФУНДАМЕНТОВ

сооружения______________________________________________

здания

построенного на вечномерзлых грунтах

Начат:

Окончен:

Город ____________, (поселок) ___________ , предприятие______

19______г.

Название сооружения и его назначение_______________________

Строительная характеристика ___________________________________________________

_____________________________________________________________________________

Год сдачи в эксплуатацию ______________________________________________________

Принцип строительства .________________________________________________________

Тип фундаментов ______________________________________________________________

_____________________________________________________________________________

Заглубление фундаментов (могут прилагаться акты приемки котлованов (прил. 5) и

журналы погружения сваи (прил. 8, 9)_____________________________________________

Предпостроечные мероприятия (оттаивание, охлаждение, стабилизация, способ

осуществления, журналы работ) ________________________________________________

Мероприятия по сохранению мерзлого состояния грунтов___________________________

_____________________________________________________________________________

Санитарно-технические коммуникации (система их прокладки, расположение около и под зданием):

канализация___________________________________________________________________

водопровод ___________________________________________________________________

теплопровод __________________________________________________________________

дренажные устройства __________________________________________________________

Пункты наблюдений и их расположение (прил. 1)___________________________________

Ответственные лица за сохранность сооружения (здания):

Фамилия, имя, отчество

Должность, место работы

Год, число, месяц

Подпись

приемка

сдача

 

 

 

 

 

Замечания при обходе подполья (технического этажа) здания (сооружения), а также рядом расположенных санитарно-технических коммуникаций:

Дата обхода

Отмеченные ненормальности (в том числе краткое описание деформаций)

Сроки исправления

Подписи

ответственное лицо за контрольный обход

ответственное лицо за сохранность здания (техник-смотритель)

 

 

 

 

 

ПРИЛОЖЕНИЕ 12

МЕТОДИКА ЗОНДИРОВАНИЯ С ИЗМЕРЕНИЕМ ТЕМПЕРАТУРЫ ГРУНТА

Термозонд (зонды и трубки) показан на рис. 4. Перед зондированием рекомендуется подготовить лидерную скважину в оттаявшем грунте. Для этого в грунт погружается составной зонд, выполненный из шестигранной буровой стали 22/25 и после отказа зонды поочередно извлекаются зажимами и рычагами и развинчиваются. В подготовленную скважину погружается составная трубка.

На дне трубки осуществляется контрольное измерение температуры, например электротермометром или ртутным малоинерционным термометром. Выдержка термометра должна быть не менее 1 ч. Если температура нулевая, это свидетельствует о том, что трубка достигла поверхности вечномерзлого грунта, иногда ограничиваются одним контрольным измерением температуры на дне трубки или выполняют по длине трубки несколько измерений для последующего нанесения па чертеж изолиний температур в температурном профиле. Несколько измерений по длине трубки рекомендуется осуществлять там, где наблюдаются нарушения температурного режима грунта по сравнению с нормальным.

Рис. 4. Термозонд для обследований в подпольях зданий
1 - нижняя часть составной температурной трубки (труба бесшовная); 2 - верхняя часть составной температурной трубки; 3 - ударная часть, выполнена из стали марки Ст 3; 4 - нижняя часть бурового зонда (сталь буровая шестигранная 22/25); 5 - верхняя часть составного зонда

Погружение длинных щупов и трубок осуществляется ударным способом, бетоноломом, легкими вибромолотами или вибропогружателями массой не более 100 кг, применяемыми при инженерно-геологических изысканиях.

При обследовании вне зданий рекомендуется применять набор несоставных зондов и трубок длиной от 2,5 до 8 м, погружаемых установками ударно-вибрационного зондирования1.

1 Б.Н. Ребрик, В.Ф. Вишневский «Ударно-вибрационное зондирование грунтов».-М.: Стройиздат, 1979.

ПРИЛОЖЕНИЕ 13

МИКОЛОГИЧЕСКОЕ ОБСЛЕДОВАНИЕ ДЕРЕВЯННЫХ КОНСТРУКЦИИ В ПОДПОЛЬЯХ ЗДАНИИ, В ОТДЕЛЬНЫХ ОПОРАХ, ЭСТАКАДАХ И т. п.

В подпольях деревянных зданий обследования проводятся через 3 года после сдачи здания в эксплуатацию, а затем через каждые 5 лет. При обнаружении повышенной влажности осуществляется внеочередное обследование.

При появлении в подпольях повышенной влажности необходимо удостовериться, достаточна ли естественная аэрация через пористую засыпку цокольного ограждения в зимнее время года для поддержания среднегодовых отрицательных температур в основании здании (прил. 18). В летний период вентиляционные отверстия в цоколях деревянных зданий должны открываться для проветривания подполий н снижения в них влажности.

В балках и прогонах пробы на влажность древесины берутся на глубине 3-4 см. В столбах после надпила скалывается образец поверхностного слоя толщиной около 3-4 см. Такие образцы берутся ниже поверхности земли на глубине 20 см, у поверхности грунта на глубине 0-10 см и выше уровня земли на 30-50 см. Пробы с элементами биоповрежденного материала направляются после их высушивания в специализированную организацию для характеристики возбудителя гниения. Высушенные пробы должны быть заложены в полиэтиленовые пакеты, а затем в ящики для их отправления на исследования. Нитевидные образования при упаковке не должны нарушаться.

Если в результате взятия проб конструкция ослабляется, она должна быть соответственно усилена.

ПРИЛОЖЕНИЕ 14

МЕТОДИКА ОБСЛЕДОВАНИЯ БЕТОНА ФУНДАМЕНТОВ

1. Обследование состояния бетона фундаментов под зданиями, построенными по 1 принципу использования вечномерзлых грунтов в качестве оснований, осуществляется ежегодно при контрольном осмотре подполья. Для обследования выбираются 3-4 фундамента. Около них делаются прикопки и над поверхностью на расстоянии 30 см и 50 см ниже поверхности грунта состояние бетона оценивается неразрушающими методами, например молотками Физделя и Кашкарона или методом отрыва со складыванием по ГОСТ 21243-75, ГОСТ 22690.3-77 и ГОСТ 22690.4-77. При положительных результатах составляется акт. Место вырыва бетона из фундамента заштукатуривается, а прикопки засыпаются.

2. При обнаружении поврежденных фундаментов после промерзания слоя сезонного оттаивания они разгружаются установкой клетей из деревянных шпал под фундаментные балки. Для взятия проб бетона из центральных точек фундамента весной около него проходится котлован (см. рис. 5). В котловане устанавливается станок для сверления отверстий в бетоне, например типа ИЭ-1801. Керны из фундамента выбуриваются алмазными коронками диаметром 70 мм. Для упора станка при бурении в настил или фундаментную балку применяется гидравлическая или вывинчивающаяся рудничная стойка.

Рис. 5. Схема обследования бетона фундаментов
Ф - фундаментные балки; К - место взятия керна; Ж.О - железобетонная обойма усиления фундамента

Бурение ведется между стержнями арматуры фундамента или свай. Отбор проб осуществляется на расстоянии 5, 20, 50 и 80 см ниже поверхности грунта и в подполье от поверхности грунта на высоте 30 см.

Обследованный фундамент усиливается обоймой. Если необходимо, обойма прогревается.

3. Полученные при бурении керны обрабатываются по торцевым поверхностям алмазной дисковой пилой и подвергаются испытанию на временное сопротивление сжатию.

По результатам испытаний с введением соответствующего коэффициента определяется марка бетона на время обследования фундамента. Испытания ведутся согласно ГОСТ 10180-78. «Бетоны. Методы определения прочности на сжатие и растяжение». Анализ полученных результатов служит основанием проектной организации для разработки проекта массовой реконструкции (усиления) фундаментов. Реконструкцию фундаментов рекомендуется выполнять в начале лета.

ПРИЛОЖЕНИЕ 15

КОНСТРУКЦИЯ ИНЕРЦИОННОГО ТЕРМОМЕТРА

Форма записи измерений температур в контрольных скважинах

Объект________ № скважины______

Дата измерения

Глубина, м

Отсчет по термометрам

Паспортная поправка

Температура, ºС

Тип термометра, его №, дата поверочной тарировки

 

 

 

 

 

 

Наблюдения произвел:

техник-оператор ______________

                                  (подпись)

Проверил:

инженер _____________________

                                 (подпись)

Рис. 6. Конструкция инерционного термометра
а - оправа термометра; б - способ придания инерционности термометру; 1 - футляр (винипласт); 2 - заглушка верхняя (алюминий); 3 - заглушка нижняя (алюминий); 4 - изолирующий материал (пенопласт); 5 - гидроизоляция (тиоколовая мастика); 6 - изоляционная лента; 7 - психометрический термометр

ПРИЛОЖЕНИЕ 16

ИЗГОТОВЛЕНИЕ И ТАРИРОВКА ЭЛЕКТРИЧЕСКИХ ТЕРМОМЕТРОВ СОПРОТИВЛЕНИЯ (ЭТС), ИЗГОТОВЛЕНИЕ ГИРЛЯНД

1. Изготовление серии датчиков. ЭТС (рис. 7) изготовляются из провода ПЭЛ-0,05 мы. Для исключения самоиндукции катушку наматывают бифилярно. Бифиляр получают при наматывании на каркас одновременно двух проводов, которые сматывают с двух катушек, т. е. наматывают в две нитки. Оба конца припаиваются друг к другу и закрепляются на каркасе капроновой ниткой.

Каркас выполняется из оболочки любого провода с наружным диаметром 2 мм и длиной 30 мм, из которого удален проводник. На края каркаса надеваются кольца из оболочки провода большего диаметра, внутренний диаметр которых 2 мм. Места соединений оклеиваются клеем (БФ).

Рис. 7. Схема изготовления ЭТС
а - каркас ЭТС: б - теплообменник (общий вид в разрезе и деталировка): в - форма для заливки ЭТС эпоксидной смолой (органическое стекло); г - ЭТС (показан в масштабе 3:1): 1 - крышка верхняя (пенопласт); 2 - кольцо с прорезями (пенопласт); 3 -стабилизатор температуры (алюминий): 4 - гнездо установки образцового датчика ЭТС; 5 - гнезда установки изготовляемых ЭТС: 6 - линия соединения половинок формы; 7 - отверстия для ЭТС; 8 - отверстия для болтов соединения; 9 - каркас; 10 - обмотка; 11 - провода выводов; 12 - место пайки к выводным проводам: 13 - капроновая ткань; 14 - капроновая нитка; 15 - место оплавления нитки с тканью; 16 - защитная оболочка (эпоксидная смола)

Перед намоткой чувствительного элемента рекомендуется определить длину провода ПЭЛ-0,05 и ориентировочное число витков на катушке. Электросопротивлению бифиляров 1 Ом соответствует длина бифилярной намотки 59,6 мм, тогда количество провода, намотанного с запасом для подгонки, принимается 250·59,6 = 15 м. Число витков при среднем диаметре катушки 2,25 мм будет равно:

15000/3,14·2,25=2120 витков.

Намотка производится намоточным станком со счетчиком оборотов.

После намотки катушки рекомендуется хорошо зачистить концы бифиляра. Изготовленный датчик скрепляется временно нитью и помещается в теплообменник, в центре которого находится образцовый датчик, имеющий сопротивление 234 Ом при 0°С. Теплообменник изготовляется из алюминия и изолируется пенопластом.

После установления датчиков в теплообменник их выдерживают в течение 1 ч, затем измеряют электросопротивление подключением каждого из датчиков к мосту типа МО-62, к которому подключен внешний гальванометр с чувствительностью не ниже 10-8 А/дел. Измеренные электросопротивления датчиков сравниваются с электросопротивлением образцового датчика. Полученная разность электросопротивлений, Ом, пересчитывается на разность длин, мм. Излишек провода удаляется, оставляя запас 50 мм. После этого датчики вновь устанавливаются в теплообменник и процесс повторяется до тех пор, пока не будет достигнута разность электросопротивлений ±0,2 Ом. Датчики извлекаются и к ним припаиваются выводы из изолированного многожильного провода сечением 0,5 мм2, при этом один провод зачищается и пропускается внутрь каркаса (необходимо добиваться тщательной очистки от эмали проводов чувствительного элемента и облудить их). После припайки выводов чистым оловом с канифолью из капроновой ткани (например, чулка) вырезается прямоугольник размером 30´50 мм2 и им обматывается датчик так, чтобы 15 мм ткани выходило за край. Чтобы ткань держалась, она обматывается капроновой ниткой. Капроновая нить и выступающая ткань оплавляются. Изготовленные датчики вставляются в специальную форму, в которой внутренняя поверхность отверстий предварительно покрывается тонким слоем парафина. Форма состоит из двух половинок и изготовляется из органического стекла. Половники формы скрепляются болтами. Отверстия с помещенными в них датчиками заполняются эпоксидной смолой.

Через сутки датчики извлекаются.

2. Термообработка датчиков. Термообработка датчиков ведется в сушильном шкафу, где они медленно нагреваются до t = 100°С и выдерживаются при этой температуре в течение 1 ч с последующим медленным охлаждением в отключенном шкафу до комнатной температуры.

3. Тарировка датчиков после термообработки. Датчики ЭТС помещаются в сосуд Дюара (емкость 5-10 л с широким горлом). Сосуд доверху заполняется измельченным льдом, изготовленным из дистиллированной воды и дополнительно увлажняется дистиллированной водой.

Датчики устанавливаются в эту смесь на глубину не менее 15 см, затем сосуд Дюара покрывается крышкой, в отверстие которой вставлен лабораторный термометр с точностью до 0,1°С. В сосуде Дюара при температуре 0°С датчики выдерживаются в течение 1 ч и затем измеряется их электросопротивление. Оно должно быть 234±0,5 Ом. Датчики, которые не удовлетворяют этим условиям, отбраковываются.

4. Тарировка образцовых датчиков. Необходимо иметь не менее трех образцовых датчиков. Изготовление образцовых датчиков аналогично изложенному с той разницей, что датчик еще не залитый эпоксидной смолой, опускается в стеклянную трубку внутренним диаметром 5 мм и длиной 30 см с запаянным нижним концом. Трубка с датчиком опускается в сосуд Дюара со льдом так, чтобы лед не доходил до верхнего края трубки на 2 см. Сосуд Дюара закрывается крышкой, через отверстие которой пропускаются подводящие провода датчика. Подгонка электросопротивления образцовых датчиков производится до 234±0,1 Ом при 0°С. Далее производятся операции, приведенные в пп. 1 и 2 настоящего приложения.

5. Изготовление гирлянд из датчиков ЭТС. При составлении гирлянд электротермометров с подключением к ней датчиков ЭТС необходимо тщательно выполнить пайку. Провода для гирлянд рекомендуется применять сечением 0,75 мм2. Пайка осуществляется чистым оловом с канифолью. Спаянные соединения рекомендуется изолировать в специальных зажимах эпоксидной смолой. Нижний общий спай гирлянды гидроизолируется также эпоксидной смолой. Концы проводов маркируются и подключаются к переключателю типа ПМТ с соответствующим количеством точек включения.

6. Измерения гирляндами ЭТС. Гирлянды ЭТС опускаются в скважины, зазор между гирляндой и внутренними стенками скважины сверху временно заполняются поролоновыми тампонами. Введение в скважину гирлянды временно нарушает ее температурный режим, поэтому отсчет температур рекомендуется производить не ранее чем через 2 ч.

ПРИЛОЖЕНИЕ 17

СОПОСТАВЛЕНИЕ ИЗМЕРЕННЫХ ТЕМПЕРАТУР И ГЛУБИНЫ ОТТАИВАНИЯ ПОД ЗДАНИЕМ С ПРОЕКТНЫМИ ДАННЫМИ

Форма 1

Сопоставление измеренных средних максимальных температур с проектными данными

Объект _________________ № температурной скважины___________

Проектная средняя максимальная температура грунта в зоне

смерзания _______________________°С

Глубина от

планировочной

отметки, м

Измеренная температура

дата, год

дата, год

дата, год

и т.д.

1

2

3

4

5

7

9

 

 

 

 

Средняя максимальная температура в зоне смерзания1

 

 

 

 

1 Вычисляется как средневзвешенное значение измеренных отрицательных температур.

Форма 2

Сопоставления измеренных минимальных температур с проектными данными

Объект _______________№ температурной скважины_________

Проектная минимальная, температура1 __________°С

Глубина от

планировочной

отметки, м

Измеренная температура

дата, год

дата, год

дата, год

и т.д.

1

2

.

.

7

9

.

 

 

 

 

1 Принимается по марке бетона согласно табл. 8 главы СНнП II-21-75 «Бетонные н железобетонные конструкции».

Форма 3

Сопоставление наблюдаемых и проектных глубин оттаивания грунтов под зданием

Объект__________________ № скважины___________________

Глубина от

планировочной

отметки, м

Измеренная температура

дата, год

дата, год

дата, год

и т.д.

1

2

3

.

.

8

9

.

 

 

 

 

Фактическая глубина оттаивания

 

 

 

 

Проектная глубина оттаивания

 

 

 

 

Примечания: 1. Наблюдаемая глубина оттаивания устанавливается интерполяцией по нулевой температуре.

2. Проектная глубина оттаивания на каждый год устанавливается проектной организацией.

ПРИЛОЖЕНИЕ 18

РАСПОЛОЖЕНИЕ ПРИБОРОВ ДЛЯ НАБЛЮДЕНИЯ ТЕМПЕРАТУР В ПРОВЕТРИВАЕМЫХ ПОДПОЛЬЯХ ЗДАНИЙ

Рис. 8. Схема размещения (термографа или инерционного термометра в подполье здания
В - ширина здания; В.О - вентиляционные отверстия; Т - термометр инерционный или термограф

Примеры корректирования размеров вентиляционных отверстии

1. По результатам температурных наблюдений, проведенных в течение года в подполье здания, составляется таблица. Данные наблюдений записываются в ней, начиная от максимальных значений наружных температур до минимальных (см. таблицу).

Определение коэффициентов уравнения связи температур наружного воздуха с температурой его в подполье

I группа

II группа

I группа

II группа

tн

tп

tн

tп

tн

tп

tн

tп

1

2

3

4

5

1

2

3

4

5

1

+16

+12,4

-4,2

-1

8

+6

+7,2

-20

- 13

2

+14

+12

-8

-5,5

9

+4

+5,1

-23

-10,1

3

+12

+8,9

-11

-2,9

10

+3

+1,2

-28

-19

4

+10

+10,4

-13

-7,6

11

+2

+2

-30

-17,9

5

+9

+8,7

-13,5

-5,6

12

+1

+2

-36

-23,2

6

+8

+11,3

-16

-9,2

S

+92

+88,9

-221,7

-127,2

7

+7

+7,7

-19

-12,2

 

 

 

 

 

В графе 2 записывается tн - средняя температура наружного воздуха за сутки или за два ближайших срока измерений, в графе 3 tп – средняя температура в подполье по записи суточного термографа или показаниям инерционного термометра. Все данные разбиваются на две группы. В первую группу вводим данные от tн = + 16 до tн = + 1°С, во вторую - от tн = -4,2 до tн = -36°С. В каждой группе в примере по 24 измерения. Температуры суммируются и для каждой группы составляются уравнения:

I группы 88,9 = 12А + 92п:

II группы - 127,2 = 12А - 221,7п.

Вычитая уравнение II группы из уравнения I группы, получим, что 216,1 = 313,7п, откуда п  = 0,69 и А = 2,12, следовательно:

tп =3,12 + 0,69tн                                                                                                          (1)

Построенный по уравнению график показан как пример на рис. 9. Среднегодовая температура под зданием будет равна:

                                                                                            (2)

где tг = 365 дней; tз, tл - продолжительность соответственно зимнего и летнего периода в сутках; lм и lт - теплопроводность грунта в пределах сезоннооттаивающего слоя соответственно в мерзлом и талом состоянии; tз.п, tл.п - средние соответственно зимняя и летняя температуры подполья.

Рис. 9. График зависимости температуры в вентилируемом подполье от температуры наружного воздуха
tн - температура наружного воздуха; tп - температура в подполье

В нашем примере приведены измерения температур в подполье, которые велись в Норильске. Там tл =130 сут (t > 0°С), tз = 235 сут.

Предположим в нашем случае слой сезонного оттаивания представлен песком g = 1,8 т/м3; W = 25%; lм = 2,23 ккал/(м·ч·°С), lт = 1,75 ккал/(м·ч·°С).

Среднюю летнюю и зимнюю температуры наружного воздуха примем по главе СНиП II-A.6-72. Для Норильска средняя летняя температура tн.л  = 8,4°С, а средняя зимняя tн.з  = -19°С.

Подставляя данные уравнения (1) в формулу (2), получим:

Следовательно, под обследованным зданием . По проекту предусмотрена более высокая

Для корректирования числа отверстий примем, что среднегодовая температура воздуха в подполье в диапазоне корректирования числа вентиляционных отверстии прямо пропорциональна их площади, которая составляет Fот = 2,85 м2. Составляем соотношение:

Число отверстий N (размером 21´30 см) на доме в настоящее время равно 45. После корректирования числа отверстий получим:

Nк =2,02/0,21·0,3 = 32.

Тринадцать отверстия равномерно по цоколю заделываются Через 5 лет наблюдения повторяются.

Из примера следует, что для Норильска оптимальный коэффициент п = 0,6. Следовательно, зимой минимальная температура в подполье самых холодных суток , т.е. корректирование числа отверстий в соответствии с заложенной в проекте повышенной среднегодовой температурой под зданием существенно смягчает работу бетонных конструкций в проветриваемом Подполье здания и в верхней части слоя сезонного промерзания.

3. Если по данным наблюдений видно, что угол наклона в отрицательной и положительной четвертях графика неодинаков, коэффициенты подсчитываются раздельно для положительной н отрицательной четвертей графика (см. рис. 10). В то же время параметры А в обеих четвертях графика равны.

Рис. 10. График зависимости температуры в вентилируемом подполье от температуры наружного воздуха (А1 = А2)
tн - температура наружного воздуха; tп - температура в подполье

4. По преобразованной формуле (2), учитывая, что параметр А меняется незначительно А = 2-2,5; принимая, например, в проекте  можно определить оптимальное значение коэффициента п для условий Якутска. Согласно главе СНиП II-A.6-72. в Якутске tн.з  = - 26°С; tн.л  = -12°С; tз = 200 дней; tл =1 65 дней (для подполий). Откуда

                        (3)

В настоящее время в Якутске применяют проветривание подполий сплошными вентиляционными щелями высотой от 0,5 до 0,75 м. В результате по данным измерений Якутского филиала Красноярского ПромстройНИИпроекта п = 1. Если вентилирование вести через вентиляционные отверстия с коэффициентом п = 0,55, то температура воздуха самых холодных суток в подполье будет равна:  Сейчас она при п = 1 составляет:

Условия работы бетонных конструкций в подпольях зданий и в верхней части слоя сезонного оттаивания в этом городе значительно улучшатся. В то же время при  обеспечивается требуемая несущая способность основания свайных фундаментов.

 




ГОСТЫ, СТРОИТЕЛЬНЫЕ и ТЕХНИЧЕСКИЕ НОРМАТИВЫ.
Некоммерческая онлайн система, содержащая все Российские Госты, национальные Стандарты и нормативы.
В Системе содержится более 150000 файлов нормативно-технической документации, действующей на территории РФ.
Система предназначена для широкого круга инженерно-технических специалистов.

Рейтинг@Mail.ru Яндекс цитирования

Copyright © www.gostrf.com, 2008 - 2026