Крупнейшая бесплатная информационно-справочная система онлайн доступа к полному собранию технических нормативно-правовых актов РФ. Огромная база технических нормативов (более 150 тысяч документов) и полное собрание национальных стандартов, аутентичное официальной базе Госстандарта. GOSTRF.com - это более 1 Терабайта бесплатной технической информации для всех пользователей интернета. Все электронные копии представленных здесь документов могут распространяться без каких-либо ограничений. Поощряется распространение информации с этого сайта на любых других ресурсах. Каждый человек имеет право на неограниченный доступ к этим документам! Каждый человек имеет право на знание требований, изложенных в данных нормативно-правовых актах!

  


 

Государственный комитет РСФСР
по обеспечению нефтепродуктами
ГОСКОМНЕФТЕПРОДУКТ РСФСР

СОГЛАСОВАНО
Минздравом РСФСР
25 марта 1988 г.

УТВЕРЖДЕНО
Госкомнефтепродуктом РСФСР
31 марта 1988 г.

ИНСТРУКЦИЯ
ПО эксплуатации ОЧИСТНЫХ СООРУЖЕНИЙ НЕФТЕБАЗ, НАЛИВНЫХ ПУНКТОВ, ПЕРЕКАЧИВАЮЩИХ И АВТОЗАПРАВОЧНЫХ СТАНЦИЙ

Астрахань, 1988

Настоящая Инструкция составлена взамен «Инструкции по эксплуатации очистных сооружений нефтебаз, наливных пунктов, перекачивающих станций и АЭС», утвержденной б. Главнефтеснабом РСФСР 17 октября 1975 года.

Инструкция переработана и дополнена в соответствии с действующими в настоящее время нормативными документами, с учетом опыта работы очистных сооружений на предприятиях Госкомнефтепродукта РСФСР, Миннефтехимпрома СССР и других отраслей промышленности, а также рекомендаций Минздрава и Госкомприроды РСФСР.

В Инструкции изложены основные требования к качеству очистки сточных вод, описаны методы и схемы очистки, задачи персонала при эксплуатации канализационных сетей и объектов очистных сооружений, методы учета и контроля их работы, условия и устройства для выпуска сточных вод в водоемы, приведено методическое руководство по их химическому анализу.

Инструкция предназначена для инженерно-технических работников, занятых эксплуатацией очистных сооружений нефтебаз, наливных пунктов, перекачивающих станций и АЗС. Она может быть полезной для работников химической, нефтеперерабатывающей и других отраслей промышленности, эксплуатирующих сооружения для очистки нефтесодержащих сточных вод.

Инструкция разработана Центральной научно-исследовательской лабораторией Госкомнефтепродукта РСФСР.

Содержание

1. ОБЩАЯ ЧАСТЬ

1.1. Виды и источники образования сточных вод. Системы канализации

1.2. Требования к качеству очистки сточных вод

1.3. Методы и схемы очистки производственных сточных вод. Состав очистных сооружений

2. ТЕХНИЧЕСКОЕ ОБСЛУЖИВАНИЕ КАНАЛИЗАЦИОННЫХ СЕТЕЙ

3. ЭКСПЛУАТАЦИЯ ОЧИСТНЫХ СООРУЖЕНИЙ

3.1. Песколовки

3.2. Буферные резервуары

3.3. Нефтеловушки

3.4. Гидроциклоны

3.5. Пруды дополнительного отстаивания

3.6. Фильтры

3.7. Флотационные установки

3.8. Электрофлотаторы

3.9. Сооружения для биохимической очистки сточных вод

3.10. Установки для озонирования сточных вод

3.11 Пруды-испарители

3.12. Распыливающие установки

3.13. Установки термического сжигания сточных вод

3.14. Нефтесборные, разделочные резервуары и дегидраторы

3.15. Шламонакопители

3.16. Иловые площадки

3.17. Очистка сточных вод, загрязненных тетраэтилсвинцом

3.18. Насосные станции

4. ПОДГОТОВКА К ЗИМЕ И ЭКСПЛУАТАЦИЯ КАНАЛИЗАЦИОННЫХ СООРУЖЕНИЙ В ЗИМНИЙ ПЕРИОД

5. МЕТОДЫ УЧЕТА И КОНТРОЛЯ СТОЧНЫХ ВОД

6. ПРИБОРЫ И ОБОРУДОВАНИЕ, АВТОМАТИЗАЦИЯ РАБОТЫ ОЧИСТНЫХ СООРУЖЕНИЙ

7. ВЫПУСК ОЧИЩЕННЫХ СТОЧНЫХ ВОД В ВОДОЕМЫ

7.1. Условия выпуска

7.2. Устройства для выпуска сточных вод

8. ТЕХНИКА БЕЗОПАСНОСТИ, ПРОТИВОПОЖАРНЫЕ МЕРОПРИЯТИЯ И ЭЛЕКТРОБЕЗОПАСНОСТЬ

9. МЕТОДИЧЕСКОЕ РУКОВОДСТВО ПО ХИМИЧЕСКИМ АНАЛИЗАМ СТОЧНЫХ ВОД

9.1. Нефтепродукты

9.1.1. Гравиметрическое определение

9.1.2. Метод колоночной хроматографии с ИК-спектрофотометрическим окончанием

9.2. Тетраэтилсвинец

9.3. Механические примеси (взвешенные вещества)

9.4. Активная реакция рН

9.5. Щелочность (общая, бикарбонатная, карбонатная и гидратная)

9.6. Марганец

9.7. Синтетические поверхностно-активные вещества (СПАВ)

9.7.1. Анионоактивные СПАВ

9.7.2. Неионогенные СПАВ (ОП-7, ОП-10 и т.п.)

9.8. Фенолы

9.8.1. Фотометрическое определение с применением 4-аминоантипирина

9.8.2. Колориметрическое определение с применением пирамидона

9.9. Химическое потребление кислорода (бихроматная окисляемость)

9.10. Растворенный кислород

9.10.1. Иодометрическое определение

9.10.2. Определение с помощью автоматических приборов

9.11. Озон

9.12. Биохимическое потребление кислорода (БПК)

9.12.1. Определение БПК методом разбавления

9.12.2. Нитратный метод определения БПК

9.13. Нитриты

9.14. Нитраты

9.15 Оседающие вещества

9.16. Активный ил

9.17. Динамика оседания активного ила

9.18. Иловый индекс

9.19. Оптимальная доза коагулянта

СПИСОК ИСПОЛЬЗОВАННЫХ ИСТОЧНИКОВ

ПРИЛОЖЕНИЕ 1 Форма представляемых на утверждение проектов ПДС

ПРИЛОЖЕНИЕ 2 ПАСПОРТ

ПРИЛОЖЕНИЕ 3 Определение расхода сточных вод с помощью тарированной рейки

ПРИЛОЖЕНИЕ 4 Требования к составу к свойствам воды водоемов

ПРИЛОЖЕНИЕ 5 Пределы взрывоопасных концентраций паров нефтепродуктов в воздухе

ПРИЛОЖЕНИЕ 6 Предельно допустимые концентрации некоторых средних газов и паров в воздухе

1. ОБЩАЯ ЧАСТЬ

1.1. Виды и источники образования сточных вод. Системы канализации

1.1.1. На нефтебазах, наливных пунктах, перекачивающих станциях магистральных нефтепродуктопроводов и автозаправочных станциях (в дальнейшем «предприятиях Гаскомнефтепродукта») образуются сточные воды, которые подразделяются на производственные, бытовые и дождевые.

1.1.2. Производственные сточные воды могут быть загрязненными и слабозагрязненными (в дальнейшем «условно чистыми»).

Загрязненные сточные воды перед выпуском в водоем необходимо очищать в специальных сооружениях до действующих норм.

Условно чистые воды могут использоваться повторно, если их качество соответствует требованиям технологии производства. При несоблюдении этих требований их необходимо сбрасывать в сеть производственно-дождевой канализации и далее  - на очистные сооружения.

1.1.3. Степень загрязнения сточных вод оценивается концентрацией, т.е. количеством примесей в единице объема воды: мг/л, г/м3.

1.1.4. Количество сточных вод, отнесенное к единице времени3/сут, м3/ч, м3/c, л/с), называется их расходом.

Для приема, транспортирования, очистки и выпуска сточных вод, а также утилизации полезных веществ, содержащихся в них, служит комплекс канализационных сетей, сооружений и оборудования.

1.1.5. Предприятия Госкомнефтепродукта должна иметь:

а) производственно-дождевую канализацию;

б) бытовую;

в) спецканализацию (для отвода вод, загрязненных этилированными бензинами).

Устройство бытовой канализации обязательно при числе рабочих и служащих 25 человек и более в смену.

1.1.6. В производственно-дождевую канализацию надлежит выпускать сточные воды:

а) подтоварные, образующиеся вследствие обводненности нефтепродуктов;

б) промывочные - от промывка резервуаров, сливных и наливных эстакад и другого оборудования;

в) производственные, поступающие от насосных станций, лабораторий, котельных, гаражей, механических мастерских, с технологических площадок от смыва пролитых нефтепродуктов и различные утечка воды и нефтепродуктов из технологического оборудования;

г) атмосферные - с территорий резервуарных парков, сливных и наливных эстакад, а также воды от охлаждения резервуаров при пожаре с обвалованной территории резервуарных парков;

д) балластные, промывочные, подсланевые и льяльные, поступающие с наливных судов;

е) воды от охлаждения резервуаров при пожаре.

1.1.7. Сточные воды от технологических установок и резервуаров, связанных с применением и хранением этилированных бензинов, а также из лабораторий, содержащие тетраэтилсвинец, должны отводиться по системе спецканализации на сооружения, предназначенные для очистки сточных вод и их обезвреживания, ила собираться и вывозиться в специально отведенные места по согласованию с контролирующими органами.

1.1.8. Если сточные воды от продувки котлов, охлаждения закрытых полостей агрегатов, конденсат из пароподогревательных устройств резервуаров и т.п. не могут быть повторно использованы, их следует сбрасывать в производственно-дождевую канализацию.

1.1.9. На площадках промежуточных станций перекачки нефтепродуктов, не имеющих резервуарных парков, разрешается нефтесодержащие производственные сточные воды сбрасывать по самостоятельной отводной сети в резервуары для сбора технологических утечек при магистральных насосных станциях. При этом должны быть приняты меры против инфильтрации грунтовых вод в отводную сеть. На отводной сети перед сборником технологических утечек должен быть установлен отстойник.

1.1.10. Расходы сточных вод, поступающих от различных источников, не должны превышать расчетных, определяемых в соответствии с «Отраслевой методикой по разработке норм и нормативов водопотребления и водоотведения на нефтебазах, перекачивающих станциях, наливных пунктах и автозаправочных станциях Госкомнефтепродукта СССР», утвержденной 19.12.84 г. б. Госкомнефтепродуктом СССР.

1.1.11. Качественная характеристика некоторых вводов сточных вод, поступающих на очистные сооружения «предприятий Госкомнефтепродукта» приведена в табл. 1.1.

Таблица 1.1

Характеристика загрязненности производственных сточных вод нефтебаз

Вид сточных вод

Содержание, мг/л

нефтепродуктов

взвешенных веществ

БПК полн.

1

2

3

4

1. Подтоварные

5000-6000

до 20

до 80

2. От пропарки бочек

10000

50

200

3. От охлаждения подшипников насосов

10-40

-

-

4. Дождевые с обвалованных участков резервуарных парков

10-15

300

8

5. Балластные

5000

 

 

6. Подсланевые и льяльные

300-1000

 

 

7. Промывные с судов*

70000-I20000

 

 

Примечание. *Промывные воды могут содержать различные химические препараты, применяемые в качестве моющих средств (соду, синтетические поверхностно-активные вещества и др.)

1.2. Требования к качеству очистки сточных вод

1.2.1.  Требования к качеству сточных вод, сбрасываемых в водные объекты, регламентируются «Правилами охраны поверхностных вод от загрязнения сточными водами» и «Правилами санитарной охраны прибрежных районов морей».

1.2.2. Необходимое качество очистки сточных вод предприятий Госкомнефтепродукта должно обосновываться с учетом места их сброса.

1.2.3. Для обеспечения требований к составу и свойствам воды водных объектов соответствующей категории водопользования (хозяйственно-питьевого, культурно-бытового или рыбохозяйственного) сброс загрязняющих веществ должен соответствовать нормам предельно допустимого сброса (ПДС), которые, согласно постановлению ЦК КПСС и Совета Министров СССР от 01.12.1978 г. 984, в первую очередь должны разрабатываться для действующих и проектируемых предприятий Госкомнефтепродукта, расположенных в зонах повышенного загрязнения природной среды.

1.2.4. Перечень предприятий и участков водных объектов, относящихся к зонам повышенного загрязнения, устанавливается органами по регулированию использования и охране вод системы Минводхоза СССР и органами Госкомгидромета.

1.2.5. В соответствии с ГОСТ 17.1.1.01-77, под предельно допустимым сбросом веществ в водный объект понимается масса вещества в сточных водах, максимально допустимая к отведению с установленном режимом в данном пункте водного объекта в единицу времени с целью обеспечения норм качества воды в контрольном пункте.

1.2.6. Расчет ПДС необходимо вести с учетом:

общих требований к составу и свойствам воды водных объектов (см. приложения №№ I, 3 «Правил охраны поверхостных вод от загрязнения сточными водами»);

предельно допустимых концентраций (ПДК) вредных веществ в воде водных объектов (см. приложение 2 и перечень предельно допустимых концентраций вредных веществ в воде водных объектов, используемых для рыбохозяйственных целей «Правил охраны поверхостных вод от загрязнения сточными водами», а также дополнительные перечни, утвержденные Минздравом СССР и Минрыбхозом СССР).

1.2.7. При расчете норм ПДС следует руководствоваться «Методическими указаниями по установлению предельно допустимых сбросов веществ, поступающих в водные объекты со сточными водами», выпущенными Минводхозом СССР в 1982 году.

1.2.8. ПДС в г/ч определяется с учетом наибольшего среднечасового расхода сточных вод (qст, м3) в фактический период их впуска и концентрации загрязняющих веществ (Сст, г/м3) по формуле:

ПДС =  qст × Сст                                                                    (1.1)

Величину концентрации Сст для расчета ПДС при сбросе сточных вод в черте города (или любого населенного пункта), а также в зонах повышенного загрязнения, следует принимать не более ПДК, соответствующей требованиям к составу и свойствам воды водных объектов в местах водопользования.

Для сброса сточных вод вне черты города ПДС рассчитывается с учетом степени возможного разбавления сточных вод водой водного объекта и качества воды выше места сброса сточных вод, а также с учетом процессов естественного самоочищения вод от поступающих в них веществ.

1.2.9. Проекты норм ПДС должны разрабатываться в увязке с разрешениями на специальное водопользование, выдаваемыми на основании постановления Совета Министров СССР от 10.06.1977 500 «0 порядке согласования и выдачи разрешения на специальное водопользование».

Нормы ПДС утверждаются органами по регулированию использования и охране вод системы Минводхоза СССР по согласованию с органами санитарно-эпидемиологической службы Минздрава СССР и рыбоохраны Минрыбхоза СССР. Форма представляемых на утверждение проектов ПДС приведена в приложении 1.

1.2.10. Величины ПДС действительны на период, установленный органами по регулированию использования и охране вод Минводхоза СССР, после чего они должны пересматриваться.

1.2.11. Если сточные воды перекачиваются для очистки на сооружения соседних предприятий, необходимо организовать сбор сточных вод и предварительную очистку в соответствии с требованиями предприятия, принимающего сточные воды.

1.2.12. Сточные воды, сбрасываемые для доочистки на городские очистные сооружения (в городскую канализацию), должны соответствовать следующим требованиям:

не содержать вредные вещества в концентрациях, превышающих нормы, указанные в СНиП 2.04.03-85 и приведенные в разделе 3.9 инструкции;

не содержать вещества, способные засорять или отлагаться на стенках труб канализационных сетей;

не содержать горючих примесей и растворенных газообразных веществ, образующих взрывоопасные смеси в канализационных сетях и сооружениях;

не содержать более 500 мг/л взвешенных и плавающих веществ;

иметь температуру не выше 40°С;

не оказывать разрушающего действия на материал труб и элементы сооружений.

В каждом конкретном случае требования должны уточняться органами водопроводно-канализационного хозяйства с учетом местных условий.

1.3. Методы и схемы очистки производственных сточных вод. Состав очистных сооружений

1.3.1. Производственные сточные воды предприятий Госкомнефтепродукта, сбрасываемые в производственно-дождевую канализацию, в основном загрязнены нефтепродуктами (300-I0000 мг/л) и механическими примесями (100-600 мг/л). Сточные воды некоторых нефтебаз могут быть загрязнены фенолами (0,1-0,3 мг/л). Перед выпуском в водоемы они должны подвергаться соответствующей очистке.

1.3.2. Для очистки сточных вод от указанных веществ могут применяться механический, физико-химический, химический и биохимический способы.

1.3.3. Механический способ, заключающийся в отстаивании фильтрации сточных вод, следует применять для удаления из них минеральных примесей и диспергированных нефтяных частиц.

1.3.4. Для извлечения из сточной воды эмульгированных и частично растворенных в ней нефтепродуктов применяют физико-химические методы (флотацию, коагуляцию и др.), основанные на введении в очищаемую воду реагентов, обволакивающих частицы загрязнений, поглощающих или вызывающих свертывание в хлопья, которые после отстаивания удаляют.

1.3.5. Более полное удаление из сточной воды растворенных нефтепродуктов и фенолов может быть достигнуто при химической и биохимической очистке.

Химическая очистка заключается в том, что вводимый в очищаемую воду реагент, вступает в реакцию с ее загрязнениями, превращая их в безвредные вещества.

Биохимическая очистка основана на способности отдельных видов микроорганизмов потреблять для своей жизнедеятельности органические соединения (в том числе нефтепродукты) в присутствии кислорода воздуха.

1.3.6. Для очистки и обезвреживания сточных вод, загрязненных этилированными бензинами, в зависимости от местных условий следует применять механический (отстаивание), физико-химический (экстракция неэтилированным бензином) или химический (хлорирование, озонирование, обработка перманганатом калия) метода.

Принципиальные схемы очистки производственных сточных вод приведены на рис 1.1 и 1.2.

Выбор схимы канализации и состава очистных сооружений должен осуществляться в зависимости от мощности предприятия, количества образующихся сточных вод, их загрязненности и места сброса, требований контролирующих органов к качеству очистки.

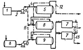
Схема очистка сточных вод распределительной нефтебазы

1 - производственно-дождевые сточные воды; 2 - песколовка; 3 - нефтеловушка; 4 - приемный резервуар; 5 - насосная станция для сточных вод и нефтепродуктов; 6 - фильтры (или флотационная установка); 7 - приемный резервуар нефтепродуктов; 8 - разделочные резервуары; 9 - шламонакопитель; 10 - бензоловушка; 11 - сборник этилированного бензина; 12 - установка обезвреживания сточных вод от тетраэтилсвинца; 13 - отвод очищенной воды; 14 - возврат уловленных нефтепродуктов; 15 - поступление сточной воды, содержащей этилированный бензин

Рис. l.1

Схема очистных сооружений перевалочной нефтебазы

1 - производственно-дождевые сточные воды; 2 - балластные воды танкеров; 3 - песколовка; 4 - приемный резервуар; 5 - насосная станция; 6 - резервуары-отстойники; 7 - реагентное хозяйство; 8 - камера смешения; 9 - флотаторы; 10 - приемный резервуар очищенной воды; 11 - станция подкачки воды и рециркуляции; 12 - выпуск в водоем (вариант); 13 - напорный фильтр; 14 - озонаторная установка; 15 - буферные резервуары балластных вод; 16 - приемный резервуар обводненных нефтепродуктов; 17 - нефтенасосная станция; 18 - разделочные резервуары; 19 - дегидраторы; 20 - возврат уловленных нефтепродуктов; 21 - выпуск в водоем; 22 - шламонакопитель; н - нефтепродукты; ш - шлам

Рис. 1.2

1.3.8. Если сточные воды перекачиваются для очистки на сооружения соседних предприятий, достаточно иметь буферные резервуары, в которых осуществляется механическое отстаивание сточных вод со сбором всплывшего нефтепродукта.

1.3.9. Если сточные вода сбрасываются для очистки на городские очистные сооружения, предварительная очистка может проводиться на сооружениях предприятия, включающих либо песколовку, нефтеловушку и пруд дополнительного отстаивания, либо нефтеловушку и флотационную установку со сборным резервуаром очищенной вода, либо нефтеловушку со встроенным фильтром и резервуаром очищенной воды.

1.3.10. При сбросе сточных вод в открытые морские водоемы схема очистки может включать буферные  резервуары, нефтеловушки и флотационные установки.

1.3.11. Если сточные воды сбрасываются в закрытые морские и речные водоемы, требуется более глубокая доочистка стоков биохимическим или химическим методами.

1.3.12. Степень очистки сточных вод от нефтепродуктов, достигаемая на различных сооружениях, по эксплуатационным данным и результатам исследований, приведена в табл. 1.2.

Таблица 1.2

Сооружение

Содержание нефтепродуктов в воде, мг/л

поступающей в сооружение

очищенной

Нефтеловушка

300-10000

40-80

Флотационная установка (с коагуляцией)

40-80

10-15

Пруд-отстойник

40-80

10-25

Станция биологической очистки

20-25

2-8

Установка озонирования (две ступени)

10-15

1-3

1.3.13. В тех случаях, когда выпуск сточных вод в ближайший водоем запрещен, их необходимо направлять на испарение или термическое сжигание.

2. ТЕХНИЧЕСКОЕ ОБСЛУЖИВАНИЕ КАНАЛИЗАЦИОННЫХ СЕТЕЙ

2.1. Сеть производственно-дождевой канализации на нефтебазах первой и второй категорий должна быть подземной. На территории резервуарных парков допускается устройство канализационной сети в виде лотков, перекрытых плитами из несгораемых материалов, а на нефтебазах третьей категории - в виде открытых лотков, желобов, каналов.

2.2. Самотечные трубопроводы производственно-дождевой канализации должны быть диаметром не менее 200 мм. Трубы и лотки должны быть прочными, водонепроницаемыми, достаточно гладкими (для уменьшения сопротивления, возникающего при движении сточной воды), устойчивыми против коррозии и высоких температур.

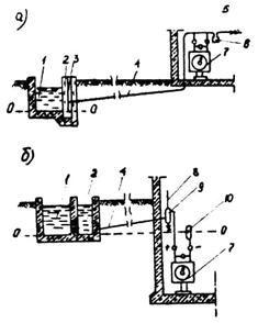
2.3. Прием атмосферных вод, загрязненных нефтепродуктами и смывных вод с различных технологических площадок (территории внутри обвалований резервуарных парков, сливных и наливных эстакад и т.д.) должен осуществляться в дождеприемные колодцы, подключаемые через выпуски с гидравлическими затворами к сети производственно-дождевой канализации.

На выпусках из обвалованных территорий резервуарных парков дождеприемные колодцы следует оборудовать запорными устройствами (хлопушками), приводимыми в действие с ограждающего вала или из мест, находящихся вне обвалования (рис. 2.1).

Назначение хлопушки - регулирование выпуска атмосферных вод в производственно-дождевую канализацию; нормальное ее положение закрытое.

При попадании в колодец нефтепродуктов (в результате аварии) их необходимо откачать в отдельную емкость. Сброс нефтепродуктов в сеть производственно-дождевой канализации не допускается.

2.4. Открытые лотки для сточных вод на площадках железнодорожных эстакад дорожник вдоль сливно-наливных устройств должны иметь уклон не менее 0,005 к выпуску. Выпуски из лотка необходимо устраивать через 50 м.

Дождеприемный колодец

1 - труба; 2 - чугунный люк; 3 - внутренняя крышка люка; 4 - прокладка (просмоленный канат); 5 - хлопушка; 6 - бетонный колодец; 7 - асбоцементный раствор

Рис. 2.1

2.5. Канализационные сети всех систем в местах, где меняются направления, уклон, диаметр трубопровода или присоединяются другие участки, должны быть оборудованы смотровыми колодцами, внутри которых труба заменена открытым лотком; участок сети между двумя смотровыми колодцами должен быть прямолинейным.

2.6. Смотровые колодцы должны быть всегда доступны для осмотра и проведения необходимых работ.

2.7. На канализационных сетях для нефтесодержащих сточных вод во избежание распространения огня должны быть установлены специальные колодцы с гидравлическими затворами (рис. 2.2). В гидравлическом затворе слой воды должен быть не менее 0,25 м.

Гидравлические затворы следует предусматривать:

а) на магистральных сетях канализации не менее чем через 400 м;

б) на выпусках в канализационную сеть от одного или группы резервуаров (за пределами обвалования), от сливно-наливных устройств (одной железнодорожной эстакады или автоналивной установки), продуктовых насосных, котельных, разливочных, лабораторий, помещений узлов задвижек и т.п.;

в) на сети до и после нефтеловушек на расстоянии от них не менее 10 м.

2.8. Для создания нормальных условий эксплуатации канализационной сети (во избежание ее заиливания) при самотечном движении воды уклоны трубопроводов диаметром 150-200 мм должны быть не менее 0,008-0,005.

2.9. Причинами нарушения режима эксплуатации канализационной сети могут быть:

а) некачественное выполнение строительно-монтажных работ (неудовлетворительная заделка стыков, несоблюдение уклонов и т.д.);

б) неплотное закрытие крышек люков на колодцах или их отсутствие;

в) попадание в трубопроводы или коллекторы крупных твердых предметов или битуминозных смолистых веществ;

г) аварийные сбросы нефтепродуктов

д) недостаточный уход за сооружениями на канализационной сети, несвоевременность проведения профилактических работ и устранения возникающих случайных засорений.

2.10. Регулярный контроль за работой систем канализации и своевременный их ремонт должны осуществляться специально выделенным персоналом.

Канализационный колодец с гидравлическим затвором

Рис. 2.2

2.11. Необходимо постоянно следить за уровнем воды в колодцах с гидравлическими затворами, так как в них могут накапливаться различные осадки, закупоривающие коллекторы, вследствие чего может возникнуть противодавление в системе канализации и перелив из колодцев. При повышении уровня воды требуется прочистить засоренный участок трубы и колодец методами, изложенными в п.п. 2.26-2.28.

2.12. Приемные колодцы на выпусках из обвалований резервуарных парков необходимо периодически проверять и очищать от осадка.

2.13. Запрещается сбрасывать в сеть производственно-дождевой канализации образующиеся в продуктовых резервуарах, магистральных трубопроводах и очистных сооружениях отложения тяжелых нефтепродуктов, смол, окислов и всевозможных примесей, насыщенных нефтепродуктами, размытые в период зачистки водой, паром или специальными моющими средствами. Они должны отводиться в шламонакопители или на специальные площадки.

2.14. Колодцы канализационной сети, расположенные в затапливаемых районах, перед паводком следует осмотреть и, в случае необходимости, отремонтировать; двойные крышки люков необходимо герметично закрыть и залить смолой или битумом.

Приемники сточных вод, расположенные ниже уровня паводковых вод, на время паводка должны отключаться от канализационной сети; задвижки на выпусках из них должны быть закрыты и опломбированы.

2.15. Наблюдение за работой канализационной сети должно состоять из наружного и технического (внутреннего) осмотра трассы и сооружений (смотровых и дождеприемных колодцев, колодцев с гидравлическими затворами и хлопушками).

2.16. Наружный осмотр сети должен осуществляться не реже одного раза в месяц. При проведении на территории предприятия строительно-монтажных работ его следует проводить не реже двух раз в месяц.

В результате наружного осмотра необходимо установить: состояние колодцев и их крышек по всей трассе осматриваемого коллектора, уровень сточных вод в лотках, наличие в колодцах осадков, повреждений на сети канализации и просадки грунта, завала колодцев грунтом или снегом, спуска в колодцы поверхностных вод.

2.17. Технический (внутренний) осмотр должен проводиться по графику два раза в год (обычно весной и осенью).

При техническом осмотре на основании имеющихся исполнительных чертежей необходимо тщательно обследовать канализационную сеть и сооружения на ней, проверить действие оборудования, выявить повреждения на сети и в колодцах (в кладке стен, лотках, местах входа и выхода труб), установить степень наполнения труб, необходимость профилактической прочистки сети, ликвидировать мелкие неисправности. Иногда требуется проверка уклонов участков сети нивелированием.

Согласно данным технического осмотра должны составляться дефектная ведомость и техническая документация на проведение ремонта канализационной сети.

Результаты наружного и технического осмотров следует заносить в журнал осмотров и ремонта канализационной сети, форма которого приведена в табл. 2.1.

Таблица 2.1

Журнал осмотров и ремонта канализационной сети

Дата и время осмотра

Номера колодцев или участков сети

Обнаруженные неисправности

Мероприятия по устранению неисправностей

Исполнитель

Сроки выполнения работ

Журнал должен находиться у работника, ответственного за техническое состояние сетей и очистных сооружений, который принимает меры по ликвидации обнаруженных дефектов.

2.20. В зависимости от особенностей, степени повреждений канализационной сети и сооружений на ней, а также трудоемкости ремонтных работ надлежит проводить текущий или капитальный ремонты.

2.21. Текущий ремонт - это минимальный по объему вид ремонта, при котором должны быть ликвидированы мелкие повреждения и обеспечена нормальная эксплуатация канализационной сети до очередного планового ремонта. Он включает следующие мероприятия:

смену люков, верхних и нижних крышек;

вставку скоб в колодцах;

ремонт лотков и горловин колодцев;

ремонт и смазку задвижек на напорных трубопроводах и аварийных выходах.

2.22. Капитальный ремонт связан с временным прекращением работы канализационной сети на ремонтируемом участке и должен включать в себя:

полную или частичную переделку колодцев;

смену входных и выходных труб;

полную или частичную перекладку отдельных участков сети в связи с наметившимися разрушениями или просадками труб; замену задвижек;

ремонт очистных сооружений и их оборудования.

2.23. Капитальный и текущий ремонты должны проводиться ремонтно-строительной группой или специально выделенными рабочими под руководством лица, ответственного за эксплуатацию канализационной сети.

2.24. Для сохранения расчетной пропускной способности труб и коллекторов необходимо осуществлять профилактическую и аварийную прочистки канализационной сети от осевших в ней осадков.

2.25. Профилактическая прочистка должна проводиться в соответствии с планом подготовки к зиме, а также для предохранения канализационной сети от затопления паводковыми водами, но не реже одного раза в год. Участки сети, имеющие строительные дефекты и недостаточные уклоны, должны прочищаться чаще.

2.26. Профилактическую прочистку следует осуществлять гидравлическим или механическим способами, начиная с верхних участков и боковых линий.

Гидравлический способ основан на размывающей и транспортирующей способности потока воды при повышенных скоростях ее движения. Повышенные скорости создаются залповым пропуском сточной или водопроводной воды, накопленной в вышерасположенных участках.

При недостаточном притоке сточных вод целесообразно использовать воду из пожарного гидранта.

Механическая прочистка сети выполняется металлическими совками, ершами, щетками, цилиндрами в зависимости от характера засорений. Для осуществления прочистки необходимы металлический трос, ручная переносная лебедка и прочищающие приспособления. При прочистке открывают крышки двух колодцев по концам засоренного участка. Затем с помощью поплавка или проволоки протаскивают трос с прикрепленным к его концу в верхнем колодце приспособлением для прочистки. Другой конец троса крепится к ручной лебедке, после чего протаскивается приспособление для прочистки. Прочистка должна осуществляться сверху вниз по течению воды. При этом осадок сдвигается в нижний колодец, откуда его удаляют ведрами или другими приспособлениями.

2.27. В случае засорения труб, сопровождающегося прекращением работы канализационной сети, необходимо проводить аварийную прочистку сети. Для этих целей в зависимости от диаметра труб, степени засорения и местных условий используются гибкие валы, стальная проволока, промывка водой, пробивка сборными штангами. Прочистку следует проводить из нижнего сухого колодца.

2.28. Если ликвидация засорения связана с необходимостью раскопки труб и переливающийся из колодца поток угрожает нормальной эксплуатации отдельных сооружений, необходимо организовать перекачку сточных вод в обход засоренного участка, чтобы обеспечить бесперебойное действие канализационной сети на участке, расположенном выше.

3. ЭКСПЛУАТАЦИЯ ОЧИСТНЫХ СООРУЖЕНИЙ

3.1. Эксплуатация очистных сооружений возможна только после приема их рабочей комиссией, которая устанавливает соответствие построенных сооружений проекту, наличие оборудования, приборов и выдает письменное разрешение на эксплуатацию.

3.2. В начальный (пусковой) период эксплуатации очистных сооружений необходимо:

отрегулировать и проверить работу отдельных сооружений для очистки сточных вод и всего комплекса в целом;

замерить количество сточных вод;

на основании настоящей Инструкции разработать подробную рабочую инструкцию по эксплуатации каждого сооружения, учитывая специфику предприятия, а также схему очистных сооружений и вывесить их на видном месте;

обучить эксплуатационный персонал.

3.3. Работы по пуску и наладке сооружений физико-химической, химической и биохимической очистки сточных вод должны проводиться специалистами, которые выводят сооружения на режим, обеспечивающий проектную степень очистки.

Пуск и наладку сооружений механической очистки (песколовок, нефтеловушек, прудов-отстойников и др.) следует осуществлять силами эксплуатационного персонала.

3.4. Эффективность работы очистных сооружений необходимо оценивать путем сравнения достигаемой степени очистки с проектной величиной.

3.5. Основными условиями эффективной эксплуатации очистных сооружений следует считать:

организацию режима работы, обеспечивающего проектную степень очистки сточных вод;

систематический контроль (технический и химический) за работой очистных сооружений;

регулярные (в соответствии с графиком) сбор уловленных нефтепродуктов и удаление осадка;

своевременный ремонт очистных сооружений.

3.6. Очистные сооружения необходимо оснащать устройствами и приборами, обеспечивающими:

равномерное распределение сточных вод и осадков между отдельными элементами очистных сооружений;

выключение из работы, опорожнение и промывку сооружений и трубопроводов при их ремонте и очистке;

аварийный выпуск сточных вод до и после сооружений механической очистки; при этом проход к запломбированным запорным приспособлениям на выпуске всегда должен быть свободным;

замер расходов сточных вод, сырого осадка, возвратного и избыточного активного ила, пара и других реагентов;

автоматический отбор пробы сточных вод и, по возможности, регистрацию некоторых качественных параметров сточной воды, ила и осадка.

3.7. Эксплуатационный персонаж обязан:

регулярно следить за работой всех очистных сооружений, исправностью отдельных их узлов: задвижек, лотков, желобов, водосливов, труб для сбора и удаления нефтепродуктов, механизмов для сгребания осадков, реагентного хозяйства, измерительных приборов и т.д.;

обеспечить технический надзор, а также контроль за качеством поступающей и выходящей из отдельных сооружений сточной воды.

3.8. Особенно внимательное наблюдение должно вестись за сооружениями в зимнее время, когда вследствие понижения температуры сточных вод процессы очистки несколько замедляется.

Кроме того, в зимнее время эксплуатация очистных сооружений затруднена ввиду обледенений и снежных заносов.

3.9. На сооружения для очистки и обезвреживания сточных вод должен составляться паспорт по форме, приведенной в приложении 2.

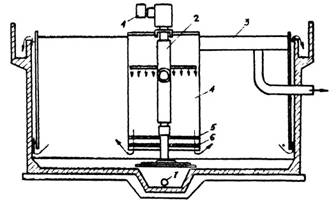
3.1. Песколовки

3.1.1. Для задержания механических примесей, содержащихся в сточных водах, устраивают песколовки - щелевые или горизонтальные. Отсутствие или малоэффективная их работа приводит к заиливанию трубопроводов и водораспределительных устройств, нарушает режим работы сооружений для очистки сточных вод, вызывает преждевременный износ оборудования.

Песколовки можно не устраивать, если расход сточных вод менее 100 м3/сут.

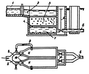
3.1.2. Щелевая песколовка (рис. 3.1) представляет собой колодец на коллекторе, отводящем сточные воды. В пределах колодца труба переходит в лоток, нижняя часть которого имеет одну, две или три поперечные щели. Песок, поступающий вместе со сточными водами, проваливается в щели и накапливается в приямке, из которого периодически удаляется.

3.1.3. Горизонтальная песколовка (рис. 3.2) имеет в плане прямоугольную форму и состоит из двух секций или более. На входе в песколовку и выходе из нее имеются деревянные шиберы, используемые для отключения секций и для равномерного распределения потока по секциям. Дно песколовки выполнено с уклоном к середине (минимальный угол 45°), где расположен приямок для откачки осадка.

3.1.4. Скорости движения потока сточных вод, при которых происходит осаждение механических примесей, не должны превышать 0,6-1,0 м/с в щелевых и 0,15-0,30 м/с - в горизонтальных песколовках (соответственно при минимальном и максимальном расходах).

Схема щелевой песколовки

1 - трубa; 2 - лоток с щелью; 3 - крышка; 4 - иловая часть

Рис. 3.1

Схема горизонтальной песколовки

1 - решетка; 2 - шибер; 3 - эжектор; 4 - пульпопровод; 5 - напорный водопровод

Рис. 3.2

3.1.5. При эксплуатации песколовок необходимо:

осуществлять постоянный контроль за их технической исправностью, наличием осадка и уровня вода;

периодически очищать их от осадка: горизонтальные - не реже одного раза в 2-3 суток; щелевые - по мере накопления осадка в иловой части песколовки. Нельзя допускать заполнения ее иловой части до днища лотка;

следить за равномерным распределением воды между секциями (если песколовка многосекционная), регулируя его с помощью входных шиберов;

во избежание выноса песка из песколовки проверять расход сточных вод, регулируя их поступление в соответствии с расчетным расходом.

3.1.6. Высоту слоя осадка в песколовке необходимо замерять не реже одного раза в 2-3 суток, используя для этого шест, оканчивающийся небольшой площадкой (100×100 мм).

Шест медленно погружается в поток воды до тех пор, пока замеряющий не почувствует поверхности осадка. Определяется расстояние от уровня воды в песколовке до осадка (по шесту). Вычитая величину замера из глубины песколовки (расстояние от уровня воды до дна), получают высоту осадка.

3.1.7. Способ удаления осадка (гидроэлеваторами, специальными песковыми насосами, ковшами, ручными черпаками и т.д.) следует выбирать в зависимости от конструкции сооружения и количества осадка. Очистка горизонтальных песколовок от осадка может проводиться стационарными гидроэлеваторами (эжекторами) или песковыми насосами, а щелевых - переносными гидроэлеваторами.

Схемы устройства гидроэлеваторов приведены на рис. 3.3 и 3.4.

Переносной гидроэлеватор с диаметром сопла 30 мм

Рис. 3.3

Стационарный гидроэлеватор

1 - бетонное основание; 2 - осадок; 3 - зона разрежения; 4 - горловина; 5 - диффузор; 6 - патрон; 7 - балки крепления; 8 - приемная вставка; 9 - сопло; 10 - крышка; 11 - патрубок подачи воды под давлением

Рис. 3.4

3.1.8. Гидроэлеватор действует следующим образом. Вода, поступающая под напором по трубе 6 (рис. 3.3), выходя из сопла 5, значительно увеличивает свою скорость. В результате в камере смешения 4 образуется разрежение, благодаря которому происходит подсос песка или ила вместе с водой по трубе 1. Смесь рабочей жидкости с разжиженным песком или илом с большой скоростью входит через проход 2 в диффузор 3. Получаемый при этом напор позволяет транспортировать смесь на площадки для песка или в шламонакопители. Напор, необходимый для работы гидроэлеватора, 0,4-0,6 МПа, обеспечивается общим напором водопровода или специальным передвижным насосом.

3.1.9. Работы по удалению осадка гидроэлеватором необходимо осуществлять в следующем порядке:

подвести и установить гидроэлеватор (если он не стационарный) в иловой части песколовки; подключить его к напорному водопроводу и шламопроводу;

перекрыв задвижку или поставив заглушку на шламопроводе, подать воду в гидроэлеватор для разрыхления осадка;

после разрыхления осадка открыть задвижку на шламопроводе и подать воду на сопло гидроэлеватора. При этом иловая часть песколовки будет освобождаться от осадка;

когда по шламопроводу начнет поступать вода, не загрязненная осадком, очистку прекратить;

после удаления осадка отсоединить гидроэлеватор от водопровода и шламопровода и убрать его из иловой части песколовки.

3.1.10. Удалять осадок шламовыми передвижными насосами необходимо следующим образом:

песколовку или одну из ее секций выключить из работы и откачать воду;

по шлангам, оборудованным брандспойтом, подвести к песколовке воду от напорного водопровода;

соединить всасывающий патрубок шламового насоса с иловой частью песколовки;

разрыхлить осадок водой из брандспойта, включив шламовый насос для откачки получаемой пульпы в шламонакопитель или на иловую площадку;

после освобождения сооружения от осадка насос и шланги убрать, а песколовку включить в работу.

3.1.11. При оборудовании песколовок стационарными шламовыми насосами разрыхление и удаление осадка следует проводить без выключения песколовок из работы по трубам, специально ухоженным для этой цели.

Во избежание заиливания напорные и всасывающие трубопроводы шламовых насосов после удаления осадка из сооружения необходимо промыть водой.

3.1.12. Эффективность работы песколовок следует оценивать путем определения содержания взвешенных веществ (механических примесей) в сточных водах, поступающих в песколовку и выходящих из нее.

3.2. Буферные резервуары

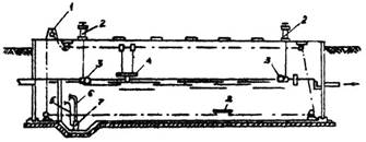
3.2.1. Усреднение качества сточных вод, выравнивание подачи их на очистные сооружения, если сточные воды поступают от разных объектов неравномерно и отличаются по качеству, осуществляют в буферных резервуарах. В них же происходит отстаивание сточных вод, при котором выделяется до 90-95 % плавающих нефтепродуктов.

3.2.2. Буферные резервуары представляют собой типовые стальные вертикальные цилиндрические резервуары, вместимость которых рассчитана на пребывание воды в течение 6-24 часов. Они должны быть оборудованы водораспределительными и нефтесборными устройствами, трубами для подачи и выпуска сточной воды, отвода нефтепродуктов и уровнемером. Схема резервуара приведена на рис. 3.5.

3.2.3. После наполнения резервуара, что определяется по показаниям уровнемера, прием сточных вод прекращается. Отстаивание должно продолжаться не менее 6 часов.

3.2.4. Расход сточных вод, сбрасываемых из буферных резервуаров на сооружения для последующей очистки, не должен превышать пропускной способности последних. В зависимости от уровня в буферном резервуаре расход следует регулировать, открывая или прикрывая задвижку на отводящем трубопроводе.

Выпуск воды из буферных резервуаров необходимо прекращать при появлений нефтепродуктов.

Схема буферного резервуара

1, 2 - трубопроводы соответственно поступающей воды и всплывшего нефтепродукта; 3, 4 - гибкие шланги; 5 - направляющие тросы; 6 - смотровой люк; 7 - нефтесборная воронка; 8 - поплавок; 9 - переливная труба; 10 - распределительная головка; 11 - трубопровод отстоявшейся воды

Рис. 3.5

3.2.5. Накопившиеся в резервуаре нефтепродукты следует периодически отводить из резервуара. Периодичность сбора устанавливается с учетом местных условий.

3.3. Нефтеловушки

3.3.1. Очистку сточных вод от плавающих и эмульгированных нефтепродуктов следует проводить в нефтеловушках.

Нефтеловушки - это отстойники (в основном горизонтального типа), в которых нефтепродукты выделяются из воды и всплывают на поверхность за счет разницы их удельных весов. Кроме того, в них оседает значительное количество механических примесей.

3.3.2. Для удобства эксплуатации и обеспечения бесперебойной работы очистных сооружений нефтеловушки должны иметь не менее двух секций. На ряде нефтебаз для очистки сточных вод применяют мазутоловушки, бензо- и маслоловушки, эксплуатация которых осуществляется так же, как и нефтеловушек.

3.3.3. Нефтеловушки должны быть оборудованы:

нефтесборными трубами или другими устройствами для улавливания и отвода всплывших нефтепродуктов;

скребковым транспортером или гидросмывом, направляющими осадок к приямку нефтеловушки;

гидроэлеватором, песковым насосом или донными клапанами, с помощью которых осадок удаляют из приямка;

обогревом при помощи паровых или водяных змеевиков, расположенных на глубине 200 мм от поверхности жидкости по периметру каждой секции и на участке нефтесборных труб у сливного ребра.

3.3.4. Схемы нефтеловушек приведены на рис. 3.6 и 3.7. Сточные воды поступают в распределительную камеру водосливного типа, из которой по самостоятельным трубопроводам распределяются по секциям нефтеловушки. На входе в отстойную часть секции устанавливается щелевая перегородка, благодаря которой происходит равномерное распределение потока сточных вод в отстойные части секций.

В конце отстойной части вода проходит под нефтеудерживающей стенкой и через водослив попадает в поперечный сборный лоток, а затем - в сборный коллектор.

Всплывшие нефтепродукты собираются и отводятся щелевыми поворотными трубами 3, управляемыми с помощью штурвальных колонок (рис. 3.7).

Осадок, выпадающий на дно секций, собирается к приямкам скреперным скребком 8, передвигаемым вдоль каждой секции на непрерывном тросе, укрепленном на барабане электрофицированной лебедки 1.

Кроме скреперных скребков для сбора осадка применяются скребковые транспортеры с индивидуальными приводами в каждой секции нефтеловушки.

Осадок из приямков нефтеловушки удаляется гидроэлеватором, шламовым насосом, гидравлическим способом при помощи насадок или по специальному трубопроводу через донные клапаны.

Схема устройства нефтеловушки

1 - подводящий трубопровод; 2 - входная камера; 3 - распределительная (дырчатая) стенка; 4 - приямок для осадка; 5 - скребковый механизм; 6 - нефтесборная щелевая поворотная труба; 7 - нефтеудерживающая стенка; 8 - отводящий трубопровод; 9 - подогреватель

Рис. 3.6

Устройство нефтеловушки из сборных железобетонных элементов

1 - лебедка; 2 - колонки управления нефтесборной трубой; 3 - нефтесборные трубы; 4 - скребок для всплывшего слоя; 5 - трубопровод рабочей воды к гидроэлеватору; 6 - пульпопровод; 7 - гидроэлеватор; 8 - скреперный скребок для осадка

Рис. 3.7

3.3.5. Для уменьшения влияния на процесс отстаивания вихревых зон, конвективных потоков, турбулентных явлений следует использовать тонкослойное отстаивание. С этой целью в отстойной зоне нефтеловушки располагают пакеты пластин с зазором 20-100 мм, установленных наклонно (угол 45-50°), наклонные пучки труб диаметром до 50 мм, гофрированные пластины.

3.3.6. В существующих типовых нефтеловушках для повышения их производительности элементы тонкослойного отстаивания целесообразно устанавливать вдоль потока сточных вод, что позволит использовать обычные устройства для удаления всплывших нефтепродуктов и осадка.

Типовая нефтеловушка с установленными в ней элементами тонкослойного отстаивания показана на рис. 3.8.

3.3.7. На крупных нефтебазах и перекачивающих станциях очистка сточных вод, поступающих от резервуарных парков с разными сортами нефтепродуктов, должна осуществляться в индивидуальных ( местных) нефтеловушках, а очистка общего водостока - в центральной нефтеловушке.

Местные нефтеловушки пропускной способностью до 15 л/с допускается устраивать односекционными и объединять их в один блок со сборным резервуаром нефтепродуктов и камерой для установки насоса.

Нефтеловушка с блочными тонкослойными элементами (устройства для сбора и удаления осадка не показаны)

1 - подающая труба; 2 - распределительная труба; 3 - распределительные патрубки с раструбами, 4 - нефтеотводящие трубы; 5 - водораспределительное устройство; 6 - блоки тонкослойных элементов (пластинчатых); 7 - нефтеудерживающая перегородка; 8 - отводящая труба

Рис. 3.8

3.3.8. В процессе эксплуатации нефтеловушек необходимо:

следить за равномерностью распределения между секциями сточных вод в количестве, не превышающем расчетный расход;

осуществлять регулярный сбор накапливающихся нефтепродуктов и своевременную зачистку от осадка согласно разработанному графику;

постоянно следить за чистотой и исправностью распределительных и сборных лотков нефтесборных труб, водосливов и механизмов для сгребания и удаления осадка;

регулярно очищать подводящие и отводящие лотки;

поддерживать строгую горизонтальность водосливов;

не допускать засорения нефтесборных труб;

регулярно смазывать задвижки, шиберы, редукторы и другие детали механического оборудования. Сведения о замеченных неполадках заносить в журнал по эксплуатации нефтеловушек;

следить за тем, чтобы перекрытие нефтеловушек было исправно и закрыто.

3.3.9. Распределение потока сточных вод между секциями нефтеловушки необходимо регулировать с помощью входных шиберов или задвижек, замеряя высоту слоя воды на водосливах. При равномерном распределении она должна быть одинаковой.

3.3.10. Сбор всплывших нефтепродуктов должен осуществляться 1-2 раза в смену. Продолжительность сбора при включенном скребковом механизме не должна превышать 1 ч.

3.3. 11. Нефтесборные трубы должны быть установлены строго горизонтально, чтобы при их повороте вокруг продольной оси через прорезь, сделанную вдоль труб, поступали нефтепродукты с одного уровня во избежание попадания с ними большого количества воды.

3.3.12. В нефтеловушках устаревших конструкций, не оборудованных нефтесборными трубами и скребками, сбор всплывших нефтепродуктов следует осуществлять по мере их накопления (толщина слоя не более 10-15 см), но не реже одного раза в сутки. Для этого необходимо прикрытием выходного шибера (задвижки) уровень воды в нефтеловушке поднимать до тех пор, пока в нефтесборные лотки тонким слоем начнет поступать нефтепродукт. После сбора основной масс нефтепродукта выходной шибер надо открыть, и уровень воды примет свое обычное положение.

3.3.13. В открытых нефтеловушках для ускорения сбора накопившегося нефтепродукта могут применяться ручные скребки различных конструкций, с помощью которых нефтепродукт сгоняется к нефтесборным устройствам.

3.3.14. При наличии скребковых механизмов осадок, накопившийся в нефтеловушках, следует сгребать под водой к приямку, из которого откачивать насосом, эжектором или выпускать через донные клапаны не реже одного раза в сутки. Периодичность удаления осадка должна устанавливаться обслуживающим персоналом в зависимости от содержания механических примесей в сточных водах.

3.3.15. В случае аварийной остановки скребкового механизма на продолжительное время включение его вновь в работу должно осуществляться только после освобождения нефтеловушки от осадка (ввиду опасности поломки скребков и обрыва цепи).

3.3.16. При отсутствии скребковых механизмов очистку нефтеловушек необходимо проводить не реже двух раз в год (весной и осенью). Секции следует очищать поочередно передвижными шламовыми насосами (см. п. 3.1.10).

3.3.17. После выпуска осадка трубопроводы должны быть промыты водой.

3.3.18. Скребковые механизмы, насосы, гидроэлеваторы и другое механическое оборудование должны иметь технические паспорта и своевременно подвергаться осмотрам и планово-предупредительным ремонтам.

3.3.19. Возможные случаи нарушения режима работы нефтеловушек и необходимые меры для его восстановления указаны в табл. 3.1.

3.3.20. Эффективность работы нефтеловушек следует оценивать на основании результатов определения содержания нефтепродуктов в пробах сточной воды, поступающей в нефтеловушку и очищенной.

Таблица 3.1

Возможные случаи нарушения режима работы нефтеловушек и меры для его восстановления

Вид нарушения

Причины

Меры по устранению

1

2

3

1. Содержание нефтепродуктов после нефтеловушки превышает норму

Скопление значительного количества нефтепродуктов и шлама в рабочих секциях

Собрать накопившиеся нефтепродукты и очистить от шлама

Увеличение скорости потока в секциях за счет повышения расхода сточных вод

Проверить равномерность распределения сточных вод по секциям

Поступление сильно эмульгированных сточных вод и превышение расчетного содержания в них нефтепродуктов

Выявить источники образования этих вод и организовать дополнительный сбор всплывшего нефтепродукта

Неравномерность потока по ширине нефтеловушки из-за нарушения горизонтальности водослива

Проверить и в случае нарушения обеспечить горизонтальность водослива

2. Нефтепродукт плохо или совсем не проходит по системе нефтесборных труб

Засорение нефтесборных труб

Прочистить трубы

Переполнение нефтесборных резервуаров

Откачать нефтепродукт

3. Иловая жидкость плохо или совсем не поступает в приемную камеру насосной станции

Засорение илопровода

Закрыть донные клапаны, определить место засорения и провести чистку с последующей промывкой чистой водой

4. К работающему гидроэлеватору не поступает откачиваемая смесь

Засорение всасывающего трубопровода

Провести ревизию и чистку

5. При работе скребкового транспортера отключается электродвигатель (срабатывает максимальная защита)

Скопление большого количества песка на дне секции

Остановить скребковый транспортер

 

Неисправность системы передач скребкового транспортера

Отключить секцию

Поломка скребка

Откачать жидкость из секции. Выявить дефект и устранить его

6. В приемную камеру шламового насоса непрерывно поступает сточная вода

Неплотно закрыт донный клапан

Закрыть донный клапан. В случае поломки или засорения отключить секцию, откачать жидкость, выявить и устранить неисправность

7. При отключенных нефтесборных трубах в нефтесборный резервуар поступает сточная вода

Неисправность сальниковых соединений нефтесборных труб или набивки сальника

Отключить секцию

Понизить уровень сточных вод в секции ниже нефтесборных труб

Выполнить ремонт сальниковых соединений или набивку сальников

При выдерживании проектных показателей (время пребывания сточной воды в нефтеловушке 2 ч, концентрация нефтепродуктов в поступающей воде 300-10000 мг/л, скорость ее движения 5-10 мм/с) нефтеловушки должны обеспечивать очистку сточных вод до остаточного содержания нефтепродуктов не более 40-60 мг/л.

3.4. Гидроциклоны

3.4.1. Для интенсификации механической очистки сточных вод взамен песколовок и нефтеловушек могут использоваться гидроциклоны, в основе работы которых лежит процесс разделения суспензий и эмульсий в поле центробежных сил.

При очистке нефтесодержащих сточных вод рекомендуется применять открытые гидроциклоны (рис. 3.9). Эффект очистки от нефтепродуктов достигается тем, что в вихревом движении воды создается увеличивающаяся к центру угловая скорость, способствующая концентрированию нефтяных частиц в центральной части аппарата. Осветленная вода отводится тонким слоем через водослив, отдаленный от всплывшего слоя полупогружной перегородкой. Уловленные нефтепродукты с поверхности воды могут быть удалены через переливные воронки или лотки. Образующийся в конусной части гидроциклона осадок выпускается через патрубок со шламовой насадкой.

3.4.2. Чтобы избежать захвата уходящим потоком воды взвешенных веществ из периферийной зоны, в простом открытом гидроциклоне рекомендуется устанавливать конические диафрагмы и внутреннюю цилиндрическую стенку.

3.4.3. Открытые гидроциклоны должны монтироваться с таким расчетом, чтобы при необходимости их легко было демонтировать.

Схема устройства открытых гидроциклонов

а - простой конструкции; б - с диафрагмой и цилиндрической перегородкой.

1 - шламовый патрубок; 2 - коническая часть; 3 - цилиндрическая часть; 4 - входное отверстие; 5 - полупогружная кольцевая перегородка; 6 - отводящий лоток; 7 - коническая диафрагма; 8 - цилиндрическая перегородка

Рис. 3.9

3.4.4. Во избежание подсасывания и выноса с осветленной водой всплывших на поверхность нефтепродуктов водосливная кромка должна устанавливаться строго горизонтально.

3.4.5. Перед пуском гидроциклонной установки в работу необходимо промыть подводящие трубопроводы во избежание засорения гидроциклона строительным мусором. Для этого первую порцию воды, поступающую по трубам, следует сбросить по аварийному трубопроводу в канализацию, минуя циклоны. Промывку целесообразно продолжать в течение времени, соответствующего трехкратному обмену воды в промываемом трубопроводе.

3.4.6. После пуска гидроциклона необходимо проверить соответствие показаний дифманометров, регистрирующих потери напора в диафрагмах, с прилагаемыми к ним калибровочными кривыми завода-изготовителя. Проверка проводится объемным методом. В качестве измерительной емкости может быть использован сам гидроциклон при полностью закрытой задвижке на шламовой насадке. В случае расхождения полученных данных с заводскими калибровочную кривую следует определить опытным путем, продолжив калибровку диафрагм объемным способом.

3.4.7. При эксплуатации гидроциклонной установки основное внимание следует уделять равномерности распределения количества поступающих сточных вод между гидроциклонами. Равномерность распределения проверяется по показаниям дифманометров и регулируется с помощью задвижек на подающих трубопроводах.

3.4.8. Нефтепродукты, задержанные в гидроциклоне, должны периодически удаляться. Периодичность удаления определяется при наладке установки и уточняется в процессе эксплуатации.

3.4.9. Осадок из гидроциклона во избежание его переполнения, засорения и полного выхода из строя, должен удаляться непрерывно.

3.4.10. Если осадок из гидроциклона удаляется под гидростатическим давлением столба жидкости в аппарате, необходимо подобрать оптимальный размер шламовой конической насадки. Оптимальной считается насадка с минимальным размером разгрузочного отверстия, обеспечивающая устойчивую работу гидроциклона. Диаметр отверстия шламовой насадки устанавливается опытным путем при наблюдении за работой узла шламоудаления в течение некоторого времени.

3.4.11. Эффективность работы гидроциклона определяется анализом проб поступающей и выходящей из гидроциклона воды на содержание нефтепродуктов и взвешенных веществ. Пробы следует отбирать через пробоотборные патрубки, врезанные в соответствующие трубопроводы.

3.4.12. Для сгущения шламов, образующихся на сооружениях механической очистки сточных вод, используются напорные гидроциклоны (рис. 3.10).

Стандартные гидроциклоны поставляются заводами-изготовителями в собранном виде, за исключением питающей насадки. Эта насадка в комплекте с диафрагмой и разделительной камерой с манометром прилагается к гидроциклону.

В комплекте с аппаратом также поставляются сменные вкладыши для питающей и шламовой насадок.

3.4.13. Напорные гидроциклоны следует устанавливать на минимальном расстоянии от насоса с целью сокращения потерь набора в подводящих трубопроводах.

3.4.14. При сборке гидроциклонов необходимо обращать внимание на герметичность фланцевых соединений и, особенно, на соосность сливной и шламовой насадок. После окончательной затяжки фланцевых соединений резиновые прокладки не должны выступать над внутренней поверхностью гидроциклона, так как выступы создают дополнительные завихрения в рабочей струе, препятствующие процессу разделения шлама и воды.

Общий вид напорного гидроциклона

1 - питающий патрубок; 2 - смывные вкладыши; 3 - крышка; 4 - цилиндрическая часть; 5 - коническая часть; 6 - шламовая насадка; 7 - блоки футеровки; 8 - сливной патрубок; 9 - манометр

Рис. 3.10

3.4.15. После монтажа перед пуском гидроциклона в работу необходимо установить соответствие сечений всех насадок заданному режиму, тщательно проверить, не засорены ли питающие и шламовые насадки посторонними предметами.

3.4.16. При установке манометра следует проверить целостность диафрагмы, залить воду в камеру над диафрагмой, полностью вытеснить ею воздух и затем установить манометр.

3.4.17. Регулировка работы гидроциклона сводится к подбору соответствующих размеров сливных и шламовых насадок, а также вкладышей питающего отверстия.

При уменьшении диаметра шламовой насадки возрастает концентрация сгущенного шлама, но при этом ухудшается качество осветленной воды.

Увеличение концентрации шлама происходит и при увеличении давления перед гидроциклоном.

При регулировании циклона следует стремиться к оптимальному режиму, при котором получается наибольшая концентрация шлама и минимальный вынос взвешенных веществ с осветленной водой.

3.4.18. Во время эксплуатации гидроциклонов необходимо:

поддерживать давление перед аппаратом в пределах оптимального;

в случае возникновения вибрация циклона и подводящих трубопроводов, резких колебаний давления на входе, а также при отказе манометра следует отключить аппарат и проверить, не засорены ли питающее отверстие или трубопровод;

регулярно прочищать шламовую насадку;

во избежание засорения гидроциклонов устанавливать на всасывающих трубопроводах насосов сетки с размерами отверстий в 2-3 раза меньше диаметра шламовой насадки и ширины щели в питающем отверстии;

своевременно заменять изнашивающиеся детали аппаратов, шламовые насадки и вкладыши в питающих отверстиях;

стремиться работать на минимальных давлениях с целью увеличения срока службы гидроциклонов.

3.5. Пруды дополнительного отстаивания

3.5.1. Дополнительное отстаивание сточных вод, прошедших нефтеловушки или сооружения физико-химический очистки, может осуществляться в прудах.

Пруды представляют собой открытые земляные емкости, состоящие из одного или двух отделений. Для предохранения грунтовых вод или грунта от загрязнения дно и откосы пруда покрывают противофильтрующими экранами: глиной, полиэтиленовой пленкой, асфальтобетоном или бетонными плитами.

3.5.2. Пруд дополнительного отстаивания должен быть оборудован устройствами, обеспечивающими равномерное распределение воды по живому сечению и отвод всплывших нефтепродуктов, трубопроводами для отвода сточных вод из пруда и, при благоприятном рельефе местности, донными выпусками в каждой секции. В остальных случаях пруд опорожняют, откачивая воду с помощью передвижной насосной установки.

Схема пруда приведена на рис. 3.11.

Схема пруда дополнительного отстаивания

1 - колодец для впуска сточных вод; 2 - распределительный коллектор; 3 - шарнирная нефтесборная труба; 4 - лебедка; 5 - перепускные трубы; 6 - трубчатый выход; 7 - сбросный колодец

Рис. 3.11

3.5.3. В период эксплуатации пруда необходимо:

постоянно следить за уровнем воды в пруде, не допуская переполнения выше установленного уровня;

не допускать образования сплошного слоя нефтепродуктов в отделениях пруда. По мере накопления их удалять с помощью шарнирных труб, подвижных щитов (запаней) или других приспособлений;

один-два раза в год определять количество и положение уровня осадка и на основании замеров составлять профили поверхности отложившегося шлама, которые необходимо иметь при выполнении ремонтных работ;

очищать пруды в зависимости от количества накопившегося шлама, но не реже одного раза в два года;

регулярно проверять техническое состояние оборудования пруда и ограждающего обвалования (дамбы) и принимать надлежащие меры для устранения обнаруженных неисправностей.

3.5.4. Для очистки прудов дополнительного отстаивания следует применять плавучие землесосные установки типа 4ПЗУ с плавающим илопроводом. Схема установки приведена на рис. 3.12. Она включает плавающий металлический понтон 12, внутри корпуса которого расположен шламовый насос 14 с электродвигателем во взрывобезопасном исполнении, заборное устройство, илопровод 9, уложенный на поплавках 11.

Заборное устройство состоит из всасывающей трубы 5 с наконечником двойного шарнира (из резинового армированного шланга) и патрубка для присоединения к землесосу. Шарнир позволяет во время работ перемещать всасывающий трубопровод в вертикальном и горизонтальном направлениях. Благодаря этому забор осадка можно осуществлять при неподвижном понтоне. Наконечник снабжен механическим рыхлителем с гидроприводом.

Установка перемещается с помощью лебедок 2 и укрепленных на обваловании пруда тросов. Пуск шламового насоса осуществляется с помощью вспомогательного вакуум-насоса 10.

3.5.5. Установка 4ПЗУ должна эксплуатироваться в соответствии с инструкцией завода-изготовителя.

Схема плавучей землесосной установки 4ПЗУ

1 - труба водяной завесы; 2 - лебедка управления передвижением; 3 - лебедка подъема всасывающей трубы; 4  -шарнир из гибкого шланга; 5 - всасывающая труба; 6 - шлам; 7 - водовод; 8 - злектрокабель; 9 - илопровод; 10 - вакуум-насос; 11 - поплавки; 12 - понтон; 13 - электродвигатель; 14 - насос

Рис. 3.12

3.5.6. Для характеристики работы пруда дополнительного отстаивания необходимо отбирать пробы отстоявшейся воды и определять содержание в них нефтепродуктов. Остаточное содержание нефтепродуктов в сточной воде после прудов не должно превышать 10-25 мг/л.

3.6. Фильтры

3.6.1. Доочистка сточных вод после отстаивания может осуществляться фильтрованием. Процесс основан на прилипании грубодисперсных частиц и нефтепродуктов к поверхности фильтрующих материалов.

3.6.2. В качестве фильтрующих материалов следует использовать предварительно промытый и отсортированный гравий, кварцевый песок, хворост, древесный уголь, антрацитовую крошку, дробленый керамзит, синтетические и полимерные материалы (стекловату, стекловолокно, пенополиуретан) и т.д.

В табл. 3.2 приведены данные о поглотительной способности некоторых материалов в отношении нефтепродуктов.

Таблица 3.2

Поглотительная способность некоторых фильтрующих материалов в отношении нефтепродуктов

Материал (d = 0,5 - 2 мм)

Поглотительная способность при 20°С, кг/кг

Кварцевый песок

0,11

Дробленый антрацит

0,20

Дробленый керамзит

0,33

Котельный шлак

0,20-0,30

Горелая порода

0,25

Литейный кокс

0,25

Нефтяной кокс

0,23

3.6.3. В зависимости от расхода сточных вод необходимо устраивать безнапорные (расход менее 100 л/с) и специальные напорные фильтры (расход 100 л/с и более). Конструкция безнапорного фильтра приведена на рис. 3.13. Фильтрующая загрузка - песок с крупностью зерен 0,5-2,0 мм; высота загрузки - 0,5-1,0 м.

3.6.4. Многослойный фильтр с загрузкой из песка, гравия (щебня), хвороста и древесного угля показан на рис. 3.14. Фильтр состоит из двух секций, работающих попеременно. По дну секции укладывают дренажно-распределительную систему и располагают слои фильтрующей загрузки.

Через специальные трубы сверху сточная вода попадает на фильтр. После прохождения через слои загрузки очищенная вода скапливается в нижней части фильтра и отводится по трубам. Для обеспечения эффективной работы песчано-гравийного фильтра скорость фильтрации не должна превышать 5 к/ч, так как увеличение скорости ведет к снижению степени очистки.

3.6.5. Сточная вода, поступающая на песчано-гравийный фильтр, должна содержать не более 50 мг/л нефтепродуктов и не более 40 мг/л механических примесей.

Кратковременное (аварийное) содержание нефтепродуктов в сточных водах не должно превышать 200-250 мг/л и механических примесей - 100 мг/л.

3.6.6. Для восстановления фильтрующей способности загрузки необходимо периодически промывать ее горячей водой (температура 50-60°С). Продолжительность промывки 15-20 мин, интенсивность подачи воды 10-15 л (с·м2).

Для улучшения отделения нефтепродуктов от зерен загрузки и экономии воды целесообразно взрыхлять загрузку сжатым воздухом, а с целью восстановления слойности загрузки после промывки с воздухом промывать фильтр одной водой (может использоваться очищенная сточная вода). Продолжительность промывки фильтра горячей водой с воздухом - 15 мин, интенсивность подачи воды 5 л/(с·м2), воздуха - 7 л/(с·м2). Интенсивность промывки водой 15 л/(с·м2) в течение 3-5 мин.

Промывочную воду следует сбрасывать в сеть производственно-дождевой канализации и далее - на очистные сооружения,

Безнапорный песчаный фильтр

1 - водоподводящий лоток; 2 - защитная сетка; 3 - фильтрующий материал; 4 - поддерживающее дренажное основание; 5 - труба с задвижкой для отвода фильтрата; 6 - лоток для отвода фильтрата; 7 - междонное подфильтровое пространство; 8 - распределительные лотки; 9 - трубопровод отвода промывной воды; 10 - шибер; 11 - рабочая камера фильтра

Рис. 3.13

Фильтр для очистки воды от нефтепродуктов

1 - подводящий лоток; 2 - шиберы; 3 - трубы для отвода промывочной воды; 4 - поддерживающий гравийный слой; 5 - песчаная фильтрующая загрузка; 6 - дренажное основание; 7 - труба отвода фильтрата; 8 - подача промывной воды; 9 - подфильтровое пространство

Рис. 3.14

3.6.7. Период между промывками зависит от условий эксплуатации и технологических свойств сточной воды. Необходимость промывки определяется по устойчивому нарастанию содержания нефтепродуктов в фильтрате.

3.6.8. Если фильтры промыть невозможно, то необходимо заменить песчаную загрузку. Использованный песок прокалить на огне, промыть, просеять и вновь применять для загрузки.

3.6.9. Персонал, осуществляющий эксплуатацию песчано-гравийных фильтров, обязан:

следить за равномерным распределением сточной воды по поверхности фильтрующей загрузки и скоростью фильтрации;

регулярно проверять качество очищаемой и очищенной воды;

своевременно проводить регенерацию или замену фильтрующей загрузки.

3.6.10. Очищенная вода после фильтра должна быть прозрачной, концентрация нефтепродуктов в ней не должна превышать 10-15 мг/л.

3.6.11. На автозаправочных станциях и некоторых нефтебазах для очистки сточных вод применяются нефтеловушки с встроенными фильтрами (рис. 3.15). Сточная вода, пройдя отстойную часть нефтеловушки, поступает на фильтр с загрузкой из стекловаты, стекловолокна или древесных стружек.

При скоростях фильтрации 5,2-6,0 м/ч содержание нефтепродуктов в воде, прошедшей эти сооружения, должно снижаться с 25-971 мг/л до 1,8-8,0 мг/л.

В случае загрязнения фильтра, что определяется по ухудшению качества фильтрата, фильтрующая загрузка должна заменяться без регенерации.

Нефтеловушка с встроенным фильтром

1, 2 - фильтр стекловолокнистый; 3 - щелевая перегородка; 4 - подводящая труба; 5 - стальная труба; 6 - плавающий нефтесборный лоток; 7 - шланг дюритовый; 8, 9, 10 - вентиляционные трубы; 11 - погружная перегородка; 12 - сливная стенка; 13 - отводящий лоток

Рис. 3.15

3.6.12. На фильтрующей и нефтепоглощающей способности нетканых синтетических материалов основан принцип работы установок «Кристалл», выполняемых в виде напольных блоков (рис. 3.16). Они могут быть использованы при расходах сточных вод от 30 до 120 м3.

Сточная вода из резервуара 1 насосом 2 подается на виброфильтр 3, очищается от грубых примесей и поступает в емкость первичной очистки 6, где находится коалесцирующая загрузка - гранулы полиэфирной смолы. Здесь происходит укрупнение нефтяных частиц и задержание оставшихся взвешенных веществ, после чего вода поступает в камеру 6 для окончательной очистки. Пройдя ряд фильтров с загрузкой из нетканых материалов, очищенная вода поступает в резервуар 12, откуда насосом 11 подается на выпуск, либо на дополнительную очистку, либо для повторного использования. Нефтепродукты, собранные в емкости первичной очистки 6, поступают в сборник 8.

3.6.13. Содержание нефтепродуктов в сточной воде, прошедшей такую установку, не должно превышать 1-5 мг/л при исходной их концентрации 20-500 мг/л, а механических примесей - 25-50 мг/л при исходной концентрации 100-800 мг/л.

3.6.14. Эксплуатацию установки следует осуществлять в соответствии с инструкцией завода-изготовителя.

Схема очистки сточных вод на установке «Кристалл»

1 - резервуар сточной воды; 2 - насос; 3 -виброфильтр; 4 - сборник осадка; 5 - трубопровод сжатого воздуха; 6 - емкость первичной очистки; 7 - блоки фильтра из нетканных материалов; 8 - сборник нефтепродуктов; 9 - труба подачи собранных нефтепродуктов на сжигание; 10 - труба для спуска воды; 11 - насос, откачивающий очищенную воду; 12 - резервуар очищенной воды

Рис. 3.16

3.7. Флотационные установки

3.7.1. Для удаления из сточных вод эмульгированных нефтепродуктов, не задерживаемых в нефтеловушке, следует применять флотационные установки напорного типа. Флотация основана на использовании подъемной силы пузырьков воздуха, которыми искусственно насыщается вода.

3.7.2. С целью повышения эффективности флотационной очистки в сточную воду добавляется коагулянт в виде растворов глинозема, хлорного железа или других реагентов.

3.7.3. Для интенсификации процесса коагуляции (ускорения хлопьеобразования, увеличения скорости осаждения хлопьев) и повышения качества очистки воды целесообразно использовать флокуляцию, представляющую собой агрегацию (укрупнение) частиц, в которой в дополнение (а иногда взамен) к непосредственному контакту частиц происходит их взаимодействие через молекулы адсорбированного флокулянта.

В качестве флокулянтов рекомендуется применять полиэтиленамин, полиакриламид, четвертичные аммониевые соли на основе полистирола и поливинилтолуола (ВА-2, BA-3, BA-102, BA-212) и др. Дозы флокулянтов 0,1-10 г/м3. В каждом конкретном случае, в зависимости от состава сточных вод, их температуры, интенсивности перемешивания, последовательности введения коагулянтов и флокулянтов, вид и доза флокулянта должны подбираться экспериментально.

3.7.4. Флотационная установка (рис. 3.17) состоит из следующих элементов:

напорного контактного резервуара;

эжекторов для воздуха и раствора коагулянта;

центробежных насосов для подачи очищаемых вод в напорные резервуары;

реагентного хозяйства;

флотаторов;

камеры распределения, в которой размещены задвижки и редукционные клапаны.

Схема флотационной установки

1 - насос; 2 - скребки для удаления пены; 3 - отстойная камера; 4 - флотационная камера; 5 - выпускной клапан; 6 - сборные трубы для очищенной воды; 7 - напорный бак; 8 - бачок для коагулянта; 9 - эжектор для раствора коагулянта; 10 - фильтр; 11 - воздушный эжектор

Рис. 3.17

3.7.5. Основными сооружениями установки являются флотаторы прямоугольные (одно- и многокамерные) или круглые (радиальные). Круглый флотатор (рис. 3.18) представляет собой железобетонную емкость 1 с коническим днищем, внутри которой устроена круглая флотационная камера 2. На дне камеры установлен вращающийся водораспределитель 3, действующий по принципу Сегнерова колеса.

По периферии флотатора на опорах расположена кольцевая стенка 7, задерживающая пену, и кольцевой водослив 6, обеспечивающий равномерный сбор и отвод очищенной воды. Над поверхностью воды радиально установлен пеносборный лоток 4. Для сгона пены к нему служат вращающиеся скребки 5 с редуктором и электроприводом. Общее время пребывания сточной воды во флотаторах 10-20 мин.

3.7.6. В случае переменного расхода сточных вод и повышенного содержания в них нефтепродуктов и механических примесей следует применять флотаторы-отстойники. В отличие от флотаторов они представляют собой радиальный отстойник с встроенной в него подвесной флотационной камерой, выполненной в виде металлического цилиндра, концентрично размещенного в верхней части типового флотатора.

Флотационная камера оборудована вращающимся водораспределителем и скребковым устройством для сгона пены и осадка. Подача воздуха и коагулянта во флотаторы-отстойники осуществляется так же, как в типовые флотаторы.

3.7.7. Напорный резервуар должен обеспечивать насыщение воды воздухом при давлении 0,3-0,4 МПа. На резервуаре должны быть установлены манометр и предохранительный клапан для удаления избытка воздуха.

Схема круглого флотатора

Рис. 3.18

3.7.8. Воздух в сточную воду подается через эжектор, действующий по принципу водоструйного насоса за счет напора воды. Для защиты от загрязнений перед эжектором необходимо устанавливать сетчатый фильтр.

3.7.9. Раствор коагулянта следует готовить попеременно в двух баках, оборудованных барботерами. Перед загрузкой коагулянта необходимо поднять поплавок с дозирующей шайбой. После загрузки заполнить бак водой и перемешать раствор воздухом, подаваемым через барботеры, в течение 30-40 мин, затем дать раствору отстояться (1,5-2 ч), определить ареометром его удельный вес и по градуировочной кривой или таблице найти соответствующую крепость в процентах.

Расход раствора коагулянта должен определяться исходя из оптимальной дозы, часовой производительности установки и крепости раствора.

ПРИМЕР. Производительность установки 100 м3/ч. Необходимая доза коагулянта - 0,200 г на 1 л очищаемой воды. Крепость приготовленного раствора коагулянта 5 %, т.е. 1 л раствора содержит 50 г вещества. Расход раствора коагулянта следует установить равным

                                                   (3.1)

3.7.10. Оптимальную дозу коагулянта подбирают пробным коагулированием (см. раздел 9). Требуемый расход устанавливают подбором дозирующих шайб на поплавковом дозаторе.

3.7.11. В целях уменьшения расхода коагулянтов процесс коагуляции следует осуществлять в диапазоне оптимальных значений рН: для AL(OH)3 - от 4,5 до 7,0, для Fe(OH)2 - от 8.5 до 10,5; для Fe(OH)3 - от 4,0 до 6,0 и от 8,0 до 10,0.

3.7.12. Перед включением флотационной установки в работу необходимо убедиться в правильности подготовки линии движения очищаемой воды.

3.7.13. Пуск насоса, подающего сточную воду на флотаторы, должен проводиться при наличии в сборном резервуаре перед флотатором вода в количестве, равном пяти-десяти минутной подаче насоса. Для своевременного включения установки сборный резервуар необходимо оборудовать сигнализатором уровня.

3.7.14. Эжектор следует включать, когда давление в напорных резервуарах достигнет 0,25-0,30 МПа. Сначала необходимо открыть задвижку (или вентиль), стоящую после эжектора, затем на трубе, соединяющей эжектор с напорной линией насоса. После этого медленно открыть воздушный кран и с его помощью установить требуемый расход воздуха.

Остановка эжектора должна осуществляться в обратном порядке: закрыть воздушный кран, затем задвижку перед эжектором и только после этого - задвижку, стоящую после него.

3.7.15. Во избежание выброса воды через эжектор при остановке насоса, на воздушном патрубке необходимо установить обратный клапан.

3.7.16. Воздух должен вводиться в воду без перебоев. Расход его не должен превышать 1,5-3,0 % от количества очищаемой воды. Оптимальное количество воздуха следует определять при наладке установки из условия получения минимального остаточного содержания нефтепродуктов в очищенной воде.

3.6.17. Подачу воздуха необходимо регулировать изменением расхода воды через эжектор и замерять с помощью ротаметра или диафрагмы с У-образным стеклянным манометром, устанавливаемых на воздушном патрубке эжектора.

3.7.18. Для полного растворения воздуха в очищаемой воде необходимо поддерживать постоянный уровень воды в напорном резервуаре, не допуская скопления нерастворившегося воздуха, пузырьки которого могут прорываться во флотатор и нарушать его работу. Избыток воздуха следует выпускать через присоединенную к верхней крышке напорного резервуара трубку малого диаметра, выведенную во флотатор или сборный резервуар.

3.7.19. В случае параллельной работы двух флотаторов или более поступление воды на них необходимо отрегулировать с помощью задвижек в распределительной камере таким образом, чтобы все флотаторы имели одинаковую нагрузку. Такая регулировка должна быть сделана предварительно по наполнению флотаторов. В процессе работы равномерность нагрузки следует проверять по пьезометру, устанавливаемому на трубе, отводящей очищенную воду из флотатора.

3.7.20. Насос, подающий коагулянт, должен включаться сразу после включения насоса для сточных вод. Вслед за этим необходимо включать электропривод скребков для удаления пены.

3.7.21. При нормальной работе флотационной установки все задвижки и вентили, за исключением регулирующих вентилей перед эжекторами, должны быть полностью открыты. Степень открытия регулирующих вентилей необходимо определять во время подбора режима работы установки.

3.7.22. Подачу сточных вод во флотаторы необходимо осуществлять через диафрагму, устанавливаемую для измерения расхода, и делительную шайбу, с помощью которой достигается равномерное распределение и снижение давления воды с 0,4-0,5 МПа до 0,05-0,07 МПа.

Диаметр делительной шайбы подбирается в зависимости от показаний манометра, устанавливаемого за ней, и размеров диафрагмы.

3.7.23. Всплывший пенный слой с извлеченными частицами нефтепродуктов должен  регулярно удаляться из флотационной камеры скребковым устройством с электроприводом. Обводнение пенной массы должно быть минимальным, для чего рекомендуется высоту пенного слоя поддерживать не менее 50-100 мм и сверху удалять по 1-2 мм пенной массы за оборот скребкового механизма. С этой целью при наладке флотаторов следует отрегулировать высоту кромки пеносборного кармана и отметку нижнего обреза лопастей скребкового устройства.

3.7.24. Периодически должен удаляться осадок несфлотированных тяжелых примесей сточных вод, накапливающихся в нижней зоне флотатора.

3.7.25. Ход процесса очистки следует контролировать путем отбора и химического анализа проб сточной воды, поступающей во флотаторы и очищенной (из флотационной камеры). Содержание нефтепродуктов в очищенной воде после флотации не должно превышать 15-30 мг/л, а после флотации в сочетании с коагуляцией - 10-15 мг/л.

Для более полной оценки качества очистки целесообразно определять содержание механических примесей. Периодически должна определяться щелочность или величина рН воды, значительные колебания которых могут нарушить режим флотационной очистки. Результаты анализов проб сточных вод и подбора доз коагулянта необходимо записывать в рабочий журнал.

3.7.26. Кроме химического, должен осуществляться визуальный контроль процесса очистки путем периодического отбора проб воды из флотационной камеры и наблюдения за ее осветлением и всплыванием пузырьков воздуха.

3.7.27. Основные причины неудовлетворительной работы флотационной установки и меры по их устранению указаны в табл. 3.3.

Таблица 3.3

Возможные нарушения режима работы флотационной установки и меры по их устранению

Вид нарушения

Причина

Меры по устранению

1. Срыв работы насоса (падение давления на манометре)

Чрезмерная подача воздуха во всасывающую трубу наcoca

Прекратить подачу воздуха, закрыв воздушный кран эжектора. Если давление не поднимается, остановить насос, выпустить из него воздух и повторно запустить

2. Плохое осветление воды

Неправильное дозирование коагулянта

Определить оптимальную дозу пробным коагулированием, проверить крепость раствора коагулянта и отрегулировать его расход

3. Отсутствие или малое количество воздушных пузырьков в воде из флотационной камеры

Перебои в подаче воздуха из-за плохой работы эжектора

Отключить эжектор, найти и устранить причину перебоя в подаче воздуха

4. Содержание нефтепродуктов в очищенной воде превышает 10-15 мг/л

См. п. 1-3. Резкое увеличение расхода сточных вод; повышение концентрации нефтепродуктов в поступающей на флотатор воде

См. п. 1-3. Уменьшить расход воды; проверить работу узла очистки, предшествующего флотации

3.7.28. Остановка флотационной установки должна проводился в следующем порядке:

выключить воздушный эжектор и прекратить подачу коагулянта;

остановить насосы, подающие воду на флотацию;

через 10-15 мин после выключения насосов остановить скребковый механизм.

3.7.29. Напорный резервуар, флотатор и баки для коагулянта необходимо периодически опорожнять, осматривать и очищать от осадков.

Напорный резервуар можно продувать во время работы через нижний кран.

Периодичность очистки должна устанавливаться с учетом местных условий.

Остальные элементы установки (насосы, электродвигатели, редуктор, цепи и др.) необходимо эксплуатировать в соответствии с существующими правилами.

3.8. Электрофлотаторы

3.8.1. На нефтебазах, производящих обезвоживание мазутных зачисток с судов, образуются сильно эмульгированные сточные воды с содержанием нефтепродуктов до 100000 мг/л. Очистку их рекомендуется осуществлять электрофлотацией.

3.8.2. Электрофлотация заключается в насыщении очищаемой воды микропузырьками водорода и кислорода, образующимися при ее электролизе под действием постоянного электрического тока. Кислород окисляет находящиеся в воде нефтепродукты, образуя более простые соединения, а пузырьки водорода, обладая большой подъемной силой, увлекают за собой на поверхность вода частицы нефтепродуктов и скоагулированных взвешенных веществ.

3.8.3. Электрофлотатор (рис. 3.19) представляет собой радиальный отстойник с встроенной внутри него подвесной электрофлотационной камерой, выполненной в виде двух металлических цилиндров, соединенных между собой с помощью фланцев. В центре флотационной камеры пропущен вал для привода вращающегося водораспределителя и донных скребков; в нижней части расположены два электрода, концы которых выведены на наружную поверхность корпуса камеры, и к ним подведен постоянный электрический ток 20-30 мА/см2 напряжением не более 30 В.

Схема электрофлотатора

1 - электродвигатель; 2 - комбинированный механизм для распределения сточной воды, сгребания пены и сбора осадка; 3 - пеносборный лоток; 4 - электрофлотационная камера; 5 - катод; 6 - анод; 7 - трубопровод опорожнения

Рис. 3.19

3.8.4. Силу и напряжение тока, подводимого к электродам, следует замерять амперметром и вольтметром, а плотность тока регулировать изменением разности потенциалов на концах электродов.

3.8.5. Для ускорения процесса очистки и повышения его эффективности в очищаемую воду надо добавлять флокулянт в виде 0,01-0,05 % - ного раствора. В качестве флокулянтов в щелочной среде следует использовать хлористый или сернокислый магний.

3.8.6. Раствор флокулянта не должен иметь комков. Поэтому готовить его целесообразно с применением мешалки НКА шнекового или лопастного типа, имеющей скорость 100-300 об/мин.

3.8.7. Дозировать флокулянт необходимо насосом-дозатором типа шнекового или поршневого. Использование для этих целей быстроходных центробежных или шестеренчатых насосов не допускается, так как при этом возникает опасность разрыва линейных молекул флокулянта и, следовательно, снижения эффективности очистки.

3.8.8. Раствор флокулянта должен подаваться либо в емкость со сточной водой перед электрофлотатором, либо в подводящий трубопровод.

3.8.9. Для эффективной работы электрофлотаторов необходимо обеспечить:

равномерное поступление сточных вод в электрофлотатор;

оптимальный режим процесса: силу и напряжение подводимого к электродам тока, дозу флокулянта. Эти параметры подбирают при наладке сооружения;

техническую исправность всего оборудования.

3.8.10. Обслуживающий персонал обязан:

следить за расходом сточных вод, не допуская превышения проектных нагрузок электрофлотатора;

постоянно контролировать параметры, характеризующие режим процесса (силу и напряжение тока, его плотность, дозу флокулянта), а также качество очистки сточных вод (содержание нефтепродуктов и механических примесей в очищаемой и очищенной воде). Результаты замеров и анализов должны отмечаться в рабочем журнале;

следить за техническим состоянием водораспределительных устройств, скребкового механизма, электродов; своевременно выявлять и устранять неполадки в их работе.

3.9. Сооружения для биохимической очистки сточных вод

3.9.1. Производственные сточные воды от растворенных в них нефтепродуктов следует очищать методом биохимического окисления в биофильтрах, аэротенках и других сооружениях.

3.9.2. Схема типовой станции биохимической очистки сточных вод производительностью 50-100 м3/сут показана на рис. 3.20.

Принципиальная схема биохимической станций очистки сточных вод

1 - резервуар для приема сточных вод; 2 - двухъярусный отстойник; 3-биофильтр; 4 - лоток-смеситель; 5 - вторичный отстойник; 6-хлораторная; 7 - насос для перекачки ила; 8 - иловые площадки; 9 - дренажная вода; 10 - избыточный активный ил

Рис. 3.20

Производственные сточные воды после сооружений механической и физико-химической очистки и хозяйственно-бытовые сточные воды поступают в приемный резервуар канализационной насосной станции, откуда насосами подаются в двухъярусный отстойник. Затем осветленная вода самотеком через распределительные устройства поступает на биофильтр, а из него в хлораторную. После хлорирования очищенная вода проходит вторичный отстойник и сбрасывается в водоем.

Ил из отстойников отводится на иловые площадки.

3.9.3. Удаление из сточных вод взвешенных веществ и сбраживание осадка должно осуществляться в двухъярусном отстойнике. Он представляет собой сооружение цилиндрической или прямоугольной формы с коническим или пирамидальным днищем (рис. 3.21).

Одиночный двухъярусный отстойник

1 - выпуск осадка; 2 - плавающие доски; 3 - настил; 4 - бетон; 5 - съемный щит; 6, 7 - отводящий и подающий лотки; 8 - брусья

Рис. 3.21

В верхней части отстойника расположены осадочные желоба, где происходит выпадание взвешенных веществ. Нижняя часть является иловой камерой, в которую через щель шириной 0,15 м поступает осадок из желоба.

Впуск и выпуск воды из отстойника устраиваются так же, как и в горизонтальных отстойниках (в виде водосливных и сборных лотков на всю ширину желоба).

Осадок из иловой камеры удаляется под гидростатическим давлением столба воды через иловую трубу.

3.9.4. Выпускать осадок из отстойника следует, когда его уровень будет на 1 м ниже щели осадочного желоба. Выпуск нужно осуществлять медленно, не допуская проскока сточной воды, поступление которой при этом прекращается.

После выгрузки сброженного осадка в иловой камере должно оставаться не менее 15 % его объема, чтобы обеспечить заражение свежего осадка; илопровод необходимо промыть водой, учитывая, что попадание излишнего количества воды на иловые площадки нежелательно.

3.9.5. Уровень осадка необходимо замерять регулярно с помощью зонда или какого-нибудь другого приспособления.

3.9.6. Следует своевременно очищать каналы, затворы и погружные доски от осадка, уделяя особое внимание поддержанию в чистоте щели на дне верхней отстойной части. Края щели должны ежедневно очищаться скребками или проволочной щеткой.

3.9.7. Плавающие вещества, задерживаемые полупогруженными щитками в отстойной части, необходимо регулярно удалять из отстойника во избежание их выноса с очищаемой водой.

3.9.8. Нельзя допускать образования плотной корки из взвешенных веществ, мешающей выходу газа. Разрушают ее вручную путем погружения в иловую воду специального инструмента, а также путем смачивания корки или разбивания ее струей воды, подаваемой насосом, перекачивающим жидкость из иловой камеры.

Если таким путем не удается избежать роста корки, то ее необходимо периодически удалять из отстойника.

3.9.9. Возможные нарушения режима работы двухъярусных отстойников и мероприятия по их устранению указаны в табл. 3.4.

Таблица 3.4

Возможные нарушения режима работы двухъярусных отстойников и меры по их устранению

Вид нарушения

Причины

Меры по устранению

1

2

3

1. Повышенный вынос взвешенных веществ со сточной водой

Неправильное распределение сточной воды в отстойнике из-за негоризонтальности переливных бортов, впуска воды под углом

Устранить негоризонтальность водосливов, добиться равномерного распределения сточных вод

Чрезмерное накопление осадка в иловой камере

Удалить осадок

Нарушение процесса брожения осадка

Выяснить причину. Если образовалась корка из взвешенных веществ, разрушить или удалить ее

Увеличение притока сточной воды или содержания в ней взвешенных веществ

Уменьшить расход сточной воды, поступающей в отстойник

2. Вспенивание, свидетельствующее о поступлении большого количества несброженного осадка по сравнению с количеством сброженного

Пуск сооружения в эксплуатацию, когда сброженного осадка еще мало

Во всех случаях необходимо:

а) временно выключить отстойник из эксплуатации;

б) разрушить пену перемешиванием или разбрызгиванием иловой воды, чтобы удалить газ из пены;

в) добавить извести и перемешать содержимое иловой камеры

Повышение температуры в иловой камере весной или в начале лета, когда скорость распада небольшая

Поступление со сточной водой большого количества быстро распадающихся органических веществ

Недостаточный объем иловой камеры

3. Ухудшение сбраживания осадка

Присутствие в сточной воде токсических веществ: солей меди, свинца и т.д.

Установить, откуда они поступают в канализацию, и принять меры к уменьшению их содержания

4. Осадок не выдавливается гидростатическим давлением столба сточной воды

Засорение илопровода

Прочистить трубы через стояк и размыть струей воды. Если это не даст положительного результата, освободить отстойник от воды и осадка, заменить трубу

3.9.10. Эффективность работы двухъярусных отстойников оценивают по количеству задерживаемых ими взвешенных веществ. Для анализа раз в неделю следует отбирать пробы сточных вод, поступающих в отстойник и выходящих из него. В зависимости от начальной концентрации взвешенных веществ эффективность их оседания в двухъярусном отстойнике может колебаться от 30 до 60 %.

Кроме того, раз в неделю следует определять активную реакцию (рН) осадка, снижение которой указывает на ухудшение брожения и возможность вспенивания.

3.9.11. При выгрузке сброженного осадка необходимо замерять его количество и определять влажность и зольность.

3.9.12. Показатели работы двухъярусных отстойников должны вноситься в рабочий журнал по форме, приведенной в табл. 3.5.

Таблица 3.5

Журнал учета работы двухъярусных отстойников

Дата

Количество очищенных вод, м3

Время отстаивания, ч

Взвешенные вещества, мг/л

Оседающие вещества, мг/л

Осадок по объему, мг/л

Зольность, %

Влажность выпускаемого осадка, %

в поступа
ющей воде

в выхо
дящей воде

в поступа
ющей воде

в выхо
дящей воде

в поступа
ющей воде

в выхо
дящей воде

взвешенных веществ в поступающей воде

выпускаемого осадка

3.9.13. Основными сооружениями станций биохимической очистки сточных вод являются биофильтры и аэротенки.

На предприятиях Госкомнефтепродукта применяются капельные биофильтры непрерывного действия с естественной вентиляцией.

3.9.14. Капельный биофильтр (рис. 3.22) представляет собой сооружение из кирпича, бетона и состоит из следующих основных элементов: водонепроницаемого основания, дренажного устройства (дырчатого днища, находящегося на расстоянии не менее 0,4-0,6 м oт основного днища), боковых стенок, фильтрующей загрузки и распределительных устройств.

Капельный биофильтр

1 - распределительный бак; 2 - разделительная сеть; 3 - камера для загрузочного материала; 4 - шатер; 5 - отводящий лоток

Рис. 3.22

3.9.15. Для загрузки фильтра следует применять шлак, гранитный щебень, известняк твердой породы, кокс, антрацит, пластмассы и другие прочные, водоустойчивые материалы. Размер частиц загрузки капельного биофильтра должен быть 30-50 мм, а в нижнем опорном слое высотой 20 см - 60-100 мм.

3.9.16. Перед загрузкой в биофильтр материал должен быть тщательно отсортирован по крупности и промыт. После загрузки его необходимо промыть струей воды под напором до полного выноса крошки, образующейся при загрузке фильтрующего материала.

3.9.17. Распределение очищаемой воды по поверхности биофильтра должно быть по возможности равномерным. Наиболее полно это достигается при подвижных оросителях, менее равномерное - при неподвижных разбрызгивателях - спринклерах.

3.9.18. Период орошения биофильтра (время между двумя опорожнениями дозирующего устройства) должен быть в пределах 5-10 мин.

3.9.19. Работа биофильтра осуществляется по следующей схеме. Сточная вода из двухъярусных отстойников через распределительные устройства периодически подается на поверхность биофильтра. Проходя через фильтрующую загрузку, она оставляет в ней взвешенные и коллоидные органические вещества, которые создают биопленку, густо заселенную микроорганизмами.

Микроорганизмы окисляют растворенные органические вещества и получают необходимую для своей жизнедеятельности энергию. Часть этих веществ они используют как пластический материал для увеличения своей массы.

Таким образом, из сточной воды удаляются органические вещества, а в теле биофильтра увеличивается масса активной биологической пленки. Отработанная и омертвевшая пленка смывается протекающей сточной водой к выносится из тела биофильтра.

3.9.20. Для того, чтобы на биофильтре окислялось расчетное количество органических веществ, необходимо на загрузочном материале образование биопленки, бактерии которой адаптированы к окислению органических веществ очищаемой сточной воды. Созревание биопленки достигается постепенным увеличением загрязнения сточной воды, подаваемой на биофильтр. Сначала на него следует подавать слабо концентрированную, разбавленную до 100-150 мг/л по БПКполн (биологическая потребность в кислороде) сточную воду, затем, по мере образования биохимической пленки и получения хороших результатов очистки по химическим показателям, концентрацию подаваемых сточных вод надо увеличить до предельной.

Можно применять и другой метод подготовки биофильтра: начать орошение его небольшим количеством (10-25 % от расчетного) очищаемой воды, затем постепенно увеличить нагрузку до расчетной.

Продолжительность периода адаптации зависит от характера загрязнения сточных вод, их температуры и колеблется от двух до четырех недель, а в некоторых случаях составляет несколько месяцев.

3.9.21. Для обеспечения равномерного распределения сточной воды по поверхности биофильтра необходимо регулярно проводить осмотр и очистку водораспределительных устройств, особенно в зимнее время.

3.9.22.  Следует постоянно следить за состоянием поддонного пространства, вентиляционных каналов и дренажа биофильтра. В случае засорения нужно промыть их водой из водопровода или прочистить.

3.9.23. Некоторые случаи нарушения режима работы биофильтра и меры по их ликвидации приведены в табл. 3.6.

Таблица 3.6

Основные нарушения режима работы биофильтра и меры по их устранению

Вид нарушения

Причины

Меры по устранению

1. Образование значительного количества биопленки в верхнем слое загрузки

Превышение проектного расхода сточных вод и степени их загрязнения

Промыть верхний слой загрузочного материала вне биофильтра; промытый материал уложить обратно, компенсируя его потери новым промытым материалом той же крупности

2. Увеличение продолжительности опорожнения дозирующего бака при спринклерном распределении сточной воды

Уменьшение пропускной способности оросительной системы вследствие засорения ее труб

Необходима механическая прочистка труб и их промывка со сбросом промывной воды в двухъярусный отстойник. Если эта мера не эффективна, следует подаваемую в трубы воду хлорировать (доза избыточного хлора 5-10 мг/л), при этом хлорированная вода не должна попадать на биофильтр

3.9.24. Аэротенк представляет собой резервуар или открытый бассейн, в котором медленно движется смесь активного ила и очищаемой сточной воды. Для лучшего и непрерывного их контакта аэротенк оборудуется устройствами для принудительной аэрации. Преимущество аэротенка по сравнению с биофильтром состоит в том, что процесс очистки в нем можно регулировать до необходимой по местным условиям степени. Чем длиннее процесс аэрации, чем больше воздуха и активного ила, тем лучше очищается сточная вода.

3.9.25. Очистка сточных вод в аэротенках включает следующие процессы: адсорбцию и коагуляцию активным илом взвешенных и коллоидных частиц, окисление микроорганизмами растворенных и адсорбированных илом органических соединений, нитрификацию и регенерацию активного ила. Избыточный активный ил удаляется из сооружения.

3.9.26. Активный ил, представляющий собой компактные хлопья зооглейных скоплений бактерий, должен находиться в аэротенке во взвешенном состоянии.

Для обеспечения нормальной жизнедеятельности бактерий и поддержания активного ила во взвешенном состоянии в аэротенк должен непрерывно подаваться воздух.

Подача воздуха может быть пневматической (воздуходувками через аэраторы, обычно фильтросного типа), механической (специальными механическими аэраторами, интенсивно перемешивающими жидкость и засасывающими воздух из атмосферы) и смешанного типа.

3.9.27. Схемы аэротенков, отличающиеся по степени смешения поступающей сточной воды с остальной массой жидкости, находящейся в сооружении, приведены на рис. 3.23. Наиболее совершенным сооружением признан аэротенк - смеситель.

Схемы аэротенков

а - с сосредоточенным поступлением сточной воды; б - с сосредоточенным поступлением сточной воды и аэрацией возвратного ила; в - со ступенчатым впуском сточной воды; г - с рассредоточенным впуском и выпуском смеси сточной воды и активного ила; 1 - аэротенк; 2 - регенератор; 3 - аэротенк - смеситель; 4 - отстойник

Рис. 3.23

3.9.28. При количестве сточных вод до 200 м3/сут для биологической их очистки целесообразно применять азрационные установки на «полное» окисление, в состав которых входит аэротенк-отстойник. Он представляет собой аэротенк с пневматической аэрацией, который объединен со вторичным отстойником в одно сооружение (рис. 3.24).

Схема аэротенка-отстойника

1 - подводящий трубопровод; 2 - воздуховод; 3 - трубопровод избыточного ила; 4 - сборный лоток

Рис. 3.24

3.9.29. Эксплуатацию аэротенка следует начинать после подготовки активного ила. Подготовку ила можно осуществлять несколькими способами. Один из способов заключается в следующем. Через аэротенк пропускают часть проектного количества сточных вод с концентрацией по БПК примерно 100-150 мг/л. Выпадающий во вторичном отстойнике активный ил должен непрерывно откачиваться в аэротенк. В период накопления активного ила в работе должна находиться только часть очистной станции (например, один аэротенк и один вторичный отстойник). По мере накопления активного ила и получения незагнивающей очищенной воды или появления в ней нитратов и нитритов количество очищаемой воды нужно увеличить, уменьшив ее разбавление, и постепенно ввести в эксплуатацию новые аэротенки.

Активный ил может быть получен из речного или прудового ила, не загрязненного нефтепродуктами.

Одновременно с накоплением активного ила происходит его адаптация к сточной воде.

3.9.30. Концентрацию активного ила в аэротенке для очистки большинства видов промышленных сточных вод следует поддерживать около 3 г/л, считая по сухому веществу. В тех случаях, когда вторичные отстойники позволяют получать высокий эффект осветления очищенной воды при большой концентрации в ней активного ила, доза его в аэротенке может быть повышена. Однако при этом потребуется увеличить количество подаваемого воздуха. Окислительная мощность аэротенка в этом случае повышается.

3.9.31. Для поддержания оптимального режима работы аэротенка и своевременного принятия мер к устранению возможных его нарушений необходимо осуществлять постоянный биологический контроль за составом и количеством микроорганизмов, находящихся в активном иле.

3.9.32. Воздух по длине аэротенка следует распределять с учетом способа подачи в него сточной воды:

а) при сосредоточенном ее впуске в начале аэротенка создается зона повышенной концентрации загрязняющих веществ. В эту зону необходимо подавать большее количество воздуха, чем на последующие участка. Оптимальное соотношение воздуха, подаваемого в разные точки по длине аэротенка, устанавливают опытным путем;

б) при рассредоточенном впуске очищаемой сточной воды распределение воздуха по длине аэротенка должно быть равномерным.

3.9.33. Воздух должен подаваться в аэротенки непрерывно, без перебоев. В сточной воде, выходящей из аэротенка, должно быть не менее 2 мг/л растворенного кислорода. При его отсутствии или недостатке необходимо увеличить количество подаваемого воздуха.

3.9.34. При засорении фильтросных пластин, через которые подается воздух, их следует прочистить металлическими щетками, промывая 20-30 % - ным раствором соляной кислоты. Положительные результаты дает чистка металлическими щетками под небольшим (до 5 см) слоем воды с одновременным продуванием через пластины воздуха.

3.9.35. Если в поступающей в аэротенк сточной воде БПКполн. более 150 мг/л и имеются вредные производственные примеси, необходимо осуществлять регенерацию активного ила.

3.9.36. Дозу (по сухому веществу) активного ила в аэротенке и количество возвратного ила необходимо поддерживать в установленных опытом пределах и в соответствии с указаниями проекта. Объем возвратного ила следует определять по формуле:

                                                                          (3.2)

где Q - объем очищаемой сточной воды в м3/ч;

С1 - доза активного ила в аэротенке в г/м3;

C2 - концентрация возвратного ила (по сухому веществу) в г/м3.

3.9.37. Избыток активного ила должен регулярно удаляться на иловые площадки. Количество избыточного активного ила следует принимать 0,5 кг/кг BПK5.

3.9.38. Показатели, которые должны определяться в процессе-эксплуатации аэротенков, и форма журнала учета их работы приведены в табл. 3.7.


Таблица 3.7

Журнал учета работы аэротенков

отчет-
ный пери
од

посту-
пило сточных вод, м3/сут

Поступающая вода

Очищенная вода

продол-
житель-
ность аэрации, ч

концен-
трация активного ила, г/л

удель-
ный рас
ход воз
духа, м33

темпера
тура сточных вод, °С

при
рост актив
ного ила, мг/л

интен-
сив-
ность аэрации, м33

ило-
вый ин
декс

объем возврат
ного ила, м33

израс-
ходо-
вано электро
энергии, кВт·ч/м3

содержа
ние растворен
ного кислоро
да в очищен
ной воде, мг/л

взве-
шен-
ных ве
ществ

про-
чих

ХПК, мг/л

БПК, мг/л

взве-
шен-
ных ве
ществ

про
чих

ХПК, мг/л

БПК, мг/л


3.9.39. Наиболее часто встречающиеся нарушения режима работы аэротенков и пути их устранения указаны в табл. 3.6.

Таблица 3.8

Основные нарушения режима работы аэротенков и пути их устранения

Вид нарушения

Причины

Меры по устранение

1. Вспухание активного ила

Наличие большого количества углеводородов в очищаемой воде

Уменьшить концентрацию загрязнений в сточной воде, если это невозможно, то:

Недостаточное количество воздуха

а) увеличить подачу воздуха

Низкое рН сточной воды в аэротенке

б) повысить реакцию сточной воды, поступающей в аэротенк, до рН = 8,5-9,5 и увеличить время пребывания активного ила в регенераторе

 

2. Нарушение окислительного процесса: активный ил оседает на дно аэротенка и загнивает

Перебой в подаче воздуха вследствие засорения фильтросов

Очистить пористые пластины (фильтросы) по п. 3.9.34

3. Уменьшение количества ила в аэротенке и его окислительной мощности

Уменьшение в течение длительного периода времени количества поступающих сточных вод и концентрации загрязнений

Исключить из работы одну или несколько секций аэротенка

4. Ухудшение качества очищенной воды

Увеличение расхода сточных вод

Увеличить количество подаваемого в аэротенк воздуха или объем регенератора для активного ила

3.9.40. Удалять из сточной воды отработанную биопленку (после биофильтров) или активный ил (после аэротенков) следует во вторичных отстойниках.

3.9.41. При эксплуатации вторичных отстойников после биофильтров необходимо:

не реже одного раза в сутки зимой и не менее трех раз летом удалять осадок;

периодически очищать стенки отстойников и их днища, чтобы уменьшить всплывание осадка;

задерживаемую полупогруженными досками корку, состоящую в основном из всплывшей биопленки, осаждать легкими ударами сетки или другого приспособления.

3.9.42. Персонал, обслуживающий вторичные отстойники после аэротенков, обязан:

следить за тем, чтобы поступление в отстойники смеси сточных вод и активного ила, а также удаление из них уплотненного возвратного ила происходило равномерно;

удалять активный ил непрерывно и возможно полнее, не допуская его загнивания или всплытия на поверхность;

замерять уровень осадка в отстойнике соответствующими стационарными приспособлениями (датчиками с фотоэлементами, контрольными эрлифтами и т.д.), а при их отсутствии - путем отбора проб с разных глубин;

не допускать выноса активного ила с отстоявшейся водой.

3.9.43. Отклонения от нормального режима работы вторичных отстойников и меры их предупреждения указаны в табл. 3.9.

Таблица 3.9

Возможные отклонения от нормального режима работы вторичных отстойников и меры по их устранению

Отклонения

Причины

Меры по устранению

1. Появление на поверхности воды пузырьков газа и сгустков активного ила, ухудшение качества очищенной воды

Долгое пребывание активного ила в отстойниках

Увеличить объем удаляемого ила

2. Вынос активного ила с очищенной водой

Поступление в аэротенки нерастворенных в воде нефтепродуктов

Улучшить предварительную очистку сточных вод от нефтепродуктов. Если это невозможно, прекратить прием нефтесодержащих сточных вод на очистную станцию

3.9.44. Показатели работы вторичных отстойников необходимо вносить в журнал (ведомость) по форме, приведенной в табл. 3.10. Ведомость учета их работы составляют раз в месяц.

Таблица 3.10

Ведомость учета работы вторичных отстойников после биологической очистки

Отчет-
ный период

Поступающая вода

Очищенная вода

Продол-
житель-
ность отста-
ивания, ч

Содержание раство-
ренного кислорода в выходящей воде, мг/л

Содержание нитратов в выходящей воде, мг/л

Золь-
ность осадка, %

Концентрация загрязнений в воде, мг/л

ХПК, мг/л

БПК, мг/л

Концентрация загрязнений в воде, мг/л

ХПК, мг/л

БПК, мг/л

Взвешенных веществ

прочих

Взвешенных веществ

прочих

3.9.45. Смесь сточных вод, поступающих на сооружения биохимической очистки, в любое время суток не должна иметь:

концентрацию вредных веществ выше норм, приведенных в табл. 3.11;

содержание биогенных элементов на каждые 100 мг/л БПКполн. смеси сточных вод: азота - менее 5 мг/л, фосфора - менее 1 мг/л;

активную реакцию среды (рН) менее 0,5 и более 8,5;

температуру ниже 6°С и выше 30°С;

БПКполн. выше 200 мг/л - при одноступенчатой биохимической очистке и выше 450 мг/л - при двухступенчатой;

нерастворенные масла, смолы, мазут и биологически жесткие поверхностно-активные вещества.

Таблица 3.11

Предельно допустимые концентрации некоторых вредных веществ в сточных водах, поступающих на биологическую очистку

Вредные вещества

Допустимая концентрация, мг/л

Степень удаления в процессе очистки, %

1

2

3

Нефтепродукты

25,0

85,0-90,0

Синтетические поверхностно-активные вещества:

 

 

биологически мягкие (окисляющиеся на сооружениях биологической очистки):

 

 

анионные

20,0

80,0

неионогенные

50,0

90,0

промежуточные:

 

 

анионные

20,0

60,0

неионогенные

20,0

75,0

Фенол

15,0

-

Сульфиды

1,0

99,5

Свинец

0,1

50,0

Примечания:

1. Нефтепродуктами являются малополярные или неполярные вещества, растворимые в гексане.

2. При наличии в стоках смеси анионных и неионогенных поверхостно-активных веществ общая их концентрация не должна превышать 20 мг/л.

3.9.46. Высококонцентрированные производственные сточные воды (по БПКполн.) рекомендуется разбавлять незагрязненной производственной водой с учетом ее температуры, биохимически очищенной водой в количестве не более 25% или хозяйственно-фекальной жидкостью.

Кратность разбавления (отношение количества разбавляемых вод к производственным) следует рассчитывать по формуле:

                                                                       (3.3)

где Ln - БПКполн. производственных сточных вод в мг/л;

Lсм - БПКполн. стока, поступающего на биологическую очистку после разбавления, предельно допустимая концентрация не должна быть более 500-1000 мг/л;

Lр - БПКполн разбавляющей воды в мг/л.

3.9.47. Во избежание нарушения нормальной работа сооружений биохимической очистки нельзя допускать:

внезапного изменения состава сточных вод по сравнению с тем, на который были рассчитаны сооружения;

залпового поступления по количеству или концентрации сточных вод;

перерыва в электроснабжении;

затопления во время осенних и весенних паводков;

несоблюдения сроков текущего и капитального ремонтов сооружений и оборудования;

нарушения обслуживающим персоналом правил эксплуатации.

3.9.48. Пуск в эксплуатацию установок биохимической очистки, для которых требуется предварительное образование микрофлоры (активного ила, биологической пленки), должен осуществляться в теплое время года, когда температура сточных вод не снижается ниже 17-18°С. Длительность пускового периода составляет 2-3 месяца.

3.9.49. Нагрузки и режимы эксплуатации отдельных сооружений не должны отклоняться от принятых проектом или установленных в процессе пуско-наладочных работ.

3.9.50. Число установок, выключаемых на профилактический осмотр, текущий и капитальный ремонты, должно определяться с учетом перегрузки остающихся в эксплуатации установок, которые должны работать без нарушения технологического процесса, не снижая качества очистки.

3.9.51. При совместной очистке бытовых и производственных сточных вод, а также при разбавлении очищаемых сточных вод необходимо вести отдельный учет их количества и состава.

3.9.52. В процесса эксплуатации установок биохимической очистки должны определяться следующие показатели качества сточных вод: температура, плотность, прозрачность, активная реакция (pH), кислотность и щелочность, осадок по объему и по весу, зольность осадка, взвешенные вещества, их зольность, окисляемость (бихроматная), БПК полное, азот общий, азот аммонийный, нитриты, нитраты, растворенный кислород, хлориды.

В зависимости от состава очищаемых производственных сточных вод необходимо определять содержание специфических загрязнений: нефтепродуктов, тетраэтилсвинца и др.

Для характеристики осадков необходимо определять влажность или содержание сухого веществапроцентах) и зольность осадка.

3.9.53. Перед пуском очистной станции необходимо провести полный анализ сточных вод, поступающих от разных источников, для выявления соответствия их состава проектным данным. При установившейся работе станций биохимической очистки, полный анализ сточных вод, поступающих в первичные отстойники, аэротенки или биофильтры, и выходящих из вторичных отстойников, должен проводиться раз в 10 дней. В случае нарушения работы станции необходимо выяснить причину путем контроля работы отдельных сооружений.

3.9.54. Не реже одного раза в сутки должны определяться основные параметры сточных вод, поступающих в первичные отстойники (очищаемой воды, поступающей на станцию биохимической очистки), на аэротенк или фильтр, и сточной воды, выходящей из вторичных отстойников (очищенной воды, прошедшей весь комплекс сооружений).

Необходимо определять содержание нефтепродуктов, взвешенных веществ, осадок по объему, бихроматную окисляемость, нитраты и активную реакцию рН. Кроме того, в аэротенках нужно определять концентрацию активного ила (в мг/л), объем ила через 30 и 60 мин отстаивания и вычислять иловый индекс; во вторичных отстойниках - количество растворенного кислорода в сточной воде.

3.9.55. В случае отклонений в составе сточной воды, поступающей на сооружения биохимической очистки, от допускаемых технологией очистки норм по pH, БПК, взвешенным веществам, биогенным элементам, температуре, растворенным газам, нерастворенным жирам, нефтепродуктам и смолам, токсическим веществам, необходимо срочно принять меры к ликвидации причин, вызывающих нарушение нормативного состава сточных вод.

3.9.56. Временные отклонения устраняют:

а) по рН - добавлением перед отстойниками к сточным водам 10 % -ного раствора щелочи или кислоты в количествах, устанавливаемых расчетом, с обеспечением полного перемешивания реагента со сточной водой;

б) по биогенным элементам - добавлением перед биохимической очисткой 10 % -ного раствора азотных или фосфорных солей в количествах, устанавливаемых расчетом;

в) по температуре - разбавлением условно чистыми водами.

3.9.57. Кроме химического контроля, на сооружениях биохимической очистки должен осуществляться биологический контроль, состоящий в наблюдении за развитием микроорганизмов: бактерий, грибов, бесцветных жгутиковых, корненожек, инфузорий, коловраток, червей, насекомых и их личинок и т.д.

Видовой состав микроорганизмов является одним из показателей работы биологической станции. Например, быстрое развитие ветвистой зооглеи и грибов ведет к нарушению работы аэротенка, вспуханию активного ила и выносу его с очищенной водой; наличие в биофильтре щетинконогого червя Асlosoma с жировыми включениями свидетельствует о хорошей работе сооружений.

3.9.58. На некоторых предприятиях Госкомнефтепродукта для полной биологической очистки бытовых и производственных сточных вод используются компактные установки заводского изготовления производительностью от 12 до 700 м3/сут (КУ-12, КУ-25, КУ-50, КУ-I00, КУ-200, КУ-400 и КУ-700),

Конструктивно установки производительностью 12-200 м3/сут выполнены в виде аэротенка-отстойника, а производительностью 400-700 м3/сут - в виде аэротенка с вертикальными вторичными отстойниками.

3.9.59. Пуск в эксплуатацию и эксплуатация компактных установок должны осуществляться в соответствии с инструкциями и указаниями завода-изготовителя.

3.10. Установки для озонирования сточных вод

3.10.1. Для более глубокой очистки сточных вод, прошедших механическую, физико-химическую или биологическую очистку, от растворенных в них нефтепродуктов следует использовать озонирование. Метод основан на высокой окислительной способности озона, под действием которого происходит одновременно окисление органических примесей (в том числе нефтепродуктов), обесцвечивание, дезодорация (исчезает специфический запах нефтепродуктов) и обеззараживание воды.

3.10.2. Промышленное получение озона основано на расщеплении молекул кислорода с последующим присоединением атома кислорода к нерасщепленной молекуле под действием тихого полукоронного или коронного электрического разряда.

Для получения озона необходимо применять очищенный и осушенный воздух или кислород.

3.10.3. Одна из конструкций промышленного озонатора представляет собой горизонтальный металлический трубчатый сосуд типа теплообменника. Внутри каждой трубы на центрирующих прокладках из фторопласта вставлены стеклянные цилиндры, закрытые с одного конца и имеющие на внутренней поверхности графитомедное токопроводящее покрытие. К покрытию подводится переменный ток напряжением 7000-10000 В. Корпус озонатора заземлен. Высоковольтный газовый разряд возникает между металлической трубкой и стеклянным цилиндром.

3.10.4. Установка для очистки сточных вод озонированием включает в себя (рис. 3.25):

блок компримирования и подготовки воздуха;

блок электропитания;

генератор озона;

устройство для контакта озоно-воздушной смеси с очищаемой водой.

Технологическая схема очистки сточных вод методом озонирования

1 - трубопровод очищенной воды; 2 - резервуары для контакта сточных вод с озонированным воздухом; 3 - трубопровод сточной воды; 4 - электрооборудование для получения тока высокого напряжения; 5 - озонаторы; 6 - трубопровод системы охлаждения; 7 - фильтры для очистки воздуха после адсорберов; 8 - адсорберы; 9 - воздухоподогреватель; 10 - влагоотделитель; 11 - ресивер; 12 - воздуходувка; 13 - фильтр для очистки воздуха

Рис. 3.25

3.10.5. Для создания наилучших условий озонирования сточной воды необходимо обеспечить максимальную площадь контакта очищаемой воды с озоно-воздушной смесью и скорость растворения озона в воде. Коэффициент полезного действия контактного устройства увеличивается с уменьшением размера пузырьков озоно-воздушной смеси, понижением температуры очищаемой воды, повышением давления озоно-воздушной смеси и воды, увеличением времени их контактирования.

3.10.6. Смешение очищаемой воды с озонированным воздухом может осуществляться различными способами: барботированием воды через фильтры, дырчатые (пористые) трубы, смешением с помощью эжекторов, мешалок и т.д.

На рис. 3.26 показана схема контактно-смесительного устройства, представляющего собой эжектор с напорным контактным резервуаром. Это устройство позволяет использовать озон на 98-100 %.

Напорный контактный резервуар для озонирования вода

1 - патрубок для отвода очищенной воды; 2 - корпус резервуара; 3 - водовоздушный эжектор; 4 - трубопровод очищаемой воды; 5 - трубопровод озоно-воздушной смеси

Рис. 3.26

3.10.7. При эжекторной подаче озоно-воздушной смеси для предотвращения попадания воды в генераторы озона на коллекторе озоно-воздушной смеси после генераторов озона и после эжектора следует устанавливать обратные клапаны.

3.10.8.  Чтобы увеличить время контактирования озона очищаемой сточной водой и облегчить условия его растворения, озонирование следует проводить в две ступени.

3.10.9. . Доза озона, необходимого для окисления 1 мг нефтепродуктов, зависит от вида нефтепродуктов, содержащихся в сточных водах, их начальной концентрации, времени контактирования с озоно-воздушной смесью и других факторов.

Оптимальную дозу озона (примерно 1-6 мг/мг) подбирают в процессе пуска и наладки установки.

3.10.10. Для обеспечения режима работы озонаторной установки, соответствующего ее технической характеристике, необходимо:

подавать воздух в количестве и под давлением, соответствующем паспортным данным генератора озона. Избыток или недостаток воздуха ведет к снижению его производительности по озону;

осуществлять тщательную очистку и осушку воздуха, подаваемого на установку;

во избежание перегрева охлаждать межтрубное пространство озонатора водопроводной водой, так как при температуре выше 24°С озон начинает разлагаться;

эксплуатацию блоков компримирования и осушки воздуха, генератора озона и блока электропитания осуществлять в соответствии с заводскими инструкциями.

3.10.11. На линии выхода воздуха из блока осушки должен быть установлен отборник проб сухого воздуха с целью периодического измерения его точки росы, которая не должна превышать минус 40°С.

Наличие влаги в озонируемом воздухе резко снижает производительность озонатора и может привести к аварии установки.

3.10.12. Перед пуском озонаторной установки в эксплуатацию необходимо убедиться в исправности электрической схемы и технологических линий.

3.10.13. Питание блока осушки воздуха должно включаться одновременно с подачей воздуха, расход и давление которого контролируют по показаниям расходомера и манометра.

3.10.14. Высокое напряжение на озонатор следует подавать после пропускания через него в течение 10-15 мин сухого воздуха (кислорода) с параметрами, соответствующими паспортным данным озонатора.

3.10.15. Сразу после подачи высокого напряжения необходимо подать охлаждающую воду.

3.10. 16. Все фланцевые и резьбовые соединения необходимо проверить на герметичность путем обертывания их бинтами, смоченными 3-5 %-ным раствором йодистого калия. В случае появления коричневых (бурых) пятен на бинте, что указывает на утечку озона, следует подтянуть болты фланцевых соединений и накидные гайки в местах пропуска (работы должны выполняться в фильтрующем противогазе).

3.10.17. Ввиду высокой окислительной способности озона корпус озонатора, контактно-смесительные устройства и озонопроводы должны изготовляться из нержавеющих сталей и других озоностойких материалов.

3.10.18. Эксплуатировать озонаторную установку разрешается лицам, имеющим допуск к обслуживанию электроустановок, работающих под напряжением свыше 1,0 кВ, согласно правилам ПУЭ.

3.10.19. Учитывая высокую токсичность озона, при работе на установке следует соблюдать правила по охране труда и технике безопасности, не допуская превышения предельно допустимой концентрации озона в воздухе 0,1 мг/м3 (см. п.п. 8.28-8.32).

3.10.20. В процессе эксплуатации установки для озонирования сточных вод обслуживающий персонал обязан постоянно контролировать:

- температуру и влажность наружного воздуха, используемого для получения озона;

- температуру, давление, расход и точку росы воздуха, поступающего в озонатор;

- температуру, давление и расход воды, охлаждающей электроды озонатора;

- содержание озона в озоно-воздушной смеси, выходящей из озонатора, и его давление;

- расход, давление и качество сточной воды, поступающей на очистку в контактные резервуары;

- качество очищенной воды;

- один-два раза в год очищать электроды и диэлектрические трубки;

- периодически, в соответствии с заводской инструкцией, осуществлять регенерацию осушителя воздуха;

- обеспечивать бесперебойную работу вспомогательного оборудования установки.

3.11 Пруды-испарители

3.11.1. Если сброс сточных вод в водоемы запрещен, а повторное их использование невозможно, в местностях с высокой испаряемостью (годовой слой испарения превышает годовой слой осадков не менее чем на 200 мм) сточные воды после предварительной очистки следует направлять в испарительные пруды.

3.11.2. Пруды-испарители должны устраиваться вдали от населенных пунктов (2-3 км) и состоять из двух-трех секций, огражденных дамбами. Для предохранения грунтовых вод от загрязнения дно пруда необходимо покрывать защитным слоем: глиной, полиэтиленовой пленкой, асфальтобетоном или бетонными плитами с полной заделкой стыков. Каждая секция пруда-испарителя оборудуется впускной трубой. Глубина секции не должна превышать 1-2 м (в зависимости от расхода сточных вод и местных условий). Схема устройства пруда-испарителя приведена на рис. 3.27.

Схема устройства испарительного пруда

1 - секции пруда; 2 - оградительные валики; 3 - впускные лотки (трубы); 4 - подающий трубопровод

Рис. 3.27

3.11.3. Наполнять секции пруда-испарителя следует параллельно.

3.11.4. Содержание нефтепродуктов в сточных водах, направляемых в пруд-испаритель, не должно превышать 10-25 мг/л, чтобы на поверхности не образовывалась сплошная пленка нефтепродуктов, препятствующая испарению воды.

3.11.5. Обслуживающий персонаж обязан:

постоянно контролировать качество сточных вод, поступающих на испарение;

поддерживать в исправном состоянии шиберы.

3.12. Распыливающие установки

3.12.1. Для увеличения скорости испарения сточных вод, направляемых в пруды-испарители, и сокращения земельных площадей, занимаемых прудами, следует применять распыливающие установки.

Ускорение процесса испарения при распыливании сточных вод на капли достигается за счет увеличения суммарной поверхности, с которой происходит испарение.

3.12.2. Во избежание уноса капель за пределы пруда распыливающую установку необходимо располагать над прудом-испарителем таким образом, чтобы расстояние от крайних распыливающих устройств до откоса обвалования пруда было не менее 100-200 м. Схема установки показана на рис. 3.28.

Схема устройства распыливающей установки

1 - эстакада; 2 - трубные стояки; 3 - форсунки; 4 - подающий трубопровод

Рис. 3.28

3.12.3. Принципиальная схема работы установки заключается в следующем.

Сточные воды с содержанием нефтепродуктов 10-25 мг/л из пруда-испарителя насосом подаются в основной коллектор, а из него по подводящим трубопроводам и стоякам поступают к распыливающим устройствам. При распыливании часть воды испаряется, а неиспарившаяся поступает обратно в пруд.

3.12.4. Чтобы испарить в среднем 56 % распыливаемой воды, имеющей температуру 20-30°С, необходимы следующие оптимальные условия:

- давление распыливания (напор распыливаемой воды) - 1,6 МПа;

- высота расположения форсунок - 9-10 м от поверхности воды в пруде;

- производительность форсунки - 0,5-0,8 м3 распыливаемой воды в час.

3.12.5. Испарение сточных вод с помощью распыливающих установок следует осуществлять в периоды года, когда минимальная температура воздуха выше 0°С.

На зимний период требуется консервация установки с освобождением от воды всего оборудования и трубопроводов.

3.12.6. Во избежание частого засорения сопла распыливающих устройств на всасывающем трубопроводе насоса следует устанавливать фильтр грубой очистки (для задержания крупных механических примесей).

3.12.7. Расход воды, поступающей на установку, должен замеряться счетчиком-водомером, а давление - техническим манометром, устанавливаемыми на нагнетательном трубопроводе насоса.

3.12.8. При эксплуатации установки необходимо:

соблюдать оптимальные условия распыливания (давление и расход сточной воды);

ежедневно контролировать качество распыливаемой воды (отбирать пробы и определять содержание нефтепродуктов и механических примесей);

постоянно следить за техническим состоянием распыливающих устройств и всего оборудования установки, выявлять и устранять возможные неполадки;

своевременно готовить установки к зиме.

3.13. Установки термического сжигания сточных вод

3.13.1. В районах, где запрещен сброс сточных вод, содержащих более 0,05 мг/л нефтепродуктов, а испарение невозможно по климатическим условиям (низкая годовая испаряемость при большом годовом слое осадков), ликвидация их может осуществляться путем термического сжигания в циклонной печи при температуре 1000°С.

3.13.2. Схема установки термического сжигания сточных вод приведена на рис. 3.29. Производственные сточные воды, загрязненные нефтепродуктами, поступают в приемный резервуар канализационной насосной станции, а из него насосом через фильтры подаются к распыливающим механическим форсункам циклонной печи. В качестве топлива в печь подается мазут, подогретый до 100-120°С.

Воздух, необходимый для сгорания мазута и органических составляющих сточных вод, подается от воздуходувки к топливным горелкам и соплам вторичного дутья.

Продукты сгорания (дымовые газы), имеющие температуру 900-1000°C, охлаждаются до 500°С воздухом, подаваемым в газоход вентилятором, и выбрасываются через дымовую трубу в атмосферу.

Схема установки для сжигания нефтесодержащих вод

1 - трубопровод подачи сточных вод; 2 - мазутопровод; 3 - водопровод; 4 - воздухопровод; 5 - трубопровод отвода охлаждающей вода; 6 - вертикальная циклонная печь; 7 - сливные воронки охлаждающей воды; 8 - ротаметры; 9 - вентилятор охлаждения дымовых газов; 10 - дымовая труба

Рис. 3.29

3.13.3. Перед розжигом циклонной печи следует убедиться в исправности оборудования, арматуры и КИП, иметь при себе необходимые средства защиты. Присутствие посторонних лиц на установке запрещается.

3.13.4. Розжиг циклонной печи должен осуществляться в присутствии и под руководством инженерно-технического работника, ответственного за эксплуатацию установки.

3.13.5. Для удаления влаги из кладки печи перед вводом ее в эксплуатацию необходимо осушить футеровку согласно инструкции завода-изготовителя.

3.13.6. Перед началом работы установка должна быть выведена на проектный режим: температура в циклонной печи - 900-1000°С; давление на напорных трубопроводах насосов, подающих сточную воду - 1,0-1,2 МПа; самотяга трубы - не менее 2,9 МПа.

3.13.7. Для подачи сточных вод в циклонную печь нужно открыть вентиль на форсунке, контролируя по приборам ход температурного режима. Вентили форсунок следует открывать плавно, без рывков, до достижения полной производительности установки. По мере увеличения числа работающих форсунок необходимо регулировать подачу мазута и воздуха на горелки, чтобы сохранить постоянный температурный режим.

3.13.8. Температура дымовых газов, поступающих в трубу, должна поддерживаться не выше 500°С путем регулирования расхода охлаждающего воздуха, подаваемого в газоход вентилятором.

3.13.9. Режим охлаждения циклонной печи следует устанавливать, регулируя количество воды, подаваемой на охлаждение.

3.13.10. В процессе эксплуатации установки термического сжигания сточных вод обслуживающий персонал обязан:

постоянно контролировать по показаниям приборов, установленных на местах или в щитовой:

а) уровни, температуру мазута и сточной воды в емкостях, а также давление их в напорных линиях насосов;

б) количество и давление мазута, сточной воды и воздуха, подаваемых в топку печи, а также давление и расход охлаждающей воды;

в) температуру сточной воды и мазута на входе в печь, охлаждающей воды на выходе из печи, дымовых газов после топки в газоходе и после подмешивания охлаждающего воздуха;

проверить полноту сгорания органической части сточных вод путем отбора и анализа проб отходящих дымовых газов;

следить за состоянием оборудования, контрольно-измерительных приборов, ходом технологического процесса, состоянием средств пожаротушения и аварийной защиты;

своевременно проводить ремонт печи и всего оборудования установки.

Показания всех приборов, отклонения от нормального режима работы установки, меры, принятые по их устранению, должны фиксироваться в вахтенном рабочем журнале.

3.13.11. Возможные неполадки в работе циклонной печи и способы их устранения приведены в табл. 3.12.

Таблица 3.12

Возможные неполадки в работе печи и способы их устранения

Вид неполадок

Причины

Способы устранения

1

2

3

Прекращение поступления сточных вод через одну или несколько форсунок

Сопло форсунки забито механическими примесями

Снять и прочистить форсунку

Перейти на работу с резервным фильтром, а отключенный прочистить

В случае повышения температуры в печи уменьшить подачу мазута

Падение давления в линии подачи сточных вод, слабое их распыление

Подсасывается воздух через сальники насоса

Включить резервный насос, отключить и проверить работающий

Фильтр забит механическими примесями

Перейти на работу с резервным фильтром, а отключенный прочистить

В случае понижения температуры в печи закрыть вентилем две-три форсунки сточных вод

Повышение температуры охлаждающей воды

Недостаточно охлаждающей воды

Проверить расход воды

на охлаждение в случае необходимости увеличить его

Повышение содержания угарного газаO) в дымовых газах

Недостаточно воздуха для сжигания

Увеличить подачу воздуха на горелки

Плохое распыление стоков, низкое давление сточных вод на форсунках

Отключить и прочистить плохо работающие форсунки

Включить резервный насос, отключив для проверки работающий

3.13.12.  В случае прекращения подачи топлива, технологического воздуха или охлаждающей воды в рубашку циклона, сжатого воздуха на КИП, отключения электроэнергии или в случае пожара на установке последнюю необходимо немедленно остановить, выяснить причину аварийной ситуации и принять меры к ее устранению.

3.13.13. При повреждениях и неисправностях печи, арматуры и вспомогательного оборудования, не требующих немедленной остановки печи, обслуживающий персонал обязан срочно доложить об этом руководству нефтебазы (цеха).

3.14. Нефтесборные, разделочные резервуары и дегидраторы

3.14.1. Кроме основных объектов очистных сооружений, в узлах нефтеулавливания должны быть установлены сборные резервуары вместимостью не менее 15-30-минутной подачи откачивающего насоса. При улавливании темных или высоковязких нефтепродуктов сборные резервуары оборудуют устройством для подогрева.

3.14.2. Обезвоживание уловленных нефтепродуктов следует осуществлять в разделочных резервуарах и дегидраторах, представляющих собой наземные стальные иди железобетонные резервуары цилиндрической формы. Они должны быть оборудованы подогревательными устройствами и иметь соответствующую теплоизоляцию корпуса. На резервуарах устанавливают предохранительные и дыхательные клапаны, сифонный кран, огневой предохранитель, приборы для замера уровня температуры, отбора проб и другое оборудование в соответствии с проектом.

3.14.3. Продолжительность обезвоживания в каждом резервуаре, включая операции по закачке обводненных нефтепродуктов, отстаиванию, спуску воды и откачке нефтепродуктов, должна быть не менее трех суток, в том числе продолжительность отстаивания при нагревании от 10-20°C до 60-70°С - 24-36 ч и отстаивания при 60-70°С - 12-24 ч. Число резервуаров при трехсуточном процессе должно быть не менее трех, учитывая наполнение, опорожнение резервуаров и отстаивание нефтепродуктов.

3.14.4. Обслуживающий персонал обязан ежедневно контролировать процесс обезвоживания путем анализа проб нефтепродуктов, отбираемых из резервуара (определяют содержание воды, удельный вес и температуру). Обезвоживание считается законченным, когда содержание воды в пробе будет не выше 3-4 %.

3.14.5. Отстойная вода должна ежедневно спускаться из резервуаров в канализацию для очистки.

3.14.6. Ежегодно следует зачищать резервуары и дегидраторы от накопившегося осадка.

3.15. Шламонакопители

3.15.1. Сбор и хранение осадков, образующихся при эксплуатации песколовок, нефтеловушек, прудов дополнительного отстаивания и других объектов очистных сооружений, осуществляется в шламонакопителях, представляющих собой открытые земляные емкости, естественные или искусственные.

При фильтрующих грунтах, во избежание загрязнения подземных вод, дно и боковые откосы шламонакопителя покрывают противофильтрационным слоем из мятой глины, торфобетона или других материалов.

3.15.2. Шламонакопители должны быть оборудованы:

распределительными лотками для равномерного распределения осадка по поверхности шламонакопителя;

нефтесборными шарнирными трубами для cбopа выделившихся нефтепродуктов;

отводом отстоявшейся воды в нефтеловушку.

Схема шламонакопителя приведена на рис. 3.30.

Схема шламонакопителя

1 - распределительные лотки; 2 - шандоры из досок; 3 - нефтесборная шарнирная труба; 4 - лебедка для подъема нефтесборной трубы; 5 - колодец для выпуска воды из шламонакопителя

Рис. 3.30

3.15.3. Обслуживающий персонал обязан:

следить за работой распределительных лотков, не допуская их засорения в период подачи шлама;

после окончания подачи шлама лотки промывать водой;

собирать выделившийся нефтепродукт (через 10-15 суток после прекращения подачи шлама) и откачивать его в разделочные резервуары;

после сбора выделившихся нефтепродуктов отстоявшуюся воду сбрасывать в сеть производственно-дождевой канализации и далее - на очистные сооружения;

осуществлять регулярную смазку и ремонт оборудования (шарнирных труб, задвижек и т.п.) и следить за техническим состоянием ограждающих дамб.

3.16. Иловые площадки

3.16.1. Осадки, образующиеся в процессе эксплуатации сооружений биохимической очистки сточных вод, следует подсушивать на иловых площадках, которые представляют собой огражденные земляными валиками и разделенные на секции-карты участки для равномерного распределения осадка. Схема иловой площадки показана на рис. 3.31.

Схема иловой площадки

1 - обвалование иловой площадки; 2 - илопровод; 3 - крупнозернистый песок; 4 - собирательная дрена; 5 - гравий с щебнем; 6 - щитки из досок; 7 - резделительная перегородка

Рис. 3.31

3.16.2. Иловые площадки должны устраиваться на естественном или искусственном основании. Естественное основание следует использовать, когда почва обладает хорошей фильтрующей способностью, уровень грунтовых вод находится на глубине не менее 1,5 м от поверхности карты, и просачивающиеся дренажные воды по санитарным условиям разрешается выпускать в грунт. Если грунт плотный, слабопроницаемый, площадки устраивают на искусственном основании или оборудуют дренажем.

3.16.3. Отдельные карты иловых площадок должны заполняться поочередно. Слой одновременно наливаемого на карту осадка принимается для летнего периода 20-30 см, а для зимнего - на 0,1 м ниже ограждающих валиков.

Влажность подсушенного осадка колеблется в пределах 70-80 %.

Для намораживания осадка в зимний период допускается использование 80 % площади иловых площадок, а остальные 20 % предназначаются для налива на них осадка во время весеннего таяния намороженного осадка. Периодичность налива осадка на иловые площадки должна устанавливаться опытным путем.

3.16.4. Разгружать иловые площадки от подсушенного осадка рекомендуется летом в сухую погоду, а зимой - после промерзания осадка.

При вывозе осадка с иловых площадок с естественным основанием летом въезд на карты транспорта без специальных устройств, исключающих уплотнение фильтрующего слоя и нарушения дренажа, не допускается.

После удаления осадка поверхность иловых площадок следует спланировать и в случае необходимости засылать песком.

3.16.5. При перекачке осадка на большое расстояние шторные трубопроводы следует периодически промывать водой, особенно при длительных перерывах в их работе.

3.16.6. Дренажные воды с иловых площадок необходимо перекачивать на очистные сооружения для последующей их очистки совместно со сточными водами.

3.16.7. Обслуживающий персонал обязан:

следить за равномерностью разлива осадка по всей карте;

своевременно переключать разводящие лотки;

своевременно удалять подсушенный осадок и готовить площадки для приема влажного осадка;

периодически (раз в 5 дней) осматривать и в случае засорения прочищать лотки, трубы и задвижки (шиберы);

после прекращения поступления осадка промывать разводящие устройства сточной водой;

регулярно осматривать и промывать от отложений дренажные трубы;

содержать в исправности ограждающие валики на иловых площадках.

3.16.8. Данные об эксплуатации иловых площадок необходимо заносить в ведомость учета (табл. 3.13).

Таблица 3.13

Ведомость учета работы иловых площадок

№ п/п

Размер карты

Дата

Время налива осадка

Время вывоза осадка

Продолжительность сушки, ч

Влажность осадка, %

Количество осадка, м

поступающего

высушенного

поступающего

высушенного

3.17. Очистка сточных вод, загрязненных тетраэтилсвинцом

3.17.1. Образующиеся на предприятиях Госкомнефтепродукта этилсодержащие сточные воды в основном представляют собой дождевые воды с обвалованных территорий резервуарных парков, наливных эстакад и площадок. Лишь на некоторых предприятиях имеет место сброс в канализацию подтоварных вод из резервуаров с этилированными бензинами.

3.17.2. Сточные воды, содержащие тетраэтилсвинец, необходимо направлять по отдельной системе канализации (спецканализации) сначала в бензоловушку для очистки от плавающего этилированного бензина, а затем проводить их обезвреживание.

Содержание тетраэтилсвинца в сточных водах, поступающих на обезвреживание после бензоловушки, не должно превышать 0,1-0,5 мг/л.

3.17.3. Обезвреживание сточных вод, загрязненных тетраэтилсвинцом, может осуществляться одним из следующих методов: хлорированием, обработкой перманганатом калия, экстракцией или озонированием.

3.17.4. Обезвреженные сточные воды (не содержащие тетраэтилсвинца) следует сбрасывать в производственно-дождевую канализацию.

Хлорирование

3.17.5. Для хлорирования сточных вод могут применяться: газообразный хлор и хлорсодержащие соединенная (хлорная известь, гипохлорит натрия и кальция и др.). Наибольшее применение на предприятиях Госкомнефтепродукта нашла хлорная известь.

3.17.6. Метод заключается в разрушении тетраэтилсвинца атомарным кислородом, образующимся при реакции хлорной извести со сточными водами:

3.17.7. Установка по обезвреживанию сточных вод хлорированием состоит из реагентного хозяйства (склад хлорной извести и растворный бак для приготовления ее раствора) и двух контактных емкостей, обеспечивающих необходимую продолжительность контактирования сточных вод с раствором хлорной извести.

3.17.8. При эксплуатации установки обслуживающий персонал обязан:

следить за наполнением контактных емкостей. По достижении рабочего уровня осуществлять их переключение;

своевременно готовить раствор хлорной извести (на одну часть хлорной извести три части воды);

в заполненный контактный резервуар подавать раствор хлорной извести и перемешивать его со сточной водой с помощью мешалки или циркуляционного насоса. Продолжительность перемешивания не менее 1 ч (уточняется в период пуско-наладочных работ). Расход хлорной извести - 1-1,3 кг на 1 м3 стоков;

после хлорирования отбирать пробу обезвреженных сточных вод и определять содержание в них тетраэтилсвинца. При его обнаружения хлорирование повторяют до полного отсутствия ТЭС (в пределах чувствительности применяемого метода анализа). Иногда (при наличии свободной емкости и температуре воздуха 20-30°С) для удаления из хлорированной воды остаточного ТЭС и активного хлора целесообразно осуществлять дополнительный отстой хлорированных стоков в течение 7-10 суток. В этом случае достаточно однократного хлорирования.

Обработка перманганатом калия

3.17.9. Метод основан на окислении содержащихся в сточных водах органических загрязнений кислородом, образующимся вследствие окислительно-восстановительной реакции:

4КМnO4 + 2H2O = 4MnO2 + 3O2 + 4KOH

pCH3 - (-CH2-)n - CH3 + mO2 = aH2O + dCO2

Образующаяся двуокись марганца выпадает в осадок. Обладая сильно развитой активной поверхностью и повышенной адсорбционной способностью по отношению к эмульгированным нефтепродуктам, она способствует нарушению мономолекулярного слоя на границе раздела фаз «нефтепродукты - вода», это сопровождается процессом разрушения эмульгированных частиц.

3.17.10. Состав установки для обезвреживания сточных вод перманганатом калия такой же, как при хлорировании. Если предусматривается эксплуатация установки в зимнее время, ее следует располагать в помещении.

3.17.11. Сточные воды, поступающие на обезвреживание, не должны содержать плавающих нефтепродуктов, что делает обязательной предварительную очистку сточных вод в нефтеловушках.

3.17.12. В процессе эксплуатации установки необходимо:

не допускать понижения температуры обезвреживаемой воды ниже 20°С, так как это потребует увеличения дозы перманганата калия на обезвреживание, что в свою очередь, приведет к увеличению остаточного содержания марганца в обезвреженной воде;

требуемую дозу перманганата калия (20 мг на 1 л сточной вода) вводить в обезвреживаемую воду после создания активной реакции среды рН = 11. Это достигается добавлением в обезвреживаемую воду известкового молока. Доза извести для подщелачивания воды должна подбираться пробным подщелачиванием. Ориентировочно, в зависимости от начального значения рН, она составляет: 150 мг активной окиси кальция на 1 л воды при начальном рН = 8,0 и 110 мг/л - при рН = 9,0. Продолжительность перемешивания сточной воды с известью 10-15 мин;

перманганат калия вводить в обезвреживаемую воду в сухом или растворенном виде, используя для растворения обезвреживаемую воду. Продолжительность перемешивания обезвреживаемой воды с перманганатом калия 20 мин;

продолжительность отстаивания сточных вод, обработанных перманганатом калия, выбирают в зависимости от того, куда они будут направляться после обезвреживания. Если предусматривается сброс в водоем, а возможности смешивания с неэтилированными сточными водами нет, продолжительность отстаивания должна быть не менее суток для удаления из обезвреженной воды введенного с перманганатом калия марганца.

Если после обезвреживания сточные воды смешиваются с неэтилированными стоками для последующей очистки на комплексе очистных сооружений, достаточно отстаивания в течение 4 часов.

При наличии в составе очистных сооружений песчаных фильтров продолжительность отстаивания обработанных перманганатом калия сточных вод может быть уменьшена до 2 часов.

3.17.13. Результат обезвреживания следует оценивать путем отбора проб сточных вод, поступающих на обезвреживание и после обезвреживания, и определения в них содержания ТЭС и марганца.

Экстракция бензином

3.17.14. Метод экстракции заключается в последовательном трехступенчатом экстрагировании неэтилированным бензином тетраэтилсвинца, содержащегося в сточной воде. Рекомендуемое соотношение объемов бензина и сточной воды 1:25. Схема экстракционной установки приведена на рис. 3.32.

Схема экстракционной установки для обезвреживания сточных вод, содержащих тетраэтилсвинец

1 - приемный резервуар; 2 - трубопровод этилсодержащих стоков; 3, 10 - насосы; 4 - муфтовые вентили; 5, 6, 9 - напорные отстойники; 7 - безнапорный отстойник; 8 - резервуар для свежего экстрагента; 11 - трубопровод свежего экстрагента; 12 - трубопровод отработанного экстрагента; 13 -трубопровод очищенных стоков

Рис. 3.32

3.17.15. Установка состоит из сборных емкостей, смесителей (муфтовых вентилей) и отстойников.

Сточные воды, загрязненные тетраэтилсвинцом, поступают в приемный резервуар I, откуда насосом 3 подаются на смешение с неэтилированным бензином (экстрагентом) в муфтовый вентиль 4. Смесь сточной воды и бензина направляется в отстойник 5. Сточные воды выходят  из отстойника 5 и подаются на вторую экстракцию. В муфтовом вентиле они вновь смешиваются со свежим экстрагентом и поступают в отстойник 6. Затем сточные воды проходят аналогичный цикл смешения со свежим экстрагентом и разделения в отстойнике 9. Из него сточные воды поступают на дополнительное 10-часовое отстаивание в статических условиях в безнапорные отстойники 7. Следить за удалением экстрагента нужно через водомерное стекло.

Отработанный экстрагент из отстойников 5, 6, 9 поступает в емкость для этилированного бензина, а всплывший остаточный экстрагент из отстойника 7 сбрасывается в приемный резервуар сточных вод, загрязненных тетраэтилсвинцом. Наблюдение за сбросом экстрагента осуществляется через смотровой фонарь на отводящей линии и через водомерное стекло на отстойнике 7. После сброса всплывшего экстрагента из отстойника 7 необходим контрольный анализ обезвреженных сточных вод. При отсутствии в них тетраэтилсвинца их выпускают в сеть производственно-дождевой канализации.

Свежий экстрагент, используемый для смешения со сточными водами, подается из емкости 8 дозировочным насосом 10, обеспечивающим постоянное соотношение экстрагента с водой, загрязненной ТЭС, и отрегулированным на постоянную производительность. Использование экстрагента однократное.

3.17.16. Контроль за равномерным распределением экстрагента на три равные части должен осуществляться с помощью ротаметров или диафрагмовых расходомеров, установленных на напорных линиях экстрагента перед муфтовыми вентилями.

3.17.17. Для контроля давления должны быть установлены манометры на выкидных линиях насосов, в отстойниках, работающих под давлением, на линиях подачи загрязненной воды и экстрагента до и после регулирующих вентилей.

3.17.18. Перед пуском установки необходимо подготовить линию к приему и подаче воды и экстрагента, открыв необходимые вентили и задвижки, убедиться в исправности дозировочных насосов.

3.17.19. Во время эксплуатации установки обслуживающий персонал обязал:

- следить за наполнением приемного резервуара (путем замера уровня воды) и правильностью подачи экстрагента в загрязненную воду, обеспечив соотношение объемов экстрагента и очищаемой воды 1:25;

- по наполнении отстойников своевременно сбрасывать отработанный экстрагент, для чего следить за его уровнем в отстойниках по смотровому фонарю;

- своевременно переключать емкости для отстаивания смеси воды и экстрагента в статических условиях;

- следить за давлением в отстойниках и на линиях подачи сточной воды и свежего экстрагента;

- осуществлять химический контроль качества очистки сточных вод от тетраэтилсвинца.

Озонирование

3.17.20. Для обезвреживания сточных вод от ТЭС озонированием используется то же оборудование, что и для очистки от нефтепродуктов.

3.17.21. Сточная вода перед подачей на обезвреживание озоном должна быть освобождена от механических примесей и эмульгированных масел и нефтепродуктов.

3.17.22. Условия озонирования, при которых достигается полное обезвреживание от ТЭС, зависят от многих факторов: устройства, используемого для смешения озоновоздушной смеси и воды, состава обезвреживаемой воды, особенно ее органической части (содержания нефтепродуктов, ТЭС и других загрязнений) и т.п.

3.17.23. При использовании смесительного устройства, показанного на рис. 3.26. рекомендуется обеспечить следующие условия озонирования:

- количество озона, подаваемого на смешение с очищаемой водой, 60-100 мг на 1 литр воды;

- продолжительность контактирования 60-70 мин;

- расход озона на окисление 1 мг эфирорастворимых (нефтепродуктов, ТЭС и других органических загрязнений) 3-5 мг.

3.17.24. Более эффективно для обезвреживания от ТЭС озонирование с использованием катализатора силикагеля.

Его рекомендуется загружать в контактную колонну равномерно по площади поперечного сечения в три слоя. Первый слой загружается на высоте 30-40 см от места ввода озоновоздушной смеси, второй - в середине колонны, третий - на расстоянии, равном расстоянию от первого до второго слоя. Промежуток между слоями селикагеля заполняется фарфоровыми кольцами Решига 15×15 см.

3.17.25. Распределять озоно-воздушную смесь по поперечному сечению колонны следует равномерно. Концентрация озона в озоно-воздушной смеси должна быть не менее 15 мг/л. Оптимальная доза озона и необходимая продолжительность контактирования устанавливаются во время пуско-наладочных работ и вывода установки на проектный технологический режим. Ориентировочно продолжительность контактирования очищаемой воды с озоно-воздушной смесью составляет 60 мин.

3.17.26. Во избежание выноса катализатора с озонированной водой ее следует пропускать через тканевый фильтр (из бельтинга).

3.18. Насосные станции

3.18.1.  В составе очистных сооружений должны быть насосные станции, предназначенные для перекачки:

- сточных вод (производственных и хозяйственно-бытовых);

- уловленных нефтепродуктов;

- ила (осадка);

- иловой воды.

В зависимости от местных условий допускается размещение насосных станций в общем здании.

3.18.2. Производственные сточные воды должны перекачиваться специальными насосами, соответствующими особенностям состава сточных вод. При величине рH сточной водs ниже 6 следует применять кислотоустойчивые насосы марок X и ДX; при повышенном содержании твердых примесей, а также для перекачки шламов - грязевые марок ГР, НП и др.

3.18.3. В отдельных случаях одна насосная станция может быть использована для перекачки нефтепродуктов, осадка и активного ила. Приемный резервуар в этом случае устраивается с несколькими отделениями.

Обвязка всасывающих и напорных трубопроводов в совмещенных насосных станциях должна обеспечивать возможность взаимозамены насосов.

3.18.4. В насосной для перекачки уловленных нефтепродуктов и осадка должны быть установлены:

- насосы, перекачивающие обводненные нефтепродукты в разделочные резервуары и из них в товарные емкости;

- насосы, перекачивающие осадок из песколовок или нефтеловушек (при использовании насосов вместо эжекторов).

3.18.5. Если вода из шламонакопителя не может отводиться самотеком, в насосной станции необходимо иметь насосы для перекачки этой воды в нефтеловушку.

3.18.6. Всасывающие и напорные трубопроводы иловых насосов должны иметь устройства для промывки их водой. Промывку целесообразно осуществлять водой из технического водопровода, создающего давление, в два раза превышающее напор иловых насосов.

3.18.7. Насосное оборудование станций должно быть однотипным для каждого вида производственных сточных вод.

3.18.8. Электродвигатели всех групп насосов должны соответствовать классификации взрывоопасности помещений. Электрооборудование станций, перекачивающих стоки, содержащие газы, способные образовывать взрывоопасные смеси, должно быть взрывозащищенного типа с обязательным соблюдением правил устройства вентиляции.

3.18.9. Насос и двигатель, включая редуктор, считается одним агрегатом. Каждый насосный агрегат должен иметь порядковый номер, нанесенный на его корпус белой краской, и металлическую табличку с указанием завода-изготовителя, заводского номера и основных технических данных.

На двигателе, насосе и редукторе должны быть нанесены стрелки, показывающие направление вращения, а на пусковом устройстве - надписи «пуск» и «стоп».

3.18.10. В случае, когда вода подводится к насосу под давлением или насосы имеет общие всасывающие линии, у всасывающего патрубка каждого насоса должна быть установлена задвижка.

3.18.11. В зависимости от величины избыточного давления (отрицательного, положительного или переменного) на расстоянии двух метров от входного патрубка должен подсоединяться вакуумметр, манометр или мановакуумметр с трехходовым краном. К напорному трубопроводу на расстоянии двух метров от выходного патрубка следует устанавливать манометр с трехходовым краном.

На видном месте в помещении насосной станции должны быть вывешены схемы электропитания оборудования и расположения агрегатов с указанием трубопроводов и установленной на них арматуры.

Эксплуатация насосных агрегатов должна быть поручена квалифицированным рабочим, знания которых проверяются и оформляются соответствующими документами.

3.18.14. Каждый насосный агрегат перед пуском должен быть тщательно осмотрен и подготовлен дежурным машинистом; обнаруженные неполадки устранены.

3.18.15. Необходимо проверить наличие достаточного количества масла в подшипниках. Масло не должно содержать примесей грязи и песка.

3.18.16. Во время работы насосного агрегата необходимо:

- систематически наблюдать за показаниями манометров;

- контролировать температуру нагрева подшипников, сальников, не допуская нагрева их выше 70°С;

- проверять масляные фильтры;

- отключать агрегат при появлении посторонних шумов или стуков.

3.18.17. В случае прекращения подачи электроэнергии или пара двигатели насосов следует немедленно отключить от питания, а задвижки на приеме и выходе насосов закрыть.

3.18.18. Для смазки насосных агрегатов должны применяться масла указанные в заводских инструкциях по их эксплуатации.

Заправка системы смазки должна осуществляться из специальной чистой посуды через сетчатый фильтр.

3.18.19. Через каждые 1000 часов работы насоса следует заменять смазку и промывать подшипники. Надо помнить, что слишком обильная смазка ведет к нагреву подшипников.

3.18.20. Пуск насосных агрегатов может проводиться как при закрытой, так и при открытой задвижке на напорном трубопроводе. Остановка насоса должна осуществляться только после закрытия напорной задвижки насоса.

Задвижка на всасывающем трубопроводе насоса при его пуске, эксплуатации и остановке должна быть полностью открыта. Запрещается регулировать подачу насоса этой задвижкой.

3.18.21. Не допускается включение насоса в работу без воды, а также длительная его работа (более 3 мин) при закрытой задвижке на напорном трубопроводе, так как это может привести к выходу насоса из строя.

3.18.22. При работе насосных агрегатов следует внимательно следить за работой сальников. В качестве набивки сальников следует применять мягкую, упругую, пропитанную салом хлопчатобумажную плетенку; применение пеньковой набивки не рекомендуется. Срезы отдельных колец сальниковой набивки надо устанавливать под углом 90° друг к другу. Подтягивать сальники следует так, чтобы вода просачивалась из них редкими каплями.

3.18.23. Насосный агрегат должен работать плавно, без вибраций и посторонних шумов.

3.18.24. В случае обнаружения неисправностей, нарушающих нормальный режим работы агрегата, последний должен быть остановлен и исправлен.

При остановке работающего насоса и пуска вместо него другого необходимо проверить правильность открытия задвижек. По окончании перекачки задвижки на приеме и выкиде насоса должны быть закрыты.

3.18.25. Характерные неполадки в работе центробежных насосов и возможные причины их возникновения указаны в табл. 3.14.

Поскольку причин возникновения каждой неисправности может быть несколько, истинную причину следует устанавливать путем анализа показаний всех измерительных приборов, которыми оснащен насос, и последовательного исключения некоторых из причин осмотром агрегата и других элементов установки.

Таблица 3.14

Основные неисправности в работе насосных агрегатов

Неисправности

Причины неисправности

1

2

Насос после пуска в работу не подает воду

Заливка насоса проведена недостаточно тщательно

Потребный напор выше расчетного

Чрезмерная высота всасывания

Закупорка трубки гидравлического уплотнения всасывающего сальника и просасывание воздуха через него

Подача насоса в процессе работы уменьшается

Уменьшение числа оборотов насосного агрегата из-за падения напряжения в электросети

Просасывание воздуха через сальники в корпус насоса

Увеличение высоты всасывания насоса

Засорение рабочего колеса насоса

Увеличение сопротивления напорного трубопровода

Механические повреждения: износ уплотнительных колец, повреждение рабочего колеса

Напор, создаваемый насосом, в процессе работы уменьшается

Разрыв напорной линии насоса

Уменьшение числа оборотов насосного агрегата из-за падения напряжения в электросети

Просасывание воздуха через сальники в корпус насоса

Механические повреждения: износ уплотнительных колец, повреждение рабочего колеса

Потребный напор в сети в процессе эксплуатации уменьшается

Перегрузка двигателя насоса

Неправильная сборка насоса

Механическое повреждение насоса или двигателя

Повышение напряжения в электросети

Потребный напор в сети меньше расчетного

Насос при работе вибрирует, слышится шум

Нарушение центровки агрегата

Ослабление болтов крепления агрегата к раме

Прогиб вала

Заедание вращающихся частей

Износ подшипника

Ослабление креплений трубопровода насоса

Недопустимо большая высота всасывания насоса

Недопустимый нагрев:

 

корпуса насоса

Насос длительное время работал при закрытой задвижке

сальника

Крышка сальника затянута сильно или с перекосом

подшипников

Срабатывание вкладышей подшипника, их чрезмерная затяжка, несоответствие смазки

3.18.26. Канализационные насосы следует останавливать для чистки, как только их подача снизится по сравнению с нормальной на 5-8 %. После каждой остановки насос должен очищаться от засорений.

3.18.27. Резервные насосные агрегаты должны опробываться не реже 1 раза в 10 дней. Работу насосных агрегатов с одинаковой рабочей характеристикой следует постоянно чередовать.

3.18.28. Контрольно-измерительные приборы, установленные в насосных, должны подвергаться государственной поверке в установленные сроки.

3.18.29. Эксплуатация каждого насосного агрегата должна осуществляться в строгом соответствии с заводскими инструкциями и настоящей инструкцией.

3.18.30. Работа насосных агрегатов должна отражаться в журнале эксплуатации насосного оборудования, форма которого приведена в табл. 3.15.

3.18.31. С учетом специфических условий работы каждой насосной станции на основании настоящей инструкции должна быть составлена местная инструкция, включающая следующие разделы:

- нормальная работа насосной станции;

- работа насосной станции в аварийных условиях;

- профилактика и ремонт оборудования;

- эксплуатация контрольно-измерительных приборов;

- эксплуатация отопления и вентиляции;

- эксплуатация подъемно-транспортного оборудования.


Таблица 3.15

Журнал эксплуатации насосного оборудования

Дата

Смена

Агрегат

Сменено масло (добавлено)

Перебиты сальники

Ремонт

Показания приборов

Примечание

пущен

остановлен

поставлен

принят и пущен

манометра

вакуумметра

водомера

указателя уровня масла

ч-мин

ч-мин

ч-мин

ч-мин

ч-мин

ч-мин

1

2

3

4

5

6

7

8

9

10

11

12

13


4. ПОДГОТОВКА К ЗИМЕ И ЭКСПЛУАТАЦИЯ КАНАЛИЗАЦИОННЫХ СООРУЖЕНИЙ В ЗИМНИЙ ПЕРИОД

4.1. При подготовке канализационной сети и очистных сооружений к зиме обслуживающий персонал обязан:

- проверить состояние колодцев с гидравлическими затворами; в случае необходимости очистить их от шлама, отремонтировать и утеплить (установкой дополнительных деревянных крышек с укладкой теплоизоляционных материалов);

- провести ревизию сбросовых коллекторов, запорной арматуры, контрольно-измерительных приборов, насосного оборудования, применяемого для перекачки сточных вод, шлама и нефтепродуктов, выделенных из сточных вод, оборудования, используемого при авариях (штанг, тросов, передвижных насосов), пожарных водоводов и оборудования (задвижек, гидрантов, колодцев); устранить обнаруженные неисправности;

- очистить сооружения от шлама и накопившихся нефтепродуктов;

- отремонтировать нефтесборные устройства (поворотные и шарнирные трубы, лотки и т.д.) и другое механическое оборудование очистных сооружений;

- проверить пароподогревательные устройства на сооружениях, опрессовать их и при необходимости отремонтировать;

- проверить состояние теплоизоляции резервуаров и трубопроводов; привести ее в нормальное эксплуатационное состояние, исключающее возможные потери тепла, промерзание трубопроводов и обеспечивающее подвижность всплывшего слоя нефтепродуктов и воды;

- очистить резервуары, применяемые для хранения извлеченных из сточных вод нефтепродуктов, от накопившегося осадка и провести ревизию оборудования, установленного на этих резервуарах.

4.2. Во время эксплуатации очистных сооружений необходимо:

- постоянно следить за работой подогревательных устройств и состоянием теплоизоляции, температурой сточных вод, особенно поступающих на биологическую очистку;

- своевременно удалять всплывший нефтепродукт, не допуская его застывания.

4.3. Предприятия Госкомнефтепродукта, не имеющие котельных, но эксплуатирующие очистные сооружения в зимнее время, должны обеспечить их источниками подогрева (паром от соседних предприятий, электроподогревом и т.п.).

4.4. На нефтебазах, не осуществляющих операций в зимний период, необходимо освободить очистные сооружения от нефтепродуктов, воды, шлама и провести консервацию всего механического оборудования.

5. МЕТОДЫ УЧЕТА И КОНТРОЛЯ СТОЧНЫХ ВОД

5.1. Работа очистных сооружений должна оцениваться на основании результатов систематического учета, контроля, наблюдения за работой каждого сооружения и качеством очистки сточных вод.

5.2. По всему комплексу сооружений и каждому объекту в отдельности необходимо систематически определять:

- расход сточных вод, поступающих на очистку и сбрасываемых в водоем;

- расход реагентов, воздуха, электроэнергии, воды, тепла и других ресурсов;

- количества и качества выделенных из сточных вод нефтепродуктов;

- эффективность очистки по данным физико-химических анализов поступающей и очищенной сточной воды.

Рекомендуемый объем технологического контроля работы канализационных сооружений приведен в табл. 5.1. В каждом конкретном случае он должен определяться с учетом пропускной способности, состава сооружений и обосновываться технико-экономическими расчетами.

5.3. В зависимости от условий канализования и местной обстановки расход сточных вод следует определять одним из следующих способов:

- расходомерами (самопишущими и показывающими) и измерительными устройствами (лотки Паршаля или Вентури, незатопленные водосливы, тарированная рейка и т.п.);

- по времени наполнения калиброванного сосуда;

- на основании данных о работе насосов, перекачивающих сточную воду.

Таблица 5.1

Объем технологического контроля

Сооружение, оборудование

Контролируемый параметр

Приборы (показывающий I, сигнализирующий A, регистрирующий R, суммирующий Q, регулирующий С)

Цель измерения или сигнализации

Рекомендуемые приборы

Местного контроля

Дистанционного контроля

Щит КИП

Щит диспетчера

1

2

3

4

5

6

7

Насосные станции

Расход перекачиваемых сточных вод

I, Q

-

-

Учет подачи

Расходомер в комплекте с сигметной диафрагмой, дифманометром

Давление в напорных патрубках насосов

I, A

-

A

Контроль, отключение насосного агрегата при снижении давления или сигнал неисправности

Манометры ЭКМ-1У и ВЭ-16 рб

Давление в линии гидроуплотнения сальников насосов

I

-

A

Контроль, сигнал неисправности

То же

Уровень воды в приемном резервуаре

A

-

A

Автоматизация работы насосных агрегатов, сигнал переполнения

Регуляторы-сигнализаторы уровня УКС-1, ЭРСУ-3, СУС

Уровень воды в дренажном приямке

A

-

A

Автоматизация работы дренажных насосов и сигнал о затоплении насосной станции

То же

 

Температура подшипников скольжения и обмотки статора электродвигателя насосных агрегатов большой мощности

А

-

А

Автоматическое отключение агрегата при перегреве подшипников скольжения и обмотки статора

Логометр в комплекте с термометрами сопротивления

Очистные сооружения

Расход сточных вод, поступающих на очистку

-

-

I, R, Q, C

Автоматизация дозирования реагентов, учет пропускной способности

Сегментная диафрагма в комплекте с дифманометром и вторичным прибором

Первичные отстойники

Уровень осадка

-

А

-

Сигнализация предельного уровня

Сигнализатор уровня осадка СУ Ф-42, СУ-101

Аэротенки

Расход сточной воды, воздуха и активного ила

I

-

I, A, C

Распределение расхода и автоматизация подачи активного ила и воздуха

Водосливы с тонкой стенкой с дифманометрами-напоромерами, трубки Пито, диафрагма в комплекте с дифманометром

Концентрация растворенного кислорода в сточной воде

I

-

I, R, A, C

Автоматизация подачи воздуха

Анализатор растворенного кислорода АКВА-С

Концентрация активного ила в иловой смеси

-

I

I, R, С

Контроль

Фотометр K-2I5

Содержание углерода в сточной воде

-

I

I, R

Контроль

Анализатор органического углерода У-101

Температура сточной воды

-

-

I

Контроль

Логометры, мосты с термометрами сопротивления

Преаэраторы, биокоагуляторы

Расход воздуха

I

-

-

Контроль

Диафрагма в комплекте с дифманометром

Биофильтры

Расход сточной воды

-

I, Q

-

Контроль

Сегментная диафрагма в комплекте с дифманометром

Расход воздуха

I

-

-

Контроль

Диафрагма или труба Вентури в комплекте с дифманометром

Температура сточной воды и фильтрующей загрузки

-

-

I, R

Контроль

Логометры или мосты с термометрами сопротивления

Вторичные отстойники

Уровень ила в отстойнике

-

A, С

-

Автоматическое поддержание уровня

Сигнализаторы уровня СУ Ф-42, СУ-101

Концентрация удаляемого ила

-

I, A

-

Автоматизация выпуска ила

Фотометр Ф-202

Фильтры

Уровень сточной воды в фильтре

-

A, C

 

Автоматизация работы фильтров

Дифманометры-уровнемеры с электрическими регуляторами или поплавковые регуляторы уровня прямого действия

 

A

-

-

То же

Сигнализаторы уровня УКС-1, ЭРСУ-3

Потеря напора в фильтрующем слое

I, A

-

-

Контроль и автоматизация работы фильтра

Дифманометры-перепадомеры, манометры общего назначения

Расход сточной воды на каждый фильтр

I

I, A

-

То же

Диафрагма в комплекте с дифманометром

Расход воздуха на фильтры

-

I, A

-

Контроль и автоматизация процесса промывки фильтров

Диафрагма в комплекте с дифманометром

Установки озонирования сточной воды

Расход сточной воды на озонирование

-

I, Q, A

-

Автоматизация работы установки, контроль

Диафрагма в комплекте с дифманометром

Влажность воздуха, подаваемого в озонаторы

-

I, R

-

Контроль

Кулонометрический измеритель влажности «Байкал»

Расход воздуха на озонирование

-

I

-

То же

Диафрагма в комплекте с дифманометром

Давление воздуха в озонаторе

I

-

-

Контроль

Манометр общего назначения ОБМ

Давление воздуха в ресивере

I, A

 

 

Контроль и автоматизация работы компрессора

Манометр ЭКМ-1У

Температура охлаждающей воды до и после озонаторов

-

I

-

Контроль

Термометр сопротивления в комплекте с мостом или логометром

Температура озоно-воздушной смеси

-

I

-

То же

То же

Концентрация озона в озоно-воздушной смеси

-

I

-

То же

Фотометр ФЛ-5501М

Концентрация озона в помещении озонаторной

I

A

-

Автоматизация работы вентиляторов, установленных в озонаторной

Фотометр ФЛ-5501М

Проток охлаждающей воды на каждый озонатор

I

A

-

Контроль

Реле протока РП

Сооружения обработки осадка, илоуплотнители

Уровень ила

-

A

-

Автоматический контроль

Сигнализаторы уровня осадка СУ Ф-42, СУ-101

Флотационные установки

Расход сточной воды на флотатор

I, Q

-

-

Автоматический контроль

Сегментная диафрагма в комплекте с дифманометром

Расход воздуха на насыщение воды

I

I, A, C

-

Контроль

Ротаметр РЭ

Расход воды на насыщение воздухом

I

I, A, C

-

То же

Диафрагма в комплекте с дифманометром

Расход реагентов

-

I, A, C

-

Автоматизация дозирования

Индукционный расходомер

Установки реагентного обезвреживания сточных вод

Расход сточных вод, поступающих на установку

-

I, Q

-

Контроль

Диафрагма в комплекте с дифманометром и вторичным прибором

Уровень в растворных баках реагентов

A

A

 

Контроль

Регуляторы-сигнализаторы уровня УКС-1, СУС, ЭРСУ-3

Величина рН сточной воды

-

I, A, R, C

 

Контроль

pH-метры Гомельского

Разделочные резервуары для уловленных нефтепродуктов

Температура нефтепродукта в резервуаре

-

A

I, A

Контроль

Термометр сопротивления в комплекте с логометром или мостом

Уровень нефтепродукта в резервуаре

-

-

A

То же

Сигнализатор уровня СУС-И

Граница раздела двух сред (вода - светлые нефтепродукты)

-

-

A

То же

То же

5.4. Для измерения расхода воды при помощи серийно выпускаемых устройств используются метода и приборы, перечисленные в табл. 5.2.

5.5. Электромагнитные расходомеры следует применять для сильно загрязненной воды, а ротаметры и скоростные расходомеры только для очищенной воды.

5.6. Контроль расхода воды, движущейся по напорным трубопроводам, должен осуществляться расходомерами, действие которых основано на измерении перепада давления, создаваемого диафрагмой, соплом или трубой Вентури.

Правила установки приборов и измерения расходов в напорных трубопроводах регламентированы нормативами, утвержденными Госстандартом /22/.

5.7. Для всех типов сужающих устройств с перепадом давления в качестве измерительного элемента применяются разнообразные дифманометры.

5.8. Расход сточных вод в открытых лотках и каналах, по рекомендации Международной организации по стандартизации, следует измерять с применением лотков Вентури, представляющих собой местное сужение канала без изменения профиля дна.

Кроме того, правилами /23/ нормированы: водосливы с тонкой стенкой, водосливы с широким порогом, лотки Паршаля и т.п. (рис. 5.1). Водосливы устанавливаются в смотровых канализационных колодцах.

Перед их установкой дно колодца должно быть очищено от осадка. Работы должны выполняться с соблюдением правил техники безопасности (см. п.п. 8.15-8.19).

Колодец должен быть без боковых приспособлений и иметь правильно оформленный прямой лоток. В нем не должно быть подпора, создаваемого засорением нижнего участка коллектора. Протекание виды, минуя водосливное отверстие, нужно полностью исключить.

Расходомерные лотки

а - схема лотка Вентури, в котором сжатие потока происходит вследствие сужения боковых стенок, дно - горизонтальное; б - схема лотка Вентури, в котором сжатие потока происходит в результате подъема дна (образование порога) при параллельных в плане боковых стенах; в - схема лотка Паршаля; г - схема лотка САНИИРИ

Рис. 5.1

Таблица 5.2

Методы измерения расходов воды

Наименование метода

Верхние пределы измерения (по воде)

Примечание

Расход (шкала), м3

Давление, МПа

Наибольший условный проход, ДУ, мм

минимальный

максимальный

1. Переменный перепад давления - дифманометры:

 

 

 

 

 

камерные диафрагмы ДК (ГОСТ 14321-73)

0-4,0

0-3200

2,5

500

бескамерные диафрагмы ДБ (ГОСТ 14322-77)

0-4,0

0-20000

2,5

0-1200

сопла Вентури по нормалям (МН 4798-631-4800-63)

0-4,0

0-25000

1,6

1400

2. Постоянный перепад давления - ротаметры (ГОСТ 13045-67)

25×10-4

25,0

6,4

70

Для ротаметров нижний предел шкалы составляет 20 % от верхнего

3. Электромагнитный (индукционный) ГОСТ 11988-72

0-0,32

0-8000

2,5

1000

 

4. Скоростной - водомеры:

 

 

 

 

 

крыльчатые (ГОСТ 6019-73)

0-1,0

6,3

1,0

40

Нижний предел измерений около 10 % от верхнего

турбинные (ГОСТ 14167-76)

15

600

1,0

200

Нижний предел - около 15 % от верхнего

5. Метод уровнемера (принцип действия - уравнение Шези) - приборы типов ЭХО-1, УБ-Э и счетная приставка (сумматор) типа С-1м

не ограничены

атмосферное

-

Предназначен только для открытых каналов и лотков прямоугольной формы любых размеров

5.9. При измерении расхода воды водосливами определяется напор h.

Измерять его следует в успокоительных колодцах, камерах, нишах, соединенных с каналом трубками или отверстиями. Для предотвращения засорения датчиков уровня в успокоительные колодцы (ниши) рекомендуется подавать чистую или техническую воду (с разрывом струи). Расход подаваемой в успокоительный колодец воды 0,01-0,05 л/с.

Для измерения напора следует применять промышленные уровнемеры: поплавковые, буйковые или, чаще всего, пьезометрические. Схемы их установки показаны на рис. 5.2.

Установка приборов для измерения уровня в расходомерах с водосливами и лотками

а - по схеме пьезометрического уровнемера; б - по схеме «под уровень»; 1 - лоток (или водослив); 2 - успокоительный колодец (или ниша); 3 - пьезометрическая трубка; 4- соединительная линия; 5 - соединительная линия с источником сжатого воздуха; 6 - контрольный стаканчик; 7 - дифманометр; 8 - уравнительная трубка; 9 - отстойный сосуд; 10 - уравнительный сосуд

Рис. 5.2

5.10. Определение расхода воды с помощью тарированной рейки сводится к измерению уровня и последующему определению расхода сточных вод по графику (приложение 3).

5.11. При небольших расходах сточных вод (не более 3,5 л/с) и при возможности направить поток струи в мерный сосуд может быть применен объемный метод определения их количества. Время наполнения сосуда следует отмечать по секундомеру. Результаты измерения тем достовернее, чем больше вместимость мерного сосуда и число замеров.

5.12. Правильность показаний приборов и устройств для измерения расхода сточных вод подлежит периодической проверке, проводимой самим предприятием или мастерскими по ремонту приборов. Проверка осуществляется различными способами: объемным, вертушкой, заранее выверенными приборами и т.д. Допускаемая погрешность показаний - не более 5 %. Проверка должна оформляться актом, который следует хранить до следующей проверки.

5.13. Во избежание получения неверных результатов замера измерительные устройства необходимо своевременно очищать от осадков и плавающих веществ. Уход за измерительными устройствами должен осуществляться по специальной инструкции.

5.14. Расход реагентов необходимо контролировать с помощью дозирующих устройств или по показаниям ротаметров, установленных на подающих трубопроводах.

5.15. Для измерения давления или разрежения в технологических агрегатах и трубопроводах следует использовать манометры, вакуумметры или мановакуумметры. Выбирая шкалы приборов, необходимо давать запас по сравнению с максимальным рабочим давлением (при измерении давления газов и воздуха 20-25 %, а для холодной воды - 5-10 %).

5.16. При измерении давлений агрессивных или загрязненных жидкостей и газов перед измерительным прибором необходимо ставить разделительное устройство. Между местом отбора давления и прибором следует устанавливать трехходовые краны, позволяющие проверять рабочий манометр без его демонтажа.

5.17. Измерители давления подлежат обязательной государственной поверке в следующие сроки: манометры и мановакуумметры один раз в год, остальные - один раз в два года.

5.18. Учет расхода электроэнергии на очистку сточных вод следует вести на основании показаний счетчиков расхода электроэнергии, а при их отсутствии - по данным учета работы электродвигателей и другого электрооборудования.

5.19. Замеры на очистных сооружениях и уход за измерительными приборами должны выполнять специально выделенные для этой цели лица, отвечающие за правильность полученных данных и исправную работу приборов.

5.20. Показания всех приборов, по которым осуществляется технологический контроль работы очистных сооружений, результаты выполненных замеров, сведения о неисправности и отклонениях в работе отдельных механизмов и сооружений следует заносить в рабочий журнал.

5.21. Нефтепродукты, собранные на объектах очистных сооружений, после обработки, лабораторного анализа и определения их сорта должны быть оприходованы.

Количество их следует определять по уровню в разделочных резервуарах после окончания процесса обезвоживания и спуска подтоварной воды.

5.22. Контроль за ходом процесса разделки должен осуществляться путем ежедневного отбора проб нефтепродуктов из разделочных резервуаров (ГОСТ 2517-85) и определения содержания воды (ГОСТ 2477-65), удельного веса (ГОСТ 3900-85) и температуры.

5.23. Эффективность работы очистных сооружений должна оцениваться по результатам определения следующих показателей качества очищаемой и очищенной воды:

- на сооружениях механической и физико-химической очистки - содержания нефтепродуктов, взвешенных веществ, водородного показателя (активной реакции) рН, кислотности или щелочности;

- на сооружениях биохимической очистки - температуры, цветности, прозрачности, водородного показателя рН, кислотности или щелочности, осадка по объему и по весу, зольности осадка, взвешенных веществ и их зольности, окисляемости бихроматной, биологической потребности кислорода (БПК), азота общего, азота аммонийного, нитритов, нитратов, растворенного кислорода, хлоридов, содержания нефтепродуктов;

- на установках озонирования сточных вод - температуры, водородного показателя рН, содержания нефтепродуктов, взвешенных веществ и растворенного озона (в очищенной воде);

- на установках обезвреживания этилированных стоков - содержания нефтепродуктов, тетраэтилсвинца, а также взвешенных веществ.

5.24. Вышеперечисленные показатели необходимо определять по методикам, описанным в разделе 9 и в литературных источниках /24-30/.

5.25. Текущий химический контроль за работой очистных сооружений должен осуществляться ежедневно путем отбора в течение суток не менее трех разовых проб сточных вод с учетом времени прохождения сточной воды между отдельными местами отбора. Например, при проектном режиме работы нефтеловушки согласованная проба сточной воды на выходе из нее должна отбираться спустя 2 ч (расчетное время пребывания воды в нефтеловушке) после отбора пробы на ее входе.

Продолжительность прохождения сточной воды через сооружения принимается по проекту, либо рассчитывается исходя из расхода стоков и объема сооружения, либо замеряется путем введения в воду индикаторных веществ (краски, растворов солей и т.д.). При этом должно быть обеспечено быстрое и эффективное смешение вводимого вещества со сточной водой. Определение с индикаторными веществами необходимо проводить заранее (перед отбором проб), чтобы влияние вводимого вещества прекратилось до взятия пробы на анализ.

5.26. Пробы сточных вод следует отбирать в местах, где достигается хорошее перемешивание и исключено попадание в отбираемую пробу ранее отложившихся осадков. При взятии пробы из сооружения необходимо учитывать возможность неравномерного распределения примесей по слоям. Если вода вытекает через отверстия или водослив, пробу надо отбирать по всему сечению потока, избегая попадания осадка со дна.

5.27. Для определения количества загрязнений, попадающих в водоем со сбрасываемыми сточными водами, одновременно с отбором проб этих вод должен замеряться их расход.

5.28. Отбирать пробы сточных вод следует в стеклянные бутыли. Пробы, содержащие крупные твердые взвешенные частицы, нужно отбирать в широкогорлые банки или жестяные бидоны. Пробы для проведения некоторых определений, требующих специальной обработки, должны отбираться в меньшие по объему бутыли, снабженные притертыми или резиновыми пробками, или в кислородные склянки.

5.29. Используемую для проб посуду необходимо тщательно мыть. Для мытья стеклянных и полиэтиленовых бутылей применяется концентрированная соляная кислота (техническая), для обезжиривания используется синтетические моющие средства. Сильно загрязненные стеклянные бутыли моют и обезжиривают хромовой смесью (к 35 мл насыщенного водного раствора бихромата калия осторожно подливают, перемешивая, 1 л концентрированной серной кислоты; реактивы применяют технические), йодное обезжиривание достигается путем проваривания посуды водяным паром. Остатки использованного для мытья посуды реактива должны быть полностью удалены тщательной промывкой бутылей водопроводной водой. Вымытая посуда ополаскивается дистиллированной водой и, если необходимо, высушивается.

5.30. Прежде чем взять пробу, посуду следует ополоснуть несколько раз водой, подлежащей отбору. Бутыли, наполненные водой, нужно надписать или пронумеровать.

5.31. Кроме бутылей, для отбора проб сточной воды можно использовать различные пробоотборные приспособления и устройства, а также автоматические пробоотборники. Технические характеристики различных приборов для отбора проб приведены в соответствующих руководствах.

5.32. На каждом предприятии с учетом местных условий (состава образующихся сточных вод, типа сооружений для их очистки, места выпуска очищенных вод и т.д.), необходимо составлять график отбора проб сточных вод, который должен быть согласован с контролирующими органами. Согласованию подлежат точки и периодичность отбора, перечень анализируемых показателей.

5.33. Результаты всех анализов должны записываться в рабочий журнал с указанием наименования проб, мест и времени их отбора, определяемого показателя качества и фамилии лаборанта, выполнившего анализ.

5.34. В случае аварийного сброса в водоем сточных вод, содержащих нефтепродукты в количествах, значительно превышающих проектную степень очистки, администрация предприятия обязана сообщить об этом контролирующим органам.

5.35. Персонал, обслуживающий объекты канализации и очистных сооружений, должен проводить систематические наблюдения за их работой путем наружного и внутреннего осмотра трасс и сооружений.

5.36. При приеме смены необходимо осмотреть работающее и резервное оборудование, состояние контрольно-измерительных приборов и автоматики, средств пожаротушения, проверить наличие мелких запчастей и вспомогательных материалов, ознакомиться с изменениями в схемах, записями и распоряжениями по работе с момента последнего дежурства.

5.37. До окончания смены должен быть проведен осмотр оборудования и подготовка его и рабочих мест к сдаче очередной смене. О приеме и сдаче смены старшие по объекту должны расписываться в журнале и отмечать в нем замечания о работе оборудования и сооружений.

5.38. Численность персонала, обслуживающего канализационную сеть и очистные сооружения, должна устанавливаться с учетом сложности комплекса очистных сооружений, их территориального размещения, оснащения рабочих мест необходимым инвентарем и оборудованием, применительно к характеру выполняемой работы, уровня механизации и автоматизации работ (табл. 5.3).

Таблица 5.3

Примерные нормативы численности персонала очистных сооружений

Состав очистных сооружений

Состав обслуживающего персонала и его численность

начальник

механик

в смену

оператор

машинист

слесарь-сантехник

Песколовка, нефтеловушка

-

-

-

1

1

Песколовка, нефтеловушка, пруд дополнительного отстоя для неэтилированных стоков, бензомаслоуловитель, контактные емкости (хлорирование) или пруды длительного отстаивания для этилированных стоков 1

-

-

1

1

1

Песколовка, нефтеловушка, флотационная установка с реагентным хозяйством, разделочные резервуары, шламонакопитель

1

1

1

1

1

1 В этих случаях руководство эксплуатационным персоналом очистных сооружений осуществляет главный инженер предприятия.

5.39. Численность персонала для обслуживания биологических станций и установок для озонирования сточных вод, которые кроме узла очистки воды включают сложный узел получения озона, состоящий из блока компримирования и осушки воздуха, блока котлов-озонаторов и блока электропитания, должна устанавливаться по специальному штатному расписанию с учетом требований техники безопасности.

5.40. Численность персонала, обслуживающего береговые станции приема и очистки балластных, подсланевых и льяльных вод, также устанавливается в зависимости от сложности состава очистных сооружений, объема очищаемых сточных вод, уровня механизации и автоматизации работ по их очистке.

5.41. Сооружения, включающие флотационную установку и более сложные по составу, целесообразно выделять в цех.

5.42. На предприятиях Госкомнефтепродукта, не имеющих собственных очистных сооружений и перекачивающих сточные воды в городские канализационные коллекторы или на очистные сооружения других предприятий, должен быть предусмотрен в штатном расписании один машинист насосных установок для выполнения соответствующих технологических операций.

5.43. На всех предприятиях Госкомнефтепродукта, независимо от количества образующихся сточных вод и места их сброса, должен быть организован регулярный химический контроль за качеством сточных вод.

5.44. Химический контроль за работой сооружений, состоящих из песколовки, ловушки и пруда дополнительного отстоя, может осуществляться специальной группой в нефтяной лаборатории.

Если сооружения выделены в цех (например, включают флотационную установку или биологическую станцию и т.п.), то химический контроль должен осуществляться специальной лабораторией цеха очистных сооружений.

5.45. Численность персонала лаборатории должна устанавливаться в зависимости от количества химических показателей, необходимых для оценки эффективности работы отдельных объектов очистных сооружений, и трудоемкости их определения.

6. ПРИБОРЫ И ОБОРУДОВАНИЕ, АВТОМАТИЗАЦИЯ РАБОТЫ ОЧИСТНЫХ СООРУЖЕНИЙ

6.1. Для эффективной эксплуатации очистных сооружений их необходимо оснащать контрольно-измерительными приборами, предназначенными для измерения расхода, уровней, давления, температуры, плотности и вязкости жидкости, водородного показателя рН, концентрации растворенного кислорода и т.п.

6.2. Контрольно-измерительные приборы могут быть снабжены устройствами для дистанционной передачи показаний на центральный диспетчерский пункт или подачи сигнала для включения того или иного устройства на очистных сооружениях.

6.3. Для автоматического регулирования расхода сточных вод следует применять манометры с электрической или пневматической передачей (мембранные дифманометры типа ДМ завода «Манометр», г. Москва и типа ДМ-66 Московского завода тепловой автоматики): модели 3564 и 3566 (перепад 25-16 КПа) для измерения уровней в лотках и водосливах; модель 3577 (перепад 40-630 КПа) для измерения перепада давления в сужающих устройствах.

Кроме того, выпускаются дифманометры ДМК с ферродинамическими преобразователями сигнала и дифманометры унифицированной системы ГСП с пневматической и электрической передачами сигнала (завод «Теплоприбор», г. Рязань).

С дифманометрами типа ДМ применяются вторичные приборы марок ДС-1, ДСР-1, КСД1 и КСД2, с ферродинамическими преобразователями типов ВФСМ и ВЧС.

6.4. Универсальным параметром многих процессов физико-химической и химической очистки сточных вод является водородный показатель рН, количественно равный отрицательному десятичному логарифму числа ионов водорода в сточной воде. Для его измерения рекомендуется использовать рН-метры типа рH-261 Гомельского завода измерительных приборов. В их комплект входят датчик и высокоомный преобразователь с показывающим прибором.

В технологии очистки сточных вод следует применять погружные датчики с длиной рабочей части 1200, 1600 и 2000 мм. Показания измерительного прибора могут регистрироваться с помощью автоматических потенциометров типов ЭПД, ЭПП, НСП-4 и др.

6.5. Одним из параметров, по которому следует регулировать работу сооружений биологической очистки (аэротенков), является концентрация растворенного кислорода. Непрерывное измерение концентрации растворенного кислорода в сточной воде основано на полярографическом методе химического анализа, которым измеряется предельный диффузионный ток при напряжении, соответствующем восстановлению молекулярного кислорода, находящегося в воде. Сила этого тока пропорциональна концентрации растворенного кислорода.

Для автоматического измерения концентрации растворенного кислорода рекомендуется использовать кислородомеры ОКБ аналитической химии АН СССР, которые выпускаются двух марок: для лабораторных условий - АКВА-Л и производственных (стационарных) - АКВА-С.

6.6. Для контроля качества очистки нефтесодержащих сточных вод могут применяться: мутномер M-101, рассчитанный на определение концентрации взвешенных веществ от 0 до 500 мг/л, фотометр Ф-201, удовлетворительно работающий при малых концентрациях взвешенных веществ (5-35 мг/л), и фотометр Ф-202, предназначенный для определения концентрации суспензий (осадки, активный ил) в интервале от 1 до 12 г/л.

6.7. Контроль уровня осадка и всплывших нефтепродуктов в объектах очистных сооружений (песколовках, нефтеловушках, буферных резервуарах и т.п.) следует осуществлять приборами марок СУФ-42 разработчик СКБ аналитической техники г. Тбилиси) и СУ-101 (разработчик ВНИИ Водгео).

Сигнализатор уровня осадка СУФ-42, работающий на основе фотоэлектрического эффекта, представляет собой фотореле, срабатывающее при увеличении оптической плотности просвечиваемого слоя вследствие попадания уровня осадка или другой границы раздела различных сред в зону местонахождения датчика сигнализатора.

При наличии на очистных сооружениях нескольких точек контроля уровня для дистанционного контроля рекомендуется использовать многоточечный сигнализатор СУ-101, состоящий из измерительного блока, многоточечного обегающего устройства, 4-12 датчиков и трансформаторов к ним.

6.8. В отдельных сооружениях, работающих круглосуточно, следует автоматизировать следующие процессы:

- в песколовках - управление выгрузкой осадка в зависимости от его уровня или по установленному графику;

- в нефтеловушках - включение нефтесборных поворотных щелевых труб в зависимости от уровня нефтепродуктов или по графику, открытие донного клапана в зависимости от уровня осадка в приямке или по графику; пуск и остановку скребкового устройства;

- в прудах дополнительного отстаивания - погружение и подъем шарнирной трубы для сбора нефтепродуктов в зависимости от их уровня;

- в песчаных фильтрах - отключение фильтра при достижении установленной потери напора, включение воздуходувки при снижении уровня воды в фильтре; включение промывного насоса горячей воды с одновременным изменением режима работы воздуходувок; отключение промывного насоса и включение фильтра в работу; регулирование скорости фильтрования, пуск и остановку насоса для перекачки осветленной воды зависимости от уровня в приемном резервуаре); аварийное отключение насосов при нарушении параметров нормальной работы и включение резервных насосов;

- во флотационных установках с реагентным хозяйством - пуск и остановку насосов, подающих очищаемую воду и коагулянт, дозирование коагулянта, регулирование количества воздуха, подаваемого в очищаемую воду, и уровня воды в растворных баках;

- в сооружениях биологической очистки - регулирование количества воздуха, подаваемого в сооружение, количества рециркуляционной воды (для биофильтров) или циркулирующего активного ила (для аэротенков); в первичных отстойниках - поддержание уровня осадка и его удаление, во вторичных - поддержание уровня активного ила или биопленки; в установках биогенной подпитки сточных вод - дозирование реагентов;

- в установках для озонирования сточных вод - управление последовательностью операций по пуску и остановке агрегатов блока комримирования воздуха, переключение адсорберов по заданному графику, контроль за степенью осушки воздуха, подаваемого в озонатор, его количеством, температурой и циркуляцией охлаждающей воды, расходом озонируемой воды и др.

6.9. На рис. 6.1 в качестве примера показана принципиальная схема автоматизации пуска и остановка флотационной установки.

Датчик уровня в приемном резервуаре сточных вод при крайних уровнях воды подает импульсы в ячейку управления на пуск и остановку электропривода насоса. После пуска насоса ячейка дает импульсы на открытие электромагнитного вентиля на линии подачи коагулянта и включения электропривода скребков через магнитный пускатель. Реле давления, установленное на напорном баке, служит для контроля работы насоса. Если давление в напорном баке не повышается до заданного, то реле выключает электродвигатель и подает сигнал о неисправности. При нижнем положении уровня воды в приемном резервуаре датчик через ячейку управления останавливает электродвигатель и закрывает вентиль. Электропривод скребков выключается через реле времени.

Схема автоматизированной флотационной установки

1 - сборный резервуар; 2 - датчик уровня; 3 - электропривод насоса; 4 - ячейка управления; 5 - напорный бак; 6 - реле давления; 7 - электромагнитный клапан; 8 - дозатор коагулянта; 9 - магнитный пускатель; 10 - электропривод скребков; 11 - флотатор

Рис. 6.1

6.10. Для обеспечения контроля степени очистки, стабилизации значения рН и поддержания установленной дозы реагентов рекомендуется использовать систему автоматического контроля и регулирования флотационных установок, разработанную ВНИИ Водгео /5/.

Качество очистки воды от нефтепродуктов при отсутствии автоматических поточных анализаторов оценивается косвенно - по оптической плотности очищенной воды, регистрируемой с помощью мутномера M-101 или фотометра Ф-201.

Контроль рН сточных вод рекомендуется осуществлять с помощью серийных рН-метров марки рН-261, П-201, П-205, укомплектованных сравнительным электродом ЭПС-01-14 и вспомогательным ЭХВС-1. Стабилизация рН в процессе флотационной очистки может осуществляться с помощью типовых систем регулирования по отклонению рН от заданного значения, При наличии в технологической схеме камер смешения сточной воды с реагентами (щелочь, коагулянт, флокулянт) датчики рН-метров следует устанавливать на выходе из этих емкостей. Если реагенты подаются в подводящий трубопровод к напорному резервуару или непосредственно в напорный резервуар, датчик следует устанавливать в выходной камере напорного резервуара или в специальной емкости вместимостью около 5 л для размещения погруженного датчика, расположенной на выходе из резервуара.

Автоматическое дозирование реагентов рекомендуется осуществлять с использованием дозирующих устройств типа «Димба» или насосов-дозаторов Рижского завода химического машиностроения. Коагулянты и флокулянты следует дозировать с помощью систем регулирования, основанных на принципе подачи реагента пропорционально расходу сточной воды. В качестве регулятора соотношения могут использоваться промышленные регуляторы типа РПИБ-Ш или РПИБ-1У.

Для непрерывного поддержания соответствия между нагрузкой по загрязнениям на флотационную установку при частых и значительных ее изменениях и дозой реагентов следует применять системы оптимального дозирования, построенные на базе типовых схем пропорционального дозирования реагентов с подключением к ним корректирующего контура, устанавливающего автоматически дозу реагента, при которой обеспечивается заданное значение выходного показателя очистки, например, по мутности очищенной воды.

Система автоматического управления расходов воды, циркулирующей через напорный резервуар, включает в себя два контура регулирования: циркуляционного потока и расхода воды через флотатор.

В контур регулирования циркуляционного потока входят мутномер, устанавливаемый на выходе из флотатора, вторичный прибор, импульсный регулятор и два регулирующих клапана (рис. 6.2). Изменение расхода циркулирующего потока осуществляется регулятором посредством синхронного воздействия на клапаны, один из которых установлен перед насосом и эжектором, а второй после напорного резервуара.

Стабилизация общего расхода воды через флотатор при изменении циркуляционного расхода осуществляется соответствующим увеличением или уменьшением подачи очищаемой воды во флотатор с помощью второго контура регулирования, состоящего из расходомера, регулятора и привода регулирующей заслонки на подающем трубопроводе.

6.11. Эксплуатация всех контрольно-измерительных приборов должна осуществляться в соответствии со специальными заводскими инструкциями.

Система регулирования в напорной флотационной установке

1 - заслонка; 2, 7 - регуляторы; 3 - флотатор; 4 - расходомер; 5 - мутномер; 6 - вторичный прибор; 8 - клапан; 9 - водовоздушный эжектор; 10 - насос; 11 - напорный резервуар; 12 - клапан

Рис. 6.2

6.12. Объем автоматизации работы очистных сооружений должен определяться в зависимости от пропускной способности, состава сооружений и обосновываться технико-экономическим расчетом.

7. ВЫПУСК ОЧИЩЕННЫХ СТОЧНЫХ ВОД В ВОДОЕМЫ

7.1. Условия выпуска

7.1.1. Выпуск сточных вод в водоем возможен только при условии соответствия их качества требованиям, изложенным в разделе 1.2.

7.1.2. Условия отведения сточных вод в водоемы подлежат согласованию с органами по регулированию использования и охране вод, органами и учреждениями санитарно-эпидемиологической службы и рыбоохраны.

7.1.3. Согласование должно проводиться:

а) при выборе и отводе площадки для нового объекта или решении вопроса о реконструкции предприятия;

б) при рассмотрении технического или техно-рабочего проекта на сооружения для транспортирования и очистки сточных вод строящегося или реконструируемого объекта;

в) при решении вопроса о соответствии условий выпуска сточных вод любого действующего объекта существующим нормам.

7.1.4. Использование водоемов для сброса сточных вод относится к специальному водопользованию и должно оформляться разрешениями, которые выдаются Минводхозом СССР, минводхозами и соответствующими комитетами союзных республик или их бассейновыми (территориальными) управлениями (инспекциями) по регулированию использования и охране вод.

7.1.5. Разрешения на специальное водопользование выдаются после согласования водопользователями условий сброса сточных вод с органами Государственного санитарного надзора во всех случаях, с органами по охране рыбных запасов - при сбросе в рыбохозяйственные водоемы, с органами геологии - при сбросе сточных вод в подземные водоносные горизонты.

7.1.6. Продолжительность действия разрешения на сброс сточных вод в водоемы - не более трех лет, после чего оно подлежит обновлению.

7.1.7. Оформление разрешений осуществляется в соответствии с «Инструкцией о порядке согласования и выдачи разрешений на специальное водопользование», утвержденной Минводхозом СССР 05.06.1978 г., с учетом «Указаний по применению инструкции о порядке согласования и выдачи разрешений на специальное водопользование», утвержденных 15.06.1979 г.

7.1.8. При определении условий выпуска сточных вод в водоем необходимо учитывать:

а) степень возможного смешения и разбавления сточных вод водой водоема на пути от места выпуска сточных вод до расчетного (контрольного) створа ближайших пунктов хозяйственно-питьевого, культурно-бытового и рыбохозяйственного водопользования;

б) качество воды водоема выше места сброса сточных вод.

7.1.9. Если водоем или его участок используется одновременно для различных видов водопользования (питьевого, культурно-бытового, рыбохозяйственного и т.п.), условия спуска сточных вод должны соответствовать более жестким требованиям к качеству воды поверхостных водоемов, приведенным в приложении 4.

7.1.10. При сбросе сточных вод в водоем, не служащий санитарно-бытовым или рыбохозяйственным целям, необходимо учитывать концентрацию загрязняющих веществ у его устья, так как это может послужить причиной загрязнения более крупного водоема, куда первый впадает в качестве притока.

7.1.11. Выпуск сточных вод в проточные водоемы, расход которых падает до нуля (пересыхающие), не допускается. Если же доказана необходимость такого выпуска, он должен осуществляться через накопитель равномерно или пропорционально расходу в реке. Вместимость накопителя определяется продолжительностью бессточного периода, а количество сбрасываемых сточных вод - исходя из нормативных требований к свойствам и составу воды у ближайшего пункта водопользования.

7.1.12. В особо маловодные годы условия сброса очищенных сточных вод устанавливаются органами по регулированию использования и охране вод по согласованию с органами санитарно-эпидемиологической службы и рыбоохраны.

7.1.13.. Запрещается использовать для сброса сточных вод сухие овраги, ведущие к водоему. Отводить сточные воды следует по трубам или лоткам, исключая возможность просачивания сточных вод в почву, заболачивание ее и загрязнение грунтовых вод.

7.1.14. В случаях, когда производственные сточные воды могут изменяться по своему составу и количеству во времени, во избежание залповых сбросов сильно концентрированных сточных вод, необходимо устраивать перед выпуском специальные регулирующие емкости.

7.1.15. При сбросе сточных вод, содержащих нефтепродукты, в моря следует руководствоваться «Правилами санитарной охраны прибрежных районов морей» (1968 г.), нормативы которых в основном идентичны «Правилам охраны поверхностных вод от загрязнения сточными водами» (1974 г.).

7.1.16. Система, отводящая сточные воды в водоем, должна быть оборудована приспособлениями для отбора проб и учета количества сбрасываемых сточных вод. При необходимости ее следует оснащать соответствующими автоматизированными устройствами для постоянного контроля за расходом, составом и свойствами сточных вод.

7.2. Устройства для выпуска сточных вод

7.2.1. Выпуск сточных вод должен осуществляться таким образом, чтобы была обеспечена возможность наиболее полного смешения сточных вод с водой водоема в месте выпуска для получения наибольшего разбавления сточных вод. Выпуски классифицируются по типу водоема или водотока (речные, озерные, морские), по месту расположения (береговые, русловые, глубинные) и по конструкции (сосредоточенные и рассеивающие).

7.2.2. Береговой выпуск следует применять для небольших водоемов с быстрым течением. Он представляет собой подпорную стенку, установленную непосредственно у берега, в которую врезан отводящий трубопровод или канал для пропуска очищенной воды.

7.2.3. Русловой выпуск представляет собой трубопровод, выдвинутый в русло реки и оканчивающийся затопленным оголовком. Оголовок выпуска может быть сосредоточенный, когда сточную воду сбрасывают в одну точку, или рассеивающий, когда сброс осуществляется в нескольких точках (рис. 7.1). С гигиенической точки зрения предпочтительнее рассеивающий выпуск сточных вод. Насадки рассеивающих выпусков показаны на рис, 7.2.

7.2.4. Увеличение эффективности смешения можно достичь применением эжектирующих выпусков. Конструкция оголовка такого выпуска позволяет за счет создания повышенных скоростей на выпуске сточной воды вовлечь в поток некоторое количество воды, окружающей оголовок, и тем самым снизить в 1,5-2,5 раза концентрацию загрязнений непосредственно у выпуска.

7.2.5. При сбросе сточных вод в озера, водохранилища и моря следует применять глубинные выпуски. Место выпуска должно быть расположено за границами селитебной (занятой постройками) части и с учетом направлений течений, волнообразований, господствующих ветров, наличия прибоя морской волны так, чтобы был обеспечен унос от населенного места выпускаемых сточных вод морским течением.

Длина выпуска до установленной глубины заложения его устьевой части должна быть наименьшей, выпускные отверстия необходимо располагать на глубине не менее 1 м от уровня воды при отливе и от дна моря.

Схема оголовков выпуска очищенных сточных вод в водоемы

а - сосредоточенный выпуск; 1 - подпорная стенка; 2 - отводящий трубопровод; б - рассеивающий выпуск; 1 - канализационный коллектор; 2 - вертикальные патрубки; 3 - стальная заглушка

Рис. 7.1

Насадки рассеивающих выпусков

1 - патрубок насадки; 2 - конусный растекатель; 3 - распределительный трубопровод; 4 - сопло; 5 - кольцевой растекатель; 6 - кольца

Рис. 7.2

7.2.6. Одним из основных условий бесперебойной работы выпуска в море является его сопротивляемость воздействию морского прибоя, который обладает большой разрушительной силой. Выпуск необходимо прокладывать перпендикулярно штормовой равнодействующей; глубина его заложения от отметки дна моря должна обеспечивать устойчивость трубопровода при колебании уровня воды во время штормов.

7.2.7. При выпуске сточных вод в заливы и бухты, в которых нет постоянных и направленных от берега течений, длину выпусков необходимо увеличить до 3,0-3,5 км, чтобы гарантировать береговую полосу от загрязнения.

7.2.8. Места расположения выпусков необходимо согласовывать с органами судоходства и лесосплава.

8. ТЕХНИКА БЕЗОПАСНОСТИ, ПРОТИВОПОЖАРНЫЕ МЕРОПРИЯТИЯ И ЭЛЕКТРОБЕЗОПАСНОСТЬ

8.1. Устройство канализации должно обеспечивать отвод и очистку производственных сточных вод от резервуарных парков, сливно-наливных эстакад, насосных, котельных и других производственных объектов в соответствии с действующими санитарными нормами.

8.2. Эксплуатация канализационной сети с неисправными или неправильно выполненными гидравлическими затворами, а также без них не допускается.

8.3. Канализационные колодцы должны иметь диаметр не менее 1 м и быть оборудованы лестницами-стремянками или скобами.

8.4. Запрещается:

- располагать общие канализационные магистрали по территории резервуарных парков и под зданиями нефтебазы;

- присоединять бытовую канализацию к производственной.

8.5. Все ловушечные устройства (песколовки, нефтеловушки и другие сооружения) должны быть выполнены из несгораемых материалов.

8.6. Расстояние от открытой нефтеловушки до производственных зданий, сооружений и резервуаров должно быть не менее 30 м, а до обслуживающих нефтеловушку насосных и резервуаров не менее 10 м.

Резервуары-сборники и ручные насосы можно располагать непосредственно у нефтеловушки.

Для ловушек закрытого типа вместимостью до 150 м3 эти расстояния могут быть уменьшены, на 50 %, а до 50 м3 - на 75 %.

8.7. Закрытые нефтеловушки должны быть оборудованы люками и скобами; открытые - ограждены перилами высотой не менее 1 м.

8.8. Во всех случаях, когда перекачиваемые сточные воды содержат вредные газы, запрещается размещать над машинным отделением насосной станции мастерские, электроподстанции, щитовые и другие помещения.

Перекрытия над приемными резервуарами в этих случаях должны устраиваться с учетом возможности образования взрывной волны. Вокруг приемного резервуара должно быть ограждение высотой 1,2 м; расстояние от резервуара до цехов - не менее 20 м.

8.9. Помещения насосных станций для перекачки производственных сточных вод, содержащих вредные газы или образующих взрывоопасные смеси, должны иметь механическую приточно-вытяжную вентиляцию.

8.10. Насосы для перекачки сточных вод, содержащих нефтепродукты или другие горючие примеси, необходимо размещать в отдельно стоящих, преимущественно не заглубленных зданиях. Производственные сточные воды должны поступать в отдельный приемный резервуар, располагаемый не ближе 10 м от здания насосной.

8.11. Открытые вращающиеся части насосных агрегатов должны быть ограждены кожухами, а подшипники насосов защищены от попадания в них грязи и воды.

8.12. Установка и эксплуатация грузоподъемных устройств должна осуществляться в соответствии с «Правилами устройства и безопасной эксплуатации грузоподъемных кранов».

8.13. Крышки смотровых колодцев производственно-дождевой канализации должны быть постоянно закрыты и засыпаны слоем песка толщиной не менее 10 см.

Оборудование канализационных колодцев вентиляционными системами не разрешается.

8.14. Запрещается проводить огневые работы на расстоянии менее 20 м от колодцев производственно-дождевой канализации и менее 50 м от открытых нефтеловушек.

8.15. Перед спуском в канализационный колодец для выполнения ремонтных работ необходимо убедиться в том, что концентрация вредных и взрывоопасных газов в нем по результатам анализа не превышает допустимую (приложения 5, 6).

8.16. При работах в колодцах, где возможно скопление вредных газов, необходимо пользоваться кислородным прибором или шланговым противогазом в присутствии двух наблюдающих. Через каждые 15 мин работающим в противогазе предоставляется отдых 15 мин на поверхности.

8.17. Запрещается пользоваться фонарями, имеющими открытое пламя, зажигать огонь и курить. Аккумуляторные взрывобезопасные фонари следует применять напряжением не выше 12 В.

8.18. Применяемый инструмент должен быть изготовлен из материалов, не дающих искру; режущий инструмент перед использованием необходимо смазывать консистентными смазками.

8.19. В местах производства работ должны устанавливаться переносные треноги: днем - со знаками, окрашенными в белый и красный цвета, а ночью - с аккумуляторным сигнальным фонарем или автоматической сигнализацией.

8.20. К работе на объектах производственно-дождевой канализации допускаются лица, достигшие 18-летнего возраста. При приеме рабочих администрация должна проинструктировать их, разъяснить устройство и назначение обслуживаемых очистных сооружений, а также научить их правильным и безопасным приемам работы.

8.21. Все рабочие должны быть обеспечены спецодеждой, спецобувью и индивидуальными средствами защиты, согласно существующим нормативам, и проходить ежегодно медицинский осмотр.

8.22. Рабочие места должны быть обеспечены слесарным инструментом, асбестовым шнуром, сальниковой набивкой, набором прокладок, мелкими запасными деталями, обтирочным материалом, лопатами, ломиками и крючками для открытия и закрытия колодцев и задвижек.

8.23. В рабочих помещениях должны быть установлены умывальники и бак с питьевой водой. Для рабочих, занятых на работах по очистке сооружений от осадка, промывке загрузочного материала на биофильтрах, сбору корки в двухъярусных отстойниках, необходимо устраивать горячий душ.

8.24. Необходимо следить и поддерживать в нормальном санитарном и противопожарном состоянии помещения, оборудование, аппаратуру и территорию очистных сооружений; очищать площадки и лестницы от грязи, снега и обледенения, посыпать их песком; содержать в исправном состоянии противопожарный инвентарь и уметь им пользоваться.

8.25. На площадке очистных сооружений должна быть телефонная связь или сигнализация, связывающая с пожарной охраной предприятия.

8.26. Все работы, связанные с применением жидкого хлора и хлорной извести, должны регламентироваться особыми правилами и инструкциями. Помещения хлораторных установок, а также склады для хранения хлорной извести и баллонов с хлором должны быть оборудованы искусственной вытяжной вентиляцией с шести и двенадцатикратным (при авариях) запасом воздуха. Предельно допустимое содержание хлора в воздухе - 1,0 мг/м3.

8.27. Эксплуатация озонаторной установки должна осуществляться в соответствии с правилами эксплуатации электроустановок, работающих под напряжением до 10 кВ.

8.28. Помещение озонаторной, где размещены генераторы озона, должно иметь постоянно действующую приточно-вытяжную вентиляцию с кратностью воздухообмена равной 12. Работа в помещении с концентрацией озона выше 0,1 мг/м3 запрещается. В помещении котлов-озонаторов необходимо устанавливать газоанализатор (фотометр универсальный, ленточный типа ФЛ 550, серийно выпускаемый Смоленским заводом приборов и средств автоматизации, со шкалой 0-0,1 мг/м3).

8.29. Обслуживающий персонал должен постоянно следить за показаниями прибора. При малейших признаках появления озона в воздухе помещения (своеобразный запах и першение в горле) следует отключить котлы-озонаторы, найти место утечки и устранить ее. Установленный в помещении озонаторной газоанализатор должен подавать на щит управления сигнал о наличии предаварийной ситуации.

8.30. Устранение утечек озона следует проводить в фильтрующем противогазе, после чего помещение необходимо проветрить в течение 15-20 минут.

8.31. При остром отравлении озоном пострадавшего необходимо вынести на свежий воздух, обеспечить ему покой и тепло (согревание грелками), полезна ингаляция увлажненного 75-80 %-ного кислорода.

В случае раздражения дыхательных путей необходима ингаляция 2 %-ного раствора соды.

Если состояние больного не улучшится, вызвать скорую помощь.

8.32. Для обеспечения безопасной работы на установке термического сжигания сточных вод необходимо:

- следить за исправностью контрольно-измерительных приборов, герметичностью коммуникаций, аппаратов, наличием заземления на двигателях, пускателях, коммуникациях;

- во избежание ожогов продуктами сжигания при наблюдении через смотровые окна надевать защитные очки; пользоваться защитными средствами при работах, связанных с разборкой фланцев, заменой и ремонтом арматуры и т.д.

8.33. Очистные сооружения должны защищаться от прямых ударов молнии отдельно стоящими или установленными на сооружениях молниеотводами, если температура вспышки продукта превышает его рабочую температуру менее чем на 10°С.

В зону защиты молниеотводов должно входить пространство, ограниченное параллелепипедом, основание которого выходит за пределы очистного сооружения на 5 м в каждую сторону от его стенок, а высота равна высоте сооружения плюс 3 м.

8.34. В промышленных сточных водах содержатся различные вредные химические вещества: бензол, нефтепродукты, тетраэтилсвинец и др. Хозяйственно-бытовые воды и активный ил могут быть источниками различных инфекционных заболеваний. Поэтому при отборе проб нужно соблюдать меры предосторожности, указанные в ГОСТ 2517-85.

8.35. Химические анализы сточных вод должны выполняться в лаборатории, оборудованной согласно основным требованиям в части размещения помещения, его освещенности, устройства вытяжных шкафов и приточно-вытяжной вентиляции.

8.36. Знания правил техники безопасности сотрудниками лаборатории должны проверяться не реже, чем через 3 года. Ежегодно на рабочих местах должен проводиться инструктаж по технике безопасности.

8.37. На рабочих местах должны быть вывешены краткие инструкции, содержащие перечень безопасных приемов по основным видам работ и меры пожарной безопасности.

8.38. Количество реактивов, легко воспламеняющихся растворителей и других горючих жидкостей в рабочих помещениях лаборатории не должно превышать суточной потребности.

8.39. Концентрированные кислоты, щелочи и другие реактивы, выделяющие вредные пары и газы, необходимо хранить только в вытяжных шкафах, в склянках с притертыми пробками и защитными колпачками.

8.40. В лаборатории всегда должен быть сухой песок, листовой асбест, огнетушители и пожарный рукав.

8.41. Лица, нарушающие правила по технике безопасности и охране труда, привлекаются к ответственности согласно действующему законодательству.

9. МЕТОДИЧЕСКОЕ РУКОВОДСТВО ПО ХИМИЧЕСКИМ АНАЛИЗАМ СТОЧНЫХ ВОД

При текущем контроле за качеством сточных вод нефтебаз, наливных пунктов, перекачивающих и автозаправочных станций наиболее часто определяют следующие показатели:

- содержание нефтепродуктов;

- содержание тетраэтилсвинца;

- содержание механических примесей (взвешенных веществ);

- активную реакцию среды (рН);

- щелочность;

- оптимальную дозу коагулянта.

На станциях биологической очистки сточных вод, кроме того, определяют:

- оседающие вещества по объему;

- растворенный кислород;

- биохимическое потребление кислорода (БПК);

- химическое потребление кислорода (ХПК);

- нитриты и нитраты;

- концентрацию активного ила;

- динамику оседания активного ила;

- иловый индекс.

При приеме на береговые очистные сооружения балластных, промывочных, подсланевых и льяльных вод появляется необходимость в определении таких показателей качества, как:

- содержание фенолов;

- содержание синтетических поверхностно-активных веществ (СПАВ).

В ходе контроля за озонированием сточных вод целесообразно определять концентрацию озона в озонированной воде.

При хранении проб в химическом составе воды могут происходить значительные изменения, зависящие от ряда причин и, в частности, от процессов химического и биохимического окисления, которые вызывают изменения и распад органических соединений. Это отражается на окисляемости, рН, содержании нитратов и т.д.

Длительное стояние может привести к выпадению в осадок гидроокиси железа и взвешенных веществ.

Чтобы затормозить окислительные процессы и получить достоверные данные по химическому составу сточной воды, применяют различные способы ее консервации. Возможность консервации, допустимые интервалы времени между отбором пробы и началом анализа при определении некоторых показателей качества сточных вод указаны в табл. 9.1.

Таблица 9.1

Показатели качества сточной воды и возможность консервации проб

Определяемые показатели, компоненты

Указания о консервации, сроки определения после отбора проб

1

2

БПК

Пробу нельзя консервировать, хранят при 3-4°С; анализируют не позже чем через 24 ч

Взвешенные вещества

Пробу не консервируют; определение следует проводить не позже чем через 1 сутки

Запах

Пробу нельзя консервировать; определение проводят не позже чем через 2 ч, в крайнем случае, не позже конца дня отбора; некоторые запахи надо устанавливать на месте (запах хлорфенолов и т.п.)

Кислород

Пробы нельзя консервировать; их отбирают в «кислородные» склянки, при этом лучше использовать специальную насадку. К пробе сразу прибавляют соответствующие реактивы

Марганец

Пробы обычно не консервируют

а) Определение проводят после взятия пробы

б) Прибавляют 5 мл концентрированной НNO3 на 1 л пробы

Внимание! Может произойти осаждение гидроокиси марганца, ее последующее окисление и адсорбция стенками сосуда

Нитраты

а) Определение проводят в день взятия пробы

б) Прибавляют 1 мл концентрированной Н2SO4 на 1 л пробы

в) Пробу хранят при 3-4°С

г) Прибавляют 2-4 мл CHCl3 на 1 л пробы

Нитриты

а) Определение проводят сразу после отбора пробы

б) Прибавляют 1 мл концентрированной Н2SO4 на 1 л пробы

в) Пробу охлаждают до 3-4°С

г) Прибавляют 2-4 мл CHCl3 на 1 л пробы

Общее содержание азота

а) Прибавляют 1 мл концентрированной Н2SO4 на 1 л пробы, определение проводят не позже чем через сутки

б) Прибавляют 2-4 мл CHСl3 на 1 л пробы

Озон

Пробы нельзя консервировать; определение проводят сразу после отбора (стойкость озона в пробе повышается при охлаждении пробы и понижении рН)

Окисляемость

а) По Кубелю: прибавляют 2 мл Н2SO4 (1:2) на 100 мл пробы; при определении надо учитывать количество прибавленной кислоты

б) Окисление бихроматом: прибавляют 1 мл концентрированной Н2SO4 на 1 л пробы

в) Пробу хранят при 3-4°С и определение проводят не позже чем через 1 сутки

рН

Пробы нельзя консервировать

а) Определение проводят сразу на месте

б) Отбор пробы проводят при помощи специальной насадки (как при определении кислорода), сосуд заполняют водой доверху, чтобы не осталось пузырьков воздуха; при транспортировке предохраняют пробу от нагревания и определение проводят не позже чем через 1 сутки

Плотность

Пробы нельзя консервировать

Прозрачность

Пробы нельзя консервировать; определение проводят сразу на месте взятия пробы, в крайнем случае, не позже чем через 1 сутки

Синтетические поверхностно-активные вещества (анионоактивные, катионоактивные, неионогенные)

Прибавляют 2-4 мл СНСl3 на 1 л пробы

Температура

Измерение проводят сразу

Фенолы

а) Если содержание фенола превышает 100 мг/л определение надо проводить, не консервируя пробы, не позже чем через 5 суток

б) Пробы, содержащие менее 100 мг/л фенолов можно консервировать добавлением 4 г NaОН на 1 л пробы

в) Пробы, содержащие менее 0,05 мг/л фенолов, надо анализировать сразу

Фосфаты

а) Определение проводят как можно раньше после отбора

б) Прибавляют 2-4 мл CHCl3 на 1 л пробы и определение проводят в тот же день

Хлор

Пробы нельзя консервировать; их отбирают в бутыли из темного стекла, предохраняя от действия солнечных лучей и от сотрясений. Определение надо проводить сразу же (содержание хлора в пробе не является постоянным и при низкой температуре)

Хлориды

Пробы обычно не консервируют, в исключительных случаях прибавляют 2-4 мл СНСl3 на 1 л пробы, чтобы подавить биохимические процессы

Щелочность

Пробы нельзя консервировать

а) Определение проводят сразу

б) Бутыль заполняют пробой доверху и приступают к анализу не позже чем через 1 сутки

Экстрагируемые вещества

Пробу надо отбирать в широкогорлую банку, в особенности при определении жиров и смолистых веществ

Определение надо проводить как можно раньше

При определении минеральных масел и жиров пробу консервируют добавлением 5 мл Н2СO4 (1:1) на 1 л пробы

Для консервации нельзя пользоваться СНСl3

Данные о способах консервации приведены также в методиках определения отдельных компонентов сточных вод.

9.1. Нефтепродукты

Согласно определению, данному комиссией по унификации методов анализа природных и сточных вод при Государственном комитете по науке и технике Совета Министров СССР, «нефтепродуктами» при анализе вод следует считать неполярные и малополярные соединения, растворимые в гексане, т.е. углеводороды (алифатические, алициклические и ароматические).

Для отделения от нефтепродуктов полярных органических веществ используют специальные сорбенты, через слой которых пропускают раствор выделанных из анализируемой пробы органических веществ в неполярном растворителе. Такими сорбентами могут быть оксид алюминия II степени активности (содержащий 3 % воды), силикагель и так называемый «флоризил» (специально подготовленный для этой цели силикат магния). В качестве неполярного растворителя применяют гексан, пентан, петролейный эфир, тетрахлорид углерода (четыреххлористый углерод), фреон (1,1,2-трихлор-1,2,2-трифторэтан). Хлороформ - соединение полярное; если его применяют для экстракции органических веществ из пробы, то потом его отгоняют и остаток растворяют в неполярном растворителе.

При выборе наиболее подходящего неполярного растворителя надо учитывать следующее. Если анализируемая сточная вода прозрачна, можно применять любой из перечисленных выше растворителей. Наиболее удобен в работе гексан. Если сточная вода мутная вследствие присутствия в ней твердых частиц, содержащих смолистые вещества, лучше применять тетрахлорид углерода. При анализе очень грязных мутных вод, содержащих большие количества смол и асфальтенов, рекомендуется экстракцию проводить хлороформом.

Поскольку нефтепродукты сорбируются на стенках сосуда, содержащего анализируемую воду, для их определения пробу следует отбирать в специальный сосуд, использовать ее полностью и при проведении экстракции обмывать стенки этого сосуда порцией экстрагента, присоединяя ее потом к основной массе экстракта.

Ниже описаны два метода определения нефтепродуктов (гравиметрический и ИК-спектрометрический), дающие при правильном соблюдении всех условий одинаково точные результаты и поэтому принятые в качестве арбитражных.

Применение методов анализа, в которых за «нефтепродукты» принимают суммарное содержание всех органических веществ, извлекаемых каким бы то ни было растворителем, недопустимо.

9.1.1. Гравиметрическое определение

Метод состоит в экстрагировании органических веществ из сточной воды неполярным растворителем или хлороформом, отделении нефтепродуктов путем пропускания их раствора в неполярном растворителе через колонку с оксидом алюминия или другим сорбентом, удалении растворителя и взвешивании извлеченных нефтепродуктов.

При анализе сточных вод, содержащих нефтепродукты, имеющие низкую температуру кипения (летучие нефтепродукты), предварительно определяют их количество.

Если предполагаемое содержание нефтепродуктов в анализируемой сточной воде менее 10 мг/л, можно принять, что содержание летучих в них ничтожно, и сразу преступать к определению малолетучих нефтепродуктов.

9.1.1.1. Предварительное извлечение и определение летучих нефтепродуктов

Содержание летучих нефтепродуктов может определяться методом отгонки или турбидиметрическим методом.

Метод отгонки летучих нефтепродуктов, рекомендованный Американским обществом испытания материалов, достаточно точный, хотя и малочувствительный (при очень малом содержании летучих нефтепродуктов для анализа требуется большой объем анализируемой воды). Летучие нефтепродукты собирают в ловушке и определяют их количество непосредственно по объему.

Турбидиметрический метод определения заключается в отдувке летучих нефтепродуктов очищенным воздухом, сорбции их активным углем, десорбции с угля ацетоном, смешении с водным раствором желатина и измерении оптической плотности образующейся эмульсии. Метод предусматривает возможность последовательной отдувки летучих нефтепродуктов из нескольких порций анализируемой воды на одну колонку с углем, что дает возможность определения летучих нефтепродуктов при очень малом содержании их в воде.

Метод отгонки летучих нефтепродуктов

Аппаратура. Перегонный аппарат (рис. 9.1) с калиброванной ловушкой вместимостью 2 мл и ценой деления 0,02 мл.

Ход определения.

В колбу 1 помещают 3000-3500 мл анализируемой сточной воды, собирают прибор, как показано на рисунке, и пускают в холодильник воду. Для получения наиболее точных результатов необходимо, чтобы температура проходящей через холодильник воды была не выше 5°С. Нагревают колбу, пока содержащаяся в ней вода не закипит, и продолжают нагревание до тех пор, пока объем сконденсированных в ловушке нефтепродуктов не будет оставаться постоянным в течение, по крайней мере, 15 мин. Затем охлаждают колбу до комнатной температуры, отделяют ловушку, закрывают пробками оба ее конца и погружают в водяную баню, вода которой имеет температуру 15°С. Когда содержимое ловушки примет температуру водяной бани, измеряют объем, занимаемый нефтепродуктами, с точностью до 0,02 мл.

Прибор для определения летучих нефтепродуктов

а - общий вид; б - ловушка; 1 - колба вместимостью 5 л; 2 - ловушка; 3 - обратный холодильник

Рис. 9.1

Минимальное количество летучих нефтепродуктов, которое можно определить таким способом из объема воды 3 л, отвечает концентрации 5 мг/л. При необходимости определять меньшие концентрации надо по окончании отгонки отключить колбу, заменить оставшуюся в ней воду новой порцией анализируемой воды (3-3,5 л) и повторить отгонку летучих нефтепродуктов.

Расчет

Содержание летучих нефтепродуктов (X) в мг/л вычисляется по формуле:

                                                                   (9.1)

где У - объем, занимаемый летучими нефтепродуктами, в мл;

d - плотность нефтепродуктов (если она неизвестна, принимают ее равной 0,8);

У1 - объем взятой для анализа вода в мл.

Турбидиметрический метод

Аппаратура:

1. Прибор для отдувки летучих нефтепродуктов (рис. 9.2);

2. Фотоэлектроколориметр или фотометр.

Реактивы;

1. Ацетон, ч. д. а.

2. Уксусная кислота, ледяная.

3. Желатин, фотографический, 1 % - ный (водный раствор).

4. Активный уголь, например, марки БАУ, зернение 0,5-1,0 мм.

5. Нефтепродукт для построения градуировочного графика: фракция керосина, перегоняющаяся при температурах ниже 175°С. Если анализируемая вода содержит преимущественно бензин, в качестве стандартного нефтепродукта следует применять бензин,

Прибор для отдувки летучих нефтепродуктов

1 - склянка Дрекселя; 2 - фильтрующая пластинка; 3 - колонка с активированным углем для сорбции; 4 - колонка с углем; 5 - склянка Тищенко

Pиc.9.2

6. Стандартные растворы.

Раствор № 1. Растворяют 500 мг нефтепродукта в 50 мл ацетона; 1 мл полученного раствора содержит 10 мг нефтепродукта.

Раствор № 2. Разбавляют раствор 1 в 5 раз ацетоном; 1 мл полученного раствора содержит 2 мг нефтепродукта.

Построение градуировочного графика.

В градуированные пробирки вместимостью 10 мл, снабженные притертыми пробками, помещают 0; 0,1; 0,2; ...; 0,7 мл стандартного раствора № 2, разбавляют каждый раствор ацетоном до 2 мл, приливают в каждую пробирку по 8 мл раствора желатина, закрывают пробкой и перемешивают.

Оптические плотности образовавшихся эмульсий измеряют на фотоэлектроколориметре (или фотометре) по отношению к холостой пробе (2 мл ацетона плюс 8 мл раствора желатина) при длине волны λ = 508 нм, пользуясь кюветой с расстоянием между стенками 1 см. Строят график, откладывая по оси ординат оптические плотности, а по оси абцисс - соответствующие им содержания нефтепродуктов, в мг.

Подготовка активного угля и приготовление сорбционной колонки.

Активный уголь обрабатывают 1 ч в приборе Сокслета диэтиловым эфиром, высушивают сначала на воздухе, потом 5-6 ч при 220°С. После этого уголь дробят и отбирают фракцию 0,5-1,0 мм.

В небольшую стеклянную трубку длиной 10 см и диаметром 1 см, снабженную краном и стеклянной дырчатой пластинкой на дне, помещают стеклянную вату слоем 1 см, всыпают 1,5 г подготовленного активного угля и покрывают тонким слоем стеклянной ваты. После этого сорбент осторожно уплотняют стеклянной палочкой.

Ход определения

Собирают прибор, как показано на рис. 9.2. Сточную воду в объеме 500-1000 мл, содержащую 1-20 мг летучих нефтепродуктов, помещают в склянку Дрекселя и пропускают 2 ч воздух через фильтр при комнатной температуре. Если сточная вода содержит только бензин, отдувку можно проводить 1 ч. При очень малых концентрациях летучих нефтепродуктов в пробе отдувку повторяют, если надо, несколько раз, взяв новые порции воды по 1 л и продувая каждый раз в ту же колонку с активным углем. Водоструйный насос протягивает воздух через воду и колонку с углем со скоростью 2-3 пузырька в 1 с, нефтепродукты поглощаются активным углем. Для каждого определения следует брать свежую порцию угля. Затем разбирают прибор и десорбируют нефтепродукты с угля ацетоном. Сначала вливают в колонку 5 мл ацетона, дают ему пропитать уголь, потом пропускают ацетон через уголь порциями по 2 мл (всего 5-6 порций), собирая элюат в градуированную пробирку с притертой пробкой. Каждую порцию ацетона оставляют на угле 5-10 мин, закрывая в это время колонку притертой пробкой и кран. В пробирку с элюатом вставляют притертую пробку, перемешивают, отбирают аликвотную часть 2 мл и переносят ее в другую такую же пробирку. Затем, медленно, всегда с одинаковой скоростью, вливают по стенке пробирки 8 мл раствора желатина, закрывают пробкой и перемешивают, переворачивая пробирку. Измеряют оптическую плотность образовавшейся эмульсии по отношению к холостой пробе при длине волны λ = 506 нм и по градуировочному графику находят соответствующее содержание летучих нефтепродуктов в мг.

Расчет

Содержание летучих нефтепродуктов в анализируемой сточной воде (X, в мг/л) определяют по формуле:

                                                               (9.2)

где а - содержание летучих нефтепродуктов, найденное по графику, мг;

V1 - общий объем элюата, мл;

V - объем пробы, взятой на анализ, мл.

9.1.1.2. Определение нефтепродуктов при концентрации их выше 0,3 мг/л

Аппаратура.

Колонка с сорбентом. В качестве колонки используют трубку длиной 10 см и диаметром 1 см с впаянной в нее дырчатой стеклянной пластинкой; нижний конец трубки оттянут до диаметра 1 мм. В колонку помещают слой (1 см) стеклянной ваты, слой (2-3 см) сорбента (этого количества достаточно для поглощения 50-100 мг полярных соединений) и снова тонкий слой стеклянной ваты.

Реактивы:

1. Неполярные растворители-экстрагенты. Применяют один из следующих растворителей.

Гексан х.ч. (т. кип. 68,8°С, плотность 0,66 г/см3).

Тетрахлорид углерода х.ч. (т. кип. 76,7°С, плотность 1,59 г/см3).

Пентан х.ч. (т. кип. 36,07°С, плотность 0,63 г/см3).

Петролейный эфир х.ч. (т. кип. 40-70°С, плотность 0,63-0,67 г/см3).

Несмотря на марку х.ч. все перечисленные растворители часто оказываются недостаточно чистыми для данного определения, поэтому их рекомендуется пропустить через колонку с активным оксидом алюминия, предварительно высушив прокаленным сульфатом натрия.

2. Хлороформ х.ч.

3. Сульфат натрия безводный х. ч. Перед применением прокаливают и охлаждают в эксикаторе.

4. Сорбент. Применяют один из следующих сорбентов.

Оксид алюминия для хроматографии, II степени активности. Продажный препарат этой марки обычно достаточно чист, но вследствие большой гигроскопичности может содержать избыточную воду. Его надо перед применением прокалить 4 ч при 600°С. Другие препараты могут быть сильно загрязненными. Их надо после измельчения до частиц, размером 0,1 мм обработать в аппарате Сокслета тетрахлоридом углерода 6-8 ч, а потом после испарения из него ССl4 смочить дистиллированной водой, перемешать и прокалить 4 ч при 600°С.

Силикагель марки КСК, размолотый и просеянный через сито с диаметром отверстий от 0,10 до 0,07 мм и предварительно просушенный 24 ч при 120°С. При сомнении в его чистоте (загрязнение железом) его надо очистить кипячением в разбавленной (1:1) соляной кислоте, промыть дистиллированной водой до удаления хлорид-ионов, высушить и прокалить 24 ч при 120°С.

Ход определения (для извлечения органических веществ используется хлороформ).

Остаток после отгонки или отдувки летучих нефтепродуктов, а в тех случаях, когда это возможно (см. выше), непосредственно отобранную пробу сточной воды объемом 100-3000 мл (в зависимости от предполагаемого содержания нефтепродукта) переносят в делительную воронку подходящей вместимости, прибавляют соляную кислоту плотностью 1,19 г/см3 до значения рН меньше 5, приливают 20 мл хлороформа и сильно встряхивают несколько минут. Затем дают постоять 10-15 мин до разделения слоев, сливают нижний хлороформный слой в колбу с притертой пробкой, стараясь при этом не захватить ни воды, ни промежуточного слоя эмульсии. Водный и промежуточный слой в воронке (или, если надо, перенося его в другую делительную воронку) обрабатывают второй порцией хлороформа и полученный экстракт присоединяют к первому экстракту. Двух экстракций обычно бывает достаточно. Затем небольшим количеством хлороформа (около 50 мл) обмывают стенки сосуда, в котором находилась проба до экстракции, переносят в ту же делительную воронку, взбалтывают, оставляют на некоторое время, выливают слой хлороформа в колбу с экстрактом и отгоняют хлороформ. Если для экстракции была взята порция пробы 3 л, то лучше, разделив ее на три части, проводить экстракцию из каждого литра пробы отдельно и все экстракты соединить.

Экстракт высушивают, поместив 1 г безводного сульфата Na в колбу с экстрактом или на фильтр, выпуская через него экстракт из делительной воронки в колбу.

Присоединив колбу с экстрактом к холодильнику, помещают ее на горячую закрытую электроплитку и отгоняют хлороформ, пока в колбе останется 10-20 мл хлороформного раствора. Нагревание прекращают, дают колбе остыть и разбирают прибор.

Остатки хлороформа удаляют при комнатной температуре. Небольшой, предварительно взвешенный бюкс помещают в вытяжном шкафу на расстоянии 25-35 см от комнатного вентилятора. Бюкс наполняют на 3/4 его объема полученным экстрактом и включают вентилятор. По мере испарения хлороформа в бюкс подливают экстракт до тех пор, пока он не будет перенесен полностью. Колбу, где был экстракт, обмывают несколькими малыми порциями хлороформа, перенося их в тот же бюкс. Когда в бюксе останется менее 0,3 мл хлороформа, на что обычно требуется 30-40 мин, выключают вентилятор и продолжают испарение на воздухе, взвешивая бюкс, закрытый крышкой, каждые 1-2 мин. Результаты взвешивания наносят на график, соединяют полученные точки и за конечный результат принимают тот, который соответствует точке перелома на образовавшейся кривой.

Разность между массой бюкса с остатком после удаления хлороформа и массой пустого бюкса показывает общее содержание экстрагируемых хлороформом веществ.

Остаток после отгонки хлороформа обрабатывают 1-2 мл сухого и чистого гексана (или петролейного эфира, кипящего при 40-70°С) и переносят раствор или суспензию в колонку с оксидом алюминия, под которую подставляют маленькую колбу. Бюкс, в котором был остаток после отгонки хлороформа, несколько раз промывают маленькими порциями гексана, перенося каждую порцию в колонку с окисью алюминия. После этого промывают колонку еще несколькими порциями гексана, собирая их в ту же колбу. Не следует при этом допускать, чтобы уровень гексана в колонке опускался ниже верхней границы слоя оксида алюминия.

Непосредственное экстрагирование гексаном, без предварительной экстракции хлороформом, приводит к заниженным результатам (ошибка может доходить до 30 %), если анализируемая вода содержит взвешенные частицы. На их поверхности наряду с нефтепродуктами сорбируются вещества, растворимые в хлороформе, но не растворимые в гексане (асфальтены, смолы, нафтеновые кислоты и т.п.), препятствующие экстрагированию гексаном нефтепродуктов. Если же анализируемая вода прозрачная и лишена взвешенных частиц, или, если заведомо известно об отсутствии указанных мешающих веществ, то экстракцию можно сразу проводить гексаном или другим неполярным растворителем тем же способом, что и хлороформом, затем отогнать большую часть гексана на водяной бане и пропустить через колонку с оксидом алюминия, как описано выше.

Получив таким образом раствор нефтепродуктов в гексане, освобожденный от примеси полярных соединений, удаляют гексан, испаряя его в бюксе при комнатной температуре с помощью вентилятора так же, как раньше удаляли хлороформ. Когда в бюксе останется примерно 0,5 мл раствора, испарение продолжают без вентилятора, взвешивая бюкс каждые 2 мин. Перед каждым взвешиванием бюкс закрывают крышкой и после взвешивания вновь снимают крышку для дальнейшего испарения. Когда масса бюкса перестанет изменяться, испарение и взвешивание прекращают.

Расчет.

Содержание основной массы нефтепродуктов (малолетучих) в мг/л (Х2) находят по формуле:

                                                            (9.3)

где m1 - масса бюкса с остатком после удаления гексана, мг ;

m2 - масса пустого бюкса, мг.

У - объем пробы, взятой для определения, мл.

Суммарное содержание летучих и нелетучих нефтепродуктов равно X1 + X2.

Примечание. Разность между общим количеством экстрагируемых хлороформом веществ и количеством нефтепродуктов равна содержанию других экстрагируемых этим растворителем веществ, нерастворимых в гексане и полярных, включая нафтеновые кислоты и фенолы. При желании получить еще более точные результаты анализа, можно выделить и взвесить кислотные вещества (нафтеновые кислоты, фенолы и т.п.) Для этого гексановый раствор перед пропусканием его через оксид алюминия переносят в делительную воронку, фильтруя через очень маленький фильтр, если он получился мутным, и промывают фильтр гексаном. Раствор в делительной воронке обрабатывают 1 м раствором едкой щелочи, разделяют водный и гексановый слои и промывают гексановый слой водой до исчезновения щелочной реакции, присоединяя промывные воды к водному раствору. Гексановый раствор пропускают через оксид алюминия и заканчивают определение нефтепродуктов, как описано выше. А водный раствор подкисляют, извлекают из него кислотные соединения диэтиловым эфиром, отгоняют эфир и взвешивают.

При работе, таким образом, результат анализа будет представлен тремя значениями:

1) содержанием нефтепродуктов;

2) содержанием нафтеновых кислот и других кислотных соединений;

3) содержанием других веществ, экстрагируемых хлороформом.

9.1.1.3. Определение нефтепродуктов при их концентрации ниже 0,3 мг/л

В этом случае 3-3.5 л анализируемой воды недостаточно для получения надежных результатов, а экстрагировать нефтепродукты из еще больших объемов воды, применяя обычную экстракционную аппаратуру, нецелесообразно. Выделить нефтепродукты можно одним из следующих способов.

1. Экстрагировать нефтепродукты из 10-20 л анализируемой воды, применяя один из приборов для непрерывной (в потоке) жидко-жидкостной экстракции. Высокий коэффициент распределения нефтепродуктов между органическим растворителем и водой позволяет пропускать через прибор воду с довольно большой скоростью.

2. Пропустить такой же объем анализируемой воды через адсорбент, извлекающий из нее нефтепродукты (активированный уголь, специальный сорбент типа «экоперль», «перлит» и т.п.), а затем провести десорбцию хлороформом или четыреххлористым углеродом. Ход проведения адсорбции - десорбции при использовании в качестве адсорбента активированного угля следующий. Уголь предварительно освобождают от веществ, изымаемых хлороформом. Для этого его обрабатывают в течение некоторого времени хлороформом в приборе Сокслета, завернув в фильтровальную бумагу, затем извлекают из прибора, высушивают на воздухе и прокаливают при температуре темно-красного каления. В бюретку высотой 25 см и диаметром около 1 см насыпают примерно 1,5 г активированного угля (слоем 12-13 см) и пропускают через эту колонку 10-20 л анализируемой воды со скоростью 0,4 л/ч (около 7 мл/мин).

Затем извлекают уголь из бюретки, помещают его на часовое стекло, размещая тонким слоем, и дают ему высохнуть на воздухе до постоянной массы (веса), после чего переносят в гильзу прибора Сокслета (или заворачивают в фильтровальную бумагу) и экстрагируют в этом приборе в течение 24 ч. Хлороформный экстракт обрабатывают, как описано в разделе 9.1.1.2.

9.1.2. Метод колоночной хроматографии с ИК-спектрофотометрическим окончанием

Метод основан на экстрагировании нефтепродуктов из воды четыреххлористым углеродом, хроматографическим отделении их от соединений других классов в колонке, заполненной активной окисью алюминия и последующем определении оптической плотности полученного раствора на инфракрасном спектрофотометре в интервале длин волн 2700-3100 см-1. Линейная зависимость между оптической плотностью и концентрацией нефтепродуктов сохраняется при содержании нефтепродуктов в пробе от 0 до 1 мг.

Минимальная определяемая концентрация 0,05-0,1 мг/л. Продолжительность анализа - 3,5 ч. На точность определения влияет чистота посуды и реактивов. Посуду предварительно следует вымыть четыреххлористым углеродом. Реактивы и растворитель должны быть очищены.

Поскольку нефтепродукты подвержены биохимическому окислению, они должны быть отэкстрагированы из воды сразу после отбора пробы. Экстракты хранятся 7-10 суток.

Аппаратура и оборудование:

1. Инфракрасный спектрофотометр типа UR-20, ИКС-14, ИКС-22, Specord-UR-71.

2. Кюветы с толщиной слоя 50 мм - 2 шт.

3. Аппарат для встряхивания жидкостей АВУ-1 или стеклянная мешалка.

4. Аппарат Сокслета вместимостью 250-500 мл.

5. Колонка хроматографическая со стеклянным пористым фильтром № 1 d = 1 см, L = 25 см - 6 шт.

6. Колонка для очистки CCl4 d = 5 см, L = 50 см.

7. Муфельная печь.

8. Сушильный шкаф.

9. Штативы - 6 шт.

10. Склянки с притертыми пробками или кранами и делительные воронки на 2 л - 6 шт.

11. Цилиндры мерные: 50 мл - 6 шт.; 10 мл - 6 шт.

12. Колбы мерные 100 мл - 6 шт., 50 мл - 6 шт.

13. Колбы конические с притертыми пробками 50 мл - 12 шт.

14. Пипетки 1 мл - 3 шт., 5 мл - 3 шт.

15. Часовые стекла d = 5 см - 6 шт.

Реактивы:

1. Окись алюминия Al2O3, безводная, ч.д.а.

Сорбент просеивают через сито 0,1 мм и очищают обработкой четыреххлористым углеродом в аппарате Сокслета в течение 14 ч. Перед употреблением реактив прокаливают при 600°С в течение 4 ч.

2. Четыреххлористый углерод ССl4, х.ч.

Проверяют чистоту каждой партии на поглощение в области длин волн 2700-3100 см-1. Для сравнения используют CCl4, предварительно высушенный безводным сульфатом натрия, перегнанный при температуре 76,7°С и пропущенный через колонку, наполненную прокаленной окисью алюминия. При наличии примесей всю партию очищают. Для этого к 1 л CCl4 добавляют около 10 г безводного сульфата натрия, декантируют, перегоняют, отбирая фракцию с температурой выкипания 76,7-76,8°С и пропускают через колонку с окисью алюминия.

3. Сернокислый натрий (Na2SO4) безводный, х. ч.

Перед употреблением высушивают при 120°С в течение 8 ч.

4. Изооктан C8H18, х. ч.

5. Гексадекан C16H34, х. ч.

6. Бензол C6H6, х. ч.

7. Стандартные растворы искусственной смеси углеводородов гексадекан-изооктан-бензол:

а) основной стандартный раствор. Отбирают пипеткой 3,75 мл гексадекана, 3,75 мл изооктана и 2,5 мл бензола. Смесь перемешивают, отбирают 1 мл и растворяют в четыреххлористом углероде в мерной колбе на 100 мл; 1 мл раствора содержит 7,6 мг нефтепродуктов (смеси углеводородов);

б) рабочий стандартный раствор: 0,5 мл основного раствора разбавляют четыреххлористым углеродом в мерной колбе на 100 мл. 1 мл полученного раствора содержит 0,038 мг нефтепродуктов.

8. Фильтровальная бумага.

9. Стеклянная вата. Вату очищают промыванием четыреххлористом углеродом.

Построение градуировочного графика.

В мерные колбы вместимостью 50 мл приливают 0; 6,6; 13,1; 19,7; 25,0 мл рабочего стандартного раствора искусственной смеси углеводородов в ССl4 и доводят объем до метки ССl4. Концентрации растворов соответственно равные 0; 0,005; 0,010; 0,0150; 0,0190 мг/мл (содержание в колбах соответственно: 0; 0,25; 0,50; 0,75; 0,95 мг). Измеряют оптическую плотность полученных растворов в кюветах с толщиной слоя 50 мм и строят градуировочный график, откладывая по оси абсцисс содержание нефтепродуктов в мг, а по оси ординат - соответствующую оптическую плотность.

Подготовка хроматографической колонки.

6 г безводной окиси алюминия помещают в стакан на 50 мл, приливают 10-15 мл CCl4, смесь перемешивают и переносят в колонку, кран которой при этом держат открытым. Несколько раз ополаскивают стакан ССl4 (примерно по 5 мл). Поверх окиси алюминия помещают кусочек стеклянной ваты для предотвращения взмучивания. Подготовленную колонку используют один раз.

Ход определения.

Пробу воды объемом 2 л помещают в делительную воронку, добавляют 25 мл ССl4 и смесь экстрагируют 30 минут, затем отстаивают 15-20 минут до полного разделения слоев. Слой четыреххлористого углерода сливают в коническую колбу с притертой пробкой. К экстракту добавляют 5 г безводного сульфата натрия и сушат его в течение 30 минут. Экстракт сливают через фильтр в другую колбу с притертой пробкой, не допуская попадания в него сульфата натрия. Колбу с сульфатом натрия и фильтр ополаскивают двумя порциями (по 2 мл) CCl4. Экстракт перемешивают и пропускают через колонку с окисью алюминия со скоростью 0,3 мл/мин. Колонка должна быть прикрыта часовым стеклом во избежание улетучивания углеводородов. Элюат собирают в мерный цилиндр, доводят объем до 50 мл четыреххлористым углеродом и измеряют оптическую плотность полученного раствора на инфракрасном спектрофотометре в интервале длин волн 2700-3100 см-1 в кюветах с толщиной слоя 50 мм. Одну кювету заполняют ССl4, предварительно пропущенным через коленку с окисью алюминия, другую - исследуемым раствором.

Содержание нефтепродуктов рассчитывают по формуле:

                                                                      (9.4)

где С - содержание нефтепродуктов, найденное по градуировочному графику, мг;

У - объем пробы, мл.

9.2. Тетраэтилсвинец

Метод основан на цветной реакции иона свинца с сульфарсазеном, в результате которой образуется окрашенное соединение. Интенсивность окраски пропорциональна содержанию свинца. Мешающее влияние ионов других металлов (Zn+2, Fe+3 и др.) устраняют добавлением «маскирующих» реагентов: железистосинеродистого калия и щавелевокислого аммония.

Метод включает в себя следующие операции:

- извлечение тетраэтилсвинца из сточной воды хлороформом (четыреххлористым углеродом, гексаном и т.п.);

- разрушение его иодом при нагревании с образованием йодистого свинца;

- сжигание или разложение органических примесей;

- перевод соли свинца в уксуснокислый свинец;

- реакция взаимодействия его в слабощелочной среде (рН = 8,0-9,0) с сульфарсазеном;

- определение интенсивности окраски полученного соединения фотоколориметрически или сравнением со шкалой стандартов.

Чувствительность метода - 0,002 мг тетраэтилсвинца в анализируемом объеме.

Аппаратура:

фотоэлектроколориметр с набором кювет;

муфельная печь;

колбы мерные с пришлифованной пробкой на 50, 100, 250, 500, 1000 мл;

пипетки градуированные и с одной меткой на 1, 2, 5, 10, 15, 20, 50 мл;

микробюретки и бюретки на 2,5; 25; 50 мл;

цилиндры измерительные вместимостью 25, 100, 250, 500, 1000 мл;

пробирки колориметрические с пришлифованной пробкой на 10 и 20 мл;

воронки делительные вместимостью 250, 500, 1000 мл;

чашки выпарительные на 100 мл;

эксикатор;

колба перегонная;

баня водяная на шесть гнезд;

воронки химические диаметром 30 и 60 мм;

фильтры беззольные «синяя лента» диаметром 50 мм и «белая лента» диаметром 70 мм.

Реактивы:

1. Аммоний уксуснокислый, х. ч., 3 % - ный водный раствор.

2. Аммоний щавелевокислый, х. ч., 5 % - ный водный раствор.

3. Дитизон (дифенилтиокарбазон), 0,01 % - 0,001 % - ный раствор в хлороформе или четыреххлористом углероде. Навеску 0,01 г дитизона растворяют в 100 мл хлороформа или четыреххлористого углерода. Для приготовления 0,001 % - ного раствора 10 мл полученного 0,01 % - ного раствора разбавляют растворителем до 100 мл. Растворы хранят в затемненной полиэтиленовой посуде на холоде. Срок хранения 0,01 % - ного раствора не более 3 недель.

4. Иод металлический, 5 % - ный раствор.

Навеску 40 г иода растирают в ступе с 7 г иодистого калия и 14 г окиси кальция и возгоняют при медленном нагревании в широкогорлой конической колбе на 250 мл, в которую вставлена на пробке пробирка с холодной водой. Пробирку периодически меняют, снимают с нее кристаллы иода концом стеклянной трубки. При смене пробирки колбу немного охлаждают. Возгонку прекращают, когда в колбе остается небольшое количество паров иода. Перекристаллизацию проводят 1-2 раза. Очищенный и перекристаллизованный иод собирают в бюксе, сушат в эксикаторе над едким калием (в течение ночи); 25 г осушенного иода растворяют в 300-400 мл ректификованного или перегнанного гидролизного спирта и доводят объем раствора до 500 мл спиртом.

5. Калий железистосинеродистый, свежеприготовленный 1%- ный раствор.

В дистиллированной воде растворяют 1 г железистосинеродистого калия K4Fe(CN)6×3H2O и доводят объем до 100 мл.

6. Калий иодистый.

7. Окись кальция. При отсутствии готовой окиси кальция прокаливают углекислый кальций в муфеле при температуре 650-700°С до появления щелочной среды при растворении полученной окиси кальция в воде.

8. Кислота соляная, х. ч., 0,1н. и 2,0н. растворы (фиксаналы).

9. Кислота соляная концентрированная, х. ч.

10. Кислота азотная концентрированная, х. ч.

11. Царская водка. Приготавливают перед применением путем смешения азотной и соляной концентрированных кислот в соотношении 1:3.

12. Кислота серная концентрированная, х. ч.

13. Натрий тетраборнокислый (бура), 0,05 молярный водный раствор.

В небольшом количестве свежепрокипяченной и охлажденной дистиллированной воды растворяют 19,07 г тетраборнокислого натрия (х. ч., ч. д. а. или перекристаллизованного) и доводят объем в мерной колбе до 1 л.

14. Сульфарсазен (плюмбон ИРЕА), 0,05 % - ный раствор в 0,05 молярном растворе тетраборнокислого натрия. В 100 мл 0,05 молярного раствора тетраборнокислого натрия растворяют 0,05 г сульфарсазена. Раствор должен храниться в затемненном месте не более двух недель.

15. Хлороформ или четыреххлористый углерод, х. ч. или ч. д. а.

16. Спирт этиловый ректификованный.

17. Вода дистиллированная.

18. Основной стандартный раствор азотнокислого свинца.

Навеску 1,0240 г азотнокислого свинца ч. д. а., перекристаллизованного и высушенного до постоянной массы при температуре 100-105°С, переносят в мерную колбу объемом 1 л, растворяют в небольшом количестве дистиллированной воды, добавляют одну-две капли концентрированной азотной кислоты (до растворения образовавшейся мути), доводят до метки дистиллированной водой и тщательно перемешивают содержимое колбы; 1 мл основного раствора соответствует 1 мг тетраэтилсвинца.

19. Рабочий стандартный раствор № 1: 5 мл основного стандартного раствора разбавляют в мерной колбе до объема 0,5 л раствором 3 % - ного уксуснокислого аммония; 1 мл полученного раствора соответствует 0,01 мг тетраэтилсвинца.

20. Рабочий стандартный раствор № 2: 10 мл основного стандартного раствора разбавляют в мерной колбе до объема 0,5 л раствором 3 % - ного уксуснокислого аммония; 1 мл полученного раствора соответствует 0,02 мг тетраэтилсвинца.

Рабочие стандартные растворы № 1 и № 2 готовят непосредственно перед приготовлением шкалы и построением градуировочного графика.

Приготовление шкалы стандартов и построение градуировочного графика.

В шесть колориметрических пробирок последовательно вносят из микробюретки 0,2; 0,5; 1,0; 1,5; 2,0; 3,0 мл рабочего стандартного раствора азотнокислого свинца № 1, а в седьмую - 2,0 мл рабочего стандартного раствора № 2. Это соответствует содержанию тетраэтилсвинца 0,002; 0,005; 0,010; 0,015; 0,020; 0,030; 0,040 мг. Объем раствора в пробирках доводят 3 % - ным уксуснокислым аммонием до 3 мл, добавляют в них 0,2 мл 0,1н. раствора соляной кислоты и доводят 0,05 молярным раствором тетраборнокислого натрия объем в пробирках примерно до 8,5 мл. Затем добавляют 0,2 мл свежеприготовленного 1 % - ного раствора железистосинеродистого калия, 0,3 мл 5 % - ного раствора щавелевокислого аммония, 0,5 мл 0,05 % - ного раствора сульфарсазена и доводят объем в пробирках до 10 мл раствором буры. После прибавления каждого раствора их содержимое перемешивают.

Одновременно со шкалой готовят контрольный растворнулевой»), в котором тетраэтилсвинец отсутствует. Для этого в пробирку вносят 3 мл 3 % - ного уксуснокислого аммония и добавляют все остальные растворы, как указано выше. Шкала сохраняется в течение суток.

При фотоколориметрическом определении через 20 мин измеряют оптическую плотность окрашенных растворов по отношению к контрольному, используя зеленый светофильтр (λ = 515 нм) и кюветы с толщиной исследуемого слоя 20 мм.

На основании полученных данных строят градуировочный график, откладывая по оси абсцисс содержание тетраэтилсвинца в стандартных растворах (мг), а по оси ординат - соответствующую им оптическую плотность.

Градуировочный график проверяют раз в два месяца, При смене реактивов, а также в случае ремонта фотоколориметра шкалу стандартов колориметрируют заново.

Подготовка к анализу.

Анализ проводится с тетраэтилсвинцом концентраций 10-3 - 10-6 г/л, поэтому необходимо тщательно очищать посуду от следов свинца и тетраэтилсвинца.

Чисто вымытую посуду заливают хромовой смесью (выпарительные чашки и колориметрические пробирки выдерживают не менее часа), промывают водой, содой, дистиллированной водой, сушат и проверяют на чистоту дитизоном. Для этого наливают 2-3 мл 0,001 % - ного раствора дитизона, ополаскивают им посуду, дают постоять 2 мин и окрашенный раствор сливают.

При изменении окраски посуду очищают дитизоном, пока его цвет не перестанет изменяться. После этого посуду промывают чистым растворителем (хлороформом или четыреххлористым углеродом) и дистиллированной водой.

Пробу сточной воды тщательно перемешивают. В зависимости от предполагаемого содержания тетраэтилсвинца (ТЭС) для анализа в делительную воронку берут объем воды, руководствуясь табл. 9.2.

Таблица 9.2

Содержание ТЭС, мг/л

Объем пробы сточной воды, мл

До 0,04

1000

От 0,04 до 0,1

500

От 0,1 до 1,0

200

От 1,0 до 5,0

100

Если сточная вода сильно загрязнена органическими примесями, в делительную воронку добавляют коагулянт - сернокислый алюминий из расчета 0,2-0,3 г/л.

Если при экстрагировании тетраэтилсвинца получается экстракт темно-желтого цвета, сточную воду перед экстрагированием обрабатывают 1 % - ным раствором едкого калия до рН = 10 (8-16 мл раствора на 1 л сточной воды, перемешивают и выдерживают в течение 10-20 мин.).

Ход определения.

К сточной воде в делительной воронке добавляют 25 мл хлороформа, энергично перемешивают в течение 3-5 мин и ставят на отстаивание до разделения слоев. После отстоя нижний слой (раствор тетраэтилсвинца в хлороформе) сливают через бумажный фильтр «белая лента» в мерную колбу вместимостью 100 мл. Экстрагирование повторяют еще 3 раза порциями хлороформа по 25 мл, фильтр промывают хлороформом. Профильтрованный экстракт и хлороформ от промывки фильтра собирают в ту же колбу, доводят объем до метки хлороформом, после чего тщательно перемешивают содержимое колбы.

При содержании тетраэтилсвинца менее 0,04 мг/л профильтрованный экстракт сливают в фарфоровую чашку. В остальных случаях экстракт из мерной колбы отбирают пипеткой с помощью резиновой груши и переносят в фарфоровые выпарительные чашки в следующих количествах; при содержании тетраэтилсвинца 0,04-0,1 мг/л по 50 мл в 2 чашки; 0,1-1,0 мг/л - по 20-30 мл в 3 чашки; 1,0-5,0 мг/л - по 10 мл в 3 чашки.

Анализируемый объем экстракта должен содержать 0,002-0,04 мг тетраэтилсвинца.

Для разложения тетраэтилсвинца к экстракту в фарфоровых чашках прибавляют по 4 мл 5 % - ного спиртового раствора иода; спустя 2-3 мин. устанавливают чашки на горячую водяную баню. При закипании экстракта добавляют еще по 2 мл 5 % - ного раствора иода и выпаривают содержимое чашек досуха.

Для разложения образовавшейся пленки органических примесей в каждую чашку добавляют по 1 мл свежеприготовленной царской водки, перемешивают, поворачивая чашку, а затем выпаривают содержимое чашек на закрытой электроплитке при температуре не выше 400°С, оставляя на дне чашки одну-две капли жидкости. В процессе анализа нужно следить, чтобы в чашки не попали примеси металлов. Для переноса чашек следует применять щипцы с резиновыми наконечниками.

Обработку царской водкой можно не проводить, если анализируется сточная вода, прошедшая очистные сооружения.

К остатку в каждой чашке приливают по 4 мл горячего 3 % - ного раствора уксуснокислого аммония, ставят чашки на керамическую электроплитку и, помешивая для растворения солей свинца, выпаривают их содержимое до 3-2,5 мл. После охлаждения раствор из чашек, не взмучивая осадка, переносят в градуированные колориметрические пробирки. Чашки дважды ополаскивают порциями по 2 мл 0,05 молярного раствора тетраборнокислого натрия, присоединяя промывной раствор к раствору в пробирках. Если раствор в фарфоровой чашке или пробирке мутный и содержит всплывшие частицы осадка, его фильтруют в градуированную пробирку через фильтр «синяя лента», помещенный в химическую воронку d = 30 мм и предварительно промытый 3 % - ным раствором уксуснокислого аммония. После фильтрации фильтр промывают из бюретки раствором тетраборнокислого натрия, сливая раствор в ту же градуированную пробирку.

Если анализируемая вода сильно загрязнена смесью нефтепродуктов, то после выпаривания хлороформного экстракта с раствором иода может образоваться остаток, плохо разрушаемый царской водкой и препятствующий растворению Pb+2. В этом случае остаток обрабатывают 1 мл концентрированной серной кислоты для окисления органических веществ, выпаривают досуха (до прекращения выделения белых паров) на керамической электроплитке, после чего сухой остаток осторожно прокаливают в муфеле при температуре 450-500°С во избежание улетучивания солей свинца до озоления остатка.

Остаток в чашках растворяют в уксуснокислом аммонии, как указывалось выше, промывают раствором тетраборнокислого натрия, собирая раствор в колориметрические пробирки.

В пробирки вносят из микробюретки по 0,2 мл 0,1н. раствора соляной кислоты, 0,05 молярного раствора тетраборнокислого натрия до объема 8,5 мл, добавляют по 0,2 мл свежеприготовленного 1 % - ного раствора железистосинеродистого калия, 0,3 мл 5 % - ного раствора щавелевокислого аммония, 0,5 мл 0,05 % - ного раствора сульфарсазена и доводят объем до 10 мл раствором тетраборнокислого натрия. После добавления каждого раствора содержимое пробирок перемешивают.

Одновременно готовят «нулевой» раствор. Для этого в градуированную пробирку вносят 3 мл 3 % - ного раствора уксуснокислого аммония и добавляют все остальные растворы, как указывалось выше.

Через 20 мин. определяют оптическую плотность исследуемых растворов на фотоэлектроколориметре в сравнении с «нулевым» раствором. По величине оптической плотности с помощью градуировочного графика определяют содержание тетраэтилсвинца в анализируемом объеме экстракта.

Одновременно с анализом сточной воды определяют «поправку» на реактивы. Для этого ставят «холостой опыт» - проводят три контрольных определения с объемом хлороформа, равным объему экстракта, отбираемого на анализ из мерной колбы.

За оптическую плотность в «холостом опыте» принимают среднеарифметическое из результатов трех определений. По градуировочному графику находят «поправку» на реактивы в миллиграммах тетраэтилсвинца.

При визуальном колориметрировании содержание тетраэтилсвинца определяют путем сравнения интенсивности окрашивания растворов исследуемых и «холостого опыта» со шкалой стандартов. Интенсивность окрашивания рассматривается сверху вниз на белом фоне.

Расчет.

Содержание тетраэтилсвинца в сточной воде (в мг/л) как при фотометрическом, так и при визуальном колориметрировании вычисляют по формуле:

                                                          (9.5)

где с - содержание тетраэтилсвинца в анализируемом объеме экстракта, в мг;

а - поправка на содержание свинца в реактивах, в мг;

У - объем сточной воды, взятой на анализ, в мл;

У1 - общий объем хлороформного экстракта, в мл;

У2 - объем экстракта, взятый для анализа, в мл;

1000 - коэффициент для пересчета на 1 л сточной воды.

Допустимое расхождение между результатами параллельных определений при содержании тетраэтилсвинца выше 0,01 мг/л не более 15 % от среднеарифметического результата, если анализ проводится с царской водкой или ускоренным способом (без обработки царской водкой или серной кислотой), и не более 20 %, если анализ проводится с обработкой серной кислотой и прокаливанием. При содержании тетраэтилсвинца 0,01 мг/л и менее оно не должно превышать 0,0025 мг/л.

9.3. Механические примеси (взвешенные вещества)

Определение заключается в отделении на фильтре взвешенных веществ, содержащихся в отмеренном объеме тщательно перемешанной пробы, и определении их массы после высушивания при 105°С.

Анализ следует, по возможности, проводить сразу же после отбора пробы, лишь в исключительных случаях применяя консервирование пробы: на 1 л сточной воды добавляют 2 мл хлороформа или 0,1 г окиси ртути. Фильтрование может осуществляться через различные пористые материалы: бумажные и мембранные фильтры, стеклянные фильтрующие пластинки. Поскольку размеры пор в этих материалах различны, в записи результатов анализа необходимо указывать, через какой фильтр проводилось фильтрование.

Ниже описывается определение взвешенных веществ фильтрованием через бумажный фильтр.

Реактивы и посуда.

1. Спиртобензольная смесь (1:1). Смешивают равные объемы этилового спирта (96 % - ного) и бензола (технического или чистого) и полученную смесь фильтруют.

2. Бумажные фильтры «белая лента». Каждый фильтр помещают предварительно в бюкс и высушивают с открытой крышкой в течение 2 ч при 105°С. Затем охлаждают в эксикаторе и, закрыв крышкой, взвешивают на аналитических весах. Высушивание проводят до постоянной массы.

3. Стеклянные бюксы с притертыми крышками.

4. Сушильный шкаф (105°С).

5. Химические стаканы, мерные цилиндры и пипетки, химические воронки диаметром 70-80 мм.

Ход определения.

Отмеряют такой объем тщательно перемешанной пробы, чтобы в нем было 100-250 мг взвешенных веществ (обычно 100-1000 мл), фильтруют через высушенный и предварительно взвешенный бумажный фильтр. Оставшийся на стенках стакана или колбы осадок смывают небольшой порцией фильтрата в воронку, через которую производят фильтрование.

Затем осадок на фильтре несколько раз промывают небольшими порциями спиртобензольной смеси, подогретой на водяной бане до 50°С, для полного удаления с фильтра следов нефтепродуктов., О полноте их удаления свидетельствует бесцветный промывной раствор и отсутствие жирных пятен по краям фильтра.

Промывной фильтр помещают в тот же бюкс, в котором его взвешивали до фильтрования, высушивают 2 ч при 105°С, охлаждают в эксикаторе и, закрыв бюкс крышкой, снова взвешивают. Высушивание, охлаждение и взвешивание повторяют до достижения постоянной массы.

Расчет.

Содержание взвешенных веществ в сточной воде в мг/л определяют по формуле

                                                      (9.6).

где а - масса бюкса с фильтром и осадком в г;

в - масса бюкса с фильтром без осадка в г;

У - объем сточной воды, взятой для анализа, в мл.

Результаты округляются с точностью до 1 мг/л, а если найденная величина больше 1000 мг/л, то до 10 мг/л.

9.4. Активная реакция рН

Под активной реакцией рН сточной воды подразумеваются активные кислотные и щелочные свойства, обусловленные концентрацией в воде ионов водорода Н+ и гидроксила ОН-. Величина рН равна отрицательному десятичному логарифму от концентрации водородных ионов.

Величину рН следует определять немедленно после отбора проб и доставки их в лабораторию, никакие способы консервирования проб недопустимы.

В сточных водах рН определяют электрометрическим способом, пользуясь стеклянным электродом. Метод основан на том, что при изменении рН на единицу потенциал стеклянного электрода изменяется при 25°С на 59,1 мВ, при 20°С - на 58,1 мВ.

Для измерения рН применяются специальные приборы - рН-метры (например, ЛП-5, МТ-58, ЛПУ-01 и др.), к которым прилагаются инструкции по их эксплуатации.

Стеклянные электроды этих приборов должны быть прокалиброваны по буферным растворам, имеющим определенные значения рН. Поскольку зависимость между потенциалом электрода и значением рН раствора, в который он погружен, линейна, для калибрования достаточно двух буферных растворов. Однако иногда наблюдаются отклонения от линейной зависимости, поэтому желательно сравнение с буферным раствором, рН которого наиболее близок к рН анализируемой сточной воды.

Буферные растворы хранят в сосудах из полиэтилена или стекла типа «пайрекс». Использование рН-метров для определения рН сточных вод требует особого внимания к чистоте обоих электродов, поскольку сточные воды часто содержат масла, нефтепродукты и им подобные вещества, покрывающие электроды пленками. Поэтому электроды после определения следует обтереть кусочком тонкой мягкой ткани, смоченной эфиром или раствором синтетического моющего вещества, затем промыть несколько раз дистиллированной водой, вытирая после каждого промывания таким же куском ткани для удаления моющего вещества. При необходимости электрод регенерируют, погружая его на 2 ч в 2% - ный раствор соляной кислоты, и тщательно промывают дистиллированной водой. В нерабочее время электрод следует хранить в дистиллированной воде. Ориентировочно рН в пределах 1-12 можно определить с помощью универсальной индикаторной бумаги. При смачивании анализируемой водой полоска бумага меняет цвет, по которому с помощью прилагаемой шкалы определяется рН. Конкретные указания по пользованию той или иной бумагой обычно даются на ее упаковке.

Ниже приводятся способы приготовления нескольких буферных растворов, имеющих различные значения рН.

Буферный раствор, рН = 1,68 при 20°С.

Растворяют 12,710 г гидрооксалата калия КH3(C2O4)2×2H2O ч. д. а. в свежепрокипяченной и охлажденной дистиллированной воде и доводят объем до 1 л при 20°С.

Буферный раствор, рН = 4,00 при 20°С (4,01 при 25°С).

Растворяют 10,211 г высушенного при 110°С гидрофталата калия KHC8Н4O4 ч. д. а. в свежепрокипяченной и охлажденной дистиллированной воде и доводят объем до 1 л при 20°С.

Буферный раствор, рН = 6,88 при 20°С (6,86 при 25°С).

Растворяют 3,40 г безводного дигидрофосфата калия KH2PO4 и 3,55 г безводного гидрофосфата натрия Na2HPO4, предварительно высушенных при 110-130°С, в свежепрокипяченной и охлажденной дистиллированной воде и доводят объем при 20°С до 1 л»

Буферный раствор, рН = 9,23 при 20°С (9,18 при 25°С).

Растворяют 3,814 г Na2 В4О7×10Н2О ч. д. а. сохранявшегося продолжительное время над расплывающимися кристаллами бромида натрия, в свежепрокипяченной и охлажденной дистиллированной воде и доводят объем при 20°С до 1 л.

Буферный раствор, рН = 11,0 при 20°С.

Готовят два раствора:

1 - растворяют 12,367 г. борной кислоты H3BO3 в свежепрокипяченной и охлажденной дистиллированной воде, приливают 100 мл 1н. раствора едкого натра NaOH и разбавляют до I л;

2 - готовят точно 0,1н. раствор едкого натра NaOH. Затем смешивают 501 мл первого раствора с 499 мл второго.

9.5. Щелочность (общая, бикарбонатная, карбонатная и гидратная)

Щелочностью называют содержание в воде веществ, реагирующих с сильными кислотами.

К веществам, обусловливающим щелочность воды, относятся:

сильные основания, полностью диссоциирующие в разбавленных растворах с образованием гидроксил-ионов: едкий натрий, едкое кали и др.;

слабые основания, такие как аммиак;

анионы слабых кислот:  и т.д.;

анионы гуминовых кислот HS, S-2 и т.д., которые гидролизируются с образованием гидроксил-ионов.

Общая щелочность определяется титрованием воды титрованным раствором сильной кислоты в присутствии индикатора, метилоранжа (до значений рН « 4) и выражается в мг-экв кислоты, необходимой для нейтрализации воды.

Для раздельного определения гидратов, карбонатов и бикарбонатов в воде применяется последовательное титрование с двумя индикаторами: фенолфталеином, дающим переход окраски при рН = 8,2-I0, и метилоранжем, меняющим окраску при рН = 3,0-4,4.

С фенолфталеиновой кислотой титруются гидраты и карбонаты (до бикарбонатов), реакции (9,7) и (9,8).

С метилоранжем титруются бикарбонаты, реакция (9,9; в серо-водородных водах вместе с  титруются гидросульфиды Н-.

NaOH + HCl = NaCl + H2O;                                                 (9.7)

Na2CO3 + HCl = NaHCO3 + NaCl;                                       (9.8)

NaHCO3 + HCl = NaCl + H2O + CO2.                                  (9.9)

Щелочность следует определять тотчас после взятие пробы. Если это невозможно, то отбирают полную бутыль и определяют щелочность не позже чем через 24 ч.

При визуальном титровании определению может мешать интенсивная окраска пробы. Ее устраняют либо разбавлением пробы дистиллированной водой, либо прибавлением активированного угля и фильтрованием пробы перед анализом. Мутные пробы фильтруют через бумажный или стеклянный фильтр.

Мешает определению также свободный хлор, так как он обесцвечивает индикатор. Хлор удаляют прибавлением эквивалентного количества 0,1н. раствора тиосульфата натрия (2,5 г Na2S2O3×5H2O растворяют в дистиллированной воде и разбавляют до 100 мл).

Перечисленные мешающие влияния не сказываются при электрометрическом титровании.

Высокие концентрации свободной СО2 мешают правильному определению перехода окраски при титровании так же, как и CO2, выделяющаяся при высоком содержании карбонатов. Поэтому при более точном определении щелочности предварительно вытесняют CO2, продувая воздух через воду.

Реактивы.

1. Фенолфталеин, 0,1 % - ный раствор (1 г на 1 л 60 % - ного этилового спирта).

2. Метилоранж, 0,1 % - ный раствор (1 г в 1 л воды).

3. Соляная кислота, 0,1н. раствор. Готовят из фиксаналов или из концентрированной соляной кислоты. Для этого 8,2 мл химически чистой соляной кислоты плотностью 1,19 г/см3 помещают в мерную колбу объемом 1 л и доводят до метки дистиллированной водой.

Соляная кислота может быть заменена серной. Для приготовления 0,1н. раствора серной кислоты 2,8 мл химически чистой серной кислоты плотностью 1,84 г/см3 вливают в мерную колбу объемом 1 л с дистиллированной водой и доливают водой до метки. Поправочный коэффициент 0,1н. растворов кислот устанавливают по буре.

В мерной колбе в небольшом количестве дистиллированной воды растворяют 1,9072 г дважды перекристаллизованной и высушенной буры и доводят объем до 100 мл. Затем берут пипеткой 25 мл раствора буры, добавляют две-три капли метилоранжа и титруют 0,1н. раствором соляной (серной) кислоты до перехода окраски из желтой в бледно-розовую.

                                                                                (9.10)

где п - число миллилитров 0,1н. HCl (или H2S04), пошедшей на титрование раствора буры.

Перекристаллизация буры

Кристаллическую буру растворяют в дистиллированной воде при температуре не выше 60°С до получения насыщенного раствора. В 100 мл воды растворяют следующее количество буры: при 0°С - 1,4 г, при 15°С - 6 г, при 50°С - 27 г. Следовательно, при охлаждении 100 мл насыщенного раствора буры должно выкристаллизоваться около 20 г Na2B4O7×10H2O. Горячий раствор фильтруют через бумажный складчатый фильтр, поместив под воронкой небольшую фарфоровую чашку, охлаждаемую холодной водой или снегом. Во время фильтрации раствор в чашке непрерывно перемешивают стеклянной палочкой. Выкристаллизовавшийся тетраборат натрия отфильтровывают, отжимают между листами чистой фильтровальной бумаги, рассыпают на фильтровальной бумаге и высушивают на воздухе в течение двух-трех дней.

Ход определения.

В коническую колбу емкостью 250 мл переносят пипеткой 100 мл исследуемой профильтрованной воды, добавляют 5 капель индикатора фенолфталеина и пробу титруют 0,1н. раствором соляной кислоты до обесцвечивания малиновой окраски. Затем в ту же пробу добавляют две-три капли индикатора метилоранжа и продолжают титровать 0,1н. раствором соляной кислоты до перехода окраски из желтой в золотисто-оранжевую. Записывают объем 0,1н. соляной кислоты, пошедшей на титрование с фенолфталеином, и общий объем 0,1н. соляной кислоты, пошедшей на титрование с фенолфталеином и метилоранжем.

Примечание. При анализе проб с высокой щелочностью необходимый объем пробы помещают в коническую колбу для титрования и доводят объем до 100 мл дистиллированной водой. Если при титровании исследуемой воды с небольшой щелочностью расход 0,1н. раствора соляной кислоты окажется менее 0,4 мл, то отбирают новую порцию анализируемой воды и титрование повторяют, используя при этом 0,01н. раствор соляной кислоты.

Допустимое расхождение между результатами двух параллельных определений составляет 0,1 мг-экв/л.

Расчет.

Общую щелочность определяют по формуле

 или                                         (9.11)

                                          (9.12)

где Т - общий объем раствора соляной кислоты, пошедшей на титрование по фенолфталеину и метилоранжу, в мл;

H - нормальность раствора;

К - поправочный коэффициент для приведения раствора серной или соляной кислот к данной нормальности;

У - объем исследуемой воды, взятой для анализа, в мл;

40 - эквивалентная масса щелочи (NaOH).

Для расчета гидратной, карбонатной и бикарбонатной щелочности воды целесообразно пользоваться табл. 9.3.

Таблица 9.3

Показатели

Гидраты

Карбонаты

Бикарбонаты

Р = 0

Нет

Нет

Т

Р < 1/2Т

Нет

Т - 2Р

Р = 1/2Т

Нет

Нет

Р> 1/2Т

2Р - Т

2(Т - Р)

Нет

Р = Т

Т

Нет

Heт

Р - объем 0,1н. соляной кислоты, пошедшей на титрование по фенолфталеину, в мл.

Т - объем 0,1н. соляной кислоты, пошедшей на титрование по фенолфталеину и метилоранжу, в мл.

Пример расчета.

При титровании 100 мл пробы израсходовано по фенолфталеину 2,0 мл 0,1н. НСl, по метилоранжу - 3,5 мл 0,1н. HСl, т.e. Р = 2 мл, Т = 5,5 мл или Р < 1/2 Т.

Из таблицы находим, что гидратов в анализируемой воде нет, содержание карбонатов

содержание бикарбонатов

Общая щелочность

9.6. Марганец

Определение основано на количественном окислении ионов марганца (II) до перманганат-ионов в азотнокислой среде действием персульфата аммония в присутствии катализатора - ионов серебра.

Метод дает возможность определять марганец в концентрациях от 0,05 до 5 мг/л. При большей или меньшей концентрации марганца в пробе ее соответственно разбавляют или концентрируют упариванием.

Мешают определению хлорид-ионы, большие количества органических веществ и железо, если его концентрация превышает 5 мг/л.

Для устранения мешающего влияния хлорид-ионов, если концентрация их не превышает 300 мг/л, рекомендуется вводить 0,1н. раствор нитрата ртути (II) в эквивалентном содержанию хлорид-ионов количестве и сверх того еще 2 мл. При более высоком содержании хлорид-ионов, а также при большом количестве органических веществ в пробе (ХПК больше 16 мг/л) следует прибавить в пробу по 5 мл концентрированной серной кислоты и концентрированной азотной кислоты, выпарить в фарфоровой чашке до появления паров серной кислоты и по охлаждении растворить остаток в 5 мл азотной кислоты, добавляя дистиллированную воду до 100 мл.

При меньшем содержании органических веществ, чем указано выше, можно ограничиться кипячением пробы в течение 5-10 мин., добавив 10 мл концентрированной азотной кислоты на 100 мл пробы.

Мешающее влияние железа устраняется добавлением в пробу 1 мл концентрированной фосфорной кислоты до окисления персульфатом.

Воду, содержащую марганец, консервируют добавлением 5 мл концентрированной азотной кислоты на 1 л пробы.

Реактивы.

1. Азотная кислота, пл. 1,4 г/см3, ч. д. а.

2. Серная кислота, пл. 1,84 г/см3, ч. д. а.

3. Фосфорная кислота, пл. 1,7 г/см3, ч. д. а.

4. Нитрат ртути (II), 0,1н. раствор. Растворяют 17,131 г Нg (NO3)2H2O в дистиллированной воде, смочив сначала 1 мл концентрированной азотной кислоты, и разбавляют до 1 л. 1 мл полученного раствора эквивалентен 3,54 мг хлорид-ионов.

5. Персульфат аммония, раствор. Растворяют 20 г персульфата аммония (NH4)2S2O8 ч. д. а. в 80 мл дистиллированной воды.

6. Нитрат серебра, 0,1н. раствор. Растворяют 16,9874 г AgNO3 ч. д. а. в дистиллированной воде и разбавляют до 1 л.

7. Перманганат калия, 0,1н. раствор.

8. Перманганат калия, стандартный раствор. Приготовляют непосредственно перед употреблением. В мерную колбу вместимостью 1 л наливают, пользуясь бюреткой, 9,1 мл 0,1н. раствора перманганата, разбавляют до метки дважды дистиллированной (с добавлением KМnО4) водой и перемешивают. 1 мл полученного раствора содержит 0,01 мг (10 мкг) марганца в виде перманганат-ионов.

Построение градуировочного графика.

В мерные колбы вместимостью 100 мл отмеривают 0,5; 1,0; 2,0; 5,0; ... 50 мл стандартного раствора перманганата, разбавляют дважды перегнанной дистиллированной водой до меток и перемешивают.

Концентрации полученных растворов будут равны соответственно 0,05; 0,10; 0,20; ... 5,0 мг/л марганца. Оптическую плотность полученных растворов измеряют в кювете с толщиной слоя 5 см при λ = 530 нм по отношению к дистиллированной воде и строят график в координатах; концентрация марганца - оптическая плотность.

Ход определения.

К 100 мл пробы, если надо предварительно разбавленной или упаренной, приливают 3 мл концентрированной азотной кислоты и такой объем 0,1н. раствора нитрата ртути (II), чтобы он был эквивалентен содержанию хлорид-ионов во взятой пробе, и сверх того еще 2 мл. Добавляют, если надо (см. выше), фосфорную кислоту, нагревают до кипения, прибавляют 5 мл раствора персульфата аммония, 2 капли раствора нитрата серебра и кипятят 5 мин.

По охлаждении раствора его переносят в мерную колбу вместимостью 100-200 мл (в зависимости от объема раствора после кипячения), разбавляют дважды перегнанной дистиллированной водой до метки и перемешивают.

Оптическую плотность полученного раствора измеряют в кювете с толщиной слоя 5 см при λ = 530 нм по отношению к дистиллированной воде и рассчитывают концентрацию марганца по градуировочному графику.

Расчет.

Содержание марганца (X) в мг/л находят по формуле:

                                                                           (9.13)

где С - концентрация марганца в конечном растворе, найденная по градуировочному графику, мг/л;

У - объем пробы, взятой для анализа, приведенный к 100 мл;

У1 - объем раствора перед измерением оптической плотности, мл.

9.7. Синтетические поверхностно-активные вещества (СПАВ)

9.7.1. Анионоактивные СПАВ

Метод основан на том, что анионоактивные СПАВ образуют с метиленовой синей комплексные ассоциаты, растворимые в хлороформе с образованием синих растворов. Сама метиленовая синяя в хлороформе не растворяется. Экстракцию указанного комплексного соединения хлороформом проводят сначала в щелочной среде (буферный раствор, рН = 10), а затем соединенные хлороформные экстракты промывают кислым раствором метиленовой синей. Таким двойным экстрагированием устраняется мешающее действие хлоридов, нитратов, роданидов и белков.

Определению мешают сульфиды, восстанавливающие метиленовую синюю, но их влияние может быть исключено предварительным окислением перекисью водорода (добавляют 10 мл фосфатного буферного раствора, 2 мл 20 % - го раствора перекиси водорода и выдерживают пробу 5 мин).

Реактивы.

1. Фосфатный буферный раствор. Растворяют I6,3308 г двузамещенного фосфата калия (безводного), ч. д. а, в 1200 мл дистиллированной воды; 5,04 г едкого натра, х. ч, растворяют в 630 мл дистиллированной воды. Оба раствора смешивают.

2. Метиленовая синяя. Нейтральный раствор. Растворяют 0,35 г метиленовой синей в дистиллированной воде и доводят объем той же водой до 1 л.

Кислый раствор. Растворяют 0,35 г метиленовой синей в 500 мл дистиллированной воды, прибавляют 6,5 мл концентрированной серной кислоты (х. ч. или ч. д. а.) и доводят объем дистиллированной водой до 1 л.

3. Хлороформ, ч. д. а.

4. Перекись водорода, ч. д. а., 20 % - ный раствор.

5. Стандартный раствор определяемого моющего вещества (лаурилсульфоната натрия, препарата «Новость» и т.п.). Растворяют 0,100 г определяемого моющего вещества в дистиллированной воде и разбавляют раствор до 1 л. Отобрав 10 мл раствора, разбавляют его дистиллированной водой до 100 мл. В 1 мл полученного разбавленного раствора будет содержаться 0,01 мг моющего вещества.

Ход определения.

Отбирают такой объем анализируемой сточной воды, чтобы в нем содержалось от 20 до 300 мкг (0,02 - 0,3 мг) определяемого моющего вещества. Если в 100 мл сточной воды присутствует менее 20 мкг моющего вещества, отбирают соответственно больший ее объем и упаривают до объема менее 100 мл.

Отобранную порцию пробы переносят в делительную воронку вместимостью 200-250 мл, разбавляют дистиллированной водой до 100 мл, прибавляют 10 мл фосфатного буферного раствора, 5 мл нейтрального раствора метиленовой синей и 15 мл хлороформа, осторожно взбалтывают в течение 1 мин и дают постоять 1 мин для расслоения жидкости. Затем сливают слой хлороформа в другую делительную воронку такой же вместимости, в которую предварительно наливают 110 мл дистиллированной воды и 5 мл кислого раствора метиленовой синей.

Содержимое второй воронки взбалтывают так же, как и содержимое первой, дают жидкости расслоиться и сливают нижний хлороформный слой через маленькую воронку, в которую предварительно помещают тампон ваты, пропитанной хлороформом, в мерную колбу вместимостью 50 мл.

Затем в первую воронку наливают еще 10 мл хлороформа и повторяют описанные выше операции. Экстракцию проводят еще один раз порцией хлороформа 10 мл и один раз - 5 мл. Всего в мерной колбе должно собраться около 40 мл хлороформных экстрактов. Доливают содержимое колбы до метки хлороформом и перемешивают. Окрашенный хлороформный раствор переносят в кювету фотоколориметра с толщиной слоя 3 см и измеряют его оптическую плотность, поместив во вторую кювету раствор холостого опыта, для которого берут 100 мл дистиллированной воды. Измерение проводят с красными светофильтрами (λ = 650 нм). Результат определения находят по градуировочному графику, для построения которого отбирают порции: 2; 5; 10; 15; ... 30 мл стандартного раствора моющего вещества, разбавляют каждую порцию дистиллированной водой до 100 мл и продолжают, как указано в ходе анализа.

Загрязненную метиленовой синей посуду промывают разбавленной азотной кислотой, потом водой.

Расчет.

Содержание СПАВ (Сх) в мг/л находят по формуле:

                                                                        (9.14)

где С - содержание СПАВ, найденное по градуировочному графику, мг;

У - объем анализируемой пробы, мл.

9.7.2. Неионогенные СПАВ (ОП-7, ОП-10 и т.п.)

9.7.2.1. Определение с реактивом Несслера

Метод предназначен для анализа вод с содержанием неионогенных СПАВ от 0,2 до 3,0 мг/л.

Определение основано на взаимодействии СПАВ с реактивом Несслера в кислой среде, сопровождающемся образованием нерастворимого комплекса.

Определению мешают анионоактивные вещества, нитриты, белки, сероводород. Для устранения мешающего влияния пробу воды пропускают через колонку с анионитом ЭДЭ-10П (длина колонки 10-см; диаметр - 1 см) в CI-форме со скоростью около 1 мл/мин.

Белки при концентрации более 2 мг/л удаляют осаждением сульфатом цинка. Для этого к 200 мл пробы, помещенной в стакан на 250 мл, приливают 5 мл 5 % - ного раствора сульфата цинка и после перемешивания добавляют 1,25 мл 5 % - ного раствора едкого натра. После осаждения осадка гидроокиси цинка и осветления раствора приливают 2-3 капли едкого натра. Осторожно отбирают пипеткой 50 мл прозрачного раствора над осадком для определения СПАВ.

Реактивы.

1. Реактив Несслера, ч. д. а.

2. Азотная кислота, х. ч., концентрированная.

3. Сульфат цинка, 5 % - ный раствор. Растворяют 8,9 г х. ч. в дистиллированной воде и доводят объем до 100 мл.

4. Едкий натр, 5 % - ный раствор. Растворяют 5 г NaOH х. ч. в 95 мл дистиллированной воды.

5. Едкий натр, 1н. раствор. Растворяют 40 г NaOH х. ч. в 1 л дистиллированной воды.

6. Анионит ЭДЭ-10П.

7. Соляная кислота, 1н. раствор. Растворяют 8,3 мл HCl, х. ч. (плотность 1,19 г/см3) дистиллированной водой до 1 л.

8. Основной стандартный раствор. В мерной колбе вместимостью 1 л растворяют 3 г сольвасола 0 (лауриловый спирт с 20 молекулами окиси этилена на одну молекулу спирта) или другого неионогенного СПАВ, дистиллированной водой и доводят объем до 1 л.

9. Рабочий стандартный раствор. 1 мл основного раствора разбавляют дистиллированной водой до 1 л в мерной колбе.

Построение градуировочного графика.

В мерные колбы вместимостью 100 мл наливают 0,0; 5,0; 10,0; 30,0; 50,0; 100,0 мл рабочего стандартного раствора и доводят объем до метки дистиллированной водой. Из каждой колбы отбирают по 50 мл и переносят в стаканы на 100 мл. Содержание СПАВ в стаканах соответственно: 0,0; 7,5; 15,0; 45,0; 75,0; 150,0 мкг (0; 0,0075; 0,015; 0,045; 0,075; 0,150 мг). Приливают в стаканы по 0,6 мл концентрированной азотной кислоты, смесь перемешивают, прибавляют по 1 мл реактива Несслера, снова перемешивают и через 1 ч измеряют оптическую плотность при зеленом светофильтре λ = 510 нм в кюветах с толщиной слоя 3 см в сравнении с дистиллированной водой. Строят график в системе координат: оптическая плотность - содержание СПАВ.

Ход определения.

В стакан вместимостью 100 мл наливают 50 мл анализируемой сточной воды, прибавляют 0,6 мл концентрированной азотной кислоты и перемешивают. Приливают 1 мл реактива Несслера, снова перемешивают и оставляют на 1 ч. Определяют оптическую плотность, как при построении градуировочного графика, и находят содержание СПАВ по формуле:

                                                                        (9.15)

где С - содержание СПАД, определенное по графику, мг;

У - объем анализируемой пробы сточной воды, мл.

9.7.2.2. Колориметрическое определение с роданокобальтатом

Метод основан на образовании продуктов присоединения к неионогенным препаратам ионов роданокобальтата. Образующийся продукт растворяется в хлороформе, при этом раствор окрашивается в синий цвет. Сам применяемый реактив, роданокобальтат аммония в хлороформе не растворим.

Метод наиболее приемлем для определения веществ с молекулярным весом 400-1000, несколько менее - для веществ с молекулярным весом 300-400 и 1000-1500.

Определению мешают анионоактивные вещества в количествах, превышающих 0,75 мг во взятой для анализа порции (5 мл) сточной воды или раствора, полученного после выпаривания пробы досуха и растворения сухого остатка. Влияние их устраняется предварительным пропусканием анализируемой воды через анионит, как описывалось выше. Мешают определению также соли четырехзамещенных аммониевых оснований (например, цетилтриметиламмонийхлорид), являющиеся катионоактивными веществами. Их можно предварительно удалить подщелачиванием пробы и экстракцией эфиром.

Чувствительность реакции невелика, но, поскольку определяемые вещества нелетучи, возможно предварительное концентрирование выпариванием анализируемого раствора досуха и растворением остатка в спирте и воде.

Реактивы.

1. Роданокобальтат аммония. Растворяют 15 г нитрата кобальта Со(NO3)2×6H2O ч. д. а. и 100 г роданида аммония ч. д. а. в дистиллированной воде и доводят объем той же водой до 500 мл.

2. Хлороформ, ч. д. а.

3. Стандартный раствор определяемого моющего вещества. Растворяют 1 г вещества в дистиллированной воде и разбавляют раствор до 1 л. В 1 мл полученного раствора содержится 1 мг определяемого вещества.

4. Этиловый спирт.

Построение градуировочного графика.

Отбирают 0,0; 0,5; 1,0 ... 5,0 мл стандартного раствора определяемого вещества, разбавляют каждую порцию до 5 мл дистиллированной водой и продолжают, как описано в ходе определения.

Ход определения.

Если концентрация определяемого вещества выше 50 мг/л, отбирают такой объем анализируемой воды, чтобы в нем содержалось 0,25-6,0 мг этого вещества, и разбавляют дистиллированной водой до 5 мл. Если концентрация определяемого вещества ниже 50 мг/л, отбирают такой объем, чтобы содержание определяемого вещества было 0,25-6,0 мг, и выпаривают в фарфоровой чашке досуха. Остаток обрабатывают 1 мл этилового спирта, обмывая им всю внутреннюю поверхность чашки, и смывают в делительную воронку, используя для этого 4-5 мл дистиллированной воды.

В делительную воронку вместимостью 50 мл наливают 20 мл раствора роданокобальтата аммония, приведенного к температуре 15-20°С, прибавляют 5 мл первоначальной или предварительно разбавленной сточной воды или раствора, полученного после выпаривания сточной воды досуха и растворения остатка в спирте и воде.

Применяемый реактив имеет pH = 3,0 и обладает буферным свойством. Поскольку его смешивают с анализируемым раствором в отношении 4:1, рН полученного раствора может колебаться в довольно широких пределах.

Содержимое воронки взбалтывают 1 мин и дают постоять 5 мин. Прибавляют 4 мл хлороформа, взбалтывают 1 мин и оставляют до расслоения жидкости. Слой хлороформа сливают через маленькую воронку, в которую предварительно вкладывают тампон ваты, пропитанной хлороформом, в калиброванную пробирку вместимостью 10 мл.

Извлечение повторяют еще одной порцией хлороформа 4 мл и третьей порцией 2 мл, собирая хлороформные экстракты в ту же пробирку. Опускают пробирку на пять минут в водяную баню (20°С) и, если надо, доливают до метки хлороформом и перемешиваю.

Полученный раствор переносят в кювету фотоколориметра с толщиной слоя 3 см и измеряют оптическую плотность, поместив в другую кювету прибора чистый хлороформ. Измерение ведут с оранжевыми светофильтрами (λ = 610 нм). Результат определения находят по градуировочному графику и рассчитывают по формуле:

                                                                      (9.16)

где С - содержание СПАВ в анализируемом объеме воды, найденное по графику, мг;

У - объем анализируемой пробы, мл.

Определение в присутствии анионоактивных веществ.

Если содержание анионоактивных веществ таково, что в полученных по ходу определения 5 мл раствора количество их превысит 0,75 мг, анализируемую воду предварительно пропускают через анионит средней основности (например, ЭДЭ-10П) в Сl-форме и промывают анионит сначала 5-10 мл воды, потом 2-3 мл спирта и снова 20-30 мл воды, обмывая при этом стенки колонки с самого верха. При расчете результата определения учитывают полученное разбавление.

9.7.2.3. Колориметрическое определение с фосфоровольфраматом

Неионогенные моющие вещества осаждаются из раствора в виде комплексного соединения бария, вольфрамофосфата и моющего вещества. После отделения жидкости центрифугированием определяют колориметрически вольфрам в осадке добавлением гидрохинона в среде серной кислоты.

Без изменения объема пробы можно, обработав 10 мл пробы, определить l-25 мг неионогенного моющего вещества в 1 л.

Определению мешают сульфаты при высоком их содержании.

Мешающее влияние сульфатов незначительно, если концентрация их ниже 200 мг/л; пробы с большим содержанием сульфатов перед анализом разбавляют.

В присутствии большого количества белков их осаждают с гидроокисью цинка. Так как осадок уносит с собой и часть моющих веществ, то применяется метод стандартной добавки (см. ниже). При анализе сильно загрязненных сточных вод получаемые результаты являются только ориентировочными.

Реактивы.

1. Хлористоводородная кислота, ч. д. а., разбавленная (1:1).

2. Хлорид бария, 10 % - ный раствор. Растворяют 10 г ВаСl2×2Н2О ч. д. а. в 100 мл прокипяченной дистиллированной воды.

3. Фосфорновольфрамовая кислота, 2 %-ный раствор. Растворяют 2 г фосфорновольфрамовой кислоты ч. д. а. в 100 мл дистиллированной воды.

4. Серная кислота ч. д. а., концентрированная.

5. Гидрохинон, 5 % - ный раствор в концентрированной серной кислоте. Растворяют 5 г гидрохинона ч. д. а. в 100 мл концентрированной серной кислоты.

6. Сульфат цинка ч. д. а., 5 % - ный раствор.

7. Гидроокись бария ч. д. а., 5 % - ный раствор.

8. Неионогенное моющее вещество, принимаемое за стандартное, в расчете на которое дается результат определения.

Основной раствор. Растворяют 0,25 г вещества в дистиллированной воде и разбавляют до 1 л. Применяют всегда свежеприготовленный раствор; 1 мл раствора содержит 0,25 мг стандартного вещества.

Рабочий раствор. Разбавляют 100 мл основного раствора дистиллированной водой до 1 л. Применяют всегда свежеприготовленный раствор; 1 мл раствора содержит 0,025 мг стандартного вещества.

Построение градуировочного графика.

В ряд центрифужных пробирок помещают 0; 1,0; 2,0; 3,0; 5,0; 7,0; 10,0 мл стандартного рабочего раствора и доливают до 10 мл дистиллированной водой. Эти растворы соответствуют концентрациям 0; 2,5; 5,0 ... 25,0 мг неионогенного моющего вещества в 1 л. Растворы обрабатывают, как пробу, вводят поправку на холостой опыт и строят график в координатах: оптическая плотность - концентрация моющих веществ.

Ход определения.

В центрифужную пробирку вместимостью 20-25 мл к 10 мл первоначальной, разбавленной или полученной упариванием концентрированной пробы, которая содержит 0,02-0,25 мг моющих веществ, прибавляют 2 капли хлористоводородной кислоты, 1 мл раствора хлорида бария и 1 мл раствора фосфорновольфрамовой кислоты. Перемешав, нагревают 10-15 мин на водяной бане.

Стенки пробирки ополаскивают дистиллированной водой, чтобы перевести прилипшие к ним частицы осадка в раствор, центрифугируют несколько минут при 2500 об/мин.

Жидкость над осадком отсасывают пипеткой с оттянутым тонким капилляром (пипетку можно подсоединить к вакуум-насосу). Потом осадок размешивают в 2 мл горячей дистиллированной воды, опять центрифугируют, снова отсасывают жидкость и таким же способом промывают еще раз.

Промытый осадок растворяют на холоду в 2-3 мл концентрированной серной кислоты. Растворение ускорится при умеренном встряхивании или перемешивании стеклянной палочкой. Осадок прилипает к стенкам пробирки и к стеклянной палочке. Растворение его в серной кислоте происходит с трудом. После полного растворения осадка прибавляют 1 мл раствора гидрохинона, перемешав, доливают концентрированной серной кислотой до 10 мл, опять перемешивают, переносят в сухую кювету фотоколориметра или спектрофотометра с толщиной слоя жидкости 0,5 см, спустя 15 мин измеряют оптическую плотность при λ = 500 нм и из полученного значения вычитают значение оптической плотности, полученное для холостого опыта с дистиллированной водой, и по градуировочному графику находят содержание неионогенных моющих веществ.

Расчет.

Содержание неионогенных моющих веществ Сх в расчете на вещество, принятое за стандартное, в мг/л вычисляют по формуле:

                                                                          (9.17)

где С - концентрация неионогенного моющего вещества, найденная по графику, мг/л;

У - объем первоначальной пробы, взятой для анализа, мл;

10 - объем раствора, взятый для определения, мл.

Определение в сточных водах с высоким содержанием белков.

В два химических стакана наливают по 100 мл пробы, содержащей 0,1-1,5 мг моющих веществ. В первый стакан добавляют 4 мл основного стандартного раствора моющего вещества то соответствует 1 мг моющего вещества). Во второй стакан прибавляют 4 мл дистиллированной воды. В оба стакана прибавляют по 5 мл раствора сульфата цинка, перемешивают и осаждают гидроокись цинка прибавлением раствора гидроокиси бария. В каждый стакан прибавляют одинаковое количество гидрата окиси бария и дают постоять, пока осадки не соберутся на дне стаканов. После осветления из обоих стаканов отбирают по 10 мл раствора и определяют моющие вещества, как описано выше.

Содержание неионогенных моющих веществ в мг/л вычисляется по формуле:

                                                               (9.18)

где m - стандартная добавка моющего вещества, мг;

Д1 - оптическая плотность пробы без добавки стандартного вещества;

Д2 - оптическая плотность пробы с добавкой стандартного вещества;

У - объем первоначальной пробы, мл.

9.8. Фенолы

9.8.1. Фотометрическое определение с применением 4-аминоантипирина

Метод основан на образовании окрашенных соединений фенола, его производных и гомологов с 4-аминоантипирином в присутствии гексацианоферрата (III) или персульфата аммония при рН = 10 ± 0,2.

Определению мешают окислители, например, свободный хлор или гипохлориты. Их надо удалить в самом начале, при отборе пробы, добавлением в избытке соли железа (II) или арсенита натрия. Мешают также большие количества нефтепродуктов и смол (они могут также содержать фенолы). При их отсутствии рекомендуется проводить предварительную экстракцию указанных веществ четыреххлористым углеродом из подщелоченного едким натром до рН = 12-12,5 раствора.

Влияние других мешающих веществ устраняется предварительной отгонкой летучих с паром фенолов.

Предлагается два варианта метода: с экстракцией продукта реакции хлороформом (для определения очень малых концентраций фенолов) и без экстракции продукта реакции (для определения относительно больших концентраций фенолов).

Минимальное количество фенолов, определяемое первым вариантом метода, если экстракцию проводят 25 мл хлороформа и для измерения оптической плотности применяют кюветы с толщиной слоя 5 см, равно 0,5 мкг; при анализе 500 мл пробы это составляет 1 мкг/л. Минимальное количество фенолов, определяемое вторым вариантом метода, 1 мг/л. Без предварительного разбавления можно определять до 50 мг/л.

Предварительную отгонку летучих фенолов в обоих вариантах проводят одинаково.

Реактивы.

1. Сульфат меди, раствор. Растворяют 100 г CuSO4×5H2О в дистиллированной воде и разбавляют до 1 л.

2. Фосфорная кислота. Концентрированную (85 % - ную) фосфорную кислоту разбавляют в отношении 1:9.

3. Гексацианоферрат (III) калия, 8 % - ный раствор. Растворяют 8 г K3Fe(CN)6 ч. д. а. в дистиллированной воде и разбавляют до 100 мл. Раствор пригоден только одну неделю.

4. Персульфат аммония, 20% - ный раствор. Растворяют 50 г персульфата аммония в 200 мл дистиллированной воды, нейтрализуют концентрированным раствором аммиака по лакмусовой бумаге, доводят объем до 250 мл и фильтруют. Раствор устойчив.

5. Буферный раствор, рН = 10,0. Растворяют 12,5 г хлорида аммония в 100 мл 25 % - ного раствора аммиака.

6. Хлороформ, ч. д. а.

7. 4-Аминоантипирин, 2 % - ный водный раствор.

8. Стандартный раствор фенола. Основной раствор. В свежепрокипяченной и охлажденной дистиллированной воде растворяют 1,00 г фенола ч. д. а. и разбавляют такой же водой до 1 л.

Рабочий раствор 1. Разбавляют 10,0 мл основного стандартного раствора до 1000 мл свежепрокипяченной дистиллированной водой; 1 мл полученного раствора содержит 10,0 мг фенола. Раствор готовят в день выполнения анализа.

Рабочий раствор II. Разбавляют 50,0 мл рабочего стандартного раствора 1 до 500 мл свежепрокипяченной и охлажденной дистиллированной водой; 1 мл полученного раствора содержит 1 мкг фенола. Раствор надо готовить не ранее, чем за 2 ч до анализа.

Градуировочные графики.

Для определения малых концентраций в мерные колбы вместимостью 500 мл наливают 0,5; 1,0; 5; 10; 20 ... 50 мл рабочего стандартного раствора II, что соответствует содержанию 0,5; 1,0; 5; 10; 20 ... 50 мкг фенола, разбавляют до меток дистиллированной водой, перемешивают и дальше продолжают, как при анализе пробы, перенося их в стакан вместимостью 1 л, прибавляя раствор хлорида аммония, и т.д. По результатам измерения оптической плотности строят график в координатах: содержание фенола в мерной колбе (в мкг) - оптическая плотность.

Для определения больших концентраций в стаканы вместимостью 250 мл помещают 10; 20 ... 50 мл стандартного рабочего раствора 1, что соответствует содержанию 0,1; 0,2 ... 0,5 мг фенола, разбавляют каждый раствор дистиллированной водой до 100 мл и продолжают дальше, как при анализе пробы. Строят график в координатах: содержание фенола (в мг) - оптическая плотность.

Предварительная отгонка летучих с паром фенолов.

К отмеренному объему пробы прибавляют дистиллированную воду до 500 мл, 10 мл раствора фосфорной кислоты, 5 мл раствора сульфата меди и отгоняют 450 мл. К остатку в перегонной колбе приливают 50 мл дистиллированной воды и отгоняют еще 50 мл.

Ход определения.

Определение малых концентраций.

Аликвотную часть дистиллята (или весь дистиллят, если содержание в нем фенолов не превышает 50 мкг) разбавляют до 500 мл и переносят в стакан вместимостью 1 л. В другой стакан наливают 500 мл дистиллированной воды для холостого опыта. Не следует брать аликвотную часть менее 50 мл.

В оба стакана приливают по 5 мл буферного раствора. Смесь переносят в делительную воронку вместимостью 1 л, прибавляют 3,0 мл раствора 4-аминоантипирина, перемешивают, добавляют 3 мл гексацианоферрата (III) калия или персульфата аммония, снова перемешивают и оставляют на 3 мин, после чего сразу экстрагируют 25 мл хлороформа. Взбалтывают раз десять, дают хлороформу отделиться, потом снова взбалтывают столько же раз и дают хлороформу собраться внизу воронки. Хлороформный экстракт фильтруют через бумажный фильтр или через воронку с фильтрующим стеклянным слоем, поместив в нее 5 г обезвоженного сульфата натрия, собирая фильтрат в кювету с толщиной слоя 5 см.

Измеряют оптическую плотность по отношению к раствору холостого опыта при λ = 460 нм. Содержание фенола находят по градуировочному графику.

Расчет.

Содержание летучих с паром фенолов в расчете на простой фенол С6Н5ОН (X) в мг/л находят по формуле:

                                                                         (9.19)

где а - содержание фенола, найденное по градуировочному графику, мкг;

У1 - объем пробы, взятой для анализа, мл;

У2 - объем аликвотной порции дистиллята, взятой для экстракции, мл;

500 - объем дистиллята, мл.

Определение относительно больших количеств фенола.

Отбирают аликвотную часть дистиллята, содержащую 0,1-0,5 мг фенола (не менее 10 и не более 100 мл), переносят в стакан вместимостью 250 мл и разбавляют дистиллированной водой до 100 мл. Проводят холостой опыт с 100 мл дистиллированной воды. Прибавляют 1,0 мл буферного раствора и 2,0 мл раствора 4-аминоантипирина, перемешивают, наливают 2,0 мл раствора гексацианферрата (III) или персульфата и снова перемешивают. Через 15 мин измеряют оптическую плотность по отношению к раствору холостого опыта при λ = 510 нм. Содержание фенола находят по градуировочному графику.

Расчет.

Содержание летучих с паром фенолов в расчете на фенол С6Н5ОН (X) в мг/л находят по формуле:

                                                                (9.20)

где а - содержание фенола, найденное по градуировочному графику, мг;

У1 - объем пробы, взятой для анализа, мл;

У2 - объем аликвотной части дистиллята, взятой для колориметрического определения, мл;

500 - объем дистиллята, мл.

9.8.2. Колориметрическое определение с применением пирамидона

Метод подобен предыдущему; пирамидон образует с фенолами аналогичные окрашенные соединения. При содержании летучих с паром фенолов в концентрациях 0,05-0,50 мг/л измеряют оптическую плотность образующегося окрашенного раствора непосредственно. При содержании фенолов 0,001-0,05 мг/л окрашенное соединение экстрагируют органическим растворителем.

Реактивы.

1. Пирамидон, водный раствор. Растворяют 3,5 г чистого пирамидона в 100 мл дистиллированной воды. Раствор пригоден к употреблению в течение 3-5 дней.

2. Персульфат аммония, 20 % - ный раствор.

3. Буферный раствор, рН = 9,3. Растворяют 50 г хлорида аммония в 900 мл дистиллированной воды, прибавляют 40,0 мл концентрированного раствора аммиака и доводят объем дистиллированной водой до 1 л.

4. Экстракционная смесь. Смешивают 100 мл хлороформа с 200 мл изоамилового спирта.

5. Сульфат меди СuSO4×5H2O, 10 % - ный раствор в дистиллированной воде.

6. Серная кислота, 10 % - ный раствор.

Ход определения.

К 500 мл пробы прибавляют 5 мл 10 % - ного раствора сульфата меди и 5 мл серной кислоты. Смесь помещают в перегонную колбу и отгоняют около 400 мл, затем объем отгона доводят дистиллированной водой до 500 мл.

Вариант А (содержание фенолов больше 0,05 мг/л). Определение проводят без экстракции. Отбирают 100 мл отгона, переносят в колбу вместимостью 200-250 мл, добавляют 2 мл буферного раствора, 1 мл раствора пирамидона и 3 мл раствора персульфата аммония. Одновременно проводят холостой опыт с 100 мл дистиллированной воды. Через 45 мин после прибавления реактивов сравнивают окраску анализируемого раствора с окраской холостого раствора при зеленом светофильтре (λ = 540 нм) в кюветах с толщиной слоя 5 см.

Концентрацию фенолов находят по градуировочному графику, построенному в координатах: оптическая плотность - концентрация фенола (от 0,03 до 5,0 мг/л).

Вариант Б (содержание фенолов от 0,005 до 0,05 мг/л). Весь отгон, объем которого доведен до 500 мл дистиллированной водой, переносят в делительную воронку, добавляют 10 мл буферного раствора, 1,5 мл раствора пирамидона и 15 мл раствора персульфата аммония. Через 45 мин после прибавления всех реактивов вносят 20 мл экстракционной смеси и встряхивают в течение 2 мин. Отделив слой органического растворителя, пропускают его через бумажный фильтр (белая лента) для удаления водной эмульсии и повышения устойчивости окраски во времени (такой профильтрованный раствор устойчив в течение 4 ч.). Оптическую плотность измеряют с синими светофильтрами (λ = 455 нм) в кюветах с толщиной слоя 10 см по отношению к холостому раствору, для приготовления которого к 500 мл дистиллированной воды прибавляют все реактивы. Концентрацию фенолов находят по градуировочному графику. Стандартные растворы фенола должны содержать 0,005-0,05 мг/л, их обрабатывают, как в ходе анализа, начиная с экстракции из объема в 500 мл.

Вариант В (содержание фенолов 0,001-0,005 мг/л). Определение проводят так же, как в варианте Б, но для определения берут 1000 мл пробы, отгоняют 800 мл, разбавляют отгон дистиллированной водой до 1000 мл, прибавляют 20 мл буферного раствора, 3 мл раствора пирамидона, 30 мл 20 % - ного раствора персульфата (или лучше 15 мл 40% - ного раствора персульфата) и 25 мл экстракционной смеси. Градуировочный график строят по стандартным растворам, содержащим 0,001-0,005 мг/л фенола.

9.9. Химическое потребление кислорода (бихроматная окисляемость)

Химическое потребление кислорода (ХПК) характеризует загрязненность сточных вод органическими соединениями и выражается в милиграммах кислорода на 1 л испытуемой воды.

Величина ХПК зависит от применяемого окислителя (иодат, бихромат или перманганат калия), структуры органических соединений, подвергаемых окислению, и условий анализа (температура, катализатор, время).

Для нефтесодержащих сточных вод следует применять в качестве окислителя бихромат калия, наиболее полно окисляющий органику, содержащуюся в сточных водах. Количество способного к окислению органического вещества пропорционально потребленному бихромату калия. Окисление органических веществ ускоряется и охватывает почти все из них, если в качестве катализатора применяется сульфат серебра.

Если в анализируемой сточной воде содержатся хлориды, то приходится выбирать один из следующих путей:

а) вводить в пробу сульфат ртути. При содержании хлоридов менее 1 г/л вводится 0,1 г HgSO4 на каждые 10 мг хлоридов; при концентрации хлоридов выше 1 г/л сульфат ртути прибавляют в 15-кратном количестве. Одновременно в пробу добавляют 5 мл концентрированной серной кислоты для лучшего растворения сульфата ртути;

б) вводить сульфат серебра в количестве, достаточном для связывания всех хлорид-ионов, и даже с некоторым избытком. При большом содержании хлоридов в пробе сточной воды результаты определения получаются несколько завышенными, так как часть хлорид-ионов из осадка хлорида серебра окисляется с выделением элементарного хлора;

в) совсем не прибавлять катализатор. Тогда хлорид-ионы окисляются количественно и можно будет ввести поправку, исходя из соотношения: на 1 мг хлорид-ионов расходуется 0,23 мг кислорода. Однако в этом случае окислится лишь небольшая часть алифатических соединений с прямой цепью атомов углерода;

г) если фильтрование сточной воды допустимо, то можно профильтровать пробу анализируемой сточной воды через небольшое количество предварительно прокаленного асбеста, помещенного в воронку или тигель Гуча, и промыть осадок водой до удаления хлоридов. В фильтрате осадить хлорид-ионы сульфатом серебра, отфильтровать осадок хлорида серебра через тигель Гуча, или стеклянный фильтрующий тигель и промыть его водой. В полученном фильтрате можно определять окисляемость или непосредственно (определяется окисляемость фильтрованной воды), или сначала присоединив к фильтрату волокна асбеста с ранее отделенным осадком грубодисперсных примесей (определяется суммарная окисляемость обеих фаз сточной воды).

Аппаратура и реактивы.

1. Прибор для определения ХПК, состоящий из обратного шарикового холодильника и колбы на 200-250 мл, соединенных на шлифах.

2. Песчаная баня.

3. Серная кислота, ч. д. а. или х. ч. (плотность 1,84 г/см3).

4. Сернокислая ртуть НgS04, ч. д. а.

5. Сернокислое серебро (сульфат серебра), кристаллическое, ч. д. а. При отсутствии сернокислого серебра оно может быть приготовлено из азотнокислого следующим способом: к раствору 34,2 г AgNO3 в 20 мл горячей дистиллированной воды добавляют профильтрованный горячий раствор сернокислого аммония (13,2 г (NH4)2SO4 в 20 мл дистиллированной воды). По охлаждении кристаллический осадок сернокислого серебра отфильтровывают через бумажный фильтр на воронке Бюхнера, промывают холодной дистиллированной водой до полного удаления следов азота и сушат сначала на воздухе, а затем в эксикаторе, прикрыв сверху фильтровальной бумагой. Сушить надо в темном месте.

6. Бихромат калия, 0,25н. раствор. Готовится из фиксаналов или 12,258 г бихромата калия, предварительно высушенного в течение 2 ч при 105°С, растворяют в дистиллированной воде и раствор разбавляют до 1 л.

7. Бихромат калия, 0,025н. раствор: 100 мл 0,25н. раствора бихромата калия разбавляют дистиллированной водой до 1 л.

8. Соль Мора - сульфат железа (II) и аммония, 0,25н. титрованный раствор. Растворяют 98 г Fe(NH4)2(SO4)2×6H2O, ч. д. а. в дистиллированной воде, прибавляют 20 мл концентрированной серной кислоты и после охлаждения разбавляют дистиллированной водой до 1 л. Титр этого раствора должен устанавливаться после каждой серии определений по титрованному раствору бихромата калия. Разбавляют 25 мл 0,25н. раствора бихромата калия дистиллированной водой до 250 мл, прибавляют 20 мл концентрированной серной кислоты и после охлаждения титруют раствором соли Мора при добавлении трех-четырех капель раствора ферроина или дифениламина (или 10-15 капель фенилантрониловой кислоты или дефиниламинсульфаната).

Поправочный коэффициент

                                                          (9.21)

где а - число миллилитров 0,25н. раствора бихромата калия;

в - число миллилитров 0,25н. раствора соли Мора;

 - нормальность раствора бихромата калия;

 - нормальность раствора соли Мора.

9. Соль Мора, 0,025н. раствор. Готовят соответствующим разбавлением 0,25н. раствора. Титр устанавливают также, как и 0,25н. раствора.

10. Индикаторы:

1) фенилантраниловая кислота. Растворяют 0,25 г в 12 мл 0,1н. раствора едкого натра и разбавляют водой до 250 мл;

2) дифениламинсульфонат натрия или бария, 0,2 % - ный водный раствор;

3) ферроин. Растворяют 1,485 г моногидрата 1,10 фенантролина и 0,695 г FeSO4×7H2O ч. д. а. в дистиллированной воде и доводят объем до 100 мл;

4) дифениламин, 1 % - ный раствор в концентрированной серной кислоте.

Ход определения.

При предполагаемой окисляемости исследуемой пробы сточной воды менее 50 мг/л используют для окисления 0,025н. раствор бихромата калия, в остальных случаях. - 0,25н. раствор. Сильно загрязненные воды разбавляют перед определением дистиллированной водой так, чтобы расход бихромата калия не превышал 20 мл. Пробы перед разбавлением перемешивают.

50 мл сточной воды или меньший ее объем, доведенный до 50 мл дистиллированной водой, переносят в круглодонную колбу вместимостью 250 мл, прибавляют туда сульфат серебра в количестве, достаточном для осаждения хлорид-ионов, и сверх того 0,3-0,4 г и осторожно, малыми порциями, вливают 75 мл концентрированной серной кислоты, тщательно перемешивая смесь после добавления каждой порции. Затем вводят в колбу несколько стеклянных бусинок или кусочков пемзы, закрывают пробкой и кипятят на слабом огне в течение 2 ч (время кипячения следует устанавливать опытным путем, в некоторых случаях оно может быть более 2 ч). Затем охлаждают, обмывают стенки холодильника 25 мл дистиллированной воды и переносят содержимое колбы в коническую колбу вместимостью 500 мл, обмывая несколько раз стенки первой колбы дистиллированной водой. Доливают дистиллированную воду до объема 350 мл, вводят три-четыре капли раствора ферроина или дифениламина (10-15 капель раствора фенилантрониловой кислоты или дифениламинсульфоната) и оттитровывают избыток бихромата калия титрованным раствором соли Мора до изменения окраски.

Проводят холостой опыт. Для этого берут 50 мл дистиллированной воды и проводят ее через все ступени анализа.

Примечание. Необходимо следить, чтобы при кипячении сохранился золотисто-зеленый оттенок жидкости. Если же проба становится желтоеленой, значит, добавленного количества бихромата не хватает для полного окисления. В этом случае надо уменьшить количество анализируемой воды. Во всех случаях должно строго соблюдаться равенство объемов кислоты и суммарного объема: бихромат + исследуемая вода.

Расчет.

Бихроматную окисляемость, или химическое потребление кислорода (ХПК), выражаемое числом миллиграммов кислорода на 1 л сточной воды, определяют по формуле:

                                         (9.22)

где а - объем раствора соли Mopa, израсходованной на титрование в холостом опыте, в мл;

в - объем того же раствора, израсходованного на титрование пробы, в мл;

К - поправочный коэффициент к нормальности титрованного раствора соли Мора;

N - нормальность титрованного раствора соли Mора;

У - объем анализируемой сточной воды в мл;

8 - грамм-эквивалент кислорода.

Если определение проводилось без добавления катализатора (сульфата серебра), и проба содержала хлорид-ионы, тo из найденного значения ХПК вычитают поправку - произведение содержания хлорид-ионов (в мг/л) на 0,23. Результаты округляют до целых миллиграммов.

Допустимое расхождение результатов двух параллельных определений - 10 %.

Ускоренный метод определения ХПК.

Метод предназначен для ежедневного контроля работы очистных сооружений. Результаты определения, как правило, получаются несколько ниже по сравнению со стандартным методом, описанным выше (определяется 78-82 % органических веществ). Рекомендуется периодически проводить определение обоими методами для нахождения приблизительного коэффициента пересчета.

Главная особенность ускоренного метода - повышенная концентрация серной кислоты. Нагревание извне не требуется; температура повышается за счет тепла, выделяющегося при смешении воды с концентрированной серной кислотой.

Ход определения.

Если окисляемость анализируемой воды в пределах 500-4000 мгО2/л, для анализа берут 1 мл пробы; если окисляемость 50-500 мгO2/л, отбирают 5 мл пробы; если окисляемость выше 4000 мгO2/л, пробу предварительно разбавляют; если же она ниже 50 мгО2/л, метод применять нельзя.

В пробу вводят 2,5 мл 0,2н. раствора бихромата калия, затем 0,2 г сульфата ртути (II) и при перемешивании - концентрированную серную кислоту (7,5 мл на 1 мл пробы, 15 мл на 5 мл пробы). При этом температура раствора повышается более чем до 100°С. Через 2 мин охлаждают раствор до комнатной температуры, приливают 100 мл дистиллированной воды и титруют избыток бихромата, как в стандартном методе.

Примечание. Определение можно вести без сульфата ртути (II). Тогда на хлориды вводится поправка: 1 мг хлора соответствует 0,15 мг кислорода (теоретически 1 мг хлора соответствует 0,23 мг кислорода).

9.10. Растворенный кислород

9.10.1. Иодометрическое определение

Содержание растворенного кислорода необходимо знать при оценке и контроле работы станций биологической очистки, оценке качества очищенных сточных вод, а также при исследовании коррозионных свойств воды.

Для определения растворенного кислород используется иодометрический метод. Он основан на реакции растворенного кислорода с гидратом закиси марганца и на иодометрическом определении образовавшихся высших по степени окисления соединений марганца.

Этим методом пользуются при содержании в воде не выше 0,1 мг/л азота нитритов и не более 10 мг/л окисного железа. Другие окислители или восстановители должны отсутствовать.

Пробу очищенной воды отбирают в склянку вместимостью 1 л с притертой пробкой и снабженную специальной насадкой.

При удаленности места отбора проб от лабораторий пробы рекомендуется «заряжать» на месте, т.е. добавлять раствор сернокислого марганца и щелочной раствор иодида, слегка погружая концы пипеток в пробу. После этого осторожно закрывают склянку, тщательно перемешивают и отправляют в лабораторию в темном ящике.

Аппаратура.

1. Кислородные склянки вместимостью 100-300 мл с косо срезанной притертой пробкой, калиброванные с точностью до 0,1 мл. Калибруют склянки следующим образом: на технических весах взвешивают пустую склянку с пробкой с точностью до 0,01 г, заполняют ее доверху дистиллированной водой, закрывают, следят за тем, чтобы не оставались пузырьки воздуха, осушают горлышко бумагой или полотенцем и снова взвешивают.

Склянки и вода должны приобрести до начала определения температуру комнаты (20°С).

2. Бутылки для отбора проб вместимостью 1 л, снабженные притертыми пробками.

3. Насадка для отбора проб.

4. Пипетки для прибавления реактивов - цилиндрические пипетки без оттянутого носика.

5. Сифон.

Реактивы.

1. Сульфат марганца (II), раствор. 400 г MnSO4×2H2O (или 480 г МпSO4×4Н2O, или 364 г MnSO4×H2O) растворяют в дистиллированной воде и доводят объем до 1 л. Фильтруют через бумажный фильтр. Если имеются сомнения о количестве кристаллизационной воды в препарате, раствор доводят до плотности 1,270 г/см3 при температуре 20°С. Вместо сульфата марганца можно применять хлорид марганца (II) той же концентрации ( 425 г MnCl2×4H2O ч. д. а. растворяют в дистиллированной воде и доводят объем до 1 л). Реактив должен быть проверен на чистоту (содержание в нем трехвалентного железа). Для этого к порции реактива прибавляют 1 мл раствора иодида калия, 0,5 мл разбавленной серной кислоты и 1 мл раствора крахмала. Если раствор посинеет, то реактив следует очистить от железа (III), для чего на каждые 100 мл раствора прибавляют по 0,5 г карбоната натрия х. ч., дают постоять в течение суток и отфильтровывают выпавший осадок.

2. Едкое кали с азидом, раствор. 700 г КОН (или 500 г NaОН) растворяют в 700 мл дистиллированной воды; отдельно 10 г азида натрия растворяют в 40 мл дистиллированной воды, оба раствора смешивают и доводят до 1 л. Если раствор не прозрачен, ему дают отстояться и сливают при помощи сифона.

3. Едкое кали с иодидом и азидом натрия. Растворяют 700 г KОН (или 500 г NaОН) и 150 г KI в 700 мл дистиллированной воды; 10 г NaN3 растворяют в 40 мл дистиллированной воды; оба раствора смешивают и доводят до 1 л. Если раствор не прозрачен, ему дают отстояться и сливают при помощи сифона.

Проверку качества реактива (на отсутствие иодата) проводят следующим образом. Помещают в колбу, содержащую 100 мл дистиллированной воды и 10 мл разбавленной (1:4) серной кислоты, 2 мл раствора реактива, после прибавления 5 мл раствора крахмала не должна появляться синяя окраска.

4. Серная кислота, ч. д. а., разбавленная (1:4).

5. Иодид калия, 15 % - ный раствор: 15 г КI ч. д. а. растворяют в дистиллированной воде, прибавляют 1 мл 1н. раствора NаОН и доводят до 100 мл. Отсутствие иодата проверяют, как описано выше.

6. Тиосульфат натрия, 0,05н. титрованный раствор.

12,4 г Na2S2O3×5Н2O ч. д. а. и 0,2 г Na2CO3 ч. д. а, растворяют в дистиллированной воде и доводят до 1 л. Установка титра: в колбу Эрленмейера, снабженную притертой пробкой, приливают примерно 100 мл дистиллированной воды, прибавляют 10 мл 15 % - ного раствора иодида калия, 5 мл разбавленной (1:4) серной кислоты и 20 мл 0,05н. раствора бихромата калия. После перемешивания раствор оставляют на 5 мин в темноте и затем титруют титрованным раствором тиосульфата с 1-2 мл раствора крахмала в качестве индикатора. Титр проверяют при каждом определения. Раствор консервируют прибавлением небольшого количества хлороформа или другого консервирующего вещества.

7. Бихромат калия, 0,05н. раствор. Растворяют 2,4518 г К2Сr2O7, высушенного при 105°C, в дистиллированной воде и доводят объем до 1 л при 20°С (применяют для установления титра тиосульфата).

8. Крахмал, 0,5 % - ный раствор: 5 г растворимого крахмала ч. д. а. смешивают с 50 мл дистиллированной воды и доводят раствор до 950 мл кипящей дистиллированной водой. Раствор консервируют прибавлением небольшого количества (1,25 г на 1 л) салициловой кислоты.

Ход определения.

В кислородную склянку, заполненную доверху пробой, добавляют 2 мл раствора сульфата марганца. Для этого наполненную пипетку погружают до самого дна кислородной склянки, затем открывают верхний конец и пипетку медленно вынимают. Другой пипеткой прибавляют к пробе 2 мл раствора едкого кали с азидом. Кончик пипетки опускают только под уровень пробы в горлышке кислородной склянки.

Склянку осторожно закрывают так, чтобы под пробкой не образовались пузырьки воздуха. Горлышко ополаскивают водой и содержимое хорошо перемешивают (переворачиванием склянки) до образования хлопьевидного осадка.

Осадку дают собраться на дне склянки. Прозрачный раствор над осадком можно слить сифоном или же присоединить сифон к водоструйному насосу и отсосать. Отсасывание должно продолжаться 15-20 сек (более быстрое отсасывание может увлечь осадок). Сразу после отсасывания или сифонирования прозрачной жидкости над осадком в кислородную склянку по стенке приливают 5 мл разбавленной (1:4) серной кислоты и перемешивают. Затем прибавляют 2 мл раствора иодида калия и содержимое вновь перемешивают.

По истечении 5 мин выделившийся иод титруют непосредственно в кислородной склянке титрованным раствором 0,05н. тиосульфата до светло-желтой окраски. Затем прибавляют раствор крахмала и продолжают титровать до обесцвечивания. Индикатор обычно прибавляют в количестве 1-2 мл в зависимости от качества применяемого крахмала.

Определение можно вести и следующим приемом. В кислородную склянку, заполненную доверху пробой, приливают, как указывалось выше, 2 мл раствора сульфата марганца и 2 мл раствора едкого кали с иодидом калия и азидом. После выпадения осадка гидроокисей марганца кислородную склянку открывают и пипеткой с широким концом, опущенным под уровень пробы, добавляют 1 мл серной кислоты (плотностью 1,84 г/см3) или 5 мл разбавленной (1:4) серной кислоты. Кислородную склянку вновь закрывают и перевертыванием перемешивают ее содержимое. Затем содержимое кислородной склянки переливают в колбу для титрования, склянку ополаскивают дистиллированной водой, сливая ее в ту же колбу. Выделившийся иод титруют раствором тиосульфата, как указывалось выше.

Если в анализируемой воде содержатся нитриты более 0,1 мг/л, то используют следующий прием.

В кислородную склянку, заполненную доверху пробой, добавляют 2 мл раствора сульфата марганца и 2 мл КОН, содержащего иодид и азид. Склянку закрывают пробкой и перемешивают до образования хорошо выпадающего осадка. Осадку дают отстояться и затем жидкость над осадком сливают при помощи сифона, а к осадку добавляют 5 мл разбавленной (1:4) серной кислоты. Раствор переливают в колбу, склянку ополаскивают три раза небольшими порциями дистиллированной воды и затем в колбу добавляют 0,3 мл раствора (40 % - ного) сульфаминовой кислоты или 0,3 мл 40 % - ного раствора мочевины и после этого 2 мл 15 % - ного раствора КI. Через 5 мин в присутствии крахмала проводится титрование 0,05н. раствором тиосульфата.

Расчет.

Содержание растворенного кислорода (в мг/л) вычисляют по формуле

                                                         (9.23)

а - объем раствора тиосульфата натрия, израсходованного на титрование, в мл;

К - поправочный коэффициент к нормальности титрованного раствора тиосульфата натрия;

N - нормальность раствора тиосульфата натрия;

У1 - вместимость кислородной склянки, в мл;

У2 - общий объем реактивов, прибавленных в кислородную склянку при фиксации кислорода, а в некоторых случаях и при предварительной подготовке пробы, в мл;

8 - грамм-эквивалент кислорода.

Насыщение растворенным кислородом (в %) вычисляют по формуле:

                                                                          (9.24)

где с1 - найденная концентрация кислорода (в мг/л);

с2 - равновесная концентрация кислорода (в мг/л), найденная по табл. 9.4 для температуры воды, измеренной при отборе пробы, с возможной поправкой на атмосферное давление и на содержание растворенных солей.

Результаты округляются до 0,1 мг или до целых процентов. Приведенные равновесные концентрации кислорода даны для атмосферного давления 760 мм рт. ст. Для других атмосферных давлений равновесные концентрации вычисляются по формуле:

                                                                              (9.25)

где с1 - искомая величина равновесной концентрации кислорода (в мг/л) при давлении Р;

с - равновесная концентрация кислорода, найденная по табл. 9.4;

Р - атмосферное давление в мм рт. ст.

Таблица 9.4

Равновесные концентрации кислорода

Температура, °С

Растворенный кислород, мг/л

0,0

0,1

0,2

0,3

0,4

0,5

0,6

0,7

0,8

0,9

0

14,65

14,61

14,57

14,53

14,49

14,45

14,41

14,37

14,33

14,29

1

14,25

14,21

14,17

14,13

14,09

14,05

14,02

13,96

13,94

13,90

2

13,86

13,82

13,79

13,75

13,71

13,68

13,64

13,60

13,56

13,53

3

13,49

13,46

13,42

13,33

13,35

13,31

13,28

13,24

13,20

13,17

4

13,13

13,10

13,06

13,03

13,00

12,96

12,93

12,89

12,86

12,82

5

12,79

12,76

12,72

12,69

12,66

12,62

12,59

12,56

12,53

12,49

6

12,46

12,43

12,40

12,36

12,33

12,30

12,27

12,24

12,21

12,18

7

12,14

12,11

12,06

12,05

12,02

11,99

11,96

11,93

11,90

11,87

8

11,84

11,81

11,78

11,75

11,72

11,70

11,67

11,64

11,61

11;58

9

11,55

11,52

21.49

11,47

11,44

11,41

11,38

11,35

11,33

11,30

10

11,27

11,24

11,22

11,19

11,16

11,14

11,11

11,08

11,06

11,03

11

11,00

10,98

10,95

10,93

10,90

10,87

10,85

10,82

10,80

10,77

12

10,75

10,72

10,70

10,67

10,65

10,62

10,60

10,57

10,55

10,52

13

10,50

10,48

10,45

10,43

10,40

10,36

10,36

10,33

10,31

10,28

14

10,26

10,24

10,22

10,19

10,17

10,15

10,12

10,10

10,06

10,06

15

10,03

10,01

9,99

9,97

9.95

9,92

9,90

9,68

9,86

9,84

16

9,82

9,79

9,77

9,75

9,73

9,71

9,69

9,67

9,65

9,63

17

9,61

9,58

9,56

9,54

9,52

9,50

9,46

9,46

9,44

9,42

16

9,40

9,38

9,36

9,34

9,32

9,30

9,29

9,27

9,25

9,23

19

9,21

9,19

9,17

9,15

9,13

9,12

9,10

9,06

9,06

9,04

20

9,02

9,00

8,98

8,97

8,95

8,93

8,91

8,90

8,88

8,66

21

6,84

8,82

8,81

8,79

8,77

8,75

8,74

8,72

8,70

8,68

22

8,67

8,65

8,63

8,62

8,60

8,58

8,56

8,55

8,53

8,52

23

8,50

8,48

8,46

8,45

8,43

8,42

6,40

8,38

8,37

8,35

24

8,33

8,32

8,30

8,29

8,27

8,25

8,24

8,22

8,21

8,19

25

8,18

8,16

8,14

8,13

6,11

8,11

8,06

8,07

8,05

8,04

26

8,02

8,01

7,99

7,96

7,96

7,96

7,93

7,92

7,90

7,89

27

7,87

7,86

7,84

7,83

7,81

7,80

7,78

7,77

7,75

7,74

28

7,72

7,71

7,69

7,68

7,66

7,65

7,64

7,62

7,61

7,59

29

7,59

7,56

7,55

7,54

7,52

7,51

7,49

7,48

7,47

7,45

30

7,44

7,42

7,41

7,40

7,38

7,37

7,35

7,34

7,32

7,31

Влияние солей сказывается в уменьшении растворимости кислорода (на каждые 1000 мг солей) в 1 л воды:

Температура, °С

0

10

20

30

Уменьшение растворимости, мг/л

0,08405

0,06217

0,04777

0,04065

Существует и другие метода определения содержания растворенного кислорода в сточной воде.

9.10.2. Определение с помощью автоматических приборов

Действие приборов для автоматического определения растворенного кислорода основано на полярографическом принципе измерения. Между силой предельного диффузионного тока электровосстановления кислорода на твердом индикаторном электроде и концентрацией кислорода в анализируемом растворе существует линейная зависимость.

Главная особенность этих приборов - применение в них полимерных мембран (из полиэтилена или тефлона), через которые происходит избирательная диффузия растворенного кислорода к индикаторному электроду. Проницаемость мембран для кислорода значительно больше, чем для других газов и ионов (восстанавливающихся при потенциале восстановления кислорода), и содержание этих веществ в сточных водах значительно меньше содержания кислорода. Поэтому можно считать, что влияние их на предельный диффузионный ток восстановления кислорода на катоде и на потенциал индикаторного электрода исключено.

Кроме того, мембраны стабилизируют толщину диффузионного слоя кислорода, предохраняют поверхность электрода и электролит от загрязнения веществами, содержащимися в анализируемом растворе, и от протекания побочных химических и электрохимических реакций.

К каждому прибору прилагается инструкция, в которой описываются условия его применения.

В нашей стране выпускаются следующие приборы;

1. Прибор типа ЭГ-152-003, стационарный, предназначенный для использования в производственных условиях работы очистных сооружений. Катод - золотой, анод - цинковый, мембрана - из фторопласта - 4 (тефлона). Прибор оборудован автоматической термокомпенсацией, шкала от 0 до 10 мг/л.

Прибор разработан ВНИИ ВодГЕО и опытно-конструкторским бюро автоматики (ОКБА); выпускается опытным заводом ОКБА.

2. Прибор типа АКП-1, переносной. Предназначен для использования в лабораторных и производственных условиях очистных сооружений. Катод - золотой, анод - кадмиевый. Прибор оборудован ручным компенсатором остаточного тока и автоматической термокомпенсацией. Шкалы от 0 до 10 мг/л и от 10 до 20 мг/л.

Прибор разработан ВНИИ ВодГЕО и научно-производственным объединением (НПО) «Агроприбор». Выпускается на опытном заводе «Агроприбор».

3. Прибор типа «Оксиметр», переносной. Предназначен для использования в лабораторных условиях для контроля содержания растворенного кислорода в природных водах. Катод - платиновый, анод - серебряный. Прибор оборудован ручным компенсатором остаточного тока и температуры. Шкалы от 0 до 10 мг/л и от 10 до 20 мг/л.

Прибор разработан специальным конструкторско-технологическим бюро (СКТБ) «Медфизприбор» (г. Казань) с участием ВНИИ ВодГЕО. Выпускается на заводе медицинской аппаратуры (г. Казань).

9.11. Озон

Для контроля процесса озонирования необходимо определять содержание озона в обработанной воде.

Определение озона невозможно в присутствии хлора, соединений, выделяющих хлор, и двуокись хлора.

Пробу не разрешается консервировать. Определение следует проводить сразу после отбора пробы.

Ниже приводятся иодометрический метод определения озона, основанный на окислении озоном иодида до иода, который титруют раствором тиосульфата натрия. Пользуясь 0,01н. раствором последнего, можно определять озон при содержании его 0,05 мг/л и более.

Озонированная вода может содержать ионы железа (III) или марганца (IV), нитриты, перекиси и другие вещества, мешающие определению. Поэтому озон вытесняют из пробы воздухом или азотом и поглощают его раствором иодида калия.

Устойчивость растворов озона уменьшается с повышением температуры и рН.

Аппаратура.

1. Промывалки для газа вместимостью 1000 и 400 мл (высокие) со стеклянными фильтрующими пластинками, соединенные стеклянными трубками со шлифами или короткими пластмассовыми трубками. Использование резиновых соединений недопустимо.

2. Баллон со сжатым воздухом или азотом, либо подходящее аэрационное устройство.

Реактивы.

1. Иодид калия, 2,5 % - ный раствор. Растворяют 25 г KI ч. д. а. в свежепрокипяченной и охлажденной дистиллированной воде и доводят объем до 1 л. Каждый день готовят свежий раствор.

2. Серная кислота, 10 % - ный раствор. Осторожно приливают 54 мл 96 % - ной H2SO4 ч. д. а. примерно к 750 мл дистиллированной воды и после охлаждения разбавляют до 1 л.

3. Тиосульфат натрия, 0,1н. раствор. Растворяют 24,8 г Na2S2O3×5H2O ч. д. а. в 900 мл дистиллированной воды, прибавляют 0,2 г Na2CO3 ч. д. а. и после растворения разбавляют до 1 л. Поправку к титру раствора определяют, как указано в п. 9.10.1.

4. Тиосульфат натрия, 0,01н. раствор. Разбавляют 100 мл 0,1н. раствора Na2S2O3 свежепрокипяченной и охлажденной дистиллированной водой, добавляют 0,2 г Na2CO3 и доводят объем до 1 л. Поправку к титру раствора определяют так же, как для 0,1н. раствора, используя 0,01н. раствор бихромата калия (0,4904 г K2Cr2O7 в 1 л).

5. Крахмал, 0,5 % - ный раствор. Смешивают 5 г растворимого крахмала ч. д. а. с 50 мл дистиллированной воды и приливают к 950 мл кипящей дистиллированной воды. Раствор консервируют прибавлением небольшого количества иодида ртути или другого консервирующего вещества, например, амилового спирта, хлороформа или салициловой кислоты.

6. Иод, 0,01н. раствор. Растворяют 1,27 г очищенного возгонкой иода и 2,5 г KI в 30-40 мл дистиллированной воды и разбавляют до 1 л. Поправку к титру определяют непосредственно перед использованием раствора по стандартному раствору тиосульфата натрия (0,01н. раствор).

Ход определения.

Из пробы воды объемом до 800 мл, отобранной в промывалку вместимостью 1 л, вытесняют озон азотом или воздухом, пропуская его через стеклянный фильтр со скоростью 0,2-1,0 л/мин не менее 5 мин. Вытесняемый озон с уносящим его газом направляют в две промывалки вместимостью 400 мл каждая, соединенные последовательно. Первая промывалка содержит 200 мл раствора иодида калия, вторая - 10,0 мл 0,01н. раствора тиосульфата натрия и 40 мл дистиллированной воды. По окончании поглощения озона стеклянный фильтр ополаскивают над промывалкой и содержимое промывалки с тиосульфатом натрия количественно переносят в промывалку с раствором иодида калия. Прибавляют 25 мл разбавленной серной кислоты, раствор крахмала и титруют раствором 0,01н. иода до появления синей окраски. Если после смешения содержимого обеих промывалок сразу же возникает с крахмалом синяя окраска, определение повторяют с меньшим количеством пробы.

Параллельно с определением озона проводят холостой опыт с дистиллированной водой, чтобы обнаружить в реактивах загрязнения, выделяющие иод из иодида калия, или, наоборот, восстанавливающие выделенный иод. Для этого к 200 мл раствора иодида калия прибавляют 25 мл разбавленной серной кислоты и крахмал. В случае появления синей окраски титруют 0,01н. раствором тиосульфата натрия до обесцвечивания, а затем 0,01н. раствором иода до появления синей окраски. Объем израсходованного раствора тиосульфата натрия, за вычетом объема израсходованного раствора иода, прибавляют к расходу раствора иода на титрование пробы. Если синяя окраска не появится, прибавляют 0,01н. раствор иода до ее появления; при расчете это количество прибавляют к израсходованному на титрование пробы.

Расчет.

Содержание озона X в мг/л вычисляют по формуле:

                    (9.26)

где 10,0 - объем раствора тиосульфата натрия в промывалке, мл;

а - объем израсходованного 0,01н. раствора иода, мл;

K1 - поправочный коэффициент для приведения концентрации раствора тиосульфата натрия к точно 0,01н.;

К2 - поправочный коэффициент для приведения концентрации раствора иода к точно 0,01н.;

У - объем пробы, взятой для анализа, мл;

0,01 - нормальность титрующих растворов;

24 - эквивалент озона.

Результаты округляются до 0,05 мг/л.

9.12. Биохимическое потребление кислорода (БПК)

Биохимическим потреблением кислорода называется количество кислорода, необходимого для окисления в аэробных условиях (в результате биологических процессов) органических веществ, содержащихся в сточной воде. БПК выражается в миллиграммах кислорода на 1 л сточной воды, оно не включает расход кислорода на нитрификацию.

Пробы для определения БПК нельзя консервировать. Перед определением БПК пробы сточных вод, кроме проб биологически очищенной воды после вторичного отстойника, отстаивают 2 ч и, если не достигается прозрачность, фильтруют.

Ниже описывается определение БПК методом разбавления и нитратным методом.

9.12.1. Определение БПК методом разбавления

Анализируют первоначальную или соответственно разбавленную пробу по разности между содержанием кислорода до и после инкубации при температуре 20°С, без доступа воздуха и света.

При анализе производственных сточных вод определяют «полное» БПК; процесс ведут до появления азота нитритов в количестве, не превышающем 0,1 мг/л. Потребление кислорода за 5 суток дает очень большие колебания и не характеризует полной потребности сточной воды в кислороде.

Для получения сравнимых результатов следует строго соблюдать условия, при которых во время определения количество присутствующего кислорода соответствовало бы его потреблению. Это соответствие зависит от степени разбавления проб с большим БПК, от применения одной и той же разбавляющей воды и одного и того же способа обработки воды перед анализом. В ряде случаев полезно вычерчивать кривую, отражающую ход изменения БПК во времени.

Предварительная обработка сточной воды.

Определяемая величина БПК зависит от процессов, которые протекают в сточной воде в период между отбором пробы и ее обработкой. Поэтому взятую пробу необходимо обработать тотчас же. Если невозможно выполнить анализ в день отбора пробы, ее сохраняют при низкой температуре в холодильнике, чтобы биохимические процессы, протекающие в пробе, шли с минимальной скоростью. Всю предварительную подготовку пробы (см. определение растворенного кислорода) проводят на месте отбора пробы.

Сточные воды, имеющие после разбавления рН выше или ниже 6-8, должны быть предварительно нейтрализованы. Кислые воды нейтрализуют 1н. раствором едкого натра, а щелочные - 1н. раствором серной кислоты или соляной кислоты. Требуемое количество их определяют титрованием отдельной порции сточной воды соответствующим раствором до рН = 7; визуально - по промтимоловому синему, потенциометрически - с применением стеклянного электрода.

Сточные воды, содержащие свободный хлор (очищенная вода, подвергавшаяся обработке хлором или хлорной известью), перед определением БПК должны быть обработаны тиосульфатом натрия.

Объем раствора тиосульфата натрия, необходимого для восстановления свободного хлора, определяют титрованием. К 100 мл пробы прибавляют 10 мл разбавленной серной кислоты (1:50), 10 мл 10 % - ного раствора иодида калия и титруют 0,025н. раствором тиосульфата натрия с применением в качестве индикатора раствора крахмала; 0,025н. раствор тиосульфата натрия вследствие его неустойчивости готовят непосредственно перед применением путем разбавления 0,05н. раствора (см. определение растворенного кислорода). К пробе, предназначенной для определения БПК, прибавляют эквивалентное количество 0,025н. раствора тиосульфата натрия, рассчитанное по результату титрования. Мешают определению вещества, реагирующие с растворенным кислородом. Влияние таких веществ устраняют увеличением времени между разбавлением пробы водой (или аэрацией) и определением кислорода в кислородной склянке, предназначенной для определения кислорода в день отбора пробы. Определение начинают через час после разбавления пробы.

Аппаратура.

1. Кислородные склянки, калиброванные с точностью до 0,1 мл, вместимостью 100-300 мл.

2. Термостат, установленный на 20°С, с допустимым отклонением ± 1°С. Целесообразно применять термостат с водяным охлаждением, который обеспечивает указанную температуру и в летнее время. В термостат помещают мелкие фотографические кюветы, которые после наполнения их дистиллированной водой служат водяными затворами для кислородных склянок. Склянки погружают в них пробками вниз. Воду в кюветах обновляют при каждом определении.

3. Мешалки.

Реактивы.

1. Реактивы те же, что и при определении растворенного кислорода.

2. Дистиллированная вода. Ее получают перегонкой в стеклянном перегонном аппарате. Дистиллированная вода не должна содержать меди и свинца более 0,01 мг/л, цинка более 1 мг/л, едких щелочей, активного хлора и других бактерицидных веществ. Дистиллированная вода выдерживается в бутылях, закрытых марлей, в течение нескольких дней при комнатной температуре.

3. Фосфатный буферный раствор рН = 7,2. Растворяют 8,5 г KH2PO4, 21,75 г К2НРО4, 33,4 г Na2HPO4×7Н2O, 1,7 г NH4Cl в дистиллированной воде и доводят объем до 1 л (реактивы ч. д. а.).

4. Сульфат магния. Растворяют 22,5 г МgS04×7H2O ч. д. а. в дистиллированной воде и доводят объем до 1 л.

5. Хлорид кальция. В дистиллированной воде растворяют 2,5 г CaCl2 безводного, ч. д. а. и доводят до 1 л.

6. Хлорид железа (III). Растворяют 0,25 г FeCl3×2О ч. д. а. в дистиллированной воде и доводят до 1 л.

7. Разбавляющая вода. Прибавляют к 1 л дистиллированной воды по 1 мл фосфатного буферного раствора, растворов сульфата магния, хлорида кальция и хлорида железа (III). После прибавления солей воду хорошо перемешивают. Разбавляющую воду приготавливают в день ее применения. При температуре 20°С она должна содержать приблизительно 8,8 мг/л растворенного кислорода.

8. Разбавляющая вода с добавками. Готовится непосредственно перед применением. К 1 л разбавляющей воды прибавляют 1 мл отстоявшейся хозяйственно-бытовой сточной воды (сохранявшейся не более 24 ч) или 10-20 мл речной воды. Взамен этих добавок рекомендуется (особенно при анализе промышленных сточных вод) вводить культуру микроорганизмов, выращенных на анализируемой воде.

Для приготовления культуры микроорганизмов анализируемую сточную воду разбавляют водопроводной водой в 10-100 раз в зависимости от концентрации в ней органических веществ прибавляют 2-3 капли раствора реактивов, применяемых для приготовления разбавляющей воды, и оставляют в открытом сосуде на два-три дня. Появление мути или пленки указывает на развитие микрофлоры (проверяют под микроскопом). Микрофлору переносят в пробу анализируемой сточной воды, разбавленную в 5-20 раз; после дальнейшего развития флоры отбирают 1 мл этой жидкости.

При определении БПК в биологически очищенных сточных водах внесение указанных добавок в разбавляющую воду не требуется.

Примечание. Результаты определения БПК в пробах, разбавленных водой с добавками, должны быть скорректированы по количеству кислорода, поглощенного прибавленными веществами. Для этого определяют обычным способом БПК хозяйственно-бытовой сточной вода или речной воды, применявшихся в качестве добавок. По величине БПК определяет поправку, представляющую собой расход кислорода на то количество добавки, которое находится в 1 л смеси анализируемой пробы с разбавляющей водой. Поправку вычитают из величины определенного БПК исследуемой смеси.

Разбавление сточной воды.

Необходимое разбавление сточной воды ориентировочно рассчитывают по результатам определения бихроматной окисляемости (ХПК). Условно принимают, что БПК составляет 50 % от ХПК, а так как в воде после инкубации при правильно взятом разбавлении должно оставаться примерно 4-5 мг О2/л, то вычисленное значение БПК делят на 4 или 5. Полученный результат показывает, во сколько раз надо разбавлять анализируемую воду.

Пример. Бихроматная окисляемость сточной воды 500 мг О2/л. Принимаем БПК равным 50 % от ХПК, т.е. 250 мг/л. Делим эту величину на 5, получаем, что сточную воду надо разбавить в 50 раз. Можно делать два разбавления, принимая условно БПК за 60 и 40 % от величины ХПК.

При разбавлении необходимо следить за тем, чтобы разбавляющая вода и полученная в результате разбавления смесь имели температуру 18-20°С, а рН смеси не выше 8 и не ниже 7.

Правильность разбавления контролируют следующим образом. После всего периода инкубации концентрация кислорода в сточной воде должна быть не менее 3 мг/л и потребление кислорода за весь период инкубации - также не менее 3 мг/л.

Для сточной воды, прошедшей биоокислители, этот способ расчета разбавления неприменим, так как в очищенной жидкости могут оставаться вещества, не поддающиеся дальнейшему распаду под влиянием микроорганизмов, но окисляющиеся бихроматным методом, т.е. дающие высокую ХПК. В этом случае разбавление осуществляют, исходя из наличия нитратов в очищенной воде. Обычно при концентрации нитратов 5-10 мг/л БПК полное будет не выше 15-20 мг/л. Следовательно, очищенную воду нужно разбавить максимально в 5 раз. Лучше разбавлять дважды - в 2 и 5 раз.

В мерную колбу необходимой вместимости наливают посредством сифона (чтобы в колбу не попали пузырьки воздуха) разбавляющую воду до половины колбы, прибавляют точно отмеренное пипеткой количество исследуемой воды и доливают до метки разбавляющую воду. Закрыв колбу пробкой, тщательно перемешивают содержимое, перевертывая колбу 15-16 раз.

Ход определения.

Разбавленную сточную воду разливают с помощью сифона в кислородные склянки для инкубации, наполняя их доверху, и закрывают косо срезанными притертыми пробками так, чтобы не оставалось пузырьков воздуха. Затем эту же воду наливают в колпачки от склянок и, перевернув склянки вверх дном, вставляют их в колпачки, вытесняя из последних воду так, чтобы пузырьки воздуха не попали в колпачки. После этого склянки ставят в нормальное положение.

Одновременно наполняют такое же количество склянок разбавляющей водой. Каждой пробе анализируемой сточной воды должна соответствовать одна склянка с разбавляющей водой.

В одной из склянок с испытуемой водой и в одной из склянок с разбавляющей водой сразу же определяют растворенный кислород. Все остальные склянки помещают в термостат при температуре 18-20°С и держат в нем в течение необходимого времени.

При определении кинетики биохимического потребления кислорода в зависимости от времени длительность инкубационного периода составляет 2; 5; 10; 15; 20; 25 суток. Исходя из этого устанавливают число заполняемых кислородных склянок.

Через указанные промежутки времени от начала инкубации вынимают из термостата по одной склянке с анализируемой и разбавляющей водой и определяют в них растворенный кислород и содержание нитритов. Нитриты определяют в воде, налитой в колпачок склянки, который снимают так же, как надевали, т.е. перевернув склянку вверх дном. Если в пробе начался процесс нитрификации, что обнаруживается по появлению в воде нитритов в концентрации, превышающей 0,1 мг/л, то дальнейшее определение БПК (для более продолжительного времени инкубации) не проводят. Если на пятые сутки появляются следы нитритов, то следующее определение проводят через 7-8 суток.

Содержание нитритов может быть определено колориметрически. Вместо склянок с пришлифованными стеклянными колпачками для контроля процесса нитрификации можно поставить в термостат дополнительно 12 неградуированных склянок любого размера, наполненных той же водой (анализируемой и разбавляющей), и в них определять содержание нитритов после каждого срока инкубации. Склянки помещают в сосуд, наполненный небольшим количеством дистиллированной воды, пробками вниз, так, чтобы горлышко склянок было погружено в воду (водяной затвор). Дистиллированную воду в сосуде обновляют при каждом определении. В этом случае, если в конце периода инкубации содержание нитритов будет больше 0,1 мг/л, растворенный кислород определяют с добавлением азида натрия, сульфаминовой кислоты или мочевины (см. определение растворенного кислорода).

Определение БПК считается более точным в тех пробах, в которых нитрификация только началась.

Расчет.

Биохимическое потребление кислорода за определенный период инкубации вычисляют по формуле:

                                                       (9.27)

где a1 и a2 - концентрация кислорода в начале инкубации (в «нулевой день»), соответственно в подготовленной для определения пробе и в разбавляющей воде, в мг/л;

в1 и в2 - концентрация кислорода в конце инкубации соответственно в пробе и в разбавляющей воде, в мг/л;

У - объем сточной воды, содержащейся в 1 л пробы после всех проведенных разбавлений, в мл.

9.12.2. Нитратный метод определения БПК

Нитратный метод основан на использовании для окисления органических веществ, содержащихся в сточной воде, кислорода нитратов, получаемого в процессе денитрификации. Этот метод используется для определения БПК в биологически очищенных сточных водах. Процесс денитрификации начинается при содержании растворенного кислорода менее 1 мг/л. Убыль азота нитратов на 1 мг/л отвечает потреблению кислорода на окисление органических веществ, равному 2,86 мг/л.

Реактивы.

1. Азотнокислый калий, раствор. Растворяют 0,5058 г азотнокислого калия, х. ч., в 1 л дистиллированной воды, насыщенной воздухом (свежеприготовленная дистиллированная вода продолжительное время аэрируется). При полной денитрификации 1 мл этого раствора дает 0,2 мг кислорода. Хранят раствор в термостате при 18-20°С в склянке с притертой пробкой.

2. Остальные реактивы те же, что и при определении растворенного кислорода, нитритов, нитратов.

Ход определения без добавления азота нитратов.

Очищенную сточную воду, отобранную после вторичных отстойников, наливают в хорошо промытые кислородные склянки вместимостью 300-500 мл с косо срезанными притертыми пробками (6 шт.).

Закрывают пробкой так, чтобы не оставалось пузырьков воздуха. Одновременно в одной из склянок определяют растворенный кислород и нитриты, а в другой - нитраты. Оставшиеся склянки помещают в термостат при 18-20°С.

Через 10 и 20 суток определяют те же показатели. Если в сточной воде есть органические вещества, то содержание растворенного кислорода и нитратов заметно снижается. Содержание нитритов может снижаться, но может и повышаться.

Примечание. В случае необходимости построения кривой биохимического потребления кислорода, определение растворенного кислорода, нитритов и нитратов проводят через 2; 5; 10; 15; 20 суток. Соответственно увеличивается число склянок, заполняемых анализируемой водой и помещаемых в термостат.

Расчет.

Когда идет восстановление нитратов до свободного азота, используют формулу:

БПК = (а1 - а2) + 2,86 (в1 - в2) + 1,71 (с1 - с2);                     (9.28)

если денитрификация идет только до нитритов, применяют формулу:

БПК = (а1 - а2) + 1,4 (в1 - в2);                                               (9.29)

при наличии окислительных процессов, т.е. окисления аммиака до нитритов и нитратов, пользуются формулой:

БПК = (а1 - а2) - 4,57 (в2 - в1) - 3,43 (с2 - с1);                      (9.30)

когда концентрация органических веществ очень мала, для окисления достаточно растворенного кислорода, содержащегося в самой воде,

БПК = а1 - а2,                                                                        (9.31)

где a1 и a2 - содержание растворенного кислорода соответственно до инкубации и после инкубации;

в1 и в2 - содержание азота нитратов соответственно до инкубации и после инкубации;

c1 и с2 - содержание азота нитритов соответственно до и после инкубации.

Ход определения с добавлением азота нитратов.

Если в сточной воде есть нитриты, нитраты и растворенный кислород, но их не хватает для того, чтобы окислять оставшиеся растворенные органические вещества (неочищенные сточные воды), приходится прибавлять раствор азотнокислого калия. Добавляется азотнокислый калий в таком количестве, чтобы кислорода хватило на окисление органических веществ и остался некоторый избыток. Обычно это количество подсчитывается теоретически, исходя из ХПК.

Например, в анализируемом объеме сточной воды ХПК составляет 50 мг O2. К этому объему необходимо добавлять не менее 50:0,2 = 250 мл азотнокислого калия, так как 1 мл его дает при полной денитрификации 0,2 мг кислорода.

Прибавление надо вести в форме разбавленного раствора нитратов, чтобы выделяющийся при денитрификации азот не выбивал пробку.

В чистую сухую мерную колбу вместимостью 1 л вносят 200-250 мл анализируемой сточной воды и рассчитанное количество раствора азотнокислого калия, доливают до метки анализируемой водой; тщательно перемешивают и переливают в кислородные склянки, заполняя их доверху, закрывают хорошо притертыми пробками и ставят в термостат при 18-20°С. В дальнейшем поступают так же, как и при определении без добавления азота нитратов.

Расчет.

Биологическое потребление кислорода определяют по формуле:

                              (9.32)

где У - объем исследуемой сточной воды, взятой на анализ, мл.

9.13. Нитриты

Нитриты являются промежуточным продуктом микробиального окисления аммиака или восстановления нитратов.

Определение основано на диазотировании сульфаниловой кислоты присутствующими в пробе нитритами и реакции полученной соли с a - нафтиламином, в результате которой образуется красно-фиолетовый аэокраситель. Интенсивность окраски пропорциональна концентрации нитритов. Протекание реакции зависит от рН среды.

Без разбавления пробы можно определить визуально от 0,002 до 0,025 мг/л , колориметрически - в зависимости от примененного фотометра (фотоэлектроколориметр, спектрофотометр) - от 0,001 до 0,6 мг/л. Точность определения ± 0,002 мг/л.

Определению мешают взвешенные вещества и мутность воды. Поэтому перед анализом пробу следует профильтровать. Если мутность фильтрованием не устраняется и сточные воды содержат коллоидные вещества, необходимо пробу осветлить коагулированием гидроокисью алюминия: к 100 мл пробы прибавляют около 0,5 г активного угля, 1 мл 12,5 % - ного сульфата алюминий-калия, раствор аммиака до получения рН = 5,8. После взбалтывания осадку дают осесть до полного осветления пробы. Фильтруют через сухой плотный фильтр «синяя лента». Первые порции фильтрата отбрасывают, для определения берут часть фильтрата. Осветление можно проводить также взбалтыванием 100 мл пробы с 2 мл суспензии гидроокиси алюминия.

Слабое окрашивание и незначительная мутность воды учитываются поправкой, определяемой по «холостой пробе», к которой добавляют раствор сульфаниловой кислоты.

В анализируемой пробе не должны присутствовать сильные окислители или восстановители. Влияние их устраняют соответствующим разбавлением.

Определение нитритов следует проводить немедленно после взятия пробы, потому что превращение их в нитраты или аммиак под действием микроорганизмов происходит непрерывно. Процесс можно задержать не более чем на сутки введением в пробу серной кислоты до рН = 2-3.

Аппаратура.

1. Цилиндры Генера или Несслера.

2. Фотоэлектроколориметр или спектрофотометр.

Реактивы.

1. Дистиллированная вода, не содержащая нитритов. Она применяется для приготовления всех реактивов.

К 1 л дистиллированной воды приливают 1 мл концентрированной серной кислоты, 0,2 мл 50 % - ного раствора MnSO4×5H2O и 1-3 мл 0,4 % - ного раствора КМпО4. Жидкость должна стать розовой. Через 15 мин ее обесцвечивают, прибавляя по каплям 0,09 % - ный раствор оксалата аммония.

Для очистки дистиллированной воды от нитритов можно также прилить к ней щелочной раствор перманганата и провести перегонку, отбрасывая первые 50 мл отгона. При этом следует применять хороший каплеуловитель, чтобы перманганат не попал в отгон.

2. Сульфаниловая кислота. Растворяют 0,6 г сульфаниловой кислоты х. ч. в 70 мл горячий дистиллированной воды, охлаждают, прибавляя 20 мл концентрированной хлористоводородной кислоты, разбавляют до 100 мл дистиллированной водой и тщательно перемешивают.

3. Альфанафтиламин гидрохлорид (или основание a - нафтиламина), раствор. Смешивают 0,6 г гидрохлорида a - нафтиламина с 1 мл концентрированной хлористоводородной кислоты (или 0,48 г основания a - нафтиламина с 1,4 мл концентрированной хлористоводородной кислоты) и разбавляют раствор дистиллированной водой до 100 мл.

4. Ацетат натрия, 2М раствор. Растворяют 27,2 г СН3СООNa×3H2O в дистиллированной воде, раствор фильтруют (если требуется) и разбавляют до 100 мл.

5. Нитрит натрия. Основной раствор. Растворяют 0,1497 г NaNO2 ч. д. a., высушенного при 105°С, в дистиллированной воде (лучше в стерилизованной) и доводят водой до 1 л. Раствор консервируют добавлением 1 мл хлороформа и сохраняют в холодном месте; он устойчив в течение месяца. В 1 мл раствора содержится 0,1 мг .

Рабочий раствор I. Разбавляют 100 мл основного раствора дистиллированной водой до 1 л. Раствор должен быть всегда свежеприготовленным. 1 мл раствора содержит 0,010 мг .

Рабочий раствор II. Разбавляют 50 мл рабочего раствора I дистиллированной водой до 1 л. Раствор должен быть всегда свежеприготовленным. I мл его содержит 0,0005 мг .

6. Гидроокись алюминия, суспензия. Растворяют 125 г алюмоаммонийных квасцов в 1 л воды, нагревают раствор до 60°С и медленно при непрерывном перемешивании прибавляют 55 мл концентрированного раствора аммиака. Дают постоять около 1 ч, переносят в большую бутыль (около 8 л) и промывают осадок гидроокиси алюминия многократной декантацией дистиллированной водой до удаления хлоридов, нитритов, нитратов и аммиака.

Фотоколориметрическое определение

Построение градуировочного графика.

Готовят серию эталонных растворов, наливая в мерные колбы вместимостью 50 мл следующие количества рабочего стандартного раствора II: 0,2; 0,5; 1,0; 2,0; 4,0; 6,0; 8,0; 10,0 мл, разбавляют их до 50 мл дистиллированной водой и далее поступают, как указано в ходе определения, измеряют оптическую плотность на фотоколориметре, пользуясь кюветами с расстоянием между гранями 5 см и зеленым светофильтром (λ = 520 нм).

Нулевую точку фотоколориметра устанавливают по контрольной пробе (50 мл дистиллированной воды, к которой добавлены те же реактивы, что и к исследуемым растворам). По полученным данным строят градуировочный график, откладывая по оси абсцисс содержание нитратов в эталонных растворах, а по оси ординат - соответствующие им оптические плотности.

Ход определения.

В мерную колбу вместимостью 50 мл отбирают такое количество профильтрованной сточной воды, чтобы в ней содержалось от 0,3 до 15 мкг нитрит-ионов, нейтрализуют титрованным раствором кислоты или щелочи до рН = 6,5-7,5 (необходимое количество кислоты или щелочи находят титрованием другой порции фильтрата по бромтимоловому синему или феноловому красному) и разбавляют водой, не содержащей нитритов, до 50 мл. Затем прибавляют 1 мл раствора сульфаниловой кислоты и тщательно перемешивают. Значение рН полученной смеси должно быть около 1,4. Дают постоять от 3 до 10 мин, затем приливают 1 мл раствора a - нафтиламина, 1,0 мл раствора ацетата натрия и хорошо перемешивают. Полученный окрашенный раствор должен иметь рН от 2 до 2,5. Через 10-30 мин определяют его оптическую плотность на фотоколориметре (спектрофотометре).

Расчет.

Содержание нитритов (мг/л) вычисляют по формуле:

                                                                        (9.33)

где с - содержание нитритов, найденное по градуировочному графику, в мг;

У - объем пробы, взятой для анализа, в мл.

Визуальное определение

При визуальном определении одновременно с пробой готовят серию стандартных растворов в цилиндрах Несслера или Генера. В цилиндры вместимостью 50 мл вносят 0; 0,2; 0,5; 1,0; 1,5; 2,0; 2,5; 3,0 мл и т.д. рабочего стандартного раствора II (в зависимости от предполагаемого содержания нитритов в анализируемой пробе), доводят объемы до 50 мл дистиллированной водой.

Далее так же, как при фотометрическом определении, приливают по 1 мл растворов сульфаниловой кислоты, a - нафтиламина и ацетата натрия. Через 20 мин определяют, какому стандартному раствору соответствует окраска анализируемой пробы.

9.14. Нитраты

По содержанию нитратов можно судить о процессе нитрификации в сооружениях биологической очистки. Существует несколько методов определения нитратов в сточных водах:

1) с применением фенолдисульфоновой кислоты при содержании  0,5-50 мг/л;

2) колориметрический метод с салицилатом натрия при содержании  0,1-20 мг/л;

3) полярографический метод, когда содержание  5-10 мг/л;

4) метод восстановления сплавов Деварда до аммиака с последующей перегонкой можно использовать, когда содержание  более 5 мг/л;

5) колориметрический метод с восстановлением нитратов до нитритов гидразином. Он применим для концентраций  0,01- 2 мг/л. В этом методе, если в растворе присутствуют нитриты, содержание нитратов находят по разности.

Если проба не была обработана в день отбора, ее хранят в холодильнике или консервируют добавлением 1 мл концентрированной серной кислоты или 2-4 мл хлороформа на 1 л вода.

Для определения нитратов в биологически очищенных сточных водах рекомендуется колориметрический метод с салицилатом натрия.

Определение основано на реакции нитратов с салицилатом натрия в кислой среде, сопровождающейся образованием окрашенной в желтый цвет соли нитросалициловой кислоты.

Коллоидные органические и окрашенные вещества, присутствующие в пробе, мешают определению. Их удаляют следующим образом: к 150 мл пробы прибавляет 3 мл суспензии гидроокиси алюминия (см. определение нитритов), тщательно перемешивают, оставляют несколько минут стоять и затем фильтруют. Первые порции фильтрата отбрасывают.

Если сухой остаток после прибавления серной кислоты окрасится присутствующими растворенными органическими веществами, то этот метод не применим.

Определению мешают хлориды в количествах, превышающих 200 мг/л.

Удаление хлоридов осуществляют следующим образом. Предварительно определяют содержание хлоридов в пробе. К 100 мл пробы прибавляют эквивалентное количество раствора сульфата серебра (4,4 г Аg2SO4 ч. д. а., свободного от нитратов, растворяют в дистиллированной воде и доводят до 1 л; 1 мл раствора соответствует 1 мг Сl-). Осадок хлорида серебра отфильтровывают или центрифугируют после предварительного нагревания смеси. Целесообразно оставить смесь на ночь в темном месте. Допускается устранение мешающего влияния хлоридов простым разбавлением пробы.

Мешает определению железо в количестве более 5 мг/л. Мешающее влияние большой концентрации железа или других катионов устраняется фильтрованием через катионит. Его также можно предварительно отделить обработкой суспензией гидроокиси алюминия.

Нитриты при содержании их, превышающем 1-2 мг/л, оказывают влияние на результат определения нитратов. Содержание 20 мг/л  повышает найденный результат определения нитратов на 1 мг/л. Нитрит-ионы в количестве более 2 мг/л следует удалять выпариванием 20 мл пробы досуха на водяной бане с добавлением 0,05 г сульфата аммония.

Аппаратура.

1. Фотометр или фотоколориметр с фиолетовым светофильтром (λ = 410 нм).

2. Набор цилиндров Несслера вместимостью 50 мл (при визуальном определении).

3. Водяная баня.

Реактивы.

1. Салицилат натрия, 0,5 % - ный водный раствор, всегда свежеприготовленный.

2. Серная кислота ч. д. а. концентрированная, свободная от нитратов.

3. Едкий натр и сегнетова соль, раствор. Растворяют 400 г NаОН ч. д. а. и 60 г сегнетовой соли ч. д. а. в дистиллированной воде и после охлаждения доводят до 1 л.

4. Нитрат калия. Основной раствор. Растворяют 0,1631 г КNО3 ч. д. а., высушенного при 105°С, в дистиллированной воде, прибавляют 1 мл хлороформа и разбавляет водой до 1 л; 1 мл этого раствора содержит 0,100 мг

Рабочий раствор. 10 мл основного раствора разбавляют дистиллированной водой до 100 мл; всегда применяют свежеприготовленный раствор: 1 мл этого раствора содержит 0,01 мг .

Построение градуировочного графика.

Отбирают 0; 0,5; 1,0; ... 20,0 мл рабочего стандартного раствора нитрата калия, доводят до 20 мл, затем поступают, как описано в ходе определения, находят оптическую плотность и строят градуировочный график в координатах: оптическая плотность - концентрация нитрат-ионов.

Ход определения.

К 20 мл пробы прибавляют 2 мл раствора салицилата натрия и выпаривают в фарфоровой чашке на водяной бане досуха. После охлаждения сухой остаток увлажняют 2 мл серной кислоты и оставляют стоять на 10 мин.

Содержимое чашки разбавляют 15 мл дистиллированной воды, приливают 15 мл раствора едкого натра и сегнетовой соли, переносят в мерную колбу вместимостью 50 мл, обмывая стенки чашки дистиллированной водой. После охлаждения до комнатной температуры доводят объем до метки дистиллированной водой и окрашенный раствор колориметрируют. В течение 10 мин после прибавления раствора едкого натра окраска не изменяется. Из найденного значения оптической плотности вычитают оптическую плотность холостой пробы, приготовленной тем же способом с дистиллированной водой, и по градуировочному графику находят содержание нитратов.

Расчет.

Содержание нитратов (в мг/л) вычисляют по формуле:

                                                                        (9.34)

где с - содержание нитратов, найденное по градуировочному графику, в мг;

У - объем пробы, взятой для анализа, в мл.

Визуальное определение

Для визуального определения готовят серию стандартных растворов в цилиндрах Несслера или Генера вместимостью 50 мл. В них вносят 0; 0,5; 1,0; 1,5 мл и т. д. рабочего стандартного раствора нитрата калия (в зависимости от предполагаемого содержания нитратов в анализируемой пробе), доводят объем до 50 мл дистиллированной водой и обрабатывают, как указано в ходе определения. Через 20 мин определяют, какому стандартному раствору соответствует окраска анализируемой пробы.

Другие метода определения нитратов описаны в литературных источниках (24-29).

9.15 Оседающие вещества

Количество осадка по объему выражается в миллилитрах на литр воды через 2 ч отстаивания.

Аппаратура.

Конусы Имгоффа или цилиндры Лысенко вместимостью 500 или 1000 мл с делениями в нижней части цилиндра, соответствующими 0,1 мл.

Ход определения.

Тщательно взбалтывают сточную воду и наполняют ею цилиндр Лысенко до 500 или 1000 мл. Через 1 ч 45 мин осторожным поворачиванием цилиндра вокруг своей оси вызывают сползание осадка, осевшего на стенках сосуда. Через 10 мин повторяют это вращение. Через 5 мин, т.е. через 2 ч от начала отстаивания, отсчитывают объем осадка и пересчитывают его на 1 л.

В некоторых случаях интересные данные можно получить через сутки отстаивания.

Для того, чтобы охарактеризовать не только количество осадка, но и скорость его осаждения (динамику осаждения), определяют объем осевшей части осадка в течение первого часа через 15, 30, 60 мин, затем через 1,5; 2,0; 3-4 ч от начала. За 5 мин до отсчета цилиндр поворачивают, как было указано выше. Обычно достаточным является наблюдение в продолжение первых двух часов, в дальнейшем объем осадка меняется медленно.

9.16. Активный ил

Аппаратура.

1. Прибор для фильтрования. Имеется большое число различных приборов. Удобен прибор Олихова. Он может быть легко собран в любой лаборатории. Можно применять прибор Зейтца с металлической трубкой вместо стеклянной.

2. Мембранные фильтры6предварительные»). Для удаления имеющегося в их порах воздуха, а также остатков растворителей, использованных при их приготовлении, фильтры кипятят в дистиллированной воде 5-10 мин.

Кипячение проводят 2-3 раза, сливая после каждого раза воду и заменяя ее свежей, после чего фильтры подсушивают в сушильном шкафу при 105°С в течение 1 ч.

3. Цилиндры на 100 мл, градуированные.

Ход определения.

Активный ил из аэротенков тщательно перемешивают и отбирают на анализ определенный объем иловой смеси, зависящий от концентрации активного ила. Рекомендуется отбирать порцию 25 мл, если концентрация активного ила выше 3 г/л; при меньшей концентрации объем анализируемой смеси соответственно увеличивается. Подготовленный мембранный фильтр, высушенный в сушильном шкафу при 105°С, помеченный карандашом, взвешенный на аналитических весах, помещают в прибор для фильтрования надписью вниз. Отмеренное количество иловой смеси пропускают через фильтр. Приставший к стенкам цилиндра ил смывают на мембранный фильтр небольшим количеством дистиллированной воды, приливая ее после того, как жидкость на фильтре хорошо отфильтрована.

Фильтр с отфильтрованным илом переносят на лист фильтровальной бумаги и помещают в сушильный шкаф. Замечают время, когда температура поднимется до 105°С, после чего сушат 30-60 мин до постоянного веса (процесс занимает примерно 3 ч).

Высушенный ил охлаждают в эксикаторе и взвешивают на аналитических весах. Определение концентрации активного ила можно проводить также фильтрованием через беззольный фильтр или фильтр со стеклянной пористой пластинкой 1.

Расчет.

Концентрацию активного ила (в г/л) по сухой массе вычисляют по формуле:

                                                                 (9.35)

где а - масса мембранного фильтра с илом в г;

в - масса мембранного фильтра без ила в г;

У - объем профильтрованной иловой смеси в мл.

9.17. Динамика оседания активного ила

Аппаратура.

1. Цилиндры на 100 мл, градуированные.

2. Часы.

Ход определения.

Тщательно перемешав анализируемую иловую смесь, переносят ее в цилиндр Лысенко или в градуированные цилиндры на 100 мл (при концентрации ила 2,5-3 г/л), наливая ее до верхней метки, перемешивают и через определенные промежутки времени (15, 30, 60, 120 мин) отмечают объем, занимаемый осевшим илом.

Результаты определения выражают в виде отношения (в %) объема, занимаемого выпавшим илом, к объему взятой для анализа иловой смеси. Результат определяют для каждого времени отстаивания.

Полученные результаты представляют обычно в виде кривых, откладывая по оси абсцисс время от начала опыта, в течение которого происходило отстаивание, а по оси ординат - указанное выше процентное отношение.

9.18. Иловый индекс

Иловый индекс характеризует способность активного ила к оседанию. Он равен объему, занимаемому 1 г сухого вещества активного ила после 30-минутного отстаивания.

Иловый индекс рассчитывают по формуле:

                                                                           (9.37)

где У - объем ила в мерном цилиндре на 100 мл после 30 мин отстаивания в мл (см. динамику оседания активного ила);

х - концентрация активного ила, г/л (см. определение концентрации активного ила);

10 - коэффициент пересчета объема активного ила на 1 л.

9.19. Оптимальная доза коагулянта

При установлении режима обработки сточной воды методом флотации в сочетании с коагуляцией проводится пробная коагуляция, позволяющая подобрать подходящий вид и оптимальную дозу товарного коагулянта, а также расход кислоты или щелочи при необходимости регулирования рН воды.

Сущность пробной коагуляции сводится к следующему. Берут 3-4 одинаковых стеклянных цилиндра вместимостью 0,25-0,5 л. На каждом из цилиндров (если они не градуированы) делают две метки. Верхнюю ставят так, чтобы ниже ее помещалось 0,25-0,5 л воды, а нижнюю - на 50 мл выше дна цилиндра. Наполнив цилиндры исследуемой водой, добавляют в них различные дозы товарного коагулянта (ориентировочно 50, 100, 150, 200 мг/л). Коагулянт удобно вводить в воду в виде 1 % - ного раствора, 1 мл которого содержит 10 мг вещества. Затем содержимое каждого из цилиндров перемешивают путем десятикратного опрокидывания и ставят для отстоя и наблюдения. Получаемые в разных цилиндрах результаты оценивают по быстроте хлопьеобразования и степени осветления воды. Быстроту хлопьеобразования определяют визуально по времени появления в воде хорошо сформированных хлопьев. Для нормального хода флотационной очистки продолжительность образования таких хлопьев не должна превышать 1-2 мин. После 10 мин отстаивания из каждого цилиндра с помощью сифона, опущенного до нижней метки, отбирают пробу воды для определения прозрачности (по шрифту), по которой оценивается степень осветления.

При наличии достаточного опыта прозрачность воды можно оценить на глаз. Также приходится поступать и при плохом отделении от воды хлопьев коагулянта. Оптимальной дозой коагулянта считается та, которая дает заметную разницу в прозрачности очищенной воды по сравнению с меньшими дозами и небольшую разницу по сравнению с большими.

Если время хлопьеобразования значительно превышает 1-2 мин или при коагуляции не происходит осветления, следует определить рН исходной воды и в зависимости от полученной величины установить необходимость подщелачивания, подкисления (иногда разбавления) воды или использования другого коагулянта.

Подщелачивание, как правило, требуется, когда естественная щелочность сточной воды недостаточна для полного гидролиза коагулянта, т.е. составляет меньше 1-2 мг-экв/л.

Подкисление или разбавление исходной воды используют при чрезмерной ее щелочности (рН > 9) с целью разрушения устойчивых нефтяных эмульсий и создания благоприятных условий для коагуляции.

СПИСОК ИСПОЛЬЗОВАННЫХ ИСТОЧНИКОВ

1. Инструкция по эксплуатации очистных сооружений нефтебаз, наливных пунктов, перекачивающих станций и АЗС - в кн. Правила и инструкции по технической эксплуатации металлических резервуаров и очистных сооружений. М., «Недра», 1977 , 464 с.

2. Стахов Е.А. Очистка нефтесодержащих сточных вод предприятий хранения и транспорта нефтепродуктов. Л. «Недра», 1983, 263 с.

3. Справочник по эксплуатации систем водоснабжения, канализации и газоснабжения. Под ред. д-ра техн. наук проф. С.М. Шифрина и к.т.н. В.Д. Дмитриева. Л., Стройиздат, 1981, 271 с.

4. Канализация населенных мест и промышленных предприятий. Н.И. Лихачев, И.И. Ларин, С.А. Хаскин и др. Под общ. ред. В.Н. Самохина. - 2-е изд., перераб. и доп. М., Стройиздат, 1981, 639 с.

5. Руководство по проектированию и расчету флотационных установок для очистки сточных вод. М., Стройиздат, 1978, 32 с.

6. Яковлев С.В., Ласков Ю.М. Канализация (водоотведение и очистка сточных вод). Учеб. для техникумов. - 7-е изд., перераб. и доп. М., Стройиздат, I987, 319 с.

7. Скирдов И.В., Пономарев В.Г. Очистка сточных вод в гидроциклонах. М., Стройиздат, 1975, 176 с.

8. Разумовский Э.С., Бедимогов С.В., Сводцев В.Л. и др. Технические указания на привязку, монтаж и эксплуатацию установок заводского изготовления для очистки сточных вод методом полного окисления и аэробной стабилизации в сельских населенных пунктах. M., Стройиздат, 1975, 63 с.

9. Преображенский Л.Н. - Реферативная информация. Целлюлоза, бумага и картон. 1978, № 32, С.5. Изд. ВНИПИЭИМСпром.

10. ГОСТ 17.0.0.02-79. Охрана природы. Метрологическое обеспечение контроля загрязненности атмосферы, поверхности вод и почвы. Основные положения.

11. ГОСТ 17.1.1.01-77. Охрана природы. Гидросфера. Использование и охрана вод. Основные термины и определения.

12. СТ СЭВ 3078-81 Охрана природы. Гидросфера. Общие требования к охране поверхностных и подземных вод от загрязнения нефтью и нефтепродуктами.

13. ГОСТ 17.1.4.01-80. Охрана природы. Гидросфера. Общие требования к методам определения нефтепродуктов в природных и сточных водах.

14. СНиП 2.04.01-85 Нормы проектирования. Внутренний водопровод и канализация зданий.

15. СНиП 2.04.03-85 Нормы проектирования. Канализация. Наружные сети и сооружения.

16. СНиП II-106-79. Нормы проектирования. Склады нефти и нефтепродуктов.

17. СНиП 3.05.04-85 Правила производства и приемки работ. Водоснабжение, канализация и теплоснабжение. Наружные сети и сооружения.

18. СНиП III-A.10-70. Приемка в эксплуатацию законченных строительством предприятий, зданий и сооружений. Основные положения.

19. Кремлевский П.П. Расходомеры и счетчики количества. Изд.3-е, перераб. и доп. Л., Машиностроение, 1975. 776 с.

20. Лобачев П.В., Шевелев Ф.А. Расходомеры для систем водоснабжения и канализации. М., Стройиздат, 1976. 304 с.

21. Правила технической эксплуатации нефтебаз. М., «Недра», 1966. 168 с.

22. Правила измерения расхода газов и жидкостей стандартными сужающими устройствами. РД 50-213-80. М., изд-во стандартов.

23. Правила измерения расхода жидкости при помощи стандартных водосливов и лотков. РДП 99-77. М., изд-во стандартов, 1977. 52 с.

24. Лурье Ю.Ю. Рыбникова А.И. Химический анализ производственных сточных вод. М, Химия, 1974. 335 с.

25. Лурье Ю.Ю. Аналитическая химия промышленных сточных вод. М. Химия, 1984. 448 с.

26. Методика проведения технологического контроля работы очистных сооружений городских канализаций. М., Стройиздат, 1971. 231 с.

27. Унифицированные методы анализа вод. М., Химия, 1973. 376 с.

28. Рекомендации по методам производства анализов на сооружениях биологической очистки промышленных сточных вод. М., Стройиздат, 1970. 103 с.

29. Руководство по химическому анализу поверхностных вод суши. Под редакцией д-ра хим. наук проф. А.Д. Семенова. Л, Гидрометеоиздат, 1977. 534 с.

30. Руководство по методам химического анализа морских вод. Под ред. к. х. н. С.Г. Орадовского. Л., Гидрометеоиздат, I984. 208 с.

31. Правила по технике безопасности и промышленной санитарии при эксплуатации нефтебаз и АЗС. М., Химия, 1970. 96 с.

32. Правила пожарной безопасности при эксплуатации предприятий Госкомнефтепродукта СССР. - 2-е изд., перераб. и доп. М., «Недра», 1964, 95 с.

33. ГОСТ 12.0.003-74 ССБТ. Опасные и вредные производственные факторы.

34. ГОСТ 12.1.004-76 ССБТ. Пожарная безопасность. Общие требования.

35. ГОСТ 12.1.005-76 ССБТ. Воздух рабочей зоны. Общие санитарно-гигиенические требования.

36. ГОСТ 12.1.007-76 ССБТ. Вредные вещества. Классификация и общие требования безопасности.

37. ГОСТ 12.1.010-76 ССБТ. Взрывобезопасность.

38. ГОСТ 12.1.018-79 ССБТ. Статическое электричество. Искробезопасность. Общие требования.

39. ГОСТ 12.1.019-79 ССБТ. Электробезопасность. Общие требования.

40. ГОСТ 12.3.002-75 ССБТ. Процессы производственные. Общие требования безопасности.

41. ГОСТ 12.3.006-75 ССБТ. Эксплуатация водопроводных и канализационных сооружений и сетей. Общие требования безопасности.

42. ГОСТ 12.3.009-76 ССБТ. Работы погрузочно-разгрузочные. Общие требования безопасности.

43. ГОСТ 12.3.020-80 ССБТ. Процессы перемещения грузов на предприятиях. Общие требования безопасности.

ПРИЛОЖЕНИЕ 1
Форма представляемых на утверждение проектов ПДС

Лист 1 Всего листов__________

Утверждаю______________________________________________________________________

(должностное лицо органов по регулированию использования и охране вод системы Минводхоза СССР)

м.п.

«_____»__________198___г. __________

(подпись)

СОГЛАСОВАНО______________________________________________________________

(должностное лицо органов санитарно-эпидемиологической службы Минздрава СССР)

м.п.

«_____»__________198___г. __________

(подпись)

СОГЛАСОВАНО______________________________________________________________

(должностное лицо рыбоохраны Минрыбхоза СССР)

м.п.

«_____»__________198___г. __________

(подпись)

ПРЕДЕЛЬНО ДОПУСТИМЫЙ СБРОС ВЕЩЕСТВ (ПДС), ПОСТУПАЮЩИХ В ВОДНЫЙ ОБЪЕКТ СО СТОЧНЫМИ ВОДАМИ ПРЕДПРИЯТИЯ, ОРГАНИЗАЦИИ, УЧРЕЖДЕНИЯ

1.____________________________________________________________________________

(наименование органа, утвердившего ПДС)

2. ПДС утвержден «___»______________198___г. на срок до «___»_____________198___г.

Реквизиты водопользователя:

3. Наименование_______________________________________________________________

4. Главное управление, объединение______________________________________________

5. Министерство, ведомство_____________________________________________________

6. Республика, область, район____________________________________________________

7. Почтовый адрес водопользователя, фамилия, имя, отчество и телефон должностного лица, ответственного за водопользование, его должность_____________________________________

8. ПДС утвержден и согласован для_______________________________выпусков сточных

(количество)

вод (схема выпуска прилагается)

9. Наименование и адрес организации, разработавшей проект ПДС

_____________________________________________________________________________

_____________________________________________________________________________

Лист 2

ПРЕДЕЛЬНО ДОПУСТИМЫЙ СБРОС ВЕЩЕСТВ (ПДС), ПОСТУПАЮЩИХ В ВОДНЫЙ ОБЪЕКТ СО СТОЧНЫМИ ВОДАМИ ПО ВЫПУСКАМ

1. Предприятие, организация, учреждение _________________________________________

2. Выпуск ________________________Категория сточных вод________________________

(согласно прилагаемой схеме)

3. Наименование водного объекта, принимающего сточные вода

_____________________________________________________________________________

4. Категория водопользования____________________________________________________

5. Фактический расход сточных вод___________________________________________м3

6. Утвержденный расход сточных вод для установления ПДС_____________________м3

7. Утвержденный предельно допустимый сброс и состав сточных вод (сброс любых веществ, не указанных ниже, запрещен)

№№ п/п

Показатели состава сточных вод

Фактическая концентрация, мг/л

Фактический сброс, г/ч

Допустимая концентрация, мг/л

Утвержденный предельно допустимый сброс, г/ч

1

Взвешенные вещества

 

 

 

 

2

Минеральный состав

 

 

 

 

3

Хлориды

 

 

 

 

4

Сульфаты

 

 

 

 

5

Биохимическое потребление кислородаПКполн)

 

 

 

 

6

Вещества, включаемые в одинаковые лимитирующие показатели вредности:

нефтепродукты, фенолы, Спав и т.д.

 

 

 

 

8. Утверждаемые свойства сточных вод:

а) плавающие примеси (вещества)________________________________________________

б) запахи, привкусы____________________________________________________________

в) окраска_____________________________________________________________________

г) температура (°C)_____________________________________________________________

д) реакция (рН)________________________________________________________________

е) коли-индекс_________________________________________________________________

ж) растворенный кислород___________________________________________________мг/л

Подпись должностного лица, ответственного за водопользование_____________(подпись)

ПРИЛОЖЕНИЕ 2
ПАСПОРТ

очистных сооружений на________________________________________________________

(наименование нефтебаз, наливных пунктов, перекачивающих станций

_________________________________________________________________________________управления

магистральных нефтепродуктопроводов и АЗС)

Местонахождение объекта_______________________________________________________

(поселок, город, район, область, АССР)

Очистные сооружения

1. Общие сведения:

год постройки__________ 19 _____г.

год реконструкции_______19_____г.

пропускная способность сооружений:

по проекту_______________________________________________________________м3/сут

фактически______________________________________________________________м3/сут

2. Состав очистных сооружений (нефтеловушки, буферные резервуары, флотаторы, фильтры и т.д. Дать их общую характеристику и основные размеры)

_____________________________________________________________________________

_____________________________________________________________________________

_____________________________________________________________________________

3. Источники загрязнения производственно-дождевых и других загрязненных вод (резервуарные парки, насосные станции, площадки сливно-наливных эстакад и т.п.)

_____________________________________________________________________________

_____________________________________________________________________________

_____________________________________________________________________________

4. Состав производственно-дождевых и других загрязненных сточных вод. Общий объем очищаемых и выпускаемых в водоем сточных вод________________________ м3/год. Из них:

производственных____________________________________м3/год___________________%

балластных__________________________________________м3/год___________________%

льяльных, подсланевых________________________________м3/год__________________%

промывочных________________________________________м3/год__________________%

других загрязненных__________________________________м3/год__________________%

дождевых ___________________________________________м3/год__________________%

бытовых_____________________________________________м3/год__________________%

5. Содержание нефтепродуктов в производственно-дождевых и других загрязненных сточных водах, мг/л:

До очистки

После очистки

Перед выпуском

По проекту

Фактически

6. Способы учета количества очищенной вода (расходомеры, счетчики, уровнемеры и т.д.)

_____________________________________________________________________________

_____________________________________________________________________________

7. Методы очистки и обезвреживания загрязненных сточных вод (механический, физико-химический, химический, биохимический и др.)

_____________________________________________________________________________

_____________________________________________________________________________

_____________________________________________________________________________

8. Место выпуска очищенных сточных вод (море, река, озеро, городские или заводские коллекторы, пруды-испарители и т.д.)

_____________________________________________________________________________

Расстояние между очистными сооружениями и водоемом или коллектором_____________

9. Допустимое содержание нефтепродуктов в очищенных сточных водах, выпускаемых в водоем

Контролирующая организация

Содержание нефтепродуктов, мг/л

Дата согласования

по проекту

согласованное

10. Среднегодовое количество нефтепродуктов, извлекаемых из загрязненных сточных вод при очистке______________________________________________________________т/год

11. Себестоимость очистки 1 м3 сточной воды до проектного или согласованного с контролирующей организацией содержания нефтепродуктов_________________________коп

12. Лаборатория, контролирующая качество очистки на предприятии, определяемые показатели, методы их определения

_____________________________________________________________________________

_____________________________________________________________________________

Порядок и частота отбора проб сточных вод

_____________________________________________________________________________

_____________________________________________________________________________

13. Производственно-дождевая канализация:

Год постройки__________19_____г.

Диаметры трубопроводов _______________мм

Общая протяженность __________________м

Трубы________________________________________________________________________

(стальные, чугунные, керамические и т.д.)

Глубина заложения труб _______________________________________________________м

Система перекачки: самотечная, напорная, смешанная (подчеркнуть)

Спецканализация для этилированных сточных вод

_____________________________________________________________________________

(дать характеристику)

14. Стоимость строительства очистных сооружений и производственно-дождевой канализации_____________________________________________________________тыс. руб.:

Сметная ______________________________________________________________________

Фактическая __________________________________________________________________

15. Техническое состояние очистных сооружений и производственно-дождевой канализации

_____________________________________________________________________________

_____________________________________________________________________________

16. Требования местных контролирующих органов надзора к повышению эффективности действующих очистных сооружений

_____________________________________________________________________________

17. Необходимость и возможность расширения или реконструкция очистных сооружений

_____________________________________________________________________________

_____________________________________________________________________________

18. Численность обслуживающего персонала очистных сооружений.

Всего ____________________чел.

в том числе:

инженерно-технических работников __________________________________________чел.

работников прочих квалификаций ____________________________________________чел.

19. Сменность работы на очистных сооружениях: односменная, двухсменная, трехсменная (подчеркнуть)

20. Приложения к паспорту:

генеральный план или выкопировка очистных сооружений с производственно-дождевой канализацией;

технологическая схема работы очистных сооружений и производственно-дождевой канализации

Директор объекта

(фамилия, имя, отчество)________________________________________________(подпись)

Главный инженер управления

(фамилия, имя, отчество)________________________________________________(подпись)

Дата заполнения паспорта_______________________________________________19_____г.

Место печати

Данные о происшедших изменениях на очистных сооружениях

Номер раздела в паспорте

Дата изменения

Характеристика изменения

ПРИЛОЖЕНИЕ 3
Определение расхода сточных вод с помощью тарированной рейки

Для потоков с устойчивым руслом (канал, лоток) существует постоянная однозначная зависимость между расходом и глубиной потока: чем больше глубина, тем больше расход.

Тарирование рейки и замеры расхода должны проводиться на прямом участке лотка или канала. На этом участке рядом с лотком устраивают карман размером 0,3×0,3 м в плане и устанавливают в нем рейку. Карман соединяется с лотком или каналом через отверстие в разделяющей их стенке; отверстие нужно располагать ближе ко дну лотка с таким расчетом, чтобы в него не мог поступать всплывший на поверхность нефтепродукт.

В лотке и в кармане установится один и тот же уровень воды и в то же время, благодаря отсутствию движения воды в кармане, поверхность ее будет находиться в покое, что позволит делать отсчеты с большей точностью.

Перед тарированием рейки весь участок канала должен быть очищен от наносов.

Рейка тарируется путем одновременного измерения расхода воды в лотке (вертушкой, водосливом) и уровня вода по закрепленной в нем рейке. Полученные значения наносят на координатную сетку, на которой по оси абсцисс откладывают расходы (в м3/ч), а по оси ординат - уровни (в см).

Соединенные между собой точки при различных расходах и соответствующих им уровнях образуют кривую, отображающую зависимость расхода воды от глубины потока в лотке.

ПРИЛОЖЕНИЕ 4
Требования к составу к свойствам воды водоемов

Таблица П.4.1

Общие требования к составу и свойствам воды водоемов у пунктов питьевого и культурно-бытового водопользования

Показатели состава и свойств воды водоема

Для централизованного или нецентрализованного хозяйственно-питьевого водоснабжения, а также для водоснабжения пищевых предприятий

Для купания спорта и отдыха населения, а также водоемы в черте населенных пунктов

1

2

3

Взвешенные вещества

Содержание взвешенных веществ не должно увеличиваться более:

0,25 мг/л

0,75 мг/л

Для водоемов, содержащих в межень более 30 мг/л природных минеральных веществ, допускается увеличение содержания взвешенных веществ в воде в пределах 5%

Взвеси со скоростью выпадения более 0.4 мм/с для проточных водоемов и более 0,2 мм/с для водохранилищ спускать запрещается

Плавающие примеси

На поверхности водоема не должны обнаруживаться плавающие пленки, пятна минеральных масел и скопления других примесей

Запахи и привкусы

Вода не должна приобретать запахи и привкусы интенсивностью более 2 баллов, обнаруживаемые:

непосредственно или при последующем хлорировании

непосредственно

Вода не должна сообщать посторонних запахов и привкусов мясу рыб

Окраска

Не должна обнаруживаться в столбике:

20 см

10 см

Температура

Летняя температура воды в результате спуска сточных вод не должна повышаться более чем на 3°С по сравнению со среднемесячной температурой воды самого жаркого месяца за последние 10 лет

 

Реакция

Не должна выходить за пределы 6,5-8,5 рН

 

Минеральный состав

Не должен превышать по сухому остатку - 1000 мг/л, в том числе хлоридов 350 мг/л и сульфатов 500 мг/л

Нормируется по приведенному выше показателю «Привкусы»

Растворенный кислород

Не должен быть менее 4 мг/л в любой период года в пробе, отобранной до 12 ч дня

 

Биохимическая потребность в кислороде

Полная потребность воды в кислороде при 20°С не должна превышать:

3 мг/л

6 мг/л

Возбудители заболеваний

Вода не должна содержать возбудителей заболеваний. Сточные воды, содержащие возбудителей заболеваний, должны подвергаться обеззараживанию после предварительной очистки. Обезвреживание воды от возбудителей заболеваний достигается путем обеззараживания биологически очищенных бытовых сточных вод до коли-индекса не более 1000 в 1 л при остаточном хлоре не менее 1,5 мг/л

 

Ядовитые вещества

Не должны содержаться в концентрациях, оказывающих прямо или косвенно вредное действие на организм и здоровье населения

 

Таблица П.4.2

Предельно допустимые концентрации некоторых вредных веществ в воде водоемов хозяйственно-питьевого и культурно-бытового водопользования

Вещества

Лимитирующий показатель вредности

Предельно допустимая концентрация, мг/л

Бензин

Органолептический

0,1

Керосин

То же

0,1

Нефть многосернистая

То же

0,1

Нефть прочая

То же

0,3

Нафтеновые кислоты

То же

0,3

Тетраэтилсвинец

Санитарно-токсикологический

Отсутствие

Свинец

То же

0,1

Фенол

органолептический

0,001

ПАВ:

 

Алкилсульфонаты

То же

0,5

0Д-7

То же

0,4

ОД-10

То же

0,5

Таблица П.4.3

Общие требования к составу и свойствам воды водоемов, используемых для рыбохозяйственных целей

Показатели состава и свойств воды водоема

Водоемы, используемые для сохранения и воспроизводства ценных видов рыб, обладающих высокой чувствительностью к кислороду

Водоемы, используемые для всех других рыбохозяйственных целей

Взвешенные вещества

Содержание взвешенных веществ, по сравнению с природными, не должно увеличиваться более:

0,25 мг/л

0,75 мг/л

Для водоемов, содержащих в межень более 30 мг/л природных минеральных веществ, допускается увеличение содержания их в воде водоемов в пределах 5 %. Взвеси со скоростью выпадения более 0,4 мм/с для пробочных водоемов и более 0,2 мм/с для водохранилищ спускать запрещается

Плавающие примеси

На поверхности не должны обнаруживаться пленки нефтепродуктов, масел, жиров и других примесей

Окраска, запахи и привкусы

Вода не должна приобретать посторонних запахов, привкусов, окраски и сообщать их мясу рыб

Температура

Температура воды не должна повышаться по сравнения с естественной температурой водоема более чем на 5°С с общим повышением температуры не более чем до 20°С летом и 5°С зимой для водоемов, в которых обитают холодноводные рыбы, и более 23°С летом и 8°С зимой - для остальных водоемов. На местах нерестилищ налима запрещается повышать температуру воды зимой более чем до 2°С

Реакция

Не должна выходить за пределы 6,5-8,5 рН

Растворенный кислород

В зимний (подледный) период не должен быть ниже:

6 мг/л

4 мг/л

В летний (открытый) период во всех водоемах должен быть не ниже 6 мг/л в пробе, отобранной до 12 ч дня

Биохимическая потребность в кислороде

Полная потребность воды в кислороде (при 20°С) не должна превышать: 3 мг/л

Если в зимний период содержание растворенного кислорода в воде водоема первого вида водопользования снижается до 6 мг/л, а в водоемах второго вида до 4 мг/л, то можно допустить сброс в них только тех сточных вод, которые не изменяют БПК воды

Ядовитые вещества

Не должны содержаться в концентрациях, способных оказать прямо или косвенно вредное воздействие на рыб, водные организмы, служащие кормовой базой для рыб

Таблица П.4.4

Предельно допустимые концентрации некоторых вредных веществ в воде рыбохозяйственных водоемов

Вещества

Лимитирующий показатель вредности

Предельно допустимая концентрация, мг/л

Нефть и нефтепродукты

Рыбохозяйственный

0,05

Свинец (Рв2+)

Токсикологический

0,1

Фенолы

Рыбохозяйственный

0,001

ПАВ:

 

алкилсульфонат

Токсикологический

0,5

ОП-7

То же

0,3

ОП-10

То же

0,5

Хлор свободный

То же

Отсутствие1

Примечание.1 В пределах наиболее чувствительного метода исследования.

ПРИЛОЖЕНИЕ 5
Пределы взрывоопасных концентраций паров нефтепродуктов в воздухе

Нефтепродукт

Пределы концентраций, об. %

нижний

верхний

Бензин автомобильный и бензин авиационный

0,76

5,16

То же, Б-95 и Б-100

0,98

5,48

Бензин-растворитель для резиновой промышленности

1,10

5,40

Керосины, осветительный и тракторный

1,40

7,50

Бензин-растворитель для лакокрасочной промышленности

1,40

6,00

ПРИЛОЖЕНИЕ 6
Предельно допустимые концентрации некоторых средних газов и паров в воздухе

Вещества

Предельно допустимая концентрация, мг/м3

Аммиак

20

Ацетон

200

Бензин-растворитель (в пересчете на С)

300

Бензин топливный (в пересчете на С)

100

Бензол

20

Керосин, лигроин (в пересчете на С)

300

Окись углерода

20

Серная кислота, серный ангидрид

1

Сероводород

10

Сероводород в смеси с углеводородами

С1- С5

3

Сероуглерод

10

Спирт этиловый

1000

Тетраэтилсвинец

0,005

Углеводороды (в пересчете на С)

300

Уайт-спирит

300

Фенол

5

Этиловый, диэтиловый эфир

300

 

 




ГОСТЫ, СТРОИТЕЛЬНЫЕ и ТЕХНИЧЕСКИЕ НОРМАТИВЫ.
Некоммерческая онлайн система, содержащая все Российские Госты, национальные Стандарты и нормативы.
В Системе содержится более 150000 файлов нормативно-технической документации, действующей на территории РФ.
Система предназначена для широкого круга инженерно-технических специалистов.

Рейтинг@Mail.ru Яндекс цитирования

Copyright © www.gostrf.com, 2008 - 2026