Крупнейшая бесплатная информационно-справочная система онлайн доступа к полному собранию технических нормативно-правовых актов РФ. Огромная база технических нормативов (более 150 тысяч документов) и полное собрание национальных стандартов, аутентичное официальной базе Госстандарта. GOSTRF.com - это более 1 Терабайта бесплатной технической информации для всех пользователей интернета. Все электронные копии представленных здесь документов могут распространяться без каких-либо ограничений. Поощряется распространение информации с этого сайта на любых других ресурсах. Каждый человек имеет право на неограниченный доступ к этим документам! Каждый человек имеет право на знание требований, изложенных в данных нормативно-правовых актах!

  


 

МЕЖГОСУДАРСТВЕННЫЙ СОВЕТ ПО СТАНДАРТИЗАЦИИ, МЕТРОЛОГИИ И СЕРТИФИКАЦИИ

(МГС) INTERSTATE COUNCIL FOR STANDARDIZATION, METROLOGY AND CERTIFICATION (ISC)

МЕЖГОСУДАРСТВЕННЫЙ
СТАНДАРТ

ГОСТ ИСО
11205-
2006

Шум машин

ОПРЕДЕЛЕНИЕ УРОВНЕЙ ЗВУКОВОГО
ДАВЛЕНИЯ ИЗЛУЧЕНИЯ НА РАБОЧЕМ МЕСТЕ
И В ДРУГИХ ЗАДАННЫХ ТОЧКАХ
ПО ИНТЕНСИВНОСТИ ЗВУКА

Технический метод

(ISO 11205:2003, IDT)

Москва

Стандартинформ

2007

Предисловие

Цели, основные принципы и основной порядок проведения работ по межгосударственной стандартизации установлены ГОСТ 1.0-92 «Межгосударственная система стандартизации. Основные положения» и ГОСТ 1.2-97 «Межгосударственная система стандартизации. Стандарты межгосударственные, правила и рекомендации по межгосударственной стандартизации. Порядок разработки, принятия, применения, обновления и отмены»

Сведения о стандарте

1 ПОДГОТОВЛЕН Открытым акционерным обществом «Научно-исследовательский центр контроля и диагностики технических систем» (ОАО «НИЦ КД») на основе собственного аутентичного перевода стандарта, указанного в пункте 4

2 ВНЕСЕН Федеральным агентством по техническому регулированию и метрологии

3 ПРИНЯТ Межгосударственным советом по стандартизации, метрологии и сертификации (протокол № 30 от 7 декабря 2006 г.)

За принятие стандарта проголосовали:

Краткое наименование страны по МК (ИСО 3166) 004-97

Код страны по МК (ИСО 3166) 004-97

Сокращенное наименование национального органа по стандартизации

Армения

AM

Минторгэкономразвития

Беларусь

BY

Госстандарт Республики Беларусь

Казахстан

KZ

Госстандарт Республики Казахстан

Кыргызстан

KG

Кыргызстандарт

Молдова

MD

Молдова-Стандарт

Российская Федерация

RU

Федеральное агентство по техническому регулированию и метрологии

Таджикистан

TJ

Таджикстандарт

Украина

UA

Госпотребстандарт Украины

4 Настоящий стандарт идентичен международному стандарту ИСО 11205:2003 «Акустика. Шум машин и оборудования. Технический метод для определения уровней звукового давления излучения на рабочем месте и других заданных местах в условиях эксплуатации с использованием интенсивности звука» (ISO 11205:2003 «Acoustics - Noise emitted by machinery and equipment - Engineering method for the determination of emission sound pressure levels in situ at the work station and at other specified positions using sound intensity»).

Наименование настоящего стандарта изменено относительно наименования международного стандарта с целью введения его в комплекс стандартов «Шум машин».

Сведения о соответствии международных стандартов, на которые даны ссылки, межгосударственным стандартам, принятым в качестве идентичных и модифицированных межгосударственных стандартов, приведены в дополнительном приложении Д.Е.

Международный стандарт разработан ИСО/ТК 43 «Акустика».

Перевод с английского языка (en).

Степень соответствия - идентичная (IDT)

5 Приказом Федерального агентства по техническому регулированию и метрологии от 14 июня 2007 г. № 132-ст межгосударственный стандарт ГОСТ ИСО 11205-2006 введен в действие в качестве национального стандарта Российской Федерации с 1 октября 2007 г.

6 ВВЕДЕН ВПЕРВЫЕ

Информация о введении в действие (прекращении действия) настоящего стандарта публикуется в указателе «Национальные стандарты».

Информация об изменениях к настоящему стандарту публикуется в указателе «Национальные стандарты», а текст изменений - в информационных указателях «Национальные стандарты». В случае пересмотра или отмены настоящего стандарта соответствующая информация будет опубликована в информационном указателе «Национальные стандарты»

Содержание

1 Область применения

2 Нормативные ссылки

3 Термины и определения

4 Неопределенность измерений

5 Метод измерения

6 Средства измерений

6.1 Общие положения

6.2 Калибровка

7 Установка и режим работы источника

7.1 Общие положения

7.2 Положение машины

7.3 Установка машины

7.4 Вспомогательное оборудование

7.5 Режим работы испытуемой машины

8 Выполнение измерений

8.1 Применимость метода измерений

8.2 Продолжительность измерений

8.3 Измерения

8.4 Ветер и газовые потоки

8.5 Критерий для проверки акустических условий

8.6 Критерии для фонового шума

8.7 Частотный диапазон измерений

8.8 Оценка результатов измерений

9 Регистрируемая информация

9.1 Общие положения

9.2 Испытуемая машина

9.3 Условия испытаний

9.4 Акустические условия

9.5 Средства измерений

9.6 Положение точек измерения

9.7 Данные измерений шума

10 Информация, подлежащая занесению в протокол измерений

Приложение А (обязательное) Критерий адекватности направления вектора интенсивности звука

Приложение В (обязательное) Метод измерения для частот свыше 5000 Гц

Приложение С (обязательное) Методика измерений в случае неудовлетворительной оценки условий акустического поля

Приложение D (справочное) Пример конструкции испытательного стола

Приложение Д.Е (справочное) Сведения о соответствии международных стандартов, на которые даны ссылки, межгосударственным стандартам

Библиография

ГОСТ ИСО 11205-2006

МЕЖГОСУДАРСТВЕННЫЙ СТАНДАРТ

Шум машин

ОПРЕДЕЛЕНИЕ УРОВНЕЙ ЗВУКОВОГО ДАВЛЕНИЯ ИЗЛУЧЕНИЯ НА РАБОЧЕМ
МЕСТЕ И В ДРУГИХ ЗАДАННЫХ ТОЧКАХ ПО ИНТЕНСИВНОСТИ ЗВУКА

Технический метод

Noise emitted by machinery. Determination of emission sound pressure levels at the work station and at other specified positions using sound intensity.
Engineering method

Дата введения - 2007-10-01

1 Область применения

Настоящий стандарт устанавливает технический метод (2-й степени точности) для определения уровня звукового давления излучения машины в условиях эксплуатации на рабочем месте или в других заданных точках с использованием интенсивности звука. Стандарт является альтернативой ИСО 11201, ИСО 11202 и ИСО 11204 для измерений в полевых условиях. Он применим для всех видов условий испытаний, обеспечивающих выполнение требований по фоновому шуму и показателям звукового поля.

Настоящий стандарт применяется к оборудованию, излучающему стационарный широкополосный шум. Этот шум может отличаться для разных рабочих циклов машины, а также может содержать или не содержать узкополосные компоненты или дискретные частоты.

2 Нормативные ссылки

Следующие ссылочные стандарты являются обязательными для применения настоящего стандарта. Датированные ссылки применяются только к указанным редакциям документов. Недатированные ссылки относятся к наиболее поздней редакции цитируемого документа (включая все изменения).

ИСО 7574-1 Акустика. Статистические методы для определения и подтверждения установленных значений величин шумового излучения машин и оборудования. Часть 1. Общие требования и определения

ИСО 12001 Акустика. Шум, излучаемый машинами и оборудованием. Руководство по разработке и представлению стандартов по испытаниям на шум

МЭК 60942:2003 Электроакустика. Звуковые калибраторы

МЭК 61043:2003 Электроакустика. Средства измерения интенсивности звука. Измерения парой чувствительных к давлению микрофонов

3 Термины и определения

В настоящем стандарте применены следующие термины с соответствующими определениями:

3.1 интенсивность звука , Вт/м2 (sound intensity): Усредненное по времени мгновенное значение потока звуковой энергии, проходящего через единичную площадку за единицу времени в направлении мгновенного значения локальной скорости частиц стационарного во времени звукового поля.

Примечания

1 Интенсивность звука вычисляют по формуле

где р(t) - мгновенное звуковое давление в точке, Па;

 - мгновенное значение скорости частиц в той же точке, м/с;

T - интервал интегрирования, с.

2 Интенсивность звука - векторная величина.

3.2 вектор интенсивности звука  Вт/м2 (sound intensity vector): Векторная сумма трех измеренных ортогональных компонент интенсивности.

3.3 уровень вектора интенсивности звука LIxyz, дБ (level of the sound intensity vector): Десять десятичных логарифмов отношения модуля вектора интенсивности звука к опорной интенсивности I0.

Примечания

1 Уровень вектора интенсивности звука вычисляют по формуле

2 Опорная интенсивность звука I0 = 10-12 Вт/м2.

3.4 показатель «давление - интенсивность» звукового поля или показатель поля FpIxyz (sound field pressure-intensity indicator or field indicator): Разность между усредненным по времени измеренным уровнем звукового давления L'p и уровнем вектора интенсивности звука LIxyz.

Примечания

1 Показатель поля вычисляют по формуле

FpIxyz = L'p - LIxyz.

2 Когда показатель поля определяют для каждой декартовой координаты х, у и z, его обозначают FpIх, FpIy и FpIz соответственно.

3 В ИСО 9614-1 применяют обозначение F2.

3.5 показатель «давление - остаточная интенсивность» dрI0 (pressure-residual intensity index): Разность между измеренным уровнем звукового давления и уровнем интенсивности звука, когда акустический зонд размещен и направлен в звуковом поле таким образом, что интенсивность звука равна нулю.

Пример - Данный эффект может наблюдаться в акустическом модеме (acoustic coupler - устройстве для передачи данных в компьютер по акустическому каналу связи) или в другом аналогичном устройстве, выполненном в виде акустического зонда, ось микрофонной пары которого перпендикулярна направлению распространения плоских волн.

3.6 уровень звукового давления излучения Lp, дБ (emission sound pressure level): Уровень звукового давления в контрольной точке вблизи машины при заданных режиме работы и условиях монтажа (установки) машины на звукоотражающей плоскости, когда исключено влияние фонового шума и отражений от поверхностей, отличных от допускаемых для целей испытаний.

3.7 контрольная точка (specified position): Место, определенное по отношению к машине, включающее место оператора.

Примечание - Местом может быть единственная фиксированная точка или совокупность точек, принадлежащих некоторой линии или поверхности, расположенной на заданном расстоянии от машины, как описано в соответствующем стандарте по испытаниям на шум при его наличии. Места, расположенные вблизи рабочего места или вблизи необслуживаемой машины, можно рассматривать как «место наблюдателя».

3.8 показатель динамической способности Ld, дБ (dynamic capability index): Разность между показателем «давление - остаточная интенсивность» и систематической ошибкой К:

Ld = dрI0 - К.

Примечание - В настоящем стандарте К = 10 дБ.

3.9 коррекция интенсивности для поля над отражающей плоскостью К5 (hemi-free field intensity correction): Коррекция, учитывающая тот факт, что уровень интенсивности звука в поле над отражающей плоскостью меньше уровня звукового давления.

Примечания

1 В настоящем стандарте К5 = 1 дБ.

2 Введение данной поправки уменьшает систематическую недооценку уровня звукового давления излучения по измерениям интенсивности, см. [9]-[16]. К5 не зависит от частоты и, следовательно, пригодна для оценки уровней звука. В этом случае используют обозначение К5А.

4 Неопределенность измерений

Значение уровня звукового давления излучения источника шума, определенное методами настоящего стандарта в каком-либо конкретном месте, вероятно, будет отличаться от истинного значения на некоторую величину, находящуюся в пределах неопределенности измерений. Неопределенность измерений уровней звукового давления излучения увеличивается в зависимости от многих факторов, влияющих на результаты измерений; некоторые из них связаны с акустическими условиями в измерительном помещении, другие - с методикой измерений. Методика определения неопределенности измерений с учетом информации о различных влияющих параметрах описана в [8].

Оценка неопределенности измерения может быть получена на основе стандартных отклонений воспроизводимости и повторяемости согласно ИСО 7574-1, если нет в распоряжении более конкретной информации.

Для установления стандартных отклонений воспроизводимости и повторяемости уровней звукового давления излучения в отдельных точках необходимо большое количество данных измерений. Эти стандартные отклонения значительно отличаются для различных типов машин и оборудования, относительно которых применяют настоящий стандарт. Поэтому нельзя предоставить универсально применимую информацию, но можно ссылаться на стандарты по испытаниям на шум отдельных видов машин, содержащие соответствующие данные.

Типичное среднеквадратичное отклонение воспроизводимости приведено в таблице 1. Исходя из этого и привлекая дополнительную информацию о среднеквадратичном отклонении повторяемости, можно вычислить суммарное среднеквадратическое отклонение и оценку расширенной неопределенности измерения для доверительной вероятности 95 %, соответствующей фактору покрытия, равному двум.

Таблица 1 - Неопределенность измерений уровня звука излучения

Стандартное отклонение воспроизводимостиа) sRA, для стабильногое) источника, ДБ

Стандартное отклонение повторяемостиb) srA, для нестабильногоe) источника, дБ

Суммарное стандартное отклонение, дБ

Расширенная неопределенностьd), дБ

1,5c)

srA

a) Получено разными операторами с использованием различного измерительного оборудования для одной и той же машины в различных внешних условиях. Эта величина включает малое стандартное отклонение повторяемости sr(sr » 0,5 дБ).

b) Получено одним и тем же оператором для одной и той же машины в одних и тех же внешних условиях на одном и том же измерительном оборудовании (должно применяться при sr > 0,5 дБ).

c) Если преобладают частоты свыше 5000 Гц, то sRA уровня звука может быть больше, см. приложение В.

d) 95 %-ная доверительная вероятность в предположении нормального распределения.

e) Стабильность источника характеризуется значением sr.

Примечание - Неопределенность измерений может быть взята из [11], [12], [15] - [17].

5 Метод измерения

Основной принцип метода измерения заключается в том, что интенсивность звука в диффузном звуковом поле мала (теоретически должна равняться нулю), и уровень звукового давления равен уровню интенсивности звука в свободно распространяющейся волне. Метод измерения предполагает, что отраженный от ограждений помещения и препятствий звук образует в сумме диффузное звуковое поле. Прямой звук от испытуемой машины образует свободно распространяющуюся волну, не являющуюся частью диффузного звукового поля.

Эти предположения будут нарушаться, если акустическим зондом будут измеряться близкие по значению интенсивности звука от различных частей машины, которые в некоторой степени компенсируют друг друга, складываясь как векторные величины. В этих случаях измеряемая интенсивность звука становится меньше, а в предположении некоррелированного (энергетического) суммирования реальное звуковое давление будет больше по сравнению с тем, что соответствует значению интенсивности. В этих случаях уровень вектора интенсивности звука будет давать заниженную оценку уровня звукового давления излучения. Добавляя К5 к заниженной оценке, обусловленной отражением от пола, а также большими размерами машин, ошибка в оценке может быть уменьшена посредством удовлетворения указанного в 8.5 критерия для показателя «давление - остаточная интенсивность».

6 Средства измерений

6.1 Общие положения

Средство измерения должно позволять измерять интенсивность относительно 10-12 Вт/м2 в децибелах в октавных или третьоктавных полосах. Средство измерения, включая акустический зонд, должно соответствовать приборам 1-го класса по МЭК 61043. Если акустический зонд не обладает плоской частотной характеристикой для частот свыше 5000 Гц, см. приложение В.

Показатель «давление - остаточная интенсивность» sрI0 акустического зонда и анализатора должен быть больше, чем FpI + 10 дБ в каждой октавной и третьоктавной полосе.

6.2 Калибровка

Соответствие измерительной аппаратуры требованиям МЭК 61043 должно периодически проверяться методами, установленными в соответствующих стандартах.

Во время каждой серии измерений средство измерений и акустический зонд должны калиброваться в соответствии с процедурой калибровки, по меньшей мере, на одной частоте из диапазона от 200 до 1000 Гц.

Перед каждой серией измерений должны быть выполнены следующие испытания средств измерений в акустическом поле.

а) Выполняют акустическую проверку в соответствии с инструкцией производителя. Если такой инструкции нет, проверяют средство измерения согласно b) и с):

b) Уровень звукового давления: проверяют каждый микрофон давления акустического зонда для уровня звукового давления, используя калибратор 1-го класса по МЭК 60942.

с) Интенсивность: калибруют средство измерения с использованием калибратора интенсивности. Если такой калибратор отсутствует или конструкция акустического зонда не позволяет проведение такой калибровки, выполняют следующую проверку. Ориентируя акустический зонд в направлении наиболее важного источника звукового излучения, размещают его в точке, где шум машины является характерным для данной машины. Акустический зонд интенсивности должен быть установлен так, чтобы сохранять свои координаты во время выполнения поверочных измерений. Измеряют интенсивность. При тех же координатах акустического зонда изменяют его направление на 180° и повторно измеряют интенсивность. Измерительное средство допускается к измерениям, если для измерений максимальных уровней интенсивности звука в октавных или третьоктавных полосах модуль разности между двумя модулями уровней, соответствующих противоположным направлениям акустического зонда, составляет менее 1,5 дБ.

7 Установка и режим работы источника

7.1 Общие положения

Способ установки и режим работы испытуемой машины могут оказывать значительное влияние на уровни звукового давления излучения в заданных местах. В настоящем разделе определяются условия, предназначенные минимизировать изменения шумового излучения, обусловленные способом монтажа и режимом работы испытуемой машины. Если для данного семейства машин или оборудования существует стандарт по испытаниям на шум, то выполняют соответствующие инструкции. Для измерения уровней звукового давления излучения следует использовать те же самые режимы работы и условия монтажа как для измерения уровней звуковой мощности. Стандарт по испытаниям на шум рассматриваемой машины детально описывает установку, монтаж и режим работы.

Примечание - В стандарте по испытаниям на шум может быть сделано исключение относительно этого требования идентичности установки, монтажа и режима работы для настольного оборудования. Во время проведения измерений по определению звуковой мощности такое оборудование может быть смонтировано на полу.

В частности для больших машин необходимо принять решение, какие из компонентов, агрегатов, вспомогательного оборудования, источников питания и т.д., войдут в состав испытуемой машины.

7.2 Положение машины

Испытуемую машину следует устанавливать в одном или более положениях относительно отражающей плоскости, если это необходимо для ее нормального функционирования. Если это не противоречит типичной установке, то испытуемая машина должна по возможности размещаться вдали от таких отражающих поверхностей, как стены, потолок или другие звукоотражающие объекты.

Примечание - Типичные условия установки для некоторых машин включают две или более отражающих поверхностей (например бытовой прибор, установленный напротив стены) или свободное пространство (например подъемный механизм), или отверстие в противоположной отражающей плоскости (так что излучение может иметь место с обеих сторон отражающей плоскости). Конкретная информация по условиям установки должна основываться на требованиях настоящего стандарта и соответствующем стандарте по испытаниям на шум (при его наличии). Методы измерения в случаях, когда машина находится вблизи отражающих поверхностей, представлены в следующих разделах настоящего стандарта.

7.3 Установка машины

7.3.1 Общие положения

Во многих случаях шумовое излучение в заданных точках испытуемой машины будет зависеть от условий установки и монтажа машины. Если существуют типичные условия установки для машины, они по возможности должны применяться или моделироваться.

Если типичных условий монтажа не существует ил и они не могут быть использованы при испытаниях, следует применять систему монтажа, не изменяющую звуковое излучение испытуемой машины. Следует предпринять меры для уменьшения излучения звука от основания, на которое устанавливается машина.

Упругое закрепление должно быть использовано только в случае, если испытуемая машина упруго закрепляется в обычных условиях эксплуатации. Многие малые машины, имея слабое собственное низкочастотное излучение, достаточно эффективно излучают низкочастотный звук, когда энергия их вибраций передается через излучающие поверхности больших размеров. Если это имеет место, то между испытуемой машиной и опорными поверхностями по возможности должны располагаться упругие амортизаторы с тем, чтобы минимизировать передачу вибрации на основание и ответное воздействие на источник. В этом случае монтажное основание должно быть жестким (т.е. иметь большой механический импеданс), чтобы защитить его от чрезмерной вибрации и излучаемого звука.

Примечание - Условия присоединения (например приводных двигателей и ведомых машин) могут оказывать значительное влияние на излучение звука испытуемой машины.

7.3.2 Ручные машины и оборудование

Ручные машины и оборудование должны подвешиваться или удерживаться рукой так, чтобы никакой структурный шум не передавался через устройство закрепления, не принадлежащее испытуемой машине. Если испытуемая машина требует закрепления во время работы, то закрепляющее устройство должно быть малым, должно рассматриваться как часть испытуемой машины и закрепляться, как описано в соответствующем стандарте по испытаниям на шум (при его наличии).

7.3.3 Устанавливаемые на фундаменте или на стене машины и оборудование

Такие машины или оборудование следует размещать на отражающей (акустически жесткой) плоскости (полу или стене). Смонтированные на основании машины и оборудование, предназначенные для установки перед стеной, должны быть установлены на акустически жесткую поверхность перед акустически жесткой стеной. Настольные машины или оборудование следует размещать на столе или станине в соответствии с требованиями стандарта по испытаниям на шум для семейства машин или оборудования, к которому принадлежит испытуемая машина. Стол или станина должны располагаться по меньшей мере на расстоянии 1,5 м от любых поглощающих поверхностей испытательного помещения. Рекомендуемая конструкция испытательного стола показана в приложении D.

7.4 Вспомогательное оборудование

Необходимо убедиться в том, что никакие электрические коммуникации, трубопроводы и воздушные каналы, присоединенные к испытуемой машине, не излучают в испытательное пространство значительное количество звуковой энергии.

По возможности все вспомогательное оборудование, необходимое для работы испытуемой машины, но не являющееся его составной частью (см. 7.1), следует размещать вне испытательного пространства. Если это невозможно, то вспомогательное оборудование следует включать в испытуемый источник, и режим его работы должен быть описан в протоколе испытаний.

7.5 Режим работы испытуемой машины

Режим работы машины во время измерений шума должен определяться соответствующим стандартом по испытаниям на шум, если он существует для узкого семейства машин, к которому принадлежит испытуемая машина.

Если стандарта по испытаниям на шум не существует, то испытуемая машина должна работать в режиме, являющимся типичным для ее нормальной эксплуатации. При этом могут быть выбраны (один или более) следующие режимы работы:

a) при заданной нагрузке;

b) при полной нагрузке (отличающейся от заданной выше);

c) без нагрузки (холостой ход);

d) режим, соответствующий максимальному возбуждению шума, характерному для нормальной эксплуатации машины;

e) режим, имитирующий нагрузку для точно определенных условий;

f) режим, соответствующий характерному операционному циклу.

Уровни звукового давления излучения в заданных точках следует определять для необходимого набора параметров условий работы (например температуры, влажности, скорости устройства). Условия испытаний должны быть выбраны заранее и должны поддерживаться постоянными во время испытаний. Испытуемая машина должна быть приведена в необходимый режим работы до начала выполнения измерений шума.

Если шумовое излучение зависит также от других рабочих параметров (например обрабатываемого материала или вида инструмента), то выбирают лишь те из них, которые ограничивают изменения шумового излучения и могут рассматриваться как типичные с точки зрения излучения шума.

Следует определить один или более режимов работы, которые подходят для испытаний машин или оборудования одного семейства в условиях наибольшей воспроизводимости шумового излучения, а также в наиболее общих и типичных для этого семейства машин условиях. Эти режимы работы должны определяться стандартами по испытаниям на шум.

При использовании моделирования режимов работы их следует выбирать так, чтобы они обеспечивали в заданных точках уровни звукового давления излучения, соответствующие нормальному функционированию испытуемой машины.

В особых случаях при определении результатов измерений в основном режиме работы результаты измерений в нескольких рабочих режимах могут объединяться путем усреднения по энергии с учетом продолжительности работы в каждом режиме.

Режимы работы испытуемой машины во время измерений должны быть полностью описаны в протоколе испытаний.

8 Выполнение измерений

8.1 Применимость метода измерений

Метод настоящего стандарта не применим, когда вектор интенсивности направлен к испытуемой машине, см. приложение А.

Если метод настоящего стандарта применяется к машине, расположенной перед звукоотражающей стеной или в углу, в результате получится уровень звукового давления излучения, соответствующий случаю машины, испытываемой в полузаглушенной камере перед одной или двумя отражающими плоскостями соответственно, при условии, что точка измерения не находится между испытуемой машиной и одной из стен. Если точка измерения находится между машиной и стеной, то акустический зонд должен быть по меньшей мере в 1 м от стены. Если целью измерений является моделирование условий полусвободного поля и машина установлена в такое положение, необходимо покрыть стену звукопоглощающим материалом. Требуемая толщина звукопоглощающего материала зависит от частотного спектра, обычно достаточно 10 см минеральной ваты или аналогичного материала.

8.2 Продолжительность измерений

8.2.1 Общие положения

Общую продолжительность измерений следует выбирать из условия достаточности времени для определения требуемого уровня звукового давления излучения и временных характеристик звукового излучения в заданных точках при установленном режиме работы.

Для данной испытуемой машины общая продолжительность измерений Т может складываться из операционных интервалов измерения Тi, каждый из которых соответствует периоду выполнения заданной рабочей операции машины. В этом случае обычно требуется объединенный уровень звукового давления излучения. Его вычисляют путем усреднения отдельных корректированных по характеристике А уровней звукового давления излучения, дБ, в соответствии с формулой

                                                                                               (1)

где Т - общая продолжительность измерений,

Тi - продолжительность измерений на i-м операционном интервале;

N - общее число измерительных интервалов или периодов выполнения различных операций;

LpAT. - корректированный по характеристике А уровень звукового давления излучения на интервале Тi.

Для машин и оборудования с заданным циклом работы обычно необходимо расширить интервал измерения до суммарной продолжительности циклов всех последовательных операций.

Общий интервал измерения должен соответствовать лишь тем периодам работы, для которых требуется определить уровень звукового давления излучения и временные характеристики звукового излучения.

Общий интервал измерения, необходимые операционные интервалы измерения и число циклов операций, входящие в общий интервал измерения, обычно определяют из стандарта по испытаниям на шум семейства машин или оборудования, к которому принадлежит данная машина, если такой стандарт существует. В любом случае интервалы измерений должны быть такими же, как при определении уровня звуковой мощности испытуемой машины.

8.2.2 Постоянный шум

Если шумовое излучение в заданном месте постоянно для заданного режима работы (см. ИСО 12001), продолжительность измерений должна быть не менее 15 с.

8.3 Измерения

Устанавливают акустический зонд в заданном месте испытуемой машины. Кроме испытуемой машины, никакие отражающие объекты, включая проводящего измерения оператора, не должны быть ближе 0,5 м от акустического зонда. Если такие объекты имеются, они должны быть покрыты звукопоглощающим материалом. Для настольного оборудования стол должен рассматриваться как часть испытуемого объекта.

Измеряют компоненты интенсивности в направлении трех декартовых координат х, у и z соответственно. Для каждого направления измеряют уровень интенсивности и уровень звука, при необходимости в полосах частот. Время усреднения должно быть по меньшей мере 30 с в каждой точке расположения акустического зонда для частотных полос со среднегеометрической частотой не выше 160 Гц и 15 с для частотных полос со среднегеометрической частотой 200 Гц и выше. По возможности одновременно измеряют проинтегрированный по времени уровень звукового давления Lp. Если это невозможно, то уровень звукового давления измеряют позже в той же точке во время измерений интенсивности.

Вычисляют уровень вектора интенсивности звука LIxyz по формуле

                                                                 (2)

где LIx, LIy и LIz - уровни интенсивности звука, измеренные по декартовым осям х, у и z.

Вычисляют показатели звукового поля «давление - интенсивность» FpIxyz, FpIx, FpIy и FpIz соответственно.

8.4 Ветер и газовые потоки

Акустические зонды более чувствительны к ветру и газовым потокам, чем обычные микрофоны. При значительных потоках используют ветрозащитные экраны. Если скорость ветра/газового потока превышает 4 м/с, результаты измерений недействительны, пока не доказано, что поток оказывал незначительное влияние на интересующих частотах.

Примечание - Некоторые рекомендации по измерениям в потоке приведены в [2] (см. приложение С).

8.5 Критерий для проверки акустических условий

Показатель звукового поля «давление - интенсивность», связанный с наибольшей компонентой вектора интенсивности звукового поля min{FpIx, FpIy, FpIz}, должен удовлетворять следующим соотношениям:

min{Fp/x, Fpiy, Fp/2} < Ld,                                                                                                     (3)

FpIxyz <  10  дБ.                                                                                                                      (4)

Для машин, у которых наибольший размер превышает 2 м, такие же условия дополнительно должны выполняться для двух из трех осей х, у, z. Если для больших машин эти условия выполняются только для одного направления, следует проверить акустические условия измерений, поворачивая систему координат акустического зонда и повторяя измерения (см. приложение С).

8.6 Критерии для фонового шума

В точках расположения акустического зонда, когда испытуемая машина не работает, уровень интенсивности нежелательного фонового шума, измеренный как взвешенный по частотной характеристике А уровень или в каждой интересующей частотной полосе в направлении испытуемой машины, во всех случаях должен быть по меньшей мере на 10 дБ ниже уровня испытуемой машины. Не должны применяться никакие коррекции.

8.7 Частотный диапазон измерений

Уровень звукового давления и уровень интенсивности звука должны быть измерены с использованием октавных фильтров со следующими среднегеометрическими частотами, Гц:

63, 125, 250, 500, 1000, 2000, 4000, 8000.

Дополнительно могут быть сделаны измерения в 1/3-октавных полосах частот со среднегеометрическими частотами по меньшей мере от 50 до 6300 Гц. Для частот свыше 5000 Гц измерения проводят по приложению В.

Примечание - Если требуется определить лишь корректированные по характеристике А величины, то любой одиночный корректированный по А уровень на 10 дБ или более низкий, чем наибольший корректированный по характеристике А уровень в полосе частот, может не учитываться. Если появляется более чем один низкий полосовой уровень, то эти полосы могут быть проигнорированы, если уровень суммы корректированных по характеристике А уровней в этих полосах на 10 дБ или более ниже максимального полосового уровня из всего частотного диапазона измерений.

8.8 Оценка результатов измерений

Уровень звукового давления излучения Lp вычисляют по формуле

Lp = LIxyz + К5,                                                                                                                      (5)

где К5 = 1 дБ.

Измерения непригодны для любой частотной полосы, в которой вектор интенсивности звука направлен на испытуемую машину, см. приложение А.

9 Регистрируемая информация

9.1 Общие положения

В соответствии с настоящим стандартом регистрируют перечисленную ниже информацию. Вычисленные значения округляют только после выполнения окончательных расчетов.

9.2 Испытуемая машина

Описание машины должно включать в себя:

- тип;

- технические характеристики;

- размеры;

- наименование фирмы-производителя;

- заводской номер;

- год выпуска.

9.3 Условия испытаний

Условия испытаний включают в себя:

- точное количественное описание режимов работы и при необходимости описание циклов и периодов рабочих операций;

- условия монтажа;

- расположение машины в испытательном пространстве;

- описание всех работающих во время проведения измерений источников, если испытуемая машина имеет несколько источников шума.

9.4 Акустические условия

Описание испытуемого пространства включает:

- описание поверхностей стен, потолка и пола с точки зрения их акустических свойств;

- эскиз расположения испытуемой машины и других объектов в помещении.

9.5 Средства измерений

Регистрируют следующую информацию о средствах измерений:

- перечень оборудования, используемого для измерений, с указанием наименования, типа, заводского номера и производителя;

- описание конструкции акустического зонда;

- метод поверки и калибровки измерительной системы (дату, место и результаты калибровки);

- характеристики ветрозащитного экрана, если он применяется.

9.6 Положение точек измерения

Указывают точные координаты всех точек, где измеряется уровень звукового давления излучения.

9.7 Данные измерений шума

Регистрируют следующую информацию:

- значения определенных уровней звукового давления излучения вместе с уровнем вектора интенсивности звука LIxyz и показателем поля РрIхуz для каждой частотной полосы измерений;

- частотный диапазон, используемый для оценки уровня звука излучения;

- расстояние между микрофонами, применяемое для измерения в разных частотных полосах;

- частотные коррекции передаточной функции, если они применялись;

- уровень интенсивности фонового шума;

- место и дату проведения измерений и фамилию лица, ответственного за проведение испытаний;

- неопределенность измерений.

10 Информация, подлежащая занесению в протокол измерений

В протокол заносится только та информация (см. раздел 9), которая требуется для целей испытаний.

Приложение А
(обязательное)

Критерий адекватности направления вектора интенсивности звука

Для того чтобы ограничить неопределенности измерений диапазоном значений, указанным в таблице 1, вектор интенсивности звука должен быть направлен от испытуемой машины. То есть должен удовлетворяться следующий критерий: угол Q между направлением вектора, проведенного от испытуемой машины в точку измерения, и вектором интенсивности звука в точке измерения должен лежать в интервале от минус 90° до плюс 90°:

cos(Q) > 0.                                                                                                                            (А.1)

Косинус угла Q вычисляют как скалярное произведение по формуле

                                                                                                                 (А.2)

где  - единичный вектор в направлении результирующего потока энергии (см. 3.2):

                                                                                                            (А.3)

где Ix, Iy, Iz - измеренные компоненты вектора интенсивности;

 где LIxyz определено формулой (2);

 - единичный вектор, направленный из акустического центра машины в точку измерения, как показано на рисунке А.1,  - модуль .

Если акустический центр машины не определен, используют геометрический центр машины. Если критерий (А.1) не выполняется, то cos(Q) записывают в дополнение к информации, указанной в разделах 9 и 10. В этом случае ожидаемая неопределенность измерений больше, чем приведенная в таблице 1, и точность технического метода измерений не может быть обеспечена.

1 - точка измерения с координатами xiyizi; 2 - центр испытуемой машины х0, у0, z0;  - вектор интенсивности звука в точке измерения xiyizi;  = {хi - х0; уi - у0; zj - z0}
Рисунок А.1 - Определение угла Q

Приложение В
(обязательное)

Метод измерения для частот свыше 5000 Гц

Если акустический зонд не имеет плоской частотной характеристики вплоть до частоты 10000 Гц, то возможны следующие действия:

a) руководствоваться инструкцией производителя;

b) выбрать акустический зонд с микрофонами диаметром 6 мм, разнесенными на расстояние 6 мм.

Примечание - Более подробную информацию о частотной характеристике акустического зонда см. [18].

Приложение С
(обязательное)

Методика измерений в случае неудовлетворительной оценки условий акустического поля

Если акустический зонд направлен в сторону малого преобладающего источника шума машины, наибольший размер которой превышает 2 м, возможно, что критерий для показателя звукового поля «давление - интенсивность» выполняется только для одного направления, хотя измерения вполне достоверны. В таких случаях следует проверить допустимость измерений, поворачивая систему координат акустического зонда на угол 45° вокруг вертикальной оси и повторяя измерения в трех ортогональных направлениях. При этом если те же критерии выполняются для двух из трех новых ортогональных направлений, то неопределенность измерений будет соответствовать указанной в таблице 1.

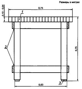
Приложение D
(справочное)

Пример конструкции испытательного стола

Пример конструкции испытательного стола показан на рисунке D.1. Верхняя поверхность стола площадью не менее 0,5 м2 и минимальным боковым размер 0,7 м склеивается из деревянных брусков толщиной от 0,04 до 0,10 м. На верхней поверхности стола могут быть прорези или полости, необходимые для работы машины.

1 - верхняя поверхность стола, склеенная из деревянных брусков; 2 - ножки и стяжки, склеенные и скрепленные шурупами; 3 - изолирующие прокладки
Рисунок D.1 - Пример конструкции испытательного стола

Приложение Д.Е
(справочное)

Сведения о соответствии международных стандартов, на которые даны ссылки, межгосударственным стандартам

Таблица Д.Е.1

Обозначение и наименование международного стандарта

Степень соответствия

Обозначение и наименование межгосударственного стандарта

ИСО 9614-1:1993 «Акустика. Определение уровней звуковой мощности источников шума по интенсивности звука. Часть 1. Измерения в дискретных точках»

MOD

ГОСТ 30457-97 (ИСО 9614-1-93) «Акустика. Определение уровней звуковой мощности источников шума на основе интенсивности звука. Измерение в дискретных точках. Технический метод»

ИСО 11200:1995 «Акустика. Шум машин и оборудования. Руководство по выбору базовых стандартов для определения уровней звукового давления излучения на рабочем месте и в других установленных местах»

MOD

ГОСТ 31171-2003 (ИСО 11200:1995) «Шум машин. Руководство по выбору метода определения звукового давления излучения на рабочем месте в других контрольных точках»

ИСО 11201:1995 «Акустика. Шум машин и оборудования. Руководство по выбору базовых стандартов для определения уровней звукового давления излучения на рабочем месте и в других установленных местах. Технический метод в условиях свободного звукового поля над отражающей поверхностью»

MOD

ГОСТ 31172-2003 (ИСО 11201:95) «Шум машин. Измерение уровней звукового давления излучения на рабочем месте и в других контрольных точках. Технический метод в существенно свободном звуковом поле над звукоотражающей плоскостью»

ИСО 11202:1995 «Акустика. Шум машин и оборудования. Руководство по выбору базовых стандартов для определения уровней звукового давления излучения на рабочем месте и в других установленных местах. Ориентировочный метод для измерения на месте установки»

MOD

ГОСТ 31169-2003 (ИСО 11202:95) «Шум машин. Измерение уровней звукового давления излучения на рабочем месте и в других контрольных точках. Ориентировочный метод для измерения на месте установки»

ИСО 11204:1995 «Акустика. Шум машин и оборудования. Руководство по выбору базовых стандартов для определения уровней звукового давления излучения на рабочем месте и в других установленных местах. Метод с коррекциями на акустические условия»

MOD

ГОСТ 30683-2000 (ИСО 11204-95) «Шум машин. Измерение уровней звукового давления излучения на рабочем месте и в других контрольных точках. Метод с коррекциями на акустические условия»

Примечание - Внесенные технические отклонения обеспечивают выполнение требований настоящего стандарта.

Библиография

[1]

ИСО 9614-1:1993

Акустика. Определение уровней звуковой мощности источников шума по интенсивности звука. Часть 1. Измерения в дискретных точках

 

(ISO 9614-1:1993)

(Acoustics - Determination of sound power levels of noise sources using sound intensity - Part 1: Measurement at discrete points)

[2]

ИСО 9614-2:1996

Акустика. Определение уровней звуковой мощности источников шума по интенсивности звука. Часть 2. Измерения сканированием

 

(ISO 9614-2:1996)

(Acoustics - Determination of sound power levels of noise sources using sound intensity - Part 2: Measurement by scanning)

[3]

ИСО 11200:1995

Акустика. Шум машин и оборудования. Руководство по применению основополагающих стандартов по методам определения уровней звукового давления излучения на рабочем месте и в других контрольных точках

 

(ISO 11200:1995)

(Acoustics - Noise emitted by machinery and equipment - Guidelines for the use of basic standards for the determination of emission sound pressure levels at a work station and at other specified positions)

[4]

ИСО 11201:1995

Акустика. Шум машин и оборудования. Измерение уровней звукового давления излучения на рабочем месте и в других контрольных точках. Технический метод в существенно свободном звуковом поле над звукоотражающей плоскостью

 

(ISO 11201:1995)

(Acoustics - Noise emitted by machinery and equipment - Measurement of emission sound pressure levels at a work station and at other specified positions - Engineering method in an essentially free field over a reflecting plane)

[5]

ИСО 11202:1995

Акустика. Шум машин и оборудования. Измерение уровней звукового давления излучения на рабочем месте и в других контрольных точках. Ориентировочный метод на месте эксплуатации

 

(ISO 11202:1995)

(Acoustics - Noise emitted by machinery and equipment - Measurement of emission sound pressure levels at a work station and at other specified positions - Survey method in situ)

[6]

ИСО 11203:1995

Акустика. Определение уровней звукового давления излучения на рабочем месте и в других контрольных точках по уровню звуковой мощности

 

(ISO 11203:1995)

(Acoustics - Noise emitted by machinery and equipment - Determination of emission sound pressure levels at a work station and at other specified positions from the sound power level)

[7]

ИСО 11204:1995

Акустика. Шум машин и оборудования. Измерение уровней звукового давления излучения на рабочем месте и в других контрольных точках. Метод с коррекциями на условия окружающей среды

 

(ISO 11204:1995)

(Acoustics - Noise emitted by machinery and equipment - Measurement of emission sound pressure levels at a work station and at other specified positions - Method requiring environmental corrections)

[8]

Руководство по выражению неопределенности измерений [GUM, Guide for the expression of uncertainty in measurement (BIPM, IEC, IFCC, ISO, IUPAC, OIML)]

[9]

JONASSON, H.G.&ANDRESEN.G. Measurement of emission sound pressure levels using sound intensity. SP Report 1995:75, Boras, Sweden (ISBN 91-7848-604-1, ISSN 0284-5172)

[10]

JONASSON, H.G.&ANDRESEN.G. Determination of emission sound pressure levels. Comparisons between a new intensity method and traditional ISO standards. Proceedings Intemoise 96, Liverpool, 1996

[11]

JONASSON, H.G. Determination of emission sound pressure level and sound power level in situ. Project SMT-CT 96-2051, SP Report 1999:17

[12]

HUBNER, G.&GERLACH.A. Determination of emission sound pressure levels using three-component sound intensity measurements. Proceedings of Euronoise, Munchen, 1998

[13]

HUBNER, G.&GERLACH, A. Determination of emission sound pressure levels using sound intensity measurements- Comparisons of different intensity methods. Proceedings of Internoise 98, Christchurch, 1998

[14]

HUBNER, G.&GERLACH, A. Report on investigations of the different standards of the ISO 11200-series, especially IS011205 (to be published)

[15]

HUBNER, G. & GERLACH, A. Further investigations on the accuracy of the emission sound pressure level determined by a three-component intensity measurement procedure. Proceedings of Internoise 99, Ft Lauderdale, 1999

[16]

HUBNER, G.&GERLACH, A. Untersuchung zur Prazisierung der lntensitatsmesstechnik in Bezugauf die Ermittlung des Emissionsschalldruckpegels. Schriftenreiheder Bundesanstalt fur Arbeitsschutzund Arbeitsmedizin, FM794

[17]

KEITH, S.E., KRISHNAPPA, G., CHIU. V. Determination of sound pressure levels in situ using sound intensity measurements. Noise-Con 2000

[18]

JACOBSEN, F., CUTANDA, V. & JUHL, P. Anumerical and experimental investigation of the performance of sound intensity probes at high frequencies. J. Acoust. Soc. Am., 103(2), 1998

Ключевые слова: уровень звукового давления излучения, интенсивность звука, показатели звукового поля, неопределенность измерений, акустический зонд

 

 




ГОСТЫ, СТРОИТЕЛЬНЫЕ и ТЕХНИЧЕСКИЕ НОРМАТИВЫ.
Некоммерческая онлайн система, содержащая все Российские Госты, национальные Стандарты и нормативы.
В Системе содержится более 150000 файлов нормативно-технической документации, действующей на территории РФ.
Система предназначена для широкого круга инженерно-технических специалистов.

Рейтинг@Mail.ru Яндекс цитирования

Copyright © www.gostrf.com, 2008 - 2026